USRE47080E1 - Chemical amplification based on fluid partitioning - Google Patents

Chemical amplification based on fluid partitioning Download PDF

Info

Publication number
USRE47080E1
USRE47080E1 US15/421,141 US201715421141A USRE47080E US RE47080 E1 USRE47080 E1 US RE47080E1 US 201715421141 A US201715421141 A US 201715421141A US RE47080 E USRE47080 E US RE47080E
Authority
US
United States
Prior art keywords
sample
nucleic acid
partitioned sections
acid amplification
partitioned
Prior art date
Legal status (The legal status is an assumption and is not a legal conclusion. Google has not performed a legal analysis and makes no representation as to the accuracy of the status listed.)
Expired - Lifetime, expires
Application number
US15/421,141
Inventor
Brian L. Anderson
Bill W. Colston
Christopher J. Elkin
Current Assignee (The listed assignees may be inaccurate. Google has not performed a legal analysis and makes no representation or warranty as to the accuracy of the list.)
Lawrence Livermore National Security LLC
Original Assignee
Lawrence Livermore National Security LLC
Priority date (The priority date is an assumption and is not a legal conclusion. Google has not performed a legal analysis and makes no representation as to the accuracy of the date listed.)
Filing date
Publication date
Family has litigation
First worldwide family litigation filed litigation Critical https://patents.darts-ip.com/?family=32962201&utm_source=google_patent&utm_medium=platform_link&utm_campaign=public_patent_search&patent=USRE47080(E1) "Global patent litigation dataset” by Darts-ip is licensed under a Creative Commons Attribution 4.0 International License.
Application filed by Lawrence Livermore National Security LLC filed Critical Lawrence Livermore National Security LLC
Priority to US15/421,141 priority Critical patent/USRE47080E1/en
Assigned to THE REGENTS OF THE UNIVERSITY OF CALIFORNIA reassignment THE REGENTS OF THE UNIVERSITY OF CALIFORNIA ASSIGNMENT OF ASSIGNORS INTEREST (SEE DOCUMENT FOR DETAILS). Assignors: ELKIN, CHRISTOPHER J., COLSTON, BILLY W., JR., ANDERSON, BRIAN L.
Assigned to LAWRENCE LIVERMORE NATIONAL SECURITY, LLC reassignment LAWRENCE LIVERMORE NATIONAL SECURITY, LLC ASSIGNMENT OF ASSIGNORS INTEREST (SEE DOCUMENT FOR DETAILS). Assignors: THE REGENTS OF THE UNIVERSITY OF CALIFORNIA
Assigned to U.S. DEPARTMENT OF ENERGY reassignment U.S. DEPARTMENT OF ENERGY CONFIRMATORY LICENSE (SEE DOCUMENT FOR DETAILS). Assignors: LAWRENCE LIVERMORE NATIONAL SECURITY, LLC
Priority to US16/115,187 priority patent/USRE48788E1/en
Application granted granted Critical
Publication of USRE47080E1 publication Critical patent/USRE47080E1/en
Adjusted expiration legal-status Critical
Expired - Lifetime legal-status Critical Current

Links

Images

Classifications

    • AHUMAN NECESSITIES
    • A61MEDICAL OR VETERINARY SCIENCE; HYGIENE
    • A61PSPECIFIC THERAPEUTIC ACTIVITY OF CHEMICAL COMPOUNDS OR MEDICINAL PREPARATIONS
    • A61P35/00Antineoplastic agents
    • CCHEMISTRY; METALLURGY
    • C07ORGANIC CHEMISTRY
    • C07DHETEROCYCLIC COMPOUNDS
    • C07D473/00Heterocyclic compounds containing purine ring systems
    • C07D473/26Heterocyclic compounds containing purine ring systems with an oxygen, sulphur, or nitrogen atom directly attached in position 2 or 6, but not in both
    • C07D473/32Nitrogen atom
    • C07D473/34Nitrogen atom attached in position 6, e.g. adenine
    • CCHEMISTRY; METALLURGY
    • C12BIOCHEMISTRY; BEER; SPIRITS; WINE; VINEGAR; MICROBIOLOGY; ENZYMOLOGY; MUTATION OR GENETIC ENGINEERING
    • C12QMEASURING OR TESTING PROCESSES INVOLVING ENZYMES, NUCLEIC ACIDS OR MICROORGANISMS; COMPOSITIONS OR TEST PAPERS THEREFOR; PROCESSES OF PREPARING SUCH COMPOSITIONS; CONDITION-RESPONSIVE CONTROL IN MICROBIOLOGICAL OR ENZYMOLOGICAL PROCESSES
    • C12Q1/00Measuring or testing processes involving enzymes, nucleic acids or microorganisms; Compositions therefor; Processes of preparing such compositions
    • C12Q1/68Measuring or testing processes involving enzymes, nucleic acids or microorganisms; Compositions therefor; Processes of preparing such compositions involving nucleic acids
    • C12Q1/6806Preparing nucleic acids for analysis, e.g. for polymerase chain reaction [PCR] assay
    • CCHEMISTRY; METALLURGY
    • C12BIOCHEMISTRY; BEER; SPIRITS; WINE; VINEGAR; MICROBIOLOGY; ENZYMOLOGY; MUTATION OR GENETIC ENGINEERING
    • C12QMEASURING OR TESTING PROCESSES INVOLVING ENZYMES, NUCLEIC ACIDS OR MICROORGANISMS; COMPOSITIONS OR TEST PAPERS THEREFOR; PROCESSES OF PREPARING SUCH COMPOSITIONS; CONDITION-RESPONSIVE CONTROL IN MICROBIOLOGICAL OR ENZYMOLOGICAL PROCESSES
    • C12Q1/00Measuring or testing processes involving enzymes, nucleic acids or microorganisms; Compositions therefor; Processes of preparing such compositions
    • C12Q1/68Measuring or testing processes involving enzymes, nucleic acids or microorganisms; Compositions therefor; Processes of preparing such compositions involving nucleic acids
    • C12Q1/6844Nucleic acid amplification reactions
    • CCHEMISTRY; METALLURGY
    • C12BIOCHEMISTRY; BEER; SPIRITS; WINE; VINEGAR; MICROBIOLOGY; ENZYMOLOGY; MUTATION OR GENETIC ENGINEERING
    • C12QMEASURING OR TESTING PROCESSES INVOLVING ENZYMES, NUCLEIC ACIDS OR MICROORGANISMS; COMPOSITIONS OR TEST PAPERS THEREFOR; PROCESSES OF PREPARING SUCH COMPOSITIONS; CONDITION-RESPONSIVE CONTROL IN MICROBIOLOGICAL OR ENZYMOLOGICAL PROCESSES
    • C12Q2531/00Reactions of nucleic acids characterised by
    • C12Q2531/10Reactions of nucleic acids characterised by the purpose being amplify/increase the copy number of target nucleic acid
    • C12Q2531/113PCR

Definitions

  • FIG. 2 a flow diagram of another embodiment of a system constructed in accordance with the present invention is illustrated.
  • the system is designated generally by the reference numeral 200 .
  • the flow diagram illustrating system 200 shows block 201 “partitioning” the sample, block 202 performing “PCR” on the sample, and block 203 “detection and analysis.”
  • the system 200 provides a method and apparatus for performing extremely rapid nucleic acid amplification and detection.
  • the system 200 provides an apparatus for nucleic acid amplification of a sample comprising means for partitioning the sample into partitioned sections, means for performing PCR on the partitioned sections, and means for detection and analysis of the partitioned sections.
  • the system 200 also provides a method of nucleic acid amplification of a sample comprising the steps of partitioning the sample into partitioned sections, subjecting the partitioned sections to PCR, and detecting and analyzing the partitioned sections of the sample.
  • a chemical reagent and an input sample are “partitioned” into a large number of microdroplets or other forms of fluid partitions prior to amplification.
  • the system 200 achieves a reduction in the total number of cycles by limiting the dilution of the optically generated signal (e.g., fluorescence or absorption).
  • the formation of partitioned fluid volumes of the DNA-containing solution effectively isolates the fluid volumes which contain the target DNA from the fluid volumes that do not contain the target DNA. Therefore, the dilution of the optical signal is largely eliminated, allowing much earlier detection. This effect is directly related to the number of fluid partitions formed from the initial sample/reagent pool.
  • the PCR section 302 includes a continuous tube 309 for circulating the microdroplets 308 and suspended in an immiscible carrier fluid 314 .
  • the microdroplets 308 suspended in an immiscible carrier fluid 314 are pumped through the continuous tube 309 by pump 311 .
  • the microdroplets 308 suspended in an immiscible carrier fluid 314 are cycled through heater 310 and cooler 315 to perform PCR.

Landscapes

  • Chemical & Material Sciences (AREA)
  • Organic Chemistry (AREA)
  • Life Sciences & Earth Sciences (AREA)
  • Health & Medical Sciences (AREA)
  • Zoology (AREA)
  • Wood Science & Technology (AREA)
  • Engineering & Computer Science (AREA)
  • Proteomics, Peptides & Aminoacids (AREA)
  • Analytical Chemistry (AREA)
  • General Health & Medical Sciences (AREA)
  • Chemical Kinetics & Catalysis (AREA)
  • Molecular Biology (AREA)
  • General Engineering & Computer Science (AREA)
  • Microbiology (AREA)
  • Immunology (AREA)
  • Biotechnology (AREA)
  • Biochemistry (AREA)
  • Bioinformatics & Cheminformatics (AREA)
  • Genetics & Genomics (AREA)
  • Biophysics (AREA)
  • Physics & Mathematics (AREA)
  • General Chemical & Material Sciences (AREA)
  • Medicinal Chemistry (AREA)
  • Nuclear Medicine, Radiotherapy & Molecular Imaging (AREA)
  • Pharmacology & Pharmacy (AREA)
  • Animal Behavior & Ethology (AREA)
  • Public Health (AREA)
  • Veterinary Medicine (AREA)
  • Apparatus Associated With Microorganisms And Enzymes (AREA)
  • Measuring Or Testing Involving Enzymes Or Micro-Organisms (AREA)

Abstract

A system for nucleic acid amplification of a sample comprises partitioning the sample into partitioned sections and performing PCR on the partitioned sections of the sample. Another embodiment of the invention provides a system for nucleic acid amplification and detection of a sample comprising partitioning the sample into partitioned sections, performing PCR on the partitioned sections of the sample, and detecting and analyzing the partitioned sections of the sample.

Description

More than one reissue application has been filed for the reissue of U.S. Pat. No. 7,041,481, the reissue applications are application Ser. No. 15/421,141, filed Jan. 31, 2017, which is a continuation reissue application of reissue application Ser. No. 14/701,392, filed Apr. 30, 2015, now U.S. Pat. No. Re. RE46,322, issued Feb. 28, 2017, which is a continuation reissue application of application Ser. No. 13/436,693, filed Mar. 30, 2012, now U.S. Pat. No. Re. 45,539, issued Jun. 2, 2015, which is a continuation reissue application of application Ser. No. 12/891,733, filed Sep. 27, 2010, issued as U.S. Pat. No. Re. 43,365, which is a continuation reissue application of reissue application Ser. No. 12/118,418, filed May 9, 2008, issued as U.S. Pat. No. Re. 41,780, which is a reissue application of U.S. Pat. No. 7,041,481. The present application is a Reissue of application Ser. No. 10/389,130, filed May 14, 2003, issued as U.S. Pat. No. 7,041,481 on May 9, 2006 and adds new claims relative to U.S. Pat. No. 7,041,481.
The United States Government has rights in this invention pursuant to Contract No. W-7405-ENG-48 between the United States Department of Energy and the University of California for the operation of Lawrence Livermore National Laboratory.
BACKGROUND
1. Field of Endeavor
The present invention relates to chemical amplification and more particularly to chemical amplification based on fluid partitioning.
2. State of Technology
U.S. Pat. No. 4,683,202 issued Jul. 28, 1987; U.S. Pat. No. 4,683,195 issued Jul. 28, 1987; and U.S. Pat. No. 4,800,159 issued Jan. 24, 1989 to Kary B. Mullis et al provide background information. The patents describe processes for producing any particular nucleic acid sequence from a given sequence of DNA or RNA in amounts which are large compared to the amount initially present. The DNA or RNA may be single-or-double-stranded, and may be a relatively pure species or a component of a mixture of nucleic acids. The process utilizes a repetitive reaction to accomplish the amplification of the desired nucleic acid sequence. The extension product of one primer when hybridized to the other becomes a template for the production of the desired specific nucleic acid sequence, and vice versa, and the process is repeated as often as is necessary to produce the desired amount of the sequence.
U.S. Pat. No. 6,503,715 for a nucleic acid ligand diagnostic biochip issued Jan. 7, 2003 provides the following background information, “Methods are provided in the instant invention for obtaining diagnostic and prognostic Nucleic acid ligands, attaching said ligands to a Biochip, and detecting binding of target molecules in a Bodily to said Biochip-bound Nucleic acid ligands.” In one embodiment of the instant invention, one or more Nucleic acid ligands are chosen that bind to molecules known to be diagnostic or prognostic of a disease; these ligands are then attached to the Biochip. Particular methods for attaching the Nucleic acid ligands to the Biochip are described below in the section entitled “Fabrication of the Nucleic Acid Biochip.” The Biochip may comprise either (i) Nucleic acid ligands selected against a single target molecule; or more preferably, (ii) Nucleic acid ligands selected against multiple target molecules.
U.S. Patent Application No. 2002/0197623 for nucleic acid detection assays published Dec. 26, 2002 provides the following background information, “means for the detection and characterization of nucleic acid sequences, as well as variations in nucleic acid sequences . . . methods for forming a nucleic acid cleavage structure on a target sequence and cleaving the nucleic acid cleavage structure in a site-specific manner. The structure-specific nuclease activity of a variety of enzymes is used to cleave the target-dependent cleavage structure, thereby indicating the presence of specific nucleic acid sequences or specific variations thereof.”
SUMMARY
Features and advantages of the present invention will become apparent from the following description. Applicants are providing this description, which includes drawings and examples of specific embodiments, to give a broad representation of the invention. Various changes and modifications within the spirit and scope of the invention will become apparent to those skilled in the art from this description and by practice of the invention. The scope of the invention is not intended to be limited to the particular forms disclosed and the invention covers all modifications, equivalents, and alternatives falling within the spirit and scope of the invention as defined by the claims.
The present invention provides an apparatus for nucleic acid amplification of a sample comprising means for partitioning the sample into partitioned sections and means for performing PCR on the partitioned sections of the sample. Another embodiment of the invention provides an apparatus for nucleic acid amplification and detection of a sample comprising means for partitioning the sample into partitioned sections, means for performing PCR on the partitioned sections of the sample, and means for detection and analysis of the partitioned sections of the sample. The present invention also provides a method of nucleic acid amplification of a sample comprising the steps of partitioning the sample into partitioned sections and subjecting the partitioned sections of the sample to PCR. Another embodiment of a method of the present invention provides a method of nucleic acid amplification and detection of a sample comprising the steps of partitioning the sample into partitioned sections, subjecting the partitioned sections of the sample to PCR, and detecting and analyzing the partitioned sections of the sample.
The invention is susceptible to modifications and alternative forms. Specific embodiments are shown by way of example. It is to be understood that the invention is not limited to the particular forms disclosed. The invention covers all modifications, equivalents, and alternatives falling within the spirit and scope of the invention as defined by the claims.
BRIEF DESCRIPTION OF THE DRAWINGS
The accompanying drawings, which are incorporated into and constitute a part of the specification, illustrate specific embodiments of the invention and, together with the general description of the invention given above, and the detailed description of the specific embodiments, serve to explain the principles of the invention.
FIG. 1 is a flow diagram illustrating one embodiment of a system constructed in accordance with the present invention.
FIG. 2 is a flow diagram illustrating another embodiment of a system constructed in accordance with the present invention.
FIG. 3 is a diagram of another embodiment of a system constructed in accordance with the present invention.
FIG. 4 is a diagram of another embodiment of a system constructed in accordance with the present invention.
FIG. 5 is a diagram of another embodiment of a system constructed in accordance with the present invention.
DETAILED DESCRIPTION OF THE INVENTION
Referring now to the drawings, to the following detailed description, and to incorporated materials; detailed information about the invention is provided including the description of specific embodiments. The detailed description serves to explain the principles of the invention. The invention is susceptible to modifications and alternative forms. The invention is not limited to the particular forms disclosed. The invention covers all modifications, equivalents, and alternatives falling within the spirit and scope of the invention as defined by the claims.
Referring now to the drawings, and in particular to FIG. 1, a flow diagram of one embodiment of a system constructed in accordance with the present invention is illustrated. The system is designated generally by the reference numeral 100. The system 100 provides a method and apparatus for performing extremely rapid nucleic acid amplification. The flow diagram illustrating system 100 shows block 101 “partitioning” the sample and block 102 performing “CR” on the sample. The system 100 provides an apparatus for nucleic acid amplification of a sample comprising means for partitioning the sample and means for performing PCR on the sample. The system 100 also provides a method of nucleic acid amplification of a sample comprising the steps of partitioning the sample and subjecting the sample to PCR. The system 100 has application wherever current PCR-type systems exist.
In block 101 a chemical reagent and an input sample are “partitioned” into a large number of microdroplets or other forms of fluid partitions prior to amplification in block 102. The partitioning 101 involves dispersing the DNA-containing solution. For example the partitioning 101 can be accomplished by dispersing the DNA-containing solution in an immiscible carrier liquid. The DNA-containing solution is dispersed in the immiscible carrier fluid as microdroplets. The DNA-containing solution can be partitioned in other ways, for example, by being dispersed as liquid slugs separated by the carrier fluid, as an emulsion with the carrier fluid, or by using a gelling agent that prevents transfer of DNA between partitioned regions. The DNA-containing solution can also be partitioned mechanically by partitioning the fluid into micro-tubes or capillaries, or into micro-wells.
With the system 100, each partitioned DNA-containing fluid volume contains the necessary biochemical constituents for selectively amplifying a specified portion of a sample DNA via polymerase chain reaction (PCR). The target DNA can be detected by monitoring for the colorimetric indicator (e.g., flourescence or optical absorption) generated with each DNA template duplicaton sequence.
In block 102 selected portions of each nucleic acid sample are amplified using polymerase chain reaction (PCR), with the product contained in each partitioned fluid volume. This results in much more concentrated amplification product, since the volume containing the reaction is so small.
The polymerase chain reaction (PCR), is a cyclic process whereby a large quantity of identical DNA strands can be produced from one original template. The procedure was developed in 1985 by Kerry Mullis, who was awarded the 1993 Nobel prize in chemistry for his work. In PCR, DNA is immersed in a solution containing the enzyme DNA polymerase, unattached nucleotide bases, and primers, which are short sequences of nucleotides designed to bind with an end of the desired DNA segment. Two primers are used in the process: one primer binds at one end of the desired segment on one of the two paired DNA strands, and the other primer binds at the opposite end on the other strand. The solution is heated to break the bonds between the strands of the DNA, then when the solution cools, the primers bind to the separated strands, and DNA polymerase quickly builds a new strand by joining the free nucleotide bases to the primers in the 5′-3′ direction. When this process is repeated, a strand that was formed with one primer binds to the other primer, resulting in a new strand that is restricted solely to the desired segment. Thus the region of DNA between the primers is selectively replicated. Further repetitions of the process can produce a geometric increase in the number of copies, (theoretically 2n if 100% efficient whereby n equals the number of cycles), in effect billions of copies of a small piece of DNA can be replicated in several hours.
A PCR reaction is comprised of (a) a double-stranded DNA molecule, which is the “template” that contains the sequence to be amplified, (b) primer(s), which is a single-stranded DNA molecule that can anneal (bind) to a complimentary DNA sequence in the template DNA; (c) dNTPs, which is a mixture of dATP, dTTP, dGTP, and dCTP which are the nucleotide subunits that will be put together to form new DNA molecules in the PCR amplification procedure; and (d) Taq DNA polymerase, the enzyme which synthesizes the new DNA molecules using dNTPs.
Current amplification systems are limited in practice to half hour type amplification and detection windows (−30 cycles, 1 minute/cycle). The system 100 provides faster amplification. This has many applications, for example, in Homeland Defense applications, faster detection methods (a few minutes) can push the deployment of these sensors from “detect to treat” to “detect to protect,” having a serious impact on the number of casualties from a massive bioagent release.
The system 100 has significant advantages over typical bulk DNA detection techniques (even microscale bulk solution approaches), including (1) much faster detection time through a reduction in the total number of temperature cycles required, (2) a reduction in the time for each cycle, and (3) removing interference from competing DNA templates. The system 100 achieves a reduction in the total number of cycles by limiting the dilution of the optically generated signal (e.g., fluorescence or absorption). The formation of partitioned fluid volumes of the DNA-containing solution effectively isolates the fluid volumes which contain the target DNA from the fluid volumes that do not contain the target DNA. Therefore, the dilution of the optical signal is largely eliminated, allowing much earlier detection. This effect is directly related to the number of fluid partitions formed from the initial sample/reagent pool.
The system 100 achieves a reduction in the total number of cycles that are needed by limiting the dilution of the optically generated signal (e.g., fluorescence or absorption). The formation of partitioned fluid volumes of the DNA-containing solution effectively isolates the fluid volumes which contain the target DNA from the fluid volumes that do not contain the target DNA. Therefore, the dilution of the optical signal is largely eliminated, allowing much earlier detection. This effect is directly related to the number of fluid partitions formed from the initial sample/reagent pool. The effect of the number of fluid partitions on the number of cycles required for detection can be described by the following Equation E1:
N = 1 n [ D L A N ( V X ) ] 1 n ( 2 )
where: N=number of cycles; DL,=detection limit for optical signal [moles/liter]; X=initial number of DNA molecules; V=volume containing DNA molecules [liters]; AN=Avagadro's number [6.023×1023 molecules/mole]. From Equation E1 it is clear that N, the number of cycles until detection, decreases as V, the partitioned fluid volume, decreases.
The system 100 reduces the duration of each temperature cycle by effectively increasing the concentration of reactants by enclosing them in picoliter type volumes. Since reaction rates depend on the concentration of the reactants, the efficiency of a partitioned fluid volume or droplet should be higher than in an ordinary vessel (such as a test tube) where the reactant quantity (DNA quantity) is extremely low. It is estimated that through the reduction in the number of cycles and the reduction in the time required for each cycles that the FPDD technique can reduce the detection time by an order of magnitude as compared to bulk solution DNA detection techniques.
The system 100 facilitates removal of interference from competing DNA templates. Given the extremely small volumes involved with Fluid-Partitioned DNA Detection (FPDD), it is possible to isolate a single template of the target DNA in a given partitioned volume or microdroplet. For example, the formation of 2000 partitioned fluid volumes or microdroplets (each with a volume of 5×10′9 liters) made by dividing a bulk solution of 10 microliters containing 200 DNA molecules, would result in one DNA molecule per microdroplet on average. This makes it possible to amplify only one template in mixtures containing many kinds of templates without interference. This is extremely important in processing of real world aerosol samples containing complex mixtures of DNA from many sources, and has direct application in screening of cDNA libraries. The system 100 facilitates removal of interference from competing DNA templates. Given the extremely small volumes involved with Fluid-Partitioned DNA Detection (FPDD), it is possible to isolate a single template of the target DNA in a given partitioned volume or microdroplet. For example, the formation of 2000 partitioned fluid volumes or microdroplets (each with a volume of 5×10′9 liters) made by dividing a bulk solution of 10 microliters containing 2000 DNA molecules, would result in one DNA molecule per microdroplet on average. This makes it possible to amplify only one template in mixtures containing many kinds of templates without interference. This is extremely important in processing of real world aerosol samples containing complex mixtures of DNA from many sources, and has direct application in screening of cDNA libraries.
Referring now to FIG. 2, a flow diagram of another embodiment of a system constructed in accordance with the present invention is illustrated. The system is designated generally by the reference numeral 200. The flow diagram illustrating system 200 shows block 201 “partitioning” the sample, block 202 performing “PCR” on the sample, and block 203 “detection and analysis.” The system 200 provides a method and apparatus for performing extremely rapid nucleic acid amplification and detection. The system 200 provides an apparatus for nucleic acid amplification of a sample comprising means for partitioning the sample into partitioned sections, means for performing PCR on the partitioned sections, and means for detection and analysis of the partitioned sections. The system 200 also provides a method of nucleic acid amplification of a sample comprising the steps of partitioning the sample into partitioned sections, subjecting the partitioned sections to PCR, and detecting and analyzing the partitioned sections of the sample.
In block 201 a chemical reagent and an input sample are “partitioned” into a large number of microdroplets or other forms of fluid partitions prior to amplification. The system 200 achieves a reduction in the total number of cycles by limiting the dilution of the optically generated signal (e.g., fluorescence or absorption). The formation of partitioned fluid volumes of the DNA-containing solution effectively isolates the fluid volumes which contain the target DNA from the fluid volumes that do not contain the target DNA. Therefore, the dilution of the optical signal is largely eliminated, allowing much earlier detection. This effect is directly related to the number of fluid partitions formed from the initial sample/reagent pool.
In block 202 selected portions of each nucleic acid sample are then amplified using polymerase chain reaction (PCR), with the product contained in each partitioned fluid volume. This results in much more concentrated amplification product, since the volume containing the reaction is so small. If a Taqman type detection approach is used, fluorescent dye molecules unquenched by the PCF amplification are also more concentrated, making possible earlier optical based detection. Since it is possible to contain very amounts of the starting target DNA in each partition fluid volume, inhibitory competition from near-neighbor DNA templates is less allowing screening of very dilute samples.
In block 203 partitioned portions of the sample are detected by monitoring for the calorimetric indicator (e.g., fluorescence or optical absorption) generated with each DNA template duplication sequence. The partitioned portions of the sample are optically probed to detect the colorimetric indicator which signals the presence of the target DNA. The partitioned portions of the sample can also be scanned optically to detect the colorimetric indicator signaling the presence of the target DNA. In one embodiment, fluorescence, generated by degradation of the dye/quencher pair on the primer, is detected using a confocal imaging system such as that employed in conventional flow cytometers. Scattering profiles from individual microdroplets, as in conventional flow cytometers, can be used to eliminate background signal from other particles.
The system 200 has application wherever current PCR-type systems exist, including medical, drug-discovery, biowarfare detection, and other related fields. Biowarfare detection applications include identifying, detecting, and monitoring bio-threat agents that contain nucleic acid signatures, such as spores, bacteria, etc. Biomedical applications include tracking, identifying, and monitoring outbreaks of infectious disease. The system 200 provides rapid, high throughput detection of biological pathogens (viruses, bacteria, DNA in biological fluids, blood, saliva, etc.) for medical applications. Forensic applications include rapid, high throughput detection of DNA in biological fluids for forensic purposes. Food and beverage safety applications include automated food testing for bacterial contamination.
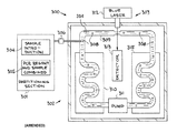
Referring now to FIG. 3, a diagram of another embodiment of a system constructed in accordance with the present invention is illustrated. The system is designated generally by the reference numeral 300. The system 300 provides an instrument for performing Fluid-Partitioned DNA Detection (FPDD) with PCR based detection and amplification. The system 300 includes a partitioning section 301, a PCR section 302, and a detection and analysis section 303.
The partitioning section 301 includes a sample introduction unit 304 and a unit 305 where the sample and a PCR reagent are combined. The sample and a PCR reagent are injected through a small orifice 306. The injection of the sample through the small orifice 306 produces microdroplets 308.
The PCR section 302 includes a continuous tube 309 for circulating the microdroplets 308 and suspended in an immiscible carrier fluid 314. The microdroplets 308 suspended in an immiscible carrier fluid 314 are pumped through the continuous tube 309 by pump 311. The microdroplets 308 suspended in an immiscible carrier fluid 314 are cycled through heater 310 and cooler 315 to perform PCR.
The detection and analysis section 303 includes a blue laser 312 and a detector 313. The laser 312 is projected upon the droplets 308 as they pass through tube 308 between the laser 312 and the detector 313.
In the system 300, the DNA-containing solution is partitioned into many microdroplets 308 and suspended in an immiscible carrier fluid 314. The microdroplets 308 are formed by forcing the PCR mix (sample and reagent) through the small orifice or microjet 306. These microdroplets 308 are then captured in the immiscible fluid 314, such as mineral oil, and flowed past the heating element 310 and cooler 315. An optical signal (e.g., fluorescence or optical absorption), generated by degradation of the dye/quencher pair on the primer, is detected using a confocal imaging system such as that employed in conventional flow cytometers. Scattering profiles from individual microdroplets, as in conventional flow cytometers, can be used to eliminate background signal from other particles. Once exposed to multiple heating cycles, the microdroplets can be identified and probed for an optical signal at rates of several thousand per second.
The FPDD system achieves a reduction in the total number of cycles by limiting the dilution of the optically generated signal (e.g., fluorescence or absorption). The formation of partitioned fluid volumes of the DNA-containing solution effectively isolates the fluid volumes which contain the target DNA from the fluid volumes that do not contain the target DNA. Therefore, the dilution of the optical signal is largely eliminated, allowing much earlier detection. This effect is directly related to the number of fluid partitions formed from the initial sample/reagent pool. The effect of the number of fluid partitions on the number of cycles required for detection is described by the Equation E1 set out earlier.
The FPDD technique reduces the duration of each temperature cycle by effectively increasing the concentration of reactants by enclosing them in picoliter type volumes. Since reaction rates depend on the concentration of the reactants, the efficiency of a partitioned fluid volume or droplet should be higher than in an ordinary vessel (such as a test tube) where the reactant quantity (DNA quantity) is extremely low. It is estimated that through the reduction in the number of cycles and the reduction in the time required for each cycles that the FPDD technique can reduce the detection time by an order of magnitude as compared to bulk solution DNA detection techniques
The FPDD technique facilitates removal of interference from competing DNA templates. Given the extremely small volumes involved with FPDD, it is possible to isolate a single template of the target DNA in a given partitioned volume or microdroplet. For example, the formation of 2000 partitioned fluid volumes or microdroplets (each with a volume of 5×10−9 liters) made by dividing a bulk solution of 10 microliters containing 200 DNA molecules, would result in one DNA molecule per microdroplet on average. This makes it possible to amplify only one template in mixtures containing many kinds of templates without interference. This is extremely important in processing of real world aerosol samples containing complex mixtures of DNA from many sources, and has direct application in screening of cDNA libraries. The FPDD technique facilitates removal of interference from competing DNA templates. Given the extremely small volumes involved with FPDD, it is possible to isolate a single template of the target DNA in a given partitioned volume or microdroplet. For example, the formation of 2000 partitioned fluid volumes or microdroplets (each with a volume of 5×10−9 liters) made by dividing a bulk solution of 10 microliters containing containing 2000 DNA molecules, would result in one DNA molecule per microdroplet on average. This makes it possible to amplify only one template in mixtures containing many kinds of templates without interference. This is extremely important in processing of real world aerosol samples containing complex mixtures of DNA from many sources, and has direct application in screening of cDNA libraries.
With this new bioassay technique, each partitioned DNA-containing fluid volume contains the necessary biochemical constituents for selectively amplifying a specified portion of a sample DNA via polymerase chain reaction (PCR). The target DNA is detected by monitoring for the colorimetric indicator (e.g., fluorescence or optical absorption) generated with each DNA template duplication sequence.
The system 300 provides a fast, flexible and inexpensive high throughput, bioassay technology based on creation and suspension of microdroplets in an immiscible carrier stream. Each microdroplet contains the necessary biochemical constituents for selectively amplifying and fluorescently detecting a specified portion of a sample DNA via polymerase chain reaction (PCR). Once exposed to multiple heating cooling cycles, the microdroplets can be identified and probed for fluorescent signal at rates of several thousand per second.
Isolating the PCR reaction in such small (picoliter) volumes provides an order of magnitude reduction in overall detection time by:
    • (1) reducing the duration of each temperature cycle—the concentration of reactants increases by enclosing them in picoliter type volumes. Since reaction kinetics depend on the concentration of the reactant, the efficiency of a microdroplet should be higher than in an ordinary vessel (such a test tube) where the reactant quantity is infinitesimal
    • (2) reducing the total number of cycles—dilution of the fluorescently generated signal is largely eliminated in such a small volume, allowing much earlier detection. This effect is directly related to the number of microdroplets formed from the initial sample/reagent pool. Since PCR is an exponential process, for example, 1000 microdroplets would produce a signal 10 cycles faster than typical processing with bulk solutions.
    • (3) removing interference from competing DNA templates—given the extremely small volumes involved, it is possible to isolate a single template of the target DNA in a given microdroplet. A pL microdoplet filled with a 1 pM solution, for example, will be occupied by only one molecule on average. This makes it possible to amplify only one template in mixtures containing many kinds of templates without interference. This is extremely important in processing of real world aerosol samples containing complex mixtures of DNA from many sources, and has direct application in screening of precious cDNA libraries.
Referring now to FIG. 4, an illustration of another embodiment of a system constructed in accordance with the present invention is illustrated. The system is designated generally by the reference numeral 400. The system 300 provides system for nucleic acid amplification of a sample. The system 400 includes means for partitioning the sample into partitioned sections and means for performing PCR on the partitioned sections of the sample.
The sample is separated into immiscible slugs 406, 407, and 408. The immiscible slugs 406, 407, and 408 are formed through a system of microfluidics. Background information on microfluidics is contained in U.S. Pat. No. 5,876,187 for micropumps with fixed valves to Fred K. Forster et al., patented Mar. 2, 1999. As stated in U.S. Pat. No. 5,876,187, “Miniature pumps, hereafter referred to as micropumps, can be constructed using fabrication techniques adapted from those applied to integrated circuits. Such fabrication techniques are often referred to as micromachining. Micropumps are in great demand for environmental, biomedical, medical, biotechnical, printing, analytical instrumentation, and miniature cooling applications.” Microchannels 403, 404, and 405 are formed in substrates 401 and 402. The disclosures of U.S. Pat. Nos. 5,876,187 and 5,876,187 are incorporated herein by reference.
The immiscible slugs 406, 407, and 408 can be moved through the microchannels using magnetohydrodynamics. Background information on magnetohydrodynamics is contained in U.S. Pat. No. 6,146,103 for micromachined magnetohydrodynamic actuators and sensors to Abraham P. Lee and Asuncion V. Lemoff, patented Nov. 14, 2000. As stated in U.S. Pat. No. 6,146,103, “Microfluidics is the field for manipulating fluid samples and reagents in minute quantities, such as in micromachined channels, to enable handheld bioinstrumentation and diagnostic tools with quicker process speeds. The ultimate goal is to integrate pumping, valving, mixing, reaction, and detection on a chip for biotechnological, chemical, environmental, and health care applications. Most micropumps developed thus far have been complicated, both in fabrication and design, and often are difficult to reduce in size, negating many integrated fluidic applications. Most pumps have a moving component to indirectly pump the fluid, generating pulsatile flow instead of continuous flow. With moving parts involved, dead volume is often a serious problem, causing cross-contamination in biological sensitive processes. The present invention utilizes MHDs for microfluid propulsion and fluid sensing, the microfabrication methods for such a pump, and the integration of multiple pumps for a microfluidic system. MHDs is the application of Lorentz force law on fluids to propel or pump fluids. Under the Lorentz force law, charged particles moving in a uniform magnetic field feel a force perpendicular to both the motion and the magnetic field. It has thus been recognized that in the microscale, the MHD forces are substantial for propulsion of fluids through microchannels as actuators, such as a micropump, micromixer, or microvalve, or as sensors, such as a microflow meter, or viscosity meter. This advantageous scaling phenomenon also lends itself to micromachining by integrating microchannels with micro-electrodes.” The disclosure of U.S. Pat. No. 6,146,103 is incorporated herein by reference.
The means for performing PCR on the partitioned sections of the sample can be a system for alternately heating and cooling the immiscible slugs 406, 407, and 408. Alternatively, the means for performing PCR on the partitioned sections of the sample can be a system for alternately heating and cooling the immiscible slugs 406, 407, and 408 can be a system for moving the immiscible slugs 406, 407, and 408 through zones for heating and cooling. An example of such a system is shown in U.S. patent application No. 2002/0127152 published Sep. 12, 2002 for a convectively driven PCR thermal-cycling system described as follows: “A polymerase chain reaction system provides an upper temperature zone and a lower temperature zone in a fluid sample. Channels set up convection cells in the fluid sample and move the fluid sample repeatedly through the upper and lower temperature zone creating thermal cycling.” The disclosure of U.S. Patent Application No. 2002/0127152 is incorporated herein by reference.
In another embodiment of the invention, the DNA-containing solution is partitioned by adding a gelling agent to the solution to form cells of partitioned volumes of fluid separated by the gelling agent. Using this approach for fluid partitioning, the DNA-containing solution is gelled in a tube or as a very thin layer. For example, it can be in a thin layer between flat plates and the surface of the thin film can be optically probed spatially in directions parallel to the film surface to detect micro-regions in the film where the colorimetric indicator suggests the presence of the target DNA.
Another embodiment of the invention is to partition the DNA-containing solution as microdroplets in an immiscible fluid where the droplets are arranged in a two-dimensional array such that the array of microdroplets can be optically probed to detect the colorimetric indicator which signals the presence of the target DNA. In this approach a solid hydrophobic substrate supports the microdroplets. For example, in small indentations, and the immiscible “partitioning” fluid is less dense than the aqueous DNA-containing solution.
In another embodiment of the invention the DNA-containing solution is partitioned using mechanical means. For example, the DNA-containing solution can be partitioned into an array of capillaries, microtubes, or wells. In this approach, the micro vessels holding each partitioned fluid volume can be scanned optically to detect the colorimetric indicator signaling the presence of the target DNA.
Referring now to FIGS. 5A, 5B, and 5C example representations of the mechanical partitioning approach for DNA detection using fluid partitioning are shown. In FIG. 5A a line of capillaries or micro-tubes 501 are used for partitioning and holding the DNA containing solution. In FIG. 5B an array 502 of capillaries or micro-tubes are used for partitioning the DNA-containing solution. In FIG. 5C a microwells or micro-vessels unit 503 is used for partitioning and holding the DNA-containing solution.
While the invention may be susceptible to various modifications and alternative forms, specific embodiments have been shown by way of example in the drawings and have been described in detail herein. However, it should be understood that the invention is not intended to be limited to the particular forms disclosed. Rather, the invention is to cover all modifications, equivalents, and alternatives falling within the spirit and scope of the invention as defined by the following appended claims.

Claims (30)

The invention claimed is:
1. An apparatus for nucleic acid amplification of a sample, comprising:
means for partitioning said sample into partitioned sections, wherein said means for partitioning said sample into partitioned sections comprises an injection orifice, and
means for performing PCR on said partitioned sections of said sample.
2. The apparatus for nucleic acid amplification of a sample of claim 1 wherein said injection orifice is an injection orifice that produces microdroplets.
3. The apparatus for nucleic acid amplification of a sample of claim 1 wherein said injection orifice is an injection orifice that injects said sample and a PCR reagent.
4. The apparatus for nucleic acid amplification of a sample of claim 1 wherein said means for performing PCR on said partitioned sections of said sample comprises a continuous tube for circulating said partitioned sections of said sample through a heater to perform PCR.
5. The apparatus for nucleic acid amplification of a sample of claim 1 wherein said means for performing PCR on said partitioned sections of said sample comprises a continuous tube for circulating said partitioned sections of said sample through a heater and cooler to perform PCR.
6. The apparatus for nucleic acid amplification of a sample of claim 1 wherein said means for performing PCR on said partitioned sections of said sample comprises a pump, a continuous tube, and a heater.
7. The apparatus for nucleic acid amplification of a sample of claim 1 including means for detection and analysis of said partitioned sections of said sample comprising a laser and a detector.
8. The apparatus for nucleic acid amplification of a sample of claim 1 including means for detection and analysis of said partitioned sections of said sample comprising a blue laser and a detector.
9. The apparatus for nucleic acid amplification of a sample of claim 1 wherein said means for partitioning said sample into partitioned sections comprises means for separating said sample into immiscible slugs.
10. A method of nucleic acid amplification of a sample, comprising the steps of:
partitioning said sample into partitioned sections, wherein said step of partitioning said sample into partitioned sections comprises flowing said sample through an injection orifice, and
subjecting said partitioned sections of said sample to PCR.
11. A method of nucleic acid amplification of a sample, comprising the steps of:
a. partitioning the sample into partitioned sections, wherein partitioning comprises flowing the sample through an injection orifice into an immiscible carrier fluid, wherein the sample comprises a nucleic acid and components for performing nucleic acid amplification, wherein the partitioned sections comprise a gelling agent or a gel; and
b. moving the partitioned sections between a first substrate and a second substrate; and
c. performing nucleic acid amplification of the partitioned sections between the first substrate and the second substrate.
12. The method of claim 11, wherein the injection orifice is a microdroplet generator orifice connecting a sample flow pathway to a channel or tube comprising the immiscible carrier fluid and said flowing generates the partitioned sections, wherein the partitioned sections comprise microdroplets.
13. The method of claim 11, wherein said moving comprises gelling the partitioned sections in a thin layer between the first substrate and the second substrate.
14. The method of claim 11, wherein the first substrate and the second substrate comprise flat plates.
15. The method of claim 14, wherein the flat plates are conducive to optically probing the thin layer spatially in directions parallel to the thin layer's surface.
16. The method of claim 11, wherein either the first substrate or the second substrate comprise a solid support comprising small indentations arranged in a two-dimensional array.
17. The method of claim 16, wherein the solid support is hydrophobic.
18. The method of claim 16, wherein said moving comprises arranging the partitioned sections in said small indentations arranged in the two-dimensional array.
19. The method of claim 11, wherein said moving comprises using a pump.
20. The method of claim 11, wherein the first substrate and the second substrate are arranged to form microchannels.
21. The method of claim 11, wherein the nucleic acid amplification comprises amplification of a DNA target.
22. The method of claim 21, wherein the partitioned sections contain, on average, a single template of a DNA target, and wherein the single template is amplified within the partitioned sections.
23. The method of claim 11, further comprising detecting products of the nucleic acid amplification.
24. The method of claim 23, wherein the detecting comprises optically detecting.
25. The method of claim 24, wherein the optically detecting comprises confocal imaging.
26. The method of claim 24, wherein the optically detecting comprises laser excitation.
27. The method of claim 24, wherein the partitioned sections are probed for fluorescent signal.
28. The method of claim 11, wherein the nucleic acid amplification comprises multiple heating and cooling cycles.
29. The method of claim 28, wherein the number of cycles is sufficient to detect products of the nucleic acid amplification.
30. The method of claim 11, wherein the partitioned sections have a volume of about 5×10−9 to 10−12 liters.
US15/421,141 2003-03-14 2017-01-31 Chemical amplification based on fluid partitioning Expired - Lifetime USRE47080E1 (en)

Priority Applications (2)

Application Number Priority Date Filing Date Title
US15/421,141 USRE47080E1 (en) 2003-03-14 2017-01-31 Chemical amplification based on fluid partitioning
US16/115,187 USRE48788E1 (en) 2003-03-14 2018-08-28 Chemical amplification based on fluid partitioning

Applications Claiming Priority (6)

Application Number Priority Date Filing Date Title
US10/389,130 US7041481B2 (en) 2003-03-14 2003-03-14 Chemical amplification based on fluid partitioning
US12/118,418 USRE41780E1 (en) 2003-03-14 2008-05-09 Chemical amplification based on fluid partitioning in an immiscible liquid
US12/891,733 USRE43365E1 (en) 2003-03-14 2010-09-27 Apparatus for chemical amplification based on fluid partitioning in an immiscible liquid
US13/436,693 USRE45539E1 (en) 2003-03-14 2012-03-30 Method for chemical amplification based on fluid partitioning in an immiscible liquid
US14/701,392 USRE46322E1 (en) 2003-03-14 2015-04-30 Method for chemical amplification based on fluid partitioning in an immiscible liquid
US15/421,141 USRE47080E1 (en) 2003-03-14 2017-01-31 Chemical amplification based on fluid partitioning

Related Parent Applications (2)

Application Number Title Priority Date Filing Date
US10/389,130 Reissue US7041481B2 (en) 2003-03-14 2003-03-14 Chemical amplification based on fluid partitioning
US14/701,392 Continuation USRE46322E1 (en) 2003-03-14 2015-04-30 Method for chemical amplification based on fluid partitioning in an immiscible liquid

Related Child Applications (1)

Application Number Title Priority Date Filing Date
US10/389,130 Continuation US7041481B2 (en) 2003-03-14 2003-03-14 Chemical amplification based on fluid partitioning

Publications (1)

Publication Number Publication Date
USRE47080E1 true USRE47080E1 (en) 2018-10-09

Family

ID=32962201

Family Applications (7)

Application Number Title Priority Date Filing Date
US10/389,130 Ceased US7041481B2 (en) 2003-03-14 2003-03-14 Chemical amplification based on fluid partitioning
US12/118,418 Expired - Lifetime USRE41780E1 (en) 2003-03-14 2008-05-09 Chemical amplification based on fluid partitioning in an immiscible liquid
US12/891,733 Expired - Lifetime USRE43365E1 (en) 2003-03-14 2010-09-27 Apparatus for chemical amplification based on fluid partitioning in an immiscible liquid
US13/436,693 Expired - Lifetime USRE45539E1 (en) 2003-03-14 2012-03-30 Method for chemical amplification based on fluid partitioning in an immiscible liquid
US14/701,392 Expired - Lifetime USRE46322E1 (en) 2003-03-14 2015-04-30 Method for chemical amplification based on fluid partitioning in an immiscible liquid
US15/421,141 Expired - Lifetime USRE47080E1 (en) 2003-03-14 2017-01-31 Chemical amplification based on fluid partitioning
US16/115,187 Expired - Lifetime USRE48788E1 (en) 2003-03-14 2018-08-28 Chemical amplification based on fluid partitioning

Family Applications Before (5)

Application Number Title Priority Date Filing Date
US10/389,130 Ceased US7041481B2 (en) 2003-03-14 2003-03-14 Chemical amplification based on fluid partitioning
US12/118,418 Expired - Lifetime USRE41780E1 (en) 2003-03-14 2008-05-09 Chemical amplification based on fluid partitioning in an immiscible liquid
US12/891,733 Expired - Lifetime USRE43365E1 (en) 2003-03-14 2010-09-27 Apparatus for chemical amplification based on fluid partitioning in an immiscible liquid
US13/436,693 Expired - Lifetime USRE45539E1 (en) 2003-03-14 2012-03-30 Method for chemical amplification based on fluid partitioning in an immiscible liquid
US14/701,392 Expired - Lifetime USRE46322E1 (en) 2003-03-14 2015-04-30 Method for chemical amplification based on fluid partitioning in an immiscible liquid

Family Applications After (1)

Application Number Title Priority Date Filing Date
US16/115,187 Expired - Lifetime USRE48788E1 (en) 2003-03-14 2018-08-28 Chemical amplification based on fluid partitioning

Country Status (1)

Country Link
US (7) US7041481B2 (en)

Cited By (6)

* Cited by examiner, † Cited by third party
Publication number Priority date Publication date Assignee Title
US10906040B2 (en) 2018-04-02 2021-02-02 Dropworks, Inc. Systems and methods for serial flow emulsion processes
USRE48788E1 (en) * 2003-03-14 2021-10-26 Lawrence Livermore National Security, Llc Chemical amplification based on fluid partitioning
US12049668B2 (en) 2021-12-20 2024-07-30 Enumerix, Inc. Detection and digital quantitation of multiple targets
US12181650B2 (en) 2019-12-10 2024-12-31 Enumerix, Inc. Methods and systems for three-dimensional lightsheet imaging
US12252745B2 (en) 2021-09-02 2025-03-18 Enumerix, Inc. Detection and digital quantitation of multiple targets
US12265088B2 (en) 2021-03-05 2025-04-01 Countable Labs, Inc. Systems and methods for generating droplets and performing digital analyses

Families Citing this family (332)

* Cited by examiner, † Cited by third party
Publication number Priority date Publication date Assignee Title
EP2360234B1 (en) 2001-11-30 2015-07-22 Fluidigm Corporation Microfluidic device and methods of using same
US7691333B2 (en) 2001-11-30 2010-04-06 Fluidigm Corporation Microfluidic device and methods of using same
DE60333995D1 (en) 2002-05-09 2010-10-14 Univ Chicago DEVICE AND METHOD FOR PRESSURE-CONTROLLED PLUG TRANSPORT AND REACTION
US7901939B2 (en) 2002-05-09 2011-03-08 University Of Chicago Method for performing crystallization and reactions in pressure-driven fluid plugs
JP2006507921A (en) 2002-06-28 2006-03-09 プレジデント・アンド・フェロウズ・オブ・ハーバード・カレッジ Method and apparatus for fluid dispersion
US7329545B2 (en) 2002-09-24 2008-02-12 Duke University Methods for sampling a liquid flow
US6911132B2 (en) 2002-09-24 2005-06-28 Duke University Apparatus for manipulating droplets by electrowetting-based techniques
US20100022414A1 (en) 2008-07-18 2010-01-28 Raindance Technologies, Inc. Droplet Libraries
GB0307428D0 (en) 2003-03-31 2003-05-07 Medical Res Council Compartmentalised combinatorial chemistry
GB0307403D0 (en) 2003-03-31 2003-05-07 Medical Res Council Selection by compartmentalised screening
US20060078893A1 (en) 2004-10-12 2006-04-13 Medical Research Council Compartmentalised combinatorial chemistry by microfluidic control
US7476363B2 (en) 2003-04-03 2009-01-13 Fluidigm Corporation Microfluidic devices and methods of using same
US7604965B2 (en) 2003-04-03 2009-10-20 Fluidigm Corporation Thermal reaction device and method for using the same
US20050145496A1 (en) 2003-04-03 2005-07-07 Federico Goodsaid Thermal reaction device and method for using the same
US8828663B2 (en) 2005-03-18 2014-09-09 Fluidigm Corporation Thermal reaction device and method for using the same
EP2127736A1 (en) 2003-04-10 2009-12-02 The President and Fellows of Harvard College Formation and control of fluidic species
BRPI0414004A (en) 2003-08-27 2006-10-24 Harvard College electronic control of fluidic species
US7745221B2 (en) * 2003-08-28 2010-06-29 Celula, Inc. Methods and apparatus for sorting cells using an optical switch in a microfluidic channel network
WO2005023427A1 (en) * 2003-09-05 2005-03-17 Stokes Bio Limited A microfluidic analysis system
US9597644B2 (en) 2003-09-05 2017-03-21 Stokes Bio Limited Methods for culturing and analyzing cells
US20050221339A1 (en) 2004-03-31 2005-10-06 Medical Research Council Harvard University Compartmentalised screening by microfluidic control
US9477233B2 (en) * 2004-07-02 2016-10-25 The University Of Chicago Microfluidic system with a plurality of sequential T-junctions for performing reactions in microdroplets
US7655470B2 (en) 2004-10-29 2010-02-02 University Of Chicago Method for manipulating a plurality of plugs and performing reactions therein in microfluidic systems
US7968287B2 (en) 2004-10-08 2011-06-28 Medical Research Council Harvard University In vitro evolution in microfluidic systems
DK1859330T3 (en) 2005-01-28 2012-10-15 Univ Duke DEVICES AND METHODS OF HANDLING SMALL DROPS ON A PRINTED CIRCUIT CARD
EP2248578B1 (en) 2005-03-04 2012-06-06 President and Fellows of Harvard College Method for forming multiple emulsions
EP1885885A4 (en) 2005-05-11 2008-08-27 Nanolytics Inc METHOD AND DEVICE FOR EXECUTING BIOCHEMICAL OR CHEMICAL REACTIONS AT SEVERAL TEMPERATURES
EP1928571B1 (en) 2005-08-22 2013-03-13 Life Technologies Corporation Device and method for microfluidic control of a first fluid in contact with a second fluid, wherein the first and second fluids are immiscible
EP1984738A2 (en) 2006-01-11 2008-10-29 Raindance Technologies, Inc. Microfluidic devices and methods of use in the formation and control of nanoreactors
EP2298438A1 (en) 2006-02-07 2011-03-23 Stokes Bio Limited A microfluidic droplet queuing network
US20100304446A1 (en) * 2006-02-07 2010-12-02 Stokes Bio Limited Devices, systems, and methods for amplifying nucleic acids
US20080280331A1 (en) 2006-02-07 2008-11-13 Stokes Bio Limited Microfluidic Analysis System
US8460879B2 (en) 2006-02-21 2013-06-11 The Trustees Of Tufts College Methods and arrays for target analyte detection and determination of target analyte concentration in solution
US9476856B2 (en) 2006-04-13 2016-10-25 Advanced Liquid Logic, Inc. Droplet-based affinity assays
US20140193807A1 (en) 2006-04-18 2014-07-10 Advanced Liquid Logic, Inc. Bead manipulation techniques
US8637324B2 (en) 2006-04-18 2014-01-28 Advanced Liquid Logic, Inc. Bead incubation and washing on a droplet actuator
US8389297B2 (en) 2006-04-18 2013-03-05 Duke University Droplet-based affinity assay device and system
US8980198B2 (en) 2006-04-18 2015-03-17 Advanced Liquid Logic, Inc. Filler fluids for droplet operations
WO2007123908A2 (en) 2006-04-18 2007-11-01 Advanced Liquid Logic, Inc. Droplet-based multiwell operations
US7439014B2 (en) 2006-04-18 2008-10-21 Advanced Liquid Logic, Inc. Droplet-based surface modification and washing
US10078078B2 (en) 2006-04-18 2018-09-18 Advanced Liquid Logic, Inc. Bead incubation and washing on a droplet actuator
US8809068B2 (en) 2006-04-18 2014-08-19 Advanced Liquid Logic, Inc. Manipulation of beads in droplets and methods for manipulating droplets
CA2646309C (en) 2006-04-21 2016-07-26 Nanobiosym, Inc. Single-molecule platform for drug discovery: methods and apparatuses for drug discovery, including discovery of anticancer and antiviral agents
WO2009111769A2 (en) 2008-03-07 2009-09-11 Advanced Liquid Logic, Inc. Reagent and sample preparation and loading on a fluidic device
US9562837B2 (en) 2006-05-11 2017-02-07 Raindance Technologies, Inc. Systems for handling microfludic droplets
EP4190448A3 (en) 2006-05-11 2023-09-20 Bio-Rad Laboratories, Inc. Microfluidic devices
US7629124B2 (en) 2006-06-30 2009-12-08 Canon U.S. Life Sciences, Inc. Real-time PCR in micro-channels
US9012390B2 (en) 2006-08-07 2015-04-21 Raindance Technologies, Inc. Fluorocarbon emulsion stabilizing surfactants
US20080124716A1 (en) * 2006-11-29 2008-05-29 Northrop Grumman Systems Corporation Method and device for time-effective biomolecule detection
US8198027B2 (en) 2006-12-21 2012-06-12 Gen-Probe Incorporated Methods and compositions for nucleic acid amplification
US8338166B2 (en) * 2007-01-04 2012-12-25 Lawrence Livermore National Security, Llc Sorting, amplification, detection, and identification of nucleic acid subsequences in a complex mixture
US8772046B2 (en) 2007-02-06 2014-07-08 Brandeis University Manipulation of fluids and reactions in microfluidic systems
KR101503510B1 (en) 2007-02-09 2015-03-18 어드밴스드 리퀴드 로직, 아이엔씨. Droplet actuator devices and methods employing magnetic beads
US9152150B1 (en) 2007-02-22 2015-10-06 Applied Biosystems, Llc Compositions, systems, and methods for immiscible fluid discrete volume manipulation
US9029085B2 (en) 2007-03-07 2015-05-12 President And Fellows Of Harvard College Assays and other reactions involving droplets
WO2011084703A2 (en) 2009-12-21 2011-07-14 Advanced Liquid Logic, Inc. Enzyme assays on a droplet actuator
US8592221B2 (en) 2007-04-19 2013-11-26 Brandeis University Manipulation of fluids, fluid components and reactions in microfluidic systems
WO2009021233A2 (en) 2007-08-09 2009-02-12 Advanced Liquid Logic, Inc. Pcb droplet actuator fabrication
US20090042737A1 (en) * 2007-08-09 2009-02-12 Katz Andrew S Methods and Devices for Correlated, Multi-Parameter Single Cell Measurements and Recovery of Remnant Biological Material
US8380457B2 (en) * 2007-08-29 2013-02-19 Canon U.S. Life Sciences, Inc. Microfluidic devices with integrated resistive heater electrodes including systems and methods for controlling and measuring the temperatures of such heater electrodes
US9221056B2 (en) 2007-08-29 2015-12-29 Canon U.S. Life Sciences, Inc. Microfluidic devices with integrated resistive heater electrodes including systems and methods for controlling and measuring the temperatures of such heater electrodes
WO2009032863A2 (en) 2007-09-04 2009-03-12 Advanced Liquid Logic, Inc. Droplet actuator with improved top substrate
US9797010B2 (en) 2007-12-21 2017-10-24 President And Fellows Of Harvard College Systems and methods for nucleic acid sequencing
CA2709928A1 (en) 2007-12-23 2009-07-09 Advanced Liquid Logic, Inc. Droplet actuator configurations and methods of conducting droplet operations
US8367976B2 (en) * 2008-03-21 2013-02-05 Lawrence Livermore National Security, Llc Laser heating of aqueous samples on a micro-optical-electro-mechanical system
US8852952B2 (en) 2008-05-03 2014-10-07 Advanced Liquid Logic, Inc. Method of loading a droplet actuator
US20110097763A1 (en) * 2008-05-13 2011-04-28 Advanced Liquid Logic, Inc. Thermal Cycling Method
EP2672260A1 (en) * 2008-05-13 2013-12-11 Advanced Liquid Logic, Inc. Droplet actuator devices, systems and methods
US12038438B2 (en) 2008-07-18 2024-07-16 Bio-Rad Laboratories, Inc. Enzyme quantification
JP5188314B2 (en) * 2008-08-04 2013-04-24 キヤノン株式会社 Biopolymer testing apparatus and method
EP2157599A1 (en) * 2008-08-21 2010-02-24 Nederlandse Organisatie voor toegepast- natuurwetenschappelijk onderzoek TNO Method and apparatus for identification of biological material
US8583380B2 (en) 2008-09-05 2013-11-12 Aueon, Inc. Methods for stratifying and annotating cancer drug treatment options
WO2010033200A2 (en) 2008-09-19 2010-03-25 President And Fellows Of Harvard College Creation of libraries of droplets and related species
US9492797B2 (en) 2008-09-23 2016-11-15 Bio-Rad Laboratories, Inc. System for detection of spaced droplets
US9194861B2 (en) 2009-09-02 2015-11-24 Bio-Rad Laboratories, Inc. Method of mixing fluids by coalescence of multiple emulsions
US12090480B2 (en) 2008-09-23 2024-09-17 Bio-Rad Laboratories, Inc. Partition-based method of analysis
US8709762B2 (en) 2010-03-02 2014-04-29 Bio-Rad Laboratories, Inc. System for hot-start amplification via a multiple emulsion
US11130128B2 (en) 2008-09-23 2021-09-28 Bio-Rad Laboratories, Inc. Detection method for a target nucleic acid
US9156010B2 (en) 2008-09-23 2015-10-13 Bio-Rad Laboratories, Inc. Droplet-based assay system
US10512910B2 (en) 2008-09-23 2019-12-24 Bio-Rad Laboratories, Inc. Droplet-based analysis method
US8633015B2 (en) 2008-09-23 2014-01-21 Bio-Rad Laboratories, Inc. Flow-based thermocycling system with thermoelectric cooler
CN102405402A (en) 2008-09-23 2012-04-04 阔达生命有限公司 Droplet-based assay system
US9764322B2 (en) 2008-09-23 2017-09-19 Bio-Rad Laboratories, Inc. System for generating droplets with pressure monitoring
US9399215B2 (en) 2012-04-13 2016-07-26 Bio-Rad Laboratories, Inc. Sample holder with a well having a wicking promoter
US9132394B2 (en) 2008-09-23 2015-09-15 Bio-Rad Laboratories, Inc. System for detection of spaced droplets
US9417190B2 (en) 2008-09-23 2016-08-16 Bio-Rad Laboratories, Inc. Calibrations and controls for droplet-based assays
US9598725B2 (en) 2010-03-02 2017-03-21 Bio-Rad Laboratories, Inc. Emulsion chemistry for encapsulated droplets
WO2011120020A1 (en) 2010-03-25 2011-09-29 Quantalife, Inc. Droplet transport system for detection
US8951939B2 (en) 2011-07-12 2015-02-10 Bio-Rad Laboratories, Inc. Digital assays with multiplexed detection of two or more targets in the same optical channel
US12162008B2 (en) 2008-09-23 2024-12-10 Bio-Rad Laboratories, Inc. Partition-based method of analysis
EP3150724A1 (en) 2008-12-19 2017-04-05 President and Fellows of Harvard College Particle-assisted nucleic acid sequencing
US9056299B2 (en) 2009-03-13 2015-06-16 President And Fellows Of Harvard College Scale-up of flow-focusing microfluidic devices
US8528589B2 (en) 2009-03-23 2013-09-10 Raindance Technologies, Inc. Manipulation of microfluidic droplets
AU2010242073C1 (en) 2009-04-30 2015-12-24 Good Start Genetics, Inc. Methods and compositions for evaluating genetic markers
US12129514B2 (en) 2009-04-30 2024-10-29 Molecular Loop Biosolutions, Llc Methods and compositions for evaluating genetic markers
WO2010141131A1 (en) 2009-06-04 2010-12-09 Lockheed Martin Corporation Multiple-sample microfluidic chip for dna analysis
EP2449132B1 (en) 2009-07-01 2015-05-13 Gen-Probe Incorporated Methods and compositions for nucleic acid amplification
US8926065B2 (en) 2009-08-14 2015-01-06 Advanced Liquid Logic, Inc. Droplet actuator devices and methods
US20120211084A1 (en) 2009-09-02 2012-08-23 President And Fellows Of Harvard College Multiple emulsions created using jetting and other techniques
EP2486409A1 (en) 2009-10-09 2012-08-15 Universite De Strasbourg Labelled silica-based nanomaterial with enhanced properties and uses thereof
EP2493619B1 (en) 2009-10-27 2018-12-19 President and Fellows of Harvard College Droplet creation techniques
US9091649B2 (en) 2009-11-06 2015-07-28 Advanced Liquid Logic, Inc. Integrated droplet actuator for gel; electrophoresis and molecular analysis
JP2013511991A (en) * 2009-11-25 2013-04-11 クアンタライフ, インコーポレイテッド Methods and compositions for detecting genetic material
EP2517025B1 (en) 2009-12-23 2019-11-27 Bio-Rad Laboratories, Inc. Methods for reducing the exchange of molecules between droplets
US9399797B2 (en) 2010-02-12 2016-07-26 Raindance Technologies, Inc. Digital analyte analysis
US9366632B2 (en) * 2010-02-12 2016-06-14 Raindance Technologies, Inc. Digital analyte analysis
US9494520B2 (en) * 2010-02-12 2016-11-15 Raindance Technologies, Inc. Digital analyte analysis
US10351905B2 (en) * 2010-02-12 2019-07-16 Bio-Rad Laboratories, Inc. Digital analyte analysis
EP4435111A1 (en) * 2010-02-12 2024-09-25 Bio-Rad Laboratories, Inc. Digital analyte analysis
US8236574B2 (en) 2010-03-01 2012-08-07 Quanterix Corporation Ultra-sensitive detection of molecules or particles using beads or other capture objects
EP2542890B1 (en) 2010-03-01 2015-05-06 Quanterix Corporation Methods for extending dynamic range in assays for the detection of molecules or particles
WO2011116154A2 (en) * 2010-03-17 2011-09-22 President And Fellows Of Harvard College Melt emulsification
EP2550528B1 (en) 2010-03-25 2019-09-11 Bio-Rad Laboratories, Inc. Droplet generation for droplet-based assays
CA2767113A1 (en) 2010-03-25 2011-09-29 Bio-Rad Laboratories, Inc. Detection system for droplet-based assays
CN103228798B (en) 2010-09-24 2015-12-09 斯坦福大学托管董事会 Use fixing primer Direct Acquisition, amplification and order-checking target DNA
WO2012045012A2 (en) 2010-09-30 2012-04-05 Raindance Technologies, Inc. Sandwich assays in droplets
AU2011315951B2 (en) 2010-10-15 2015-03-19 Lockheed Martin Corporation Micro fluidic optic design
CA2816712C (en) 2010-11-01 2018-12-11 Donald A. Masquelier System for forming emulsions
US9163281B2 (en) 2010-12-23 2015-10-20 Good Start Genetics, Inc. Methods for maintaining the integrity and identification of a nucleic acid template in a multiplex sequencing reaction
US9952237B2 (en) 2011-01-28 2018-04-24 Quanterix Corporation Systems, devices, and methods for ultra-sensitive detection of molecules or particles
CN103562407A (en) 2011-02-09 2014-02-05 伯乐生命医学产品有限公司 Analysis of nucleic acids
US9266104B2 (en) 2011-02-11 2016-02-23 Raindance Technologies, Inc. Thermocycling device for nucleic acid amplification and methods of use
US9364803B2 (en) 2011-02-11 2016-06-14 Raindance Technologies, Inc. Methods for forming mixed droplets
EP2675819B1 (en) 2011-02-18 2020-04-08 Bio-Rad Laboratories, Inc. Compositions and methods for molecular labeling
US12097495B2 (en) 2011-02-18 2024-09-24 Bio-Rad Laboratories, Inc. Methods and compositions for detecting genetic material
JP2014509865A (en) 2011-03-18 2014-04-24 バイオ−ラッド・ラボラトリーズ・インコーポレーテッド Multiplexed digital assay using a combination of signals
US20140302532A1 (en) 2011-04-12 2014-10-09 Quanterix Corporation Methods of determining a treatment protocol for and/or a prognosis of a patient's recovery from a brain injury
EP2702175B1 (en) 2011-04-25 2018-08-08 Bio-Rad Laboratories, Inc. Methods and compositions for nucleic acid analysis
US9188615B2 (en) 2011-05-09 2015-11-17 Advanced Liquid Logic, Inc. Microfluidic feedback using impedance detection
EP2714254B1 (en) 2011-05-23 2017-09-06 President and Fellows of Harvard College Control of emulsions, including multiple emulsions
US9038689B2 (en) 2011-05-26 2015-05-26 Lawrence Livermore National Security, Llc Micro-fluidic partitioning between polymeric sheets for chemical amplification and processing
WO2012167142A2 (en) 2011-06-02 2012-12-06 Raindance Technolgies, Inc. Enzyme quantification
US8841071B2 (en) 2011-06-02 2014-09-23 Raindance Technologies, Inc. Sample multiplexing
CN103764265A (en) 2011-07-06 2014-04-30 哈佛学院院长等 Multiple emulsions and techniques for formulating multiple emulsions
AU2012279420A1 (en) 2011-07-06 2014-01-30 Advanced Liquid Logic Inc Reagent storage on a droplet actuator
US9513253B2 (en) 2011-07-11 2016-12-06 Advanced Liquid Logic, Inc. Droplet actuators and techniques for droplet-based enzymatic assays
US8658430B2 (en) 2011-07-20 2014-02-25 Raindance Technologies, Inc. Manipulating droplet size
WO2013016413A2 (en) 2011-07-25 2013-01-31 Advanced Liquid Logic Inc Droplet actuator apparatus and system
WO2013019751A1 (en) 2011-07-29 2013-02-07 Bio-Rad Laboratories, Inc., Library characterization by digital assay
CA2852665A1 (en) 2011-10-17 2013-04-25 Good Start Genetics, Inc. Analysis methods
US10731199B2 (en) 2011-11-21 2020-08-04 Advanced Liquid Logic, Inc. Glucose-6-phosphate dehydrogenase assays
US20130217071A1 (en) 2011-12-30 2013-08-22 Luz Montesclaros Methods and compositions for performing nucleic acid amplification reactions
WO2013101743A2 (en) 2011-12-30 2013-07-04 Abbott Molecular, Inc. Microorganism nucelic acid purification from host samples
EP2823303A4 (en) 2012-02-10 2015-09-30 Raindance Technologies Inc MOLECULAR DIAGNOSTIC SCREEN TYPE ASSAY
US9322054B2 (en) 2012-02-22 2016-04-26 Lockheed Martin Corporation Microfluidic cartridge
US9176031B2 (en) 2012-02-24 2015-11-03 Raindance Technologies, Inc. Labeling and sample preparation for sequencing
US8209130B1 (en) 2012-04-04 2012-06-26 Good Start Genetics, Inc. Sequence assembly
US8812422B2 (en) 2012-04-09 2014-08-19 Good Start Genetics, Inc. Variant database
US10227635B2 (en) 2012-04-16 2019-03-12 Molecular Loop Biosolutions, Llc Capture reactions
WO2013165748A1 (en) 2012-04-30 2013-11-07 Raindance Technologies, Inc Digital analyte analysis
AU2013284425B2 (en) 2012-06-27 2017-07-27 Advanced Liquid Logic Inc. Techniques and droplet actuator designs for reducing bubble formation
US20140200167A1 (en) 2012-08-01 2014-07-17 Nanomdx, Inc. Functionally integrated device for multiplex genetic identification
WO2014028378A2 (en) 2012-08-13 2014-02-20 The Regents Of The University Of California Methods and systems for detecting biological components
US10400280B2 (en) 2012-08-14 2019-09-03 10X Genomics, Inc. Methods and systems for processing polynucleotides
US9951386B2 (en) 2014-06-26 2018-04-24 10X Genomics, Inc. Methods and systems for processing polynucleotides
US10221442B2 (en) 2012-08-14 2019-03-05 10X Genomics, Inc. Compositions and methods for sample processing
US10752949B2 (en) 2012-08-14 2020-08-25 10X Genomics, Inc. Methods and systems for processing polynucleotides
US9701998B2 (en) 2012-12-14 2017-07-11 10X Genomics, Inc. Methods and systems for processing polynucleotides
US10273541B2 (en) 2012-08-14 2019-04-30 10X Genomics, Inc. Methods and systems for processing polynucleotides
US10323279B2 (en) 2012-08-14 2019-06-18 10X Genomics, Inc. Methods and systems for processing polynucleotides
KR102090851B1 (en) 2012-08-14 2020-03-19 10엑스 제노믹스, 인크. Microcapsule compositions and methods
US11591637B2 (en) 2012-08-14 2023-02-28 10X Genomics, Inc. Compositions and methods for sample processing
US9422602B2 (en) 2012-08-15 2016-08-23 Bio-Rad Laboratories, Inc. Methods and compositions for determining nucleic acid degradation
FR2996545B1 (en) 2012-10-08 2016-03-25 Ecole Polytech MICROFLUIDIC METHOD FOR PROCESSING AND ANALYZING A SOLUTION CONTAINING BIOLOGICAL MATERIAL, AND CORRESPONDING MICROFLUIDIC CIRCUIT
EP2925447B1 (en) 2012-11-30 2020-04-08 The Broad Institute, Inc. High-throughput dynamic reagent delivery system
WO2014093714A1 (en) 2012-12-14 2014-06-19 Bio-Rad Laboratories, Inc. Methods and compositions for using oils for analysis and detection of molecules
CA2894694C (en) 2012-12-14 2023-04-25 10X Genomics, Inc. Methods and systems for processing polynucleotides
US10533221B2 (en) 2012-12-14 2020-01-14 10X Genomics, Inc. Methods and systems for processing polynucleotides
WO2014121203A1 (en) * 2013-02-01 2014-08-07 Bio-Rad Laboratories, Inc. Digital assay for telomere length
EP2951320B1 (en) 2013-02-01 2018-12-26 Bio-Rad Laboratories, Inc. Multiplexed digital assay with specific and generic reporters
DK2954065T3 (en) 2013-02-08 2021-09-06 10X Genomics Inc Division and processing of analytes and other species
WO2014152421A1 (en) 2013-03-14 2014-09-25 Good Start Genetics, Inc. Methods for analyzing nucleic acids
WO2014153071A1 (en) 2013-03-14 2014-09-25 The Broad Institute, Inc. Methods for quantitating dna using digital multiple displacement amplification
US10933417B2 (en) 2013-03-15 2021-03-02 Nanobiosym, Inc. Systems and methods for mobile device analysis of nucleic acids and proteins
SG10201900209WA (en) 2013-03-15 2019-02-27 Nanobiosym Inc Systems and methods for mobile device analysis of nucleic acids and proteins
US9347095B2 (en) 2013-03-15 2016-05-24 Bio-Rad Laboratories, Inc. Digital assays for mutation detection
EP2986762B1 (en) 2013-04-19 2019-11-06 Bio-Rad Laboratories, Inc. Digital analyte analysis
EP3005200A2 (en) 2013-06-03 2016-04-13 Good Start Genetics, Inc. Methods and systems for storing sequence read data
EP3024948B1 (en) 2013-07-25 2020-01-15 Bio-rad Laboratories, Inc. Genetic assays for detecting viral recombination rate
US10395758B2 (en) 2013-08-30 2019-08-27 10X Genomics, Inc. Sequencing methods
US9233859B2 (en) 2013-09-30 2016-01-12 Uchicago Argonne, Llc. Microfluidic process monitor for industrial solvent extraction system
US11901041B2 (en) 2013-10-04 2024-02-13 Bio-Rad Laboratories, Inc. Digital analysis of nucleic acid modification
US10851414B2 (en) 2013-10-18 2020-12-01 Good Start Genetics, Inc. Methods for determining carrier status
EP3058096A1 (en) 2013-10-18 2016-08-24 Good Start Genetics, Inc. Methods for assessing a genomic region of a subject
US20160279068A1 (en) 2013-11-08 2016-09-29 President And Fellows Of Harvard College Microparticles, methods for their preparation and use
US9944977B2 (en) 2013-12-12 2018-04-17 Raindance Technologies, Inc. Distinguishing rare variations in a nucleic acid sequence from a sample
US9824068B2 (en) 2013-12-16 2017-11-21 10X Genomics, Inc. Methods and apparatus for sorting data
WO2015103367A1 (en) 2013-12-31 2015-07-09 Raindance Technologies, Inc. System and method for detection of rna species
US9964557B2 (en) * 2014-01-15 2018-05-08 Canon U.S. Life Sciences, Inc. Apparatus for optical microfluidics slug edge detection
EP3110971B1 (en) 2014-02-27 2019-05-08 The Broad Institute Inc. T cell balance gene expression and methods of use thereof
US10195610B2 (en) 2014-03-10 2019-02-05 Click Diagnostics, Inc. Cartridge-based thermocycler
KR102596508B1 (en) 2014-04-10 2023-10-30 10엑스 제노믹스, 인크. Fluidic devices, systems, and methods for encapsulating and partitioning reagents, and applications of same
US11053548B2 (en) 2014-05-12 2021-07-06 Good Start Genetics, Inc. Methods for detecting aneuploidy
WO2015173658A2 (en) 2014-05-14 2015-11-19 Mark Davis Microfluidic devices that include channels that are slidable relative to each other and methods of use thereof
CN106575322B (en) 2014-06-26 2019-06-18 10X基因组学有限公司 Methods and systems for nucleic acid sequence assembly
US12312640B2 (en) 2014-06-26 2025-05-27 10X Genomics, Inc. Analysis of nucleic acid sequences
KR102531677B1 (en) 2014-06-26 2023-05-10 10엑스 제노믹스, 인크. Methods of analyzing nucleic acids from individual cells or cell populations
MX2016016904A (en) 2014-06-26 2017-03-27 10X Genomics Inc NUCLEIC ACID SEQUENCE ANALYSIS.
US10697007B2 (en) 2014-06-27 2020-06-30 The Regents Of The University Of California PCR-activated sorting (PAS)
CN110452808B (en) * 2014-07-08 2022-11-22 国立研究开发法人产业技术综合研究所 Nucleic acid amplification device, nucleic acid amplification method, and nucleic acid amplification chip
US20160048608A1 (en) 2014-08-15 2016-02-18 Good Start Genetics, Inc. Systems and methods for genetic analysis
KR102222726B1 (en) * 2014-08-29 2021-03-08 한국전자통신연구원 Method and device for amplifying and detecting gene using graphene heater
EP4105337A1 (en) 2014-09-09 2022-12-21 The Broad Institute, Inc. A droplet-based method and apparatus for composite single-cell nucleic acid analysis
US11408024B2 (en) 2014-09-10 2022-08-09 Molecular Loop Biosciences, Inc. Methods for selectively suppressing non-target sequences
EP3224595A4 (en) 2014-09-24 2018-06-13 Good Start Genetics, Inc. Process control for increased robustness of genetic assays
US10434507B2 (en) 2014-10-22 2019-10-08 The Regents Of The University Of California High definition microdroplet printer
KR20170073667A (en) 2014-10-29 2017-06-28 10엑스 제노믹스, 인크. Methods and compositions for targeted nucleic acid sequencing
US10000799B2 (en) 2014-11-04 2018-06-19 Boreal Genomics, Inc. Methods of sequencing with linked fragments
US9975122B2 (en) 2014-11-05 2018-05-22 10X Genomics, Inc. Instrument systems for integrated sample processing
JP6778194B2 (en) 2014-12-31 2020-10-28 ビスビュー メディカル,インコーポレイテッド Devices and methods for molecular diagnostic testing
WO2016112073A1 (en) 2015-01-06 2016-07-14 Good Start Genetics, Inc. Screening for structural variants
KR102321863B1 (en) 2015-01-12 2021-11-08 10엑스 제노믹스, 인크. Method and system for preparing nucleic acid sequencing library and library prepared using same
CN107209814B (en) 2015-01-13 2021-10-15 10X基因组学有限公司 System and method for visualizing structural variation and phase information
JP2018508198A (en) 2015-02-04 2018-03-29 ザ リージェンツ オブ ザ ユニバーシティ オブ カリフォルニア Nucleic acid sequencing by barcode addition in separate entities
EP3256606B1 (en) 2015-02-09 2019-05-22 10X Genomics, Inc. Systems and methods for determining structural variation
EP4286516A3 (en) 2015-02-24 2024-03-06 10X Genomics, Inc. Partition processing methods and systems
BR112017018054A2 (en) 2015-02-24 2018-07-24 10X Genomics Inc Methods for Covering Targeted Nucleic Acid Sequences
EP3262193A2 (en) 2015-02-26 2018-01-03 The Broad Institute Inc. T cell balance gene expression, compositions of matters and methods of use thereof
US11873483B2 (en) 2015-03-11 2024-01-16 The Broad Institute, Inc. Proteomic analysis with nucleic acid identifiers
EP3268125A4 (en) 2015-03-13 2018-08-15 President and Fellows of Harvard College Determination of cells using amplification
EP3314046B1 (en) 2015-06-25 2019-04-24 Hooke Bio Limited Mechanical device for generating combinatorial library
US11123740B2 (en) 2015-06-29 2021-09-21 Arizona Board Of Regents On Behalf Of Arizona State University Systems and methods for continuous flow digital droplet polymerase chain reaction bioanalysis
US10647981B1 (en) 2015-09-08 2020-05-12 Bio-Rad Laboratories, Inc. Nucleic acid library generation methods and compositions
CN108138104A (en) * 2015-10-09 2018-06-08 希森美康株式会社 Subject processing chip, subject processing unit and subject processing method
WO2017066231A1 (en) 2015-10-13 2017-04-20 President And Fellows Of Harvard College Systems and methods for making and using gel microspheres
AU2016344171B2 (en) 2015-10-27 2021-09-23 Berkeley Lights, Inc. Microfluidic electrowetting device apparatus having a covalently bound hydrophobic surface
WO2017075297A1 (en) 2015-10-28 2017-05-04 The Broad Institute Inc. High-throughput dynamic reagent delivery system
WO2017075294A1 (en) 2015-10-28 2017-05-04 The Board Institute Inc. Assays for massively combinatorial perturbation profiling and cellular circuit reconstruction
WO2017075265A1 (en) 2015-10-28 2017-05-04 The Broad Institute, Inc. Multiplex analysis of single cell constituents
US11371094B2 (en) 2015-11-19 2022-06-28 10X Genomics, Inc. Systems and methods for nucleic acid processing using degenerate nucleotides
DK3882357T3 (en) 2015-12-04 2022-08-29 10X Genomics Inc Methods and compositions for the analysis of nucleic acids
EP3402902B1 (en) 2016-01-15 2021-10-27 Massachusetts Institute Of Technology Semi-permeable arrays for analyzing biological systems and methods of using same
EP3411710A1 (en) 2016-02-05 2018-12-12 The Broad Institute Inc. Multi-stage, multiplexed target isolation and processing from heterogeneous populations
JP6735348B2 (en) 2016-02-11 2020-08-05 10エックス ジェノミクス, インコーポレイテッド Systems, methods and media for de novo assembly of whole genome sequence data
EP3420102B1 (en) 2016-02-22 2024-04-03 Massachusetts Institute of Technology Methods for identifying and modulating immune phenotypes
WO2017161325A1 (en) 2016-03-17 2017-09-21 Massachusetts Institute Of Technology Methods for identifying and modulating co-occurant cellular phenotypes
WO2017164936A1 (en) 2016-03-21 2017-09-28 The Broad Institute, Inc. Methods for determining spatial and temporal gene expression dynamics in single cells
WO2017168329A1 (en) 2016-03-28 2017-10-05 Boreal Genomics, Inc. Droplet-based linked-fragment sequencing
US10961573B2 (en) 2016-03-28 2021-03-30 Boreal Genomics, Inc. Linked duplex target capture
JP2019515674A (en) 2016-04-19 2019-06-13 プレジデント アンド フェローズ オブ ハーバード カレッジ Immobilization-based systems and methods for genetic analysis and other applications
US10987674B2 (en) 2016-04-22 2021-04-27 Visby Medical, Inc. Printed circuit board heater for an amplification module
WO2017197040A1 (en) 2016-05-11 2017-11-16 Click Diagnostics, Inc. Devices and methods for nucleic acid extraction
WO2017197343A2 (en) 2016-05-12 2017-11-16 10X Genomics, Inc. Microfluidic on-chip filters
WO2017197338A1 (en) 2016-05-13 2017-11-16 10X Genomics, Inc. Microfluidic systems and methods of use
CN106052198B (en) * 2016-05-31 2018-08-14 大连海事大学 A PCR amplification instrument with the function of rapid temperature rise and fall
USD800331S1 (en) 2016-06-29 2017-10-17 Click Diagnostics, Inc. Molecular diagnostic device
CN110325652A (en) 2016-06-29 2019-10-11 易捷仪器诊断股份有限公司 Use the device and method of flow cell detection molecules
USD800913S1 (en) 2016-06-30 2017-10-24 Click Diagnostics, Inc. Detection window for molecular diagnostic device
USD800914S1 (en) 2016-06-30 2017-10-24 Click Diagnostics, Inc. Status indicator for molecular diagnostic device
CN110088290A (en) 2016-08-10 2019-08-02 加利福尼亚大学董事会 Multiple displacement amplification and PCR are combined in lotion droplet
JP6735179B2 (en) * 2016-08-10 2020-08-05 浜松ホトニクス株式会社 Measuring container
US10822651B2 (en) 2016-10-28 2020-11-03 Grail, Inc. Methods for single-stranded nucleic acid library preparation
CN110740813B (en) 2016-11-28 2022-06-03 亚利桑那州立大学董事会 Systems and methods involving continuous flow droplet reactions
US11268137B2 (en) 2016-12-09 2022-03-08 Boreal Genomics, Inc. Linked ligation
CA3047328A1 (en) 2016-12-21 2018-06-28 The Regents Of The University Of California Single cell genomic sequencing using hydrogel based droplets
US10011872B1 (en) 2016-12-22 2018-07-03 10X Genomics, Inc. Methods and systems for processing polynucleotides
US10550429B2 (en) 2016-12-22 2020-02-04 10X Genomics, Inc. Methods and systems for processing polynucleotides
US10815525B2 (en) 2016-12-22 2020-10-27 10X Genomics, Inc. Methods and systems for processing polynucleotides
US10870891B2 (en) 2017-01-05 2020-12-22 Biodesix, Inc. Diagnostic test system for specific, sensitive and reproducible detection of circulating nucleic acids in whole blood
CN117512066A (en) 2017-01-30 2024-02-06 10X基因组学有限公司 Methods and systems for droplet-based single cell barcoding
US12264411B2 (en) 2017-01-30 2025-04-01 10X Genomics, Inc. Methods and systems for analysis
US10995333B2 (en) 2017-02-06 2021-05-04 10X Genomics, Inc. Systems and methods for nucleic acid preparation
WO2018170515A1 (en) 2017-03-17 2018-09-20 The Broad Institute, Inc. Methods for identifying and modulating co-occurant cellular phenotypes
US11072816B2 (en) 2017-05-03 2021-07-27 The Broad Institute, Inc. Single-cell proteomic assay using aptamers
EP3625715A4 (en) 2017-05-19 2021-03-17 10X Genomics, Inc. SYSTEMS AND PROCEDURES FOR THE ANALYSIS OF DATA SETS
EP3445876B1 (en) 2017-05-26 2023-07-05 10X Genomics, Inc. Single cell analysis of transposase accessible chromatin
US10400235B2 (en) 2017-05-26 2019-09-03 10X Genomics, Inc. Single cell analysis of transposase accessible chromatin
US10837047B2 (en) 2017-10-04 2020-11-17 10X Genomics, Inc. Compositions, methods, and systems for bead formation using improved polymers
US10501739B2 (en) 2017-10-18 2019-12-10 Mission Bio, Inc. Method, systems and apparatus for single cell analysis
WO2019084055A1 (en) 2017-10-23 2019-05-02 Massachusetts Institute Of Technology Calling genetic variation from single-cell transcriptomes
WO2019084043A1 (en) 2017-10-26 2019-05-02 10X Genomics, Inc. Methods and systems for nuclecic acid preparation and chromatin analysis
EP4241882B1 (en) 2017-10-27 2025-04-30 10X Genomics, Inc. Methods for sample preparation and analysis
US11162130B2 (en) 2017-11-09 2021-11-02 Visby Medical, Inc. Portable molecular diagnostic device and methods for the detection of target viruses
WO2019094984A1 (en) 2017-11-13 2019-05-16 The Broad Institute, Inc. Methods for determining spatial and temporal gene expression dynamics during adult neurogenesis in single cells
SG11201913654QA (en) 2017-11-15 2020-01-30 10X Genomics Inc Functionalized gel beads
US10829815B2 (en) 2017-11-17 2020-11-10 10X Genomics, Inc. Methods and systems for associating physical and genetic properties of biological particles
WO2019108851A1 (en) 2017-11-30 2019-06-06 10X Genomics, Inc. Systems and methods for nucleic acid preparation and analysis
US11332736B2 (en) 2017-12-07 2022-05-17 The Broad Institute, Inc. Methods and compositions for multiplexing single cell and single nuclei sequencing
CN118818037A (en) 2017-12-12 2024-10-22 10X基因组学有限公司 Systems and methods for single cell processing
EP3728631A1 (en) 2017-12-22 2020-10-28 10X Genomics, Inc. Systems and methods for processing nucleic acid molecules from one or more cells
CN112005115A (en) 2018-02-12 2020-11-27 10X基因组学有限公司 Methods to characterize multiple analytes from single cells or cell populations
US11639928B2 (en) 2018-02-22 2023-05-02 10X Genomics, Inc. Methods and systems for characterizing analytes from individual cells or cell populations
WO2019169028A1 (en) 2018-02-28 2019-09-06 10X Genomics, Inc. Transcriptome sequencing through random ligation
WO2019195166A1 (en) 2018-04-06 2019-10-10 10X Genomics, Inc. Systems and methods for quality control in single cell processing
WO2019217758A1 (en) 2018-05-10 2019-11-14 10X Genomics, Inc. Methods and systems for molecular library generation
US11932899B2 (en) 2018-06-07 2024-03-19 10X Genomics, Inc. Methods and systems for characterizing nucleic acid molecules
US11703427B2 (en) 2018-06-25 2023-07-18 10X Genomics, Inc. Methods and systems for cell and bead processing
US12188014B1 (en) 2018-07-25 2025-01-07 10X Genomics, Inc. Compositions and methods for nucleic acid processing using blocking agents
US20200032335A1 (en) 2018-07-27 2020-01-30 10X Genomics, Inc. Systems and methods for metabolome analysis
US12163179B2 (en) 2018-08-03 2024-12-10 10X Gemomics, Inc. Methods and systems to minimize barcode exchange
US12065688B2 (en) 2018-08-20 2024-08-20 10X Genomics, Inc. Compositions and methods for cellular processing
WO2020041148A1 (en) 2018-08-20 2020-02-27 10X Genomics, Inc. Methods and systems for detection of protein-dna interactions using proximity ligation
US12098419B2 (en) 2018-08-23 2024-09-24 Ncan Genomics, Inc. Linked target capture and ligation
WO2020077236A1 (en) 2018-10-12 2020-04-16 The Broad Institute, Inc. Method for extracting nuclei or whole cells from formalin-fixed paraffin-embedded tissues
US12165743B2 (en) 2018-11-09 2024-12-10 The Broad Institute, Inc. Compressed sensing for screening and tissue imaging
AU2019379160A1 (en) 2018-11-14 2021-06-24 Massachusetts Institute Of Technology CRISPR system based droplet diagnostic systems and methods
US20220002789A1 (en) 2018-11-14 2022-01-06 The Broad Institute, Inc. Multiplexing highly evolving viral variants with sherlock detection method
US11459607B1 (en) 2018-12-10 2022-10-04 10X Genomics, Inc. Systems and methods for processing-nucleic acid molecules from a single cell using sequential co-partitioning and composite barcodes
WO2020124050A1 (en) 2018-12-13 2020-06-18 The Broad Institute, Inc. Tiled assays using crispr-cas based detection
WO2020131586A2 (en) 2018-12-17 2020-06-25 The Broad Institute, Inc. Methods for identifying neoantigens
US11473136B2 (en) 2019-01-03 2022-10-18 Ncan Genomics, Inc. Linked target capture
US12169198B2 (en) 2019-01-08 2024-12-17 10X Genomics, Inc. Systems and methods for sample analysis
US11845983B1 (en) 2019-01-09 2023-12-19 10X Genomics, Inc. Methods and systems for multiplexing of droplet based assays
WO2020167862A1 (en) 2019-02-12 2020-08-20 10X Genomics, Inc. Systems and methods for transfer of reagents between droplets
US12305239B2 (en) 2019-02-12 2025-05-20 10X Genomics, Inc. Analysis of nucleic acid sequences
WO2020167866A1 (en) 2019-02-12 2020-08-20 10X Genomics, Inc. Systems and methods for transposon loading
US12275993B2 (en) 2019-02-12 2025-04-15 10X Genomics, Inc. Analysis of nucleic acid sequences
US11467153B2 (en) 2019-02-12 2022-10-11 10X Genomics, Inc. Methods for processing nucleic acid molecules
WO2020168013A1 (en) 2019-02-12 2020-08-20 10X Genomics, Inc. Methods for processing nucleic acid molecules
US11851683B1 (en) 2019-02-12 2023-12-26 10X Genomics, Inc. Methods and systems for selective analysis of cellular samples
US11655499B1 (en) 2019-02-25 2023-05-23 10X Genomics, Inc. Detection of sequence elements in nucleic acid molecules
WO2020185791A1 (en) 2019-03-11 2020-09-17 10X Genomics, Inc. Systems and methods for processing optically tagged beads
US11365441B2 (en) 2019-05-22 2022-06-21 Mission Bio, Inc. Method and apparatus for simultaneous targeted sequencing of DNA, RNA and protein
US11667954B2 (en) 2019-07-01 2023-06-06 Mission Bio, Inc. Method and apparatus to normalize quantitative readouts in single-cell experiments
US12235262B1 (en) 2019-09-09 2025-02-25 10X Genomics, Inc. Methods and systems for single cell protein analysis
US12297426B2 (en) 2019-10-01 2025-05-13 The Broad Institute, Inc. DNA damage response signature guided rational design of CRISPR-based systems and therapies
GB201914537D0 (en) 2019-10-08 2019-11-20 Univ Southampton Transcript analysis
US12449419B1 (en) 2020-02-12 2025-10-21 10X Genomics, Inc. Methods for detecting binding of peptide-MHC monomers to T cells
WO2021163630A1 (en) 2020-02-13 2021-08-19 10X Genomics, Inc. Systems and methods for joint interactive visualization of gene expression and dna chromatin accessibility
WO2021211758A1 (en) 2020-04-15 2021-10-21 Enumerix, Inc. Systems and methods for generation of emulsions with suitable clarity with applications of use
US11686730B2 (en) 2020-04-30 2023-06-27 Quanterix Corporation Quantitative antibody test
US11851700B1 (en) 2020-05-13 2023-12-26 10X Genomics, Inc. Methods, kits, and compositions for processing extracellular molecules
EP4121561A4 (en) 2020-08-06 2024-04-17 Singular Genomics Systems, Inc. METHODS FOR IN SITU TRANSCRIPTOMICS AND PROTEOMICS
US12480158B1 (en) 2020-11-05 2025-11-25 10X Genomics, Inc. Methods and systems for processing polynucleotides
US12084715B1 (en) 2020-11-05 2024-09-10 10X Genomics, Inc. Methods and systems for reducing artifactual antisense products
US12398262B1 (en) 2021-01-22 2025-08-26 10X Genomics, Inc. Triblock copolymer-based cell stabilization and fixation system and methods of use thereof
CN116847858A (en) * 2021-02-16 2023-10-03 生物辐射实验室股份有限公司 SARS COV-2 infectivity determination assay
EP4298244A1 (en) 2021-02-23 2024-01-03 10X Genomics, Inc. Probe-based analysis of nucleic acids and proteins
CN117794646A (en) 2021-06-04 2024-03-29 伊努梅里斯公司 Compositions, methods and systems for single cell barcoding and sequencing
USD1055307S1 (en) 2021-08-13 2024-12-24 Visby Medical, Inc. Molecular diagnostic device
WO2023076832A1 (en) 2021-10-25 2023-05-04 Singular Genomics Systems, Inc. Manipulating and detecting biological samples
US20240198336A1 (en) 2022-12-19 2024-06-20 Anchorline Biolabs, Inc. Capillary partitioning microfluidics

Citations (117)

* Cited by examiner, † Cited by third party
Publication number Priority date Publication date Assignee Title
US3575220A (en) 1968-08-12 1971-04-20 Scientific Industries Apparatus for dispensing liquid sample
US4283262A (en) 1980-07-01 1981-08-11 Instrumentation Laboratory Inc. Analysis system
WO1984002000A1 (en) 1981-01-10 1984-05-24 Shaw Stewart P D Chemical droplet reactor
US4801529A (en) 1985-06-18 1989-01-31 Brandeis University Methods for isolating mutant microoganisms using microcapsules coated with indicator material
US4948961A (en) 1985-08-05 1990-08-14 Biotrack, Inc. Capillary flow device
WO1992001812A1 (en) 1990-07-24 1992-02-06 Cemu Bioteknik Ab Competitive pcr for quantitation of dna
US5176203A (en) 1989-08-05 1993-01-05 Societe De Conseils De Recherches Et D'applications Scientifiques Apparatus for repeated automatic execution of a thermal cycle for treatment of samples
US5270183A (en) * 1991-02-08 1993-12-14 Beckman Research Institute Of The City Of Hope Device and method for the automated cycling of solutions between two or more temperatures
WO1994005414A1 (en) 1992-08-31 1994-03-17 The Regents Of The University Of California Microfabricated reactor
US5376252A (en) 1990-05-10 1994-12-27 Pharmacia Biosensor Ab Microfluidic structure and process for its manufacture
US5422277A (en) * 1992-03-27 1995-06-06 Ortho Diagnostic Systems Inc. Cell fixative composition and method of staining cells without destroying the cell surface
EP0672834A1 (en) 1994-02-17 1995-09-20 Forschungszentrum Rossendorf e.V. Micro fluid manipulator
US5585069A (en) 1994-11-10 1996-12-17 David Sarnoff Research Center, Inc. Partitioned microelectronic and fluidic device array for clinical diagnostics and chemical synthesis
US5587128A (en) 1992-05-01 1996-12-24 The Trustees Of The University Of Pennsylvania Mesoscale polynucleotide amplification devices
US5602756A (en) 1990-11-29 1997-02-11 The Perkin-Elmer Corporation Thermal cycler for automatic performance of the polymerase chain reaction with close temperature control
US5736314A (en) 1995-11-16 1998-04-07 Microfab Technologies, Inc. Inline thermo-cycler
EP0843589A1 (en) 1996-04-16 1998-05-27 Centre National De La Recherche Scientifique (Cnrs) Emulsion manufacturing process
WO1998041869A1 (en) 1997-03-18 1998-09-24 Chromaxome Corporation Methods for screening compounds using encapsulated cells
WO1998047003A1 (en) 1997-04-17 1998-10-22 Cytonix Corporation An analytical assembly for polymerase chain reaction
US5827480A (en) 1993-07-28 1998-10-27 The Perkin-Elmer Corporation Nucleic acid amplification reaction apparatus
US5842787A (en) 1997-10-09 1998-12-01 Caliper Technologies Corporation Microfluidic systems incorporating varied channel dimensions
US5856174A (en) 1995-06-29 1999-01-05 Affymetrix, Inc. Integrated nucleic acid diagnostic device
US5858187A (en) 1996-09-26 1999-01-12 Lockheed Martin Energy Systems, Inc. Apparatus and method for performing electrodynamic focusing on a microchip
US5912945A (en) 1997-06-23 1999-06-15 Regents Of The University Of California X-ray compass for determining device orientation
US5928907A (en) 1994-04-29 1999-07-27 The Perkin-Elmer Corporation., Applied Biosystems Division System for real time detection of nucleic acid amplification products
US5945334A (en) 1994-06-08 1999-08-31 Affymetrix, Inc. Apparatus for packaging a chip
US5972716A (en) 1994-04-29 1999-10-26 The Perkin-Elmer Corporation Fluorescence monitoring device with textured optical tube and method for reducing background fluorescence
US6057149A (en) 1995-09-15 2000-05-02 The University Of Michigan Microscale devices and reactions in microscale devices
US6126899A (en) 1996-04-03 2000-10-03 The Perkins-Elmer Corporation Device for multiple analyte detection
US6130098A (en) 1995-09-15 2000-10-10 The Regents Of The University Of Michigan Moving microdroplets
US6146103A (en) 1998-10-09 2000-11-14 The Regents Of The University Of California Micromachined magnetohydrodynamic actuators and sensors
US6156181A (en) 1996-04-16 2000-12-05 Caliper Technologies, Corp. Controlled fluid transport microfabricated polymeric substrates
US6175669B1 (en) 1998-03-30 2001-01-16 The Regents Of The Universtiy Of California Optical coherence domain reflectometry guidewire
US6174673B1 (en) 1997-06-16 2001-01-16 Diversa Corporation High throughput screening for novel enzymes
US6177479B1 (en) 1998-03-30 2001-01-23 Japan As Represented By Director Of National Food Research Institute, Ministry Of Agriculture, Forestry And Fisheries Continuous manufacturing method for microspheres and apparatus
US6176609B1 (en) 1998-10-13 2001-01-23 V & P Scientific, Inc. Magnetic tumble stirring method, devices and machines for mixing in vessels
WO2001007159A2 (en) 1999-07-28 2001-02-01 Genset Integration of biochemical protocols in a continuous flow microfluidic device
US6221654B1 (en) 1996-09-25 2001-04-24 California Institute Of Technology Method and apparatus for analysis and sorting of polynucleotides based on size
WO2001057263A1 (en) 2000-02-02 2001-08-09 Advion Biosciences, Inc. Detection of single nucleotide polymorphisms
US6281254B1 (en) 1998-09-17 2001-08-28 Japan As Represented By Director Of National Food Research Institute, Ministry Of Agriculture, Forestry And Fisheries Microchannel apparatus and method of producing emulsions making use thereof
US20010039014A1 (en) 2000-01-11 2001-11-08 Maxygen, Inc. Integrated systems and methods for diversity generation and screening
US20010046701A1 (en) 2000-05-24 2001-11-29 Schulte Thomas H. Nucleic acid amplification and detection using microfluidic diffusion based structures
US6337740B1 (en) 1996-07-16 2002-01-08 Caliper Technologies Corp. Microfluidic devices for electrophoretic analysis of materials
US20020021866A1 (en) 2000-08-18 2002-02-21 The Regents Of The University Of California Optical fiber head for providing lateral viewing
US6357907B1 (en) 1999-06-15 2002-03-19 V & P Scientific, Inc. Magnetic levitation stirring devices and machines for mixing in vessels
WO2002023163A1 (en) 2000-09-15 2002-03-21 California Institute Of Technology Microfabricated crossflow devices and methods
US6384915B1 (en) 1998-03-30 2002-05-07 The Regents Of The University Of California Catheter guided by optical coherence domain reflectometry
US6403338B1 (en) 1997-04-04 2002-06-11 Mountain View Microfluidic systems and methods of genotyping
US20020093655A1 (en) 1999-01-22 2002-07-18 The Regents Of The University Of California Optical detection of dental disease using polarized light
US6429025B1 (en) 1996-06-28 2002-08-06 Caliper Technologies Corp. High-throughput screening assay systems in microscale fluidic devices
US6440706B1 (en) 1999-08-02 2002-08-27 Johns Hopkins University Digital amplification
US20020119459A1 (en) 1999-01-07 2002-08-29 Andrew Griffiths Optical sorting method
US20020141903A1 (en) * 2001-03-28 2002-10-03 Gene Parunak Methods and systems for processing microfluidic samples of particle containing fluids
WO2002081490A2 (en) 2001-01-19 2002-10-17 Egea Biosciences, Inc. Computer-directed assembly of a polynucleotide encoding a target polypeptide
WO2002081729A2 (en) 2001-04-06 2002-10-17 California Institute Of Technology Nucleic acid amplification utilizing microfluidic devices
US6488895B1 (en) 1998-10-29 2002-12-03 Caliper Technologies Corp. Multiplexed microfluidic devices, systems, and methods
US6494104B2 (en) 2000-03-22 2002-12-17 Sumitomo Wiring Systems, Ltd. Bend test for a wire harness and device for such a test
US20030003441A1 (en) 2001-06-12 2003-01-02 The Regents Of The University Of California Portable pathogen detection system
US6509085B1 (en) 1997-12-10 2003-01-21 Caliper Technologies Corp. Fabrication of microfluidic circuits by printing techniques
US20030032172A1 (en) 2001-07-06 2003-02-13 The Regents Of The University Of California Automated nucleic acid assay system
US6521427B1 (en) 1997-09-16 2003-02-18 Egea Biosciences, Inc. Method for the complete chemical synthesis and assembly of genes and genomes
US6524456B1 (en) 1999-08-12 2003-02-25 Ut-Battelle, Llc Microfluidic devices for the controlled manipulation of small volumes
WO2003016558A1 (en) 2001-08-16 2003-02-27 Corbett Research Pty Ltd Continuous flow thermal device
US6540895B1 (en) 1997-09-23 2003-04-01 California Institute Of Technology Microfabricated cell sorter for chemical and biological materials
US6551841B1 (en) 1992-05-01 2003-04-22 The Trustees Of The University Of Pennsylvania Device and method for the detection of an analyte utilizing mesoscale flow systems
US6558916B2 (en) 1996-08-02 2003-05-06 Axiom Biotechnologies, Inc. Cell flow apparatus and method for real-time measurements of patient cellular responses
US6575188B2 (en) 2001-07-26 2003-06-10 Handylab, Inc. Methods and systems for fluid control in microfluidic devices
US6602472B1 (en) 1999-10-01 2003-08-05 Agilent Technologies, Inc. Coupling to microstructures for a laboratory microchip
WO2003072258A1 (en) 2002-02-22 2003-09-04 Biodot, Inc. Method and apparatus for dispersing reagent droplets below a fluid surface using non-contact dispensing
US20030170698A1 (en) 2002-01-04 2003-09-11 Peter Gascoyne Droplet-based microfluidic oligonucleotide synthesis engine
US6637463B1 (en) 1998-10-13 2003-10-28 Biomicro Systems, Inc. Multi-channel microfluidic system design with balanced fluid flow distribution
US20030204130A1 (en) 2002-04-26 2003-10-30 The Regents Of The University Of California Early detection of contagious diseases
US6660367B1 (en) 1999-03-08 2003-12-09 Caliper Technologies Corp. Surface coating for microfluidic devices that incorporate a biopolymer resistant moiety
US6664044B1 (en) * 1997-06-19 2003-12-16 Toyota Jidosha Kabushiki Kaisha Method for conducting PCR protected from evaporation
US6663619B2 (en) 1998-03-04 2003-12-16 Visx Incorporated Method and systems for laser treatment of presbyopia using offset imaging
WO2003106678A1 (en) 2002-06-13 2003-12-24 Nucleics Pty Ltd Dna amplification and sequencing in collapsible emulsions
US6670153B2 (en) * 2000-09-14 2003-12-30 Caliper Technologies Corp. Microfluidic devices and methods for performing temperature mediated reactions
US20040038385A1 (en) 2002-08-26 2004-02-26 Langlois Richard G. System for autonomous monitoring of bioagents
US20040074849A1 (en) 2002-08-26 2004-04-22 The Regents Of The University Of California Variable flexure-based fluid filter
US6767706B2 (en) * 2000-06-05 2004-07-27 California Institute Of Technology Integrated active flux microfluidic devices and methods
US6773566B2 (en) 2000-08-31 2004-08-10 Nanolytics, Inc. Electrostatic actuators for microfluidics and methods for using same
US20040180346A1 (en) 2003-03-14 2004-09-16 The Regents Of The University Of California. Chemical amplification based on fluid partitioning
US20040185484A1 (en) 2003-01-29 2004-09-23 Costa Gina L. Method for preparing single-stranded DNA libraries
US20040208792A1 (en) 2002-12-20 2004-10-21 John Linton Assay apparatus and method using microfluidic arrays
US20040224325A1 (en) 2002-12-20 2004-11-11 Caliper Life Sciences, Inc. Single molecule amplification and detection of DNA
US6833242B2 (en) 1997-09-23 2004-12-21 California Institute Of Technology Methods for detecting and sorting polynucleotides based on size
WO2005010145A2 (en) 2003-07-05 2005-02-03 The Johns Hopkins University Method and compositions for detection and enumeration of genetic variations
US20050032240A1 (en) 2003-02-11 2005-02-10 The Regents Of The University Of California Microfluidic devices for controlled viscous shearing and formation of amphiphilic vesicles
US20050042639A1 (en) * 2002-12-20 2005-02-24 Caliper Life Sciences, Inc. Single molecule amplification and detection of DNA length
US20050042684A1 (en) 2001-09-12 2005-02-24 Wolfgang Aehle Binding phenol oxidizing enzyme-peptide complexes
US20050064460A1 (en) 2001-11-16 2005-03-24 Medical Research Council Emulsion compositions
US6900021B1 (en) 1997-05-16 2005-05-31 The University Of Alberta Microfluidic system and methods of use
WO2005075683A1 (en) 2004-02-03 2005-08-18 Postech Foundation High throughput device for performing continuous-flow reactions
US20050221279A1 (en) 2004-04-05 2005-10-06 The Regents Of The University Of California Method for creating chemical sensors using contact-based microdispensing technology
US20050227264A1 (en) 2004-01-28 2005-10-13 Nobile John R Nucleic acid amplification with continuous flow emulsion
US6964846B1 (en) 1999-04-09 2005-11-15 Exact Sciences Corporation Methods for detecting nucleic acids indicative of cancer
US7010391B2 (en) 2001-03-28 2006-03-07 Handylab, Inc. Methods and systems for control of microfluidic devices
US20060094108A1 (en) 2002-12-20 2006-05-04 Karl Yoder Thermal cycler for microfluidic array assays
US7052244B2 (en) 2002-06-18 2006-05-30 Commissariat A L'energie Atomique Device for displacement of small liquid volumes along a micro-catenary line by electrostatic forces
US7081336B2 (en) 2001-06-25 2006-07-25 Georgia Tech Research Corporation Dual resonance energy transfer nucleic acid probes
US20060172336A1 (en) 2002-01-08 2006-08-03 Japan Science And Technology Agency PCR and hybridization methods utilizing electrostatic transportation and devices therefor
US7094379B2 (en) 2001-10-24 2006-08-22 Commissariat A L'energie Atomique Device for parallel and synchronous injection for sequential injection of different reagents
US7118910B2 (en) 2001-11-30 2006-10-10 Fluidigm Corporation Microfluidic device and methods of using same
US7129091B2 (en) 2002-05-09 2006-10-31 University Of Chicago Device and method for pressure-driven plug transport and reaction
US20060263264A1 (en) 2001-06-20 2006-11-23 Cytonome, Inc Microfluidic system including a virtual wall fluid interface port for interfacing fluids with the microfluidic system
US7192557B2 (en) 2001-03-28 2007-03-20 Handylab, Inc. Methods and systems for releasing intracellular material from cells within microfluidic samples of fluids
US7198897B2 (en) 2001-12-19 2007-04-03 Brandeis University Late-PCR
US7252943B2 (en) 1997-07-07 2007-08-07 Medical Research Council In Vitro sorting method
US7268167B2 (en) 2001-02-23 2007-09-11 Japan Science And Technology Agency Process for producing emulsion and microcapsules and apparatus therefor
US7268179B2 (en) 1997-02-03 2007-09-11 Cytonix Corporation Hydrophobic coating compositions, articles coated with said compositions, and processes for manufacturing same
US7279146B2 (en) 2003-04-17 2007-10-09 Fluidigm Corporation Crystal growth devices and systems, and methods for using same
US7312085B2 (en) 2002-04-01 2007-12-25 Fluidigm Corporation Microfluidic particle-analysis systems
US7368233B2 (en) 1999-12-07 2008-05-06 Exact Sciences Corporation Methods of screening for lung neoplasm based on stool samples containing a nucleic acid marker indicative of a neoplasm
US20080161420A1 (en) 2004-10-27 2008-07-03 Exact Sciences Corporation Method For Monitoring Disease Progression or Recurrence
US20080166793A1 (en) 2007-01-04 2008-07-10 The Regents Of The University Of California Sorting, amplification, detection, and identification of nucleic acid subsequences in a complex mixture
WO2008109878A2 (en) 2007-03-07 2008-09-12 California Institute Of Technology Testing device
AU2004225691B2 (en) 2003-03-31 2010-06-24 United Kingdom Research And Innovation Selection by compartmentalised screening

Family Cites Families (8)

* Cited by examiner, † Cited by third party
Publication number Priority date Publication date Assignee Title
US5091652A (en) 1990-01-12 1992-02-25 The Regents Of The University Of California Laser excited confocal microscope fluorescence scanner and method
US5846735A (en) * 1996-04-18 1998-12-08 University Of Iowa Research Foundation Hepatitis C virus Fc-binding function
DE19717085C2 (en) * 1997-04-23 1999-06-17 Bruker Daltonik Gmbh Processes and devices for extremely fast DNA multiplication using polymerase chain reactions (PCR)
GB9911609D0 (en) * 1999-05-20 1999-07-21 Advanced Biotech Ltd Improved multi-well plates
US6977145B2 (en) 1999-07-28 2005-12-20 Serono Genetics Institute S.A. Method for carrying out a biochemical protocol in continuous flow in a microreactor
GB0022458D0 (en) 2000-09-13 2000-11-01 Medical Res Council Directed evolution method
US7901939B2 (en) 2002-05-09 2011-03-08 University Of Chicago Method for performing crystallization and reactions in pressure-driven fluid plugs
EP4435111A1 (en) 2010-02-12 2024-09-25 Bio-Rad Laboratories, Inc. Digital analyte analysis

Patent Citations (172)

* Cited by examiner, † Cited by third party
Publication number Priority date Publication date Assignee Title
US3575220A (en) 1968-08-12 1971-04-20 Scientific Industries Apparatus for dispensing liquid sample
US4283262A (en) 1980-07-01 1981-08-11 Instrumentation Laboratory Inc. Analysis system
WO1984002000A1 (en) 1981-01-10 1984-05-24 Shaw Stewart P D Chemical droplet reactor
US4801529A (en) 1985-06-18 1989-01-31 Brandeis University Methods for isolating mutant microoganisms using microcapsules coated with indicator material
US4948961A (en) 1985-08-05 1990-08-14 Biotrack, Inc. Capillary flow device
US5176203A (en) 1989-08-05 1993-01-05 Societe De Conseils De Recherches Et D'applications Scientifiques Apparatus for repeated automatic execution of a thermal cycle for treatment of samples
US5376252A (en) 1990-05-10 1994-12-27 Pharmacia Biosensor Ab Microfluidic structure and process for its manufacture
WO1992001812A1 (en) 1990-07-24 1992-02-06 Cemu Bioteknik Ab Competitive pcr for quantitation of dna
US5602756A (en) 1990-11-29 1997-02-11 The Perkin-Elmer Corporation Thermal cycler for automatic performance of the polymerase chain reaction with close temperature control
US5270183A (en) * 1991-02-08 1993-12-14 Beckman Research Institute Of The City Of Hope Device and method for the automated cycling of solutions between two or more temperatures
US5422277A (en) * 1992-03-27 1995-06-06 Ortho Diagnostic Systems Inc. Cell fixative composition and method of staining cells without destroying the cell surface
US5587128A (en) 1992-05-01 1996-12-24 The Trustees Of The University Of Pennsylvania Mesoscale polynucleotide amplification devices
US6551841B1 (en) 1992-05-01 2003-04-22 The Trustees Of The University Of Pennsylvania Device and method for the detection of an analyte utilizing mesoscale flow systems
WO1994005414A1 (en) 1992-08-31 1994-03-17 The Regents Of The University Of California Microfabricated reactor
US5827480A (en) 1993-07-28 1998-10-27 The Perkin-Elmer Corporation Nucleic acid amplification reaction apparatus
EP0672834A1 (en) 1994-02-17 1995-09-20 Forschungszentrum Rossendorf e.V. Micro fluid manipulator
US5972716A (en) 1994-04-29 1999-10-26 The Perkin-Elmer Corporation Fluorescence monitoring device with textured optical tube and method for reducing background fluorescence
US5928907A (en) 1994-04-29 1999-07-27 The Perkin-Elmer Corporation., Applied Biosystems Division System for real time detection of nucleic acid amplification products
US5945334A (en) 1994-06-08 1999-08-31 Affymetrix, Inc. Apparatus for packaging a chip
US5585069A (en) 1994-11-10 1996-12-17 David Sarnoff Research Center, Inc. Partitioned microelectronic and fluidic device array for clinical diagnostics and chemical synthesis
US5856174A (en) 1995-06-29 1999-01-05 Affymetrix, Inc. Integrated nucleic acid diagnostic device
US6057149A (en) 1995-09-15 2000-05-02 The University Of Michigan Microscale devices and reactions in microscale devices
US6130098A (en) 1995-09-15 2000-10-10 The Regents Of The University Of Michigan Moving microdroplets
US5736314A (en) 1995-11-16 1998-04-07 Microfab Technologies, Inc. Inline thermo-cycler
US6126899A (en) 1996-04-03 2000-10-03 The Perkins-Elmer Corporation Device for multiple analyte detection
EP0843589A1 (en) 1996-04-16 1998-05-27 Centre National De La Recherche Scientifique (Cnrs) Emulsion manufacturing process
US6156181A (en) 1996-04-16 2000-12-05 Caliper Technologies, Corp. Controlled fluid transport microfabricated polymeric substrates
US7091048B2 (en) 1996-06-28 2006-08-15 Parce J Wallace High throughput screening assay systems in microscale fluidic devices
US6479299B1 (en) 1996-06-28 2002-11-12 Caliper Technologies Corp. Pre-disposed assay components in microfluidic devices and methods
US6429025B1 (en) 1996-06-28 2002-08-06 Caliper Technologies Corp. High-throughput screening assay systems in microscale fluidic devices
US6337740B1 (en) 1996-07-16 2002-01-08 Caliper Technologies Corp. Microfluidic devices for electrophoretic analysis of materials
US6558916B2 (en) 1996-08-02 2003-05-06 Axiom Biotechnologies, Inc. Cell flow apparatus and method for real-time measurements of patient cellular responses
US6221654B1 (en) 1996-09-25 2001-04-24 California Institute Of Technology Method and apparatus for analysis and sorting of polynucleotides based on size
US6344325B1 (en) 1996-09-25 2002-02-05 California Institute Of Technology Methods for analysis and sorting of polynucleotides
US5858187A (en) 1996-09-26 1999-01-12 Lockheed Martin Energy Systems, Inc. Apparatus and method for performing electrodynamic focusing on a microchip
US7268179B2 (en) 1997-02-03 2007-09-11 Cytonix Corporation Hydrophobic coating compositions, articles coated with said compositions, and processes for manufacturing same
WO1998041869A1 (en) 1997-03-18 1998-09-24 Chromaxome Corporation Methods for screening compounds using encapsulated cells
US6403338B1 (en) 1997-04-04 2002-06-11 Mountain View Microfluidic systems and methods of genotyping
US6391559B1 (en) 1997-04-17 2002-05-21 Cytonix Corporation Method of sampling, amplifying and quantifying segment of nucleic acid, polymerase chain reaction assembly having nanoliter-sized sample chambers, and method of filling assembly
US20020164820A1 (en) 1997-04-17 2002-11-07 Brown James F. Method of sampling, amplifying and quantifying segment of nucleic acid, polymerase chain reaction assembly having nanoliter-sized sample chambers, and method of filling assembly
US20080213766A1 (en) 1997-04-17 2008-09-04 Cytonix Method and device for detecting the presence of a single target nucleic acid in samples
US20080171380A1 (en) 1997-04-17 2008-07-17 Cytomix Microfluidic assembly with reagent
US7972778B2 (en) 1997-04-17 2011-07-05 Applied Biosystems, Llc Method for detecting the presence of a single target nucleic acid in a sample
US7459315B2 (en) 1997-04-17 2008-12-02 Cytonix Corporation Miniaturized assembly and method of filling assembly
US6143496A (en) 1997-04-17 2000-11-07 Cytonix Corporation Method of sampling, amplifying and quantifying segment of nucleic acid, polymerase chain reaction assembly having nanoliter-sized sample chambers, and method of filling assembly
US20080169184A1 (en) 1997-04-17 2008-07-17 Cytonix Device having regions of differing affinities to fluid, methods of making such devices, and methods of using such devices
US20080171325A1 (en) 1997-04-17 2008-07-17 Cytonix Method and device for detecting the presence of a single target nucleic acid in a sample
US20080138815A1 (en) 1997-04-17 2008-06-12 Cytonix Method of loading sample into a microfluidic device
US20080153091A1 (en) 1997-04-17 2008-06-26 Cytonix Method and device for detecting the presence of target nucleic acids in a sample, and microfluidic device for use in such methods
US20080171327A1 (en) 1997-04-17 2008-07-17 Cytonix Method and device for detecting the presence of a single target nucleic acid in a sample
WO1998047003A1 (en) 1997-04-17 1998-10-22 Cytonix Corporation An analytical assembly for polymerase chain reaction
US8067159B2 (en) 1997-04-17 2011-11-29 Applied Biosystems, Llc Methods of detecting amplified product
US8278071B2 (en) 1997-04-17 2012-10-02 Applied Biosystems, Llc Method for detecting the presence of a single target nucleic acid in a sample
US8257925B2 (en) 1997-04-17 2012-09-04 Applied Biosystems, Llc Method for detecting the presence of a single target nucleic acid in a sample
US20080171382A1 (en) 1997-04-17 2008-07-17 Cytonix Method and device for detecting the presence of a single target nucleic acid in a sample
US20080171326A1 (en) 1997-04-17 2008-07-17 Cytonix Method and device for detecting the presence of a single target nucleic acid in a sample
US20080160525A1 (en) 1997-04-17 2008-07-03 Cytonix Method and device for detecting the presence of a single target nucleic acid in a sample
US20040171055A1 (en) 1997-04-17 2004-09-02 Cytonix Corporation Method for detecting the presence of a single target nucleic acid in a sample
US20080171324A1 (en) 1997-04-17 2008-07-17 Cytonix Method for quantifying number of molecules of target nucleic acid contained in a sample
US6900021B1 (en) 1997-05-16 2005-05-31 The University Of Alberta Microfluidic system and methods of use
US6174673B1 (en) 1997-06-16 2001-01-16 Diversa Corporation High throughput screening for novel enzymes
US6664044B1 (en) * 1997-06-19 2003-12-16 Toyota Jidosha Kabushiki Kaisha Method for conducting PCR protected from evaporation
US5912945A (en) 1997-06-23 1999-06-15 Regents Of The University Of California X-ray compass for determining device orientation
US7252943B2 (en) 1997-07-07 2007-08-07 Medical Research Council In Vitro sorting method
US6521427B1 (en) 1997-09-16 2003-02-18 Egea Biosciences, Inc. Method for the complete chemical synthesis and assembly of genes and genomes
US6833242B2 (en) 1997-09-23 2004-12-21 California Institute Of Technology Methods for detecting and sorting polynucleotides based on size
US6540895B1 (en) 1997-09-23 2003-04-01 California Institute Of Technology Microfabricated cell sorter for chemical and biological materials
US5842787A (en) 1997-10-09 1998-12-01 Caliper Technologies Corporation Microfluidic systems incorporating varied channel dimensions
US6509085B1 (en) 1997-12-10 2003-01-21 Caliper Technologies Corp. Fabrication of microfluidic circuits by printing techniques
US6663619B2 (en) 1998-03-04 2003-12-16 Visx Incorporated Method and systems for laser treatment of presbyopia using offset imaging
US6175669B1 (en) 1998-03-30 2001-01-16 The Regents Of The Universtiy Of California Optical coherence domain reflectometry guidewire
US6384915B1 (en) 1998-03-30 2002-05-07 The Regents Of The University Of California Catheter guided by optical coherence domain reflectometry
US6177479B1 (en) 1998-03-30 2001-01-23 Japan As Represented By Director Of National Food Research Institute, Ministry Of Agriculture, Forestry And Fisheries Continuous manufacturing method for microspheres and apparatus
US6281254B1 (en) 1998-09-17 2001-08-28 Japan As Represented By Director Of National Food Research Institute, Ministry Of Agriculture, Forestry And Fisheries Microchannel apparatus and method of producing emulsions making use thereof
US6146103A (en) 1998-10-09 2000-11-14 The Regents Of The University Of California Micromachined magnetohydrodynamic actuators and sensors
US6176609B1 (en) 1998-10-13 2001-01-23 V & P Scientific, Inc. Magnetic tumble stirring method, devices and machines for mixing in vessels
US6637463B1 (en) 1998-10-13 2003-10-28 Biomicro Systems, Inc. Multi-channel microfluidic system design with balanced fluid flow distribution
US6488895B1 (en) 1998-10-29 2002-12-03 Caliper Technologies Corp. Multiplexed microfluidic devices, systems, and methods
US20020119459A1 (en) 1999-01-07 2002-08-29 Andrew Griffiths Optical sorting method
EP1522582B1 (en) 1999-01-07 2007-07-04 Medical Research Council Optical sorting method
US20090325236A1 (en) 1999-01-07 2009-12-31 Andrew Griffiths Optical sorting method
US20020093655A1 (en) 1999-01-22 2002-07-18 The Regents Of The University Of California Optical detection of dental disease using polarized light
US6522407B2 (en) 1999-01-22 2003-02-18 The Regents Of The University Of California Optical detection dental disease using polarized light
US6660367B1 (en) 1999-03-08 2003-12-09 Caliper Technologies Corp. Surface coating for microfluidic devices that incorporate a biopolymer resistant moiety
US6964846B1 (en) 1999-04-09 2005-11-15 Exact Sciences Corporation Methods for detecting nucleic acids indicative of cancer
US6357907B1 (en) 1999-06-15 2002-03-19 V & P Scientific, Inc. Magnetic levitation stirring devices and machines for mixing in vessels
WO2001007159A2 (en) 1999-07-28 2001-02-01 Genset Integration of biochemical protocols in a continuous flow microfluidic device
US6440706B1 (en) 1999-08-02 2002-08-27 Johns Hopkins University Digital amplification
US20070227890A1 (en) 1999-08-12 2007-10-04 Ramsey J M Microfluidic devices for the controlled manipulation of small volumes
US7238268B2 (en) 1999-08-12 2007-07-03 Ut-Battelle, Llc Microfluidic devices for the controlled manipulation of small volumes
US6524456B1 (en) 1999-08-12 2003-02-25 Ut-Battelle, Llc Microfluidic devices for the controlled manipulation of small volumes
US6602472B1 (en) 1999-10-01 2003-08-05 Agilent Technologies, Inc. Coupling to microstructures for a laboratory microchip
US7368233B2 (en) 1999-12-07 2008-05-06 Exact Sciences Corporation Methods of screening for lung neoplasm based on stool samples containing a nucleic acid marker indicative of a neoplasm
US20010039014A1 (en) 2000-01-11 2001-11-08 Maxygen, Inc. Integrated systems and methods for diversity generation and screening
WO2001057263A1 (en) 2000-02-02 2001-08-09 Advion Biosciences, Inc. Detection of single nucleotide polymorphisms
US6494104B2 (en) 2000-03-22 2002-12-17 Sumitomo Wiring Systems, Ltd. Bend test for a wire harness and device for such a test
US20010046701A1 (en) 2000-05-24 2001-11-29 Schulte Thomas H. Nucleic acid amplification and detection using microfluidic diffusion based structures
US6767706B2 (en) * 2000-06-05 2004-07-27 California Institute Of Technology Integrated active flux microfluidic devices and methods
US20020021866A1 (en) 2000-08-18 2002-02-21 The Regents Of The University Of California Optical fiber head for providing lateral viewing
US6466713B2 (en) 2000-08-18 2002-10-15 The Regents Of The University Of California Optical fiber head for providing lateral viewing
US6773566B2 (en) 2000-08-31 2004-08-10 Nanolytics, Inc. Electrostatic actuators for microfluidics and methods for using same
US6670153B2 (en) * 2000-09-14 2003-12-30 Caliper Technologies Corp. Microfluidic devices and methods for performing temperature mediated reactions
US7294503B2 (en) 2000-09-15 2007-11-13 California Institute Of Technology Microfabricated crossflow devices and methods
WO2002023163A1 (en) 2000-09-15 2002-03-21 California Institute Of Technology Microfabricated crossflow devices and methods
US20020058332A1 (en) 2000-09-15 2002-05-16 California Institute Of Technology Microfabricated crossflow devices and methods
US20090035838A1 (en) 2000-09-15 2009-02-05 California Institute Of Technology Microfabricated Crossflow Devices and Methods
WO2002081490A2 (en) 2001-01-19 2002-10-17 Egea Biosciences, Inc. Computer-directed assembly of a polynucleotide encoding a target polypeptide
US7268167B2 (en) 2001-02-23 2007-09-11 Japan Science And Technology Agency Process for producing emulsion and microcapsules and apparatus therefor
US7270786B2 (en) 2001-03-28 2007-09-18 Handylab, Inc. Methods and systems for processing microfluidic samples of particle containing fluids
US20020141903A1 (en) * 2001-03-28 2002-10-03 Gene Parunak Methods and systems for processing microfluidic samples of particle containing fluids
US7010391B2 (en) 2001-03-28 2006-03-07 Handylab, Inc. Methods and systems for control of microfluidic devices
US7192557B2 (en) 2001-03-28 2007-03-20 Handylab, Inc. Methods and systems for releasing intracellular material from cells within microfluidic samples of fluids
US6960437B2 (en) 2001-04-06 2005-11-01 California Institute Of Technology Nucleic acid amplification utilizing microfluidic devices
WO2002081729A2 (en) 2001-04-06 2002-10-17 California Institute Of Technology Nucleic acid amplification utilizing microfluidic devices
US20050221373A1 (en) 2001-04-06 2005-10-06 California Institute Of Technology Nucleic acid amplification using microfluidic devices
US7833708B2 (en) 2001-04-06 2010-11-16 California Institute Of Technology Nucleic acid amplification using microfluidic devices
US20030027244A1 (en) 2001-06-12 2003-02-06 The Regents Of The University Of California Portable pathogen detection system
US20030003441A1 (en) 2001-06-12 2003-01-02 The Regents Of The University Of California Portable pathogen detection system
US6905885B2 (en) 2001-06-12 2005-06-14 The Regents Of The University Of California Portable pathogen detection system
US20060263264A1 (en) 2001-06-20 2006-11-23 Cytonome, Inc Microfluidic system including a virtual wall fluid interface port for interfacing fluids with the microfluidic system
US7081336B2 (en) 2001-06-25 2006-07-25 Georgia Tech Research Corporation Dual resonance energy transfer nucleic acid probes
US20030032172A1 (en) 2001-07-06 2003-02-13 The Regents Of The University Of California Automated nucleic acid assay system
US6575188B2 (en) 2001-07-26 2003-06-10 Handylab, Inc. Methods and systems for fluid control in microfluidic devices
WO2003016558A1 (en) 2001-08-16 2003-02-27 Corbett Research Pty Ltd Continuous flow thermal device
US20050042684A1 (en) 2001-09-12 2005-02-24 Wolfgang Aehle Binding phenol oxidizing enzyme-peptide complexes
US7094379B2 (en) 2001-10-24 2006-08-22 Commissariat A L'energie Atomique Device for parallel and synchronous injection for sequential injection of different reagents
US7622280B2 (en) 2001-11-16 2009-11-24 454 Life Sciences Corporation Emulsion compositions
US20050064460A1 (en) 2001-11-16 2005-03-24 Medical Research Council Emulsion compositions
US7118910B2 (en) 2001-11-30 2006-10-10 Fluidigm Corporation Microfluidic device and methods of using same
US7198897B2 (en) 2001-12-19 2007-04-03 Brandeis University Late-PCR
US20030170698A1 (en) 2002-01-04 2003-09-11 Peter Gascoyne Droplet-based microfluidic oligonucleotide synthesis engine
US20060172336A1 (en) 2002-01-08 2006-08-03 Japan Science And Technology Agency PCR and hybridization methods utilizing electrostatic transportation and devices therefor
WO2003072258A1 (en) 2002-02-22 2003-09-04 Biodot, Inc. Method and apparatus for dispersing reagent droplets below a fluid surface using non-contact dispensing
US7312085B2 (en) 2002-04-01 2007-12-25 Fluidigm Corporation Microfluidic particle-analysis systems
US20030204130A1 (en) 2002-04-26 2003-10-30 The Regents Of The University Of California Early detection of contagious diseases
US7129091B2 (en) 2002-05-09 2006-10-31 University Of Chicago Device and method for pressure-driven plug transport and reaction
WO2003106678A1 (en) 2002-06-13 2003-12-24 Nucleics Pty Ltd Dna amplification and sequencing in collapsible emulsions
US7052244B2 (en) 2002-06-18 2006-05-30 Commissariat A L'energie Atomique Device for displacement of small liquid volumes along a micro-catenary line by electrostatic forces
US7188731B2 (en) 2002-08-26 2007-03-13 The Regents Of The University Of California Variable flexure-based fluid filter
US20060057599A1 (en) 2002-08-26 2006-03-16 The Regents Of The University Of California System for autonomous monitoring of bioagents
US20040038385A1 (en) 2002-08-26 2004-02-26 Langlois Richard G. System for autonomous monitoring of bioagents
US20050239192A1 (en) 2002-08-26 2005-10-27 The Regents Of The University Of California Hybrid automated continuous nucleic acid and protein analyzer using real-time PCR and liquid bead arrays
US20040074849A1 (en) 2002-08-26 2004-04-22 The Regents Of The University Of California Variable flexure-based fluid filter
US20040224325A1 (en) 2002-12-20 2004-11-11 Caliper Life Sciences, Inc. Single molecule amplification and detection of DNA
US20060094108A1 (en) 2002-12-20 2006-05-04 Karl Yoder Thermal cycler for microfluidic array assays
US20040208792A1 (en) 2002-12-20 2004-10-21 John Linton Assay apparatus and method using microfluidic arrays
US20050042639A1 (en) * 2002-12-20 2005-02-24 Caliper Life Sciences, Inc. Single molecule amplification and detection of DNA length
US7682565B2 (en) 2002-12-20 2010-03-23 Biotrove, Inc. Assay apparatus and method using microfluidic arrays
US7323305B2 (en) 2003-01-29 2008-01-29 454 Life Sciences Corporation Methods of amplifying and sequencing nucleic acids
US20040185484A1 (en) 2003-01-29 2004-09-23 Costa Gina L. Method for preparing single-stranded DNA libraries
US7842457B2 (en) 2003-01-29 2010-11-30 454 Life Sciences Corporation Bead emulsion nucleic acid amplification
US7244567B2 (en) 2003-01-29 2007-07-17 454 Life Sciences Corporation Double ended sequencing
US20050079510A1 (en) * 2003-01-29 2005-04-14 Jan Berka Bead emulsion nucleic acid amplification
US20050032240A1 (en) 2003-02-11 2005-02-10 The Regents Of The University Of California Microfluidic devices for controlled viscous shearing and formation of amphiphilic vesicles
US7595195B2 (en) 2003-02-11 2009-09-29 The Regents Of The University Of California Microfluidic devices for controlled viscous shearing and formation of amphiphilic vesicles
US20040180346A1 (en) 2003-03-14 2004-09-16 The Regents Of The University Of California. Chemical amplification based on fluid partitioning
US7041481B2 (en) 2003-03-14 2006-05-09 The Regents Of The University Of California Chemical amplification based on fluid partitioning
USRE43365E1 (en) * 2003-03-14 2012-05-08 Lawrence Livermore National Security, Llc Apparatus for chemical amplification based on fluid partitioning in an immiscible liquid
USRE41780E1 (en) * 2003-03-14 2010-09-28 Lawrence Livermore National Security, Llc Chemical amplification based on fluid partitioning in an immiscible liquid
USRE45539E1 (en) * 2003-03-14 2015-06-02 Lawrence Livermore National Security, Llc Method for chemical amplification based on fluid partitioning in an immiscible liquid
USRE46322E1 (en) * 2003-03-14 2017-02-28 Lawrence Livermore National Security, Llc Method for chemical amplification based on fluid partitioning in an immiscible liquid
AU2004225691B2 (en) 2003-03-31 2010-06-24 United Kingdom Research And Innovation Selection by compartmentalised screening
US7279146B2 (en) 2003-04-17 2007-10-09 Fluidigm Corporation Crystal growth devices and systems, and methods for using same
WO2005010145A2 (en) 2003-07-05 2005-02-03 The Johns Hopkins University Method and compositions for detection and enumeration of genetic variations
US7927797B2 (en) 2004-01-28 2011-04-19 454 Life Sciences Corporation Nucleic acid amplification with continuous flow emulsion
US20050227264A1 (en) 2004-01-28 2005-10-13 Nobile John R Nucleic acid amplification with continuous flow emulsion
US20080145923A1 (en) 2004-02-03 2008-06-19 Jong Hoon Hahn High Throughput Device for Performing Continuous-Flow Reactions
WO2005075683A1 (en) 2004-02-03 2005-08-18 Postech Foundation High throughput device for performing continuous-flow reactions
US20050221279A1 (en) 2004-04-05 2005-10-06 The Regents Of The University Of California Method for creating chemical sensors using contact-based microdispensing technology
US20080161420A1 (en) 2004-10-27 2008-07-03 Exact Sciences Corporation Method For Monitoring Disease Progression or Recurrence
US20080166793A1 (en) 2007-01-04 2008-07-10 The Regents Of The University Of California Sorting, amplification, detection, and identification of nucleic acid subsequences in a complex mixture
WO2008109878A2 (en) 2007-03-07 2008-09-12 California Institute Of Technology Testing device

Non-Patent Citations (57)

* Cited by examiner, † Cited by third party
Title
3M Fluorinert™ Electronic Liquid FC-3283, 3M product information, 2001.
Abdelgawad, M. et al., "All-terrain droplet actuation," Lab on a Chip, 2008, pp. 672-677, vol. 8.
Abil® EM 90, Goldschmidt Personal Care product literature, 2003, 7 pages.
Adang, A.E., et al., "The Contribution of Combinatorial Chemistry to Lead Generation: An Interim Analysis," Current Medical Chemistry, 2001, pp. 985-998, vol. 8.
Anarbaev, R., et al., "Klenow fragment and DNA polymerase α-primase fromserva calf thymus in water-in-oil microemulsions," Biochimica et Biophysica Acta, 1998, pp. 315-324, vol. 1384.
Baroud, C., et al., "Thermocapillary Valve for Droplet Production and Sorting," Physical Review E, 2007, pp. 046302-1 to 046302-5, vol. 75.
Beer, N. et al., On-Chip, Real-Time, Single-Copy Polymerase Chain Reaction in Picoliter Droplets, Anal. Chem., 2007, pp. 8471-8475, vol. 79, No. 22.
Beer, N., et al., "On-Chip Single-Copy Real-Time Reverse-Transcription PCR in Isolated Picoliter Droplets," Anal. Chem., 2008, pp. 1854-1858, vol. 80, No. 6.
Bransky, A., et al., "A Microfluidic Droplet Generator Based on a Piezoelectric Actuator," Lab Chip, 2009, pp. 516-520, vol. 9.
Carroll, N., et al., "Droplet-Based Microfluidics for Emulsion and Solvent Evaporation Synthesis of Monodisperse Mesoporous Silica Microspheres," Langmuir, 2008, pp. 658-661, vol. 24.
Chabert, M., et al., "Droplet fusion by alternating current (AC) field electrocoalescence in microchannels," Electrophoresis, 2005, pp. 3706-3715, vol. 26.
Chen, D. L., et al., "Using Three-Phase Flow of Immiscible Liquids to Prevent Coalescence of Droplets in Microfluidic Channels: Criteria to Identify the Third Liquid and Validation with Protein Crystallization," Langmuir, 2007, pp. 2255-2260, vol. 23.
Clausell-Tormos, J., et al., "Droplet-Based Microfluidic Platforms for the Encapsulation and Screening and Mammalian Cells and Multicellular Organisms," Chemistry and Biology, 2008, pp. 427-437, vol. 15.
Diehl, F., et al., "Digital quantification of mutant DNA in cancer patients," Current Opinion in Oncology, 2007, pp. 36-42, vol. 19.
Diekema, D.J., et al., "Look before You Leap: Active Surveillance for Multidrug-Resistant Organisms," Healthcare Epidemiology, 2007, pp. 1101-1107, vol. 44.
Dressman, D., et al., "Transforming single DNA molecules into fluorescent magnetic particles for detection and enumeration of genetic variations,"PNAS, 2003, pp. 8817-8822, vol. 100, No. 15.
Fan, J.B., et al., "Highly parallel genomic assays," Nature Reviews, Genetics, 2006, pp. 632-644, vol. 7.
Fidalgo, L. M., et al., "Coupling Microdroplet Microreactors with Mass Spectrometry: Reading the Contents of Single Droplets Online," Angew. Chem. Int. Ed., 2009, pp. 3665-3668, vol. 48.
Halloran, P.J., Letter to John H. Lee, Assistant Laboratory Counsel, Lawrence Livermore National Laboratory, re U.S. Appl. No. 12/118,418, Jun. 4, 2010, 5 pages.
Heyries, K.A., et al., "Megapixel digital PCR," Nature Methods, 2011, 5 Pages.
Higuchi, R., et al., "Kinetic PCR Analysis: Real-time Monitoring of DNA Amplification Reactions," Bio/Technology, 1993, pp. 1026-1030, vol. 11.
Jarvius, J., et al., "Digital quantification using amplified single-molecule detection," Nature Methods, 2006, pp. 725-727, vol. 3, No. 9; includes supplementary information from www.nature.com website.
Kalinina et al, "Nanoliter scale PCR with TagMan detection," Nucleic Acids Res. (1997), vol. 25, No. 10, pp. 1999-2004. *
Kalinina, O., et al., "Nanoliter scale PCR with TaqMan detection," Nucleic Acids Res., 1997, pp. 1999-2004, vol. 25, No. 10.
Katsura, S., et al., "Indirect Micromanipulation of Single Molecules in Water-In-Oil Emulsion," 2001, Electrophoresis, pp. 289-293, vol. 22.
Kiss, M. M., et al., "High-Throughput Quantitative Polymerase Chain Reaction in Picoliter Droplets," Anal. Chem., DOI: 10.1021/ac801276c, Nov. 17, 2008 <http://pubs.acs.org>.
Kojima, T., et al., "PCR amplification from single DNA molecules on magnetic beads in emulsion: application for high-throughput screening of transcription factor targets," Nucleic Acids Res., 2005, vol. 33, No. 17, e150.
Kopp, M., et al., "Chemical Amplification: Continuous-Flow PCR on a Chip," Science, 1998, pp. 10461048, vol. 280, [Online] [Retrieved on Sep. 22, 2009] Retrieved from the internet URL<http://www.sciencemag.org/cgi/content/ful1/280/5366/1046.
Kumaresan, P., et al., "High-Throughput Single Copy DNA Amplification and Cell Analysis in Engineered Nanoliter Droplets," Anal. Chem., DOI: 10.1021/ac800327d, Apr. 15, 2008 <http://pubs.acs.org>, plus supporting information.
Leamon, J. H., et al., "Overview: methods and applications for droplet compartmentalization of biology," Nature Methods, 2006, pp. 541-543, vol. 3, No. 7.
Lin, Y. H., et al., "Droplet Formation Utilizing Controllable Moving-Wall Structures for Double-Emulsion Applications," Journal of Microelectromechanical Systems, 2008, pp. 573-581, vol. 17 No. 3.
Link, D. R., et al., "Electric Control of Droplets in Microfluidic Devices," Angew. Chem. Int. Ed., 2006, pp. 2556-2560, vol. 45.
Liu, K., et al., "Droplet-based synthetic method using microflow focusing and droplet fusion," Microfluid Nanofluid, 2007, pp. 239-243, vol. 3.
Lo, Y. M., et al., "Digital PCR for the molecular detection of fetal chromosomal aneuploidy," PNAS, 2007, pp. 13116-13121, vol. 104, No. 32.
Margulies, M., et al., "Genome sequencing in microfabricated high-density picloitre reactors," Nature, 2005, pp. 376-380, vol. 437; includes supplementary information from www.nature.com website.
Margulies, M., et al., Supplementary figures from JM Rothberg, Nature, May 2005, 12 Pages.
Margulies, M., et al., Supplementary methods from JM Rothbert, Nature, May 2005, 34 Pages.
Musyanovych, A., et al., "Miniemulsion Droplets as Single Molecule Nanoreactors for Polymerase Chain Reaction," Biomacromolecules, 2005, pp. 1824-1828, vol. 6.
Nagai et al., Anal. chem. 73, 1043-1047 (2001). *
Nagai, H., et al., "Development of a Microchamber Array for Picoliter PCR," Anal. Chem., 2001, pp. 1043-1047, vol. 73, No. 5.
Nakano, M., et al., Single-molecule PCR using water-in-oil emulsion, Journal of Biotechnology, 2003, pp. 117-124, vol. 102.
Nisisako et al, "Formation of Droplets Using Branch Channels in a Microfluidic Circuit," SICE 2002, Aug. 5-7, 2002, pp. 1262-1264. *
Nisisako, T., et al., "Formation of Droplets Using Branch Channels in a Microfluidic Circuit," SICE Aug. 5-7, 2002, pp. 1262-1264.
Pamme, N., "Continuous flow separations in microfluidic devices," Lab Chip, 2007, pp. 1644-1659, vol. 7.
Pohl, G., et al., "Principle and applications of digital PCR," Expert Rev. Mol. Diagn., 2004, pp. 41-47, vol. 4, No. 1.
Price, C. P., "Regular review: Point of care testing," BMJ, 2001, pp. 1285-1288, vol. 322.
Roach, L. S., et al., "Controlling Nonspecific Protein Adsorption in a Plug-Based Microfluidic System by Controlling Interfacial Chemistry Using Fluorous-Phase Surfactants," Anal. Chem., 2005, pp. 785-796, vol. 77, No. 3.
Rutledge, R. G., "Sigmoidal curve-fitting redefines quantitative real-time PCR with the prospective of developing automated high-throughput applications," Nucleic Acids Res., 2004, p. e178, vol. 32, No. 22.
Rutledge, R. G., et al., "Mathematics of quantitative kinetic PCR and the application of standard curves," Nucleic Acids Res., 2003, p. e93, vol. 31, No. 16.
Schneegass, I., et al., "Miniaturized Flow-through PCR with Different Template Types in a Silicon Chip Thermocycler," Lab on a Chip, 2001, pp. 42-49, vol. 1.
U.S. Appl. No. 60/443,471, filed Jan. 29, 2003, 68 Pages.
Vogelstein, B., et al., "Digital PCR," PNAS, 1999, pp. 9236-9241, vol. 96.
Williams, R., et al., "Amplification of complex gene libraries by emulsion PCR," Nature Methods, 2006, pp. 545-550, vol. 3, No. 7.
Zhang, C., et al., "Miniaturized PCR chips for nucleic acid amplification and analysis: latest advances and future trends," Nucleic Acids Res., 2007, pp. 4223-4237, vol. 35.
Zhang, T., et al., "Behavioral Modeling and Performance Evaluation of Microelectrofluidics-Based PCR Systems Using SystemC," IEEE Transactions on Computer-Aided Design of Integrated Circuits and Systems, 2004, pp. 843-858, vol. 23, No. 6.
Zhao, Y., et al., Microparticle Concentration and Separation by Traveling-Wave Dielectrophoresis (twDEP) for Digital Microfluidics, Journal of Microelectromechanical Systems, 2007, pp. 1472-1481, vol. 16, No. 6.
Zhelev, T., et al., "Heat Integration in Micro-Fluidic Devices," 16th European Symposium on Computer Aided Process Engineering and 9th International Symposium on Process Systems Engineering, 2006, pp. 1863-1868.

Cited By (18)

* Cited by examiner, † Cited by third party
Publication number Priority date Publication date Assignee Title
USRE48788E1 (en) * 2003-03-14 2021-10-26 Lawrence Livermore National Security, Llc Chemical amplification based on fluid partitioning
US11833510B2 (en) 2018-04-02 2023-12-05 Dropworks, Inc. Systems and methods for serial flow emulsion processes
US10906038B2 (en) 2018-04-02 2021-02-02 Dropworks, Inc. Systems and methods for serial flow emulsion processes
US11426726B2 (en) 2018-04-02 2022-08-30 Dropworks, Inc. Systems and methods for serial flow emulsion processes
US11471884B2 (en) 2018-04-02 2022-10-18 Dropworks, Inc. Systems and methods for serial flow emulsion processes
US11471886B2 (en) 2018-04-02 2022-10-18 Dropworks, Inc. Systems and methods for serial flow emulsion processes
US11504710B2 (en) 2018-04-02 2022-11-22 Dropworks, Inc. Systems and methods for serial flow emulsion processes
US10906040B2 (en) 2018-04-02 2021-02-02 Dropworks, Inc. Systems and methods for serial flow emulsion processes
US10906037B2 (en) 2018-04-02 2021-02-02 Dropworks, Inc. Systems and methods for serial flow emulsion processes
US12364981B2 (en) 2018-04-02 2025-07-22 Dropworks, Inc. Systems and methods for serial flow emulsion processes
US11931736B2 (en) 2018-04-02 2024-03-19 Dropworks, Inc. Systems and methods for serial flow emulsion processes
US12181650B2 (en) 2019-12-10 2024-12-31 Enumerix, Inc. Methods and systems for three-dimensional lightsheet imaging
US12270815B2 (en) 2021-03-05 2025-04-08 Countable Labs, Inc. Systems and methods for generating droplets and performing digital analyses
US12265088B2 (en) 2021-03-05 2025-04-01 Countable Labs, Inc. Systems and methods for generating droplets and performing digital analyses
US12540948B2 (en) 2021-03-05 2026-02-03 Countable Labs, Inc. Systems and methods for generating droplets and performing digital analyses
US12252745B2 (en) 2021-09-02 2025-03-18 Enumerix, Inc. Detection and digital quantitation of multiple targets
US12319964B2 (en) 2021-12-20 2025-06-03 Countable Labs, Inc. Detection and digital quantitation of multiple targets
US12049668B2 (en) 2021-12-20 2024-07-30 Enumerix, Inc. Detection and digital quantitation of multiple targets

Also Published As

Publication number Publication date
USRE46322E1 (en) 2017-02-28
USRE48788E1 (en) 2021-10-26
USRE45539E1 (en) 2015-06-02
USRE41780E1 (en) 2010-09-28
US7041481B2 (en) 2006-05-09
US20040180346A1 (en) 2004-09-16
USRE43365E1 (en) 2012-05-08

Similar Documents

Publication Publication Date Title
USRE48788E1 (en) Chemical amplification based on fluid partitioning
US8815576B2 (en) Chip-based sequencing nucleic acids
US7494770B2 (en) Mesoscale polynucleotide amplification analysis
JP4176124B2 (en) Medium-scale polynucleotide amplification method
Tanaka et al. Hands-off preparation of monodisperse emulsion droplets using a poly (dimethylsiloxane) microfluidic chip for droplet digital PCR
US5498392A (en) Mesoscale polynucleotide amplification device and method
EP0637999B1 (en) Polynucleotide amplification analysis using a microfabricated device
US6660517B1 (en) Mesoscale polynucleotide amplification devices
US9243288B2 (en) Cartridge with lysis chamber and droplet generator
US20010046701A1 (en) Nucleic acid amplification and detection using microfluidic diffusion based structures
US20030032172A1 (en) Automated nucleic acid assay system
WO2014145760A1 (en) Droplet generator with collection tube
Petersen et al. Toward next generation clinical diagnostic instruments: scaling and new processing paradigms
US20230018570A1 (en) Chemical amplification based on fluid partitioning
AU698213C (en) Mesoscale polynucleotide amplification devices
King et al. Biocompatible Fluids for Use in Micro Total Analysis Systems

Legal Events

Date Code Title Description
AS Assignment

Owner name: THE REGENTS OF THE UNIVERSITY OF CALIFORNIA, CALIF

Free format text: ASSIGNMENT OF ASSIGNORS INTEREST;ASSIGNORS:ANDERSON, BRIAN L.;COLSTON, BILLY W., JR.;ELKIN, CHRISTOPHER J.;SIGNING DATES FROM 20030206 TO 20030303;REEL/FRAME:042819/0531

Owner name: LAWRENCE LIVERMORE NATIONAL SECURITY, LLC, CALIFOR

Free format text: ASSIGNMENT OF ASSIGNORS INTEREST;ASSIGNOR:THE REGENTS OF THE UNIVERSITY OF CALIFORNIA;REEL/FRAME:043005/0953

Effective date: 20080623

AS Assignment

Owner name: U.S. DEPARTMENT OF ENERGY, DISTRICT OF COLUMBIA

Free format text: CONFIRMATORY LICENSE;ASSIGNOR:LAWRENCE LIVERMORE NATIONAL SECURITY, LLC;REEL/FRAME:042960/0003

Effective date: 20170707

CC Certificate of correction