US9596745B2 - Apparatus for accelerating and compressing plasma - Google Patents
Apparatus for accelerating and compressing plasma Download PDFInfo
- Publication number
- US9596745B2 US9596745B2 US14/422,675 US201314422675A US9596745B2 US 9596745 B2 US9596745 B2 US 9596745B2 US 201314422675 A US201314422675 A US 201314422675A US 9596745 B2 US9596745 B2 US 9596745B2
- Authority
- US
- United States
- Prior art keywords
- plasma
- elongated section
- accelerator
- torus
- section
- Prior art date
- Legal status (The legal status is an assumption and is not a legal conclusion. Google has not performed a legal analysis and makes no representation as to the accuracy of the status listed.)
- Active, expires
Links
- 230000001133 acceleration Effects 0.000 claims abstract description 56
- 230000006835 compression Effects 0.000 claims abstract description 55
- 238000007906 compression Methods 0.000 claims abstract description 55
- 230000004907 flux Effects 0.000 claims abstract description 49
- 238000011144 upstream manufacturing Methods 0.000 claims description 46
- 230000015572 biosynthetic process Effects 0.000 claims description 25
- 238000004891 communication Methods 0.000 claims description 22
- 239000012530 fluid Substances 0.000 claims description 21
- 230000007423 decrease Effects 0.000 claims description 13
- 238000007599 discharging Methods 0.000 claims description 3
- 210000002381 plasma Anatomy 0.000 description 271
- 241001648319 Toronia toru Species 0.000 description 157
- 230000006870 function Effects 0.000 description 20
- 238000000034 method Methods 0.000 description 14
- 230000002441 reversible effect Effects 0.000 description 10
- 239000007787 solid Substances 0.000 description 9
- 230000008901 benefit Effects 0.000 description 6
- 230000003247 decreasing effect Effects 0.000 description 6
- 239000003990 capacitor Substances 0.000 description 5
- 239000000463 material Substances 0.000 description 5
- 230000008859 change Effects 0.000 description 4
- 230000004927 fusion Effects 0.000 description 4
- 230000008569 process Effects 0.000 description 4
- 230000003068 static effect Effects 0.000 description 4
- 239000004020 conductor Substances 0.000 description 3
- 238000002474 experimental method Methods 0.000 description 3
- 230000000670 limiting effect Effects 0.000 description 3
- 239000002245 particle Substances 0.000 description 3
- 230000005855 radiation Effects 0.000 description 3
- 238000004088 simulation Methods 0.000 description 3
- 230000007704 transition Effects 0.000 description 3
- 230000001960 triggered effect Effects 0.000 description 3
- 238000013461 design Methods 0.000 description 2
- 230000000694 effects Effects 0.000 description 2
- 239000002360 explosive Substances 0.000 description 2
- 230000004941 influx Effects 0.000 description 2
- 150000002500 ions Chemical class 0.000 description 2
- 238000011160 research Methods 0.000 description 2
- 239000000126 substance Substances 0.000 description 2
- WHXSMMKQMYFTQS-BJUDXGSMSA-N (6Li)Lithium Chemical compound [6Li] WHXSMMKQMYFTQS-BJUDXGSMSA-N 0.000 description 1
- 101100129500 Caenorhabditis elegans max-2 gene Proteins 0.000 description 1
- YZCKVEUIGOORGS-OUBTZVSYSA-N Deuterium Chemical compound [2H] YZCKVEUIGOORGS-OUBTZVSYSA-N 0.000 description 1
- 238000005066 MHD (magnetohydrodynamics) Methods 0.000 description 1
- 241000339283 Sphex Species 0.000 description 1
- YZCKVEUIGOORGS-NJFSPNSNSA-N Tritium Chemical compound [3H] YZCKVEUIGOORGS-NJFSPNSNSA-N 0.000 description 1
- 238000007792 addition Methods 0.000 description 1
- 238000004458 analytical method Methods 0.000 description 1
- 238000013459 approach Methods 0.000 description 1
- 230000004323 axial length Effects 0.000 description 1
- 230000005587 bubbling Effects 0.000 description 1
- 238000004364 calculation method Methods 0.000 description 1
- 230000005495 cold plasma Effects 0.000 description 1
- 238000010276 construction Methods 0.000 description 1
- 238000001514 detection method Methods 0.000 description 1
- 229910052805 deuterium Inorganic materials 0.000 description 1
- 230000003292 diminished effect Effects 0.000 description 1
- 239000003814 drug Substances 0.000 description 1
- 229940079593 drug Drugs 0.000 description 1
- 238000010438 heat treatment Methods 0.000 description 1
- SWQJXJOGLNCZEY-BJUDXGSMSA-N helium-3 atom Chemical compound [3He] SWQJXJOGLNCZEY-BJUDXGSMSA-N 0.000 description 1
- 239000012212 insulator Substances 0.000 description 1
- 230000003993 interaction Effects 0.000 description 1
- 238000012886 linear function Methods 0.000 description 1
- WHXSMMKQMYFTQS-IGMARMGPSA-N lithium-7 atom Chemical compound [7Li] WHXSMMKQMYFTQS-IGMARMGPSA-N 0.000 description 1
- 230000005415 magnetization Effects 0.000 description 1
- 238000004519 manufacturing process Methods 0.000 description 1
- 238000012986 modification Methods 0.000 description 1
- 230000004048 modification Effects 0.000 description 1
- 238000012544 monitoring process Methods 0.000 description 1
- 238000003947 neutron activation analysis Methods 0.000 description 1
- 238000009659 non-destructive testing Methods 0.000 description 1
- 230000005658 nuclear physics Effects 0.000 description 1
- 230000003071 parasitic effect Effects 0.000 description 1
- 230000035699 permeability Effects 0.000 description 1
- 239000002574 poison Substances 0.000 description 1
- 231100000614 poison Toxicity 0.000 description 1
- 238000005086 pumping Methods 0.000 description 1
- 238000002601 radiography Methods 0.000 description 1
- 230000008707 rearrangement Effects 0.000 description 1
- 230000002829 reductive effect Effects 0.000 description 1
- 238000006467 substitution reaction Methods 0.000 description 1
- 238000003325 tomography Methods 0.000 description 1
- 229910052722 tritium Inorganic materials 0.000 description 1
- 239000002699 waste material Substances 0.000 description 1
Images
Classifications
-
- H—ELECTRICITY
- H05—ELECTRIC TECHNIQUES NOT OTHERWISE PROVIDED FOR
- H05H—PLASMA TECHNIQUE; PRODUCTION OF ACCELERATED ELECTRICALLY-CHARGED PARTICLES OR OF NEUTRONS; PRODUCTION OR ACCELERATION OF NEUTRAL MOLECULAR OR ATOMIC BEAMS
- H05H1/00—Generating plasma; Handling plasma
- H05H1/54—Plasma accelerators
-
- G—PHYSICS
- G21—NUCLEAR PHYSICS; NUCLEAR ENGINEERING
- G21B—FUSION REACTORS
- G21B1/00—Thermonuclear fusion reactors
-
- G—PHYSICS
- G21—NUCLEAR PHYSICS; NUCLEAR ENGINEERING
- G21B—FUSION REACTORS
- G21B1/00—Thermonuclear fusion reactors
- G21B1/11—Details
- G21B1/15—Particle injectors for producing thermonuclear fusion reactions, e.g. pellet injectors
-
- G—PHYSICS
- G21—NUCLEAR PHYSICS; NUCLEAR ENGINEERING
- G21B—FUSION REACTORS
- G21B3/00—Low temperature nuclear fusion reactors, e.g. alleged cold fusion reactors
-
- H—ELECTRICITY
- H05—ELECTRIC TECHNIQUES NOT OTHERWISE PROVIDED FOR
- H05H—PLASMA TECHNIQUE; PRODUCTION OF ACCELERATED ELECTRICALLY-CHARGED PARTICLES OR OF NEUTRONS; PRODUCTION OR ACCELERATION OF NEUTRAL MOLECULAR OR ATOMIC BEAMS
- H05H1/00—Generating plasma; Handling plasma
- H05H1/02—Arrangements for confining plasma by electric or magnetic fields; Arrangements for heating plasma
- H05H1/10—Arrangements for confining plasma by electric or magnetic fields; Arrangements for heating plasma using externally-applied magnetic fields only, e.g. Q-machines, Yin-Yang, base-ball
- H05H1/105—Arrangements for confining plasma by electric or magnetic fields; Arrangements for heating plasma using externally-applied magnetic fields only, e.g. Q-machines, Yin-Yang, base-ball using magnetic pumping
-
- H—ELECTRICITY
- H05—ELECTRIC TECHNIQUES NOT OTHERWISE PROVIDED FOR
- H05H—PLASMA TECHNIQUE; PRODUCTION OF ACCELERATED ELECTRICALLY-CHARGED PARTICLES OR OF NEUTRONS; PRODUCTION OR ACCELERATION OF NEUTRAL MOLECULAR OR ATOMIC BEAMS
- H05H1/00—Generating plasma; Handling plasma
- H05H1/02—Arrangements for confining plasma by electric or magnetic fields; Arrangements for heating plasma
- H05H1/16—Arrangements for confining plasma by electric or magnetic fields; Arrangements for heating plasma using externally-applied electric and magnetic fields
-
- Y—GENERAL TAGGING OF NEW TECHNOLOGICAL DEVELOPMENTS; GENERAL TAGGING OF CROSS-SECTIONAL TECHNOLOGIES SPANNING OVER SEVERAL SECTIONS OF THE IPC; TECHNICAL SUBJECTS COVERED BY FORMER USPC CROSS-REFERENCE ART COLLECTIONS [XRACs] AND DIGESTS
- Y02—TECHNOLOGIES OR APPLICATIONS FOR MITIGATION OR ADAPTATION AGAINST CLIMATE CHANGE
- Y02E—REDUCTION OF GREENHOUSE GAS [GHG] EMISSIONS, RELATED TO ENERGY GENERATION, TRANSMISSION OR DISTRIBUTION
- Y02E30/00—Energy generation of nuclear origin
- Y02E30/10—Nuclear fusion reactors
-
- Y02E30/122—
-
- Y02E30/18—
Definitions
- the present disclosure generally relates to a method and system for plasma acceleration and compression and more particularly relates to a high efficiency plasma accelerator and a method for accelerating plasma.
- Plasma is a state of matter similar to gas in which at least part of the particles are ionized.
- the presence of charged particles e.g. positive ions and negative electrons
- a plasma torus is a self-sustained magnetized plasma shaped into a toroidal configuration, with linked poloidal and toroidal (in some cases) closed magnetic fluxes.
- the extent of linkage of the poloidal and toroidal magnetic fluxes defines a helicity of the plasma torus.
- Plasma torus contained in a simply connected volume is called a compact toroid (CT).
- CT compact toroid
- the CT configuration can include, for example: (i) a spheromak configuration that exists close to a stable magnetohydrodynamic equilibrium with an internal magnetic field having both toroidal and poloidal components; or (ii) a Field Reversed Configuration (FRC), which also has a toroidal magnetic topology, but can be more elongated in the axial direction with an outer surface being similar to a prolate ellipsoid, and which has primarily a poloidal magnetic field, with no toroidal magnetic field component.
- CT plasmas can be formed in a range of magnetic configurations, including ones that exist in states that are in between spheromak and FRC states. It is also possible for an initial plasma torus to evolve and change its magnetic configuration during time.
- a plasma acceleration and compression device comprises a plasma accelerator for accelerating and compressing a plasma torus and a power source for providing an electrical acceleration pulse to the accelerator that produces a current that flows in the accelerator and generates a magnetic pushing flux behind the plasma torus that is sufficient to accelerate and compress the plasma torus throughout the accelerator.
- the accelerator has a tubular outer electrode and a tubular inner electrode extending inside the outer electrode, wherein the outer and inner electrodes define an annular plasma propagation channel for accelerating and compressing a plasma torus therethrough.
- the plasma propagation channel has an inlet end for receiving the plasma torus from a plasma generator and an outlet end for discharging the plasma torus that has been accelerated and compressed inside the annular channel.
- the plasma propagation channel has a lengthwise elongated section with an upstream end in fluid communication with the inlet and a downstream end in fluid communication with the outlet.
- a cross-sectional annular gap defined as a radial distance between the inner and outer electrodes decreases non-linearly in a downstream direction along the length of the elongated section.
- the apparatus is configured to have a sufficient inductance before the elongated section that the plasma torus is accelerated and compressed throughout the elongated section by an expansion of the magnetic pushing flux.
- the dimensions of the plasma propagation channel are selected such that for a selected inductance of the elongated section and selected inductance before the elongated section, the current flowing in the elongated section at the downstream end is smaller than at the upstream end of the elongated section and a plasma torus pressure is greater at the downstream end of the elongated section than at the upstream end of the elongated section.
- the elongated section can be configured to have a plasma torus radial compression ratio of between 1 and 2.
- the plasma propagation channel can further comprise a high compression funnel section between the inlet and the upstream end of the elongated section.
- the funnel section comprises an upstream end in fluid communication with the inlet and a downstream end in fluid communication with the upstream end of the elongated section.
- the funnel section can be configured to have a radial compression ratio of between 3 and 10.
- the elongated section can have a fixed ratio of inner electrode and outer electrode radiuses.
- the radius r(z) of one of the inner or outer electrodes along a lengthwise position z of the elongated section can be defined by the equation:
- r ⁇ ( z ) a - b 1 + c ⁇ ( z - z 0 )
- z 0 is a lengthwise position of the elongated section at the upstream end
- c is a ratio of inductance per unit length L′ of the elongated section to inductance L 0 before the elongated section
- r 1 and z 1 are the respective radius of the inner or outer electrode and the lengthwise position of the elongated section at the downstream end.
- the radiuses of the inner and outer electrodes are not in a fixed ratio relative to each other.
- the radius r(z) of each of the inner and outer electrodes along a lengthwise position z of the elongated section is separately defined by the equation:
- r ⁇ ( z ) a - b 1 + c ⁇ ( z - z 0 )
- z 0 is a lengthwise position of the elongated section at the upstream end
- c is the ratio of inductance per unit length L′ of the elongated section to inductance L 0 before the elongated section
- r 1 and z 1 are the respective radius of the inner or outer electrode and the lengthwise position of the elongated section at the downstream end.
- the power source can be configured to generate an electrical acceleration pulse that stops once the plasma torus enters the elongated section.
- the power source can also be configured to generate an electrical acceleration pulse with a timing, duration and current amplitude that results in a constant pushing flux when the plasma torus travels along the elongated section.
- a system comprising the plasma acceleration and compression device as defined above, and a plasma generator comprising a tubular outer electrode and a tubular inner electrode extending inside the outer electrode to define an annular plasma formation channel therebetween.
- the outer electrode of the accelerator is physically connected to the outer electrode of the plasma generator, and the annular plasma formation channel is aligned and in fluid communication with the annular plasma propagation channel.
- the system can further comprise a plasma torus relaxation region defined by an inner wall of the outer electrode and a space between the upstream end of the accelerator inner electrode and a downstream end of the plasma generator inner electrode.
- the relaxation region is in fluid communication with the plasma formation channel and the plasma propagation channel.
- the relaxation region can comprises an inward expansion zone formed at the upstream end of the accelerator inner electrode.
- the relaxation region can comprise an outward expansion zone formed at the upstream end of the accelerator at the outer electrode.
- FIG. 1A are graphs of a simulated embodiment of a known system for plasma acceleration and compression having a plasma propagation channel with a constant taper geometry.
- An upper graph shows the geometry (radius vs. axial length) of an annular axially extending plasma propagation channel of the accelerator, wherein the upper curve shows the geometry of an outer electrode and the lower curve shows the geometry of an inner electrode.
- a lower graph shows a balance current I bal (solid curve) and a current threshold I lift (dot-dashed curve) along the length of the plasma propagation channel in the accelerator.
- FIG. 1B is a graph of a pushing current (in Mega Amperes, MA) as a function of ⁇ (lowest energy state) of a plasma torus along the length of the annular channel of the accelerator of FIG. 1A , wherein the solid line is the balance current and the dashed line is the threshold current.
- FIG. 2 is a schematic longitudinally sectioned view of one non-limiting embodiment of a plasma acceleration and compression system comprising a power source, a plasma generator, an accelerator with an annular plasma propagation channel comprising an elongated section having a non-linear decreasing annular gap and a relaxation region with an inward expansion zone.
- FIG. 3A is a graph of exemplary voltages (in kV) applied by the power source to the plasma generator and accelerator of FIG. 2 , wherein the solid line shows a voltage of a plasma formation pulse applied to a formation region in the plasma generator and a dashed line shows a voltage of the acceleration pulse applied to the accelerator as a function of time (in ⁇ s).
- FIG. 3B is a graph showing a current (in MA) applied to the plasma generator (solid line) and accelerator (dashed line) shown in FIG. 3A .
- FIG. 4A is a schematic longitudinally sectioned view of one suitable geometry of the plasma propagation channel of the accelerator of FIG. 2 .
- FIG. 4B is a graph of a threshold current, balance current, and dynamic current as a function of the axial lengthwise position in the accelerator shown in FIG. 4A , wherein the solid curve represents the balance current I bal , the dot-dashed curve represents the current threshold I lift and the dashed curve represents the dynamic current.
- FIG. 5 is a graph of a threshold current, balance current, and dynamic current as a function of ⁇ (lowest energy state) of a plasma torus in the accelerator shown in FIG. 4A , wherein the solid curve represents the balance current, the dot-dashed curve represents the threshold current and the dashed curve represents the dynamic current.
- FIG. 7 is a longitudinally sectioned view of contours of a simulated polodial flux in an accelerator having a geometric profile according to another embodiment.
- FIG. 8 is a schematic longitudinally sectioned view of another non-limiting embodiment of a plasma acceleration and compression system having a power source, a plasma generator, and an accelerator with an annular plasma propagation channel comprising an elongated section having a non-linear decreasing annular gap and no relaxation region.
- FIG. 9B are graphs of exemplary voltages (in kV) and currents (in MA) applied by the power source to the plasma generator and accelerator of FIG. 8 , wherein the solid curve shows a voltage (upper graph) and a current (lower graph) of a plasma formation pulse applied to a formation region of the plasma generator and the dashed curves show a voltage (upper graph) and a current (lower graph) of the acceleration pulse applied to the accelerator as functions of time (in ⁇ s).
- One example of a known system for plasma acceleration and compression is a two-stage magnetized Marshall gun.
- the plasma torus can be formed by discharging a capacitor bank across a pair of coaxial electrodes, with a radial magnetic field providing the initial magnetization of the plasma.
- a capacitor bank is discharged in a taper coaxial accelerator with the plasma torus as an armature, wherein the accelerator has a pair of coaxially aligned tubular inner and outer electrodes that define an annular channel with a constant taper geometry, i.e. the channel has an annular gap (distance between the radiuses of the inner and outer electrodes) that decreases linearly along the length of the channel.
- the current J interacts with the magnetic field B generated by the current and the magnetic (Lorentz) force J ⁇ B accelerates and compresses the plasma torus down the acceleration annular channel.
- RACE Rivest Cipheral Accelerator Experiment, at Lawrence Livermore National Laboratory
- a converging, focusing section with a constant taper geometry in which plasma is compressed.
- the final kinetic energy of the plasma torus is rapidly dumped into a pulse of radiation as the plasma torus is brought to rest in a final impact region.
- MARAUDER Magnetically Accelerated Rings to Achieve Ultrahigh Directed Energy and Radiation, at Air Force Phillips Laboratory in Albuquerque, N. Mex.
- the MARAUDER device comprises a pre-compressing cone with a constant taper geometry followed by a long constant gap accelerator.
- an acceleration pulse applied to the accelerator from a power source must be configured to produce a pushing current in the accelerator that increases along the length of the channel and is highest when the plasma torus reaches the downstream end of the plasma accelerator, since to push and compress the plasma torus through a linearly decreasing annular gap of the channel, the pushing current must overcome an increasing magnetic pressure of the torus (a reverse force).
- a flux conserving chamber e.g. a target chamber
- this circulating current may influence the lifetime of the plasma torus in the target chamber. Some fraction of this circulating current may flow on open field lines that can run through the center of the plasma torus.
- the influx of magnetic energy from the accelerator into the target chamber may typically be accompanied by an influx of relatively cold plasma particles, which act to cool the relatively hot plasma torus.
- a simple model of compression in an accelerator is based on the approximation that the energy of the plasma torus behaves similarly to that of a Taylor state.
- ⁇ is a function of a lengthwise position z of the plasma torus in a plasma propagation channel of the rail gun.
- a force that balances the plasma torus at a given axial lengthwise position in the channel is proportional to d ⁇ /dz, where ⁇ (z) is an eigenvalue that describes the plasma torus when it is at axial lengthwise position z in the channel.
- An applied pushing force required to drive the plasma torus down the accelerator can be determined by integrating a magnetic pressure due to the pushing current over the back (upstream) side of the plasma torus and can be expressed by the equation:
- L ′ ⁇ 0 2 ⁇ ⁇ ⁇ ⁇ ln ⁇ r outer r inner ( 6 ) for a coaxial accelerator with an outer radius r outer and an inner radius r inner which for a taper geometry are functions of the position z of the plasma torus.
- “Taper geometry” refers to a coaxial accelerator having an annular plasma propagation channel with an annular gap that decreases in a downstream direction along the length of the channel.
- the inductance per unit length L′ is a constant.
- the pushing force must overcome a reverse force exerted on the plasma torus by the tapering walls of the accelerator plasma propagation channel.
- the value of the reverse force can be found from a principle of virtual work defined as:
- I bal ⁇ ( z ) 1 ⁇ 0 ⁇ 2 ⁇ ⁇ ⁇ ⁇ K ln ⁇ ( r outer r inner ) ⁇ d ⁇ d z ( 8 )
- the applied current from the acceleration pulse must be larger than the balance current (I>I bal ).
- the power source may be configured with parameters to produce an acceleration pulse that reduces the likelihood of or avoids a “blow-by” effect in the plasma propagation channel.
- a blow-by can occur when the magnetic pressure of the pushing current lifts the plasma torus from the inner electrode, allowing flux to expand ahead of the torus. This effect is called “static blow-by” and is different from a Rayleigh-Taylor blow-by that can occur when one tries to give the plasma torus too high an acceleration.
- static blow-by is different from a Rayleigh-Taylor blow-by that can occur when one tries to give the plasma torus too high an acceleration.
- B push is a function of a radius of the inner electrode which is a function of a lengthwise position z of the plasma torus in the channel and of the applied current.
- r _ ( r outer + r inner ) 2 .
- I lift 2 ⁇ ⁇ ⁇ ⁇ r inner ⁇ 0 2 ⁇ ( r _ 2 - r inner 2 ) ( 11 )
- the pushing current should be lower than the threshold current (I ⁇ I lift ).
- FIG. 1A An upper plot shown in FIG. 1A (PRIOR ART) illustrates an example of a known plasma acceleration and compression system having a plasma propagation channel with a constant taper geometry (i.e. a channel having an annular gap that linearly decreases in a downstream direction along the length of the channel); the upper curve in this plot shows the geometry of an outer electrode and the lower curve shows the geometry of an inner electrode.
- a lower plot shown in FIG. 1A illustrates an example of current flowing in the system of FIG.
- FIG. 1A shows a balance current I bal in the accelerator (solid curve) as a function of the axial lengthwise position of the torus in the plasma propagation channel, and a current threshold for static blow-by I lift of the accelerator as a function of the axial lengthwise position of the plasma torus in the plasma propagation channel (dot-dashed curve).
- solid curve shows a balance current I bal in the accelerator
- current threshold for static blow-by I lift of the accelerator as a function of the axial lengthwise position of the plasma torus in the plasma propagation channel
- Present embodiments of a plasma compression and acceleration system are designed so that the plasma torus can arrive at the outlet of the accelerator with a relatively small pushing current behind it and with a maximum compressed plasma torus.
- the pushing current at the outlet of the accelerator should be smaller than at the inlet of the accelerator but still provide acceleration and compression of the plasma torus throughout the accelerator.
- Embodiments of an improved plasma compression system will now be described with reference to FIGS. 2 to 9 .
- These embodiments include an accelerator having coaxially aligned tubular inner and outer electrodes that define an annular plasma propagation channel comprising a high compression section and a mild compression elongated section downstream of the high compression section and having a geometry that reduces the amount of pushing current required to complete the acceleration and compression of a plasma torus through the accelerator.
- the annular propagation channel in the elongated section has a cross-sectional annular gap (defined as the radial distance between the inner and outer electrodes) which decreases non-linearly in a downstream direction along the length of the channel.
- the system also includes a plasma generator and a power source electrically coupled to the plasma generator and accelerator and which provides an electrical plasma formation pulse to the plasma generator and an electrical acceleration pulse to the accelerator.
- the power source is configured to produce an acceleration pulse that will push the plasma torus to the end of the mild compression elongated section so that the pushing current at a downstream end of the elongated section is smaller than at the upstream end of the elongated section.
- the power source is configured so that when the plasma torus enters the elongated section no additional pushing flux is added to the system once the plasma torus passes a certain point in the elongated section.
- the power source is configured to produce an acceleration pulse that provides additional pushing flux to complete the acceleration and compression of the plasma torus, and this pushing flux may be, for example, less than 5%, less than 10%, less than 15%, or less than 25% of the pushing flux used to initially accelerate and compress the plasma torus in various implementations.
- the additional pushing flux if applied, can be used to overcome drag in some such implementations.
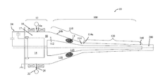
- a plasma acceleration and compression system 10 comprises an accelerator 100 with an inlet 112 and an outlet 140 downstream of the inlet 112 , and an annular plasma propagation channel 118 extending between the inlet 112 and the outlet 140 .
- the plasma propagation channel 118 comprises a high compression funnel section 110 having an upstream end in fluid communication with the inlet 112 and a mild compression elongated section 120 having an upstream end 114 a in fluid communication with a downstream end 114 of the funnel section 110 and a downstream end in fluid communication with the outlet 140 .
- the funnel section 110 has a conical, relatively steep tapering geometry that extends in a downstream direction from the inlet 112 and provides a relatively high compression rate to a magnetized plasma torus 13 passing therethrough.
- the funnel section 110 has a constant taper geometry, i.e. have an annular gap that decreases linearly downstream along the length of the funnel section; however, the funnel section can alternatively have a varying taper geometry.
- the elongated section 120 is shaped to have a relatively gentler tapering than the funnel section 110 . In the elongated section 120 the tapering is relatively gradual so that a relatively smaller compression of the plasma torus is achieved over a relatively longer section of the accelerator 100 when compared to the funnel section 110 .
- the elongated section 120 is shaped to provide a gradual transition from the steep tapering of the funnel section 110 .
- the upstream end 114 a of the elongated section 120 can have a gradual corner geometry to reduce the non-adiabatic heating of the plasma torus that can happen with a more sharp transition.
- the elongated section 120 has varying taper geometry, i.e. a cross-sectional annular gap of the channel in the elongated section 120 decreases non-linearly in a downstream direction along the length of the elongated section 120 .
- pre-inductance causes a pushing current from an acceleration pulse to be smaller at the outlet 140 than at the inlet 114 a of the elongated section 120 .
- the system 10 further includes a plasma generator 12 and a flux conservation system 200 (e.g. a target chamber).
- the generator 12 is configured to generate a magnetized toroidal plasma 13 and includes a tubular inner, formation electrode 14 , a tubular outer electrode 16 a coaxial to and surrounding the inner formation electrode 14 to define an annular plasma formation channel 17 therebetween.
- the generator 12 also comprises a series of magnetic coils 18 that extend around the outside of the outer electrode 16 a .
- a gas injector is in gaseous communication with the annular plasma formation channel 17 and is operable to inject a precise quantity of gas into the channel 17 through a series of fast puff valves 20 of the injector that extend around the chamber (only two of which are shown in FIG. 2 ).
- Each of the fast puff valves 20 are in fluid communication with a gas reservoir 22 and are operable to provide a substantially symmetrical introduction of gas into the plasma generator 12 .
- the system 10 further comprises a power source 24 which includes at least one capacitor bank and preferably two or more capacitor banks, and is operable to provide a current to the plasma generator 12 and the accelerator 100 .
- the coils 18 are configured to provide a radial stuffing magnetic field for forming the plasma's poloidal field.
- the system 10 may further be at least partially evacuated by using a pumping system (not shown).
- the shape of the annular plasma propagation channel 118 and its funnel and elongated sections 110 , 120 are defined by a generally tubular inner electrode 115 and the generally tubular outer electrode 16 b coaxial to and surrounding the inner electrode 115 .
- the downstream end of the generator 12 is fluidly coupled to the accelerator inlet 112 , i.e. with the upstream end of the funnel section 110 .
- the interface of the generator and accelerator outer electrodes 16 a , 16 b and the downstream end of the plasma generator inner electrode 14 and the upstream end of the accelerator inner electrode 115 together define an open volume that serves as a relaxation region 50 for the plasma torus. In the illustrated example in FIG.
- the diameter of the generator's inner electrode is larger than the diameter of the accelerator's inner electrode at the inlet 112 thereby creating an inward expansion zone of the relaxation region 50 .
- the torus slightly expands and the magnetic field lines reconnect, so that the plasma torus can stabilize before the capacitor bank of the power source 24 provides a pulse to the accelerator 100 to accelerate and compress the plasma torus 13 from the accelerator inlet 112 , down the accelerator 100 and towards the accelerator outlet 140 .
- the relaxation region can be configured with an outward expansion zone as will be discussed in more detail below.
- the accelerator 100 is configured to provide simultaneous acceleration and compression of the plasma torus 13 so that the plasma torus arrives at the outlet 140 with maximum energy (maximum compression) and minimum pushing current behind it.
- a pushing current flows from the power source 24 to the accelerator's inner electrode 115 (“acceleration electrode”), across the annular gap between the electrodes 115 and 16 b through the plasma torus 13 , and returns to the power source 24 via the outer electrode 16 b , 16 a .
- This pushing current generates an azimuthal magnetic field in the region between the electrodes 115 , 16 b .
- the magnetic field acts on the current to produce an electromagnetic J ⁇ B (Lorentz) pushing force, accelerating the plasma torus 13 down the conical funnel section 110 .
- the pushing current is selected to produce a pushing force that is greater than a reverse force (back-pressure) that is defined by the geometry of the plasma propagation channel 118 , such that the plasma torus 13 will accelerate down the accelerator 100 and reach the outlet 140 . Since the steepest taper of the plasma propagation channel is at the funnel section 110 , the highest back-pressure exists in this part of the accelerator 100 ; the power source 24 is thus configured to produce an acceleration pulse that has a pushing current that generates a pushing force in the funnel section 110 that is high enough to overcome the back-pressure there as well as through the elongated section 120 .
- back-pressure reverse force
- the power source 24 is configured to produce a maximum pushing current I critical when the plasma torus 13 enters the elongated section 120 .
- a generated pushing flux ⁇ is defined by the I critical and an inductance L 0 of the system 10 before the elongated section 120 (at the upstream end 114 a ).
- the peak pushing current is at the downstream end 114 of the conical funnel section 110 and the upstream end 114 a of the elongated section 120 .
- the plasma torus 13 Once the plasma torus 13 enters the elongated section 120 and starts travelling along it, little or no additional pushing flux needs to be injected into the accelerator.
- the power source 24 Once the power source 24 is discharged, it can be decoupled (short circuited by internal arc or insulators becoming conductive) from the system 10 and the current can flow in the system 10 in a loop.
- the annular channel geometry of the elongated section 120 can be defined mathematically based on the following principles.
- the plasma torus 13 is compressed by the expansion of the pushing flux.
- the pushing current flowing in the accelerator 100 decreases as the plasma torus approaches the outlet end 140 of the accelerator 100 as a result of the increasing inductance in the elongated section 120 .
- the pushing current behind the plasma torus 13 should still be large enough to overcome the increasing back-pressure (reverse force) due to the plasma torus compressing in the decreasing annular cross-section of the plasma propagation channel 118 .
- the function ⁇ (z) can be defined as a linear function of 1/L(z):
- K 0 is a critical value of the helicity and can distinguish between a plasma torus at rest that will be accelerated forward if K ⁇ K 0 and a plasma torus that will be accelerated backwards if K>K 0 .
- L 0 is the inductance (pre-inductance) of the pushing current loop before the elongated section 120 (when the plasma torus is at the first end 114 a of the elongated section 120 ).
- L 0 can include the inductance of the preceding conical funnel section 110 and any additional inductance that should be included as part of the pushing current loop before the elongated section 120 .
- the shape of the elongated section 120 can be determined by the radius of either the inner or outer electrode 115 , 16 b , at the upstream end 114 a (r 0 , z 0 ) of the elongated section 120 , a radius of the inner and outer electrodes 115 , 16 b at the outlet 140 (r 1 , z 1 ), the inductance per unit length L′ of the elongated section 120 and by the inductance L 0 before the elongated section 120 , and is defined by the following mathematical equation:
- the system 10 can be selected to have an elongated section geometry that has a constant ratio of the outer electrode radius to the inner electrode radius with the following parameters: a radius of the outer electrode 16 at the inlet 112 to be about 1 m, at the junction 114 / 114 a (i.e.
- the calculated inductance per unit length L′ in the section 120 (for given parameters) is about L′ ⁇ 128 nH/m while the calculated pre-inductance L 0 is around 200 nH.
- a parasitic pre-inductance is about 50 nH while its pre-inductance (inductance before the elongated section) is 151 nH which means that the total pre-inductance in the simulated system 10 is about 201 nH and is slightly larger than the calculated pre-inductance.
- the system with the mentioned parameters can for example, accelerate and compress a plasma torus with the following parameters: mass of the plasma torus of about 10 ⁇ 6 kg (e.g., a deuteron plasma with 3 ⁇ 10 20 ions per cubic meter); poloidal flux of the plasma torus about 0.18 Wb; a toroidal flux about 0.0324 Wb and helicity 0.0117 Wb 2 .
- mass of the plasma torus of about 10 ⁇ 6 kg (e.g., a deuteron plasma with 3 ⁇ 10 20 ions per cubic meter); poloidal flux of the plasma torus about 0.18 Wb; a toroidal flux about 0.0324 Wb and helicity 0.0117 Wb 2 .
- the dimensions and parameters of the accelerator and the plasma torus mentioned above are only for illustrative purposes and system with different dimensions/parameters can be designed to efficiently accelerate and compress various configurations of plasma torus so that the pushing current at the end of the accelerator is minimal while the plasma energy is maximal (maximum compression of the plasma to
- the inductance in the elongated section 120 varies along its length in which case the geometry of both the outer electrode 16 and the accelerating electrode 115 (along the elongated section 120 ) is determined separately using equations 14-17 by solving for the radius of the inner electrode and outer electrodes r(z) inner and r(z) outer along each lengthwise position along the elongated section 120 .
- the power source 24 is configured to generate a plasma formation pulse to the plasma generator that generates a plasma torus therein, and an electrical acceleration pulse to the accelerator 100 that generates a pushing current and a pushing flux therein that pushes the plasma torus through the accelerator 100 from the inlet 112 to the outlet 140 .
- FIGS. 3A and 3B show the voltage and current profiles of suitable formation pulses (solid lines) and acceleration pulses (dashed lines).
- FIG. 3A illustrates an example of a voltage applied by the power source 24 to the plasma generator 12 (solid curve) and the accelerator 100 (dashed curve) as a function of time.
- the acceleration pulse has a voltage of about 16 kV, a duration of about 20 ⁇ s, and is timed to apply the pulse when the plasma torus is in the relaxation region 50 at the inlet 112 (around 50 ⁇ s) and end when the plasma torus 13 enters the elongated section (around 70 ⁇ s).
- FIG. 3B illustrates an example of a current applied by the power source 24 to the plasma generator 12 (solid curve) and to the accelerator 100 (dashed curve) as a function of time.
- the acceleration pulse (at a timing of 50 ⁇ s ⁇ t ⁇ 70 ⁇ s), as the current ramps up towards its maximum level I critical , the plasma torus 13 starts to move down the conical funnel section 110 wherein the plasma torus 13 is compressed. So, the plasma torus 13 gets compressed to some degree, increasing the plasma's magnetic field pressure and therefore preventing the pushing magnetic field from lifting the plasma torus 13 off the inner electrode 115 (preventing blow-by from occurring).
- the acceleration pulse is configured to provide a pushing current that is high enough to counteract the reverse force while continuing to push on the plasma torus 13 all the way to the beginning of the elongated section 120 .
- the current peak is at the junction 114 / 114 a of the funnel and elongated sections 110 , 120 , and not at the end of the accelerator (outlet end 140 ) like in prior plasma accelerators having a constant taper geometry (see FIG. 1A ).
- the elongated section 120 can be so shaped to provide milder compression of the plasma torus 13 over a longer elongated section 120 .
- the inductance (L) in the elongated section increases, so the pushing current (I) will decrease.
- the peak current as illustrated in FIG.
- the pushing current flowing behind the plasma torus at the end of the elongated section 120 (at the outlet 140 ) has been decreased to about 0.5 MA, due to the increased inductance in the elongated section 120 . Therefore, in this embodiment, the pushing current is at its highest when the plasma torus 13 is at the downstream 114 of the conical funnel compression section 110 of the accelerator 100 .
- FIG. 4A illustrates an example of a simulated operation of the plasma acceleration and compression system 10 of FIG. 2 showing the compression funnel section 110 and the elongated section 120 of the accelerator 100 .
- a dashed vertical line 500 at lengthwise channel position z ⁇ 2.5 m indicates the junction 114 / 114 a of the funnel section 110 and the elongated section 120 .
- the length of the funnel section 110 was set at 1.5 m and the length of the elongated section was set at 2.5 m.
- FIG. 4B shows the threshold current, balance current and a dynamic current of the simulated system 10 of FIG. 4A wherein the balance current I bal is shown as a solid curve, the current threshold I lift for static blow-by to occur is shown as a dot-dashed curve, and a dynamic current behind the plasma torus is shown as a dashed curve. All currents are shown as functions of the position of the plasma torus along the length of the plasma propagation channel.
- the dynamic current curve represents the target pushing current to be produced by the power source to push the plasma torus throughout the accelerator.
- FIG. 4B shows only the dynamic curve present in the elongated section while the dynamic current present before the elongated section (in the funnel section) is omitted for clarity.
- the dynamic current is designed to be smaller than the threshold current to avoid blow-by, and larger than the balance current to account for various losses, such as flux loss, friction etc.
- FIG. 5 illustrates an example of the threshold, balance and dynamic currents in a system having the parameters shown in FIG. 4A as function of ⁇ .
- ⁇ at the junction 114 / 144 a of the funnel and elongated sections is about 24 m ⁇ 1 and the balance current at that point is maximum of about 1.2 MA, while at the end of the elongated section ⁇ is significantly increased to a maximum value of about 33 m ⁇ 1 while the balance current value is about 0.4 MA which is significantly lower than at the end of the funnel section 110 .
- This FIG illustrates that a maximum compressed plasma torus is pushed to the outlet 140 of the accelerator 100 with a minimum pushing current behind it.
- FIG. 6A shows the plasma torus 13 being compressed in the funnel section 110 as its front reaches the downstream end of funnel section 114 .
- FIG. 6B illustrates the plasma torus 13 as it enters the elongated section 120 .
- the simulations have shown that the plasma torus 13 can reach the end of the system 10 (outlet end 140 ) at t ⁇ 90 ⁇ s and speed of about 118 km/s.
- FIG. 7 shows a simulated operation of this system 10 having a funnel section with 2.5 m length and an elongated section with 4.5 m length.
- An outward expansion followed by inward compression can utilize a very steep taper in the compression funnel section 110 so this configuration might be more susceptible to blow-by occurrence.
- a plasma compression and acceleration system 1000 is provided with no relaxation region.
- the system 1000 comprises a two sectional accelerator 1100 and a power source 1024 .
- the system further comprises a plasma generator 1012 and a flux conservation region 1200 (e.g. a target chamber).
- the generator 1012 comprises a tubular inner (formation) electrode 1014 inserted within a tubular outer electrode 1016 to form an annular plasma formation channel therein between where a precise amount of gas can be injected.
- the power source 1024 provides a plasma formation pulse to the plasma generator that includes a current discharged between the electrodes that ionizes the gas and can form a magnetized plasma torus 1013 .
- the accelerator 1100 includes an outer (accelerating) electrode 1015 into which the inner electrode 1014 is inserted creating an annular plasma propagation channel 1118 therein between, through which the plasma torus 1013 propagates toward the target chamber 1200 .
- the accelerator 1100 comprises a compression funnel section 1110 and an elongated section 1120 downstream of and in fluid communication with the funnel section 1110 .
- the compression funnel section 1110 is a conical tapered section and has an upstream end in fluid communication with the accelerator's inlet 1112 , and a downstream end 1114 in fluid communication with an upstream end 1114 a of the elongated section 1120 .
- the tapering can be relatively steep and can provide a radial compression of the plasma torus by a factor of about 3-10.
- the elongated section 1120 is longer than the funnel section 1110 with much relatively gentler tapering than the conical funnel section 1110 , thus providing a smaller compression rate over longer lengthwise section.
- a radial compression of the plasma torus along the length of the section 1120 can be by factor of about 1-2.
- the elongated section 1120 has an upstream end 1114 a that is connected to and in fluid communication with the downstream end 1114 of the funnel section 1110 and a downstream end in fluid communication with the outlet 1140 of the accelerator 1100 .
- the elongated section has a varying taper geometry, i.e. the annular gap of the annular propagation channel 1118 in the elongated section 1120 decreases non-linearly in a downstream direction along the length of the elongated section 1120 .
- the elongated section 1120 can be configured to provide a relatively gradual transition from the steeper tapering of the funnel section 1110 to the gentler tapering provided along the length of the section 1120 .
- the section 1120 can be configured so that its upstream end comprises a large radius curvature providing a smooth change from the steep funnel section 1110 .
- the system 1000 comprises an outer drive, i.e. the power source is electrically coupled to the accelerator 1100 such that current flows from the power source 1024 across the outer electrode 1015 , across the annular gap via the plasma torus, across the inner electrode 1014 then back to the power source. Once the power source 1024 is discharged, it can be decoupled (short circuited) from the system 1000 and the current can flow in the system 1000 in a loop.
- the power source 1024 Once the power source 1024 is discharged, it can be decoupled (short circuited) from the system 1000 and the current can flow in the system 1000 in a loop.
- the system 1000 does not comprise a relaxation region or any other kind of expansion region.
- the power source is configured to generate the acceleration pulse as the plasma is still bubbling out from the generator 1012 so that a field-line tension of the pushing flux drives reconnection of the magnetic lines, snipping off a distended field lines, to form the plasma torus and at the same time pushing the plasma torus down the accelerator 1100 .
- system 1000 comprises an inner drive like the type shown in the system of FIG. 2 .
- the pushing flux accelerates and compresses the plasma torus down the compression funnel section 1110 of the accelerator 1100 toward its downstream end 1114 .
- the plasma torus enters the elongated section 1120 where it is further accelerated and compressed towards the target chamber 1200 without additional flux being injected into the accelerator 1100 .
- the voltage and current profiles of a plasma formation pulse and an acceleration pulse produced by the power source is shown in FIG. 9B .
- the voltage profile is shown in the upper plot and the current profile is shown in the lower plot and the plasma formation pulse is shown in solid line and the acceleration pulse is shown in dashed line, both as functions of time.
- the acceleration pulse is triggered while the voltage/current from the plasma formation pulse is not discharged yet.
- the applied voltage of the acceleration pulse in the accelerator 1100 is around 11 kV.
- the acceleration pulse is triggered so that the accelerating (pushing) current can drive reconnection of the magnetic lines to form the plasma torus and immediately accelerate the plasma torus down the accelerator.
- the pushing current builds up, the plasma torus is compressed down the funnel section 1110 towards the junction 1114 / 1114 a of the funnel and elongated sections 1110 , 1120 so when the plasma torus enters the elongated section 1120 and starts travelling along it, no additional flux needs to be injected.
- the pushing current flowing in the accelerator when the plasma torus reaches the target chamber 1200 has decreased to about 0.25 MA due to the increased inductance in the elongated section 1120 .
- the accelerator of the systems 10 , 1000 can be provided only with a single elongated section having a varying tapering geometry such as that defined in equation 14, wherein the accelerator is provided with a sufficient inductance and pre-inductance to allow an acceleration pulse to generate a pushing flux that pushes the plasma torus to the outlet with a pushing current that is lower at the outlet than at the inlet of the elongated section.
- the accelerator can comprise three, four, five, or more elongated sections, wherein at least one of these sections has a varying tapering geometry.
- the tapering can be “trumpet-shaped” in some embodiments.
- Relevant design parameters e.g., tapers, inner/outer radii, lengths of sections, pushing currents, etc.
- the plasma torus obtained in any of the disclosed embodiments can be a high energy plasma and can be suitable for applications such as, e.g., production of medical isotopes, neutron source, x-ray radiation source, nuclear fusion devices, etc.
- Embodiments of the above-described systems and methods can be used to compress a plasma that comprises a fusionable material.
- the fusionable material may comprise one or more isotopes of light elements such as, e.g., deuterium, tritium, helium-3, lithium-6, lithium-7, etc.
- certain embodiments of the system may be configured and operated to act as neutron generators or neutron sources. Neutrons so produced have a wide range of practical uses in research and industrial fields.
- a neutron source can be used for neutron activation analysis (NAA) which can provide multi-element analysis of major, minor, trace, and rare elements in a variety of substances (e.g., explosives, drugs, fissile materials, poisons, etc.) and can be used in a variety of applications (e.g., explosive detection and identification, ecological monitoring of the environment or nuclear waste, etc.).
- NAA neutron activation analysis
- Embodiments of the system configured as a neutron source can also be used for materials research (e.g., analyzing the structure, dynamics, composition, and chemical uniformity of materials), for non-destructive testing of industrial objects (e.g., via neutron radiography and/or neutron tomography), and for many other industrial and technological applications.
- Embodiments of the above-described systems and methods for plasma compression are also suited for applications in the study of high energy density plasma including, for example, applications in astrophysics and nuclear physics.
Landscapes
- Physics & Mathematics (AREA)
- Engineering & Computer Science (AREA)
- Plasma & Fusion (AREA)
- General Engineering & Computer Science (AREA)
- High Energy & Nuclear Physics (AREA)
- Spectroscopy & Molecular Physics (AREA)
- Optics & Photonics (AREA)
- Chemical & Material Sciences (AREA)
- Chemical Kinetics & Catalysis (AREA)
- Plasma Technology (AREA)
Priority Applications (1)
| Application Number | Priority Date | Filing Date | Title |
|---|---|---|---|
| US14/422,675 US9596745B2 (en) | 2012-08-29 | 2013-08-29 | Apparatus for accelerating and compressing plasma |
Applications Claiming Priority (3)
| Application Number | Priority Date | Filing Date | Title |
|---|---|---|---|
| US201261694550P | 2012-08-29 | 2012-08-29 | |
| US14/422,675 US9596745B2 (en) | 2012-08-29 | 2013-08-29 | Apparatus for accelerating and compressing plasma |
| PCT/CA2013/050670 WO2014032186A1 (en) | 2012-08-29 | 2013-08-29 | Apparatus for accelerating and compressing plasma |
Publications (2)
| Publication Number | Publication Date |
|---|---|
| US20150216028A1 US20150216028A1 (en) | 2015-07-30 |
| US9596745B2 true US9596745B2 (en) | 2017-03-14 |
Family
ID=50182324
Family Applications (1)
| Application Number | Title | Priority Date | Filing Date |
|---|---|---|---|
| US14/422,675 Active 2034-01-03 US9596745B2 (en) | 2012-08-29 | 2013-08-29 | Apparatus for accelerating and compressing plasma |
Country Status (9)
| Country | Link |
|---|---|
| US (1) | US9596745B2 (enExample) |
| EP (1) | EP2891389B1 (enExample) |
| JP (1) | JP6161700B2 (enExample) |
| KR (1) | KR101811504B1 (enExample) |
| CN (1) | CN104604338B (enExample) |
| BR (1) | BR112015003249B1 (enExample) |
| CA (1) | CA2883710C (enExample) |
| RU (1) | RU2634849C2 (enExample) |
| WO (1) | WO2014032186A1 (enExample) |
Cited By (13)
| Publication number | Priority date | Publication date | Assignee | Title |
|---|---|---|---|---|
| US20170337991A1 (en) * | 2014-10-13 | 2017-11-23 | Tri Alpha Energy, Inc. | Systems and methods for merging and compressing compact tori |
| US9875816B2 (en) | 2009-02-04 | 2018-01-23 | General Fusion Inc. | Systems and methods for compressing plasma |
| US20190139650A1 (en) * | 2017-11-06 | 2019-05-09 | General Fusion Inc. | System and method for plasma generation and compression |
| US20190239332A1 (en) * | 2016-10-10 | 2019-08-01 | University Of Strathclyde | Plasma accelerator |
| WO2020237380A1 (en) * | 2019-05-28 | 2020-12-03 | General Fusion Inc. | System and method for generating and accelerating magnetized plasma |
| US11219117B2 (en) * | 2017-06-07 | 2022-01-04 | Lawrence Livermore National Security, Llc | Plasma confinement system with outer electrode having liquifiable material and methods for use |
| US11373763B2 (en) | 2013-09-24 | 2022-06-28 | Tae Technologies, Inc. | Systems and methods for forming and maintaining a high performance FRC |
| US11404174B2 (en) * | 2018-02-28 | 2022-08-02 | General Fusion Inc. | System and method for generating plasma and sustaining plasma magnetic field |
| US11581100B2 (en) | 2017-02-23 | 2023-02-14 | University Of Washington | Z-pinch plasma confinement system having intermediate electrode and methods for use |
| US11615896B2 (en) | 2015-11-13 | 2023-03-28 | Tae Technologies, Inc. | Systems and methods for radial and axial stability control of an FRC plasma |
| RU2796514C1 (ru) * | 2022-02-09 | 2023-05-25 | Акционерное общество "Научно- исследовательский институт оптико-электронного приборостроения" (АО "НИИ ОЭП") | Устройство моделирования ударно-сжатого слоя |
| US20240062919A1 (en) * | 2021-01-22 | 2024-02-22 | General Fusion Inc. | Rotating core plasma compression system |
| US12432840B2 (en) | 2020-01-13 | 2025-09-30 | Tae Technologies, Inc. | System and methods for forming and maintaining high energy and temperature FRC plasma via spheromak merging and neutral beam injection |
Families Citing this family (13)
| Publication number | Priority date | Publication date | Assignee | Title |
|---|---|---|---|---|
| LT2780913T (lt) | 2011-11-14 | 2017-06-26 | The Regents Of The University Of California | Sistema formuoti ir išlaikyti didelio efektyvumo konfigūraciją su apgręžtu lauku |
| CN104604338B (zh) | 2012-08-29 | 2017-06-13 | 全面熔合有限公司 | 用于加速和压缩等离子体的设备和系统 |
| WO2016026040A1 (en) | 2014-08-19 | 2016-02-25 | General Fusion Inc. | System and method for controlling plasma magnetic field |
| EA038824B1 (ru) | 2014-10-30 | 2021-10-25 | Таэ Текнолоджиз, Инк. | Способ и система для генерирования и поддержания магнитного поля с помощью конфигурации с обращенным полем (frc) |
| MX389454B (es) | 2015-05-12 | 2025-03-20 | Tri Alpha Energy Inc | Sistemas y métodos para reducir las corrientes parásitas no deseadas. |
| CN105514792B (zh) * | 2015-11-25 | 2018-11-09 | 南京航空航天大学 | 一种高能射流激发器 |
| RU2684166C1 (ru) * | 2018-06-09 | 2019-04-04 | Государственный научный центр Российской Федерации - федеральное государственное унитарное предприятие "Исследовательский Центр имени М.В. Келдыша" | Диэлектрический разделитель тракта подачи рабочего тела источников ионов и электронов |
| RU188484U1 (ru) * | 2018-07-30 | 2019-04-16 | Акционерное общество "Концерн воздушно-космической обороны "Алмаз - Антей" | Плазменный ускоритель с магнитным затвором |
| RU189967U1 (ru) * | 2018-07-30 | 2019-06-13 | Акционерное общество "Концерн воздушно-космической обороны "Алмаз - Антей" | Устройство для ускорения и сжатия плазмы |
| JP2020091968A (ja) * | 2018-12-04 | 2020-06-11 | 東芝エネルギーシステムズ株式会社 | イオンビーム発生装置およびイオンビーム発生装置の制御方法 |
| CN114747300B (zh) * | 2019-12-02 | 2022-12-02 | 通用融合公司 | 等离子体压缩驱动器 |
| CN113035379B (zh) * | 2021-03-08 | 2024-02-23 | 中国科学院合肥物质科学研究院 | 一种基于紧凑环等离子体的单级高速加料系统 |
| CN115798740A (zh) * | 2022-02-13 | 2023-03-14 | 吴谞冠 | 一种磁约束的核聚变反应容器 |
Citations (60)
| Publication number | Priority date | Publication date | Assignee | Title |
|---|---|---|---|---|
| US2992345A (en) | 1958-03-21 | 1961-07-11 | Litton Systems Inc | Plasma accelerators |
| US3194739A (en) | 1962-08-20 | 1965-07-13 | Gen Dynamics Corp | Fusion research apparatus |
| US3346458A (en) | 1963-11-28 | 1967-10-10 | Schmidt Paul | Process and apparatus for placing materials in a state of plasma |
| US3579028A (en) * | 1968-10-23 | 1971-05-18 | Nasa | Converging-barrel plasma accelerator |
| US4023065A (en) | 1973-10-24 | 1977-05-10 | Koloc Paul M | Method and apparatus for generating and utilizing a compound plasma configuration |
| US4068147A (en) | 1975-11-06 | 1978-01-10 | Wells Daniel R | Method and apparatus for heating and compressing plasma |
| US4129772A (en) | 1976-10-12 | 1978-12-12 | Wisconsin Alumni Research Foundation | Electrode structures for high energy high temperature plasmas |
| WO1980000045A1 (en) | 1978-06-06 | 1980-01-10 | P Koloc | Method and apparatus for generating and utilizing a compound plasma configuration |
| US4228380A (en) | 1979-03-16 | 1980-10-14 | Trisops Inc. | Method and apparatus for heating and compressing plasma |
| US4290848A (en) | 1978-08-25 | 1981-09-22 | Cornell Research Foundation, Inc. | Ion-ring ignitor for inertial fusion |
| US4292568A (en) | 1979-03-16 | 1981-09-29 | Triosops, Inc. | Method and apparatus for heating and compressing plasma |
| US4735762A (en) | 1983-09-29 | 1988-04-05 | The United States Of America As Represented By The United States Department Of Energy | Laser or charged-particle-beam fusion reactor with direct electric generation by magnetic flux compression |
| US4790735A (en) | 1983-10-03 | 1988-12-13 | Kms Fusion, Inc. | Materials processing using chemically driven spherically symmetric implosions |
| US5015432A (en) | 1973-10-24 | 1991-05-14 | Koloc Paul M | Method and apparatus for generating and utilizing a compound plasma configuration |
| US5041760A (en) | 1973-10-24 | 1991-08-20 | Koloc Paul M | Method and apparatus for generating and utilizing a compound plasma configuration |
| WO1993023587A1 (de) | 1992-05-19 | 1993-11-25 | Igenwert Gmbh | Verfahren und vorrichtung zur impulsbeaufschlagung einer festkör peroberfläche |
| US5397961A (en) | 1993-12-20 | 1995-03-14 | Ayers; Richard A. | Apparatus for generating a pulsed plasma in a liquid medium |
| US5429030A (en) | 1993-11-09 | 1995-07-04 | Gt-Devices | Hybrid electrothermal light gas gun and method |
| US5811944A (en) | 1996-06-25 | 1998-09-22 | The United States Of America As Represented By The Department Of Energy | Enhanced dielectric-wall linear accelerator |
| US5821705A (en) | 1996-06-25 | 1998-10-13 | The United States Of America As Represented By The United States Department Of Energy | Dielectric-wall linear accelerator with a high voltage fast rise time switch that includes a pair of electrodes between which are laminated alternating layers of isolated conductors and insulators |
| US6396213B1 (en) | 1995-09-25 | 2002-05-28 | Paul M. Koloc | Apparatus for generating a compound plasma configuration with multiple helical conductor elements |
| US6593539B1 (en) | 2000-02-25 | 2003-07-15 | George Miley | Apparatus and methods for controlling charged particles |
| US6611106B2 (en) | 2001-03-19 | 2003-08-26 | The Regents Of The University Of California | Controlled fusion in a field reversed configuration and direct energy conversion |
| US6628740B2 (en) | 1997-10-17 | 2003-09-30 | The Regents Of The University Of California | Controlled fusion in a field reversed configuration and direct energy conversion |
| US6664740B2 (en) | 2001-02-01 | 2003-12-16 | The Regents Of The University Of California | Formation of a field reversed configuration for magnetic and electrostatic confinement of plasma |
| US6680480B2 (en) | 2000-11-22 | 2004-01-20 | Neil C. Schoen | Laser accelerator produced colliding ion beams fusion device |
| US6894446B2 (en) | 1997-10-17 | 2005-05-17 | The Regents Of The University Of California | Controlled fusion in a field reversed configuration and direct energy conversion |
| US20060198483A1 (en) | 2005-03-04 | 2006-09-07 | General Fusion Inc. | Magnetized plasma fusion reactor |
| US20060198486A1 (en) | 2005-03-04 | 2006-09-07 | Laberge Michel G | Pressure wave generator and controller for generating a pressure wave in a fusion reactor |
| US20060198487A1 (en) | 2005-03-04 | 2006-09-07 | General Fusion Inc. | Fusionable material target |
| US20060254520A1 (en) | 2005-03-07 | 2006-11-16 | The Regents Of The University Of California | RF current drive for plasma electric generation system |
| US20060267504A1 (en) | 2005-03-07 | 2006-11-30 | Vandrie Alan | Vacuum chamber for plasma electric generation system |
| US7173385B2 (en) | 2004-01-15 | 2007-02-06 | The Regents Of The University Of California | Compact accelerator |
| US20070058770A1 (en) | 2004-11-30 | 2007-03-15 | Fissenko Stanislav I | Method of forming stable states of sense high-temperature plasma |
| US20080205573A1 (en) | 2007-02-24 | 2008-08-28 | Larson Delbert J | Cellular, Electron Cooled Storage Ring System and Method for Fusion Power Generation |
| US7486758B1 (en) | 2006-10-30 | 2009-02-03 | The United States Of America As Represented By The Secretary Of The Air Force | Combined plasma source and liner implosion system |
| US20090152094A1 (en) | 2004-11-30 | 2009-06-18 | Zakrytoe Aktsionernoe Obschestvo Rustermosintez | Method of forming stable states of dense high-temperature plasma |
| US20090213975A1 (en) | 2005-06-04 | 2009-08-27 | Alan Charles Sturt | Method and Apparatus for Heat Production |
| US7679025B1 (en) * | 2005-02-04 | 2010-03-16 | Mahadevan Krishnan | Dense plasma focus apparatus |
| US20100067639A1 (en) | 2006-12-04 | 2010-03-18 | Alan Charles Sturt | Method and apparatus for reducing the radioactivity of a particle |
| CA2750441A1 (en) | 2009-02-04 | 2010-08-12 | General Fusion, Inc. | Systems and methods for compressing plasma |
| US20100215136A1 (en) | 2009-02-20 | 2010-08-26 | Brian Rusnak | Dense plasma focus (dpf) accelerated non radio isotopic radiological source |
| US7831008B2 (en) | 2005-10-21 | 2010-11-09 | General Atomics | Microwave-powered pellet accelerator |
| US20110019789A1 (en) | 2009-07-24 | 2011-01-27 | The Regents Of The University Of California | Radionuclide production using a z-pinch neutron source |
| WO2011014577A1 (en) | 2009-07-29 | 2011-02-03 | General Fusion, Inc. | Systems and methods for plasma compression with recycling of projectiles |
| US20110158369A1 (en) | 2007-02-24 | 2011-06-30 | Delbert John Larson | Cellular, electron cooled storage ring system and method for fusion power generation |
| WO2011084903A1 (en) | 2010-01-08 | 2011-07-14 | Tri Alpha Energy, Inc. | Conversion of high-energy photons into electricity |
| US8031824B2 (en) | 2005-03-07 | 2011-10-04 | Regents Of The University Of California | Inductive plasma source for plasma electric generation system |
| US20110293056A1 (en) | 2009-02-12 | 2011-12-01 | Msnw, Llc | Method and apparatus for the generation, heating and/or compression of plasmoids and/or recovery of energy therefrom |
| WO2011154172A1 (de) | 2010-06-10 | 2011-12-15 | Siemens Aktiengesellschaft | Beschleuniger für zwei teilchenstrahlen zum erzeugen einer kollision |
| US20120014491A1 (en) | 2009-07-13 | 2012-01-19 | Mike Deeth | Nuclear fusion power plant having a liquid reactor core of molten glass that is made laseractive and functions as a tritium breeding blanket which is capable of acousticly compressing/confining fuel so that it radiates and triggers outgoing laser cascades that will reflect from the blast chamber's spherical inside wall and return like photonic Tsunamis, crushing, heating, and causing thermonuclear ignition of the fuel so that heat engines and piezoelectric harvesters can convert the released energy into electricity |
| US20120031070A1 (en) | 2010-08-09 | 2012-02-09 | Msnw Llc | Apparatus, systems and methods for establishing plasma and using plasma in a rotating magnetic field |
| US20120085920A1 (en) | 2010-10-06 | 2012-04-12 | Lawrence Livermore National Security, Llc | Particle beam injector system and method |
| US20120155591A1 (en) | 2010-03-18 | 2012-06-21 | Brent Freeze | Method and apparatus for compressing plasma to a high energy state |
| WO2012113057A1 (en) | 2011-02-25 | 2012-08-30 | General Fusion, Inc. | Pressure wave generator with movable control rod for generating a pressure wave in a medium |
| WO2014032186A1 (en) | 2012-08-29 | 2014-03-06 | General Fusion, Inc. | Apparatus for accelerating and compressing plasma |
| US20150021339A1 (en) * | 2011-11-11 | 2015-01-22 | Sio2 Medical Products, Inc. | PASSIVATION, pH PROTECTIVE OR LUBRICITY COATING FOR PHARMACEUTICAL PACKAGE, COATING PROCESS AND APPARATUS |
| US8994271B2 (en) * | 2009-08-03 | 2015-03-31 | Leibniz—Institut fuer Plasmaforschung und Technologie E. V. | Device for generating a non-thermal atmospheric pressure plasma |
| US20160129142A1 (en) * | 2013-07-15 | 2016-05-12 | Relyon Plasma Gmbh | System and method for reducing germs by means of plasma |
| US9463478B2 (en) | 2012-04-04 | 2016-10-11 | General Fusion Inc. | Jet control devices and methods |
Family Cites Families (3)
| Publication number | Priority date | Publication date | Assignee | Title |
|---|---|---|---|---|
| SE459378B (sv) * | 1988-05-05 | 1989-06-26 | Alfred Sillesen | Saett i en pulsad accelerator foer accelerering av magnetiserat roterande plasma |
| US20060108931A1 (en) * | 2004-11-24 | 2006-05-25 | Samsung Electronics Co., Ltd. | Electromagnetic accelerator having nozzle part |
| KR101094919B1 (ko) * | 2005-09-27 | 2011-12-16 | 삼성전자주식회사 | 플라즈마 가속기 |
-
2013
- 2013-08-29 CN CN201380045548.1A patent/CN104604338B/zh active Active
- 2013-08-29 BR BR112015003249-4A patent/BR112015003249B1/pt active IP Right Grant
- 2013-08-29 KR KR1020157007991A patent/KR101811504B1/ko active Active
- 2013-08-29 CA CA2883710A patent/CA2883710C/en active Active
- 2013-08-29 EP EP13832018.9A patent/EP2891389B1/en active Active
- 2013-08-29 RU RU2015108677A patent/RU2634849C2/ru active
- 2013-08-29 US US14/422,675 patent/US9596745B2/en active Active
- 2013-08-29 JP JP2015528820A patent/JP6161700B2/ja active Active
- 2013-08-29 WO PCT/CA2013/050670 patent/WO2014032186A1/en not_active Ceased
Patent Citations (103)
| Publication number | Priority date | Publication date | Assignee | Title |
|---|---|---|---|---|
| US2992345A (en) | 1958-03-21 | 1961-07-11 | Litton Systems Inc | Plasma accelerators |
| US3194739A (en) | 1962-08-20 | 1965-07-13 | Gen Dynamics Corp | Fusion research apparatus |
| US3346458A (en) | 1963-11-28 | 1967-10-10 | Schmidt Paul | Process and apparatus for placing materials in a state of plasma |
| US3579028A (en) * | 1968-10-23 | 1971-05-18 | Nasa | Converging-barrel plasma accelerator |
| US5015432A (en) | 1973-10-24 | 1991-05-14 | Koloc Paul M | Method and apparatus for generating and utilizing a compound plasma configuration |
| US4023065A (en) | 1973-10-24 | 1977-05-10 | Koloc Paul M | Method and apparatus for generating and utilizing a compound plasma configuration |
| US5041760A (en) | 1973-10-24 | 1991-08-20 | Koloc Paul M | Method and apparatus for generating and utilizing a compound plasma configuration |
| US4068147A (en) | 1975-11-06 | 1978-01-10 | Wells Daniel R | Method and apparatus for heating and compressing plasma |
| US4129772A (en) | 1976-10-12 | 1978-12-12 | Wisconsin Alumni Research Foundation | Electrode structures for high energy high temperature plasmas |
| WO1980000045A1 (en) | 1978-06-06 | 1980-01-10 | P Koloc | Method and apparatus for generating and utilizing a compound plasma configuration |
| JPS55501066A (enExample) | 1978-06-06 | 1980-12-04 | ||
| US4290848A (en) | 1978-08-25 | 1981-09-22 | Cornell Research Foundation, Inc. | Ion-ring ignitor for inertial fusion |
| US4228380A (en) | 1979-03-16 | 1980-10-14 | Trisops Inc. | Method and apparatus for heating and compressing plasma |
| US4292568A (en) | 1979-03-16 | 1981-09-29 | Triosops, Inc. | Method and apparatus for heating and compressing plasma |
| US4735762A (en) | 1983-09-29 | 1988-04-05 | The United States Of America As Represented By The United States Department Of Energy | Laser or charged-particle-beam fusion reactor with direct electric generation by magnetic flux compression |
| US4790735A (en) | 1983-10-03 | 1988-12-13 | Kms Fusion, Inc. | Materials processing using chemically driven spherically symmetric implosions |
| WO1993023587A1 (de) | 1992-05-19 | 1993-11-25 | Igenwert Gmbh | Verfahren und vorrichtung zur impulsbeaufschlagung einer festkör peroberfläche |
| US5429030A (en) | 1993-11-09 | 1995-07-04 | Gt-Devices | Hybrid electrothermal light gas gun and method |
| US5397961A (en) | 1993-12-20 | 1995-03-14 | Ayers; Richard A. | Apparatus for generating a pulsed plasma in a liquid medium |
| US6477216B2 (en) | 1995-09-25 | 2002-11-05 | Paul M. Koloc | Compound plasma configuration, and method and apparatus for generating a compound plasma configuration |
| US6396213B1 (en) | 1995-09-25 | 2002-05-28 | Paul M. Koloc | Apparatus for generating a compound plasma configuration with multiple helical conductor elements |
| US5811944A (en) | 1996-06-25 | 1998-09-22 | The United States Of America As Represented By The Department Of Energy | Enhanced dielectric-wall linear accelerator |
| US5821705A (en) | 1996-06-25 | 1998-10-13 | The United States Of America As Represented By The United States Department Of Energy | Dielectric-wall linear accelerator with a high voltage fast rise time switch that includes a pair of electrodes between which are laminated alternating layers of isolated conductors and insulators |
| US6888907B2 (en) | 1997-10-17 | 2005-05-03 | The Regents Of The University Of California | Controlled fusion in a field reversed configuration and direct energy conversion |
| US6628740B2 (en) | 1997-10-17 | 2003-09-30 | The Regents Of The University Of California | Controlled fusion in a field reversed configuration and direct energy conversion |
| US6894446B2 (en) | 1997-10-17 | 2005-05-17 | The Regents Of The University Of California | Controlled fusion in a field reversed configuration and direct energy conversion |
| US6593539B1 (en) | 2000-02-25 | 2003-07-15 | George Miley | Apparatus and methods for controlling charged particles |
| US7230201B1 (en) | 2000-02-25 | 2007-06-12 | Npl Associates | Apparatus and methods for controlling charged particles |
| US6680480B2 (en) | 2000-11-22 | 2004-01-20 | Neil C. Schoen | Laser accelerator produced colliding ion beams fusion device |
| US6664740B2 (en) | 2001-02-01 | 2003-12-16 | The Regents Of The University Of California | Formation of a field reversed configuration for magnetic and electrostatic confinement of plasma |
| US7015646B2 (en) | 2001-02-01 | 2006-03-21 | Regents Of The University Of California | Magnetic and electrostatic confinement of plasma with tuning of electrostatic field |
| US6891911B2 (en) | 2001-02-01 | 2005-05-10 | The Regents Of The University Of California | Formation of a field reversed configuration for magnetic and electrostatic confinement of plasma |
| US7569995B2 (en) | 2001-02-01 | 2009-08-04 | The Regents Of The University Of California | Apparatus for magnetic and electrostatic confinement of plasma |
| US6995515B2 (en) | 2001-02-01 | 2006-02-07 | The Regents Of The University Of California | Formation of a field reversed configuration for magnetic and electrostatic confinement of plasma |
| US7439678B2 (en) | 2001-02-01 | 2008-10-21 | The Regents Of The University Of California | Magnetic and electrostatic confinement of plasma with tuning of electrostatic field |
| US20060039519A1 (en) | 2001-02-01 | 2006-02-23 | The Regents Of The University Of California | Formation of a field reversed configuration for magnetic and electrostatic confinement of plasma |
| US7477718B2 (en) | 2001-02-01 | 2009-01-13 | The Regents Of The University Of California | Formation of a field reversed configuration for magnetic and electrostatic confinement of plasma |
| US7026763B2 (en) | 2001-02-01 | 2006-04-11 | The Regents Of The University Of California | Apparatus for magnetic and electrostatic confinement of plasma |
| US20060076897A1 (en) | 2001-02-01 | 2006-04-13 | The Regents Of The University Of California | Magnetic and electrostatic confinement of plasma with tuning of electrostatic field |
| US20070172017A1 (en) | 2001-02-01 | 2007-07-26 | The Regents Of The University Of California | Formation of a field reversed configuration for magnetic and electrostatic confinement of plasma |
| US7613271B2 (en) | 2001-02-01 | 2009-11-03 | The Regents Of The University Of California | Formation of a field reversed configuration for magnetic and electrostatic confinement of plasma |
| US7180242B2 (en) | 2001-02-01 | 2007-02-20 | The Regents Of The University Of California | Formation of a field reversed configuration for magnetic and electrostatic confinement of plasma |
| US7119491B2 (en) | 2001-02-01 | 2006-10-10 | The Regents Of The University Of California | Magnetic and electrostatic confinement of plasma with tuning of electrostatic field |
| US7126284B2 (en) | 2001-02-01 | 2006-10-24 | The Regents Of The University Of California | Formation of a field reversed configuration for magnetic and electrostatic confinement of plasma |
| US7129656B2 (en) | 2001-02-01 | 2006-10-31 | The Regents Of The University Of California | Apparatus for magnetic and electrostatic confinement of plasma |
| US20070096659A1 (en) | 2001-03-19 | 2007-05-03 | The Regents Of The University Of California | Controlled fusion in a field reversed configuration and direct energy conversion |
| US6852942B2 (en) | 2001-03-19 | 2005-02-08 | The Regents Of The University Of California | Controlled fusion in a field reversed configuration and direct energy conversion |
| US7719199B2 (en) | 2001-03-19 | 2010-05-18 | The Regents Of The University Of California | Controlled fusion in a field reversed configuration and direct energy conversion |
| US6611106B2 (en) | 2001-03-19 | 2003-08-26 | The Regents Of The University Of California | Controlled fusion in a field reversed configuration and direct energy conversion |
| US6850011B2 (en) | 2001-03-19 | 2005-02-01 | The Regents Of The University Of California | Controlled fusion in a field reversed configuration and direct energy conversion |
| US7459654B2 (en) | 2001-03-19 | 2008-12-02 | The Regents Of The University Of California | Controlled fusion in a field reversed configuration and direct energy conversion |
| US7002148B2 (en) | 2001-03-19 | 2006-02-21 | The Regents Of The University Of California | Controlled fusion in a field reversed configuration and direct energy conversion |
| US7232985B2 (en) | 2001-03-19 | 2007-06-19 | Regents Of The University Of California | Controlled fusion in a field reversed configuration and direct energy conversion |
| US20070158534A1 (en) | 2001-03-19 | 2007-07-12 | The Regents Of The University Of California | Controlled fusion in a field reversed configuration and direct energy conversion |
| US20080251502A1 (en) | 2001-03-19 | 2008-10-16 | The Regents Of The University Of California | Controlled fusion in a field reversed configuration and direct energy conversion |
| US7391160B2 (en) | 2001-03-19 | 2008-06-24 | Regents Of The University Of California | Controlled fusion in a field reversed configuration and direct energy conversion |
| US7173385B2 (en) | 2004-01-15 | 2007-02-06 | The Regents Of The University Of California | Compact accelerator |
| US7576499B2 (en) | 2004-01-15 | 2009-08-18 | Lawrence Livermore National Security, Llc | Sequentially pulsed traveling wave accelerator |
| US20090152094A1 (en) | 2004-11-30 | 2009-06-18 | Zakrytoe Aktsionernoe Obschestvo Rustermosintez | Method of forming stable states of dense high-temperature plasma |
| US20070058770A1 (en) | 2004-11-30 | 2007-03-15 | Fissenko Stanislav I | Method of forming stable states of sense high-temperature plasma |
| US7679025B1 (en) * | 2005-02-04 | 2010-03-16 | Mahadevan Krishnan | Dense plasma focus apparatus |
| US20060198483A1 (en) | 2005-03-04 | 2006-09-07 | General Fusion Inc. | Magnetized plasma fusion reactor |
| US20060198486A1 (en) | 2005-03-04 | 2006-09-07 | Laberge Michel G | Pressure wave generator and controller for generating a pressure wave in a fusion reactor |
| US20060198487A1 (en) | 2005-03-04 | 2006-09-07 | General Fusion Inc. | Fusionable material target |
| US20100163130A1 (en) | 2005-03-04 | 2010-07-01 | Michel Georges Laberge | Pressure wave generator and controller for generating a pressure wave in a medium |
| US20060267504A1 (en) | 2005-03-07 | 2006-11-30 | Vandrie Alan | Vacuum chamber for plasma electric generation system |
| US20060254520A1 (en) | 2005-03-07 | 2006-11-16 | The Regents Of The University Of California | RF current drive for plasma electric generation system |
| US8031824B2 (en) | 2005-03-07 | 2011-10-04 | Regents Of The University Of California | Inductive plasma source for plasma electric generation system |
| US20090213975A1 (en) | 2005-06-04 | 2009-08-27 | Alan Charles Sturt | Method and Apparatus for Heat Production |
| US7831008B2 (en) | 2005-10-21 | 2010-11-09 | General Atomics | Microwave-powered pellet accelerator |
| US7486758B1 (en) | 2006-10-30 | 2009-02-03 | The United States Of America As Represented By The Secretary Of The Air Force | Combined plasma source and liner implosion system |
| US20100067639A1 (en) | 2006-12-04 | 2010-03-18 | Alan Charles Sturt | Method and apparatus for reducing the radioactivity of a particle |
| US20080205573A1 (en) | 2007-02-24 | 2008-08-28 | Larson Delbert J | Cellular, Electron Cooled Storage Ring System and Method for Fusion Power Generation |
| US20110158369A1 (en) | 2007-02-24 | 2011-06-30 | Delbert John Larson | Cellular, electron cooled storage ring system and method for fusion power generation |
| US20110026657A1 (en) * | 2009-02-04 | 2011-02-03 | Michel Georges Laberge | Systems and methods for compressing plasma |
| US9424955B2 (en) * | 2009-02-04 | 2016-08-23 | General Fusion Inc. | Systems and methods for compressing plasma |
| US20140247913A1 (en) | 2009-02-04 | 2014-09-04 | General Fusion, Inc. | Systems and methods for compressing plasma |
| US8537958B2 (en) | 2009-02-04 | 2013-09-17 | General Fusion, Inc. | Systems and methods for compressing plasma |
| CA2750441A1 (en) | 2009-02-04 | 2010-08-12 | General Fusion, Inc. | Systems and methods for compressing plasma |
| US20110293056A1 (en) | 2009-02-12 | 2011-12-01 | Msnw, Llc | Method and apparatus for the generation, heating and/or compression of plasmoids and/or recovery of energy therefrom |
| US20100215136A1 (en) | 2009-02-20 | 2010-08-26 | Brian Rusnak | Dense plasma focus (dpf) accelerated non radio isotopic radiological source |
| US20120014491A1 (en) | 2009-07-13 | 2012-01-19 | Mike Deeth | Nuclear fusion power plant having a liquid reactor core of molten glass that is made laseractive and functions as a tritium breeding blanket which is capable of acousticly compressing/confining fuel so that it radiates and triggers outgoing laser cascades that will reflect from the blast chamber's spherical inside wall and return like photonic Tsunamis, crushing, heating, and causing thermonuclear ignition of the fuel so that heat engines and piezoelectric harvesters can convert the released energy into electricity |
| US20110019789A1 (en) | 2009-07-24 | 2011-01-27 | The Regents Of The University Of California | Radionuclide production using a z-pinch neutron source |
| EP2460160B1 (en) | 2009-07-29 | 2013-06-05 | General Fusion, Inc. | Systems and methods for plasma compression with recycling of projectiles |
| US8891719B2 (en) | 2009-07-29 | 2014-11-18 | General Fusion, Inc. | Systems and methods for plasma compression with recycling of projectiles |
| WO2011014577A1 (en) | 2009-07-29 | 2011-02-03 | General Fusion, Inc. | Systems and methods for plasma compression with recycling of projectiles |
| US20110243292A1 (en) | 2009-07-29 | 2011-10-06 | General Fusion, Inc. | Systems and methods for plasma compression with recycling of projectiles |
| US9271383B2 (en) | 2009-07-29 | 2016-02-23 | General Fusion, Inc. | Systems and methods for plasma compression with recycling of projectiles |
| US20110026658A1 (en) * | 2009-07-29 | 2011-02-03 | General Fusion, Inc. | Systems and methods for plasma compression with recycling of projectiles |
| US8994271B2 (en) * | 2009-08-03 | 2015-03-31 | Leibniz—Institut fuer Plasmaforschung und Technologie E. V. | Device for generating a non-thermal atmospheric pressure plasma |
| WO2011084903A1 (en) | 2010-01-08 | 2011-07-14 | Tri Alpha Energy, Inc. | Conversion of high-energy photons into electricity |
| US20120155591A1 (en) | 2010-03-18 | 2012-06-21 | Brent Freeze | Method and apparatus for compressing plasma to a high energy state |
| WO2011154172A1 (de) | 2010-06-10 | 2011-12-15 | Siemens Aktiengesellschaft | Beschleuniger für zwei teilchenstrahlen zum erzeugen einer kollision |
| US20120031070A1 (en) | 2010-08-09 | 2012-02-09 | Msnw Llc | Apparatus, systems and methods for establishing plasma and using plasma in a rotating magnetic field |
| US20120085920A1 (en) | 2010-10-06 | 2012-04-12 | Lawrence Livermore National Security, Llc | Particle beam injector system and method |
| US20140165552A1 (en) | 2011-02-25 | 2014-06-19 | Lon McIlwraith | Pressure wave generator with movable control rod for generating a pressure wave in a medium |
| US8887618B2 (en) | 2011-02-25 | 2014-11-18 | General Fusion, Inc. | Pressure wave generator with movable control rod for generating a pressure wave in a medium |
| US20150152899A1 (en) | 2011-02-25 | 2015-06-04 | General Fusion Inc. | Pressure wave generator with movable control rod for generating a pressure wave in a medium |
| WO2012113057A1 (en) | 2011-02-25 | 2012-08-30 | General Fusion, Inc. | Pressure wave generator with movable control rod for generating a pressure wave in a medium |
| US20150021339A1 (en) * | 2011-11-11 | 2015-01-22 | Sio2 Medical Products, Inc. | PASSIVATION, pH PROTECTIVE OR LUBRICITY COATING FOR PHARMACEUTICAL PACKAGE, COATING PROCESS AND APPARATUS |
| US9463478B2 (en) | 2012-04-04 | 2016-10-11 | General Fusion Inc. | Jet control devices and methods |
| WO2014032186A1 (en) | 2012-08-29 | 2014-03-06 | General Fusion, Inc. | Apparatus for accelerating and compressing plasma |
| US20160129142A1 (en) * | 2013-07-15 | 2016-05-12 | Relyon Plasma Gmbh | System and method for reducing germs by means of plasma |
Non-Patent Citations (61)
| Title |
|---|
| B. Bauer et al., "Magnetized High Energy Density Laboratory Plasmas," http://fusionenergy.lanl.gov/mhedlp-wp.pdf, Apr. 20, 2007, in 24 pages. |
| Bellan, P.M., "Spheromaks: A practical application of magnetohydrodynamic dynamos and plasma self-organization," Imperial College Press, 2000, pp. 1-9, 268-275. |
| Browning, P.K. et al., "Power Flow in a Gun-Injected Spheromak Plasma", The American Physical Society, Physical Review Letters, vol. 68, No. 11, Mar. 16, 1992, pp. 1718-1721. |
| C. W. Hartman et al, "Acceleration of Spheromak Toruses, Experimental results and fusion applications", OSTI ID: 5240480; DE90005312 , Proceedings of 11th US/Japan workshop on field-reversed configurations and compact toroids; Nov. 7-9, 1989, Dec. 1, 1989, Los Alamos, NM, USA. |
| C. W. Hartman et al., "Acceleration of Compact Toroid Plasma Rings for Fusion Applications," Lawrence Livermore National Laboratory, UCRL-98504, Prepared for Submittal to IAEA 12th International Conference on Plasma Physics and Controlled Nuclear Fusion Research in Nice, France, Oct. 12-19, 1988, in 16 pages. |
| C. Xiao et al., "Improved Confinement Induced by Tangential Injection of Compact Torus Into the Saskatchewan Torus-Modified (STOR-M) Tokamak", Phys. Plasmas, vol. 11, No. 8, Aug. 2004, pp. 4041-4049. |
| C.W. Hartman et al., "Acceleration of Compact Torus Plasma Rings in a Coaxial Rail-Gun", 7th Symposium on Compact Toroid Research, Santa Fe, New Mexico, May 21-23, 1985, in 6 pages. |
| C.W. Hartman et al., "Acceleration of Compact Toruses and Fusion Applications", Workshop on Physics of Alternative Magnetic Confinement Schemes, UCRL-JC-106121 Preprint, Oct. 11, 1990, Issue UCRL-JC-106121 Prepr, Varenna, Italy. |
| Ch. Mangeant et al., "Syrinx Project: Compact Pulse-Current Generators Devoted to Material Study Under lsentropic Compression Loading", in Pulsed Power Plasma Science, IEEE, Jun. 2001, in 4 pages. |
| D. Liu et al., "Bench Test and Preliminary Results of Vertical Compact Torus Injection Experiments on the STOR-M Tokamak", Nuclear Fusion 46 (006), Dec. 16, 2005, pp. 104-109. |
| D.J. Meeker et al., "A High Efficiency I.C.F. Driver Employing Magnetically Confined Plasma Rings", Lawrence Livermore National Laboratory, Sixth Topical Meeting on the Technology of Fusion Energy, San Francisco, California, Mar. 3-7, 1985, in 8 pages. |
| D.N. Hill et al., "Field and Current Amplification in the SSPX Spheromak", 19th IAEA Fusion Energy Conference, Oct. 8, 2002, in 8 pages. |
| F. D. Witherspoon et al., "A contoured gap coaxial plasma gun with injected plasma armature," American Institute of Physics, Review of Scientific Instruments 80, 083506, Aug. 2009, in 15 pages. |
| F. D. Witherspoon et al., "Pulsed Injector Development for Dense Plasma Jets," Research Funded by the DOE Office of Fusion Energy Science through Grants DE-FG02-04ER83978, DE-FG02-05ER54810, DE-FG02-05ER84189, Feb. 2007, in 32 pages. |
| G. M. Olynyk, "Design and evaluation of a repetitive-fire compact toroid fuelling system for ITER," thesis submitted to the Department of Physics, Queen's University, Ontario, Canada, Mar. 2007, in 48 pages. |
| G. Olynyk et al., "Development of a Compact Toroid Fuelling System for ITER", Nuclear Fusion, vol. 48, No. 9, Sep. 2008, in 11 pages. |
| G.A. Wurden et al., "FRC Plasma Studies on the FRX-L Plasma Injector for MTF", Paper IC/P6-53, 50th IAEA Fusion Energy Conference, Nov. 2004, in 7 pages. |
| G.A. Wurden et al., "High Pressure Field Reversed Configuration Plasmas in FRX-L for Magnetized Target Fusion", Jan. 26, 2006, in 2 pages. |
| G.A. Wurden et al., "Magnetized Target Fusion: A Burning FRC Plasma in an Imploded Metal Can", J. Plasma Fusion Res. Series, vol. 2, Aug. 1999, pp. 238-241. |
| G.A. Wurden et al., "Progress on the FRX-L FRC Plasma Injector at LANL for Magnetized Target Fusion", Mar. 1, 2002, pp. 1-6. |
| G.A. Wurden, Letter to Dr. Laberge, May 2007, in 1 page. |
| H. S. McLean et al, "Design and operation of a passively switched repetitive compact toroid plasma accelerator", Fusion Technology, May 1998, vol. 33, pp. 252-272. |
| International Search Report and Written Opinion for International Application No. PCT/CA2013/050670, mailed Dec. 4, 2013, in 10 pages. |
| J. D. Graham et. al., "Shiva Star-Marauder Compact Torus System," Digest of Technical Papers, 8th IEEE International Pulsed Power Conference, Jun. 1991 pp. 990-993. |
| J. Eddleman et al., "Final Report on the LLNL Compact Torus Acceleration Project," Lawrence Livermore National Laboratory, UCRL-ID-120238, Mar. 19, 1995, in 62 pages. |
| J. H. Degnan et al, "Compression of compact toroids in conical-coaxial geometry", Fusion Technology, Mar. 1995, vol. 27, Issue 2, pp. 107-114. |
| J. H. Degnan et al., "Compact toroid formation, compression, and acceleration", Phys. Fluids B, Aug. 1993, vol. 5 , Issue 8, pp. 2938-2958. |
| J. H. Hammer et al, "Experimental demonstration of acceleration and focusing of magnetically confined plasma rings", Physical Review Letters, Dec. 19, 1988, vol. 61, Issue 25, pp. 2843-2846. |
| J. Miyazawa et al., "Design of Spheromak Injector Using Conical Accelerator for Large Helical Device", Fusion Engineering and Design 54 (2001), pp. 1-12. |
| Kiuttu, G.F., et al., "Acceleration and compression of compact toroid plasmas," 1994 10th International Conference on High-Power Particle Beams, IET, vol. 1, pp. 150-158, Jun. 1994. |
| Logan, B.G., et al., "Compact Torus Accelerator Driven Inertial Confinement Fusion Power Plant HYLIFE-CT," Lawrence Livermore National Laboratory, UCRL-TR-211025, Apr. 1, 2005, in 85 pages. |
| M. Delage et al., "Progress Towards Acoustic Magnetized Target Fusion: An Overview of the R&D Program at General Fusion", 33rd Ann. Conf. Can. Nuc. Soc., Jun. 2012, in 13 pages. |
| M.T. Tobin et al, "The Compact Torus Accelerator, A Driver for ICF", UCRL-93901-R1, Lawrence Livermore National Laboratory, Jul. 31, 1986, in 9 pages. |
| Michel Laberge, "Acoustic Wave Driven MTF Fusion Reactor," Mar. 2007, in 20 pages. |
| Michel Laberge, "An Acoustically Driven Magnetized Target Fusion Reactor," Journal of Fusion Energy, vol. 27, Nos. 1-2, Jul. 11, 2007, pp. 65-68. |
| Michel Laberge, "Evidence of Fusion Products in Acoustically Driven MTF," Mar. 2007, in 41 pages. |
| Michel Laberge, "Experimental Results for an Acoustic Driver for MTF," Journal of Fusion Energy, Jun. 2009, vol. 28, Nos. 2, pp. 179-182, available Jun. 2008. |
| N. M. Schnurr et. al., "An Analytical Investigation of the Impingement of Jets on Curved Deflectors", AIAA Journal, vol. 10, No. 11, Nov. 1972, in 41 pages. |
| R. E. Peterkin, Jr. , "Direct electromagnetic acceleration of a compact toroid to high density and high speed", Physical Review Letters, Apr. 17, 1995, vol. 74, Issue 16, pp. 3165-3168. |
| R. L. Miller and R. A. Krakowski, "Assessment of the slowly-imploding liner (Linus) fusion reactor concept", Los Alamos Scientific Laboratory, Oct. 1980, Issue Rept. No. LA-UR-80-3, Los Alamos, NM, USA, in 10 pages. |
| R. Raman et al., "Compact Toroid Fueling for ITER", Fusion Engineering and Design 39-40 (1998), pp. 977-985. |
| R. Raman et al., "Experimental Demonstration of Nondisruptive, Central Fueling of a Tokamak by Compact Toroid Injection", Phys. Rev. Lett., 1994, pp. 3101-3105. |
| R. Raman et al., "Experimental Demonstration of Tokamak Fueling by Compact Toroid Injection", Nuclear Fusion, vol. 37, 1997, pp. 967-972. |
| R. Raman et al., "ITER Task D315 (1997): Conceptual Design Definition of a Compact Toroid Injection System", CFFTP G-9729, Sep. 1997, in 24 pages. |
| R. W. Moir et al., "HYLIFE-II: An approach to a long-lived, first-wall component for inertial fusion power plants", Lawrence Livermore National Lab, Aug. 1, 1994, vol. Report No. UCRL-J, Issue CONF-940933-46, in 15 pages. |
| R.C. Duck et al., "Structure of the n=1 responsible for relaxation and current drive during sustainment of the SPHEX spheromak", Plasma Physics and Controlled Fusion, vol. 39, No. 5, May 1997, 715-736. |
| R.C. Kirkpatrick, "Assessment of the Acoustically Driven MTF Experiments being conducted by Dr. Michel Laberge of General Fusion, Inc.," May 2007, in 3 pages. |
| Roger Raman et al., "Design of the Compact Toroid Fueler Tokamak de Varennes", Fusion Technology, A Journal of the Nuclear Society, vol. 24, No. 3, Nov. 1993, pp. 239-250. |
| S. Howard et al., "Development of merged compact toroids for use as a magnetized target fusion plasma", Journal of Fusion Energy, Nov. 11, 2008, vol. 28, No. 2, pp. 156-161, available Jun. 2008. |
| S.C. Hsu et al, "On the Jets, Kinks, and Spheromaks Formed by a Planar Magnetized Coaxial Gun", California Institute of Technology, Pasadena, CA 91125, Feb. 2, 2008, pp. 1-16. |
| T. E. Markusic et al., "Visualization of Current Sheet Canting in a Pulsed Plasma Accelerator", IEPC-99-206, 26th International Electric Propulsion Conference in Kitakyushu, Japan, Oct. 17-21, 1999, in 8 pages. |
| T.K. Fowler, "Pulsed Spheromak Fusion Reactors", Comments on Plasma Physics & Controlled Fusion, Comments on Modern Physics, vol. 1(3), Part C, Jun. 1999, pp. 83-98. |
| T.K. Fowler, "Pulsed Spheromak Reactor With Adiabatic Compression", Lawrence Livermore National Laboratory, Mar. 29, 1999, in 13 pages. |
| T.K. Fowler, "Stability of Spheromaks Compressed by Liquid Walls", Lawrence Livermore National Laboratory, Aug. 17, 1999, in 9 pages. |
| Thomas W. Kornack, "Magnetic Reconnection Studies on SSX", Swarthmore College Department of Physics and Astronomy, Swarthmore, PA, USA, Jun. 10, 1998, pp. 2-56. |
| V. Suponitsky et al., "An Overview of Computational Results at General Fusion Inc. with Focus on Hydrodynamics", Proceedings of CFD Society of Canada Conference, May 2012, in 9 pages. |
| V. Suponitsky et al., "On the Collapse of a Gas Cavity by an Imploding Molten Lead Shell and Richtmyer-Meshkov Instability", Proceedings of the 20th Annual Conference of the CFD Society of Canada, Canmore, Alberta, Canada, May 9-12, 2012, in 8 pages. |
| V. Suponitsky et al., "Richtmyer-Meshkov instability of a liquid-gas interface driven by a cylindrical imploding wave", Computers & Fluids, vol. 89, Jan. 20, 2014, in 19 pages. |
| Y. C. F. Thio et al', "Pulsed Electromagnetic Acceleration of Plasmas," 38th AIAA/ASME/SAE/ASEE Joint Propulsion Conference & Exhibit, Jul. 7-10, 2002, in 9 pages. |
| Y. C. F. Thio et al., "Magnetized Target Fusion in a Spheroidal Geometry With Standoff Drivers," Fusion Technology 20, 1991, in 22 pages. |
| Y.C.F. Thio et al., "Magnetized Target Fusion Driven by Plasma Liners", 2002, in 3 pages. |
Cited By (22)
| Publication number | Priority date | Publication date | Assignee | Title |
|---|---|---|---|---|
| US9875816B2 (en) | 2009-02-04 | 2018-01-23 | General Fusion Inc. | Systems and methods for compressing plasma |
| US10984917B2 (en) | 2009-02-04 | 2021-04-20 | General Fusion Inc. | Systems and methods for compressing plasma |
| US11373763B2 (en) | 2013-09-24 | 2022-06-28 | Tae Technologies, Inc. | Systems and methods for forming and maintaining a high performance FRC |
| US10217532B2 (en) * | 2014-10-13 | 2019-02-26 | Tae Technologies, Inc. | Systems and methods for merging and compressing compact tori |
| US20170337991A1 (en) * | 2014-10-13 | 2017-11-23 | Tri Alpha Energy, Inc. | Systems and methods for merging and compressing compact tori |
| US11200990B2 (en) * | 2014-10-13 | 2021-12-14 | Tae Technologies, Inc. | Systems and methods for merging and compressing compact tori |
| US10665351B2 (en) * | 2014-10-13 | 2020-05-26 | Tae Technologies, Inc. | Systems and methods for merging and compressing compact tori |
| US11901087B2 (en) | 2014-10-13 | 2024-02-13 | Tae Technologies, Inc. | Systems and methods for merging and compressing compact tori |
| US11615896B2 (en) | 2015-11-13 | 2023-03-28 | Tae Technologies, Inc. | Systems and methods for radial and axial stability control of an FRC plasma |
| US11013100B2 (en) * | 2016-10-10 | 2021-05-18 | University Of Strathclyde | Plasma accelerator |
| US20190239332A1 (en) * | 2016-10-10 | 2019-08-01 | University Of Strathclyde | Plasma accelerator |
| US11581100B2 (en) | 2017-02-23 | 2023-02-14 | University Of Washington | Z-pinch plasma confinement system having intermediate electrode and methods for use |
| US11219117B2 (en) * | 2017-06-07 | 2022-01-04 | Lawrence Livermore National Security, Llc | Plasma confinement system with outer electrode having liquifiable material and methods for use |
| US20190139650A1 (en) * | 2017-11-06 | 2019-05-09 | General Fusion Inc. | System and method for plasma generation and compression |
| US10811144B2 (en) * | 2017-11-06 | 2020-10-20 | General Fusion Inc. | System and method for plasma generation and compression |
| US11404174B2 (en) * | 2018-02-28 | 2022-08-02 | General Fusion Inc. | System and method for generating plasma and sustaining plasma magnetic field |
| US11399425B2 (en) * | 2019-05-28 | 2022-07-26 | General Fusion Inc. | System and method for generating and accelerating magnetized plasma |
| CN113796162A (zh) * | 2019-05-28 | 2021-12-14 | 通用融合公司 | 用于生成和加速磁化等离子体的系统和方法 |
| WO2020237380A1 (en) * | 2019-05-28 | 2020-12-03 | General Fusion Inc. | System and method for generating and accelerating magnetized plasma |
| US12432840B2 (en) | 2020-01-13 | 2025-09-30 | Tae Technologies, Inc. | System and methods for forming and maintaining high energy and temperature FRC plasma via spheromak merging and neutral beam injection |
| US20240062919A1 (en) * | 2021-01-22 | 2024-02-22 | General Fusion Inc. | Rotating core plasma compression system |
| RU2796514C1 (ru) * | 2022-02-09 | 2023-05-25 | Акционерное общество "Научно- исследовательский институт оптико-электронного приборостроения" (АО "НИИ ОЭП") | Устройство моделирования ударно-сжатого слоя |
Also Published As
| Publication number | Publication date |
|---|---|
| JP6161700B2 (ja) | 2017-07-12 |
| BR112015003249A2 (pt) | 2017-07-04 |
| EP2891389B1 (en) | 2017-08-02 |
| CA2883710C (en) | 2017-07-18 |
| EP2891389A1 (en) | 2015-07-08 |
| WO2014032186A1 (en) | 2014-03-06 |
| CA2883710A1 (en) | 2014-03-06 |
| CN104604338A (zh) | 2015-05-06 |
| KR20150048229A (ko) | 2015-05-06 |
| KR101811504B1 (ko) | 2018-01-25 |
| BR112015003249B1 (pt) | 2021-12-07 |
| RU2634849C2 (ru) | 2017-11-07 |
| RU2015108677A (ru) | 2016-10-20 |
| US20150216028A1 (en) | 2015-07-30 |
| EP2891389A4 (en) | 2016-04-20 |
| CN104604338B (zh) | 2017-06-13 |
| JP2015532769A (ja) | 2015-11-12 |
Similar Documents
| Publication | Publication Date | Title |
|---|---|---|
| US9596745B2 (en) | Apparatus for accelerating and compressing plasma | |
| US10811144B2 (en) | System and method for plasma generation and compression | |
| Raman et al. | Solenoid-free plasma start-up in spherical tokamaks | |
| US11399425B2 (en) | System and method for generating and accelerating magnetized plasma | |
| WO2018208953A1 (en) | Generating nuclear fusion reactions with the use of ion beam injection in high pressure magnetic cusp devices | |
| Gsponer | Physics of high-intensity high-energy particle beam propagation in open air and outer-space plasmas | |
| CA2984756C (en) | System and method for plasma generation and compression | |
| Abramova et al. | Injection of a high-density plasma into the Globus-M spherical tokamak | |
| Weber et al. | Plasma-gun-assisted field-reversed configuration formation in a conical θ-pinch | |
| RU2760276C1 (ru) | Способ увеличения тока пучка кластерных ионов | |
| RU188484U1 (ru) | Плазменный ускоритель с магнитным затвором | |
| Sudnikov et al. | Helical mirror concept exploration: Design and status | |
| RU2764147C1 (ru) | Инжектор для ускорителя кластерных ионов | |
| Liu et al. | Seeding the m= 0 instability in dense plasma focus Z-pinches with a hollow anode | |
| Post | The kinetic stabilizer: Issues and opportunities | |
| Delerue et al. | Simulations of the acceleration of externally injected electrons in a plasma excited in the linear regime | |
| Sy et al. | Ion source and beam guiding studies for an API neutron generator | |
| Weber et al. | Plasma-gun-assisted field-reversed configuration formation in a conical-pinch | |
| Kaplan et al. | HIGH PRESSURE, HIGH GRADIENT RF CAVITIES FOR MUON BEAM COOLING | |
| Weber et al. | Plasma-gun-assisted FRC formation in a conical θ-pinch | |
| Roderick | A Long Conduction Time Compact Torus Plasma Opening Switch | |
| Briggs | Properties and Applications of Intense Relativistic Electron Beams | |
| Kapetanakos et al. | Proposal for Beam Extraction from a Modified Betatron Accelerator Using a Toroidal Electric Field |
Legal Events
| Date | Code | Title | Description |
|---|---|---|---|
| AS | Assignment |
Owner name: GENERAL FUSION INC., CANADA Free format text: ASSIGNMENT OF ASSIGNORS INTEREST;ASSIGNORS:LABERGE, MICHEL G.;REYNOLDS, MERITT;SIGNING DATES FROM 20150114 TO 20150115;REEL/FRAME:035000/0009 |
|
| STCF | Information on status: patent grant |
Free format text: PATENTED CASE |
|
| MAFP | Maintenance fee payment |
Free format text: PAYMENT OF MAINTENANCE FEE, 4TH YEAR, LARGE ENTITY (ORIGINAL EVENT CODE: M1551); ENTITY STATUS OF PATENT OWNER: LARGE ENTITY Year of fee payment: 4 |
|
| MAFP | Maintenance fee payment |
Free format text: PAYMENT OF MAINTENANCE FEE, 8TH YEAR, LARGE ENTITY (ORIGINAL EVENT CODE: M1552); ENTITY STATUS OF PATENT OWNER: LARGE ENTITY Year of fee payment: 8 |