US20180098435A1 - Circuit board and method for manufacturing the same - Google Patents
Circuit board and method for manufacturing the same Download PDFInfo
- Publication number
- US20180098435A1 US20180098435A1 US15/820,397 US201715820397A US2018098435A1 US 20180098435 A1 US20180098435 A1 US 20180098435A1 US 201715820397 A US201715820397 A US 201715820397A US 2018098435 A1 US2018098435 A1 US 2018098435A1
- Authority
- US
- United States
- Prior art keywords
- layer
- etching stop
- circuit
- metal layer
- dielectric layer
- Prior art date
- Legal status (The legal status is an assumption and is not a legal conclusion. Google has not performed a legal analysis and makes no representation as to the accuracy of the status listed.)
- Abandoned
Links
- 238000000034 method Methods 0.000 title claims description 76
- 238000004519 manufacturing process Methods 0.000 title claims description 11
- 229910052751 metal Inorganic materials 0.000 claims abstract description 190
- 239000002184 metal Substances 0.000 claims abstract description 190
- 238000005530 etching Methods 0.000 claims description 118
- ATJFFYVFTNAWJD-UHFFFAOYSA-N Tin Chemical compound [Sn] ATJFFYVFTNAWJD-UHFFFAOYSA-N 0.000 claims description 24
- 229910052718 tin Inorganic materials 0.000 claims description 24
- RTAQQCXQSZGOHL-UHFFFAOYSA-N Titanium Chemical compound [Ti] RTAQQCXQSZGOHL-UHFFFAOYSA-N 0.000 claims description 10
- 239000010936 titanium Substances 0.000 claims description 10
- 229910052719 titanium Inorganic materials 0.000 claims description 10
- 229910052782 aluminium Inorganic materials 0.000 claims description 9
- XAGFODPZIPBFFR-UHFFFAOYSA-N aluminium Chemical compound [Al] XAGFODPZIPBFFR-UHFFFAOYSA-N 0.000 claims description 9
- 239000000463 material Substances 0.000 claims description 9
- 239000011521 glass Substances 0.000 abstract 5
- 239000000758 substrate Substances 0.000 abstract 5
- RYGMFSIKBFXOCR-UHFFFAOYSA-N Copper Chemical compound [Cu] RYGMFSIKBFXOCR-UHFFFAOYSA-N 0.000 description 37
- 229910052802 copper Inorganic materials 0.000 description 15
- 239000010949 copper Substances 0.000 description 15
- 239000011889 copper foil Substances 0.000 description 12
- 229910000765 intermetallic Inorganic materials 0.000 description 11
- 238000009713 electroplating Methods 0.000 description 7
- 150000002739 metals Chemical class 0.000 description 6
- PXHVJJICTQNCMI-UHFFFAOYSA-N Nickel Chemical compound [Ni] PXHVJJICTQNCMI-UHFFFAOYSA-N 0.000 description 4
- KUNSUQLRTQLHQQ-UHFFFAOYSA-N copper tin Chemical compound [Cu].[Sn] KUNSUQLRTQLHQQ-UHFFFAOYSA-N 0.000 description 4
- 230000015572 biosynthetic process Effects 0.000 description 3
- 238000003475 lamination Methods 0.000 description 3
- 230000008021 deposition Effects 0.000 description 2
- 238000000608 laser ablation Methods 0.000 description 2
- 229910052759 nickel Inorganic materials 0.000 description 2
- 239000011135 tin Substances 0.000 description 2
- JPVYNHNXODAKFH-UHFFFAOYSA-N Cu2+ Chemical compound [Cu+2] JPVYNHNXODAKFH-UHFFFAOYSA-N 0.000 description 1
- 239000007795 chemical reaction product Substances 0.000 description 1
- 229910001431 copper ion Inorganic materials 0.000 description 1
- IUYOGGFTLHZHEG-UHFFFAOYSA-N copper titanium Chemical compound [Ti].[Cu] IUYOGGFTLHZHEG-UHFFFAOYSA-N 0.000 description 1
- 230000007547 defect Effects 0.000 description 1
- -1 i.e. Substances 0.000 description 1
- 230000010354 integration Effects 0.000 description 1
- 239000007788 liquid Substances 0.000 description 1
- 229920002120 photoresistant polymer Polymers 0.000 description 1
- 239000000047 product Substances 0.000 description 1
- 239000004065 semiconductor Substances 0.000 description 1
Images
Classifications
-
- H—ELECTRICITY
- H05—ELECTRIC TECHNIQUES NOT OTHERWISE PROVIDED FOR
- H05K—PRINTED CIRCUITS; CASINGS OR CONSTRUCTIONAL DETAILS OF ELECTRIC APPARATUS; MANUFACTURE OF ASSEMBLAGES OF ELECTRICAL COMPONENTS
- H05K3/00—Apparatus or processes for manufacturing printed circuits
- H05K3/46—Manufacturing multilayer circuits
- H05K3/4644—Manufacturing multilayer circuits by building the multilayer layer by layer, i.e. build-up multilayer circuits
-
- H—ELECTRICITY
- H05—ELECTRIC TECHNIQUES NOT OTHERWISE PROVIDED FOR
- H05K—PRINTED CIRCUITS; CASINGS OR CONSTRUCTIONAL DETAILS OF ELECTRIC APPARATUS; MANUFACTURE OF ASSEMBLAGES OF ELECTRICAL COMPONENTS
- H05K3/00—Apparatus or processes for manufacturing printed circuits
- H05K3/02—Apparatus or processes for manufacturing printed circuits in which the conductive material is applied to the surface of the insulating support and is thereafter removed from such areas of the surface which are not intended for current conducting or shielding
- H05K3/06—Apparatus or processes for manufacturing printed circuits in which the conductive material is applied to the surface of the insulating support and is thereafter removed from such areas of the surface which are not intended for current conducting or shielding the conductive material being removed chemically or electrolytically, e.g. by photo-etch process
- H05K3/061—Etching masks
-
- H—ELECTRICITY
- H05—ELECTRIC TECHNIQUES NOT OTHERWISE PROVIDED FOR
- H05K—PRINTED CIRCUITS; CASINGS OR CONSTRUCTIONAL DETAILS OF ELECTRIC APPARATUS; MANUFACTURE OF ASSEMBLAGES OF ELECTRICAL COMPONENTS
- H05K1/00—Printed circuits
- H05K1/02—Details
- H05K1/11—Printed elements for providing electric connections to or between printed circuits
- H05K1/111—Pads for surface mounting, e.g. lay-out
- H05K1/112—Pads for surface mounting, e.g. lay-out directly combined with via connections
- H05K1/113—Via provided in pad; Pad over filled via
-
- H—ELECTRICITY
- H05—ELECTRIC TECHNIQUES NOT OTHERWISE PROVIDED FOR
- H05K—PRINTED CIRCUITS; CASINGS OR CONSTRUCTIONAL DETAILS OF ELECTRIC APPARATUS; MANUFACTURE OF ASSEMBLAGES OF ELECTRICAL COMPONENTS
- H05K1/00—Printed circuits
- H05K1/02—Details
- H05K1/11—Printed elements for providing electric connections to or between printed circuits
- H05K1/115—Via connections; Lands around holes or via connections
-
- H—ELECTRICITY
- H05—ELECTRIC TECHNIQUES NOT OTHERWISE PROVIDED FOR
- H05K—PRINTED CIRCUITS; CASINGS OR CONSTRUCTIONAL DETAILS OF ELECTRIC APPARATUS; MANUFACTURE OF ASSEMBLAGES OF ELECTRICAL COMPONENTS
- H05K3/00—Apparatus or processes for manufacturing printed circuits
- H05K3/40—Forming printed elements for providing electric connections to or between printed circuits
- H05K3/4007—Surface contacts, e.g. bumps
-
- H—ELECTRICITY
- H05—ELECTRIC TECHNIQUES NOT OTHERWISE PROVIDED FOR
- H05K—PRINTED CIRCUITS; CASINGS OR CONSTRUCTIONAL DETAILS OF ELECTRIC APPARATUS; MANUFACTURE OF ASSEMBLAGES OF ELECTRICAL COMPONENTS
- H05K3/00—Apparatus or processes for manufacturing printed circuits
- H05K3/40—Forming printed elements for providing electric connections to or between printed circuits
- H05K3/4038—Through-connections; Vertical interconnect access [VIA] connections
-
- H—ELECTRICITY
- H05—ELECTRIC TECHNIQUES NOT OTHERWISE PROVIDED FOR
- H05K—PRINTED CIRCUITS; CASINGS OR CONSTRUCTIONAL DETAILS OF ELECTRIC APPARATUS; MANUFACTURE OF ASSEMBLAGES OF ELECTRICAL COMPONENTS
- H05K3/00—Apparatus or processes for manufacturing printed circuits
- H05K3/46—Manufacturing multilayer circuits
- H05K3/4644—Manufacturing multilayer circuits by building the multilayer layer by layer, i.e. build-up multilayer circuits
- H05K3/4647—Manufacturing multilayer circuits by building the multilayer layer by layer, i.e. build-up multilayer circuits by applying an insulating layer around previously made via studs
-
- H—ELECTRICITY
- H05—ELECTRIC TECHNIQUES NOT OTHERWISE PROVIDED FOR
- H05K—PRINTED CIRCUITS; CASINGS OR CONSTRUCTIONAL DETAILS OF ELECTRIC APPARATUS; MANUFACTURE OF ASSEMBLAGES OF ELECTRICAL COMPONENTS
- H05K3/00—Apparatus or processes for manufacturing printed circuits
- H05K3/46—Manufacturing multilayer circuits
- H05K3/4644—Manufacturing multilayer circuits by building the multilayer layer by layer, i.e. build-up multilayer circuits
- H05K3/4682—Manufacture of core-less build-up multilayer circuits on a temporary carrier or on a metal foil
-
- H—ELECTRICITY
- H05—ELECTRIC TECHNIQUES NOT OTHERWISE PROVIDED FOR
- H05K—PRINTED CIRCUITS; CASINGS OR CONSTRUCTIONAL DETAILS OF ELECTRIC APPARATUS; MANUFACTURE OF ASSEMBLAGES OF ELECTRICAL COMPONENTS
- H05K2201/00—Indexing scheme relating to printed circuits covered by H05K1/00
- H05K2201/03—Conductive materials
- H05K2201/0332—Structure of the conductor
- H05K2201/0364—Conductor shape
- H05K2201/0367—Metallic bump or raised conductor not used as solder bump
-
- H—ELECTRICITY
- H05—ELECTRIC TECHNIQUES NOT OTHERWISE PROVIDED FOR
- H05K—PRINTED CIRCUITS; CASINGS OR CONSTRUCTIONAL DETAILS OF ELECTRIC APPARATUS; MANUFACTURE OF ASSEMBLAGES OF ELECTRICAL COMPONENTS
- H05K2201/00—Indexing scheme relating to printed circuits covered by H05K1/00
- H05K2201/09—Shape and layout
- H05K2201/09209—Shape and layout details of conductors
- H05K2201/095—Conductive through-holes or vias
- H05K2201/096—Vertically aligned vias, holes or stacked vias
-
- H—ELECTRICITY
- H05—ELECTRIC TECHNIQUES NOT OTHERWISE PROVIDED FOR
- H05K—PRINTED CIRCUITS; CASINGS OR CONSTRUCTIONAL DETAILS OF ELECTRIC APPARATUS; MANUFACTURE OF ASSEMBLAGES OF ELECTRICAL COMPONENTS
- H05K2203/00—Indexing scheme relating to apparatus or processes for manufacturing printed circuits covered by H05K3/00
- H05K2203/05—Patterning and lithography; Masks; Details of resist
- H05K2203/0502—Patterning and lithography
Definitions
- the present disclosure relates to a circuit board and a method for manufacturing the same.
- the R & D of electronic products has gradually been directed to the pursuit of versatility and high performance.
- the requirements of circuit boards also increase. For example, the pitch of the traces of the circuit board is required to become smaller and smaller, and the thickness of the circuit board is required to become smaller and smaller.
- This disclosure provides a circuit board and a method for manufacturing the same to increase the space for the circuit layer in the circuit board and increase the overall process yield.
- a method for manufacturing a circuit board includes: forming a first sacrificial metal layer on a carrier, in which the first sacrificial metal layer has a plurality of first openings; forming a first etching stop layer on the carrier, in which the first etching stop layer covers the first sacrificial metal layer; forming a patterned resist on the first etching stop layer, in which the patterned resist has a plurality of second openings and an intaglioed pattern, the second openings respectively correspond to the first openings to expose a part of the first sacrificial metal layer, and the intaglioed pattern exposes a part of the first etching stop layer; forming a plurality of metal bump in the first openings and the second openings and forming a first circuit layer in the intaglioed pattern; removing the patterned resist; forming a build-up structure on the first etching stop layer, in which the build-
- the first etching stop layer and the second etching stop layer are made of the same material, and the first etching stop layer and the second etching stop layer are made of tin, titanium, aluminum, or any combination thereof.
- the method further includes forming a metal layer on the dielectric layer when the build-up structure is formed.
- the second etching stop layer further covers the metal layer.
- the method further includes performing a third etching process to pattern the metal layer after the second etching process is performed.
- the method further includes: forming a second sacrificial metal layer on the second etching stop layer; and removing the second sacrificial metal layer when the first sacrificial metal layer is removed.
- a thickness of the first sacrificial metal layer is substantially the same with a thickness of the second sacrificial metal layer, and the first sacrificial metal layer and the second sacrificial metal layer are made of the same material.
- each of the metal bumps are further divided into a first part and a second part. After the first etching stop layer and the second etching stop layer are removed, the first part is disposed in the dielectric layer, the second part protrudes from the dielectric layer, and a difference between widths of the first part and the second part is less than 4% of the width of the second part.
- one of a plurality of the second circuit layers is formed on the dielectric layer, the others of the second circuit layers are formed in the dielectric layer, a part of the conductive vias connect the first circuit layer and the lowermost one of the second circuit layers, and the others of the conductive vias connect the second circuit layers.
- a circuit board in another aspect of the disclosure, includes a first dielectric layer, a first circuit layer, a second circuit layer, a conductive via, and a metal bump.
- the first dielectric layer has a first surface and a second surface opposite to the first surface.
- the first circuit layer is buried in the first surface.
- the second circuit layer is disposed on the second surface.
- the conductive via is disposed in the first dielectric layer and connects the first circuit layer and the second circuit layer.
- the metal bump has a first part and a second part, in which the first part is disposed in the first dielectric layer, the second part protrudes from the first surface, and a difference between widths of the first part and the second part is less than 4% of the width of the second part.
- the circuit board further includes a second dielectric layer disposed on a sidewall of the second part.
- an end surface of the first part and an interface between the first circuit layer and the conductive via are coplanar.
- an end surface of the first circuit layer exposed by the first surface and the first surface are coplanar.
- an edge of the first part is located outside a scope enclosed by an edge of the second part.
- an edge of the first part is located in a scope enclosed by an edge of the second part.
- the sizes of the metal bumps are effectively controlled, such that the shape of the cross-section of each of the metal bumps is similar to “I”, in which the widths of different segments of each of the metal bumps are substantially the same. Therefore, the metal bumps will not occupy the surrounding space, so the space for the circuit layer can be effectively increased.
- the first etching stop layer and the second etching stop layer are made of tin, titanium, aluminum, or other metals that can form an intermetallic compound with copper
- the first etching stop layer and the second etching stop layer will not be influenced by the alkaline etching process (the first etching process).
- nickel, tin, titanium, aluminum, or other metals that can form an intermetallic compound with copper can resist the alkaline etching more effectively, so the cavity will not be formed after the alkaline etching process is performed, such that depressions or cavities may not generated in the metal bumps, the first circuit layer, and the second circuit layer, and an open circuit will not happen.
- FIGS. 1A to 1F are schematic cross-sectional views of intermediate operations in a method for manufacturing a circuit board according to one embodiment of this disclosure
- FIG. 1C ′ is a schematic cross-sectional view of one of the intermediate operations in the method for manufacturing the circuit board according to another embodiment of this disclosure
- FIGS. 2A and 2B are schematic enlarged cross-sectional views of metal bumps according to one embodiment of this disclosure.
- FIGS. 3A to 3E are schematic cross-sectional views of the intermediate operations in the method for manufacturing the circuit board according to another embodiment of this disclosure.
- spatially relative terms such as “beneath,” “below,” “lower,” “above,” “upper” and the like, may be used herein for ease of description to describe one element or feature's relationship to another element(s) or feature(s) as illustrated in the figures.
- the spatially relative terms are intended to encompass different orientations of the device in use or operation in addition to the orientation depicted in the figures.
- the apparatus may be otherwise oriented (rotated 90 degrees or at other orientations) and the spatially relative descriptors used herein may likewise be interpreted accordingly.
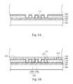
- FIGS. 1A to 1F are schematic cross-sectional views of intermediate operations in a method for manufacturing a circuit board according to one embodiment of this disclosure.
- a sacrificial metal layer 110 is formed on a carrier 100 .
- copper foil layers 102 and 104 may be formed on the carrier 100 , and a stripping layer disposed between the copper foil layers 102 and 104 (not shown in Figs.) may be formed.
- Embodiments of this disclosure are not limited thereto. In other embodiments, the copper foil layers 102 and 104 may not be formed on the carrier 100 .
- the thickness of the copper foil layer 102 is, for example, in a range from about 5 ⁇ m to about 40 ⁇ m, and the thickness of the copper foil layer 104 is, for example, in a range from about 1 ⁇ m to about 10 ⁇ m.
- the copper foil layers 102 and 104 may help the separating of the carrier 100 and a circuit board, which is the end product, in the following processes.
- the sacrificial metal layer 110 has a plurality of openings 112 . In the following processes, metal bumps will be formed in the openings 112 .
- the sacrificial metal layer 110 is made of metal, such as copper. Embodiments of this disclosure are not limited thereto.
- the formation method of the sacrificial metal layer 110 is, for example, an electroplating process. In this embodiment, the openings 112 expose a part of the carrier 100 .
- an etching stop layer 108 is formed on the carrier 100 .
- the etching stop layer 108 covers the sacrificial metal layer 110 and the part of the carrier 100 exposed by the openings 112 .
- the etching stop layer 108 is made of tin, titanium, aluminum, or other metals that can form an intermetallic compound with copper.
- the formation method of the etching stop layer 108 is, for example, an electroplating process.
- the etching rate of the etching stop layer 108 needs to be smaller than the etching rate of the sacrificial metal layer 110 . Therefore, in the following operation of removing the sacrificial metal layer 110 by an etching process, the etching stop layer 108 can protect the metal bumps and the circuit layer covered by the etching stop layer 108 .
- the etching stop layer 108 is made of tin, copper ions in the sacrificial metal layer 110 are easy to diffuse into the etching stop layer 108 , such that the copper-tin intermetallic compound is formed.
- the etching stop layer 108 is made of titanium, the copper-titanium intermetallic compound is not easy to be formed.
- the operation of forming the etching stop layer 108 includes the following detailed operations. First, a tin layer is formed on the carrier 100 , in which the tin layer covers the sacrificial metal layer 110 and the carrier 100 exposed by the openings 112 . Then, the tin layer is heated. After the tin layer is heated, the tin layer will chemically react with the sacrificial metal layer 110 , which is made of copper, and the copper foil layer 104 , such that the tin layer becomes the etching stop layer 108 made of the copper-tin intermetallic compound.
- a patterned resist 120 is formed on the etching stop layer 108 .
- the patterned resist 120 is, for example, a dry film or a liquid photoresist.
- the patterned resist 120 has a plurality of openings 122 corresponding to the openings 112 to expose a part of the etching stop layer 108 . Due to the process tolerance in the process of forming the patterned resist 120 , the width of the openings 122 and the width of the openings 112 are slightly different.
- each of the openings 122 may slightly protrude from the edge of the corresponding one of the openings 112 below (i.e., the width of the openings 122 is slightly greater than the width of the openings 112 , and the edge of each of the openings 122 is located outside a scope enclosed by the edge of the corresponding one of the openings 112 ); alternatively, the edge of each of the openings 122 may slightly depress from the edge of the corresponding one of the openings 112 below (i.e., the width of the openings 122 is slightly less than the width of the openings 112 , and the edge of each of the openings 122 is located in a scope enclosed by the edge of the corresponding one of the openings 112 ).
- the width of the opening 122 is greater or less than the width of the openings 112
- the difference between the widths of the openings 112 and 122 is less than 4% of the width of the openings 112 .
- the edge of each of the openings 122 can be regarded to be aligned with the edge of the corresponding one of the openings 112 (as shown in FIG. 1B , the edge of each of the openings 122 is aligned with the edge of the corresponding one of the etching stop layer 108 . Because the thickness of the etching stop layer 108 is small, the edge of each of the openings 122 can be regarded to be aligned with the edge of corresponding one of the openings 112 ). Furthermore, the patterned resist 120 further has an intaglioed pattern 124 exposing a part of the etching stop layer 108 .
- a metal layer is formed in the openings 112 and 122 and the intaglioed pattern 124 , such that a plurality of metal bump 130 are formed in the openings 112 and 122 , and a circuit layer 140 is formed in the intaglioed pattern 124 .
- the metal layer is, for example, a copper layer.
- the forming method of the metal layer is, for example, an electroplating process.
- Each of the metal bumps 130 has a first part 130 a and a second part 130 b , in which the first parts 130 a are formed in the openings 122 , and the second parts 130 b are formed in the openings 112 .
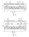
- FIGS. 2A and 2B are schematic enlarged cross-sectional views of metal bumps according to one embodiment of this disclosure.
- the width of the first part 130 a is slightly greater than the width of the second part 130 b
- the edge of the first part 130 a is located outside a scope enclosed by the edge of the second part 130 b .
- the difference between the widths of the openings 112 and 122 is less than 4% of the width of the openings 112 , so the total length of the differences W 1 and W 2 between the widths of the first part 130 a and the second part 130 b is less than 4% of the width W of the second part 130 b .
- the shape of the cross-section of each of the metal bumps 130 is similar to “I”, in which the widths of different segments of each of the metal bumps 130 are substantially the same.
- the width of the first part 130 a is slightly less than the width of the second part 130 b , and the edge of the first part 130 a is located in a scope enclosed by the edge of the second part 130 b .
- the difference between the widths of the openings 112 and 122 is less than 4% of the width of the openings 112 , so the total length of the differences W 1 and W 2 between the widths of the first part 130 a and the second part 130 b is less than 4% of the width W of the second part 130 b .
- the shape of the cross-section of each of the metal bumps 130 is similar to “I”, in which the widths of different segments of each of the metal bumps 130 are substantially the same.
- a dielectric layer 150 is formed on the etching stop layer 108 .
- the dielectric layer 150 covers the etching stop layer 108 , the first parts 130 a , and the circuit layer 140 .
- the dielectric layer 150 is, for example, a prepreg.
- the dielectric layer 150 is formed on the etching stop layer 108 by lamination.
- a metal layer 152 may be formed on the dielectric layer 150 .
- the metal layer 152 is, for example, a copper layer. Embodiments of this disclosure are not limited thereto. In other embodiments, the metal layer 152 may not be formed on the dielectric layer 150 .
- a plurality of via holes 154 are formed in the dielectric layer 150 and the metal layer 152 to expose a part of the circuit layer 140 .
- the forming method of the via holes 154 is, for example, laser ablation.
- a patterned resist 160 is formed on the dielectric layer 150 and the metal layer 152 .
- the patterned resist 160 has a pattern 164 to expose the via holes 154 and a part of the metal layer 152 .
- a metal layer is formed in the via holes 154 and the intaglioed pattern 164 , such that a plurality of conductive vias 170 are formed in the via holes 154 , and a patterned metal layer 180 is formed in the intaglioed pattern 164 , in which the conductive vias 170 connect the circuit layer 140 and the patterned metal layer 180 .
- the metal layer is, for example, a copper layer.
- the forming method of the metal layer is, for example, an electroplating process. Therefore, the dielectric layer 150 , the conductive vias 170 , and the patterned metal layer 180 form a build-up structure.
- FIG. 1C ′ is a schematic cross-sectional view of one of the intermediate operations in the method for manufacturing the circuit board according to another embodiment of this disclosure.
- a dielectric layer 150 ′ is formed on the dielectric layer 150 .
- the dielectric layer 150 ′ covers the dielectric layer 150 and the patterned metal layer 180 .
- the dielectric layer 150 ′ is, for example, a prepreg.
- the dielectric layer 150 is formed on the dielectric layer 150 by lamination.
- a metal layer 152 ′ may be formed on the dielectric layer 150 ′.
- the metal layer 152 ′ is, for example, a copper layer.
- the patterned metal layer 180 and the metal layer 152 c form a circuit layer 181 ′.
- Embodiments of this disclosure are not limited thereto. In other embodiments, the metal layer 152 may not be formed, and thus the metal layer 152 c may not be formed. Therefore, the circuit layer 181 ′ only includes the patterned metal layer 180 .
- a plurality of via holes 154 ′ are formed in the dielectric layer 150 and the metal layer 152 ′ to expose a part of the circuit layer 181 ′.
- the forming method of the via holes 154 ′ is, for example, laser ablation.
- a plurality of conductive vias 170 ′ are formed in the via holes 154 ′, and a patterned metal layer 180 ′ is formed on the dielectric layer 150 ′ and the metal layer 152 ′, in which the conductive vias 170 ′ connect the circuit layer 181 ′ and the patterned metal layer 180 ′.
- the forming methods of the conductive vias 170 ′ and the patterned metal layer 180 ′ are the same with the forming methods of the conductive vias 170 and the patterned metal layer 180 , so the details will not repeat here. Therefore, the dielectric layers 150 and 150 ′, the conductive vias 170 and 170 ′, the patterned metal layer 180 ′, and the circuit layer 181 ′ form a build-up structure. In addition, the dielectric layers 150 and 150 ′ can be viewed as one dielectric layer in the structure perspective.
- the patterned metal layer 180 ′ is formed on the dielectric layer 150 ′.
- the circuit layer 181 ′ is formed between the dielectric layers 150 and 150 ′.
- the conductive vias 170 connect the circuit layer 140 and the circuit layer 181 ′ (the lowermost one of the patterned metal layer 180 ′ and the circuit layer 181 ′).
- the conductive vias 170 ′ connect the circuit layer 181 ′ and the patterned metal layer 180 ′.
- the patterned resist 160 is removed. Then, an etching stop layer 188 is formed on the dielectric layer 150 and the metal layer 152 .
- the etching stop layer 188 covers the patterned metal layer 180 and a part of the metal layer 152 .
- the etching stop layers 188 and 108 are made of the same material, i.e., tin, titanium, aluminum, or other metals that can form an intermetallic compound with copper.
- the formation method of the etching stop layer 188 is, for example, an electroplating process.
- the operation of forming the etching stop layer 188 includes the following detailed operations. First, a tin layer is formed on the dielectric layer 150 , in which the tin layer covers the patterned metal layer 180 and a part of the metal layer 152 . Then, the tin layer is heated. After the tin layer is heated, the tin layer will chemically react with the patterned metal layer 180 and the metal layer 152 , which are made of copper, such that the tin layer becomes the etching stop layer 188 made of the copper-tin intermetallic compound.
- the metal layer 152 is usually patterned (in FIG. 1C ′, the metal layer 152 is patterned to form the metal layer 152 c ).
- the metal layer 152 will not be patterned after the patterned resist 160 is removed, and the metal layer 152 will be patterned in the following processes.
- the etching stop layer 108 is made of titanium or aluminum
- the metal layer 152 can be patterned after the patterned resist 160 is removed. Therefore, the etching stop layer 188 will be formed on the dielectric layer 150 and the patterned metal layer 180 .
- a sacrificial metal layer 190 is formed on the etching stop layer 188 .
- the sacrificial metal layer 190 is, for example, a copper layer. Embodiments of this disclosure are not limited thereto.
- the forming method of the sacrificial metal layer 190 is, for example, an electroplating process.
- the thickness of the sacrificial metal layer 110 is substantially the same with the thickness of the sacrificial metal layer 190 . In some embodiments, the thickness of the sacrificial metal layers 110 and 190 is in a range from about 10 ⁇ m to about 30 ⁇ m.
- the sacrificial metal layers 110 and 190 are made of the same material.
- the carrier 100 and the sacrificial metal layer 110 are separated.
- the copper foil layers 102 and 104 are disposed on the carrier 100 , the copper foil layer 102 can be easily stripped from the copper foil 104 by the stripping layer (not shown in Figs.) to separate the carrier 100 and the sacrificial metal layer 110 during the process of separating the carrier 100 and the sacrificial metal layer 110 .
- a first etching process is performed to remove the sacrificial metal layers 110 and 190 .
- the copper foil layer 104 located below the sacrificial metal layer 110 is removed to expose the etching stop layer 108 when the sacrificial metal layers 110 and 190 are removed.
- the first etching process is an alkaline etching process. Because the etching stop layers 108 and 118 are made of tin, titanium, aluminum, or other metals that can form an intermetallic compound with copper, the etching stop layers will not be influenced by the first etching process. Compared to the conventional material nickel, tin, titanium, aluminum, or other metals that can form an intermetallic compound with copper can resist the alkaline etching more effectively, so the cavity will not be formed in the etching stop layers 108 and 118 after the first etching process is performed, such that depressions or cavities may not be generated in the metal bumps 130 , the circuit layer 140 , and the patterned metal layer 180 , and an open circuit will not happen.
- the thickness of the sacrificial metal layer 110 is substantially the same with the thickness of the sacrificial metal layer 190 , and the sacrificial metal layers 110 and 190 are made of the same material, the time needed to remove the sacrificial metal layer 110 and the time needed to remove the sacrificial metal layer 190 are approximately the same.
- each of the sacrificial metal layers 110 and 190 will not be removed ahead of the other, such that the time that each of the etching stop layers 108 and 188 is influenced by the first etching process will not be longer than the time that the other of the etching stop layers 108 and 188 is influenced by the first etching process, and thus defects will not be generated in each of the etching stop layers 108 and 188 .
- a second etching process is performed to remove the etching stop layers 108 and 188 .
- the etchant only etches the etching stop layers 108 and 188 without damaging the circuit layer 140 , the patterned metal layer 180 , and the metal bumps 130 .
- a third etching process is performed to remove a part of the metal layer 152 to form a patterned metal layer 152 a , and the patterned metal layer 180 and the metal layer 152 a form a circuit layer 181 . Therefore, a circuit board 10 is formed.
- the circuit board 10 includes a dielectric layer 150 , circuit layers 140 and 181 , a plurality of conductive vias 170 , and a plurality of metal bumps 130 .
- the dielectric layer 150 has a surface 154 a and a surface 154 b opposite to the surface 154 a .
- the circuit layer 140 is buried in the surface 154 a , and the end surface of the circuit layer 140 exposed by the surface 154 a may be optionally coplanar with the surface 154 a .
- the circuit layer 181 is disposed on the surface 154 b .
- the conductive vias 170 are disposed in the dielectric layer 150 and connect the circuit layers 140 and 181 .
- each of the metal bumps 130 has a first part 130 a and a second part 130 b .
- the first part 130 a is disposed in the dielectric layer 150
- the second part 130 b protrudes from the surface 154 a .
- the end surface of the first part 130 may be optionally coplanar with an interface between the circuit layer 140 and one of the conductive vias 170 .
- Embodiments of this disclosure are not limited thereto.
- the shape of the cross-section of each of the metal bumps 130 is similar to “I”, in which the widths of different segments of each of the metal bumps 130 are substantially the same. Therefore, the metal bumps 130 will not occupy the surrounding space, so the space for the circuit layer can be effectively increased.
- FIGS. 3A to 3E are schematic cross-sectional views of the intermediate operations in the method for manufacturing the circuit board according to another embodiment of this disclosure.
- the embodiment in FIG. 3A to FIG. 3E is similar to the embodiment in FIG. 1A to FIG. 1F . Therefore, the differences are mainly discussed below.
- the description of the omitted parts can be referred to the aforementioned embodiments, and the omitted parts will not repeat below.
- the same element or similar elements will use the same reference numerals.
- a patterned resist 220 is formed on the etching stop layer 108 .
- the patterned resist 220 has an intaglioed pattern 124 to expose a part of the etching stop layer 108 as well.
- the difference between the patterned resists 120 and 220 is that the patterned resist 220 covers the sidewalls of the openings 112 to form a plurality of openings 222 . Therefore, the width of the openings 222 is less than the width of the openings 112 .
- a metal layer is formed in the openings 222 and the intaglioed pattern 124 , such that a plurality of metal bumps 230 are formed in the openings 222 and a circuit layer 140 is formed in the intaglioed pattern 124 .
- the metal layer is, for example, a copper layer.
- the forming method of the metal layer is, for example, an electroplating process.
- Each of the metal bumps 230 has a first part 230 a and a second part 230 b .
- the deposition height of the first part 230 a is substantially the same with the deposition height of the circuit layer 140
- the second part 230 b is disposed in the openings 112 .
- the patterned resist 220 covers the sidewalls of the openings 112 to form the openings 222 , the widths of the first part 230 a and the second part 230 b are the same. In other words, the shape of the cross-section of each of the metal bumps 230 is similar to “I”.
- the width of the openings 222 is less than the width of the openings 112
- the width of the metal bumps 230 is less than the width of the metal bumps 130 in the aforementioned embodiment.
- Embodiments of this disclosure are not limited thereto.
- the width of the openings 112 and the thickness of the patterned resist 220 covering the sidewalls of the openings 112 may be adjusted according to actual requirements to adjust the width of the openings 222 , such that the width of the metal bumps 230 formed in the openings 222 can further be adjusted.
- a dielectric layer 150 is formed on the etching stop layer 108 .
- the dielectric layer 150 covers a part of the etching stop layer 108 , the first parts 230 a , and the circuit layer 140 , and a part of the dielectric layer 150 (the dielectric layer 150 a ) is filled in the openings 112 and located in gaps between the second parts 230 b and the openings 112 .
- the dielectric layer 150 a is disposed on the sidewalls of the second parts 230 b and covers a part of the etching stop layer 108 .
- the thickness of the dielectric layer 150 a may be adjusted. Therefore, the thickness of the dielectric layer 150 a may be optionally reduced to minimum according to actual requirements, such that the dielectric layer 150 a will not influence the performance of the circuit board formed in the following processes.
- the dielectric layer 150 is, for example, a prepreg.
- the dielectric layer 150 is formed on the etching stop layer 108 by lamination.
- a metal layer 152 may be formed on the dielectric layer 150 .
- a plurality of conductive vias 170 are formed in the dielectric layer 150 , and a patterned metal layer 180 is formed on the dielectric layer 150 , in which the conductive vias 170 connect the circuit layer 140 and the patterned metal layer 180 .
- the associated processes of forming the conductive vias 170 and the patterned metal layer 180 are described in the aforementioned embodiment, so the detail will not repeat here. Therefore, the dielectric layer 150 , the conductive vias 170 , and the patterned metal layer 180 form a build-up structure.
- the patterned resist 160 is removed.
- an etching stop layer 188 is formed on the dielectric layer 150 and the metal layer 152 .
- the etching stop layer 188 covers the patterned metal layer 180 and a part of the metal layer 152 .
- a sacrificial metal layer 190 is formed on the etching stop layer 188 .
- the associated processes of forming the sacrificial metal layer 190 are described in the aforementioned embodiment, so the detail will not repeat here.
- the carrier 100 and the sacrificial metal layer 110 are separated.
- the sacrificial metal layer 110 and 190 are removed. Similar to the aforementioned embodiment, the sacrificial metal layers 110 and 190 are removed, and the copper foil layer 104 disposed below the sacrificial metal layer 110 is removed as well to expose the etching stop layer 108 . Then, a second etching process is performed to remove the etching stop layers 108 and 188 .
- a third etching process is performed to form a patterned metal layer 152 a , and the patterned metal layer 180 and the metal layer 152 a form a circuit layer 181 . Therefore, a circuit board 20 is formed.
- the circuit board 20 includes a dielectric layer 150 , circuit layers 140 and 181 , a plurality of conductive vias 170 , and a plurality of metal bumps 230 .
- the width of the first parts 230 a of the metal bumps 230 is the same with the width of the second part 230 b of the metal bumps 230 b , and the shape of the cross-section of each of the metal bumps 130 is similar to “I”.
- the difference between the circuit boards 10 and 20 is that the width of the metal bumps 230 of the circuit board 20 is less than the width of the metal bumps 130 of the circuit board 10 .
- the circuit board 20 further includes the dielectric layer 150 a , and the dielectric layer 150 a is disposed on the sidewalls of the second parts 230 b.
Landscapes
- Engineering & Computer Science (AREA)
- Microelectronics & Electronic Packaging (AREA)
- Manufacturing & Machinery (AREA)
- Production Of Multi-Layered Print Wiring Board (AREA)
Abstract
A circuit board element includes a glass substrate, a first dielectric layer, and a first patterned metal layer. The glass substrate has an edge. The first dielectric layer is disposed on the glass substrate and has a central region and an edge region. The edge region is in contact with the edge of the glass substrate, and the thickness of the central region is greater than the thickness of the edge region. The first patterned metal layer is disposed on the glass substrate and in the central region of the first dielectric layer.
Description
- This application is a Divisional Application of the U.S. application Ser. No. 15/361,075, filed Nov. 25, 2016, which claims priority to China Application Serial Number 201610852933.2, filed Sep. 27, 2016, all of which are herein incorporated by reference.
- The present disclosure relates to a circuit board and a method for manufacturing the same.
- With the rapid growth of the electronics industry, the R & D of electronic products has gradually been directed to the pursuit of versatility and high performance. In order to achieve the requirements of high integration and miniaturization of semiconductor components, the requirements of circuit boards also increase. For example, the pitch of the traces of the circuit board is required to become smaller and smaller, and the thickness of the circuit board is required to become smaller and smaller.
- To further improve the circuit boards, persons in the industry have made every endeavor to discover new solutions. The application and improvement of the circuit boards has become one of the most important research topics.
- This disclosure provides a circuit board and a method for manufacturing the same to increase the space for the circuit layer in the circuit board and increase the overall process yield.
- In one aspect of the disclosure, a method for manufacturing a circuit board is provided. The method includes: forming a first sacrificial metal layer on a carrier, in which the first sacrificial metal layer has a plurality of first openings; forming a first etching stop layer on the carrier, in which the first etching stop layer covers the first sacrificial metal layer; forming a patterned resist on the first etching stop layer, in which the patterned resist has a plurality of second openings and an intaglioed pattern, the second openings respectively correspond to the first openings to expose a part of the first sacrificial metal layer, and the intaglioed pattern exposes a part of the first etching stop layer; forming a plurality of metal bump in the first openings and the second openings and forming a first circuit layer in the intaglioed pattern; removing the patterned resist; forming a build-up structure on the first etching stop layer, in which the build-up structure includes a dielectric layer, a plurality of conductive vias, and at least one second circuit layer, the dielectric layer covers the metal bumps and the first circuit layer, the conductive vias is formed in the dielectric layer, the second circuit layer is formed on the dielectric layer, the conductive vias connects the first circuit layer and the second circuit layer; a second etching stop layer is formed on the dielectric layer, in which the second etching stop layer covers the second circuit layer; separating the carrier and the first sacrificial metal layer; performing a first etching process to remove the first sacrificial metal layer; and performing a second etching process to remove the first etching stop layer and the second etching stop layer.
- In one or more embodiments, the first etching stop layer and the second etching stop layer are made of the same material, and the first etching stop layer and the second etching stop layer are made of tin, titanium, aluminum, or any combination thereof.
- In one or more embodiments, the method further includes forming a metal layer on the dielectric layer when the build-up structure is formed. The second etching stop layer further covers the metal layer. The method further includes performing a third etching process to pattern the metal layer after the second etching process is performed.
- In one or more embodiments, the method further includes: forming a second sacrificial metal layer on the second etching stop layer; and removing the second sacrificial metal layer when the first sacrificial metal layer is removed.
- In one or more embodiments, a thickness of the first sacrificial metal layer is substantially the same with a thickness of the second sacrificial metal layer, and the first sacrificial metal layer and the second sacrificial metal layer are made of the same material.
- In one or more embodiments, each of the metal bumps are further divided into a first part and a second part. After the first etching stop layer and the second etching stop layer are removed, the first part is disposed in the dielectric layer, the second part protrudes from the dielectric layer, and a difference between widths of the first part and the second part is less than 4% of the width of the second part.
- In one or more embodiments, one of a plurality of the second circuit layers is formed on the dielectric layer, the others of the second circuit layers are formed in the dielectric layer, a part of the conductive vias connect the first circuit layer and the lowermost one of the second circuit layers, and the others of the conductive vias connect the second circuit layers.
- In another aspect of the disclosure, a circuit board is provided. The circuit board includes a first dielectric layer, a first circuit layer, a second circuit layer, a conductive via, and a metal bump. The first dielectric layer has a first surface and a second surface opposite to the first surface. The first circuit layer is buried in the first surface. The second circuit layer is disposed on the second surface. The conductive via is disposed in the first dielectric layer and connects the first circuit layer and the second circuit layer. The metal bump has a first part and a second part, in which the first part is disposed in the first dielectric layer, the second part protrudes from the first surface, and a difference between widths of the first part and the second part is less than 4% of the width of the second part.
- In one or more embodiments, the circuit board further includes a second dielectric layer disposed on a sidewall of the second part.
- In one or more embodiments, an end surface of the first part and an interface between the first circuit layer and the conductive via are coplanar.
- In one or more embodiments, an end surface of the first circuit layer exposed by the first surface and the first surface are coplanar.
- In one or more embodiments, an edge of the first part is located outside a scope enclosed by an edge of the second part.
- In one or more embodiments, an edge of the first part is located in a scope enclosed by an edge of the second part.
- In the aforementioned embodiments, the sizes of the metal bumps are effectively controlled, such that the shape of the cross-section of each of the metal bumps is similar to “I”, in which the widths of different segments of each of the metal bumps are substantially the same. Therefore, the metal bumps will not occupy the surrounding space, so the space for the circuit layer can be effectively increased.
- Further, because the first etching stop layer and the second etching stop layer are made of tin, titanium, aluminum, or other metals that can form an intermetallic compound with copper, the first etching stop layer and the second etching stop layer will not be influenced by the alkaline etching process (the first etching process). Compared to the conventional material nickel, tin, titanium, aluminum, or other metals that can form an intermetallic compound with copper can resist the alkaline etching more effectively, so the cavity will not be formed after the alkaline etching process is performed, such that depressions or cavities may not generated in the metal bumps, the first circuit layer, and the second circuit layer, and an open circuit will not happen.
- It is to be understood that both the foregoing general description and the following detailed description are by examples, and are intended to provide further explanation of the invention as claimed.
- The invention can be more fully understood by reading the following detailed description of the embodiment, with reference made to the accompanying drawings as follows:
-
FIGS. 1A to 1F are schematic cross-sectional views of intermediate operations in a method for manufacturing a circuit board according to one embodiment of this disclosure; -
FIG. 1C ′ is a schematic cross-sectional view of one of the intermediate operations in the method for manufacturing the circuit board according to another embodiment of this disclosure; -
FIGS. 2A and 2B are schematic enlarged cross-sectional views of metal bumps according to one embodiment of this disclosure; and -
FIGS. 3A to 3E are schematic cross-sectional views of the intermediate operations in the method for manufacturing the circuit board according to another embodiment of this disclosure. - In the following detailed description, for purposes of explanation, numerous specific details are set forth in order to provide a thorough understanding of the disclosed embodiments. It will be apparent, however, that one or more embodiments may be practiced without these specific details. In other instances, well-known structures and devices are schematically depicted in order to simplify the drawings.
- Further, spatially relative terms, such as “beneath,” “below,” “lower,” “above,” “upper” and the like, may be used herein for ease of description to describe one element or feature's relationship to another element(s) or feature(s) as illustrated in the figures. The spatially relative terms are intended to encompass different orientations of the device in use or operation in addition to the orientation depicted in the figures. The apparatus may be otherwise oriented (rotated 90 degrees or at other orientations) and the spatially relative descriptors used herein may likewise be interpreted accordingly.
-
FIGS. 1A to 1F are schematic cross-sectional views of intermediate operations in a method for manufacturing a circuit board according to one embodiment of this disclosure. First, as shown inFIG. 1A , asacrificial metal layer 110 is formed on acarrier 100. In this embodiment, copper foil layers 102 and 104 may be formed on thecarrier 100, and a stripping layer disposed between the copper foil layers 102 and 104 (not shown in Figs.) may be formed. Embodiments of this disclosure are not limited thereto. In other embodiments, the copper foil layers 102 and 104 may not be formed on thecarrier 100. The thickness of thecopper foil layer 102 is, for example, in a range from about 5 μm to about 40 μm, and the thickness of thecopper foil layer 104 is, for example, in a range from about 1 μm to about 10 μm. The copper foil layers 102 and 104 may help the separating of thecarrier 100 and a circuit board, which is the end product, in the following processes. Thesacrificial metal layer 110 has a plurality ofopenings 112. In the following processes, metal bumps will be formed in theopenings 112. Thesacrificial metal layer 110 is made of metal, such as copper. Embodiments of this disclosure are not limited thereto. The formation method of thesacrificial metal layer 110 is, for example, an electroplating process. In this embodiment, theopenings 112 expose a part of thecarrier 100. - Then, an
etching stop layer 108 is formed on thecarrier 100. Theetching stop layer 108 covers thesacrificial metal layer 110 and the part of thecarrier 100 exposed by theopenings 112. Theetching stop layer 108 is made of tin, titanium, aluminum, or other metals that can form an intermetallic compound with copper. The formation method of theetching stop layer 108 is, for example, an electroplating process. In this embodiment, the etching rate of theetching stop layer 108 needs to be smaller than the etching rate of thesacrificial metal layer 110. Therefore, in the following operation of removing thesacrificial metal layer 110 by an etching process, theetching stop layer 108 can protect the metal bumps and the circuit layer covered by theetching stop layer 108. - When the
etching stop layer 108 is made of tin, copper ions in thesacrificial metal layer 110 are easy to diffuse into theetching stop layer 108, such that the copper-tin intermetallic compound is formed. When theetching stop layer 108 is made of titanium, the copper-titanium intermetallic compound is not easy to be formed. - When the
etching stop layer 108 is made of tin, the operation of forming theetching stop layer 108 includes the following detailed operations. First, a tin layer is formed on thecarrier 100, in which the tin layer covers thesacrificial metal layer 110 and thecarrier 100 exposed by theopenings 112. Then, the tin layer is heated. After the tin layer is heated, the tin layer will chemically react with thesacrificial metal layer 110, which is made of copper, and thecopper foil layer 104, such that the tin layer becomes theetching stop layer 108 made of the copper-tin intermetallic compound. - Then, as shown in
FIG. 1B , a patterned resist 120 is formed on theetching stop layer 108. The patterned resist 120 is, for example, a dry film or a liquid photoresist. The patterned resist 120 has a plurality ofopenings 122 corresponding to theopenings 112 to expose a part of theetching stop layer 108. Due to the process tolerance in the process of forming the patterned resist 120, the width of theopenings 122 and the width of theopenings 112 are slightly different. For example, the edge of each of theopenings 122 may slightly protrude from the edge of the corresponding one of theopenings 112 below (i.e., the width of theopenings 122 is slightly greater than the width of theopenings 112, and the edge of each of theopenings 122 is located outside a scope enclosed by the edge of the corresponding one of the openings 112); alternatively, the edge of each of theopenings 122 may slightly depress from the edge of the corresponding one of theopenings 112 below (i.e., the width of theopenings 122 is slightly less than the width of theopenings 112, and the edge of each of theopenings 122 is located in a scope enclosed by the edge of the corresponding one of the openings 112). However, no matter the width of theopening 122 is greater or less than the width of theopenings 112, the difference between the widths of the 112 and 122 is less than 4% of the width of theopenings openings 112. - In addition, because the difference between the widths of the
112 and 122 is less than 4% of the width of theopenings openings 112, the edge of each of theopenings 122 can be regarded to be aligned with the edge of the corresponding one of the openings 112 (as shown inFIG. 1B , the edge of each of theopenings 122 is aligned with the edge of the corresponding one of theetching stop layer 108. Because the thickness of theetching stop layer 108 is small, the edge of each of theopenings 122 can be regarded to be aligned with the edge of corresponding one of the openings 112). Furthermore, the patterned resist 120 further has an intaglioedpattern 124 exposing a part of theetching stop layer 108. - Then, a metal layer is formed in the
112 and 122 and the intaglioedopenings pattern 124, such that a plurality ofmetal bump 130 are formed in the 112 and 122, and aopenings circuit layer 140 is formed in the intaglioedpattern 124. The metal layer is, for example, a copper layer. The forming method of the metal layer is, for example, an electroplating process. Each of the metal bumps 130 has afirst part 130 a and asecond part 130 b, in which thefirst parts 130 a are formed in theopenings 122, and thesecond parts 130 b are formed in theopenings 112. -
FIGS. 2A and 2B are schematic enlarged cross-sectional views of metal bumps according to one embodiment of this disclosure. As shown inFIG. 2A , when the edge of each of theopenings 122 slightly protrude from the edge of the corresponding one of theopenings 112, the width of thefirst part 130 a is slightly greater than the width of thesecond part 130 b, and the edge of thefirst part 130 a is located outside a scope enclosed by the edge of thesecond part 130 b. The difference between the widths of the 112 and 122 is less than 4% of the width of theopenings openings 112, so the total length of the differences W1 and W2 between the widths of thefirst part 130 a and thesecond part 130 b is less than 4% of the width W of thesecond part 130 b. As shown inFIG. 1B , the shape of the cross-section of each of the metal bumps 130 is similar to “I”, in which the widths of different segments of each of the metal bumps 130 are substantially the same. - As shown in
FIG. 2B , when the edge of each of theopenings 122 slightly depress from the edge of the corresponding one of theopenings 112, the width of thefirst part 130 a is slightly less than the width of thesecond part 130 b, and the edge of thefirst part 130 a is located in a scope enclosed by the edge of thesecond part 130 b. The difference between the widths of the 112 and 122 is less than 4% of the width of theopenings openings 112, so the total length of the differences W1 and W2 between the widths of thefirst part 130 a and thesecond part 130 b is less than 4% of the width W of thesecond part 130 b. As shown inFIG. 1B , the shape of the cross-section of each of the metal bumps 130 is similar to “I”, in which the widths of different segments of each of the metal bumps 130 are substantially the same. - Then, as shown in
FIG. 1B andFIG. 1C , after the patterned resist 120 is removed, adielectric layer 150 is formed on theetching stop layer 108. Thedielectric layer 150 covers theetching stop layer 108, thefirst parts 130 a, and thecircuit layer 140. Thedielectric layer 150 is, for example, a prepreg. In this embodiment, thedielectric layer 150 is formed on theetching stop layer 108 by lamination. In addition, in this embodiment, ametal layer 152 may be formed on thedielectric layer 150. Themetal layer 152 is, for example, a copper layer. Embodiments of this disclosure are not limited thereto. In other embodiments, themetal layer 152 may not be formed on thedielectric layer 150. - Then, a plurality of via
holes 154 are formed in thedielectric layer 150 and themetal layer 152 to expose a part of thecircuit layer 140. The forming method of the via holes 154 is, for example, laser ablation. Then, a patterned resist 160 is formed on thedielectric layer 150 and themetal layer 152. The patterned resist 160 has apattern 164 to expose the via holes 154 and a part of themetal layer 152. Then, a metal layer is formed in the via holes 154 and the intaglioedpattern 164, such that a plurality ofconductive vias 170 are formed in the via holes 154, and a patternedmetal layer 180 is formed in the intaglioedpattern 164, in which theconductive vias 170 connect thecircuit layer 140 and the patternedmetal layer 180. The metal layer is, for example, a copper layer. The forming method of the metal layer is, for example, an electroplating process. Therefore, thedielectric layer 150, theconductive vias 170, and the patternedmetal layer 180 form a build-up structure. -
FIG. 1C ′ is a schematic cross-sectional view of one of the intermediate operations in the method for manufacturing the circuit board according to another embodiment of this disclosure. As shown inFIG. 1C ′, in another embodiment, after the patterned resist 160 and themetal layer 152 covered by the patterned resist 160 are removed to form the patternedmetal layer 152 c, adielectric layer 150′ is formed on thedielectric layer 150. Thedielectric layer 150′ covers thedielectric layer 150 and the patternedmetal layer 180. Thedielectric layer 150′ is, for example, a prepreg. Thedielectric layer 150 is formed on thedielectric layer 150 by lamination. Ametal layer 152′ may be formed on thedielectric layer 150′. Themetal layer 152′ is, for example, a copper layer. In addition, the patternedmetal layer 180 and themetal layer 152 c form acircuit layer 181′. Embodiments of this disclosure are not limited thereto. In other embodiments, themetal layer 152 may not be formed, and thus themetal layer 152 c may not be formed. Therefore, thecircuit layer 181′ only includes the patternedmetal layer 180. - Then, a plurality of via
holes 154′ are formed in thedielectric layer 150 and themetal layer 152′ to expose a part of thecircuit layer 181′. The forming method of the via holes 154′ is, for example, laser ablation. A plurality ofconductive vias 170′ are formed in the via holes 154′, and a patternedmetal layer 180′ is formed on thedielectric layer 150′ and themetal layer 152′, in which theconductive vias 170′ connect thecircuit layer 181′ and the patternedmetal layer 180′. The forming methods of theconductive vias 170′ and the patternedmetal layer 180′ are the same with the forming methods of theconductive vias 170 and the patternedmetal layer 180, so the details will not repeat here. Therefore, the 150 and 150′, thedielectric layers 170 and 170′, the patternedconductive vias metal layer 180′, and thecircuit layer 181′ form a build-up structure. In addition, the 150 and 150′ can be viewed as one dielectric layer in the structure perspective.dielectric layers - Therefore, as shown in
FIG. 1C ′, the patternedmetal layer 180′ is formed on thedielectric layer 150′. Thecircuit layer 181′ is formed between the 150 and 150′. Thedielectric layers conductive vias 170 connect thecircuit layer 140 and thecircuit layer 181′ (the lowermost one of the patternedmetal layer 180′ and thecircuit layer 181′). Theconductive vias 170′ connect thecircuit layer 181′ and the patternedmetal layer 180′. - The following process in this embodiment is similar to the following process in the embodiment of
FIG. 1C , so the following processes in the embodiment ofFIG. 1C are mainly discussed below. - As shown in
FIG. 1C andFIG. 1D , the patterned resist 160 is removed. Then, anetching stop layer 188 is formed on thedielectric layer 150 and themetal layer 152. Theetching stop layer 188 covers the patternedmetal layer 180 and a part of themetal layer 152. The etching stop layers 188 and 108 are made of the same material, i.e., tin, titanium, aluminum, or other metals that can form an intermetallic compound with copper. The formation method of theetching stop layer 188 is, for example, an electroplating process. - When the
etching stop layer 188 is made of tin, the operation of forming theetching stop layer 188 includes the following detailed operations. First, a tin layer is formed on thedielectric layer 150, in which the tin layer covers the patternedmetal layer 180 and a part of themetal layer 152. Then, the tin layer is heated. After the tin layer is heated, the tin layer will chemically react with the patternedmetal layer 180 and themetal layer 152, which are made of copper, such that the tin layer becomes theetching stop layer 188 made of the copper-tin intermetallic compound. - After the patterned resist 160 is removed, the
metal layer 152 is usually patterned (inFIG. 1C ′, themetal layer 152 is patterned to form themetal layer 152 c). However, in this embodiment, since the tin layer will chemically react with themetal layer 152 to form theetching stop layer 188 made of the copper-tin intermetallic compound, themetal layer 152 will not be patterned after the patterned resist 160 is removed, and themetal layer 152 will be patterned in the following processes. When theetching stop layer 108 is made of titanium or aluminum, themetal layer 152 can be patterned after the patterned resist 160 is removed. Therefore, theetching stop layer 188 will be formed on thedielectric layer 150 and the patternedmetal layer 180. - Then, a
sacrificial metal layer 190 is formed on theetching stop layer 188. Thesacrificial metal layer 190 is, for example, a copper layer. Embodiments of this disclosure are not limited thereto. The forming method of thesacrificial metal layer 190 is, for example, an electroplating process. Further, the thickness of thesacrificial metal layer 110 is substantially the same with the thickness of thesacrificial metal layer 190. In some embodiments, the thickness of the 110 and 190 is in a range from about 10 μm to about 30 μm. In addition, thesacrificial metal layers 110 and 190 are made of the same material.sacrificial metal layers - Then, as shown in
FIG. 1D andFIG. 1E , thecarrier 100 and thesacrificial metal layer 110 are separated. In this embodiment, because the copper foil layers 102 and 104 are disposed on thecarrier 100, thecopper foil layer 102 can be easily stripped from thecopper foil 104 by the stripping layer (not shown in Figs.) to separate thecarrier 100 and thesacrificial metal layer 110 during the process of separating thecarrier 100 and thesacrificial metal layer 110. - Then, as shown in
FIG. 1F , a first etching process is performed to remove the 110 and 190. In this embodiment, thesacrificial metal layers copper foil layer 104 located below thesacrificial metal layer 110 is removed to expose theetching stop layer 108 when the 110 and 190 are removed.sacrificial metal layers - The first etching process is an alkaline etching process. Because the etching stop layers 108 and 118 are made of tin, titanium, aluminum, or other metals that can form an intermetallic compound with copper, the etching stop layers will not be influenced by the first etching process. Compared to the conventional material nickel, tin, titanium, aluminum, or other metals that can form an intermetallic compound with copper can resist the alkaline etching more effectively, so the cavity will not be formed in the etching stop layers 108 and 118 after the first etching process is performed, such that depressions or cavities may not be generated in the metal bumps 130, the
circuit layer 140, and the patternedmetal layer 180, and an open circuit will not happen. - Further, because the thickness of the
sacrificial metal layer 110 is substantially the same with the thickness of thesacrificial metal layer 190, and the 110 and 190 are made of the same material, the time needed to remove thesacrificial metal layers sacrificial metal layer 110 and the time needed to remove thesacrificial metal layer 190 are approximately the same. Therefore, each of the 110 and 190 will not be removed ahead of the other, such that the time that each of the etching stop layers 108 and 188 is influenced by the first etching process will not be longer than the time that the other of the etching stop layers 108 and 188 is influenced by the first etching process, and thus defects will not be generated in each of the etching stop layers 108 and 188.sacrificial metal layers - Then, a second etching process is performed to remove the etching stop layers 108 and 188. In the second etching process, the etchant only etches the etching stop layers 108 and 188 without damaging the
circuit layer 140, the patternedmetal layer 180, and the metal bumps 130. In this embodiment, after the sacrificial stop layers 108 and 188 are removed, a third etching process is performed to remove a part of themetal layer 152 to form a patternedmetal layer 152 a, and the patternedmetal layer 180 and themetal layer 152 a form acircuit layer 181. Therefore, acircuit board 10 is formed. - As shown in
FIG. 1F , in another aspect of the disclosure, thecircuit board 10 includes adielectric layer 150, circuit layers 140 and 181, a plurality ofconductive vias 170, and a plurality of metal bumps 130. Thedielectric layer 150 has asurface 154 a and asurface 154 b opposite to thesurface 154 a. Thecircuit layer 140 is buried in thesurface 154 a, and the end surface of thecircuit layer 140 exposed by thesurface 154 a may be optionally coplanar with thesurface 154 a. Embodiments of this disclosure are not limited thereto. In addition, thecircuit layer 181 is disposed on thesurface 154 b. Theconductive vias 170 are disposed in thedielectric layer 150 and connect the circuit layers 140 and 181. - As shown in
FIG. 1F , each of the metal bumps 130 has afirst part 130 a and asecond part 130 b. Thefirst part 130 a is disposed in thedielectric layer 150, and thesecond part 130 b protrudes from thesurface 154 a. In addition, the end surface of thefirst part 130 may be optionally coplanar with an interface between thecircuit layer 140 and one of theconductive vias 170. Embodiments of this disclosure are not limited thereto. The shape of the cross-section of each of the metal bumps 130 is similar to “I”, in which the widths of different segments of each of the metal bumps 130 are substantially the same. Therefore, the metal bumps 130 will not occupy the surrounding space, so the space for the circuit layer can be effectively increased. -
FIGS. 3A to 3E are schematic cross-sectional views of the intermediate operations in the method for manufacturing the circuit board according to another embodiment of this disclosure. The embodiment inFIG. 3A toFIG. 3E is similar to the embodiment inFIG. 1A toFIG. 1F . Therefore, the differences are mainly discussed below. The description of the omitted parts can be referred to the aforementioned embodiments, and the omitted parts will not repeat below. In addition, the same element or similar elements will use the same reference numerals. - As shown in
FIG. 3A , after the operation described inFIG. 1A , a patterned resist 220 is formed on theetching stop layer 108. The patterned resist 220 has an intaglioedpattern 124 to expose a part of theetching stop layer 108 as well. However, the difference between the patterned resists 120 and 220 is that the patterned resist 220 covers the sidewalls of theopenings 112 to form a plurality ofopenings 222. Therefore, the width of theopenings 222 is less than the width of theopenings 112. - Then, a metal layer is formed in the
openings 222 and the intaglioedpattern 124, such that a plurality ofmetal bumps 230 are formed in theopenings 222 and acircuit layer 140 is formed in the intaglioedpattern 124. The metal layer is, for example, a copper layer. The forming method of the metal layer is, for example, an electroplating process. Each of the metal bumps 230 has afirst part 230 a and asecond part 230 b. The deposition height of thefirst part 230 a is substantially the same with the deposition height of thecircuit layer 140, and thesecond part 230 b is disposed in theopenings 112. Because the patterned resist 220 covers the sidewalls of theopenings 112 to form theopenings 222, the widths of thefirst part 230 a and thesecond part 230 b are the same. In other words, the shape of the cross-section of each of the metal bumps 230 is similar to “I”. - In addition, because the width of the
openings 222 is less than the width of theopenings 112, the width of the metal bumps 230 is less than the width of the metal bumps 130 in the aforementioned embodiment. Embodiments of this disclosure are not limited thereto. The width of theopenings 112 and the thickness of the patterned resist 220 covering the sidewalls of theopenings 112 may be adjusted according to actual requirements to adjust the width of theopenings 222, such that the width of the metal bumps 230 formed in theopenings 222 can further be adjusted. - Then, as shown in
FIG. 3A andFIG. 3B , after the patterned resist 220 is removed, adielectric layer 150 is formed on theetching stop layer 108. Thedielectric layer 150 covers a part of theetching stop layer 108, thefirst parts 230 a, and thecircuit layer 140, and a part of the dielectric layer 150 (thedielectric layer 150 a) is filled in theopenings 112 and located in gaps between thesecond parts 230 b and theopenings 112. In other words, thedielectric layer 150 a is disposed on the sidewalls of thesecond parts 230 b and covers a part of theetching stop layer 108. By adjusting the thickness of the patterned resist 220 covering the sidewalls of theopenings 112, the thickness of thedielectric layer 150 a may be adjusted. Therefore, the thickness of thedielectric layer 150 a may be optionally reduced to minimum according to actual requirements, such that thedielectric layer 150 a will not influence the performance of the circuit board formed in the following processes. Thedielectric layer 150 is, for example, a prepreg. In this embodiments, thedielectric layer 150 is formed on theetching stop layer 108 by lamination. In addition, similar to the aforementioned embodiment, ametal layer 152 may be formed on thedielectric layer 150. - Then, a plurality of
conductive vias 170 are formed in thedielectric layer 150, and a patternedmetal layer 180 is formed on thedielectric layer 150, in which theconductive vias 170 connect thecircuit layer 140 and the patternedmetal layer 180. The associated processes of forming theconductive vias 170 and the patternedmetal layer 180 are described in the aforementioned embodiment, so the detail will not repeat here. Therefore, thedielectric layer 150, theconductive vias 170, and the patternedmetal layer 180 form a build-up structure. - Then, as shown in
FIG. 3B andFIG. 3C , similar to the operations described inFIG. 1D , the patterned resist 160 is removed. Then, anetching stop layer 188 is formed on thedielectric layer 150 and themetal layer 152. Theetching stop layer 188 covers the patternedmetal layer 180 and a part of themetal layer 152. - Then, a
sacrificial metal layer 190 is formed on theetching stop layer 188. The associated processes of forming thesacrificial metal layer 190 are described in the aforementioned embodiment, so the detail will not repeat here. - Then, as shown in
FIG. 3C andFIG. 3D , similar to the operations described inFIG. 1E , thecarrier 100 and thesacrificial metal layer 110 are separated. - Then, as shown in
FIG. 3D andFIG. 3E , similar to the operations described inFIG. 1F , the 110 and 190 are removed. Similar to the aforementioned embodiment, thesacrificial metal layer 110 and 190 are removed, and thesacrificial metal layers copper foil layer 104 disposed below thesacrificial metal layer 110 is removed as well to expose theetching stop layer 108. Then, a second etching process is performed to remove the etching stop layers 108 and 188. In this embodiment, after the sacrificial stop layers 108 and 188 are removed, a third etching process is performed to form a patternedmetal layer 152 a, and the patternedmetal layer 180 and themetal layer 152 a form acircuit layer 181. Therefore, acircuit board 20 is formed. - As shown in
FIG. 3E , in another aspect of the disclosure, similar to thecircuit board 10 ofFIG. 1F , thecircuit board 20 includes adielectric layer 150, circuit layers 140 and 181, a plurality ofconductive vias 170, and a plurality of metal bumps 230. The width of thefirst parts 230 a of the metal bumps 230 is the same with the width of thesecond part 230 b of the metal bumps 230 b, and the shape of the cross-section of each of the metal bumps 130 is similar to “I”. However, the difference between the 10 and 20 is that the width of the metal bumps 230 of thecircuit boards circuit board 20 is less than the width of the metal bumps 130 of thecircuit board 10. Therefore, the space for the circuit layer can be effectively increased, and thecircuit board 20 may be further miniaturized. In addition, thecircuit board 20 further includes thedielectric layer 150 a, and thedielectric layer 150 a is disposed on the sidewalls of thesecond parts 230 b. - All the features disclosed in this specification (including any accompanying claims, abstract, and drawings) may be replaced by alternative features serving the same, equivalent or similar purpose, unless expressly stated otherwise. Thus, unless expressly stated otherwise, each feature disclosed is one example only of a generic series of equivalent or similar features.
- Any element in a claim that does not explicitly state “means for” performing a specified function, or “step for” performing a specific function, is not to be interpreted as a “means” or “step” clause as specified in 35 U.S.C. § 112, 6th paragraph. In particular, the use of “step of” in the claims herein is not intended to invoke the provisions of 35 U.S.C. § 112, 6th paragraph.
Claims (9)
1. A method for manufacturing a circuit board, comprising:
forming a first sacrificial metal layer on a carrier, wherein the first sacrificial metal layer has a plurality of first openings;
forming a first etching stop layer on the carrier, wherein the first etching stop layer covers the first sacrificial metal layer;
forming a patterned resist on the first etching stop layer, wherein the patterned resist has a plurality of second openings and an intaglioed pattern, the second openings respectively correspond to the first openings to expose a part of the first sacrificial metal layer, and the intaglioed pattern exposes a part of the first etching stop layer;
forming a plurality of metal bump in the first openings and the second openings and forming a first circuit layer in the intaglioed pattern;
removing the patterned resist;
forming a build-up structure on the first etching stop layer, wherein the build-up structure includes a dielectric layer, a plurality of conductive vias, and at least one second circuit layer, the dielectric layer covers the metal bumps and the first circuit layer, the conductive vias is formed in the dielectric layer, the second circuit layer is formed on the dielectric layer, the conductive vias connects the first circuit layer and the second circuit layer;
a second etching stop layer is formed on the dielectric layer, wherein the second etching stop layer covers the second circuit layer;
separating the carrier and the first sacrificial metal layer;
performing a first etching process to remove the first sacrificial metal layer; and
performing a second etching process to remove the first etching stop layer and the second etching stop layer.
2. The method of claim 1 , wherein the first etching stop layer and the second etching stop layer are made of the same material, and the first etching stop layer and the second etching stop layer are made of tin, titanium, aluminum, or any combination thereof.
3. The method of claim 1 , further comprising:
forming a metal layer on the dielectric layer when the build-up structure is formed;
wherein the second etching stop layer further covers the metal layer; and
performing a third etching process to pattern the metal layer after the second etching process is performed.
4. The method of claim 1 , further comprising:
forming a second sacrificial metal layer on the second etching stop layer; and
removing the second sacrificial metal layer when the first sacrificial metal layer is removed.
5. The method of claim 4 , wherein a thickness of the first sacrificial metal layer is substantially the same with a thickness of the second sacrificial metal layer, and the first sacrificial metal layer and the second sacrificial metal layer are made of the same material.
6. The method of claim 1 , wherein each of the metal bumps are further divided into a first part and a second part, after the first etching stop layer and the second etching stop layer are removed, the first part is disposed in the dielectric layer, the second part protrudes from the dielectric layer, and a difference between widths of the first part and the second part is less than 4% of the width of the second part.
7. The method of claim 1 , wherein one of a plurality of the second circuit layers is formed on the dielectric layer, the others of the second circuit layers are formed in the dielectric layer, a part of the conductive vias connect the first circuit layer and the lowermost one of the second circuit layers, and the others of the conductive vias connect the second circuit layers.
8. A circuit board, comprising:
a first dielectric layer having a first surface and a second surface opposite to the first surface;
a first circuit layer buried in the first surface;
a second circuit layer disposed on the second surface;
a conductive via disposed in the first dielectric layer and connecting the first circuit layer and the second circuit layer;
a metal bump having a first part and a second part, wherein the first part is disposed in the first dielectric layer, the second part protrudes from the first surface, and a difference between widths of the first part and the second part is less than 4% of the width of the second part; and
a second dielectric layer disposed on a sidewall of the second part.
9. A circuit board, comprising:
a first dielectric layer having a first surface and a second surface opposite to the first surface;
a first circuit layer buried in the first surface;
a second circuit layer disposed on the second surface;
a conductive via disposed in the first dielectric layer and connecting the first circuit layer and the second circuit layer; and
a metal bump having a first part and a second part, wherein the first part is disposed in the first dielectric layer, the second part protrudes from the first surface, a difference between widths of the first part and the second part is less than 4% of the width of the second part, and an edge of the first part is located in a scope enclosed by an edge of the second part.
Priority Applications (2)
| Application Number | Priority Date | Filing Date | Title |
|---|---|---|---|
| US15/820,397 US20180098435A1 (en) | 2016-09-27 | 2017-11-21 | Circuit board and method for manufacturing the same |
| US16/132,462 US10667406B2 (en) | 2016-09-27 | 2018-09-16 | Circuit board and method for manufacturing the same |
Applications Claiming Priority (4)
| Application Number | Priority Date | Filing Date | Title |
|---|---|---|---|
| CN201610852933.2A CN107872929B (en) | 2016-09-27 | 2016-09-27 | Circuit board and manufacturing method thereof |
| CN201610852933.2 | 2016-09-27 | ||
| US15/361,075 US20180092219A1 (en) | 2016-09-27 | 2016-11-25 | Circuit board and method for manufacturing the same |
| US15/820,397 US20180098435A1 (en) | 2016-09-27 | 2017-11-21 | Circuit board and method for manufacturing the same |
Related Parent Applications (1)
| Application Number | Title | Priority Date | Filing Date |
|---|---|---|---|
| US15/361,075 Division US20180092219A1 (en) | 2016-09-27 | 2016-11-25 | Circuit board and method for manufacturing the same |
Related Child Applications (1)
| Application Number | Title | Priority Date | Filing Date |
|---|---|---|---|
| US16/132,462 Division US10667406B2 (en) | 2016-09-27 | 2018-09-16 | Circuit board and method for manufacturing the same |
Publications (1)
| Publication Number | Publication Date |
|---|---|
| US20180098435A1 true US20180098435A1 (en) | 2018-04-05 |
Family
ID=61686020
Family Applications (3)
| Application Number | Title | Priority Date | Filing Date |
|---|---|---|---|
| US15/361,075 Abandoned US20180092219A1 (en) | 2016-09-27 | 2016-11-25 | Circuit board and method for manufacturing the same |
| US15/820,397 Abandoned US20180098435A1 (en) | 2016-09-27 | 2017-11-21 | Circuit board and method for manufacturing the same |
| US16/132,462 Active US10667406B2 (en) | 2016-09-27 | 2018-09-16 | Circuit board and method for manufacturing the same |
Family Applications Before (1)
| Application Number | Title | Priority Date | Filing Date |
|---|---|---|---|
| US15/361,075 Abandoned US20180092219A1 (en) | 2016-09-27 | 2016-11-25 | Circuit board and method for manufacturing the same |
Family Applications After (1)
| Application Number | Title | Priority Date | Filing Date |
|---|---|---|---|
| US16/132,462 Active US10667406B2 (en) | 2016-09-27 | 2018-09-16 | Circuit board and method for manufacturing the same |
Country Status (2)
| Country | Link |
|---|---|
| US (3) | US20180092219A1 (en) |
| CN (1) | CN107872929B (en) |
Families Citing this family (3)
| Publication number | Priority date | Publication date | Assignee | Title |
|---|---|---|---|---|
| TWI728410B (en) | 2019-07-18 | 2021-05-21 | 欣興電子股份有限公司 | Circuit board structure and manufacturing method thereof |
| CN112291940A (en) * | 2019-07-24 | 2021-01-29 | 欣兴电子股份有限公司 | Circuit board structure and manufacturing method thereof |
| TWI740767B (en) * | 2021-01-07 | 2021-09-21 | 欣興電子股份有限公司 | Circuit board and manufacturing method of the circuit board |
Citations (3)
| Publication number | Priority date | Publication date | Assignee | Title |
|---|---|---|---|---|
| US20130098670A1 (en) * | 2011-10-25 | 2013-04-25 | Ngk Spark Plug Co., Ltd. | Wiring substrate and manufacturing method of the same |
| US9117697B2 (en) * | 2013-06-13 | 2015-08-25 | Advanced Semiconductor Engineering, Inc. | Semiconductor substrate and method for making the same |
| US9247654B2 (en) * | 2013-05-07 | 2016-01-26 | Unimicron Technology Corp. | Carrier substrate and manufacturing method thereof |
Family Cites Families (4)
| Publication number | Priority date | Publication date | Assignee | Title |
|---|---|---|---|---|
| US6861757B2 (en) * | 2001-09-03 | 2005-03-01 | Nec Corporation | Interconnecting substrate for carrying semiconductor device, method of producing thereof and package of semiconductor device |
| US7964106B2 (en) * | 2008-05-30 | 2011-06-21 | Unimicron Technology Corp. | Method for fabricating a packaging substrate |
| JP5147779B2 (en) * | 2009-04-16 | 2013-02-20 | 新光電気工業株式会社 | Wiring board manufacturing method and semiconductor package manufacturing method |
| KR101067031B1 (en) * | 2009-07-31 | 2011-09-22 | 삼성전기주식회사 | Printed circuit board and manufacturing method thereof |
-
2016
- 2016-09-27 CN CN201610852933.2A patent/CN107872929B/en active Active
- 2016-11-25 US US15/361,075 patent/US20180092219A1/en not_active Abandoned
-
2017
- 2017-11-21 US US15/820,397 patent/US20180098435A1/en not_active Abandoned
-
2018
- 2018-09-16 US US16/132,462 patent/US10667406B2/en active Active
Patent Citations (3)
| Publication number | Priority date | Publication date | Assignee | Title |
|---|---|---|---|---|
| US20130098670A1 (en) * | 2011-10-25 | 2013-04-25 | Ngk Spark Plug Co., Ltd. | Wiring substrate and manufacturing method of the same |
| US9247654B2 (en) * | 2013-05-07 | 2016-01-26 | Unimicron Technology Corp. | Carrier substrate and manufacturing method thereof |
| US9117697B2 (en) * | 2013-06-13 | 2015-08-25 | Advanced Semiconductor Engineering, Inc. | Semiconductor substrate and method for making the same |
Also Published As
| Publication number | Publication date |
|---|---|
| CN107872929A (en) | 2018-04-03 |
| US10667406B2 (en) | 2020-05-26 |
| CN107872929B (en) | 2021-02-05 |
| US20190021171A1 (en) | 2019-01-17 |
| US20180092219A1 (en) | 2018-03-29 |
Similar Documents
| Publication | Publication Date | Title |
|---|---|---|
| US9565774B2 (en) | Embedded trace substrate and method of forming the same | |
| US8227711B2 (en) | Coreless packaging substrate and method for fabricating the same | |
| US10356901B2 (en) | Manufacturing method of circuit board structure | |
| US9085826B2 (en) | Method of fabricating printed circuit board (PCB) substrate having a cavity | |
| US10820426B2 (en) | Carrier substrate | |
| US10141224B2 (en) | Manufacturing method of interconnection structure | |
| KR20170009128A (en) | Circuit board and manufacturing method of the same | |
| US9301405B1 (en) | Method for manufacturing microthrough-hole in circuit board and circuit board structure with microthrough-hole | |
| US10667406B2 (en) | Circuit board and method for manufacturing the same | |
| US20120028459A1 (en) | Manufacturing process of circuit substrate | |
| US9860980B1 (en) | Circuit board element | |
| TWI607678B (en) | Interconnection structure and method of manufacturing the same | |
| KR20080066773A (en) | Fine Pitch Interconnect and Manufacturing Method Thereof | |
| US20170171981A1 (en) | Method of fabricating substrate structure | |
| TWI605741B (en) | Circuit board and manufacturing method thereof | |
| CN110035599B (en) | Circuit board structure and manufacturing method thereof | |
| US20150333029A1 (en) | Package substrate and method for fabricating the same | |
| KR20120009702A (en) | Manufacturing Method of Film Circuit Board and Manufacturing Method of Chip Package | |
| US20200091062A1 (en) | Integrated circuit cavity formation with multiple interconnection pads | |
| TWI624205B (en) | Circuit board and manufacturing method thereof | |
| US20140174791A1 (en) | Circuit board and manufacturing method thereof | |
| US9420690B2 (en) | Connector | |
| KR100652132B1 (en) | Printed circuit board and its manufacturing method | |
| CN100552935C (en) | Substrate strip and substrate structure and manufacturing method thereof | |
| KR101720516B1 (en) | method of fabricating PCB substrate having copper bump |
Legal Events
| Date | Code | Title | Description |
|---|---|---|---|
| AS | Assignment |
Owner name: UNIMICRON TECHNOLOGY CORP., TAIWAN Free format text: ASSIGNMENT OF ASSIGNORS INTEREST;ASSIGNORS:CHIU, CHENG-CHIEH;CHANG, CHIA-CHAN;KUO, CHUN-YI;AND OTHERS;SIGNING DATES FROM 20161031 TO 20161101;REEL/FRAME:044196/0389 |
|
| STCB | Information on status: application discontinuation |
Free format text: ABANDONED -- FAILURE TO RESPOND TO AN OFFICE ACTION |