US20080080098A1 - Magneto-resistance effect element, magnetic head, magnetic recording/reproducing device and magnetic memory - Google Patents

Magneto-resistance effect element, magnetic head, magnetic recording/reproducing device and magnetic memory Download PDF

Info

Publication number
US20080080098A1
US20080080098A1 US11/892,890 US89289007A US2008080098A1 US 20080080098 A1 US20080080098 A1 US 20080080098A1 US 89289007 A US89289007 A US 89289007A US 2008080098 A1 US2008080098 A1 US 2008080098A1
Authority
US
United States
Prior art keywords
layer
magnetic
magneto
resistance effect
effect element
Prior art date
Legal status (The legal status is an assumption and is not a legal conclusion. Google has not performed a legal analysis and makes no representation as to the accuracy of the status listed.)
Abandoned
Application number
US11/892,890
Inventor
Hiromi Fuke
Susumu Hashimoto
Masayuki Takagishi
Hitoshi Iwasaki
Current Assignee (The listed assignees may be inaccurate. Google has not performed a legal analysis and makes no representation or warranty as to the accuracy of the list.)
Toshiba Corp
TDK Corp
Original Assignee
Toshiba Corp
TDK Corp
Priority date (The priority date is an assumption and is not a legal conclusion. Google has not performed a legal analysis and makes no representation as to the accuracy of the date listed.)
Filing date
Publication date
Application filed by Toshiba Corp, TDK Corp filed Critical Toshiba Corp
Assigned to KABUSHIKI KAISHA TOSHIBA, TDK CORPORTATION reassignment KABUSHIKI KAISHA TOSHIBA ASSIGNMENT OF ASSIGNORS INTEREST (SEE DOCUMENT FOR DETAILS). Assignors: FUKE, HIROMI, HASHIMOTO, SUSUMU, IWASAKI, HITOSHI, Takagishi, Masayuki
Publication of US20080080098A1 publication Critical patent/US20080080098A1/en
Priority to US13/291,743 priority Critical patent/US8331062B2/en
Abandoned legal-status Critical Current

Links

Images

Classifications

    • GPHYSICS
    • G11INFORMATION STORAGE
    • G11BINFORMATION STORAGE BASED ON RELATIVE MOVEMENT BETWEEN RECORD CARRIER AND TRANSDUCER
    • G11B5/00Recording by magnetisation or demagnetisation of a record carrier; Reproducing by magnetic means; Record carriers therefor
    • G11B5/127Structure or manufacture of heads, e.g. inductive
    • G11B5/33Structure or manufacture of flux-sensitive heads, i.e. for reproduction only; Combination of such heads with means for recording or erasing only
    • G11B5/39Structure or manufacture of flux-sensitive heads, i.e. for reproduction only; Combination of such heads with means for recording or erasing only using magneto-resistive devices or effects
    • G11B5/3903Structure or manufacture of flux-sensitive heads, i.e. for reproduction only; Combination of such heads with means for recording or erasing only using magneto-resistive devices or effects using magnetic thin film layers or their effects, the films being part of integrated structures
    • G11B5/398Specially shaped layers
    • BPERFORMING OPERATIONS; TRANSPORTING
    • B82NANOTECHNOLOGY
    • B82YSPECIFIC USES OR APPLICATIONS OF NANOSTRUCTURES; MEASUREMENT OR ANALYSIS OF NANOSTRUCTURES; MANUFACTURE OR TREATMENT OF NANOSTRUCTURES
    • B82Y25/00Nanomagnetism, e.g. magnetoimpedance, anisotropic magnetoresistance, giant magnetoresistance or tunneling magnetoresistance
    • BPERFORMING OPERATIONS; TRANSPORTING
    • B82NANOTECHNOLOGY
    • B82YSPECIFIC USES OR APPLICATIONS OF NANOSTRUCTURES; MEASUREMENT OR ANALYSIS OF NANOSTRUCTURES; MANUFACTURE OR TREATMENT OF NANOSTRUCTURES
    • B82Y40/00Manufacture or treatment of nanostructures
    • GPHYSICS
    • G01MEASURING; TESTING
    • G01RMEASURING ELECTRIC VARIABLES; MEASURING MAGNETIC VARIABLES
    • G01R33/00Arrangements or instruments for measuring magnetic variables
    • G01R33/02Measuring direction or magnitude of magnetic fields or magnetic flux
    • G01R33/06Measuring direction or magnitude of magnetic fields or magnetic flux using galvano-magnetic devices
    • G01R33/09Magnetoresistive devices
    • G01R33/093Magnetoresistive devices using multilayer structures, e.g. giant magnetoresistance sensors
    • GPHYSICS
    • G11INFORMATION STORAGE
    • G11BINFORMATION STORAGE BASED ON RELATIVE MOVEMENT BETWEEN RECORD CARRIER AND TRANSDUCER
    • G11B5/00Recording by magnetisation or demagnetisation of a record carrier; Reproducing by magnetic means; Record carriers therefor
    • G11B5/127Structure or manufacture of heads, e.g. inductive
    • G11B5/33Structure or manufacture of flux-sensitive heads, i.e. for reproduction only; Combination of such heads with means for recording or erasing only
    • G11B5/39Structure or manufacture of flux-sensitive heads, i.e. for reproduction only; Combination of such heads with means for recording or erasing only using magneto-resistive devices or effects
    • G11B5/3903Structure or manufacture of flux-sensitive heads, i.e. for reproduction only; Combination of such heads with means for recording or erasing only using magneto-resistive devices or effects using magnetic thin film layers or their effects, the films being part of integrated structures
    • G11B5/3906Details related to the use of magnetic thin film layers or to their effects
    • GPHYSICS
    • G11INFORMATION STORAGE
    • G11BINFORMATION STORAGE BASED ON RELATIVE MOVEMENT BETWEEN RECORD CARRIER AND TRANSDUCER
    • G11B5/00Recording by magnetisation or demagnetisation of a record carrier; Reproducing by magnetic means; Record carriers therefor
    • G11B5/127Structure or manufacture of heads, e.g. inductive
    • G11B5/33Structure or manufacture of flux-sensitive heads, i.e. for reproduction only; Combination of such heads with means for recording or erasing only
    • G11B5/39Structure or manufacture of flux-sensitive heads, i.e. for reproduction only; Combination of such heads with means for recording or erasing only using magneto-resistive devices or effects
    • G11B5/3903Structure or manufacture of flux-sensitive heads, i.e. for reproduction only; Combination of such heads with means for recording or erasing only using magneto-resistive devices or effects using magnetic thin film layers or their effects, the films being part of integrated structures
    • G11B5/398Specially shaped layers
    • G11B5/3983Specially shaped layers with current confined paths in the spacer layer
    • GPHYSICS
    • G11INFORMATION STORAGE
    • G11CSTATIC STORES
    • G11C11/00Digital stores characterised by the use of particular electric or magnetic storage elements; Storage elements therefor
    • G11C11/02Digital stores characterised by the use of particular electric or magnetic storage elements; Storage elements therefor using magnetic elements
    • G11C11/16Digital stores characterised by the use of particular electric or magnetic storage elements; Storage elements therefor using magnetic elements using elements in which the storage effect is based on magnetic spin effect
    • G11C11/161Digital stores characterised by the use of particular electric or magnetic storage elements; Storage elements therefor using magnetic elements using elements in which the storage effect is based on magnetic spin effect details concerning the memory cell structure, e.g. the layers of the ferromagnetic memory cell
    • HELECTRICITY
    • H01ELECTRIC ELEMENTS
    • H01FMAGNETS; INDUCTANCES; TRANSFORMERS; SELECTION OF MATERIALS FOR THEIR MAGNETIC PROPERTIES
    • H01F10/00Thin magnetic films, e.g. of one-domain structure
    • H01F10/32Spin-exchange-coupled multilayers, e.g. nanostructured superlattices
    • H01F10/324Exchange coupling of magnetic film pairs via a very thin non-magnetic spacer, e.g. by exchange with conduction electrons of the spacer
    • H01F10/3254Exchange coupling of magnetic film pairs via a very thin non-magnetic spacer, e.g. by exchange with conduction electrons of the spacer the spacer being semiconducting or insulating, e.g. for spin tunnel junction [STJ]
    • H01F10/3259Spin-exchange-coupled multilayers comprising at least a nanooxide layer [NOL], e.g. with a NOL spacer
    • HELECTRICITY
    • H01ELECTRIC ELEMENTS
    • H01FMAGNETS; INDUCTANCES; TRANSFORMERS; SELECTION OF MATERIALS FOR THEIR MAGNETIC PROPERTIES
    • H01F10/00Thin magnetic films, e.g. of one-domain structure
    • H01F10/32Spin-exchange-coupled multilayers, e.g. nanostructured superlattices
    • H01F10/324Exchange coupling of magnetic film pairs via a very thin non-magnetic spacer, e.g. by exchange with conduction electrons of the spacer
    • H01F10/3268Exchange coupling of magnetic film pairs via a very thin non-magnetic spacer, e.g. by exchange with conduction electrons of the spacer the exchange coupling being asymmetric, e.g. by use of additional pinning, by using antiferromagnetic or ferromagnetic coupling interface, i.e. so-called spin-valve [SV] structure, e.g. NiFe/Cu/NiFe/FeMn
    • H01F10/3272Exchange coupling of magnetic film pairs via a very thin non-magnetic spacer, e.g. by exchange with conduction electrons of the spacer the exchange coupling being asymmetric, e.g. by use of additional pinning, by using antiferromagnetic or ferromagnetic coupling interface, i.e. so-called spin-valve [SV] structure, e.g. NiFe/Cu/NiFe/FeMn by use of anti-parallel coupled [APC] ferromagnetic layers, e.g. artificial ferrimagnets [AFI], artificial [AAF] or synthetic [SAF] anti-ferromagnets
    • HELECTRICITY
    • H01ELECTRIC ELEMENTS
    • H01FMAGNETS; INDUCTANCES; TRANSFORMERS; SELECTION OF MATERIALS FOR THEIR MAGNETIC PROPERTIES
    • H01F41/00Apparatus or processes specially adapted for manufacturing or assembling magnets, inductances or transformers; Apparatus or processes specially adapted for manufacturing materials characterised by their magnetic properties
    • H01F41/14Apparatus or processes specially adapted for manufacturing or assembling magnets, inductances or transformers; Apparatus or processes specially adapted for manufacturing materials characterised by their magnetic properties for applying magnetic films to substrates
    • H01F41/30Apparatus or processes specially adapted for manufacturing or assembling magnets, inductances or transformers; Apparatus or processes specially adapted for manufacturing materials characterised by their magnetic properties for applying magnetic films to substrates for applying nanostructures, e.g. by molecular beam epitaxy [MBE]
    • H01F41/302Apparatus or processes specially adapted for manufacturing or assembling magnets, inductances or transformers; Apparatus or processes specially adapted for manufacturing materials characterised by their magnetic properties for applying magnetic films to substrates for applying nanostructures, e.g. by molecular beam epitaxy [MBE] for applying spin-exchange-coupled multilayers, e.g. nanostructured superlattices
    • H01F41/305Apparatus or processes specially adapted for manufacturing or assembling magnets, inductances or transformers; Apparatus or processes specially adapted for manufacturing materials characterised by their magnetic properties for applying magnetic films to substrates for applying nanostructures, e.g. by molecular beam epitaxy [MBE] for applying spin-exchange-coupled multilayers, e.g. nanostructured superlattices applying the spacer or adjusting its interface, e.g. in order to enable particular effect different from exchange coupling
    • HELECTRICITY
    • H10SEMICONDUCTOR DEVICES; ELECTRIC SOLID-STATE DEVICES NOT OTHERWISE PROVIDED FOR
    • H10NELECTRIC SOLID-STATE DEVICES NOT OTHERWISE PROVIDED FOR
    • H10N50/00Galvanomagnetic devices
    • H10N50/10Magnetoresistive devices

Definitions

  • the present invention relates to a magneto-resistance effect element which is configured such that a current is flowed in the direction perpendicular to the film surface thereof.
  • the present invention also relates to a magnetic head, a magnetic recording/reproducing device and a magnetic memory which utilize the magneto-resistance effect element according to the present invention.
  • GMR Giant Magneto-Resistance Effect
  • the “spin valve” film has such a structure as sandwiching a non-magnetic metal spacer layer between two ferromagnetic layers and is configured such that the magnetization of one ferromagnetic layer (often called as a “pinning layer” or “fixed magnetization layer) is fixed by the magnetization of an anti-ferromagnetic layer and the magnetization of the other ferromagnetic layer (often called as a “free layer” or “free magnetization layer”) is rotated in accordance with an external magnetic field.
  • the spin valve film the large MR effect can be obtained by the variation of the relative angle in magnetization between the pinned layer and the free layer.
  • a conventional spin valve film is employed for a CIP (Current In plane)-GMR element.
  • CIP-GMR element a sense current is flowed to the SV film in the direction parallel to the film surface thereof.
  • CPP Current Perpendicular to Plane
  • TMR Tunnelneling Magneto Resistance
  • the minute magnetic coupling is formed three-dimensionally so as to realize a magneto-resistance effect element with high MR ratio (Reference 2).
  • the three-dimensional minute magnetic coupling is carried out by means of EB (Electron beam) irradiation, FIB (Focused Ion beam) irradiation or AFM (Atomic Force Microscope).
  • the MR effect as described above is originated from the rapid variation in magnetization at the minute magnetic coupling point. Namely, if the magnetic domain to be formed at the minute magnetic coupling point is narrowed, the large MR effect can be obtained.
  • the magnetic domain can be indirectly narrowed by decreasing the size (diameter) of the minute magnetic coupling point (the size (diameter) of the ferromagnetic metallic portion of the complex spacer layer). However, too small size of the minute magnetic coupling point may increase the resistance thereof excessively.
  • the size of the minute magnetic coupling point is enlarged, the resistance of the minute magnetic coupling point can be reduced, but too large size of the minute magnetic coupling point may strengthen the magnetic coupling between the pinned layer and the free layer via the minute magnetic coupling so as to increase the interlayer-coupling.
  • the increase of the interlayer-coupling causes undesirably the shift of the operating point toward the higher magnetic field at the magnetic head containing the minute magnetic coupling.
  • an aspect of the present invention relates to a magneto-resistance effect element, comprising: a first magnetization layer of which a magnetization is substantially fixed in one direction; a second magnetization layer of which a magnetization is rotated in accordance with an external magnetic field; an intermediate layer which contains insulating portions and magnetic metallic portions and which is provided between the first magnetic layer and the second magnetic layer; and a pair of electrodes to flow current in a direction perpendicular to a film surface of a multilayered film made of the first magnetic layer, the intermediate layer and the second magnetic layer; wherein the magnetic metallic portions of the intermediate layer contain non-ferromagnetic metal.
  • an intermediate layer containing insulating portions and magnetic metallic portions is provided between the first magnetic layer and the second magnetic layer to cause the magnetic coupling via the magnetic metallic portions of the intermediate layer. Then, non-ferromagnetic metal is contained in the magnetic metallic portions of the intermediate layer so that the magnetization of the magnetic metallic portions can be reduced.
  • the width of the magnetic wall, which is formed in the magnetic metallic portion of the intermediate layer, is decreased in the thickness direction, the resistance change ratio, that is, the MR effect can be enhanced and the interlayer-coupling between the first magnetic layer and the second magnetic layer, which sandwich the intermediate layer, can be suppressed.
  • the interlayer-coupling can be reduced.
  • the non-ferromagnetic metal may be at least one selected from the group consisting of Cu, Cr, V, Ta, Nb, Sc, Ti, Mn, Zn, Ga, Ge, Zr, Y, Tc, Re, B, In, C, Si, Sn, Ca, Sr, Ba, Au, Ag, Pd, Pt, Ir, Rh, Ru, Os and Hf.
  • the non-ferromagnetic metal may contain at least Cu.
  • the magnetic metallic portions of the intermediate layer may contain at least one of Fe, Co and Ni.
  • the first magnetic layer and the second magnetic layer may contain at least one of Fe, Co and Ni.
  • a new magneto-resistance effect element which can exhibit a larger MR effect without the shift of operating point due to the low resistance and the high interlayer-coupling.
  • FIG. 1 is a structural view illustrating an embodiment of the magneto-resistance effect element according to the present invention.
  • FIG. 2 is an explanatory view schematically showing the cross sectional state of the magnetization of the magneto-resistance effect element in FIG. 1 in the vicinity of the intermediate layer thereof.
  • FIG. 3 is a graph showing the dependence of the resistance change ratio AR with the external magnetic field H in the magneto-resistance effect element in FIG. 1 .
  • FIG. 4 is an explanatory view schematically showing the cross sectional state of the magnetization of a magneto-resistance effect element which is different from the magneto-resistance effect element in FIG. 1 and which does not contain a non-ferromagnetic portion in the ferromagnetic portion of the intermediate layer thereof.
  • FIG. 5 is a graph showing the dependence of the resistance change ratio ⁇ R with the external magnetic field H in the magneto-resistance effect element in FIG. 4 .
  • FIG. 6 is a perspective view illustrating a magnetic recording/reproducing device according to the present invention.
  • FIG. 7 is a perspective view illustrating the magnetic head assembly of the magnetic recording/reproducing device in FIG. 6 .
  • FIG. 8 is a view illustrating a magnetic memory matrix according to the present invention.
  • FIG. 9 is a view illustrating another magnetic memory matrix according to the present invention.
  • FIG. 10 is a cross sectional view illustrating an essential part of the magnetic memory.
  • FIG. 11 is a cross sectional view of the magnetic memory illustrated in FIG. 10 , taken on line “A-A”.
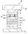
  • FIG. 1 is a perspective view illustrating a magneto-resistance effect element according to an embodiment of the present invention. Some or all components throughout the drawings in the present application are schematically illustrated so that the illustrated sizes (thickness) and thickness ratio for the components is different from the real sizes and thickness ratio for the components.
  • the magneto-resistance effect element 10 illustrated in FIG. 1 includes a bottom electrode LE and a top electrode UE which are disposed so as to sandwich a plurality of layers composing the magneto-resistance effect element 10 .
  • the magneto-resistance effect element 10 is configured such that an underlayer 11 , an antiferromagnetic layer 12 , a complex pinned layer 13 , an intermediate layer 14 , a free layer 15 and a protective layer 16 are subsequently formed on the bottom electrode LE.
  • the complex pinned layer 13 is configured such that a magnetic anti-parallel coupling layer 132 is sandwiched between a first pinned layer 131 and a second pinned layer 132 .
  • the intermediate layer 14 is composed of insulating portions 141 and magnetic metallic portions 142 which are disposed alternately in the intermediate layer 14 .
  • the complex pinned layer 13 , the intermediate layer 14 and the free layer 15 constitute the spin valve film.
  • the complex pinned layer 13 corresponds to a first magnetic layer, as defined in claims, of which the magnetization is substantially fixed in one direction
  • the free layer 15 corresponds to a second magnetic layer, as defined in claims, of which the magnetization is rotated in accordance with an external magnetic field
  • the intermediate layer 14 corresponds to an intermediate layer as defined in claims.
  • the first magnetic layer may be made of a single magnetic layer instead of a multilayered structure such as the complex magnetic layer 13 .
  • the bottom electrode LE and the top electrode UE function as flowing a sense current to the magneto-resistance effect element 10 in the direction perpendicular to the film surface of the spin valve film.
  • the magneto-resistance effect element 10 constitutes a CPP (Current Perpendicular to Plane) type magneto-resistance effect element configured such that the sense current is flowed in the direction perpendicular to the film surface of the element.
  • the underlayer 11 maybe formed as a two-layered structure of a buffer layer and a seed layer, for example.
  • the buffer layer can relax the surface roughness of the bottom electrode LE and be made of Ta, Ti, W, Zr, Hf, Cr or an alloy thereof.
  • the seed layer functions as controlling the crystalline orientation of the spin valve film and be made of Ru, (Fe x Ni 100-x ) 100-y X y (X ⁇ Cr, V, Nb, Hf, Zr, Mo; 15 ⁇ x ⁇ 25, 20 ⁇ y ⁇ 45).
  • the antiferromagnetic layer 12 may be made of antiferromagnetic material (e.g., PtMn, PdPtMn, IrMn, RuRhMn) which applies unidirectional anisotropy to the complex pinned layer 13 so as to fix the magnetization of the complex pinned layer 13 .
  • antiferromagnetic material e.g., PtMn, PdPtMn, IrMn, RuRhMn
  • the first pinned layer 131 and the second pinned layer 132 of the complex pinned layer 13 may be made of, e.g., Fe, Co, Ni, FeCo alloy or FeNi alloy.
  • the magnetic anti-parallel coupling layer 132 functions as coupling in antiferromagnetism the first pinned layer 131 and the second pinned layer 132 and may be made of Ru, Ir or Rh.
  • the insulating portion 141 of the intermediate layer 14 may be made of an oxide, a nitride, an oxynitride or a carbide containing at least one selected from the group consisting of Al, Mg, Li, Si, Ca, Sc, Ti, V, Cr, Mn, Fe, Co, Ni, Cu, Zn, Ga, Se, Sr, Y, Zr, Nb, Mo, Pd, Ag, Cd, In, Sn, Sb, Ba, Ka, Hf, Ta, W, Re, Pt, Hg, Pb, Bi and lanthanoid.
  • the insulating portion 141 may be made of another electrically insulating material.
  • the magnetic metallic portion 142 of the intermediate layer 14 functions as an electric current path to flow current therethrough in the direction perpendicular to the film surface of the intermediate layer 14 and may be made of single ferromagnetic material such as Fe, Co, Ni or ferromagnetic alloy material.
  • a magnetic field directed at the direction opposite to the direction of the magnetization of the second pinned layer 132 is applied to the free layer 15 so that the direction of the magnetization of the free layer 15 is aligned in the direction of the magnetic field, the direction of the magnetization of the second pinned layer 133 becomes anti-parallel to the direction of the magnetization of the free layer 15 .
  • the diameter “d” of the magnetic metallic portion 142 is not constant in the thickness direction as shown in FIG. 1 (In FIG. 1 , the top width of the metallic portion 142 becomes larger than the bottom width of the metallic portion 142 ).
  • the typical diameter “d” can be defined by the average diameter in thickness direction.
  • non-ferromagnetic metal is incorporated in the magnetic metallic portion 142 of the intermediate layer 14 .
  • the non-ferromagnetic metal can be selected from the group consisting of Cu, Cr, V, Ta, Nb, Sc, Ti, Mn, Zn, Ga, Ge, Zr, Y, Tc, Re, B, In, C, Si, Sn, Ca, Sr, Ba, Au, Ag, Pd, Pt, Ir, Rh, Ru, Os, Hf.
  • the non-magnetic metal is Cu.
  • the interlayer-coupling between the complex pinned layer 13 (second pinned layer 133 ) and the free layer 15 can be suppressed even though the diameter of the minute magnetic coupling point, that is, the magnetic metallic portion 142 is enlarged so as to decrease the resistance between the complex pinned layer 13 and the free layer 15 .
  • the free layer (free magnetization layer) 15 may be made of ferromagnetic material (e.g., Fe, Co, Ni, FeCo alloy, FeNi alloy) so that the magnetization of the free layer 15 can be rotated in accordance with an external magnetic field.
  • the free layer 15 is formed as a single-layered structure, but may be formed as a multilayered structure composed of a plurality of layers stacked.
  • the protective layer 16 functions as protecting the spin valve film.
  • the protective layer 16 may be formed as a two-layered structure of Cu/Ru or a three-layered structure of Cu/Ta/Ru.
  • FIG. 2 is an explanatory view schematically showing the cross sectional state of the magnetization of the magneto-resistance effect element 10 in the vicinity of the intermediate layer 14 .
  • FIG. 3 is a graph showing the R—H characteristic of the magneto-resistance effect element 10 .
  • the magneto-resistance effect element 10 of this embodiment as shown in FIG. 2 , since the non-ferromagnetic metal as described above is incorporated in the magnetic metallic portion 142 of the intermediate layer 14 , the magnetization (Ms) of the magnetic metallic portion 142 is reduced. Therefore, the interlayer-coupling between the complex pinned layer 13 (second pinned layer 133 ) and the free layer 15 can be suppressed and the width of the magnetic domain wall DW, which is formed in the magnetic metallic portion 142 , is decreased in the thickness direction so as to enhance the resistance change ratio, that is, the MR effect.
  • FIG. 4 is an explanatory view schematically showing the cross sectional state of the magnetization of a magneto-resistance effect element which is different from the magneto-resistance effect element 10 and which does not contain the non-ferromagnetic metal in the magnetic metallic portion 142 of the intermediate layer 14 .
  • FIG. 5 is a graph showing the R—H characteristic of the magneto-resistance effect element in FIG. 4 .
  • the width of the magnetic domain wall DW in the magnetic metallic portion 142 becomes almost equal to the diameter of the magnetic domain wall DW and becomes larger than the width of the insulating portion 141 . Therefore, the interlayer-coupling between the complex pinned layer 13 (second pinned layer 133 ) and the free layer 15 is increased so as to reduce the resistance change ⁇ R.
  • the method for manufacturing the magneto-resistance effect element will be schematically described.
  • the bottom electrode LE On the substrate are subsequently formed the bottom electrode LE, the underlayer 11 , the antiferromagnetic layer 12 , the complex pinned layer 13 , the intermediate layer 14 , the free layer 15 , the protective layer 16 and the top electrode UE.
  • each layer is formed under depressurized atmosphere.
  • the forming process of each layer will be described.
  • the bottom electrode 11 is formed on the (not shown) substrate by means of micro-process in advance. Then, the underlayer 11 and the antiferromagnetic layer 12 are formed.
  • the first pinned layer 131 , the magnetic anti-parallel coupling layer 132 and the second pinned layer 133 are subsequently formed.
  • a non-ferromagnetic metallic layer may be formed on the second pinned layer 133 .
  • an alloy layer made of the material constituting the pinned layer and the material constituting the non-ferromagnetic metallic layer may be formed on the second pinned layer 133 .
  • the intermediate layer 14 is composed of the insulating portions 141 made of Al 2 O 3 and the magnetic metallic portions 142 made of a mixture of main Fe component and Cu component added to the main Fe component.
  • the first metallic layer is formed on the second pinned layer 133 .
  • the first metallic layer contains the main Fe component as a supplier for the magnetic metallic layer 142 and the Cu component.
  • the second metallic layer e.g., Al
  • ion beams of inert gas e.g., Ar
  • the pre-treatment ion treatment
  • the elements of the first metallic layer are partially infiltrated into the second metallic layer.
  • another energy applying means may be employed.
  • the plasma treatment or the thermal treatment can be exemplified, but the energy applying means is not limited to the above-listed ones only if the elements of the first metallic layer are partially infiltrated into the second metallic layer.
  • an oxidizing gas e.g., an inert gas containing oxygen gas
  • an oxidizing condition is determined so that some elements of the first metallic layer infiltrated into the second metallic layer are unlikely to be oxidized.
  • the second metallic layer is converted into the insulating portions made of Al 2 O 3 , and the elements of the first metallic layer forms the magnetic metallic portions 142 .
  • the oxidizing method is not restricted only if the magnetic metallic portions 142 are not oxidized and remains.
  • ion beam oxidizing method, plasma oxidizing method or ion assisted oxidizing method may be employed.
  • nitriding treatment or carbonizing treatment can be employed.
  • the intermediate layer 14 can be formed as follows. First of all, the first metallic layer as the supplier of the magnetic metallic portions 142 is formed on or as the second pinned layer 133 . Thereafter, the second metallic layer (e.g., Al) to be converted into the insulating portions 141 is formed on the first metallic layer. After the second metallic layer is formed, an oxidizing gas (e.g., an inert gas containing oxygen gas) is supplied so that the second metallic layer can be oxidized to form the insulating layer. Concretely, ion beam oxidizing method, plasma oxidizing method or ion assisted oxidizing method may be employed as the oxidizing treatment. Instead of the oxidizing treatment, nitriding treatment or carbonizing treatment can be employed.
  • an oxidizing gas e.g., an inert gas containing oxygen gas
  • ion beams of inert gas e.g., Ar
  • ion treatment ion treatment
  • the elements of the first metallic layer are infiltrated into the insulating layer to form the intermediate layer 14 containing the insulating portions 141 made of Al 2 O 3 and the magnetic metallic portions 142 .
  • the plasma treatment or the thermal treatment may be employed.
  • the free layer 15 is formed on the intermediate layer 14 , and the protective layer 16 and the top electrode UE are formed on the free layer 15 , thereby forming the magneto-resistance effect element 10 .
  • the magneto-resistance effect element 10 is thermally treated under magnetic field so that the direction of the magnetization of the first pinned layer 131 is fixed.
  • the magneto-resistance effect element is installed in advance in an all-in-one magnetic head assembly allowing both the recording/reproducing, and mounted as the head assembly at the magnetic recording/reproducing device.
  • FIG. 6 is a perspective view illustrating the schematic structure of the magnetic recording/reproducing device.
  • the magnetic recording/reproducing device 150 illustrated in FIG. 6 constitutes a rotary actuator type magnetic recording/reproducing device.
  • a magnetic recording disk 200 is mounted to a spindle 152 to be turned in the direction designated by the arrow A by a motor (not shown) which is driven in response to control signals from a drive unit controller (not shown).
  • the magnetic recording/reproducing apparatus 150 may be that provided with a single magnetic recording disk 200 , but with a plurality of magnetic recording disks 200 .
  • a head slider 153 recording/reproducing information to be stored in the magnetic recording disk 200 is mounted on a tip of a suspension 154 of a thin film type.
  • the head slider 153 mounts at the tip the magnetic head containing the magnetic resistance effect element as described in above embodiments.
  • the slider When the magnetic recording disk 200 is rotated, such a surface (ABS) of the head slider 153 as being opposite to the magnetic recording disk 200 is floated from on the main surface of the magnetic recording disk 200 .
  • the slider may constitute a so-called “contact running type” slider such that the slider is in contact with the magnetic recording disk 200 .
  • the suspension 154 is connected to one edge of the actuator arm 155 with a bobbin portion supporting a driving coil (not shown) and the like.
  • a voice coil motor 156 being a kind of a linear motor is provided at the other edge of the actuator arm 155 .
  • the voice coil motor 156 is composed of the driving coil (not shown) wound around the bobbin portion of the actuator arm 155 and a magnetic circuit with a permanent magnet and a counter yoke which are disposed opposite to one another so as to sandwich the driving coil.
  • the actuator arm 155 is supported by ball bearings (not shown) provided at the upper portion and the lower portion of the spindle 157 so as to be rotated and slid freely by the voice coil motor 156 .
  • FIG. 7 is an enlarged perspective view illustrating a portion of the magnetic head assembly positioned at the tip side thereof from the actuator arm 155 , as viewed from the side of the magnetic recording disk 200 .
  • the magnetic head assembly 160 has the actuator arm 155 with the bobbin portion supporting the driving coil and the like.
  • the suspension 154 is connected with the one edge of the actuator arm 155 .
  • the suspension 154 includes a lead wire 164 for writing/reading signals, where the lead wire 164 is electrically connected with the respective electrodes of the magnetic head embedded in the head slider 153 .
  • reference numeral “ 165 ” denotes an electrode pad of the assembly 160 .
  • the magneto-resistance effect element as described above can constitute a magnetic memory such as a magnetic random access memory (MRAM) where memory cells are arranged in matrix.
  • MRAM magnetic random access memory
  • FIG. 8 is a view illustrating an embodiment of the magnetic memory matrix according to the present invention.
  • This drawing shows a circuit configuration when the memory cells are arranged in an array.
  • a column decoder 350 and a line decoder 351 are provided, where a switching transistor 330 is turned ON by a bit line 334 and a word line 332 and to be selected uniquely, so that the bit information recorded in a magnetic recording layer (free layer) in the magneto-resistance effect film 10 can be read out by being detected by a sense amplifier 352 .
  • a writing current is flowed in a specific write word line 323 and a bit line 322 to generate a magnetic field for writing.
  • FIG. 9 is a view illustrating another embodiment of the magnetic memory matrix according to the present invention.
  • a bit line 322 and a word line 334 which are arranged in matrix are selected by decoders 360 , 361 , respectively, so that a specific memory cell in the array is selected.
  • Each memory cell is configured such that the magneto-resistance effect film 10 and a diode D is connected in series.
  • the diode D plays a role of preventing a sense current from detouring in the memory cell other than the selected magneto-resistance effect film 10 .
  • a writing is performed by a magnetic field generated by flowing the writing current in the specific bit line 322 and the word line 323 , respectively.
  • FIG. 10 is a cross sectional view illustrating a substantial portion of the magnetic memory in an embodiment according to the present invention.
  • FIG. 11 is a cross sectional view of the magnetic memory illustrated in FIG. 10 , taken on line “A-A”.
  • the configuration shown in these drawings corresponds to a 1-bit memory cell included in the magnetic memory shown in FIG. 8 or FIG. 9 .
  • This memory cell includes a memory element part 311 and an address selection transistor part 312 .
  • the memory element part 311 includes the magneto-resistance effect film 10 and a pair of wirings 322 , 324 connected to the magneto-resistance effect film 10 .
  • the magneto-resistance effect film 10 is the magneto-resistance effect element (CCP-CPP element) as described in the above embodiments.
  • a transistor 330 having connection therewith via a via 326 and an embedded wiring 328 is provided in the address selection transistor part 312 .
  • the transistor 330 performs switching operations in accordance with voltages applied to a gate 332 to control the opening/closing of the current confining path between the magneto-resistance effect film 10 and the wiring 334 .
  • a write wiring 323 is provided in the direction substantially orthogonal to the wiring 322 .
  • These write wirings 322 , 323 can be formed of, for example, aluminum (Al), copper (Cu), tungsten (W), tantalnum (Ta) or an alloy containing any of these elements.
  • a writing pulse current is flowed in the wirings 322 , 323 , and a synthetic magnetic field induced by the writing current is applied to appropriately invert the magnetization of a recording layer of the magneto-resistance effect element 10 .
  • a sense current is flowed through the magneto-resistance effect element 10 including the magnetic recording layer and a lower electrode 324 to measure a resistance value of or a fluctuation in the resistance values of the magneto-resistance effect element 10 .
  • the magnetic memory according to the embodiment can assure writing and reading by surely controlling the magnetic domain of the recording layer even though the cell is miniaturized in size, with the use of the magneto-resistance effect element according to the above-described embodiment.
  • Example 1 relating to the magneto-resistance effect element 10 will be described.
  • the magneto-resistance effect element 10 was formed as follows:
  • the underlayer 11 through the second pinned layer 132 were subsequently formed. Then, the Al layer with a thickness of 0.9 nm was formed and oxidized under Ar ion atmosphere. Then, the ion treatment was carried out to form the multilayered structure of the intermediate layer 14 : the Al oxide/FeCo—Cu metallic layer. Then,
  • the thus obtained magneto-resistance effect element 10 was thermally treated at 270° C. during ten hours under magnetic field.
  • the RA of the magneto-resistance effect element 10 was 0.5 ⁇ m 2 .
  • the MR value was 200%, and the interlayer-coupling between the complex pinned layer 133 and the free layer 15 was 20 Oe.
  • Example 2 relating to the magneto-resistance effect element 10 will be described.
  • the magneto-resistance effect element 10 was formed as follows:
  • the underlayer 11 through the second pinned layer 132 were subsequently formed. Then, the Al layer with a thickness of 0.9 nm was formed and oxidized under Ar ion atmosphere. Then, the ion treatment was carried out to form the multilayered structure of the intermediate layer 14 : the Al oxide/FeCo—Cu metallic layer. Then,
  • the thus obtained magneto-resistance effect element 10 was thermally treated at 270° C. during ten hours under magnetic field.
  • the RA of the magneto-resistance effect element 10 was 0.3 ⁇ m 2 .
  • the MR value was 150%, and the interlayer-coupling between the complex pinned layer 133 and the free layer 15 was 25 Oe.
  • Example 3 relating to the magneto-resistance effect element 10 will be described.
  • the magneto-resistance effect element 10 was formed as follows:
  • the underlayer 11 through the second pinned layer 132 were subsequently formed. Then, the Al layer with a thickness of 0.9 nm was formed and oxidized under Ar ion atmosphere. Then, the ion treatment was carried out to form the multilayered structure of the intermediate layer 14 : the Al oxide/FeCo—Zr metallic layer. Then,
  • the thus obtained magneto-resistance effect element 10 was thermally treated at 270° C. during ten hours under magnetic field.
  • the RA of the magneto-resistance effect element 10 was 0.5 ⁇ m 2 .
  • the MR value was 180%, and the interlayer-coupling between the complex pinned layer 133 and the free layer 15 was 23 Oe.
  • Example 4 relating to the magneto-resistance effect element 10 will be described.
  • the magneto-resistance effect element 10 was formed as follows:
  • the underlayer 11 through the second pinned layer 132 were subsequently formed. Then, the Al layer with a thickness of 0.9 nm was formed and oxidized under Ar ion atmosphere. Then, the ion treatment was carried out to form the multilayered structure of the intermediate layer 14 : the Al oxide/FeCo—Zr metallic layer. Then,
  • the thus obtained magneto-resistance effect element 10 was thermally treated at 270° C. during ten hours under magnetic field.
  • the RA of the magneto-resistance effect element 10 was 0.4 ⁇ m 2 .
  • the MR value was 120%, and the interlayer-coupling between the complex pinned layer 133 and the free layer 15 was 28 Oe.
  • Example 5 relating to the magneto-resistance effect element 10 will be described.
  • the magneto-resistance effect element 10 was formed as follows:
  • the underlayer 11 through the second pinned layer 132 were subsequently formed. Then, the Al layer with a thickness of 0.9 nm was formed and oxidized under Ar ion atmosphere. Then, the ion treatment was carried out to form the multilayered structure of the intermediate layer 14 : the Al oxide/FeCo—Cu metallic layer. Then,
  • the thus obtained magneto-resistance effect element 10 was thermally treated at 270° C. during ten hours under magnetic field.
  • the RA of the magneto-resistance effect element 10 was 0.5 ⁇ m 2 .
  • the MR value was 220%, and the interlayer-coupling between the complex pinned layer 133 and the free layer 15 was 15 Oe.
  • Example 6 relating to the magneto-resistance effect element 10 will be described.
  • the magneto-resistance effect element 10 was formed as follows:
  • the underlayer 11 through the second pinned layer 132 were subsequently formed. Then, the Al layer with a thickness of 0.9 nm was formed and oxidized under Ar ion atmosphere. Then, the ion treatment was carried out to form the multilayered structure of the intermediate layer 14 : the Al oxide/FeCo—Cu metallic layer. Then,
  • the thus obtained magneto-resistance effect element 10 was thermally treated at 270° C. during ten hours under magnetic field.
  • the RA of the magneto-resistance effect element 10 was 0.5 ⁇ m 2 .
  • the MR value was 230%, and the interlayer-coupling between the complex pinned layer 133 and the free layer 15 was 18 Oe.
  • the second pinned layer 133 contains Cu or Zr, but may contain another non-magnetic metal such as Cr, V, Ta, Nb, Sc, Ti, Mn, Zn, Ga, Ge, Y, Tc, Re, B, In, C, Si, Sn, Ca, Sr, Ba, Au, Ag, Pd, Pt, Ir, Rh, Ru, Os or Hf.
  • the non-magnetic metal except Cu or Zr, the same effects as in Examples were obtained. Namely, according to the magneto-resistance effect element of to the present invention, the interlayer-coupling between the complex pinned layer and the free layer can be suppressed and the relatively large MR value can be obtained.
  • the detecting resolution of the magnetic head can be defined.
  • the magneto-resistance effect element can be applied for both of a longitudinal magnetic recording type magnetic head and a vertical magnetic recording type magnetic recording type magnetic head. Also, the magneto-resistance effect element can be applied for both of a longitudinal magnetic recording/reproducing device and a vertical magnetic recording/reproducing device.
  • the magnetic recording/reproducing device may be a so-called stationary type magnetic device where a specific recording medium is installed therein or a so-called removable type magnetic device where a recording medium can be replaced.

Landscapes

  • Engineering & Computer Science (AREA)
  • Chemical & Material Sciences (AREA)
  • Nanotechnology (AREA)
  • Crystallography & Structural Chemistry (AREA)
  • Manufacturing & Machinery (AREA)
  • Power Engineering (AREA)
  • Physics & Mathematics (AREA)
  • General Physics & Mathematics (AREA)
  • Condensed Matter Physics & Semiconductors (AREA)
  • Spectroscopy & Molecular Physics (AREA)
  • Computer Hardware Design (AREA)
  • Hall/Mr Elements (AREA)
  • Mram Or Spin Memory Techniques (AREA)
  • Magnetic Heads (AREA)

Abstract

A magneto-resistance effect element includes: a first magnetization layer of which a magnetization is substantially fixed in one direction; a second magnetization layer of which a magnetization is rotated in accordance with an external magnetic field; an intermediate layer which contains insulating portions and magnetic metallic portions and which is provided between the the first magnetic layer and the second magnetic layer; and a pair of electrodes to flow current in a direction perpendicular to a film surface of a multilayered film made of the first magnetic layer, the intermediate layer and the second magnetic layer; wherein the magnetic metallic portions of the intermediate layer contain non-ferromagnetic metal.

Description

    CROSS-REFERENCE TO RELATED APPLICATIONS
  • This application is based upon and claims the benefit of priority from the prior Japanese Patent Application No. 2006-265836, filed on Sep. 28, 2006; the entire contents of which are incorporated herein by reference.
  • BACKGROUND OF THE INVENTION
  • 1. Field of the Invention
  • The present invention relates to a magneto-resistance effect element which is configured such that a current is flowed in the direction perpendicular to the film surface thereof. The present invention also relates to a magnetic head, a magnetic recording/reproducing device and a magnetic memory which utilize the magneto-resistance effect element according to the present invention.
  • 2. Description of the Related Art
  • Recently, the performance of a magnetic device, particularly such as a magnetic head is enhanced by means of Giant Magneto-Resistance Effect (GMR) made of a multilayered magnetic structure. Particularly, since a spin valve film (SV film) can exhibit a larger GMR effect, the SV film has developed the magnetic device such as a magnetic head and MRAM (Magnetic Random Access Memory).
  • The “spin valve” film has such a structure as sandwiching a non-magnetic metal spacer layer between two ferromagnetic layers and is configured such that the magnetization of one ferromagnetic layer (often called as a “pinning layer” or “fixed magnetization layer) is fixed by the magnetization of an anti-ferromagnetic layer and the magnetization of the other ferromagnetic layer (often called as a “free layer” or “free magnetization layer”) is rotated in accordance with an external magnetic field. With the spin valve film, the large MR effect can be obtained by the variation of the relative angle in magnetization between the pinned layer and the free layer.
  • A conventional spin valve film is employed for a CIP (Current In plane)-GMR element. In the CIP-GMR element, a sense current is flowed to the SV film in the direction parallel to the film surface thereof. Recently, attention is paid to a CPP (Current Perpendicular to Plane)-GMR element and a TMR (Tunneling Magneto Resistance) element because the CPP-GMR element and the TMR element can exhibit the respective large MR effect in comparison with the CIP element. In the CPP-GMR element and the TMR element, a sense current is flowed to the SV film in the direction almost perpendicular to the film surface thereof.
  • Recently, it was confirmed that a large MR effect with high MR-ratio can be obtained from the minute coupling of Ni wires (Reference 1).
  • Then, the minute magnetic coupling is formed three-dimensionally so as to realize a magneto-resistance effect element with high MR ratio (Reference 2). In this case, the three-dimensional minute magnetic coupling is carried out by means of EB (Electron beam) irradiation, FIB (Focused Ion beam) irradiation or AFM (Atomic Force Microscope).
  • [Reference 1] Phys. Rev. Lett. 82 2923(1999)
  • [Reference 2] JP-A 2003-204095 (KOKAI)
  • It is considered that the MR effect as described above is originated from the rapid variation in magnetization at the minute magnetic coupling point. Namely, if the magnetic domain to be formed at the minute magnetic coupling point is narrowed, the large MR effect can be obtained. The magnetic domain can be indirectly narrowed by decreasing the size (diameter) of the minute magnetic coupling point (the size (diameter) of the ferromagnetic metallic portion of the complex spacer layer). However, too small size of the minute magnetic coupling point may increase the resistance thereof excessively.
  • On the other hand, if the size of the minute magnetic coupling point is enlarged, the resistance of the minute magnetic coupling point can be reduced, but too large size of the minute magnetic coupling point may strengthen the magnetic coupling between the pinned layer and the free layer via the minute magnetic coupling so as to increase the interlayer-coupling. The increase of the interlayer-coupling causes undesirably the shift of the operating point toward the higher magnetic field at the magnetic head containing the minute magnetic coupling.
  • BRIEF SUMMARY OF THE INVENTION
  • It is an object of the present invention to provide a new magneto-resistance effect element which can exhibit a larger MR effect without the shift of operating point due to the low resistance and the high interlayer-coupling.
  • In order to achieve the above object, an aspect of the present invention relates to a magneto-resistance effect element, comprising: a first magnetization layer of which a magnetization is substantially fixed in one direction; a second magnetization layer of which a magnetization is rotated in accordance with an external magnetic field; an intermediate layer which contains insulating portions and magnetic metallic portions and which is provided between the first magnetic layer and the second magnetic layer; and a pair of electrodes to flow current in a direction perpendicular to a film surface of a multilayered film made of the first magnetic layer, the intermediate layer and the second magnetic layer; wherein the magnetic metallic portions of the intermediate layer contain non-ferromagnetic metal.
  • The inventors had intensely studied to achieve the above object. As a result, according to the aspect of the present invention, an intermediate layer containing insulating portions and magnetic metallic portions is provided between the first magnetic layer and the second magnetic layer to cause the magnetic coupling via the magnetic metallic portions of the intermediate layer. Then, non-ferromagnetic metal is contained in the magnetic metallic portions of the intermediate layer so that the magnetization of the magnetic metallic portions can be reduced.
  • As a result, since the width of the magnetic wall, which is formed in the magnetic metallic portion of the intermediate layer, is decreased in the thickness direction, the resistance change ratio, that is, the MR effect can be enhanced and the interlayer-coupling between the first magnetic layer and the second magnetic layer, which sandwich the intermediate layer, can be suppressed. Particularly, even though the diameter of the minute magnetic coupling point is increased so as to decrease the element resistance, the interlayer-coupling can be reduced.
  • The non-ferromagnetic metal may be at least one selected from the group consisting of Cu, Cr, V, Ta, Nb, Sc, Ti, Mn, Zn, Ga, Ge, Zr, Y, Tc, Re, B, In, C, Si, Sn, Ca, Sr, Ba, Au, Ag, Pd, Pt, Ir, Rh, Ru, Os and Hf. Particularly, the non-ferromagnetic metal may contain at least Cu.
  • Similarly, the magnetic metallic portions of the intermediate layer may contain at least one of Fe, Co and Ni. Also, the first magnetic layer and the second magnetic layer may contain at least one of Fe, Co and Ni.
  • According to the aspects of the present invention can be provided a new magneto-resistance effect element which can exhibit a larger MR effect without the shift of operating point due to the low resistance and the high interlayer-coupling.
  • BRIEF DESCRIPTION OF THE SEVERAL VIEWS OF THE DRAWINGS
  • FIG. 1 is a structural view illustrating an embodiment of the magneto-resistance effect element according to the present invention.
  • FIG. 2 is an explanatory view schematically showing the cross sectional state of the magnetization of the magneto-resistance effect element in FIG. 1 in the vicinity of the intermediate layer thereof.
  • FIG. 3 is a graph showing the dependence of the resistance change ratio AR with the external magnetic field H in the magneto-resistance effect element in FIG. 1.
  • FIG. 4 is an explanatory view schematically showing the cross sectional state of the magnetization of a magneto-resistance effect element which is different from the magneto-resistance effect element in FIG. 1 and which does not contain a non-ferromagnetic portion in the ferromagnetic portion of the intermediate layer thereof.
  • FIG. 5 is a graph showing the dependence of the resistance change ratio ΔR with the external magnetic field H in the magneto-resistance effect element in FIG. 4.
  • FIG. 6 is a perspective view illustrating a magnetic recording/reproducing device according to the present invention.
  • FIG. 7 is a perspective view illustrating the magnetic head assembly of the magnetic recording/reproducing device in FIG. 6.
  • FIG. 8 is a view illustrating a magnetic memory matrix according to the present invention.
  • FIG. 9 is a view illustrating another magnetic memory matrix according to the present invention.
  • FIG. 10 is a cross sectional view illustrating an essential part of the magnetic memory.
  • FIG. 11 is a cross sectional view of the magnetic memory illustrated in FIG. 10, taken on line “A-A”.
  • DETAILED DESCRIPTION OF THE INVENTION
  • Hereinafter, the present invention will be described in detail with reference to the drawings.
  • (Magneto-Resistance Effect Element)
  • FIG. 1 is a perspective view illustrating a magneto-resistance effect element according to an embodiment of the present invention. Some or all components throughout the drawings in the present application are schematically illustrated so that the illustrated sizes (thickness) and thickness ratio for the components is different from the real sizes and thickness ratio for the components.
  • The magneto-resistance effect element 10 illustrated in FIG. 1 includes a bottom electrode LE and a top electrode UE which are disposed so as to sandwich a plurality of layers composing the magneto-resistance effect element 10. Concretely, the magneto-resistance effect element 10 is configured such that an underlayer 11, an antiferromagnetic layer 12, a complex pinned layer 13, an intermediate layer 14, a free layer 15 and a protective layer 16 are subsequently formed on the bottom electrode LE. The complex pinned layer 13 is configured such that a magnetic anti-parallel coupling layer 132 is sandwiched between a first pinned layer 131 and a second pinned layer 132. The intermediate layer 14 is composed of insulating portions 141 and magnetic metallic portions 142 which are disposed alternately in the intermediate layer 14.
  • In this embodiment, the complex pinned layer 13, the intermediate layer 14 and the free layer 15 constitute the spin valve film.
  • The complex pinned layer 13 corresponds to a first magnetic layer, as defined in claims, of which the magnetization is substantially fixed in one direction, and the free layer 15 corresponds to a second magnetic layer, as defined in claims, of which the magnetization is rotated in accordance with an external magnetic field. The intermediate layer 14 corresponds to an intermediate layer as defined in claims. The first magnetic layer may be made of a single magnetic layer instead of a multilayered structure such as the complex magnetic layer 13.
  • The bottom electrode LE and the top electrode UE function as flowing a sense current to the magneto-resistance effect element 10 in the direction perpendicular to the film surface of the spin valve film. As a result, the magneto-resistance effect element 10 constitutes a CPP (Current Perpendicular to Plane) type magneto-resistance effect element configured such that the sense current is flowed in the direction perpendicular to the film surface of the element.
  • The underlayer 11 maybe formed as a two-layered structure of a buffer layer and a seed layer, for example. The buffer layer can relax the surface roughness of the bottom electrode LE and be made of Ta, Ti, W, Zr, Hf, Cr or an alloy thereof. The seed layer functions as controlling the crystalline orientation of the spin valve film and be made of Ru, (FexNi100-x)100-yXy (X═Cr, V, Nb, Hf, Zr, Mo; 15<x<25, 20<y<45).
  • The antiferromagnetic layer 12 may be made of antiferromagnetic material (e.g., PtMn, PdPtMn, IrMn, RuRhMn) which applies unidirectional anisotropy to the complex pinned layer 13 so as to fix the magnetization of the complex pinned layer 13.
  • The first pinned layer 131 and the second pinned layer 132 of the complex pinned layer 13 may be made of, e.g., Fe, Co, Ni, FeCo alloy or FeNi alloy. The magnetic anti-parallel coupling layer 132 functions as coupling in antiferromagnetism the first pinned layer 131 and the second pinned layer 132 and may be made of Ru, Ir or Rh.
  • The insulating portion 141 of the intermediate layer 14 may be made of an oxide, a nitride, an oxynitride or a carbide containing at least one selected from the group consisting of Al, Mg, Li, Si, Ca, Sc, Ti, V, Cr, Mn, Fe, Co, Ni, Cu, Zn, Ga, Se, Sr, Y, Zr, Nb, Mo, Pd, Ag, Cd, In, Sn, Sb, Ba, Ka, Hf, Ta, W, Re, Pt, Hg, Pb, Bi and lanthanoid. The insulating portion 141 may be made of another electrically insulating material.
  • The magnetic metallic portion 142 of the intermediate layer 14 functions as an electric current path to flow current therethrough in the direction perpendicular to the film surface of the intermediate layer 14 and may be made of single ferromagnetic material such as Fe, Co, Ni or ferromagnetic alloy material. When a magnetic field directed at the direction opposite to the direction of the magnetization of the second pinned layer 132 is applied to the free layer 15 so that the direction of the magnetization of the free layer 15 is aligned in the direction of the magnetic field, the direction of the magnetization of the second pinned layer 133 becomes anti-parallel to the direction of the magnetization of the free layer 15. In this case, since the magnetic metallic portion 142 is sandwiched between the ferromagnetic layers (complex pinned layer 13 and the free layer 15) with the respective different directions of magnetization, a magnetic domain wall DW is formed in the magnetic metallic portion 142.
  • In this embodiment, the diameter “d” of the magnetic metallic portion 142 is not constant in the thickness direction as shown in FIG. 1 (In FIG. 1, the top width of the metallic portion 142 becomes larger than the bottom width of the metallic portion 142). In this case, the typical diameter “d” can be defined by the average diameter in thickness direction.
  • In this embodiment, non-ferromagnetic metal is incorporated in the magnetic metallic portion 142 of the intermediate layer 14. The non-ferromagnetic metal can be selected from the group consisting of Cu, Cr, V, Ta, Nb, Sc, Ti, Mn, Zn, Ga, Ge, Zr, Y, Tc, Re, B, In, C, Si, Sn, Ca, Sr, Ba, Au, Ag, Pd, Pt, Ir, Rh, Ru, Os, Hf. Preferably, the non-magnetic metal is Cu. In this case, the interlayer-coupling between the complex pinned layer 13 (second pinned layer 133) and the free layer 15 can be suppressed even though the diameter of the minute magnetic coupling point, that is, the magnetic metallic portion 142 is enlarged so as to decrease the resistance between the complex pinned layer 13 and the free layer 15.
  • The free layer (free magnetization layer) 15 may be made of ferromagnetic material (e.g., Fe, Co, Ni, FeCo alloy, FeNi alloy) so that the magnetization of the free layer 15 can be rotated in accordance with an external magnetic field. In this embodiment, the free layer 15 is formed as a single-layered structure, but may be formed as a multilayered structure composed of a plurality of layers stacked.
  • The protective layer 16 functions as protecting the spin valve film. The protective layer 16 may be formed as a two-layered structure of Cu/Ru or a three-layered structure of Cu/Ta/Ru.
  • FIG. 2 is an explanatory view schematically showing the cross sectional state of the magnetization of the magneto-resistance effect element 10 in the vicinity of the intermediate layer 14. FIG. 3 is a graph showing the R—H characteristic of the magneto-resistance effect element 10.
  • In the magneto-resistance effect element 10 of this embodiment, as shown in FIG. 2, since the non-ferromagnetic metal as described above is incorporated in the magnetic metallic portion 142 of the intermediate layer 14, the magnetization (Ms) of the magnetic metallic portion 142 is reduced. Therefore, the interlayer-coupling between the complex pinned layer 13 (second pinned layer 133) and the free layer 15 can be suppressed and the width of the magnetic domain wall DW, which is formed in the magnetic metallic portion 142, is decreased in the thickness direction so as to enhance the resistance change ratio, that is, the MR effect.
  • In real, in the magneto-resistance effect element 10 of this embodiment, as shown in FIG. 3, the shift of the R—H curve by the external magnetic field, which is originated from the interlayer-coupling, can not be almost recognized, and the resistance change ΔR becomes high.
  • FIG. 4 is an explanatory view schematically showing the cross sectional state of the magnetization of a magneto-resistance effect element which is different from the magneto-resistance effect element 10 and which does not contain the non-ferromagnetic metal in the magnetic metallic portion 142 of the intermediate layer 14. FIG. 5 is a graph showing the R—H characteristic of the magneto-resistance effect element in FIG. 4.
  • In the case that the non-ferromagnetic metal is not incorporated in the magnetic metallic portion 142 of the intermediate layer 14, the width of the magnetic domain wall DW in the magnetic metallic portion 142 becomes almost equal to the diameter of the magnetic domain wall DW and becomes larger than the width of the insulating portion 141. Therefore, the interlayer-coupling between the complex pinned layer 13 (second pinned layer 133) and the free layer 15 is increased so as to reduce the resistance change ΔR.
  • In real, in the magneto-resistance effect element 10 of this embodiment, as shown in FIG. 5, the shift of the R—H curve by the external magnetic field, which is originated from the interlayer-coupling, is observed, and the resistance change ΔR becomes low.
  • (Method for Manufacturing a Magneto-Resistance Effect Element)
  • Then, the method for manufacturing the magneto-resistance effect element will be schematically described. First of all, on the substrate are subsequently formed the bottom electrode LE, the underlayer 11, the antiferromagnetic layer 12, the complex pinned layer 13, the intermediate layer 14, the free layer 15, the protective layer 16 and the top electrode UE. Normally, each layer is formed under depressurized atmosphere. Hereinafter, the forming process of each layer will be described.
  • (1) Formation of Bottom Electrode LE through Antiferromagnetic Layer 12
  • The bottom electrode 11 is formed on the (not shown) substrate by means of micro-process in advance. Then, the underlayer 11 and the antiferromagnetic layer 12 are formed.
  • (2) Formation of Complex Pinned Layer 13
  • Then, the first pinned layer 131, the magnetic anti-parallel coupling layer 132 and the second pinned layer 133 are subsequently formed. In this case, a non-ferromagnetic metallic layer may be formed on the second pinned layer 133. Also, an alloy layer made of the material constituting the pinned layer and the material constituting the non-ferromagnetic metallic layer may be formed on the second pinned layer 133.
  • (3) Formation of Intermediate Layer 14
  • Then, the formation of the intermediate layer 14 will be described. The intermediate layer 14 is composed of the insulating portions 141 made of Al2O3 and the magnetic metallic portions 142 made of a mixture of main Fe component and Cu component added to the main Fe component.
  • First of all, the first metallic layer is formed on the second pinned layer 133. The first metallic layer contains the main Fe component as a supplier for the magnetic metallic layer 142 and the Cu component. Then, the second metallic layer (e.g., Al), which is to be converted into the insulating portions 141, is formed on the first metallic layer. Then, ion beams of inert gas (e.g., Ar) are irradiated onto the second metallic layer so that the pre-treatment (ion treatment) can be carried out for the second metallic layer. According to the ion treatment, the elements of the first metallic layer are partially infiltrated into the second metallic layer. Instead of the ion treatment, another energy applying means may be employed. For example, the plasma treatment or the thermal treatment can be exemplified, but the energy applying means is not limited to the above-listed ones only if the elements of the first metallic layer are partially infiltrated into the second metallic layer.
  • Then, an oxidizing gas (e.g., an inert gas containing oxygen gas) is supplied so that the second metallic layer can be oxidized to form the insulating portions 141. In this case, the oxidizing condition is determined so that some elements of the first metallic layer infiltrated into the second metallic layer are unlikely to be oxidized. According to the oxidizing treatment, the second metallic layer is converted into the insulating portions made of Al2O3, and the elements of the first metallic layer forms the magnetic metallic portions 142.
  • Herein, the oxidizing method is not restricted only if the magnetic metallic portions 142 are not oxidized and remains. Concretely, ion beam oxidizing method, plasma oxidizing method or ion assisted oxidizing method may be employed. Instead of the oxidizing treatment, nitriding treatment or carbonizing treatment can be employed.
  • The intermediate layer 14 can be formed as follows. First of all, the first metallic layer as the supplier of the magnetic metallic portions 142 is formed on or as the second pinned layer 133. Thereafter, the second metallic layer (e.g., Al) to be converted into the insulating portions 141 is formed on the first metallic layer. After the second metallic layer is formed, an oxidizing gas (e.g., an inert gas containing oxygen gas) is supplied so that the second metallic layer can be oxidized to form the insulating layer. Concretely, ion beam oxidizing method, plasma oxidizing method or ion assisted oxidizing method may be employed as the oxidizing treatment. Instead of the oxidizing treatment, nitriding treatment or carbonizing treatment can be employed.
  • Then, ion beams of inert gas (e.g., Ar) are irradiated onto the insulating portions so that the post-treatment (ion treatment) can be carried out for the insulating portions. According to the ion treatment, the elements of the first metallic layer are infiltrated into the insulating layer to form the intermediate layer 14 containing the insulating portions 141 made of Al2O3 and the magnetic metallic portions 142. Instead of the ion treatment, the plasma treatment or the thermal treatment may be employed.
  • (4) Formation of Free Layer 15, Protective Layer 16 and Top Electrode UE
  • Then, the free layer 15 is formed on the intermediate layer 14, and the protective layer 16 and the top electrode UE are formed on the free layer 15, thereby forming the magneto-resistance effect element 10.
  • (5) Thermally Treatment
  • The magneto-resistance effect element 10 is thermally treated under magnetic field so that the direction of the magnetization of the first pinned layer 131 is fixed.
  • (Magnetic Head and Magnetic Recording/Reproducing Device)
  • The magneto-resistance effect element is installed in advance in an all-in-one magnetic head assembly allowing both the recording/reproducing, and mounted as the head assembly at the magnetic recording/reproducing device.
  • FIG. 6 is a perspective view illustrating the schematic structure of the magnetic recording/reproducing device. The magnetic recording/reproducing device 150 illustrated in FIG. 6 constitutes a rotary actuator type magnetic recording/reproducing device. In FIG. 6, a magnetic recording disk 200 is mounted to a spindle 152 to be turned in the direction designated by the arrow A by a motor (not shown) which is driven in response to control signals from a drive unit controller (not shown). In FIG. 6, the magnetic recording/reproducing apparatus 150 may be that provided with a single magnetic recording disk 200, but with a plurality of magnetic recording disks 200.
  • A head slider 153 recording/reproducing information to be stored in the magnetic recording disk 200 is mounted on a tip of a suspension 154 of a thin film type. The head slider 153 mounts at the tip the magnetic head containing the magnetic resistance effect element as described in above embodiments.
  • When the magnetic recording disk 200 is rotated, such a surface (ABS) of the head slider 153 as being opposite to the magnetic recording disk 200 is floated from on the main surface of the magnetic recording disk 200. Alternatively, the slider may constitute a so-called “contact running type” slider such that the slider is in contact with the magnetic recording disk 200.
  • The suspension 154 is connected to one edge of the actuator arm 155 with a bobbin portion supporting a driving coil (not shown) and the like. A voice coil motor 156 being a kind of a linear motor is provided at the other edge of the actuator arm 155. The voice coil motor 156 is composed of the driving coil (not shown) wound around the bobbin portion of the actuator arm 155 and a magnetic circuit with a permanent magnet and a counter yoke which are disposed opposite to one another so as to sandwich the driving coil.
  • The actuator arm 155 is supported by ball bearings (not shown) provided at the upper portion and the lower portion of the spindle 157 so as to be rotated and slid freely by the voice coil motor 156.
  • FIG. 7 is an enlarged perspective view illustrating a portion of the magnetic head assembly positioned at the tip side thereof from the actuator arm 155, as viewed from the side of the magnetic recording disk 200. As illustrated in FIG. 7, the magnetic head assembly 160 has the actuator arm 155 with the bobbin portion supporting the driving coil and the like. The suspension 154 is connected with the one edge of the actuator arm 155.
  • Then, the head slider 153 with the magnetic head containing the magneto-resistance effect element as defined in above-embodiments is attached to the tip of the suspension 154. The suspension 154 includes a lead wire 164 for writing/reading signals, where the lead wire 164 is electrically connected with the respective electrodes of the magnetic head embedded in the head slider 153. In the drawing, reference numeral “165” denotes an electrode pad of the assembly 160.
  • In the magnetic recording/reproducing device illustrated in FIGS. 6 and 7, since the magneto-resistance effect element as described in the above embodiments is installed, the information magnetically recorded in the magnetic recording disk 200 under higher density recording than normal recording can be read out properly.
  • (Magnetic Memory)
  • The magneto-resistance effect element as described above can constitute a magnetic memory such as a magnetic random access memory (MRAM) where memory cells are arranged in matrix.
  • FIG. 8 is a view illustrating an embodiment of the magnetic memory matrix according to the present invention. This drawing shows a circuit configuration when the memory cells are arranged in an array. In order to select one bit in the array, a column decoder 350 and a line decoder 351 are provided, where a switching transistor 330 is turned ON by a bit line 334 and a word line 332 and to be selected uniquely, so that the bit information recorded in a magnetic recording layer (free layer) in the magneto-resistance effect film 10 can be read out by being detected by a sense amplifier 352. In order to write the bit information, a writing current is flowed in a specific write word line 323 and a bit line 322 to generate a magnetic field for writing.
  • FIG. 9 is a view illustrating another embodiment of the magnetic memory matrix according to the present invention. In this case, a bit line 322 and a word line 334 which are arranged in matrix are selected by decoders 360, 361, respectively, so that a specific memory cell in the array is selected. Each memory cell is configured such that the magneto-resistance effect film 10 and a diode D is connected in series. Here, the diode D plays a role of preventing a sense current from detouring in the memory cell other than the selected magneto-resistance effect film 10. A writing is performed by a magnetic field generated by flowing the writing current in the specific bit line 322 and the word line 323, respectively.
  • FIG. 10 is a cross sectional view illustrating a substantial portion of the magnetic memory in an embodiment according to the present invention. FIG. 11 is a cross sectional view of the magnetic memory illustrated in FIG. 10, taken on line “A-A”. The configuration shown in these drawings corresponds to a 1-bit memory cell included in the magnetic memory shown in FIG. 8 or FIG. 9. This memory cell includes a memory element part 311 and an address selection transistor part 312.
  • The memory element part 311 includes the magneto-resistance effect film 10 and a pair of wirings 322, 324 connected to the magneto-resistance effect film 10. The magneto-resistance effect film 10 is the magneto-resistance effect element (CCP-CPP element) as described in the above embodiments.
  • Meanwhile, in the address selection transistor part 312, a transistor 330 having connection therewith via a via 326 and an embedded wiring 328 is provided. The transistor 330 performs switching operations in accordance with voltages applied to a gate 332 to control the opening/closing of the current confining path between the magneto-resistance effect film 10 and the wiring 334.
  • Further, below the magneto-resistance effect film 10, a write wiring 323 is provided in the direction substantially orthogonal to the wiring 322. These write wirings 322, 323 can be formed of, for example, aluminum (Al), copper (Cu), tungsten (W), tantalnum (Ta) or an alloy containing any of these elements.
  • In the memory cell of such a configuration, when writing bit information into the magneto-resistance effect element 10, a writing pulse current is flowed in the wirings 322, 323, and a synthetic magnetic field induced by the writing current is applied to appropriately invert the magnetization of a recording layer of the magneto-resistance effect element 10.
  • Further, when reading out the bit information, a sense current is flowed through the magneto-resistance effect element 10 including the magnetic recording layer and a lower electrode 324 to measure a resistance value of or a fluctuation in the resistance values of the magneto-resistance effect element 10.
  • The magnetic memory according to the embodiment can assure writing and reading by surely controlling the magnetic domain of the recording layer even though the cell is miniaturized in size, with the use of the magneto-resistance effect element according to the above-described embodiment.
  • EXAMPLES
  • The present invention will be described in detail in view of Examples.
  • Example 1
  • Example 1 relating to the magneto-resistance effect element 10 will be described. In Example 1, the magneto-resistance effect element 10 was formed as follows:
      • Underlayer 11: Ta 5 nm/NiFeCr 7 nm
      • Antiferromagnetic layer 12: PtMn 15 nm
      • First pinned layer 131: Co9Fe1 3.3 nm
      • Magnetic antiparallel coupling layer 132: Ru 0.9 nm
      • Second pinned layer 132: Fe5Co5 2.5 nm/Cu 0.1 nm
  • The underlayer 11 through the second pinned layer 132 were subsequently formed. Then, the Al layer with a thickness of 0.9 nm was formed and oxidized under Ar ion atmosphere. Then, the ion treatment was carried out to form the multilayered structure of the intermediate layer 14: the Al oxide/FeCo—Cu metallic layer. Then,
      • Free layer 15: Fe5Co5 2.5 nm
      • Protective layer 16: Cu 1 nm/Ta 2 nm/Ru 15 nm
        were formed.
  • The thus obtained magneto-resistance effect element 10 was thermally treated at 270° C. during ten hours under magnetic field. As a result, in Example 1, the RA of the magneto-resistance effect element 10 was 0.5 Ωμm2. Then, the MR value was 200%, and the interlayer-coupling between the complex pinned layer 133 and the free layer 15 was 20 Oe.
  • Example 2
  • Example 2 relating to the magneto-resistance effect element 10 will be described. In Example 2, the magneto-resistance effect element 10 was formed as follows:
      • Underlayer 11: Ta 5 nm/Ru 2 nm
      • Antiferromagnetic layer 12: PtMn 15 nm
      • First pinned layer 131: Co9Fe1 3.3 nm
      • Magnetic antiparallel coupling layer 132: Ru 0.9 nm
      • Second pinned layer 132: Fe5Co5 2.5 nm/Cu 0.1 nm
  • The underlayer 11 through the second pinned layer 132 were subsequently formed. Then, the Al layer with a thickness of 0.9 nm was formed and oxidized under Ar ion atmosphere. Then, the ion treatment was carried out to form the multilayered structure of the intermediate layer 14: the Al oxide/FeCo—Cu metallic layer. Then,
      • Free layer 15: Fe5Co5 2.5 nm
      • Protective layer 16: Cu 1 nm/Ta 2 nm/Ru 15 nm
        were formed.
  • The thus obtained magneto-resistance effect element 10 was thermally treated at 270° C. during ten hours under magnetic field. As a result, in Example 2, the RA of the magneto-resistance effect element 10 was 0.3 Ωμm2. Then, the MR value was 150%, and the interlayer-coupling between the complex pinned layer 133 and the free layer 15 was 25 Oe.
  • Example 3
  • Example 3 relating to the magneto-resistance effect element 10 will be described. In Example 3, the magneto-resistance effect element 10 was formed as follows:
      • Underlayer 11: Ta 5 nm/NiFeCr 7 nm
      • Antiferromagnetic layer 12: PtMn 15 nm
      • First pinned layer 131: Co9Fe1 3.3 nm
      • Magnetic antiparallel coupling layer 132: Ru 0.9 nm
      • Second pinned layer 132: Fe5Co5 2.5 nm/Zr 0.1 nm
  • The underlayer 11 through the second pinned layer 132 were subsequently formed. Then, the Al layer with a thickness of 0.9 nm was formed and oxidized under Ar ion atmosphere. Then, the ion treatment was carried out to form the multilayered structure of the intermediate layer 14: the Al oxide/FeCo—Zr metallic layer. Then,
      • Free layer 15: Fe5Co5 2.5 nm
      • Protective layer 16: Cu 1 nm/Ta 2 nm/Ru 15 nm
        were formed.
  • The thus obtained magneto-resistance effect element 10 was thermally treated at 270° C. during ten hours under magnetic field. As a result, in Example 3, the RA of the magneto-resistance effect element 10 was 0.5 Ωμm2. Then, the MR value was 180%, and the interlayer-coupling between the complex pinned layer 133 and the free layer 15 was 23 Oe.
  • Example 4
  • Example 4 relating to the magneto-resistance effect element 10 will be described. In Example 4, the magneto-resistance effect element 10 was formed as follows:
      • Underlayer 11: Ta 5 nm/Ru 2 nm
      • Antiferromagnetic layer 12: PtMn 15 nm
      • First pinned layer 131: Co9Fe1 3.3 nm
      • Magnetic antiparallel coupling layer 132: Ru 0.9 nm
      • Second pinned layer 132: Fe5Co5 2.5 nm/Zr 0.1 nm
  • The underlayer 11 through the second pinned layer 132 were subsequently formed. Then, the Al layer with a thickness of 0.9 nm was formed and oxidized under Ar ion atmosphere. Then, the ion treatment was carried out to form the multilayered structure of the intermediate layer 14: the Al oxide/FeCo—Zr metallic layer. Then,
      • Free layer 15: Fe5Co5 2.5 nm
      • Protective layer 16: Cu 1 nm/Ta 2 nm/Ru 15 nm
        were formed.
  • The thus obtained magneto-resistance effect element 10 was thermally treated at 270° C. during ten hours under magnetic field. As a result, in Example 4, the RA of the magneto-resistance effect element 10 was 0.4 Ωμm2. Then, the MR value was 120%, and the interlayer-coupling between the complex pinned layer 133 and the free layer 15 was 28 Oe.
  • Example 5
  • Example 5 relating to the magneto-resistance effect element 10 will be described. In Example 5, the magneto-resistance effect element 10 was formed as follows:
      • Underlayer 11: Ta 5 nm/NiFeCr 7 nm
      • Antiferromagnetic layer 12: PtMn 15 nm
      • First pinned layer 131: Co9Fe1 3.3 nm
      • Magnetic antiparallel coupling layer 132: Ru 0.9 nm
      • Second pinned layer 132: Fe5Co5 2.5 nm/Cu 0.2 nm
  • The underlayer 11 through the second pinned layer 132 were subsequently formed. Then, the Al layer with a thickness of 0.9 nm was formed and oxidized under Ar ion atmosphere. Then, the ion treatment was carried out to form the multilayered structure of the intermediate layer 14: the Al oxide/FeCo—Cu metallic layer. Then,
      • Free layer 15: Fe5Co5 2.5 nm
      • Protective layer 16: Cu 1 nm/Ta 2 nm/Ru 15 nm
        were formed.
  • The thus obtained magneto-resistance effect element 10 was thermally treated at 270° C. during ten hours under magnetic field. As a result, in Example 5, the RA of the magneto-resistance effect element 10 was 0.5 Ωμm2. Then, the MR value was 220%, and the interlayer-coupling between the complex pinned layer 133 and the free layer 15 was 15 Oe.
  • Example 6
  • Example 6 relating to the magneto-resistance effect element 10 will be described. In Example 6, the magneto-resistance effect element 10 was formed as follows:
      • Underlayer 11: Ta 5 nm/NiFeCr 7 nm
      • Antiferromagnetic layer 12: PtMn 15 nm
      • First pinned layer 131: Co9Fe1 3.3 nm
      • Magnetic antiparallel coupling layer 132: Ru 0.9 nm
      • Second pinned layer 132: (Fe5CO5)0.9Cu0.1 2.5 nm
  • The underlayer 11 through the second pinned layer 132 were subsequently formed. Then, the Al layer with a thickness of 0.9 nm was formed and oxidized under Ar ion atmosphere. Then, the ion treatment was carried out to form the multilayered structure of the intermediate layer 14: the Al oxide/FeCo—Cu metallic layer. Then,
      • Free layer 15: Fe5Co5 2.5 nm
      • Protective layer 16: Cu 1 nm/Ta 2 nm/Ru 15 nm
        were formed.
  • The thus obtained magneto-resistance effect element 10 was thermally treated at 270° C. during ten hours under magnetic field. As a result, in Example 6, the RA of the magneto-resistance effect element 10 was 0.5 Ωμm2. Then, the MR value was 230%, and the interlayer-coupling between the complex pinned layer 133 and the free layer 15 was 18 Oe.
  • In Examples, the second pinned layer 133 contains Cu or Zr, but may contain another non-magnetic metal such as Cr, V, Ta, Nb, Sc, Ti, Mn, Zn, Ga, Ge, Y, Tc, Re, B, In, C, Si, Sn, Ca, Sr, Ba, Au, Ag, Pd, Pt, Ir, Rh, Ru, Os or Hf. In these cases using the non-magnetic metal except Cu or Zr, the same effects as in Examples were obtained. Namely, according to the magneto-resistance effect element of to the present invention, the interlayer-coupling between the complex pinned layer and the free layer can be suppressed and the relatively large MR value can be obtained.
  • Although the present invention was described in detail with reference to the above examples, this invention is not limited to the above disclosure and every kind of variation and modification may be made without departing from the scope of the present invention.
  • In the application of the magneto-resistance effect element to a reproducing magnetic head, if a top and bottom shields are added to the magneto-resistance effect element, the detecting resolution of the magnetic head can be defined.
  • Moreover, the magneto-resistance effect element can be applied for both of a longitudinal magnetic recording type magnetic head and a vertical magnetic recording type magnetic recording type magnetic head. Also, the magneto-resistance effect element can be applied for both of a longitudinal magnetic recording/reproducing device and a vertical magnetic recording/reproducing device.
  • The magnetic recording/reproducing device may be a so-called stationary type magnetic device where a specific recording medium is installed therein or a so-called removable type magnetic device where a recording medium can be replaced.

Claims (13)

1. A magneto-resistance effect element, comprising:
a first magnetization layer of which a magnetization is substantially fixed in one direction;
a second magnetization layer of which a magnetization is rotated in accordance with an external magnetic field;
an intermediate layer which contains insulating portions and magnetic metallic portions and which is provided between the said first magnetic layer and said second magnetic layer; and
a pair of electrodes to flow current in a direction perpendicular to a film surface of a multilayered film made of said first magnetic layer, said intermediate layer and said second magnetic layer,
wherein said magnetic metallic portions of said intermediate layer contain non-ferromagnetic metal.
2. The magneto-resistance effect element as set forth in claim 1,
wherein said non-ferromagnetic metal is at least one selected from the group consisting of Cu, Cr, V, Ta, Nb, Sc, Ti, Mn, Zn, Ga, Ge, Zr, Y, Tc, Re, B, In, C, Si, Sn, Ca, Sr, Ba, Au, Ag, Pd, Pt, Ir, Rh, Ru, Os and Hf.
3. The magneto-resistance effect element as set forth in claim 2,
wherein said non-ferromagnetic metal contains at least Cu.
4. The magneto-resistance effect element as set forth in claim 1,
wherein said insulating portions of said intermediate layer contain a compound containing at least one of oxygen, nitrogen and carbon.
5. The magneto-resistance effect element as set forth in claim 1,
wherein said magnetic metallic portions of said intermediate layer contain at least one of Fe, Co and Ni.
6. The magneto-resistance effect element as set forth in claim 1,
wherein said first magnetic layer and said second magnetic layer contain at least one of Fe, Co and Ni.
7. The magneto-resistance effect element as set forth in claim 1,
wherein said intermediate layer suppresses an interlayer-coupling between said first magnetic layer and said second magnetic layer.
8. The magneto-resistance effect element as set forth in claim 1,
wherein in said intermediate layer, magnetic domain walls formed in said magnetic metallic portions are narrowed to enhance an MR effect of said magneto-resistance effect element.
9. A magnetic head comprising a magneto-resistance effect element as set forth in claim 1.
10. A magnetic recording/reproducing device comprising a magnetic recording medium and a magnetic head as set forth in claim 1.
11. A magnetic memory comprising a magneto-resistance effect element as set forth in claim 1.
12. A method for manufacturing a magneto-resistance effect element, comprising:
forming a first magnetization layer of which a magnetization is substantially fixed in one direction;
forming a first metallic layer as magnetic metallic portions on said first magnetization layer;
forming a second metallic layer on said first metallic layer;
applying energy enough to excite atoms onto said second metallic layer and then, oxidizing said second metallic layer to convert said second metallic layer into insulating portions, thereby forming an intermediate layer which contains said insulating portions and said magnetic metallic portions;
forming a second magnetization layer of which a magnetization is rotated in accordance with an external magnetic field; and
forming a pair of electrodes to flow current in a direction perpendicular to a film surface of a multilayered film made of said first magnetic layer, said intermediate layer and said second magnetic layer.
13. A method for manufacturing a magneto-resistance effect element, comprising:
forming a first magnetization layer of which a magnetization is substantially fixed in one direction;
forming a first metallic layer as magnetic metallic portions on said first magnetization layer;
forming a second metallic layer on said first metallic layer;
oxidizing said second metallic layer to convert said second metallic layer into insulating portions and then, applying energy enough to excite atoms onto said insulating portions, thereby forming an intermediate layer which contains said insulating portions and said magnetic metallic portions;
forming a second magnetization layer of which a magnetization is rotated in accordance with an external magnetic field; and
forming a pair of electrodes to flow current in a direction perpendicular to a film surface of a multilayered film made of said first magnetic layer, said intermediate layer and said second magnetic layer.
US11/892,890 2006-09-28 2007-08-28 Magneto-resistance effect element, magnetic head, magnetic recording/reproducing device and magnetic memory Abandoned US20080080098A1 (en)

Priority Applications (1)

Application Number Priority Date Filing Date Title
US13/291,743 US8331062B2 (en) 2006-09-28 2011-11-08 Magneto-resistance effect element, magnetic head, magnetic recording/reproducing device and magnetic memory

Applications Claiming Priority (2)

Application Number Priority Date Filing Date Title
JPP2006-265836 2006-09-28
JP2006265836A JP2008085220A (en) 2006-09-28 2006-09-28 Magnetoresistive element, magnetic head, and magnetic reproducing apparatus

Related Child Applications (1)

Application Number Title Priority Date Filing Date
US13/291,743 Continuation US8331062B2 (en) 2006-09-28 2011-11-08 Magneto-resistance effect element, magnetic head, magnetic recording/reproducing device and magnetic memory

Publications (1)

Publication Number Publication Date
US20080080098A1 true US20080080098A1 (en) 2008-04-03

Family

ID=39256230

Family Applications (2)

Application Number Title Priority Date Filing Date
US11/892,890 Abandoned US20080080098A1 (en) 2006-09-28 2007-08-28 Magneto-resistance effect element, magnetic head, magnetic recording/reproducing device and magnetic memory
US13/291,743 Expired - Fee Related US8331062B2 (en) 2006-09-28 2011-11-08 Magneto-resistance effect element, magnetic head, magnetic recording/reproducing device and magnetic memory

Family Applications After (1)

Application Number Title Priority Date Filing Date
US13/291,743 Expired - Fee Related US8331062B2 (en) 2006-09-28 2011-11-08 Magneto-resistance effect element, magnetic head, magnetic recording/reproducing device and magnetic memory

Country Status (3)

Country Link
US (2) US20080080098A1 (en)
JP (1) JP2008085220A (en)
CN (1) CN101154706A (en)

Cited By (13)

* Cited by examiner, † Cited by third party
Publication number Priority date Publication date Assignee Title
US20070202249A1 (en) * 2006-02-09 2007-08-30 Kabushiki Kaisha Toshiba Method for manufacturing magnetoresistance effect element
US20070253122A1 (en) * 2006-04-28 2007-11-01 Kabushiki Kaisha Toshiba Magneto-resistive element and method of manufacturing the same
US20080013218A1 (en) * 2006-07-11 2008-01-17 Kabushiki Kaisha Toshiba Magnetoresistive effect element, magnetic head, magnetic reproducing apparatus, and manufacturing method thereof
US8031443B2 (en) 2007-03-27 2011-10-04 Kabushiki Kaisha Toshiba Magneto-resistance effect element, magnetic head, magnetic recording/reproducing device and method for manufacturing a magneto-resistance effect element
US8048492B2 (en) 2005-12-21 2011-11-01 Kabushiki Kaisha Toshiba Magnetoresistive effect element and manufacturing method thereof
US8111489B2 (en) 2006-07-07 2012-02-07 Kabushiki Kaisha Toshiba Magneto-resistance effect element
US20120112298A1 (en) * 2010-11-08 2012-05-10 Samsung Electronics Co., Ltd. Magnetic memory devices
US8228643B2 (en) 2008-09-26 2012-07-24 Kabushiki Kaisha Toshiba Method for manufacturing a magneto-resistance effect element and magnetic recording and reproducing apparatus
US8274765B2 (en) 2008-09-29 2012-09-25 Kabushiki Kaisha Toshiba Method of manufacturing magnetoresistive element, magnetoresistive element, magnetic head assembly and magnetic recording apparatus
US8315020B2 (en) 2008-09-26 2012-11-20 Kabushiki Kaisha Toshiba Method for manufacturing a magneto-resistance effect element and magnetic recording and reproducing apparatus
US8363362B2 (en) 2009-07-31 2013-01-29 Kabushiki Kaisha Toshiba Magnetoresistive element
US10236441B2 (en) 2015-03-31 2019-03-19 Tdk Corporation Magnetoresistance effect element
US20190304521A1 (en) * 2018-03-28 2019-10-03 Globalfoundries Singapore Pte. Ltd. Magnetic random access memory structures, integrated circuits, and methods for fabricating the same

Families Citing this family (2)

* Cited by examiner, † Cited by third party
Publication number Priority date Publication date Assignee Title
JP5135419B2 (en) * 2010-12-03 2013-02-06 株式会社東芝 Spin torque oscillator, manufacturing method thereof, magnetic recording head, magnetic head assembly, magnetic recording apparatus
JP2019046976A (en) * 2017-09-01 2019-03-22 Tdk株式会社 Spin current magnetization reversal element, magnetic memory

Citations (44)

* Cited by examiner, † Cited by third party
Publication number Priority date Publication date Assignee Title
US3775328A (en) * 1970-03-23 1973-11-27 P Denes Composite soft magnetic materials
US4650708A (en) * 1983-05-28 1987-03-17 Toshiro Takahashi Magnetic recording material and a method for producing the same
US5116782A (en) * 1988-12-26 1992-05-26 Hitachi, Ltd. Method and apparatus for processing a fine pattern
US5139376A (en) * 1991-10-23 1992-08-18 Excellon Automation Method and apparatus for controlled penetration drilling
US5257531A (en) * 1992-08-17 1993-11-02 Masashi Motosugi Apparatus for monitoring machining state of drill
US5599742A (en) * 1991-08-29 1997-02-04 Sony Corporation Interconnection forming method
US5653841A (en) * 1995-04-13 1997-08-05 Martin Marietta Corporation Fabrication of compact magnetic circulator components in microwave packages using high density interconnections
US5885750A (en) * 1997-10-02 1999-03-23 International Business Machines Corporation Tantalum adhesion layer and reactive-ion-etch process for providing a thin film metallization area
US5936402A (en) * 1996-06-12 1999-08-10 U.S. Philips Corporation Magneto-resistive magnetic field sensor with a constricted region
US5949622A (en) * 1996-04-30 1999-09-07 Kabushiki Kaisha Toshiba Magnetoresistance effect element
US6016241A (en) * 1993-06-18 2000-01-18 International Business Machines Corporation Magnetoresistive sensor utilizing a granular magnetoresistive layer
US6114056A (en) * 1997-05-09 2000-09-05 Kabushiki Kaisha Toshiba Magnetic element, and magnetic head and magnetic memory device using thereof
US6219275B1 (en) * 1998-01-28 2001-04-17 Canon Kabushiki Kaisha Magnetic thin film element, memory element using the same, and method for recording and reproducing using the memory element
US20010009063A1 (en) * 2000-01-24 2001-07-26 Alps Electric Co., Ltd. Spin valve thin-film magnetic device having free magnetic layer in ferrimagnetic state and manufacturing method therefor
US20010014000A1 (en) * 2000-01-31 2001-08-16 Alps Electric Co., Ltd. Spin-valve thin-film magnetic element provided with single free magnetic layer
US6340533B1 (en) * 1998-09-09 2002-01-22 Read-Rite Corporation Spin-valve magnetoresistance sensor and thin film magnetic head
US20020051380A1 (en) * 2000-09-11 2002-05-02 Kabushiki Kaisha Toshiba Magnetoresistance effect element, magnetic head and magnetic recording and/or reproducing system
US20020054461A1 (en) * 2000-01-10 2002-05-09 Hideo Fujiwara Cpp spin-valve device
US20020058158A1 (en) * 1999-06-17 2002-05-16 Akihiro Odagawa Magneto-resistance effect element magneto-resistance effect memory cell, MRAM, and method for performing information write to or read from the magneto-resistance effect memory cell
US20020097536A1 (en) * 1998-04-30 2002-07-25 Hitachi, Ltd. Spin tunnel magneto-resistance effect type magnetic sensor and production method thereof
US20020135935A1 (en) * 2001-01-25 2002-09-26 Covington Mark William Write head with magnetization controlled by spin-polarized electron current
US6469926B1 (en) * 2000-03-22 2002-10-22 Motorola, Inc. Magnetic element with an improved magnetoresistance ratio and fabricating method thereof
US6473275B1 (en) * 2000-06-06 2002-10-29 International Business Machines Corporation Dual hybrid magnetic tunnel junction/giant magnetoresistive sensor
US6538921B2 (en) * 2000-08-17 2003-03-25 Nve Corporation Circuit selection of magnetic memory cells and related cell structures
US6567246B1 (en) * 1999-03-02 2003-05-20 Matsushita Electric Industrial Co., Ltd. Magnetoresistance effect element and method for producing the same, and magnetoresistance effect type head, magnetic recording apparatus, and magnetoresistance effect memory element
US20030128481A1 (en) * 2002-01-10 2003-07-10 Fujitsu Limited Current-perpendicular-to-the-plane structure magnetoresistive head
US6686068B2 (en) * 2001-02-21 2004-02-03 International Business Machines Corporation Heterogeneous spacers for CPP GMR stacks
US20040042127A1 (en) * 2002-09-03 2004-03-04 Hitachi, Ltd. Spin-valve head containing partial current-screen-layer, product method of said head, and current-screen method
US6707649B2 (en) * 2001-03-22 2004-03-16 Alps Electric Co., Ltd. Magnetic sensing element permitting decrease in effective element size while maintaining large optical element size
US20050042478A1 (en) * 2001-09-19 2005-02-24 Kabushiki Kaisha Toshiba Magnetoresistance effect element, its manufacturing method, magnetic reproducing element and magnetic memory
US20050073778A1 (en) * 2003-10-06 2005-04-07 Alps Electric Co., Ltd. Magnetic sensing element including magnetic layer composed of Heusler alloy disposed on underlayer having {111}-oriented fcc structure
US6929957B2 (en) * 2003-09-12 2005-08-16 Headway Technologies, Inc. Magnetic random access memory designs with patterned and stabilized magnetic shields
US6937446B2 (en) * 2000-10-20 2005-08-30 Kabushiki Kaisha Toshiba Magnetoresistance effect element, magnetic head and magnetic recording and/or reproducing system
US20050276998A1 (en) * 2004-06-14 2005-12-15 Fujitsu Limited Magnetic recording medium, method of producing magnetic recording medium and magnetic storage apparatus
US20060050444A1 (en) * 2004-09-03 2006-03-09 Hideaki Fukuzawa Magnetoresistive element, magnetic head, magnetic recording apparatus, and magnetic memory
US7038893B2 (en) * 2002-03-28 2006-05-02 Kabushiki Kaisha Toshiba Magnetoresistance effect element having a nonmagnetic intermediate layer having a two-dimensional fluctuation of resistance
US20060114620A1 (en) * 2004-11-30 2006-06-01 Tdk Corporation Granular type free layer and magnetic head
US7116575B1 (en) * 2005-03-23 2006-10-03 Honeywell International Inc. Architectures for CPP ring shaped (RS) devices
US20070253122A1 (en) * 2006-04-28 2007-11-01 Kabushiki Kaisha Toshiba Magneto-resistive element and method of manufacturing the same
US7304825B2 (en) * 2004-02-26 2007-12-04 Kabushiki Kaisha Toshiba CCP-CCP-GMR head assembly with good operating life, and magnetic recording/reproducing apparatus therewith
US7372672B2 (en) * 2001-02-05 2008-05-13 Tdk Corporation GMR magnetic sensing element having an antiferromagnetic layer extending beyond the track width and method for making the same
US7514117B2 (en) * 2004-08-10 2009-04-07 Kabushiki Kaisha Toshiba Method and apparatus for manufacturing magnetoresistive element
US20090104475A1 (en) * 2006-07-07 2009-04-23 Kabushiki Kaisha Toshiba Magneto-resistance effect element
US7610674B2 (en) * 2006-02-13 2009-11-03 Headway Technologies, Inc. Method to form a current confining path of a CPP GMR device

Family Cites Families (15)

* Cited by examiner, † Cited by third party
Publication number Priority date Publication date Assignee Title
JPS6098518A (en) 1983-11-02 1985-06-01 Toshiro Takahashi Perpendicular magnetic recording medium and manufacturing method
JPH0722399A (en) 1993-06-28 1995-01-24 Kawasaki Steel Corp Method and apparatus for forming embedded plug
US5583725A (en) 1994-06-15 1996-12-10 International Business Machines Corporation Spin valve magnetoresistive sensor with self-pinned laminated layer and magnetic recording system using the sensor
JPH09306733A (en) 1996-05-14 1997-11-28 Sumitomo Metal Ind Ltd Magnetoresistive film
JP3013031B2 (en) 1996-12-13 2000-02-28 帝国通信工業株式会社 Magnetoresistance effect element and magnetoresistance sensor
JP3547974B2 (en) 1998-02-20 2004-07-28 株式会社東芝 Magnetic element, magnetic head and magnetic storage device using the same
JPH11293481A (en) 1998-04-14 1999-10-26 Toshiba Corp Thin film processing method and apparatus
JP2000188435A (en) 1998-12-22 2000-07-04 Sony Corp Magnetic tunneling junction element and method of manufacturing the same, magnetic head using the same, magnetic sensor, magnetic memory, and magnetic recording / reproducing device, magnetic sensor device, magnetic memory device
JP2000293982A (en) 1999-04-08 2000-10-20 Victor Co Of Japan Ltd Magnetic memory
JP2001143227A (en) 1999-11-18 2001-05-25 Fujitsu Ltd Magnetic sensor
JP3833512B2 (en) 2000-10-20 2006-10-11 株式会社東芝 Magnetoresistive effect element
JP3967237B2 (en) * 2001-09-19 2007-08-29 株式会社東芝 Magnetoresistive element, method for manufacturing the same, magnetic reproducing element, and magnetic memory
JP4435521B2 (en) * 2002-09-11 2010-03-17 株式会社東芝 Method for manufacturing magnetoresistive element
JP2005285936A (en) * 2004-03-29 2005-10-13 Toshiba Corp Magnetoresistive element, magnetic reproducing head, and magnetic reproducing apparatus
JP4314167B2 (en) * 2004-07-28 2009-08-12 株式会社東芝 Magnetoresistive element, magnetic head and magnetic reproducing apparatus using the same

Patent Citations (52)

* Cited by examiner, † Cited by third party
Publication number Priority date Publication date Assignee Title
US3775328A (en) * 1970-03-23 1973-11-27 P Denes Composite soft magnetic materials
US4650708A (en) * 1983-05-28 1987-03-17 Toshiro Takahashi Magnetic recording material and a method for producing the same
US5116782A (en) * 1988-12-26 1992-05-26 Hitachi, Ltd. Method and apparatus for processing a fine pattern
US5599742A (en) * 1991-08-29 1997-02-04 Sony Corporation Interconnection forming method
US5139376A (en) * 1991-10-23 1992-08-18 Excellon Automation Method and apparatus for controlled penetration drilling
US5257531A (en) * 1992-08-17 1993-11-02 Masashi Motosugi Apparatus for monitoring machining state of drill
US6016241A (en) * 1993-06-18 2000-01-18 International Business Machines Corporation Magnetoresistive sensor utilizing a granular magnetoresistive layer
US5653841A (en) * 1995-04-13 1997-08-05 Martin Marietta Corporation Fabrication of compact magnetic circulator components in microwave packages using high density interconnections
US5949622A (en) * 1996-04-30 1999-09-07 Kabushiki Kaisha Toshiba Magnetoresistance effect element
US5936402A (en) * 1996-06-12 1999-08-10 U.S. Philips Corporation Magneto-resistive magnetic field sensor with a constricted region
US6114056A (en) * 1997-05-09 2000-09-05 Kabushiki Kaisha Toshiba Magnetic element, and magnetic head and magnetic memory device using thereof
US5885750A (en) * 1997-10-02 1999-03-23 International Business Machines Corporation Tantalum adhesion layer and reactive-ion-etch process for providing a thin film metallization area
US6219275B1 (en) * 1998-01-28 2001-04-17 Canon Kabushiki Kaisha Magnetic thin film element, memory element using the same, and method for recording and reproducing using the memory element
US20020097536A1 (en) * 1998-04-30 2002-07-25 Hitachi, Ltd. Spin tunnel magneto-resistance effect type magnetic sensor and production method thereof
US6340533B1 (en) * 1998-09-09 2002-01-22 Read-Rite Corporation Spin-valve magnetoresistance sensor and thin film magnetic head
US6567246B1 (en) * 1999-03-02 2003-05-20 Matsushita Electric Industrial Co., Ltd. Magnetoresistance effect element and method for producing the same, and magnetoresistance effect type head, magnetic recording apparatus, and magnetoresistance effect memory element
US20020058158A1 (en) * 1999-06-17 2002-05-16 Akihiro Odagawa Magneto-resistance effect element magneto-resistance effect memory cell, MRAM, and method for performing information write to or read from the magneto-resistance effect memory cell
US20020054461A1 (en) * 2000-01-10 2002-05-09 Hideo Fujiwara Cpp spin-valve device
US20010009063A1 (en) * 2000-01-24 2001-07-26 Alps Electric Co., Ltd. Spin valve thin-film magnetic device having free magnetic layer in ferrimagnetic state and manufacturing method therefor
US20010014000A1 (en) * 2000-01-31 2001-08-16 Alps Electric Co., Ltd. Spin-valve thin-film magnetic element provided with single free magnetic layer
US6469926B1 (en) * 2000-03-22 2002-10-22 Motorola, Inc. Magnetic element with an improved magnetoresistance ratio and fabricating method thereof
US6473275B1 (en) * 2000-06-06 2002-10-29 International Business Machines Corporation Dual hybrid magnetic tunnel junction/giant magnetoresistive sensor
US6538921B2 (en) * 2000-08-17 2003-03-25 Nve Corporation Circuit selection of magnetic memory cells and related cell structures
US20020051380A1 (en) * 2000-09-11 2002-05-02 Kabushiki Kaisha Toshiba Magnetoresistance effect element, magnetic head and magnetic recording and/or reproducing system
US20060164764A1 (en) * 2000-10-20 2006-07-27 Kabushiki Kaisha Toshiba Magnetoresistance effect element, magnetic head and magnetic recording and/or reproducing system
US6937446B2 (en) * 2000-10-20 2005-08-30 Kabushiki Kaisha Toshiba Magnetoresistance effect element, magnetic head and magnetic recording and/or reproducing system
US7046489B2 (en) * 2000-10-20 2006-05-16 Kabushiki Kaisha Toshiba Magnetoresistance effect element, magnetic head and magnetic recording and/or reproducing system
US20020135935A1 (en) * 2001-01-25 2002-09-26 Covington Mark William Write head with magnetization controlled by spin-polarized electron current
US7372672B2 (en) * 2001-02-05 2008-05-13 Tdk Corporation GMR magnetic sensing element having an antiferromagnetic layer extending beyond the track width and method for making the same
US6686068B2 (en) * 2001-02-21 2004-02-03 International Business Machines Corporation Heterogeneous spacers for CPP GMR stacks
US6707649B2 (en) * 2001-03-22 2004-03-16 Alps Electric Co., Ltd. Magnetic sensing element permitting decrease in effective element size while maintaining large optical element size
US7265950B2 (en) * 2001-09-19 2007-09-04 Kabushiki Kaisha Toshiba Magnetoresistance effect element, its manufacturing method, magnetic reproducing element and magnetic memory
US20050042478A1 (en) * 2001-09-19 2005-02-24 Kabushiki Kaisha Toshiba Magnetoresistance effect element, its manufacturing method, magnetic reproducing element and magnetic memory
US20050094327A1 (en) * 2001-09-19 2005-05-05 Kabushiki Kaisha Toshiba Magnetoresistance effect element, its manufacturing method, magnetic reproducing element and magnetic memory
US6937447B2 (en) * 2001-09-19 2005-08-30 Kabushiki Kaisha Toshiba Magnetoresistance effect element, its manufacturing method, magnetic reproducing element and magnetic memory
US7355883B2 (en) * 2001-09-19 2008-04-08 Kabushiki Kaisha Toshiba Magnetoresistance effect element, its manufacturing method, magnetic reproducing element and magnetic memory
US7240419B2 (en) * 2001-09-19 2007-07-10 Kabushiki Kaisha Toshiba Method of manufacturing a magnetoresistance effect element
US20030128481A1 (en) * 2002-01-10 2003-07-10 Fujitsu Limited Current-perpendicular-to-the-plane structure magnetoresistive head
US7038893B2 (en) * 2002-03-28 2006-05-02 Kabushiki Kaisha Toshiba Magnetoresistance effect element having a nonmagnetic intermediate layer having a two-dimensional fluctuation of resistance
US20040042127A1 (en) * 2002-09-03 2004-03-04 Hitachi, Ltd. Spin-valve head containing partial current-screen-layer, product method of said head, and current-screen method
US6929957B2 (en) * 2003-09-12 2005-08-16 Headway Technologies, Inc. Magnetic random access memory designs with patterned and stabilized magnetic shields
US20050073778A1 (en) * 2003-10-06 2005-04-07 Alps Electric Co., Ltd. Magnetic sensing element including magnetic layer composed of Heusler alloy disposed on underlayer having {111}-oriented fcc structure
US7304825B2 (en) * 2004-02-26 2007-12-04 Kabushiki Kaisha Toshiba CCP-CCP-GMR head assembly with good operating life, and magnetic recording/reproducing apparatus therewith
US20050276998A1 (en) * 2004-06-14 2005-12-15 Fujitsu Limited Magnetic recording medium, method of producing magnetic recording medium and magnetic storage apparatus
US7514117B2 (en) * 2004-08-10 2009-04-07 Kabushiki Kaisha Toshiba Method and apparatus for manufacturing magnetoresistive element
US20060050444A1 (en) * 2004-09-03 2006-03-09 Hideaki Fukuzawa Magnetoresistive element, magnetic head, magnetic recording apparatus, and magnetic memory
US20060114620A1 (en) * 2004-11-30 2006-06-01 Tdk Corporation Granular type free layer and magnetic head
US7116575B1 (en) * 2005-03-23 2006-10-03 Honeywell International Inc. Architectures for CPP ring shaped (RS) devices
US7610674B2 (en) * 2006-02-13 2009-11-03 Headway Technologies, Inc. Method to form a current confining path of a CPP GMR device
US20100037453A1 (en) * 2006-02-13 2010-02-18 Headway Technologies, Inc. Current confining layer for GMR device
US20070253122A1 (en) * 2006-04-28 2007-11-01 Kabushiki Kaisha Toshiba Magneto-resistive element and method of manufacturing the same
US20090104475A1 (en) * 2006-07-07 2009-04-23 Kabushiki Kaisha Toshiba Magneto-resistance effect element

Cited By (17)

* Cited by examiner, † Cited by third party
Publication number Priority date Publication date Assignee Title
US8048492B2 (en) 2005-12-21 2011-11-01 Kabushiki Kaisha Toshiba Magnetoresistive effect element and manufacturing method thereof
US20070202249A1 (en) * 2006-02-09 2007-08-30 Kabushiki Kaisha Toshiba Method for manufacturing magnetoresistance effect element
US7897201B2 (en) 2006-02-09 2011-03-01 Kabushiki Kaisha Toshiba Method for manufacturing magnetoresistance effect element
US20070253122A1 (en) * 2006-04-28 2007-11-01 Kabushiki Kaisha Toshiba Magneto-resistive element and method of manufacturing the same
US8274766B2 (en) 2006-04-28 2012-09-25 Kabushiki Kaisha Toshiba Magnetic recording element including a thin film layer with changeable magnetization direction
US8111489B2 (en) 2006-07-07 2012-02-07 Kabushiki Kaisha Toshiba Magneto-resistance effect element
US20080013218A1 (en) * 2006-07-11 2008-01-17 Kabushiki Kaisha Toshiba Magnetoresistive effect element, magnetic head, magnetic reproducing apparatus, and manufacturing method thereof
US8031443B2 (en) 2007-03-27 2011-10-04 Kabushiki Kaisha Toshiba Magneto-resistance effect element, magnetic head, magnetic recording/reproducing device and method for manufacturing a magneto-resistance effect element
US8228643B2 (en) 2008-09-26 2012-07-24 Kabushiki Kaisha Toshiba Method for manufacturing a magneto-resistance effect element and magnetic recording and reproducing apparatus
US8315020B2 (en) 2008-09-26 2012-11-20 Kabushiki Kaisha Toshiba Method for manufacturing a magneto-resistance effect element and magnetic recording and reproducing apparatus
US8274765B2 (en) 2008-09-29 2012-09-25 Kabushiki Kaisha Toshiba Method of manufacturing magnetoresistive element, magnetoresistive element, magnetic head assembly and magnetic recording apparatus
US8363362B2 (en) 2009-07-31 2013-01-29 Kabushiki Kaisha Toshiba Magnetoresistive element
US20120112298A1 (en) * 2010-11-08 2012-05-10 Samsung Electronics Co., Ltd. Magnetic memory devices
US8648434B2 (en) * 2010-11-08 2014-02-11 Samsung Electronics Co., Ltd. Magnetic memory devices
US10236441B2 (en) 2015-03-31 2019-03-19 Tdk Corporation Magnetoresistance effect element
US10615336B2 (en) 2015-03-31 2020-04-07 Tdk Corporation Magnetoresistance effect element
US20190304521A1 (en) * 2018-03-28 2019-10-03 Globalfoundries Singapore Pte. Ltd. Magnetic random access memory structures, integrated circuits, and methods for fabricating the same

Also Published As

Publication number Publication date
JP2008085220A (en) 2008-04-10
US8331062B2 (en) 2012-12-11
US20120049302A1 (en) 2012-03-01
CN101154706A (en) 2008-04-02

Similar Documents

Publication Publication Date Title
US8331062B2 (en) Magneto-resistance effect element, magnetic head, magnetic recording/reproducing device and magnetic memory
JP4786331B2 (en) Method for manufacturing magnetoresistive element
US8208229B2 (en) Magneto-resistance effect element
US8031443B2 (en) Magneto-resistance effect element, magnetic head, magnetic recording/reproducing device and method for manufacturing a magneto-resistance effect element
US8542466B2 (en) Magneto-resistance effect element, and method for manufacturing the same
US8169752B2 (en) Method for manufacturing a magneto-resistance effect element having spacer layer
US8256095B2 (en) Method for manufacturing a magneto-resistance effect element
US8274766B2 (en) Magnetic recording element including a thin film layer with changeable magnetization direction
US8671554B2 (en) Method of manufacturing a magneto-resistance effect element
US20080013218A1 (en) Magnetoresistive effect element, magnetic head, magnetic reproducing apparatus, and manufacturing method thereof
US20060268470A1 (en) Magnetoresistive element
JP4690675B2 (en) Magnetoresistive element, magnetic head, and magnetic recording / reproducing apparatus
US8675319B2 (en) Data reader with heusler alloy reference lamination
US7948717B2 (en) Magneto-resistance effect element, magnetic head, magnetic recording/reproducing device and magnetic memory
US8199443B2 (en) Magneto-resistance effect element, magnetic head, magnetic recording device and magnetic memory

Legal Events

Date Code Title Description
AS Assignment

Owner name: KABUSHIKI KAISHA TOSHIBA, JAPAN

Free format text: ASSIGNMENT OF ASSIGNORS INTEREST;ASSIGNORS:FUKE, HIROMI;HASHIMOTO, SUSUMU;TAKAGISHI, MASAYUKI;AND OTHERS;REEL/FRAME:019807/0487

Effective date: 20070821

Owner name: TDK CORPORTATION, JAPAN

Free format text: ASSIGNMENT OF ASSIGNORS INTEREST;ASSIGNORS:FUKE, HIROMI;HASHIMOTO, SUSUMU;TAKAGISHI, MASAYUKI;AND OTHERS;REEL/FRAME:019807/0487

Effective date: 20070821

STCB Information on status: application discontinuation

Free format text: ABANDONED -- FAILURE TO RESPOND TO AN OFFICE ACTION