RU32110U1 - Изотермический сосуд аппарата дображивания пива (варианты) - Google Patents
Изотермический сосуд аппарата дображивания пива (варианты) Download PDFInfo
- Publication number
- RU32110U1 RU32110U1 RU2003106672/20U RU2003106672U RU32110U1 RU 32110 U1 RU32110 U1 RU 32110U1 RU 2003106672/20 U RU2003106672/20 U RU 2003106672/20U RU 2003106672 U RU2003106672 U RU 2003106672U RU 32110 U1 RU32110 U1 RU 32110U1
- Authority
- RU
- Russia
- Prior art keywords
- vessel
- beer
- volume
- pipe
- vertical axis
- Prior art date
Links
- 235000013405 beer Nutrition 0.000 title claims description 42
- 239000013049 sediment Substances 0.000 claims description 14
- 238000001816 cooling Methods 0.000 claims description 13
- 238000000855 fermentation Methods 0.000 claims description 13
- 230000004151 fermentation Effects 0.000 claims description 13
- 240000004808 Saccharomyces cerevisiae Species 0.000 description 5
- 238000004519 manufacturing process Methods 0.000 description 4
- 238000009434 installation Methods 0.000 description 3
- 238000000034 method Methods 0.000 description 3
- CURLTUGMZLYLDI-UHFFFAOYSA-N Carbon dioxide Chemical compound O=C=O CURLTUGMZLYLDI-UHFFFAOYSA-N 0.000 description 2
- 238000003860 storage Methods 0.000 description 2
- 241001544778 Chapmannia floridana Species 0.000 description 1
- 238000009825 accumulation Methods 0.000 description 1
- 238000004458 analytical method Methods 0.000 description 1
- 229910002092 carbon dioxide Inorganic materials 0.000 description 1
- 239000001569 carbon dioxide Substances 0.000 description 1
- 238000004140 cleaning Methods 0.000 description 1
- 230000003749 cleanliness Effects 0.000 description 1
- 238000010276 construction Methods 0.000 description 1
- 238000005516 engineering process Methods 0.000 description 1
- 239000003337 fertilizer Substances 0.000 description 1
- 239000006193 liquid solution Substances 0.000 description 1
- 238000012423 maintenance Methods 0.000 description 1
- 238000002360 preparation method Methods 0.000 description 1
- 239000010802 sludge Substances 0.000 description 1
- 238000005406 washing Methods 0.000 description 1
- XLYOFNOQVPJJNP-UHFFFAOYSA-N water Substances O XLYOFNOQVPJJNP-UHFFFAOYSA-N 0.000 description 1
Landscapes
- Distillation Of Fermentation Liquor, Processing Of Alcohols, Vinegar And Beer (AREA)
- Alcoholic Beverages (AREA)
- Devices For Dispensing Beverages (AREA)
Description
ИЗОТЕРМИЧЕСКИЙ СОСУД АППАРАТА ДОБРАЖИВАНИЯ ПИВА (ВАРИАНТЫ)
Полезная модель (варианты) относится к пищевой промышленности, а более конкретно - к конструкциям основных узлов пивоваренных устройств малой мощности, позволяющим доставлять нефильтрованное ниво непосредственно в места торговли и потребления.
Известен изотермический сосуд аппарата дображивания пива, выполненный в термоизоляционной оболочке, имеющий рубащку охлаждения и снабженный функциональными вентилями (см. патент СССР № 1817791, кл. С12 С 13/00 от 12.03.92). Однако его конструкция не позволяет обеспечить оперативную транспортировку помещенного в сосуд продукта в места непосредственной торговли и потребления.
Наиболее близким по технической сущности (совокупности существенньгх признаков) к заявленным вариантам полезной модели является изотермический сосуд, входящий в состав приспособленного для транспортировки в места торговли и потребления пива аппарата дображивания (см. патент РФ N° 2171834, кл. С 12 С 13/00, 11/ от 09.11.2000). Он представляет из себя герметичную емкость, днище которой имеет наклонные участки. Сосуд снабжен термоизоляционной оболочкой, рубащкой охлаждения, патрубками, соединяющими его внутреннюю полость и рубащку охлаждения через вентили с внещними трубопроводами, а также средствами, включающими опоры для его установки на транспортируемых основаниях. В нижней части сосуда выполнена отстойная полость, необходимая для накопления и последующего удаления осадка, образуемого в процессе дображивания пива. Она имеет форму конуса с углом между его образующими, не превыщающим 90°, при этом объем
7 с 12 с 13/00, 11/00
отстойной полости превышает 0,01 внутреннего объема изотермического сосуда.
В отстойной полости смонтирован выступающий патрубок, соединенный через вентили с трубопроводом налива пива, трубопроводом слива пива и трубопроводом удаления осадка. Патрубок снабжен насадкой (втулкой), надеваемой на него при наливе-сливе пива и снимаемой перед очисткой емкости от накопленного осадка.
Данная конструкция известного изотермического сосуда аппарата дображивания пива имеет следующие недостатки. Из-за выполнения отстойной полость в форме конуса сосуд имеет технологически сложную форму и требует наличия высоких опор, используемых в качестве средства для его установки на различных основаниях при его транспортировке и установке в местах потребления пива. Кроме того, наличие насадки на выступающем патрубке требует применения ручного труда для ее снятия перед удалением накопленного осадка.
Техническим результатом всех трех заявленных вариантов полезной модели является упрощение конструкции и соответственно снижение затрат на изготовление изотермического сосуда и средств для его установки на различных основаниях, а также уменьшение объема ручного труда при его обслуживании при сохранении качества разливаемого из сосуда пива.
Указанные технические результаты достигаются за счет того, что изотермический сосуд дображивания пива, днище которого имеет наклонные участки, снабженный средствами для его установки на различных основаниях, термоизоляционной оболочкой, рубашкой охлаждения, патрубками с вентилями для подсоединения внешних трубопроводов к его внутренней полости и рубашке охлаждения, и имеюший в нижней части отстойную полость, объем которой превышает 0,01 внутреннего объема сосуда, согласно первому варианту Отстойная полость выполнена в виде части внутреннего объема сосуда, ограниченной снизу наклонными участками его днища, образующие которых в осевой плоскости сечения сосуда составляют между собой тупой угол, а в месте их соединения соосно вертикальной оси сосуда заподлицо с внутренней поверхностью днища смонтирован патрубок, соединенный через вентили с трубонроводом налива пива и трубопроводом удаления осадка, а сверху плоскостью, перпендикулярной вертикальной оси сосуда и проходящей через
нижнюю точку образующей входного отверстия установленного автономно во внутренней полости сосуда патрубка слива пива.
Согласно второму варианту в месте соединения наклонных участков днища, образующие которых составляют между собой в осевой плоскости сечения сосуда тупой угол соосно вертикальной оси сосуда смонтирован заподлицо с внутренней поверхностью днища патрубок с развитой верхней частью, соединенной через вентили с трубопроводом налива пива и трубопроводом удаления осадка, а отстойная полость включает в себя кроме внутреннего объема развитой части этого патрубка объем нижней части сосуда, ограниченный сверху плоскостью, перпендикулярной его вертикальной оси и проходящей через нижнюю точку образующей входного отверстия установленного автономно во внутренней полости сосуда патрубка слива пива.
Согласно третьему варианту в месте соединения наклонных участков днища, образующие которых составляют между собой в осевой плоскости сечения сосуда тупой угол, симметрично относительно вертикальной оси сосуда выполнен сферообразный прилив, в основании которого заподлицо с внутренней наклонной поверхностью днища смонтирован патрубок, соединенный через вентили с трубопроводом налива пива и трубопроводом удаления осадка, а отстойная полость включает в себя нижнюю часть внутреннего объема сосуда, ограниченную сверху плоскостью, перпендикулярной его вертикальной оси и проходящей через нижнюю точку образующей входного отверстия установленного автономно во внутренней полости сосуда патрубка слива пива.
При этом сформулированные и приведенные выше технические результаты могут быть достигнуты при реализации всех перечисленных совокупностей существенных признаков, характеризующих вьшолнение полезных моделей, вьшолненных по первому, второму и третьему вариантам.
Сравнение заявленных полезных моделей с наиболее близким аналогом, выбранным в качестве прототипа, дает основания утверждать о их соответствии критерию охраноспособности «новизна.
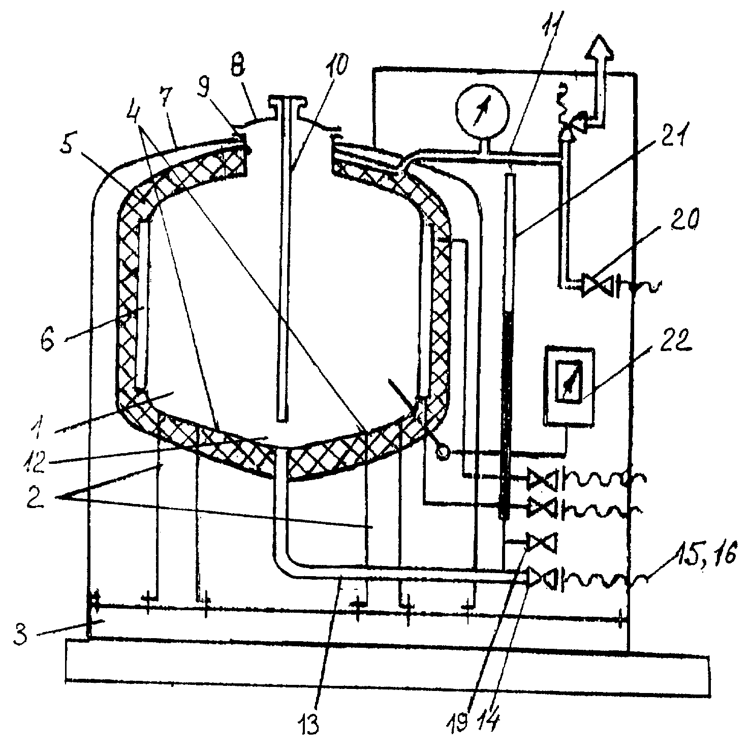
На фиг. 1 представлен первый вариант конструкции изотермического сосуда в составе аппарата дображивания пива.
На фиг. 3 представлен третий вариант конструкции изотермического сосуда в составе аппарата дображивания пива.
Изотермический сосуд аппарата дображивания нива, который может быть выполнен как в транспортном, так и в стационарном исполнении, имеет емкость 1, он снабжен опорами 2 для установки на основании 3. Днище емкости 1 выполнено с наклонными участками 4, образующими между собой в осевой плоскости сечение сосуда тупой угол, а сам сосуд имеет термоизоляционную оболочку 5, рубащку охлаждения 6 и заключен в кожух 7, установленный ria основании 3 и имеющий заглушку 8, закрывающую люк-лаз 9. В заглушке 8 смонтирован автономный патрубок 10 слива пива, соединенный через вентиль с соответствующим внешним трубопроводом. К верхней части емкости 1 подсоединен патрубок 11 ее наддува углекислым газом и газосброса. В нижней части днища емкости 1 с участием наклонных участков 4 сформирована отстойная полость 12. При этом верхняя граница отстойной полости представляет собой плоскость, перпендикулярную вертикальной оси сосуда и проходящую через нижнюю точку образующей входного отверстия автономного патрубка 10 слива пива. Указанная полость соединена посредством патрубка 13 через вентиль 14 с трубонроводом 15 налива пива, и с трубопроводом 16 удаления осадка. Объем отстойной нолости 12 но условиям применяемой технологии приготовления и хранения пива должен составлять не менее 0,01 внутреннего объема сосуда.
Согласно первому варианту полезной модели патрубок 13 установлен в самой нижней точке днища в месте соединения образующих наклонных участков 4.
Согласно второму варианту полезной модели патрубок 13 имеет развитую верхнюю часть 17, смонтированнзто в самой нижней точке днища в месте соединения образующих наклонных участков 4. При этом в общий обтэем отстойной полости 12 входит объем верхней части 17 патрубка 13.
Согласно третьему варианту полезной модели на днище, образованном наклонными участками 4, симметрично относительно вертикальной оси сосуда выполнен сферообразный прилив 18, а патрубок 13 смонтирован в его основании.
Молодое пиво, приготовленное в аппаратах брожения, по трубопроводу 15 налива пива через вентиль 14 и патрубок 13 поступает во внутреннюю емкость 1 сосуда, которая перед этим тщательно промывается и дезинфицируется через люк-лаз 9. Затем берется анализ на чистоту через вентиль 19. Избыточный воздух сбрасывается через патрубок 11 и вентиль 20 газосброса, а контроль заполнения осуществляют по уровнемеру 21.
Далее внутреннюю емкость 1 сосуда герметично закрывают заглущкой 8 и осуществляют охлаждение пива с помощью рубащки охлаждения 6 до температуры 0...+2°С. Контроль осуществляют с помощью термодатчика 22. При этой температуре помещенное в сосуд пиво созревает. При необходимости сосуд, установленный на опорах 2 на основании 3, транспортируют на место доставки и последующего потребления. За счет термоизоляционной оболочки 5 изменение температуры пива при его транспортировке в течение 4-х часов не превышает 1°С.
В ходе дображивания пива происходит образование и концентрация на дне сосуда осадочных дрожжей. Эти дрожжи скапливаются в отстойной полости 12, объем которой составляет не менее 1% от общего внутреннего объема сосуда и полностью обеспечивает размещение осадочных дрожжей, которые оседая на наклонные участки 4 дна сосуда постепенно перемещаются, стекая в нижнюю часть емкости сосуда, выполненного по первому варианту полезной модели. В ходе указанного процесса заполняется и развитая верхняя часть 17 патрубка 13, входящая в состав отстойной полости 12 сосуда, выполненного в соответствии со вторым вариантом заявленной полезной модели.
Указанный процесс стекания и концентрации осаждаемых дрожжей наиболее интенсивно происходит в емкости, выполненной по третьему варианту полезной модели, в силу более развитой поверхности днища емкости за счет н:аличия сферообразного прилива 18, расположенного симметрично относительно вертикальной оси сосуда.
Потребление нефильтрованного пива путем его отбора через патрубок 10 слива пива может происходить достаточно медленно, при этом пиво, находящееся в охлажденном состоянии, не теряет первоначальных вкусовых качеств, а конструкция сосуда, выполненного согласно заявленным трем вариантам, предотвращает попадание в него образуемого в процессе дображивания и хранения осадка дрожжей. После опорожнения сосуда до
уровня, определяемого плоскостью, перпендикулярной вертикальной оси сосуда и проходящей через нижнюю точку образующей входного отверстия патрубка 10, осуществляют удаление накопленного осадка через патрубок 13 и переключаемый вентиль 14, соединенный с трубопроводом 16 удаления осадка. Аналогичным образом удаляют из емкости жидкий раствор, образующийся в результате промывки водой внутренней полости сосуда через люк-лаз 9.
Заявленные варианты конструкции сосуда при неизменном по сравнению с прототипом качестве получаемого и потребляемого пива позволяют не только снизить затраты на его изготовление, повысить прочность его констрзкции, но и обеспечить надежность его монтажа на основании, особенно важную при транспортировке, и устойчивость на месте эксплуатации за счет снижения высоты удерживающих его опор. Изготовление сосудов предлагаемых конструкций технически осуществимо на стандартном технологическом оборудовании, иснользуемом для производства аналогичной продукции.
Claims (3)
1. Изотермический сосуд аппарата дображивания пива, содержащий емкость с днищем, имеющим наклонные участки, снабженный средствами для его установки на различных основаниях, термоизоляционной оболочкой, рубашкой охлаждения, патрубками с вентилями для подсоединения внешних трубопроводов к его внутренней емкости и рубашке охлаждения, и имеющий в нижней части отстойную полость, объем которой превышает 0,01 внутреннего объема сосуда, отличающийся тем, что отстойная полость выполнена в виде части внутреннего объема сосуда, ограниченной снизу наклонными участками его днища, образующие которых в осевой плоскости сечения сосуда составляют между собой тупой угол, а в месте их соединения соосно вертикальной оси сосуда заподлицо с внутренней поверхностью днища смонтирован патрубок, соединенный через вентили с трубопроводом налива пива и трубопроводом удаления осадка, а сверху плоскостью, перпендикулярной вертикальной оси сосуда и проходящей через нижнюю точку образующей входного отверстия, установленного автономно во внутренней полости сосуда патрубка слива пива.
2. Изотермический сосуд аппарата дображивания пива, содержащий емкость с днищем, имеющим наклонные участки, снабженный средствами для его установки на различных основаниях, термоизоляционной оболочкой, рубашкой охлаждения, патрубками с вентилями для подсоединения внешних трубопроводов к его внутренней емкости и рубашке охлаждения, и имеющий в нижней части отстойную полость, объем которой превышает 0,01 внутреннего объема сосуда, отличающийся тем, что в месте соединения наклонных участков днища, образующие которых составляют между собой в осевой плоскости сечения сосуда тупой угол, соосно вертикальной оси сосуда смонтирован заподлицо с внутренней поверхностью днища патрубок с развитой верхней частью, соединенной через вентили с трубопроводом налива пива и трубопроводом удаления осадка, а отстойная полость включает в себя кроме внутреннего объема развитой части этого патрубка объем нижней части сосуда, ограниченный сверху плоскостью, перпендикулярной его вертикальной оси и проходящей через нижнюю точку образующей входного отверстия, установленного автономно во внутренней полости сосуда патрубка слива пива.
3. Изотермический сосуд аппарата дображивания пива, содержащий емкость с днищем, имеющим наклонные участки, снабженный средствами для его установки на различных основаниях, термоизоляционной оболочкой, рубашкой охлаждения, патрубками с вентилями для подсоединения внешних трубопроводов к его внутренней емкости и рубашке охлаждения, и имеющий в нижней части отстойную полость, объем которой превышает 0,01 внутреннего объема сосуда, отличающийся тем, что в месте соединения наклонных участков днища, образующие которых составляют между собой в осевой плоскости сечения сосуда тупой угол, симметрично относительно вертикальной оси сосуда выполнен сферообразный прилив, в основании которого заподлицо с внутренней наклонной поверхностью днища смонтирован патрубок, соединенный через вентили с трубопроводом налива пива и трубопроводом удаления осадка, а отстойная полость включает в себя нижнюю часть внутреннего объема сосуда, ограниченную сверху плоскостью, перпендикулярной его вертикальной оси и проходящей через нижнюю точку образующей входного отверстия, установленного автономно во внутренней полости сосуда патрубка слива пива.
Priority Applications (1)
| Application Number | Priority Date | Filing Date | Title |
|---|---|---|---|
| RU2003106672/20U RU32110U1 (ru) | 2003-03-17 | 2003-03-17 | Изотермический сосуд аппарата дображивания пива (варианты) |
Applications Claiming Priority (1)
| Application Number | Priority Date | Filing Date | Title |
|---|---|---|---|
| RU2003106672/20U RU32110U1 (ru) | 2003-03-17 | 2003-03-17 | Изотермический сосуд аппарата дображивания пива (варианты) |
Publications (1)
| Publication Number | Publication Date |
|---|---|
| RU32110U1 true RU32110U1 (ru) | 2003-09-10 |
Family
ID=36114635
Family Applications (1)
| Application Number | Title | Priority Date | Filing Date |
|---|---|---|---|
| RU2003106672/20U RU32110U1 (ru) | 2003-03-17 | 2003-03-17 | Изотермический сосуд аппарата дображивания пива (варианты) |
Country Status (1)
| Country | Link |
|---|---|
| RU (1) | RU32110U1 (ru) |
Cited By (1)
| Publication number | Priority date | Publication date | Assignee | Title |
|---|---|---|---|---|
| EA010760B1 (ru) * | 2007-11-06 | 2008-10-30 | Евгений Константинович Белкин | Аппарат для брожения, и/или дображивания, и/или хранения, и/или транспортировки, и/или розлива пива и/или иных жидкостей |
-
2003
- 2003-03-17 RU RU2003106672/20U patent/RU32110U1/ru not_active IP Right Cessation
Cited By (1)
| Publication number | Priority date | Publication date | Assignee | Title |
|---|---|---|---|---|
| EA010760B1 (ru) * | 2007-11-06 | 2008-10-30 | Евгений Константинович Белкин | Аппарат для брожения, и/или дображивания, и/или хранения, и/или транспортировки, и/или розлива пива и/или иных жидкостей |
Similar Documents
| Publication | Publication Date | Title |
|---|---|---|
| JP4025195B2 (ja) | ビール製造用装置および後発酵用ユニット | |
| US5925563A (en) | Multi-stage column continuous fermentation system | |
| RU32110U1 (ru) | Изотермический сосуд аппарата дображивания пива (варианты) | |
| CN101633429A (zh) | 一种容易沉淀和排放水垢杂尘物的饮水容器 | |
| CN202754318U (zh) | 一种易于取样的储酒罐 | |
| US6561078B1 (en) | Device for separating and removing kraeusen from beer during fermentation | |
| CN208631303U (zh) | 带有清洗功能的储罐排污结构 | |
| RU54528U1 (ru) | Сепарационная установка | |
| CN106006837A (zh) | 一种可移动式隔油池 | |
| US3045654A (en) | Domestic hot water tanks | |
| CN202743769U (zh) | 带有旋转接头的多舱式浮子浮动出油装置 | |
| CN209685716U (zh) | 沼气的简易收集净化贮存输送装置 | |
| CN213680586U (zh) | 一种酒花添加装置 | |
| RU2171834C1 (ru) | Устройство для приготовления пива и аппарат дображивания | |
| CN207507940U (zh) | 一种净水箱 | |
| CN108043308A (zh) | 一种气动搅拌机 | |
| CN223879452U (zh) | 一种油炸机用储油罐 | |
| CN222810122U (zh) | 一种箱式无负压供水设备 | |
| RU2174926C1 (ru) | Цистерна для транспортировки загустевающих нефтепродуктов | |
| CN107866157A (zh) | 一种气体搅拌设备 | |
| CN219844537U (zh) | 一种牛养殖新型饮水设备 | |
| JP2002145388A (ja) | アスファルトタンク | |
| CN216909402U (zh) | 一种小型果酒过滤装置 | |
| US1536247A (en) | Ice-cream freezer | |
| CN214496233U (zh) | 一种卧式发酵装置及卧式啤酒发酵装置 |
Legal Events
| Date | Code | Title | Description |
|---|---|---|---|
| MM1K | Utility model has become invalid (non-payment of fees) |
Effective date: 20050318 |
|
| NF1K | Reinstatement of utility model | ||
| PD1K | Correction of name of utility model owner | ||
| PC1K | Assignment of utility model |
Effective date: 20080417 |
|
| ND1K | Extending utility model patent duration |
Extension date: 20160317 |
|
| MM1K | Utility model has become invalid (non-payment of fees) |
Effective date: 20150318 |
