RU2298705C1 - Frictionless roller bearing - Google Patents

Frictionless roller bearing Download PDF

Info

Publication number
RU2298705C1
RU2298705C1 RU2005130279/11A RU2005130279A RU2298705C1 RU 2298705 C1 RU2298705 C1 RU 2298705C1 RU 2005130279/11 A RU2005130279/11 A RU 2005130279/11A RU 2005130279 A RU2005130279 A RU 2005130279A RU 2298705 C1 RU2298705 C1 RU 2298705C1
Authority
RU
Russia
Prior art keywords
roller bearing
outer ring
holes
bearing
rollers
Prior art date
Application number
RU2005130279/11A
Other languages
Russian (ru)
Inventor
Юлиус Мартинович Вайткус (BY)
Юлиус Мартинович Вайткус
Анатолий Степанович Бахуревич (BY)
Анатолий Степанович Бахуревич
Вадим Альбертович Жарин (BY)
Вадим Альбертович Жарин
Original Assignee
Открытое акционерное общество "Минский подшипниковый завод"
Priority date (The priority date is an assumption and is not a legal conclusion. Google has not performed a legal analysis and makes no representation as to the accuracy of the date listed.)
Filing date
Publication date
Application filed by Открытое акционерное общество "Минский подшипниковый завод" filed Critical Открытое акционерное общество "Минский подшипниковый завод"
Priority to RU2005130279/11A priority Critical patent/RU2298705C1/en
Application granted granted Critical
Publication of RU2298705C1 publication Critical patent/RU2298705C1/en

Links

Images

Landscapes

  • Rolling Contact Bearings (AREA)

Abstract

FIELD: mechanical engineering, in particular, frictionless bearings.
SUBSTANCE: frictionless roller bearing contains circular groove and apertures, axes of which are positioned between rows of rollers. Circular groove is positioned at a distance from end of external ring which does not exceed length of roller. Groove is connected to apertures via recesses. Recesses are made in either longitudinal or spiraling form.
EFFECT: increased reliability of bearing operation.
3 cl, 6 dwg

Description

Изобретение относится к области машиностроения, в частности к подшипникам качения.The invention relates to the field of engineering, in particular to rolling bearings.

Известен двухрядный самоустанавливающийся роликовый подшипник [1].Known double-row self-aligning roller bearing [1].

Подшипник содержит наружное кольцо с дорожкой качения, внутреннее кольцо с дорожками качения, два ряда роликов. Посередине наружного кольца расположена кольцевая канавка с отверстиями. Оси отверстий расположены между рядами роликов.The bearing contains an outer ring with a raceway, an inner ring with raceways, two rows of rollers. An annular groove with holes is located in the middle of the outer ring. The axis of the holes are located between the rows of rollers.

Кольцевая канавка с отверстиями ослабляет тонкое сечение наружного кольца, что приводит к уменьшению его прочности и, как следствие, к возможности разрушения при воздействии нагрузок, т.е. к снижению надежности работы подшипника.An annular groove with holes weakens the thin section of the outer ring, which leads to a decrease in its strength and, as a consequence, to the possibility of destruction under the influence of loads, i.e. to reduce the reliability of the bearing.

Известен сферический роликовый трехрядный подшипник [2].Known spherical roller three-row bearing [2].

Подшипник содержит наружное кольцо с дорожкой качения, внутреннее кольцо с дорожками качения, три ряда роликов. На наружном кольце расположены две кольцевые канавки с отверстиями. Оси отверстий расположены между рядами роликов.The bearing contains an outer ring with a raceway, an inner ring with raceways, three rows of rollers. On the outer ring are two annular grooves with holes. The axis of the holes are located between the rows of rollers.

Наличие кольцевых канавок с отверстиями также ослабляет тонкие сечения наружного кольца, что приводит к уменьшению его прочности и снижению надежности работы подшипника.The presence of annular grooves with holes also weakens the thin sections of the outer ring, which leads to a decrease in its strength and a decrease in the reliability of the bearing.

Технической задачей, на решение которой направлено предлагаемое изобретение, является повышение надежности работы подшипника.The technical problem to which the invention is directed is to increase the reliability of the bearing.

Поставленная задача решается тем, что в роликовом подшипнике качения, включающем наружное кольцо с дорожкой качения, внутреннее кольцо с несколькими дорожками качения, ролики, причем наружное кольцо содержит кольцевую канавку и отверстия, оси которых расположены между рядами роликов, согласно изобретению кольцевая канавка расположена от торца наружного кольца на расстоянии, не превышающем длину ролика, и соединена с отверстиями пазами. Пазы могут быть выполнены продольными или спиральными.The problem is solved in that in a roller bearing comprising an outer ring with a raceway, an inner ring with several raceways, rollers, the outer ring comprising an annular groove and holes whose axes are located between the rows of rollers, according to the invention, the annular groove is located from the end the outer ring at a distance not exceeding the length of the roller, and connected to the holes with grooves. The grooves can be made longitudinal or spiral.

Изобретение поясняется чертежами.The invention is illustrated by drawings.

На фиг.1 изображен осевой разрез роликового двухрядного подшипника качения;Figure 1 shows an axial section of a double-row roller bearing;

на фиг.2 - соединение отверстий с кольцевой канавкой продольными пазами в роликовом двухрядном подшипнике качания;figure 2 - connection of holes with an annular groove with longitudinal grooves in a double-row roller bearing;

на фиг.3 - соединение отверстий с кольцевой канавкой спиральными пазами в роликовом двухрядном подшипнике качения;figure 3 - connection of holes with an annular groove spiral grooves in a double-row roller bearing;

на фиг.4 - осевой разрез роликового трехрядного подшипника качения;figure 4 is an axial section of a three-row roller bearing;

на фиг.5 - соединение отверстий с кольцевой канавкой продольными пазами в роликовом трехрядном подшипнике качения;figure 5 - connection of holes with an annular groove with longitudinal grooves in a three-row roller bearing;

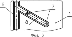
на фиг.6 - соединение отверстий с кольцевой канавкой спиральными пазами в роликовом трехрядном подшипнике качения.figure 6 - connection of holes with an annular groove spiral grooves in a three-row roller bearing.

Роликовый подшипник качения содержит наружное кольцо 1 с дорожкой качения 2, внутреннее кольцо 3 с дорожками качения 4, ролики 5 длиной l. На наружном кольце 1 выполнена кольцевая канавка 6 и отверстия 7, соединенные между собой пазами 8. Оси O-O отверстий 7 расположены между рядами роликов 5. Кольцевая канавка 6 расположена от торца 9 наружного кольца 1 на расстоянии L≤l.The roller bearing contains an outer ring 1 with a raceway 2, an inner ring 3 with raceways 4, rollers 5 of length l. An annular groove 6 and holes 7 are made on the outer ring 1 and are interconnected by grooves 8. The O-O axes of the holes 7 are located between the rows of rollers 5. The annular groove 6 is located from the end face 9 of the outer ring 1 at a distance L≤l.

При смазывании подшипника в отверстие корпуса подшипникового узла вносится смазочный материал, который поступает на кольцевую канавку 6 и распределяется по ней. Затем по пазам 8 и через отверстия 7 смазочный материал проникает в пространство между рядами роликов 5 и распространяется по внутренней полости подшипника.When lubricating the bearing, a lubricant is introduced into the hole in the housing of the bearing assembly, which enters the annular groove 6 and is distributed over it. Then, along the grooves 8 and through the holes 7, the lubricant penetrates into the space between the rows of rollers 5 and spreads along the inner cavity of the bearing.

Толщина а наружного кольца 1 в сечении А-А по кольцевой канавке 6, расположенной на расстоянии L≤l, значительно превышает толщину в наружного кольца в сечении В-В посередине наружного кольца 1. Это позволит снять ослабление тонкого сечения В-В наружного кольца 1 и, следовательно, повысить надежность работы подшипникаThe thickness a of the outer ring 1 in section AA through the annular groove 6 located at a distance L≤l significantly exceeds the thickness in the outer ring in the section BB in the middle of the outer ring 1. This will remove the attenuation of the thin section BB of the outer ring 1 and therefore increase the reliability of the bearing

Источники информацииInformation sources

1. Патент США №5009524, 10.05.1990 г.1. US patent No. 5009524, 05/10/1990

2. Каталог ОАО «Минский подшипниковый завод» «Новые разработки», 2003 г., стр.10.2. The catalog of JSC "Minsk Bearing Plant" "New Development", 2003, p. 10.

Claims (3)

1. Роликовый подшипник качения, включающий наружное кольцо с дорожкой качения, внутреннее кольцо с несколькими дорожками качения, ролики, причем наружное кольцо содержит кольцевую канавку и отверстия, оси которых расположены между рядами роликов, отличающийся тем, что кольцевая канавка расположена от торца наружного кольца на расстоянии, не превышающем длину ролика, и соединена с отверстиями пазами.1. A roller bearing comprising an outer ring with a raceway, an inner ring with several raceways, rollers, the outer ring comprising an annular groove and holes whose axes are located between the rows of rollers, characterized in that the annular groove is located from the end of the outer ring to a distance not exceeding the length of the roller, and connected to the holes with grooves. 2. Роликовый подшипник качения по п.1, отличающийся тем, что пазы выполнены продольными.2. The roller bearing according to claim 1, characterized in that the grooves are made longitudinal. 3. Роликовый подшипник качения по п.1, отличающийся тем, что пазы выполнены спиральными.3. The roller bearing according to claim 1, characterized in that the grooves are made spiral.
RU2005130279/11A 2005-09-28 2005-09-28 Frictionless roller bearing RU2298705C1 (en)

Priority Applications (1)

Application Number Priority Date Filing Date Title
RU2005130279/11A RU2298705C1 (en) 2005-09-28 2005-09-28 Frictionless roller bearing

Applications Claiming Priority (1)

Application Number Priority Date Filing Date Title
RU2005130279/11A RU2298705C1 (en) 2005-09-28 2005-09-28 Frictionless roller bearing

Publications (1)

Publication Number Publication Date
RU2298705C1 true RU2298705C1 (en) 2007-05-10

Family

ID=38107912

Family Applications (1)

Application Number Title Priority Date Filing Date
RU2005130279/11A RU2298705C1 (en) 2005-09-28 2005-09-28 Frictionless roller bearing

Country Status (1)

Country Link
RU (1) RU2298705C1 (en)

Cited By (1)

* Cited by examiner, † Cited by third party
Publication number Priority date Publication date Assignee Title
RU2372534C2 (en) * 2007-06-07 2009-11-10 Владислав Владимирович Смолянинов Double-row angular-contact bearing for railway box

Citations (3)

* Cited by examiner, † Cited by third party
Publication number Priority date Publication date Assignee Title
SU1182210A1 (en) * 1984-05-15 1985-09-30 Ордена Трудового Красного Знамени Экспериментальный Научно-Исследовательский Институт Металлорежущих Станков Rolling bearing
US4619535A (en) * 1984-02-25 1986-10-28 Skf Gmbh, Schweinfurt Bearing housing
JP2002155957A (en) * 2000-11-21 2002-05-31 Nsk Ltd Double row bearing

Patent Citations (3)

* Cited by examiner, † Cited by third party
Publication number Priority date Publication date Assignee Title
US4619535A (en) * 1984-02-25 1986-10-28 Skf Gmbh, Schweinfurt Bearing housing
SU1182210A1 (en) * 1984-05-15 1985-09-30 Ордена Трудового Красного Знамени Экспериментальный Научно-Исследовательский Институт Металлорежущих Станков Rolling bearing
JP2002155957A (en) * 2000-11-21 2002-05-31 Nsk Ltd Double row bearing

Non-Patent Citations (1)

* Cited by examiner, † Cited by third party
Title
"Новые разработки", Каталог. ОАО "Минский подшипниковый завод", 2003, стр.10. *

Cited By (1)

* Cited by examiner, † Cited by third party
Publication number Priority date Publication date Assignee Title
RU2372534C2 (en) * 2007-06-07 2009-11-10 Владислав Владимирович Смолянинов Double-row angular-contact bearing for railway box

Similar Documents

Publication Publication Date Title
US9188154B2 (en) Rolling bearing, notably used in a wind turbine
US8608444B2 (en) Single-bearing structure and wind power plant having the single-bearing structure
CN103998799B (en) Roller bearing
WO2005019666A3 (en) Self-aligning antifriction bearing and cage for said self-aligning antifriction bearing
US9188161B2 (en) Rolling bearing comprising at least one multipart ring, notably for a wind turbine, and associated mounting method
JP2014530333A5 (en)
US20110229067A1 (en) Bearing cages with high speed features
US20110249927A1 (en) Radial bearings of increased load capacity and stability with one axially asymmetric bearing component
RU2570891C1 (en) Ball cageless roll bearing
RU2298705C1 (en) Frictionless roller bearing
US5845998A (en) Ball bearing assembly with polymer bearing ring
RU2319046C2 (en) Antifriction bearing (versions)
JP2021055831A (en) Double-row tapered roller bearing
KR102920456B1 (en) A Cage For Spherical Roller Bearing
EP1104855A1 (en) Pure rolling bearing
US9416817B2 (en) Crankshaft bearing assembly
RU2410581C1 (en) Ball spherical double-row rolling bearing
RU56514U1 (en) ROLLER SPHERICAL THREE ROW BEARING
RU2488721C1 (en) Two-row antifriction ball bearing
RU2479763C1 (en) Double-row ball bearing
JP2008261481A (en) Radial ball bearings and cages for radial ball bearings
RU172152U1 (en) BALL BEARING RADIALLY THrust DOUBLE ROW
RU213952U1 (en) ANGULAR CONTACT BALL BEARING
US8529137B2 (en) Radial bearing cage with contact feature
JP5790033B2 (en) Tapered roller bearing

Legal Events

Date Code Title Description
MM4A The patent is invalid due to non-payment of fees

Effective date: 20180929