RU2211368C1 - Насосная система подачи рабочего тела - Google Patents
Насосная система подачи рабочего тела Download PDFInfo
- Publication number
- RU2211368C1 RU2211368C1 RU2002110740/06A RU2002110740A RU2211368C1 RU 2211368 C1 RU2211368 C1 RU 2211368C1 RU 2002110740/06 A RU2002110740/06 A RU 2002110740/06A RU 2002110740 A RU2002110740 A RU 2002110740A RU 2211368 C1 RU2211368 C1 RU 2211368C1
- Authority
- RU
- Russia
- Prior art keywords
- pressure
- working fluid
- extreme
- slide
- chests
- Prior art date
Links
- 238000005086 pumping Methods 0.000 title claims description 8
- 210000003739 neck Anatomy 0.000 claims abstract description 5
- 239000012530 fluid Substances 0.000 claims description 35
- 239000007788 liquid Substances 0.000 abstract description 5
- 239000000446 fuel Substances 0.000 abstract description 3
- 210000000038 chest Anatomy 0.000 abstract 5
- 239000000306 component Substances 0.000 abstract 2
- 239000012533 medium component Substances 0.000 abstract 2
- 239000000126 substance Substances 0.000 abstract 1
- XLYOFNOQVPJJNP-UHFFFAOYSA-N water Substances O XLYOFNOQVPJJNP-UHFFFAOYSA-N 0.000 abstract 1
- 230000004913 activation Effects 0.000 description 2
- 239000002609 medium Substances 0.000 description 2
- 230000001360 synchronised effect Effects 0.000 description 2
- 230000003213 activating effect Effects 0.000 description 1
- 238000005516 engineering process Methods 0.000 description 1
- 239000002828 fuel tank Substances 0.000 description 1
- 239000000203 mixture Substances 0.000 description 1
- 230000007935 neutral effect Effects 0.000 description 1
- 230000010349 pulsation Effects 0.000 description 1
- 230000001105 regulatory effect Effects 0.000 description 1
Images
Landscapes
- Reciprocating Pumps (AREA)
Abstract
Изобретение предназначено для использования в различных отраслях техники для дозированной подачи двух компонентов под высоким давлением в исполнительный орган. Система содержит два мультипликатора давления, каждый из которых имеет поршень и гидрополости переменного объема, сообщенные через распределители рабочего тела. Напорные и сливные магистрали оснащены аккумуляторами давления и регулирующей аппаратурой. Привод обеспечивает задействование мультипликаторов. Распределители выполнены в виде трехпозиционных золотников. Каждый из них имеет по три золотниковые камеры. Две крайние камеры каждого из золотников с одной стороны сообщены каналами с крайними гидрополостями мультипликаторов, а с другой стороны крайние камеры одного из золотников сообщены с источником одного компонента рабочего тела. Крайние камеры другого золотника сообщены с источником другого компонента рабочего тела. Золотниковые средние камеры сообщены напорной магистралью с исполнительным органом. К напорным магистралям подключены заправочно-сливные горловины. Штоки мультипликаторов и штоки золотников соединены между собой и через кулису с приводом. Обеспечивается возможность подачи второго компонента жидкости или топлива в заданной пропорции в исполнительный орган, расширяется арсенал технических средств. 2 ил.
Description
Изобретение относится к насосным установкам технологического оборудования и может быть использовано для точно дозированной подачи двух компонентов рабочего тела (среды, жидкости, смесей жидкостей или топлива и т.п.) под высоким давлением в исполнительный орган-смеситель в различных отраслях техники.
Известна насосная система подачи рабочего тела, содержащая два мультипликатора давления, каждый из которых имеет поршень и гидрополости переменного объема, сообщенные через распределители рабочего тела, напорные и сливные магистрали, оснащенные аккумуляторами давления и регулирующей аппаратурой, с исполнительным органом и источником рабочего тела (баками) и привод, обеспечивающий задействование мультипликаторов (см., например, международную заявку WO 82/00502, кл. F 15 B 3/00, 15/18, F 04 B 9/08, опубликована 18.02.82).
Недостатками известной системы являются отсутствие возможности подачи второго компонента рабочего тела в заданной пропорции в исполнительный орган, возможности пропорционального расходования компонентов из секционированных баков, возможности синхронной заправки баков через дозирующие гидрополости мультипликаторов.
Задачей данного изобретения является создание насосной системы подачи рабочего тела к исполнительному органу с достижением технических результатов, таких, как возможность подачи второго компонента жидкости (или топлива) в заданной пропорции в исполнительный орган, возможность пропорционального расходования компонентов из секционированных баков, возможность синхронной заправки баков через дозирующие гидрополости мультипликаторов и, наконец, расширение арсенала технических средств в данных областях техники.
Данная задача решается тем, что в насосной системе подачи рабочего тела, содержащей два мультипликатора давления, каждый из которых имеет поршень и гидрополости переменного объема, сообщенные через распределители рабочего тела, напорные и сливные магистрали, оснащенные аккумуляторами давления и регулирующей аппаратурой, с исполнительным органом и источником рабочего тела и привод, обеспечивающий задействование мультипликаторов, в соответствии с изобретением, распределители выполнены в виде трехпозиционных золотников, каждый из которых имеет по три золотниковые камеры, при этом две крайние камеры каждого из золотников с одной стороны сообщены каналами с крайними гидрополостями мультипликаторов, а с другой стороны крайние камеры одного из золотников сообщены с источником одного компонента рабочего тела. Крайние камеры другого золотника сообщены с источником другого компонента рабочего тела, золотниковые же средние камеры сообщены напорной магистралью с исполнительным органом. К напорным магистралям подключены заправочно-сливные горловины, а штоки мультипликаторов и штоки золотников соединены между собой и через кулису с приводом, обеспечивающим задействование мультипликаторов.
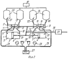
Далее существо изобретения поясняется более подробно с привлечением схемных чертежей, где на фиг.1 показана насосная система подачи при движении кулисы привода, поршней мультипликаторов и золотников в левую сторону (по чертежу); на фиг. 2 - та же насосная система подачи при движении кулисы привода, поршней мультипликаторов и золотников в правую сторону (по чертежу).
Насосная система подачи рабочего тела содержит два мультипликатора давления 1 и 2, каждый из которых имеет поршень 3 и 4. Гидрополости 5, 6, 7, 8 переменного объема сообщены через распределители рабочего тела, выполненые в виде трехпозиционных золотников 9, 10, каждый из которых имеет по три золотниковые камеры 11, 12, 13, 14, 15, 16. Крайние камеры 11, 12 и 14, 15 каждого из золотников 9 и 10 с одной стороны сообщены каналами 17, 18 и 19, 20 с крайними гидрополостями 5, 6 и 7, 8 мультипликаторов 1 и 2 соответственно. Те же крайние камеры 11 и 12 одного из золотников, например, 9 с другой стороны сообщены сливными магистралями 21 с источником 23 одного компонента рабочего тела, а крайние камеры 14 и 15 другого золотника 10 с другой стороны сообщены магистралями 22 с источником 24 другого компонента рабочего тела. Средние камеры 13 и 16 золотников сообщены напорными магистралями 25, 26 с исполнительным органом 27. К напорным магистралям 25, 26 подключены заправочно-сливные горловины 28 и аккумуляторы давления 29. Предварительное напорное давление поднаддува баков создается системой 30, подключенной к источникам рабочего тела.
Штоки 31, 32 мультипликаторов и штоки 33, 34 золотников соединены между собой коромыслом 35 и через кулису 36 соединены с приводом 37.
На магистралях также установлена в необходимых местах регулирующая аппаратура (типа клапанов, регуляторов, обратных, предохранительных клапанов и тому подобные агрегаты), на чертежах не показанная.
Работа насосной системы подачи рабочего тела может выполняться следующим образом.
При перемещении кулисы 36 привода 37 влево (см. фиг.1) золотники 9 и 10 перемещаются в левое положение, гидрополость 6 мультипликатора 1 сообщается через открытую золотниковую камеру 12 и сливную магистраль 21 с секцией 23 одного компонента источника рабочего тела, а гидрополость 8 мультипликатора 2 сообщается через открытую золотниковую камеру 15 и сливную магистраль 22 с секцией 24 другого компонента рабочего тела. При этом обеспечивается заполнение рабочих гидрополостей 6 и 8 мультипликаторов 1 и 2.
Усилием привода 37 через кулису 36 и штоки 31 и 32 создается высокое давление в рабочих камерах 5 и 7.
Рабочее тело из рабочей камеры 5 мультипликатора 1 по каналу 17 через среднюю золотниковую камеру 13 и напорную магистраль 25 поступает под высоким давлением в исполнительный орган 27. Одновременно заданная порция второго компонента рабочего тела из рабочей камеры 7 мультипликатора 2 по каналу 19 через среднюю золотниковую камеру 16 и напорную магистраль 26 поступает также под высоким давлением в исполнительный орган 27.
При наличии значительного гидравлического сопротивления в магистралях исполнительного органа 27 происходит перераспределение давлений компонентов рабочего тела (например, жидкости) в рабочих камерах гидроцилиндров, выравнивающее расходы компонентов рабочего тела через исполнительный орган до заданных значений.
При перемещении кулисы 36 привода 37 вправо (см. фиг.2) золотники 9 и 10 перемещаются в правое положение, гидрополость 5 мультипликатора 1 сообщается через открытую золотниковую камеру 11 и сливную магистраль 21 с секцией 23 одного компонента источника рабочего тела, а гидрополость 7 мультипликатора 2 сообщается через открытую золотниковую камеру 14 и сливную магистраль 22 с секцией 24 другого компонента рабочего тела. При этом теперь обеспечивается заполнение рабочих гидрополостей 5 и 7 мультипликаторов 1 и 2 и уже из этих гидрополостей компоненты рабочего тела под высоким давлением (полученным опять же под действием усилия привода 37 через кулису 36 и штоки 31, 32) по каналам 18 и 20, средние золотниковые камеры 13 и 16 и напорные магистрали 25 и 26 рабочее тело поступает в исполнительный орган 27.
Для уменьшения пульсаций давления в напорных магистралях 25 и 26 при реверсе движения привода и нейтральном (промежуточном) положении золотников используются аккумуляторы давления 29.
В качестве привода 37 могут использоваться в принципе приводы любого типа, например, пневматические, гидравлические или электроприводы.
Система подачи рабочего тела позволяет из четырех источников непрерывно подавать два компонента рабочего тела в точно заданной пропорции, обеспечивая поддержание давления на входе в исполнительный орган 27 в определенном диапазоне значений.
Таким образом, при возвратно-поступательном движении поршней обеспечивается непрерывность подачи и синхронная выработка рабочего тела из секций источников компонентов рабочего тела.
Регулирование соотношения компонентов происходит перераспределением давлений в рабочих камерах мультипликаторов 1 и 2 и обусловленным им выравниванием расхода компонентов до заданного при действии привода сразу на оба связанных между собой штока 31 и 32.
Улучшение точности заправки топливных баков достигается при одновременной заправке двумя компонентами через горловины, врезанные в напорные магистрали высокого давления и выполняемой при растормаживании привода 37.
Claims (1)
- Насосная система подачи рабочего тела, содержащая два мультипликатора давления, каждый из которых имеет поршень и гидрополости переменного объема, сообщенные через распределители рабочего тела, напорные и сливные магистрали, оснащенные аккумуляторами давления и регулирующей аппаратурой с исполнительным органом и источником рабочего тела, и привод, обеспечивающий задействование мультипликаторов, отличающаяся тем, что распределители выполнены в виде трехпозиционных золотников, каждый из которых имеет по три золотниковые камеры, при этом две крайние камеры каждого из золотников с одной стороны сообщены каналами с крайними гидрополостями мультипликаторов, а с другой стороны крайние камеры одного из золотников сообщены с источником одного компонента рабочего тела, крайние камеры другого золотника сообщены с источником другого компонента рабочего тела, золотниковые же средние камеры сообщены напорной магистралью с исполнительным органом, к напорным магистралям подключены заправочно-сливные горловины, а штоки мультипликаторов и штоки золотников соединены между собой и через кулису с приводом.
Priority Applications (1)
| Application Number | Priority Date | Filing Date | Title |
|---|---|---|---|
| RU2002110740/06A RU2211368C1 (ru) | 2002-04-23 | 2002-04-23 | Насосная система подачи рабочего тела |
Applications Claiming Priority (1)
| Application Number | Priority Date | Filing Date | Title |
|---|---|---|---|
| RU2002110740/06A RU2211368C1 (ru) | 2002-04-23 | 2002-04-23 | Насосная система подачи рабочего тела |
Publications (1)
| Publication Number | Publication Date |
|---|---|
| RU2211368C1 true RU2211368C1 (ru) | 2003-08-27 |
Family
ID=29246596
Family Applications (1)
| Application Number | Title | Priority Date | Filing Date |
|---|---|---|---|
| RU2002110740/06A RU2211368C1 (ru) | 2002-04-23 | 2002-04-23 | Насосная система подачи рабочего тела |
Country Status (1)
| Country | Link |
|---|---|
| RU (1) | RU2211368C1 (ru) |
Cited By (3)
| Publication number | Priority date | Publication date | Assignee | Title |
|---|---|---|---|---|
| RU2308619C2 (ru) * | 2005-12-15 | 2007-10-20 | Федеральное государственное унитарное предприятие "Комбинат "Электрохимприбор" | Электрогидравлический преобразователь |
| WO2007133111A1 (fr) * | 2006-05-16 | 2007-11-22 | Tsekhanovsky Alexander N | Système de pompage pour alimentation en fluide de travail |
| RU2347945C1 (ru) * | 2007-08-15 | 2009-02-27 | Селиванов Николай Павлович | Нефтеперекачивающая станция |
Citations (6)
| Publication number | Priority date | Publication date | Assignee | Title |
|---|---|---|---|---|
| US3926345A (en) * | 1972-02-03 | 1975-12-16 | Stabilator Ab | Device for the batching of media |
| WO1982000502A1 (en) * | 1980-07-31 | 1982-02-18 | Dorofeev A | A hydro-pneumatic pumping installation |
| SU1435854A1 (ru) * | 1986-12-12 | 1988-11-07 | Московский авиационный институт им.Серго Орджоникидзе | Пневмогидравлический насос |
| US4844700A (en) * | 1987-10-29 | 1989-07-04 | Henderson Charles J | Pressure amplifying pump system |
| SU1735612A1 (ru) * | 1987-05-19 | 1992-05-23 | Предприятие П/Я В-8772 | Пневмогидравлический насос |
| RU2133888C1 (ru) * | 1998-03-26 | 1999-07-27 | Акционерное общество "АвтоВАЗ" | Пневмогидравлическая станция |
-
2002
- 2002-04-23 RU RU2002110740/06A patent/RU2211368C1/ru not_active IP Right Cessation
Patent Citations (6)
| Publication number | Priority date | Publication date | Assignee | Title |
|---|---|---|---|---|
| US3926345A (en) * | 1972-02-03 | 1975-12-16 | Stabilator Ab | Device for the batching of media |
| WO1982000502A1 (en) * | 1980-07-31 | 1982-02-18 | Dorofeev A | A hydro-pneumatic pumping installation |
| SU1435854A1 (ru) * | 1986-12-12 | 1988-11-07 | Московский авиационный институт им.Серго Орджоникидзе | Пневмогидравлический насос |
| SU1735612A1 (ru) * | 1987-05-19 | 1992-05-23 | Предприятие П/Я В-8772 | Пневмогидравлический насос |
| US4844700A (en) * | 1987-10-29 | 1989-07-04 | Henderson Charles J | Pressure amplifying pump system |
| RU2133888C1 (ru) * | 1998-03-26 | 1999-07-27 | Акционерное общество "АвтоВАЗ" | Пневмогидравлическая станция |
Cited By (4)
| Publication number | Priority date | Publication date | Assignee | Title |
|---|---|---|---|---|
| RU2308619C2 (ru) * | 2005-12-15 | 2007-10-20 | Федеральное государственное унитарное предприятие "Комбинат "Электрохимприбор" | Электрогидравлический преобразователь |
| WO2007133111A1 (fr) * | 2006-05-16 | 2007-11-22 | Tsekhanovsky Alexander N | Système de pompage pour alimentation en fluide de travail |
| RU2319041C1 (ru) * | 2006-05-16 | 2008-03-10 | Александр Николаевич Цехановский | Насосная система подачи рабочего тела |
| RU2347945C1 (ru) * | 2007-08-15 | 2009-02-27 | Селиванов Николай Павлович | Нефтеперекачивающая станция |
Similar Documents
| Publication | Publication Date | Title |
|---|---|---|
| CA2211474C (en) | Pressure intensifier for fluids, particularly for hydraulic liquids | |
| US6712587B2 (en) | Hydraulic amplifier pump for use in ultrahigh pressure liquid chromatography | |
| US4659294A (en) | Hydrualic pressure amplifier | |
| RU2474726C1 (ru) | Насосное устройство с двумя насосными агрегатами, система, применение и способ | |
| US3407601A (en) | Air-hydraulic system and apparatus | |
| GB1423646A (en) | Intensifier pump with half wave modulator error detection in digital transmission systems | |
| US7905713B2 (en) | Method of operation of a reciprocating positive-displacement pump and reciprocating positive-displacement pump | |
| US20140377086A1 (en) | Air-driven pump system | |
| US3962954A (en) | Supply apparatus for two receiving means having a pressure summation device | |
| GB1462921A (en) | Flow-divider valve | |
| JP4193370B2 (ja) | ブレーキ液圧制御ユニット | |
| RU2211368C1 (ru) | Насосная система подачи рабочего тела | |
| US2935952A (en) | Pressure booster or de-booster | |
| US5179835A (en) | Brake valve for use in load sensing hydraulic system | |
| KR100881996B1 (ko) | 플로우 컨트롤이 가능한 유압 부스터 타입 브레이크 밸브 | |
| US2943765A (en) | Container mounted fluid pressure displacement pump | |
| KR102027399B1 (ko) | 면적차에 의해 연속 작동되는 피스톤과 절환 밸브가 내장된 선형 유체 펌프 | |
| GB2059516A (en) | Two-component Metering Pumps | |
| CN209943015U (zh) | 增压泵 | |
| US5017094A (en) | Solenoid valve control system for hydrostatic transmission | |
| US3718409A (en) | Reciprocating pump control system | |
| KR900003701B1 (ko) | 유압식 동력 부우스터 | |
| CN210769173U (zh) | 增压泵 | |
| RU182004U1 (ru) | Гидрообъемное рулевое управление | |
| RU2180052C2 (ru) | Насос-дозатор |
Legal Events
| Date | Code | Title | Description |
|---|---|---|---|
| MM4A | The patent is invalid due to non-payment of fees |
Effective date: 20040424 |