KR970011368B1 - 크렉킹 로 - Google Patents
크렉킹 로 Download PDFInfo
- Publication number
- KR970011368B1 KR970011368B1 KR1019890014008A KR890014008A KR970011368B1 KR 970011368 B1 KR970011368 B1 KR 970011368B1 KR 1019890014008 A KR1019890014008 A KR 1019890014008A KR 890014008 A KR890014008 A KR 890014008A KR 970011368 B1 KR970011368 B1 KR 970011368B1
- Authority
- KR
- South Korea
- Prior art keywords
- reaction tube
- combustion chamber
- cracking furnace
- burner
- combustion gas
- Prior art date
- Legal status (The legal status is an assumption and is not a legal conclusion. Google has not performed a legal analysis and makes no representation as to the accuracy of the status listed.)
- Expired - Lifetime
Links
Images
Classifications
-
- C—CHEMISTRY; METALLURGY
- C10—PETROLEUM, GAS OR COKE INDUSTRIES; TECHNICAL GASES CONTAINING CARBON MONOXIDE; FUELS; LUBRICANTS; PEAT
- C10G—CRACKING HYDROCARBON OILS; PRODUCTION OF LIQUID HYDROCARBON MIXTURES, e.g. BY DESTRUCTIVE HYDROGENATION, OLIGOMERISATION, POLYMERISATION; RECOVERY OF HYDROCARBON OILS FROM OIL-SHALE, OIL-SAND, OR GASES; REFINING MIXTURES MAINLY CONSISTING OF HYDROCARBONS; REFORMING OF NAPHTHA; MINERAL WAXES
- C10G9/00—Thermal non-catalytic cracking, in the absence of hydrogen, of hydrocarbon oils
- C10G9/14—Thermal non-catalytic cracking, in the absence of hydrogen, of hydrocarbon oils in pipes or coils with or without auxiliary means, e.g. digesters, soaking drums, expansion means
- C10G9/18—Apparatus
- C10G9/20—Tube furnaces
Landscapes
- Chemical & Material Sciences (AREA)
- Oil, Petroleum & Natural Gas (AREA)
- Physics & Mathematics (AREA)
- Thermal Sciences (AREA)
- Engineering & Computer Science (AREA)
- Chemical Kinetics & Catalysis (AREA)
- General Chemical & Material Sciences (AREA)
- Organic Chemistry (AREA)
- Production Of Liquid Hydrocarbon Mixture For Refining Petroleum (AREA)
- Crystals, And After-Treatments Of Crystals (AREA)
- Resistance Heating (AREA)
- Glass Compositions (AREA)
Abstract
Description
Claims (6)
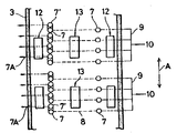
- 공동로 몸체와, 상기 로 몸체내에 제공된 연소실과, 상기 연소실의 상분에 제공된 천장과, 상기 연소실 천장의 중앙에 수직적으로 제공된 중앙 버너와 , 상기 중앙 버너의 양사이드에 수직적으로 각각 제공된 사이드 버너와, 상기 중앙 버너와 각각의 사이드 버너 사이에 수직적으로 배치되어, 상기 연소실의 하부에 아치형 굽힘부를 형성하고, 로 몸체의 종방향을 따라 열을 지어서 정열된 반응관과, 상기 반응관으로 유기 원료를 공급하는 수단과, 상기 연솔로 상부에 제공된 냉각 열 교환기와, 다수의 상기 반응관의 유출구를 상기 냉각 열 교환기에 연결시키는 반응관 유출 헤더와, 그리고, 연소실의 바닥부에 제공되어 연소 가스의 유출도관에 연결되는 연소 가스 유도 도관을 포함하는 것을 특징으로 하는 유기원료 열 분해용 크렉킹로.
- 제1항에 있어서, 상기 연소 가스 유도 도관이 V-형의 단면인 것을 특징으로하는 크렉킹로.
- 제1항에 있어서, 연소가스의 상기 유출 도관에는 상기 반응관으로 공급되는 유기 원료를 예열시키는 대류 열 전달관이 제공되는 것을 특징으로 하는 크렉킹로.
- 제1항에 있어서, 상기 반응관이 연소실 천장에 부착되어 피팅으로 현수되는 것을 특징으로 하는 크렉킹로.
- 제1항에 있어서, 상기 중앙 버너, 사이드 버너 및 반응관의 여러 세트가 로몸체의 종방향을 따라 열을 지어 정열되는 것을 특징으로 하는 크렉킹로.
- 제1항에 있어서, 상기 유기 원료는 탄화수소인 것을 특징으로 하는 크렉킹로.
Applications Claiming Priority (3)
| Application Number | Priority Date | Filing Date | Title |
|---|---|---|---|
| JP246149 | 1986-10-16 | ||
| JP63246149A JPH0631323B2 (ja) | 1988-09-30 | 1988-09-30 | 分解炉 |
| JP63-246149 | 1988-09-30 |
Publications (2)
| Publication Number | Publication Date |
|---|---|
| KR900004915A KR900004915A (ko) | 1990-04-13 |
| KR970011368B1 true KR970011368B1 (ko) | 1997-07-10 |
Family
ID=17144217
Family Applications (1)
| Application Number | Title | Priority Date | Filing Date |
|---|---|---|---|
| KR1019890014008A Expired - Lifetime KR970011368B1 (ko) | 1988-09-30 | 1989-09-29 | 크렉킹 로 |
Country Status (10)
| Country | Link |
|---|---|
| US (1) | US4999089A (ko) |
| EP (1) | EP0366270B1 (ko) |
| JP (1) | JPH0631323B2 (ko) |
| KR (1) | KR970011368B1 (ko) |
| CN (1) | CN1015470B (ko) |
| AT (1) | ATE70080T1 (ko) |
| CA (1) | CA1329317C (ko) |
| DE (1) | DE68900505D1 (ko) |
| ES (1) | ES2028440T3 (ko) |
| GR (1) | GR3003354T3 (ko) |
Families Citing this family (18)
| Publication number | Priority date | Publication date | Assignee | Title |
|---|---|---|---|---|
| GB8917862D0 (en) * | 1989-08-04 | 1989-09-20 | Davy Mckee London | Process |
| FR2661902A1 (fr) * | 1990-05-09 | 1991-11-15 | Air Liquide | Procede et installation de production d'hydrogene a partir de methanol. |
| SE469754B (sv) * | 1990-05-14 | 1993-09-06 | Kanthal Ab | Ugn foer krackning av kolvaeten |
| US5247907A (en) * | 1992-05-05 | 1993-09-28 | The M. W. Kellogg Company | Process furnace with a split flue convection section |
| DE4327176C1 (de) * | 1993-08-13 | 1995-01-26 | Metallgesellschaft Ag | Röhrenofen für die Erzeugung kohlenmonoxidhaltiger Gasgemische |
| US5935531A (en) * | 1993-10-29 | 1999-08-10 | Mannesmann Aktiengesellschaft | Catalytic reactor for endothermic reactions |
| IT1261857B (it) * | 1993-10-29 | 1996-06-03 | Kinetics Technology | Perfezionamento nei reattori catalitici per reazioni endotermiche, in particolare per la produzione di idrogeno. |
| US5409675A (en) * | 1994-04-22 | 1995-04-25 | Narayanan; Swami | Hydrocarbon pyrolysis reactor with reduced pressure drop and increased olefin yield and selectivity |
| AU7487198A (en) * | 1997-05-13 | 1998-12-08 | Stone & Webster Engineering Corporation | Cracking furnace with radiant heating tubes |
| CN1194071C (zh) * | 2001-09-19 | 2005-03-23 | 中国石油化工股份有限公司 | 裂解炉及其用途 |
| CN1195045C (zh) * | 2001-09-19 | 2005-03-30 | 中国石油化工股份有限公司 | 一种裂解炉及用其进行热裂解的方法 |
| RU2202591C1 (ru) * | 2002-02-08 | 2003-04-20 | Общество с ограниченной ответственностью "Фирма ЭСКОРТ" | Трубчатая печь |
| US7004085B2 (en) | 2002-04-10 | 2006-02-28 | Abb Lummus Global Inc. | Cracking furnace with more uniform heating |
| US8197250B2 (en) * | 2009-03-31 | 2012-06-12 | Uop Llc | Adjustable burners for heaters |
| BR112014002075B1 (pt) | 2011-07-28 | 2019-05-28 | Sinopec Engineering Incorporation | Forno de craqueamento de etileno |
| CN102911707B (zh) * | 2012-10-12 | 2014-09-03 | 中国石油化工股份有限公司 | 以燃水煤浆作为燃料的乙烯裂解炉生产方法 |
| US10415820B2 (en) | 2015-06-30 | 2019-09-17 | Uop Llc | Process fired heater configuration |
| CN106398744B (zh) * | 2015-07-31 | 2018-04-10 | 中国石化工程建设有限公司 | 加热炉 |
Family Cites Families (9)
| Publication number | Priority date | Publication date | Assignee | Title |
|---|---|---|---|---|
| US2151386A (en) * | 1929-04-16 | 1939-03-21 | Texas Co | Furnace |
| US2127815A (en) * | 1933-04-26 | 1938-08-23 | Sinclair Refining Co | Art of heating |
| US2080221A (en) * | 1933-12-14 | 1937-05-11 | Texas Co | Method and apparatus for heating fluids |
| NL295809A (ko) * | 1962-07-30 | |||
| US3469946A (en) * | 1965-09-01 | 1969-09-30 | Alcorn Combustion Co | Apparatus for high-temperature conversions |
| US3407778A (en) * | 1967-11-20 | 1968-10-29 | Washington Chain & Supply Co I | Marine towing plate |
| US3672847A (en) * | 1970-03-05 | 1972-06-27 | Selas Corp Of America | Reformer furnace |
| US4166434A (en) * | 1977-03-07 | 1979-09-04 | Uop Inc. | Vertical tube fired heater and process |
| DE3145292C2 (de) * | 1981-11-14 | 1986-09-04 | Uhde Gmbh, 4600 Dortmund | Röhrenspaltofen zur indirekten Erhitzung von spaltbaren Medien |
-
1988
- 1988-09-30 JP JP63246149A patent/JPH0631323B2/ja not_active Expired - Lifetime
-
1989
- 1989-09-27 CA CA000613666A patent/CA1329317C/en not_active Expired - Lifetime
- 1989-09-27 ES ES198989309825T patent/ES2028440T3/es not_active Expired - Lifetime
- 1989-09-27 EP EP89309825A patent/EP0366270B1/en not_active Expired - Lifetime
- 1989-09-27 DE DE8989309825T patent/DE68900505D1/de not_active Expired - Lifetime
- 1989-09-27 AT AT89309825T patent/ATE70080T1/de not_active IP Right Cessation
- 1989-09-28 US US07/413,734 patent/US4999089A/en not_active Expired - Lifetime
- 1989-09-29 KR KR1019890014008A patent/KR970011368B1/ko not_active Expired - Lifetime
- 1989-09-30 CN CN89107542A patent/CN1015470B/zh not_active Expired
-
1991
- 1991-12-16 GR GR91401994T patent/GR3003354T3/el unknown
Also Published As
| Publication number | Publication date |
|---|---|
| CN1015470B (zh) | 1992-02-12 |
| ATE70080T1 (de) | 1991-12-15 |
| JPH0292820A (ja) | 1990-04-03 |
| EP0366270B1 (en) | 1991-12-04 |
| EP0366270A2 (en) | 1990-05-02 |
| CN1045806A (zh) | 1990-10-03 |
| JPH0631323B2 (ja) | 1994-04-27 |
| KR900004915A (ko) | 1990-04-13 |
| EP0366270A3 (en) | 1990-05-16 |
| US4999089A (en) | 1991-03-12 |
| CA1329317C (en) | 1994-05-10 |
| ES2028440T3 (es) | 1992-07-01 |
| GR3003354T3 (en) | 1993-02-17 |
| DE68900505D1 (de) | 1992-01-16 |
Similar Documents
| Publication | Publication Date | Title |
|---|---|---|
| KR970011368B1 (ko) | 크렉킹 로 | |
| US3677234A (en) | Heating apparatus and process | |
| EP1009784B1 (en) | Cracking furnace with radiant heating tubes | |
| US4494485A (en) | Fired heater | |
| JPH05125367A (ja) | 熱分解炉及び熱分解方法 | |
| CN100587033C (zh) | 加热更均匀的裂解炉 | |
| KR900005091B1 (ko) | 열 분해 히터 | |
| US3820955A (en) | Horizontal high severity furnace | |
| JPS6291589A (ja) | 炭化水素分解装置 | |
| EP0253633B1 (en) | Furnace and process for hydrocarbon cracking | |
| US8430556B2 (en) | Internal heat exchanger/mixer for process heaters | |
| WO2008057303A2 (en) | Fired heater | |
| US2338295A (en) | Heating of fluids | |
| US3841274A (en) | High temperature heater for fluids | |
| US2601667A (en) | Tube heater with flue gas recirculation and heating method | |
| US2598840A (en) | Heater for hydrocarbon fluid | |
| KR101719952B1 (ko) | 탄화수소 스트림 가열장치 | |
| US2523971A (en) | Thermal processing apparatus | |
| US2258235A (en) | Heating of fluids | |
| US3276436A (en) | Process heater | |
| RU2809827C1 (ru) | Аппарат для нагрева нефти и продуктов ее переработки | |
| IT9047720A1 (it) | Apparato per processi termici ad alta temperatura, con sorgente di calore ad incandescenza a superfici radianti e serpentini per il fluido di processo. | |
| US10330340B2 (en) | Alternative coil for fired process heater | |
| US2776825A (en) | Pebble furnaces and method of heating pebbles | |
| CN109251763B (zh) | 一种辐射式加热炉 |
Legal Events
| Date | Code | Title | Description |
|---|---|---|---|
| PA0109 | Patent application |
Patent event code: PA01091R01D Comment text: Patent Application Patent event date: 19890929 |
|
| PG1501 | Laying open of application | ||
| A201 | Request for examination | ||
| PA0201 | Request for examination |
Patent event code: PA02012R01D Patent event date: 19940913 Comment text: Request for Examination of Application Patent event code: PA02011R01I Patent event date: 19890929 Comment text: Patent Application |
|
| G160 | Decision to publish patent application | ||
| PG1601 | Publication of registration | ||
| E701 | Decision to grant or registration of patent right | ||
| PE0701 | Decision of registration |
Patent event code: PE07011S01D Comment text: Decision to Grant Registration Patent event date: 19971002 |
|
| GRNT | Written decision to grant | ||
| PR0701 | Registration of establishment |
Comment text: Registration of Establishment Patent event date: 19971223 Patent event code: PR07011E01D |
|
| PR1002 | Payment of registration fee |
Payment date: 19971223 End annual number: 3 Start annual number: 1 |
|
| PR1001 | Payment of annual fee |
Payment date: 20000928 Start annual number: 4 End annual number: 4 |
|
| PR1001 | Payment of annual fee |
Payment date: 20011213 Start annual number: 5 End annual number: 5 |
|
| PR1001 | Payment of annual fee |
Payment date: 20021204 Start annual number: 6 End annual number: 6 |
|
| PR1001 | Payment of annual fee |
Payment date: 20031205 Start annual number: 7 End annual number: 7 |
|
| PR1001 | Payment of annual fee |
Payment date: 20041210 Start annual number: 8 End annual number: 8 |
|
| PR1001 | Payment of annual fee |
Payment date: 20051208 Start annual number: 9 End annual number: 9 |
|
| PR1001 | Payment of annual fee |
Payment date: 20061218 Start annual number: 10 End annual number: 10 |
|
| PR1001 | Payment of annual fee |
Payment date: 20071207 Start annual number: 11 End annual number: 11 |
|
| PR1001 | Payment of annual fee |
Payment date: 20081202 Start annual number: 12 End annual number: 12 |
|
| PR1001 | Payment of annual fee |
Payment date: 20091210 Start annual number: 13 End annual number: 13 |
|
| PR1001 | Payment of annual fee |
Payment date: 20101208 Start annual number: 14 End annual number: 14 |
|
| FPAY | Annual fee payment |
Payment date: 20111202 Year of fee payment: 15 |
|
| PR1001 | Payment of annual fee |
Payment date: 20111202 Start annual number: 15 End annual number: 15 |
|
| EXPY | Expiration of term | ||
| PC1801 | Expiration of term |
Termination date: 20130409 Termination category: Expiration of duration |
