KR930009875B1 - 색 검출회로 - Google Patents

색 검출회로 Download PDF

Info

Publication number
KR930009875B1
KR930009875B1 KR1019850006017A KR850006017A KR930009875B1 KR 930009875 B1 KR930009875 B1 KR 930009875B1 KR 1019850006017 A KR1019850006017 A KR 1019850006017A KR 850006017 A KR850006017 A KR 850006017A KR 930009875 B1 KR930009875 B1 KR 930009875B1
Authority
KR
South Korea
Prior art keywords
color
output
level
specific
red
Prior art date
Legal status (The legal status is an assumption and is not a legal conclusion. Google has not performed a legal analysis and makes no representation as to the accuracy of the status listed.)
Expired - Lifetime
Application number
KR1019850006017A
Other languages
English (en)
Korean (ko)
Other versions
KR860002205A (ko
Inventor
유따까 다나까
Original Assignee
소니 가부시끼가이샤
오오가 노리오
Priority date (The priority date is an assumption and is not a legal conclusion. Google has not performed a legal analysis and makes no representation as to the accuracy of the date listed.)
Filing date
Publication date
Application filed by 소니 가부시끼가이샤, 오오가 노리오 filed Critical 소니 가부시끼가이샤
Publication of KR860002205A publication Critical patent/KR860002205A/ko
Application granted granted Critical
Publication of KR930009875B1 publication Critical patent/KR930009875B1/ko
Anticipated expiration legal-status Critical
Expired - Lifetime legal-status Critical Current

Links

Images

Classifications

    • HELECTRICITY
    • H04ELECTRIC COMMUNICATION TECHNIQUE
    • H04NPICTORIAL COMMUNICATION, e.g. TELEVISION
    • H04N9/00Details of colour television systems
    • H04N9/64Circuits for processing colour signals

Landscapes

  • Engineering & Computer Science (AREA)
  • Multimedia (AREA)
  • Signal Processing (AREA)
  • Processing Of Color Television Signals (AREA)
  • Testing, Inspecting, Measuring Of Stereoscopic Televisions And Televisions (AREA)
KR1019850006017A 1984-08-21 1985-08-21 색 검출회로 Expired - Lifetime KR930009875B1 (ko)

Applications Claiming Priority (2)

Application Number Priority Date Filing Date Title
JP173599 1984-08-21
JP59173599A JPS6152093A (ja) 1984-08-21 1984-08-21 色検出回路

Publications (2)

Publication Number Publication Date
KR860002205A KR860002205A (ko) 1986-03-26
KR930009875B1 true KR930009875B1 (ko) 1993-10-12

Family

ID=15963586

Family Applications (1)

Application Number Title Priority Date Filing Date
KR1019850006017A Expired - Lifetime KR930009875B1 (ko) 1984-08-21 1985-08-21 색 검출회로

Country Status (2)

Country Link
JP (1) JPS6152093A (enExample)
KR (1) KR930009875B1 (enExample)

Families Citing this family (2)

* Cited by examiner, † Cited by third party
Publication number Priority date Publication date Assignee Title
US5091258A (en) * 1990-08-20 1992-02-25 Monsanto Company Laminate for a safety glazing
JP2546071Y2 (ja) * 1991-04-15 1997-08-27 株式会社大林組 橋桁の制振装置

Also Published As

Publication number Publication date
JPS6152093A (ja) 1986-03-14
JPH0570987B2 (enExample) 1993-10-06
KR860002205A (ko) 1986-03-26

Similar Documents

Publication Publication Date Title
EP0172754B1 (en) Color correction circuit
US4240103A (en) Method for the additive and multiplicative spurious signal compensation
US4035835A (en) System for automatic correction of the color balance between the primary signals of a color signal source
US4480266A (en) Method and apparatus for preventing generation of false color signals in color television cameras
KR970007799B1 (ko) 휘도 신호 형성 회로
US4167750A (en) Color-difference signal modifying apparatus
US4157566A (en) Single tube color television camera with color correction
US4458263A (en) Video signal processing circuit for a color television receiver
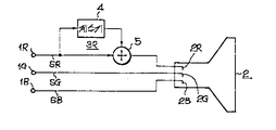
KR930009875B1 (ko) 색 검출회로
US4489344A (en) Signal processing unit
US3272916A (en) Color television systems utilizing a true luminance signal
CA1162298A (en) Color temperature control circuit
US4305090A (en) Method and system for contrast correction of color television signals
US3281528A (en) Colour television system including means for separately deriving the luminance component
KR930009877B1 (ko) 다이나믹 칼라 보정회로
US2823254A (en) Color television receiver
US4346400A (en) Matrix circuits
US3246078A (en) Colour television receivers
GB1062959A (en) Improvements in or relating to circuit arrangements for use in colour television receivers
JPS5648790A (en) Color television camera
GB1512149A (en) Colour television
US3961362A (en) Dynamic hue control networks
KR910009883B1 (ko) 칼라텔레비죤 전송계용 회로
WO1997046005A1 (en) Improving the color rendition of color television receivers
JPS5819089A (ja) カラ−テレビジヨンカメラの輝度信号補正方式

Legal Events

Date Code Title Description
PA0109 Patent application

Patent event code: PA01091R01D

Comment text: Patent Application

Patent event date: 19850821

PG1501 Laying open of application
A201 Request for examination
PA0201 Request for examination

Patent event code: PA02012R01D

Patent event date: 19900802

Comment text: Request for Examination of Application

Patent event code: PA02011R01I

Patent event date: 19850821

Comment text: Patent Application

E902 Notification of reason for refusal
PE0902 Notice of grounds for rejection

Comment text: Notification of reason for refusal

Patent event date: 19930514

Patent event code: PE09021S01D

G160 Decision to publish patent application
PG1605 Publication of application before grant of patent

Comment text: Decision on Publication of Application

Patent event code: PG16051S01I

Patent event date: 19930917

E701 Decision to grant or registration of patent right
PE0701 Decision of registration

Patent event code: PE07011S01D

Comment text: Decision to Grant Registration

Patent event date: 19940121

GRNT Written decision to grant
PR0701 Registration of establishment

Comment text: Registration of Establishment

Patent event date: 19940207

Patent event code: PR07011E01D

PR1002 Payment of registration fee

Payment date: 19940207

End annual number: 3

Start annual number: 1

PR1001 Payment of annual fee

Payment date: 19961004

Start annual number: 4

End annual number: 4

PR1001 Payment of annual fee

Payment date: 19971006

Start annual number: 5

End annual number: 5

PR1001 Payment of annual fee

Payment date: 19971227

Start annual number: 6

End annual number: 6

PR1001 Payment of annual fee

Payment date: 19991001

Start annual number: 7

End annual number: 7

PR1001 Payment of annual fee

Payment date: 20000930

Start annual number: 8

End annual number: 8

PR1001 Payment of annual fee

Payment date: 20010914

Start annual number: 9

End annual number: 9

PR1001 Payment of annual fee

Payment date: 20020917

Start annual number: 10

End annual number: 10

PR1001 Payment of annual fee

Payment date: 20030919

Start annual number: 11

End annual number: 11

FPAY Annual fee payment

Payment date: 20040914

Year of fee payment: 12

PR1001 Payment of annual fee

Payment date: 20040914

Start annual number: 12

End annual number: 12

EXPY Expiration of term
PC1801 Expiration of term