KR860000087B1 - 확대인사장치(擴大印寫裝置) - Google Patents

확대인사장치(擴大印寫裝置) Download PDF

Info

Publication number
KR860000087B1
KR860000087B1 KR8201378A KR820001378A KR860000087B1 KR 860000087 B1 KR860000087 B1 KR 860000087B1 KR 8201378 A KR8201378 A KR 8201378A KR 820001378 A KR820001378 A KR 820001378A KR 860000087 B1 KR860000087 B1 KR 860000087B1
Authority
KR
South Korea
Prior art keywords
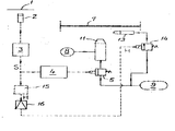
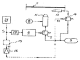
ink
spray gun
spray nozzle
image signal
signal
Prior art date
Legal status (The legal status is an assumption and is not a legal conclusion. Google has not performed a legal analysis and makes no representation as to the accuracy of the status listed.)
Expired
Application number
KR8201378A
Other languages
English (en)
Korean (ko)
Other versions
KR830009841A (ko
Inventor
다로오 스에나가
노리오 이와사기
도시오 사도오
마사히고 아가시
Original Assignee
무라다 마기오
니혼엔라-진구 가라-가부시기 가이샤
Priority date (The priority date is an assumption and is not a legal conclusion. Google has not performed a legal analysis and makes no representation as to the accuracy of the date listed.)
Filing date
Publication date
Application filed by 무라다 마기오, 니혼엔라-진구 가라-가부시기 가이샤 filed Critical 무라다 마기오
Publication of KR830009841A publication Critical patent/KR830009841A/ko
Application granted granted Critical
Publication of KR860000087B1 publication Critical patent/KR860000087B1/ko
Expired legal-status Critical Current

Links

Images

Classifications

    • HELECTRICITY
    • H04ELECTRIC COMMUNICATION TECHNIQUE
    • H04NPICTORIAL COMMUNICATION, e.g. TELEVISION
    • H04N1/00Scanning, transmission or reproduction of documents or the like, e.g. facsimile transmission; Details thereof
    • H04N1/04Scanning arrangements, i.e. arrangements for the displacement of active reading or reproducing elements relative to the original or reproducing medium, or vice versa
    • BPERFORMING OPERATIONS; TRANSPORTING
    • B41PRINTING; LINING MACHINES; TYPEWRITERS; STAMPS
    • B41JTYPEWRITERS; SELECTIVE PRINTING MECHANISMS, i.e. MECHANISMS PRINTING OTHERWISE THAN FROM A FORME; CORRECTION OF TYPOGRAPHICAL ERRORS
    • B41J11/00Devices or arrangements  of selective printing mechanisms, e.g. ink-jet printers or thermal printers, for supporting or handling copy material in sheet or web form
    • B41J11/0015Devices or arrangements  of selective printing mechanisms, e.g. ink-jet printers or thermal printers, for supporting or handling copy material in sheet or web form for treating before, during or after printing or for uniform coating or laminating the copy material before or after printing

Landscapes

  • Engineering & Computer Science (AREA)
  • Multimedia (AREA)
  • Signal Processing (AREA)
  • Ink Jet (AREA)
  • Fax Reproducing Arrangements (AREA)
  • Particle Formation And Scattering Control In Inkjet Printers (AREA)
  • Facsimile Scanning Arrangements (AREA)
  • Nozzles (AREA)
KR8201378A 1981-04-24 1982-03-30 확대인사장치(擴大印寫裝置) Expired KR860000087B1 (ko)

Applications Claiming Priority (2)

Application Number Priority Date Filing Date Title
JP56062014A JPS57176874A (en) 1981-04-24 1981-04-24 Enlarging imaging equipment
JP56-62014 1981-04-24

Publications (2)

Publication Number Publication Date
KR830009841A KR830009841A (ko) 1983-12-23
KR860000087B1 true KR860000087B1 (ko) 1986-02-18

Family

ID=13187873

Family Applications (1)

Application Number Title Priority Date Filing Date
KR8201378A Expired KR860000087B1 (ko) 1981-04-24 1982-03-30 확대인사장치(擴大印寫裝置)

Country Status (2)

Country Link
JP (1) JPS57176874A (enExample)
KR (1) KR860000087B1 (enExample)

Families Citing this family (3)

* Cited by examiner, † Cited by third party
Publication number Priority date Publication date Assignee Title
JPS59133064A (ja) * 1983-01-20 1984-07-31 Konishiroku Photo Ind Co Ltd 昇華性インクを用いた画像記録方法及び装置
JPS60180846A (ja) * 1984-02-29 1985-09-14 Nireko:Kk マーキング方法および装置
JPH02187339A (ja) * 1989-01-17 1990-07-23 Marktec Corp 印字方法

Also Published As

Publication number Publication date
KR830009841A (ko) 1983-12-23
JPS57176874A (en) 1982-10-30
JPH0148150B2 (enExample) 1989-10-18

Similar Documents

Publication Publication Date Title
US4914522A (en) Reproduction and enlarging imaging system and method using a pulse-width modulated air stream
US6203145B1 (en) Continuous ink jet system having non-circular orifices
US4373919A (en) Multi-passage variable diffuser inlet
EP0787589A3 (en) Ink jet recording head
EP1016526B1 (en) Continuous ink jet print head having power-adjustable segmented heaters
JP2749406B2 (ja) インク・ジェット印字装置
WO1997020728A1 (en) Method of reducing friction resistance of hull, ship whose friction resistance is reduced by the method, and method of analyzing jetted bubbles on ship
US6554416B2 (en) Image forming apparatus
KR860000087B1 (ko) 확대인사장치(擴大印寫裝置)
US6347854B1 (en) Image recording device capable of preventing deviation of ink dot on recording medium
US6305772B1 (en) Angled air impingment system for document control
US6106623A (en) Printed sheet coating apparatus
US6176481B1 (en) Apparatus having conveying means of medium
US8534669B2 (en) Conveyance device and image forming device
KR200144532Y1 (ko) 잉크젯 프린터의 헤드 갭유지 구조
US11613131B2 (en) Devices, systems, and methods for supplying makeup air through openings in carrier plates of printing system and directing the air under the carrier plate
US11623458B2 (en) Devices, systems, and methods for supplying makeup air through ports in a carrier plate of a printing system
US11648784B2 (en) Devices, systems, and methods for supplying makeup air through openings in carrier plates of printing system via an air guide structure
US11787205B2 (en) Devices, system, and methods for supplying makeup air at printhead modules of a printing system
US11697296B2 (en) Devices, systems, and methods for supplying makeup air through openings in carrier plates of printing system
US11850842B2 (en) Devices, systems, and methods for supplying makeup air through openings in carrier plates of printing systems via air guide structures extending into the openings
US20250170838A1 (en) Transport device with reduced fluid consumption
US10195856B2 (en) Printhead carriage
JPS59136157A (ja) デイジタル制御スプレ−ガン
JPH08238766A (ja) インクジェット記録装置

Legal Events

Date Code Title Description
PA0109 Patent application

St.27 status event code: A-0-1-A10-A12-nap-PA0109

R17-X000 Change to representative recorded

St.27 status event code: A-3-3-R10-R17-oth-X000

P11-X000 Amendment of application requested

St.27 status event code: A-2-2-P10-P11-nap-X000

P13-X000 Application amended

St.27 status event code: A-2-2-P10-P13-nap-X000

P11-X000 Amendment of application requested

St.27 status event code: A-2-2-P10-P11-nap-X000

P13-X000 Application amended

St.27 status event code: A-2-2-P10-P13-nap-X000

PA0201 Request for examination

St.27 status event code: A-1-2-D10-D11-exm-PA0201

PG1501 Laying open of application

St.27 status event code: A-1-1-Q10-Q12-nap-PG1501

PG1605 Publication of application before grant of patent

St.27 status event code: A-2-2-Q10-Q13-nap-PG1605

PE0701 Decision of registration

St.27 status event code: A-1-2-D10-D22-exm-PE0701

PR0701 Registration of establishment

St.27 status event code: A-2-4-F10-F11-exm-PR0701

PR1002 Payment of registration fee

St.27 status event code: A-2-2-U10-U11-oth-PR1002

Fee payment year number: 1

PR1001 Payment of annual fee

St.27 status event code: A-4-4-U10-U11-oth-PR1001

Fee payment year number: 4

PR1001 Payment of annual fee

St.27 status event code: A-4-4-U10-U11-oth-PR1001

Fee payment year number: 5

PR1001 Payment of annual fee

St.27 status event code: A-4-4-U10-U11-oth-PR1001

Fee payment year number: 6

PR1001 Payment of annual fee

St.27 status event code: A-4-4-U10-U11-oth-PR1001

Fee payment year number: 7

PR1001 Payment of annual fee

St.27 status event code: A-4-4-U10-U11-oth-PR1001

Fee payment year number: 8

PR1001 Payment of annual fee

St.27 status event code: A-4-4-U10-U11-oth-PR1001

Fee payment year number: 9

PR1001 Payment of annual fee

St.27 status event code: A-4-4-U10-U11-oth-PR1001

Fee payment year number: 10

PR1001 Payment of annual fee

St.27 status event code: A-4-4-U10-U11-oth-PR1001

Fee payment year number: 11

PR1001 Payment of annual fee

St.27 status event code: A-4-4-U10-U11-oth-PR1001

Fee payment year number: 12

PR1001 Payment of annual fee

St.27 status event code: A-4-4-U10-U11-oth-PR1001

Fee payment year number: 13

PR1001 Payment of annual fee

St.27 status event code: A-4-4-U10-U11-oth-PR1001

Fee payment year number: 14

PC1903 Unpaid annual fee

St.27 status event code: A-4-4-U10-U13-oth-PC1903

Not in force date: 20000219

Payment event data comment text: Termination Category : DEFAULT_OF_REGISTRATION_FEE

PC1903 Unpaid annual fee

St.27 status event code: N-4-6-H10-H13-oth-PC1903

Ip right cessation event data comment text: Termination Category : DEFAULT_OF_REGISTRATION_FEE

Not in force date: 20000219