KR20230064173A - Food waste disposal device for easy powdering of food waste - Google Patents

Food waste disposal device for easy powdering of food waste Download PDF

Info

Publication number
KR20230064173A
KR20230064173A KR1020210149467A KR20210149467A KR20230064173A KR 20230064173 A KR20230064173 A KR 20230064173A KR 1020210149467 A KR1020210149467 A KR 1020210149467A KR 20210149467 A KR20210149467 A KR 20210149467A KR 20230064173 A KR20230064173 A KR 20230064173A
Authority
KR
South Korea
Prior art keywords
food waste
rotary blade
blade
crushing
housing
Prior art date
Legal status (The legal status is an assumption and is not a legal conclusion. Google has not performed a legal analysis and makes no representation as to the accuracy of the status listed.)
Granted
Application number
KR1020210149467A
Other languages
Korean (ko)
Other versions
KR102667647B1 (en
Inventor
김규태
Original Assignee
김규태
Priority date (The priority date is an assumption and is not a legal conclusion. Google has not performed a legal analysis and makes no representation as to the accuracy of the date listed.)
Filing date
Publication date
Application filed by 김규태 filed Critical 김규태
Priority to KR1020210149467A priority Critical patent/KR102667647B1/en
Publication of KR20230064173A publication Critical patent/KR20230064173A/en
Application granted granted Critical
Publication of KR102667647B1 publication Critical patent/KR102667647B1/en
Active legal-status Critical Current
Anticipated expiration legal-status Critical

Links

Images

Classifications

    • BPERFORMING OPERATIONS; TRANSPORTING
    • B09DISPOSAL OF SOLID WASTE; RECLAMATION OF CONTAMINATED SOIL
    • B09BDISPOSAL OF SOLID WASTE NOT OTHERWISE PROVIDED FOR
    • B09B3/00Destroying solid waste or transforming solid waste into something useful or harmless
    • BPERFORMING OPERATIONS; TRANSPORTING
    • B02CRUSHING, PULVERISING, OR DISINTEGRATING; PREPARATORY TREATMENT OF GRAIN FOR MILLING
    • B02CCRUSHING, PULVERISING, OR DISINTEGRATING IN GENERAL; MILLING GRAIN
    • B02C18/00Disintegrating by knives or other cutting or tearing members which chop material into fragments
    • B02C18/0084Disintegrating by knives or other cutting or tearing members which chop material into fragments specially adapted for disintegrating garbage, waste or sewage
    • BPERFORMING OPERATIONS; TRANSPORTING
    • B02CRUSHING, PULVERISING, OR DISINTEGRATING; PREPARATORY TREATMENT OF GRAIN FOR MILLING
    • B02CCRUSHING, PULVERISING, OR DISINTEGRATING IN GENERAL; MILLING GRAIN
    • B02C18/00Disintegrating by knives or other cutting or tearing members which chop material into fragments
    • B02C18/06Disintegrating by knives or other cutting or tearing members which chop material into fragments with rotating knives
    • B02C18/08Disintegrating by knives or other cutting or tearing members which chop material into fragments with rotating knives within vertical containers
    • BPERFORMING OPERATIONS; TRANSPORTING
    • B09DISPOSAL OF SOLID WASTE; RECLAMATION OF CONTAMINATED SOIL
    • B09BDISPOSAL OF SOLID WASTE NOT OTHERWISE PROVIDED FOR
    • B09B5/00Operations not covered by a single other subclass or by a single other group in this subclass
    • YGENERAL TAGGING OF NEW TECHNOLOGICAL DEVELOPMENTS; GENERAL TAGGING OF CROSS-SECTIONAL TECHNOLOGIES SPANNING OVER SEVERAL SECTIONS OF THE IPC; TECHNICAL SUBJECTS COVERED BY FORMER USPC CROSS-REFERENCE ART COLLECTIONS [XRACs] AND DIGESTS
    • Y02TECHNOLOGIES OR APPLICATIONS FOR MITIGATION OR ADAPTATION AGAINST CLIMATE CHANGE
    • Y02WCLIMATE CHANGE MITIGATION TECHNOLOGIES RELATED TO WASTEWATER TREATMENT OR WASTE MANAGEMENT
    • Y02W30/00Technologies for solid waste management
    • Y02W30/20Waste processing or separation
    • YGENERAL TAGGING OF NEW TECHNOLOGICAL DEVELOPMENTS; GENERAL TAGGING OF CROSS-SECTIONAL TECHNOLOGIES SPANNING OVER SEVERAL SECTIONS OF THE IPC; TECHNICAL SUBJECTS COVERED BY FORMER USPC CROSS-REFERENCE ART COLLECTIONS [XRACs] AND DIGESTS
    • Y02TECHNOLOGIES OR APPLICATIONS FOR MITIGATION OR ADAPTATION AGAINST CLIMATE CHANGE
    • Y02WCLIMATE CHANGE MITIGATION TECHNOLOGIES RELATED TO WASTEWATER TREATMENT OR WASTE MANAGEMENT
    • Y02W30/00Technologies for solid waste management
    • Y02W30/50Reuse, recycling or recovery technologies
    • Y02W30/52Mechanical processing of waste for the recovery of materials, e.g. crushing, shredding, separation or disassembly
    • YGENERAL TAGGING OF NEW TECHNOLOGICAL DEVELOPMENTS; GENERAL TAGGING OF CROSS-SECTIONAL TECHNOLOGIES SPANNING OVER SEVERAL SECTIONS OF THE IPC; TECHNICAL SUBJECTS COVERED BY FORMER USPC CROSS-REFERENCE ART COLLECTIONS [XRACs] AND DIGESTS
    • Y10TECHNICAL SUBJECTS COVERED BY FORMER USPC
    • Y10STECHNICAL SUBJECTS COVERED BY FORMER USPC CROSS-REFERENCE ART COLLECTIONS [XRACs] AND DIGESTS
    • Y10S220/00Receptacles
    • Y10S220/908Trash container
    • Y10S220/9081Trash container with liner
    • Y10S220/9082Trash container with liner including deodorizer, animal repellent, or insecticide

Landscapes

  • Engineering & Computer Science (AREA)
  • Environmental & Geological Engineering (AREA)
  • Food Science & Technology (AREA)
  • Crushing And Pulverization Processes (AREA)
  • Processing Of Solid Wastes (AREA)

Abstract

본 발명의 실시 예에 따른 음식물 쓰레기의 분말화가 용이한 음식물 쓰레기 처리 장치는, 상면이 개방되는 형태로 마련되는 하우징; 상기 하우징 내에 장착되며, 내부로 투입되는 음식물 쓰레기를 분쇄하여 분말화 시키는 분쇄 장치와, 분말화된 음식물 쓰레기를 배출하는 배출구가 형성되는 분쇄 탱크; 상기 하우징 내에 장착되며, 상기 배출구를 밀폐시키거나 개방시키도록 구비되는 배출구 개폐 장치 및 상기 배출구 개폐 장치가 배출구를 개방할 시, 배출구로 배출되는 분말화된 음식물 쓰레기를 전달받아 저장하는 저장 장치를 포함하고, 상기 분쇄 장치는, 상기 분쇄 탱크의 내측 하면에 고정되도록 마련되는 고정 블레이드 및 상기 고정 블레이드와 동축을 가지며, 상기 고정 블레이드보다 높은 위치에서 회전하도록 마련되는 회전 블레이드를 포함하고, 상기 고정 블레이드의 내륜측에는, 포집홈이 마련됨으로써, 상기 회전 블레이드가 포집홈의 방향으로 회전할 시, 음식물을 배출구의 방향으로 배출시키고, 상기 회전 블레이드가 포집홈의 반대 방향으로 회전할 시, 음식물을 분쇄하도록 운용되어, 음식물 쓰레기를 건조 및 분쇄함에 있어, 보다 용이하게 음식물 쓰레기를 분말화 시킬 수 있는 장점을 가진다.A food waste disposal apparatus capable of easily powdering food waste according to an embodiment of the present invention includes a housing provided in an open top surface; a crushing tank installed in the housing and having a crushing device for crushing and pulverizing food waste introduced therein, and a discharge port for discharging the powdered food waste; An outlet opening/closing device mounted in the housing and provided to close or open the outlet, and a storage device receiving and storing the powdered food waste discharged through the outlet when the outlet opening/closing device opens the outlet. And, the crushing device includes a fixed blade provided to be fixed to the inner lower surface of the crushing tank and a rotating blade coaxial with the fixed blade and provided to rotate at a higher position than the fixed blade, A collection groove is provided on the inner ring side, so that when the rotary blade rotates in the direction of the collection groove, food is discharged in the direction of the discharge port, and when the rotary blade rotates in the opposite direction to the collection groove, food is crushed. Thus, in drying and pulverizing the food waste, it has the advantage of being able to powder the food waste more easily.

Description

음식물 쓰레기의 분말화가 용이한 음식물 쓰레기 처리 장치 {Food waste disposal device for easy powdering of food waste}Food waste disposal device for easy powdering of food waste}

본 발명은 음식물 쓰레기의 분말화가 용이한 음식물 쓰레기 처리 장치에 관한 발명으로서, 보다 상세하게는 음식물 쓰레기를 건조 및 분쇄함에 있어, 분쇄 탱크의 내부에 구비되는 블레이드의 형태를 변형시켜, 보다 용이하게 음식물 쓰레기를 분말화 시킬 수 있는 음식물 쓰레기의 분말화가 용이한 음식물 쓰레기 처리 장치에 관한 발명임.The present invention relates to a food waste disposal apparatus that facilitates powdering of food waste, and more particularly, in drying and pulverizing food waste, by modifying the shape of a blade provided inside a crushing tank to facilitate food waste. It is an invention related to a food waste treatment device that can easily powder food waste that can powder waste.

일반적으로 음식물 쓰레기를 분쇄하거나 미생물로 분해하도록 처리하는 음식물 쓰레기 처리 장치는, 한국등록특허 제10-0792024호 ‘싱크대용 음식물쓰레기 처리장치’에 개시된 바와 같이 싱크대에 설치되는 형태이거나, 한국등록특허 제10-1625958호 ‘음식물 쓰레기 처리 장치 세트’에 개시된 바와 같이 케이싱에 의해 밀폐되어 다양한 위치에 놓고 사용할 수 있는 형태로 구분될 수 있다.In general, a food waste disposal device that pulverizes food waste or decomposes it into microorganisms is a type installed in a sink, as disclosed in Korean Patent No. 10-0792024 'Food waste disposal device for a sink', or Korean Patent No. As disclosed in No. 10-1625958 'Food Waste Disposal Device Set', it can be classified into a form that can be placed in various positions and used by being sealed by a casing.

이 중, 한국등록특허 제10-0792024호와 같은 싱크대에 설치되는 음식물 쓰레기 처리 장치는, 통상 싱크대 본연의 기능인 배수구를 통한 물 배출 기능을 제한하지 않도록 배출관이 구비되어 물과 함께 처리된 음식물의 일부를 배출하도록 구성되나, 한국등록특허 제10-1625958호와 같은 케이싱에 의해 밀폐되는 음식물 쓰레기 처리 장치는, 따로 배출 공간이 없기 때문에 음식물 쓰레기가 분쇄되거나 분해되는 음식물 처리통 내부에 처리된 음식물 쓰레기 가루를 담아놨다가 따로 음식물 처리통을 탈거하여 분쇄 또는 분해 처리된 음식물 쓰레기 가루를 버리거나, 음식물 처리통은 고정시켜 둔 채로 분쇄 또는 분해 처리된 음식물 쓰레기 가루만을 따로 분리하여 버리는 것이 일반적이다.Among them, the food waste disposal device installed in the sink, such as Korean Patent No. 10-0792024, is provided with a discharge pipe so as not to limit the function of discharging water through the drain, which is the original function of the sink, and part of the food treated with water. However, the food waste disposal apparatus sealed by a casing, such as Korean Patent No. 10-1625958, does not have a separate discharge space, so the food waste powder processed inside the food waste bin is crushed or decomposed. It is common to separate and discard the crushed or decomposed food waste powder by removing the food waste bin separately from the food waste bin, or separate and discard only the crushed or decomposed food waste powder while leaving the food waste bin fixed.

그러나, 케이싱에 의해 밀폐되는 음식물 쓰레기 처리 장치가 분쇄로 음식물 쓰레기를 처리하도록 구성된 경우에는, 음식물 처리통 내부에 분쇄 칼날이 마련되고, 이 분쇄 칼날은 보편적으로 음식물 처리통 외부에 설치된 모터와 연결되도록 구성되는 바, 음식물 처리통을 탈거하기 위해서는 음식물 처리통과 모터를 분해해야 했고, 음식물 처리통의 탈거 없이 음식물 쓰레기 가루만을 분리하기 위해서는 분쇄 칼날을 분리하거나, 분쇄 칼날의 분리 없이 털어내야 하므로 불편하면서도 안전하지가 않았다.However, when the food waste disposal apparatus sealed by the casing is configured to treat food waste by grinding, a grinding blade is provided inside the food processing container, and the grinding blade is generally connected to a motor installed outside the food processing container. As configured, in order to remove the food waste bin, the food waste bin and the motor had to be disassembled, and in order to separate only the food waste powder without removing the food waste bin, the grinding blade had to be separated, or the grinding blade had to be shaken off without separation, so it is inconvenient and safe. Didn't.

특히, 음식물 쓰레기를 분말화시킴에 있어, 음식물 쓰레기를 분쇄하는 블레이드의 형태가 칼날의 형태만으로 구비됨으로 인해, 음식물 쓰레기를 분말화시키는데 용이하지 않은 문제점이 있었으며, 상기와 같은 문제를 해결하기 위한 음식물 쓰레기의 분말화가 용이한 음식물 쓰레기 처리 장치에 관한 기술개발이 절실한 실정이었다.In particular, in pulverizing food waste, since the shape of the blade for pulverizing food waste is provided only in the form of a blade, there was a problem that it was not easy to pulverize food waste, and food waste to solve the above problem There is an urgent need to develop a technology for a food waste disposal apparatus that can easily powder waste.

본 발명은 상기와 같은 문제를 해결하고자 고안된 것으로, 음식물 쓰레기를 건조 및 분쇄함에 있어, 분쇄 탱크의 내부에 구비되는 블레이드의 형태를 변형시켜, 보다 용이하게 음식물 쓰레기를 분말화 시킬 수 있는 음식물 쓰레기의 분말화가 용이한 음식물 쓰레기 처리 장치를 제공하기 위한 목적을 가진다.The present invention has been devised to solve the above problems, and in drying and crushing food waste, the shape of the blade provided inside the crushing tank is modified, so that the food waste can be more easily powdered. An object of the present invention is to provide a food waste treatment device that is easy to powder.

상기 과제를 해결하기 위한 본 발명의 실시 예에 따른 음식물 쓰레기의 분말화가 용이한 음식물 쓰레기 처리 장치는, 상면이 개방되는 형태로 마련되는 하우징; 상기 하우징 내에 장착되며, 내부로 투입되는 음식물 쓰레기를 분쇄하여 분말화 시키는 분쇄 장치와, 분말화된 음식물 쓰레기를 배출하는 배출구가 형성되는 분쇄 탱크; 상기 하우징 내에 장착되며, 상기 배출구를 밀폐시키거나 개방시키도록 구비되는 배출구 개폐 장치 및 상기 배출구 개폐 장치가 배출구를 개방할 시, 배출구로 배출되는 분말화된 음식물 쓰레기를 전달받아 저장하는 저장 장치를 포함하고, 상기 분쇄 장치는, 상기 분쇄 탱크의 내측 하면에 고정되도록 마련되는 고정 블레이드 및 상기 고정 블레이드와 동축을 가지며, 상기 고정 블레이드보다 높은 위치에서 회전하도록 마련되는 회전 블레이드를 포함하고, 상기 고정 블레이드의 내륜측에는, 포집홈이 마련됨으로써, 상기 회전 블레이드가 포집홈의 방향으로 회전할 시, 음식물을 배출구의 방향으로 배출시키고, 상기 회전 블레이드가 포집홈의 반대 방향으로 회전할 시, 음식물을 분쇄하도록 운용될 수 있다.A food waste disposal apparatus capable of easily powdering food waste according to an embodiment of the present invention for solving the above problems includes a housing provided in an open top surface; a crushing tank installed in the housing and having a crushing device for crushing and pulverizing food waste introduced therein, and a discharge port for discharging the powdered food waste; An outlet opening/closing device mounted in the housing and provided to close or open the outlet, and a storage device receiving and storing the powdered food waste discharged through the outlet when the outlet opening/closing device opens the outlet. And, the crushing device includes a fixed blade provided to be fixed to the inner lower surface of the crushing tank and a rotating blade coaxial with the fixed blade and provided to rotate at a higher position than the fixed blade, A collection groove is provided on the inner ring side, so that when the rotary blade rotates in the direction of the collection groove, food is discharged in the direction of the discharge port, and when the rotary blade rotates in the opposite direction to the collection groove, food is crushed. It can be.

또한, 상기 고정 블레이드는, 상기 분쇄 탱크 내에 복수개로 구비되되, 상기 복수의 고정 블레이드는, 상기 분쇄 탱크의 중앙에 마련되는 회전 축을 기준으로 복수개의 고정 블레이드가 서로 반전되는 형태로 마련될 수 있다.In addition, a plurality of fixed blades are provided in the crushing tank, and the plurality of fixed blades may be provided in a form in which a plurality of fixed blades are reversed from each other based on a rotation axis provided at the center of the crushing tank.

또한, 상기 회전 블레이드는, 상기 회전 축에 직결되는 회전 블레이드 몸체; 상기 회전 블레이드 몸체의 둘레 일측에 구비되는 제 1 회전 블레이드 및 상기 회전 블레이드 몸체의 둘레 타측에 구비되는 제 2 회전 블레이드를 포함하고, 상기 제 1 회전 블레이드와 제 2 회전 블레이드는, 상기 회전 블레이드의 회전 시, 상기 고정 블레이드와의 간섭을 피하도록, 고정 블레이드가 가진 두께와 상응하는 간격으로 분쇄 탱크의 하면으로부터 일정 간격 이격되도록 구비될 수 있다.In addition, the rotating blade may include a rotating blade body directly connected to the rotating shaft; A first rotary blade provided on one side of the circumference of the rotary blade body and a second rotary blade provided on the other side of the circumference of the rotary blade body, wherein the first rotary blade and the second rotary blade rotate the rotary blade When, in order to avoid interference with the fixed blade, it may be provided so as to be spaced apart from the lower surface of the crushing tank by a predetermined interval at intervals corresponding to the thickness of the fixed blade.

또한, 상기 제 1 회전 블레이드는, 상기 회전 블레이드 몸체에 결속되되, 상기 회전 블레이드 몸체로부터 분쇄 탱크의 측면으로 갈수록 소정의 각도를 가지는 호 형상의 프레임 구조로 형성되는 제 1 회전 프레임 및 상기 제 1 회전 프레임의 하면에 마련되며, 상기 제 1 회전 프레임의 길이 방향을 따라 일정 간격으로 이격 형성되고, 호의 형태로 소정 깊이 제 1 회전 프레임의 내측으로 함몰되는 분쇄홈을 포함할 수 있다.In addition, the first rotary blade is coupled to the rotary blade body, and the first rotary frame formed in an arc-shaped frame structure having a predetermined angle toward the side of the crushing tank from the rotary blade body and the first rotary blade It is provided on the lower surface of the frame, formed at regular intervals along the longitudinal direction of the first rotating frame, and may include crushing grooves that are recessed into the first rotating frame at a predetermined depth in the form of an arc.

또한, 상기 제 2 회전 블레이드는, 상기 회전 블레이드 몸체에 결속되되, 상기 회전 블레이드 몸체로부터 분쇄 탱크의 측면으로 갈수록 소정의 각도를 가지는 호 형상의 프레임 구조로 형성되는 제 2 회전 프레임; 상기 제 2 회전 프레임의 하면에서, 제 2 회전 프레임의 길이 방향을 따라 마련되는 브러쉬 브라켓 삽입홈 및 상기 브러쉬 브라켓 삽입홈의 길이방향을 따라 끼워진 이후, 상기 제 2 회전 프레임에 결속되며, 하방으로는 플랙시블한 연질 소재의 브러쉬가 마련되는 브러쉬 브라켓을 포함할 수 있다.In addition, the second rotary blade is coupled to the rotary blade body, the second rotary frame formed in an arc-shaped frame structure having a predetermined angle toward the side of the crushing tank from the rotary blade body; On the lower surface of the second rotation frame, after being inserted along the length direction of the brush bracket insertion groove provided along the longitudinal direction of the second rotation frame and the brush bracket insertion groove, it is bound to the second rotation frame, downwardly A brush bracket provided with a brush made of a flexible and soft material may be included.

또한, 상기 배출구 개폐 장치는, 상기 배출구의 측면에 마련되는 배출구 개폐 장치 몸체; 상기 배출구 개폐 장치 몸체에 마련되며, 운동에 필요한 동력을 제공하는 동력 제공 수단 및 소정의 길이를 이루며, 상기 동력 제공 수단에 의해 동력을 전달받아 운동함으로써, 길이의 단부에 마련되는 밀폐 부재를 통해 배출구를 밀폐 또는 개방시키는 밀폐 장치를 포함할 수 있다.In addition, the outlet opening and closing device, the outlet opening and closing device body provided on the side of the outlet; It is provided on the body of the outlet opening and closing device, and has a power supply means for providing power necessary for movement and a predetermined length, and is moved by receiving power from the power supply means, so that the discharge port passes through a sealing member provided at an end of the length. It may include a sealing device that seals or opens.

또한, 상기 배출구 개폐 장치는, 상기 배출구로부터 상기 배출구 개폐 장치측의 방향으로 소정의 길이를 형성하는 밀폐 장치 가이드를 더 포함하고, 상기 밀폐 장치 가이드는, 상기 분말화된 음식물 쓰레기가 유입되거나 배출되는 공간을 제외하고는 폐쇄되는 형태로 형성됨으로써, 분말화된 음식물 쓰레기가 하우징 내에 마련되는 기계적 구성요소들을 손상시키는 것을 방지하고, 상기 밀폐 장치는, 상기 밀폐 장치가 밀폐 장치 가이드의 내측에서 상기 밀폐 장치가 상기 배출구를 밀폐하도록 소정의 길이만큼 이동할 수 있다.The outlet opening and closing device further includes a sealing device guide forming a predetermined length in a direction from the outlet to the side of the outlet opening and closing device. By being formed in a form that is closed except for the space, powdered food waste is prevented from damaging mechanical components provided in the housing, and the sealing device is installed inside the sealing device guide. may move by a predetermined length to close the outlet.

또한, 상기 배출구 개폐 장치는, 상기 배출구로부터 상기 배출구 개폐 장치측의 방향으로 소정의 길이를 형성하는 회전 방지 프레임을 더 포함하고, 상기 회전 방지 프레임은, 상기 밀폐 부재를 관통하도록 마련되되, 상기 밀폐 부재의 중심으로부터 편향된 일측에 단수개, 또는, 상기 밀폐 부재의 중심을 기준으로 좌, 우 대칭하게 복수개로 구비됨으로써, 상기 밀폐 부재가 상기 밀폐 장치 가이드 내에서 회전하는 것을 방지할 수 있다.In addition, the outlet opening and closing device further includes an anti-rotation frame forming a predetermined length in a direction from the outlet to the side of the outlet opening and closing device, and the anti-rotation frame is provided to pass through the sealing member, the sealing member. By providing a single number on one side deflected from the center of the member or a plurality of symmetrical left and right sides with respect to the center of the sealing member, it is possible to prevent the sealing member from rotating within the sealing device guide.

또한, 본 발명의 실시 예에 따른 상기 음식물 쓰레기의 분말화가 용이한 음식물 쓰레기 처리 장치는, 상기 배출구로 배출되는 분말화된 음식물 쓰레기를 하방 또는 측방으로 유도하여 저장 장치의 방향으로 배출하는 배출관을 더 포함하고, 상기 저장 장치는, 상기 하우징의 하단에 마련되며, 사용자 조작에 의해 하우징에서 탈부착되도록 마련되는 저장 장치 몸체 및 상기 저장 장치 몸체에 수용되되, 상기 배출관의 말미에 배치되어 상기 배출되는 분말화된 음식물 쓰레기를 전달받아 수용하는 저장함을 포함하고, 상기 저장 장치 몸체는, 상기 저장함이 수용되는 위치를 벗어나는 위치에 마련되며, 저장함의 내면에 씌워져 분말화된 음식물 쓰레기를 임시 저장하기 위한 봉투를 저장하는 봉투 저장 하우징을 포함할 수 있다.In addition, the food waste treatment apparatus for easily powdering the food waste according to an embodiment of the present invention further includes a discharge pipe for guiding the powdered food waste discharged through the discharge port downward or sideward and discharging it in the direction of the storage device. The storage device is provided at the lower end of the housing and accommodated in the storage device body provided to be detachable from the housing by user manipulation and the storage device body, disposed at the end of the discharge pipe to make the discharged powder and a storage box for receiving and accommodating the food waste, wherein the storage device body is provided at a position out of a position where the storage box is accommodated and covers an inner surface of the storage box to store a bag for temporarily storing powdered food waste. It may include an envelope storage housing that

또한, 본 발명의 실시 예에 따른 음식물 쓰레기의 분말화가 용이한 음식물 쓰레기 처리 장치는, 분쇄 탱크의 내부로 액상 또는 고형의 탈취제를 투입시켜, 투입된 탈취제가 음식물 쓰레기와 함께 분쇄됨으로써 음식물 쓰레기의 악취를 저감하는 악취 저감 장치를 더 포함하고, 상기 악취 저감 장치는, 상기 하우징에서 탈부착되도록 구비되며, 탈취제의 수용을 위해 내부가 비어있는 함체의 형상을 이루는 탈취제 저장 탱크 및 상기 탈취제 저장 탱크에 구비되어, 내부에 수용된 탈취제의 잔여량을 감시하고, 탈취제의 잔여량이 기준치 이하일 경우, 발광하도록 구비되는 탈취제 알림 센서를 포함할 수 있다.In addition, in the food waste disposal apparatus for easily powdering food waste according to an embodiment of the present invention, a liquid or solid deodorant is injected into a crushing tank, and the injected deodorant is pulverized together with the food waste, thereby reducing the odor of the food waste. Further comprising an odor reducing device for reducing odor, wherein the odor reducing device is detachably attached from the housing and is provided in a deodorant storage tank and a deodorant storage tank having an empty interior for accommodating the deodorant, A deodorant notification sensor may be provided to monitor the remaining amount of the deodorant contained therein and to emit light when the remaining amount of the deodorant is less than a reference value.

또한, 상기 음식물 쓰레기의 분말화가 용이한 음식물 쓰레기 처리 장치는, 분쇄 탱크의 내부로부터 발생되는 오수를 전달받아 임시 저장하는 오수 저장 장치를 더 포함하고, 상기 오수 저장 장치는, 상기 하우징에서 탈부착되도록 구비되며, 오수의 수용을 위해 내부가 비어있는 함체의 형상을 이루는 오수 저장 탱크; 상기 분쇄 탱크로부터 오수 저장 탱크의 방향으로 오수의 전달을 매개하는 오수 전달관 및 상기 오수 저장 탱크에 구비되어, 내부에 수용된 오수의 잔여량을 감시하고, 오수의 수위가 기준치 이상일 경우, 발광하도록 구비되는 오수 알림 센서를 포함할 수 있다.In addition, the food waste disposal apparatus for easily pulverizing the food waste further includes a sewage storage device for receiving and temporarily storing sewage generated from the inside of the crushing tank, wherein the sewage storage device is detachably provided from the housing. And, a sewage storage tank forming the shape of an empty enclosure for the accommodation of sewage; It is provided in the sewage delivery pipe and the sewage storage tank for mediating the transfer of sewage from the crushing tank to the sewage storage tank, monitors the remaining amount of sewage accommodated therein, and emits light when the level of sewage is above a reference value. A sewage notification sensor may be included.

또한, 본 발명의 실시 예에 따른 회전 블레이드 몸체는, 상기 회전 블레이드 몸체의 높이 방향을 따라 회전 블레이드 몸체의 내측으로 특정 형상으로 함몰되도록 형성되는 블레이드 결합홈이 마련되고, 상기 제 1 회전 블레이드와 제 2 회전 블레이드의 각각에는, 상기 블레이드 결합홈의 특정 형상과 상응하는 형상의 결합 돌기가 마련됨으로써, 상기 제 1 회전 블레이드와 제 2 회전 블레이드가 상기 회전 블레이드 몸체에 마련되는 블레이드 결합홈에서 삽탈 가능하도록 형성되고, 상기 회전 블레이드 몸체는, 상기 블레이드 결합홈을 따라 삽입된 제 1 회전 블레이드와 제 2 회전 블레이드를, 회전 블레이드 몸체에 고정시키는 고정 수단이 더 마련될 수 있다.In addition, the rotary blade body according to an embodiment of the present invention is provided with a blade coupling groove formed to be recessed into a specific shape into the rotary blade body along the height direction of the rotary blade body, and the first rotary blade and the first rotary blade Each of the two rotary blades is provided with a coupling protrusion having a shape corresponding to a specific shape of the blade coupling groove, so that the first and second rotary blades can be inserted and detached from the blade coupling groove provided in the rotary blade body. The rotary blade body may further include a fixing means for fixing the first rotary blade and the second rotary blade inserted along the blade coupling groove to the rotary blade body.

본 발명의 실시 예에 따른 음식물 쓰레기의 분말화가 용이한 음식물 쓰레기 처리 장치는, 분쇄 탱크의 내부에 구비되는 각기 다른 형태로 형성되는 블레이드 들을 이용하여, 보다 용이하게 음식물 쓰레기를 분말화 시킬 수 있는 장점을 가진다.The food waste treatment apparatus according to an embodiment of the present invention, which can easily powder food waste, has the advantage of being able to more easily powder food waste using blades provided in a crushing tank and formed in different shapes. have

또한, 본 발명의 실시 예에 따른 음식물 쓰레기의 분말화가 용이한 음식물 쓰레기 처리 장치는, 음식물 쓰레기를 처리함에 있어 발생되는 악취와, 오수 및 습기를 제거하여, 사용자에게 사용이 용이한 음식물 쓰레기 처리 장치를 제공할 수 있는 장점을 가진다.In addition, the food waste disposal apparatus according to an embodiment of the present invention, which facilitates powdering of food waste, removes odor, sewage and moisture generated in processing food waste, and is easy to use for the user. has the advantage of providing

또한, 본 발명의 실시 예에 따른 음식물 쓰레기의 분말화가 용이한 음식물 쓰레기 처리 장치는, 탈취제와 오수의 잔여량 또는 상태를 측정하고, 이를 사용자에게 알림으로써 보다 효율적인 운용이 가능한 장점을 가진다.In addition, the food waste disposal apparatus according to an embodiment of the present invention, which easily powders food waste, has the advantage of enabling more efficient operation by measuring the remaining amount or state of the deodorant and sewage and notifying the user of the result.

또한, 본 발명이 실시 예에 따른 음식물 쓰레기의 분말화가 용이한 음식물 쓰레기 처리 장치는, 분말화된 음식물 쓰레기를 임시 저장할 수 있는 봉투를 별도로 내장할 수 있어, 분말화된 음식물 쓰레기의 손쉬운 처리가 가능한 장점을 가진다.In addition, the food waste disposal apparatus capable of easily powdering food waste according to an embodiment of the present invention can separately include a bag for temporarily storing the powdered food waste, so that the powdered food waste can be easily treated. have an advantage

또한, 본 발명의 실시 예에 따른 회전 블레이드의 제 1 회전 블레이드와 제 2 회전 블레이드는, 회전 블레이드 몸체에서 삽탈 가능하도록 형성됨으로써, 보다 효율적인 운용이 가능한 장점을 가진다.In addition, the first rotary blade and the second rotary blade of the rotary blade according to the embodiment of the present invention are formed to be inserted and detachable from the rotary blade body, thereby enabling more efficient operation.

한편, 본 발명의 실시 예에 따른 음식물 쓰레기의 분말화가 용이한 음식물 쓰레기 처리 장치는, 위에서 언급된 효과에 기재된 내용에만 한정되지 않고, 명세서 및 도면으로부터 예측 가능한 모든 효과를 더 포함할 수 있다.Meanwhile, the food waste disposal apparatus capable of easily pulverizing food waste according to an embodiment of the present invention is not limited to the effects described above, and may further include all effects predictable from the specification and drawings.

도 1 은 본 발명의 실시 예에 따른 음식물 쓰레기 처리 장치의 투영 사시도이다.
도 2 는 도 1 의 음식물 쓰레기 처리 장치의 후측 투영 사시도이다.
도 3 은 도 1 의 내부 구성을 보다 자세히 보여주기 위해 하우징을 제거한 부분 생략도이다.
도 4 는 도 1 의 음식물 쓰레기 처리 장치의 측단면도이다.
도 5 의 (a) 및 (b)는 배출구 개폐 장치를 이용한 배출구의 폐쇄 및 개방 과정을 상세히 보여주기 위한 작동 예시도이다.
도 6 은 도 1 의 음식물 쓰레기 처리 장치에 구비되는 각 구성들을 분리하여 보여주는 예시도이다.
도 7 은 본 발명의 실시 예에 따른 분쇄 탱크 내에 구비되는 분쇄 장치의 자세한 구성을 보여주기 위한 투영 사시도이다.
도 8 은 분쇄 장치의 자세한 구성을 보여주기 위한 분해도이다.
도 9 는 회전 블레이드의 저면을 보여주는 저면도이다.
도 10 은 분쇄 장치가 구비된 분쇄 탱크의 측단면도이다.
도 11 의 (a) 및 (b)는 분쇄 장치를 이용하여 분쇄되며, 배출구로 배출되는 음식물 쓰레기의 모습을 보여주기 위한 예시도이다.
도 12 는 탈부착 가능하도록 형성된 회전 블레이드의 예시도이다.
도 13 의 (a) 내지 (c) 는 본 발명의 실시 예에 따른 각각의 블레이드 프레임이 탈부착 가능하도록 형성되는 모습을 보여주기 위한 작동 예시도이다.
1 is a perspective perspective view of a food waste disposal apparatus according to an embodiment of the present invention.
FIG. 2 is a rear projection perspective view of the food waste disposal apparatus of FIG. 1 .
FIG. 3 is a partially omitted view in which a housing is removed to show the internal configuration of FIG. 1 in more detail.
FIG. 4 is a side cross-sectional view of the food waste disposal device of FIG. 1 .
5 (a) and (b) are operational examples for showing in detail the process of closing and opening the outlet using the outlet opening and closing device.
FIG. 6 is an exemplary view separately showing each component provided in the food waste disposal apparatus of FIG. 1 .
7 is a perspective perspective view illustrating a detailed configuration of a crushing device provided in a crushing tank according to an embodiment of the present invention.
8 is an exploded view for showing the detailed configuration of the crushing device.
9 is a bottom view showing a bottom surface of the rotary blade.
10 is a cross-sectional side view of a crushing tank equipped with a crushing device.
(a) and (b) of FIG. 11 are exemplary diagrams illustrating food waste that is pulverized using a pulverizer and discharged through a discharge port.
12 is an exemplary view of a rotary blade formed to be detachable.
13 (a) to (c) are operational examples showing how each blade frame is detachably formed according to an embodiment of the present invention.

이하, 본 발명의 설명은 특정한 실시 형태에 대해 한정되지 않으며, 다양한 변환을 가할 수 있고 여러 가지 실시 예를 가질 수 있다. 또한, 이하에서 설명하는 내용은 본 발명의 사상 및 기술 범위에 포함되는 모든 변환, 균등물 내지 대체물을 포함하는 것으로 이해되어야 한다.Hereinafter, the description of the present invention is not limited to specific embodiments, and various transformations may be applied and various embodiments may be applied. In addition, the content described below should be understood to include all conversions, equivalents, or substitutes included in the spirit and scope of the present invention.

또한, 이하의 설명에서 제 1, 제 2 등의 용어는 다양한 구성요소들을 설명하는데 사용되는 용어로서, 그 자체에 의미가 한정되지 아니하며, 하나의 구성요소를 다른 구성요소로부터 구별하는 목적으로만 사용된다.In addition, in the following description, terms such as first and second are terms used to describe various components, and are not limited in meaning to themselves, and are used only for the purpose of distinguishing one component from another. do.

본 발명에서 사용되는 단수의 표현은 문맥상 명백하게 다르게 뜻하지 않는 한, 복수의 표현을 포함한다. 또한, 이하에서 기재되는 "포함하다", "구비하다" 또는 "가지다" 등의 용어는 명세서 상에 기재된 특징, 숫자, 단계, 동작, 구성요소, 부품 또는 이들을 조합한 것이 존재함을 지정하려는 것으로 해석되어야 하며, 하나 또는 그 이상의 다른 특징들이나, 숫자, 단계, 동작, 구성요소, 부품 또는 이들을 조합한 것들의 존재 또는 부가 가능성을 미리 배제하지 않는 것으로 이해되어야 한다.Singular expressions used in the present invention include plural expressions unless the context clearly dictates otherwise. In addition, terms such as "include", "include" or "have" described below are meant to designate that features, numbers, steps, operations, components, parts, or combinations thereof described in the specification exist. should be construed, and understood not to preclude the possibility of the presence or addition of one or more other features, numbers, steps, operations, components, parts, or combinations thereof.

이하, 도 1 내지 도 13 을 참조하여 본 발명의 실시 예에 따른 음식물 쓰레기의 분말화가 용이한 음식물 쓰레기 처리 장치(1)에 관하여 상세히 설명하기로 한다.Hereinafter, with reference to FIGS. 1 to 13 , a food waste disposal apparatus 1 for easily powdering food waste according to an embodiment of the present invention will be described in detail.

먼저, 도 1 은 본 발명의 실시 예에 따른 음식물 쓰레기 처리 장치의 투영 사시도이고, 도 2 는 도 1 의 음식물 쓰레기 처리 장치의 후측 투영 사시도이며, 도 3 은 도 1 의 내부 구성을 보다 자세히 보여주기 위해 하우징을 제거한 부분 생략도이고, 도 4 는 도 1 의 음식물 쓰레기 처리 장치의 측단면도이다.First, FIG. 1 is a projection perspective view of a food waste disposal device according to an embodiment of the present invention, FIG. 2 is a rear projection perspective view of the food waste disposal device of FIG. 1 , and FIG. 3 shows the internal configuration of FIG. 1 in more detail. 4 is a side cross-sectional view of the food waste disposal apparatus of FIG. 1 .

또한, 도 5 의 (a) 및 (b)는 배출구 개폐 장치를 이용한 배출구의 폐쇄 및 개방 과정을 상세히 보여주기 위한 작동 예시도이고, 도 6 은 도 1 의 음식물 쓰레기 처리 장치에 구비되는 각 구성들을 분리하여 보여주는 예시도이며, 도 7 은 본 발명의 실시 예에 따른 분쇄 탱크 내에 구비되는 분쇄 장치의 자세한 구성을 보여주기 위한 투영 사시도이다.In addition, (a) and (b) of FIG. 5 are operational examples for showing in detail the process of closing and opening the outlet using the outlet opening and closing device, and FIG. 6 shows each component provided in the food waste disposal device of FIG. 1 7 is a perspective view illustrating a detailed configuration of a grinding device provided in a grinding tank according to an embodiment of the present invention.

또한, 도 8 은 분쇄 장치의 자세한 구성을 보여주기 위한 분해도이고, 도 9 는 회전 블레이드의 저면을 보여주는 저면도이며, 도 10 은 분쇄 장치가 구비된 분쇄 탱크의 측단면도이고, 도 11 의 (a) 및 (b)는 분쇄 장치를 이용하여 분쇄되며, 배출구로 배출되는 음식물 쓰레기의 모습을 보여주기 위한 예시도이다.In addition, Figure 8 is an exploded view for showing the detailed configuration of the crushing device, Figure 9 is a bottom view showing the bottom surface of the rotary blade, Figure 10 is a side cross-sectional view of the crushing tank equipped with a crushing device, in Figure 11 (a ) and (b) are exemplary diagrams showing the appearance of food waste that is pulverized using a pulverizer and discharged through the outlet.

도 1 내지 도 11 을 참조하면, 본 발명의 실시 예에 따른 음식물 쓰레기의 분말화가 용이한 음식물 쓰레기 처리 장치(1)는, 하우징(100), 분쇄 탱크(200), 배출구 개폐 장치(300) 및 저장 장치(400)를 포함할 수 있으며, 본 발명의 실시 예에 따른 음식물 쓰레기 처리 장치(1)를 구체적으로 설명하기에 앞서, 본 발명은, 외부로부터 전원을 인가 받아 동작하거나, 외부 전원이 차단될 경우, 음식물 쓰레기 처리 장치(1)의 내부에 구비되는 축전지(미도시)에 의해 동작 전원을 인가 받아 동작할 수도 있다.Referring to FIGS. 1 to 11 , a food waste disposal apparatus 1 for easily pulverizing food waste according to an embodiment of the present invention includes a housing 100, a crushing tank 200, an outlet opening and closing device 300, and It may include the storage device 400, and prior to a detailed description of the food waste disposal apparatus 1 according to an embodiment of the present invention, the present invention operates by receiving power from the outside or shuts off external power. If necessary, the food waste disposal apparatus 1 may be operated by receiving operating power from a storage battery (not shown) provided therein.

또한, 상기 음식물 쓰레기의 분말화가 용이한 음식물 쓰레기 처리 장치(1)는, 외부로부터 공급되는 전원 또는 축전지(미도시)에서 공급되는 전원을 차단함으로써, 본 발명의 미 사용시 발생될 수 있는 누전 화재 사고와, 동작 중 발생되는 안전 사고를 방지할 수 있는 메인 스위치(110)가 마련될 수 있다.In addition, the food waste disposal apparatus 1, which easily powders the food waste, cuts off the power supplied from the outside or the power supplied from a storage battery (not shown), thereby causing a fire accident due to a short circuit that may occur when the present invention is not used. And, a main switch 110 capable of preventing safety accidents occurring during operation may be provided.

또한, 상기 하우징(100)은, 음식물 쓰레기 처리 장치(1)의 몸체를 이루며, 내부로는 본 발명에 구비되는 구성들을 수용할 수 있는 공간이 마련될 수 있다.In addition, the housing 100 constitutes a body of the food waste disposal apparatus 1, and a space capable of accommodating elements provided in the present invention may be provided inside.

또한, 상기 하우징(100)은, 상면이 개방되는 함체의 형태로 마련될 수 있다.In addition, the housing 100 may be provided in the form of an enclosure with an open upper surface.

한편, 도면에 도시된 사각 박스의 형태를 가지는 하우징(100)은, 당업자의 이해를 돕기 위한 예시적인 일 형태일 뿐, 반드시 사각 박스의 형상이 아닌, 원기둥 혹은 다각 기둥의 형상 등, 사용자의 요구에 따라 다양한 형상으로 구비될 수도 있다.On the other hand, the housing 100 having the form of a rectangular box shown in the drawings is only an exemplary form for helping those skilled in the art to understand, and is not necessarily a rectangular box shape, such as a cylinder or a polygonal column, according to the user's request. It may be provided in various shapes according to.

또한, 상기 하우징(100)의 상면에는, 상부에 마련되는 개방부를 덮을 수 있도록, 하우징(100)의 상단을 기준으로 회동하는 덮개(120)와 함께, 상기 덮개(120)를 개방 또는 밀폐시키기 위해 구비되는 시건 장치의 제어를 위하여, 사용자의 조작을 개방/밀폐 조작을 입력 받기 위한 버튼(130)이 마련될 수 있다.In addition, in order to open or close the cover 120 on the upper surface of the housing 100, together with the cover 120 rotating with respect to the upper end of the housing 100 so as to cover the open portion provided thereon. In order to control the provided locking device, a button 130 may be provided to receive a user's open/close operation.

여기서, 상기 덮개(120)는, 도면에 도시된 바와 같이 회전 식으로 구비될 수 있으나, 이는 당업자의 이해를 돕기 위한 일례일 뿐, 폴딩 식, 슬라이딩 식 등 어느 하나의 개폐 방식으로 한정되지 않는 다양한 개폐 방식이 적용되어 운용될 수 있다.Here, the cover 120 may be provided in a rotational manner as shown in the drawing, but this is only an example for helping those skilled in the art to understand, and various types of opening and closing methods such as folding and sliding are not limited. The opening and closing method may be applied and operated.

이를 통해, 이후 서술될 분쇄 탱크(200)의 내부에 마련되는 회전 블레이드(230)가 회전하는 와중, 분쇄 탱크(200)를 외부로부터 밀폐시킬 수 있으므로, 본 발명을 운용함에 있어 안정성을 높임과 동시에 사용자의 안전을 확보할 수 있다.Through this, while the rotary blade 230 provided inside the crushing tank 200 to be described later rotates, the crushing tank 200 can be sealed from the outside, thereby increasing stability in operating the present invention and at the same time User safety can be ensured.

또한, 상기 하우징(100)의 정면에는, 이후 구체적으로 서술될 음식물 쓰레기 처리 장치(1)의 운용 상태를 표시하기 위한 디스플레이(140)가 마련될 수 있다.In addition, a display 140 may be provided on the front of the housing 100 to display an operating state of the food waste disposing apparatus 1, which will be described in detail later.

구체적으로, 상기 디스플레이(140)는, 빛을 발광하도록 마련되는 발광 수단으로 구비될 수 있으며, 보다 구체적으로는 음식물 쓰레기 처리 장치(1)의 전원 연결 상태 및 운용과 비 운용의 상태를 표시하는 주 발광 장치(141)와, 본 발명을 구성하며, 이후 구체적으로 서술될 저장함(400), 악취 저감 장치(500), 습기 저장 장치(600) 및 오수 저장 장치(700)의 각각의 상태에 대한 정보를 각기 다른 색상으로 발광하여 표시하는 보조 발광 장치(142)를 포함할 수 있다.Specifically, the display 140 may be provided as a light emitting unit provided to emit light, and more specifically, the main display 140 displays the power connection state of the food waste disposal apparatus 1 and the operating and non-operating states. Information on the respective states of the light emitting device 141, the storage box 400, the odor reduction device 500, the moisture storage device 600, and the sewage storage device 700, which constitute the present invention and will be described in detail later. It may include an auxiliary light emitting device 142 for displaying by emitting light in different colors.

또한, 상기 하우징(100)의 후방에는, 하우징(100)의 내부에서 발생되는 열을 하우징(100)의 후방으로 방출시키기 위한 방열부(150)가 마련될 수 있다.In addition, a heat dissipation unit 150 may be provided at the rear of the housing 100 to dissipate heat generated inside the housing 100 to the rear of the housing 100 .

또한, 상기 하우징(100)의 내부에는, 이후 구체적으로 서술될 저장 장치(400)와, 내부 구성들간의 공간을 구획 및 격리 하기 위한 격판(160)이 마련될 수 있다.In addition, a partition plate 160 may be provided inside the housing 100 to partition and isolate a storage device 400 to be described in detail later and a space between internal components.

보다 구체적으로, 상기 격판(160)은, 음식물 쓰레기가 수용된 분쇄 탱크(200), 및 배출구 개폐 장치(300)등을 용이하게 지지할 수 있는 두께와 면적을 가지도록 형성될 수 있다.More specifically, the diaphragm 160 may be formed to have a thickness and area capable of easily supporting the crushing tank 200 containing food waste and the outlet opening/closing device 300.

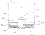
또한, 상기 분쇄 탱크(200)는, 사용자의 조작에 따라 덮개(120)가 개방된 상태에서, 상기 하우징(100)의 내에서 탈부착 가능하도록 형성될 수 있으며, 음식물 쓰레기의 수용과 함께, 이후 구체적으로 서술될 분쇄 장치(210)가 장착될 수 있도록 소정의 공간을 형성할 수 있다.In addition, the pulverization tank 200 may be formed to be detachable from within the housing 100 in a state in which the cover 120 is opened according to a user's manipulation, and together with the accommodation of food waste, in detail later It is possible to form a predetermined space so that the crushing device 210 to be described as can be mounted.

또한, 상기 분쇄 탱크(200)는, 상기 하우징(100) 내에 장착되며, 음식물 쓰레기의 분쇄를 위한 분쇄 장치(210)를 구비하여 내부로 투입되는 음식물 쓰레기를 분쇄하여 분말화 시킬 수 있다.In addition, the crushing tank 200 is installed in the housing 100 and includes a crushing device 210 for pulverizing food waste, so that food waste injected into the inside can be pulverized and pulverized.

또한, 상기 분쇄 탱크(200)의 일측에는, 분말화된 음식물 쓰레기(FWP)를 배출시키기 위한 배출구(201)가 형성될 수 있다.In addition, a discharge port 201 for discharging powdered food waste (FWP) may be formed at one side of the crushing tank 200 .

또한, 상기 분쇄 탱크(200)의 내측 높이 방향에는, 수용된 음식물 쓰레기의 용량을 알 수 있는 표기(ml, L)가 표시될 수도 있다.In addition, marks (ml, L) indicating the capacity of the accommodated food waste may be displayed in the inner height direction of the crushing tank 200 .

또한, 상기 분쇄 탱크(200)를 구성하는 소재로는, 음식물 쓰레기가 가진 산성 또는 염기성 성분에 의해 변성을 일으키지 않는 스테인리스 스틸(stainless steel)의 소재로 형성되는 것이 가장 바람직할 수 있으나, 이는 반드시 한정되는 것이 아닌, 음식물 처리를 위해 이용되는 장치를 구성하는 소재들이 모두 이용될 수 있다.In addition, as a material constituting the crushing tank 200, it may be most preferable to be formed of a stainless steel material that does not cause denaturation by acidic or basic components of food waste, but this is necessarily limited. Rather than being, all of the materials constituting the device used for food processing can be used.

또한, 상기 분쇄 장치(210)는, 고정 블레이드(220) 및 회전 블레이드(230)를 포함할 수 있다.In addition, the crushing device 210 may include a fixed blade 220 and a rotating blade 230 .

서술하기에 앞서, 상기 고정 블레이드(220)의 내륜측에는, 포집홈(222)이 마련됨으로써, 상기 회전 블레이드(230)가 포집홈(222)의 방향, 즉, 시계 방향으로 회전할 시, 음식물을 배출구(201)의 방향으로 배출시키고, 상기 회전 블레이드(230)가 포집홈(222)의 반대 방향, 즉, 반시계 방향으로 회전할 시, 음식물을 분쇄하도록 운용될 수 있으며, 보다 구체적인 본 발명의 운용 방식에 대해서는 이하의 설명에서 이어가도록 한다.Prior to the description, the collection groove 222 is provided on the inner ring side of the fixed blade 220, so that when the rotating blade 230 rotates in the direction of the collection groove 222, that is, clockwise, food is collected. Discharge in the direction of the discharge port 201, and when the rotary blade 230 rotates in the opposite direction of the collecting groove 222, that is, counterclockwise, it can be operated to crush food, and more specifically, the present invention The operation method will be continued in the following description.

먼저, 상기 고정 블레이드(220)는, 상기 분쇄 탱크(200)의 내면 하측에 고정되도록 마련될 수 있으며, 구체적으로, 상기 고정 블레이드(220)는, 곡선부(221), 직선부(222) 및 포집홈(223)의 조합으로 형성될 수 있다.First, the fixed blade 220 may be provided to be fixed to the lower inner surface of the pulverization tank 200, and specifically, the fixed blade 220 includes a curved portion 221, a straight portion 222 and It may be formed by a combination of collection grooves 223.

보다 구체적으로, 상기 고정 블레이드(220)는, 반원의 형상을 가지되, 호를 그리는 곡선부(221)가 칼날의 형태로 마련되며, 직선을 그리는 직선부(222)가 소정 깊이 고정 블레이드(220)의 내측으로 함몰, 제거(E)되는 형태의 포집홈(223)이 마련될 수 있으며, 부가적인 설명으로, 상기 곡선부(221)는, 상기 고정 블레이드(220)의 외륜을 이루고, 상기 포집홈(223)은, 상기 고정 블레이드(220)의 내륜을 형성하는 형태로 마련될 수 있는 것이다.More specifically, the fixed blade 220 has a semicircular shape, a curved portion 221 drawing an arc is provided in the form of a blade, and a straight portion 222 drawing a straight line has a predetermined depth fixed blade 220 ) A collection groove 223 in the form of being depressed and removed (E) may be provided, and as an additional description, the curved portion 221 forms the outer ring of the fixed blade 220, and the collection groove 223 The groove 223 may be provided in a form forming an inner ring of the fixed blade 220.

또한, 상기 고정 블레이드(220)는, 상기 분쇄 탱크(200) 내에 복수개로 구비되되, 상기 분쇄 탱크(200)의 중앙에 마련되는 회전 축(211)을 기준으로 복수개의 고정 블레이드(220)가 서로 반전되는 형태로 마련될 수 있다.In addition, the fixed blades 220 are provided in plurality in the crushing tank 200, and the plurality of fixed blades 220 are mutually related to each other based on the rotating shaft 211 provided at the center of the crushing tank 200. It may be provided in an inverted form.

또한, 상기 회전 블레이드(230)는, 상기 분쇄 탱크(200) 내에서 고정 블레이드(220)와 동축을 가지도록 형성될 수 있으며, 상기 고정 블레이드(220)보다 높은 위치에 마련될 수 있고, 상기 회전 블레이드(230)는, 분쇄 탱크(200)의 중앙에 마련되는 회전 축(211)을 기준으로 회전하도록 마련될 수 있다.In addition, the rotating blade 230 may be formed to have a coaxial shape with the fixed blade 220 in the crushing tank 200, and may be provided at a higher position than the fixed blade 220, and the rotation The blade 230 may be provided to rotate based on a rotation shaft 211 provided at the center of the pulverization tank 200 .

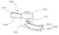
구체적으로, 상기 회전 블레이드(230)는, 회전 블레이드 몸체(2310), 제 1 회전 블레이드(2320) 및 제 2 회전 블레이드(2330)를 포함할 수 있다.Specifically, the rotary blade 230 may include a rotary blade body 2310, a first rotary blade 2320, and a second rotary blade 2330.

먼저, 상기 회전 블레이드 몸체(2310)는, 상기 회전 축(211)에 직결될 수 있으며, 분쇄 탱크(200)의 하부에 마련되며, 회전 축(211)에 결합되는 회전 모터(212)로부터 제공되는 회전 동력을 인가 받음으로써 회전할 수 있다.First, the rotating blade body 2310 may be directly connected to the rotating shaft 211, provided at the bottom of the crushing tank 200, and provided from a rotating motor 212 coupled to the rotating shaft 211 It can rotate by receiving rotational power.

또한, 상기 제 1 회전 블레이드(2320)는, 상기 회전 블레이드 몸체(2310)의 둘레 일측에 구비될 수 있다.In addition, the first rotary blade 2320 may be provided on one side of the circumference of the rotary blade body 2310 .

구체적으로, 상기 제 1 회전 블레이드(2320)는, 제 1 회전 프레임(2321) 및 분쇄홈(2322)의 조합을 통해 형성될 수 있다.Specifically, the first rotary blade 2320 may be formed through a combination of the first rotary frame 2321 and the grinding groove 2322.

먼저, 상기 제 1 회전 프레임(2321)은, 상기 회전 블레이드 몸체(2310)에 결속, 고정될 수 있다.First, the first rotating frame 2321 may be bound and fixed to the rotating blade body 2310 .

또한, 상기 제 1 회전 프레임(2321)은, 상기 회전 블레이드 몸체(2310)로부터 분쇄 탱크(200)의 측면으로 갈수록, 소정의 각도를 가지는 호 형상의 프레임 구조로 형성될 수 있다.In addition, the first rotating frame 2321 may be formed in an arc-shaped frame structure having a predetermined angle from the rotating blade body 2310 toward the side of the grinding tank 200.

또한, 상기 제 1 회전 프레임(2321)이 회전 블레이드 몸체(2310)에 의해 고속 회전함으로써 음식물을 분쇄하는데 있어, 제 1 회전 프레임(2321)의 표면에 발생되는 마모를 최소화 하기 위하여, 강철 또는 탄소 합금강과 같은 강한 강도와 강도를 가지는 소재가 이용될 수 있다.In addition, when the first rotating frame 2321 rotates at high speed by the rotating blade body 2310 to crush food, in order to minimize abrasion occurring on the surface of the first rotating frame 2321, steel or carbon alloy steel A material having strong strength and strength such as may be used.

한편, 상기 제 1 회전 프레임(2321)과, 제 2 회전 프레임(2331)은, 바람직하게는 도면에 도시된 바와 같이 일정 각도를 가지는 호의 형태를 가지도록 형성될 수 있으나, 사용자의 요구에 따라, 각도를 형성하지 않는 직선 형태의 프레임 구조로 형성될 수도 있다.On the other hand, the first rotation frame 2321 and the second rotation frame 2331 may be preferably formed to have an arc shape having a certain angle as shown in the drawing, but according to the user's request, It may be formed as a frame structure in the form of a straight line that does not form an angle.

또한, 상기 분쇄홈(2322)은, 상기 제 1 회전 프레임(2321)의 하면에 마련되되, 상기 제 1 회전 프레임(2321)의 길이 방향을 따라 일정 간격으로 이격 형성될 수 있다.In addition, the crushing grooves 2322 are provided on the lower surface of the first rotating frame 2321 and may be spaced apart at regular intervals along the longitudinal direction of the first rotating frame 2321 .

또한, 상기 분쇄홈(2322)은, 전체적인 형상이 회전 축(211)을 기준으로 호의 형상을 그리도록 형성되며, 제 1 회전 프레임(2321)의 내측으로 소정 깊이 함몰되는 형태로 마련될 수 있다.In addition, the crushing groove 2322 is formed to draw an arc shape with respect to the rotation axis 211 as a whole, and may be provided in a form that is recessed into the first rotation frame 2321 by a predetermined depth.

또한, 상기 제 2 회전 블레이드(2330)는, 상기 회전 블레이드 몸체(2310)의 둘레 타측에 구비될 수 있다.In addition, the second rotary blade 2330 may be provided on the other side of the circumference of the rotary blade body 2310.

구체적으로, 상기 제 2 회전 블레이드(2330)는, 제 2 회전 프레임(2331), 브러쉬 브라켓 삽입홈(2332) 및 브러쉬 브라켓(2333)을 포함할 수 있다.Specifically, the second rotary blade 2330 may include a second rotary frame 2331, a brush bracket insertion groove 2332, and a brush bracket 2333.

먼저, 상기 제 2 회전 프레임(2331)은, 상기 회전 블레이드 몸체(2310)에 결속되어, 고정될 수 있다.First, the second rotating frame 2331 may be bound to and fixed to the rotating blade body 2310 .

또한, 상기 제 2 회전 프레임(2331)은, 상기 회전 블레이드 몸체(2310)로부터 분쇄 탱크(200)의 측면으로 갈수록 소정의 각도를 가지는 호 형상의 프레임 구조로 형성될 수 있다.In addition, the second rotating frame 2331 may be formed in an arc-shaped frame structure having a predetermined angle toward the side of the grinding tank 200 from the rotating blade body 2310 .

또한, 상기 제 2 회전 프레임(2331)은, 앞서 상술된 제 1 회전 프레임(2321)과 동일하게, 고속 회전함으로써 음식물을 분쇄함에 있어서, 제 2 회전 프레임(2331)의 표면에 발생되는 마모를 최소화 하기 위하여, 강철 또는 탄소 합금강과 같은 강한 강도와 강도를 가지는 소재가 이용될 수 있다.In addition, the second rotating frame 2331, like the first rotating frame 2321 described above, rotates at a high speed to minimize wear on the surface of the second rotating frame 2331 when crushing food. To do this, a material having strong strength and strength such as steel or carbon alloy steel may be used.

또한, 상기 브러쉬 브라켓 삽입홈(2332)은, 상기 제 2 회전 프레임(2331)의 하면에서, 제 2 회전 프레임(2331)의 길이 방향을 따라 마련될 수 있다.In addition, the brush bracket insertion groove 2332 may be provided on the lower surface of the second rotation frame 2331 along the longitudinal direction of the second rotation frame 2331 .

또한, 상기 브러쉬 브라켓(2333)은, 상기 브러쉬 브라켓 삽입홈(2332)의 길이방향을 따라 끼워질 수 있으며, 상기 브러쉬 브라켓(2333)은, 상기 제 2 회전 프레임(2331)에 끼워진 이후, 결속 및 고정될 수 있다.In addition, the brush bracket 2333 may be inserted along the longitudinal direction of the brush bracket insertion groove 2332, and after being inserted into the second rotation frame 2331, the brush bracket 2333 binds and can be fixed

이를 위해, 상기 브러쉬 브라켓(2333)은, 브러쉬 브라켓 삽입홈(2332)에 삽입된 이후, 브러쉬 브라켓(2333)과 제 2 회전 프레임(2331)을 관통하는 볼팅 결합을 통해 임시적인 고정력을 형성할 수 있다.To this end, after the brush bracket 2333 is inserted into the brush bracket insertion groove 2332, a temporary fixing force may be formed through a bolting connection penetrating the brush bracket 2333 and the second rotation frame 2331. there is.

그러나, 상기 볼팅 결합을 이용한 고정 방식은, 브러쉬 브라켓(2333)을 제 2 회전 프레임(2331)에 선택적으로 고정시키기 위한 하나의 고정 방식을 뿐, 사용자의 요구에 따라 핀 결합 또는 용접 결합과 같은, 임시적, 영구적 고정 방식이 모두 이용될 수도 있다.However, the fixing method using the bolting coupling is only one fixing method for selectively fixing the brush bracket 2333 to the second rotation frame 2331, such as pin coupling or welding coupling according to the user's request. Both temporary and permanent fixation methods may be used.

또한, 상기 브러쉬 브라켓(2333)의 하방에는, 플랙시블한 연질 소재의 브러쉬(2334)가 마련될 수 있으며, 상기 브러쉬(2334) 역시, 브러쉬 브라켓(2333)과 동일한 방식으로, 브러쉬 브라켓(2333)에서 삽탈 가능하도록 형성될 수 있다.In addition, a brush 2334 made of a flexible and soft material may be provided below the brush bracket 2333, and the brush 2334 is also a brush bracket 2333 in the same manner as the brush bracket 2333. It can be formed to be inserted and detached from.

여기서, 상기 제 1 회전 블레이드(2320)와 제 2 회전 블레이드(2330)는, 상기 회전 블레이드(230)의 회전 시, 상기 고정 블레이드(220)와의 간섭을 피하기 위하여, 고정 블레이드(220)가 가진 두께와 상응하는 간격으로 분쇄 탱크(200)의 하면으로부터 일정 간격 이격되도록 구비될 수 있다.Here, the first rotary blade 2320 and the second rotary blade 2330 have a thickness of the fixed blade 220 to avoid interference with the fixed blade 220 when the rotary blade 230 rotates. It may be provided so as to be spaced apart from the lower surface of the crushing tank 200 by a predetermined interval at an interval corresponding to.

보다 구체적으로, 제 1 회전 블레이드(2320)와 제 2 회전 블레이드(2330)의 운용 방식을 설명하며, 이들의 동작과 운용에 대해 도 11 을 함께 살펴보며 다시 한번 정리하자면, 먼저, 상기 회전 블레이드(230)가 도 11 의 (a) 와 같이 시계 방향으로 회전할 경우, 호를 그리는 회전 블레이드(230), 보다 구체적으로는 제 2 회전 프레임(2331)에 마련되는 브러쉬(2334)에 의해 배출구(201)의 방향으로 분말화된 음식물 쓰레기(FWP)가 배출되고, 도 11 의 (b) 와 같이 반시계 방향으로 회전할 경우, 하면에 마련되는 분쇄홈(2322)과, 고정 블레이드(220)의 하면에 마련되는 포집홈(223)을 통해, 맷돌과 유사한 원리로 음식물 쓰레기가 분쇄될 수 있는 것이다.More specifically, the operating method of the first rotary blade 2320 and the second rotary blade 2330 will be described, and their operation and operation will be reviewed together with FIG. 11 and summarized once again. First, the rotary blade ( 230) rotates clockwise as shown in (a) of FIG. 11, the discharge port 201 by the rotating blade 230 drawing an arc, more specifically, the brush 2334 provided on the second rotating frame 2331. ), when the powdered food waste (FWP) is discharged and rotates counterclockwise as shown in (b) of FIG. Through the collecting groove 223 provided in the food waste can be pulverized in a principle similar to that of a millstone.

이에 따라, 본 발명의 실시 예에 따른 음식물 쓰레기의 분말화가 용이한 음식물 쓰레기 처리 장치(1)는, 음식물을 분쇄함에 있어 발생되는 문제를 해소할 수 있다.Accordingly, the food waste disposal apparatus 1 in which food waste can be easily powdered according to an embodiment of the present invention can solve problems that occur in crushing food.

또한, 상기 분쇄 장치(210)는, 고정 블레이드(220) 및 회전 블레이드(230)의 구성과 함께, 음식물 쓰레기의 건조를 위한 발열 수단(240)을 더 포함할 수 있다.In addition, the crushing device 210 may further include a heating means 240 for drying food waste, together with the fixed blades 220 and the rotating blades 230 .

구체적으로, 상기 발열 수단(240)은, 도 7 및 도 8 에 도시된 바와 같이, 분쇄 탱크(200)의 하측 둘레에 마련되는 발열 수단 삽입홈(241)에 삽입되는 열선의 형태로 구비되어, 분쇄 탱크(200)의 하방으로부터 분쇄 탱크(200) 내측의 방향으로 열을 인가하도록 구비될 수 있으나, 이는 바람직한 실시 예일 뿐, 그의 위치는 달리 적용될 수도 있다.Specifically, as shown in FIGS. 7 and 8, the heating means 240 is provided in the form of a hot wire inserted into the heating means insertion groove 241 provided on the lower circumference of the crushing tank 200, It may be provided to apply heat from the bottom of the pulverization tank 200 to the inside of the pulverization tank 200, but this is only a preferred embodiment, and its location may be applied differently.

또한, 상기 분쇄 탱크(200)에는, 발열 수단(240)에서 발생되는 열을 분쇄 탱크(200)의 내부에서 효율적으로 분산시키기 위한 확산 팬(미도시)이 더 구비될 수도 있다.In addition, the pulverization tank 200 may further include a diffusion fan (not shown) for efficiently dispersing the heat generated by the heating unit 240 inside the pulverization tank 200 .

한편, 상기 분쇄 장치(210)와 발열 수단(240)은, 각기 건조 효율과 분쇄 효율을 크게 나타냄과 동시에, 분말화된 음식물 쓰레기(FWP)를 용이하게 배출을 위하여, 도면에 표시된 위치인 분쇄 탱크(200) 하단에 마련될 수 있으나, 반드시 한정되는 것은 아니며 분쇄 탱크(200)의 다양한 높이에 복수개로 마련될 수도 있다.On the other hand, the crushing device 210 and the heat generating unit 240 show high drying efficiency and crushing efficiency, respectively, and at the same time, in order to easily discharge powdered food waste (FWP), the crushing tank at the position shown in the drawing It may be provided at the bottom of the 200, but is not necessarily limited and may be provided in plurality at various heights of the crushing tank 200.

또한, 상기 배출구 개폐 장치(300)는, 상기 하우징(100) 내에 장착되며, 상기 배출구(201)를 밀폐시키거나 개방시키도록 구비될 수 있다.In addition, the outlet opening and closing device 300 is mounted in the housing 100 and may be provided to close or open the outlet 201 .

보다 구체적으로, 상기 배출구 개폐 장치(300)는, 상기 배출구(201)의 측면에 위치할 수 있으며, 실린더의 방식, 보다 구체적으로는 웜과 웜기어의 조합이 이용되는 전동 실린더의 형태로 마련되어, 상기 배출구(201)에서 가까워지거나 멀어지는 방향으로의 왕복운동을 하거나, 수직하게 마련되는 수직 스크류와 이에 접하도록 마련되는 수평 스크류의 조합을 통해, 상기 배출구(201)에서 가까워지거나 멀어지는 방향으로 왕복 운동하는 방식으로 하여, 상기 배출구(201)를 밀폐시키거나 개방시키도록 구비될 수 있다.More specifically, the outlet opening and closing device 300 may be located on the side of the outlet 201, and is provided in the form of a cylinder, more specifically, in the form of an electric cylinder in which a combination of a worm and a worm gear is used. A method of reciprocating in a direction approaching or away from the outlet 201, or reciprocating in a direction approaching or away from the outlet 201 through a combination of a vertical screw provided vertically and a horizontal screw provided in contact with the vertical screw As a result, it may be provided to close or open the outlet 201.

서술하기에 앞서, 도면에 표현된 배출구 개폐 장치(300)의 형태는, 전동 실린더의 형태로 구현되었으나, 이는 당업자의 이해를 돕기 위한 예시적인 일 형태일 뿐, 배출구(201)를 개방 또는 밀폐 시킬 수 있는 기계적, 전기적 운동 수단이 모두 이용될 수 있다.Prior to the description, the shape of the outlet opening and closing device 300 shown in the drawing is implemented in the form of an electric cylinder, but this is only an exemplary form for helping those skilled in the art to understand, and the outlet 201 can be opened or closed. Both mechanical and electrical movement means that can be used may be used.

구체적으로, 상기 배출구 개폐 장치(300)는, 배출구 개폐 장치 몸체(310), 동력 제공 수단(320) 및 밀폐 장치(330)를 포함할 수 있다.Specifically, the outlet opening and closing device 300 may include an outlet opening and closing device body 310, a power supply unit 320 and a closing device 330.

먼저, 상기 배출구 개폐 장치 몸체(310)는, 상기 배출구(201)의 측면에 마련될 수 있다.First, the outlet opening and closing device body 310 may be provided on a side surface of the outlet 201 .

또한, 상기 동력 제공 수단(320)은, 상기 배출구 개폐 장치 몸체(310)에 마련되며, 운동에 필요한 동력을 제공할 수 있다.In addition, the power supply unit 320 is provided on the outlet opening and closing device body 310 and can provide power required for movement.

또한, 상기 밀폐 장치(330)는, 소정의 길이와 두께를 가지도록 형성될 수 있으며, 상기 동력 제공 수단(320)에 의해 동력을 전달받아 배출구(201)에서 가까워지거나 멀어지는 방향으로 왕복 운동할 수 있으며, 밀폐 장치(330)의 길이방향의 단부에 형성되는 밀폐 부재(331)를 통해, 배출구(201)를 밀폐 또는 개방시킬 수 있다.In addition, the sealing device 330 may be formed to have a predetermined length and thickness, and may reciprocate in a direction approaching or away from the outlet 201 by receiving power from the power supply unit 320. And, through the sealing member 331 formed at the end of the longitudinal direction of the sealing device 330, it is possible to close or open the outlet 201.

또한, 상기 밀폐 장치(330)는, 상기 동력 제공 수단(320)에 결합되어 왕복 운동하도록 구비되되, 배출구(201)와 마주보는 방향의 단부, 즉, 상기 밀폐 부재(331)가 배출구(201)를 밀폐시키는 형태, 즉, 배출구(201)가 이루는 면적과 대응될 수 있는 면적을 가지도록 마련될 수 있으나, 이는 반드시 한정되는 사항은 아니다.In addition, the sealing device 330 is coupled to the power supply means 320 and provided to reciprocate, and the end of the direction facing the discharge port 201, that is, the sealing member 331 is the discharge port 201 It may be provided to have a shape that seals, that is, an area that can correspond to the area formed by the outlet 201, but this is not necessarily limited.

정리하자면, 상기 밀폐 장치(330)가 동력 제공 수단(320)에 의해 수평 왕복운동 또는 수직 왕복운동함에 따라서, 분쇄 탱크(200)에 마련되는 배출구(201)를 밀폐 부재(331)로 하여금 폐쇄하거나 개방할 수 있는 것이다.In summary, as the sealing device 330 horizontally reciprocates or vertically reciprocates by the power supply unit 320, the outlet 201 provided in the grinding tank 200 is closed by the sealing member 331 or that can be opened.

또한, 상기 배출구 개폐 장치(300)는, 상기 배출구(201)로부터 상기 배출구 개폐 장치(300)측의 방향으로 소정의 길이를 형성하는 밀폐 장치 가이드(340)를 더 포함할 수 있다.In addition, the outlet opening and closing device 300 may further include a sealing device guide 340 forming a predetermined length in a direction from the outlet 201 toward the outlet opening and closing device 300 side.

구체적으로, 상기 밀폐 장치 가이드(340)는, 상기 분말화된 음식물 쓰레기(FWP)가 유입되거나 배출되는 공간을 제외하고는 폐쇄되는 형태로 형성됨으로써, 분말화된 음식물 쓰레기(FWP)가 하우징(100) 내에 마련되는 기계적 구성요소들을 손상시키는 것을 방지할 수 있으며, 이와 동시에, 상기 밀폐 장치(330)의 사방이 밀폐되어 있으므로, 밀폐 장치(330)가 보다 더 안정적으로 왕복 운동할 수 있는 장점을 가진다.Specifically, the sealing device guide 340 is formed to be closed except for a space where the powdered food waste (FWP) is introduced or discharged, so that the powdered food waste (FWP) is prevented from entering the housing 100. ), and at the same time, since all sides of the sealing device 330 are sealed, the sealing device 330 has the advantage of being able to reciprocate more stably. .

이때, 상기 밀폐 장치(330)는, 상기 밀폐 장치(330)가 밀폐 장치 가이드(340)의 내측에서 상기 밀폐 장치(330)가 상기 배출구(201)를 밀폐하도록 소정의 길이만큼 이동할 수 있다.At this time, the sealing device 330 may move by a predetermined length so that the sealing device 330 closes the outlet 201 inside the sealing device guide 340 .

또한, 상기 배출구 개폐 장치(300)는, 상기 배출구(201)로부터 상기 배출구 개폐 장치(300)측의 방향으로 소정의 길이를 형성하는 회전 방지 프레임(350)을 더 포함할 수 있다.In addition, the outlet opening and closing device 300 may further include an anti-rotation frame 350 forming a predetermined length in a direction from the outlet 201 toward the outlet opening and closing device 300 side.

구체적으로, 상기 회전 방지 프레임(350)은, 상기 밀폐 부재(331)를 관통하도록 마련되되, 상기 밀폐 부재(331)의 중심으로부터 편향된 일측에 단수개, 또는, 상기 밀폐 부재(331)의 중심을 기준으로 좌, 우 대칭하게 복수개로 구비됨으로써, 상기 밀폐 부재(331)가 상기 밀폐 장치 가이드(340) 내에서 회전하는 것을 방지할 수 있다.Specifically, the anti-rotation frame 350 is provided to pass through the sealing member 331, and has a single number on one side deflected from the center of the sealing member 331, or the center of the sealing member 331. By providing a plurality of symmetrically left and right sides as a reference, it is possible to prevent the sealing member 331 from rotating within the sealing device guide 340 .

또한, 상기 저장 장치(400)는, 상기 배출구 개폐 장치(300)가 배출구(201)를 개방할 시, 배출구(201)로 배출되는 분말화된 음식물 쓰레기(FWP)를 전달받아 저장할 수 있다.Also, when the outlet opening and closing device 300 opens the outlet 201, the storage device 400 may receive and store the powdered food waste (FWP) discharged through the outlet 201.

구체적으로, 본 발명의 실시 예에 따른 음식물 쓰레기의 분말화가 용이한 음식물 쓰레기 처리 장치(1)는, 상기 배출구(201)로부터 배출되는 분말화된 음식물 쓰레기(FWP)를 하방 또는 측방으로 유도하여 저장 장치(400)의 방향으로 배출하는 배출관(360)을 더 포함할 수 있다.Specifically, the food waste treatment apparatus 1 that facilitates powdering of food waste according to an embodiment of the present invention guides the powdered food waste (FWP) discharged from the outlet 201 downward or sideways to store it. It may further include a discharge tube 360 that discharges in the direction of the device 400 .

구체적으로, 상기 배출관(360)은, 배출구(201) 또는 밀폐 장치 가이드(340)로부터 하방으로 연장될 수 있으나, 도면에 도시된 배출관(360)의 형태는, 배출구(201) 또는 밀폐 장치 가이드(340)로부터 연장되어, 하우징(100)의 측면 방향으로 길이를 가지도록 형성됨으로써, 분말화된 음식물 쓰레기(FWP)를 외부로 직접 배출할 수 있도록 구비될 수도 있다.Specifically, the discharge pipe 360 may extend downward from the discharge port 201 or the sealing device guide 340, but the shape of the discharge pipe 360 shown in the drawing is the discharge port 201 or the sealing device guide ( 340 and is formed to have a length in the lateral direction of the housing 100, so that powdered food waste (FWP) can be directly discharged to the outside.

또한, 상기 저장 장치(400)는, 저장 장치 몸체(410) 및 저장함(420)을 포함할 수 있다.In addition, the storage device 400 may include a storage device body 410 and a storage box 420 .

여기서, 도면에는 도시되지 않았으나, 상기 배출관(360)에는, 미처 분쇄되지 못한 음식물 쓰레기가 이후 서술될 저장 장치(400)로 투입되는 것을 방지하기 위하여, 메쉬의 구조를 가지는 스트레이너 필터(미도시)가 마련될 수도 있다.Here, although not shown in the drawings, a strainer filter (not shown) having a mesh structure is installed in the discharge pipe 360 to prevent unpulverized food waste from being introduced into the storage device 400 to be described later. may be provided.

먼저, 상기 저장 장치 몸체(410)는, 상기 하우징(100)의 하단에 마련되며, 사용자 조작에 의해 하우징(100)의 하부에서 슬라이딩 되는 방식을 통해 탈부착되도록 마련될 수 있다.First, the storage device body 410 is provided at the lower end of the housing 100, and may be provided to be detachable through a sliding method from the lower part of the housing 100 by user manipulation.

또한, 상기 저장함(420)은, 상기 저장 장치 몸체(410)에 수용되되, 상기 배출관(360)의 말미에 배치되어 상기 배출되는 분말화된 음식물 쓰레기(FWP)를 전달받아 수용할 수 있다.In addition, the storage box 420 is accommodated in the storage device body 410 and is disposed at the end of the discharge pipe 360 to receive and accommodate the discharged powdered food waste (FWP).

구체적으로, 상기 저장함(420)은, 상기 저장 장치 몸체(410)에서 탈부착 가능하도록 구비될 수 있으며, 사용자의 손쉬운 운용을 위해, 일측에 손잡이(421)가 마련되는 형태로 형성될 수 있다.Specifically, the storage box 420 may be detachably provided from the storage device body 410, and may be formed in a form in which a handle 421 is provided on one side for easy operation by a user.

이때, 상기 손잡이(421)의 형태는 한정되는 것이 아니나, 가장 바람직하게는 손잡이(421)의 외표면이 돌출되지 않은 상태에서, 도면에 도시된 바와 같이 사용자의 손가락을 끼워 잡을 수 있는 손가락 홈(4210)이 마련되는 손잡이(421)의 형태로 마련될 수 있다.At this time, the shape of the handle 421 is not limited, but most preferably, in a state where the outer surface of the handle 421 does not protrude, as shown in the drawing, a finger groove ( 4210) may be provided in the form of a handle 421 provided.

또한, 상기 저장 장치 몸체(410)의 일측 하면에는, 저장함(420)의 탈부착 위치를 설정하기 위한 저장함 수용 브라켓(411)이 마련될 수 있다.In addition, a storage box accommodating bracket 411 for setting a detachable position of the storage box 420 may be provided on a lower surface of one side of the storage device body 410 .

또한, 상기 저장 장치 몸체(410)는, 상기 저장함(420)이 수용되는 위치를 벗어나는 위치에 마련되며, 저장함(420)의 내면에 씌워져 분말화된 음식물 쓰레기(FWP)를 임시 저장하기 위한 봉투(B)를 저장하는 봉투 저장 하우징(412)을 포함할 수 있다.In addition, the storage device body 410 is provided at a position out of the position where the storage box 420 is accommodated, and is covered on the inner surface of the storage box 420 to temporarily store powdered food waste (FWP). B) may include an envelope storage housing 412 for storing.

여기서, 상기 봉투(B)는, 얇은 비닐 재질로 형성되는 비닐 봉투일 수 있으나, 이는 반드시 한정되는 것이 아닌, 저장함(420)의 내측에 끼워져, 분말화된 음식물 쓰레기(FWP)를 임시 보관할 수 있는 종이 봉투와 같은 임시 저장 수단이 이용될 수 있다.Here, the bag (B) may be a plastic bag formed of a thin plastic material, but this is not necessarily limited, and is inserted inside the storage box 420 to temporarily store powdered food waste (FWP). Temporary storage means such as paper bags may be used.

구체적으로, 상기 봉투 저장 하우징(412)은, 롤 타입으로 말려있는 형태의 봉투(B)를 수용할 수 있는 절곡된 형태의 거치 브라켓으로 형성될 수 있다.Specifically, the envelope storage housing 412 may be formed as a bent mounting bracket capable of accommodating an envelope B rolled into a roll type.

보다 구체적으로, 상기 봉투 저장 하우징(412)의 운용 방식은, 사용자의 조작에 의해 봉투 저장 하우징(412)에 수용되어 있던 롤 타입의 봉투(B)가 낱개로 떼어지게 되고, 사용자가 떼어진 봉투(B)를 저장함(420)의 내부에 직접 끼우도록 운용될 수 있다.More specifically, in the operating method of the envelope storage housing 412, the roll-type envelopes B accommodated in the envelope storage housing 412 are separated individually by the user's manipulation, and the user (B) can be operated to fit directly into the storage box 420.

또한, 상기 봉투 저장 하우징(412)은, 상기 저장함 수용 브라켓(411)과 저장함(420)의 하부를 관통하여, 저장함(420)의 내부로 직접 봉투(B)를 공급하도록 운용될 수 있으며, 이를 위해, 상기 저장함 수용 브라켓(411)과 저장함(420)에는, 봉투(B)가 통과할 수 있는 봉투 홈(4120)과, 봉투 홈(4120)의 방향으로 봉투(B)를 공급하기 위한 전동식의 봉투 공급 수단(미도시)이 마련될 수 있다.In addition, the envelope storage housing 412 may pass through the storage box accommodating bracket 411 and the bottom of the storage box 420, and may be operated to supply the envelope B directly into the storage box 420, which To this end, in the storage box receiving bracket 411 and the storage box 420, an envelope groove 4120 through which the envelope B can pass, and an electric power supply for supplying the envelope B in the direction of the envelope groove 4120. Envelope supply means (not shown) may be provided.

이에 따라, 본 발명의 실시 예에 따른 음식물 쓰레기 처리 장치(1)는, 음식물 쓰레기를 건조 및 분쇄하여, 분말화된 음식물 쓰레기(FWP) 가루로 형성하고, 형성된 음식물 쓰레기(FWP) 가루를 용이하게 처리할 수 있는 장점을 가지며, 또한, 분말화된 음식물 쓰레기(FWP)를 임시 저장할 수 있는 봉투를 별도로 내장할 수 있으므로, 분말화된 음식물 쓰레기(FWP)의 손쉬운 처리가 가능한 장점을 가진다.Accordingly, the food waste disposal apparatus 1 according to an embodiment of the present invention dries and pulverizes the food waste to form powdered food waste (FWP) powder, and easily converts the formed food waste (FWP) powder. It has the advantage of being able to process the powdered food waste (FWP), and since a bag for temporarily storing the powdered food waste (FWP) can be separately installed, it has the advantage of being able to easily treat the powdered food waste (FWP).

또한, 본 발명의 실시 예에 따른 음식물 쓰레기의 분말화가 용이한 음식물 쓰레기 처리 장치(1)는, 분쇄 탱크(200)의 내부로 액상 또는 고형의 탈취제를 투입시켜, 투입된 탈취제가 음식물 쓰레기와 함께 분쇄됨으로써 음식물 쓰레기의 악취를 저감하는 악취 저감 장치(500)를 더 포함할 수 있다.In addition, in the food waste disposal apparatus 1 that easily powders food waste according to an embodiment of the present invention, a liquid or solid deodorant is injected into the crushing tank 200, and the introduced deodorant is pulverized together with the food waste. As a result, an odor reduction device 500 for reducing odor of food waste may be further included.

여기서, 상기 탈취제는, 사용자의 요구에 따라 고형 젤리의 형태 또는 액상의 형태로 마련될 수 있으며, 음식물 쓰레기에서 발생되는 악취를 저감하기 위한 방향 조성물이 모두 이용될 수 있다.Here, the deodorant may be provided in the form of solid jelly or liquid according to the user's request, and all aromatic compositions for reducing odors generated from food waste may be used.

구체적으로, 상기 악취 저감 장치(500)는, 탈취제 저장 탱크(510), 탈취제 공급관(미도시) 및 탈취제 알림 센서(520)를 포함할 수 있다.Specifically, the odor reduction device 500 may include a deodorant storage tank 510, a deodorant supply pipe (not shown), and a deodorant notification sensor 520.

먼저, 상기 탈취제 저장 탱크(510)는, 상기 하우징(100)에서 탈부착되도록 구비되며, 탈취제의 수용을 위해 내부가 비어있는 함체의 형상을 이룰 수 있다.First, the deodorant storage tank 510 is detachably attached to the housing 100 and may take the shape of an empty enclosure for accommodating the deodorant.

또한, 상기 탈취제 공급관(미도시)은, 상기 탈취제 저장 탱크(510)로부터 분쇄 탱크(200)의 방향으로 탈취제의 전달을 매개할 수 있다.In addition, the deodorant supply pipe (not shown) may transfer the deodorant from the deodorant storage tank 510 to the crushing tank 200 .

또한, 상기 탈취제 알림 센서(520)는, 상기 탈취제 저장 탱크(510)에 구비되어, 내부에 수용된 탈취제의 잔여량을 감시하고, 탈취제의 잔여량이 기준치 이하일 경우 발광할 수 있다.In addition, the deodorant notification sensor 520 is provided in the deodorant storage tank 510 to monitor the remaining amount of deodorant contained therein, and may emit light when the remaining amount of deodorant is less than a reference value.

또한, 본 발명의 실시 예에 따른 음식물 쓰레기의 분말화가 용이한 음식물 쓰레기 처리 장치(1)는, 습기 저장 장치(600)를 더 포함할 수 있다.In addition, the food waste treatment apparatus 1 in which food waste can be easily powdered according to an embodiment of the present invention may further include a moisture storage device 600 .

구체적으로, 상기 습기 저장 장치(600)는, 하우징(100)에서 탈부착 가능하도록 구비되며, 분쇄 탱크(200)로부터 발생되는 습기를 전달 받을 수 있도록 구성될 수 있다.Specifically, the moisture storage device 600 is detachably provided from the housing 100 and may be configured to receive moisture generated from the grinding tank 200 .

상기 습기 저장 장치(600)는, 분쇄 탱크(200)로부터 전달되는 습기를 필터링하여 외부로 배출하도록 구성될 수 있다.The moisture storage device 600 may be configured to filter and discharge moisture transferred from the grinding tank 200 to the outside.

이때, 습기 저장 장치(600)는, 습기의 수분을 포집하는 포집 필터나, 프리 필터, 헤파 필터, 항균 필터, 탈취 필터 등 다양한 기능을 갖는 정화 필터(610) 중 하나 이상을 마련하여 습기를 필터링 할 수 있으며, 이를 통해 습기가 너무 많이 외부로 발생되거나, 악취 등이 발생하는 것을 방지할 수 있다.At this time, the moisture storage device 600 filters the moisture by providing one or more of the purification filters 610 having various functions such as a collection filter for collecting moisture, a pre-filter, a HEPA filter, an antibacterial filter, and a deodorizing filter. Through this, it is possible to prevent too much moisture from being generated to the outside or from generating bad odors.

한편, 상기 탈취제 저장 탱크(510)와, 습기 저장 장치(600)는, 하우징(100)의 상단에 마련되는 커버(550)를 통해 임시적인 고정력을 형성할 수 있으며, 상기 커버(550)의 표면에는, 탈취제 저장 탱크(510)와, 습기 저장 장치(600)에 고여있던 탈취제와 습기가 하우징(100)의 내부에 고여 썩는 것을 방지하기 위하여, 환기가 가능한 중공홀(551)이 마련되는 형태를 취할 수 있다.Meanwhile, the deodorant storage tank 510 and the moisture storage device 600 may form a temporary fixing force through the cover 550 provided on the top of the housing 100, and the surface of the cover 550 In order to prevent the deodorant storage tank 510 and the moisture storage device 600 from accumulating and rotting inside the housing 100, a hollow hole 551 capable of ventilation is provided. can take

또한, 본 발명의 실시 예에 따른 음식물 쓰레기의 분말화가 용이한 음식물 쓰레기 처리 장치(1)는, 분쇄 탱크(200)의 내부로부터 발생되는 오수를 전달받아 임시 저장하는 오수 저장 장치(700)를 더 포함할 수 있다.In addition, the food waste disposal apparatus 1 for easily powdering food waste according to an embodiment of the present invention further includes a sewage storage device 700 for receiving and temporarily storing sewage generated from the inside of the crushing tank 200. can include

구체적으로, 상기 오수 저장 장치(700)는, 오수 저장 탱크(710), 오수 전달관(720) 및 오수 알림 센서(730)를 포함할 수 있다.Specifically, the sewage storage device 700 may include a sewage storage tank 710, a sewage delivery pipe 720, and a sewage notification sensor 730.

먼저, 상기 오수 저장 탱크(710)는, 상기 하우징(100)에서 탈부착되도록 구비되며, 오수의 수용을 위해 내부가 비어있는 함체의 형상을 이룰 수 있다.First, the sewage storage tank 710 is provided to be detachable from the housing 100, and may form an empty enclosure for receiving sewage.

또한, 상기 오수 전달관(720)은, 상기 분쇄 탱크(200)로부터 오수 저장 탱크(710)의 방향으로 오수의 전달을 매개할 수 있다.In addition, the sewage delivery pipe 720 may mediate the transfer of sewage from the crushing tank 200 to the sewage storage tank 710.

또한, 상기 오수 알림 센서(730)는, 상기 오수 저장 탱크(710)에 구비되어, 내부에 수용된 오수의 잔여량을 감시하고, 오수의 수위가 기준치 이상일 경우, 발광하도록 구비될 수 있다.In addition, the sewage notification sensor 730 may be provided in the sewage storage tank 710 to monitor the remaining amount of sewage accommodated therein, and to emit light when the level of sewage water is higher than a reference value.

이에 따라, 본 발명의 실시 예에 따른 음식물 쓰레기의 분말화가 용이한 음식물 쓰레기 처리 장치(1)는, 분쇄 탱크(200)의 내부에 구비되는 각기 다른 형태로 형성되는 분쇄 장치(210)를 이용하여, 보다 용이하게 음식물 쓰레기를 분말화 시킬 수 있는 장점을 가진다.Accordingly, the food waste disposal apparatus 1, which can easily powder food waste according to an embodiment of the present invention, uses the crushing apparatus 210 provided in the crushing tank 200 and formed in different shapes, , has the advantage of being able to powder food waste more easily.

또한, 본 발명의 실시 예에 따른 음식물 쓰레기의 분말화가 용이한 음식물 쓰레기 처리 장치(1)는, 탈취제와 오수의 잔여량 또는 상태를 측정하고, 이를 사용자에게 알림으로써 보다 효율적인 운용이 가능한 장점을 가진다.In addition, the food waste disposal apparatus 1 capable of easily pulverizing food waste according to an embodiment of the present invention has the advantage of being able to operate more efficiently by measuring the remaining amount or state of the deodorant and sewage and notifying the user of the result.

한편, 설명되지 않았으나 본 발명의 실시 예에 따른 음식물 쓰레기의 분말화가 용이한 음식물 쓰레기 처리 장치(1)는, 제어부(미도시)를 구비하여 배출구 개폐 장치(300)나 분쇄 탱크(200)에 마련되는 회전 블레이드(230)의 회전 모터(212) 등의 작동을 제어하도록 구성될 수 있으며, 이는 당업자에게 자명한 사항이므로 제어부(미도시)에 대해 구체적인 설명은 생략하기로 한다.On the other hand, although not described, the food waste disposal apparatus 1 that facilitates powdering of food waste according to an embodiment of the present invention includes a controller (not shown) and is provided in the outlet opening and closing device 300 or the crushing tank 200. It may be configured to control the operation of the rotary motor 212 of the rotary blade 230, etc., which is obvious to those skilled in the art, so a detailed description of the control unit (not shown) will be omitted.

또한, 도 12 는 탈부착 가능하도록 형성된 회전 블레이드의 예시도이고, 도 13 의 (a) 내지 (c) 는 본 발명의 실시 예에 따른 각각의 블레이드 프레임이 탈부착 가능하도록 형성되는 모습을 보여주기 위한 작동 예시도이다.In addition, FIG. 12 is an exemplary view of a rotary blade formed to be detachable, and FIG. 13 (a) to (c) are operations for showing how each blade frame is formed to be detachable according to an embodiment of the present invention. is an example

도 12 및 도 13 을 참조하면, 본 발명의 실시 예에 따른 회전 블레이드 몸체(2310)는, 상기 회전 블레이드 몸체(2310)의 높이 방향을 따라 회전 블레이드 몸체(2310)의 내측으로 특정 형상으로 함몰되도록 형성되는 블레이드 결합홈(810)이 마련될 수 있다.12 and 13, the rotary blade body 2310 according to the embodiment of the present invention is recessed into the rotary blade body 2310 in a specific shape along the height direction of the rotary blade body 2310. A formed blade coupling groove 810 may be provided.

또한, 상기 제 1 회전 블레이드(2320)와 제 2 회전 블레이드(2330)의 각각에는, 상기 블레이드 결합홈(810)의 특정 형상과 상응하는 형상의 결합 돌기(820)가 마련될 수 있다.In addition, each of the first rotary blade 2320 and the second rotary blade 2330 may be provided with a coupling protrusion 820 having a shape corresponding to a specific shape of the blade coupling groove 810 .

이를 통해, 상기 제 1 회전 블레이드(2320)와 제 2 회전 블레이드(2330)가 상기 회전 블레이드 몸체(2310)에 마련되는 블레이드 결합홈(810)에서 삽탈 가능하도록 형성될 수 있다.Through this, the first rotary blade 2320 and the second rotary blade 2330 can be formed to be inserted and detachable from the blade coupling groove 810 provided in the rotary blade body 2310 .

이때, 상기 회전 블레이드 몸체(2310)는, 상기 블레이드 결합홈(810)을 따라 삽입된 제 1 회전 블레이드(2320)와 제 2 회전 블레이드(2330)를, 회전 블레이드 몸체(2310)에 고정시키는 고정 수단(830)이 더 마련될 수 있다.At this time, the rotary blade body 2310 is a fixing means for fixing the first rotary blade 2320 and the second rotary blade 2330 inserted along the blade coupling groove 810 to the rotary blade body 2310. (830) may be further provided.

구체적으로, 상기 고정 수단(830)은, 도 13 에 도시된 바와 같이 회전 블레이드 몸체(2310)의 높이 방향을 따라 마련되는 힌지 축(미도시)과, 상기 힌지 축(미도시)을 기준으로 회전하는 회동 도어(830a)와, 회동 도어(830a)의 회전을 제한하는 결합 수단(830b)의 조합에 의해 형성될 수 있다.Specifically, as shown in FIG. 13, the fixing means 830 rotates based on a hinge axis (not shown) provided along the height direction of the rotary blade body 2310 and the hinge axis (not shown) It may be formed by a combination of a pivoting door (830a) and a coupling means (830b) for limiting the rotation of the pivoting door (830a).

이에 따라, 본 발명의 실시 예에 따른 회전 블레이드(230)의 제 1 회전 블레이드(2320)와 제 2 회전 블레이드(2330)는, 회전 블레이드 몸체(2310)에서 삽탈 가능하도록 형성됨으로써, 보다 효율적인 사용자의 운용이 가능한 장점을 가진다.Accordingly, the first rotary blade 2320 and the second rotary blade 2330 of the rotary blade 230 according to the embodiment of the present invention are formed to be inserted and detachable from the rotary blade body 2310, thereby providing a more efficient user experience. It has operational advantages.

이상으로, 도 1 내지 도 13 을 참조하여 본 발명의 실시 예에 따른 음식물 쓰레기의 분말화가 용이한 음식물 쓰레기 처리 장치(1)에 대하여 설명하였으나, 본 발명이 속하는 기술분야에서 통상의 지식을 가진 자는 본 발명의 기술적 사상이나 필수적인 특징을 변경하지 않고 다른 구체적인 형태로 실시할 수 있다는 것을 이해할 수 있을 것이다. 따라서 이상에서 기술한 실시 예는 모든 면에서 예시적인 것이며 한정적이 아닌 것이다.In the above, the food waste treatment apparatus 1 for easily powdering food waste according to an embodiment of the present invention has been described with reference to FIGS. 1 to 13, but those skilled in the art to which the present invention belongs It will be understood that the present invention may be embodied in other specific forms without changing the technical spirit or essential features. Therefore, the embodiments described above are illustrative in all respects and are not restrictive.

1 : 음식물 쓰레기의 분말화가 용이한 음식물 쓰레기 처리 장치
100 : 하우징 110 : 메인 스위치
120 : 덮개 130 : 버튼
140 : 디스플레이 141 : 주 발광 장치
142 : 보조 발광 장치 150 : 방열부
160 : 격판 200 : 분쇄 탱크
201 : 배출구 210 : 분쇄 장치
211 : 회전 축 212 : 회전 모터
220 : 고정 블레이드 221 : 곡선부
222 : 직선부 223 : 포집홈
230 : 회전 블레이드 2310 : 회전 블레이드 몸체
2320 : 제 1 회전 블레이드 2321 : 제 1 회전 프레임
2322 : 분쇄홈 2330 : 제 2 회전 블레이드
2331 : 제 2 회전 프레임 2332 : 브러쉬 브라켓 삽입홈
2333 : 브러쉬 브라켓 2334 : 브러쉬
240 : 발열 수단 241 : 발열 수단 삽입 홈
300 : 배출구 개폐 장치 310 : 배출구 개폐 장치 몸체
320 : 동력 제공 수단 330 : 밀폐 장치
331 : 밀폐 부재 340 : 밀폐 장치 가이드
350 : 회전 방지 프레임 360 : 배출관
400 : 저장 장치 410 : 저장 장치 몸체
411 : 저장함 수용 브라켓 412 : 봉투 저장 하우징
4120 : 봉투 홈 420 : 저장함
421 : 손잡이 4210 : 손가락 홈
500 : 악취 저감 장치 510 : 탈취제 저장 탱크
520 : 탈취제 알림 센서 550 : 커버
551 : 중공홀 600 : 습기 저장 장치
610 : 정화 필터 700 : 오수 저장 장치
710 : 오수 저장 탱크 720 : 오수 전달관
730 : 오수 알림 센서 810 : 블레이드 결합홈
820 : 결합 돌기 830 : 고정 수단
FWP : 분말화된 음식물 쓰레기
1: Food waste disposal device for easy powderization of food waste
100: housing 110: main switch
120: cover 130: button
140: display 141: main light emitting device
142: auxiliary light emitting device 150: heat radiation unit
160: diaphragm 200: crushing tank
201: outlet 210: grinding device
211: rotation axis 212: rotation motor
220: fixed blade 221: curved portion
222: straight part 223: collection groove
230: rotating blade 2310: rotating blade body
2320: first rotating blade 2321: first rotating frame
2322: grinding groove 2330: second rotary blade
2331: second rotation frame 2332: brush bracket insertion groove
2333: brush bracket 2334: brush
240: heating means 241: heating means insertion groove
300: outlet opening and closing device 310: outlet opening and closing device body
320: power supply means 330: sealing device
331: sealing member 340: sealing device guide
350: anti-rotation frame 360: discharge pipe
400: storage device 410: storage device body
411: storage box receiving bracket 412: envelope storage housing
4120: envelope groove 420: storage box
421: handle 4210: finger groove
500: odor reduction device 510: deodorant storage tank
520: deodorant notification sensor 550: cover
551: hollow hole 600: moisture storage device
610: purification filter 700: sewage storage device
710: sewage storage tank 720: sewage delivery pipe
730: sewage notification sensor 810: blade coupling groove
820: coupling protrusion 830: fixing means
FWP : Powdered food waste

Claims (12)

상면이 개방되는 형태로 마련되는 하우징;
상기 하우징 내에 장착되며, 내부로 투입되는 음식물 쓰레기를 분쇄하여 분말화 시키는 분쇄 장치와, 분말화된 음식물 쓰레기를 배출하는 배출구가 형성되는 분쇄 탱크;
상기 하우징 내에 장착되며, 상기 배출구를 밀폐시키거나 개방시키도록 구비되는 배출구 개폐 장치 및
상기 배출구 개폐 장치가 배출구를 개방할 시, 배출구로 배출되는 분말화된 음식물 쓰레기를 전달받아 저장하는 저장 장치를 포함하고,
상기 분쇄 장치는,
상기 분쇄 탱크의 내측 하면에 고정되도록 마련되는 고정 블레이드 및
상기 고정 블레이드와 동축을 가지며, 상기 고정 블레이드보다 높은 위치에서 회전하도록 마련되는 회전 블레이드를 포함하고,
상기 고정 블레이드의 내륜측에는, 포집홈이 마련됨으로써, 상기 회전 블레이드가 포집홈의 방향으로 회전할 시, 음식물을 배출구의 방향으로 배출시키고, 상기 회전 블레이드가 포집홈의 반대 방향으로 회전할 시, 음식물을 분쇄하도록 운용되는 것을 특징으로 하는 음식물 쓰레기의 분말화가 용이한 음식물 쓰레기 처리 장치
A housing provided in an open top surface;
a crushing tank installed in the housing and having a crushing device for crushing and pulverizing food waste introduced therein, and a discharge port for discharging the powdered food waste;
An outlet opening and closing device mounted in the housing and provided to close or open the outlet, and
When the outlet opening and closing device opens the outlet, a storage device for receiving and storing powdered food waste discharged through the outlet,
The crushing device,
A fixed blade provided to be fixed to the inner lower surface of the crushing tank, and
A rotating blade coaxial with the fixed blade and provided to rotate at a higher position than the fixed blade;
A collecting groove is provided on the inner ring side of the fixed blade, so that when the rotary blade rotates in the direction of the collecting groove, food is discharged in the direction of the discharge port, and when the rotary blade rotates in the opposite direction to the collecting groove, food and drink are discharged. Food waste treatment device for easy powderization of food waste, characterized in that operated to crush
제 1 항에 있어서,
상기 고정 블레이드는,
상기 분쇄 탱크 내에 복수개로 구비되되,
상기 복수의 고정 블레이드는,
상기 분쇄 탱크의 중앙에 마련되는 회전 축을 기준으로 복수개의 고정 블레이드가 서로 반전되는 형태로 마련되는 것을 특징으로 하는 음식물 쓰레기의 분말화가 용이한 음식물 쓰레기 처리 장치
According to claim 1,
The fixed blade,
Doedoe provided in plurality in the crushing tank,
The plurality of fixed blades,
A food waste disposal device that facilitates powdering of food waste, characterized in that a plurality of fixed blades are provided in a form inverted from each other based on a rotation axis provided at the center of the grinding tank
제 2 항에 있어서,
상기 회전 블레이드는,
상기 회전 축에 직결되는 회전 블레이드 몸체;
상기 회전 블레이드 몸체의 둘레 일측에 구비되는 제 1 회전 블레이드 및
상기 회전 블레이드 몸체의 둘레 타측에 구비되는 제 2 회전 블레이드를 포함하고,
상기 제 1 회전 블레이드와 제 2 회전 블레이드는,
상기 회전 블레이드의 회전 시, 상기 고정 블레이드와의 간섭을 피하도록, 고정 블레이드가 가진 두께와 상응하는 간격으로 분쇄 탱크의 하면으로부터 일정 간격 이격되도록 구비되는 것을 특징으로 하는 음식물 쓰레기의 분말화가 용이한 음식물 쓰레기 처리 장치
According to claim 2,
The rotating blade,
a rotating blade body directly connected to the rotating shaft;
A first rotary blade provided on one side of the circumference of the rotary blade body and
And a second rotary blade provided on the other side of the circumference of the rotary blade body,
The first rotary blade and the second rotary blade,
In order to avoid interference with the fixed blades during rotation of the rotating blades, the food waste can be easily powdered by being spaced apart from the lower surface of the crushing tank at intervals corresponding to the thickness of the fixed blades. garbage disposal unit
제 3 항에 있어서,
상기 제 1 회전 블레이드는,
상기 회전 블레이드 몸체에 결속되되, 상기 회전 블레이드 몸체로부터 분쇄 탱크의 측면으로 갈수록 소정의 각도를 가지는 호 형상의 프레임 구조로 형성되는 제 1 회전 프레임 및
상기 제 1 회전 프레임의 하면에 마련되며, 상기 제 1 회전 프레임의 길이 방향을 따라 일정 간격으로 이격 형성되고, 호의 형태로 소정 깊이 제 1 회전 프레임의 내측으로 함몰되는 분쇄홈을 포함하는 것을 특징으로 하는 음식물 쓰레기의 분말화가 용이한 음식물 쓰레기 처리 장치
According to claim 3,
The first rotating blade,
A first rotating frame coupled to the rotating blade body and formed in an arc-shaped frame structure having a predetermined angle toward the side of the grinding tank from the rotating blade body; and
It is provided on the lower surface of the first rotating frame, is formed spaced apart at regular intervals along the longitudinal direction of the first rotating frame, and includes a crushing groove recessed into the first rotating frame at a predetermined depth in the form of an arc. Food waste disposal device that facilitates powdering of food waste
제 3 항에 있어서,
상기 제 2 회전 블레이드는,
상기 회전 블레이드 몸체에 결속되되, 상기 회전 블레이드 몸체로부터 분쇄 탱크의 측면으로 갈수록 소정의 각도를 가지는 호 형상의 프레임 구조로 형성되는 제 2 회전 프레임;
상기 제 2 회전 프레임의 하면에서, 제 2 회전 프레임의 길이 방향을 따라 마련되는 브러쉬 브라켓 삽입홈 및
상기 브러쉬 브라켓 삽입홈의 길이방향을 따라 끼워진 이후, 상기 제 2 회전 프레임에 결속되며, 하방으로는 플랙시블한 연질 소재의 브러쉬가 마련되는 브러쉬 브라켓을 포함하는 것을 특징으로 하는 음식물 쓰레기의 분말화가 용이한 음식물 쓰레기 처리 장치
According to claim 3,
The second rotary blade,
a second rotating frame coupled to the rotating blade body and formed in an arc-shaped frame structure having a predetermined angle from the rotating blade body toward the side of the crushing tank;
On the lower surface of the second rotation frame, a brush bracket insertion groove provided along the longitudinal direction of the second rotation frame, and
After being inserted along the longitudinal direction of the brush bracket insertion groove, it is bound to the second rotating frame and easy to powder food waste, characterized in that it includes a brush bracket having a brush made of a flexible soft material downward. A food waste disposal device
제 1 항에 있어서,
상기 배출구 개폐 장치는,
상기 배출구의 측면에 마련되는 배출구 개폐 장치 몸체;
상기 배출구 개폐 장치 몸체에 마련되며, 운동에 필요한 동력을 제공하는 동력 제공 수단 및
소정의 길이를 이루며, 상기 동력 제공 수단에 의해 동력을 전달받아 운동함으로써, 길이의 단부에 마련되는 밀폐 부재를 통해 배출구를 밀폐 또는 개방시키는 밀폐 장치를 포함하는 것을 특징으로 하는 음식물 쓰레기의 분말화가 용이한 음식물 쓰레기 처리 장치
According to claim 1,
The outlet opening and closing device,
an outlet opening and closing device body provided on a side surface of the outlet;
A power supply means provided on the body of the outlet opening and closing device and providing power necessary for movement; and
It is easy to pulverize food waste, characterized in that it includes a sealing device that forms a predetermined length and moves by receiving power from the power supply unit to close or open the outlet through a sealing member provided at an end of the length. A food waste disposal device
제 6 항에 있어서,
상기 배출구 개폐 장치는,
상기 배출구로부터 상기 배출구 개폐 장치측의 방향으로 소정의 길이를 형성하는 밀폐 장치 가이드를 더 포함하고,
상기 밀폐 장치 가이드는,
상기 분말화된 음식물 쓰레기가 유입되거나 배출되는 공간을 제외하고는 폐쇄되는 형태로 형성됨으로써, 분말화된 음식물 쓰레기가 하우징 내에 마련되는 기계적 구성요소들을 손상시키는 것을 방지하고,
상기 밀폐 장치는,
상기 밀폐 장치가 밀폐 장치 가이드의 내측에서 상기 밀폐 장치가 상기 배출구를 밀폐하도록 소정의 길이만큼 이동하는 것을 특징으로 하는 음식물 쓰레기의 분말화가 용이한 음식물 쓰레기 처리 장치
According to claim 6,
The outlet opening and closing device,
Further comprising a sealing device guide forming a predetermined length in a direction from the outlet to the side of the outlet opening and closing device,
The sealing device guide,
By being formed in a closed form except for the space where the powdered food waste is introduced or discharged, the powdered food waste is prevented from damaging mechanical components provided in the housing,
The sealing device,
Food waste disposal device for easy powderization of food waste, characterized in that the sealing device moves by a predetermined length so that the sealing device seals the discharge port inside the sealing device guide
제 7 항에 있어서,
상기 배출구 개폐 장치는,
상기 배출구로부터 상기 배출구 개폐 장치측의 방향으로 소정의 길이를 형성하는 회전 방지 프레임을 더 포함하고,
상기 회전 방지 프레임은,
상기 밀폐 부재를 관통하도록 마련되되, 상기 밀폐 부재의 중심으로부터 편향된 일측에 단수개, 또는, 상기 밀폐 부재의 중심을 기준으로 좌, 우 대칭하게 복수개로 구비됨으로써, 상기 밀폐 부재가 상기 밀폐 장치 가이드 내에서 회전하는 것을 방지하는 것을 특징으로 하는 음식물 쓰레기의 분말화가 용이한 음식물 쓰레기 처리 장치
According to claim 7,
The outlet opening and closing device,
Further comprising an anti-rotation frame forming a predetermined length in a direction from the outlet to the side of the outlet opening and closing device,
The anti-rotation frame,
It is provided to pass through the sealing member, and is provided in a single number on one side deflected from the center of the sealing member, or in a plurality of left and right symmetrical with respect to the center of the sealing member, so that the sealing member is provided within the sealing device guide. Food waste disposal device that facilitates powdering of food waste, characterized in that it prevents rotation in
제 1 항에 있어서,
상기 음식물 쓰레기의 분말화가 용이한 음식물 쓰레기 처리 장치는,
상기 배출구로 배출되는 분말화된 음식물 쓰레기를 하방 또는 측방으로 유도하여 저장 장치의 방향으로 배출하는 배출관을 더 포함하고,
상기 저장 장치는,
상기 하우징의 하단에 마련되며, 사용자 조작에 의해 하우징에서 탈부착되도록 마련되는 저장 장치 몸체 및
상기 저장 장치 몸체에 수용되되, 상기 배출관의 말미에 배치되어 상기 배출되는 분말화된 음식물 쓰레기를 전달받아 수용하는 저장함을 포함하고,
상기 저장 장치 몸체는,
상기 저장함이 수용되는 위치를 벗어나는 위치에 마련되며, 저장함의 내면에 씌워져 분말화된 음식물 쓰레기를 임시 저장하기 위한 봉투를 저장하는 봉투 저장 하우징을 포함하는 것을 특징으로 하는 음식물 쓰레기의 분말화가 용이한 음식물 쓰레기 처리 장치
According to claim 1,
The food waste disposal device that facilitates powdering of the food waste,
Further comprising a discharge pipe for guiding the powdered food waste discharged through the discharge port downward or sideward and discharging it in the direction of the storage device,
The storage device,
A storage device body provided at the lower end of the housing and detachable from the housing by user manipulation; and
A storage box accommodated in the storage device body and disposed at an end of the discharge pipe to receive and receive the discharged powdered food waste,
The storage device body,
It is provided at a position outside the position where the storage box is accommodated and is covered on the inner surface of the storage box to store an envelope for temporarily storing powdered food waste Food, characterized in that it comprises a bag storage housing garbage disposal unit
제 1 항에 있어서,
상기 음식물 쓰레기의 분말화가 용이한 음식물 쓰레기 처리 장치는,
분쇄 탱크의 내부로 액상 또는 고형의 탈취제를 투입시켜, 투입된 탈취제가 음식물 쓰레기와 함께 분쇄됨으로써 음식물 쓰레기의 악취를 저감하는 악취 저감 장치를 더 포함하고,
상기 악취 저감 장치는,
상기 하우징에서 탈부착되도록 구비되며, 탈취제의 수용을 위해 내부가 비어있는 함체의 형상을 이루는 탈취제 저장 탱크 및
상기 탈취제 저장 탱크에 구비되어, 내부에 수용된 탈취제의 잔여량을 감시하고, 탈취제의 잔여량이 기준치 이하일 경우, 발광하도록 구비되는 탈취제 알림 센서를 포함하는 것을 특징으로 하는 음식물 쓰레기의 분말화가 용이한 음식물 쓰레기 처리 장치
According to claim 1,
The food waste disposal device that facilitates powdering of the food waste,
Further comprising a malodor reduction device for reducing the odor of food waste by introducing a liquid or solid deodorant into the crushing tank and crushing the added deodorant together with the food waste,
The odor reduction device,
A deodorant storage tank provided to be detachable from the housing and formed in the shape of a housing with an empty interior for accommodating the deodorant; and
Food waste processing that facilitates powdering of food waste, characterized in that it includes a deodorant notification sensor provided in the deodorant storage tank to monitor the remaining amount of deodorant contained therein and to emit light when the remaining amount of the deodorant is less than a reference value. Device
제 1 항에 있어서,
상기 음식물 쓰레기의 분말화가 용이한 음식물 쓰레기 처리 장치는,
분쇄 탱크의 내부로부터 발생되는 오수를 전달받아 임시 저장하는 오수 저장 장치를 더 포함하고,
상기 오수 저장 장치는,
상기 하우징에서 탈부착되도록 구비되며, 오수의 수용을 위해 내부가 비어있는 함체의 형상을 이루는 오수 저장 탱크;
상기 분쇄 탱크로부터 오수 저장 탱크의 방향으로 오수의 전달을 매개하는 오수 전달관 및
상기 오수 저장 탱크에 구비되어, 내부에 수용된 오수의 잔여량을 감시하고, 오수의 수위가 기준치 이상일 경우, 발광하도록 구비되는 오수 알림 센서를 포함하는 것을 특징으로 하는 음식물 쓰레기의 분말화가 용이한 음식물 쓰레기 처리 장치
According to claim 1,
The food waste disposal device that facilitates powdering of the food waste,
Further comprising a sewage storage device for receiving and temporarily storing sewage generated from the inside of the crushing tank,
The sewage storage device,
A sewage storage tank provided to be detachable from the housing and formed in the shape of an empty enclosure for receiving sewage;
A sewage delivery pipe for mediating the transfer of sewage from the crushing tank in the direction of the sewage storage tank; and
A waste water notification sensor provided in the sewage storage tank to monitor the remaining amount of sewage accommodated therein and to emit light when the level of the sewage water is higher than a reference value; Device
제 3 항에 있어서,
상기 회전 블레이드 몸체는,
상기 회전 블레이드 몸체의 높이 방향을 따라 회전 블레이드 몸체의 내측으로 특정 형상으로 함몰되도록 형성되는 블레이드 결합홈이 마련되고,
상기 제 1 회전 블레이드와 제 2 회전 블레이드의 각각에는,
상기 블레이드 결합홈의 특정 형상과 상응하는 형상의 결합 돌기가 마련됨으로써, 상기 제 1 회전 블레이드와 제 2 회전 블레이드가 상기 회전 블레이드 몸체에 마련되는 블레이드 결합홈에서 삽탈 가능하도록 형성되고,
상기 회전 블레이드 몸체는,
상기 블레이드 결합홈을 따라 삽입된 제 1 회전 블레이드와 제 2 회전 블레이드를, 회전 블레이드 몸체에 고정시키는 고정 수단이 더 마련되는 것을 특징으로 하는 음식물 쓰레기의 분말화가 용이한 음식물 쓰레기 처리 장치
According to claim 3,
The rotating blade body,
A blade coupling groove formed to be recessed into a specific shape into the rotating blade body along the height direction of the rotating blade body is provided,
In each of the first rotary blade and the second rotary blade,
By providing a coupling protrusion having a shape corresponding to a specific shape of the blade coupling groove, the first rotary blade and the second rotary blade are formed to be inserted and detached from the blade coupling groove provided in the rotary blade body,
The rotating blade body,
A food waste disposal device that facilitates powdering of food waste, characterized in that a fixing means for fixing the first rotary blade and the second rotary blade inserted along the blade coupling groove to the rotary blade body is further provided
KR1020210149467A 2021-11-03 2021-11-03 Food waste disposal device for easy powdering of food waste Active KR102667647B1 (en)

Priority Applications (1)

Application Number Priority Date Filing Date Title
KR1020210149467A KR102667647B1 (en) 2021-11-03 2021-11-03 Food waste disposal device for easy powdering of food waste

Applications Claiming Priority (1)

Application Number Priority Date Filing Date Title
KR1020210149467A KR102667647B1 (en) 2021-11-03 2021-11-03 Food waste disposal device for easy powdering of food waste

Publications (2)

Publication Number Publication Date
KR20230064173A true KR20230064173A (en) 2023-05-10
KR102667647B1 KR102667647B1 (en) 2024-05-22

Family

ID=86386459

Family Applications (1)

Application Number Title Priority Date Filing Date
KR1020210149467A Active KR102667647B1 (en) 2021-11-03 2021-11-03 Food waste disposal device for easy powdering of food waste

Country Status (1)

Country Link
KR (1) KR102667647B1 (en)

Citations (4)

* Cited by examiner, † Cited by third party
Publication number Priority date Publication date Assignee Title
KR200155149Y1 (en) * 1997-03-31 1999-08-16 전주범 Refuse disposal with input type of powdery deodorant
KR20100042177A (en) * 2008-10-15 2010-04-23 웅진코웨이주식회사 A pulverizer of garbage disposing apparatus
KR20110006972U (en) * 2010-01-05 2011-07-13 박미선 Food waste dryer
KR101876627B1 (en) * 2016-08-12 2018-07-09 오영민 Apparatus for weight reduction of food wastes

Patent Citations (4)

* Cited by examiner, † Cited by third party
Publication number Priority date Publication date Assignee Title
KR200155149Y1 (en) * 1997-03-31 1999-08-16 전주범 Refuse disposal with input type of powdery deodorant
KR20100042177A (en) * 2008-10-15 2010-04-23 웅진코웨이주식회사 A pulverizer of garbage disposing apparatus
KR20110006972U (en) * 2010-01-05 2011-07-13 박미선 Food waste dryer
KR101876627B1 (en) * 2016-08-12 2018-07-09 오영민 Apparatus for weight reduction of food wastes

Also Published As

Publication number Publication date
KR102667647B1 (en) 2024-05-22

Similar Documents

Publication Publication Date Title
KR860003150A (en) Hospital Garbage Disposal Device
JP2003001130A (en) Apparatus for treating infectious waste and method for sterilization treatment thereof
KR20230064173A (en) Food waste disposal device for easy powdering of food waste
KR102498876B1 (en) food waste disposal device
KR20150057682A (en) The bad smell removing method and grinding of food garbage and thereof device
JP3078914B2 (en) Empty container crushing and crushing machine
US20110139914A1 (en) Shredder
JP3572190B2 (en) Waste grinding and sterilizing dryer
KR102451977B1 (en) A food waste treater that discharges food waste powder using a vertical open type opening and closing means
KR19980064513U (en) Food Waste Disposal Device
KR20230155298A (en) Water vapor reduction type food waste disposal device
KR100626880B1 (en) Food waste drying treatment device
KR102592715B1 (en) A food waste treater that discharges food waste powder using a rotating open type opening and closing means
KR102451960B1 (en) A food waste treater that discharges food waste powder using a horizontal open type opening and closing means
CN215840495U (en) Dispensing device
CN215140331U (en) Medical waste crusher
CN215879209U (en) Kitchen garbage processor
KR200251000Y1 (en) Crusher
KR20140078996A (en) food waste box having bag crushing device
CN215211336U (en) Garbage disposal device
KR102583313B1 (en) Breaking Apparatus for soft capsule
CN214058694U (en) Kitchen waste recycling equipment
CN212826288U (en) Waste plastic shredding device
KR100497287B1 (en) Food garbage processing apparatus
CN214021126U (en) Degradable waste pretreatment device capable of avoiding soil pollution

Legal Events

Date Code Title Description
PA0109 Patent application

St.27 status event code: A-0-1-A10-A12-nap-PA0109

PA0201 Request for examination

St.27 status event code: A-1-2-D10-D11-exm-PA0201

D13-X000 Search requested

St.27 status event code: A-1-2-D10-D13-srh-X000

D14-X000 Search report completed

St.27 status event code: A-1-2-D10-D14-srh-X000

PG1501 Laying open of application

St.27 status event code: A-1-1-Q10-Q12-nap-PG1501

E902 Notification of reason for refusal
PE0902 Notice of grounds for rejection

St.27 status event code: A-1-2-D10-D21-exm-PE0902

E13-X000 Pre-grant limitation requested

St.27 status event code: A-2-3-E10-E13-lim-X000

P11-X000 Amendment of application requested

St.27 status event code: A-2-2-P10-P11-nap-X000

P13-X000 Application amended

St.27 status event code: A-2-2-P10-P13-nap-X000

P22-X000 Classification modified

St.27 status event code: A-2-2-P10-P22-nap-X000

E701 Decision to grant or registration of patent right
PE0701 Decision of registration

St.27 status event code: A-1-2-D10-D22-exm-PE0701

PR0701 Registration of establishment

St.27 status event code: A-2-4-F10-F11-exm-PR0701

PR1002 Payment of registration fee

St.27 status event code: A-2-2-U10-U11-oth-PR1002

Fee payment year number: 1

PG1601 Publication of registration

St.27 status event code: A-4-4-Q10-Q13-nap-PG1601