KR20200094271A - 퍼즐장치 - Google Patents

퍼즐장치 Download PDF

Info

Publication number
KR20200094271A
KR20200094271A KR1020190011542A KR20190011542A KR20200094271A KR 20200094271 A KR20200094271 A KR 20200094271A KR 1020190011542 A KR1020190011542 A KR 1020190011542A KR 20190011542 A KR20190011542 A KR 20190011542A KR 20200094271 A KR20200094271 A KR 20200094271A
Authority
KR
South Korea
Prior art keywords
puzzle
rotating
plate
pieces
magnets
Prior art date
Legal status (The legal status is an assumption and is not a legal conclusion. Google has not performed a legal analysis and makes no representation as to the accuracy of the status listed.)
Granted
Application number
KR1020190011542A
Other languages
English (en)
Other versions
KR102155666B1 (ko
Inventor
박기철
Original Assignee
경상대학교산학협력단
Priority date (The priority date is an assumption and is not a legal conclusion. Google has not performed a legal analysis and makes no representation as to the accuracy of the date listed.)
Filing date
Publication date
Application filed by 경상대학교산학협력단 filed Critical 경상대학교산학협력단
Priority to KR1020190011542A priority Critical patent/KR102155666B1/ko
Publication of KR20200094271A publication Critical patent/KR20200094271A/ko
Application granted granted Critical
Publication of KR102155666B1 publication Critical patent/KR102155666B1/ko
Active legal-status Critical Current
Anticipated expiration legal-status Critical

Links

Images

Classifications

    • AHUMAN NECESSITIES
    • A63SPORTS; GAMES; AMUSEMENTS
    • A63FCARD, BOARD, OR ROULETTE GAMES; INDOOR GAMES USING SMALL MOVING PLAYING BODIES; VIDEO GAMES; GAMES NOT OTHERWISE PROVIDED FOR
    • A63F9/00Games not otherwise provided for
    • A63F9/06Patience; Other games for self-amusement
    • A63F9/10Two-dimensional jig-saw puzzles
    • AHUMAN NECESSITIES
    • A63SPORTS; GAMES; AMUSEMENTS
    • A63FCARD, BOARD, OR ROULETTE GAMES; INDOOR GAMES USING SMALL MOVING PLAYING BODIES; VIDEO GAMES; GAMES NOT OTHERWISE PROVIDED FOR
    • A63F9/00Games not otherwise provided for
    • A63F9/06Patience; Other games for self-amusement
    • A63F9/12Three-dimensional jig-saw puzzles
    • A63F9/1288Sculpture puzzles
    • AHUMAN NECESSITIES
    • A63SPORTS; GAMES; AMUSEMENTS
    • A63FCARD, BOARD, OR ROULETTE GAMES; INDOOR GAMES USING SMALL MOVING PLAYING BODIES; VIDEO GAMES; GAMES NOT OTHERWISE PROVIDED FOR
    • A63F9/00Games not otherwise provided for
    • A63F9/06Patience; Other games for self-amusement
    • A63F9/10Two-dimensional jig-saw puzzles
    • A63F2009/1016Two-dimensional jig-saw puzzles the pieces having additional connections, i.e. in addition to the connection by the jig-saw shapes
    • A63F2009/1022Two-dimensional jig-saw puzzles the pieces having additional connections, i.e. in addition to the connection by the jig-saw shapes to the display board
    • A63F2009/1033Two-dimensional jig-saw puzzles the pieces having additional connections, i.e. in addition to the connection by the jig-saw shapes to the display board magnetic

Landscapes

  • Engineering & Computer Science (AREA)
  • Multimedia (AREA)
  • Toys (AREA)

Abstract

퍼즐장치가 개시된다. 개시된 퍼즐장치는 자성체로 이루어진 다수의 퍼즐조각; 일면에 다수의 자석이 배열된 퍼즐판; 및 상기 다수의 퍼즐조각을 상기 다수의 자석의 자력에 의해 상기 퍼즐판에 부착시키는 제1 위치와 상기 다수의 퍼즐조각을 상기 다수의 자석의 자력이 미치지 않는 제2 위치 중 어느 하나의 위치로 이동하는 이격유닛;을 포함한다.

Description

퍼즐장치{PUZZLE APPARATUS}
본 발명은 퍼즐장치에 관한 것으로, 더욱 상세하게는 퍼즐판에 퍼즐조각을 용이하게 탈착 및 부착할 수 있는 퍼즐장치에 관한 것이다.
일반적으로 칠교놀이는 큰 정사각형 판을 직각 이등변 삼각형 큰것 2개, 중간 것 1 개, 작은 것 2개 그리고 정사각형과 평행 사변형 각 1개씩 총 7개의 퍼즐조각으로 잘라서 그 퍼즐조각들을 하나씩 모두 사용해 모양을 만다는 놀이이다.
또한, 칠교놀이의 다른 형태로서, 다수의 퍼즐조각을 배열하여 특정 형상을 맞추는 탱그램 퍼즐이 있다. 이 경우 사용자는 제시된 특정한 형상의 외곽을 보고 다수의 퍼즐조각의 배열을 유추하면서 퍼즐조각을 적절히 맞추게 된다.
종래에는 다수의 퍼즐조각을 배열하는 과정에서 미리 배열한 퍼즐조각이 퍼즐판 위에서 움직이지 않도록 다수의 퍼즐조각을 고무자석으로 형성하고 퍼즐판은 퍼즐조각이 부착도리 수 있는 자성체로 형성하였다.
이처럼 자성을 이용한 탱그램 퍼즐조각과 퍼즐판을 이용하는 경우, 다수의 퍼즐조각을 정확히 배열하여 퍼즐을 완성한 후 다시 퍼즐을 즐기기 위해서 퍼즐판으로부터 일일이 다수의 퍼즐조각을 떼어내야 하는 번거로움이 있었다.
또한, 사용자가 유아이거나 노인인 경우 다수의 퍼즐조각을 퍼즐판으로부터 떼어내는데 어려움이 있다.
본 발명의 목적은 퍼즐판에 퍼즐조각을 용이하게 탈부착할 수 있는 퍼즐장치를 제공하는데 있다.
본 발명의 다른 목적은 종래의 전동 구조를 가지는 복잡한 구조의 퍼즐장치와 달리 심플한 구조를 구비한 퍼즐장치를 제공하는데 있다.
상기 목적을 달성하기 위해 본 발명은 자성체로 이루어진 다수의 퍼즐조각; 일면에 다수의 자석이 배열된 퍼즐판; 및 상기 다수의 퍼즐조각을 상기 다수의 자석의 자력에 의해 상기 퍼즐판에 부착시키는 제1 위치와 상기 다수의 퍼즐조각을 상기 다수의 자석의 자력이 미치지 않는 제2 위치 중 어느 하나의 위치로 이동하는 이격유닛;을 포함하는 것을 특징으로 하는 퍼즐장치를 제공한다.
상기 이격유닛은, 상기 퍼즐판의 일측에 회전 가능하게 배치된 제1 회전부재; 상기 퍼즐판의 타측에 회전 가능하게 배치된 제 2회전부재; 및 상기 제1 및 제2 회전부재의 회전을 동기화하도록 양단이 각각 상기 제1 및 제2 회전부재에 연결된 필름부재;를 포함할 수 있다.
상기 제1 회전부재는 제1 회전축에 의해 상기 퍼즐판에 회전 가능하게 연결되며, 상기 제2 회전부재는 상기 제1 회전축과 평행하게 배치된 제2 회전축에 의해 상기 퍼즐판에 회전 가능하게 연결될 수 있다.
상기 제1 회전축은 일단에 손잡이를 구비할 수 있다.
상기 제2 회전부재는 양단에 설치된 제1 및 제2 토션스프링이 설치되며 상기 필름부재를 상기 제1 위치로 이동하는 방향으로 탄성력이 작용할 수 있다.
상기 제1 및 제2 회전부재는, 상기 제1 위치에서 상기 퍼즐판에 형성된 제1 및 제2 장착홈에 각각 삽입되며, 상기 제2 위치에서 상기 제1 및 제2 장착홈으로부터 돌출될 수 있다.
상기 퍼즐판은 상기 다수의 자석을 덮도록 상기 퍼즐판의 일면에 배치된 비자성체인 커버를 더 포함할 수 있다.
상기 필름부재는 양단부가 상기 제1 및 제2 회전부재에 각각 부착될 수 있다.
상기 필름부재는 양단부가 각각 상기 제1 및 제2 회전부재에 분리 가능하게 연결될 수 있다.
상기 필름부재의 양단부는 각각 제1 벨크로 테이프가 결합되고, 상기 제1 및 제2 회전부재는 각각 상기 제1 벨크로 테이프에 분리 가능하게 결합되는 제2 벨크로 테이프가 결합될 수 있다.
상기 필름부재의 양단부는 각각 다수의 결합구멍이 형성되고, 상기 제1 및 제2 회전부재는 각각 상기 다수의 결합구멍에 분리 가능하게 스냅 결합되는 다수의 결합돌기가 형성될 수 있다.
상기 제1 및 제2 회전부재는 각각 상기 필름부재의 양단부를 분리 가능하게 파지할 수 있는 집게 형상으로 이루어질 수 있다.
본 발명은 상기 제1 회전축을 정방향 및 역방향으로 회전하기 위한 구동모터; 상기 제1 회전축의 회전력을 상기 제2 회전축으로 전달하기 위해, 상기 제1 및 제2 회전축을 상호 연결한 타이밍 벨트; 및 상기 구동모터의 오프(off) 모드, 정방향 회전 모드 및 역방향 회전 모드 중 어느 하나의 모드로 설정하는 작동 스위치;를 더 포함할 수 있다.
도 1은 본 발명의 일 실시예에 따른 퍼즐장치를 나타낸 사시도이다.
도 2는 본 발명의 일 실시예에 따른 퍼즐장치의 퍼즐판을 나타낸 사시도이다.
도 3은 도 2에 표시된 A-A선을 따라 나타낸 단면도이다.
도 4는 도 3에 도시된 퍼즐판의 후면에 배치된 지지대를 펼쳐 퍼즐판을 세워놓은 예를 나타낸 도면이다.
도 5는 본 발명의 일 실시예에 따른 퍼즐장치의 이격유닛을 나타낸 사시도이다.
도 6은 도 5에 도시된 제1 회전부재에 결합되는 제1 회전축을 나타낸 분해사시도이다.
도 7은 도 5에 도시된 제2 회전부재가 제2 회전축을 통해 퍼즐판에 회전 가능하게 연결된 예를 나타낸 도면이다.
도 8은 필름부재가 퍼즐판에 밀착된 예를 나타내는 도면이다.
도 9는 필름부재가 이격유닛에 의해 퍼즐판으로부터 이격된 예를 나타내는 도면이다.
도 10 내지 도 12는 필름부재가 제1 및 제2 회전부재로부터 분리 가능하게 결합될 수 있는 다양한 결합구조를 나타낸 도면들이다.
도 13은 이격유닛이 모터 구동으로 동작할 수 있는 예를 나타낸 도면이다.
이하에서는 첨부된 도면을 참조하여 다양한 실시 예를 보다 상세하게 설명한다. 본 명세서에 기재된 실시 예는 다양하게 변형될 수 있다. 특정한 실시 예가 도면에서 묘사되고 상세한 설명에서 자세하게 설명될 수 있다. 그러나, 첨부된 도면에 개시된 특정한 실시 예는 다양한 실시 예를 쉽게 이해하도록 하기 위한 것일 뿐이다. 따라서, 첨부된 도면에 개시된 특정 실시 예에 의해 기술적 사상이 제한되는 것은 아니며, 발명의 사상 및 기술 범위에 포함되는 모든 균등물 또는 대체물을 포함하는 것으로 이해되어야 한다.
제1, 제2 등과 같이 서수를 포함하는 용어는 다양한 구성요소들을 설명하는데 사용될 수 있지만, 이러한 구성요소들은 상술한 용어에 의해 한정되지는 않는다. 상술한 용어는 하나의 구성요소를 다른 구성요소로부터 구별하는 목적으로만 사용된다.
본 명세서에서, "포함한다" 또는 "가지다" 등의 용어는 명세서상에 기재된 특징, 숫자, 단계, 동작, 구성요소, 부품 또는 이들을 조합한 것이 존재함을 지정하려는 것이지, 하나 또는 그 이상의 다른 특징들이나 숫자, 단계, 동작, 구성요소, 부품 또는 이들을 조합한 것들의 존재 또는 부가 가능성을 미리 배제하지 않는 것으로 이해되어야 한다. 어떤 구성요소가 다른 구성요소에 "연결되어" 있다거나 "접속되어" 있다고 언급된 때에는, 그 다른 구성요소에 직접적으로 연결되어 있거나 또는 접속되어 있을 수도 있지만, 중간에 다른 구성요소가 존재할 수도 있다고 이해되어야 할 것이다.
그 밖에 본 발명을 설명함에 있어서, 관련된 공지 기능 혹은 구성에 대한 구체적인 설명이 본 발명의 요지를 불필요하게 흐릴 수 있다고 판단되는 경우, 그에 대한 상세한 설명은 축약하거나 생략한다.
이하, 도면을 참조하여, 퍼즐조각을 퍼즐판에 용이하게 탈부착할 수 있는 본 발명의 일 실시예에 따른 퍼즐장치를 상세히 설명한다.
도 1은 본 발명의 일 실시예에 따른 퍼즐장치를 나타낸 사시도이다.
도 1을 참조하면, 본 발명의 일 실시예에 따른 퍼즐장치(1)는 경사진 상태로 세워 놓을 수 있는 퍼즐판(10)과, 자력에 의해 퍼즐판(10)에 부착되는 다수의 퍼즐조각(30)과, 퍼즐판(10)에 부착된 퍼즐조각(30)을 퍼즐판(10)으로부터 분리시키는 이격유닛(50)을 포함할 수 있다.
이하, 도 2 내지 도 4를 참조하여, 퍼즐판(10)의 구조를 상세히 설명한다.
도 2는 본 발명의 일 실시예에 따른 퍼즐장치의 퍼즐판을 나타낸 사시도이고, 도 3은 도 2에 표시된 A-A선을 따라 나타낸 단면도이고, 도 4는 도 3에 도시된 퍼즐판의 후면에 배치된 지지대를 펼쳐 퍼즐판을 세워놓은 예를 나타낸 도면이다.
도 2를 참조하면, 퍼즐판(10)은 소정의 두께를 가지는 사각형으로 이루어질 수 있다. 퍼즐판(10)의 형상은 사각형으로 한정될 필요는 없으며 다양한 형상으로 이루어질 수 있다.
퍼즐판(10)의 전면에는 다수의 자석(13)이 일정한 간격을 두고 일부분이 각각 매립된 상태로 배열될 수 있다. 이 경우, 퍼즐판(10)에는 다수의 자석(13)이 각각 삽입되는 다수의 삽입홈(14)이 형성될 수 있다.
다수의 자석(13)의 배열은 도 2와 같이 매트릭스로 배열될 수 있으나, 다수의 퍼즐조각(30)의 크기를 고려하여 적절한 크기와 배열을 이루는 것도 물론 가능하다.
각 자석(13)은 버튼형 자석을 사용할 수 있으며, 바람직하게는 다수의 자석(13)이 퍼즐판(10)의 전면에 적절한 간격으로 배열될 수 있는 정도의 크기로 형성되면 족하다.
도 3을 참조하면, 퍼즐판(10)의 전면에는 다수의 자석(13)이 퍼즐판(10)의 다수의 삽입홈(14)으로부터 이탈하지 않도록 다수의 자석(13)을 덮는 커버(15)가 결합될 수 있다.
커버(15)는 다수의 자석(13)의 자력을 방해하지 않는 두께를 가지며 동시에 내구성을 고려하여 비자성체인 플라스틱 수지로 형성될 수 있다. 이 경우 커버(15)는 디자인을 고려하여 투명, 반투명 및 불투명 플라스틱 수지 중 어느 하나로 형성될 수 있다.
도 2를 참조하면, 퍼즐판(10)은 전면에 이격유닛(50)의 일부를 이루는 제1 및 제2 회전부재(51,52, 도 5 참조)가 각각 회전 가능하게 삽입되는 제1 및 제2 장착홈(16,17)이 형성된다.
제1 장착홈(16)은 퍼즐판(10)의 좌측단에 인접하게 배치되고, 제2 장착홈(17)은 퍼즐판(10)의 우측단에 인접하게 배치될 수 있다. 제1 및 제2 장착홈(16,17)은 서로 평행하게 배치되는 것이 바람직하다.
제1 장착홈(16)은 길이방향의 하단에 제1 축지지홈(16a)이 형성되고 길이방향의 상단에 관통구멍(16b)이 형성될 수 있다. 제1 축지지홈(16a)과 관통구멍(16b)에는 제1 회전부재(51)를 회전시키기 위한 제1 회전축(57, 도 6 참조)의 하단부(57a) 및 상단부(57b)가 각각 회전 가능하게 지지된다.
제2 장착홈(17)은 길이방향의 하단과 상단에 각각 제2 및 제3 축지지홈(17a,17b)이 형성될 수 있다. 제2 및 제3 축지지홈(17a,17b)에는 제2 회전부재(52)를 회전시키기 위한 회전축(58, 도 7 참조)의 하단부(58a) 및 상단부(58b)가 각각 회전 가능하게 지지된다.
도 3을 참조하면, 퍼즐판(10)의 후면에는 퍼즐판(10)을 소정 각도로 경사지게 세워 놓을 수 있는 지지대(18)가 구비될 수 있다.
도 4를 참조하면, 지지대(18)는 퍼즐판(10)의 후면에 형성된 수납홈(18b)에 삽입될 수 있으며, 퍼즐판(18)을 지지하기 위해 수납홈(18b)으로부터 제1 각도(θ1)로 펼쳐질 수 있다.
지지대(18)는 상단 양측에 각각 축돌기(18a)가 형성될 수 있다. 축돌기(18a)는 수납홈(18b)의 양측에 형성된 수용홈(미도시)에 회전 가능하게 결합될 수 있다.
지지대(18)를 제1 각도(θ1)로 펼쳐서 퍼즐판(10)을 세우면, 퍼즐판(10)은 지면에 대하여 제2 각도(θ2)로 유지될 수 있다.
퍼즐판(10)을 지지대(18)에 의해 제2 각도(θ2)로 세우는 것은 퍼즐조각(30)이 이격유닛(50)에 의해 퍼즐판(10)으로부터 이격 시 자중에 의해 퍼즐조각(30)이 원활하게 흘러 내릴 수 있도록 하기 위함이다.
만약 퍼즐판(10)의 제2 각도(θ2)가 대략 30도 미만 정도로 너무 완만하게 설정되면, 이격유닛(50)에 의해 퍼즐판(10)으로부터 이격된 퍼즐조각(30)이 이격유닛(50)의 표면을 따라 원활하게 흘러 내려오지 않을 수 있다.
따라서 제2 각도(θ2)는 퍼즐조각(30)이 이격유닛(50)에 의해 퍼즐판(10)으로부터 이격 시 자중에 의해 원활하게 흘러 내릴 수 있는 각도로 설정되는 것이 바람직하다. 이 경우, 지지대(18)가 세워질 때의 제2 각도(θ2)는 지지대(18)의 제1 각도(θ1)로 조절할 수 있다.
도 1을 참조하면, 다수의 퍼즐조각(30)은 다수의 자석(13)의 자력에 의해 퍼즐판(10)에 부착될 수 있도록 자성체로 형성되는 것이 바람직하다. 다수의 퍼즐조각(30)은 통상적인 탱그램 퍼즐의 조각과 마찬가지로 서로 다른 위치로 배열할 경우 다양한 형상을 표현할 수 있다.
이하, 도 5 내지 도 9를 참조하여, 이격유닛(50)이 구성 및 동작을 상세히 설명한다.
도 5는 본 발명의 일 실시예에 따른 퍼즐장치의 이격유닛을 나타낸 사시도이고, 도 6은 도 5에 도시된 제1 회전부재에 결합되는 제1 회전축을 나타낸 분해사시도이고, 도 7은 도 5에 도시된 제2 회전부재가 회전축을 통해 퍼즐판에 회전 가능하게 연결된 예를 나타낸 도면이고, 도 8은 필름부재가 퍼즐판에 밀착된 예를 나타내는 도면이고, 도 9는 필름부재가 이격유닛에 의해 퍼즐판으로부터 이격된 예를 나타내는 도면이다. 도 8 및 도 9에서 설명의 편의를 위해 퍼즐판(10)의 전면에 결합되는 커버(11)는 도시하지 않는다.
이격유닛(50)은 다수의 자석(13)에 의해 퍼즐판(10)에 부착된 퍼즐조각(30)을 퍼즐판(10)으로부터 다수의 자력이 미치지 않는 거리만큼 강제로 이격시키는 수단이다.
도 5를 참조하면, 이격수단(50)은 제1 및 제2 회전부재(51,52)와, 제1 및 제2 회전부재에 의해 퍼즐판(10)에 밀착되는 제1 위치와 퍼즐판(10)으로부터 일정한 간격으로 이격된 제2 위치로 이동하는 필름부재(55)를 포함할 수 있다.
도 6을 참조하면, 제1 회전부재(51)는 제1 장착홈(16)에 회전 가능한 상태로 배치될 수 있도록, 제1 장착홈(16)의 길이보다 다소 작게 형성될 수 있다.
제1 회전부재(51)는 내측으로 제1 회전부재(51)의 길이방향을 따라 제1 회전축(57)이 결합되는 제1 결합구멍(51a)이 관통 형성될 수 있다.
제1 회전부재(51)는 제1 회전축(57)을 회전에 따라 제1 회전축(57)과 함께 동일한 방향으로 회전한다. 이 경우 제1 회전축(57)은 제1 결합구멍(51a)에서 헛돌지 않도록 제1 결합구멍(51a)에 연통 형성된 키홈(51c)에 삽입되는 걸림돌기(57c)를 구비할 수 있다. 걸림돌기(57c)는 제1 회전축(57)의 길이방향을 따라 제1 회전축(57) 일주면에 형성된다.
한편, 제1 회전축(57)이 제1 회전부재(51)의 제1 결합구멍(51a)에 압박 상태로 결합되게 구성될 수 있다. 이에 따라, 제1 회전축(57)의 외주면과 제1 결합구멍(51a)의 내주면 사이의 마찰력으로 인해 제1 회전축(57)이 제1 결합구멍(51a) 내에서 헛돌지 않고 제1 회전부재(51)가 함께 회전할 수 있다. 이와 같은 압박 결합구조를 채용하는 경우, 제1 회전축(57)의 걸림돌기(57c)와 키홈(51c)을 생략할 수 있다.
제1 회전축(57)은 전술한 바와 같이 하단부(57a)가 제1 장착홈(16)의 제1 축지지홈(16a)이 회전 가능하게 결합되고, 상단부(57b)가 제1 장착홈(16)의 관통구멍(16b)에 회전 가능하게 관통한다.
제1 회전축(57)은 상단부에 일측으로 절곡된 손잡이(57d)가 형성될 수 있다. 손잡이(57d)는 사용자가 필름부재(55)를 퍼즐판(10)으로부터 이격시키기 위해 제1 회전축(57)을 일방향으로 손쉽게 회전시킬 수 있도록 하는 구성이다.
도 7을 참조하면, 제2 회전부재(52)는 제2 장착홈(17)에 회전 가능한 상태로 배치될 수 있도록, 제2 장착홈(17)의 길이보다 다소 작게 형성될 수 있다.
제2 회전부재(52)는 내측으로 제2 회전부재(52)의 길이방향을 따라 제2 회전축(58)이 결합되는 제2 결합구멍(52a)이 관통 형성될 수 있다.
제2 회전부재(52)는 제2 회전축(58)과 함께 동일한 방향으로 회전한다. 이 경우 제2 회전축(58)이 제2 결합구멍(52a)에서 헛돌지 않도록 전술한 제1 회전부재(51)와 제1 회전축(57) 간의 헛돔 방지구조를 적용할 수 있다.
따라서, 제2 회전부재(52)는 제1 회전부재(51)가 일방향으로 회전하면 필름부재(55)를 통해 제1 회전부재(51)의 회전력을 전달받는다. 이에 따라 제2 회전부재(52)는 제2 회전축(58)과 함께 제1 회전부재(51)의 회전 방향과 동일한 방향과 동일한 각도만큼 회전한다.
제2 회전축(58)은 전술한 바와 같이 하단부(58a) 및 상단부(58b)가 각각 제2 장착홈(17)의 제2 및 제3 축지지홈(17a,17b)이 회전 가능하게 결합될 수 있다. 이 경우 제2 회전축(58)은 하단부(58a) 및 상단부(58b)가 탄성부재에 의해 탄력적으로 연결될 수 있다.
구체적으로, 상기 탄성부재는 제1 및 제2 토션스프링(59a,59b)일 수 있다. 제1 및 제2 토션스프링(59a,59b)은, 각각 일단이 제2 회전축(58)의 하단부(58a) 및 상단부(58b)에 연결되고, 각각 타단이 퍼즐판(10)의 내부에 연결될 수 있다.
제1 및 제2 토션스프링(59a,59b)은 제2 회전부재(52)를 제2 장착홈(17)에 삽입하는 방향으로 탄성력이 작용한다.
이에 따라, 사용자가 손잡이(57d)를 일방향으로 당기면 도 9와 같이 제1 및 제2 회전부재(51,52)가 제1 및 제2 장착홈(16,17)으로부터 돌출된다. 이 경우, 제1 및 제2 토션스프링(59a,59b)에 걸리는 탄성력을 증가하게 되며, 도 9의 상태에서 사용자가 손잡이(57d)를 놓으면 제1 및 제2 회전부재(51,52)는 제1 및 제2 토션스프링(59a,59b)의 탄성력에 의해 역방향으로 회전하여 도 8과 같이 제1 및 제2 장착홈(16,17)으로 삽입될 수 있다.
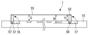
도 9를 참조하면, 손잡이(57d)를 일방향으로 당겨 제1 및 제2 회전부재(51,52)가 회전하게 되면, 필름부재(55)는 퍼즐판(10)으로부터 일정 간격으로 이격되어 필름부재(55) 위에 놓은 다수의 퍼즐조각(30)은 다수의 자석(13)의 자력이 미치지 않는 위치로 이동된다.
이 경우, 필름부재(55)가 퍼즐판(10)으로부터 이격되는 거리(D)는 제1 및 제2 회전부재(51,52)가 제1 및 제2 장착홈(16,17)으로부터 돌출되는 높이(H)에 따라 결정될 수 있다. 또는 상기 이격 거리(D)는 제1 및 제2 회전부재(51,52)의 폭(W)에 따라 결정될 수 있다.
도 5를 참조하면, 필름부재(55)는 제1 및 제2 회전부재(51,52)가 연동할 수 있도록, 필름부재(55)의 좌측단부(55a)와 우측단부(55b)가 각각 제1 및 제2 회전부재(51,52)에 연결된다. 이 경우, 필름부재(55)의 좌측단부(55a)와 우측단부(55b)는 각각 접착제를 통해 제1 및 제2 회전부재(51,52)에 부착될 수 있다.
필름부재(55)는 제1 및 제2 회전부재(51,52)의 회전을 동기화할 수 있도록 잘 늘어나지 않는 재질 예를 들면, OHP 필름의 재질과 동일한 재질로 제작될 수 있다.
필름부재(55)는 일면에 다수의 퍼즐조각(30)이 놓이는 퍼즐영역(56)이 인쇄될 수 있다. 퍼즐영역(56)의 외곽은 특정한 형상을 나타낼 수 있다. 본 실시예에서는 퍼즐영역(56)의 외곽이 물고기를 나타낸다. 퍼즐영역(56)의 외곽 형상은 물고기에 한정하지 않고 다양한 것들의 외곽을 나타낼 수 있다.
이와 같이 구성된 본 발명의 일 실시예에 따른 퍼즐장치(1)의 동작을 설명한다.
먼저 지지대를 이용하여 퍼즐장치(1)를 일정한 각도로 경사지게 세워 놓는다.
이 경우 필름부재(55)는 도 8과 같이 퍼즐판(10)의 전면에 밀착 또는 인접한 제1 위치에 놓인다. 이 상태에서 필름부재(55)의 퍼즐영역(56)에 놓이는 다수의 퍼즐조각(30)은 안정적으로 부착된다.
다수의 퍼즐조각(30)을 퍼즐영역(56)에 놓아 도 1과 같이 퍼즐을 완성한 후 다시 퍼즐을 시작하기 위해서 다수의 퍼즐조각(30)을 퍼즐판(10)으로부터 분리시킨다.
퍼즐판(10)으로부터 다수의 퍼즐조각(30)을 분리하기 위해, 손잡이(57d)를 파지하고 제1 회전축(57)을 일방향으로 대략 90도 정도 회전시킨다.
이에 따라 제1 및 제2 회전부재(51,52)가 일방향으로 회전하고 동시에 필름부재(55)는 퍼즐판(10)의 전면으로부터 소정 간격(D)으로 이격되어 제2 위치로 이동한다.
다수의 퍼즐조각(30)은 다수의 자석(13)의 자력이 미치는 영역으로부터 벗어나게 되면서 자중에 의해 필름부재(55)를 따라 흘러내린다. 이 경우, 도면에 도시하지 않았으나 흘러내린 다수의 퍼즐조각(30)을 수거하기 위한 트레이를 퍼즐장치(1)의 하측에 위치시킬 수 있다.
모든 퍼즐조각(30)이 아래로 흘러내린 상태에서, 손잡이(57d)를 놓으면 제1 및 제2 토션스프링(59a,59b)의 탄성력에 의해 제1 및 제2 회전부재(51,52)는 역방향으로 회전하여 원위치로 이동한다. 이와 동시에 필름부재(55)는 제2 위치로 이동하여 퍼즐판(10)의 전면에 접촉되거나 인접한 위치로 이동한다.
이와 같이 본 발명은 퍼즐판(10)에 구비된 다수의 자석(13)을 통해 퍼즐조각(30)은 손쉽게 퍼즐판(10)에 부착할 수 있다. 또한 손잡이(57d)를 조작하는 단순한 동작을 통해 퍼즐판(10)으로부터 다수의 퍼즐조각(30)을 손쉽게 탈착 시킬 수 있다.
한편, 필름부재(55)는 제1 및 제2 회전부재(51,52)에 부착되는 것으로 설명하였으나, 이에 제한되지 않고 제1 및 제2 회전부재(51,52)에 분리 가능하게 연결될 수 있다.
이와 같이 필름부재(55)를 제1 및 제2 회전부재(51,52)로부터 분리 가능하도록 구성하는 경우, 퍼즐영역(56)의 형상이 서로 다른 다수의 필름부재를 선택적으로 교체하여 사용할 수 있다.
도 10 내지 도 12는 필름부재가 제1 및 제2 회전부재로부터 분리 가능하게 결합될 수 있는 다양한 결합구조를 나타낸 도면들이다.
도 10을 참조하면, 제1 회전부재(151)의 일면에는 제1 벨크로 테이프(153)를 결합하고, 필름부재(155)의 좌측단부에는 제1 벨크로 테이프(153)에 분리 가능하게 부착되는 제2 벨크로 테이프(157)를 결합할 수 있다.
도면에 도시하지는 않았으나 제2 회전부재와 필름부재도 상호 벨크로 테이프에 의해 분리 가능하게 부착될 수 있다.
도 11을 참조하면, 제1 회전부재(251)의 일면에는 다수의 결합돌기(253)가 간격을 두고 형성될 수 있다. 필름부재(255)의 좌측단부에는 제1 회전부재(251)의 다수의 결합돌기(253)가 각각 분리 가능하게 스냅 결합되는 다수의 결합구멍(257)이 간격을 두고 형성될 수 있다.
도면에 도시하지는 않았으나 제2 회전부재와 필름부재도 결합돌기 및 결합구멍에 의해 상호 분리 가능하게 결합될 수 있다.
도 12을 참조하면, 제1 회전부재(351)는 제1 및 제2 부분(353a,353b)이 연결부(352)를 통해 상호 회전 가능하게 연결되는 집게 형상으로 이루어질 수 있다. 이 경우 연결부(352)에는 제1 및 제2 부분(353a,353b)이 서로 마주하는 방향으로 탄성력이 작용하는 토션스프링(미도시)이 설치되는 것이 바람직하다.
제1 회전부재(351)가 집게 형상으로 이루어짐에 따라, 필름부재(355)는 제1 회전부재와 연결하기 위한 별도의 연결구조를 구비할 필요 없다.
따라서, 필름부재(355)는 도 12와 같이 필름부재(355)의 좌측단부(355a)가 제1 및 제2 부분(353a,353b)에 의해 파지될 수 있다. 또한 필름부재(355)는 제1 및 제2 부분(353a,353b)을 벌려서 필름부재(355)의 좌측단부(355a)를 제1 회전부재(351)로부터 용이하게 분리할 수 있다.
도면에 도시하지는 않았으나 제2 회전부재는 제1 회전부재와 동일하게 집게 형상으로 제작할 수 있다.
전술한 이격유닛(50)은 사용자가 손잡이(57d)를 사용하여 수동으로 작동한다. 하지만 이에 제한되지 않고, 모터 구동에 의해 이격유닛(50)을 제1 및 제2 위치로 동작시키는 것도 물론 가능하다.
도 13은 이격유닛이 모터 구동으로 동작할 수 있는 예를 나타낸 도면이다.
제1 회전축(451)의 일단에 손잡이를 생략하고 커플러(454)를 통해 구동모터(455)의 구동축(456)과 연결한다. 구동모터(455)는 일정한 각도로 정회전 및 역회전하는 스텝핑 모터를 사용할 수 있다.
제2 회전축(452)은 타이밍 벨트(453)를 통해 제1 회전축(451)의 회전력을 전달받을 수 있다. 이 경우 제1 및 제2 회전축(451,452)의 외주에는 타이밍 벨트(453)의 내주와 각각 기어 결합됨에 따라, 제1 및 제2 회전축(451,452)은 동시에 동일한 방향으로 회전할 수 있다.
작동 스위치(547)는 구동모터(455)에 전기적으로 연결되어 구동모터(455)의 동작을 제어한다. 예를 들면, 작동 스위치(547)는 로터리 스위치를 사용할 수 있으며, 구동모터를 오프(off) 시키는 제1 모드와, 구동모터를 정회전 구동 시키는 제2 모드와, 구동모터를 역회전 구동 시키는 제3 모드 중 어느 하나로 설정할 수 있다.
구동모터(455)와 작동 스위치(547)는 퍼즐판(10)의 일부분에 고정 배치될 수 있다.
이상에서는 본 발명의 바람직한 실시 예에 대하여 도시하고 설명하였지만, 본 발명은 상술한 특정의 실시 예에 한정되지 아니하며, 청구범위에서 청구하는 본 발명의 요지를 벗어남이 없이 당해 발명이 속하는 기술분야에서 통상의 지식을 가진 자에 의해 다양한 변형실시가 가능한 것은 물론이고, 이러한 변형실시들은 본 발명의 기술적 사상이나 전망으로부터 개별적으로 이해되서는 안될 것이다.
10: 퍼즐판 13: 자석
16: 제1 장착홈 17: 제2 장착홈
18: 지지대 30: 퍼즐조각
50: 이격유닛 51: 제1 회전부재
52: 제2 회전부재 55: 필름부재
57: 제1 회전축 58: 제2 회전축

Claims (10)

  1. 자성체로 이루어진 다수의 퍼즐조각;
    일면에 다수의 자석이 배열된 퍼즐판; 및
    상기 다수의 퍼즐조각을 상기 다수의 자석의 자력에 의해 상기 퍼즐판에 부착시키는 제1 위치와 상기 다수의 퍼즐조각을 상기 다수의 자석의 자력이 미치지 않는 제2 위치 중 어느 하나의 위치로 이동하는 이격유닛;을 포함하는 것을 특징으로 하는 퍼즐장치.
  2. 제1항에 있어서,
    상기 이격유닛은,
    상기 퍼즐판의 일측에 회전 가능하게 배치된 제1 회전부재;
    상기 퍼즐판의 타측에 회전 가능하게 배치된 제 2회전부재; 및
    상기 제1 및 제2 회전부재의 회전을 동기화하도록 양단이 각각 상기 제1 및 제2 회전부재에 연결된 필름부재;를 포함하는 것을 특징으로 하는 퍼즐장치.
  3. 제2항에 있어서,
    상기 제1 회전부재는 제1 회전축에 의해 상기 퍼즐판에 회전 가능하게 연결되며,
    상기 제2 회전부재는 상기 제1 회전축과 평행하게 배치된 제2 회전축에 의해 상기 퍼즐판에 회전 가능하게 연결된 것을 특징으로 하는 퍼즐장치.
  4. 제3항에 있어서,
    상기 제1 회전축은 일단에 손잡이를 구비한 것을 특징으로 하는 퍼즐장치.
  5. 제3항 또는 제4항에 있어서,
    상기 제2 회전부재는 양단에 설치된 제1 및 제2 토션스프링이 설치되며 상기 필름부재를 상기 제1 위치로 이동하는 방향으로 탄성력이 작용하는 것을 특징으로 하는 퍼즐장치.
  6. 제1항에 있어서,
    상기 제1 및 제2 회전부재는,
    상기 제1 위치에서 상기 퍼즐판에 형성된 제1 및 제2 장착홈에 각각 삽입되며, 상기 제2 위치에서 상기 제1 및 제2 장착홈으로부터 돌출되는 것을 특징으로 하는 퍼즐장치.
  7. 제1항에 있어서,
    상기 퍼즐판은 상기 다수의 자석을 덮도록 상기 퍼즐판의 일면에 배치된 비자성체인 커버를 더 포함하는 것을 특징으로 하는 퍼즐장치.
  8. 제2항에 있어서,
    상기 필름부재는 양단부가 상기 제1 및 제2 회전부재에 각각 부착된 것을 특징으로 하는 퍼즐장치.
  9. 제2항에 있어서,
    상기 필름부재는 양단부가 각각 상기 제1 및 제2 회전부재에 분리 가능하게 연결된 것을 특징으로 하는 퍼즐장치.
  10. 제3항에 있어서,
    상기 제1 회전축을 정방향 및 역방향으로 회전하기 위한 구동모터;
    상기 제1 회전축의 회전력을 상기 제2 회전축으로 전달하기 위해, 상기 제1 및 제2 회전축을 상호 연결한 타이밍 벨트; 및
    상기 구동모터의 오프(off) 모드, 정방향 회전 모드 및 역방향 회전 모드 중 어느 하나의 모드로 설정하는 작동 스위치;를 포함하는 것을 특징으로 하는 퍼즐장치.
KR1020190011542A 2019-01-30 2019-01-30 퍼즐장치 Active KR102155666B1 (ko)

Priority Applications (1)

Application Number Priority Date Filing Date Title
KR1020190011542A KR102155666B1 (ko) 2019-01-30 2019-01-30 퍼즐장치

Applications Claiming Priority (1)

Application Number Priority Date Filing Date Title
KR1020190011542A KR102155666B1 (ko) 2019-01-30 2019-01-30 퍼즐장치

Publications (2)

Publication Number Publication Date
KR20200094271A true KR20200094271A (ko) 2020-08-07
KR102155666B1 KR102155666B1 (ko) 2020-09-14

Family

ID=72050011

Family Applications (1)

Application Number Title Priority Date Filing Date
KR1020190011542A Active KR102155666B1 (ko) 2019-01-30 2019-01-30 퍼즐장치

Country Status (1)

Country Link
KR (1) KR102155666B1 (ko)

Families Citing this family (1)

* Cited by examiner, † Cited by third party
Publication number Priority date Publication date Assignee Title
KR102599316B1 (ko) 2022-01-25 2023-11-06 홍수진 퍼즐식 자개 공예 키트

Citations (2)

* Cited by examiner, † Cited by third party
Publication number Priority date Publication date Assignee Title
JPH09234267A (ja) * 1996-02-29 1997-09-09 Seikosha Co Ltd マグネットパズル装置
KR20120000981U (ko) * 2010-07-30 2012-02-09 김덕용 퍼즐 조립체

Patent Citations (2)

* Cited by examiner, † Cited by third party
Publication number Priority date Publication date Assignee Title
JPH09234267A (ja) * 1996-02-29 1997-09-09 Seikosha Co Ltd マグネットパズル装置
KR20120000981U (ko) * 2010-07-30 2012-02-09 김덕용 퍼즐 조립체

Also Published As

Publication number Publication date
KR102155666B1 (ko) 2020-09-14

Similar Documents

Publication Publication Date Title
US4050184A (en) Multi-component, spherical, assemblable toy
EP4257213B1 (en) Magic cube with visible magnetic cabins
KR101447679B1 (ko) 조립식 블록 완구
KR20200094271A (ko) 퍼즐장치
EP3493885B1 (en) Board game
KR101385989B1 (ko) 조립식 블록 완구
US20140199677A1 (en) Modular Multi-Element Constructions From Rearrangeable Pieces And Kits Allowing Construction Of Same
CN114307196A (zh) 信息保持介质和演出输出玩具
EP3210661B1 (en) Magnetically connected toy block
US7025351B2 (en) Puzzle game
KR100822374B1 (ko) 클램핑 기구
CN218420993U (zh) 陀螺玩具发射器
US6537123B2 (en) System and method for displaying magnetic devices
CN114904255A (zh) 一种中心轴定位磁力可调可换的磁定位结构魔方
US4674988A (en) Twirling break-dancing toy device
KR200471717Y1 (ko) 다양한 인쇄면이 형성된 블럭의 학습놀이를 위한 작동바
CA3126501A1 (en) Device for sports training
US10729969B2 (en) Customizable playing cards with interchangeable components
KR20190068166A (ko) 무선조종 비행체 컨트롤러
CN207425164U (zh) 动画播放机及用以组成动画播放机的纸板
CN217391580U (zh) 一种应用多个传动结构的拼装玩具
CN216456846U (zh) 一种中心块便拆装式魔方
CN223127209U (zh) 新型的平衡游戏玩具
CN211273560U (zh) 一种手驱盘
CN219758644U (zh) 手摇放映机

Legal Events

Date Code Title Description
PA0109 Patent application

St.27 status event code: A-0-1-A10-A12-nap-PA0109

PA0201 Request for examination

St.27 status event code: A-1-2-D10-D11-exm-PA0201

R18-X000 Changes to party contact information recorded

St.27 status event code: A-3-3-R10-R18-oth-X000

R18-X000 Changes to party contact information recorded

St.27 status event code: A-3-3-R10-R18-oth-X000

D13-X000 Search requested

St.27 status event code: A-1-2-D10-D13-srh-X000

D14-X000 Search report completed

St.27 status event code: A-1-2-D10-D14-srh-X000

R18-X000 Changes to party contact information recorded

St.27 status event code: A-3-3-R10-R18-oth-X000

PE0902 Notice of grounds for rejection

St.27 status event code: A-1-2-D10-D21-exm-PE0902

E13-X000 Pre-grant limitation requested

St.27 status event code: A-2-3-E10-E13-lim-X000

P11-X000 Amendment of application requested

St.27 status event code: A-2-2-P10-P11-nap-X000

P13-X000 Application amended

St.27 status event code: A-2-2-P10-P13-nap-X000

R18-X000 Changes to party contact information recorded

St.27 status event code: A-3-3-R10-R18-oth-X000

PG1501 Laying open of application

St.27 status event code: A-1-1-Q10-Q12-nap-PG1501

E701 Decision to grant or registration of patent right
PE0701 Decision of registration

St.27 status event code: A-1-2-D10-D22-exm-PE0701

GRNT Written decision to grant
PR0701 Registration of establishment

St.27 status event code: A-2-4-F10-F11-exm-PR0701

PR1002 Payment of registration fee

St.27 status event code: A-2-2-U10-U11-oth-PR1002

Fee payment year number: 1

PG1601 Publication of registration

St.27 status event code: A-4-4-Q10-Q13-nap-PG1601

PN2301 Change of applicant

St.27 status event code: A-5-5-R10-R13-asn-PN2301

St.27 status event code: A-5-5-R10-R11-asn-PN2301

R18-X000 Changes to party contact information recorded

St.27 status event code: A-5-5-R10-R18-oth-X000

PR1001 Payment of annual fee

St.27 status event code: A-4-4-U10-U11-oth-PR1001

Fee payment year number: 4

PR1001 Payment of annual fee

St.27 status event code: A-4-4-U10-U11-oth-PR1001

Fee payment year number: 5

R18-X000 Changes to party contact information recorded

St.27 status event code: A-5-5-R10-R18-oth-X000

R18-X000 Changes to party contact information recorded

St.27 status event code: A-5-5-R10-R18-oth-X000