KR20190120130A - 내진용 자기에어스프링 유닛 - Google Patents

내진용 자기에어스프링 유닛 Download PDF

Info

Publication number
KR20190120130A
KR20190120130A KR1020190128145A KR20190128145A KR20190120130A KR 20190120130 A KR20190120130 A KR 20190120130A KR 1020190128145 A KR1020190128145 A KR 1020190128145A KR 20190128145 A KR20190128145 A KR 20190128145A KR 20190120130 A KR20190120130 A KR 20190120130A
Authority
KR
South Korea
Prior art keywords
magnetic
air spring
unit
magnetic air
earthquake
Prior art date
Legal status (The legal status is an assumption and is not a legal conclusion. Google has not performed a legal analysis and makes no representation as to the accuracy of the status listed.)
Granted
Application number
KR1020190128145A
Other languages
English (en)
Other versions
KR102183834B1 (ko
Inventor
권찬근
Original Assignee
권찬근
Priority date (The priority date is an assumption and is not a legal conclusion. Google has not performed a legal analysis and makes no representation as to the accuracy of the date listed.)
Filing date
Publication date
Application filed by 권찬근 filed Critical 권찬근
Priority to KR1020190128145A priority Critical patent/KR102183834B1/ko
Publication of KR20190120130A publication Critical patent/KR20190120130A/ko
Application granted granted Critical
Publication of KR102183834B1 publication Critical patent/KR102183834B1/ko
Expired - Fee Related legal-status Critical Current
Anticipated expiration legal-status Critical

Links

Images

Classifications

    • FMECHANICAL ENGINEERING; LIGHTING; HEATING; WEAPONS; BLASTING
    • F16ENGINEERING ELEMENTS AND UNITS; GENERAL MEASURES FOR PRODUCING AND MAINTAINING EFFECTIVE FUNCTIONING OF MACHINES OR INSTALLATIONS; THERMAL INSULATION IN GENERAL
    • F16FSPRINGS; SHOCK-ABSORBERS; MEANS FOR DAMPING VIBRATION
    • F16F15/00Suppression of vibrations in systems; Means or arrangements for avoiding or reducing out-of-balance forces, e.g. due to motion
    • F16F15/02Suppression of vibrations of non-rotating, e.g. reciprocating systems; Suppression of vibrations of rotating systems by use of members not moving with the rotating systems
    • F16F15/03Suppression of vibrations of non-rotating, e.g. reciprocating systems; Suppression of vibrations of rotating systems by use of members not moving with the rotating systems using magnetic or electromagnetic means
    • FMECHANICAL ENGINEERING; LIGHTING; HEATING; WEAPONS; BLASTING
    • F16ENGINEERING ELEMENTS AND UNITS; GENERAL MEASURES FOR PRODUCING AND MAINTAINING EFFECTIVE FUNCTIONING OF MACHINES OR INSTALLATIONS; THERMAL INSULATION IN GENERAL
    • F16FSPRINGS; SHOCK-ABSORBERS; MEANS FOR DAMPING VIBRATION
    • F16F15/00Suppression of vibrations in systems; Means or arrangements for avoiding or reducing out-of-balance forces, e.g. due to motion
    • F16F15/02Suppression of vibrations of non-rotating, e.g. reciprocating systems; Suppression of vibrations of rotating systems by use of members not moving with the rotating systems
    • F16F15/023Suppression of vibrations of non-rotating, e.g. reciprocating systems; Suppression of vibrations of rotating systems by use of members not moving with the rotating systems using fluid means
    • F16F15/0232Suppression of vibrations of non-rotating, e.g. reciprocating systems; Suppression of vibrations of rotating systems by use of members not moving with the rotating systems using fluid means with at least one gas spring
    • FMECHANICAL ENGINEERING; LIGHTING; HEATING; WEAPONS; BLASTING
    • F16ENGINEERING ELEMENTS AND UNITS; GENERAL MEASURES FOR PRODUCING AND MAINTAINING EFFECTIVE FUNCTIONING OF MACHINES OR INSTALLATIONS; THERMAL INSULATION IN GENERAL
    • F16FSPRINGS; SHOCK-ABSORBERS; MEANS FOR DAMPING VIBRATION
    • F16F2224/00Materials; Material properties
    • F16F2224/04Fluids
    • F16F2224/046Fluids pneumatic

Landscapes

  • Engineering & Computer Science (AREA)
  • General Engineering & Computer Science (AREA)
  • Physics & Mathematics (AREA)
  • Acoustics & Sound (AREA)
  • Aviation & Aerospace Engineering (AREA)
  • Mechanical Engineering (AREA)
  • Electromagnetism (AREA)
  • Vibration Prevention Devices (AREA)

Abstract

본 발명은 내진용 자기에어스프링 유닛에 관한 것으로서 보다 상세하게는 내진 성능을 구비한 전기 수배전반 또는 제어반용 자기에어스프링 유닛을 제공하기 위하여 탄성력과 인장강도, 내구성이 우수한 폴리우레탄 재질로 형성한 원통형의 에어실린더 내부를 압축공기로 채우고 에어스프링의 중앙 중심축 상부와 하부에는 영구자석의 강한 자기 반발 탄성력을 이용하여 지진이나 큰 진동에 의해 발생되는 상, 하, 좌, 우 등 X, Y, Z축 방향으로 발생하여 작용하는 변위력을 효율적으로 흡수하고 감쇄시켜 지진이나 진동에 의한 2차적인 피해를 방지할 수 있도록 하는 내진용 자기에어스프링 유닛에 관한 것으로서 고효율의 내진방지 기능을 제공할 수 있다.

Description

내진용 자기에어스프링 유닛{Magnetic air spring unit for earthquake}
본 발명은 내진용 자기에어스프링 유닛에 관한 것으로서 보다 상세하게는 내진 성능을 구비한 전기 수배전반 또는 제어반용 자기에어스프링 유닛을 제공하기 위하여 탄성력과 인장강도, 내구성이 우수한 폴리우레탄 재질로 형성한 원통형의 에어실린더 내부를 압축공기로 채우고 에어스프링의 중앙 중심축 상부와 하부에는 강한 자기 반발력을 이용하여 지진이나 큰 진동에 의해 발생되는 상, 하, 좌, 우 등의 X, Y, Z축 방향으로 발생하여 작용하는 변위력을 효율적으로 흡수하고 완화하여 지진이나 진동에 의한 피해를 방지할 수 있도록 하는 내진용 자기에어스프링 유닛에 관한 것이다.
과거 일본의 경우 한신 대지진 이후 2005년 니가타현 츄에츠 지진 등 수많은 지진발생으로 심각한 사회문제 발생과 사람의 생존에 직접적인 관계가 있는 원전사고 및 전력계통 및 전력공급 설비의 손상으로 대단위 단전사고가 자주 발생되고 있으며 우리나라도 최근 규모 5.0 이상의 지진이 포항에서 발생되어 많은 사회시설이 파손되고 주요 전력설비도 손상을 입고 있어 우리나라도 더 이상 지진의 안전지대라 할 수 없게 되었다.
따라서, 최근 한국전력으로부터 전력을 공급 받아 배전하는 전기 사용설비의 대부분을 차지하는 고압 수배전설비의 지진방지 대책에 대해 관련 업계가 대응하고 있으며, 이에 따라 본 발명의 내진용 자기에어스프링 유닛에 관한 배경을 살펴보면 현재 일반적으로 개발되어 적용되고 있는 전기 수배전반 내진방지 장치는 강체 스프링을 이용한 내진방지 장치로 상, 하, 좌, 우 굴절을 유도하여 지진이나 진동으로 인해 발생되는 변위력을 스프링이 가지는 탄성력을 이용하여 충격을 흡수하여 발생되는 피해를 최소화 하고 있는데 대부분 강체 스프링중 코일스프링을 적용하고 이러한 코일스프링은 소재강의 지름을 양단에서는 작게, 중간부분은 크게 하고, 피치를 부등피치로, 코일의 지름을 달리하여 비선형 특성을 나타나도록 하여 일반 코일스프링의 단점을 보완한 나선형 코일스프링을 이용하거나 비선형 와이어로프 및 폴리우레탄 스프링을 조합한 복합형 스프링장치를 수배전반 하부에 설치하여 지진이나 진동을 방지하는 구성의 기술과 본 발명에서와 유사하게 폴리우레탄 재질로 구성한 우레탄 외통과 중심부에는 상, 하로 작용하는 진동을 잡기위해 코일스프링을 이용하고 상기 우레탄 외통의 내부는 공동의 상태로 단지 우레탄 소재가 가지는 탄성력만을 이용하도록 하는 기술도 있으나, 본 발명에서는 상술한 대부분의 내진방지 장치에 이용되고 있는 코일스프링이 가지는 단점인 외력에 의한 비틀림의 경우, 작용되는 힘의 크기가 크게 작용할 때 스프링이 비틀려지고 전단응력에 의하여 파손되는 경우가 발생되며 장기간 사용에 따른 스프링 처짐현상으로 원래의 탄성을 회복하지 못하고 특히 진동의 감쇄기능이 취약하여 지속적으로 전달되는 진동을 방지하지 못한다는 단점과 문제를 효과적이고 효율적으로 해결하기 위하여 압축공기의 탄성을 이용한 에어스프링을 이용하여 특히, 좌, 우 변위력과 Z축 방향의 변위력에 대하여 우수한 흡수, 감쇄 기능을 가지며, 유연한 탄성을 얻을수 있고 전달되는 아주 작은 진동도 흡수 할수 있도록 구성하고 또한, 상, 하로 작용되는 변위력에 의하여 작용되는 큰 하중의 변동을 흡수하고 감쇄하기 위하여 영구자석의 강한 자기반발력을 이용하므로서 자기에어스프링으로 전달되는 고유진동을 낮출 수 있고, 작은 진동까지도 부드럽게 흡수하여 상술한 기존 방법에 대한 다양한 문제점을 보다 효과적이고 효율적으로 개선하는 방법과 기술이 필요하였다.
상술한 문제점을 효과적이고 효율적으로 개선하고 해결하기 위한 본 발명에 의한 내진용 자기에어스프링 유닛은 기존 방식이 가지는 비틀림 및 특히 Z축 방향으로 작용하는 전단 응력변화에 취약하여 파손되거나 스프링 처짐 현상에 따른 탄성력 변화의 근본적인 문제점 개선을 위하여 창출된 것으로서, 지진이나 진동에 따른 상, 하, 좌, 우, Z축 방향의 변위력에 대하여 자기에어스프링의 압축공기 탄성력과 폴리우레탄 외통에 의한 비틀림에 의한 지지력 확보와 상부, 하부 자기반발유닛을 이용한 탄성력으로 변위력을 흡수, 완화, 감쇄할 수 있으며 수배전반의 내부에 구성되는 전기 기기와 장비무게를 포함한 수배전반 전체 무게를 충분히 지지할 수 있도록 자기에어실린더유닛을 구성할 수 있으며 상기 자기에어실린더 유닛을 수배전반의 크기와 무게, 구조에 맞도록 용이하게 배치하고 설치할 수 있는 장점을 가진 내진용 자기에어실린더 유닛을 제공데 그 목적이 있다.
상기한 바와 같은 목적을 달성하기 위하여 본 발명에 의한 내진용 자기에어실린더 유닛은 탄성 반발력이 우수한 폴리우레탄으로 원통형으로 제작된 자기에어스프링 외통과 상기 자기에어실린더 외통은 자기에어스프링 상부 플레이트와 자기에어스프링 하부플레이트와 완전히 결합, 밀봉되고 밀봉된 자기에어스프링 유닛의 내부는 지지하여야 하는 설비와 장비의 무게를 충분히 지탱할 수 있도록 계산값의 압력으로 압축공기가 채워지고 상기 자기에어스프링 유닛의 중앙, 중심부 상부와 하부에는 일정 거리로 이격된 공간을 사이에 두고 네오디움 영구자석의 반발력을 탄성력으로 이용하기 위한 상부 자기반발유닛과 하부 자기반발유닛을 내장한 상부 자기반발유닛 지지대와 하부 자기반발유닛 지지대가 구성되어지고 상기 상부 자기반발유닛 지지대와 상기 하부 자기반발유닛 지지대는 상기 자기에어스프링 내부에서 상기 자기에어스프링 상부플레이트와 상기 자기에어스프링 하부플레이트와 완전히 결합되고 상기 자기에너스프링 유닛을 수배전반이나 내진방지가 필요한 장비에 용이하게 설치하고 결합할 수 있도록 자기에어스프링 상부체결부와 자기에어스프링 하부 체결홈으로 구성되는 것을 특징으로 한다.
상기 자기에어스프링 유닛에 있어서 상술한 부속유닛들과 상부 및 하부 플레이트로 일체형으로 형성하고, 상기 자기에어스프링 유닛에 있어서 지지하거나 지탱하여야 하는 하중(무게)과 예상되는 변위력을 계산하여 상기 자기에어스프링 유닛 내부에 채워지는 압축공기의 량과 압력은 충분히 결정하여 적용 가능하다.
이와 같은 본 발명에 의한 내진용 자기에어스프링 유닛은 코일스프링이 가지는 단점인 전단 응력의 변화와 비틀림 계수 등의 영향에 따른 처짐 현상 등을 근본적으로 해결함과 동시에 압축공기가 가지는 탄성력과 영구자석을 이용한 자기반발 탄성력 및 인장력과 압축력, 수평 변위력에 대한 흡수력이 우수한 폴리우레탄 에어스프링을 이용하므로서 코일스프링과 같이 강체 스프링을 이용한 내진용 장치에 비해 탄성기능이 우수하고 완충작용에 따른 미세한 진동의 유발이 매우 작아 지진이나 큰 진동으로 인해 발생하는 크고 작은 변위력에 대하여 이를 효율적으로 흡수하고 완화하여 안정적인 설비와 장비들을 운영하기 위한 내진용 자기에어스프링을 제공하게 한다.
첨부된 도면들은 본 발명의 예시적인 실시예를 설명하는데 필요한 참조도로서, 본 발명의 기술적 사상을 첨부한 도면에 한정하여 해석하여서는 아니된다.
도 1은 본 발명에 따른 내진용 자기에어스프링 유닛의 분해 사시도이다.
도 2는 본 발명의 예시적인 실시예에 따른 내진용 자기에어스프링을 적용한 수배전반의 정면도이다.
도 3은 본 발명의 예시적인 실시예에 따른 내진용 자기에어스프링을 적용한 수배전반의 측면도이다.
본 발명을 실시하기 위한 구체적인 내용을 살펴본다.
본 발명은 내진용 자기에어실린더 유닛에 관한 것으로서 지진이나 큰 진동의 발생으로 인한 상, 하, 좌, 우 등의 X, Y, Z축 방향으로 발생하여 작용하는 변위력의 충격과 진동의 피해를 방지하기 위하여 완전히 밀봉되어 압축공기로 채워진 자기에어실린더 유닛이 가지는 공기의 탄성력과 영구자석이 가지는 자기반발 탄성력을 이용하여 진동과 충격을 흡수하고 감쇄시켜 안정적으로 전기를 공급하여야 하는 수배전반, 제어반 등 기반 시설과 주요 장비들을 보호하므로서 지진과 진동에 의한 2차적인 피해방지를 목적으로 하는 내진용 자기에어실린더를 제공하는데 있다.
본 발명에 의한 내진용 자기에어스프링 유닛은 상, 하, 좌, 우 굴절형 코일스프링을 이용한 기존의 내진방지용 장치가 가지는 비틀림 및 특히 Z축 방향으로 작용하는 전단 응력변화에 취약하여 파손되거나 스프링의 처짐 현상에 따른 탄성감소의 문제점을 해결하고 상술한 바와 같이 압축공기가 가지는 에어스프링의 탄성과 영구자석의 자기반발 탄성을 동시에 이용하므로서 진동과 충격을 탁월하게 흡수하며 불규칙한 진동까지도 흡수, 감쇄시키는 기능을 제공하여 안전성이 높은 전기수배전반이나 주요설비의 제어를 위한 장비 운용을 가능하게 지원하는 내진용 자기에어스프링 유닛에 관한 것입니다.
이하, 첨부도면을 참조하여 본 발명의 실시예에 대하여 본 발명이 속하는 기술 분야에서 통상의 지식을 가진 자가 용이하게 실시할 수 있도록 상세히 설명한다. 그러나 본 발명은 여러 가지 상이한 형태로 구현될 수 있으며 여기에서 설명하는 실시예에 한정되지 않는다.
도 1은 본 발명에 따른 내진용 자기에어스프링 유닛의 단면 구성도이다.
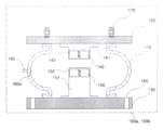
도면을 참조하면 도 1에 도시된 바와 같이, 본 발명에 따른 자기에어스프링 유닛(100a, 100b)은 상기 자기에어스프링이 지지하여야 하는 하중 및 지진이나 진동에 의해 발생되는 변위력의 예상 크기에 따라 상기 자기에어스프링 유닛의 내부에 채워지는 압축공기의 압력은 결정되어진다.
상기 자기에어스프링유닛(100a, 100b)은 폴리우레탄 재질로 중앙부가 볼록한 타이어 형상의 원통구조로 제작된 자기에어스프링 외통(110)과 상기 자기에어스프링 외통(110)은 사각형 또는 원형의 자기에어스프링 상부 플레이트(120)와 자기에어스프링 하부 플레이트(130)와 구조적으로 완전히 결합, 밀봉되어 상기 자기에어스프링 유닛(100a, 100b)의 내부에 채워지는 압축공기가 밖으로 새어 나가지 않도록 하는 통상의 에어실린터 구조로 제작되어 진다.
또한, 상기 자기에어스프링유닛(100a, 100b)의 중심부에는 수직으로 작용되는 수직변위력에 의해 유발되는 하중의 일시적인 증가와 변화를 효율적으로 흡수하고 완화하기 위하여 영구자석의 상호 반발력을 이용하여 탄성력을 가지게 하는 상부 자기반발유닛(140)과 하부 자기반발유닛(150)을 내장하고 상기 상부 자기반발유닛과 상기 하부 자기반발유닛은 자기반발력이 우수한 네오디움 영구자석의 같은 극(N극 대 N극 또는 S극 대 S극)을 서로 마주보도록 구성하고 상기 상부 자기반발유닛과 상기 하부 자기반발유닛의 파손을 방지하고 구조적인 안정을 위하여 상부 자기반발유닛 보호몰딩체(142)와 하부 자기반발유닛 보호몰딩체(152)에 수납되어 상부 자기반발유닛 지지대(141)와 하부 자기반발유닛 지지대(151) 속에 일체형으로 설치 되어진다.
그리고 상기 자기에어스프링유닛(100a, 100b)의 내부에 채워지는 압축공기의 압력과 공기량은 상술한 바와 같이 내진용 자기에어스프링유닛에 가해지는 기기 또는 장비의 무게와 예상되는 변위력의 크기에 따라 결정할 수 있고 이에 따라 결정된 압력으로 압축공기를 주입하기 위한 압축공기 주입구(160)가 상기 자기에어스프링 외통(110)의 일측에 구비하고 상기 압축공기 주입구(160)의 내측에는 압축공기 역류방지용 고무플랫(160a)을 구비하여 일정 압력으로 채워진 압축공기가 외부로 빠져나가는 것을 방지하는 기능을 하게 한다.
도 1에 도시된 바와 같이 상기 자기에어스프링유닛(100a, 100b)이 개제되어 장비 또는 설비를 지지하고 결합을 용이하게 하기 위하여 상기 자기에어스프링 상부 플레이트(120)는 상술한 장비 또는 설비와의 체결을 위한 볼트가 상기 자기에어스프링 상부 플레이트에 일정 깊이로 삽입되어 플레이트와 완전히 결합된 자기에어스프링 상부체결부(170)를 갖추고 이러한 상기 자기에어스프링 상부 체결부(170)는 본 발명에 의해 여러 가지 상이한 형태로 구현될 수 있으므로 다수개의 자기에어스프링 상부 체결부(170)를 가지도록 구성할 수 있으며, 상기 내진용 자기에어스프링유닛(100a, 100b)이 개제되어 장비 또는 설비를 지지하고 결합을 용이하게 하기 위하여 자기에어스프링 하부 체결홈(180)을 구비하여 볼트와 너트를 이용하여 상기 자기에어스프링유닛(100a, 100b)이 장비 또는 설비와 안전하게 결합되도록 한다.
도 2는 본 발명의 예시적인 실시예에 따른 내진용 자기에어스프링을 적용한 수배전반의 정면도로서, 도면에 도시된 바와 같이 전기 수배전반의 경우 고압의 전기를 강압하거나 전기를 배분하기 위하여 전기 수배전반의 내부에는 변압기, 고압차단기, 고압 진공전자접촉기, 배선용 차단기, 변류기, 연결용 케이블 등의 각종 전기기기 및 전기 장비가 다수개가 설치되고 이러한 전기 수배전반은 수배전반 외함(210)과 상술한 각종 전기기기 및 전기 장비들을 수납하고 장착하기 위한 수배전반 내부 큐비클(220)로 구성되고 통상의 수배전반은 다양한 크기(예 : 폭 1200mm× 깊이 2000mm× 높이 2300mm)를 가지는 것으로서 완성된 전기 수배전반 전체의 무게는 특정할 수 없지만 통상 1,000kg에서 2,000kg의 무게를 가지고 수배전반 외함(210)의 경우 약 500kg 내외의 무게를 가지는 것이 많다.
그리고 전기 수배전반은 상술한 수배전반 외함(210)과 내부 큐비클(220)의 강철 프레임들이 서로 용접되고 볼트와 너트로 단단히 체결되어 외부에서 가해지는 변위력이 발생될 경우 수배전반 내부 큐비클(220)에 수납되고 장착된 전기 기기 및 전기 장비가 흔들리거나 심한 진동으로 인하여 기기 및 장비가 손상되거나 오작동하게 하는 원인이 되어 안정적인 전기의 공급에 문제가 발생하고 전기 수배전반으로부터 전기를 공급받아 운영되는 펌프와 팬 등의 모터부하를 제어하고 운전하는 외부 기계설비나 조명, 전열, 일반 전기설비를 제어하고 운전하는 외부 전기설비에 전기를 공급할 수 없는 심각한 운영의 지장을 초래하거나 심하면 연결된 전기 케이블의 이탈로 지락사고나 감전사고를 일시에 유발할 수 문제점을 가지고 있다.
또한, 옥내형 전기 수배전반의 경우 전기실 바닥을 지지하고 자립하여 설치되고 옥외에 설치되는 전기 수배전반의 경우는 일정의 크기로 만들어진 베이스 콘크리트 위에 설치되는데 지진이나 큰 진동에 의하여 바닥으로부터 가해지는 상하, 좌우 등 X, Y, Z축 방향으로 작용하는 변위력은 상기 수배전반 외함(210)으로부터 직접적으로 수배전반 내부 큐비클(220)로 전달되게 되는데 도 2에 도시된 바와 같이 상술한 변위력을 효율적으로 흡수하고 완화하기 위하여 상기 내진용 자기에어스프링유닛(100a, 100b)을 수배전반 베이스(230)와 상기 수배전반 내부 큐비클(220) 사이에 다수개를 배치할 수 있는데 가령, 상기 내진용 자기에어스프링유닛(100a, 100b) 한 개가 지지할 수 있는 무게(하중, 중량)가 200kg이라 가정하였을 때 상기 수배전반 내부 큐비클(220) 무게와 상기 수배전반 내부 큐비클(220)에 장착된 전기 기기와 장비 및 케이블류의 무게를 합한 전체 무게가 1,000kg이라 하였을 때 상기 내진용 자기에어스프링유닛(100a, 100b)은 여유율을 고려하여 6개를 설치하는 것이 바람직하다 할 수 있다.
또한, 상기 내진용 자기에어스프링유닛(100a, 100b)의 상기 자기에어스프링 상부체결부(170)를 이용하여 상기 수배전반 내부 큐비클(220)의 하부와 결합하고 상기 내진용 자기에어스프링유닛(100a, 100b)의 자기에어스프링 하부체결홈(180)을 이용하여 볼트와 너트로 상기 수배전반 베이스(230)와 결합하므로서 지진이나 큰 진동으로 인하여 발생되는 상하, 좌우 등 X, Y, Z축 방향으로 작용하는 변위력을 상기 내진용 자기에어스프링유닛(100a, 100b)의 자기에어스프링 외통(110)이 이를 흡수하고 이와 더불어 상하로 작용하는 아주 큰 변위력의 경우 상기 상부 자기반발유닛(140)과 하부 자기반발유닛(150)이 가지는 자기 반발력에 의해 흡수되고 완화되어 진다.
도 3은 본 발명의 예시적인 실시예에 따른 내진용 자기에어스프링을 적용한 수배전반의 측면도로서, 도면에 도시된 바와 같이 상술한 상하, 좌우 등 X, Y, Z축 방향으로 작용하는 변위력은 상기 수배전반 외함(210)으로부터 직접적으로 수배전반 내부 큐비클(220)로 전달되게 되는데 이를 흡수하고 완화하기 위하여 상기 내진용 자기에어스프링유닛(100a, 100b)을 상기 수배전반 외함(210)과 상기 수배전반 내부 큐비클(220)사이에 다수개를 설치하고 상기 내진용 자기에어스프링유닛(100a, 100b)의 상기 자기에어스프링 상부체결부(170)를 이용하여 상기 수배전반 내부 큐비클(220)과 결합하고 상기 내진용 자기에어스프링유닛(100a, 100b)의 자기에어스프링 하부체결홈(180)을 이용하여 볼트와 너트로 상기 수배전반 베이스(230)와 결합하므로서 상술한 변위력 발생에 따른 진동을 효율적이고 효과적으로 해결할 수 있다.
이상을 통해 본 발명의 바람직한 실시예에 대하여 설명하였지만, 본 발명은 이에 한정되는 것이 아니고 특허청구 범위와 상세한 설명 및 첨부한 도면의 범위 안에서 여러 가지로 변형하여 실시하는 것이 가능하고 이 또한 본 발명의 범위에 속하는 것은 당연하다.
100a, 100b : 자기에어스프링 유닛
110 : 자기에어스프링 외통 120 : 자기에어스프링 상부플레이트
130 : 자기에어스프링 하부플레이트 140 : 상부 자기반발유닛
141 : 상부 자기반발유닛 지지대 142 : 상부 자기반발유닛 보호몰딩체
150 : 하부 자기반발유닛 151 : 하부 자기반발유닛 지지대
152 : 하부 자기반발유닛 보호몰딩체 160 : 압축공기주입구
160a : 압축공기 역류방지용 고무플랫 170 : 자기에어스프링 상부체결부
180 : 자기에어스프링 하부체결홈 210 : 수배전반 외함
220 : 수배전반 내부큐비클 230 : 수배전반 베이스

Claims (6)

  1. 내진용 자기에어스프링 유닛.(110a, 110b)에 있어서,
    폴리우레탄으로 중앙부가 볼록한 타이어 형상의 원통형으로 형성된 자기에어스프링 외통(110)과,
    상기 자기에어스프링 외통(110)의 상부 및 하부에 밀봉 결합되는 자기에어스프링 상부 플레이트(120)와 자기에어스프링 하부 플레이트(130)와,
    상기 자기에어스프링 외통(110)의 내부에 설치되어, 자기 반발력을 형성하기 위하여 상부에 상부 자기반발유닛(140)이 설치되고, 하부에 하부 자기반발유닛(150)이 설치됨을 특징으로 하는 내진용 자기에어스프링 유닛.
  2. 제1항에 있어서,
    자기에어스프링 외통(110)과, 자기에어스프링 외통(110)의 상부 및 하부로 둘러싸인 밀봉 결합된 내부에 반발력을 높이기 위하여 압축공기로 채워짐을 특징으로 하는 내진용 자기에어스프링 유닛.
  3. 제1항 또는 제2항에 있어서,
    상기 자기에어스프링 외통(110)의 중앙의 상부 및 하부에는 자석의 반발력을 얻기 위하여 상부에 설치되는 상부 자기반발유닛(140)과 하부에 설치되는 하부 자기반발유닛(150)이 서로 동일 극성이 서로 마주하도록 설치하되, 상부 자기반발유닛(140)과 하부 자기반발유닛(150) 각각을 지지하기 위한 상부 자기반발유닛 지지대(141)와 하부 자기반발유닛 지지대(151)를 더 구비함을 특징으로 하는 내진용 자기에어스프링 유닛.
  4. 제1항 또는 제2항에 있어서,
    상기 자기에어스프링 외통(110)의 일측에 압축공기 주입구(160)가 형성되고,
    상기 압축공기 주입구(160)의 내측에는 압축공기 역류방지용 고무플랫(160a)이 설치됨을 특징으로 하는 내진용 자기에어스프링 유닛.
  5. 제1항 또는 제2항에 있어서,
    상기 자기에어스프링 상부 플레이트(120)에는 자기에어스프링 상부 체결부(170)를 구비하고,
    상기 자기에어스프링 하부 플레이트(130)에는 자기에어스프링 하부 체결홈(180)을 구비하여 볼트와 너트로 고정 설치됨을 특징으로 하는 내진용 자기에어스프링 유닛.
  6. 제1항 또는 제2항에 있어서,
    상기 상부 자기반발유닛(140)과 하부 자기반발유닛(150)은 네오디움 영구자석을 이용하여 같은 극을 서로 마주보도록 구성함을 특징으로 하는 내진용 자기에어스프링 유닛.
KR1020190128145A 2019-10-16 2019-10-16 내진용 자기에어스프링 유닛이 내장된 수배전반 Expired - Fee Related KR102183834B1 (ko)

Priority Applications (1)

Application Number Priority Date Filing Date Title
KR1020190128145A KR102183834B1 (ko) 2019-10-16 2019-10-16 내진용 자기에어스프링 유닛이 내장된 수배전반

Applications Claiming Priority (1)

Application Number Priority Date Filing Date Title
KR1020190128145A KR102183834B1 (ko) 2019-10-16 2019-10-16 내진용 자기에어스프링 유닛이 내장된 수배전반

Related Parent Applications (1)

Application Number Title Priority Date Filing Date
KR1020170168911A Division KR20190068772A (ko) 2017-12-11 2017-12-11 내진용 자기에어스프링유닛

Publications (2)

Publication Number Publication Date
KR20190120130A true KR20190120130A (ko) 2019-10-23
KR102183834B1 KR102183834B1 (ko) 2020-11-27

Family

ID=68460823

Family Applications (1)

Application Number Title Priority Date Filing Date
KR1020190128145A Expired - Fee Related KR102183834B1 (ko) 2019-10-16 2019-10-16 내진용 자기에어스프링 유닛이 내장된 수배전반

Country Status (1)

Country Link
KR (1) KR102183834B1 (ko)

Cited By (3)

* Cited by examiner, † Cited by third party
Publication number Priority date Publication date Assignee Title
CN111677799A (zh) * 2020-06-29 2020-09-18 哈尔滨工业大学 基于水平预压弹簧的三自由度电磁隔振器
CN111734776A (zh) * 2020-06-29 2020-10-02 哈尔滨工业大学 基于水平预压弹簧与磁弹簧并联的三自由度低频隔振器
KR102321758B1 (ko) 2021-02-24 2021-11-04 이에스솔라 주식회사 수배전반의 진동흡수장치

Citations (3)

* Cited by examiner, † Cited by third party
Publication number Priority date Publication date Assignee Title
KR20010059226A (ko) * 1999-12-30 2001-07-06 이계안 주파수 가변형 댐퍼
KR20120101862A (ko) * 2011-03-07 2012-09-17 한국생산기술연구원 자기 베어링형 진동 저감장치
KR20130117243A (ko) * 2012-04-18 2013-10-25 이택임 침대나 의자의 자기 부상식 쿠션 장치

Patent Citations (3)

* Cited by examiner, † Cited by third party
Publication number Priority date Publication date Assignee Title
KR20010059226A (ko) * 1999-12-30 2001-07-06 이계안 주파수 가변형 댐퍼
KR20120101862A (ko) * 2011-03-07 2012-09-17 한국생산기술연구원 자기 베어링형 진동 저감장치
KR20130117243A (ko) * 2012-04-18 2013-10-25 이택임 침대나 의자의 자기 부상식 쿠션 장치

Cited By (5)

* Cited by examiner, † Cited by third party
Publication number Priority date Publication date Assignee Title
CN111677799A (zh) * 2020-06-29 2020-09-18 哈尔滨工业大学 基于水平预压弹簧的三自由度电磁隔振器
CN111734776A (zh) * 2020-06-29 2020-10-02 哈尔滨工业大学 基于水平预压弹簧与磁弹簧并联的三自由度低频隔振器
CN111734776B (zh) * 2020-06-29 2021-11-16 哈尔滨工业大学 基于水平预压弹簧与磁弹簧并联的三自由度低频隔振器
CN111677799B (zh) * 2020-06-29 2021-11-16 哈尔滨工业大学 基于水平预压弹簧的三自由度电磁隔振器
KR102321758B1 (ko) 2021-02-24 2021-11-04 이에스솔라 주식회사 수배전반의 진동흡수장치

Also Published As

Publication number Publication date
KR102183834B1 (ko) 2020-11-27

Similar Documents

Publication Publication Date Title
KR101561039B1 (ko) 방진 및 내진 성능을 갖춘 수배전반
KR101495094B1 (ko) 배전설비용 내진 장치
KR101081571B1 (ko) 내진스프링을 이용한 수배전반용 내진장치
KR102321758B1 (ko) 수배전반의 진동흡수장치
KR101774285B1 (ko) 구면와셔와 압축스프링과 면진블록을 이용한 수배전반용 면진장치
KR101091183B1 (ko) 수배전반용 내진장치
KR101765245B1 (ko) 내진구조를 갖는 배전함
KR101232336B1 (ko) 수배전반용 진동패드 및 그 진동패드가 구성된 수배전반의 하부구조
KR101515791B1 (ko) 내진기능을 갖는 수배전반
KR101757706B1 (ko) 내진장치가 구비된 배전반
KR102183834B1 (ko) 내진용 자기에어스프링 유닛이 내장된 수배전반
KR20210042791A (ko) 배전반 접속함 등 전기관련장비의 내진장치
KR100882296B1 (ko) 진동흡수형 수배전반
KR101754352B1 (ko) 면진 및 내진 기능이 구비된 수배전반(고압 배전반, 저압 배전반, 분전반, mcc)
KR101476735B1 (ko) 내진설비가 설치된 수배전반
KR101757703B1 (ko) 내진장치가 구비된 배전반
KR101757704B1 (ko) 내진장치가 구비된 배전반
KR20190068772A (ko) 내진용 자기에어스프링유닛
KR101757702B1 (ko) 내진장치가 구비된 배전반
KR101757708B1 (ko) 내진장치가 구비된 배전반
KR101541655B1 (ko) 구성기기 무게별 진동 흡수 강체 모드가 적용된 제진형 내진 수배전반
KR102714251B1 (ko) 전기관련장비의 내진장치
KR102585078B1 (ko) 수배전반용 내진장치
KR102387624B1 (ko) 다방향 충격진동 흡수기능을 갖는 면진장치에 의한 사고확산 방지형 배전반(고압배전반, 저압배전반, 전동기제어반, 분전반)
KR102416437B1 (ko) 내진장치 및 이를 구비한 수배전반

Legal Events

Date Code Title Description
A107 Divisional application of patent
A201 Request for examination
PA0107 Divisional application

St.27 status event code: A-0-1-A10-A18-div-PA0107

St.27 status event code: A-0-1-A10-A16-div-PA0107

PA0201 Request for examination

St.27 status event code: A-1-2-D10-D11-exm-PA0201

PG1501 Laying open of application

St.27 status event code: A-1-1-Q10-Q12-nap-PG1501

E902 Notification of reason for refusal
PE0902 Notice of grounds for rejection

St.27 status event code: A-1-2-D10-D21-exm-PE0902

T11-X000 Administrative time limit extension requested

St.27 status event code: U-3-3-T10-T11-oth-X000

E13-X000 Pre-grant limitation requested

St.27 status event code: A-2-3-E10-E13-lim-X000

P11-X000 Amendment of application requested

St.27 status event code: A-2-2-P10-P11-nap-X000

P13-X000 Application amended

St.27 status event code: A-2-2-P10-P13-nap-X000

E701 Decision to grant or registration of patent right
PE0701 Decision of registration

St.27 status event code: A-1-2-D10-D22-exm-PE0701

GRNT Written decision to grant
PR0701 Registration of establishment

St.27 status event code: A-2-4-F10-F11-exm-PR0701

PR1002 Payment of registration fee

St.27 status event code: A-2-2-U10-U11-oth-PR1002

Fee payment year number: 1

PG1601 Publication of registration

St.27 status event code: A-4-4-Q10-Q13-nap-PG1601

R18-X000 Changes to party contact information recorded

St.27 status event code: A-5-5-R10-R18-oth-X000

PN2301 Change of applicant

St.27 status event code: A-5-5-R10-R11-asn-PN2301

PN2301 Change of applicant

St.27 status event code: A-5-5-R10-R14-asn-PN2301

R18-X000 Changes to party contact information recorded

St.27 status event code: A-5-5-R10-R18-oth-X000

PR1001 Payment of annual fee

St.27 status event code: A-4-4-U10-U11-oth-PR1001

Fee payment year number: 4

PC1903 Unpaid annual fee

St.27 status event code: A-4-4-U10-U13-oth-PC1903

Not in force date: 20241124

Payment event data comment text: Termination Category : DEFAULT_OF_REGISTRATION_FEE

H13 Ip right lapsed

Free format text: ST27 STATUS EVENT CODE: N-4-6-H10-H13-OTH-PC1903 (AS PROVIDED BY THE NATIONAL OFFICE); TERMINATION CATEGORY : DEFAULT_OF_REGISTRATION_FEE

Effective date: 20241124

PC1903 Unpaid annual fee

St.27 status event code: N-4-6-H10-H13-oth-PC1903

Ip right cessation event data comment text: Termination Category : DEFAULT_OF_REGISTRATION_FEE

Not in force date: 20241124