KR20190089667A - 세면대용 배수장치 - Google Patents

세면대용 배수장치 Download PDF

Info

Publication number
KR20190089667A
KR20190089667A KR1020180008505A KR20180008505A KR20190089667A KR 20190089667 A KR20190089667 A KR 20190089667A KR 1020180008505 A KR1020180008505 A KR 1020180008505A KR 20180008505 A KR20180008505 A KR 20180008505A KR 20190089667 A KR20190089667 A KR 20190089667A
Authority
KR
South Korea
Prior art keywords
drainage
washstand
trap
drain
drain pipe
Prior art date
Legal status (The legal status is an assumption and is not a legal conclusion. Google has not performed a legal analysis and makes no representation as to the accuracy of the status listed.)
Ceased
Application number
KR1020180008505A
Other languages
English (en)
Inventor
이주영
Original Assignee
이주영
Priority date (The priority date is an assumption and is not a legal conclusion. Google has not performed a legal analysis and makes no representation as to the accuracy of the date listed.)
Filing date
Publication date
Application filed by 이주영 filed Critical 이주영
Priority to KR1020180008505A priority Critical patent/KR20190089667A/ko
Publication of KR20190089667A publication Critical patent/KR20190089667A/ko
Ceased legal-status Critical Current

Links

Images

Classifications

    • EFIXED CONSTRUCTIONS
    • E03WATER SUPPLY; SEWERAGE
    • E03CDOMESTIC PLUMBING INSTALLATIONS FOR FRESH WATER OR WASTE WATER; SINKS
    • E03C1/00Domestic plumbing installations for fresh water or waste water; Sinks
    • E03C1/12Plumbing installations for waste water; Basins or fountains connected thereto; Sinks
    • E03C1/14Wash-basins connected to the waste-pipe
    • FMECHANICAL ENGINEERING; LIGHTING; HEATING; WEAPONS; BLASTING
    • F16ENGINEERING ELEMENTS AND UNITS; GENERAL MEASURES FOR PRODUCING AND MAINTAINING EFFECTIVE FUNCTIONING OF MACHINES OR INSTALLATIONS; THERMAL INSULATION IN GENERAL
    • F16KVALVES; TAPS; COCKS; ACTUATING-FLOATS; DEVICES FOR VENTING OR AERATING
    • F16K15/00Check valves
    • F16K15/02Check valves with guided rigid valve members
    • F16K15/03Check valves with guided rigid valve members with a hinged closure member or with a pivoted closure member
    • FMECHANICAL ENGINEERING; LIGHTING; HEATING; WEAPONS; BLASTING
    • F16ENGINEERING ELEMENTS AND UNITS; GENERAL MEASURES FOR PRODUCING AND MAINTAINING EFFECTIVE FUNCTIONING OF MACHINES OR INSTALLATIONS; THERMAL INSULATION IN GENERAL
    • F16LPIPES; JOINTS OR FITTINGS FOR PIPES; SUPPORTS FOR PIPES, CABLES OR PROTECTIVE TUBING; MEANS FOR THERMAL INSULATION IN GENERAL
    • F16L5/00Devices for use where pipes, cables or protective tubing pass through walls or partitions
    • F16L5/02Sealing
    • YGENERAL TAGGING OF NEW TECHNOLOGICAL DEVELOPMENTS; GENERAL TAGGING OF CROSS-SECTIONAL TECHNOLOGIES SPANNING OVER SEVERAL SECTIONS OF THE IPC; TECHNICAL SUBJECTS COVERED BY FORMER USPC CROSS-REFERENCE ART COLLECTIONS [XRACs] AND DIGESTS
    • Y10TECHNICAL SUBJECTS COVERED BY FORMER USPC
    • Y10STECHNICAL SUBJECTS COVERED BY FORMER USPC CROSS-REFERENCE ART COLLECTIONS [XRACs] AND DIGESTS
    • Y10S4/00Baths, closets, sinks, and spittoons
    • Y10S4/07House plumbing fittings

Landscapes

  • Engineering & Computer Science (AREA)
  • General Engineering & Computer Science (AREA)
  • Mechanical Engineering (AREA)
  • Environmental & Geological Engineering (AREA)
  • Health & Medical Sciences (AREA)
  • Life Sciences & Earth Sciences (AREA)
  • Hydrology & Water Resources (AREA)
  • Public Health (AREA)
  • Water Supply & Treatment (AREA)
  • Sink And Installation For Waste Water (AREA)

Abstract

본 발명은, 세면대의 배수와 바닥의 배수에 겸용으로 사용되는 세면대용 배수장치로서, 세면대(2)에 연결되고, 굴곡 가능한 유연한 소재로 형성되며, 세면대(2)의 오수가 배출되는 세면대배수관(10); 상부가 세면대배수관(10)의 하단에 연결되고, 세면대배수관(10)으로부터 오수가 유입되는 관상의 몸체(20); 하측부(31)는 바닥(4)에 매설된 바닥배수관(5)에 분리 가능하게 연결되고, 상측부(32)는 바닥(4) 위로 노출되어 몸체(20)의 하측에 분리 가능하게 연결되고, 상측부(32)의 노출된 외주벽 둘레에는 수직방향으로 배수공(33)과 거름대(34)가 형성되어 있으며, 세면대(2)의 오수는 몸체(20)로부터 유입되고, 바닥(4)의 오수는 배수공(33을 통해서 유입되는 트랩슬리브(30); 및 트랩슬리브(30) 내에 탈착 가능하게 장착되고, 트랩슬리브(30)에서 바닥배수관(5)으로 오수가 배수되는 것은 허용하면서, 바닥배수관(5)으로부터 악취가 역류하는 것은 차단하는 트랩기구(40); 를 포함한다.

Description

세면대용 배수장치{Drain Device for Washstand}
본 발명은 세면대용 배수장치에 관한 것이며, 보다 구체적으로는 세면대에서 배수되는 오수와 바닥의 오수 모두에 대해, 악취의 역류를 방지하고 이물을 걸러 낼 수 있을 뿐만 아니라, 바닥에서 점유하는 면적을 최소화함과 아울러 세면대배수관을 유연성 소재로 형성함으로써, 세면대의 다리와 벽체 사이의 협소한 공간에서도 장치의 설치와 유지보수 작업을 용이하게 실행할 수 있는 세면대용 배수장치에 관한 것이다.
예를 들어 세면대가 설치된 욕실에는, 세면대와 바닥에서 발생한 오수를 하수관으로 배수하기 위한 배수장치가 설치된다. 이런 욕실의 배수장치는, 해당 욕실의 특성에 따라 매우 다양하게 구축될 수 있으나, 일반적으로 바닥에 매설되어 오수를 하수관으로 배출하는 바닥배수관, 바닥에서 발생한 오수를 바닥배수관으로 배수하기 위한 바닥배수트랩, 및 세면대에서 배출된 오수를 바닥배수관으로 배수하기 위한 팝업밸브와 세면대배수트랩 등을 포함한다.
널리 알려진 바와 같이, 배수트랩은 오수에서 발생된 악취나 해충이 욕실 등의 실내로 역류하는 것을 차단하고, 오수에 포함된 머리카락과 같은 이물을 걸러내기도 하는 기구이며, 그 적용 대상에 따라 매우 다양하게 개발되어 있다.
예를 들어 배수트랩으로는, S형 및 P형 등과 같이 배수관 자체의 형상에 의해 수봉을 하는 '관트랩'이나, 종을 엎어 놓은 모양으로 수봉을 만드는 종형 트랩(벨 트랩이라고도 한다.), 및 봉수에 의해서가 아닌 물의 하중에 의해 개폐되는 개폐판이나 개폐막으로 악취의 역류를 차단하는 개폐식 트랩 등이 있다.
세면대의 배수장치에 관한 선행기술문헌으로는, 대한민국 등록실용신안 제20-0458962호의 '세면대용 배수트랩'과 대한민국 등록디자인 제30-0705319호의 '세면기용 배수관' 등이 있고, 이들 선행기술문헌에는 전통적인 관트랩 대신에 팝업밸브 아래의 세면대배수관 내에 종형 트랩을 내장한 기술이 개시되어 있다. 이렇게 배수트랩을 세면대배수관에 내장하는 경우는, 바닥의 오수를 배출하기 위하여 세면대의 배수장치와는 별도로 바닥배수트랩을 설치하여야 한다.
배수장치에 관한 선행기술로서는, 하나의 배수트랩만을 적용하여, 세면대(세탁기)의 오수와 바닥의 오수에 겸용으로 사용하는 기술이 널리 개발되어 있으며, 이런 예로서는 대한민국 등록실용신안 제20-0262219호의 '악취방지용 배수구', 대한민국 등록실용신안 제20-0305382호의 '조립식 욕실용 배수장치의 호스연결구조', 대한민국 등록실용신안 제20-0356288호의 '역류방지용 배수전과 세면기의 연결구조', 및 대한민국 공개특허 제10-2006-0052724호의 '세탁기용 배수 트랩', 대한민국 등록디자인 제30-0394107호의 '이중배수트랩용 세탁 오수 연결관', 대한민국 등록디자인 제30-0340935호의 '배수트랩용 덮개판, 및 대한민국 등록디자인 제30-0112091호의 '배수트랩용덮개' 등이 있다.
세면대의 오수를 배수하기 위한 배수장치를 욕실에 시공함에 있어서는, 세면대의 아래에 배관되는 세면대배수관을, 세면대가 설치되는 벽체 쪽으로 배관하거나, 세면대의 아래에 있는 바닥으로 배관하며, 특히 하나의 배수트랩을 바닥과 세면대(세탁기)에 겸용하는 배수장치의 경우는 세면대배수관을 세면대의 아래의 바닥에 배관하게 된다.
세면대배수관을 세면대 바로 아래의 바닥으로 배관하는 경우, 욕실공간의 효율적 활용과 미관의 관점에서, 시야에 노출되지 않도록 세면대배수관을 세면대가 설치되는 벽체와 세면대 다리 사이의 공간을 따라 배관하는 것이 일반적이며, 이럴 경우 벽체와 세면대 다리 사이의 협소한 공간으로 인하여, 세면대배수관과 트랩을 설치하고 유지 및 보수하는 작업이 매우 불편하게 된다. 특히 세면대배수관으로서 금속관이나 플라스틱 관과 같은 경질의 관을 적용할 경우에, 세면대배수관의 경직성으로 인하여 그 설치와 유지보수 작업이 더욱 불편하다.
더욱이, 하나의 배수트랩을 세면대와 바닥에 겸용으로 사용하는 종래의 배수장치의 경우, 겸용을 위해 트랩에는 넓은 판상의 그릴형 거름판을 적용하면서 그릴형 거름판의 일측에 장착공을 형성하는 한편, 세면대배수관의 하단을 상기 장착공에 삽입ㅇ장착하는 구조를 채용함으로써, 세면대로부터의 오수는 장착공을 통해 배수트랩으로 유입되게 하고, 바닥으로부터의 오수는 장착공이 형성되어 있지 아니하는 그릴형 거름판의 나머지 면을 통해 배수트랩으로 유입되도록 하고 있는 바, 공간효율과 미관을 위해, 세면대가 설치되는 벽체와 세면대 다리 사이의 공간에 세면대배수관을 배관하고 그 아래의 바닥에 넓은 면적의 그릴형 거름판을 배치하고자 할 경우, 협소한 공간이 세면대배수관과 그릴형 거름판의 배치를 간섭하는 경우가 많으므로, 배수장치의 설치 작업에 상당한 제약이 있을 뿐만 아니라, 설치된 배수장치를 유지 및 보수하는 작업이 매우 불편하며, 경질의 세면대배수관을 적용할 경우에는 그 설치 작업 및 유지보수 작업에 대한 제약은 더욱 커지게 된다.
본 발명의 목적은, 세면대의 배수와 바닥의 배수에 겸용으로 사용됨으로써, 세면대에서 발생한 오수뿐만 아니라 바닥의 오수에 대해서도, 악취의 역류를 방지하고 이물을 걸러 낼 수 있는, 세면대용 배수장치를 제공하고자 하는 것이다.
본 발명의 목적은, 세면대의 배수와 바닥의 배수에 겸용으로 사용되는 세면대용 배수장치로서, 공간효율과 미관을 위해 세면대가 설치되는 벽체와 세면기의 다리 사이의 협소한 공간에 설치함에 있어서, 협소한 공간에도 불구하고 보다 용이하게 설치하고 유지보수 작업을 할 수 있는, 세면대용 배수장치를 제공하고자 하는 것이다.
본 발명의 목적은, 머리카락과 같은 이물을 보다 확실하게 걸러낼 수 있고, 걸러진 오물을 쉽게 청소할 수 있는, 세면대용 배수장치를 제공하고자 하는 것이다.
본 발명의 목적은, 세면대와 벽체 사이의 공간에 맞게 배치위치를 조절할 수 있는 세면대용 배수장치를 제공하고자 하는 것이다.
본 발명에 따라 세면대용 배수장치가 제공된다.
본 발명에 따른 세면대용 배수장치는, 세면대배수관, 몸체, 트랩슬리브 및 트랩기구를 포함한다.
상기 세면대배수관은, 세면대에 연결되고, 굴곡 가능한 유연한 소재로 형성되며, 세면대의 오수가 배출되는 관이다.
상기 몸체는, 상부가 상기 세면대배수관의 하단에 연결되고, 상기 세면대배수관으로부터 오수가 유입되는 관상의 부재이다.
상기 트랩슬리브는 하측부와 상측부를 포함하며, 상기 하측부는 바닥에 매설된 바닥배수관에 분리 가능하게 연결되고, 상측부는 바닥 위로 노출되어 상기 몸체의 하측에 분리 가능하게 연결된다. 상기 상측부의 노출된 외주벽 둘레에는 수직방향으로 배수공과 거름대가 형성되어 있다. 상기 세면대의 오수는 상기 몸체로부터 상기 트랩슬리브로 유입되고, 바닥의 오수는 상기 배수공을 통해서 상기 트랩슬리브로 유입된다.
상기 트랩기구는, 상기 트랩슬리브 내에 탈착 가능하게 장착되고, 상기 트랩슬리브에서 상기 바닥배수관으로 오수가 배수되는 것은 허용하면서, 상기 바닥배수관으로부터 악취가 역류하는 것은 차단한다.
본 발명에 따른 세면대용 배수장치는, 상기 세면대배수관에서 상기 트랩슬리브로 유입된 오수가 상기 배수공을 통해 바닥으로 흘러나가는 것을 방지하기 위해, 배수가이드를 포함할 수 있다. 상기 배수가이드는, 상기 세면대배수관으로부터의 오수를 상기 배수공 보다 낮은 위치까지 안내한다.
상기 배수가이드는, 상기 몸체의 상측 내면에 형성하되 상기 배수공 보다 낮은 위치까지 상기 트랩슬리브 내로 길게 형성할 수 있다.
상기 배수가이드는, 상기 세면대배수관을 상기 몸체에 연결하는 연결소켓에 형성하되 상기 배수공 보다 낮은 위치까지 상기 트랩슬리브 내로 길게 형성할 수 있다.
본 발명에 따른 세면대용 배수장치는, 상기 트랩슬리브의 상기 배수공의 외측 둘레에 형성되고, 상기 배수공으로 유입되는 바닥의 배수에서 이물을 걸러내는 거름부재를 더 포함할 수 있다.
상기 거름부재는, 일측에 절단부가 형성된 고리 형상의 장착고리부 및 상기 장착고리부의 둘레에 일정간격으로 수평방향으로 방사형으로 형성된 거름돌기를 포함할 수 있다.
상기 거름부재는, 상기 절단부를 벌려서 상기 장착고리부를 상기 트랩슬리브의 외주 둘레에 끼우고 상기 거름돌기가 바닥에 닿도록, 상기 트랩슬리브에 설치할 수 있다.
상기 몸체의 내측 상부에는 상기 거름대의 외측 위치에, 하단에 환상의 장착홈을 구비한 설치대를 형성할 수 있고, 상기 거름부재는, 상기 장착홈에 삽입 장착되는 고리 형상의 장착고리부 및 상기 장착고리부의 둘레에 일정간격을 형성되되 바닥 까지 길게 돌출 형성된 거름돌기를 포함할 수 있다.
상기 몸체는, 상기 몸체와 상기 세면대배수관의 연결 중심축과 상기 몸체와 상기 트랩슬리브의 연결 중심축이 수평방향으로 일정 거리 어긋나 있는 편심 형상으로 형성할 수 있다.
본 발명에 따른 세면대용 배수장치의 효과는 다음과 같다.
첫째, 본 발명의 세면대용 배수장치는, 세면대의 배수 뿐만 아니라 바닥의 배수에 겸용으로 사용되므로, 욕실에 설치되는 배수장치의 비용을 절감할 수 있다.
둘째, 상기 세면대배수관이 굴곡 가능한 유연소재로 형성되어 있는 것과 더불어, 상기 트랩슬리브의 거름대와 배수공을 수평이 아닌 수직방향으로 형성하여 바닥에서 점유하는 면적을 최소화하고 있기 때문에, 본 발명의 세면대용 배수장치를 세면대 다리와 벽체 사이의 협소한 공간에 설치할 때, 세면대 다리 등에 의한 간섭을 덜 받게 되며, 따라서 장치의 설치작업은 물론 청소 등 유지보수작업을 용이하게 실행할 수 있다.
셋째, 상기 몸체를 편심형상으로 형성하여, 협소한 세면대와 벽체 사이의 공간에 맞게 상기 몸체를 적당한 방향으로 회전할 수 있으므로, 본 발명의 배수장치의 설치 및 유지보수를 보다 편리하게 실행할 수 있다.
넷째, 상기 거름부재의 추가함으로써, 머리카락과 같은 이물을 보다 확실하게 걸러내고 용이하게 청소할 수 있다.
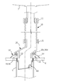
도1은 본 발명에 따른 예시적인 세면대용 배수장치의 사용상태도.
도2와 도3은 본 발명에 따른 예시적인 세면대용 배수장치의 분해사시도와 개략 단면도.
도4와 도5는 본 발명에 따른 다른 예시적인 세면대용 배수장치의 분해사시도와 개략 단면도.
도6과 도7은 본 발명에 따른 또 다른 예시적인 세면대용 배수장치의 개략 단면도.
이하, 첨부도면을 참조하여 본 발명에 따른 세면대용 배수장치를 보다 상세하게 설명한다. 이하의 구체예는 본 발명에 따른 배수트랩을 예시적으로 설명하는 것일 뿐, 본 발명의 범위를 제한하지 아니한다.
도1에 도시된 바와 같이, 본 발명에 따른 세면대용 배수장치(1)는, 예를 들어 욕실과 같이, 세면대(2)가 일측 벽체(3) 쪽에 설치되어 있고, 바닥(4)으로부터도 오수가 발생할 수 있어서, 세면대(2)와 바닥(4)으로부터의 오수를 바닥(4)에 배관된 바닥배수관(5)을 통해 하수관(도시생략)으로 배수하는 환경에 적용하기 적합한 배수장치이고, 특히 세면대(2)에 다리(2a)가 구비된 환경에 적합한 배수장치이다.
본 발명에 따른 세면대용 배수장치(1)는, 도2 내지 도7에 도시된 바와 같이, 기본적으로 세면대배수관(10), 몸체(20), 트랩슬리브(30) 및 트랩기구(40)를 포함한다.
상기 세면대배수관(10)은, 세면대(2)의 밸브(2b: 예, 팝업밸브)에 연결되어서 세면대(2)에서 발생한 오수를 배수하기 위한 관상의 부재이며, 예를 들어 금속 또는 플라스틱합성수지의 주름관(속칭 '자바라'라고 함)과 같이, 필요에 따라 적당히 굴곡하여 배관위치를 변경할 수 있는 유연한 소재로 형성된 관이다.
본 발명에 적용되는 세면대배수관(10)의 유연성의 정도는 특히 제한되지 아니하며, 주름관이 아닌 일반적인 금속관이나 플라스틱관도 자체의 탄성에 의해 강제적으로 힘을 가하여 어느 정도 배관위치를 변경할 수 있으므로, 바람직하지는 않지만 적용 가능하다.
세면대배수관(10)은, 예를 들어 연결소켓(어댑터: 11)을 이용하여 세면대(2)의 밸브(2b)의 하단에 수밀하게 연결할 수 있다.
상기 몸체(20)는. 상하로 관통된 관상(管狀)의 부재로서, 그 상부에 세면대배수관(10)의 하단을 수밀하게 연결함으로써, 세면대배수관(10)으로부터 오수가 유입되고, 유입된 오수를 바닥배수관(5)으로 유도하는 부재이다. 도2 내지 도5 등에 예시된 바와 같이, 몸체(20)는 대략 상부는 좁고 하부는 넓게 확관된 대략 종형으로 형성할 수 있다.
몸체(20)의 상단에는 세면대배수관(10)과의 연결을 위한 연결구(20a)를 돌출 형성할 수 있고, 연결소켓(21: 어댑터)을 매개하여, 세면대배수관(10)의 하단과 몸체(20)의 연결구(20a)를 수밀하게 연결할 수 있다.
상기 트랩슬리브(30)는, 상하로 관통된 관상의 부재로서, 하측부(31)와 상측부(32)를 포함한다. 도시된 구체예에서는 하측부(31)와 상측부(32)가 일체로 형성되어 있으나, 별도의 부재로 형성하여 분리 가능하게 조립할 수도 있다.
하측부(31)는 바닥(4)에 매설된 바닥배수관(5)에 분리 가능하게 연결되는 부분(부재)이고, 상측부(32)는 바닥(4) 위로 노출되어 몸체(20)의 하측에 분리 가능하게 연결되는 부분(부재)이다. 몸체(20)에서 유입된 오수는 트랩슬리브(30)를 경유하여 바닥배수관(5)으로 흘러나간다.
트랩슬리브(30)를 바닥배수관(5)에 분리 가능하게 안착시키기 위해, 트랩슬리브(30)의 외주둘레에는 걸림턱(30a)을 형성할 수 있고, 하측부(31)를 바닥배수관(5)에 삽입하면, 걸림턱(30a)이 바닥배수관(5)의 상단에 걸려 트랩슬리브(30)를 바닥배수관(5)에 안착할 수 있다.
걸림턱(30a) 아래의 트랩슬리브(30)의 외주 둘레에는 패킹(30b, 예: 고무 오링)을 장착함으로써 트랩슬리브(30)를 바닥배수관(5)에 분리 가능하게 연결한 상태에서 트랩슬리브(30)와 바닥배수관(5) 사이의 틈새로 오수가 누수되지 않도록 할 수 있다.
트랩슬리브(30)와 몸체(20)의 분리 가능한 연결은, 필요에 따라 트랩슬리브(30)와 몸체(20)를 분리하고 연결할 수 있고, 연결된 상태에서 상당한 정도의 수밀을 유지할 수 있으면 특히 제한되지 아니한다.
도2와 도3에 예시된 바와 같이, 트랩슬리브(30)의 상단에는 외측으로 결합돌기(30c)를 형성하고, 몸체(20)의 하단에는 내측으로 결합요부(20b)를 형성하여, 강제적으로 결합돌기(30c)를 결합요부(20b)에 탄성적으로 걸리게 하거나 강제로 분리함으로써, 트랩슬리브(30)와 몸체(20)를 분리 가능하게 연결할 수 있다.
또한, 도4와 도5에 예시된 바와 같이, 트랩슬리브(30)의 상단에 나사부(30d)를 형성하고, 대응하는 위치의 몸체(20)에 대응하는 나사부(20c)를 형성함으로써, 양측 나사부(30d, 20c) 사이의 나사체결에 의하여, 트랩슬리브(30)와 몸체(20)를 분리 가능하게 연결할 수 있다.
트랩슬리브(30)에는, 도2 내지 도5에 도시된 바와 같이, 바닥배수관(5) 보다 높은 위치에 바닥(4) 위로 노출된 상측부(32)의 외주벽 둘레에, 바닥(4)과 동일한 레벨의 위치에 배수공(33)과 거름대(34)가 수직방향으로 교대로 형성되어 있다. 수직방향의 배수공(33)과 거름대(34)는 상측부(32)의 외주벽에 일정 간격으로 다수의 개구를 관통함으로써 형성할 수 있다.
이와 같은 트랩슬리브(30)의 구성에 따라, 세면대(2)로부터 세면대배수관(10)을 통해 흘러내려온 오수는 몸체(20)를 경유해 트랩슬리브(30)로 유입되고, 바닥(4)의 오수는 수직방향으로 형성된 배수공(33)을 통해서 트랩슬리브(30)로 유입된다.
이때 바닥(4)에서 유입되는 오수 중에 포함된 머리카락과 같은 이물은 수직방향으로 형성되어 있는 거름대(34)에 걸리게 되고, 걸린 이물은 본 발명의 배수장치(1)를 청소할 때 거름대(34)로부터 제거할 수 있다.
전술한 바와 같이 종래의 배수장치는, 넓은 판상의 그릴형 거름망을 적용하여 세면대와 바닥으로부터의 오수에서 이물을 걸러냈기 때문에, 배수장치가 바닥에 차지하는 점유 면적이 넓을 수밖에 없었으나, 본 발명에 적용되는 트랩슬리브(30)에는 배수공(33)과 거름대(34)가 수직방향으로 형성되어 있기 때문에 배수장치가 차지하는 바닥점유면적을 줄일 수 있고, 여기에 세면대배수관(10)을 유연성 소재로 형성하여 배관에 유연성을 부여하는 것이 결합되어, 세면대와 벽체 사이의 공간에 배수장치를 설치하고 유지 보수하는 것에 관련하여, 세면대와 벽체 사이의 공간이 협소한 것으로 인한 불편을 줄일 수 있다.
상기 트랩기구(40)는 트랩슬리브(30)에 탈착 가능하게 삽입 장착되는 기구로서, 트랩슬리브(30)에서 바닥배수관(5)으로 오수가 배수되는 것은 허용하면서 바닥배수관(5)으로부터 악취가 역류하거나 해충이 유입되는 것은 차단하는 작용을 한다.
본 발명에 적용하는 트랩기구(40)로서는, 종형 트랩이나 개폐식 트랩 등 종래의 트랩기구를 본 발명에 맞게 적용할 수 있다.
도2 내지 도7에 예시된 구체예는 트랩기구(40)로서 개폐식 트랩을 적용한 것이며, 도시된 바와 같이 트랩기구(40)는, 상측에 걸림턱(41a)을 구비한 입구가 형성되고 하측에 출구가 형성된 통 형상의 본체(41), 및 본체(41)의 출구에 회동 가능하게 결합되고 출구를 개폐하는 개폐판부(42a)와 개폐판부(42a)가 출구를 폐쇄하는 쪽으로 하중을 가하도록 하도록 개폐판부(42a)에 대향하는 쪽에 형성된 무게부(42b)를 구비하는 개폐부재(42)를 포함하는 예이다.
예시된 트랩기구(40)에 의하면, 평상시에는 무게부(42b)의 중력에 의해 개폐판부(42a)가 본체(41)의 출구를 폐쇄하여 악취와 해충의 유입을 차단하게 되고, 트랩슬리브(30)로부터 오수가 유입되어 개폐판부(42a)의 상부에 하중을 가하면, 무게부(42b)의 중력을 극복하고 개폐판부(42b)가 본체(41)의 출구를 개방하게 된다.
트랩기구(40)의 트랩슬리브(30)에 대한 탈착 가능한 장착은 특히 제한되지 않으며, 도3 등에 예시된 바와 같이, 트랩기구(40)를 트랩슬리브(30)에 삽입하면, 트랩기구(40)의 본체(41)의 입구에 형성된 걸림턱(41a)이 트랩슬리브(30)의 하단에 형성된 걸림턱(35)에 걸리도록 할 수 있다.
본 발명에 따른 배수장치(1)에 의하면, 세면대(2)의 오수가 세면대배수관(10)과 몸체(20)를 통해 트랩슬리브(30)로 흘러내려오는 과정에서 일부의 오수가 배수공(33)을 통해 바닥(4)으로 흘러나갈 수도 있다. 이렇게 흘러나간 오수는 바닥(4)의 구배에 의하여 다시 배수공(33)을 통해 배수될 것이기 때문에 일반적으로는 문제가 되지 않으나, 평상시에 건식으로 관리하는 욕실의 경우, 배수공(33)을 통한 바닥(4)으로의 오수의 유출은 바람직하지 않을 수 있다.
본 발명에 따른 배수장치(1)는, 세면대배수관(10)에서 유입된 오수가 의도하지 않게 배수공(33)을 통해 바닥(4)으로 흘러나가는 것을 방지하기 위해, 세면대배수관(10)으로부터의 오수를 배수공(33) 보다 낮은 위치까지 안내하는 배수가이드(22)를 포함할 수 있다. 배수가이드(22)는 위와 같은 작용을 하는 것이라면 특히 제한되지 아니한다.
도2와 도3에 예시된 구체예는, 세면대배수관(10)에 인접한 몸체(20)의 내부의 상측으로부터 배수공(33) 보다 낮은 위치까지 관상의 배수가이드(22)를 길게 형성한 예이고, 도4와 도5에 예시된 구체예는, 세면대배수관(10)을 몸체(20)에 연결하기 위한 연결소켓(21)의 내통을 배수공(33) 보다 낮은 위치까지 길게 신장하여 배수가이드(22)를 형성한 예이다.
배수가이드(22)를 적용하게 되면, 세면대배수관(10)에서 유입된 오수가 트랩슬리브(30)를 경유해 바닥배수관(5)으로 흐르도록 안내되기 때문에, 세면대배수관(10)에서 유입된 오수가 배수공(33)을 통해 바닥(4)으로 흘러나가는 것을 최소화할 수 있다.
본 발명에 따른 배수장치(1)는, 기본적으로 바닥의 오수에 포함된 머리카락과 같은 이물은, 오수가 배수공(33)으로 배수되는 과정에서 수직방향의 거름대(34)에 의하여 걸러지는 바, 이물의 거름 작용을 강화하고 걸린 오물을 쉽게 제거하기 위해, 거름부재(50)를 더 포함할 수 있다.
거름부재(50)는, 트랩슬리브(30)의 배수공(33)의 외측 둘레에 형성되고, 배수공(33)으로 유입되는 바닥(4)의 배수로부터 이물을 1차적으로 걸러내고, 거름부재(50)에 의해 걸러지지 않은 이물은 거름대(34)에 의해 걸러진다.
도2와 도3에 예시된 구체예의 거름부재(50)는, 일측에 절단부(53a)가 형성된 고리 형상의 장착고리부(53)와, 장착고리부(53)로부터 일정간격으로 수평방향으로 방사형으로 형성된 가지형상의 거름돌기(54)를 포함하는 예이다.
도2와 도3에 예시된 거름부재(50)는, 탄성적으로 절단부(53a)를 벌려서 장착고리부(53)를 트랩슬리브(30)의 외주 둘레에 끼우고 거름돌기(54)가 바닥에 닿도록 트랩슬리브(30)의 둘레에 설치한다. 이때 거름돌기(54)는 중심에서 멀어질수록 점차 낮아지는 형상으로 형성함으로써 머리카락과 같은 이물이 잘 걸리도록 하는 한편, 걸려 있는 머리카락을 쉽게 제거할 수 있도록 할 수 있다.
도4와 도5에 예시된 구체예는, 몸체(20)의 내측 상부에 거름대(34)의 외측 위치에 환상의 설치대(23)를 형성하고 설치대(23)의 하단에 형성된 환상의 장착홈(23a)에 고무나 실리콘과 같은 유연성 있는 탄성소재로 형성된 환상의 거름부재(50)를 삽입 장착한 예이다.
도4와 도5에 예시된 거름부재(50)는, 장착홈(23a)에 삽입 및 장착되는 고리 형상의 장착고리부(51)와, 장착고리부(51)에 일정간격으로 바닥(4) 쪽으로 길게 돌출된 가지형상의 거름돌기(52)를 포함할 수 있다.
도시하지는 않았지만 전술한 도5에 도시된 설치대(23)를 바닥(4)에 닿는 위치까지 길게 돌출 형성함으로써, 설치대(23) 그 자체가 거름부재(50)로 작용하도록 할 수도 있다.
전술한 바와 같이, 본 발명에 따른 배수장치(1)는, 기본적으로 세면대와 벽체 사이의 협소한 공간에 설치되는 장치로서, 트랩슬리브(30)에 배수공(33)과 거름대(34)를 수직방향으로 형성하여 배수장치가 차지하는 바닥점유면적을 줄이는 것과 세면대배수관(10)의 유연성이 협력하여, 협소한 설치공간에서의 설치 및 유지보수 편의성을 높이고 있으나, 설치 환경에 따라서는 본 발명의 배수장치(1)가 세면대(2)의 다리(2a) 등과 간섭될 수 있다.
이런 간섭을 해소하기 위해, 몸체(20)를 트랩슬리브(30)에 회전 가능하게 연결하되, 몸체(20)를 편심 형상으로 형성할 수 있다.
도6과 도7에 도시된 본 발명에 따른 배수장치(1)는, 도2와 도3의 구체예를 변형한 구체예로서, 몸체(20)와 세면대배수관(10)의 연결 중심축과 몸체(20)와 트랩슬리브(30)의 연결 중심축이 수평방향으로 일정 거리 어긋나도록 몸체(20)를 편심 형상으로 형성하고, 몸체(20)가 트랩슬리브(30)에 대해 회전할 수 있도록 양자를 결합한 예이다. 본 구체예에 따른 본 발명의 배수장치(1)를 세면대와 벽체 사이의 공간에 설치함에 있어서는, 세면대 다리 등 주변의 장애물의 위치에 맞게 트랩슬리브(30)에 대해 몸체(20)를 편심 회전시켜 적절한 위치에 설치할 수 있다.
이상에서는 본 발명의 배수장치(1)를 세면대가 설치된 욕실에 적용한 예에 대하여 설명하였으나, 본 발명의 배수장치(1)는 세탁기가 설치되어 있는 환경에서도 적용할 수 있으며, 이때 세탁기에 연결된 세탁기배수관(도시생략)이 세면대배수관(10)에 해당하게 된다.
1: 본 발명의 세면대용 배수장치 2: 세면대
2a: 세면대의 다리 2b: 팝업밸브
3: 벽체 4: 바닥
5: 바닥배수관 10: 세면대배수관
11: 연결소켓 20: 몸체
20a: 연결구 20b: 결합요부
20c: 나사부 21: 연결소켓
22: 배수가이드 23: 설치대
23a: 장착홈 30: 트랩슬리브
30a: 걸림턱 30b: 패킹
30c: 결합돌기 30d: 나사부
31: 하측부 32: 상측부
33: 배수공 34: 거름대
35: 걸림턱 40: 트랩기구
41: 본체 41a: 걸림턱
42: 개폐부재 42a: 개폐판부
42b: 무게부 50: 거름부재
51, 53: 장착고리부 52, 54: 거름돌기
53a: 절단부

Claims (7)

  1. 세면대(2)에 연결되고, 굴곡 가능한 유연한 소재로 형성되며, 세면대(2)의 오수가 배출되는 세면대배수관(10);
    상부가 상기 세면대배수관(10)의 하단에 연결되고, 상기 세면대배수관(10)으로부터 오수가 유입되는 관상의 몸체(20);
    하측부(31)는 바닥(4)에 매설된 바닥배수관(5)에 분리 가능하게 연결되고, 상측부(32)는 바닥(4) 위로 노출되어 상기 몸체(20)의 하측에 분리 가능하게 연결되고, 상기 상측부(32)의 노출된 외주벽 둘레에는 수직방향으로 배수공(33)과 거름대(34)가 형성되어 있으며, 상기 세면대(2)의 오수는 상기 몸체(20)로부터 유입되고, 바닥(4)의 오수는 상기 배수공(33을 통해서 유입되는 트랩슬리브(30); 및
    상기 트랩슬리브(30) 내에 탈착 가능하게 장착되고, 상기 트랩슬리브(30)에서 상기 바닥배수관(5)으로 오수가 배수되는 것은 허용하면서, 상기 바닥배수관(5)으로부터 악취가 역류하는 것은 차단하는 트랩기구(40);
    를 포함하는 것을 특징으로 하는, 세면대용 배수장치.
  2. 제1항에 있어서,
    상기 세면대배수관(10)에서 상기 트랩슬리브(30)로 유입된 오수가 상기 배수공(33)을 통해 바닥(4)으로 흘러나가는 것을 방지하기 위해, 상기 세면대배수관(10)으로부터의 오수를 상기 배수공(33) 보다 낮은 위치까지 안내하는 배수가이드(22)를 더 포함하는 것을 특징으로 하는, 세면대용 배수장치.
  3. 제2항에 있어서,
    상기 배수가이드(22)는, 상기 몸체(20)의 상측 내면에 형성하되 상기 배수공(33) 보다 낮은 위치까지 상기 트랩슬리브(30) 내로 길게 형성되거나, 상기 세면대배수관(10)을 상기 몸체(20)에 연결하는 연결소켓(21)에 형성하되 상기 배수공(33) 보다 낮은 위치까지 상기 트랩슬리브(30) 내로 길게 형성된 것을 특징으로 하는, 세면대용 배수장치.
  4. 제1항 내지 제3항 중 어느 한 항에 있어서,
    상기 트랩슬리브(30)의 상기 배수공(33)의 외측 둘레에 형성되고, 상기 배수공(33)으로 유입되는 바닥(4)의 배수에서 이물을 걸러내는 거름부재(50)를 더 포함하는 것을 특징으로 하는, 세면대용 배수장치.
  5. 제4항에 있어서,
    상기 거름부재(50)는, 일측에 절단부(53a)가 형성된 고리 형상의 장착고리부(53) 및 상기 장착고리부(53)의 둘레에 일정간격으로 수평방향으로 방사형으로 형성된 거름돌기(54)를 포함하고;
    상기 거름부재(50)는, 상기 절단부(53a)를 벌려서 상기 장착고리부(53)를 상기 트랩슬리브(30)의 외주 둘레에 끼우고 상기 거름돌기(54)가 바닥에 닿도록, 상기 트랩슬리브(30)의 둘레에 설치되는 것을 특징으로 하는, 세면대용 배수장치.
  6. 제4항에 있어서,
    상기 몸체(20)의 내측 상부에는 상기 거름대(34)의 외측 위치에, 하단에 환상의 장착홈(23a)을 구비한 설치대(23)가 형성되어 있고;
    상기 거름부재(50)는, 상기 장착홈(23a)에 삽입 장착되는 고리 형상의 장착고리부(51), 및 상기 장착고리부(51)의 둘레에 일정간격을 형성되되 바닥(4) 까지 길게 돌출 형성된 거름돌기(52)를 포함하는 것을 특징으로 하는, 세면대용 배수장지.
  7. 제1항 내지 제3항 중 어느 한 항에 있어서,
    상기 몸체(20)는, 상기 몸체(20)와 상기 세면대배수관(10)의 연결 중심축과 상기 몸체(20)와 상기 트랩슬리브(30)의 연결 중심축이 수평방향으로 일정 거리 어긋나 있는 편심 형상으로 형성되어 있는 것을 특징으로 하는, 세면대용 배수장치.
KR1020180008505A 2018-01-23 2018-01-23 세면대용 배수장치 Ceased KR20190089667A (ko)

Priority Applications (1)

Application Number Priority Date Filing Date Title
KR1020180008505A KR20190089667A (ko) 2018-01-23 2018-01-23 세면대용 배수장치

Applications Claiming Priority (1)

Application Number Priority Date Filing Date Title
KR1020180008505A KR20190089667A (ko) 2018-01-23 2018-01-23 세면대용 배수장치

Publications (1)

Publication Number Publication Date
KR20190089667A true KR20190089667A (ko) 2019-07-31

Family

ID=67474148

Family Applications (1)

Application Number Title Priority Date Filing Date
KR1020180008505A Ceased KR20190089667A (ko) 2018-01-23 2018-01-23 세면대용 배수장치

Country Status (1)

Country Link
KR (1) KR20190089667A (ko)

Cited By (3)

* Cited by examiner, † Cited by third party
Publication number Priority date Publication date Assignee Title
EP3769743A1 (en) 2019-07-24 2021-01-27 LG Electronics Inc. Leg care apparatus
CN112709299A (zh) * 2020-12-09 2021-04-27 张元渭 一种基于废水自身重力防止杂物堵塞下水管道的设备
KR102442708B1 (ko) * 2021-06-30 2022-09-13 정호수 악취 및 벌레 유입을 차단하기 위한 배수관 커버

Cited By (4)

* Cited by examiner, † Cited by third party
Publication number Priority date Publication date Assignee Title
EP3769743A1 (en) 2019-07-24 2021-01-27 LG Electronics Inc. Leg care apparatus
CN112709299A (zh) * 2020-12-09 2021-04-27 张元渭 一种基于废水自身重力防止杂物堵塞下水管道的设备
CN112709299B (zh) * 2020-12-09 2022-08-23 苏州市东挺河智能科技发展有限公司 一种基于废水自身重力防止杂物堵塞下水管道的设备
KR102442708B1 (ko) * 2021-06-30 2022-09-13 정호수 악취 및 벌레 유입을 차단하기 위한 배수관 커버

Similar Documents

Publication Publication Date Title
US4254512A (en) Water trap
KR20220142056A (ko) 층간 병원체 전파 차단 구조형 배수트랩
KR20190089667A (ko) 세면대용 배수장치
KR20160142711A (ko) 악취 역류방지용 배수트랩
KR101401231B1 (ko) 세면기 배수장치
KR20030012778A (ko) 배수트랩
KR102242669B1 (ko) 층간 병원체 전파 차단 구조형 배수트랩
JP3689869B2 (ja) 排水トラップ配管
KR20120095119A (ko) 세면대 배수관용 거름장치
JP2004360263A (ja) 排水トラップ配管
CN110494614B (zh) L形管道排水装配件
JP2003301491A (ja) 排水配管
KR100895271B1 (ko) 연결소켓 겸용 배수트랩
JP5106897B2 (ja) 排水トラップにおける目皿
KR101100907B1 (ko) 바닥체용 배수 장치
KR20210082780A (ko) 배수 트랩
JP3569317B2 (ja) トラップ付き排水装置
KR200169068Y1 (ko) 욕실용 배수장치
KR20050095067A (ko) 하수관 냄새제거 및 오물 걸림장치
JP2021067062A (ja) 防臭弁ユニット
KR200317103Y1 (ko) 하수구 냄새 차단장치
KR200352132Y1 (ko) 배수장치
KR200204931Y1 (ko) 배수장치
KR200262264Y1 (ko) 배수구 장착구
KR102245460B1 (ko) 유체 배출구의 트랩

Legal Events

Date Code Title Description
A201 Request for examination
PA0109 Patent application

Patent event code: PA01091R01D

Comment text: Patent Application

Patent event date: 20180123

PA0201 Request for examination
E902 Notification of reason for refusal
PE0902 Notice of grounds for rejection

Comment text: Notification of reason for refusal

Patent event date: 20190327

Patent event code: PE09021S01D

PG1501 Laying open of application
E601 Decision to refuse application
PE0601 Decision on rejection of patent

Patent event date: 20190828

Comment text: Decision to Refuse Application

Patent event code: PE06012S01D

Patent event date: 20190327

Comment text: Notification of reason for refusal

Patent event code: PE06011S01I