KR20180098765A - Lens driving device, camera module and optical apparatus - Google Patents

Lens driving device, camera module and optical apparatus Download PDF

Info

Publication number
KR20180098765A
KR20180098765A KR1020170025290A KR20170025290A KR20180098765A KR 20180098765 A KR20180098765 A KR 20180098765A KR 1020170025290 A KR1020170025290 A KR 1020170025290A KR 20170025290 A KR20170025290 A KR 20170025290A KR 20180098765 A KR20180098765 A KR 20180098765A
Authority
KR
South Korea
Prior art keywords
disposed
housing
base
projection
bobbin
Prior art date
Legal status (The legal status is an assumption and is not a legal conclusion. Google has not performed a legal analysis and makes no representation as to the accuracy of the status listed.)
Granted
Application number
KR1020170025290A
Other languages
Korean (ko)
Other versions
KR102677136B1 (en
Inventor
정태진
민상준
유경호
Original Assignee
엘지이노텍 주식회사
Priority date (The priority date is an assumption and is not a legal conclusion. Google has not performed a legal analysis and makes no representation as to the accuracy of the date listed.)
Filing date
Publication date
Priority to KR1020170025290A priority Critical patent/KR102677136B1/en
Application filed by 엘지이노텍 주식회사 filed Critical 엘지이노텍 주식회사
Priority to EP24210923.9A priority patent/EP4502723A3/en
Priority to EP18756744.1A priority patent/EP3588185B1/en
Priority to CN201880007934.4A priority patent/CN110199224B/en
Priority to US16/477,448 priority patent/US11275229B2/en
Priority to PCT/KR2018/001883 priority patent/WO2018155861A1/en
Priority to CN202411421658.XA priority patent/CN119148325A/en
Priority to CN202210602562.8A priority patent/CN114895509B/en
Priority to CN202210602567.0A priority patent/CN114895510B/en
Publication of KR20180098765A publication Critical patent/KR20180098765A/en
Priority to US17/671,343 priority patent/US12282203B2/en
Application granted granted Critical
Publication of KR102677136B1 publication Critical patent/KR102677136B1/en
Priority to US19/085,786 priority patent/US20250251564A1/en
Active legal-status Critical Current
Anticipated expiration legal-status Critical

Links

Images

Classifications

    • GPHYSICS
    • G03PHOTOGRAPHY; CINEMATOGRAPHY; ANALOGOUS TECHNIQUES USING WAVES OTHER THAN OPTICAL WAVES; ELECTROGRAPHY; HOLOGRAPHY
    • G03BAPPARATUS OR ARRANGEMENTS FOR TAKING PHOTOGRAPHS OR FOR PROJECTING OR VIEWING THEM; APPARATUS OR ARRANGEMENTS EMPLOYING ANALOGOUS TECHNIQUES USING WAVES OTHER THAN OPTICAL WAVES; ACCESSORIES THEREFOR
    • G03B17/00Details of cameras or camera bodies; Accessories therefor
    • G03B17/02Bodies
    • G03B17/12Bodies with means for supporting objectives, supplementary lenses, filters, masks, or turrets
    • GPHYSICS
    • G03PHOTOGRAPHY; CINEMATOGRAPHY; ANALOGOUS TECHNIQUES USING WAVES OTHER THAN OPTICAL WAVES; ELECTROGRAPHY; HOLOGRAPHY
    • G03BAPPARATUS OR ARRANGEMENTS FOR TAKING PHOTOGRAPHS OR FOR PROJECTING OR VIEWING THEM; APPARATUS OR ARRANGEMENTS EMPLOYING ANALOGOUS TECHNIQUES USING WAVES OTHER THAN OPTICAL WAVES; ACCESSORIES THEREFOR
    • G03B5/00Adjustment of optical system relative to image or object surface other than for focusing
    • G03B5/02Lateral adjustment of lens
    • H04N5/2251
    • H04N5/2253
    • H04N5/2254

Landscapes

  • Physics & Mathematics (AREA)
  • General Physics & Mathematics (AREA)
  • Engineering & Computer Science (AREA)
  • Multimedia (AREA)
  • Signal Processing (AREA)
  • Lens Barrels (AREA)
  • Adjustment Of Camera Lenses (AREA)

Abstract

According to an embodiment of the present invention, a lens driving device comprises: a housing; a bobbin; a first coil; a first magnet; a base; a substrate including a circuit member having a second coil; and a cover member. First and second protrusions of the base protrude from an outer surface of the base. The substrate includes a first terminal part disposed on a first side surface of the base, and a second terminal part disposed on a second side surface of the base. The cover member includes an upper plate disposed at an upper side of the housing, and a side plate extending from the upper plate and coupled to the base. The side plate includes a first side plate disposed on a first side surface of the base, and a second side plate disposed on a second side surface of the base. The first side plate includes a first groove part formed to be recessed from a lower surface of the first side plate at a position corresponding to the first terminal part. The second side plate includes a second groove part formed to be recessed from a lower surface of the second side plate at a position corresponding to the second terminal part. The first groove part includes a first surface formed at an upper side than a lower surface of the side plate, and a first connection surface for connecting the lower surface of the side plate to the first surface. The second groove part includes a second surface formed at an upper side than the lower surface of the side plate, and a second connection surface for connecting the lower surface of the side plate to the second surface. The first protrusion supports the first surface and the first connection surface. The second protrusion supports the second surface and the second connection surface.

Description

렌즈 구동 장치, 카메라 모듈 및 광학기기{Lens driving device, camera module and optical apparatus}[0001] LENS DRIVING DEVICE, CAMERA MODULE, AND OPTICAL APPARATUS [0002]

본 실시예는 렌즈 구동 장치, 카메라 모듈 및 광학기기에 관한 것이다.The present embodiment relates to a lens driving device, a camera module, and an optical device.

이하에서 기술되는 내용은 본 실시예에 대한 배경 정보를 제공할 뿐 종래기술을 기재한 것은 아니다.The following description provides background information for the present embodiment and does not describe the prior art.

각종 휴대단말기의 보급이 널리 일반화되고 무선 인터넷 서비스가 상용화됨에 따라 휴대단말기와 관련된 소비자들의 요구도 다양화되고 있어 다양한 종류의 부가장치들이 휴대단말기에 장착되고 있다.Background of the Invention [0002] With the widespread use of various portable terminals and the commercialization of wireless Internet services, demands of consumers related to portable terminals have diversified, and various kinds of additional devices have been installed in portable terminals.

그 중에서 대표적인 것으로 피사체를 사진이나 동영상으로 촬영하는 카메라 모듈이 있다. 한편, 최근의 카메라 모듈에는 피사체의 거리에 따라 초점을 자동으로 조절하는 오토 포커스(AF, Auto Focus) 기능이 적용되고 있다. 또한, 촬영자의 손떨림에 의해 영상이 흔들리는 현상을 방지하는 손떨림 보정 기능(OIS, Optical Image Stabilization) 기능이 적용되고 있다.Among them, there is a camera module which photographs a subject as a photograph or a moving picture. On the other hand, in recent camera modules, an auto focus (AF) function that automatically adjusts focus according to the distance of a subject is applied. In addition, an OIS (Optical Image Stabilization) function for preventing the image from being shaken by the camera shake of the photographer is applied.

그런데, 종래의 카메라 모듈에서는 커버부재의 밀림과 회전이 발생되어 문제가 된다.However, in the conventional camera module, the cover member is pushed and rotated, which is a problem.

본 실시예는 커버부재의 밀림과 회전이 방지되는 렌즈 구동 장치를 제공하고자 한다.The present embodiment intends to provide a lens driving apparatus in which the cover member is prevented from being pushed and rotated.

또한, 상기 렌즈 구동 장치를 포함하는 카메라 모듈 및 광학기기를 제공하고자 한다.Also, a camera module and an optical apparatus including the lens driving apparatus are provided.

본 실시예에 따른 렌즈 구동 장치는 하우징; 상기 하우징의 내측에 제1방향으로 이동하도록 배치되는 보빈; 상기 보빈에 배치되는 제1코일; 상기 하우징에 배치되고 상기 제1코일과 대향하는 제1마그네트; 상기 하우징의 하측에 배치되고, 제1측면에 배치된 제1돌기와 상기 제1측면과 반대편에 배치되는 제2측면에 배치된 제2돌기를 포함하는 베이스; 상기 하우징과 상기 베이스 사이에 상기 제1마그네트와 대향하도록 배치되는 제2코일을 갖는 회로부재를 포함하는 기판; 및 상기 하우징을 내측에 수용하고 상기 베이스와 결합되는 커버부재를 포함하고, 상기 베이스의 제1돌기와 제2돌기는 상기 베이스의 외면으로부터 돌출되고, 상기 기판은 상기 베이스의 제1측면에 배치되는 제1단자부와, 상기 베이스의 제2측면에 배치되는 제2단자부를 포함하고, 상기 커버부재는 상기 하우징의 상측에 배치되는 상판, 상기 상판으로부터 연장되고 상기 베이스와 결합되는 측판을 포함하고, 상기 측판은 상기 베이스의 제1측면에 배치되는 제1측판과 상기 베이스의 제2측면에 배치되는 제2측판을 포함하고, 상기 제1측판은 상기 제1단자부와 대응되는 위치에 상기 제1측판의 하면으로부터 오목하게 형성된 제1홈부를 포함하고, 상기 제2측판은 상기 제2단자부와 대응되는 위치에 상기 제2측판의 하면으로부터 오목하게 형성된 제2홈부를 포함하고, 상기 제1홈부는 상기 측판의 하면 보다 상측에 형성되는 제1면, 및 상기 측판의 하면과 상기 제1면을 연결하는 제1연결면을 포함하고, 상기 제2홈부는 상기 측판의 하면 보다 상측에 형성되는 제2면, 및 상기 측판의 하면과 상기 제2면을 연결하는 제2연결면을 포함하고, 상기 제1돌기는 상기 제1면과 상기 제1연결면을 지지하고, 상기 제2돌기는 상기 제2면과 상기 제2연결면을 지지할 수 있다.The lens driving apparatus according to the present embodiment includes a housing; A bobbin disposed inside the housing to move in a first direction; A first coil disposed in the bobbin; A first magnet disposed in the housing and facing the first coil; A base disposed on the lower side of the housing and including a first projection disposed on a first side and a second projection disposed on a second side disposed opposite the first side; A substrate including a circuit member having a second coil disposed between the housing and the base and facing the first magnet; And a cover member that houses the housing inward and engages with the base, wherein the first projection and the second projection of the base project from the outer surface of the base, and the substrate is arranged on the first side of the base And a second terminal portion disposed on a second side surface of the base, wherein the cover member includes an upper plate disposed on the upper side of the housing, a side plate extended from the upper plate and coupled with the base, The first side plate includes a first side plate disposed on a first side surface of the base and a second side plate disposed on a second side surface of the base, And the second side plate has a second groove portion formed at a position corresponding to the second terminal portion, the second groove portion being concave from the lower surface of the second side plate Wherein the first groove portion includes a first surface formed on an upper side of a lower surface of the side plate and a first connecting surface connecting the lower surface of the side plate and the first surface, And a second connecting surface connecting the lower surface of the side plate and the second surface, the first protrusion supporting the first surface and the first connecting surface, The second projection may support the second surface and the second connection surface.

상기 제1돌기는 상기 제1단자부와 상기 제1연결면 사이에 배치되고, 상기 제2돌기는 상기 제2단자부와 상기 제2연결면 사이에 배치될 수 있다.The first protrusion may be disposed between the first terminal portion and the first connection surface, and the second protrusion may be disposed between the second terminal portion and the second connection surface.

상기 제2돌기는 광축을 중심으로 상기 제1돌기의 반대편에 배치될 수 있다.The second projection may be disposed on the opposite side of the first projection with respect to the optical axis.

상기 제1돌기는 상기 베이스의 제1코너부에 배치되고, 상기 제2돌기는 상기 제1코너부와 반대편에 배치되는 제2코너부에 배치될 수 있다.The first projection may be disposed at a first corner portion of the base, and the second projection may be disposed at a second corner portion disposed opposite the first corner portion.

상기 제1돌기는 상기 제1면과 대응하는 상면, 및 상기 제1연결면과 대응하는 제1측면을 포함하고, 상기 제2돌기는 상기 제2면과 대응하는 상면, 및 상기 제2연결면과 대응하는 제2측면을 포함할 수 있다.Wherein the first protrusion includes a top surface corresponding to the first surface and a first side surface corresponding to the first connecting surface, the second protrusion has an upper surface corresponding to the second surface, And a corresponding second aspect.

상기 제1돌기는 상기 제1단자부의 측면과 대응하는 제3측면을 포함하고, 상기 제2돌기는 상기 제2단자부의 측면과 대응하는 제4측면을 포함할 수 있다.The first protrusion may include a third side surface corresponding to a side surface of the first terminal portion, and the second protrusion may include a fourth side surface corresponding to a side surface of the second terminal portion.

상기 베이스는 상기 베이스의 제1측면에 배치되고 상기 제1코너부와 인접하는 제2코너부에 배치되는 제3돌기를 더 포함하고, 상기 제1측판의 제1홈부는 상기 제1연결면과 반대편에 배치되는 제3연결면을 더 포함하고, 상기 제3돌기는 상기 제1면과 상기 제3연결면을 지지할 수 있다.The base may further include a third projection disposed on a first side surface of the base and disposed in a second corner portion adjacent to the first corner portion, wherein a first groove portion of the first side plate is connected to the first connecting surface, And a third connection surface disposed on the opposite side, and the third projection can support the first surface and the third connection surface.

상기 베이스는 상기 베이스의 제2측면에 배치되고 상기 제1코너부와 인접하는 제4코너부에 배치되는 제4돌기를 더 포함하고, 상기 제2측판의 제2홈부는 상기 제2연결면과 반대편에 배치되는 제4연결면을 더 포함하고, 상기 제4돌기는 상기 제2면과 상기 제4연결면을 지지할 수 있다.The base further includes a fourth projection disposed on a second side of the base and disposed at a fourth corner portion adjacent to the first corner portion, and a second groove portion of the second side plate is connected to the second connecting surface, And a fourth connection surface disposed on the opposite side of the first connection surface, and the fourth projection can support the second surface and the fourth connection surface.

상기 렌즈 구동 장치는 상기 보빈의 상측에 배치되고, 상기 보빈과 상기 하우징에 결합되는 상측 탄성부재; 및 상기 상측 탄성부재 및 상기 기판과 결합되는 지지부재를 더 포함하고, 상기 베이스는 상기 기판과 상기 지지부재가 결합되는 부분이 개방되도록 형성되는 개구부를 더 포함하고, 상기 개구부에는 상기 베이스로부터 돌출되고 상기 커버부재의 내면을 지지하는 돌출부가 배치될 수 있다.Wherein the lens driving device comprises: an upper elastic member disposed on the bobbin and coupled to the bobbin and the housing; And a support member coupled with the upper elastic member and the substrate, wherein the base further includes an opening formed to open a portion where the substrate and the support member are coupled, and the opening is protruded from the base A protrusion for supporting the inner surface of the cover member may be disposed.

상기 베이스는 상기 베이스의 외면으로부터 돌출되고 상기 측판의 하단을 지지하는 단차부를 더 포함하고, 상기 제1돌기와 제2돌기의 상면은 상기 단차부의 상면 보다 상측에 배치되어, 상기 제1측판의 제1면과 상기 제2측판의 제2면을 지지할 수 있다.Wherein the base further comprises a step protruding from an outer surface of the base and supporting a lower end of the side plate, wherein an upper surface of the first projection and a second projection are disposed on an upper side of the upper surface of the step, And the second side of the second side plate.

상기 제1돌기와 제2돌기는 상기 제1돌기와 제2돌기의 외면과 상기 베이스의 외면을 경사지게 연결하는 경사면을 포함할 수 있다.The first protrusion and the second protrusion may include an inclined surface connecting the outer surface of the first protrusion and the second protrusion and the outer surface of the base in an inclined manner.

본 실시예를 통해, OIS 커버 부재의 밀림과 회전이 방지될 수 있다. 이를 통해, OIS 스트로크 확보 및 스트로크 치우침이 개선될 수 있다.Through this embodiment, the swinging and rotation of the OIS cover member can be prevented. This can improve OIS stroke securing and stroke skewing.

도 1은 본 실시예에 따른 렌즈 구동 장치의 사시도이다.
도 2는 도 1의 X-Y에서 바라본 단면도이다.
도 3은 본 실시예에 따른 렌즈 구동 장치의 분해사시도이다.
도 4는 본 실시예에 따른 렌즈 구동 장치를 도 3과 다른 방향에서 바라본 분해사시도이다.
도 5는 본 실시예에 따른 제1가동자 및 관련 구성을 도시하는 분해사시도이다.
도 6은 본 실시예에 따른 제2가동자를 도시하는 분해사시도이다.
도 7은 본 실시예에 따른 고정자를 도시하는 분해사시도이다.
도 8은 본 실시예에 따른 탄성부재, 지지부재 및 관련 구성을 도시하는 분해사시도이다.
도 9는 본 실시예에 따른 상측 탄성부재의 사시도이다.
도 10은 본 실시예에 따른 렌즈 구동 장치에서 커버부재를 제거한 상태의 평면도이다.
도 11 및 도 12는 도 10의 일부를 확대해서 도시한 사시도이다.
도 13 내지 도 15는 도 10의 일부를 확대해서 도시한 평면도이다.
도 16은 본 실시예에 따른 렌즈 구동 장치에서 커버부재를 제거하고 임의로 절단한 상태를 도시하는 사시도이다.
도 17은 도 16을 측방에서 바라본 측면도이다.
도 18은 도 10의 일부를 확대해서 도시한 사시도이다.
도 19는 본 실시예에 따른 구동 마그네트 및 제1센싱 유닛을 도시하는 사시도이다.
도 20은 본 실시예에 따른 보빈, AF 구동 코일 및 센싱 마그네트를 도시하는 사시도이다.
도 21은 본 실시예에 따른 렌즈 구동 장치의 저면사시도이다.
도 22는 본 실시예에 따른 렌즈 구동 장치의 저면도이다.
도 23 및 도 24는 도 21의 일부를 확대해서 도시한 저면사시도이다.
도 25는 도 10의 일부를 확대해서 도시한 평면도이다.
도 26은 도 25에서 일부 구성을 생략하고 도시한 사시도이다.
도 27은 본 실시예에 따른 고정자의 기판을 도시하는 평면도이다.
1 is a perspective view of a lens driving apparatus according to the present embodiment.
2 is a cross-sectional view taken along line XY in Fig.
3 is an exploded perspective view of the lens driving apparatus according to the present embodiment.
FIG. 4 is an exploded perspective view of the lens driving apparatus according to the present embodiment viewed from a direction different from FIG. 3. FIG.
Fig. 5 is an exploded perspective view showing the first mover and the related structure according to the present embodiment.
6 is an exploded perspective view showing the second mover according to the present embodiment.
7 is an exploded perspective view showing a stator according to the present embodiment.
8 is an exploded perspective view showing an elastic member, a support member, and related configurations according to the present embodiment.
9 is a perspective view of the upper elastic member according to the present embodiment.
10 is a plan view of the lens driving apparatus according to the present embodiment with the cover member removed.
Figs. 11 and 12 are enlarged perspective views of part of Fig.
Figs. 13 to 15 are enlarged partial plan views of Fig. 10. Fig.
16 is a perspective view showing a state in which the cover member is removed from the lens driving apparatus according to the present embodiment and is arbitrarily cut.
17 is a side view showing the side view of Fig.
18 is an enlarged perspective view of part of Fig.
19 is a perspective view showing the drive magnet and the first sensing unit according to the present embodiment.
20 is a perspective view showing a bobbin, an AF drive coil, and a sensing magnet according to the present embodiment.
21 is a bottom perspective view of the lens driving apparatus according to the present embodiment.
22 is a bottom view of the lens driving apparatus according to the present embodiment.
23 and 24 are enlarged perspective views of part of Fig.
Fig. 25 is an enlarged plan view of part of Fig. 10; Fig.
Fig. 26 is a perspective view showing a part of the configuration of Fig. 25;
27 is a plan view showing the substrate of the stator according to the present embodiment.

이하, 본 발명의 일부 실시 예들을 예시적인 도면을 통해 설명한다. 각 도면의 구성요소들에 참조부호를 기재함에 있어서, 동일한 구성요소들에 대해서는 비록 다른 도면상에 표시되더라도 가능한 한 동일한 부호로 표시한다.Hereinafter, some embodiments of the present invention will be described with reference to exemplary drawings. In describing the components in the drawings, the same components are denoted by the same reference numerals whenever possible, even if they are displayed on other drawings.

또한, 본 발명의 실시 예의 구성 요소를 설명하는 데 있어서, 제1, 제2, A, B, (a), (b) 등의 용어를 사용할 수 있다. 이러한 용어는 그 구성 요소를 다른 구성 요소와 구별하기 위한 것일 뿐, 그 용어에 의해 해당 구성 요소의 본질이나 차례 또는 순서 등이 한정되지 않는다. 어떤 구성 요소가 다른 구성요소에 '연결', '결합' 또는 '접속'된다고 기재된 경우, 그 구성 요소는 그 다른 구성요소에 직접적으로 연결, 결합 또는 접속될 수 있지만, 그 구성 요소와 그 다른 구성요소 사이에 또 다른 구성 요소가 '연결', '결합' 또는 '접속'될 수도 있다고 이해되어야 할 것이다.In describing the components of the embodiment of the present invention, terms such as first, second, A, B, (a), and (b) may be used. These terms are intended to distinguish the constituent elements from other constituent elements, and the terms do not limit the nature, order or order of the constituent elements. When a component is described as being "connected", "coupled", or "connected" to another component, the component may be directly connected, coupled, or connected to the other component, It should be understood that another element may be "connected", "coupled" or "connected" between elements.

이하에서 사용되는 '광축 방향'은 렌즈 구동 장치에 결합된 상태의 렌즈 모듈의 광축 방향으로 정의한다. 한편, '광축 방향'은 '상하 방향', 'z축 방향' 등과 혼용될 수 있다.The 'optical axis direction' used below is defined as the optical axis direction of the lens module in a state of being coupled to the lens driving device. On the other hand, 'optical axis direction' can be used in combination with 'vertical direction', 'z axis direction', and the like.

이하에서 사용되는 '오토 포커스 기능'는 이미지 센서에 피사체의 선명한 영상이 얻어질 수 있도록 피사체의 거리에 따라 렌즈 모듈을 광축 방향으로 이동시켜 이미지 센서와의 거리를 조절함으로써 피사체에 대한 초점을 자동으로 맞추는 기능으로 정의한다. 한편, '오토 포커스'는 'AF(Auto Focus)'와 혼용될 수 있다.The 'autofocus function' used below automatically adjusts the distance to the image sensor by moving the lens module in the direction of the optical axis according to the distance of the subject so that a clear image of the subject can be obtained with the image sensor. It is defined as matching function. On the other hand, 'autofocus' can be mixed with 'AF (Auto Focus)'.

이하에서 사용되는 '손떨림 보정 기능'은, 외력에 의해 이미지 센서에 발생되는 진동(움직임)을 상쇄하도록 렌즈 모듈을 광축 방향과 수직한 방향으로 이동시키거나 틸트시키는 기능으로 정의한다. 한편, '손떨림 보정'은 'OIS(Optical Image Stabilization)'과 혼용될 수 있다.The 'camera shake correction function' used below is defined as a function of moving or tilting the lens module in a direction perpendicular to the optical axis direction so as to cancel the vibration (motion) generated in the image sensor by an external force. Meanwhile, 'camera shake correction' can be mixed with 'OIS (Optical Image Stabilization)'.

이하에서 AF 구동 코일(220), 구동 마그네트(320) 및 OIS 구동 코일(422) 중 어느 하나를 '제1구동부'라 칭하고 다른 하나를 '제2구동부'라 칭하고 나머지 하나를 '제3구동부'라 칭할 수 있다. 한편, AF 구동 코일(220), 구동 마그네트(320) 및 OIS 구동 코일(422)은 상호간 위치를 바꾸어 배치될 수 있다.Hereinafter, any one of the AF driving coil 220, the driving magnet 320 and the OIS driving coil 422 is referred to as a 'first driving unit', the other one as a 'second driving unit', and the other as a 'third driving unit' . On the other hand, the AF drive coil 220, the drive magnet 320, and the OIS drive coil 422 can be arranged with their positions mutually changed.

이하에서 AF 구동 코일(220) 및 OIS 구동 코일(422) 중 어느 하나를 '제1코일'이라 칭하고 나머지 하나를 '제2코일'이라 칭할 수 있다.Hereinafter, any one of the AF drive coil 220 and the OIS drive coil 422 may be referred to as a 'first coil' and the other as a 'second coil'.

이하에서 구동 마그네트(320), 센싱 마그네트(730) 및 보상 마그네트(740) 중 어느 하나를 '제1마그네트'라 칭하고 다른 하나를 '제2마그네트'라 칭하고 나머지 하나를 '제3마그네트'라 칭할 수 있다.Hereinafter, any one of the driving magnet 320, the sensing magnet 730, and the compensating magnet 740 will be referred to as a "first magnet", another one as a "second magnet", and the other as a "third magnet" .

이하에서 고정자(400)의 기판(410) 및 제1센싱 유닛(700)의 기판(720) 중 어느 하나를 '제1기판'이라 칭하고 나머지 하나를 '제2기판'이라 칭할 수 있다.
Hereinafter, any one of the substrate 410 of the stator 400 and the substrate 720 of the first sensing unit 700 may be referred to as a 'first substrate' and the other as a 'second substrate'.

이하에서는 본 실시예에 따른 광학기기의 구성을 설명한다.Hereinafter, the configuration of the optical device according to the present embodiment will be described.

광학기기는 핸드폰, 휴대폰, 스마트폰(smart phone), 휴대용 스마트 기기, 디지털 카메라, 노트북 컴퓨터(laptop computer), 디지털방송용 단말기, PDA(Personal Digital Assistants), PMP(Portable Multimedia Player) 및 네비게이션 중 어느 하나일 수 있다. 다만, 광학기기의 종류가 이에 제한되는 것은 아니며 영상 또는 사진을 촬영하기 위한 어떠한 장치도 광학기기로 호칭될 수 있다.The optical device may be any one of a mobile phone, a mobile phone, a smart phone, a portable smart device, a digital camera, a laptop computer, a digital broadcast terminal, a PDA (Personal Digital Assistants), a PMP Lt; / RTI > However, the type of the optical device is not limited thereto, and any device for photographing the image or the photograph may be referred to as an optical device.

광학기기는 본체(미도시), 카메라 모듈 및 디스플레이부(미도시)를 포함할 수 있다. 다만, 광학기기에서 본체, 카메라 모듈 및 디스플레이부 중 어느 하나 이상이 생략 또는 변경될 수 있다.The optical device may include a main body (not shown), a camera module, and a display portion (not shown). However, any one or more of the main body, the camera module, and the display unit may be omitted or changed in the optical apparatus.

본체는 광학기기의 외관을 형성할 수 있다. 일례로, 본체는 직육면체 형상을 포함할 수 있다. 다른 예로, 본체는 적어도 일부에서 라운드지게 형성될 수 있다. 본체는 카메라 모듈을 수용할 수 있다. 본체의 일면에는 디스플레이부가 배치될 수 있다. 일례로, 본체의 일면에 디스플레이부 및 카메라 모듈이 배치되고 본체의 타면(일면의 맞은편에 위치하는 면)에 카메라 모듈이 추가로 배치될 수 있다.The body can form the appearance of the optical device. For example, the body may include a rectangular parallelepiped shape. As another example, the body may be rounded at least in part. The main body can accommodate the camera module. A display section may be disposed on one side of the main body. For example, the display unit and the camera module may be disposed on one side of the main body and the camera module may be further disposed on the other side (the side opposite to the one side) of the main body.

카메라 모듈은 본체에 배치될 수 있다. 카메라 모듈은 본체의 일면에 배치될 수 있다. 카메라 모듈은 적어도 일부가 본체 내부에 수용될 수 있다. 카메라 모듈은 복수로 구비될 수 있다. 복수의 카메라 모듈은 본체의 일면 및 본체의 타면 각각에 배치될 수 있다. 카메라 모듈은 피사체의 영상을 촬영할 수 있다.The camera module may be disposed in the main body. The camera module may be disposed on one side of the main body. At least a part of the camera module may be accommodated in the main body. The plurality of camera modules may be provided. The plurality of camera modules may be disposed on one surface of the main body and on each of the other surfaces of the main body. The camera module can take an image of a subject.

디스플레이부는 본체에 배치될 수 있다. 디스플레이부는 본체의 일면에 배치될 수 있다. 즉, 디스플레이부는 카메라 모듈과 동일한 면에 배치될 수 있다. 또는, 디스플레이부는 본체의 타면에 배치될 수 있다. 디스플레이부는 본체에서 카메라 모듈이 배치된 면의 맞은편에 위치하는 면에 배치될 수 있다. 디스플레이부는 카메라 모듈에서 촬영된 영상을 출력할 수 있다.
The display portion may be disposed in the main body. The display unit may be disposed on one side of the main body. That is, the display unit can be disposed on the same plane as the camera module. Alternatively, the display portion may be disposed on the other surface of the main body. The display portion may be disposed on a side of the main body opposite to the side on which the camera module is disposed. The display unit can output the image photographed by the camera module.

이하에서는 본 실시예에 따른 카메라 모듈의 구성을 설명한다.Hereinafter, the configuration of the camera module according to the present embodiment will be described.

카메라 모듈은 렌즈 구동 장치, 렌즈 모듈(미도시), 적외선 필터(미도시), 인쇄회로기판(미도시), 이미지 센서(미도시) 및 제어부(미도시)를 포함할 수 있다. 다만, 카메라 모듈에서 렌즈 구동 장치, 렌즈 모듈, 적외선 필터, 인쇄회로기판, 이미지 센서 및 제어부 중 어느 하나 이상이 생략 또는 변경될 수 있다.The camera module may include a lens driving device, a lens module (not shown), an infrared filter (not shown), a printed circuit board (not shown), an image sensor (not shown), and a controller (not shown). However, at least one of the lens driving device, the lens module, the infrared filter, the printed circuit board, the image sensor, and the control unit may be omitted or changed in the camera module.

렌즈 모듈은 적어도 하나의 렌즈를 포함할 수 있다. 렌즈 모듈은 렌즈 및 렌즈 배럴을 포함할 수 있다. 렌즈 모듈은 한 개 이상의 렌즈(미도시)와, 렌즈를 수용하는 렌즈 배럴을 포함할 수 있다. 다만, 렌즈 모듈의 일 구성이 렌즈 배럴로 한정되는 것은 아니고 한 개 이상의 렌즈를 지지할 수 있는 홀더 구조라면 어느 것이든 가능하다. 렌즈 모듈은 렌즈 구동 장치의 내측에 결합될 수 있다. 렌즈 모듈은 렌즈 구동 장치의 보빈(210)에 결합될 수 있다. 렌즈 모듈은 보빈(210)과 일체로 이동할 수 있다. 렌즈 모듈은 보빈(210)과 접착제(미도시)에 의해 결합될 수 있다. 일례로, 렌즈 모듈은 보빈(210)과 나사 결합될 수 있다. 한편, 렌즈 모듈을 통과한 광은 이미지 센서에 조사될 수 있다.The lens module may include at least one lens. The lens module may include a lens and a lens barrel. The lens module may include at least one lens (not shown) and a lens barrel for receiving the lens. However, one configuration of the lens module is not limited to the lens barrel, and any structure can be used as long as it can support one or more lenses. The lens module may be coupled to the inside of the lens driving device. The lens module may be coupled to the bobbin 210 of the lens driving device. The lens module can move integrally with the bobbin 210. The lens module may be coupled to the bobbin 210 by an adhesive (not shown). In one example, the lens module may be threaded with the bobbin 210. On the other hand, the light having passed through the lens module can be irradiated to the image sensor.

적외선 필터는 이미지 센서에 적외선 영역의 광이 입사되는 것을 차단할 수 있다. 적외선 필터는 렌즈 모듈과 이미지 센서 사이에 배치될 수 있다. 일례로, 적외선 필터는 베이스(430)와는 별도로 구비되는 홀더 부재(미도시)에 배치될 수 있다. 다른 례로, 적외선 필터는 베이스(430)의 관통홀(431)에 장착될 수 있다. 적외선 필터는 필름 재질 또는 글래스 재질로 형성될 수 있다. 적외선 필터는 촬상면 보호용 커버유리, 커버 글래스와 같은 평판 형상의 광학적 필터에 적외선 차단 코팅 물질이 코팅되어 형성될 수 있다. 일례로, 적외선 필터는 적외선을 흡수하는 적외선 흡수 필터(Blue filter)일 수 있다. 다른 례로, 적외선 필터는 적외선을 반사하는 적외선 반사 필터(IR cut filter)일 수 있다.The infrared filter can block the light of the infrared region from entering the image sensor. An infrared filter may be disposed between the lens module and the image sensor. For example, the infrared filter may be disposed on a holder member (not shown) provided separately from the base 430. In another example, the infrared filter may be mounted in the through hole 431 of the base 430. The infrared filter may be formed of a film material or a glass material. The infrared filter may be formed by coating an infrared blocking coating material on a plate-shaped optical filter such as a cover glass for protecting an image pickup surface or a cover glass. For example, the infrared filter may be an infrared absorbing filter (Blue filter) that absorbs infrared rays. In another example, the infrared filter may be an IR cut filter that reflects infrared light.

인쇄회로기판의 상면에 렌즈 구동 장치가 배치될 수 있다. 인쇄회로기판은 렌즈 구동 장치의 하면에 배치될 수 있다. 인쇄회로기판은 렌즈 구동 장치과 결합될 수 있다. 인쇄회로기판에는 이미지 센서가 배치될 수 있다. 인쇄회로기판은 이미지 센서와 전기적으로 연결될 수 있다. 일례로, 인쇄회로기판과 렌즈 구동 장치 사이에 홀더 부재가 배치될 수 있다. 이때, 홀더 부재는 내측에 이미지 센서를 수용할 수 있다. 다른 예로, 인쇄회로기판에 렌즈 구동 장치가 직접 배치될 수 있다. 이때, 렌즈 구동 장치는 내측에 이미지 센서를 수용할 수 있다. 이와 같은 구조를 통해, 렌즈 구동 장치에 결합된 렌즈 모듈을 통과한 광이 인쇄회로기판에 배치된 이미지 센서에 조사될 수 있다. 인쇄회로기판은 렌즈 구동 장치에 전원(전류)을 공급할 수 있다. 한편, 인쇄회로기판에는 렌즈 구동 장치를 제어하기 위한 제어부가 배치될 수 있다.A lens driving device may be disposed on an upper surface of the printed circuit board. The printed circuit board may be disposed on the lower surface of the lens driving device. The printed circuit board can be combined with the lens driving device. An image sensor may be disposed on the printed circuit board. The printed circuit board may be electrically connected to the image sensor. In one example, a holder member may be disposed between the printed circuit board and the lens driving device. At this time, the holder member can house the image sensor inside. As another example, the lens driving apparatus may be directly disposed on the printed circuit board. At this time, the lens driving device can accommodate the image sensor on the inner side. With this structure, light having passed through the lens module coupled to the lens driving device can be irradiated to the image sensor disposed on the printed circuit board. The printed circuit board can supply power (current) to the lens driving apparatus. On the other hand, a control unit for controlling the lens driving device may be disposed on the printed circuit board.

이미지 센서는 인쇄회로기판에 배치될 수 있다. 이미지 센서는 인쇄회로기판에 전기적으로 연결될 수 있다. 일례로, 이미지 센서는 인쇄회로기판에 표면 실장 기술(SMT, Surface Mounting Technology)에 의해 결합될 수 있다. 다른 예로, 이미지 센서는 인쇄회로기판에 플립 칩(flip chip) 기술에 의해 결합될 수 있다. 이미지 센서는 렌즈 모듈과 광축이 일치되도록 배치될 수 있다. 즉, 이미지 센서의 광축과 렌즈 모듈의 광축은 얼라인먼트(alignment) 될 수 있다. 이를 통해, 이미지 센서는 렌즈 모듈을 통과한 광을 획득할 수 있다. 이미지 센서는 이미지 센서의 유효화상 영역에 조사되는 광을 전기적 신호로 변환할 수 있다. 이미지 센서는 CCD(charge coupled device, 전하 결합 소자), MOS(metal oxide semi-conductor, 금속 산화물 반도체), CPD 및 CID 중 어느 하나일 수 있다. 다만, 이미지 센서의 종류가 이에 제한되는 것은 아니고 이미지 센서는 입사되는 광을 전기적 신호로 변환할 수 있는 어떠한 구성도 포함할 수 있다.The image sensor may be disposed on a printed circuit board. The image sensor may be electrically connected to the printed circuit board. In one example, the image sensor may be coupled to the printed circuit board by Surface Mounting Technology (SMT). As another example, the image sensor may be coupled to a printed circuit board by flip chip technology. The image sensor may be arranged so that the optical axis and the lens module are aligned with each other. That is, the optical axis of the image sensor and the optical axis of the lens module may be aligned. Thereby, the image sensor can acquire light passing through the lens module. The image sensor can convert the light irradiated to the effective image area of the image sensor into an electrical signal. The image sensor may be any one of a charge coupled device (CCD), a metal oxide semiconductor (MOS), a CPD, and a CID. However, the type of the image sensor is not limited thereto, and the image sensor may include any structure capable of converting incident light into an electrical signal.

제어부는 인쇄회로기판에 배치될 수 있다. 일례로, 제어부는 렌즈 구동 장치의 내측에 배치될 수 있다. 다른 예로, 제어부는 렌즈 구동 장치의 외측에 위치할 수도 있다. 제어부는 렌즈 구동 장치의 AF 구동 코일(220) 및 OIS 구동 코일(422)에 공급하는 전류의 방향, 세기 및 진폭 등을 개별적으로 제어할 수 있다. 제어부는 렌즈 구동 장치를 제어하여 카메라 모듈의 오토 포커스 기능 및 손떨림 보정 기능 중 어느 하나 이상을 수행할 수 있다. 즉, 제어부는 렌즈 구동 장치를 제어하여 렌즈 모듈을 광축 방향으로 이동시키거나 광축 방향과 수직한 방향으로 이동시키거나 틸트(tilt) 시킬 수 있다. 나아가, 제어부는 오토 포커스 기능의 피드백(Feedback) 제어 및 손떨림 보정 기능의 피드백 제어 중 어느 하나 이상을 수행할 수 있다. 보다 상세히, 제어부는 제1센싱 유닛(700)에 의해 감지된 보빈(210) 또는 하우징(310)의 위치를 수신하여 AF 구동 코일(220)에 인가하는 전류를 제어하여 오토 포커스 피드백 제어를 수행할 수 있다. 또한, 제어부는 제2센서(800)에 의해 감지된 보빈(210) 또는 하우징(310)의 위치를 수신하여 OIS 구동 코일(422)에 인가하는 전류를 제어하여 손떨림 보정 피드백 제어를 수행할 수 있다. 언급한 제어부에 의한 피드백 제어는 실시간으로 발생되므로 보다 정밀한 오토 포커스 기능 및 손떨림 보정 기능이 수행될 수 있다.
The control portion may be disposed on the printed circuit board. In one example, the control portion can be disposed inside the lens driving device. As another example, the control portion may be located outside the lens driving device. The control unit can individually control the direction, intensity, and amplitude of the current supplied to the AF driving coil 220 and the OIS driving coil 422 of the lens driving apparatus. The control unit controls the lens driving device to perform at least one of the autofocus function and the camera shake correction function of the camera module. That is, the control unit may control the lens driving unit to move the lens module in the optical axis direction or move it in a direction perpendicular to the optical axis direction or tilt the lens module. Furthermore, the control unit may perform at least one of feedback control of the autofocus function and feedback control of the shake correction function. More specifically, the control unit receives the position of the bobbin 210 or the housing 310 sensed by the first sensing unit 700 and controls the current applied to the AF driving coil 220 to perform autofocus feedback control . The controller may receive the position of the bobbin 210 or the housing 310 sensed by the second sensor 800 and may control the current applied to the OIS driving coil 422 to perform the camera shake correction feedback control . Since the feedback control by the control unit mentioned above occurs in real time, more accurate autofocus function and camera shake correction function can be performed.

이하에서는 본 실시예에 따른 렌즈 구동 장치의 구성을 도면을 참조하여 설명한다.Hereinafter, the configuration of the lens driving apparatus according to the present embodiment will be described with reference to the drawings.

도 1은 본 실시예에 따른 렌즈 구동 장치의 사시도이고, 도 2는 도 1의 X-Y에서 바라본 단면도이고, 도 3은 본 실시예에 따른 렌즈 구동 장치의 분해사시도이고, 도 4는 본 실시예에 따른 렌즈 구동 장치를 도 3과 다른 방향에서 바라본 분해사시도이고, 도 5는 본 실시예에 따른 제1가동자 및 관련 구성을 도시하는 분해사시도이고, 도 6은 본 실시예에 따른 제2가동자를 도시하는 분해사시도이고, 도 7은 본 실시예에 따른 고정자를 도시하는 분해사시도이고, 도 8은 본 실시예에 따른 탄성부재, 지지부재 및 관련 구성을 도시하는 분해사시도이고, 도 9는 본 실시예에 따른 상측 탄성부재의 사시도이고, 도 10은 본 실시예에 따른 렌즈 구동 장치에서 커버부재를 제거한 상태의 평면도이고, 도 11 및 도 12는 도 10의 일부를 확대해서 도시한 사시도이고, 도 13 내지 도 15는 도 10의 일부를 확대해서 도시한 평면도이고, 도 16은 본 실시예에 따른 렌즈 구동 장치에서 커버부재를 제거하고 임의로 절단한 상태를 도시하는 사시도이고, 도 17은 도 16을 측방에서 바라본 측면도이고, 도 18은 도 10의 일부를 확대해서 도시한 사시도이고, 도 19는 본 실시예에 따른 구동 마그네트 및 제1센싱 유닛을 도시하는 사시도이고, 도 20은 본 실시예에 따른 보빈, AF 구동 코일 및 센싱 마그네트를 도시하는 사시도이고, 도 21은 본 실시예에 따른 렌즈 구동 장치의 저면사시도이고, 도 22는 본 실시예에 따른 렌즈 구동 장치의 저면도이고, 도 23 및 도 24는 도 21의 일부를 확대해서 도시한 저면사시도이고, 도 25는 도 10의 일부를 확대해서 도시한 평면도이고, 도 26은 도 25에서 일부 구성을 생략하고 도시한 사시도이고, 도 27은 본 실시예에 따른 고정자의 기판을 도시하는 평면도이다.1 is a perspective view of the lens driving apparatus according to the present embodiment, FIG. 2 is a sectional view as seen from XY in FIG. 1, FIG. 3 is an exploded perspective view of the lens driving apparatus according to the present embodiment, 5 is an exploded perspective view showing the first mover and the related configuration according to the present embodiment, and Fig. 6 is a cross-sectional view of the second mover according to the present embodiment. 8 is an exploded perspective view showing an elastic member, a support member, and a related structure according to the present embodiment, and Fig. 9 is an exploded perspective view showing the stator according to this embodiment. Fig. 10 is a plan view of the lens driving apparatus according to the present embodiment, in which the cover member is removed. Figs. 11 and 12 are enlarged perspective views of part of Fig. 10, 13 - 16 is a perspective view showing a state in which the cover member is removed from the lens driving apparatus according to the present embodiment and is arbitrarily cut, and FIG. 17 is a perspective view of the lens driving apparatus according to the present embodiment, 19 is a perspective view showing a drive magnet and a first sensing unit according to the present embodiment, FIG. 20 is a perspective view showing a bobbin, an AF 22 is a bottom view of the lens driving apparatus according to the present embodiment, and Figs. 23 and 24 are diagrams showing a state in which the driving coil and the sensing magnet 25 is an enlarged plan view of a portion of Fig. 10, Fig. 26 is a perspective view showing a part of the configuration of Fig. 25, and Fig. 27 is a perspective view of the embodiment Following Fig. 7 is a plan view showing the substrate of the stator.

렌즈 구동 장치는 커버부재(100), 제1가동자(200), 제2가동자(300), 고정자(400), 탄성부재(500), 지지부재(600), 제1센싱 유닛(700), 제2센서(800) 및 댐퍼(910, 920)를 포함할 수 있다. 다만, 렌즈 구동 장치에서 커버부재(100), 제1가동자(200), 제2가동자(300), 고정자(400), 탄성부재(500), 지지부재(600), 제1센싱 유닛(700), 제2센서(800) 및 댐퍼(910, 920) 중 어느 하나 이상이 생략 또는 변경될 수 있다. 특히, 제1센싱 유닛(700) 및 제2센서(800)는 오토 포커스 피드백 제어 및 손떨림 보정 피드백 제어를 위한 구성으로 어느 하나 이상이 생략될 수 있다.The lens driving device includes a cover member 100, a first mover 200, a second mover 300, a stator 400, an elastic member 500, a support member 600, a first sensing unit 700, A second sensor 800, and dampers 910 and 920. In this case, In the lens driving apparatus, the cover member 100, the first movable element 200, the second movable element 300, the stator 400, the elastic member 500, the supporting member 600, the first sensing unit 700, the second sensor 800, and the dampers 910, 920 may be omitted or changed. In particular, the first sensing unit 700 and the second sensor 800 are configured for autofocus feedback control and camera shake correction feedback control, and one or more of them may be omitted.

커버부재(100)는 하우징(310)을 내측에 수용할 수 있다. 커버부재(100)는 베이스(430)와 결합될 수 있다. 커버부재(100)는 렌즈 구동 장치의 외관을 형성할 수 있다. 커버부재(100)는 하부가 개방된 육면체 형상일 수 있다. 다만, 커버부재(100)의 형상이 이에 제한되는 것은 아니다. 커버부재(100)는 비자성체일 수 있다. 만약, 커버부재(100)가 자성체로 구비되는 경우, 구동 마그네트(320), 센싱 마그네트(730) 및 보상 마그네트(740) 중 어느 하나 이상에 커버부재(100)의 자기력이 영향을 미칠 수 있다. 커버부재(100)는 금속재로 형성될 수 있다. 보다 상세히, 커버부재(100)는 금속의 판재로 구비될 수 있다. 이 경우, 커버부재(100)는 전자 방해 잡음(EMI, electro magnetic interference)을 차단할 수 있다. 커버부재(100)의 이와 같은 특징 때문에, 커버부재(100)는 'EMI 쉴드캔'으로 호칭될 수 있다. 커버부재(100)는 인쇄회로기판(40)의 그라운드부와 연결될 수 있다. 이를 통해, 커버부재(100)는 그라운드될 수 있다. 커버부재(100)는 렌즈 구동 장치의 외부에서 발생되는 전파가 커버부재(100) 내측으로 유입되는 것을 차단할 수 있다. 또한, 커버부재(100)는 커버부재(100) 내부에서 발생된 전파가 커버부재(100) 외측으로 방출되는 것을 차단할 수 있다.The cover member 100 can house the housing 310 inside. The cover member 100 can be engaged with the base 430. The cover member 100 can form an appearance of the lens driving device. The cover member 100 may be in the form of a hexahedron having an open bottom. However, the shape of the cover member 100 is not limited thereto. The cover member 100 may be a non-magnetic body. If the cover member 100 is formed of a magnetic material, the magnetic force of the cover member 100 may affect at least one of the drive magnet 320, the sensing magnet 730, and the compensation magnet 740. The cover member 100 may be formed of a metal material. More specifically, the cover member 100 may be formed of a metal plate. In this case, the cover member 100 may block electromagnetic interference (EMI). Because of this feature of the cover member 100, the cover member 100 can be referred to as an " EMI shield can ". The cover member 100 may be connected to the ground portion of the printed circuit board 40. Through this, the cover member 100 can be grounded. The cover member 100 can block the airflow generated from the outside of the lens driving apparatus from flowing into the cover member 100. [ In addition, the cover member 100 can prevent the radio wave generated inside the cover member 100 from being emitted to the outside of the cover member 100.

커버부재(100)는 상판(101) 및 측판(102)을 포함할 수 있다. 커버부재(100)는 상판(101)과, 상판(101)의 외주(outer periphery)로부터 하측으로 연장되는 측판(102)을 포함할 수 있다. 커버부재(100)의 상판(101)은 하우징(310)의 상측에 배치될 수 있다. 커버부재(100)의 측판(102)은 상판(101)으로부터 연장되고 베이스(430)와 결합될 수 있다. 일례로, 커버부재(100)는 베이스(430)에 결합될 수 있다. 커버부재(100)의 측판(102)의 일부는 베이스(430)에 결합될 수 있다. 커버부재(100)의 측판(102)의 하단은 베이스(430)의 단차부(435)에 배치될 수 있다. 커버부재(100)의 측판(102)의 내측면은 베이스(430)의 외측 측면과 직접 접촉될 수 있다. 커버부재(100)의 측판(102)의 내측면은 베이스(430)에 접착제(미도시)에 의해 결합될 수 있다. 다른 예로, 커버부재(100)는 인쇄회로기판의 상면에 직접 결합될 수 있다. 커버부재(100)와 베이스(430)에 의해 형성되는 내부 공간에는 제1가동자(200), 제2가동자(300), 고정자(400), 탄성부재(500) 및 지지부재(600)가 배치될 수 있다. 이와 같은 구조를 통해, 커버부재(100)는 외부의 충격으로부터 내부 구성요소를 보호함과 동시에 외부 오염물질의 침투를 방지할 수 있다.The cover member 100 may include an upper plate 101 and a side plate 102. The cover member 100 may include an upper plate 101 and a side plate 102 extending downward from an outer periphery of the upper plate 101. [ The top plate 101 of the cover member 100 may be disposed on the upper side of the housing 310. The side plate 102 of the cover member 100 can extend from the top plate 101 and can be coupled with the base 430. In one example, the cover member 100 may be coupled to the base 430. A portion of the side plate 102 of the cover member 100 may be coupled to the base 430. [ The lower end of the side plate 102 of the cover member 100 may be disposed at the step 435 of the base 430. [ The inner surface of the side plate 102 of the cover member 100 can be in direct contact with the outer side surface of the base 430. [ The inner surface of the side plate 102 of the cover member 100 can be joined to the base 430 by an adhesive (not shown). As another example, the cover member 100 may be directly coupled to the upper surface of the printed circuit board. The first mover 200, the second mover 300, the stator 400, the elastic member 500, and the support member 600 are fixed to the inner space formed by the cover member 100 and the base 430 . With such a structure, the cover member 100 can protect the internal components from external impact and prevent the penetration of external contaminants.

커버부재(100)는 개구부(110) 및 함몰부(120)를 포함할 수 있다. 다만, 커버부재(100)에서 개구부(110) 및 함몰부(120) 중 어느 하나 이상이 생략 또는 변경될 수 있다.The cover member 100 may include an opening 110 and a depression 120. However, at least one of the opening 110 and the depressed portion 120 in the cover member 100 may be omitted or changed.

개구부(110)는 커버부재(100)의 상판(101)에 형성될 수 있다. 개구부(110)는 상측으로 렌즈 모듈을 노출시킬 수 있다. 개구부(110)는 렌즈 모듈과 대응되는 형상으로 형성될 수 있다. 개구부(110)의 크기는 렌즈 모듈이 개구부(110)를 통해 조립될 수 있도록 렌즈 모듈의 직경 보다 크게 형성될 수 있다. 개구부(110)를 통해 유입된 광은 렌즈 모듈을 통과할 수 있다. 이때, 렌즈 모듈을 통과한 광은 이미지 센서에서 전기적 신호로 변환되어 영상으로 획득될 수 있다.The opening 110 may be formed in the top plate 101 of the cover member 100. The opening 110 can expose the lens module to the upper side. The opening 110 may be formed in a shape corresponding to the lens module. The size of the opening 110 may be larger than the diameter of the lens module so that the lens module can be assembled through the opening 110. The light introduced through the opening 110 can pass through the lens module. At this time, the light passing through the lens module can be converted into an electrical signal in the image sensor and can be acquired as an image.

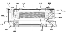
함몰부(120)는 커버부재(100)의 측판(102)의 하면이 함몰되어 형성될 수 있다. 함몰부(120) 사이로 기판(410)의 단자부(412)가 노출될 수 있다. 함몰부(120)에는 베이스(430)의 돌기(441, 442, 443, 444)가 삽입될 수 있다.The depressed portion 120 may be formed by recessing the lower surface of the side plate 102 of the cover member 100. The terminal portion 412 of the substrate 410 may be exposed between the depressions 120. [ The protrusions 441, 442, 443, and 444 of the base 430 can be inserted into the depression 120.

함몰부(120)는 제1함몰부(120a) 및 제2함몰부(120b)를 포함할 수 있다. 함몰부(120)는 베이스(430)의 일측 외면 측에 형성되는 제1함몰부(120a), 및 베이스(430)의 타측 외면 측에 형성되는 제2함몰부(120b)를 포함할 수 있다. 제1함몰부(120a)를 통해 제1단자부(412a)가 노출될 수 있다. 제2함몰부(120b)를 통해 제2단자부(412b)가 노출될 수 있다. 함몰부(120)는 '홈부'로 호칭될 수 있다. 또한, 제1함몰부(120a) 및 제2함몰부(120b)는 각각 '제1홈부' 및 '제2홈부'로 호칭될 수 있다.The depression 120 may include a first depression 120a and a second depression 120b. The depressed portion 120 may include a first depressed portion 120a formed on one side of the base 430 and a second depressed portion 120b formed on the other side of the base 430. [ The first terminal portion 412a may be exposed through the first depression 120a. And the second terminal portion 412b may be exposed through the second depression 120b. The depression 120 may be referred to as a " groove ". The first depressed portion 120a and the second depressed portion 120b may be referred to as a 'first groove portion' and a 'second groove portion', respectively.

함몰부(120)는 함몰면(121)을 포함할 수 있다. 함몰부(120)는 측판(102)의 하면 보다 상측에 형성되는 함몰면(121)을 포함할 수 있다. 함몰부(120)는 측판(102)의 하면과 함몰면(121)을 연결하는 제1 및 제2연결면을 포함할 수 있다. 함몰면(121)은 측판(102)의 하면 보다 상측에 형성될 수 있다. 측판(102)의 하면과 함몰면(121)은 커버부재(100)의 제1 및 제2연결면에 의해 연결될 수 있다. 함몰면(121)과 제1연결면은 제1돌기(441)에 의해 지지될 수 있다. 함몰면(121)과 제2연결면은 제2돌기(442)에 의해 지지될 수 있다.The depressed portion 120 may include the depressed surface 121. The depressed portion 120 may include a depressed surface 121 formed above the lower surface of the side plate 102. The depressed portion 120 may include first and second connecting surfaces connecting the lower surface of the side plate 102 and the depressed surface 121. The recessed surface 121 may be formed above the lower surface of the side plate 102. The lower surface and the depressed surface 121 of the side plate 102 can be connected by the first and second connecting surfaces of the cover member 100. [ The recessed surface 121 and the first connection surface can be supported by the first protrusion 441. The recessed surface 121 and the second connection surface can be supported by the second projection 442.

제1가동자(200)는 카메라 모듈의 일 구성인 렌즈 모듈(단, 렌즈 모듈은 렌즈 구동 장치의 구성요소로 설명될 수도 있다)과 결합될 수 있다. 제1가동자(200)는 렌즈 모듈을 내측에 수용할 수 있다. 제1가동자(200)의 내주면(inner periphery surface)에 렌즈 모듈의 외주면(outer periphery surface)이 결합될 수 있다. 제1가동자(200)는 제2가동자(300) 및/또는 고정자(400)와의 상호작용을 통해 이동할 수 있다. 이때, 제1가동자(200)는 렌즈 모듈과 일체로 이동할 수 있다. 한편, 제1가동자(200)는 오토 포커스 기능을 위해 이동할 수 있다. 이때, 제1가동자(200)는 'AF 가동자'라 호칭될 수 있다. 다만, 본 기재가 제1가동자(200)를 오토 포커스 기능을 위해서만 이동하는 부재로 한정하는 것은 아니다. 제1가동자(200)는 손떨림 보정 기능을 위해서도 이동할 수 있다.The first movable element 200 may be combined with a lens module (which may be described as a component of the lens driving device), which is one component of the camera module. The first movable element 200 can house the lens module inside. The outer periphery surface of the lens module can be coupled to the inner periphery surface of the first movable element 200. [ The first mover 200 can move through interaction with the second mover 300 and / or the stator 400. [ At this time, the first movable element 200 can move integrally with the lens module. On the other hand, the first movable element 200 can move for an autofocus function. At this time, the first mover 200 may be referred to as an 'AF mover'. However, the present invention is not limited to the member that moves the first mover 200 only for the autofocus function. The first movable element 200 can also be moved for the shake correction function.

제1가동자(200)는 보빈(210) 및 AF 구동 코일(220)를 포함할 수 있다. 다만, 제1가동자(200)에서 보빈(210) 및 AF 구동 코일(220) 중 어느 하나 이상이 생략 또는 변경될 수 있다.The first movable element 200 may include a bobbin 210 and an AF driving coil 220. However, any one or more of the bobbin 210 and the AF driving coil 220 in the first mover 200 may be omitted or changed.

보빈(210)은 하우징(310)의 내측에 배치될 수 있다. 보빈(210)은 하우징(310)의 관통홀(311)에 배치될 수 있다. 보빈(210)은 하우징(310)을 기준으로 광축 방향으로 이동할 수 있다. 보빈(210)은 하우징(310)의 내측에 제1방향으로 이동하도록 배치될 수 있다. 이때, 상기 제1방향은 광축 방향일 수 있다. 보빈(210)은 하우징(310)의 관통홀(311)에 광축을 따라 이동하도록 배치될 수 있다. 보빈(210)은 렌즈 모듈과 결합될 수 있다. 보빈(210)의 내주면에는 렌즈 모듈의 외주면이 결합될 수 있다. 보빈(210)에는 AF 구동 코일(220)이 결합될 수 있다. 보빈(210)의 외주면에는 AF 구동 코일(220)이 결합될 수 있다. 보빈(210)의 하부는 하측 탄성부재(520)와 결합될 수 있다. 보빈(210)의 상부는 상측 탄성부재(510)와 결합될 수 있다. The bobbin 210 may be disposed inside the housing 310. The bobbin 210 may be disposed in the through hole 311 of the housing 310. The bobbin 210 can move in the optical axis direction with respect to the housing 310. The bobbin 210 may be disposed inside the housing 310 to move in a first direction. At this time, the first direction may be an optical axis direction. The bobbin 210 may be arranged to move along the optical axis in the through hole 311 of the housing 310. The bobbin 210 may be coupled to a lens module. The outer circumferential surface of the lens module may be coupled to the inner circumferential surface of the bobbin 210. The AF drive coil 220 may be coupled to the bobbin 210. The AF drive coil 220 may be coupled to the outer circumferential surface of the bobbin 210. [ The lower portion of the bobbin 210 can be engaged with the lower elastic member 520. The upper portion of the bobbin 210 may be engaged with the upper elastic member 510.

본 실시예에서 보빈(210)은 양방향 구동할 수 있다. 즉, 보빈(210)은 광축을 따라 상측 및 하측으로 선택적으로 이동할 수 있다. 보빈(210)은 상측으로 210 내지 330 μm 만큼 이동할 수 있고 하측으로 20 내지 100 μm 만큼 이동할 수 있다.In this embodiment, the bobbin 210 can be bi-directionally driven. That is, the bobbin 210 can selectively move upward and downward along the optical axis. The bobbin 210 can move upward by 210 to 330 占 퐉 and downward by 20 to 100 占 퐉.

보빈(210)은 관통홀(211), 구동부 결합부(212), 상측 결합부(213) 및 하측 결합부를 포함할 수 있다. 보빈(210)은 돌기(215), 및 지그 홈(216)을 포함할 수 있다. 보빈(210)은 제1스토퍼(217), 제2스토퍼(218), 및 제3스토퍼(219)를 포함할 수 있다. 다만, 보빈(210)에서 관통홀(211), 구동부 결합부(212), 상측 결합부(213) 및 하측 결합부, 돌기(215), 지그 홈(216), 제1스토퍼(217), 제2스토퍼(218), 및 제3스토퍼(219) 중 어느 하나 이상이 생략될 수 있다.The bobbin 210 may include a through hole 211, a driving part coupling part 212, an upper coupling part 213 and a lower coupling part. The bobbin 210 may include a projection 215, and a jig groove 216. The bobbin 210 may include a first stopper 217, a second stopper 218, and a third stopper 219. In the bobbin 210, the through hole 211, the driving portion coupling portion 212, the upper coupling portion 213, the lower coupling portion, the projection 215, the jig groove 216, the first stopper 217, The second stopper 218, and the third stopper 219 may be omitted.

관통홀(211)은 보빈(210)의 내측에 형성될 수 있다. 관통홀(211)은 상하 개방형으로 형성될 수 있다. 관통홀(211)에는 렌즈 모듈이 결합될 수 있다. 관통홀(211)의 내주면에는 렌즈 모듈의 외주면에 형성되는 나사산과 대응되는 나사산이 형성될 수 있다. 즉, 관통홀(211)에는 렌즈 모듈이 나사 결합될 수 있다. 렌즈 모듈과 보빈(210) 사이에는 접착제가 배치될 수 있다. 이때, 접착제는 자외선(UV), 열 및 레이저 중 어느 하나 이상에 의해 경화되는 에폭시일 수 있다.The through hole 211 may be formed on the inner side of the bobbin 210. The through holes 211 may be formed in a vertically open type. The lens module may be coupled to the through hole 211. A screw thread corresponding to a thread formed on the outer peripheral surface of the lens module may be formed on the inner circumferential surface of the through hole 211. That is, the lens module can be screwed into the through hole 211. An adhesive may be disposed between the lens module and the bobbin 210. At this time, the adhesive may be an epoxy which is cured by at least one of ultraviolet (UV), heat, and laser.

구동부 결합부(212)에는 AF 구동 코일(220)이 결합될 수 있다. 구동부 결합부(212)는 보빈(210)의 외주면에 형성될 수 있다. 구동부 결합부(212)는 보빈(210)의 외주면의 일부가 내측으로 함몰되어 형성되는 홈으로 형성될 수 있다. 이때, 구동부 결합부(212)에는 AF 구동 코일(220)의 적어도 일부가 수용될 수 있다. 구동부 결합부(212)는 보빈(210)의 외주면과 일체로 형성될 수 있다. 일례로, 구동부 결합부(212)는 보빈(210)의 외주면을 따라 연속적으로 형성될 수 있다. 이때, 구동부 결합부(212)에는 AF 구동 코일(220)이 권선될 수 있다. 다른 예로, 구동부 결합부(212)는 복수로 구비되어 상호간 이격되어 형성될 수 있다. 이때, AF 구동 코일(220)도 복수로 구비되어 구동부 결합부(212) 각각에 결합될 수 있다. 또 다른 예로, 구동부 결합부(212)는 상측 또는 하측 개방형으로 형성될 수 있다. 이때, AF 구동 코일(220)은 미리 권선된 상태로 개방된 부분을 통해 구동부 결합부(212)에 삽입되어 결합될 수 있다.The AF driving coil 220 may be coupled to the driving unit engaging portion 212. The driving portion coupling portion 212 may be formed on the outer peripheral surface of the bobbin 210. The driving part coupling part 212 may be formed as a groove formed by a part of the outer circumferential surface of the bobbin 210 being recessed inward. At this time, at least a part of the AF driving coil 220 may be accommodated in the driving part engaging part 212. The driving portion coupling portion 212 may be formed integrally with the outer circumferential surface of the bobbin 210. For example, the driving portion engaging portion 212 may be continuously formed along the outer circumferential surface of the bobbin 210. At this time, the AF drive coil 220 may be wound around the driving portion coupling portion 212. [ As another example, the plurality of the driving portion coupling portions 212 may be formed to be spaced apart from each other. At this time, a plurality of AF driving coils 220 may also be coupled to each of the driving unit engaging portions 212. As another example, the driving portion engaging portion 212 may be formed as an upper side or a lower side opening type. At this time, the AF driving coil 220 may be inserted into the driving unit engaging portion 212 through the opened portion in the previously wound state, and may be coupled.

구동부 결합부(212)는 제1코일 인출홈(212a) 및 제2코일 인출홈(212b)를 포함할 수 있다. 제1코일 인출홈(212a) 및 제2코일 인출홈(212b)은 보빈(210)의 상면의 일부가 함몰되어 형성될 수 있다. 제1코일 인출홈(212a) 및 제2코일 인출홈(212b)은 보빈(210)의 외주면의 일부가 함몰되어 형성될 수 있다. 제1코일 인출홈(212a) 및 제2코일 인출홈(212b)은 상호간 이격될 수 있다. 제1코일 인출홈(212a) 및 제2코일 인출홈(212b) 각각에는 AF 구동 코일(220)의 인출선이 배치될 수 있다. AF 구동 코일(220)의 양측 말단은 제1코일 인출홈(212a) 및 제2코일 인출홈(212b)을 통과해 상측 탄성부재(510)와 결합될 수 있다.The driving portion coupling portion 212 may include a first coil drawing groove 212a and a second coil drawing groove 212b. The first coil lead-out groove 212a and the second coil lead-out groove 212b may be formed by recessing a part of the upper surface of the bobbin 210. [ The first coil lead-out groove 212a and the second coil lead-out groove 212b may be formed by recessing a part of the outer peripheral surface of the bobbin 210. [ The first coil lead-out groove 212a and the second coil lead-out groove 212b may be spaced apart from each other. The lead wire of the AF drive coil 220 may be disposed in each of the first coil lead-out groove 212a and the second coil lead-out groove 212b. Both ends of the AF drive coil 220 may be coupled to the upper elastic member 510 through the first coil drawing groove 212a and the second coil drawing groove 212b.

상측 결합부(213)는 상측 탄성부재(510)와 결합될 수 있다. 상측 결합부(213)는 상측 탄성부재(510)의 내측부(512)와 결합될 수 있다. 상측 결합부(213)는 보빈(210)의 상면으로부터 상측으로 돌출 형성될 수 있다. 일례로, 상측 결합부(213)의 돌기는 상측 탄성부재(510)의 내측부(512)의 홈 또는 홀에 삽입되어 결합될 수 있다. 이때, 상측 결합부(213)의 돌기는 내측부(512)의 홀에 삽입된 상태로 열융착되어 상측 탄성부재(510)를 열융착된 돌기와 보빈(210)의 상면 사이에 고정할 수 있다.The upper engagement portion 213 can be engaged with the upper elastic member 510. The upper engagement portion 213 can be engaged with the inner side portion 512 of the upper elastic member 510. The upper coupling portion 213 may protrude upward from the upper surface of the bobbin 210. For example, the protrusion of the upper coupling portion 213 may be inserted into the groove or the hole of the inner side portion 512 of the upper elastic member 510 to be engaged. At this time, the protrusion of the upper coupling portion 213 is inserted into the hole of the inner side portion 512 to be thermally fused, so that the upper side elastic member 510 can be fixed between the upper surface of the bobbin 210 and the heat-

상측 결합부(213)는 제1돌기(2131) 및 제2돌기(2132)를 포함할 수 있다. 제1돌기(2131) 및 제2돌기(2132)는 상호간 이격될 수 있다. 제1돌기(2131) 및 제2돌기(2132)는 상측 탄성부재(510)의 위치를 가이드할 수 있다.The upper coupling portion 213 may include a first projection 2131 and a second projection 2132. The first protrusion 2131 and the second protrusion 2132 may be spaced apart from each other. The first protrusion 2131 and the second protrusion 2132 can guide the position of the upper elastic member 510.

제1돌기(2131)는 제1홀(5121)에 결합될 수 있다. 제1돌기(2131)의 직경은 제2돌기(2132)의 직경 보다 클 수 있다. 제1돌기(2131)는 열융착을 통해 상측 탄성부재(510)와 결합될 수 있다. 이 과정에서, 제1돌기(2131)의 일부는 가이드홀(5123)에 수용될 수 있다. 또한, 가이드홀(5123)은 '제1홀(2131)로부터 연장되는 홈 '으로 호칭될 수 있다.The first protrusion 2131 may be coupled to the first hole 5121. The diameter of the first protrusion 2131 may be larger than the diameter of the second protrusion 2132. The first protrusion 2131 can be engaged with the upper elastic member 510 through thermal fusion. In this process, a part of the first projection 2131 can be received in the guide hole 5123. Also, the guide hole 5123 may be referred to as a " groove extending from the first hole 2131 ".

제2돌기(2132)는 제2홀(5122)에 적어도 일부가 수용될 수 있다. 제2돌기(2132)의 직경은 제1돌기(2131)의 직경 보다 작을 수 있다. 본 실시예에서는 제1홀(5121)과 제1돌기(2131)의 결합 및 제2홀(5122)과 제2돌기(2132)의 결합의 2중 결합으로 인해 상측 지지부재(510)의 내측부(512)가 보빈(210)에 대하여 회전하는 현상이 방지될 수 있다.The second protrusion 2132 can be received at least partly in the second hole 5122. The diameter of the second protrusion 2132 may be smaller than the diameter of the first protrusion 2131. The second hole 5122 and the second protrusion 2132 are coupled to each other by the double bond of the first hole 5121 and the first protrusion 2131 and the second hole 5122 and the second protrusion 2132, 512 can be prevented from rotating with respect to the bobbin 210.

하측 결합부는 하측 탄성부재(520)와 결합될 수 있다. 하측 결합부는 하측 탄성부재(520)의 내측부(522)와 결합될 수 있다. 하측 결합부는 보빈(210)의 하면으로부터 하측으로 돌출 형성될 수 있다. 일례로, 하측 결합부의 돌기는 하측 탄성부재(520)의 내측부(522)의 홈 또는 홀에 삽입되어 결합될 수 있다. 이때, 하측 결합부의 돌기는 내측부(522)의 홀에 삽입된 상태로 열융착되어 하측 탄성부재(520)를 열융착된 돌기와 보빈(210)의 하면 사이에 고정할 수 있다.And the lower engaging portion can be engaged with the lower elastic member 520. The lower engaging portion can be engaged with the inner side portion 522 of the lower elastic member 520. [ The lower coupling part may protrude downward from the lower surface of the bobbin 210. For example, the protrusion of the lower engagement portion may be inserted and engaged with a groove or a hole of the inner side portion 522 of the lower elastic member 520. At this time, the protrusion of the lower coupling part is inserted into the hole of the inner side part 522 and is thermally fused, so that the lower elastic member 520 can be fixed between the lower surface of the bobbin 210 and the heat-

돌기(215)는 보빈(210)의 상면으로부터 돌출될 수 있다. 돌기(215)에는 제2댐퍼(920)가 배치될 수 있다. 돌기(215)에는 제2댐퍼(920)가 도포될 수 있다. 돌기(215)의 내측 측면은 곡면(2151)으로 형성될 수 있다. 돌기(215)의 외측 측면은 평면(2152)으로 형성될 수 있다.The protrusion 215 may protrude from the upper surface of the bobbin 210. A second damper 920 may be disposed on the projection 215. The second damper 920 may be applied to the projection 215. The inner side surface of the projection 215 may be formed as a curved surface 2151. The outer side surface of the projection 215 may be formed as a flat surface 2152.

지그 홈(216)은 보빈(210)의 상면에 함몰 형성될 수 있다. 지그 홈(216)은 렌즈 구동 장치의 조립 공정에서 보빈(210)을 지그로 파지하기 위해 사용될 수 있다. 특히, 지그 홈(216)은 렌즈 모듈을 보빈(210)에 나사 결합할 때 보빈(210)을 파지하기 위해 사용되어 보빈(210)이 회전하는 것을 방지할 수 있다. 지그 홈(216)은 보빈(210)의 상면에 상호간 반대편에 대응되는 형상으로 형성되는 제1홈 및 제2홈을 포함할 수 있다. 제1홈 및 제2홈은 상호간 반대편에 형성될 수 있다. 제1홈 및 제2홈은 동일한 형상으로 형성될 수 있다. 제1홈 및 제2홈은 센싱 마그네트(730) 및 보상 마그네트(740)와 이격되어 형성될 수 있다. 제1홈의 중심과 제2홈의 중심을 연결하는 가상의 직선은 센싱 마그네트(730)의 중심과 보상 마그네트(740)의 중심을 연결하는 가상의 직선과 광축에서 만날 수 있다. 제1홈의 중심과 제2홈의 중심을 연결하는 가상의 직선은 센싱 마그네트(730)의 중심과 보상 마그네트(740)의 중심을 연결하는 가상의 직선과 직교할 수 있다.The jig groove 216 may be recessed on the upper surface of the bobbin 210. The jig groove 216 can be used to jig the bobbin 210 in the assembly process of the lens driving device. In particular, the jig grooves 216 may be used to grip the bobbin 210 when the lens module is screwed onto the bobbin 210 to prevent the bobbin 210 from rotating. The jig grooves 216 may include first grooves and second grooves formed on the upper surface of the bobbin 210 in a shape corresponding to the mutually opposite sides. The first groove and the second groove may be formed on opposite sides of each other. The first groove and the second groove may be formed in the same shape. The first and second grooves may be spaced apart from the sensing magnet 730 and the compensating magnet 740. A virtual straight line connecting the center of the first groove and the center of the second groove can meet at an imaginary straight line and an optical axis connecting the center of the sensing magnet 730 and the center of the compensating magnet 740. A virtual straight line connecting the center of the first groove and the center of the second groove may be orthogonal to a virtual straight line connecting the center of the sensing magnet 730 and the center of the compensating magnet 740.

제1스토퍼(217) 및 제2스토퍼(218)는 상호간 이격될 수 있다. 제1스토퍼(217) 및 제2스토퍼(218)는 보빈(210)의 이동 하한을 제한할 수 있다. 즉, 제1스토퍼(217) 및 제2스토퍼(218)는 보빈의 하측 스토퍼로 기능할 수 있다.The first stopper 217 and the second stopper 218 may be spaced apart from each other. The first stopper 217 and the second stopper 218 may limit the lower limit of the movement of the bobbin 210. [ That is, the first stopper 217 and the second stopper 218 can function as a lower stopper of the bobbin.

제1스토퍼(217)는 제2스토퍼(218)로부터 이격될 수 있다. 제1스토퍼(217)는 제2가동자(300)와 광축 방향으로 오버랩될 수 있다. 제1스토퍼(217)는 하우징(310)과 광축 방향으로 오버랩될 수 있다. 제1스토퍼(217)의 적어도 일부는 하우징(310)의 상측에 배치될 수 있다. 제1스토퍼(217)는 보빈(210)의 외주면으로부터 돌출될 수 있다. 제1스토퍼(217)는 보빈(210)의 외측 측면으로부터 돌출될 수 있다. 제1스토퍼(217)는 보빈(210)의 이동에 따라 하우징(310)에 접촉될 수 있다. 제1스토퍼(217)의 하면의 일부는 AF 구동 코일(220)과 접촉할 수 있다. 제1스토퍼(217)의 하면의 일부는 AF 구동 코일(220)과 면접촉할 수 있다. 제1스토퍼(217)의 하면은 제2스토퍼(218)의 하면 보다 하측에 배치될 수 있다.The first stopper 217 may be spaced apart from the second stopper 218. The first stopper 217 may overlap the second mover 300 in the direction of the optical axis. The first stopper 217 may overlap with the housing 310 in the optical axis direction. At least a portion of the first stopper 217 may be disposed on the upper side of the housing 310. The first stopper 217 may protrude from the outer circumferential surface of the bobbin 210. The first stopper 217 may protrude from the outer side surface of the bobbin 210. The first stopper 217 may be in contact with the housing 310 as the bobbin 210 moves. A part of the lower surface of the first stopper 217 can contact the AF drive coil 220. [ A part of the lower surface of the first stopper 217 can be in surface contact with the AF drive coil 220. [ The lower surface of the first stopper 217 may be disposed below the lower surface of the second stopper 218. [

제2스토퍼(218)는 제1스토퍼(217)로부터 이격될 수 있다. 제2스토퍼(218)는 제2가동자(300)와 광축 방향으로 오버랩될 수 있다. 제2스토퍼(218)는 구동 마그네트(320)와 광축 방향으로 오버랩될 수 있다. 제2스토퍼(218)는 하우징(310)과 광축 방향으로 오버랩될 수 있다. 제2스토퍼(218)는 보빈(210)의 외주면으로부터 돌출될 수 있다. 제2스토퍼(218)는 보빈(210)의 외측 측면으로부터 돌출될 수 있다. 제2스토퍼(218)는 보빈(210)의 이동에 따라 구동 마그네트(320)에 접촉될 수 있다. 제2스토퍼(218)의 하면은 제1스토퍼(217)의 하면 보다 상측에 배치될 수 있다.The second stopper 218 may be spaced apart from the first stopper 217. The second stopper 218 may overlap the second mover 300 in the direction of the optical axis. The second stopper 218 may overlap the driving magnet 320 in the optical axis direction. The second stopper 218 may overlap the housing 310 in the optical axis direction. The second stopper 218 may protrude from the outer peripheral surface of the bobbin 210. The second stopper 218 may protrude from the outer side surface of the bobbin 210. The second stopper 218 may be in contact with the driving magnet 320 in accordance with the movement of the bobbin 210. The lower surface of the second stopper 218 may be disposed above the lower surface of the first stopper 217.

본 실시예에서 제1스토퍼(217)와 제2가동자(300) 사이의 광축 방향의 거리는 제2스토퍼(218)와 제2가동자(300) 사이의 광축 방향의 거리와 상이할 수 있다. 제1스토퍼(217)와 제2가동자(300) 사이의 광축 방향의 거리는 제2스토퍼(218)와 제2가동자(300) 사이의 광축 방향의 거리 보다 짧을 수 있다. 제1스토퍼(217)와 제2가동자(300) 사이의 광축 방향의 거리는 제2스토퍼(218)와 제2가동자(300) 사이의 광축 방향의 거리 보다 길 수 있다. 즉, 제1스토퍼(217)에 의한 이동 제한 거리와 제2스토퍼(218)에 의한 이동 제한 거리가 상이할 수 있다. 이를 통해, 보빈(210)의 이동 시 제1스토퍼(217) 및 제2스토퍼(218) 중 어느 하나가 먼저 부딪히고 나머지 하나가 나중에 부딪혀 제1스토퍼(217) 및 제2스토퍼(218)에 발생되는 충격이 분산될 수 있다. 따라서, 제1스토퍼(217) 및 제2스토퍼(218)의 파손이 방지될 수 있다.The distance in the direction of the optical axis between the first stopper 217 and the second mover 300 may be different from the distance in the optical axis direction between the second stopper 218 and the second mover 300 in this embodiment. The distance between the first stopper 217 and the second mover 300 in the direction of the optical axis may be shorter than the distance between the second mover 300 and the second stopper 218 in the direction of the optical axis. The distance between the first stopper 217 and the second mover 300 in the optical axis direction may be longer than the distance between the second mover 300 and the second mover 300 in the optical axis direction. That is, the movement limit distance by the first stopper 217 and the movement limit distance by the second stopper 218 may be different. The first stopper 217 and the second stopper 218 first collide with each other when the bobbin 210 moves and the other one bumps later to cause the first stopper 217 and the second stopper 218 The impact can be dispersed. Therefore, breakage of the first stopper 217 and the second stopper 218 can be prevented.

본 실시예에서 제1스토퍼(217)와 하우징(310) 사이의 광축 방향의 거리는 제2스토퍼(218)와 구동 마그네트(320) 사이의 광축 방향의 거리 보다 짧을 수 있다. 따라서, 보빈(210)이 하측으로 이동하면, 보빈(210)의 제1스토퍼(217)가 하우징(310)에 먼저 부딪히고 제2스토퍼(218)가 구동 마그네트(320)에 나중에 부딪힐 수 있다. 이를 통해, 제2스토퍼(218)가 구동 마그네트(320)를 타격하는 힘이 작아지게 되므로 구동 마그네트(320)가 하우징(310)으로부터 탈락되는 현상이 방지될 수 있다. 일례로, 제1스토퍼(217)와 하우징(310) 사이의 광축 방향의 거리는 125 내지 135μm일 수 있고, 제2스토퍼(218)와 구동 마그네트(320) 사이의 광축 방향의 거리는 135 내지 145μm일 수 있다. 또한, 제1스토퍼(217)와 하우징(310) 사이의 광축 방향의 거리는 130μm일 수 있고, 제2스토퍼(218)와 구동 마그네트(320) 사이의 광축 방향의 거리는 140μm일 수 있다.The distance between the first stopper 217 and the housing 310 in the optical axis direction may be shorter than the distance between the second stopper 218 and the driving magnet 320 in the optical axis direction. When the bobbin 210 moves downward, the first stopper 217 of the bobbin 210 first hits the housing 310 and the second stopper 218 hits the drive magnet 320 at a later time . As a result, the second stopper 218 hits the drive magnet 320, and the drive magnet 320 is prevented from falling off the housing 310. For example, the distance between the first stopper 217 and the housing 310 in the direction of the optical axis may be 125 to 135 占 퐉, and the distance between the second stopper 218 and the driving magnet 320 in the direction of the optical axis may be 135 to 145 占 퐉 have. The distance between the first stopper 217 and the housing 310 in the direction of the optical axis may be 130 占 퐉 and the distance between the second stopper 218 and the driving magnet 320 in the direction of the optical axis may be 140 占 퐉.

본 실시예에서 제1스토퍼(217)는 하우징(310)의 코너부 측에 배치되고 제2스토퍼(218)는 하우징(310)의 측부 측에 배치될 수 있다. 제1스토퍼(217)는 제2코너부(306) 측 및 제4코너부(308) 측 각각에 배치될 수 있다. 즉, 제1스토퍼(217)는 2개로 구비될 수 있다. 제1스토퍼(217)는 센싱 마그네트(730) 및 보상 마그네트(740)가 배치되지 않은 부분에만 형성될 수 있다. 다시 말해, 보빈(210)의 4개의 코너부 중 2개의 코너부에는 제1스토퍼(217)가 형성되고 나머지 2개의 코너부에는 센싱 마그네트(730) 및 보상 마그네트(740)가 배치될 수 있다. 제2스토퍼(218)는 제1 내지 제4측부(301, 302, 303, 304) 측 각각에 배치될 수 있다. 즉, 제2스토퍼(218)는 4개로 구비될 수 있다.The first stopper 217 may be disposed on the corner portion side of the housing 310 and the second stopper 218 may be disposed on the side of the housing 310. [ The first stopper 217 may be disposed on each of the second corner portion 306 side and the fourth corner portion 308 side. That is, the number of the first stoppers 217 may be two. The first stopper 217 may be formed only on the portion where the sensing magnet 730 and the compensating magnet 740 are not disposed. In other words, the first stopper 217 may be formed at two corners of the four corners of the bobbin 210, and the sensing magnet 730 and the compensating magnet 740 may be disposed at the other two corners. The second stopper 218 may be disposed on each of the first to fourth side portions 301, 302, 303, 304 side. That is, the number of the second stoppers 218 may be four.

변형례로, 제1스토퍼(217)는 하우징(310)의 측부 측에 배치되고 제2스토퍼(218)는 하우징(310)의 코너부 측에 배치될 수 있다.The first stopper 217 may be disposed on the side of the housing 310 and the second stopper 218 may be disposed on the corner of the housing 310. [

제1스토퍼(217)의 하면은 하우징(310)의 돌출부의 상면과 광축 방향으로 오버랩될 수 있다. 이와 같은 구조를 통해, 보빈(210)이 하측으로 이동하면 보빈(210)의 제1스토퍼(217)의 하면과 하우징(310)의 돌출부의 상면이 접촉할 수 있다. 하우징(310)의 돌출부의 상면은 제1스토퍼(217)의 외측 단부 또는 하면에 대응되는 부분에 배치되는 홈을 포함할 수 있다.The lower surface of the first stopper 217 may overlap the upper surface of the protrusion of the housing 310 in the optical axis direction. The lower surface of the first stopper 217 of the bobbin 210 and the upper surface of the protrusion of the housing 310 can be in contact with each other when the bobbin 210 moves downward. The upper surface of the protrusion of the housing 310 may include a groove disposed at a portion corresponding to the outer end or lower surface of the first stopper 217.

본 실시예에서는 제1스토퍼(217)의 외측 단부 또는 하면에 대응되는 부분에 홈을 구비함으로써 제1스토퍼(217)에 발생되는 모멘트 하중을 감소시킬 수 있다. 또는 이렇게하여, 제1스토퍼(217)와 하우징(310)의 돌출부의 상면 간의 접촉 시, 하우징(310)의 돌출부의 상면에 배치된 홈을 통해 접촉 면적을 줄일 수 있어 이물 발생 가능성을 낮출 수 있다. 또는, 제1스토퍼(217)에서 크랙(crack)이 발생하는 현상을 최소화할 수 있다. 보다 상세히, 하우징(310)의 돌출부에 홈이 존재하지 않는 경우에는 제1스토퍼(217)의 외측 단부가 하우징(310)의 돌출부에 부딪히게 되고, 홈이 존재하는 경우에는 제1스토퍼(217)의 외측 단부가 하우징(310)의 돌출부에 부딪히지 않고 제1스토퍼(217)의 외측 단부 보다 안쪽이 하우징(310)의 돌출부에 부딪히게 된다. 두 경우를 비교하면, 제1스토퍼(217)의 외측에서 충격이 발생할 수록 모멘트 하중이 크므로 홈이 있는 경우에 모멘트 하중이 적게 발생됨을 알 수 있다.In the present embodiment, the grooves are provided in the portion corresponding to the outer end or the lower surface of the first stopper 217, so that the moment load generated in the first stopper 217 can be reduced. In this way, when the first stopper 217 contacts the upper surface of the protrusion of the housing 310, the contact area can be reduced through the groove disposed on the upper surface of the protrusion of the housing 310, thereby reducing the possibility of foreign matter generation . Also, the occurrence of a crack in the first stopper 217 can be minimized. The outer end of the first stopper 217 comes into contact with the protrusion of the housing 310. When the groove 310 is present, the first stopper 217 contacts the protrusion of the housing 310, The inner end of the first stopper 217 does not hit the protrusion of the housing 310 and the inner end of the first stopper 217 hits the protrusion of the housing 310. Comparing the two cases, it can be seen that as the impact is generated from the outside of the first stopper 217, since the moment load is large, the moment load is small when there is a groove.

제2스토퍼(218)는 몸체부(2181) 및 돌출부(2182)를 포함할 수 있다. 제2스토퍼(218)는 보빈(210)의 외측면으로부터 광축에 수직인 방향으로 돌출되는 몸체부(2181), 및 몸체부(2181)의 하면으로부터 광축 방향으로 돌출되는 돌출부(2182)를 포함할 수 있다. 다만, 언급한 구조는 몸체부(2181)의 하면에 홈이 형성된 것으로도 설명될 수 있다. 돌출부(2182)는 구동 마그네트(320)와 광축 방향으로 오버랩될 수 있다. 돌출부(2182)는 광축에 수직인 방향으로 보빈(210)의 외측면으로부터 돌출부(2182)의 외측면까지의 거리가 보빈(210)의 외측면으로부터 몸체부(2181)의 외측면까지의 거리 보다 짧은 부분을 포함할 수 있다. 돌출부(2182)의 보빈(210)의 외면으로부터의 연장 길이는 몸체부(2181)의 보빈(210)의 외면으로부터의 연장 길이 보다 짧을 수 있다. 돌출부(2182)는 몸체부(2181)의 하면으로부터 돌출될 수 있다. 즉, 돌출부(2182)는 몸체부(2181)의 하측에 형성될 수 있다.The second stopper 218 may include a body portion 2181 and a protrusion 2182. The second stopper 218 includes a body portion 2181 protruding from the outer surface of the bobbin 210 in a direction perpendicular to the optical axis and a protrusion 2182 protruding in the direction of the optical axis from the lower surface of the body portion 2181 . However, the above-mentioned structure can also be explained by forming the groove on the lower surface of the body portion 2181. The protrusion 2182 may overlap with the drive magnet 320 in the direction of the optical axis. The protrusion 2182 is formed such that the distance from the outer surface of the bobbin 210 to the outer surface of the protrusion 2182 in the direction perpendicular to the optical axis is smaller than the distance from the outer surface of the bobbin 210 to the outer surface of the body 2181 And may include short portions. The extension length of the protrusion 2182 from the outer surface of the bobbin 210 may be shorter than the extension length of the body portion 2181 from the outer surface of the bobbin 210. [ The protruding portion 2182 can protrude from the lower surface of the body portion 2181. That is, the protruding portion 2182 may be formed on the lower side of the body portion 2181.

변형례로, 하우징(310)의 돌출부의 홈 구조가 제2스토퍼(218) 측에 형성될 수 있다. 또한, 돌출부(2182) 구조가 제1스토퍼(217)에 형성될 수 있다. 제1스토퍼(217)의 하면은 제2가동자(300)와 광축 방향으로 오버랩되는 제1홈을 포함할 수 있다. 이때, 제1홈은 몸체부(2181)의 하면 중 돌출부(2182)가 형성되지 않은 영역에 해당할 수 있다. 또한, 제2스토퍼(218)의 하면은 제2가동자(300)와 광축 방향으로 오버랩되는 제2홈을 포함할 수 있다. 이때, 제2홈은 제1홈과 대응하는 구성일 수 있다.Alternatively, the groove structure of the protrusion of the housing 310 may be formed on the second stopper 218 side. Further, the protrusion 2182 may be formed on the first stopper 217. The lower surface of the first stopper 217 may include a first groove that overlaps with the second mover 300 in the optical axis direction. At this time, the first groove may correspond to a region where the protruding portion 2182 is not formed in the lower surface of the body portion 2181. The lower surface of the second stopper 218 may include a second groove that overlaps the second mover 300 in the optical axis direction. At this time, the second groove may correspond to the first groove.

본 실시예에서는 몸체부(2181) 보다 짧은 돌출부(2182)를 구비함으로써 제2스토퍼(218)에 발생되는 모멘트 하중을 감소시킬 수 있다. 이를 통해, 제2스토퍼(218)에서 크랙(crack)이 발생하는 현상을 최소화할 수 있다. 보다 상세히, 몸체부(2181)만 존재하는 경우에는 몸체부(2181)의 외측 말단이 구동 마그네트(320)와 부딪히게 되고, 돌출부(2182)가 존재하는 경우에는 돌출부(2182)의 외측 말단이 구동 마그네트(320)와 부딪히게 된다. 두 경우를 비교하면, 돌출부(2182)가 부딪히는 경우 제2스토퍼(218)에 발생되는 모멘트 하중이 몸체부(2181)가 부딪히는 경우 제2스토퍼(218)에 발생되는 모멘트 하중 보다 작다.In this embodiment, since the protrusion 2182 is shorter than the body 2181, the moment load generated in the second stopper 218 can be reduced. As a result, the occurrence of a crack in the second stopper 218 can be minimized. More specifically, when only the body 2181 exists, the outer end of the body 2181 collides with the driving magnet 320. When the projection 2182 exists, the outer end of the projection 2182 is driven And collides with the magnet 320. The moment load generated in the second stopper 218 is smaller than the moment load generated in the second stopper 218 when the body portion 2181 collides with the protruding portion 2182.

제3스토퍼(219)는 보빈(210)의 상면으로부터 돌출 형성될 수 있다. 제3스토퍼(219)는 커버부재(100)와 광축 방향으로 오버랩될 수 있다. 이와 같은 구조를 통해 제3스토퍼(219)는 보빈(210)의 이동 상한을 제한할 수 있다. 즉, 제3스토퍼(219)는 보빈(210)의 상측 스토퍼로 기능할 수 있다.The third stopper 219 may protrude from the upper surface of the bobbin 210. The third stopper 219 may overlap the cover member 100 in the direction of the optical axis. With such a structure, the third stopper 219 can limit the upper limit of the movement of the bobbin 210. [ That is, the third stopper 219 can function as an upper stopper of the bobbin 210. [

본 실시예에서 하우징(310)의 상면에는 상측 탄성부재(510)의 버(burr)를 회피하기 위한 수용홈이 형성될 수 있다.In this embodiment, a receiving groove for avoiding a burr of the upper elastic member 510 may be formed on the upper surface of the housing 310.

AF 구동 코일(220)은 보빈(210)에 배치될 수 있다. AF 구동 코일(220)은 보빈(210)의 외주면에 배치될 수 있다. AF 구동 코일(220)은 보빈(210)에 직권선될 수 있다. AF 구동 코일(220)은 구동 마그네트(320)와 대향할 수 있다. 이 경우, AF 구동 코일(220)에 전류가 공급되어 AF 구동 코일(220) 주변에 자기장이 형성되면, AF 구동 코일(220)과 구동 마그네트(320) 사이의 전자기적 상호작용에 의해 AF 구동 코일(220)이 구동 마그네트(320)에 대하여 이동할 수 있다. AF 구동 코일(220)은 구동 마그네트(320)와 전자기적 상호작용할 수 있다. AF 구동 코일(220)은 구동 마그네트(320)와의 전자기적 상호작용을 통해 보빈(210)을 하우징(310)에 대하여 광축 방향으로 이동시킬 수 있다. 일례로, AF 구동 코일(220)은 일체로 형성되는 하나의 코일일 수 있다. 다른 예로, AF 구동 코일(220)은 상호간 이격되는 복수의 코일을 포함할 수 있다. AF 구동 코일(220)은 상호간 이격되는 4 개의 코일로 구비될 수 있다. 이때, 4개의 코일은 이웃하는 2 개의 코일이 상호간 90°를 이루도록 보빈(210)의 외주면에 배치될 수 있다. The AF drive coil 220 may be disposed on the bobbin 210. The AF drive coil 220 may be disposed on the outer circumferential surface of the bobbin 210. The AF drive coil 220 can be directly wound on the bobbin 210. [ The AF drive coil 220 can be opposed to the drive magnet 320. In this case, when a current is supplied to the AF drive coil 220 to form a magnetic field around the AF drive coil 220, the electromagnetic force is generated between the AF drive coil 220 and the drive magnet 320, (220) can move relative to the drive magnet (320). The AF drive coil 220 can be electromagnetically interacted with the drive magnet 320. The AF drive coil 220 can move the bobbin 210 in the direction of the optical axis with respect to the housing 310 through an electromagnetic interaction with the drive magnet 320. [ For example, the AF drive coil 220 may be a single coil formed integrally. As another example, the AF drive coil 220 may include a plurality of coils spaced from each other. The AF driving coil 220 may be provided with four coils spaced apart from each other. At this time, the four coils may be disposed on the outer circumferential surface of the bobbin 210 so that two neighboring coils form a 90 DEG angle with each other.

AF 구동 코일(220)은 전원 공급을 위한 한 쌍의 인출선을 포함할 수 있다. 이때, AF 구동 코일(220)의 한 쌍의 인출선은 상측 탄성부재(510)의 구분 구성인 제5 및 제6상측 탄성유닛(505, 506)과 전기적으로 연결될 수 있다. 즉, AF 구동 코일(220)은 상측 탄성부재(510)를 통해 전원을 공급받을 수 있다. 보다 상세히, AF 구동 코일(220)은 순차적으로 인쇄회로기판, 기판(410), 지지부재(600) 및 상측 탄성부재(510)를 통해 전원을 공급받을 수 있다. 또는, AF 구동 코일(220)은 하측 탄성부재(520)를 통해 전원을 공급받을 수 있다.The AF drive coil 220 may include a pair of lead wires for power supply. At this time, a pair of outgoing lines of the AF drive coil 220 may be electrically connected to the fifth and sixth upper elastic units 505 and 506, which are the constituent elements of the upper elastic member 510. That is, the AF drive coil 220 can be supplied with power through the upper elastic member 510. More specifically, the AF drive coil 220 can be sequentially supplied with power through the printed circuit board, the substrate 410, the support member 600, and the upper elastic member 510. Alternatively, the AF drive coil 220 may be supplied with power through the lower elastic member 520.

제2가동자(300)는 내측에 제1가동자(200)의 적어도 일부를 수용할 수 있다. 제2가동자(300)는 제1가동자(200)를 이동시키거나 제1가동자(200)와 함께 이동할 수 있다. 제2가동자(300)는 고정자(400)와의 상호작용을 통해 이동할 수 있다. 제2가동자(300)는 손떨림 보정 기능을 위해 이동할 수 있다. 이때, 제2가동자(300)는 'OIS 가동자'라 호칭될 수 있다. 제2가동자(300)는 손떨림 보정 기능을 위해 이동시 제1가동자(200)와 일체로 이동할 수 있다.The second mover 300 can accommodate at least a part of the first mover 200 on the inner side. The second mover 300 can move the first mover 200 or move with the first mover 200. [ The second mover 300 can move through interaction with the stator 400. The second mover 300 can move for the shake correction function. At this time, the second mover 300 may be referred to as an 'OIS mover'. The second mover 300 can move integrally with the first mover 200 when the mobile mover 300 is moved for the purpose of compensating for the shaking motion.

제2가동자(300)는 하우징(310) 및 구동 마그네트(320)를 포함할 수 있다. 다만, 제2가동자(300)에서 하우징(310) 및 구동 마그네트(320) 중 어느 하나 이상이 생략 또는 변경될 수 있다.The second mover 300 may include a housing 310 and a driving magnet 320. However, at least one of the housing 310 and the driving magnet 320 may be omitted or changed in the second mover 300.

하우징(310)은 보빈(210)의 외측에 배치될 수 있다. 하우징(310)은 내측에 보빈(210)의 적어도 일부를 수용할 수 있다. 일례로, 하우징(310)은 육면체 형상을 포함할 수 있다. 하우징(310)은 측부, 및 측부 사이에 형성되는 코너부를 포함할 수 있다. 하우징(310)은 4개의 측면과, 4개의 측면 사이에 배치되는 4개의 코너부를 포함할 수 있다. 하우징(310)에는 구동 마그네트(320)가 배치될 수 있다. 일례로, 하우징(310)의 4개의 측면 각각에는 구동 마그네트(320)가 배치될 수 있다. 다른 예로, 하우징(310)의 4개의 코너부 각각에는 구동 마그네트(320)가 배치될 수 있다. 하우징(310)의 외주면의 적어도 일부는 커버부재(100)의 내주면과 대응되는 형상으로 형성될 수 있다. 특히, 하우징(310)의 외주면은 커버부재(100)의 측판(102)의 내주면과 대응되는 형상으로 형성될 수 있다. 하우징(310)은 절연재질로 형성될 수 있다. 하우징(310)은 커버부재(100)와 상이한 재질로 형성될 수 있다. 하우징(310)은 생산성을 고려하여 사출물로 형성될 수 있다. 하우징(310)의 외측 측면은 커버부재(100)의 측판(102)의 내측 측면과 이격될 수 있다. 하우징(310)과 커버부재(100) 사이의 이격 공간에서 하우징(310)은 OIS 구동을 위해 이동할 수 있다. 하우징(310)의 상부에는 상측 탄성부재(510)가 결합될 수 있다. 하우징(310)의 하부에는 하측 탄성부재(520)가 결합될 수 있다.The housing 310 may be disposed outside the bobbin 210. The housing 310 can accommodate at least a part of the bobbin 210 inside. In one example, the housing 310 may include a hexahedral shape. The housing 310 may include a side portion, and a corner portion formed between the side portions. The housing 310 may include four side surfaces and four corner portions disposed between the four side surfaces. A drive magnet 320 may be disposed in the housing 310. For example, the drive magnet 320 may be disposed on each of the four sides of the housing 310. As another example, the driving magnet 320 may be disposed at each of the four corners of the housing 310. At least a part of the outer circumferential surface of the housing 310 may be formed in a shape corresponding to the inner circumferential surface of the cover member 100. In particular, the outer circumferential surface of the housing 310 may be formed in a shape corresponding to the inner circumferential surface of the side plate 102 of the cover member 100. The housing 310 may be formed of an insulating material. The housing 310 may be formed of a material different from that of the cover member 100. The housing 310 may be formed of an injection molding material in consideration of productivity. The outer side surface of the housing 310 may be spaced apart from the inner side surface of the side plate 102 of the cover member 100. In a spaced-apart space between the housing 310 and the cover member 100, the housing 310 can be moved for OIS driving. An upper elastic member 510 may be coupled to the upper portion of the housing 310. A lower elastic member 520 may be coupled to the lower portion of the housing 310.

하우징(310)은 제1 내지 제4측부(301, 302, 303, 304)를 포함할 수 있다. 하우징(310)은 제1 내지 제4코너부(305, 306, 307, 308) 사이에 형성되는 제1 내지 제4측부(301, 302, 303, 304)를 포함할 수 있다. 제1측부(301) 및 제3측부(303)는 서로 반대편에 배치될 수 있다. 제2측부(302) 및 제4측부(304)는 서로 반대편에 배치될 수 있다. 제1측부(301)는 제4측부(304) 및 제2측부(302)와 이웃할 수 있다. 제2측부(302)는 제1측부(301) 및 제3측부(303)와 이웃할 수 있다. 제3측부(303)는 제2측부(302) 및 제4측부(304)와 이웃할 수 있다. 제4측부(304)는 제3측부(303) 및 제1측부(301)와 이웃할 수 있다.The housing 310 may include first through fourth sides 301, 302, 303, and 304. The housing 310 may include first to fourth sides 301, 302, 303, 304 formed between the first to fourth corner portions 305, 306, 307, 308. The first side portion 301 and the third side portion 303 may be disposed opposite to each other. The second side 302 and the fourth side 304 may be disposed opposite each other. The first side 301 may be adjacent to the fourth side 304 and the second side 302. The second side 302 may be adjacent to the first side 301 and the third side 303. The third side 303 may be adjacent to the second side 302 and the fourth side 304. The fourth side 304 may be adjacent to the third side 303 and the first side 301.

하우징(310)은 제1 내지 제4코너부(305, 306, 307, 308)을 포함할 수 있다. 하우징(310)은 제1 내지 제4측부(301, 302, 303, 304) 사이에 형성되는 제1 내지 제4코너부(305, 306, 307, 308)를 포함할 수 있다. 제1코너부(305) 및 제3코너부(307)는 서로 반대편에 배치될 수 있다. 제2코너부(306) 및 제4코너부(308)는 서로 반대편에 배치될 수 있다.The housing 310 may include first to fourth corner portions 305, 306, 307, and 308. The housing 310 may include first to fourth corner portions 305, 306, 307, and 308 formed between the first to fourth sides 301, 302, 303, The first corner portion 305 and the third corner portion 307 may be disposed opposite to each other. The second corner portion 306 and the fourth corner portion 308 may be disposed opposite to each other.

하우징(310)은 관통홀(311), 구동부 결합부(312), 및 상측 결합부(313)를 포함할 수 있다. 하우징(310)은 하측 결합부를 포함할 수 있다. 하우징(310)은 경사홈(315)을 포함할 수 있다. 하우징(310)은 댐퍼홈(330)을 포함할 수 있다. 하우징(310)은 포켓부(340)를 포함할 수 있다. 다만, 하우징(310)에서 관통홀(311), 구동부 결합부(312), 상측 결합부(313), 하측 결합부(미도시), 경사홈(315), 댐퍼홈(330) 및 포켓부(340) 중 어느 하나 이상이 생략 또는 변경될 수 있다. 하우징(310)은 상면과 외벽부(334)를 더 포함할 수 있다.The housing 310 may include a through hole 311, a driving portion coupling portion 312, and an upper coupling portion 313. The housing 310 may include a lower coupling portion. The housing 310 may include an inclined groove 315. The housing 310 may include a damper groove 330. The housing 310 may include a pocket portion 340. In the housing 310, the through hole 311, the driving portion coupling portion 312, the upper coupling portion 313, the lower coupling portion (not shown), the inclined groove 315, the damper groove 330, 340 may be omitted or changed. The housing 310 may further include an upper surface and an outer wall portion 334.

관통홀(311)은 하우징(310)에 형성될 수 있다. 관통홀(311)은 하우징(310)의 내측에 형성될 수 있다. 관통홀(311)은 하우징(310)을 상하방향으로 관통하도록 형성될 수 있다. 관통홀(311)에는 보빈(210)이 배치될 수 있다. 관통홀(311)에는 보빈(210)이 이동가능하게 배치될 수 있다. 관통홀(311)은 적어도 일부에서 보빈(210)과 대응하는 형상으로 형성될 수 있다. 관통홀(311)을 형성하는 하우징(310)의 내주면은 보빈(210)의 외주면과 이격되어 위치할 수 있다. 다만, 관통홀(311)을 형성하는 하우징(310)의 내주면에는 내측으로 돌출되어 보빈(210)의 광축 방향 이동을 기구적으로 제한하는 스토퍼가 형성될 수 있다.The through hole 311 may be formed in the housing 310. The through hole 311 may be formed on the inner side of the housing 310. The through hole 311 may be formed to penetrate the housing 310 in the vertical direction. The bobbin 210 may be disposed in the through hole 311. The bobbin 210 may be movably disposed in the through hole 311. The through hole 311 may be formed in a shape corresponding to the bobbin 210 at least in part. The inner circumferential surface of the housing 310 forming the through hole 311 may be spaced apart from the outer circumferential surface of the bobbin 210. However, a stopper may be formed on the inner circumferential surface of the housing 310 forming the through hole 311 to protrude inward to mechanically limit the movement of the bobbin 210 in the optical axis direction.

구동부 결합부(312)에는 구동 마그네트(320)가 결합될 수 있다. 구동부 결합부(312)는 하우징(310)에 형성될 수 있다. 구동부 결합부(312)는 하우징(310)의 내주면에 형성될 수 있다. 이 경우, 구동부 결합부(312)에 배치되는 구동 마그네트(320)가 구동 마그네트(320)의 내측에 위치하는 AF 구동 코일(220)과의 전자기적 상호작용에 유리한 장점이 있다. 구동부 결합부(312)는 하부가 개방된 형태일 수 있다. 이 경우, 구동부 결합부(312)에 배치되는 구동 마그네트(320)가 구동 마그네트(320)의 하측에 위치하는 OIS 구동 코일(422)과의 전자기적 상호작용에 유리한 장점이 있다. 구동부 결합부(312)는 하우징(310)의 내주면이 외측으로 함몰되어 형성되는 홈으로 형성될 수 있다. 이때, 구동부 결합부(312)는 복수로 구비될 수 있다. 한편, 복수의 구동부 결합부(312) 각각에는 구동 마그네트(320)가 수용될 수 있다. 일례로, 구동부 결합부(312)는 4개로 분리 구비될 수 있다. 4개의 구동부 결합부(312) 각각에는 구동 마그네트(320)가 배치될 수 있다. 일례로, 구동부 결합부(312)는 하우징(310)의 측면에 형성될 수 있다. 다른 예로, 구동부 결합부(312)는 하우징(310)의 코너부에 형성될 수 있다.A driving magnet 320 may be coupled to the driving part coupling part 312. The driving portion coupling portion 312 may be formed in the housing 310. The driving portion engaging portion 312 may be formed on the inner peripheral surface of the housing 310. In this case, there is an advantage in that the drive magnet 320 disposed at the drive portion engaging portion 312 is advantageous for electromagnetic interaction with the AF drive coil 220 located inside the drive magnet 320. The driving portion coupling portion 312 may have a bottom open form. In this case, there is an advantage that the drive magnet 320 disposed at the drive portion coupling portion 312 is advantageous for electromagnetic interaction with the OIS drive coil 422 located below the drive magnet 320. The driving portion coupling portion 312 may be formed as a groove formed by recessing the inner peripheral surface of the housing 310 outwardly. At this time, a plurality of the driving portion coupling portions 312 may be provided. Meanwhile, the driving magnet 320 may be accommodated in each of the plurality of driving portion engaging portions 312. For example, the driving portion coupling portion 312 may be divided into four. The driving magnet 320 may be disposed in each of the four driving portion engaging portions 312. For example, the driving portion engaging portion 312 may be formed on a side surface of the housing 310. As another example, the driving portion engaging portion 312 may be formed at a corner of the housing 310.

상측 결합부(313)는 상측 탄성부재(510)와 결합될 수 있다. 상측 결합부(313)는 상측 탄성부재(510)의 외측부(511)와 결합될 수 있다. 상측 결합부(313)는 하우징(310)의 상면으로부터 상측으로 돌출 형성될 수 있다. 일례로, 상측 결합부(313)의 돌기는 상측 탄성부재(310)의 외측부(511)의 홈 또는 홀에 삽입되어 결합될 수 있다. 이때, 상측 결합부(313)의 돌기는 외측부(511)의 홀에 삽입된 상태로 열융착되어 상측 탄성부재(510)를 열융착된 돌기와 하우징(310)의 상면 사이에 고정할 수 있다.The upper engagement portion 313 can be engaged with the upper elastic member 510. The upper coupling portion 313 can be engaged with the outer side portion 511 of the upper elastic member 510. The upper coupling portion 313 may protrude upward from the upper surface of the housing 310. For example, the protrusion of the upper coupling portion 313 may be inserted into the groove or the hole of the outer side portion 511 of the upper elastic member 310 to be engaged. At this time, the protrusion of the upper coupling part 313 is inserted into the hole of the outer side part 511 to be thermally fused, so that the upper side elastic member 510 can be fixed between the thermally fused protrusion and the upper surface of the housing 310.

하측 결합부는 하측 탄성부재(520)와 결합될 수 있다. 하측 결합부는 하측 탄성부재(520)의 외측부(521)와 결합될 수 있다. 하측 결합부는 하우징(310)의 하면으로부터 하측으로 돌출 형성될 수 있다. 일례로, 하측 결합부의 돌기는 하측 탄성부재(520)의 외측부(521)의 홈 또는 홀에 삽입되어 결합될 수 있다. 이때, 하측 결합부의 돌기는 외측부(521)의 홀에 삽입된 상태로 열융착되어 하측 탄성부재(520)를 열융착된 돌기와 하우징(310)의 하면 사이에 고정할 수 있다.And the lower engaging portion can be engaged with the lower elastic member 520. The lower engaging portion can be engaged with the outer side portion 521 of the lower elastic member 520. [ The lower coupling portion may protrude downward from the lower surface of the housing 310. For example, the protrusion of the lower coupling portion may be inserted and engaged with a groove or a hole of the outer side portion 521 of the lower elastic member 520. At this time, the protrusion of the lower coupling part is inserted into the hole of the outer side part 521 to be thermally welded, so that the lower elastic member 520 can be fixed between the heat-welded projection and the lower surface of the housing 310.

경사홈(315)은 하우징(310)의 하면의 일부에 형성될 수 있다. 경사홈(315)은 관통홀(333) 주변에 형성될 수 있다. 경사홈(315)을 통해 지지부재(600)가 휘더라도 지지부재(600)가 하우징(310)가 접촉하는 현상이 최소화될 수 있다.The inclined groove 315 may be formed in a part of the lower surface of the housing 310. The inclined grooves 315 may be formed around the through holes 333. [ Even if the support member 600 is bent through the inclined groove 315, the contact of the support member 600 with the housing 310 can be minimized.

댐퍼홈(330)은 하우징(310)의 상면 중 상측 탄성부재(510)의 레그부(515)의 하면과 대향하는 부분이 함몰되어 형성될 수 있다. 댐퍼홈(330)에는 제1댐퍼(910)가 배치될 수 있다. 댐퍼홈(330)은 외벽부(334)와 단차를 형성할 수 있다. 본 실시예에서 댐퍼홈(330)에는 제1댐퍼(910)가 주입될 수 있다. 이때, 제1댐퍼(910)는 댐퍼홈(330)의 제2함몰면(332)에만 주입될 수 있다. 또는 제1댐퍼(910)는 댐퍼홈(330)의 제1함몰면(331) 및 제2함몰면(332) 모두에 주입될 수 있다.The damper groove 330 may be formed by depressing a portion of the upper surface of the housing 310 facing the lower surface of the leg portion 515 of the upper elastic member 510. A first damper 910 may be disposed in the damper groove 330. The damper groove 330 may form a step with the outer wall portion 334. In this embodiment, the first damper 910 may be injected into the damper groove 330. At this time, the first damper 910 can be injected only into the second recessed surface 332 of the damper groove 330. Or the first damper 910 may be injected into both the first recessed surface 331 and the second recessed surface 332 of the damper groove 330.

댐퍼홈(330)은 하우징(310)의 상면 중 상측 탄성부재(510)의 레그부(515) 및 결합부(514)와 대응되는 부분에 배치될 수 있다. 댐퍼홈(330)에는 제1댐퍼(910)가 배치될 수 있다. The damper groove 330 may be disposed at a portion of the upper surface of the housing 310 corresponding to the leg portion 515 and the engaging portion 514 of the upper elastic member 510. A first damper 910 may be disposed in the damper groove 330.

도 13에 도시된 댐퍼홈(330)에는 지지부재(600)의 구분 구성인 와이어가 1개만 배치될 수 있다. 댐퍼홈(330)은 상측 탄성부재(510)의 레그부(515)와 대응되는 제1홈과, 상측 탄성부재(510)의 결합부(514)와 대응되는 제2홈을 포함할 수 있다. 제1홈은 도 13에 도시된 바와 같이 제1함몰면(331)을 포함할 수 있다. 제2홈은 도 13에 도시된 바와 같이 제2함몰면(332)을 포함할 수 있다. 제1홈은 제2홈과 연결될 수 있다. 외벽부(334)의 상면으로부터 제2홈의 바닥(제2함몰면(332))까지의 길이는 외벽부(334)의 상면으로부터 제1홈의 바닥(제1함몰면(331))까지의 길이 보다 길 수 있다. 하우징(310)의 외벽부(334)의 일부는 제1홈과 제2홈의 제1측벽을 형성할 수 있다. In the damper groove 330 shown in FIG. 13, only one wire which is a divisional structure of the support member 600 can be disposed. The damper groove 330 may include a first groove corresponding to the leg portion 515 of the upper elastic member 510 and a second groove corresponding to the engagement portion 514 of the upper elastic member 510. The first groove may include a first recessed surface 331 as shown in FIG. The second groove may include a second recessed surface 332 as shown in FIG. The first groove may be connected to the second groove. The length from the upper surface of the outer wall portion 334 to the bottom of the second groove (second recessed surface 332) is longer than the length from the upper surface of the outer wall portion 334 to the bottom of the first groove (first recessed surface 331) May be longer than the length. A portion of the outer wall portion 334 of the housing 310 may form a first sidewall of the first groove and the second groove.

댐퍼홈(330)은 제2홈과 연결되는 제3홈을 더 포함할 수 있다. 제3홈은 도 13에 도시된 바와 같이 제1함몰면(331)을 포함할 수 있다. 도 13에 도시된 바와 같이 제1홈과 제3홈의 사이에는 제2홈이 배치될 수 있다. 제1홈의 바닥면 (제1함몰면(331))과 제3홈의 바닥면(제1함몰면(331))은 제2홈의 양측에 배치될 수 있다. 하우징(310)의 외벽부(334)의 일부는 제2홈과 제3홈의 제2측벽을 형성할 수 있다.The damper groove 330 may further include a third groove connected to the second groove. The third groove may include a first recessed surface 331 as shown in FIG. As shown in FIG. 13, a second groove may be disposed between the first groove and the third groove. The bottom surface of the first groove (the first depressed surface 331) and the bottom surface of the third groove (the first depressed surface 331) may be disposed on both sides of the second groove. A portion of the outer wall portion 334 of the housing 310 may form a second groove and a second sidewall of the third groove.

즉, 하우징(310)의 외벽부(334)의 일부는 제1홈, 제2홈 및 제3홈의 제1측벽 및 제2측벽을 포함할 수 있다. 제1홈과 제2홈은 제3홈의 상측에 배치될 수 있다. 한편, 제1측벽과 제2측벽 중 어느 하나 이상은 제4홈(니들 주입 홈(335))을 포함할 수 있다. 제4홈은 제1홈과 제2홈 사이에 배치되거나, 및/또는 제2홈과 제3홈 사이에 배치될 수 있다.That is, a portion of the outer wall portion 334 of the housing 310 may include a first sidewall and a second sidewall of the first groove, the second groove, and the third groove. The first groove and the second groove may be disposed above the third groove. On the other hand, at least one of the first sidewall and the second sidewall may include a fourth groove (needle injection groove 335). The fourth groove may be disposed between the first groove and the second groove, and / or between the second groove and the third groove.

도 14에 도시된 댐퍼홈(330)에는 지지부재(600)의 구분 구성인 와이어가 2개 배치될 수 있다. 댐퍼홈(330)은 도 14에 도시된 바와 같이 제2결합부(5022)에 배치되는 제1홈, 제3결합부(5023)에 배치되는 제2홈, 및 제1홈과 제2홈 사이에 배치되는 제3홈을 포함할 수 있다. 하우징(310)의 외벽부(334)의 일부는 제1홈과 제2홈의 제1측벽을 형성하고 제2홈과 제3홈의 제2측벽을 형성할 수 있다. 즉, 외벽부(334)는 제1홈, 제2홈, 및 제3홈을 감싸도록 형성되는 제1측벽 및 제2측벽을 포함할 수 있다.In the damper groove 330 shown in FIG. 14, two wires, which are the constituent elements of the support member 600, may be disposed. 14, the damper groove 330 includes a first groove disposed in the second engaging portion 5022, a second groove disposed in the third engaging portion 5023, and a second groove disposed in the second engaging portion 5023, As shown in FIG. A portion of the outer wall portion 334 of the housing 310 may form a first sidewall of the first groove and the second groove and a second sidewall of the second groove and the third groove. That is, the outer wall portion 334 may include a first sidewall and a second sidewall formed to surround the first groove, the second groove, and the third groove.

본 실시예에서 커버부재(100)와 하우징(310)의 상측 스토퍼 사이의 거리는 80 μm일 수 있다. 이때, 상측 탄성부재(510)의 레그부(515) 및 하우징(310)의 제1함몰면(331) 사이의 거리는 200 μm일 수 있다. 또한, 커버부재(100)와 하우징(310)의 상측 스토퍼 사이의 거리는 70 내지 90 μm일 수 있다. 이때, 상측 탄성부재(510)의 레그부(515) 및 하우징(310)의 제1함몰면(331) 사이의 거리는 190 내지 210 μm일 수 있다. 상측 탄성부재(510)의 레그부(515) 및 하우징(310)의 제1함몰면(331) 사이의 거리는 커버부재(100)와 하우징(310)의 상측 스토퍼 사이의 거리의 1.5 내지 4 배일 수 있다. 상측 탄성부재(510)의 레그부(515) 및 하우징(310)의 제1함몰면(331) 사이의 거리는 커버부재(100)와 하우징(310)의 상측 스토퍼 사이의 거리의 2 내지 3 배일 수 있다. 상측 탄성부재(510)의 레그부(515) 및 하우징(310)의 제1함몰면(331) 사이의 거리는 커버부재(100)와 하우징(310)의 상측 스토퍼 사이의 거리의 2.5 배일 수 있다.In this embodiment, the distance between the cover member 100 and the upper stopper of the housing 310 may be 80 mu m. At this time, the distance between the leg portion 515 of the upper elastic member 510 and the first recessed surface 331 of the housing 310 may be 200 μm. Further, the distance between the cover member 100 and the upper stopper of the housing 310 may be 70 to 90 占 퐉. At this time, the distance between the leg portion 515 of the upper elastic member 510 and the first recessed surface 331 of the housing 310 may be 190 to 210 μm. The distance between the leg portion 515 of the upper elastic member 510 and the first recessed surface 331 of the housing 310 may be 1.5 to 4 times the distance between the cover member 100 and the upper stopper of the housing 310 have. The distance between the leg portion 515 of the upper elastic member 510 and the first recessed surface 331 of the housing 310 may be 2 to 3 times the distance between the cover member 100 and the upper stopper of the housing 310 have. The distance between the leg portion 515 of the upper elastic member 510 and the first recessed surface 331 of the housing 310 may be 2.5 times the distance between the cover member 100 and the upper stopper of the housing 310.

댐퍼홈(330)은 제1댐퍼홈(330a) 및 제2댐퍼홈(330b)을 포함할 수 있다. 제1댐퍼홈(330a)은 제1코너부(305) 및 제3코너부(307) 각각에 형성될 수 있다. 제2댐퍼홈(330b)은 제2코너부(306) 및 제4코너부(308) 각각에 형성될 수 있다.The damper groove 330 may include a first damper groove 330a and a second damper groove 330b. The first damper groove 330a may be formed in the first corner portion 305 and the third corner portion 307, respectively. The second damper groove 330b may be formed in the second corner portion 306 and the fourth corner portion 308, respectively.

댐퍼홈(330)은 제1함몰면(331), 제2함몰면(332), 관통홀(333), 외벽부(334), 니들 주입 홈(335), 제1돌출부(336), 제2돌출부(337), 제3돌출부(338) 및 제4돌출부(339)를 포함할 수 있다. 다만, 댐퍼홈(330)에서 제1함몰면(331), 제2함몰면(332), 관통홀(333), 외벽부(334), 니들 주입 홈(335), 제1돌출부(336), 제2돌출부(337), 제3돌출부(338) 및 제4돌출부(339) 중 어느 하나 이상이 생략 또는 변경될 수 있다.The damper groove 330 includes a first recessed surface 331, a second recessed surface 332, a through hole 333, an outer wall portion 334, a needle injection groove 335, a first projection 336, A protrusion 337, a third protrusion 338, and a fourth protrusion 339. In the damper groove 330, the first recessed surface 331, the second recessed surface 332, the through hole 333, the outer wall portion 334, the needle injection groove 335, the first protrusion 336, Any one or more of the second protrusion 337, the third protrusion 338 and the fourth protrusion 339 may be omitted or changed.

제1함몰면(331)는 하우징(310)의 상면으로부터 함몰되어 하우징(310)의 상면의 하측에 형성될 수 있다.The first recessed surface 331 may be recessed from the upper surface of the housing 310 and formed below the upper surface of the housing 310.

제2함몰면(332)는 제1함몰면(331)으로부터 함몰되어 제1함몰면(331)의 하측에 형성될 수 있다.The second concave surface 332 may be formed below the first concave surface 331 by being recessed from the first concave surface 331.

관통홀(333)는 제2함몰면(332)을 관통할 수 있다. 지지부재(600)는 관통홀(333)을 통과할 수 있다.The through hole 333 can penetrate the second concave surface 332. The support member 600 can pass through the through hole 333. [

외벽부(334)는 하우징(310)의 상면이 하우징(310)의 외주를 따라 연장되어 형성될 수 있다. 외벽부(334)는 댐퍼홈(330)과 단차를 형성할 수 있다.The outer wall portion 334 may be formed by extending the upper surface of the housing 310 along the outer periphery of the housing 310. The outer wall portion 334 may form a step with the damper groove 330.

니들 주입 홈(335)은 외벽부(334)의 일부가 함몰되어 형성될 수 있다. 제1댐퍼(910)를 주입하는 니들(needle)이 니들 주입 홈(335)을 통과할 수 있다.The needle injection groove 335 may be formed by recessing a part of the outer wall portion 334. A needle for injecting the first damper 910 can pass through the needle injection groove 335. [

제1돌출부(336)는 하우징(310)의 코너부의 외측 말단부에서 외벽부(334)의 상면으로부터 돌출되어 형성될 수 있다. 제1돌출부(336)는 제1댐퍼(910)가 외측으로 넘치는 현상을 방지할 수 있다. 제1돌출부(336)가 제2돌출부(337)의 높이와 같거나 제2돌출부(337)의 높이 보다 높은 경우 하우징(310)의 상측 스토퍼로 기능할 수 있다.The first protrusion 336 may protrude from the upper surface of the outer wall 334 at the outer end of the corner of the housing 310. The first projection 336 can prevent the first damper 910 from overflowing to the outside. The first protrusion 336 may function as an upper stopper of the housing 310 when the height of the second protrusion 337 is equal to or greater than the height of the second protrusion 337. [

제2돌출부(337)는 하우징(310)의 상면으로부터 돌출될 수 있다. 제2돌출부(337)는 제1댐퍼홈(330a)과 관통홀(311) 사이에 형성될 수 있다. 제2돌출부(337)는 하우징(310)의 이동 가능 거리의 상한을 제한하는 상측 스토퍼로 기능할 수 있다. 즉, 하우징(310)이 상측으로 이동하는 경우 제2돌출부(337)가 커버부재(100)의 상판(101)에 부딪혀 추가적인 이동이 제한될 수 있다. 제2돌출부(337)의 상면은 제3돌출부(338)의 상면 보다 상측에 형성될 수 있다.The second protrusion 337 may protrude from the upper surface of the housing 310. The second projection 337 may be formed between the first damper groove 330a and the through-hole 311. The second projection 337 can function as an upper stopper for limiting the upper limit of the movable distance of the housing 310. [ That is, when the housing 310 moves upward, the second protrusion 337 may collide against the top plate 101 of the cover member 100 to restrict further movement. The upper surface of the second projection 337 may be formed on the upper side of the upper surface of the third projection 338.

제3돌출부(338)는 하우징(310)의 상면으로부터 돌출될 수 있다. 제3돌출부(338)는 제1댐퍼홈(330a)과 제2돌출부(337) 사이에 형성될 수 있다. 제3돌출부(338)의 상면은 제2돌출부(337)의 상면 보다 하측에 형성될 수 있다. 즉, 제3돌출부(338) 및 제2돌출부(337)는 단차를 형성할 수 있다. 이와 같은 단차 구조에 의해, 제1댐퍼홈(330a)에 수용된 제1댐퍼(910)가 제2돌출부(337)의 상면까지 유입되는 현상이 방지될 수 있다.The third protrusion 338 may protrude from the upper surface of the housing 310. The third protrusion 338 may be formed between the first damper groove 330a and the second protrusion 337. The upper surface of the third projection 338 may be formed below the upper surface of the second projection 337. That is, the third projection 338 and the second projection 337 can form a step. With such a stepped structure, the first damper 910 accommodated in the first damper groove 330a can be prevented from flowing into the upper surface of the second protrusion 337. [

본 실시예에서 하우징(310)은 상부에서 4단의 단차 구조를 가질 수 있다. 제2함몰면(332)은 제1함몰면(331)과 단차를 형성할 수 있다. 제1함몰면(331)은 하우징(310)의 상면과 단차를 형성할 수 있다. 하우징(310)의 상면은 제3돌출부(338)의 상면과 단차를 형성할 수 있다. 제3돌출부(338)의 상면은 제2돌출부(337)의 상면과 단차를 형성할 수 있다.In this embodiment, the housing 310 may have a four-level step structure at the top. The second recessed surface 332 may form a step with the first recessed surface 331. The first recessed surface 331 may form a step with the upper surface of the housing 310. The upper surface of the housing 310 may form a step with the upper surface of the third projection 338. The upper surface of the third projection 338 may form a step with the upper surface of the second projection 337.

제4돌출부(339)는 제2댐퍼홈(330b)의 제1함몰면(331)으로부터 돌출될 수 있다. 제4돌출부(339)는 제2댐퍼홈(330b)의 제2함몰면(332)과 관통홀(311) 사이에 형성될 수 있다. 제4돌출부(339)의 상면의 높이는 제2돌출부(337)의 상면의 높이와 대응할 수 있다. 즉, 제4돌출부(339)는 하우징(310)의 이동 가능 거리의 상한을 제한하는 상측 스토퍼로 기능할 수 있다.The fourth protrusion 339 may protrude from the first recessed surface 331 of the second damper groove 330b. The fourth protrusion 339 may be formed between the second recessed surface 332 of the second damper groove 330b and the through hole 311. [ The height of the upper surface of the fourth protrusion 339 may correspond to the height of the upper surface of the second protrusion 337. That is, the fourth projection 339 can function as an upper stopper that limits the upper limit of the movable distance of the housing 310. [

포켓부(340)는 하우징(310)의 상면 중 기판(720)과 상측 탄성부재(510)를 결합하는 결합부재와 광축 방향으로 오버랩되는 부분이 함몰되어 형성될 수 있다. 포켓부(340)에는 기판(720)의 적어도 일부가 수용될 수 있다. 포켓부(340)는 하우징(310)의 내벽부(341) 및 외벽부(342) 사이에 형성될 수 있다. 포켓부(340)는 기판(720)의 폭에 대응하는 폭으로 형성될 수 있다. 또는 포켓부(340)의 폭이 기판(720)의 폭 보다 클 수 있다. 기판(720)은 포켓부(340)에 삽입될 수 있다.The pocket portion 340 may be formed by recessing a portion of the upper surface of the housing 310 which overlaps with a coupling member for coupling the substrate 720 and the upper elastic member 510 in the optical axis direction. At least a portion of the substrate 720 may be received in the pocket portion 340. The pocket portion 340 may be formed between the inner wall portion 341 and the outer wall portion 342 of the housing 310. The pocket portion 340 may be formed to have a width corresponding to the width of the substrate 720. Or the width of the pocket portion 340 may be greater than the width of the substrate 720. The substrate 720 may be inserted into the pocket portion 340.

본 실시예에서는 기판(720)과 상측 탄성부재(510)를 결합하기 위해 결합 부의에 솔더 크림(solder cream)을 바르고 상측에서 열풍을 가하여 납땜을 실시할 수 있다. 이 과정에서 솔더 크림에서 플럭스(flux)가 발생하더라도 상측에서 가해지는 열풍에 의해 플럭스는 하측으로 비산되고 결국 플럭스는 포켓부(340)에 수용된다. 즉, 포켓부(340)는 솔더 볼을 포집하는 트랩(trap)의 역할을 수행할 수 있다. 본 실시예에서는 플럭스가 사방으로 비산되지 않게 되므로 솔더 이물 발생에 따른 불량이 최소화될 수 있다.In this embodiment, a solder cream may be applied to the joint portion to join the substrate 720 and the upper elastic member 510, and solder may be performed by applying hot air from above. In this process, even if a flux is generated in the solder cream, the flux is scattered downward by the hot air applied from the upper side, and the flux is finally received in the pocket portion 340. That is, the pocket portion 340 may serve as a trap for collecting the solder ball. In this embodiment, since the flux is not scattered in all directions, defects due to the generation of foreign substances in the solder can be minimized.

본 실시예에서는 포켓부(340)에 기판(720)과 하우징(310)을 결합하기 위한 접착제(본드)가 수용될 수 있다. 이와 같은 구조를 통해, 기판(720)과 하우징(310)을 결합하는 접착제의 도포 시 넘치지 않을 수 있다.In this embodiment, an adhesive (bond) for coupling the substrate 720 and the housing 310 to the pocket portion 340 may be received. With such a structure, it may not overflow when the adhesive bonding between the substrate 720 and the housing 310 is applied.

본 실시예에서는 기판(720)과 상측 탄성부재(510)의 납땜 후 납땜 부위와 포켓부(430)의 상측에 접착제(본드)가 도포될 수 있다. 이를 통해, 포켓부(430)에 포집된 솔더 볼이 외부로 빠져나가는 현상이 방지될 수 있다.In this embodiment, an adhesive (bond) can be applied to the solder portion of the substrate 720 and the upper elastic member 510 after brazing and the upper side of the pocket portion 430. As a result, the solder ball collected in the pocket portion 430 can be prevented from escaping to the outside.

포켓부(340)에는 기판(720)이 배치될 수 있다. 이때, 기판(720)의 단자부만이 하우징(310)의 상면으로부터 돌출되도록 기판(720)의 일부가 포켓부(340)에 수용될 수 있다.The pocket portion 340 may be provided with a substrate 720. At this time, a part of the substrate 720 may be received in the pocket portion 340 so that only the terminal portion of the substrate 720 protrudes from the upper surface of the housing 310.

포켓부(340)는 결합부재와 광축 방향으로 오버랩될 수 있다. 이와 같은 구조를 통해 포켓부(340)는 하측으로 낙하하는 결합부재를 포켓부(340) 내부에 수용할 수 있다. 결합부재는 솔더를 포함할 수 있다. 솔더의 적어도 일부는 포켓부(340)에 수용될 수 있다. 솔더의 상측에는 접착제가 도포될 수 있다. 포켓부(340)는 기판(720)과 하우징(310)을 결합하는 접착제의 적어도 일부를 수용할 수 있다.The pocket portion 340 can overlap the coupling member in the direction of the optical axis. With such a structure, the pocket portion 340 can receive the engagement member falling downward into the pocket portion 340. The coupling member may include solder. At least a portion of the solder may be received in pocket portion 340. An adhesive may be applied to the upper side of the solder. The pocket portion 340 may receive at least a portion of the adhesive that joins the substrate 720 and the housing 310.

포켓부(340)는 제1포켓부와, 제1포켓부의 하측에 배치되는 제2포켓부를 포함할 수 있다. 이때, 제1포켓부의 개구는 하우징(310)의 상면에 배치될 수 있다. 제1포켓부의 장축 길이는 제2포켓부의 장축 길이 보다 길 수 있다. 이때, 장축 길이에서 장축의 방향은 수평 방향으로 하우징(310)의 이웃하는 2개의 측부를 대각으로 연결하는 방향일 수 있다. 이와 같은 특징에 의해 제1포켓부 및 제2포켓부의 경계와 평행하게 제1바닥면(343)이 형성될 수 있다.The pocket portion 340 may include a first pocket portion and a second pocket portion disposed below the first pocket portion. At this time, the opening of the first pocket portion may be disposed on the upper surface of the housing 310. The major axis length of the first pocket portion may be longer than the major axis length of the second pocket portion. At this time, the direction of the long axis at the major axis length may be a direction connecting the two neighboring sides of the housing 310 diagonally in the horizontal direction. With this feature, the first bottom surface 343 can be formed parallel to the boundary between the first pocket portion and the second pocket portion.

제1포켓부는 상호간 맞은편에 배치되는 제1벽(내벽부(341))과 제2벽(외벽부(342)), 제1벽과 제2벽 사이에서 상호간 맞은편에 배치되는 제3벽과 제4벽, 제1바닥면(343), 및 개구를 포함할 수 있다. 이와 같은 구조를 통해, 제1포켓부는 상측 개방형의 홈으로 형성될 수 있다. 제2포켓부는 상호간 맞은편에 배치되는 제1벽(내벽부(341))과 제2벽(외벽부(342)), 제1벽과 제2벽 사이에서 상호간 맞은편에 배치되는 제5벽과 제6벽, 제2바닥면(344), 및 개구를 포함할 수 있다. 제2포켓부의 개구는 제1포켓부의 바닥면에 배치될 수 있다.The first pocket portion includes a first wall (inner wall portion 341) and a second wall (outer wall portion 342) disposed opposite one another, a third wall disposed opposite one another between the first wall and the second wall, A fourth wall, a first bottom surface 343, and an opening. Through such a structure, the first pocket portion can be formed as an upper open groove. The second pocket portion includes a first wall (inner wall portion 341) and a second wall (outer wall portion 342) disposed opposite one another, a fifth wall disposed opposite one another between the first wall and the second wall, A sixth wall, a second bottom surface 344, and an opening. The opening of the second pocket portion may be disposed on the bottom surface of the first pocket portion.

다만, 변형례로 제2포켓부는 상호간 맞은편에 배치되는 제5벽과 제6벽, 제5벽과 제6벽 사이에서 상호간 맞은편에 배치되는 제7벽과 제8벽, 제2바닥면(344) 및 개구를 포함할 수 있다.Alternatively, the second pocket portion may have a fifth wall and a sixth wall arranged opposite to each other, a seventh wall and an eighth wall arranged opposite to each other between the fifth wall and the sixth wall, An opening 344 and an opening.

제2포켓부의 장축 길이는 제1포켓부의 장축 길이의 50 내지 80%일 수 있다. 또한, 제2포켓부의 장축 길이는 제1포켓부의 장축 길이의 60 내지 70%일 수 있다. 제2포켓부의 광축 방향으로의 깊이는 제1포켓부의 광축 방향으로의 깊이와 대응할 수 있다. 제2포켓부의 광축 방향으로의 깊이는 제1포켓부의 광축 방향으로의 깊이의 110 내지 150%일 수 있다. 제2포켓부의 광축 방향으로의 깊이는 제1포켓부의 광축 방향으로의 깊이의 120 내지 140%일 수 있다. 제2포켓부의 장축 방향과 광축 방향에 수직인 방향으로의 폭은 제1포켓부의 폭에 대응할 수 있다. 제2포켓부의 폭은 제1포켓부의 폭의 70 내지 130%일 수 있다. 제2포켓부의 폭은 제1포켓부의 폭의 90 내지 110%일 수 있다. 제2포켓부는 제1포켓부와 연결될 수 있다. 제2포켓부는 제1포켓부의 하측에 배치될 수 있다. 제2포켓부는 제1포켓부의 중심의 하측에 배치될 수 있다.The major axis length of the second pocket portion may be 50 to 80% of the major axis length of the first pocket portion. In addition, the major axis length of the second pocket portion may be 60 to 70% of the major axis length of the first pocket portion. The depth of the second pocket portion in the optical axis direction can correspond to the depth of the first pocket portion in the optical axis direction. The depth of the second pocket portion in the optical axis direction may be 110 to 150% of the depth in the optical axis direction of the first pocket portion. The depth of the second pocket portion in the optical axis direction may be 120 to 140% of the depth in the optical axis direction of the first pocket portion. The width of the second pocket portion in the direction perpendicular to the long axis direction and the optical axis direction may correspond to the width of the first pocket portion. The width of the second pocket portion may be 70 to 130% of the width of the first pocket portion. The width of the second pocket portion may be 90 to 110% of the width of the first pocket portion. The second pocket portion may be connected to the first pocket portion. The second pocket portion may be disposed below the first pocket portion. The second pocket portion may be disposed below the center of the first pocket portion.

포켓부(340)는 제1바닥면(343)과 제2바닥면(344)을 포함할 수 있다. 포켓부(340)는 제1바닥면(343)과 제2바닥면(344)을 감싸는 내벽부(341)와 외벽부(342)을 더 포함할 수 있다. 포켓부(340)의 내벽부(341)는 센서 수용홈(345)을 더 포함할 수 있다. 센서 수용홈(345)의 바닥면은 센서 지지면(346)이 될 수 있다. 포켓부(340)의 외벽부(342)는 제1홈(347) 및/또는 제2홈(348)을 포함할 수 있다. 다만, 포켓부(340)에서 내벽부(341), 외벽부(342), 제1바닥면(343), 제2바닥면(344), 센서 수용홈(345), 센서 지지면(346), 제1홈(347) 및 제2홈(348) 중 어느 하나 이상이 생략 또는 변경될 수 있다.이하에서, 내벽부(341)는 '제1벽'으로 칭하고 외벽부(342)는 '제2벽'으로 칭할 수 있다. 포켓부(340)는 제1벽과 제2벽을 포함할 수 있다. 이때, 기판(720)은 제1벽과 결합되고 제2벽과 이격될 수 있다. 제1벽은 제2벽 보다 광축에 가까이 배치될 수 있다. 제1벽의 두께는 센서(710)의 두께와 대응할 수 있다. 제1벽의 두께는 센서(710)의 두께 보다 두꺼울 수 있다. 제1벽의 두께는 센서(710)의 두께 보다 얇을 수 있다. 제2벽은 제1홈(347) 및 제2홈(348)을 포함할 수 있다. 본 실시예에서 기판(720)은 제1벽(내벽부(341))의 외면에 배치될 수 있다. 다만, 변형례로서 기판(720)은 제1벽의 내면에 배치될 수 있다. 이 경우, 기판(720)은 포켓부(340)의 외부에 배치되는 것이다. 다만, 이 경우에도 포켓부(340)는 솔더볼 포집을 위한 홈으로 기능할 수 있다. 나아가, 내벽부(341)의 상면에 포켓부(340)가 배치될 수 있다. 이때, 포켓부(340)는 상측 탄성부재(510)의 적어도 일부의 형상과 대응하도록 형성될 수 있다. 포켓부(340)의 광축 방향의 깊이도 상측 탄성부재(510)의 두께에 대응하도록 형성될 수 있다. 이 경우, 기판(720)과 상측 탄성부재(510)를 연결하는 솔더볼 중 다량이 상측 탄성부재(510)의 상면에 배치되고 솔더볼 중 소량만이 포켓부(340)와 상측 탄성부재(510) 사이로 유입될 수 있다.The pocket portion 340 may include a first bottom surface 343 and a second bottom surface 344. The pocket portion 340 may further include an inner wall portion 341 and an outer wall portion 342 surrounding the first bottom surface 343 and the second bottom surface 344. The inner wall portion 341 of the pocket portion 340 may further include a sensor receiving groove 345. The bottom surface of the sensor receiving groove 345 may be the sensor supporting surface 346. The outer wall portion 342 of the pocket portion 340 may include a first groove 347 and / or a second groove 348. In the pocket portion 340, the inner wall portion 341, the outer wall portion 342, the first bottom surface 343, the second bottom surface 344, the sensor receiving groove 345, the sensor supporting surface 346, The inner wall portion 341 may be referred to as a 'first wall' and the outer wall portion 342 may be referred to as a 'second wall' Wall '. The pocket portion 340 may include a first wall and a second wall. At this time, the substrate 720 may be coupled to the first wall and be spaced apart from the second wall. The first wall may be disposed closer to the optical axis than the second wall. The thickness of the first wall may correspond to the thickness of the sensor 710. The thickness of the first wall may be greater than the thickness of the sensor 710. The thickness of the first wall may be less than the thickness of the sensor 710. The second wall may include a first groove 347 and a second groove 348. In this embodiment, the substrate 720 may be disposed on the outer surface of the first wall (inner wall portion 341). However, as a variant, the substrate 720 may be disposed on the inner surface of the first wall. In this case, the substrate 720 is disposed outside the pocket portion 340. However, even in this case, the pocket portion 340 can function as a groove for collecting solder balls. Further, the pocket portion 340 may be disposed on the upper surface of the inner wall portion 341. At this time, the pocket portion 340 may be formed to correspond to the shape of at least a part of the upper elastic member 510. The depth of the pocket portion 340 in the direction of the optical axis may also be formed to correspond to the thickness of the upper elastic member 510. In this case, a large amount of solder balls connecting the substrate 720 and the upper elastic member 510 is disposed on the upper surface of the upper elastic member 510, and only a small amount of the solder ball is held between the pocket portion 340 and the upper elastic member 510 Can be introduced.

내벽부(341) 및 외벽부(342) 사이에는 포켓부(340)가 형성될 수 있다. 내벽부(341)에는 기판(720)의 내면이 지지될 수 있다. 외벽부(342)는 기판(720)과 이격될 수 있다.제1바닥면(343)은 하우징(310)의 상면 보다 하측에 형성될 수 있다. 제1바닥면(343)은 제2바닥면(344)의 양측에 형성될 수 있다. 제2바닥면(344)는 제1바닥면(343) 보다 하측에 형성될 수 있다. 제1바닥면(343)에는 기판(720)의 하면이 접촉될 수 있다. 제2바닥면(344)은 기판(720)의 하면과 이격될 수 있다. 제1바닥면(343) 및 제2바닥면(344)에 의해 형성되는 단차 공간에는 기판(720)과 하우징(310)을 접착하는 접착제의 적어도 일부가 수용될 수 있다.A pocket portion 340 may be formed between the inner wall portion 341 and the outer wall portion 342. The inner surface of the substrate 720 may be supported on the inner wall portion 341. The outer wall portion 342 may be spaced apart from the substrate 720. The first bottom surface 343 may be formed below the upper surface of the housing 310. [ The first bottom surface 343 may be formed on both sides of the second bottom surface 344. The second bottom surface 344 may be formed below the first bottom surface 343. The lower surface of the substrate 720 may be in contact with the first bottom surface 343. The second bottom surface 344 may be spaced apart from the lower surface of the substrate 720. At least a portion of the adhesive bonding the substrate 720 to the housing 310 may be received in the stepped space defined by the first bottom surface 343 and the second bottom surface 344. [

센서 수용홈(345)는 내벽부(341)의 상면의 일부가 함몰되어 형성될 수 있다. 센서 수용홈(345)은 제1센서(710)의 적어도 일부를 수용할 수 있다. 센서 수용홈(345)은 제1센서(710)의 하면을 지지하는 센서 지지면(346)을 포함할 수 있다. 센서 지지면(346)은 제1센서(710)의 하면을 지지할 수 있다. 이와 같은 구조를 통해, 조립 공정에서 제1센서(710)를 z축 상의 정위치에 정확히 조립할 수 있다.The sensor receiving groove 345 may be formed by recessing a part of the upper surface of the inner wall portion 341. The sensor receiving recess 345 may receive at least a portion of the first sensor 710. The sensor receiving groove 345 may include a sensor supporting surface 346 for supporting the lower surface of the first sensor 710. The sensor support surface 346 can support the lower surface of the first sensor 710. With such a structure, the first sensor 710 can be accurately assembled to the correct position on the z-axis in the assembling process.

제1홈(347) 및 제2홈(348)은 외벽부(342)의 내면 중 일부가 함몰되어 형성될 수 있다. 제1홈(347) 및 제2홈(348)은 상호간 이격될 수 있다. 제1홈(347) 및 제2홈(348)은 상호간 대응하는 형상으로 형성될 수 있다. 제1홈(347) 및 제2홈(348)에는 솔더 볼 및/또는 접착제가 수용될 수 있다. 나아가, 제1홈(347) 및 제2홈(348)의 홈 구조를 통해 포켓부(430)에 포집된 솔더 볼 및/또는 접착제가 포켓부(430) 외측으로 탈락되는 현상이 최소화될 수 있다.The first groove 347 and the second groove 348 may be formed by recessing a part of the inner surface of the outer wall 342. The first groove 347 and the second groove 348 may be spaced apart from each other. The first groove 347 and the second groove 348 may be formed in corresponding shapes. The first groove 347 and the second groove 348 may receive solder balls and / or adhesives. Further, the phenomenon that the solder ball and / or adhesive collected in the pocket portion 430 are dropped out of the pocket portion 430 through the groove structure of the first groove 347 and the second groove 348 can be minimized .

구동 마그네트(320)는 하우징(310)에 배치될 수 있다. 구동 마그네트(320)는 AF 구동 코일(220)의 외측에 배치될 수 있다. 구동 마그네트(320)는 AF 구동 코일(220)과 대향할 수 있다. 구동 마그네트(320)는 AF 구동 코일(220)과 전자기적 상호작용할 수 있다. 구동 마그네트(320)는 OIS 구동 코일(422)의 상측에 배치될 수 있다. 구동 마그네트(320)는 OIS 구동 코일(422)과 대향할 수 있다. 구동 마그네트(320)는 OIS 구동 코일(422)과 전자기적 상호작용할 수 있다. 구동 마그네트(320)는 오토 포커스 기능 및 손떨림 방지 기능에 공용으로 사용될 수 있다. 다만, 구동 마그네트(320)는 오토 포커스 기능 및 손떨림 방지 기능 각각에 별도로 사용되는 복수의 마그네트를 포함할 수 있다. 일례로, 구동 마그네트(320)는 하우징(310)의 측부에 배치될 수 있다. 이때, 구동 마그네트(320)는 평판 마그네트일 수 있다. 구동 마그네트(320)는 평판(flat plate) 형상을 가질 수 있다. 다른 예로, 구동 마그네트(320)는 하우징(310)의 코너부에 배치될 수 있다. 이때, 구동 마그네트(320)는 코너 마그네트일 수 있다. 구동 마그네트(320)는 내측 측면이 외측 측면 보다 넓은 육면체 형상을 가질 수 있다. The drive magnet 320 may be disposed in the housing 310. The drive magnet 320 may be disposed outside the AF drive coil 220. [ The driving magnet 320 can be opposed to the AF driving coil 220. The drive magnet 320 may be electromagnetically interacted with the AF drive coil 220. The drive magnet 320 may be disposed on the upper side of the OIS drive coil 422. The drive magnet 320 can be opposed to the OIS drive coil 422. The drive magnet 320 can be electromagnetically interacted with the OIS drive coil 422. The drive magnet 320 can be commonly used for the autofocus function and the shake prevention function. However, the driving magnet 320 may include a plurality of magnets separately used for the autofocus function and the shake prevention function. For example, the drive magnet 320 may be disposed on the side of the housing 310. At this time, the driving magnet 320 may be a flat plate magnet. The driving magnet 320 may have a flat plate shape. As another example, the driving magnet 320 may be disposed at the corner of the housing 310. [ At this time, the driving magnet 320 may be a corner magnet. The driving magnet 320 may have a hexahedral shape whose inner side surface is wider than the outer side surface.

구동 마그네트(320)는 상호간 이격되는 복수의 마그네트를 포함할 수 있다. 구동 마그네트(320)는 상호간 이격되는 4 개의 마그네트를 포함할 수 있다. 이때, 4개의 마그네트는 이웃하는 2 개의 마그네트가 상호간 90°를 이루도록 하우징(310)에 배치될 수 있다. 즉, 구동 마그네트(320)는 하우징(310)의 4 개의 측면에 등 간격으로 배치될 수 있다. 이 경우, 하우징(310)의 내부 체적의 효율적인 사용을 도모할 수 있다. 또한, 구동 마그네트(320)는 하우징(310)에 접착제에 의해 접착될 수 있다.The drive magnet 320 may include a plurality of magnets that are spaced apart from each other. The drive magnet 320 may include four magnets that are spaced apart from each other. At this time, the four magnets may be disposed in the housing 310 such that two neighboring magnets form a 90 DEG angle with each other. That is, the driving magnets 320 may be equally spaced on four sides of the housing 310. In this case, the internal volume of the housing 310 can be efficiently used. In addition, the driving magnet 320 may be bonded to the housing 310 with an adhesive.

본 실시예에서 구동 마그네트(320)는 접착제에 의해 하우징(310)에 결합될 수 있다. 이때, 하우징(310)은 하우징(310)을 관통 형성하는 접착제 주입홀을 포함할 수 있다. 접착제 주입홀에 접착제가 주입되면, 구동 마그네트(320)와 하우징(310) 사이, 구동 마그네트(320)와 요크(750) 사이, 및 요크(750)와 하우징(310) 사이로 접착제가 유입될 수 있다.In this embodiment, the driving magnet 320 may be coupled to the housing 310 by an adhesive. At this time, the housing 310 may include an adhesive injection hole that penetrates the housing 310. When the adhesive is injected into the adhesive injection hole, the adhesive may flow between the drive magnet 320 and the housing 310, between the drive magnet 320 and the yoke 750, and between the yoke 750 and the housing 310 .

고정자(400)는 하우징(310)의 하측에 배치될 수 있다. 고정자(400)는 제2가동자(300)의 하측에 배치될 수 있다. 고정자(400)는 제2가동자(300)와 대향할 수 있다. 고정자(400)는 제2가동자(300)를 이동가능하게 지지할 수 있다. 고정자(400)는 제2가동자(300)를 이동시킬 수 있다. 이때, 제1가동자(200)도 제2가동자(300)와 함께 이동할 수 있다.The stator 400 may be disposed on the lower side of the housing 310. The stator 400 may be disposed on the lower side of the second mover 300. The stator 400 may be opposed to the second mover 300. The stator 400 can movably support the second mover 300. The stator 400 can move the second mover 300. [ At this time, the first mover 200 can move with the second mover 300 as well.

고정자(400)는 기판(410), 회로부재(420) 및 베이스(430)를 포함할 수 있다. 다만, 고정자(400)에서 기판(410), 회로부재(420) 및 베이스(430) 중 어느 하나 이상이 생략 또는 변경될 수 있다.The stator 400 may include a substrate 410, a circuit member 420, and a base 430. However, at least one of the substrate 410, the circuit member 420, and the base 430 may be omitted or changed in the stator 400.

기판(410)은 OIS 구동 코일(422)에 전원을 공급할 수 있다. 기판(410)은 회로부재(420)와 결합될 수 있다. 기판(410)은 베이스(430)의 하측에 배치되는 인쇄회로기판과 결합될 수 있다. 기판(410)은 회로부재(420)의 하면에 배치될 수 있다. 기판(410)은 베이스(430)의 상면에 배치될 수 있다. 기판(410)은 회로부재(420) 및 베이스(430) 사이에 배치될 수 있다. 기판(410)은 하우징(310)과 베이스(430) 사이에 구동 마그네트(320)와 대향하도록 배치되는 OIS 구동 코일(422)을 갖는 회로부재(420)를 포함할 수 있다.The substrate 410 may supply power to the OIS drive coil 422. The substrate 410 may be coupled to the circuit member 420. The substrate 410 may be coupled to a printed circuit board disposed below the base 430. The substrate 410 may be disposed on the lower surface of the circuit member 420. The substrate 410 may be disposed on the upper surface of the base 430. The substrate 410 may be disposed between the circuit member 420 and the base 430. The substrate 410 may include a circuit member 420 having an OIS drive coil 422 disposed opposite the drive magnet 320 between the housing 310 and the base 430.

기판(410)은 연성의 인쇄회로기판(FPCB, Flexible Printed Circuit Board)을 포함할 수 있다. 기판(410)은 일부에서 절곡될 수 있다. 기판(410)은 AF 구동 코일(220)에 전원을 공급할 수 있다. 일례로, 기판(410)은 지지부재(600) 및 상측 탄성부재(510)를 통해 AF 구동 코일(220)에 전원을 공급할 수 있다. 또한, 기판(410)은 지지부재(600) 및 상측 탄성부재(510)를 통해 제1센싱 유닛(700)의 기판(720)에 전원을 공급할 수 있다. 기판(720)에 공급된 전원은 제1센서(710)의 구동에 사용될 수 있다. The substrate 410 may include a flexible printed circuit board (FPCB). The substrate 410 may be partly bent. The substrate 410 can supply power to the AF drive coil 220. [ For example, the substrate 410 can supply power to the AF driving coil 220 through the supporting member 600 and the upper elastic member 510. The substrate 410 may supply power to the substrate 720 of the first sensing unit 700 through the supporting member 600 and the upper elastic member 510. The power supplied to the substrate 720 may be used to drive the first sensor 710. [

기판(410)은 개구부(411), 단자부(412) 및 보강부(413)를 포함할 수 있다. 다만, 기판(410)에서 개구부(411), 단자부(412) 및 보강부(413) 중 어느 하나 이상이 생략 또는 변경될 수 있다. The substrate 410 may include an opening 411, a terminal portion 412, and a reinforcing portion 413. However, any one or more of the openings 411, the terminal portions 412, and the reinforcing portions 413 may be omitted or changed in the substrate 410.

개구부(411)는 기판(410)에 형성될 수 있다. 개구부(411)는 기판(410)의 중심부에 형성될 수 있다. 개구부(411)는 기판(410)을 관통하도록 형성될 수 있다. 개구부(411)는 렌즈 모듈을 통과한 광을 통과시킬 수 있다. 개구부(411)는 원형으로 형성될 수 있다. 다만, 개구부(411)의 형상이 이에 제한되는 것은 아니다.The opening 411 may be formed in the substrate 410. The opening 411 may be formed at the center of the substrate 410. The opening 411 may be formed to penetrate the substrate 410. The opening 411 can pass light that has passed through the lens module. The opening 411 may be formed in a circular shape. However, the shape of the opening 411 is not limited thereto.

단자부(412)는 기판(410)에 형성될 수 있다. 단자부(412)는 기판(410)의 일부가 하측으로 절곡되어 형성될 수 있다. 단자부(412)는 적어도 일부가 외측으로 노출될 수 있다. 단자부(412)는 베이스(430)의 하측에 배치되는 인쇄회로기판과 솔더링(soldering)에 의해 결합될 수 있다. 단자부(412)의 하단은 인쇄회로기판과 직접 접촉될 수 있다. 단자부(412)는 베이스(430)의 외면에 배치될 수 있다. 단자부(412)는 베이스(430)의 단자 결합부(434)에 배치될 수 있다. The terminal portion 412 may be formed on the substrate 410. The terminal portion 412 may be formed by bending a part of the substrate 410 downward. At least a part of the terminal portion 412 may be exposed to the outside. The terminal portion 412 may be coupled to a printed circuit board disposed below the base 430 by soldering. The lower end of the terminal portion 412 can be in direct contact with the printed circuit board. The terminal portion 412 may be disposed on the outer surface of the base 430. The terminal portion 412 may be disposed at the terminal fitting portion 434 of the base 430. [

단자부(412)는 제1단자부(412a) 및 제2단자부(412b)를 포함할 수 있다. 단자부(412)는 베이스(430)의 일측 외면에 배치되는 제1단자부(412a), 및 베이스(430)의 일측 외면의 반대편에 형성되는 타측 외면에 배치되는 제2단자부(412b)를 포함할 수 있다. 제1단자부(412a)는 제1돌기(441) 및 제2돌기(442) 사이에 배치될 수 있다. 제2단자부(412b)는 제3돌기(443) 및 제4돌기(444) 사이에 배치될 수 있다.The terminal portion 412 may include a first terminal portion 412a and a second terminal portion 412b. The terminal portion 412 may include a first terminal portion 412a disposed on one outer surface of the base 430 and a second terminal portion 412b disposed on the other outer surface formed on the opposite side of one outer surface of the base 430 have. The first terminal portion 412a may be disposed between the first protrusion 441 and the second protrusion 442. The second terminal portion 412b may be disposed between the third protrusion 443 and the fourth protrusion 444.

보강부(413)는 기판(410)의 코너부의 강도를 보강하기 위해 형성될 수 있다. 이때, 회로부재(420)는 코너부에서 생략될 수 있다. 또는 변형례로 보강부(413)가 생략되고 회로부재(420)가 코너부까지 연장될 수 있다. 이때, 회로부재(420)에는 지지부재(600)가 관통하는 관통홀을 포함할 수 있다. 보강부(413)는 PSR(Photo Image-able Solder Resist) 코팅에 의해 형성될 수 있다. 보강부(413)는 스티프너(stiffener)로 기능할 수 있다. 보강부(413)는 불변성 잉크에 의해 형성될 수 있다.The reinforcing portion 413 may be formed to reinforce the strength of the corner portion of the substrate 410. At this time, the circuit member 420 may be omitted from the corner portion. Alternatively, the reinforcing portion 413 may be omitted and the circuit member 420 may extend to the corner portion. At this time, the circuit member 420 may include a through hole through which the supporting member 600 passes. The reinforcing portion 413 may be formed by PSR (Photo Imageable Solder Resist) coating. The reinforcing portion 413 can function as a stiffener. The reinforcing portion 413 can be formed by the invariable ink.

회로부재(420)는 베이스(430)에 배치될 수 있다. 회로부재 (420)는 기판(410)에 배치될 수 있다. 회로부재(420)는 기판(410)의 상면에 배치될 수 있다. 회로부재(420)는 구동 마그네트(320)의 하측에 배치될 수 있다. 회로부재(420)는 구동 마그네트(320)와 베이스(430) 사이에 배치될 수 있다. 회로부재(420)에는 지지부재(600)가 결합될 수 있다. 회로부재(420)는 제2가동자(300)를 이동가능하게 지지할 수 있다.The circuit member 420 may be disposed on the base 430. The circuit member 420 may be disposed on the substrate 410. The circuit member 420 may be disposed on the upper surface of the substrate 410. The circuit member 420 may be disposed below the drive magnet 320. The circuit member 420 may be disposed between the driving magnet 320 and the base 430. A supporting member 600 may be coupled to the circuit member 420. The circuit member 420 can movably support the second mover 300. [

회로부재(420)는 기판부(421) 및 OIS 구동 코일(422)을 포함할 수 있다. 다만, 회로부재(420)는 기판부(421) 및 OIS 구동 코일(422) 중 어느 하나 이상이 생략 또는 변경될 수 있다.The circuit member 420 may include a substrate portion 421 and an OIS drive coil 422. However, any one or more of the substrate portion 421 and the OIS drive coil 422 may be omitted or changed.

기판부(421)는 회로기판일 수 있다. 기판부(421)는 FPCB일 수 있다. 기판부(421)에는 OIS 구동 코일(422)이 일체로 형성될 수 있다. 기판부(421)에는 지지부재(600)가 결합될 수 있다. 기판부(421)에는 지지부재(600)가 관통하는 홀이 형성될 수 있다. 기판부(421)의 하면 및 지지부재(600)의 하단은 솔더링에 의해 결합될 수 있다. 기판부(421)에는 개구부가 형성될 수 있다. 기판부(421)에는 기판부(421)를 관통하는 개구부가 형성될 수 있다. 기판부(421)의 개구부는 기판(410)의 개구부(411)와 대응하도록 형성될 수 있다.The substrate portion 421 may be a circuit substrate. The substrate portion 421 may be an FPCB. An OIS drive coil 422 may be integrally formed on the substrate portion 421. A support member 600 may be coupled to the substrate portion 421. The substrate portion 421 may be formed with a hole through which the support member 600 passes. The lower surface of the substrate portion 421 and the lower end of the support member 600 can be coupled by soldering. The substrate portion 421 may have an opening. The substrate portion 421 may be provided with an opening through the substrate portion 421. The opening of the substrate portion 421 may be formed to correspond to the opening portion 411 of the substrate 410.

OIS 구동 코일(422)은 구동 마그네트(320)와 대향할 수 있다. 이 경우, OIS 구동 코일(422)에 전류가 공급되어 OIS 구동 코일(422) 주변에 자기장이 형성되면, OIS 구동 코일(422)과 구동 마그네트(320) 사이의 전자기적 상호작용에 의해 구동 마그네트(320)가 OIS 구동 코일(422)에 대하여 이동할 수 있다. OIS 구동 코일(422)은 구동 마그네트(320)와 전자기적 상호작용할 수 있다. OIS 구동 코일(422)은 구동 마그네트(320)와의 전자기적 상호작용을 통해 하우징(310) 및 보빈(210)을 베이스(430)에 대하여 광축과 수직한 방향으로 이동시킬 수 있다. OIS 구동 코일(422)은 적어도 하나의 코일을 포함할 수 있다. OIS 구동 코일(422)은 기판부(421)에 일체로 형성되는 미세 패턴 코일(FP coil, Fine Pattern coil)일 수 있다. OIS 구동 코일(422)은 상호간 이격되는 복수의 코일을 포함할 수 있다. OIS 구동 코일(422)은 상호간 이격되는 4개의 코일을 포함할 수 있다. 이때, 4개의 코일은 이웃하는 2 개의 코일이 상호간 90°를 이루도록 기판부(421)에 배치될 수 있다. 한편, 4개의 코일은 각각 별도로 제어될 수 있다. OIS 구동 코일(422)은 순차적으로 인쇄회로기판, 기판(410) 및 기판부(421)를 통해 전원을 공급받을 수 있다.The OIS drive coil 422 can be opposed to the drive magnet 320. In this case, when a current is supplied to the OIS drive coil 422 to form a magnetic field around the OIS drive coil 422, the drive magnet 421 is driven by the electromagnetic interaction between the OIS drive coil 422 and the drive magnet 320 320 can move with respect to the OIS drive coil 422. The OIS drive coil 422 may be electromagnetically interacted with the drive magnet 320. The OIS drive coil 422 can move the housing 310 and the bobbin 210 in a direction perpendicular to the optical axis with respect to the base 430 through an electromagnetic interaction with the drive magnet 320. [ The OIS drive coil 422 may include at least one coil. The OIS drive coil 422 may be a fine pattern coil (FP pattern coil) formed integrally with the substrate portion 421. The OIS drive coils 422 may include a plurality of coils spaced from one another. The OIS drive coil 422 may include four coils spaced apart from one another. At this time, the four coils may be disposed on the substrate portion 421 such that two neighboring coils form an angle of 90 ° with respect to each other. On the other hand, the four coils can be separately controlled. The OIS drive coil 422 can be sequentially supplied with power through the printed circuit board, the substrate 410, and the substrate unit 421.

베이스(430)는 하우징(310)의 하측에 배치될 수 있다. 베이스(430)는 인쇄회로기판과 하우징(310) 사이에 배치될 수 있다. 베이스(430)는 기판(410)의 하면에 배치될 수 있다. 베이스(430)의 상면에는 기판(410)이 배치될 수 있다. 베이스(430)에는 회로부재(420)가 배치될 수 있다. 베이스(430)는 커버부재(100)와 결합될 수 있다. 베이스(430)는 인쇄회로기판의 상면에 배치될 수 있다. 다만, 별도의 홀더 부재가 베이스(430)와 인쇄회로기판 사이에 배치될 수 있다. 베이스(430)는 인쇄회로기판에 실장되는 이미지 센서를 보호하는 센서홀더 기능을 수행할 수 있다.The base 430 may be disposed on the lower side of the housing 310. The base 430 may be disposed between the printed circuit board and the housing 310. The base 430 may be disposed on the lower surface of the substrate 410. The substrate 410 may be disposed on the upper surface of the base 430. The circuit member 420 may be disposed on the base 430. The base 430 may be engaged with the cover member 100. The base 430 may be disposed on the upper surface of the printed circuit board. However, a separate holder member may be disposed between the base 430 and the printed circuit board. The base 430 may function as a sensor holder for protecting an image sensor mounted on a printed circuit board.

본 실시예에서 베이스(430)는 인쇄회로기판의 상면에 직접 액티브 얼라인(Active Align) 될 수 있다. 즉, 렌즈 구동 장치와 이미지 센서의 광축 맞춤이 베이스(430)를 인쇄회로기판에 접착하는 과정에서 수행될 수 있다.In this embodiment, the base 430 may be directly active aligned on the top surface of the printed circuit board. That is, the optical axis alignment of the lens driving device and the image sensor can be performed in the process of bonding the base 430 to the printed circuit board.

베이스(430)는 관통홀(431), 이물질 포집부(432), 센서 결합부(433), 단자 결합부(434), 단차부(435), 개구부(436), 필터 결합면(437), 가스 배기홈(438) 및 소자 수용홈(439)을 포함할 수 있다. 베이스(430)는 제1돌기(441), 제2돌기(442), 제3돌기(443), 제4돌기(444) 및 돌출부(445)를 포함할 수 있다. 다만, 베이스(430)에서 관통홀(431), 이물질 포집부(432), 센서 결합부(433), 단자 결합부(434), 단차부(435), 개구부(436), 필터 결합면(437), 가스 배기홈(438), 소자 수용홈(439), 제1돌기(441), 제2돌기(442), 제3돌기(443), 제4돌기(444) 및 돌출부(445) 중 어느 하나 이상이 생략 또는 변경될 수 있다.The base 430 includes a through hole 431, a foreign matter collecting portion 432, a sensor coupling portion 433, a terminal coupling portion 434, a step portion 435, an opening portion 436, a filter coupling surface 437, A gas exhaust groove 438 and a device receiving groove 439. [ The base 430 may include a first protrusion 441, a second protrusion 442, a third protrusion 443, a fourth protrusion 444, and a protrusion 445. In the base 430, the through hole 431, the foreign matter collecting part 432, the sensor coupling part 433, the terminal coupling part 434, the stepped part 435, the opening part 436, the filter coupling surface 437 , The gas exhaust groove 438, the element receiving groove 439, the first protrusion 441, the second protrusion 442, the third protrusion 443, the fourth protrusion 444, and the protrusion 445 One or more may be omitted or changed.

관통홀(431)은 베이스(430)에 형성될 수 있다. 관통홀(431)은 베이스(430)를 상하 방향으로 관통하도록 형성될 수 있다. 관통홀(431)에는 적외선 필터가 배치될 수 있다. 다만, 적외선 필터는 베이스(430)의 하부에 배치되는 별도의 홀더 부재에 결합될 수 있다. 관통홀(431)을 통해 렌즈 모듈을 통과한 광이 이미지 센서로 입사될 수 있다. 즉, 렌즈 모듈을 통과한 광은 회로부재(420)의 개구부, 기판(410)의 개구부(411) 및 베이스(430)의 관통홀(431)을 통과해 이미지 센서로 입사될 수 있다. 관통홀(431)은 원형 형상을 갖도록 형성될 수 있다. 다만, 관통홀(431)의 형상이 이에 제한되는 것은 아니다.The through hole 431 may be formed in the base 430. The through hole 431 may be formed to penetrate the base 430 in the up and down direction. An infrared filter may be disposed in the through hole 431. However, the infrared filter may be coupled to a separate holder member disposed under the base 430. Light passing through the lens module through the through hole 431 can be incident on the image sensor. That is, the light having passed through the lens module can be incident on the image sensor through the opening of the circuit member 420, the opening 411 of the substrate 410, and the through hole 431 of the base 430. The through hole 431 may be formed to have a circular shape. However, the shape of the through hole 431 is not limited thereto.

이물질 포집부(432)는 렌즈 구동 장치 내부로 유입된 이물질을 포집할 수 있다. 이물질 포집부(432)는 베이스(430)의 상면이 하측으로 함몰되어 형성되는 홈과, 상기 홈에 배치되는 접착부를 포함할 수 있다. 접착부는 접착성 물질을 포함할 수 있다. 렌즈 구동 장치 내부로 유입된 이물질은 접착부에 접착될 수 있다.The foreign matter collecting unit 432 can collect foreign matter introduced into the lens driving apparatus. The foreign matter collecting part 432 may include a groove formed by sinking the upper surface of the base 430 downward and an adhesive part disposed in the groove. The adhesive portion may comprise an adhesive material. The foreign matter introduced into the lens driving device can be adhered to the bonding portion.

센서 결합부(433)에는 제2센서(800)가 배치될 수 있다. 센서 결합부(433)는 제2센서(800)의 적어도 일부를 수용할 수 있다. 센서 결합부(433)는 베이스(430)의 상면이 하측으로 함몰되어 형성되는 홈으로 형성될 수 있다. 센서 결합부(433)는 이물질 포집부(432)와 이격되어 배치될 수 있다. 센서 결합부(433)는 복수의 홈으로 형성될 수 있다. 일례로, 센서 결합부(433)는 2개의 홈으로 형성될 수 있다. 이때, 2개의 홈 각각에는 제2센서(800)가 배치될 수 있다.The second sensor 800 may be disposed at the sensor coupling portion 433. [ The sensor engaging portion 433 can accommodate at least a part of the second sensor 800. The sensor coupling portion 433 may be formed as a groove formed by sinking the upper surface of the base 430 downward. The sensor coupling portion 433 may be disposed apart from the foreign matter collecting portion 432. The sensor coupling portion 433 may be formed with a plurality of grooves. For example, the sensor coupling portion 433 may be formed with two grooves. At this time, the second sensor 800 may be disposed in each of the two grooves.

단자 결합부(434)에는 기판(410)의 단자부(412)가 배치될 수 있다. 단자 결합부(434)는 베이스(430)의 일측 측면의 일부가 내측으로 함몰되어 형성되는 홈으로 형성될 수 있다. 이때, 단자 결합부(434)에는 기판(410)의 단자부(412)의 적어도 일부가 수용될 수 있다. 단자 결합부(434)의 폭은 기판(410)의 단자부(412)의 폭과 대응하게 형성될 수 있다. 단자 결합부(434)의 길이는 기판(410)의 단자부(412)의 길이와 대응하게 형성될 수 있다.A terminal portion 412 of the substrate 410 may be disposed on the terminal fitting portion 434. The terminal fitting portion 434 may be formed as a groove formed by a part of one side surface of the base 430 being recessed inward. At this time, at least a part of the terminal portion 412 of the substrate 410 may be received in the terminal fitting portion 434. The width of the terminal fitting portion 434 may be formed to correspond to the width of the terminal portion 412 of the substrate 410. The length of the terminal fitting portion 434 may be formed to correspond to the length of the terminal portion 412 of the substrate 410.

단차부(435)는 베이스(430)의 측면에 형성될 수 있다. 단차부(435)는 베이스(430)의 외면으로부터 돌출될 수 있다. 단차부(435)는 베이스(430)의 외주면을 빙 둘러 형성될 수 있다. 단차부(435)는 베이스(430)의 측면의 상부가 함몰되어 형성될 수 있다. 또는, 단차부(435)는 베이스(430)의 측면의 하부가 돌출되어 형성될 수 있다. 단차부(435)는 커버부재(100)의 측판(102)의 하단을 지지할 수 있다. 단차부(435)의 상면은 제1 내지 제4돌기(441, 442, 443, 444)의 상면 보다 하측에 형성될 수 있다.The stepped portion 435 may be formed on the side surface of the base 430. The stepped portion 435 may protrude from the outer surface of the base 430. The stepped portion 435 can be formed around the outer peripheral surface of the base 430. The stepped portion 435 may be formed by recessing the upper portion of the side surface of the base 430. Alternatively, the stepped portion 435 may be formed by protruding a lower portion of the side surface of the base 430. The stepped portion 435 can support the lower end of the side plate 102 of the cover member 100. The upper surface of the stepped portion 435 may be formed below the upper surface of the first to fourth projections 441, 442, 443, and 444. [

개구부(436)는 기판(410)과 지지부재(600)가 결합되는 부분이 개방되도록 형성될 수 있다. 개구부(436)에는 베이스(430)로부터 돌출되고 커버부재(100)의 내면을 지지하는 돌출부(445)가 형성될 수 있다. 개구부(436)는 베이스(430)의 4개의 코너부 각각에 형성되는 제1 내지 제4개구부(436a, 436b, 436c, 436d)를 포함할 수 있다. 제1지지부(601)는 제1개구부(436a)에 배치될 수 있다. 제2 및 제3지지부(602, 603)는 제2개구부(436b)에 배치될 수 있다. 제4지지부(604)는 제3개구부(436c)에 배치될 수 있다. 제5 및 제6지지부(605, 606)는 제4개구부(436d)에 배치될 수 있다. The opening 436 may be formed such that a portion where the substrate 410 and the supporting member 600 are coupled open. The opening 436 may be formed with a protrusion 445 protruding from the base 430 and supporting the inner surface of the cover member 100. The openings 436 may include first to fourth openings 436a, 436b, 436c, and 436d formed at four corners of the base 430. [ The first support portion 601 may be disposed in the first opening 436a. The second and third support portions 602 and 603 may be disposed in the second opening 436b. The fourth support portion 604 may be disposed in the third opening 436c. The fifth and sixth support portions 605 and 606 may be disposed in the fourth opening 436d.

본 실시예에서, 제1 및 제3개구부(436a, 436c)에는 돌출부(445)가 형성될 수 있다. 다만, 제2 및 제4개구부(436b, 436d)에는 돌출부(445)가 형성되지 않거나 제1 및 제3개구부(436a, 436c)에 형성되는 돌출부(445)의 일부가 생략된 형상으로 형성될 수 있다. 제1 및 제3개구부(436a, 436c)에는 지지부가 하나씩만 배치되고, 제2 및 제4개구부(436b, 436d)에는 지지부가 2개씩 배치된다. 따라서, 제1 및 제3개구부(436a, 436c)에서 보다 제2 및 제4개구부(436b, 436d)에서 지지부와 기판(410)을 결합하기 위한 공간이 많이 필요하다. 즉, 제2 및 제4개구부(436b, 436d)에서는 공간의 제약에 의해 돌출부(445)가 생략되거나 돌출부(445)의 일부가 생략될 수 있다.In this embodiment, protrusions 445 may be formed in the first and third openings 436a and 436c. However, the protrusions 445 may not be formed in the second and fourth openings 436b and 436d, or a part of the protrusions 445 formed in the first and third openings 436a and 436c may be omitted. have. Only one support portion is disposed on the first and third openings 436a and 436c and two support portions are provided on the second and fourth openings 436b and 436d. Therefore, much space is required to couple the supporting portion and the substrate 410 in the second and fourth openings 436b and 436d than in the first and third openings 436a and 436c. That is, in the second and fourth openings 436b and 436d, the protrusion 445 may be omitted or a part of the protrusion 445 may be omitted due to the restriction of the space.

필터 결합면(437)은 베이스(430)의 하면이 함몰되어 형성될 수 있다. 필터 결합면(437)에는 필터가 결합될 수 있다. 필터 결합면(437)에는 필터의 상면의 일부가 접착제에 의해 결합될 수 있다. 본 실시예에서 필터 결합면(437)과 베이스(430)의 하면 사이에 추가적인 단차면이 존재할 수 있다. 이때, 단차면에 의해 형성되는 단차 공간에는 인쇄회로기판과 이미지 센서를 연결하는 와이어가 수용될 수 있다.The filter coupling surface 437 may be formed by sinking the lower surface of the base 430. The filter engagement surface 437 may be coupled with a filter. A part of the upper surface of the filter can be joined to the filter coupling surface 437 by an adhesive. There may be an additional stepped surface between the filter mating surface 437 and the bottom surface of the base 430 in this embodiment. At this time, a wire connecting the printed circuit board and the image sensor can be accommodated in the stepped space formed by the stepped surface.

가스 배기홈(438)은 필터 결합면(437)에 함몰 형성될 수 있다. 가스 배기홈(438)은 복수 개로 형성될 수 있다. 가스 배기홈(438)을 통해 가스가 배기될 수 있다. 인쇄회로기판에 이미지 센서를 결합하는 공정, 인쇄회로기판에 베이스(430)를 결합하는 공정 등에서 발생하는 가스가 가스 배기홈(438)을 통해 배출될 수 있다.The gas exhaust grooves 438 may be recessed in the filter engagement surface 437. The plurality of gas exhaust grooves 438 may be formed. The gas can be exhausted through the gas exhaust groove 438. [ The gas generated in the process of joining the image sensor to the printed circuit board, the process of joining the base 430 to the printed circuit board, and the like can be discharged through the gas exhaust groove 438. [

소자 수용홈(439)은 베이스(430)의 하면의 일부가 함몰되어 형성될 수 있다. 소자 수용홈(439)은 필터 결합면(437)과 이격되어 필터 결합면(437)의 외측에 형성될 수 있다. 소자 수용홈(439)은 복수로 형성될 수 있다. 소자 수용홈(439)은 4개로 구비될 수 있다. 소자 수용홈(439)은 인쇄회로기판의 상면에 실장된 소자를 수용하기 위한 공간을 제공할 수 있다.The element receiving groove 439 may be formed by recessing a part of the lower surface of the base 430. The element receiving groove 439 may be formed outside the filter engagement surface 437 and away from the filter engagement surface 437. The element receiving grooves 439 may be formed in plural. The number of element receiving grooves 439 may be four. The element receiving groove 439 can provide a space for accommodating the element mounted on the upper surface of the printed circuit board.

제1돌기(441) 및 제2돌기(442)는 상호간 이격될 수 있다. 제1돌기(441)는 베이스(430)의 외면으로부터 돌출될 수 있다. 제1돌기(441)는 제2돌기(442)로부터 이격될 수 있다. 제1돌기(441)는 함몰면(121) 및 제1연결면을 지지할 수 있다. 제1돌기(441)는 함몰면(121) 및 제1연결면과 접촉할 수 있다. 제1돌기(441)는 함몰면(121)과 접촉하는 상면을 포함할 수 있다. 제1돌기(441)는 함몰부(120)의 제1연결면과 접촉하는 제1측면을 포함할 수 있다. 제1돌기(441)는 단자부(412)의 측면과 접촉하는 제3측면을 포함할 수 있다. 다만, 제1돌기(441)의 제3측면은 단자부(412)의 측면과 접촉하지 않고 이격될 수 있다. 제1돌기(441)의 제3측면은 단자부(412)의 측면과 대향할 수 있다. 제1돌기(441)는 제1단자부(412a)의 측면 및 제1함몰부(120a)의 제1연결면 사이에 배치될 수 있다.The first protrusion 441 and the second protrusion 442 may be spaced apart from each other. The first protrusion 441 may protrude from the outer surface of the base 430. The first projection 441 may be spaced apart from the second projection 442. The first protrusion 441 can support the recessed surface 121 and the first connection surface. The first protrusion 441 can contact the recessed surface 121 and the first connection surface. The first projection 441 may include an upper surface that contacts the recessed surface 121. The first protrusion 441 may include a first side contacting the first connection surface of the depression 120. The first protrusion 441 may include a third side contacting the side surface of the terminal portion 412. [ However, the third side surface of the first projection 441 may be spaced apart from the side surface of the terminal portion 412 without contacting the side surface. The third side face of the first projection 441 can be opposed to the side face of the terminal portion 412. The first protrusion 441 may be disposed between the side surface of the first terminal portion 412a and the first connecting surface of the first depression 120a.

제2돌기(442)는 베이스(430)의 외면으로부터 돌출될 수 있다. 제2돌기(442)는 제1돌기(441)로부터 이격될 수 있다. 제2돌기(442)는 함몰면(121) 및 제2연결면을 지지할 수 있다. 제2돌기(442)는 함몰면(121) 및 제2연결면과 접촉할 수 있다. 제2돌기(442)는 함몰면(121)과 접촉하는 상면을 포함할 수 있다. 제2돌기(442)는 함몰부(120)의 제2연결면과 접촉하는 제2측면을 포함할 수 있다. 제2돌기(442)는 단자부(412)의 측면과 접촉하는 제4측면을 포함할 수 있다. 다만, 제2돌기(442)의 제4측면은 단자부(412)의 측면과 접촉하지 않고 이격될 수 있다. 제2돌기(442)의 제4측면은 단자부(412)의 측면과 대향할 수 있다. 제2돌기(442)는 제1단자부(412a)의 측면 및 제1함몰부(120a)의 제2연결면 사이에 배치될 수 있다.The second protrusion 442 may protrude from the outer surface of the base 430. The second projection 442 may be spaced apart from the first projection 441. [ The second protrusion 442 can support the recessed surface 121 and the second connection surface. The second protrusion 442 can contact the recessed surface 121 and the second connection surface. The second projection 442 may include an upper surface in contact with the recessed surface 121. The second protrusion 442 may include a second side contacting the second connection surface of the depression 120. The second projection 442 may include a fourth side that is in contact with a side surface of the terminal portion 412. However, the fourth side surface of the second projection 442 may be spaced apart from the side surface of the terminal portion 412 without contacting the side surface. The fourth side surface of the second projection 442 can face the side surface of the terminal portion 412. [ The second protrusion 442 may be disposed between the side surface of the first terminal portion 412a and the second connecting surface of the first depression 120a.

본 실시예에서 제1돌기(441) 및 제2돌기(442)는 커버부재(100)의 함몰부(120)에 끼움 결합될 수 있다. 즉, 제1연결면 및 제2연결면 사이의 거리는 제1돌기(441)의 제1측면 및 제2돌기(442)의 제2측면 사이의 거리와 대응할 수 있다. 또는, 제1연결면 및 제2연결면 사이의 거리가 제1돌기(441)의 제1측면 및 제2돌기(442)의 제2측면 사이 보다 소정의 크기만큼 작을 수 있다.The first protrusion 441 and the second protrusion 442 may be fitted to the depressed portion 120 of the cover member 100 in this embodiment. That is, the distance between the first connecting surface and the second connecting surface may correspond to the distance between the first side of the first projection 441 and the second side of the second projection 442. Alternatively, the distance between the first connecting surface and the second connecting surface may be smaller than a predetermined size between the first side of the first projection 441 and the second side of the second projection 442.

본 실시예에서 기판(410)의 단자부(412)는 제1돌기(441) 및 제2돌기(442) 사이에 배치될 수 있다. 이때, 단자부(412)의 외면의 수평 방향의 길이는 제1돌기(441)의 제3측면 및 제2돌기(442)의 제4측면 사이의 거리와 대응할 수 있다. 다만, 단자부(412)의 외면의 수평 방향의 길이는 제1돌기(441)의 제3측면 및 제2돌기(442)의 제4측면 사이의 거리 보다 작을 수 있다.In this embodiment, the terminal portion 412 of the substrate 410 may be disposed between the first protrusion 441 and the second protrusion 442. At this time, the horizontal length of the outer surface of the terminal portion 412 may correspond to the distance between the third side of the first projection 441 and the fourth side of the second projection 442. However, the length of the outer surface of the terminal portion 412 in the horizontal direction may be smaller than the distance between the third side surface of the first projection 441 and the fourth side surface of the second projection 442.

제3돌기(443)는 제2단자부(412b)의 측면 및 제2함몰부(120b)의 제1연결면 사이에 배치될 수 있다. 제3돌기(443) 및 제4돌기(444)는 상호간 이격될 수 있다. 제3돌기(443)는 베이스(430)의 외면으로부터 돌출될 수 있다. 제3돌기(443)는 제4돌기(444)로부터 이격될 수 있다. The third protrusion 443 may be disposed between the side surface of the second terminal portion 412b and the first connecting surface of the second depression 120b. The third projection 443 and the fourth projection 444 may be spaced apart from each other. The third protrusion 443 may protrude from the outer surface of the base 430. The third projection 443 may be spaced apart from the fourth projection 444. [

제4돌기(444)는 제2단자부(412b)의 측면 및 제2함몰부(120b)의 제2연결면 사이에 배치될 수 있다. 제4돌기(444)는 베이스(430)의 외면으로부터 돌출될 수 있다. 제4돌기(444)는 제3돌기(443)로부터 이격될 수 있다.The fourth protrusion 444 may be disposed between the side surface of the second terminal portion 412b and the second connecting surface of the second depression 120b. The fourth protrusion 444 may protrude from the outer surface of the base 430. The fourth projection 444 may be spaced apart from the third projection 443. [

본 실시예에서 제3 및 제4돌기(443, 444)는 제1 및 제2돌기(441, 442)와 대칭일 수 있다. 제3 및 제4돌기(443, 444)는 제1 및 제2돌기(441, 442)의 반대편에 형성될 수 있다. 제3 및 제4돌기(443, 444)는 제1 및 제2돌기(441, 442)와 대응되는 형상으로 형성될 수 있다. 본 실시예에서는 제1 내지 제4돌기(441, 442, 443, 444)에 의해 커버부재(100)가 지지되므로 커버부재(100)의 회전이 방지될 수 있다. 다만, 제3 및 제4돌기(443, 444)가 생략되더라도 제1 및 제2돌기(441, 442)에 의해 커버부재(100)의 회전은 방지될 수 있다. 마찬가지로, 제1 및 제2돌기(441, 442)가 생략되더라도 제3 및 제4돌기(443, 444)에 의해 커버부재(100)의 회전은 방지될 수 있다. In this embodiment, the third and fourth protrusions 443 and 444 may be symmetrical with the first and second protrusions 441 and 442. The third and fourth protrusions 443 and 444 may be formed on the opposite sides of the first and second protrusions 441 and 442. The third and fourth protrusions 443 and 444 may be formed in a shape corresponding to the first and second protrusions 441 and 442. In this embodiment, since the cover member 100 is supported by the first to fourth protrusions 441, 442, 443, and 444, the rotation of the cover member 100 can be prevented. However, even if the third and fourth protrusions 443 and 444 are omitted, rotation of the cover member 100 by the first and second protrusions 441 and 442 can be prevented. Likewise, even if the first and second protrusions 441 and 442 are omitted, rotation of the cover member 100 by the third and fourth protrusions 443 and 444 can be prevented.

본 실시예에서 제1 내지 제4돌기(441, 442, 443, 444)의 상면은 단차부(435)의 상면 보다 상측에 형성될 수 있다. 제1 내지 제4돌기(441, 442, 443, 444)의 하면은 제1 내지 제4돌기(441, 442, 443, 444)의 외면과 베이스(430)의 외면을 경사지게 연결하는 경사면으로 형성될 수 있다.In this embodiment, the upper surfaces of the first to fourth protrusions 441, 442, 443, and 444 may be formed above the upper surface of the stepped portion 435. The lower surfaces of the first to fourth protrusions 441, 442, 443 and 444 are formed as inclined surfaces connecting the outer surfaces of the first to fourth protrusions 441, 442, 443, and 444 and the outer surface of the base 430 in an inclined manner .

이상에서 베이스(340)의 일측 측면에 배치되는 2개의 돌기를 제1돌기(441) 및 제2돌기(442)로 칭하고 타측 측면에 배치되는 2개의 돌기를 제3돌기(443) 및 제4돌기(444)로 칭하였으나, 베이스(340)의 측면에 형성되는 4개의 돌기(441, 442, 443, 444)에 대하여 제1 내지 제4의 순서를 바꾸어 호칭될 수 있다. 예를 들어, 베이스(340)의 일측 측면에 배치되는 돌기를 '제1돌기'라 칭하고 타측 측면에 배치되는 돌기를 '제2돌기'라 칭할 수 있다.The two protrusions 441 and 442 are referred to as one protrusion 441 and the other protrusion 442 and the two protrusions disposed on the other side of the base 340 are referred to as a third protrusion 443 and a fourth protrusion 442. [ The first to fourth protrusions 441, 442, 443, and 444 formed on the side surface of the base 340 may be referred to as the first to fourth protrusions. For example, the protrusion disposed on one side of the base 340 may be referred to as a 'first protrusion, and the protrusion disposed on the other side may be referred to as a' second protrusion. '

베이스(340)는 베이스(340)의 제1측면에 배치된 제1돌기와, 제1측면과 반대편에 배치되는 제2측면에 배치된 제2돌기를 포함할 수 있다. 이때, 제1돌기와 제2돌기는 베이스(340)의 외면으로부터 돌출될 수 있다. 기판(410)은 베이스(340)의 제1측면에 배치되는 제1단자부(412a)와, 베이스(340)의 제2측면에 배치되는 제2단자부(412b)를 포함할 수 있다. 커버부재(100)의 측판(102)은 베이스(430)의 제1측면에 배치되는 제1측판과, 베이스(430)의 제2측면에 배치되는 제2측판을 포함할 수 있다. 제1측판은 제1단자부(412a)와 대응되는 위치에 제1측판의 하면으로부터 오목하게 형성된 제1홈부를 포함할 수 있다. 제2측판은 제2단자부(412b)와 대응하는 위치에 제2측판의 하면으로부터 오목하게 형성된 제2홈부를 포함할 수 있다. 제1홈부는 측판(102)의 하면 보다 상측에 형성되는 제1면과, 측판(102)의 하면과 제1면을 연결하는 제1연결면을 포함할 수 있다. 제2홈부는 측판(102)의 하면 보다 상측에 형성되는 제2면과, 측판(102)의 하면과 제2면을 연결하는 제2연결면을 포함할 수 있다. 이때, 제1돌기는 제1면과 제1연결면을 지지할 수 있다. 또한, 제2돌기는 제2면과 제2연결면을 지지할 수 있다.The base 340 may include a first projection disposed on a first side of the base 340 and a second projection disposed on a second side disposed opposite the first side. At this time, the first projection and the second projection may protrude from the outer surface of the base 340. The substrate 410 may include a first terminal portion 412a disposed on a first side of the base 340 and a second terminal portion 412b disposed on a second side of the base 340. [ The side plate 102 of the cover member 100 may include a first side plate disposed on a first side of the base 430 and a second side plate disposed on a second side of the base 430. [ The first side plate may include a first groove portion recessed from the lower surface of the first side plate at a position corresponding to the first terminal portion 412a. And the second side plate may include a second groove portion recessed from the lower surface of the second side plate at a position corresponding to the second terminal portion 412b. The first groove portion may include a first surface formed on the upper side of the lower surface of the side plate 102 and a first connecting surface connecting the lower surface of the side plate 102 and the first surface. The second groove portion may include a second surface formed on the upper side of the lower surface of the side plate 102 and a second connecting surface connecting the lower surface of the side plate 102 and the second surface. At this time, the first protrusion may support the first surface and the first connection surface. Further, the second projection may support the second surface and the second connection surface.

제1돌기는 제1단자부(412a)와 제1연결면 사이에 배치되고, 제2돌기는 제2단자부(412b)와 제2연결면 사이에 배치될 수 있다. 제2돌기는 광축을 중심으로 제1돌기의 반대편에 배치될 수 있다. 제1돌기는 베이스(430)의 제1코너부에 배치되고, 제2돌기는 제1코너부와 반대편에 배치되는 제2코너부에 배치될 수 있다. 제1돌기는 제1면과 대응하는 상면과, 제1연결면과 대응하는 제1측면을 포함할 수 있다. 제2돌기는 제2면과 대응하는 상면과, 제2연결면과 대응하는 제2측면을 포함할 수 있다. 제1돌기는 제1단자부(412a)의 측면과 대응하는 제3측면을 포함할 수 있다. 제2돌기는 제2단자부(412b)의 측면과 대응하는 제4측면을 포함할 수 있다.The first protrusion may be disposed between the first terminal portion 412a and the first connection surface, and the second protrusion may be disposed between the second terminal portion 412b and the second connection surface. The second projection may be disposed on the opposite side of the first projection about the optical axis. The first projection may be disposed at the first corner of the base 430 and the second projection may be disposed at the second corner of the base 430 opposite to the first corner. The first projection may include an upper surface corresponding to the first surface, and a first side corresponding to the first connection surface. The second projection may include an upper surface corresponding to the second surface and a second surface corresponding to the second connection surface. The first protrusion may include a third side surface corresponding to the side surface of the first terminal portion 412a. The second projection may include a fourth side corresponding to a side of the second terminal portion 412b.

베이스(430)는 베이스(430)의 제1측면에 배치되고, 제1코너부와 인접하는 제2코너부에 배치되는 제3돌기를 더 포함할 수 있다. 제1측판의 제1홈부는 제1연결면과 반대편에 배치되는 제3연결면을 더 포함할 수 있다. 제3돌기는 제1면과 제3연결면을 지지할 수 있다. 베이스(430)는 베이스(430)의 제2측면에 배치되고 제1코너부와 인접하는 제4코너부에 배치되는 제4돌기를 더 포함할 수 있다. 제2측판의 제2홈부는 제2연결면과 반대편에 배치되는 제4연결면을 더 포함할 수 있다. 제4돌기는 제2면과 제4연결면을 지지할 수 있다.The base 430 may further include a third projection disposed on a first side surface of the base 430 and disposed in a second corner portion adjacent to the first corner portion. The first groove portion of the first side plate may further include a third connecting surface disposed opposite to the first connecting surface. The third projection may support the first surface and the third connection surface. The base 430 may further include a fourth protrusion disposed on a second side surface of the base 430 and disposed in a fourth corner portion adjacent to the first corner portion. The second groove portion of the second side plate may further include a fourth connecting surface disposed opposite to the second connecting surface. The fourth projection may support the second surface and the fourth connection surface.

돌출부(445)는 베이스(430)로부터 돌출되어 형성될 수 있다. 돌출부(445)는 커버부재(100)의 내면을 지지할 수 있다. 돌출부(445)는 제1돌기(441) 및 제4돌기(444) 옆에 형성될 수 있다.The protrusion 445 may protrude from the base 430. The projecting portion 445 can support the inner surface of the cover member 100. The protrusion 445 may be formed next to the first protrusion 441 and the fourth protrusion 444.

탄성부재(500)는 보빈(210) 및 하우징(310)에 결합될 수 있다. 탄성부재(500)는 보빈(210)을 탄성적으로 지지할 수 있다. 탄성부재(500)는 적어도 일부에서 탄성을 가질 수 있다. 이때, 탄성부재(500)는 '제1탄성부재'로 호칭될 수 있다. 탄성부재(500)는 보빈(210)을 이동가능하게 지지할 수 있다. 탄성부재(500)는 보빈(210)이 하우징(310)에 대하여 광축 방향으로 이동가능하게 지지할 수 있다. 즉, 탄성부재(500)는 보빈(210)이 AF 구동 하도록 지지할 수 있다. 이때, 탄성부재(500)는 'AF 지지부재'라 호칭될 수 있다.The elastic member 500 may be coupled to the bobbin 210 and the housing 310. The elastic member 500 can elastically support the bobbin 210. The elastic member 500 may have elasticity at least in part. At this time, the elastic member 500 may be referred to as a 'first elastic member'. The elastic member 500 may movably support the bobbin 210. The elastic member 500 can support the bobbin 210 movably in the optical axis direction with respect to the housing 310. That is, the elastic member 500 can support the bobbin 210 to be driven by AF. At this time, the elastic member 500 may be referred to as an 'AF supporting member'.

탄성부재(500)는 상측 탄성부재(510) 및 하측 탄성부재(520)를 포함할 수 있다. 다만, 탄성부재(500)에서 상측 탄성부재(510) 및 하측 탄성부재(520) 중 어느 하나 이상이 생략 또는 변경될 수 있다.The elastic member 500 may include an upper elastic member 510 and a lower elastic member 520. However, at least one of the upper elastic member 510 and the lower elastic member 520 in the elastic member 500 may be omitted or changed.

본 실시예에서 상측 탄성부재(510)는 보빈(210) 및 하우징(310)과 열 융착에 의해 결합될 수 있다. 하측 탄성부재(520)는 보빈(210) 및 하우징(310)과 본딩에 의해 결합될 수 있다. 이때, 보빈(210) 및 하우징(310)에 상측 탄성부재(510)를 먼저 결합하고 하측 탄성부재(520)를 나중에 결합할 수 있다. 보빈(210)과 하우징(310)에 형성되어 탄성부재(500)와 결합되는 돌기 중 지름이 0.4mm 내외의 돌기는 열 융착에 이용될 수 있다. 또한, 보빈(210)과 하우징(310)에 형성되어 탄성부재(500)와 결합되는 돌기 중 지름이 0.26mm 내외의 돌기는 본딩에 이용될 수 있다. 본 실시예에서 열 융착 고정용 돌기의 지름은 0.30 내지 0.50 mm 일 수 있다. 또한, 본딩 고정용 돌기의 지름은 0.20 내지 0.30 mm 일 수 있다.In this embodiment, the upper elastic member 510 may be coupled to the bobbin 210 and the housing 310 by thermal fusion. The lower elastic member 520 may be coupled to the bobbin 210 and the housing 310 by bonding. At this time, the upper elastic member 510 may be first coupled to the bobbin 210 and the housing 310, and the lower elastic member 520 may be coupled later. Protrusions formed on the bobbin 210 and the housing 310 and having a diameter of about 0.4 mm among the protrusions coupled with the elastic member 500 can be used for thermal welding. In addition, protrusions formed on the bobbin 210 and the housing 310 and having a diameter of about 0.26 mm among the protrusions coupled with the elastic member 500 can be used for bonding. In this embodiment, the diameter of the thermal fusion fixing projections may be 0.30 to 0.50 mm. The diameter of the bonding fixing protrusion may be 0.20 to 0.30 mm.

상측 탄성부재(510)는 보빈(210)의 상측에 배치되고 보빈(210) 및 하우징(310)에 결합될 수 있다. 상측 탄성부재(510)는 보빈(210) 및 하우징(310)에 결합될 수 있다. 상측 탄성부재(510)는 보빈(210)의 상부 및 하우징(310)의 상부에 결합될 수 있다. 상측 탄성부재(510)는 보빈(210)을 탄성적으로 지지할 수 있다. 상측 탄성부재(510)는 적어도 일부에서 탄성을 가질 수 있다. 이 경우, 상측 탄성부재(510)는 '상측 탄성부재'로 호칭될 수 있다. 상측 탄성부재(510)는 보빈(210)을 이동가능하게 지지할 수 있다. 상측 탄성부재(510)는 보빈(210)이 하우징(310)에 대하여 광축 방향으로 이동가능하게 지지할 수 있다. 상측 탄성부재(510)는 판스프링으로 형성될 수 있다.The upper elastic member 510 may be disposed on the upper side of the bobbin 210 and may be coupled to the bobbin 210 and the housing 310. The upper elastic member 510 may be coupled to the bobbin 210 and the housing 310. The upper elastic member 510 may be coupled to the upper portion of the bobbin 210 and the upper portion of the housing 310. The upper elastic member 510 can elastically support the bobbin 210. [ The upper elastic member 510 may have elasticity at least in part. In this case, the upper elastic member 510 may be referred to as an " upper elastic member ". The upper elastic member 510 can movably support the bobbin 210. The upper elastic member 510 can support the bobbin 210 so as to be movable in the direction of the optical axis with respect to the housing 310. The upper elastic member 510 may be formed of a leaf spring.

상측 탄성부재(510)는 상호간 이격되는 복수의 탄성유닛을 포함할 수 있다. 상측 탄성부재(510)는 복수의 구분 구성으로 형성될 수 있다. 상측 탄성부재(510)는 상호간 이격되는 6개의 탄성유닛(501, 502, 503, 504, 505, 506)으로 형성될 수 있다. 상측 탄성부재(510)는 상호간 이격되는 제1 내지 제6탄성유닛(501, 502, 503, 504, 505, 506)을 포함할 수 있다. 다만, 상측 탄성부재(510)에서 제1 내지 제6탄성유닛(501, 502, 503, 504, 505, 506) 중 어느 하나 이상이 생략 또는 변경될 수 있다. The upper elastic member 510 may include a plurality of elastic units spaced from each other. The upper elastic member 510 may be formed in a plurality of divisional structures. The upper elastic member 510 may be formed of six elastic units 501, 502, 503, 504, 505, 506 spaced from each other. The upper elastic members 510 may include first to sixth elastic units 501, 502, 503, 504, 505, 506 spaced from each other. At least one of the first through sixth elastic units 501, 502, 503, 504, 505, 506 in the upper elastic member 510 may be omitted or changed.

상측 탄성부재(510)는 서로 이격되어 보빈(210)과 결합되는 제1탄성유닛(501), 제2탄성유닛(502), 제3탄성유닛(503) 및 제4탄성유닛(504)을 포함할 수 있다. 제1 내지 제4탄성유닛(501, 502, 503, 504)은 각각 보빈(210)과 결합되는 제1 내지 제4내측부(512)를 포함할 수 있다. 제1 내지 제4내측부(512)는 각각 보빈(210)의 돌기(2131, 2132)와 결합되는 적어도 2개 이상의 홀(5121, 5122)을 포함할 수 있다. 보빈(210)의 돌기(2131, 2132)는 내측부(512)와 결합되는 제1돌기(2131)와 제2돌기(2132)를 포함할 수 있다. 내측부(512)는 제1홀(5121)과 제2홀(5122)을 포함할 수 있다.The upper elastic member 510 includes a first elastic unit 501, a second elastic unit 502, a third elastic unit 503 and a fourth elastic unit 504 which are separated from each other and coupled with the bobbin 210 can do. The first to fourth elastic units 501, 502, 503, and 504 may include first to fourth inner side portions 512 coupled with the bobbin 210, respectively. The first to fourth inner side portions 512 may include at least two holes 5121 and 5122 coupled with the protrusions 2131 and 2132 of the bobbin 210, respectively. The protrusions 2131 and 2132 of the bobbin 210 may include a first protrusion 2131 and a second protrusion 2132 coupled to the inner side portion 512. The inner portion 512 may include a first hole 5121 and a second hole 5122.

이하에서, 탄성유닛(501, 502, 503, 504, 505, 506)은 '상측 탄성유닛'으로 호칭될 수 있다. 기판(720)은 제1센서(710)에 외부 전원을 공급하기 위한 4개의 단자를 포함할 수 있다. 이때, 4개의 단자는 각각 4개의 상측 탄성유닛과 솔더 결합할 수 있다. 본 실시예의 변형례는 4개의 단자에 대응하는 위치에 배치되는 4개의 포켓부(340)를 포함할 수 있다. 즉, 변형례에서는 포켓부(340)가 4개로 분리 구비되어 4개의 단자에 대응하는 위치에 배치될 수 있다. 기판(720)은 상측 탄성부재(510)와 수직으로 배치되고, 상측 탄성부재(510)는 결합부재가 배치되는 부분에 형성되는 홈부를 더 포함할 수 있다.Hereinafter, the elastic units 501, 502, 503, 504, 505, and 506 may be referred to as an 'upper elastic unit'. The substrate 720 may include four terminals for supplying external power to the first sensor 710. At this time, the four terminals can be soldered to each of the four upper elastic units. The modification of this embodiment may include four pocket portions 340 disposed at positions corresponding to the four terminals. That is, in the modified example, the pocket portions 340 may be separated into four and disposed at positions corresponding to the four terminals. The substrate 720 may be disposed perpendicular to the upper elastic member 510 and the upper elastic member 510 may further include a groove formed in a portion where the coupling member is disposed.

제1 내지 제6탄성유닛(501, 502, 503, 504, 505, 506)은 상호간 이격될 수 있다. 이를 통해, 제1 내지 제6탄성유닛(501, 502, 503, 504, 505, 506)은 렌즈 구동 장치 내부에서 도전라인으로 이용될 수 있다. 제1 내지 제6탄성유닛(501, 502, 503, 504, 505, 506)은 지지부재(600)를 통해 기판(410)과 전기적으로 연결될 수 있다. 제1 내지 제4탄성유닛(501, 502, 503, 504)은 제1센싱 유닛(700)의 기판(720)에 결합될 수 있다. 이를 통해, 제1 내지 제4탄성유닛(501, 502, 503, 504)은 제1센서(710)와 전기적으로 연결될 수 있다. 이때, 제5 및 제6탄성유닛(505, 506)은 AF 구동 코일(220)과 전기적으로 연결될 수 있다. 즉, 제1 내지 제6탄성유닛(501, 502, 503, 504, 505, 506)은 하우징(310)에 배치된 제1센서(710) 및 AF 구동 코일(220)에 전원을 공급하기 위해 사용될 수 있다. 제1탄성유닛(501)은 제1센서(710)와 지지부재(600)에 전기적으로 연결될 수 있다.The first to sixth elastic units 501, 502, 503, 504, 505, 506 may be spaced apart from each other. Accordingly, the first through sixth elastic units 501, 502, 503, 504, 505, and 506 can be used as a conductive line in the lens driving apparatus. The first through sixth elastic units 501, 502, 503, 504, 505, and 506 may be electrically connected to the substrate 410 through the support member 600. The first through fourth elastic units 501, 502, 503, and 504 may be coupled to the substrate 720 of the first sensing unit 700. Accordingly, the first to fourth elastic units 501, 502, 503, and 504 can be electrically connected to the first sensor 710. At this time, the fifth and sixth elastic units 505 and 506 may be electrically connected to the AF driving coil 220. That is, the first to sixth elastic units 501, 502, 503, 504, 505, 506 are used to supply power to the first sensor 710 and the AF drive coil 220 disposed in the housing 310 . The first elastic unit 501 may be electrically connected to the first sensor 710 and the support member 600.

제1탄성유닛(501)은 제1외측부(5011), 제2외측부(5012), 제1결합부(5013), 제1레그부(5014), 제2레그부(5015) 및 제1단자부(5016)를 포함할 수 있다. 다만, 제1탄성유닛(501)에서 제1외측부(5011), 제2외측부(5012), 제1결합부(5013), 제1레그부(5014), 제2레그부(5015) 및 제1단자부(5016) 중 어느 하나 이상이 생략 또는 변경될 수 있다.The first elastic unit 501 includes a first outer portion 5011, a second outer portion 5012, a first engaging portion 5013, a first leg portion 5014, a second leg portion 5015, 5016). In the first elastic unit 501, the first outside portion 5011, the second outside portion 5012, the first engaging portion 5013, the first leg portion 5014, the second leg portion 5015, And the terminal portions 5016 may be omitted or changed.

제1외측부(5011)는 하우징(310)의 일측 측부에 결합될 수 있다. 제1외측부(5011)는 하우징(310)의 제4측부(304)에 결합될 수 있다. 제2외측부(5012)는 하우징(310)의 일측 측부와 이웃하는 측부에 결합될 수 있다. 제2외측부(5012)는 하우징(310)의 제1측부(301)에 결합될 수 있다. 제1결합부(5013)는 지지부재(600)에 결합될 수 있다. 제1결합부(5013)는 제1지지부(601)와 결합될 수 있다. 제1레그부(5014)는 제1외측부(5011)와 제1결합부(5013)를 연결할 수 있다. 제2레그부(5015)는 제2외측부(5012)와 제1결합부(5013)를 연결할 수 있다.The first outer side 5011 may be coupled to one side of the housing 310. The first outer side 5011 may be coupled to the fourth side 304 of the housing 310. The second outer side 5012 may be coupled to one side of the housing 310 and a side adjacent thereto. The second outer side 5012 may be coupled to the first side 301 of the housing 310. The first engaging portion 5013 can be coupled to the support member 600. The first engaging portion 5013 can be engaged with the first supporting portion 601. The first leg portion 5014 may connect the first outside portion 5011 and the first engaging portion 5013. The second leg portion 5015 may connect the second outside portion 5012 and the first engaging portion 5013.

본 실시예에서 제1레그부(5014) 및 제2레그부(5015)는 지지부재(600)의 제1지지부(601) 및 광축을 포함하는 가상의 평면을 기준으로 대칭일 수 있다. 이와 같은 구조를 통해, 렌즈 구동 장치의 구동시 지지부재(600) 및 상측 지지부재(510)에 의해 발생되는 틸트(tilt)가 개선될 수 있다. 제1 및 제2레그부(5014, 5015) 각각은 2회 이상 절곡될 수 있다. 제1 및 제2레그부(5014, 5015) 각각은 3회 이상 절곡될 수 있다. 이때, 제1 및 제2레그부(5014, 5015)의 절곡된 형상도 서로 대칭일 수 있다. 제1레그부(5014) 및 제2레그부(5015)는 제1결합부(5013)를 중심으로 서로 반대편에 배치될 수 있다.In this embodiment, the first leg portion 5014 and the second leg portion 5015 may be symmetrical with respect to a virtual plane including the first support portion 601 and the optical axis of the support member 600. With this structure, the tilt generated by the support member 600 and the upper support member 510 when the lens driving apparatus is driven can be improved. Each of the first and second leg portions 5014 and 5015 may be bent twice or more. Each of the first and second leg portions 5014 and 5015 may be bent three or more times. At this time, the bent shapes of the first and second leg portions 5014 and 5015 may also be symmetrical to each other. The first leg portion 5014 and the second leg portion 5015 may be disposed opposite to each other with respect to the first engaging portion 5013.

제1단자부(5016)는 제2외측부(5012)로부터 연장되고 제1센서(710)가 배치되는 기판(720)과 결합될 수 있다.The first terminal portion 5016 may be coupled to the substrate 720 extending from the second outer portion 5012 and disposed with the first sensor 710. [

제2탄성유닛(502)은 제3외측부(5021), 제2결합부(5022) 및 제2단자부(5023)를 포함할 수 있다. 제2탄성유닛(502)은 하우징(310)에 결합되는 제3외측부(5021), 제3외측부(5021)로부터 연장되고 제2지지부(602)와 결합되는 제2결합부(5022), 및 제3외측부(5021)로부터 연장되고 제1센서(710)가 배치되는 기판(720)과 결합되는 제2단자부(5023)를 포함할 수 있다.The second elastic unit 502 may include a third outer portion 5021, a second engaging portion 5022, and a second terminal portion 5023. The second elastic unit 502 includes a third outer portion 5021 coupled to the housing 310, a second engagement portion 5022 extending from the third outer portion 5021 and coupled to the second support portion 602, And a second terminal portion 5023 extending from the third side portion 5021 and coupled with the substrate 720 on which the first sensor 710 is disposed.

제3탄성유닛(503)은 제4외측부(5031), 제3결합부(5032) 및 제3단자부(5033)를 포함할 수 있다. 제3탄성유닛(503)은 하우징(310)에 결합되는 제4외측부(5031), 제4외측부(5031)로부터 연장되고 제3지지부(603)와 결합되는 제3결합부(5032), 및 제4외측부(5031)로부터 연장되고 제1센서(710)가 배치되는 기판(720)과 결합되는 제3단자부(5033)를 포함할 수 있다.The third elastic unit 503 may include a fourth outer portion 5031, a third engagement portion 5032, and a third terminal portion 5033. The third elastic unit 503 includes a fourth outer portion 5031 coupled to the housing 310, a third engagement portion 5032 extending from the fourth outer portion 5031 and coupled to the third support portion 603, 4 may include a third terminal portion 5033 extending from the outer side portion 5031 and coupled with the substrate 720 on which the first sensor 710 is disposed.

제4탄성유닛(504)은 제5외측부(5041), 제6외측부(5042), 제4결합부(5043), 제3레그부(5044), 제4레그부(5045) 및 제4단자부(5046)를 포함할 수 있다. 다만, 제4탄성유닛(504)에서 제5외측부(5041), 제6외측부(5042), 제4결합부(5043), 제3레그부(5044), 제4레그부(5045) 및 제4단자부(5046) 중 어느 하나 이상이 생략 또는 변경될 수 있다.The fourth elastic unit 504 includes a fifth outer side portion 5041, a sixth outer side portion 5042, a fourth engagement portion 5043, a third leg portion 5044, a fourth leg portion 5045, 5046). In the fourth elastic unit 504, the fifth outside portion 5041, the sixth outside portion 5042, the fourth engaging portion 5043, the third leg portion 5044, the fourth leg portion 5045, and the fourth Terminal portions 5046 may be omitted or changed.

제5외측부(5041)는 하우징(310)의 제2측부(302)에 결합될 수 있다. 제6외측부(5042)는 하우징(310)의 제3측부(303)에 결합될 수 있다. 제4결합부(5043)는 지지부재(600)에 결합될 수 있다. 제4결합부(5043)는 제4지지부(604)에 결합될 수 있다. 제3레그부(5044)는 제5외측부(5041)와 제4결합부(5043)를 연결할 수 있다. 제4레그부(5045)는 제6외측부(5042)와 제4결합부(5043)를 연결할 수 있다. 제4단자부(5046)는 제5외측부(5041)로부터 연장되고 제1센서(710)가 배치되는 기판(720)과 결합될 수 있다.The fifth outer side 5041 may be coupled to the second side 302 of the housing 310. The sixth outer side 5042 may be coupled to the third side 303 of the housing 310. The fourth engaging portion 5043 may be coupled to the support member 600. The fourth coupling portion 5043 may be coupled to the fourth support portion 604. The third leg portion 5044 can connect the fifth outside portion 5041 and the fourth engaging portion 5043. The fourth leg portion 5045 may connect the sixth outside portion 5042 and the fourth engaging portion 5043. The fourth terminal portion 5046 may be coupled to the substrate 720 from which the first sensor 710 is disposed and which extends from the fifth outside portion 5041.

본 실시예에서 제1탄성유닛(501)의 제1외측부(5011)의 형상은 제4탄성유닛(504)의 제6외측부(5042)의 형상과 상이할 수 있다. 제1외측부(5011)는 하우징(310)의 상면에 형성된 2개의 돌기와 결합될 수 있다. 제6외측부(5042)는 하우징(310)의 상면에 형성된 1개의 돌기와 결합될 수 있다.The shape of the first outer side portion 5011 of the first elastic unit 501 may be different from the shape of the sixth outer side portion 5042 of the fourth elastic unit 504 in this embodiment. The first outer side 5011 may be coupled with two projections formed on the upper surface of the housing 310. The sixth outer side 5042 may be coupled with one projection formed on the upper surface of the housing 310.

상측 탄성부재(510)는 외측부(511), 내측부(512), 연결부(513), 결합부(514) 및 레그부(515)를 포함할 수 있다. 다만, 상측 탄성부재(510)에서 외측부(511), 내측부(512), 연결부(513), 결합부(514) 및 레그부(515) 중 어느 하나 이상이 생략 또는 변경될 수 있다.The upper elastic member 510 may include an outer portion 511, a medial portion 512, a connecting portion 513, a fitting portion 514, and a leg portion 515. At least one of the outer side portion 511, the inner side portion 512, the connecting portion 513, the engaging portion 514 and the leg portion 515 of the upper elastic member 510 may be omitted or changed.

외측부(511)는 하우징(310)에 결합될 수 있다. 외측부(511)는 하우징(310)의 상부에 결합될 수 있다. 외측부(511)는 하우징(310)의 상측 결합부(313)와 결합될 수 있다. 외측부(511)는 하우징(310)의 상측 결합부(313)와 결합되는 홀 또는 홈을 포함할 수 있다.The outer portion 511 may be coupled to the housing 310. The outer portion 511 may be coupled to the upper portion of the housing 310. The outer side portion 511 may be engaged with the upper side engaging portion 313 of the housing 310. The outer side portion 511 may include a hole or a groove that is engaged with the upper side engaging portion 313 of the housing 310.

내측부(512)는 보빈(210)에 결합될 수 있다. 내측부(512)는 보빈(210)의 상부에 결합될 수 있다. 내측부(512)는 보빈(210)의 상측 결합부(213)와 결합될 수 있다. 내측부(512)는 보빈(210)의 상측 결합부(213)와 결합되는 홀 또는 홈을 포함할 수 있다.The inner portion 512 may be coupled to the bobbin 210. The inner portion 512 may be coupled to the upper portion of the bobbin 210. The inner side portion 512 can be engaged with the upper side coupling portion 213 of the bobbin 210. The inner side portion 512 may include a hole or a groove which is engaged with the upper side coupling portion 213 of the bobbin 210.

본 실시예에서 상측 탄성부재(510)는 보빈(210)과 결합되는 4개의 내측부(512)를 포함할 수 있다. 이때, 4개의 내측부(512)는 광축을 기준으로 회전 대칭일 수 있다.In this embodiment, the upper elastic member 510 may include four inner side portions 512 coupled with the bobbin 210. At this time, the four inner side portions 512 may be rotationally symmetric with respect to the optical axis.

내측부(512)는 제1홀(5121), 제2홀(5122) 및 가이드홀(5123)을 포함할 수 있다. 다만, 내측부(512)에서 제1홀(5121), 제2홀(5122) 및 가이드홀(5123) 중 어느 하나 이상이 생략 또는 변경될 수 있다.The inner portion 512 may include a first hole 5121, a second hole 5122, and a guide hole 5123. [ However, at least one of the first hole 5121, the second hole 5122, and the guide hole 5123 may be omitted or changed in the inner side portion 512.

제1홀(5121) 및 제2홀(5122)은 상호간 이격될 수 있다. 제1홀(5121)은 제2홀(5122)로부터 이격될 수 있다. 제1홀(5121)에는 보빈(210)의 제1돌기(2131)가 결합될 수 있다. 제1홀(5121)은 제2홀(5122) 보다 클 수 있다. 제1홀(5121)의 직경은 제2홀(5122)의 직경 보다 클 수 있다. 제1홀(5121)은 접착제가 배치되는 복수 개의 홈을 포함할 수 있다. 제1돌기(2131)는 제1홀(5121)에 접착제로 본딩될 수 있다.The first hole 5121 and the second hole 5122 may be spaced apart from each other. The first hole 5121 may be spaced apart from the second hole 5122. The first protrusion 2131 of the bobbin 210 may be coupled to the first hole 5121. The first hole 5121 may be larger than the second hole 5122. The diameter of the first hole 5121 may be larger than the diameter of the second hole 5122. The first hole 5121 may include a plurality of grooves in which an adhesive is disposed. The first protrusion 2131 may be bonded to the first hole 5121 with an adhesive.

제2홀(5122)은 제1홀(5121)로부터 이격될 수 있다. 제2홀(5122)에는 보빈(210)의 제2돌기(2132)의 적어도 일부가 수용될 수 있다. 제2홀(5122)의 직경은 제1홀(5121)의 직경 보다 작을 수 있다. 본 실시예에서는 제1홀(5121)과 제1돌기(2131)의 결합 및 제2홀(5122)과 제2돌기(2132)의 결합의 2중 결합으로 인해 상측 지지부재(510)의 내측부(512)가 보빈(210)에 대하여 회전하는 현상이 방지될 수 있다. 제2홀(5122)은 접착제가 배치되는 복수 개의 홈을 포함할 수 있다.The second hole 5122 may be spaced apart from the first hole 5121. At least a part of the second protrusion 2132 of the bobbin 210 may be accommodated in the second hole 5122. The diameter of the second hole 5122 may be smaller than the diameter of the first hole 5121. The second hole 5122 and the second protrusion 2132 are coupled to each other by the double bond of the first hole 5121 and the first protrusion 2131 and the second hole 5122 and the second protrusion 2132, 512 can be prevented from rotating with respect to the bobbin 210. The second hole 5122 may include a plurality of grooves in which the adhesive is disposed.

가이드홀(5123)은 제1홀(5121)로부터 연장 형성될 수 있다. 가이드홀(5123)에는 열융착된 제1돌기(2131)의 일부가 수용될 수 있다. 이와 같은 구조를 통해, 보빈(210)에 대한 내측부(512)의 회전이 방지될 수 있다. 가이드홀(5123)은 제1홀(5121)의 둘레에 상호간 이격되어 3개로 구비될 수 있다.The guide hole 5123 may extend from the first hole 5121. A part of the first protrusion 2131 which is thermally fused can be accommodated in the guide hole 5123. With this structure, rotation of the inner side portion 512 with respect to the bobbin 210 can be prevented. The guide holes 5123 may be provided around the first holes 5121 so as to be spaced apart from each other.

연결부(513)는 외측부(511) 및 내측부(512)를 연결할 수 있다. 연결부(513)는 외측부(511) 및 내측부(512)를 탄성적으로 연결할 수 있다. 연결부(513)는 탄성을 가질 수 있다. 이때, 연결부(513)는 '탄성부'로 호칭될 수 있다. 연결부(513)는 2회 이상 절곡되어 형성될 수 있다.The connection portion 513 can connect the outer portion 511 and the inner portion 512. The connection portion 513 can elastically connect the outer side portion 511 and the inner side portion 512. The connection portion 513 may have elasticity. At this time, the connection portion 513 may be referred to as an " elastic portion ". The connection portion 513 may be formed by bending two or more times.

결합부(514)는 지지부재(600)와 결합될 수 있다. 결합부(514)는 지지부재(600)와 솔더링에 의해 결합될 수 있다. 일례로, 결합부(514)는 지지부재(600)가 관통하는 홀을 포함할 수 있다. 다른 예로, 결합부(514)는 지지부재(600)가 결합되는 홈을 포함할 수 있다. 결합부(514)는 외측부(511)로부터 연장될 수 있다. 결합부(514)는 외측부(511)로부터 외측으로 연장될 수 있다. 결합부(514)는 절곡되어 형성되는 절곡부를 포함할 수 있다. The engaging portion 514 can be engaged with the supporting member 600. The engaging portion 514 may be coupled to the supporting member 600 by soldering. In one example, the engagement portion 514 may include a hole through which the support member 600 passes. As another example, the engagement portion 514 may include a groove to which the support member 600 is coupled. The engaging portion 514 may extend from the lateral portion 511. The engaging portion 514 may extend outward from the outer side portion 511. The engaging portion 514 may include a bent portion formed by bending.

레그부(515)는 외측부(511)와 결합부(514)를 연결할 수 있다. 레그부(515)의 하측에는 댐퍼홈(330)이 배치될 수 있다. 레그부(515)에는 제1댐퍼(910)가 도포될 수 있다. 레그부(515)에 제1댐퍼(910)가 도포되는 경우, 하우징(310)의 상하 진동(공진) 억제에 효과적일 수 있다.The leg portion 515 can connect the outer portion 511 and the engaging portion 514. A damper groove 330 may be disposed below the leg portion 515. The first damper 910 may be applied to the leg portion 515. [ When the first damper 910 is applied to the leg portion 515, it can be effective to suppress vertical vibration (resonance) of the housing 310.

상측 탄성부재(510)의 연결부(513)는 댐퍼 배치부(530), 제1연결부(540) 및 제2연결부(550)를 포함할 수 있다. 다만, 상측 탄성부재(510)의 연결부(513)에서 댐퍼 배치부(530), 제1연결부(540) 및 제2연결부(550) 중 어느 하나 이상이 생략 또는 변경될 수 있다.The connection portion 513 of the upper elastic member 510 may include a damper arrangement portion 530, a first connection portion 540 and a second connection portion 550. At least one of the damper disposing part 530, the first connecting part 540 and the second connecting part 550 may be omitted or changed from the connecting part 513 of the upper elastic member 510. [

댐퍼 배치부(530)에는 제2댐퍼(920)가 배치될 수 있다. 댐퍼 배치부(530)에는 제2댐퍼(920)가 도포될 수 있다. 댐퍼 배치부(530)는 돌기(215)의 곡면(2151)과 대응되는 형상으로 형성될 수 있다. 댐퍼 배치부(530)는 돌기(215)의 곡면(2151)과 이격되어 돌기(215)의 내측에 배치될 수 있다.A second damper 920 may be disposed in the damper arrangement portion 530. A second damper 920 may be applied to the damper disposing portion 530. The damper arranging portion 530 may be formed in a shape corresponding to the curved surface 2151 of the projection 215. [ The damper arranging portion 530 may be disposed inside the projection 215 away from the curved surface 2151 of the projection 215. [

제1연결부(540)는 댐퍼 배치부(530) 및 내측부(512)를 연결할 수 있다. 제1연결부(540)는 복수 회 절곡될 수 있다. 제1연결부(540)는 상호간 평행하게 배치되는 제1내측 부분(541) 및 제2내측 부분(542)을 포함할 수 있다. The first connection portion 540 may connect the damper arrangement portion 530 and the inner side portion 512. The first connection portion 540 may be bent a plurality of times. The first connection portion 540 may include a first inner portion 541 and a second inner portion 542 disposed parallel to each other.

제1연결부(540)는 제1 내지 제6내측 부분(541, 542, 543, 544, 545, 546)을 포함할 수 있다. 제1내측 부분(541) 및 제2내측 부분(542)은 적어도 일부에서 상호간 평행하게 배치될 수 있다. 제1내측 부분(541) 및 제2내측 부분(542)은 내측부(512)와 댐퍼 배치부(530) 사이에 복수 회 절곡 또는 커브되어 서로 대향하게 배치될 수 있다. 제1내측 부분(541) 및 제2내측 부분(542)은 인접하게 배치되는 외측부(511)의 연장 방향과 상이한 방향으로 연장될 수 있다. 제1내측 부분(541) 및 제2내측 부분(542)은 제1연결부(540)의 길이 방향과 상이한 방향으로 연장될 수 있다. 제3내측 부분(543)은 댐퍼 배치부(530)와 제1내측 부분(541)을 라운드지게 연결할 수 있다. 변형례로, 제3내측 부분(543)은 댐퍼 배치부(530)와 제1내측 부분(541)을 경사지게 연결할 수 있다. 제4내측 부분(544)은 제1내측 부분(541) 및 제2내측 부분(542)을 라운드지게 연결할 수 있다. 변형례로, 제4내측 부분(544)은 제1내측 부분(541) 및 제2내측 부분(542)을 경사지게 연결할 수 있다. 제5내측 부분(545)은 제2내측 부분(542)으로부터 연장될 수 있다. 제5내측 부분(545)은 적어도 일부에서 제2내측 부분(542)의 연장 방향의 수직 방향으로 배치될 수 있다. 제6내측 부분(546)은 제5내측 부분(545)과 내측부(512)를 연결할 수 있다. 제6내측 부분(546)은 제5내측 부분(545)과 둔각을 형성할 수 있다.The first connection portion 540 may include first to sixth inner portions 541, 542, 543, 544, 545, and 546. The first inner portion 541 and the second inner portion 542 may be disposed parallel to each other at least in part. The first inner portion 541 and the second inner portion 542 may be bent or curved a plurality of times between the inner side portion 512 and the damper placing portion 530 and arranged to face each other. The first inner portion 541 and the second inner portion 542 may extend in a direction different from the extending direction of the adjacent outer side portion 511. The first inner portion 541 and the second inner portion 542 may extend in a direction different from the longitudinal direction of the first connection portion 540. The third inner portion 543 can connect the damper arrangement portion 530 and the first inner portion 541 in a round manner. Alternatively, the third inner portion 543 may connect the damper placement portion 530 and the first inner portion 541 in an inclined manner. The fourth inner portion 544 may connect the first inner portion 541 and the second inner portion 542 in a round manner. Alternatively, the fourth inner portion 544 can tilt the first inner portion 541 and the second inner portion 542 in an inclined manner. The fifth inner portion 545 may extend from the second inner portion 542. The fifth inner portion 545 may be disposed in a direction perpendicular to the extending direction of the second inner portion 542 at least in part. The sixth inner portion 546 may connect the fifth inner portion 545 and the inner portion 512. The sixth inner portion 546 may form an obtuse angle with the fifth inner portion 545.

이상에서, 설명의 편의를 위해 제1연결부(540)를 6개의 구분 구성으로 나누어 설명하였지만, 설명된 2개의 구분 구성이 하나의 구분 구성으로 합쳐져 이해될 수도 있고 설명된 하나의 구분 구성이 2개 이상의 구분 구성으로 나누어 이해될 수도 있다.In the above description, the first connection unit 540 is divided into six divisional units for convenience of explanation. However, the two divisional units may be understood to be combined into one divisional unit, It can also be understood by dividing it into the above-mentioned classification structure.

제2연결부(550)는 댐퍼 배치부(330)와 외측부(511)를 연결할 수 있다. 제2연결부(550)는 복수 회 절곡될 수 있다. 제2연결부(550)는 상호간 평행하게 배치되는 제1 내지 제3외측 부분(551, 552, 553)을 포함할 수 있다.The second connection part 550 can connect the damper arrangement part 330 and the outer side part 511. The second connection portion 550 can be bent a plurality of times. The second connection portions 550 may include first to third outer portions 551, 552, and 553 disposed in parallel with each other.

제2연결부(550)는 제1 내지 제6외측 부분(551, 552, 553, 554, 555, 556)을 포함할 수 있다. 제1 내지 제3외측 부분(551, 552, 553)은 인접하게 배치되는 외측부(511)와 평행하게 배치될 수 있다. 제1 내지 제3외측 부분(551, 552, 553)은 제2연결부(550)의 길이 방향으로 배치될 수 있다. 제1외측 부분(551)은 댐퍼 배치부(330)와 연결될 수 있다. 제4외측 부분(554)은 제1외측 부분(551)과 제2외측 부분(552)을 라운드지게 연결할 수 있다. 변형례로, 제4외측 부분(554)은 제1외측 부분(551)과 제2외측 부분(552)을 경사지게 연결할 수 있다. 제5외측 부분(555)은 제2외측 부분(552)과 제3외측 부분(553)을 라운드지게 연결할 수 있다. 변형례로, 제5외측 부분(555)은 제2외측 부분(552)과 제3외측 부분(553)을 경사지게 연결할 수 있다. 제6외측 부분(556)은 제3외측 부분(553)과 외측부(551)를 연결할 수 있다.The second connection portion 550 may include first to sixth outer portions 551, 552, 553, 554, 555, and 556. The first to third outer portions 551, 552, and 553 may be disposed in parallel with the outer portion 511 disposed adjacent to each other. The first to third outer portions 551, 552 and 553 may be disposed in the longitudinal direction of the second connection portion 550. The first outer portion 551 may be connected to the damper arrangement portion 330. The fourth outer portion 554 may connect the first outer portion 551 and the second outer portion 552 roundly. Alternatively, the fourth outer portion 554 may connect the first outer portion 551 and the second outer portion 552 in an inclined manner. The fifth outer portion 555 may connect the second outer portion 552 and the third outer portion 553 in a round manner. Alternatively, the fifth outer portion 555 may link the second outer portion 552 and the third outer portion 553 in an inclined manner. The sixth outer portion 556 may connect the third outer portion 553 and the outer portion 551.

이상에서, 설명의 편의를 위해 제2연결부(550)를 6개의 구분 구성으로 나누어 설명하였지만, 설명된 2개의 구분 구성이 하나의 구분 구성으로 합쳐져 이해될 수도 있고 설명된 하나의 구분 구성이 2개 이상의 구분 구성으로 나누어 이해될 수도 있다.In the above description, the second connection unit 550 is divided into six divisional units for convenience of explanation. However, the two divisional units may be understood as a single divisional unit, It can also be understood by dividing it into the above-mentioned classification structure.

하측 탄성부재(520)는 보빈(210)의 하측에 배치되고 보빈(210) 및 하우징(310)에 결합될 수 있다. 하측 탄성부재(520)는 보빈(210) 및 하우징(310)에 결합될 수 있다. 하측 탄성부재(520)는 보빈(210)의 하부 및 하우징(310)의 하부에 결합될 수 있다. 하측 탄성부재(520)는 보빈(210)을 탄성적으로 지지할 수 있다. 하측 탄성부재(520)는 적어도 일부에서 탄성을 가질 수 있다. 이 경우, 하측 탄성부재(520)는 '하측 탄성부재'로 호칭될 수 있다. 하측 탄성부재(520)는 보빈(210)을 이동가능하게 지지할 수 있다. 하측 탄성부재(520)는 보빈(210)이 하우징(310)에 대하여 광축 방향으로 이동가능하게 지지할 수 있다. 하측 탄성부재(520)는 판스프링으로 형성될 수 있다. 일례로, 하측 탄성부재(520)는 일체로 형성될 수 있다. The lower elastic member 520 may be disposed below the bobbin 210 and may be coupled to the bobbin 210 and the housing 310. The lower elastic member 520 may be coupled to the bobbin 210 and the housing 310. The lower elastic member 520 may be coupled to the lower portion of the bobbin 210 and the lower portion of the housing 310. The lower elastic member 520 can elastically support the bobbin 210. The lower elastic member 520 may have elasticity at least in part. In this case, the lower elastic member 520 may be referred to as a " lower elastic member ". The lower elastic member 520 is capable of movably supporting the bobbin 210. The lower elastic member 520 can support the bobbin 210 movably in the optical axis direction with respect to the housing 310. The lower elastic member 520 may be formed of a leaf spring. For example, the lower elastic member 520 may be integrally formed.

하측 탄성부재(520)는 외측부(521), 내측부(522) 및 연결부(523)를 포함할 수 있다. 다만, 하측 탄성부재(520)에서 외측부(521), 내측부(522) 및 연결부(523) 중 어느 하나 이상이 생략 또는 변경될 수 있다.The lower elastic member 520 may include an outer portion 521, a medial portion 522, and a connection portion 523. However, at least one of the outer side portion 521, the inner side portion 522 and the connecting portion 523 in the lower elastic member 520 may be omitted or changed.

외측부(521)는 하우징(310)에 결합될 수 있다. 외측부(521)는 하우징(310)의 하부에 결합될 수 있다. 외측부(521)는 하우징(310)의 하측 결합부와 결합될 수 있다. 외측부(521)는 하우징(310)의 하측 결합부와 결합되는 홀 또는 홈을 포함할 수 있다.The outer portion 521 may be coupled to the housing 310. The outer portion 521 may be coupled to the lower portion of the housing 310. The outer side portion 521 can be engaged with the lower side engaging portion of the housing 310. The outer side portion 521 may include a hole or a groove that is engaged with the lower side engaging portion of the housing 310.

내측부(512)는 보빈(210)에 결합될 수 있다. 내측부(512)는 보빈(210)의 상부에 결합될 수 있다. 내측부(512)는 보빈(210)의 하측 결합부와 결합될 수 있다. 내측부(512)는 보빈(210)의 하측 결합부와 결합되는 홀 또는 홈을 포함할 수 있다.The inner portion 512 may be coupled to the bobbin 210. The inner portion 512 may be coupled to the upper portion of the bobbin 210. The inner side portion 512 can be engaged with the lower side engaging portion of the bobbin 210. The inner portion 512 may include a hole or groove that engages the lower coupling portion of the bobbin 210.

연결부(523)는 외측부(521) 및 내측부(522)를 연결할 수 있다. 연결부(523)는 외측부(521) 및 내측부(522)를 탄성적으로 연결할 수 있다. 연결부(523)는 탄성을 가질 수 있다. 이때, 연결부(523)는 '탄성부'로 호칭될 수 있다. 연결부(523)는 2회 이상 절곡되어 형성될 수 있다.The connection portion 523 can connect the outer portion 521 and the inner portion 522. The connection portion 523 can elastically connect the outer side portion 521 and the inner side portion 522. The connection portion 523 may have elasticity. At this time, the connection portion 523 may be referred to as an " elastic portion ". The connection portion 523 may be formed by bending two or more times.

지지부재(600)는 하우징(310)을 이동가능하게 지지할 수 있다. 지지부재(600)는 하우징(310)을 탄성적으로 지지할 수 있다. 지지부재(600)는 적어도 일부에서 탄성을 가질 수 있다. 이때, 지지부재(600)는 '제2탄성부재'로 호칭될 수 있다. 일례로, 지지부재(600)는 하우징(310)을 고정자(400)에 대하여 광축과 수직한 방향으로 이동가능하게 지지할 수 있다. 이때, 보빈(210)은 하우징(310)과 일체로 이동할 수 있다. 다른 예로, 지지부재(600)는 하우징(310)을 고정자(400)에 대하여 틸트가능하게 지지할 수 있다. 즉, 지지부재(600)는 하우징(310) 및 보빈(210)이 OIS 구동 하도록 지지할 수 있다. 이때, 지지부재(600)는 'OIS 지지부재'라 호칭될 수 있다. 일례로, 지지부재(600)는 와이어로 형성될 수 있다. 다른 예로, 지지부재(600)는 판스프링으로 형성될 수 있다.The support member 600 is capable of movably supporting the housing 310. The support member 600 can elastically support the housing 310. [ The support member 600 may have elasticity at least in part. At this time, the support member 600 may be referred to as a 'second elastic member'. For example, the support member 600 may support the housing 310 in a direction perpendicular to the optical axis with respect to the stator 400. At this time, the bobbin 210 can move integrally with the housing 310. As another example, the support member 600 may support the housing 310 in a tiltable manner with respect to the stator 400. That is, the support member 600 can support the housing 310 and the bobbin 210 to be OIS driven. At this time, the support member 600 may be referred to as an 'OIS support member'. In one example, the support member 600 may be formed from a wire. As another example, the support member 600 may be formed of a leaf spring.

지지부재(600)는 상측 탄성부재(510) 및 고정자(400)에 결합될 수 있다. 지지부재(600)는 상측 탄성부재(510) 및 기판(410)과 결합될 수 있다. 지지부재(600)의 하단부는 기판(410)에 결합될 수 있다. 지지부재(600)의 하단부는 기판(410)의 하면에 솔더링 결합될 수 있다. 변형례로, 지지부재(600)의 하단부는 회로부재(420)의 기판부(421)에 결합될 수 있다. 지지부재(600)는 회로부재(420)의 기판부(421)를 관통할 수 있다. 지지부재(600)의 하단부는 회로부재(420)의 기판부(421)의 하면에 솔더링 결합될 수 있다. 지지부재(600)의 상단부는 상측 탄성부재(510)의 결합부(514)에 결합될 수 있다. 지지부재(600)의 상단부는 상측 탄성부재(510)의 결합부(514)를 관통할 수 있다. 지지부재(600)의 상단부는 상측 탄성부재(510)의 결합부(514)의 상면에 솔더링 결합될 수 있다. 변형례로, 지지부재(600)의 하단부는 베이스(430)에 결합될 수 있다. 지지부재(600)의 상단부는 하우징(310)에 결합될 수 있다. 지지부재(600)의 구조는 이상에 한정되지 않고, 제2가동자(300)를 고정자(400)에 대하여 이동가능하게 지지할 수 있는 어떠한 구조로도 제공될 수 있다.The support member 600 may be coupled to the upper elastic member 510 and the stator 400. The support member 600 may be combined with the upper elastic member 510 and the substrate 410. The lower end of the support member 600 may be coupled to the substrate 410. The lower end of the support member 600 may be soldered to the lower surface of the substrate 410. Alternatively, the lower end of the support member 600 may be coupled to the base portion 421 of the circuit member 420. The support member 600 may penetrate the base portion 421 of the circuit member 420. The lower end of the support member 600 may be soldered to the lower surface of the base portion 421 of the circuit member 420. The upper end of the support member 600 may be coupled to the engagement portion 514 of the upper elastic member 510. The upper end of the supporting member 600 may penetrate the engaging portion 514 of the upper elastic member 510. The upper end of the supporting member 600 may be soldered to the upper surface of the engaging portion 514 of the upper elastic member 510. Alternatively, the lower end of the support member 600 may be coupled to the base 430. The upper end of the support member 600 may be coupled to the housing 310. The structure of the support member 600 is not limited to the above and may be provided with any structure capable of movably supporting the second mover 300 with respect to the stator 400. [

지지부재(600)는 복수의 구분 구성으로 형성될 수 있다. 지지부재(600)는 상호간 이격되는 6개의 지지부(601, 602, 603, 604, 605, 606)로 형성될 수 있다. 지지부재(600)는 상호간 이격되는 제1 내지 제6지지부(601, 602, 603, 604, 605, 606)를 포함할 수 있다. 다만, 지지부재(600)에서 제1 내지 제6지지부(601, 602, 603, 604, 605, 606) 중 어느 하나 이상이 생략 또는 변경될 수 있다. 특히, 지지부재(600)는 상측 탄성부재(510)의 제1 내지 제6탄성유닛(501, 502, 503, 504, 505, 506)과 대응하도록 6개의 지지부(601, 602, 603, 604, 605, 606)로 형성될 수 있다. 다만, 변형례로 지지부재(600)는 대칭성을 고려하여 8개의 지지부로 형성될 수 있다. 지지부재(600)는 제1 내지 제4탄성유닛(501, 502, 503, 504)과 짝을 이루어 결합되는 제1 내지 제4지지부(601, 602, 603, 604)를 포함할 수 있다. 지지부재(600)는 제5 및 제6탄성유닛(505, 506)과 짝을 이루어 결합되는 제5 및 제6지지부(605, 606)을 포함할 수 있다.The support member 600 can be formed in a plurality of divisional configurations. The support member 600 may be formed of six support portions 601, 602, 603, 604, 605, and 606 spaced from each other. The support member 600 may include first to sixth support portions 601, 602, 603, 604, 605, and 606 that are spaced apart from each other. However, any one or more of the first to sixth support portions 601, 602, 603, 604, 605, and 606 in the support member 600 may be omitted or changed. In particular, the support member 600 includes six support portions 601, 602, 603, 604, and 606 to correspond to the first to sixth elastic units 501, 502, 503, 504, 505, and 506 of the upper elastic member 510, 605, and 606, respectively. However, in a modification, the support member 600 may be formed of eight supports in consideration of symmetry. The support member 600 may include first to fourth support portions 601, 602, 603, and 604 coupled to the first to fourth elastic units 501, 502, 503, The support member 600 may include fifth and sixth support portions 605 and 606 coupled in pairs with the fifth and sixth elastic units 505 and 506.

제1 내지 제6지지부(601, 602, 603, 604, 605, 606)는 상호간 이격될 수 있다. 이를 통해, 제1 내지 제6지지부(601, 602, 603, 604, 605, 606)는 렌즈 구동 장치 내부에서 도전라인으로 이용될 수 있다. 제1 내지 제6지지부(601, 602, 603, 604, 605, 606)는 기판(410)과 결합될 수 있다. 제1 내지 제6지지부(601, 602, 603, 604, 605, 606)는 상측 탄성부재(510)와 결합될 수 있다. 즉, 제1 내지 제6지지부(601, 602, 603, 604, 605, 606)는 기판(410)과 상측 탄성부재(510)를 전기적으로 연결할 수 있다. 제1지지부(601)는 제4코너부(308)에 배치될 수 있다. 제2지지부(602) 및 제3지지부(603)는 제1코너부(305)에 배치될 수 있다. 제4지지부(604)는 제2코너부(506)에 배치될 수 있다. 제5지지부(605) 및 제6지지부(606)는 제3코너부(307)에 배치될 수 있다.The first to sixth support portions 601, 602, 603, 604, 605, and 606 may be spaced apart from each other. Accordingly, the first to sixth supporting portions 601, 602, 603, 604, 605, and 606 can be used as a conductive line in the lens driving device. The first to sixth supports 601, 602, 603, 604, 605, and 606 may be coupled to the substrate 410. The first to sixth support portions 601, 602, 603, 604, 605, and 606 may be engaged with the upper elastic member 510. That is, the first to sixth support portions 601, 602, 603, 604, 605, and 606 may electrically connect the substrate 410 and the upper elastic member 510. The first support portion 601 may be disposed at the fourth corner portion 308. The second support portion 602 and the third support portion 603 may be disposed at the first corner portion 305. The fourth support portion 604 may be disposed at the second corner portion 506. The fifth support portion 605 and the sixth support portion 606 may be disposed at the third corner portion 307. [

제1센싱 유닛(700)은 오토 포커스 피드백(Feedback)을 위해 제공될 수 있다. 제1센싱 유닛(700)은 보빈(210)의 광축 방향 이동을 감지할 수 있다. 제1센싱 유닛(700)은 보빈(210)의 광축 방향 이동량을 감지하여 실시간으로 제어부에 제공할 수 있다.The first sensing unit 700 may be provided for autofocus feedback. The first sensing unit 700 can sense movement of the bobbin 210 in the optical axis direction. The first sensing unit 700 senses the movement amount of the bobbin 210 in the optical axis direction and can provide the control unit in real time.

제1센싱 유닛(700)은 제1센서(710), 기판(720) 및 센싱 마그네트(730)를 포함할 수 있다. 다만, 제1센싱 유닛(700)에서 제1센서(710), 기판(720) 및 센싱 마그네트(730) 중 어느 하나 이상이 생략 또는 변경될 수 있다. 또한, 제1센싱 유닛(700)은 보상 마그네트(740)를 더 포함할 수 있다. 다만, 보상 마그네트(740)는 보빈(210)의 위치 센싱과는 관련성이 떨어지는 구성이므로 제1센싱 유닛(700)과 별도의 구성으로 설명될 수 있다.The first sensing unit 700 may include a first sensor 710, a substrate 720, and a sensing magnet 730. However, in the first sensing unit 700, at least one of the first sensor 710, the substrate 720, and the sensing magnet 730 may be omitted or changed. In addition, the first sensing unit 700 may further include a compensation magnet 740. However, since the compensating magnet 740 is not related to the position sensing of the bobbin 210, the compensating magnet 740 can be described as a separate structure from the first sensing unit 700.

제1센서(710)는 오토 포커스 피드백을 위해 제공될 수 있다. 이 경우, 제1센서(710)는 'AF 피드백 센서'로 호칭될 수 있다. 제1센서(710)는 센싱 마그네트(730)를 감지할 수 있다. 제1센서(710)는 보빈(210)에 배치된 센싱 마그네트(730)를 감지할 수 있다. 제1센서(710)는 보빈(210)의 위치를 감지할 수 있다. 제1센서(710)는 보빈(210)의 광축 방향의 이동량을 감지할 수 있다. 제1센서(710)는 하우징(310)에 배치될 수 있다. 제1센서(710)는 하우징(310)의 코너부에 배치될 수 있다. 제1센서(710)는 하우징(310)의 제1코너부(305)에 배치될 수 있다. 제1센서(710)는 기판(720)에 배치될 수 있다. 제1센서(710)는 기판(720)과 전기적으로 연결될 수 있다. 제1센서(710)는 홀 센서일 수 있다. 제1센서(710)는 홀 아이시(Hall IC, hall integrated circuit)일 수 있다. 제1센서(710)는 센싱 마그네트(730)의 자기력을 감지할 수 있다. 즉, 제1센서(710)는 보빈(210)이 이동하는 경우 센싱 마그네트(730)의 이동에 의해 변화되는 자기력의 변화를 감지하여 보빈(210)의 변위량을 감지할 수 있다.The first sensor 710 may be provided for autofocus feedback. In this case, the first sensor 710 may be referred to as an 'AF feedback sensor'. The first sensor 710 can sense the sensing magnet 730. The first sensor 710 may sense the sensing magnet 730 disposed on the bobbin 210. The first sensor 710 may sense the position of the bobbin 210. The first sensor 710 can sense the movement amount of the bobbin 210 in the optical axis direction. The first sensor 710 may be disposed in the housing 310. The first sensor 710 may be disposed at a corner of the housing 310. The first sensor 710 may be disposed at the first corner 305 of the housing 310. The first sensor 710 may be disposed on the substrate 720. The first sensor 710 may be electrically connected to the substrate 720. The first sensor 710 may be a hall sensor. The first sensor 710 may be a Hall IC (Hall IC). The first sensor 710 can sense the magnetic force of the sensing magnet 730. That is, the first sensor 710 can detect the amount of displacement of the bobbin 210 by detecting a change in the magnetic force that is changed by the movement of the sensing magnet 730 when the bobbin 210 moves.

본 실시예에서 제1센서(710)는 제1센서(710)의 내면의 수직 방향으로의 길이가 수평 방향으로의 길이 보다 길도록 배치될 수 있다. 즉, 제1센서(710)는 세워진 상태로 배치될 수 있다. 이 상태에서, 제1센서(710)의 하면은 하우징(310)에 의해 지지될 수 있다. 이를 통해, 제품 조립 공정에서 제1센서(710)는 z축 방향으로 정위치에 고정될 수 있다. 변형례로, 제1센서(710)는 제1센서(710)의 내면의 수평 방향으로의 길이가 수직 방향으로의 길이 보다 길도록 배치될 수 있다. 즉, 제1센서(710)는 누워진 상태로 배치될 수 있다. 그러나, 이 경우에는 제1센서(710)와 기판(720)을 결합하는 솔더볼에 의해 제1센서(710)의 하면이 하우징(310)에 면접촉할 수 없게 된다. 제1센서(710)는 AF 피드백 센서로서 z축 방향의 조립 공차가 정밀하게 제어되어야 한다는 점을 기초로 판단할 때, 본 실시예에서는 변형례에서 보다 z축 방향의 조립 공차가 정밀하게 제어될 수 있는 장점을 갖는다.In this embodiment, the first sensor 710 may be disposed so that the length in the vertical direction of the inner surface of the first sensor 710 is longer than the length in the horizontal direction. That is, the first sensor 710 may be disposed in a raised state. In this state, the lower surface of the first sensor 710 can be supported by the housing 310. Thus, in the product assembly process, the first sensor 710 can be fixed in position in the z-axis direction. Alternatively, the first sensor 710 may be arranged so that the length in the horizontal direction of the inner surface of the first sensor 710 is longer than the length in the vertical direction. That is, the first sensor 710 may be disposed in a lying state. In this case, however, the lower surface of the first sensor 710 can not be in surface contact with the housing 310 due to the solder ball joining the first sensor 710 and the substrate 720. When the first sensor 710 determines that the assembly tolerance in the z-axis direction should be precisely controlled as an AF feedback sensor, the assembly tolerance in the z-axis direction is more precisely controlled in the present embodiment .

본 실시예에서 제1센서(710)는 홀 센서일 수 있다. 이때, 홀 센서에는 4개의 단자가 구비될 수 있다. 보다 상세히, 홀 센서에는 입력(input) (+)(-), 및 출력(output) (+)(-)의 4개의 단자가 구비될 수 있다. 이때, 홀 센서와 기판(720)은 4개의 솔더에 의해 결합될 수 있는데, 폭이 넓은 측을 이용하여 양측에 2개씩 솔더가 배치될 수 있다. 따라서, 홀 센서가 뉘인 상태인 경우 홀 센서의 바닥면 보다 솔더가 먼저 하우징(310)에 닿기 때문에 홀 센서를 뉘인 상태에서는 홀 센서의 정밀한 조립이 어려운 것이다.In this embodiment, the first sensor 710 may be a hall sensor. At this time, the hall sensor may be provided with four terminals. More specifically, the hall sensor may be provided with four terminals: input (+) (-) and output (+) (-). At this time, the Hall sensor and the substrate 720 can be coupled by four solders, and two solders can be disposed on both sides using the wide side. Therefore, when the Hall sensor is in a state where the Hall sensor is in a non-mounted state, the solder first contacts the housing 310 rather than the bottom surface of the hall sensor, and therefore, it is difficult to precisely assemble the Hall sensor in a state in which the Hall sensor is in a turned-on state.

기판(720)은 하우징(310)에 배치될 수 있다. 기판(720)은 제1센서(710)와 결합될 수 있다. 기판(720)은 제1센서(710)와 전기적으로 연결될 수 있다. 기판(720)은 상측 탄성부재(510)와 결합될 수 있다. 기판(720)은 상측 탄성부재(510) 및 지지부재(600)를 통해 기판(410)과 전기적으로 연결될 수 있다. 기판(720)은 상측 탄성부재(510)의 제1단자부(5016), 제2단자부(5023), 제3단자부(5033), 제4단자부(5046)와 결합될 수 있다. 기판(720)은 상측 탄성부재(510)의 제1 내지 제4탄성유닛(501, 502, 503, 504)과 전기적으로 연결될 수 있다. 기판(720)은 상측 탄성부재(510)의 제1 내지 제4탄성유닛(501, 502, 503, 504)과 결합되는 4개의 단자를 포함할 수 있다. 기판(720)과 상측 탄성부재(510)는 솔더링에 의해 결합될 수 있다. 기판(720)의 상면은 상측 탄성부재(510)의 제1 내지 제4탄성유닛(501, 502, 503, 504)과 결합되고 기판(720)의 하면은 제1센서(710)와 결합될 수 있다. 기판(720)은 포켓부(340)와 광축 방향에 수직인 방향으로 오버랩될 수 있다.The substrate 720 may be disposed in the housing 310. The substrate 720 may be coupled to the first sensor 710. The substrate 720 may be electrically connected to the first sensor 710. The substrate 720 can be engaged with the upper elastic member 510. The substrate 720 may be electrically connected to the substrate 410 through the upper elastic member 510 and the support member 600. The substrate 720 may be coupled to the first terminal portion 5016, the second terminal portion 5023, the third terminal portion 5033, and the fourth terminal portion 5046 of the upper elastic member 510. The substrate 720 may be electrically connected to the first through fourth elastic units 501, 502, 503, and 504 of the upper elastic member 510. The substrate 720 may include four terminals coupled with the first through fourth elastic units 501, 502, 503, and 504 of the upper elastic member 510. The substrate 720 and the upper elastic member 510 can be coupled by soldering. The upper surface of the substrate 720 is engaged with the first to fourth elastic units 501, 502, 503 and 504 of the upper elastic member 510 and the lower surface of the substrate 720 is coupled with the first sensor 710 have. The substrate 720 may overlap the pocket portion 340 in a direction perpendicular to the optical axis direction.

본 실시예에서 기판(720)은 제1센서(710)가 배치되는 면이 센싱 마그네트(730)를 향하도록 배치될 수 있다. 즉, 기판(720)은 세워진 형태로 하우징(310)에 배치될 수 있다. 따라서, 기판(720)에 배치된 제1센서(710)도 센싱 마그네트(730)와 대향하게 된다. 이 경우, 기판(720)이 눕도록 배치되어 제1센서(710)가 하측을 향하는 경우와 비교하여 제1센서(710)에서 감지되는 센싱 마그네트(730)의 홀출력값이 높아 지게 된다. 즉, 본 실시예에서는 기판(720)을 세워서 배치하여 제1센서(710)가 센싱 마그네트(730)와 대향하도록 함으로써 제1센서(710)의 센싱 감도를 높인 것이다.In this embodiment, the substrate 720 may be disposed so that the surface on which the first sensor 710 is disposed faces the sensing magnet 730. That is, the substrate 720 may be disposed on the housing 310 in a raised form. Therefore, the first sensor 710 disposed on the substrate 720 also faces the sensing magnet 730. In this case, the hole output value of the sensing magnet 730 sensed by the first sensor 710 becomes higher as compared with the case where the substrate 720 is laid down so that the first sensor 710 faces downward. That is, in this embodiment, the first sensor 710 faces the sensing magnet 730 by vertically arranging the substrate 720, thereby enhancing the sensing sensitivity of the first sensor 710.

본 실시예에서 기판(720)은 상측 탄성부재(510)와 결합부재에 의해 결합될 수 있다. 이때, 결합부재는 솔더를 포함할 수 있다. 또한, 결합부재는 솔더에 도포되는 접착제를 더 포함할 수 있다. 기판(720)은 상측 탄성부재(510)와 솔더 볼에 의해 결합될 수 있다. 하우징(310)에는 기판(720) 및 상측 탄성부재(510)를 결합하는 솔더 볼이 수용될 수 있는 포켓부(340)가 형성될 수 있다. 기판(720)의 내면은 내벽부(341)에 지지될 수 있다. 기판(720)의 외면은 외벽부(342)와 이격될 수 있다. 기판(720)은 제1바닥면(343)에 배치될 수 있다. 기판(720)은 하우징(310)과 접착제에 의해 결합될 수 있다. 이때, 접착제의 적어도 일부는 제1바닥면(343) 및 제2바닥면(344) 에 의해 형성되는 단차 공간에 수용될 수 있다.In this embodiment, the substrate 720 can be joined by the upper elastic member 510 and the engaging member. At this time, the joining member may include solder. Further, the joining member may further include an adhesive applied to the solder. The substrate 720 may be coupled to the upper elastic member 510 by a solder ball. The housing 310 may be provided with a pocket portion 340 in which a solder ball coupling the substrate 720 and the upper elastic member 510 may be received. The inner surface of the substrate 720 may be supported by the inner wall portion 341. The outer surface of the substrate 720 may be spaced apart from the outer wall portion 342. The substrate 720 may be disposed on the first bottom surface 343. The substrate 720 may be coupled to the housing 310 by an adhesive. At this time, at least a portion of the adhesive may be received in the stepped space defined by the first bottom surface 343 and the second bottom surface 344. [

센싱 마그네트(730)는 보빈(210)에 배치될 수 있다. 센싱 마그네트(730)는 하우징(310)의 제1코너부(305) 측에 배치될 수 있다. 센싱 마그네트(730)는 제1센서(710)에 의해 감지될 수 있다. 센싱 마그네트(730)는 제1센서(710)와 대향할 수 있다. 센싱 마그네트(730)는 육면체 형상일 수 있다. 다만, 센싱 마그네트(730)의 형상이 이에 제한되는 것은 아니다. 센싱 마그네트(730)는 보빈(210)의 일측에 배치될 수 있다. 센싱 마그네트(730)는 보빈(210)의 코너부에 배치될 수 있다. 즉, 센싱 마그네트(730)는 하우징(310)의 코너부를 대향하도록 배치될 수 있다.The sensing magnet 730 may be disposed on the bobbin 210. The sensing magnet 730 may be disposed on the first corner portion 305 side of the housing 310. The sensing magnet 730 may be sensed by the first sensor 710. The sensing magnet 730 may be opposed to the first sensor 710. The sensing magnet 730 may have a hexahedral shape. However, the shape of the sensing magnet 730 is not limited thereto. The sensing magnet 730 may be disposed on one side of the bobbin 210. The sensing magnet 730 may be disposed at a corner of the bobbin 210. That is, the sensing magnet 730 may be arranged to face the corner of the housing 310.

본 실시예에서 센싱 마그네트(730)의 외면의 일부는 보빈(210)에 의해 지지될 수 있다. 센싱 마그네트(730)의 외면 중 일부는 보빈(210)에 의해 지지되고 나머지 일부는 외측으로 노출될 수 있다. 이와 같은 구조를 통해, 센싱 마그네트(730)가 보빈(210)의 외측으로 탈락되는 현상이 방지될 수 있다. 보빈(210)은 센싱 마그네트(730)가 삽입되는 공정이 용이하도록 가이드 챔퍼를 포함할 수 있다. 센싱 마그네트(730)의 하면은 AF 구동 코일(220)의 상면에 접촉될 수 있다. 이와 같은 구조는 센싱 마그네트(730) 및 AF 구동 코일(220) 사이의 보빈(210)이 생략된 것으로 설명될 수도 있다. 이 경우, 센싱 마그네트(730)와 AF 구동 코일(220) 사이에 보빈(210)의 일부가 존재하는 경우와 비교하여, 센싱 마그네트(730)가 더 아래에 배치될 수 있다. 본 실시예에서는 구동 마그네트(320)에 의해 최초 상태에서 제1센서(710)의 홀출력값이 양(+)수가 나오는 현상을 최소화하기 위해 센싱 마그네트(730)를 최대한 내려 최초 상태에서 제1센서(710)의 홀출력값을 제로(0)에 최대한 가깝도록 한 것이다.In this embodiment, a part of the outer surface of the sensing magnet 730 may be supported by the bobbin 210. A part of the outer surface of the sensing magnet 730 may be supported by the bobbin 210 and the remaining part may be exposed to the outside. With this structure, it is possible to prevent the sensing magnet 730 from falling out of the bobbin 210. The bobbin 210 may include a guide chamfer to facilitate the process of inserting the sensing magnet 730. The lower surface of the sensing magnet 730 can be brought into contact with the upper surface of the AF drive coil 220. Such a structure may be explained by omitting the bobbin 210 between the sensing magnet 730 and the AF drive coil 220. In this case, the sensing magnet 730 can be arranged further below, as compared with the case where a part of the bobbin 210 exists between the sensing magnet 730 and the AF driving coil 220. In this embodiment, in order to minimize the phenomenon that the Hall output value of the first sensor 710 is positive in the initial state by the drive magnet 320, the sensing magnet 730 is lowered to the maximum extent to the first sensor 710) is set as close as possible to zero (0).

본 실시예에서 센싱 마그네트(720)는 4극 착자로 형성될 수 있다. 이를 통해, 센싱 마그네트(720)와 구동 마그네트(320)의 자계 간섭을 최소화할 수 있다. 보상 마그네트(730)도 4극 착자로 형성될 수 있다.In this embodiment, the sensing magnet 720 may be formed as a four-pole magnet. Accordingly, magnetic interference between the sensing magnet 720 and the driving magnet 320 can be minimized. The compensating magnet 730 may also be formed as a four-pole magnet.

본 실시예에서 센싱 마그네트(720)의 외면은 제1센서(710)의 내면과 대향할 수 있다. 센싱 마그네트(720)는 센싱 마그네트(720)의 외면의 수직 방향으로의 길이가 수평 방향으로의 길이 보다 길도록 배치될 수 있다. 즉, 센싱 마그네트(720)는 제1센서(710)와 마찬가지로 세워진 상태로 배치될 수 있다. 이와 같은 구조에서 제1센서(710)에서 감지되는 센싱 마그네트(730)의 홀출력값은 최대가 될 수 있다.In this embodiment, the outer surface of the sensing magnet 720 may be opposed to the inner surface of the first sensor 710. The sensing magnet 720 may be disposed so that the length of the outer surface of the sensing magnet 720 in the vertical direction is longer than the length in the horizontal direction. That is, the sensing magnet 720 may be disposed in a standing state in the same manner as the first sensor 710. In this structure, the hole output value of the sensing magnet 730 sensed by the first sensor 710 can be maximized.

보상 마그네트(740)는 보빈(210)에 배치될 수 있다. 보상 마그네트(740)는 하우징(310)의 제3코너부(307) 측에 배치될 수 있다. 보상 마그네트(740)는 센싱 마그네트(730)와 자기력 평형을 이루도록 배치될 수 있다. 보상 마그네트(740)는 보빈(210)에 센싱 마그네트(730)의 반대편에 배치될 수 있다. 보상 마그네트(740)는 광축을 중심으로 센싱 마그네트(730)와 대칭일 수 있다. 보상 마그네트(740)는 광축을 중심으로 센싱 마그네트(730)와 대응되는 위치에 배치될 수 있다. 보상 마그네트(740)는 광축을 중심으로 센싱 마그네트(730)와 대응되는 크기 및/또는 형상을 가질 수 있다. 보상 마그네트(740)는 보빈(210)의 타측(일측의 맞은편)에 배치될 수 있다. 즉, 보빈(210)의 일측에는 센싱 마그네트(730)가 배치되고 보빈(210)의 타측에는 보상 마그네트(740)가 배치될 수 있다. 보상 마그네트(740)는 보빈(210)의 코너부에 배치될 수 있다. 즉, 보상 마그네트(740)는 하우징(310)의 코너부를 대향하도록 배치될 수 있다.The compensation magnet 740 may be disposed on the bobbin 210. The compensation magnet 740 may be disposed on the third corner portion 307 side of the housing 310. The compensating magnet 740 may be disposed so as to be magnetically balanced with the sensing magnet 730. The compensation magnet 740 may be disposed on the bobbin 210 opposite the sensing magnet 730. The compensation magnet 740 may be symmetrical with the sensing magnet 730 about the optical axis. The compensation magnet 740 may be disposed at a position corresponding to the sensing magnet 730 around the optical axis. The compensation magnet 740 may have a size and / or shape corresponding to the sensing magnet 730 about the optical axis. The compensating magnet 740 may be disposed on the other side of the bobbin 210 (on the opposite side of the bobbin 210). That is, a sensing magnet 730 may be disposed on one side of the bobbin 210 and a compensating magnet 740 may be disposed on the other side of the bobbin 210. The compensation magnet 740 may be disposed at the corner of the bobbin 210. [ That is, the compensation magnet 740 may be arranged to face the corner of the housing 310.

제1센싱 유닛(700)은 요크(750)를 더 포함할 수 있다.The first sensing unit 700 may further include a yoke 750.

요크(750)는 하우징(310)의 코너부에 배치될 수 있다. 요크(750)는 하우징(310)의 제1 및 제3코너부(305, 307)에 배치될 수 있다. 요크(750)는 제1센서(710)의 하측에 배치될 수 있다. 요크(750)는 제1센서(710)에 대한 구동 마그네트(320)의 자계 간섭을 방지하도록 배치될 수 있다.The yoke 750 may be disposed at the corner of the housing 310. The yoke 750 may be disposed at the first and third corner portions 305 and 307 of the housing 310. The yoke 750 may be disposed below the first sensor 710. The yoke 750 may be arranged to prevent magnetic interference of the drive magnet 320 with respect to the first sensor 710.

요크(750)는 제1요크(750a) 및 제2요크(750b)를 포함할 수 있다. 제1요크(750a)는 하우징(310)에서 제1센서(710)의 하측에 배치될 수 있다. 제2요크(750b)는 하우징(310)에서 제1요크(750a)의 반대편에 배치될 수 있다. 제1요크(750a)는 하우징(310)의 제1코너부(305)에 배치될 수 있다. 제2요크(750b)는 하우징(310)의 제2코너부(307)에 배치될 수 있다. 제1요크(750a)는 센싱 마그네트(730)와 대향하는 하우징(310)의 제1코너부(305)에 배치될 수 있다. 제2요크(750b)는 보상 마그네트(740)와 대향하는 하우징(310)의 제3코너부(307)에 배치될 수 있다.The yoke 750 may include a first yoke 750a and a second yoke 750b. The first yoke 750a may be disposed on the lower side of the first sensor 710 in the housing 310. [ The second yoke 750b may be disposed on the opposite side of the first yoke 750a in the housing 310. [ The first yoke 750a may be disposed at the first corner portion 305 of the housing 310. [ And the second yoke 750b may be disposed at the second corner portion 307 of the housing 310. [ The first yoke 750a may be disposed at the first corner portion 305 of the housing 310 facing the sensing magnet 730. [ The second yoke 750b may be disposed at the third corner portion 307 of the housing 310 opposite to the compensation magnet 740. [

요크(750)는 몸체부(751) 및 연장부(752)를 포함할 수 있다. 몸체부(751)는 기판(720)의 하측에 배치될 수 있다. 몸체부(751)는 내면이 센싱 마그네트(730)의 외면과 평행하게 배치될 수 있다. 연장부(752)는 몸체부(751)로부터 연장될 수 있다. 연장부(752)는 구동 마그네트(320)와 접촉할 수 있다. 연장부(752)는 몸체부(751)의 양측에 형성될 수 있다. 요크(750)는 구동 마그네트(320)가 제1센서(710)에 대하여 자계 간섭하는 현상을 방지하기 위한 형상으로 구비될 수 있다.The yoke 750 may include a body portion 751 and an extension portion 752. The body portion 751 may be disposed below the substrate 720. The inner surface of the body portion 751 may be disposed parallel to the outer surface of the sensing magnet 730. The extension 752 may extend from the body portion 751. The extension portion 752 can contact the drive magnet 320. The extension portion 752 may be formed on both sides of the body portion 751. The yoke 750 may be provided in a shape for preventing the driving magnet 320 from interfering with the magnetic field of the first sensor 710.

제2센서(800)는 손떨림 보정 피드백을 위해 제공될 수 있다. 이 경우, 제2센서(800)는 'OIS 피드백 센서'로 호칭될 수 있다. 제2센서(800)는 하우징(310)의 이동을 감지할 수 있다. 제2센서(800)는 하우징(310) 및/또는 보빈(210)의 광축과 수직한 방향으로의 이동 또는 틸트를 감지할 수 있다. 제2센서(800)는 구동 마그네트(320)를 감지할 수 있다. 제2센서(800)는 하우징(310)에 배치된 구동 마그네트(320)를 감지할 수 있다. 제2센서(800)는 하우징(310)의 위치를 감지할 수 있다. 제2센서(800)는 하우징(310)의 광축과 수직한 방향으로의 이동량을 감지할 수 있다. 이때, 하우징(310)의 광축과 수직한 방향으로의 이동량은 보빈(210) 및 보빈(210)에 결합된 렌즈 모듈의 이동량과 대응될 수 있다. 제2센서(800)는 고정자(400)에 배치될 수 있다. 제2센서(800)는 기판(410)의 하면에 배치될 수 있다. 제2센서(800)는 기판(410)과 전기적으로 연결될 수 있다. 제2센서(800)는 베이스(430)에 배치될 수 있다. 제2센서(800)는 베이스(430)의 상면에 형성된 센서 결합부(433)에 수용될 수 있다. 제2센서(800)는 홀 센서일 수 있다. 제2센서(800)는 홀 아이시(Hall IC, hall integrated circuit)일 수 있다. 제2센서(800)는 구동 마그네트(320)의 자기력을 감지할 수 있다. 즉, 제2센서(800)는 하우징(310)이 이동하는 경우 구동 마그네트(320)의 이동에 의해 변화되는 자기력의 변화를 감지하여 하우징(310)의 변위량을 감지할 수 있다. 제2센서(800)는 복수로 제공될 수 있다. 일례로, 제2센서(800)는 2개로 제공되어 하우징(310)의 x축 및 y축(광축이 z축) 움직임을 감지할 수 있다.The second sensor 800 may be provided for shake correction feedback. In this case, the second sensor 800 may be referred to as an 'OIS feedback sensor'. The second sensor 800 can detect the movement of the housing 310. The second sensor 800 may sense movement or tilt in a direction perpendicular to the optical axis of the housing 310 and / or the bobbin 210. [ And the second sensor 800 can sense the driving magnet 320. [ The second sensor 800 may sense the driving magnet 320 disposed in the housing 310. The second sensor 800 can sense the position of the housing 310. [ The second sensor 800 can sense the amount of movement in a direction perpendicular to the optical axis of the housing 310. At this time, the movement amount of the housing 310 in the direction perpendicular to the optical axis may correspond to the movement amount of the lens module coupled to the bobbin 210 and the bobbin 210. The second sensor 800 may be disposed in the stator 400. The second sensor 800 may be disposed on the lower surface of the substrate 410. The second sensor 800 may be electrically connected to the substrate 410. The second sensor 800 may be disposed on the base 430. The second sensor 800 may be received in the sensor coupling portion 433 formed on the upper surface of the base 430. The second sensor 800 may be a hall sensor. The second sensor 800 may be a Hall IC (Hall IC). The second sensor 800 can sense the magnetic force of the driving magnet 320. [ That is, when the housing 310 moves, the second sensor 800 senses the amount of displacement of the housing 310 by detecting a change in the magnetic force that is changed by the movement of the driving magnet 320. The second sensor 800 may be provided in plural. For example, the second sensor 800 may be provided in two to sense movement of the x-axis and y-axis (optical axis is z-axis) of the housing 310.

제1댐퍼(910)는 지지부재(600)에 배치될 수 있다. 제1댐퍼(910)는 지지부재(600) 및 하우징(310)에 배치될 수 있다. 제2댐퍼(920)는 상측 탄성부재(510)에 배치될 수 있다. 댐퍼(910, 920)는 탄성부재(500) 및/또는 지지부재(600)에 배치되어 탄성부재(500) 및/또는 지지부재(600)에서 발생되는 공진 현상을 방지할 수 있다. 충격흡수부(미도시)는 탄성부재(500) 및 지지부재(600) 중 어느 하나 이상에 제공될 수 있다. 충격흡수부는 탄성부재(500) 및/또는 지지부재(600)의 일부의 형상이 변경되어 형성될 수 있다.The first damper 910 may be disposed on the support member 600. The first damper 910 may be disposed in the support member 600 and the housing 310. The second damper 920 may be disposed on the upper elastic member 510. The dampers 910 and 920 may be disposed on the elastic member 500 and / or the support member 600 to prevent a resonance phenomenon generated in the elastic member 500 and / or the support member 600. The shock absorber (not shown) may be provided on at least one of the elastic member 500 and the support member 600. The shock absorbing portion may be formed by changing the shape of the elastic member 500 and / or a part of the support member 600.

제1댐퍼(910)는 지지부재(600), 상측 탄성부재(510)의 결합부(514), 상측 탄성부재(510)의 레그부(515), 및 하우징(310)에 배치될 수 있다. 제1댐퍼(910)는 지지부재(600), 상측 탄성부재(510)의 결합부(514), 상측 탄성부재(510)의 레그부(515), 및 하우징(310)에 도포될 수 있다. 제1댐퍼(910)는 상측 탄성부재(510)의 레그부(515)의 하면의 전체 면적 중 90% 이상의 면적에 배치될 수 있다. 제1댐퍼(910)는 상측 탄성부재(510)의 레그부(515)의 하면의 전체 면적 중 50%를 초과하는 면적에 배치될 수 있다. 제1댐퍼(910)는 제2함몰면(332)과 상측 탄성부재(510) 사이의 공간 및 제1함몰면(331)과 상측 탄성부재(510) 사이의 공간에 배치될 수 있다. 또는, 제1댐퍼(910)는 제2함몰면(332)과 상측 탄성부재(510) 사이의 공간에만 배치될 수 있다. 제1댐퍼(910)는 댐퍼홈(330)에 배치되어 지지부재(600), 결합부(514), 및 레그부(515)를 감쌀 수 있다.The first damper 910 may be disposed on the support member 600, the engaging portion 514 of the upper elastic member 510, the leg portion 515 of the upper elastic member 510, and the housing 310. The first damper 910 may be applied to the support member 600, the engaging portion 514 of the upper elastic member 510, the leg portion 515 of the upper elastic member 510, and the housing 310. The first damper 910 may be disposed in an area of 90% or more of the entire area of the lower surface of the leg portion 515 of the upper elastic member 510. The first damper 910 may be disposed in an area exceeding 50% of the total area of the lower surface of the leg portion 515 of the upper elastic member 510. [ The first damper 910 may be disposed in a space between the second concave surface 332 and the upper elastic member 510 and a space between the first concave surface 331 and the upper elastic member 510. Alternatively, the first damper 910 may be disposed only in the space between the second concave surface 332 and the upper elastic member 510. The first damper 910 may be disposed in the damper groove 330 to cover the support member 600, the engaging portion 514, and the leg portion 515.

제2댐퍼(920)는 보빈(210) 및 상측 탄성부재(510)에 배치될 수 있다. 제2댐퍼(920)는 보빈(210)의 돌기(215) 및 상측 탄성부재(510)의 댐퍼 배치부(530)에 배치될 수 있다.
The second damper 920 may be disposed on the bobbin 210 and the upper elastic member 510. The second damper 920 may be disposed on the protrusion 215 of the bobbin 210 and the damper arrangement portion 530 of the upper elastic member 510.

이하에서는 본 실시예에 따른 카메라 모듈의 작동을 설명한다.Hereinafter, the operation of the camera module according to the present embodiment will be described.

먼저, 본 실시예에 따른 카메라 모듈의 오토 포커스 기능을 설명한다. AF 구동 코일(220)에 전원이 공급되면 AF 구동 코일(220)과 구동 마그네트(320) 사이의 전자기적 상호작용에 의해 AF 구동 코일(220)이 구동 마그네트(320)에 대하여 이동을 수행하게 된다. 이때, AF 구동 코일(220)이 결합된 보빈(210)은 AF 구동 코일(220)과 일체로 이동하게 된다. 즉, 렌즈 모듈이 결합된 보빈(210)이 하우징(310)에 대하여 광축 방향으로 이동하게 된다. 보빈(210)의 이와 같은 이동은 이미지 센서에 대하여 렌즈 모듈이 가까워지도록 이동하거나 멀어지도록 이동하는 결과가 되므로, 본 실시예에서는 AF 구동 코일(220)에 전원을 공급하여 피사체에 대한 포커스 조절을 수행할 수 있는 것이다. 한편, 언급한 포커스 조절은 피사체의 거리에 따라 자동으로 수행될 수 있다.First, the autofocus function of the camera module according to the present embodiment will be described. When the power is supplied to the AF drive coil 220, the AF drive coil 220 moves relative to the drive magnet 320 by electromagnetic interaction between the AF drive coil 220 and the drive magnet 320 . At this time, the bobbin 210 to which the AF driving coil 220 is coupled moves integrally with the AF driving coil 220. That is, the bobbin 210 to which the lens module is coupled moves in the direction of the optical axis with respect to the housing 310. This movement of the bobbin 210 results in movement of the lens module toward or away from the image sensor. Thus, in this embodiment, power is supplied to the AF driving coil 220 to perform focus adjustment on the subject You can do it. On the other hand, the aforementioned focus adjustment can be performed automatically according to the distance of the subject.

한편, 본 실시예에 따른 카메라 모듈에서는 오토 포커스 기능의 보다 정밀한 실현을 위해 오토 포커스 피드백 제어가 수행될 수 있다. 하우징(310)에 배치되는 제1센서(710)는 보빈(210)에 배치되는 센싱 마그네트(730)의 자기장을 감지한다. 따라서, 보빈(210)이 하우징(310)에 대하여 상대적인 이동을 수행하면, 제1센서(710)에서 감지되는 자기장의 양이 변화하게 된다. 제1센서(710)는 이와 같은 방식으로 보빈(210)의 광축 방향의 이동량 또는 보빈(210)의 위치를 감지하여 감지값을 제어부로 송신한다. 제어부는 수신한 감지값을 통해 보빈(210)에 대한 추가적인 이동을 수행할지 여부를 결정하게 된다. 이와 같은 과정은 실시간으로 발생되므로 오토 포커스 피드백 제어를 통해 본 실시예에 따른 카메라 모듈의 오토 포커스 기능은 보다 정밀하게 수행될 수 있다.On the other hand, in the camera module according to the present embodiment, autofocus feedback control can be performed for more precise realization of the autofocus function. The first sensor 710 disposed in the housing 310 senses the magnetic field of the sensing magnet 730 disposed on the bobbin 210. Accordingly, when the bobbin 210 moves relative to the housing 310, the amount of the magnetic field sensed by the first sensor 710 changes. The first sensor 710 senses the movement amount of the bobbin 210 in the optical axis direction or the position of the bobbin 210 in this manner and transmits the detection value to the control unit. The control unit determines whether to perform an additional movement with respect to the bobbin 210 through the received sensing value. Since such a process is generated in real time, the autofocus function of the camera module according to the present embodiment can be performed more precisely through the autofocus feedback control.

본 실시예에 따른 카메라 모듈의 손떨림 보정 기능을 설명한다. OIS 구동 코일(422)에 전원이 공급되면 OIS 구동 코일(422)과 구동 마그네트(320) 사이의 전자기적 상호작용에 의해 구동 마그네트(320)가 OIS 구동 코일(422)에 대하여 이동을 수행하게 된다. 이때, 구동 마그네트(320)가 결합된 하우징(310)은 구동 마그네트(320)와 일체로 이동하게 된다. 즉, 하우징(310)이 베이스(430)에 대하여 수평 방향(광축과 수직한 방향)으로 이동하게 된다. 다만, 이때 하우징(310)이 베이스(430)에 대하여 틸트(tilt)가 유도될 수도 있다. 한편, 보빈(210)은 하우징(310)의 수평 방향 이동에 대하여 하우징(310)과 일체로 이동하게 된다. 따라서, 하우징(310)의 이와 같은 이동은 이미지 센서에 대하여 보빈(210)에 결합된 렌즈 모듈이 이미지 센서가 놓여있는 방향과 평행한 방향으로 이동하는 결과가 된다. 즉, 본 실시예에서는 OIS 구동 코일(422)에 전원을 공급하여 손떨림 보정 기능을 수행할 수 있는 것이다.The camera shake correction function of the camera module according to the present embodiment will be described. When the power is supplied to the OIS drive coil 422, the drive magnet 320 moves relative to the OIS drive coil 422 by electromagnetic interaction between the OIS drive coil 422 and the drive magnet 320 . At this time, the housing 310 to which the driving magnet 320 is coupled moves integrally with the driving magnet 320. That is, the housing 310 is moved in the horizontal direction (direction perpendicular to the optical axis) with respect to the base 430. However, at this time, the housing 310 may be tilted with respect to the base 430. Meanwhile, the bobbin 210 moves integrally with the housing 310 with respect to the horizontal movement of the housing 310. This movement of the housing 310 thus results in the lens module coupled to the bobbin 210 moving relative to the image sensor in a direction parallel to the direction in which the image sensor lies. That is, in this embodiment, power is supplied to the OIS driving coil 422 to perform an image stabilization function.

한편, 본 실시예에 따른 카메라 모듈의 손떨림 보정 기능의 보다 정밀한 실현을 위해 손떨림 보정 피드백 제어가 수행될 수 있다. 베이스(430)에 배치되는 제2센서(800)는 하우징(310)에 배치되는 구동 마그네트(320)의 자기장을 감지한다. 따라서, 하우징(310)이 베이스(430)에 대한 상대적인 이동을 수행하면, 제2센서(800)에서 감지되는 자기장의 양이 변화하게 된다. 한 쌍의 제2센서(800)는 이와 같은 방식으로 하우징(310)의 수평방향(x축 및 y축 방향)의 이동량 또는 위치를 감지하여 감지값을 제어부로 송신한다. 제어부는 수신한 감지값을 통해 하우징(310)에 대한 추가적인 이동을 수행할지 여부를 결정하게 된다. 이와 같은 과정은 실시간으로 발생되므로 손떨림 보정 피드백 제어를 통해 본 실시예에 따른 카메라 모듈의 손떨림 보정 기능은 보다 정밀하게 수행될 수 있다.
Meanwhile, the camera shake correction feedback control may be performed for more precise realization of the shake correction function of the camera module according to the present embodiment. The second sensor 800 disposed on the base 430 detects the magnetic field of the driving magnet 320 disposed on the housing 310. Therefore, when the housing 310 performs the relative movement with respect to the base 430, the amount of the magnetic field sensed by the second sensor 800 changes. The pair of second sensors 800 senses the movement amount or position in the horizontal direction (x-axis and y-axis direction) of the housing 310 in this manner and transmits the detection value to the control unit. The control unit determines whether to perform the additional movement to the housing 310 through the received sensing value. Since such a process is generated in real time, the camera shake correction function of the camera module according to the present embodiment can be performed more precisely through the camera shake correction feedback control.

이상에서, 본 발명의 실시 예를 구성하는 모든 구성 요소들이 하나로 결합하거나 결합하여 동작하는 것으로 설명되었다고 해서, 본 발명이 반드시 이러한 실시 예에 한정되는 것은 아니다. 즉, 본 발명의 목적 범위 안에서라면, 그 모든 구성 요소들이 하나 이상으로 선택적으로 결합하여 동작할 수도 있다. 또한, 이상에서 기재된 '포함하다', '구성하다' 또는 '가지다' 등의 용어는, 특별히 반대되는 기재가 없는 한, 해당 구성 요소가 내재할 수 있음을 의미하는 것이므로, 다른 구성 요소를 제외하는 것이 아니라 다른 구성 요소를 더 포함할 수 있는 것으로 해석되어야 한다. 기술적이거나 과학적인 용어를 포함한 모든 용어들은, 다르게 정의되지 않는 한, 본 발명이 속하는 기술 분야에서 통상의 지식을 가진 자에 의해 일반적으로 이해되는 것과 동일한 의미가 있다. 사전에 정의된 용어와 같이 일반적으로 사용되는 용어들은 관련 기술의 문맥상의 의미와 일치하는 것으로 해석되어야 하며, 본 발명에서 명백하게 정의하지 않는 한, 이상적이거나 과도하게 형식적인 의미로 해석되지 않는다. While the present invention has been described in connection with what is presently considered to be the most practical and preferred embodiment, it is to be understood that the invention is not limited to the disclosed embodiments. That is, within the scope of the present invention, all of the components may be selectively coupled to one or more of them. It is to be understood that the terms such as 'include', 'comprising', or 'having', as used herein, mean that a component can be implied unless specifically stated to the contrary. But should be construed as including other elements. All terms, including technical and scientific terms, have the same meaning as commonly understood by one of ordinary skill in the art to which this invention belongs, unless otherwise defined. Commonly used terms, such as predefined terms, should be interpreted to be consistent with the contextual meanings of the related art, and are not to be construed as ideal or overly formal, unless expressly defined to the contrary.

이상의 설명은 본 발명의 기술 사상을 예시적으로 설명한 것에 불과한 것으로서, 본 발명이 속하는 기술 분야에서 통상의 지식을 가진 자라면 본 발명의 본질적인 특성에서 벗어나지 않는 범위에서 다양한 수정 및 변형이 가능할 것이다. 따라서, 본 발명에 개시된 실시 예들은 본 발명의 기술 사상을 한정하기 위한 것이 아니라 설명하기 위한 것이고, 이러한 실시 예에 의하여 본 발명의 기술 사상의 범위가 한정되는 것은 아니다. 본 발명의 보호 범위는 아래의 청구범위에 의하여 해석되어야 하며, 그와 동등한 범위 내에 있는 모든 기술 사상은 본 발명의 권리범위에 포함되는 것으로 해석되어야 할 것이다.The foregoing description is merely illustrative of the technical idea of the present invention, and various changes and modifications may be made by those skilled in the art without departing from the essential characteristics of the present invention. Therefore, the embodiments disclosed in the present invention are intended to illustrate rather than limit the scope of the present invention, and the scope of the technical idea of the present invention is not limited by these embodiments. The scope of protection of the present invention should be construed according to the following claims, and all technical ideas within the scope of equivalents should be construed as falling within the scope of the present invention.

100: 커버부재 200: 제1가동자
300: 제2가동자 400: 고정자
500: 탄성부재 600: 지지부재
700: 제1센싱 유닛 800: 제2센서
910: 제1댐퍼 920: 제2댐퍼
100: cover member 200: first movable member
300: second movable element 400: stator
500: elastic member 600: supporting member
700: first sensing unit 800: second sensor
910: first damper 920: second damper

Claims (11)

하우징;
상기 하우징의 내측에 제1방향으로 이동하도록 배치되는 보빈;
상기 보빈에 배치되는 제1코일;
상기 하우징에 배치되고 상기 제1코일과 대향하는 제1마그네트;
상기 하우징의 하측에 배치되고, 제1측면에 배치된 제1돌기와 상기 제1측면과 반대편에 배치되는 제2측면에 배치된 제2돌기를 포함하는 베이스;
상기 하우징과 상기 베이스 사이에 상기 제1마그네트와 대향하도록 배치되는 제2코일을 갖는 회로부재를 포함하는 기판; 및
상기 하우징을 내측에 수용하고 상기 베이스와 결합되는 커버부재를 포함하고,
상기 베이스의 제1돌기와 제2돌기는 상기 베이스의 외면으로부터 돌출되고,
상기 기판은 상기 베이스의 제1측면에 배치되는 제1단자부와, 상기 베이스의 제2측면에 배치되는 제2단자부를 포함하고,
상기 커버부재는 상기 하우징의 상측에 배치되는 상판, 상기 상판으로부터 연장되고 상기 베이스와 결합되는 측판을 포함하고,
상기 측판은 상기 베이스의 제1측면에 배치되는 제1측판과 상기 베이스의 제2측면에 배치되는 제2측판을 포함하고,
상기 제1측판은 상기 제1단자부와 대응되는 위치에 상기 제1측판의 하면으로부터 오목하게 형성된 제1홈부를 포함하고,
상기 제2측판은 상기 제2단자부와 대응되는 위치에 상기 제2측판의 하면으로부터 오목하게 형성된 제2홈부를 포함하고,
상기 제1홈부는 상기 측판의 하면 보다 상측에 형성되는 제1면, 및 상기 측판의 하면과 상기 제1면을 연결하는 제1연결면을 포함하고,
상기 제2홈부는 상기 측판의 하면 보다 상측에 형성되는 제2면, 및 상기 측판의 하면과 상기 제2면을 연결하는 제2연결면을 포함하고,
상기 제1돌기는 상기 제1면과 상기 제1연결면을 지지하고,
상기 제2돌기는 상기 제2면과 상기 제2연결면을 지지하는 렌즈 구동 장치.
housing;
A bobbin disposed inside the housing to move in a first direction;
A first coil disposed in the bobbin;
A first magnet disposed in the housing and facing the first coil;
A base disposed on the lower side of the housing and including a first projection disposed on a first side surface and a second projection disposed on a second side surface opposite to the first side surface;
A substrate including a circuit member having a second coil disposed between the housing and the base and facing the first magnet; And
And a cover member which houses the housing inside and is engaged with the base,
The first protrusion and the second protrusion of the base protrude from the outer surface of the base,
The substrate includes a first terminal portion disposed on a first side surface of the base and a second terminal portion disposed on a second side surface of the base,
The cover member includes an upper plate disposed on the upper side of the housing, a side plate extending from the upper plate and coupled with the base,
The side plate includes a first side plate disposed on a first side surface of the base and a second side plate disposed on a second side surface of the base,
Wherein the first side plate includes a first groove portion recessed from a lower surface of the first side plate at a position corresponding to the first terminal portion,
And the second side plate includes a second groove portion formed at a position corresponding to the second terminal portion and recessed from the lower surface of the second side plate,
The first groove portion includes a first surface formed on an upper side of a lower surface of the side plate, and a first connecting surface connecting the lower surface of the side plate and the first surface,
The second groove portion includes a second surface formed on the upper side of the lower surface of the side plate and a second connecting surface connecting the lower surface of the side plate and the second surface,
Wherein the first projection supports the first surface and the first connection surface,
And the second projection supports the second surface and the second connection surface.
제1항에 있어서,
상기 제1돌기는 상기 제1단자부와 상기 제1연결면 사이에 배치되고, 상기 제2돌기는 상기 제2단자부와 상기 제2연결면 사이에 배치되는 렌즈 구동 장치.
The method according to claim 1,
Wherein the first projection is disposed between the first terminal portion and the first connection surface, and the second projection is disposed between the second terminal portion and the second connection surface.
제2항에 있어서,
상기 제2돌기는 광축을 중심으로 상기 제1돌기의 반대편에 배치되는 렌즈 구동 장치.
3. The method of claim 2,
And the second projection is disposed on the opposite side of the first projection about the optical axis.
제2항에 있어서,
상기 제1돌기는 상기 베이스의 제1코너부에 배치되고, 상기 제2돌기는 상기 제1코너부와 반대편에 배치되는 제2코너부에 배치되는 렌즈 구동 장치.
3. The method of claim 2,
Wherein the first projection is disposed at a first corner portion of the base and the second projection is disposed at a second corner portion disposed opposite to the first corner portion.
제1항에 있어서,
상기 제1돌기는 상기 제1면과 대응하는 상면, 및 상기 제1연결면과 대응하는 제1측면을 포함하고,
상기 제2돌기는 상기 제2면과 대응하는 상면, 및 상기 제2연결면과 대응하는 제2측면을 포함하는 렌즈 구동 장치.
The method according to claim 1,
Wherein the first projection includes an upper surface corresponding to the first surface, and a first side surface corresponding to the first connecting surface,
Wherein the second projection includes an upper surface corresponding to the second surface, and a second side surface corresponding to the second connection surface.
제5항에 있어서,
상기 제1돌기는 상기 제1단자부의 측면과 대응하는 제3측면을 포함하고,
상기 제2돌기는 상기 제2단자부의 측면과 대응하는 제4측면을 포함하는 렌즈 구동 장치.
6. The method of claim 5,
Wherein the first projection includes a third side surface corresponding to a side surface of the first terminal portion,
And the second projection includes a fourth side surface corresponding to a side surface of the second terminal portion.
제4항에 있어서,
상기 베이스는 상기 베이스의 제1측면에 배치되고 상기 제1코너부와 인접하는 제2코너부에 배치되는 제3돌기를 더 포함하고,
상기 제1측판의 제1홈부는 상기 제1연결면과 반대편에 배치되는 제3연결면을 더 포함하고,
상기 제3돌기는 상기 제1면과 상기 제3연결면을 지지하는 렌즈 구동 장치.
5. The method of claim 4,
The base further includes a third projection disposed on a first side surface of the base and disposed in a second corner portion adjacent to the first corner portion,
Wherein the first groove portion of the first side plate further includes a third connecting surface disposed opposite to the first connecting surface,
And the third projection supports the first surface and the third connection surface.
제7항에 있어서,
상기 베이스는 상기 베이스의 제2측면에 배치되고 상기 제1코너부와 인접하는 제4코너부에 배치되는 제4돌기를 더 포함하고,
상기 제2측판의 제2홈부는 상기 제2연결면과 반대편에 배치되는 제4연결면을 더 포함하고,
상기 제4돌기는 상기 제2면과 상기 제4연결면을 지지하는 렌즈 구동 장치.
8. The method of claim 7,
The base further includes a fourth projection disposed on a second side surface of the base and disposed in a fourth corner portion adjacent to the first corner portion,
And the second groove portion of the second side plate further includes a fourth connecting surface disposed opposite to the second connecting surface,
And the fourth projection supports the second surface and the fourth connection surface.
제1항에 있어서,
상기 렌즈 구동 장치는
상기 보빈의 상측에 배치되고, 상기 보빈과 상기 하우징에 결합되는 상측 탄성부재; 및
상기 상측 탄성부재 및 상기 기판과 결합되는 지지부재를 더 포함하고,
상기 베이스는 상기 기판과 상기 지지부재가 결합되는 부분이 개방되도록 형성되는 개구부를 더 포함하고,
상기 개구부에는 상기 베이스로부터 돌출되고 상기 커버부재의 내면을 지지하는 돌출부가 배치되는 렌즈 구동 장치.
The method according to claim 1,
The lens driving apparatus
An upper elastic member disposed on the upper side of the bobbin and coupled to the bobbin and the housing; And
Further comprising a support member coupled to the upper elastic member and the substrate,
The base further includes an opening formed to open a portion where the substrate and the support member are coupled,
And the opening portion is provided with a protruding portion projecting from the base and supporting the inner surface of the cover member.
제1항에 있어서,
상기 베이스는 상기 베이스의 외면으로부터 돌출되고 상기 측판의 하단을 지지하는 단차부를 더 포함하고,
상기 제1돌기와 제2돌기의 상면은 상기 단차부의 상면 보다 상측에 배치되어, 상기 제1측판의 제1면과 상기 제2측판의 제2면을 지지하는 렌즈 구동 장치.
The method according to claim 1,
The base further includes a step portion projecting from an outer surface of the base and supporting a lower end of the side plate,
And the upper surface of the first projection and the second projection are disposed on the upper side of the upper surface of the step portion to support the first surface of the first side plate and the second surface of the second side plate.
제1항에 있어서,
상기 제1돌기와 제2돌기는 상기 제1돌기와 제2돌기의 외면과 상기 베이스의 외면을 경사지게 연결하는 경사면을 포함하는 렌즈 구동 장치.
The method according to claim 1,
Wherein the first protrusion and the second protrusion include an inclined surface connecting the outer surface of the first protrusion and the second protrusion and the outer surface of the base in an inclined manner.
KR1020170025290A 2017-02-24 2017-02-27 Lens driving device, camera module and optical apparatus Active KR102677136B1 (en)

Priority Applications (11)

Application Number Priority Date Filing Date Title
KR1020170025290A KR102677136B1 (en) 2017-02-27 2017-02-27 Lens driving device, camera module and optical apparatus
CN202210602567.0A CN114895510B (en) 2017-02-24 2018-02-13 Lens driving device, camera module and optical instrument
CN201880007934.4A CN110199224B (en) 2017-02-24 2018-02-13 Lens driving device, camera module and optical instrument
US16/477,448 US11275229B2 (en) 2017-02-24 2018-02-13 Lens driving device, camera module, and optical instrument
PCT/KR2018/001883 WO2018155861A1 (en) 2017-02-24 2018-02-13 Lens driving device, camera module, and optical instrument
CN202411421658.XA CN119148325A (en) 2017-02-24 2018-02-13 Lens driving device, camera module, and optical device
EP24210923.9A EP4502723A3 (en) 2017-02-24 2018-02-13 Lens driving device, camera module, and optical instrument
EP18756744.1A EP3588185B1 (en) 2017-02-24 2018-02-13 Lens driving device, camera module, and optical instrument
CN202210602562.8A CN114895509B (en) 2017-02-24 2018-02-13 Lens drives, camera modules and optical equipment
US17/671,343 US12282203B2 (en) 2017-02-24 2022-02-14 Lens driving device, camera module, and optical instrument
US19/085,786 US20250251564A1 (en) 2017-02-24 2025-03-20 Lens driving device, camera module, and optical instrument

Applications Claiming Priority (1)

Application Number Priority Date Filing Date Title
KR1020170025290A KR102677136B1 (en) 2017-02-27 2017-02-27 Lens driving device, camera module and optical apparatus

Publications (2)

Publication Number Publication Date
KR20180098765A true KR20180098765A (en) 2018-09-05
KR102677136B1 KR102677136B1 (en) 2024-06-21

Family

ID=63594201

Family Applications (1)

Application Number Title Priority Date Filing Date
KR1020170025290A Active KR102677136B1 (en) 2017-02-24 2017-02-27 Lens driving device, camera module and optical apparatus

Country Status (1)

Country Link
KR (1) KR102677136B1 (en)

Cited By (1)

* Cited by examiner, † Cited by third party
Publication number Priority date Publication date Assignee Title
WO2020242202A1 (en) * 2019-05-28 2020-12-03 엘지이노텍 주식회사 Camera module

Citations (4)

* Cited by examiner, † Cited by third party
Publication number Priority date Publication date Assignee Title
KR20150128262A (en) * 2014-05-09 2015-11-18 엘지이노텍 주식회사 Lens apparatus
KR20160057726A (en) * 2014-11-14 2016-05-24 엘지이노텍 주식회사 Lens driving unit and camera module including the same
KR20170006727A (en) * 2015-07-09 2017-01-18 엘지이노텍 주식회사 Lens driving unit, camera module and optical apparatus
US20170052342A1 (en) * 2015-08-18 2017-02-23 Lg Innotek Co., Ltd. Lens driving device, camera module and optical apparatus

Patent Citations (4)

* Cited by examiner, † Cited by third party
Publication number Priority date Publication date Assignee Title
KR20150128262A (en) * 2014-05-09 2015-11-18 엘지이노텍 주식회사 Lens apparatus
KR20160057726A (en) * 2014-11-14 2016-05-24 엘지이노텍 주식회사 Lens driving unit and camera module including the same
KR20170006727A (en) * 2015-07-09 2017-01-18 엘지이노텍 주식회사 Lens driving unit, camera module and optical apparatus
US20170052342A1 (en) * 2015-08-18 2017-02-23 Lg Innotek Co., Ltd. Lens driving device, camera module and optical apparatus

Cited By (2)

* Cited by examiner, † Cited by third party
Publication number Priority date Publication date Assignee Title
WO2020242202A1 (en) * 2019-05-28 2020-12-03 엘지이노텍 주식회사 Camera module
US12085730B2 (en) 2019-05-28 2024-09-10 Lg Innotek Co., Ltd. Camera module

Also Published As

Publication number Publication date
KR102677136B1 (en) 2024-06-21

Similar Documents

Publication Publication Date Title
US12282203B2 (en) Lens driving device, camera module, and optical instrument
KR102719368B1 (en) Camera module
KR102851219B1 (en) Lens driving device, camera module and optical apparatus
KR102609414B1 (en) Lens driving device, camera module and optical apparatus
CN113759634A (en) Lens driving device, camera module and optical equipment
KR20170082805A (en) Lens driving device, camera module and optical apparatus
KR20180039846A (en) Lens driving device, camera module and optical apparatus
KR102687482B1 (en) Dual lens driving Dual camera module and optical apparatus
KR102851211B1 (en) Lens driving device, camera module and optical apparatus
KR102820921B1 (en) Lens driving device, camera module and optical apparatus
KR20180092726A (en) Camera module and optical apparatus
KR20180101083A (en) Lens driving device, dual camera module
KR102677136B1 (en) Lens driving device, camera module and optical apparatus
KR20180003280A (en) Lens driving device, camera module and optical apparatus
KR102716182B1 (en) Lens driving device, camera module and optical apparatus
KR102662769B1 (en) Camera module and optical apparatus
KR102646370B1 (en) Camera module and optical apparatus
KR20180092720A (en) Lens driving device, dual camera module and optical apparatus
KR20180110998A (en) Dual lens driving device and camera module
KR20180081980A (en) Dual lens driving device, dual camera module and optical apparatus
KR20180110997A (en) Dual lens driving device and camera module
KR20180092725A (en) Camera module and optical apparatus
KR20180110999A (en) Dual lens driving device and camera module
KR20170068808A (en) Lens driving device, camera module and optical apparatus

Legal Events

Date Code Title Description
PA0109 Patent application

Patent event code: PA01091R01D

Comment text: Patent Application

Patent event date: 20170227

PG1501 Laying open of application
PA0201 Request for examination

Patent event code: PA02012R01D

Patent event date: 20220225

Comment text: Request for Examination of Application

Patent event code: PA02011R01I

Patent event date: 20170227

Comment text: Patent Application

E701 Decision to grant or registration of patent right
PE0701 Decision of registration

Patent event code: PE07011S01D

Comment text: Decision to Grant Registration

Patent event date: 20240315

GRNT Written decision to grant
PR0701 Registration of establishment

Comment text: Registration of Establishment

Patent event date: 20240617

Patent event code: PR07011E01D

PR1002 Payment of registration fee

Payment date: 20240618

End annual number: 3

Start annual number: 1

PG1601 Publication of registration