KR20180098450A - 학교 건축물 창호 개구부를 활용한 내진보강공법 - Google Patents

학교 건축물 창호 개구부를 활용한 내진보강공법 Download PDF

Info

Publication number
KR20180098450A
KR20180098450A KR1020170024977A KR20170024977A KR20180098450A KR 20180098450 A KR20180098450 A KR 20180098450A KR 1020170024977 A KR1020170024977 A KR 1020170024977A KR 20170024977 A KR20170024977 A KR 20170024977A KR 20180098450 A KR20180098450 A KR 20180098450A
Authority
KR
South Korea
Prior art keywords
pipe
column
frame
upper frame
horizontal pipe
Prior art date
Legal status (The legal status is an assumption and is not a legal conclusion. Google has not performed a legal analysis and makes no representation as to the accuracy of the status listed.)
Granted
Application number
KR1020170024977A
Other languages
English (en)
Other versions
KR101951095B1 (ko
Inventor
김성배
김정연
조승호
Original Assignee
(주)더나은구조엔지니어링
Priority date (The priority date is an assumption and is not a legal conclusion. Google has not performed a legal analysis and makes no representation as to the accuracy of the date listed.)
Filing date
Publication date
Application filed by (주)더나은구조엔지니어링 filed Critical (주)더나은구조엔지니어링
Priority to KR1020170024977A priority Critical patent/KR101951095B1/ko
Publication of KR20180098450A publication Critical patent/KR20180098450A/ko
Application granted granted Critical
Publication of KR101951095B1 publication Critical patent/KR101951095B1/ko
Active legal-status Critical Current
Anticipated expiration legal-status Critical

Links

Images

Classifications

    • EFIXED CONSTRUCTIONS
    • E04BUILDING
    • E04HBUILDINGS OR LIKE STRUCTURES FOR PARTICULAR PURPOSES; SWIMMING OR SPLASH BATHS OR POOLS; MASTS; FENCING; TENTS OR CANOPIES, IN GENERAL
    • E04H9/00Buildings, groups of buildings or shelters adapted to withstand or provide protection against abnormal external influences, e.g. war-like action, earthquake or extreme climate
    • E04H9/02Buildings, groups of buildings or shelters adapted to withstand or provide protection against abnormal external influences, e.g. war-like action, earthquake or extreme climate withstanding earthquake or sinking of ground
    • E04H9/021Bearing, supporting or connecting constructions specially adapted for such buildings
    • EFIXED CONSTRUCTIONS
    • E04BUILDING
    • E04GSCAFFOLDING; FORMS; SHUTTERING; BUILDING IMPLEMENTS OR AIDS, OR THEIR USE; HANDLING BUILDING MATERIALS ON THE SITE; REPAIRING, BREAKING-UP OR OTHER WORK ON EXISTING BUILDINGS
    • E04G23/00Working measures on existing buildings
    • E04G23/02Repairing, e.g. filling cracks; Restoring; Altering; Enlarging
    • E04G23/0218Increasing or restoring the load-bearing capacity of building construction elements
    • EFIXED CONSTRUCTIONS
    • E04BUILDING
    • E04HBUILDINGS OR LIKE STRUCTURES FOR PARTICULAR PURPOSES; SWIMMING OR SPLASH BATHS OR POOLS; MASTS; FENCING; TENTS OR CANOPIES, IN GENERAL
    • E04H9/00Buildings, groups of buildings or shelters adapted to withstand or provide protection against abnormal external influences, e.g. war-like action, earthquake or extreme climate
    • E04H9/02Buildings, groups of buildings or shelters adapted to withstand or provide protection against abnormal external influences, e.g. war-like action, earthquake or extreme climate withstanding earthquake or sinking of ground
    • E04H9/027Preventive constructional measures against earthquake damage in existing buildings

Landscapes

  • Engineering & Computer Science (AREA)
  • Architecture (AREA)
  • Business, Economics & Management (AREA)
  • Emergency Management (AREA)
  • Environmental & Geological Engineering (AREA)
  • Civil Engineering (AREA)
  • Structural Engineering (AREA)
  • Chemical & Material Sciences (AREA)
  • Chemical Kinetics & Catalysis (AREA)
  • Electrochemistry (AREA)
  • Mechanical Engineering (AREA)
  • Working Measures On Existing Buildindgs (AREA)

Abstract

본 발명은 내진 보강 구조물을 미리 제작하여 학교 건축물의 창호 개구부에 하부 골조와 상부 골조를 차례로 설치하고 하부 골조와 상부 골조의 사이에 삽입 강관이 삽입되도록 구성하여, 지진 발생시에 삽입 강관의 소성변형을 유도하여 지진에너지를 흡수할 수 있도록 하는 학교 건축물 창호 개구부를 활용한 내진보강공법에 관한 것이다.
본 발명의 바람직한 일 실시예는 ((a) 일정 길이의 수평으로 구성되는 하부 수평관과, 하부 수평관의 양단부에서 각각 수직 상부로 구성되는 기둥관과, 하부 수평관의 하부면과 마주보는 한 쌍의 기둥관의 외측면에 각각 형성되는 결합 플레이트로 이루어지는 하부 골조와; 일정 길이의 수평으로 구성되는 상부 수평관과, 상부 수평관의 양단부에서 각각 수직 하부로 구성되는 기둥관과, 상부 수평관의 상부면과 마주보는 한 쌍의 기둥관의 외측면에 각각 형성되는 결합 플레이트로 이루어지는 상부 골조와; 양단부가 각각 하부 골조 기둥관과 상부 골조의 기둥관에 삽입되는 일정 길이의 삽입 강관으로 이루어지는 내진 보강 구조물을 사전 제작하는 단계; (b) 기존 구조체의 벽체 및 창호를 철거하고 개구부의 내측면에 앵커 볼트를 설치하는 단계; (c) 개구부의 하부의 내측면에 하부 골조를 가설치하는 단계; (d) 개구부에 상부의 내측면에 하부 골조의 기둥관의 상단부와 상부 골조의 기둥관의 하단부가 일정 거리 이격되도록 상부 골조를 가설치하는 단계; (e) 하부 골조의 내부에 삽입된 삽입 강관을 상단부가 일정 깊이 상부 골조 기둥관의 내부로 삽입되도록 이동시켜 하부와 상부를 각각 하부 골조와 상부 골조의 기둥관에 고정하는 단계; (f) 기존 구조체의 앵커볼트에 하부 골조와 상부 골조를 체결하여 설치하는 단계; (g) 결합 플레이트과 기존 구조체 사이에 무수축 모르타르를 채우는 단계;를 포함하여 이루어진다.

Description

학교 건축물 창호 개구부를 활용한 내진보강공법{Seismic Strengthening Method For School Building}
본 발명은 학교 건축물 창호 개구부를 활용한 내진보강공법에 관한 것으로서, 더욱 상세하게는 내진 보강 구조물을 미리 제작하여 학교 건축물의 창호 개구부에 하부 골조와 상부 골조를 차례로 설치하고 하부 골조와 상부 골조의 사이에 삽입 강관이 삽입되도록 구성하여, 지진 발생시에 삽입 강관의 소성변형을 유도하여 지진에너지를 흡수할 수 있도록 하는 학교 건축물 창호 개구부를 활용한 내진보강공법에 관한 것이다.
1988년 내진설계가 건축구조기준에 반영되었으나, 학교 건축물 중 내진설계가 미반영된 비율이 약 70%에 달하는 것으로 알려져있다. 이와 같은 학교 건축물은 내진보강공사를 별도로 수행하지 않으며, 보강공사는 학교건물 성능개선공사와 동시에 진행되는 것이 일반적이었다. 따라서, 반드시 노후 창호에 대한 개량공사가 수행되는데, 창호공사 시 창호 개구부를 활용한 내진보강공사를 하는 것이 효과적이다.
일반적으로 학교 건축물은 건축당시 기준을 준용 시 내진성능에 큰 문제가 없으나, 이를 현행 신기준으로 적용 시 내진보강이 필수적이며, 내진보강은 외부 벽체나 계단실 벽체(조적벽)에 콘크리트를 채우는 전단벽 보강이나, 기둥과 보 부재를 보강한다. 그러나 이와 같은 벽체 증타나 부재 보강은 공사기간 증가가 발생하는 문제점이 있었다.
본 발명의 배경이 되는 기술로는 대한민국 특허등록 제1150392호 "내진 보강용 철골 구조물의 접합구조 및 접합공법"(특허문헌 1)이 있다. 상기 배경기술에서는 '내진 보강용 철골 구조물의 접합구조에 관한 것으로, 기둥 또는 보로 이루어지는 기존 구조체; 상기 기존 구조체의 벽면에 뚫린 복수의 구멍에 에폭시 수지에 의하여 각각 설치되는 철근; 상기 기존 구조체의 벽면에 도포되어 타설되는 모르타르와 벽면의 접착력을 강화시키는 콘크리트 접착제; 상기 기존 구조체의 벽면과 일정 간격을 두고 상기 철근이 관통하도록 용접에 의하여 설치되며 다수의 보강용 스터드 볼트를 구비하고 있는 H형강; 상기 기존기존 구조체의 벽면과 H형강 사이를 포함하여 H형강의 외부둘레를 감싸는 형태로 구비되는 메쉬 또는 철판; 상기 메쉬 또는 철판에 의하여 타설되는 모르타르; 를 포함하는 것을 특징으로 하는 내진 보강용 철골 구조물의 접합구조'를 제안한다.
그러나 상기 배경기술은 현장에서 H형강 및 H형강 외부를 감싸는 형태로 철판을 설치해야 하는 등 시공이 매우 어렵고, 내부에 모르타르를 타설해야 하는 등 공사기간 증가 등의 문제점이 있었다.
대한민국 특허등록 제1150392호 "내진 보강용 철골 구조물의 접합구조 및 접합공법"
본 발명은 상기와 같은 문제점을 해결하기 위한 것으로, 내진 보강 구조물을 미리 제작하여 학교 건축물의 창호 개구부에 하부 골조와 상부 골조를 차례로 설치하고 하부 골조와 상부 골조의 사이에 삽입 강관이 삽입되도록 구성하여, 현장 용접을 배제하도록 함으로써 매우 용이하게 창호 개구부에 내진 보강 구조물을 설치할 수 있어, 시공성이 우수할 뿐만 아니라 공기를 대폭 단축시킬 수 있으며, 지진 발생시에 삽입 강관의 소성변형을 유도하여 지진에너지를 효과적으로 흡수할 수 있도록 하는 학교 건축물 창호 개구부를 활용한 내진보강공법을 제공하는데 그 목적이 있다.
본 발명은 (a) 일정 길이의 수평으로 구성되는 하부 수평관과, 하부 수평관의 양단부에서 각각 수직 상부로 구성되는 기둥관과, 하부 수평관의 하부면과 마주보는 한 쌍의 기둥관의 외측면에 각각 형성되는 결합 플레이트로 이루어지는 하부 골조와; 일정 길이의 수평으로 구성되는 상부 수평관과, 상부 수평관의 양단부에서 각각 수직 하부로 구성되는 기둥관과, 상부 수평관의 상부면과 마주보는 한 쌍의 기둥관의 외측면에 각각 형성되는 결합 플레이트로 이루어지는 상부 골조와; 양단부가 각각 하부 골조 기둥관과 상부 골조의 기둥관에 삽입되는 일정 길이의 삽입 강관으로 이루어지는 내진 보강 구조물을 사전 제작하는 단계; (b) 기존 구조체의 벽체 및 창호를 철거하고 개구부의 내측면에 앵커 볼트를 설치하는 단계; (c) 개구부의 하부의 내측면에 하부 골조를 가설치하는 단계; (d) 개구부에 상부의 내측면에 하부 골조의 기둥관의 상단부와 상부 골조의 기둥관의 하단부가 일정 거리 이격되도록 상부 골조를 가설치하는 단계; (e) 하부 골조의 내부에 삽입된 삽입 강관을 상단부가 일정 깊이 상부 골조 기둥관의 내부로 삽입되도록 이동시켜 하부와 상부를 각각 하부 골조와 상부 골조의 기둥관에 고정하는 단계; (f) 기존 구조체의 앵커볼트에 하부 골조와 상부 골조를 체결하여 설치하는 단계; (g) 결합 플레이트과 기존 구조체 사이에 무수축 모르타르를 채우는 단계;를 포함하여 이루어지는 것을 특징으로 하는 학교 건축물 창호 개구부를 활용한 내진보강공법을 제공하고자 한다.
또한, (a) 단계에서, 하부 수평관이 결합되는 하부 골조 기둥관의 하단부 및 상부 수평관이 결합되는 상부 골조 기둥관의 상단부에는 일정 깊이로 보강 강관이 삽입되어 결합되는 것을 특징으로 하는 학교 건축물 창호 개구부를 활용한 내진보강공법을 제공하고자 한다.
또한, (a) 단계에서, 기둥관의 상단부에서 일정 길이 하부에서 복수의 볼트가 단부가 내부로 관통되도록 체결되고, 삽입 강관의 하단부가 볼트에 지지되도록 구성되는 것을 특징으로 하는 학교 건축물 창호 개구부를 활용한 내진보강공법을 제공하고자 한다.
또한, (a) 단계에서, 하부 수평관, 상부 수평관 및 기둥관은 사각형 단면형상의 강관으로 이루어지는 것을 특징으로 하는 학교 건축물 창호 개구부를 활용한 내진보강공법을 제공하고자 한다.
또한, (a) 단계에서, 하부 수평관, 상부 수평관 및 기둥관은 일측면이 개구된 ㄷ형 단면을 갖는 부재로 이루어져 개구면에 결합 플레이트가 결합되는 것을 특징으로 하는 학교 건축물 창호 개구부를 활용한 내진보강공법을 제공하고자 한다.
본 발명의 학교 건축물 창호 개구부를 활용한 내진보강공법은 내진 보강 구조물을 미리 제작하여 학교 건축물의 창호 개구부에 하부 골조와 상부 골조를 차례로 설치하고 하부 골조와 상부 골조의 사이에 삽입 강관이 삽입되도록 구성하여, 현장 용접을 배제하도록 함으로써 매우 용이하게 창호 개구부에 내진 보강 구조물을 설치할 수 있어, 시공성이 우수할 뿐만 아니라 공기를 대폭 단축시킬 수 있으며, 지진 발생시에 삽입 강관의 소성변형을 유도하여 지진에너지를 효과적으로 흡수할 수 있도록 하는 매우 유용한 효과가 있다.
본 명세서에서 첨부되는 다음의 도면들은 본 발명의 바람직한 실시 예를 예시하는 것이며, 발명의 상세한 설명과 함께 본 발명의 기술사상을 더욱 이해시키는 역할을 하는 것이므로, 본 발명은 첨부한 도면에 기재된 사항에만 한정되어서 해석되어서는 아니 된다.
도 1은 본 발명의 학교 건축물 창호 개구부를 활용한 내진보강공법에 사용되는 내진 보강 구조물의 사시도이다.
도 2는 상기 도 1의 분해 사시도이다.
도 3은 상기 도 1의 정면도이다.
도 4a는 본 발명의 하부 수평관의 단면도이다.
도 4b 및 도 4c는 상기 도 4a의 다른 실시예의 단면도이다.
도 5는 본 발명의 삽입 강관의 결합 부위의 단면도이다.
도 6은 본 발명의 학교 건축물 창호 개구부를 활용한 내진보강공법을 시공순서대로 도시한 도이다.
아래에서 본 발명은 첨부된 도면에 제시된 실시 예를 참조하여 상세하게 설명이 되지만 제시된 실시 예는 본 발명의 명확한 이해를 위한 예시적인 것으로 본 발명은 이에 제한되지 않는다.
이하 바람직한 실시예에 따라 본 발명의 기술적 구성을 상세히 설명하면 다음과 같다.
도 1은 본 발명의 학교 건축물 창호 개구부를 활용한 내진보강공법에 사용되는 내진 보강 구조물의 사시도이고, 도 2는 상기 도 1의 분해 사시도이며, 도 3은 상기 도 1의 정면도이다.
본 발명의 학교 건축물 창호 개구부를 활용한 내진보강공법은 먼저, 내진 보강 구조물(1)을 사전 제작한다(a).
본 발명의 학교 건축물 창호 개구부를 활용한 내진보강공법은 학교 건축물의 창호 및 조적조 벽체가 설치된 개구부에 ∪형의 하부 골조(110)와 ∩형의 상부 골조(120) 및 하부 골조(110)와 상부 골조(120)를 연결하는 삽입 강관(130)으로 이루어지는 프레임 형태의 내진 보강 구조물(1)을 설치하여 보강하도록 한다.
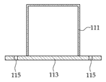
하부 골조(110)는 일정 길이의 수평으로 구성되는 하부 수평관(111)과, 하부 수평관(111)의 양단부에서 각각 수직 상부로 구성되는 기둥관(112)이 결합되어 ∪형의 프레임 형상으로 이루어지며, 하부 수평관(111)의 하부면과 마주보는 한 쌍의 기둥관(112)의 외측면에는 결합 플레이트(113)가 결합되어 구성된다.
결합 플레이트(113)는 일정 폭과 길이를 갖는 판 형상으로 하부 수평관(111) 및 기둥관(112)의 폭보다 넓은 폭으로 형성되어 하부 수평관(111) 및 기둥관(112)에 결합 플레이트(113) 결합시에 폭방향 양단부가 각각 하부 수평관(111) 및 기둥관(112)의 폭방향 외측으로 돌출되도록 한다.
이때, 결합 플레이트(113)는 앵커 볼트(3)와의 결합을 위하여 결합 플레이트(113)의 하부 수평관(111) 및 기둥관(112)의 폭방향 외측으로 돌출된 부분에는 복수의 결합공(115)이 통공되어 형성될 수 있으며, 결합 오차를 수정할 수 있도록 장공으로 형성되도록 할 수도 있다.
이와 같은 삽입 강관(130)은 하부 골조(110)와 상부 골조(120)를 연결하도록 하는 부재로 저항복비강(Low Yield Ratio Steel)을 사용하여 연성을 확보하도록 하여, 횡력 작용시에 삽입 강관(130)에서의 소성변형을 유도하도록 할 수 있다.
도 4a는 본 발명의 하부 수평관의 단면도이고, 도 4b 및 도 4c는 상기 도 4a의 다른 실시예의 단면도이다.
일반적으로 내진 보강 구조물은 H형강을 사용하는 것이 일반적이나, H형강은 강축과 약축이 존재하고, 플랜지 돌출로 웨브를 마감하여야 하는 등 시공이 용이하지 않기 때문에 본 발명에서는 하부 골조(110) 및 상부 골조(120)를 구성하는 하부 수평관(111), 상부 수평관(121) 및 기둥관(112)(122)은 사각형 강관 형태를 사용하는 것이 바람직하다.
즉, 도 4a에서와 같이, 하부 수평관(111), 상부 수평관(121) 및 기둥관(112)(122)은 내부가 비어 있는 사각형 단면형상의 강관으로 이루어지도록 할 수도 있으며, 도 4b 및 도 4c에서와 같이, 하부 수평관(111), 상부 수평관(121) 및 기둥관(112)(122)은 일측면이 개구된 ㄷ형 단면을 갖는 부재로 이루어지도록 하고 개구면에 결합 플레이트(113)(123)가 결합되도록 하여 강관과 동일한 단면을 갖도록 할 수 있다.
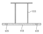
상부 골조(120)는 상술한 하부 골조(110)와 동일한 형상으로 하부 골조(110)와 대칭되도록 ∩형 프레임 형상으로 이루어진다.
즉, 상부 골조(120)는 일정 길이의 수평으로 구성되는 상부 수평관(121)과, 상부 수평관(121)의 양단부에서 각각 수직 상부로 구성되는 기둥관(122)이 결합되어 ∩형의 프레임 형상으로 이루어지며, 상부 수평관(121)의 하부면과 마주보는 한 쌍의 기둥관(122)의 외측면에는 결합 플레이트(123)가 결합되어 구성된다.
결합 플레이트(123)는 일정 폭과 길이를 갖는 판 형상으로 상부 수평관(121) 및 기둥관(122)의 폭보다 넓은 폭으로 형성되어 상부 수평관(121) 및 기둥관(122)에 결합 플레이트(123) 결합시에 폭방향 양단부가 각각 상부 수평관(121) 및 기둥관(122)의 폭방향 외측으로 돌출되도록 한다.
이때, 결합 플레이트(123)는 앵커 볼트(3)와의 결합을 위하여 결합 플레이트(123)의 상부 수평관(121) 및 기둥관(122)의 폭방향 외측으로 돌출된 부분에는 복수의 결합공(125)이 통공되어 형성될 수 있으며, 결합 오차를 수정할 수 있도록 장공으로 형성되도록 할 수도 있다.
특히, 도 3에서와 같이, 상기와 같이 구성되는 하부 골조(110) 및 상부 골조(120)는 하부 수평관(111)이 결합되는 하부 골조(110) 기둥관(112)의 하단부 및 상부 수평관(121)이 결합되는 상부 골조(120) 기둥관(122)의 상단부에는 일정 깊이로 보강 강관(140)이 삽입되어 결합되도록 하여 접합부를 보강하도록 함으로써, 횡력 발생시에 삽입 강관(130)의 변형을 유도하도록 한다.
도 6은 본 발명의 학교 건축물 창호 개구부를 활용한 내진보강공법을 시공순서대로 도시한 도이다.
이후, 도 6a에서와 같이, 기존 구조체(2)의 벽체 및 창호를 철거하고 개구부(21)의 내측면에 앵커 볼트(3)를 설치한다(b).
기존 구조체(2)에서 내진 보강이 필요한 창호 개구부의 조적조 벽체 및 창호 등을 철거하고, 조적조 벽체 및 창호 등을 철거된 개구부(21)의 내측면에는 앵커 볼트(3)를 설치한다.
이때, 앵커 볼트(3) 설치시에는 기존 구조체(2)의 보 및 기둥 등의 마감재를 제거하고, 콘크리트 면을 치핑(chipping)하도록 할 수도 있다.
이후, 도 6b 및 도 6c에서와 같이, 개구부(21)의 하부의 내측면에 하부 골조(110)를 가설치한다(c).
하부 골조(110)는 하부 수평관(111)이 하부에 위치하도록 하며, 결합 플레이트(113)의 결합공(115)에 기존 구조체(2)에 설치된 앵커 볼트(3)가 끼워져 가고정되도록 한다.
도 6b에서와 같이, 하부 골조(110)를 먼저 설치한 이후에 도 6c에서와 같이 삽입 강관(130)을 기둥곤(112)에 삽입하도록 할 수도 있으며, 시공을 용이하게 하도록 하부 골조(110)의 기둥관(112)에는 미리 삽입 강관(130)이 삽입되어 구성되도록 할 수도 있다.
상기와 같이 구성되는 하부 골조(110)에는 상부 골조(120)와 삽입 강관(130)으로 결합되도록 우선, 삽입 강관(130)의 기둥관(112)으로 삽입하도록 하는데, 이때, 삽입 강관(130)이 기둥관(112)의 저면으로 낙하하지 않고 기둥관(112)의 상부에 위치할 수 있도록 도 6b와 도 6c에서와 같이, 기둥관(112)의 상단부에서 일정 길이 하부에서 복수의 볼트(129)가 단부가 내부로 관통되도록 체결되도록 하고, 삽입 강관(130)을 기둥관(112)의 상단부에서 삽입하도록 하면 삽입 강관(130)의 하단부가 볼트(129)에 지지되어 기둥관(112)의 상부에 위치하여 거치되기 때문에, 상부 골조(120)의 기둥관(122)의 하단부로 삽입 강관(130)의 상단부를 삽입할 때 용이하게 작업이 가능하도록 할 수 있다.
이후, 도 6d에서와 같이, 개구부(21)의 상부의 내측면에 상부 골조(120)를 가설치한다(d).
상부 골조(120)는 상부 수평관(121)이 상부에 위치하도록 하며, 결합 플레이트(123)의 결합공(125)에 기존 구조체(2)에 설치된 앵커 볼트(3)가 끼워져 가고정되도록 한다.
이때, 하부 골조(110)의 기둥관(112)의 상단부와 상부 골조(120)의 기둥관(122)의 하단부 사이에는 일정거리 이격된 이격부(di)가 형성되도록 하여, 후술하는 단계에서 삽입 강관(130) 삽입시에 삽입 강관이 노출되도록 한다.
도 5는 본 발명의 삽입 강관의 결합 부위의 단면도이다.
이후, 도 6e에서와 같이, 하부 골조(110)와 상부 골조(120)를 삽입 강관(130)으로 연결하도록 한다(e).
하부 골조(110)의 기둥관(112)의 내부에 삽입된 삽입 강관(130)을 상부로 이동시켜 삽입 강관(130)의 상단부가 일정 깊이 상부 골조(120) 기둥관(122)의 내부로 삽입되도록 한다.
이와 같이, 삽입 강관(130)은 상단부는 상부 골조(120)의 기둥관(122)의 내부에 삽입되고, 하단부는 하부 골조(110)의 기둥관(112)의 내부에 삽입되도록 하며, 도 5에서와 같이, 피스 등의 결합수단(131)으로 삽입 강관(130)의 양단부를 각각 상부 골조(120)의 기둥관(122)과 하부 골조(110)의 기둥관(112)에 결합하도록 한다.
이때, 하부 골조(110)의 기둥관(112)의 상단부와 상부 골조(120)의 기둥관(122)의 하단부 사이의 이격부(di)에서 삽입 강관(130)의 중앙부가 일정 길이 노출된 상태로 구성되어, 지진 발생시 횡력에 의하여 삽입 강관(130)의 이격부(di)에서의 노출된 부분의 소성변형을 유도하도록 한다.
삽입 강관(130)은 상기 (c) 단계에서, 설치를 용이하게 하기 위해 먼저 하부 골조(110)의 기둥관(112)에 삽입되도록 구성한 후 최소 공간으로 개구부(21)에 가설치하고, (d) 단계에서 상부 골조(120)를 개구부(21)에 고정한 후 (e)단계에서 삽입 강관(130)을 상부 골조(120)로 이동하여 고정하여 하부 골조(110)와 상부 골조(120)를 삽입 강관(130)으로 체결하도록 한다.
이후, 기존 구조체(2)의 앵커볼트(3)에 하부 골조(110)와 상부 골조(120)를 체결하여 설치하도록 한다(f).
마지막으로, 도 6f에서와 같이, 내진 보강 구조물(1)의 외측면과 개구부(21)의 내측면의 사이 공간에 무수축 모르타르(4)를 타설하도록 한다(g).
즉, 하부 골조(110) 및 상부 골조(120)의 결합 플레이트(113)(123)와 기존 구조체(2) 사이에 무수축 모르타르(4)를 채우도록 한다.
상기와 같은 본 발명의 학교 건축물 창호 개구부를 활용한 내진보강공법은 내진 보강 구조물을 미리 제작하여 학교 건축물의 창호 개구부에 하부 골조와 상부 골조를 차례로 설치하고 하부 골조와 상부 골조의 사이에 삽입 강관이 삽입되도록 구성하여, 현장 용접을 배제하도록 함으로써 매우 용이하게 창호 개구부에 내진 보강 구조물을 설치할 수 있어, 시공성이 우수할 뿐만 아니라 공기를 대폭 단축시킬 수 있으며, 지진 발생시에 삽입 강관의 소성변형을 유도하여 지진에너지를 효과적으로 흡수할 수 있도록 하는 매우 유용한 효과가 있다.
지금까지 본 발명은 제시된 실시 예를 참조하여 상세하게 설명이 되었지만 이 분야에서 통상의 지식을 가진 자는 제시된 실시 예를 참조하여 본 발명의 기술적 사상을 벗어나지 않는 범위에서 다양한 변형 및 수정 발명을 만들 수 있을 것이다. 본 발명은 이와 같은 변형 및 수정 발명에 의하여 제한되지 않으며 다만 아래에 첨부된 청구범위에 의하여 제한된다.
1 : 내진 보강 구조물
110 : 하부 골조
111 : 하부 수평관
112 : 기둥관
113 : 결합 플레이트
120 : 상부 골조
121 : 상부 수평관
122 : 기둥관
123 : 결합 플레이트
130 : 삽입 강관
140 : 보강 강관
2 : 기존 구조체
21 : 개구부
3 : 앵커 볼트
4 : 무수축 모르타르
di : 이격부

Claims (5)

  1. (a) 일정 길이의 수평으로 구성되는 하부 수평관(111)과, 하부 수평관(111)의 양단부에서 각각 수직 상부로 구성되는 기둥관(112)과, 하부 수평관(111)의 하부면과 마주보는 한 쌍의 기둥관(112)의 외측면에 각각 형성되는 결합 플레이트(113)로 이루어지는 하부 골조(110)와,
    일정 길이의 수평으로 구성되는 상부 수평관(121)과, 상부 수평관(121)의 양단부에서 각각 수직 하부로 구성되는 기둥관(122)과, 상부 수평관(121)의 상부면과 마주보는 한 쌍의 기둥관(122)의 외측면에 각각 형성되는 결합 플레이트(123)로 이루어지는 상부 골조(120)와,
    양단부가 각각 하부 골조(110) 기둥관(112)과 상부 골조(120)의 기둥관(122)에 삽입되는 일정 길이의 삽입 강관(130)으로 이루어지는 내진 보강 구조물(1)을 사전 제작하는 단계;
    (b) 기존 구조체(2)의 벽체 및 창호를 철거하고 개구부(21)의 내측면에 앵커 볼트(3)를 설치하는 단계;
    (c) 개구부(21)의 하부의 내측면에 하부 골조(110)를 가설치하는 단계;
    (d) 개구부(21)에 상부의 내측면에 하부 골조(110)의 기둥관(112)의 상단부와 상부 골조(120)의 기둥관(122)의 하단부가 일정 거리 이격되도록 상부 골조(120)를 가설치하는 단계;
    (e) 하부 골조(110)의 내부에 삽입된 삽입 강관(130)을 상단부가 일정 깊이 상부 골조(120) 기둥관(122)의 내부로 삽입되도록 이동시켜 하부와 상부를 각각 하부 골조(110)와 상부 골조(120)의 기둥관(112)(122)에 고정하는 단계;
    (f) 기존 구조체(2)의 앵커볼트(3)에 하부 골조(110)와 상부 골조(120)를 체결하여 설치하는 단계;
    (g) 결합 플레이트(113)(123)과 기존 구조체(2) 사이에 무수축 모르타르(4)를 채우는 단계;를 포함하여 이루어지는 것을 특징으로 하는 학교 건축물 창호 개구부를 활용한 내진보강공법.
  2. 청구항 1에 있어서,
    (a) 단계에서,
    하부 수평관(111)이 결합되는 하부 골조(110) 기둥관(112)의 하단부 및 상부 수평관(121)이 결합되는 상부 골조(120) 기둥관(122)의 상단부에는 일정 깊이로 보강 강관(140)이 삽입되어 결합되는 것을 특징으로 하는 학교 건축물 창호 개구부를 활용한 내진보강공법.
  3. 청구항 1에 있어서,
    (a) 단계에서,
    기둥관(122)의 상단부에서 일정 길이 하부에서 복수의 볼트(129)가 단부가 내부로 관통되도록 체결되고,
    삽입 강관(130)의 하단부가 볼트(129)에 지지되도록 구성되는 것을 특징으로 하는 학교 건축물 창호 개구부를 활용한 내진보강공법.
  4. 청구항 1에 있어서,
    (a) 단계에서,
    하부 수평관(111), 상부 수평관(121) 및 기둥관(112)(122)은 사각형 단면형상의 강관으로 이루어지는 것을 특징으로 하는 학교 건축물 창호 개구부를 활용한 내진보강공법.
  5. 청구항 1에 있어서,
    (a) 단계에서,
    하부 수평관(111), 상부 수평관(121) 및 기둥관(112)(122)은 일측면이 개구된 ㄷ형 단면을 갖는 부재로 이루어져 개구면에 결합 플레이트(113)(123)가 결합되는 것을 특징으로 하는 학교 건축물 창호 개구부를 활용한 내진보강공법.
KR1020170024977A 2017-02-24 2017-02-24 학교 건축물 창호 개구부를 활용한 내진보강공법 Active KR101951095B1 (ko)

Priority Applications (1)

Application Number Priority Date Filing Date Title
KR1020170024977A KR101951095B1 (ko) 2017-02-24 2017-02-24 학교 건축물 창호 개구부를 활용한 내진보강공법

Applications Claiming Priority (1)

Application Number Priority Date Filing Date Title
KR1020170024977A KR101951095B1 (ko) 2017-02-24 2017-02-24 학교 건축물 창호 개구부를 활용한 내진보강공법

Publications (2)

Publication Number Publication Date
KR20180098450A true KR20180098450A (ko) 2018-09-04
KR101951095B1 KR101951095B1 (ko) 2019-02-22

Family

ID=63598286

Family Applications (1)

Application Number Title Priority Date Filing Date
KR1020170024977A Active KR101951095B1 (ko) 2017-02-24 2017-02-24 학교 건축물 창호 개구부를 활용한 내진보강공법

Country Status (1)

Country Link
KR (1) KR101951095B1 (ko)

Cited By (1)

* Cited by examiner, † Cited by third party
Publication number Priority date Publication date Assignee Title
US20220259880A1 (en) * 2019-09-16 2022-08-18 Arisu Engineering Co., Ltd. Anti-seismic reinforcement structure using panel zone reinforcing fixtures and construction method therefor

Families Citing this family (4)

* Cited by examiner, † Cited by third party
Publication number Priority date Publication date Assignee Title
KR102728841B1 (ko) 2023-03-20 2024-11-13 주식회사 이현건축사사무소 건축물 창호 시스템
KR102728837B1 (ko) 2023-03-20 2024-11-13 주식회사 이현건축사사무소 내진구조를 가지는 건축물 창호 시스템
KR102722247B1 (ko) 2023-06-16 2024-10-28 주식회사 상송엔지니어링건축사사무소 건축물 창호 시스템
KR102722246B1 (ko) 2023-06-16 2024-10-28 주식회사 상송엔지니어링건축사사무소 내진구조를 가지는 건축물 창호 시스템

Citations (4)

* Cited by examiner, † Cited by third party
Publication number Priority date Publication date Assignee Title
KR200291531Y1 (ko) * 2002-07-23 2002-10-12 남궁춘식 파이프 서포트용 고정핀
KR20100106259A (ko) * 2010-08-19 2010-10-01 동국대학교 산학협력단 노후 철근콘크리트 보-기둥 구조물을 위하여 피씨부재를 활용한 리모델링 내진보강 접합구조 및 이를 이용한 건물 리모델링 시공 방법
KR101150392B1 (ko) 2011-11-24 2012-06-01 김정수 내진 보강용 철골 구조물의 접합구조 및 접합공법
KR101379892B1 (ko) * 2013-08-28 2014-04-01 비코비엔주식회사 가변형 철골프레임에 의한 구조물 개구부의 내진보강구조 및 그 시공방법

Patent Citations (4)

* Cited by examiner, † Cited by third party
Publication number Priority date Publication date Assignee Title
KR200291531Y1 (ko) * 2002-07-23 2002-10-12 남궁춘식 파이프 서포트용 고정핀
KR20100106259A (ko) * 2010-08-19 2010-10-01 동국대학교 산학협력단 노후 철근콘크리트 보-기둥 구조물을 위하여 피씨부재를 활용한 리모델링 내진보강 접합구조 및 이를 이용한 건물 리모델링 시공 방법
KR101150392B1 (ko) 2011-11-24 2012-06-01 김정수 내진 보강용 철골 구조물의 접합구조 및 접합공법
KR101379892B1 (ko) * 2013-08-28 2014-04-01 비코비엔주식회사 가변형 철골프레임에 의한 구조물 개구부의 내진보강구조 및 그 시공방법

Cited By (2)

* Cited by examiner, † Cited by third party
Publication number Priority date Publication date Assignee Title
US20220259880A1 (en) * 2019-09-16 2022-08-18 Arisu Engineering Co., Ltd. Anti-seismic reinforcement structure using panel zone reinforcing fixtures and construction method therefor
US11927029B2 (en) * 2019-09-16 2024-03-12 Arisu Engineering Co., Ltd. Anti-seismic reinforcement structure using panel zone reinforcing fixtures and construction method therefor

Also Published As

Publication number Publication date
KR101951095B1 (ko) 2019-02-22

Similar Documents

Publication Publication Date Title
KR101377327B1 (ko) 단면증설에 의한 기존 철근콘크리트 모멘트골조 건축물의 내진보강방법
KR101670633B1 (ko) 건축물의 내진 외부합성 보강공법
KR101951095B1 (ko) 학교 건축물 창호 개구부를 활용한 내진보강공법
KR101459082B1 (ko) 거푸집 겸용 보강 철골과 콘크리트를 이용한 구조물의 내진 보강 구조체 및 구조물의 내진 보강 공법
KR101253519B1 (ko) 콘크리트 충전 강관기둥을 이용한 기존 건축물의 내진보강 공법
KR101295740B1 (ko) 콘크리트충전강관기둥의 상하 분리식 접합부구조
KR101397800B1 (ko) 단면증설 및 지중보에 의한 기존 철근콘크리트 모멘트골조 건축물의 내진보강방법
KR101901435B1 (ko) 파형 강판을 이용한 간접 접합 방식의 건축물 개구부 내진보강공법
KR102143566B1 (ko) 패널존 보강 고정구를 이용한 내진 보강 구조 및 이의 시공 방법
KR101814688B1 (ko) 철근 콘크리트 건물의 개구부 및 단면증설 보강구조
KR101565543B1 (ko) 철근 콘크리트와 철골프레임의 접합구조물 및 접합공법
KR101920417B1 (ko) 철근콘크리트 프레임 내진 보강 구조
KR101011252B1 (ko) 부모멘트부 보강 라멘 구조물의 골조 및 이를 갖는 라멘 구조물
KR20180126412A (ko) 건축물 기둥의 보강장치 및 보강방법
KR101566982B1 (ko) 강관기둥과 수평부재의 접합구조
KR102357963B1 (ko) 내진 지하연속벽 구조
KR101397886B1 (ko) 단면증설에 의한 기존 철근콘크리트 모멘트골조 건축물의 내진보강방법 및 보강장치
KR101744337B1 (ko) 기존 건축물의 내진보강 공법
KR20180026286A (ko) 격자형 프리캐스트 콘크리트 구조물과 그 시공방법
KR101715359B1 (ko) 콘크리트 충전 강관기둥을 이용한 기존 건축물의 내진보강 공법
KR101638564B1 (ko) 구조물의 강성 및 인성 개선을 위한 내진 보강체 및 이를 이용한 내진 보강방법
KR102093070B1 (ko) 갭레벨 플레이트와 슬리브 앵커캡으로 전단합성 일체화시킨 내부사각 문형 인프레임 내진 보강 방법
JP7155488B2 (ja) 構造物耐震補強構造
KR20180036337A (ko) 부분 pc 벽패널을 사용하여 창문이 설치된 조적 벽을 보강하는 방법
KR102432031B1 (ko) 내진보강 구조물 및 이를 이용한 내진보강공법

Legal Events

Date Code Title Description
A201 Request for examination
PA0109 Patent application

St.27 status event code: A-0-1-A10-A12-nap-PA0109

PA0201 Request for examination

St.27 status event code: A-1-2-D10-D11-exm-PA0201

E902 Notification of reason for refusal
PE0902 Notice of grounds for rejection

St.27 status event code: A-1-2-D10-D21-exm-PE0902

PG1501 Laying open of application

St.27 status event code: A-1-1-Q10-Q12-nap-PG1501

PN2301 Change of applicant

St.27 status event code: A-3-3-R10-R13-asn-PN2301

St.27 status event code: A-3-3-R10-R11-asn-PN2301

E13-X000 Pre-grant limitation requested

St.27 status event code: A-2-3-E10-E13-lim-X000

P11-X000 Amendment of application requested

St.27 status event code: A-2-2-P10-P11-nap-X000

P13-X000 Application amended

St.27 status event code: A-2-2-P10-P13-nap-X000

E701 Decision to grant or registration of patent right
PE0701 Decision of registration

St.27 status event code: A-1-2-D10-D22-exm-PE0701

PR0701 Registration of establishment

St.27 status event code: A-2-4-F10-F11-exm-PR0701

PR1002 Payment of registration fee

St.27 status event code: A-2-2-U10-U11-oth-PR1002

Fee payment year number: 1

PG1601 Publication of registration

St.27 status event code: A-4-4-Q10-Q13-nap-PG1601

P22-X000 Classification modified

St.27 status event code: A-4-4-P10-P22-nap-X000

PR1001 Payment of annual fee

St.27 status event code: A-4-4-U10-U11-oth-PR1001

Fee payment year number: 4

PR1001 Payment of annual fee

St.27 status event code: A-4-4-U10-U11-oth-PR1001

Fee payment year number: 5

PR1001 Payment of annual fee

St.27 status event code: A-4-4-U10-U11-oth-PR1001

Fee payment year number: 6

PR1001 Payment of annual fee

St.27 status event code: A-4-4-U10-U11-oth-PR1001

Fee payment year number: 7

PR1001 Payment of annual fee

St.27 status event code: A-4-4-U10-U11-oth-PR1001

Fee payment year number: 8

U11 Full renewal or maintenance fee paid

Free format text: ST27 STATUS EVENT CODE: A-4-4-U10-U11-OTH-PR1001 (AS PROVIDED BY THE NATIONAL OFFICE)

Year of fee payment: 8