KR20180098308A - 발광 구성요소 - Google Patents

발광 구성요소 Download PDF

Info

Publication number
KR20180098308A
KR20180098308A KR1020187020669A KR20187020669A KR20180098308A KR 20180098308 A KR20180098308 A KR 20180098308A KR 1020187020669 A KR1020187020669 A KR 1020187020669A KR 20187020669 A KR20187020669 A KR 20187020669A KR 20180098308 A KR20180098308 A KR 20180098308A
Authority
KR
South Korea
Prior art keywords
film
substrate
light
films
crystal
Prior art date
Legal status (The legal status is an assumption and is not a legal conclusion. Google has not performed a legal analysis and makes no representation as to the accuracy of the status listed.)
Granted
Application number
KR1020187020669A
Other languages
English (en)
Other versions
KR102694742B1 (ko
Inventor
노르만 뤼힝거
이네스 베버
슈테판 로허
마레크 오스자카
벤야민 하르트마이어
Original Assignee
아반타마 아게
Priority date (The priority date is an assumption and is not a legal conclusion. Google has not performed a legal analysis and makes no representation as to the accuracy of the date listed.)
Filing date
Publication date
Application filed by 아반타마 아게 filed Critical 아반타마 아게
Publication of KR20180098308A publication Critical patent/KR20180098308A/ko
Application granted granted Critical
Publication of KR102694742B1 publication Critical patent/KR102694742B1/ko
Active legal-status Critical Current
Anticipated expiration legal-status Critical

Links

Images

Classifications

    • BPERFORMING OPERATIONS; TRANSPORTING
    • B32LAYERED PRODUCTS
    • B32BLAYERED PRODUCTS, i.e. PRODUCTS BUILT-UP OF STRATA OF FLAT OR NON-FLAT, e.g. CELLULAR OR HONEYCOMB, FORM
    • B32B27/00Layered products comprising a layer of synthetic resin
    • B32B27/18Layered products comprising a layer of synthetic resin characterised by the use of special additives
    • B32B27/20Layered products comprising a layer of synthetic resin characterised by the use of special additives using fillers, pigments, thixotroping agents
    • BPERFORMING OPERATIONS; TRANSPORTING
    • B32LAYERED PRODUCTS
    • B32BLAYERED PRODUCTS, i.e. PRODUCTS BUILT-UP OF STRATA OF FLAT OR NON-FLAT, e.g. CELLULAR OR HONEYCOMB, FORM
    • B32B27/00Layered products comprising a layer of synthetic resin
    • B32B27/06Layered products comprising a layer of synthetic resin as the main or only constituent of a layer, which is next to another layer of the same or of a different material
    • B32B27/08Layered products comprising a layer of synthetic resin as the main or only constituent of a layer, which is next to another layer of the same or of a different material of synthetic resin
    • BPERFORMING OPERATIONS; TRANSPORTING
    • B32LAYERED PRODUCTS
    • B32BLAYERED PRODUCTS, i.e. PRODUCTS BUILT-UP OF STRATA OF FLAT OR NON-FLAT, e.g. CELLULAR OR HONEYCOMB, FORM
    • B32B27/00Layered products comprising a layer of synthetic resin
    • B32B27/30Layered products comprising a layer of synthetic resin comprising vinyl (co)polymers; comprising acrylic (co)polymers
    • B32B27/304Layered products comprising a layer of synthetic resin comprising vinyl (co)polymers; comprising acrylic (co)polymers comprising vinyl halide (co)polymers, e.g. PVC, PVDC, PVF, PVDF
    • BPERFORMING OPERATIONS; TRANSPORTING
    • B32LAYERED PRODUCTS
    • B32BLAYERED PRODUCTS, i.e. PRODUCTS BUILT-UP OF STRATA OF FLAT OR NON-FLAT, e.g. CELLULAR OR HONEYCOMB, FORM
    • B32B27/00Layered products comprising a layer of synthetic resin
    • B32B27/30Layered products comprising a layer of synthetic resin comprising vinyl (co)polymers; comprising acrylic (co)polymers
    • B32B27/308Layered products comprising a layer of synthetic resin comprising vinyl (co)polymers; comprising acrylic (co)polymers comprising acrylic (co)polymers
    • CCHEMISTRY; METALLURGY
    • C09DYES; PAINTS; POLISHES; NATURAL RESINS; ADHESIVES; COMPOSITIONS NOT OTHERWISE PROVIDED FOR; APPLICATIONS OF MATERIALS NOT OTHERWISE PROVIDED FOR
    • C09KMATERIALS FOR MISCELLANEOUS APPLICATIONS, NOT PROVIDED FOR ELSEWHERE
    • C09K11/00Luminescent, e.g. electroluminescent, chemiluminescent materials
    • C09K11/02Use of particular materials as binders, particle coatings or suspension media therefor
    • CCHEMISTRY; METALLURGY
    • C09DYES; PAINTS; POLISHES; NATURAL RESINS; ADHESIVES; COMPOSITIONS NOT OTHERWISE PROVIDED FOR; APPLICATIONS OF MATERIALS NOT OTHERWISE PROVIDED FOR
    • C09KMATERIALS FOR MISCELLANEOUS APPLICATIONS, NOT PROVIDED FOR ELSEWHERE
    • C09K11/00Luminescent, e.g. electroluminescent, chemiluminescent materials
    • C09K11/08Luminescent, e.g. electroluminescent, chemiluminescent materials containing inorganic luminescent materials
    • C09K11/66Luminescent, e.g. electroluminescent, chemiluminescent materials containing inorganic luminescent materials containing germanium, tin or lead
    • C09K11/664Halogenides
    • C09K11/665Halogenides with alkali or alkaline earth metals
    • GPHYSICS
    • G02OPTICS
    • G02FOPTICAL DEVICES OR ARRANGEMENTS FOR THE CONTROL OF LIGHT BY MODIFICATION OF THE OPTICAL PROPERTIES OF THE MEDIA OF THE ELEMENTS INVOLVED THEREIN; NON-LINEAR OPTICS; FREQUENCY-CHANGING OF LIGHT; OPTICAL LOGIC ELEMENTS; OPTICAL ANALOGUE/DIGITAL CONVERTERS
    • G02F1/00Devices or arrangements for the control of the intensity, colour, phase, polarisation or direction of light arriving from an independent light source, e.g. switching, gating or modulating; Non-linear optics
    • G02F1/01Devices or arrangements for the control of the intensity, colour, phase, polarisation or direction of light arriving from an independent light source, e.g. switching, gating or modulating; Non-linear optics for the control of the intensity, phase, polarisation or colour 
    • G02F1/13Devices or arrangements for the control of the intensity, colour, phase, polarisation or direction of light arriving from an independent light source, e.g. switching, gating or modulating; Non-linear optics for the control of the intensity, phase, polarisation or colour  based on liquid crystals, e.g. single liquid crystal display cells
    • G02F1/133Constructional arrangements; Operation of liquid crystal cells; Circuit arrangements
    • G02F1/1333Constructional arrangements; Manufacturing methods
    • G02F1/1335Structural association of cells with optical devices, e.g. polarisers or reflectors
    • G02F1/1336Illuminating devices
    • BPERFORMING OPERATIONS; TRANSPORTING
    • B32LAYERED PRODUCTS
    • B32BLAYERED PRODUCTS, i.e. PRODUCTS BUILT-UP OF STRATA OF FLAT OR NON-FLAT, e.g. CELLULAR OR HONEYCOMB, FORM
    • B32B2264/00Composition or properties of particles which form a particulate layer or are present as additives
    • B32B2264/10Inorganic particles
    • BPERFORMING OPERATIONS; TRANSPORTING
    • B32LAYERED PRODUCTS
    • B32BLAYERED PRODUCTS, i.e. PRODUCTS BUILT-UP OF STRATA OF FLAT OR NON-FLAT, e.g. CELLULAR OR HONEYCOMB, FORM
    • B32B2307/00Properties of the layers or laminate
    • B32B2307/40Properties of the layers or laminate having particular optical properties
    • B32B2307/422Luminescent, fluorescent, phosphorescent
    • GPHYSICS
    • G02OPTICS
    • G02FOPTICAL DEVICES OR ARRANGEMENTS FOR THE CONTROL OF LIGHT BY MODIFICATION OF THE OPTICAL PROPERTIES OF THE MEDIA OF THE ELEMENTS INVOLVED THEREIN; NON-LINEAR OPTICS; FREQUENCY-CHANGING OF LIGHT; OPTICAL LOGIC ELEMENTS; OPTICAL ANALOGUE/DIGITAL CONVERTERS
    • G02F1/00Devices or arrangements for the control of the intensity, colour, phase, polarisation or direction of light arriving from an independent light source, e.g. switching, gating or modulating; Non-linear optics
    • G02F1/01Devices or arrangements for the control of the intensity, colour, phase, polarisation or direction of light arriving from an independent light source, e.g. switching, gating or modulating; Non-linear optics for the control of the intensity, phase, polarisation or colour 
    • G02F1/13Devices or arrangements for the control of the intensity, colour, phase, polarisation or direction of light arriving from an independent light source, e.g. switching, gating or modulating; Non-linear optics for the control of the intensity, phase, polarisation or colour  based on liquid crystals, e.g. single liquid crystal display cells
    • G02F1/133Constructional arrangements; Operation of liquid crystal cells; Circuit arrangements
    • G02F1/1333Constructional arrangements; Manufacturing methods
    • G02F1/1335Structural association of cells with optical devices, e.g. polarisers or reflectors
    • G02F1/1336Illuminating devices
    • G02F1/133614Illuminating devices using photoluminescence, e.g. phosphors illuminated by UV or blue light

Landscapes

  • Chemical & Material Sciences (AREA)
  • Engineering & Computer Science (AREA)
  • Materials Engineering (AREA)
  • Organic Chemistry (AREA)
  • Physics & Mathematics (AREA)
  • Inorganic Chemistry (AREA)
  • Nonlinear Science (AREA)
  • Crystallography & Structural Chemistry (AREA)
  • Mathematical Physics (AREA)
  • General Physics & Mathematics (AREA)
  • Optics & Photonics (AREA)
  • Electroluminescent Light Sources (AREA)
  • Luminescent Compositions (AREA)
  • Liquid Crystal (AREA)
  • Optical Filters (AREA)
  • Laminated Bodies (AREA)

Abstract

발광 구성요소는 제1 고체 중합체 조성물을 포함하는 제1 필름(1) 및 제2 고체 중합체 조성물을 포함하는 제2 필름(2)을 포함한다. 제1 고체 중합체 조성물은 제1 발광 결정(11)을 포함한다. 제2 고체 중합체 조성물은 제2 발광 결정(21)을 포함한다. 제1 발광 결정(11)은 3 ㎚ 내지 3000 ㎚의 크기를 갖고, 더 짧은 파장을 갖는 광에 의한 여기에 반응하여 적색 광을 방출한다. 제2 발광 결정(11)은 3 ㎚ 내지 3000 ㎚의 크기를 갖고, 더 짧은 파장을 갖는 광에 의한 여기에 반응하여 녹색 광을 방출한다. 상기 발광 구성요소는 LCD-백라이트 색 변환 용도에 특히 적합하다.

Description

발광 구성요소
본 발명은 발광 결정 (LC)의 분야에 관한 것이다. 본 발명은 발광 구성요소, 발광 장치, 및 발광 구성요소의 용도를 제공한다.
WO 2015/113562 A1에는 제1 배리어 필름, 제2 배리어 필름, 및 제1 배리어를 제2 배리어 필름으로부터 분리하는 양자점 층을 갖는 양자점 필름 물품이 개시되어 있다. 양자점 층은 중합체 물질에 분산된 양자점을 포함한다. 중합체 물질은 메타크릴레이트 중합체, 에폭시 중합체 및 광개시제를 포함한다. 상이한 양자점들이 공통의 양자점 층에 분산될 수 있다. 이러한 양자점은 카드뮴-셀레나이드 (CdSe) 또는 인듐-포스파이드 (InP) 물질 조성물을 포함한다.
본 발명의 한 측면에 따라, 발광 구성요소가 제공된다. 발광 구성요소는 제1 필름 및 제2 필름을 포함한다. 바람직하게는, 필름은 길이 및 너비 중 적어도 하나, 바람직하게는 둘 다가 필름의 높이/두께보다 더 큰 것으로 정의된다. 제1 및 제2 필름은 자발적으로 광을 방출하지 않지만, 여기에 반응하여, 특히 여기에 반응하여 방출되는 광의 파장보다 더 짧은 파장의 광에 의한 여기에 반응하여 광을 방출하는 것이 바람직하다. 따라서, 바람직한 실시양태에서, 제1 필름은 바람직하게는 청색 광에 의한 여기에 반응하여 적색 광을 방출하는 반면에, 제2 필름은 바람직하게는 청색 광에 의한 여기에 반응하여 녹색 광을 방출한다. 적색 광은 590 ㎚ 내지 700 ㎚의 범위의 피크 파장을 갖는 광이라고 여겨진다. 녹색 광은 490 ㎚ 내지 570 ㎚의 범위의 피크 파장을 갖는 광이라고 여겨진다.
대상 발광 특성을 제공하기 위해, 제1 필름은 여기에 반응하여 적색 광을 방출하기 위한 제1 발광 결정을 포함하는 제1 고체 중합체 조성물을 포함한다. 제2 필름은 여기, 바람직하게는 동일한 여기에 반응하여 녹색 광을 방출하기 위한 제2 발광 결정을 포함하는 제2 고체 중합체 조성물을 포함한다. 이러한 상이한 파장 스펙트럼은 바람직하게는 제1 발광 결정에 비해 제2 발광 결정을 위한 상이한 화학 조성 및/또는 상이한 크기를 선택함으로써 달성된다.
적합한 발광 결정은 페로브스카이트(perovskite) 구조를 갖는다. 이러한 페로브스카이트 구조는 그 자체로 공지되어 있고, 화학식 M1M2X3의 입방정계, 유사입방정계, 정방정계 또는 사방정계 결정으로서 기술되며, 여기서 M1은 배위수 12의 양이온 (육팔면체)이고, M2는 배위수 6의 양이온 (팔면체)이고, X는 격자의 입방정계, 유사입방정계, 정방정계 또는 사방정계 위치에 있는 음이온이다. 이러한 구조에서, 선택된 양이온 또는 음이온은 (확률론적으로 또는 규칙적으로) 다른 이온에 의해 대체될 수 있고, 여전히 그것의 결정 구조를 유지한다. 이러한 제1 및 제2 발광 결정의 제조는 예를 들어 프로테세스쿠(Protesescu) 등 (Nano Lett., 2015, 15, 3692-3696)에 의해 공지되어 있다.
유리하게는, 제1 발광 결정은 화학식 (I)의 화합물로부터 선택된다:
M1 aM2 bXc (I)
여기서,
M1은 Cs를 나타내고,
M2는 Pb를 나타내고,
X는 독립적으로 Cl, Br, I, 시아나이드 및 티오시아네이트로 이루어진 군으로부터 선택된 음이온을 나타내고,
a는 1을 나타내고,
b는 1을 나타내고,
c는 3을 나타낸다.
'독립적으로'는 X가 상기에 언급된 음이온 중 하나로부터 선택될 수 있거나 상기 음이온 중 하나 초과의 조합일 수 있음을 의미한다. 용어 티오시아네이트는 둘 다의 공명 구조, 즉 티오시아네이트 및 이소티오시아네이트를 포함할 것이다.
본 발명의 실시양태에서, M1은 페로브스카이트 구조에서 배위수 12를 갖는 30 mol% 이하의 하나 이상의 다른 금속으로 도핑될 수 있다. 유리하게는, M1은 10 mol% 이하의 이러한 금속 중 하나 이상으로 도핑된다. 적합한 금속 M1은 Rb, K, Na 및 Li로 이루어진 군으로부터 선택된다.
본 발명의 실시양태에서, M2는 페로브스카이트 구조에서 배위수 6을 갖는 30 mol% 이하의 하나 이상의 다른 금속으로 도핑될 수 있다. 유리하게는, M2는 10 mol% 이하의 이러한 금속 중 하나 이상으로 도핑된다. 적합한 금속 M2는 Ge, Sn, Sb 및 Bi로 이루어진 군으로부터 선택된다.
본 발명의 실시양태에서는, X는 Cl, Br 및 I 중 하나로부터 선택되고; 또는 X는 독립적으로 Cl, Br 및 I 중 두 개를 나타내고; 또는 X는 Cl, Br 및 I를 나타낸다. Cl, Br, I, 시아나이드 및 티오시아네이트의 양은 관련 기술분야에 공지된 상례적인 실험, 예컨대 MS 또는 XRF에 의해 결정될 수 있고; 작은 Cl 음이온은 방출을 가시 스펙트럼의 청색 부분 쪽으로 이동시키고, 큰 I 음이온은 방출을 가시 스펙트럼의 적색 부분 쪽으로 이동시키고, 중간 크기 Br 음이온은 방출을 가시 스펙트럼의 녹색 부분 쪽으로 이동시킨다.
유리하게는, 제1 발광 결정은 화학식 (I-1)을 갖는다:
CsPbIxZ3-x (I-1)
여기서,
1 < x ≤ 3이고,
Cs, Pb는 임의로 30 mol% 이하의 상기에 기술된 바와 같은 것으로 도핑되고,
Z는 Cl, Br 중 하나 이상을 나타낸다.
특히 유리하게는, 제1 발광 결정은 화학식 CsPbBrxI3-x (여기서 0 ≤ x < 2) 및/또는 화학식 CsPbClyBr3-y-zIz (여기서 0 < y < 1, 2 ≤ z ≤ 3 - y)를 갖는다.
유리하게는, 제2 발광 결정은 화학식 (II)의 화합물로부터 선택된다:
M1 aM2 bXc (II)
여기서,
M1은 Cs를 나타내고,
M2는 Pb를 나타내고,
X는 독립적으로 Cl, Br, I, 시아나이드 및 티오시아네이트로 이루어진 군으로부터 선택된 음이온을 나타내고,
a는 1을 나타내고,
b는 1을 나타내고,
c는 3을 나타낸다.
이번에도, '독립적으로'는 X가 상기에 언급된 음이온 중 하나로부터 선택될 수 있거나 상기 음이온 중 하나 초과의 조합일 수 있음을 의미한다. 용어 티오시아네이트는 둘 다의 공명 구조, 즉 티오시아네이트 및 이소티오시아네이트를 포함할 것이다.
본 발명의 실시양태에서, M1은 페로브스카이트 구조에서 배위수 12를 갖는 30 mol% 이하의 하나 이상의 다른 금속으로 도핑될 수 있다. 유리하게는, M1은 10 mol% 이하의 이러한 금속 중 하나 이상으로 도핑된다. 적합한 금속 M1은 Rb, K, Na 및 Li로 이루어진 군으로부터 선택된다.
본 발명의 실시양태에서, M2는 페로브스카이트 구조에서 배위수 6을 갖는 30 mol% 이하의 하나 이상의 다른 금속으로 도핑될 수 있다. 유리하게는, M2는 10 mol% 이하의 이러한 금속 중 하나 이상으로 도핑된다. 적합한 금속 M2는 Ge, Sn, Sb 및 Bi로 이루어진 군으로부터 선택된다.
본 발명의 실시양태에서는, X는 Cl, Br 및 I 중 하나로부터 선택되고; 또는 X는 독립적으로 Cl, Br 및 I 중 두 개를 나타내고; 또는 X는 Cl, Br 및 I를 나타낸다. Cl, Br, I, 시아나이드 및 티오시아네이트의 양은 상례적인 실험에 의해 결정될 수 있고; 작은 Cl 음이온은 방출을 가시 스펙트럼의 청색 부분 쪽으로 이동시키고, 큰 I 음이온은 방출을 가시 스펙트럼의 적색 부분 쪽으로 이동시키고, 중간 크기 Br 음이온은 방출을 가시 스펙트럼의 녹색 부분 쪽으로 이동시킨다.
제2 발광 결정은 여기에 반응하여 녹색 광을 방출한다.
유리하게는, 제2 발광 결정은 화학식 (II-1)을 갖는다:
CsPbBrxZ3-x (II-1)
여기서,
2 ≤ x ≤ 3이고,
Cs, Pb는 임의로 30 mol% 이하의 상기에 기술된 바와 같은 것으로 도핑되고,
Z는 Cl, I 중 하나 이상을 나타낸다.
특히 유리하게는, 제2 발광 결정은 화학식 CsPbClyBrzI3-y-z (여기서 0 < y < 1, 1 < z ≤ 3 - y) 및/또는 화학식 CsPbBrxI3-x (여기서 2 ≤ x ≤ 3)를 갖는다.
제1 발광 결정은 3 ㎚ 내지 3000 ㎚, 특히 5 내지 100 ㎚의 크기를 갖는다. 제2 발광 결정은 3 ㎚ 내지 3000 ㎚, 바람직하게는 5 내지 100 ㎚의 크기를 갖는다.
따라서, 페로브스카이트 구조를 갖는, 세슘 납 할라이드 나노결정 및/또는 도핑된 세슘 납 할라이드 나노결정이 바람직하게는 제1 및 제2 발광 결정으로서 사용된다. 특정한 파장을 갖는 광의 방출은 상기 제약 조건에서의 발광 결정의 물질의 선택에 따라 달라지고, 발광 결정의 크기에 따라 달라진다. 따라서, 제1 발광 결정의 적색 광 방출 특성은 바람직하게는 정해진 크기에서 물질을 적당하게 선택한 데서 초래된다. 녹색 발광 결정은 바람직하게는 상이한 화학 조성 및/또는 상이한 크기를 갖는다.
매우 바람직한 실시양태에서, 적색 광을 방출하도록 설계된 제1 발광 결정은 화학식 CsPbBrxI3-x (여기서 0 ≤ x < 2), 또는 화학식 CsPbClyBr3-y-zIz (여기서 0 < y < 1, 2 ≤ z ≤ 3 - y)의 화합물이고, 바람직하게는 15 내지 50 ㎚의 FWHM을 갖는, 590 ㎚ 내지 700 ㎚의 범위의 피크 파장을 나타낸다.
매우 바람직한 실시양태에서, 녹색 광을 방출하도록 설계된 제2 발광 결정은 화학식 CsPbClyBrzI3-y-z (여기서 0 ≤ y ≤ 1, 1 < z ≤ 3 - y), 또는 화학식 CsPbBrxI3-x (여기서 2 ≤ x ≤ 3)의 화합물이고, 바람직하게는 15 내지 50 ㎚의 FWHM을 갖는, 490 ㎚ 내지 570 ㎚의 범위의 피크 파장을 나타낸다.
이전의 실시양태 둘 다에 있어서, 각각의 제1 및 제2 발광 결정의 크기는 5 ㎚ 내지 100 ㎚이다.
바람직하게는, 제1 필름은 제1 발광 결정만을 포함하고 제2 발광 결정을 포함하지 않는 반면에, 제2 필름은 제2 발광 결정만을 포함하고 제1 발광 결정을 포함하지 않는다. 바람직하게는, 제1 필름은 제1 발광 결정만을 포함하고 어떠한 다른 발광 결정도 포함하지 않고, 제2 필름은 제2 발광 결정만을 포함하고 어떠한 다른 발광 결정도 포함하지 않는다. 이에 의해, 제1 필름은 여기에 반응하여 각각 녹색 광 또는 상이한 색의 광이 아닌 오로지 적색 광을 방출하는데에만 사용되는 반면에, 제2 필름은 여기에 반응하여 각각 적색 광 또는 상이한 색의 광이 아닌 오로지 녹색 광을 방출하는데에만 사용된다. 이러한 개념은 다수의 제1 필름의 경우에 임의의 제1 필름, 및 다수의 제2 필름의 경우에 임의의 제2 필름에 대해 적용될 수 있고, 다수의 필름 개념은 나중에 소개될 것이다.
본 발광 구성요소는 제1 및 제2 발광 결정의 공간적 분리를 제공한다. 하기에 더 상세히 기재될 바와 같이, 분리는 기재, 제1 필름과 제2 필름 사이의 틈, 및/또는 전용 제1 필름에만 있는 제1 발광 결정의 배열 및 전용 제2 필름에만 있는 제2 발광 결정의 배열 중 하나 이상에 의해 달성될 수 있다. 그렇게 함으로써, 제1 발광 결정과 제2 발광 결정 사이에서의 양이온과 음이온의 교환이 회피된다. 각각의 필름의 제작이 바람직하게는 개개의 현탁액에서 수행되기 때문에, 공통의 현탁액에서의 제1 발광 결정과 제2 발광 결정의 혼합은 회피된다. 그 대신에, 이러한 혼합은 원래의 제1 및 제2 발광 결정으로 하여금 상기에 거론된 이온 교환에 기반을 둔 반응/재결합에 의해 상이한 발광 결정으로 변환되게 할 것이다. 그 결과, 이러한 상이한 발광 결정은 제1 또는 제2 발광 결정의 파장과 상이한 파장의 광을 방출할 것이다. 이론에 얽매이려는 것은 아니지만, 이러한 이온 교환 반응으로 인해, 형성된 상기 적색 발광 결정과 녹색 발광 결정의 배합물은, 적색 및 녹색 입자의 유효 조성에 따라, 원래의 적색 방출 피크와 녹색 방출 피크 사이의 파장을 갖는 광을 방출할 것이다. 그 대신에, 제1 발광 결정과 제2 발광 결정은 제조 단계에서 분리되고, 따라서 현탁액의 상이한 부분에 첨가되고, 경화(hardening)/큐어링(curing)/건조 후에 상기 제1 및 제2 필름을 형성한다.
그렇게 함으로써, 녹색 광을 방출하는 발광 결정 (녹색 발광 결정이라고도 지칭됨)은 적색 광을 방출하는 발광 결정 (적색 발광 결정이라고도 지칭됨)과 상호작용하지 않는다. 현탁액의 각각의 부분은 바람직하게는 할당된 발광 결정, 용매, 리간드, 및 중합체를 포함한다. 형성된 필름이 고체 필름이기 때문에, 제1 필름 내의 제1 발광 결정과 제2 필름 내의 제2 발광 결정의 상호작용은 회피된다. 제1 필름과 제2 필름이 인접하도록 배열된 경우에, 제1 필름과 제2 필름의 계면에 머무르는 QD의 양이온/음이온만이 재결합할 수 있기 때문에, 이러한 상호작용은 대체로 회피된다.
본 구성요소는 탁월한 광발광 양자 수율을 제공한다.
용어 "양자 수율 (QY)"은 관련 기술분야에 공지되어 있고, 시스템에 흡수된 광자 당 특정한 사건이 일어나는 횟수와 관련된 것이다. 본 발명의 맥락에서, 용어 "양자 수율"은 기술된 물질의 "광발광 양자 수율"을 지칭하고, 두 용어는 동일한 의미로 사용된다. "광발광 양자 수율"은 시스템에 의해 흡수된 광자 당 기술된 시스템에 의해 더 긴 파장 (더 낮은 에너지)의 광자가 몇 개 방출되는지를 정의한다.
예를 들어, 본 필름에서 사용되는 것으로 제안된 고체 중합체 조성물의 양자 수율은 바람직하게는 청색 광에 의해 여기될 때 총 > 60%, 바람직하게는 > 80%, 가장 바람직하게는 > 90%이다. 추가로, 물질 선택, 결정 크기 및 녹색 LC와 적색 LC의 엄격한 분리 때문에, 각각 방출된 적색 및 녹색 광에서 뚜렷한 파장 분포가 달성될 수 있고, 그래서 형성된 방출 광의 품질이 뛰어나다. 바람직하게는, 가시 방출을 위한 각각의 제1 필름 및 제2 필름의 고체 중합체 조성물의 FWHM (반치전폭)은 각각 적색 또는 녹색 광의 범위에서 각각 < 50 ㎚, 바람직하게는 < 40 ㎚, 가장 바람직하게는 < 30 ㎚이다. 예를 들어, 507 ㎚의 방출 피크에서 22 ㎚의 FWHM이 관찰될 수 있고, 이와 동시에 예를 들어 76%의 높은 발광 양자 수율이 측정된다.
본 구성요소의 실시양태는 유럽 연합에 의한 RoHS ("Restriction of Hazardous Substances", 유해 물질 제한) 지침을 준수한다. 본 특허 출원의 출원 당시 적용 가능한 지침 2011/65/EU는 일반적으로 하기 원소의 사용을 제한하였다: 납 (Pb) < 1000 중량 ppm, 수은 (Hg) < 1000 ppm, 카드뮴 (Cd) < 100 ppm, 6가 크로뮴 (Cr6+) < 1000 ppm, 폴리브로민화 비페닐 (PBB) < 1000 ppm, 폴리브로민화 디페닐 에테르 (PBDE) < 1000 ppm. 한편으로는, Cd를 포함하지 않으면서도 여전히 탁월한 양자 수율/성능을 제공하는 물질을 선택함으로써 이를 달성한다. RoHS 지침 버전 2 (2011/65/EU)에 따른, Pb에 대한 한계는 1000 ppm이고, 이것은 본 실시양태에서 하나의 필름을 기준으로 달성되고, 이러한 구성요소에 대한 총합으로서 달성된다. 바람직하게는, 임의의 본 실시양태에 따른 구성요소에 대한 총 Pb 농도는 1000 ppm 미만, 더 바람직하게는 30 ppm 내지 1000 ppm의 범위, 가장 바람직하게는 100 ppm 내지 900 ppm이다. RoHS 준수는 각각 제1 및 제2 필름 내의 제1 및 제2 발광 결정의 적절한 농도를 선택함으로써 달성될 수 있다. 대상 농도는 MS 또는 XRF 측정에 의해 측정될 수 있다.
바람직하게는, 필름 당 고체 중합체 조성물의 중합체 매트릭스에 대한 각각의 발광 결정의 농도는 제1 필름의 경우에 0.01 wt% 내지 0.5 wt%의 범위 내, 바람직하게는 0.05 wt% 내지 0.38 wt%, 가장 바람직하게는 0.1 wt% 내지 0.35 wt%이고; 제2 필름의 경우에 0.01 wt% 내지 0.40 wt%, 바람직하게는 0.05 wt% 내지 0.31 wt%, 가장 바람직하게는 0.1 wt% 내지 0.28 wt%이다. 한편으로는 이러한 농도 범위의 상한은 RoHS 준수를 지원하고, 다른 한편으로는 이러한 농도 범위의 하한은 구성요소의 적정한 필름 두께에서 충분한 방출을 제공한다.
바람직하게는, 제1 필름의 두께는 3 ㎛ 내지 500 ㎛, 더 바람직하게는 5 ㎛ 내지 100 ㎛, 가장 바람직하게는 10 ㎛ 내지 30 ㎛이고, 제2 필름의 두께는 30 ㎛ 내지 500 ㎛, 바람직하게는 50 ㎛ 내지 200 ㎛, 가장 바람직하게는 70 ㎛ 내지 150 ㎛이다. 한편으로는 두께 범위의 하한은 RoHS 준수를 지원하고, 다른 한편으로는 두께 범위의 상한은 구성요소에서의 제한된 물질 사용량을 제공한다.
이에 수반된 높은 양자 수율, RoHS 준수, 낮은 물질 사용량, 방출된 스펙트럼에서 안정한 피크 위치 및 좁은 FWHM, 조정 가능한 방출 스펙트럼 및 높은 안정성은 관련 기술분야에서의 본 발명의 주요 성취를 나타낸다. 통상적으로, CdSe 또는 InP 물질이 LC로서 제안되었다. 그러나, 첫 번째 것은 충분한 양자 수율을 제공하는 반면, RoHS를 준수하기 어렵고, 종종 규제 면제에 의존한다. 다른 한편으로는, 후자는 RoHS를 준수하지만, 열등한 광학 품질 (양자 수율 < 60%; FWHM > 40 ㎚)을 나타낸다. 이와 대조적으로, 본 발명의 구성요소는 우수한 양자 수율, 낮은 피크 FWHM 및 RoHS 적합성 둘 다를 제공한다. LC를 위한 적절한 물질을 선택하고, 적절한 LC 농도 및 필름 두께를 적용하고, 이와 동시에 상이한 필름에 상이한 LC를 배열하고 그 결과 LC를 서로 분리하여 이온 교환 반응을 회피함으로써, 이를 달성한다.
광학 특성을 더 상세히 명시하기 위해, 제1 및 제2 필름 둘 다 또는 기재는 둘 다는 10 내지 90%의 헤이즈를 갖는 것이 바람직하다. 헤이즈는 RI > 2.0 및 100 - 1000 ㎚의 크기를 갖는 산란 입자에 의해 또는 미세구조 또는 미세결정성 중합체 구조에 의해 도입될 수 있다.
제1 실시양태에서, 제1 필름 및 제2 필름은 서로 부착된다. 이러한 실시양태에서는 기재가 요구되지 않을 수 있다. 배리어 필름이 제1 필름과 제2 필름의 적층체의 양쪽 외표면에 부착될 수 있다. 제1 필름, 제2 필름 및 두 개의 배리어 필름은 바람직하게는 동일한 평면 연장부, 즉 길이 및 너비를 갖는다.
일반적으로, 하나 이상의 배리어 필름이 제공될 수 있고, 바람직하게는 각각의 배리어 필름은 20 - 50℃ 온도/90% 상대 습도 및 대기압에서 0.2 (g*㎜)/(㎡*일) 미만의 수증기 투과율을 갖는다. 임의의 상기 및 하기 실시양태에서, 구성요소는 배리어 필름이 없으면 노출될 제1 및/또는 제2 필름의 표면 위에 배리어 필름을 포함할 수 있다. 이러한 배리어 필름은 특히 물에의 노출에 반응하여 필름/들 내의 LC가 열화되는 것을 회피하기 위해 낮은 수증기 투과율을 가질 수 있다. 배리어 필름은 한 실시양태에서는 O2에 대해 투과성일 수 있고, 또는 상이한 실시양태에서는 또한 산소에 대해 불투과성일 수 있다. 바람직하게는, 배리어 필름은 광에 대해 투과성이다. 이러한 배리어 필름은 단일 층의 형태로 또는 다층의 형태로 존재할 수 있다. 배리어 필름은 유기 중합체 및/또는 무기 물질을 포함한다. 적합한 유기 중합체는 폴리비닐리덴 클로라이드 (PVdC), 시클릭 올레핀 공중합체 (COC), 고밀도 폴리에틸렌 (HDPE)으로 이루어진 군으로부터 선택될 수 있고; 적합한 무기 물질은 금속 산화물, SiOx, SixNy로 이루어진 군으로부터 선택될 수 있다. 가장 바람직하게는, 중합체 배리어 필름은 PVdC 및 COC의 군으로부터 선택된 물질을 포함한다.
복합 배리어 필름 구성물, 예컨대 유기/무기 다층의 경우에, 배리어 필름의 수증기 투과율은 g/(㎡*일)로서 주어진 수증기 투과율에 ㎜로서 주어진 배리어 필름의 두께를 곱함으로써 계산된다. 예를 들어, 0.1 g/(㎡*일) 및 0.1 ㎜의 두께를 갖는 다층 배리어 필름은 0.01 (g*㎜)/(㎡*일)의 계산된 수증기 투과율을 초래할 것이다.
바람직한 실시양태에서, 단위 "g/(㎡*일)"로서 주어진 배리어 필름의 수증기 투과율은 1.0 g/(㎡*일) 미만, 바람직하게는 0.1 g/(㎡*일) 미만이다.
바람직하게는, 제1 및 제2 필름을 지지하기 위한 기재가 제공된다. 기재는 중합체 기재, 예컨대 폴리에틸렌테레프탈레이트 기재 또는 무기 물질, 예컨대 유리일 수 있다. 바람직하게는, 기재는 폴리에틸렌테레프탈레이트 (PET), 트리아세틸셀룰로스 (TAC), 폴리에틸렌 나프탈레이트 (PEN)의 목록으로부터 선택된다. 바람직하게는, 기재는 가시 스펙트럼의 광에 대해 투과성이고, 즉 기재는 불투명하지 않다. 한 실시양태에서, 제1 필름 및 제2 필름은 둘 다 기재에 부착되고, 따라서 가능한 결합 또는 다른 부착 층이 그것들 사이에 없다면, 기재와 직접 접촉한다. 상이한 실시양태에서, 제1 필름과 제2 필름 중 하나 또는 둘 다는 기재와 직접 접촉하지 않을 수 있지만, 기재에 부착된 또 다른 층 또는 필름에 부착될 수 있다. 이러한 배열에서 하나 이상의 필름은 여전히 기재에 의해 지지된 것으로 여겨진다. 이러한 지지체는 추가로 조립하기에 쉬울 수 있는, 또는 추가로 취급하기에 충분히 견고할 수 있는 구성요소를 형성한다. 기재는 바람직하게는 시트-유사 구조이고, 바람직하게는 그것의 길이 및 너비는 둘 다 기재의 높이/두께보다 더 크고 바람직하게는 둘 다 그것의 두께보다 적어도 10배 더 크다. 바람직한 실시양태에서, 기재의 두께는 30 ㎛ 내지 300 ㎛의 범위이고, 바람직하게는 50 ㎛ 내지 150 ㎛이다. 한 실시양태에서, 기재는 기재의 노출된 표면이 반드시 전용 배리어 필름에 의해 덮이지 않아도 되도록 배리어 필름으로서 작용할 수도 있다. 그러나, 상이한 실시양태에서, 특히 기재가 물에 대해 투과성일 때, 배리어 필름이 없다면 노출될 기재의 표면은 또한 배리어 필름에 의해 덮일 수 있다.
용어 "필름"은 그것의 길이 및 너비에 의해 정해진 그것의 평면 연장부가 기재의 길이 및 너비에 의해 정해진 기재의 평면 연장부와 동일하다는 것을 반드시 암시하지는 않는다. 각각의 제1 및 제2 필름은 특히 기재보다 더 작은 평면 연장부를 가질 수 있다. 그러나, 또 다른 실시양태에서, 각각의 제1 및 제2 필름은 기재의 평면 연장부와 동일한 평면 연장부를 갖는다.
바람직한 실시양태에서, 제1 및 제2 필름 중 하나 이상은 산란 입자, 예컨대 TiO2를 포함할 수 있다.
바람직한 부류의 실시양태에서, 기재, 제1 필름 및 제2 필름은 수직으로 적층되고, 즉 그것의 평면 연장부에 직교한다.
이러한 부류의 제1 실시양태에서, 기재는 제1 필름과 제2 필름 사이에 배열된다. 따라서, 제1 필름과 제2 필름은 기재에 의해 분리된다. 바람직한 변형양태에서, 제1 필름은 기재의 제1 표면, 예를 들어 그것의 하부 표면 바로 위에 침착되는 반면에, 제2 필름은 기재의 제2 표면, 예를 들어 그것의 상부 표면 바로 위에 침착된다. 상이한 변형양태에서, 특히 광 투과 특성을 갖는, 하나 이상의 중간 층이 필름 중 하나 또는 둘 다와 기재 사이에 배열될 수 있다. 기재 위에의 또는 서로의 위에의 제1 또는 제2 필름의 임의의 침착/부착 (후자는 하기에 설명될 것임)은 코팅, 침착, 라미네이팅, 결합 등을 포함할 수 있다. 바람직하게는, 제1 배리어 필름은 배리어 필름이 없으면 노출될 제1 필름의 표면 위에 침착되고, 제2 배리어 필름은 배리어 필름이 없으면 노출될 제2 필름의 표면 위에 침착된다.
상이한 방안에서, 필름 중 하나는 기재와 다른 필름 사이에 배열된다. 제1 실시양태에서, 제1 필름은 기재와 제2 필름 사이에 배열된다. 제2 실시양태에서, 제2 필름은 기재와 제1 필름 사이에 배열된다. 바람직한 변형양태에서, 필름 중 하나는 기재의 표면, 예를 들어 그것의 상부 표면 바로 위에 침착되는 반면에, 다른 필름은 하나의 필름 바로 위에 침착된다. 상이한 변형양태에서, 특히 광 투과 특성을 갖는, 하나 이상의 중간 층이 하나의 필름과 기재 사이에, 및/또는 하나의 필름과 다른 하나의 필름 사이에 배열될 수 있다. 바람직하게는, 배리어 필름이 없으면 노출될 제1 또는 제2 필름의 표면은 배리어 필름에 의해 덮일 수 있다. 한 실시양태에서, 배리어 필름이 없으면 노출될 기재의 표면은 또한 또 다른 배리어 필름에 의해 덮일 수 있다.
모든 상기 실시양태에서, 기재, 제1 및 제2 필름, 및 존재한다면 하나 이상의 배리어 필름의 평면 연장부는 동일한 것이 바람직하다. 이러한 점에 있어서, 발광 구성요소는 또한 적층 구조, 다수의 개별 필름으로 제조된 필름, 호일 등으로서 여겨질 수 있다. 액정 디스플레이를 위한 백라이트로서의 역할을 하는 발광 구성요소의 경우에, 이러한 직사각형 구성요소는, 예를 들어 휴대용 디스플레이의 경우에 3인치 초과의 대각선을 갖는 평면 연장부 또는 컴퓨터 디스플레이 또는 TV의 경우에 바람직하게는 15인치 초과의 대각선을 갖는 평면 연장부를 가질 수 있다. 상기에서는, 존재한다면 기재, 제1 필름 및 제2 필름 각각의 직사각형 평면 연장부가 요구되지만, 상기 범위는 직사각형 구성요소로 제한되는 것은 아니라는 것이 중요하다. 구성요소는 또한 상이한 기본 형상, 예컨대 원형, 타원형 등의 형상을 취할 수 있다.
상이한 부류의 실시양태에서, 기재, 제1 필름 및 제2 필름은 모두 수직으로 적층되지는 않지만, 제1 필름 및 제2 필름은 바람직하게는 동일한 수직 레벨로 배열되고, 즉 그것들은 구성요소의 연장부의 평면 내에서 측방향으로 나란히 배열된다. 바람직하게는, 제1 필름 및 제2 필름 둘 다는 기재의 공통의 표면, 예를 들어 그것의 상부 표면 위에 배열된다. 상이한 변형양태에서, 특히 광 투과 특성을 갖는, 하나 이상의 중간 층이 기재와 각각의 제1 및 제2 필름 사이에 배열될 수 있다. 제1 또는 제2 필름의 각각의 개별 단편의 크기는 바람직하게는 최종 용도에서 눈으로 감지할 수 있는 크기보다 더 작다는 것을 유념하도록 한다 (LCD 스크린에서 픽셀 크기에 필적할 만함).
그것의 한 실시양태에서, 제1 필름 및 제2 필름은 이격되도록 배열된다. 따라서 제1 필름과 제2 필름 사이에 측방향으로 틈이 제공된다. 틈은 공기 또는 상이한 기체로 채워질 수 있거나, 중합체와 같은 고체로 채워질 수 있다. 따라서, 제1 필름과 제2 필름은 서로 분리되고, 이에 의해 제1 발광 결정과 제2 발광 결정 사이에 임의의 재결합이 허용되지 않는다.
대안적 실시양태에서, 제1 필름 및 제2 필름은 인접하도록 배열된다. 여기서, 제1 필름 및 제2 필름은 서로 접촉하고, 특히 그것의 측표면에서 접촉한다.
구성요소의 임의의 상기 실시양태, 및 특히 임의의 제2 부류의 실시양태는 단일 제1 필름 및 단일 제2 필름으로 제한되지 않는다. 제1 고체 중합체 조성물을 포함하는 다수의 제1 필름 및 제2 고체 중합체 조성물을 포함하는 다수의 제2 필름이 동일한 레벨로 배열되는 것이 바람직할 수 있다. 다수의 제1 필름 및 다수의 제2 필름이 이격 배열 또는 인접 배열 중 하나로 기재 위에 교대로 배열되는 것이 바람직할 수 있다. 한 실시양태에서, 각각의 제1 및 제2 필름은 기재의 길이와 동일한 길이, 및 기재의 너비보다 더 작은, 바람직하게는 기재의 너비의 10분의 1보다 더 작은, 가장 바람직하게는 1 ㎜ 미만의 너비를 갖는 띠(stripe) 형상을 취할 수 있고, 그래서 다수의 제1 필름 띠 및 제2 필름 띠는 기재 위에 교대로 배열될 수 있다. 상이한 실시양태에서, 다수의 제1 및 제2 필름은 기재 위에 2차원 어레이의 형태로 배열될 수 있다. 예를 들어, 제1 필름 유형 직사각형/원형 및 제2 필름 유형 직사각형/원형을 이격 관계로 또는 접촉시키도록 교대로 놓음으로써 기재를 덮을 수 있다. 임의의 이러한 배열은 특히 구성요소의 평면 연장부가 훨씬 더 클 때, 예를 들어 구성요소가 디스플레이에서 사용될 예정일 때 유리할 수 있는데, 왜냐하면 백색 배경 광의 발생이라는 측면에서, 아래에 있는 기재의 한쪽 말단에서 적색 광만을 발생시키고 다른 쪽 말단에서 녹색 광만을 발생시키는 것이 아니라 상응하는 필름에 의해 나타나는 적색 광원 및 녹색 광원을 섞는 것이 바람직할 수 있기 때문이다.
제2 부류의 임의의 실시양태는 배리어 필름이 없으면 노출될 제1 및 제2 필름의 표면을 덮는 배리어 필름을 포함할 수 있다. 추가로, 배리어 필름이 없으면 노출될 기재의 표면은 또 다른 배리어 필름으로 덮일 수 있다.
발광 구성요소는 바람직하게는 다른 구성요소와 함께 조립되어 장치, 예컨대 광학 장치, 바람직하게는 액정 디스플레이 (LCD), 유기 발광 다이오드 (OLED), 발광 다이오드 (LED) 중 하나를 형성하는 중간 제품이다. 구성요소는, OLED, LED 또는 LCD의 일부로서, 이동형 또는 정지형 컴퓨팅, 전기통신 또는 텔레비전 장치의 디스플레이에 기여할 수 있다.
바람직한 실시양태에서, 장치는 백색 광을 방출하기 위한 액정 디스플레이를 위한 백라이트 필름을 나타낸다. 이러한 목적을 위해, 제1 및 제2 필름에서 발광 반응을 여기시키기 위해 청색 광원이 장치에 제공될 수 있다. 기재가 가시 스펙트럼의 광에 대해 광 투과 특성을 갖는 경우에, 발광 구성요소는 각각 제1 및 제2 필름 내의 발광 결정의 여기에 반응한 적색 광의 방출과 녹색 광의 방출의 조합, 및 제1 및 제2 필름을 여기시키는 데 청색 광을 사용하는 광원으로부터 유래된 청색 광의 투과로부터 초래된 백색 광을 방출한다. 방출된 적색, 녹색 및 청색 광의 강도(intensity) 비율은 바람직하게는 각각 1/3의 범위이다.
이러한 맥락에서, 본 발명의 또 다른 측면에 따라, 발광 구성요소는 액정 디스플레이를 위한 백라이트 필름으로서 사용될 수 있다.
발광 결정 (LC)은 바람직하게는 반도체 물질로 제조된다. 발광 결정은 전형적으로 3 - 12 ㎚의 범위의 양자점 및 100 ㎚ 이하의 나노결정 및 3 ㎛ 이하의 발광 결정을 포함할 것이다. 바람직하게는, 발광 결정은 거의 등축정계 (예컨대 구형 또는 입방정계)이다. 모든 3개의 직교 치수의 종횡비 (최장:최단 방향)가 1 - 2인 경우에 그 입자는 거의 등축정계인 것으로 여겨진다. LC는, 그 용어가 암시하는 바와 같이, 발광, 더 특히는 정의된 광발광을 나타낸다. 본 발명의 맥락에서, 발광 결정은 전형적으로 계면활성제의 존재로 인해 다른 입자로부터 공간적으로 분리된 단결정성 입자이다. 그것은 직접 밴드갭 (전형적으로 1.1 - 3.8 eV, 더 전형적으로 1.4 - 3.5 eV, 더욱 더 전형적으로 1.7 - 3.2 eV의 범위)을 나타내는 반도전성 물질이다. 밴드갭과 동일하거나 그보다 더 높은 전자기 방사선에 의한 여기/조명 시, 가전자대 전자가 전도대로 여기되어 가전자대에 정공을 남긴다. 이어서, 형성된 여기자 (전자 - 정공 쌍)는 광발광 형태로 발광 재결합하고, LC 밴드갭 값에 중심을 둔 최대 강도로 적어도 1%의 광발광 양자 수율을 나타낸다. LC는 외부 전자 및 정공원과 접촉하면 전기발광을 나타낼 수 있다. 본 발명의 맥락에서, LC는 기계발광 (예를 들어, 압력발광), 화학발광, 전기화학발광, 또는 열발광을 나타내지 않는다.
양자점 (QD)은 특히, 전형적으로 3 - 12 ㎚의 직경을 갖는 반도체 나노결정과 관련된 것이다. 이러한 범위에서, QD의 물리적 직경은 벌크 여기 보어(Bohr) 반경보다 더 작고, 이로 인해 양자 구속 효과가 우세하게 된다. 그 결과, QD의 전자 상태, 그러므로 밴드갭은 QD 조성 및 물리적 크기의 함수이고, 즉 흡수/방출의 색은 QD 크기와 연관된다. QD 샘플의 광학 품질은 그것의 균질성과 직접 연관된다. (QD가 더 단분산일수록 방출의 더 작은 FWHM을 가질 것이다.) QD가 보어 반경보다 더 큰 크기에 도달할 때, 여기자 재결합을 위한 비발광 경로가 우세해질 수 있기 때문에, 양자 구속 효과가 방해받고 샘플은 더 이상 발광성이지 않을 수 있다. 따라서, QD는 특히 그것의 크기 및 크기 분포에 의해 정해지는 나노결정의 특정한 하위군이다. QD의 특성은 이러한 매개변수들과 직접 연관되며, 그것을 나노결정과 구별한다.
각각의 제1 및 제2 고체 중합체 조성물은 바람직하게는, 각각의 유형의 발광 결정 외에도, 유기 및/또는 무기 합성 물질을 포함하여, 제1 고체 중합체 조성물 및 제2 고체 중합체 조성물 둘 다에 있어서 바람직하게는 동일한 유형의, 경화, 큐어링 또는 건조된 중합체를 포함한다. 바람직하게는, 중합체는 아크릴레이트 중합체 (공중합체를 포함함), 카르보네이트 중합체, 술폰 중합체, 에폭시 중합체, 비닐 중합체, 우레탄 중합체, 에스테르 중합체, 올레핀 중합체, 시클릭 올레핀 공중합체, 스티렌 중합체 및 실리콘 중합체의 군으로부터 선택된다. 가장 바람직하게는 중합체는 아크릴레이트 중합체 (공중합체를 포함함), 폴리스티렌, 실리콘 및 시클릭 올레핀 공중합체의 목록으로부터 선택된다. 더욱이 중합체는 선형일 수 있거나 가교될 수 있다.
바람직한 실시양태에서 제1 필름이 제2 필름과 직접 접촉할 때 제1 필름과 제2 필름이 잠재적으로 혼합되는 것을 회피하기 위해 제1 필름의 중합체는 제2 필름의 중합체와 상이하다.
경화/큐어링된 중합체는 바람직하게는 발광 결정에 의해 방출되는 광, 및 발광 결정을 여기시키는 데 사용되는 광원의 가능한 광이 통과하는 것을 허용하기 위해 광 투과성이고, 즉 불투명하지 않다.
제1 및 제2 중합체 조성물 중 하나 이상은, 바람직하게는, 경화/큐어링된 중합체 및 각각의 유형의 발광 결정 외에도, 비이온성, 음이온성, 양이온성 및 쯔비터이온성 계면활성제의 군으로부터 선택되는, 바람직하게는 아민 또는 카르복시 종결된 계면활성제의 군으로부터 선택된 계면활성제를 포함한다.
용어 "계면활성제", "리간드", "분산제" 및 "분산화 작용제"는 관련 기술분야에 공지되어 있고, 본질적으로 동일한 의미를 갖는다. 본 발명의 맥락에서, 이러한 용어는, 현탁액 또는 콜로이드에서 입자의 분리를 개선하고 응집 또는 침강을 방지하는 데 사용되는, 용매가 아닌 유기 물질을 뜻한다. 이론에 얽매려는 것은 아니지만, 계면활성제는 입자를 용매에 첨가하기 전 또는 후에 입자 표면에 물리적으로 또는 화학적으로 부착됨으로써 요망되는 효과를 제공한다고 생각된다. 용어 계면활성제는 중합체 물질 및 작은 분자를 포함하고; 계면활성제는 전형적으로 극성 말단 기 및 비극성 말단 기를 함유한다. 본 발명의 맥락에서, 용매 (예를 들어, 톨루엔)는 계면활성제라고 여겨지지 않는다.
상기에서 제조와 관련된 측면에서 사용된 바와 같은 "현탁액"은 공지되어 있고, 고체인 내부 상(i.p.) 및 액체인 외부 상(e.p.)의 불균질 유체와 관련된 것이다. 외부 상은 하나 이상의 분산제/계면활성제, 임의로 하나 이상의 용매 및 임의로 하나 이상의 예비중합체 또는 용해된 중합체를 포함한다. 따라서, 각각의 유형의 발광 결정 (제1, 제2)이 현탁액의 전용 부분에 첨가된다. 추가의 가공은 현탁액의 한 부분 또는 각각의 부분을 기재 위의 요망되는 영역에 도포하는 것을 포함한다. 이러한 단계는 용액-기재의 (= 액체) 출발 물질을 사용하여 기재에 코팅 또는 얇은 필름을 형성하는 것을 뜻하는 용액 가공이라고도 지칭된다. 이것은 중요한 이점이라고 여겨지는데, 왜냐하면 그것은 큰 영역에 적용 가능한 간단한 기술을 사용하여 모든 필름을 제조할 수 있게 하고 연속적 가공을 가능하게 하기 때문이다.
바람직하게는, 제1 필름에서 제1 LC를 서로 공간적으로 분리하고 제2 필름에서 제2 LC를 서로 공간적으로 분리하기 위해 제1 및 제2 발광 결정 각각은 매트릭스, 예컨대 중합체 매트릭스 또는 무기 매트릭스 내에 박힌다. 형성된 "LC/QD 복합체"는 LC/QD, 계면활성제 및 매트릭스를 포함하는 고체 무기/유기 복합 물질을 뜻하고, 각각의 제1 또는 제2 필름에 기여한다.
다른 유리한 실시양태는 종속항뿐만 아니라 하기 설명에 열거된다.
본 발명의 실시양태, 측면 및 이점을 나타내거나 초래하는 실시양태, 실시예, 실험은 그것의 하기 상세한 설명으로부터 더 잘 이해될 것이다. 이러한 설명은 첨부된 도면을 참조한다.
도 1 내지 4는 각각 본 발명의 실시양태에 따른 발광 구성요소의 투시도를 도시하고;
도 5는 본 발명의 실시양태에 따른 발광 장치의 개략적 블록도를 도시하고;
도 6은 본 발명의 실시양태에 따른 장치의 방출 스펙트럼을 도시한다.
<도면의 상세한 설명>
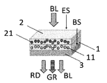
도 1은 본 발명의 실시양태에 따른 발광 구성요소의 투시도를 도시한다. 발광 구성요소는, 예를 들어 불투명하지 않은 중합체 또는 불투명하지 않은 무기 물질, 예컨대 유리로 제조된, 기재(3)를 포함한다. 기재는 상부 표면(TS) 및 상부 표면(TS)의 반대쪽에 있는 하부 표면(BS)을 갖는다.
제1 필름(1)은 기재(3)의 상부 표면(TS)에 부착된다. 제2 필름(2)은 기재(3)의 하부 표면(BS)에 부착된다. 예를 들어 각각의 필름을 기재 위에 결합시키거나 직접 캐스팅함으로써 부착을 달성할 수 있다. 각각의 제1 필름(1), 제2 필름(2) 및 기재(3)는 x-축을 따라 길이, y-축을 따라 너비, 및 z-축을 따라 두께를 갖는다.
제1 및 제2 필름(1, 2)의 특징에 대한 하기 설명은 본 섹션에서 도입된 모든 다른 실시양태에 적용 가능하다.
제1 필름(1)은 제1 고체 중합체 조성물을 포함한다. 제1 고체 중합체 조성물은 적어도 제1 중합체 및 제1 발광 결정(11)을 포함하고, 여기서 제1 발광 결정(11)은 본원에서 정의된 바와 같은 화학식 (I)의 화합물로부터 선택된다.
제1 발광 결정(11)은 3 ㎚ 내지 3000 ㎚의 크기를 갖는다. 제1 발광 결정(11)은 여기에 반응하여 적색 광을 방출한다.
제2 필름(2)은 제2 고체 중합체 조성물을 포함한다. 제2 고체 중합체 조성물은 적어도 제2 중합체 및 제2 발광 결정(21)을 포함한다. 제2 발광 결정(21)은 본원에서 정의된 바와 같은 화학식 (II)의 화합물로부터 선택된다.
제2 발광 결정(21)은 3 ㎚ 내지 3000 ㎚의 크기를 갖는다. 제2 발광 결정(21)은 여기에 반응하여 녹색 광을 방출한다.
제1 및 제2 중합체는 바람직하게는 동일하지만, 반드시 동일한 것은 아니다.
도 1로부터 유추되는 바와 같이, 제1 및 제2 필름(1, 2) 둘 다가 기재(3)의 상부 및 각각의 하부 표면(TS, BS) 전체에 걸쳐 연장되는 것이 바람직하다. 따라서, 기재(3)의 점유 평면은 완전히 활용될 수 있다.
제1 발광 결정(11)과 제2 발광 결정(21)은 서로 분리된다. 이러한 실시양태에서, 기재(3)가 분리를 달성한다. 따라서, 제1 및 제2 필름(1, 2)은, 장기간 동안에도, 안정하다. 제1 필름(1)은 여기 시 적색 광을 방출하는 제1 발광 결정(11)만을 전적으로 포함하고, 그래서 바람직하게는 제1 필름(1)에는 제2 발광 결정(21)이 존재하지 않고 제1 발광 결정(11) 외의 임의의 다른 것이 존재하지 않는 것이 바람직하며, 이러한 특징은 임의의 다른 실시양태에서도 그러하다. 따라서, 제2 필름(2)은 여기 시 녹색 광을 방출하는 제2 발광 결정(21)만을 전적으로 포함하고, 그래서 바람직하게는 제2 필름(2)에는 제1 발광 결정(11)이 존재하지 않고 제2 발광 결정(21) 외의 임의의 다른 것이 존재하지 않는 것이 바람직하며, 이러한 특징은 임의의 다른 실시양태에서도 그러하다.
도 1에 나타내어진 바와 같이, 이러한 발광 구성요소가 방사선, 특히 청색 방사선(BL)에 노출되면, 제1 및 제2 발광 결정(11 및 21)은 여기되어 각각 적색 및 녹색 광(RD, GR)을 방출한다. 발광 구성요소를 통과한 청색 광(BL)의 부분과 함께, 발광 구성요소의 산출물은 백색 광이다. 따라서, 본 장치는 바람직하게는 예를 들어 LCD에서의 백라이트 조명으로서 사용될 수 있다.
도 2는 본 발명의 또 다른 실시양태에 따른 발광 구성요소의 투시도를 도시한다. 이번에도, 발광 구성요소는 기재(3) 및 제1 및 제2 필름(1, 2)을 포함한다. 제1 필름(1)은 바람직하게는 제1 발광 결정(11)만을 포함하는 반면에 제2 필름(2)은 바람직하게는 제2 발광 결정(21)만을 포함한다. 이번에도, 제1 및 제2 필름(1 및 2)은 기재(3)의 표면 전체에 걸쳐 연장된다. 그러나, 도 1과는 대조적으로, 제1 및 제2 필름(1 및 2)은 기재(3)의 상이한 면 위에 배열되지 않지만, 기재(3)의 동일한 면에서 서로의 위에 배열된다. 따라서, 제1 및 제2 발광 필름(1 및 2)으로 구성된 적층체가 기재(3)의 표면, 예를 들어 하부 표면(BS) 위에 침착된다. 이러한 적층체는 또한 상이한 중합체 조성물의 층에 의해 분할될 수 있다. 도 2에 도시된 예에서, 제1 발광 필름(1)은 기재(3)의 하부 표면(BS)에 부착되는 반면에, 제2 발광 필름(2)은 제1 필름(1)의 노출된 표면의 하부 위에 배열된다. 상이한 배열에서, 제2 발광 필름(2)은 기재(3)의 하부 표면(BS)에 부착되는 반면에, 제1 발광 필름(1)은 제2 발광 필름(2)의 노출된 표면에 부착된다. 물론, 발광 구성요소의 제조에 있어서, 필름은 기재(3)에 순차적으로 부착될 수 있다. 상이한 실시양태에서, 제1 및 제2 발광 필름(1, 2)은 서로 부착되어 적층체를 형성한 후에 기재(3)에 부착된다.
도 3 및 4는 본 발명의 추가의 실시양태에 따른 발광 구성요소의 투시도를 도시한다. 도 1 및 2의 실시양태에서와 같이 단지 단일 제1 필름(1) 및 단일 제2 필름(2)을 제공하는 대신에, 다수의 제1 필름(1) 및 다수의 제2 필름(2)이 제공되고, 여기서 유형 당 두 개의 필름의 개수는 단지 예시적이다. 제1 및 제2 발광 필름(1, 2)이 상이한 레벨로, 즉 도 1 및 2의 실시양태에서와 같이 상이한 수직 (z-) 위치에 배열되는 대신에, 발광 필름(1 및 2)은 동일한 레벨로 z-축 위에 배열된다. 따라서, 제1 및 제2 발광 필름(1 및 2)은 동일한 평면에 나란히 배열되고, 그 결과, 제1 및 제2 필름(1, 2)은 둘 다 기재(3)의 공통의 표면 위에, 예를 들어 그것의 하부 표면(BS) 위에 배열된다. 도 3의 실시양태에서, 제1 및 제2 필름(1 및 2)은 교대로 서로 접촉하도록 배열되는 반면에, 도 4의 실시양태에서, 제1 및 제2 필름(1 및 2)은 교대로 서로 공기 틈에 의해 분리되도록 배열된다. 공간적 배열은 바람직하게는 최종 용도에서 눈에 띄지 않을 정도로 작은 크기를 갖는다는 것을 유념하도록 한다.
도 5는 본 발명의 실시양태에 따른 발광 장치의 개략적 블록도를 도시한다. 장치(5)는 도 1에 따른 발광 구성요소(41), 및 청색 광을 방출하기 위한 광원(42)을 포함하고, 광원(42)은 방출된 청색 광으로 하여금 발광 구성요소(41)를 여기시키게 하도록 배열된다. 바람직하게는, 광원(42)은 제1 및 제2 필름(1, 2)과 동일한 길이 및 너비의 요소로서 구현되며, 발광 구성요소(41)에 부착된다.
도 1 내지 5의 발광 구성요소의 임의의 실시양태에서, 배리어 필름이 없으면 노출될 제1 또는 제2 필름(1 또는 2)의 표면(ES)은 바람직하게는 각각의 필름(1 및 2) 내의 발광 결정을 보호하기 위해 배리어 필름에 의해 덮인다. 바람직하게는, 이러한 한 개 또는 두 개의 배리어 필름은 배리어 필름이 없으면 노출될 표면 전체에 걸쳐 연장되지만, 반드시 z-방향을 따라 대상 필름(1, 2)의 두께에 의해 나타내어지는 제1 또는 제2 필름(1, 2)의 측표면 전체에 걸쳐 연장될 필요는 없다.
<실시예 및 실험>
실시예 1: 공칭 조성 CsPbBr3을 갖는 녹색 방출 발광 결정 (LC)을 프로테세스쿠 등 (Nano Lett., 2015, 15, 3692-3696)에 의해 제시된 문헌상 절차에 따라 합성하였다. 분산액을 450℃로 가열하여 용매를 증발시키고 리간드를 연소시킴으로써, LC 농도를 0.54 wt%로 결정하였다. 분산액을 퀀타우러스(Quantaurus) C11347-11 장치 (적분구가 장착됨, 하마마츠(Hamamatsu))를 사용하여 광학적으로 특징지었다. 450 ㎚에서 여기된 LC 분산액은 23 ㎚의 FWHM을 갖고 500 ㎚에 중심을 둔 광발광 피크 및 89%의 광발광 양자 수율을 가졌다.
12.4 wt%의 이러한 배합물을 톨루엔 중 30 wt% PMMA (플렉시글라스(Plexiglas) 7N)의 87.3 wt% 용액 및 0.3 wt% TiO2 산란 입자 (크로노스(Kronos 2800))와 혼합하고, 60℃로 예열된 유리 기재 위에 직접 부었다. 과량의 혼합물을 독터 블레이드 (젠트너(Zehntner) ZAA2300)를 사용하여 제거하고, 60℃에서 4h 동안 건조시킨 후에, 마이크로미터 (미투토요(Mitutoyo) IP65)를 사용하여 측정 시 100 ㎛ 두께의 필름을 형성하였다. 450 ㎚의 광을 사용하여 여기 시, 필름은 22 ㎚의 FWHM을 갖고 507 ㎚에 중심을 둔 피크 및 76%의 광발광 양자 수율을 갖는 광발광을 나타내었다. 건조 필름은 거의 900 ppm의 계산된 Pb 농도를 가졌다.
실시예 2: 공칭 조성 CsPbBr3을 갖는 적색 방출 LC를 프로테세스쿠 등 (Nano Lett., 2015, 15, 3692-3696)에 의해 제시된 문헌상 절차에 따라 합성하였다. 분산액을 450℃로 가열하여 용매를 증발시키고 리간드를 연소시킴으로써, LC 농도를 0.06%로 결정하였다. 분산액을 퀀타우러스 C11347-11 장치 (적분구가 장착됨, 하마마츠)를 사용하여 광학적으로 특징지었다. 450 ㎚에서 여기된 LC 분산액은 33 ㎚의 FWHM을 갖고 638 ㎚에 중심을 둔 광발광 피크 및 72%의 광발광 양자 수율을 가졌다.
18.4 wt%의 이러한 배합물을 톨루엔 중 30 wt% PMMA (플렉시글라스 7N)의 81.3 wt% 용액 및 0.3 wt% TiO2 산란 입자 (크로노스 2800)와 혼합하고, 60℃로 예열된 유리 기재 위에 직접 부었다. 과량의 혼합물을 독터 블레이드 (젠트너 ZAA2300)를 사용하여 제거하고, 60℃에서 4h 동안 건조시킨 후에, 마이크로미터 (미투토요 IP65)를 사용하여 측정 시 50 ㎛ 두께의 필름을 형성하였다. 450 ㎚의 광을 사용하여 여기 시, 필름은 31 ㎚의 FWHM을 갖고 641 ㎚에 중심을 둔 피크 및 70%의 광발광 양자 수율을 갖는 광발광을 나타내었다. 건조 필름은 거의 130 ppm의 계산된 Pb 농도를 가졌다.
실시예 3: 각각 실시예 1 및 2에 기술된, 녹색 및 적색 방출 배합물 둘 다를 100 ㎛ 두께의 PET 호일의 양쪽 면에 동일한 프로토콜에 따라 코팅하였다. 형성된 양면-코팅된 PET 호일은 마이크로미터 (미투토요 IP65)를 사용하여 측정 시 두께가 250 ㎛였고, 100 ㎛ 녹색 방출 필름, 100 ㎛ PET 호일, 및 50 ㎛ 적색 방출 필름으로 구성되었다. 450 ㎚의 광을 사용하여 여기 시, 실시예 1에서와 동일한 장치를 사용하여 측정할 때 필름은 각각 22 및 33 ㎚의 FWHM을 갖고 507 및 636 ㎚에 중심을 둔 두 개의 피크 및 70%의 총 광발광 양자 수율을 갖는 광발광을 나타내었다. 이어서 이러한 호일을 프리즘 시트 및 디퓨저를 포함하지만 LCD 유닛을 갖지 않는 삼성(Samsung) SUHD TV (모델 UE48JS8580T)의 백라이트 필름으로서 사용하였다. 통과하는 광의 품질을 UPRTek MK350N+ 분광방사계를 사용하여, 도 6에 직선으로 나타내어진 바와 같이, 1:0.76:0.78 청색:녹색:적색 피크 적분 비를 얻었다. 도 6에는 또한 예를 들어 원래의 삼성 백라이트 필름의 통상의 피크 위치가 점선으로 나타내어져 있다. 삼성 필름의 적분 비는 1:0.74:0.84 청색:녹색:적색이었다. 450 ㎚ 광을 사용하여 여기 시, 실시예 1에서와 동일한 장치를 사용하여 측정할 때 삼성 필름은 각각 40 및 50 ㎚의 FWHM을 갖고 530 및 630 ㎚에 중심을 둔 두 개의 피크 및 56%의 총 광발광 양자 수율을 갖는 광발광을 나타내었다.
실험 4 (비교 실험): 각각 실시예 1 및 2에 기술된 녹색 및 적색 방출 배합물을 적색 LC:녹색 LC = 1:1의 건조 LC 중량비 (배합물 중량 9:1)로 함께 혼합하였다. 이론에 얽매이려는 것은 아니지만, 이온 교환 반응으로 인해, 형성된 배합물은 낮은 황색 발광을 나타내는 오렌지 색으로 되었다. 배합물을 실시예 1에서와 동일한 장치에서 측정하였고, 그것은 하기 광학적 특성을 나타내었다: 양자 수율 9.5%, 방출 피크 파장 554 ㎚, FWHM 28㎚. 그것을 실시예 1-2에서와 동일한 프로토콜에 따라 100 ㎛ PET 호일에 코팅할 때, 그것은 액체 혼합물에서와 유사한 광학적 특성을 나타내었다.
이러한 실험은 적색 및 녹색 LC는 광학적 특성에 큰 영향을 미치지 않고서 동일한 액체 배합물 또는 동일한 중합체 매트릭스에 배합될 수 없다는 것을 명백하게 입증한다.
실시예 5: 톨루엔 중 20 wt% COC (시클릭 올레핀 공중합체, 토파스(TOPAS) 8007)를 60℃로 예열된 유리 기재 위에 부었다. 과량의 혼합물을 독터 블레이드 (젠트너 ZAA2300)를 사용하여 제거하고, 60℃에서 2h 동안 건조시킨 후에, 마이크로미터 (미투토요 IP65)를 사용하여 측정 시 25 ㎛ 두께의 필름을 형성하였다. 이어서 이러한 필름을 실험 2로부터의 LC-PMMA 배합물로 오버코팅하고 60℃에서 4시간 동안 건조시켰다. 마지막으로, 적층체를 다시 톨루엔 중 20 wt% COC (토파스 8007)로 코팅하였다. 과량의 혼합물을 독터 블레이드를 사용하여 제거하고 필름을 60℃에서 2h 동안 건조시켰다. 450 ㎚의 광을 사용하여 여기 시, 실험 1에서와 동일한 장치를 사용하여 측정할 때 필름은 31 ㎚의 FWHM을 갖고 641 ㎚에 중심을 둔 피크 및 70%의 광발광 양자 수율을 갖는 광발광을 나타내었다.
이어서 적층체를 거의 90%의 상대 습도를 유지하는 수분 발생기가 내장된 60℃ 자동 온도 조절기에 넣었다. 72h 후에 적층체는 70%의 동일한 양자 수율을 유지하였다. LC-PMMA 필름 (COC를 포함하지 않음)만을 자동 온도 조절기에 넣는 것인 표준 측정에서, 72h 후에 광발광은 관찰되지 않았다 (양자 수율 < 1%).

Claims (15)

  1. 제1 고체 중합체 조성물을 포함하는 제1 필름(1)이며, 여기서 제1 고체 중합체 조성물은 제1 발광 결정(11)을 포함하고,
    여기서 제1 발광 결정(11)은,
    - 페로브스카이트 구조를 갖고,
    - 화학식 (I)의 화합물로부터 선택되고,
    M1 aM2 bXc (I)
    여기서,
    M1은 배위수 12를 갖는 30 mol% 이하의 하나 이상의 다른 금속으로 임의로 도핑된 Cs를 나타내고,
    M2는 배위수 6을 갖는 30 mol% 이하의 하나 이상의 다른 금속으로 임의로 도핑된 Pb를 나타내고,
    X는 독립적으로 Cl, Br, I, 시아나이드 및 티오시아네이트로 이루어진 군으로부터 선택된 음이온을 나타내고,
    a는 1을 나타내고,
    b는 1을 나타내고,
    c는 3을 나타내는 것이고;
    - 3 ㎚ 내지 3000 ㎚의 크기를 갖고,
    - 더 짧은 파장을 갖는 광에 의한 여기에 반응하여 적색 광을 방출하는 것인
    제1 필름(1);
    제2 고체 중합체 조성물을 포함하는 제2 필름(2)이며, 여기서 제2 고체 중합체 조성물은 제2 발광 결정(21)을 포함하고,
    여기서 제2 발광 결정(21)은,
    - 페로브스카이트 구조를 갖고,
    - 화학식 (II)의 화합물로부터 선택되고,
    M1 aM2 bXc (II)
    여기서,
    M1은 배위수 12를 갖는 30 mol% 이하의 하나 이상의 다른 금속으로 임의로 도핑된 Cs를 나타내고,
    M2는 배위수 6을 갖는 30 mol% 이하의 하나 이상의 다른 금속으로 임의로 도핑된 Pb를 나타내고,
    X는 독립적으로 Cl, Br, I, 시아나이드 및 티오시아네이트로 이루어진 군으로부터 선택된 음이온을 나타내고,
    a는 1을 나타내고,
    b는 1을 나타내고,
    c는 3을 나타내는 것이고;
    - 3 ㎚ 내지 3000 ㎚의 크기를 갖고,
    - 더 짧은 파장을 갖는 광에 의한 여기에 반응하여 녹색 광을 방출하는 것인
    제2 필름(2); 및
    각각 0.2 g ㎜ m-2-1 미만의 수증기 투과율을 갖는 하나 이상의 배리어 필름
    을 포함하는 발광 구성요소.
  2. 제1항에 있어서,
    제1 발광 결정(11)이 5 ㎚ 내지 100 ㎚의 크기를 갖고/거나,
    제2 발광 결정(21)이 5 ㎚ 내지 100 ㎚의 크기를 갖는 것인
    발광 구성요소.
  3. 제1항 또는 제2항에 있어서,
    제1 필름(1)의 두께가 3 ㎛ 내지 500 ㎛이고/거나,
    제2 필름(2)의 두께가 30 ㎛ 내지 500 ㎛인
    발광 구성요소.
  4. 제1항 내지 제3항 중 어느 한 항에 있어서,
    기재(3)를 포함하며,
    여기서 제1 필름(1)이 기재(3)에 의해 지지되고,
    여기서 제2 필름(2)이 기재(3)에 의해 지지된 것인
    발광 구성요소.
  5. 제1항 내지 제4항 중 어느 한 항에 있어서, 각각의 배리어 필름이, 임의로 유기/무기 다층 형태의, 폴리비닐리덴 클로라이드, 시클릭 올레핀 공중합체, 고밀도 폴리에틸렌, 금속 산화물, SiOx, SixNy로 이루어진 군으로부터 선택된 물질을 포함하는 것인 발광 구성요소.
  6. 제4항 또는 제5항에 있어서,
    기재(3)가 제1 필름(1)과 제2 필름(2) 사이에 배열되고,
    바람직하게는 제1 필름(1)이 제1 배리어 필름과 기재(3) 사이에 배열되고, 제2 필름(2)이 제2 배리어 필름과 기재(3) 사이에 배열된 것인
    발광 구성요소.
  7. 제4항 또는 제5항에 있어서,
    제1 및 제2 필름(1, 2) 중 하나가 기재(3)와 제1 및 제2 필름(2, 1) 중 다른 하나 사이에 배열되고,
    바람직하게는 제1 및 제2 필름(1, 2)이 기재(3)와 배리어 필름 사이에 배열된 것인
    발광 구성요소.
  8. 제4항 또는 제5항에 있어서,
    제1 필름(1) 및 제2 필름(2)이 기재(3)의 공통의 표면(TS, BS) 위에 배열되고,
    제1 필름(1) 및 제2 필름(2)이 이격되도록 또는 인접하도록 배열되고,
    바람직하게는 제1 필름(1) 및 제2 필름(2)이 기재(3)와 배리어 필름 사이에 배열된 것인
    발광 구성요소.
  9. 제8항에 있어서,
    제1 고체 중합체 조성물의 다수의 제1 필름(1),
    제2 고체 중합체 조성물의 다수의 제2 필름(2)
    을 포함하며,
    여기서 다수의 제1 필름(1) 및 다수의 제2 필름(2)이 기재(3)의 공통의 표면(TS, BS) 위에 배열되고,
    바람직하게는 다수의 제1 필름(1) 및 다수의 제2 필름(2)이 기재(3)와 배리어 필름 사이에 배열된 것인
    발광 구성요소.
  10. 제9항에 있어서, 다수의 제1 필름(1) 및 다수의 제2 필름(2)이 기재(3)의 공통의 표면(TS, BS) 위에 이격 배열 또는 인접 배열 중 하나로 교대로 배열된 것인 발광 구성요소.
  11. 제1항 내지 제10항 중 어느 한 항에 있어서,
    제1 발광 결정(11)이
    - CsPbBrxI3-x (여기서 0 ≤ x < 2),
    - CsPbClyBr3-y-zIz (여기서 0 < y < 1, 2 ≤ z ≤ 3 - y)
    로 이루어진 군으로부터 선택되고/거나,
    제2 발광 결정(21)이
    - CsPbBrxI3-x (여기서 2 ≤ x ≤ 3),
    - CsPbClyBrzI3-y-z (여기서 0 < y < 1, 1 < z ≤ 3 - y)
    로 이루어진 군으로부터 선택된 것인
    발광 구성요소.
  12. 제1항 내지 제11항 중 어느 한 항에 있어서,
    제1 필름(1)이 제1 발광 결정(11)만을 포함하고 제2 발광 결정(21)을 포함하지 않고,
    제2 필름(2)이 제2 발광 결정(21)만을 포함하고 제1 발광 결정(11)을 포함하지 않고,
    바람직하게는 제1 필름(1)이 제1 발광 결정(11)만을 포함하고 어떠한 다른 발광 결정도 포함하지 않고,
    바람직하게는 제2 필름(2)이 제2 발광 결정(21)만을 포함하고 어떠한 다른 발광 결정도 포함하지 않는 것인
    발광 구성요소.
  13. 제1항 내지 제12항 중 어느 한 항에 있어서,
    기재(3)가 유기 기재(3) 또는 무기 기재(3) 중 하나이고, 불투명하지 않고,
    바람직하게는 기재(3)가 중합체를 포함하고,
    가장 바람직하게는 기재(3)가 폴리에틸렌테레프탈레이트 (PET), 트리아세틸셀룰로스 (TAC), 폴리에틸렌 나프탈레이트 (PEN)의 목록으로부터 선택된 중합체를 포함하거나 그것으로 이루어지고/거나,
    각각의 제1 및 제2 고체 중합체 조성물이 아크릴레이트 중합체, 카르보네이트 중합체, 술폰 중합체, 에폭시 중합체, 비닐 중합체, 우레탄 중합체, 에스테르 중합체, 스티렌 중합체, 실리콘 중합체 및 시클릭 올레핀 공중합체, 바람직하게는 공중합체를 포함하는 폴리아크릴레이트, 폴리스티렌, 실리콘 및 시클릭 올레핀 공중합체의 군으로부터 선택된 중합체를 포함하는 것인
    발광 구성요소.
  14. 제1항 내지 제13항 중 어느 한 항에 따른 발광 구성요소,
    발광 구성요소를 여기시키도록 배열된, 청색 광을 방출하기 위한 광원(4)
    을 포함하고/거나,
    액정 디스플레이 (LCD), 유기 발광 다이오드 (OLED) 또는 발광 다이오드 (LED) 중 하나인
    발광 장치.
  15. 발광 구성요소가 청색 광에 의해 방사선조사되는 것에 반응하여 백색 광을 방출하기 위한, 특히 액정 디스플레이 (LCD)에서의 백라이트로서의, 제1항 내지 제13항 중 어느 한 항에 따른 발광 구성요소의 용도.
KR1020187020669A 2015-12-23 2016-12-15 발광 구성요소 Active KR102694742B1 (ko)

Applications Claiming Priority (3)

Application Number Priority Date Filing Date Title
EP15003668 2015-12-23
EP15003668.9 2015-12-23
PCT/EP2016/081165 WO2017108568A1 (en) 2015-12-23 2016-12-15 Luminescent component

Publications (2)

Publication Number Publication Date
KR20180098308A true KR20180098308A (ko) 2018-09-03
KR102694742B1 KR102694742B1 (ko) 2024-08-14

Family

ID=55070635

Family Applications (1)

Application Number Title Priority Date Filing Date
KR1020187020669A Active KR102694742B1 (ko) 2015-12-23 2016-12-15 발광 구성요소

Country Status (7)

Country Link
US (1) US10294420B2 (ko)
EP (1) EP3230401B1 (ko)
JP (1) JP6932701B2 (ko)
KR (1) KR102694742B1 (ko)
CN (1) CN108603103B (ko)
TW (1) TWI731910B (ko)
WO (1) WO2017108568A1 (ko)

Cited By (1)

* Cited by examiner, † Cited by third party
Publication number Priority date Publication date Assignee Title
KR102185153B1 (ko) * 2019-06-17 2020-12-02 아반타마 아게 발광 구성요소

Families Citing this family (19)

* Cited by examiner, † Cited by third party
Publication number Priority date Publication date Assignee Title
WO2016072806A2 (ko) * 2014-11-06 2016-05-12 포항공과대학교 산학협력단 코어-쉘 구조의 페로브스카이트 나노결정입자 발광체, 이의 제조방법 및 이를 이용한 발광소자
GB201513272D0 (en) * 2015-07-28 2015-09-09 Isis Innovation Luminescent material
KR102600473B1 (ko) * 2016-06-09 2023-11-13 삼성디스플레이 주식회사 조명장치
EP3282000A1 (en) * 2016-08-11 2018-02-14 Avantama AG Solid polymer composition
CN107238973A (zh) * 2017-07-19 2017-10-10 苏州星烁纳米科技有限公司 量子点膜及其制备方法
CN107329319A (zh) * 2017-07-21 2017-11-07 苏州星烁纳米科技有限公司 量子点膜片及其制备方法、背光模组
US11629288B2 (en) 2017-10-16 2023-04-18 Ns Materials Inc. Quantum-dot containing resin sheet or film, method for producing the same, and wavelength conversion member
CN107589482A (zh) * 2017-11-01 2018-01-16 惠州市华星光电技术有限公司 偏光片、液晶面板及液晶显示器
KR102491856B1 (ko) * 2017-12-18 2023-01-27 삼성전자주식회사 복수의 양자점층을 포함하는 광전 소자
US11550182B2 (en) 2018-01-10 2023-01-10 Sony Corporation Color filter and display device
WO2020195002A1 (ja) * 2019-03-28 2020-10-01 Nok株式会社 燃料電池用ガスケット
GB201915382D0 (en) 2019-10-23 2019-12-04 Quantum Advanced Solutions Llc Perovskite nanocrystal compositions
EP3936585A1 (en) 2020-07-07 2022-01-12 Avantama AG A solid polymer composition, a self-supporting film and a light emitting device
EP4097191A1 (en) * 2020-05-22 2022-12-07 Avantama AG Light emitting component, a light emitting device and a sheet-like material
EP3916070A1 (en) * 2020-05-29 2021-12-01 Avantama AG Solid polymer composition, a self-supporting film and a light emitting device
EP3981854A1 (en) 2020-10-08 2022-04-13 Avantama AG Light emitting component and light emitting device
US12344784B2 (en) 2020-08-31 2025-07-01 Quantum Advanced Solutions Limited Stabilized perovskite quantum dot material
CN113655658A (zh) * 2021-07-27 2021-11-16 荣耀终端有限公司 一种背光源及其制作方法、显示装置、电子设备
EP4180499B1 (en) * 2022-10-27 2024-09-25 Avantama AG Color conversion film with separation layer

Citations (4)

* Cited by examiner, † Cited by third party
Publication number Priority date Publication date Assignee Title
KR970707046A (ko) * 1994-10-18 1997-12-01 포올 알. 마르틴 신규한 물질의 조합합성 방법(the combinatorial synthesis of novel materials)
KR20130089295A (ko) * 2012-02-01 2013-08-12 주식회사 엘엠에스 양자점를 포함하는 조성물 및 이를 이용한 장치
US20140022779A1 (en) * 2011-04-01 2014-01-23 Kai Su White light emitting device
KR20140126410A (ko) * 2012-10-23 2014-10-30 미쓰이금속광업주식회사 형광체, led 발광 소자 및 광원 장치

Family Cites Families (12)

* Cited by examiner, † Cited by third party
Publication number Priority date Publication date Assignee Title
US8618595B2 (en) * 2001-07-02 2013-12-31 Merck Patent Gmbh Applications of light-emitting nanoparticles
KR100958228B1 (ko) * 2005-04-01 2010-05-17 프리즘, 인코포레이티드 광 형광 물질을 갖는 스크린을 구비한 디스플레이 시스템및 장치
KR102496406B1 (ko) * 2010-11-10 2023-02-06 나노시스, 인크. 양자 도트 필름들, 조명 디바이스들, 및 조명 방법들
JP6103183B2 (ja) * 2012-10-10 2017-03-29 ペクセル・テクノロジーズ株式会社 ペロブスカイト化合物を用いた電界発光素子
BR112015017244A2 (pt) 2013-01-21 2017-07-11 3M Innovative Properties Co artigo de filme de pontos quânticos, método de formação de um artigo de filme de pontos quânticos e material de pontos quânticos
CN105378554B (zh) * 2013-05-14 2019-01-22 伊英克公司 彩色电泳显示器
JPWO2014208356A1 (ja) * 2013-06-25 2017-02-23 コニカミノルタ株式会社 光学フィルム及び発光デバイス
DE112015000612A5 (de) 2014-02-03 2016-11-03 Juan Carlos González-Villar Antriebssystem für Förder-, Extruder-, Schub-, Zugeinrichtungen, Gleichlaufanwendungen und Zentrumswickler
CN104861958B (zh) * 2015-05-14 2017-02-15 北京理工大学 一种钙钛矿/聚合物复合发光材料及其制备方法
CN105204221B (zh) * 2015-10-28 2018-12-07 京东方科技集团股份有限公司 彩膜基板、显示面板及显示装置
CN106816520A (zh) * 2015-11-30 2017-06-09 隆达电子股份有限公司 波长转换材料及其应用
CN110518052B (zh) * 2019-08-29 2022-02-25 京东方科技集团股份有限公司 一种显示面板和显示装置

Patent Citations (4)

* Cited by examiner, † Cited by third party
Publication number Priority date Publication date Assignee Title
KR970707046A (ko) * 1994-10-18 1997-12-01 포올 알. 마르틴 신규한 물질의 조합합성 방법(the combinatorial synthesis of novel materials)
US20140022779A1 (en) * 2011-04-01 2014-01-23 Kai Su White light emitting device
KR20130089295A (ko) * 2012-02-01 2013-08-12 주식회사 엘엠에스 양자점를 포함하는 조성물 및 이를 이용한 장치
KR20140126410A (ko) * 2012-10-23 2014-10-30 미쓰이금속광업주식회사 형광체, led 발광 소자 및 광원 장치

Cited By (3)

* Cited by examiner, † Cited by third party
Publication number Priority date Publication date Assignee Title
KR102185153B1 (ko) * 2019-06-17 2020-12-02 아반타마 아게 발광 구성요소
KR20220003109A (ko) * 2019-06-17 2022-01-07 아반타마 아게 발광 구성요소
KR20230051716A (ko) * 2019-06-17 2023-04-18 아반타마 아게 발광 구성요소

Also Published As

Publication number Publication date
TW201802227A (zh) 2018-01-16
KR102694742B1 (ko) 2024-08-14
CN108603103B (zh) 2021-09-03
TWI731910B (zh) 2021-07-01
JP6932701B2 (ja) 2021-09-08
EP3230401A1 (en) 2017-10-18
EP3230401B1 (en) 2018-06-27
WO2017108568A1 (en) 2017-06-29
CN108603103A (zh) 2018-09-28
US20180273841A1 (en) 2018-09-27
JP2019502955A (ja) 2019-01-31
US10294420B2 (en) 2019-05-21

Similar Documents

Publication Publication Date Title
KR102694742B1 (ko) 발광 구성요소
JP7114784B2 (ja) ディスプレイデバイス
US10326058B2 (en) Luminescent component
JP6804632B2 (ja) 固体ポリマー組成物
KR102185153B1 (ko) 발광 구성요소

Legal Events

Date Code Title Description
PA0105 International application

St.27 status event code: A-0-1-A10-A15-nap-PA0105

PG1501 Laying open of application

St.27 status event code: A-1-1-Q10-Q12-nap-PG1501

R17-X000 Change to representative recorded

St.27 status event code: A-3-3-R10-R17-oth-X000

P11-X000 Amendment of application requested

St.27 status event code: A-2-2-P10-P11-nap-X000

P13-X000 Application amended

St.27 status event code: A-2-2-P10-P13-nap-X000

PA0201 Request for examination

St.27 status event code: A-1-2-D10-D11-exm-PA0201

E902 Notification of reason for refusal
PE0902 Notice of grounds for rejection

St.27 status event code: A-1-2-D10-D21-exm-PE0902

P11-X000 Amendment of application requested

St.27 status event code: A-2-2-P10-P11-nap-X000

P13-X000 Application amended

St.27 status event code: A-2-2-P10-P13-nap-X000

R17-X000 Change to representative recorded

St.27 status event code: A-3-3-R10-R17-oth-X000

E701 Decision to grant or registration of patent right
PE0701 Decision of registration

St.27 status event code: A-1-2-D10-D22-exm-PE0701

PR0701 Registration of establishment

St.27 status event code: A-2-4-F10-F11-exm-PR0701

PR1002 Payment of registration fee

St.27 status event code: A-2-2-U10-U12-oth-PR1002

Fee payment year number: 1

PG1601 Publication of registration

St.27 status event code: A-4-4-Q10-Q13-nap-PG1601

P22-X000 Classification modified

St.27 status event code: A-4-4-P10-P22-nap-X000