KR20180098113A - 플레어 이음부를 갖는 금속 주름관 및 그 가공장치와 제조방법 - Google Patents

플레어 이음부를 갖는 금속 주름관 및 그 가공장치와 제조방법 Download PDF

Info

Publication number
KR20180098113A
KR20180098113A KR1020170135582A KR20170135582A KR20180098113A KR 20180098113 A KR20180098113 A KR 20180098113A KR 1020170135582 A KR1020170135582 A KR 1020170135582A KR 20170135582 A KR20170135582 A KR 20170135582A KR 20180098113 A KR20180098113 A KR 20180098113A
Authority
KR
South Korea
Prior art keywords
corrugated pipe
main body
longitudinal direction
bellows
joint
Prior art date
Legal status (The legal status is an assumption and is not a legal conclusion. Google has not performed a legal analysis and makes no representation as to the accuracy of the status listed.)
Ceased
Application number
KR1020170135582A
Other languages
English (en)
Inventor
신화옥
Original Assignee
주식회사 두본후렉시블
Priority date (The priority date is an assumption and is not a legal conclusion. Google has not performed a legal analysis and makes no representation as to the accuracy of the date listed.)
Filing date
Publication date
Application filed by 주식회사 두본후렉시블 filed Critical 주식회사 두본후렉시블
Priority to PCT/KR2018/002298 priority Critical patent/WO2018155971A1/ko
Publication of KR20180098113A publication Critical patent/KR20180098113A/ko
Ceased legal-status Critical Current

Links

Images

Classifications

    • FMECHANICAL ENGINEERING; LIGHTING; HEATING; WEAPONS; BLASTING
    • F16ENGINEERING ELEMENTS AND UNITS; GENERAL MEASURES FOR PRODUCING AND MAINTAINING EFFECTIVE FUNCTIONING OF MACHINES OR INSTALLATIONS; THERMAL INSULATION IN GENERAL
    • F16LPIPES; JOINTS OR FITTINGS FOR PIPES; SUPPORTS FOR PIPES, CABLES OR PROTECTIVE TUBING; MEANS FOR THERMAL INSULATION IN GENERAL
    • F16L19/00Joints in which sealing surfaces are pressed together by means of a member, e.g. a swivel nut, screwed on, or into, one of the joint parts
    • F16L19/02Pipe ends provided with collars or flanges, integral with the pipe or not, pressed together by a screwed member
    • F16L19/025Pipe ends provided with collars or flanges, integral with the pipe or not, pressed together by a screwed member the pipe ends having integral collars or flanges
    • F16L19/028Pipe ends provided with collars or flanges, integral with the pipe or not, pressed together by a screwed member the pipe ends having integral collars or flanges the collars or flanges being obtained by deformation of the pipe wall
    • BPERFORMING OPERATIONS; TRANSPORTING
    • B21MECHANICAL METAL-WORKING WITHOUT ESSENTIALLY REMOVING MATERIAL; PUNCHING METAL
    • B21DWORKING OR PROCESSING OF SHEET METAL OR METAL TUBES, RODS OR PROFILES WITHOUT ESSENTIALLY REMOVING MATERIAL; PUNCHING METAL
    • B21D19/00Flanging or other edge treatment, e.g. of tubes
    • B21D19/08Flanging or other edge treatment, e.g. of tubes by single or successive action of pressing tools, e.g. vice jaws
    • FMECHANICAL ENGINEERING; LIGHTING; HEATING; WEAPONS; BLASTING
    • F16ENGINEERING ELEMENTS AND UNITS; GENERAL MEASURES FOR PRODUCING AND MAINTAINING EFFECTIVE FUNCTIONING OF MACHINES OR INSTALLATIONS; THERMAL INSULATION IN GENERAL
    • F16LPIPES; JOINTS OR FITTINGS FOR PIPES; SUPPORTS FOR PIPES, CABLES OR PROTECTIVE TUBING; MEANS FOR THERMAL INSULATION IN GENERAL
    • F16L25/00Construction or details of pipe joints not provided for in, or of interest apart from, groups F16L13/00 - F16L23/00
    • F16L25/0036Joints for corrugated pipes
    • FMECHANICAL ENGINEERING; LIGHTING; HEATING; WEAPONS; BLASTING
    • F16ENGINEERING ELEMENTS AND UNITS; GENERAL MEASURES FOR PRODUCING AND MAINTAINING EFFECTIVE FUNCTIONING OF MACHINES OR INSTALLATIONS; THERMAL INSULATION IN GENERAL
    • F16LPIPES; JOINTS OR FITTINGS FOR PIPES; SUPPORTS FOR PIPES, CABLES OR PROTECTIVE TUBING; MEANS FOR THERMAL INSULATION IN GENERAL
    • F16L9/00Rigid pipes
    • F16L9/02Rigid pipes of metal
    • F16L9/06Corrugated pipes

Landscapes

  • Engineering & Computer Science (AREA)
  • General Engineering & Computer Science (AREA)
  • Mechanical Engineering (AREA)
  • Joints That Cut Off Fluids, And Hose Joints (AREA)

Abstract

본 발명은 금속 주름관의 연결을 위한 플레어 이음부가 해당 금속 주름관을 직접 가공하여 형성되는 동시에 금속 주름관을 중심으로 그 벌어진 각도가 비교적 커 조인트 부재의 분리를 방지하는 기능 및 조인트 부재와의 접촉 면적 확대에 따른 기밀 기능이 크게 향상될 수 있도록 한 플레어 이음부를 갖는 금속 주름관 및 그 가공장치와 제조방법에 관한 것으로서, 본 발명에 따른 플레어 이음부를 갖는 금속 주름관은 길이방향을 따라 산과 골이 반복되는 주름관 본체 및 길이방향을 기준으로 상기 주름관 본체의 양쪽 중 적어도 한쪽에 상기 주름관 본체의 단부가 바깥쪽으로 벌려져 형성되는 플레어 이음부를 포함하며, 상기 주름관 본체로부터 상기 플레어 이음부를 향하는 방향을 전방으로 정할 때, 상기 플레어 이음부의 전방 단부의 외경은 상기 주름관 본체의 외경을 기준으로 5∼25% 크게 형성될 수 있다.

Description

플레어 이음부를 갖는 금속 주름관 및 그 가공장치와 제조방법{Metallic bellows with flare joint and processing apparatus and manufacturing method thereof}
본 발명은 금속 주름관의 연결을 위한 플레어 이음부가 해당 금속 주름관을 직접 가공하여 형성되는 동시에 금속 주름관을 중심으로 그 벌어진 각도가 비교적 커 조인트 부재의 분리를 방지하는 기능 및 조인트 부재와의 접촉 면적 확대에 따른 기밀 기능이 크게 향상될 수 있고, 또한 금속 주름관의 주름관 본체 및 조임너트 간의 결합 구조가 단순화되면서도 기밀한 연결은 가능케 하여 해당 금속 주름관의 생산성 향상 및 제조원가의 절감을 가능케 하는 플레어 이음부를 갖는 금속 주름관 및 그 가공장치와 제조방법에 관한 것이다.
본 출원은 2017년 02월 24일자로 출원된 한국특허출원 제10-2017-0024748호의 국내우선권주장출원으로서, 해당 출원의 명세서 및 도면에 개시된 모든 내용은 인용에 의해 본 출원에 원용된다.
일반적으로 주름관은 길이방향을 따라 산과 골이 연속적으로 형성된 주름 형태로 이루어지고, 따라서 임의의 형태로 구부리기 용이하기 때문에 다양한 용도의 배관으로 사용되고 있다.
금속 주름관을 예로 설명하면, 금속 주름관은 가스를 연료로 사용하는 보일러, 오븐기, 건조기, 가열기 등의 가스공급관으로서 널리 사용된다. 따라서 금속 주름관은 보일러의 연소기 등 열을 방출하는 구성에 연결되므로, 통상 고온에서 견딜 수 있는 우수한 내열성의 스테인리스 소재로 제조된다.
그리고 금속 주름관들 간의 연결 내지 보일러 연소기 등에 대한 금속 주름관의 연결은 통상 나사 결합 방식을 이용하는 암수형의 조인트 부재 및 고무패킹을 통해 이루어진다.
그러나 금속 주름관은 통상 고온의 가스 등 고온의 유체를 이송하는데 사용되므로, 기밀 유지 기능의 고무패킹이 녹는데 따른 기밀 기능의 저하 내지 상실 현상이 비교적 쉽게 발생되는 것이었다.
상술한 이유 등으로, 패킹부재를 구비하지 않고도 기밀성이 유지되면서 금속 주름관을 연결하는 방식으로 플레어 이음(flare joint) 방식이 널리 사용되고 있다.
플레어 이음 방식은 금속 주름관의 길이방향 일단에 종 내지 나팔 형태의 플레어 이음부를 제공하여 이러한 플레어 이음부의 내면 및 볼트형 조인트 부재의 외면 간 밀착 결합을 통해 해당 금속 주름관 및 그와 연결되는 다른 금속 주름관의 서로 연결되는 길이방향 일단이 기밀된 상태로 연결되게 하는 것이다.
그리고 이러한 플레어 이음 방식은 금속 주름관을 직접 가공하여 해당 금속 주름관의 길이방향 일단에 플레어 이음부를 일체로 형성시키는 방식 및 금속 주름관의 길이방향 일단에 별도의 플레어 이음부를 결합시키는 방식으로 구분될 수 있다.
그러나 금속 주름관을 직접 가공하여 플레어 이음부를 형성하는 기존 방식의 경우, 플레어 이음부 형성을 위한 금속 주름관의 가공 부위가 파열되지 않도록 금속 주름관을 중심으로 플레어 이음부의 벌어지는 각도가 매우 제한적일 수 밖에 없었다. 이는 금속 주름관의 플레어 이음부로부터 너트형 조인트 부재가 이탈되는 현상을 유발하고, 이의 방지를 위해 별도의 링을 금속 주름관에 끼우는 등 금속 주름관 간의 연결을 위한 부품 수 증가 및 그에 따른 비용 증가 그리고 비교적 복잡한 연결구조에 따른 작업상 번거로움과 작업 시간 증가 등이 초래되었다. 이에 더하여, 플레어 이음부의 외면과 너트형 조인트부재의 내면 간 접촉 면적 그리고 플레어 이음부의 내면과 볼트형 조인트 부재의 외면 간 접촉 면적이 각각 좁아 기밀 기능이 떨어지는 것이었다.
또한, 별도의 플레어 이음부가 사용되는 기존 방식의 경우, 플레어 이음 부위의 구성요소가 늘어나면서 해당 플레어 이음 부위의 연결 구조 및 작업이 비교적 복잡해지고 이에 비례하여 제조원가도 상승되는 측면이 있었다.
한국 공개특허 제10-2010-0028519호(2010.03.12.공개), “금속 주름관 연결부위의 실링장치” 한국 등록특허 제10-1295220호(2013.08.12.공고), “가스용 금속 주름관 호스 제조방법 및 그 금속 주름관 호스”
본 발명의 실시 예는 금속 주름관의 연결을 위한 플레어 이음부가 해당 금속 주름관을 직접 가공하여 형성되는 동시에 금속 주름관을 중심으로 그 벌어진 각도가 비교적 커 너트형 조인트 부재의 분리를 방지하는 기능 및 너트형 조인트 부재, 볼트형 조인트 부재와의 접촉 면적 확대에 따른 기밀 기능이 크게 향상될 수 있도록 한 플레어 이음부를 갖는 금속 주름관 및 그 가공장치와 제조방법을 제공한다.
또한, 본 발명의 실시 예는 금속 주름관 간의 플레어 이음이 별도의 플레어 이음부를 필요로 하지 않으면서도 금속 주름관 간 연결 및 기밀 유지 기능은 우수한 형태로 제공될 수 있어, 해당 금속 주름관의 제조원가 절감 및 현장에서의 작업성 향상이 이루어질 수 있게 하는 플레어 이음부를 갖는 금속 주름관 및 그 가공장치와 제조방법을 제공한다.
또한, 본 발명의 실시 예는 금속 주름관의 주름관 본체 및 조임너트 간의 결합 구조가 단순화되면서도 기밀한 연결은 가능케 하여 해당 금속 주름관의 생산성 향상 및 제조원가의 절감을 가능케 하는 플레어 이음부를 갖는 금속 주름관 및 그 가공장치와 제조방법을 제공한다.
본 발명의 실시 예에 따른 금속 주름관은 길이방향을 따라 산과 골이 반복되는 주름관의 형태이되 길이방향의 양단 중 적어도 한쪽에는 길이방향을 기준으로 바깥쪽에 위치한 하나 또는 둘 이상의 산이 외측 방향으로 펼쳐져 걸림턱을 형성한 주름관 본체와, 상기 주름관 본체의 상기 걸림턱을 형성한 일단이 삽입되는 상태로 상기 주름관 본체와의 분리 방지를 위해 상기 걸림턱과 대응되는 내향 돌출턱이 형성된 적어도 하나의 조임너트를 포함할 수 있다.
또한, 상기 주름관 본체의 상기 산과 골이 반복되는 본체 부분으로부터 상기 걸림턱을 향하는 방향을 전방으로 정할 때, 상기 걸림턱은 전방으로 경사진 형태인 동시에 상기 조임너트의 내향 돌출턱은 후방으로 경사진 경사면을 갖는 형태일 수 있다.
또한, 상기 걸림턱 및 내향 돌출턱의 기울기는 30° 내지 60°인 것일 수 있다.
그리고 본 발명의 실시 예에 따른 금속 주름관의 제조방법은 내향 돌출턱이 내면에 형성된 조임너트를 길이방향을 따라 산과 골이 반복되는 주름관 본체의 길이방향 양쪽 중 적어도 한쪽에 끼우는 단계와, 상기 주름관 본체의 상기 조임너트가 끼워지는 쪽의 단부에 확장된 지름의 걸림턱을 형성하기 위한 지름 확장장치가 상기 주름관 본체에 결합되되, 상기 지름 확장장치는, 상기 주름관 본체의 파지를 위해 서로 대칭되는 반원형 홈이 길이방향을 따라 각각 형성되어 상기 반원형 홈들을 연결하면서 상기 주름관 본체를 양쪽에서 파지하여 상기 주름관 본체의 회전을 방지하되 상기 반원형 홈들의 길이방향 일단에는 각각 지름이 확장되는 방향으로 경사지게 연장되는 경사면이 형성된 한 쌍의 주름관 고정부와, 상기 주름관 본체의 일단에 삽입되는 삽입 안내 돌기 및 상기 삽입 안내 돌기의 길이방향 일단으로부터 상기 주름관 고정부의 경사면과 대응되는 기울기로 형성되는 경사면부를 포함하는 회전 몸체부와, 상기 삽입 안내 돌기의 길이방향 일단으로부터 방사형으로 상기 경사면부에 형성되는 복수의 회전핀을 포함하여, 상기 주름관 본체가 길이방향 일단을 상기 주름관 고정부들의 경사면 안쪽에 위치시키는 상태로 상기 주름관 고정부들을 통해 회전 방지되는 단계와, 상기 회전 몸체부의 상기 삽입 안내 돌기가 상기 주름관 본체의 길이방향 일단에 삽입되어 상기 경사면부의 길이방향 일단이 상기 주름관 본체의 길이방향 일단에 접하는 단계와, 상기 회전 몸체부가 회전하면서 상기 주름관 고정부들 방향으로 점진적인 이동을 하여 상기 주름관 본체의 길이방향 일단이 상기 경사면과 상기 회전 몸체부의 경사면부 사이에서 외측 방향으로 벌려지면서 상기 조임너트의 내향 돌출턱을 걸리게 하는 상기 걸림턱이 형성되되, 상기 주름관 본체의 길이방향 일단이 외측 방향으로 벌려지는 과정에서 상기 회전핀이 상기 주름관 본체의 벌려지는 내면과 상기 경사면부의 사이에서 면 간의 마찰력을 감소시키는 단계를 포함할 수 있다.
또한, 상기 회전 몸체부가 회전하면서 상기 주름관 고정부들 방향으로 점진적인 이동을 하여 상기 주름관 본체의 길이방향 일단이 상기 경사면과 상기 회전 몸체부의 경사면부 사이에서 외측 방향으로 벌려지면서 상기 조임너트의 내향 돌출턱을 걸리게 하는 상기 걸림턱이 형성되되, 상기 주름관 본체의 길이방향 일단이 외측 방향으로 벌려지는 과정에서 상기 회전핀이 상기 주름관 본체의 벌려지는 내면과 상기 경사면부의 사이에서 면 간의 마찰력을 감소시키는 단계에는, 상기 주름관 고정부의 경사면 및 상기 회전 몸체부의 경사면부 기울기가 각각 30° 내지 60°의 범위로 형성되어 상기 걸림턱이 상기 주름관 본체의 외면으로부터 30° 내지 60° 각도로 경사지면서 형성되는 과정이 포함될 수 있다.
그리고 본 발명의 실시 예에 따른 플레어 이음부를 갖는 금속 주름관은 길이방향을 따라 산과 골이 반복되는 주름관 본체 및 길이방향을 기준으로 상기 주름관 본체의 양쪽 중 적어도 한쪽에 상기 주름관 본체의 단부가 바깥쪽으로 벌려져 형성되는 플레어 이음부를 포함하며, 상기 주름관 본체로부터 상기 플레어 이음부를 향하는 방향을 전방으로 정할 때, 상기 플레어 이음부의 전방 단부의 외경은 상기 주름관 본체의 외경을 기준으로 5∼25% 크게 형성될 수 있다.
또한, 상기 플레어 이음부는 상기 주름관 본체의 길이방향을 기준으로 상기 주름관 본체로부터 25°∼55°의 기울기로 형성될 수 있다.
또한, 상기 플레어 이음부는 전방 단부가 안쪽으로 접히어 내면에 접하는 형태일 수 있다.
또한, 상기 플레어 이음부는 안쪽 면이 연마를 통해 평평한 면의 상태일 수 있다.
그리고 본 발명의 실시 예에 따른 플레어 이음부를 갖는 금속 주름관의 가공장치는 주름관 본체의 파지를 위한 서로 대칭되는 반원형 홈이 길이방향을 따라 각각 형성되되, 상기 반원형 홈들의 길이방향 일단에는 지름을 확장하는 방향으로 경사지는 경사면이 각각 형성되고, 상기 반원형 홈들의 연결에 의해 형성되는 파지홀 내측에 상기 주름관 본체를 파지하되, 상기 파지홀을 개폐할 수 있는 형태의 결합을 하는 한 쌍의 주름관 고정부와, 상기 주름관 고정부들의 상기 경사면과 대응되는 기울기의 경사면부를 포함하며, 상기 파지홀에 파지된 주름관 본체의 일단에 상기 경사면부의 선단을 삽입한 상태로 회전 및 상기 경사면 방향으로의 점진적 이동을 하는 플레어 가공부와, 상기 경사면부의 선단을 기준으로 상기 경사면부에 방사형으로 설치되되, 상기 플레어 가공부의 회전 방향과 동일한 방향으로 제자리 회전할 수 있는 상태로 상기 경사면부에 각각 결합되는 복수의 회전핀을 포함할 수 있다.
또한, 상기 플레어 가공부는, 상기 파지홀에 파지된 주름관 본체의 내측으로 상기 경사면부의 선단을 안내하기 위해 상기 주름관 본체의 내경보다 작은 외경으로 상기 경사면부의 선단으로부터 돌출 형성되는 삽입 안내 돌기를 더 포함할 수 있다.
또한, 상기 한 쌍의 주름관 고정부는, 상기 주름관 본체의 골에 삽입되어 상기 플레어 가공부의 점진적 이동 시 상기 주름관 본체의 밀림을 방지하는 스토퍼 돌기가 상기 반원형 홈의 내면에 각각 형성될 수 있다.
본 발명의 실시 예에 따르면, 금속 주름관의 연결을 위한 플레어 이음부가 해당 금속 주름관을 직접 가공하여 형성되는 동시에 금속 주름관을 중심으로 그 벌어진 각도가 비교적 커 너트형 조인트 부재의 분리를 방지하는 기능 및 너트형 조인트 부재, 볼트형 조인트 부재와의 접촉 면적 확대에 따른 기밀 기능이 크게 향상될 수 있게 된다.
또한, 금속 주름관 간의 플레어 이음이 별도의 플레어 이음부를 필요로 하지 않으면서도 금속 주름관 간 연결 및 기밀 유지 기능은 우수한 형태로 제공될 수 있어, 해당 금속 주름관의 제조원가 절감 및 현장에서의 작업성 향상이 이루어질 수 있게 된다.
또한, 금속 주름관의 주름관 본체 및 조임너트 간의 결합 구조가 단순화되면서도 기밀한 연결은 가능케 하여 해당 금속 주름관의 생산성 향상 및 제조원가의 절감이 가능해진다.
도 1은 본 발명의 일 실시 예에 따른 금속 주름관을 보인 사시도
도 2는 본 발명의 일 실시 예에 따른 금록 주름관을 보인 단면도
도 3은 본 발명의 일 실시 예에 따른 금속 주름관 제조방법에 따라 회전 방지된 주름관 본체에 지름 확장장치가 결합되기 전 상태를 예시한 사시도
도 4는 도 3에 따른 회전 방지된 주름관 본체에 지름 확장장치가 결합된 상태를 예시한 사시도
도 5는 도 4에 따른 회전 방지된 주름관 본체에 지름 확장장치가 결합된 상태의 단면도
도 6은 도 4 내지 도 5의 상태에서 지름 확장장치를 통해 주름관 본체에 경사진 걸림턱이 형성되어 조임너트의 분리가 방지되는 상태를 예시한 단면도
도 7은 본 발명의 일 실시 예에 따른 플레어 이음부를 갖는 금속 주름관의 사시도
도 8은 본 발명의 일 실시 예에 따른 플레어 이음부를 갖는 금속 주름관의 단면도
도 9는 본 발명의 일 실시 예에 따른 플레어 이음부를 갖는 금속 주름관의 가공장치를 예시한 사시도
도 10 내지 도 12는 도 9의 실시 예에 따른 플레어 이음부를 갖는 금속 주름관의 가공장치를 통해 금속 주름관에 플레어 이음부가 형성되는 과정을 순차적으로 예시한 도면
이하의 본 발명에 관한 상세한 설명들은 본 발명이 실시될 수 있는 실시 예이고 해당 실시 예의 예시로써 도시된 첨부 도면을 참조한다. 이들 실시 예는 당업자가 본 발명의 실시에 충분하도록 상세히 설명된다. 본 발명의 다양한 실시 예는 서로 다르지만 상호 배타적일 필요는 없음이 이해되어야 한다. 예를 들어, 여기에 기재되어 있는 특정 형상, 구조 및 특성은 일 실시 예에 관련하여 본 발명의 사상 및 범위를 벗어나지 않으면서 다른 실시 예로 구현될 수 있다. 또한, 각각의 기재된 실시 예 내의 개별 구성요소의 위치 또는 배치는 본 발명의 사상 및 범위를 벗어나지 않으면서 변경될 수 있음이 이해되어야 한다.
따라서 후술되는 상세한 설명은 한정적인 의미로서 취하려는 것이 아니며, 본 발명의 범위는 적절하게 설명된다면 그 청구항들이 주장하는 것과 균등한 모든 범위와 더불어 첨부된 청구항에 의해서만 한정된다. 도면에서 유사한 참조부호는 여러 측면에 걸쳐서 동일하거나 유사한 기능을 지칭한다.
본 발명에서 사용되는 용어는 본 발명에서의 기능을 고려하면서 가능한 현재 널리 사용되는 일반적인 용어들을 선택하였으나, 이는 당 분야에 종사하는 기술자의 의도 또는 판례, 새로운 기술의 출현 등에 따라 달라질 수 있다. 또한, 특정한 경우는 출원인이 임의로 선정한 용어도 있으며, 이 경우 해당되는 발명의 설명 부분에서 상세히 그 의미를 기재할 것이다. 따라서 본 발명에서 사용되는 용어는 단순한 용어의 명칭이 아닌, 그 용어가 가지는 의미와 본 발명의 전반에 걸친 내용을 토대로 정의되어야 한다.
발명에서 전체에서 어떤 부분이 어떤 구성요소를 “포함”한다고 할 때, 이는 특별히 반대되는 기재가 없는 한, 다른 구성요소를 제외하는 것이 아니라 다른 구성요소를 더 포함할 수 있음을 의미한다. 또한, 명세서에 기재된 “…부”, "…모듈“ 등의 용어는 적어도 하나의 기능이나 동작을 처리하는 단위를 의미한다.
도 1 내지 도 12를 참조하여 본 발명의 실시 예에 따른 플레어 이음부를 갖는 금속 주름관 및 그 가공장치와 제조방법에 대해 설명한다.
먼저, 도 1 및 도 2를 참조하여 본 발명의 일 실시 예에 따른 금속 주름관에 대해 설명한다.
도 1은 본 발명의 일 실시 예에 따른 금속 주름관을 보인 사시도이고, 도 2는 본 발명의 일 실시 예에 따른 금속 주름관을 보인 단면도이다.
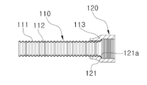
도시된 바와 같이, 본 발명의 일 실시 예에 따른 금속 주름관(100)은 주름관 본체(110) 및 조임너트(120)를 포함하여 구성될 수 있다. 또한, 본 발명의 일 실시 예에 따른 금속 주름관(100)은 조임볼트(130)를 더 포함하여 구성될 수 있다.
주름관 본체(110)는 길이방향을 따라 산(111)과 골(112)이 반복되는 주름관의 형태로 이루어지며, 이러한 주름관 본체(110)의 길이방향 양단 중 적어도 한쪽에는 길이방향을 기준으로 바깥족에 위치한 하나 또는 둘 이상의 산이 외측 방향으로 펼쳐져 걸림턱(113)을 형성한다.
조임너트(120)는 주름관 본체(110)의 길이방향 일단이 삽입되는 상태로 주름관 본체(110)와의 분리 방지를 위해 주름관 본체(110)의 걸림턱(113)과 대응되는 내향 돌출턱(121)이 형성된 형태이다. 이에 따라, 조임너트(120)는 주름관 본체(100)의 길이방향 일단에만 걸림턱(113)이 형성되는 경우 하나의 조임너트(120)가 해당 주름관 본체(110)에 끼워질 것이며, 주름관 본체(110)의 길이방향 양단에 각각 걸림턱(113)이 형성되는 경우 두 개의 조임너트(120)가 해당 주름관 본체(110)의 길이방향 양쪽에 각각 끼워지게 된다.
참고로, 본 실시 예에서는 주름관 본체(110)의 길이방향 일단에만 걸림턱(113)이 형성되고, 이에 따라 하나의 조임너트(120)가 주름관 본체(110)에 분리 방지되는 상태로 끼워진 예를 설명하고 있지만, 상술한 기재에서 알 수 있는 바와 같이 본 발명이 이에 한정되는 것은 아니다.
상술한 구성에 의해서, 주름관 본체(110) 및 조임너트(120) 간의 결합이 주름관 본체(110)의 걸림턱(113) 및 조임너트(120) 내면의 내향 돌출턱(121)을 통해 이루어짐에 따라, 금속 주름관(100)의 구조는 단순화되면서도 주름관 본체(110) 및 조임너트(120) 간 기밀한 연결한 가능하다. 그리고 이는 해당 금속 주름관(100)의 생산성 향상 및 제조 원가의 절감으로 이어지게 된다.
그리고 주름관 본체(110)의 산(111)과 골(112)이 반복되는 본체 부분으로부터 걸림턱(113)을 향하는 방향을 전방으로 정할 때, 걸림턱(113)은 전방으로 경사진 형태인 동시에 조임너트(120)의 내향 돌출턱(121)은 후방으로 경사진 경사면(121a)을 갖는 형태일 수 있다. 또한, 주름관 본체(110)의 걸림턱(113) 및 조임너트(120)의 내향 돌출턱(121)의 기울기는 30° 내지 60°의 범위 내에서 정해지는 것일 수 있다.
이러한 구성에 의해서, 주름관 본체(110)의 외면과 조임너트(120)의 내면 간 갭(gap)을 줄이면서 걸림턱(113) 및 내향 돌출턱(121)을 주름관 본체(110) 및 조임너트(120)에 각각 형성시킬 수 있고, 이에 따라 걸림턱(113) 및 내향 돌출턱(121)을 통한 주름관 본체(110) 및 조임너트(120) 간 기밀 연결 부분에서 주름관 본체(110)와 조임너트(120) 간의 상호 유동 현상이 최소화될 수 있다.
미설명된 부호 30은 조임너트(120)에 결합되는 조임볼트(130)를 예시한 것이며, 이러한 조임볼트(130)의 구체적인 구성 및 기능은 본 출원인의 등록특허인 특허 제10-1295220호 “가스용 금속 주름관 호스 제조방법 및 그 금속 주름관 호스”에 기재된 내용을 참조하면 될 것이므로, 본 실시 예에서 이에 대한 구체적인 설명은 생략한다.
다음은 도 2에 도 3 내지 도 6을 더 참조하여 본 발명의 일 실시 예에 따른 금속 주름관의 제조방법에 대해 설명한다.
도 3은 본 발명의 일 실시 예에 따른 금속 주름관 제조방법에 따라 회전 방지된 주름관 본체에 지름 확장장치가 결합되기 전 상태를 예시한 사시도
도시된 바와 같이, 내향 돌출턱(121)이 내면에 형성된 조임너트(120)를 길이방향을 따라 산(111)과 골(112)이 반복되는 주름관 본체(110)의 길이방향 양쪽 중 적어도 한쪽에 끼운다.
그리고 주름관 본체(110)의 조임너트(120)가 끼워지는 쪽의 단부에 확장된 지름의 걸림턱(113)을 형성하기 위한 지름 확장장치(200)가 주름관 본체(110)에 결합된다. 이러한 지름 확장장치(200)의 세부 구성에 대해 설명한다.
지름 확장장치(200)는 주름관 고정부(210,211) 및 회전 몸체부(220) 그리고 복수의 회전핀(230)을 포함하여 구성된다.
주름관 고정부(210,211)는 주름관 본체(110)의 파지를 위해 서로 대칭되는 반원형 홈(210a,211a)이 길이방향을 따라 각각 형성되어 이러한 반원형 홈(210a,211a)들을 서로 연결하면서 주름관 본체(110)를 양쪽에서 파지하는 한 쌍으로 이루어진다. 이에 따라 주름관 고정부(210,211)들은 상호 간의 완전 분리가 가능한 형태로 결합되어 반원형 홈(210a,211a)들을 서로 연결하거나, 일측이 경첩 등을 통해 회전 가능하게 결합되어 상대 회전을 통해 반원형 홈(210a,211a)들을 서로 연결하는 형태일 수 있다.
이러한 주름관 고정부(210,211)들은 주름관 본체(110)의 회전을 방지하는 기능을 한다.
또한, 주름관 고정부(210,211)들은 반원형 홈(210a,211a)의 길이방향 일단에 지름이 확장되는 방향으로 경사지게 연장되는 경사면(210b,211b)이 각각 형성된다.
회전 몸체부(220)는 주름관 본체(110)의 일단에 삽입되는 삽입 안내 돌기(221) 및 이러한 삽입 안내 돌기(221)의 길이방향 일단으로부터 주름관 고정부(210,211)의 경사면(210b,211b)과 대응되는 기울기로 형성되는 경사면부(222)를 포함하여 구성된다.
회전핀(230)은 삽입 안내 돌기(221)의 길이방향 일단으로부터 방사형으로 회전 몸체부(220)의 경사면부(222)에 형성된다.
부연 설명하면, 본 실시 예에서는 주름관 고정부(210,211)가 주름관 본체(110)의 삽입 및 파지를 위해 반원형 홈(210a,211a)을 각각 형성한 한 쌍의 바이트 구성인 것을 예로 하였으나, 본 발명이 이에 한정되는 것은 아니다.
상술한 지름 확장장치(200)의 구성에 의해서, 주름관 본체(110)가 길이방향 일단을 주름관 고정부(210,211)들의 경사면(210b,211b) 안쪽에 위치시키는 상태로 주름관 고정부(210,211)들을 통해 회전 방지된다.
다음은 도 4 및 도 5를 참조하여 지름 확장장치(200)를 통해 주름관 본체(110)의 길이방향 일단이 지름 확장되어 걸림턱(113)을 형성하는 과정에 대해 설명한다.
도 4는 도 3에 따른 회전 방지된 주름관 본체에 지름 확장장치가 결합된 상태를 예시한 사시도이고, 도 5는 도 4에 따른 회전 방지된 주름관 본체에 지름 확장장치가 결합된 상태의 단면도
도시된 바와 같이, 회전 몸체부(220)의 삽입 안내 돌기(221)가 주름관 본체(110)의 길이방향 일단에 삽입되어 경사면부(222)의 길이방향 일단이 주름관 본체(110)의 길이방향 일단에 접한다.
이러한 상태에서, 회전 몸체부(220)가 회전하면서 주름관 고정부(210,211)들 방향으로 점진적인 이동을 하여 주름관 본체(110)의 길이방향 일단이 주름관 고정부(210,211)들의 경사면(210b,211b)과 회전 몸체부(220)의 경사면부(222) 사이에서 외측 방향으로 벌려지면서 조임너트(120)의 내향 돌출턱(121)을 걸리게 하는 걸림턱(113)을 형성한다. 이때, 주름관 본체(110)의 길이방향 일단이 외측 방향으로 벌려지는 과정에서 회전핀(230)이 주름관 본체(110)의 벌려지는 내면과 경사면부(222) 사이에서 면 간의 마찰력을 감소시킨다. 즉, 회전핀(230)이 회전을 통해 주름관 본체(110)의 내면 및 회전 몸체부(220)의 경사면부(222) 간의 마찰을 감소시키는 기능에 의해서, 해당 주름관 본체(110)의 길이방향 일단이 외측으로 벌려지면서 걸림턱(113)을 형성하는 과정에서 해당 주름관 본체(110)의 벌려지는 영역이 찢어지는 등의 훼손으로부터 보호될 수 있다.
또한, 이와 같이 주름관 본체(110)의 길이방향 일단에 걸림턱(113)을 형성시키는 단계에서, 주름관 고정부(110,111)의 경사면(210b,211b) 및 회전 몸체부(220)의 경사면부(222) 기울기가 각각 30° 내지 60°의 범위로 형성되고, 이에 따라 주름관 본체(110)의 걸림턱(113)이 해당 주름관 본체(110)의 외면으로부터 30° 내지 60°의 각도로 경사지면서 형성되는 과정이 포함될 수 있다.
도 6은 도 4 내지 도 5의 상태에서 지름 확장장치(200)를 통해 주름관 본체(110)에 경사진 걸림턱(113)이 형성되어 조임너트(120)의 분리가 방지되는 상태를 예시한 단면도이다.
도시된 바와 같이, 도 4 내지 도 5의 과정을 통해 주름관 본체(110)의 길이방향 일단에 걸림턱(113)이 형성된 후, 지름 확장장치(200)의 회전 몸체부(220) 및 회전핀(230)이 해당 주름관 본체(110)의 길이방향 일단으로부터 분리되는 동시에 해당 주름관 본체(110)는 지름 확장장치(200)의 주름관 고정부(210,211)로부터 분리되어 도 2에 예시된 것처럼 주름관 본체(110)에 조임너트(120)가 분리 방지되게 결합된 금속 주름관(100)을 형성한다.
상술한 도 1 내지 도 6을 참조한 설명을 통하여 알 수 있는 바와 같이, 본 발명에 따른 금속 주름관 및 그 제조방법은, 금속 주름관의 주름관 본체 및 조임너트 간의 결합 구조가 단순화되면서도 기밀한 연결은 가능케 하여 해당 금속 주름관의 생산성 향상 및 제조원가의 절감을 가능케 한다.
다음은 도 7 및 도 8을 참조하여 본 발명의 일 실시 예에 따른 플레어 이음부를 갖는 금속 주름관에 대해 설명한다.
도 7은 본 발명의 일 실시 예에 따른 플레어 이음부를 갖는 금속 주름관의 사시도이고, 도 8은 본 발명의 일 실시 예에 따른 플레어 이음부를 갖는 금속 주름관의 단면도이다.
도시된 바와 같이, 본 실시 예에 따른 플레어 이음부를 갖는 금속 주름관(300 : 이하 “금속 주름관”이라 약칭함)은 주름관 본체(310) 및 플레어 이음부(320)를 포함하여 형성된다.
주름관 본체(310)는 길이방향을 따라 산(311)과 골(312)이 반복되는 주름관의 형태로 이루어진다.
플레어 이음부(320)는 길이방향을 기준으로 주름관 본체(310)의 양쪽 중 적어도 한쪽에 주름관 본체(310)의 단부가 바깥쪽으로 벌려져 형성된다. 부연 설명하면, 플레어 이음부(320)는 길이방향을 기준으로 주름관 본체(310)의 단부에 위치하는 하나 또는 둘 이상의 산(311)이 골(312)과 함께 외측 방향으로 펼쳐져 형성된다.
그리고 주름관 본체(310)로부터 플레어 이음부(320)를 향하는 방향을 전방으로 정할 때, 플레어 이음부(320)의 전방 단부의 외경은 주름관 본체(310)의 외경을 기준으로 5∼25% 크게 형성되는 것일 수 있다. 또한, 플레어 이음부(320)는 주름관 본체(310)의 길이방향을 기준으로 주름관 본체(310)로부터 25°∼55°의 기울기로 형성되는 것일 수 있다. 도면을 참조하여 부연 설명하면, 도 2에 도시된 것처럼, 플레어 이음부(320)는 주름관 본체(310)의 외면을 길이방향을 따라 연결한 가상선을 기준으로 상기 가상선과 이루는 각도(θ)가 25°∼55°의 범위가 되도록 형성될 수 있다.
또한, 플레어 이음부(320)는 안쪽 면이 연마를 통해 평평한 면의 상태일 수 있다.
상술한 바와 같이 플레어 이음부(320)는 외경이 주름관 본체(310)의 외경에 비해 5∼25% 크게 형성되고, 주름관 본체(310)의 길이방향을 기준으로 주름관 본체(310)로부터 25°∼55°의 기울기로 형성됨에 따라, 해당 주름관 본체(310)에 끼워진 너트형 조인트 부재(400)는 주름관 본체(310)의 외경에 비해 현저히 큰 플레어 이음부(320)의 외경으로 인해 주름관 본체(310)로부터 분리되는 현상이 방지된다. 그리고 플레어 이음부(320)의 경사진 외면과 너트형 조인트 부재(400)의 내면 간에 충분한 면 접촉이 이루어지고, 플레어 이음부(320)의 경사진 내면과 볼트형 조인트 부재(500)의 외면 간에 충분한 면 접촉이 이루어지면서 기밀 기능이 크게 향상될 수 있고, 이를 위해 너트형 조인트 부재(400) 및 볼트형 조인트 부재(500)는 각각 플레어 이음부(320)의 기울기와 대응되는 경사면(410, 510)을 형성한 형태일 수 있다. 이때, 플레어 이음부(320)의 안쪽 면, 다시 말해 플레어 이음부(320)의 경사진 내면이 연마를 통한 평평한 면의 상태이므로, 볼트형 조인트 부재(500)의 경사면(510)과 보다 기밀하게 면 접촉되면서 기밀 기능이 극대화될 수 있다.
또한, 플레어 이음부(320)는 전방 단부가 안쪽으로 접히어 내면에 접하는 형태일 수 있다.
상술한 구성에 의해서, 금속 주름관(300)의 길이방향 일단을 중심으로 너트형 조인트 부재(400) 및 볼트형 조인트 부재(500)의 기밀 유지형 결합이 별도의 결합용 부품을 필요로 하지 않으면서 이루어질 수 있고, 이에 따라 금속 주름관(300)을 포함하여 해당 결합 구조는 단순화되면서도 해당 결합 부위의 기밀 성능은 크게 향상될 수 있다. 그리고 이는 해당 금속 주름관(300)의 생산성 향상 및 제조 원가의 절감으로 이어지게 된다.
다음은 도 9 내지 도 12를 참조하여 본 발명의 일 실시 예에 따른 플레어 이음부를 갖는 금속 주름관의 가공장치에 대해 설명한다.
도 9는 본 발명의 일 실시 예에 따른 플레어 이음부를 갖는 금속 주름관의 가공장치를 예시한 사시도이다.
도시된 바와 같이, 본 발명의 일 실시 예에 따른 플레어 이음부를 갖는 금속 주름관의 가공장치(600 : 이하 “가공장치”라 약칭함)는 한 쌍의 주름관 고정부(611,612), 플레어 가공부(620) 및 복수의 회전핀(630)을 포함하여 구성된다.
한 쌍의 주름관 고정부(611,612)는 주름관 본체(310)의 파지를 위한 서로 대칭되는 반원형 홈(611a,612a)이 길이방향을 따라 각각 형성되되, 이러한 반원형 홈(611a,612a)들의 길이방향 일단에는 지름을 확장하는 방향으로 경사지는 경사면(611b,612b)이 각각 형성된다. 여기서, 경사면(611b,612b)의 기울기는 각각 반원형 홈(611a,612a)의 길이방향을 기준으로 반원형 홈(611a,612a)으로부터 25°∼55°의 기울기로 형성될 수 있다.
그리고 한 쌍의 주름관 고정부(611,642)는 그 반원형 홈(611a,611b)들의 연결에 의해 형성되는 파지홀(613, 도 7 참조) 내측에 주름관 본체(310)를 파지하되, 파지홀(613)을 개폐할 수 있는 형태의 결합을 한다.
즉, 한 쌍의 주름관 고정부(611,612)는 상호 간의 완전 분리가 가능한 방식으로 탈착 가능하게 결합되어 반원형 홈(611a,612a)들을 서로 연결하거나, 일측이 경첩 등을 통해 회전 가능하게 결합되어 상대 회전을 통해 반원형 홈(611a,612a)들을 서로 연결하는 형태일 수 있다. 부연 설명하면, 한 쌍의 주름관 고정부(611,612)는 주름관 본체(310)를 파지하여 회전을 방지시키는 기능을 하며, 본 실시 예에서는 이러한 한 쌍의 주름관 고정부(611,612)가 주름관 본체(310)의 삽입 및 파지를 위해 반원형 홈(611a,612a)을 각각 형성한 한 쌍의 바이트 구성인 것을 예로 하였으나, 본 발명이 이에 한정되는 것은 아니다.
또한, 주름관 고정부(611,612)들의 반원형 홈(611a,611b)이 연결되어 형성되는 파지홀(613) 중 반원형 홈(611a,611b)들의 경사면을 통해 형성되는 영역의 선단부 지름은 주름관 본체(310)의 외경을 기준으로 5∼25% 크게 형성되는 것일 수 있다.
또한, 한 쌍의 주름관 고정부(611,612)에는 주름관 본체(310)의 골(312)에 삽입되어 플레어 가공부(620)의 점진적 이동 시 주름관 본체(310)의 밀림을 방지하는 스토퍼 돌기(611c,612c)가 반원형 홈(611a,612a)의 내면에 각각 형성되는 것일 수 있다.
플레어 가공부(620)는 주름관 고정부(611,612)들의 경사면(611b,612b)과 대응되는 기울기의 경사면부(621)를 포함하며, 주름관 고정부(611,612)들의 파지홀(613, 도 7 참조)에 파지되는 주름관 본체(310)의 일단에 경사면부(621)의 선단을 삽입한 상태로 회전 및 경사면(611b,612b) 방향으로의 점진적 이동을 한다. 또한, 플레어 가공부(620)는 주름관 고정부(611,612)들의 파지홀(613)에 파지된 주름관 본체(310)의 내측으로 경사면부(621)의 선단을 안내하기 위해, 주름관 본체(310)의 내경보다 작은 외경으로 경사면부(621)의 선단으로부터 돌출 형성되는 삽입 안내 돌기(622)를 더 포함할 수 있다.
복수의 회전핀(630)은 플레어 가공부(620)에 형성되는 경사면부(621)의 선단을 기준으로 경사면부(621)에 방사형으로 설치되되, 플레어 가공부(620)의 회전 방향과 동일한 방향으로 제자리 회전할 수 있는 상태로 경사면부(621)에 각각 결합된다.
상술한 가공장치(600)를 통해 주름관 본체(310)에 플레어 이음부(320)가 형성되는 과정을 도 10 내지 도 12를 참조하여 설명한다.
도 10 내지 도 12는 도 9의 실시 예에 따른 플레어 이음부를 갖는 금속 주름관의 가공장치를 통해 금속 주름관에 플레어 이음부가 형성되는 과정을 순차적으로 예시한 도면이다.
먼저, 도 10은 한 쌍의 주름관 고정부(411,412)를 통해 주름관 본체(310)가 회전 방지되는 상태로 고정되는 과정 및 이렇게 고정되는 주름관 본체(310)의 길이방향 일단에 플레어 가공부(420)가 플레어 이음부(320)의 가공을 위해 접하게 되는 상태를 예시한 것이다. 여기서, 플레어 가공부(420)는 주름관 본체(310)에 삽입되는 삽입 안내 돌기(622)의 삽입 동작에 안내되면서 주름관 본체(310)의 길이방향 일단에 접하게 된다.
그리고 도 11은 도 10의 상태에서 플레어 가공부(620)가 회전과 함께 주름관 본체(310)의 방향으로 점진적인 이동을 하고, 이에 따라 주름관 본체(310)의 길이방향 일단이 플레어 가공부(620)의 경사면부(621)에 의해 점진적으로 밀리면서 플레어 형태로 형성되는 과정을 예시한 것이다. 이때, 회전핀(630)이 주름관 본체(310)의 플레어 형태로 벌려지는 내면 및 플레어 가공부(620)의 경사면부(621) 사이에서 면 간의 마찰력을 감소시킨다. 즉, 회전핀(620)이 회전을 통해 주름관 본체(310)의 플레어 형태로 벌려지는 내면 및 플레어 가공부(620)의 경사면부(621) 간 마찰을 감소시키며, 이러한 회전핀(630)의 기능에 의해서, 해당 주름관 본체(310)의 길이방향 일단이 플레어 형태로 벌려지면서 플레어 이음부(320)를 형성하는 과정에서 해당 주름관 본체(310)의 플레어 형태로 벌려지는 영역이 파열 등의 훼손으로부터 보호될 수 있다.
도 12는 도 11을 통한 플레어 가공부(620)의 회전 및 점진적인 이동 동작이 주름관 고정부(611,612)의 경사면(611b,612b)까지 진행되면서 주름관 본체(310)의 플레어 형태로 벌려지는 영역이 주름관 고정부(611,612)의 경사면(611b,612b)에 접하는 상태까지 진행되어 플레어 이음부(320)의 형성이 완료되고, 이에 따라 플레어 가공부(620)가 주름관 본체(310)로부터 분리되어 이동된 상태를 예시한 것이다. 이때, 플레어 이음부(320)의 안쪽 면은 플레어 이음부(320)를 형성하기 위한 플레어 가공부(620)의 가공 과정에서 연마되어 평평한 면의 상태가 된다.
가공장치(600)는 도 9 내지 도 12를 참조하여 설명한 일련의 과정을 통해서 일반적인 금속 주름관을 도 7 및 도 8을 참조하여 설명한 플레어 이음부를 갖는 금속 주름관(300)으로 가공한다.
상술한 도 7 내지 도 12를 참조한 설명을 통하여 알 수 있는 바와 같이, 본 발명에 따른 플레어 이음부를 갖는 금속 주름관 및 그 가공장치는, 금속 주름관의 연결을 위한 플레어 이음부가 해당 금속 주름관에 대한 직접 가공을 통해 형성되는 동시에 금속 주름관을 중심으로 그 벌어진 각도가 비교적 커 너트형 조인트 부재의 분리를 방지하는 기능 및 너트형 조인트 부재, 볼트형 조인트 부재와의 접촉 면적 확대에 따른 기밀 기능이 크게 향상될 수 있게 한다.
또한, 금속 주름관 간의 플레어 이음이 별도의 플레어 이음부를 필요로 하지 않으면서도 금속 주름관 간 연결 및 기밀 유지 기능은 우수한 형태로 제공될 수 있게 하여, 해당 금속 주름관의 제조원가 절감 및 현장에서의 작업성 향상이 이루어질 수 있게 한다.
이상과 같이 본 설명에서는 구체적인 구성 요소 등과 같은 특정 사항들과 한정된 실시 예 및 도면에 의해 설명되었으나, 이는 본 발명의 보다 전반적인 이해를 돕기 위해서 제공된 것일 뿐, 본 발명은 상기의 실시 예에 한정되는 것은 아니며, 본 발명이 속하는 분야에서 통상적인 지식을 가진 자라면 이러한 기재로부터 다양한 수정 및 변형이 가능하다.
따라서 본 발명의 사상은 설명된 실시 예에 국한되어 정하여 저서는 안되며, 후술되는 청구범위뿐만 아니라 이 청구범위와 균등하거나 등가적인 변형이 있는 모든 것들은 본 발명 사상의 범주에 속한다고 할 것이다.
100 : 금속 주름관 110 : 주름관 본체
111 : 산 112 : 골
113 : 걸림턱 120 : 조임너트
121 : 내향 돌출턱 121a : 경사면
130 : 조임볼트 200 : 지름 확장장치
210,211 : 주름관 고정부 210a,211a : 반원형 홈
210b,211b : 경사면 213 : 원형 홈
220 : 회전 몸체부 221 : 삽입 안내 돌기
222 : 경사면부 230 : 회전핀
300 : 금속 주름관 310 : 주름관 본체
311 : 산 312 : 골
320 : 플레어 이음부 400 : 너트형 조인트 부재
410 : 경사면 500 : 볼트형 조인트 부재
510 : 경사면 600 : 가공장치
611,612 : 주름관 고정부 611a,612a : 반원형 홈
611b,612b : 경사면 611c,612c : 스토퍼 돌기
613 : 파지홀 620 : 플레어 가공부
621 : 경사면부 622 : 삽입 안내 돌기
630 : 회전핀

Claims (12)

  1. 길이방향을 따라 산과 골이 반복되는 주름관의 형태이되, 길이방향의 양단 중 적어도 한쪽에는 길이방향을 기준으로 바깥쪽에 위치한 하나 또는 둘 이상의 산이 외측 방향으로 펼쳐져 걸림턱을 형성한 주름관 본체;
    상기 주름관 본체의 상기 걸림턱을 형성한 일단이 삽입되는 상태로 상기 주름관 본체와의 분리 방지를 위해 상기 걸림턱과 대응되는 내향 돌출턱이 형성된 적어도 하나의 조임너트를 포함하는 금속 주름관.
  2. 제 1 항에 있어서,
    상기 주름관 본체의 상기 산과 골이 반복되는 본체 부분으로부터 상기 걸림턱을 향하는 방향을 전방으로 정할 때,
    상기 걸림턱은 전방으로 경사진 형태인 동시에 상기 조임너트의 내향 돌출턱은 후방으로 경사진 경사면을 갖는 형태인 것을 특징으로 하는 금속 주름관.
  3. 제 2 항에 있어서,
    상기 걸림턱 및 내향 돌출턱의 기울기는 30° 내지 60°인 것을 특징으로 하는 금속 주름관.
  4. 내향 돌출턱이 내면에 형성된 조임너트를 길이방향을 따라 산과 골이 반복되는 주름관 본체의 길이방향 양쪽 중 적어도 한쪽에 끼우는 단계;
    상기 주름관 본체의 상기 조임너트가 끼워지는 쪽의 단부에 확장된 지름의 걸림턱을 형성하기 위한 지름 확장장치가 상기 주름관 본체에 결합되되, 상기 지름 확장장치는, 상기 주름관 본체의 파지를 위해 서로 대칭되는 반원형 홈이 길이방향을 따라 각각 형성되어 상기 반원형 홈들을 연결하면서 상기 주름관 본체를 양쪽에서 파지하여 상기 주름관 본체의 회전을 방지하되 상기 반원형 홈들의 길이방향 일단에는 각각 지름이 확장되는 방향으로 경사지게 연장되는 경사면이 형성된 한 쌍의 주름관 고정부와, 상기 주름관 본체의 일단에 삽입되는 삽입 안내 돌기 및 상기 삽입 안내 돌기의 길이방향 일단으로부터 상기 주름관 고정부의 경사면과 대응되는 기울기로 형성되는 경사면부를 포함하는 회전 몸체부와, 상기 삽입 안내 돌기의 길이방향 일단으로부터 방사형으로 상기 경사면부에 형성되는 복수의 회전핀을 포함하여, 상기 주름관 본체가 길이방향 일단을 상기 주름관 고정부들의 경사면 안쪽에 위치시키는 상태로 상기 주름관 고정부들을 통해 회전 방지되는 단계;
    상기 회전 몸체부의 상기 삽입 안내 돌기가 상기 주름관 본체의 길이방향 일단에 삽입되어 상기 경사면부의 길이방향 일단이 상기 주름관 본체의 길이방향 일단에 접하는 단계;
    상기 회전 몸체부가 회전하면서 상기 주름관 고정부들 방향으로 점진적인 이동을 하여 상기 주름관 본체의 길이방향 일단이 상기 경사면과 상기 회전 몸체부의 경사면부 사이에서 외측 방향으로 벌려지면서 상기 조임너트의 내향 돌출턱을 걸리게 하는 상기 걸림턱이 형성되되, 상기 주름관 본체의 길이방향 일단이 외측 방향으로 벌려지는 과정에서 상기 회전핀이 상기 주름관 본체의 벌려지는 내면과 상기 경사면부의 사이에서 면 간의 마찰력을 감소시키는 단계를 포함하는 금속 주름관의 제조방법.
  5. 제 4 항에 있어서,
    상기 회전 몸체부가 회전하면서 상기 주름관 고정부들 방향으로 점진적인 이동을 하여 상기 주름관 본체의 길이방향 일단이 상기 경사면과 상기 회전 몸체부의 경사면부 사이에서 외측 방향으로 벌려지면서 상기 조임너트의 내향 돌출턱을 걸리게 하는 상기 걸림턱이 형성되되, 상기 주름관 본체의 길이방향 일단이 외측 방향으로 벌려지는 과정에서 상기 회전핀이 상기 주름관 본체의 벌려지는 내면과 상기 경사면부의 사이에서 면 간의 마찰력을 감소시키는 단계에는,
    상기 주름관 고정부의 경사면 및 상기 회전 몸체부의 경사면부 기울기가 각각 30° 내지 60°의 범위로 형성되어 상기 걸림턱이 상기 주름관 본체의 외면으로부터 30° 내지 60° 각도로 경사지면서 형성되는 과정이 포함되는 것을 특징으로 하는 금속 주름관의 제조방법.
  6. 길이방향을 따라 산과 골이 반복되는 주름관 본체; 및
    길이방향을 기준으로 상기 주름관 본체의 양쪽 중 적어도 한쪽에 상기 주름관 본체의 단부가 바깥쪽으로 벌려져 형성되는 플레어 이음부를 포함하며,
    상기 주름관 본체로부터 상기 플레어 이음부를 향하는 방향을 전방으로 정할 때, 상기 플레어 이음부의 전방 단부의 외경은 상기 주름관 본체의 외경을 기준으로 5∼25% 크게 형성되는 플레어 이음부를 갖는 금속 주름관.
  7. 제 6 항에 있어서,
    상기 플레어 이음부는 상기 주름관 본체의 길이방향을 기준으로 상기 주름관 본체로부터 25°∼55°의 기울기로 형성되는 것을 특징으로 하는 플레어 이음부를 갖는 금속 주름관.
  8. 제 6 항에 있어서,
    상기 플레어 이음부는 전방 단부가 안쪽으로 접히어 내면에 접하는 형태인 것을 특징으로 하는 플레어 이음부를 갖는 금속 주름관.
  9. 제 6 항에 있어서,
    상기 플레어 이음부는 안쪽 면이 연마를 통해 평평한 면의 상태인 것을 특징으로 하는 플레어 이음부를 갖는 금속 주름관.
  10. 주름관 본체의 파지를 위한 서로 대칭되는 반원형 홈이 길이방향을 따라 각각 형성되되, 상기 반원형 홈들의 길이방향 일단에는 지름을 확장하는 방향으로 경사지는 경사면이 각각 형성되고, 상기 반원형 홈들의 연결에 의해 형성되는 파지홀 내측에 상기 주름관 본체를 파지하되, 상기 파지홀을 개폐할 수 있는 형태의 결합을 하는 한 쌍의 주름관 고정부;
    상기 주름관 고정부들의 상기 경사면과 대응되는 기울기의 경사면부를 포함하며, 상기 파지홀에 파지된 주름관 본체의 일단에 상기 경사면부의 선단을 삽입한 상태로 회전 및 상기 경사면 방향으로의 점진적 이동을 하는 플레어 가공부;
    상기 경사면부의 선단을 기준으로 상기 경사면부에 방사형으로 설치되되, 상기 플레어 가공부의 회전 방향과 동일한 방향으로 제자리 회전할 수 있는 상태로 상기 경사면부에 각각 결합되는 복수의 회전핀을 포함하는 플레어 이음부를 갖는 금속 주름관의 가공장치.
  11. 제 10 항에 있어서,
    상기 플레어 가공부는, 상기 파지홀에 파지된 주름관 본체의 내측으로 상기 경사면부의 선단을 안내하기 위해 상기 주름관 본체의 내경보다 작은 외경으로 상기 경사면부의 선단으로부터 돌출 형성되는 삽입 안내 돌기를 더 포함하는 것을 특징으로 하는 플레어 이음부를 갖는 금속 주름관의 가공장치.
  12. 제 10 항에 있어서,
    상기 한 쌍의 주름관 고정부는, 상기 주름관 본체의 골에 삽입되어 상기 플레어 가공부의 점진적 이동 시 상기 주름관 본체의 밀림을 방지하는 스토퍼 돌기가 상기 반원형 홈의 내면에 각각 형성되는 것을 특징으로 하는 플레어 이음부를 갖는 금속 주름관의 가공장치.
KR1020170135582A 2017-02-24 2017-10-19 플레어 이음부를 갖는 금속 주름관 및 그 가공장치와 제조방법 Ceased KR20180098113A (ko)

Priority Applications (1)

Application Number Priority Date Filing Date Title
PCT/KR2018/002298 WO2018155971A1 (ko) 2017-02-24 2018-02-26 플레어 이음부를 갖는 금속 주름관 및 그 가공장치와 제조방법

Applications Claiming Priority (2)

Application Number Priority Date Filing Date Title
KR1020170024748 2017-02-24
KR20170024748 2017-02-24

Publications (1)

Publication Number Publication Date
KR20180098113A true KR20180098113A (ko) 2018-09-03

Family

ID=63601057

Family Applications (1)

Application Number Title Priority Date Filing Date
KR1020170135582A Ceased KR20180098113A (ko) 2017-02-24 2017-10-19 플레어 이음부를 갖는 금속 주름관 및 그 가공장치와 제조방법

Country Status (1)

Country Link
KR (1) KR20180098113A (ko)

Cited By (2)

* Cited by examiner, † Cited by third party
Publication number Priority date Publication date Assignee Title
CN111097826A (zh) * 2020-01-16 2020-05-05 湖北满天星节能环保科技有限公司 模块炉配套波纹管端头成型工装及使用方法
CN118650392A (zh) * 2024-08-21 2024-09-17 贵州航飞精密制造有限公司 一种狭窄空间用扩口螺栓的加工方法

Citations (2)

* Cited by examiner, † Cited by third party
Publication number Priority date Publication date Assignee Title
KR20100028519A (ko) 2009-12-09 2010-03-12 주식회사 마스테코 금속 주름관 연결부위의 실링장치
KR101295220B1 (ko) 2011-10-26 2013-08-12 신화옥 가스용 금속 주름관 호스 제조방법 및 그 금속 주름관 호스

Patent Citations (2)

* Cited by examiner, † Cited by third party
Publication number Priority date Publication date Assignee Title
KR20100028519A (ko) 2009-12-09 2010-03-12 주식회사 마스테코 금속 주름관 연결부위의 실링장치
KR101295220B1 (ko) 2011-10-26 2013-08-12 신화옥 가스용 금속 주름관 호스 제조방법 및 그 금속 주름관 호스

Cited By (2)

* Cited by examiner, † Cited by third party
Publication number Priority date Publication date Assignee Title
CN111097826A (zh) * 2020-01-16 2020-05-05 湖北满天星节能环保科技有限公司 模块炉配套波纹管端头成型工装及使用方法
CN118650392A (zh) * 2024-08-21 2024-09-17 贵州航飞精密制造有限公司 一种狭窄空间用扩口螺栓的加工方法

Similar Documents

Publication Publication Date Title
CN109642688B (zh) 混合推入连接式配合装置和组件
CN108027094B (zh) 锁定管道接头组件、装置和方法
US5080405A (en) Corrugated pipe coupling
CN109073117B (zh) 混合推入式连接配合装置、布置和方法
KR101828783B1 (ko) 탈부착형 플랜지를 이용한 무용접식 파이프 이음매 구조
US4070046A (en) Pipe and tubing connecting sleeve
US20060125235A1 (en) Fluid coupling with dual function retention ring
JPH07269749A (ja) 管継手装置
WO2002057673A2 (en) Mechanical pipe coupling derived from a standard fitting
JP6289122B2 (ja) 離脱防止管継手
WO2011151949A1 (ja) 消防用ホース結合金具
KR20120083266A (ko) 지지 슬리브를 구비한 푸쉬-피트 파이프 피팅 시스템
KR20180098113A (ko) 플레어 이음부를 갖는 금속 주름관 및 그 가공장치와 제조방법
CN110114607A (zh) 压入配合装置、部件和方法
US11035504B2 (en) Connection structure of metal corrugated pipe
JP5111212B2 (ja) 通水管の接続具
KR101292919B1 (ko) 이음새 구조
JP5576691B2 (ja) 管継手
JP2019120309A (ja) 金属管継手
CN108240516A (zh) 一种限位自动锁紧式金属管快速连接接头
JP7017441B2 (ja) 管継手
JP2009144755A (ja) 回転防止機能付き管継手
JP4781164B2 (ja) 継手体の接続方法
JP5525897B2 (ja) 管継手
JP4216672B2 (ja) ストップリング及びストップリングを備えた流体機器

Legal Events

Date Code Title Description
A201 Request for examination
PA0109 Patent application

Patent event code: PA01091R01D

Comment text: Patent Application

Patent event date: 20171019

PA0201 Request for examination
PG1501 Laying open of application
E902 Notification of reason for refusal
PE0902 Notice of grounds for rejection

Comment text: Notification of reason for refusal

Patent event date: 20181101

Patent event code: PE09021S01D

E601 Decision to refuse application
PE0601 Decision on rejection of patent

Patent event date: 20190107

Comment text: Decision to Refuse Application

Patent event code: PE06012S01D

Patent event date: 20181101

Comment text: Notification of reason for refusal

Patent event code: PE06011S01I