KR20180097081A - 양면 발광 타입의 광고 장치 - Google Patents

양면 발광 타입의 광고 장치 Download PDF

Info

Publication number
KR20180097081A
KR20180097081A KR1020170023749A KR20170023749A KR20180097081A KR 20180097081 A KR20180097081 A KR 20180097081A KR 1020170023749 A KR1020170023749 A KR 1020170023749A KR 20170023749 A KR20170023749 A KR 20170023749A KR 20180097081 A KR20180097081 A KR 20180097081A
Authority
KR
South Korea
Prior art keywords
plate
emission type
diffusion
back plate
light source
Prior art date
Legal status (The legal status is an assumption and is not a legal conclusion. Google has not performed a legal analysis and makes no representation as to the accuracy of the status listed.)
Granted
Application number
KR1020170023749A
Other languages
English (en)
Other versions
KR102011091B1 (ko
Inventor
성정환
Original Assignee
보경엘앤씨 주식회사
Priority date (The priority date is an assumption and is not a legal conclusion. Google has not performed a legal analysis and makes no representation as to the accuracy of the date listed.)
Filing date
Publication date
Application filed by 보경엘앤씨 주식회사 filed Critical 보경엘앤씨 주식회사
Priority to KR1020170023749A priority Critical patent/KR102011091B1/ko
Publication of KR20180097081A publication Critical patent/KR20180097081A/ko
Application granted granted Critical
Publication of KR102011091B1 publication Critical patent/KR102011091B1/ko
Expired - Fee Related legal-status Critical Current
Anticipated expiration legal-status Critical

Links

Images

Classifications

    • GPHYSICS
    • G09EDUCATION; CRYPTOGRAPHY; DISPLAY; ADVERTISING; SEALS
    • G09FDISPLAYING; ADVERTISING; SIGNS; LABELS OR NAME-PLATES; SEALS
    • G09F13/00Illuminated signs; Luminous advertising
    • G09F13/04Signs, boards or panels, illuminated from behind the insignia
    • G09F13/0404Signs, boards or panels, illuminated from behind the insignia the light source being enclosed in a box forming the character of the sign
    • GPHYSICS
    • G09EDUCATION; CRYPTOGRAPHY; DISPLAY; ADVERTISING; SEALS
    • G09FDISPLAYING; ADVERTISING; SIGNS; LABELS OR NAME-PLATES; SEALS
    • G09F13/00Illuminated signs; Luminous advertising
    • G09F13/04Signs, boards or panels, illuminated from behind the insignia
    • G09F13/0413Frames or casing structures therefor
    • GPHYSICS
    • G09EDUCATION; CRYPTOGRAPHY; DISPLAY; ADVERTISING; SEALS
    • G09FDISPLAYING; ADVERTISING; SIGNS; LABELS OR NAME-PLATES; SEALS
    • G09F13/00Illuminated signs; Luminous advertising
    • G09F13/04Signs, boards or panels, illuminated from behind the insignia
    • G09F13/0418Constructional details
    • G09F13/0422Reflectors
    • GPHYSICS
    • G09EDUCATION; CRYPTOGRAPHY; DISPLAY; ADVERTISING; SEALS
    • G09FDISPLAYING; ADVERTISING; SIGNS; LABELS OR NAME-PLATES; SEALS
    • G09F13/00Illuminated signs; Luminous advertising
    • G09F13/04Signs, boards or panels, illuminated from behind the insignia
    • G09F13/0418Constructional details
    • G09F13/0445Frames
    • GPHYSICS
    • G09EDUCATION; CRYPTOGRAPHY; DISPLAY; ADVERTISING; SEALS
    • G09FDISPLAYING; ADVERTISING; SIGNS; LABELS OR NAME-PLATES; SEALS
    • G09F13/00Illuminated signs; Luminous advertising
    • G09F13/04Signs, boards or panels, illuminated from behind the insignia
    • G09F13/0418Constructional details
    • G09F13/0445Frames
    • G09F13/0448Frames double face
    • GPHYSICS
    • G09EDUCATION; CRYPTOGRAPHY; DISPLAY; ADVERTISING; SEALS
    • G09FDISPLAYING; ADVERTISING; SIGNS; LABELS OR NAME-PLATES; SEALS
    • G09F13/00Illuminated signs; Luminous advertising
    • G09F13/04Signs, boards or panels, illuminated from behind the insignia
    • G09F13/0418Constructional details
    • G09F13/0458Interchangeable panels
    • G09F2013/0445
    • GPHYSICS
    • G09EDUCATION; CRYPTOGRAPHY; DISPLAY; ADVERTISING; SEALS
    • G09FDISPLAYING; ADVERTISING; SIGNS; LABELS OR NAME-PLATES; SEALS
    • G09F13/00Illuminated signs; Luminous advertising
    • G09F13/18Edge-illuminated signs
    • G09F2013/1804Achieving homogeneous illumination
    • G09F2013/1831Achieving homogeneous illumination using more than one light source

Landscapes

  • Physics & Mathematics (AREA)
  • General Physics & Mathematics (AREA)
  • Engineering & Computer Science (AREA)
  • Theoretical Computer Science (AREA)
  • Illuminated Signs And Luminous Advertising (AREA)
  • Planar Illumination Modules (AREA)

Abstract

본 발명은 측면 형성판의 외관의 손상 없이 측면 형성판의 배면 개방부에 배면 확산부를 착탈 가능하게 구비시킬 수 있는 양면 발광 타입의 광고 장치를 제공하는 것이 그 기술적 과제이다. 이를 위해, 본 발명의 양면 발광 타입의 광고 장치는, 입체 공간의 측면을 구획하며 정면과 배면이 각각 개방된 측면 형성판을 포함하는 양면 발광 타입의 광고 장치로, 상기 측면 형성판의 배면 개방부를 덮는 배면 확산부; 상기 측면 형성판의 내부에 구비되며 양면에 각각 광원부가 구비되는 광원 지지판; 및 상기 배면 확산부를 상기 측면 형성판의 상기 배면 개방부에 착탈 가능하게 구비시키는 착탈 유닛을 포함하고, 상기 착탈 유닛은, 상기 배면 확산부에 형성되는 관통홀; 및 상기 관통홀을 통해 상기 배면 확산부를 상기 광원 지지판에 체결하는 체결부를 포함한다.

Description

양면 발광 타입의 광고 장치{Double surfaces emitting type advertisement apparatus}
본 발명은 광고 장치에 관한 것으로, 더욱 상세하게는 양면 발광 타입의 광고 장치에 관한 것이다.
일반적으로, 광고 장치는, 기업이나 개인이 로고, 상품, 서비스, 이념, 신조, 정책 등을 알리는 정보 전달 매체로, 양면이 발광하는 양면 발광 타입과, 발광하는 않는 일반 타입의 광고 장치로 대별된다.
도 1은 기존의 양면 발광 타입의 광고 장치를 개략적으로 나타낸 단면도이다.
기존의 양면 발광 타입의 광고 장치는, 도 1에 도시된 바와 같이, 숫자, 그림, 알파벳, 한글 모음, 한글 자음 등이 형성되도록 단일폐곡선 등의 형태로 입체 공간의 측면을 구획하며 정면과 배면이 각각 개방된 중공 형상의 측면 형성판(10)과, 측면 형성판(10)의 배면 개방부(11)를 덮는 배면 확산판(20)과, 측면 형성판(10)의 정면 개방부(12)를 덮는 정면 확산판(30)과, 그리고 측면 형성판(10)의 내부에 구비되며 양면에 각각 발광 다이오드 모듈(41)이 구비되는 광원 지지판(40)을 포함한다. 나아가, 발광 다이오드 모듈(41) 또는 이에 포함되는 발광 다이오드를 교체하거나 수리하기 위해, 배면 확산판(30)은 측면 형성판(10)의 측면을 관통하는 체결 볼트(50)를 통해 측면 형성판(10)에 착탈 가능하게 고정된다.
따라서, 발광 다이오드 모듈(41)의 빛이 배면 확산판(20) 및 정면 확산판(30)을 통해 확산되면 사람들은 측면 형성판(10)의 단일폐곡선 등을 인식할 수 있고, 숫자, 그림, 알파벳, 한글 모음, 한글 자음 등의 형상을 한 측면 형성판(10)을 통해 광고 효과를 제공할 수 있다. 특히, 배면 확산판(20)을 통해 확산된 빛이 측면 형성판(10)과 벽면(배면 확산판이 장착되는 벽면) 사이를 이격시키는 효과를 줄 수 있어, 측면 형성판(10)의 입체감은 더욱 부각될 수 있다.
하지만, 기존의 양면 발광 타입의 광고 장치는, 체결 볼트(50)가 측면 형성판(10)의 측면을 관통하므로 체결 볼트(50)가 외관 상 보이게 되어 측면 형성판(10)의 측면에 옥의 티처럼 보이면서 광고 장치의 미감을 떨어뜨리는 문제가 있다.
또한, 배면 확산판(20)과 측면 형성판(10) 사이의 틈으로 빗물 등이 유입되는 문제가 있다. 특히, 발광 다이오드 모듈(41)의 교체를 위해서는 배면 확산판(20)이 측면 형성판(10)으로부터 탈거되어야 하므로 빗물의 유입을 막기 위해 그 사이에 실리콘 등으로 실링 처리를 할 수 없는 상태이고, 극단적으로 실링 처리를 하더라도 실리콘 등이 외부에 그대로 보이게 되어 외관이 지저분해지는 문제가 있다.
또한, 배면 확산판(20)이 하나의 부재로 이루어지므로, 빛의 산란 효과가 떨어져 발광 다이오드에서 먼 부분이 발광 다이오드에 인접한 부분에 비해 어두워지는 음영이 나타나는 문제가 있다.
본 발명의 기술적 과제는, 측면 형성판의 외관의 손상 없이 측면 형성판의 배면 개방부에 배면 확산부를 착탈 가능하게 구비시킬 수 있는 양면 발광 타입의 광고 장치를 제공하는 것이다.
본 발명의 다른 기술적 과제는, 측면 형성판의 배면 개방부를 통해 측면 형성판의 내부로 물이 유입되는 것을 방지할 수 있는 양면 발광 타입의 광고 장치를 제공하는 것이다.
본 발명의 또 다른 기술적 과제는, 배면 확산부에서 확산되는 빛을 최대한 균일하게 할 수 있는 양면 발광 타입의 광고 장치를 제공하는 것이다.
상기 목적을 달성하기 위하여, 본 발명의 실시예에 따른 양면 발광 타입의 광고 장치는, 입체 공간의 측면을 구획하며 정면과 배면이 각각 개방된 측면 형성판을 포함하는 양면 발광 타입의 광고 장치로, 상기 측면 형성판의 배면 개방부를 덮는 배면 확산부; 상기 측면 형성판의 내부에 구비되며 양면에 각각 광원부가 구비되는 광원 지지판; 및 상기 배면 확산부를 상기 측면 형성판의 상기 배면 개방부에 착탈 가능하게 구비시키는 착탈 유닛을 포함하고, 상기 착탈 유닛은, 상기 배면 확산부에 형성되는 관통홀; 및 상기 관통홀을 통해 상기 배면 확산부를 상기 광원 지지판에 체결하는 체결부를 포함한다.
일 예로, 상기 체결부는, 상기 광원 지지판에 고정되며 나사산을 가진 말단부가 상기 관통홀을 통과하는 체결 볼트; 및 상기 체결 볼트의 상기 말단부에 나사 체결되어 상기 배면 확산부를 상기 광원 지지판에 고정시키는 체결 너트를 포함할 수 있다.
다른 예로, 상기 체결부는, 상기 광원 지지판에 형성되는 체결홀; 및 상기 관통홀을 거쳐 상기 체결홀에 나사 체결되어 상기 배면 확산부를 상기 광원 지지판에 고정시키는 체결 볼트를 포함할 수 있다.
상술한 본 발명의 실시예에 따른 양면 발광 타입의 광고 장치는, 상기 측면 형성판의 내부로 물의 유입을 방지하는 물 유입 방지부를 더 포함할 수 있다.
상기 물 유입 방지부는, 상기 배면 확산부 중 상기 측면 형성판의 내면에 접하는 부분에 요입되어 형성되는 물 안내 유로를 포함할 수 있다.
상기 물 유입 방지부는, 상기 물 안내 유로와 상기 배면 확산부의 외면을 연통시키는 물 배출 유로를 더 포함할 수 잇다.
상기 배면 확산부는, 상기 측면 형성판의 상기 배면 개방부에 삽입되는 제1 배면판; 상기 제1 배면판에 부착되며 상기 배면 개방부에 삽입되는 제2 배면판; 및 상기 제2 배면판에 부착되며 상기 배면 개방부의 외부에 위치되는 제3 배면판을 포함할 수 있다.
상기 물 안내 유로는, 상기 제2 배면판의 너비를 상기 제1 및 제3 배면판의 너비 보다 작게 하는 것으로 형성될 수 있다.
상기 물 배출 유로는 상기 제3 배면판에 관통될 수 있다.
상기 제3 배면판은 상기 측면 형성판의 너비 보다 크게 형성될 수 있다.
상기 제1 배면판 및 제3 배면판 각각은 상기 광원부의 빛을 확산시키는 확산 재질로 이루어질 수 있고, 상기 제1 배면판과 상기 제3 배면판 사이에 놓이는 상기 제2 배면판은 투명 재질로 이루어질 수 있다.
상술한 본 발명의 실시예에 따른 양면 발광 타입의 광고 장치는, 상기 측면 형성판의 정면 개방부를 덮는 정면 확산부; 및 상기 측면 형성판의 내면과 상기 정면 확산부의 내면 사이에 구비되어 상기 측면 형성판과 상기 정면 확산부 사이를 밀봉시키는 밀봉 부재를 더 포함할 수 있다.
이상에서와 같이, 본 발명의 실시예에 따른 양면 발광 타입의 광고 장치는 다음과 같은 효과를 가질 수 있다.
본 발명의 실시예에 의하면, 배면 확산부와, 광원 지지판과, 그리고 착탈 유닛을 포함하고, 착탈 유닛은 관통홀과 체결부를 포함하며, 그리고 관통홀이 배면 확산부에 형성되고, 체결부는 관통홀을 통해 광원 지지판에 체결되는 기술구성을 제공하므로, 측면 형성판의 외관의 손상 없이 측면 형성판의 배면 개방부에 배면 확산부를 착탈 가능하게 구비시킬 수 있다.
또한, 본 발명의 실시예에 의하면, 측면 형성판의 내부로 물의 유입을 방지하는 물 유입 방지부를 더 포함하는 기술구성을 제공하므로, 측면 형성판의 배면 개방부를 통해 측면 형성판의 내부로 물이 유입되는 것을 방지할 수 있어, 물에 의해 광원부가 쇼트되거나 내부 부품이 부식되는 문제를 막을 수 있다.
또한, 본 발명의 실시예에 의하면, 제1 배면판 및 제3 배면판 각각은 광원부의 빛을 확산시키는 확산 재질로 이루어질 수 있고, 제1 배면판과 제3 배면판 사이에 놓이는 제2 배면판은 투명 재질로 이루어지는 기술구성을 제공하므로, 확산 재질의 제1 배면판에서 1차 확산된 빛이 투명 재질의 제2 배면판을 통해 그대로 확산 재질의 제3 배면판으로 안내된 후 제3 배면판에서 2차 확산될 수 있어, 빛의 산란이 더욱 많이 이루어지면서 배면 확산부에서 확산되는 빛을 최대한 균일하게 할 수 있다.
도 1은 기존의 양면 발광 타입의 광고 장치를 개략적으로 나타낸 단면도이다.
도 2는 본 발명의 일 실시예에 따른 양면 발광 타입의 광고 장치를 개략적으로 나타낸 단면도이다.
도 3은 도 2의 양면 발광 타입의 광고 장치 중 배면 확산부를 광고 장치의 정면 쪽에서 바라본 것으로, 벽면에 장착된 상태에서 물의 흐름을 개략적으로 나타낸 도면이다.
도 4는 본 발명의 다른 실시예에 따른 양면 발광 타입의 광고 장치를 개략적으로 나타낸 단면도이다.
이하, 첨부한 도면을 참고로 하여 본 발명의 실시예에 대하여 본 발명이 속하는 기술 분야에서 통상의 지식을 가진 자가 용이하게 실시할 수 있도록 상세히 설명한다. 그러나 본 발명은 여러 가지 상이한 형태로 구현될 수 있으며 여기에서 설명하는 실시예에 한정되지 않는다.
도 2는 본 발명의 일 실시예에 따른 양면 발광 타입의 광고 장치를 개략적으로 나타낸 단면도이고, 도 3은 도 2의 양면 발광 타입의 광고 장치 중 배면 확산부를 광고 장치의 정면 쪽에서 바라본 것으로, 벽면에 장착된 상태에서 물의 흐름을 개략적으로 나타낸 도면이다.
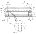
본 발명의 일 실시예에 따른 양면 발광 타입의 광고 장치(100)은, 도 2 및 도 3에 도시된 바와 같이, 입체 공간의 측면을 구획하며 정면과 배면이 각각 개방된 측면 형성판(110)을 포함하는 양면 발광 타입의 광고 장치로, 배면 확산부(120)와, 정면 확산부(160)와, 광원 지지판(130)과, 그리고 착탈 유닛(140)을 포함한다. 이하, 도 2 및 도 3을 계속 참조하여, 각 구성요소에 대해 상세히 설명한다.
배면 확산부(120)는, 측면 형성판(110)의 배면 개방부(111)를 거쳐 외부로 나가는 빛을 확산시키기 위한 구성요소로, 도 2에 도시된 바와 같이, 측면 형성판(110)의 배면 개방부(111)를 덮도록 구성될 수 있다.
예를 들어, 배면 확산부(120)는, 도 2 및 도 3에 도시된 바와 같이, 제1 배면판(121), 제2 배면판(122), 그리고 제3 배면판(123)을 포함할 수 있다. 제1 배면판(121)은 측면 형성판(110)의 배면 개방부(111)에 삽입되어 측면 형성판(110)의 내측에 위치될 수 있고, 제2 배면판(122)은 제1 배면판(121)에 부착되며 제1 배면판(121)과 같이 측면 형성판(110)의 배면 개방부(111)에 삽입되어 측면 형성판(110)의 내측에 위치될 수 있으며, 그리고 제3 배면판(123)은 제2 배면판(122)에 부착되며 배면 개방부(111)의 외부에 위치될 수 있다.
특히, 제3 배면판(123)은 측면 형성판(110)의 너비 보다 크게 형성될 수 있다. 따라서, 제3 배면판(123)이 측면 형성판(110)의 외측으로 돌출되어 배면 확산부(120)를 통해 확산된 빛이 사방에서 잘 보일 수 있다. 예를 들어, 광고 장치(100)의 정면에서 정면 확산부(160)를 바라보는 방향으로 보더라도 제3 배면판(123)의 확산된 빛을 볼 수 있다.
또한, 제1 배면판(121) 및 제3 배면판(123) 각각은 광원부(131)의 빛을 확산시키는 확산 재질로 이루어질 수 있고, 제1 배면판(121)과 제3 배면판(123) 사이에 놓이는 제2 배면판(122)은 투명 재질로 이루어질 수 있다. 따라서, 확산 재질의 제1 배면판(121)에서 1차 확산된 빛이 투명 재질의 제2 배면판(122)을 통해 그대로 제3 배면판(123)으로 안내된 후 확산 재질의 제3 배면판(123)에서 2차 확산될 수 있어, 빛의 산란이 더욱 많이 이루어지면서 배면 확산부(120)에서 확산되는 빛을 최대한 균일하게 할 수 있다. 참고로, 투명 재질의 판을 사이에 넣지 않고 확산 재질의 판을 겹칠 경우, 판의 두께가 커져 상대적으로 어두워졌을 뿐 산란이 제대로 이루어지지 않아 음영(광원에서 먼 부분이 광원에 인접한 부분에 비해 어두워지는 현상)이 그대로 나타남을 실험을 통해 확인할 수 있었다.
정면 확산부(160)는, 측면 형성판(110)의 정면 개방부(112)를 거쳐 외부로 나가는 빛을 확산시키기 위한 구성요소로, 도 2에 도시된 바와 같이, 측면 형성판(110)의 정면 개방부(112)를 덮도록 구성될 수 있다. 정면 확산부(160)는 투명 소재의 아크릴판과 에폭시 등으로 이루어진 확산판으로 이루어지는 2중판 구조일 수 있으나 이에 한정되지 않는다.
광원 지지판(130)은, 광원부(131)를 양면에 지지하기 위한 구성요소로서, 도 2에 도시된 바와 같이 측면 형성판(110)의 내부에 구비된다.
나아가, 도 2에 도시된 바와 같이, 광원부(131)는 광원 지지판(130)의 양면에 각각 구비되어 배면 확산부(120)와 정면 확산부(160)를 향해 빛을 조사하기 위한 구성요소이다. 이러한 각각의 광원부(131)는, 복수의 광원과 이들을 실장시키는 인쇄회로기판을 포함할 수 있다. 여기서, 각각의 광원으로는 발광 다이오드 등이 사용될 수 있다.
착탈 유닛(140)은, 광원부(131) 또는 이의 일 구성을 이루는 광원 등이 교체 또는 수리 가능하도록 배면 확산부(120)를 측면 형성판(110)의 배면 개방부(111)에 착탈 가능하게 구비시키는 구성요소로, 도 2 및 도 3에 도시된 바와 같이 관통홀(141)과 체결부(142)를 포함할 수 있다. 관통홀(141)은 배면 확산부(120)에 형성될 수 있고, 체결부(142)는 관통홀(141)을 통해 배면 확산부(120)를 광원 지지판(130)에 체결할 수 있다. 따라서, 측면 형성판(110)의 외관의 손상 없이 측면 형성판(110)의 배면 개방부(111)에 배면 확산부(120)를 착탈 가능하게 구비시킬 수 있다.
예를 들어, 체결부(142)는, 도 2에 도시된 바와 같이, 체결 볼트(142a)와 체결 너트(142b)를 포함할 수 있다. 체결 볼트(142a)는 광원 지지판(130)에 고정되며 나사산을 가진 그 말단부가 관통홀(141)을 통과할 수 있고, 체결 너트(142b)는 체결 볼트(142a)의 말단부에 나사 체결되어 배면 확산부(120)를 측면 형성판(110)에 고정시킬 수 있다. 따라서, 관통홀(141), 체결 볼트(142a), 그리고 체결 너트(142b)에 의해, 배면 확산부(120)를 광원 지지판(130)에 착탈 가능하게 고정시키는 것으로, 배면 확산부(120)가 측면 형성판(110)의 배면 개방부(111)에 위치될 수 있다.
이와 더불어, 상술한 본 발명의 일 실시예에 따른 양면 발광 타입의 광고 장치(100)는, 도 2 및 도 3에 도시된 바와 같이 물 유입 방지부(150)를 더 포함할 수 있다. 물 유입 방지부(150)는 측면 형성판(110)의 내부로 물의 유입을 방지하는 역할을 한다.
예를 들어, 물 유입 방지부(150)는, 도 2 및 도 3에 도시된 바와 같이, 배면 확산부(120) 중 측면 형성판(110)의 내면(113)에 접하는 부분에 요입되어 형성되는 물 안내 유로(151)를 포함할 수 있다. 따라서, 도 3에 도시된 바와 같이, 배면 확산부(120)와 측면 형성판(110) 사이로 유입된 물은 물 안내 유로(151)를 따라 중력 방향으로 이동(도 3의 화살표 참조)될 수 있다. 즉, 물 안내 유로(151)를 통해 물의 유입을 방지할 수 있어, 물에 의해 광원부(131)가 쇼트되거나 내부 부품이 부식되는 문제를 막을 수 있다. 한편, 배면 확산부(120)가 제1, 제2 및 제3 배면판(121)(122)(123)을 포함할 경우, 물 안내 유로(151)는, 도 2 및 도 3에 도시된 바와 같이, 제2 배면판(122)의 너비를 제1 및 제3 배면판(121)(123)의 너비 보다 작게 하는 것으로 형성될 수 있다.
나아가, 물 유입 방지부(150)는, 도 2 및 도 3에 도시된 바와 같이, 물 안내 유로(151)와 배면 확산부(120)의 외면을 연통시키는 물 배출 유로(152)를 더 포함할 수 잇다. 구체적으로, 도 3에 도시된 바와 같이, 배면 확산부(120)의 형상 중 일자 형상을 가지거나 오목한 형상을 가지는 부분에 물 배출 유로(152)가 형성될 경우, 이를 통해서도 물이 배출될 수 있어 측면 형성판(110)의 내부로의 물의 유입을 보다 원활하게 방지할 수 있다. 한편, 배면 확산부(120)가 제1, 제2 및 제3 배면판(121)(122)(123)을 포함할 경우, 물 배출 유로(152)는, 도 2 및 도 3에 도시된 바와 같이, 제3 배면판(123)에 관통될 수 있다. 또한, 도 2에 도시된 바와 같이, 물 배출 유로(152)는 물이 원활하게 배출되도록 제2 배면판(122)에 대해 경사진 형상을 가질 수 있다.
이와 더불어, 상술한 본 발명의 일 실시예에 따른 양면 발광 타입의 광고 장치(100)는, 도 2에 도시된 바와 같이 밀봉 부재(170)를 더 포함할 수 있다.
밀봉 부재(170)는, 측면 형성판(110)의 내면(113)과 정면 확산부(160)의 내면 사이에 구비되어 측면 형성판(110)과 정면 확산부(160) 사이를 밀봉시킬 수 있다. 따라서, 물의 유입을 막을 수 있어, 본 발명의 광고 장치(100)가 실외에도 설치되어 사용될 수 있다.
이하, 도 4를 참조하여, 본 발명의 다른 실시예에 따른 양면 발광 타입의 광고 장치(200)에 대해 설명한다.
도 4는 본 발명의 다른 실시예에 따른 양면 발광 타입의 광고 장치를 개략적으로 나타낸 단면도이다.
본 발명의 다른 실시예에 따른 양면 발광 타입의 광고 장치(200)는, 도 4에 도시된 바와 같이, 체결부(242)를 제외하고는 상술한 본 발명의 일 실시예와 동일하므로 이하에서는 체결부(242) 위주로 설명한다.
체결부(242)는, 도 4에 도시된 바와 같이, 체결홀(242a)과 체결 볼트(242b)를 포함할 수 있다. 체결홀(242a)은 광원 지지판(130)에 형성될 수 있고, 체결 볼트(242b)는 관통홀(141)을 거쳐 체결홀(242a)에 나사 체결되어 배면 확산부(120)를 광원 지지판(130)에 고정시킬 수 있다.
따라서, 관통홀(141), 체결홀(242a), 그리고 체결 볼트(242b)에 의해, 배면 확산부(120)를 광원 지지판(130)에 고정시키는 것으로, 배면 확산부(120)가 측면 형성판(110)의 배면 개방부(111)에 위치될 수 있다.
이상에서 본 발명의 바람직한 실시예에 대하여 상세하게 설명하였지만 본 발명의 권리범위는 이에 한정되는 것은 아니고 다음의 청구범위에서 정의하고 있는 본 발명의 기본 개념을 이용한 당업자의 여러 변형 및 개량 형태 또한 본 발명의 권리범위에 속하는 것이다.
100, 200: 양면 발광 타입의 광고 장치
110: 측면 형성판 111: 배면 개방부
112: 정면 개방부 113: 측면 형성판의 내면
120: 배면 확산부 121: 제1 배면판
122: 제2 배면판 123: 제3 배면판
130: 광원 지지판 131: 광원부
140: 착탈 유닛 141: 관통홀
142, 242: 체결부 142a, 242b: 체결 볼트
142b: 체결 너트 242a: 체결홀
150: 물 유입 방지부 151: 물 안내 유로
152: 물 배출 유로 160: 정면 확산부
170: 밀봉 부재

Claims (12)

  1. 입체 공간의 측면을 구획하며 정면과 배면이 각각 개방된 측면 형성판을 포함하는 양면 발광 타입의 광고 장치로,
    상기 측면 형성판의 배면 개방부를 덮는 배면 확산부;
    상기 측면 형성판의 내부에 구비되며 양면에 각각 광원부가 구비되는 광원 지지판; 및
    상기 배면 확산부를 상기 측면 형성판의 상기 배면 개방부에 착탈 가능하게 구비시키는 착탈 유닛을 포함하고,
    상기 착탈 유닛은,
    상기 배면 확산부에 형성되는 관통홀; 및
    상기 관통홀을 통해 상기 배면 확산부를 상기 광원 지지판에 체결하는 체결부
    를 포함하는
    양면 발광 타입의 광고 장치.
  2. 제1항에서,
    상기 체결부는,
    상기 광원 지지판에 고정되며 나사산을 가진 말단부가 상기 관통홀을 통과하는 체결 볼트; 및
    상기 체결 볼트의 상기 말단부에 나사 체결되어 상기 배면 확산부를 상기 광원 지지판에 고정시키는 체결 너트
    를 포함하는
    양면 발광 타입의 광고 장치.
  3. 제1항에서,
    상기 체결부는,
    상기 광원 지지판에 형성되는 체결홀; 및
    상기 관통홀을 거쳐 상기 체결홀에 나사 체결되어 상기 배면 확산부를 상기 광원 지지판에 고정시키는 체결 볼트
    를 포함하는
    양면 발광 타입의 광고 장치.
  4. 제1항에서,
    상기 양면 발광 타입의 광고 장치는,
    상기 측면 형성판의 내부로 물의 유입을 방지하는 물 유입 방지부
    를 더 포함하는
    양면 발광 타입의 광고 장치.
  5. 제4항에서,
    상기 물 유입 방지부는,
    상기 배면 확산부 중 상기 측면 형성판의 내면에 접하는 부분에 요입되어 형성되는 물 안내 유로
    를 포함하는
    양면 발광 타입의 광고 장치.
  6. 제5항에서,
    상기 물 유입 방지부는,
    상기 물 안내 유로와 상기 배면 확산부의 외면을 연통시키는 물 배출 유로
    를 더 포함하는
    양면 발광 타입의 광고 장치.
  7. 제6항에서,
    상기 배면 확산부는,
    상기 측면 형성판의 상기 배면 개방부에 삽입되는 제1 배면판;
    상기 제1 배면판에 부착되며 상기 배면 개방부에 삽입되는 제2 배면판; 및
    상기 제2 배면판에 부착되며 상기 배면 개방부의 외부에 위치되는 제3 배면판을 포함하고,
    상기 물 안내 유로는,
    상기 제2 배면판의 너비를 상기 제1 및 제3 배면판의 너비 보다 작게 하는 것으로 형성되는
    양면 발광 타입의 광고 장치.
  8. 제7항에서,
    상기 물 배출 유로는
    상기 제3 배면판에 관통되는
    양면 발광 타입의 광고 장치.
  9. 제7항에서,
    상기 제3 배면판은 상기 측면 형성판의 너비 보다 크게 형성되는
    양면 발광 타입의 광고 장치.
  10. 제1항에서,
    상기 배면 확산부는,
    상기 측면 형성판의 상기 배면 개방부에 삽입되는 제1 배면판;
    상기 제1 배면판에 부착되며 상기 배면 개방부에 삽입되는 제2 배면판; 및
    상기 제2 배면판에 부착되며 상기 배면 개방부의 외부에 위치되는 제3 배면판
    을 포함하는
    양면 발광 타입의 광고 장치.
  11. 제10항에서,
    상기 제1 배면판 및 제3 배면판은,
    상기 광원부의 빛을 확산시키는 확산 재질로 이루어지고,
    상기 제1 배면판과 상기 제3 배면판 사이에 놓이는 상기 제2 배면판은,
    투명 재질로 이루어지는
    양면 발광 타입의 광고 장치.
  12. 제1항에서,
    상기 양면 발광 타입의 광고 장치는,
    상기 측면 형성판의 정면 개방부를 덮는 정면 확산부; 및
    상기 측면 형성판의 내면과 상기 정면 확산부의 내면 사이에 구비되어 상기 측면 형성판과 상기 정면 확산부 사이를 밀봉시키는 밀봉 부재
    를 더 포함하는
    양면 발광 타입의 광고 장치.
KR1020170023749A 2017-02-22 2017-02-22 양면 발광 타입의 광고 장치 Expired - Fee Related KR102011091B1 (ko)

Priority Applications (1)

Application Number Priority Date Filing Date Title
KR1020170023749A KR102011091B1 (ko) 2017-02-22 2017-02-22 양면 발광 타입의 광고 장치

Applications Claiming Priority (1)

Application Number Priority Date Filing Date Title
KR1020170023749A KR102011091B1 (ko) 2017-02-22 2017-02-22 양면 발광 타입의 광고 장치

Publications (2)

Publication Number Publication Date
KR20180097081A true KR20180097081A (ko) 2018-08-30
KR102011091B1 KR102011091B1 (ko) 2019-08-14

Family

ID=63453445

Family Applications (1)

Application Number Title Priority Date Filing Date
KR1020170023749A Expired - Fee Related KR102011091B1 (ko) 2017-02-22 2017-02-22 양면 발광 타입의 광고 장치

Country Status (1)

Country Link
KR (1) KR102011091B1 (ko)

Citations (8)

* Cited by examiner, † Cited by third party
Publication number Priority date Publication date Assignee Title
JP2007298698A (ja) * 2006-04-28 2007-11-15 Nippon Zeon Co Ltd 光拡散板及び面照射装置
KR20100023507A (ko) * 2008-08-22 2010-03-04 오택근 간판사인 장치 및 그 제조방법
KR20130029865A (ko) * 2011-09-16 2013-03-26 이성래 전후광 엘이디 광고판
KR20130125655A (ko) * 2012-05-09 2013-11-19 박광준 패널 지지부재 및, 이를 포함하는 면발광 채널
KR20140038225A (ko) * 2012-09-20 2014-03-28 정진아 간판용 전면 표시장치
KR101487266B1 (ko) * 2014-01-14 2015-01-28 박희용 후광 구현이 가능한 입체 간판
KR101569005B1 (ko) * 2014-05-28 2015-11-13 (주) 만테크 광고용 입체 면발광 채널
KR20160055581A (ko) * 2014-11-10 2016-05-18 주식회사 프로모파트너스 3d 광고 문자용 찬넬

Patent Citations (8)

* Cited by examiner, † Cited by third party
Publication number Priority date Publication date Assignee Title
JP2007298698A (ja) * 2006-04-28 2007-11-15 Nippon Zeon Co Ltd 光拡散板及び面照射装置
KR20100023507A (ko) * 2008-08-22 2010-03-04 오택근 간판사인 장치 및 그 제조방법
KR20130029865A (ko) * 2011-09-16 2013-03-26 이성래 전후광 엘이디 광고판
KR20130125655A (ko) * 2012-05-09 2013-11-19 박광준 패널 지지부재 및, 이를 포함하는 면발광 채널
KR20140038225A (ko) * 2012-09-20 2014-03-28 정진아 간판용 전면 표시장치
KR101487266B1 (ko) * 2014-01-14 2015-01-28 박희용 후광 구현이 가능한 입체 간판
KR101569005B1 (ko) * 2014-05-28 2015-11-13 (주) 만테크 광고용 입체 면발광 채널
KR20160055581A (ko) * 2014-11-10 2016-05-18 주식회사 프로모파트너스 3d 광고 문자용 찬넬

Also Published As

Publication number Publication date
KR102011091B1 (ko) 2019-08-14

Similar Documents

Publication Publication Date Title
JP4520494B2 (ja) ディスプレイ装置
CN101059623B (zh) 面状光源装置
CN110764309B (zh) 背光模组、显示屏及终端
KR20210006111A (ko) 디스플레이 장치
JP6373151B2 (ja) バックライト及び表示装置
JPWO2016092678A1 (ja) 照明装置及び表示装置
JP2007041622A (ja) 照明装置
KR20090004719U (ko) 엘이디 광고 간판용 바디 프레임 장치.
KR20180097081A (ko) 양면 발광 타입의 광고 장치
US20150098208A1 (en) Panel light module and backlight module
CN114187832A (zh) 背光模组和显示装置
US7990492B2 (en) Liquid crystal display and display device with light source assembly
KR101795351B1 (ko) 유리부착용 조명식 광고장치
JP5301491B2 (ja) 内照式広告用看板
KR102011093B1 (ko) 양면 발광 타입 광고 장치 및 이의 제조 방법
JP2014099322A (ja) 光源ユニット及び照明装置
TW201728981A (zh) 光源模組
JP7737684B1 (ja) 意匠性発光装置
JP2005242249A (ja) バックライトユニットおよび液晶表示装置
CA2928253C (en) Optical lens and led light module for backlighting
TWI546596B (zh) 光源模組及導光板
KR200248489Y1 (ko) 백라이트 유니트의 장착구조
CN105556352A (zh) 照明装置以及显示装置
KR101797467B1 (ko) 발광다이오드를 이용한 광고간판 장치
JP6602083B2 (ja) 照明装置

Legal Events

Date Code Title Description
A201 Request for examination
PA0109 Patent application

St.27 status event code: A-0-1-A10-A12-nap-PA0109

PA0201 Request for examination

St.27 status event code: A-1-2-D10-D11-exm-PA0201

R18-X000 Changes to party contact information recorded

St.27 status event code: A-3-3-R10-R18-oth-X000

E902 Notification of reason for refusal
PE0902 Notice of grounds for rejection

St.27 status event code: A-1-2-D10-D21-exm-PE0902

PG1501 Laying open of application

St.27 status event code: A-1-1-Q10-Q12-nap-PG1501

T11-X000 Administrative time limit extension requested

St.27 status event code: U-3-3-T10-T11-oth-X000

T11-X000 Administrative time limit extension requested

St.27 status event code: U-3-3-T10-T11-oth-X000

T11-X000 Administrative time limit extension requested

St.27 status event code: U-3-3-T10-T11-oth-X000

T11-X000 Administrative time limit extension requested

St.27 status event code: U-3-3-T10-T11-oth-X000

E13-X000 Pre-grant limitation requested

St.27 status event code: A-2-3-E10-E13-lim-X000

P11-X000 Amendment of application requested

St.27 status event code: A-2-2-P10-P11-nap-X000

P13-X000 Application amended

St.27 status event code: A-2-2-P10-P13-nap-X000

R18-X000 Changes to party contact information recorded

St.27 status event code: A-3-3-R10-R18-oth-X000

E90F Notification of reason for final refusal
PE0902 Notice of grounds for rejection

St.27 status event code: A-1-2-D10-D21-exm-PE0902

P11-X000 Amendment of application requested

St.27 status event code: A-2-2-P10-P11-nap-X000

P13-X000 Application amended

St.27 status event code: A-2-2-P10-P13-nap-X000

E701 Decision to grant or registration of patent right
PE0701 Decision of registration

St.27 status event code: A-1-2-D10-D22-exm-PE0701

GRNT Written decision to grant
PR0701 Registration of establishment

St.27 status event code: A-2-4-F10-F11-exm-PR0701

PR1002 Payment of registration fee

St.27 status event code: A-2-2-U10-U11-oth-PR1002

Fee payment year number: 1

PG1601 Publication of registration

St.27 status event code: A-4-4-Q10-Q13-nap-PG1601

P22-X000 Classification modified

St.27 status event code: A-4-4-P10-P22-nap-X000

PC1903 Unpaid annual fee

St.27 status event code: A-4-4-U10-U13-oth-PC1903

Not in force date: 20220809

Payment event data comment text: Termination Category : DEFAULT_OF_REGISTRATION_FEE

P22-X000 Classification modified

St.27 status event code: A-4-4-P10-P22-nap-X000

PC1903 Unpaid annual fee

St.27 status event code: N-4-6-H10-H13-oth-PC1903

Ip right cessation event data comment text: Termination Category : DEFAULT_OF_REGISTRATION_FEE

Not in force date: 20220809