KR20170072196A - 진단 기구들, 방법들, 및 장치를 위한 통합 콘솔 환경 - Google Patents
진단 기구들, 방법들, 및 장치를 위한 통합 콘솔 환경 Download PDFInfo
- Publication number
- KR20170072196A KR20170072196A KR1020177008943A KR20177008943A KR20170072196A KR 20170072196 A KR20170072196 A KR 20170072196A KR 1020177008943 A KR1020177008943 A KR 1020177008943A KR 20177008943 A KR20177008943 A KR 20177008943A KR 20170072196 A KR20170072196 A KR 20170072196A
- Authority
- KR
- South Korea
- Prior art keywords
- data
- laboratory
- patient sample
- result data
- sample result
- Prior art date
- Legal status (The legal status is an assumption and is not a legal conclusion. Google has not performed a legal analysis and makes no representation as to the accuracy of the status listed.)
- Withdrawn
Links
- 238000000034 method Methods 0.000 title description 21
- 229920005994 diacetyl cellulose Polymers 0.000 description 154
- 239000013610 patient sample Substances 0.000 description 73
- 239000000523 sample Substances 0.000 description 48
- 238000003908 quality control method Methods 0.000 description 30
- 238000012360 testing method Methods 0.000 description 30
- 238000004458 analytical method Methods 0.000 description 22
- 239000008186 active pharmaceutical agent Substances 0.000 description 21
- 239000012472 biological sample Substances 0.000 description 18
- 238000007619 statistical method Methods 0.000 description 15
- 230000006870 function Effects 0.000 description 14
- 238000013500 data storage Methods 0.000 description 13
- 230000004044 response Effects 0.000 description 13
- 238000003860 storage Methods 0.000 description 13
- 239000000126 substance Substances 0.000 description 13
- 238000010586 diagram Methods 0.000 description 9
- 238000012544 monitoring process Methods 0.000 description 6
- 238000012550 audit Methods 0.000 description 5
- 238000013523 data management Methods 0.000 description 5
- 239000012530 fluid Substances 0.000 description 5
- 230000007246 mechanism Effects 0.000 description 5
- 230000002085 persistent effect Effects 0.000 description 4
- 230000008569 process Effects 0.000 description 4
- 230000003068 static effect Effects 0.000 description 4
- 238000013459 approach Methods 0.000 description 3
- 230000006399 behavior Effects 0.000 description 3
- 230000008901 benefit Effects 0.000 description 3
- 238000009826 distribution Methods 0.000 description 3
- 238000009533 lab test Methods 0.000 description 3
- 238000012986 modification Methods 0.000 description 3
- 230000004048 modification Effects 0.000 description 3
- 238000010926 purge Methods 0.000 description 3
- 230000001052 transient effect Effects 0.000 description 3
- 238000003556 assay Methods 0.000 description 2
- 238000004891 communication Methods 0.000 description 2
- 238000005516 engineering process Methods 0.000 description 2
- 230000003287 optical effect Effects 0.000 description 2
- 238000013439 planning Methods 0.000 description 2
- 238000012546 transfer Methods 0.000 description 2
- 238000012795 verification Methods 0.000 description 2
- 230000009471 action Effects 0.000 description 1
- 230000003213 activating effect Effects 0.000 description 1
- 238000013475 authorization Methods 0.000 description 1
- 238000011088 calibration curve Methods 0.000 description 1
- 230000015556 catabolic process Effects 0.000 description 1
- 230000008859 change Effects 0.000 description 1
- 238000004590 computer program Methods 0.000 description 1
- 239000013068 control sample Substances 0.000 description 1
- 230000008878 coupling Effects 0.000 description 1
- 238000010168 coupling process Methods 0.000 description 1
- 238000005859 coupling reaction Methods 0.000 description 1
- 238000013499 data model Methods 0.000 description 1
- 238000006731 degradation reaction Methods 0.000 description 1
- 230000001419 dependent effect Effects 0.000 description 1
- 238000013461 design Methods 0.000 description 1
- 230000003467 diminishing effect Effects 0.000 description 1
- 230000000694 effects Effects 0.000 description 1
- 239000007788 liquid Substances 0.000 description 1
- 230000007774 longterm Effects 0.000 description 1
- 238000005457 optimization Methods 0.000 description 1
- 230000008520 organization Effects 0.000 description 1
- 238000012545 processing Methods 0.000 description 1
- 239000007787 solid Substances 0.000 description 1
- 239000013589 supplement Substances 0.000 description 1
- XLYOFNOQVPJJNP-UHFFFAOYSA-N water Substances O XLYOFNOQVPJJNP-UHFFFAOYSA-N 0.000 description 1
- 230000003442 weekly effect Effects 0.000 description 1
Images
Classifications
-
- G06F19/366—
-
- G—PHYSICS
- G16—INFORMATION AND COMMUNICATION TECHNOLOGY [ICT] SPECIALLY ADAPTED FOR SPECIFIC APPLICATION FIELDS
- G16H—HEALTHCARE INFORMATICS, i.e. INFORMATION AND COMMUNICATION TECHNOLOGY [ICT] SPECIALLY ADAPTED FOR THE HANDLING OR PROCESSING OF MEDICAL OR HEALTHCARE DATA
- G16H10/00—ICT specially adapted for the handling or processing of patient-related medical or healthcare data
- G16H10/40—ICT specially adapted for the handling or processing of patient-related medical or healthcare data for data related to laboratory analysis, e.g. patient specimen analysis
-
- G06F19/322—
-
- G—PHYSICS
- G16—INFORMATION AND COMMUNICATION TECHNOLOGY [ICT] SPECIALLY ADAPTED FOR SPECIFIC APPLICATION FIELDS
- G16H—HEALTHCARE INFORMATICS, i.e. INFORMATION AND COMMUNICATION TECHNOLOGY [ICT] SPECIALLY ADAPTED FOR THE HANDLING OR PROCESSING OF MEDICAL OR HEALTHCARE DATA
- G16H10/00—ICT specially adapted for the handling or processing of patient-related medical or healthcare data
- G16H10/60—ICT specially adapted for the handling or processing of patient-related medical or healthcare data for patient-specific data, e.g. for electronic patient records
Landscapes
- Health & Medical Sciences (AREA)
- Engineering & Computer Science (AREA)
- Epidemiology (AREA)
- General Health & Medical Sciences (AREA)
- Medical Informatics (AREA)
- Primary Health Care (AREA)
- Public Health (AREA)
- Automatic Analysis And Handling Materials Therefor (AREA)
- Information Retrieval, Db Structures And Fs Structures Therefor (AREA)
- Medical Treatment And Welfare Office Work (AREA)
- Computer And Data Communications (AREA)
Applications Claiming Priority (3)
| Application Number | Priority Date | Filing Date | Title |
|---|---|---|---|
| US201462045453P | 2014-09-03 | 2014-09-03 | |
| US62/045,453 | 2014-09-03 | ||
| PCT/US2015/048385 WO2016036968A1 (en) | 2014-09-03 | 2015-09-03 | Integrated console environment for diagnostic instruments methods and apparatus |
Publications (1)
| Publication Number | Publication Date |
|---|---|
| KR20170072196A true KR20170072196A (ko) | 2017-06-26 |
Family
ID=55437737
Family Applications (1)
| Application Number | Title | Priority Date | Filing Date |
|---|---|---|---|
| KR1020177008943A Withdrawn KR20170072196A (ko) | 2014-09-03 | 2015-09-03 | 진단 기구들, 방법들, 및 장치를 위한 통합 콘솔 환경 |
Country Status (6)
| Country | Link |
|---|---|
| US (1) | US10886009B2 (enExample) |
| EP (1) | EP3189455B1 (enExample) |
| JP (1) | JP2017528829A (enExample) |
| KR (1) | KR20170072196A (enExample) |
| CN (1) | CN107148626B (enExample) |
| WO (1) | WO2016036968A1 (enExample) |
Families Citing this family (16)
| Publication number | Priority date | Publication date | Assignee | Title |
|---|---|---|---|---|
| WO2016036968A1 (en) | 2014-09-03 | 2016-03-10 | Beckman Coulter, Inc. | Integrated console environment for diagnostic instruments methods and apparatus |
| US10089676B1 (en) * | 2014-11-11 | 2018-10-02 | Amazon Technologies, Inc. | Graph processing service component in a catalog service platform |
| ITUB20153453A1 (it) * | 2015-09-07 | 2017-03-07 | Inpeco Holding Ltd | Sistema integrato per il riconoscimento positivo del paziente, la raccolta automatica, la memorizzazione e la fruizione di dati clinici. |
| CN106815483A (zh) * | 2017-01-19 | 2017-06-09 | 深圳市新产业生物医学工程股份有限公司 | 一种提高控制端与仪器的数据传输的容错性的方法和装置 |
| CN109727648B (zh) * | 2017-10-30 | 2024-03-12 | 西安理邦科学仪器有限公司 | 监护数据关联的方法、装置、中央站和存储介质 |
| CN111406292B (zh) * | 2017-12-07 | 2024-04-05 | 伯克顿迪金森公司 | 高效执行生物测定的系统和方法 |
| CN111433610A (zh) * | 2017-12-19 | 2020-07-17 | 拜克门寇尔特公司 | 实验室仪器的选择和配置 |
| CN110442406B (zh) * | 2018-05-02 | 2022-08-12 | 北京京东乾石科技有限公司 | 分页控件处理数据的方法及分页控件、电子设备 |
| CN108846102B (zh) * | 2018-06-20 | 2022-02-22 | 聂煌 | 中储粮质检中心实验室数据管理系统、计算机程序 |
| JP7174066B2 (ja) * | 2018-12-06 | 2022-11-17 | 株式会社日立ハイテク | 自動分析装置 |
| DE102019103078A1 (de) * | 2019-02-07 | 2020-08-13 | Labtwin Gmbh | Verfahren zur Unterstützung von Arbeitsabläufen in einer Laborumgebung mittels eines Assistenzsystems |
| JP7497187B2 (ja) * | 2019-03-29 | 2024-06-10 | エフ. ホフマン-ラ ロシュ アーゲー | 分析実験室 |
| EP4100965A4 (en) * | 2020-02-07 | 2023-07-26 | Siemens Healthcare Diagnostics Inc. | PERFORMANCE VISUALIZATION METHODS AND DIAGNOSTIC LABORATORY SYSTEMS INCLUDING THEM |
| EP4071686A1 (en) * | 2021-04-08 | 2022-10-12 | F. Hoffmann-La Roche AG | Laboratory sample delivery and broker system |
| CN120787315A (zh) * | 2023-03-15 | 2025-10-14 | 思拓凡瑞典有限公司 | 用来分析由一个或多个生物处理装置生成的源数据的方法 |
| CN119993290B (zh) * | 2025-04-14 | 2025-09-02 | 苏州中科苏净生物技术有限公司 | 一种用于多靶标生物危害因子免疫分析仪的数据管理方法 |
Family Cites Families (31)
| Publication number | Priority date | Publication date | Assignee | Title |
|---|---|---|---|---|
| US4315309A (en) | 1979-06-25 | 1982-02-09 | Coli Robert D | Integrated medical test data storage and retrieval system |
| JPH09145716A (ja) * | 1995-11-17 | 1997-06-06 | Hitachi Ltd | 検体処理装置 |
| US6581038B1 (en) * | 1999-03-15 | 2003-06-17 | Nexcura, Inc. | Automated profiler system for providing medical information to patients |
| DE60042105D1 (de) * | 1999-11-30 | 2009-06-10 | Sysmex Corp | Qualitätskontrollmethode und -Gerät |
| JP2001175719A (ja) * | 1999-12-15 | 2001-06-29 | Internatl Business Mach Corp <Ibm> | 周辺機器における消耗品の発注方法、周辺機器の消耗品管理システム、印刷装置およびプリントサーバ |
| US7165221B2 (en) * | 2000-11-13 | 2007-01-16 | Draeger Medical Systems, Inc. | System and method for navigating patient medical information |
| JP3800011B2 (ja) * | 2001-02-02 | 2006-07-19 | 株式会社日立製作所 | 分析装置で使用される試薬の管理方法および管理装置 |
| US7467054B2 (en) * | 2003-05-02 | 2008-12-16 | Bio-Rad Laboratories, Inc. | System and method for integrating the internal and external quality control programs of a laboratory |
| US20040230456A1 (en) | 2003-05-14 | 2004-11-18 | Lozier Luke R. | System for identifying candidates for ICD implantation |
| US20080235055A1 (en) * | 2003-07-17 | 2008-09-25 | Scott Mattingly | Laboratory instrumentation information management and control network |
| US7860727B2 (en) | 2003-07-17 | 2010-12-28 | Ventana Medical Systems, Inc. | Laboratory instrumentation information management and control network |
| US8442280B2 (en) | 2004-01-21 | 2013-05-14 | Edda Technology, Inc. | Method and system for intelligent qualitative and quantitative analysis of digital radiography softcopy reading |
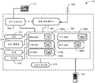
| US8069239B2 (en) | 2004-07-20 | 2011-11-29 | Beckman Coulter, Inc. | Centralized monitor and control system for laboratory instruments |
| JP4871618B2 (ja) | 2006-03-14 | 2012-02-08 | 株式会社日立ハイテクノロジーズ | 精度管理システム |
| JP4648250B2 (ja) | 2006-06-19 | 2011-03-09 | ベックマン コールター, インコーポレイテッド | 分析装置、分析方法および分析プログラム |
| WO2008070688A1 (en) * | 2006-12-04 | 2008-06-12 | Commvault Systems, Inc. | Systems and methods for creating copies of data, such as archive copies |
| US8112232B2 (en) * | 2007-02-02 | 2012-02-07 | Beckman Coulter, Inc. | System and method for autoverifying laboratory test results |
| US8019965B2 (en) * | 2007-05-31 | 2011-09-13 | International Business Machines Corporation | Data migration |
| US20110157480A1 (en) | 2008-05-07 | 2011-06-30 | Curl Douglas D | Integration system for medical instruments with remote control |
| CA2738317C (en) * | 2008-09-24 | 2020-01-14 | Straus Holdings Inc. | Imaging analyzer for testing analytes |
| US8538727B2 (en) | 2009-07-21 | 2013-09-17 | George S. Cembrowski | Method and apparatus for calibration and testing of scientific measurement equipment |
| US20110172550A1 (en) * | 2009-07-21 | 2011-07-14 | Michael Scott Martin | Uspa: systems and methods for ems device communication interface |
| EP2548200A4 (en) | 2010-03-19 | 2014-01-22 | Siemens Healthcare Diagnostics | SYSTEM AND METHOD FOR MODAL WINDOWS WITH INTERCHANGEABLE FOCUS |
| CN201716728U (zh) * | 2010-06-25 | 2011-01-19 | 杭州电子科技大学 | 一种分布式区域医疗影像信息共享装置 |
| CN105911196B (zh) * | 2010-10-29 | 2019-04-23 | 恩姆菲舍尔科技公司 | 用于样品制备和分析的自动化系统的系统布局 |
| US8600683B2 (en) * | 2011-01-11 | 2013-12-03 | Invitae Corporation | Systems and methods for obtaining and managing sequencing data |
| JP2013210937A (ja) * | 2012-03-30 | 2013-10-10 | Sysmex Corp | 分析結果提供システム、検体分析システム、分析結果提供装置、検体分析結果の提供方法、及びコンピュータプログラム |
| US11454574B2 (en) | 2012-11-07 | 2022-09-27 | Beckman Coulter, Inc. | Automated sample processing system |
| EP2746976B1 (en) * | 2012-12-21 | 2017-12-13 | F. Hoffmann-La Roche AG | Analysis system for analyzing biological samples with multiple operating environments |
| KR20160035054A (ko) * | 2013-07-25 | 2016-03-30 | 테라노스, 인코포레이티드 | 분산 임상 실험실을 위한 시스템 및 방법 |
| WO2016036968A1 (en) | 2014-09-03 | 2016-03-10 | Beckman Coulter, Inc. | Integrated console environment for diagnostic instruments methods and apparatus |
-
2015
- 2015-09-03 WO PCT/US2015/048385 patent/WO2016036968A1/en not_active Ceased
- 2015-09-03 JP JP2017512297A patent/JP2017528829A/ja not_active Ceased
- 2015-09-03 KR KR1020177008943A patent/KR20170072196A/ko not_active Withdrawn
- 2015-09-03 EP EP15837467.8A patent/EP3189455B1/en active Active
- 2015-09-03 US US14/844,334 patent/US10886009B2/en active Active
- 2015-09-03 CN CN201580059868.1A patent/CN107148626B/zh active Active
Also Published As
| Publication number | Publication date |
|---|---|
| US20160070862A1 (en) | 2016-03-10 |
| CN107148626A (zh) | 2017-09-08 |
| EP3189455A4 (en) | 2018-05-02 |
| CN107148626B (zh) | 2021-03-19 |
| US10886009B2 (en) | 2021-01-05 |
| JP2017528829A (ja) | 2017-09-28 |
| EP3189455B1 (en) | 2020-12-02 |
| EP3189455A1 (en) | 2017-07-12 |
| WO2016036968A1 (en) | 2016-03-10 |
Similar Documents
| Publication | Publication Date | Title |
|---|---|---|
| EP3189455B1 (en) | Integrated console environment for diagnostic instruments, methods and apparatus | |
| KR102143889B1 (ko) | 메타데이터 관리를 위한 시스템 | |
| US7421490B2 (en) | Uniquely identifying a crashed application and its environment | |
| CN107257973B (zh) | 查询网络上的数据源 | |
| JP4899295B2 (ja) | メタデータエディタプログラム、メタデータエディタ装置およびメタデータエディタ方法 | |
| CN101231587B (zh) | 用于软件配置管理库互操作的计算机方法和设备 | |
| US10489598B2 (en) | Infrastructure diagnostic system and method | |
| US20110270870A1 (en) | Web service discovery via data abstraction model and condition creation | |
| Zaccarelli et al. | Stream2segment: An open‐source tool for downloading, processing, and visualizing massive event‐based seismic waveform datasets | |
| US12174802B2 (en) | Model generation service for data retrieval | |
| Barberis et al. | The ATLAS EventIndex: a BigData catalogue for all ATLAS experiment events | |
| US20090070743A1 (en) | System and method for analyzing software applications | |
| WO2006126992A1 (en) | Method and apparatus for tracking changes in a system | |
| Godinho et al. | Assessing the relational database model for optimization of content discovery services in medical imaging repositories | |
| Kowalewski | artshop: A continuous integration and quality assessment framework for model-based software artifacts | |
| Bennett et al. | Malstone: A benchmark for data intensive computing | |
| Ožana et al. | Actual State in developing GeoNetwork opensource and metadata network standardization | |
| Brandt et al. | OVIS 3.2 user’s guide | |
| Costanzo et al. | Metadata for ATLAS | |
| Raminhos et al. | Extraction and transformation of data from semi-structured text files using a declarative approach | |
| dos Santos | Data distribution and access in a microservices architecture | |
| Costanzo et al. | ATLAS Metadata Task Force | |
| Sipos et al. | Monitoring of the infrastructure and services used to handle and automatically produce Alignment and Calibration conditions at CMS | |
| Bitonti et al. | Dynamic testing of legacy code resources on the Grid | |
| Peryt et al. | Detector Construction Database System for ALICE Experiment |
Legal Events
| Date | Code | Title | Description |
|---|---|---|---|
| PA0105 | International application |
Patent event date: 20170331 Patent event code: PA01051R01D Comment text: International Patent Application |
|
| PG1501 | Laying open of application | ||
| PC1203 | Withdrawal of no request for examination |