KR20140040887A - 온도센서를 이용한 전류 제어장치 - Google Patents

온도센서를 이용한 전류 제어장치 Download PDF

Info

Publication number
KR20140040887A
KR20140040887A KR1020120107158A KR20120107158A KR20140040887A KR 20140040887 A KR20140040887 A KR 20140040887A KR 1020120107158 A KR1020120107158 A KR 1020120107158A KR 20120107158 A KR20120107158 A KR 20120107158A KR 20140040887 A KR20140040887 A KR 20140040887A
Authority
KR
South Korea
Prior art keywords
electrode
volume reduction
tissue volume
temperature
spaced apart
Prior art date
Legal status (The legal status is an assumption and is not a legal conclusion. Google has not performed a legal analysis and makes no representation as to the accuracy of the status listed.)
Withdrawn
Application number
KR1020120107158A
Other languages
English (en)
Inventor
장동
Original Assignee
(주) 디에스테크
Priority date (The priority date is an assumption and is not a legal conclusion. Google has not performed a legal analysis and makes no representation as to the accuracy of the date listed.)
Filing date
Publication date
Application filed by (주) 디에스테크 filed Critical (주) 디에스테크
Priority to KR1020120107158A priority Critical patent/KR20140040887A/ko
Publication of KR20140040887A publication Critical patent/KR20140040887A/ko
Withdrawn legal-status Critical Current

Links

Images

Classifications

    • AHUMAN NECESSITIES
    • A61MEDICAL OR VETERINARY SCIENCE; HYGIENE
    • A61NELECTROTHERAPY; MAGNETOTHERAPY; RADIATION THERAPY; ULTRASOUND THERAPY
    • A61N1/00Electrotherapy; Circuits therefor
    • A61N1/02Details
    • A61N1/04Electrodes
    • A61N1/06Electrodes for high-frequency therapy
    • AHUMAN NECESSITIES
    • A61MEDICAL OR VETERINARY SCIENCE; HYGIENE
    • A61BDIAGNOSIS; SURGERY; IDENTIFICATION
    • A61B18/00Surgical instruments, devices or methods for transferring non-mechanical forms of energy to or from the body
    • A61B18/04Surgical instruments, devices or methods for transferring non-mechanical forms of energy to or from the body by heating
    • A61B18/12Surgical instruments, devices or methods for transferring non-mechanical forms of energy to or from the body by heating by passing a current through the tissue to be heated, e.g. high-frequency current
    • A61B18/14Probes or electrodes therefor
    • AHUMAN NECESSITIES
    • A61MEDICAL OR VETERINARY SCIENCE; HYGIENE
    • A61BDIAGNOSIS; SURGERY; IDENTIFICATION
    • A61B18/00Surgical instruments, devices or methods for transferring non-mechanical forms of energy to or from the body
    • A61B2018/00571Surgical instruments, devices or methods for transferring non-mechanical forms of energy to or from the body for achieving a particular surgical effect
    • A61B2018/00589Coagulation
    • AHUMAN NECESSITIES
    • A61MEDICAL OR VETERINARY SCIENCE; HYGIENE
    • A61BDIAGNOSIS; SURGERY; IDENTIFICATION
    • A61B18/00Surgical instruments, devices or methods for transferring non-mechanical forms of energy to or from the body
    • A61B2018/00636Sensing and controlling the application of energy
    • A61B2018/00773Sensed parameters
    • A61B2018/00791Temperature
    • A61B2018/00797Temperature measured by multiple temperature sensors

Landscapes

  • Health & Medical Sciences (AREA)
  • Engineering & Computer Science (AREA)
  • Life Sciences & Earth Sciences (AREA)
  • Biomedical Technology (AREA)
  • Animal Behavior & Ethology (AREA)
  • Veterinary Medicine (AREA)
  • Surgery (AREA)
  • Nuclear Medicine, Radiotherapy & Molecular Imaging (AREA)
  • Public Health (AREA)
  • General Health & Medical Sciences (AREA)
  • Plasma & Fusion (AREA)
  • Molecular Biology (AREA)
  • Medical Informatics (AREA)
  • Heart & Thoracic Surgery (AREA)
  • Physics & Mathematics (AREA)
  • Otolaryngology (AREA)
  • Radiology & Medical Imaging (AREA)
  • Surgical Instruments (AREA)

Abstract

본 발명은 고주파 에너지를 이용한 조직볼륨 축소장치에 관한 것으로서, 각종 신체 조직에 고주파를 인가하여 조직을 응고 괴사시킬 목적으로 사용되는 고주파 치료기의 경우 정확한 온도 설정이 용이하지 않고 고주파 간섭에 의한 회로의 구성이 용이하지 않은 문제점을 해결하기 위하여 개발된 것으로;
치료할 신체부위에 접촉하는 서로 이격된 2개의 전극이 형성되는 핸드피스와, 고주파를 출력하는 제어부 및 전원공급부로 구성되는 고주파 에너지를 이용한 조직볼륨 축소장치에 있어서;
상기 핸드피스는 손으로 파지할 수 있는 손잡이와, 손잡이의 전단으로 돌출되어 있는 바늘형 전극봉으로 이루어지되;
상기 전극봉은 그 중심에서 그 끝단과 소정거리 이격된 거리까지 연장되는 온도센서와, 상기 온도센서의 주위를 감싸면서 끝단까지 연장되는 1차전극와, 상기 1차 전극의 끝단을 제외하고 표면을 감싸면서 절연하는 1차 전극 절연체과, 상기 1차 전극 절연체의 끝단과 소정길이 이격되는 곳까지 표면을 감싸면서 연장되는 2차 전극과, 상기 2차 전극의 끝단과 소정길이 이격되는 곳까지 표면을 감싸면서 연장되는 2차 전극 절연체로 구성됨을 특징으로 하는 고주파 에너지를 이용한 조직볼륨 축소장치에 관한 것이다.

Description

온도센서를 이용한 전류 제어장치{Tissue volume reduction by raidiofrequencny energy}
본 발명은 고주파 에너지를 이용한 조직볼륨 축소장치에 관한 것으로서, 좀더 상세하게 설명하면 시술자가 원하는 정확한 온도의 설정이 용이하고 고주파에 의한 회로의 간섭을 제거할 수 있도록 하기 위하여 개발된 고주파 에너지를 이용한 조직볼륨 축소장치에 관한 것이다.
각종 종양, 전립선, 비대증, 비대한 근육 등의 조직에 고주파 에너지를 국소적으로 인가하여 조직을 응고시켜 괴사시킬 목적으로 종래에는 전기수술기, 레이저 수술기 등을 이용하여 조직을 응고하였다.
하지만 이러한 장치는 순간적으로 조직에 가하여지는 온도는 약 750 ~ 900℃ 정도로 매우 고온이며, 출력전압이 수천 볼트 이상이기 때문에 조직이 탄화되어 염증이 발생하거나, 시술하기 위한 적정한 범위를 초과하여 조직이 응고하기에 정밀하게 특정부위만 응고하기 어려울 뿐만 아니라 예측 불가능한 응고범위에 의한 문제점 및 응고 후 효과를 낙관할 수 없다는 단점을 가지고 있다.
이러한 단점을 개선하기 위하여 응고되는 조직을 실시간으로 감시하고자하는 시도가 있었으나 고주파의 대역이 300kHz 내지 수 kHz이기 때문에 고주파 간섭에 의하여 회로의 구성이 용이하지 않으며, 시간 제어방식으로 수초 동안만 고주파 에너지를 가한 후 출력을 차단하는 방법 또한 조직에 따라 응고 범위가 상이한 문제점이 있었다.
따라서 조직의 응고범위가 예측가능하고 일정하게 할 수 있는 장치의 개발이 요구되는 실정이다.
상기와 같은 문제점을 해결하기 위하여 본 발명의 목적은 온도의 측정이 실제 시술되는 부위에서 최대한 근접한 곳에서 이루어지도록 하여 온도의 측정이 정확한 조직볼륨 축소장치를 제공하는데 있다.
또한 사용자가 치료의 목적에 따라 적정 온도를 자유롭게 설정할 수 있는 조직볼륨 축소장치를 제공하는데 있다.
또한 온도센서의 계측부에 고주파 간섭을 최대한 방지할 수 있는 조직볼륨 축소장치를 제공하는데 있다.
또 전극봉을 통한 전기전도율을 용이하게 높일 수 있는 조직볼륨 축소장치를 제공하는데 있다
상기와 같은 목적을 달성하기 위하여 본 발명은 치료할 신체부위에 접촉하는 서로 이격된 2개의 전극이 형성되는 핸드피스와, 고주파를 출력하는 제어부 및 전원공급부로 구성되는 고주파 에너지를 이용한 조직볼륨 축소장치에 있어서;
상기 핸드피스는 손으로 파지할 수 있는 손잡이와, 손잡이의 전단으로 돌출되어 있는 바늘형 전극봉으로 이루어지되;
상기 전극봉은 그 중심에서 그 끝단과 소정거리 이격된 거리까지 연장되는 온도센서와, 상기 온도센서의 주위를 감싸면서 끝단까지 연장되는 1차전극와, 상기 1차 전극의 끝단을 제외하고 표면을 감싸면서 절연하는 1차 전극 절연체과, 상기 1차 전극 절연체의 끝단과 소정길이 이격되는 곳까지 표면을 감싸면서 연장되는 2차 전극과, 상기 2차 전극의 끝단과 소정길이 이격되는 곳까지 표면을 감싸면서 연장되는 2차 전극 절연체로 구성됨을 특징으로 하는 고주파 에너지를 이용한 조직볼륨 축소장치에 관한 것이다.
아울러, 상기 제어부에는 상기 온도센서에서 감지된 온도를 표시하는 온도표시부 및 온도를 제어 조절하는 온도제어부가 추가로 구성됨을 특징으로 한다.
또한, 상기 손잡이의 일측에는 액체주입구가 형성되고, 상기 액체주입구는 상기 전극봉 끝단의 2차 전극에 형성되는 다수의 미세홀를 연결하는 다수의 미세관과 연결되도록 구성됨을 특징으로 한다.
상술한 바와 같이 본 발명은 온도의 측정이 실제 시술되는 부위에서 최대한 근접한 곳에서 이루어지도록 하여 정확한 온도 측정으로 시술시 원하는 온도를 실시간으로 확인할 수 있는 효과가 있다.
또한 사용자가 치료의 목적에 따라 온도를 설정하고 그 온도에 따른 전극봉의 온도 또한 최대한 근사치에 이르게 됨으로써 원하는 응고 범위와 정도를 용이하게 설정할 수 있는 효과가 있다.
또한 온도센서의 계측부에 고주파 간섭을 최대한 방지할 수 있도록 하여 전극봉 끝단 시술부의 정확한 온도를 확인할 수 있는 효과가 있다.
또 생리 식염수에 의하여 전극봉과 접촉하는 피부의 전기전도율을 행상시켜 이 높아져서 기존의 전극봉보다 큰 범위 즉 1cm 이상 조직을 응고하여 볼륨을 줄이는 효과가 있다.
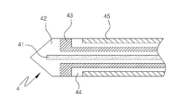
도 1은 본 발명의 일 실시 예에 따른 핸드피스를 나타낸 부분 절개도
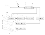
도 2는 본 발명의 일 실시 예에 따른 개념도
도 3은 본 발명의 다른 실시 예에 따른 개념도
이에 본 발명의 구성을 첨부된 도면에 의하여 당업자가 용이하게 이해하고 재현할 수 있도록 상세하게 설명하면 다음과 같다.
도 1은 본 발명의 일 실시 예에 따른 핸드피스를 나타낸 부분 절개도로서, 치료할 신체부위에 접촉하는 서로 이격된 2개의 전극이 형성되는 핸드피스(1)와, 고주파를 출력하는 제어부(2) 및 전원공급부(3)로 구성되는 고주파 에너지를 이용한 조직볼륨 축소장치에 있어서;
상기 핸드피스(1)는 손으로 파지할 수 있는 손잡이(11)와, 손잡이의 전단으로 돌출되어 있는 바늘형 전극봉(4)으로 이루어지되;
상기 전극봉(4)은 그 중심에서 그 끝단과 소정거리 이격된 거리까지 연장되는 온도센서(41)와, 상기 온도센서(41)의 주위를 감싸면서 끝단까지 연장되는 1차전극(42)와, 상기 1차 전극(42)의 끝단을 제외하고 표면을 감싸면서 절연하는 1차 전극 절연체(43)과, 상기 1차 전극 절연체(43)의 끝단과 소정길이 이격되는 곳까지 표면을 감싸면서 연장되는 2차 전극(44)과, 상기 2차 전극(44)의 끝단과 소정길이 이격되는 곳까지 표면을 감싸면서 연장되는 2차 전극 절연체(45)로 구성되는 고주파 에너지를 이용한 조직볼륨 축소장치를 나타내었다.
이때 상기 온도센서(41)는 1차 전극(42)과 완전히 절연된 상태를 유지하도록 특수절연된 센서를 매입하여야한다.
이러한 구조는 상기 바늘형 전극봉(4)의 끝단에 상호 절연된 상태로 노출된 1차전극(42) 및 2차 전극(44)을 시술을 원하는 부위에 접촉시키면 통전되면서 고주파가 발생하게 된다.
이때 전극봉(4)의 끝단의 온도는 상승하게 되는데 온도센서는 상기 전극봉(4)의 끝단까지 매입되어 있기에 이러한 온도 상승을 실시간으로 측정할 수 있어 정확한 온도의 확인이 가능하게 된다.
도 2는 본 발명의 일 실시 예에 따른 개념도로서, 상기 제어부(2)에는 상기 온도센서(41)에서 감지된 온도를 표시하는 온도표시부(21) 및 온도를 제어 조절하는 온도제어부(22)가 추가로 구성하는 실시 예를 나타내었다.
이는 전술한 전극봉(4)에서의 정확한 온도측정을 실시간으로 온도표시부(21)에 표시됨으로서, 정확한 온도의 측정뿐만 아니라 설정도 가능하게 된다.
이러한 정확한 온도의 측정이 가능하고 이에 따른 온도의 설정도 자유롭게 되면 시술할 조직에 따라 정확한 온도를 설정하여 사용자가 이를 확인하면서 시술하게 되어 응고시키려고 하는 조직의 시술범위를 보다 정확하게 설정할 수 있게 된다.
이때 온도센서(41)의 계측부(46)는 고주파가 발생되는 전극봉(4)와 최대한 이격된 손잡이(11) 부분에 형성하도록 하여 고주파 간섭으로부터 방지하도록 하였다.
또한 이를 위하여 상기 손잡이(11)를 구성하는 재질은 이러한 고주파를 차단할 수 있는 재질로 구성하면 고주파 차단기능은 배가될 것이다.
도 3은 본 발명의 다른 실시 예에 따른 개념도로서, 상기 손잡이(11)의 일측에는 액체주입구(12)가 형성되고, 상기 액체주입구(12)는 상기 전극봉(4) 끝단의 2차 전극(44)에 형성되는 다수의 미세홀(46)를 연결하는 다수의 미세관(47)과 연결되도록 구성하는 실시 예를 추가로 제시하였다.
이러한 상기 실시 예는 상기 액체주입구(12)에 고장성의 생리 식염수 (hypertonic saline)을 주입하면 상기 생리 식염수는 전극봉(4)과 접촉하는 피부로 흘러나와 전기전도율(thermal and electric conductivity)이 높아져서 기존의 전극봉보다 큰 범위 즉 1cm 이상 조직을 응고하여 볼륨을 줄이는 효과가 있다.
이러한 실시 예는 자궁근종 등 조직의 범위가 수 cm이상인 경우에 적합한 실시 예이다.
이때 상기 생리 식염수는 도시된 바와 같이 주사기와 호스를 사용하여 주입할 수도 있으나 자동 장치에 의하여 일정량을 주입하도록 하는 실시 예의 안출도 가능하다.
1 : 핸드피스
* 11 : 손잡이 12 : 액체주입구
2 : 제어부
21 : 온도표시부 22 : 온도제어부
3 : 전원부
4 : 전극봉
41 : 온도센서 42 : 1차 전극
43 : 1차 전극 절연체 44 : 2차 전극
45 : 2차 전극 절연체 46 : 계측부
46 : 미세홀 47 : 미세관

Claims (3)

  1. 치료할 신체부위에 접촉하는 서로 이격된 2개의 전극이 형성되는 핸드피스(1)와, 고주파를 출력하는 제어부(2) 및 전원공급부(3)로 구성되는 고주파 에너지를 이용한 조직볼륨 축소장치에 있어서;
    상기 핸드피스(1)는 손으로 파지할 수 있는 손잡이(11)와, 손잡이의 전단으로 돌출되어 있는 바늘형 전극봉(4)으로 이루어지되;
    상기 전극봉(4)은 그 중심에서 그 끝단과 이격된 거리까지 연장되는 온도센서(41)와, 상기 온도센서(41)의 주위를 감싸면서 끝단까지 연장되는 1차전극(42)와, 상기 1차 전극(42)의 끝단을 제외하고 표면을 감싸면서 절연하는 1차 전극 절연체(43)과, 상기 1차 전극 절연체(43)의 끝단과 이격되는 곳까지 표면을 감싸면서 연장되는 2차 전극(44)과, 상기 2차 전극(44)의 끝단과 이격되는 곳까지 표면을 감싸면서 연장되는 2차 전극 절연체(45)로 구성됨을 특징으로 하는 고주파 에너지를 이용한 조직볼륨 축소장치.
  2. 제 1항에 있어서, 상기 제어부(2)에는 상기 온도센서(41)에서 감지된 온도를 표시하는 온도표시부(21) 및 온도를 제어 조절하는 온도제어부(22)가 추가로 구성됨을 특징으로 하는 고주파 에너지를 이용한 조직볼륨 축소장치.
  3. 제 1항 또는 제2항에 있어서, 상기 손잡이(11)의 일측에는 액체주입구(12)가 형성되고, 상기 액체주입구(12)는 상기 전극봉(4) 끝단의 2차 전극(44)에 형성되는 다수의 미세홀(46)를 연결하는 다수의 미세관(47)과 연결되도록 구성됨을 특징으로 하는 고주파 에너지를 이용한 조직볼륨 축소장치.
KR1020120107158A 2012-09-26 2012-09-26 온도센서를 이용한 전류 제어장치 Withdrawn KR20140040887A (ko)

Priority Applications (1)

Application Number Priority Date Filing Date Title
KR1020120107158A KR20140040887A (ko) 2012-09-26 2012-09-26 온도센서를 이용한 전류 제어장치

Applications Claiming Priority (1)

Application Number Priority Date Filing Date Title
KR1020120107158A KR20140040887A (ko) 2012-09-26 2012-09-26 온도센서를 이용한 전류 제어장치

Publications (1)

Publication Number Publication Date
KR20140040887A true KR20140040887A (ko) 2014-04-04

Family

ID=50650808

Family Applications (1)

Application Number Title Priority Date Filing Date
KR1020120107158A Withdrawn KR20140040887A (ko) 2012-09-26 2012-09-26 온도센서를 이용한 전류 제어장치

Country Status (1)

Country Link
KR (1) KR20140040887A (ko)

Cited By (1)

* Cited by examiner, † Cited by third party
Publication number Priority date Publication date Assignee Title
KR102215284B1 (ko) * 2020-05-22 2021-02-10 최성희 전기 수술용 장치

Cited By (1)

* Cited by examiner, † Cited by third party
Publication number Priority date Publication date Assignee Title
KR102215284B1 (ko) * 2020-05-22 2021-02-10 최성희 전기 수술용 장치

Similar Documents

Publication Publication Date Title
AU2016209266B2 (en) Systems and devices to identify and limit nerve conduction
US8986297B2 (en) Thermal hemostasis and/or coagulation of tissue
EP2892455B1 (en) Device for ablating and electroporating tissue cells
US9113912B1 (en) Systems and devices to identify and limit nerve conduction
US6620156B1 (en) Bipolar tonsillar probe
JP4819062B2 (ja) 高周波手術装置
RU2499574C2 (ru) Биполярный радиочастотный абляционный инструмент
US20050165390A1 (en) Apparatus for electrosurgery
US20160038228A1 (en) Thermal hemostasis and/or coagulation of tissue
US20160206362A1 (en) Systems and devices to identify and limit nerve conduction
US20100298821A1 (en) Device and method for the thermal ablation of tumors by means of high-frequency electromagnetic energy under overpressure conditions
US20150230861A1 (en) Methods and systems related to an electrosurgical controller
CN107405099A (zh) 高密度标测和消融导管
JP2021166802A (ja) 温度制御された短時間アブレーション
CN109688955A (zh) 双极组织消融装置以及其使用方法
CN108348285A (zh) 脊髓组织切除设备、系统和方法
KR20120004398A (ko) 지방흡입 방법 및 장치
KR20170066687A (ko) 질 재건 기구 및 방법
US9770293B2 (en) Systems and methods for treating tissue of a passageway within a body
ES2742275T3 (es) Ablación de corta duración con temperatura controlada
KR101547299B1 (ko) 고주파 전기 수술 장치
CA2955508A1 (en) Temperature controlled short duration ablation
JP2019517843A5 (ja) Rfエネルギー及びマイクロ波エネルギーを送達するための電気手術装置及びそれの使用方法
KR20140124832A (ko) 절제술에서 이용하기 위한 바늘 조립체 및 시스템 및 관련 방법
JP2021530272A (ja) アブレーション処置中にプローブ毎の利用可能な電力を調節するためのシステム及び方法

Legal Events

Date Code Title Description
PA0109 Patent application

St.27 status event code: A-0-1-A10-A12-nap-PA0109

PG1501 Laying open of application

St.27 status event code: A-1-1-Q10-Q12-nap-PG1501

P22-X000 Classification modified

St.27 status event code: A-2-2-P10-P22-nap-X000

PC1203 Withdrawal of no request for examination

St.27 status event code: N-1-6-B10-B12-nap-PC1203

WITN Application deemed withdrawn, e.g. because no request for examination was filed or no examination fee was paid
PN2301 Change of applicant

St.27 status event code: A-3-3-R10-R13-asn-PN2301

St.27 status event code: A-3-3-R10-R11-asn-PN2301

R11 Change to the name of applicant or owner or transfer of ownership requested

Free format text: ST27 STATUS EVENT CODE: A-3-3-R10-R11-ASN-PN2301 (AS PROVIDED BY THE NATIONAL OFFICE)

R13 Change to the name of applicant or owner recorded

Free format text: ST27 STATUS EVENT CODE: A-3-3-R10-R13-ASN-PN2301 (AS PROVIDED BY THE NATIONAL OFFICE)