KR20130108811A - 이동형 접속장치를 갖춘 전기 콘센트 - Google Patents
이동형 접속장치를 갖춘 전기 콘센트 Download PDFInfo
- Publication number
- KR20130108811A KR20130108811A KR1020120030566A KR20120030566A KR20130108811A KR 20130108811 A KR20130108811 A KR 20130108811A KR 1020120030566 A KR1020120030566 A KR 1020120030566A KR 20120030566 A KR20120030566 A KR 20120030566A KR 20130108811 A KR20130108811 A KR 20130108811A
- Authority
- KR
- South Korea
- Prior art keywords
- terminal
- moving
- connection device
- electrical outlet
- groove
- Prior art date
- Legal status (The legal status is an assumption and is not a legal conclusion. Google has not performed a legal analysis and makes no representation as to the accuracy of the status listed.)
- Abandoned
Links
- 238000003780 insertion Methods 0.000 claims abstract description 18
- 230000037431 insertion Effects 0.000 claims abstract description 18
- 230000002265 prevention Effects 0.000 claims description 12
- 238000000926 separation method Methods 0.000 claims description 9
- 238000000034 method Methods 0.000 claims 2
- 230000005611 electricity Effects 0.000 description 4
- 206010014357 Electric shock Diseases 0.000 description 3
- 239000004020 conductor Substances 0.000 description 3
- 239000012811 non-conductive material Substances 0.000 description 3
- 239000000463 material Substances 0.000 description 2
- 238000012986 modification Methods 0.000 description 2
- 230000004048 modification Effects 0.000 description 2
- 230000000694 effects Effects 0.000 description 1
Images
Classifications
-
- H—ELECTRICITY
- H01—ELECTRIC ELEMENTS
- H01R—ELECTRICALLY-CONDUCTIVE CONNECTIONS; STRUCTURAL ASSOCIATIONS OF A PLURALITY OF MUTUALLY-INSULATED ELECTRICAL CONNECTING ELEMENTS; COUPLING DEVICES; CURRENT COLLECTORS
- H01R13/00—Details of coupling devices of the kinds covered by groups H01R12/70 or H01R24/00 - H01R33/00
- H01R13/46—Bases; Cases
-
- H—ELECTRICITY
- H01—ELECTRIC ELEMENTS
- H01R—ELECTRICALLY-CONDUCTIVE CONNECTIONS; STRUCTURAL ASSOCIATIONS OF A PLURALITY OF MUTUALLY-INSULATED ELECTRICAL CONNECTING ELEMENTS; COUPLING DEVICES; CURRENT COLLECTORS
- H01R13/00—Details of coupling devices of the kinds covered by groups H01R12/70 or H01R24/00 - H01R33/00
- H01R13/66—Structural association with built-in electrical component
- H01R13/70—Structural association with built-in electrical component with built-in switch
- H01R13/71—Contact members of coupling parts operating as switch, e.g. linear or rotational movement required after mechanical engagement of coupling part to establish electrical connection
Landscapes
- Details Of Connecting Devices For Male And Female Coupling (AREA)
- Connector Housings Or Holding Contact Members (AREA)
Abstract
본 발명은 전기 콘센트에 접속되는 접속장치를 이동시킴으로써 전원의 온/오프가 조작되게 하는 이동형 접속장치를 갖춘 전기 콘센트에 관한 것으로, +전선 및 -전선이 내장되어 있으며, 바닥부에는 상기 +전선과 연결된 +단자와 상기 -전선과 연결된 -단자가 구비되고 측벽에 원주방향으로 슬릿홈이 구비된 이동홈부를 갖춘 비전도성의 바디부재; 두 개의 플러그단자봉이 각각 삽입되게 하는 삽입공과, 상기 +단자 및 상기 -단자와 접촉/단락이 가능하도록 상하방향으로 이동가능하게 장착되되 상기 삽입공의 하부에 형성된 수용부에 삽설되는 통전단자와, 상기 이동홈부의 슬릿홈을 따라 이동하는 돌기부를 구비한 비전도성의 이동부재; 및 상기 바디부재의 이동홈부와 대응되는 관통공을 구비하여서 상기 바디부재 및 상기 이동부재의 상부를 덮되 상기 이동부재의 이탈을 방지하는 비전도성의 안전커버;를 포함하여 구성된다.
Description
본 발명은 이동형 접속장치를 갖춘 전기 콘센트에 관한 것으로, 보다 상세하게는 전원을 외부기기에 공급하는 전기 콘센트에 접속되는 접속장치를 이동시킴으로써 전원의 온/오프가 조작되게 하는 이동형 접속장치를 갖춘 전기 콘센트에 관한 것이다.
일반적으로, 전기 콘센트는 각종 전자기기에 전원을 공급하기 위한 접속장치로서 적어도 하나 이상의 플러그를 꽂아 사용할 수 있게 하며, 벽 등에 매립하여 사용하는 매립형 콘센트와, 도 1에 도시된 바와 같이 별도로 유니트화하여 전원과 연결된 상태로 독립하여 사용할 수 있게 하는 멀티 탭 타입의 콘센트(1)가 있다.
그러나, 상기와 같은 콘센트(1)는 플러그를 꽂지 않은 경우 유아들이 플러그 단자의 삽입구(2)에 도전체를 삽입함으로써 전기 감전 등의 안전사고 발생위험이 있었으며, 사용하지 않은 전자기기의 플러그를 콘센트(1)에 꽂아 놓을 경우 암전류가 발생하여 전류가 소모되는 일이 발생되는 문제점이 있었다.
따라서, 상기 콘센트(1)는 기기를 사용하지 않을 경우, 절전을 위하여 플러그를 뽑아 놓거나, 콘센트(1)에 별도의 온/오프 스위치를 부착하여 사용되고 있다.
그러나, 상기 콘센트에 있어서는 별도의 스위치를 설치해야 하는 번거로움이 있었으며, 플러그와 콘센트(1)가 결합된 상태에서 플러그에 가해지는 외력에 의해 콘센트(1)로부터 플러그가 분리되는 경향이 있으므로 안정적으로 전원을 공급할 수가 없는 문제점이 있었다.
아울러, 상기 콘센트에 플러그가 꽂혀 있지 않은 경우에는 플러그단자의 삽입구(2)로 이물질이 유입되어 고장이 발생할 염려가 있으며, 이로 인해 장시간 사용하지 못하는 문제점이 있었다.
상기와 같은 문제점을 해결하기 위한 본 발명의 목적은, 플러그를 콘센트에 삽입 후 좌우방향 또는 전후방향으로 이동시킴에 따라 플러그의 접속전극이 콘센트의 내부에 배열된 통전부재에 탄성적으로 접촉될 수 있게 함으로써 전원의 온/오프를 위해 플러그를 뽑아야 하는 번거로움을 없앨 뿐만 아니라, 별도의 온/오프 스위치를 구비해야 하는 번거로움을 해소할 수 있는 이동형 접속장치를 갖춘 전기 콘센트를 제공하는데에 있다.
아울러, 상기 콘센트에 플러그를 꽂지 않은 경우에 유아들이 플러그 단자의 삽입구에 도전체를 삽입한다 하더라도 통전에 의한 전기 감전사고의 발생위험이 전혀 없게 하며, 사용하지 않은 전자기기의 플러그를 콘센트에 꽂아 놓는다 할지라도 암전류가 발생하지 않아 전류가 소모되는 일이 전혀 없는 이동형 접속장치를 갖춘 전기 콘센트를 제공하는데에 있다.
상기한 바와 같은 목적을 달성하기 위한 본 발명의 실시예에 따른, 전기 콘센트에 접속되는 접속장치를 이동시킴으로써 전원의 온/오프가 조작되게 하는 이동형 접속장치를 갖춘 전기 콘센트는, +전선 및 -전선이 내장되어 있으며, 바닥부에는 상기 +전선과 연결된 +단자와 상기 -전선과 연결된 -단자가 구비되고 측벽에 원주방향으로 슬릿홈이 구비된 장공형태의 이동홈부를 갖춘 비전도성의 바디부재; 두 개의 플러그단자봉이 각각 삽입되게 하는 삽입공과, 상기 +단자 및 상기 -단자와 접촉/단락이 가능하도록 상하방향으로 이동가능하게 장착되되 상기 삽입공의 하부에 형성된 수용부에 삽설되는 통전단자와, 상기 이동홈부의 슬릿홈을 따라 이동하는 돌기부를 구비한 비전도성의 이동부재; 및 상기 바디부재의 이동홈부와 대응되는 관통공을 구비하여서 상기 바디부재 및 상기 이동부재의 상부를 덮되 상기 이동부재의 이탈을 방지하는 비전도성의 안전커버;를 포함하여 구성된다.
본 발명의 실시예에 따르면, 상기 바디부재의 이동홈부 상단에는 이동부재의 이탈을 방지하는 이탈방지턱이 내측을 향하여 돌출되게 구비된다.
본 발명의 실시예에 따르면, 상기 이동부재의 통전단자는, 상기 수용부의 하부에 설치된 이탈방지편을 통해서 이탈되지 않게 수용된 탄성부재를 가압하는 가압편과, 상기 탄성부재에 끼워져서 상기 가압편의 가압작용의 하향이동에 따라 하향이동하여 통공을 통해 빠져나와 상기 +단자 또는 상기 -단자와 접촉되는 접촉봉으로 이루어진다.
본 발명의 실시예에 따르면, 상기 이동홈부의 상부 양측에는, 상기 이동부재가 좌우방향 또는 전후방향으로 이동할 때 생성되는 빈공간부를 덮어서 이물질의 유입을 방지하는 이물질유입장지커버가 추가로 구비된다.
상술한 바와 같은 본 발명의 실시예에 따른 이동형 접속장치를 갖춘 전기 콘센트를 사용하게 되면 다음과 같은 효과를 얻을 수 있다.
첫째. 전자기기의 사용시 전원의 온/오프를 위해 플러그를 뽑아야 하는 번거로움을 없앨 뿐만 아니라, 절전을 위한 별도의 온/오프 스위치를 구비해야 하는 번거로움을 해소할 수 있게 한다.
둘째. 상기 콘센트에 플러그를 꽂지 않은 경우에 유아들이 플러그 단자의 삽입구에 도전체를 삽입한다 하더라도 통전이 되지 않아 전기 감전사고의 발생위험이 전혀 없게 된다.
셋째. 사용하지 않은 전자기기의 플러그를 콘센트에 꽂아 놓는다 할지라도 암전류가 발생하지 않아 전류가 소모되는 일이 전혀 없다.
넷째, 이물질유입방지커버를 통해 이동홈부를 항상 덮게 됨으로써 이물질 유입에 따른 콘센트의 고장을 미연에 방지할 수 있게 한다.
도 1은 종래의 전기 콘센트를 보인 사시도.
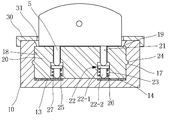
도 2는 본 발명의 실시예에 따른 이동형 접속장치를 갖춘 전기 콘센트를 보인 분해사시도.
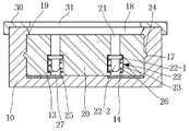
도 3은 본 발명의 실시예에 따른 이동형 접속장치를 갖춘 전기 콘센트의 측단면도.
도 4는 본 발명의 실시예에 따른 이동형 접속장치를 갖춘 전기 콘센트에 플러그가 장착된 상태를 보인 측단면도.
도 5a 내지 도 5c는 본 발명의 실시예에 따른 이동형 접속장치를 갖춘 전기 콘센트에 플러그를 꽂은 후 작동상태를 보인 평단면도.
도 6a 및 도 6b는 본 발명의 실시예에 따른 이동형 접속장치를 갖춘 전기 콘센트 이물질유입방지커버의 작동상태를 보인 평단면도.
도 2는 본 발명의 실시예에 따른 이동형 접속장치를 갖춘 전기 콘센트를 보인 분해사시도.
도 3은 본 발명의 실시예에 따른 이동형 접속장치를 갖춘 전기 콘센트의 측단면도.
도 4는 본 발명의 실시예에 따른 이동형 접속장치를 갖춘 전기 콘센트에 플러그가 장착된 상태를 보인 측단면도.
도 5a 내지 도 5c는 본 발명의 실시예에 따른 이동형 접속장치를 갖춘 전기 콘센트에 플러그를 꽂은 후 작동상태를 보인 평단면도.
도 6a 및 도 6b는 본 발명의 실시예에 따른 이동형 접속장치를 갖춘 전기 콘센트 이물질유입방지커버의 작동상태를 보인 평단면도.
이하, 본 발명에 따른 이동형 접속장치를 갖춘 전기 콘센트에 대한 바람직한 실시예에 대해 첨부된 도면들을 참조로 하여 상세히 설명한다.
도 2는 본 발명의 실시예에 따른 이동형 접속장치를 갖춘 전기 콘센트를 보인 분해사시도이고, 도 3은 본 발명의 실시예에 따른 이동형 접속장치를 갖춘 전기 콘센트의 측단면도이고, 도 4는 본 발명의 실시예에 따른 이동형 접속장치를 갖춘 전기 콘센트에 플러그가 장착된 상태를 보인 측단면도이고, 도 5a 내지 도 5c는 본 발명의 실시예에 따른 이동형 접속장치를 갖춘 전기 콘센트에 플러그를 꽂은 후 작동상태를 보인 평단면도이며, 도 6a 및 도 6b는 본 발명의 실시예에 따른 이동형 접속장치를 갖춘 전기 콘센트 커버의 작동상태를 보인 평단면도이다.
본 발명의 실시예에 따른 전기 콘센트에 접속되는 접속장치를 좌우방향 또는 전후방향으로 이동시킴으로써 전원의 온/오프가 조작되게 하는 이동형 접속장치를 갖춘 전기 콘센트는, 도 2 및 도 3에 도시된 바와 같이, 바디부재(10), 이동부재(20) 및 안전커버(30)로 구성되며, 2구형 내지 5구형을 갖추고 있다.
상기 바디부재(10)는 비전도성 재질로 이루어지고 이동부재(20)가 삽입되어 이동할 수 있는 이동홈부(18)를 갖추고 있으며, 공급된 전기를 통전하는 +전선(11) 및 -전선(12)이 외부로 노출되지 않도록 내설되어 있다.
상기 이동홈부(18)의 바닥부(15)에는 +전선(11)과 연결된 +단자(13)와 -전선(12)과 연결된 -단자(14)가 소정의 간격을 두고 구비되어서 이동부재(20)의 이동에 따라 전원공급이 온/오프될 수 있게 한다.
그리고, 상기 이동홈부(18)의 측벽(16)에는 길이방향 및 원주방향으로 슬릿홈(17)이 구비되어 있으며, 상기 슬릿홈(17)은 이동부재(20)의 이동을 안내하여 전원의 온/오프 작동이 이루어질 수 있게 한다.
여기서, 상기 이동홈부(18)의 원주방향으로 슬릿홈(17)을 갖추고 있는데, 이는 좌우방향 또는 전후방향으로 이동부재(20)가 이동하고 난 후 그의 돌기부(24)가 삽설되어서, 이동부재(20)가 이동홈부(18)에 안정되게 안착될 수 있게 하는 역할을 한다.
또한, 상기 바디부재(10)의 이동홈부(18) 상단에는 이동부재(20)의 이탈을 방지하는 이탈방지턱(19)이 내측을 향하여 돌출되게 구비된다.
아울러, 상기 이탈방지턱(19)은 이동부재(20)가 이동홈부(18) 내에서 이탈되지 않은 상태에서 이동하도록 지지해주는 역할을 한다.
그리고, 도 6a 및 도 6b에 도시된 바와 같이, 상기 이동홈부(18)의 상부 양측에 슬라이딩 가능하게 작동하는 이물질유입방지커버(40)를 구비하였다.
따라서, 상기 이물질유입방지커버(40)는 이동부재(20)가 좌우방향 또는 전후방향으로 이동할 때 생성되는 빈공간부를 덮어서 이동홈부(18)의 내부로 이물질의 유입을 방지하는 역할을 함으로써, 이물질 유입에 따른 콘센트의 고장을 미연에 방지할 수 있게 하였다.
상기 이동부재(20)는 비전도성 재질로 이루어지고, 상술된 바와 같이 이동홈부(18)에 삽입되어서 슬릿홈(17)을 따라 이동하며, 삽입공(21), 통전단자(22) 및 돌기부(24)를 구비한다.
상기 삽입공(21)은, 도 4에 도시된 바와 같이 두 개의 플러그단자봉(5)이 각각 삽입되게 하여서 그의 하부에 설치된 통전단자(22)와 접촉되게 한다.
상기 통전단자(22)는 삽입공(21)의 하부에 형성된 수용부(23)에 삽설되되 +단자(13) 및 -단자(14)와 접촉/단락이 가능하도록 상하방향으로 이동가능하게 장착된다.
상기 통전단자(22)는, 도 3 및 도 4에 도시된 바와 같이, 수용부(23)의 하부에 설치되되 이탈방지편(25)을 통해서 이탈되지 않게 수용된 탄성부재(26)를 가압하는 가압편(22-1)과, 상기 탄성부재(26)에 끼워져서 가압편(22-1)의 가압작용의 하향이동에 따라 하향이동하여 통공(27)을 통해 빠져나와 +단자(13) 또는 -단자(14)와 접촉되는 접촉봉(22-2)으로 이루어진다.
따라서, 상기 통전단자(22)는 삽입공(21)으로 삽입된 플러그단자봉(5)에 의해 눌러져서 하향이동함으로써 +단자(13) 및 -단자(14)와 접촉되어 전원이 온 상태로 되게 하고, 반대로 플러그단자봉(5)이 삽입공(21)으로부터 이탈하면 상향이동하여 +단자(13) 및 -단자(14)와 단락되어 전원이 오프 상태로 되게 한다.
상기 돌기부(24)는 이동부재(20)의 외주연에 형성되어서 슬릿홈(17)을 따라 이동하여 이동부재(20)가 이동홈부(18)의 내면을 따라 이동되게 한다.
상기 안전커버(30)는 비전도성 재질로 이루어지며, 바디부재(10)의 이동홈부(18)와 대응되는 관통공(31)을 구비하여서 바디부재(10) 및 이동부재(20)의 상부를 덮되 이동부재(20)의 이탈을 방지하는 역할을 한다.
상기와 같은 구성으로 이루어진 본 발명의 실시예에 따라서 전기 콘센트에 구성된 이동형 접속장치의 작동 상태를 도 5a 내지 도 5c를 통해서 간략하게 살펴보면 다음과 같다.
도 5a에 도시된 바와 같이, 이동홈부(18)에 설치된 이동부재(20)는 플러그단자봉(5)이 삽입공(21)으로 삽입되더라도 통전단자(22)가 +단자(13) 및 -단자(14)와 결합되지 않은 상태에 있게 하도록, 통전단자(22)가 +단자(13) 및 -단자(14)와 소정의 간격으로 이격된 상태로 놓이게 된다.
상기와 같이 통전단자(22)가 +단자(13) 및 -단자(14)와 소정의 간격으로 이격된 상태에서 전기기기를 사용하기 위한 사용자가 전원을 공급받기 위해서, 도 5b에 도시된 바와 같이 플러그단자봉(5)을 삽입공(21)으로 삽입하여 통전단자(22)를 가압한 상태에서 도 5c에 도시된 바와 같은 화살표 방향으로 이동, 즉 통전단자(22)가 +단자(13) 및 -단자(14)와 결합하도록 이동시킨다.
상기 통전단자(22)가 +단자(13) 및 -단자(14)와 결합됨에 따라서 전기가 플러그단자봉(5)을 통해서 전기기기에 공급된다.
한편, 상기 전기 콘센트에는 통전단자(22)가 이동하여 +단자(13) 및 -단자(14)와 접촉 또는 단락될 때 전기의 통전 상태를 알리는 점등 표시등(미도시)이 장착되는 것도 가능하다.
여기서, 상기 점등 표시등에 대해서는 일반적으로 사용되는 것과 유사하여 그에 대한 상세한 설명은 생략하기로 한다.
상기한 바와 같은 구성을 갖는 본 발명이 비록 한정된 실시예에 의해 설명되었으나, 본 발명은 이것에 의해 한정되지 않으며 본 발명이 속하는 기술분야에서 통상의 지식을 가진 자에 의해 본 발명의 기술사상과 아래에 기재될 청구범위의 균등범위 내에서 다양한 수정 및 변형이 가능하다 할 것이다.
5: 플러그단자봉
10: 바디부재 11: +전선
12: -전선 13: +단자
14: -단자 15: 바닥부
16: 측벽 17: 슬릿홈
18: 이동홈부 19: 이탈방지턱
20: 이동부재 21: 삽입공
22: 통전단자 22-1: 가압편
22-2: 접촉봉 23: 수용부
24: 돌기부 25: 이탈방지편
26: 탄성부재 27: 통공
30: 안전커버 31: 관통공
40: 이물질유입방지커버
10: 바디부재 11: +전선
12: -전선 13: +단자
14: -단자 15: 바닥부
16: 측벽 17: 슬릿홈
18: 이동홈부 19: 이탈방지턱
20: 이동부재 21: 삽입공
22: 통전단자 22-1: 가압편
22-2: 접촉봉 23: 수용부
24: 돌기부 25: 이탈방지편
26: 탄성부재 27: 통공
30: 안전커버 31: 관통공
40: 이물질유입방지커버
Claims (4)
- 전기 콘센트에 접속되는 접속장치를 이동시킴으로써 전원의 온/오프가 조작되게 하는 이동형 접속장치를 갖춘 전기 콘센트에 있어서,
+전선(11) 및 -전선(12)이 내장되어 있으며, 바닥부(15)에는 상기 +전선(11)과 연결된 +단자(13)와 상기 -전선(12)과 연결된 -단자(14)가 구비되고, 측벽(16)에 원주방향으로 슬릿홈(17)이 구비된 장공(長空)형태의 이동홈부(18)를 갖춘 비전도성의 바디부재(10);
두 개의 플러그단자봉(5)이 각각 삽입되게 하는 삽입공(21)과, 상기 +단자(13) 및 상기 -단자(14)와 접촉/단락이 가능하도록 상하방향으로 이동가능하게 장착되되 상기 삽입공(21)의 하부에 형성된 수용부(23)에 삽설되는 통전단자(22)와, 상기 이동홈부(18)의 슬릿홈(17)을 따라 이동하는 돌기부(24)를 구비한 비전도성의 이동부재(20); 및
상기 바디부재(10)의 이동홈부(18)와 대응되는 관통공(31)을 구비하여서 상기 바디부재(10) 및 상기 이동부재(20)의 상부를 덮되 상기 이동부재(20)의 이탈을 방지하는 비전도성의 안전커버(30);를 포함하여 구성되는 것을 특징으로 하는 이동형 접속장치를 갖춘 전기 콘센트. - 청구항 1에 있어서, 상기 바디부재(10)의 이동홈부(18) 상단에는 이동부재(20)의 이탈을 방지하는 이탈방지턱(19)이 내측을 향하여 돌출되게 구비되는 것을 특징으로 하는 이동형 접속장치를 갖춘 전기 콘센트.
- 청구항 1에 있어서, 상기 이동부재(20)의 통전단자(22)는,
상기 수용부(23)의 하부에 설치된 이탈방지편(25)을 통해서 이탈되지 않게 수용된 탄성부재(26)를 가압하는 가압편(22-1)과,
상기 탄성부재(26)에 끼워져서 상기 가압편(22-1)의 가압작용에 의한 하향이동에 따라 하향이동하여 통공(27)을 통해 빠져나와 상기 +단자(13) 또는 상기 -단자(14)와 접촉되는 접촉봉(22-2)으로 이루어지는 것을 특징으로 하는 이동형 접속장치를 갖춘 전기 콘센트. - 청구항 1에 있어서, 상기 이동홈부(18)의 상부 양측에는, 상기 이동부재(20)가 좌우방향 또는 전후방향으로 이동할 때 생성되는 빈공간부를 덮어서 이물질의 유입을 방지하는 이물질유입방지커버(30)가 추가로 구비되는 것을 특징으로 하는 이동형 접속장치를 갖춘 전기 콘센트.
Priority Applications (1)
| Application Number | Priority Date | Filing Date | Title |
|---|---|---|---|
| KR1020120030566A KR20130108811A (ko) | 2012-03-26 | 2012-03-26 | 이동형 접속장치를 갖춘 전기 콘센트 |
Applications Claiming Priority (1)
| Application Number | Priority Date | Filing Date | Title |
|---|---|---|---|
| KR1020120030566A KR20130108811A (ko) | 2012-03-26 | 2012-03-26 | 이동형 접속장치를 갖춘 전기 콘센트 |
Publications (1)
| Publication Number | Publication Date |
|---|---|
| KR20130108811A true KR20130108811A (ko) | 2013-10-07 |
Family
ID=49631365
Family Applications (1)
| Application Number | Title | Priority Date | Filing Date |
|---|---|---|---|
| KR1020120030566A Abandoned KR20130108811A (ko) | 2012-03-26 | 2012-03-26 | 이동형 접속장치를 갖춘 전기 콘센트 |
Country Status (1)
| Country | Link |
|---|---|
| KR (1) | KR20130108811A (ko) |
Cited By (3)
| Publication number | Priority date | Publication date | Assignee | Title |
|---|---|---|---|---|
| KR20180063779A (ko) * | 2016-12-02 | 2018-06-12 | 최대권 | 안전 덮개가 구비된 절전 콘센트 |
| KR102089993B1 (ko) * | 2019-02-07 | 2020-03-17 | 우석대학교 산학협력단 | 플러그 분리가 용이한 전원콘센트 |
| CN115313105A (zh) * | 2022-08-25 | 2022-11-08 | 安克创新科技股份有限公司 | 插座组件和电子装置 |
-
2012
- 2012-03-26 KR KR1020120030566A patent/KR20130108811A/ko not_active Abandoned
Cited By (3)
| Publication number | Priority date | Publication date | Assignee | Title |
|---|---|---|---|---|
| KR20180063779A (ko) * | 2016-12-02 | 2018-06-12 | 최대권 | 안전 덮개가 구비된 절전 콘센트 |
| KR102089993B1 (ko) * | 2019-02-07 | 2020-03-17 | 우석대학교 산학협력단 | 플러그 분리가 용이한 전원콘센트 |
| CN115313105A (zh) * | 2022-08-25 | 2022-11-08 | 安克创新科技股份有限公司 | 插座组件和电子装置 |
Similar Documents
| Publication | Publication Date | Title |
|---|---|---|
| US9484682B2 (en) | USB socket | |
| JP2009146880A (ja) | コンセント | |
| EP1811615A3 (en) | Safety lampholder | |
| TWM526765U (zh) | 電池連接器及電路模組 | |
| CN105527465A (zh) | 连接器测试插座及连接器测试装置 | |
| US20150140845A1 (en) | Outlet unit facilitating plug separation, and multi-outlet device using same | |
| CN209658476U (zh) | 一种翘板式防触电插座 | |
| KR20130108811A (ko) | 이동형 접속장치를 갖춘 전기 콘센트 | |
| KR100927329B1 (ko) | 전기접속장치 및 이를 구비한 회전형 절전 콘센트 | |
| KR101234349B1 (ko) | 원터치 방식의 콘센트 | |
| JP2006012842A (ja) | リレー及びコネクタ組立体 | |
| KR20130108808A (ko) | 회전형 접속장치를 갖춘 전기 콘센트 | |
| KR101233437B1 (ko) | 플러그와 콘센트 조립체 | |
| CN103401107A (zh) | 电连接器 | |
| JP2019154515A5 (ko) | ||
| US20170324182A1 (en) | Connector | |
| CN103414045A (zh) | 单孔多极式安全插头插座 | |
| CN205878091U (zh) | 转接器、光源装置和照明设备 | |
| KR101205016B1 (ko) | 전원 연결 기구 | |
| KR20180059058A (ko) | 전원콘센트 | |
| CN204333447U (zh) | 用于连接手机电池的电池连接器 | |
| KR20170104852A (ko) | 슬라이드 콘센트 | |
| KR101698907B1 (ko) | 플러그 삽입 방향의 확인이 용이한 콘센트 | |
| CN115332889B (zh) | 插座组件和电子装置 | |
| KR101552058B1 (ko) | 전기 안전 기능을 갖는 차량용 파워 아울렛 |
Legal Events
| Date | Code | Title | Description |
|---|---|---|---|
| A201 | Request for examination | ||
| PA0109 | Patent application |
Patent event code: PA01091R01D Comment text: Patent Application Patent event date: 20120326 |
|
| PA0201 | Request for examination | ||
| E902 | Notification of reason for refusal | ||
| PE0902 | Notice of grounds for rejection |
Comment text: Notification of reason for refusal Patent event date: 20130327 Patent event code: PE09021S01D |
|
| E701 | Decision to grant or registration of patent right | ||
| PE0701 | Decision of registration |
Patent event code: PE07011S01D Comment text: Decision to Grant Registration Patent event date: 20130726 |
|
| PG1501 | Laying open of application | ||
| PC1904 | Unpaid initial registration fee |