KR20120052997A - 밀봉된 분무기들을 구동시키기 위한 시스템들 및 방법들 - Google Patents

밀봉된 분무기들을 구동시키기 위한 시스템들 및 방법들 Download PDF

Info

Publication number
KR20120052997A
KR20120052997A KR1020127004261A KR20127004261A KR20120052997A KR 20120052997 A KR20120052997 A KR 20120052997A KR 1020127004261 A KR1020127004261 A KR 1020127004261A KR 20127004261 A KR20127004261 A KR 20127004261A KR 20120052997 A KR20120052997 A KR 20120052997A
Authority
KR
South Korea
Prior art keywords
nebulizer
liquid
waveform signal
voltage
output waveform
Prior art date
Legal status (The legal status is an assumption and is not a legal conclusion. Google has not performed a legal analysis and makes no representation as to the accuracy of the status listed.)
Granted
Application number
KR1020127004261A
Other languages
English (en)
Other versions
KR101740670B1 (ko
Inventor
벤자민 모리스 고든
스티븐 데이비드 가드너
매튜 제임스 하예스
Original Assignee
넥타르 테라퓨틱스
Priority date (The priority date is an assumption and is not a legal conclusion. Google has not performed a legal analysis and makes no representation as to the accuracy of the date listed.)
Filing date
Publication date
Application filed by 넥타르 테라퓨틱스 filed Critical 넥타르 테라퓨틱스
Publication of KR20120052997A publication Critical patent/KR20120052997A/ko
Application granted granted Critical
Publication of KR101740670B1 publication Critical patent/KR101740670B1/ko
Expired - Fee Related legal-status Critical Current
Anticipated expiration legal-status Critical

Links

Images

Classifications

    • AHUMAN NECESSITIES
    • A61MEDICAL OR VETERINARY SCIENCE; HYGIENE
    • A61MDEVICES FOR INTRODUCING MEDIA INTO, OR ONTO, THE BODY; DEVICES FOR TRANSDUCING BODY MEDIA OR FOR TAKING MEDIA FROM THE BODY; DEVICES FOR PRODUCING OR ENDING SLEEP OR STUPOR
    • A61M11/00Sprayers or atomisers specially adapted for therapeutic purposes
    • A61M11/02Sprayers or atomisers specially adapted for therapeutic purposes operated by air or other gas pressure applied to the liquid or other product to be sprayed or atomised
    • AHUMAN NECESSITIES
    • A61MEDICAL OR VETERINARY SCIENCE; HYGIENE
    • A61MDEVICES FOR INTRODUCING MEDIA INTO, OR ONTO, THE BODY; DEVICES FOR TRANSDUCING BODY MEDIA OR FOR TAKING MEDIA FROM THE BODY; DEVICES FOR PRODUCING OR ENDING SLEEP OR STUPOR
    • A61M11/00Sprayers or atomisers specially adapted for therapeutic purposes
    • A61M11/005Sprayers or atomisers specially adapted for therapeutic purposes using ultrasonics
    • AHUMAN NECESSITIES
    • A61MEDICAL OR VETERINARY SCIENCE; HYGIENE
    • A61MDEVICES FOR INTRODUCING MEDIA INTO, OR ONTO, THE BODY; DEVICES FOR TRANSDUCING BODY MEDIA OR FOR TAKING MEDIA FROM THE BODY; DEVICES FOR PRODUCING OR ENDING SLEEP OR STUPOR
    • A61M11/00Sprayers or atomisers specially adapted for therapeutic purposes
    • A61M11/001Particle size control
    • AHUMAN NECESSITIES
    • A61MEDICAL OR VETERINARY SCIENCE; HYGIENE
    • A61MDEVICES FOR INTRODUCING MEDIA INTO, OR ONTO, THE BODY; DEVICES FOR TRANSDUCING BODY MEDIA OR FOR TAKING MEDIA FROM THE BODY; DEVICES FOR PRODUCING OR ENDING SLEEP OR STUPOR
    • A61M15/00Inhalators
    • A61M15/0085Inhalators using ultrasonics
    • AHUMAN NECESSITIES
    • A61MEDICAL OR VETERINARY SCIENCE; HYGIENE
    • A61MDEVICES FOR INTRODUCING MEDIA INTO, OR ONTO, THE BODY; DEVICES FOR TRANSDUCING BODY MEDIA OR FOR TAKING MEDIA FROM THE BODY; DEVICES FOR PRODUCING OR ENDING SLEEP OR STUPOR
    • A61M16/00Devices for influencing the respiratory system of patients by gas treatment, e.g. ventilators; Tracheal tubes
    • A61M16/08Bellows; Connecting tubes ; Water traps; Patient circuits
    • A61M16/0816Joints or connectors
    • A61M16/0833T- or Y-type connectors, e.g. Y-piece
    • AHUMAN NECESSITIES
    • A61MEDICAL OR VETERINARY SCIENCE; HYGIENE
    • A61MDEVICES FOR INTRODUCING MEDIA INTO, OR ONTO, THE BODY; DEVICES FOR TRANSDUCING BODY MEDIA OR FOR TAKING MEDIA FROM THE BODY; DEVICES FOR PRODUCING OR ENDING SLEEP OR STUPOR
    • A61M16/00Devices for influencing the respiratory system of patients by gas treatment, e.g. ventilators; Tracheal tubes
    • A61M16/10Preparation of respiratory gases or vapours
    • A61M16/14Preparation of respiratory gases or vapours by mixing different fluids, one of them being in a liquid phase
    • BPERFORMING OPERATIONS; TRANSPORTING
    • B05SPRAYING OR ATOMISING IN GENERAL; APPLYING FLUENT MATERIALS TO SURFACES, IN GENERAL
    • B05BSPRAYING APPARATUS; ATOMISING APPARATUS; NOZZLES
    • B05B17/00Apparatus for spraying or atomising liquids or other fluent materials, not covered by the preceding groups
    • B05B17/04Apparatus for spraying or atomising liquids or other fluent materials, not covered by the preceding groups operating with special methods
    • B05B17/06Apparatus for spraying or atomising liquids or other fluent materials, not covered by the preceding groups operating with special methods using ultrasonic or other kinds of vibrations
    • B05B17/0607Apparatus for spraying or atomising liquids or other fluent materials, not covered by the preceding groups operating with special methods using ultrasonic or other kinds of vibrations generated by electrical means, e.g. piezoelectric transducers
    • B05B17/0638Apparatus for spraying or atomising liquids or other fluent materials, not covered by the preceding groups operating with special methods using ultrasonic or other kinds of vibrations generated by electrical means, e.g. piezoelectric transducers spray being produced by discharging the liquid or other fluent material through a plate comprising a plurality of orifices
    • B05B17/0646Vibrating plates, i.e. plates being directly subjected to the vibrations, e.g. having a piezoelectric transducer attached thereto
    • AHUMAN NECESSITIES
    • A61MEDICAL OR VETERINARY SCIENCE; HYGIENE
    • A61MDEVICES FOR INTRODUCING MEDIA INTO, OR ONTO, THE BODY; DEVICES FOR TRANSDUCING BODY MEDIA OR FOR TAKING MEDIA FROM THE BODY; DEVICES FOR PRODUCING OR ENDING SLEEP OR STUPOR
    • A61M16/00Devices for influencing the respiratory system of patients by gas treatment, e.g. ventilators; Tracheal tubes
    • A61M16/0057Pumps therefor
    • A61M16/0066Blowers or centrifugal pumps
    • AHUMAN NECESSITIES
    • A61MEDICAL OR VETERINARY SCIENCE; HYGIENE
    • A61MDEVICES FOR INTRODUCING MEDIA INTO, OR ONTO, THE BODY; DEVICES FOR TRANSDUCING BODY MEDIA OR FOR TAKING MEDIA FROM THE BODY; DEVICES FOR PRODUCING OR ENDING SLEEP OR STUPOR
    • A61M16/00Devices for influencing the respiratory system of patients by gas treatment, e.g. ventilators; Tracheal tubes
    • A61M16/0003Accessories therefor, e.g. sensors, vibrators, negative pressure
    • A61M2016/0015Accessories therefor, e.g. sensors, vibrators, negative pressure inhalation detectors
    • A61M2016/0018Accessories therefor, e.g. sensors, vibrators, negative pressure inhalation detectors electrical
    • A61M2016/0024Accessories therefor, e.g. sensors, vibrators, negative pressure inhalation detectors electrical with an on-off output signal, e.g. from a switch
    • AHUMAN NECESSITIES
    • A61MEDICAL OR VETERINARY SCIENCE; HYGIENE
    • A61MDEVICES FOR INTRODUCING MEDIA INTO, OR ONTO, THE BODY; DEVICES FOR TRANSDUCING BODY MEDIA OR FOR TAKING MEDIA FROM THE BODY; DEVICES FOR PRODUCING OR ENDING SLEEP OR STUPOR
    • A61M2205/00General characteristics of the apparatus
    • A61M2205/82Internal energy supply devices
    • A61M2205/8206Internal energy supply devices battery-operated

Landscapes

  • Health & Medical Sciences (AREA)
  • Engineering & Computer Science (AREA)
  • Veterinary Medicine (AREA)
  • Heart & Thoracic Surgery (AREA)
  • Hematology (AREA)
  • Life Sciences & Earth Sciences (AREA)
  • Animal Behavior & Ethology (AREA)
  • General Health & Medical Sciences (AREA)
  • Public Health (AREA)
  • Anesthesiology (AREA)
  • Biomedical Technology (AREA)
  • Pulmonology (AREA)
  • Emergency Medicine (AREA)
  • Bioinformatics & Cheminformatics (AREA)
  • Special Spraying Apparatus (AREA)
  • Electrostatic Spraying Apparatus (AREA)
  • Catching Or Destruction (AREA)
  • Medicinal Preparation (AREA)
  • Apparatuses For Generation Of Mechanical Vibrations (AREA)
  • Nozzles (AREA)

Abstract

액체를 에어로졸화하기 위한 다양한 방법들, 디바이스들, 및 시스템들이 설명된다. 실시형태들은 저장기 내에 액체를 밀봉하는 단계를 포함할 수도 있다. 출력 파형 신호가 생성될 수도 있다. 분무기 엘리먼트는 액체를 에어로졸화하도록 진동될 수도 있다. 네거티브 압력은 액체가 에어로졸화될 경우 저장기 내에서 생성될 수도 있다. 출력 파형 신호는 분무기 엘리먼트가 진동하게 할 수도 있다. 실시형태들은, 출력 파형 신호의 전류와 출력 파형 신호의 전압 사이의 위상 시프트를 결정하는 것을 포함할 수도 있다. 또한, 실시형태들은, 위상 시프트에 적어도 부분적으로 기초하여 출력 파형 신호의 주파수를 조정하는 것을 포함할 수도 있다. 추가적으로, 실시형태들은 출력 파형 신호의 주파수에 적어도 부분적으로 기초하여 출력 파형 신호의 전압을 조정하는 것을 포함할 수도 있다.

Description

밀봉된 분무기들을 구동시키기 위한 시스템들 및 방법들{SYSTEMS AND METHODS FOR DRIVING SEALED NEBULIZERS}
본 출원은, 발명의 명칭이 SYSTEMS AND METHODS FOR DRIVING SEALED NEBULIZERS 이고 2009년 7월 17일자로 출원된 미국 가특허 출원 제 61/226,591호(대리인 도켓 번호 제 015225-012600US호)의 이점을 주장하고, 발명의 명칭이 NEGATIVELY BIASED SEALED NEBULIZERS SYSTEMS AND METHODS 이고 2009년 7월 17일자로 출원된 공동-계류중인 가특허 출원 제 61/226,567호(대리인 도켓 번호 제 015225-012500US 호)에 관한 것이며, 그들의 전체 개시물들은 모든 목적들을 위해 참조로서 포함된다.
본 발명의 실시형태들은 분무기(nebulizer)들에 관한 것이다. 상세하게, 본 발명은 내부의 네거티브 바이어스 압력을 유지할 수 있는 밀봉된 액체 약물 저장기를 갖는 분무기에 대한 가변 전압 및 주파수 드라이버의 사용에 관한 것이다.
광범위하게 다양한 절차들이 약물을 환자에게 전달하기 위해 제한되었다. 몇몇 약물 전달 절차들에서, 약물은 액체이며, 환자에 의한 흡입을 위해 미세한 액체 방울들의 형태로 분배된다. 환자는 폐 조직을 통한 흡수를 위해 약물을 흡입할 수도 있다. 추가적으로, 원자화된 연무(mist)를 형성하는 방울들은 폐들의 작은 통풍로들을 통해 이동하도록 매우 작을 필요가 있을 수도 있다. 그러한 연무는 분무기에 의해 형성될 수도 있다.
드라이버 유닛을 사용하여 분무기를 구동시키기 위한 다양한 시스템들, 방법들, 및 디바이스들이 설명된다. 분무기는, 액체가 약물 저장기로부터 유출될 경우 네거티브 바이어스 압력이 약물 저장기 내에서 형성할 수도 있게 하는 밀봉된 약물 저장기를 포함할 수도 있다. 네거티브 바이어스 압력이 변할 경우, 분무기 엘리먼트의 공진 주파수가 변할 수도 있다. 드라이버는, 분무기 엘리먼트를 구동시키고 그 분무기 엘리먼트가 진동하게 하는데 사용될 수도 있다. 드라이버는, 분무기 엘리먼트가 공진 주파수에서 또는 그 근방에서 진동하고 분무기 엘리먼트가 일정한 또는 근방의 일정한 속도(rate) 및 방울 사이즈로 액체를 원자화하도록, 가변 주파수 및 크기의 파형 신호를 분무기에 출력할 수도 있다.
몇몇 실시형태들에서, 네거티브하게 바이어스된 저장기를 갖는 분무기의 엘리먼트의 공진 주파수를 결정하기 위한 방법이 설명된다. 방법은 전기 신호를 사용하여 분무기를 구동시키는 단계를 포함하며, 전기 신호는 전류 및 전압을 포함한다. 방법은 분무기를 구동시키는 전기 신호의 전압과 전류 사이의 위상 시프트를 측정하는 단계를 포함할 수도 있다. 또한, 방법은 분무기를 구동시키는 전기 신호의 위상 시프트에 적어도 부분적으로 기초하여 분무기의 엘리먼트의 공진 주파수를 결정하는 단계를 포함할 수도 있다.
몇몇 실시형태들에서, 방법은 드라이버에 의해 결정된 분무기의 공진 주파수에 적어도 부분적으로 기초하여 전기 신호에 대한 전압 크기를 결정하는 단계를 더 포함한다. 몇몇 실시형태들에서, 네거티브하게 바이어스된 액체 저장기는, 액체가 네거티브하게 바이어스된 액체 저장기로부터 유출될 경우, 분무기의 엘리먼트의 공진 주파수가 변하게 한다. 몇몇 실시형태들에서, 방법은 드라이버에 의해 결정된 분무기의 공진 주파수에 적어도 부분적으로 기초하여 분무기의 네거티브하게 바이어스된 액체 저장기 내의 네거티브 바이어스 압력을 결정하는 단계를 더 포함한다. 몇몇 실시형태들에서, 방법은 분무기로의 전기 신호의 주파수를 조정하는 단계를 더 포함하며, 여기서, 대략적으로 일정한 위상 시프트가 전기 신호의 전압과 전류 사이에서 유지된다. 몇몇 실시형태들에서, 전압 크기는 저장된 세트의 값들을 사용하여 결정되며, 저장된 세트의 값들은 네거티브하게 바이어스된 액체 저장기 내의 액체에 의존하여 변한다.
몇몇 실시형태들에서, 분무기의 엘리먼트를 구동시키기 위한 디바이스가 존재한다. 디바이스는 출력 파형 신호를 생성하도록 구성된 증폭기를 포함할 수도 있으며, 출력 파형 신호는 출력 전류 및 출력 전압을 포함하고, 출력 파형 신호는 출력 주파수로 분무기의 엘리먼트를 구동시킨다. 디바이스는, 출력 파형 신호의 출력 전류와 출력 전압 사이의 위상 시프트를 결정하도록 구성된 위상 시프트 검출기를 포함할 수도 있다. 디바이스는 증폭기로의 가변 주파수 입력의 파형 신호를 생성하도록 구성된 공진 주파수 추적기를 포함할 수도 있으며, 여기서, 가변 주파수는 위상 시프트 검출기 모듈에 의해 결정된 출력 파형 신호의 위상 시프트에 기초하여 조정된다. 디바이스는, 공진 주파수 추적기에 의해 생성된 파형 신호의 주파수에 기초하여 증폭기에 의해 출력된 출력 파형 신호의 출력 전압을 조정하도록 구성된 전압 프로파일을 포함할 수도 있다.
몇몇 실시형태들에서, 네거티브하게 바이어스 가압된 액체 저장기에 저장된 액체를 원자화하기 위한 시스템이 존재할 수도 있다. 시스템은 엘리먼트 및 네거티브하게 바이어스 가압된 액체 저장기를 포함하는 분무기를 포함할 수도 있다. 엘리먼트는 네거티브하게 바이어스 가압된 액체 저장기로부터 유출되는 액체를 원자화하기 위해 진동하도록 구성될 수도 있다. 네거티브하게 바이어스 가압된 저장기의 네거티브 바이어스 압력은, 네거티브하게 바이어스 가압된 액체 저장기에 저장된 액체가 유출될 경우 변할 수도 있다. 네거티브하게 바이어스 가압된 저장기는, 네거티브하게 바이어스 가압된 액체 저장기에 저장된 액체가 유출될 경우, 외부 환경으로부터의 공기가 네거티브하게 바이어스 가압된 저장기에 실질적으로 진입하지 않도록 밀봉될 수도 있다. 시스템은 드라이버를 포함할 수도 있다. 드라이버는, 출력 파형 신호의 전류와 출력 파형 신호의 전압 사이의 위상 시프트를 결정하도록 구성된 위상 시프트 검출기를 포함할 수도 있다. 드라이버는 출력 파형 신호의 주파수를 조정하는 출력 파형을 생성하도록 구성된 공진 주파수 추적기를 포함할 수도 있으며, 여기서, 주파수는 위상 시프트 검출기 모듈에 의해 결정된 위상 시프트에 기초하여 조정된다. 드라이버는 공진 주파수 추적기에 의해 생성된 출력 파형의 주파수에 기초하여 출력 파형 신호의 전압을 조정하도록 구성된 전압 프로파일을 포함할 수도 있다.
몇몇 실시형태들에서, 액체를 에어로졸화하기 위한 방법이 존재한다. 방법은 저장기 내에서 액체를 밀봉하는 단계를 포함할 수도 있다. 또한, 방법은 액체를 에어로졸화하기 위해 출력 파형 신호를 생성하고 분무기 엘리먼트를 진동시키는 단계를 포함할 수도 있다. 네거티브 압력은, 액체가 에어로졸화될 경우 저장기 내에서 생성될 수도 있다. 출력 파형 신호는 분무기 엘리먼트가 진동하게 할 수도 있다. 방법은 출력 파형 신호의 전류와 출력 파형 신호의 전압 사이의 위상 시프트를 결정하는 단계를 포함할 수도 있다. 방법은 위상 시프트에 적어도 부분적으로 기초하여 출력 파형 신호의 주파수를 조정하는 단계를 포함할 수도 있다. 추가적으로, 방법은 출력 파형 신호의 주파수에 적어도 부분적으로 기초하여 출력 파형 신호의 전압을 조정하는 단계를 포함할 수도 있다.
본 발명의 속성 및 이점들의 추가적인 이해는 다음의 도면들을 참조하여 실현될 수도 있다. 첨부된 도면들에서, 유사한 컴포넌트들 또는 특성들은 동일한 참조 라벨을 가질 수도 있다. 추가적으로, 동일한 타입의 다양한 컴포넌트들은, 참조 라벨에 후속하여 유사한 컴포넌트들 사이를 구별하는 제 2 라벨에 의해 구별될 수도 있다. 제 1 참조 라벨만이 명세서에서 사용되면, 제 2 참조 라벨과 관계없이 동일한 제 1 참조 라벨을 갖는 유사한 컴포넌트들 중 임의의 하나에 설명이 적용가능하다.
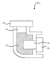
도 1a는 분무기의 간략화된 실시형태를 도시한다.
도 1b는 드라이버 유닛을 갖는 분무기의 간략화된 실시형태를 도시한다.
도 1c는 통합된 드라이버 유닛을 갖는 핸드헬드 분무기의 간략화된 실시형태를 도시한다.
도 1d는 인공호흡기(ventilator)와 통합된 분무기를 도시한다.
도 2는 분무기와 커플링된 드라이버의 간략화된 실시형태를 도시한다.
도 3은 드라이버를 이용하여 분무기를 구동시키는 방법을 도시한다.
도 4는 분무기 엘리먼트의 공진 주파수를 초기에 결정하는 방법을 도시한다.
도 5는 분무기 엘리먼트를 그의 현재의 공진 주파수로 진동하게 유지하기 위해 공진 주파수 추적기를 사용하는 드라이버에 의해 출력된 주파수를 조정하는 간략화된 방법을 도시한다.
분무기들을 구동시키기 위한 신규한 아키텍처의 구현을 위한 디바이스들, 시스템들, 및 방법들이 설명된다. 본 발명은, 액체가 약물 저장기로부터 배출될 경우, 분무기들의 공진 주파수들에서 분무기들을, 특히 (저장기 내의 압력이 저장기 외부의 압력보다 더 작다는 것을 의미하는) 네거티브 바이어스 압력을 전개할 수 있는 밀봉된 약물 저장기들을 갖는 분무기들을 구동시키기 위한 다양한 방식들을 제공한다. 분무기의 약물 저장기 내에서 네거티브 바이어스 압력을 생성함으로써, 분무기의 효율성이 증가될 수도 있으며, 분무기가 네거티브 바이어스 압력없는 비교가능한 조건들에서보다 더 큰 액체 흐름 속도들을 더 작고 더 일정한 방울 사이즈들로 달성하게 한다. 그러한 네거티브 바이어스 압력은 약물 저장기를 밀봉함으로써 생성될 수도 있다. 액체 약물이 약물 저장기로부터 유출될 경우 (그와 함께 공기가 약물 볼륨을 대체하도록 진입하지 않음), 네거티브 바이어스 압력이 생성될 수도 있다. 네거티브 바이어스 압력이 연무의 일정하게 사이징된 방울들을 유지하는 것을 보조하는 동안, 네거티브 바이어스 압력이 압력에서 감소할 경우, 분무기로부터의 액체의 흐름 속도는 증가할 수도 있다.
네거티브 바이어스 압력에 의해 초래된 증가된 흐름 속도는, 환자에게 전달될 약의 잘못된 1회 복용량(dose) 및/또는 부적절한 방울 사이즈들의 생성을 유도할 수도 있다. 그러한 부적절한 방울 사이즈들은, 방울들이 사람 몸으로 어떻게 흡수되는지를 변경시킬 수도 있다. 예를 들어, 환자가 너무 많은 방울들을 흡입하면, 방울들은 환자의 깊은 폐 조직으로 전파되지 않을 수도 있지만, 오히려, 방울들은 환자의 더 큰 통풍로들에 집합할 수도 있다. 이것은, 환자에 의한 방울들의 적절한 흡수를 방해할 수도 있다.
방울들은 분무기 엘리먼트에 의해 약물 저장기 내의 저장된 양의 액체로부터 생성될 수도 있다. 분무기 엘리먼트는 다수의 작은 구멍들을 포함하는 애퍼쳐 플레이트(aperture plate)일 수도 있다. 파형과 같은 전기 신호가 분무기 엘리먼트에 적용될 경우, 분무기 엘리먼트는 수신된 파형의 주파수에서 또는 그 근방에서 진동할 수도 있다. 진동하는 동안, 분무기 엘리먼트는 어떠한 양의 액체가 그 엘리먼트를 관통하고 공수(airborne) 방울들을 형성하게 할 수도 있다. 분무기 엘리먼트는, 분무기 엘리먼트가 자신의 공진 주파수에서 또는 그 근방에서 진동하고 있을 경우, 더 효율적으로 기능하고 일정한 방울 사이즈들을 생성할 수도 있다.
그러나, 약물 저장기 내의 네거티브 바이어스 압력이 변할 경우 (예를 들어, 약물 저장기 내의 압력과 약물 저장기 외부의 주변(ambient) 압력 사이의 더 큰 차이가 형성될 경우), 분무기 엘리먼트의 공진 주파수가 변할 수도 있다. 분무기 엘리먼트가 자신의 (현재) 공진 주파수로 진동하게 유지하기 위해, 분무기 엘리먼트를 구동시키는데 사용되는 파형의 주파수를 변경시키는 것이 필요할 수도 있다.
따라서, 네거티브 바이어스 압력이 약물 저장기에서 유지되면, 분무기 엘리먼트를 구동시키는데 사용되는 파형의 주파수 및 크기는, 액체 약물의 일정한 1회 복용량 및 일정한 방울 사이즈들을 유지시키는 것을 포함하는 약물 저장기 내의 네거티브 바이어스 압력이 분무기 엘리먼트의 효율적인 동작을 유지시키기 위해 변함에 따라 변할 필요가 있다.
명확화를 위해, 밀봉된 저장기는, 액체가 약물 저장기로부터 유출될 경우 공기가 저장기로 진입하는 것을 방지하는 저장기를 지칭한다. 그러나, 공기가 분무기 엘리먼트 내의 구멍들을 통해 밀봉된 약물 저장기로 진입하는 것이 여전히 가능할 수도 있다. 바이어스 압력이 더 커질수록(즉, 외부 환경의 압력과 약물 저장기 내의 압력 사이의 차이가 커질수록), 더 빠르게 공기가 분무기 엘리먼트를 통해 진입할 수도 있다.
도 1a는 가능한 분무기(100-a)의 일 실시형태를 도시한다. 분무기(100-a)는 분무기 엘리먼트(110), 약물 저장기(120), 헤드 스페이스(130), 인터페이스(140), 및 캡(150)을 포함할 수도 있다. 분무기 엘리먼트(100)는, 전기 전압이 링에 적용될 경우 연장 및 접촉할 수도 있는 압전성 링(piezoelectric)으로 구성될 수도 있다. 분무기 엘리먼트(110)는 진동하는 애퍼쳐 플레이트일 수도 있다. 압전성 링은 구멍뚫린 멤브레인에 부착될 수도 있다. 그러한 구멍뚫린 멤브레인은 그것을 관통하는 다수의 구멍들을 가질 수도 있다. 전기 전압이 압전성 링에 적용된 경우, 이것은 멤브레인이 이동 및/또는 구부리게(flex)할 수도 있다. 액체와 접촉하는 동안의 멤브레인의 그러한 이동은 액체의 원자화(대안적으로 에어로졸화로서 지칭됨)를 야기할 수도 있다.
액체 일반적으로는 액체 약물의 재고(supply)가 약물 저장기(120)에서 보유될 수도 있다. 약체 약물이 원자화될 경우, 약물 저장기(120)에 남아있는 액체 약물의 양은 감소될 수도 있다. 약물 저장기(120)에서의 액체 약물의 양에 의존하여, 저장기의 일부만이 액체 약물로 채워질 수도 있다. 약물 저장기(120)의 나머지 부분은 공기와 같은 가스로 채워질 수도 있다. 이러한 공간은 헤드 스페이스(130)로서 일반적으로 지칭된다. 인터페이스(140)는 약물 저장기(120)와 분무기 엘리먼트(110) 사이에서 액체 약물의 양들을 전달하도록 기능할 수도 있다.
분무기들 및 그러한 분무기들과 관련된 기술들은, 미국 특허 제 5,164,740호; 제 5,938,117호; 제 5,586,550호; 제 5,758,637호, 제 6,014,970호, 제 6,085,740호; 제 6,235,177호; 제 6,615,824호, 제 7,322,349호에서 일반적으로 설명되어 있으며, 그들의 전체 개시물들은 모든 목적들을 위해 참조로서 포함된다.
밀봉된 약물 저장기를 갖는 분무기는 더 큰 시스템의 일부일 수도 있다. 도 1b의 실시형태는 그러한 시스템(100-b)을 도시한다. 도 1b는 드라이버(152)에 접속된 밀봉된 약물 저장기를 갖는 분무기(151)를 도시한다. 도 1b에 도시된 밀봉된 분무기는 도 1a의 분무기일 수도 있거나, 몇몇 다른 분무기를 표현할 수도 있다. 드라이버(152)는 분무기(151) 상의 분무기 엘리먼트의 진동의 속도 및 크기를 제어할 수도 있다. 드라이버(152)는 케이블(153)을 통해 분무기 엘리먼트(151)에 접속될 수도 있다. 드라이버(152)는 분무기(151)의 분무기 엘리먼트에 제공된 신호의 전압 및 주파수를 조정할 수도 있다. 신호의 전압 및 주파수의 조정은 분무기(151)의 분무기 엘리먼트의 공진 주파수에 기초할 수도 있다. 그러한 신호는 네거티브 바이어스 압력의 크기에 의존하여 변할 수도 있다.
분무기들의 몇몇 다른 실시형태들에서, 드라이버는 분무기를 갖는 핸드헬드 유닛에 포함될 수도 있다. 도 1c의 분무기(100-c)는 통합된 드라이버를 갖는 핸드헬드 분무기의 일 실시형태를 도시한다. 분무기(100-c)는 케이스(155), 마우스피스(160), 및 트리거 버튼(165), 및 전기 플러그(170)를 포함할 수도 있다. 케이스(155)는 (도 1a의 분무기(100-a)와 같은) 분무기들 및 (도 1b의 드라이버(152)와 같은) 드라이버들의 다른 실시형태들에서 발견되는 엘리먼트들 중 몇몇 또는 전부를 포함할 수도 있다. 따라서, 케이스(155)내에 포함된 것은, 약물 저장기에 저장된 액체를 원자화하는 엘리먼트를 진동시키기 위한 전압 크기 및 주파수에서 전기 신호를 생성할 수 있는 밀봉된 약물 저장기 및/또는 디바이스일 수도 있다. 원자화된 액체 약물을 수신하는 사람은 마우스피스(160) 상에 자신의 입을 배치하고 호흡할 수도 있다. 원자화된 액체 약물을 수신하는 사람이 호흡하고 있는 동안, 그는 액체를 에어로졸화하기를 시작하기 위해 엘리먼트를 트리거링하도록 트리거 버튼(165)을 누를 수도 있다. 몇몇 실시형태들에서, 분무기(100-c)는, 사람이 호흡하고 있는 때를 검출하고, 필요한 트리거 버튼(165) 없이 진동하기 위해 엘리먼트를 트리거링하는 센서를 포함할 수도 있다.
분무기(100-c)는 전기 플러그(170)를 또한 포함할 수도 있다. 전기 플러그(170)는 분무기(100-c)에 전력공급하도록 전기 콘센트(electrical outlet)에 접속될 수도 있다. 분무기(100-c)는 배터리를 포함할 수도 있으며, 그에 의해, 분무기(100-c)가 사람에 의한 사용 상태에 있지 않은 경우 전기 플러그(170)가 콘센트에 접속되게 하고, 배터리가 충전되게 한다. 대안적으로, 분무기(100-c)의 몇몇 실시형태들에서, 전기 플러그(170)는 분무기(100-c)가 사람에 의한 사용 상태에 있는 경우 콘센트에 접속될 필요가 있을 수도 있다. 몇몇 실시형태들에서, 분무기(100-c)는 자신의 전원으로서 대체가능한 배터리들을 사용할 수도 있다.
몇몇 실시형태들에서, 분무기는 인공호흡기와 함께 동작할 수도 있다. 시스템(100-d)은 인공호흡기(170)를 통해 사람(176)에게 원자화된 액체 약물을 공급하는 분무기(178)를 도시한다. 인공호흡기(170)는 호흡하는데 적절한 공기를 사람(176)에게 공급할 수도 있다. 인공호흡기(170)는, 공기를 사람(176)의 폐들에 밀어넣고 그 후 미믹 호흡(mimic breathing)하기 위해 공기를 릴리즈함으로써 사람(176)이 호흡하는 것을 보조할 수도 있다. 사람(176)이 인공호흡기(170)를 사용하고 있는 동안, 액체 약물과 같은 원자화된 액체를 사람(176)에게 제공할 필요가 있을 수도 있다.
분무기(178)는 캡(180)에 의해 밀봉된 약물 저장기(186)에 접속될 수도 있다. 약물 저장기(186)는 어떠한 양의 액체 약물(182)을 포함할 수도 있다. 이러한 액체 약물은, 액체 약물이 분무기(178)에 의해 원자화될 경우 분무기(178)에 전달될 수도 있다. 액체 약물이 원자화될 경우, 액체 약물(182)은 약물 저장기(186)로부터 유출될 수도 있으며, 그에 의해, 헤드스페이스(184)의 볼륨을 증가시킨다. 헤드스페이스(184)는 공기를 포함할 수도 있다. 헤드스페이스(184)는 볼륨에서 증가할 수도 있지만, 액체 저장기(186)가 헤드스페이스(184)로의 최소의 공기를 허용하거나 공기를 허용하지 않기 때문에 액체 약물(182)이 유출될 경우 압력에서 감소할 수도 있다.
도 1b의 드라이버(152)와 동일한 드라이버를 표현할 수도 있는 (또는 몇몇 다른 드라이버를 표현할 수도 있는) 드라이버(172)는 신호를 분무기(178)에 전달할 수도 있다. 이러한 신호는 분무기(178)의 엘리먼트의 진동을 제어할 수도 있다. 분무기(178)는 공기 및 원자화된 액체 약물을 환자(176)에게 전달하는데 사용되는 튜브(179)에 부착될 수도 있다. 튜브(179)는 사람(176)의 입 및/또는 코를 커버링하는 마스크(174)에서 종결될 수도 있다. 그 후, 공기 및 원자화된 액체 약물은 사람(176)의 통풍로들에 진입할 수도 있다.
도 1a 내지 도 1d에 도시된 분무기들과 같은 분무기는 도 2에 도시된 바와 같이 드라이버와 접속될 수도 있다. 도 2는 분무기 드라이버 유닛(200)의 간략화된 블록도를 도시한다. 분무기(260)는 도 1a의 분무기(100-a)일 수도 있거나, 참조된 출원들 또는 도 1b 내지 도 1d의 분무기들과 같은 몇몇 다른 분무기일 수도 있다. 분무기는 케이블(270)을 통해 드라이버에 접속될 수도 있다. 드라이버(210)는 도 1b의 드라이버(151)일 수도 있거나 몇몇 다른 드라이버일 수도 있다. 케이블(270)은 드라이버(210)가 분무기(260)를 구동시키기 위해 케이블(270)을 통하여 (전압의) 가변 주파수 및 크기의 전기 파형 신호를 송신하게 할 수도 있다.
드라이버(210)는 증폭기(230), 전류 위상 시프트 검출기(240), 공진 주파수 추적기(220), 및 전압 프로파일(250)을 포함할 수도 있다. 분무기(260)에 공급된 전류와 증폭기(230)에 의해 생성된 전압 사이의 위상 시프트에 기초하여, 분무기 엘리먼트의 공진 주파수가 결정될 수도 있다. 공진 주파수로부터, 분무기의 약물 저장기 내의 네거티브 바이어스 압력이 결정될 수도 있으며, 분무기(260)를 구동시키는 전기 파형 신호의 주파수 및/또는 크기가 조정될 수도 있다.
공진 주파수의 결정은 전류 위상 시프트 검출기(240)를 사용하여 달성될 수도 있다. 전류 위상 시프트 검출기(240)는, 증폭기(230)에 의해 분무기(260)로 출력된 전류의 위상과 증폭기(230)에 의해 분무기(260)로 출력된 전압의 위상 사이의 위상 시프트를 모니터링한다. 전류 위상 검출기(240)에 의해 관측된 전압과 전류 사이의 위상 시프트에 기초하여, 공진 주파수 추적기(220)는, 증폭기(230)가 분무기(260)의 엘리먼트를 구동시키는 전기 파형 신호의 전압과 전류 사이의 일정한 또는 거의 일정한 위상 시프트를 갖는 전기 파형 신호를 출력하도록, 출력 파형을 증폭기(230)에 출력한다.
액체가 원자화되고 약물 저장기 내의 바이어스 압력이 변할 경우, 공진 주파수가 변할 수도 있다. 추가적으로, 분무기(260)의 밀봉된 약물 저장기 내의 바이어스 압력 이외의 인자들이 분무기 엘리먼트의 공진 주파수를 변경시킬 수도 있다. 예를 들어, 분무기 엘리먼트의 온도, 분무기 엘리먼트 상의 과도한 액체, 및/또는 분무기 엘리먼트에 대한 손상은 분무기 엘리먼트의 공진 주파수에서의 변동을 초래할 수도 있다. 그러나, 동작 동안, 분무기 엘리먼트의 공진 주파수에서의 변화들이 일반적으로 분무기의 약물 저장기 내의 바이어스 압력에서의 변동들로 인한 것임을 일반적으로 수용할 수도 있다.
공진 주파수 및/또는 공진 주파수에서의 측정된 변화는 공진 주파수 추적기(220)에 의해 전압 프로파일(250)로 송신될 수도 있다. 전압 프로파일(250)은 원자화된 액체의 일정한 방울 사이즈 및 1회 복용량을 유지시키기 위해 특정한 공진 주파수로 분무기 엘리먼트에 적용할 적절한 크기의 전압을 결정하는데 사용될 수도 있다. 몇몇 실시형태들에서, 전압 프로파일(250)은 경험적으로 수집된 데이터의 테이블을 포함할 수도 있다. 그러한 실시형태들에서, 증폭기(230)가 출력해야 하는 적절한 크기의 전압을 특정하는, 증폭기(230)에 출력될 대응하는 아날로그 또는 디지털 신호를 갖는 테이블에 공진 주파수가 위치될 수도 있다. 예를 들어, 테이블은, 특정한 공진 주파수가 공진 주파수 추적기 모듈(220)에 의해 측정될 경우 증폭기(230)에 통신될 수도 있는 미리 결정된 전압 크기를 포함할 수도 있다. 전압 프로파일(250)은 또한 값들의 그래프로서 표현될 수도 있으며, x-축은 공진 주파수 추적기(220)에 의해 생성된 파형의 주파수이고, y-축은, 증폭기(230)가 정확한 크기의 전기 신호를 출력하도록 증폭기(230)에 공급될 적절한 전압 크기를 표현한다.
전압 프로파일(250)에 대한 가능한 값들의 일 세트의 간단한 설명은, 분무기 엘리먼트의 공진 주파수가 증가할 경우, 분무기로 출력된 전기 신호의 원하는 진폭이 감소할 것이다라는 것이다. 특정한 임계값에서, 공진 주파수가 계속 증가할 경우, 전압은 최소 레벨로 전압 프로파일(250)에 의해 유지될 것이다. 전압 프로파일(250)의 몇몇 실시형태들에서, 증폭기(230)로 출력된 신호는, 공진 주파수 추적기(220)에 의해 공급된 공진 주파수를 사용하는 계산에 기초하여 결정된다.
전압 프로파일은 분무기의 약물 저장기 내의 상이한 액체들의 (표면 장력과 같은) 특징들을 수용하도록 변형되거나 조정될 필요가 있을 수도 있다. 몇몇 실시형태들에서, 아미카신과 같은 액체 약물이 사용된다. 다른 실시형태들에서, 상이한 액체 약물 또는 액체가 사용된다. 몇몇 실시형태들에서, 다수의 액체들 또는 액체 약물들에 대해 필요한 전압 프로파일들은, 하나의 전압 프로파일만이 다수의 액체들 또는 액체 약물들에 대해 사용될 필요가 있는 것과 충분히 유사할 수도 있다. 전압 프로파일(250)을 변형시키거나 대체하는 것은, 드라이버(210) 상의 사용자 인터페이스를 통해 상이한 액체를 선택하는 것 또는 상이한 소프트웨어, 펌웨어, 및/또는 하드웨어로 로딩하는 것을 포함할 수도 있다.
공진 주파수 추적기(220)는 분무기 엘리먼트의 현재의 결정된 공진 주파수로 또는 그 근방에서 파형을 증폭기(230)에 송신할 수도 있다. 전압 프로파일(250)은 증폭기(230)에 의해 출력될 원하는 전압 진폭을 표시하는 신호를 증폭기(230)에 송신할 수도 있다. 전압 프로파일(250)로부터의 이러한 신호는 증폭기(230)의 이득을 제어하도록 기능할 수도 있다. 공진 주파수 추적기(220)로부터의 입력 및 전압 프로파일(250)로부터 수신된 원하는 전압 진폭에 기초하여, 증폭기(230)는 분무기의 애퍼쳐를 구동시키는데 사용될 수도 있는 출력 전기 신호를 생성한다. 증폭기(230)는 가변 이득 선형 전력 증폭기일 수도 있다. 몇몇 실시형태들에서, 고정된 이득 전력 증폭기가 가변 이득 증폭기 또는 전위차계(potentiometer)와 함께 사용될 수도 있다. 추가적으로, 다양한 다른 증폭기들 또는 증폭기 기반 회로들이 분무기(260)를 구동시키기 위한 출력 전기 신호를 생성하는데 사용될 수도 있다.
전류 위상 시프트 검출기(240)는 공진 주파수 추적기(220)에 대한 피드백 루프를 생성할 수도 있다. 전류 위상 시프트 검출기(240)는 증폭기(230)로부터 출력될 전류의 위상 시프트를 결정할 수도 있다. 그러한 위상 시프트는 공진 주파수 추적기(220)에 송신될 수도 있으며, 그에 의해, 밀봉 약물 저장기 내의 바이어스 압력이 변할 경우 변하는 분무기 엘리먼트의 공진 주파수에 응답하여 공진 주파수 추적기(220)가 (위상이 시프트되지 않으면) 동일한 주파수 신호를 유지하거나, 주파수를 증가시키거나, 출력 신호의 주파수를 감소시키게 한다. 전류 위상 시프트 검출기(240)를 통한 피드백은, 액체가 원자화되고 있는 동안 드라이버(210)가 분무기 엘리먼트로 출력된 전기 신호의 크기 및 주파수를 주기적으로 또는 계속 조정하게 할 수도 있다. 이것은, 액체 저장기 내의 바이어스 압력에서의 임의의 변화가 드라이버에 대해 계속 조정되게 할 수도 있다.
도 2의 드라이버(210)와 같은 드라이버는 도 3의 방법(300)과 같은 방법에 따라 분무기 엘리먼트를 구동시킬 수도 있다. 대안적으로, 방법(300)은 몇몇 다른 드라이버를 사용하여 수행될 수도 있다. 방법(300)은 도 1a 내지 도 1d 및 도 2의 분무기들과 같은 다양하고 상이한 분무기들을 이용할 수도 있다. 블록(310)에서, 드라이버는 전기 신호를 이용하여 분무기의 (또한 애퍼쳐로서 지칭되는) 엘리먼트를 구동시킬 수도 있다. 이러한 전기 신호는 특정한 주파수 및 크기의 파형일 수도 있다.
블록(320)에서, 분무기로 출력된 전기 신호의 전압과 전기 신호의 전류 사이의 위상 시프트가 측정될 수도 있다. 블록(330)에서, 이러한 위상 시프트를 사용하여, 분무기 엘리먼트의 공진 주파수가 결정될 수도 있다. 이전에 언급된 바와 같이, 이러한 공진 주파수는, 분무기의 액체 저장기 내의 네거티브 바이어스 압력이 변할 경우 시프트할 수도 있다. 공진 주파수로부터, 액체 저장기 내의 바이어스 압력이 블록(340)에서 결정될 수도 있다. 몇몇 실시형태들에서, 네거티브 바이어스 압력이 결정되지 않는다.
블록(350)에서, 분무기 엘리먼트를 구동시키는데 사용되는 전기 신호의 전압의 크기가 결정될 수도 있다. 크기는, 블록(330)에서 결정된 공진 주파수 및/또는 블록(340)에서 결정된 네거티브 바이어스 압력을 사용하여 결정될 수도 있다. 공진 주파수 및/또는 네거티브 바이어스 압력은 값들의 테이블을 참고(consult)하는데 사용될 수도 있다. 이러한 값들의 테이블은, 분무기 엘리먼트를 구동시키는 전기 신호에 대해 사용될 전압의 적절한 크기를 특정할 수도 있다. 대안적으로, 공진 주파수 및/또는 네거티브 바이어스 압력은 분무기 엘리먼트를 구동시키기 위한 적절한 전압 크기를 계산하는데 사용될 수도 있다. 적절한 크기는, 분배기로부터 분배될 액체의 일정한 투약 속도 및 방울 사이즈를 유지하는 크기에 대응할 수도 있다. 계산들 또는 테이블은 분배될 액체의 속성들에 의존하여 변할 수도 있다.
블록(360)에서, 분무기 엘리먼트를 구동시키는 전기 파형 신호는 블록(330)에서 결정된 주파수 및/또는 블록(350)에서 결정된 크기에 따라 조정될 수도 있다. 분무기 엘리먼트의 공진 주파수가 변하지 않으면, 분무기 엘리먼트를 구동시키는 전기 신호의 주파수 및/또는 크기가 변하지 않을 수도 있다. 방법(300)은, 분무기 엘리먼트가 드라이버에 의해 구동되고 있는 한 반복할 수도 있다.
도 2의 공진 주파수 추적기(220)와 같은 공진 주파수 추적기는, 도 2의 분무기 엘리먼트(260)와 같은 분무기 엘리먼트의 공진 주파수에서 또는 그 근방에서 출력을 결정하고 유지하기 위해 다양한 방법들을 따를 수도 있다. 도 4는, 분무기 엘리먼트의 공진 주파수를 먼저 결정하고, 전류 위상 시프트 검출기에 의해 검출되는 분무기 엘리먼트를 구동시키는 전기 신호의 전압과 전류 사이의 위상 시프트에 기초하여 분무기 엘리먼트를 구동시키는 출력 전기 신호를 조정하기 위한 감쇄(decay) 프로파일(400)의 간략화된 흐름도를 도시한다. 도 3의 방법(300)은, 소프트웨어, 펌웨어, 및/또는 하드웨어로 구현될 경우, 도 2의 공진 주파수 추적기(220)를 사용하여 구현될 수도 있거나, 몇몇 다른 공진 주파수 추적기를 사용하여 구현될 수도 있다.
공진 주파수가 공진 주파수 추적기에 의해 결정되지 않거나 "록 온(lock on)" 되지 않으면, 공진 주파수 추적기는 방법(400)을 수행할 수도 있다. 예를 들어, 드라이버가 아직 턴 온되거나 활성화되지 않거나, 새로운 분무기가 드라이버 유닛에 부착되거나, 분무기 엘리먼트가 간섭을 받거나, 분무기 엘리먼트가 손상을 받으면, 공진 주파수 추적기는 종진 주파수로 록 온되지 않을 수도 있다.
블록(411)에서, 공진 주파수 추적기는 전류 위상 시프트 검출기로부터 수신된 위상 신호에 무한 임펄스 응답 필터("IIR 필터")를 적용할 수도 있다. IIR 필터는 아날로그 및/또는 디지털 컴포넌트들을 사용하여 구현될 수도 있다. 이로부터, 필터링된 위상값이 획득될 수도 있다.
필터 위상값을 사용하여, 필터링된 위상과 원하는 위상 세트포인트(setpoint) 사이의 에러가 블록(412)에서 결정될 수도 있다. 원하는 위상 세트 포인트는, 분무기 엘리먼트가 공진 주파수에서 진동하게 하는데 필요한 위상을 표시할 수도 있다. 그 후 블록(413)에서, 이러한 결정된 에러값은, 에러가 1초보다 더 큰 시간 동안 세트 포인트보다 더 작은 값인지를 결정하는데 사용될 수도 있다. 몇몇 실시형태들에서, 상이한 시간 길이가 사용된다.
에러가 1초를 초과하는 시간 동안 세트 포인트보다 작으면, 분무기로 출력된 신호의 현재 주파수가 블록(414)에서 저장된다. 추가적으로 블록(415)에서, 공진 주파수가 공진 주파수 추적기에 의해 록 온된다는 것을 표시하기 위해 플래그(flag)가 셋팅될 수도 있다. 블록(413)으로 복귀하여, 에러가 1초를 초과하는 시간 동안 세트 포인트보다 작지 않으면, 프로세스는 블록(430)으로 진행한다.
블록(430)에서, 평균 전류가 몇몇 임계 전류값보다 작으면, 출력 전압은 블록(432)에서 시작 전압으로 셋팅될 수도 있다. 블록(434)에서, 공진 주파수 추적기에 의해 결정된 공진 주파수는 초기값으로 리셋될 수도 있다. 평균 전류가 임계 전류값보다 작지 않으면, 블록들(432 및 434)은 수행되지 않을 수도 있다. 방법(400)은, 분무기 엘리먼트의 공진 주파수를 표시하는 플래그가 록 온될 때까지 반복할 수도 있다.
일단 블록(414)의 공진 주파수 플래그가 셋팅되는 것에 관련될 수도 있는 공진 주파수가 결정되고 록되면, 제 2 방법이 후속할 수도 있다. 방법(500)은, 분무기 엘리먼트를 자신의 현재 공진 주파수에서 진동하게 유지하기 위해 공진 주파수 추적기를 사용하여 주파수를 조정하기 위한 방법을 표현한다. 현재 주파수와 공진 주파수 사이의 에러가 블록(521)에서 결정될 수도 있다. 이로부터, 에러값이 획득될 수도 있다.
공진 주파수 추적기에 의해 생성되는 신호의 실제 주파수가 분무기 엘리먼트의 공진 주파수보다 큰지의 결정이 블록(522)에서 행해질 수도 있다. 크다면, 블록(523)에서, 출력 전압은 블록(521)에서 결정된 에러 레이트와 곱해진 감쇄 속도만큼 스케일링될 수도 있으며, 출력 전압은 블록(524)에서 말단(end) 전압으로 제한될 수도 있다. 이것은, 출력 전압이 몇몇 최대 및/또는 최소 임계값을 초과하는 것을 방지할 수도 있다. 다음으로, 프로세스는 블록(530)으로 진행한다. 블록(522)에서 실제 주파수가 공진 주파수보다 더 크다고 결정되지 않으면, 출력 전압은 블록(525)에서 시작 전압으로 셋팅되고, 방법은 블록(530)으로 진행한다.
블록(530)에서, 전류가 임계 전류값보다 큰지의 결정이 행해진다. 크다면, 출력 전압은 블록(532)에서 시작 전압으로 셋팅되고, 공진 주파수는 블록(534)에서 리셋된다.
광범위하게 다양한 약물들, 액체들, 액체 약물들, 및 액체에서 용해된 약물들이 에어로졸화되지만, 다음은 에어로졸화될 수도 있는 것의 광범위한 예들을 제공한다. 부가적인 예들은 미국 출원 제 12/341,780호에서 제공되며, 그 전체 개시물은 모든 목적들을 위해 여기에 포함된다. 대체로, 임의의 안티-그램-네거티브(anti-gram-negative), 안티-그램-포지티브 항생제, 또는 이들의 조합들이 사용될 수도 있다. 부가적으로, 항생제들은 넓은 스펙트럼 유효성 또는 믹싱된 스펙트럼 유효성을 갖는 항생제들을 포함할 수도 있다. 폴리엔 재료들 특히 암포테리신 B와 같은 항진균제가 여기에서의 사용에 또한 적절하다. 안티-그램-네거티브 항생제들 또는 이들의 염제(salt)들은 아미노글리코사이드들 또는 그의 염제들을 포함하지만 이에 제한되지는 않는다. 아미노글리코사이드들 또는 그의 염제의 예들은, 겐타마이신, 아미카신, 카나마이신, 스트렙토마이신, 네오마이신, 네틸마이신, 파라메신, 토브라마이신, 그들의 염제, 및 이들의 조합들을 포함한다. 예를 들어, 겐타마이신 황산염은, 미크로모노스포라 푸르프레아의 성장에 의해 생성된 항생제 물질들의 황산 염제 또는 그러한 염제들의 혼합물이다. 겐타마이신 황산염, USP는 중국의 푸저우 소재의 Fujian Fukang Pharmaceutical Co.,LTD로부터 획득될 수도 있다. 아미카신은 통상적으로 황산 염제로서 공급되며, 예를 들어, Bristol-Myers Squibb로부터 획득될 수도 있다. 아미카신은 카나마이신과 같은 관련 물질들을 포함할 수도 있다.
안티-그램-포지티브 항생제들 또는 그의 염제들의 예들은 매크로라이드들 또는 그의 염제들을 포함하지만 이에 제한되지는 않는다. 매크로라이드들 또는 그의 염제들의 예들은, 반코마이신, 에리트로마이신, 크래리스로마이신, 아지스로마이신, 그들의 염제들, 및 그들의 조합들을 포함하지만 이에 제한되지는 않는다. 예를 들어, 반코마이신 염산염은, 스트렙토마이시스 오리엔탈리스로 이전에 지정된 아미코라톱시스 오리엔탈리스의 특정 계통들에 의해 생성된 반코마이신 항생제의 염산 염제이다. 반코마이신 염산염은 반코마이신 B의 모노염산염으로 주로 구성된 관련 물질들의 혼합물이다. 모든 글리코펩티드 항생제들과 같이, 반코마이신 염산염은 중심 코어 헵타펩타이드를 포함한다. 반코마이신 염산염, USP는 덴마크 코펜하겐 소재의 Alpharma로부터 획득될 수도 있다.
몇몇 실시형태들에서, 합성물(composition)은 항생제 및 하나 이상의 부가적인 활성제들을 포함한다. 여기에 설명된 부가적인 활성제는, 약제, 약물, 또는 화합물(compound)을 포함하며, 종종 이득이 있는 몇몇 약리 효과를 제공한다. 이것은 식품들, 식품 보충제들, 영양소(nutrient)들, 약물들, 백신들, 비타민들, 및 다른 유익제들을 포함한다. 여기에 사용된 바와 같이, 용어들은, 환자에 국부화된 또는 전체적인(systemic) 효과를 생성하는 임의의 생리학적 또는 약학적 활성 물질을 더 포함한다. 여기에 설명된 약학적인 포뮬레이션(formulation)로의 포함을 위한 활성제는, 말초 신경들, 아드레날린 수용체들, 콜린성 수용체들, 골격근들, 심혈관계, 평활근들, 혈액 순환계, 시놉틱 사이트(synoptic site)들, 신경효과기 접합 사이트들, 내분비 및 호르몬계들, 면역계, 생식계, 골격계, 오타코이드계들, 소화 및 배설계들, 히스타민계, 및 중추 신경계에 작용하는 약물들을 포함하지만 이에 제한되지는 않는 무기물 또는 유기물 화합물일 수도 있다.
부가적인 활성제들의 예들은 항염증제들, 기관지확장제들, 및 이들의 조합들을 포함하지만 이에 제한되지는 않는다.
기관지확장제들의 예들은 .베타-효능제들, 항무스카린제들, 스테로이드들, 및 이들의 조합을 포함하지만 이에 제한되지는 않는다. 예를 들어, 스테로이드는 알부테롤 황산염과 같은 알부테롤을 포함할 수도 있다.
활성제들은 예를 들어, 수면제들 및 진정제들, 정신 활력제들, 정신안정제들, 호흡기 질환 치료제(respiratory drug)들, 항경련제들, 근육 이완제들, 항파킨슨제들(도파민 길항제(dopamine antagnonist)들), 진통제들, 항염증제들, 항불안제들(불안 완화제들), 식욕 억제제들, 편두통 치료제들, 근육 수축제들, 부가적인 항감염제(항바이러스들, 항진균성들, 백신들), 항관절염제들, 항말라리아제들, 구토방지제들, 항간질제(anepileptic)들, 사이토카인들, 성장 인자들, 항암제들, 항혈전제들, 항고혈압제들, 심혈관 약물들, 항부정맥제들, 항산화제(antioxicant)들, 항천식제들, 피임약을 포함하는 호르몬제들, 교감신경제(sympathominetic)들, 이뇨제들, 지방 조절제(lipid regulating agent)들, 항남성호르몬제들, 항기생충제들, 항응고제들, 종양제(neoplastic)들, 항종양제들, 혈당강하제들, 영양제들 및 보충제들, 성장 보충제들, 항장염제들, 백신들, 항체들, 진단제들, 및 조영제들을 포함할 수도 있다. 활성제는 흡입에 의해 관리될 경우 국부적으로 또는 전체적으로 작용할 수도 있다.
활성제는, 작은 분자들, 펩티드들, 폴리펩티드들, 단백질들, 다당류들, 스테로이드들, 생리학적 효과들을 끌어낼 수 있는 단백질들, 뉴클레오티드들, 올리고뉴클레오티드들, 폴리뉴클레오티드들, 지방들, 전해질들 등을 포함하지만 이에 제한되지는 않는 다수의 구조 클래스들 중 하나에 존재할 수도 있다.
본 발명에서의 사용에 적합한 활성제들의 예들은, 칼시노닌, 암포테리신 B, 에리스로포에틴(EPO), 인자 VIII, 인자 IX, 세레다제, 세레자임, 시클로스포린, 과립구집락자극인자(GCSF), 트롬보포이에틴(TPO), 알파-1 프로테이나제 억제제, 엘카노닌, 과립구대식세포집락자극인자(GMCSF), 성장 호르몬, 인체 성장 호르몬(HGH), 성장 호르몬 방출 호르몬(GHRH), 헤파린, 저분자량 헤파린(LMWH), 인터페론 알파, 인터페론 베타, 인터페론 감마, 인터루킨-1 수용체, 인터루킨-2, 인터루킨-1 수용체 길항제, 인터루킨-3, 인터루킨-4, 인터루킨-6, 황체형성 호르몬 방출 호르몬(LHRH), 인자 IX, 인슐린, 프로-인슐린, 인슐린 유도체(예를 들어, 그 전체가 여기에 참조로서 포함되는 미국 특허 제 5,922,675호에 설명된 바와 같은 모노-아실화된 인슐린), 아밀린, C-펩타이드, 옥트레오타이드를 포함하는 소마토스타틴 유도체들, 바소프레신, 여포 자극 호르몬(FSH), 인슐린유사성장인자(IGF), 인슐린트로핀, 대식세포집락자극인자(MCSF), 신경 성장 인자(NGF), 조직 성장 인자들, 케라틴세포 성장 인자(KGF), 글리아 성장 인자(GGF), 종양 괴사 인자(TNF), 내피세포 증식 인자들, 부갑상선 호르몬(PTH), 글루카곤-유도체 펩타이드 티모신 알파 1, IIb/IIIa 억제제, 알파-1 항트립신, 포스포디에스테라아제(PDE) 화합물들, VLA-4 억제제들, 비스포스포네이트들, 호흡기세포융합바이러스 항체, 낭포성 섬유증 막통과 조절기(CFTR) 유전자, 디옥시리보뉴클레아제(deoxyreibonuclease), 살균/삼투성 증가 단백질(BPI), 항-CMV 항체, 1 3-시스 레티노산, 올레안도마이신, 트롤레안도마이신, 록시스로마이신, 클래리스로마이신, 다이버신(davercin), 아지스로마이신, 플루리트로마이신(flurithromycin), 디리트로마이신, 조사마이신, 스피로마이신(spiromycin), 마데카마이신, 류코마이신, 미오카마이신, 로키타마이신, 및 아지트로마이신, 및 스위노라이드(swinolide) A; 시프로플록사신, 오플록사신, 레보플록사신, 트로바플록사신, 알라트로플록사신, 목시플록사신, 노르플록사신, 에녹사신, 그레파플록사신, 가티플록사신, 로메플록사신, 스파르플록사신, 테마플록사신, 페플록사신, 아미플록사신, 플레록사신, 토수플록사신, 프롤리프록사신, 아이록사신(irloxacin), 파주플록사신, 클리나플록사신(clinafloxacin), 및 시타플록사신과 같은 플로로퀴놀론들, 테이코플라닌, 라모플라닌(rampolanin), 미데플라닌(mideplanin), 콜리스틴, 뎁토마이신, 그라미시딘, 콜리스티메테이트, 폴리믹신 B와 같은 폴리믹신들, 카프레오마이신, 바시트라신, 페니실린계들; 페니실린 G, 페니실린 V와 같은 페니실리나제-수용제들, 및 메티실린, 옥사실린, 클록사실린, 디클록사실린, 플록사실린, 나프실린과 같은 페니실리나제-내성제들; 암피실린, 아목시실린, 및 헤타실린, 씰린, 및 갈암프실린(galampicillin)과 같은 그램 네거티브 미생물 활성제들; 카베니실린, 치카르실린, 아즐로실린, 메즐로실린, 및 피페라실린과 같은 항녹농균 페니실린들; 세포독심, 세프프로질, 세프트부텐, 세프티족심, 세프티악손, 세파로신, 세파릴린, 세파렉신, 세프라딘(cephradrine), 세폭시틴, 세파만돌, 세파졸린, 세팔로리딘, 세파클로로, 세파트록실, 세팔로그리신, 세프록심, 세포라니드, 세포탁심, 세파트리진, 세파세트릴, 세페핌, 세픽심, 세포니시드, 세포레라존, 세포테탄, 세피네타타졸, 세프타지딤, 로라카베프, 및 모사락탐과 같은 세팔로스포린, 및 아즈트레오남과 같은 모노박탐들; 및 이미페넴, 메로페넴, 펜타미딘 이세치오네이트, 리도카인, 메타프로테레놀 황산염, 베클로메타손 디프로피오네이트, 트리암시놀론 아세트아마이드, 부네소니드 아세토니드, 플루티카손, 이프라트로피움 브로마이드, 플루니솔라이드, 크로몰린 나트륨, 에르고타민 타르타르과 같은 카바페넴들 및 적용가능할 경우, 상기의 유도체들, 효능제들, 길항제들, 억제제들, 및 약학적으로 수용가능한 염제 형태들 중 하나 이상을 포함하지만 이에 제한되지는 않는다.
본 발명에서의 사용을 위한 활성제들은, 베어(bare) 핵산 분자들, 벡터들, 관련 바이러스성 입자들, 플라스미드 DNA 또는 RNA 또는 셀들의 트랜스펙션 또는 변형에 적합한, 즉, 안티센스를 포함하는 유전자 테라피에 적합한 타입의 다른 핵산 구성들과 같은 핵산들을 더 포함한다. 추가적으로, 활성제는 백신들로서 사용하기 적합한 살아있는 약화되거나 약화된 바이러스들을 포함할 수도 있다. 다른 유용한 약물들은, 그 전체가 여기에 참조로서 포함되는 의사 데스크 참조물(가장 최근판) 내에 리스트된 약물들을 포함한다.
약학적인 포뮬레이션에서의 항생제 또는 다른 활성제의 양은, 원하는 결과를 달성하기 위해 단일 복용량 당 치료상으로 또는 예방적으로 효율적인 양을 전달하는데 필요한 양일 것이다. 실제로, 이것은 특정한 약제, 그의 활성도, 처리될 조건의 중대성, 환자수, 조제(dosing) 요건들, 및 원하는 치료 효과에 광범위하게 의존하여 변할 것이다. 일반적으로, 합성물은 활성제의 약 2wt% 로부터 약 95wt%, 또는 약 5wt% 로부터 85wt% 와 같은 약 1wt% 로부터 약 99wt% 중 어딘가를 포함하며, 또한, 합성물에 포함된 첨가제들의 상대적인 양들에 의존할 것이다. 본 발명의 합성물들은, 1회 복용량에서 0.01mg/일로부터 75mg/일 또는 1회 복용량에서 0.10,g/일로부터 50mg/일과 같은 1회 복용량에서 0.001mg/일로부터 100mg/일까지에서 전달되는 활성제들에 특히 유용하다. 2개 보다 많은 활성제가 여기에 설명된 포뮬레이션들로 포함될 수도 있고, "약제" 라는 용어의 사용이 어떤 방식으로든 2개 이상의 그러한 약제들의 사용을 배제하지 않는다는 것을 이해할 것이다.
일반적으로, 합성물들은 과도한 부형제(excipient)들이 없다. 하나 이상의 실시형태들에서, 수용성 합성물은 아미카신, 또는 젠타마이신 또는 그 양자, 및/또는 그들의 염제들 및 물과 같은 안티-그램-네거티브 항생제로 본질적으로 구성된다.
추가적으로 하나 이상의 실시형태들에서, 수용성 합성물은 무방부제(preservative-free)이다. 이와 관련하여, 수용성 합성물은 무-메틸파라벤 및/또는 무-프로필파라벤일 수도 있다. 더 추가적으로, 수용성 합성물은 무-염분일 수도 있다.
하나 이상의 실시형태들에서, 합성물들은 항감염제 및 부형제를 포함한다. 합성물들은, 피술자(subject)에 특히 피술자의 폐들에 현저한 독소의 악영향들을 갖지 않는 폐들로 취해질 수도 있는 약학적으로 수용가능한 부형제 또는 캐리어를 포함할 수도 있다. 활성제에 부가하여, 약학적인 포뮬레이션은 폐 관리에 적합한 하나 이상의 약학적인 부형제들을 선택적으로 포함할 수도 있다. 존재한다면, 이들 부형제들은 안정성, 표면 변형과 같은 그들의 의도된 기능을 수행하는데 충분한 양으로 합성물에 존재하며, 합성물 등의 효율성 또는 전달성을 향상시킨다. 따라서, 존재한다면, 부형제는 약 0.5wt% 로부터 약 80wt%, 약 1wt% 로부터 약 60wt% 와 같은 약 0.01wt% 로부터 약 95wt% 까지의 범위에 있을 수도 있다. 바람직하게, 그러한 부형제는 예를 들어, 활성제의 더 효율적이고 재생가능한 전달을 제공하고 및/또는 제조를 용이하게 함으로써 활성제 합성물의 특성들을 추가적으로 개선시키도록 부분적으로 기능할 것이다. 또한, 하나 이상의 부형제들은, 포뮬레이션에서 활성제의 농도를 감소시키는 것이 바람직할 경우, 벌킹 에이전트(bulking agent)들로서 기능하도록 제공될 수도 있다.
예를 들어, 합성물들은 염화나트륨과 같은 하나 이상의 삼투압농도(osmolality) 조정기를 포함할 수도 있다. 예를 들어, 염화나트륨은 반코마이신 염산염의 용액들에 부가되어 그 용액의 삼투압농도를 조정할 수도 있다. 하나 이상의 실시형태들에서, 수용성 합성물은 반코마이신 염산염, 삼투압농도 조정기, 및 물과 같은 안티-그램-포지티브 항생제로 본질적으로 구성된다.
본 발명의 약학적인 포뮬레이션에서 유용한 약학적인 부형제들 및 첨가제들은 단일로 또는 결합하여 존재할 수도 있는, 아미노산들, 펩타이드들, 단백질들, 비생물학적 폴리머들, 생물학적 폴리머들, 당분(sugar)과 같은 탄수화물들, 알디톨들과 같은 유도체 합성된 당분들, 알돈산들, 에스테르화된 당분들, 및 당분 폴리머들을 포함하지만 이에 제한되지는 않는다.
예시적인 단백질 부형제들은 사람 혈청 알부민(HSA), 유전자재조합 사람 알부민(rHA), 젤라틴, 카제인, 헤모글로빈 등과 같은 알부민들을 포함한다. 완충 용량에서 또한 기능할 수도 있는 (본 발명의 다이류실(dileucyl)-펩티다이드들 외부에 있는) 적절한 아미노산들은 알라민, 글리신, 아르기닌, 베타인, 히스티딘, 글루탐산, 아스파트산, 시스테인, 라이신, 류신, 이소류신, 발린, 메티오딘, 페닐알라닌, 아스파테임, 타이로신, 트립토판 등을 포함한다. 분산제들로서 기능하는 아미노산들 및 폴리펩티드들이 선호된다. 이러한 카테고리 내에 있는 아미노산들은 류신, 발린, 이소류신, 트립토판, 알라민, 메티오닌, 페닐알리닌, 타이로신, 히스티딘, 및 프롤린과 같은 소수성 아미노산들을 포함한다.
본 발명에서의 사용에 적합한 탄수화물 부형제들은 예를 들어, 프룩토오스, 말토오스, 갈락토오스, 글루코오스, D-마노스, 소르보오스 등과 같은 단당류; 락토오스, 수크로오스, 트레할로오스, 셀로비오스 등과 같은 이당류; 라피노오스, 멜레치노오스, 말토덱스트린들, 덱스트란들, 녹말들 등과 같은 다당류; 및 만니톨, 자일리톨, 말티톨, 락티톨, 자일리톨 솔비톨(글루시톨), 피라노실 솔비톨, 마오이노시틀 등과 같은 알디톨들을 포함한다.
또한, 약학적 포뮬레이션은 완충제 또는 pH 조정제, 통상적으로는 유기산 또는 유기 염기로부터 준비되는 염제를 포함할 수도 있다. 대표적인 완충제들은 시트르산, 아스코르브산, 글루코산, 탄산, 타르타르산, 숙신산, 아세트산, 또는 프탈산의 유기산 염제들, 트리스, 트로메타민 염산염, 또는 인산염 완충제들을 포함한다.
또한, 약학적 포뮬레이션은 폴리머릭(polymeric) 부형제들/첨가제들, 예를 들어, 폴리비닐피롤리돈들, 하이드록시메틸셀룰로오스, 하이드록시에틸셀룰로오스, 및 하이드록시프로필메틸셀룰로오스와 같은 셀룰로오스들 및 유도체 합성된 셀룰로오스들, 피콜(폴리머릭 당분), 하이드록시에틸 전분, 덱스트레이트(dextrate)들(예를 들어, 2-하이드록시프로필-.베타.-사이클로덱스트린 및 술포부틸에테르-.베타.-사이클로덱스트린과 같은 사이클로덱스트린들), 폴리에틸렌 글리콜들, 및 펙틴을 포함할 수도 있다.
약학적 포뮬레이션은 방향제들, 맛 차폐제(taste masking agent)들, 무기염류들(예를 들어, 염화나트륨), 항균제들(예를 들어, 벤잘코늄클로라이드), 감미료들, 항산화제들, 정전기 방지제들, 계면활성제들(예를 들어, "TWEEN 20" 및 "TWEEN 80"과 같은 폴리소르베이트), 소비탄에스테르들, 지질들(예를 들어, 레시틴 및 다른 포스파티딜콜린들, 포스파티딜에탄올아민들), 지방산들 및 지방 에스테르들, 스테로이드들(예를 들어, 콜레스테롤), 및 킬레이트제들(예를 들어, EDTA, 아연 및 다른 그러한 적절한 양이온들)을 더 포함할 수도 있다. 본 발명에 따른 합성물들에서의 사용에 적합한 다른 약학적 부형제들 및/또는 첨가제들은, "Remington: The Science & Practice of Pharmacy", 19.sup.th ed., Williams & Williams (1995), 및 "Physician's Desk Reference", 52.sup.nd ed., Medical Economics, Montvale, N.J,(1998)에 리스트되어 있으며, 그 양자는 그 전체가 여기에 참조로서 포함된다.
상술된 방법들, 시스템들, 및 디바이스들이 단지 예시적이도록 의도됨을 유의해야 한다. 다양한 실시형태들이 적절한 바와 같은 다양한 절차들 또는 컴포넌트들을 생략, 대체, 또는 부가할 수도 있다는 것이 강조되어야 한다. 예를 들어, 대안적인 실시형태들에서, 방법들이 설명된 순서와 상이한 순서로 수행될 수도 있고, 다양한 단계들이 부가, 생략, 또는 결합될 수도 있음을 인식해야 한다. 또한, 특정한 실시형태들에 관해 설명된 특성들은 다양한 다른 실시형태들로 결합될 수도 있다. 실시형태들의 상이한 양상들 및 엘리먼트들은 유사한 방식으로 결합될 수도 있다. 또한, 기술이 발전하며 따라서 다수의 엘리먼트들이 예시적이라는 것이 강조되어야 하며, 본 발명의 범위를 제한하도록 해석되지는 않아야 한다.
특정한 세부사항들이 실시형태들의 완전한 이해를 제공하기 위해 명세서에서 제공된다. 그러나, 실시형태들이 이들 특정한 세부사항들 없이도 실시될 수도 있다는 것이 당업자에 의해 이해될 것이다. 예를 들어, 잘 알려진 프로세스들, 알고리즘들, 구조들, 및 기술들은 실시형태들을 불명료하게 하는 것을 회피하기 위해 불필요한 세부사항없이 설명되었다. 이러한 설명은 예시적인 실시형태들만을 제공할 뿐이며, 본 발명의 범위, 적용가능성, 또는 구성을 제한하도록 의도되지 않는다. 대신, 실시형태들의 이전의 설명은 본 발명의 실시형태들을 구현하기 위한 가능한 설명을 당업자에게 제공할 것이다. 다양한 변화들이 본 발명의 사상 및 범위를 벗어나지 않고도 엘리먼트들의 기능 및 배열에 행해질 수도 있다.
추가적으로, 이전의 설명은 일반적으로 액체 약물들을 에어로졸화하는 것을 상세히 설명한다. 그러나, 액체 약물들 이외의 액체들이 유사한 디바이스들 및 방법들을 사용하여 에어로졸화될 수도 있음을 이해해야 한다.
또한, 실시형태들이 흐름도 또는 블록도로서 도시된 프로세스로서 설명될 수도 있음을 유의한다. 각각이 순차적인 프로세스로서 동작들을 설명할 수도 있지만, 다수의 동작들은 병렬로 또는 동시에 수행될 수 있다. 부가적으로, 동작들의 순서는 재배열될 수도 있다. 프로세스는 도면에 포함되지 않은 부가적인 단계들을 가질 수도 있다.

Claims (23)

  1. 네거티브하게 바이어스된 액체 저장기를 갖는 분무기(nebulizer) 엘리먼트의 공진 주파수를 결정하기 위한 방법으로서,
    전기 신호를 사용하여 상기 분무기의 엘리먼트를 드라이버에 의해 구동시키는 단계 - 상기 전기 신호는 전류 및 전압을 포함함 -;
    상기 분무기를 구동시키는 상기 전기 신호의 전압과 전류 사이의 위상 시프트를 상기 드라이버에 의해 측정하는 단계; 및
    상기 드라이버에 의해 측정되는 상기 분무기의 엘리먼트를 구동시키는 상기 전기 신호의 위상 시프트에 적어도 부분적으로 기초하여, 상기 분무기의 엘리먼트의 공진 주파수를 드라이버에 의해 결정하는 단계를 포함하는, 분무기 엘리먼트의 공진 주파수 결정 방법.
  2. 제 1 항에 있어서,
    상기 드라이버에 의해 결정된 상기 분무기의 공진 주파수에 적어도 부분적으로 기초하여, 상기 전기 신호에 대한 전압 크기를 상기 드라이버에 의해 결정하는 단계를 더 포함하는, 분무기 엘리먼트의 공진 주파수 결정 방법.
  3. 제 1 항에 있어서,
    상기 네거티브하게 바이어스된 액체 저장기는, 액체가 상기 네거티브하게 바이어스된 액체 저장기로부터 유출될 경우, 상기 분무기의 엘리먼트의 공진 주파수가 변하게 하는, 분무기 엘리먼트의 공진 주파수 결정 방법.
  4. 제 1 항에 있어서,
    상기 분무기를 구동시키는 전기 신호는 상기 분무기의 엘리먼트가, 상기 네거티브하게 바이어스된 액체 저장기에 저장된 액체를 진동시키고 원자화하게 하는, 분무기 엘리먼트의 공진 주파수 결정 방법.
  5. 제 1 항에 있어서,
    상기 드라이버에 의해 결정되는 상기 분무기의 공진 주파수에 적어도 부분적으로 기초하여, 상기 분무기의 네거티브하게 바이어스된 액체 저장기 내의 네거티브 바이어스 압력을 상기 드라이버에 의해 결정하는 단계를 더 포함하는, 분무기 엘리먼트의 공진 주파수 결정 방법.
  6. 제 1 항에 있어서,
    상기 분무기로의 상기 전기 신호의 주파수를 상기 드라이버에 의해 조정하는 단계를 더 포함하며,
    대략적으로 일정한 위상 시프트가 상기 전기 신호의 전압과 전류 사이에서 유지되는, 분무기 엘리먼트의 공진 주파수 결정 방법.
  7. 제 2 항에 있어서,
    상기 전압 크기는 값들의 저장된 세트를 사용하여 결정되고, 상기 값들의 저장된 세트는 상기 네거티브하게 바이어스된 액체 저장기 내의 액체에 의존하여 변하는, 분무기 엘리먼트의 공진 주파수 결정 방법.
  8. 분무기의 엘리먼트를 구동시키기 위한 디바이스로서,
    출력 파형 신호를 생성하도록 구성된 증폭기 - 상기 출력 파형 신호는 출력 주파수, 출력 전류, 및 출력 전압을 포함하고, 상기 출력 파형 신호는 상기 출력 주파수로 상기 분무기의 엘리먼트를 구동시킴 -;
    상기 출력 파형 신호의 상기 출력 전류와 상기 출력 전압 사이의 위상 시프트를 결정하도록 구성된 위상 시프트 검출기;
    상기 증폭기로 입력되는 가변 주파수의 파형 신호를 생성하도록 구성된 공진 주파수 추적기 - 상기 파형 신호는 상기 출력 주파수를 제어하고, 상기 가변 주파수는 상기 위상 시프트 검출기 모듈에 의해 결정된 출력 파형 신호의 위상 시프트에 기초하여 조정됨 -; 및
    상기 공진 주파수 추적기에 의해 생성된 파형 신호의 주파수에 기초하여, 상기 증폭기에 의해 출력된 출력 파형 신호의 출력 전압을 조정하도록 구성된 전압 프로파일을 포함하는, 분무기의 엘리먼트를 구동시키기 위한 디바이스.
  9. 제 8 항에 있어서,
    상기 분무기는, 액체가 네거티브하게 바이어스된 액체 저장기로부터 유출될 경우, 상기 분무기의 엘리먼트의 공진 주파수가 변하게 하는 상기 네거티브하게 바이어스된 액체 저장기를 갖는, 네거티브하게 바이어스된 액체 저장기.
  10. 제 8 항에 있어서,
    상기 증폭기의 출력 전압은 값들의 저장된 세트를 사용하여 결정되고, 상기 값들의 저장된 세트는 상기 네거티브하게 바이어스된 액체 저장기에 저장된 액체에 의존하여 변하는, 네거티브하게 바이어스된 액체 저장기.
  11. 제 9 항에 있어서,
    상기 네거티브하게 바이어스된 액체 저장기에 저장된 액체는 약물인, 네거티브하게 바이어스된 액체 저장기.
  12. 제 8 항에 있어서,
    드라이버 디바이스가 핸드헬드 유닛에서 상기 분무기와 커플링되는, 네거티브하게 바이어스된 액체 저장기.
  13. 액체를 원자화하기 위한 시스템으로서,
    원자화될 액체를 보유하도록 적응된 액체 저장기;
    복수의 애퍼쳐(aperture)들을 갖는 엘리먼트를 포함하는 분무기 - 상기 엘리먼트는 상기 액체 저장기로부터 유출된 액체를 원자화하기 위해 진동하도록 구성되고, 상기 엘리먼트는 출력 파형 신호에 의해 구동되고; 상기 액체 저장기의 네거티브 바이어스 압력은, 상기 액체 저장기에 저장된 액체가 유출될 경우 변하며; 그리고, 상기 액체 저장기는, 상기 액체 저장기에 저장된 액체가 유출될 경우 주변(ambient) 환경으로부터의 공기가 상기 액체 저장기에 실질적으로 진입하지 않도록 밀봉됨 -; 및
    드라이버를 포함하며,
    상기 드라이버는,
    상기 출력 파형 신호의 전류와 상기 출력 파형 신호의 전압 사이의 위상 시프트를 결정하도록 구성된 위상 시프트 검출기;
    상기 출력 파형 신호의 주파수를 조정하는 파형을 생성하도록 구성된 공진 주파수 추적기 - 상기 주파수는 상기 위상 시프트 검출기에 의해 결정된 위상 시프트에 기초하여 조정됨 -; 및
    상기 공진 주파수 추적기에 의해 생성된 파형의 주파수에 기초하여 상기 출력 파형 신호의 전압을 조정하도록 구성된 전압 프로파일을 포함하는, 액체 저장기.
  14. 제 13 항에 있어서,
    상기 분무기는 인공호흡기(ventilator)와 커플링되도록 구성되는, 액체 저장기.
  15. 제 13 항에 있어서,
    상기 드라이버는 핸드헬드 유닛에서 상기 분무기와 커플링되는, 액체 저장기.
  16. 제 13 항에 있어서,
    상기 드라이버는, 상기 공진 주파수 추적기 및 상기 전압 프로파일로부터의 신호들을 사용하여 상기 출력 파형 신호를 생성하도록 구성된 증폭기를 더 포함하는, 액체 저장기.
  17. 제 13 항에 있어서,
    상기 증폭기의 출력 전압은 값들의 저장된 세트를 사용하여 결정되고, 상기 값들의 저장된 세트는 상기 액체 저장기에 저장된 액체에 의존하여 변하는, 액체 저장기.
  18. 제 17 항에 있어서,
    상기 액체는 약물인, 액체 저장기.
  19. 액체를 에어로졸화(aerosolize)하기 위한 방법으로서,
    저장기 내에 상기 액체를 밀봉하는 단계;
    출력 파형 신호를 생성하는 단계;
    상기 액체를 에어로졸화하기 위해 분무기 엘리먼트를 진동시키는 단계 - 상기 액체가 에어로졸화될 경우 상기 저장기 내에 네거티브 압력이 생성되고; 그리고, 상기 출력 파형 신호는 상기 분무기 엘리먼트가 진동하게 함 -;
    상기 출력 파형 신호의 전류와 상기 출력 파형 신호의 전압 사이의 위상 시프트를 결정하는 단계;
    상기 위상 시프트에 적어도 부분적으로 기초하여 상기 출력 파형 신호의 주파수를 조정하는 단계; 및
    상기 출력 파형 신호의 주파수에 적어도 부분적으로 기초하여 상기 출력 파형 신호의 전압을 조정하는 단계를 포함하는, 액체 에어로졸화 방법.
  20. 제 19 항에 있어서,
    상기 분무기 엘리먼트는 분무기와 커플링되고, 상기 분무기는 인공호흡기와 커플링되도록 구성되는, 액체 에어로졸화 방법.
  21. 제 19 항에 있어서,
    상기 위상 시프트는 상기 출력 파형 신호의 전압과 전류 사이에서 일반적으로 일정하게 유지되는, 액체 에어로졸화 방법.
  22. 제 19 항에 있어서,
    상기 전압은 값들의 저장된 세트를 사용하여 조정되고, 상기 값들의 저장된 세트는 상기 저장기 내의 액체에 의존하여 변하는, 액체 에어로졸화 방법.
  23. 제 19 항에 있어서,
    상기 출력 파형 신호는 상기 분무기 엘리먼트가 상기 분무기 엘리먼트의 공진 주파수에서 일반적으로 진동하게 하는, 액체 에어로졸화 방법.
KR1020127004261A 2009-07-17 2010-07-19 밀봉된 분무기들을 구동시키기 위한 시스템들 및 방법들 Expired - Fee Related KR101740670B1 (ko)

Applications Claiming Priority (3)

Application Number Priority Date Filing Date Title
US22659109P 2009-07-17 2009-07-17
US61/226,591 2009-07-17
PCT/US2010/042473 WO2011009133A1 (en) 2009-07-17 2010-07-19 Systems and methods for driving sealed nebulizers

Publications (2)

Publication Number Publication Date
KR20120052997A true KR20120052997A (ko) 2012-05-24
KR101740670B1 KR101740670B1 (ko) 2017-05-26

Family

ID=43449862

Family Applications (1)

Application Number Title Priority Date Filing Date
KR1020127004261A Expired - Fee Related KR101740670B1 (ko) 2009-07-17 2010-07-19 밀봉된 분무기들을 구동시키기 위한 시스템들 및 방법들

Country Status (25)

Country Link
US (2) US9149588B2 (ko)
EP (1) EP2453864B1 (ko)
JP (1) JP5841942B2 (ko)
KR (1) KR101740670B1 (ko)
CN (1) CN102573745B (ko)
AU (1) AU2010273957B2 (ko)
BR (1) BR112012001074A2 (ko)
CA (1) CA2768487A1 (ko)
CY (1) CY1118401T1 (ko)
DK (1) DK2453864T3 (ko)
EA (1) EA022926B1 (ko)
ES (1) ES2614917T3 (ko)
HR (1) HRP20161699T1 (ko)
HU (1) HUE032278T2 (ko)
IL (1) IL217512A (ko)
IN (1) IN2012DN00966A (ko)
LT (1) LT2453864T (ko)
ME (1) ME02647B (ko)
MX (1) MX2012000751A (ko)
PL (1) PL2453864T3 (ko)
PT (1) PT2453864T (ko)
RS (1) RS55481B1 (ko)
SI (1) SI2453864T1 (ko)
SM (2) SMT201700045T1 (ko)
WO (1) WO2011009133A1 (ko)

Cited By (1)

* Cited by examiner, † Cited by third party
Publication number Priority date Publication date Assignee Title
US9533118B2 (en) 2009-07-17 2017-01-03 Nektar Therapeutics Systems and methods for driving nebulizers

Families Citing this family (28)

* Cited by examiner, † Cited by third party
Publication number Priority date Publication date Assignee Title
US8226975B2 (en) 2005-12-08 2012-07-24 Insmed Incorporated Lipid-based compositions of antiinfectives for treating pulmonary infections and methods of use thereof
US9119783B2 (en) 2007-05-07 2015-09-01 Insmed Incorporated Method of treating pulmonary disorders with liposomal amikacin formulations
GB0715259D0 (en) * 2007-08-06 2007-09-12 Smith & Nephew Canister status determination
US9408954B2 (en) 2007-07-02 2016-08-09 Smith & Nephew Plc Systems and methods for controlling operation of negative pressure wound therapy apparatus
US12121648B2 (en) 2007-08-06 2024-10-22 Smith & Nephew Plc Canister status determination
KR101740624B1 (ko) 2009-07-17 2017-05-26 넥타르 테라퓨틱스 네거티브하게 바이어싱된 밀봉된 분무기 시스템들 및 방법들
KR102107258B1 (ko) 2012-04-10 2020-05-28 아이노비아 인코포레이티드 전하 격리 및 제어가능한 액적 전하, 그리고 저용량 용적 안과적 투여를 제공하는 분사 토출기 기구들 및 디바이스들
SG10201602609XA (en) * 2012-05-15 2016-05-30 Eyenovia Inc Ejector devices, methods, drivers, and circuits therefor
WO2013177226A1 (en) 2012-05-21 2013-11-28 Insmed Incorporated Systems for treating pulmonary infections
JP6529438B2 (ja) 2012-11-29 2019-06-12 インスメッド インコーポレイテッド 安定化されたバンコマイシン処方物
US20150322328A1 (en) * 2014-01-29 2015-11-12 Halliburton Energy Services, Inc. Colloidal high aspect ratio nanosilica additives in sealants and methods relating thereto
ES2926985T3 (es) 2014-05-15 2022-10-31 Insmed Inc Métodos para tratar infecciones pulmonares micobacterianas no tuberculosas
CN105277807A (zh) * 2014-05-28 2016-01-27 闫冬 微孔雾化器及其状态检测方法
CN104548289B (zh) * 2014-12-16 2017-06-23 摩易国际股份有限公司 可更换喷雾头的雾化器异常自动检知结构
CN105664329B (zh) * 2016-01-05 2018-09-11 湖南明康中锦医疗科技发展有限公司 可配合机械通气的雾化系统
US12052925B2 (en) 2016-01-23 2024-07-30 Liat Keng KANG Method and device for driving a piezoelectric device
CN107198805A (zh) * 2017-07-17 2017-09-26 太仓秦风广告传媒有限公司 一种基于自然呼吸的智能雾化治疗设备
TWI631993B (zh) * 2017-09-04 2018-08-11 台達電子工業股份有限公司 霧化裝置及其操作方法
EP3773505A4 (en) 2018-03-30 2021-12-22 Insmed Incorporated PROCESS FOR THE CONTINUOUS MANUFACTURING OF LIPOSOMAL MEDICINAL PRODUCTS
MX2020012961A (es) * 2018-05-31 2021-04-28 Vapotherm Inc Maquina nebulizadora proxima.
GB2578581A (en) * 2018-10-30 2020-05-20 Secr Defence Improved aerosol sensor testing
KR102402071B1 (ko) * 2020-07-24 2022-05-24 주식회사 케이티앤지 초음파 진동자 캘리브레이션 장치 및 그 방법
CN112583395B (zh) * 2020-12-03 2023-03-28 成都动芯微电子有限公司 超声波雾化片频率追踪系统及方法
WO2022167613A1 (en) * 2021-02-05 2022-08-11 Jt International Sa A method for controlling the heating of a susceptor of an aerosol-generating device
WO2023018059A1 (en) * 2021-08-12 2023-02-16 Kt&G Corporation Aerosol generating device and method of controlling the same
US20250144324A1 (en) * 2022-06-01 2025-05-08 Neucen Biomed Co., Ltd. Cns inhaler and operating method thereof
WO2023231367A1 (en) * 2022-06-01 2023-12-07 Neucen Biomed Co., Ltd. Respiratory system inhaler and operating method thereof
US20250289019A1 (en) * 2024-03-18 2025-09-18 Ricoh Company, Ltd. Liquid droplet forming apparatus and method of manufacturing gel particles

Family Cites Families (43)

* Cited by examiner, † Cited by third party
Publication number Priority date Publication date Assignee Title
BE793601A (fr) 1972-01-03 1973-07-02 Philips Nv Generateur d'ultrasons
JPS59132962A (ja) * 1983-01-18 1984-07-31 Matsushita Electric Ind Co Ltd 霧化装置
DE3534853A1 (de) * 1985-09-30 1987-04-02 Siemens Ag Verfahren zum betrieb eines ultraschallzerstaeubers zur fluessigkeitszerstaeubung
US5349852A (en) 1986-03-04 1994-09-27 Deka Products Limited Partnership Pump controller using acoustic spectral analysis
US4778451A (en) * 1986-03-04 1988-10-18 Kamen Dean L Flow control system using boyle's law
JP2878291B2 (ja) * 1989-01-14 1999-04-05 松下電工株式会社 超音波式噴霧装置
WO1992008957A1 (en) * 1990-11-19 1992-05-29 Deka Products Limited Partnership Pump controller using acoustic spectral analysis
GB2291605B (en) * 1991-11-12 1996-05-01 Medix Ltd A nebuliser and nebuliser control system
JP3111202B2 (ja) * 1992-03-19 2000-11-20 耕司 戸田 超音波霧化装置
US5853665A (en) * 1997-09-16 1998-12-29 Coulter International Corp. Apparatus and method for monitoring vent line vacuum
GB2345010B (en) * 1998-12-17 2002-12-31 Electrosols Ltd A delivery device
GB9903433D0 (en) * 1999-02-15 1999-04-07 The Technology Partnership Plc Droplet generation method and device
US6196218B1 (en) * 1999-02-24 2001-03-06 Ponwell Enterprises Ltd Piezo inhaler
DE60008074T2 (de) * 1999-03-05 2004-07-08 S.C. Johnson & Son, Inc., Racine Steuersystem zur zerstäubung von flüssigkeiten mit einem piezoelektrischen schwinger
US6601776B1 (en) * 1999-09-22 2003-08-05 Microcoating Technologies, Inc. Liquid atomization methods and devices
DE19962280A1 (de) * 1999-12-23 2001-07-12 Draeger Medizintech Gmbh Ultraschallvernebler
JP4020559B2 (ja) * 2000-02-04 2007-12-12 オリンパス株式会社 超音波振動子駆動装置
US6569109B2 (en) 2000-02-04 2003-05-27 Olympus Optical Co., Ltd. Ultrasonic operation apparatus for performing follow-up control of resonance frequency drive of ultrasonic oscillator by digital PLL system using DDS (direct digital synthesizer)
JP4402270B2 (ja) * 2000-08-02 2010-01-20 オリンパス株式会社 超音波凝固切開装置
US6539937B1 (en) * 2000-04-12 2003-04-01 Instrumentarium Corp. Method of maximizing the mechanical displacement of a piezoelectric nebulizer apparatus
DE10102846B4 (de) * 2001-01-23 2012-04-12 Pari Pharma Gmbh Aerosolgenerator
EP1236517A1 (en) * 2001-02-23 2002-09-04 Microflow Engineering SA Method of manufacturing a liquid droplet spray device and such spray device
US6546927B2 (en) 2001-03-13 2003-04-15 Aerogen, Inc. Methods and apparatus for controlling piezoelectric vibration
US20030051728A1 (en) * 2001-06-05 2003-03-20 Lloyd Peter M. Method and device for delivering a physiologically active compound
US20030192532A1 (en) * 2002-04-12 2003-10-16 Hopkins Andrew David Nebulizer
US6978779B2 (en) * 2002-04-19 2005-12-27 Instrumentarium Corp. Vibrating element liquid discharging apparatus having gas pressure sensing
DE10250625A1 (de) 2002-10-30 2004-05-19 Pari GmbH Spezialisten für effektive Inhalation Inhalationstherapievorrichtung
US20060147389A1 (en) * 2004-04-14 2006-07-06 Vectura Ltd. Devices and pharmaceutical compositions for enhancing dosing efficiency
US7078227B2 (en) 2004-03-26 2006-07-18 Molecular Transfer Ready-to-use electroporation cuvette including frozen electrocompetent cells
DE102004016985B4 (de) * 2004-04-07 2010-07-22 Pari Pharma Gmbh Aerosolerzeugungsvorrichtung und Inhalationsvorrichtung
DE102004052832A1 (de) * 2004-10-29 2006-05-11 Eppendorf Ag Verfahren zum Dosieren von Flüssigkeitsvolumina und Vorrichtung zur Durchführung des Verfahrens
US7155980B2 (en) 2005-01-07 2007-01-02 Kulite Semiconductor Products, Inc. Resonating transducer
JP4646669B2 (ja) * 2005-03-30 2011-03-09 キヤノン株式会社 吐出用液体、吐出方法、液滴化方法、カートリッジ及び吐出装置
US7896456B2 (en) * 2005-06-24 2011-03-01 Kyocera Corporation Method for driving liquid ejector
DE102005038619A1 (de) * 2005-08-16 2007-02-22 Pari GmbH Spezialisten für effektive Inhalation Inhalationstherapievorrichtung mit einer Ampulle für die Bevorratung eines zu vernebelnden Medikaments
TW200724242A (en) * 2005-12-30 2007-07-01 Ind Tech Res Inst Method for modulating resonance frequency of a micro-spraying system and the device thereof
FR2903331B1 (fr) * 2006-07-07 2008-10-10 Oreal Generateur pour exciter un transducteur piezoelectrique
JP4291377B2 (ja) * 2007-02-19 2009-07-08 オリンパス株式会社 超音波手術装置および超音波手術装置の制御方法
JP2009083810A (ja) * 2007-10-03 2009-04-23 Yamaha Motor Co Ltd 自動二輪車
JP2009106467A (ja) * 2007-10-30 2009-05-21 Canon Inc 吸入装置
JP2009195669A (ja) * 2008-01-25 2009-09-03 Canon Inc 薬剤吐出装置及びその制御方法
JP5602360B2 (ja) * 2008-01-25 2014-10-08 キヤノン株式会社 薬剤吐出装置及び該装置の吐出性能の把握方法
KR101740624B1 (ko) * 2009-07-17 2017-05-26 넥타르 테라퓨틱스 네거티브하게 바이어싱된 밀봉된 분무기 시스템들 및 방법들

Cited By (1)

* Cited by examiner, † Cited by third party
Publication number Priority date Publication date Assignee Title
US9533118B2 (en) 2009-07-17 2017-01-03 Nektar Therapeutics Systems and methods for driving nebulizers

Also Published As

Publication number Publication date
US20120111963A1 (en) 2012-05-10
LT2453864T (lt) 2017-03-10
EP2453864A1 (en) 2012-05-23
BR112012001074A2 (pt) 2016-02-16
EP2453864A4 (en) 2014-10-01
SMT201700045B (it) 2017-03-08
JP2012533367A (ja) 2012-12-27
MX2012000751A (es) 2012-05-08
AU2010273957B2 (en) 2015-06-25
US20160058958A1 (en) 2016-03-03
CA2768487A1 (en) 2011-01-20
CY1118401T1 (el) 2017-06-28
JP5841942B2 (ja) 2016-01-13
SI2453864T1 (sl) 2017-02-28
ES2614917T3 (es) 2017-06-02
WO2011009133A1 (en) 2011-01-20
EA201200134A1 (ru) 2012-08-30
AU2010273957A1 (en) 2012-02-23
KR101740670B1 (ko) 2017-05-26
CN102573745B (zh) 2015-06-03
ME02647B (me) 2017-06-20
RS55481B1 (sr) 2017-04-28
IL217512A (en) 2016-06-30
IL217512A0 (en) 2012-03-01
PT2453864T (pt) 2016-12-22
SMT201700045T1 (it) 2017-03-08
US9149588B2 (en) 2015-10-06
CN102573745A (zh) 2012-07-11
DK2453864T3 (en) 2017-01-09
PL2453864T3 (pl) 2017-09-29
IN2012DN00966A (ko) 2015-04-10
EP2453864B1 (en) 2016-09-14
EA022926B1 (ru) 2016-03-31
HUE032278T2 (en) 2017-09-28
HRP20161699T1 (hr) 2017-02-24

Similar Documents

Publication Publication Date Title
KR101740670B1 (ko) 밀봉된 분무기들을 구동시키기 위한 시스템들 및 방법들
US9533118B2 (en) Systems and methods for driving nebulizers
KR101750032B1 (ko) 건성 분무기 엘리먼트들의 식별
KR101137052B1 (ko) 인공호흡기 회로에 대한 에어로졸의 효과적인 주입
KR101740624B1 (ko) 네거티브하게 바이어싱된 밀봉된 분무기 시스템들 및 방법들
US20150231340A1 (en) Methods and systems for identifying dry nebulizer elements
EA021036B1 (ru) Усовершенствованный аппарат для аэрозолизации больших объемов сухого порошка

Legal Events

Date Code Title Description
PA0105 International application

St.27 status event code: A-0-1-A10-A15-nap-PA0105

P11-X000 Amendment of application requested

St.27 status event code: A-2-2-P10-P11-nap-X000

P13-X000 Application amended

St.27 status event code: A-2-2-P10-P13-nap-X000

PG1501 Laying open of application

St.27 status event code: A-1-1-Q10-Q12-nap-PG1501

P11-X000 Amendment of application requested

St.27 status event code: A-2-2-P10-P11-nap-X000

P13-X000 Application amended

St.27 status event code: A-2-2-P10-P13-nap-X000

R17-X000 Change to representative recorded

St.27 status event code: A-3-3-R10-R17-oth-X000

A201 Request for examination
PA0201 Request for examination

St.27 status event code: A-1-2-D10-D11-exm-PA0201

P22-X000 Classification modified

St.27 status event code: A-2-2-P10-P22-nap-X000

E902 Notification of reason for refusal
PE0902 Notice of grounds for rejection

St.27 status event code: A-1-2-D10-D21-exm-PE0902

E13-X000 Pre-grant limitation requested

St.27 status event code: A-2-3-E10-E13-lim-X000

P11-X000 Amendment of application requested

St.27 status event code: A-2-2-P10-P11-nap-X000

P13-X000 Application amended

St.27 status event code: A-2-2-P10-P13-nap-X000

E701 Decision to grant or registration of patent right
PE0701 Decision of registration

St.27 status event code: A-1-2-D10-D22-exm-PE0701

GRNT Written decision to grant
PR0701 Registration of establishment

St.27 status event code: A-2-4-F10-F11-exm-PR0701

PR1002 Payment of registration fee

St.27 status event code: A-2-2-U10-U12-oth-PR1002

Fee payment year number: 1

PG1601 Publication of registration

St.27 status event code: A-4-4-Q10-Q13-nap-PG1601

PC1903 Unpaid annual fee

St.27 status event code: A-4-4-U10-U13-oth-PC1903

Not in force date: 20200523

Payment event data comment text: Termination Category : DEFAULT_OF_REGISTRATION_FEE

PC1903 Unpaid annual fee

St.27 status event code: N-4-6-H10-H13-oth-PC1903

Ip right cessation event data comment text: Termination Category : DEFAULT_OF_REGISTRATION_FEE

Not in force date: 20200523