KR20120052968A - 조직 공학용 장치 및 방법 - Google Patents

조직 공학용 장치 및 방법 Download PDF

Info

Publication number
KR20120052968A
KR20120052968A KR1020127003354A KR20127003354A KR20120052968A KR 20120052968 A KR20120052968 A KR 20120052968A KR 1020127003354 A KR1020127003354 A KR 1020127003354A KR 20127003354 A KR20127003354 A KR 20127003354A KR 20120052968 A KR20120052968 A KR 20120052968A
Authority
KR
South Korea
Prior art keywords
bioactive
fibers
pore
temperature
pore former
Prior art date
Legal status (The legal status is an assumption and is not a legal conclusion. Google has not performed a legal analysis and makes no representation as to the accuracy of the status listed.)
Granted
Application number
KR1020127003354A
Other languages
English (en)
Other versions
KR101721276B1 (ko
Inventor
제임스 젠크 리우
Original Assignee
바이오2 테크놀로지스, 아이엔씨.
Priority date (The priority date is an assumption and is not a legal conclusion. Google has not performed a legal analysis and makes no representation as to the accuracy of the date listed.)
Filing date
Publication date
Application filed by 바이오2 테크놀로지스, 아이엔씨. filed Critical 바이오2 테크놀로지스, 아이엔씨.
Publication of KR20120052968A publication Critical patent/KR20120052968A/ko
Application granted granted Critical
Publication of KR101721276B1 publication Critical patent/KR101721276B1/ko
Expired - Fee Related legal-status Critical Current
Anticipated expiration legal-status Critical

Links

Images

Classifications

    • AHUMAN NECESSITIES
    • A61MEDICAL OR VETERINARY SCIENCE; HYGIENE
    • A61FFILTERS IMPLANTABLE INTO BLOOD VESSELS; PROSTHESES; DEVICES PROVIDING PATENCY TO, OR PREVENTING COLLAPSING OF, TUBULAR STRUCTURES OF THE BODY, e.g. STENTS; ORTHOPAEDIC, NURSING OR CONTRACEPTIVE DEVICES; FOMENTATION; TREATMENT OR PROTECTION OF EYES OR EARS; BANDAGES, DRESSINGS OR ABSORBENT PADS; FIRST-AID KITS
    • A61F2/00Filters implantable into blood vessels; Prostheses, i.e. artificial substitutes or replacements for parts of the body; Appliances for connecting them with the body; Devices providing patency to, or preventing collapsing of, tubular structures of the body, e.g. stents
    • A61F2/02Prostheses implantable into the body
    • A61F2/30Joints
    • A61F2/44Joints for the spine, e.g. vertebrae, spinal discs
    • A61F2/4455Joints for the spine, e.g. vertebrae, spinal discs for the fusion of spinal bodies, e.g. intervertebral fusion of adjacent spinal bodies, e.g. fusion cages
    • A61F2/4465Joints for the spine, e.g. vertebrae, spinal discs for the fusion of spinal bodies, e.g. intervertebral fusion of adjacent spinal bodies, e.g. fusion cages having a circular or kidney shaped cross-section substantially perpendicular to the axis of the spine
    • AHUMAN NECESSITIES
    • A61MEDICAL OR VETERINARY SCIENCE; HYGIENE
    • A61FFILTERS IMPLANTABLE INTO BLOOD VESSELS; PROSTHESES; DEVICES PROVIDING PATENCY TO, OR PREVENTING COLLAPSING OF, TUBULAR STRUCTURES OF THE BODY, e.g. STENTS; ORTHOPAEDIC, NURSING OR CONTRACEPTIVE DEVICES; FOMENTATION; TREATMENT OR PROTECTION OF EYES OR EARS; BANDAGES, DRESSINGS OR ABSORBENT PADS; FIRST-AID KITS
    • A61F2/00Filters implantable into blood vessels; Prostheses, i.e. artificial substitutes or replacements for parts of the body; Appliances for connecting them with the body; Devices providing patency to, or preventing collapsing of, tubular structures of the body, e.g. stents
    • A61F2/02Prostheses implantable into the body
    • AHUMAN NECESSITIES
    • A61MEDICAL OR VETERINARY SCIENCE; HYGIENE
    • A61FFILTERS IMPLANTABLE INTO BLOOD VESSELS; PROSTHESES; DEVICES PROVIDING PATENCY TO, OR PREVENTING COLLAPSING OF, TUBULAR STRUCTURES OF THE BODY, e.g. STENTS; ORTHOPAEDIC, NURSING OR CONTRACEPTIVE DEVICES; FOMENTATION; TREATMENT OR PROTECTION OF EYES OR EARS; BANDAGES, DRESSINGS OR ABSORBENT PADS; FIRST-AID KITS
    • A61F2/00Filters implantable into blood vessels; Prostheses, i.e. artificial substitutes or replacements for parts of the body; Appliances for connecting them with the body; Devices providing patency to, or preventing collapsing of, tubular structures of the body, e.g. stents
    • A61F2/02Prostheses implantable into the body
    • A61F2/28Bones
    • AHUMAN NECESSITIES
    • A61MEDICAL OR VETERINARY SCIENCE; HYGIENE
    • A61FFILTERS IMPLANTABLE INTO BLOOD VESSELS; PROSTHESES; DEVICES PROVIDING PATENCY TO, OR PREVENTING COLLAPSING OF, TUBULAR STRUCTURES OF THE BODY, e.g. STENTS; ORTHOPAEDIC, NURSING OR CONTRACEPTIVE DEVICES; FOMENTATION; TREATMENT OR PROTECTION OF EYES OR EARS; BANDAGES, DRESSINGS OR ABSORBENT PADS; FIRST-AID KITS
    • A61F2/00Filters implantable into blood vessels; Prostheses, i.e. artificial substitutes or replacements for parts of the body; Appliances for connecting them with the body; Devices providing patency to, or preventing collapsing of, tubular structures of the body, e.g. stents
    • A61F2/02Prostheses implantable into the body
    • A61F2/30Joints
    • A61F2/30721Accessories
    • A61F2/30734Modular inserts, sleeves or augments, e.g. placed on proximal part of stem for fixation purposes or wedges for bridging a bone defect
    • AHUMAN NECESSITIES
    • A61MEDICAL OR VETERINARY SCIENCE; HYGIENE
    • A61FFILTERS IMPLANTABLE INTO BLOOD VESSELS; PROSTHESES; DEVICES PROVIDING PATENCY TO, OR PREVENTING COLLAPSING OF, TUBULAR STRUCTURES OF THE BODY, e.g. STENTS; ORTHOPAEDIC, NURSING OR CONTRACEPTIVE DEVICES; FOMENTATION; TREATMENT OR PROTECTION OF EYES OR EARS; BANDAGES, DRESSINGS OR ABSORBENT PADS; FIRST-AID KITS
    • A61F2/00Filters implantable into blood vessels; Prostheses, i.e. artificial substitutes or replacements for parts of the body; Appliances for connecting them with the body; Devices providing patency to, or preventing collapsing of, tubular structures of the body, e.g. stents
    • A61F2/02Prostheses implantable into the body
    • A61F2/30Joints
    • A61F2/3094Designing or manufacturing processes
    • AHUMAN NECESSITIES
    • A61MEDICAL OR VETERINARY SCIENCE; HYGIENE
    • A61FFILTERS IMPLANTABLE INTO BLOOD VESSELS; PROSTHESES; DEVICES PROVIDING PATENCY TO, OR PREVENTING COLLAPSING OF, TUBULAR STRUCTURES OF THE BODY, e.g. STENTS; ORTHOPAEDIC, NURSING OR CONTRACEPTIVE DEVICES; FOMENTATION; TREATMENT OR PROTECTION OF EYES OR EARS; BANDAGES, DRESSINGS OR ABSORBENT PADS; FIRST-AID KITS
    • A61F2/00Filters implantable into blood vessels; Prostheses, i.e. artificial substitutes or replacements for parts of the body; Appliances for connecting them with the body; Devices providing patency to, or preventing collapsing of, tubular structures of the body, e.g. stents
    • A61F2/02Prostheses implantable into the body
    • A61F2/30Joints
    • A61F2/44Joints for the spine, e.g. vertebrae, spinal discs
    • AHUMAN NECESSITIES
    • A61MEDICAL OR VETERINARY SCIENCE; HYGIENE
    • A61LMETHODS OR APPARATUS FOR STERILISING MATERIALS OR OBJECTS IN GENERAL; DISINFECTION, STERILISATION OR DEODORISATION OF AIR; CHEMICAL ASPECTS OF BANDAGES, DRESSINGS, ABSORBENT PADS OR SURGICAL ARTICLES; MATERIALS FOR BANDAGES, DRESSINGS, ABSORBENT PADS OR SURGICAL ARTICLES
    • A61L27/00Materials for grafts or prostheses or for coating grafts or prostheses
    • A61L27/02Inorganic materials
    • A61L27/10Ceramics or glasses
    • AHUMAN NECESSITIES
    • A61MEDICAL OR VETERINARY SCIENCE; HYGIENE
    • A61LMETHODS OR APPARATUS FOR STERILISING MATERIALS OR OBJECTS IN GENERAL; DISINFECTION, STERILISATION OR DEODORISATION OF AIR; CHEMICAL ASPECTS OF BANDAGES, DRESSINGS, ABSORBENT PADS OR SURGICAL ARTICLES; MATERIALS FOR BANDAGES, DRESSINGS, ABSORBENT PADS OR SURGICAL ARTICLES
    • A61L27/00Materials for grafts or prostheses or for coating grafts or prostheses
    • A61L27/50Materials characterised by their function or physical properties, e.g. injectable or lubricating compositions, shape-memory materials, surface modified materials
    • A61L27/54Biologically active materials, e.g. therapeutic substances
    • AHUMAN NECESSITIES
    • A61MEDICAL OR VETERINARY SCIENCE; HYGIENE
    • A61LMETHODS OR APPARATUS FOR STERILISING MATERIALS OR OBJECTS IN GENERAL; DISINFECTION, STERILISATION OR DEODORISATION OF AIR; CHEMICAL ASPECTS OF BANDAGES, DRESSINGS, ABSORBENT PADS OR SURGICAL ARTICLES; MATERIALS FOR BANDAGES, DRESSINGS, ABSORBENT PADS OR SURGICAL ARTICLES
    • A61L27/00Materials for grafts or prostheses or for coating grafts or prostheses
    • A61L27/50Materials characterised by their function or physical properties, e.g. injectable or lubricating compositions, shape-memory materials, surface modified materials
    • A61L27/56Porous materials, e.g. foams or sponges
    • AHUMAN NECESSITIES
    • A61MEDICAL OR VETERINARY SCIENCE; HYGIENE
    • A61LMETHODS OR APPARATUS FOR STERILISING MATERIALS OR OBJECTS IN GENERAL; DISINFECTION, STERILISATION OR DEODORISATION OF AIR; CHEMICAL ASPECTS OF BANDAGES, DRESSINGS, ABSORBENT PADS OR SURGICAL ARTICLES; MATERIALS FOR BANDAGES, DRESSINGS, ABSORBENT PADS OR SURGICAL ARTICLES
    • A61L27/00Materials for grafts or prostheses or for coating grafts or prostheses
    • A61L27/50Materials characterised by their function or physical properties, e.g. injectable or lubricating compositions, shape-memory materials, surface modified materials
    • A61L27/58Materials at least partially resorbable by the body
    • CCHEMISTRY; METALLURGY
    • C03GLASS; MINERAL OR SLAG WOOL
    • C03CCHEMICAL COMPOSITION OF GLASSES, GLAZES OR VITREOUS ENAMELS; SURFACE TREATMENT OF GLASS; SURFACE TREATMENT OF FIBRES OR FILAMENTS MADE FROM GLASS, MINERALS OR SLAGS; JOINING GLASS TO GLASS OR OTHER MATERIALS
    • C03C10/00Devitrified glass ceramics, i.e. glass ceramics having a crystalline phase dispersed in a glassy phase and constituting at least 50% by weight of the total composition
    • C03C10/0009Devitrified glass ceramics, i.e. glass ceramics having a crystalline phase dispersed in a glassy phase and constituting at least 50% by weight of the total composition containing silica as main constituent
    • CCHEMISTRY; METALLURGY
    • C03GLASS; MINERAL OR SLAG WOOL
    • C03CCHEMICAL COMPOSITION OF GLASSES, GLAZES OR VITREOUS ENAMELS; SURFACE TREATMENT OF GLASS; SURFACE TREATMENT OF FIBRES OR FILAMENTS MADE FROM GLASS, MINERALS OR SLAGS; JOINING GLASS TO GLASS OR OTHER MATERIALS
    • C03C11/00Multi-cellular glass ; Porous or hollow glass or glass particles
    • CCHEMISTRY; METALLURGY
    • C03GLASS; MINERAL OR SLAG WOOL
    • C03CCHEMICAL COMPOSITION OF GLASSES, GLAZES OR VITREOUS ENAMELS; SURFACE TREATMENT OF GLASS; SURFACE TREATMENT OF FIBRES OR FILAMENTS MADE FROM GLASS, MINERALS OR SLAGS; JOINING GLASS TO GLASS OR OTHER MATERIALS
    • C03C13/00Fibre or filament compositions
    • C03C13/006Glass-ceramics fibres
    • CCHEMISTRY; METALLURGY
    • C03GLASS; MINERAL OR SLAG WOOL
    • C03CCHEMICAL COMPOSITION OF GLASSES, GLAZES OR VITREOUS ENAMELS; SURFACE TREATMENT OF GLASS; SURFACE TREATMENT OF FIBRES OR FILAMENTS MADE FROM GLASS, MINERALS OR SLAGS; JOINING GLASS TO GLASS OR OTHER MATERIALS
    • C03C4/00Compositions for glass with special properties
    • C03C4/0007Compositions for glass with special properties for biologically-compatible glass
    • C03C4/0014Biodegradable glass
    • AHUMAN NECESSITIES
    • A61MEDICAL OR VETERINARY SCIENCE; HYGIENE
    • A61FFILTERS IMPLANTABLE INTO BLOOD VESSELS; PROSTHESES; DEVICES PROVIDING PATENCY TO, OR PREVENTING COLLAPSING OF, TUBULAR STRUCTURES OF THE BODY, e.g. STENTS; ORTHOPAEDIC, NURSING OR CONTRACEPTIVE DEVICES; FOMENTATION; TREATMENT OR PROTECTION OF EYES OR EARS; BANDAGES, DRESSINGS OR ABSORBENT PADS; FIRST-AID KITS
    • A61F2/00Filters implantable into blood vessels; Prostheses, i.e. artificial substitutes or replacements for parts of the body; Appliances for connecting them with the body; Devices providing patency to, or preventing collapsing of, tubular structures of the body, e.g. stents
    • A61F2/02Prostheses implantable into the body
    • A61F2/30Joints
    • A61F2002/30001Additional features of subject-matter classified in A61F2/28, A61F2/30 and subgroups thereof
    • A61F2002/30003Material related properties of the prosthesis or of a coating on the prosthesis
    • A61F2002/3006Properties of materials and coating materials
    • A61F2002/30062(bio)absorbable, biodegradable, bioerodable, (bio)resorbable, resorptive
    • AHUMAN NECESSITIES
    • A61MEDICAL OR VETERINARY SCIENCE; HYGIENE
    • A61FFILTERS IMPLANTABLE INTO BLOOD VESSELS; PROSTHESES; DEVICES PROVIDING PATENCY TO, OR PREVENTING COLLAPSING OF, TUBULAR STRUCTURES OF THE BODY, e.g. STENTS; ORTHOPAEDIC, NURSING OR CONTRACEPTIVE DEVICES; FOMENTATION; TREATMENT OR PROTECTION OF EYES OR EARS; BANDAGES, DRESSINGS OR ABSORBENT PADS; FIRST-AID KITS
    • A61F2/00Filters implantable into blood vessels; Prostheses, i.e. artificial substitutes or replacements for parts of the body; Appliances for connecting them with the body; Devices providing patency to, or preventing collapsing of, tubular structures of the body, e.g. stents
    • A61F2/02Prostheses implantable into the body
    • A61F2/30Joints
    • A61F2/30767Special external or bone-contacting surface, e.g. coating for improving bone ingrowth
    • A61F2002/3092Special external or bone-contacting surface, e.g. coating for improving bone ingrowth having an open-celled or open-pored structure
    • AHUMAN NECESSITIES
    • A61MEDICAL OR VETERINARY SCIENCE; HYGIENE
    • A61FFILTERS IMPLANTABLE INTO BLOOD VESSELS; PROSTHESES; DEVICES PROVIDING PATENCY TO, OR PREVENTING COLLAPSING OF, TUBULAR STRUCTURES OF THE BODY, e.g. STENTS; ORTHOPAEDIC, NURSING OR CONTRACEPTIVE DEVICES; FOMENTATION; TREATMENT OR PROTECTION OF EYES OR EARS; BANDAGES, DRESSINGS OR ABSORBENT PADS; FIRST-AID KITS
    • A61F2/00Filters implantable into blood vessels; Prostheses, i.e. artificial substitutes or replacements for parts of the body; Appliances for connecting them with the body; Devices providing patency to, or preventing collapsing of, tubular structures of the body, e.g. stents
    • A61F2/02Prostheses implantable into the body
    • A61F2/30Joints
    • A61F2/3094Designing or manufacturing processes
    • A61F2002/30968Sintering
    • AHUMAN NECESSITIES
    • A61MEDICAL OR VETERINARY SCIENCE; HYGIENE
    • A61FFILTERS IMPLANTABLE INTO BLOOD VESSELS; PROSTHESES; DEVICES PROVIDING PATENCY TO, OR PREVENTING COLLAPSING OF, TUBULAR STRUCTURES OF THE BODY, e.g. STENTS; ORTHOPAEDIC, NURSING OR CONTRACEPTIVE DEVICES; FOMENTATION; TREATMENT OR PROTECTION OF EYES OR EARS; BANDAGES, DRESSINGS OR ABSORBENT PADS; FIRST-AID KITS
    • A61F2/00Filters implantable into blood vessels; Prostheses, i.e. artificial substitutes or replacements for parts of the body; Appliances for connecting them with the body; Devices providing patency to, or preventing collapsing of, tubular structures of the body, e.g. stents
    • A61F2/02Prostheses implantable into the body
    • A61F2/30Joints
    • A61F2/44Joints for the spine, e.g. vertebrae, spinal discs
    • A61F2002/4495Joints for the spine, e.g. vertebrae, spinal discs having a fabric structure, e.g. made from wires or fibres
    • AHUMAN NECESSITIES
    • A61MEDICAL OR VETERINARY SCIENCE; HYGIENE
    • A61FFILTERS IMPLANTABLE INTO BLOOD VESSELS; PROSTHESES; DEVICES PROVIDING PATENCY TO, OR PREVENTING COLLAPSING OF, TUBULAR STRUCTURES OF THE BODY, e.g. STENTS; ORTHOPAEDIC, NURSING OR CONTRACEPTIVE DEVICES; FOMENTATION; TREATMENT OR PROTECTION OF EYES OR EARS; BANDAGES, DRESSINGS OR ABSORBENT PADS; FIRST-AID KITS
    • A61F2210/00Particular material properties of prostheses classified in groups A61F2/00 - A61F2/26 or A61F2/82 or A61F9/00 or A61F11/00 or subgroups thereof
    • A61F2210/0004Particular material properties of prostheses classified in groups A61F2/00 - A61F2/26 or A61F2/82 or A61F9/00 or A61F11/00 or subgroups thereof bioabsorbable
    • AHUMAN NECESSITIES
    • A61MEDICAL OR VETERINARY SCIENCE; HYGIENE
    • A61FFILTERS IMPLANTABLE INTO BLOOD VESSELS; PROSTHESES; DEVICES PROVIDING PATENCY TO, OR PREVENTING COLLAPSING OF, TUBULAR STRUCTURES OF THE BODY, e.g. STENTS; ORTHOPAEDIC, NURSING OR CONTRACEPTIVE DEVICES; FOMENTATION; TREATMENT OR PROTECTION OF EYES OR EARS; BANDAGES, DRESSINGS OR ABSORBENT PADS; FIRST-AID KITS
    • A61F2310/00Prostheses classified in A61F2/28 or A61F2/30 - A61F2/44 being constructed from or coated with a particular material
    • A61F2310/00005The prosthesis being constructed from a particular material
    • A61F2310/00329Glasses, e.g. bioglass
    • AHUMAN NECESSITIES
    • A61MEDICAL OR VETERINARY SCIENCE; HYGIENE
    • A61LMETHODS OR APPARATUS FOR STERILISING MATERIALS OR OBJECTS IN GENERAL; DISINFECTION, STERILISATION OR DEODORISATION OF AIR; CHEMICAL ASPECTS OF BANDAGES, DRESSINGS, ABSORBENT PADS OR SURGICAL ARTICLES; MATERIALS FOR BANDAGES, DRESSINGS, ABSORBENT PADS OR SURGICAL ARTICLES
    • A61L2400/00Materials characterised by their function or physical properties
    • A61L2400/18Modification of implant surfaces in order to improve biocompatibility, cell growth, fixation of biomolecules, e.g. plasma treatment
    • AHUMAN NECESSITIES
    • A61MEDICAL OR VETERINARY SCIENCE; HYGIENE
    • A61LMETHODS OR APPARATUS FOR STERILISING MATERIALS OR OBJECTS IN GENERAL; DISINFECTION, STERILISATION OR DEODORISATION OF AIR; CHEMICAL ASPECTS OF BANDAGES, DRESSINGS, ABSORBENT PADS OR SURGICAL ARTICLES; MATERIALS FOR BANDAGES, DRESSINGS, ABSORBENT PADS OR SURGICAL ARTICLES
    • A61L2430/00Materials or treatment for tissue regeneration
    • A61L2430/02Materials or treatment for tissue regeneration for reconstruction of bones; weight-bearing implants
    • AHUMAN NECESSITIES
    • A61MEDICAL OR VETERINARY SCIENCE; HYGIENE
    • A61LMETHODS OR APPARATUS FOR STERILISING MATERIALS OR OBJECTS IN GENERAL; DISINFECTION, STERILISATION OR DEODORISATION OF AIR; CHEMICAL ASPECTS OF BANDAGES, DRESSINGS, ABSORBENT PADS OR SURGICAL ARTICLES; MATERIALS FOR BANDAGES, DRESSINGS, ABSORBENT PADS OR SURGICAL ARTICLES
    • A61L2430/00Materials or treatment for tissue regeneration
    • A61L2430/38Materials or treatment for tissue regeneration for reconstruction of the spine, vertebrae or intervertebral discs
    • CCHEMISTRY; METALLURGY
    • C03GLASS; MINERAL OR SLAG WOOL
    • C03CCHEMICAL COMPOSITION OF GLASSES, GLAZES OR VITREOUS ENAMELS; SURFACE TREATMENT OF GLASS; SURFACE TREATMENT OF FIBRES OR FILAMENTS MADE FROM GLASS, MINERALS OR SLAGS; JOINING GLASS TO GLASS OR OTHER MATERIALS
    • C03C2204/00Glasses, glazes or enamels with special properties
    • CCHEMISTRY; METALLURGY
    • C03GLASS; MINERAL OR SLAG WOOL
    • C03CCHEMICAL COMPOSITION OF GLASSES, GLAZES OR VITREOUS ENAMELS; SURFACE TREATMENT OF GLASS; SURFACE TREATMENT OF FIBRES OR FILAMENTS MADE FROM GLASS, MINERALS OR SLAGS; JOINING GLASS TO GLASS OR OTHER MATERIALS
    • C03C2213/00Glass fibres or filaments
    • C03C2213/02Biodegradable glass fibres
    • YGENERAL TAGGING OF NEW TECHNOLOGICAL DEVELOPMENTS; GENERAL TAGGING OF CROSS-SECTIONAL TECHNOLOGIES SPANNING OVER SEVERAL SECTIONS OF THE IPC; TECHNICAL SUBJECTS COVERED BY FORMER USPC CROSS-REFERENCE ART COLLECTIONS [XRACs] AND DIGESTS
    • Y10TECHNICAL SUBJECTS COVERED BY FORMER USPC
    • Y10TTECHNICAL SUBJECTS COVERED BY FORMER US CLASSIFICATION
    • Y10T428/00Stock material or miscellaneous articles
    • Y10T428/249921Web or sheet containing structurally defined element or component
    • Y10T428/249924Noninterengaged fiber-containing paper-free web or sheet which is not of specified porosity
    • Y10T428/249928Fiber embedded in a ceramic, glass, or carbon matrix

Landscapes

  • Health & Medical Sciences (AREA)
  • Chemical & Material Sciences (AREA)
  • Life Sciences & Earth Sciences (AREA)
  • Engineering & Computer Science (AREA)
  • Transplantation (AREA)
  • Oral & Maxillofacial Surgery (AREA)
  • Animal Behavior & Ethology (AREA)
  • General Health & Medical Sciences (AREA)
  • Public Health (AREA)
  • Veterinary Medicine (AREA)
  • Biomedical Technology (AREA)
  • Orthopedic Medicine & Surgery (AREA)
  • Medicinal Chemistry (AREA)
  • Heart & Thoracic Surgery (AREA)
  • Vascular Medicine (AREA)
  • Cardiology (AREA)
  • Dermatology (AREA)
  • Epidemiology (AREA)
  • Organic Chemistry (AREA)
  • Materials Engineering (AREA)
  • Chemical Kinetics & Catalysis (AREA)
  • General Chemical & Material Sciences (AREA)
  • Geochemistry & Mineralogy (AREA)
  • Neurology (AREA)
  • Ceramic Engineering (AREA)
  • Dispersion Chemistry (AREA)
  • Molecular Biology (AREA)
  • Inorganic Chemistry (AREA)
  • Biodiversity & Conservation Biology (AREA)
  • Manufacturing & Machinery (AREA)
  • Crystallography & Structural Chemistry (AREA)
  • Materials For Medical Uses (AREA)
  • Prostheses (AREA)
  • Surgical Instruments (AREA)

Abstract

생리활성 유리 섬유로부터 제작된 재흡수성 조직 스캐폴드는 생리활성 조성물을 갖는 강성 3차원 다공성 매트릭스를 형성한다. 상호 연결된 기공 공간의 형태의 다공성은 다공성 매트릭스 내의 생리활성 유리 섬유 사이의 공간에 의해 제공된다. 재흡수성 매트릭스의 강도는 생리활성 유리 섬유를 강성 3차원 매트릭스 안으로 융합하고 결합하는 생리활성 유리에 의해 제공된다. 재흡수성 조직 스캐폴드는 조직의 성장을 지지하여, 재흡수성 조직 스캐폴드로서 골전도성을 제공하며, 이는 손상 및/또는 병든 뼈 조직의 치유를 위해 사용된다.

Description

조직 공학용 장치 및 방법{DEVICES AND METHODS FOR TISSUE ENGINEERING}
본 발명은 다공성 섬유 의료 이식 분야와 일반적으로 관련이 있다. 더 구체적으로, 본 발명은 생체 내 환경에 적용함에 있어서 뼈 자극 성질을 갖는 생체활성 섬유 이식에 관한 것이다.
보철 장치는 수술 및 기형교정 과정에서 뼈 조직의 결손을 치료하기 위해 종종 필요하다. 보철은 노인의 병들거나 악화된 뼈 조직의 교체 또는 치료를 위해 점점 더 필요해 지고, 몇몇의 외상 또는 퇴행성 질병으로부터 기인한 근골격계 부상의 신속한 치유를 가져오는 신체의 자가 메커니즘을 향상시키기 위해서도 필요하다.
자가이식편 및 동종이식편 과정은 뼈 결손의 치료를 위해 개발되어왔다. 자가이식편 과정에서, 뼈 이식편은 환자 내의 공여 부위(donor site)로부터, 예를 들어 장골릉으로부터 채취되어, 뼈 조직의 재생을 촉진하기 위하여 치료 부위에 이식한다. 반면에, 자가이식편 과정은 특히 침습적이어서, 이는 감염의 위험, 및 채취 부위에서의 불필요한 고통 및 불편함을 유발한다. 동종이식편 과정에서, 뼈 이식편은 동일한 종의 기증자로부터의 것이 사용되지만, 이러한 물질의 사용은 감염, 질병 전염, 및 면역 반응의 위험을 일으킬 뿐만 아니라, 종교적 문제를 일으킬 수 있다. 따라서, 인공 물질 및 인공 물질을 이식하는 방법은 자가이식편 및 동종이식편에 대안으로서 생각되어왔다.
뼈 조직의 결손을 치료하기 위한 인공 보철 장치는 지속가능하고 영구적 치료를 제공하도록 뼈 조직 성장을 촉진하면서 자연 뼈 물질의 기계적 특성을 갖는 물질을 제공하려는 시도로 발전 되어왔다. 뼈의 구조 및 생-기계적(bio-mechanical) 특성에 대한 지식 및 뼈 치유 과정에 대한 이해는 뼈 치료용 이상적인 인공 보철 장치의 요구되는 특성 및 특징에 대한 길잡이를 제공한다. 이러한 특징은 장치가 위험한 부작용없이 신체 내에 효과적으로 용해되게 하는 생체 재흡수성; 상처 치유과정에서 장치 안으로 골 조직이 성장하는 것을 촉진하는 골촉진성 및/또는 골전도성; 및 지속가능한 치료를 촉진하도록 상처 치유되는 과정에서 조직이 운동되는 동안 치료 부위를 지지하도록 하는 지지성 또는 중량 분배성을 포함하지만, 이에 제한되지 않는다.
오늘날까지 개발된 물질은 적어도 일부 이러한 소정의 특징을 달성하는데에 성공했지만, 거의 모든 물질이 이상적인 단단한 조직 스캐폴드의 생-기계적 요구 중 적어도 일부 양태를 위태롭게 한다.
본 발명의 목적은 조직공학용 장치 및 방법을 제공하는 것이다.
본 발명은 생체 재흡수성, 골촉진성 및 지지성(load bearing)인 물질을 제공함으로써 뼈 결손을 치료하기에 효과적인 인공 뼈 보철의 목적에 부합한다. 본 발명은 강성 3차원 다공성 매트릭스를 형성하도록 섬유의 적어도 일부분에 결합하는 생리활성 유리를 갖는 생리활성 유리 섬유의 생체 재흡수성(즉, 재흡수성) 조직 스캐폴드를 제공한다. 다공성 매트릭스는 40% 내지 85%의 다공성과 함께 약 10 μm 내지 약 500 μm의 기공 크기 분포를 갖는 기공 공간을 상호 연결하여, 뼈 조직에 이식되는 경우에 골전도성을 제공한다. 본 발명의 실시예는 바이모달(bi-modal) 기공 크기 분포를 갖는 기공 공간을 포함한다.
본 발명에 따른 인곤 뼈 보철을 제작하는 방법이 제공되며, 상기 방법은 기공 형성제, 및 소성(plastically) 성형성 뱃지(batch)를 제공하기 위한 액체를 포함하는 휘발성 성분을 생리활성 섬유와 혼합하는 단계, 및 서로 얽혀지고(intertangled) 겹쳐진 생리활성 섬유의 실질적으로 균일한 덩어리(mass)로 생리활성 섬유를 분산시키기 위해 상기 성형성 뱃지를 니딩(kneading)하는 단계를 포함한다. 상기 성형성 뱃지는 건조되고, 기공 형성제의 발열 반응을 이용하여 휘발성 성분을 제거하고 서로 얽혀지고 겹쳐진 생리활성 유리 섬유 사이에서 결합을 형성하도록 가열된다. 본 발명의 실시예는 가열 단계 중에 생리활성 섬유의 실투 온도 미만의 온도에서 발열 반응을 개시하고, 섬유가 실투 온도에 도달하기 이전에 발열 반응을 완료한다. 본 발명의 실시예는 가열 단계 중에 생리활성 섬유의 실투 온도 미만의 온도에서 발열 반응을 개시하고, 섬유가 실투 온도에 도달한 이후에 발열 반응을 완료한다.
본 발명의 이러한 특징 그리고 다른 특징은 이어지는 설명을 읽어봄으로써 명백해 질 것이며, 첨부된 청구항에서 구체적으로 언급된 수단 및 조합들로써 인식될 수 있다.
전술한 내용 및 본 발명의 다른 목적, 특징 및 효과는 본 발명의 몇몇 실시예에 따른 하기 구체적인 설명으로부터 명백해 질 것이며, 첨부된 도면에 설명되는 동일한 참조 부호는 동일한 부분을 다른 관점에서 보여준 것이다. 도면은 실척이 아니며, 본 발명의 원리를 설명하는 데에 주안점을 두었다.
도 1은 본 발명에 따른 생리활성 조직 스캐폴드의 실시예를 보여주는 약 1000배 확대 비율의 광학 현미경 사진이다.
도 2는 도 1의 생리활성 조직 스캐폴드를 형성하기 위한 본 발명에 따른 방법의 실시예의 흐름도이다.
도 3은 도 2 발명의 방법에 따른 경화 단계의 실시예의 흐름도이다.
도 4는 본 발명의 방법에 따라 제작된 대상물의 실시예의 개략적인 묘사이다.
도 5는 본 발명에 따른 방법 중 휘발성 성분 제거 단계의 완료에 따른 도 4의 대상물의 개략적인 묘사이다.
도 6은 본 발명에 따른 방법 중 결합 형성 단계의 완료에 따른 도 5의 대상물의 개략적인 묘사이다.
도 7은 본 발명의 재흡수성 조직 스캐폴드의 다양한 실시예를 공지된 표본과 비교한 비교 분석 그래프이다.
도 8은 척추 이식편으로 제조된 본 발명에 따른 생리활성 조직 스캐폴드의 측면도이다.
도 9는 척추사이 공간 내에 이식된 도 8에 따른 척추 이식편을 갖는 척추 부분의 측면 투시도이다.
도 10은 골절술 쇄기형으로 제조된 본 발명에 따른 생리활성 조직 스캐폴드의 등각도(isometric view)를 보여주는 개략적인 그림이다.
도 11은 뼈 내의 골절술 개방부 안으로 삽입될 수 있도록 구성된 도 10의 골절술 쇄기형의 분해도를 도시하는 개략적인 그림이다.
도 12는 본 발명에 따른 방법의 실시예 중 경화 단계의 대표적인 열 프로파일의 그래프이다.
이미 논의되었듯이, 여기에 나열된 상기 도면이 실시예를 개시하지만, 다른 실시예도 고려된다. 본 공개문헌은 묘사의 방식으로 예시적인 실시예를 나타내며, 이를 제한하지 않는다. 다양한 다른 변형 및 실시예는 여기 개시된 실시예의 원리의 범위 및 사상 내에서 당해 분야의 통상의 기술자에 의해 창안될 수 있다.
본 발명은 조직 결손을 회복하기 위한 인공 보철 조직 스캐폴드를 제공한다. 본원에서 사용된 바와 같이, 용어 다양한 형태로 "인공 보철 조직 스캐폴드" 및 "골 조직 스캐폴드" 및 "조직 스캐폴드" 및 "인공 골 보철"은 명세서 전반에서 상호교환적으로 사용될 수 있다. 일 실시예에서, 인공 보철 조직 스캐폴드는 일단 살아있는 조직에 이식되면 골전도성을 갖는다. 일 실시예에서, 인공 보철 조직 스캐폴드는 일단 살아있는 조직에 이식되면 골자극성을 갖는다. 일 실시예에서, 인공 보철 조직 스캐폴드는 일단 살아있는 조직에 이식되면 지지성(load bearing)을 갖는다.
인공 이식편의 다양한 유형은 자연 골 조직의 성질을 모방하고 조직의 치유 및 회복을 촉진하는 인공 보철 장치를 제공하기 위하여 조직공학 응용용으로 개발되어왔다. 금속 및 생-지속성 구조는 새로운 조직의 성장을 촉진하는 다공성 구조에 고강도를 제공하도록 개발되어 왔다. 그러나, 이러한 물질은 생체 재흡수성을 갖지 않으며, 차후에 수술 과정을 거쳐 제거되거나 환자의 삶 동안에 신체 내부에 남겨질 수 있어야 한다. 생-지속성 금속 및 생적합성 이식편의 단점은 고 지지 용량이 이식편 주변에 조직을 재생시키도록 전환하지 않는다는 것이다. 경조직(hard tissue)이 형성되면, 스트레스 부하는 더 강한 조직을 야기하지만 금속 이식편은 새롭게 형성된 골이 이러한 스트레스를 받는 것을 방어해준다. 따라서, 골 조직의 스트레스 방어는 신체에 의해 실제로 재흡수될 수 있는 약한 골 조직을 야기하며, 이는 보철 제거의 신호이다.
살아있는 조직 안으로의 이식편은 많은 인자, 예를 들어 이식편의 조성물에 따라 생물학적 반응을 유발한다. 생물학적 비활성 물질은 공통적으로 섬유 조직에 의해 캡슐화되어 숙주로부터 이식편을 단리한다. 금속 및 대부분의 폴리머는 알루미나 또는 지르코니아와 같은 거의 비활성 세라믹에서처럼, 이런 계면 반응을 초래한다. 생물학적 활성 물질 또는 생리활성 물질은 살아있는 조직에 이식 물질을 고정시키는 계면 결합을 만들어낼 수 있는 생물학적 반응을 유도하며, 자연 조직이 자체적으로 회복되는 경우에 형성되는 계면과 매우 유사하다. 이런 계면 결합은 골성 베드(bony bed) 내의 스캐폴드 또는 이식편을 안정화하고 스캐폴드로부터 결합된 계면을 가로질러 골 조직 안으로의 스트레스 전달을 제공하는 계면을 가져올 수 있다. 하중이 회복부위에 가해지면, 재생된 골 조직을 포함하는 골 조직은 스트레스를 받으며, 따라서 스트레스 차단에 의해 골 조직 흡수를 제한한다. 생체 재흡수성 물질은 생리활성 물질과 같은 반응을 유도하지만, 체액에 의한 완전한 화학적 분해도 나타낸다.
생물학적 활성 및 재흡수 가능한 물질을 사용하여 재흡수 가능한 조직 스캐폴드에 있어서 어려운 점은 골 조직의 성장을 촉진하기에 충분한 다공성을 갖는 지지 강도를 달성하는 것이다. 다공성 형태의 종래 생리활성 생체 유리(bioglass) 및 생체용 세라믹 물질은 인공 보철 또는 이식편과 같은 지지 강도를 제공하기에 선천적으로 충분히 강하다고 알려져 있지 않다. 골자극에 충분한 다공성을 갖는 조직 스캐폴드로 제조된 종래의 생리활성 물질은 지지 강도를 보이지 않았다. 이와 유사하게, 충분한 강도를 제공하는 형태의 종래 생리활성 물질은 골촉진을 할 것으로 여겨질 수 있는 기공 구조를 보이지 않는다.
개개의 섬유의 강도가 동일한 조성물의 분말계 또는 입자계 물질보다 현저히 강한 것을 고려하면, 섬유계 구조는 중량 비율에 대하여 선천적으로 더 강한 강도를 제공할 것으로 일반적으로 알려져 있다. 섬유는 전파 고장을 유발하는 스트레스 농도의 형성에 기여하는 상대적으로 적은 불연속을 갖도록 생산될 수 있다. 그와 대조적으로, 파우더계 또는 입자계 물질은 각각의 인접한 입자들 간의 결합의 형성을 필요로 하며, 이런 각각의 결합 경계는 잠재적으로 스트레스 농도를 만들어낸다. 나아가, 섬유계 구조는 스트레스 완화를 제공하고, 따라서, 개개의 섬유 중 어느 하나의 고장은 인접한 섬유를 통해 전파되지 않는다는 점에서 파괴 섬유계 구조가 압박을 받는 경우에, 더 큰 강도를 제공한다. 따라서, 섬유계 구조는 동일한 조성물의 분말계 물질에 비해 동등한 크기 및 다공성을 통해서 보다 더 우수한 기계적 강도 성질을 보인다.
생리활성 섬유계 물질은 조직공학 응용을 위해 제안되어 왔지만, 이러한 선행 문헌의 물질은 지지성 요구 또는 골자극 성질 중 어느 하나를 위태롭게 한다. 예를 들어, Marcolongo 등(미국특허 제5,645,934호)의 교시는 지지성 능력을 제공하지만 골촉진성을 제공하기에 불충분한 다공성의 열가소성 폴리머를 갖는 망상형 생리활성 유리섬유 합성 구조를 개시한다. 이와 유사하게, Dunn 등(미국특허 제4,655,777호)의 교시는 주변 골 치유에 골 조직의 성장을 용이하게 하기 위해 생리활성 폴리머의 용해를 필요로 하는, 지지성 경조직 스캐폴드를 제공하기 위한 생리활성 폴리머 매트릭스를 강화하는 생리활성 유리 섬유를 개시한다. Pirhonen(미국특허 제7,241,486호)의 교시는 소결 생리활성 유리 섬유에 의해 제조된 다공성 골 필러 물질을 개시하지만, 잠재적인 지지성 응용을 위해 고 강도를 갖는 형태로 제작되는 경우에 제조된 기공 형태학은 골전도성 및/또는 골촉진성을 보장하기 위해 잘 조절되지 않는다.
본 발명은 생분해 가능하며 지지성 능력을 갖는 조직공학 응용을 위한 물질, 및 골의 성장을 촉진하기 위해 조절되고 최적화될 수 있는 기공 구조를 갖는 골자극성인 조직공학 응용을 위한 물질을 제공한다.
도 1은 본 발명의 생리활성 조직 스캐폴드(100)의 실시예를 약 1000배 확대율에서 보여주는 광학 현미경 사진이다. 생리활성 조직 스캐폴드(100)은 강도 및 기공 형태학에서 골 구조를 모방하는 구조를 형성하는 견고한 3차원 매트릭스(110)이다. 본원에서 사용된 바와 같이, 용어 "견고한"은 견고한 구조로 고려되는 자연 골이 같은 방법으로 골절될 때까지 스트레스의 적용에 따라 현저하게 구부러지지 않는 구조를 의미한다. 스캐폴드(100)는 일반적으로 상호연결되는 기공들(120)의 네트워크를 갖는 다공성 물질이다. 일 실시예에서, 기공들(120)의 상호연결된 네트워크는 골전도성을 제공한다. 본원에서 사용된 바와 같이, 용어 "골전도성"은 골 조직의 성장을 용이하게 할 수 있는 물질을 의미한다. 대표적인 인간의 망상 조직의 골은 약 0.1 내지 약 0.5 GPa의 탄성률과 함께 약 4 내지 약 12 MPa의 압축 파쇄력(coompressive crush stregth)을 갖는다. 본원 하기에서 보여지는 바와 같이, 본 발명의 생리활성 조직 스캐폴드(100)는 생리활성 물질 내에 50%를 초과하는 다공성 및 4 MPa를 초과하고 최대 22 MPa를 초과하는 압축 파쇄력을 갖는 다공성 골자극 구조를 제공할 수 있다.
일 실시예에서, 3차원 매트릭스(110)는 견고한 구조에 결합되고 융합되는 섬유와, 생체 재흡수능(bioresorbability)을 보이는 조성물과 함께 형성된다. 3차원 매트릭스(110)를 제조하기 위해 원료 물질로서 섬유를 사용하는 것은 종전의 생리활성 또는 생체 재흡수성 분말계 원료 물질의 사용에 비해 구별되는 장점을 제공한다. 일 실시예에서, 섬유계 원료 물질은 특정 다공성에서 분말계 구조에 비해 더 강도를 갖는 구조를 제공한다. 일 실시예에서, 일차 원료 물질로서 섬유를 사용하는 것은 체액 내에 더 균일하고 조절된 용해를 보이는 생리활성 물질을 야기한다.
일 실시예에서, 3차원 매트릭스(110)의 섬유계 물질은 분말계 또는 입자계 시스템 내의 동일한 조성물에 비해 우수한 생체 재흡수능 특징을 보인다. 예를 들어, 용해율은 점점 변할 수 있고, 따라서 물질이 분말계 물질 형태와 같은 결정립계를 보이거나 물질이 결정상인 경우에는 예측 불가능하다. 입자계 물질은 체액에 의해 용해되는 경우에 강도의 급감을 보이며, 입자 결정립계에서 균열 전파에 의해 약화되기 때문에 파손을 보인다. 섬유 형태의 생리활성 유리 또는 세라믹 물질이 일반적으로 비결정성이고 본 발명에 따른 방법 중 가열 처리 과정이 정돈된 구조 및 결정화의 양 및 정도를 보다 더 조절할 수 있기 때문에, 본 발명에 따른 조직 스캐폴드(100)는 보다 높은 강도를 갖는, 더 조절된 용해율을 보일 수 있다.
본 발명에 따른 생리활성 조직 스캐폴드(100)는 골전도성을 촉진하기 위해 기공 형태학과 혼합된 소정의 기계적 및 화학적 특성을 제공한다. 기공들(120)의 네트워크는 자연 골의 구조를 모방하는 구조에서 서로 얽힌 부직포 섬유 물질 사이의 공간에서 기인한 자연 상호연결된 다공성을 갖는다. 나아가, 본원에서 설명된 방법을 사용함으로써, 기공 크기는 조절되고, 최적화되어서 스캐폴드(100) 및 재생된 골 내에서 혈액 및 체액의 흐름을 향상시킬 수 있다. 예를 들어, 기공 크기 및 기공 크기 분포는 스캐폴드(100)의 형성 도중에 휘발되는 기공 형성제 및 유기 바인더를 선택함으로써 조절될 수 있다. 기공 크기 및 기공 크기 분포는 기공 크기의 단일 방식, 두 가지 방식의 기공 크기 분포, 및/또는 다중-방식 기공 크기 분포를 포함하는 기공 형성제의 입자 크기 및 입자 크기 분포에 의해 결정될 수 있다. 스캐폴드(100)의 다공성은 약 40% 내지 약 85%일 수 있다. 일 실시예에서, 이런 범위는 살아있는 조직에 일단 이식되면 지지성 강도를 보이면서 재생 조직의 골유도 과정을 촉진한다.
스캐폴드(100)는 원료 물질로서 섬유를 사용하여 제작된다. 섬유는 생체 재흡수능을 보이는 생리활성 물질로 구성될 수 있다. 본원에서 사용되는 바와 같이, 용어 "섬유"는 1보다 큰 종횡비를 갖는 연속 또는 불연속 형태의 필라멘트, 및 연신(drawn), 방적(spun), 블론(blown), 또는 섬유 물질의 형성에 전형적으로 사용된 다른 유사한 공정과 같은 섬유-형성 공정으로 형성된 연속 또는 불연속 형태의 필라멘트를 설명하는 것을 의미한다. 생리활성 섬유는 생리활성 유리, 세라믹 및 유리-세라믹과 같은 섬유 형태로 형성될 수 있는 생리활성 조성물로부터 제작될 수 있다. 섬유는 스캐폴드(100)를 형성하면서 3차원 매트릭스(110)의 형성시에 생리활성 조성물을 형성하는 생리활성 조성물의 전구체로부터 제작될 수 있다.
생리활성 및 생체 재흡수성 유리 물질은 약 45 내지 60 몰%의 실리카 및 2 내지 10 몰%의 칼슘 내지 인을 갖는 유리 조성물과 같은 탄산나트륨, 탄산칼슘, 오산화인 및 실리카의 조성물을 갖는 유리로서 일반적으로 알려져 있다. 이를 갖거나 유사한 조성물을 갖는 유리 물질은 유리 물질이 골에 용이하게 결합하는 수성 환경에서 물질의 표면상에 실리카-풍부 층 및 인산칼슘 필름의 형성을 보인다. 계면 층에서 45 내지 60 몰%의 실리카 함량은 인산칼슘 필름을 갖는 실리카-함유 층을 형성하여 스캐폴드와 자연 골 물질 간의 결합 형성을 촉진하는 이점을 갖는다고 일반적으로 알려져 있음에도 불구하고, 성분 변화는 산화마그네슘, 산화칼륨, 산화붕소, 및 다른 화합물과 같은 조성물의 첨가를 통해 이루어질 수 있다. 예를 들어, 공개 문헌[Ogino, Ohuchi, 및 Hench, "Compositional Dependence of the Formation of Calcium Phosphate Films on Bioglass:, J Biomed Mater Res. 1980, 14:55-64]를 참조하며, 상기 문헌은 본원에 참조로서 포함된다.
유리 화합물은 물질이 용융되고 비결정질 형태의 섬유로 연신될 수 있는 경우에, 보다 쉽게 섬유 형태로 형성된다. 섬유 연신 공정 중에 실투가 없이 섬유 형태로 제작될 수 있는 생리활성 및 생체 재흡수성 물질은 섬유로 형성될 시에 비결정질 구조를 유지하기에 효과적인 혼합 알칼리를 제공하기 위해 높은 실리카 함량 및 산화나트륨과 산화칼륨 둘 모두를 요구한다. 섬유로 손쉽게 뽑아질 수 있는 높은 실리카 함량의 유리 및 혼합 알칼리의 다양한 화합물은 생리활성 및 생체 재흡수능을 보였다. 예를 들어, 공개 문헌[Brink, Turunen, Happonen, 및 Yli-Urpo, "Compositional Dependence of Bioactivity of Glasses in the System Na2O-K2O-MgO-CaO-B2O3-P2O5-SiO2," J Biomed Mater Res. 1997; 37:114-121](본원에 참조로서 포함됨)을 참조하며, 상기 문헌은 섬유로 용이하게 연신될 수 있는 Na2O-K2O-MgO-CaO-B2O3-P2O5-SiO2 시스템에서 적어도 10개의 상이한 조성물을 설명하고, 이는 생리활성을 보인다. 일 실시예에서, 6%의 Na2O; 7.9%의 K2O; 7.7%의 MgO; 22.1%의 CaO; 0%의 B2O3; 1.7%의 P2O5; 및 54.6%의 SiO2의 각각의 몰% 양의 조성물(13 내지 93 유리라고도 지칭됨)을 갖는 생리활성 및 생체 재흡수성 물질은 생리활성 및 생체 재흡수능 성능을 제공한다.
또한, 도 1에 있어서, 3차원 매트릭스(110) 내에 기공들(120)의 네트워크는 체 재흡수성 스캐폴드(100)로서 골 조직의 성장에 특히 이로운 성질을 갖는 특별한 구조를 갖는다. 기공 공간(120)의 특징은 하기에서 설명되는 바와 같이, 휘발성 성분의 선택을 통해 조절될 수 있다. 기공 크기 및 기공 크기 분포는 기공들(120)의 네트워크의 중요한 특징이며, 이런 특징은 구체화되고 조절되어서, 지지성 응용을 위한 강도를 유지함과 동시에 골전도성을 갖는 구조를 제공하도록 특정 입자 크기 및 분포를 갖는 휘발성 성분을 선택하여 기결정될 수 있다. 게다가, 기공들(120)의 네트워크는 본 발명에 따른 재흡수성 조직 스캐폴드(100)의 골전도성을 더 향상시키는 선행 기술 물질에 따른 바인더 및 기공 형성제로부터 섬유의 위치 때문에 기공들 사이에서 상대적으로 큰 스로트(throat) 크기로 인해 향상된 상호연결성을 보인다. 기공들(120)의 네트워크는 섬유 물질의 자연 패킹(packing) 밀도에 기인한 공간, 및 재흡수성 스캐폴드(100)의 형성 과정에 섬유와 혼합된 휘발성 성분으로 섬유를 교체함으로써 기인하는 공간으로부터 발생한다. 하기 더 설명된 바와 같이, 3차원 매트릭스(110)를 형성하는 생리활성 물질은 섬유를 유리와 융합 및 결합 오버래핑하고 서로 얽히게 함으로써 제작된다. 섬유 및 유리 및/또는 유리 전구체는 예를 들어, 결과로 초래된 기공 크기, 기공 분포 및 기공들 간의 스로트 크기를 기결정하기 위한 유기 물질을 포함하는, 바인더 및 기공 형성제와 같은 휘발성 성분을 갖는 균일한 혼합물의 형성을 통해 기배치되는 비-휘발성 성분이다. 나아가, 휘발성 성분은 기공이 다수의 기공에 연결되도록 하는 기공들 사이의 스로트 크기를 증가시킴으로써 다수의 기공 상호연결을 효과적으로 증가시킨다. 벌크(bulk) 섬유는 탈응집되고 혼합물 전반에 걸쳐 분포되어, 휘발성 유기 물질 내에서 오버래핑 및 서로 얽혀진 관계로 섬유 물질의 상대적 배치를 야기한다. 휘발성 성분의 제거, 및 섬유 및 유리가 융합 및 결합하여 3차원 매트릭스(110)를 형성함에 따라, 기공들(120)의 네트워크는 휘발성 성분에 의해 채워진 공간에 기인한다.
본 발명에 따른 재흡수성 스캐폴드의 목적은 살아있는 조직 내의 이식편으로서 당소(in situ) 조직 생성을 가능하게 하기 위함이다. 골 조직 회복을 위한 이상적인 스캐폴드에 대한 많은 기준이 존재하지만, 중요한 특징은 기공 크기뿐만 아니라, 기공 상호연결, 세포 이동, 유체 교환 및 종국적으로 조직의 성장과 혈관 형성(예, 혈관의 관통)을 위해 충분히 큰 기공을 갖는 고도로 상호연결된 기공 네트워크이다. 본 발명에 따른 재흡수성 조직 스캐폴드(100)는 골 조직의 성장에 특히 적합한 기공 크기 및 기공 상호연결성을 갖는 다공성 구조이다. 기공들(120)의 네트워크는 재흡수성 조직 스캐폴드(100)를 제작하는데에 사용되는 휘발성 성분의 선택을 통해 조절될 수 있는 기공 크기를 가지며, 이는 적어도 100 μm의 평균 기공 크기를 제공하기 위함이다. 재흡수성 조직 스캐폴드(100)의 실시예는 약 10 μm 내지 약 600 μm의 평균 기공 크기, 및 대안적으로는 약 100 μm 내지 약 500 μm의 평균 기공 크기를 가진다. 기공을 형성하는 기공 형성제 및 유기 바인더를 포함하는 휘발성 성분은 3차원 매트릭스 내에 큰 기공 스로트 크기에 의해 높은 상호연결도를 보장한다. 이는 시험관 내 분석을 통해 결정될 수 있는 기공 크기보다 작은 기공 크기 분포를 갖는 것을 요구하며, 이렇게 기공 크기는 3차원 매트릭스(120)가 용해되고 신체 내로 재흡수됨에 따라 증가될 것이다. 이런 방식으로, 이런 물질의 지지성 능력은 재흡수성 조직 스캐폴드(100)가 신체 내로 용해되는 동안에 재생되기 때문에 더 많은 부하를 지탱하는 재생된 골 조직과 함께 최초 이식편에 따라 향상된다.
도 2에 따르면, 생리활성 조직 스캐폴드(100)를 형성하는 방법(200)의 실시예는 도시된다. 일반적으로, 벌크 섬유(210)는 바인더(230) 및 액체와 혼합되어 가소성으로 주조 가능한 물질을 형성하며, 이는 이후에 경화되어 생리활성 조직 스캐폴드(100)를 형성한다. 경화 단계(280)는 혼합물의 휘발성 요소를 선택적으로 제거하고, 기공 공간(120)을 비어 있게 두고 상호연결되고, 견고한 3차원 매트릭스(110)에 섬유(210)가 효과적으로 융합되고 결합된다.
벌크 섬유(210)는 벌크형 또는 절단 섬유로 제공될 수 있다. 섬유(210)의 직경은 약 1 내지 약 200 μm일 수 있고, 전형적으로 약 5 내지 약 100 μm일 수 있다. 이런 유형의 섬유(210)는 섬유 직경의 상대적으로 좁고 조절된 분포를 갖도록 전형적으로 제조되고, 주어진 직경의 섬유는 사용될 수 있거나, 섬유 직경의 범위를 갖는 섬유 혼합물이 사용될 수 있다. 섬유(210)의 직경은 다공성 구조의 결과로 초래된 직경 크기 및 직경 크기 분포에 영향을 미칠 뿐만 아니라, 3차원 매트릭스(110)의 크기 및 두께에 영향을 미치며, 이들은 스캐폴드(100)의 골전도성에 영향을 미칠 뿐만 아니라, 살아있는 조직에 이식되어 압축 강도 및 탄성률을 포함하는 강도 특징을 초래하는 경우에 체액에 의해 용해되는 스캐폴드(100)의 비율에도 영향을 미칠 것이다.
섬유(210)와 혼합되는 경우에, 바인더(230) 및 액체(250)는 섬유(210)가 고르게 뱃지 전체에 걸쳐 분포될 수 있도록 소성 성형성 뱃지 혼합물을 생성하며, 이와 동시에 차후의 형성 단계(270)에서 뱃지 물질이 소정의 형상으로 형성될 수 있도록 허용하는 습태 강도를 제공한다. 유기 바인더 물질은 메틸셀룰로오스, 히드록시프로필메틸셀룰로오스(HPMC), 에틸셀룰로오스 및 이들의 조합과 같은 바인더(230)로서 사용될 수 있다. 바인더(230)는 폴리에틸렌, 폴리프로필렌, 폴리부텐, 폴리스티렌, 폴리비닐아세테이트, 폴리에스테르, 동일배열 폴리프로필렌, 혼성배열 폴리프로필렌, 폴리설폰, 폴리아세탈 폴리머, 폴리메틸메타크릴레이트, 퓨마론-인단 코폴리머(fumaron-indane copolymer), 에틸렌비닐아세테이트 코폴미러, 스티렌-부타디엔 코폴리머, 아크릴 고무, 폴리비닐부티랄, 이오노머 수지, 에폭시 수지, 나일론, 페놀포름알데히드, 페놀 퍼퓨랄, 파라핀 왁스, 왁스 에멀젼, 미세결정질 왁스, 셀룰로오스, 덱스트린, 염소화 탄화수소, 정제된 알긴산염, 전분, 젤라틴, 리그닌, 고무, 아크릴 섬유, 역청, 카세인, 검, 알부민, 단백질, 글리콜, 히드록시에틸 셀룰로오스, 소듐 카복시메틸 셀룰로오스, 폴리비닐알콜, 폴리비닐피롤리돈, 폴리에틸렌 산화물, 폴리아크릴아미드, 폴리에티테리민(polyethyterimine), 한천, 아가로오스, 당밀, 덱스트린, 전분, 리그노설폰산염, 리그닌 리쿼(lignin liquor), 소듐알긴산염, 아라빅검, 크산탄검, 트래거캔스고무, 카라야검, 로커스트콩검, 아이리쉬모스, 스클레로글루칸, 아크릴릭, 및 양이온성 갈락토마난 또는 이들의 조합과 같은 물질을 포함할 수 있다. 몇몇의 바인더(230)가 위에 나열되어 있다 하더라도, 다른 바인더를 사용할 수 있다고 인식될 것이다. 바인더(230)는 소정의 대상물을 형성하고 대상물이 형성되는 동안에 혼합물 내에 섬유(210)의 상대적인 위치를 유지함과 동시에 생리활성 물질에 대하여 계속 비활성을 갖도록 플라스틱 뱃지 물질에 대하여 소정의 유동학을 제공한다. 바인더(230)의 물성은 스캐폴드(100)의 기공 공간(120)의 기공 크기 분포 및 기공 크기에 영향을 미칠 것이다. 바람직하게는, 바인더(230)는 열분해가 가능하거나, 섬유(210)를 포함하는 생리활성 성분의 화학 조성물에 영향을 주지 않고 선택적으로 용해될 수 있다.
유체(250)는 차후의 형성 단계(270)에서 소정의 대상물을 플라스틱 뱃지 물질이 형성하기에 적합한 플라스틱 뱃지 물질에 소정의 유동학을 달성하기 위한 필요로서 첨가된다. 다양한 유형의 용매가 활용될 수 있음에도 불구하고, 물이 전형적으로 사용된다. 유동학 측정은 혼합 단계 과정에서 이루어져서 형성 단계(270) 이전에 혼합물의 가소성 및 응집 강도를 측정할 수 있다.
기공 형성제(240)는 혼합물에 포함되어 생리활성 스캐폴드(100)의 기공 공간(120)을 증대시킬 수 있다. 기공 형성제는 혼합 단계(260) 및 형성 단계(270) 동안 플라스틱 뱃지 물질 내의 용적을 차지하는 비-반응성 물질이다. 기공 형성제가 사용되는 경우에, 기공 형성제(240)의 입자 크기 및 크기 분포는 결과로 초래된 스캐폴드(100)의 기공 공간(120)의 기공 크기 분포 및 기공 크기에 영향을 미칠 것이다. 입자 크기는 전형적으로 약 25 μm 또는 최저 450 μm 이상일 수 있으며, 기공 형성제의 입자 크기는 약 0.1 내지 약 100의 섬유(210) 직경에 섬유(210) 직경을 곱한 함수일 수 있다. 기공 형성제(240)는 섬유(210) 주변의 상대적인 위치를 현저히 방해하지 않고 경화 단계(280) 동안 용이하게 제거가능해야만 한다. 본 발명의 일 실시예에서, 기공 형성제(240)는 경화 단계(280) 동안 승온 하에서 열분해, 열적 분해 또는 휘발을 통해 제거될 수 있다. 예를 들어, 마이크로왁스 에멀젼, 페놀 수지 입자, 가루, 전분 또는 탄소 입자는 기공 형성제(240)로 혼합물에 포함될 수 있다. 다른 기공 형성제(240)는 카븐 블랙, 활성 탄소, 편상 흑연, 인조흑연, 목분(wood flour), 변성 전분, 셀룰로오스, 코코넛 겉껍질, 라텍스 구체, 새모이, 톱밥, 열분해성 폴리머, 폴리(알킬메타크릴레이트), 폴리메틸메타크릴레이트, 폴리에틸메타크릴레이트, 폴리 n-부틸메타크릴레이트, 폴리에테르, 폴리테트라히드로퓨란, 폴리(1,3-디옥솔레인), 폴리(알칼렌옥시드), 폴리에틸렌옥시드, 폴리프로필렌옥시드, 메타크릴레이트 코폴리머, 폴리이소부틸렌, 폴리트리메틸렌카보네이트, 폴리에틸렌옥살레이트, 폴리베타-프로피올락톤, 폴리델타-발레로락톤, 폴리에틸렌카보네이트, 폴리프로필렌카보네이트, 비닐 톨루엔/알파-메틸스티렌 코폴리머, 스티렌/알파-메틸스티렌 코폴리머, 및 올레핀-이산화황 코폴리머를 포함할 수 있다. 기공 형성제(240)는 일반적으로 유기물 또는 무기물로 정의될 수 있으며, 유기물은 전형적으로 무기물에 비해 더 낮은 온도에서 연소된다. 몇몇 기공 형성제(240)가 앞서 나열되었지만, 다른 기공 형성제(240)가 사용될 수 있다고 인식될 것이다. 기공 형성제(240) 공정 도중에 스캐폴드(100)로부터 제거되기 때문에 완전히 생체적합성일 필요는 없지만, 완전히 생체적합성일 수 있다.
결합제(220)는 혼합물 내에 포함되어 결과로 초래된 생리활성 스캐폴드(100)의 강도 및 성능을 증진시킬 수 있다. 결합게(220)는 벌크 섬유(210)와 같은 조성물의 분말계 물질을 포함할 수 있거나, 다른 조성물의 분말계 물질을 포함할 수 있다. 하기 더 구체적으로 설명되는 바와 같이, 첨가제에 기반한 결합제(220)는 인접 섬유(210) 및 교차 섬유(210) 간에 결합의 형성을 통해 3차원 매트릭스(110)를 형성하는 서로 얽힌 섬유(210)의 결합 강도를 증대시킨다. 결합제(220)는 생리활성 유리, 유리-세라믹, 세라믹, 또는 이들의 전구체일 수 있다.
벌크 섬유(210), 바인더(230) 및 액체(250)를 포함하는, 각각의 물질의 상대적 양은 생리활성 조직 스캐폴드(100)에서 요구되는 전체의 다공성에 의존한다. 예를 들어, 약 60%의 다공성을 갖는 스캐폴드(100)를 제공하기 위해서, 섬유(210)와 같은 비휘발성 성분(275)은 혼합물의 부피에 대하여 약 40%의 양을 가질 것이다. 바인더(230) 및 액체(250)와 같은 휘발성 성분(285)의 상대적 양은 혼합물의 부피에 대하여 약 60%의 양을 가질 것이며, 액체에 대한 바인더의 상대적인 양은 혼합물의 요구되는 유동학에 의해 결정된다. 나아가, 기공 형성제(240)에 의해 증대된 다공성을 갖는 스캐폴드(100)를 생산하기 위해서, 휘발성 성분(285)의 양은 휘발성 기공 형성제(240)를 포함하도록 조정된다. 이와 유사하게, 결합제(220)에 의해 증대된 강도를 갖는 스캐폴드(100)를 생산하기 위해서, 비휘발성 성분(275)의 양을 비휘발성 결합제(220)를 포함하도록 조정될 것이다. 비휘발성 성분(275) 및 휘발성 성분(285)의 상대적인 양, 그리고 결과로 초래된 스캐폴드(100)의 다공성은, 물질의 밀도가 경화 단계(280) 도중에 성분의 반응에 의해 달라질 수 있기 때문에 달라질 것이라고 인식될 수 있다. 구체적인 예는 하기에서 제공된다.
혼합 단계(260)에서, 섬유(210), 바인더(230), 액체(250), 기공 형성제(240) 및/또는 결합제(220)가 만일 포함된다면, 이들은 가소성으로 변형 가능하고 균일한 혼합물의 균질체로 혼합된다. 혼합 단계(260)는 건혼합, 습혼합, 전단혼합 및 니딩(kneading)을 포함할 수 있으며, 이들은 필요한 전단력을 전해서 섬유(210)와 비-섬유 물질을 분리하고 분포시키거나 탈-응집시키는 동안에 물질을 균질체에 동등하게 분포시키는데에 필수적일 수 있다. 혼합, 전단혼합, 니딩의 양 및 이러한 혼합 공정의 지속시간은, 차후의 형성 단계(270)에서 대상물을 형성하는 소정의 유동학 성질을 갖는 혼합물 내에 균일하고 일관된 물질의 분포를 얻기 위해, 혼합 단계(260) 동안 사용된 혼합 장비의 유형의 선택과 함께 섬유(210) 및 비-섬유 물질의 선택에 의존한다. 혼합은 뱃지 혼합기, 전단 혼합기 및/또는 니더(kneader)와 같은 공업적 혼합 장비를 사용하여 수행될 수 있다.
형성 단계(270)는 혼합 단계(260)로부터 수득한 혼합물을 생리활성 조직 스캐폴드(100)가 될 대상물로 형성시킨다. 형성 단계(270)는 경화 단계(280)에서 경화되어 스캐폴드(100)를 제공할 수 있는 대략적으로 성형된 대상물을 제공하기 위해, 거의 근접한 임의의 소정의 형태로 압출, 압연, 압력 주조, 또는 성형하는 것을 포함한다. 스캐폴드(100)의 최종 크기는 형성 단계(270)에서 형성된 대상물과 다를 수 있다고 인식될 수 있는데, 이는 경화 단계(280) 도중에 대상물의 예상된 수축, 그리고 추가적인 기계적 가공 및 최종 성형이 특정 크기 요건을 충족할 것을 필요로 할 수 있기 때문이다. 예시적인 실시예에서, 기계용, 및 시험관 및 생체 내 시험용 표본을 제공하기 위해서, 형성 단계(270)는 혼합물을 둥근 다이스를 통과하도록 힘을 가하는 피스톤 압출기를 사용하여 원통형 봉(rod)으로 압출 성형한다.
이후에, 대상물은 경화 단계(280)에서 생리활성 조직 스캐폴드(100)로 경화되며, 이는 도 3에서 더 설명된다. 도 3에 도시된 실시예에서, 경화 단계(280)는 건조 단계(310); 휘발성 성분 제거 단계(320); 및 결합 형성 단계(330)의 세 단계가 순차적으로 수행될 수 있다. 제 1 단계인 건조 단계(310)에서, 형성된 대상물은 액체를 점진적으로 제거하기 위한 송풍 대류와 함께 또는 없이 약간의 승온 열을 사용하여 액체를 제거함으로써 건조된다. 대상물을 가열하는 다양한 방법이 사용될 수 있으며, 이러한 방법은 가열된 공기의 대류 가열, 진공동결건조, 용매추출법, 마이크로파 또는 전자기/무선 주파수(RF) 건조법을 포함하지만, 이에 제한되지 않는다. 형성된 대상물 내의 액체는 수축에 의한 건조 균열을 회피하기 위해 너무 빠르게 제거하지 않는 것이 바람직하다. 전형적으로, 수성계 시스템에 있어서, 실질적인 건조 시간은 대상물의 크기 및 형상에 따라 달라질 수 있어서, 더 큰 대상물이 더 긴 건조시간을 갖지만, 형성된 대상물은 약 1시간 동안 약 90℃ 내지 약 150℃ 사이의 온도에 노출되는 경우 건조될 수 있다. 마이크로파 또는 RF 에너지 건조법의 경우에서, 액체 자체 및/또는 대상물의 다른 성분은 물질 전반에 열을 더 고르게 생성하도록 방사 에너지를 흡수한다. 건조 단계(310) 도중에, 휘발성 성분으로 사용된 물질의 선택에 따라서, 바인더(230)는 차후에 대상물을 다루는데 있어서 강성과 강도를 제공하기 위해 더 큰 생강도를 갖도록 응고되거나 겔화된다.
일단 대상물이 건조되거나 건조 단계(310)에 의해 액체 성분(250)이 실질적으로 없으면, 다음 단계인 경화 단계(280)는 휘발성 성분 제거 단계(320)로 진행된다. 이 단계는 조직 스캐폴드(100)의 3차원 매트릭스(110)를 형성하는 비-휘발성 성분만을 남기는 대상물로부터 휘발성 성분(예, 바인더(230) 및 기공 형성제(240))을 제거한다. 휘발성 성분은 예를 들어, 열분해, 열적 분해 또는 용매 추출법을 통해서 제거될 수 있다. 휘발성 성분 제거 단계(320)가 순차적으로 성분을 제거할 수 있도록 휘발성 성분(285)이 선택되는 경우에, 휘발성 성분 제거 단계(320)는 바인더 전소 단계(340)에 이은 기공 형성제 제거 단계(350)와 같은 순차적인 성분 제거 단계로 더 분석될 수 있다. 예를 들어, 바인더(230)로서 사용된 HPMC는 약 300℃에서 열적으로 분해될 것이다. 흑연 기공 형성제(220)는 산소의 존재 하에서 약 600℃로 가열되는 경우에, 이산화탄소로 산화될 것이다. 이와 유사하게, 가루 또는 전분이 기공 형성제(220)로 사용되는 경우에, 이들은 약 300℃ 내지 약 600℃의 온도에서 열적으로 분해될 것이다. 따라서, HPMC의 바인더(230) 및 흑연 입자의 기공 형성제(220)로 구성된 형성된 대상물은 2단계의 점화 스케쥴에 상기 대상물을 적용시켜서 바인더(230)를 제거한 뒤 기공 형성제(220)를 제거함으로써 휘발성 성분 제거 단계(320)에서 처리될 수 있다. 이 예에서, 바인더 전소 단계(340)는 일정 시간 동안 약 300℃ 이상 약 600℃ 미만의 온도에서 수행될 수 있다. 다음으로, 기공 형성제 제거 단계(350)는 온도를 600℃ 이상으로 승온하고 산소를 가열 챔버 안으로 주입하여 수행될 수 있다. 이런 열적으로-순차적인 휘발성 성분 제거 단계(320)는 형성된 대상물 내에 비-휘발성 성분(275)의 상대적 위치를 유지하면서, 휘발성 성분(285)의 조절된 제거를 위해 제공된다.
도 4는 휘발성 성분 제거 단계(320) 이전에 형성된 대상물의 다양한 성분을 개략적으로 나타내는 도면이다. 섬유(210)는 바인더(230) 및 기공 형성제(240)의 혼합물 내에 서로 얽혀진다. 필요에 따라서는, 결합제(220)가 혼합물에 더 분포될 수 있다(명확성을 위해 미도시). 도 5는 휘발성 성분 제거 단계(320)의 종료시에 형성된 대상물을 개략적으로 나타내는 도면이다. 섬유(210)는 휘발성 성분(285)이 제거되는 동안에 휘발성 성분(285)을 갖는 섬유(210)의 혼합물로부터 결정되는 이들의 상대적 위치를 유지한다. 휘발성 성분(285)의 제거가 완료됨에 따라, 대상물의 기계적 강도는 약간 취성일 수 있고, 이 상태에서 대상물의 조작은 조심히 수행되어야 할 것이다. 일 실시예에서, 경화 단계(280)의 각 단계는 동일한 오븐 또는 가마에서 수행된다. 일 실시예에서, 핸들링 트레이(handling tray)는 조작 손상을 최소화하도록 대상물이 처리될 수 있는지에 따라 제공된다.
도 6은 경화 단계(280)의 마지막 단계인 결합 형성(330)의 완료시에 형성된 대상물을 개략적으로 나타내는 도면이다. 기공 공간(120)은 바인더(230)와 기공 형성제(240)가 제거된 곳에서 형성되고, 섬유(210)는 3차원 매트릭스(110)로 융합되고 결합된다. 기공 형성제(240)의 크기 및/또는 기공 형성제(240)의 입자 크기 분포 및/또는 바인더(230)의 상대적 양을 포함하는 휘발성 성분(285)의 특징은, 이들이 함께 작용하여, 그 결과로 초래된 기공 크기, 기공크기 분포 및 그 결과로 초래된 조직 스캐폴드(100)의 기공 상호 연결성을 기결정한다. 결합제(220) 및 3차원 매트릭스(110)의 겹쳐진 노드(610) 및 인접한 노드에서 형성하는 유리 결합은 결과로 초래된 3차원 매트릭스(110)의 구조적 일체성을 위해 제공된다.
본 발명의 특징들의 조합에 따른 효과를 증명하기 위해서, 비교 분석(700)이 도 7에 도시된다. 5개의 비교 표본(710, 720, 730, 740 및 750)을 준비했고 압축 강도(Mpa) 및 다공성(%)에 대해 분석했다. 표본(710)은 13-93 생리활성 유리의 분말계 다공성 구조에 대하여 강도/다공성 관계를 증명한다. 2 g의 HPMC 유기 바인더를 갖는 13-93 생리활성 유리 분말 및 물과 혼합하여 플라스틱 뱃지를 제공하고, 이 혼합물을 14 mm 직경의 봉으로 압출 성형하고, 다수의 소결 온도에서 다공성 형태로 소결하여 표본(710)을 제조했다. 2 g의 HPMC 유기 바인더를 갖는 13-93 생리활성 유리 분말 및 물을 혼합하여 플라스틱 뱃지를 제공하고, 이 혼합물을 14 mm 직경의 봉으로 압출 성형하고, 다수의 결합 형성 온도에서 다공성 형태로 경화시켜서 표본(720)을 제조하였으며, 이는 도 3과 관련하여 상술한 바와 같다. 표본(710) 및 표본(720) 모두는 기공 형성제(240)를 포함하지 않는다. 상술한 바와 같이, 표본(720)의 섬유계 시스템에 대한 강도/다공성 관계는 분말계 표본(710)에 비해 더 향상된다. 표본(720)에서, 휘발성 성분(285)으로서 유기 바인더는 휘발성 성분(285)(여기서, 유기 바인더(230))에 의해 기결정된 섬유들 사이의 공간을 갖는 섬유를 배치하며 동일한 효과적인 강도를 갖는 분말계 표본에 비해 다공성을 더 증가시킨다.
기공 형성제(240)의 첨가에 따른 효과를 증명하기 위해서, 기공 형성제로서 100 μm의 입자 크기를 갖는 2 g의 HPMC 유기 바인더 및 1.5 g의 PMMA를 갖는 13-93 생리활성 유리 분말 및 물을 혼합하여 플라스틱 뱃지를 제공하고, 이 혼합물을 14 mm 직경의 봉으로 압출 성형하고, 다수의 소결 온도에서 다공성 형태로 경화시켜서 표본(730)을 제조했다. 기공 형성제로서 100 μm의 입자 크기를 갖는 2 g의 HPMC 유기 바인더 및 1.5 g의 PMMA를 갖는 13-93 생리활성 유리 분말 및 물을 혼합하여 플라스틱 뱃지를 제공하고, 이 혼합물을 14 mm 직경의 봉으로 압출 성형하고, 다수의 결합 형성 온도에서 다공성 형태로 경화시켜서 표본(740)을 제조하였다. 2 g의 HPMC 유기 바인더를 갖는 13-93 생리활성 유리 분말 5 g 및 기공 형성제로서 약 150 μm 내지 약 425 μm의 입자 크기 분포를 갖는 7 g의 4015 흑연 분말의 혼합물, 약 800℃의 결합 형성 온도에서 경화되는 결합제(220)로서 13-93 생리활성 유리 분말의 다양한 양을 첨가하여 표본(750)을 제조했다. 또한, 섬유 기반 비교 표본(740 및 750)은 표본(710 및 730)의 성능을 넘어서는 강도/다공성 관계를 보인다. 상기 기공 형성제(240) 및 상기 바인더(230)는 결과로 초래된 표본의 기공 크기, 기공 크기 분포 및 기존의 방법 및 장치를 통해 주어진 다공성보다 더 큰 강도를 갖는 기공 상호 연결성을 기결정하도록 협력한다.
도 3을 다시 살펴보면, 결합 형성 단계(330)는 휘발성 성분(275)의 제거에 의해 형성된 기공 공간(120)을 유지하면서, 벌크 섬유(210)를 포함하는 비휘발성 성분(275)을 생리활성 조직 스캐폴드(100)의 강성 3차원 매트릭스(110)로 전환시킨다. 결합 형성 단계(330)는 벌크 섬유(210)가 인접하고 겹쳐진 섬유(210)에 결합하는 온도로, 그리고 결합이 형성되기에 충분한 지속시간 동안 비-휘발성 성분(275)을 가열하고, 이에 의하여 비-휘발성 성분(275)의 상대적인 배치가 무너진다. 결합 형성 온도 및 지속 시간은 벌크 섬유(210)를 포함하는 비-휘발성 성분(275)의 화학적 조성물에 따른다. 특정 조성물의 생리활성 유리 섬유 또는 분말은 연화 및 유리 전이 온도에서 균열 없이 플라스틱 변형 능력을 보인다. 유리 물질은 비결정질 유리 구조가 결정체를 이루는 실투 온도를 일반적으로 갖는다. 본 발명의 실시예에서, 결합 형성 단계(330)에서 결합 형성 온도는 유리 전이 온도와 실투 온도 사이의 작업 온도 범위 내에 있다. 예를 들어, 13-93 생리활성 유리 조성물에 대한 결합 형성 온도는 약 606℃의 유리 전이 온도를 초과하고 약 851℃의 실투 온도 미만일 수 있다.
결합 형성 단계(330)에서, 형성된 대상물은 섬유 구조체의 겹쳐진 노드(610) 및 인접한 노드(620)에서 유리 결합의 형성을 야기하는 결합 형성 온도로 가열된다. 결합은 섬유(210)를 둘러서 흐르고 섬유(210)과 반응하여 유리 코팅 및/또는 유리 결합을 형성하는 결합제(220)의 반응을 통해서 섬유 구조체의 겹쳐진 노드(610) 및 인접한 노드(620)에서 형성된다. 결합 형성 단계(330)에서, 섬유(210)의 물질은 결합제(220)와 화학 반응에 참여할 수 있거나, 상기 섬유(210)는 결합제(220)의 반응에 관하여 비활성으로 남아 있을 수 있다. 더 나아가, 벌크 섬유(210)는 섬유 조성물의 혼합물일 수 있으며, 섬유(210)의 일부분 또는 전부는 결합을 형성하는 반응에 참여하여 3차원 매트릭스(110)를 형성한다.
결합 형성 단계(330)의 지속시간은 결합 형성 단계(330) 중에 온도 프로파일에 의존하며, 이때 섬유(210)의 결합 형성 온도에서의 시간은 상대적으로 짧은 지속시간으로 제한되어서, 벌크 섬유(210)를 포함하는 비-휘발성 성분(275)의 상대적 위치는 현저히 변하지 않는다. 형성된 대상물 내의 기공 크기, 기공 크기 분포, 및 기공들 간의 상호 연결성은 휘발성 성분(285)에 의해 벌크 섬유(210)의 상대적 위치에 의해 결정된다. 결합 형성 온도에 이름에 따라 휘발성 성분(285)은 시간에 따라 형성된 대상물로부터 거의 연소 되지만, 섬유(210) 및 비-휘발성 성분(275)의 상대적 배치는 현저히 변화하지 않는다. 형성된 대상물은 결합 형성 단계(330) 중에 약간 또는 작은 치밀화를 겪을 것이지만, 기공 크기의 조절 및 기공 크기의 분포는 유지될 수 있어서, 원하는 치밀화를 설명하기 위해 휘발성 성분(285)의 상대적 양을 조절하거나 약간 지나치게 큰 기공 형성제(240)에 대한 입자 크기를 선택함으로써 기결정된다.
본 발명의 실시예에서, 결합제(220)는 고운 분말 또는 나노-입자 크기(예, 1 내지 100 나노미터)로 분쇄된 생리활성 유리 물질이다. 이 실시예에서, 작으 ㄴ입자 크기는 물질 조성물의 유리 전이 온도에서 또는 근처 온도에서 더 빠르게 반응하고, 섬유 물질이 이의 유리 전이 온도에서 또는 근처 온도에 노출되어 눈에 띄게 영향을 받기 전에 섬유 구조체의 겹쳐진 노드(610) 및 인접한 노드(620)를 덮고 결합하는 유리를 형성한다. 이 실시예에서, 결합제(220)가 벌크 섬유(210) 보다 더 반응성을 갖기 위해서, 입자 크기는 섬유(210)의 직경에 비해 1 내지 1000 배 작을 수 있으며, 예를 들어, 10 미크론 직경의 벌크 섬유(210)를 사용하는 경우에 10 미크론 내지 10 나노미터일 수 있다. 나노입자 크기의 분말은 볼 밀(ball mill) 또는 미디어 밀(media mill)에서 충격 제분(impact milling)하거나 마손 제분(attrition milling)하는 것과 같은 제분 공정 또는 분쇄 공정에서 생리활성 유리 물질을 제분함으로써 제조될 수 있다.
결합 형성 단계(330)의 온도 프로파일은 결정화의 양을 조절하거나, 및/또는 결과로 초래된 3차원 매트릭스(110)의 실투를 최소화하도록 조절될 수 있다. 상술한 바와 같이, 생리활성 유리 및 생체 재흡수성 유리 화합물은 물질의 접근가능한 결정립계의 양이 최소화되는 경우에 살아있는 조직에서 더 조절되고 예측가능한 용해율을 보인다. 이러한 생리활성 및 생체 재흡수성 물질은 생리활성 장치로서 매우 뛰어난 성능을 보이는데, 이는 섬유(210)로 제작될 때 물질의 비결정질 구조, 및 결합 형성 단계(330) 중에 열 처리 공정 도중에 발생하는 결정도의 조절된 정도 때문이다. 그러므로, 본 발명에 따른 방법의 실시예에서, 결합 형성 단계(330)의 온도 프로파일은 비-휘발성 물질(275)의 결정립계를 증가시키지 않고 섬유 구조를 결합시키기에 적합하다.
본 발명에 따른 방법의 실시예에서, 결합 형성 온도는 결합 형성 단계(330) 중에 벌크 섬유(210)의 실투 온도를 초과한다. 생리활성 유리의 조성물은 이의 유리 전이 온도 및 결정화 온도 상이에서 좁은 작업 온도 범위를 보일 수 있다. 일 실시예에서, 섬유(210)의 결정화는 구조 내 섬유(210)의 겹쳐진 노드 및 인접한 노드 사이에서 결합의 형성을 촉진하기 위하여 회피되지 않을 수 있다. 예를 들어, 45S5 조성물 내의 생리활성 유리는 약 610℃, 약 800℃ 및 약 850℃의 온도에서 다양한 상의 결정화 온도와 함께, 약 550℃의 초기 유리 전이 온도 및 약 580℃의 실투 온도를 갖는다. 이러한 좁은 작업 온도 범위 때문에, 결합제(220)와 동일한 조성물을 사용하는 유리 결합의 형성법은 수행되기 어렵고, 따라서 결합 형성 온도는 유리 결합을 형성하기 위해 약 900℃를 초과하는 결합 형성 온도를 요구할 수 있다. 대안적인 실시예에서, 결합 형성 온도는 섬유(210)의 결정화 온도를 초과할 수 있으며, 하지만 여전히 분말 형태의 생리활성 유리 조성물은 결합제(220)로서 작업 온도 범위 내에 있다. 이 실시예에서, 제 1 조성물의 유리 섬유(210)는 제 2 조성물의 유리 결합과 결정화될 수 있으며, 여기서 상기 제 2 조성물의 유리 결합은 섬유 구조체의 겹쳐진 노드 및 인접한 노드에서 형성된다. 예를 들어, 결합제(220)로서 분말 형태의 13-93 조성물은 45S5 조성물 중의 생리활성 유리 섬유와 함께 사용되어서, 13-93 조성물의 유리 전이 온도를 초과하지만 13-93 조성물의 실투 온도 미만에서 유리 결합을 형성하지만, 45S5 유리 섬유 조성물의 실투 온도를 초과하여 합성물을 형성하는 대상물을 형성할 수 있다.
본 발명에 따른 실시예에서, 결합 형성 단계(330)의 온도 프로파일은 결합 형성 온도를 빠르고 간단히 도달하도록 구성되며, 결과로 초래된 생리활성 물질의 실투를 회피하기 위해 빠르게 냉각되도록 구성된다. 가마(kiln)에서 강제 대류, 불꽃, 레이저 또는 다른 집중 가열 방법에서 직접적으로 대상물을 가열하는 방법과 같은 다양한 가열 방법은 본 가열 프로파일을 제공하도록 활용될 수 있다. 이 실시예에서, 집중 가열 방법은 가마 또는 오븐 가열 장치와 같은 최초 가열 방법을 보충하는 부차적인 가열 방법이다. 부차적인 가열 방법은 잠시 동안 열적 과도출력(excursion)을 결합 형성 온도에 제공하며, 이는 결과로 초래되는 3차원 매트릭스(110)의 실투를 회피하기 위하여 유리 전이 온도 미만의 온도로 빠르게 회복된다.
본 발명에 따른 실시예에서, 기공 형성제(240)의 연소는 결합 형성 단계(330) 중에 대상물 전체에 빠르고 균일한 열을 제공하기 위해 사용될 수 있다. 이 실시예에서, 기공 형성제 제거 단계(350)는 결합 형성 단계(330) 중에 일반적으로 발생한다. 기공 형성제(240)는 탄소 또는 흑연, 전분, 유기물 또는 폴리메틸 메타크릴레이트와 같은 폴리머와 같은 가연성 물질이거나, 생리활성 유리 섬유 물질(210)의 실투 온도 이하의 승온에서 발열성으로 산화되는 다른 물질이다. 일반적으로, 기공 형성제(240)는 물질이 연소되기 시작하는 온도에 기초하여 선택되며, 이는 열적 분석, 예를 들어 열중량분석(TGA) 또는 시차열분석(DTA), 또는 중량 손실과 열적 반응을 모두 감지하는 동시(simultaneous) DTA/TGA와 같은 TGA 및 DTA의 조합을 통해 결정될 수 있다. 예를 들어, 표 1은 물질의 발열성 연소 시점을 결정하기 위한 다양한 물질의 DTA/TGA 분석의 결과를 보여준다.
기공 형성제 연소 온도
활성 탄소 621℃
편상 흑연 603℃
HPMC 375℃
PMMa 346℃
목분 317℃
옥수수 전분 292℃
경화 단계(280) 중에, 기공 형성제 제거 단계(350)는 일반적으로 결합 형성 단계(330) 중에 일어나는 것이 적합하여, 기공 형성제 연소는 실질적으로 균일하고 대상물 전체에 걸쳐 증가된 비율로 형성된 대상물의 온도를 증가시킨다. 이런 방식에서, 요구된 결합 형성 온도는 상당히 빠르게 달성된다. 일단 기공 형성제가 완전 연소되면, 형성된 물체의 내부 온도는 감소될 것이며, 그 이유는 기공 형성제 연소로부터 기인되어 형성된 대상물의 내부 온도 및 가마 또는 오븐 안의 주변 환경의 온도 사이에 온도 차이 때문이다. 결과는 경화 공정(280)의 열적 프로파일이 생리활성 섬유(210)의 실투 온도에서 또는 근처 온도에서 급격하고 잠시 동안 열적 과도출력을 포함할 수 있다는 것이다.
도 12와 관련하여, 경화 공정(280)의 일부의 대표적인 열적 프로파일은 기공 형성제 제거 단계(350)는 결합 형성 단계(330) 중에 일반적으로 발생한다는 것을 보여준다. 가마의 열적 프로파일은 가마 작동 통제에 의해 일반적으로 구성된 프로파일(910)로서 보여진다. 프로파일(910)은 시간에 따른 가마의 내부 온도를 설명하며, 열 램프-업(heating ramp-up) 기간, 유지 기간(hold period), 및 냉각 램프-다운(ramp-down) 영역으로서 보여진다. 제 1 예시적인 열적 반응(920)은 경화 단계(280) 중에 가마 내에 형성된 대상물의 내부 온도를 보여준다. 이 예시에서, 온도가 증가함에 따른 비율인 연소 온도(Tc1)를 갖는 기공 형성제는 섬유의 실투 온도 Td(930)을 초과하지 않고 선분(950)으로 나타내지는 소정의 결합 형성 온도 Tb에 빠르게 도달하도록 선분(940)에서 비율의 변화를 보여준다. 기공 형성제 연소의 완료는 가마 온도(910)로 온도가 감소되는 결과를 가져온다. 이와 유사하게, 제 2 예시적인 열적 반응(915)은 경화 단계(280) 중에 가마 내에 형성된 대상물의 내부 온도를 나타낸다. 이 예시에서, 연소 온도(Tc2)를 갖는 제 2 기공 형성제는 제 1 기공 형성제의 연소 온도(Tc1)에 비해 낮다. 이런 제 2 예시에서, 형성된 대상물의 내부 온도는 소정의 결합 형성 온도(950)에 신속히 도달하도록 선분(945)에서 연소 온도(Tc2)에서 빠르게 증가한다. 기공 형성제의 연소가 완료함에 따라서, 온도는 가마 온도(910)로 감소된다.
이 실시예에서, 가마 온도 프로파일(910)은 기공 형성제의 특징 및 상대적 양에 따라 세팅되고, 그 결과 연소 온도에 도달하고, 연소가 최대 온도 및 그 온도에서의 지속시간이 섬유의 실투 온도에 관해서 조절되도록 완료된다. 경화 단계(280) 중에 형성된 대상물을 신속히 가열하고 냉각하는 능력 때문에, 실투 온도를 초과하는 것을 회피하거나 대상물이 실투 온도를 초과하는 지속 시간을 최소화함으로써 결정화의 양은 최소화된다. 온도 과도출력은 가열 효과가 대상물 전반에 걸쳐 균일하게 분포되기 때문에 기공 형성제의 연소에 의해 잘 조절된다. 상기 방법은 가마 또는 오븐으로부터의 기존의 내재하는 반응시간 및/또는 복사 열 전달을 회피한다.
가마의 환경을 조절함으로써 경화 단계(280)를 추가적으로 조절한다. 예를 들어, 가마 또는 오븐 환경 내에 비활성 또는 침체한 공기는 휘발성 성분(285)가 제거되는 시점을 늦출 수 있다. 나아가, 기공 형성제 제거 단계(340)는 온도가 기공 형성제의 연소 온도보다 커지고 거의 소정의 결합 형성 온도에 도달할 때까지 질소와 같은 비활성 기체로 퍼징(purging)함으로써 환경에 의해 더 조절될 수 있다. 산소는 고온에서 도입되어서, 기공 형성제가 산화되는 경우에, 비-휘발성 물질의 온도는 기공 형성제가 완전히 연소될 때까지 유리 전이 온도 또는 결합 형성 온도까지 또는 이를 초과하는 온도까지 국부적으로 증가될 수 있다. 이 시점에서, 상기 온도는 결과로 초래된 구조체 내의 그리고 이의 결정립계의 성장 및/또는 실투를 회피하도록 감소될 수 있다.
본 발명의 또 다른 실시예에서, 경화 단계(280)는 가마 또는 오븐과 같은 최초 열원과, 시간 및 온도의 함수로 발생하는 결정화도를 조절하기 위한 결합 형성 단계의 소정의 온도로 가마 또는 오븐이 열을 신속하고 균일하게 대상물에게 보충하는 제 2 열원이 함께 사용되어 수행될 수 있다. 이 실시예에서, 불꽃 열원은 대상물이 가마 또는 오븐 내에 있는 동안 대상물에 직접적으로 적용될 수 있다.
3차원 매트릭스(110)을 형성하는 서로 얽혀진 섬유 중 겹쳐진 노드 및 인접한 노드 사이에서 형성된 결합은 벌크 섬유(210)의 조성물과 실질적으로 동일한 조성물을 갖는 유리 결합일 수 있다. 결합은 벌크 섬유(210)와 결합제(220) 간의 반응하여 벌크 섬유(210)의 조성물과 실질적으로 다른 조성물을 갖는 유리 결합을 형성하는 결과일 수 있다. 의료 장치 또는 이식편으로 사용하기 위한 물질의 허가와 관련된 규제 요건 때문에, 장치 제작 방법 및 공정에 의해 실질적으로 변형되지 않는 원료 물질로서 허가된 물질 조성물을 사용하는 것이 요구될 수 있다. 대안적으로, 허가된 물질 조성물에 대한 전구 물질인 원료 물질을 사용하는 것이 요구될 수 있으며, 이는 장치 제작 방법 및 공정 중에 소정의 조성물을 형성한다. 본 발명은 다양한 의료상 허용된 물질을 사용하여 제작되거나 의료상 허용된 물질 조성물로 제작될 수 있는 생리활성 및 재흡수성 조직 스캐폴드 장치를 제공한다.
본 발명의 실시예에서, 재흡수성 조직 스캐폴드의 강도 및 지속성은 경화 단계(280) 이후에 또는 중에 형성된 대상물을 어닐링함으로써 향상될 수 있다. 결합 형성 단계(330) 중에, 비-휘발성 성분(275)가 결합 형성 온도로 가열된 후 냉각되는 경우에, 물질 내의 열 경사도는 차후의 냉각 단계 중에 발생할 수 있다. 냉각 단계 중에 물질 내 열 경사도는 기계적 결함이전에 대상물이 견뎌낼 수 있는 외부 스트레스의 양을 효과적으로 감소시키는 스트레스와 함께 구조체를 예압하는 내부 스트레스를 유발할 수 있다. 재흡수성 조직 스캐폴드를 어닐링하는 단계는 물질의 스트레스 제거 시점인 온도, 즉 유리 물질이 이의 형상 및 형태를 유지하기에 아직 충분히 강하지만, 임의의 내부 스트레스를 줄이기에 충분한 온도로 대상물을 가열하는 단계를 수반한다. 어닐링 온도는 결과로 초래된 구조체의 조성물에 의해 결정되고(즉, 스트레스 제거를 위한 시점까지 물질이 부드러워지는 점도에서의 온도), 어닐링 공정의 지속시간은 내부 구조의 상대적 크기 및 두께에 의해 결정된다(즉, 대상물 전반에 걸쳐 온도가 정상 상태에 도달하는 시간). 어닐링 공정은 물질의 열 용량, 열 전도율 및 열 팽창 계수에 의해 제한되는 속도로 천천히 냉각한다. 본 발명에 따른 예시적인 실시예에서, 13-93 조성물을 갖는 다공성 재흡수가능한 조직 스캐폴드의 14 mm 직경의 압출 실린더는 6시간 동안 500℃의 가마 Ehsms 오븐에서 대상물을 가열하고 대략 4시간에 걸쳐 실온으로 냉각함으로써 어닐링될 수 있다.
본 발명에 따른 재흡수성 조직 스캐폴드는 골절술(예, 엉덩이, 무릎, 손 및 턱), 척추의 구조적 결함의 치료(예, 추간 보철술, 척추 보철술, 천골 보철술, 척추체 보철술 및 후관절 보철술), 뼈 함몰 필러, 골절 교정 수술, 종양 절제술, 엉덩이 및 무릎 보철, 뼈 증대술, 발치, 장뼈 관절유합술(long bone arthrodesis), 거골하 임플란트(subtalar implant) 및 고정 나사 핀을 포함하는 발목 및 발 관절고정술과 같은 방법에 사용될 수 있다. 본 발명에 따른 재흡수성 조직 스캐폴드는 늑골, 쇄골, 대퇴골, 경골 및 다리의 비골, 상완골, 요골, 팔의 척골, 손과 발의 중수골 및 중족골, 및 손가락 및 발가락의 지골을 포함하는 장뼈에 사용될 수 있지만 이에 제한되지 않는다. 본 발명에 따른 재흡수성 조직 스캐폴드는 다른 종자골과 함께 수근골 및 부골, 슬개골을 포함하는 단뼈에 사용될 수 있지만 이에 제한되지 않는다. 본 발명에 따른 재흡수성 조직 스캐폴드는 두개골, 하악골, 흉골, 척추뼈 및 천골을 포함하는 다른 뼈에 사용될 수 있지만 이에 제한되지 않는다. 실시예에서, 본 발명에 따른 조직 스캐폴드는 기존의 장치에 비해 높은 부하 지지 능력을 갖는다. 일 실시예에서, 본 발명에 따른 조직 스캐폴드는 기존의 장치에 비해 적은 이식편 물질을 요구한다. 나아가, 본 발명에 따른 조직 스캐폴드의 사용은 물질의 강도에 의해 적은 부수적인 고정대를 요구한다. 이런 방식에서, 장치를 이식하기 위한 수술 과정은 덜 침습적이며, 더 손쉽게 수행되고, 차후에 외과적 수술로 기구 및 부수적인 고정대의 제거를 요구하지 않는다.
일 특정 응용에서, 상술한 바와 같이 제작된 본 발명에 따른 조직 스캐폴드는 도 8 및 도 9에서 도시된 척추 이식편(800)으로서 사용될 수 있다. 도 8 및 도 9와 관련하여, 척추 이식편(800)은 공간(S)를 유지하도록 인접한 척추뼈(V) 사이의 공간(S) 내에 맞물리도록 크기가 조절된 벽(820)을 갖는 몸체(810)을 포함한다. 장치(800)는 소정의 크기로 절단되거나 기계적 가공될 수 있는 실린더 형상을 형성하기 위하여 압출법을 이용하여 소정의 형상으로 형성될 수 있는 생리활성 유리 섬유로 형성된다. 벽(820)은 공간(S)의 높이(H)에 일치하는 높이(h)를 갖는다. 일 실시예에서, 벽(820)의 높이(h)는 척추간 공간(S)의 높이(H)보다 약간 크다. 벽(820)은 도 9에서 도시된 바와 같이 인접한 척추뼈(V)와 맞물리도록 구성되는 상부 맞물림 표면(840) 및 하부 맞물림 표면(850) 사이에 있고 그리고 인접하여 있다.
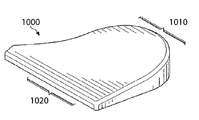
또 다른 특정 응용에서, 상술한 바와 같이 제작된 본 발명에 따른 조직 스캐폴드는 도 10 및 도 11에서 묘사된 바와 같이 골절술 쐐기형 이식편(1000)으로서 사용될 수 있다. 도 10 및 도 11과 관련하여, 골절술 이식편(1000)은 예를 들어, 경골의 해부학적 단면에 맞도록 쐐기형으로 설계되어서, 경골 표면의 상당한 부분에 기계적 지지를 제공하는 것으로서 일반적으로 설명될 수 있다. 골절술 이식편은 압출된 직사각형의 블럭으로부터 형성되고 소정의 크기를 갖는 쐐기형상 윤곽으로 절단되거나 기계적으로 가공될 수 있는 다공성 물질로 결합되고 융합된 생리활성 유리 섬유로부터 형성된다. 이식편(1000)의 근위 측(1010)은 곡선 윤곽에 의해 특정된다. 원위 측(1020)은 이식편의 이식된 위치에서 경골의 형상에 맞는다. 이식편(1000)의 두께는 환자 기형의 정도 및 크기에 따라서 약 5 mm 내지 약 20 mm로 다양할 수 있다. 쐐기형의 상부 및 하부 표면 사이의 모서리 부의 각도 또한 달라질 수 있다.
도 11은 비정상적인 모가 난 무릎을 교정하기 위해 골절술 쐐기형 이식편(1000)의 사용 방법 중 하나를 도시한다. 횡절개는 경골의 측면부는 온전하게 두고 경골의 상부(1050) 및 하부(1040)를 공간(103)을 만들기 위해 기결정된 각도로 나란히, 경골의 내측 안으로 이루어진다. 실질적으로 쐐기형 이식편(100)은 공간(1030) 내에 삽입되어 경골부를 안정화하며, 본원에서 설명되는 바와 같이 신체 안으로 용해되는 이식편(1000)과 함께 소정의 위치에서 치유한다. 고정 핀은 뼈가 재생하고 이식편의 부위가 치유되는 동안 경골을 안정화하기 위한 필요로 사용될 수 있다.
일반적으로, 뼈 이식편으로서 본 발명에 따른 재흡수성 뼈 조직 스캐폴드의 사용은 자가이식 뼈 이식편 또는 동종이식 뼈 이식편을 사용하는 것과 유사한 외과적 수술을 수반한다. 만일 충분한 물질이 이식편 부위를 채우고 안정화하는데에 사용된다면, 뼈 이식편은 종종 단일 과정으로 수행될 수 있다. 실시예에서, 고정 핀은 천연 뼈 주변에 삽입될 수 있거나, 및/또는 재흡수성 뼈 조직 스캐폴드 안으로 그리고 이를 통과해서 삽입될 수 있다. 재흡수성 뼈 조직 스캐폴드는 상기 부위 안으로 삽입되고 그 위치에 고정된다. 그 영역은 봉합되고, 일정한 치유 및 성숙 기간이 지난 후에, 뼈는 재생되고 견고히 융합된다.
뼈 함몰 필러로서 본 발명에 따른 재흡수성 뼈 조직 스캐폴드의 사용은 단일 과정으로, 또는 단계들 또는 수선 단계에서 다중 과정으로서 수행될 수 있는 외과적 수술을 수반한다. 일 실시예에서, 본 발명에 따른 재흡수성 조직 스캐폴드는 뼈 함몰 부위에 배치되고, 고정 핀 또는 고정 나사를 사용하여 뼈에 결착된다. 대안적으로, 재흡수성 조직 스캐폴드는 버팀대를 사용하는 장소 안으로 외부에서 고정할 수 있다. 그 영역은 이후에 봉합되고, 일정한 치유 및 성숙 기간이 지난 후에, 뼈는 재생되어 함몰을 수선한다.
뼈 내의 결손을 채우는 방법은 뼈 내의 공간을 뼈 조직의 성장을 가능하게 하는 기공 크기 분포를 갖는 기공 매트릭스 안으로 결합된 생리활성 섬유를 포함하는 재흡수성 조직 스캐폴드로 채우는 단계 및 재흡수성 조직 스캐폴드를 뼈에 접착시키는 단계를 포함한다.
골절술을 치료하는 방법은 뼈 내의 공간을 뼈 조직의 성장을 가능하게 하는 기공 크기 분포를 갖는 기공 매트릭스 안으로 결합된 생리활성 섬유를 포함하는 재흡수성 조직 스캐폴드로 채우는 단계 및 재흡수성 조직 스캐폴드를 뼈에 접착시키는 단계를 포함한다.
척추의 구조적 결함을 치료하는 방법은 뼈 내의 공간을 뼈 조직의 성장을 가능하게 하는 기공 크기 분포를 갖는 기공 매트릭스 안으로 결합된 생리활성 섬유를 포함하는 재흡수성 조직 스캐폴드로 채우는 단계 및 재흡수성 조직 스캐폴드를 뼈에 접착시키는 단계를 포함한다.
인공 뼈 보철을 제작하는 방법은 소성 성형성 뱃지를 제공하도록 생리활성 섬유를 바인더, 기공 형성제 및 액체와 혼합하는 단계; 형성 가능 뱃지가 기공 형성제 및 바인더와 함께 생리활성 섬유를 분해하여 서로 얽혀지고 겹쳐진 생리활성 섬유의 균일한 덩어리를 형성하도록 니딩(kneading)하는 단계; 성형된 형태를 제공하도록 형성 가능 뱃지를 소정의 형상으로 성형하는 단계; 상기 성형된 형태에서 액체를 제거하기 위해 건조하는 단계; 상기 성형된 형태에서 바인더 및 기공 형성제를 제거하기 위해 가열하는 단계; 제 1 열원 및 제 2 열원을 사용하여 서로 얽혀지고 겹쳐진 생리활성 유리 섬유 간에 결합을 형성하도록 상기 성형된 형태를 결합 형성 온도로 가열하는 단계를 포함한다.
일 실시예에서, 본 발명은 뼈 결손의 치료를 위해 뼈 조직의 성장을 가능하게 하는 기공 크기 분포를 갖는 다공성 매트릭스 안으로 결합된 생리활성 섬유의 사용을 개시한다.
일 실시예에서, 본 발명은 골절술의 치료를 위해 뼈 조직의 성장을 가능하게 하는 기공 크기 분포를 갖는 다공성 매트릭스 안으로 결합된 생리활성 섬유의 사용을 개시한다.
일 실시예에서, 본 발명은 척추의 다양한 부분의 구조적 결함을 치료하기 위해 뼈 조직의 성장을 가능하게 하는 기공 크기 분포를 갖는 다공성 매트릭스 안으로 결합된 생리활성 섬유의 사용을 개시한다.
실시예
이어지는 실시예는 공개문헌의 이해를 가능하게 하고 더 설명하기 위해 제공된다. 이러한 구체적인 실시예는 공개문헌의 설명을 위한 목적이고 어떤 방식으로든 한정시킬 의도는 아니다.
제 1 예시적인 실시예에서, 재흡수성 스캐폴드는 비-휘발성 성분으로서 Mo-Sci Corporation, Rolla, MO 65401로부터 제조된 벌크 형태의 약 34 μm의 평균 직경을 갖는 13-93 섬유 75 g을, 유기 바인더로서 HPMC 16 g, 기공 형성제로서 25 내지 30 μm의 입자 크기를 갖는 PMMA 20 g 및 탈이온수 약 40 g과 혼합하고, 소성 성형성 혼합물을 생성하도록 필요에 따라 조절함으로써 13-93 섬유로부터 형성된다. 혼합물은 14 mm 직경의 봉으로 압출 성형하고 마이크로파건조기에서 건조했다. 휘발성 성분은 공기-제거 오븐에서 연소되고, 이후에 720℃로 1시간 동안 열처리하여 생체 재흡수성 조직 스캐폴드 안으로 13-93 섬유를 결합하고 융합한다. PMMA 기공 형성제는 약 346℃에서 연소를 개시하며, 오븐은 스캐폴드의 내부 온도를 신속하게 증가시키기 위하여 가열된다. 이 실시예에 대한 다공성은 69.4%로 측정됐다.
제 2 예시적인 실시예에서, 재흡수성 스캐폴드는 비-휘발성 성분으로서 Mo-Sci Corporation, Rolla, MO 65401로부터 제조된 벌크 형태의 약 34 μm의 평균 직경을 갖는 13-93 섬유 5 g, 유기 바인더로서 HPMC 2 g, 기공 형성제로서 25 내지 30 μm의 입자 크기를 갖는 PMMA 5 g 및 탈이온수 약 8 g과 혼합하고, 소성 성형성 혼합물을 생성하도록 필요에 따라 조절함으로써 13-93 섬유로부터 형성된다. 혼합물은 14 mm 직경의 봉으로 압출 성형하고 마이크로파건조기에서 건조했다. 휘발성 성분은 공기-제거 오븐에서 연소되고, 이후에 690℃로 45분 동안 열처리하여, 인접하고 겹쳐지는 섬유를 유리로 코팅하기 위한 생리활성 활성 물질을 사용하는 생체 재흡수성 조직 스캐폴드 안으로 13-93 섬유를 결합하고 융합한다. PMMA 기공 형성제는 약 346℃에서 연소를 개시하며, 오븐은 스캐폴드의 내부 온도를 신속하게 증가시키기 위하여 가열된다. 이 실시예에 대한 다공성은 76%로 측정됐다.
제 3 예시적인 실시예에서, 재흡수성 스캐폴드는 비-휘발성 성분으로서 Mo-Sci Corporation, Rolla, MO 65401로부터 제조된 벌크 형태의 약 34 μm의 평균 직경을 갖는 13-93 섬유 5 g 및 분말 형태의 13-93 생리활성 유리 2 g(Mo-Sci Corporation에서 제조됨), 유기 바인더로서 HPMC 2 g, 기공 형성제로서 150 내지 425 μm의 입자 크기 분포를 갖는 Asbury Carbons, Asbury,NJ에서 제조된 4015 흑연 분말 5 g 및 탈이온수 약 10 g과 혼합하고, 소성 성형성 혼합물을 생성하도록 필요에 따라 조절함으로써 13-93 섬유로부터 형성된다. 혼합물은 14 mm 직경의 봉으로 압출 성형하고 30분 동안 125℃에서 건조했다. 휘발성 성분은 공기-제거 오븐에서 연소되고, 이후에 800℃에서 45분 동안 열처리하여, 인접하고 겹쳐지는 섬유를 유리로 코팅하기 위한 생리활성 활성 물질을 사용하는 생체 재흡수성 조직 스캐폴드 안으로 13-93 섬유를 결합하고 융합한다. 흑연 기공 형성제는 약 603℃에서 연소를 개시하며, 오븐은 스캐폴드의 내부 온도를 신속하게 증가시키기 위하여 가열된다. 이 실시예에 대한 다공성은 7.0 MPa의 압축 강도와 함께 66.5%로 측정됐다.
제 4 예시적인 실시예에서, 재흡수성 스캐폴드는 비-휘발성 성분으로서 Mo-Sci Corporation, Rolla, MO 65401로부터 제조된 벌크 형태의 약 34 μm의 평균 직경을 갖는 13-93 섬유 45 g 및 14 μm의 평균 직경을 갖는 45S5 섬유 30 g(Mo-Sci Corporation에서 제조됨), 유기 바인더로서 HPMC 16 g, 기공 형성제로서 50 μm의 평균 입자 크기를 갖는 전분 20 g 및 탈이온수 약 40 g과 혼합하고, 소성 성형성 혼합물을 생성하도록 필요에 따라 조절함으로써 45S5 섬유 및 13-93 섬유의 혼합물로부터 형성된다. 혼합물은 14 mm 직경의 봉으로 압출 성형하고 마이크로파건조기에서 건조했다. 휘발성 성분은 공기-제거 오븐에서 연소되고, 이후에 715℃에서 1시간 동안 열처리하여, 인접하고 겹쳐지는 섬유를 코팅하기 위한 섬유로부터의 유리 물질을 갖는 생체 재흡수성 조직 스캐폴드 안으로 13-93 및 45S5 섬유를 결합하고 융합한다. 전분 기공 형성제는 약 292℃에서 연소를 개시하며, 오븐은 스캐폴드의 내부 온도를 신속하게 증가시키기 위하여 가열된다. 이 실시예에 대한 다공성은 40.4%로 측정됐다.
제 5 예시적인 실시예에서, 재흡수성 스캐폴드는 비-휘발성 성분으로서 Mo-Sci Corporation, Rolla, MO 65401로부터 제조된 벌크 형태의 약 34 μm의 평균 직경을 갖는 13-93 섬유 5 g 및 분말 형태의 13-93 생리활성 유리 2 g(Mo-Sci Corporation에서 제조됨), 유기 바인더로서 HPMC 2 g, 기공 형성제로서 100 μm의 입자 크기를 갖는 PMMA 1.5 g 및 탈이온수 약 7 g과 혼합하고, 소성 성형성 혼합물을 생성하도록 필요에 따라 조절함으로써 13-93 섬유로부터 형성된다. 혼합물은 14 mm 직경의 봉으로 압출 성형하고 마이크로파건조기에서 건조했다. 휘발성 성분은 공기-제거 오븐에서 연소되고, 이후에 680℃에서 45분 동안 열처리하여, 인접하고 겹쳐지는 섬유를 유리로 코팅하기 위한 생리활성 활성 물질을 사용하는 생체 재흡수성 조직 스캐폴드 안으로 13-93 섬유를 결합하고 융합한다. PMMA 기공 형성제는 약 346℃에서 연소를 개시하며, 오븐은 스캐폴드의 내부 온도를 신속하게 증가시키기 위하여 가열된다. 이 실시예에 대한 다공성은 4.7 MPa의 압축 강도와 함께 58.5%로 측정됐다.
제 6 예시적인 실시예에서, 재흡수성 스캐폴드는 비-휘발성 성분으로서 Mo-Sci Corporation, Rolla, MO 65401로부터 제조된 벌크 형태의 약 34 μm의 평균 직경을 갖는 13-93 섬유 5 g, 유기 바인더로서 HPMC 2 g, 기공 형성제로서 100 μm의 입자 크기를 갖는 PMMA 1.5 g 및 탈이온수 약 8 g과 혼합하고, 소성 성형성 혼합물을 생성하도록 필요에 따라 조절함으로써 13-93 섬유로부터 형성된다. 혼합물은 14 mm 직경의 봉으로 압출 성형하고 마이크로파건조기에서 건조했다. 휘발성 성분은 공기-제거 오븐에서 연소되고, 이후에 700℃로 90분 동안 열처리하여, 인접하고 겹쳐지는 섬유를 유리로 코팅하기 위한 생리활성 활성 물질을 사용하는 생체 재흡수성 조직 스캐폴드 안으로 13-93 섬유를 결합하고 융합한다. PMMA 기공 형성제는 약 346℃에서 연소를 개시하며, 오븐은 스캐폴드의 내부 온도를 신속하게 증가시키기 위하여 가열된다. 이 실시예에 대한 다공성은 22.5MPa의 압축 강도와 함께 47.0%로 측정됐다.
제 7 예시적인 실시예에서, 재흡수성 스캐폴드는 비-휘발성 성분으로서 Mo-Sci Corporation, Rolla, MO 65401로부터 제조된 벌크 형태의 약 34 μm의 평균 직경을 갖는 13-93 섬유 5 g 및 분말 형태의 13-93 생리활성 유리 3 g(Mo-Sci Corporation에서 제조됨), 유기 바인더로서 HPMC 2 g, 기공 형성제로서 25 내지 30 μm의 입자 크기를 갖는 PMMA 5 g 및 탈이온수 약 8 g과 혼합하고, 소성 성형성 혼합물을 생성하도록 필요에 따라 조절함으로써 13-93 섬유로부터 형성된다. 혼합물은 14 mm 직경의 봉으로 압출 성형하고 마이크로파건조기에서 건조했다. 휘발성 성분은 공기-제거 오븐에서 연소되고, 이후에 710℃에서 45분 동안 열처리하여, 인접하고 겹쳐지는 섬유를 유리로 코팅하기 위한 생리활성 활성 물질을 사용하는 생체 재흡수성 조직 스캐폴드 안으로 13-93 섬유를 결합하고 융합한다. PMMA 기공 형성제는 약 346℃에서 연소를 개시하며, 오븐은 스캐폴드의 내부 온도를 신속하게 증가시키기 위하여 가열된다. 이 실시예에 대한 다공성은 20.1 MPa의 압축 강도와 함께 50.2%로 측정됐다.
본 발명은 본원에서 본 발명의 특정 예시 및 구체적인 실시예에 대하여 구체적으로 설명되고, 그로 한정된다고 가정하면 안 될 것이며, 다양한 변형은 첨부된 처어구항의 사상 및 범위로부터 벗어나지 않고 이루어질 수 있을 것이다.

Claims (18)

  1. 인공 뼈 보철을 제작하는 방법으로,
    기공 형성제 및 소성(plastically) 성형성 뱃지(batch)를 제공하기 위한 액체를 생리활성 섬유 조직과 혼합하는 단계;
    생리활성 섬유를 기공 형성제로 분산시켜서 서로 얽혀지고(intertangled) 겹쳐진 생리활성 섬유의 균일한 덩어리(mass)의 성형성 뱃지를 제공하기 위해 상기 성형성 뱃지를 니딩(kneading)하는 단계;
    성형된 형태를 제공하기 위하여 성형성 뱃지를 소정의 형상으로 성형하는 단계;
    상기 성형된 형태 내의 액체를 제거하기 위해 건조하는 단계;
    서로 얽혀지고 겹쳐진 생리활성 유리 섬유 사이에 결합을 형성하기 위하여 기공 형성제의 발열 반응을 이용하는, 결합 형성 온도로 성형된 형태를 가열하는 단계를 포함하는 것을 특징으로 하는 인공 뼈 보철을 제작하는 방법.
  2. 제 1 항에 있어서,
    상기 생리활성 섬유는 실투 온도를 가지며, 상기 기공 형성제의 발열 반응은 상기 성형된 형태가 실투 온도 미만인 경우에 개시되며, 상기 기공 형성제의 발열 반응은 상기 성형된 형태가 실투 온도에 도달하기 이전에 완료되는 것을 특징으로 하는 인공 뼈 보철을 제작하는 방법.
  3. 제 1 항에 있어서,
    상기 생리활성 섬유는 실투 온도를 가지면, 상기 기공 형성제의 발열 반응은 상기 성형된 형태가 실투 온도 미만인 경우에 개시되며, 상기 기공 형성제의 발열 반응은 상기 성형된 형태가 실투 온도에 도달한 이후에 완료되는 것을 특징으로 하는 인공 뼈 보철을 제작하는 방법.
  4. 제 1 항에 있어서,
    상기 성형된 형태를 결합 형서 온도로 가열하는 단계는 공기-제거 가마에서 수행되는 것을 특징으로 하는 인공 뼈 보철을 제작하는 방법.
  5. 제 1 항에 있어서,
    상기 기공 형성제는 활성 탄소, 편상 흑연, HPMC, PMMA, 목분 및 옥수수 전분으로 구성된 리스트로부터 선택되는 것을 특징으로 하는 인공 뼈 보철을 제작하는 방법.
  6. 제 1 항에 있어서,
    상기 혼합 단계는 바인더를 더 포함하는 것을 특징으로 하는 인공 뼈 보철을 제작하는 방법.
  7. 제 6 항에 있어서,
    상기 혼합 단계는 결합제를 더 포함하는 것을 특징으로 하는 인공 뼈 보철을 제작하는 방법.
  8. 제 1 항에 있어서,
    상기 혼합 단계는 결합제를 더 포함하는 것을 특징으로 하는 인공 뼈 보철을 제작하는 방법.
  9. 제 1 항에 있어서,
    상기 가열 단계 이후에 인공 뼈 보철을 어닐링하는 단계를 더 포함하는 것을 특징으로 하는 인공 뼈 보철을 제작하는 방법.
  10. 서로 얽혀진 생리활성 유리 섬유;
    강성 3차원 조직 스캐폴드를 형성하도록 서로 얽혀진 생리활성 유리 섬유 사이의 결합;
    서로 얽혀진 생리활성 섬유 내에 산재된 휘발성 성분 및 결합의 형성 과정에서 제거됨으로써 기결정된 강성 3차원 조직 스캐폴드 내의 기공 공간; 및
    휘발성 성분의 발열 반응을 이용하여 형성된 결합을 포함하는 것을 특징으로 하는 인공 뼈 보철.
  11. 제 10 항에 있어서,
    상기 휘발성 성분은 기공 형성제를 포함하는 것을 특징으로 하는 인공 뼈 보철.
  12. 제 10 항에 있어서,
    상기 기공 공간은 인공 뼈 보철 중의 약 40% 내지 약 85%의 다공성을 형성하는 것을 특징으로 인공 뼈 보철.
  13. 제 10 항에 있어서,
    상기 기공 공간은 약 10 μm 내지 약 500 μm의 기공 크기를 갖는 것을 특징으로 하는 인공 뼈 보철.
  14. 제 10 항에 있어서,
    상기 기공 크기는 바이모달(bi-modal) 크기 분포를 갖는 것을 특징으로 하는 인공 뼈 보철.
  15. 제 10 항에 있어서,
    서로 얽혀진 생리활성 유리 섬유는 탄산나트륨, 탄산칼슘, 오산화인, 약 45 몰% 내지 약 60 몰%의 실리카, 및 약 2 내지 약 10의 인산염에 대한 칼슘의 몰비를 포함하는 조성물을 갖는 것을 특징으로 하는 인공 뼈 보철.
  16. 제 10 항에 있어서,
    상기 서로 얽혀진 생리활성 유리 섬유는 13-93 유리 섬유를 포함하는 것을 특징으로 하는 인공 뼈 보철.
  17. 제 10 항에 있어서,
    상기 서로 얽혀진 생리활성 섬유는 다른 조성물을 갖는 생리활성 유리 섬유의 혼합물을 포함하는 것을 특징으로 하는 인공 뼈 보철.
  18. 제 10 항에 있어서,
    상기 서로 얽혀진 생리활성 섬유는 약 1 μm 내지 약 200 μm의 직경을 갖는 것을 특징으로 하는 인공 뼈 보철.
KR1020127003354A 2009-07-10 2010-07-08 조직 공학용 장치 및 방법 Expired - Fee Related KR101721276B1 (ko)

Applications Claiming Priority (5)

Application Number Priority Date Filing Date Title
US22467509P 2009-07-10 2009-07-10
US61/224,675 2009-07-10
US23476809P 2009-08-18 2009-08-18
US61/234,768 2009-08-18
PCT/US2010/041333 WO2011005935A2 (en) 2009-07-10 2010-07-08 Devices and methods for tissue engineering

Publications (2)

Publication Number Publication Date
KR20120052968A true KR20120052968A (ko) 2012-05-24
KR101721276B1 KR101721276B1 (ko) 2017-03-29

Family

ID=43429830

Family Applications (2)

Application Number Title Priority Date Filing Date
KR1020127003355A Expired - Fee Related KR101683328B1 (ko) 2009-07-10 2010-07-08 조직공학용 장치 및 방법
KR1020127003354A Expired - Fee Related KR101721276B1 (ko) 2009-07-10 2010-07-08 조직 공학용 장치 및 방법

Family Applications Before (1)

Application Number Title Priority Date Filing Date
KR1020127003355A Expired - Fee Related KR101683328B1 (ko) 2009-07-10 2010-07-08 조직공학용 장치 및 방법

Country Status (10)

Country Link
US (6) US8337876B2 (ko)
EP (2) EP2451494B1 (ko)
JP (2) JP5711736B2 (ko)
KR (2) KR101683328B1 (ko)
CN (2) CN102470195B (ko)
BR (2) BR112012000326B1 (ko)
CA (2) CA2767714C (ko)
IL (2) IL217340A (ko)
IN (2) IN2012DN01107A (ko)
WO (2) WO2011005933A2 (ko)

Cited By (3)

* Cited by examiner, † Cited by third party
Publication number Priority date Publication date Assignee Title
KR20240029947A (ko) 2022-08-29 2024-03-07 (주)디에이치에스 파우치 타입의 이차전지용 가압유지장치
KR20240029942A (ko) 2022-08-29 2024-03-07 (주)디에이치에스 파우치 타입의 이차전지용 가압장치
KR20240029953A (ko) 2022-08-29 2024-03-07 (주)디에이치에스 파우치 타입의 이차전지용 폭 가변장치

Families Citing this family (40)

* Cited by examiner, † Cited by third party
Publication number Priority date Publication date Assignee Title
JP3336224B2 (ja) 1997-05-01 2002-10-21 新日本製鐵株式会社 溶鋼の連続鋳造用鋳型
US10524916B2 (en) 2006-01-11 2020-01-07 Novabone Products, Llc Resorbable macroporous bioactive glass scaffold and method of manufacture
US12279964B2 (en) 2008-12-18 2025-04-22 4Web, Llc Implants having bone growth promoting agents and methods of using such implants to repair bone structures
US8430930B2 (en) 2008-12-18 2013-04-30 4-Web, Inc. Truss implant
US8287572B2 (en) 2009-02-11 2012-10-16 Howmedica Osteonics Corp. Intervertebral implant with integrated fixation
US20110206828A1 (en) * 2009-07-10 2011-08-25 Bio2 Technologies, Inc. Devices and Methods for Tissue Engineering
JP5711736B2 (ja) 2009-07-10 2015-05-07 バイオ2 テクノロジーズ,インク. 生体組織工学のためのデバイスおよび方法
US9775721B2 (en) 2009-07-10 2017-10-03 Bio2 Technologies, Inc. Resorbable interbody device
US8567162B2 (en) 2009-10-29 2013-10-29 Prosidyan, Inc. Dynamic bioactive bone graft material and methods for handling
CA2779109A1 (en) 2009-10-29 2011-05-05 Prosidyan, Inc. Dynamic bioactive bone graft material having an engineered porosity
BR112012028020B8 (pt) * 2010-05-06 2023-05-16 Bio2 Tech Inc Método para fabricar uma prótese óssea sintética
US9066998B2 (en) * 2012-03-02 2015-06-30 Bio2 Technologies, Inc. Devices and method for tissue engineering
US8449904B1 (en) 2012-03-26 2013-05-28 Mosci, Corp. Bioactive glass scaffolds, and method of making
US9045362B2 (en) 2013-03-15 2015-06-02 Mosci Corp. Bioactive glass scaffolds, and method of making
US11225430B2 (en) 2012-03-26 2022-01-18 Steven Jung Bioactive glass scaffolds, and method of making
KR101941244B1 (ko) * 2012-03-26 2019-01-22 모사이 코퍼레이션. 생활성 유리 지지체 및 이의 제조방법
CN102826752B (zh) * 2012-08-23 2015-07-15 北京大清生物技术有限公司 一种含有准纳米级颗粒的生物活性矿物质粉体、制备方法及其在牙科治疗中的应用
US12115071B2 (en) 2012-09-25 2024-10-15 4Web, Llc Programmable intramedullary implants and methods of using programmable intramedullary implants to repair bone structures
US9376540B2 (en) * 2013-01-25 2016-06-28 Eastman Kodak Company Particles with designed different sized discrete pores
US8889178B2 (en) * 2013-03-14 2014-11-18 Prosidyan, Inc Bioactive porous bone graft compositions in synthetic containment
US9381274B2 (en) 2013-03-14 2016-07-05 Prosidyan, Inc. Bone graft implants containing allograft
US8883195B2 (en) 2013-03-14 2014-11-11 Prosidyan, Inc. Bioactive porous bone graft implants
CN103191463B (zh) * 2013-04-03 2014-10-29 上海师范大学 一种壳聚糖纤维/生物活性玻璃三维有序多孔支架材料的制备方法
JP5982730B2 (ja) * 2013-04-12 2016-08-31 エムオー エスシーイー コーポレイション 生体活性ガラススカフォールド、及び製造方法
CA2917503A1 (en) 2015-01-14 2016-07-14 Stryker European Holdings I, Llc Spinal implant with fluid delivery capabilities
AU2016200179B2 (en) 2015-01-14 2020-09-17 Stryker European Operations Holdings Llc Spinal implant with porous and solid surfaces
CA2930123A1 (en) 2015-05-18 2016-11-18 Stryker European Holdings I, Llc Partially resorbable implants and methods
US20170056190A1 (en) * 2015-08-27 2017-03-02 Wright Medical Technology, Inc. Subtalar biofoam wedge
US10485897B2 (en) * 2015-10-12 2019-11-26 Erik Erbe Osteogenic and angiogenic implant material
US11013836B2 (en) * 2016-06-16 2021-05-25 The Curators Of The University Of Missouri Inorganic biodegradable substrates for devices and systems
EP3459502B1 (en) 2017-09-20 2024-05-22 Stryker European Operations Holdings LLC Spinal implants
CN109966549B (zh) * 2017-12-28 2021-12-31 北京纳通科技集团有限公司 一种三维仿生骨修复材料及其制备方法
WO2020008558A1 (ja) * 2018-07-04 2020-01-09 オリンパス株式会社 骨補填材及び骨補填材の製造方法
EP3887331B1 (en) * 2018-11-26 2024-08-14 Corning Incorporated Bioactive silicate glasses
IL285436B2 (en) 2019-02-07 2024-02-01 Biorez Inc Composite scaffold for repair, restoration and regeneration of soft tissues
CA3158456A1 (en) 2019-11-15 2021-05-20 Jessee Hunt Piezoelectric coated implants and methods of using piezoelectric coated implants to repair bone structures
AU2021214776A1 (en) * 2020-01-30 2022-08-25 SDIP Innovations Pty Ltd Bioresorbable implant with inside-out resorption for enhanced bone ingrowth and tissue integration and method of manufacturing thereof
BR112022016735A2 (pt) * 2020-02-24 2022-12-13 Prosidyan Inc Dispositivos bioativos implantáveis e biomateriais compósitos e métodos para fazer os mesmos
CA3183956A1 (en) 2020-07-08 2022-01-13 Jessee Hunt Implants having bone growth promoting agents contained within biodegradable materials
IL300329A (en) * 2020-08-03 2023-04-01 Biorez Inc Composite scaffold for soft tissue repair, rehabilitation and regeneration

Citations (4)

* Cited by examiner, † Cited by third party
Publication number Priority date Publication date Assignee Title
US7241486B2 (en) * 2001-04-26 2007-07-10 Inion Ltd. Bone grafting materials
US20070162151A1 (en) * 2006-01-11 2007-07-12 Jiang Chang Resorbable macroporous bioactive glass scaffold and method of manufacture
WO2008141313A1 (en) * 2007-05-14 2008-11-20 Geo2 Technologies, Inc. Method and apparatus for an extruded ceramic biosoluble fiber substrate
KR20090057392A (ko) * 2006-08-18 2009-06-05 지이오2 테크놀로지스 인코포레이티드 무기 결합 구조를 갖는 압출 성형 다공성 기판

Family Cites Families (84)

* Cited by examiner, † Cited by third party
Publication number Priority date Publication date Assignee Title
EP0051955B1 (en) * 1980-11-06 1985-04-24 Charles A. Homsy Porous body-implantable polytetrafluoroethylene composites
US4655777A (en) * 1983-12-19 1987-04-07 Southern Research Institute Method of producing biodegradable prosthesis and products therefrom
SE455103B (sv) * 1985-01-09 1988-06-20 Lars Edgar Martin Ehrnford Berare for immobilisering av biologiskt aktivt organiskt material, vilken utgores av sammanfogade partiklar av en poros sintrad glasfibermatris
US4604097A (en) * 1985-02-19 1986-08-05 University Of Dayton Bioabsorbable glass fibers for use in the reinforcement of bioabsorbable polymers for bone fixation devices and artificial ligaments
US5149857A (en) * 1989-06-07 1992-09-22 Mitsubishi Gas Chemical Company, Inc. Process for production of sulfonium compounds
US5009822A (en) 1989-07-17 1991-04-23 University Of Florida Alumina-or alumina/zirconia-silicon carbide whisker ceramic composites and methods of manufacture
US5236458A (en) * 1989-09-06 1993-08-17 S.A. Fbfc International Bioreactive material for a prosthesis or composite implants
DK0532582T3 (da) * 1990-06-01 1996-01-29 Du Pont Sammensat ortopædisk implantat med varierende elasticitetsmodul
WO1994004657A1 (en) * 1992-08-13 1994-03-03 The Trustees Of The University Of Pennsylvania Bioactive material template for in vitro synthesis of bone tissue
CN1087279A (zh) * 1992-11-27 1994-06-01 中国科学院光电技术研究所 生物活性玻璃陶瓷人工骨及其制法
US5419857A (en) 1993-08-17 1995-05-30 Praxair Technology, Inc. Thermal removal of binders from ceramic-particle bodies
US5468544A (en) 1993-11-15 1995-11-21 The Trustees Of The University Of Pennsylvania Composite materials using bone bioactive glass and ceramic fibers
US5721049A (en) * 1993-11-15 1998-02-24 Trustees Of The University Of Pennsylvania Composite materials using bone bioactive glass and ceramic fibers
US5629186A (en) 1994-04-28 1997-05-13 Lockheed Martin Corporation Porous matrix and method of its production
FI101129B (sv) * 1995-01-13 1998-04-30 Vivoxid Oy Nya bioaktiva glas och deras användning
US6162537A (en) 1996-11-12 2000-12-19 Solutia Inc. Implantable fibers and medical articles
US6471993B1 (en) 1997-08-01 2002-10-29 Massachusetts Institute Of Technology Three-dimensional polymer matrices
US6296667B1 (en) 1997-10-01 2001-10-02 Phillips-Origen Ceramic Technology, Llc Bone substitutes
EP1027304B1 (en) * 1997-10-03 2005-07-13 Corning Incorporated Method for firing ceramic honeycomb bodies
JP4600901B2 (ja) * 1997-12-02 2010-12-22 コーニング インコーポレイテッド セラミックハニカム体焼成用トンネルキルン
KR20010033449A (ko) * 1997-12-22 2001-04-25 알프레드 엘. 미첼슨 세라믹 하니콤 몸체 가열방법과 그 가열을 위해 사용되는터널로
US6325963B1 (en) * 1997-12-22 2001-12-04 Corning Incorporated Method for firing ceramic honeycomb bodies
US6187329B1 (en) 1997-12-23 2001-02-13 Board Of Regents Of The University Of Texas System Variable permeability bone implants, methods for their preparation and use
US20030147860A1 (en) 2002-02-07 2003-08-07 Marchosky J. Alexander Compositions and methods for forming and strengthening bone
US6406498B1 (en) 1998-09-04 2002-06-18 Bionx Implants Oy Bioactive, bioabsorbable surgical composite material
US6146892A (en) * 1998-09-28 2000-11-14 The Regents Of The University Of Michigan Fibrillar matrices
US6110484A (en) 1998-11-24 2000-08-29 Cohesion Technologies, Inc. Collagen-polymer matrices with differential biodegradability
FI110063B (fi) * 1998-12-11 2002-11-29 Antti Yli-Urpo Uusi bioaktiivinen tuote ja sen käyttö
US6200347B1 (en) * 1999-01-05 2001-03-13 Lifenet Composite bone graft, method of making and using same
JP2002539742A (ja) * 1999-03-17 2002-11-19 シーメンス アクチエンゲゼルシヤフト 対話のための装置
US6187239B1 (en) * 1999-03-30 2001-02-13 Tokyo Seihinkaihatsu Kenkyusho Manufacture method of article similar to unglazed ceramic plate
ATE266435T1 (de) * 1999-04-16 2004-05-15 Univ Rutgers Poröse polymere stützgewebe für gewebetechnologie
WO2001032072A2 (en) 1999-11-01 2001-05-10 Osteobiologics, Inc. Biodegradable polymer/ceramic implant material with bimodal degradation profile
US6451059B1 (en) * 1999-11-12 2002-09-17 Ethicon, Inc. Viscous suspension spinning process for producing resorbable ceramic fibers and scaffolds
US20040009228A1 (en) * 1999-11-30 2004-01-15 Pertti Tormala Bioabsorbable drug delivery system for local treatment and prevention of infections
FI107709B (fi) * 2000-03-07 2001-09-28 Vivoxid Oy Menetelmä bioaktiivisen lasin pinnan karhentamiseksi
EP1272439A2 (en) 2000-03-24 2003-01-08 Lyles, Mark B. Diagnostic devices containing porous material
FI20001696L (fi) * 2000-07-21 2002-01-22 Jvs Polymers Oy Biologisesti aktiivinen materiaali
US20020082697A1 (en) * 2000-12-22 2002-06-27 Damien Christopher J. Implantable osteogenic material
US7005135B2 (en) * 2001-01-30 2006-02-28 Ethicon Inc. Glass scaffolds with controlled resorption rates and methods for making same
WO2002087647A1 (en) * 2001-04-26 2002-11-07 Eija Pirhonen Bone grafting materials
US6626950B2 (en) * 2001-06-28 2003-09-30 Ethicon, Inc. Composite scaffold with post anchor for the repair and regeneration of tissue
US20040009598A1 (en) * 2001-07-11 2004-01-15 Hench Larry L Use of bioactive glass compositions to stimulate osteoblast production
US20030220692A1 (en) * 2002-02-09 2003-11-27 Shapiro Irving M. Preparations of nucleus pulposus cells and methods for their generation, identification, and use
US6955716B2 (en) 2002-03-01 2005-10-18 American Dental Association Foundation Self-hardening calcium phosphate materials with high resistance to fracture, controlled strength histories and tailored macropore formation rates
US8313742B2 (en) 2002-03-29 2012-11-20 Depuy Acromed, Inc. Cell-containing bone graft material
US7166133B2 (en) 2002-06-13 2007-01-23 Kensey Nash Corporation Devices and methods for treating defects in the tissue of a living being
US7270813B2 (en) 2002-10-08 2007-09-18 Osteotech, Inc. Coupling agents for orthopedic biomaterials
US20050118236A1 (en) * 2002-12-03 2005-06-02 Gentis Inc. Bioactive, resorbable scaffolds for tissue engineering
US7217293B2 (en) * 2003-11-21 2007-05-15 Warsaw Orthopedic, Inc. Expandable spinal implant
ITPD20030286A1 (it) * 2003-11-27 2005-05-28 Fidia Advanced Biopolymers Srl Strutture composite multistrato contenenti acido ialuronico
US7625581B2 (en) * 2003-12-19 2009-12-01 Ethicon, Inc. Tissue scaffolds for use in muscoloskeletal repairs
US20070190108A1 (en) * 2004-05-17 2007-08-16 Arindam Datta High performance reticulated elastomeric matrix preparation, properties, reinforcement, and use in surgical devices, tissue augmentation and/or tissue repair
US8597331B2 (en) * 2004-12-10 2013-12-03 Life Spine, Inc. Prosthetic spinous process and method
US20060216321A1 (en) * 2005-03-24 2006-09-28 Sdgi Holdings, Inc. Solvent based processing technologies for making tissue/polymer composites
FI20055194A7 (fi) * 2005-04-27 2006-10-28 Bioretec Oy Bioabsorboituva ja bioaktiivinen komposiittimateriaali ja menetelmä komposiitin valmistamiseksi
WO2006118554A1 (en) 2005-05-02 2006-11-09 Shanghai Institute Of Ceramics A degradable, macroporous bioactive glass scaffold as well as its preparation and manufacturing methods
US20070055373A1 (en) 2005-09-08 2007-03-08 Zimmer Spine, Inc. Facet replacement/spacing and flexible spinal stabilization
US20070087059A1 (en) 2005-10-17 2007-04-19 Frank Everaerts Bioactive delivery matrix compositions and methods
US20070123984A1 (en) 2005-10-26 2007-05-31 Zimmer Technology, Inc. Ligament attachment and repair device
US20070098799A1 (en) 2005-10-28 2007-05-03 Zimmer, Inc. Mineralized Hydrogels and Methods of Making and Using Hydrogels
US20070107395A1 (en) 2005-11-16 2007-05-17 Bilal Zuberi Extruded porous substrate and products using the same
US20090299476A1 (en) * 2006-05-19 2009-12-03 Ashish Diwan Tissue prosthesis
GB0612028D0 (en) * 2006-06-16 2006-07-26 Imp Innovations Ltd Bioactive glass
DE602006011323D1 (de) * 2006-09-20 2010-02-04 Inion Oy Bioaktive Glaszusammensetzungen
US7923020B2 (en) 2006-09-29 2011-04-12 Depuy Products, Inc. Composite for implantation in the body of an animal and method for making the same
US7718616B2 (en) 2006-12-21 2010-05-18 Zimmer Orthobiologics, Inc. Bone growth particles and osteoinductive composition thereof
US7781372B2 (en) 2007-07-31 2010-08-24 GE02 Technologies, Inc. Fiber-based ceramic substrate and method of fabricating the same
US7855163B2 (en) * 2007-05-14 2010-12-21 Geo2 Technologies, Inc. Low coefficient of thermal expansion bonding system for a high porosity ceramic body and methods of manufacture
US8641774B2 (en) * 2007-09-14 2014-02-04 The Curators Of The University Of Missouri Synthetic osteochondral composite and method of fabrication thereof
WO2009144455A2 (en) * 2008-05-27 2009-12-03 Imperial Innovations Limited Process for producing porous scaffolds from sinterable glass
US8353966B2 (en) * 2009-01-15 2013-01-15 The Curators Of The University Of Missouri Scaffold for bone and tissue repair in mammals
US9456890B2 (en) * 2009-01-15 2016-10-04 The Curators Of The University Of Missouri Scaffold for bone and tissue repair in mammals
EP2243749B1 (en) * 2009-04-23 2015-04-08 PURAC Biochem BV Resorbable and biocompatible fibre glass compositions and their uses
US9775721B2 (en) * 2009-07-10 2017-10-03 Bio2 Technologies, Inc. Resorbable interbody device
JP5711736B2 (ja) * 2009-07-10 2015-05-07 バイオ2 テクノロジーズ,インク. 生体組織工学のためのデバイスおよび方法
US20110206828A1 (en) * 2009-07-10 2011-08-25 Bio2 Technologies, Inc. Devices and Methods for Tissue Engineering
US8287896B2 (en) * 2010-01-06 2012-10-16 The Curators Of The University Of Missouri Scaffolds with trace element for tissue regeneration in mammals
US8481066B2 (en) * 2009-07-16 2013-07-09 The Curators Of The University Of Missouri Scaffold for tissue regeneration in mammals
US9254193B2 (en) * 2012-02-10 2016-02-09 DePuy Synthes Products, Inc. Porous implant materials and related methods
US9066998B2 (en) * 2012-03-02 2015-06-30 Bio2 Technologies, Inc. Devices and method for tissue engineering
US20140050765A1 (en) * 2012-08-14 2014-02-20 Bio2 Technologies, Inc. Devices and Methods for Tissue Engineering
US20140212469A1 (en) * 2013-01-28 2014-07-31 Missouri University Of Science And Technology Surface functional bioactive glass scaffold for bone regeneration
US10238772B2 (en) * 2013-03-15 2019-03-26 The Curators Of The University Of Missouri Biodegradable composite scaffold for repairing defects in load-bearing bones

Patent Citations (4)

* Cited by examiner, † Cited by third party
Publication number Priority date Publication date Assignee Title
US7241486B2 (en) * 2001-04-26 2007-07-10 Inion Ltd. Bone grafting materials
US20070162151A1 (en) * 2006-01-11 2007-07-12 Jiang Chang Resorbable macroporous bioactive glass scaffold and method of manufacture
KR20090057392A (ko) * 2006-08-18 2009-06-05 지이오2 테크놀로지스 인코포레이티드 무기 결합 구조를 갖는 압출 성형 다공성 기판
WO2008141313A1 (en) * 2007-05-14 2008-11-20 Geo2 Technologies, Inc. Method and apparatus for an extruded ceramic biosoluble fiber substrate

Cited By (3)

* Cited by examiner, † Cited by third party
Publication number Priority date Publication date Assignee Title
KR20240029947A (ko) 2022-08-29 2024-03-07 (주)디에이치에스 파우치 타입의 이차전지용 가압유지장치
KR20240029942A (ko) 2022-08-29 2024-03-07 (주)디에이치에스 파우치 타입의 이차전지용 가압장치
KR20240029953A (ko) 2022-08-29 2024-03-07 (주)디에이치에스 파우치 타입의 이차전지용 폭 가변장치

Also Published As

Publication number Publication date
US20110106272A1 (en) 2011-05-05
WO2011005933A3 (en) 2011-05-26
EP2451494B1 (en) 2017-03-01
CN102470195B (zh) 2014-07-23
US20120203355A1 (en) 2012-08-09
US20170095351A1 (en) 2017-04-06
EP2451494A4 (en) 2014-03-05
JP2012532680A (ja) 2012-12-20
US8790682B2 (en) 2014-07-29
IN2012DN01107A (ko) 2015-04-10
IL217340A0 (en) 2012-02-29
EP2453936B1 (en) 2018-11-21
CN102470194B (zh) 2014-07-23
CN102470195A (zh) 2012-05-23
US8337876B2 (en) 2012-12-25
CA2767715C (en) 2017-09-26
KR101721276B1 (ko) 2017-03-29
IL217340A (en) 2014-05-28
US8673016B2 (en) 2014-03-18
IN2012DN01105A (ko) 2015-04-10
WO2011005933A2 (en) 2011-01-13
IL217339A0 (en) 2012-02-29
BR112012000326A2 (pt) 2020-10-27
US20110106255A1 (en) 2011-05-05
US20130173001A1 (en) 2013-07-04
EP2451494A2 (en) 2012-05-16
BR112012000326B1 (pt) 2021-05-04
US20150238325A1 (en) 2015-08-27
BR112012000327B8 (pt) 2023-05-16
US8652368B2 (en) 2014-02-18
CN102470194A (zh) 2012-05-23
JP5711736B2 (ja) 2015-05-07
US20160158026A9 (en) 2016-06-09
WO2011005935A3 (en) 2011-05-19
JP5711735B2 (ja) 2015-05-07
EP2453936A2 (en) 2012-05-23
KR101683328B1 (ko) 2016-12-06
WO2011005935A2 (en) 2011-01-13
CA2767715A1 (en) 2011-01-13
IL217339A (en) 2014-05-28
BR112012000327B1 (pt) 2021-04-20
BR112012000327A2 (pt) 2020-10-27
CA2767714C (en) 2017-09-26
KR20120065322A (ko) 2012-06-20
EP2453936A4 (en) 2014-03-05
CA2767714A1 (en) 2011-01-13
JP2012532679A (ja) 2012-12-20
US9968463B2 (en) 2018-05-15

Similar Documents

Publication Publication Date Title
US9968463B2 (en) Devices and methods for tissue engineering
US20110206828A1 (en) Devices and Methods for Tissue Engineering
JP5801382B2 (ja) 生体組織再生のための医療用デバイスおよび方法
US20140050765A1 (en) Devices and Methods for Tissue Engineering
KR20130056874A (ko) 조직공학용 장치 및 방법

Legal Events

Date Code Title Description
PA0105 International application

St.27 status event code: A-0-1-A10-A15-nap-PA0105

PG1501 Laying open of application

St.27 status event code: A-1-1-Q10-Q12-nap-PG1501

A201 Request for examination
P11-X000 Amendment of application requested

St.27 status event code: A-2-2-P10-P11-nap-X000

P13-X000 Application amended

St.27 status event code: A-2-2-P10-P13-nap-X000

PA0201 Request for examination

St.27 status event code: A-1-2-D10-D11-exm-PA0201

E902 Notification of reason for refusal
PE0902 Notice of grounds for rejection

St.27 status event code: A-1-2-D10-D21-exm-PE0902

P11-X000 Amendment of application requested

St.27 status event code: A-2-2-P10-P11-nap-X000

P13-X000 Application amended

St.27 status event code: A-2-2-P10-P13-nap-X000

E90F Notification of reason for final refusal
PE0902 Notice of grounds for rejection

St.27 status event code: A-1-2-D10-D21-exm-PE0902

P11-X000 Amendment of application requested

St.27 status event code: A-2-2-P10-P11-nap-X000

P13-X000 Application amended

St.27 status event code: A-2-2-P10-P13-nap-X000

E701 Decision to grant or registration of patent right
PE0701 Decision of registration

St.27 status event code: A-1-2-D10-D22-exm-PE0701

GRNT Written decision to grant
PR0701 Registration of establishment

St.27 status event code: A-2-4-F10-F11-exm-PR0701

PR1002 Payment of registration fee

St.27 status event code: A-2-2-U10-U12-oth-PR1002

Fee payment year number: 1

PG1601 Publication of registration

St.27 status event code: A-4-4-Q10-Q13-nap-PG1601

PR1001 Payment of annual fee

St.27 status event code: A-4-4-U10-U11-oth-PR1001

Fee payment year number: 4

PR1001 Payment of annual fee

St.27 status event code: A-4-4-U10-U11-oth-PR1001

Fee payment year number: 5

PR1001 Payment of annual fee

St.27 status event code: A-4-4-U10-U11-oth-PR1001

Fee payment year number: 6

PC1903 Unpaid annual fee

St.27 status event code: A-4-4-U10-U13-oth-PC1903

Not in force date: 20230324

Payment event data comment text: Termination Category : DEFAULT_OF_REGISTRATION_FEE

PC1903 Unpaid annual fee

St.27 status event code: N-4-6-H10-H13-oth-PC1903

Ip right cessation event data comment text: Termination Category : DEFAULT_OF_REGISTRATION_FEE

Not in force date: 20230324