KR20110011368U - 목공용 각도 금긋기자 - Google Patents

목공용 각도 금긋기자 Download PDF

Info

Publication number
KR20110011368U
KR20110011368U KR2020100005752U KR20100005752U KR20110011368U KR 20110011368 U KR20110011368 U KR 20110011368U KR 2020100005752 U KR2020100005752 U KR 2020100005752U KR 20100005752 U KR20100005752 U KR 20100005752U KR 20110011368 U KR20110011368 U KR 20110011368U
Authority
KR
South Korea
Prior art keywords
bar
body bar
angle
push
right wing
Prior art date
Legal status (The legal status is an assumption and is not a legal conclusion. Google has not performed a legal analysis and makes no representation as to the accuracy of the status listed.)
Granted
Application number
KR2020100005752U
Other languages
English (en)
Other versions
KR200458811Y1 (ko
Inventor
박은하
Original Assignee
박은하
Priority date (The priority date is an assumption and is not a legal conclusion. Google has not performed a legal analysis and makes no representation as to the accuracy of the date listed.)
Filing date
Publication date
Application filed by 박은하 filed Critical 박은하
Priority to KR2020100005752U priority Critical patent/KR200458811Y1/ko
Publication of KR20110011368U publication Critical patent/KR20110011368U/ko
Application granted granted Critical
Publication of KR200458811Y1 publication Critical patent/KR200458811Y1/ko
Anticipated expiration legal-status Critical
Expired - Fee Related legal-status Critical Current

Links

Images

Classifications

    • BPERFORMING OPERATIONS; TRANSPORTING
    • B25HAND TOOLS; PORTABLE POWER-DRIVEN TOOLS; MANIPULATORS
    • B25HWORKSHOP EQUIPMENT, e.g. FOR MARKING-OUT WORK; STORAGE MEANS FOR WORKSHOPS
    • B25H7/00Marking-out or setting-out work

Landscapes

  • Engineering & Computer Science (AREA)
  • Mechanical Engineering (AREA)
  • Sawing (AREA)

Abstract

본 고안은 인테리어 목공 작업시 몸체바 선단에서 좌우 회전하는 날개바에 의해 코너, 모서리 등의 각도 측정 및 금긋기, 절단 작업을 간편하게 행하는 목공용 각도 금긋기자에 관한 것으로서, 좀더 상세하게는 상부 길이방향을 따라 눈금부를 형성하는 몸체바(10)와, 상기 몸체바 선단에 좌우로 대향 회전하도록 힌지 결합되는 좌우 날개바(20)(20')와, 상기 좌우 날개바와 연결대(25)(25') 양단으로 힌지 연결되어 좌우 날개바(20)(20')의 좌우 회전에 따라 몸체바의 길이 방향을 따라 전후 이동하여 눈금부에 의해 각도 측정하는 슬라이드 결합구(30)로 구성하되; 상기 몸체바(10) 저면에 탄발 출몰하도록 설치되는 푸시바(50)는 전방에 몸체바의 전방으로 연장되는 연장부(51)를 형성하고, 상기 푸시바(50)의 상하로 설치되는 제1스프링(60)과, 전후 길이방향으로 설치되는 제2스프링(70)에 의해 몸체바의 상하 및 전후로 탄발 이동하면서 출몰 사용하도록 제공하므로서, 인테리어 목공 작업시 몸체바 선단에서 좌우 회전하는 날개바에 의해 코너, 모서리 등의 각도 측정 및 금긋기, 절단 작업을 간편하게 행하되, 특히 몰딩 절단 작업시에 몸체바 하부에서 탄발 출몰하는 푸시바가 몸체바의 전방으로 출몰하도록 구조 등을 개량하여 전동 톱 절단기의 베이스가 소형인 경우에 종래 설치 어려움의 문제를 해결하여 그 작업성, 효율성을 더욱 극대화하는 효과를 갖는 것이다.

Description

목공용 각도 금긋기자{Angle line scach measure for woodwork}
본 고안은 인테리어 목공 작업시 몸체바 선단에서 좌우 회전하는 날개바에 의해 코너, 모서리 등의 각도 측정 및 금긋기, 절단 작업을 간편하게 행하는 목공용 각도 금긋기자에 관한 것으로서, 좀더 상세하게는 몰딩 절단 작업시에 몸체바나 날개바 하부에서 탄발 출몰하는 푸시바에 의해 전동 톱절단기의 베이스에 고정 설치하여 절단 위치를 설정하되, 상기 몸체바의 푸시바 구조 등을 개량하여 전동 톱 절단기의 베이스가 소형인 경우에 종래 설치 어려움의 문제를 해결하여 작업성, 효율성을 더욱 극대화하는 목공용 각도 금긋기자의 개량에 관한 것이다.
일반적으로 건축 현장, 특히 인테리어 목공 작업을 행하는 현장에서 주로 행하는 작업은 몰딩의 코너, 모서리 각도 측정 및 측정된 각도로 금긋기 작업 및 몰딩 절단 작업 등이다.
이와 같은 작업중에서 몰딩의 코너, 모서리 각도 측정 및 금긋기 작업은 종래 각각 별도의 각도자, 금긋기자를 구비하여 사용하므로 작업이 매우 불편함은 물론 작업 오차 등이 자주 발생되는 문제점이 있었다.
이러한 종래 문제점을 해결하고자 본 출원인은 특허출원 제10-792685호에 목공용 각도 금긋기자를 선 출원한 바 있다.
이는 상부 길이방향을 따라 눈금부를 형성하는 몸체바와, 상기 몸체바 선단에 좌우로 대향 회전하도록 힌지 결합되는 좌우 날개바와, 상기 좌우 날개바와 연결대 양단으로 힌지 연결되어 좌우 날개바의 좌우 회전에 따라 몸체바의 길이 방향을 따라 전후 이동하여 눈금부에 의해 각도 측정하는 슬라이드 결합구로 구성되어 상기 좌우 날개바를 대향 회전시켜 코너, 모서리 각도 측정 및 금긋기 작업을 간편하고 일정하게 행함은 물론 절단작업도 효율적으로 행하도록 제공하는 것이다.
특히, 몰딩 절단 작업의 경우에 상기 각도 금긋기자의 몸체바나 좌우 날개바 저면에 탄발 출몰하는 푸시바를 전동 톱 절단기의 베이스 중앙으로 형성되는 톱 안내홈에 삽입 설치하여 일정하게 위치 설정하므로 몰딩을 간편하면서 효과적으로 절단하게 되는 것이다.
그러나 상기 본 출원인에 의해 선 출원된 각도 금긋기자는 몸체바 저면의 푸시바가 몸체바 중앙 부위에 탄발 설치되기 때문에 전동 톱 절단기의 베이스가 소형인 경우에 상기 푸시바를 베이스의 톱 안내홈에 삽입 설치함이 곤란하게 되므로 절단 위치의 설정 작업이 어려워 작업성이 저하되는 문제점이 있었다.
즉, 상기 푸시바가 몸체바 저면의 전방 끝단에 위치하면, 전동 톱 절단기의 베이스가 소형인 경우에도 톱 안내홈으로 효과적 설치가 가능하게 되나, 이는 상기 몸체바의 구조상, 그리고 상기 좌우 날개부에 간섭으로 인해 곤란함이 있었다.
이에 본 출원인은 선 출원된 각도 금긋기자의 코너, 모서리의 각도 측정, 금긋기 작업, 절단 작업의 우수한 잇점을 유지하면서 전동 톱 절단기에서의 소형 베이스의 절단 작업을 고려하여 작업성, 효율성을 개선하기 위해 연구 노력하였다.
본 고안은 상기한 종래 기술 및 본 출원인에 의해 선 출원된 기술이 갖는 제반 문제점을 해결하고자 고안된 것으로서, 인테리어 목공 작업시 몸체바 선단에서 좌우 회전하는 날개바에 의해 코너, 모서리 등의 각도 측정 및 금긋기, 절단 작업을 간편하게 행하되, 특히 몰딩 절단 작업시에 몸체바 하부에서 탄발 출몰하는 푸시바가 몸체바의 전방으로 출몰하도록 구조 등을 개량하여 전동 톱절단기의 베이스가 소형인 경우에 종래 설치 어려움의 문제를 해결하고, 또한 몸체바의 눈금부를 개량하여 그 작업성, 효율성을 더욱 극대화하는데 그 목적이 있다.
이러한 본 고안은, 상부 길이방향을 따라 눈금부를 형성하는 몸체바와, 상기 몸체바 선단에 좌우로 대향 회전하도록 힌지 결합되는 좌우 날개바와, 상기 좌우 날개바와 연결대 양단으로 힌지 연결되어 좌우 날개바의 좌우 회전에 따라 몸체바의 길이 방향을 따라 전후 이동하여 눈금부에 의해 각도 측정하는 슬라이드 결합구로 구성하되; 상기 몸체바와 좌우 날개바 저면 중앙에 탄발 출몰하도록 설치되는 푸시바에 의해 전동 톱절단기의 베이스 중앙으로 형성되는 톱 안내홈에 삽입하여 설치 사용하는 것에 있어; 상기 몸체바의 푸시바는 전방에 몸체바의 전방으로 연장되는 연장부를 형성하고, 상기 푸시바의 상하로 설치되는 제1스프링과, 전후 길이방향으로 설치되는 제2스프링에 의해 몸체바의 상하 및 전후로 탄발 이동하면서 몸체바 저면 조립홈에서 출몰 사용하도록 함에 그 특징이 있다.
본 고안 상기 푸시바의 전방에는 좌우 날개바의 내측 절첩 이동시 좌우 날개바에 맞닿아 푸시바를 전후로 탄발 이동하도록 좌우 로울러를 설치 구성함에 그 특징이 있다.
본 고안 상기 제2스프링은 상기 푸시바의 양측 길이방향으로 설치되는 안내봉에 스프링을 각각 삽입하여 상기 푸시바를 관통하여 설치되는 걸림핀 양단이 스프링 전방에서 안내봉에 삽입 설치되어 푸시바를 전후로 탄발 이동하도록 구성함에 그 특징이 있다.
본 고안 본 고안 몸체부의 눈금부는 좌우 날개부가 일직선 위치의 중앙 기준점(180°위치)에서 상부나 하부로 대향 회전 이동함에 의해 중앙의 180°에서 0°로 대향되게 각도의 증감을 이루도록 형성함에 그 특징이 있다.
이러한 본 고안은 인테리어 목공 작업시 몸체바 선단에서 좌우 회전하는 날개바에 의해 코너, 모서리 등의 각도 측정 및 금긋기, 절단 작업을 간편하게 행하되, 특히 몰딩 절단 작업시에 몸체바 하부에서 탄발 출몰하는 푸시바가 몸체바의 전방으로 출몰하도록 구조 등을 개량하여 전동 톱절단기의 베이스가 소형인 경우에 종래 설치 어려움의 문제를 해결하고, 몸체바의 눈금부를 개량하여 그 작업성, 효율성을 더욱 극대화하는 효과를 갖는 것이다.
도 1은 본 고안의 평면 구성도.
도 2는 본 고안의 저면 구성도.
도 3 및 도 4는 본 고안의 단면 구성도.
도 5는 본 고안의 전동 톱 절단기에 설치 사용상태를 보여주는 평면도.
도 6은 본 고안의 눈금부를 보여주는 평면도.
도 7은 본 고안의 날개바를 이용한 대칭 각도 설정 예를 보여주는 순서도.
이하, 상기한 본 고안의 바람직한 실시 예를 첨부도면을 참조하여 구체적으로 살펴보기로 한다.
즉, 본 고안 목공용 각도 금긋기자는 도 1 내지 도 7에 도시된 바와 같이 상부 길이방향을 따라 눈금부를 형성하는 몸체바(10)와, 상기 몸체바 선단에 좌우로 대향 회전하도록 힌지 결합되는 좌우 날개바(20)(20')와, 상기 좌우 날개바와 연결대(25)(25') 양단으로 힌지 연결되어 좌우 날개바(20)(20')의 좌우 회전에 따라 몸체바의 길이 방향을 따라 전후 이동하여 눈금부에 의해 각도 측정하는 슬라이드 결합구(30)로 구성하되,
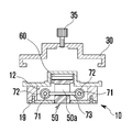
상기 몸체바(10)와 좌우 날개바(20)(20') 저면 중앙에 탄발 출몰하도록 설치되는 푸시바에 의해 전동 톱 절단기(100)의 베이스(110) 중앙으로 형성되는 톱 안내홈(112)에 삽입하여 설치 사용하는 것에 있어서,
상기 몸체바(10)의 푸시바(50)는 전방에 몸체바의 전방으로 연장되는 연장부(51)를 형성하고,
상기 푸시바(50)의 상하로 설치되는 제1스프링(60)과, 전후 길이방향으로 설치되는 제2스프링(70)에 의해 몸체바의 상하 및 전후로 탄발 이동하면서 몸체바 저면 조립홈(12)에서 출몰 사용하도록 이루어진다.
이때, 상기 푸시바(50)의 전방에는 좌우 날개바(20)(20')의 내측 절첩 이동시 좌우 날개바에 맞닿아 푸시바를 전후로 탄발 이동하도록 좌우 로울러(55)(55)가 설치 구성된다.
그리고 상기 푸시바(50)의 전방 선단에 경사 지지부(52)와 상기 푸시바가 삽입되는 조립홈(12) 전방에 상기 경사 지지부에 대응되는 경사를 갖는 경사 지지면(13)을 형성하여 상호 지지 설치하도록 구성된다.
또한, 상기 제1스프링(60)은 도면에서와 같이 판스프링이나 그 밖에 탄발스프링을 적용하여 구성된다.
그리고 상기 제2스프링(70)은 푸시바(50)의 양측 길이방향으로 설치되는 안내봉(71)에 스프링(72)을 각각 삽입하여 상기 푸시바를 관통하여 설치되는 걸림핀(73) 양단이 스프링(72) 전방에서 안내봉에 삽입 설치되어 푸시바를 전후로 탄발 이동하도록 구성된다.
이때 상기 걸림핀(73)이 삽입되는 푸시바(50)의 삽입공(50a)은 상하 장공으로 형성하여 푸시바의 출몰 작동이 가능하도록 구성된다.
또한, 상기 안내봉(71)은 몸체바에 삽입하거나 별도 고정 브라켓에 의해 고정 설치할 수 있음은 물론이다.
그리고 상기 푸시바(50)의 저면에는 푸시바를 전후로 탄발 이동시 파지하도록 파지홈(53)을 적어도 하나 이상 형성하여 구성된다.
또한, 본 고안 몸체부(10)의 눈금부(15)는 좌우 날개부(20)(20')가 일직선 위치의 중앙 기준점(180°위치)에서 상부나 하부로 대향 회전 이동함에 의해 중앙의 180°에서 0°로 대향되게 각도의 증감을 이루도록 형성하여 구성된다.
미설명부호로서, 19는 몸체바(10) 저면에 설치되는 푸시바(50)의 제2스프링(70)을 커버하도록 조립되는 커버판, 32는 슬라이드 결합구에서 눈금부를 확대 관찰하는 확대경, 35는 슬라이드 결합구를 고정하는 고정볼트를 나타내는 것이다.
다음은 상기와 같이 구성되는 본 고안의 작동 및 작용에 대해 살펴보기로 한다.
본 고안은 단일 공구로서 몸체바(10) 전방에 힌지 결합된 좌우 날개바(20)(20')를 좌우 회전 조절하면서 건축물이나 건축자재의 코너, 모서리 등의 각도를 측정한다.
그리고 상기 측정된 각도로 각종 목재에 금긋기 작업은 물론 전동 톱 절단기(100)에 의한 절단 작업을 효과적으로 행하게 되는 것이다.
특히, 상기 전동 톱 절단기(100)에 의한 절단 작업시에는 좌우 날개바(20)(20)에 의해 측정된 각도 또는 그 1/2 각도로 몰딩을 절단하여 이음 결합하게 된다.
이때 상기 몸체바(10)나 좌우 날개바(20)(20) 저면의 푸쉬바를 전동 톱 절단기(100)의 베이스(110) 중앙으로 형성된 톱 안내홈(112)에 삽입한 상태로 베이스를 회전 조절하여 절단 위치를 맞추게 되는 것이다.
더우기 본 고안은 상기 베이스(100)의 크기가 작은 경우에도 상기 몸체바(10) 저면의 푸시바(50)가 전방으로 연장부(51)를 연장 형성하고 있기 때문에 종래와 같이 삽입 곤란함 없이 삽입 고정하여 정확한 절단 가공을 제공하게 되는 것이다.
즉, 상기 몸체바(10) 저면의 푸시바(50)가 전방으로 연장 형성되어 전동 톱 절단기(100)의 베이스(110) 중앙으로 형성되는 톱 안내홈(112)에 효과적으로 삽입하여 절단 작업을 행할 수 있게 되는 것이다.
또한, 상기 몸체바(10) 저면의 푸시바(50)는 전방으로 연장 형성되기 때문에 좌우 날개바(20)(20')의 회전 조절시에 간섭될 수 있는데, 이때 상기 좌우 날개바(20)(20')에 푸시바 전방의 좌우 로울러(55)(55)가 날개바에 안내되어 푸시바를 전후로 탄발 이동하면서 사용 가능하게 되는 것이다.
또한, 상기 몸체바(10) 저면의 푸시바(50)를 사용하지 않는 경우에는 푸시바(50)를 제2스프링(70)에 의해 후방으로 탄발 이동한다.
이때, 상기 제2스프링(70)은 푸시바(50)의 양측 길이방향으로 설치되는 안내봉(71)에 삽입된 스프링(72)을 걸림핀(73)의 양단이 지지하여 탄발 압축하면서 후방으로 탄발 이동하는 것이다.
그리고 후방으로 탄발 이동된 푸시바(50)는 다시 제1스프링(60)에 의해 내측으로 탄발 가압하여 상기 푸시바 선단의 경사 지지부(52)가 조립홈(12) 전방의 경사 지지면(13)에 탄발 삽입하면서 지지되게 조립홈(12)에 삽입 결합하는 것이다.
이와 같은 상태에서 상기 푸시바(50)를 다시 돌출 사용하고자 하는 경우에는 상기 푸시바를 후방으로 탄발 이동함에 의해 상기 푸시바의 경사 지지부(52)가 경사 지지면(13)에서 이탈하면서 제1스프링(60)에 의해 외측으로 탄발 돌출됨과 함께 제2스프링(70)에 의해 전방으로 탄발 이동되게 연장하여 사용하게 되는 것이다.
한편, 본 고안은 건축물이나 건축자재의 코너, 모서리 등의 각도를 예각 또는 둔각으로 측정한 후, 이에 대칭되는 둔각 또는 예각으로 금긋기 작업은 물론 절단 작업을 간편하게 행할 수 있는 것이다.
즉, 상기 몸체바(10)의 좌우 날개부(20)(20')를 180°(중앙 기준점)에서 상부로 회전시켜 예각의 모서리 각도를 측정하면 상기 몸체바(10)의 슬라이드 결합구(30)가 상승하면서 눈금부(15)의 각도, 예를 들면 90°각도를 측정한다.
이 상태에서 상기 측정된 각도 90°만큼 예각이 아닌 둔각을 이루도록 하여금긋기나 절단 작업을 행하는 경우에 상기 좌우 날개부(20(20')를 상부가 아닌 하부로 회전시키되, 상기 180°(중앙 기준점)에서 하부로 90°만큼 눈금부(15)를 확인하며 간편하고 정확하게 이동 조절하여 작업할 수 있는 것이다.
10: 몸체바 20,20': 날개바
25,25': 연결대 30: 결합구
50: 푸시바 51: 연장부
60: 제1스프링 70: 제2스프링
12: 조립홈 55: 로울러
52: 경사 지지부 13: 경사 지지면
71: 안내봉 72: 스프링
73: 걸림핀 50a: 삽입공
53: 파지홈 15: 눈금부

Claims (4)

  1. 상부 길이방향을 따라 눈금부를 형성하는 몸체바(10)와, 상기 몸체바 선단에 좌우로 대향 회전하도록 힌지 결합되는 좌우 날개바(20)(20')와, 상기 좌우 날개바와 연결대(25)(25') 양단으로 힌지 연결되어 좌우 날개바(20)(20')의 좌우 회전에 따라 몸체바의 길이 방향을 따라 전후 이동하여 눈금부에 의해 각도 측정하는 슬라이드 결합구(30)로 구성하되; 상기 몸체바(10)와 좌우 날개바(20)(20') 저면 중앙에 탄발 출몰하도록 설치되는 푸시바에 의해 전동 톱절단기(100)의 베이스(110) 중앙으로 형성되는 톱 안내홈(112)에 삽입하여 설치 사용하는 목공용 각도 금긋기자에 있어서,
    상기 몸체바(10)의 푸시바(50)는 전방에 몸체바의 전방으로 연장되는 연장부(51)를 형성하고,
    상기 푸시바(50)의 상하로 설치되는 제1스프링(60)과, 전후 길이방향으로 설치되는 제2스프링(70)에 의해 몸체바의 상하 및 전후로 탄발 이동하면서 몸체바 저면 조립홈(12)에서 출몰 사용하도록 이루어진 것을 특징으로 하는 목공용 각도 금긋기자.
  2. 제1항에 있어서,
    상기 푸시바(50)의 전방에는 좌우 날개바(20)(20')의 내측 절첩 이동시 좌우 날개바에 맞닿아 푸시바를 전후로 탄발 이동하도록 좌우 로울러(55)(55)가 설치 구성되어 이루어진 것을 특징으로 하는 목공용 각도 금긋기자.
  3. 제1항에 있어서,
    상기 제2스프링(70)은 상기 푸시바(50)의 양측 길이방향으로 설치되는 안내봉(71)에 스프링(72)을 각각 삽입하여 상기 푸시바를 관통하여 설치되는 걸림핀(73) 양단이 스프링(72) 전방에서 안내봉에 삽입 설치되어 푸시바를 전후로 탄발 이동하도록 구성되어 이루어진 것을 특징으로 하는 목공용 각도 금긋기자.
  4. 제1항에 있어서,
    본 고안 몸체부(10)의 눈금부(15)는 좌우 날개부(20)(20')가 일직선 위치의 중앙 기준점(180°위치)에서 상부나 하부로 대향 회전 이동함에 의해 중앙의 180°에서 0°로 대향되게 각도의 증감을 이루도록 형성하여 이루어진 것을 특징으로 하는 목공용 각도 금긋기자.
KR2020100005752U 2010-06-03 2010-06-03 목공용 각도 금긋기자 Expired - Fee Related KR200458811Y1 (ko)

Priority Applications (1)

Application Number Priority Date Filing Date Title
KR2020100005752U KR200458811Y1 (ko) 2010-06-03 2010-06-03 목공용 각도 금긋기자

Applications Claiming Priority (1)

Application Number Priority Date Filing Date Title
KR2020100005752U KR200458811Y1 (ko) 2010-06-03 2010-06-03 목공용 각도 금긋기자

Publications (2)

Publication Number Publication Date
KR20110011368U true KR20110011368U (ko) 2011-12-09
KR200458811Y1 KR200458811Y1 (ko) 2012-03-09

Family

ID=72887322

Family Applications (1)

Application Number Title Priority Date Filing Date
KR2020100005752U Expired - Fee Related KR200458811Y1 (ko) 2010-06-03 2010-06-03 목공용 각도 금긋기자

Country Status (1)

Country Link
KR (1) KR200458811Y1 (ko)

Family Cites Families (3)

* Cited by examiner, † Cited by third party
Publication number Priority date Publication date Assignee Title
SE455643B (sv) 1983-10-06 1988-07-25 Lennart Schon Vinkelmetapparat
US6604294B1 (en) 2001-11-29 2003-08-12 Kent Farley Adjustable angle carpentry apparatus
KR100792685B1 (ko) 2007-02-13 2008-01-09 정용업 목공용 각도 금긋기자

Also Published As

Publication number Publication date
KR200458811Y1 (ko) 2012-03-09

Similar Documents

Publication Publication Date Title
US7739806B1 (en) Three-dimensional combination measuring tool
CN217005596U (zh) 布线测量工具
KR200458811Y1 (ko) 목공용 각도 금긋기자
KR100792685B1 (ko) 목공용 각도 금긋기자
US4106201A (en) Tape measure
CA2594041A1 (en) Three-dimensional combination measuring tool
CN108612434B (zh) 一种快装式木门和门套的安装结构
CN120027705A (zh) 一种地质勘查测量装置
CN111959165A (zh) 一种智能尺规加工系统
CN204850387U (zh) 应用于木地板安装和维修的回力钩
JP2021074929A (ja) 角度測定器用の丸鋸ガイド定規
CN215984301U (zh) 一种建筑工程造价专用测量尺
CN212082226U (zh) 可调节的钢琴击弦点定位工装
CN211784862U (zh) 一种一体化贯入式砂浆强度检测仪
CN222579176U (zh) 一种房屋垂直度测量结构
US3918162A (en) Blind scriber
CN219705035U (zh) 适用于打孔测量的破墙锤总成
CN203271386U (zh) 摩擦铰链
CN209774769U (zh) 一种行线槽切割器
CN110774054A (zh) 一种测量钻削刀具磨损的装置与方法
CN215767075U (zh) 一种便携式建筑用测绘工具
CN210570374U (zh) 壳体中格厚度测量仪
CN219561210U (zh) 一种刚性接触网端头接触线预弯工具
CN221173173U (zh) 一种建筑用测量尺
CN220893200U (zh) 对角线检测尺

Legal Events

Date Code Title Description
A201 Request for examination
UA0108 Application for utility model registration

St.27 status event code: A-0-1-A10-A12-nap-UA0108

UA0201 Request for examination

St.27 status event code: A-1-2-D10-D11-exm-UA0201

R18-X000 Changes to party contact information recorded

St.27 status event code: A-3-3-R10-R18-oth-X000

UG1501 Laying open of application

St.27 status event code: A-1-1-Q10-Q12-nap-UG1501

E701 Decision to grant or registration of patent right
UE0701 Decision of registration

St.27 status event code: A-1-2-D10-D22-exm-UE0701

REGI Registration of establishment
UR0701 Registration of establishment

St.27 status event code: A-2-4-F10-F11-exm-UR0701

UR1002 Payment of registration fee

St.27 status event code: A-2-2-U10-U11-oth-UR1002

Fee payment year number: 1

UG1601 Publication of registration

St.27 status event code: A-4-4-Q10-Q13-nap-UG1601

UC1903 Unpaid annual fee

St.27 status event code: A-4-4-U10-U13-oth-UC1903

Not in force date: 20150216

Payment event data comment text: Termination Category : DEFAULT_OF_REGISTRATION_FEE

FPAY Annual fee payment

Payment date: 20151117

Year of fee payment: 4

K11-X000 Ip right revival requested

St.27 status event code: A-6-4-K10-K11-oth-X000

R401 Registration of restoration
UC1903 Unpaid annual fee

St.27 status event code: N-4-6-H10-H13-oth-UC1903

Ip right cessation event data comment text: Termination Category : DEFAULT_OF_REGISTRATION_FEE

Not in force date: 20150216

UR0401 Registration of restoration

St.27 status event code: A-6-4-K10-K13-oth-UR0401

UR1001 Payment of annual fee

St.27 status event code: A-4-4-U10-U11-oth-UR1001

Fee payment year number: 4

FPAY Annual fee payment

Payment date: 20160512

Year of fee payment: 5

UR1001 Payment of annual fee

St.27 status event code: A-4-4-U10-U11-oth-UR1001

Fee payment year number: 5

P22-X000 Classification modified

St.27 status event code: A-4-4-P10-P22-nap-X000

UR1001 Payment of annual fee

St.27 status event code: A-4-4-U10-U11-oth-UR1001

Fee payment year number: 6

FPAY Annual fee payment

Payment date: 20180102

Year of fee payment: 7

UR1001 Payment of annual fee

St.27 status event code: A-4-4-U10-U11-oth-UR1001

Fee payment year number: 7

FPAY Annual fee payment

Payment date: 20190214

Year of fee payment: 8

UR1001 Payment of annual fee

St.27 status event code: A-4-4-U10-U11-oth-UR1001

Fee payment year number: 8

UC1903 Unpaid annual fee

St.27 status event code: A-4-4-U10-U13-oth-UC1903

Not in force date: 20200216

Payment event data comment text: Termination Category : DEFAULT_OF_REGISTRATION_FEE

UC1903 Unpaid annual fee

St.27 status event code: N-4-6-H10-H13-oth-UC1903

Ip right cessation event data comment text: Termination Category : DEFAULT_OF_REGISTRATION_FEE

Not in force date: 20200216