KR102456552B1 - Tft substrate, display panel and display device having the same - Google Patents
Tft substrate, display panel and display device having the same Download PDFInfo
- Publication number
- KR102456552B1 KR102456552B1 KR1020160003030A KR20160003030A KR102456552B1 KR 102456552 B1 KR102456552 B1 KR 102456552B1 KR 1020160003030 A KR1020160003030 A KR 1020160003030A KR 20160003030 A KR20160003030 A KR 20160003030A KR 102456552 B1 KR102456552 B1 KR 102456552B1
- Authority
- KR
- South Korea
- Prior art keywords
- layer
- disposed
- thin film
- film transistor
- electrode
- Prior art date
- Legal status (The legal status is an assumption and is not a legal conclusion. Google has not performed a legal analysis and makes no representation as to the accuracy of the status listed.)
- Active
Links
Images
Classifications
-
- G—PHYSICS
- G02—OPTICS
- G02F—OPTICAL DEVICES OR ARRANGEMENTS FOR THE CONTROL OF LIGHT BY MODIFICATION OF THE OPTICAL PROPERTIES OF THE MEDIA OF THE ELEMENTS INVOLVED THEREIN; NON-LINEAR OPTICS; FREQUENCY-CHANGING OF LIGHT; OPTICAL LOGIC ELEMENTS; OPTICAL ANALOGUE/DIGITAL CONVERTERS
- G02F1/00—Devices or arrangements for the control of the intensity, colour, phase, polarisation or direction of light arriving from an independent light source, e.g. switching, gating or modulating; Non-linear optics
- G02F1/01—Devices or arrangements for the control of the intensity, colour, phase, polarisation or direction of light arriving from an independent light source, e.g. switching, gating or modulating; Non-linear optics for the control of the intensity, phase, polarisation or colour
- G02F1/13—Devices or arrangements for the control of the intensity, colour, phase, polarisation or direction of light arriving from an independent light source, e.g. switching, gating or modulating; Non-linear optics for the control of the intensity, phase, polarisation or colour based on liquid crystals, e.g. single liquid crystal display cells
- G02F1/133—Constructional arrangements; Operation of liquid crystal cells; Circuit arrangements
- G02F1/136—Liquid crystal cells structurally associated with a semi-conducting layer or substrate, e.g. cells forming part of an integrated circuit
- G02F1/1362—Active matrix addressed cells
- G02F1/1368—Active matrix addressed cells in which the switching element is a three-electrode device
-
- G—PHYSICS
- G02—OPTICS
- G02F—OPTICAL DEVICES OR ARRANGEMENTS FOR THE CONTROL OF LIGHT BY MODIFICATION OF THE OPTICAL PROPERTIES OF THE MEDIA OF THE ELEMENTS INVOLVED THEREIN; NON-LINEAR OPTICS; FREQUENCY-CHANGING OF LIGHT; OPTICAL LOGIC ELEMENTS; OPTICAL ANALOGUE/DIGITAL CONVERTERS
- G02F1/00—Devices or arrangements for the control of the intensity, colour, phase, polarisation or direction of light arriving from an independent light source, e.g. switching, gating or modulating; Non-linear optics
- G02F1/01—Devices or arrangements for the control of the intensity, colour, phase, polarisation or direction of light arriving from an independent light source, e.g. switching, gating or modulating; Non-linear optics for the control of the intensity, phase, polarisation or colour
- G02F1/13—Devices or arrangements for the control of the intensity, colour, phase, polarisation or direction of light arriving from an independent light source, e.g. switching, gating or modulating; Non-linear optics for the control of the intensity, phase, polarisation or colour based on liquid crystals, e.g. single liquid crystal display cells
- G02F1/133—Constructional arrangements; Operation of liquid crystal cells; Circuit arrangements
-
- G—PHYSICS
- G02—OPTICS
- G02F—OPTICAL DEVICES OR ARRANGEMENTS FOR THE CONTROL OF LIGHT BY MODIFICATION OF THE OPTICAL PROPERTIES OF THE MEDIA OF THE ELEMENTS INVOLVED THEREIN; NON-LINEAR OPTICS; FREQUENCY-CHANGING OF LIGHT; OPTICAL LOGIC ELEMENTS; OPTICAL ANALOGUE/DIGITAL CONVERTERS
- G02F1/00—Devices or arrangements for the control of the intensity, colour, phase, polarisation or direction of light arriving from an independent light source, e.g. switching, gating or modulating; Non-linear optics
- G02F1/01—Devices or arrangements for the control of the intensity, colour, phase, polarisation or direction of light arriving from an independent light source, e.g. switching, gating or modulating; Non-linear optics for the control of the intensity, phase, polarisation or colour
- G02F1/13—Devices or arrangements for the control of the intensity, colour, phase, polarisation or direction of light arriving from an independent light source, e.g. switching, gating or modulating; Non-linear optics for the control of the intensity, phase, polarisation or colour based on liquid crystals, e.g. single liquid crystal display cells
- G02F1/133—Constructional arrangements; Operation of liquid crystal cells; Circuit arrangements
- G02F1/1333—Constructional arrangements; Manufacturing methods
- G02F1/1335—Structural association of cells with optical devices, e.g. polarisers or reflectors
- G02F1/133509—Filters, e.g. light shielding masks
- G02F1/133512—Light shielding layers, e.g. black matrix
-
- G—PHYSICS
- G02—OPTICS
- G02F—OPTICAL DEVICES OR ARRANGEMENTS FOR THE CONTROL OF LIGHT BY MODIFICATION OF THE OPTICAL PROPERTIES OF THE MEDIA OF THE ELEMENTS INVOLVED THEREIN; NON-LINEAR OPTICS; FREQUENCY-CHANGING OF LIGHT; OPTICAL LOGIC ELEMENTS; OPTICAL ANALOGUE/DIGITAL CONVERTERS
- G02F1/00—Devices or arrangements for the control of the intensity, colour, phase, polarisation or direction of light arriving from an independent light source, e.g. switching, gating or modulating; Non-linear optics
- G02F1/01—Devices or arrangements for the control of the intensity, colour, phase, polarisation or direction of light arriving from an independent light source, e.g. switching, gating or modulating; Non-linear optics for the control of the intensity, phase, polarisation or colour
- G02F1/13—Devices or arrangements for the control of the intensity, colour, phase, polarisation or direction of light arriving from an independent light source, e.g. switching, gating or modulating; Non-linear optics for the control of the intensity, phase, polarisation or colour based on liquid crystals, e.g. single liquid crystal display cells
- G02F1/133—Constructional arrangements; Operation of liquid crystal cells; Circuit arrangements
- G02F1/1333—Constructional arrangements; Manufacturing methods
- G02F1/1335—Structural association of cells with optical devices, e.g. polarisers or reflectors
- G02F1/133553—Reflecting elements
-
- G—PHYSICS
- G02—OPTICS
- G02F—OPTICAL DEVICES OR ARRANGEMENTS FOR THE CONTROL OF LIGHT BY MODIFICATION OF THE OPTICAL PROPERTIES OF THE MEDIA OF THE ELEMENTS INVOLVED THEREIN; NON-LINEAR OPTICS; FREQUENCY-CHANGING OF LIGHT; OPTICAL LOGIC ELEMENTS; OPTICAL ANALOGUE/DIGITAL CONVERTERS
- G02F1/00—Devices or arrangements for the control of the intensity, colour, phase, polarisation or direction of light arriving from an independent light source, e.g. switching, gating or modulating; Non-linear optics
- G02F1/01—Devices or arrangements for the control of the intensity, colour, phase, polarisation or direction of light arriving from an independent light source, e.g. switching, gating or modulating; Non-linear optics for the control of the intensity, phase, polarisation or colour
- G02F1/13—Devices or arrangements for the control of the intensity, colour, phase, polarisation or direction of light arriving from an independent light source, e.g. switching, gating or modulating; Non-linear optics for the control of the intensity, phase, polarisation or colour based on liquid crystals, e.g. single liquid crystal display cells
- G02F1/133—Constructional arrangements; Operation of liquid crystal cells; Circuit arrangements
- G02F1/1333—Constructional arrangements; Manufacturing methods
- G02F1/1343—Electrodes
- G02F1/134309—Electrodes characterised by their geometrical arrangement
- G02F1/134372—Electrodes characterised by their geometrical arrangement for fringe field switching [FFS] where the common electrode is not patterned
-
- H01L29/78618—
-
- H01L29/78696—
Landscapes
- Physics & Mathematics (AREA)
- Nonlinear Science (AREA)
- Mathematical Physics (AREA)
- Chemical & Material Sciences (AREA)
- Crystallography & Structural Chemistry (AREA)
- General Physics & Mathematics (AREA)
- Optics & Photonics (AREA)
- Engineering & Computer Science (AREA)
- Microelectronics & Electronic Packaging (AREA)
- Thin Film Transistor (AREA)
- Geometry (AREA)
Abstract
실시 예에 따른 박막 트랜지스터 기판은, 기판; 기판 위에 배치되며, 질화물계 반도체층을 포함하는 제1 채널층, 제1 채널층의 제1 영역에 전기적으로 연결된 제1 소스 전극, 제1 채널층의 제2 영역에 전기적으로 연결된 제1 드레인 전극, 제1 채널층 위에 배치된 제1 게이트 전극, 제1 채널층과 제1 게이트 전극 사이에 배치된 제1 디플리션 형성층, 제1 채널층 아래에 배치된 제1 이중 게이트 전극을 포함하는 스위칭 박막 트랜지스터; 기판 위에 배치되며, 질화물계 반도체층을 포함하는 제2 채널층, 제2 채널층의 제1 영역에 전기적으로 연결된 제2 소스 전극, 제2 채널층의 제2 영역에 전기적으로 연결된 제2 드레인 전극, 제2 채널층 위에 배치된 제2 게이트 전극, 제2 채널층과 제2 게이트 전극 사이에 배치된 제2 디플리션 형성층, 제2 채널층 아래에 배치된 제2 이중 게이트 전극을 포함하는 구동 박막 트랜지스터; 를 포함할 수 있다.A thin film transistor substrate according to an embodiment includes: a substrate; A first channel layer disposed on the substrate, the first channel layer including a nitride-based semiconductor layer, a first source electrode electrically connected to a first region of the first channel layer, and a first drain electrode electrically connected to a second region of the first channel layer , a switching comprising a first gate electrode disposed over the first channel layer, a first depletion forming layer disposed between the first channel layer and the first gate electrode, and a first double gate electrode disposed below the first channel layer thin film transistor; A second channel layer disposed on the substrate, the second channel layer including the nitride-based semiconductor layer, a second source electrode electrically connected to the first region of the second channel layer, and a second drain electrode electrically connected to the second region of the second channel layer. , a second gate electrode disposed over the second channel layer, a second depletion forming layer disposed between the second channel layer and the second gate electrode, and a second double gate electrode disposed under the second channel layer. thin film transistor; may include.
Description
본 발명은 박막 트랜지스터 기판, 이를 포함하는 표시패널 및 표시장치에 관한 것이다.The present invention relates to a thin film transistor substrate, a display panel including the same, and a display device.
정보화 사회가 발전함에 따라 화상을 표시하기 위한 표시장치에 대한 요구가 다양한 형태로 증가되고 있으며, 고해상도 표시장치에 대한 요구도 증대되고 있다. 고해상도 표시장치를 구현하기 위한 방안으로서 단위 면적 당 화소수가 증가되고 있는데, 증가된 화소에 맞추어 게이트 신호 및 데이터 신호를 공급하기 위하여 게이트 배선 수와 데이터 배선의 수가 증가되고 있다. 그런데, 게이트 배선 수가 증가됨에 따라, 하나의 화소에 대해 게이트 신호를 제공할 수 있는 시간(Gate on Time)이 짧아 지게 되므로 캐리어의 이동도가 높은 박막 트랜지스터의 개발이 요청되고 있다. As the information society develops, the demand for a display device for displaying an image is increasing in various forms, and the demand for a high-resolution display device is also increasing. As a method for realizing a high-resolution display device, the number of pixels per unit area is increasing. In order to supply a gate signal and a data signal according to the increased pixels, the number of gate wirings and the number of data wirings are increasing. However, as the number of gate wirings increases, the time (Gate on Time) for providing a gate signal to one pixel becomes shorter, so the development of a thin film transistor with high carrier mobility is being requested.
또한, 부드러운 동화상 재생을 위한 방안으로서 구동 주파수를 증가시키는 방안이 연구되고 있으며, 구동 주파수를 증가시키는 경우에도 하나의 화소에 대해 게이트 신호를 제공할 수 있는 시간(Gate on Time)이 짧아 지게 되므로 캐리어의 이동도가 높은 박막 트랜지스터의 개발이 요청되고 있다.In addition, as a method for smooth video reproduction, a method of increasing the driving frequency is being studied, and even when the driving frequency is increased, the time (Gate on Time) for providing a gate signal to one pixel is shortened. The development of thin film transistors with high mobility is being requested.
실시 예는 캐리어의 이동도를 높이고 제품 신뢰성을 확보할 수 있는 박막 트랜지스터 기판, 이를 포함하는 표시패널 및 표시장치를 제공한다.The embodiment provides a thin film transistor substrate capable of increasing carrier mobility and securing product reliability, a display panel including the same, and a display device.
실시 예에 따른 박막 트랜지스터 기판은, 기판; 상기 기판 위에 배치되며, 질화물계 반도체층을 포함하는 제1 채널층, 상기 제1 채널층의 제1 영역에 전기적으로 연결된 제1 소스 전극, 상기 제1 채널층의 제2 영역에 전기적으로 연결된 제1 드레인 전극, 상기 제1 채널층 위에 배치된 제1 게이트 전극, 상기 제1 채널층과 상기 제1 게이트 전극 사이에 배치된 제1 디플리션 형성층, 상기 제1 채널층 아래에 배치된 제1 이중 게이트 전극을 포함하는 스위칭 박막 트랜지스터; 상기 기판 위에 배치되며, 질화물계 반도체층을 포함하는 제2 채널층, 상기 제2 채널층의 제1 영역에 전기적으로 연결된 제2 소스 전극, 상기 제2 채널층의 제2 영역에 전기적으로 연결된 제2 드레인 전극, 상기 제2 채널층 위에 배치된 제2 게이트 전극, 상기 제2 채널층과 상기 제2 게이트 전극 사이에 배치된 제2 디플리션 형성층, 상기 제2 채널층 아래에 배치된 제2 이중 게이트 전극을 포함하는 구동 박막 트랜지스터; 를 포함할 수 있다.A thin film transistor substrate according to an embodiment includes: a substrate; a first channel layer disposed on the substrate, the first channel layer including a nitride-based semiconductor layer, a first source electrode electrically connected to a first region of the first channel layer, and a first channel layer electrically connected to a second region of the first channel layer a first drain electrode, a first gate electrode disposed on the first channel layer, a first depletion forming layer disposed between the first channel layer and the first gate electrode, and a first disposed under the first channel layer a switching thin film transistor including a double gate electrode; a second channel layer disposed on the substrate and including a nitride-based semiconductor layer, a second source electrode electrically connected to a first region of the second channel layer, and a second channel layer electrically connected to a second region of the second channel layer 2 drain electrodes, a second gate electrode disposed on the second channel layer, a second depletion forming layer disposed between the second channel layer and the second gate electrode, a second layer disposed under the second channel layer a driving thin film transistor including a double gate electrode; may include.
실시 예에 따른 표시패널은, 기판; 상기 기판 위에 배치되며, 질화물계 반도체층을 포함하는 제1 채널층, 상기 제1 채널층의 제1 영역에 전기적으로 연결된 제1 소스 전극, 상기 제1 채널층의 제2 영역에 전기적으로 연결된 제1 드레인 전극, 상기 제1 채널층 위에 배치된 제1 게이트 전극, 상기 제1 채널층과 상기 제1 게이트 전극 사이에 배치된 제1 디플리션 형성층, 상기 제1 채널층 아래에 배치된 제1 이중 게이트 전극을 포함하는 스위칭 박막 트랜지스터; 상기 기판 위에 배치되며, 질화물계 반도체층을 포함하는 제2 채널층, 상기 제2 채널층의 제1 영역에 전기적으로 연결된 제2 소스 전극, 상기 제2 채널층의 제2 영역에 전기적으로 연결된 제2 드레인 전극, 상기 제2 채널층 위에 배치된 제2 게이트 전극, 상기 제2 채널층과 상기 제2 게이트 전극 사이에 배치된 제2 디플리션 형성층, 상기 제2 채널층 아래에 배치된 제2 이중 게이트 전극을 포함하는 구동 박막 트랜지스터; 를 포함하는 박막 트랜지스터 기판을 포함할 수 있다.A display panel according to an embodiment includes a substrate; a first channel layer disposed on the substrate, the first channel layer including a nitride-based semiconductor layer, a first source electrode electrically connected to a first region of the first channel layer, and a first channel layer electrically connected to a second region of the first channel layer a first drain electrode, a first gate electrode disposed on the first channel layer, a first depletion forming layer disposed between the first channel layer and the first gate electrode, and a first disposed under the first channel layer a switching thin film transistor including a double gate electrode; a second channel layer disposed on the substrate and including a nitride-based semiconductor layer, a second source electrode electrically connected to a first region of the second channel layer, and a second channel layer electrically connected to a second region of the second channel layer 2 drain electrodes, a second gate electrode disposed on the second channel layer, a second depletion forming layer disposed between the second channel layer and the second gate electrode, a second layer disposed under the second channel layer a driving thin film transistor including a double gate electrode; It may include a thin film transistor substrate comprising a.
실시 예에 따른 표시장치는, 기판; 상기 기판 위에 배치되며, 질화물계 반도체층을 포함하는 제1 채널층, 상기 제1 채널층의 제1 영역에 전기적으로 연결된 제1 소스 전극, 상기 제1 채널층의 제2 영역에 전기적으로 연결된 제1 드레인 전극, 상기 제1 채널층 위에 배치된 제1 게이트 전극, 상기 제1 채널층과 상기 제1 게이트 전극 사이에 배치된 제1 디플리션 형성층, 상기 제1 채널층 아래에 배치된 제1 이중 게이트 전극을 포함하는 스위칭 박막 트랜지스터; 상기 기판 위에 배치되며, 질화물계 반도체층을 포함하는 제2 채널층, 상기 제2 채널층의 제1 영역에 전기적으로 연결된 제2 소스 전극, 상기 제2 채널층의 제2 영역에 전기적으로 연결된 제2 드레인 전극, 상기 제2 채널층 위에 배치된 제2 게이트 전극, 상기 제2 채널층과 상기 제2 게이트 전극 사이에 배치된 제2 디플리션 형성층, 상기 제2 채널층 아래에 배치된 제2 이중 게이트 전극을 포함하는 구동 박막 트랜지스터; 를 포함하는 박막 트랜지스터 기판을 포함하는 표시패널: 상기 표시패널을 구동하는 패널 구동부; 를 포함할 수 있다.A display device according to an embodiment includes a substrate; a first channel layer disposed on the substrate, the first channel layer including a nitride-based semiconductor layer, a first source electrode electrically connected to a first region of the first channel layer, and a first channel layer electrically connected to a second region of the first channel layer a first drain electrode, a first gate electrode disposed on the first channel layer, a first depletion forming layer disposed between the first channel layer and the first gate electrode, and a first disposed under the first channel layer a switching thin film transistor including a double gate electrode; a second channel layer disposed on the substrate and including a nitride-based semiconductor layer, a second source electrode electrically connected to a first region of the second channel layer, and a second channel layer electrically connected to a second region of the second channel layer 2 drain electrodes, a second gate electrode disposed on the second channel layer, a second depletion forming layer disposed between the second channel layer and the second gate electrode, a second layer disposed under the second channel layer a driving thin film transistor including a double gate electrode; A display panel comprising a thin film transistor substrate comprising: a panel driver driving the display panel; may include.
실시 예에 따른 박막 트랜지스터 기판, 이를 포함하는 표시패널 및 표시장치는, 높은 캐리어 이동도를 제공함으로써 고해상도를 구현하고 부드러운 동화상을 재생할 수 있는 장점이 있다.The thin film transistor substrate, the display panel, and the display device including the same according to the embodiment have advantages of realizing high resolution and reproducing smooth moving images by providing high carrier mobility.
도 1은 본 발명의 실시 예에 따른 박막 트랜지스터 기판을 나타낸 도면이다.
도 2 내지 도 14는 본 발명의 실시 예에 따른 도 1에 도시된 박막 트랜지스터 기판의 제조 공정 예를 나타낸 도면이다.
도 15는 본 발명의 실시 예에 따른 박막 트랜지스터 기판에 복수의 화소가 배치된 예를 나타낸 도면이다.
도 16 및 도 17은 본 발명의 실시 예에 따른 박막 트랜지스터 기판의 다른 예를 나타낸 도면이다.
도 18은 본 발명의 실시 예에 따른 박막 트랜지스터 기판의 또 다른 예를 나타낸 도면이다.
도 19는 본 발명의 실시 예에 따른 박막 트랜지스터 기판의 또 다른 예를 나타낸 도면이다.
도 20은 본 발명의 실시 예에 따른 박막 트랜지스터 기판의 또 다른 예를 나타낸 도면이다.
도 21은 본 발명의 실시 예에 따른 박막 트랜지스터 기판의 또 다른 예를 나타낸 도면이다.
도 22는 본 발명의 실시 예에 따른 박막 트랜지스터 기판의 또 다른 예를 나타낸 도면이다.
도 23은 본 발명의 실시 예에 따른 박막 트랜지스터 기판의 또 다른 예를 나타낸 도면이다.
도 24는 본 발명의 실시 예에 따른 박막 트랜지스터 기판의 또 다른 예를 나타낸 도면이다.
도 25 및 도 26은 본 발명의 실시 예에 따른 박막 트랜지스터 기판의 또 다른 예를 나타낸 도면이다.
도 27은 본 발명의 실시 예에 따른 박막 트랜지스터 기판의 또 다른 예를 나타낸 도면이다.
도 28은 본 발명의 실시 예에 따른 박막 트랜지스터 기판의 또 다른 예를 나타낸 도면이다.
도 29는 본 발명의 실시 예에 따른 박막 트랜지스터 기판의 또 다른 예를 나타낸 도면이다.
도 30은 본 발명의 실시 예에 따른 박막 트랜지스터 기판의 또 다른 예를 나타낸 도면이다.
도 31은 본 발명의 실시 예에 따른 박막 트랜지스터 기판의 또 다른 예를 나타낸 도면이다.
도 32는 본 발명의 실시 예에 따른 박막 트랜지스터 기판의 또 다른 예를 나타낸 도면이다.
도 33은 본 발명의 실시 예에 따른 박막 트랜지스터 기판의 또 다른 예를 나타낸 도면이다.
도 34는 본 발명의 실시 예에 따른 박막 트랜지스터 기판의 또 다른 예를 나타낸 도면이다.
도 35는 본 발명의 실시 예에 따른 박막 트랜지스터 기판의 또 다른 예를 나타낸 도면이다.
도 36은 본 발명의 실시 예에 따른 박막 트랜지스터 기판의 또 다른 예를 나타낸 도면이다.
도 37은 본 발명의 실시 예에 따른 박막 트랜지스터 기판의 또 다른 예를 나타낸 도면이다.
도 38은 본 발명의 실시 예에 따른 박막 트랜지스터 기판의 또 다른 예를 나타낸 도면이다.
도 39는 본 발명의 실시 예에 따른 박막 트랜지스터 기판의 또 다른 예를 나타낸 도면이다.
도 40은 본 발명의 실시 예에 따른 박막 트랜지스터 기판의 또 다른 예를 나타낸 도면이다.
도 41은 본 발명의 실시 예에 따른 박막 트랜지스터 기판을 포함하는 표시장치의 예를 나타낸 블록도이다.
도 42는 본 발명의 실시 예에 따른 박막 트랜지스터 기판의 또 다른 예를 나타낸 도면이다.
도 43은 본 발명의 실시 예에 따른 도 42에 도시된 박막 트랜지스터 기판의 D-D 선에 따른 단면을 나타낸 도면이다.
도 44는 본 발명의 실시 예에 따른 도 42에 도시된 박막 트랜지스터 기판의 E-E 선에 따른 단면을 나타낸 도면이다.
도 45는 도 42 내지 도 44를 참조하여 설명된 박막 트랜지스터 기판에 있어서 하나의 화소를 등가적으로 나타낸 회로도이다.
도 46은 본 발명의 실시 예에 따른 박막 트랜지스터 기판의 또 다른 예를 나타낸 도면이다.
도 47은 본 발명의 실시 예에 따른 박막 트랜지스터 기판의 또 다른 예를 나타낸 도면이다.
도 48은 본 발명의 실시 예에 따른 박막 트랜지스터 기판의 또 다른 예를 나타낸 도면이다.
도 49는 본 발명의 실시 예에 따른 박막 트랜지스터 기판의 또 다른 예를 나타낸 도면이다.
도 50은 본 발명의 실시 예에 따른 박막 트랜지스터 기판의 또 다른 예를 나타낸 도면이다.
도 51은 본 발명의 실시 예에 따른 박막 트랜지스터 기판의 또 다른 예를 나타낸 도면이다.
도 52는 본 발명의 실시 예에 따른 박막 트랜지스터 기판의 또 다른 예를 나타낸 도면이다.
도 53은 본 발명의 실시 예에 따른 박막 트랜지스터 기판을 포함하는 표시장치의 예를 나타낸 블록도이다.1 is a view showing a thin film transistor substrate according to an embodiment of the present invention.
2 to 14 are views illustrating an example of a manufacturing process of the thin film transistor substrate shown in FIG. 1 according to an embodiment of the present invention.
15 is a diagram illustrating an example in which a plurality of pixels are disposed on a thin film transistor substrate according to an embodiment of the present invention.
16 and 17 are views illustrating another example of a thin film transistor substrate according to an embodiment of the present invention.
18 is a view showing another example of a thin film transistor substrate according to an embodiment of the present invention.
19 is a view showing another example of a thin film transistor substrate according to an embodiment of the present invention.
20 is a view showing another example of a thin film transistor substrate according to an embodiment of the present invention.
21 is a view showing another example of a thin film transistor substrate according to an embodiment of the present invention.
22 is a view showing another example of a thin film transistor substrate according to an embodiment of the present invention.
23 is a view showing another example of a thin film transistor substrate according to an embodiment of the present invention.
24 is a view showing another example of a thin film transistor substrate according to an embodiment of the present invention.
25 and 26 are views showing another example of a thin film transistor substrate according to an embodiment of the present invention.
27 is a diagram illustrating another example of a thin film transistor substrate according to an embodiment of the present invention.
28 is a view showing another example of a thin film transistor substrate according to an embodiment of the present invention.
29 is a view showing another example of a thin film transistor substrate according to an embodiment of the present invention.
30 is a diagram illustrating another example of a thin film transistor substrate according to an embodiment of the present invention.
31 is a view showing another example of a thin film transistor substrate according to an embodiment of the present invention.
32 is a diagram illustrating another example of a thin film transistor substrate according to an embodiment of the present invention.
33 is a view showing another example of a thin film transistor substrate according to an embodiment of the present invention.
34 is a view showing another example of a thin film transistor substrate according to an embodiment of the present invention.
35 is a diagram illustrating another example of a thin film transistor substrate according to an embodiment of the present invention.
36 is a diagram illustrating another example of a thin film transistor substrate according to an embodiment of the present invention.
37 is a diagram illustrating another example of a thin film transistor substrate according to an embodiment of the present invention.
38 is a diagram illustrating another example of a thin film transistor substrate according to an embodiment of the present invention.
39 is a view showing another example of a thin film transistor substrate according to an embodiment of the present invention.
40 is a diagram illustrating another example of a thin film transistor substrate according to an embodiment of the present invention.
41 is a block diagram illustrating an example of a display device including a thin film transistor substrate according to an embodiment of the present invention.
42 is a diagram illustrating another example of a thin film transistor substrate according to an embodiment of the present invention.
43 is a view showing a cross-section taken along line DD of the thin film transistor substrate shown in FIG. 42 according to an embodiment of the present invention.
44 is a view showing a cross-section taken along line EE of the thin film transistor substrate shown in FIG. 42 according to an embodiment of the present invention.
45 is a circuit diagram equivalently illustrating one pixel in the thin film transistor substrate described with reference to FIGS. 42 to 44 .
46 is a view showing another example of a thin film transistor substrate according to an embodiment of the present invention.
47 is a diagram illustrating another example of a thin film transistor substrate according to an embodiment of the present invention.
48 is a view showing another example of a thin film transistor substrate according to an embodiment of the present invention.
49 is a view showing another example of a thin film transistor substrate according to an embodiment of the present invention.
50 is a diagram illustrating another example of a thin film transistor substrate according to an embodiment of the present invention.
51 is a view showing another example of a thin film transistor substrate according to an embodiment of the present invention.
52 is a view showing another example of a thin film transistor substrate according to an embodiment of the present invention.
53 is a block diagram illustrating an example of a display device including a thin film transistor substrate according to an embodiment of the present invention.
실시 예의 설명에 있어서, 각 층(막), 영역, 패턴 또는 구조물들이 기판, 각 층(막), 영역, 패드 또는 패턴들의 "상/위(on)"에 또는 "하/아래(under)"에 형성되는 것으로 기재되는 경우에 있어, "상/위(on)"와 "하/아래(under)"는 "직접(directly)" 또는 "다른 층을 개재하여 (indirectly)" 형성되는 것을 모두 포함한다. 또한 각 층의 상/위 또는 하/아래에 대한 기준은 도면을 기준으로 설명한다.In the description of an embodiment, each layer (film), region, pattern or structure is “on” or “under” the substrate, each layer (film), region, pad or pattern. In the case of being described as being formed on, "on" and "under" include both "directly" or "indirectly" formed through another layer. do. In addition, the criteria for the upper / upper or lower / lower of each layer will be described with reference to the drawings.
이하, 첨부된 도면을 참조하여 본 발명의 실시 예들에 따른 박막 트랜지스터 기판, 표시패널, 표시장치 및 박막 트랜지스터 기판 제조방법에 대해 상세히 설명하도록 한다.Hereinafter, a method for manufacturing a thin film transistor substrate, a display panel, a display device, and a thin film transistor substrate according to embodiments of the present invention will be described in detail with reference to the accompanying drawings.
도 1은 본 발명의 실시 예에 따른 박막 트랜지스터 기판을 나타낸 도면이다.1 is a view showing a thin film transistor substrate according to an embodiment of the present invention.
본 발명의 실시 예에 따른 박막 트랜지스터 기판은, 도 1에 도시된 바와 같이, 기판(55)과 상기 기판(55) 위에 배치된 박막 트랜지스터(30), 상기 박막 트랜지스터(30)에 전기적으로 연결된 화소전극(80)을 포함할 수 있다.As shown in FIG. 1 , a thin film transistor substrate according to an embodiment of the present invention includes a
실시 예에 따른 박막 트랜지스터(30)는 디플리션 형성층(depletion forming layer, 15), 게이트 전극(33), 채널층(60), 소스 전극(71), 드레인 전극(72)을 포함할 수 있다. 상기 소스 전극(71)은 상기 채널층(60)의 제1 영역에 전기적으로 연결될 수 있다. 상기 소스 전극(71)은 상기 채널층(60)의 상부 면에 전기적으로 연결될 수 있다. 상기 드레인 전극(72)은 상기 채널층(60)의 제2 영역에 전기적으로 연결될 수 있다. 상기 드레인 전극(72)은 상기 채널층(60)의 상부 면에 전기적으로 연결될 수 있다. 상기 게이트 전극(33)은 상기 채널층(60) 위에 배치될 수 있다. 상기 디플리션 형성층(15)은 상기 채널층(60)의 제1 영역과 제2 영역 사이 위에 배치될 수 있다. 상기 디플리션 형성층(15)은 상기 채널층(60)과 상기 게이트 전극(33) 사이에 배치될 수 있다.The
상기 채널층(60)은 예로서 III족-V족 화합물 반도체로 구현될 수 있다. 예컨대, 상기 채널층(60)은 InxAlyGa1 -x- yN (0≤x≤1, 0≤y≤1, 0≤x+y≤1)의 조성식을 갖는 반도체 물질로 구현될 수 있다. 상기 채널층(60)은 예를 들어 GaN, AlN, AlGaN, InGaN, InN, InAlGaN, AlInN, AlGaAs, GaP, GaAs, GaAsP, AlGaInP 등에서 선택된 단일층 또는 다중층을 포함할 수 있다.The
상기 채널층(60)은 제1 질화물 반도체층(61)과 제2 질화물 반도체층(62)을 포함할 수 있다. 상기 제1 질화물 반도체층(61)은 예로서 InxAlyGa1 -x- yN (0≤x≤1, 0≤y≤1, 0≤x+y≤1)의 조성식을 갖는 반도체 물질로 구현될 수 있다. 상기 제2 질화물 반도체층(62)은 예로서 InxAlyGa1 -x- yN (0≤x≤1, 0≤y≤1, 0≤x+y≤1)의 조성식을 갖는 반도체 물질로 구현될 수 있다. The
실시 예에 따른 상기 채널층(60)에 의하면, 상기 제1 질화물 반도체층(61)이 GaN 반도체층을 포함하고, 상기 제2 질화물 반도체층(62)이 AlGaN 반도체층을 포함할 수 있다. 상기 제2 질화물 반도체층(62)은 상기 제1 질화물 반도체층(61)과 상기 디플리션 형성층(15) 사이에 배치될 수 있다.According to the
상기 디플리션 형성층(15)은 예로서 III족-V족 화합물 반도체로 구현될 수 있다. 예컨대, 상기 디플리션 형성층(15)은 InxAlyGa1 -x- yN (0≤x≤1, 0≤y≤1, 0≤x+y≤1)의 조성식을 갖는 반도체 물질로 구현될 수 있다. 상기 디플리션 형성층(15)은 예를 들어 GaN, AlN, AlGaN, InGaN, InN, InAlGaN, AlInN, AlGaAs, GaP, GaAs, GaAsP, AlGaInP 등에서 선택된 단일층 또는 다중층을 포함할 수 있다. 상기 디플리션 형성층(15)은 p형 도펀트가 첨가된 질화물 반도체층을 포함할 수 있다. 예로서, 상기 디플리션 형성층(15)은 p형 도펀트가 첨가된 GaN 반도체층 또는 p형 도펀트가 첨가된 AlGaN 반도체층을 포함할 수 있다. 상기 디플리션 형성층(15)은 예컨대, p-AlxGa1-xN (0≤x≤0.3)의 조성식을 갖는 반도체 물질로 구현된 단일층 또는 다중층을 포함할 수 있다. The
상기 디플리션 형성층(15)은 예로서 2~300nm의 두께로 제공될 수 있다. 상기 디플리션 형성층(15)은 상기 채널층(60)에 제공된 2차원 전자가스(2DEG)에 디플리션 영역(depletion region)을 제공하기 위하여 적어도 2nm의 두께로 제공될 수 있다. 또한, 상기 디플리션 형성층(15)은 제조공정에 따른 두께 편차를 고려하여 30nm 이상의 두께로 제공될 수도 있다. 또한, 상기 디플리션 형성층(15)은 제조공정에 따른 두께 편차를 고려하여 200nm 이하의 두께로 제공될 수도 있다. 상기 디플리션 형성층(15)은 예로서 50~100nm의 두께로 제공될 수도 있다.The
상기 디플리션 형성층(15)은 상기 채녈층(60)에 제공된 2차원 전자가스(2DEG)에 디플리션 영역(depletion region)을 형성하는 역할을 할 수 있다. 상기 디플리션 형성층(15)에 의해 그 아래에 위치하는 제2 질화물 반도체층(62) 부분의 에너지 밴드갭(energy bandgap)이 높아질 수 있고, 그 결과 상기 디플리션 형성층(15)에 대응하는 상기 채널층(60) 부분에 2차원 전자가스(2DEG)의 디플리션 영역이 제공될 수 있다. 따라서, 상기 채널층(60)에 제공되는 2차원 전자가스(2DEG) 중 상기 디플리션 형성층(15)이 배치된 위치에 대응되는 영역은 끊어질 수 있다. 상기 채널층(60)에서 2차원 전자가스(2DEG)가 끊어진 영역을 단절영역이라 할 수 있으며, 예로서 상기 제2 질화물 반도체층(62)에 단절영역이 형성될 수 있다. 이러한 단절영역에 의해 상기 박막 트랜지스터(30)는 노멀리-오프(normally-off) 특성을 가질 수 있다. 상기 게이트 전극(33)에 문턱 전압(threshold voltage) 이상의 전압을 인가하면, 단절영역에 2차원 전자가스(2DEG)가 생성되어, 상기 박막 트랜지스터(30)가 온 상태가 된다. 상기 게이트 전극(33)의 하부에 형성된 채널이 온 상태가 되면 상기 채널층(60)에 형성된 2차원 전자가스(2DEG)를 경유하여 전류가 흐를 수 있게 된다. 이에 따라, 상기 게이트 전극(33)에 인가되는 전압에 따라 상기 채널층(60)의 제1 영역으로부터 제2 영역으로의 전류 흐름이 제어될 수 있게 된다.The
상기 기판(55)은 투명기판을 포함할 수 있다. 상기 기판(55)은 예로서 0.1 mm 내지 3 mm의 두께를 갖는 투명기판으로 구현될 수 있다. 또한, 상기 기판(55)의 두께는 적용되는 표시장치의 용도 및 크기에 따라 변경될 수 있는 것으로서 0.4~1.1mm의 두께 범위 내에서 선택될 수도 있다. 예로서, 상기 기판(55)은 0.6~0.8mm의 두께로 제공될 수도 있다. 상기 기판(55)은 실리콘, 유리, 폴리이미드, 플라스틱을 포함하는 물질 중에서 선택된 적어도 하나의 물질을 포함할 수 있다. 상기 기판(55)은 플렉시블 기판을 포함할 수 있다. The
상기 기판(55)은 뒤에서 설명될 트랜스퍼(transfer) 공정에서 적용되는 기판으로서 상기 박막 트랜지스터(30)를 지지하는 역할을 수행한다. 또한, 실시 예에 따른 박막 트랜지스터 기판은 상기 기판(55)과 상기 박막 트랜지스터(30) 사이에 제공된 본딩층(50)을 포함할 수 있다. The
상기 본딩층(50)은 유기물을 포함할 수 있다. 상기 본딩층(50)은 투명물질로 구현될 수 있다. 상기 본딩층(50)은 예로서 투과도가 70% 이상인 물질로 구현될 수 있다. 상기 본딩층(50)은 유기 절연물질을 포함할 수 있다. 상기 본딩층(50)은 아크릴, 벤조시클로부텐(BCB), SU-8 폴리머(SU-8 polymer) 등을 포함하는 그룹 중에서 선택된 적어도 어느 하나의 물질을 포함할 수 있다. 상기 본딩층(50)은 예로서 0.5~6㎛의 두께로 제공될 수 있다. 상기 본딩층(50)의 두께는 선택된 물질 종류에 따라 차이가 있을 수 있으며 1~3㎛의 두께로 제공될 수도 있다. 또한, 상기 본딩층(50)은 예로서 1.8~2.2㎛의 두께로 제공될 수도 있다.The
실시 예에 따른 박막 트랜지스터(30)는 상기 채널층(60)의 제1 영역 위에 배치된 소스 컨택부(31)와 상기 채널층(60)의 제2 영역 위에 배치된 드레인 컨택부(32)를 포함할 수 있다. 상기 소스 컨택부(31)는 상기 채널층(60)의 제1 영역에 접촉되어 배치될 수 있다. 상기 드레인 컨택부(32)는 상기 채널층(60)의 제2 영역에 접촉되어 배치될 수 있다.The
실시 예에 따른 박막 트랜지스터(30)는 상기 게이트 전극(33) 위에 배치된 게이트 배선(41)을 포함할 수 있다. 상기 게이트 배선(41)은 상기 게이트 전극(33)에 전기적으로 연결될 수 있다. 상기 게이트 배선(41)의 하부 면이 상기 게이트 전극(33)의 상부 면에 접촉되어 배치될 수 있다.The
상기 소스 전극(71)은 상기 소스 컨택부(31)에 전기적으로 연결될 수 있다. 상기 소스 전극(71)은 상기 소스 컨택부(31)의 상부 면에 접촉되어 배치될 수 있다. 예로서, 상기 소스 전극(71)은 상기 소스 컨택부(31)를 통하여 상기 채널층(60)의 제1 영역에 전기적으로 연결될 수 있다. 상기 드레인 전극(72)은 상기 드레인 컨택부(32)에 전기적으로 연결될 수 있다. 상기 드레인 전극(72)은 상기 드레인 컨택부(32)의 상부 면에 접촉되어 배치될 수 있다. 예로서, 상기 드레인 전극(72)은 상기 드레인 컨택부(32)를 통하여 상기 채널층(60)의 제2 영역에 전기적으로 연결될 수 있다.The source electrode 71 may be electrically connected to the
상기 소스 컨택부(31)와 상기 드레인 컨택부(32)는 상기 채널층(60)과 오믹 접촉하는 물질로 구현될 수 있다. 상기 소스 컨택부(31)와 상기 드레인 컨택부(32)는 상기 제2 질화물 반도체층(62)과 오믹 접촉하는 물질을 포함할 수 있다. 예로서, 상기 소스 컨택부(31)와 상기 드레인 컨택부(32)는 알루미늄(Al), 알루미늄 합금(Al alloy), 텅스텐(W), 구리(Cu), 구리 합금(Cu alloy), 몰리브덴(Mo), 은(Ag), 은 합금(Ag alloy), 금(Au), 금 합금(Au alloy), 크롬(Cr), 티타늄(Ti), 티타늄 합금(Ti alloy), 몰리텅스텐(MoW), 몰리티타늄(MoTi), 구리/몰리티타늄(Cu/MoTi)을 포함하는 그룹 중에서 선택된 적어도 어느 하나의 물질을 포함하는 단일층 또는 다중층을 포함할 수 있다. 상기 소스 컨택부(31)와 상기 드레인 컨택부(32)는 예로서 0.1~1㎛의 두께로 제공될 수 있다. 상기 소스 컨택부(31)와 상기 드레인 컨택부(32)는 상기 채널층(60)과의 접촉을 위한 층으로서 전류 확산 기능을 수행하지 않아도 되므로 1㎛ 이하의 두께로 제공될 수도 있다.The
상기 게이트 전극(33)은 상기 디플리션 형성층(15)과 오믹 접촉하는 물질로 구현될 수 있다. 예로서, 상기 게이트 전극(33)은 p형 질화물층과 오믹 접촉하는 금속성 물질로 구현될 수 있다. 상기 게이트 전극(33)은 텅스텐(W), 텅스텐실리콘(WSi2), 티타늄질소(TiN), 탄탈륨(Ta), 탄탈륨질소(TaN), 팔라듐(Pd), 니켈(Ni), 백금(Pt)을 포함하는 그룹 중에서 선택된 적어도 어느 하나의 물질을 포함하는 단일층 또는 다중층을 포함할 수 있다. 상기 게이트 전극(33)은 예로서 0.1~1㎛의 두께로 제공될 수 있다. 상기 게이트 전극(33)은 상기 디플리션 형성층(15)과의 접촉을 위한 층으로서 전류 확산 기능을 수행하지 않아도 되므로 1㎛ 이하의 두께로 제공될 수도 있다.The
상기 게이트 배선(41)은 알루미늄(Al), 알루미늄 합금(Al alloy), 텅스텐(W), 구리(Cu), 구리 합금(Cu alloy), 몰리브덴(Mo), 은(Ag), 은 합금(Ag alloy), 금(Au), 금 합금(Au alloy), 크롬(Cr), 티타늄(Ti), 티타늄 합금(Ti alloy), 몰리텅스텐(MoW), 몰리티타늄(MoTi), 구리/몰리티타늄(Cu/MoTi)을 포함하는 그룹 중에서 선택된 적어도 어느 하나의 물질을 포함하는 단일층 또는 다중층을 포함할 수 있다. 상기 게이트 배선(41)은 예로서 0.1~3㎛의 두께로 제공될 수 있다. 상기 게이트 배선(41)은 복수의 트랜지스터에 순차적으로 전압을 인가하는 기능을 수행하므로 상기 게이트 전극(33)의 두께에 비하여 더 두껍게 제공될 수도 있다.The
상기 소스 전극(71)과 상기 드레인 전극(72)은 알루미늄(Al), 알루미늄 합금(Al alloy), 텅스텐(W), 구리(Cu), 구리 합금(Cu alloy), 몰리브덴(Mo), 은(Ag), 은 합금(Ag alloy), 금(Au), 금 합금(Au alloy), 크롬(Cr), 티타늄(Ti), 티타늄 합금(Ti alloy), 몰리텅스텐(MoW), 몰리티타늄(MoTi), 구리/몰리티타늄(Cu/MoTi)을 포함하는 그룹 중에서 선택된 적어도 어느 하나의 물질을 포함하는 단일층 또는 다중층을 포함할 수 있다. 상기 소스 전극(71)과 상기 드레인 전극(72)은 예로서 0.1~3㎛의 두께로 제공될 수 있다. 상기 소스 전극(71)은 복수의 트랜지스터에 순차적으로 전압을 인가하는 기능을 수행하므로 상기 소스 컨택부(31)의 두께에 비하여 더 두껍게 제공될 수도 있다. 상기 드레인 전극(72)도 상기 드레인 컨택부(32)의 두께에 비하여 더 두껍게 제공될 수도 있다.The
실시 예에 따른 박막 트랜지스터 기판은 상기 채널층(60) 위에 배치된 제1 보호막(21)을 포함할 수 있다. 상기 제1 보호막(21)은 상기 제2 질화물 반도체층(62) 위에 배치될 수 있다. 상기 제1 보호막(21)의 하부 면은 상기 제2 질화물 반도체층(62)의 상부 면에 접촉되어 배치될 수 있다. 상기 제1 보호막(21)은 상기 디플리션 형성층(15) 위에 배치될 수 있다. 상기 제1 보호막(21)은 상기 디플리션 형성층(15)의 측면에 배치될 수 있다. 상기 제1 보호막(21)은 상기 디플리션 형성층(15)의 측면을 감싸도록 배치될 수 있다.The thin film transistor substrate according to the embodiment may include a
실시 예에 의하면, 상기 소스 컨택부(31)는 상기 제1 보호막(21)을 관통하여 배치될 수 있다. 상기 소스 컨택부(31)는 상기 제1 보호막(21)에 의하여 둘러 싸여 배치될 수 있다. 상기 소스 컨택부(31)는 상기 제1 보호막(21)을 관통하여 배치되고 상기 채널층(60)의 제1 영역에 접촉되어 제공될 수 있다. 상기 드레인 컨택부(32)는 상기 제1 보호막(21)을 관통하여 배치될 수 있다. 상기 드레인 컨택부(32)는 상기 제1 보호막(21)에 의하여 둘러 싸여 배치될 수 있다. 상기 드레인 컨택부(32)는 상기 제1 보호막(21)을 관통하여 배치되고 상기 채널층(60)의 제2 영역에 접촉되어 제공될 수 있다.According to an embodiment, the
상기 제1 보호막(21)은 절연물질로 구현될 수 있다. 상기 제1 보호막(21)은 예로서 실리콘 계열의 산화물, 실리콘 계열의 질화물, Al2O3를 포함하는 금속 산화물, 유기 절연물 중에서 적어도 하나의 물질을 포함하는 단일층 또는 다중층을 포함할 수 있다.The
실시 예에 의하면, 상기 기판(55)과 상기 제1 보호막(21) 위에 제2 보호막(22)이 배치될 수 있다. 상기 게이트 전극(33)은 상기 제1 보호막(21)과 상기 제2 보호막(22) 중에서 적어도 하나를 관통하여 배치될 수 있다. 예로서, 상기 게이트 전극(33)은 상기 제1 보호막(21)과 상기 제2 보호막(22)을 관통하여 배치될 수 있다. 상기 게이트 전극(33)은 상기 제1 보호막(21)과 상기 제2 보호막(22) 중에서 적어도 하나를 관통하여 상기 디플리션 형성층(15)에 접촉되어 배치될 수 있다, 예로서, 상기 게이트 전극(33)은 상기 제1 보호막(21)과 상기 제2 보호막(22)을 관통하여 상기 디플리션 형성층(15)에 접촉되어 배치될 수 있다. 상기 게이트 배선(41)은 상기 제2 보호막(22) 위에 배치되어 상기 게이트 전극(33)과 전기적으로 연결될 수 있다. 상기 제2 보호막(22)은 절연물질로 구현될 수 있다. 상기 제2 보호막(22)은 예로서 실리콘 계열의 산화물, 실리콘 계열의 질화물, Al2O3를 포함하는 금속 산화물, 유기 절연물 중에서 적어도 하나의 물질을 포함하는 단일층 또는 다중층을 포함할 수 있다.According to an embodiment, a
실시 예에 의하면, 상기 제2 보호막(22) 위에 제3 보호막(23)이 배치될 수 있다. 상기 제3 보호막(23)은 상기 제2 보호막(22)과 상기 게이트 배선(41) 위에 배치될 수 있다. 상기 게이트 배선(41)은 상기 게이트 전극(33) 위에 접촉되어 배치되고 상기 제3 보호막(23)에 의하여 둘러 싸여 제공될 수 있다.According to an embodiment, a
상기 소스 전극(71)은 상기 제2 보호막(22)과 상기 제3 보호막(23)을 관통하여 상기 소스 컨택부(31)에 전기적으로 연결될 수 있다. 상기 소스 전극(71)은 상기 제3 보호막(23) 위에 배치된 제1 영역을 포함할 수 있다. 상기 소스 전극(71)은 상기 제3 보호막(23)과 상기 제2 보호막(22)을 관통하는 제2 영역을 포함할 수 있다. 상기 드레인 전극(72)은 상기 제2 보호막(22)과 상기 제3 보호막(23)을 관통하여 상기 드레인 컨택부(32)에 전기적으로 연결될 수 있다. 상기 드레인 전극(72)은 상기 제3 보호막(23) 위에 배치된 제1 영역을 포함할 수 있다. 상기 드레인 전극(72)은 상기 제3 보호막(23)과 상기 제2 보호막(22)을 관통하는 제2 영역을 포함할 수 있다.The source electrode 71 may pass through the
상기 제3 보호막(23)은 절연물질을 포함할 수 있다. 상기 제3 보호막(23)은 예로서 실리콘 계열의 산화물, 실리콘 계열의 질화물, Al2O3를 포함하는 금속 산화물, 유기 절연물 중에서 적어도 하나의 물질을 포함하는 단일층 또는 다중층을 포함할 수 있다.The
실시 예에 따른 박막 트랜지스터 기판은 상기 제3 보호막(23) 위에 배치된 제4 보호막(24)을 포함할 수 있다. 상기 제4 보호막(24)은 상기 소스 전극(71)과 상기 드레인 전극(72) 위에 배치될 수 있다. 상기 제4 보호막(24)은 상기 드레인 전극(72) 위에 제공된 컨택홀(H3)을 포함할 수 있다. The thin film transistor substrate according to the embodiment may include a
상기 제4 보호막(24)은 예로서 실리콘 계열의 산화물, 실리콘 계열의 질화물, Al2O3를 포함하는 금속 산화물, 유기 절연물 중에서 적어도 하나의 물질을 포함하는 단일층 또는 다중층을 포함할 수 있다.The
실시 예에 의하면, 상기 화소전극(80)은 상기 제4 보호막(24) 위에 배치될 수 있다. 상기 화소전극(80)은 상기 제4 보호막(24)에 제공된 컨택홀(H3)을 통하여 상기 드레인 전극(72)에 전기적으로 연결될 수 있다. 상기 화소전극(80)의 하부 면은 상기 드레인 전극(72)의 상부 면에 접촉되어 배치될 수 있다.According to an embodiment, the
상기 화소전극(80)은 투명 도전성 물질로 구현될 수 있다. 상기 화소전극(80)은 예로서 투명 도전성 산화막으로 구현될 수 있다. 상기 화소전극(80)은 ITO(Indium Tin Oxide), IZO(Indium Zinc Oxide), AZO(Aluminum Zinc Oxide), AGZO(Aluminum Gallium Zinc Oxide), IZTO(Indium Zinc Tin Oxide), IAZO(Indium Aluminum Zinc Oxide), IGZO(Indium Gallium Zinc Oxide), IGTO(Indium Gallium Tin Oxide), ATO(Antimony Tin Oxide), GZO(Gallium Zinc Oxide), IZON(IZO Nitride) 중에서 선택된 적어도 하나의 물질을 포함할 수 있다.The
실시 예에 따른 박막 트랜지스터 기판은, 상기 기판(55)과 상기 채널층(60) 사이에 배치된 블랙 매트릭스(40)를 포함할 수 있다. 상기 채널층(60)의 폭과 상기 블랙 매트릭스(40)의 폭이 같게 제공될 수 있다. 상기 블랙 매트릭스(40)는 Si 기반의 물질, Ga 기반의 물질, Al 기반의 물질, 유기물 중에서 선택된 적어도 하나의 물질을 포함하는 단일층 또는 다중층으로 제공될 수 있다. 상기 블랙 매트릭스(40)는 상기 박막 트랜지스터(30)로 입사되는 빛을 차단할 수 있다. 이에 따라 포토 커런트 등에 의하여 상기 박막 트랜지스터(30)가 열화되는 것을 방지할 수 있다.The thin film transistor substrate according to the embodiment may include a
실시 예에 의하면, 상기 기판(55)과 상기 채널층(60) 사이에 상기 본딩층(50)이 배치될 수 있다. 상기 본딩층(50)은 상기 기판(55)과 상기 블랙 매트릭스(40) 사이에 배치될 수 있다. 예로서, 상기 본딩층(50)은 상기 기판(55)의 전체 영역 위에 배치될 수 있다. 예로서, 상기 본딩층(50)은 상기 기판(55)의 전체 영역 위에 배치될 수 있다. 상기 본딩층(50)은 상기 제2 보호막(22)과 접촉되어 배치될 수 있다. 상기 본딩층(50)의 상부면과 상기 제2 보호막(22)의 하부면이 접촉되어 배치될 수 있다. 예로서, 상기 블랙 매트릭스(40)가 제공되지 않은 영역에서, 상기 본딩층(50)의 상부면과 상기 제2 보호막(22)의 하부면이 직접 접촉되어 배치될 수 있다.According to an embodiment, the
그러면, 도 2 내지 도 14를 참조하여 본 발명의 실시 예에 따른 박막 트랜지스터 기판의 제조 공정 예를 설명하기로 한다. 도 2 내지 도 13에서 각 도면의 (a)는 평면도를 나타낸 것이고 각 도면의 (b)는 평면도의 A-A 선에 따른 단면도를 나타낸 것이다.Next, an example of a manufacturing process of a thin film transistor substrate according to an embodiment of the present invention will be described with reference to FIGS. 2 to 14 . 2 to 13, (a) of each figure shows a plan view, and (b) of each figure shows a cross-sectional view taken along line A-A of the plan view.
먼저, 도 2에 도시된 바와 같이, 성장기판(10) 위에 제1층(11), 제2층(12), 제3층(13)이 순차적으로 성장될 수 있다. First, as shown in FIG. 2 , the
상기 성장기판(10)은 상기 제1층(11), 제2층(12), 제3층(13)이 성장될 수 있는 기판일 수 있다. 상기 성장기판(10)은 예를 들어, 사파이어(Sapphire), SiC, GaAs, GaN, ZnO, Si, GaP, InP, Ge 중 적어도 하나를 포함할 수 있다. 상기 성장기판(10)과 상기 제1층(11) 사이에는 버퍼층이 더 형성될 수도 있다.The
상기 제1층(11), 상기 제2층(12), 상기 제3층(13)은 예로서 III족-V족 화합물 반도체로 구현될 수 있다. 상기 제1층(11), 상기 제2층(12), 상기 제3층(13)은 InxAlyGa1-x-yN (0≤x≤1, 0≤y≤1, 0≤x+y≤1)의 조성식을 갖는 반도체 물질로 구현될 수 있다. 상기 제1층(11), 상기 제2층(12), 상기 제3층(13)은 예를 들어 GaN, AlN, AlGaN, InGaN, InN, InAlGaN, AlInN, AlGaAs, GaP, GaAs, GaAsP, AlGaInP 등에서 선택된 단일층 또는 다중층을 포함할 수 있다.The
실시 예에 따르면, 예로서 상기 제1층(11)은 GaN 반도체층으로 형성될 수 있고, 상기 제2층(12)은 AlGaN 반도체층으로 형성될 수 있다. 상기 제3층(13)은 p형 도펀트가 첨가된 질화물 반도체층을 포함할 수 있다. 예로서, 상기 제3층(13)은 p형 도펀트가 첨가된 GaN 반도체층 또는 p형 도펀트가 첨가된 AlGaN 반도체층을 포함할 수 있다. 상기 제3층(13)은 예컨대, p-AlxGa1 - xN (0≤x≤0.3)의 조성식을 갖는 반도체 물질로 구현된 단일층 또는 다중층을 포함할 수 있다.According to an embodiment, for example, the
다음으로, 도 3에 도시된 바와 같이, 상기 제3층(13)에 대한 식각을 통하여 상기 제2층(12) 위에 배치된 디플리션 형성층(15)이 형성될 수 있다. 상기 디플리션 형성층(15)은 예로서 포토 리소그래피 공정 및 식각 공정을 통하여 형성될 수 있다.Next, as shown in FIG. 3 , a
이어서, 도 4에 도시된 바와 같이, 상기 제2층(12)과 상기 디플리션 형성층(15) 위에 제1 보호막(21)이 형성될 수 있다. 상기 제1 보호막(21)은 절연물질로 구현될 수 있다. 상기 제1 보호막(21)은 예로서 실리콘 계열의 산화물, 실리콘 계열의 질화물, Al2O3를 포함하는 금속 산화물, 유기 절연물 중에서 적어도 하나의 물질을 포함하는 단일층 또는 다중층을 포함할 수 있다.Subsequently, as shown in FIG. 4 , a
도 5에 도시된 바와 같이, 상기 제2층(12) 위에 소스 컨택부(31)와 드레인 컨택부(32)가 형성될 수 있다. 상기 소스 컨택부(31)와 상기 드레인 컨택부(32)는 상기 제1 보호막(21)을 관통하여 상기 제2층(12) 위에 형성될 수 있다. 예로서, 상기 소스 컨택부(31)와 상기 드레인 컨택부(32)는 자기정렬(self-align) 공정을 통해 형성될 수 있다. 상기 소스 컨택부(31)와 상기 드레인 컨택부(32)는 상기 제2층(12)에 오믹 접촉될 수 있다. 예로서, 상기 소스 컨택부(31)와 상기 드레인 컨택부(32)는 알루미늄(Al), 알루미늄 합금(Al alloy), 텅스텐(W), 구리(Cu), 구리 합금(Cu alloy), 몰리브덴(Mo), 은(Ag), 은 합금(Ag alloy), 금(Au), 금 합금(Au alloy), 크롬(Cr), 티타늄(Ti), 티타늄 합금(Ti alloy), 몰리텅스텐(MoW), 몰리티타늄(MoTi), 구리/몰리티타늄(Cu/MoTi)을 포함하는 그룹 중에서 선택된 적어도 어느 하나의 물질을 포함하는 단일층 또는 다중층을 포함할 수 있다. 상기 소스 컨택부(31)와 상기 드레인 컨택부(32)는 예로서 0.1~1㎛의 두께로 형성될 수 있다. 상기 소스 컨택부(31)와 상기 드레인 컨택부(32)는 상기 채널층(60)과의 접촉을 위한 층으로서 전류 확산 기능을 수행하지 않아도 되므로 1㎛ 이하의 두께로 제공될 수도 있다.As shown in FIG. 5 , a
도 5의 (a)에 도시된 바와 같이, 상기 소스 컨택부(31)는 제1 방향으로 L1의 길이를 가질 수 있고 상기 드레인 컨택부(32)는 상기 제1 방향으로 L2의 길이를 가질 수 있다. 상기 디플리션 형성층(15)은 상기 제1 방향으로 L3의 길이를 갖도록 형성될 수 있다. 예로서, 상기 소스 컨택부(31)의 측면과 상기 드레인 컨택부(32)의 측면이 서로 마주보게 배치되고, 상기 디플리션 형성층(15)이 상기 소스 컨택부(31)의 측면과 상기 드레인 컨택부(32)의 측면 사이에 일 방향으로 연장되어 배치될 수 있다. 상기 일 방향으로 연장되어 배치된 상기 디플리션 형성층(15)의 길이(L3)가 상기 소스 컨택부(31)의 측면 길이(L1)에 비해 더 길게 형성될 수 있다. 상기 디플리션 형성층(15)의 길이(L3)가 상기 드레인 컨택부(32)의 측면 길이(L2)에 비해 더 길게 형성될 수 있다. 상기 소스 컨택부(31)와 상기 드레인 컨택부(32) 사이에 배치된 상기 디플리션 형성층(15)의 길이가 더 길게 형성됨으로써, 트랜지스터로서 동작되는 경우에, 상기 디플리션 형성층(15)에 의하여 채널층에 충분한 디플리션 영역이 형성되도록 할 수 있으며, 게이트 전압이 인가되지 않는 경우에 상기 소스 컨택부(31)로부터 상기 드레인 컨택부(32)로 전류가 흐르는 것을 방지할 수 있게 된다. 이에 따라 실시 예에 의하면 노멀리 오프(normally off) 구동의 트랜지스터를 제공할 수 있게 된다.As shown in FIG. 5A , the
그리고, 도 6에 도시된 바와 같이, 상기 디플리션 형성층(15) 위에 게이트 전극(33)이 형성될 수 있다. 상기 게이트 전극(33)은 상기 제1 보호막(21)을 관통하여 형성될 수 있다.Further, as shown in FIG. 6 , a
상기 게이트 전극(33)은 상기 디플리션 형성층(15)과 오믹 접촉하는 물질로 구현될 수 있다. 예로서, 상기 게이트 전극(33)은 p형 질화물층과 오믹 접촉하는 금속성 물질로 구현될 수 있다. 상기 게이트 전극(33)은 텅스텐(W), 텅스텐실리콘(WSi2), 티타늄질소(TiN), 탄탈륨(Ta), 탄탈륨질소(TaN), 팔라듐(Pd), 니켈(Ni), 백금(Pt)을 포함하는 그룹 중에서 선택된 적어도 어느 하나의 물질을 포함하는 단일층 또는 다중층을 포함할 수 있다. 상기 게이트 전극(33)은 예로서 0.1~1㎛의 두께로 형성될 수 있다. 상기 게이트 전극(33)은 상기 디플리션 형성층(15)과의 접촉을 위한 층으로서 전류 확산 기능을 수행하지 않아도 되므로 1㎛ 이하의 두께로 제공될 수도 있다.The
다음으로, 도 7에 도시된 바와같이, 상기 소스 컨택부(31), 상기 드레인 컨택부(32), 상기 게이트 전극(33) 위에 본딩층(51)과 임시기판(56)이 제공될 수 있다. 상기 본딩층(51)과 상기 임시기판(56)은 트랜스퍼(transfer) 공정을 적용하고 상기 성장기판(10)을 제거하기 위하여 제공되는 것이다. 이어서, 상기 성장기판(10)이 제거되고 상기 제1 층(11) 위에 블랙 매트릭스층이 형성될 수 있다.Next, as shown in FIG. 7 , a
그리고, 도 8에 도시된 바와 같이, 블랙 매트릭스층에 트랜스퍼 공정 적용을 위하여 본딩층(50)과 기판(55)이 제공될 수 있으며, 상기 임시기판(56)이 제거되고, 채널층(60), 블랙 매트릭스(40)가 패터닝 될 수 있다. And, as shown in FIG. 8 , a
상기 본딩층(50)은 유기물을 포함할 수 있다. 상기 본딩층(50)은 투명물질로 구현될 수 있다. 상기 본딩층(50)은 예로서 투과도가 70% 이상인 물질로 구현될 수 있다. 상기 본딩층(50)은 유기 절연물질을 포함할 수 있다. 상기 본딩층(50)은 아크릴, 벤조시클로부텐(BCB), SU-8 폴리머(SU-8 polymer) 등을 포함하는 그룹 중에서 선택된 적어도 어느 하나의 물질을 포함할 수 있다. 상기 본딩층(50)은 예로서 0.5~6㎛의 두께로 형성될 수 있다. 상기 본딩층(50)의 두께는 선택된 물질 종류에 따라 차이가 있을 수 있으며 1~3㎛의 두께로 제공될 수도 있다. 또한, 상기 본딩층(50)은 예로서 1.8~2.2㎛의 두께로 제공될 수도 있다.The
상기 기판(55)은 투명기판을 포함할 수 있다. 상기 기판(55)은 예로서 0.1 mm 내지 3 mm의 두께를 갖는 투명기판으로 구현될 수 있다. 또한, 상기 기판(55)의 두께는 적용되는 표시장치의 용도 및 크기에 따라 변경될 수 있는 것으로서 0.4~1.1mm의 두께 범위 내에서 선택될 수도 있다. 예로서, 상기 기판(55)은 0.6~0.8mm의 두께로 제공될 수도 있다. 상기 기판(55)은 실리콘, 유리, 폴리이미드, 플라스틱을 포함하는 물질 중에서 선택된 적어도 하나의 물질을 포함할 수 있다. 상기 기판(55)은 플렉시블 기판을 포함할 수 있다.The
실시 예에 의하면, 상기 성장기판(10)을 이용하여 품질이 좋은 반도체층을 형성할 수 있으며, 상기 기판(55)을 이용하여 트랜스퍼(transfer) 공정을 적용함으로써 전자 이동도가 우수한 박막 트랜지스터 기판을 제공할 수 있게 된다.According to an embodiment, a semiconductor layer of good quality can be formed using the
도 8에 도시된 바와 같이, 상기 제1 보호막(21)에 대한 패터닝이 수행되고, 상기 채널층(60), 상기 블랙 매트릭스(40)가 형성될 수 있다. As shown in FIG. 8 , the
이때, 상기 제1층(11)과 상기 제2층(12)에 대한 식각이 수행되어 상기 채널층(60)이 형성될 수 있다. 상기 채널층(60)은 예로서 제1 질화물 반도체층(61)과 제2 질화물 반도체층(62)을 포함할 수 있다. 예로서, 상기 채널층(60)은 상기 디플리션 형성층(15)과 같은 길이(L3)로 형성될 수 있다. 상기 디플리션 형성층(15)의 길이가 상기 채널층(60)의 길이에 비해 작은 경우에는 누설 전류(leakage current)가 발생될 수 있다. 상기 채널층(60)의 폭과 상기 블랙 매트릭스(40)의 폭이 동일하게 제공될 수 있다. 상기 제1 보호막(21)의 폭과 상기 채널층(60)의 폭이 동일하게 제공될 수 있다.In this case, the
다음으로, 도 9에 도시된 바와 같이, 상기 본딩층(50), 상기 제1 보호막(21) 위에 제2 보호막(22)이 형성될 수 있다. 상기 제2 보호막(22)은 절연물질을 포함할 수 있다. 상기 제2 보호막(22)은 예로서 실리콘 계열의 산화물, 실리콘 계열의 질화물, Al2O3를 포함하는 금속 산화물, 유기 절연물 중에서 적어도 하나의 물질을 포함하는 단일층 또는 다중층을 포함할 수 있다.Next, as shown in FIG. 9 , a
이어서, 도 10에 도시된 바와 같이, 상기 제2 보호막(22) 위에 게이트 배선(41)이 형성될 수 있다. 상기 게이트 배선(41)은 상기 게이트 전극(33)에 전기적으로 연결될 수 있다. Subsequently, as shown in FIG. 10 , a
그리고, 도 11에 도시된 바와 같이, 상기 제2 보호막(22) 위에 제3 보호막(23)이 형성될 수 있다. 상기 제3 보호막(23)은 평탄화층 또는 오버코트층으로 지칭될 수도 있다. 상기 제3 보호막(23)과 상기 제2 보호막(22)을 관통하여 상기 소스 컨택부(31)를 노출시키는 제1 컨택홀(H1)이 형성될 수 있다. 또한, 상기 제3 보호막(23)과 상기 제2 보호막(22)을 관통하여 상기 드레인 컨택부(32)를 노출시키는 제2 컨택홀(H2)이 형성될 수 있다.And, as shown in FIG. 11 , a
상기 제3 보호막(23)은 절연물질을 포함할 수 있다. 상기 제3 보호막(23)은 예로서 실리콘 계열의 산화물, 실리콘 계열의 질화물, Al2O3를 포함하는 금속 산화물, 유기 절연물 중에서 적어도 하나의 물질을 포함하는 단일층 또는 다중층을 포함할 수 있다.The
그리고, 도 12에 도시된 바와 같이, 상기 제3 보호막(23) 위에 소스 전극(71)과 드레인 전극(72)이 형성될 수 있다. 상기 소스 전극(71)의 제1 영역은 상기 제3 보호막(23) 위에 형성되고 상기 소스 전극(71)의 제2 영역은 상기 제1 컨택홀(H1)에 형성되어 상기 소스 컨택부(31)에 전기적으로 연결될 수 있다. 상기 드레인 전극(72)의 제1 영역은 상기 제3 보호막(23) 위에 형성되고 상기 드레인 전극(72)의 제2 영역은 상기 제2 컨택홀(H2)에 형성되어 상기 드레인 컨택부(32)에 전기적으로 연결될 수 있다. 그리고, 상기 소스 전극(71)에 연결된 데이터 배선(73)이 형성될 수 있다. 상기 데이터 배선(73)은 상기 게이트 배선(41)과 교차되어 일 방향으로 연장되어 배치될 수 있다.Also, as shown in FIG. 12 , a
예로서, 상기 소스 전극(71)과 상기 드레인 전극(72)은 알루미늄(Al), 알루미늄 합금(Al alloy), 텅스텐(W), 구리(Cu), 구리 합금(Cu alloy), 몰리브덴(Mo), 은(Ag), 은 합금(Ag alloy), 금(Au), 금 합금(Au alloy), 크롬(Cr), 티타늄(Ti), 티타늄 합금(Ti alloy), 몰리텅스텐(MoW), 몰리티타늄(MoTi), 구리/몰리티타늄(Cu/MoTi)을 포함하는 그룹 중에서 선택된 적어도 어느 하나의 물질을 포함하는 단일층 또는 다중층을 포함할 수 있다. 상기 소스 전극(71)과 상기 드레인 전극(72)은 예로서 0.1~3㎛의 두께로 제공될 수 있다. 상기 소스 전극(71)은 복수의 트랜지스터에 순차적으로 전압을 인가하는 기능을 수행하므로 상기 소스 컨택부(31)의 두께에 비하여 더 두껍게 제공될 수도 있다. 상기 드레인 전극(72)도 상기 드레인 컨택부(32)의 두께에 비하여 더 두껍게 제공될 수도 있다.For example, the
도 13 및 도 14에 도시된 바와 같이, 상기 소스 전극(71)과 상기 드레인 전극(72) 위에 제4 보호막(24)이 형성될 수 있다. 그리고, 상기 제4 보호막(24)에 상기 드레인 전극(72)을 노출시키는 제3 컨택홀(H3)이 형성될 수 있다. 13 and 14 , a
상기 제4 보호막(24) 위에 화소전극(80)이 형성될 수 있다. 상기 화소전극(80)은 상기 제4 보호막(24)에 제공된 상기 제3 컨택홀(H3)을 통하여 상기 드레인 전극(72)에 전기적으로 연결될 수 있다. A
상기 화소전극(80)은 투명 도전성 물질로 구현될 수 있다. 상기 화소전극(80)은 예로서 투명 도전성 산화막으로 구현될 수 있다. 상기 화소전극(80)은 ITO(Indium Tin Oxide), IZO(Indium Zinc Oxide), AZO(Aluminum Zinc Oxide), AGZO(Aluminum Gallium Zinc Oxide), IZTO(Indium Zinc Tin Oxide), IAZO(Indium Aluminum Zinc Oxide), IGZO(Indium Gallium Zinc Oxide), IGTO(Indium Gallium Tin Oxide), ATO(Antimony Tin Oxide), GZO(Gallium Zinc Oxide), IZON(IZO Nitride) 중에서 선택된 적어도 하나의 물질을 포함할 수 있다.The
이와 같은 공정을 통하여 실시 예에 따른 기본적인 박막 트랜지스터 기판이 형성될 수 있다. 도 2 내지 도 14를 참조하여 설명된 제조공정은 하나의 예일 뿐이며, 각 단계에서의 공정방법 또는 공정순서는 변형되어 실시될 수도 있다.Through such a process, a basic thin film transistor substrate according to the embodiment may be formed. The manufacturing process described with reference to FIGS. 2 to 14 is only one example, and the process method or process sequence in each step may be modified and implemented.
도 15는 본 발명의 실시 예에 따른 박막 트랜지스터 기판에 복수의 화소가 배치된 예를 나타낸 도면이다.15 is a diagram illustrating an example in which a plurality of pixels are disposed on a thin film transistor substrate according to an embodiment of the present invention.
실시 예에 따른 박막 트랜지스터 기판은, 도 15에 도시된 바와 같이, 상기 게이트 배선(41)과 상기 데이터 배선(73)이 교차되는 영역에 배치된 복수의 박막 트랜지스터(30)를 포함할 수 있다. 상기 게이트 배선(41)과 상기 데이터 배선(73)에 의하여 정의되는 영역에 상기 화소전극(80)이 배치될 수 있다. 상기 화소전극(80)의 일부 영역은 상기 게이트 배선(41)과 중첩되어 배치될 수 있다.The thin film transistor substrate according to the embodiment may include a plurality of
실시 예에 따른 박막 트랜지스터 기판은 컬러필터 기판과 합착되어 액정표시 패널을 제공할 수 있다. 박막 트랜지스터 기판과 컬러필터 기판 사이에는 액정층이 제공될 수 있다. 컬러필터 기판에는 공통전극이 제공될 수 있으며, 공통전극과 박막 트랜지스터 기판에 제공된 화소전극 간에 인가되는 전압 차에 의하여 그 사이에 배치된 액정층의 배열이 조절되고 해당 화소의 광 투과량을 제어할 수 있게 된다. 이와 같은 구조를 갖는 액정표시 패널은 수직 전계형 액정표시 패널로 지칭될 수도 있다.The thin film transistor substrate according to the embodiment may be bonded to the color filter substrate to provide a liquid crystal display panel. A liquid crystal layer may be provided between the thin film transistor substrate and the color filter substrate. A common electrode may be provided on the color filter substrate, and the arrangement of the liquid crystal layers disposed therebetween may be adjusted by the voltage difference applied between the common electrode and the pixel electrode provided on the thin film transistor substrate, and the amount of light transmission of the corresponding pixel may be controlled. there will be A liquid crystal display panel having such a structure may be referred to as a vertical electric field type liquid crystal display panel.
실시 예에 따른 박막 트랜지스터 기판에 의하면, 질화물계 반도체층을 포함하는 박막 트랜지스터를 제공함으로써 높은 캐리어 이동도를 구현할 수 있게 된다. 예를 들어, 박막 트랜지스터는 채널층으로 적용되는 물질에 따라 전자 이동도(㎠/Vs)가 달라지게 되는데, 아몰퍼스 실리콘 반도체의 경우에는 전자 이동도가 1이고, 산화물 반도체의 경우에는 10 내지 80, 폴리 실리콘 반도체의 경우에는 100 이하인 것으로 보고되고 있다. 그러나, 실시 예에 따른 질화물계 반도체층을 포함하는 박막 트랜지스터는 전자 이동도가 1500에 달하는 것으로 측정되고 있다. 이에 따라 실시 예에 따른 질화물계 반도체층을 포함하는 박막 트랜지스터는 폴리 실리콘 반도체가 적용된 박막 트랜지스터에 비해 15 배 이상의 높은 전자 이동도를 구현할 수 있게 된다.According to the thin film transistor substrate according to the embodiment, it is possible to implement a high carrier mobility by providing a thin film transistor including a nitride-based semiconductor layer. For example, in the thin film transistor, the electron mobility (cm 2 /Vs) varies depending on the material applied as the channel layer. In the case of an amorphous silicon semiconductor, the electron mobility is 1, and in the case of an oxide semiconductor, 10 to 80, In the case of polysilicon semiconductor, it is reported to be 100 or less. However, the thin film transistor including the nitride-based semiconductor layer according to the embodiment is measured to have an electron mobility of 1500. Accordingly, the thin film transistor including the nitride-based semiconductor layer according to the embodiment can implement 15 times higher electron mobility than the thin film transistor to which the polysilicon semiconductor is applied.
실시 예에 의하면, 성장기판을 이용하여 품질이 좋은 반도체층을 형성할 수 있으며, 지지기판을 이용하여 트랜스퍼(transfer) 공정을 적용함으로써 전자 이동도가 우수한 박막 트랜지스터 기판을 제공할 수 있게 된다.According to an embodiment, a semiconductor layer having good quality may be formed using a growth substrate, and a thin film transistor substrate having excellent electron mobility may be provided by applying a transfer process using a support substrate.
따라서, 실시 예에 따른 박막 트랜지스터 기판, 이를 포함하는 표시패널 및 표시장치에 의하면, 높은 캐리어 이동도를 제공할 수 있게 되므로, 고해상도를 구현하고 부드러운 동화상을 재생할 수 있게 된다.Therefore, according to the thin film transistor substrate, the display panel and the display device including the thin film transistor substrate according to the embodiment, high carrier mobility can be provided, thereby realizing a high resolution and reproducing a smooth moving image.
도 16 및 도 17은 본 발명의 실시 예에 따른 박막 트랜지스터 기판의 다른 예를 나타낸 도면이다. 도 16 및 도 17을 참조하여 실시 예에 따른 박막 트랜지스터 기판을 설명함에 있어, 도 1 내지 도 15를 참조하여 설명된 부분과 중복되는 내용에 대해서는 설명이 생략될 수 있으며, 서로 차이가 있는 부분에 대해 주로 설명하기로 한다. 16 and 17 are views illustrating another example of a thin film transistor substrate according to an embodiment of the present invention. In the description of the thin film transistor substrate according to the embodiment with reference to FIGS. 16 and 17 , descriptions of contents overlapping with those described with reference to FIGS. 1 to 15 may be omitted, and descriptions may be made in parts with differences from each other. I will mainly explain about it.
도 1 내지 도 15를 참조하여 설명된 박막 트랜지스터 기판은 수직 전계형 액정표시 패널에 적용될 수 있는 것이다. 박막 트랜지스터 기판에는 화소전극(80)이 배치되고 화소전극(80)과 함께 화소에 전계를 형성하는 공통전극은 별도의 컬러필터 기판에 제공됨으로써 수직 전계형 액정표시 패널을 구현할 수 있는 것이다. 한편, 도 16 및 도 17을 참조하여 설명되는 박막 트랜지스터 기판은 수평 전계형 액정표시 패널에 적용될 수 있는 것이다. The thin film transistor substrate described with reference to FIGS. 1 to 15 may be applied to a vertical electric field type liquid crystal display panel. A
실시 예에 따른 박막 트랜지스터 기판은, 도 16 및 도 17에 도시된 바와 같이, 화소전극(81), 공통전극(85), 제5 보호막(25)을 포함할 수 있다.The thin film transistor substrate according to the embodiment may include a
상기 공통전극(85)은 제4 보호막(24) 위에 배치될 수 있다. 상기 제5 보호막(25)은 상기 제4 보호막(24) 위에 배치될 수 있다. 상기 제5 보호막(25)은 상기 공통전극(85)과 상기 제4 보호막(24) 위에 배치될 수 있다. 상기 공통전극(85)은 상기 제4 보호막(24)과 상기 제5 보호막(25) 사이에 배치될 수 있다. 또한, 상기 제5 보호막(25)은 상기 제4 보호막(24)을 통하여 노출된 드레인 전극(72) 위에도 제공될 수 있다. 상기 화소전극(81)은 상기 제5 보호막(25) 위에 배치될 수 있다. 상기 화소전극(81)의 일부 영역은 상기 제5 보호막(25)에 제공된 제4 컨택홀(H4)을 통하여 상기 드레인 전극(72)에 전기적으로 연결될 수 있다. 상기 화소전극(81)의 일부 영역은 상기 제4 컨택홀(H4)을 통하여 상기 드레인 전극(72)의 상부 면에 접촉되어 배치될 수 있다. 상기 화소전극(81)은 상기 제4 보호막(24)과 상기 제5 보호막(25)을 관통하여 상기 드레인 전극(72)의 상부 면에 접촉되어 배치될 수 있다. 상기 화소전극(81)의 일부 영역과 상기 공통전극(85)의 일부 영역이 수직 방향으로 서로 중첩되어 배치될 수 있다.The
실시 예에 따른 박막 트랜지스터 기판은 게이트 배선(41)과 데이터 배선(73)이 교차되는 영역에 배치된 복수의 박막 트랜지스터(30)를 포함할 수 있다. 상기 게이트 배선(41)과 상기 데이터 배선(73)에 의하여 정의되는 영역에 상기 화소전극(81)이 배치될 수 있다. 상기 화소전극(81)은 핑거 형상으로 연장된 부분을 포함할 수 있다. 상기 화소전극(81)의 일부 영역은 상기 게이트 배선(41)과 중첩되어 배치될 수 있다. The thin film transistor substrate according to the embodiment may include a plurality of
상기 공통전극(85)은 투명 도전성 물질로 구현될 수 있다. 상기 공통전극(85)은 예로서 투명 도전성 산화막으로 구현될 수 있다. 상기 공통전극(85)은 ITO(Indium Tin Oxide), IZO(Indium Zinc Oxide), AZO(Aluminum Zinc Oxide), AGZO(Aluminum Gallium Zinc Oxide), IZTO(Indium Zinc Tin Oxide), IAZO(Indium Aluminum Zinc Oxide), IGZO(Indium Gallium Zinc Oxide), IGTO(Indium Gallium Tin Oxide), ATO(Antimony Tin Oxide), GZO(Gallium Zinc Oxide), IZON(IZO Nitride) 중에서 선택된 적어도 하나의 물질을 포함할 수 있다.The
상기 화소전극(81)은 투명 도전성 물질로 구현될 수 있다. 상기 화소전극(81)은 예로서 투명 도전성 산화막으로 구현될 수 있다. 상기 화소전극(81)은 ITO(Indium Tin Oxide), IZO(Indium Zinc Oxide), AZO(Aluminum Zinc Oxide), AGZO(Aluminum Gallium Zinc Oxide), IZTO(Indium Zinc Tin Oxide), IAZO(Indium Aluminum Zinc Oxide), IGZO(Indium Gallium Zinc Oxide), IGTO(Indium Gallium Tin Oxide), ATO(Antimony Tin Oxide), GZO(Gallium Zinc Oxide), IZON(IZO Nitride) 중에서 선택된 적어도 하나의 물질을 포함할 수 있다.The
상기 제5 보호막(25)은 예로서 실리콘 계열의 산화물, 실리콘 계열의 질화물, Al2O3를 포함하는 금속 산화물, 유기 절연물 중에서 적어도 하나의 물질을 포함하는 단일층 또는 다중층을 포함할 수 있다.The
실시 예에 따른 박막 트랜지스터 기판은 컬러필터 기판과 합착되어 액정표시 패널을 제공할 수 있다. 박막 트랜지스터 기판과 컬러필터 기판 사이에는 액정층이 제공될 수 있다. 실시 예에 따른 박막 트랜지스터 기판은 상기 공통전극(85)과 상기 화소전극(81) 간에 인가되는 전압 차에 의하여 액정층의 배열이 조절되고 해당 화소의 광 투과량을 제어할 수 있게 된다. 이와 같은 구조를 갖는 액정표시 패널은 수평 전계형 액정표시 패널, 횡 전계형 액정표시 패널, 또는 IPS(In Plane Switching) 액정표시 패널로 지칭될 수 있다. 액정표시 패널은 자체에 광원이 없으므로 액정표시 패널에 빛을 공급하는 라이트 유닛이 제공됨으로써 표시장치를 구현할 수 있게 된다.The thin film transistor substrate according to the embodiment may be bonded to the color filter substrate to provide a liquid crystal display panel. A liquid crystal layer may be provided between the thin film transistor substrate and the color filter substrate. In the thin film transistor substrate according to the embodiment, the arrangement of the liquid crystal layer is adjusted by the voltage difference applied between the
실시 예에 따른 박막 트랜지스터 기판에 의하면, 질화물계 반도체층을 포함하는 박막 트랜지스터를 제공함으로써 높은 캐리어 이동도를 구현할 수 있게 된다. 예를 들어, 박막 트랜지스터는 채널층으로 적용되는 물질에 따라 전자 이동도(㎠/Vs)가 달라지게 되는데, 아몰퍼스 실리콘 반도체의 경우에는 전자 이동도가 1이고, 산화물 반도체의 경우에는 10 내지 80, 폴리 실리콘 반도체의 경우에는 100 이하인 것으로 보고되고 있다. 그러나, 실시 예에 따른 질화물계 반도체층을 포함하는 박막 트랜지스터는 전자 이동도가 1500에 달하는 것으로 측정되고 있다. 이에 따라 실시 예에 따른 질화물계 반도체층을 포함하는 박막 트랜지스터는 폴리 실리콘 반도체가 적용된 박막 트랜지스터에 비해 15 배 이상의 높은 전자 이동도를 구현할 수 있게 된다.According to the thin film transistor substrate according to the embodiment, it is possible to implement a high carrier mobility by providing a thin film transistor including a nitride-based semiconductor layer. For example, in the thin film transistor, the electron mobility (cm 2 /Vs) varies depending on the material applied as the channel layer. In the case of an amorphous silicon semiconductor, the electron mobility is 1, and in the case of an oxide semiconductor, 10 to 80, In the case of polysilicon semiconductor, it is reported to be 100 or less. However, the thin film transistor including the nitride-based semiconductor layer according to the embodiment is measured to have an electron mobility of 1500. Accordingly, the thin film transistor including the nitride-based semiconductor layer according to the embodiment can implement 15 times higher electron mobility than the thin film transistor to which the polysilicon semiconductor is applied.
실시 예에 의하면, 성장기판을 이용하여 품질이 좋은 반도체층을 형성할 수 있으며, 지지기판을 이용하여 트랜스퍼(transfer) 공정을 적용함으로써 전자 이동도가 우수한 박막 트랜지스터 기판을 제공할 수 있게 된다.According to an embodiment, a semiconductor layer having good quality may be formed using a growth substrate, and a thin film transistor substrate having excellent electron mobility may be provided by applying a transfer process using a support substrate.
따라서, 실시 예에 따른 박막 트랜지스터 기판, 이를 포함하는 표시패널 및 표시장치에 의하면, 높은 캐리어 이동도를 제공할 수 있게 되므로, 고해상도를 구현하고 부드러운 동화상을 재생할 수 있게 된다.Therefore, according to the thin film transistor substrate, the display panel and the display device including the thin film transistor substrate according to the embodiment, high carrier mobility can be provided, thereby realizing a high resolution and reproducing a smooth moving image.
도 18은 본 발명의 실시 예에 따른 박막 트랜지스터 기판의 또 다른 예를 나타낸 도면이다. 도 18을 참조하여 실시 예에 따른 박막 트랜지스터 기판을 설명함에 있어, 도 1 내지 도 17을 참조하여 설명된 부분과 중복되는 부분에 대해서는 설명이 생략될 수 있으며, 차이가 있는 부분에 대해 주로 설명하기로 한다.18 is a view showing another example of a thin film transistor substrate according to an embodiment of the present invention. In the description of the thin film transistor substrate according to the embodiment with reference to FIG. 18 , descriptions of parts overlapping those described with reference to FIGS. 1 to 17 may be omitted, and differences will be mainly described. do it with
실시 예에 따른 박막 트랜지스터 기판은 화소전극(82), 공통전극(85), 금속층(90), 터치패널 하부전극(91), 터치패널 상부전극(92)을 포함할 수 있다.The thin film transistor substrate according to the embodiment may include a
상기 공통전극(85)은 제4 보호막(24) 위에 배치될 수 있다. 상기 화소전극(82)은 제5 보호막(25) 위에 배치될 수 있다. 상기 화소전극(82)은 드레인 전극(72)에 전기적으로 연결될 수 있다. 상기 화소전극(82)과 상기 드레인 전극(72) 사이에는 금속층(90)이 제공될 수 있다. 상기 금속층(90)은 상기 제4 보호막(24)을 통하여 노출된 상기 드레인 전극(72)에 접촉되어 배치될 수 있다. 상기 화소전극(82)의 일부 영역은 상기 제5 보호막(25)에 제공된 제5 컨택홀(H5)을 통하여 상기 금속층(90)을 통하여 상기 드레인 전극(72)에 전기적으로 연결될 수 있다. The
실시 예에 의하면, 상기 제5 보호막(25) 위에 터치패널 상부전극(92)이 제공될 수 있으며, 상기 터치패널 상부전극(92) 아래에 상기 터치패널 하부전극(91)이 배치될 수 있다. 상기 터치패널 하부전극(91)은 제4 보호막(24) 위에 배치될 수 있으며, 상기 공통전극(85)에 전기적으로 연결될 수 있다. 상기 터치패널 하부전극(91)은 상기 공통전극(85)과 상기 제5 보호막(25) 사이에 배치될 수 있다. 상기 터치패널 상부전극(92)은 상기 터치패널 하부전극(91)과 수직 방향으로 서로 중첩되어 배치될 수 있다.According to an embodiment, the touch panel
상기 터치패널 상부전극(92)과 상기 터치패널 하부전극(91)은 표시패널 내에 제공된 인셀 터치패널을 구성할 수 있다. 이에 따라 실시 예에 따른 박막 트랜지스터 기판은 인셀 터치패널을 이용하여 외부로부터의 표시패널 접촉 여부를 검출할 수 있게 된다. The
상기 공통전극(85)은 투명 도전성 물질로 구현될 수 있다. 상기 공통전극(85)은 예로서 투명 도전성 산화막으로 구현될 수 있다. 상기 공통전극(85)은 ITO(Indium Tin Oxide), IZO(Indium Zinc Oxide), AZO(Aluminum Zinc Oxide), AGZO(Aluminum Gallium Zinc Oxide), IZTO(Indium Zinc Tin Oxide), IAZO(Indium Aluminum Zinc Oxide), IGZO(Indium Gallium Zinc Oxide), IGTO(Indium Gallium Tin Oxide), ATO(Antimony Tin Oxide), GZO(Gallium Zinc Oxide), IZON(IZO Nitride) 중에서 선택된 적어도 하나의 물질을 포함할 수 있다.The
상기 화소전극(82)은 투명 도전성 물질로 구현될 수 있다. 상기 화소전극(82)은 예로서 투명 도전성 산화막으로 구현될 수 있다. 상기 화소전극(82)은 ITO(Indium Tin Oxide), IZO(Indium Zinc Oxide), AZO(Aluminum Zinc Oxide), AGZO(Aluminum Gallium Zinc Oxide), IZTO(Indium Zinc Tin Oxide), IAZO(Indium Aluminum Zinc Oxide), IGZO(Indium Gallium Zinc Oxide), IGTO(Indium Gallium Tin Oxide), ATO(Antimony Tin Oxide), GZO(Gallium Zinc Oxide), IZON(IZO Nitride) 중에서 선택된 적어도 하나의 물질을 포함할 수 있다.The
상기 터치패널 하부전극(91), 상기 터치패널 상부전극(92)은 투명 도전성 물질로 구현될 수 있다. 상기 화소전극(82)은 예로서 투명 도전성 산화막으로 구현될 수 있다. 상기 화소전극(82)은 ITO(Indium Tin Oxide), IZO(Indium Zinc Oxide), AZO(Aluminum Zinc Oxide), AGZO(Aluminum Gallium Zinc Oxide), IZTO(Indium Zinc Tin Oxide), IAZO(Indium Aluminum Zinc Oxide), IGZO(Indium Gallium Zinc Oxide), IGTO(Indium Gallium Tin Oxide), ATO(Antimony Tin Oxide), GZO(Gallium Zinc Oxide), IZON(IZO Nitride) 중에서 선택된 적어도 하나의 물질을 포함할 수 있다.The touch panel
실시 예에 따른 인셀 터치패널 일체형 박막 트랜지스터 기판은 컬러필터 기판과 합착되어 액정표시 패널을 제공할 수 있다. 인셀 터치패널 일체형 박막 트랜지스터 기판과 컬러필터 기판 사이에는 액정층이 제공될 수 있다. 실시 예에 따른 인셀 터치패널 일체형 박막 트랜지스터 기판은 상기 공통전극(85)과 상기 화소전극(82) 간에 인가되는 전압 차에 의하여 액정층의 배열이 조절되고 해당 화소의 광 투과량을 제어할 수 있게 된다. 이와 같은 구조를 갖는 인셀 터치패널 일체형 액정표시 패널은 수평 전계형 액정표시 패널, 횡 전계형 액정표시 패널, 또는 IPS(In Plane Switching) 액정표시 패널로 지칭될 수 있다. 인셀 터치패널 일체형 액정표시 패널은 자체에 광원이 없으므로 인셀 터치패널 일체형 액정표시 패널에 빛을 공급하는 라이트 유닛이 제공됨으로써 표시장치를 구현할 수 있게 된다.The in-cell touch panel integrated thin film transistor substrate according to the embodiment may be bonded to the color filter substrate to provide a liquid crystal display panel. A liquid crystal layer may be provided between the in-cell touch panel integrated thin film transistor substrate and the color filter substrate. In the in-cell touch panel integrated thin film transistor substrate according to the embodiment, the arrangement of the liquid crystal layer is adjusted by the voltage difference applied between the
실시 예에 따른 박막 트랜지스터 기판에 의하면, 질화물계 반도체층을 포함하는 박막 트랜지스터를 제공함으로써 높은 캐리어 이동도를 구현할 수 있게 된다. 예를 들어, 박막 트랜지스터는 채널층으로 적용되는 물질에 따라 전자 이동도(㎠/Vs)가 달라지게 되는데, 아몰퍼스 실리콘 반도체의 경우에는 전자 이동도가 1이고, 산화물 반도체의 경우에는 10 내지 80, 폴리 실리콘 반도체의 경우에는 100 이하인 것으로 보고되고 있다. 그러나, 실시 예에 따른 질화물계 반도체층을 포함하는 박막 트랜지스터는 전자 이동도가 1500에 달하는 것으로 측정되고 있다. 이에 따라 실시 예에 따른 질화물계 반도체층을 포함하는 박막 트랜지스터는 폴리 실리콘 반도체가 적용된 박막 트랜지스터에 비해 15 배 이상의 높은 전자 이동도를 구현할 수 있게 된다.According to the thin film transistor substrate according to the embodiment, it is possible to implement a high carrier mobility by providing a thin film transistor including a nitride-based semiconductor layer. For example, in the thin film transistor, the electron mobility (cm 2 /Vs) varies depending on the material applied as the channel layer. In the case of an amorphous silicon semiconductor, the electron mobility is 1, and in the case of an oxide semiconductor, 10 to 80, In the case of polysilicon semiconductor, it is reported to be 100 or less. However, the thin film transistor including the nitride-based semiconductor layer according to the embodiment is measured to have an electron mobility of 1500. Accordingly, the thin film transistor including the nitride-based semiconductor layer according to the embodiment can implement 15 times higher electron mobility than the thin film transistor to which the polysilicon semiconductor is applied.
실시 예에 의하면, 성장기판을 이용하여 품질이 좋은 반도체층을 형성할 수 있으며, 지지기판을 이용하여 트랜스퍼(transfer) 공정을 적용함으로써 전자 이동도가 우수한 박막 트랜지스터 기판을 제공할 수 있게 된다.According to an embodiment, a semiconductor layer having good quality may be formed using a growth substrate, and a thin film transistor substrate having excellent electron mobility may be provided by applying a transfer process using a support substrate.
따라서, 실시 예에 따른 박막 트랜지스터 기판, 이를 포함하는 표시패널 및 표시장치에 의하면, 높은 캐리어 이동도를 제공할 수 있게 되므로, 고해상도를 구현하고 부드러운 동화상을 재생할 수 있게 된다.Therefore, according to the thin film transistor substrate, the display panel and the display device including the thin film transistor substrate according to the embodiment, high carrier mobility can be provided, thereby realizing a high resolution and reproducing a smooth moving image.
도 19 내지 도 21은 본 발명의 실시 예에 따른 박막 트랜지스터 기판의 또 다른 예를 나타낸 도면이다. 도 19 내지 도 21을 참조하여 실시 예에 따른 박막 트랜지스터 기판을 설명함에 있어, 도 1 내지 도 18을 참조하여 설명된 부분과 중복되는 내용에 대해서는 설명이 생략될 수 있으며, 서로 차이가 있는 부분에 대해 주로 설명하기로 한다. 도 19 내지 도 21에 도시된 실시 예는 각각 도 1, 도 16, 도 18 대비하여 본딩층 구조에 차이가 있다.19 to 21 are views showing still another example of a thin film transistor substrate according to an embodiment of the present invention. In describing the thin film transistor substrate according to the embodiment with reference to FIGS. 19 to 21 , descriptions of contents overlapping those described with reference to FIGS. 1 to 18 may be omitted, and descriptions may be made in parts with differences from each other. I will mainly explain about it. The embodiment shown in FIGS. 19 to 21 has a difference in the bonding layer structure compared to FIGS. 1, 16, and 18, respectively.
도 19 내지 도 21에 도시된 바와 같이, 상기 기판(55) 위에 본딩층(53)이 제공될 수 있다. 상기 본딩층(53)은 상기 기판(55)과 상기 블랙 매트릭스(40) 사이에 배치될 수 있다. 예로서, 상기 본딩층(53)의 폭은 상기 블랙 매트릭스(40)의 폭과 동일하게 제공될 수 있다. 예로서, 상기 본딩층(53)의 폭은 상기 채널층(60)의 폭과 동일하게 제공될 수 있다. 19 to 21 , a
실시 예에 의하면, 상기 기판(55) 위에 상기 제2 보호막(22)이 배치될 수 있다. 상기 제2 보호막(22)의 하부면이 상기 기판(55)의 상부면에 접촉되어 배치될 수 있다. 상기 본딩층(53)이 제공되지 않은 영역에서, 상기 제2 보호막(22)이 상기 기판(55)에 직접 접촉되어 배치될 수 있다. According to an embodiment, the
이와 같이, 도 19 내지 도 21에 도시된 실시 예에 의하면, 도 1, 도 16, 도 18에 도시된 실시 예에 비하여, 상기 제2 보호막(22)과 상기 기판(55)이 직접 접촉되어 배치될 수 있게 되므로, 상기 제2 보호막(22)과 상기 기판(55) 사이에 제공되는 층(예로서, 도 1, 도 16, 도 18에 도시된 본딩층)을 배제시킬 수 있게 된다. 이에 따라, 실시 예에 의하면 빛이 진행되는 광 경로 상에 이종 물질층 간의 경계면이 줄어 들게 되므로 경계면에서의 반사/굴절 등에 의한 광손실을 줄일 수 있게 된다.As such, according to the embodiment shown in FIGS. 19 to 21 , the
실시 예에 따른 상기 본딩층(53)은 예로서 반사층, 메탈본딩층, 유기본딩층, 절연층을 포함할 수 있다. 상기 반사층은 상기 기판(55) 위에 배치될 수 있으며, 상기 메탈본딩층은 상기 반사층 위에 배치되고, 상기 절연층은 상기 메탈본딩층 위에 배치될 수 있다. 예로서, 상기 본딩층(53)은 상기 메탈본딩층과 상기 유기본딩층 중에서 적어도 하나를 포함할 수 있으며, 상기 반사층과 상기 절연층은 선택적으로 포함할 수도 있다.The
상기 절연층은 상기 채널층(60)의 누설 특성을 보완해 줄 수 있다. 예로서, 상기 절연층은 예로서 실리콘 계열의 산화물, 실리콘 계열의 질화물, Al2O3를 포함하는 금속 산화물, 유기 절연물 중에서 적어도 하나의 물질을 포함하는 단일층 또는 다중층을 포함할 수 있다.The insulating layer may supplement leakage characteristics of the
상기 메탈본딩층 또는 상기 유기본딩층은 아래에 배치된 상기 기판(55)과의 접착을 위하여 제공될 수 있다. 예로서, 상기 메탈본딩층은 금(Au), 주석(Sn), 인듐(In), 니켈(Ni), 은(Ag), 구리(Cu)를 포함하는 그룹 중에서 선택된 적어도 어느 하나의 물질 또는 합금을 포함할 수 있다. 예로서, 상기 유기본딩층은 아크릴, 벤조시크롤부텐(BCB), SU-8 폴리머(SU-8 polymer) 등을 포함하는 그룹 중에서 선택된 적어도 어느 하나의 물질을 포함할 수 있다.The metal bonding layer or the organic bonding layer may be provided for adhesion to the
상기 반사층은 상기 본딩층에서의 광 흡수를 줄여줄 수 있다. 예로서, 상기 반사층은 알루미늄(Al), 은(Ag), 로듐(Rh)을 포함하는 그룹 중에서 선택된 적어도 어느 하나의 물질 또는 합금을 포함할 수 있다. 상기 반사층은 예로서 반사특성이 60%를 넘는 물질로 제공될 수 있다.The reflective layer may reduce light absorption in the bonding layer. For example, the reflective layer may include at least one material or alloy selected from the group consisting of aluminum (Al), silver (Ag), and rhodium (Rh). The reflective layer may be provided of, for example, a material having a reflective characteristic of more than 60%.
한편 실시 예에 의하면, 예로서 상기 본딩층(53)이 상기 메탈본딩층과 상기 반사층을 포함하는 경우, 상기 블랙매트릭스(40)는 생략될 수도 있다.Meanwhile, according to an embodiment, for example, when the
실시 예에 따른 박막 트랜지스터 기판에 의하면, 질화물계 반도체층을 포함하는 박막 트랜지스터를 제공함으로써 높은 캐리어 이동도를 구현할 수 있게 된다. 예를 들어, 박막 트랜지스터는 채널층으로 적용되는 물질에 따라 전자 이동도(㎠/Vs)가 달라지게 되는데, 아몰퍼스 실리콘 반도체의 경우에는 전자 이동도가 1이고, 산화물 반도체의 경우에는 10 내지 80, 폴리 실리콘 반도체의 경우에는 100 이하인 것으로 보고되고 있다. 그러나, 실시 예에 따른 질화물계 반도체층을 포함하는 박막 트랜지스터는 전자 이동도가 1500에 달하는 것으로 측정되고 있다. 이에 따라 실시 예에 따른 질화물계 반도체층을 포함하는 박막 트랜지스터는 폴리 실리콘 반도체가 적용된 박막 트랜지스터에 비해 15 배 이상의 높은 전자 이동도를 구현할 수 있게 된다.According to the thin film transistor substrate according to the embodiment, it is possible to implement a high carrier mobility by providing a thin film transistor including a nitride-based semiconductor layer. For example, in the thin film transistor, the electron mobility (cm 2 /Vs) varies depending on the material applied as the channel layer. In the case of an amorphous silicon semiconductor, the electron mobility is 1, and in the case of an oxide semiconductor, 10 to 80, In the case of polysilicon semiconductor, it is reported to be 100 or less. However, the thin film transistor including the nitride-based semiconductor layer according to the embodiment is measured to have an electron mobility of 1500. Accordingly, the thin film transistor including the nitride-based semiconductor layer according to the embodiment can implement 15 times higher electron mobility than the thin film transistor to which the polysilicon semiconductor is applied.
실시 예에 의하면, 성장기판을 이용하여 품질이 좋은 반도체층을 형성할 수 있으며, 지지기판을 이용하여 트랜스퍼(transfer) 공정을 적용함으로써 전자 이동도가 우수한 박막 트랜지스터 기판을 제공할 수 있게 된다.According to an embodiment, a semiconductor layer having good quality may be formed using a growth substrate, and a thin film transistor substrate having excellent electron mobility may be provided by applying a transfer process using a support substrate.
따라서, 실시 예에 따른 박막 트랜지스터 기판, 이를 포함하는 표시패널 및 표시장치에 의하면, 높은 캐리어 이동도를 제공할 수 있게 되므로, 고해상도를 구현하고 부드러운 동화상을 재생할 수 있게 된다.Therefore, according to the thin film transistor substrate, the display panel and the display device including the thin film transistor substrate according to the embodiment, high carrier mobility can be provided, thereby realizing a high resolution and reproducing a smooth moving image.
도 22 내지 도 24는 본 발명의 실시 예에 따른 박막 트랜지스터 기판의 또 다른 예를 나타낸 도면이다. 도 22 내지 도 24를 참조하여 실시 예에 따른 박막 트랜지스터 기판을 설명함에 있어, 도 1 내지 도 21을 참조하여 설명된 부분과 중복되는 내용에 대해서는 설명이 생략될 수 있다. 도 22 내지 도 24에 도시된 실시 예는 각각 도 1, 도 16, 도 18 대비하여 트랜스퍼 공정이 적용되지 않고 성장기판 위에 박막 트랜지스터가 제공되는 점에 차이가 있다.22 to 24 are views showing still another example of a thin film transistor substrate according to an embodiment of the present invention. In the description of the thin film transistor substrate according to the embodiment with reference to FIGS. 22 to 24 , descriptions of content overlapping with those described with reference to FIGS. 1 to 21 may be omitted. The embodiment shown in FIGS. 22 to 24 is different from FIGS. 1, 16, and 18 in that the thin film transistor is provided on the growth substrate without applying the transfer process.
실시 예에 따른 박막 트랜지스터 기판은, 도 22 내지 도 24에 도시된 바와 같이, 트랜스퍼 공정에 이용되는 지지기판 대신에 성장기판(10)을 기판으로서 포함할 수 있다. 상기 성장기판(10)은 예를 들어, 사파이어(Sapphire), SiC, GaAs, GaN, ZnO, Si, GaP, InP, Ge 중 적어도 하나를 포함할 수 있다. The thin film transistor substrate according to the embodiment may include the
상기 성장기판(10) 위에 블랙 매트릭스(45)가 배치될 수 있다. 상기 블랙 매트릭스(45)는 상기 성장기판(10) 위에 배치되어 상기 채널층(60)으로 빛이 입사되는 것을 방지할 수 있다. 상기 블랙 매트릭스(45)는 예로서 가시광선을 흡수하거나 반사하는 물질로 구현될 수 있다. 이에 따라, 실시 예에 의하면 상기 채널층(60)으로 빛이 입사되어 광전류(photo current) 등에 의하여 박막 트랜지스터(30)가 열화되는 것을 방지할 수 있게 된다. 예로서, 상기 블랙 매트릭스(45)는 Si 기반의 물질, Ga 기반의 물질, Al 기반의 물질, 유기물 중에서 선택된 적어도 하나의 물질을 포함하는 단일층 또는 다중층으로 제공될 수 있다. 상기 블랙 매트릭스(45)는 Si, GaAs 등의 물질을 선택적으로 포함할 수 있다.A
실시 예에 의하면, 상기 블랙 매트릭스(45) 위에 버퍼층(47)이 제공될 수 있다. 상기 버퍼층(47)은 상기 블랙 매트릭스(45)와 상기 채널층(60) 사이에 제공될 수 있다. 상기 버퍼층(47)은 상기 채널층(60)을 구성하는 질화물 반도체층의 성장을 도울 수 있다. 예로서, 상기 버퍼층(47)은 AlN, AlInN, AlGaN을 포함하는 그룹 중에서 선택된 적어도 하나의 물질을 포함하는 단일층 또는 다중층을 포함할 수 있다.According to an embodiment, a
예로서, 상기 블랙 매트릭스(45)의 폭은 상기 버퍼층(47)의 폭과 동일하게 제공될 수 있다. 예로서, 상기 블랙 매트릭스(45)의 폭은 상기 채널층(60)의 폭과 동일하게 제공될 수 있다. 상기 버퍼층(47)의 폭은 상기 채널층(60)의 폭과 동일하게 제공될 수 있다.For example, the width of the
실시 예에 의하면, 상기 성장기판(10) 위에 상기 제2 보호막(22)이 배치될 수 있다. 상기 제2 보호막(22)의 하부면이 상기 성장기판(10)의 상부면에 접촉되어 배치될 수 있다. 상기 블랙 매트릭스(45)가 제공되지 않은 영역에서, 상기 제2 보호막(22)이 상기 성장기판(10)에 직접 접촉되어 배치될 수 있다.According to an embodiment, the
실시 예에 따른 박막 트랜지스터 기판에 의하면, 질화물계 반도체층을 포함하는 박막 트랜지스터를 제공함으로써 높은 캐리어 이동도를 구현할 수 있게 된다. 예를 들어, 박막 트랜지스터는 채널층으로 적용되는 물질에 따라 전자 이동도(㎠/Vs)가 달라지게 되는데, 아몰퍼스 실리콘 반도체의 경우에는 전자 이동도가 1이고, 산화물 반도체의 경우에는 10 내지 80, 폴리 실리콘 반도체의 경우에는 100 이하인 것으로 보고되고 있다. 그러나, 실시 예에 따른 질화물계 반도체층을 포함하는 박막 트랜지스터는 전자 이동도가 1500에 달하는 것으로 측정되고 있다. 이에 따라 실시 예에 따른 질화물계 반도체층을 포함하는 박막 트랜지스터는 폴리 실리콘 반도체가 적용된 박막 트랜지스터에 비해 15 배 이상의 높은 전자 이동도를 구현할 수 있게 된다.According to the thin film transistor substrate according to the embodiment, it is possible to implement a high carrier mobility by providing a thin film transistor including a nitride-based semiconductor layer. For example, in the thin film transistor, the electron mobility (cm 2 /Vs) varies depending on the material applied as the channel layer. In the case of an amorphous silicon semiconductor, the electron mobility is 1, and in the case of an oxide semiconductor, 10 to 80, In the case of polysilicon semiconductor, it is reported to be 100 or less. However, the thin film transistor including the nitride-based semiconductor layer according to the embodiment is measured to have an electron mobility of 1500. Accordingly, the thin film transistor including the nitride-based semiconductor layer according to the embodiment can implement 15 times higher electron mobility than the thin film transistor to which the polysilicon semiconductor is applied.
따라서, 실시 예에 따른 박막 트랜지스터 기판, 이를 포함하는 표시패널 및 표시장치에 의하면, 높은 캐리어 이동도를 제공할 수 있게 되므로, 고해상도를 구현하고 부드러운 동화상을 재생할 수 있게 된다.Therefore, according to the thin film transistor substrate, the display panel and the display device including the thin film transistor substrate according to the embodiment, high carrier mobility can be provided, thereby realizing a high resolution and reproducing a smooth moving image.
도 25 및 도 26은 본 발명의 실시 예에 따른 박막 트랜지스터 기판의 또 다른 예를 나타낸 도면이다. 도 25 및 도 26에 도시된 박막 트랜지스터 기판은 이중 게이트 구조를 갖는 박막 트랜지스터가 적용된 실시 예로서 도 1 내지 도 24를 참조하여 설명된 부분과 중복되는 내용에 대해서는 설명이 생략될 수 있다. 25 and 26 are views showing another example of a thin film transistor substrate according to an embodiment of the present invention. The thin film transistor substrate shown in FIGS. 25 and 26 is an embodiment to which a thin film transistor having a double gate structure is applied, and descriptions of content overlapping with those described with reference to FIGS. 1 to 24 may be omitted.
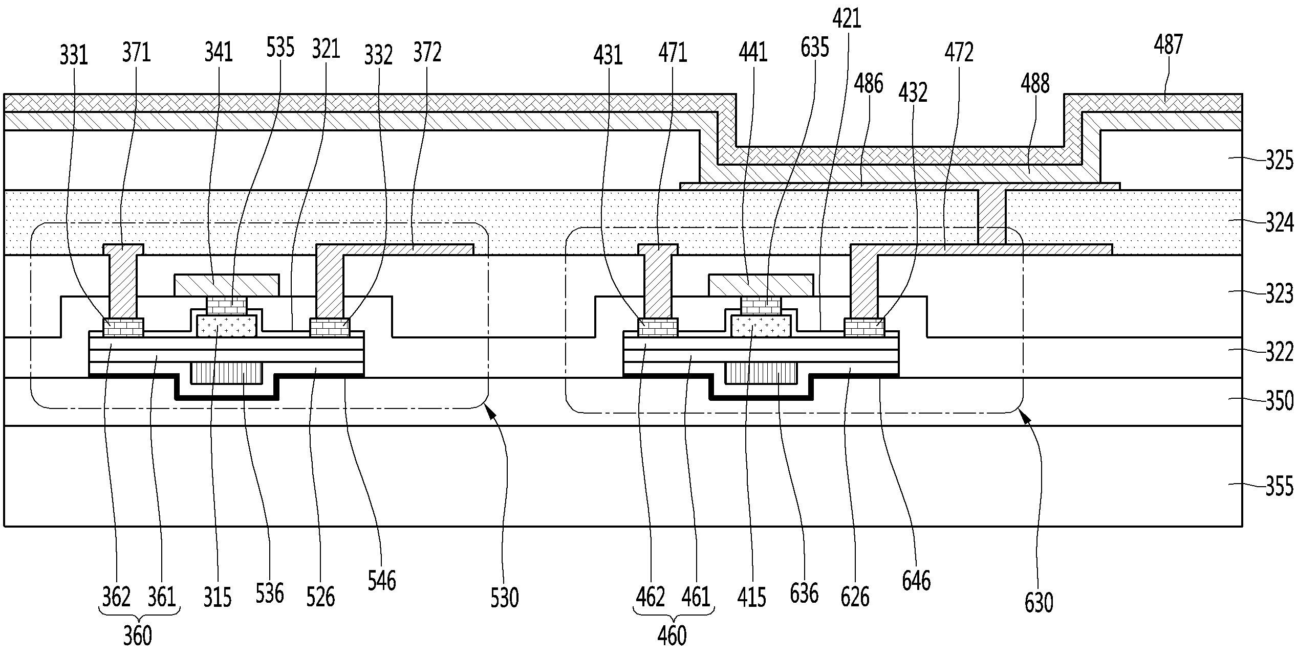
본 발명의 실시 예에 따른 박막 트랜지스터 기판은, 도 25 및 도 26에 도시된 바와 같이, 기판(55)과 상기 기판(55) 위에 배치된 박막 트랜지스터(130), 상기 박막 트랜지스터(130)에 전기적으로 연결된 화소전극(80)을 포함할 수 있다.As shown in FIGS. 25 and 26 , the thin film transistor substrate according to an embodiment of the present invention is electrically connected to the
실시 예에 따른 박막 트랜지스터(130)는 디플리션 형성층(depletion forming layer, 15), 제1 게이트 전극(35), 제2 게이트 전극(36), 채널층(60), 소스 전극(71), 드레인 전극(72)을 포함할 수 있다. 상기 소스 전극(71)은 상기 채널층(60)의 제1 영역에 전기적으로 연결될 수 있다. 상기 소스 전극(71)은 상기 채널층(60)의 상부 면에 전기적으로 연결될 수 있다. 상기 드레인 전극(72)은 상기 채널층(60)의 제2 영역에 전기적으로 연결될 수 있다. 상기 드레인 전극(72)은 상기 채널층(60)의 상부 면에 전기적으로 연결될 수 있다. 상기 제1 게이트 전극(35)은 상기 채널층(60) 위에 배치될 수 있다. 상기 제2 게이트 전극(36)은 상기 채널층(60) 아래에 배치될 수 있다. 상기 디플리션 형성층(15)은 상기 채널층(60)의 제1 영역과 제2 영역 사이 위에 배치될 수 있다. 상기 디플리션 형성층(15)은 상기 채널층(60)과 상기 제1 게이트 전극(35) 사이에 배치될 수 있다.The
상기 채널층(60)은 예로서 III족-V족 화합물 반도체로 구현될 수 있다. 예컨대, 상기 채널층(60)은 InxAlyGa1 -x- yN (0≤x≤1, 0≤y≤1, 0≤x+y≤1)의 조성식을 갖는 반도체 물질로 구현될 수 있다. 상기 채널층(60)은 예를 들어 GaN, AlN, AlGaN, InGaN, InN, InAlGaN, AlInN, AlGaAs, GaP, GaAs, GaAsP, AlGaInP 등에서 선택된 단일층 또는 다중층을 포함할 수 있다.The
상기 채널층(60)은 제1 질화물 반도체층(61)과 제2 질화물 반도체층(62)을 포함할 수 있다. 상기 제1 질화물 반도체층(61)은 예로서 InxAlyGa1 -x- yN (0≤x≤1, 0≤y≤1, 0≤x+y≤1)의 조성식을 갖는 반도체 물질로 구현될 수 있다. 상기 제2 질화물 반도체층(62)은 예로서 InxAlyGa1 -x- yN (0≤x≤1, 0≤y≤1, 0≤x+y≤1)의 조성식을 갖는 반도체 물질로 구현될 수 있다. The
실시 예에 따른 상기 채널층(60)에 의하면, 상기 제1 질화물 반도체층(61)이 GaN 반도체층을 포함하고, 상기 제2 질화물 반도체층(62)이 AlGaN 반도체층을 포함할 수 있다. 상기 제2 질화물 반도체층(62)은 상기 제1 질화물 반도체층(61)과 상기 디플리션 형성층(15) 사이에 배치될 수 있다.According to the
상기 디플리션 형성층(15)은 예로서 III족-V족 화합물 반도체로 구현될 수 있다. 예컨대, 상기 디플리션 형성층(15)은 InxAlyGa1 -x- yN (0≤x≤1, 0≤y≤1, 0≤x+y≤1)의 조성식을 갖는 반도체 물질로 구현될 수 있다. 상기 디플리션 형성층(15)은 예를 들어 GaN, AlN, AlGaN, InGaN, InN, InAlGaN, AlInN, AlGaAs, GaP, GaAs, GaAsP, AlGaInP 등에서 선택된 단일층 또는 다중층을 포함할 수 있다. 상기 디플리션 형성층(15)은 p형 도펀트가 첨가된 질화물 반도체층을 포함할 수 있다. 예로서, 상기 디플리션 형성층(15)은 p형 도펀트가 첨가된 GaN 반도체층 또는 p형 도펀트가 첨가된 AlGaN 반도체층을 포함할 수 있다. 상기 디플리션 형성층(15)은 예컨대, p-AlxGa1-xN (0≤x≤0.3)의 조성식을 갖는 반도체 물질로 구현된 단일층 또는 다중층을 포함할 수 있다. The
상기 디플리션 형성층(15)은 예로서 2~300nm의 두께로 제공될 수 있다. 상기 디플리션 형성층(15)은 상기 채널층(60)에 제공된 2차원 전자가스(2DEG)에 디플리션 영역(depletion region)을 제공하기 위하여 적어도 2nm의 두께로 제공될 수 있다. 또한, 상기 디플리션 형성층(15)은 제조공정에 따른 두께 편차를 고려하여 30nm 이상의 두께로 제공될 수도 있다. 또한, 상기 디플리션 형성층(15)은 제조공정에 따른 두께 편차를 고려하여 200nm 이하의 두께로 제공될 수도 있다. 상기 디플리션 형성층(15)은 예로서 50~100nm의 두께로 제공될 수도 있다.The
상기 디플리션 형성층(15)은 상기 채녈층(60)에 제공된 2차원 전자가스(2DEG)에 디플리션 영역(depletion region)을 형성하는 역할을 할 수 있다. 상기 디플리션 형성층(15)에 의해 그 아래에 위치하는 제2 질화물 반도체층(62) 부분의 에너지 밴드갭(energy bandgap)이 높아질 수 있고, 그 결과 상기 디플리션 형성층(15)에 대응하는 상기 채널층(60) 부분에 2차원 전자가스(2DEG)의 디플리션 영역이 제공될 수 있다. 따라서, 상기 채널층(60)에 제공되는 2차원 전자가스(2DEG) 중 상기 디플리션 형성층(15)이 배치된 위치에 대응되는 영역은 끊어질 수 있다. 상기 채널층(60)에서 2차원 전자가스(2DEG)가 끊어진 영역을 단절영역이라 할 수 있으며, 예로서 상기 제2 질화물 반도체층(62)에 단절영역이 형성될 수 있다. 이러한 단절영역에 의해 상기 박막 트랜지스터(130)는 노멀리-오프(normally-off) 특성을 가질 수 있다. 상기 제1 게이트 전극(35)에 문턱 전압(threshold voltage) 이상의 전압을 인가하면, 단절영역에 2차원 전자가스(2DEG)가 생성되어, 상기 박막 트랜지스터(130)가 온 상태가 된다. 상기 제1 게이트 전극(35)의 하부에 형성된 채널이 온 상태가 되면 상기 채널층(60)에 형성된 2차원 전자가스(2DEG)를 경유하여 전류가 흐를 수 있게 된다. 이에 따라, 상기 제1 게이트 전극(35)과 상기 제2 게이트 전극(36)에 인가되는 전압에 따라 상기 채널층(60)의 제1 영역으로부터 제2 영역으로의 전류 흐름이 제어될 수 있게 된다. 한편, 본 실시 예에 의하면, 상기 채널층(60) 아래에 상기 제2 게이트 전극(36)이 배치될 수 있다. 상기 제1 게이트 전극(35)과 상기 제2 게이트 전극(36)은 수직 방향에서 서로 중첩되어 배치될 수 있다. 실시 예에 의하면, 상기 채널층(60)의 상부 및 하부에 상기 제1 게이트 전극(35)과 상기 제2 게이트 전극(36)이 배치됨에 따라 상기 채널층(60)에서의 전류의 흐름을 효율적이고 신뢰성 있게 조절할 수 있게 된다.The
상기 기판(55)은 투명기판을 포함할 수 있다. 상기 기판(55)은 예로서 0.1 mm 내지 3 mm의 두께를 갖는 투명기판으로 구현될 수 있다. 또한, 상기 기판(55)의 두께는 적용되는 표시장치의 용도 및 크기에 따라 변경될 수 있는 것으로서 0.4~1.1mm의 두께 범위 내에서 선택될 수도 있다. 예로서, 상기 기판(55)은 0.6~0.8mm의 두께로 제공될 수도 있다. 상기 기판(55)은 실리콘, 유리, 폴리이미드, 플라스틱을 포함하는 물질 중에서 선택된 적어도 하나의 물질을 포함할 수 있다. 상기 기판(55)은 플렉시블 기판을 포함할 수 있다.The
상기 기판(55)은 트랜스퍼(transfer) 공정에서 적용되는 기판으로서 상기 박막 트랜지스터(130)를 지지하는 역할을 수행한다. 또한, 실시 예에 따른 박막 트랜지스터 기판은 상기 기판(55)과 상기 박막 트랜지스터(130) 사이에 제공된 본딩층(50)을 포함할 수 있다. The
상기 본딩층(50)은 유기물을 포함할 수 있다. 상기 본딩층(50)은 투명물질로 구현될 수 있다. 상기 본딩층(50)은 예로서 투과도가 70% 이상인 물질로 구현될 수 있다. 상기 본딩층(50)은 유기 절연물질을 포함할 수 있다. 상기 본딩층(50)은 아크릴, 벤조시클로부텐(BCB), SU-8 폴리머(SU-8 polymer) 등을 포함하는 그룹 중에서 선택된 적어도 어느 하나의 물질을 포함할 수 있다. 상기 본딩층(50)은 예로서 0.5~6㎛의 두께로 제공될 수 있다. 상기 본딩층(50)의 두께는 선택된 물질 종류에 따라 차이가 있을 수 있으며 1~3㎛의 두께로 제공될 수도 있다. 또한, 상기 본딩층(50)은 예로서 1.8~2.2㎛의 두께로 제공될 수도 있다.The
실시 예에 따른 박막 트랜지스터(130)는 상기 채널층(60)의 제1 영역 위에 배치된 소스 컨택부(31)와 상기 채널층(60)의 제2 영역 위에 배치된 드레인 컨택부(32)를 포함할 수 있다. 상기 소스 컨택부(31)는 상기 채널층(60)의 제1 영역에 접촉되어 배치될 수 있다. 상기 드레인 컨택부(32)는 상기 채널층(60)의 제2 영역에 접촉되어 배치될 수 있다.The
실시 예에 따른 박막 트랜지스터(130)는 상기 제1 게이트 전극(35) 위에 배치된 게이트 배선(41)을 포함할 수 있다. 상기 게이트 배선(41)은 상기 제1 게이트 전극(35)에 전기적으로 연결될 수 있다. 상기 게이트 배선(41)의 하부 면이 상기 제1 게이트 전극(35)의 상부 면에 접촉되어 배치될 수 있다.The
상기 소스 전극(71)은 상기 소스 컨택부(31)에 전기적으로 연결될 수 있다. 상기 소스 전극(71)은 상기 소스 컨택부(31)의 상부 면에 접촉되어 배치될 수 있다. 예로서, 상기 소스 전극(71)은 상기 소스 컨택부(31)를 통하여 상기 채널층(60)의 제1 영역에 전기적으로 연결될 수 있다. 상기 드레인 전극(72)은 상기 드레인 컨택부(32)에 전기적으로 연결될 수 있다. 상기 드레인 전극(72)은 상기 드레인 컨택부(32)의 상부 면에 접촉되어 배치될 수 있다. 예로서, 상기 드레인 전극(72)은 상기 드레인 컨택부(32)를 통하여 상기 채널층(60)의 제2 영역에 전기적으로 연결될 수 있다.The source electrode 71 may be electrically connected to the
상기 소스 컨택부(31)와 상기 드레인 컨택부(32)는 상기 채널층(60)과 오믹 접촉하는 물질로 구현될 수 있다. 상기 소스 컨택부(31)와 상기 드레인 컨택부(32)는 상기 제2 질화물 반도체층(62)과 오믹 접촉하는 물질을 포함할 수 있다. 예로서, 상기 소스 컨택부(31)와 상기 드레인 컨택부(32)는 알루미늄(Al), 알루미늄 합금(Al alloy), 텅스텐(W), 구리(Cu), 구리 합금(Cu alloy), 몰리브덴(Mo), 은(Ag), 은 합금(Ag alloy), 금(Au), 금 합금(Au alloy), 크롬(Cr), 티타늄(Ti), 티타늄 합금(Ti alloy), 몰리텅스텐(MoW), 몰리티타늄(MoTi), 구리/몰리티타늄(Cu/MoTi)을 포함하는 그룹 중에서 선택된 적어도 어느 하나의 물질을 포함하는 단일층 또는 다중층을 포함할 수 있다. 상기 소스 컨택부(31)와 상기 드레인 컨택부(32)는 예로서 0.1~1㎛의 두께로 제공될 수 있다. 상기 소스 컨택부(31)와 상기 드레인 컨택부(32)는 상기 채널층(60)과의 접촉을 위한 층으로서 전류 확산 기능을 수행하지 않아도 되므로 1㎛ 이하의 두께로 제공될 수도 있다.The
상기 제1 게이트 전극(35)은 상기 디플리션 형성층(15)과 오믹 접촉하는 물질로 구현될 수 있다. 예로서, 상기 제1 게이트 전극(35)은 p형 질화물층과 오믹 접촉하는 금속성 물질로 구현될 수 있다. 상기 제1 게이트 전극(35)은 텅스텐(W), 텅스텐실리콘(WSi2), 티타늄질소(TiN), 탄탈륨(Ta), 탄탈륨질소(TaN), 팔라듐(Pd), 니켈(Ni), 백금(Pt)을 포함하는 그룹 중에서 선택된 적어도 어느 하나의 물질을 포함하는 단일층 또는 다중층을 포함할 수 있다. 상기 제1 게이트 전극(35)은 예로서 0.1~1㎛의 두께로 제공될 수 있다. 상기 제1 게이트 전극(35)은 상기 디플리션 형성층(15)과의 접촉을 위한 층으로서 전류 확산 기능을 수행하지 않아도 되므로 1㎛ 이하의 두께로 제공될 수도 있다.The
상기 게이트 배선(41)은 알루미늄(Al), 알루미늄 합금(Al alloy), 텅스텐(W), 구리(Cu), 구리 합금(Cu alloy), 몰리브덴(Mo), 은(Ag), 은 합금(Ag alloy), 금(Au), 금 합금(Au alloy), 크롬(Cr), 티타늄(Ti), 티타늄 합금(Ti alloy), 몰리텅스텐(MoW), 몰리티타늄(MoTi), 구리/몰리티타늄(Cu/MoTi)을 포함하는 그룹 중에서 선택된 적어도 어느 하나의 물질을 포함하는 단일층 또는 다중층을 포함할 수 있다. 상기 게이트 배선(41)은 예로서 0.1~3㎛의 두께로 제공될 수 있다. 상기 게이트 배선(41)은 복수의 트랜지스터에 순차적으로 전압을 인가하는 기능을 수행하므로 상기 제1 게이트 전극(35)의 두께에 비하여 더 두껍게 제공될 수도 있다.The
상기 소스 전극(71)과 상기 드레인 전극(72)은 알루미늄(Al), 알루미늄 합금(Al alloy), 텅스텐(W), 구리(Cu), 구리 합금(Cu alloy), 몰리브덴(Mo), 은(Ag), 은 합금(Ag alloy), 금(Au), 금 합금(Au alloy), 크롬(Cr), 티타늄(Ti), 티타늄 합금(Ti alloy), 몰리텅스텐(MoW), 몰리티타늄(MoTi), 구리/몰리티타늄(Cu/MoTi)을 포함하는 그룹 중에서 선택된 적어도 어느 하나의 물질을 포함하는 단일층 또는 다중층을 포함할 수 있다. 상기 소스 전극(71)과 상기 드레인 전극(72)은 예로서 0.1~3㎛의 두께로 제공될 수 있다. 상기 소스 전극(71)은 복수의 트랜지스터에 순차적으로 전압을 인가하는 기능을 수행하므로 상기 소스 컨택부(31)의 두께에 비하여 더 두껍게 제공될 수도 있다. 상기 드레인 전극(72)도 상기 드레인 컨택부(32)의 두께에 비하여 더 두껍게 제공될 수도 있다.The
실시 예에 따른 박막 트랜지스터 기판은 상기 채널층(60) 위에 배치된 제1 보호막(21)을 포함할 수 있다. 상기 제1 보호막(21)은 상기 제2 질화물 반도체층(62) 위에 배치될 수 있다. 상기 제1 보호막(21)의 하부 면은 상기 제2 질화물 반도체층(62)의 상부 면에 접촉되어 배치될 수 있다. 상기 제1 보호막(21)은 상기 디플리션 형성층(15) 위에 배치될 수 있다. 상기 제1 보호막(21)은 상기 디플리션 형성층(15)의 측면에 배치될 수 있다. 상기 제1 보호막(21)은 상기 디플리션 형성층(15)의 측면을 감싸도록 배치될 수 있다.The thin film transistor substrate according to the embodiment may include a
실시 예에 의하면, 상기 소스 컨택부(31)는 상기 제1 보호막(21)을 관통하여 배치될 수 있다. 상기 소스 컨택부(31)는 상기 제1 보호막(21)에 의하여 둘러 싸여 배치될 수 있다. 상기 소스 컨택부(31)는 상기 제1 보호막(21)을 관통하여 배치되고 상기 채널층(60)의 제1 영역에 접촉되어 제공될 수 있다. 상기 드레인 컨택부(32)는 상기 제1 보호막(21)을 관통하여 배치될 수 있다. 상기 드레인 컨택부(32)는 상기 제1 보호막(21)에 의하여 둘러 싸여 배치될 수 있다. 상기 드레인 컨택부(32)는 상기 제1 보호막(21)을 관통하여 배치되고 상기 채널층(60)의 제2 영역에 접촉되어 제공될 수 있다.According to an embodiment, the
상기 제1 보호막(21)은 절연물질로 구현될 수 있다. 상기 제1 보호막(21)은 예로서 실리콘 계열의 산화물, 실리콘 계열의 질화물, Al2O3를 포함하는 금속 산화물, 유기 절연물 중에서 적어도 하나의 물질을 포함하는 단일층 또는 다중층을 포함할 수 있다.The
실시 예에 의하면, 상기 기판(55)과 상기 제1 보호막(21) 위에 제2 보호막(22)이 배치될 수 있다. 상기 제1 게이트 전극(35)은 상기 제1 보호막(21)과 상기 제2 보호막(22) 중에서 적어도 하나를 관통하여 배치될 수 있다. 예로서, 상기 제1 게이트 전극(35)은 상기 제1 보호막(21)과 상기 제2 보호막(22)을 관통하여 배치될 수 있다. 상기 제1 게이트 전극(35)은 상기 제1 보호막(21)과 상기 제2 보호막(22) 중에서 적어도 하나를 관통하여 상기 디플리션 형성층(15)에 접촉되어 배치될 수 있다. 예로서, 상기 제1 게이트 전극(35)은 상기 제1 보호막(21)과 상기 제2 보호막(22)을 관통하여 상기 디플리션 형성층(15)에 접촉되어 배치될 수 있다. 상기 게이트 배선(41)은 상기 제2 보호막(22) 위에 배치되어 상기 제1 게이트 전극(35)과 전기적으로 연결될 수 있다. 상기 제2 보호막(22)은 절연물질로 구현될 수 있다. 상기 제2 보호막(22)은 예로서 실리콘 계열의 산화물, 실리콘 계열의 질화물, Al2O3를 포함하는 금속 산화물, 유기 절연물 중에서 적어도 하나의 물질을 포함하는 단일층 또는 다중층을 포함할 수 있다.According to an embodiment, a
실시 예에 의하면, 상기 제2 보호막(22) 위에 제3 보호막(23)이 배치될 수 있다. 상기 제3 보호막(23)은 상기 제2 보호막(22)과 상기 게이트 배선(41) 위에 배치될 수 있다. 상기 게이트 배선(41)은 상기 제1 게이트 전극(35) 위에 접촉되어 배치되고 상기 제3 보호막(23)에 의하여 둘러 싸여 제공될 수 있다.According to an embodiment, a
상기 소스 전극(71)은 상기 제2 보호막(22)과 상기 제3 보호막(23)을 관통하여 상기 소스 컨택부(31)에 전기적으로 연결될 수 있다. 상기 소스 전극(71)은 상기 제3 보호막(23) 위에 배치된 제1 영역을 포함할 수 있다. 상기 소스 전극(71)은 상기 제3 보호막(23)과 상기 제2 보호막(22)을 관통하는 제2 영역을 포함할 수 있다. 상기 드레인 전극(72)은 상기 제2 보호막(22)과 상기 제3 보호막(23)을 관통하여 상기 드레인 컨택부(32)에 전기적으로 연결될 수 있다. 상기 드레인 전극(72)은 상기 제3 보호막(23) 위에 배치된 제1 영역을 포함할 수 있다. 상기 드레인 전극(72)은 상기 제3 보호막(23)과 상기 제2 보호막(22)을 관통하는 제2 영역을 포함할 수 있다. The source electrode 71 may pass through the
상기 제2 게이트 전극(36)은 상기 채널층(60) 아래에 배치될 수 있다. 상기 제2 게이트 전극(36)은 상기 제1 질화물 반도체층(61) 아래에 배치될 수 있다. 상기 제2 게이트 전극(36)과 상기 채널층(60) 아래에 제6 보호막(26)이 배치될 수 있다. 상기 제2 게이트 전극(36)은 상기 채널층(60)의 하부 면에 접촉되어 배치될 수 있다. 상기 제2 게이트 전극(36)은 상기 제1 질화물 반도체층(61)에 샤키 접촉(Schottky contact)될 수 있다. 상기 제2 게이트 전극(36)은 니켈(Ni), 백금(Pt), 금(Au), 팔라듐(Pd)을 포함하는 그룹 중에서 선택된 적어도 하나의 물질 또는 그 합금을 포함하는 단일층 또는 다중층을 포함할 수 있다. 예로서, 상기 샤키 접촉은 상기 채널층(60)에 대한 플라즈마 처리(plasma treatment)에 의하여 구현될 수 있다. The
상기 제1 게이트 전극(35)과 상기 제2 게이트 전극(36)은 도 26에 도시된 바와 같이 전기적으로 연결될 수 있다. 실시 예에 따른 박막 트랜지스터(130)는 상기 제2 보호막(22) 위에 배치되며, 상기 제1 게이트 전극(35)과 전기적으로 연결되며 상기 게이트 배선(41)으로부터 연장되어 배치된 게이트 연결배선(38)을 포함할 수 있다. 상기 게이트 연결배선(38)은 상기 제2 보호막(22)을 관통하여 상기 제2 게이트 전극(36)에 전기적으로 연결될 수 있다. 예로서, 상기 제1 게이트 전극(35)과 상기 게이트 배선(41)은 동일 공정에서 일체로 형성될 수 있다. 또한, 상기 제1 게이트 전극(35)과 상기 게이트 배선(41)은 서로 다른 공정에서 분리되어 형성되어 전기적으로 연결될 수도 있다.The
도 26에 도시된 바와 같이, 상기 채널층(60)과 상기 디플리션 형성층(15)은 서로 동일한 폭으로 형성될 수 있다. 상기 디플리션 형성층(15)의 폭이 상기 채널층(60)의 폭에 비해 작은 경우에는 누설 전류(leakage current)가 발생될 수 있다. 다른 표현으로서, 상기 제1 게이트 전극(35)이 연장되어 배치된 방향을 따라 제공된 상기 채널층(60)의 길이와 상기 디플리션 형성층(15)의 길이가 동일하게 제공될 수 있다.26 , the
상기 제3 보호막(23)은 절연물질을 포함할 수 있다. 상기 제3 보호막(23)은 예로서 실리콘 계열의 산화물, 실리콘 계열의 질화물, Al2O3를 포함하는 금속 산화물, 유기 절연물 중에서 적어도 하나의 물질을 포함하는 단일층 또는 다중층을 포함할 수 있다.The
실시 예에 따른 박막 트랜지스터 기판은 상기 제3 보호막(23) 위에 배치된 제4 보호막(24)을 포함할 수 있다. 상기 제4 보호막(24)은 상기 소스 전극(71)과 상기 드레인 전극(72) 위에 배치될 수 있다. 상기 제4 보호막(24)은 상기 제1 게이트 전극(35) 위에 배치될 수 있다. 상기 제4 보호막(24)은 상기 드레인 전극(72) 위에 제공된 컨택홀(H3)을 포함할 수 있다. The thin film transistor substrate according to the embodiment may include a
상기 제4 보호막(24)은 예로서 실리콘 계열의 산화물, 실리콘 계열의 질화물, Al2O3를 포함하는 금속 산화물, 유기 절연물 중에서 적어도 하나의 물질을 포함하는 단일층 또는 다중층을 포함할 수 있다.The
실시 예에 의하면, 상기 화소전극(80)은 상기 제4 보호막(24) 위에 배치될 수 있다. 상기 화소전극(80)은 상기 제4 보호막(24)에 제공된 컨택홀(H3)을 통하여 상기 드레인 전극(72)에 전기적으로 연결될 수 있다. 상기 화소전극(80)의 하부 면은 상기 드레인 전극(72)의 상부 면에 접촉되어 배치될 수 있다.According to an embodiment, the
상기 화소전극(80)은 투명 도전성 물질로 구현될 수 있다. 상기 화소전극(80)은 예로서 투명 도전성 산화막으로 구현될 수 있다. 상기 화소전극(80)은 ITO(Indium Tin Oxide), IZO(Indium Zinc Oxide), AZO(Aluminum Zinc Oxide), AGZO(Aluminum Gallium Zinc Oxide), IZTO(Indium Zinc Tin Oxide), IAZO(Indium Aluminum Zinc Oxide), IGZO(Indium Gallium Zinc Oxide), IGTO(Indium Gallium Tin Oxide), ATO(Antimony Tin Oxide), GZO(Gallium Zinc Oxide), IZON(IZO Nitride) 중에서 선택된 적어도 하나의 물질을 포함할 수 있다.The
실시 예에 따른 박막 트랜지스터 기판은, 상기 기판(55)과 상기 채널층(60) 사이에 배치된 블랙 매트릭스(46)를 포함할 수 있다. 상기 블랙 매트릭스(46)는 상기 기판(55)과 상기 제6 보호막(26) 사이에 배치될 수 있다. 상기 블랙 매트릭스(46)는 상기 기판(55)과 상기 제2 게이트 전극(36) 사이에 배치될 수 있다. 상기 블랙 매트릭스(46)는 상기 제6 보호막(26) 하부에 대응되는 형태로 배치될 수 있다. 상기 채널층(60)의 폭과 상기 블랙 매트릭스(46)의 폭이 같게 제공될 수 있다. 상기 블랙 매트릭스(46)는 예로서 Si 기반의 물질, Ga 기반의 물질, Al 기반의 물질, 유기물 중에서 선택된 적어도 하나의 물질을 포함하는 단일층 또는 다중층으로 제공될 수 있다. 상기 블랙 매트릭스(46)는 상기 박막 트랜지스터(130)로 입사되는 빛을 차단할 수 있다. 이에 따라 광전류(photo current) 등에 의하여 상기 박막 트랜지스터(130)가 열화되는 것을 방지할 수 있다.The thin film transistor substrate according to the embodiment may include a
실시 예에 의하면, 상기 기판(55)과 상기 채널층(60) 사이에 상기 본딩층(50)이 배치될 수 있다. 상기 본딩층(50)은 상기 기판(55)과 상기 블랙 매트릭스(46) 사이에 배치될 수 있다. 예로서, 상기 본딩층(50)은 상기 기판(55)의 전체 영역 위에 배치될 수 있다. 상기 본딩층(50)은 상기 제2 보호막(22)과 접촉되어 배치될 수 있다. 상기 본딩층(50)의 상부면과 상기 제2 보호막(22)의 하부면이 접촉되어 배치될 수 있다. 예로서, 상기 블랙 매트릭스(46)가 제공되지 않은 영역에서, 상기 본딩층(50)의 상부면과 상기 제2 보호막(22)의 하부면이 직접 접촉되어 배치될 수 있다.According to an embodiment, the
또한, 실시 예에 의하면, 상기 제2 게이트 전극(36)의 높이와 폭에 대응되는 리세스(recess)가 상기 기판(55) 또는 상기 본딩층(50)에 제공될 수 있다. 상기 제6 보호막(26)의 일부는 상기 제2 게이트 전극(36)의 단면 형상에 대응되도록 상부 및 측면의 적어도 일부에 배치되어 상기 리세스(recess) 영역에 제공될 수 있다. 상기 블랙 매트릭스(46)는 상기 제6 보호막(26)의 하부 형상과 대응되는 형상으로 배치되고 적어도 일부는 상기 리세스(recess) 영역에 배치될 수 있다. 상기 제2 게이트 전극(36)의 적어도 일부도 상기 리세스(recess) 영역에 배치될 수 있다. 이러한 구조로 상기 제2 게이트 전극(36) 제공에 따른 박막 트랜지스터 기판의 두께가 증가되는 것을 최소화 할 수 있다.Also, according to an embodiment, a recess corresponding to the height and width of the
실시 예에 따른 박막 트랜지스터 기판은 컬러필터 기판과 합착되어 액정표시 패널을 제공할 수 있다. 박막 트랜지스터 기판과 컬러필터 기판 사이에는 액정층이 제공될 수 있다. 컬러필터 기판에는 공통전극이 제공될 수 있으며, 공통전극과 박막 트랜지스터 기판에 제공된 화소전극 간에 인가되는 전압 차에 의하여 그 사이에 배치된 액정층의 배열이 조절되고 해당 화소의 광 투과량을 제어할 수 있게 된다. 이와 같은 구조를 갖는 액정표시 패널은 수직 전계형 액정표시 패널로 지칭될 수도 있다.The thin film transistor substrate according to the embodiment may be bonded to the color filter substrate to provide a liquid crystal display panel. A liquid crystal layer may be provided between the thin film transistor substrate and the color filter substrate. A common electrode may be provided on the color filter substrate, and the arrangement of the liquid crystal layers disposed therebetween may be adjusted by the voltage difference applied between the common electrode and the pixel electrode provided on the thin film transistor substrate, and the amount of light transmission of the corresponding pixel may be controlled. there will be A liquid crystal display panel having such a structure may be referred to as a vertical electric field type liquid crystal display panel.
실시 예에 따른 박막 트랜지스터 기판에 의하면, 질화물계 반도체층을 포함하는 박막 트랜지스터를 제공함으로써 높은 캐리어 이동도를 구현할 수 있게 된다. 예를 들어, 박막 트랜지스터는 채널층으로 적용되는 물질에 따라 전자 이동도(㎠/Vs)가 달라지게 되는데, 아몰퍼스 실리콘 반도체의 경우에는 전자 이동도가 1이고, 산화물 반도체의 경우에는 10 내지 80, 폴리 실리콘 반도체의 경우에는 100 이하인 것으로 보고되고 있다. 그러나, 실시 예에 따른 질화물계 반도체층을 포함하는 박막 트랜지스터는 전자 이동도가 1500에 달하는 것으로 측정되고 있다. 이에 따라 실시 예에 따른 질화물계 반도체층을 포함하는 박막 트랜지스터는 폴리 실리콘 반도체가 적용된 박막 트랜지스터에 비해 15 배 이상의 높은 전자 이동도를 구현할 수 있게 된다.According to the thin film transistor substrate according to the embodiment, it is possible to implement a high carrier mobility by providing a thin film transistor including a nitride-based semiconductor layer. For example, in the thin film transistor, the electron mobility (cm 2 /Vs) varies depending on the material applied as the channel layer. In the case of an amorphous silicon semiconductor, the electron mobility is 1, and in the case of an oxide semiconductor, 10 to 80, In the case of polysilicon semiconductor, it is reported to be 100 or less. However, the thin film transistor including the nitride-based semiconductor layer according to the embodiment is measured to have an electron mobility of 1500. Accordingly, the thin film transistor including the nitride-based semiconductor layer according to the embodiment can implement 15 times higher electron mobility than the thin film transistor to which the polysilicon semiconductor is applied.
실시 예에 의하면, 성장기판을 이용하여 품질이 좋은 반도체층을 형성할 수 있으며, 지지기판을 이용하여 트랜스퍼(transfer) 공정을 적용함으로써 전자 이동도가 우수한 박막 트랜지스터 기판을 제공할 수 있게 된다.According to an embodiment, a semiconductor layer having good quality may be formed using a growth substrate, and a thin film transistor substrate having excellent electron mobility may be provided by applying a transfer process using a support substrate.
따라서, 실시 예에 따른 박막 트랜지스터 기판, 이를 포함하는 표시패널 및 표시장치에 의하면, 높은 캐리어 이동도를 제공할 수 있게 되므로, 고해상도를 구현하고 부드러운 동화상을 재생할 수 있게 된다.Therefore, according to the thin film transistor substrate, the display panel and the display device including the thin film transistor substrate according to the embodiment, high carrier mobility can be provided, thereby realizing a high resolution and reproducing a smooth moving image.
도 27은 본 발명의 실시 예에 따른 박막 트랜지스터 기판의 또 다른 예를 나타낸 도면이다. 도 27에 도시된 박막 트랜지스터 기판은 이중 게이트 구조를 갖는 박막 트랜지스터가 적용된 실시 예로서, 도 1 내지 도 26을 참조하여 설명된 부분과 중복되는 내용에 대해서는 설명이 생략될 수 있다. 27 is a diagram illustrating another example of a thin film transistor substrate according to an embodiment of the present invention. The thin film transistor substrate shown in FIG. 27 is an embodiment to which a thin film transistor having a double gate structure is applied, and descriptions of content overlapping with those described with reference to FIGS. 1 to 26 may be omitted.
도 25 및 도 26을 참조하여 설명된 박막 트랜지스터 기판은 수직 전계형 액정표시 패널에 적용될 수 있는 것이다. 박막 트랜지스터 기판에는 화소전극(80)이 배치되고 화소전극(80)과 함께 화소에 전계를 형성하는 공통전극은 별도의 컬러필터 기판에 제공됨으로써 수직 전계형 액정표시 패널을 구현할 수 있는 것이다. 한편, 도 27을 참조하여 설명되는 박막 트랜지스터 기판은 수평 전계형 액정표시 패널에 적용될 수 있는 것이다. The thin film transistor substrate described with reference to FIGS. 25 and 26 may be applied to a vertical electric field type liquid crystal display panel. A
실시 예에 따른 박막 트랜지스터 기판은, 도 27에 도시된 바와 같이, 화소전극(81), 공통전극(85), 제5 보호막(25)을 포함할 수 있다.As shown in FIG. 27 , the thin film transistor substrate according to the embodiment may include a
상기 공통전극(85)은 제4 보호막(24) 위에 배치될 수 있다. 상기 제5 보호막(25)은 상기 제4 보호막(24) 위에 배치될 수 있다. 상기 제5 보호막(25)은 상기 공통전극(85)과 상기 제4 보호막(24) 위에 배치될 수 있다. 상기 공통전극(85)은 상기 제4 보호막(24)과 상기 제5 보호막(25) 사이에 배치될 수 있다. 또한, 상기 제5 보호막(25)은 상기 제4 보호막(24)을 통하여 노출된 드레인 전극(72) 위에도 제공될 수 있다. 상기 화소전극(81)은 상기 제5 보호막(25) 위에 배치될 수 있다. 상기 화소전극(81)의 일부 영역은 상기 제5 보호막(25)에 제공된 제4 컨택홀(H4)을 통하여 상기 드레인 전극(72)에 전기적으로 연결될 수 있다. 상기 화소전극(81)의 일부 영역은 상기 제4 컨택홀(H4)을 통하여 상기 드레인 전극(72)의 상부 면에 접촉되어 배치될 수 있다. 상기 화소전극(81)은 상기 제4 보호막(24)과 상기 제5 보호막(25)을 관통하여 상기 드레인 전극(72)의 상부 면에 접촉되어 배치될 수 있다. 상기 화소전극(81)의 일부 영역과 상기 공통전극(85)의 일부 영역이 수직 방향으로 서로 중첩되어 배치될 수 있다.The
실시 예에 따른 박막 트랜지스터 기판은 게이트 배선(41)과 데이터 배선(73)이 교차되는 영역에 배치된 복수의 박막 트랜지스터(130)를 포함할 수 있다. 상기 게이트 배선(41)과 상기 데이터 배선(73)에 의하여 정의되는 영역에 상기 화소전극(81)이 배치될 수 있다. 상기 화소전극(81)은 핑거 형상으로 연장된 부분을 포함할 수 있다. 상기 화소전극(81)의 일부 영역은 상기 게이트 배선(41)과 중첩되어 배치될 수 있다. The thin film transistor substrate according to the embodiment may include a plurality of
상기 공통전극(85)은 투명 도전성 물질로 구현될 수 있다. 상기 공통전극(85)은 예로서 투명 도전성 산화막으로 구현될 수 있다. 상기 공통전극(85)은 ITO(Indium Tin Oxide), IZO(Indium Zinc Oxide), AZO(Aluminum Zinc Oxide), AGZO(Aluminum Gallium Zinc Oxide), IZTO(Indium Zinc Tin Oxide), IAZO(Indium Aluminum Zinc Oxide), IGZO(Indium Gallium Zinc Oxide), IGTO(Indium Gallium Tin Oxide), ATO(Antimony Tin Oxide), GZO(Gallium Zinc Oxide), IZON(IZO Nitride) 중에서 선택된 적어도 하나의 물질을 포함할 수 있다.The
상기 화소전극(81)은 투명 도전성 물질로 구현될 수 있다. 상기 화소전극(81)은 예로서 투명 도전성 산화막으로 구현될 수 있다. 상기 화소전극(81)은 ITO(Indium Tin Oxide), IZO(Indium Zinc Oxide), AZO(Aluminum Zinc Oxide), AGZO(Aluminum Gallium Zinc Oxide), IZTO(Indium Zinc Tin Oxide), IAZO(Indium Aluminum Zinc Oxide), IGZO(Indium Gallium Zinc Oxide), IGTO(Indium Gallium Tin Oxide), ATO(Antimony Tin Oxide), GZO(Gallium Zinc Oxide), IZON(IZO Nitride) 중에서 선택된 적어도 하나의 물질을 포함할 수 있다.The
상기 제5 보호막(25)은 예로서 실리콘 계열의 산화물, 실리콘 계열의 질화물, Al2O3를 포함하는 금속 산화물, 유기 절연물 중에서 적어도 하나의 물질을 포함하는 단일층 또는 다중층을 포함할 수 있다.The
실시 예에 따른 박막 트랜지스터 기판은 컬러필터 기판과 합착되어 액정표시 패널을 제공할 수 있다. 박막 트랜지스터 기판과 컬러필터 기판 사이에는 액정층이 제공될 수 있다. 실시 예에 따른 박막 트랜지스터 기판은 상기 공통전극(85)과 상기 화소전극(81) 간에 인가되는 전압 차에 의하여 액정층의 배열이 조절되고 해당 화소의 광 투과량을 제어할 수 있게 된다. 이와 같은 구조를 갖는 액정표시 패널은 수평 전계형 액정표시 패널, 횡 전계형 액정표시 패널, 또는 IPS(In Plane Switching) 액정표시 패널로 지칭될 수 있다. 액정표시 패널은 자체에 광원이 없으므로 액정표시 패널에 빛을 공급하는 라이트 유닛이 제공됨으로써 표시장치를 구현할 수 있게 된다.The thin film transistor substrate according to the embodiment may be bonded to the color filter substrate to provide a liquid crystal display panel. A liquid crystal layer may be provided between the thin film transistor substrate and the color filter substrate. In the thin film transistor substrate according to the embodiment, the arrangement of the liquid crystal layer is adjusted by the voltage difference applied between the
실시 예에 따른 박막 트랜지스터 기판에 의하면, 질화물계 반도체층을 포함하는 박막 트랜지스터를 제공함으로써 높은 캐리어 이동도를 구현할 수 있게 된다. 예를 들어, 박막 트랜지스터는 채널층으로 적용되는 물질에 따라 전자 이동도(㎠/Vs)가 달라지게 되는데, 아몰퍼스 실리콘 반도체의 경우에는 전자 이동도가 1이고, 산화물 반도체의 경우에는 10 내지 80, 폴리 실리콘 반도체의 경우에는 100 이하인 것으로 보고되고 있다. 그러나, 실시 예에 따른 질화물계 반도체층을 포함하는 박막 트랜지스터는 전자 이동도가 1500에 달하는 것으로 측정되고 있다. 이에 따라 실시 예에 따른 질화물계 반도체층을 포함하는 박막 트랜지스터는 폴리 실리콘 반도체가 적용된 박막 트랜지스터에 비해 15 배 이상의 높은 전자 이동도를 구현할 수 있게 된다.According to the thin film transistor substrate according to the embodiment, it is possible to implement a high carrier mobility by providing a thin film transistor including a nitride-based semiconductor layer. For example, in the thin film transistor, the electron mobility (cm 2 /Vs) varies depending on the material applied as the channel layer. In the case of an amorphous silicon semiconductor, the electron mobility is 1, and in the case of an oxide semiconductor, 10 to 80, In the case of polysilicon semiconductor, it is reported to be 100 or less. However, the thin film transistor including the nitride-based semiconductor layer according to the embodiment is measured to have an electron mobility of 1500. Accordingly, the thin film transistor including the nitride-based semiconductor layer according to the embodiment can implement 15 times higher electron mobility than the thin film transistor to which the polysilicon semiconductor is applied.
실시 예에 의하면, 성장기판을 이용하여 품질이 좋은 반도체층을 형성할 수 있으며, 지지기판을 이용하여 트랜스퍼(transfer) 공정을 적용함으로써 전자 이동도가 우수한 박막 트랜지스터 기판을 제공할 수 있게 된다.According to an embodiment, a semiconductor layer having good quality may be formed using a growth substrate, and a thin film transistor substrate having excellent electron mobility may be provided by applying a transfer process using a support substrate.
따라서, 실시 예에 따른 박막 트랜지스터 기판, 이를 포함하는 표시패널 및 표시장치에 의하면, 높은 캐리어 이동도를 제공할 수 있게 되므로, 고해상도를 구현하고 부드러운 동화상을 재생할 수 있게 된다.Therefore, according to the thin film transistor substrate, the display panel and the display device including the thin film transistor substrate according to the embodiment, high carrier mobility can be provided, thereby realizing a high resolution and reproducing a smooth moving image.
도 28은 본 발명의 실시 예에 따른 박막 트랜지스터 기판의 또 다른 예를 나타낸 도면이다. 도 28에 도시된 박막 트랜지스터 기판은 이중 게이트 구조를 갖는 박막 트랜지스터가 적용된 실시 예로서, 도 1 내지 도 27을 참조하여 설명된 부분과 중복되는 부분에 대해서는 설명이 생략될 수 있다.28 is a view showing another example of a thin film transistor substrate according to an embodiment of the present invention. The thin film transistor substrate shown in FIG. 28 is an embodiment to which a thin film transistor having a double gate structure is applied, and descriptions of parts overlapping those described with reference to FIGS. 1 to 27 may be omitted.
실시 예에 따른 박막 트랜지스터 기판은 화소전극(82), 공통전극(85), 금속층(90), 터치패널 하부전극(91), 터치패널 상부전극(92)을 포함할 수 있다.The thin film transistor substrate according to the embodiment may include a
상기 공통전극(85)은 제4 보호막(24) 위에 배치될 수 있다. 상기 화소전극(82)은 제5 보호막(25) 위에 배치될 수 있다. 상기 화소전극(82)은 드레인 전극(72)에 전기적으로 연결될 수 있다. 상기 화소전극(82)과 상기 드레인 전극(72) 사이에는 금속층(90)이 제공될 수 있다. 상기 금속층(90)은 상기 제4 보호막(24)을 통하여 노출된 상기 드레인 전극(72)에 접촉되어 배치될 수 있다. 상기 화소전극(82)의 일부 영역은 상기 제5 보호막(25)에 제공된 제5 컨택홀(H5)을 통하여 상기 금속층(90)을 통하여 상기 드레인 전극(72)에 전기적으로 연결될 수 있다. The
실시 예에 의하면, 상기 제5 보호막(25) 위에 터치패널 상부전극(92)이 제공될 수 있으며, 상기 터치패널 상부전극(92) 아래에 상기 터치패널 하부전극(91)이 배치될 수 있다. 상기 터치패널 하부전극(91)은 제4 보호막(24) 위에 배치될 수 있으며, 상기 공통전극(85)에 전기적으로 연결될 수 있다. 상기 터치패널 하부전극(91)은 상기 공통전극(85)과 상기 제5 보호막(25) 사이에 배치될 수 있다. 상기 터치패널 상부전극(92)은 상기 터치패널 하부전극(91)과 수직 방향으로 서로 중첩되어 배치될 수 있다.According to an embodiment, the touch panel
상기 터치패널 상부전극(92)과 상기 터치패널 하부전극(91)은 표시패널 내에 제공된 인셀 터치패널을 구성할 수 있다. 이에 따라 실시 예에 따른 박막 트랜지스터 기판은 인셀 터치패널을 이용하여 외부로부터의 표시패널 접촉 여부를 검출할 수 있게 된다. The
상기 공통전극(85)은 투명 도전성 물질로 구현될 수 있다. 상기 공통전극(85)은 예로서 투명 도전성 산화막으로 구현될 수 있다. 상기 공통전극(85)은 ITO(Indium Tin Oxide), IZO(Indium Zinc Oxide), AZO(Aluminum Zinc Oxide), AGZO(Aluminum Gallium Zinc Oxide), IZTO(Indium Zinc Tin Oxide), IAZO(Indium Aluminum Zinc Oxide), IGZO(Indium Gallium Zinc Oxide), IGTO(Indium Gallium Tin Oxide), ATO(Antimony Tin Oxide), GZO(Gallium Zinc Oxide), IZON(IZO Nitride) 중에서 선택된 적어도 하나의 물질을 포함할 수 있다.The
상기 화소전극(82)은 투명 도전성 물질로 구현될 수 있다. 상기 화소전극(82)은 예로서 투명 도전성 산화막으로 구현될 수 있다. 상기 화소전극(82)은 ITO(Indium Tin Oxide), IZO(Indium Zinc Oxide), AZO(Aluminum Zinc Oxide), AGZO(Aluminum Gallium Zinc Oxide), IZTO(Indium Zinc Tin Oxide), IAZO(Indium Aluminum Zinc Oxide), IGZO(Indium Gallium Zinc Oxide), IGTO(Indium Gallium Tin Oxide), ATO(Antimony Tin Oxide), GZO(Gallium Zinc Oxide), IZON(IZO Nitride) 중에서 선택된 적어도 하나의 물질을 포함할 수 있다.The
상기 터치패널 하부전극(91), 상기 터치패널 상부전극(92)는 투명 도전성 물질로 구현될 수 있다. 상기 화소전극(82)은 예로서 투명 도전성 산화막으로 구현될 수 있다. 상기 화소전극(82)은 ITO(Indium Tin Oxide), IZO(Indium Zinc Oxide), AZO(Aluminum Zinc Oxide), AGZO(Aluminum Gallium Zinc Oxide), IZTO(Indium Zinc Tin Oxide), IAZO(Indium Aluminum Zinc Oxide), IGZO(Indium Gallium Zinc Oxide), IGTO(Indium Gallium Tin Oxide), ATO(Antimony Tin Oxide), GZO(Gallium Zinc Oxide), IZON(IZO Nitride) 중에서 선택된 적어도 하나의 물질을 포함할 수 있다.The touch panel
실시 예에 따른 인셀 터치패널 일체형 박막 트랜지스터 기판은 컬러필터 기판과 합착되어 액정표시 패널을 제공할 수 있다. 인셀 터치패널 일체형 박막 트랜지스터 기판과 컬러필터 기판 사이에는 액정층이 제공될 수 있다. 실시 예에 따른 인셀 터치패널 일체형 박막 트랜지스터 기판은 상기 공통전극(85)과 상기 화소전극(82) 간에 인가되는 전압 차에 의하여 액정층의 배열이 조절되고 해당 화소의 광 투과량을 제어할 수 있게 된다. 이와 같은 구조를 갖는 인셀 터치패널 일체형 액정표시 패널은 수평 전계형 액정표시 패널, 횡 전계형 액정표시 패널, 또는 IPS(In Plane Switching) 액정표시 패널로 지칭될 수 있다. 인셀 터치패널 일체형 액정표시 패널은 자체에 광원이 없으므로 인셀 터치패널 일체형 액정표시 패널에 빛을 공급하는 라이트 유닛이 제공됨으로써 표시장치를 구현할 수 있게 된다.The in-cell touch panel integrated thin film transistor substrate according to the embodiment may be bonded to the color filter substrate to provide a liquid crystal display panel. A liquid crystal layer may be provided between the in-cell touch panel integrated thin film transistor substrate and the color filter substrate. In the in-cell touch panel integrated thin film transistor substrate according to the embodiment, the arrangement of the liquid crystal layer is adjusted by the voltage difference applied between the
실시 예에 따른 박막 트랜지스터 기판에 의하면, 질화물계 반도체층을 포함하는 박막 트랜지스터를 제공함으로써 높은 캐리어 이동도를 구현할 수 있게 된다. 예를 들어, 박막 트랜지스터는 채널층으로 적용되는 물질에 따라 전자 이동도(㎠/Vs)가 달라지게 되는데, 아몰퍼스 실리콘 반도체의 경우에는 전자 이동도가 1이고, 산화물 반도체의 경우에는 10 내지 80, 폴리 실리콘 반도체의 경우에는 100 이하인 것으로 보고되고 있다. 그러나, 실시 예에 따른 질화물계 반도체층을 포함하는 박막 트랜지스터는 전자 이동도가 1500에 달하는 것으로 측정되고 있다. 이에 따라 실시 예에 따른 질화물계 반도체층을 포함하는 박막 트랜지스터는 폴리 실리콘 반도체가 적용된 박막 트랜지스터에 비해 15 배 이상의 높은 전자 이동도를 구현할 수 있게 된다.According to the thin film transistor substrate according to the embodiment, it is possible to implement a high carrier mobility by providing a thin film transistor including a nitride-based semiconductor layer. For example, in the thin film transistor, the electron mobility (cm 2 /Vs) varies depending on the material applied as the channel layer. In the case of an amorphous silicon semiconductor, the electron mobility is 1, and in the case of an oxide semiconductor, 10 to 80, In the case of polysilicon semiconductor, it is reported to be 100 or less. However, the thin film transistor including the nitride-based semiconductor layer according to the embodiment is measured to have an electron mobility of 1500. Accordingly, the thin film transistor including the nitride-based semiconductor layer according to the embodiment can implement 15 times higher electron mobility than the thin film transistor to which the polysilicon semiconductor is applied.
실시 예에 의하면, 성장기판을 이용하여 품질이 좋은 반도체층을 형성할 수 있으며, 지지기판을 이용하여 트랜스퍼(transfer) 공정을 적용함으로써 전자 이동도가 우수한 박막 트랜지스터 기판을 제공할 수 있게 된다.According to an embodiment, a semiconductor layer having good quality may be formed using a growth substrate, and a thin film transistor substrate having excellent electron mobility may be provided by applying a transfer process using a support substrate.
따라서, 실시 예에 따른 박막 트랜지스터 기판, 이를 포함하는 표시패널 및 표시장치에 의하면, 높은 캐리어 이동도를 제공할 수 있게 되므로, 고해상도를 구현하고 부드러운 동화상을 재생할 수 있게 된다.Therefore, according to the thin film transistor substrate, the display panel and the display device including the thin film transistor substrate according to the embodiment, high carrier mobility can be provided, thereby realizing a high resolution and reproducing a smooth moving image.
도 29 내지 도 31은 본 발명의 실시 예에 따른 박막 트랜지스터 기판의 또 다른 예를 나타낸 도면이다. 도 29 내지 도 31을 참조하여 실시 예에 따른 박막 트랜지스터 기판을 설명함에 있어, 도 1 내지 도 28을 참조하여 설명된 부분과 중복되는 내용에 대해서는 설명이 생략될 수 있다. 도 29 내지 도 31에 도시된 실시 예는 각각 도 19, 도 20, 도 20 대비하여 본딩층 구조에 차이가 있다.29 to 31 are views showing still another example of a thin film transistor substrate according to an embodiment of the present invention. In the description of the thin film transistor substrate according to the embodiment with reference to FIGS. 29 to 31 , descriptions of content overlapping with those described with reference to FIGS. 1 to 28 may be omitted. The embodiment shown in FIGS. 29 to 31 has a difference in the bonding layer structure compared to FIGS. 19, 20, and 20, respectively.
도 29 내지 도 31에 도시된 바와 같이, 상기 기판(55) 위에 본딩층(53)이 제공될 수 있다. 상기 본딩층(53)은 상기 기판(55)과 상기 블랙 매트릭스(46) 사이에 배치될 수 있다. 예로서, 상기 본딩층(53)의 폭은 상기 블랙 매트릭스(46)의 폭과 동일하게 제공될 수 있다. 예로서, 상기 본딩층(53)의 폭은 상기 채널층(60)의 폭과 동일하게 제공될 수 있다. 29 to 31 , a
실시 예에 의하면, 상기 기판(55) 위에 상기 제2 보호막(22)이 배치될 수 있다. 상기 제2 보호막(22)의 하부면이 상기 기판(55)의 상부면에 접촉되어 배치될 수 있다. 상기 본딩층(53)이 제공되지 않은 영역에서, 상기 제2 보호막(22)이 상기 기판(55)에 직접 접촉되어 배치될 수 있다. According to an embodiment, the
또한, 실시 예에 의하면, 상기 제2 게이트 전극(36)의 높이와 폭에 대응되는 리세스(recess)가 상기 본딩층(53)에 제공될 수 있다. 상기 제6 보호막(26)의 일부는 상기 제2 게이트 전극(36)의 단면 형상에 대응되도록 상부 및 측면의 적어도 일부에 배치되어 상기 리세스(recess) 영역에 제공될 수 있다. 상기 블랙 매트릭스(46)는 상기 제6 보호막(26)의 하부 형상과 대응되는 형상으로 배치되고 적어도 일부는 상기 리세스(recess) 영역에 배치될 수 있다. 상기 제2 게이트 전극(36)의 적어도 일부도 상기 리세스(recess) 영역에 배치될 수 있다. 이러한 구조로 상기 제2 게이트 전극(36) 제공에 따른 박막 트랜지스터 기판의 두께가 증가되는 것을 최소화 할 수 있다.Also, according to an embodiment, a recess corresponding to the height and width of the
이와 같이, 도 29 내지 도 31에 도시된 실시 예에 의하면, 도 19, 도 20, 도 21에 도시된 실시 예에 비하여, 상기 제2 보호막(22)과 상기 기판(55)이 직접 접촉되어 배치될 수 있게 되므로, 상기 제2 보호막(22)과 상기 기판(55) 사이에 제공되는 층(예로서, 도 19, 도 20, 도 21에 도시된 본딩층)을 배제시킬 수 있게 된다. 이에 따라, 실시 예에 의하면 빛이 진행되는 광 경로 상에 이종 물질층 간의 경계면이 줄어 들게 되므로 경계면에서의 반사/굴절 등에 의한 광손실을 줄일 수 있게 된다.As described above, according to the embodiment shown in FIGS. 29 to 31 , the
실시 예에 따른 상기 본딩층(53)은 예로서 반사층, 메탈본딩층, 절연층을 포함할 수 있다. 상기 반사층은 상기 기판(55) 위에 배치될 수 있으며, 상기 메탈본딩층은 상기 반사층 위에 배치되고, 상기 절연층은 상기 메탈본딩층 위에 배치될 수 있다. 예로서, 상기 본딩층(53)은 상기 메탈본딩층을 포함할 수 있으며, 상기 반사층과 상기 절연층은 선택적으로 포함할 수도 있다.The
상기 절연층은 상기 채널층(60)의 누설 특성을 보완해 줄 수 있다. 예로서, 상기 절연층은 예로서 실리콘 계열의 산화물, 실리콘 계열의 질화물, Al2O3를 포함하는 금속 산화물, 유기 절연물 중에서 적어도 하나의 물질을 포함하는 단일층 또는 다중층을 포함할 수 있다.The insulating layer may supplement leakage characteristics of the
상기 메탈본딩층은 아래에 배치된 상기 기판(55)과의 접착을 위하여 제공될 수 있다. 예로서, 상기 메탈본딩층은 금(Au), 주석(Sn), 인듐(In), 니켈(Ni), 은(Ag), 구리(Cu)를 포함하는 그룹 중에서 선택된 적어도 어느 하나의 물질 또는 합금을 포함할 수 있다.The metal bonding layer may be provided for adhesion to the
상기 반사층은 상기 본딩층에서의 광 흡수를 줄여줄 수 있다. 예로서, 상기 반사층은 알루미늄(Al), 은(Ag), 로듐(Rh)을 포함하는 그룹 중에서 선택된 적어도 어느 하나의 물질 또는 합금을 포함할 수 있다. 상기 반사층은 예로서 반사특성이 60%를 넘는 물질로 제공될 수 있다.The reflective layer may reduce light absorption in the bonding layer. For example, the reflective layer may include at least one material or alloy selected from the group consisting of aluminum (Al), silver (Ag), and rhodium (Rh). The reflective layer may be provided of, for example, a material having a reflective characteristic of more than 60%.
실시 예에 따른 박막 트랜지스터 기판에 의하면, 질화물계 반도체층을 포함하는 박막 트랜지스터를 제공함으로써 높은 캐리어 이동도를 구현할 수 있게 된다. 예를 들어, 박막 트랜지스터는 채널층으로 적용되는 물질에 따라 전자 이동도(㎠/Vs)가 달라지게 되는데, 아몰퍼스 실리콘 반도체의 경우에는 전자 이동도가 1이고, 산화물 반도체의 경우에는 10 내지 80, 폴리 실리콘 반도체의 경우에는 100 이하인 것으로 보고되고 있다. 그러나, 실시 예에 따른 질화물계 반도체층을 포함하는 박막 트랜지스터는 전자 이동도가 1500에 달하는 것으로 측정되고 있다. 이에 따라 실시 예에 따른 질화물계 반도체층을 포함하는 박막 트랜지스터는 폴리 실리콘 반도체가 적용된 박막 트랜지스터에 비해 15 배 이상의 높은 전자 이동도를 구현할 수 있게 된다.According to the thin film transistor substrate according to the embodiment, it is possible to implement a high carrier mobility by providing a thin film transistor including a nitride-based semiconductor layer. For example, in the thin film transistor, the electron mobility (cm 2 /Vs) varies depending on the material applied as the channel layer. In the case of an amorphous silicon semiconductor, the electron mobility is 1, and in the case of an oxide semiconductor, 10 to 80, In the case of polysilicon semiconductor, it is reported to be 100 or less. However, the thin film transistor including the nitride-based semiconductor layer according to the embodiment is measured to have an electron mobility of 1500. Accordingly, the thin film transistor including the nitride-based semiconductor layer according to the embodiment can implement 15 times higher electron mobility than the thin film transistor to which the polysilicon semiconductor is applied.
실시 예에 의하면, 성장기판을 이용하여 품질이 좋은 반도체층을 형성할 수 있으며, 지지기판을 이용하여 트랜스퍼(transfer) 공정을 적용함으로써 전자 이동도가 우수한 박막 트랜지스터 기판을 제공할 수 있게 된다.According to an embodiment, a semiconductor layer having good quality may be formed using a growth substrate, and a thin film transistor substrate having excellent electron mobility may be provided by applying a transfer process using a support substrate.
따라서, 실시 예에 따른 박막 트랜지스터 기판, 이를 포함하는 표시패널 및 표시장치에 의하면, 높은 캐리어 이동도를 제공할 수 있게 되므로, 고해상도를 구현하고 부드러운 동화상을 재생할 수 있게 된다.Therefore, according to the thin film transistor substrate, the display panel and the display device including the thin film transistor substrate according to the embodiment, high carrier mobility can be provided, thereby realizing a high resolution and reproducing a smooth moving image.
도 32는 본 발명의 실시 예에 따른 박막 트랜지스터 기판의 또 다른 예를 나타낸 도면이다. 도 32에 도시된 박막 트랜지스터 기판은 채널층의 리세스된 영역에 게이트가 배치된 구조를 갖는 박막 트랜지스터가 적용된 실시 예로서 도 1 내지 도 31을 참조하여 설명된 부분과 중복되는 내용에 대해서는 설명이 생략될 수 있다.32 is a diagram illustrating another example of a thin film transistor substrate according to an embodiment of the present invention. The thin film transistor substrate shown in FIG. 32 is an embodiment to which a thin film transistor having a structure in which a gate is disposed in a recessed region of a channel layer is applied, and the description will be given for the content overlapping with those described with reference to FIGS. 1 to 31 . may be omitted.
본 발명의 실시 예에 따른 박막 트랜지스터 기판은, 도 32에 도시된 바와 같이, 기판(55)과 상기 기판(55) 위에 배치된 박막 트랜지스터(230), 상기 박막 트랜지스터(230)에 전기적으로 연결된 화소전극(80)을 포함할 수 있다.As shown in FIG. 32 , the thin film transistor substrate according to an embodiment of the present invention includes a
실시 예에 따른 박막 트랜지스터(230)는 게이트 전극(233), 채널층(260), 소스 전극(71), 드레인 전극(72)을 포함할 수 있다. 상기 소스 전극(71)은 상기 채널층(260)의 제1 영역에 전기적으로 연결될 수 있다. 상기 소스 전극(71)은 상기 채널층(260)의 상부 면에 전기적으로 연결될 수 있다. 상기 드레인 전극(72)은 상기 채널층(260)의 제2 영역에 전기적으로 연결될 수 있다. 상기 드레인 전극(72)은 상기 채널층(260)의 상부 면에 전기적으로 연결될 수 있다. 상기 게이트 전극(233)은 상기 채널층(260) 위에 배치될 수 있다. The
상기 채널층(260)은 상부 면에 하부 방향으로 함몰된 리세스 영역을 포함할 수 있다. 상기 게이트 전극(233)은 상기 채널층(60)의 리세스된 영역에 배치될 수 있다.The
상기 채널층(260)은 예로서 III족-V족 화합물 반도체로 구현될 수 있다. 예컨대, 상기 채널층(260)은 InxAlyGa1 -x- yN (0≤x≤1, 0≤y≤1, 0≤x+y≤1)의 조성식을 갖는 반도체 물질로 구현될 수 있다. 상기 채널층(260)은 예를 들어 GaN, AlN, AlGaN, InGaN, InN, InAlGaN, AlInN, AlGaAs, GaP, GaAs, GaAsP, AlGaInP 등에서 선택된 단일층 또는 다중층을 포함할 수 있다.The
상기 채널층(260)은 제1 질화물 반도체층(261)과 제2 질화물 반도체층(262)을 포함할 수 있다. 상기 제1 질화물 반도체층(261)은 예로서 InxAlyGa1 -x- yN (0≤x≤1, 0≤y≤1, 0≤x+y≤1)의 조성식을 갖는 반도체 물질로 구현될 수 있다. 상기 제2 질화물 반도체층(262)은 예로서 InxAlyGa1 -x- yN (0≤x≤1, 0≤y≤1, 0≤x+y≤1)의 조성식을 갖는 반도체 물질로 구현될 수 있다. 상기 제2 질화물 반도체층(262)의 상부 면에 하부 방향으로 함몰된 리세스 영역에 제공될 수 있다. 상기 게이트 전극(233)은 상기 제2 질화물 반도체층(262)의 리세스 영역에 배치될 수 있다. 상기 게이트 전극(233)의 상부 면이 상기 제2 질화물 반도체층(262)의 최 상부 면에 비해 더 높게 배치될 수 있다. 상기 게이트 전극(233)과 상기 제2 질화물 반도체층(262)은 샤키 접촉(Schottky contact)될 수 있다.The
실시 예에 따른 상기 채널층(260)에 의하면, 상기 제1 질화물 반도체층(261)이 GaN 반도체층을 포함하고, 상기 제2 질화물 반도체층(262)이 AlGaN 반도체층을 포함할 수 있다. According to the
상기 기판(55)은 투명기판을 포함할 수 있다. 상기 기판(55)은 예로서 0.1 mm 내지 3 mm의 두께를 갖는 투명기판으로 구현될 수 있다. 또한, 상기 기판(55)의 두께는 적용되는 표시장치의 용도 및 크기에 따라 변경될 수 있는 것으로서 0.4~1.1mm의 두께 범위 내에서 선택될 수도 있다. 예로서, 상기 기판(55)은 0.6~0.8mm의 두께로 제공될 수도 있다. 상기 기판(55)은 실리콘, 유리, 폴리이미드, 플라스틱을 포함하는 물질 중에서 선택된 적어도 하나의 물질을 포함할 수 있다. 상기 기판(55)은 플렉시블 기판을 포함할 수 있다.The
상기 기판(55)은 트랜스퍼(transfer) 공정에서 적용되는 기판으로서 상기 박막 트랜지스터(230)를 지지하는 역할을 수행한다. 또한, 실시 예에 따른 박막 트랜지스터 기판은 상기 기판(55)과 상기 박막 트랜지스터(230) 사이에 제공된 본딩층(50)을 포함할 수 있다. The
상기 본딩층(50)은 유기물을 포함할 수 있다. 상기 본딩층(50)은 투명물질로 구현될 수 있다. 상기 본딩층(50)은 예로서 투과도가 70% 이상인 물질로 구현될 수 있다. 상기 본딩층(50)은 유기 절연물질을 포함할 수 있다. 상기 본딩층(50)은 아크릴, 벤조시클로부텐(BCB), SU-8 폴리머(SU-8 polymer) 등을 포함하는 그룹 중에서 선택된 적어도 어느 하나의 물질을 포함할 수 있다. 상기 본딩층(50)은 예로서 0.5~6㎛의 두께로 제공될 수 있다. 상기 본딩층(50)의 두께는 선택된 물질 종류에 따라 차이가 있을 수 있으며 1~3㎛의 두께로 제공될 수도 있다. 또한, 상기 본딩층(50)은 예로서 1.8~2.2㎛의 두께로 제공될 수도 있다.The
실시 예에 따른 박막 트랜지스터(230)는 상기 채널층(260)의 제1 영역 위에 배치된 소스 컨택부(31)와 상기 채널층(260)의 제2 영역 위에 배치된 드레인 컨택부(32)를 포함할 수 있다. 상기 소스 컨택부(31)는 상기 채널층(260)의 제1 영역에 접촉되어 배치될 수 있다. 상기 드레인 컨택부(32)는 상기 채널층(260)의 제2 영역에 접촉되어 배치될 수 있다.The
실시 예에 따른 박막 트랜지스터(230)는 상기 게이트 전극(233) 위에 배치된 게이트 배선(41)을 포함할 수 있다. 상기 게이트 배선(41)은 상기 게이트 전극(233)에 전기적으로 연결될 수 있다. 상기 게이트 배선(41)의 하부 면이 상기 게이트 전극(233)의 상부 면에 접촉되어 배치될 수 있다.The
상기 소스 전극(71)은 상기 소스 컨택부(31)에 전기적으로 연결될 수 있다. 상기 소스 전극(71)은 상기 소스 컨택부(31)의 상부 면에 접촉되어 배치될 수 있다. 예로서, 상기 소스 전극(71)은 상기 소스 컨택부(31)를 통하여 상기 채널층(260)의 제1 영역에 전기적으로 연결될 수 있다. 상기 드레인 전극(72)은 상기 드레인 컨택부(32)에 전기적으로 연결될 수 있다. 상기 드레인 전극(72)은 상기 드레인 컨택부(32)의 상부 면에 접촉되어 배치될 수 있다. 예로서, 상기 드레인 전극(72)은 상기 드레인 컨택부(32)를 통하여 상기 채널층(260)의 제2 영역에 전기적으로 연결될 수 있다.The source electrode 71 may be electrically connected to the
상기 소스 컨택부(31)와 상기 드레인 컨택부(32)는 상기 채널층(260)과 오믹 접촉하는 물질로 구현될 수 있다. 상기 소스 컨택부(31)와 상기 드레인 컨택부(32)는 상기 제2 질화물 반도체층(262)과 오믹 접촉하는 물질을 포함할 수 있다. 예로서, 상기 소스 컨택부(31)와 상기 드레인 컨택부(32)는 알루미늄(Al), 알루미늄 합금(Al alloy), 텅스텐(W), 구리(Cu), 구리 합금(Cu alloy), 몰리브덴(Mo), 은(Ag), 은 합금(Ag alloy), 금(Au), 금 합금(Au alloy), 크롬(Cr), 티타늄(Ti), 티타늄 합금(Ti alloy), 몰리텅스텐(MoW), 몰리티타늄(MoTi), 구리/몰리티타늄(Cu/MoTi)을 포함하는 그룹 중에서 선택된 적어도 어느 하나의 물질을 포함하는 단일층 또는 다중층을 포함할 수 있다. 상기 소스 컨택부(31)와 상기 드레인 컨택부(32)는 예로서 0.1~1㎛의 두께로 제공될 수 있다. 상기 소스 컨택부(31)와 상기 드레인 컨택부(32)는 상기 채널층(260)과의 접촉을 위한 층으로서 전류 확산 기능을 수행하지 않아도 되므로 1㎛ 이하의 두께로 제공될 수도 있다.The
상기 게이트 전극(233)은 상기 채널층(260)과 샤키 접촉하는 물질로 구현될 수 있다. 상기 게이트 전극(233)은 상기 제2 질화물 반도체층(262)과 샤키 접촉되는 물질로 구현될 수 있다. 상기 게이트 전극(233)은 니켈(Ni), 백금(Pt), 금(Au), 팔라듐(Pd)을 포함하는 그룹 중에서 선택된 적어도 하나의 물질 또는 그 합금을 포함하는 단일층 또는 다중층을 포함할 수 있다. 예로서, 상기 샤키 접촉은 상기 채널층(260)에 대한 플라즈마 처리(palsma treatment)에 의하여 구현될 수 있다. 상기 플라즈마 처리는 예로서 불소(F) 이온 처리가 적용될 수 있다. 이에 따라, 실시 예에 따른 박막 트랜지스터(230)는 상기 샤키 접촉에 의하여 문턱 전압이 제공될 수 있으며 노멀리 오프(normally off) 특성을 가질 수 있다. 상기 게이트 전극(233)에 문턱 전압 이상의 전압을 인가하면 상기 게이트 전극(233)의 하부에 형성된 채널이 온 상태가 되어 상기 채널층(260)에 전류가 흐를 수 있게 된다.The
한편, 실시 예에 따른 상기 채널층(260)에 의하면, 상기 제1 질화물 반도체층(261)이 GaN 반도체층을 포함하고, 상기 제2 질화물 반도체층(262)이 AlGaN 반도체층을 포함할 수 있다. 상기 제2 질화물 반도체층(262)의 두께가 두꺼울수록 2차원 전자가스(2DEG)가 잘 형성되기 때문에 노멀리 오프(normally off) 특성을 만들기가 어렵다. 또한, 상기 제2 질화물 반도체층(262)의 두께가 너무 얇게 제공되면 게이트 리키지(gate leakage)가 심해질 수 있는 문제점이 있다. 이에 따라, 상기 리세스 영역 아래에 배치된 상기 제2 질화물 반도체층(262)의 두께는 2~10nm 두께로 제공되는 것이 바람직할 수 있다. 그리고, 게이트 리키지(gate leakage)를 줄이기 위한 방안으로서, 상기 게이트 전극(233)과 상기 제2 질화물 반도체층(262) 사이에 절연물이 배치되도록 하여 일종의 MIS(Metal-Insulator-Semiconductor) 구조로 제공될 수도 있다. 예로서, 상기 리세스가 형성되지 않은 영역의 상기 제2 질화물 반도체층(262)의 두께는 15~25nm로 제공될 수 있다. 또한, 상기 리세스의 폭은 예로서 1.5~2.5㎛로 제공될 수 있다.Meanwhile, according to the
상기 게이트 배선(41)은 알루미늄(Al), 알루미늄 합금(Al alloy), 텅스텐(W), 구리(Cu), 구리 합금(Cu alloy), 몰리브덴(Mo), 은(Ag), 은 합금(Ag alloy), 금(Au), 금 합금(Au alloy), 크롬(Cr), 티타늄(Ti), 티타늄 합금(Ti alloy), 몰리텅스텐(MoW), 몰리티타늄(MoTi), 구리/몰리티타늄(Cu/MoTi)을 포함하는 그룹 중에서 선택된 적어도 어느 하나의 물질을 포함하는 단일층 또는 다중층을 포함할 수 있다. 상기 게이트 배선(41)은 예로서 0.1~3㎛의 두께로 제공될 수 있다. 상기 게이트 배선(41)은 복수의 트랜지스터에 순차적으로 전압을 인가하는 기능을 수행하므로 상기 게이트 전극(33)의 두께에 비하여 더 두껍게 제공될 수도 있다.The
상기 소스 전극(71)과 상기 드레인 전극(72)은 알루미늄(Al), 알루미늄 합금(Al alloy), 텅스텐(W), 구리(Cu), 구리 합금(Cu alloy), 몰리브덴(Mo), 은(Ag), 은 합금(Ag alloy), 금(Au), 금 합금(Au alloy), 크롬(Cr), 티타늄(Ti), 티타늄 합금(Ti alloy), 몰리텅스텐(MoW), 몰리티타늄(MoTi), 구리/몰리티타늄(Cu/MoTi)을 포함하는 그룹 중에서 선택된 적어도 어느 하나의 물질을 포함하는 단일층 또는 다중층을 포함할 수 있다. 상기 소스 전극(71)과 상기 드레인 전극(72)은 예로서 0.1~3㎛의 두께로 제공될 수 있다. 상기 소스 전극(71)은 복수의 트랜지스터에 순차적으로 전압을 인가하는 기능을 수행하므로 상기 소스 컨택부(31)의 두께에 비하여 더 두껍게 제공될 수도 있다. 상기 드레인 전극(72)도 상기 드레인 컨택부(32)의 두께에 비하여 더 두껍게 제공될 수도 있다.The
실시 예에 따른 박막 트랜지스터 기판은 상기 채널층(260) 위에 배치된 제1 보호막(21)을 포함할 수 있다. 상기 제1 보호막(21)은 상기 제2 질화물 반도체층(262) 위에 배치될 수 있다. 상기 제1 보호막(21)의 하부 면은 상기 제2 질화물 반도체층(262)의 상부 면에 접촉되어 배치될 수 있다. The thin film transistor substrate according to the embodiment may include a
실시 예에 의하면, 상기 소스 컨택부(31)는 상기 제1 보호막(21)을 관통하여 배치될 수 있다. 상기 소스 컨택부(31)는 상기 제1 보호막(21)에 의하여 둘러 싸여 배치될 수 있다. 상기 소스 컨택부(31)는 상기 제1 보호막(21)을 관통하여 배치되고 상기 채널층(260)의 제1 영역에 접촉되어 제공될 수 있다. 상기 드레인 컨택부(32)는 상기 제1 보호막(21)을 관통하여 배치될 수 있다. 상기 드레인 컨택부(32)는 상기 제1 보호막(21)에 의하여 둘러 싸여 배치될 수 있다. 상기 드레인 컨택부(32)는 상기 제1 보호막(21)을 관통하여 배치되고 상기 채널층(260)의 제2 영역에 접촉되어 제공될 수 있다.According to an embodiment, the
상기 제1 보호막(21)은 절연물질로 구현될 수 있다. 상기 제1 보호막(21)은 예로서 실리콘 계열의 산화물, 실리콘 계열의 질화물, Al2O3를 포함하는 금속 산화물, 유기 절연물 중에서 적어도 하나의 물질을 포함하는 단일층 또는 다중층을 포함할 수 있다.The
실시 예에 의하면, 상기 기판(55)과 상기 제1 보호막(21) 위에 제2 보호막(22)이 배치될 수 있다. 상기 게이트 전극(233)은 상기 제1 보호막(21)과 상기 제2 보호막(22) 중에서 적어도 하나를 관통하여 배치될 수 있다. 예로서, 상기 게이트 전극(233)은 상기 제1 보호막(21)과 상기 제2 보호막(22)을 관통하여 배치될 수 있다. 상기 게이트 전극(233)은 상기 제1 보호막(21)과 상기 제2 보호막(22) 중에서 적어도 하나를 관통하여 상기 채널층(260)에 접촉되어 배치될 수 있다, 예로서, 상기 게이트 전극(233)은 상기 제1 보호막(21)과 상기 제2 보호막(22)을 관통하여 상기 채널층(260)에 접촉되어 배치될 수 있다. 상기 게이트 배선(41)은 상기 제2 보호막(22) 위에 배치되어 상기 게이트 전극(233)과 전기적으로 연결될 수 있다.According to an embodiment, a
상기 제2 보호막(22)은 절연물질로 구현될 수 있다. 상기 제2 보호막(22)은 예로서 실리콘 계열의 산화물, 실리콘 계열의 질화물, Al2O3를 포함하는 금속 산화물, 유기 절연물 중에서 적어도 하나의 물질을 포함하는 단일층 또는 다중층을 포함할 수 있다.The
실시 예에 의하면, 상기 제2 보호막(22) 위에 제3 보호막(23)이 배치될 수 있다. 상기 제3 보호막(23)은 상기 제2 보호막(22)과 상기 게이트 배선(41) 위에 배치될 수 있다. 상기 게이트 배선(41)은 상기 게이트 전극(233) 위에 접촉되어 배치되고 상기 제3 보호막(23)에 의하여 둘러 싸여 제공될 수 있다.According to an embodiment, a
상기 소스 전극(71)은 상기 제2 보호막(22)과 상기 제3 보호막(23)을 관통하여 상기 소스 컨택부(31)에 전기적으로 연결될 수 있다. 상기 소스 전극(71)은 상기 제3 보호막(23) 위에 배치된 제1 영역을 포함할 수 있다. 상기 소스 전극(71)은 상기 제3 보호막(23)과 상기 제2 보호막(22)을 관통하는 제2 영역을 포함할 수 있다. 상기 드레인 전극(72)은 상기 제2 보호막(22)과 상기 제3 보호막(23)을 관통하여 상기 드레인 컨택부(32)에 전기적으로 연결될 수 있다. 상기 드레인 전극(72)은 상기 제3 보호막(23) 위에 배치된 제1 영역을 포함할 수 있다. 상기 드레인 전극(72)은 상기 제3 보호막(23)과 상기 제2 보호막(22)을 관통하는 제2 영역을 포함할 수 있다.The source electrode 71 may pass through the
상기 제3 보호막(23)은 절연물질을 포함할 수 있다. 상기 제3 보호막(23)은 예로서 실리콘 계열의 산화물, 실리콘 계열의 질화물, Al2O3를 포함하는 금속 산화물, 유기 절연물 중에서 적어도 하나의 물질을 포함하는 단일층 또는 다중층을 포함할 수 있다.The
실시 예에 따른 박막 트랜지스터 기판은 상기 제3 보호막(23) 위에 배치된 제4 보호막(24)을 포함할 수 있다. 상기 제4 보호막(24)은 상기 소스 전극(71)과 상기 드레인 전극(72) 위에 배치될 수 있다. 상기 제4 보호막(24)은 상기 드레인 전극(72) 위에 제공된 컨택홀(H3)을 포함할 수 있다. The thin film transistor substrate according to the embodiment may include a
상기 제4 보호막(24)은 예로서 실리콘 계열의 산화물, 실리콘 계열의 질화물, Al2O3를 포함하는 금속 산화물, 유기 절연물 중에서 적어도 하나의 물질을 포함하는 단일층 또는 다중층을 포함할 수 있다.The
실시 예에 의하면, 상기 화소전극(80)은 상기 제4 보호막(24) 위에 배치될 수 있다. 상기 화소전극(80)은 상기 제4 보호막(24)에 제공된 컨택홀(H3)을 통하여 상기 드레인 전극(72)에 전기적으로 연결될 수 있다. 상기 화소전극(80)의 하부 면은 상기 드레인 전극(72)의 상부 면에 접촉되어 배치될 수 있다.According to an embodiment, the
상기 화소전극(80)은 투명 도전성 물질로 구현될 수 있다. 상기 화소전극(80)은 예로서 투명 도전성 산화막으로 구현될 수 있다. 상기 화소전극(80)은 ITO(Indium Tin Oxide), IZO(Indium Zinc Oxide), AZO(Aluminum Zinc Oxide), AGZO(Aluminum Gallium Zinc Oxide), IZTO(Indium Zinc Tin Oxide), IAZO(Indium Aluminum Zinc Oxide), IGZO(Indium Gallium Zinc Oxide), IGTO(Indium Gallium Tin Oxide), ATO(Antimony Tin Oxide), GZO(Gallium Zinc Oxide), IZON(IZO Nitride) 중에서 선택된 적어도 하나의 물질을 포함할 수 있다.The
실시 예에 따른 박막 트랜지스터 기판은, 상기 기판(55)과 상기 채널층(260) 사이에 배치된 블랙 매트릭스(40)를 포함할 수 있다. 상기 채널층(260)의 폭과 상기 블랙 매트릭스(40)의 폭이 같게 제공될 수 있다. 상기 블랙 매트릭스(40)는 Si 기반의 물질, Ga 기반의 물질, Al 기반의 물질, 유기물 중에서 선택된 적어도 하나의 물질을 포함하는 단일층 또는 다중층으로 제공될 수 있다. 상기 블랙 매트릭스(40)는 상기 박막 트랜지스터(230)로 입사되는 빛을 차단할 수 있다. 이에 따라 광전류(photo current) 등에 의하여 상기 박막 트랜지스터(230)가 열화되는 것을 방지할 수 있다.The thin film transistor substrate according to the embodiment may include a
실시 예에 의하면, 상기 기판(55)과 상기 채널층(260) 사이에 상기 본딩층(50)이 배치될 수 있다. 상기 본딩층(50)은 상기 기판(55)과 상기 블랙 매트릭스(40) 사이에 배치될 수 있다. 예로서, 상기 본딩층(50)은 상기 기판(55)의 전체 영역 위에 배치될 수 있다.According to an embodiment, the
실시 예에 따른 박막 트랜지스터 기판은 컬러필터 기판과 합착되어 액정표시 패널을 제공할 수 있다. 박막 트랜지스터 기판과 컬러필터 기판 사이에는 액정층이 제공될 수 있다. 컬러필터 기판에는 공통전극이 제공될 수 있으며, 공통전극과 박막 트랜지스터 기판에 제공된 화소전극 간에 인가되는 전압 차에 의하여 그 사이에 배치된 액정층의 배열이 조절되고 해당 화소의 광 투과량을 제어할 수 있게 된다. 이와 같은 구조를 갖는 액정표시 패널은 수직 전계형 액정표시 패널로 지칭될 수도 있다.The thin film transistor substrate according to the embodiment may be bonded to the color filter substrate to provide a liquid crystal display panel. A liquid crystal layer may be provided between the thin film transistor substrate and the color filter substrate. A common electrode may be provided on the color filter substrate, and the arrangement of the liquid crystal layers disposed therebetween may be adjusted by the voltage difference applied between the common electrode and the pixel electrode provided on the thin film transistor substrate, and the amount of light transmission of the corresponding pixel may be controlled. there will be A liquid crystal display panel having such a structure may be referred to as a vertical electric field type liquid crystal display panel.
실시 예에 따른 박막 트랜지스터 기판에 의하면, 질화물계 반도체층을 포함하는 박막 트랜지스터를 제공함으로써 높은 캐리어 이동도를 구현할 수 있게 된다. 예를 들어, 박막 트랜지스터는 채널층으로 적용되는 물질에 따라 전자 이동도(㎠/Vs)가 달라지게 되는데, 아몰퍼스 실리콘 반도체의 경우에는 전자 이동도가 1이고, 산화물 반도체의 경우에는 10 내지 80, 폴리 실리콘 반도체의 경우에는 100 이하인 것으로 보고되고 있다. 그러나, 실시 예에 따른 질화물계 반도체층을 포함하는 박막 트랜지스터는 전자 이동도가 1500에 달하는 것으로 측정되고 있다. 이에 따라 실시 예에 따른 질화물계 반도체층을 포함하는 박막 트랜지스터는 폴리 실리콘 반도체가 적용된 박막 트랜지스터에 비해 15 배 이상의 높은 전자 이동도를 구현할 수 있게 된다.According to the thin film transistor substrate according to the embodiment, it is possible to implement a high carrier mobility by providing a thin film transistor including a nitride-based semiconductor layer. For example, in the thin film transistor, the electron mobility (cm 2 /Vs) varies depending on the material applied as the channel layer. In the case of an amorphous silicon semiconductor, the electron mobility is 1, and in the case of an oxide semiconductor, 10 to 80, In the case of polysilicon semiconductor, it is reported to be 100 or less. However, the thin film transistor including the nitride-based semiconductor layer according to the embodiment is measured to have an electron mobility of 1500. Accordingly, the thin film transistor including the nitride-based semiconductor layer according to the embodiment can implement 15 times higher electron mobility than the thin film transistor to which the polysilicon semiconductor is applied.
실시 예에 의하면, 성장기판을 이용하여 품질이 좋은 반도체층을 형성할 수 있으며, 지지기판을 이용하여 트랜스퍼(transfer) 공정을 적용함으로써 전자 이동도가 우수한 박막 트랜지스터 기판을 제공할 수 있게 된다.According to an embodiment, a semiconductor layer having good quality may be formed using a growth substrate, and a thin film transistor substrate having excellent electron mobility may be provided by applying a transfer process using a support substrate.
따라서, 실시 예에 따른 박막 트랜지스터 기판, 이를 포함하는 표시패널 및 표시장치에 의하면, 높은 캐리어 이동도를 제공할 수 있게 되므로, 고해상도를 구현하고 부드러운 동화상을 재생할 수 있게 된다. Therefore, according to the thin film transistor substrate, the display panel and the display device including the thin film transistor substrate according to the embodiment, high carrier mobility can be provided, thereby realizing a high resolution and reproducing a smooth moving image.
도 33은 본 발명의 실시 예에 따른 박막 트랜지스터 기판의 또 다른 예를 나타낸 도면이다. 도 33에 도시된 박막 트랜지스터 기판은 채널층의 리세스된 영역에 게이트가 배치된 구조를 갖는 박막 트랜지스터가 적용된 실시 예로서 도 1 내지 도 32를 참조하여 설명된 부분과 중복되는 내용에 대해서는 설명이 생략될 수 있다.33 is a view showing another example of a thin film transistor substrate according to an embodiment of the present invention. The thin film transistor substrate shown in FIG. 33 is an embodiment in which a thin film transistor having a structure in which a gate is disposed in a recessed region of a channel layer is applied, and the description will be given for the content overlapping with the part described with reference to FIGS. 1 to 32 . may be omitted.
도 32를 참조하여 설명된 박막 트랜지스터 기판은 수직 전계형 액정표시 패널에 적용될 수 있는 것이다. 한편, 도 33을 참조하여 설명되는 박막 트랜지스터 기판은 수평 전계형 액정표시 패널에 적용될 수 있는 것이다. The thin film transistor substrate described with reference to FIG. 32 may be applied to a vertical electric field type liquid crystal display panel. Meanwhile, the thin film transistor substrate described with reference to FIG. 33 may be applied to a horizontal electric field type liquid crystal display panel.
실시 예에 따른 박막 트랜지스터 기판은, 도 33에 도시된 바와 같이, 화소전극(81), 공통전극(85), 제5 보호막(25)을 포함할 수 있다.As shown in FIG. 33 , the thin film transistor substrate according to the embodiment may include a
상기 공통전극(85)은 제4 보호막(24) 위에 배치될 수 있다. 상기 제5 보호막(25)은 상기 제4 보호막(24) 위에 배치될 수 있다. 상기 제5 보호막(25)은 상기 공통전극(85)과 상기 제4 보호막(24) 위에 배치될 수 있다. 상기 공통전극(85)은 상기 제4 보호막(24)과 상기 제5 보호막(25) 사이에 배치될 수 있다. 또한, 상기 제5 보호막(25)은 상기 제4 보호막(24)을 통하여 노출된 드레인 전극(72) 위에도 제공될 수 있다. 상기 화소전극(81)은 상기 제5 보호막(25) 위에 배치될 수 있다. 상기 화소전극(81)의 일부 영역은 상기 제5 보호막(25)에 제공된 제4 컨택홀(H4)을 통하여 상기 드레인 전극(72)에 전기적으로 연결될 수 있다. 상기 화소전극(81)의 일부 영역은 상기 제4 컨택홀(H4)을 통하여 상기 드레인 전극(72)의 상부 면에 접촉되어 배치될 수 있다. 상기 화소전극(81)은 상기 제4 보호막(24)과 상기 제5 보호막(25)을 관통하여 상기 드레인 전극(72)의 상부 면에 접촉되어 배치될 수 있다. 상기 화소전극(81)의 일부 영역과 상기 공통전극(85)의 일부 영역이 수직 방향으로 서로 중첩되어 배치될 수 있다.The
실시 예에 따른 박막 트랜지스터 기판은 게이트 배선(41)과 데이터 배선(73)이 교차되는 영역에 배치된 복수의 박막 트랜지스터(230)를 포함할 수 있다. 상기 게이트 배선(41)과 상기 데이터 배선(73)에 의하여 정의되는 영역에 상기 화소전극(81)이 배치될 수 있다. 상기 화소전극(81)은 핑거 형상으로 연장된 부분을 포함할 수 있다. 상기 화소전극(81)의 일부 영역은 상기 게이트 배선(41)과 중첩되어 배치될 수 있다. The thin film transistor substrate according to the embodiment may include a plurality of
상기 공통전극(85)은 투명 도전성 물질로 구현될 수 있다. 상기 공통전극(85)은 예로서 투명 도전성 산화막으로 구현될 수 있다. 상기 공통전극(85)은 ITO(Indium Tin Oxide), IZO(Indium Zinc Oxide), AZO(Aluminum Zinc Oxide), AGZO(Aluminum Gallium Zinc Oxide), IZTO(Indium Zinc Tin Oxide), IAZO(Indium Aluminum Zinc Oxide), IGZO(Indium Gallium Zinc Oxide), IGTO(Indium Gallium Tin Oxide), ATO(Antimony Tin Oxide), GZO(Gallium Zinc Oxide), IZON(IZO Nitride) 중에서 선택된 적어도 하나의 물질을 포함할 수 있다.The
상기 화소전극(81)은 투명 도전성 물질로 구현될 수 있다. 상기 화소전극(81)은 예로서 투명 도전성 산화막으로 구현될 수 있다. 상기 화소전극(81)은 ITO(Indium Tin Oxide), IZO(Indium Zinc Oxide), AZO(Aluminum Zinc Oxide), AGZO(Aluminum Gallium Zinc Oxide), IZTO(Indium Zinc Tin Oxide), IAZO(Indium Aluminum Zinc Oxide), IGZO(Indium Gallium Zinc Oxide), IGTO(Indium Gallium Tin Oxide), ATO(Antimony Tin Oxide), GZO(Gallium Zinc Oxide), IZON(IZO Nitride) 중에서 선택된 적어도 하나의 물질을 포함할 수 있다.The
상기 제5 보호막(25)은 예로서 실리콘 계열의 산화물, 실리콘 계열의 질화물, Al2O3를 포함하는 금속 산화물, 유기 절연물 중에서 적어도 하나의 물질을 포함하는 단일층 또는 다중층을 포함할 수 있다.The
실시 예에 따른 박막 트랜지스터 기판은 컬러필터 기판과 합착되어 액정표시 패널을 제공할 수 있다. 박막 트랜지스터 기판과 컬러필터 기판 사이에는 액정층이 제공될 수 있다. 실시 예에 따른 박막 트랜지스터 기판은 상기 공통전극(85)과 상기 화소전극(81) 간에 인가되는 전압 차에 의하여 액정층의 배열이 조절되고 해당 화소의 광 투과량을 제어할 수 있게 된다. 이와 같은 구조를 갖는 액정표시 패널은 수평 전계형 액정표시 패널, 횡 전계형 액정표시 패널, 또는 IPS(In Plane Switching) 액정표시 패널로 지칭될 수 있다. 액정표시 패널은 자체에 광원이 없으므로 액정표시 패널에 빛을 공급하는 라이트 유닛이 제공됨으로써 표시장치를 구현할 수 있게 된다.The thin film transistor substrate according to the embodiment may be bonded to the color filter substrate to provide a liquid crystal display panel. A liquid crystal layer may be provided between the thin film transistor substrate and the color filter substrate. In the thin film transistor substrate according to the embodiment, the arrangement of the liquid crystal layer is adjusted by the voltage difference applied between the
실시 예에 따른 박막 트랜지스터 기판에 의하면, 질화물계 반도체층을 포함하는 박막 트랜지스터를 제공함으로써 높은 캐리어 이동도를 구현할 수 있게 된다. 예를 들어, 박막 트랜지스터는 채널층으로 적용되는 물질에 따라 전자 이동도(㎠/Vs)가 달라지게 되는데, 아몰퍼스 실리콘 반도체의 경우에는 전자 이동도가 1이고, 산화물 반도체의 경우에는 10 내지 80, 폴리 실리콘 반도체의 경우에는 100 이하인 것으로 보고되고 있다. 그러나, 실시 예에 따른 질화물계 반도체층을 포함하는 박막 트랜지스터는 전자 이동도가 1500에 달하는 것으로 측정되고 있다. 이에 따라 실시 예에 따른 질화물계 반도체층을 포함하는 박막 트랜지스터는 폴리 실리콘 반도체가 적용된 박막 트랜지스터에 비해 15 배 이상의 높은 전자 이동도를 구현할 수 있게 된다.According to the thin film transistor substrate according to the embodiment, it is possible to implement a high carrier mobility by providing a thin film transistor including a nitride-based semiconductor layer. For example, in the thin film transistor, the electron mobility (cm 2 /Vs) varies depending on the material applied as the channel layer. In the case of an amorphous silicon semiconductor, the electron mobility is 1, and in the case of an oxide semiconductor, 10 to 80, In the case of polysilicon semiconductor, it is reported to be 100 or less. However, the thin film transistor including the nitride-based semiconductor layer according to the embodiment is measured to have an electron mobility of 1500. Accordingly, the thin film transistor including the nitride-based semiconductor layer according to the embodiment can implement 15 times higher electron mobility than the thin film transistor to which the polysilicon semiconductor is applied.
실시 예에 의하면, 성장기판을 이용하여 품질이 좋은 반도체층을 형성할 수 있으며, 지지기판을 이용하여 트랜스퍼(transfer) 공정을 적용함으로써 전자 이동도가 우수한 박막 트랜지스터 기판을 제공할 수 있게 된다.According to an embodiment, a semiconductor layer having good quality may be formed using a growth substrate, and a thin film transistor substrate having excellent electron mobility may be provided by applying a transfer process using a support substrate.
따라서, 실시 예에 따른 박막 트랜지스터 기판, 이를 포함하는 표시패널 및 표시장치에 의하면, 높은 캐리어 이동도를 제공할 수 있게 되므로, 고해상도를 구현하고 부드러운 동화상을 재생할 수 있게 된다.Therefore, according to the thin film transistor substrate, the display panel and the display device including the thin film transistor substrate according to the embodiment, high carrier mobility can be provided, thereby realizing a high resolution and reproducing a smooth moving image.
도 34는 본 발명의 실시 예에 따른 박막 트랜지스터 기판의 또 다른 예를 나타낸 도면이다. 도 34에 도시된 박막 트랜지스터 기판은 채널층의 리세스된 영역에 게이트가 배치된 구조를 갖는 박막 트랜지스터가 적용된 실시 예로서 도 1 내지 도 33을 참조하여 설명된 부분과 중복되는 내용에 대해서는 설명이 생략될 수 있다.34 is a view showing another example of a thin film transistor substrate according to an embodiment of the present invention. The thin film transistor substrate shown in FIG. 34 is an embodiment to which a thin film transistor having a structure in which a gate is disposed in a recessed region of a channel layer is applied, and descriptions will be made for the content overlapping with those described with reference to FIGS. 1 to 33 . may be omitted.
실시 예에 따른 박막 트랜지스터 기판은 화소전극(82), 공통전극(85), 금속층(90), 터치패널 하부전극(91), 터치패널 상부전극(92)을 포함할 수 있다.The thin film transistor substrate according to the embodiment may include a
상기 공통전극(85)은 제4 보호막(24) 위에 배치될 수 있다. 상기 화소전극(82)은 제5 보호막(25) 위에 배치될 수 있다. 상기 화소전극(82)은 드레인 전극(72)에 전기적으로 연결될 수 있다. 상기 화소전극(82)과 상기 드레인 전극(72) 사이에는 금속층(90)이 제공될 수 있다. 상기 금속층(90)은 상기 제4 보호막(24)을 통하여 노출된 상기 드레인 전극(72)에 접촉되어 배치될 수 있다. 상기 화소전극(82)의 일부 영역은 상기 제5 보호막(25)에 제공된 제5 컨택홀(H5)을 통하여 상기 금속층(90)을 통하여 상기 드레인 전극(72)에 전기적으로 연결될 수 있다. The
실시 예에 의하면, 상기 제5 보호막(25) 위에 터치패널 상부전극(92)이 제공될 수 있으며, 상기 터치패널 상부전극(92) 아래에 상기 터치패널 하부전극(91)이 배치될 수 있다. 상기 터치패널 하부전극(91)은 제4 보호막(24) 위에 배치될 수 있으며, 상기 공통전극(85)에 전기적으로 연결될 수 있다. 상기 터치패널 하부전극(91)은 상기 공통전극(85)과 상기 제5 보호막(25) 사이에 배치될 수 있다. 상기 터치패널 상부전극(92)은 상기 터치패널 하부전극(91)과 수직 방향으로 서로 중첩되어 배치될 수 있다.According to an embodiment, the touch panel
상기 터치패널 상부전극(92)과 상기 터치패널 하부전극(91)은 표시패널 내에 제공된 인셀 터치패널을 구성할 수 있다. 이에 따라 실시 예에 따른 박막 트랜지스터 기판은 인셀 터치패널을 이용하여 외부로부터의 표시패널 접촉 여부를 검출할 수 있게 된다. The
상기 공통전극(85)은 투명 도전성 물질로 구현될 수 있다. 상기 공통전극(85)은 예로서 투명 도전성 산화막으로 구현될 수 있다. 상기 공통전극(85)은 ITO(Indium Tin Oxide), IZO(Indium Zinc Oxide), AZO(Aluminum Zinc Oxide), AGZO(Aluminum Gallium Zinc Oxide), IZTO(Indium Zinc Tin Oxide), IAZO(Indium Aluminum Zinc Oxide), IGZO(Indium Gallium Zinc Oxide), IGTO(Indium Gallium Tin Oxide), ATO(Antimony Tin Oxide), GZO(Gallium Zinc Oxide), IZON(IZO Nitride) 중에서 선택된 적어도 하나의 물질을 포함할 수 있다.The
상기 화소전극(82)은 투명 도전성 물질로 구현될 수 있다. 상기 화소전극(82)은 예로서 투명 도전성 산화막으로 구현될 수 있다. 상기 화소전극(82)은 ITO(Indium Tin Oxide), IZO(Indium Zinc Oxide), AZO(Aluminum Zinc Oxide), AGZO(Aluminum Gallium Zinc Oxide), IZTO(Indium Zinc Tin Oxide), IAZO(Indium Aluminum Zinc Oxide), IGZO(Indium Gallium Zinc Oxide), IGTO(Indium Gallium Tin Oxide), ATO(Antimony Tin Oxide), GZO(Gallium Zinc Oxide), IZON(IZO Nitride) 중에서 선택된 적어도 하나의 물질을 포함할 수 있다.The
상기 터치패널 하부전극(91), 상기 터치패널 상부전극(92)은 투명 도전성 물질로 구현될 수 있다. 상기 화소전극(82)은 예로서 투명 도전성 산화막으로 구현될 수 있다. 상기 화소전극(82)은 ITO(Indium Tin Oxide), IZO(Indium Zinc Oxide), AZO(Aluminum Zinc Oxide), AGZO(Aluminum Gallium Zinc Oxide), IZTO(Indium Zinc Tin Oxide), IAZO(Indium Aluminum Zinc Oxide), IGZO(Indium Gallium Zinc Oxide), IGTO(Indium Gallium Tin Oxide), ATO(Antimony Tin Oxide), GZO(Gallium Zinc Oxide), IZON(IZO Nitride) 중에서 선택된 적어도 하나의 물질을 포함할 수 있다.The touch panel
실시 예에 따른 인셀 터치패널 일체형 박막 트랜지스터 기판은 컬러필터 기판과 합착되어 액정표시 패널을 제공할 수 있다. 인셀 터치패널 일체형 박막 트랜지스터 기판과 컬러필터 기판 사이에는 액정층이 제공될 수 있다. 실시 예에 따른 인셀 터치패널 일체형 박막 트랜지스터 기판은 상기 공통전극(85)과 상기 화소전극(82) 간에 인가되는 전압 차에 의하여 액정층의 배열이 조절되고 해당 화소의 광 투과량을 제어할 수 있게 된다. 이와 같은 구조를 갖는 인셀 터치패널 일체형 액정표시 패널은 수평 전계형 액정표시 패널, 횡 전계형 액정표시 패널, 또는 IPS(In Plane Switching) 액정표시 패널로 지칭될 수 있다. 인셀 터치패널 일체형 액정표시 패널은 자체에 광원이 없으므로 인셀 터치패널 일체형 액정표시 패널에 빛을 공급하는 라이트 유닛이 제공됨으로써 표시장치를 구현할 수 있게 된다.The in-cell touch panel integrated thin film transistor substrate according to the embodiment may be bonded to the color filter substrate to provide a liquid crystal display panel. A liquid crystal layer may be provided between the in-cell touch panel integrated thin film transistor substrate and the color filter substrate. In the in-cell touch panel integrated thin film transistor substrate according to the embodiment, the arrangement of the liquid crystal layer is adjusted by the voltage difference applied between the
실시 예에 따른 박막 트랜지스터 기판에 의하면, 질화물계 반도체층을 포함하는 박막 트랜지스터를 제공함으로써 높은 캐리어 이동도를 구현할 수 있게 된다. 예를 들어, 박막 트랜지스터는 채널층으로 적용되는 물질에 따라 전자 이동도(㎠/Vs)가 달라지게 되는데, 아몰퍼스 실리콘 반도체의 경우에는 전자 이동도가 1이고, 산화물 반도체의 경우에는 10 내지 80, 폴리 실리콘 반도체의 경우에는 100 이하인 것으로 보고되고 있다. 그러나, 실시 예에 따른 질화물계 반도체층을 포함하는 박막 트랜지스터는 전자 이동도가 1500에 달하는 것으로 측정되고 있다. 이에 따라 실시 예에 따른 질화물계 반도체층을 포함하는 박막 트랜지스터는 폴리 실리콘 반도체가 적용된 박막 트랜지스터에 비해 15 배 이상의 높은 전자 이동도를 구현할 수 있게 된다.According to the thin film transistor substrate according to the embodiment, it is possible to implement a high carrier mobility by providing a thin film transistor including a nitride-based semiconductor layer. For example, in the thin film transistor, the electron mobility (cm 2 /Vs) varies depending on the material applied as the channel layer. In the case of an amorphous silicon semiconductor, the electron mobility is 1, and in the case of an oxide semiconductor, 10 to 80, In the case of polysilicon semiconductor, it is reported to be 100 or less. However, the thin film transistor including the nitride-based semiconductor layer according to the embodiment is measured to have an electron mobility of 1500. Accordingly, the thin film transistor including the nitride-based semiconductor layer according to the embodiment can implement 15 times higher electron mobility than the thin film transistor to which the polysilicon semiconductor is applied.
실시 예에 의하면, 성장기판을 이용하여 품질이 좋은 반도체층을 형성할 수 있으며, 지지기판을 이용하여 트랜스퍼(transfer) 공정을 적용함으로써 전자 이동도가 우수한 박막 트랜지스터 기판을 제공할 수 있게 된다.According to an embodiment, a semiconductor layer having good quality may be formed using a growth substrate, and a thin film transistor substrate having excellent electron mobility may be provided by applying a transfer process using a support substrate.
따라서, 실시 예에 따른 박막 트랜지스터 기판, 이를 포함하는 표시패널 및 표시장치에 의하면, 높은 캐리어 이동도를 제공할 수 있게 되므로, 고해상도를 구현하고 부드러운 동화상을 재생할 수 있게 된다.Therefore, according to the thin film transistor substrate, the display panel and the display device including the thin film transistor substrate according to the embodiment, high carrier mobility can be provided, thereby realizing a high resolution and reproducing a smooth moving image.
도 35 내지 도 37은 본 발명의 실시 예에 따른 박막 트랜지스터 기판의 또 다른 예를 나타낸 도면이다. 도 35 내지 도 37을 참조하여 실시 예에 따른 박막 트랜지스터 기판을 설명함에 있어, 도 1 내지 도 34를 참조하여 설명된 부분과 중복되는 내용에 대해서는 설명이 생략될 수 있다. 도 35 내지 도 37에 도시된 실시 예는 각각 도 32, 도 33, 도 34 대비하여 본딩층 구조에 차이가 있다.35 to 37 are views showing still another example of a thin film transistor substrate according to an embodiment of the present invention. In the description of the thin film transistor substrate according to the embodiment with reference to FIGS. 35 to 37 , descriptions of content overlapping with those described with reference to FIGS. 1 to 34 may be omitted. 35 to 37 are different in the bonding layer structure compared to FIGS. 32, 33, and 34, respectively.
도 35 내지 도 37에 도시된 바와 같이, 상기 기판(55) 위에 본딩층(53)이 제공될 수 있다. 상기 본딩층(53)은 상기 기판(55)과 상기 블랙 매트릭스(40) 사이에 배치될 수 있다. 예로서, 상기 본딩층(53)의 폭은 상기 블랙 매트릭스(40)의 폭과 동일하게 제공될 수 있다. 예로서, 상기 본딩층(53)의 폭은 상기 채널층(260)의 폭과 동일하게 제공될 수 있다. 35 to 37 , a
실시 예에 의하면, 상기 기판(55) 위에 상기 제2 보호막(22)이 배치될 수 있다. 상기 제2 보호막(22)의 하부면이 상기 기판(55)의 상부면에 접촉되어 배치될 수 있다. 상기 본딩층(53)이 제공되지 않은 영역에서, 상기 제2 보호막(22)이 상기 기판(55)에 직접 접촉되어 배치될 수 있다.According to an embodiment, the
이와 같이, 도 35 내지 도 37에 도시된 실시 예에 의하면, 도 32, 도 33, 도 34에 도시된 실시 예에 비하여, 상기 제2 보호막(22)과 상기 기판(55)이 직접 접촉되어 배치될 수 있게 되므로, 상기 제2 보호막(22)과 상기 기판(55) 사이에 제공되는 층(예로서, 도 32, 도 33, 도 34에 도시된 본딩층)을 배제시킬 수 있게 된다. 이에 따라, 실시 예에 의하면 빛이 진행되는 광 경로 상에 이종 물질층 간의 경계면이 줄어 들게 되므로 경계면에서의 반사/굴절 등에 의한 광손실을 줄일 수 있게 된다.In this way, according to the embodiment shown in FIGS. 35 to 37 , the
실시 예에 따른 상기 본딩층(53)은 예로서 반사층, 메탈본딩층, 유기본딩층, 절연층을 포함할 수 있다. 상기 반사층은 상기 기판(55) 위에 배치될 수 있으며, 상기 메탈본딩층은 상기 반사층 위에 배치되고, 상기 절연층은 상기 메탈본딩층 위에 배치될 수 있다. 예로서, 상기 본딩층(53)은 상기 메탈본딩층과 상기 유기본딩층 중에서 적어도 하나를 포함할 수 있으며, 상기 반사층과 상기 절연층은 선택적으로 포함할 수도 있다.The
상기 절연층은 상기 채널층(260)의 누설 특성을 보완해 줄 수 있다. 예로서, 상기 절연층은 실리콘 계열의 산화물, 실리콘 계열의 질화물, Al2O3를 포함하는 금속 산화물, 유기 절연물 중에서 적어도 하나의 물질을 포함하는 단일층 또는 다중층을 포함할 수 있다.The insulating layer may supplement leakage characteristics of the
상기 메탈본딩층 또는 상기 유기본딩층은 아래에 배치된 상기 기판(55)과의 접착을 위하여 제공될 수 있다. 예로서, 상기 메탈본딩층은 금(Au), 주석(Sn), 인듐(In), 니켈(Ni), 은(Ag), 구리(Cu)를 포함하는 그룹 중에서 선택된 적어도 어느 하나의 물질 또는 합금을 포함할 수 있다. 예로서, 상기 유기본딩층은 아크릴, 벤조시크롤부텐(BCB), SU-8 폴리머(SU-8 polymer) 등을 포함하는 그룹 중에서 선택된 적어도 어느 하나의 물질을 포함할 수 있다.The metal bonding layer or the organic bonding layer may be provided for adhesion to the
상기 반사층은 상기 본딩층에서의 광 흡수를 줄여줄 수 있다. 예로서, 상기 반사층은 알루미늄(Al), 은(Ag), 로듐(Rh)을 포함하는 그룹 중에서 선택된 적어도 어느 하나의 물질 또는 합금을 포함할 수 있다. 상기 반사층은 예로서 반사특성이 60%를 넘는 물질로 제공될 수 있다.The reflective layer may reduce light absorption in the bonding layer. For example, the reflective layer may include at least one material or alloy selected from the group consisting of aluminum (Al), silver (Ag), and rhodium (Rh). The reflective layer may be provided of, for example, a material having a reflective characteristic of more than 60%.
한편 실시 예에 의하면, 예로서 상기 본딩층(53)이 상기 메탈본딩층과 상기 반사층을 포함하는 경우, 상기 블랙매트릭스(40)는 생략될 수도 있다.Meanwhile, according to an embodiment, for example, when the
실시 예에 따른 박막 트랜지스터 기판에 의하면, 질화물계 반도체층을 포함하는 박막 트랜지스터를 제공함으로써 높은 캐리어 이동도를 구현할 수 있게 된다. 예를 들어, 박막 트랜지스터는 채널층으로 적용되는 물질에 따라 전자 이동도(㎠/Vs)가 달라지게 되는데, 아몰퍼스 실리콘 반도체의 경우에는 전자 이동도가 1이고, 산화물 반도체의 경우에는 10 내지 80, 폴리 실리콘 반도체의 경우에는 100 이하인 것으로 보고되고 있다. 그러나, 실시 예에 따른 질화물계 반도체층을 포함하는 박막 트랜지스터는 전자 이동도가 1500에 달하는 것으로 측정되고 있다. 이에 따라 실시 예에 따른 질화물계 반도체층을 포함하는 박막 트랜지스터는 폴리 실리콘 반도체가 적용된 박막 트랜지스터에 비해 15 배 이상의 높은 전자 이동도를 구현할 수 있게 된다.According to the thin film transistor substrate according to the embodiment, it is possible to implement a high carrier mobility by providing a thin film transistor including a nitride-based semiconductor layer. For example, in the thin film transistor, the electron mobility (cm 2 /Vs) varies depending on the material applied as the channel layer. In the case of an amorphous silicon semiconductor, the electron mobility is 1, and in the case of an oxide semiconductor, 10 to 80, In the case of polysilicon semiconductor, it is reported to be 100 or less. However, the thin film transistor including the nitride-based semiconductor layer according to the embodiment is measured to have an electron mobility of 1500. Accordingly, the thin film transistor including the nitride-based semiconductor layer according to the embodiment can implement 15 times higher electron mobility than the thin film transistor to which the polysilicon semiconductor is applied.
실시 예에 의하면, 성장기판을 이용하여 품질이 좋은 반도체층을 형성할 수 있으며, 지지기판을 이용하여 트랜스퍼(transfer) 공정을 적용함으로써 전자 이동도가 우수한 박막 트랜지스터 기판을 제공할 수 있게 된다.According to an embodiment, a semiconductor layer having good quality may be formed using a growth substrate, and a thin film transistor substrate having excellent electron mobility may be provided by applying a transfer process using a support substrate.
따라서, 실시 예에 따른 박막 트랜지스터 기판, 이를 포함하는 표시패널 및 표시장치에 의하면, 높은 캐리어 이동도를 제공할 수 있게 되므로, 고해상도를 구현하고 부드러운 동화상을 재생할 수 있게 된다.Therefore, according to the thin film transistor substrate, the display panel and the display device including the thin film transistor substrate according to the embodiment, high carrier mobility can be provided, thereby realizing a high resolution and reproducing a smooth moving image.
도 38 내지 도 40은 본 발명의 실시 예에 따른 박막 트랜지스터 기판의 또 다른 예를 나타낸 도면이다. 도 38 내지 도 40을 참조하여 실시 예에 따른 박막 트랜지스터 기판을 설명함에 있어, 도 1 내지 도 37을 참조하여 설명된 부분과 중복되는 내용에 대해서는 설명이 생략될 수 있다. 도 38 내지 도 40에 도시된 실시 예는 각각 도 32, 도 33, 도 34 대비하여 트랜스퍼 공정이 적용되지 않고 성장기판 위에 박막 트랜지스터가 제공되는 점에 차이가 있다.38 to 40 are views showing another example of a thin film transistor substrate according to an embodiment of the present invention. In the description of the thin film transistor substrate according to the embodiment with reference to FIGS. 38 to 40 , descriptions of content overlapping with those described with reference to FIGS. 1 to 37 may be omitted. 38 to 40 is different from FIGS. 32, 33, and 34 in that the thin film transistor is provided on the growth substrate without applying the transfer process.
실시 예에 따른 박막 트랜지스터 기판은, 도 38 내지 도 40에 도시된 바와 같이, 트랜스퍼 공정에 이용되는 지지기판 대신에 성장기판(10)을 기판으로서 포함할 수 있다. 상기 성장기판(10)은 예를 들어, 사파이어(Sapphire), SiC, GaAs, GaN, ZnO, Si, GaP, InP, Ge을 포함하는 그룹 중에서 선택된 적어도 하나를 포함할 수 있다. The thin film transistor substrate according to the embodiment may include the
상기 성장기판(10) 위에 블랙 매트릭스(45)가 배치될 수 있다. 상기 블랙 매트릭스(45)는 상기 성장기판(10) 위에 배치되어 상기 채널층(260)으로 빛이 입사되는 것을 방지할 수 있다. 상기 블랙 매트릭스(45)는 예로서 가시광선을 흡수하거나 반사하는 물질로 구현될 수 있다. 이에 따라, 실시 예에 의하면 상기 채널층(260)으로 빛이 입사되어 광전류(photo current) 등에 의하여 박막 트랜지스터(230)가 열화되는 것을 방지할 수 있게 된다. 예로서, 상기 블랙 매트릭스(45)는 Si 기반의 물질, Ga 기반의 물질, Al 기반의 물질, 유기물 중에서 선택된 적어도 하나의 물질을 포함하는 단일층 또는 다중층으로 제공될 수 있다. 상기 블랙 매트릭스(45)는 Si, GaAs 등의 물질을 선택적으로 포함할 수 있다.A
실시 예에 의하면, 상기 블랙 매트릭스(45) 위에 버퍼층(47)이 제공될 수 있다. 상기 버퍼층(47)은 상기 블랙 매트릭스(45)와 상기 채널층(260) 사이에 제공될 수 있다. 상기 버퍼층(47)은 상기 채널층(260)을 구성하는 질화물 반도체층의 성장을 도울 수 있다. 예로서, 상기 버퍼층(47)은 AlN, AlInN, AlGaN을 포함하는 그룹 중에서 선택된 적어도 하나의 물질을 포함하는 단일층 또는 다중층을 포함할 수 있다.According to an embodiment, a
예로서, 상기 블랙 매트릭스(45)의 폭은 상기 버퍼층(47)의 폭과 동일하게 제공될 수 있다. 예로서, 상기 블랙 매트릭스(45)의 폭은 상기 채널층(260)의 폭과 동일하게 제공될 수 있다. 상기 버퍼층(47)의 폭은 상기 채널층(260)의 폭과 동일하게 제공될 수 있다.For example, the width of the
실시 예에 의하면, 상기 성장기판(10) 위에 상기 제2 보호막(22)이 배치될 수 있다. 상기 제2 보호막(22)의 하부면이 상기 성장기판(10)의 상부면에 접촉되어 배치될 수 있다. 상기 블랙 매트릭스(45)가 제공되지 않은 영역에서, 상기 제2 보호막(22)이 상기 성장기판(10)에 직접 접촉되어 배치될 수 있다.According to an embodiment, the
실시 예에 따른 박막 트랜지스터 기판에 의하면, 질화물계 반도체층을 포함하는 박막 트랜지스터를 제공함으로써 높은 캐리어 이동도를 구현할 수 있게 된다. 예를 들어, 박막 트랜지스터는 채널층으로 적용되는 물질에 따라 전자 이동도(㎠/Vs)가 달라지게 되는데, 아몰퍼스 실리콘 반도체의 경우에는 전자 이동도가 1이고, 산화물 반도체의 경우에는 10 내지 80, 폴리 실리콘 반도체의 경우에는 100 이하인 것으로 보고되고 있다. 그러나, 실시 예에 따른 질화물계 반도체층을 포함하는 박막 트랜지스터는 전자 이동도가 1500에 달하는 것으로 측정되고 있다. 이에 따라 실시 예에 따른 질화물계 반도체층을 포함하는 박막 트랜지스터는 폴리 실리콘 반도체가 적용된 박막 트랜지스터에 비해 15 배 이상의 높은 전자 이동도를 구현할 수 있게 된다.According to the thin film transistor substrate according to the embodiment, it is possible to implement a high carrier mobility by providing a thin film transistor including a nitride-based semiconductor layer. For example, in the thin film transistor, the electron mobility (cm 2 /Vs) varies depending on the material applied as the channel layer. In the case of an amorphous silicon semiconductor, the electron mobility is 1, and in the case of an oxide semiconductor, 10 to 80, In the case of polysilicon semiconductor, it is reported to be 100 or less. However, the thin film transistor including the nitride-based semiconductor layer according to the embodiment is measured to have an electron mobility of 1500. Accordingly, the thin film transistor including the nitride-based semiconductor layer according to the embodiment can implement 15 times higher electron mobility than the thin film transistor to which the polysilicon semiconductor is applied.
따라서, 실시 예에 따른 박막 트랜지스터 기판, 이를 포함하는 표시패널 및 표시장치에 의하면, 높은 캐리어 이동도를 제공할 수 있게 되므로, 고해상도를 구현하고 부드러운 동화상을 재생할 수 있게 된다.Therefore, according to the thin film transistor substrate, the display panel and the display device including the thin film transistor substrate according to the embodiment, high carrier mobility can be provided, thereby realizing a high resolution and reproducing a smooth moving image.
도 41은 본 발명의 실시 예에 따른 박막 트랜지스터 기판을 포함하는 표시장치의 예를 나타낸 블록도이다.41 is a block diagram illustrating an example of a display device including a thin film transistor substrate according to an embodiment of the present invention.
실시 예에 따른 표시장치는, 도 41에 도시된 바와 같이, 표시패널(1100), 라이트 유닛(1200), 패널 구동부(1300)를 포함할 수 있다.The display device according to the embodiment may include a
상기 표시패널(1100)은 도 1 내지 도 40을 참조하여 설명된 박막 트랜지스터 기판 중의 어느 하나와, 상기 박막 트랜지스터 기판 위에 배치된 컬러필터 기판을 포함할 수 있다. 상기 표시패널(1100)은 상기 박막 트랜지스터 기판과 상기 컬러필터 기판 사이에 배치된 액정층을 포함할 수 있다.The
상기 라이트 유닛(1200)은 상기 표시패널(1100) 아래에 배치될 수 있으며 상기 표시패널(1100)에 빛을 공급할 수 있다. 상기 패널 구동부(1300)는 상기 표시패널(1100)에 구동 신호를 제공할 수 있다. 상기 패널 구동부(1300)는 상기 표시패널(1100)에 제공된 복수 화소의 광 투과율을 제어할 수 있으며, 상기 라이트 유닛(1200)으로부터 제공되는 빛을 이용하여 상기 표시패널(1100)에 영상이 표시될 수 있게 된다.The
실시 예에 따른 박막 트랜지스터 기판에 의하면, 질화물계 반도체층을 포함하는 박막 트랜지스터를 제공함으로써 높은 캐리어 이동도를 구현할 수 있게 된다. 예를 들어, 박막 트랜지스터는 채널층으로 적용되는 물질에 따라 전자 이동도(㎠/Vs)가 달라지게 되는데, 아몰퍼스 실리콘 반도체의 경우에는 전자 이동도가 1이고, 산화물 반도체의 경우에는 10 내지 80, 폴리 실리콘 반도체의 경우에는 100 이하인 것으로 보고되고 있다. 그러나, 실시 예에 따른 질화물계 반도체층을 포함하는 박막 트랜지스터는 전자 이동도가 1500에 달하는 것으로 측정되고 있다. 이에 따라 실시 예에 따른 질화물계 반도체층을 포함하는 박막 트랜지스터는 폴리 실리콘 반도체가 적용된 박막 트랜지스터에 비해 15 배 이상의 높은 전자 이동도를 구현할 수 있게 된다.According to the thin film transistor substrate according to the embodiment, it is possible to implement a high carrier mobility by providing a thin film transistor including a nitride-based semiconductor layer. For example, in the thin film transistor, the electron mobility (cm 2 /Vs) varies depending on the material applied as the channel layer. In the case of an amorphous silicon semiconductor, the electron mobility is 1, and in the case of an oxide semiconductor, 10 to 80, In the case of polysilicon semiconductor, it is reported to be 100 or less. However, the thin film transistor including the nitride-based semiconductor layer according to the embodiment is measured to have an electron mobility of 1500. Accordingly, the thin film transistor including the nitride-based semiconductor layer according to the embodiment can implement 15 times higher electron mobility than the thin film transistor to which the polysilicon semiconductor is applied.
실시 예에 의하면, 성장기판을 이용하여 품질이 좋은 반도체층을 형성할 수 있으며, 지지기판을 이용하여 트랜스퍼(transfer) 공정을 적용함으로써 전자 이동도가 우수한 박막 트랜지스터 기판을 제공할 수 있게 된다. 한편, 이상에서 설명된 바와 같이, 실시 예에 의하면 성장기판 위에 박막 트랜지스터 및 화소전극을 제공하고, 전자 이동도가 우수한 박막 트랜지스터 기판을 제공할 수도 있다.According to an embodiment, a semiconductor layer having good quality may be formed using a growth substrate, and a thin film transistor substrate having excellent electron mobility may be provided by applying a transfer process using a support substrate. Meanwhile, as described above, according to the embodiment, the thin film transistor and the pixel electrode may be provided on the growth substrate, and the thin film transistor substrate having excellent electron mobility may be provided.
따라서, 실시 예에 따른 박막 트랜지스터 기판, 이를 포함하는 표시패널 및 표시장치에 의하면, 높은 캐리어 이동도를 제공할 수 있게 되므로, 고해상도를 구현하고 부드러운 동화상을 재생할 수 있게 된다.Therefore, according to the thin film transistor substrate, the display panel and the display device including the thin film transistor substrate according to the embodiment, high carrier mobility can be provided, thereby realizing a high resolution and reproducing a smooth moving image.
도 42는 본 발명의 실시 예에 따른 박막 트랜지스터 기판의 또 다른 예를 나타낸 도면이다. 도 43은 도 42에 도시된 박막 트랜지스터 기판의 D-D 선에 따른 단면도이고, 도 44는 도 42에 도시된 박막 트랜지스터 기판의 E-E 선에 따른 단면도이다. 42 is a diagram illustrating another example of a thin film transistor substrate according to an embodiment of the present invention. 43 is a cross-sectional view taken along line D-D of the thin film transistor substrate shown in FIG. 42 , and FIG. 44 is a cross-sectional view taken along line E-E of the thin film transistor substrate shown in FIG. 42 .
도 1 내지 도 41을 참조하여 설명된 실시 예는 액정 표시장치에 적용될 수 있는 박막 트랜지스터 기판에 관한 것이며, 도 42 내지 도 44를 참조하여 설명되는 박막 트랜지스터 기판은 유기발광 표시장치에 적용될 수 있는 것이다.The embodiment described with reference to FIGS. 1 to 41 relates to a thin film transistor substrate that can be applied to a liquid crystal display, and the thin film transistor substrate described with reference to FIGS. 42 to 44 can be applied to an organic light emitting display device. .
실시 예에 따른 박막 트랜지스터 기판은 스위칭 박막 트랜지스터(330)와 구동 박막 트랜지스터(430)를 포함할 수 있다. 상기 스위칭 박막 트랜지스터(330)는 게이트 라인(341)과 데이터 라인(373)으로부터 신호를 인가 받을 수 있으며, 해당 화소에 게이트 신호 및 데이터 신호를 제공할 수 있다. 상기 스위칭 박막 트랜지스터(330)는 제1 게이트 전극(333), 제1 소스 전극(371), 제1 드레인 전극(372)을 포함할 수 있다. 상기 구동 박막 트랜지스터(430)는 제2 게이트 전극(433), 제2 소스 전극(471), 제2 드레인 전극(472)을 포함할 수 있다. 상기 구동 박막 트랜지스터(430)의 상기 제2 게이트 전극(433)은 상기 스위칭 박막 트랜지스터(330)의 상기 제1 드레인 전극(372)과 전기적으로 연결될 수 있다. 상기 구동 박막 트랜지스터(430)의 상기 제2 소스 전극(471)은 구동 전원배선(Vdd, 474)에 연결될 수 있다. 상기 스위칭 박막 트랜지스터(330)와 상기 구동 박막 트랜지스터(430)의 동작에 대해서는 도 45를 참조하여 뒤에서 다시 설명하기로 한다.The thin film transistor substrate according to the embodiment may include a switching
본 발명의 실시 예에 따른 박막 트랜지스터 기판은, 도 42 내지 도 44에 도시된 바와 같이, 기판(355)과 상기 기판(355) 위에 배치된 상기 스위칭 박막 트랜지스터(330), 상기 구동 박막 트랜지스터(430), 상기 구동 박막 트랜지스터(430)에 전기적으로 연결된 발광층(488)을 포함할 수 있다.As shown in FIGS. 42 to 44 , the thin film transistor substrate according to an embodiment of the present invention includes a
실시 예에 따른 스위칭 박막 트랜지스터(330)는 제1 디플리션 형성층(depletion forming layer, 315), 제1 게이트 전극(333), 제1 채널층(360), 제1 소스 전극(371), 제1 드레인 전극(372)을 포함할 수 있다. 상기 제1 소스 전극(371)은 상기 제1 채널층(360)의 제1 영역에 전기적으로 연결될 수 있다. 상기 제1 소스 전극(371)은 상기 제1 채널층(360)의 상부 면에 전기적으로 연결될 수 있다. 상기 제1 드레인 전극(372)은 상기 제1 채널층(360)의 제2 영역에 전기적으로 연결될 수 있다. 상기 제1 드레인 전극(372)은 상기 제1 채널층(360)의 상부 면에 전기적으로 연결될 수 있다. 상기 제1 게이트 전극(333)은 상기 제1 채널층(360) 위에 배치될 수 있다. 상기 제1 디플리션 형성층(315)은 상기 제1 채널층(360)의 제1 영역과 제2 영역 사이 위에 배치될 수 있다. 상기 제1 디플리션 형성층(315)은 상기 제1 채널층(360)과 상기 제1 게이트 전극(333) 사이에 배치될 수 있다.The switching
실시 예에 따른 구동 박막 트랜지스터(430)는 제2 디플리션 형성층(depletion forming layer, 415), 제2 게이트 전극(433), 제2 채널층(460), 제2 소스 전극(471), 제2 드레인 전극(472)을 포함할 수 있다. 상기 제2 소스 전극(471)은 상기 제2 채널층(460)의 제1 영역에 전기적으로 연결될 수 있다. 상기 제2 소스 전극(471)은 상기 제2 채널층(460)의 상부 면에 전기적으로 연결될 수 있다. 상기 제2 드레인 전극(472)은 상기 제2 채널층(460)의 제2 영역에 전기적으로 연결될 수 있다. 상기 제2 드레인 전극(472)은 상기 제2 채널층(460)의 상부 면에 전기적으로 연결될 수 있다. 상기 제2 게이트 전극(433)은 상기 제2 채널층(460) 위에 배치될 수 있다. 상기 제2 디플리션 형성층(415)은 상기 제2 채널층(460)의 제1 영역과 제2 영역 사이 위에 배치될 수 있다. 상기 제2 디플리션 형성층(415)은 상기 제2 채널층(460)과 상기 제2 게이트 전극(433) 사이에 배치될 수 있다.The driving
상기 스위칭 박막 트랜지스터(330)와 상기 구동 박막 트랜지스터(430)의 구조는 서로 유사하며, 상기 구동 박막 트랜지스터(430)를 설명함에 있어 상기 스위칭 박막 트랜지스터(330)를 참조하여 설명된 부분과 중복되는 내용에 대해서는 설명이 생략될 수 있다.The structures of the switching
상기 제1 채널층(360)과 상기 제2 채널층(460)은 예로서 III족-V족 화합물 반도체로 구현될 수 있다. 예컨대, 상기 제1 채널층(360)과 상기 제2 채널층(460)은 InxAlyGa1-x-yN (0≤x≤1, 0≤y≤1, 0≤x+y≤1)의 조성식을 갖는 반도체 물질로 구현될 수 있다. 상기 제1 채널층(360)과 상기 제2 채널층(460)은 예를 들어 GaN, AlN, AlGaN, InGaN, InN, InAlGaN, AlInN, AlGaAs, GaP, GaAs, GaAsP, AlGaInP 등에서 선택된 단일층 또는 다중층을 포함할 수 있다. 상기 제1 채널층(360)과 상기 제2 채널층(460)은 서로 다른 물질로 형성될 수도 있다.The
상기 제1 채널층(360)과 상기 제2 채널층(460) 각각은 제1 질화물 반도체층(361, 461)과 제2 질화물 반도체층(362, 462)을 포함할 수 있다. 상기 제1 질화물 반도체층(361. 461)은 예로서 InxAlyGa1 -x- yN (0≤x≤1, 0≤y≤1, 0≤x+y≤1)의 조성식을 갖는 반도체 물질로 구현될 수 있다. 상기 제2 질화물 반도체층(362, 462)은 예로서 InxAlyGa1 -x- yN (0≤x≤1, 0≤y≤1, 0≤x+y≤1)의 조성식을 갖는 반도체 물질로 구현될 수 있다. Each of the
실시 예에 따른 상기 제1 채널층(360)과 상기 제2 채널층(460)에 의하면, 상기 제1 질화물 반도체층(361, 461)이 GaN 반도체층을 포함하고, 상기 제2 질화물 반도체층(362, 462)이 AlGaN 반도체층을 포함할 수 있다. 상기 제1 채널층(360)의 상기 제2 질화물 반도체층(362)은 상기 제1 질화물 반도체층(361)과 상기 제1 디플리션 형성층(315) 사이에 배치될 수 있다. 상기 제2 채널층(460)의 상기 제2 질화물 반도체층(462)은 상기 제1 질화물 반도체층(461)과 상기 제2 디플리션 형성층(415) 사이에 배치될 수 있다.According to the
상기 제1 디플리션 형성층(315)과 상기 제2 디플리션 형성층(415)은 예로서 III족-V족 화합물 반도체로 구현될 수 있다. 예컨대, 상기 제1 디플리션 형성층(315)과 상기 제2 디플리션 형성층(415)은 InxAlyGa1 -x- yN (0≤x≤1, 0≤y≤1, 0≤x+y≤1)의 조성식을 갖는 반도체 물질로 구현될 수 있다. 상기 제1 디플리션 형성층(315)과 상기 제2 디플리션 형성층(415)은 예를 들어 GaN, AlN, AlGaN, InGaN, InN, InAlGaN, AlInN, AlGaAs, GaP, GaAs, GaAsP, AlGaInP 등에서 선택된 단일층 또는 다중층을 포함할 수 있다. 상기 제1 디플리션 형성층(315)과 상기 제2 디플리션 형성층(415)은 p형 도펀트가 첨가된 질화물 반도체층을 포함할 수 있다. 예로서, 상기 제1 디플리션 형성층(315)과 상기 제2 디플리션 형성층(415)은 p형 도펀트가 첨가된 GaN 반도체층 또는 p형 도펀트가 첨가된 AlGaN 반도체층을 포함할 수 있다. 상기 제1 디플리션 형성층(315)과 상기 제2 디플리션 형성층(415)은 예컨대, p-AlxGa1-xN (0≤x≤0.3)의 조성식을 갖는 반도체 물질로 구현된 단일층 또는 다중층을 포함할 수 있다. The first
상기 제1 디플리션 형성층(315)과 상기 제2 디플리션 형성층(415)은 예로서 2~300nm의 두께로 제공될 수 있다. 상기 제1 디플리션 형성층(315)과 상기 제2 디플리션 형성층(415)은 상기 제1 채널층(360)과 상기 제2 채널층(460)에 제공된 2차원 전자가스(2DEG)에 디플리션 영역(depletion region)을 제공하기 위하여 적어도 2nm의 두께로 제공될 수 있다. 또한, 상기 제1 디플리션 형성층(315)과 상기 제2 디플리션 형성층(415)은 제조공정에 따른 두께 편차를 고려하여 30nm 이상의 두께로 제공될 수도 있다. 또한, 상기 제1 디플리션 형성층(315)과 상기 제2 디플리션 형성층(415)은 제조공정에 따른 두께 편차를 고려하여 200nm 이하의 두께로 제공될 수도 있다. 상기 제1 디플리션 형성층(315)과 상기 제2 디플리션 형성층(415)은 예로서 50~100nm의 두께로 제공될 수도 있다.The first
상기 제1 디플리션 형성층(315)과 상기 제2 디플리션 형성층(415)은 서로 다른 물질을 포함할 수 있다. 상기 제1 디플리션 형성층(315)과 상기 제2 디플리션 형성층(415)에 첨가된 물질과 첨가된 물질의 첨가량은 서로 다를 수 있다.The first
상기 제1 디플리션 형성층(315)과 상기 제2 디플리션 형성층(415)은 상기 제1 채녈층(360)과 상기 제2 채널층(460)에 제공된 2차원 전자가스(2DEG)에 디플리션 영역(depletion region)을 형성하는 역할을 할 수 있다. 상기 제1 디플리션 형성층(315)에 의해 그 아래에 위치하는 제2 질화물 반도체층(362) 부분의 에너지 밴드갭(energy bandgap)이 높아질 수 있고, 그 결과 상기 제1 디플리션 형성층(315)에 대응하는 상기 제1 채널층(360) 부분에 2차원 전자가스(2DEG)의 디플리션 영역이 제공될 수 있다. 따라서, 상기 제1 채널층(360)에 제공되는 2차원 전자가스(2DEG) 중 상기 제1 디플리션 형성층(315)이 배치된 위치에 대응되는 영역은 끊어질 수 있다. 상기 제1 채널층(360)에서 2차원 전자가스(2DEG)가 끊어진 영역을 단절영역이라 할 수 있으며, 예로서 상기 제2 질화물 반도체층(362)에 단절영역이 형성될 수 있다. 이러한 단절영역에 의해 상기 스위칭 박막 트랜지스터(330)는 노멀리-오프(normally-off) 특성을 가질 수 있다. 상기 제1 게이트 전극(333)에 문턱 전압(threshold voltage) 이상의 전압을 인가하면, 단절영역에 2차원 전자가스(2DEG)가 생성되어, 상기 스위칭 박막 트랜지스터(330)가 온 상태가 된다. 상기 제1 게이트 전극(333)의 하부에 형성된 채널이 온 상태가 되면 상기 제1 채널층(360)에 형성된 2차원 전자가스(2DEG)를 경유하여 전류가 흐를 수 있게 된다. 이에 따라, 상기 제1 게이트 전극(333)에 인가되는 전압에 따라 상기 제1 채널층(360)의 제1 영역으로부터 제2 영역으로의 전류 흐름이 제어될 수 있게 된다. 상기 제2 디플리션 형성층(415)은 상기 제1 디플리션 형성층(315)과 유사한 역할을 수행할 수 있다.The first
상기 기판(355)은 투명기판을 포함할 수 있다. 상기 기판(355)은 예로서 0.1 mm 내지 3 mm의 두께를 갖는 투명기판으로 구현될 수 있다. 또한, 상기 기판(355)의 두께는 적용되는 표시장치의 용도 및 크기에 따라 변경될 수 있는 것으로서 0.4~1.1mm의 두께 범위 내에서 선택될 수도 있다. 예로서, 상기 기판(355)은 0.6~0.8mm의 두께로 제공될 수도 있다. 상기 기판(355)은 실리콘, 유리, 폴리이미드, 플라스틱을 포함하는 물질 중에서 선택된 적어도 하나의 물질을 포함할 수 있다. 상기 기판(355)은 플렉시블 기판을 포함할 수 있다.The
상기 기판(355)은 트랜스퍼(transfer) 공정에서 적용되는 기판으로서 상기 스위칭 박막 트랜지스터(330)와 상기 구동 박막 트랜지스터(430)를 지지하는 역할을 수행한다. 또한, 실시 예에 따른 박막 트랜지스터 기판은 상기 기판(355)과 상기 스위칭 박막 트랜지스터(330) 사이에 제공된 본딩층(350)을 포함할 수 있다. 상기 본딩층(350)은 상기 기판(355)과 상기 구동 박막 트랜지스터(430) 사이에 배치될 수 있다.The
상기 본딩층(350)은 유기물을 포함할 수 있다. 상기 본딩층(350)은 투명물질로 구현될 수 있다. 상기 본딩층(350)은 예로서 투과도가 70% 이상인 물질로 구현될 수 있다. 상기 본딩층(350)은 유기 절연물질을 포함할 수 있다. 상기 본딩층(350)은 아크릴, 벤조시클로부텐(BCB), SU-8 폴리머(SU-8 polymer) 등을 포함하는 그룹 중에서 선택된 적어도 어느 하나의 물질을 포함할 수 있다. 상기 본딩층(350)은 예로서 0.5~6㎛의 두께로 제공될 수 있다. 상기 본딩층(350)의 두께는 선택된 물질 종류에 따라 차이가 있을 수 있으며 1~3㎛의 두께로 제공될 수도 있다. 또한, 상기 본딩층(350)은 예로서 1.8~2.2㎛의 두께로 제공될 수도 있다.The
실시 예에 따른 스위칭 박막 트랜지스터(330)는 상기 제1 채널층(360)의 제1 영역 위에 배치된 제1 소스 컨택부(331)와 상기 제1 채널층(360)의 제2 영역 위에 배치된 제1 드레인 컨택부(332)를 포함할 수 있다. 상기 제1 소스 컨택부(331)는 상기 제1 채널층(360)의 제1 영역에 접촉되어 배치될 수 있다. 상기 제1 드레인 컨택부(332)는 상기 제1 채널층(360)의 제2 영역에 접촉되어 배치될 수 있다.The switching
실시 예에 따른 스위칭 박막 트랜지스터(330)는 상기 제1 게이트 전극(333) 위에 배치된 제1 게이트 배선(341)을 포함할 수 있다. 상기 제1 게이트 배선(341)은 상기 제1 게이트 전극(333)에 전기적으로 연결될 수 있다. 상기 제1 게이트 배선(341)의 하부 면이 상기 제1 게이트 전극(333)의 상부 면에 접촉되어 배치될 수 있다.The switching
상기 제1 소스 전극(371)은 상기 제1 소스 컨택부(331)에 전기적으로 연결될 수 있다. 상기 제1 소스 전극(371)은 상기 제1 소스 컨택부(331)의 상부 면에 접촉되어 배치될 수 있다. 예로서, 상기 제1 소스 전극(371)은 상기 제1 소스 컨택부(331)를 통하여 상기 제1 채널층(360)의 제1 영역에 전기적으로 연결될 수 있다. 상기 제1 드레인 전극(372)은 상기 제1 드레인 컨택부(332)에 전기적으로 연결될 수 있다. 상기 제1 드레인 전극(372)은 상기 제1 드레인 컨택부(332)의 상부 면에 접촉되어 배치될 수 있다. 예로서, 상기 제1 드레인 전극(372)은 상기 제1 드레인 컨택부(332)를 통하여 상기 제1 채널층(360)의 제2 영역에 전기적으로 연결될 수 있다.The
실시 예에 따른 구동 박막 트랜지스터(430)는 상기 제2 채널층(460)의 제1 영역 위에 배치된 제2 소스 컨택부(431)와 상기 제2 채널층(460)의 제2 영역 위에 배치된 제2 드레인 컨택부(432)를 포함할 수 있다. 상기 제2 소스 컨택부(431)는 상기 제2 채널층(460)의 제1 영역에 접촉되어 배치될 수 있다. 상기 제2 드레인 컨택부(432)는 상기 제2 채널층(460)의 제2 영역에 접촉되어 배치될 수 있다.The driving
실시 예에 따른 구동 박막 트랜지스터(430)는 상기 제2 게이트 전극(433) 위에 배치된 제2 게이트 배선(441)을 포함할 수 있다. 상기 제2 게이트 배선(441)은 상기 제2 게이트 전극(433)에 전기적으로 연결될 수 있다. 상기 제2 게이트 배선(441)의 하부 면이 상기 제2 게이트 전극(433)의 상부 면에 접촉되어 배치될 수 있다.The driving
상기 제2 소스 전극(471)은 상기 제2 소스 컨택부(431)에 전기적으로 연결될 수 있다. 상기 제2 소스 전극(471)은 상기 제2 소스 컨택부(431)의 상부 면에 접촉되어 배치될 수 있다. 예로서, 상기 제2 소스 전극(471)은 상기 제2 소스 컨택부(431)를 통하여 상기 제2 채널층(460)의 제1 영역에 전기적으로 연결될 수 있다. 상기 제2 드레인 전극(472)은 상기 제2 드레인 컨택부(432)에 전기적으로 연결될 수 있다. 상기 제2 드레인 전극(472)은 상기 제2 드레인 컨택부(432)의 상부 면에 접촉되어 배치될 수 있다. 예로서, 상기 제2 드레인 전극(472)은 상기 제2 드레인 컨택부(432)를 통하여 상기 제2 채널층(460)의 제2 영역에 전기적으로 연결될 수 있다.The
상기 제1 소스 컨택부(331)와 상기 제1 드레인 컨택부(332)는 상기 제1 채널층(360)과 오믹 접촉하는 물질로 구현될 수 있다. 상기 제1 소스 컨택부(331)와 상기 제1 드레인 컨택부(332)는 상기 제2 질화물 반도체층(362)과 오믹 접촉하는 물질을 포함할 수 있다. 상기 제2 소스 컨택부(431)와 상기 제2 드레인 컨택부(432)는 상기 제2 채널층(460)과 오믹 접촉하는 물질로 구현될 수 있다. 상기 제2 소스 컨택부(431)와 상기 제2 드레인 컨택부(432)는 상기 제2 질화물 반도체층(462)과 오믹 접촉하는 물질을 포함할 수 있다. 예로서, 상기 제1 소스 컨택부(331), 상기 제1 드레인 컨택부(332), 제2 소스 컨택부(431), 상기 제2 드레인 컨택부(432)는 알루미늄(Al), 알루미늄 합금(Al alloy), 텅스텐(W), 구리(Cu), 구리 합금(Cu alloy), 몰리브덴(Mo), 은(Ag), 은 합금(Ag alloy), 금(Au), 금 합금(Au alloy), 크롬(Cr), 티타늄(Ti), 티타늄 합금(Ti alloy), 몰리텅스텐(MoW), 몰리티타늄(MoTi), 구리/몰리티타늄(Cu/MoTi)을 포함하는 그룹 중에서 선택된 적어도 어느 하나의 물질을 포함하는 단일층 또는 다중층을 포함할 수 있다. 상기 제1 소스 컨택부(331), 상기 제1 드레인 컨택부(332), 상기 제2 소스 컨택부(431), 상기 제2 드레인 컨택부(432)는 예로서 0.1~1㎛의 두께로 제공될 수 있다. 상기 제1 소스 컨택부(331), 상기 제1 드레인 컨택부(332), 상기 제2 소스 컨택부(431), 상기 제2 드레인 컨택부(432)는 상기 제1 채널층(360) 및 상기 제2 채널층(460)과의 접촉을 위한 층으로서 전류 확산 기능을 수행하지 않아도 되므로 1㎛ 이하의 두께로 제공될 수도 있다.The first
상기 제1 게이트 전극(333)은 상기 제1 디플리션 형성층(315)과 오믹 접촉하는 물질로 구현될 수 있다. 상기 제2 게이트 전극(433)은 상기 제2 디플리션 형성층(415)과 오믹 접촉하는 물질로 구현될 수 있다. 예로서, 상기 제1 게이트 전극(333)과 상기 제2 게이트 전극(433)은 p형 질화물층과 오믹 접촉하는 물질로 구현될 수 있다. 상기 제1 게이트 전극(333)과 상기 제2 게이트 전극(433)은 텅스텐(W), 텅스텐실리콘(WSi2), 티타늄질소(TiN), 탄탈륨(Ta), 탄탈륨질소(TaN), 팔라듐(Pd), 니켈(Ni), 백금(Pt)을 포함하는 그룹 중에서 선택된 적어도 어느 하나의 물질을 포함하는 단일층 또는 다중층을 포함할 수 있다. 상기 제1 게이트 전극(333)과 상기 제2 게이트 전극(433)은 예로서 0.1~1㎛의 두께로 제공될 수 있다. 상기 제1 게이트 전극(333)과 상기 제2 게이트 전극(433)은 상기 제1 디플리션 형성층(315)과 상기 제2 디플리션 형성층(415)과의 접촉을 위한 층으로서 전류 확산 기능을 수행하지 않아도 되므로 1㎛ 이하의 두께로 제공될 수도 있다.The
상기 제1 게이트 배선(341)과 상기 제2 게이트 배선(441)은 알루미늄(Al), 알루미늄 합금(Al alloy), 텅스텐(W), 구리(Cu), 구리 합금(Cu alloy), 몰리브덴(Mo), 은(Ag), 은 합금(Ag alloy), 금(Au), 금 합금(Au alloy), 크롬(Cr), 티타늄(Ti), 티타늄 합금(Ti alloy), 몰리텅스텐(MoW), 몰리티타늄(MoTi), 구리/몰리티타늄(Cu/MoTi)을 포함하는 그룹 중에서 선택된 적어도 어느 하나의 물질을 포함하는 단일층 또는 다중층을 포함할 수 있다. 상기 제1 게이트 배선(341)과 상기 제2 게이트 배선(441)은 예로서 0.1~3㎛의 두께로 제공될 수 있다. 상기 제1 게이트 배선(341)과 상기 제2 게이트 배선(441)은 복수의 트랜지스터에 순차적으로 전압을 인가하는 기능을 수행하므로 상기 제1 게이트 전극(333) 및 상기 제2 게이트 전극(433)의 두께에 비하여 더 두껍게 제공될 수도 있다.The
상기 제1 소스 전극(371), 상기 제1 드레인 전극(372), 상기 제2 소스 전극(471), 제2 드레인 전극(472)은 알루미늄(Al), 알루미늄 합금(Al alloy), 텅스텐(W), 구리(Cu), 구리 합금(Cu alloy), 몰리브덴(Mo), 은(Ag), 은 합금(Ag alloy), 금(Au), 금 합금(Au alloy), 크롬(Cr), 티타늄(Ti), 티타늄 합금(Ti alloy), 몰리텅스텐(MoW), 몰리티타늄(MoTi), 구리/몰리티타늄(Cu/MoTi)을 포함하는 그룹 중에서 선택된 적어도 어느 하나의 물질을 포함하는 단일층 또는 다중층을 포함할 수 있다. 상기 제1 소스 전극(371), 상기 제1 드레인 전극(372), 상기 제2 소스 전극(471), 제2 드레인 전극(472)은 예로서 0.1~3㎛의 두께로 제공될 수 있다. 상기 제1 소스 전극(371)과 상기 제2 소스 전극(471)은 복수의 트랜지스터에 순차적으로 전압을 인가하는 기능을 수행하므로 상기 제1 소스 컨택부(331) 및 상기 제2 소스 컨택부(431)의 두께에 비하여 더 두껍게 제공될 수도 있다. 상기 제1 드레인 전극(372)과 상기 제2 드레인 전극(472)도 상기 제1 드레인 컨택부(332) 및 상기 제2 드레인 컨택부(432)의 두께에 비하여 더 두껍게 제공될 수도 있다.The
실시 예에 따른 박막 트랜지스터 기판은 상기 제1 채널층(360)과 상기 제2 채널층(460) 위에 배치된 제1 보호막(321, 421)을 포함할 수 있다. 상기 제1 보호막(321, 421)은 상기 제1 채널층(360)의 상기 제2 질화물 반도체층(362) 및 상기 제2 채널층(460)의 제2 질화물 반도체층(462) 위에 배치될 수 있다. 상기 제1 보호막(321, 421)의 하부 면은 상기 제1 채널층(360)의 상기 제2 질화물 반도체층(362) 및 상기 제2 채널층(460)의 제2 질화물 반도체층(462) 상부 면에 접촉되어 배치될 수 있다. 상기 제1 보호막(321, 421)은 상기 제1 디플리션 형성층(315)과 상기 제2 디플리션 형성층(415) 위에 배치될 수 있다. 상기 제1 보호막(321, 421)은 상기 제1 디플리션 형성층(315)의 측면과 상기 제2 디플리션 형성층(415)의 측면에 배치될 수 있다. 상기 제1 보호막(321, 421)은 상기 제1 디플리션 형성층(315)의 측면과 상기 제2 디플리션 형성층(415)의 측면을 감싸도록 배치될 수 있다.The thin film transistor substrate according to the embodiment may include first passivation layers 321 and 421 disposed on the
실시 예에 의하면, 상기 제1 소스 컨택부(331)는 상기 제1 보호막(321)을 관통하여 배치될 수 있다. 상기 제1 소스 컨택부(331)는 상기 제1 보호막(321)에 의하여 둘러 싸여 배치될 수 있다. 상기 제1 소스 컨택부(331)는 상기 제1 보호막(321)을 관통하여 배치되고 상기 제1 채널층(360)의 제1 영역에 접촉되어 제공될 수 있다. 상기 제1 드레인 컨택부(332)는 상기 제1 보호막(321)을 관통하여 배치될 수 있다. 상기 제1 드레인 컨택부(332)는 상기 제1 보호막(321)에 의하여 둘러 싸여 배치될 수 있다. 상기 제1 드레인 컨택부(332)는 상기 제1 보호막(321)을 관통하여 배치되고 상기 제1 채널층(360)의 제2 영역에 접촉되어 제공될 수 있다.According to an embodiment, the first
실시 예에 의하면, 상기 제2 소스 컨택부(431)는 상기 제1 보호막(421)을 관통하여 배치될 수 있다. 상기 제2 소스 컨택부(431)는 상기 제1 보호막(421)에 의하여 둘러 싸여 배치될 수 있다. 상기 제2 소스 컨택부(431)는 상기 제1 보호막(421)을 관통하여 배치되고 상기 제2 채널층(460)의 제1 영역에 접촉되어 제공될 수 있다. 상기 제2 드레인 컨택부(432)는 상기 제1 보호막(421)을 관통하여 배치될 수 있다. 상기 제2 드레인 컨택부(432)는 상기 제1 보호막(421)에 의하여 둘러 싸여 배치될 수 있다. 상기 제2 드레인 컨택부(432)는 상기 제1 보호막(421)을 관통하여 배치되고 상기 제2 채널층(460)의 제2 영역에 접촉되어 제공될 수 있다.According to an embodiment, the second
상기 제1 보호막(321, 421)은 절연물질로 구현될 수 있다. 상기 제1 보호막(321, 421)은 예로서 실리콘 계열의 산화물, 실리콘 계열의 질화물, Al2O3를 포함하는 금속 산화물, 유기 절연물 중에서 적어도 하나의 물질을 포함하는 단일층 또는 다중층을 포함할 수 있다.The first passivation layers 321 and 421 may be implemented with an insulating material. The first
실시 예에 의하면, 상기 기판(355)과 상기 제1 보호막(321, 421) 위에 제2 보호막(322)이 배치될 수 있다. 상기 제1 게이트 전극(333)은 상기 제1 보호막(321)과 상기 제2 보호막(322) 중에서 적어도 하나를 관통하여 배치될 수 있다. 예로서, 상기 제1 게이트 전극(333)은 상기 제1 보호막(321)과 상기 제2 보호막(322)을 관통하여 배치될 수 있다. 상기 제1 게이트 전극(333)은 상기 제1 보호막(321)과 상기 제2 보호막(322) 중에서 적어도 하나를 관통하여 상기 제1 디플리션 형성층(315)에 접촉되어 배치될 수 있다, 예로서, 상기 제1 게이트 전극(333)은 상기 제1 보호막(321)과 상기 제2 보호막(322)을 관통하여 상기 제1 디플리션 형성층(315)에 접촉되어 배치될 수 있다. 상기 제1 게이트 배선(341)은 상기 제2 보호막(322) 위에 배치되어 상기 제1 게이트 전극(333)과 전기적으로 연결될 수 있다. 상기 제2 게이트 전극(433)은 상기 제1 보호막(321)과 상기 제2 보호막(322) 중에서 적어도 하나를 관통하여 배치될 수 있다. 예로서, 상기 제2 게이트 전극(433)은 상기 제1 보호막(321)과 상기 제2 보호막(322)을 관통하여 배치될 수 있다. 상기 제2 게이트 전극(433)은 상기 제1 보호막(321)과 상기 제2 보호막(322) 중에서 적어도 하나를 관통하여 상기 제2 디플리션 형성층(415)에 접촉되어 배치될 수 있다, 예로서, 상기 제2 게이트 전극(433)은 상기 제1 보호막(321)과 상기 제2 보호막(322)을 관통하여 상기 제2 디플리션 형성층(415)에 접촉되어 배치될 수 있다. 상기 제2 게이트 배선(441)은 상기 제2 보호막(322) 위에 배치되어 상기 제2 게이트 전극(433)과 전기적으로 연결될 수 있다.According to an embodiment, a
상기 제2 보호막(322)은 절연물질로 구현될 수 있다. 상기 제2 보호막(322)은 예로서 실리콘 계열의 산화물, 실리콘 계열의 질화물, Al2O3를 포함하는 금속 산화물, 유기 절연물 중에서 적어도 하나의 물질을 포함하는 단일층 또는 다중층을 포함할 수 있다.The
실시 예에 의하면, 상기 제2 보호막(322) 위에 제3 보호막(323)이 배치될 수 있다. 상기 제3 보호막(323)은 상기 제2 보호막(322), 상기 제1 게이트 배선(341), 상기 제2 게이트 배선(441) 위에 배치될 수 있다. 상기 제1 게이트 배선(341)은 상기 제1 게이트 전극(333) 위에 접촉되어 배치되고 상기 제3 보호막(323)에 의하여 둘러 싸여 제공될 수 있다. 상기 제2 게이트 배선(441)은 상기 제2 게이트 전극(433) 위에 접촉되어 배치되고 상기 제3 보호막(323)에 의하여 둘러 싸여 제공될 수 있다.According to an embodiment, a
상기 제1 소스 전극(371)은 상기 제2 보호막(322)과 상기 제3 보호막(323)을 관통하여 상기 제1 소스 컨택부(331) 에 전기적으로 연결될 수 있다. 상기 제1 소스 전극(371)은 상기 제3 보호막(323) 위에 배치된 제1 영역을 포함할 수 있다. 상기 제1 소스 전극(371)은 상기 제3 보호막(323)과 상기 제2 보호막(322)을 관통하는 제2 영역을 포함할 수 있다. 상기 제1 드레인 전극(372)은 상기 제2 보호막(322)과 상기 제3 보호막(323)을 관통하여 상기 제1 드레인 컨택부 (332)에 전기적으로 연결될 수 있다. 상기 제1 드레인 전극(372)은 상기 제3 보호막(323) 위에 배치된 제1 영역을 포함할 수 있다. 상기 제1 드레인 전극(372)은 상기 제3 보호막(323)과 상기 제2 보호막(322)을 관통하는 제2 영역을 포함할 수 있다. The
상기 제2 소스 전극(471)은 상기 제2 보호막(322)과 상기 제3 보호막(323)을 관통하여 상기 제2 소스 컨택부(431)에 전기적으로 연결될 수 있다. 상기 제2 소스 전극(471)은 상기 제3 보호막(323) 위에 배치된 제1 영역을 포함할 수 있다. 상기 제2 소스 전극(471)은 상기 제3 보호막(323)과 상기 제2 보호막(322)을 관통하는 제2 영역을 포함할 수 있다. 상기 제2 드레인 전극(472)은 상기 제2 보호막(322)과 상기 제3 보호막(323)을 관통하여 상기 제2 드레인 컨택부(432)에 전기적으로 연결될 수 있다. 상기 제2 드레인 전극(472)은 상기 제3 보호막(323) 위에 배치된 제1 영역을 포함할 수 있다. 상기 제2 드레인 전극(472)은 상기 제3 보호막(323)과 상기 제2 보호막(322)을 관통하는 제2 영역을 포함할 수 있다.The
실시 예에 의하면, 상기 제3 보호막(323) 위에 제1 드레인-게이트 연결배선(375)이 배치될 수 있다. 상기 제1 드레인-게이트 연결배선(375)은 상기 제3 보호막(323) 위에 배치된 제1 영역을 포함할 수 있다. 상기 제1 드레인-게이트 연결배선(375)은 상기 제3 보호막(323)을 관통하는 제2 영역을 포함할 수 있다. 상기 제1 드레인-게이트 연결배선(375)의 제1 영역은 상기 제1 드레인 전극(372)과 전기적으로 연결될 수 있다. 상기 제1 드레인-게이트 연결배선(375)의 제1 영역은 상기 제1 드레인 전극(372)으로부터 연장되어 배치될 수 있다. 예로서, 상기 제1 드레인-게이트 연결배선(375)은 상기 제1 드레인 전극(372)과 동일 공정에서 일체로 형성될 수 있다. 또한, 상기 제1 드레인-게이트 연결배선(375)과 상기 제1 드레인 전극(372)은 서로 다른 공정에서 분리되어 형성되어 전기적으로 연결될 수도 있다.According to an embodiment, a first
실시 예에 의하면, 상기 제2 보호막(322) 위에 제2 드레인-게이트 연결배선(475)이 배치될 수 있다. 상기 제2 드레인-게이트 연결배선(475)은 상기 제1 드레인-게이트 연결배선(375)과 전기적으로 연결될 수 있다. 상기 제1 드레인-게이트 연결배선(375)의 제2 영역은 상기 제2 드레인-게이트 연결배선(475)에 접촉되어 배치될 수 있다. 상기 제2 드레인-게이트 연결배선(475)은 상기 제2 게이트 배선(441)과 전기적으로 연결될 수 있다. 상기 제2 드레인-게이트 연결배선(475)은 상기 제2 게이트 배선(441)으로부터 연장되어 배치될 수 있다. 예로서, 상기 제2 드레인-게이트 연결배선(475)은 상기 제2 게이트 배선(441)과 동일 공정에서 일체로 형성될 수 있다. 또한, 상기 제2 드레인-게이트 연결배선(475)은 상기 제2 게이트 배선(441)과 서로 분리된 공정에서 형성되어 전기적으로 연결될 수도 있다. 상기 제1 드레인 전극(372)은 상기 제1 드레인-게이트 연결배선(375), 상기 제2 드레인-게이트 연결배선(475), 상기 제2 게이트 배선(441)을 통하여 상기 제2 게이트 전극(433)에 전기적으로 연결될 수 있다.According to an embodiment, a second
도 44에 도시된 바와 같이, 상기 제2 채널층(460)과 상기 제2 디플리션 형성층(415)은 서로 동일한 폭으로 형성될 수 있다. 상기 제2 디플리션 형성층(415)의 폭이 상기 제2 채널층(460)의 폭에 비해 작은 경우에는 누설 전류(leakage current)가 발생될 수 있다. 다른 표현으로서, 상기 제2 게이트 전극(433)이 연장되어 배치된 방향을 따라 제공된 상기 제2 채널층(460)의 길이와 상기 제2 디플리션 형성층(415)의 길이가 동일하게 제공될 수 있다.44 , the
상기 제3 보호막(323)은 절연물질을 포함할 수 있다. 상기 제3 보호막(323)은 예로서 실리콘 계열의 산화물, 실리콘 계열의 질화물, Al2O3를 포함하는 금속 산화물, 유기 절연물 중에서 적어도 하나의 물질을 포함하는 단일층 또는 다중층을 포함할 수 있다.The
실시 예에 따른 박막 트랜지스터 기판은 상기 제3 보호막(323) 위에 배치된 제4 보호막(324)을 포함할 수 있다. 상기 제4 보호막(324)은 상기 제1 소스 전극(371), 상기 제1 드레인 전극(372), 상기 제2 소스 전극(471), 상기 제2 드레인 전극(472) 위에 배치될 수 있다. The thin film transistor substrate according to the embodiment may include a
상기 제4 보호막(324)은 예로서 실리콘 계열의 산화물, 실리콘 계열의 질화물, Al2O3를 포함하는 금속 산화물, 유기 절연물 중에서 적어도 하나의 물질을 포함하는 단일층 또는 다중층을 포함할 수 있다.The
실시 예에 따른 박막 트랜지스터 기판은 상기 구동 박막 트랜지스터(430) 위에 배치된 하부 전극(486)을 포함할 수 있다. 상기 하부 전극(486)은 상기 구동 박막 트랜지스터(430)에 전기적으로 연결될 수 있다. 상기 하부 전극(486)은 상기 구동 박막 트랜지스터(430)의 제2 드레인 전극(472)에 전기적으로 연결될 수 있다. 상기 하부 전극(486)은 상기 제4 보호막(324) 위에 배치될 수 있다. 상기 하부 전극(486)은 상기 제4 보호막(324)에 제공된 컨택홀을 통하여 상기 제2 드레인 전극(472)에 전기적으로 연결될 수 있다. 상기 하부 전극(486)의 하부 면은 상기 제2 드레인 전극(472)의 상부 면에 접촉되어 배치될 수 있다.The thin film transistor substrate according to the embodiment may include a
또한 실시 예에 따른 박막 트랜지스터 기판은 상기 제4 보호막(324) 위에 배치된 제5 보호막(325)을 포함할 수 있다. 상기 하부 전극(486) 위에 상기 발광층(488)이 배치될 수 있으며, 상기 발광층(488) 위에 상부 전극(487)이 배치될 수 있다. 상기 발광층(488)과 상기 상부 전극(487)은 상기 제5 보호막(325) 위에 배치될 수 있다. 상기 발광층(488)의 제1 영역은 상기 제5 보호막(325) 위에 배치되고 상기 발광층(488)의 제2 영역은 상기 제5 보호막(325)에 제공된 컨택홀을 통하여 상기 하부 전극(486)의 상부면에 접촉되어 배치될 수 있다. 상기 발광층(488)은 예로서 적색, 녹색, 청색, 백색 중에서 어느 하나의 빛을 발광할 수 있다. 상기 발광층(488)은 예로서 유기물로 구현될 수 있다.In addition, the thin film transistor substrate according to the embodiment may include a
상기 하부 전극(486)과 상기 상부 전극(487)은 예로서 ITO, ITO/Ag, ITO/Ag/ITO, ITO/Ag/IZO 중에서 선택된 하나의 물질, 또는 그 물질을 포함하는 합금을 포함할 수 있다. 상기 하부 전극(486)과 상기 상부 전극(487)은 서로 다른 물질을 포함할 수 있다. 상기 상부 전극(486) 또는 상기 하부 전극(487) 중에서 하나는 투명 전극으로 형성될 수 있으며, 투명 전극 방향으로 상기 발광층(488)에서 발광된 빛이 외부로 방출될 수 있게 된다.The
실시 예에 따른 박막 트랜지스터 기판은, 상기 기판(355)과 상기 제1 채널층(360) 사이에 배치된 제1 블랙 매트릭스(340)를 포함할 수 있다. 상기 제1 채널층(360)의 폭과 상기 제1 블랙 매트릭스(340)의 폭이 같게 제공될 수 있다. 상기 제1 블랙 매트릭스(340)는 Si 기반의 물질, Ga 기반의 물질, Al 기반의 물질, 유기물 중에서 선택된 적어도 하나의 물질을 포함하는 단일층 또는 다중층으로 제공될 수 있다. 상기 제1 블랙 매트릭스(340)는 상기 스위칭 박막 트랜지스터(330)로 입사되는 빛을 차단할 수 있다. 이에 따라 광전류(photo current) 등에 의하여 상기 스위칭 박막 트랜지스터(330)가 열화되는 것을 방지할 수 있다.The thin film transistor substrate according to the embodiment may include a first
실시 예에 따른 박막 트랜지스터 기판은, 상기 기판(355)과 상기 제2 채널층(460) 사이에 배치된 제2 블랙 매트릭스(440)를 포함할 수 있다. 상기 제2 채널층(460)의 폭과 상기 제2 블랙 매트릭스(440)의 폭이 같게 제공될 수 있다. 상기 제2 블랙 매트릭스(440)는 Si 기반의 물질, Ga 기반의 물질, Al 기반의 물질, 유기물 중에서 선택된 적어도 하나의 물질을 포함하는 단일층 또는 다중층으로 제공될 수 있다. 상기 제2 블랙 매트릭스(440)는 상기 구동 박막 트랜지스터(430)로 입사되는 빛을 차단할 수 있다. 이에 따라 광전류(photo current) 등에 의하여 상기 구동 박막 트랜지스터(430)가 열화되는 것을 방지할 수 있다.The thin film transistor substrate according to the embodiment may include a second
실시 예에 의하면, 상기 기판(355)과 상기 제1 채널층(360) 사이에 상기 본딩층(350)이 배치될 수 있다. 상기 본딩층(350)은 상기 기판(355)과 상기 제1 블랙 매트릭스(340) 사이에 배치될 수 있다. 상기 기판(355)과 상기 제2 채널층(460) 사이에 상기 본딩층(350)이 배치될 수 있다. 상기 본딩층(350)은 상기 기판(355)과 상기 제2 블랙 매트릭스(440) 사이에 배치될 수 있다. 예로서, 상기 본딩층(350)은 상기 기판(355)의 전체 영역 위에 배치될 수 있다.According to an embodiment, the
도 45는 도 42 내지 도 44를 참조하여 설명된 박막 트랜지스터 기판에 있어서 하나의 화소를 등가적으로 나타낸 회로도이다.45 is a circuit diagram equivalently illustrating one pixel in the thin film transistor substrate described with reference to FIGS. 42 to 44 .
도 45에 도시된 바와 같이, 본 발명의 실시예에 따른 박막 트랜지스터 기판의 화소는 유기발광다이오드(OLED), 서로 교차하는 데이터 라인(D) 및 게이트 라인(G), 상기 게이트 라인(G) 상의 스캔 펄스(SP)에 데이터를 화소에 순차적으로 전달하기 위한 스위칭 박막 트랜지스터(330), 게이트 및 소스 단자 사이의 전압에 의해 전류를 생성하는 구동 박막 트랜지스터(430), 데이터를 저장하여 일정 시간 동안 유지하기 위한 스토리지 커패시터(Cst)를 포함할 수 있다. 이와 같이 두 개의 트랜지스터(330, 430)와 한 개의 커패시터(Cst)로 구성된 구조를 간단히 2T-1C 구조라고 할 수 있다. As shown in FIG. 45 , the pixel of the thin film transistor substrate according to the embodiment of the present invention includes an organic light emitting diode (OLED), a data line (D) and a gate line (G) crossing each other, and on the gate line (G). The switching
상기 스위칭 박막 트랜지스터(330)는 게이트 라인(G)으로부터의 스캔 펄스(SP)에 응답하여 턴-온됨으로써 자신의 소스전극과 드레인전극 사이의 전류패스를 도통시킨다. 상기 스위칭 박막 트랜지스터(330)의 게이트 온 타임 기간 동안 데이터 라인(D)으로부터의 데이터전압은 상기 스위칭 박막 트랜지스터(330)의 소스전극과 드레인전극을 경유하여 상기 구동 박막 트랜지스터(430)의 게이트전극과 스토리지 커패시터(Cst)에 인가된다. 상기 구동 박막 트랜지스터(430)는 자신의 게이트전극과 소스전극 간의 차 전압에 따라 유기발광다이오드(OLED)에 흐르는 전류를 제어한다. 스토리지 커패시터(Cst)는 자신의 일측 전극에 인가된 데이터전압을 저장함으로써 상기 구동 박막 트랜지스터(430)의 게이트전극에 공급되는 전압을 한 프레임 기간 동안 일정하게 유지시킨다. 상기 구동 박막 트랜지스터(430)의 소스전극에는 구동 전원배선(VDD)이 연결될 수 있다. 도 45와 같은 구조로 구현되는 유기발광다이오드(OLED)는 상기 구동 박막 트랜지스터(430)의 드레인전극과 저전위 구동전압원(VSS) 사이에 접속될 수 있다. 또한, 유기발광다이오드(OLED)는 상기 구동 박막 트랜지스터(430)의 소스전극과 구동 전원배선(VDD) 사이에 접속되어 배치될 수도 있다.The switching
실시 예에 따른 박막 트랜지스터 기판에 의하면, 질화물계 반도체층을 포함하는 박막 트랜지스터를 제공함으로써 높은 캐리어 이동도를 구현할 수 있게 된다. 예를 들어, 박막 트랜지스터는 채널층으로 적용되는 물질에 따라 전자 이동도(㎠/Vs)가 달라지게 되는데, 아몰퍼스 실리콘 반도체의 경우에는 전자 이동도가 1이고, 산화물 반도체의 경우에는 10 내지 80, 폴리 실리콘 반도체의 경우에는 100 이하인 것으로 보고되고 있다. 그러나, 실시 예에 따른 질화물계 반도체층을 포함하는 박막 트랜지스터는 전자 이동도가 1500에 달하는 것으로 측정되고 있다. 이에 따라 실시 예에 따른 질화물계 반도체층을 포함하는 박막 트랜지스터는 폴리 실리콘 반도체가 적용된 박막 트랜지스터에 비해 15 배 이상의 높은 전자 이동도를 구현할 수 있게 된다.According to the thin film transistor substrate according to the embodiment, it is possible to implement a high carrier mobility by providing a thin film transistor including a nitride-based semiconductor layer. For example, in the thin film transistor, the electron mobility (cm 2 /Vs) varies depending on the material applied as the channel layer. In the case of an amorphous silicon semiconductor, the electron mobility is 1, and in the case of an oxide semiconductor, 10 to 80, In the case of polysilicon semiconductor, it is reported to be 100 or less. However, the thin film transistor including the nitride-based semiconductor layer according to the embodiment is measured to have an electron mobility of 1500. Accordingly, the thin film transistor including the nitride-based semiconductor layer according to the embodiment can implement 15 times higher electron mobility than the thin film transistor to which the polysilicon semiconductor is applied.
실시 예에 의하면, 성장기판을 이용하여 품질이 좋은 반도체층을 형성할 수 있으며, 지지기판을 이용하여 트랜스퍼(transfer) 공정을 적용함으로써 전자 이동도가 우수한 박막 트랜지스터 기판을 제공할 수 있게 된다.According to an embodiment, a semiconductor layer having good quality may be formed using a growth substrate, and a thin film transistor substrate having excellent electron mobility may be provided by applying a transfer process using a support substrate.
따라서, 실시 예에 따른 박막 트랜지스터 기판, 이를 포함하는 표시패널 및 표시장치에 의하면, 높은 캐리어 이동도를 제공할 수 있게 되므로, 고해상도를 구현하고 부드러운 동화상을 재생할 수 있게 된다.Therefore, according to the thin film transistor substrate, the display panel and the display device including the thin film transistor substrate according to the embodiment, high carrier mobility can be provided, thereby realizing a high resolution and reproducing a smooth moving image.
도 46은 본 발명의 실시 예에 따른 박막 트랜지스터 기판의 또 다른 예를 나타낸 도면이다. 도 46을 참조하여 실시 예에 따른 박막 트랜지스터 기판을 설명함에 있어, 도 1 내지 도 45를 참조하여 설명된 부분과 중복되는 내용에 대해서는 설명이 생략될 수 있다. 도 46에 도시된 실시 예는 도 42 내지 도 45를 참조하여 설명된 박막 트랜지스터 기판 대비하여 본딩층 구조에 차이가 있다.46 is a view showing another example of a thin film transistor substrate according to an embodiment of the present invention. In the description of the thin film transistor substrate according to the embodiment with reference to FIG. 46 , descriptions of content overlapping with those described with reference to FIGS. 1 to 45 may be omitted. 46 has a difference in the bonding layer structure compared to the thin film transistor substrate described with reference to FIGS. 42 to 45 .
도 46에 도시된 바와 같이, 상기 기판(355) 위에 제1 본딩층(353)과 제2 본딩층(453)이 제공될 수 있다. 상기 제1 본딩층(353)은 상기 기판(355)과 상기 제1 블랙 매트릭스(340) 사이에 배치될 수 있다. 예로서, 상기 제1 본딩층(353)의 폭은 상기 제1 블랙 매트릭스(340)의 폭과 동일하게 제공될 수 있다. 예로서, 상기 제1 본딩층(353)의 폭은 상기 제1 채널층(360)의 폭과 동일하게 제공될 수 있다. 상기 제2 본딩층(453)은 상기 기판(355)과 상기 제2 블랙 매트릭스(440) 사이에 배치될 수 있다. 예로서, 상기 제2 본딩층(453)의 폭은 상기 제2 블랙 매트릭스(440)의 폭과 동일하게 제공될 수 있다. 예로서, 상기 제2 본딩층(453)의 폭은 상기 제2 채널층(460)의 폭과 동일하게 제공될 수 있다.46 , a
실시 예에 의하면, 상기 기판(355) 위에 상기 제2 보호막(322)이 배치될 수 있다. 상기 제2 보호막(322)의 하부면이 상기 기판(355)의 상부면에 접촉되어 배치될 수 있다. 상기 제1 본딩층(353)이 제공되지 않은 영역에서, 상기 제2 보호막(322)이 상기 기판(355)에 직접 접촉되어 배치될 수 있다. 상기 제2 본딩층(453)이 제공되지 않은 영역에서, 상기 제2 보호막(322)이 상기 기판(355)에 직접 접촉되어 배치될 수 있다.According to an embodiment, the
이와 같이, 도 46에 도시된 실시 예에 의하면, 도 43에 도시된 실시 예에 비하여, 상기 제2 보호막(322)과 상기 기판(355)이 직접 접촉되어 배치될 수 있게 되므로, 상기 제2 보호막(322)과 상기 기판(355) 사이에 제공되는 층(예로서, 도 43에 도시된 본딩층)을 배제시킬 수 있게 된다. 이에 따라, 실시 예에 의하면 빛이 진행되는 광 경로 상에 이종 물질층 간의 경계면이 줄어 들게 되므로 경계면에서의 반사/굴절 등에 의한 광손실을 줄일 수 있게 된다.As described above, according to the embodiment shown in FIG. 46 , compared to the embodiment shown in FIG. 43 , the
실시 예에 따른 상기 제1 본딩층(353)과 상기 제2 본딩층(453)은 예로서 반사층, 메탈본딩층, 유기본딩층, 절연층을 포함할 수 있다. 상기 반사층은 상기 기판(355) 위에 배치될 수 있으며, 상기 메탈본딩층은 상기 반사층 위에 배치되고, 상기 절연층은 상기 메탈본딩층 위에 배치될 수 있다. 예로서, 상기 제1 본딩층(353)과 상기 제2 본딩층(453)은 상기 메탈본딩층과 상기 유기본딩층 중에서 적어도 하나를 포함할 수 있으며, 상기 반사층과 상기 절연층은 선택적으로 포함할 수도 있다.The
상기 절연층은 상기 제1 채널층(360)과 상기 제2 채널층(460)의 누설 특성을 보완해 줄 수 있다. 예로서, 상기 절연층은 실리콘 계열의 산화물, 실리콘 계열의 질화물, Al2O3를 포함하는 금속 산화물, 유기 절연물 중에서 적어도 하나의 물질을 포함하는 단일층 또는 다중층을 포함할 수 있다.The insulating layer may supplement leakage characteristics of the
상기 메탈본딩층 또는 상기 유기본딩층은 아래에 배치된 상기 기판(355)과의 접착을 위하여 제공될 수 있다. 예로서, 상기 메탈본딩층은 금(Au), 주석(Sn), 인듐(In), 니켈(Ni), 은(Ag), 구리(Cu)를 포함하는 그룹 중에서 선택된 적어도 어느 하나의 물질 또는 합금을 포함할 수 있다. 예로서, 상기 유기본딩층은 아크릴, 벤조시크롤부텐(BCB), SU-8 폴리머(SU-8 polymer) 등을 포함하는 그룹 중에서 선택된 적어도 어느 하나의 물질을 포함할 수 있다.The metal bonding layer or the organic bonding layer may be provided for adhesion to the
상기 반사층은 상기 본딩층에서의 광 흡수를 줄여줄 수 있다. 예로서, 상기 반사층은 알루미늄(Al), 은(Ag), 로듐(Rh)을 포함하는 그룹 중에서 선택된 적어도 어느 하나의 물질 또는 합금을 포함할 수 있다. 상기 반사층은 예로서 반사특성이 60%를 넘는 물질로 제공될 수 있다.The reflective layer may reduce light absorption in the bonding layer. For example, the reflective layer may include at least one material or alloy selected from the group consisting of aluminum (Al), silver (Ag), and rhodium (Rh). The reflective layer may be provided of, for example, a material having a reflective characteristic of more than 60%.
한편 실시 예에 의하면, 예로서 상기 제1 본딩층(353)과 상기 제2 본딩층(453)이 상기 메탈본딩층과 상기 반사층을 포함하는 경우, 상기 제1 블랙매트릭스(340)와 상기 제2 블랙매트릭스(440)는 생략될 수도 있다.Meanwhile, according to an embodiment, for example, when the
실시 예에 따른 박막 트랜지스터 기판에 의하면, 질화물계 반도체층을 포함하는 박막 트랜지스터를 제공함으로써 높은 캐리어 이동도를 구현할 수 있게 된다. 예를 들어, 박막 트랜지스터는 채널층으로 적용되는 물질에 따라 전자 이동도(㎠/Vs)가 달라지게 되는데, 아몰퍼스 실리콘 반도체의 경우에는 전자 이동도가 1이고, 산화물 반도체의 경우에는 10 내지 80, 폴리 실리콘 반도체의 경우에는 100 이하인 것으로 보고되고 있다. 그러나, 실시 예에 따른 질화물계 반도체층을 포함하는 박막 트랜지스터는 전자 이동도가 1500에 달하는 것으로 측정되고 있다. 이에 따라 실시 예에 따른 질화물계 반도체층을 포함하는 박막 트랜지스터는 폴리 실리콘 반도체가 적용된 박막 트랜지스터에 비해 15 배 이상의 높은 전자 이동도를 구현할 수 있게 된다.According to the thin film transistor substrate according to the embodiment, it is possible to implement a high carrier mobility by providing a thin film transistor including a nitride-based semiconductor layer. For example, in the thin film transistor, the electron mobility (cm 2 /Vs) varies depending on the material applied as the channel layer. In the case of an amorphous silicon semiconductor, the electron mobility is 1, and in the case of an oxide semiconductor, 10 to 80, In the case of polysilicon semiconductor, it is reported to be 100 or less. However, the thin film transistor including the nitride-based semiconductor layer according to the embodiment is measured to have an electron mobility of 1500. Accordingly, the thin film transistor including the nitride-based semiconductor layer according to the embodiment can implement 15 times higher electron mobility than the thin film transistor to which the polysilicon semiconductor is applied.
실시 예에 의하면, 성장기판을 이용하여 품질이 좋은 반도체층을 형성할 수 있으며, 지지기판을 이용하여 트랜스퍼(transfer) 공정을 적용함으로써 전자 이동도가 우수한 박막 트랜지스터 기판을 제공할 수 있게 된다.According to an embodiment, a semiconductor layer having good quality may be formed using a growth substrate, and a thin film transistor substrate having excellent electron mobility may be provided by applying a transfer process using a support substrate.
따라서, 실시 예에 따른 박막 트랜지스터 기판, 이를 포함하는 표시패널 및 표시장치에 의하면, 높은 캐리어 이동도를 제공할 수 있게 되므로, 고해상도를 구현하고 부드러운 동화상을 재생할 수 있게 된다.Therefore, according to the thin film transistor substrate, the display panel and the display device including the thin film transistor substrate according to the embodiment, high carrier mobility can be provided, thereby realizing a high resolution and reproducing a smooth moving image.
도 47은 본 발명의 실시 예에 따른 박막 트랜지스터 기판의 또 다른 예를 나타낸 도면이다. 도 47을 참조하여 실시 예에 따른 박막 트랜지스터 기판을 설명함에 있어, 도 1 내지 도 46을 참조하여 설명된 부분과 중복되는 내용에 대해서는 설명이 생략될 수 있다. 도 47에 도시된 실시 예는 도 45 대비하여 트랜스퍼 공정이 적용되지 않고 성장기판 위에 박막 트랜지스터가 제공되는 점에 차이가 있다.47 is a diagram illustrating another example of a thin film transistor substrate according to an embodiment of the present invention. In the description of the thin film transistor substrate according to the embodiment with reference to FIG. 47 , descriptions of contents overlapping those described with reference to FIGS. 1 to 46 may be omitted. The embodiment shown in FIG. 47 is different from FIG. 45 in that the thin film transistor is provided on the growth substrate without applying the transfer process.
실시 예에 따른 박막 트랜지스터 기판은, 도 47에 도시된 바와 같이, 트랜스퍼 공정에 이용되는 지지기판 대신에 성장기판(310)을 기판으로서 포함할 수 있다. 상기 성장기판(310)은 예를 들어, 사파이어(Sapphire), SiC, GaAs, GaN, ZnO, Si, GaP, InP, Ge 중 적어도 하나를 포함할 수 있다. As shown in FIG. 47 , the thin film transistor substrate according to the embodiment may include a
상기 성장기판(310) 위에 제1 블랙 매트릭스(345)와 제2 블랙 매트릭스(445)가 배치될 수 있다. 상기 제1 블랙 매트릭스(345)는 상기 성장기판(310) 위에 배치되어 상기 제1 채널층(360)으로 빛이 입사되는 것을 방지할 수 있다. 상기 제1 블랙 매트릭스(345)는 예로서 가시광선을 흡수하거나 반사하는 물질로 구현될 수 있다. 이에 따라, 실시 예에 의하면 상기 제1 채널층(360)으로 빛이 입사되어 광전류(photo current) 등에 의하여 상기 스위칭 박막 트랜지스터(330)가 열화되는 것을 방지할 수 있게 된다. 상기 제2 블랙 매트릭스(445)는 상기 성장기판(310) 위에 배치되어 상기 제2 채널층(460)으로 빛이 입사되는 것을 방지할 수 있다. 상기 제2 블랙 매트릭스(445)는 예로서 가시광선을 흡수하거나 반사하는 물질로 구현될 수 있다. 이에 따라, 실시 예에 의하면 상기 제2 채널층(460)으로 빛이 입사되어 광전류(photo current) 등에 의하여 상기 구동 박막 트랜지스터(430)가 열화되는 것을 방지할 수 있게 된다.A first
예로서, 상기 제1 블랙 매트릭스(345)와 상기 제2 블랙 매트릭스(445)는 Si 기반의 물질, Ga 기반의 물질, Al 기반의 물질, 유기물 중에서 선택된 적어도 하나의 물질을 포함하는 단일층 또는 다중층으로 제공될 수 있다. 상기 제1 블랙 매트릭스(345)와 상기 제2 블랙 매트릭스(445)는 Si, GaAs 등의 물질을 선택적으로 포함할 수 있다.For example, the first
실시 예에 의하면, 상기 제1 블랙 매트릭스(345) 위에 제1 버퍼층(347)이 제공될 수 있다. 상기 제1 버퍼층(347)은 상기 제1 블랙 매트릭스(345)와 상기 제1 채널층(360) 사이에 제공될 수 있다. 상기 제1 버퍼층(347)은 상기 제1 채널층(360)을 구성하는 질화물 반도체층의 성장을 도울 수 있다. 상기 제2 블랙 매트릭스(445) 위에 제2 버퍼층(447)이 제공될 수 있다. 상기 제2 버퍼층(447)은 상기 제2 블랙 매트릭스(445)와 상기 제2 채널층(460) 사이에 제공될 수 있다. 상기 제2 버퍼층(447)은 상기 제2 채널층(460)을 구성하는 질화물 반도체층의 성장을 도울 수 있다. 예로서, 상기 제1 버퍼층(347)과 상기 제2 버퍼층(447)은 AlN, AlInN, AlGaN을 포함하는 그룹 중에서 선택된 적어도 하나의 물질을 포함하는 단일층 또는 다중층을 포함할 수 있다.According to an embodiment, a
예로서, 상기 제1 블랙 매트릭스(345)의 폭은 상기 제1 버퍼층(347)의 폭과 동일하게 제공될 수 있다. 예로서, 상기 제1 블랙 매트릭스(345)의 폭은 상기 제1 채널층(360)의 폭과 동일하게 제공될 수 있다. 상기 제1 버퍼층(347)의 폭은 상기 제1 채널층(360)의 폭과 동일하게 제공될 수 있다. 상기 제2 블랙 매트릭스(445)의 폭은 상기 제2 버퍼층(447)의 폭과 동일하게 제공될 수 있다. 예로서, 상기 제2 블랙 매트릭스(445)의 폭은 상기 제2 채널층(460)의 폭과 동일하게 제공될 수 있다. 상기 제2 버퍼층(447)의 폭은 상기 제2 채널층(460)의 폭과 동일하게 제공될 수 있다.For example, the width of the first
실시 예에 의하면, 상기 성장기판(310) 위에 상기 제2 보호막(322)이 배치될 수 있다. 상기 제2 보호막(322)의 하부면이 상기 성장기판(310)의 상부면에 접촉되어 배치될 수 있다. 상기 제1 블랙 매트릭스(345)와 상기 제2 블랙 매트릭스(445)가 제공되지 않은 영역에서, 상기 제2 보호막(322)이 상기 성장기판(310)에 직접 접촉되어 배치될 수 있다.According to an embodiment, the
실시 예에 따른 박막 트랜지스터 기판에 의하면, 질화물계 반도체층을 포함하는 박막 트랜지스터를 제공함으로써 높은 캐리어 이동도를 구현할 수 있게 된다. 예를 들어, 박막 트랜지스터는 채널층으로 적용되는 물질에 따라 전자 이동도(㎠/Vs)가 달라지게 되는데, 아몰퍼스 실리콘 반도체의 경우에는 전자 이동도가 1이고, 산화물 반도체의 경우에는 10 내지 80, 폴리 실리콘 반도체의 경우에는 100 이하인 것으로 보고되고 있다. 그러나, 실시 예에 따른 질화물계 반도체층을 포함하는 박막 트랜지스터는 전자 이동도가 1500에 달하는 것으로 측정되고 있다. 이에 따라 실시 예에 따른 질화물계 반도체층을 포함하는 박막 트랜지스터는 폴리 실리콘 반도체가 적용된 박막 트랜지스터에 비해 15 배 이상의 높은 전자 이동도를 구현할 수 있게 된다.According to the thin film transistor substrate according to the embodiment, it is possible to implement a high carrier mobility by providing a thin film transistor including a nitride-based semiconductor layer. For example, in the thin film transistor, the electron mobility (cm 2 /Vs) varies depending on the material applied as the channel layer. In the case of an amorphous silicon semiconductor, the electron mobility is 1, and in the case of an oxide semiconductor, 10 to 80, In the case of polysilicon semiconductor, it is reported to be 100 or less. However, the thin film transistor including the nitride-based semiconductor layer according to the embodiment is measured to have an electron mobility of 1500. Accordingly, the thin film transistor including the nitride-based semiconductor layer according to the embodiment can implement 15 times higher electron mobility than the thin film transistor to which the polysilicon semiconductor is applied.
따라서, 실시 예에 따른 박막 트랜지스터 기판, 이를 포함하는 표시패널 및 표시장치에 의하면, 높은 캐리어 이동도를 제공할 수 있게 되므로, 고해상도를 구현하고 부드러운 동화상을 재생할 수 있게 된다.Therefore, according to the thin film transistor substrate, the display panel and the display device including the thin film transistor substrate according to the embodiment, high carrier mobility can be provided, thereby realizing a high resolution and reproducing a smooth moving image.
도 48은 본 발명의 실시 예에 따른 박막 트랜지스터 기판의 또 다른 예를 나타낸 도면이다. 도 48은 도 42에 도시된 박막 트랜지스터 기판의 D-D 선에 따른 단면도이다. 도 48에 도시된 박막 트랜지스터 기판은 이중 게이트 구조를 갖는 스위칭 박막 트랜지스터가 적용된 실시 예로서 도 1 내지 도 47을 참조하여 설명된 부분과 중복되는 내용에 대해서는 설명이 생략될 수 있다. 48 is a view showing another example of a thin film transistor substrate according to an embodiment of the present invention. 48 is a cross-sectional view taken along line D-D of the thin film transistor substrate shown in FIG. 42 . The thin film transistor substrate shown in FIG. 48 is an embodiment to which a switching thin film transistor having a double gate structure is applied, and descriptions of content overlapping with those described with reference to FIGS. 1 to 47 may be omitted.
실시 예에 따른 박막 트랜지스터 기판은 스위칭 박막 트랜지스터(530)와 구동 박막 트랜지스터(630)을 포함할 수 있다. 상기 스위칭 박막 트랜지스터(530)는 게이트 라인(341)과 데이터 라인(373)으로부터 신호를 인가 받을 수 있으며, 해당 화소에 게이트 신호 및 데이터 신호를 제공할 수 있다. 상기 구동 박막 트랜지스터(630)의 게이트 전극(635)은 상기 스위칭 박막 트랜지스터(530)의 드레인 전극(372)과 전기적으로 연결될 수 있다. The thin film transistor substrate according to the embodiment may include a switching
본 발명의 실시 예에 따른 박막 트랜지스터 기판은, 도 48에 도시된 바와 같이, 기판(355)과 상기 기판(355) 위에 배치된 상기 스위칭 박막 트랜지스터(530), 상기 구동 박막 트랜지스터(630), 상기 구동 박막 트랜지스터(630)에 전기적으로 연결된 발광층(488)을 포함할 수 있다.As shown in FIG. 48 , the thin film transistor substrate according to an embodiment of the present invention includes a
실시 예에 따른 스위칭 박막 트랜지스터(530)는 제1 디플리션 형성층(depletion forming layer, 315), 제1 게이트 전극(535), 제1 이중 게이트 전극(536), 제1 채널층(360), 제1 소스 전극(371), 제1 드레인 전극(372)을 포함할 수 있다. 상기 제1 소스 전극(371)은 상기 제1 채널층(360)의 제1 영역에 전기적으로 연결될 수 있다. 상기 제1 소스 전극(371)은 상기 제1 채널층(360)의 상부 면에 전기적으로 연결될 수 있다. 상기 제1 드레인 전극(372)은 상기 제1 채널층(360)의 제2 영역에 전기적으로 연결될 수 있다. 상기 제1 드레인 전극(372)은 상기 제1 채널층(360)의 상부 면에 전기적으로 연결될 수 있다. 상기 제1 게이트 전극(535)은 상기 제1 채널층(360) 위에 배치될 수 있다. 상기 제1 이중 게이트 전극(536)은 상기 제1 채널층(360) 아래에 배치될 수 있다. 상기 제1 디플리션 형성층(315)은 상기 제1 채널층(360)의 제1 영역과 제2 영역 사이 위에 배치될 수 있다. 상기 제1 디플리션 형성층(315)은 상기 제1 채널층(360)과 상기 제1 게이트 전극(535) 사이에 배치될 수 있다.The switching
실시 예에 따른 구동 박막 트랜지스터(630)는 제2 디플리션 형성층(depletion forming layer, 415), 제2 게이트 전극(635), 제2 이중 게이트 전극(636), 제2 채널층(460), 제2 소스 전극(471), 제2 드레인 전극(472)을 포함할 수 있다. 상기 제2 소스 전극(471)은 상기 제2 채널층(460)의 제1 영역에 전기적으로 연결될 수 있다. 상기 제2 소스 전극(471)은 상기 제2 채널층(460)의 상부 면에 전기적으로 연결될 수 있다. 상기 제2 드레인 전극(472)은 상기 제2 채널층(460)의 제2 영역에 전기적으로 연결될 수 있다. 상기 제2 드레인 전극(472)은 상기 제2 채널층(460)의 상부 면에 전기적으로 연결될 수 있다. 상기 제2 게이트 전극(635)은 상기 제2 채널층(460) 위에 배치될 수 있다. 상기 제2 디플리션 형성층(415)은 상기 제2 채널층(460)의 제1 영역과 제2 영역 사이 위에 배치될 수 있다. 상기 제2 디플리션 형성층(415)은 상기 제2 채널층(460)과 상기 제2 게이트 전극(635) 사이에 배치될 수 있다.The driving
상기 제1 채널층(360)과 상기 제2 채널층(460)은 예로서 III족-V족 화합물 반도체로 구현될 수 있다. 예컨대, 상기 제1 채널층(360)과 상기 제2 채널층(460)은 InxAlyGa1-x-yN (0≤x≤1, 0≤y≤1, 0≤x+y≤1)의 조성식을 갖는 반도체 물질로 구현될 수 있다. 상기 제1 채널층(360)과 상기 제2 채널층(460)은 예를 들어 GaN, AlN, AlGaN, InGaN, InN, InAlGaN, AlInN, AlGaAs, GaP, GaAs, GaAsP, AlGaInP 등에서 선택된 단일층 또는 다중층을 포함할 수 있다. 상기 제1 채널층(360)과 상기 제2 채널층(460)은 서로 다른 물질로 형성될 수도 있다.The
상기 제1 채널층(360)과 상기 제2 채널층(460) 각각은 제1 질화물 반도체층(361, 461)과 제2 질화물 반도체층(362, 462)을 포함할 수 있다. 상기 제1 질화물 반도체층(361. 461)은 예로서 InxAlyGa1 -x- yN (0≤x≤1, 0≤y≤1, 0≤x+y≤1)의 조성식을 갖는 반도체 물질로 구현될 수 있다. 상기 제2 질화물 반도체층(362, 462)은 예로서 InxAlyGa1 -x- yN (0≤x≤1, 0≤y≤1, 0≤x+y≤1)의 조성식을 갖는 반도체 물질로 구현될 수 있다. Each of the
실시 예에 따른 상기 제1 채널층(360)과 상기 제2 채널층(460)에 의하면, 상기 제1 질화물 반도체층(361, 461)이 GaN 반도체층을 포함하고, 상기 제2 질화물 반도체층(362, 462)이 AlGaN 반도체층을 포함할 수 있다. 상기 제1 채널층(360)의 상기 제2 질화물 반도체층(362)은 상기 제1 질화물 반도체층(361)과 상기 제1 디플리션 형성층(315) 사이에 배치될 수 있다. 상기 제2 채널층(460)의 상기 제2 질화물 반도체층(462)은 상기 제1 질화물 반도체층(461)과 상기 제2 디플리션 형성층(415) 사이에 배치될 수 있다.According to the
상기 제1 디플리션 형성층(315)과 상기 제2 디플리션 형성층(415)은 예로서 III족-V족 화합물 반도체로 구현될 수 있다. 예컨대, 상기 제1 디플리션 형성층(315)과 상기 제2 디플리션 형성층(415)은 InxAlyGa1 -x- yN (0≤x≤1, 0≤y≤1, 0≤x+y≤1)의 조성식을 갖는 반도체 물질로 구현될 수 있다. 상기 제1 디플리션 형성층(315)과 상기 제2 디플리션 형성층(415)은 예를 들어 GaN, AlN, AlGaN, InGaN, InN, InAlGaN, AlInN, AlGaAs, GaP, GaAs, GaAsP, AlGaInP 등에서 선택된 단일층 또는 다중층을 포함할 수 있다. 상기 제1 디플리션 형성층(315)과 상기 제2 디플리션 형성층(415)은 p형 도펀트가 첨가된 질화물 반도체층을 포함할 수 있다. 예로서, 상기 제1 디플리션 형성층(315)과 상기 제2 디플리션 형성층(415)은 p형 도펀트가 첨가된 GaN 반도체층 또는 p형 도펀트가 첨가된 AlGaN 반도체층을 포함할 수 있다. 상기 제1 디플리션 형성층(315)과 상기 제2 디플리션 형성층(415)은 예컨대, p-AlxGa1-xN (0≤x≤0.3)의 조성식을 갖는 반도체 물질로 구현된 단일층 또는 다중층을 포함할 수 있다. The first
상기 제1 디플리션 형성층(315)과 상기 제2 디플리션 형성층(415)은 예로서 2~300nm의 두께로 제공될 수 있다. 상기 제1 디플리션 형성층(315)과 상기 제2 디플리션 형성층(415)은 상기 제1 채널층(360)과 상기 제2 채널층(460)에 제공된 2차원 전자가스(2DEG)에 디플리션 영역(depletion region)을 제공하기 위하여 적어도 2nm의 두께로 제공될 수 있다. 또한, 상기 제1 디플리션 형성층(315)과 상기 제2 디플리션 형성층(415)은 제조공정에 따른 두께 편차를 고려하여 30nm 이상의 두께로 제공될 수도 있다. 또한, 상기 제1 디플리션 형성층(315)과 상기 제2 디플리션 형성층(415)은 제조공정에 따른 두께 편차를 고려하여 200nm 이하의 두께로 제공될 수도 있다. 상기 제1 디플리션 형성층(315)과 상기 제2 디플리션 형성층(415)은 예로서 50~100nm의 두께로 제공될 수도 있다.The first
상기 제1 디플리션 형성층(315)과 상기 제2 디플리션 형성층(415)은 서로 다른 물질을 포함할 수 있다. 상기 제1 디플리션 형성층(315)과 상기 제2 디플리션 형성층(415)에 첨가된 물질과 첨가된 물질의 첨가량은 서로 다를 수 있다.The first
상기 제1 디플리션 형성층(315)과 상기 제2 디플리션 형성층(415)은 상기 제1 채녈층(360)과 상기 제2 채널층(460)에 제공된 2차원 전자가스(2DEG)에 디플리션 영역(depletion region)을 형성하는 역할을 할 수 있다. 상기 제1 디플리션 형성층(315)에 의해 그 아래에 위치하는 제2 질화물 반도체층(362) 부분의 에너지 밴드갭(energy bandgap)이 높아질 수 있고, 그 결과 상기 제1 디플리션 형성층(315)에 대응하는 상기 제1 채널층(360) 부분에 2차원 전자가스(2DEG)의 디플리션 영역이 제공될 수 있다. 따라서, 상기 제1 채널층(360)에 제공되는 2차원 전자가스(2DEG) 중 상기 제1 디플리션 형성층(315)이 배치된 위치에 대응되는 영역은 끊어질 수 있다. 상기 제1 채널층(360)에서 2차원 전자가스(2DEG)가 끊어진 영역을 단절영역이라 할 수 있으며, 예로서 상기 제2 질화물 반도체층(362)에 단절영역이 형성될 수 있다. 이러한 단절영역에 의해 상기 스위칭 박막 트랜지스터(530)는 노멀리-오프(normally-off) 특성을 가질 수 있다. 상기 제1 게이트 전극(535)에 문턱 전압(threshold voltage) 이상의 전압을 인가하면, 단절영역에 2차원 전자가스(2DEG)가 생성되어, 상기 스위칭 박막 트랜지스터(530)가 온 상태가 된다. 상기 제1 게이트 전극(535)의 하부에 형성된 채널이 온 상태가 되면 상기 제1 채널층(360)에 형성된 2차원 전자가스(2DEG)를 경유하여 전류가 흐를 수 있게 된다. 이에 따라, 상기 제1 게이트 전극(535)과 상기 제1 이중 게이트 전극(536)에 인가되는 전압에 따라 상기 제1 채널층(360)의 제1 영역으로부터 제2 영역으로의 전류 흐름이 제어될 수 있게 된다. 상기 제2 디플리션 형성층(415)에 의해 그 아래에 위치하는 제2 질화물 반도체층(462) 부분의 에너지 밴드갭(energy bandgap)이 높아질 수 있고, 그 결과 상기 제2 디플리션 형성층(415)에 대응하는 상기 제2 채널층(460) 부분에 2차원 전자가스(2DEG)의 디플리션 영역이 제공될 수 있다. 따라서, 상기 제2 채널층(460)에 제공되는 2차원 전자가스(2DEG) 중 상기 제2 디플리션 형성층(415)이 배치된 위치에 대응되는 영역은 끊어질 수 있다. 상기 제2 채널층(460)에서 2차원 전자가스(2DEG)가 끊어진 영역을 단절영역이라 할 수 있으며, 예로서 상기 제2 질화물 반도체층(462)에 단절영역이 형성될 수 있다. 이러한 단절영역에 의해 상기 구동 박막 트랜지스터(630)는 노멀리-오프(normally-off) 특성을 가질 수 있다. 상기 제2 게이트 전극(635)에 문턱 전압(threshold voltage) 이상의 전압을 인가하면, 단절영역에 2차원 전자가스(2DEG)가 생성되어, 상기 구동 박막 트랜지스터(630)가 온 상태가 된다. 상기 제2 게이트 전극(635)의 하부에 형성된 채널이 온 상태가 되면 상기 제2 채널층(460)에 형성된 2차원 전자가스(2DEG)를 경유하여 전류가 흐를 수 있게 된다. 이에 따라, 상기 제2 게이트 전극(635)과 상기 제2 이중 게이트 전극(636)에 인가되는 전압에 따라 상기 제2 채널층(460)의 제1 영역으로부터 제2 영역으로의 전류 흐름이 제어될 수 있게 된다.The first
본 실시 예에 의하면, 상기 제1 채널층(360) 아래에 상기 제1 이중 게이트 전극(536)이 배치될 수 있다. 상기 제1 게이트 전극(535)과 상기 제1 이중 게이트 전극(536)은 수직 방향에서 서로 중첩되어 배치될 수 있다. 실시 예에 의하면, 상기 제1 채널층(360)의 하부 및 상부에 상기 제1 게이트 전극(535)과 상기 제1 이중 게이트 전극(536)이 배치됨에 따라 상기 제1 채널층(360)에서의 전류의 흐름을 효율적이고 신뢰성 있게 조절할 수 있게 된다. 상기 제2 채널층(460) 아래에 상기 제2 이중 게이트 전극(636)이 배치될 수 있다. 상기 제2 게이트 전극(635)과 상기 제2 이중 게이트 전극(636)은 수직 방향에서 서로 중첩되어 배치될 수 있다. 실시 예에 의하면, 상기 제2 채널층(460)의 하부 및 상부에 상기 제2 게이트 전극(635)과 상기 제2 이중 게이트 전극(636)이 배치됨에 따라 상기 제2 채널층(460)에서의 전류의 흐름을 효율적이고 신뢰성 있게 조절할 수 있게 된다.According to this embodiment, the first
한편, 도 48을 참조하여 실시 예를 설명함에 있어, 상기 스위칭 박막 트랜지스터와 상기 구동 박막 트랜지스터가 모두 이중 게이트 구조로 제공되는 경우를 기준으로 설명하였으나, 상기 스위칭 박막 트랜지스터와 상기 구동 박막 트랜지스터 중에서 적어도 하나가 이중 게이트 구조로 제공될 수도 있다.Meanwhile, in the description of the embodiment with reference to FIG. 48 , although the case where both the switching thin film transistor and the driving thin film transistor are provided in a double gate structure has been described, at least one of the switching thin film transistor and the driving thin film transistor may be provided as a double gate structure.
상기 기판(355)은 투명기판을 포함할 수 있다. 상기 기판(355)은 예로서 0.1 mm 내지 3 mm의 두께를 갖는 투명기판으로 구현될 수 있다. 또한, 상기 기판(355)의 두께는 적용되는 표시장치의 용도 및 크기에 따라 변경될 수 있는 것으로서 0.4~1.1mm의 두께 범위 내에서 선택될 수도 있다. 예로서, 상기 기판(355)은 0.6~0.8mm의 두께로 제공될 수도 있다. 상기 기판(355)은 실리콘, 유리, 폴리이미드, 플라스틱을 포함하는 물질 중에서 선택된 적어도 하나의 물질을 포함할 수 있다. The
상기 기판(355)은 플렉시블 기판을 포함할 수 있다. 상기 기판(355)은 트랜스퍼(transfer) 공정에서 적용되는 기판으로서 상기 스위칭 박막 트랜지스터(530)와 상기 구동 박막 트랜지스터(630)를 지지하는 역할을 수행한다. 또한, 실시 예에 따른 박막 트랜지스터 기판은 상기 기판(355)과 상기 스위칭 박막 트랜지스터(530) 사이에 제공된 본딩층(350)을 포함할 수 있다. 상기 본딩층(350)은 상기 기판(355)과 상기 구동 박막 트랜지스터(630) 사이에 배치될 수 있다.The
상기 본딩층(350)은 유기물을 포함할 수 있다. 상기 본딩층(350)은 투명물질로 구현될 수 있다. 상기 본딩층(350)은 예로서 투과도가 70% 이상인 물질로 구현될 수 있다. 상기 본딩층(350)은 유기 절연물질을 포함할 수 있다. 상기 본딩층(350)은 아크릴, 벤조시클로부텐(BCB), SU-8 폴리머(SU-8 polymer) 등을 포함하는 그룹 중에서 선택된 적어도 어느 하나의 물질을 포함할 수 있다. 상기 본딩층(350)은 예로서 0.5~6㎛의 두께로 제공될 수 있다. 상기 본딩층(350)의 두께는 선택된 물질 종류에 따라 차이가 있을 수 있으며 1~3㎛의 두께로 제공될 수도 있다. 또한, 상기 본딩층(350)은 예로서 1.8~2.2㎛의 두께로 제공될 수도 있다.The
실시 예에 따른 스위칭 박막 트랜지스터(530)는 상기 제1 채널층(360)의 제1 영역 위에 배치된 제1 소스 컨택부(331)와 상기 제1 채널층(360)의 제2 영역 위에 배치된 제1 드레인 컨택부(332)를 포함할 수 있다. 상기 제1 소스 컨택부(331)는 상기 제1 채널층(360)의 제1 영역에 접촉되어 배치될 수 있다. 상기 제1 드레인 컨택부(332)는 상기 제1 채널층(360)의 제2 영역에 접촉되어 배치될 수 있다.The switching
실시 예에 따른 스위칭 박막 트랜지스터(530)는 상기 제1 게이트 전극(535) 위에 배치된 제1 게이트 배선(341)을 포함할 수 있다. 상기 제1 게이트 배선(341)은 상기 제1 게이트 전극(535)에 전기적으로 연결될 수 있다. 상기 제1 게이트 배선(341)의 하부 면이 상기 제1 게이트 전극(535)의 상부 면에 접촉되어 배치될 수 있다.The switching
상기 제1 소스 전극(371)은 상기 제1 소스 컨택부(331)에 전기적으로 연결될 수 있다. 상기 제1 소스 전극(371)은 상기 제1 소스 컨택부(331)의 상부 면에 접촉되어 배치될 수 있다. 예로서, 상기 제1 소스 전극(371)은 상기 제1 소스 컨택부(331)를 통하여 상기 제1 채널층(360)의 제1 영역에 전기적으로 연결될 수 있다. 상기 제1 드레인 전극(372)은 상기 제1 드레인 컨택부(332)에 전기적으로 연결될 수 있다. 상기 제1 드레인 전극(372)은 상기 제1 드레인 컨택부(332)의 상부 면에 접촉되어 배치될 수 있다. 예로서, 상기 제1 드레인 전극(372)은 상기 제1 드레인 컨택부(332)를 통하여 상기 제1 채널층(360)의 제2 영역에 전기적으로 연결될 수 있다.The
실시 예에 따른 구동 박막 트랜지스터(630)는 상기 제2 채널층(460)의 제1 영역 위에 배치된 제2 소스 컨택부(431)와 상기 제2 채널층(460)의 제2 영역 위에 배치된 제2 드레인 컨택부(432)를 포함할 수 있다. 상기 제2 소스 컨택부(431)는 상기 제2 채널층(460)의 제1 영역에 접촉되어 배치될 수 있다. 상기 제2 드레인 컨택부(432)는 상기 제2 채널층(460)의 제2 영역에 접촉되어 배치될 수 있다.The driving
실시 예에 따른 구동 박막 트랜지스터(630)는 상기 제2 게이트 전극(635) 위에 배치된 제2 게이트 배선(441)을 포함할 수 있다. 상기 제2 게이트 배선(441)은 상기 제2 게이트 전극(635)에 전기적으로 연결될 수 있다. 상기 제2 게이트 배선(441)의 하부 면이 상기 제2 게이트 전극(635)의 상부 면에 접촉되어 배치될 수 있다.The driving
상기 제2 소스 전극(471)은 상기 제2 소스 컨택부(431)에 전기적으로 연결될 수 있다. 상기 제2 소스 전극(471)은 상기 제2 소스 컨택부(431)의 상부 면에 접촉되어 배치될 수 있다. 예로서, 상기 제2 소스 전극(471)은 상기 제2 소스 컨택부(431)를 통하여 상기 제2 채널층(460)의 제1 영역에 전기적으로 연결될 수 있다. 상기 제2 드레인 전극(472)은 상기 제2 드레인 컨택부(432)에 전기적으로 연결될 수 있다. 상기 제2 드레인 전극(472)은 상기 제2 드레인 컨택부(432)의 상부 면에 접촉되어 배치될 수 있다. 예로서, 상기 제2 드레인 전극(472)은 상기 제2 드레인 컨택부(432)를 통하여 상기 제2 채널층(460)의 제2 영역에 전기적으로 연결될 수 있다.The
상기 제1 소스 컨택부(331)와 상기 제1 드레인 컨택부(332)는 상기 제1 채널층(360)과 오믹 접촉하는 물질로 구현될 수 있다. 상기 제1 소스 컨택부(331)와 상기 제1 드레인 컨택부(332)는 상기 제2 질화물 반도체층(362)과 오믹 접촉하는 물질을 포함할 수 있다. 상기 제2 소스 컨택부(431)와 상기 제2 드레인 컨택부(432)는 상기 제2 채널층(460)과 오믹 접촉하는 물질로 구현될 수 있다. 상기 제2 소스 컨택부(431)와 상기 제2 드레인 컨택부(432)는 상기 제2 질화물 반도체층(462)과 오믹 접촉하는 물질을 포함할 수 있다. 예로서, 상기 제1 소스 컨택부(331), 상기 제1 드레인 컨택부(332), 제2 소스 컨택부(431), 상기 제2 드레인 컨택부(432)는 알루미늄(Al), 알루미늄 합금(Al alloy), 텅스텐(W), 구리(Cu), 구리 합금(Cu alloy), 몰리브덴(Mo), 은(Ag), 은 합금(Ag alloy), 금(Au), 금 합금(Au alloy), 크롬(Cr), 티타늄(Ti), 티타늄 합금(Ti alloy), 몰리텅스텐(MoW), 몰리티타늄(MoTi), 구리/몰리티타늄(Cu/MoTi)을 포함하는 그룹 중에서 선택된 적어도 어느 하나의 물질을 포함하는 단일층 또는 다중층을 포함할 수 있다. 상기 제1 소스 컨택부(331), 상기 제1 드레인 컨택부(332), 상기 제2 소스 컨택부(431), 상기 제2 드레인 컨택부(432)는 예로서 0.1~1㎛의 두께로 제공될 수 있다. 상기 제1 소스 컨택부(331), 상기 제1 드레인 컨택부(332), 상기 제2 소스 컨택부(431), 상기 제2 드레인 컨택부(432)는 상기 제1 채널층(360) 및 상기 제2 채널층(460)과의 접촉을 위한 층으로서 전류 확산 기능을 수행하지 않아도 되므로 1㎛ 이하의 두께로 제공될 수도 있다.The first
상기 제1 게이트 전극(535)은 상기 제1 디플리션 형성층(315)과 오믹 접촉하는 물질로 구현될 수 있다. 상기 제2 게이트 전극(635)은 상기 제2 디플리션 형성층(415)과 오믹 접촉하는 물질로 구현될 수 있다. 예로서, 상기 제1 게이트 전극(535)과 상기 제2 게이트 전극(635)은 p형 질화물층과 오믹 접촉하는 물질로 구현될 수 있다. 상기 제1 게이트 전극(535)과 상기 제2 게이트 전극(635)은 텅스텐(W), 텅스텐실리콘(WSi2), 티타늄질소(TiN), 탄탈륨(Ta), 탄탈륨질소(TaN), 팔라듐(Pd), 니켈(Ni), 백금(Pt)을 포함하는 그룹 중에서 선택된 적어도 어느 하나의 물질을 포함하는 단일층 또는 다중층을 포함할 수 있다. 상기 제1 게이트 전극(535)과 상기 제2 게이트 전극(635)은 예로서 0.1~1㎛의 두께로 제공될 수 있다. 상기 제1 게이트 전극(535)과 상기 제2 게이트 전극(635)은 상기 제1 디플리션 형성층(315)과 상기 제2 디플리션 형성층(415)과의 접촉을 위한 층으로서 전류 확산 기능을 수행하지 않아도 되므로 1㎛ 이하의 두께로 제공될 수도 있다.The
상기 제1 게이트 배선(341)과 상기 제2 게이트 배선(441)은 알루미늄(Al), 알루미늄 합금(Al alloy), 텅스텐(W), 구리(Cu), 구리 합금(Cu alloy), 몰리브덴(Mo), 은(Ag), 은 합금(Ag alloy), 금(Au), 금 합금(Au alloy), 크롬(Cr), 티타늄(Ti), 티타늄 합금(Ti alloy), 몰리텅스텐(MoW), 몰리티타늄(MoTi), 구리/몰리티타늄(Cu/MoTi)을 포함하는 그룹 중에서 선택된 적어도 어느 하나의 물질을 포함하는 단일층 또는 다중층을 포함할 수 있다. 상기 제1 게이트 배선(341)과 상기 제2 게이트 배선(441)은 예로서 0.1~3㎛의 두께로 제공될 수 있다. 상기 제1 게이트 배선(341)과 상기 제2 게이트 배선(441)은 복수의 트랜지스터에 순차적으로 전압을 인가하는 기능을 수행하므로 상기 제1 게이트 전극(535) 및 상기 제2 게이트 전극(635)의 두께에 비하여 더 두껍게 제공될 수도 있다.The
상기 제1 소스 전극(371), 상기 제1 드레인 전극(372), 상기 제2 소스 전극(471), 제2 드레인 전극(472)은 알루미늄(Al), 알루미늄 합금(Al alloy), 텅스텐(W), 구리(Cu), 구리 합금(Cu alloy), 몰리브덴(Mo), 은(Ag), 은 합금(Ag alloy), 금(Au), 금 합금(Au alloy), 크롬(Cr), 티타늄(Ti), 티타늄 합금(Ti alloy), 몰리텅스텐(MoW), 몰리티타늄(MoTi), 구리/몰리티타늄(Cu/MoTi)을 포함하는 그룹 중에서 선택된 적어도 어느 하나의 물질을 포함하는 단일층 또는 다중층을 포함할 수 있다. 상기 제1 소스 전극(371), 상기 제1 드레인 전극(372), 상기 제2 소스 전극(471), 제2 드레인 전극(472)은 예로서 0.1~3㎛의 두께로 제공될 수 있다. 상기 제1 소스 전극(371)과 상기 제2 소스 전극(471)은 복수의 트랜지스터에 순차적으로 전압을 인가하는 기능을 수행하므로 상기 제1 소스 컨택부(331) 및 상기 제2 소스 컨택부(431)의 두께에 비하여 더 두껍게 제공될 수도 있다. 상기 제1 드레인 전극(372)과 상기 제2 드레인 전극(472)도 상기 제1 드레인 컨택부(332) 및 상기 제2 드레인 컨택부(432)의 두께에 비하여 더 두껍게 제공될 수도 있다.The
실시 예에 따른 박막 트랜지스터 기판은 상기 제1 채널층(360)과 상기 제2 채널층(460) 위에 배치된 제1 보호막(321, 421)을 포함할 수 있다. 상기 제1 보호막(321, 421)은 상기 제1 채널층(360)의 상기 제2 질화물 반도체층(362) 및 상기 제2 채널층(460)의 제2 질화물 반도체층(462) 위에 배치될 수 있다. 상기 제1 보호막(321, 421)의 하부 면은 상기 제1 채널층(360)의 상기 제2 질화물 반도체층(362) 및 상기 제2 채널층(460)의 제2 질화물 반도체층(462) 상부 면에 접촉되어 배치될 수 있다. 상기 제1 보호막(321, 421)은 상기 제1 디플리션 형성층(315) 및 상기 제2 디플리션 형성층(415) 위에 배치될 수 있다. 상기 제1 보호막(321, 421)은 상기 제1 디플리션 형성층(315)과 상기 제2 디플리션 형성층(415)의 측면에 배치될 수 있다. 상기 제1 보호막(321, 421)은 상기 제1 디플리션 형성층(315)의 측면과 상기 제2 디플리션 형성층(415)의 측면을 감싸도록 배치될 수 있다.The thin film transistor substrate according to the embodiment may include first passivation layers 321 and 421 disposed on the
실시 예에 의하면, 상기 제1 소스 컨택부(331)는 상기 제1 보호막(321)을 관통하여 배치될 수 있다. 상기 제1 소스 컨택부(331)는 상기 제1 보호막(321)에 의하여 둘러 싸여 배치될 수 있다. 상기 제1 소스 컨택부(331)는 상기 제1 보호막(321)을 관통하여 배치되고 상기 제1 채널층(360)의 제1 영역에 접촉되어 제공될 수 있다. 상기 제1 드레인 컨택부(332)는 상기 제1 보호막(321)을 관통하여 배치될 수 있다. 상기 제1 드레인 컨택부(332)는 상기 제1 보호막(321)에 의하여 둘러 싸여 배치될 수 있다. 상기 제1 드레인 컨택부(332)는 상기 제1 보호막(321)을 관통하여 배치되고 상기 제1 채널층(360)의 제2 영역에 접촉되어 제공될 수 있다.According to an embodiment, the first
실시 예에 의하면, 상기 제2 소스 컨택부(431)는 상기 제1 보호막(421)을 관통하여 배치될 수 있다. 상기 제2 소스 컨택부(431)는 상기 제1 보호막(421)에 의하여 둘러 싸여 배치될 수 있다. 상기 제2 소스 컨택부(431)는 상기 제1 보호막(421)을 관통하여 배치되고 상기 제2 채널층(460)의 제1 영역에 접촉되어 제공될 수 있다. 상기 제2 드레인 컨택부(432)는 상기 제1 보호막(421)을 관통하여 배치될 수 있다. 상기 제2 드레인 컨택부(432)는 상기 제1 보호막(421)에 의하여 둘러 싸여 배치될 수 있다. 상기 제2 드레인 컨택부(432)는 상기 제1 보호막(421)을 관통하여 배치되고 상기 제2 채널층(460)의 제2 영역에 접촉되어 제공될 수 있다.According to an embodiment, the second
상기 제1 보호막(321, 421)은 절연물질로 구현될 수 있다. 상기 제1 보호막(321, 421)은 예로서 실리콘 계열의 산화물, 실리콘 계열의 질화물, Al2O3를 포함하는 금속 산화물, 유기 절연물 중에서 적어도 하나의 물질을 포함하는 단일층 또는 다중층을 포함할 수 있다.The first passivation layers 321 and 421 may be implemented with an insulating material. The first
실시 예에 의하면, 상기 기판(355)과 상기 제1 보호막(321, 421) 위에 제2 보호막(322)이 배치될 수 있다. 상기 제1 게이트 전극(535)은 상기 제1 보호막(321)과 상기 제2 보호막(322) 중에서 적어도 하나를 관통하여 배치될 수 있다. 예로서, 상기 제1 게이트 전극(535)은 상기 제1 보호막(321)과 상기 제2 보호막(322)을 관통하여 배치될 수 있다. 상기 제1 게이트 전극(535)은 상기 제1 보호막(321)과 상기 제2 보호막(322) 중에서 적어도 하나를 관통하여 상기 제1 디플리션 형성층(315)에 접촉되어 배치될 수 있다, 예로서, 상기 제1 게이트 전극(535)은 상기 제1 보호막(321)과 상기 제2 보호막(322)을 관통하여 상기 제1 디플리션 형성층(315)에 접촉되어 배치될 수 있다. 상기 제1 게이트 배선(341)은 상기 제2 보호막(322) 위에 배치되어 상기 제1 게이트 전극(535)과 전기적으로 연결될 수 있다. 상기 제2 게이트 전극(635)은 상기 제1 보호막(321)과 상기 제2 보호막(322) 중에서 적어도 하나를 관통하여 배치될 수 있다. 예로서, 상기 제2 게이트 전극(635)은 상기 제1 보호막(321)과 상기 제2 보호막(322)을 관통하여 배치될 수 있다. 상기 제2 게이트 전극(635)은 상기 제1 보호막(321)과 상기 제2 보호막(322) 중에서 적어도 하나를 관통하여 상기 제2 디플리션 형성층(415)에 접촉되어 배치될 수 있다, 예로서, 상기 제2 게이트 전극(635)은 상기 제1 보호막(321)과 상기 제2 보호막(322)을 관통하여 상기 제2 디플리션 형성층(415)에 접촉되어 배치될 수 있다. 상기 제2 게이트 배선(441)은 상기 제2 보호막(322) 위에 배치되어 상기 제2 게이트 전극(635)과 전기적으로 연결될 수 있다.According to an embodiment, a
상기 제2 보호막(322)은 절연물질로 구현될 수 있다. 상기 제2 보호막(322)은 예로서 실리콘 계열의 산화물, 실리콘 계열의 질화물, Al2O3를 포함하는 금속 산화물, 유기 절연물 중에서 적어도 하나의 물질을 포함하는 단일층 또는 다중층을 포함할 수 있다.The
실시 예에 의하면, 상기 제2 보호막(322) 위에 제3 보호막(323)이 배치될 수 있다. 상기 제3 보호막(323)은 상기 제2 보호막(322), 상기 제1 게이트 배선(341), 상기 제2 게이트 배선(441) 위에 배치될 수 있다. 상기 제1 게이트 배선(341)은 상기 제1 게이트 전극(535) 위에 접촉되어 배치되고 상기 제3 보호막(323)에 의하여 둘러 싸여 제공될 수 있다. 상기 제2 게이트 배선(441)은 상기 제2 게이트 전극(635) 위에 접촉되어 배치되고 상기 제3 보호막(323)에 의하여 둘러 싸여 제공될 수 있다.According to an embodiment, a
상기 제1 소스 전극(371)은 상기 제2 보호막(322)과 상기 제3 보호막(323)을 관통하여 상기 제1 소스 컨택부(331)에 전기적으로 연결될 수 있다. 상기 제1 소스 전극(371)은 상기 제3 보호막(323) 위에 배치된 제1 영역을 포함할 수 있다. 상기 제1 소스 전극(371)은 상기 제3 보호막(323)과 상기 제2 보호막(322)을 관통하는 제2 영역을 포함할 수 있다. 상기 제1 드레인 전극(372)은 상기 제2 보호막(322)과 상기 제3 보호막(323)을 관통하여 상기 제1 드레인 컨택부(332)에 전기적으로 연결될 수 있다. 상기 제1 드레인 전극(372)은 상기 제3 보호막(323) 위에 배치된 제1 영역을 포함할 수 있다. 상기 제1 드레인 전극(372)은 상기 제3 보호막(323)과 상기 제2 보호막(322)을 관통하는 제2 영역을 포함할 수 있다. The
상기 제2 소스 전극(471)은 상기 제2 보호막(322)과 상기 제3 보호막(323)을 관통하여 상기 제2 소스 컨택부(431)에 전기적으로 연결될 수 있다. 상기 제2 소스 전극(471)은 상기 제3 보호막(323) 위에 배치된 제1 영역을 포함할 수 있다. 상기 제2 소스 전극(471)은 상기 제3 보호막(323)과 상기 제2 보호막(322)을 관통하는 제2 영역을 포함할 수 있다. 상기 제2 드레인 전극(472)은 상기 제2 보호막(322)과 상기 제3 보호막(323)을 관통하여 상기 제2 드레인 컨택부(432)에 전기적으로 연결될 수 있다. 상기 제2 드레인 전극(472)은 상기 제3 보호막(323) 위에 배치된 제1 영역을 포함할 수 있다. 상기 제2 드레인 전극(472)은 상기 제3 보호막(323)과 상기 제2 보호막(322)을 관통하는 제2 영역을 포함할 수 있다.The
상기 제1 이중 게이트 전극(536)은 상기 제1 채널층(360) 아래에 배치될 수 있다. 상기 제1 이중 게이트 전극(536)은 상기 제1 질화물 반도체층(361) 아래에 배치될 수 있다. 상기 제1 이중 게이트 전극(536)과 상기 제1 채널층(360) 아래에 제6 보호막(526)이 배치될 수 있다. 상기 제1 이중 게이트 전극(536)은 상기 제1 채널층(360)의 하부 면에 접촉되어 배치될 수 있다. 상기 제1 이중 게이트 전극(536)은 상기 제1 질화물 반도체층(361)에 샤키 접촉(Schottky contact)될 수 있다. 상기 제1 이중 게이트 전극(536)은 니켈(Ni), 백금(Pt), 금(Au), 팔라듐(Pd)을 포함하는 그룹 중에서 선택된 적어도 하나의 물질 또는 그 합금을 포함하는 단일층 또는 다중층을 포함할 수 있다. 예로서, 상기 샤키 접촉은 상기 제1 채널층(360)에 대한 플라즈마 처리(plasma treatment)에 의하여 구현될 수 있다. The first
상기 제2 이중 게이트 전극(636)은 상기 제2 채널층(460) 아래에 배치될 수 있다. 상기 제2 이중 게이트 전극(636)은 상기 제1 질화물 반도체층(461) 아래에 배치될 수 있다. 상기 제2 이중 게이트 전극(636)과 상기 제2 채널층(460) 아래에 제6 보호막(626)이 배치될 수 있다. 상기 제2 이중 게이트 전극(636)은 상기 제2 채널층(460)의 하부 면에 접촉되어 배치될 수 있다. 상기 제2 이중 게이트 전극(636)은 상기 제1 질화물 반도체층(461)에 샤키 접촉(Schottky contact)될 수 있다. 상기 제2 이중 게이트 전극(636)은 니켈(Ni), 백금(Pt), 금(Au), 팔라듐(Pd)을 포함하는 그룹 중에서 선택된 적어도 하나의 물질 또는 그 합금을 포함하는 단일층 또는 다중층을 포함할 수 있다. 예로서, 상기 샤키 접촉은 상기 제2 채널층(460)에 대한 플라즈마 처리(plasma treatment)에 의하여 구현될 수 있다.The second
상기 제1 게이트 전극(535)과 상기 제1 이중 게이트 전극(536)은 전기적으로 연결될 수 있다. 상기 제2 게이트 전극(635)과 상기 제2 이중 게이트 전극(636)은 전기적으로 연결될 수 있다. 상기 스위칭 박막 트랜지스터(530)의 상기 제2 드레인 전극(372)과 상기 구동 박막 트랜지스터(630)의 상기 제2 게이트 전극(635)은 전기적으로 연결될 수 있다.The
상기 제3 보호막(323)은 절연물질을 포함할 수 있다. 상기 제3 보호막(323)은 예로서 실리콘 계열의 산화물, 실리콘 계열의 질화물, Al2O3를 포함하는 금속 산화물, 유기 절연물 중에서 적어도 하나의 물질을 포함하는 단일층 또는 다중층을 포함할 수 있다.The
실시 예에 따른 박막 트랜지스터 기판은 상기 제3 보호막(323) 위에 배치된 제4 보호막(324)을 포함할 수 있다. 상기 제4 보호막(324)은 상기 제1 소스 전극(371), 상기 제1 드레인 전극(372), 상기 제2 소스 전극(471), 상기 제2 드레인 전극(472) 위에 배치될 수 있다. The thin film transistor substrate according to the embodiment may include a
상기 제4 보호막(324)은 예로서 실리콘 계열의 산화물, 실리콘 계열의 질화물, Al2O3를 포함하는 금속 산화물, 유기 절연물 중에서 적어도 하나의 물질을 포함하는 단일층 또는 다중층을 포함할 수 있다.The
실시 예에 따른 박막 트랜지스터 기판은 상기 구동 박막 트랜지스터(630) 위에 배치된 하부 전극(486)을 포함할 수 있다. 상기 하부 전극(486)은 상기 구동 박막 트랜지스터(630)에 전기적으로 연결될 수 있다. 상기 하부 전극(486)은 상기 구동 박막 트랜지스터(630)의 제2 드레인 전극(472)에 전기적으로 연결될 수 있다. 상기 하부 전극(486)은 상기 제4 보호막(324) 위에 배치될 수 있다. 상기 하부 전극(486)은 상기 제4 보호막(324)에 제공된 컨택홀을 통하여 상기 제2 드레인 전극(472)에 전기적으로 연결될 수 있다. 상기 하부 전극(486)의 하부 면은 상기 제2 드레인 전극(472)의 상부 면에 접촉되어 배치될 수 있다.The thin film transistor substrate according to the embodiment may include a
또한 실시 예에 따른 박막 트랜지스터 기판은 상기 제4 보호막(324) 위에 배치된 제5 보호막(325)을 포함할 수 있다. 상기 하부 전극(486) 위에 상기 발광층(488)이 배치될 수 있으며, 상기 발광층(488) 위에 상부 전극(487)이 배치될 수 있다. 상기 발광층(488)과 상기 상부 전극(487)은 상기 제5 보호막(325) 위에 배치될 수 있다. 상기 발광층(488)의 제1 영역은 상기 제5 보호막(325) 위에 배치되고 상기 발광층(488)의 제2 영역은 상기 제5 보호막(325)에 제공된 컨택홀을 통하여 상기 하부 전극(486)의 상부면에 접촉되어 배치될 수 있다. 상기 발광층(488)은 예로서 적색, 녹색, 청색, 백색 중에서 어느 하나의 빛을 발광할 수 있다. 상기 발광층(488)은 예로서 유기물로 구현될 수 있다.In addition, the thin film transistor substrate according to the embodiment may include a
상기 하부 전극(486)과 상기 상부 전극(487)은 예로서 ITO, ITO/Ag, ITO/Ag/ITO, ITO/Ag/IZO 중에서 선택된 하나의 물질, 또는 그 물질을 포함하는 합금을 포함할 수 있다. 상기 하부 전극(486)과 상기 상부 전극(487)은 서로 다른 물질을 포함할 수 있다. 상기 상부 전극(486) 또는 상기 하부 전극(487) 중에서 하나는 투명 전극으로 형성될 수 있으며, 투명 전극 방향으로 상기 발광층(488)에서 발광된 빛이 외부로 방출될 수 있게 된다.The
실시 예에 따른 박막 트랜지스터 기판은, 상기 기판(355)과 상기 제1 채널층(360) 사이에 배치된 제1 블랙 매트릭스(546)를 포함할 수 있다. 상기 제1 블랙 매트릭스(546)는 상기 기판(355)과 상기 제6 보호막(526) 사이에 배치될 수 있다. 상기 제1 블랙 매트릭스(546)는 상기 기판(355)과 상기 제1 이중 게이트 전극(536) 사이에 배치될 수 있다. 상기 제1 블랙 매트릭스(546)는 상기 제6 보호막(526) 하부에 대응되는 형태로 배치될 수 있다. 상기 제1 채널층(360)의 폭과 상기 제1 블랙 매트릭스(546)의 폭이 같게 제공될 수 있다. 상기 제1 블랙 매트릭스(546)는 예로서 Si 기반의 물질, Ga 기반의 물질, Al 기반의 물질, 유기물 중에서 선택된 적어도 하나의 물질을 포함하는 단일층 또는 다중층으로 제공될 수 있다. 상기 제1 블랙 매트릭스(546)는 상기 스위칭 박막 트랜지스터(530)로 입사되는 빛을 차단할 수 있다. 이에 따라 광전류(photo current) 등에 의하여 상기 스위칭 박막 트랜지스터(530)가 열화되는 것을 방지할 수 있다.The thin film transistor substrate according to the embodiment may include a first
실시 예에 따른 박막 트랜지스터 기판은, 상기 기판(355)과 상기 제2 채널층(460) 사이에 배치된 제2 블랙 매트릭스(646)를 포함할 수 있다. 상기 제2 블랙 매트릭스(646)는 상기 기판(355)과 상기 제6 보호막(626) 사이에 배치될 수 있다. 상기 제2 블랙 매트릭스(646)는 상기 기판(355)과 상기 제2 이중 게이트 전극(636) 사이에 배치될 수 있다. 상기 제2 블랙 매트릭스(646)는 상기 제6 보호막(626) 하부에 대응되는 형태로 배치될 수 있다 상기 제2 채널층(460)의 폭과 상기 제2 블랙 매트릭스(646)의 폭이 같게 제공될 수 있다. 상기 제2 블랙 매트릭스(646)는 예로서 Si 기반의 물질, Ga 기반의 물질, Al 기반의 물질, 유기물 중에서 선택된 적어도 하나의 물질을 포함하는 단일층 또는 다중층으로 제공될 수 있다. 상기 제2 블랙 매트릭스(646)는 상기 구동 박막 트랜지스터(630)로 입사되는 빛을 차단할 수 있다. 이에 따라 광전류(photo current) 등에 의하여 상기 구동 박막 트랜지스터(630)가 열화되는 것을 방지할 수 있다.The thin film transistor substrate according to the embodiment may include a second
실시 예에 의하면, 상기 기판(355)과 상기 제1 채널층(360) 사이에 상기 본딩층(350)이 배치될 수 있다. 상기 본딩층(350)은 상기 기판(355)과 상기 제1 블랙 매트릭스(546) 사이에 배치될 수 있다. 상기 기판(355)과 상기 제2 채널층(460) 사이에 상기 본딩층(350)이 배치될 수 있다. 상기 본딩층(350)은 상기 기판(355)과 상기 제2 블랙 매트릭스(646) 사이에 배치될 수 있다. 예로서, 상기 본딩층(350)은 상기 기판(355)의 전체 영역 위에 배치될 수 있다. 상기 본딩층(350)은 상기 제2 보호막(322)과 접촉되어 배치될 수 있다. 상기 본딩층(350)의 상부면과 상기 제2 보호막(322)의 하부면이 접촉되어 배치될 수 있다. 예로서, 상기 제1 블랙 매트릭스(546)과 상기 제2 블랙 매트릭스(646)가 제공되지 않은 영역에서, 상기 본딩층(350)의 상부면과 상기 제2 보호막(322)의 하부면이 직접 접촉되어 배치될 수 있다.According to an embodiment, the
또한, 실시 예에 의하면, 상기 제1 이중 게이트 전극(536)과 상기 제2 이중 게이트 전극(636)의 높이와 폭에 대응되는 리세스(recess)가 상기 기판(355) 또는 상기 본딩층(350)에 제공될 수 있다. 상기 제6 보호막(526, 626)의 일부는 상기 제1 이중 게이트 전극(536)과 상기 제2 이중 게이트 전극(636)의 단면 형상에 대응되도록 상부 및 측면의 적어도 일부에 배치되어 상기 리세스(recess) 영역에 제공될 수 있다. 상기 제1 블랙 매트릭스(546)는 상기 제6 보호막(526)의 하부 형상과 대응되는 형상으로 배치되고 적어도 일부는 상기 리세스(recess) 영역에 배치될 수 있다. 상기 제2 블랙 매트릭스(646)는 상기 제6 보호막(626)의 하부 형상과 대응되는 형상으로 배치되고 적어도 일부는 상기 리세스(recess) 영역에 배치될 수 있다. 상기 제1 이중 게이트 전극(536)과 상기 제2 이중 게이트 전극(636)의 적어도 일부도 상기 리세스(recess) 영역에 배치될 수 있다. 이러한 구조로 상기 제1 이중 게이트 전극(536)과 상기 제2 이중 게이트 전극(636) 제공에 따른 박막 트랜지스터 기판의 두께가 증가되는 것을 최소화 할 수 있다.In addition, according to an embodiment, a recess corresponding to the height and width of the first
실시 예에 따른 박막 트랜지스터 기판에 의하면, 질화물계 반도체층을 포함하는 박막 트랜지스터를 제공함으로써 높은 캐리어 이동도를 구현할 수 있게 된다. 예를 들어, 박막 트랜지스터는 채널층으로 적용되는 물질에 따라 전자 이동도(㎠/Vs)가 달라지게 되는데, 아몰퍼스 실리콘 반도체의 경우에는 전자 이동도가 1이고, 산화물 반도체의 경우에는 10 내지 80, 폴리 실리콘 반도체의 경우에는 100 이하인 것으로 보고되고 있다. 그러나, 실시 예에 따른 질화물계 반도체층을 포함하는 박막 트랜지스터는 전자 이동도가 1500에 달하는 것으로 측정되고 있다. 이에 따라 실시 예에 따른 질화물계 반도체층을 포함하는 박막 트랜지스터는 폴리 실리콘 반도체가 적용된 박막 트랜지스터에 비해 15 배 이상의 높은 전자 이동도를 구현할 수 있게 된다.According to the thin film transistor substrate according to the embodiment, it is possible to implement a high carrier mobility by providing a thin film transistor including a nitride-based semiconductor layer. For example, in the thin film transistor, the electron mobility (cm 2 /Vs) varies depending on the material applied as the channel layer. In the case of an amorphous silicon semiconductor, the electron mobility is 1, and in the case of an oxide semiconductor, 10 to 80, In the case of polysilicon semiconductor, it is reported to be 100 or less. However, the thin film transistor including the nitride-based semiconductor layer according to the embodiment is measured to have an electron mobility of 1500. Accordingly, the thin film transistor including the nitride-based semiconductor layer according to the embodiment can implement 15 times higher electron mobility than the thin film transistor to which the polysilicon semiconductor is applied.
실시 예에 의하면, 성장기판을 이용하여 품질이 좋은 반도체층을 형성할 수 있으며, 지지기판을 이용하여 트랜스퍼(transfer) 공정을 적용함으로써 전자 이동도가 우수한 박막 트랜지스터 기판을 제공할 수 있게 된다.According to an embodiment, a semiconductor layer having good quality may be formed using a growth substrate, and a thin film transistor substrate having excellent electron mobility may be provided by applying a transfer process using a support substrate.
따라서, 실시 예에 따른 박막 트랜지스터 기판, 이를 포함하는 표시패널 및 표시장치에 의하면, 높은 캐리어 이동도를 제공할 수 있게 되므로, 고해상도를 구현하고 부드러운 동화상을 재생할 수 있게 된다.Therefore, according to the thin film transistor substrate, the display panel and the display device including the thin film transistor substrate according to the embodiment, high carrier mobility can be provided, thereby realizing a high resolution and reproducing a smooth moving image.
도 49는 본 발명의 실시 예에 따른 박막 트랜지스터 기판의 또 다른 예를 나타낸 도면이다. 도 49를 참조하여 실시 예에 따른 박막 트랜지스터 기판을 설명함에 있어, 도 1 내지 도 48을 참조하여 설명된 부분과 중복되는 내용에 대해서는 설명이 생략될 수 있다. 도 49에 도시된 실시 예는 도 48을 참조하여 설명된 박막 트랜지스터 기판 대비하여 본딩층 구조에 차이가 있다.49 is a view showing another example of a thin film transistor substrate according to an embodiment of the present invention. In the description of the thin film transistor substrate according to the embodiment with reference to FIG. 49 , descriptions of content overlapping with those described with reference to FIGS. 1 to 48 may be omitted. The embodiment shown in FIG. 49 has a difference in the bonding layer structure compared to the thin film transistor substrate described with reference to FIG. 48 .
도 49에 도시된 바와 같이, 상기 기판(355) 위에 제1 본딩층(553)과 제2 본딩층(653)이 제공될 수 있다. 상기 제1 본딩층(553)은 상기 기판(355)과 상기 제1 블랙 매트릭스(546) 사이에 배치될 수 있다. 예로서, 상기 제1 본딩층(553)의 폭은 상기 제1 블랙 매트릭스(546)의 폭과 동일하게 제공될 수 있다. 예로서, 상기 제1 본딩층(553)의 폭은 상기 제1 채널층(360)의 폭과 동일하게 제공될 수 있다. 상기 제2 본딩층(653)은 상기 기판(355)과 상기 제2 블랙 매트릭스(646) 사이에 배치될 수 있다. 예로서, 상기 제2 본딩층(653)의 폭은 상기 제2 블랙 매트릭스(646)의 폭과 동일하게 제공될 수 있다. 예로서, 상기 제2 본딩층(653)의 폭은 상기 제2 채널층(460)의 폭과 동일하게 제공될 수 있다.49 , a
실시 예에 의하면, 상기 기판(355) 위에 상기 제2 보호막(322)이 배치될 수 있다. 상기 제2 보호막(322)의 하부면이 상기 기판(355)의 상부면에 접촉되어 배치될 수 있다. 상기 제1 본딩층(553)이 제공되지 않은 영역에서, 상기 제2 보호막(322)이 상기 기판(355)에 직접 접촉되어 배치될 수 있다. 상기 제2 본딩층(653)이 제공되지 않은 영역에서, 상기 제2 보호막(322)이 상기 기판(355)에 직접 접촉되어 배치될 수 있다.According to an embodiment, the
또한, 실시 예에 의하면, 상기 제1 이중 게이트 전극(536)과 상기 제2 이중 게이트 전극(636)의 높이와 폭에 대응되는 리세스(recess)가 상기 제1 본딩층(526)과 상기 제2 본딩층(626)에 제공될 수 있다. 상기 제6 보호막(526, 626)의 일부는 상기 제1 이중 게이트 전극(536)과 상기 제2 이중 게이트 전극(636)의 단면 형상에 대응되도록 상부 및 측면의 적어도 일부에 배치되어 상기 리세스(recess) 영역에 제공될 수 있다. 상기 제1 블랙 매트릭스(546)는 상기 제6 보호막(526)의 하부 형상과 대응되는 형상으로 배치되고 적어도 일부는 상기 리세스(recess) 영역에 배치될 수 있다. 상기 제2 블랙 매트릭스(646)는 상기 제6 보호막(626)의 하부 형상과 대응되는 형상으로 배치되고 적어도 일부는 상기 리세스(recess) 영역에 배치될 수 있다. 상기 제1 이중 게이트 전극(536)과 상기 제2 이중 게이트 전극(636)의 적어도 일부도 상기 리세스(recess) 영역에 배치될 수 있다. 이러한 구조로 상기 제1 이중 게이트 전극(536)과 상기 제2 이중 게이트 전극(636) 제공에 따른 박막 트랜지스터 기판의 두께가 증가되는 것을 최소화 할 수 있다.In addition, according to an embodiment, a recess corresponding to the height and width of the first
이와 같이, 도 49에 도시된 실시 예에 의하면, 도 48에 도시된 실시 예에 비하여, 상기 제2 보호막(322)과 상기 기판(355)이 직접 접촉되어 배치될 수 있게 되므로, 상기 제2 보호막(322)과 상기 기판(355) 사이에 제공되는 층(예로서, 도 48에 도시된 본딩층)을 배제시킬 수 있게 된다. 이에 따라, 실시 예에 의하면 빛이 진행되는 광 경로 상에 이종 물질층 간의 경계면이 줄어 들게 되므로 경계면에서의 반사/굴절 등에 의한 광손실을 줄일 수 있게 된다.As such, according to the embodiment shown in FIG. 49 , compared to the embodiment shown in FIG. 48 , the
실시 예에 따른 상기 제1 본딩층(553)과 상기 제2 본딩층(653)은 예로서 반사층, 메탈본딩층, 유기본딩층, 절연층을 포함할 수 있다. 상기 반사층은 상기 기판(355) 위에 배치될 수 있으며, 상기 메탈본딩층은 상기 반사층 위에 배치되고, 상기 절연층은 상기 메탈본딩층 위에 배치될 수 있다. 예로서, 상기 제1 본딩층(553)과 상기 제2 본딩층(653)은 상기 메탈본딩층과 상기 유기본딩층 중에서 적어도 하나를 포함할 수 있으며, 상기 반사층과 상기 절연층은 선택적으로 포함할 수도 있다.The
상기 절연층은 상기 제1 채널층(360)과 상기 제2 채널층(460)의 누설 특성을 보완해 줄 수 있다. 예로서, 상기 절연층은 실리콘 계열의 산화물, 실리콘 계열의 질화물, Al2O3를 포함하는 금속 산화물, 유기 절연물 중에서 적어도 하나의 물질을 포함하는 단일층 또는 다중층을 포함할 수 있다.The insulating layer may supplement leakage characteristics of the
상기 메탈본딩층 또는 상기 유기본딩층은 아래에 배치된 상기 기판(355)과의 접착을 위하여 제공될 수 있다. 예로서, 상기 메탈본딩층은 금(Au), 주석(Sn), 인듐(In), 니켈(Ni), 은(Ag), 구리(Cu)를 포함하는 그룹 중에서 선택된 적어도 어느 하나의 물질 또는 합금을 포함할 수 있다. 예로서, 상기 유기본딩층은 아크릴, 벤조시크롤부텐(BCB), SU-8 폴리머(SU-8 polymer) 등을 포함하는 그룹 중에서 선택된 적어도 어느 하나의 물질을 포함할 수 있다.The metal bonding layer or the organic bonding layer may be provided for adhesion to the
상기 반사층은 상기 본딩층에서의 광 흡수를 줄여줄 수 있다. 예로서, 상기 반사층은 알루미늄(Al), 은(Ag), 로듐(Rh)을 포함하는 그룹 중에서 선택된 적어도 어느 하나의 물질 또는 합금을 포함할 수 있다. 상기 반사층은 예로서 반사특성이 60%를 넘는 물질로 제공될 수 있다.The reflective layer may reduce light absorption in the bonding layer. For example, the reflective layer may include at least one material or alloy selected from the group consisting of aluminum (Al), silver (Ag), and rhodium (Rh). The reflective layer may be provided of, for example, a material having a reflective characteristic of more than 60%.
한편 실시 예에 의하면, 예로서 상기 제1 본딩층(553)과 상기 제2 본딩층(653)이 상기 메탈본딩층과 상기 반사층을 포함하는 경우, 상기 제1 블랙매트릭스(546)와 상기 제2 블랙매트릭스(646)는 생략될 수도 있다.Meanwhile, according to an embodiment, for example, when the
실시 예에 따른 박막 트랜지스터 기판에 의하면, 질화물계 반도체층을 포함하는 박막 트랜지스터를 제공함으로써 높은 캐리어 이동도를 구현할 수 있게 된다. 예를 들어, 박막 트랜지스터는 채널층으로 적용되는 물질에 따라 전자 이동도(㎠/Vs)가 달라지게 되는데, 아몰퍼스 실리콘 반도체의 경우에는 전자 이동도가 1이고, 산화물 반도체의 경우에는 10 내지 80, 폴리 실리콘 반도체의 경우에는 100 이하인 것으로 보고되고 있다. 그러나, 실시 예에 따른 질화물계 반도체층을 포함하는 박막 트랜지스터는 전자 이동도가 1500에 달하는 것으로 측정되고 있다. 이에 따라 실시 예에 따른 질화물계 반도체층을 포함하는 박막 트랜지스터는 폴리 실리콘 반도체가 적용된 박막 트랜지스터에 비해 15 배 이상의 높은 전자 이동도를 구현할 수 있게 된다.According to the thin film transistor substrate according to the embodiment, it is possible to implement a high carrier mobility by providing a thin film transistor including a nitride-based semiconductor layer. For example, in the thin film transistor, the electron mobility (cm 2 /Vs) varies depending on the material applied as the channel layer. In the case of an amorphous silicon semiconductor, the electron mobility is 1, and in the case of an oxide semiconductor, 10 to 80, In the case of polysilicon semiconductor, it is reported to be 100 or less. However, the thin film transistor including the nitride-based semiconductor layer according to the embodiment is measured to have an electron mobility of 1500. Accordingly, the thin film transistor including the nitride-based semiconductor layer according to the embodiment can implement 15 times higher electron mobility than the thin film transistor to which the polysilicon semiconductor is applied.
실시 예에 의하면, 성장기판을 이용하여 품질이 좋은 반도체층을 형성할 수 있으며, 지지기판을 이용하여 트랜스퍼(transfer) 공정을 적용함으로써 전자 이동도가 우수한 박막 트랜지스터 기판을 제공할 수 있게 된다.According to an embodiment, a semiconductor layer having good quality may be formed using a growth substrate, and a thin film transistor substrate having excellent electron mobility may be provided by applying a transfer process using a support substrate.
따라서, 실시 예에 따른 박막 트랜지스터 기판, 이를 포함하는 표시패널 및 표시장치에 의하면, 높은 캐리어 이동도를 제공할 수 있게 되므로, 고해상도를 구현하고 부드러운 동화상을 재생할 수 있게 된다.Therefore, according to the thin film transistor substrate, the display panel and the display device including the thin film transistor substrate according to the embodiment, high carrier mobility can be provided, thereby realizing a high resolution and reproducing a smooth moving image.
도 50은 본 발명의 실시 예에 따른 박막 트랜지스터 기판의 또 다른 예를 나타낸 도면이다. 도 50은 도 42에 도시된 박막 트랜지스터 기판의 D-D 선에 따른 단면도이다.50 is a diagram illustrating another example of a thin film transistor substrate according to an embodiment of the present invention. FIG. 50 is a cross-sectional view taken along line D-D of the thin film transistor substrate shown in FIG. 42 .
도 50에 도시된 박막 트랜지스터 기판은 채널층의 리세스된 영역에 게이트 전극이 배치된 구조를 갖는 박막 트랜지스터가 적용된 실시 예로서 도 1 내지 도 49를 참조하여 설명된 부분과 중복되는 내용에 대해서는 설명이 생략될 수 있다.The thin film transistor substrate shown in FIG. 50 is an embodiment to which a thin film transistor having a structure in which a gate electrode is disposed in a recessed region of a channel layer is applied, and content overlapping with those described with reference to FIGS. 1 to 49 will be described. This may be omitted.
실시 예에 따른 박막 트랜지스터 기판은 스위칭 박막 트랜지스터(730)와 구동 박막 트랜지스터(830)를 포함할 수 있다. 상기 스위칭 박막 트랜지스터(730)는 제1 게이트 라인(341)과 데이터 라인(373)으로부터 신호를 인가 받을 수 있으며, 해당 화소에 게이트 신호 및 데이터 신호를 제공할 수 있다. 상기 구동 박막 트랜지스터(830)의 제2 게이트 전극(833)은 상기 스위칭 박막 트랜지스터(330)의 제1 드레인 전극(372)과 전기적으로 연결될 수 있다.The thin film transistor substrate according to the embodiment may include a switching
본 발명의 실시 예에 따른 박막 트랜지스터 기판은, 도 50에 도시된 바와 같이, 기판(355)과 상기 기판(355) 위에 배치된 상기 스위칭 박막 트랜지스터(730), 상기 구동 박막 트랜지스터(830), 상기 구동 박막 트랜지스터(830)에 전기적으로 연결된 발광층(488)을 포함할 수 있다.As shown in FIG. 50 , the thin film transistor substrate according to an exemplary embodiment of the present invention includes a
실시 예에 따른 스위칭 박막 트랜지스터(730)는 제1 게이트 전극(733), 제1 채널층(760), 제1 소스 전극(371), 제1 드레인 전극(372)을 포함할 수 있다. 상기 제1 소스 전극(371)은 상기 제1 채널층(760)의 제1 영역에 전기적으로 연결될 수 있다. 상기 제1 소스 전극(371)은 상기 제1 채널층(760)의 상부 면에 전기적으로 연결될 수 있다. 상기 제1 드레인 전극(372)은 상기 제1 채널층(760)의 제2 영역에 전기적으로 연결될 수 있다. 상기 제1 드레인 전극(372)은 상기 제1 채널층(760)의 상부 면에 전기적으로 연결될 수 있다. 상기 제1 게이트 전극(733)은 상기 제1 채널층(760) 위에 배치될 수 있다. The switching
상기 제1 채널층(760)은 상부 면에 하부 방향으로 함몰된 리세스 영역을 포함할 수 있다. 상기 제1 게이트 전극(733)은 상기 제1 채널층(760)의 리세스된 영역에 배치될 수 있다.The
실시 예에 따른 구동 박막 트랜지스터(830)는 제2 게이트 전극(833), 제2 채널층(860), 제2 소스 전극(471), 제2 드레인 전극(472)을 포함할 수 있다. 상기 제2 소스 전극(471)은 상기 제2 채널층(860)의 제1 영역에 전기적으로 연결될 수 있다. 상기 제2 소스 전극(471)은 상기 제2 채널층(860)의 상부 면에 전기적으로 연결될 수 있다. 상기 제2 드레인 전극(472)은 상기 제2 채널층(860)의 제2 영역에 전기적으로 연결될 수 있다. 상기 제2 드레인 전극(472)은 상기 제2 채널층(860)의 상부 면에 전기적으로 연결될 수 있다. 상기 제2 게이트 전극(833)은 상기 제2 채널층(860) 위에 배치될 수 있다. The driving
상기 제2 채널층(860)은 상부 면에 하부 방향으로 함몰된 리세스 영역을 포함할 수 있다. 상기 제2 게이트 전극(833)은 상기 제2 채널층(860)의 리세스된 영역에 배치될 수 있다.The
상기 스위칭 박막 트랜지스터(730)와 상기 구동 박막 트랜지스터(830)의 구조는 서로 유사하며, 상기 구동 박막 트랜지스터(830)를 설명함에 있어 상기 스위칭 박막 트랜지스터(730)를 참조하여 설명된 부분과 중복되는 내용에 대해서는 설명이 생략될 수 있다.The structures of the switching
상기 제1 채널층(760)과 상기 제2 채널층(860)은 예로서 III족-V족 화합물 반도체로 구현될 수 있다. 예컨대, 상기 제1 채널층(760)과 상기 제2 채널층(860)은 InxAlyGa1-x-yN (0≤x≤1, 0≤y≤1, 0≤x+y≤1)의 조성식을 갖는 반도체 물질로 구현될 수 있다. 상기 제1 채널층(760)과 상기 제2 채널층(860)은 예를 들어 GaN, AlN, AlGaN, InGaN, InN, InAlGaN, AlInN, AlGaAs, GaP, GaAs, GaAsP, AlGaInP 등에서 선택된 단일층 또는 다중층을 포함할 수 있다. 상기 제1 채널층(760)과 상기 제2 채널층(860)은 서로 다른 물질로 형성될 수도 있다.The
상기 제1 채널층(760)과 상기 제2 채널층(860) 각각은 제1 질화물 반도체층(761, 861)과 제2 질화물 반도체층(762, 862)을 포함할 수 있다. 상기 제1 질화물 반도체층(761. 861)은 예로서 InxAlyGa1 -x- yN (0≤x≤1, 0≤y≤1, 0≤x+y≤1)의 조성식을 갖는 반도체 물질로 구현될 수 있다. 상기 제2 질화물 반도체층(762, 862)은 예로서 InxAlyGa1 -x- yN (0≤x≤1, 0≤y≤1, 0≤x+y≤1)의 조성식을 갖는 반도체 물질로 구현될 수 있다. 상기 제2 질화물 반도체층(762, 862)의 상부 면에 하부 방향으로 함몰된 리세스 영역에 제공될 수 있다. 상기 제1 게이트 전극(733)은 상기 제2 질화물 반도체층(762)의 리세스 영역에 배치될 수 있다. 상기 제1 게이트 전극(733)의 상부 면이 상기 제2 질화물 반도체층(762)의 최 상부 면에 비해 더 높게 배치될 수 있다. 상기 제1 게이트 전극(733)과 상기 제2 질화물 반도체층(762)은 샤키 접촉(Schottky contact)될 수 있다. 상기 제2 게이트 전극(833)은 상기 제2 질화물 반도체층(862)의 리세스 영역에 배치될 수 있다. 상기 제2 게이트 전극(833)의 상부 면이 상기 제2 질화물 반도체층(862)의 최 상부 면에 비해 더 높게 배치될 수 있다. 상기 제2 게이트 전극(833)과 상기 제2 질화물 반도체층(862)은 샤키 접촉(Schottky contact)될 수 있다. 실시 예에 따른 상기 제1 채널층(760)과 상기 제2 채널층(860)에 의하면, 상기 제1 질화물 반도체층(761, 861)이 GaN 반도체층을 포함하고, 상기 제2 질화물 반도체층(762, 862)이 AlGaN 반도체층을 포함할 수 있다. Each of the
상기 기판(355)은 투명기판을 포함할 수 있다. 상기 기판(355)은 예로서 0.1 mm 내지 3 mm의 두께를 갖는 투명기판으로 구현될 수 있다. 또한, 상기 기판(355)의 두께는 적용되는 표시장치의 용도 및 크기에 따라 변경될 수 있는 것으로서 0.4~1.1mm의 두께 범위 내에서 선택될 수도 있다. 예로서, 상기 기판(355)은 0.6~0.8mm의 두께로 제공될 수도 있다. 상기 기판(355)은 실리콘, 유리, 폴리이미드, 플라스틱을 포함하는 물질 중에서 선택된 적어도 하나의 물질을 포함할 수 있다. 상기 기판(355)은 플렉시블 기판을 포함할 수 있다.The
상기 기판(355)은 트랜스퍼(transfer) 공정에서 적용되는 기판으로서 상기 스위칭 박막 트랜지스터(730)와 상기 구동 박막 트랜지스터(830)를 지지하는 역할을 수행한다. 또한, 실시 예에 따른 박막 트랜지스터 기판은 상기 기판(355)과 상기 스위칭 박막 트랜지스터(730) 사이에 제공된 본딩층(350)을 포함할 수 있다. 상기 본딩층(350)은 상기 기판(355)과 상기 구동 박막 트랜지스터(830) 사이에 배치될 수 있다.The
상기 본딩층(350)은 유기물을 포함할 수 있다. 상기 본딩층(350)은 투명물질로 구현될 수 있다. 상기 본딩층(350)은 예로서 투과도가 70% 이상인 물질로 구현될 수 있다. 상기 본딩층(350)은 유기 절연물질을 포함할 수 있다. 상기 본딩층(350)은 아크릴, 벤조시클로부텐(BCB), SU-8 폴리머(SU-8 polymer) 등을 포함하는 그룹 중에서 선택된 적어도 어느 하나의 물질을 포함할 수 있다. 상기 본딩층(350)은 예로서 0.5~6㎛의 두께로 제공될 수 있다. 상기 본딩층(350)의 두께는 선택된 물질 종류에 따라 차이가 있을 수 있으며 1~3㎛의 두께로 제공될 수도 있다. 또한, 상기 본딩층(350)은 예로서 1.8~2.2㎛의 두께로 제공될 수도 있다.The
실시 예에 따른 스위칭 박막 트랜지스터(730)는 상기 제1 채널층(760)의 제1 영역 위에 배치된 제1 소스 컨택부(331)와 상기 제1 채널층(760)의 제2 영역 위에 배치된 제1 드레인 컨택부(332)를 포함할 수 있다. 상기 제1 소스 컨택부(331)는 상기 제1 채널층(760)의 제1 영역에 접촉되어 배치될 수 있다. 상기 제1 드레인 컨택부(332)는 상기 제1 채널층(760)의 제2 영역에 접촉되어 배치될 수 있다.The switching
실시 예에 따른 스위칭 박막 트랜지스터(730)는 상기 제1 게이트 전극(733) 위에 배치된 제1 게이트 배선(341)을 포함할 수 있다. 상기 제1 게이트 배선(341)은 상기 제1 게이트 전극(733)에 전기적으로 연결될 수 있다. 상기 제1 게이트 배선(341)의 하부 면이 상기 제1 게이트 전극(733)의 상부 면에 접촉되어 배치될 수 있다.The switching
상기 제1 소스 전극(371)은 상기 제1 소스 컨택부(331)에 전기적으로 연결될 수 있다. 상기 제1 소스 전극(371)은 상기 제1 소스 컨택부(331)의 상부 면에 접촉되어 배치될 수 있다. 예로서, 상기 제1 소스 전극(371)은 상기 제1 소스 컨택부(331)를 통하여 상기 제1 채널층(760)의 제1 영역에 전기적으로 연결될 수 있다. 상기 제1 드레인 전극(372)은 상기 제1 드레인 컨택부(332)에 전기적으로 연결될 수 있다. 상기 제1 드레인 전극(372)은 상기 제1 드레인 컨택부(332)의 상부 면에 접촉되어 배치될 수 있다. 예로서, 상기 제1 드레인 전극(372)은 상기 제1 드레인 컨택부(332)를 통하여 상기 제1 채널층(760)의 제2 영역에 전기적으로 연결될 수 있다.The
실시 예에 따른 구동 박막 트랜지스터(830)는 상기 제2 채널층(860)의 제1 영역 위에 배치된 제2 소스 컨택부(431)와 상기 제2 채널층(860)의 제2 영역 위에 배치된 제2 드레인 컨택부(432)를 포함할 수 있다. 상기 제2 소스 컨택부(431)는 상기 제2 채널층(860)의 제1 영역에 접촉되어 배치될 수 있다. 상기 제2 드레인 컨택부(432)는 상기 제2 채널층(860)의 제2 영역에 접촉되어 배치될 수 있다.The driving
실시 예에 따른 구동 박막 트랜지스터(830)는 상기 제2 게이트 전극(433) 위에 배치된 제2 게이트 배선(441)을 포함할 수 있다. 상기 제2 게이트 배선(441)은 상기 제2 게이트 전극(833)에 전기적으로 연결될 수 있다. 상기 제2 게이트 배선(441)의 하부 면이 상기 제2 게이트 전극(833)의 상부 면에 접촉되어 배치될 수 있다.The driving
상기 제2 소스 전극(471)은 상기 제2 소스 컨택부(431)에 전기적으로 연결될 수 있다. 상기 제2 소스 전극(471)은 상기 제2 소스 컨택부(431)의 상부 면에 접촉되어 배치될 수 있다. 예로서, 상기 제2 소스 전극(471)은 상기 제2 소스 컨택부(431)를 통하여 상기 제2 채널층(860)의 제1 영역에 전기적으로 연결될 수 있다. 상기 제2 드레인 전극(472)은 상기 제2 드레인 컨택부(432)에 전기적으로 연결될 수 있다. 상기 제2 드레인 전극(472)은 상기 제2 드레인 컨택부(432)의 상부 면에 접촉되어 배치될 수 있다. 예로서, 상기 제2 드레인 전극(472)은 상기 제2 드레인 컨택부(432)를 통하여 상기 제2 채널층(860)의 제2 영역에 전기적으로 연결될 수 있다.The
상기 제1 소스 컨택부(331)와 상기 제1 드레인 컨택부(332)는 상기 제1 채널층(760)과 오믹 접촉하는 물질로 구현될 수 있다. 상기 제1 소스 컨택부(331)와 상기 제1 드레인 컨택부(332)는 상기 제2 질화물 반도체층(762)과 오믹 접촉하는 물질을 포함할 수 있다. 상기 제2 소스 컨택부(431)와 상기 제2 드레인 컨택부(432)는 상기 제2 채널층(860)과 오믹 접촉하는 물질로 구현될 수 있다. 상기 제2 소스 컨택부(431)와 상기 제2 드레인 컨택부(432)는 상기 제2 질화물 반도체층(862)과 오믹 접촉하는 물질을 포함할 수 있다. 예로서, 상기 제1 소스 컨택부(331), 상기 제1 드레인 컨택부(332), 제2 소스 컨택부(431), 상기 제2 드레인 컨택부(432)는 알루미늄(Al), 알루미늄 합금(Al alloy), 텅스텐(W), 구리(Cu), 구리 합금(Cu alloy), 몰리브덴(Mo), 은(Ag), 은 합금(Ag alloy), 금(Au), 금 합금(Au alloy), 크롬(Cr), 티타늄(Ti), 티타늄 합금(Ti alloy), 몰리텅스텐(MoW), 몰리티타늄(MoTi), 구리/몰리티타늄(Cu/MoTi)을 포함하는 그룹 중에서 선택된 적어도 어느 하나의 물질을 포함하는 단일층 또는 다중층을 포함할 수 있다. 상기 제1 소스 컨택부(331), 상기 제1 드레인 컨택부(332), 상기 제2 소스 컨택부(431), 상기 제2 드레인 컨택부(432)는 예로서 0.1~1㎛의 두께로 제공될 수 있다. 상기 제1 소스 컨택부(331), 상기 제1 드레인 컨택부(332), 상기 제2 소스 컨택부(431), 상기 제2 드레인 컨택부(432)는 상기 제1 채널층(360) 및 상기 제2 채널층(460)과의 접촉을 위한 층으로서 전류 확산 기능을 수행하지 않아도 되므로 1㎛ 이하의 두께로 제공될 수도 있다.The first
상기 제1 게이트 전극(733)은 상기 제1 채널층(760)과 샤키 접촉하는 물질로 구현될 수 있다. 상기 제1 게이트 전극(733)은 상기 제2 질화물 반도체층(762)과 샤키 접촉되는 물질로 구현될 수 있다. 상기 제1 게이트 전극(733)은 니켈(Ni), 백금(Pt), 금(Au), 팔라듐(Pd)을 포함하는 그룹 중에서 선택된 적어도 하나의 물질 또는 그 합금을 포함하는 단일층 또는 다중층을 포함할 수 있다. 예로서, 상기 샤키 접촉은 상기 제1 채널층(760)에 대한 플라즈마 처리(palsma treatment)에 의하여 구현될 수 있다. 상기 플라즈마 처리는 예로서 불소(F) 이온 처리가 적용될 수 있다. 이에 따라, 실시 예에 따른 스위칭 박막 트랜지스터(730)는 상기 샤키 접촉에 의하여 문턱 전압이 제공될 수 있으며 노멀리 오프(normally off) 특성을 가질 수 있다. 상기 제1 게이트 전극(733)에 문턱 전압 이상의 전압을 인가하면 상기 제1 게이트 전극(733)의 하부에 형성된 채널이 온 상태가 되어 상기 제1 채널층(760)에 전류가 흐를 수 있게 된다.The
상기 제2 게이트 전극(833)은 상기 제2 채널층(860)과 샤키 접촉하는 물질로 구현될 수 있다. 상기 제2 게이트 전극(833)은 상기 제2 질화물 반도체층(862)과 샤키 접촉되는 물질로 구현될 수 있다. 상기 제2 게이트 전극(833)은 니켈(Ni), 백금(Pt), 금(Au), 팔라듐(Pd)을 포함하는 그룹 중에서 선택된 적어도 하나의 물질 또는 그 합금을 포함하는 단일층 또는 다중층을 포함할 수 있다. 예로서, 상기 샤키 접촉은 상기 제2 채널층(860)에 대한 플라즈마 처리(palsma treatment)에 의하여 구현될 수 있다. 상기 플라즈마 처리는 예로서 불소(F) 이온 처리가 적용될 수 있다. 이에 따라, 실시 예에 따른 구동 박막 트랜지스터(830)는 상기 샤키 접촉에 의하여 문턱 전압이 제공될 수 있으며 노멀리 오프(normally off) 특성을 가질 수 있다. 상기 제2 게이트 전극(833)에 문턱 전압 이상의 전압을 인가하면 상기 제2 게이트 전극(833)의 하부에 형성된 채널이 온 상태가 되어 상기 제2 채널층(860)에 전류가 흐를 수 있게 된다.The
한편, 실시 예에 따른 상기 제1 채널층(760)에 의하면, 상기 제1 질화물 반도체층(761)이 GaN 반도체층을 포함하고, 상기 제2 질화물 반도체층(762)이 AlGaN 반도체층을 포함할 수 있다. 상기 제2 질화물 반도체층(762)의 두께가 두꺼울수록 2차원 전자가스(2DEG)가 잘 형성되기 때문에 노멀리 오프(normally off) 특성을 만들기가 어렵다. 또한, 상기 제2 질화물 반도체층(762)의 두께가 너무 얇게 제공되면 게이트 리키지(gate leakage)가 심해질 수 있는 문제점이 있다. 이에 따라, 상기 리세스 영역 아래에 배치된 상기 제2 질화물 반도체층(762)의 두께는 2~10nm 두께로 제공되는 것이 바람직할 수 있다. 그리고, 게이트 리키지(gate leakage)를 줄이기 위한 방안으로서, 상기 게이트 전극(733)과 상기 제2 질화물 반도체층(762) 사이에 절연물이 배치되도록 하여 일종의 MIS(Metal-Insulator-Semiconductor) 구조로 제공될 수도 있다. 예로서, 상기 리세스가 형성되지 않은 영역의 상기 제2 질화물 반도체층(762)의 두께는 15~25nm로 제공될 수 있다. 또한, 상기 리세스의 폭은 예로서 1.5~2.5㎛로 제공될 수 있다.Meanwhile, according to the
실시 예에 따른 상기 제2 채널층(860)에 의하면, 상기 제1 질화물 반도체층(861)이 GaN 반도체층을 포함하고, 상기 제2 질화물 반도체층(862)이 AlGaN 반도체층을 포함할 수 있다. 상기 제2 질화물 반도체층(862)의 두께가 두꺼울수록 2차원 전자가스(2DEG)가 잘 형성되기 때문에 노멀리 오프(normally off) 특성을 만들기가 어렵다. 또한, 상기 제2 질화물 반도체층(862)의 두께가 너무 얇게 제공되면 게이트 리키지(gate leakage)가 심해질 수 있는 문제점이 있다. 이에 따라, 상기 리세스 영역 아래에 배치된 상기 제2 질화물 반도체층(862)의 두께는 2~10nm 두께로 제공되는 것이 바람직할 수 있다. 그리고, 게이트 리키지(gate leakage)를 줄이기 위한 방안으로서, 상기 게이트 전극(833)과 상기 제2 질화물 반도체층(862) 사이에 절연물이 배치되도록 하여 일종의 MIS(Metal-Insulator-Semiconductor) 구조로 제공될 수도 있다. 예로서, 상기 리세스가 형성되지 않은 영역의 상기 제2 질화물 반도체층(862)의 두께는 15~25nm로 제공될 수 있다. 또한, 상기 리세스의 폭은 예로서 1.5~2.5㎛로 제공될 수 있다.According to the
상기 제1 게이트 배선(341)과 상기 제2 게이트 배선(441)은 알루미늄(Al), 알루미늄 합금(Al alloy), 텅스텐(W), 구리(Cu), 구리 합금(Cu alloy), 몰리브덴(Mo), 은(Ag), 은 합금(Ag alloy), 금(Au), 금 합금(Au alloy), 크롬(Cr), 티타늄(Ti), 티타늄 합금(Ti alloy), 몰리텅스텐(MoW), 몰리티타늄(MoTi), 구리/몰리티타늄(Cu/MoTi)을 포함하는 그룹 중에서 선택된 적어도 어느 하나의 물질을 포함하는 단일층 또는 다중층을 포함할 수 있다. 상기 제1 게이트 배선(341)과 상기 제2 게이트 배선(441)은 예로서 0.1~3㎛의 두께로 제공될 수 있다. 상기 제1 게이트 배선(341)과 상기 제2 게이트 배선(441)은 복수의 트랜지스터에 순차적으로 전압을 인가하는 기능을 수행하므로 상기 제1 게이트 전극(733) 및 상기 제2 게이트 전극(833)의 두께에 비하여 더 두껍게 제공될 수도 있다.The
상기 제1 소스 전극(371), 상기 제1 드레인 전극(372), 상기 제2 소스 전극(471), 제2 드레인 전극(472)은 알루미늄(Al), 알루미늄 합금(Al alloy), 텅스텐(W), 구리(Cu), 구리 합금(Cu alloy), 몰리브덴(Mo), 은(Ag), 은 합금(Ag alloy), 금(Au), 금 합금(Au alloy), 크롬(Cr), 티타늄(Ti), 티타늄 합금(Ti alloy), 몰리텅스텐(MoW), 몰리티타늄(MoTi), 구리/몰리티타늄(Cu/MoTi)을 포함하는 그룹 중에서 선택된 적어도 어느 하나의 물질을 포함하는 단일층 또는 다중층을 포함할 수 있다. 상기 제1 소스 전극(371), 상기 제1 드레인 전극(372), 상기 제2 소스 전극(471), 제2 드레인 전극(472)은 예로서 0.1~3㎛의 두께로 제공될 수 있다. 상기 제1 소스 전극(371)과 상기 제2 소스 전극(471)은 복수의 트랜지스터에 순차적으로 전압을 인가하는 기능을 수행하므로 상기 제1 소스 컨택부(331) 및 상기 제2 소스 컨택부(431)의 두께에 비하여 더 두껍게 제공될 수도 있다. 상기 제1 드레인 전극(372)과 상기 제2 드레인 전극(472)도 상기 제1 드레인 컨택부(332) 및 상기 제2 드레인 컨택부(432)의 두께에 비하여 더 두껍게 제공될 수도 있다.The
실시 예에 따른 박막 트랜지스터 기판은 상기 제1 채널층(760)과 상기 제2 채널층(860) 위에 배치된 제1 보호막(321, 421)을 포함할 수 있다. 상기 제1 보호막(321, 421)은 상기 제1 채널층(760)의 상기 제2 질화물 반도체층(762) 및 상기 제2 채널층(860)의 제2 질화물 반도체층(862) 위에 배치될 수 있다. 상기 제1 보호막(321, 421)의 하부 면은 상기 제1 채널층(760)의 상기 제2 질화물 반도체층(762) 및 상기 제2 채널층(860)의 제2 질화물 반도체층(862) 상부 면에 접촉되어 배치될 수 있다. The thin film transistor substrate according to the embodiment may include first passivation layers 321 and 421 disposed on the
실시 예에 의하면, 상기 제1 소스 컨택부(331)는 상기 제1 보호막(321)을 관통하여 배치될 수 있다. 상기 제1 소스 컨택부(331)는 상기 제1 보호막(321)에 의하여 둘러 싸여 배치될 수 있다. 상기 제1 소스 컨택부(331)는 상기 제1 보호막(321)을 관통하여 배치되고 상기 제1 채널층(760)의 제1 영역에 접촉되어 제공될 수 있다. 상기 제1 드레인 컨택부(332)는 상기 제1 보호막(321)을 관통하여 배치될 수 있다. 상기 제1 드레인 컨택부(332)는 상기 제1 보호막(321)에 의하여 둘러 싸여 배치될 수 있다. 상기 제1 드레인 컨택부(332)는 상기 제1 보호막(321)을 관통하여 배치되고 상기 제1 채널층(760)의 제2 영역에 접촉되어 제공될 수 있다.According to an embodiment, the first
실시 예에 의하면, 상기 제2 소스 컨택부(431)는 상기 제1 보호막(421)을 관통하여 배치될 수 있다. 상기 제2 소스 컨택부(431)는 상기 제1 보호막(421)에 의하여 둘러 싸여 배치될 수 있다. 상기 제2 소스 컨택부(431)는 상기 제1 보호막(421)을 관통하여 배치되고 상기 제2 채널층(860)의 제1 영역에 접촉되어 제공될 수 있다. 상기 제2 드레인 컨택부(432)는 상기 제1 보호막(421)을 관통하여 배치될 수 있다. 상기 제2 드레인 컨택부(432)는 상기 제1 보호막(421)에 의하여 둘러 싸여 배치될 수 있다. 상기 제2 드레인 컨택부(432)는 상기 제1 보호막(421)을 관통하여 배치되고 상기 제2 채널층(860)의 제2 영역에 접촉되어 제공될 수 있다.According to an embodiment, the second
상기 제1 보호막(321, 421)은 절연물질로 구현될 수 있다. 상기 제1 보호막(321, 421)은 예로서 실리콘 계열의 산화물, 실리콘 계열의 질화물, Al2O3를 포함하는 금속 산화물, 유기 절연물 중에서 적어도 하나의 물질을 포함하는 단일층 또는 다중층을 포함할 수 있다.The first passivation layers 321 and 421 may be implemented with an insulating material. The first
실시 예에 의하면, 상기 기판(355)과 상기 제1 보호막(321, 421) 위에 제2 보호막(322)이 배치될 수 있다. 상기 제1 게이트 전극(733)은 상기 제1 보호막(321)과 상기 제2 보호막(322) 중에서 적어도 하나를 관통하여 배치될 수 있다. 예로서, 상기 제1 게이트 전극(733)은 상기 제1 보호막(321)과 상기 제2 보호막(322)을 관통하여 배치될 수 있다. 상기 제1 게이트 전극(733)은 상기 제1 보호막(321)과 상기 제2 보호막(322) 중에서 적어도 하나를 관통하여 상기 제1 채널층(760)에 접촉되어 배치될 수 있다, 예로서, 상기 제1 게이트 전극(733)은 상기 제1 보호막(321)과 상기 제2 보호막(322)을 관통하여 상기 제1 채널층(760)에 접촉되어 배치될 수 있다. 상기 제1 게이트 배선(341)은 상기 제2 보호막(322) 위에 배치되어 상기 제1 게이트 전극(233)과 전기적으로 연결될 수 있다. 상기 제2 게이트 전극(833)은 상기 제1 보호막(421)과 상기 제2 보호막(322) 중에서 적어도 하나를 관통하여 배치될 수 있다. 예로서, 상기 제2 게이트 전극(833)은 상기 제1 보호막(421)과 상기 제2 보호막(322)을 관통하여 배치될 수 있다. 상기 제2 게이트 전극(833)은 상기 제1 보호막(421)과 상기 제2 보호막(322) 중에서 적어도 하나를 관통하여 상기 제2 채널층(860)에 접촉되어 배치될 수 있다, 예로서, 상기 제2 게이트 전극(833)은 상기 제1 보호막(421)과 상기 제2 보호막(322)을 관통하여 상기 제2 채널층(860)에 접촉되어 배치될 수 있다. 상기 제2 게이트 배선(441)은 상기 제2 보호막(322) 위에 배치되어 상기 제2 게이트 전극(833)과 전기적으로 연결될 수 있다.According to an embodiment, a
상기 제2 보호막(322)은 절연물질로 구현될 수 있다. 상기 제2 보호막(322)은 예로서 실리콘 계열의 산화물, 실리콘 계열의 질화물, Al2O3를 포함하는 금속 산화물, 유기 절연물 중에서 적어도 하나의 물질을 포함하는 단일층 또는 다중층을 포함할 수 있다.The
실시 예에 의하면, 상기 제2 보호막(322) 위에 제3 보호막(323)이 배치될 수 있다. 상기 제3 보호막(323)은 상기 제2 보호막(322), 상기 제1 게이트 배선(341), 상기 제2 게이트 배선(441) 위에 배치될 수 있다.According to an embodiment, a
상기 제1 게이트 배선(341)은 상기 제1 게이트 전극(333) 위에 접촉되어 배치되고 상기 제3 보호막(323)에 의하여 둘러 싸여 제공될 수 있다. 상기 제2 게이트 배선(441)은 상기 제2 게이트 전극(833) 위에 접촉되어 배치되고 상기 제3 보호막(323)에 의하여 둘러 싸여 제공될 수 있다.The
상기 제1 소스 전극(371)은 상기 제2 보호막(322)과 상기 제3 보호막(323)을 관통하여 상기 제1 소스 컨택부(331)에 전기적으로 연결될 수 있다. 상기 제1 소스 전극(371)은 상기 제3 보호막(323) 위에 배치된 제1 영역을 포함할 수 있다. 상기 제1 소스 전극(371)은 상기 제3 보호막(323)과 상기 제2 보호막(322)을 관통하는 제2 영역을 포함할 수 있다. 상기 제1 드레인 전극(372)은 상기 제2 보호막(322)과 상기 제3 보호막(323)을 관통하여 상기 제1 드레인 컨택부(332)에 전기적으로 연결될 수 있다. 상기 제1 드레인 전극(372)은 상기 제3 보호막(323) 위에 배치된 제1 영역을 포함할 수 있다. 상기 제1 드레인 전극(372)은 상기 제3 보호막(323)과 상기 제2 보호막(322)을 관통하는 제2 영역을 포함할 수 있다. The
상기 제2 소스 전극(471)은 상기 제2 보호막(322)과 상기 제3 보호막(323)을 관통하여 상기 제2 소스 컨택부(431)에 전기적으로 연결될 수 있다. 상기 제2 소스 전극(471)은 상기 제3 보호막(323) 위에 배치된 제1 영역을 포함할 수 있다. 상기 제2 소스 전극(471)은 상기 제3 보호막(323)과 상기 제2 보호막(322)을 관통하는 제2 영역을 포함할 수 있다. 상기 제2 드레인 전극(472)은 상기 제2 보호막(322)과 상기 제3 보호막(323)을 관통하여 상기 제2 드레인 컨택부(432)에 전기적으로 연결될 수 있다. 상기 제2 드레인 전극(472)은 상기 제3 보호막(323) 위에 배치된 제1 영역을 포함할 수 있다. 상기 제2 드레인 전극(472)은 상기 제3 보호막(323)과 상기 제2 보호막(322)을 관통하는 제2 영역을 포함할 수 있다.The
상기 제3 보호막(323)은 절연물질을 포함할 수 있다. 상기 제3 보호막(323)은 예로서 실리콘 계열의 산화물, 실리콘 계열의 질화물, Al2O3를 포함하는 금속 산화물, 유기 절연물 중에서 적어도 하나의 물질을 포함하는 단일층 또는 다중층을 포함할 수 있다.The
실시 예에 따른 박막 트랜지스터 기판은 상기 제3 보호막(323) 위에 배치된 제4 보호막(324)을 포함할 수 있다. 상기 제4 보호막(324)은 상기 제1 소스 전극(371), 상기 제1 드레인 전극(372), 상기 제2 소스 전극(471), 상기 제2 드레인 전극(472) 위에 배치될 수 있다. The thin film transistor substrate according to the embodiment may include a
상기 제4 보호막(324)은 예로서 실리콘 계열의 산화물, 실리콘 계열의 질화물, Al2O3를 포함하는 금속 산화물, 유기 절연물 중에서 적어도 하나의 물질을 포함하는 단일층 또는 다중층을 포함할 수 있다.The
실시 예에 따른 박막 트랜지스터 기판은 상기 구동 박막 트랜지스터(830) 위에 배치된 하부 전극(486)을 포함할 수 있다. 상기 하부 전극(486)은 상기 구동 박막 트랜지스터(830)에 전기적으로 연결될 수 있다. 상기 하부 전극(486)은 상기 구동 박막 트랜지스터(830)의 제2 드레인 전극(472)에 전기적으로 연결될 수 있다. 상기 하부 전극(486)은 상기 제4 보호막(324) 위에 배치될 수 있다. 상기 하부 전극(486)은 상기 제4 보호막(324)에 제공된 컨택홀을 통하여 상기 제2 드레인 전극(472)에 전기적으로 연결될 수 있다. 상기 하부 전극(486)의 하부 면은 상기 제2 드레인 전극(472)의 상부 면에 접촉되어 배치될 수 있다.The thin film transistor substrate according to the embodiment may include a
또한 실시 예에 따른 박막 트랜지스터 기판은 상기 제4 보호막(324) 위에 배치된 제5 보호막(325)을 포함할 수 있다. 상기 하부 전극(486) 위에 상기 발광층(488)이 배치될 수 있으며, 상기 발광층(488) 위에 상부 전극(487)이 배치될 수 있다. 상기 발광층(488)과 상기 상부 전극(487)은 상기 제5 보호막(325) 위에 배치될 수 있다. 상기 발광층(488)의 제1 영역은 상기 제5 보호막(325) 위에 배치되고 상기 발광층(488)의 제2 영역은 상기 제5 보호막(325)에 제공된 컨택홀을 통하여 상기 하부 전극(486)의 상부면에 접촉되어 배치될 수 있다. 상기 발광층(488)은 예로서 적색, 녹색, 청색, 백색 중에서 어느 하나의 빛을 발광할 수 있다. 상기 발광층(488)은 예로서 유기물로 구현될 수 있다.In addition, the thin film transistor substrate according to the embodiment may include a
상기 하부 전극(486)과 상기 상부 전극(487)은 예로서 ITO, ITO/Ag, ITO/Ag/ITO, ITO/Ag/IZO 중에서 선택된 하나의 물질, 또는 그 물질을 포함하는 합금을 포함할 수 있다. 상기 하부 전극(486)과 상기 상부 전극(487)은 서로 다른 물질을 포함할 수 있다. 상기 상부 전극(486) 또는 상기 하부 전극(487) 중에서 하나는 투명 전극으로 형성될 수 있으며, 투명 전극 방향으로 상기 발광층(488)에서 발광된 빛이 외부로 방출될 수 있게 된다.The
실시 예에 따른 박막 트랜지스터 기판은, 상기 기판(355)과 상기 제1 채널층(760) 사이에 배치된 제1 블랙 매트릭스(340)를 포함할 수 있다. 상기 제1 채널층(760)의 폭과 상기 제1 블랙 매트릭스(340)의 폭이 같게 제공될 수 있다. 상기 제1 블랙 매트릭스(340)는 Si 기반의 물질, Ga 기반의 물질, Al 기반의 물질, 유기물 중에서 선택된 적어도 하나의 물질을 포함하는 단일층 또는 다중층으로 제공될 수 있다. 상기 제1 블랙 매트릭스(340)는 상기 스위칭 박막 트랜지스터(730)로 입사되는 빛을 차단할 수 있다. 이에 따라 광전류(photo current) 등에 의하여 상기 스위칭 박막 트랜지스터(730)가 열화되는 것을 방지할 수 있다.The thin film transistor substrate according to the embodiment may include a first
실시 예에 따른 박막 트랜지스터 기판은, 상기 기판(355)과 상기 제2 채널층(860) 사이에 배치된 제2 블랙 매트릭스(440)를 포함할 수 있다. 상기 제2 채널층(860)의 폭과 상기 제2 블랙 매트릭스(440)의 폭이 같게 제공될 수 있다. 상기 제2 블랙 매트릭스(440)는 Si 기반의 물질, Ga 기반의 물질, Al 기반의 물질, 유기물 중에서 선택된 적어도 하나의 물질을 포함하는 단일층 또는 다중층으로 제공될 수 있다. 상기 제2 블랙 매트릭스(440)는 상기 구동 박막 트랜지스터(830)로 입사되는 빛을 차단할 수 있다. 이에 따라 광전류(photo current) 등에 의하여 상기 구동 박막 트랜지스터(830)가 열화되는 것을 방지할 수 있다.The thin film transistor substrate according to the embodiment may include a second
실시 예에 의하면, 상기 기판(355)과 상기 제1 채널층(760) 사이에 상기 본딩층(350)이 배치될 수 있다. 상기 본딩층(350)은 상기 기판(355)과 상기 제1 블랙 매트릭스(340) 사이에 배치될 수 있다. 상기 기판(355)과 상기 제2 채널층(860) 사이에 상기 본딩층(350)이 배치될 수 있다. 상기 본딩층(350)은 상기 기판(355)과 상기 제2 블랙 매트릭스(440) 사이에 배치될 수 있다. 예로서, 상기 본딩층(350)은 상기 기판(355)의 전체 영역 위에 배치될 수 있다.According to an embodiment, the
실시 예에 따른 박막 트랜지스터 기판에 의하면, 질화물계 반도체층을 포함하는 박막 트랜지스터를 제공함으로써 높은 캐리어 이동도를 구현할 수 있게 된다. 예를 들어, 박막 트랜지스터는 채널층으로 적용되는 물질에 따라 전자 이동도(㎠/Vs)가 달라지게 되는데, 아몰퍼스 실리콘 반도체의 경우에는 전자 이동도가 1이고, 산화물 반도체의 경우에는 10 내지 80, 폴리 실리콘 반도체의 경우에는 100 이하인 것으로 보고되고 있다. 그러나, 실시 예에 따른 질화물계 반도체층을 포함하는 박막 트랜지스터는 전자 이동도가 1500에 달하는 것으로 측정되고 있다. 이에 따라 실시 예에 따른 질화물계 반도체층을 포함하는 박막 트랜지스터는 폴리 실리콘 반도체가 적용된 박막 트랜지스터에 비해 15 배 이상의 높은 전자 이동도를 구현할 수 있게 된다.According to the thin film transistor substrate according to the embodiment, it is possible to implement a high carrier mobility by providing a thin film transistor including a nitride-based semiconductor layer. For example, in the thin film transistor, the electron mobility (cm 2 /Vs) varies depending on the material applied as the channel layer. In the case of an amorphous silicon semiconductor, the electron mobility is 1, and in the case of an oxide semiconductor, 10 to 80, In the case of polysilicon semiconductor, it is reported to be 100 or less. However, the thin film transistor including the nitride-based semiconductor layer according to the embodiment is measured to have an electron mobility of 1500. Accordingly, the thin film transistor including the nitride-based semiconductor layer according to the embodiment can implement 15 times higher electron mobility than the thin film transistor to which the polysilicon semiconductor is applied.
실시 예에 의하면, 성장기판을 이용하여 품질이 좋은 반도체층을 형성할 수 있으며, 지지기판을 이용하여 트랜스퍼(transfer) 공정을 적용함으로써 전자 이동도가 우수한 박막 트랜지스터 기판을 제공할 수 있게 된다.According to an embodiment, a semiconductor layer having good quality may be formed using a growth substrate, and a thin film transistor substrate having excellent electron mobility may be provided by applying a transfer process using a support substrate.
따라서, 실시 예에 따른 박막 트랜지스터 기판, 이를 포함하는 표시패널 및 표시장치에 의하면, 높은 캐리어 이동도를 제공할 수 있게 되므로, 고해상도를 구현하고 부드러운 동화상을 재생할 수 있게 된다.Therefore, according to the thin film transistor substrate, the display panel and the display device including the thin film transistor substrate according to the embodiment, high carrier mobility can be provided, thereby realizing a high resolution and reproducing a smooth moving image.
도 51은 본 발명의 실시 예에 따른 박막 트랜지스터 기판의 또 다른 예를 나타낸 도면이다. 도 51을 참조하여 실시 예에 따른 박막 트랜지스터 기판을 설명함에 있어, 도 1 내지 도 50을 참조하여 설명된 부분과 중복되는 내용에 대해서는 설명이 생략될 수 있다. 도 51에 도시된 실시 예는 도 50을 참조하여 설명된 박막 트랜지스터 기판 대비하여 본딩층 구조에 차이가 있다.51 is a view showing another example of a thin film transistor substrate according to an embodiment of the present invention. In the description of the thin film transistor substrate according to the embodiment with reference to FIG. 51 , descriptions of content overlapping with those described with reference to FIGS. 1 to 50 may be omitted. The embodiment shown in FIG. 51 has a difference in the bonding layer structure compared to the thin film transistor substrate described with reference to FIG. 50 .
도 51에 도시된 바와 같이, 상기 기판(355) 위에 제1 본딩층(353)과 제2 본딩층(453)이 제공될 수 있다. 상기 제1 본딩층(353)은 상기 기판(355)과 상기 제1 블랙 매트릭스(340) 사이에 배치될 수 있다. 예로서, 상기 제1 본딩층(353)의 폭은 상기 제1 블랙 매트릭스(340)의 폭과 동일하게 제공될 수 있다. 예로서, 상기 제1 본딩층(353)의 폭은 상기 제1 채널층(760)의 폭과 동일하게 제공될 수 있다. 상기 제2 본딩층(453)은 상기 기판(355)과 상기 제2 블랙 매트릭스(440) 사이에 배치될 수 있다. 예로서, 상기 제2 본딩층(453)의 폭은 상기 제2 블랙 매트릭스(440)의 폭과 동일하게 제공될 수 있다. 예로서, 상기 제2 본딩층(453)의 폭은 상기 제2 채널층(860)의 폭과 동일하게 제공될 수 있다.51 , a
실시 예에 의하면, 상기 기판(355) 위에 상기 제2 보호막(322)이 배치될 수 있다. 상기 제2 보호막(322)의 하부면이 상기 기판(355)의 상부면에 접촉되어 배치될 수 있다. 상기 제1 본딩층(353)이 제공되지 않은 영역에서, 상기 제2 보호막(322)이 상기 기판(355)에 직접 접촉되어 배치될 수 있다. 상기 제2 본딩층(453)이 제공되지 않은 영역에서, 상기 제2 보호막(322)이 상기 기판(355)에 직접 접촉되어 배치될 수 있다.According to an embodiment, the
이와 같이, 도 51에 도시된 실시 예에 의하면, 도 50에 도시된 실시 예에 비하여, 상기 제2 보호막(322)과 상기 기판(355)이 직접 접촉되어 배치될 수 있게 되므로, 상기 제2 보호막(322)과 상기 기판(355) 사이에 제공되는 층(예로서, 도 50에 도시된 본딩층)을 배제시킬 수 있게 된다. 이에 따라, 실시 예에 의하면 빛이 진행되는 광 경로 상에 이종 물질층 간의 경계면이 줄어 들게 되므로 경계면에서의 반사/굴절 등에 의한 광손실을 줄일 수 있게 된다.In this way, according to the embodiment shown in FIG. 51 , compared to the embodiment shown in FIG. 50 , the
실시 예에 따른 상기 제1 본딩층(353)과 상기 제2 본딩층(453)은 예로서 반사층, 메탈본딩층, 유기본딩층, 절연층을 포함할 수 있다. 상기 반사층은 상기 기판(355) 위에 배치될 수 있으며, 상기 메탈본딩층은 상기 반사층 위에 배치되고, 상기 절연층은 상기 메탈본딩층 위에 배치될 수 있다. 예로서, 상기 제1 본딩층(353)과 상기 제2 본딩층(453)은 상기 메탈본딩층과 상기 유기본딩층 중에서 적어도 하나를 포함할 수 있으며, 상기 반사층과 상기 절연층은 선택적으로 포함할 수도 있다.The
상기 절연층은 상기 제1 채널층(760)과 상기 제2 채널층(860)의 누설 특성을 보완해 줄 수 있다. 예로서, 상기 절연층은 실리콘 계열의 산화물, 실리콘 계열의 질화물, Al2O3를 포함하는 금속 산화물, 유기 절연물 중에서 적어도 하나의 물질을 포함하는 단일층 또는 다중층을 포함할 수 있다.The insulating layer may supplement leakage characteristics of the
상기 메탈본딩층 또는 상기 유기본딩층은 아래에 배치된 상기 기판(355)과의 접착을 위하여 제공될 수 있다. 예로서, 상기 메탈본딩층은 금(Au), 주석(Sn), 인듐(In), 니켈(Ni), 은(Ag), 구리(Cu)를 포함하는 그룹 중에서 선택된 적어도 어느 하나의 물질 또는 합금을 포함할 수 있다. 예로서, 상기 유기본딩층은 아크릴, 벤조시크롤부텐(BCB), SU-8 폴리머(SU-8 polymer) 등을 포함하는 그룹 중에서 선택된 적어도 어느 하나의 물질을 포함할 수 있다.The metal bonding layer or the organic bonding layer may be provided for adhesion to the
상기 반사층은 상기 본딩층에서의 광 흡수를 줄여줄 수 있다. 예로서, 상기 반사층은 알루미늄(Al), 은(Ag), 로듐(Rh)을 포함하는 그룹 중에서 선택된 적어도 어느 하나의 물질 또는 합금을 포함할 수 있다. 상기 반사층은 예로서 반사특성이 60%를 넘는 물질로 제공될 수 있다.The reflective layer may reduce light absorption in the bonding layer. For example, the reflective layer may include at least one material or alloy selected from the group consisting of aluminum (Al), silver (Ag), and rhodium (Rh). The reflective layer may be provided of, for example, a material having a reflective characteristic of more than 60%.
한편 실시 예에 의하면, 예로서 상기 제1 본딩층(353)과 상기 제2 본딩층(453)이 상기 메탈본딩층과 상기 반사층을 포함하는 경우, 상기 제1 블랙매트릭스(340)와 상기 제2 블랙매트릭스(440)는 생략될 수도 있다.Meanwhile, according to an embodiment, for example, when the
실시 예에 따른 박막 트랜지스터 기판에 의하면, 질화물계 반도체층을 포함하는 박막 트랜지스터를 제공함으로써 높은 캐리어 이동도를 구현할 수 있게 된다. 예를 들어, 박막 트랜지스터는 채널층으로 적용되는 물질에 따라 전자 이동도(㎠/Vs)가 달라지게 되는데, 아몰퍼스 실리콘 반도체의 경우에는 전자 이동도가 1이고, 산화물 반도체의 경우에는 10 내지 80, 폴리 실리콘 반도체의 경우에는 100 이하인 것으로 보고되고 있다. 그러나, 실시 예에 따른 질화물계 반도체층을 포함하는 박막 트랜지스터는 전자 이동도가 1500에 달하는 것으로 측정되고 있다. 이에 따라 실시 예에 따른 질화물계 반도체층을 포함하는 박막 트랜지스터는 폴리 실리콘 반도체가 적용된 박막 트랜지스터에 비해 15 배 이상의 높은 전자 이동도를 구현할 수 있게 된다.According to the thin film transistor substrate according to the embodiment, it is possible to implement a high carrier mobility by providing a thin film transistor including a nitride-based semiconductor layer. For example, in the thin film transistor, the electron mobility (cm 2 /Vs) varies depending on the material applied as the channel layer. In the case of an amorphous silicon semiconductor, the electron mobility is 1, and in the case of an oxide semiconductor, 10 to 80, In the case of polysilicon semiconductor, it is reported to be 100 or less. However, the thin film transistor including the nitride-based semiconductor layer according to the embodiment is measured to have an electron mobility of 1500. Accordingly, the thin film transistor including the nitride-based semiconductor layer according to the embodiment can implement 15 times higher electron mobility than the thin film transistor to which the polysilicon semiconductor is applied.
실시 예에 의하면, 성장기판을 이용하여 품질이 좋은 반도체층을 형성할 수 있으며, 지지기판을 이용하여 트랜스퍼(transfer) 공정을 적용함으로써 전자 이동도가 우수한 박막 트랜지스터 기판을 제공할 수 있게 된다.According to an embodiment, a semiconductor layer having good quality may be formed using a growth substrate, and a thin film transistor substrate having excellent electron mobility may be provided by applying a transfer process using a support substrate.
따라서, 실시 예에 따른 박막 트랜지스터 기판, 이를 포함하는 표시패널 및 표시장치에 의하면, 높은 캐리어 이동도를 제공할 수 있게 되므로, 고해상도를 구현하고 부드러운 동화상을 재생할 수 있게 된다.Therefore, according to the thin film transistor substrate, the display panel and the display device including the thin film transistor substrate according to the embodiment, high carrier mobility can be provided, thereby realizing a high resolution and reproducing a smooth moving image.
도 52는 본 발명의 실시 예에 따른 박막 트랜지스터 기판의 또 다른 예를 나타낸 도면이다. 도 52를 참조하여 실시 예에 따른 박막 트랜지스터 기판을 설명함에 있어, 도 1 내지 도 51을 참조하여 설명된 부분과 중복되는 내용에 대해서는 설명이 생략될 수 있다. 도 52에 도시된 실시 예는 도 50 대비하여 트랜스퍼 공정이 적용되지 않고 성장기판 위에 박막 트랜지스터가 제공되는 점에 차이가 있다.52 is a view showing another example of a thin film transistor substrate according to an embodiment of the present invention. In the description of the thin film transistor substrate according to the embodiment with reference to FIG. 52 , descriptions of content overlapping with those described with reference to FIGS. 1 to 51 may be omitted. The embodiment shown in FIG. 52 is different from FIG. 50 in that the thin film transistor is provided on the growth substrate without applying the transfer process.
실시 예에 따른 박막 트랜지스터 기판은, 도 52에 도시된 바와 같이, 트랜스퍼 공정에 이용되는 지지기판 대신에 성장기판(310)을 기판으로서 포함할 수 있다. 상기 성장기판(310)은 예를 들어, 사파이어(Sapphire), SiC, GaAs, GaN, ZnO, Si, GaP, InP, Ge 중 적어도 하나를 포함할 수 있다. As shown in FIG. 52 , the thin film transistor substrate according to the embodiment may include a
상기 성장기판(310) 위에 제1 블랙 매트릭스(345)와 제2 블랙 매트릭스(445)가 배치될 수 있다. 상기 제1 블랙 매트릭스(345)는 상기 성장기판(310) 위에 배치되어 상기 제1 채널층(760)으로 빛이 입사되는 것을 방지할 수 있다. 상기 제1 블랙 매트릭스(345)는 예로서 가시광선을 흡수하거나 반사하는 물질로 구현될 수 있다. 이에 따라, 실시 예에 의하면 상기 제1 채널층(760)으로 빛이 입사되어 광전류(photo current) 등에 의하여 상기 스위칭 박막 트랜지스터(730)가 열화되는 것을 방지할 수 있게 된다. 상기 제2 블랙 매트릭스(445)는 상기 성장기판(310) 위에 배치되어 상기 제2 채널층(860)으로 빛이 입사되는 것을 방지할 수 있다. 상기 제2 블랙 매트릭스(445)는 예로서 가시광선을 흡수하거나 반사하는 물질로 구현될 수 있다. 이에 따라, 실시 예에 의하면 상기 제2 채널층(860)으로 빛이 입사되어 광전류(photo current) 등에 의하여 상기 구동 박막 트랜지스터(830)가 열화되는 것을 방지할 수 있게 된다.A first
예로서, 상기 제1 블랙 매트릭스(345)와 상기 제2 블랙 매트릭스(445)는 Si 기반의 물질, Ga 기반의 물질, Al 기반의 물질, 유기물 중에서 선택된 적어도 하나의 물질을 포함하는 단일층 또는 다중층으로 제공될 수 있다. 상기 제1 블랙 매트릭스(345)와 상기 제2 블랙 매트릭스(445)는 Si, GaAs 등의 물질을 선택적으로 포함할 수 있다.For example, the first
실시 예에 의하면, 상기 제1 블랙 매트릭스(345) 위에 제1 버퍼층(347)이 제공될 수 있다. 상기 제1 버퍼층(347)은 상기 제1 블랙 매트릭스(345)와 상기 제1 채널층(760) 사이에 제공될 수 있다. 상기 제1 버퍼층(347)은 상기 제1 채널층(760)을 구성하는 질화물 반도체층의 성장을 도울 수 있다. 상기 제2 블랙 매트릭스(445) 위에 제2 버퍼층(447)이 제공될 수 있다. 상기 제2 버퍼층(447)은 상기 제2 블랙 매트릭스(445)와 상기 제2 채널층(860) 사이에 제공될 수 있다. 상기 제2 버퍼층(447)은 상기 제2 채널층(860)을 구성하는 질화물 반도체층의 성장을 도울 수 있다. 예로서, 상기 제1 버퍼층(347)과 상기 제2 버퍼층(447)은 AlN, AlInN, AlGaN을 포함하는 그룹 중에서 선택된 적어도 하나의 물질을 포함하는 단일층 또는 다중층을 포함할 수 있다.According to an embodiment, a
예로서, 상기 제1 블랙 매트릭스(345)의 폭은 상기 제1 버퍼층(347)의 폭과 동일하게 제공될 수 있다. 예로서, 상기 제1 블랙 매트릭스(345)의 폭은 상기 제1 채널층(760)의 폭과 동일하게 제공될 수 있다. 상기 제1 버퍼층(347)의 폭은 상기 제1 채널층(760)의 폭과 동일하게 제공될 수 있다. 상기 제2 블랙 매트릭스(445)의 폭은 상기 제2 버퍼층(447)의 폭과 동일하게 제공될 수 있다. 예로서, 상기 제2 블랙 매트릭스(445)의 폭은 상기 제2 채널층(860)의 폭과 동일하게 제공될 수 있다. 상기 제2 버퍼층(447)의 폭은 상기 제2 채널층(860)의 폭과 동일하게 제공될 수 있다.For example, the width of the first
실시 예에 의하면, 상기 성장기판(310) 위에 상기 제2 보호막(322)이 배치될 수 있다. 상기 제2 보호막(322)의 하부면이 상기 성장기판(310)의 상부면에 접촉되어 배치될 수 있다. 상기 제1 블랙 매트릭스(345)와 상기 제2 블랙 매트릭스(445)가 제공되지 않은 영역에서, 상기 제2 보호막(322)이 상기 성장기판(310)에 직접 접촉되어 배치될 수 있다.According to an embodiment, the
실시 예에 따른 박막 트랜지스터 기판에 의하면, 질화물계 반도체층을 포함하는 박막 트랜지스터를 제공함으로써 높은 캐리어 이동도를 구현할 수 있게 된다. 예를 들어, 박막 트랜지스터는 채널층으로 적용되는 물질에 따라 전자 이동도(㎠/Vs)가 달라지게 되는데, 아몰퍼스 실리콘 반도체의 경우에는 전자 이동도가 1이고, 산화물 반도체의 경우에는 10 내지 80, 폴리 실리콘 반도체의 경우에는 100 이하인 것으로 보고되고 있다. 그러나, 실시 예에 따른 질화물계 반도체층을 포함하는 박막 트랜지스터는 전자 이동도가 1500에 달하는 것으로 측정되고 있다. 이에 따라 실시 예에 따른 질화물계 반도체층을 포함하는 박막 트랜지스터는 폴리 실리콘 반도체가 적용된 박막 트랜지스터에 비해 15 배 이상의 높은 전자 이동도를 구현할 수 있게 된다.According to the thin film transistor substrate according to the embodiment, it is possible to implement a high carrier mobility by providing a thin film transistor including a nitride-based semiconductor layer. For example, in the thin film transistor, the electron mobility (cm 2 /Vs) varies depending on the material applied as the channel layer. In the case of an amorphous silicon semiconductor, the electron mobility is 1, and in the case of an oxide semiconductor, 10 to 80, In the case of polysilicon semiconductor, it is reported to be 100 or less. However, the thin film transistor including the nitride-based semiconductor layer according to the embodiment is measured to have an electron mobility of 1500. Accordingly, the thin film transistor including the nitride-based semiconductor layer according to the embodiment can implement 15 times higher electron mobility than the thin film transistor to which the polysilicon semiconductor is applied.
따라서, 실시 예에 따른 박막 트랜지스터 기판, 이를 포함하는 표시패널 및 표시장치에 의하면, 높은 캐리어 이동도를 제공할 수 있게 되므로, 고해상도를 구현하고 부드러운 동화상을 재생할 수 있게 된다.Therefore, according to the thin film transistor substrate, the display panel and the display device including the thin film transistor substrate according to the embodiment, high carrier mobility can be provided, thereby realizing a high resolution and reproducing a smooth moving image.
도 53은 본 발명의 실시 예에 따른 박막 트랜지스터 기판을 포함하는 표시장치의 예를 나타낸 블록도이다.53 is a block diagram illustrating an example of a display device including a thin film transistor substrate according to an embodiment of the present invention.
실시 예에 따른 표시장치는, 도 53에 도시된 바와 같이, 표시패널(2100)과 패널 구동부(2300)를 포함할 수 있다. The display device according to the embodiment may include a
상기 표시패널(2100)은 도 42 내지 도 52를 참조하여 설명된 박막 트랜지스터 기판 중의 어느 하나를 포함할 수 있다. 상기 패널 구동부(2300)는 상기 표시패널(2100)에 구동 신호를 제공할 수 있다. 상기 패널 구동부(2300)는 상기 표시패널(2100)에 제공된 복수 화소의 광 투과율을 제어할 수 있으며, 이에 따라 상기 표시패널(2100)에 영상이 표시될 수 있게 된다.The
이상에서 실시 예들에 설명된 특징, 구조, 효과 등은 본 발명의 적어도 하나의 실시 예에 포함되며, 반드시 하나의 실시 예에만 한정되는 것은 아니다. 나아가, 각 실시 예에서 예시된 특징, 구조, 효과 등은 실시 예들이 속하는 분야의 통상의 지식을 가지는 자에 의해 다른 실시 예들에 대해서도 조합 또는 변형되어 실시 가능하다. 따라서 이러한 조합과 변형에 관계된 내용들은 본 발명의 범위에 포함되는 것으로 해석되어야 할 것이다.Features, structures, effects, etc. described in the above embodiments are included in at least one embodiment of the present invention, and are not necessarily limited to only one embodiment. Furthermore, features, structures, effects, etc. illustrated in each embodiment can be combined or modified for other embodiments by a person skilled in the art to which the embodiments belong. Accordingly, the contents related to such combinations and modifications should be interpreted as being included in the scope of the present invention.
또한, 이상에서 실시 예를 중심으로 설명하였으나 이는 단지 예시일 뿐 본 발명을 한정하는 것이 아니며, 본 발명이 속하는 분야의 통상의 지식을 가진 자라면 본 실시 예의 본질적인 특성을 벗어나지 않는 범위에서 이상에 예시되지 않은 여러 가지의 변형과 응용이 가능함을 알 수 있을 것이다. 예를 들어, 실시 예에 구체적으로 나타난 각 구성 요소는 변형하여 실시할 수 있는 것이다. 그리고 이러한 변형과 응용에 관계된 차이점들은 첨부된 청구 범위에서 규정하는 본 발명의 범위에 포함되는 것으로 해석되어야 할 것이다.In addition, although the embodiment has been described above, it is only an example and does not limit the present invention, and those of ordinary skill in the art to which the present invention pertains are exemplified above in a range that does not depart from the essential characteristics of the present embodiment. It can be seen that various modifications and applications that have not been made are possible. For example, each component specifically shown in the embodiment may be implemented by modification. And the differences related to these modifications and applications should be construed as being included in the scope of the present invention defined in the appended claims.
10, 310 성장기판 15 디플리션 형성층
21 제1 보호막 22 제2 보호막
23 제3 보호막 24 제4 보호막
30, 130, 230 박막 트랜지스터 31 소스 컨택부
32 드레인 컨택부 33, 233, 733, 833 게이트 전극
35 제1 게이트 전극 36 제2 게이트 전극
38제2 게이트 연결배선 40, 45, 46 블랙 매트릭스
41 게이트 배선 47 버퍼층
50, 51 본딩층 53 본딩층
55, 56 지지기판 60, 260, 760, 860 채널층
61, 261, 761, 861 제1 질화물 반도체층
62, 262, 762, 862 제2 질화물 반도체층
71 소스 전극 72 드레인 전극
73 데이터 배선 80, 81, 82 화소전극
85 공통전극 91 터치패널 하부전극
92 터치패널 상부전극 330, 530, 730 스위칭 박막 트랜지스터
331 제1 소스 컨택부 332 제1 드레인 컨택부
333 제1 게이트 전극 341 제1 게이트 배선
360 제1 채널층 361 제1 질화물 반도체층
362 제2 질화물 반도체층 371 제1 소스 전극
372 제1 드레인 전극 373 데이터 배선
375 제1 드레인-게이트 연결배선
430, 830 구동 박막 트랜지스터
431 제2 소스 컨택부 432 제2 드레인 컨택부
433 제2 게이트 전극 441 제2 게이트 배선
460 제2 채널층 461 제1 질화물 반도체층
462 제2 질화물 반도체층 471 제2 소스 전극
472 제2 드레인 전극 474 구동 전원배선
475 제2 드레인-게이트 연결배선
486 하부 전극 487 상부 전극
488 발광층 535 제1 게이트 전극
536 제1 이중 게이트 전극10, 310
21
23 Third
30, 130, 230
32
35
38Second
41
50, 51
55, 56
61, 261, 761, 861 first nitride semiconductor layer
62, 262, 762, 862 second nitride semiconductor layer
71
73
85
92 Touch panel
331 first
333
360
362 second
372
375 First drain-gate connection wiring
430 and 830 driving thin film transistors
431 second
433
460
462 second
472
475 second drain-gate connection wiring
486
488 light emitting
536 first double gate electrode
Claims (22)
상기 기판 위에 배치되며, 질화물계 반도체층을 포함하는 제1 채널층, 상기 제1 채널층의 제1 영역에 전기적으로 연결된 제1 소스 전극, 상기 제1 채널층의 제2 영역에 전기적으로 연결된 제1 드레인 전극, 상기 제1 채널층 위에 배치된 제1 게이트 전극, 상기 제1 채널층과 상기 제1 게이트 전극 사이에 배치된 제1 디플리션 형성층, 상기 제1 채널층 아래에 배치된 제1 이중 게이트 전극을 포함하는 스위칭 박막 트랜지스터;
상기 기판 위에 배치되며, 질화물계 반도체층을 포함하는 제2 채널층, 상기 제2 채널층의 제1 영역에 전기적으로 연결된 제2 소스 전극, 상기 제2 채널층의 제2 영역에 전기적으로 연결된 제2 드레인 전극, 상기 제2 채널층 위에 배치된 제2 게이트 전극, 상기 제2 채널층과 상기 제2 게이트 전극 사이에 배치된 제2 디플리션 형성층, 상기 제2 채널층 아래에 배치된 제2 이중 게이트 전극을 포함하는 구동 박막 트랜지스터;
를 포함하는 박막 트랜지스터 기판.Board;
a first channel layer disposed on the substrate, the first channel layer including a nitride-based semiconductor layer, a first source electrode electrically connected to a first region of the first channel layer, and a first channel layer electrically connected to a second region of the first channel layer a first drain electrode, a first gate electrode disposed on the first channel layer, a first depletion forming layer disposed between the first channel layer and the first gate electrode, and a first disposed under the first channel layer a switching thin film transistor including a double gate electrode;
a second channel layer disposed on the substrate and including a nitride-based semiconductor layer, a second source electrode electrically connected to a first region of the second channel layer, and a second channel layer electrically connected to a second region of the second channel layer 2 drain electrodes, a second gate electrode disposed on the second channel layer, a second depletion forming layer disposed between the second channel layer and the second gate electrode, a second layer disposed under the second channel layer a driving thin film transistor including a double gate electrode;
A thin film transistor substrate comprising a.
상기 제1 디플리션 형성층과 상기 제2 디플리션 형성층은 p형 도펀트가 첨가된 질화물 반도체층을 포함하는 박막 트랜지스터 기판.According to claim 1,
and the first depletion forming layer and the second depletion forming layer include a nitride semiconductor layer to which a p-type dopant is added.
상기 기판과 상기 제1 채널층 사이에 배치된 제1 본딩층, 상기 기판과 상기 제2 채널층 사이에 배치된 제2 본딩층을 포함하고,
상기 제1 본딩층과 상기 제2 본딩층 각각은, 상기 기판 위에 배치된 반사층과, 상기 반사층 위에 배치된 메탈본딩층과 상기 메탈본딩층 위에 배치된 절연층을 포함하는 박막 트랜지스터 기판.According to claim 1,
a first bonding layer disposed between the substrate and the first channel layer, and a second bonding layer disposed between the substrate and the second channel layer,
Each of the first bonding layer and the second bonding layer includes a reflective layer disposed on the substrate, a metal bonding layer disposed on the reflective layer, and an insulating layer disposed on the metal bonding layer.
상기 스위칭 박막 트랜지스터의 제1 드레인 전극과 상기 구동 박막 트랜지스터의 제2 게이트 전극이 전기적으로 연결된 박막 트랜지스터 기판.According to claim 1,
A thin film transistor substrate in which a first drain electrode of the switching thin film transistor and a second gate electrode of the driving thin film transistor are electrically connected.
상기 제1 채널층 위에 배치된 제1 보호막, 상기 기판 및 상기 제1 보호막 위에 배치된 제2 보호막, 상기 제1 보호막을 관통하여 상기 제1 채널층의 제1 영역에 접촉되어 배치되고 상기 제1 소스 전극에 전기적으로 연결된 제1 소스 컨택부, 상기 제1 보호막을 관통하여 상기 제1 채널층의 제2 영역에 접촉되어 배치되고 상기 제1 드레인 전극에 전기적으로 연결된 제1 드레인 컨택부를 포함하고,
상기 제1 게이트 전극은 상기 제1 보호막과 상기 제2 보호막을 관통하여 상기 제1 디플리션 형성층에 접촉되어 배치되고,
상기 제2 보호막 위에 배치되어 상기 제1 게이트 전극과 전기적으로 연결된 게이트 배선을 포함하는 박막 트랜지스터 기판.According to claim 1,
A first passivation layer disposed on the first channel layer, a second passivation layer disposed on the substrate and the first passivation layer, passing through the first passivation layer, and disposed in contact with a first region of the first channel layer, the first passivation layer a first source contact portion electrically connected to the source electrode, a first drain contact portion disposed in contact with the second region of the first channel layer through the first passivation layer and electrically connected to the first drain electrode;
the first gate electrode passes through the first passivation layer and the second passivation layer and is disposed in contact with the first depletion forming layer;
and a gate line disposed on the second passivation layer and electrically connected to the first gate electrode.
Priority Applications (1)
| Application Number | Priority Date | Filing Date | Title |
|---|---|---|---|
| KR1020160003030A KR102456552B1 (en) | 2016-01-11 | 2016-01-11 | Tft substrate, display panel and display device having the same |
Applications Claiming Priority (1)
| Application Number | Priority Date | Filing Date | Title |
|---|---|---|---|
| KR1020160003030A KR102456552B1 (en) | 2016-01-11 | 2016-01-11 | Tft substrate, display panel and display device having the same |
Publications (2)
| Publication Number | Publication Date |
|---|---|
| KR20170083756A KR20170083756A (en) | 2017-07-19 |
| KR102456552B1 true KR102456552B1 (en) | 2022-10-19 |
Family
ID=59427417
Family Applications (1)
| Application Number | Title | Priority Date | Filing Date |
|---|---|---|---|
| KR1020160003030A Active KR102456552B1 (en) | 2016-01-11 | 2016-01-11 | Tft substrate, display panel and display device having the same |
Country Status (1)
| Country | Link |
|---|---|
| KR (1) | KR102456552B1 (en) |
Families Citing this family (4)
| Publication number | Priority date | Publication date | Assignee | Title |
|---|---|---|---|---|
| CN109683385B (en) * | 2019-02-18 | 2022-04-26 | 京东方科技集团股份有限公司 | Reflective curved surface display screen, preparation method thereof and display device |
| US12356779B2 (en) * | 2019-11-21 | 2025-07-08 | Semiconductor Energy Laboratory Co., Ltd. | Display unit, display module, electronic device, and method for manufacturing the display unit |
| CN114171602B (en) * | 2021-12-07 | 2024-08-23 | Tcl华星光电技术有限公司 | TFT substrate and manufacturing method thereof, display panel and display device |
| CN119317162A (en) * | 2024-09-25 | 2025-01-14 | 华中科技大学 | A dual-gate heterojunction thin film transistor and its preparation method and application |
Family Cites Families (4)
| Publication number | Priority date | Publication date | Assignee | Title |
|---|---|---|---|---|
| KR20090041100A (en) * | 2007-10-23 | 2009-04-28 | 고려대학교 산학협력단 | Transparent thin film transistor and its manufacturing method |
| KR20150065005A (en) * | 2013-12-04 | 2015-06-12 | 삼성전자주식회사 | Normally off high electron mobility transistor |
| KR102349595B1 (en) * | 2014-02-24 | 2022-01-12 | 엘지디스플레이 주식회사 | Thin Film Transistor Substrate And Display Using The Same |
| US9502435B2 (en) * | 2015-04-27 | 2016-11-22 | International Business Machines Corporation | Hybrid high electron mobility transistor and active matrix structure |
-
2016
- 2016-01-11 KR KR1020160003030A patent/KR102456552B1/en active Active
Also Published As
| Publication number | Publication date |
|---|---|
| KR20170083756A (en) | 2017-07-19 |
Similar Documents
| Publication | Publication Date | Title |
|---|---|---|
| KR102455088B1 (en) | Tft substrate, display panel and display device having the same | |
| US11094867B2 (en) | Display device and method of manufacturing the same | |
| KR102939374B1 (en) | Display device and method for manufacturing the same | |
| US10446729B1 (en) | Display device having an electronic device disposed on a first pad and a second pad | |
| WO2022217648A1 (en) | Light emitting diode structure and method for manufacturing thereof | |
| KR102456552B1 (en) | Tft substrate, display panel and display device having the same | |
| KR102848810B1 (en) | Pixel, manufacturing method of the same and display device including the same | |
| US11011572B2 (en) | Laminated structures and electronic devices | |
| KR102455093B1 (en) | Tft substrate, display panel and display device having the same | |
| US11817535B2 (en) | Light emitting diode structure and method for manufacturing the same | |
| KR102445546B1 (en) | Tft substrate, display panel and display device having the same | |
| KR102431047B1 (en) | Tft substrate, display panel and display device having the same | |
| KR102482648B1 (en) | Tft substrate, display panel and display device having the same | |
| KR102431040B1 (en) | Tft substrate, display panel and display device having the same | |
| KR102441150B1 (en) | Tft substrate, display panel and display device having the same | |
| KR102455095B1 (en) | Tft substrate, display panel and display device having the same | |
| KR102455094B1 (en) | Tft substrate, display panel and display device having the same | |
| KR102438224B1 (en) | Tft substrate, display panel and display device having the same | |
| KR102448473B1 (en) | Tft substrate, display panel and display device having the same | |
| US10586894B2 (en) | Light emitting unit and display device | |
| KR20240098283A (en) | Display device and method of fabricating display device | |
| KR20240026413A (en) | Light emitting element, method of manufacturing the same and display device comprising the light emitting element | |
| CN110459607B (en) | Thin film transistor array substrate | |
| US12527137B2 (en) | Light emitting diode structure and method for manufacturing the same | |
| US20250029964A1 (en) | Display panel and method of fabricating display panel |
Legal Events
| Date | Code | Title | Description |
|---|---|---|---|
| PA0109 | Patent application |
Patent event code: PA01091R01D Comment text: Patent Application Patent event date: 20160111 |
|
| PG1501 | Laying open of application | ||
| A201 | Request for examination | ||
| PA0201 | Request for examination |
Patent event code: PA02012R01D Patent event date: 20201221 Comment text: Request for Examination of Application Patent event code: PA02011R01I Patent event date: 20160111 Comment text: Patent Application |
|
| N231 | Notification of change of applicant | ||
| PN2301 | Change of applicant |
Patent event date: 20210719 Comment text: Notification of Change of Applicant Patent event code: PN23011R01D |
|
| E701 | Decision to grant or registration of patent right | ||
| PE0701 | Decision of registration |
Patent event code: PE07011S01D Comment text: Decision to Grant Registration Patent event date: 20220826 |
|
| GRNT | Written decision to grant | ||
| PR0701 | Registration of establishment |
Comment text: Registration of Establishment Patent event date: 20221014 Patent event code: PR07011E01D |
|
| PR1002 | Payment of registration fee |
Payment date: 20221017 End annual number: 3 Start annual number: 1 |
|
| PG1601 | Publication of registration |
