JP7705035B2 - 発光装置 - Google Patents
発光装置 Download PDFInfo
- Publication number
- JP7705035B2 JP7705035B2 JP2021153133A JP2021153133A JP7705035B2 JP 7705035 B2 JP7705035 B2 JP 7705035B2 JP 2021153133 A JP2021153133 A JP 2021153133A JP 2021153133 A JP2021153133 A JP 2021153133A JP 7705035 B2 JP7705035 B2 JP 7705035B2
- Authority
- JP
- Japan
- Prior art keywords
- reflecting member
- light
- substrate
- resin
- emitting device
- Prior art date
- Legal status (The legal status is an assumption and is not a legal conclusion. Google has not performed a legal analysis and makes no representation as to the accuracy of the status listed.)
- Active
Links
Images
Classifications
-
- H—ELECTRICITY
- H10—SEMICONDUCTOR DEVICES; ELECTRIC SOLID-STATE DEVICES NOT OTHERWISE PROVIDED FOR
- H10H—INORGANIC LIGHT-EMITTING SEMICONDUCTOR DEVICES HAVING POTENTIAL BARRIERS
- H10H20/00—Individual inorganic light-emitting semiconductor devices having potential barriers, e.g. light-emitting diodes [LED]
- H10H20/80—Constructional details
- H10H20/85—Packages
- H10H20/855—Optical field-shaping means, e.g. lenses
- H10H20/856—Reflecting means
-
- H—ELECTRICITY
- H01—ELECTRIC ELEMENTS
- H01L—SEMICONDUCTOR DEVICES NOT COVERED BY CLASS H10
- H01L25/00—Assemblies consisting of a plurality of semiconductor or other solid state devices
- H01L25/03—Assemblies consisting of a plurality of semiconductor or other solid state devices all the devices being of a type provided for in a single subclass of subclasses H10B, H10D, H10F, H10H, H10K or H10N, e.g. assemblies of rectifier diodes
- H01L25/04—Assemblies consisting of a plurality of semiconductor or other solid state devices all the devices being of a type provided for in a single subclass of subclasses H10B, H10D, H10F, H10H, H10K or H10N, e.g. assemblies of rectifier diodes the devices not having separate containers
- H01L25/075—Assemblies consisting of a plurality of semiconductor or other solid state devices all the devices being of a type provided for in a single subclass of subclasses H10B, H10D, H10F, H10H, H10K or H10N, e.g. assemblies of rectifier diodes the devices not having separate containers the devices being of a type provided for in group H10H20/00
- H01L25/0753—Assemblies consisting of a plurality of semiconductor or other solid state devices all the devices being of a type provided for in a single subclass of subclasses H10B, H10D, H10F, H10H, H10K or H10N, e.g. assemblies of rectifier diodes the devices not having separate containers the devices being of a type provided for in group H10H20/00 the devices being arranged next to each other
-
- H—ELECTRICITY
- H10—SEMICONDUCTOR DEVICES; ELECTRIC SOLID-STATE DEVICES NOT OTHERWISE PROVIDED FOR
- H10H—INORGANIC LIGHT-EMITTING SEMICONDUCTOR DEVICES HAVING POTENTIAL BARRIERS
- H10H20/00—Individual inorganic light-emitting semiconductor devices having potential barriers, e.g. light-emitting diodes [LED]
- H10H20/01—Manufacture or treatment
- H10H20/036—Manufacture or treatment of packages
- H10H20/0362—Manufacture or treatment of packages of encapsulations
-
- H—ELECTRICITY
- H10—SEMICONDUCTOR DEVICES; ELECTRIC SOLID-STATE DEVICES NOT OTHERWISE PROVIDED FOR
- H10H—INORGANIC LIGHT-EMITTING SEMICONDUCTOR DEVICES HAVING POTENTIAL BARRIERS
- H10H20/00—Individual inorganic light-emitting semiconductor devices having potential barriers, e.g. light-emitting diodes [LED]
- H10H20/01—Manufacture or treatment
- H10H20/036—Manufacture or treatment of packages
- H10H20/0363—Manufacture or treatment of packages of optical field-shaping means
-
- H—ELECTRICITY
- H10—SEMICONDUCTOR DEVICES; ELECTRIC SOLID-STATE DEVICES NOT OTHERWISE PROVIDED FOR
- H10H—INORGANIC LIGHT-EMITTING SEMICONDUCTOR DEVICES HAVING POTENTIAL BARRIERS
- H10H20/00—Individual inorganic light-emitting semiconductor devices having potential barriers, e.g. light-emitting diodes [LED]
- H10H20/80—Constructional details
- H10H20/85—Packages
- H10H20/852—Encapsulations
- H10H20/853—Encapsulations characterised by their shape
-
- H—ELECTRICITY
- H10—SEMICONDUCTOR DEVICES; ELECTRIC SOLID-STATE DEVICES NOT OTHERWISE PROVIDED FOR
- H10H—INORGANIC LIGHT-EMITTING SEMICONDUCTOR DEVICES HAVING POTENTIAL BARRIERS
- H10H20/00—Individual inorganic light-emitting semiconductor devices having potential barriers, e.g. light-emitting diodes [LED]
- H10H20/80—Constructional details
- H10H20/85—Packages
- H10H20/852—Encapsulations
- H10H20/854—Encapsulations characterised by their material, e.g. epoxy or silicone resins
-
- H—ELECTRICITY
- H10—SEMICONDUCTOR DEVICES; ELECTRIC SOLID-STATE DEVICES NOT OTHERWISE PROVIDED FOR
- H10H—INORGANIC LIGHT-EMITTING SEMICONDUCTOR DEVICES HAVING POTENTIAL BARRIERS
- H10H20/00—Individual inorganic light-emitting semiconductor devices having potential barriers, e.g. light-emitting diodes [LED]
- H10H20/80—Constructional details
- H10H20/882—Scattering means
Landscapes
- Led Device Packages (AREA)
Description
以下、実施形態に係る発光装置及びその製造方法について、図面を参照しながら説明する。なお、各図面が示す部材のサイズや位置関係等は、説明を明確にするため誇張していることがある。また、平面図と対応する断面図とで、各部材の寸法や配置位置が厳密には一致しないことがある。図面が過度に複雑になることを避けるために、一部の要素の図示を省略したり、断面図として切断面のみを示す端面図を用いたりする場合がある。更に以下の説明において、上下左右前後は相対的なものであり、絶対的な方向を示すものではない。そして、同一の名称、符号については、原則として同一もしくは同質の部材を示しており、詳細説明を適宜省略する場合がある。また、実施形態について、「被覆」や「覆う」とは直接接する場合に限らず、間接的に、例えば他の部材を介して被覆する場合も含む。本明細書において平面視とは、発光装置の光取り出し面側から観察することを意味する。
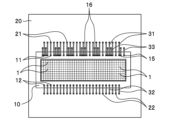
図1は、実施形態に係る発光装置を模式的に示す斜視図である。図2は、実施形態に係る発光装置を模式的に示す平面図である。図3は、図2のIII-III線における断面図である。図4は、図2のIV-IV線における断面図である。図5は、図2のV-V線における断面図である。図6は、図2のVI-VI線における断面図である。図7は、実施形態に係る発光装置において第1反射部材及び第2反射部材と、ワイヤを模式的に示す平面図である。図8は、実施形態に係る発光装置の第1反射部材の一部を模式的に示す拡大断面図である。なお、図8は、図5の符号Aの部位を模式的に示している。図9は、表面粗さRaと艶消しの関係を示すグラフである。図10は、基板の第1面と第1反射部材の成す角度の測定方法を説明するための模式断面図である。なお、図面において、被覆部材40の内部に配置された第1ワイヤ31、第2ワイヤ32、第3ワイヤ33等は視認できない場合があるが、説明の便宜上、第1ワイヤ31等を視認できる形態で表している。
以下、各構成について説明する。
第1基板10は、平板状の支持部材と、支持部材の上面に配置された配線と、を含む。第1基板10は上面である第1面10aに複数の発光素子1を載置する素子載置領域13を有し、素子載置領域13には、所定の電気回路が構成されるように配線が配置されている。第1基板10は、素子載置領域13よりも外側の上面に配置される配線として複数の第1端子110を有し、第1端子110は、素子載置領域13に配置された配線と電気的に接続される。第1基板10は、例えばシリコン等の半導体基板であり、上面の配線が配置されていない領域は絶縁膜で覆われている。配線は、支持部材の内部や下面にも配置されていてもよい。例えば、第1基板10は、複数の発光素子1を駆動制御するための回路が集積された集積回路(IC)基板を用いることができる。
素子載置領域13には、複数の発光素子1が行列状に載置されている。ただし複数の発光素子1は2行及び/又は2列以上の行列状に配置されているだけでなく、1行のみ、又は、1列のみに配置されていてもよい。平面視における素子載置領域13は、一例として、矩形の領域とすることができる。この素子載置領域13は、ここでは長方形であり、第1端子110は、素子載置領域13を挟むように、長方形の対向する長辺に沿って列状に配置されている。
また、複数の発光素子1は、第1基板10上に行列状に載置され、第1端子110(つまり第1外部接続端子11及び第2外部接続端子12)のいずれかと電気的に接続されている。複数の発光素子1は、所定個数ずつのグループとして、第1端子110と直列接続又は並列接続されていてもよい。
配線は、例えば、Cu,Ag,Au,Al,Pt,Ti,W,Pd,Fe,Ni等の金属又はその合金等を用いて形成することができる。このような配線は、電解めっき、無電解めっき、蒸着、スパッタ等によって形成することができる。
第2基板20は、平板状の基材と、基材の少なくとも上面に配置された配線と、を含む。第2基板20は上面に第1基板10を載置する基板載置領域23を有し、更に基板載置領域23よりも外側の上面に第2端子120を備える。
基板載置領域23は、第1基板10が接合部材を介して載置される領域である。この基板載置領域23は第1基板10の平面視形状と同等の面積を備える領域として設定されている。第1基板10が平面視で長方形であれば、基板載置領域23も長方形とすることができる。ここで、第2端子120は、第1外部接続端子11とワイヤを介して接続される第1ワイヤ接続端子21と、第2外部接続端子12とワイヤを介して接続される第2ワイヤ接続端子22と、を含み、第1ワイヤ接続端子21と第2ワイヤ接続端子22は基板載置領域23を挟んで第2基板20上に配置されている。
第2ワイヤ接続端子22は、基板載置領域23の外側において、長方形の基板載置領域23の他方の長辺(つまり、前述した一方の長辺と基板載置領域23を挟んで反対側に位置する辺)に沿って列状に複数配置される。第2ワイヤ接続端子22は、第2外部接続端子12に一端が接続される第2ワイヤ32の他端が接続される端子である。第1ワイヤ接続端子21及び第2ワイヤ接続端子22は、ここでは一例として一つ一つが略矩形状で、それぞれが互いに離隔して、基板載置領域23の長辺に沿ってそれぞれ一列に整列して配置されている。
第2基板20は、ここでは、一例として、上面に、発光素子1の点灯又は消灯の駆動用信号を扱う駆動用の第2駆動端子16を複数備える。第2駆動端子16は、例えば、第1ワイヤ接続端子21よりも内側(つまり基板載置領域23側)の上面に配置されている。この第2駆動端子16には、後記する第3ワイヤ33が接続される。
第2基板20は、基板載置領域23の表面に、第1基板10を載置するための配線を備えていてもよい。第1基板10と第2基板20とは、Ag焼結体、半田、接着用樹脂等の接合材を介して接合することができる。
ワイヤ130としては、金、銅、白金、アルミニウム等の金属及び/又は少なくともそれらの金属を含有する合金を用いた導電性ワイヤが挙げられる。特に、熱抵抗等に優れた金を用いるのが好ましい。ワイヤの径は、例えば、15μm以上50μm以下が挙げられる。なお、ワイヤ130は、第1端子110と第2端子120とに接続される第1ワイヤ31及び第2ワイヤ32と、発光素子1の点灯又は消灯の駆動用信号を扱う第3ワイヤ33と、を含む。第3ワイヤ33は、第1基板10に配置される第1駆動端子15と、第2基板20に配置される第2駆動端子16とに接続されている。第1ワイヤ31、第2ワイヤ32、第3ワイヤ33は、長さが異なるのみで、それぞれ同等な部材で形成することができる。
ワイヤ130は、平面視で略長方形の第1基板10の長辺を跨いで、例えば、長辺と略直交するように配置することができる。
発光素子1は、例えば、平面視形状が略矩形であり、半導体積層体と、半導体積層体の表面に配置される正負の電極と、を備える。発光素子1は同一面側に正負の電極を備えており、電極を備える面を下面として第1基板10上にフリップチップ実装されている。この場合、電極が配置された面の反対側の上面が、発光素子1の主な光取り出し面となる。なお、発光装置100では、発光素子1は、第1基板10上において、行列方向に所定間隔を開けて整列して載置される。用いる発光素子1の大きさや個数は、得ようとする発光装置の形態によって適宜選択することができる。なかでも、より小さい発光素子1をより多く高密度に載置することが好ましい。これにより、照射範囲をより多い分割数で制御できるようになり、高解像度の照明システムの光源として用いることができる。例えば、1辺が40~100μmの平面視矩形状の発光素子1が1000~20000個用いられ、全体として長方形を成すように行列状に載置されたものが挙げられる。
発光素子1は、図6に示すように、第1基板10の素子載置領域13に配置された配線上に、導電性の接合部材により接合されている。発光素子1を第1基板10にフリップチップ実装する場合、接合部材として、Au,Ag,Cu,Al等の金属材料からなるバンプを用いることができる。また、接合部材として、AuSn系合金、Sn系の鉛フリー半田等の半田を用いるようにしてもよい。この場合は、リフロー法によって、発光素子1を第1基板10に接合することができる。また、接合部材として、樹脂に導電性粒子を含有させた導電性接着材を用いることもできる。発光素子1と第1基板10との接合は、めっき法を用いて形成してもよい。材料としては、例えば、銅が挙げられる。
また、発光素子1と第1基板10との接合は、接合部材を介さずに、発光素子1の電極と第1基板10の配線とが直接接合により接合されていてもよい。
第3反射部材7は、図6に示すように、第1基板10の上面及び発光素子1の側面を被覆する部材である。発光素子1の上面は第3反射部材7から露出する。第3反射部材7は、発光素子1の下面と第1基板10との間を被覆してもよい。第3反射部材7は、発光素子1の側面から出射する光を反射して、発光装置100の発光面である透光性部材5の上面から出射させることができる。このため、発光装置100の光取り出し効率を高めることができる。また、発光素子1を個別点灯した際に、発光エリアと非発光エリアとの境界を明確にすることができる。これにより、発光エリアと非発光エリアとのコントラスト比が向上する。また、第3反射部材7は、第1反射部材41から離隔して配置されていてもよく、第1反射部材41に接して配置されていてもよい。
透光性部材5は、透光性を有し、複数の発光素子1の上面を被覆する。透光性部材5は、複数の発光素子1の上面及び第3反射部材7の上面を一括して被覆する。透光性部材5の上面は発光装置100の発光面を構成する。透光性部材5は、波長変換部材を含有してもよい。ここでは、一例として、透光性部材5は波長変換部材を含有しており、発光素子1から出射される光の少なくとも一部を波長変換して外部に出射している。波長変換部材としては、例えば、蛍光体が挙げられる。
透光性部材5は、平面視で略長方形であり、複数の発光素子1の上面を被覆するように配置されている。
波長変換部材を含有する透光性部材としては、蛍光体の焼結体や、樹脂、ガラス、他の無機物等の母材に蛍光体の粉末を含有させたものを挙げることができる。母材としては、エポキシ樹脂、シリコーン樹脂、これらを混合した樹脂、又は、ガラス等の透光性材料を用いることができる。透光性部材5の厚みは、例えば、20μm以上100μm以下程度とすることができる。なお、透光性部材5は、複数の発光素子1の上面全てを被覆する大きさに形成されている。また、透光性部材5は、ここでは、後記する第1反射部材41に当接する位置まで延在して設けられている。
被覆部材40は、素子載置領域13よりも外側においてワイヤ130(具体的には第1ワイヤ31及び第2ワイヤ32)を覆う遮光性の樹脂である。なお、被覆部材40は、一例として、第1ワイヤ31及び第2ワイヤ32を覆うと共に素子載置領域13を囲うように平面視で枠状に配置されている。被覆部材40は、後記する第1反射部材41に接するように配置されている。なお、被覆部材40は、第3ワイヤ33も併せて被覆している。被覆部材40は、透光性部材5から離隔して配置される。
なかでも、光吸収による樹脂の劣化を考慮して、被覆部材40は、少なくとも最表面に光反射性を有する白色樹脂を用いることが好ましい。
発光装置100は、素子載置領域13と第1端子110との間の第1基板10上において、素子載置領域13に沿って配置され、被覆部材40に接する第1反射部材41を有する。更に、発光装置100は、第2基板20の上面において、第2端子120より外側に配置され、被覆部材40に接する第2反射部材42を有する。つまり、被覆部材40は、第1基板10の上面から第2基板20の上面に亘って、第1反射部材41と第2反射部材42との間に配置される。
被覆部材40は、第1基板10上において素子載置領域13を囲うように配置された第1反射部材41と、第2基板20上において基板載置領域23を囲うように配置された第2反射部材42と、の間に配置される。このような被覆部材40の配置は、第1反射部材41と第2反射部材42とで囲まれた枠内に被覆部材40を構成する未硬化の樹脂を供給することで形成することができる。言い換えると、第1反射部材41及び第2反射部材42は、被覆部材40が供給される際の、未硬化の樹脂の流動を堰き止めるためのダムとして用いることができる。
第1反射部材41は、素子載置領域13の外周に沿って第1基板10上に平面視で長方形の枠状に配置されている。第1反射部材41は、素子載置領域13の長手方向に沿う位置では、素子載置領域13の長手方向の辺と複数の第1端子110との間に、素子載置領域13の短手方向に沿う位置では、第1基板10上で、素子載置領域13と第1基板10の外縁との間に配置されている。
また、本実施形態の略半楕円とは、一平面上の二定点からの距離の和が一定である点の軌跡である厳密な意味での楕円形を2等分した場合に限られず、半楕円に近いと視認される程度の形状を含むものである。例えば、一方向に円を伸長させた長円形状、小判形状又は陸上競技用のトラック形状等を2等分したものであってもよい。すなわち、略楕円形を2等分にしたものであってもよい。略楕円形とは、長手方向又は短手方向に沿って延びる一対の直線又は曲線と、この一対の直線又は曲線に接続されると共に外側に向けて凸状に湾曲する一対の曲線と、によって囲まれる形状も含むものである。例えば、互いに対向する平行な2辺又は互いに対向する曲線状の2辺の同一側の端部同士をそれぞれ同一径の円弧(例えば半円の円弧)で結んだ形状が挙げられる。なお、半楕円は、厳密な2等分でなくてもよい。
なお、表面粗さRaの範囲は、図9に示す表面粗さRaと艶消しの関係を示すグラフを参考に決定したものである。
なお、発光装置100では、第1中空粒子52の一部が第1樹脂51から露出している。しかしながら、後記するように、第1中空粒子52は第1樹脂51から露出せず、第1中空粒子52の表面が第1樹脂51で被覆された状態であってもよい。また、図8では、第1中空粒子52を互いに隣接するように記載しているが、第1中空粒子52の間に第1樹脂51が介在している状態であってもよい。更に、第1中空粒子52は、隣接しているものと第1樹脂51が間に介在している状態が混在していても構わない。
なお、「部」とは樹脂母材100gに対する添加物の質量(g)に相当するものである。すなわち、第1樹脂の質量100に対する第1中空粒子の部とは、言い換えると、第1樹脂100質量部に対する第1中空粒子の質量部である。
第1樹脂51の粘度は200Pa・s以上1200Pa・s以下であることが好ましい。第1樹脂51の粘度が200Pa・s以上であれば、第1反射部材41を所望の形状にし易くなる。一方、1200Pa・s以下であれば、吐出装置からの樹脂の吐出を迅速に行うことができ、作業性が向上する。第1樹脂51の粘度は、第1反射部材41を所望の形状にし易くする観点から、より好ましくは220Pa・s以上であり、更に好ましくは250Pa・s以上である。また、第1樹脂51の粘度は、樹脂の吐出を行い易くする観点から、より好ましくは900Pa・s以下であり、更に好ましくは550Pa・s以下である。
本実施形態において、複数個の第1中空粒子52が第1樹脂51中に分散しているとは、第1反射部材41の断面における所定箇所を観察した際、同じ面積の2か所の部位において、どの部位においても、第1中空粒子52の割合の差が1.5倍未満である場合をいうものとする。第1中空粒子52の割合(存在率)の算出は、具体的には以下のように行うことができる。
まず、第1反射部材41の断面画像を撮影し、任意の2か所の部位において、第1中空粒子52の存在率を算出する。2か所の画像は同一の撮影倍率とし、第1中空粒子52の存在率は、断面画像内の「第1中空粒子52の面積÷樹脂部分の面積」で算出する。それぞれの面積は、電子顕微鏡(日本電子株式会社製JSM-IT200)で撮影した断面画像から、電子顕微鏡の計測機能により、それぞれの面積を算出してもよいし、印刷した紙を切り抜いた質量から算出してもよい。なお、樹脂部分の面積は、写真に写っている基板等の樹脂部分以外の箇所を除いた部分である。
第1基板10の第1面10aと第1反射部材41の成す角度は、図10に示すように、第1反射部材41の断面をマイクロスコープ(株式会社キーエンス製VHX-700F)で撮影し、計測機能により、第1基板10の第1面10aと第1反射部材41の外周部の角度θを計測することで算出することができる。
発光装置の製造方法として、発光素子の周りに光反射性の樹脂で枠を形成し、その内側を低粘度の光反射性樹脂で充填する方法が知られている。しかしながら、この方法ではヘッドライトや照明機器の灯具内で乱反射した光が、光反射性の樹脂の部分で反射することで迷光が発生することがある。そして、迷光がレンズを通して出てしまうことで、意図しない照射パターンとなってしまう。
迷光の対策として、樹脂部を黒くして余計な光を吸収させることも考えられるが、この場合、LEDの出力を低下させてしまう。また、太陽光が灯具内に入った場合に光を吸収してしまい、黒色の樹脂部が焼損してしまう恐れがある。また、酸化チタン等、短波光を吸収するフィラーが添加されている場合も同様の懸念がある。発光面や封止面の外光反射については、最表面に凹凸を付けることで対策することが考えられるが、樹脂枠部分については対策する方法が無かった。
次に、実施形態に係る発光装置の製造方法の一例について説明する。
図11は、実施形態に係る発光装置の製造方法を説明するフローチャートである。図12Aから図12Hは、実施形態に係る発光装置の製造方法を模式的に示す平面図である。なお、図12Cは、実施形態に係る発光装置の製造方法を模式的に示す拡大平面図である。発光素子1は所定の間隔を開けて載置されているが、図12Cの拡大平面図以外では、間隔を省略して示している。
中間体及び混合物準備工程S101は、素子載置工程S11と、第3反射部材配置工程S12と、基板載置工程S13と、ワイヤ接続工程S14と、透光性部材配置工程S15と、混合物準備工程S16と、を含む。第1反射部材配置工程S102は、混合物塗布工程S17と、第1反射部材形成工程S18と、を含む。
以下、各工程について説明する。なお、各部材の材質や配置等については、前記した発光装置100の説明で述べた通りであるので、ここでは適宜、説明を省略する。
発光素子1は、第1基板10上の素子載置領域13に、例えばめっき法によって電気的に接続させることができる。
混合物の準備は、例えば、専用の撹拌容器に各部材を入れ、ヘラで手混ぜした後、撹拌機を用いて攪拌することにより行う。
なお、混合物準備工程S16は、透光性部材配置工程S15よりも前に行ってもよい。すなわち、予め混合物を準備しておき、混合物塗布工程S17で混合物を塗布する直前に、再度、攪拌してもよい。
混合物塗布工程S17では、第1反射部材41を形成する未硬化の混合物をディスペンサーのノズルから供給させながら、ノズルを素子載置領域13に沿って移動させることで第1反射部材41を形成するための混合物を塗布する。混合物を塗布する際は、第1樹脂51中に第1中空粒子52を分散させるため、混合物を手撹拌した後、例えば1000rpm以上で1分以上撹拌したのち、30分以内に塗布を開始することが好ましい。
なお、第1反射部材配置工程S102及び第2反射部材配置工程S103では、先に、第2反射部材配置工程S103により第2反射部材42を配置し、その後、第1反射部材配置工程S102により第1反射部材41を配置するようにしてもよい。更に、第1反射部材配置工程S102は、第2反射部材配置工程S103と同時に行い、第1反射部材41及び第2反射部材42を略同時に配置するようにしてもよい。
以下、変形例について説明する。なお、各部材の材質や配置等については、実施形態の説明で述べた通りであるので、ここでは適宜、説明を省略する。
図13Aから図13Dは、それぞれ、実施形態の第1変形例から第4変形例において、第1反射部材の一部を模式的に示す拡大断面図である。図14は、実施形態の第5変形例を模式的に示す断面図である。図15は、実施形態の第5変形例における部分断面図である。図16は、実施形態の第5変形例において、封止部材の一部を模式的に示す拡大断面図である。なお、図16は、図15の符号Bの部位を模式的に示している。また、既に説明した構成は同じ符号を付して説明を省略するか、同じ説明を繰り返さないために記載を省略する。
具体的には、第1反射部材は、図13Aから図13Cに示すような構成であっても構わない。
図13Aに示すように、第1反射部材41Aは、メジアン径の大きい第1中空粒子52aとメジアン径の小さい第1中空粒子52bを含有している。このような構成であっても、第1反射部材41Aの反射率を高くすると共に、迷光の発生を抑制することができる。
図13Bに示すように、第1反射部材41Bは、酸化物粒子54を含有している。
図13Cに示すように、第1反射部材41Cは、中空ではない球状粒子55を含有している。球状粒子55としては、例えばシリカ、ガラスが挙げられる。
酸化物粒子54及び球状粒子55は第1中空粒子52よりもメジアン径が小さいため、第1中空粒子52の隙間に入り込んでいる。これらの構成によれば、反射率の向上を図ることができる。なお、酸化物粒子54及び球状粒子55は、その一部が第1樹脂51から露出している。しかしながら、酸化物粒子54及び球状粒子55は第1樹脂51から露出せず、酸化物粒子54及び球状粒子55の表面が第1樹脂51で被覆された状態であってもよい。
図13Dに示すように、第1反射部材41Dは、第1中空粒子52が第1樹脂51から露出せず、第1中空粒子52の表面が第1樹脂51で被覆されている。このような構成によれば、例えば発光装置の製造の際に、混合物に混合する溶剤の量や揮発させる溶剤の量等の関係で第1中空粒子52が第1樹脂51から露出しない場合であっても、第1反射部材41Dの反射率を高くすると共に、迷光の発生を抑制することができる。
発光装置100Aは、基板10に発光素子1Aをフェイスアップ実装したものである。発光素子1Aは、半導体積層体の表面に配置される正負の電極が素子用ワイヤ34を介して第1基板10に電気的に接続されている。発光装置100Aは、基板10の第1面10a上に、更に発光素子1Aを覆う封止部材60を有し、封止部材60は、第2樹脂61と、第2樹脂61に含有される複数個の第2中空粒子62と、を有する。封止部材60は、平面視において、発光素子1A及び素子用ワイヤ34を覆っている。封止部材60は、発光素子1A等を外力や埃、水分等から保護することができる。
まず、封止部材60の断面画像を撮影し、表面を含む表面側の画像と、底面を含む底面側の画像において、第2中空粒子62の存在率を算出する。表面側の画像と底面側の画像は同一の撮影倍率とし、第2中空粒子62の存在率は、断面画像内の「第2中空粒子62の面積÷樹脂部分の面積」で算出する。それぞれの面積は、電子顕微鏡(日本電子株式会社製JSM-IT200)で撮影した断面画像から、電子顕微鏡の計測機能により、それぞれの面積を算出してもよいし、印刷した紙を切り抜いた質量から算出してもよい。なお、樹脂部分の面積は、写真に写っている基板等の樹脂部分以外の箇所を除いた部分である。
第2中空粒子62は、第1中空粒子52と同様のものを用いることができる。複数個の第2中空粒子62は、メジアン径が16μm以上65μm以下であることが好ましい。より好ましくは20μm以上であり、更に好ましくは30μm以上である。また、より好ましくは60μm以下であり、更に好ましくは40μm以下である。また、複数個の第2中空粒子62は、中空シリカ、又は中空ガラスであることが好ましい。これらについては、第1中空粒子52の場合と同様の理由による。第2樹脂61は、第1樹脂51と同様のものを用いることができる。
更に、封止部材60は、波長変換部材を含有してもよい。波長変換部材としては、例えば、蛍光体が挙げられる。蛍光体としては、例えば、発光装置100の透光性部材5で例示したものが挙げられる。
発光装置の製造方法は、前記各工程に悪影響を与えない範囲において、前記各工程の間、或いは前後に、他の工程を含めてもよい。例えば、製造途中に混入した異物を除去する異物除去工程等を含めてもよい。
また、可能な範囲において、各工程は前後してもよい。また、混合物準備工程において、溶剤を混合しないものであってもよい。
No.A1~A9は実施形態の構成を満たす実施例であり、No.B1~B3は実施形態の構成を満たさない比較例である。
(樹脂の調合)
専用の撹拌容器(近畿容器株式会社製ハイレジスト容器BHR-150)にベース樹脂OE-6351(デュポン・東レ・スペシャルティ・マテリアル株式会社製ジメチルシリコーン)を10g入れた。そこにナノシリカ(日本アエロジル株式会社製RX200)を1g(10部)、メジアン径20μmの中空ガラス(スリーエム製グラスバブルズiM16K)を5g(50部)、溶剤としてトルエン0.5g(5部)を加えてヘラでよく手混ぜした後、撹拌機(株式会社シンキー製あわとり練太郎ARV-310LED)を用いて1200pm/3分で均一に撹拌した。
撹拌完了した樹脂はE型粘度計(東機産業株式会社製TV-33)を用い、25℃/回転数1rpmでの粘度を測定した。
スライドガラス上に0.18μmのフッ素樹脂テープを2枚重ねて作製した枠を貼り付け、その枠の内側に撹拌した樹脂を入れてスキージで摺り切り一杯までに厚みを調整し、150℃/4hrで硬化を行った。硬化後のサンプルの透過率は分光光度計(株式会社日立ハイテクサイエンス製U-3900)に樹脂面から光が入る様にセットし透過スペクトルを測定し、得られた透過スペクトルの470nmの値を透過率とした。反射率については、分光測色計(株式会社村上色彩研究所製CMS-35SP)に樹脂面に光が当たるようにセットし、正反射光を含む条件で反射スペクトルを測定した。得られた反射スペクトルの470nmの値を反射率とした。
撹拌した樹脂を内径0.66mmのニードルを取り付けたシリンジに入れ、ディスペンサー(武蔵エンジニアリング株式会社製ML-5000XII)でアルミナセラミックの基板上に線状に吐出し、150℃/4hrで硬化した。硬化物を触針式段差膜厚計(KLA Tencor社製Alpha-Step-IQ)を用いて、200μm/sの速さで2000μmを測定した時の値を表面粗さRaとした。
上記のセラミック基板上に硬化した樹脂をカッターナイフで切り出し、その断面をマイクロスコープ(株式会社キーエンス製VHX-700F)で撮影し、計測機能により、基板に接していた面と硬化物の外周部の角度を算出した。
10gのベース樹脂OE-6351に対しナノシリカ(RX200)10部、メジアン径20μmの中空ガラス(グラスバブルズiM16K)50部を加えてよく撹拌し、セラミック基板上に塗布・硬化した。樹脂の調合、硬化、樹脂の粘度の測定、硬化物の測定については、No.A1と同じ方法で行った。
10gのベース樹脂OE-6351に対しナノシリカ(RX200)10部、メジアン径40μmの中空ガラス(グラスバブルズS38)50部、溶剤としてトルエン5部を加えてよく撹拌し、セラミック基板上に塗布・硬化した。樹脂の調合、硬化、樹脂の粘度の測定、硬化物の測定については、No.A1と同じ方法で行った。
10gのベース樹脂OE-6351に対しナノシリカ(RX200)10部、メジアン径65μmの中空ガラス(グラスバブルズK1)30部、溶剤としてトルエン30部を加えてよく撹拌し、セラミック基板上に塗布・硬化した。樹脂の調合、硬化、樹脂の粘度の測定、硬化物の測定については、No.A1と同じ方法で行った。
10gのベース樹脂OE-6351に対しナノシリカ(RX200)10部、メジアン径16μmの中空ガラス(グラスバブルズiM30K)25部、メジアン径40μmの中空ガラス(グラスバブルズS38)25部、溶剤としてトルエン3部を加えてよく撹拌し、セラミック基板上に塗布・硬化した。樹脂の調合、硬化、樹脂の粘度の測定、硬化物の測定については、No.A1と同じ方法で行った。
10gのベース樹脂OE-6351に対しナノシリカ(RX200)10部、メジアン径40μmの中空ガラス(グラスバブルズS38)40部、メジアン径0.5μmの中空ではない球状シリカ(株式会社アドマテックス製アドマファインSO-C2)10部、溶剤としてトルエン5部を加えてよく撹拌し、セラミック基板上に塗布・硬化した。樹脂の調合、硬化、樹脂の粘度の測定、硬化物の測定については、No.A1と同じ方法で行った。
10gのベース樹脂OE-6351に対しナノシリカ(RX200)10部、メジアン径40μmの中空ガラス(グラスバブルズS38)40部、メジアン径0.5μmの酸化チタン(ケマーズ株式会社製R-960)10部、溶剤としてトルエン5部を加えてよく撹拌し、セラミック基板上に塗布・硬化した。樹脂の調合、硬化、樹脂の粘度の測定、硬化物の測定については、No.A1と同じ方法で行った。
10gのベース樹脂OE-6351に対しナノシリカ(RX200)10部、メジアン径16μmの中空ガラス(グラスバブルズiM30K)25部、メジアン径40μmの中空ガラス(グラスバブルズS38)25部、メジアン径0.8μmのアルミナ(住友化学株式会社製スミコランダムAA-03)10部、溶剤としてトルエン3部を加えてよく撹拌し、セラミック基板上に塗布・硬化した。樹脂の調合、硬化、樹脂の粘度の測定、硬化物の測定については、No.A1と同じ方法で行った。
10gのベース樹脂OE-6351に対しナノシリカ(RX200)10部、メジアン径65μmの中空ガラス(グラスバブルズK1)20部、溶剤としてトルエン5部を加えてよく撹拌し、セラミック基板上に塗布・硬化した。樹脂の調合、硬化、樹脂の粘度の測定、硬化物の測定については、No.A1と同じ方法で行った。
10gのベース樹脂OE-6351に対しナノシリカ(RX200)10部、メジアン径0.5μmの酸化チタン(ケマーズ株式会社製R-960)100部、溶剤としてトルエン10部を加えてよく撹拌し、セラミック基板上に塗布・硬化した。樹脂の調合、硬化、樹脂の粘度の測定、硬化物の測定については、No.A1と同じ方法で行った。
10gのベース樹脂OE-6351に対しナノシリカ(RX200)10部、メジアン径20μmの中空ではない球状シリカ(株式会社龍森製キクロスFR-2400TS)400部、溶剤としてトルエン10部を加えてよく撹拌し、セラミック基板上に塗布・硬化した。樹脂の調合、硬化、樹脂の粘度の測定、硬化物の測定については、No.A1と同じ方法で行った。
10gのベース樹脂OE-6351に対しメジアン径40μmの中空ガラス(グラスバブルズS38)10部を加えてよく撹拌し、セラミック基板上に塗布・硬化した。樹脂の調合、硬化、樹脂の粘度の測定、硬化物の測定については、No.A1と同じ方法で行った。
No.A1は溶剤を添加したものであり、溶剤を添加しなかったNo.A2に比べ、表面粗さRaが大きかった。
No.A3、No.A4は中空ガラスのメジアン径がNo.A1に比べて大きいものであり、No.A1に比べ、表面粗さRaが大きかった。ただし、反射率はやや低下した。
No.A4は中空ガラスのメジアン径がNo.A3に比べて大きいものであり、No.A3に比べ、表面粗さRaが大きかった。ただし、反射率はやや低下した。また、No.A4は中空ガラスの添加量がNo.A9に比べて多いものであり、No.A9に比べ、表面粗さRaが大きく、また、反射率が高かった。
No.A6は中空ガラスと中空ではない球状シリカを併用したものであり、No.A3に比べ、表面粗さRaが大きかった。ただし、反射率はやや低下した。
No.A7はNo.A6の球状シリカを同じメジアン径の酸化チタンに変更したものであり、No.A6に比べ、反射率が高かった。No.A7は、反射率と表面粗さRaのバランスが最も良いものとなった。
No.A8はメジアン径の異なる2種類の中空ガラスと中空ではないアルミナを併用したものであり、No.A5に比べ、反射率が高かった。
No.B1は中空粒子を用いずに酸化チタンを用いたため、反射率は高いものの、表面粗さRaが小さかった。
No.B2は中空粒子を用いずに中空ではない球状シリカを用いたため、表面粗さRaは大きいものの、反射率が低かった。
No.B3は中空ガラスの添加量が少ないため、樹脂の粘度が低くなり、所望の形状の硬化物を形成できなかった。そのため、硬化した樹脂と基板との成す角度も非常に小さかった。
5 透光性部材
7 第3反射部材
10 第1基板(基板)
10a 第1基板(基板)の第1面
110 第1端子
11 第1外部接続端子
12 第2外部接続端子
13 素子載置領域
15 第1駆動端子
16 第2駆動端子
20 第2基板
120 第2端子
21 第1ワイヤ接続端子
22 第2ワイヤ接続端子
23 基板載置領域
130 ワイヤ
130a ワイヤの頂部
31 第1ワイヤ
32 第2ワイヤ
33 第3ワイヤ
34 素子用ワイヤ
40 被覆部材
40a 被覆部材の頂部
41a 第1反射部材の頂部
41,41A,41B,41C,41D 第1反射部材
42 第2反射部材
51 第1樹脂
52 第1中空粒子
52a メジアン径の大きい第1中空粒子
52b メジアン径の小さい第1中空粒子
53 ナノフィラー
54 酸化物粒子
55 球状粒子
60 封止部材
61 第2樹脂
62 第2中空粒子
100,100A 発光装置
Claims (10)
- 第1面を持つ基板と、
前記基板の第1面に配置される1又は2以上の発光素子と、
前記発光素子を囲み、前記基板の第1面に配置される第1反射部材と、を有し、
前記第1反射部材は、第1樹脂と、前記第1樹脂に含有される複数個の第1中空粒子と、を有し、
前記複数個の第1中空粒子の含有量は、前記第1樹脂の質量100に対して20部以上50部以下であり、
前記第1中空粒子により前記第1反射部材の表面に凹凸が形成されており、
前記第1反射部材の表面粗さRaが0.10μm以上3.0μm以下であり、前記第1反射部材の反射率が40%以上である発光装置。 - 前記第1反射部材の表面粗さRaが0.50μm以上2.0μm以下である請求項1に記載の発光装置。
- 前記第1反射部材は、前記基板の第1面に対して垂直方向の断面視において略半円又は略半楕円であり、
前記略半円は、真円を2等分したもの、若しくは、直径の長さに対して5%以内の公差や誤差の範囲内で歪んだり変形したりした円を半円としたもの、であり、
前記略半楕円は、一平面上の二定点からの距離の和が一定である点の軌跡である楕円形を2等分したもの、一方向に円を伸長させた長円形状、小判形状又は陸上競技用のトラック形状を2等分したもの、長手方向又は短手方向に沿って延びる一対の直線又は曲線と、この一対の直線又は曲線に接続されると共に外側に向けて凸状に湾曲する一対の曲線と、によって囲まれる形状を2等分したもの、若しくは、互いに対向する平行な2辺又は互いに対向する曲線状の2辺の同一側の端部同士をそれぞれ同一径の円弧で結んだ形状を2等分したものである請求項1又は請求項2に記載の発光装置。 - 前記複数個の第1中空粒子は、メジアン径が16μm以上65μm以下である請求項1乃至請求項3のいずれか一項に記載の発光装置。
- 前記複数個の第1中空粒子は、中空シリカ、又は中空ガラスである請求項1乃至請求項4のいずれか一項に記載の発光装置。
- 前記基板の第1面上に、更に前記発光素子を覆う封止部材を有し、
前記封止部材は、第2樹脂と、前記第2樹脂に含有される複数個の第2中空粒子と、を有する請求項1乃至請求項5のいずれか一項に記載の発光装置。 - 前記第2中空粒子は、前記封止部材の表面側に偏在している請求項6に記載の発光装置。
- 前記複数個の第2中空粒子は、メジアン径が16μm以上65μm以下である請求項6又は請求項7に記載の発光装置。
- 前記複数個の第2中空粒子は、中空シリカ、又は中空ガラスである請求項6乃至請求項8のいずれか一項に記載の発光装置。
- 前記第1反射部材の反射率が60%以上である請求項1乃至請求項9のいずれか一項に記載の発光装置。
Priority Applications (3)
| Application Number | Priority Date | Filing Date | Title |
|---|---|---|---|
| JP2021153133A JP7705035B2 (ja) | 2021-09-21 | 2021-09-21 | 発光装置 |
| US17/944,854 US20230108281A1 (en) | 2021-09-21 | 2022-09-14 | Light-emitting device and method of manufacturing the same |
| JP2025105237A JP2025134892A (ja) | 2021-09-21 | 2025-06-23 | 発光装置の製造方法 |
Applications Claiming Priority (1)
| Application Number | Priority Date | Filing Date | Title |
|---|---|---|---|
| JP2021153133A JP7705035B2 (ja) | 2021-09-21 | 2021-09-21 | 発光装置 |
Related Child Applications (1)
| Application Number | Title | Priority Date | Filing Date |
|---|---|---|---|
| JP2025105237A Division JP2025134892A (ja) | 2021-09-21 | 2025-06-23 | 発光装置の製造方法 |
Publications (2)
| Publication Number | Publication Date |
|---|---|
| JP2023044976A JP2023044976A (ja) | 2023-04-03 |
| JP7705035B2 true JP7705035B2 (ja) | 2025-07-09 |
Family
ID=85773944
Family Applications (2)
| Application Number | Title | Priority Date | Filing Date |
|---|---|---|---|
| JP2021153133A Active JP7705035B2 (ja) | 2021-09-21 | 2021-09-21 | 発光装置 |
| JP2025105237A Pending JP2025134892A (ja) | 2021-09-21 | 2025-06-23 | 発光装置の製造方法 |
Family Applications After (1)
| Application Number | Title | Priority Date | Filing Date |
|---|---|---|---|
| JP2025105237A Pending JP2025134892A (ja) | 2021-09-21 | 2025-06-23 | 発光装置の製造方法 |
Country Status (2)
| Country | Link |
|---|---|
| US (1) | US20230108281A1 (ja) |
| JP (2) | JP7705035B2 (ja) |
Citations (3)
| Publication number | Priority date | Publication date | Assignee | Title |
|---|---|---|---|---|
| JP2014505994A (ja) | 2010-11-22 | 2014-03-06 | クリー インコーポレイテッド | 発光デバイスおよび方法 |
| JP5953736B2 (ja) | 2010-12-28 | 2016-07-20 | 日亜化学工業株式会社 | 発光装置 |
| WO2017131152A1 (ja) | 2016-01-27 | 2017-08-03 | クラスターテクノロジー株式会社 | 白色リフレクター用硬化性エポキシ樹脂組成物及びその硬化物、光半導体素子搭載用基板、並びに光半導体装置 |
Family Cites Families (6)
| Publication number | Priority date | Publication date | Assignee | Title |
|---|---|---|---|---|
| CN102290517A (zh) * | 2006-06-02 | 2011-12-21 | 日立化成工业株式会社 | 光半导体元件搭载用封装及使用其的光半导体装置 |
| US9184355B2 (en) * | 2011-06-27 | 2015-11-10 | Daicel Corporation | Curable resin composition for reflection of light, and optical semiconductor device |
| JP2015034948A (ja) * | 2013-08-09 | 2015-02-19 | ソニー株式会社 | 表示装置および電子機器 |
| WO2016056727A1 (en) * | 2014-10-10 | 2016-04-14 | Lg Electronics Inc. | Light emitting device package and method of fabricating the same |
| KR20200095210A (ko) * | 2019-01-31 | 2020-08-10 | 엘지전자 주식회사 | 반도체 발광 소자, 이의 제조 방법, 및 이를 포함하는 디스플레이 장치 |
| JP7180032B2 (ja) * | 2020-03-10 | 2022-11-29 | シチズン電子株式会社 | 発光装置 |
-
2021
- 2021-09-21 JP JP2021153133A patent/JP7705035B2/ja active Active
-
2022
- 2022-09-14 US US17/944,854 patent/US20230108281A1/en active Pending
-
2025
- 2025-06-23 JP JP2025105237A patent/JP2025134892A/ja active Pending
Patent Citations (3)
| Publication number | Priority date | Publication date | Assignee | Title |
|---|---|---|---|---|
| JP2014505994A (ja) | 2010-11-22 | 2014-03-06 | クリー インコーポレイテッド | 発光デバイスおよび方法 |
| JP5953736B2 (ja) | 2010-12-28 | 2016-07-20 | 日亜化学工業株式会社 | 発光装置 |
| WO2017131152A1 (ja) | 2016-01-27 | 2017-08-03 | クラスターテクノロジー株式会社 | 白色リフレクター用硬化性エポキシ樹脂組成物及びその硬化物、光半導体素子搭載用基板、並びに光半導体装置 |
Also Published As
| Publication number | Publication date |
|---|---|
| US20230108281A1 (en) | 2023-04-06 |
| JP2025134892A (ja) | 2025-09-17 |
| JP2023044976A (ja) | 2023-04-03 |
Similar Documents
| Publication | Publication Date | Title |
|---|---|---|
| US10559721B2 (en) | Light emitting device | |
| JP7780119B2 (ja) | 発光モジュール及び発光モジュールの製造方法 | |
| TWI580892B (zh) | LED lighting module and LED lighting device | |
| CN102468410B (zh) | 发光装置及其制造方法 | |
| JP6387954B2 (ja) | 波長変換部材を用いた発光装置の製造方法 | |
| JP5810301B2 (ja) | 照明装置 | |
| US11114583B2 (en) | Light emitting device encapsulated above electrodes | |
| JPWO2005091387A1 (ja) | 発光装置および照明装置 | |
| JP2004039691A (ja) | Led照明装置用の熱伝導配線基板およびそれを用いたled照明装置、並びにそれらの製造方法 | |
| JP2020053639A (ja) | 発光装置および発光装置の製造方法 | |
| JP6524624B2 (ja) | 発光装置 | |
| JP2007294890A (ja) | 発光装置 | |
| JP7705035B2 (ja) | 発光装置 | |
| JP2021027312A (ja) | 発光装置 | |
| JP5899734B2 (ja) | 発光装置 | |
| JP7189446B2 (ja) | 発光装置及び発光装置の製造方法 | |
| JP7323763B2 (ja) | 発光装置及び発光装置の製造方法 | |
| CN110707202A (zh) | 发光装置及其制造方法 | |
| JP7684581B2 (ja) | 発光モジュールの製造方法 | |
| JP2013026590A (ja) | 発光装置の製造方法 | |
| US12507515B2 (en) | Light-emitting module and method of manufacturing light-emitting module | |
| JP2019067878A (ja) | 半導体装置の製造方法 | |
| JP2024159488A (ja) | 発光装置 | |
| CN118867087A (zh) | 发光装置 | |
| CN104350621B (zh) | Led照明模块及led照明装置 |
Legal Events
| Date | Code | Title | Description |
|---|---|---|---|
| A621 | Written request for application examination |
Free format text: JAPANESE INTERMEDIATE CODE: A621 Effective date: 20240821 |
|
| A977 | Report on retrieval |
Free format text: JAPANESE INTERMEDIATE CODE: A971007 Effective date: 20250228 |
|
| A131 | Notification of reasons for refusal |
Free format text: JAPANESE INTERMEDIATE CODE: A131 Effective date: 20250318 |
|
| A521 | Request for written amendment filed |
Free format text: JAPANESE INTERMEDIATE CODE: A523 Effective date: 20250425 |
|
| TRDD | Decision of grant or rejection written | ||
| A01 | Written decision to grant a patent or to grant a registration (utility model) |
Free format text: JAPANESE INTERMEDIATE CODE: A01 Effective date: 20250527 |
|
| A61 | First payment of annual fees (during grant procedure) |
Free format text: JAPANESE INTERMEDIATE CODE: A61 Effective date: 20250609 |
|
| R150 | Certificate of patent or registration of utility model |
Ref document number: 7705035 Country of ref document: JP Free format text: JAPANESE INTERMEDIATE CODE: R150 |
