JP7686821B1 - 沈降促進装置 - Google Patents

沈降促進装置 Download PDF

Info

Publication number
JP7686821B1
JP7686821B1 JP2024028437A JP2024028437A JP7686821B1 JP 7686821 B1 JP7686821 B1 JP 7686821B1 JP 2024028437 A JP2024028437 A JP 2024028437A JP 2024028437 A JP2024028437 A JP 2024028437A JP 7686821 B1 JP7686821 B1 JP 7686821B1
Authority
JP
Japan
Prior art keywords
inclined plate
settling
support member
lattice structure
horizontal support
Prior art date
Legal status (The legal status is an assumption and is not a legal conclusion. Google has not performed a legal analysis and makes no representation as to the accuracy of the status listed.)
Active
Application number
JP2024028437A
Other languages
English (en)
Other versions
JP2025130993A (ja
Inventor
雄斗 伊藤
隆洋 鈴木
健一 石田
智朗 石川
祥平 岡賀
豊 小藤田
Current Assignee (The listed assignees may be inaccurate. Google has not performed a legal analysis and makes no representation or warranty as to the accuracy of the list.)
Swing Corp
Original Assignee
Swing Corp
Priority date (The priority date is an assumption and is not a legal conclusion. Google has not performed a legal analysis and makes no representation as to the accuracy of the date listed.)
Filing date
Publication date
Application filed by Swing Corp filed Critical Swing Corp
Priority to JP2024028437A priority Critical patent/JP7686821B1/ja
Application granted granted Critical
Publication of JP7686821B1 publication Critical patent/JP7686821B1/ja
Publication of JP2025130993A publication Critical patent/JP2025130993A/ja
Active legal-status Critical Current
Anticipated expiration legal-status Critical

Links

Images

Landscapes

  • Sewage (AREA)

Abstract

【課題】スロッシングによる沈降傾斜板の破損を安価に確実に抑制することが可能な沈降促進装置を提供する。【解決手段】沈降促進装置は、矩形状の格子構造体14と、格子構造体14内に斜めに配置された沈降傾斜板5を備える。沈降傾斜板5は、その下端に形成された下側切り欠き5aを有している。下側切り欠き5aは、格子構造体14の第1鉛直支持部材6-1bと下側水平支持部材6-2cとの接続部に係合している。沈降傾斜板5の上端と、格子構造体14の上側水平支持部材6-1cとの間には、鉛直方向の隙間G1が形成されており、沈降傾斜板5は、格子構造体14内で可動に構成されている。【選択図】図7

Description

本発明は、被処理水に含まれる沈降物を沈殿池に効率的に沈殿させるための沈降促進装置に関し、特に、スロッシング対策が施された沈降促進装置に関する。
浄水場などの水処理設備から排出される被処理水から沈降物(不純物)を効率的に分離するために、沈殿池に配置された沈降促進装置が用いられている。沈降促進装置は、例えば、水平方向に対して斜めに配置された複数の傾斜板(以下、「沈降傾斜板」と称する)と、沈降傾斜板を鉛直方向に複数段および水平方向に複数列並んで配置させるための支持フレームと、支持フレームを沈殿池に吊り下げるための吊り下げ具と、を備えている。
このような沈降促進装置は、一般に、支持フレームを吊り下げ具を介して沈殿池の構造物に吊しているだけの簡易な支持構造を有する。そのため、地震に起因する水のスロッシング(揺動)が沈殿池で発生すると、沈降促進装置も沈殿池に対して揺動してしまうことがある。沈降促進装置の揺動は、支持フレーム、沈降傾斜板、吊り下げ具などの沈降促進装置の構成要素が破損・変形したり、沈降傾斜板が支持フレームから脱落したりするなどの不具合につながるおそれがある。そこで、特許文献1乃至特許文献3に記載されるようなスロッシング対策が多数提案されている。
特許文献1に記載のスロッシング抑制構造では、沈降傾斜板を保持するフレームと沈殿池の側壁の間に、コイルバネ部材やゴム状弾性部材などの緩衝装置を介在させている。特許文献2に記載のスロッシング抑制構造では、沈殿池に配置された鋼製架台と傾斜板ユニットを吊下げるフックボルトとの間に、ダンパを介在させている。特許文献3に記載の傾斜板沈降システムでは、沈殿池の水面近傍に配置された防波板によって、被処理水のスロッシングの波の成長を抑制している。
特開2016-159199号公報 特許第7075071号公報 特開2021-171741号公報
特許文献1に記載のスロッシング抑制構造では、コイルバネ部材の疲労破壊やゴム状弾性部材の劣化により緩衝装置としての機能を喪失する懸念がある。さらに、緩衝装置は、沈殿池の被処理水中に常時没していることを踏まえると、緩衝装置が地上に配置されるよりも早い速度での劣化が想定される。さらに、緩衝装置によって、沈殿池の側壁とフレームとの衝突は回避できたとしても、フレーム自身の変位は抑制しきれず、フレームを吊り下げる吊りフックや吊りボルトなどの吊り下げ部材に負荷が伝播し、該吊り下げ部材が疲労破壊に至るおそれがある。
特許文献2に記載のスロッシング抑制構造では、傾斜板ユニットの寸法が沈殿池の池幅方向に大きくなると、複数のフックボルトにダンパを介在させる必要があり、スロッシング対策に必要なコストが高額になって経済性に欠け、施工も煩雑になる。
特許文献3に記載の傾斜板沈降システムでは、沈殿池の水面のスロッシングは抑制できても、地震に起因する、傾斜板を保持する支持フレームそのもの変位は防ぐことができず、支持フレームが沈殿池の側壁に衝突して破損してしまう懸念が残っている。
そこで、本発明は、スロッシングによる沈降傾斜板の破損を安価に確実に抑制することが可能な沈降促進装置を提供することを目的とする。
一態様では、被処理水に含まれる沈殿物の沈殿を促進させる沈降促進装置であって、矩形状の格子構造体と、前記格子構造体内に斜めに配置された沈降傾斜板を備え、前記格子構造体は、前記沈降傾斜板の上側に位置する上側水平支持部材と、前記沈降傾斜板の下側に位置する下側水平支持部材と、前記沈降傾斜板の両側に位置する第1鉛直支持部材および第2鉛直支持部材を有し、前記沈降傾斜板は、その下端に形成された下側切り欠きを有しており、前記下側切り欠きは、前記第1鉛直支持部材と前記下側水平支持部材との接続部に係合しており、前記沈降傾斜板の上端と、前記上側水平支持部材との間には、鉛直方向の隙間が形成されており、前記沈降傾斜板は、前記格子構造体内で可動に構成されている、沈降促進装置が提供される。
一態様では、前記上側水平支持部材は、その一部が上方に突出した突出部を有しており、前記沈降傾斜板の上端は、前記突出部の下方に位置しており、前記鉛直方向の隙間は、前記沈降傾斜板の上端と前記突出部との間に形成されている。
一態様では、前記沈降傾斜板は、その上端に形成された上側切り欠きをさらに有しており、前記上側切り欠きは、前記上側水平支持部材に係合しており、前記鉛直方向の隙間は、前記上側切り欠きの下端と前記上側水平支持部材との間に形成されている。
一態様では、前記格子構造体の幅は100mm以下であり、前記格子構造体の高さは180mm以下である。
地震に起因する水のスロッシング(揺動)が沈殿池で発生したときに、沈降傾斜板は、水圧を受けて下側切り欠きを支点として格子構造体内で動くことができる。したがって、沈降傾斜板は、過大な水圧(負荷)を逃すことができ、結果として、水のスロッシングに起因する沈降傾斜板の破損を防止することができる。
図1は、一実施形態に係る沈降促進装置が配置された沈殿池を模式的に示す平面図である。 図2は、沈殿池の被処理水の流れ方向から眺めた、図1に示す沈降促進装置の模式正面図であり、 図3は、沈殿池の被処理水の流れ方向に沿った側壁から眺めた、図1に示す沈降促進装置の模式側面図である。 図4は、一実施形態に係る支持フレームの正面図である。 図5は、一実施形態に係る沈降傾斜板を示す模式図である。 図6は、3つの格子構造体に支持された沈降傾斜板を示す斜視図である。 図7は、格子構造体および沈降傾斜板の一実施形態を示す拡大斜視図である。 図8は、図7に示す沈降傾斜板と格子構造体を示す側面図である。 図9は、格子構造体および沈降傾斜板の他の実施形態を示す拡大斜視図である。 図10は、図9に示す沈降傾斜板と格子構造体を示す側面図である。 図11は、沈降傾斜板の他の実施形態を示す平面図である。 図12は、図11に示す沈降傾斜板が格子構造体によって支持されている状態の一実施形態を示す拡大斜視図である。 図13は、図12に示す沈降傾斜板と格子構造体を示す側面図である。
以下、本発明の実施形態について図面を参照して説明する。
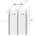
図1は、一実施形態に係る沈降促進装置が配置された沈殿池を模式的に示す平面図である。図2は、沈殿池の被処理水の流れ方向から眺めた、図1に示す沈降促進装置の模式正面図であり、図3は、沈殿池の被処理水の流れ方向に沿った側壁から眺めた、図1に示す沈降促進装置の模式側面図である。以下に説明する実施形態において、図1に示すように、被処理水の流れ方向Fと平行な水平方向D1を、「池長方向D1」と称することがある。池長方向D1に垂直な水平方向D2を、「池幅方向D2」と称することがある。池長方向D1は、鉛直方向に対して垂直であり、被処理水の流れ方向Fに対して平行である。池幅方向D2は、鉛直方向および被処理水の流れ方向Fに対して垂直である。
図1に示す沈殿池1は、被処理水に含まれる沈殿物(不純物)を沈降させるための設備であり、平面視で略矩形形状を有している。沈殿池1には、沈殿物を効率よく沈降させるための少なくとも1つの(図1では、4つの)沈降促進装置2が配置されている。
図2および図3に示すように、沈降促進装置2は、沈殿物の沈降を促進させるための複数の沈降傾斜板5と、複数の沈降傾斜板5を支持するための複数の(図3では、3つの)支持フレーム6と、支持フレーム6を吊り下げるための複数の吊り下げ具7と、吊り下げ具7を懸架する懸架構造体8と、を備える。以下では、複数の支持フレーム6、およびこれら支持フレーム6に保持される複数の沈降傾斜板5によって構成されるユニットを、「傾斜板保持アッセンブリ3」と称する。
図1に示すように、懸架構造体8は、沈殿池1の池幅方向D2に掛け渡されており、複数の沈降傾斜板5および支持フレーム6、すなわち、傾斜板保持アッセンブリ3は、吊り下げ具7および懸架構造体8を介して、沈殿池1が形成された地面または構造物に支持されている。懸架構造体8の例としては、PC桁や鋼材桁が挙げられる。図示はしないが、懸架構造体8は、吊り下げ具7に連結され、池幅方向Dに延びる鋼材桁と、沈殿池1が形成された地面または構造物に敷設され、池長方向Fに平行に延びる一対のレールと、鋼材桁に設けられ、一対のレール上を走行可能な一対または複数対の車輪と、で構成されていてもよい。この構成では、懸架構造体8を池長方向D1に移動させることが可能であり、懸架構造体8の移動によって、傾斜板保持アッセンブリ3を池長方向D1に移動させることができる。
本実施形態では、吊り下げ具7は、懸架構造体8から支持フレーム6に向かって延びるフックボルト11と、フックボルト11の先端に固定された連結フック12とから構成されている。連結フック12は、支持フレーム6の上部と係合可能に構成されている。なお、吊り下げ具7の構成は、該吊り下げ具7が傾斜板保持アッセンブリ3を懸架構造体8に吊り下げることができる限り本実施形態の構成に限定されない。
図4は、一実施形態に係る支持フレームの正面図である。図4に示す支持フレーム6は、略矩形形状を有し、外枠を構成するフレーム本体6aと、沈降傾斜板5を斜めに支持するための支持部材6b,6cと、で構成されている。フレーム本体6aは、例えば、4つの板状体を溶接することで形成してもよいし、4つの板状体を、ボルトなどを用いて締結することで形成してもよい。一実施形態では、フレーム本体6aを、1つの板状体を屈曲させることで形成してもよい。一実施形態では、支持部材6b,6cは、例えば、フレーム本体6aに格子状に張られた金網またはワイヤーである。支持部材6bは、鉛直方向に延び、支持部材6cは、水平方向に延びる。支持部材6b、6cは、同一の矩形状の格子構造体14を形成するようにフレーム本体6aに等間隔に離間して張られる。このような構成により、互いに平行な沈降傾斜板5を鉛直方向に複数段並んで配置させることができる。
図3に示すように、本実施形態では、傾斜板アッセンブリ3は、池長方向D1に等間隔に配列された3つの支持フレーム6を備えている。一実施形態では、傾斜板アッセンブリ3は、池長方向D1に等間隔に配列された2つの支持フレーム6を備えていてもよいし、3つ以上の支持フレーム6を備えていてもよい。図2に示すように、沈降傾斜板5は、支持フレーム6の支持部材6b、6cによって形成された各格子構造体14内に斜めに挿入される。複数の沈降傾斜板5が支持フレーム6の各格子構造体14に挿入されると、各沈降傾斜板5が支持フレーム6の支持部材6a,6bによって形成された各格子構造体14の対角線上に斜めに支持される。このような構成により、複数の沈降傾斜板5は、互いに平行になるように配列される。以下では、説明の便宜上、3つの支持フレーム6を、被処理水の流れ方向Fに沿って、第1支持フレーム6A、第2支持フレーム6B、第3支持フレーム6Cと称することがある(図3参照)。
図5は、一実施形態に係る沈降傾斜板を示す模式図である。図6は、3つの格子構造体14に支持された沈降傾斜板を示す斜視図である。沈降傾斜板5は、その下端に3つの下側切り欠き5aを有している。矩形状の各格子構造体14は、支持部材6b,6cから構成されている。各下側切り欠き5aは、沈降傾斜板5を支持フレーム6の各格子構造体14に挿入した際に、支持部材6b,6cの交差部に係合する。各下側切り欠き5aが支持部材6b,6cに係合することで、複数の支持フレーム6(すなわち、6A,6B,6C)に対する沈降傾斜板5の位置決めがなされるとともに、沈降傾斜板5が支持フレーム6から脱落することが防止される。
図6に示す実施形態では、1枚の沈降傾斜板5は、3つの格子構造体14に支持されているが、他の実施形態では、1枚の沈降傾斜板5は、2つの格子構造体14、または4つ以上の格子構造体14に支持されてもよい。
図7は、格子構造体14および沈降傾斜板5の一実施形態を示す拡大斜視図である。沈降傾斜板5は、矩形状の格子構造体14内に斜めに配置されている。より具体的には、沈降傾斜板5は、格子構造体14の対角線に沿って傾いている。沈降傾斜板5は、格子構造体14に固定されてはいなく、格子構造体14に単に支持されている。したがって、沈降傾斜板5は、水圧を受けたときに、格子構造体14内で格子構造体14に対して相対的に可動となっている。ただし、沈降傾斜板5の長手方向への移動は、下側切り欠き5aと格子構造体14との係合により制限される。
格子構造体14は、支持フレーム6の支持部材6b,6cから構成されている。以下の説明では、沈降傾斜板5の上側に位置する支持部材6cを、上側水平支持部材6-1cと称し、沈降傾斜板5の下側に位置する支持部材6cを、下側水平支持部材6-2cと称し、沈降傾斜板5の両側に位置する支持部材6bを、第1鉛直支持部材6-1b,第2鉛直支持部材6-2bと称する。
沈降傾斜板5の下端に形成された下側切り欠き5aは、下側水平支持部材6-2cと第1鉛直支持部材6-1bとの接続部に係合する。下側水平支持部材6-2cと第1鉛直支持部材6-1bとの接続部は、沈降傾斜板5の下側切り欠き5a内に位置している。より具体的には、沈降傾斜板5の下側切り欠き5aは、下側水平支持部材6-2cと第1鉛直支持部材6-1bとの接続部に緩やかに係合している。沈降傾斜板5は、下側水平支持部材6-2cと第1鉛直支持部材6-1bに固定されていない。沈降傾斜板5の上端と上側水平支持部材6-1cとの間には、鉛直方向の隙間G1が形成されている。したがって、沈降傾斜板5は、下側切り欠き5aを支点として格子構造体14内で動くことができる。
図8は、図7に示す沈降傾斜板5と格子構造体14を示す側面図である。図8に示すように、地震に起因する水のスロッシング(揺動)が沈殿池1で発生したときに、沈降傾斜板5は、水圧を受けて下側切り欠き5aを支点として格子構造体14内で動くことができる。したがって、沈降傾斜板5は、過大な水圧(負荷)を逃すことができ、結果として、水のスロッシングに起因する沈降傾斜板5の破損を防止することができる。
一実施形態では、格子構造体14の幅Wは100mm以下であり、格子構造体14の高さHは180mm以下である。格子構造体14の幅Wおよび高さHの下限値は、被処理水に含まれる沈殿物(不純物)の沈降を促進させるという沈降傾斜板5の意図した目的が達成できる限りにおいて、特に限定されない。幅Wの上限値が100mm、高さHの上限値が180mmである格子構造体14内に配置される沈降傾斜板5は、比較的小さな表面積を有する。したがって、水のスロッシング(揺動)が沈殿池1で発生したときに、水から沈降傾斜板5に加わる力を小さくすることができる。結果として、沈降傾斜板5の破損を防止することができる。
図9は、格子構造体14および沈降傾斜板5の他の実施形態を示す拡大斜視図である。特に説明しない本実施形態の構成は、図5乃至図8を参照して説明した実施形態と同じであるので、その重複する説明を省略する。
本実施形態では、格子構造体14の上側水平支持部材6-1cは、その一部が上方に突出した突出部20を有している。より具体的には、第2鉛直支持部材6-2bに接続される上側水平支持部材6-1cの端部は、上方に持ち上げられた形状の突出部20を形成している。沈降傾斜板5の上端は、上側水平支持部材6-1cの突出部20の下方に位置している。鉛直方向の隙間G1は、沈降傾斜板5の上端と突出部20との間に形成されている。
図10は、図9に示す沈降傾斜板5と格子構造体14を示す側面図である。図10に示すように、地震に起因する水のスロッシング(揺動)が沈殿池1で発生したときに、沈降傾斜板5は、水圧を受けて下側切り欠き5aを支点として格子構造体14内で動くことができる。特に、突出部20は、図7および図8を参照して説明した実施形態に比べて、鉛直方向の隙間G1を大きくすることができる。結果として、水のスロッシングに起因する沈降傾斜板5の破損をより効果的に防止することができる。
図9および図10に示す実施形態では、突出部20は、上側水平支持部材6-1cの一部が持ち上げられた形状の段部として構成されているが、突出部20の形状は本実施形態に限られない。例えば、突出部20は、上側水平支持部材6-1cの一部が上方に湾曲する湾曲形状を有してもよい。
図11は、沈降傾斜板5の他の実施形態を示す平面図である。図11に示すように、沈降傾斜板5は、下側切り欠き5aに加えて、沈降傾斜板5の上端に形成された上側切り欠き5bをさらに有している。上側切り欠き5bは、下側切り欠き5aと同じ数だけ設けられる。
図12は、図11に示す沈降傾斜板5が格子構造体14によって支持されている状態の一実施形態を示す拡大斜視図である。特に説明しない本実施形態の構成は、図5乃至図8を参照して説明した実施形態と同じであるので、その重複する説明を省略する。上側切り欠き5bは、上側水平支持部材6-1cに係合している。より具体的には、上側切り欠き5bは、上側水平支持部材6-1cに緩やかに係合しており、沈降傾斜板5は上側水平支持部材6-1cに固定されていない。鉛直方向の隙間G1は、上側切り欠き5bの下端と上側水平支持部材6-1cとの間に形成されている。したがって、沈降傾斜板5の上端は、上側水平支持部材6-1cに対して相対的に動くことができる。
図13は、図12に示す沈降傾斜板5と格子構造体14を示す側面図である。図13に示すように、地震に起因する水のスロッシング(揺動)が沈殿池1で発生したときに、沈降傾斜板5は、水圧を受けて下側切り欠き5aを支点として格子構造体14内で動くことができる。特に、上側切り欠き5bは、図7および図8を参照して説明した実施形態に比べて、鉛直方向の隙間G1を大きくすることができる。結果として、水のスロッシングに起因する沈降傾斜板5の破損をより効果的に防止することができる。
上述した実施形態は、本発明が属する技術分野における通常の知識を有する者が本発明を実施できることを目的として記載されたものである。上記実施形態の種々の変形例は、当業者であれば当然になしうることであり、本発明の技術的思想は他の実施形態にも適用しうる。したがって、本発明は、記載された実施形態に限定されることはなく、特許請求の範囲によって定義される技術的思想に従った最も広い範囲に解釈されるものである。
1 沈殿池
2 沈降促進装置
3 傾斜板保持アッセンブリ
5 沈降傾斜板
5a 下側切り欠き
5b 上側切り欠き
6 支持フレーム
6A 第1支持フレーム
6B 第2支持フレーム
6C 第3支持フレーム
6a フレーム本体
6b,6c 支持部材
6-1b 第1鉛直支持部材
6-2b 第2鉛直支持部材
6-1c 上側水平支持部材
6-2c 下側水平支持部材
7 吊り下げ具
8 懸架構造体
11 フックボルト
12 連結フック
14 格子構造体
20 突出部
G1 隙間

Claims (4)

  1. 被処理水に含まれる沈殿物の沈殿を促進させる沈降促進装置であって、
    矩形状の格子構造体と、
    前記格子構造体内に斜めに配置された沈降傾斜板を備え、
    前記格子構造体は、前記沈降傾斜板の上側に位置する上側水平支持部材と、前記沈降傾斜板の下側に位置する下側水平支持部材と、前記沈降傾斜板の両側に位置する第1鉛直支持部材および第2鉛直支持部材を有し、
    前記沈降傾斜板は、その下端に形成された下側切り欠きを有しており、前記下側切り欠きは、前記第1鉛直支持部材と前記下側水平支持部材との接続部に係合しており、
    前記沈降傾斜板の上端と、前記上側水平支持部材との間には、鉛直方向の隙間が形成されており、
    前記沈降傾斜板は、前記格子構造体内で可動に構成されている、沈降促進装置。
  2. 前記上側水平支持部材は、その一部が上方に突出した突出部を有しており、
    前記沈降傾斜板の上端は、前記突出部の下方に位置しており、
    前記鉛直方向の隙間は、前記沈降傾斜板の上端と前記突出部との間に形成されている、請求項1に記載の沈降促進装置。
  3. 前記沈降傾斜板は、その上端に形成された上側切り欠きをさらに有しており、前記上側切り欠きは、前記上側水平支持部材に係合しており、
    前記鉛直方向の隙間は、前記上側切り欠きの下端と前記上側水平支持部材との間に形成されている、請求項1に記載の沈降促進装置。
  4. 前記格子構造体の幅は100mm以下であり、前記格子構造体の高さは180mm以下である、請求項1に記載の沈降促進装置。
JP2024028437A 2024-02-28 2024-02-28 沈降促進装置 Active JP7686821B1 (ja)

Priority Applications (1)

Application Number Priority Date Filing Date Title
JP2024028437A JP7686821B1 (ja) 2024-02-28 2024-02-28 沈降促進装置

Applications Claiming Priority (1)

Application Number Priority Date Filing Date Title
JP2024028437A JP7686821B1 (ja) 2024-02-28 2024-02-28 沈降促進装置

Publications (2)

Publication Number Publication Date
JP7686821B1 true JP7686821B1 (ja) 2025-06-02
JP2025130993A JP2025130993A (ja) 2025-09-09

Family

ID=95895089

Family Applications (1)

Application Number Title Priority Date Filing Date
JP2024028437A Active JP7686821B1 (ja) 2024-02-28 2024-02-28 沈降促進装置

Country Status (1)

Country Link
JP (1) JP7686821B1 (ja)

Citations (3)

* Cited by examiner, † Cited by third party
Publication number Priority date Publication date Assignee Title
JPS53117673U (ja) * 1977-02-25 1978-09-19
JPS57187602U (ja) * 1981-05-22 1982-11-29
KR20110083587A (ko) * 2011-07-04 2011-07-20 주식회사삼영이앤티 경사판 거치대

Patent Citations (3)

* Cited by examiner, † Cited by third party
Publication number Priority date Publication date Assignee Title
JPS53117673U (ja) * 1977-02-25 1978-09-19
JPS57187602U (ja) * 1981-05-22 1982-11-29
KR20110083587A (ko) * 2011-07-04 2011-07-20 주식회사삼영이앤티 경사판 거치대

Also Published As

Publication number Publication date
JP2025130993A (ja) 2025-09-09

Similar Documents

Publication Publication Date Title
KR101002232B1 (ko) 내진보강용 전단저항장치가 부착된 교량받침 및 이의 설치공법
KR102362437B1 (ko) 내진 케이블 트레이용 행거 연결장치
KR101300073B1 (ko) 거더 인상장치
RU2587049C2 (ru) Амортизационное соединительное устройство для плавучих конструкций
JP7686821B1 (ja) 沈降促進装置
JP7692506B1 (ja) 沈降促進装置
KR20050029667A (ko) 교량 상부구조물의 인상에 따른 위치조정 및 기능유지장치및 이를 이용한 시공방법
KR100891169B1 (ko) 마그네틱을 이용한 내진교좌장치
JP7090925B2 (ja) 傾斜板沈降システム
JP2021037492A (ja) 傾斜板沈降システム
JP7682320B1 (ja) 沈降促進装置
CN215164615U (zh) 一种具有消能减震功能的伸缩装置
JP7220437B1 (ja) 傾斜板沈降システム
CN218932847U (zh) 一种防落梁缓冲限位装置及防落梁构造
CN113863530B (zh) 一种可装配式耗能连接件及耗能支撑子结构
KR20040076348A (ko) 아이형강빔의 인상과 낙교방지를 위한 교좌장치 및 그설치방법
CN223269073U (zh) 一种边置式防屈曲阻尼防落梁装置
KR200342350Y1 (ko) 교량 상부구조물의 인상에 따른 위치조정 및기능유지장치
CN211006308U (zh) 一种防震害多功能抗震挡块结构
KR101788819B1 (ko) 교량용 받침장치 교체 시공 방법
CN219099833U (zh) 一种用于桥梁防震的加固装置
KR20020087576A (ko) 교좌장치
CN212956165U (zh) 一种连续梁悬臂施工用梁体稳定装置
CN209601889U (zh) 一种电梯机房部件安装结构
CN212561197U (zh) 一种海域墩顶施工平台

Legal Events

Date Code Title Description
A621 Written request for application examination

Free format text: JAPANESE INTERMEDIATE CODE: A621

Effective date: 20241003

A871 Explanation of circumstances concerning accelerated examination

Free format text: JAPANESE INTERMEDIATE CODE: A871

Effective date: 20241003

A131 Notification of reasons for refusal

Free format text: JAPANESE INTERMEDIATE CODE: A131

Effective date: 20250114

A521 Request for written amendment filed

Free format text: JAPANESE INTERMEDIATE CODE: A523

Effective date: 20250207

TRDD Decision of grant or rejection written
A01 Written decision to grant a patent or to grant a registration (utility model)

Free format text: JAPANESE INTERMEDIATE CODE: A01

Effective date: 20250507

A61 First payment of annual fees (during grant procedure)

Free format text: JAPANESE INTERMEDIATE CODE: A61

Effective date: 20250521

R150 Certificate of patent or registration of utility model

Ref document number: 7686821

Country of ref document: JP

Free format text: JAPANESE INTERMEDIATE CODE: R150