JP7604499B2 - 磁性ビーズのマイクロ流体への作用 - Google Patents

磁性ビーズのマイクロ流体への作用 Download PDF

Info

Publication number
JP7604499B2
JP7604499B2 JP2022541718A JP2022541718A JP7604499B2 JP 7604499 B2 JP7604499 B2 JP 7604499B2 JP 2022541718 A JP2022541718 A JP 2022541718A JP 2022541718 A JP2022541718 A JP 2022541718A JP 7604499 B2 JP7604499 B2 JP 7604499B2
Authority
JP
Japan
Prior art keywords
droplet
substrate
magnetic field
microactuator
spot
Prior art date
Legal status (The legal status is an assumption and is not a legal conclusion. Google has not performed a legal analysis and makes no representation as to the accuracy of the status listed.)
Active
Application number
JP2022541718A
Other languages
English (en)
Other versions
JP2022547239A (ja
Inventor
ゴン,ジアン
リン,ヤン-ユウ
リン,シー-チン
フランク ジョン,チェン
Current Assignee (The listed assignees may be inaccurate. Google has not performed a legal analysis and makes no representation or warranty as to the accuracy of the list.)
Mgi Holdings Co Ltd
Original Assignee
Mgi Holdings Co Ltd
Priority date (The priority date is an assumption and is not a legal conclusion. Google has not performed a legal analysis and makes no representation as to the accuracy of the date listed.)
Filing date
Publication date
Application filed by Mgi Holdings Co Ltd filed Critical Mgi Holdings Co Ltd
Publication of JP2022547239A publication Critical patent/JP2022547239A/ja
Application granted granted Critical
Publication of JP7604499B2 publication Critical patent/JP7604499B2/ja
Active legal-status Critical Current
Anticipated expiration legal-status Critical

Links

Images

Classifications

    • BPERFORMING OPERATIONS; TRANSPORTING
    • B01PHYSICAL OR CHEMICAL PROCESSES OR APPARATUS IN GENERAL
    • B01LCHEMICAL OR PHYSICAL LABORATORY APPARATUS FOR GENERAL USE
    • B01L3/00Containers or dishes for laboratory use, e.g. laboratory glassware; Droppers
    • B01L3/50Containers for the purpose of retaining a material to be analysed, e.g. test tubes
    • B01L3/502Containers for the purpose of retaining a material to be analysed, e.g. test tubes with fluid transport, e.g. in multi-compartment structures
    • B01L3/5027Containers for the purpose of retaining a material to be analysed, e.g. test tubes with fluid transport, e.g. in multi-compartment structures by integrated microfluidic structures, i.e. dimensions of channels and chambers are such that surface tension forces are important, e.g. lab-on-a-chip
    • B01L3/50273Containers for the purpose of retaining a material to be analysed, e.g. test tubes with fluid transport, e.g. in multi-compartment structures by integrated microfluidic structures, i.e. dimensions of channels and chambers are such that surface tension forces are important, e.g. lab-on-a-chip characterised by the means or forces applied to move the fluids
    • BPERFORMING OPERATIONS; TRANSPORTING
    • B01PHYSICAL OR CHEMICAL PROCESSES OR APPARATUS IN GENERAL
    • B01LCHEMICAL OR PHYSICAL LABORATORY APPARATUS FOR GENERAL USE
    • B01L3/00Containers or dishes for laboratory use, e.g. laboratory glassware; Droppers
    • B01L3/50Containers for the purpose of retaining a material to be analysed, e.g. test tubes
    • B01L3/502Containers for the purpose of retaining a material to be analysed, e.g. test tubes with fluid transport, e.g. in multi-compartment structures
    • B01L3/5027Containers for the purpose of retaining a material to be analysed, e.g. test tubes with fluid transport, e.g. in multi-compartment structures by integrated microfluidic structures, i.e. dimensions of channels and chambers are such that surface tension forces are important, e.g. lab-on-a-chip
    • B01L3/502761Containers for the purpose of retaining a material to be analysed, e.g. test tubes with fluid transport, e.g. in multi-compartment structures by integrated microfluidic structures, i.e. dimensions of channels and chambers are such that surface tension forces are important, e.g. lab-on-a-chip specially adapted for handling suspended solids or molecules independently from the bulk fluid flow, e.g. for trapping or sorting beads, for physically stretching molecules
    • BPERFORMING OPERATIONS; TRANSPORTING
    • B01PHYSICAL OR CHEMICAL PROCESSES OR APPARATUS IN GENERAL
    • B01LCHEMICAL OR PHYSICAL LABORATORY APPARATUS FOR GENERAL USE
    • B01L3/00Containers or dishes for laboratory use, e.g. laboratory glassware; Droppers
    • B01L3/50Containers for the purpose of retaining a material to be analysed, e.g. test tubes
    • B01L3/502Containers for the purpose of retaining a material to be analysed, e.g. test tubes with fluid transport, e.g. in multi-compartment structures
    • B01L3/5027Containers for the purpose of retaining a material to be analysed, e.g. test tubes with fluid transport, e.g. in multi-compartment structures by integrated microfluidic structures, i.e. dimensions of channels and chambers are such that surface tension forces are important, e.g. lab-on-a-chip
    • B01L3/502769Containers for the purpose of retaining a material to be analysed, e.g. test tubes with fluid transport, e.g. in multi-compartment structures by integrated microfluidic structures, i.e. dimensions of channels and chambers are such that surface tension forces are important, e.g. lab-on-a-chip characterised by multiphase flow arrangements
    • B01L3/502784Containers for the purpose of retaining a material to be analysed, e.g. test tubes with fluid transport, e.g. in multi-compartment structures by integrated microfluidic structures, i.e. dimensions of channels and chambers are such that surface tension forces are important, e.g. lab-on-a-chip characterised by multiphase flow arrangements specially adapted for droplet or plug flow, e.g. digital microfluidics
    • BPERFORMING OPERATIONS; TRANSPORTING
    • B01PHYSICAL OR CHEMICAL PROCESSES OR APPARATUS IN GENERAL
    • B01LCHEMICAL OR PHYSICAL LABORATORY APPARATUS FOR GENERAL USE
    • B01L2200/00Solutions for specific problems relating to chemical or physical laboratory apparatus
    • B01L2200/06Fluid handling related problems
    • B01L2200/0647Handling flowable solids, e.g. microscopic beads, cells, particles
    • B01L2200/0668Trapping microscopic beads
    • BPERFORMING OPERATIONS; TRANSPORTING
    • B01PHYSICAL OR CHEMICAL PROCESSES OR APPARATUS IN GENERAL
    • B01LCHEMICAL OR PHYSICAL LABORATORY APPARATUS FOR GENERAL USE
    • B01L2300/00Additional constructional details
    • B01L2300/08Geometry, shape and general structure
    • B01L2300/0861Configuration of multiple channels and/or chambers in a single devices
    • B01L2300/0864Configuration of multiple channels and/or chambers in a single devices comprising only one inlet and multiple receiving wells, e.g. for separation, splitting
    • BPERFORMING OPERATIONS; TRANSPORTING
    • B01PHYSICAL OR CHEMICAL PROCESSES OR APPARATUS IN GENERAL
    • B01LCHEMICAL OR PHYSICAL LABORATORY APPARATUS FOR GENERAL USE
    • B01L2400/00Moving or stopping fluids
    • B01L2400/04Moving fluids with specific forces or mechanical means
    • B01L2400/0403Moving fluids with specific forces or mechanical means specific forces
    • B01L2400/0415Moving fluids with specific forces or mechanical means specific forces electrical forces, e.g. electrokinetic
    • B01L2400/0427Electrowetting
    • BPERFORMING OPERATIONS; TRANSPORTING
    • B01PHYSICAL OR CHEMICAL PROCESSES OR APPARATUS IN GENERAL
    • B01LCHEMICAL OR PHYSICAL LABORATORY APPARATUS FOR GENERAL USE
    • B01L2400/00Moving or stopping fluids
    • B01L2400/04Moving fluids with specific forces or mechanical means
    • B01L2400/0403Moving fluids with specific forces or mechanical means specific forces
    • B01L2400/043Moving fluids with specific forces or mechanical means specific forces magnetic forces
    • BPERFORMING OPERATIONS; TRANSPORTING
    • B01PHYSICAL OR CHEMICAL PROCESSES OR APPARATUS IN GENERAL
    • B01LCHEMICAL OR PHYSICAL LABORATORY APPARATUS FOR GENERAL USE
    • B01L2400/00Moving or stopping fluids
    • B01L2400/08Regulating or influencing the flow resistance
    • B01L2400/084Passive control of flow resistance
    • B01L2400/086Passive control of flow resistance using baffles or other fixed flow obstructions
    • BPERFORMING OPERATIONS; TRANSPORTING
    • B01PHYSICAL OR CHEMICAL PROCESSES OR APPARATUS IN GENERAL
    • B01LCHEMICAL OR PHYSICAL LABORATORY APPARATUS FOR GENERAL USE
    • B01L3/00Containers or dishes for laboratory use, e.g. laboratory glassware; Droppers
    • B01L3/50Containers for the purpose of retaining a material to be analysed, e.g. test tubes
    • B01L3/502Containers for the purpose of retaining a material to be analysed, e.g. test tubes with fluid transport, e.g. in multi-compartment structures
    • B01L3/5027Containers for the purpose of retaining a material to be analysed, e.g. test tubes with fluid transport, e.g. in multi-compartment structures by integrated microfluidic structures, i.e. dimensions of channels and chambers are such that surface tension forces are important, e.g. lab-on-a-chip
    • B01L3/502769Containers for the purpose of retaining a material to be analysed, e.g. test tubes with fluid transport, e.g. in multi-compartment structures by integrated microfluidic structures, i.e. dimensions of channels and chambers are such that surface tension forces are important, e.g. lab-on-a-chip characterised by multiphase flow arrangements
    • B01L3/502784Containers for the purpose of retaining a material to be analysed, e.g. test tubes with fluid transport, e.g. in multi-compartment structures by integrated microfluidic structures, i.e. dimensions of channels and chambers are such that surface tension forces are important, e.g. lab-on-a-chip characterised by multiphase flow arrangements specially adapted for droplet or plug flow, e.g. digital microfluidics
    • B01L3/502792Containers for the purpose of retaining a material to be analysed, e.g. test tubes with fluid transport, e.g. in multi-compartment structures by integrated microfluidic structures, i.e. dimensions of channels and chambers are such that surface tension forces are important, e.g. lab-on-a-chip characterised by multiphase flow arrangements specially adapted for droplet or plug flow, e.g. digital microfluidics for moving individual droplets on a plate, e.g. by locally altering surface tension

Landscapes

  • Chemical & Material Sciences (AREA)
  • Health & Medical Sciences (AREA)
  • Dispersion Chemistry (AREA)
  • Clinical Laboratory Science (AREA)
  • General Health & Medical Sciences (AREA)
  • Hematology (AREA)
  • Analytical Chemistry (AREA)
  • Chemical Kinetics & Catalysis (AREA)
  • Physics & Mathematics (AREA)
  • Fluid Mechanics (AREA)
  • Automatic Analysis And Handling Materials Therefor (AREA)
  • Sampling And Sample Adjustment (AREA)
  • Physical Or Chemical Processes And Apparatus (AREA)
  • Micromachines (AREA)

Description

(関連出願に対するクロスリファレンス)
本出願は、2019年9月10日に出願された米国仮特許出願第62/898,454号の優先権を主張し、その内容は参照によりその全体が本明細書に組み込まれる。
本開示は、ビーズを操る装置および方法、特に、マイクロアクチュエータで磁気応答性ビーズを操る装置および方法に関する。
エレクトロウェッティング・オン・ダイエレクトリック(EWOD)は、疎水性表面上の2つの電極間で水滴の接触角を変化させる液体駆動機構である。これは、電界を用いて表面の疎水性を変更することで行われる。例えば、電圧をかけることで、表面を変更して、疎水状態から親水状態に切り替えることができる。無機基板(例えば、シリコン/ガラス基板)または有機基板(例えば、環状オレフィンポリマ/ポリカーボネート基板)等の基板上に配置された電極のアレイによって、数mmの大きさ(例えば、数マイクロリットルの容量)のバルク液体滴を移動させることができる。
マイクロ流体アクチュエータ(以下、マイクロアクチュエータ)は、非常に小さなサイズの液滴を操るために使用できるデバイスである。マイクロアクチュエータは、次世代DNA/RNAシーケンスライブラリ調製のような多くの生物学的アッセイワークフローで有用に使用されている。このようなワークフローは、通常、ビーズを使用して、DNA、RNAまたは抗体などのターゲットを捕捉し、ビーズをキャリアとして使用して、ターゲットをマイクロ流体アクチュエータ上の所望の位置に搬送する、および/または、1以上の反応を実行させる。
本開示は、マイクロアクチュエータでビーズを操るための装置、システムおよび方法を提示する。いくつかの実施形態では、ビーズは、磁場を使用して移動または他の方法で操られ得るように、磁気応答性であってもよい。いくつかの実施形態では、ビーズは、DNA分子、RNA分子または抗体などのターゲットに結合していてもよく、これらのターゲットを操るための手段として使用されてもよい。例えば、ターゲットのDNA分子に結合したビーズをマイクロアクチュエータ内の液滴に出し入れし、液滴内に試薬を含ませて液滴内で反応を起こさせることができる。ビーズを液滴に出し入れする従来の方法は、ビーズを固定化し、エレクトロウェッティングによって液滴をビーズに近づけるか、またはビーズから遠ざけることを含む。このような方法は、いくつかの欠点がある。例えば、エレクトロウェッティングの使用は、特にビーズから液滴を遠ざけるために使用される場合、マイクロアクチュエータの誘電体表面全体に比較的高い電圧(例えば、300V)の印加が必要である。場合によっては、これらの電圧は、単に液滴を輸送するために必要な電圧よりも高くてもよく、150V~200Vであってもよい。高い電圧を繰り返し印加すると、マイクロアクチュエータが損傷する可能性がある。例えば、イオンや他の不純物が誘電体に入り込み、結果的に誘電体が導電体となる絶縁破壊を引き起こす可能性がある。一度誘電体が導体になると、マイクロアクチュエータが無効化され(例えば、そのような誘電体に電圧を印加すると、マイクロアクチュエータ内の液滴が局在化する)、結果的に交換が必要となる場合がある。もう一つの欠点は、エレクトロウェッティングを使用して液滴をビーズから遠ざけると、しばしば、ビーズから遠ざけられた液滴の本体内に相当数のビーズが残る、および/または、ビーズを含む液滴から相当量の残留液が残ることである。これは、一部、エレクトロウェッティングアプローチの不正確性に起因する。例えば、エレクトロウェッティングアプローチは、液滴の流体と一緒にビーズを引きずり込むことができる程度の流れを誘発する。さらに、エレクトロウェッティングアプローチでは、流量を細かく制御できないため、ビーズに不要な量の液体が残ってしまう。
本開示の実施形態は、液滴の内外にビーズを磁気的に移動させることによって、上述した従来の方法から脱却している。いくつかの実施形態では、開示された方法は、液滴自体が静止したままである間に実行されてもよい。本開示によって説明される方法は、従来の方法を超える1以上の次の利点を提供し得る。第一に、液滴の内外にビーズを移動させるのにエレクトロウェッティングを必要としないため、絶縁破壊のリスクが大幅に軽減される。第二に、磁気によるビーズの移動が、はるかに精密で制御可能である。ビーズはマイクロアクチュエータの基板に接する領域に集められ、任意の所望の速度で移動できる。この速度の微調整は、磁場(例えば、磁場を発生させる永久磁石の動き)の制御レベルによってのみ制限され、エレクトロウェッティングから生じる流れよりもはるかに精密で制御可能である。最後に、本明細書に記載された磁気ビーズ搬送技術は、エレクトロウェッティングを必要としない用途にも適用できる。例えば、磁気ビーズは、流体輸送の他の方法(例えば、連続流マイクロ流体工学、紙ベースのマイクロ流体工学、糸ベースのマイクロ流体工学)に依存するマイクロ流体工学カートリッジ内で使用され得る。これらは利点の例に過ぎないことに留意されたい。他の利点は、本開示に照らして容易に明らかになる場合がある。
いくつかの実施形態において、方法は、マイクロアクチュエータの第1面の第1位置に配置された液滴にスポット磁場を印加すること(液滴は、1以上の磁気応答性ビーズおよび流体を含む)、および、スポット磁場を移動させて、液滴の本体から1以上の磁気応答性ビーズを分離することを含んでもよい。いくつかの実施形態では、1以上の磁気応答性ビーズは、磁気応答性ビーズのセット(例えば、2以上のビーズ)を含んでもよい。いくつかの実施形態において、液滴にスポット磁場を印加することが、磁気応答性ビーズのセットの少なくともいくつかをビーズパレット(例えば、ビーズのクラスタを含み得る)に集めてもよいし、スポット磁場の移動が、例えば、スポット磁場の源(例えば、1以上の永久磁石、1以上の電磁石)を第1位置に向かって移動させることによって、ビーズパレットを液滴の本体から分離することを含んでもよい。いくつかの実施形態では、ビーズパレットは、流体の残留容量を更に含んでもよい。いくつかの実施形態では、スポット磁場を移動させてビーズパレットを液滴の本体から分離することは、スポット磁場の源をマイクロアクチュエータの第1面(例えば、第1面によって規定される平面に実質的に平行)に沿って移動させることを含み、スポット磁場の移動が、ビーズパレットを第1面の第2位置に移動させてもよい。いくつかの実施形態では、磁界源(例えば、磁石)は、(1)第1基板に向かって、および、第1基板から離れるように、(2)第1基板に沿って、移動可能であってもよい。例えば、磁界源は、第1基板によって画定される平面に垂直なベクトルによって少なくとも部分的に画定される軌道に沿って移動可能であってもよく、第1基板によって画定される平面に平行なベクトルによって少なくとも部分的に画定される軌道に沿ってさらに移動可能であってもよい。
いくつかの実施形態において、マイクロアクチュエータは、第1基板を含んでもよい。第1基板は、第1面と、第1面と対向する第2面とを含んでもよい。いくつかの実施形態において、磁場の源は、第2面に隣接して位置する永久磁石であってもよい。いくつかの実施形態では、第2面は、マイクロアクチュエータの底面であってもよく、永久磁石は、第2面の下に(例えば、第2面に隣接して)位置してもよい。
いくつかの実施形態において、スポット磁場を印加することは、第1位置に近接した位置で第1電磁石を作動させることを含んでもよい。これらの実施形態において、スポット磁場を移動させてビーズパレットを液滴の本体から分離することは、第2位置に近接した位置で第2電磁石を作動させることを含んでもよい。
いくつかの実施形態において、スポット磁場を移動させてビーズパレットを液滴の本体から分離することは、スポット磁場の源を物理的に移動させることを含んでもよい。
いくつかの実施形態において、マイクロアクチュエータが、第1基板と、第1基板から間隔を空けて配置され第1基板との間にギャップを画定する第2基板とを含み、液滴がギャップに配置され、第2基板が、流体が第1位置から第2位置へ出ることを防止する、または、第1位置から第2位置へ出る流体の量を低減するように構成されたギャップ内に延びる物理バリアを含んでもよい。
いくつかの実施形態において、方法および装置は、マイクロアクチュエータの第1面の第2位置で1以上の磁気応答性ビーズにスポット磁場を印加することを含み(構成され)、および、スポット磁場を移動させて第1位置に配置された液滴に1以上の磁気応答性ビーズを導入することを含んでもよい(構成されてもよい)。この方法および装置において、液滴は流体を含み得る。
いくつかの実施形態では、スポット磁場を第1方向に沿って(例えば、磁石を第1方向に移動させることによって)移動させ、液滴の本体を第1方向とは異なる第2方向に沿って(例えば、第1方向と正反対の方向に)移動させてもよい。例えば、スポット磁場を第1方向に沿って移動させる同時または略同時に、液滴の本体を第2方向に沿って移動させてもよい。このような技術は、例えば、液滴からビーズをより迅速に分離するため、または、液滴にビーズをより迅速に導入するために使用され得る。いくつかの実施形態において、液滴の本体は、エレクトロウェッティングを使用して第2方向に移動されてもよい。いくつかの実施形態では、液滴の本体の一部を第1面の親水性部分に接触させることによって、液滴の本体を第2方向に移動させる。いくつかの実施形態では、圧力差を用いて液滴の本体を第2方向に移動させてもよい。液滴の本体は、本体の第1側面と本体の第2側面との間の圧力差を用いて、第2方向に移動してもよい。例えば、マイクロアクチュエータが、第1基板と、第1基板から間隔を空けて配置され第1基板との間に間隙を画定する第2基板とを含み、液滴がギャップに配置されてもよい。この例では、液滴の本体は、マイクロアクチュエータ上の液滴が配置されるギャップの容量変化によって生じる圧力差を用いて、第2方向に移動してもよい。
この概要は、以下でさらに詳細に説明される本開示の異なる実施形態を簡略化した形で導入するために提供される。この概要は、請求された主題の範囲を限定するために使用されることを意図していない。請求された主題の他の特徴、詳細、効用および利点は、以下の詳細な説明から明らかになる。
図1Aは、マイクロアクチュエータの一例を示す模式図である。 図1Bは、図1Aに示すマイクロアクチュエータをB-B’線に沿って撮影した断面図である。 図2Aは、マイクロアクチュエータの他の例の一部を示す断面図である。 図2Bは、マイクロアクチュエータの他の例の一部を示す断面図である。 図3Aは、マイクロアクチュエータ内の液滴の例を示す図である。 図3Bは、マイクロアクチュエータ内の液滴の例を示す図である。 図3Cは、マイクロアクチュエータ内の液滴の例を示す図である。 図4Aは、液滴本体から1以上のビーズを分離するために磁場源を使用するマイクロアクチュエータの一例を示す図である。 図4Bは、液滴本体から1以上のビーズを分離するために磁場源を使用するマイクロアクチュエータの一例を示す図である。 図4Cは、液滴本体から1以上のビーズを分離するために磁場源を使用するマイクロアクチュエータの一例を示す図である。 図4Dは、液滴本体から1以上のビーズを分離するために磁場源を使用するマイクロアクチュエータの一例を示す図である。 図4Eは、液滴本体から1以上のビーズを分離するために磁場源を使用するマイクロアクチュエータの一例を示す図である。 図5Aは、ビーズを操るための一連の磁場源を有するマイクロアクチュエータの一例を示す図である。 図5Bは、ビーズを操るための一連の磁場源を有するマイクロアクチュエータの一例を示す図である。 図5Cは、ビーズを操るための一連の磁場源を有するマイクロアクチュエータの一例を示す図である。 図6は、流体の無駄を防止または低減するための物理バリアを備えたマイクロアクチュエータの一例を示す図である。 図7Aは、スポット磁場を移動させて1以上のビーズを第1方向に移動させ、エレクトロウェッティングを用いて液滴本体を第2方向に移動させるマイクロアクチュエータの一例を示す図である。 図7Bは、スポット磁場を移動させて1以上のビーズを第1方向に移動させ、エレクトロウェッティングを用いて液滴本体を第2方向に移動させるマイクロアクチュエータの一例を示す図である。 図7Cは、スポット磁場を移動させて1以上のビーズを第1方向に移動させ、エレクトロウェッティングを用いて液滴本体を第2方向に移動させるマイクロアクチュエータの一例を示す図である。 図7Dは、スポット磁場を移動させて1以上のビーズを第1方向に移動させ、エレクトロウェッティングを用いて液滴本体を第2方向に移動させるマイクロアクチュエータの一例を示す図である。 図8Aは、スポット磁場を移動させて1以上のビーズを第1方向に移動させ、親水性表面を用いて液滴本体を第2方向に移動させるマイクロアクチュエータの一例を示す図である。 図8Bは、スポット磁場を移動させて1以上のビーズを第1方向に移動させ、親水性表面を用いて液滴本体を第2方向に移動させるマイクロアクチュエータの一例を示す図である。 図8Cは、スポット磁場を移動させて1以上のビーズを第1方向に移動させ、親水性表面を用いて液滴本体を第2方向に移動させるマイクロアクチュエータの一例を示す図である。 図8Dは、スポット磁場を移動させて1以上のビーズを第1方向に移動させ、親水性表面を用いて液滴本体を第2方向に移動させるマイクロアクチュエータの一例を示す図である。 図9Aは、スポット磁場を移動させて1以上のビーズを第1方向に移動させ、圧力差を利用して液滴本体を第2方向に移動させるマイクロアクチュエータの一例を示す図である。 図9Bは、スポット磁場を移動させて1以上のビーズを第1方向に移動させ、圧力差を利用して液滴本体を第2方向に移動させるマイクロアクチュエータの一例を示す図である。 図9Cは、スポット磁場を移動させて1以上のビーズを第1方向に移動させ、圧力差を利用して液滴本体を第2方向に移動させるマイクロアクチュエータの一例を示す図である。 図9Dは、スポット磁場を移動させて1以上のビーズを第1方向に移動させ、圧力差を利用して液滴本体を第2方向に移動させるマイクロアクチュエータの一例を示す図である。 図10は、マイクロ流体アクチュエータ上で液滴本体から1以上のビーズを磁気的に分離する方法の一例を示す図である。 図11は、マイクロ流体アクチュエータ上の液滴本体に1以上のビーズを磁気的に導入する方法の一例を示す図である。 一般的な慣行に従い、記載された特徴および要素は縮尺通りに描かれていないが、本開示に関連する特徴および要素を強調するために描かれている。
以下の詳細な説明において、本書の一部を構成する添付図面を参照し、その中に、本発明を実施できる具体的かつ非限定的な実施例を図示する。用語「上」、「下」、「垂直」、「高さ」、「頂」、「底」などは、説明される図の向きを参照して使用される。本発明の実施形態の構成要素は、多数の異なる向きに配置され得るので、この用語は、説明の目的で使用され、限定するものでない。
いくつかの図は、マイクロアクチュエータにおける液滴を模式的に示している。これらの例では、液滴は、一例えば、約数ミリリットル(10-3)から約数マイクロリットル(10-6)の間の定の容量を有する表面張力によって少なくとも部分的に境界が形成された液体であると考えることができる。液滴は、生体分子、タンパク質、生体または死体、試薬、および、それらの任意の組み合わせなどの任意の有機種または無機種を含む水性(aqueous)液滴であってもよい。液滴は、非水性液体であってもよい。液滴は、球状であっても非球状であってもよく、約1マイクロメートルから数ミリメートルの範囲のサイズを有していてもよい。いくつかの実施形態では、液滴は、1×1×0.3mm~1.5×1.5×0.5mmの寸法を有していてもよい。いくつかの実施形態では、液滴は、フィラー流体によってカプセル化されてもよい。液滴は、1以上のビーズを含んでもよい。
いくつかの図では、マイクロアクチュエータにおけるビーズを模式的に示している。これらの例において、ビーズは、マイクロアクチュエータで操れる、または、マイクロアクチュエータ上若しくはマイクロアクチュエータに近接する液滴と相互作用できる粒子である任意の粒子であると考えることができる。ビーズは、球形、略球形、卵形、円盤形、立方体および他の三次元形状などの多種多様な任意の形状であってもよい。
いくつかの実施形態では、ビーズは磁気応答性であってもよい。これらの実施形態において、ビーズは、磁場源によって操り可能(例えば、マイクロアクチュエータの第1位置から第2位置に移動可能)であってもよい。例えば、磁気応答性ビーズは、磁場源に引き寄せられてもよいし、または、磁場源により斥けられてもよい。ビーズは、例えば、常磁性材料、強磁性材料、フェリ磁性材料、および/または、メタ磁性材料などの磁気応答性材料を含むことによって、磁気応答性を有していてもよい。
いくつかの実施形態では、1以上の試薬がマイクロアクチュエータによって採用され得る。これらの実施形態において、試薬は、(例えば、液滴中に存在する種との)反応を誘発するか、または、促進するために使用される物質であると考えることができる。
図1Aは、マイクロアクチュエータ10の一例を示す模式図である。図1Aの図示されたマイクロアクチュエータは、1以上の基板に沿って液滴および/または粒子(例えば、ビーズ)を操れるマイクロ流体液滴アクチュエータ(microfluidics droplet actuator)である。マイクロアクチュエータ10は、下基板12、基板上の絶縁層13、および、絶縁層内または絶縁層下の電極14aおよび14bのアレイを有する基板構造体11を含む。電極14aおよび14bのアレイは、互いに平行に配置され、第1方向に互いに間隔を空けて配置された電極の第1のセット14aと、互いに平行に配置され、第1方向と実質的に垂直な第2方向に互いに間隔を空けて配置された電極の第2のセット14bとを含んでもよい。第1セットおよび第2のセットの電極は、同じまたは異なる材料の複数の誘電体層を含むことができる絶縁層13内で互いに間隔を空けて配置されてもよい。マイクロアクチュエータ10はまた、基板に入出力回路15を含んでもよい。入出力回路15は、マイクロアクチュエータ10に統合されていてもよいし、マイクロアクチュエータ10の外部にあってもよい制御回路(図1Aに図示せず)とインターフェースで接続して、電極14aおよび14bのアレイに時間変化する電圧波形を有する制御電圧を提供するよう構成され得る。
図1Aを参照すると、絶縁層13の表面に配置された流体液滴16は、液滴の下の電極および隣接する電極において制御電圧をオン/オフすることによって(または電圧レベルを調節することによって)、表面上を移動してもよい。
図1Bは、図1Aに示すマイクロアクチュエータ10のB-B’線に沿った断面図である。第2セットの電極14bの断面図が示されている。第1セットの電極14a(図示せず)は、第2セットの電極14bの上、下または同じ平面内に配置されてもよく、1以上の誘電体層によって第2セットの電極から間隔をあけて配置されてもよい。
図2Aは、マイクロアクチュエータ20Aの他の実施例の一部を示す断面図である。図2Aを参照すると、マイクロアクチュエータ20Aは、第1基板22と、基板21上の誘電体層23と、誘電体層23内の一組の作動電極24a、24b、24cと、第2基板28に取り付けられ作動電極24に対向する共通電極27とを含む。いくつかの実施形態では、共通電極27は接地されてもよいし、他の共通電圧を有する基準電極であってもよい。いくつかの実施形態では、誘電体層23および共通電極27は、スペーサ29によって互いに離間され、ギャップが形成されている。他の実施形態では、ギャップは、第1基板22を第2基板28に固定するシーラント(例えば、接着剤または他の結合剤)で形成されてもよいし、他の方法で形成されてもよい。
図2Aを参照すると、2つの基板構造体が別々に形成されてもよい。例えば、第1基板構造体は、基板22と、誘電体層23と、誘電体層23内の作動電極24a、24b、24cとを含むように形成されてもよい。基板22は、従来の薄膜トランジスタの製造工程によって形成される薄膜トランジスタ(TFT)アレイ基板であってもよい。第2基板構造体は、基板28と、基板28上の共通電極層27とを含んでもよい。スペーサ29は、第1基板構造体または第2基板構造体のいずれかに形成されていてもよい。特定の実施形態では、スペーサ29は、数マイクロメートルから数ミリメートルの範囲内の高さを有する。一般に、スペーサ29の高さは、誘電体層23上に配置された液滴が第2基板構造体と物理的に接触するようにマイクロアクチュエータが構成される液滴の直径より小さい。第1基板構造体および第2基板構造体は、共に結合されてマイクロアクチュエータ20Aを形成する。言い換えると、本実施例における第1基板構造体および第2基板構造体間のスペースまたはギャップは、スペーサ29の高さまたは厚さによって決定される。このスペースまたはギャップが、液滴の流路を形成する。
図2Aに示す例では、共通電極27および一組の作動電極24a、24b、24cが、図1Aに示す入出力回路15を介して制御回路(図示せず)により供給される電圧に接続されている。共通電極は、接地電位または安定した直流電圧に接続されてもよい。制御回路は、それぞれの電子スイッチ(例えば、基板またはオフチップの薄膜トランジスタまたはMOS回路であり得る)を介して、入出力回路を介して時間的に変化する電圧を一組の作動電極に印加し、液滴を横切る電場を発生させて、液滴を経路に沿って移動させる。いくつかの実施形態では、共通電極27の表面は、疎水性材料から作られた絶縁層によって覆われている。他の実施形態では、誘電体層23の表面は、サブミクロンの厚さを有する薄い疎水性フィルムで覆われている。
図2Aを参照すると、液滴26は、第1基板22および第2基板28の間(ひいては作動電極24a、24b、24cおよび共通電極27の間)に配置されてもよい。一実施形態において、マイクロアクチュエータ20Aは、共通電極27および作動電極24に制御電圧を供給するように構成された制御回路(図示せず)をさらに含んでいてもよい。液滴26は、共通電極に対して作動電極に印加される電圧レベルを変更または変化させることによって、誘電体層23の表面を横切る横方向に沿って移動させてもよい。このように特定の作動電極に電圧を印加する(または電圧レベルを上げる)ことは、特定の作動電極の位置のすぐ周囲の第1基板22の一部分の疎水性を低下させる(すなわち、親水性を高める)効果を有する場合がある。この効果は、一般にエレクトロウェッティング(または、より具体的には、エレクトロウェッティングが誘電体上で起こる場合には、エレクトロウェッティング・オン・ダイアリック(EWOD))として知られており、表面を横切って液滴を移動させるために使用され得る。作動電極に印加される電圧をオン・オフすることで、制御回路は、液滴26を誘電体層23の表面を横切る横方向に移動させることができる。例えば、液滴26の下方の作動電極24aに第1電圧を印加し、隣接する作動電極24bに第2電圧を印加することで電界を発生させ、発生した電界が液滴26を作動電極24bに向かって移動させる。液滴26の速度は、隣接する作動電極間の電圧差の大きさによって制御され得る。一実施形態では、流体液滴26の形状は、液滴26がその間に配置される作動電極24a、24b、24cおよび共通電極27の間の電圧差を変化させることにより、変えることができる。一組の作動電極における作動電極数は、任意の整数であることが理解される。図2Aに示される例では、3つの作動電極が一組の作動電極に使用される。しかし、その数は例示的な実施形態を説明するために任意に選ばれたものであり、限定されるべきものではないことが理解される。
図2Bは、マイクロアクチュエータの他の実施例の一部を示す断面図である。図2Bを参照すると、マイクロアクチュエータ20Bは、基板22bと、基板21b上の誘電体層23bと、誘電体層23b内の一組の作動電極24a、24b、24cと、誘電体層23b上の一組の共通電極27(1つの電極27bのみが示されている)とを含んでいる。共通電極27bおよび作動電極は、誘電体層の一部によって互いに間隔をあけている。図2Aと同様に、液滴26は、液滴26の下の作動電極(例えば、24a)で第1電圧を印加し、隣接する作動電極(例えば、24b)で第2電圧を印加することで、誘電体層23bの表面を横切る横方向に経路に沿って移動できる。液滴26の移動および方向は、一組の電子スイッチ(基板22b内のMOS回路、図示せず)を介して特定の作動電極に電圧を印加する制御回路(図示せず)により制御される。図20Aに示すマイクロアクチュエータ20Aと異なり、マイクロアクチュエータ20Bは、作動電極24に近い共通電極27bを有し、液滴26が共通電極27および作動電極24間に挟まれない。マイクロアクチュエータ20Bは、スペーサ29を有していない点でも、マイクロアクチュエータ20Aと異なっている。
図2Bを参照すると、一組の作動電極24a、24b、24cおよび一組の共通電極27は、基板の異なる平面上で互いに交差する二層の帯状電極であってもよい。作動電極24a、24b、24cおよび共通電極27は、誘電体層23bの表面を横切って液滴26を移動させるように動作する。いくつかの実施形態では、共通電極27bは、疎水性材料から作られた絶縁層によって覆われる表面を有する。他の実施形態では、誘電体層23の表面は、サブミクロンの厚さを有する薄い疎水性フィルムで覆われている。
図1および図2のマイクロアクチュエータの使用方法の一例は、マイクロ流体チップの液滴デジタルPCRの一部として、均一または類似のサイズを有する多数の液滴の操作である。各サンプルの容量が小さく、ポアソン分布の要件を満たす特定のDNA濃度以下では、液滴の各サンプルは、1つのDNA分子を有するか、DNA分子を全く有していない場合がある。このサンプルを従来のPCRを用いて熱サイクルさせるか、等温PCRを用いて一定温度下で培養することにより、環境(例:オイル)内の各サンプルで、標的領域内の単一のDNA分子を増幅させることができる。オンチップ集積化されたイオン選択性電界効果トランジスタ(ISFET)センサーを介して、最終的な液滴のDNA濃度を光学的検出またはpH測定により読み取った後、サンプルのアレイにおけるターゲットDNAの絶対数を定量化し、その絶対数を用いてバルク液滴内のDNA濃度を計算できる。いくつかの例では、複数の異なるDNAターゲットを含む液滴は、単一のマイクロ流体チップの領域上に分注され、サンプルの検出または測定のために液滴から多数のサンプル(DNA標的のコピー)を生成する次の領域に、液滴をエレクトロウェッティングによって移動させる。
図3~6に、DNA分子などのターゲットが磁気応答性ビーズに結合されるマイクロアクチュエータの例を示す。ターゲットを磁気応答性ビーズに結合させることで、ターゲットを所望の位置に移動させる、または、マイクロアクチュエータで操ることができる。例えば、源から発生した磁場を制御することで、1以上の磁気応答性ビーズに結合したDNA分子をマイクロアクチュエータのある場所から別の場所に移動させることができる。
ある実施例では、磁気応答性ビーズは、1以上の試薬を含む液滴の中に移動させ、または、1以上の試薬を含む液滴から移動させ、磁気応答性ビーズに結合したターゲットと適切な反応を起こすことができる。例えば、一本鎖DNA分子に結合した磁気応答性ビーズは、適切な重合体および/またはヌクレオチドを含む液滴に導入され、PCRを開始することができる。ある実施形態では、一度、磁気応答性ビーズからターゲットが溶出されたら、磁気応答性ビーズは「洗浄」されてもよい。例えば、第1液滴内の1以上の磁気応答性ビーズのDNA分子に関して所望の反応が生じた後、磁気応答性ビーズは、第1液滴から、DNA分子を磁気応答性ビーズから取り除く第2液滴に移動させてもよい。磁気応答性ビーズは、第1液滴から、磁気応答性ビーズを洗浄するための緩衝液を含む第3液滴に移動させてもよい。最後に、洗浄された磁気応答性ビーズは、第3液滴から移動させ、必要に応じて(例えば、DNA分子およびDNA分子を磁気応答性ビーズに結合させることができる酵素を含む第4液滴に導入することにより)マイクロアクチュエータ内で再度使用してもよい。ある実施態様では、磁気応答性ビーズは、マイクロアクチュエータの特定のゾーン内または特定のゾーン外に(例えば、磁気的に)移動してもよい。例えば、DNAを含む磁気応答性ビーズは、第1温度を有する第1ゾーンから第2温度を有する第2ゾーンに移動してもよい。ある実施態様では、磁気応答性ビーズは、マイクロアクチュエータの入口にまたは出口から(例えば、磁気的に)移動してもよい。
図3A~3Cは、マイクロアクチュエータのある位置に位置し、その位置に一時的に保持されたビーズのセットを含む液滴の一例を示す図である。いくつかの実施形態では、液滴は、作動電極34を動作させることによって、ここで議論されるエレクトロウェッティングの原理を用いて、その位置に移動し、保持されてもよい。例えば、図3Aを参照すると、複数のビーズ31aを含む液滴36は、マイクロアクチュエータ30Aのギャップ内に配置されてもよい。いくつかの実施形態では、図示されているように、マイクロアクチュエータ30Aは、共通電極37および1以上の作動電極34を含んでもよい。これらの実施形態において、ギャップは、第1基板32および共通電極37によって形成されてもよい。共通電極37および第1基板32は、比較的大きな接触角を可能にするために、疎水性であってもよい。液滴36は、この疎水性を利用して、所定の位置に保持されてもよい。特定の実施形態では、作動電極34は、誘電体であり得る第1基板32内に収容されてもよい。別の例として、図3Bを参照すると、液滴36は、液滴36が着座するギャップに少なくとも部分的に延びる物理バリア35を用いて、マイクロアクチュエータ30B内の所定の位置に保持されてもよい。ギャップは、第1基板32および第2基板38によって形成されている。例えば、図3Bに示されるように、液滴36の両端に配置された2つの物理バリア35があってもよい。いくつかの実施形態では、物理バリアは、ギャップの狭窄、ギャップ内に突出する個別突起、または、それらの組み合わせであってもよい。別の例として、図3Cを参照すると、液滴36は、疎水性であり得る基板32に取り付けられた親水性パッチ33を用いて、マイクロアクチュエータ30C内に保持されてもよい。この例では、液滴36は、水性パッチ33に引き付けられ、疎水性基板32によって斥けられて、液滴が所定の位置に保持されてもよい。
いくつかの実施形態では、ビーズは、磁場源を用いて移動できる、または、他の方法で操れるように、磁気応答性であってもよい。いくつかの実施形態において、1以上のビーズは、単一のビーズ(例えば、1つの「スーパービーズ」)のみを含んでいてもよい。いくつかの実施形態では、1以上のビーズは、ビーズのセット(例えば、2以上のビーズ)を含んでいてもよい。
図4A~4Eは、磁場源49を用いて液滴本体46aから1以上のビーズを分離するマイクロアクチュエータ40の例を示している。マイクロアクチュエータ40は、いくつかの実施形態において、第1基板42(例えば、上部基板)および対向する第2基板48(例えば、下部基板)を含んでいてもよい。マイクロアクチュエータ40は、ここで論じられているエレクトロウェッティングの原理を用いるように構成されてもよく、第2基板48に取り付けられた共通電極47および第1基板42内に収容されたまたは取り付けられた1以上の作動電極44を含んでいてもよい。いくつかの実施形態では、1以上の磁場が、マイクロアクチュエータ上の液滴46から1以上のビーズを分離するために使用されてもよい。いくつかの実施形態において、スポット(または局所)磁場は、マイクロアクチュエータの第1面の第1位置に配置された液滴に印加されてもよい。液滴は、1以上のビーズおよび流体を含んでもよい。マイクロアクチュエータ40は、スポット磁場を発する磁場源として、磁石49(例えば、永久磁石、電磁石)を含んでもよい。いくつかの実施形態では、磁石49は、第1基板42の下に位置していてもよい。一例として、磁石49は、1/16インチの直径を有する永久磁石であってもよい。本開示は、磁石49が第1基板42の下に位置する構成を説明するが、本開示は、磁石49が代替的に第2基板48の上に位置してもよいことを想定している。
いくつかの実施形態では、スポット磁場が、液滴が配置されている第1位置に向かって移動し、液滴内の磁気応答性ビーズがスポット磁場の源に向かって引き付けられてもよい。いくつかの実施形態では、スポット磁場を移動させることは、スポット磁場の源を移動させることを含んでもよい。例えば、図4Aに示されるように、スポット磁場は、第1基板42と距離がある初期位置から第1基板42に近接する位置に向かって磁石49を移動させることで、第1位置に向かって移動してもよい。磁石49は、第1位置に隣接するように横方向(図4Aでは図示せず)に移動してもよい。この移動は、例えば、磁石を3次元的に移動させることができるXYZリニアモータに磁石49を結合することによって、磁石49に与えられてもよい。この例では、磁石49は、表面42によって画定されるXY平面に実質的に平行なベクトルに沿って横方向に、および/または、表面42によって画定されるXY平面に直交するZ方向のベクトルに沿って縦方向に、移動してもよい。図4Aは、磁石49のZ方向への移動を示す図である。いくつかの実施形態では、磁石49は、表面42によって画定されるXY平面に平行および垂直の両方のベクトル成分を有するベクトルによって画定される単一の軌道に沿って、横方向および縦方向の両方に移動してもよい。例えば、このようなベクトルは、初期点(0、0、0)が適切な場所(例えば、表面42の下)に配置され、(1、-2、3)のXYZ座標系における終点を有していてもよい。純粋に例示の目的で、図4Eは、XY平面が表面42によって定義されるXYZ座標系を示している。
ある実施態様では、スポット磁場は、1以上の磁気応答性ビーズを液滴の本体から分離するように移動してもよい。いくつかの実施形態では、図4Bに例示されるように、複数のビーズがある場合、スポット磁場を液滴に適用することで、ビーズのセット(複数ある場合)が、2以上のビーズの集合体またはクラスタを含む本体を意味する場合がある用語である「ビーズパレット」に集められてもよい。図4Bに示されるように、磁石49がビーズ41aに近接すると、磁石49は、ビーズ41aにスポット磁場を及ぼし、ビーズ41aをビーズパレット41に集合させる。図4Cに示されるように、いくつかの実施形態において、ビーズパレット41がマイクロアクチュエータの第1面の第2位置に向かって磁石49と共に移動するように、磁石49を横方向に移動させてもよい。これらの実施形態において、液滴46は、比較的静止した状態で保持されてもよく、第1位置におけるその初期位置に留まっていてもよい。図4Dに示されるように、磁石49は横方向に移動し続け、その結果、ビーズパレット41が、液滴本体46aから摘み取られ、最終的に分離されてもよい。いくつかの実施形態では、多くのビーズが残される可能性がある。しかしながら、先に論じたように、ここに開示される方法およびシステムは、より多くの従来の技術と比較して、残留ビーズの数を最小限に抑えることができる。
いくつかの実施形態では、1以上の磁場が、マイクロアクチュエータ上の液滴本体に1以上のビーズを導入するのに使用されてもよい。これは、例えば、図4A~4Dに関して議論されたステップを逆に実行することで達成され得る。例えば、磁石49をマイクロアクチュエータの第1面の第2位置に配置された1以上の磁気応答性ビーズに向けて移動させ、磁気応答性ビーズが磁石49に向かって引き寄せられてビーズパレット41に集められるようなスポット磁場を作り出してもよい。スポット磁場を(例えば、磁石49を液滴に向かって横方向に移動させることによって)液滴が配置されている第1位置に移動させて、磁気応答性ビーズを液滴に導入してもよい。
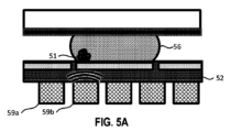
図5A~5Cは、ビーズを操るための一連の磁場源を有するマイクロアクチュエータの例を示す図である。いくつかの実施形態では、マイクロアクチュエータは、複数の定常磁場源を使用して、1以上の磁気応答性ビーズを移動させてもよいし、操ってもよい。定常磁場源は、例えば、オン又はオフにされ得る電磁石であってもよい(または、その磁場強度が変調され得る電磁石であってもよい)。図5Aを参照すると、液滴56内の磁気ビーズは、第1基板52の下に(例えば、隣接して)位置してもよい磁石59bを作動させることによって、ビーズパレット51に集められてもよい。図示されているように、磁石59bは、液滴56に近接して配置されている。図5Bを参照すると、液滴本体が比較的静止したまま、磁石59bを作動させて、ビーズパレット51を液滴本体56aから離し始めてもよい。図5Cに示されるように、磁石59aが活性化されたまま、磁石59Bが非活性化され、液滴本体56aからのビーズパレット51の分離を完了させてもよい。いくつかの実施形態では、このプロセスは、ビーズパレットを液滴に導入するために、逆に行われてもよい。
いくつかの実施形態では、ビーズパレット(またはビーズ)は、少量または残量の流体を含むこともできる。この流体の残量は、単に、液滴(例えば、ある時点でビーズがその中にあったかもしれない液滴)からの流体の残物であってよい。いくつかの実施形態では、ビーズパレットから流体の残量を減少または除去することが望ましい場合がある。これは、流体の無駄を減らすのに有利であり得る。例えば、試薬液滴から分離されたビーズパレットは、ビーズパレットと共に流出した試薬の残量を含む場合がある。この例では、ビーズパレットのビーズが再度使用される前に、(例えば、ビーズパレットをバッファ液に導入することによって)試薬の残量を洗浄する必要があるかもしれない。または、ビーズを廃棄する必要があるかもしれない。いずれの場合も、試薬の不必要な無駄が生じる。その結果、試薬の量は、試薬の液滴からのビーズの導入および分離と共に減少し、所定の反応に必要な量よりも多くの量の試薬が必要になる場合がある。
図6は、流体の無駄を防止または低減するための物理バリアを有するマイクロアクチュエータの例を示す。いくつかの実施形態では、マイクロアクチュエータは、ビーズパレット(またはビーズ)が取り除かれたときに流体の残量の排出を防止または低減する1以上の物理バリアを含んでいてもよい。例えば、図6を参照すると、マイクロアクチュエータ60は、液滴が配置されるギャップに部分的に延びる(それによってギャップを狭くする)物理バリア65を含んでもよい。図示されるように、磁石69が物理バリア65の左に移動するとき、物理バリア65は、ビーズパレット61が物理バリア65の左に移動することを可能にするが、ビーズパレット61と共に出る流体の残量を遮断または減少させる役割を果たすことができる。その結果、より多くの量の流体が液滴本体66aに保持され得る。
いくつかの場合では、より速い液滴からのビーズの分離(あるいは、より速い液滴へのビーズの導入)が最適であることもある。このような場合、ビーズを移動させるだけでなく、液滴本体を移動させて、ビーズを液滴から(または液滴に)分離(または導入)する時間を短縮することが有利となる場合がある。これを達成するための例示的な技術は、図7A~9Dに関して以下に説明される。
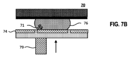
図7A~7Dは、スポット磁界を移動させて1以上のビーズ71aを第1方向に移動させ、エレクトロウェッティングを用いて液滴本体76aを第2方向に移動させるマイクロアクチュエータ70の一例を示す。図7Aに示されるように、ビーズ71aを含む液滴76は、複数の作動電極74を有するマイクロアクチュエータ70の表面に配置されてもよい。図7Bに示すように、磁石79をマイクロアクチュエータ70の基板に向かって移動させて、ビーズ71aをビーズパレット71に集めてもよい。図7Cに示されるように、磁石79を第1方向(ここでは図の左方向)に移動させて、ビーズパレット71を第1方向に移動させるようにしてもよい。同時または略同時に、作動電極74は、他の箇所に記載されているエレクトロウェッティングの原理を用いて液滴本体76aを第2方向(ここでは図の右方向)に移動させるように作動されてもよい。図7Dは、分離されたビーズパレット71および液滴本体76aをもたらす、最終的な分離を示す。
図8A~8Dは、スポット磁場を移動させて1以上のビーズ81aを第1方向に移動させ、親水性表面85を用いて液滴本体86aを第2方向に移動させるマイクロアクチュエータ80の一例を示す。図8Aに示されるように、ビーズ81aを含む液滴86は、マイクロアクチュエータ80の表面に配置されていてもよい。図8Aに示されるように、磁石89をマイクロアクチュエータ80の基板に向かって持ってきて、ビーズ81aをビーズパレット81に集めてよい。また、図8Bに示すように、液滴86の少なくとも一部を親水性表面85(例えば、親水性パッチ)に接触させるようにしてもよい。例えば、作動電極84の作動によるエレクトロウェッティングは、液滴86の一部が親水性表面85に接触するまで、液滴86を親水性表面85に向かって移動させるために使用されてもよい。図8Cに示されるように、磁石89を第1方向に移動させて、ビーズパレット81を第1方向に移動させてもよい。また、図8Cに示すように、同時または略同時に、親水性表面85の親水性が、液滴本体86aを第2方向へ移動させてもよい。このステップまたはこのステップの直前において、作動電極84は、液滴本体86aが作動電極84の近くの基板部分にもはや引き寄せられないように任意にオフされてもよい(例えば、作動電極84がオンでなければ、この部分は再び疎水性になり得る)。図8Dは、分離されたビーズパレット81および液滴本体86aをもたらす、最終的な分離を示す。
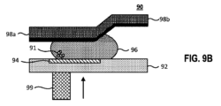
図9A~9Dは、スポット磁場を移動させて1以上のビーズ91aを第1方向に移動させ、圧力差を用いて液滴本体86aを第2方向に移動させるマイクロアクチュエータ90の一例を示す図である。図9Aに示されるように、マイクロアクチュエータ90は、第1基板92と、第1基板92からの距離が変化する2つの部分98aおよび98bを有する第2基板とを含んでもよい。図示された例では、部分98aは、部分98bよりも第1基板92に近い。その結果、部分98aに沿ったマイクロアクチュエータ90の基板間のギャップ容量は、部分98bに沿った対応するギャップ容量よりも小さい。この容量差が、2つの部分に沿ったギャップ内に圧力差を作り出す。例えば、ボイルの法則P1V1=P2V2により、部分98aに対して部分98bに沿って増加した容量は、部分98aに対して部分98bに沿って減少した圧力(他のすべてが同じ)に変換されなければならないことが保証される。この圧力差は、第2方向(例えば、図の右側)に毛細管押圧力を作り出す。図9Aに示されるように、液滴96を(例えば、作動電極94を用いたエレクトロウェッティングを使用して)部分98aおよび部分98bの間の接合部の近くに持って来てもよい。図9Bに示されるように、磁石96をマイクロアクチュエータ90の第1基板に向かって持って来て、ビーズ91aをビーズパレット91に集めてもよい。図9Cに示されるように、磁石99を第1方向に移動させて、ビーズパレット91を第1方向に移動させてもよい。また、図9Cに示されるように、同時または略同時に、部分98aおよび98bに沿ったギャップ間の圧力差により、液滴本体96aを第2方向に移動させてもよい(例えば、図9Cでは、液滴本体96aの左側が液滴本体96aの右側より高い圧力を経験し、液滴本体96aを右側に進ませてもよい)。このステップまたはこのステップの直前において、作動電極94は、液滴本体96aが作動電極94の近くの基板部分にもはや引き寄せられないように任意にオフされてもよい(例えば、作動電極94がオンでなければ、この部分は再び疎水性になり得る)。図9Dは、分離されたビーズパレット91および液滴本体96aをもたらす、最終的な分離を示す。いくつかの実施形態において、圧力差は、アクティブ正圧またはアクティブ負圧を(例えば、真空源を介して)加えることにより作り出されてもよい。
図7A~9Dは、単一の可動磁石の使用を示しているが、本開示は、図5A~5Cに示すように、複数の非可動磁石の使用を想定している。さらに、図7A~9Dは、第1方向(例えば、左)が第2方向(例えば、右)の正反対であることを示しているが、本開示は、第1方向が第2方向と異なるが正反対ではない状態(例えば、第1方向が第2方向と直交する方向、または、鋭角もしくは鈍角を成す方向である場合)を想定している。
図10は、マイクロ流体アクチュエータ上の液滴本体から1以上のビーズを磁気的に分離するための例示的方法100を示す。この方法は、ステップ102で開始されてもよい。ステップ102では、スポット磁場が、マイクロアクチュエータの第1面の第1位置に配置された液滴に印加されてもよい。液滴は、1以上の磁気応答性ビーズおよび流体を含む。ステップ104において、スポット磁場は、磁気応答性ビーズを液滴の本体から分離するように移動してもよい。特定の実施形態は、適切な場合、図10の方法の1以上のステップを繰り返してもよい。本開示は、図10の方法の特定のステップが特定の順序で発生するものとして説明し、図示しているが、本開示は、図10の方法の任意の好適なステップが任意の好適な順序で発生することを想定している。さらに、本開示は、図10の方法の特定のステップを含む、マイクロ流体アクチュエータ上の液滴本体から1以上のビーズを磁気的に分離するための例示的な方法を説明し、図示しているが、本開示は、適切な場合には図10の方法のステップの全て若しくは一部を含む、または、全てを含まない任意の適したステップを含む、マイクロ流体アクチュエータ上の液滴本体から1以上のビーズを磁気的に分離する任意の適した方法を想定している。さらに、本開示は、図10の方法の特定のステップを実行する特定の構成要素、装置、または、システムを説明し、図示しているが、本開示は、図10の方法の任意の適切なステップを実行する任意の適切な構成要素、装置、または、システムの任意の適切な組み合わせを想定している。
図11は、マイクロ流体アクチュエータ上の液滴本体に1以上のビーズを磁気的に導入するための例示的方法110を示す。この方法は、ステップ112で開始されてもよい。ステップ112では、スポット磁場が、マイクロアクチュエータの第1面の第2位置で1以上の磁気応答性ビーズに印加されてもよい。ステップ114では、スポット磁場を移動させて、磁気応答性ビーズを第1位置に配置された液滴に導入してもよい。ステップ114において、液滴は流体を含む。特定の実施形態は、適切な場合、図11の方法の1以上のステップを繰り返してもよい。本開示は、図11の方法の特定のステップを特定の順序で発生するものとして説明し、図示しているが、本開示は、図11の方法の任意の好適なステップが任意の好適な順序で発生することを想定している。さらに、本開示は、図11の方法の特定のステップを含む、マイクロ流体アクチュエータ上の液滴本体に1以上のビーズを磁気的に導入するための例示的方法を説明し、図示しているが、本開示は、適切な場合には図11の方法のステップの全て若しくは一部を含む、または、全てを含まない任意の適したステップを含む、マイクロ流体アクチュエータ上の液滴本体に1以上のビーズを磁気的に導入する任意の適した方法を想定している。さらに、本開示は、図11の方法の特定のステップを実行する特定の構成要素、装置、または、システムを説明し、図示しているが、本開示は、図11の方法の任意の適切なステップを実行する任意の適切な構成要素、装置、または、システムの任意の適切な組み合わせを想定している。
ここに記載されたプロセスは、特定の順序で実行される、特定の数のステップに関して記載されているが、明示的に示されていない、および/または、記載されていない追加のステップが含まれ得ることが想定される。さらに、記載された実施形態の範囲から逸脱することなく、示され記載されたステップよりも少ないステップが含まれてもよいことが想定される(すなわち、記載されたステップの1または複数が任意であってもよい)。さらに、ここに記載されたステップは、記載された順序とは異なる順序で実行されてもよいことが想定される。
ここに記載された例および実施形態は説明のためのものであり、それを踏まえた様々な修正または変更が、当業者に示唆され、本願の精神および範囲並びに添付の請求項の範囲に含まれるものと理解される。ここで引用したすべての刊行物、特許、および、特許出願は、すべての目的のためにその全体が参照により組み込まれる。
上記の説明は、例示であって、制限的なものではないことを理解されたい。多くの実施形態は、上記の説明を検討することにより、当業者には明らかになるであろう。したがって、本発明の範囲は、上記の説明を参照して決定されるべきではなく、代わりに、添付の請求項を、その完全な均等物の範囲と共に参照して決定されるべきである。
前述の開示は、本開示の例示的な態様を示しているが、添付の請求項によって定義される本開示の範囲から逸脱することなく、本明細書において様々な変更および修正が行われ得ることに留意されたい。ここに記載された本開示の態様に従った方法クレームの機能、ステップ、および/または、動作は、任意の特定の順序で実行される必要はない。さらに、本開示の要素は単数形で記載または請求され得るが、単数形への限定が明示されない限り、複数形が想定される。
ここのすべてのフローチャートについて、多くのステップが、達成される機能に影響を与えることなく、組み合わされ、並行して実行され、または、異なるシーケンスで実行され得ることが理解されるであろう。

Claims (45)

  1. マイクロ流体アクチュエータ上の液滴本体から1以上のビーズを磁気的に分離する方法であって、
    マイクロアクチュエータの第1面の第1位置に配置された液滴にスポット磁場を印加し、前記液滴は1以上の磁気応答性ビーズおよび流体を含み、
    前記スポット磁場を移動させて、前記1以上の磁気応答性ビーズを前記液滴の本体から分離する、方法であって、
    前記液滴の本体から前記1以上の磁気応答性ビーズを分離することが、前記スポット磁場を第1方向に沿って移動させること、および、同時または略同時に、前記液滴の本体を前記第1方向とは反対の第2方向に沿って移動させることの両方を含む、方法。
  2. 前記液滴の本体の一部を前記第1面の親水性部分に接触させることにより、前記液滴の本体を前記第1方向とは反対の前記第2方向に移動させる、請求項に記載の方法。
  3. 前記液滴の本体の第1側面と前記液滴の本体の第2側面との間の圧力差を用いて、前記液滴の本体を前記第1方向とは反対の前記第2方向に移動させる、請求項に記載の方法。
  4. 前記マイクロアクチュエータが、第1基板と、前記第1基板から間隔をあけて配置され、前記第1基板との間にギャップを画定する第2基板とを備え、前記液滴が前記ギャップに配置され、
    前記圧力差は、前記マイクロアクチュエータ上の前記液滴が配置される前記ギャップの容量変化によって生じる、請求項に記載の方法。
  5. 前記1以上の磁気応答性ビーズが、磁気応答性ビーズのセットを含み、前記スポット磁場の前記液滴への印加が、前記磁気応答性ビーズのセットの少なくとも一部をビーズパレットに集め、前記スポット磁場の移動が、前記液滴の本体から前記ビーズパレットを分離することを含む、請求項2~4のいずれかに記載の方法。
  6. 前記スポット磁場の前記液滴への印加が、前記スポット磁場の源を前記第1位置に向かって移動させることを含む、請求項2~4のいずれかに記載の方法。
  7. 前記スポット磁場を移動させてビーズパレットを前記液滴の本体から分離することは、前記スポット磁場の源を前記マイクロアクチュエータの前記第1面に沿って移動させることを含み、前記スポット磁場の移動が、前記ビーズパレットを前記第1面の第2位置に移動させる、請求項に記載の方法。
  8. 前記スポット磁場の源が永久磁石である、請求項6に記載の方法。
  9. 前記マイクロアクチュエータが第1基板を備え、前記第1基板が前記第1面と前記第1面に対向する第2面とを備え、前記永久磁石が前記第2面に隣接して配置されている、請求項に記載の方法。
  10. 前記スポット磁場の印加が、前記第1位置に近接した位置で第1電磁石を作動させることを含み、前記スポット磁場を移動させて前記液滴の本体から前記ビーズパレットを分離することが、第2位置に近接した位置で第2電磁石を作動させることを含む、請求項5に記載の方法。
  11. 前記スポット磁場を移動させて前記液滴の本体から前記ビーズパレットを分離することが、前記スポット磁場の源を物理的に移動させることを含む、請求項5に記載の方法。
  12. 前記ビーズパレットが、前記流体の残量をさらに含む、請求項5に記載の方法。
  13. 前記マイクロアクチュエータが、第1基板と、前記第1基板から間隔を空けて配置されて前記第1基板との間にギャップを画定する第2基板とを備え、前記液滴が前記ギャップに配置され、前記第2基板が、前記流体が前記第1位置から第2位置に出るのを防止する、または、前記第1位置から第2位置に出る前記流体の量を低減するように構成された前記ギャップ内に延びる物理バリアを含む、請求項のいずれかに記載の方法。
  14. マイクロ流体アクチュエータ上の液滴本体に1以上のビーズを磁気的に導入する方法であって、
    マイクロアクチュエータの第1面の第2位置で、1以上の磁気応答性ビーズにスポット磁場を印加すること、および、
    前記スポット磁場を移動させて、前記1以上の磁気応答性ビーズを第1位置に配置された液滴に導入することを含む、方法であって、
    前記1以上の磁気応答性ビーズを前記液滴に導入することが、前記スポット磁場を第1方向に沿って移動させること、および、同時または略同時に、前記液滴の本体を前記第1方向とは反対の第2方向に沿って移動させることの両方を含む、方法。
  15. 前記液滴の本体の一部を前記第1面の親水性部分に接触させることによって、前記液滴の本体を前記第1方向とは反対の前記第2方向に移動させる、請求項14に記載の方法。
  16. 前記液滴の本体の第1側面と前記液滴の本体の第2側面との間の圧力差を用いて、前記液滴の本体を前記第1方向とは反対の前記第2方向に移動させる、請求項14に記載の方法。
  17. 前記マイクロアクチュエータが、第1基板と、前記第1基板から間隔をあけて配置され、前記第1基板との間にギャップを画定する第2基板とを備え、前記液滴が前記ギャップに配置され、
    前記圧力差は、前記マイクロアクチュエータ上の前記液滴が配置される前記ギャップの容量変化によって生じる、請求項16に記載の方法。
  18. 前記1以上の磁気応答性ビーズが磁気応答性ビーズのセットを含み、前記スポット磁場の前記磁気応答性ビーズのセットへの印加が、前記磁気応答性ビーズのセットをビーズパレットに集め、前記スポット磁場の移動が、前記ビーズパレットを前記液滴の本体に導入することを含む、請求項15~17のいずれかに記載の方法。
  19. 前記スポット磁場の印加が、前記スポット磁場の源を前記第2位置に向かって移動させることを含む、請求項18に記載の方法。
  20. 前記スポット磁場を移動させて前記1以上の磁気応答性ビーズを前記液滴に導入することが、前記スポット磁場の源を前記第1面に沿って移動させることを含む、請求項19に記載の方法。
  21. 前記スポット磁場の源が永久磁石である、請求項19に記載の方法。
  22. 前記マイクロアクチュエータが第1基板を備え、前記第1基板が、第1面と、前記第1面に対向する第2面とを備え、前記永久磁石が前記第2面に隣接して位置している、請求項21に記載の方法。
  23. 前記スポット磁場の印加が、前記第2位置に近接した位置で第2電磁石を作動させることを含み、前記スポット磁場を移動させて前記1以上の磁気応答性ビーズを前記液滴に導入することが、前記第1位置に近接した位置で第1電磁石を作動させることを含む、請求項18に記載の方法。
  24. 前記スポット磁場を移動させて前記1以上の磁気応答性ビーズを前記液滴に導入することは、前記スポット磁場の源を物理的に移動させることを含む、請求項18に記載の方法。
  25. 前記ビーズパレットが流体の容量をさらに含む、請求項18に記載の方法。
  26. 前記マイクロアクチュエータが、第1基板と、前記第1基板から間隔を空けて配置され前記第1基板との間にギャップを画定する第2基板とを備え、前記液滴が前記ギャップに配置され、前記第2基板が、流体が前記第1位置から出ることを防止する、または、前記第1位置から出る前記流体の量を低減するように構成された前記ギャップ内に延びる物理バリアを含む、請求項15~17のいずれかに記載の方法。
  27. 1以上の液滴を受けるように構成された第1面と、前記第1面に対向する第2面とを有する第1基板と、
    磁界の源と
    を備え、
    第1面の第1位置に配置された第1液滴にスポット磁場を印加し、前記第1液滴が1以上の磁気応答性ビーズと流体とを含むように構成されていると共に、
    前記スポット磁場を移動させて、前記1以上の磁気応答性ビーズを前記第1液滴の本体から分離させるように構成されている、液滴マイクロアクチュエータであって、
    前記スポット磁場を第1方向に沿って移動させ、同時または略同時に、前記第1液滴の本体を前記第1方向とは反対の第2方向に沿って移動させることで、前記第1液滴の本体から前記1以上の磁気応答性ビーズを分離するように構成されている、液滴マイクロアクチュエータ。
  28. 前記第1液滴の本体の一部を前記第1面の親水性部分に接触させることによって、前記第1液滴の本体を前記第2方向に移動させるように構成されている、請求項27に記載の液滴マイクロアクチュエータ。
  29. 前記液滴の本体の第1側面と前記液滴の本体の第2側面との圧力差を用いて、前記第1液滴の本体を前記第2方向に移動させるように構成されている、請求項27に記載の液滴マイクロアクチュエータ。
  30. 前記第1基板と第2基板とが、前記第1基板と前記第2基板との間のギャップを画定し、前記第1液滴が前記ギャップに配置され、
    前記圧力差は、前記液滴マイクロアクチュエータ上の前記第1液滴が配置される前記ギャップの容量変化によって生じる、請求項29に記載の液滴マイクロアクチュエータ。
  31. 前記1以上の磁気応答性ビーズが、磁気応答性ビーズのセットを含み、前記液滴マイクロアクチュエータが、前記スポット磁場を前記第1液滴に印加して前記磁気応答性ビーズのセットをビーズパレットに集めるように構成されていると共に、前記液滴マイクロアクチュエータは、前記スポット磁場を移動させて前記ビーズパレットを前記第1液滴の本体から分離するように構成されている、請求項28~30のいずれかに記載の液滴マイクロアクチュエータ。
  32. 前記スポット磁場の源を前記第1位置に向かって移動させることで、前記第1液滴に前記スポット磁場を印加するように構成されている、請求項28~30のいずれかに記載の液滴マイクロアクチュエータ。
  33. 前記スポット磁場の源を前記液滴マイクロアクチュエータの前記第1面に沿って移動させることで、前記スポット磁場を移動させるように構成されている、請求項32に記載の液滴マイクロアクチュエータ。
  34. 前記スポット磁場の源が永久磁石である、請求項31に記載の液滴マイクロアクチュエータ。
  35. 前記永久磁石が前記第2面に隣接して位置している、請求項34に記載の液滴マイクロアクチュエータ。
  36. 前記スポット磁場の源が電磁石であり、前記第1液滴の前記スポット磁場への導入が、前記第1位置の近くの位置で前記電磁石を作動させることを含む、請求項31に記載の液滴マイクロアクチュエータ。
  37. 前記第1基板から間隔を空けて配置され、前記第1基板との間にギャップを画定する第2基板をさらに備え、前記第1液滴が前記ギャップに配置され、前記第2基板が、流体が前記第1位置から第2位置に搬送されるのを防止する、または、前記第1位置から前記第2位置に搬送される流体の量を低減するように構成された前記ギャップ内に延びる物理バリアを含む、請求項28~30のいずれかに記載の液滴マイクロアクチュエータ。
  38. 第1面と、前記第1面に対向する第2面とを有する第1基板と、
    前記第1基板から間隔を空けて配置され、前記第1基板との間にギャップを画定する第2基板であって、前記ギャップが、第1位置で、その中に液滴を配置可能に構成されている、第2基板と、
    前記第1基板の下に配置された磁界源と
    を備え、
    前記磁界源は、(1)前記第1基板に向かって移動可能であると共に、前記第1基板から離れて移動可能であり、(2)前記第1基板に沿って移動可能である、液滴マイクロアクチュエータであって、
    スポット磁場を第1方向に沿って移動させるように構成され、同時または略同時に、前記液滴の本体を前記第1方向と反対の第2方向に沿って移動させるようにさらに構成されている、液滴マイクロアクチュエータ。
  39. 前記液滴の本体の一部を前記第1面の親水性部分に接触させることにより、前記液滴の本体を前記第2方向に移動させるように構成されている、請求項38に記載の液滴マイクロアクチュエータ。
  40. 前記液滴の本体の第1側面と前記液滴の本体の第2側面との圧力差を用いて、第1液滴の本体を前記第2方向に移動させるように構成されている、請求項38に記載の液滴マイクロアクチュエータ。
  41. 前記第1基板および前記第2基板が、前記第1基板および前記第2基板の間のギャップを画定し、前記液滴が前記ギャップに配置され、
    前記圧力差が、前記液滴マイクロアクチュエータ上の前記液滴が配置される前記ギャップの容量変化によって生じる、請求項40に記載の液滴マイクロアクチュエータ。
  42. 前記磁界源は、前記第1基板によって画定される平面に対して垂直なベクトルによって少なくとも一部が画定される軌道に沿って移動可能であり、前記第1基板によって画定される平面に対して平行なベクトルによって少なくとも一部が画定される軌道に沿ってさらに移動可能である、請求項39~41のいずれかに記載の液滴マイクロアクチュエータ。
  43. 前記磁界源は、前記第1基板によって画定される平面に対して垂直な第1ベクトル成分を有するベクトルによって画定される軌道に沿って移動可能であり、前記第1基板によって画定される平面に対して平行なベクトルによって少なくとも部分的に画定される軌道に沿ってさらに移動可能である、請求項39~41のいずれかに記載の液滴マイクロアクチュエータ。
  44. 前記第2基板が、流体が前記第1位置から出るのを防止する、または、前記第1位置から出る流体の量を低減するように構成された前記ギャップ内に延びる物理バリアを含む、請求項39~41のいずれかに記載の液滴マイクロアクチュエータ。
  45. 前記第1基板が下基板であり、前記第2基板が上基板である、請求項39~41のいずれかに記載の液滴マイクロアクチュエータ。
JP2022541718A 2019-09-10 2020-09-09 磁性ビーズのマイクロ流体への作用 Active JP7604499B2 (ja)

Applications Claiming Priority (3)

Application Number Priority Date Filing Date Title
US201962898454P 2019-09-10 2019-09-10
US62/898,454 2019-09-10
PCT/CN2020/114156 WO2021047533A1 (en) 2019-09-10 2020-09-09 Operation of magnetic beads on microfluidics substrates

Publications (2)

Publication Number Publication Date
JP2022547239A JP2022547239A (ja) 2022-11-10
JP7604499B2 true JP7604499B2 (ja) 2024-12-23

Family

ID=74850390

Family Applications (1)

Application Number Title Priority Date Filing Date
JP2022541718A Active JP7604499B2 (ja) 2019-09-10 2020-09-09 磁性ビーズのマイクロ流体への作用

Country Status (5)

Country Link
US (1) US20210069701A1 (ja)
EP (1) EP4028167A4 (ja)
JP (1) JP7604499B2 (ja)
CN (1) CN114450090B (ja)
WO (1) WO2021047533A1 (ja)

Families Citing this family (3)

* Cited by examiner, † Cited by third party
Publication number Priority date Publication date Assignee Title
TWI836932B (zh) * 2022-05-04 2024-03-21 國立陽明交通大學 具有磁場控制機制的微流體晶片、微流體處理系統及微流體處理方法
WO2023245193A1 (en) * 2022-06-17 2023-12-21 Volta Labs, Inc. Moving magnet for magnetic bead-assisted separation
CN117866752A (zh) * 2023-12-27 2024-04-12 祥符实验室 一种介电润湿微流控芯片卡盒及其在数字pcr扩增检测中的应用

Citations (8)

* Cited by examiner, † Cited by third party
Publication number Priority date Publication date Assignee Title
WO2005069015A1 (ja) 2004-01-15 2005-07-28 Japan Science And Technology Agency 化学分析装置及び化学分析方法
WO2009052348A2 (en) 2007-10-17 2009-04-23 Advanced Liquid Logic, Inc. Manipulation of beads in droplets
JP2009534653A (ja) 2006-04-18 2009-09-24 アドバンスド・リキッド・ロジック・インコーポレイテッド 液滴に基づく生化学
JP2010524002A (ja) 2007-04-10 2010-07-15 アドヴァンスト リキッド ロジック インコーポレイテッド 液滴分配装置および方法
JP2013130548A (ja) 2011-12-22 2013-07-04 Shimadzu Corp 対象成分を操作するためのチップデバイス及びそれを用いた方法
WO2013145901A1 (ja) 2012-03-30 2013-10-03 株式会社島津製作所 分割可能な容器及び容器に収容された物質の分割方法
US20160310947A1 (en) 2013-12-04 2016-10-27 Isis Innovation Limited Controlling fluid micro-compartments
JP2017524921A (ja) 2014-06-25 2017-08-31 コーニンクレッカ フィリップス エヌ ヴェKoninklijke Philips N.V. 試料内の標的成分を検出するバイオセンサ

Family Cites Families (12)

* Cited by examiner, † Cited by third party
Publication number Priority date Publication date Assignee Title
US7815871B2 (en) * 2006-04-18 2010-10-19 Advanced Liquid Logic, Inc. Droplet microactuator system
US20150107995A1 (en) * 2006-04-18 2015-04-23 Advanced Liquid Logic, Inc. Droplet Actuator Devices and Methods for Manipulating Beads
US20170266653A1 (en) * 2006-05-09 2017-09-21 Advanced Liquid Logic, Inc. Method of concentrating beads in a droplet
KR101431778B1 (ko) * 2007-02-09 2014-08-20 어드밴스드 리퀴드 로직, 아이엔씨. 자성 비즈를 이용하는 액적 작동기 장치 및 방법
US8067176B2 (en) * 2008-01-25 2011-11-29 Shimadzu Corporation Microchemistry reaction method
US8617899B2 (en) * 2008-02-14 2013-12-31 Palo Alto Research Center Incorporated Enhanced drop mixing using magnetic actuation
US8093064B2 (en) * 2008-05-15 2012-01-10 The Regents Of The University Of California Method for using magnetic particles in droplet microfluidics
US20120261264A1 (en) * 2008-07-18 2012-10-18 Advanced Liquid Logic, Inc. Droplet Operations Device
DE102009035941B8 (de) * 2009-08-03 2017-04-27 Fraunhofer-Gesellschaft zur Förderung der angewandten Forschung e.V. Diagnostiksystem
US20140206007A1 (en) * 2013-01-18 2014-07-24 The Johns Hopkins University Electromagnetically actuated droplet microfluidic chip and system
EP3344388B1 (en) * 2015-09-02 2020-11-11 Tecan Trading AG Magnetic conduits in microfluidics
WO2017093896A1 (en) * 2015-11-30 2017-06-08 Dh Technologies Development Pte. Ltd. Electromagnetic assemblies for processing fluids

Patent Citations (8)

* Cited by examiner, † Cited by third party
Publication number Priority date Publication date Assignee Title
WO2005069015A1 (ja) 2004-01-15 2005-07-28 Japan Science And Technology Agency 化学分析装置及び化学分析方法
JP2009534653A (ja) 2006-04-18 2009-09-24 アドバンスド・リキッド・ロジック・インコーポレイテッド 液滴に基づく生化学
JP2010524002A (ja) 2007-04-10 2010-07-15 アドヴァンスト リキッド ロジック インコーポレイテッド 液滴分配装置および方法
WO2009052348A2 (en) 2007-10-17 2009-04-23 Advanced Liquid Logic, Inc. Manipulation of beads in droplets
JP2013130548A (ja) 2011-12-22 2013-07-04 Shimadzu Corp 対象成分を操作するためのチップデバイス及びそれを用いた方法
WO2013145901A1 (ja) 2012-03-30 2013-10-03 株式会社島津製作所 分割可能な容器及び容器に収容された物質の分割方法
US20160310947A1 (en) 2013-12-04 2016-10-27 Isis Innovation Limited Controlling fluid micro-compartments
JP2017524921A (ja) 2014-06-25 2017-08-31 コーニンクレッカ フィリップス エヌ ヴェKoninklijke Philips N.V. 試料内の標的成分を検出するバイオセンサ

Also Published As

Publication number Publication date
CN114450090A (zh) 2022-05-06
US20210069701A1 (en) 2021-03-11
WO2021047533A1 (en) 2021-03-18
CN114450090B (zh) 2024-07-23
EP4028167A4 (en) 2023-10-11
EP4028167A1 (en) 2022-07-20
JP2022547239A (ja) 2022-11-10

Similar Documents

Publication Publication Date Title
US20100181195A1 (en) Microfluidic chip for and a method of handling fluidic droplets
US11697117B2 (en) Methods and devices for sample analysis
US8927296B2 (en) Method of reducing liquid volume surrounding beads
JP7604499B2 (ja) 磁性ビーズのマイクロ流体への作用
EP2188059B1 (en) Bead manipulations on a droplet actuator
US8093064B2 (en) Method for using magnetic particles in droplet microfluidics
US9046514B2 (en) Droplet actuator devices and methods employing magnetic beads
US8454905B2 (en) Droplet actuator structures
EP2148838B1 (en) Electrowetting based digital microfluidics
US10656147B2 (en) Magnetic elements for processing fluids
US20190126280A1 (en) Digital microfluidic systems with electrode bus and methods for droplet manipulation
US20130233425A1 (en) Enhancing and/or Maintaining Oil Film Stability in a Droplet Actuator
US20150107995A1 (en) Droplet Actuator Devices and Methods for Manipulating Beads
US20130018611A1 (en) Systems and Methods of Measuring Gap Height
WO2015145280A1 (en) Microfluidic chip with conic bead trapping cavities and fabrication thereof
CN116786179A (zh) 用于通过电润湿形成具有预定体积的液滴的装置和方法
Chen et al. Digital microfluidics chip with integrated intra-droplet magnetic bead manipulation
JP2005515058A (ja) 流体の経路割当および制限のための無壁チャネル
CN112892621B (zh) 用有感应装置的ewod设备集中液滴中的粒子的方法
HK40068694B (zh) 磁珠子在微流控基板上的操作
HK40068694A (en) Operation of magnetic beads on microfluidics substrates
Nejad Development of Techniques for Rapid Isolation and Separation of Particles in Digital
Rezaei Nejad Development of techniques for rapid isolation and separation of particles in digital microfluidics.

Legal Events

Date Code Title Description
A711 Notification of change in applicant

Free format text: JAPANESE INTERMEDIATE CODE: A711

Effective date: 20221202

A521 Request for written amendment filed

Free format text: JAPANESE INTERMEDIATE CODE: A821

Effective date: 20221202

A621 Written request for application examination

Free format text: JAPANESE INTERMEDIATE CODE: A621

Effective date: 20230328

A977 Report on retrieval

Free format text: JAPANESE INTERMEDIATE CODE: A971007

Effective date: 20231227

A131 Notification of reasons for refusal

Free format text: JAPANESE INTERMEDIATE CODE: A131

Effective date: 20240109

A521 Request for written amendment filed

Free format text: JAPANESE INTERMEDIATE CODE: A523

Effective date: 20240401

A131 Notification of reasons for refusal

Free format text: JAPANESE INTERMEDIATE CODE: A131

Effective date: 20240604

A521 Request for written amendment filed

Free format text: JAPANESE INTERMEDIATE CODE: A523

Effective date: 20240829

TRDD Decision of grant or rejection written
A01 Written decision to grant a patent or to grant a registration (utility model)

Free format text: JAPANESE INTERMEDIATE CODE: A01

Effective date: 20241126

A61 First payment of annual fees (during grant procedure)

Free format text: JAPANESE INTERMEDIATE CODE: A61

Effective date: 20241211

R150 Certificate of patent or registration of utility model

Ref document number: 7604499

Country of ref document: JP

Free format text: JAPANESE INTERMEDIATE CODE: R150