JP7586838B2 - 走行及び飛行可能な電気またはハイブリッド型のvtol車両 - Google Patents
走行及び飛行可能な電気またはハイブリッド型のvtol車両 Download PDFInfo
- Publication number
- JP7586838B2 JP7586838B2 JP2021566065A JP2021566065A JP7586838B2 JP 7586838 B2 JP7586838 B2 JP 7586838B2 JP 2021566065 A JP2021566065 A JP 2021566065A JP 2021566065 A JP2021566065 A JP 2021566065A JP 7586838 B2 JP7586838 B2 JP 7586838B2
- Authority
- JP
- Japan
- Prior art keywords
- vehicle
- wing
- fan
- takeoff
- hcav
- Prior art date
- Legal status (The legal status is an assumption and is not a legal conclusion. Google has not performed a legal analysis and makes no representation as to the accuracy of the status listed.)
- Active
Links
Images
Classifications
-
- B—PERFORMING OPERATIONS; TRANSPORTING
- B64—AIRCRAFT; AVIATION; COSMONAUTICS
- B64C—AEROPLANES; HELICOPTERS
- B64C37/00—Convertible aircraft
-
- B—PERFORMING OPERATIONS; TRANSPORTING
- B60—VEHICLES IN GENERAL
- B60F—VEHICLES FOR USE BOTH ON RAIL AND ON ROAD; VEHICLES CAPABLE OF TRAVELLING IN OR ON DIFFERENT MEDIA, e.g. AMPHIBIOUS VEHICLES
- B60F5/00—Other vehicles capable of travelling in or on different media
- B60F5/02—Other vehicles capable of travelling in or on different media convertible into aircraft
-
- B—PERFORMING OPERATIONS; TRANSPORTING
- B64—AIRCRAFT; AVIATION; COSMONAUTICS
- B64C—AEROPLANES; HELICOPTERS
- B64C29/00—Aircraft capable of landing or taking-off vertically, e.g. vertical take-off and landing [VTOL] aircraft
- B64C29/0008—Aircraft capable of landing or taking-off vertically, e.g. vertical take-off and landing [VTOL] aircraft having its flight directional axis horizontal when grounded
- B64C29/0016—Aircraft capable of landing or taking-off vertically, e.g. vertical take-off and landing [VTOL] aircraft having its flight directional axis horizontal when grounded the lift during taking-off being created by free or ducted propellers or by blowers
- B64C29/0033—Aircraft capable of landing or taking-off vertically, e.g. vertical take-off and landing [VTOL] aircraft having its flight directional axis horizontal when grounded the lift during taking-off being created by free or ducted propellers or by blowers the propellers being tiltable relative to the fuselage
-
- B—PERFORMING OPERATIONS; TRANSPORTING
- B64—AIRCRAFT; AVIATION; COSMONAUTICS
- B64C—AEROPLANES; HELICOPTERS
- B64C3/00—Wings
- B64C3/38—Adjustment of complete wings or parts thereof
- B64C3/56—Folding or collapsing to reduce overall dimensions of aircraft
-
- B—PERFORMING OPERATIONS; TRANSPORTING
- B64—AIRCRAFT; AVIATION; COSMONAUTICS
- B64U—UNMANNED AERIAL VEHICLES [UAV]; EQUIPMENT THEREFOR
- B64U10/00—Type of UAV
- B64U10/20—Vertical take-off and landing [VTOL] aircraft
-
- B—PERFORMING OPERATIONS; TRANSPORTING
- B64—AIRCRAFT; AVIATION; COSMONAUTICS
- B64U—UNMANNED AERIAL VEHICLES [UAV]; EQUIPMENT THEREFOR
- B64U10/00—Type of UAV
- B64U10/70—Convertible aircraft, e.g. convertible into land vehicles
-
- B—PERFORMING OPERATIONS; TRANSPORTING
- B64—AIRCRAFT; AVIATION; COSMONAUTICS
- B64U—UNMANNED AERIAL VEHICLES [UAV]; EQUIPMENT THEREFOR
- B64U30/00—Means for producing lift; Empennages; Arrangements thereof
- B64U30/10—Wings
- B64U30/12—Variable or detachable wings, e.g. wings with adjustable sweep
-
- B—PERFORMING OPERATIONS; TRANSPORTING
- B64—AIRCRAFT; AVIATION; COSMONAUTICS
- B64U—UNMANNED AERIAL VEHICLES [UAV]; EQUIPMENT THEREFOR
- B64U30/00—Means for producing lift; Empennages; Arrangements thereof
- B64U30/20—Rotors; Rotor supports
- B64U30/26—Ducted or shrouded rotors
-
- B—PERFORMING OPERATIONS; TRANSPORTING
- B64—AIRCRAFT; AVIATION; COSMONAUTICS
- B64U—UNMANNED AERIAL VEHICLES [UAV]; EQUIPMENT THEREFOR
- B64U30/00—Means for producing lift; Empennages; Arrangements thereof
- B64U30/20—Rotors; Rotor supports
- B64U30/29—Constructional aspects of rotors or rotor supports; Arrangements thereof
- B64U30/294—Rotors arranged in the UAV body
-
- B—PERFORMING OPERATIONS; TRANSPORTING
- B64—AIRCRAFT; AVIATION; COSMONAUTICS
- B64U—UNMANNED AERIAL VEHICLES [UAV]; EQUIPMENT THEREFOR
- B64U30/00—Means for producing lift; Empennages; Arrangements thereof
- B64U30/20—Rotors; Rotor supports
- B64U30/29—Constructional aspects of rotors or rotor supports; Arrangements thereof
- B64U30/296—Rotors with variable spatial positions relative to the UAV body
- B64U30/297—Tilting rotors
-
- B—PERFORMING OPERATIONS; TRANSPORTING
- B64—AIRCRAFT; AVIATION; COSMONAUTICS
- B64U—UNMANNED AERIAL VEHICLES [UAV]; EQUIPMENT THEREFOR
- B64U2101/00—UAVs specially adapted for particular uses or applications
- B64U2101/60—UAVs specially adapted for particular uses or applications for transporting passengers; for transporting goods other than weapons
-
- Y—GENERAL TAGGING OF NEW TECHNOLOGICAL DEVELOPMENTS; GENERAL TAGGING OF CROSS-SECTIONAL TECHNOLOGIES SPANNING OVER SEVERAL SECTIONS OF THE IPC; TECHNICAL SUBJECTS COVERED BY FORMER USPC CROSS-REFERENCE ART COLLECTIONS [XRACs] AND DIGESTS
- Y02—TECHNOLOGIES OR APPLICATIONS FOR MITIGATION OR ADAPTATION AGAINST CLIMATE CHANGE
- Y02T—CLIMATE CHANGE MITIGATION TECHNOLOGIES RELATED TO TRANSPORTATION
- Y02T50/00—Aeronautics or air transport
- Y02T50/40—Weight reduction
Landscapes
- Engineering & Computer Science (AREA)
- Aviation & Aerospace Engineering (AREA)
- Mechanical Engineering (AREA)
- Remote Sensing (AREA)
- Transportation (AREA)
- Structures Of Non-Positive Displacement Pumps (AREA)
Description
LC<LP、WC<WP、HC<HP
例えば、いくつかの実施形態では、HCAVの主要寸法は、以下の通りであり得る。
LC≦12000mm
WC≦3000mm
HC≦4000mm
胴体DFの直径(D)=k1×車両の幅
後端DFの直径(D)=k2×胴体DFの直径(D)
翼端DFの直径(D)=k3×胴体DFの直径(D)
F=m(t)*a
電力=k*Cp*0.5*ρ*v3*A
Claims (30)
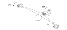
- 道路上を走行し、かつ空中を飛行するように構成された車両であって、
前記車両の水平縦方向のロール軸に沿って延びる胴体と、
一対の翼と、
前記車両の道路上の走行を可能にするように構成された少なくとも3つの車輪と、
前記車両を飛行させるための推力を提供するように構成された少なくとも2つのファンと、を備え、
前記各翼は、展開姿勢では、前記胴体から、前記車両の水平横方向のピッチ軸に対して平行に延びており、
前記各翼は、前記車両のヨー軸に対して平行な垂直方向の翼付根軸を中心として前記翼を回動変位させて、前記翼を前記展開姿勢から前記翼が前記胴体の上側に重なる格納姿勢に変化させるように構成された翼付根折り畳み機構を含み、かつ、
前記各翼に、少なくとも1つの前記ファンが配置されている、車両。 - 請求項1に記載の車両であって、
前記各翼は、
前記胴体に対して回動変位可能に結合された内側部分と、
前記内側部分に対して回動変位可能に結合された外側部分と、
前記外側部分を前記内側部分の上側に向けて回動変位させ、前記格納姿勢において前記外側部分を前記内側部分の上側に折り畳むように構成された翼中間部折り畳み機構と、をさらに含む、車両。 - 請求項2に記載の車両であって、
前記翼中間部折り畳み機構は、
前記翼の前記外側部分を前記翼の前記内側部分に向けて回動変位させるように構成されたアクチュエータと、
前記外側部分を、前記格納姿勢または前記展開姿勢に確実に固定するように構成された固定手段と、を含む、車両。 - 請求項2または3に記載の車両であって、
前記翼中間部折り畳み機構は、前記翼が前記展開姿勢にあるときに、前記外側部分を、前記ロール軸に対して平行な水平翼中間部軸を中心として回動変位させるように構成されている、車両。 - 請求項1~4のいずれかに記載の車両であって、
前記各ファンは、前記翼が前記展開姿勢にあるときに、互いに独立して、前記ピッチ軸に対して平行な水平ファン軸を中心として回動変位可能に構成されている、車両。 - 請求項5に記載の車両であって、
前記各ファンは、前記翼とは独立して、回動変位可能に構成されている、車両。 - 請求項1~6のいずれかに記載の車両であって、
前記翼付根折り畳み機構は、
前記翼を回動変位させるように構成されたアクチュエータと、
前記翼を、前記格納姿勢または前記展開姿勢に確実に固定するように構成された固定手段と、を含む、車両。 - 請求項7に記載の車両であって、
前記翼付根折り畳み機構は、平歯車と、回動アクチュエータとを含む、車両。 - 請求項1~8のいずれか記載の車両であって、
前記翼が前記格納姿勢にあるときの前記車両の全幅が3m以下である、車両。 - 請求項1~9のいずれかに記載の車両であって、
前記翼が前記格納姿勢にあるとき前記車両の全高が4m以下である、車両。 - 請求項1~10のいずれかに記載の車両であって、
前記少なくとも3つの車輪のうちの少なくとも1つの車輪は、モータ駆動されるように構成されている、車両。 - 請求項1~11のいずれかに記載の車両であって、
前記各ファンは、前記ファンの中心軸を中心として回動変位して、前記中心軸に沿った方向に推力を伝達するように構成され、
前記各ファンは、前記翼が前記展開姿勢にあるときに、前記ピッチ軸に対して平行な水平ファン軸を中心として選択的に回動変位して、前記ファンの前記中心軸を、前記垂直方向、前記ロール軸に対して平行な水平方向、及び、前記水平方向に対して或る傾斜角度をなす前記垂直方向と前記水平方向との間の少なくとも1つの傾斜方向のうちの1つに沿って配向させてその方向に沿って推力を伝達するようにさらに構成され、
前記車両は、離陸時に、前記ファンを回動変位させて前記ファンの前記中心軸を前記傾斜方向に沿って配向させ、それにより、短距離滑走離陸を行うように構成されている、車両。 - 請求項12に記載の車両であって、
前記車両は、前記短距離滑走離陸中に、前記少なくとも1つの車輪をモータ駆動するように構成されている、車両。 - 請求項13に記載の車両であって、
前記車両は、前記短距離滑走離陸中に、前記車輪の自由回転を選択的に許容するように構成されている、車両。 - 請求項12~14のいずれかに記載の車両であって、
前記車両は、離陸時に前記傾斜角度が前記水平方向に対して約70度の角度をなすように、前記ファンの前記中心軸を配向させるように構成されている、車両。 - 請求項12~15のいずれかに記載の車両であって、
前記各ファンは、前記ファンの前記中心軸を、複数の前記傾斜角度のうちの1つに沿って配向させるために、前記ピッチ軸に対して平行な水平ファン軸を中心として回動変位可能に構成されている、車両。 - 請求項12~16のいずれかに記載の車両であって、
前記傾斜角度をなす前記傾斜方向は、前記垂直方向と前記水平方向との間の連続的な範囲を含む、車両。 - 請求項1~17のいずれかに記載の車両であって、
垂直離陸を行うことができるように構成された、車両。 - 請求項1~18のいずれかに記載の車両であって、
前記各翼の翼端に、少なくとも1つの前記ファンが配置されている、車両。 - 請求項1~19のいずれかに記載の車両であって、
前記胴体の後端部に、少なくとも1つの前記ファンが配置されている、車両。 - 道路上を走行し、かつ空中を飛行するように構成された車両であって、
前記車両の水平縦方向のロール軸に沿って延びる胴体と、
前記胴体から、前記車両の水平横方向のピッチ軸に対して平行に延びる一対の翼と、
前記車両の道路上の走行を可能にするように構成された少なくとも3つの車輪と、
複数のファンと、を備え、
前記各ファンは、前記ファンの中心軸を中心として回動変位して、前記中心軸に沿った方向に推力を伝達するように構成され、
前記各ファンは、前記ピッチ軸に対して平行な水平ファン軸を中心として選択的に回動変位して、前記ファンの前記中心軸を、垂直方向、前記ロール軸に対して平行な水平方向、及び、前記水平方向に対して或る傾斜角度をなす前記垂直方向と前記水平方向との間の少なくとも1つの傾斜方向のうちの1つに沿って配向させてその方向に沿って推力を伝達するようにさらに構成され、
前記車両は、離陸時に、前記ファンを回動変位させて前記ファンの前記中心軸を前記傾斜方向に沿って配向させ、それにより、短距離滑走離陸を行うように構成されている、車両。 - 請求項21に記載の車両であって、
前記少なくとも3つの車輪のうちの少なくとも1つの車輪は、モータ駆動されるように構成されており、
前記車両は、前記短距離滑走離陸中に、モータ駆動されるように構成された前記少なくとも1つの車輪をモータ駆動するように構成されている、車両。 - 請求項22に記載の車両であって、
前記車両は、前記短距離滑走離陸中に、前記車輪の自由回転を選択的に許容するように構成されている、車両。 - 請求項21~23のいずれかに記載の車両であって、
前記傾斜角度は、前記水平方向に対して70度をなす角度である、車両。 - 請求項21~24のいずれかに記載の車両であって、
前記各ファンは、前記ファンの前記中心軸を、複数の前記傾斜角度のうちの1つに沿って配向させるために、前記ピッチ軸に対して平行な水平ファン軸を中心として回動変位可能に構成されている、車両。 - 請求項21~25のいずれかに記載の車両であって、
前記傾斜角度をなす前記傾斜方向は、前記垂直方向と前記水平方向との間の連続的な範囲を含む、車両。 - 請求項21~26のいずれかに記載の車両であって、
垂直離陸を行うことができるように構成された、車両。 - 請求項21~27のいずれかに記載の車両であって、
前記各翼の翼端に、少なくとも1つの前記ファンが配置されている、車両。 - 請求項21~28のいずれかに記載の車両であって、
前記胴体の後端部に、少なくとも1つの前記ファンが配置されている、車両。 - 請求項21~29のいずれかに記載の車両であって、
前記翼は、折り畳まれて、前記胴体の上側に格納されるように構成されている、車両。
Applications Claiming Priority (3)
| Application Number | Priority Date | Filing Date | Title |
|---|---|---|---|
| US201962844188P | 2019-05-07 | 2019-05-07 | |
| US62/844,188 | 2019-05-07 | ||
| PCT/IL2020/050498 WO2020225815A1 (en) | 2019-05-07 | 2020-05-06 | Drive and fly electric and hybrid vtol vehicle |
Publications (4)
| Publication Number | Publication Date |
|---|---|
| JP2022532546A JP2022532546A (ja) | 2022-07-15 |
| JP2022532546A5 JP2022532546A5 (ja) | 2023-03-10 |
| JPWO2020225815A5 JPWO2020225815A5 (ja) | 2023-03-10 |
| JP7586838B2 true JP7586838B2 (ja) | 2024-11-19 |
Family
ID=73051638
Family Applications (1)
| Application Number | Title | Priority Date | Filing Date |
|---|---|---|---|
| JP2021566065A Active JP7586838B2 (ja) | 2019-05-07 | 2020-05-06 | 走行及び飛行可能な電気またはハイブリッド型のvtol車両 |
Country Status (5)
| Country | Link |
|---|---|
| US (1) | US20220315216A1 (ja) |
| EP (1) | EP3966047A4 (ja) |
| JP (1) | JP7586838B2 (ja) |
| CN (1) | CN113840742A (ja) |
| WO (1) | WO2020225815A1 (ja) |
Families Citing this family (15)
| Publication number | Priority date | Publication date | Assignee | Title |
|---|---|---|---|---|
| US12304624B2 (en) * | 2019-08-15 | 2025-05-20 | Leigh Aerosystems Corporation | Hybrid aircraft and landing launch/recovery system |
| EP3838752B1 (en) * | 2019-12-17 | 2022-04-27 | LEONARDO S.p.A. | Convertiplane and associated folding method |
| DE102020007834A1 (de) | 2020-12-21 | 2022-06-23 | BAAZ GmbH | Fluggerät und zugehöriges Betriebsverfahren |
| WO2022187426A2 (en) * | 2021-03-04 | 2022-09-09 | Nft Inc. | Drive and fly vertical take-off and landing vehicle |
| US20230067713A1 (en) * | 2021-08-27 | 2023-03-02 | Aerhart, LLC | Vertical Takeoff and Landing Aeronautical Apparatus with a Folding Wing |
| CN113799561B (zh) * | 2021-09-30 | 2023-03-17 | 中北大学 | 一种收展翼与悬挂复用的eVTOL飞车 |
| US20230234414A1 (en) * | 2022-01-27 | 2023-07-27 | Frances Jones | Transforming vehicle |
| US20250197003A1 (en) * | 2022-03-17 | 2025-06-19 | Nft Inc. | Hybrid road-air vehicle |
| CN115139712A (zh) * | 2022-07-21 | 2022-10-04 | 陈广强 | 一种大航程电涵道风扇垂直起降飞行汽车 |
| US12583599B2 (en) * | 2023-02-08 | 2026-03-24 | Anduril Industries, Inc. | Connectors and joints for dual engine vertical take off and landing collapsible fixed wing aircraft |
| CN117262204B (zh) * | 2023-08-09 | 2024-06-14 | 南京航空航天大学 | 一种适用于跨介质飞行器的变直径桨叶 |
| CN117021861B (zh) * | 2023-09-15 | 2025-10-10 | 深圳智航无人机有限公司 | 一种垂直起降的飞行汽车 |
| CN117284471B (zh) * | 2023-10-10 | 2025-12-30 | 中国科学院苏州纳米技术与纳米仿生研究所 | 仿生变形机翼 |
| US12570400B1 (en) | 2024-03-26 | 2026-03-10 | Anduril Industries, Inc. | Landing gear structure and venting for vertical take-off dual-engine aircraft |
| WO2025221924A1 (en) * | 2024-04-16 | 2025-10-23 | Xcraft Enterprises, Inc. | Autonomous dual-mode vertical takeoff and landing vehicle |
Citations (2)
| Publication number | Priority date | Publication date | Assignee | Title |
|---|---|---|---|---|
| US20030094536A1 (en) | 2001-10-25 | 2003-05-22 | Labiche Mitchell G. | Flyable automobile |
| JP2015151128A (ja) | 2014-02-14 | 2015-08-24 | トヨタ モーター エンジニアリング アンド マニュファクチャリング ノース アメリカ,インコーポレイティド | 翼、エアロカー並びに翼を収納及び展開する方法 |
Family Cites Families (21)
| Publication number | Priority date | Publication date | Assignee | Title |
|---|---|---|---|---|
| JPS6042108A (ja) * | 1983-08-19 | 1985-03-06 | Taro Makita | 自走式航空機 |
| US6808146B2 (en) * | 2002-05-31 | 2004-10-26 | Richard L. Swan | Merchandise display |
| US8162253B2 (en) * | 2009-08-19 | 2012-04-24 | Seiford Sr Donald S | Convertible vehicle for road, air, and water usage |
| WO2011146349A2 (en) * | 2010-05-17 | 2011-11-24 | Piasecki Aircraft Corp. | Modular and morphable air vehicle |
| US8376263B2 (en) * | 2010-08-27 | 2013-02-19 | Rolls-Royce Corporation | Roadable aircraft |
| CN103496305A (zh) * | 2012-04-24 | 2014-01-08 | 赵辉 | 一种飞行汽车 |
| BG111231A (en) | 2012-06-07 | 2013-12-31 | КРЪСТЕВ ИванKrustev Ivan | ROAD-AIR VEHICLE |
| EP2727826B1 (en) * | 2012-10-30 | 2019-06-26 | The Boeing Company | Hinged raked wing tip |
| BR112016025875B1 (pt) * | 2014-05-07 | 2022-08-23 | XTI Aircraft Company | Aeronave de vtol |
| US11027584B1 (en) * | 2015-07-22 | 2021-06-08 | Taras Kiceniuk, Jr. | Flying car with fore and aft lifting surfaces |
| CN106364667A (zh) * | 2016-09-28 | 2017-02-01 | 韩建刚 | 飞行器 |
| CN106564349A (zh) * | 2016-10-31 | 2017-04-19 | 广东工业大学 | 一种三栖无人机 |
| US10676187B2 (en) * | 2017-03-07 | 2020-06-09 | The Boeing Company | Robust amphibious aircraft |
| US10252798B2 (en) * | 2017-04-27 | 2019-04-09 | Pterodynamics | Vertical takeoff and landing airframe |
| CN107757273B (zh) | 2017-09-27 | 2020-03-10 | 北京航空航天大学 | 一种飞行汽车 |
| CN107984992A (zh) | 2017-11-28 | 2018-05-04 | 北京航空航天大学 | 一种可垂直起降的陆空两用运载器 |
| CN108146169B (zh) * | 2017-11-28 | 2021-06-29 | 北京航空航天大学 | 一种机翼后折式陆空两用运载器 |
| CN108045575B (zh) * | 2017-12-18 | 2024-03-19 | 刘行伟 | 一种短距起飞垂直着陆飞行器 |
| CN108501639A (zh) * | 2018-02-28 | 2018-09-07 | 佛山市神风航空科技有限公司 | 一种飞行汽车 |
| CN108791874A (zh) * | 2018-06-21 | 2018-11-13 | 南京航空航天大学 | 一种倾转涵道动力无人飞行器 |
| US20200079492A1 (en) * | 2018-09-11 | 2020-03-12 | Swift Engineering, Inc. | Systems and methods for aerodynamic deployment of wing structures |
-
2020
- 2020-05-06 CN CN202080034435.1A patent/CN113840742A/zh active Pending
- 2020-05-06 EP EP20802176.6A patent/EP3966047A4/en not_active Withdrawn
- 2020-05-06 JP JP2021566065A patent/JP7586838B2/ja active Active
- 2020-05-06 US US17/608,774 patent/US20220315216A1/en not_active Abandoned
- 2020-05-06 WO PCT/IL2020/050498 patent/WO2020225815A1/en not_active Ceased
Patent Citations (2)
| Publication number | Priority date | Publication date | Assignee | Title |
|---|---|---|---|---|
| US20030094536A1 (en) | 2001-10-25 | 2003-05-22 | Labiche Mitchell G. | Flyable automobile |
| JP2015151128A (ja) | 2014-02-14 | 2015-08-24 | トヨタ モーター エンジニアリング アンド マニュファクチャリング ノース アメリカ,インコーポレイティド | 翼、エアロカー並びに翼を収納及び展開する方法 |
Also Published As
| Publication number | Publication date |
|---|---|
| WO2020225815A1 (en) | 2020-11-12 |
| EP3966047A1 (en) | 2022-03-16 |
| EP3966047A4 (en) | 2023-01-11 |
| JP2022532546A (ja) | 2022-07-15 |
| CN113840742A (zh) | 2021-12-24 |
| US20220315216A1 (en) | 2022-10-06 |
Similar Documents
| Publication | Publication Date | Title |
|---|---|---|
| JP7586838B2 (ja) | 走行及び飛行可能な電気またはハイブリッド型のvtol車両 | |
| US11014418B2 (en) | Combined flying/driving vehicle with vertical takeoff and fixed-wing cruise capabilities | |
| US9688397B2 (en) | Aircraft with a plurality of engines driving a common driveshaft | |
| US10081424B2 (en) | Flying car or drone | |
| US6974105B2 (en) | High performance VTOL convertiplanes | |
| US8152096B2 (en) | Apparatus and method for vertical take-off and landing aircraft | |
| US7874513B1 (en) | Apparatus and method for vertical take-off and landing aircraft | |
| JP6322647B2 (ja) | 垂直離着陸機 | |
| CN108116668B (zh) | 陆空两用全电多旋翼载人飞行器 | |
| US20210403155A1 (en) | Vtol aircraft | |
| CN110650889A (zh) | 使用大型变速倾转旋翼的evtol飞行器 | |
| EP2668097A1 (en) | Apparatus and method for vertical take-off and landing aircraft | |
| CN110914148A (zh) | Stol飞行器 | |
| WO2014007883A1 (en) | Aircraft with freewheeling engine | |
| CN110282117A (zh) | 一种具备机翼折叠收纳功能的城市垂直起降飞机 | |
| EP3746364A1 (en) | Vtol aircraft | |
| WO2026066645A1 (zh) | 一种具备多种起飞方式的模块化交通工具 | |
| EP4087779A1 (en) | Vtol aircraft | |
| HK40060135A (en) | Drive and fly electric and hybrid vtol vehicle | |
| WO2022187426A2 (en) | Drive and fly vertical take-off and landing vehicle | |
| WO2025221924A1 (en) | Autonomous dual-mode vertical takeoff and landing vehicle | |
| CN120863256A (zh) | 升力风扇复合式折叠机翼飞行汽车 | |
| AU2011356667A1 (en) | Apparatus and method for vertical take-off and landing aircraft |
Legal Events
| Date | Code | Title | Description |
|---|---|---|---|
| A521 | Request for written amendment filed |
Free format text: JAPANESE INTERMEDIATE CODE: A523 Effective date: 20220906 |
|
| A521 | Request for written amendment filed |
Free format text: JAPANESE INTERMEDIATE CODE: A523 Effective date: 20230302 |
|
| A621 | Written request for application examination |
Free format text: JAPANESE INTERMEDIATE CODE: A621 Effective date: 20230302 |
|
| A977 | Report on retrieval |
Free format text: JAPANESE INTERMEDIATE CODE: A971007 Effective date: 20231031 |
|
| A131 | Notification of reasons for refusal |
Free format text: JAPANESE INTERMEDIATE CODE: A131 Effective date: 20231107 |
|
| A601 | Written request for extension of time |
Free format text: JAPANESE INTERMEDIATE CODE: A601 Effective date: 20240205 |
|
| A521 | Request for written amendment filed |
Free format text: JAPANESE INTERMEDIATE CODE: A523 Effective date: 20240214 |
|
| A131 | Notification of reasons for refusal |
Free format text: JAPANESE INTERMEDIATE CODE: A131 Effective date: 20240604 |
|
| A521 | Request for written amendment filed |
Free format text: JAPANESE INTERMEDIATE CODE: A523 Effective date: 20240902 |
|
| TRDD | Decision of grant or rejection written | ||
| A01 | Written decision to grant a patent or to grant a registration (utility model) |
Free format text: JAPANESE INTERMEDIATE CODE: A01 Effective date: 20241008 |
|
| A61 | First payment of annual fees (during grant procedure) |
Free format text: JAPANESE INTERMEDIATE CODE: A61 Effective date: 20241107 |
|
| R150 | Certificate of patent or registration of utility model |
Ref document number: 7586838 Country of ref document: JP Free format text: JAPANESE INTERMEDIATE CODE: R150 |





