JP7585345B2 - 流体容器用の複数の部品からなる取付具 - Google Patents

流体容器用の複数の部品からなる取付具 Download PDF

Info

Publication number
JP7585345B2
JP7585345B2 JP2022564195A JP2022564195A JP7585345B2 JP 7585345 B2 JP7585345 B2 JP 7585345B2 JP 2022564195 A JP2022564195 A JP 2022564195A JP 2022564195 A JP2022564195 A JP 2022564195A JP 7585345 B2 JP7585345 B2 JP 7585345B2
Authority
JP
Japan
Prior art keywords
liner
fitting
retainer
opening
container
Prior art date
Legal status (The legal status is an assumption and is not a legal conclusion. Google has not performed a legal analysis and makes no representation as to the accuracy of the status listed.)
Active
Application number
JP2022564195A
Other languages
English (en)
Other versions
JP2023522968A (ja
Inventor
グレゴリー ダブリュ. ボレス,
マイケル ジェー. シュライヒャー,
ジョン エー. レイス、
Current Assignee (The listed assignees may be inaccurate. Google has not performed a legal analysis and makes no representation or warranty as to the accuracy of the list.)
Entegris Inc
Original Assignee
Entegris Inc
Priority date (The priority date is an assumption and is not a legal conclusion. Google has not performed a legal analysis and makes no representation as to the accuracy of the date listed.)
Filing date
Publication date
Application filed by Entegris Inc filed Critical Entegris Inc
Publication of JP2023522968A publication Critical patent/JP2023522968A/ja
Application granted granted Critical
Publication of JP7585345B2 publication Critical patent/JP7585345B2/ja
Active legal-status Critical Current
Anticipated expiration legal-status Critical

Links

Images

Classifications

    • BPERFORMING OPERATIONS; TRANSPORTING
    • B65CONVEYING; PACKING; STORING; HANDLING THIN OR FILAMENTARY MATERIAL
    • B65DCONTAINERS FOR STORAGE OR TRANSPORT OF ARTICLES OR MATERIALS, e.g. BAGS, BARRELS, BOTTLES, BOXES, CANS, CARTONS, CRATES, DRUMS, JARS, TANKS, HOPPERS, FORWARDING CONTAINERS; ACCESSORIES, CLOSURES, OR FITTINGS THEREFOR; PACKAGING ELEMENTS; PACKAGES
    • B65D47/00Closures with filling and discharging, or with discharging, devices
    • B65D47/04Closures with discharging devices other than pumps
    • B65D47/06Closures with discharging devices other than pumps with pouring spouts or tubes; with discharge nozzles or passages
    • BPERFORMING OPERATIONS; TRANSPORTING
    • B65CONVEYING; PACKING; STORING; HANDLING THIN OR FILAMENTARY MATERIAL
    • B65DCONTAINERS FOR STORAGE OR TRANSPORT OF ARTICLES OR MATERIALS, e.g. BAGS, BARRELS, BOTTLES, BOXES, CANS, CARTONS, CRATES, DRUMS, JARS, TANKS, HOPPERS, FORWARDING CONTAINERS; ACCESSORIES, CLOSURES, OR FITTINGS THEREFOR; PACKAGING ELEMENTS; PACKAGES
    • B65D11/00Containers having bodies formed by interconnecting or uniting two or more rigid, or substantially rigid, components made wholly or mainly of plastics material
    • B65D11/02Containers having bodies formed by interconnecting or uniting two or more rigid, or substantially rigid, components made wholly or mainly of plastics material of curved cross-section
    • B65D11/04Bottles or similar containers with necks or like restricted apertures designed for pouring contents
    • BPERFORMING OPERATIONS; TRANSPORTING
    • B65CONVEYING; PACKING; STORING; HANDLING THIN OR FILAMENTARY MATERIAL
    • B65DCONTAINERS FOR STORAGE OR TRANSPORT OF ARTICLES OR MATERIALS, e.g. BAGS, BARRELS, BOTTLES, BOXES, CANS, CARTONS, CRATES, DRUMS, JARS, TANKS, HOPPERS, FORWARDING CONTAINERS; ACCESSORIES, CLOSURES, OR FITTINGS THEREFOR; PACKAGING ELEMENTS; PACKAGES
    • B65D23/00Details of bottles or jars not otherwise provided for
    • BPERFORMING OPERATIONS; TRANSPORTING
    • B65CONVEYING; PACKING; STORING; HANDLING THIN OR FILAMENTARY MATERIAL
    • B65DCONTAINERS FOR STORAGE OR TRANSPORT OF ARTICLES OR MATERIALS, e.g. BAGS, BARRELS, BOTTLES, BOXES, CANS, CARTONS, CRATES, DRUMS, JARS, TANKS, HOPPERS, FORWARDING CONTAINERS; ACCESSORIES, CLOSURES, OR FITTINGS THEREFOR; PACKAGING ELEMENTS; PACKAGES
    • B65D23/00Details of bottles or jars not otherwise provided for
    • B65D23/02Linings or internal coatings
    • BPERFORMING OPERATIONS; TRANSPORTING
    • B65CONVEYING; PACKING; STORING; HANDLING THIN OR FILAMENTARY MATERIAL
    • B65DCONTAINERS FOR STORAGE OR TRANSPORT OF ARTICLES OR MATERIALS, e.g. BAGS, BARRELS, BOTTLES, BOXES, CANS, CARTONS, CRATES, DRUMS, JARS, TANKS, HOPPERS, FORWARDING CONTAINERS; ACCESSORIES, CLOSURES, OR FITTINGS THEREFOR; PACKAGING ELEMENTS; PACKAGES
    • B65D75/00Packages comprising articles or materials partially or wholly enclosed in strips, sheets, blanks, tubes or webs of flexible sheet material, e.g. in folded wrappers
    • B65D75/52Details
    • B65D75/58Opening or contents-removing devices added or incorporated during package manufacture
    • B65D75/5861Spouts
    • B65D75/5872Non-integral spouts
    • B65D75/5877Non-integral spouts connected to a planar surface of the package wall
    • BPERFORMING OPERATIONS; TRANSPORTING
    • B65CONVEYING; PACKING; STORING; HANDLING THIN OR FILAMENTARY MATERIAL
    • B65DCONTAINERS FOR STORAGE OR TRANSPORT OF ARTICLES OR MATERIALS, e.g. BAGS, BARRELS, BOTTLES, BOXES, CANS, CARTONS, CRATES, DRUMS, JARS, TANKS, HOPPERS, FORWARDING CONTAINERS; ACCESSORIES, CLOSURES, OR FITTINGS THEREFOR; PACKAGING ELEMENTS; PACKAGES
    • B65D81/00Containers, packaging elements, or packages, for contents presenting particular transport or storage problems, or adapted to be used for non-packaging purposes after removal of contents
    • B65D81/24Adaptations for preventing deterioration or decay of contents; Applications to the container or packaging material of food preservatives, fungicides, pesticides or animal repellants
    • B65D81/30Adaptations for preventing deterioration or decay of contents; Applications to the container or packaging material of food preservatives, fungicides, pesticides or animal repellants by excluding light or other outside radiation

Landscapes

  • Engineering & Computer Science (AREA)
  • Mechanical Engineering (AREA)
  • Food Science & Technology (AREA)
  • Lining Or Joining Of Plastics Or The Like (AREA)
  • Details Of Rigid Or Semi-Rigid Containers (AREA)
  • Packages (AREA)
  • Filling Or Discharging Of Gas Storage Vessels (AREA)
  • External Artificial Organs (AREA)

Description

関連出願の相互参照
本出願は、2020年4月22日に出願された米国仮出願第63/013,907号の利益および優先権を主張し、この米国仮出願は、その全体があらゆる目的のために参照によって本明細書に組み込まれる。
本開示は、広くには、流体を収容するための収容システムに関する。より具体的には、本開示は、容器内にライナを取り付け、ライナから収容システムの外部への流体経路を提供するための取付具に関する。
いくつかの製造プロセスは、流体化学物質を利用する。流体化学物質として、例えば、酸、溶媒、塩基、フォトレジスト、ドーパント、無機溶液、有機溶液、医薬品、などを挙げることができる。そのような化学物質の使用において、貯蔵中、輸送中、および最終的には製造プロセス自体の最中に化学物質を適切に収容するために、ガラスボトルを利用することができる。ガラスボトルは、流体化学物質の貯蔵および輸送のための紫外線(UV)保護および耐薬品性の濡れ面を提供することができるため、容器に典型的に使用されている。
本開示は、広くには、流体を収容するための収容システムに関する。より具体的には、本開示は、容器内にライナを取り付け、ライナから収容システムの外部への流体経路を提供するための取付具に関する。
ガラスボトルが、現時点において、多くの製造用化学物質に使用されている。プラスチックボトルは、ガラスボトルよりも低いコストを呈することができる。プラスチックボトルは、粉砕によりよく耐え、落下または他の取り扱い事故後の清掃がより安全かつより容易である。さらに、プラスチックボトルは、フルオロポリマーなどの材料の使用により、ガラスと比較した場合に、いくつかの敏感な化学物質の汚染を低減することができる。
ストレッチブロー成形可能プラスチックなど、ボトルにおける使用に適した製造特性を有するプラスチックは、製造プロセスにおいて使用される多くの化学物質と反応する傾向がある。フルオロポリマーに限られるわけではないが、これらの化学物質の収容に適したフルオロポリマーなどのプラスチックは、ボトルへの製造が困難または高価であり、これらに限られるわけではないが紫外(UV)放射線の遮断など、他の重要な特性を欠く可能性がある。
本開示の実施形態は、プラスチックボトルの内部にバッグを取り付けること(例えば、バッグインボトル)を可能にし、容器の濡れ面を非反応性材料で製作することを可能にしつつ、外面に望ましい製造特性およびUV保護などの他の特性を有する材料を使用することを可能にする取付具を含む。
一実施形態において、流体収容システムのための取付具が、ライナに接合されるように構成されたライナ接合面を有しているライナ取付具を含み、ライナ取付具は、ライナ取付具開口部を定めており、ライナ取付具は、リテーナに接合される。リテーナは、ライナ取付具の受け入れに適した開口部を定めている。ライナ取付具は、ライナ取付具の外面とリテーナの表面とによって形成される耐荷重機構によって、開口部内に保持される。
一実施形態において、ライナ接合面は、環状フランジ上に配置される。一実施形態において、ライナ接合面は、第1の端点から第2の端点まで延びる1つ以上の湾曲した表面上に配置される。
一実施形態において、リテーナは、リテーナの第1の側からリテーナの第2の側への流体の連通を可能にする1つ以上の通気孔を含み、リテーナの第2の側は、リテーナの第1の側の反対側である。
一実施形態において、ライナ取付具は、フルオロポリマーで作られる。一実施形態において、リテーナは、UV遮断材料で作られる。
一実施形態において、リテーナは、ストレッチブロー成形可能ポリマーに超音波溶接可能なポリマーを含む。
一実施形態においては、ライナ取付具とリテーナとの間にOリングが配置される。一実施形態においては、ライナ取付具の外面に環状溝が配置され、Oリングは、環状溝内に配置される。
一実施形態において、流体収容システムが、ライナと、ライナを取り囲む容器と、取付具とを含む。取付具は、ライナに接合されるライナ接合面を有するライナ取付具を含み、ライナ取付具は、ライナ取付具開口部を定めている。リテーナは、ライナ取付具の受け入れに適した開口部を定めている。ライナ取付具は、ライナ取付具の外面とリテーナの表面とによって形成される耐荷重機構によって、開口部内に保持される。
一実施形態において、ライナは、溶接によって取付具のライナ接合面に接合される。一実施形態において、容器は、溶接によってリテーナに接合される。
一実施形態において、容器は、UV遮断材料を含む。一実施形態において、容器は、ストレッチブロー成形可能ポリマーを含む。一実施形態において、ライナは、フルオロポリマーを含む。
一実施形態においては、収容システムを製造する方法が、ライナを取付具にライナ接合面において溶接するステップと、ライナおよび取付具を容器の内側に配置するステップと、ライナを加圧するステップと、取付具を容器に容器接合面において接合するステップとを含む。一実施形態において、容器への取付具の接合は、容器と取付具との超音波溶接である。一実施形態においては、容器への取付具の接合時に、ライナは加圧される。
本開示を、種々の例示的な実施形態の以下の説明を添付の図面と併せて検討することで、より完全に理解することができる。
一実施形態による流体収容システムの端部の断面図を示している。 一実施形態による図1Aの断面図の一部分の拡大図を示している。 一実施形態による収容システムの側面図を示している。 一実施形態による流体収容システムの断面図を示している。 一実施形態による流体収容システムの断面図を示している。 一実施形態による流体収容システムの耐荷重機構の断面図を示している。 一実施形態による流体収容システムの耐荷重機構の断面図を示している。 一実施形態によるライナ取付具の斜視図を示している。 図3Aに示した実施形態によるライナ取付具の断面図を示している。 一実施形態によるライナ取付具の斜視図を示している。 図4Aに示した実施形態によるライナ取付具の断面図を示している。 図4Aに示した実施形態によるライナ取付具の底面図を示している。 一実施形態によるリテーナの斜視図を示している。 図5Aに示した実施形態によるリテーナの断面図を示している。 一実施形態によるライナおよびライナ取付具を示している。 一実施形態によるライナを示している。 一実施形態による容器を製造する方法のフローチャートである。 一実施形態による取付具の断面図を示している。 一実施形態による閉鎖リングの等角図である。 図9Aの閉鎖リングの線9B-9Bに沿って得た断面図である。 一実施形態による閉鎖リングを含む流体収容システムの側面図である。 図10Aに示した流体収容システムの上部の線10B-10Bに沿って得た拡大断面図である。 図10Aに示した線10C-10Cに沿って得た流体収容システムの断面図である。
本開示は、さまざまな変更および代替形態を受け入れることができ、それらの詳細が、例として図面に示されており、詳しく説明される。しかしながら、本開示の態様を記載された特定の例示的な実施形態に限定することを意図するものではないことを、理解されたい。むしろ、その意図は、本開示の精神および範囲に含まれるすべての修正、等価物、および代替物を網羅することである。
本開示は、広くには、流体を収容するための収容システムに関する。より具体的には、本開示は、容器内にライナを取り付け、ライナから収容システムの外部への流体経路を提供するための取付具に関する。
いくつかの製造プロセスは、流体化学物質を利用する。流体化学物質として、例えば、酸、溶媒、塩基、フォトレジスト、ドーパント、無機溶液、有機溶液、医薬品、などを挙げることができる。そのような化学物質の使用において、貯蔵中、輸送中、および最終的には製造プロセス自体の最中に化学物質を適切に収容するために、流体収容システムを利用することができる。
流体は、流動し、あるいはせん断応力が加えられたときに変形する物質を含むが、これに限られるわけではない。流体は、例えば、液体を含むことができる。
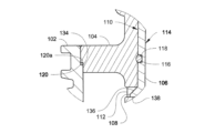
図1Aが、一実施形態による流体収容システム100の端部の断面図を示している。流体収容システム100は、容器102と、リテーナ104と、ライナ取付具106とを含む。
流体収容システム100は、例えば、酸、溶媒、塩基、フォトレジスト、ドーパント、無機溶液、有機溶液、医薬品、などの化学物質を収容するためのシステムである。
容器102は、後述されて図6に示されるライナなどのライナ(図示せず)内に配置された流体を保持することができる中空容器である。容器102は、1つ以上のポリマーで作られてよい。容器102を、例えば、ストレッチブロー成形可能なポリマーで製作することができる。容器102に使用することができる材料の例として、例えば、ポリエチレン(PE)、ポリ(エチレンテレフタレート)(PET)、ポリ(エチレンテレフタレートグリコール(PETG)、ポリシクロヘキシレンジメチレンテレフタル酸(PCTA)、ポリシクロヘキシレンジメチレンテレフタレートグリコール(PCTG)、ポリカーボネート(PC)、ポリプロピレン(PP)、ポリアミド(PA)、ポリエーテルスルホン(PES)、ポリフェニルスルホン(PPSU)、ポリ(メチルメタクリレート)(PMMA)、耐衝撃性ポリスチレン(HIPS)、ポリ(エチレンナフタレート)(PEN)、ポリ(エーテルケトン)(PEEK)、環状オレフィンポリマー、環状オレフィンコポリマー、など、およびこれらの材料を含むコポリマーが挙げられる。
容器102は、ボトルであってよい。一実施形態において、容器102は、1または約1リットルと20または約20リットルとの間の内部容積を有するボトルである。容器102の端部のみが、図1Aに示されている。容器102の全体は、図1Cに示され、以下で説明される。
容器102を、例えば、容器102に使用される材料に添加剤、顔料、などを取り入れることによって、UV遮断材料で製作することができる。容器102を、例えば、取り扱い中に流体収容システム100を落下させても砕けることがないように選択された材料で製作することができる。一実施形態において、容器102は、収容システム100の外側層であり、ライナが容器102の内側に配置される。一実施形態において、容器102は、容器102の端部に開口部144(図1C)を有し、取付具は、開口部144に位置する。図1に示される実施形態において、開口部144に位置する取付具は、リテーナ104とライナ取付具106とを含む取付具である。一実施形態において、ライナ取付具106は、開口部144においてボトルに接合される。一実施形態において、ライナ取付具106は、開口部144を通って延びる。
図1Aに示される実施形態において、リテーナ104およびライナ取付具106は、互いに接合されている。図1Aに示されるように、リテーナ104は、ライナ取付具106の外面110(図1B)からの突出部108がリテーナ104の内面114の凹部または開口部112と接続することによって、ライナ取付具106に接合されている。一実施形態においては、リテーナ104およびライナ取付具106を、互いに圧入されるように寸法付けるなど、摩擦によって接合することができ、あるいはライナ取付具106の外面110に配置されたOリング溝118などのOリング溝に配置されたOリング116(図1Bにおいて見て取ることができる)における摩擦によって接合することができる。一実施形態においては、リテーナ104をライナ取付具106に接合するために接着剤を使用することができる。一実施形態においては、リテーナ104をライナ取付具106に接合するために、超音波溶接などの溶接を使用することができる。Oリング116は、リテーナ104またはライナ取付具106よりも柔らかい材料で製作されてよい。Oリング116を、清浄度、ならびにOリング116とリテーナ104および/またはライナ取付具106との間の摩擦に起因する粒子発生の低減に基づいて選択される材料で製作することができる。
リテーナ104を、例えば、超音波溶接、加熱、などによって容器102に接合できる材料で製作することができる。接合可能性は、接合の方法、材料の適合性、ならびに容器102およびリテーナ104に使用される材料の融点の間の類似性に依存し得る。リテーナ104は、安定剤、着色剤、あるいはUV遮断または吸収材料などの添加剤またはコーティングを含むことができる。
リテーナ104に使用される材料の例として、例えば、PE、PET、PEN、および/またはPEEKを挙げることができる。
リテーナ104は、対応する接合面120aにおいて容器102に接合されるように構成された容器接合面120を含む。リテーナ104は、ライナ取付具106とリテーナ104とを互いに固定するために、ライナ取付具106からの突出部108を受け入れることができる幅、高さ、および深さを有する開口部112を含むことができる。リテーナ104は、ライナ取付具106を通すことができる開口部を定める。この開口部の一例が、図5に示され、後述される。一実施形態においては、Oリング溝が、リテーナ104において、リテーナ開口部に面する内面に配置される。一実施形態において、リテーナ104は、ねじ山122を有する。一実施形態において、ねじ山122は、流体収容システム100が組み立てられたときに容器102の外部に位置するリテーナ104の端部に配置される。一実施形態において、リテーナ104は、スナップフィットによって容器102に接合されるように構成される。
ライナ取付具106は、収容システム100と共に使用されるライナへの接合が可能な1つ以上の材料で製作される。ライナとライナ取付具106とを、例えば、超音波溶接、ヒートシール、などによって接合することができる。ライナとライナ取付具106との接合は、ライナ内の流体がライナ取付具106内のライナ取付具開口部146を介してのみ逃げ出すことができるように、ライナとライナ取付具106との間に流体を通さないシールを形成することができる。
ライナ取付具106に選択される材料を、その材料の流体収容システム100に貯蔵される化学物質との反応性に部分的に基づいて、選択することができる。一実施形態において、収容システム100と共に使用されるライナは、ポリ(テトラフルオロエチレン)(PTFE)であり、ライナ取付具106は、パーフルオロアルコキシアルカンポリマー(PFA)である。
ライナ取付具106は、直径124を有するライナ取付具開口部146を定め、ライナ取付具開口部146は、ライナ取付具106の全体を貫通している。ライナ取付具開口部146は、収容システム100が組み立てられたときに、容器102の外部に配置されたライナ取付具106の第1の端部126および容器102の内部に配置されたライナ取付具106の第2の端部128からの流体の連通を可能にする。ライナ取付具106は、ライナ接合面130を含む。図1Aに示される実施形態において、ライナ接合面130は、ライナ取付具106から延びるフランジ132上に配置されている。一実施形態において、ライナ接合面130は、超音波溶接を介してライナに接合される。一実施形態において、ライナ接合面130は、熱シールまたは熱溶着を介してライナに接合される。
ライナ(図示せず)を、容器102内の流体がライナ内に保持されるように、ライナ接合面130においてライナ取付具106に接合することができ、ライナおよびライナ取付具106が、流体収容システム100に貯蔵される流体に対する耐性または流体収容システム100に貯蔵される流体との適合性などの適切な特性および/または所望の特性を有する濡れ面を提供する。ライナの材料選択の他の因子として、貯蔵される化学物質との化学的適合性、材料の清浄度(すなわち、保管または取り扱いの最中の材料損失の低減)、ライナの洗浄の容易さ、材料の純度、またはライナと貯蔵される化学物質との間で生じ得る相互作用に関する他のそのような懸念を挙げることができる。
図1Bが、図1Aの断面図の一部分の拡大を示している。図1Bは、一実施形態によるリテーナ104と容器102との間の接合部を示している。図1Bに示される実施形態において、リテーナ104は、容器接合面120を含み、容器102は、対応する接合面120aを有する。図1Bに示される実施形態において、容器102は、対応する接合面120aの内周部分に配置されたエネルギーダイレクタとして機能するせん断接合部134を有する。図1Bに示される実施形態において、せん断接合部134および容器接合面120は、互いに超音波溶接されるように構成される。実施形態は、段差ジョイントまたは舌部と溝部との超音波溶接などの他の超音波溶接継手構造を介して接合されるように構成された接合面120および対応する接合面120aを含むことができる。実施形態は、熱溶着、スナップまたはねじ山などによる機械的接続、接着剤、などの他の接合方法によって接合されるように構成された接合面120および対応する接合面120aを含むことができる。
図1Bにおいて、リテーナ104およびライナ取付具106は、リテーナ104の開口部112とライナ取付具106からの突出部108との間の相互作用によって互いに接合されている。ライナ取付具106からの突出部108は、リテーナ104をスライドさせることができる傾斜面136と、係合面138とを有する。図1Bに示される実施形態において、係合面138は、リテーナ104の開口部112の側面に平行である。突出部108の係合面138は、リテーナ104の開口部112の側面に係合して、ライナ取付具106をリテーナ104に固定する。
さらに、図1Bにおいて、Oリング116をOリング溝118内に見て取ることができる。Oリング116は、弾性ポリマーなどのポリマーで製作されてよく、例えばゴムなどで製作されてよい。Oリング116は、リテーナ104とライナ取付具106との間にシールを提供することができる。一実施形態において、Oリング116は、互いに接合されたリテーナ104とライナ取付具106との間に摩擦をもたらすために使用される。
図1Cが、容器102の全体を含む流体収容システム100の全体を示している。図1Cに示されるように、容器102は、例えばボトルであってよく、図1Aに示された部分は、そのボトルの首部142であってよい。容器102は、リテーナ104およびライナ取付具106が接続される端部に開口部144を有することができる。容器102は、図1Cに示されるくぼみ部140、隆起部、テクスチャ加工部、ハンドル、または他のそのような特徴などの特徴を含むことができる。くぼみ部140などの表面の特徴を、例えば、美観、取り扱い、ボトルの強度、またはこれらの適切な組み合わせを改善するために追加することができる。
図2Aが、一実施形態による流体収容システム200の端部の断面図を示している。図2Aに示される実施形態において、流体収容システム200は、容器102およびリテーナ104を、図1A~図1Cに示して上述した要素のすべての特徴と共に含み、さらにライナ取付具202を含む。
ライナ取付具202は、上述のライナ取付具106と同様に、Oリング溝118を含む。ライナ取付具202は、ライナ取付具202の第1の端部からライナ取付具202の第2の端部まで延びる開口部210を定める。ライナ取付具202を、上述したライナ取付具106と同じ材料で製作することができる。ライナ取付具202において、ライナ接合面204は、第1の端点206、第2の端点208、および第1の端点206から第2の端点208まで延びる1つ以上の湾曲面(図示せず)上に位置する。ライナ接合面204を配置することができる湾曲面などの湾曲面は、図4Aおよび図4Cにおいて見て取ることができ、後述される。
別の実施形態において、リテーナは、ライナ取付具と係合し、ライナ取付具とリテーナとの間にシールを形成するための1つ以上の耐荷重機構を含むことができる。図2Bが、容器102を有し、容器102の開口部144にリテーナ104が固定されている流体収容システム200の一特定の実施形態を示している。ライナ取付具202が、ライナ取付具202の耐荷重機構216がリテーナ104上の耐荷重機構148を過ぎるまで、リテーナ104の開口部214を通ってライナ取付具202の上縁部212を押し込むことによって、リテーナ104内に固定される。耐荷重機構148、216の嵌合により、ライナ取付具202がリテーナ104内にしっかりと据えられる。リテーナ104、ライナ取付具202、または両方は、ライナ取付具202をリテーナ104を通って移動させて正しい位置に据えることができるように充分な弾性を有することができる成形ポリマーである。ひとたびライナ取付具202が据えられると、リテーナ104から容易に引き戻すことが不可能であってよい。
当業者であれば、本開示の知識により、リテーナおよびライナ取付具の耐荷重機構が、ライナ取付具をリテーナ内に固定するために、さまざまな位置に配置されてよいことを認識できるであろう。図2Cおよび図2Dが、2つの考えられる耐荷重機構の非限定的な例である。図2Cにおいて、リテーナ104の耐荷重機構148およびライナ取付具202の耐荷重機構216は、ライナ取付具202の上縁部212の下方の位置に配置されている。図2Dは、耐荷重機構の別の位置を示している。図2Dにおいて、耐荷重機構は、ライナ取付具202の端部の環状面218を含む。環状面218は、リテーナ104の開口部214を越えて延び、リテーナの上縁部150に座を形成する。説明した耐荷重機構は、リテーナ104とライナ取付具とを噛み合わせて係合させるために、単独で、あるいは例えば図2Bに示されるように組み合わせて使用されてよい。さらに、Oリングなどの他のシールの選択肢を使用して、リテーナとライナ取付具との間のシールを強化することができる。
ライナ取付具202は、図1Aおよび図1Bのライナ取付具106に示されている突出部108などの突出部を含むことができるが、これらは図2の断面図では見て取ることができない。そのような突出部は、リテーナ104と係合して、ライナ取付具202をリテーナ104に固定することができる。このような突出部を、図4Aおよび図4Cに示される例示的なライナ取付具400においても見ることができる。
図3Aが、一実施形態によるライナ取付具300の斜視図を示している。ライナ取付具300は、ライナ取付具300の長さ方向304(図3Bにおいて見て取ることができる)を通って延びるライナ取付具開口部302を定める。ライナ取付具300は、フランジ306を含む。ライナ接合面308が、フランジ306の表面に配置される。図3Aに示される実施形態において、突出部310は、ライナ取付具300の外面312に配置されている。図3Aに示される実施形態において、Oリング溝314は、やはりライナ取付具300の外面312に配置されている。
ライナ取付具開口部302は、ライナ取付具300の長さ方向304に延びる開口部である。ライナ(図示せず)がライナ接合面308においてライナ取付具開口部302に取り付けられると、ライナ取付具開口部302は、ライナに対する流体の連通を可能にし、ライナの内側とライナ取付具300を含む流体収容システムの外側との間の濡れ面を提供する。一実施形態において、ライナ取付具300によって提供される濡れ面は、フルオロポリマーのホモポリマーおよびコポリマーを含むフルオロポリマーなど、ライナ取付具300を含む流体収容システムに貯蔵される化学物質に対して非反応性である1つ以上のポリマーである。一実施形態において、ライナ取付具300は、フルオロポリマーのホモポリマーおよびコポリマーを含むフルオロポリマーなど、ライナ取付具300を含む流体収容システムに貯蔵される化学物質に対して非反応性である1つ以上のポリマーで全体が製作される。
フランジ306が、ライナ取付具300から延びている。図3Aに示される実施形態において、フランジ306は、ライナ取付具300の端部からの環状の突出部である。一実施形態では、フランジ306は連続的である。フランジが不連続である実施形態においては、フランジの幅の一部または全部が不連続部を含んでよい。フランジが不連続である実施形態において、フランジは、フランジを貫く1つ以上の開口部を含む。図3Aに示される実施形態において、ライナ接合面308は、フランジ306の上面に配置されている。ライナ接合面308は、ライナに接合されるように構成された表面である。ライナとライナ接合面308との間の接続は、流体を通さない接続であってよく、例えば、超音波溶接または熱溶着などの溶接によることができる。一実施形態において、ライナ接合面308の材料は、ライナ取付具300と共に使用されるライナに用いられる材料と同じ材料である。
図3Bは、図3Aに示した実施形態によるライナ取付具300の断面図を示している。図3Bの断面図において、ライナ取付具の長さ方向304を見て取ることができる。ライナ取付具開口部302が、この長さ方向304にライナ取付具300の全長にわたって延びている。ライナ取付具300は、第1の端部の内径316および第1の端部の外径318を有する。一実施形態において、第1の端部の内径316は、ライナ取付具300に取り付けられたライナへとチューブを挿入できるようにして、チューブによるライナからの流体の抽出を可能にするように選択される。一実施形態において、ライナ取付具300と共に使用されるリテーナの内径は、ライナ取付具300の第1の端部の外径318よりも大きくなるように選択される。
図4Aが、一実施形態によるライナ取付具400の斜視図を示している。ライナ取付具400はライナ取付具開口部402を定める。ライナ取付具開口部402は、ライナ取付具400の長さ方向404(図4Bに示される)に延びるライナ取付具400の開口部である。
ライナ取付具400は、ライナ接合面410を含む。ライナ接合面410は、ライナ取付具400のライナへの接合を可能にするように構成される。ライナを、例えば超音波溶接または熱シールによって、流体を通さないシールを介してライナ接合面410に接合することができる。ライナ接合面410は、例えば超音波溶接によってライナに接合されるように構成されてよい。一実施形態において、ライナ接合面410またはライナ取付具400の全体の材料は、ライナ内に貯蔵される化学物質との適合性に基づいて選択される。例えば、一実施形態において、ライナ取付具400は、ライナ取付具400がPTFEで製作されたライナと共に使用される場合、PFAで作られる。
ライナ取付具400は、外面412を有する。外面412に、Oリング溝414を配置することができる。Oリング溝414は、Oリングを受け入れるための深さおよび幅を有する外面412の環状溝であり、いくつかの実施形態においては、例えば、ライナ取付具400とライナ取付具400と共に使用されるリテーナとの間にシールを形成するために、Oリングの一部が、ライナ取付具400と共に使用されるリテーナに接触できるように、外面412を越えて突出することを可能にする。Oリングによって形成されるシールは、流体を通さないシールであってよい。Oリングを、ポリマーで製作することができ、例えばゴムなどの弾性ポリマーで製作することができる。Oリングは、図1Bに示されて上述されたOリング116と同一または同様であってよい。
突出部416が、ライナ取付具400の外面412から延びてよい。突出部416は、ライナ取付具400と共に使用されるリテーナの凹部に係合するように構成されてよい。
図4Bは、図4Aに示した実施形態によるライナ取付具400の断面図を示している。断面図において、ライナ取付具開口部402が延在するライナ取付具400の長さ方向404を見て取ることができる。断面図において、ライナ取付具400の内径418が視認可能であり、ライナ取付具400の端部におけるライナ取付具開口部402の直径を定めている。さらに、ライナ取付具400は、その端部に外径420を有する。端部におけるライナ取付具400の厚さは、ライナ取付具の内径418と外径420との間の差の半分である。ライナ取付具400の厚さは、ライナ取付具400の長さ方向404に沿って変化してもよい。ライナ取付具400と共に使用されるリテーナは、ライナ取付具400をリテーナの開口部に挿入できるように、ライナ取付具の外径420と少なくともほぼ同じ直径を有する開口部を有する。一実施形態において、リテーナは、組み立て時にリテーナをライナ取付具400に圧入できるように、ライナ取付具の外径420とほぼ等しくなり、あるいはライナ取付具の外径420よりもわずかに小さくなるように選択された直径を有する開口部を有する。
図4Cは、図4Aに示した実施形態によるライナ取付具400の底面図を示している。図4Cにおいて、突出部416を見て取ることができる。第1の端点406から第2の端点408まで延びる両面422が、図4Cに示されている。ライナ接合面410は、各々の面422ならびに第1および第2の端点406、408に配置されている。ライナ取付具開口部402が、ライナ取付具400の全体を貫いて延びている。図4Cに示されるように、ライナ取付具400の底面図または上面図において、表面422および端点406、408は、端点406および408において表面422の間に形成される角度が互いに等しく、表面422が同じ長さおよび曲率を有する正対角を形成する。
図5Aが、一実施形態によるリテーナ500の斜視図を示している。リテーナ500は、リテーナ500の長さ方向504(図5B)に沿ってリテーナ開口部502を定める。図5Aに示される実施形態において、リテーナ500は、図3Aに示したライナ取付具300の突出部310または図4Aに示したライナ取付具400の突出部416などのライナ取付具からの突出部を受け入れるように構成された複数の開口部(図5Bに506として示される)を含む。リテーナ500は、容器接合面(図5Bに508として示されている)を含むことができる。図5Aおよび図5Bに示される実施形態において、容器接合面508は、リテーナフランジ510上に配置される。
リテーナ開口部502は、リテーナ500によって定められる開口部である。リテーナ開口部502は、リテーナ500と共に使用されるライナ取付具300の外径318またはライナ取付具400の外径420などのライナ取付具の外径とほぼ同じサイズ、またはそれよりも大きい内径512を有する。これにより、ライナ取付具300または400をリテーナ開口部502に挿入することができる。一実施形態において、ライナ取付具300または400は、流体収容システム100、200が組み立てられたときに、ライナから流体収容システム100または流体収容システム200などの流体収容システムの外部までの濡れ面の全体がライナ取付具300または400によってもたらされるように、リテーナ500を通って突出してもよい。
リテーナ500は、リテーナ500の外面にねじ山514を含む。ねじ山514を、例えば、リテーナ500を含む収容システムを囲むキャップを取り付けるために使用することができる。一実施形態において、リテーナ500は、端部にねじ山514を含まなくてもよい。一実施形態において、キャップとの係合のためのリップなどの別のコネクタが、リテーナ500上に存在してもよい。一実施形態において、リテーナ500は、リテーナとキャップとの間にスナップ嵌めを形成するために、キャップと係合するように構成された機構を含むことができる。
リテーナフランジ510は、リテーナ500から外側に延びている。リテーナフランジ510は、リテーナ500の全体を取り囲む環状フランジであってよい。リテーナフランジ510は、1つ以上の通気孔を含んでよい。通気孔は、リテーナ500を含む流体収容システムの外部と、ライナ取付具に接合されたライナと容器接合面508に接合された容器との間の空間と、の間の流体の連通を可能にすることができる。一実施形態において、通気孔は、流体収容システムのライナに貯蔵された化学物質を送出するときに、容器とライナとの間の空間を加圧するために使用される。図5に示される実施形態において、リテーナフランジ510は連続的である。一実施形態において、リテーナフランジ510は、リテーナ500から遠ざかるように延びるにつれて、リテーナフランジ510の一部または全部に1つ以上の不連続部を含む。一実施形態において、不連続部は、リテーナフランジ510の縁部に通気孔を形成し、フランジ510の不連続部に対応する容器接合面508のギャップを形成する。一実施形態において、通気孔は、ライナの体積の変化に応じた容器への空気の出入りを可能にする。
図5Bは、図5Aに示した実施形態によるリテーナ500の断面図を示している。図5Bの図において、上述の開口部506および容器接合面508を見て取ることができる。図5Bは、リテーナ500の長さ方向504を示しており、この方向に沿ってリテーナ開口部502が延びている。
容器接合面508は、リテーナ500のフランジ510上に配置されてよい。容器接合面508は、図1A~図1Cに示されて上述された容器102などの容器に接合されるように構成された面であってよい。一実施形態において、容器接合面508は、容器に溶接されるように配置される。一実施形態において、容器接合面508は、超音波溶接時に容器の対応する接合面上のエネルギーダイレクタと接触するように構成された平坦面である。
一実施形態において、容器接合面508は、リテーナ500を容器に接合するために使用される接着剤のための位置である。一実施形態において、容器接合面508は、例えばねじ山、スナップ、締まりばめ、などを介して容器に機械的に接合されるように構成されてもよい。容器接合面508は、連続的であってよく、例えば、フランジ510が環状フランジである場合にフランジ510の全周にわたって延びてよい。一実施形態において、容器接合面508は、不連続であり、収容システムの外部の空間と収容システムの容器とライナとの間の空間との間の流体の連通を可能にする通気孔を形成する。
開口部506は、上述したライナ取付具300の突出部310またはライナ取付具400の突出部416などのリテーナと共に使用されるライナ取付具上の突出部を受け入れるように構成された高さ516、幅(図5Bの断面図では見えない)、向き、および深さ518を有するリテーナ500内の開口部である。リテーナ500の開口部506と、上述したライナ取付具300の突出部310またはライナ取付具400の突出部416とが組み合わさって、ライナ取付具300またはライナ取付具400をリテーナ500に接合するスナップフィットをもたらす。
図6Aが、一実施形態によるライナ600を示している。図6に示される実施形態におけるライナ600を、図3に示した上述のライナ取付具300と共に使用することができる。
ライナ600は、流体が流体収容システム100または流体収容システム200などのライナ600を含む流体収容システムに貯蔵されるとき、流体を収容する。ライナ600は、上側シートおよび下側シートから形成される。上側シート、下側シート、およびライナ取付具300は、溶接、例えば超音波溶接または熱シールなど、流体を通さないシールをもたらす接合方法を用いて接合される。
ライナ取付具300を、ライナ接合面308が配置されたフランジ306が下側シートと上側シートとの間に位置し、ライナ取付具300が上側シートの開口部602を通って突出するように配置することができる。開口部602は、ライナ取付具開口部302の端部におけるライナ取付具300の直径よりも大きいが、ライナ取付具300のフランジ306の最小直径よりも小さい直径608を有する。一実施形態において、ライナ取付具300は、ライナ600から突出する。一実施形態において、ライナ取付具300のライナ取付具開口部302を通る場合を除き、流体がライナ600から逃げ出すことを防止するシールを形成することができる。
ライナ600を、上側シートおよび下側シートの縁部604を接合して、縁部604を巡るシールを形成することによって閉じ、上側シートと下側シートとの間およびシールされた縁部604の間の空間606に流体を貯蔵できるようにすることができる。
一実施形態において、ライナ600は、フランジ上ではなく、2つの端点間の湾曲した面上に位置する接合面を有するライナ取付具400などのライナ取付具に接合される。ライナ600がライナ取付具400のようなライナ取付具と共に使用される場合、下側シート、上側シート、およびライナ取付具400は、下側シートおよび上側シートの各々の縁部が、ライナ取付具400のライナ接合面410が配置された湾曲した面422にそれぞれ接するように配置される。上側シートおよび下側シートの縁部604は、互いに接合およびライナ接合面410に接合される。ライナ600がライナ取付具400のようなライナ取付具と共に使用される場合、ライナ600を形成するために使用されるシートから開口部602を省略してもよい。ライナ600がライナ取付具400のようなライナ取付具と共に使用される場合、上側および下側シートならびにライナ取付具400を、超音波溶接または熱溶着などの1つの接合プロセスにおいて互いに接合することができる。
ライナ600は、ポリマーで製作されてよい。ライナ600を、ライナ600を含む収容システムによって収容される流体に対して不透過性であるポリマーで製作することができる。ライナ600は、加圧されたときに膨張することができるように、可撓性ポリマーで製作されてもよい。一実施形態において、ライナ600は、ライナ600を含む収容システムによって収容される流体に対する耐薬品性または適合性に基づいて選択されるポリマーで製作される。一実施形態において、ライナ600は、フルオロポリマーのホモポリマーまたはコポリマーであってよいフルオロポリマーで製作される。一実施形態において、ライナ600はPTFEである。一実施形態において、ライナ取付具300またはライナ取付具400などのライナ取付具は、ライナ600がPTFEである場合にはPFAなど、ライナ600に超音波溶接可能であるように選択された材料で製作される。一実施形態において、ライナは、例えばライナ材料の化学的適合性、純度、および清浄度に基づいて、例えばポリオレフィン、あるいはライナを含む収容システムと共に使用される化学物質の収容に適した任意の他のポリマーであってよい。
図6Bが、一実施形態によるライナ610を示している。ライナ610は、図4A~図4Cに示したような取付具と共に使用されるように構成されている。ライナ610は、首部612を有する。ライナを形成するためにライナ610の層の縁部614が接合されるとき、首部612の端部616の縁部は接合されず、ライナの外部と接合されたライナの層の間の空間618との間の流体の流れを可能にする。ライナ610がライナ取付具400と共に使用されるとき、首部612の内面620は、ヒートシールまたは超音波溶接によってライナ接合面410に接合される。
図7が、一実施形態による収容システム700を製造する方法のフローチャートである。ライナが、取付具の少なくとも一部分に接合される(702)。随意により、取付具は完全に組み立てられる(704)。ライナおよび取付具が、容器内に配置される(706)。ライナが加圧される(708)。取付具が容器に接合される(710)。
ライナが、取付具の少なくとも一部分に接合される(702)。一実施形態において、ライナは、図1Aおよび図2に示されるような組み立て式の取付具または図8に示されるような取付具800などの取付具全体に接合される。一実施形態において、ライナは、図3Aおよび図3Bならびに図4A~図4Cにそれぞれ示されたライナ取付具300またはライナ取付具400などの取付具の一部分のみに、リテーナ500(図5Aおよび図5B)などのリテーナとの組み立てに先立って接合される。ライナは、上述のとおりのライナ600であってよい。ライナを、例えば、超音波溶接、ヒートシール、接着剤、などによって、取付具または取付具の一部分に接合することができる(702)。一実施形態において、ライナは、取付具の一部分に接合された状態で組み立てられる。
随意により、ライナが702において取付具の一部分のみに接合される場合、取付具を組み立てることができる(704)。取付具は、リテーナ(例えば、リテーナ500)およびライナ取付具300またはライナ取付具400などのライナ取付具などの構成部品を接合することによって組み立てられる。構成部品は、ライナ取付具300またはライナ取付具400などのライナ取付具、ならびにリテーナ500などのリテーナを含むことができる。ライナ取付具とリテーナとの接合を、例えば、スナップまたはねじ山などの機械的な干渉、圧入またはライナ取付具とリテーナとの間に配置されたOリングなどの摩擦、あるいは接着剤によって行うことができる。
ライナおよび取付具が、容器内に配置される(706)。ライナは、図1~図3に示して上述した収容システム100において使用される容器102などの容器内に完全に配置される。取付具は、容器の開口部の周囲によって囲まれる。一実施形態において、容器接合面120などの容器接合面が、対応する接合面120aに接触して配置される。
ライナが加圧される(708)。ライナの加圧を、例えば、ライナ取付具開口部302などのライナ取付具開口部にガスを供給するガス管によって達成することができる。ライナの加圧を、例えば、ガス管などのガス供給源、超音波溶接装置のベルの開口部、などを設けることによって、容器、ライナ、および取付具が超音波溶接装置の内部にあるときに行うことができる。ライナを加圧(708)することで、ライナが容器内で膨張する。取付具が気密シールによって容器に接合される一実施形態においては、ライナの加圧を、取付具を容器に接合(710)する前に行うことができる。
取付具が容器に接合される(710)。取付具と容器とを、超音波溶接、ヒートシール、接着剤、などによって接合することができる。いくつかの実施形態においては、取付具と容器との接合を、スナップまたはねじ山などの機械的な干渉、圧入またはライナ取付具とリテーナとの間に配置されたOリングなどの摩擦、あるいは接着剤によって行うことができる。容器への取付具の接合(710)は、ライナが加圧されている間に行われてもよい。一実施形態においては、ライナが加圧(708)され、次いで、圧力が維持されている間に取付具が容器に接合(710)される。一実施形態においては、容器および取付具が、取付具を容器に接合(710)するために使用される超音波溶接装置内にある間に、ライナが加圧(708)される。一実施形態においては、超音波溶接装置が取付具を容器に接合する超音波溶接部を形成するために使用されるとき、ライナを加圧(708)するために使用されるガス供給源が、ライナ内の圧力を維持するために使用され続ける。
図8が、一実施形態による取付具800を示している。取付具800は、取付具800の長さ方向804に延びる開口部802を定める。取付具800は、容器接合面808と、ライナ接合面810とを含むことができる。一実施形態において、容器接合面808は、取付具800から外向きに延びるフランジ806上に位置する。図8に示される実施形態において、ライナ接合面810は、図4に示して上述したライナ接合面410と同様に、第1の端点812および第2の端点814上、ならびに第1の端点812から第2の端点814まで延びる表面(図8の断面図では見えない)上に位置する。一実施形態において、ライナ接合面810は、図3に示して上述したライナ接合面308およびフランジ306と同様に、フランジ上に位置することができる。図8に示される実施形態において、取付具800は、別個のリテーナおよびライナ取付具ではなく、ライナ接合面810および容器接合面808の両方を含む一体構造で形成された一体型取付具である。一体型取付具を、容器およびライナの両方に溶接可能な材料で製作することができる。一体型取付具を、ライナおよび取付具材料の清浄度または反応性にとくに敏感ではない化学物質を収容するために使用される収容システムに使用することができる。
一実施形態において、1つ以上の通気孔を取付具800に形成することができ、例えばフランジ806に形成することができる。通気孔は、取付具800を含む流体収容システムの外部と、取付具800のライナ接合面810に接合されたライナと容器接合面808に接合された容器との間の空間と、の間の流体の連通を可能にし、その空間を、例えば流体収容システムのライナに収容された化学薬品を送出する際に加圧することができる。通気孔は、例えばライナの容積の変化に応じて、取付具800によって接合されたライナと容器との間の空間に空気が出入りすることを可能にできる。
取付具800を、容器およびライナに対する適切な接合特性、耐薬品性または適合性、および/またはUV遮断性などの流体収容システムのための用途が必要とする他の特性を有する1つ以上のポリマーで製作することができる。一実施形態において、PFAなどのフルオロポリマーのホモポリマーまたはコポリマーであってもよいフルオロポリマーなどのコーティングを、取付具800の開口部802を定める取付具800の内面などの取付具800の濡れ面に適用することができる。一実施形態においては、取付具800の全体が、例えばPFAなどのフルオロポリマーのホモポリマーまたはコポリマーであってよいフルオロポリマーで製作される。一実施形態において、取付具800は、UV吸収性コーティングあるいは清浄度および/または化学的適合性を改善するための他のコーティングなどの表面処理でコーティングされる。
取付具800を、例えば、流体収容システムが使用される用途に必要な特性のすべてを取付具の材料が提供する流体収容システムにおいて使用することができる。例えば、流体収容システムが、UV保護が重要ではない化学物質の貯蔵のために使用され、フルオロポリマーのホモポリマーまたはコポリマーであってよいフルオロポリマーを容器102に首尾よく接合できる場合に、一体型取付具800を、リテーナ500などの別個のリテーナと、ライナ取付具300またはライナ取付具400などの別個のライナ取付具とを有するシステムの代わりに使用することができる。取付具800は、キャップなどを受け入れるためのねじ山816を含むことができる。
いくつかの実施形態において、本明細書に記載の流体収容システムは、閉鎖リングを含むことができる。図9Aおよび図9Bが、閉鎖リング900の種々の図を示し、図10A~図10Cが、閉鎖リング900を流体容器1004に結合させて含んでいる流体収容システム1000の種々の図を示している。流体容器1004は、さまざまな実施形態による本明細書に記載のリテーナ1006および取付具1008が接続される首部1002を含む。
閉鎖リング900は、円筒形であり、閉鎖リング900をリテーナ1006およびライナ取付具1008を含む流体容器1004の首部1002上に受け入れ可能にするようなサイズの開口部904を含む。閉鎖リング900は、内面910に設けられた複数の雌ねじ908を含む。雌ねじ908は、流体容器1004の首部1002の外面1012に設けられた雄ねじ1010と螺合するように構成される。例えば、図10A~図10Cに示されるように、閉鎖リング900は、リテーナ1006および取付具1008上に受け入れられ、容器1004の首部1002の外面1012に設けられたねじ山1010と螺合する。閉鎖リング900が容器1004の首部1002にねじ込まれるとき、閉鎖リング900は、リテーナ1006に、流体容器1004の首部1002におけるライナ取付具1008およびリテーナ1006の保持を助ける下向きの圧力を加える。
さらに、閉鎖リング900は、閉鎖リング900の中心に向かう方向に内面910から離れるように延びる複数の歯部912を含む。いくつかの実施形態においては、図9Bに最もよく見られるように、歯部912が、閉鎖リング900の下端部914に配置される。図10Cに示されるように、歯部912は、閉鎖リング900と結合する流体容器1004の首部1002の外面1020に設けられた突出部1014と相互作用する。種々の実施形態によれば、首部1002は、流体容器1004の首部1002の外周を巡って等間隔で配置された少なくとも2つの突出部を含む。歯部912と突出部914との間の相互作用が、流体容器1004への閉鎖リング900の固定に役立つラチェットシステムを定める。さらに、ひとたび固定されると、突出部914は、流体容器1004からの閉鎖リング900の取り外しを防止する回転防止機能を提供する。取り外された場合、突出部914は変形し、流体収容システム1000が改ざんされ、あるいは不適切に開かれたことを知らせる。
本明細書において使用される用語は、特定の実施形態を説明することを意図しており、限定することを意図していない。「1つの(a)」、「1つの(an)」、および「その(the)」という用語は、とくに明記されない限り、複数形も含む。「・・・を備える(comprises)」および「・・・を備えている(comprising)」という用語は、本明細書において使用されるとき、そこで述べられる特徴、完全体、ステップ、動作、要素、または構成要素が存在することを指定するが、1つ以上の他の特徴、完全体、ステップ、動作、要素、または構成要素が存在すること、または追加されることを排除するものではない。
このように、本開示のいくつかの例示的な実施形態を説明してきたが、当業者であれば、添付の特許請求の範囲の技術的範囲において、さらに他の実施形態を作成および使用できることを、容易に理解できるであろう。本文書によってカバーされる本開示の多数の利点が、以上の説明に記載されている。しかしながら、本開示が多くの点で例示にすぎないことを、理解できるであろう。本開示の範囲を超えることなく、細部、とりわけ各部の形状、サイズ、および配置に関して、変更を行うことが可能である。本開示の範囲は、当然ながら、添付の特許請求の範囲を表現する文言にて定義される。

Claims (4)

  1. 流体収容システムのための取付具であって、
    ライナに接合されるように構成されるライナ接合面を含み、ライナ取付具開口部を定める、ライナ取付具と、
    容器に接合されるように構成される容器接合面を含み、前記ライナ取付具の受け入れに適した開口部を定める、リテーナと
    を備え、
    前記ライナ取付具は、前記ライナ取付具の外面と前記リテーナの表面とによって形成される耐荷重機構によって、前記開口部に保持され、前記耐荷重機構は、前記取付具の端部の環状面を含み、前記環状面は、前記リテーナの前記開口部を越えて延び、前記耐荷重機構は、前記リテーナの前記開口部の表面および前記ライナ取付具の対応する表面に位置し、
    前記ライナ取付具は、前記ライナ取付具の前記外面に位置する突出部を備える1つ以上の第1の接続機構を含み、前記リテーナは、前記リテーナの内面の凹部または開口を含む1つ以上の第2の接続機構を含み、前記ライナ取付具と前記リテーナとが、前記1つ以上の第1の接続機構と前記1つ以上の第2の接続機構との接続部分を介して接合される、
    取付具。
  2. 前記ライナ接合面は、環状フランジ上に配置される、請求項1に記載の取付具。
  3. 前記リテーナは、前記リテーナの第1の側と前記リテーナの第2の側との間の流体の連通を可能にする1つ以上の通気孔を含み、前記リテーナの前記第2の側は、前記リテーナの前記第1の側の反対側である、請求項1に記載の取付具。
  4. ライナと、
    取付具と、
    容器と
    を備えており、前記取付具は、
    前記ライナに接合されたライナ接合面を有し、ライナ取付具開口部を定めるライナ取付具と、
    容器に接合されるように構成される容器接合面を含み、前記ライナ取付具の受け入れに適した開口部を定める、リテーナと、を含み、
    前記ライナ取付具は、前記ライナ取付具の外面と前記リテーナの表面とによって形成される耐荷重機構によって、前記開口部内に保持され、前記耐荷重機構は、前記取付具の端部の環状面を含み、前記環状面は、前記リテーナの前記開口部を越えて延び、前記耐荷重機構は、前記リテーナの前記開口部の表面および前記ライナ取付具の対応する表面に位置し、
    前記容器は、前記ライナを取り囲み、
    前記ライナ取付具は、前記ライナ取付具の前記外面に位置する突出部を備える1つ以上の第1の接続機構を含み、前記リテーナは、前記リテーナの内面の凹部または開口を含む1つ以上の第2の接続機構を含み、前記ライナ取付具と前記リテーナとが、前記1つ以上の第1の接続機構と前記1つ以上の第2の接続機構との接続部分を介して接合される、
    収容システム。
JP2022564195A 2020-04-22 2021-04-22 流体容器用の複数の部品からなる取付具 Active JP7585345B2 (ja)

Applications Claiming Priority (3)

Application Number Priority Date Filing Date Title
US202063013907P 2020-04-22 2020-04-22
US63/013,907 2020-04-22
PCT/US2021/028669 WO2021216892A1 (en) 2020-04-22 2021-04-22 Multi piece fitment for a fluid container

Publications (2)

Publication Number Publication Date
JP2023522968A JP2023522968A (ja) 2023-06-01
JP7585345B2 true JP7585345B2 (ja) 2024-11-18

Family

ID=78095336

Family Applications (1)

Application Number Title Priority Date Filing Date
JP2022564195A Active JP7585345B2 (ja) 2020-04-22 2021-04-22 流体容器用の複数の部品からなる取付具

Country Status (7)

Country Link
US (1) US11661249B2 (ja)
EP (1) EP4139226B1 (ja)
JP (1) JP7585345B2 (ja)
KR (1) KR102756517B1 (ja)
CN (2) CN216509776U (ja)
TW (1) TWI785573B (ja)
WO (1) WO2021216892A1 (ja)

Families Citing this family (1)

* Cited by examiner, † Cited by third party
Publication number Priority date Publication date Assignee Title
JP7585345B2 (ja) * 2020-04-22 2024-11-18 インテグリス・インコーポレーテッド 流体容器用の複数の部品からなる取付具

Citations (3)

* Cited by examiner, † Cited by third party
Publication number Priority date Publication date Assignee Title
JP2010260585A (ja) 2009-04-30 2010-11-18 Tokyo Ohka Kogyo Co Ltd 流体用容器
JP2017528381A (ja) 2014-07-22 2017-09-28 インテグリス・インコーポレーテッド コンプライアンス材料による成形フッ素ポリマー破壊シール
JP2019196222A (ja) 2018-05-11 2019-11-14 紀伊産業株式会社 パウチ容器ディスペンサー

Family Cites Families (27)

* Cited by examiner, † Cited by third party
Publication number Priority date Publication date Assignee Title
DE68924847T2 (de) * 1988-02-16 1996-07-04 Now Technologies Inc Behälter und verabreichungssystem für flüssige chemikalien.
US5154308A (en) * 1991-07-19 1992-10-13 Safety-Kleen Corporation Detachable cover and drum liner for storage and transport of controlled materials
WO1994019242A1 (en) * 1993-02-23 1994-09-01 Karl Magnus Dahlberg Reusable container with an inner liner, and a method for making such a container
US5890616A (en) * 1997-01-30 1999-04-06 Messe, Inc. Bulk container with discharge coupling
US6793095B1 (en) * 1998-02-04 2004-09-21 Essef Corporation Blow-molded pressure tank with spin-welded connector
US6015068A (en) * 1998-02-04 2000-01-18 Now Technologies, Inc. Liquid chemical dispensing system with a key code ring for connecting the proper chemical to the proper attachment
US20030132275A1 (en) * 2002-01-16 2003-07-17 Ingalls Samuel L. Multi-ply corrugated containers, such as bulk bins, and fitment retainers, such as drain fitment retainers usable with bulk bins
US20100108712A1 (en) 2005-09-30 2010-05-06 Manesis Nick J Multi-dose liquid dispensing assembly
US8313821B2 (en) 2006-06-02 2012-11-20 Advanced Technology Materials, Inc. Barrier fluoropolymer film-based liners and packaging comprising same
KR20100029218A (ko) * 2007-05-29 2010-03-16 씨디아이 실스, 인코포레이티드 단단한 피트먼트를 가지는 블로우 성형된 단일체 용기
CN101734417B (zh) 2008-11-13 2012-12-26 西奎斯特盖有限责任合作公司 刺穿衬板的可扭弯的封闭件
US20110017743A1 (en) * 2009-07-22 2011-01-27 Honeywell International Inc. Sealable container linings and sealable containers
KR20110013743A (ko) * 2009-08-03 2011-02-10 최형선 구형 음료용기
US8733598B2 (en) * 2009-12-30 2014-05-27 Advanced Technology Materials, Inc. Closure/connector for liner-based dispense containers
US9434505B2 (en) * 2010-01-26 2016-09-06 Rehrig Pacific Company Plastic beer keg
ES2451394T3 (es) * 2010-11-09 2014-03-26 Rehrig Pacific Company Barril plástico de cerveza
WO2012135267A2 (en) * 2011-03-28 2012-10-04 Atmi Packaging, Inc. Liner-based shipping and dispensing containers
US9296550B2 (en) * 2013-10-23 2016-03-29 The Procter & Gamble Company Recyclable plastic aerosol dispenser
CN106926436A (zh) * 2011-12-21 2017-07-07 恩特格里斯公司 一种形成基于衬里的组件的方法和基于衬里的系统
US9926124B2 (en) 2013-08-20 2018-03-27 Dai Nippon Printing Co., Ltd. Liquid storage container and method for folding the container
JP6490081B2 (ja) * 2013-09-20 2019-03-27 インテグリス・インコーポレーテッド 高粘性の液体含有材料を加圧分配する装置および方法
WO2016176672A1 (en) * 2015-04-30 2016-11-03 Berry Plastics Corporation Container closure
BR112018004626A2 (pt) * 2015-11-11 2018-09-25 Aptargroup Inc encerramento para um recipiente
PT3515832T (pt) * 2016-09-23 2021-08-06 Mauser Werke Gmbh Barril de batoque com revestimento, revestimento, assim como processo para a produção do barril de batoque
CN106379635B (zh) * 2016-11-05 2018-12-04 尤赛飞 一种塑料酒桶的出酒结构
US20200140175A1 (en) * 2018-11-02 2020-05-07 Entegris, Inc. Multi piece fitment for a fluid container
JP7585345B2 (ja) * 2020-04-22 2024-11-18 インテグリス・インコーポレーテッド 流体容器用の複数の部品からなる取付具

Patent Citations (3)

* Cited by examiner, † Cited by third party
Publication number Priority date Publication date Assignee Title
JP2010260585A (ja) 2009-04-30 2010-11-18 Tokyo Ohka Kogyo Co Ltd 流体用容器
JP2017528381A (ja) 2014-07-22 2017-09-28 インテグリス・インコーポレーテッド コンプライアンス材料による成形フッ素ポリマー破壊シール
JP2019196222A (ja) 2018-05-11 2019-11-14 紀伊産業株式会社 パウチ容器ディスペンサー

Also Published As

Publication number Publication date
KR20230002826A (ko) 2023-01-05
TWI785573B (zh) 2022-12-01
US11661249B2 (en) 2023-05-30
JP2023522968A (ja) 2023-06-01
EP4139226B1 (en) 2025-05-28
CN113525861A (zh) 2021-10-22
EP4139226A1 (en) 2023-03-01
EP4139226A4 (en) 2024-04-10
CN216509776U (zh) 2022-05-13
CN113525861B (zh) 2024-02-06
TW202206349A (zh) 2022-02-16
WO2021216892A9 (en) 2022-06-02
WO2021216892A1 (en) 2021-10-28
KR102756517B1 (ko) 2025-01-21
US20210331840A1 (en) 2021-10-28

Similar Documents

Publication Publication Date Title
TWI725586B (zh) 用於流體容器之多件配件
US8733598B2 (en) Closure/connector for liner-based dispense containers
AU749599B2 (en) Flexible bags for transporting biopharmaceutical fluid products
CN101970311B (zh) 施配流体之装置及方法
KR100812869B1 (ko) 격납 용기 장치
CN108135776B (zh) 通过与穿透元件相互作用来进行净化的隔膜
CN103906954B (zh) 用于与托架容器和衬垫一起使用的阀组件
US20170210519A1 (en) Molded fluoropolymer breadseal with compliant material
JP7585345B2 (ja) 流体容器用の複数の部品からなる取付具
JP6568070B2 (ja) 分配システムのための継手と継手アダプタおよびそれらを製造する方法
US8956046B2 (en) Bag with port member and connection structure thereof
RU2712109C2 (ru) Выдачное укупорочное средство с самозакрывающимся клапаном
US20130026167A1 (en) Container sealing system
KR102057943B1 (ko) 딥 튜브 조립체 및 그 제조 방법
KR20120118063A (ko) 용기용 가요성 핀치 피팅부
US10125909B2 (en) Liner discharge structure for I-line fittings
US20250326538A1 (en) Bottle caps with valves

Legal Events

Date Code Title Description
A521 Request for written amendment filed

Free format text: JAPANESE INTERMEDIATE CODE: A523

Effective date: 20221227

A621 Written request for application examination

Free format text: JAPANESE INTERMEDIATE CODE: A621

Effective date: 20221227

A977 Report on retrieval

Free format text: JAPANESE INTERMEDIATE CODE: A971007

Effective date: 20230922

A131 Notification of reasons for refusal

Free format text: JAPANESE INTERMEDIATE CODE: A131

Effective date: 20231003

A601 Written request for extension of time

Free format text: JAPANESE INTERMEDIATE CODE: A601

Effective date: 20231228

A02 Decision of refusal

Free format text: JAPANESE INTERMEDIATE CODE: A02

Effective date: 20240423

A521 Request for written amendment filed

Free format text: JAPANESE INTERMEDIATE CODE: A523

Effective date: 20240822

A911 Transfer to examiner for re-examination before appeal (zenchi)

Free format text: JAPANESE INTERMEDIATE CODE: A911

Effective date: 20240830

TRDD Decision of grant or rejection written
A01 Written decision to grant a patent or to grant a registration (utility model)

Free format text: JAPANESE INTERMEDIATE CODE: A01

Effective date: 20241022

A61 First payment of annual fees (during grant procedure)

Free format text: JAPANESE INTERMEDIATE CODE: A61

Effective date: 20241106

R150 Certificate of patent or registration of utility model

Ref document number: 7585345

Country of ref document: JP

Free format text: JAPANESE INTERMEDIATE CODE: R150