JP7535596B2 - 燃料電池スタックアセンブリ用の誘電体セパレータ及びその製造方法 - Google Patents

燃料電池スタックアセンブリ用の誘電体セパレータ及びその製造方法 Download PDF

Info

Publication number
JP7535596B2
JP7535596B2 JP2022567046A JP2022567046A JP7535596B2 JP 7535596 B2 JP7535596 B2 JP 7535596B2 JP 2022567046 A JP2022567046 A JP 2022567046A JP 2022567046 A JP2022567046 A JP 2022567046A JP 7535596 B2 JP7535596 B2 JP 7535596B2
Authority
JP
Japan
Prior art keywords
fuel cell
fuel
layer
ceramic
manifold
Prior art date
Legal status (The legal status is an assumption and is not a legal conclusion. Google has not performed a legal analysis and makes no representation as to the accuracy of the status listed.)
Active
Application number
JP2022567046A
Other languages
English (en)
Other versions
JP2023524279A (ja
Inventor
パテル,シッダルタ
ペトルーシャ,マイケル
バシャリン,エイドリアン
ファン,ビクター
ペリー,マーチン
バタウィ,エマッド エル
エドモンストン,デイヴィッド
Original Assignee
ブルーム エネルギー コーポレイション
Priority date (The priority date is an assumption and is not a legal conclusion. Google has not performed a legal analysis and makes no representation as to the accuracy of the date listed.)
Filing date
Publication date
Application filed by ブルーム エネルギー コーポレイション filed Critical ブルーム エネルギー コーポレイション
Publication of JP2023524279A publication Critical patent/JP2023524279A/ja
Application granted granted Critical
Publication of JP7535596B2 publication Critical patent/JP7535596B2/ja
Active legal-status Critical Current
Anticipated expiration legal-status Critical

Links

Images

Classifications

    • HELECTRICITY
    • H01ELECTRIC ELEMENTS
    • H01MPROCESSES OR MEANS, e.g. BATTERIES, FOR THE DIRECT CONVERSION OF CHEMICAL ENERGY INTO ELECTRICAL ENERGY
    • H01M8/00Fuel cells; Manufacture thereof
    • H01M8/02Details
    • H01M8/0202Collectors; Separators, e.g. bipolar separators; Interconnectors
    • H01M8/023Porous and characterised by the material
    • H01M8/0236Glass; Ceramics; Cermets
    • HELECTRICITY
    • H01ELECTRIC ELEMENTS
    • H01MPROCESSES OR MEANS, e.g. BATTERIES, FOR THE DIRECT CONVERSION OF CHEMICAL ENERGY INTO ELECTRICAL ENERGY
    • H01M8/00Fuel cells; Manufacture thereof
    • H01M8/02Details
    • H01M8/0202Collectors; Separators, e.g. bipolar separators; Interconnectors
    • H01M8/0204Non-porous and characterised by the material
    • H01M8/0215Glass; Ceramic materials
    • HELECTRICITY
    • H01ELECTRIC ELEMENTS
    • H01MPROCESSES OR MEANS, e.g. BATTERIES, FOR THE DIRECT CONVERSION OF CHEMICAL ENERGY INTO ELECTRICAL ENERGY
    • H01M8/00Fuel cells; Manufacture thereof
    • H01M8/02Details
    • H01M8/0202Collectors; Separators, e.g. bipolar separators; Interconnectors
    • H01M8/0204Non-porous and characterised by the material
    • H01M8/0223Composites
    • H01M8/0228Composites in the form of layered or coated products
    • HELECTRICITY
    • H01ELECTRIC ELEMENTS
    • H01MPROCESSES OR MEANS, e.g. BATTERIES, FOR THE DIRECT CONVERSION OF CHEMICAL ENERGY INTO ELECTRICAL ENERGY
    • H01M8/00Fuel cells; Manufacture thereof
    • H01M8/02Details
    • H01M8/0202Collectors; Separators, e.g. bipolar separators; Interconnectors
    • H01M8/023Porous and characterised by the material
    • H01M8/0241Composites
    • H01M8/0245Composites in the form of layered or coated products
    • HELECTRICITY
    • H01ELECTRIC ELEMENTS
    • H01MPROCESSES OR MEANS, e.g. BATTERIES, FOR THE DIRECT CONVERSION OF CHEMICAL ENERGY INTO ELECTRICAL ENERGY
    • H01M8/00Fuel cells; Manufacture thereof
    • H01M8/02Details
    • H01M8/0271Sealing or supporting means around electrodes, matrices or membranes
    • H01M8/028Sealing means characterised by their material
    • HELECTRICITY
    • H01ELECTRIC ELEMENTS
    • H01MPROCESSES OR MEANS, e.g. BATTERIES, FOR THE DIRECT CONVERSION OF CHEMICAL ENERGY INTO ELECTRICAL ENERGY
    • H01M8/00Fuel cells; Manufacture thereof
    • H01M8/02Details
    • H01M8/0271Sealing or supporting means around electrodes, matrices or membranes
    • H01M8/028Sealing means characterised by their material
    • H01M8/0282Inorganic material
    • HELECTRICITY
    • H01ELECTRIC ELEMENTS
    • H01MPROCESSES OR MEANS, e.g. BATTERIES, FOR THE DIRECT CONVERSION OF CHEMICAL ENERGY INTO ELECTRICAL ENERGY
    • H01M8/00Fuel cells; Manufacture thereof
    • H01M8/24Grouping of fuel cells, e.g. stacking of fuel cells
    • HELECTRICITY
    • H01ELECTRIC ELEMENTS
    • H01MPROCESSES OR MEANS, e.g. BATTERIES, FOR THE DIRECT CONVERSION OF CHEMICAL ENERGY INTO ELECTRICAL ENERGY
    • H01M8/00Fuel cells; Manufacture thereof
    • H01M8/24Grouping of fuel cells, e.g. stacking of fuel cells
    • H01M8/241Grouping of fuel cells, e.g. stacking of fuel cells with solid or matrix-supported electrolytes
    • H01M8/2425High-temperature cells with solid electrolytes
    • H01M8/2432Grouping of unit cells of planar configuration
    • HELECTRICITY
    • H01ELECTRIC ELEMENTS
    • H01MPROCESSES OR MEANS, e.g. BATTERIES, FOR THE DIRECT CONVERSION OF CHEMICAL ENERGY INTO ELECTRICAL ENERGY
    • H01M8/00Fuel cells; Manufacture thereof
    • H01M8/24Grouping of fuel cells, e.g. stacking of fuel cells
    • H01M8/2465Details of groupings of fuel cells
    • H01M8/2484Details of groupings of fuel cells characterised by external manifolds
    • H01M8/2485Arrangements for sealing external manifolds; Arrangements for mounting external manifolds around a stack
    • HELECTRICITY
    • H01ELECTRIC ELEMENTS
    • H01MPROCESSES OR MEANS, e.g. BATTERIES, FOR THE DIRECT CONVERSION OF CHEMICAL ENERGY INTO ELECTRICAL ENERGY
    • H01M8/00Fuel cells; Manufacture thereof
    • H01M8/24Grouping of fuel cells, e.g. stacking of fuel cells
    • H01M8/249Grouping of fuel cells, e.g. stacking of fuel cells comprising two or more groupings of fuel cells, e.g. modular assemblies
    • HELECTRICITY
    • H01ELECTRIC ELEMENTS
    • H01MPROCESSES OR MEANS, e.g. BATTERIES, FOR THE DIRECT CONVERSION OF CHEMICAL ENERGY INTO ELECTRICAL ENERGY
    • H01M8/00Fuel cells; Manufacture thereof
    • H01M8/10Fuel cells with solid electrolytes
    • H01M8/12Fuel cells with solid electrolytes operating at high temperature, e.g. with stabilised ZrO2 electrolyte
    • H01M2008/1293Fuel cells with solid oxide electrolytes
    • YGENERAL TAGGING OF NEW TECHNOLOGICAL DEVELOPMENTS; GENERAL TAGGING OF CROSS-SECTIONAL TECHNOLOGIES SPANNING OVER SEVERAL SECTIONS OF THE IPC; TECHNICAL SUBJECTS COVERED BY FORMER USPC CROSS-REFERENCE ART COLLECTIONS [XRACs] AND DIGESTS
    • Y02TECHNOLOGIES OR APPLICATIONS FOR MITIGATION OR ADAPTATION AGAINST CLIMATE CHANGE
    • Y02EREDUCTION OF GREENHOUSE GAS [GHG] EMISSIONS, RELATED TO ENERGY GENERATION, TRANSMISSION OR DISTRIBUTION
    • Y02E60/00Enabling technologies; Technologies with a potential or indirect contribution to GHG emissions mitigation
    • Y02E60/30Hydrogen technology
    • Y02E60/50Fuel cells
    • YGENERAL TAGGING OF NEW TECHNOLOGICAL DEVELOPMENTS; GENERAL TAGGING OF CROSS-SECTIONAL TECHNOLOGIES SPANNING OVER SEVERAL SECTIONS OF THE IPC; TECHNICAL SUBJECTS COVERED BY FORMER USPC CROSS-REFERENCE ART COLLECTIONS [XRACs] AND DIGESTS
    • Y02TECHNOLOGIES OR APPLICATIONS FOR MITIGATION OR ADAPTATION AGAINST CLIMATE CHANGE
    • Y02PCLIMATE CHANGE MITIGATION TECHNOLOGIES IN THE PRODUCTION OR PROCESSING OF GOODS
    • Y02P70/00Climate change mitigation technologies in the production process for final industrial or consumer products
    • Y02P70/50Manufacturing or production processes characterised by the final manufactured product

Landscapes

  • Chemical & Material Sciences (AREA)
  • Engineering & Computer Science (AREA)
  • Chemical Kinetics & Catalysis (AREA)
  • Sustainable Development (AREA)
  • Sustainable Energy (AREA)
  • Manufacturing & Machinery (AREA)
  • Life Sciences & Earth Sciences (AREA)
  • Electrochemistry (AREA)
  • General Chemical & Material Sciences (AREA)
  • Composite Materials (AREA)
  • Ceramic Engineering (AREA)
  • Inorganic Chemistry (AREA)
  • Fuel Cell (AREA)

Description

本開示は、全般的には燃料電池システム、特には燃料電池スタックアセンブリ用の誘電体セパレータに関する。
燃料電池は、燃料に蓄えられているエネルギーを高効率で電気エネルギーに変換することができる電気化学装置である。高温形の燃料電池には、固体酸化物形燃料電池と溶融炭酸塩形燃料電池とが含まれる。これらの燃料電池は、水素及び/又は炭化水素燃料を使用して動作することができる。燃料電池には、固体酸化物形再生可能燃料電池など、逆の動作も可能な部類があり、これにより、水又は他の酸化された燃料を、電気エネルギーを入力として使用して未酸化燃料に還元することができる。
固体酸化物形燃料電池(SOFC)システムなどの高温燃料電池システムでは、酸化流は、燃料電池のカソード側を通過し、一方、燃料流は、燃料電池のアノード側を通過する。酸化流は、典型的には空気であり、一方、燃料流は、典型的には、炭化水素燃料源を改質することによって生成される水素濃厚ガスである。750℃~950℃の典型的な温度で動作する燃料電池は、負に帯電した酸素イオンをカソード流ストリームからアノード流ストリームに輸送することを可能にし、そこで、イオンは、遊離した水素又は炭化水素分子中の水素のいずれかと結合して水蒸気を形成し且つ/又は一酸化炭素と結合して二酸化炭素を形成する。負に帯電したイオンからの余分な電子は、アノードとカソードとの間に完成した電気回路を通って燃料電池のカソード側に戻され、その結果として、電流が回路を通って流れる。
燃料電池スタックは、燃料及び空気用に内部又は外部のいずれかでマニホールド化されている場合がある。内部マニホールドスタックでは、燃料及び空気は、スタック内に含まれるライザーを使用して各セルに分配される。換言すれば、ガスは、電解質層などの各燃料電池の支持層の開口部又は孔部と、各セルのガスセパレータとを通って流れる。外部マニホールドスタックでは、スタックは、燃料及び空気の入口側と出口側とが開口しており、燃料及び空気は、スタックハードウェアからは独立して導入及び収集される。例えば、入口及び出口の燃料及び空気は、スタックと、スタックが配置されているマニホールドハウジングとの間の別個のチャネル内を流れる。
燃料電池スタックは、多くの場合、平面要素、チューブ、又は他の幾何学形状の形態の多数のセルから構成されている。燃料及び空気は、電気化学的に活性の表面に供給されなければならず、この表面は大きくなる可能性がある。燃料電池スタックの1つの部品は、スタック内の個々のセルを分離するいわゆるガス流セパレータ(平面スタックではガス流セパレータプレートとも称される)である。このガス流セパレータプレートは、スタック内の1つのセルの燃料電極(すなわち、アノード)に流れる水素又は炭化水素燃料などの燃料を、スタック内の隣接するセルの空気電極(すなわち、カソード)に流れる空気などの酸化剤から分離する。多くの場合、ガス流セパレータプレートは、一方のセルの燃料電極を隣接するセルの空気電極に電気的に接続する相互接続部としても使用されている。このケースでは、相互接続部として機能するガス流セパレータプレートは、導電性材料から作製されているか又は導電性材料を含んでいる。
発明の概要
本開示の様々な実施形態によれば、燃料電池カラムは、第1及び第2の燃料電池スタックと、第1の燃料電池スタックと第2の燃料電池スタックとの間に配置され且つ第1及び第2の燃料電池スタックに燃料を供給するように構成された燃料マニホールドと、燃料マニホールドと各第1及び第2の燃料電池スタックとの間に位置し且つ各第1及び第2の燃料電池スタックを燃料マニホールドから電気的に絶縁するように構成された第1及び第2の誘電体セパレータとを含む。第1及び第2の誘電体セパレータの各々は、セラミック材料の上層と、セラミック材料の下層と、上層と下層との間に配置され且つセラミック材料よりも低い密度とセラミック材料よりも高い絶縁耐力とを有する材料を含んだ中間層と、中間層を上層及び下層に接続するガラス又はガラスセラミックのシールとを含んでいる。
別の実施形態によれば、燃料電池カラムは、第1及び第2の燃料電池スタックと、第1の燃料電池スタックと第2の燃料電池スタックとの間に配置され且つ第1及び第2の燃料電池スタックに燃料を供給するように構成された燃料マニホールドと、燃料マニホールドと各第1及び第2の燃料電池スタックとの間に位置し且つ各第1及び第2の燃料電池スタックを燃料マニホールドから電気的に絶縁するように構成された第1及び第2の誘電体セパレータとを含み、第1及び第2の誘電体セパレータの各々は、周辺フレームと、周辺フレームの内側に配置され且つ周辺フレームを支持するように構成された内部支持体と、周辺フレーム及び内部支持体によって少なくとも部分的に規定される燃料孔部及び内部開口部とを含んでいる。
別の実施形態によれば、燃料電池カラムは、第1及び第2の燃料電池スタックと、第1の燃料電池スタックと第2の燃料電池スタックとの間に配置され且つ第1及び第2の燃料電池スタックに燃料を供給するように構成された燃料マニホールドと、燃料マニホールドと各第1及び第2の燃料電池スタックとの間に位置し且つ各第1及び第2の燃料電池スタックを燃料マニホールドから電気的に絶縁するように構成された第1及び第2の誘電体セパレータとを含む。第1及び第2の誘電体セパレータの各々は、セラミック材料を含む上層と、セラミック材料を含む下層と、上層と下層との間に空隙が位置するように上層を下層からオフセットさせる少なくとも1つの突出部と、上層を下層に接続するガラス又はガラスセラミックのシールとを含んでいる。
別の実施形態によれば、誘電体セパレータを形成する方法は、誘電体材料を含む中間層と、グリーンセラミック材料を含む上層と、グリーンセラミック材料を含む下層と、中間層と上層及び下層の各々との間に配置されたガラス又はガラスセラミックのシールの材料とを含むアセンブリを形成するステップと、上層及び下層を高密度化し且つガラス又はガラスセラミックのシールの材料をリフローするためにアセンブリを焼結するステップと、誘電体セパレータを形成するために、焼結したアセンブリを切断するステップとを含む。
背景技術の燃料電池スタックアセンブリの三次元図である。 本開示の様々な実施形態による、電気的に絶縁された燃料マニホールドを備える燃料電池スタックアセンブリの三次元図である。 図2Aの燃料電池スタックアセンブリの三次元分解図である。 図2Aの燃料電池スタックアセンブリの一部の三次元拡大図である。 図2Aの燃料電池スタックアセンブリの別の部分の三次元拡大図である。 本開示の様々な実施形態による誘電体セパレータの部分斜視図である。 図4Aのセパレータの分解斜視図である。 本開示の様々な実施形態による縁部シールを含めた誘電体セパレータの上面図である。 本開示の代替的実施形態による誘電体セパレータの上面図である。 本開示の別の代替的実施形態による誘電体セパレータの断面図である。 図7Aの線B-B’に沿った誘電体セパレータの側方断面図であり、図7Bにおける平面A-A’は、図7Aの断面図に対応している。 テープキャスティングによって形成された誘電体セパレータシールを示す写真である。 本開示の様々な実施形態による、シール材料インクの分配によって形成されたシールを示す写真である。 本開示の様々な実施形態による、誘電体セパレータを製造する方法を示す斜視図である。
詳細な説明
要素もしくは層が、別の要素もしくは層「の上にある」又は「に接続される」と言及される場合、それは他の要素もしくは層の直接上にあり得る又は他の要素もしくは層に直接接続され得るか、あるいは、介在する要素もしくは層が存在する場合もあることが理解されよう。対照的に、要素が、別の要素もしくは層「の直接上にある」又は「に直接接続される」と言及される場合には、介在する要素もしくは層は存在しない。本開示の目的のために、「X、Y、及びZのうちの少なくとも1つ」とは、Xのみ、Yのみ、Zのみ、又は2つ以上の項目X、Y、及びZの任意の組み合わせ(例えば、XYZ、XYY、YZ、ZZ)として解釈され得ることが理解されよう。
図1は、本開示の様々な実施形態による燃料電池スタックアセンブリ100を示す。図1を参照すると、燃料電池スタックアセンブリ100は、燃料電池スタックカラム140と、このカラム140の対向する側部に配置されたサイドバッフル220と、下部ブロック53と、上部ブロック63を含む圧縮アセンブリ60とを含む。このカラムは、8つの燃料電池スタック14と、これらの燃料電池スタック14の間に配置された燃料マニホールド204と、カラム140の対向端部に配置された終端プレート27とを含む。燃料電池スタック14は、相互に積層され、相互接続部によって分離された複数の燃料電池を含む。複数の燃料電池スタックアセンブリ100は、ベースに取り付けられ得る。
例示的な燃料マニホールド204は、米国特許出願第11/656,563号明細書に記載されており、その全体は参照により本明細書に組み込まれる。必要に応じて、任意の数の燃料マニホールド204を、燃料電池スタック14の隣接する燃料電池の隣接する端部プレート間に設けてよい。
サイドバッフル220は、圧縮アセンブリ60の上部ブロック63と下部ブロック53とを接続している。サイドバッフル220、圧縮アセンブリ60、及び下部ブロック53は、総じて「スタックハウジング」と称されることもある。このスタックハウジングは、カラム140に圧縮負荷を加えるように構成されている。スタックハウジングの構成は、費用のかかるフィードスルー及び結果として生じるタイロッドヒートシンクを解消し、2つの目的、すなわち、負荷をスタック14にかけ、カソード供給流ストリームを配向する目的のために同じ部品(すなわち、サイドバッフル220)を使用する(例えば、スタックのリング状配列の場合、空気又は別の酸化剤などのカソード入口ストリームは、リング状配列外側のマニホールドからスタックを通り、出口側カソード排出ストリームとしてリング状配列内側に位置するマニホールドに提供されてよい)。サイドバッフル220は、燃料電池スタック14をシステム内の金属部品から電気的に絶縁することもできる。カラム140上の負荷は、サイドバッフル220と下部ブロック53とによって定位置に保持される圧縮アセンブリ60によって提供され得る。換言すれば、圧縮アセンブリ60は、カラム140のスタック14を下部ブロック53方向に付勢することができる。
サイドバッフル220は、くさび状ではなくプレート状であってよく、バッフルプレート202と、該バッフルプレート202を下部ブロック53及び圧縮アセンブリ60に接続するように構成されたセラミックのインサート46とを含む。特に、バッフルプレート202は、インサート46が配置される一般に円形の切欠き52を含む。このインサート46は、切欠き52を完全には埋めない。インサート46は、一般にボウタイ形状であるが、完全に丸みを帯びた縁部ではなく、平坦な縁部51を含む。したがって、インサート46の上方又は下方の各切欠き52には空きスペースが残る。
一般に、サイドバッフル220は、アルミナ又は他の適切なセラミックなどの高温耐性材料から作製されている。様々な実施形態において、サイドバッフル220は、セラミックマトリックス複合材(CMC)から作製されている。CMCは例えば、酸化アルミニウム(例えばアルミナ)、酸化ジルコニウム、又は炭化ケイ素のマトリックスを含み得る。他のマトリクス材料が同様に選択されてもよい。繊維は、アルミナ、炭素、炭化ケイ素、又は任意の他の適切な材料から作製されてよい。下部ブロック53及び圧縮アセンブリ60も、同一又は類似の材料から作製されてよい。圧縮ハウジングのための特定の材料の選択については、以下で詳細に説明する。
マトリックスと繊維との組み合わせは任意であってよい。付加的に、繊維は、CMCの疲労特性を改善するように設計された界面層で被覆されてよい。所望により、CMCバッフルは、個々のインターロックバッフルプレートからではなく、CMC材料の一体型ピースから作製されてよい。CMC材料は、バッフル強度及び耐クリープ性を増加させることができる。バッフルがアルミナ又はアルミナ繊維/アルミナマトリックスCMCから作製されている場合、この材料は、典型的なSOFC動作温度(例えば700℃超)において比較的良好な熱伝導体である。隣接するスタック又はカラムの熱的デカップリングが望まれる場合、バッフルは、断熱セラミック又はCMC材料から作製することができる。
下部ブロック53及び圧縮アセンブリ60などの圧縮ハウジングの他の要素も、同一又は類似の材料から作製されてよい。例えば、下部ブロック53は、アルミナ又はCMCなどのセラミック材料を含むことができ、これは、サイドバッフル220及びシステムベースに(例えば、インサート、ダブテール、又は他の器具によって)別個に取り付けられる。セラミックブロック材料の使用は、ヒートシンクの生成を最小限に抑え、熱膨張界面の問題を生じさせる、セラミックバッフルが金属ベースに連結する問題を解消することができる。圧縮ハウジング部品のための特定の材料の選択については、以下で詳細に説明する。
燃料レール214(例えば、燃料入口及び出口管又は導管)は、カラム140内のスタック14の間に位置する燃料マニホールド204に接続している。燃料レール214は、金属管218にろう付けされたセラミック管216を含む。金属管218は、一実施形態では圧縮可能なベローズ管を含むことができる。燃料レール214は、燃料マニホールド204を介して燃料電池スタックのカラム140内のスタック14の各対に燃料を供給するために使用される。これらのシステムでは、セラミック管216は、スタック14のカラム140内の隣接するスタック14間の短絡を防止するために、隣接する燃料マニホールド204の間に位置する。セラミック管216は、比較的高価であり、金属管218にろう付けすることは困難である。セラミック管216はまた、燃料電池システムの熱サイクル中に生成される熱応力に基づく亀裂を生じやすい。
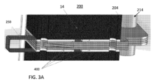
図2Aは、本開示の様々な実施形態による、電気的に絶縁された燃料マニホールドを備える燃料電池スタックアセンブリ200の三次元図であり、図2Bは、図2Aに示される燃料電池スタックアセンブリ200の分解図である。図3Aは、図2Aに示される電気的に絶縁された燃料マニホールドを備える燃料電池スタックアセンブリ200の一部の拡大図を示している。図3Bは、図2Aに示される電気的に絶縁された燃料マニホールド204を備える燃料電池スタックアセンブリ200の別の部分の拡大図を示している。
図2A~図3Bを参照すると、燃料マニホールド204によって分離された隣接する燃料電池スタック14の対の間に電気的絶縁を提供するために、燃料レール214の全長にわたってセラミック及び金属管をろう付けするのではなく、誘電体セパレータ400が、燃料マニホールド204と、隣接する燃料電池スタック14との間に設けられている。
この誘電体セパレータ400は、アルミナ、セラミックマトリックス複合材などの任意の適切な電気絶縁材料を含むことができる。燃料レール214は、全体が金属で作製されてもよく、誘電体(例えばセラミック)管216を必要とせず、これは省略されてよい。一実施形態では、燃料レール214は、金属のベローズ218及び金属の直管219のみを含む。
ジャンパ250は、第1の燃料電池スタック14から燃料マニホールド204には電流を通さずに、電流が、燃料電池スタックカラム140内で燃料マニホールド204によって第1の燃料電池スタック14から離間される隣接の第2の燃料電池スタック14へ流れることを可能にするために設けられ得る。ジャンパ250は、燃料マニホールド204及び誘電体セパレータ400の周囲において、第1及び第2の燃料電池スタック14と電気的に接触するように配置されてよい。ジャンパ250は、任意の適切な導体、例えば、インコネル718(又は他のインコネル合金)又はCr-Fe5質量%合金などの金属もしくは金属合金から作製することができ、様々な部品のシーリングを容易にするために、燃料電池スタック14及び誘電体セパレータ400のものに近い熱膨張係数を有することができる。ジャンパ250は、一般に、上部及び下部がそれぞれ隣接する第1及び第2の燃料電池スタック14と電気的に接触する一方で、上部及び下部を接続するジャンパ250の側面は燃料マニホールド204を回り込んで燃料マニホールド204には接触しない「C」形状を有することができる。一実施形態では、燃料マニホールド204に面するジャンパ250の内面は、燃料マニホールド204の表面上の誘電体セパレータ400もしくは誘電体セパレータ400の被覆の代わりに、又はそれに加えて誘電体材料で被覆されてよい。
図2Bに示されているように、誘電体セパレータ400には、燃料マニホールド204からの燃料が燃料電池スタック14に流れることを可能にする燃料孔部258が設けられている。ガラスのシール又は任意の適切なガスケットなどのシールが、燃料孔部258の周囲に形成されてよい。一実施形態では、熱電対がスロット257を通過できるようにするために、熱電対用のスロット257などの他の特徴部が誘電体セパレータ400に設けられている。図3Bに示される実施形態では、モジュール電圧ワイヤを取り付けるために使用されてよいタブ254がジャンパ250に設けられている。
誘電体セパレータ
図4Aは、本開示の様々な実施形態による誘電体セパレータ400の部分斜視図であり、図4Bは、図4Aのセパレータ400の分解斜視図である。図4A及び図4Bを参照すると、セパレータ400は、図2Aの燃料電池スタックアセンブリ200において利用されてよい。
セパレータ400は、上層402、下層404、中間層406、燃料孔部408、及びシール410を含むことができる。燃料孔部408は、上層402、下層404、及び中間層406に形成された同心の貫通孔部を含むことができる。
上層402及び下層404は、高密度化された誘電体材料から形成されてよい。例えば、上層402及び下層404は、アルミナ、ジルコニア、イットリア安定化ジルコニア(YSZ、例えば3%イットリア安定化ジルコニア)などの実質的に非多孔質で電気絶縁性のセラミック材料から形成されてよい。上層402及び下層404は、セパレータ400に構造的剛性を提供するために剛性プレートの形態であってよい。
付加的に、上層402及び下層404は、クロミアなどの隣接する燃料電池から放出される流出した種に対して実質的に不浸透性であってよい。したがって、上層402及び下層404は、流出した種が中間層406に入り、その絶縁耐力を低下させることを防止することができる。
中間層406は、上層402と下層404との間に挟まれていてよく、上層402及び下層404よりも高い絶縁耐力を有する多孔質及び/又は高表面積材料から形成されていてよい。換言すれば、中間層の絶縁材料は、上層402及び下層404の絶縁材料よりも高い最大電界に耐えることができ、電気的に絶縁破壊することなく導電性になる(すなわち、より高い絶縁破壊電圧を有する)ことができる場合がある。本発明者らは、燃料電池システムにおいて、高密度なセラミック材料のみを利用しながら高い絶縁耐力を維持することは、そのようなセラミック材料の導電性を高める可能性があるNaイオンなどのアルカリイオンの存在に基づき困難な場合があることを見いだした。したがって、中間層406は、セパレータ400の総絶縁耐力を増加させるように機能することができる。
いくつかの実施形態では、中間層406は、3M Co.から入手可能なNextelセラミック織物番号312、440、又は610などの高温における電気絶縁性の高い多孔質セラミック糸又は織物から形成されてよい。他の実施形態では、中間層406は、セラミックマトリックス複合材(CMC)層、又は高い表面積/体積比を有することに基づき高い絶縁耐力を有する任意の同等材料から形成されてよい。CMCは、例えば、酸化アルミニウム(例えばアルミナ)、酸化ジルコニウム、又は炭化ケイ素のマトリックスを含むことができる。他のマトリクス材料が同様に選択されてもよい。繊維は、アルミナ、炭素、炭化ケイ素、又は任意の他の適切な材料から作製されてよい。一実施形態では、マトリックス及び繊維の両方がアルミナを含むことができる。
様々な実施形態では、シール410は、リングシールであってよく、ケイ酸塩又はアルミノケイ酸塩のガラス又はガラスセラミック材料などの高温ガラス又はガラスセラミック材料から形成されてもよい。シール410は、上層402及び下層404を中間層406に接続するように機能することができ、燃料孔部408を気密にシールすることができる。
セパレータ400の個々の部品(例えば、層402,404,406、及び任意選択的にシール410)のための材料は、各部品の主成分が同一であるように選択されてよい。本明細書で主成分とは、成分中に最も多量に存在する成分を指す。例えば、いくつかの実施形態では、部品402,404、及び406、ならびに任意選択的に410の主成分は、アルミナであってよい。同一の主成分を有することは、部品402,404,406,410の結合を容易にすることができ、燃料電池カラム200から独立したセパレータ400の焼結を可能にすることができる。
いくつかの実施形態では、セパレータ400は、付加的な層を含むことができる。例えば、セパレータ400は、3つ以上の高密度なセラミックの層の間に配置された2つ以上の多孔質のセラミック織物又はCMC層を含むことができ、これらの層は、対応するガラス又はガラスセラミックのシールによって接続される。
いくつかの実施形態では、上層402及び下層404の内面には、付加的な空気及び/又はシール材料の取り込みを提供するように構成された粗面化された又はシャグ状のテクスチャが設けられてよい。燃料孔部408を取り囲む上層402及び下層404の部分の密度は、燃料孔部408の改善されたシーリングを提供するために上層402及び下層404の残りの部分と比較して増大され得る。
様々な実施形態では、ガラスの付加的なリングシール412が、燃料孔部408を取り囲む上層402の上及び下層404の下に配置されてよい。付加的なリングシール412は、燃料電池スタック又は燃料マニホールドなどの隣接する燃料電池カラム部品にセパレータ400をシールするために使用されてよい。
図5は、本開示の様々な実施形態による、縁部シール414を含んだセパレータ400の平面図であり、ここでは明確化のために上層402が省略されている。図5を参照すると、縁部シール414は、燃料孔部のシール410に付加的に含まれていてよく、セパレータ400の対向する縁部に沿って延在し得る。したがって、この縁部シール414は、セパレータ400の層の間に改善された接着性を提供することができる。縁部シール414は、例えば、テープキャスティング、ディスペンシング、又はディップコーティングによって形成されてよい。
図6は、本開示の代替的な実施形態による誘電体セパレータ600の平面図である。図6を参照すると、セパレータ600は、セパレータ400の上層402及び下層404に関連して上述した高密度な誘電体材料などの高密度化されたセラミック材料から形成されてよい。セパレータ600は、周辺フレーム602と、該周辺フレーム602の内側に配置された内部支持体604とを含むことができる。周辺フレーム602及び内部支持体604は、内部開口部606及び燃料孔部608を少なくとも部分的に画定することができる。したがって、セパレータ600は、セパレータ400の複合材層構造とは対照的に、一体構造を有することができる。
リングシール610は、燃料孔部608を取り囲むようにセパレータ600の上面及び下面に配置されてよい。リングシール610は、シール410に関連して上述したのと同じガラス材料から形成されてよい。リングシール610は、燃料電池スタック及び燃料マニホールドなどの隣接する燃料電池カラム部品にセパレータ600をシールするように構成されてよい。セパレータ600は、任意選択的に、熱膨張及び収縮の影響を低減するためにセパレータ600が切断される逃がし切り込みRCを含むことができる。例えば、この逃がし切り込みRCは、隣接する金属部品の熱膨張に基づきガラスのリングシール610に加えられる応力を低減することができ、これによって熱サイクル中のガラスのリングシール610のせん断を低減及び/又は防止することができる。
図7A及び図7Bは、本開示の別の代替的な実施形態による誘電体セパレータ400Aを示す。この実施形態では、中間層406は省略され、空隙418によって置き換えられている。空気は、上層402及び下層404のセラミック材料よりも高い絶縁破壊強度を有する。上層402又は下層404のうちの少なくとも一方は、上層402又は下層404のうちの他方に面する側に少なくとも1つの突出部416を含んでいる。少なくとも1つの突出部416は、空隙418が上層402と下層404との間に位置するように、上層402を下層404からオフセットさせる。ガラス又はガラスセラミックのシール410は、図7Aに示されているように、上層402を下層404に接続する。シール410は、上述した任意の適切な形状を有していてよい。
一実施形態では、少なくとも1つの突出部416は、下層404の上側に面する上層402の下側に位置してよい。少なくとも1つの突出部416は、空隙418が上層402と下層404との間に位置するように下層404の上側に接触する。
別の実施形態では、少なくとも1つの突出部416は、上層402の下側に面する下層404の上側に位置してよい。少なくとも1つの突出部416は、空隙418が上層402と下層404との間に位置するように上層402の下側に接触する。
別の実施形態では、突出部416は、上層402の下側及び下層404の上側の両方に位置してよい。この実施形態では、上層402の下側における少なくとも1つの突出部416が、下層404の上側における少なくとも1つの突出部416と接触することができる。代替的に、上層及び下層における突出部416は、上層402の下側における少なくとも1つの突出部416が、下層404の上側と接触することができ、下層404の上側における少なくとも1つの付加的な突出部416が、上層402の下側と接触することができるように相互にオフセットされ得る。突出部416は、上層402と下層404との間に位置する空隙418を形成するように上層及び下層を相互に垂直方向にオフセットさせる。
任意の数の突出部416が、上層402及び/又は下層404に位置してよい。例えば、図7Aに示されているように、4つの突出部416が、上層402の下側及び/又は下層404の上側に配置されてもよい。しかしながら、1つ、2つ、3つ、又は5つ以上の突出部416が形成されてもよい。突出部416は、アルミナ、ジルコニア、又はYSZなど、上層及び下層のセラミック材料と同じセラミック材料から形成されてよい。突出部416は、任意の適切な水平断面形状を有することができる。例えば、図7Aに示される突出部416は、円形の水平断面形状を有する充填円筒を含む。しかしながら、多角形(例えば、三角形、正方形、長方形、六角形など)、楕円形、又は不規則な形状など、他の適切な水平断面形状が使用されてもよい。突出部416は、任意の適切なセラミック処理法を使用して上層又は下層と同時に形成されてよい。
誘電体セパレータの製造方法
図8Aは、本開示の様々な実施形態による、織物の中間層406上のテープキャスティングによって形成された誘電体セパレータシールのシールを示す写真であり、図8Bは、CMCの中間層406におけるシール材料インクの分配によって形成されたシールを示す写真である。図4A、図4B、図8A、及び図8Bを参照すると、いくつかの実施形態では、セパレータ400は、燃料孔部408を取り囲み且つシール410を形成するように、中間層406の少なくとも一方の側に、あるいは上層402及び下層404の一方又は両方にシール材料を提供することによって形成されてよい。例えば、シール材料は、図8Aに示されるようにテープキャスティングによって中間層406に適用されてもよい。上層402及び下層404は、セラミック材料をテープキャスティングすることによって形成されたセラミックプレートであってよい。したがって、上層402及び下層404は、最初はグリーン(多孔質)状態であってよい。
代替的に、図8Bに示されているように、中間層406は、上層402及び下層404のうちの一方に配置されてよく、シール材料インクなどの流体シール材料410Aが、燃料孔部408の周囲の下層404及び/又は中間層406に配置されてもよい。シール材料インクは、ケイ酸塩又はアルミノケイ酸塩のガラス又はガラスセラミックのシールの材料、溶媒及び/又はバインダを含むことができる。他の実施形態では、シール材料又は任意の適切な焼結助剤は、例えば、図5に示されるように、テープキャスティング、ディスペンシング、又はディップコーティングによって、上層402及び下層404の縁部の間に適用されてもよい。
次いで、層402,404,406が、セパレータ400を形成するために一緒に積層されてよい。次いで、セパレータ400が、シール材料のリフロー温度を上回る温度で加熱(例えば焼結)されてよい。例えば、セパレータ400は、少なくとも約950℃の温度、例えば約975℃~約1000℃の範囲の温度で加熱されてよく、それにより、ガラスのシールは、中間層406及び/又は燃料孔部408の周囲に流入し、上層402及び下層404の表面と結合する。この加熱は、上層402及び下層404も焼結することができ、これにより、上層402及び下層404が高密度化される。いくつかの実施形態では、セパレータは、焼結プロセス中に圧縮されてよい。
いくつかの実施形態では、焼結前にセパレータ400に真空が適用されてよい。この真空は、シール材料を中間層406に且つ/又は上層402及び下層404の細孔(燃料孔部408に隣接する細孔など)に押し込むように機能することができる。例えば、シール410は、液体焼結助剤を用いて、又は液体焼結助剤なしで真空鋳造によって形成されてよい。
中間層406がCMCプレートである実施形態では、セパレータ400は、上層402及び下層404を形成するために、中間層406の対向する側部へのセラミック粉末のプラズマ溶射によって形成されてよい。このシール材料は、プラズマ溶射の前又は後に中間層406に適用されてよい。次いで、セパレータ400は、セラミック粉末を高密度化させ且つ上層402及び下層404を中間層406に結合するために加熱されてよい。この加熱は、シール材料のリフローイングを含むことができる。
図9は、本開示の様々な実施形態による、誘電体セパレータ800を製造する方法を示す斜視図である。図9を参照すると、ガラスのシールの材料が、2つ以上のセラミックプレート802に適用されてよく、このセラミックプレート802は、グリーン状態にあってよく且つ/又はCMC層又はセラミックファイバ層などの1つ以上の多孔質の誘電体層806に適用されてもよい。
例えば、いくつかの実施形態では、シール材料は、以下で説明するように、後で形成されるセパレータの燃料孔部及び/又は縁部領域に対応する特定の位置に適用されてよい。セラミックプレート802は、例えば、アルミナ、ジルコニア、イットリア安定化ジルコニアなどのセラミック材料をテープキャスティングすることによって形成されてよい。
次いで、誘電体層806は、積層のアセンブリ820を形成するために、セラミックプレート802の間に積層されてよい。このアセンブリ820は、セラミックプレート802を高密度化し、シール材料をリフローするのに十分な温度、例えば約950℃~約1000℃の範囲の温度で焼結されてよい。その結果として、シール材料は、アセンブリ820の層を物理的に接続することができる。いくつかの実施形態では、誘電体層806へのシール材料の含浸を容易にするために、焼結前及び/又は焼結中にアセンブリ820に真空が適用されてよい。
次いで、焼結されたアセンブリ820は、個々の誘電体セパレータ800を形成するように切断及び/又は形成されてよい。例えば、アセンブリ820は、セパレータ400の周縁形状を形成し且つセパレータ400内に燃料孔部408を形成するように切断されてよい。
3つのセラミックプレート802と2つの多孔質の誘電体層802とが図9に示されているが、本開示はこれらに限定されない。例えば、2つのセラミックプレート802と1つの多孔質の誘電体層806とがアセンブリ820の形成のために使用されてよく、あるいはアセンブリ820は、4つ以上のセラミックプレート802と3つ以上の多孔質の誘電体層806とを含むことができる。
代替的な実施形態では、セラミックプレート802は、誘電体層806の対向する側部へのセラミック材料溶射によって形成され、アセンブリを形成してもよい。例えば、セラミック材料は、誘電体層806にプラズマ溶射されてよい。アセンブリは、セラミック材料を高密度化し、セラミックプレート802を形成するために焼結されてよい。焼結されたアセンブリは、任意選択的に、個々の誘電体セパレータ800を形成するように切断されてよい。
上記は、特に好ましい実施形態に言及しているが、本発明がこれらに限定されないことは理解されるであろう。当業者であれば、開示された実施形態に対して様々な変更を行ってもよいことや、そのような変更が本発明の範囲内であることが意図されることは明らかであろう。本明細書で引用されるすべての刊行物、特許出願、及び特許は、その全体が参照により本明細書に組み込まれる。

Claims (16)

  1. 燃料電池カラムであって、
    第1及び第2の燃料電池スタックと、
    前記第1の燃料電池スタックと前記第2の燃料電池スタックとの間に配置され且つ前記第1及び第2の燃料電池スタックに燃料を供給するように構成された燃料マニホールドと、
    前記燃料マニホールドと各前記第1及び第2の燃料電池スタックとの間に位置し且つ各前記第1及び第2の燃料電池スタックを前記燃料マニホールドから電気的に絶縁するように構成された第1及び第2の誘電体セパレータとを含み、
    前記第1及び第2の誘電体セパレータの各々は、
    セラミック材料を含む上層と、
    前記セラミック材料を含む下層と、
    前記上層と前記下層との間に配置され且つ前記セラミック材料よりも低い密度と前記セラミック材料よりも高い絶縁耐力とを有する材料を含んだ中間層と、
    前記中間層を前記上層及び前記下層に接続するガラス又はガラスセラミックのシールとを含んでいる、燃料電池カラム。
  2. 前記第1及び第2の誘電体セパレータの各々の対向する側部に形成され、前記第1及び第2の誘電体セパレータの各々の前記上層、前記中間層、及び前記下層に形成された同心の貫通孔部を含む、燃料孔部をさらに備え、
    前記シールは、前記中間層の上面及び下面に配置され且つ前記第1及び第2の誘電体セパレータの各々の燃料孔部を取り囲むリングシールから構成される、請求項1記載の燃料電池カラム。
  3. 前記中間層の前記上面及び下面の対向する縁部に沿って延在し且つガラス材料を含む縁部シールをさらに備える、請求項2記載の燃料電池カラム。
  4. 前記中間層は、セラミック織物を含む、請求項1記載の燃料電池カラム。
  5. 前記中間層は、セラミックマトリックス複合材を含む、請求項1記載の燃料電池カラム。
  6. 前記中間層の表面積/体積比は、前記上層及び下層の表面積/体積比よりも大きく、前記セラミック材料は、アルミナ、ジルコニア、又はイットリア安定化ジルコニア(YSZ)を含む、請求項1記載の燃料電池カラム。
  7. 前記上層、前記中間層、及び前記下層の主要成分は、同一である、請求項1記載の燃料電池カラム。
  8. 前記主要成分は、アルミナ又はジルコニアである、請求項7記載の燃料電池カラム。
  9. 前記第1及び第2の誘電体セパレータの各々は、
    前記上層の上に配置されたセラミック織物又はセラミックマトリックス複合材の第1の付加的な層と、
    前記第1の付加的な層の上に配置された前記セラミック材料の第2の付加的な層と、
    前記第1の付加的な層の上面及び下面に配置され且つ前記第1の付加的な層の貫通孔部を取り囲み且つガラス又はガラスセラミック材料を含む付加的なリングシールとを含んでいる、請求項2記載の燃料電池カラム。
  10. 前記燃料マニホールドと前記第1及び第2の誘電体セパレータをバイパスする導電性のジャンパをさらに含み、前記導電性のジャンパは、前記第1及び第2の燃料電池スタックの間を電気的に導通させるように構成されている、請求項1記載の燃料電池カラム。
  11. 前記燃料孔部は、前記燃料マニホールドの燃料孔部と、前記第1及び第2の燃料電池スタックの燃料孔部とに流体連通する、請求項2記載の燃料電池カラム。
  12. 前記燃料マニホールドを前記燃料電池カラム内の隣接する燃料マニホールドに接続する導電性の燃料レールをさらに含む、請求項1記載の燃料電池カラム。
  13. 前記導電性の燃料レールは、金属又は金属合金の直管に接続された、金属又は金属合金のベローズ管を含む、請求項12記載の燃料電池カラム。
  14. 燃料電池カラムであって、
    第1及び第2の燃料電池スタックと、
    前記第1の燃料電池スタックと前記第2の燃料電池スタックとの間に配置され且つ前記第1及び第2の燃料電池スタックに燃料を供給するように構成された燃料マニホールドと、
    前記燃料マニホールドと各前記第1及び第2の燃料電池スタックとの間に位置し且つ各前記第1及び第2の燃料電池スタックを前記燃料マニホールドから電気的に絶縁するように構成された第1及び第2の誘電体セパレータとを含み、
    前記第1及び第2の誘電体セパレータの各々は、
    周辺フレームと、
    前記周辺フレームの内側に配置され且つ前記周辺フレームを支持するように構成された内部支持体と、
    前記周辺フレーム及び前記内部支持体によって少なくとも部分的に規定される燃料孔部及び内部開口部とを含んでいる、燃料電池カラム。
  15. 前記誘電体セパレータの各々は、前記周辺フレーム又は前記内部支持体の少なくとも一方に形成された逃がし切り込みを含んでいる、請求項14記載の燃料電池カラム。
  16. 燃料電池カラムであって、
    第1及び第2の燃料電池スタックと、
    前記第1の燃料電池スタックと前記第2の燃料電池スタックとの間に配置され且つ前記第1及び第2の燃料電池スタックに燃料を供給するように構成された燃料マニホールドと、
    前記燃料マニホールドと各前記第1及び第2の燃料電池スタックとの間に位置し且つ各前記第1及び第2の燃料電池スタックを前記燃料マニホールドから電気的に絶縁するように構成された第1及び第2の誘電体セパレータとを含み、
    前記第1及び第2の誘電体セパレータの各々は、
    セラミック材料を含む上層と、
    前記セラミック材料を含む下層と、
    前記上層と前記下層との間に空隙が位置するように前記上層を前記下層からオフセットさせる少なくとも1つの突出部と、
    前記上層を前記下層に接続するガラス又はガラスセラミックのシールとを含んでいる、燃料電池カラム
JP2022567046A 2020-05-05 2021-04-29 燃料電池スタックアセンブリ用の誘電体セパレータ及びその製造方法 Active JP7535596B2 (ja)

Applications Claiming Priority (3)

Application Number Priority Date Filing Date Title
US202063020074P 2020-05-05 2020-05-05
US63/020,074 2020-05-05
PCT/US2021/029824 WO2021225856A1 (en) 2020-05-05 2021-04-29 Dielectric separator for fuel cell stack assembly and manufacturing method thereof

Publications (2)

Publication Number Publication Date
JP2023524279A JP2023524279A (ja) 2023-06-09
JP7535596B2 true JP7535596B2 (ja) 2024-08-16

Family

ID=78413134

Family Applications (1)

Application Number Title Priority Date Filing Date
JP2022567046A Active JP7535596B2 (ja) 2020-05-05 2021-04-29 燃料電池スタックアセンブリ用の誘電体セパレータ及びその製造方法

Country Status (8)

Country Link
US (1) US11374232B2 (ja)
EP (1) EP4147290B1 (ja)
JP (1) JP7535596B2 (ja)
KR (1) KR102712925B1 (ja)
CN (1) CN115769403A (ja)
CA (1) CA3177941A1 (ja)
TW (1) TWI853165B (ja)
WO (1) WO2021225856A1 (ja)

Families Citing this family (5)

* Cited by examiner, † Cited by third party
Publication number Priority date Publication date Assignee Title
TW202335340A (zh) 2021-11-11 2023-09-01 美商博隆能源股份有限公司 具有嵌入式介電層之燃料電池歧管及其製造方法
KR20230069847A (ko) 2021-11-12 2023-05-19 블룸 에너지 코퍼레이션 응력 완화 구조를 포함하는 연료 전지 컬럼
EP4250408A3 (en) 2022-03-24 2024-03-06 Bloom Energy Corporation Fuel cell stack assembly including heat sink inserts
CA3181501A1 (en) 2022-03-26 2023-09-26 Bloom Energy Corporation Methods and devices for preventing thermally-induced stress cracks in large footprint solid oxide fuel cell columns
AT527099A1 (de) * 2023-05-24 2024-09-15 Avl List Gmbh Gasleitungsvorrichtung für Hochtemperatur-Brennstoffzellen

Citations (6)

* Cited by examiner, † Cited by third party
Publication number Priority date Publication date Assignee Title
JP2000164234A (ja) 1998-11-24 2000-06-16 Aisin Seiki Co Ltd 燃料電池
JP2005183309A (ja) 2003-12-22 2005-07-07 Mitsubishi Electric Corp 燃料電池
JP2010238567A (ja) 2009-03-31 2010-10-21 Toyota Motor Corp 燃料電池システム
JP2011113661A (ja) 2009-11-24 2011-06-09 Panasonic Corp 燃料電池スタックおよび燃料電池システム
JP2013506963A (ja) 2009-09-30 2013-02-28 ブルーム エナジー コーポレーション 燃料電池スタック圧縮装置および方法
US20190109345A1 (en) 2017-10-06 2019-04-11 Bloom Energy Corporation Method for joining a ceramic matrix composite to dense ceramics for improved joint strength

Family Cites Families (15)

* Cited by examiner, † Cited by third party
Publication number Priority date Publication date Assignee Title
JPH0650646B2 (ja) * 1987-03-23 1994-06-29 株式会社日立製作所 溶融炭酸塩型燃料電池スタツク
JPH07109772B2 (ja) * 1988-03-22 1995-11-22 石川島播磨重工業株式会社 内部マニホールド型燃料電池発電装置
JP2555515B2 (ja) * 1992-08-04 1996-11-20 株式会社日立製作所 燃料電池
US5478663A (en) * 1994-03-22 1995-12-26 International Fuel Cells Corporation Edge seals for molten carbonate fuel cell stacks
US6670069B2 (en) * 2000-03-17 2003-12-30 Gencell Corporation Fuel cell stack assembly
US6531237B2 (en) * 2001-03-01 2003-03-11 Fuelcell Energy, Inc. Manifold and sealing assembly for fuel cell stack
US7294427B2 (en) 2004-12-27 2007-11-13 Fuelcell Energy, Inc. Manifold gasket accommodating differential movement of fuel cell stack
WO2007087305A2 (en) 2006-01-23 2007-08-02 Bloom Energy Corporation Integrated solid oxide fuel cell and fuel processor
JP5399962B2 (ja) * 2010-03-29 2014-01-29 日本特殊陶業株式会社 固体酸化物形燃料電池及びその製造方法
US9011997B2 (en) 2011-09-27 2015-04-21 Apple Inc. Multi-layered ceramic enclosure
WO2014085374A1 (en) * 2012-11-28 2014-06-05 Bloom Energy Corporation Hermetic high temperature dielectric conduit assemblies
ES2643601T3 (es) * 2014-04-04 2017-11-23 Haldor Topsøe A/S Junta de estanqueidad eléctricamente aislante de tres capas para una unidad de SOC
US10211479B2 (en) * 2015-01-29 2019-02-19 Bloom Energy Corporation Fuel cell stack assembly and method of operating the same
US10566646B2 (en) * 2017-08-08 2020-02-18 Bloom Energy Corporation Fuel cell stack containing external electrode for corrosion mitigation
US11271240B2 (en) * 2019-05-28 2022-03-08 Bloom Energy Corporation Fuel cell column containing electrically insulated fuel manifold and manifold jumper

Patent Citations (6)

* Cited by examiner, † Cited by third party
Publication number Priority date Publication date Assignee Title
JP2000164234A (ja) 1998-11-24 2000-06-16 Aisin Seiki Co Ltd 燃料電池
JP2005183309A (ja) 2003-12-22 2005-07-07 Mitsubishi Electric Corp 燃料電池
JP2010238567A (ja) 2009-03-31 2010-10-21 Toyota Motor Corp 燃料電池システム
JP2013506963A (ja) 2009-09-30 2013-02-28 ブルーム エナジー コーポレーション 燃料電池スタック圧縮装置および方法
JP2011113661A (ja) 2009-11-24 2011-06-09 Panasonic Corp 燃料電池スタックおよび燃料電池システム
US20190109345A1 (en) 2017-10-06 2019-04-11 Bloom Energy Corporation Method for joining a ceramic matrix composite to dense ceramics for improved joint strength

Also Published As

Publication number Publication date
CN115769403A (zh) 2023-03-07
TWI853165B (zh) 2024-08-21
US11374232B2 (en) 2022-06-28
WO2021225856A1 (en) 2021-11-11
TW202201836A (zh) 2022-01-01
KR102712925B1 (ko) 2024-10-04
EP4147290A4 (en) 2024-08-14
CA3177941A1 (en) 2021-11-11
EP4147290B1 (en) 2025-09-03
JP2023524279A (ja) 2023-06-09
KR20230005361A (ko) 2023-01-09
US20210351420A1 (en) 2021-11-11
EP4147290A1 (en) 2023-03-15

Similar Documents

Publication Publication Date Title
JP7535596B2 (ja) 燃料電池スタックアセンブリ用の誘電体セパレータ及びその製造方法
US7951509B2 (en) Compliant cathode contact materials
EP1886369B1 (en) Compact solid oxide fuel cell apparatus
US20060166053A1 (en) Solid oxide fuel cell assembly with replaceable stack and packet modules
EP1677377B1 (en) Ceramic coatings for insulating modular fuel cell cassettes in a solid-oxide fuel cell stack
US11870121B2 (en) Fuel cell column including stress mitigation structures
EP1298755B1 (en) Fuel cell stack having foil interconnects and laminated spacers
EP4181244A2 (en) Fuel cell manifold having an embedded dielectric layer and methods of making thereof
US20200381762A1 (en) Fuel cell column containing electrically insulated fuel manifold and manifold jumper
EP4135082B1 (en) Fuel plenum and fuel cell stack including same
US20230238546A1 (en) Fuel cell stacks including improved dielectric layers
JP2004296348A (ja) 燃料電池用容器および燃料電池
US12341224B2 (en) Fuel cell stack assembly including heat sink inserts
JP6024930B2 (ja) 固体電解質形燃料電池
US20230327164A1 (en) Fuel cell and fuel cell stack
CA3181279A1 (en) Fuel cell stack assembly including heat sink inserts

Legal Events

Date Code Title Description
A621 Written request for application examination

Free format text: JAPANESE INTERMEDIATE CODE: A621

Effective date: 20240404

A871 Explanation of circumstances concerning accelerated examination

Free format text: JAPANESE INTERMEDIATE CODE: A871

Effective date: 20240404

A131 Notification of reasons for refusal

Free format text: JAPANESE INTERMEDIATE CODE: A131

Effective date: 20240521

A521 Request for written amendment filed

Free format text: JAPANESE INTERMEDIATE CODE: A523

Effective date: 20240606

TRDD Decision of grant or rejection written
A01 Written decision to grant a patent or to grant a registration (utility model)

Free format text: JAPANESE INTERMEDIATE CODE: A01

Effective date: 20240723

A61 First payment of annual fees (during grant procedure)

Free format text: JAPANESE INTERMEDIATE CODE: A61

Effective date: 20240805

R150 Certificate of patent or registration of utility model

Ref document number: 7535596

Country of ref document: JP

Free format text: JAPANESE INTERMEDIATE CODE: R150