JP7204238B2 - 遊技機 - Google Patents

遊技機 Download PDF

Info

Publication number
JP7204238B2
JP7204238B2 JP2021007680A JP2021007680A JP7204238B2 JP 7204238 B2 JP7204238 B2 JP 7204238B2 JP 2021007680 A JP2021007680 A JP 2021007680A JP 2021007680 A JP2021007680 A JP 2021007680A JP 7204238 B2 JP7204238 B2 JP 7204238B2
Authority
JP
Japan
Prior art keywords
icon
effect
display
game
pattern
Prior art date
Legal status (The legal status is an assumption and is not a legal conclusion. Google has not performed a legal analysis and makes no representation as to the accuracy of the status listed.)
Active
Application number
JP2021007680A
Other languages
English (en)
Other versions
JP2021058788A5 (ja
JP2021058788A (ja
Inventor
年弘 新美
Current Assignee (The listed assignees may be inaccurate. Google has not performed a legal analysis and makes no representation or warranty as to the accuracy of the list.)
Kyoraku Industrial Co Ltd
Original Assignee
Kyoraku Industrial Co Ltd
Priority date (The priority date is an assumption and is not a legal conclusion. Google has not performed a legal analysis and makes no representation as to the accuracy of the date listed.)
Filing date
Publication date
Application filed by Kyoraku Industrial Co Ltd filed Critical Kyoraku Industrial Co Ltd
Priority to JP2021007680A priority Critical patent/JP7204238B2/ja
Publication of JP2021058788A publication Critical patent/JP2021058788A/ja
Publication of JP2021058788A5 publication Critical patent/JP2021058788A5/ja
Application granted granted Critical
Publication of JP7204238B2 publication Critical patent/JP7204238B2/ja
Active legal-status Critical Current
Anticipated expiration legal-status Critical

Links

Images

Landscapes

  • Pinball Game Machines (AREA)
  • Display Devices Of Pinball Game Machines (AREA)

Description

本発明は、遊技機に関する。
従来の遊技機では、取得条件の成立によって取得された判定情報に基づいて遊技者に有利な特別遊技を実行するか否かを判定し、該判定結果に基づいて演出図柄の変動演出を画像表示装置で実行するものが一般的である。
このような遊技機では、演出図柄の変動演出の変動パターンが複数種類あり、判定結果に基づいて複数種類ある変動パターンの中から選択して、選択した変動パターンでの演出図柄の変動演出を画像表示装置で表示するものであった(例えば、特許文献1参照)。
特開2017-018225号公報
しかしながら、上記特許文献1に記載の遊技機では、演出図柄の変動演出の態様において、改善の余地があり、遊技の興趣の低下を招くおそれがあった。
本発明は、上記した問題点に鑑みてなされたものであり、遊技の興趣を向上することができる遊技機の提供を目的とする。
[適用例1]
上記課題を解決するため、本願の適用例1の遊技機は、遊技を制御するための複数の電子部品(電子部品595)が実装された主制御基板(制御基板501)と、前記主制御基板を収納し透過性を有する収納部(ケース部1803)と、により構成される遊技制御手段と、前記収納部に設けられ透過性を有する第1情報識別部(シール部1560)及び第2情報識別部(シール部1561)と、前記遊技制御手段のうち異なる所定箇所に設けられた第1表示(1371)及び第2表示(1372)と、を備え、前記第1情報識別部、透過性が低い領域である複数の有色領域(有色領域1575)を有し、前記複数の有色領域のうちの第1有色領域と前記第1有色領域とは異なる第2有色領域との間で所定の文字が付されていない領域において、前記収納部に収納されている前記主制御基板の電子部品を視認可能であり、前記第1表示と前記第2表示とは、前記遊技制御手段における所定の面から前記第1表示と前記第2表示が表示されるまでの距離がそれぞれ異なることを要旨とする。
本発明によれば、遊技の興趣を向上することができる遊技機を提供することが可能となる。
遊技機の正面図の一例を示す図である。 遊技機全体のブロック図の一例を示す図である。 主制御基板におけるメイン処理を示す図である。 主制御基板におけるタイマ割込処理を示す図である。 主制御基板における入力制御処理を示す図である。 主制御基板における第1始動口検出スイッチ入力処理を示す図である。 主制御基板における特図特電制御処理を示す図である。 主制御基板から演出制御基板に送信されるコマンドの種別を示す図である。 主制御基板から演出制御基板に送信されるコマンドの種別を示す図である。 演出制御部におけるメイン処理を示す図である。 演出制御部におけるタイマ割込処理を示す図である。 演出制御部におけるアイコン変化演出処理を示す図である。 演出制御部におけるアイコン変化演出決定処理を示す図である。 アイコン最終表示態様決定テーブルの一例を示す図である。 変化シナリオ決定テーブルの一例を示す図である。 演出制御部におけるアイコン表示態様更新処理を示す図である。 保留アイコン用の変化パターン決定テーブルの一例を示す図である。 当該アイコン用の1段階変化パターン決定テーブルの一例を示す図である。 当該アイコン用の2段階変化パターン決定テーブルの一例を示す図である。 (a)は保留アイコン表示態様と変化演出発生タイミングとの発生頻度の関係性を示す図であり、(b)は変化演出種別と変化演出発生タイミングとの発生頻度の関係性1を示す図であり、(c)は変化演出種別と変化演出発生タイミングとの発生頻度の関係性2を示す図であり、(d)はアイコン表示態様とアイコン発生(変化)時の報知音との関係性を示す図である。 統括制御部におけるメイン処理を示す図である。 統括制御部におけるコマンド受信割込処理を示す図である。 統括制御部におけるVブランク割込処理を示す図である。 入賞時変化演出のタイミングチャート1である。 入賞時変化演出のタイミングチャート2である。 入賞時変化演出の演出例を示す図である。 ノーマル変化パターン01のタイミングチャート1である。 ノーマル変化パターン01のタイミングチャート2である。 ノーマル変化パターン01の演出例を示す図である。 キャラ作用変化パターン01のタイミングチャート1である。 キャラ作用変化パターン01のタイミングチャート2である。 キャラ作用変化パターン01の演出例を示す図である。 図32の続きを示す図である。 図柄作用変化パターン01のタイミングチャート1を示す図である。 図柄作用変化パターン01のタイミングチャート2を示す図である。 図柄作用変化パターン01の演出例を示す図である。 図36の続きを示す図である。 客待ち状態から変動演出が開始されるタイミングチャートである。 客待ち状態から変動演出が開始される演出例を示す図である。 図39の続きを示す図である。 変動演出中に保留数が増加するタイミングチャートである。 変動演出中に保留数が増加する演出例を示す図である。 保留数が減少直後に増加するタイミングチャートである。 保留数が減少直後に増加する演出例を示す図である。 特定リーチ演出中に保留数が増加するタイミングチャートである。 特定リーチ演出中に保留数が増加する演出例を示す図である。 特定遊技状態の終了前後に保留数が増減するタイミングチャートである。 特定遊技状態の終了前後に保留数が増減する演出例を示す図である。 図48の続きを示す図である。 第1表示態様においてノーマルリーチの態様で表示された場合の表示態様の変移を説明する図である。 SPリーチ演出が実行される場合の表示態様の変移を説明する図である。 第1表示態様において非リーチの態様で表示された場合の表示態様の変移を説明する図である。 変動終了示唆演出の一例を説明する図である。 変動終了示唆演出の別の一例を説明する図である。 第1表示態様においてノーマルリーチの態様で表示された場合の擬似連演出の一例を説明する図である。 第1表示態様において非リーチの態様で表示された場合の擬似連演出の一例を説明する図である。 SPリーチ演出が実行された場合の復活演出の一例を説明する図である。 変動終了示唆演出のその他の例であって、一例を説明する図である。 変動終了示唆演出のその他の例であって、一例を説明する図である。 変動終了示唆演出のその他の例であって、一例を説明する図である。 変動終了示唆演出のその他の例であって、一例を説明する図である。 変動終了示唆演出のその他の例であって、一例を説明する図である。 変動終了示唆演出のその他の例であって、一例を説明する図である。 演出図柄5470aにおける変動終了示唆演出の一例を説明する図である。 低確率遊技状態における変動パターンテーブルである低確変動パターンテーブルを例示した図である。 高確率遊技状態における変動パターンテーブルである高確変動パターンテーブルを例示した図である。 保留数が少ない場合の変動パターンテーブルである少保留変動パターンテーブルを例示した図である。 保留数が多い場合の変動パターンテーブルである多保留変動パターンテーブルを例示した図である。 外枠10、遊技盤ユニット12P、及び内枠14Pが開いた状態の遊技機1Pの斜視図である。 遊技盤ユニット12Pの背面図である。 遊技盤ユニット12Pの分解斜視図である。 組立体2Pの(a)斜視図、(b)背面図、(c)右側面図である。 組立体2Pの分解斜視図である。 台座20Pに基板ケース3Pを組み付ける様子を示した左側面図である。 基板ケース3Pの(a)斜視図、(b)背面図、(c)右側面図である。 基板ケース3Pの分解斜視図である。 外ケース45Pと内ケース40Pを組み合わせた封止体4Pの(a)背面図、(b)正面図である。 変形例に係る基板ケース1003の外ケース45Pにおける、図63のA-A線に相当する位置の矢視方向断面図である。 変形例に係る基板ケース1103の外ケース45Pにおける、図63のA-A線に相当する位置の矢視方向断面図である。 変形例に係る基板ケース1203の外ケース45Pにおける、図63のA-A線に相当する位置の矢視方向断面図である。 変形例に係る基板ケース1303の背面図である。 基板ケース1303の外ケース45Pにおける図69のB-B線矢視方向断面図である。 変形例に係る基板ケース1551の背面図である。 シール部1561がROM502の装着箇所と重なる角度から見た、シール部1561及びROM502を示す図である。 第5実施形態に係る制御基板1705が収納された基板ケース1700の背面図である。 (a)は、シール部1710の構成を説明する概略図であり、(b)は、デートマーク部1720の構成を説明する概略図である。 (a)は、開封禁止シール部1730の構成を説明する概略図であり、(b)は、開封禁止シール部1730が基板ケース1700に貼付された状態を説明する概略図である。 情報表示器1750の表示の構成を説明する概略図である。 遊技機1Pの性能表示に関して情報表示器1750に表示される内容および表示形態を説明する表である。 遊技機1Pの設定表示に関して情報表示器1750に表示される内容および表示形態を説明する表である。 (a)は、変形例に係る基板ケース1790の識別表示部1791の断面図であり、(b)は、変形例に係る基板ケース1795の識別表示部1796の断面図である。 第6実施形態に係る制御基板501が収納された基板ケース1803の背面図である。 シール部1560及びシール部1561を介して斜め上方から電子部品595を見た状態を示す図である。 透明ソケット1801の(a)平面図、(b)側面図である。 基板ケース1805~1808における図74-1のC-C線に相当する位置の矢視方向断面図(a)~(d)である。 基板ケース1809、1810における、図74-1のC-C線に相当する位置の矢視方向断面図(a)、(b)である。 特殊な位置表示部541を示す説明図である。 シール部1560の光透過性を低下させる一方法の説明図である。 賞球基板1811を収納したケース部1813の模式的な背面図である。 演出基板1821を収納したケース部1823の模式的な背面図である。 組立体2Pの分解斜視図であり、制御基板501に第1領域1900aおよび第2領域1900bが設けられている。
(第1実施形態)
以下、本発明の第1実施形態について図面を参照しながら具体的に説明する。
(遊技機の構成)
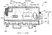
まず、図1を用いて、遊技機1の構成について説明する。図1は本実施の形態における遊技機1の正面図の一例である。
遊技機1は、外枠2と、外枠2に対して回動可能に支持される遊技盤取付枠3と、遊技盤取付枠3に対して回動可能に支持されるガラス枠4と、遊技球が流下する遊技領域5aが形成された遊技盤5が設けられている。
外枠2は、中央部分が前後方向に開口する矩形状のベースフレーム2aの下部前面に飾り板2bが取り付けられており、遊技店の島設備に対して固着部材(例えば、釘や止め具など)を介して固定される。
遊技盤取付枠3は、水平方向の一端側において第1ヒンジ機構部6を介して外枠2に対して脱着可能に連結されており、第1ヒンジ機構部6を支点として回動可能に支持されている。そのため、遊技盤取付枠3を外枠2に対して扉のように回動すると、遊技盤取付枠3の裏面側が前方に露出するので、遊技盤取付枠3の裏面側に設けられた各種装置のメンテナンスなどを行うことが可能となる。
ガラス枠4は、水平方向の一端側において第2ヒンジ機構部7を介して遊技盤取付枠3に脱着自在に連結されており、第2ヒンジ機構部7を支点として回動可能に支持されている。そのため、ガラス枠4を遊技盤取付枠3に対して扉のように回動すると、遊技盤5の遊技領域5a、及び、遊技盤取付枠3の前面部分を開閉することができる。
ガラス枠4の上部寄りの略中央部分には、前後方向に開口する開口部8(窓部)が形成され、該開口部8を後方から塞ぐように透明部材8a(ガラス板やアクリル板など)が取り付けられており、この開口部8、及び、透明部材8aを介して遊技領域5aを視認可能としている。
ガラス枠4の開口部8の周囲には、スピーカからなる音声出力装置9と、複数の装飾ランプ(LED)を有する枠用照明装置10と、後述する遊技球払出装置100から払い出された遊技球などの複数の遊技球を貯留するための上受け皿11と、上受け皿11に入りきらずに後述する溢れ球流路に流入した遊技球を受け入れて貯留するための下受け皿12と、遊技球を発射させるための操作が可能な発射操作装置13とが設けられている。
音声出力装置9は、ガラス枠4の上部2箇所に間隔を空けて設けられ、BGM(バックグラウンドミュージック)、SE(サウンドエフェクト)等を出力することでサウンド(音楽、音声)による演出を行うようになっている。また、枠用照明装置10は、開口部8の周囲に複数設けられ、各ランプ(LED)の光の照射方向や発光色を変更することで照明による演出を行う。また、枠用照明装置10は、ガラス枠4の開放や後述する払出異常が発生した場合に点灯/点滅するように制御される報知LED10a(図示省略)を備えている。
上受け皿11は、遊技球の貯留部11aの底面が発射操作装置13の方向側(右方向)に向けて下り傾斜しており、下り傾斜の端部には球送りソレノイド11bが設けられている。上受け皿11の貯留部11aに貯留された遊技球が流下して球送りソレノイド11bに到達すると、球送りソレノイド11bの動作によって遊技球が1個ずつ遊技盤取付枠3側に向けて送り出される。
また、上受け皿11の中央手前側の部分には、後述する種々の演出に係る決定操作や選択操作を行うための入力装置として機能する演出ボタン装置16と選択ボタン装置18(図1参照)が左右に並べて設けられている。
演出ボタン装置16は、決定操作など(操作入力)を行うことが可能な演出ボタン17(図示省略)と、演出ボタン17に対する操作を検出する演出ボタン検出スイッチ17a(図2参照)と、演出ボタン17を上下方向に移動させるためのボタン駆動モータを有するボタン駆動装置17b(図2参照)が設けられており、遊技者が遊技機1へ所定の情報を入力可能となっている。
選択ボタン装置18は、選択操作などの操作を行うことが可能な十字キー19(図示省略)と、十字キー19に接続されて、十字キー19に対する操作を検出するための十字キー検出スイッチ19a(図2参照)が設けられており、遊技者が遊技機1へ所定の情報を入力可能となっている。
また、上受け皿11の右寄りの部分には、遊技球の貸出操作や残金を記憶したカードなどの記憶媒体の返却操作を行うことが可能な貸出返却操作部20が設けられている。貸出返却操作部20の貸出ボタン(図示省略)が操作されると遊技機1に併設される球貸機(図示省略)が受け付けている記憶媒体に記憶された残金を減算して遊技球の貸し出しが行われ、貸出返却操作部20の返却ボタン(図示省略)が操作されると球貸機(図示省略)から記憶媒体が返却されるようになっている。
上受け皿11と下受け皿12との間には、上受け皿11に入りきらない遊技球を受け入れて下受け皿12に案内するための溢れ球流路(図示省略)が形成されている。また、溢れ球流路の途中には下受け皿12に遊技球が満杯となったことを検出する受け皿満杯検出スイッチ32a(図2参照)が設けられ、受け皿満杯検出スイッチ32aによって下受け皿12の満杯が検出されている間は後述する遊技球払出装置100による遊技球の払い出しが停止される。
発射操作装置13は、ガラス枠4に固定された基体14と、基体14に回動可能に設けられた発射ハンドル15と、発射ハンドル15に遊技者の手が触れていることを検出するタッチセンサ15a(図2参照)と、発射ハンドル15の回動角度によって抵抗値が変化する可変抵抗器からなる発射ボリューム15b(図2参照)と、発射ハンドル15を所定の態様で発光させるためのハンドル発光装置15cが設けられている。タッチセンサ15aによって遊技者の手が発射ハンドル15に触れていることを検出すると、球送りソレノイド11bが作動して遊技球が1個ずつ送り出される。
ハンドル発光装置15cは、発射ハンドル15の前側部分を構成すると共に前方に向けて膨出するドーム状に形成され、光を透過可能なレンズ部材によって画成される内部空間に複数のLEDが配設されている。このLEDが発光することで発射ハンドル15を所定の態様で発光させる発光演出を実行することが可能となっている。また、ハンドル発光装置15cの前端部には、後述する送風装置21から送り出される風(空気)の吹き出し口となる送風口15dが開設されている。
ガラス枠4の裏面側には、発射操作装置13に対応する位置に所定の態様で風(空気)を送り出すための送風装置21が設けられている。送風装置21は、風(空気)を送り出すための送風部(図示省略)と、この送風部を作動させるための送風モータ(図示省略)とを備えており、送風部によって送り出された風(空気)が発射操作装置13の基体14、及び、ハンドル発光装置15cの内部を通って送風口15dから遊技者の手に向けて送出される。この送風装置21が作動することで発射ハンドル15を操作している遊技者の手に向けて所定の態様で風(空気)を送出する送風演出を実行することが可能となっている。
なお、送風装置21を発射操作装置13に対応する位置に設けるのではなく、外枠2の飾り板2b部分やガラス枠4の透明部材8aの周囲等に設け、遊技者に向けて風(空気)を送り出すようにしてもよい。また、送風装置21を複数設けてもよい。
遊技盤取付枠3には、遊技盤5を取り付けるための遊技盤取付部25と、遊技球を遊技領域5aに向けて発射するための遊技球発射装置26と、遊技盤取付枠3、及び、ガラス枠4を閉鎖状態にロックするためのロック機構27と、ガラス枠4の開放(開閉)を検出するための開放検出スイッチ31aが設けられている。
遊技盤取付部25は、遊技盤取付枠3の上部寄りの略中央に前方が開口する凹室状に形成され、遊技盤5を前方から収納可能となっている。遊技盤取付部25の凹室の奥部には、前後方向に開放する開口が設けられており、この開口を介して遊技盤5の裏面側に設けられる各種装置などが遊技機1の後方に臨む。
遊技球発射装置26は、遊技球を発射するための打出部材28と、打出部材28を駆動するための発射用ソレノイド28b(図2参照)と、打出部材28から遊技盤の左下端部に向けて上り傾斜する発射レール29と、発射レール29の傾斜下端部となる発射位置に遊技球Aを停留させるストッパー30が設けられている。そして、球送りソレノイド11bによって送り出された遊技球が発射位置に受け入れられると、この遊技球Aを打出部材28の動作によって遊技領域5aに向けて打ち出す。
ロック機構27は、遊技盤取付部25の右側方に設けられ、鍵穴が形成されるシリンダーの前端部がガラス枠4の前面側に露出するようになっている。そして、シリンダーの鍵穴に専用の鍵を挿入して一方向に回動させると遊技盤取付枠3のロックが解除されて遊技盤取付枠3が開閉可能となり、他方向に回動させるとガラス枠4のロックが解除されてガラス枠4が開閉可能となる。
遊技盤5の外縁寄りの位置には、湾曲形状の内側レール35と、内側レール35の外側に位置する湾曲形状の外側レール36と、遊技球を遊技領域5aの中央に向けて誘導する誘導部材37が設けられている。そして、内側レール35と外側レール36との間に遊技球発射装置26により発射された遊技球を遊技領域5aの上流部に案内する発射球案内路38が形成されている。また、遊技領域5aの最下流部には、流下してきた遊技球を遊技領域外(遊技盤取付枠3の回収部)に導くためのアウト口39が形成されている。
遊技領域5aの略中央には、所謂センターケースと呼ばれる内部への遊技球の進入を規制する枠状の飾り枠40が設けられ、飾り枠40の内部に演出空間40aが形成されている。また、飾り枠40の側部には、遊技領域5aを流下する遊技球を飾り枠40の内部に導入するワープ装置41が設けられ、飾り枠40の下部には、ワープ装置41により飾り枠40の内部に導入された遊技球を転動させて飾り枠40の下方に流下させるステージ部42が設けられている。
遊技領域5aの下部には、遊技球が常時入賞(入球)可能な複数(本実施の形態では4つ)の一般入賞口43が間隔を空けた状態で設けられており、この一般入賞口43に入賞(入球)した遊技球が一般入賞口検出スイッチ43a(図2参照)によって検出されると、所定個数(例えば10個)の遊技球が遊技球払出装置100(図示省略)から賞球として上受け皿11に払い出される。
遊技領域5aの両側方(左側領域、右側領域)には、遊技球が通過可能な普図ゲート44(普図始動領域)がそれぞれ設けられており、この普図ゲート44を通過した遊技球がゲート検出スイッチ44a(図2参照)で検出されると、普通図柄の当たり抽選(補助遊技判定)が行われる。なお、普通図柄の当たり抽選については後述する。
遊技領域5aの下部であってステージ部42の直下には、遊技球が常時入賞(入球)可能な第1始動口45(特図始動領域)が設けられており、この第1始動口45に入賞(入球)した遊技球が第1始動口検出スイッチ45a(図2参照)で検出されると、所定個数の遊技球(例えば3個)が遊技球払出装置100から賞球として上受け皿11に払い出されるようになっている。また、賞球の払い出しの他に、後述する第1特別図柄(識別情報)の大当たり抽選(特別遊技判定)が行われる。
第1始動口45の直下には、所定条件の成立(普通図柄の当たり抽選に当選したこと)に基づき遊技球の入賞(入球)が不可能もしくは困難な閉状態(基本態様)から遊技球の入賞(入球)が可能もしくは容易な開状態(特別態様)に変換される可変始動部46が設けられている。
可変始動部46には、遊技球が入賞(入球)可能な第2始動口47(特図始動領域)と、第2始動口47への遊技球の入賞(入球)を検出する第2始動口検出スイッチ47a(図2参照)と、第2始動口47を閉状態と開状態とに変換(可変)する可動部材48と、可動部材48を開閉変換するための第2始動口開閉ソレノイド48b(図2参照)とが設けられている。そして、第2始動口47が閉状態となっている場合には、遊技球の入賞が不可能もしくは困難となり、第2始動口47が開状態となっている場合には、遊技球の入賞(入球)が可能もしくは容易となる。
また、第2始動口47に入賞(入球)した遊技球が第2始動口検出スイッチ47aで検出されると、所定個数の遊技球(例えば3個)が遊技球払出装置100から賞球として上受け皿11に払い出されるようになっている。また、賞球の払い出しの他に、後述する第2特別図柄(識別情報)の大当たり抽選(特別遊技判定)が行われる。
誘導部材37の上方であって右側の普図ゲート44の下流には、所定条件の成立(特別図柄の大当たり抽選に当選したこと)に基づき遊技球の入賞(入球)が不可能な閉状態(基本態様)から遊技球の入賞(入球)が可能な開状態(特別態様)に変換される可変入賞部49が設けられている。
可変入賞部49には、遊技球が入賞(入球)可能な大入賞口50と、大入賞口50への遊技球の入賞(入球)を検出するための大入賞口検出スイッチ50a(図2参照)と、大入賞口50を閉状態と開状態とに変換(可変)する開閉部材51と、開閉部材51を開閉変換するための大入賞口開閉ソレノイド51bとが設けられている。そして、大入賞口50が閉状態となっている場合には、遊技球の入賞が不可能もしくは困難となり、大入賞口50が開状態となっている場合には、遊技球の入賞(入球)が可能もしくは容易となる。
また、大入賞口50に入賞(入球)した遊技球が大入賞口検出スイッチ50aで検出されると、所定個数の遊技球(例えば15個)が遊技球払出装置100から賞球として上受け皿11に払い出される。
遊技盤5の裏側には、一般入賞口43、第1始動口45、第2始動口47、及び、大入賞口50に入賞して一般入賞口検出スイッチ43a、第1始動口検出スイッチ45a、第2始動口検出スイッチ47a、及び、大入賞口検出スイッチ50aに検出された遊技球を受け入れて集合させながら流下させる入賞球流路52(図示省略)が設けられる。
また、入賞球流路52の下流部分には、各種検出スイッチに検出された後に入賞球流路52を流下してきた遊技球を検出する入賞確認検出スイッチ52a(図2参照)が設けられる。この入賞確認検出スイッチ52aは、一般入賞口検出スイッチ43a、第1始動口検出スイッチ45a、第2始動口検出スイッチ47a、大入賞口検出スイッチ50aにより検出された後の遊技球を再度検出することで、適正な入賞(入球)であったか異常な入賞(入球)であったかを判定するために用いられる。
遊技領域5aの外側には、第1特別図柄表示器60、第2特別図柄表示器61、及び、普通図柄表示器62からなる図柄表示装置と、第1特別図柄保留表示器63、第2特別図柄保留表示器64、及び。普通図柄保留表示器65からなる保留表示装置と、後述する大当たり状態(特別遊技状態)が発生した場合のラウンド数を表示するラウンド数表示器66(図2参照)と、後述する大当たり遊技(特別遊技状態)中や時短遊技状態中に遊技領域5aの右側領域に向けて遊技球を発射することを促す右打ち表示器67(図2参照)が設けられている。
第1特別図柄表示器60は、第1始動口45に遊技球が入賞(入球)することを条件に行われる第1特別図柄の大当たり抽選の結果を表示(報知)するための可変表示器であり、第2特別図柄表示器61は、第2始動口47に遊技球が入賞(入球)することを条件に行われる第2特別図柄の大当たり抽選の結果を表示(報知)するための可変表示器であり、普通図柄表示器62は、普図ゲート44に遊技球が入賞(入球)することを条件に行われる普通図柄の当たり抽選の結果を表示(報知)するための可変表示器である。
第1特別図柄の大当たり抽選とは、第1始動口45に遊技球が入賞(入球)したときに大当たり判定用乱数値等(判定情報)を取得し、取得した大当たり判定用乱数値と大当たり判定値とを比較して「大当たり」であるか否かを判定することに該当する。なお、第1特別図柄の大当たり抽選が行われると、第1特別図柄表示器60で第1特別図柄の変動表示が行われ、所定時間経過後に抽選結果を示す第1特別図柄の停止表示が行われる。すなわち、第1特別図柄の停止表示は、当該抽選結果の報知となる。
第2特別図柄の大当たり抽選とは、第2始動口47に遊技球が入賞(入球)したときに大当たり判定用乱数値等(判定情報)を取得し、取得した大当たり判定用乱数値と大当たり判定値とを比較して「大当たり」であるか否かを判定することに該当する。なお、第2特別図柄の大当たり抽選が行われると、第2特別図柄表示器61で第2特別図柄の変動表示が行われ、所定時間経過後に抽選結果を示す第2特別図柄の停止表示が行われる。すなわち、第2特別図柄の停止表示は、当該抽選結果の報知となる。
なお、第1特別図柄表示器60、及び、第2特別図柄表示器61は、それぞれ複数のLEDによって構成され、各特別図柄の変動表示において対応する表示器のLEDが所定の間隔もしくは順序で点滅する。そして、特別図柄を停止表示する場合には、各大当たり抽選の結果を示す態様(大当たり態様、ハズレ態様)でLEDが点灯する。
なお、本実施の形態において「大当たり」というのは、第1特別図柄の大当たり抽選(特別遊技判定)、又は、第2特別図柄の大当たり抽選(特別遊技判定)において、大当たり遊技(特別遊技状態)を実行する権利を獲得した状態のことを言う。「大当たり遊技(特別遊技状態)」というのは、大入賞口50が所定態様で開放されるラウンド遊技を所定回数(例えば、4回や15回)行う遊技状態のことを言う。
なお、各ラウンド遊技における大入賞口50の最大開放回数や最大開放時間は予め定められているが、最大開放回数や最大開放時間に達する前であっても大入賞口50に所定個数の遊技球(例えば9個)が入賞(入球)すると1回のラウンド遊技が終了する。つまり、「大当たり遊技(特別遊技状態)」は、遊技者が賞球を獲得し易い遊技者にとって有利な遊技状態となっている。なお、本実施の形態では、遊技者に有利な度合いが異なる複数種類の大当たり遊技(特別遊技状態)の何れかを発生可能となっているが、詳しくは後述する。
普通図柄の当たり抽選とは、普図ゲート44を遊技球が通過したときに当たり判定用乱数値を取得し、取得した当たり判定用乱数値と当たり判定値とを比較して「当たり」であるか否かを判定することに該当する。なお、普通図柄の当たり抽選が行われると、普通図柄表示器62で普通図柄の変動表示が行われ、所定時間経過後に抽選結果を示す普通図柄の停止表示が行われる。すなわち、普通図柄の停止表示は、当該抽選結果の報知となる。
なお、普通図柄表示器62は、1、又は、複数のLEDによって構成され、普通図柄の変動表示においてLEDが所定の間隔もしくは順序で点滅する。そして、普通図柄を停止表示する場合には、当たり抽選の結果を示す態様(当たり態様、又は、ハズレ態様)でLEDが点灯する。
なお、本実施の形態において「当たり」というのは、普通図柄の当たり抽選において、当たり状態(補助遊技)を実行する権利を獲得した状態のことを言う。「当たり遊技(補助遊技)」というのは、第2始動口47が所定態様で開放される遊技状態のことを言う。
なお、当たり遊技(補助遊技)における第2始動口47の最大開放回数や最大開放時間は予め定められているが、最大開放回数や最大開放時間に達する前であっても第2始動口47に所定個数の遊技球(例えば9個)が入賞(入球)すると当たり遊技(補助遊技)が終了する。つまり、「当たり遊技(補助遊技)」は、第2特別図柄の変動表示が実行され易い(変動表示の開始条件が成立し易い)遊技状態となっている。なお、本実施の形態では、遊技者に有利な度合いが異なる複数種類の当たり遊技(補助遊技)が設けられているが、詳しくは後述する。
第1特別図柄保留表示器63は、複数のLEDによって構成され、第1始動口45に遊技球が入賞(入球)した場合に記憶される第1特別図柄の大当たり抽選(第1特別図柄の変動表示)を行うための権利(第1保留記憶)の個数を表示するためのものであり、第1保留記憶の個数を示す態様で点灯、又は、点滅する。なお、第1保留記憶は最大で4個まで記憶されるようになっているが、4個よりも少なくてもよいし多くてもよい。
第2特別図柄保留表示器64は、複数のLEDによって構成され、第2始動口47に遊技球が入賞(入球)した場合に記憶される第2特別図柄の大当たり抽選(第2特別図柄の変動表示)を行うための権利(第2保留記憶)の個数を表示するためのものであり、第2保留記憶の個数を示す態様で点灯、又は、点滅する。なお、第2保留記憶は最大で4個まで記憶されるようになっているが、4個よりも少なくてもよいし多くてもよい。
普通図柄保留表示器65は、複数のLEDによって構成され、普図ゲート44に遊技球が入賞(通過)した場合に記憶される普通図柄の当たり抽選(普通図柄の変動表示)を行うための権利(普図保留記憶)の個数を表示するためのものであり、普図保留記憶の個数を示す態様で点灯、又は、点滅する。なお、普図保留記憶は最大で4個まで記憶されるようになっているが、4個よりも少なくてもよいし多くてもよい。
なお、第1特別図柄表示器60及び/又は第2特別図柄表示器61は、7セグメントのLEDによっても構成することができる。例えば、特別図柄の大当たり抽選に当選した場合には、「7」を停止表示し、ハズレであった場合には「-」を停止表示するようにし、変動表示中にあっては消灯と「-」とを繰り返すようにするとよい。なお、特別図柄の変動表示の開始前は前回の変動表示の停止結果がLEDの点灯によって表示された状態となっているので、変動表示の開始時はLEDの消灯からスタートさせることで変動表示が開始されたことが把握し易くなる。
演出空間40aの奥部には、液晶表示ディスプレイからなる第1画像表示装置70(メイン液晶)が設けられ、演出空間40aの下部であって第1画像表示装置70(メイン液晶)の前方には、第1画像表示装置70(メイン液晶)よりも表示領域が小さく形成された液晶表示ディスプレイからなる第2画像表示装置71(サブ液晶)が設けられ、演出空間40aの上部には、キャラクタの顔を模した可動演出部材73が設けられている。
なお、本実施の形態では、「第1画像表示装置70(メイン液晶)」と「第2画像表示装置71(サブ液晶)」とをまとめて「画像表示装置」と総称する場合がある。
第1画像表示装置70(メイン液晶)、及び、第2画像表示装置71(サブ液晶)では、遊技の進行に応じて様々な演出表示を行う。演出表示としては、特別図柄の変動表示が行われていない場合に実行される客待ちデモ演出や特別図柄の変動表示が行われている場合に実行される演出図柄70aの変動表示やキャラクタによる予告演出等がある。
また、第2画像表示装置71(サブ液晶)は、第1画像表示装置70(メイン液晶)で実行される演出図柄70aの変動表示の実行中に、ソレノイドやモータ等によって構成される盤用駆動装置75(図2参照)によって移動することで移動演出を行うことが可能となっている。
具体的には、第1画像表示装置70(メイン液晶)の端部寄り(下方)に位置する待機位置(第1位置)と、第1画像表示装置70(メイン液晶)の中央寄り(上方)に位置する演出位置(第2位置)との間で上下方向に移動(上昇、下降)することで移動演出を行うようになっている。なお、第2画像表示装置71(サブ液晶)の移動方向を左右方向や前後方向としてもよいし、演出ボタン17の操作によって移動演出を行うように構成してもよい。
また、第1画像表示装置70(メイン液晶)の表示部(有効表示領域)には、左側領域、中央領域、右側領域といった3列の変動表示領域が形成されており、各々の変動表示領域に表示される演出図柄70aを縦方向(本実施の形態では上から下)にスクロールさせることで演出図柄70aの変動表示が行われる。
なお、演出図柄70aは、例えば、「1」から「9」までの数字を示す図柄により構成され、第1特別図柄表示器60や第2特別図柄表示器61で実行される特別図柄の変動表示に対応(同期)して演出図柄70aの変動表示が行われる。すなわち、特別図柄の変動表示の開始に対応して演出図柄70aの変動表示を開始し、特別図柄の変動表示の停止に対応して演出図柄70aの変動表示を停止するようになっている。なお、演出図柄70aとして、数字を示す図柄の他に「A」から「F」といったアルファベットを示す図柄を設けてもよい。
演出図柄70aの停止表示では、演出図柄70aが大当たり抽選の結果を示す所定の態様(ハズレ態様、大当たり態様等)で所定時間停止するようになっている。大当たり態様(特別結果態様)は、「777」などのように同一の演出図柄の組み合わせや「357」などのように規則性を持った演出図柄の組み合わせであり、ハズレ態様はそれ以外の態様である。なお、演出図柄70aの変動表示の態様はこれに限られず、左右方向にスクロールするものであってもよいし、その場で回転(自転)するようなものであってもよい。
また、演出図柄70aの変動表示中には、大当たり抽選の結果に応じて、リーチ演出や背景画像、キャラクタ等の様々な演出画像やムービー等が第1画像表示装置70(メイン液晶)や第2画像表示装置71(サブ液晶)に表示されることで、遊技者の大当たり(特別遊技状態)発生への期待度(以下、「大当たり当選期待度」と言う)を高めるようになっている。
ここで、リーチ演出とは、大当たりを報知する演出図柄70aの組合せの一部が仮停止して、他の演出図柄70aが変動を行うような、遊技者に大当たり当選への期待感を付与する変動態様を意味する。例えば、大当たりを報知する演出図柄70aの組合せ(大当たり結果態様)として「777」の3桁の演出図柄70aの組み合わせが設定されている場合に、左側領域と右側領域に2つの演出図柄70aが「7」で仮停止して、中央領域で残りの演出図柄70aが変動を行っている態様を言う。
なお、「仮停止」とは、演出図柄70aが小さく揺れ動いたり、演出図柄70aが小さく変形したりして、遊技者に演出図柄70aが停止しているかのようにみせている(完全に停止していない)態様を言う。
また、リーチ演出の種類は、本実施の形態においては、「ノーマルリーチ演出」、「SPリーチ演出」、「SPSPリーチ演出」及び「全回転リーチ演出」の5種類がある。
「ノーマルリーチ演出」とは、当該ノーマルリーチ演出となる以前の背景画像が表示されている状態で、左側領域と右側領域に2つの演出図柄70aが仮停止し、中央領域で残り1つの演出図柄70aが変動するリーチ演出のことである。
「SPリーチ演出」とは、左側領域と右側領域に2つの演出図柄70aが仮停止し、中央領域で残り1つの演出図柄70aが変動したまま、ノーマルリーチ演出に係るムービーより長い時間のムービー(動画、アニメーション等)が流れるリーチ演出のことである。
「SPSPリーチ演出」とは、左側領域と右側領域に2つの演出図柄70aが仮停止し、中央領域で残り1つの演出図柄70aが変動したまま、SPリーチ演出に係るムービーより長い時間(長編)のムービー(動画、アニメーション等)が流れるリーチ演出のことである。
「全回転リーチ演出」とは、大当たりを報知する複数の演出図柄70aの組合せが全て揃った状態で低速に変動するリーチ演出である。本実施の形態においては、大当たり抽選において当選したときにのみ実行されるリーチ演出である。
本実施の形態では、リーチ演出に係る大当たり当選期待度としては、ノーマルリーチ演出<SPリーチ演出<SPSPリーチ演出<全回転リーチ演出(大当たり確定)の順で高くなっている。
また、第1画像表示装置70(メイン液晶)の表示部には、現在の第1保留記憶の個数である第1特別図柄保留数(U1)に対応する数の第1保留アイコンを表示するための第1保留アイコン表示領域70Bと、現在の第2保留記憶の個数である第2特別図柄保留数(U2)に対応する数の第2保留アイコンを表示するための第2保留アイコン表示領域70Dと、実行中の特別図柄(演出図柄70a)の変動表示に対応する(関連した)当該アイコンを表示するための当該アイコン表示領域70Cが形成されている。
第1保留アイコン表示領域70Bは、当該アイコン表示領域70Cに近い側から第1表示部70B1、第2表示部70B2、第3表示部70B3、第4表示部70B4といった形で区画されており、各表示部70B1~70B4には、第1特別図柄保留数(U1)に対応した数の第1保留アイコンが表示される。つまり、第1特別図柄保留数(U1)の増減に対応して第1保留アイコンの個数も増減するようになっている。
具体的には、第1表示部70B1には、最初に第1特別図柄の変動表示が実行される第1保留記憶を示す第1保留アイコンH11が表示され、第2表示部70B2には、2番目に第1特別図柄の変動表示が実行される第1保留記憶を示す第1保留アイコンH12が表示され、第3表示部70B3には、3番目に第1特別図柄の変動表示が実行される第1保留記憶を示す第1保留アイコンH13が表示され、第4表示部70B4には、4番目に第1特別図柄の変動表示が実行される第1保留記憶を示す第1保留アイコンH14が表示される。
第2保留アイコン表示領域70Dは、当該アイコン表示領域70Cに近い側から第1表示部70D1、第2表示部70D2、第3表示部70D3、第4表示部70D4といった形で区画されており、各表示部70D1~70D4には、第2特別図柄保留数(U2)に対応した数の第2保留アイコンが表示される。つまり、第2特別図柄保留数(U2)の増減に対応して第2保留アイコンの個数も増減するようになっている。
具体的には、第1表示部70D1には、最初に第2特別図柄の変動表示が実行される第2保留記憶を示す第2保留アイコンH21が表示され、第2表示部70D2には、2番目に第2特別図柄の変動表示が実行される第2保留記憶を示す第2保留アイコンH22が表示され、第3表示部70D3には、3番目に第2特別図柄の変動表示が実行される第2保留記憶を示す第2保留アイコンH23が表示され、第4表示部70D4には、4番目に第2特別図柄の変動表示が実行される第2保留記憶を示す第2保留アイコンH24が表示される。なお、本実施の形態では、「第1特別図柄保留数」を「第1保留数」と「第2特別図柄保留数」を「第2保留数」と称する場合がある。
当該アイコン表示領域70Cは、特別図柄(演出図柄70a)の変動表示の開始に対応して第1保留アイコン表示領域70Bの第1表示部70B1に表示されていた第1保留アイコン、又は、第2保留アイコン表示領域70Dの第1表示部70D1に表示されていた第2保留アイコンが移動(シフト)してくることで当該アイコンTHが表示され、特別図柄(演出図柄70a)の変動表示の終了時に当該アイコンTHが消滅(消去)する。なお、特別図柄(演出図柄70a)の変動表示の途中で当該アイコンを消滅させてもよい。なお、本実施の形態では、「第1保留アイコン」と「第2保留アイコン」と「当該アイコン」とをまとめて「アイコン」と総称する場合がある。
可動演出部材73は、第1画像表示装置70(メイン液晶)で実行される演出図柄70aの変動表示の実行中に、複数のランプ(LED等)を有する盤用照明装置74によって発光することで発光演出を行うことが可能となっており、ソレノイドやモータ等によって構成される盤用駆動装置75(図2参照)によって移動することで移動演出を行うことが可能となっている。
具体的には、演出図柄70aの変動表示の進行状態に合わせて複数のランプ(LED等)を所定の発光色で発光することで発光演出を行うようになっている。また、第1画像表示装置70(メイン液晶)の端部寄り(上方)に位置する待機位置(第1位置)と、第1画像表示装置70(メイン液晶)の中央寄り(下方)に位置する演出位置(第2位置)との間で上下方向に移動(上昇、下降)することで移動演出を行うようになっている。なお、演出ボタン17の操作によって発光演出や移動演出を行うように構成してもよい。
遊技盤取付枠3、及び、遊技盤5の裏側には、予め定めた払出条件(賞球、球貸)の成立に基づいて遊技球を払い出すための遊技球払出装置100、島設備などから供給される遊技球を貯留して遊技球払出装置100に供給する遊技球貯留部101(図示省略)、遊技の進行を統括的に制御する主制御基板110を内蔵した主制御装置110A(図示省略)と、主制御基板110からの払出制御コマンドに応じて遊技球払出装置100の制御を行う払出制御基板120を内蔵した払出制御装置120A(図示省略)と、主制御基板110からの演出制御コマンドに応じて演出の制御を行う演出制御基板130を内蔵した演出制御装置130A(図示省略)と、各種制御装置に対して電源電圧の供給を行う電源基板160を内蔵した電源装置160A(図示省略)、遊技機の外部に遊技情報(遊技信号)を出力するための遊技情報出力端子板90(図2参照)が設けられている。
(遊技機1の制御構成)
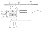
次に、図2を用いて遊技機1の制御構成について具体的に説明する。図2は、本実施の形態における遊技機1の全体のブロック図である。
主制御基板110は、遊技の進行(基本動作)を統括的に制御する。主制御基板110は、演算処理を行うメインCPU110a、遊技制御プログラム等が格納されたメインROM110b、及び、演算処理時のワークエリアとなるメインRAM110c(揮発性記憶手段に相当)を備えた主制御ワンチップマイコン110mと、主制御用の入力ポート、及び、出力ポート等を備えている。メインCPU110aは、水晶発振器からの動作クロックを受けてメインROM110bに記憶されたプログラムを読み出し、メインRAM110cをワークエリアとして活用しながら遊技に関する演算処理を行うことで、被制御装置(各種ソレノイドや各種表示器)を制御したり、演算処理の結果に基づく所定のコマンドを払出制御基板120や演出制御基板130等に送信したりする。
ここで、主制御基板110と払出制御基板120との通信は、双方向にコマンド(データ)を通信可能に構成されており、主制御基板110と演出制御基板130との通信は、主制御基板110から演出制御基板130への一方向のみにコマンド(データ)を通信可能に構成されている。
主制御基板110の入力ポートには、一般入賞口検出スイッチ43a、ゲート検出スイッチ44a、第1始動口検出スイッチ45a、第2始動口検出スイッチ47a、大入賞口検出スイッチ50a、入賞確認検出スイッチ52a、磁気検出センサ53a、電波検出センサ54a、RAMクリアスイッチ55a、及び、払出制御基板120等が接続されている。入力ポートを介して、各種検出スイッチや各種検出センサからの検出信号等が主制御基板110に入力されると、検出信号に応じた制御処理が行われる。
主制御基板110の出力ポートには、第2始動口開閉ソレノイド48b、大入賞口開閉ソレノイド51b、第1特別図柄表示器60、第2特別図柄表示器61、普通図柄表示器62、第1特別図柄保留表示器63、第2特別図柄保留表示器64、普通図柄保留表示器65、ラウンド数表示器66、右打ち表示器67、遊技情報出力端子板90、及び、演出制御基板130等が接続されている。出力ポートを介して、各種ソレノイドを制御するための駆動制御信号、各種表示器を制御するための表示制御信号、及び、遊技情報出力端子板から遊技機の外部(ホールコンピュータ等)に通知する遊技情報等が出力される。
払出制御基板120は、主制御基板110からの払出コマンドの受信に基づき遊技球の払い出しを制御すると共に、遊技球の発射を制御する従制御基板となっている。払出制御基板120は、遊技球払出装置100を駆動して遊技球の払い出しを制御する払出制御部121と遊技球発射装置26を駆動して遊技球の発射を制御する発射制御部122を備える。
払出制御部121は、演算処理を行う払出CPU121a、払出プログラム等が格納された払出ROM121b、演算処理時のワークエリアとなる払出RAM121c、払出制御用の入力ポート、及び、出力ポート等を備えている。払出CPU121aは、図示しない水晶発振器からの動作クロックを受けて払出ROM121bに記憶された払出制御プログラムを読み出し、払出RAM121cをワークエリアとして活用しながら遊技球の払い出しに関する演算処理を行い、遊技球払出装置100を制御したり、演算処理の結果に基づく所定のコマンドを主制御基板110や演出制御基板130等に送信したりする。
払出制御部121の入力ポートには、開放検出スイッチ31a、受け皿満杯検出スイッチ32a、遊技球払出装置100に設けられる払出球検出スイッチ100a、及び、遊技球貯留部101に設けられる球有り検出スイッチ101aなどが接続されており、払出制御部121の出力ポートには、遊技球払出装置100に設けられる払出モータ100bが接続されている。
払出制御部121では、主制御基板110から払出コマンドを受信すると、遊技球払出装置100に設けられる払出モータ100bを駆動させて所定個数の遊技球を払い出す制御を行い、払出球検出スイッチ100aによって所定個数の遊技球の払い出しが検出されると遊技球を払い出す制御を終了するようになっている。
発射制御部122は、図示しない制御回路、入力ポート、及び、出力ポート等を備えている。発射制御部122の入力ポートには、タッチセンサ15a、及び、発射ボリューム15bが接続されており、発射制御部122の出力ポートには、球送りソレノイド11b、及び、発射用ソレノイド28bなどが接続されている。
発射制御部122では、タッチセンサ15aから入力されるタッチ信号によって遊技者の手が発射ハンドル15に触れていることを検出すると、球送りソレノイド11b、及び、発射用ソレノイド28bへの通電を許容し、発射ボリューム15bからの検出信号によって発射ハンドル15の回動角度が変化したことを検出すると、球送りソレノイド11bを駆動させると共に、発射ハンドル15の回動角度に応じた発射強度となるように発射用ソレノイド28bを駆動させて遊技球を発射させるようになっている。
発射用ソレノイド28bは、ロータリーソレノイドから構成され、回動軸に打出部材28が直結されており、回動軸が回転することで打出部材28が回転して遊技球Aを打ち出すようになっている。なお、発射用ソレノイド28bの動作は、発射制御部122に設けられた水晶発振器の出力周期に基づく周波数から約99.9(回/分)に設定されているため、1分間における遊技球の発射数は約99.9(個/分)となっている。すなわち、遊技球は約0.6秒毎に発射されることになる。
演出制御基板130は、主制御基板110からの演出コマンドの受信に基づき遊技に関する(遊技機1で行われる)演出を制御する従制御基板(従制御手段)となっている。演出制御基板130は、演算処理を行うサブCPU130a、演出制御プログラムが格納されたサブROM130b、演算処理時のワークエリアとなるサブRAM130cを備えた演出制御部130mと、第1画像表示装置70(メイン液晶)や第2画像表示装置71(サブ液晶)や音声出力装置9(スピーカ)等を制御する表示/音声制御部140、枠用照明装置10やハンドル発光装置15cやボタン駆動装置17bや送風装置21や盤用照明装置74や盤用駆動装置75等を制御するランプ/駆動制御部150と、演出制御用の入力ポートや出力ポート等を備えている。
サブCPU130aは、水晶発振器からの動作クロックを受けてサブROM130bに記憶された遊技プログラムを読み出し、サブRAM130cをワークエリアとして活用しながら演出に関する演算処理を行うことで、主制御基板110から受信したコマンドや演出ボタン検出スイッチ17aや十字キー検出スイッチ19aからの入力信号に応じて、各種制御部(表示/音声制御部140、ランプ/駆動制御部150)に各種の演出を実行させるため制御を行う(データやコマンドを出力する)。
演出制御基板130の入力ポートには、演出ボタン検出スイッチ17aや十字キー検出スイッチ19aなどが接続されている。演出制御基板130では、演出ボタン検出スイッチ17aから演出ボタン17が操作されたことを示す演出ボタン検出信号が入力されたり、十字キー検出スイッチ19aから十字キー19が操作されたことを示す十字キー検出信号(上ボタン検出信号、左ボタン検出信号、下ボタン検出信号、右ボタン検出信号)が入力されたりすると、検出信号に応じた演出を実行するための処理を行う。
表示/音声制御部140は、演出制御部130mからのコマンドを受けて、第1画像表示装置70(メイン液晶)、及び、第2画像表示装置71(サブ液晶)に所定の画像を表示させる制御を行ったり、音声出力装置9に所定の音声を出力させる制御を行ったりする。
表示/音声制御部140は、演算処理を行う統括CPU142、統括制御プログラムが格納された統括ROM143、演算処理時のワークエリアとなる統括RAM144を備えた統括制御部141と、画像プロセッサとしてのVDP(Video Display Processor)からなる画像制御部145と、画像データ等が格納されたCGROM146と、画像制御部145の内部に設けられ、画像データから生成される描画データを一時的に記憶するフレームバッファ等を有するVRAM147と、音声プロセッサとしての音声制御部148と、音声データ等が格納された音声ROM149、及び、入出力ポート等を備えている。
統括CPU142は、水晶発振器からの動作クロックを受けて統括ROM143に記憶された表示制御プログラムを読み出し、統括RAM144をワークエリアとして活用しながら演出に関する演算処理を行うことで、演出制御部130mから受信した演出指示コマンド等に応じて、画像制御部145や音声制御部148に各種の演出を実行させるための制御を行う(データやコマンドを出力する)。
統括ROM143は、マスクROM等で構成されており、画像表示を行うための表示制御プログラム、描画制御コマンド群から構成されるディスプレイリストを生成するためのディスプレイリスト生成プログラム、演出パターンのアニメーションを表示するためのアニメパターン、アニメシーン情報などが記憶されている。
このアニメパターンは、画像による演出の具体的な内容を構成するアニメーションを表示するにあたり参照され、アニメパターンにはアニメシーン情報や各アニメシーンの表示順序等に関連付けられている。なお、アニメシーン情報には、ウェイトフレーム(表示時間)、対象データ(スプライトの識別番号、転送元アドレス等)、描画のためのパラメータ(スプライトの表示位置、表示倍率、透過率等)、描画方法、第1画像表示装置70(メイン液晶)、及び、第2画像表示装置71(サブ液晶)の輝度のパラメータとなるデューティー比等の各種情報が含まれている。
画像制御部145(VDP)は、各種の画像データが記憶されているCGROM146が接続されており、統括制御部141(統括CPU142)からのコマンド(ディスプレイリスト、描画指令等)とCGROM146に記憶された画像データに基づいて映像信号(RGB信号等)の元となる描画データを生成する。画像データは、第1画像表示装置70(メイン液晶)、及び、第2画像表示装置71(サブ液晶)に表示させる画像(フレーム)、例えば、演出図柄画像、演出図柄の背景を構成する背景画像、キャラクタ画像、及び、セリフ画像などの個々の画像を表す素材的なデータである。一方、描画データは、個々の画像が複合されて(重ね合わされて)構成されるフレーム全体の画像を表す合成的なデータである。
CGROM146は、フラッシュメモリ、EEPROM、EPROM、マスクROM等から構成され、所定範囲の画素(例えば、32×32ピクセル)における画素情報の集まりからなる画像データ(スプライト、ムービー)等を圧縮して記憶している。なお、画素情報は、それぞれの画素毎に色番号を指定する色番号情報と画像の透明度を示すα値とから構成されている。このCGROM146は、画像制御部145(VDP)によって画像データ単位で読み出しが行われ、このフレームの画像データ単位で画像処理が行われる。
また、CGROM146は、色番号を指定する色番号情報と実際に色を表示するための表示色情報とが対応づけられたパレットデータを圧縮せずに記憶している。なお、CGROM146は、全ての画像データを圧縮せずとも、一部のみ圧縮している構成でもよい。また、ムービーの圧縮方式としては、MPEG4等の公知の種々の圧縮方式を用いることができる。
VRAM147は、画像データの書き込み、又は、読み出しが高速なSRAMで構成されている。このVRAM143は、統括制御部141(統括CPU142)から出力されたディスプレイリストを一時的に記憶するディスプレイリスト記憶領域、第1画像表示装置70(メイン液晶)、及び、第2画像表示装置71(サブ液晶)に対応するフレームバッファ領域等を有している。
このフレームバッファ領域は、画像を描画、又は、表示するための記憶領域であり、第1フレームバッファ領域と第2フレームバッファ領域とを更に有している。そして、第1フレームバッファ領域と第2フレームバッファ領域とは、描画の開始毎に「描画用フレームバッファ」と「表示用フレームバッファ」とに交互に切り替わるものである。
そのため、画像制御部145(VDP)は、統括制御部141(統括CPU142)からの指示(ディスプレイリスト)に基づいて、CGROM146に記憶された描画データをVRAM147のフレームバッファ領域の「描画用フレームバッファ」に描画し、フレームバッファ領域の「表示用フレームバッファ」から描画データを読み出し、読み出した描画データに基づいて映像信号(RGB信号等)を生成して、第1画像表示装置70(メイン液晶)、及び、第2画像表示装置71(サブ液晶)に出力して種々の画像を表示させる。
なお、画像制御部145(VDP)には、水晶発振器から動作クロックが供給されており、この動作クロックを分周することで、第1画像表示装置70(メイン液晶)、及び、第2画像表示装置71(サブ液晶)と同期を図るための同期信号(水平同期信号・垂直同期信号)を生成し、第1画像表示装置70(メイン液晶)、及び、第2画像表示装置71(サブ液晶)に出力する。本実施の形態では、画像制御部145(VDP)のフレームレートは1秒間に30回の描画(画像の表示)が行われるように30fps(1/30秒=約33ms)となっているが、1秒間に60回の描画(画像の表示)が行われるように60fps(1/60秒=約16.6ms)としてもよい。
また、画像制御部145と第1画像表示装置70(メイン液晶)、及び、第2画像表示装置71(サブ液晶)との間には、画像データを所定の画像形式に変換して出力する汎用基板72が接続されている。汎用基板72は、画像データを表示する第1画像表示装置70(メイン液晶)、及び、第2画像表示装置71(サブ液晶)の性能に対応する画像形式に変換するブリッジ機能を有しており、例えば、SXGA(1280ドット×1080ドット)の19インチの液晶表示装置を接続したときと、XGA(1024ドット×768ドット)の17インチの液晶表示装置を接続したときとの解像度の違いなどを吸収する。
音声制御部148は、音声出力装置9と接続しており、演出制御部130mから送信された各種の演出データ(コマンド含む)に基づいて、第1画像表示装置70(メイン液晶)、及び、第2画像表示装置71(サブ液晶)の表示に合わせて音声データや楽曲データ(BGM、SE)等を音声出力装置9から出力させる制御を行う。
ランプ/駆動制御部150は、演算処理を行うランプCPU150aと、ランプ・駆動制御プログラムが格納されたランプROM150b、演算処理時のワークエリアとなるランプRAM150c、及び、入出力ポート等を備えている。
ランプCPU150aは、水晶発振器からの動作クロックを受けてランプROM150bに記憶されたランプ・駆動制御プログラムを読み出し、ランプRAM150cをワークエリアとして活用しながら演出に関する演算処理を行うことで、演出制御部130mから受信した演出指示コマンド等に応じて、各種照明装置や各種駆動装置などの被制御装置に所定の演出を行わせるための制御を行う(データやコマンドを出力する)。
ランプ/駆動制御部の入出力ポートには、枠用照明装置10、ハンドル発光装置15c、ボタン駆動装置17b、送風装置21、盤用照明装置74が接続されており、演出制御部130m(サブCPU130a)から送信された各種の演出データ(コマンド含む)に基づいて、枠用照明装置10、ハンドル発光装置15c、及び、盤用照明装置74の各種LEDの点灯制御を行うことで発光演出等を行ったり、ボタン駆動装置17b、送風装置21、及び、盤用駆動装置75のモータやソレノイドといった駆動源の駆動制御を行うことで動作演出(前述した移動演出)等を行ったりする。
電源基板160は、遊技機の外部から供給される電源から遊技機の動作に必要なメイン電源(動作電源)を生成し、該メイン電源を遊技機1(主制御基板110、払出制御基板120、演出制御基板130や各種電子部品)に供給する。電源基板160には、電源断(停電)が発生したか否かを検出すると共に、電源断(停電)の発生に基づき電断検出信号を主制御基板110に出力する電断検出回路162と、電源断(停電)時に主制御基板110に対してバックアップ電源を供給するためのバックアップ電源回路163を備える。
また、電源基板160は、遊技機1(主制御基板110、払出制御基板120、演出制御基板130や各種電子部品)へのメイン電源の供給を行うON状態と停止するOFF状態とに切り替えるための電源スイッチを遊技店の店員によって操作可能なように備えており、電源スイッチをON状態にするとメイン電源の供給が開始されて遊技機1の動作が開始する。なお、電源スイッチがOFF状態であっても主制御基板110へのバックアップ電源の供給は維持される。
電断検出回路162は、遊技機1に供給される電源電圧を監視し、電源電圧が所定値以下となったときに、電断検出信号を主制御基板110に出力する。より具体的には、電断検出信号がハイレベルになるメインCPU110aは動作可能状態となり、電断検出信号がローレベルになるとメインCPU110aは動作停止状態になる。
バックアップ電源回路163は、遊技機への通電時に蓄電するコンデンサを備えており、電源断(停電)が発生するとコンデンサに蓄えられていたバックアップ用の電源電圧を主制御基板110のメインRAM110cに対して供給する。これにより、電源断(停電)時においてもメインRAM110cや払出RAM121cの記憶内容が保持されることになり、電源断(停電)からの復旧後に遊技の制御状態を電源断(停電)前の状態に復旧させることができる。なお、払出制御基板120や演出制御基板130にバックアップ電源を供給するようにしてもよい。
(遊技状態の説明)
次に、遊技が進行する際の遊技状態について説明する。本実施の形態においては、特別図柄の大当たり抽選に関する状態として「低確率遊技状態」と「高確率遊技状態」とを有し、第2始動口47が有する可動部材48に関する状態として「非時短遊技状態」と「時短遊技状態」とを有する。
本実施の形態では、以下の3つの遊技状態が設けられている。
(1)「低確率遊技状態」且つ「非時短遊技状態」である低確非時短遊技状態
(2)「低確率遊技状態」且つ「時短遊技状態」である低確時短遊技状態
(3)「高確率遊技状態」且つ「時短遊技状態」である高確時短遊技状態
なお、遊技を開始したときの遊技状態、すなわち遊技機1の初期の遊技状態は、「低確非時短遊技状態」に設定されており、この遊技状態を本実施の形態においては「通常遊技状態」と称することにする。なお、本実施の形態においては「低確時短遊技状態」及び「高確時短遊技状態」は通常遊技状態よりも遊技者に有利な遊技状態であることから「特定遊技状態」と称する場合がある。
本実施の形態において「低確率遊技状態」というのは、第1始動口45、又は、第2始動口47に遊技球が入球したことを条件として行われる特別図柄の大当たり抽選において、大当たりの当選確率が、例えば1/299と低く設定された遊技状態を言う。これに対して「高確率遊技状態」というのは、低確率遊技状態と比べて大当たりの当選確率が向上し、大当たりの当選確率が、例えば1/59.8と高く設定された遊技状態を言う。したがって、「高確率遊技状態」では、「低確率遊技状態」よりも、大当たりに当選しやすいことになる。なお、低確率遊技状態から高確率遊技状態に変更するのは、後述する大当たり遊技を終了した後である。
本実施の形態では、高確率遊技状態への移行の契機となる大当たりを「確変大当たり」と言う。また、低確率遊技状態への移行の契機となる大当たりを「通常大当たり」と言う。
本実施の形態において「非時短遊技状態」というのは、普図ゲート44を遊技球が通過したことを条件として行われる普通図柄の当たり抽選において、その抽選結果に対応する普通図柄の平均の変動時間が「時短遊技状態」よりも長く設定され、かつ、当たりに当選した際の第2始動口47の開放時間が短く設定されやすい遊技状態を言う。例えば、普図ゲート44を遊技球が通過すると、普通図柄の当たり抽選が行われて、普通図柄表示器62において普通図柄の変動表示が行われるが、普通図柄は変動表示が開始されてから、例えば30秒後に停止表示する。そして、抽選結果が当たりであった場合には、普通図柄の停止表示後に、第2始動口47が例えば0.2秒間、開放態様に制御される。
これに対して「時短遊技状態」というのは、普図ゲート44を遊技球が通過したことを条件として行われる普通図柄の当たり抽選において、その抽選結果に対応する普通図柄の平均の変動時間が「非時短遊技状態」よりも短く設定され、かつ、当たりに当選した際の第2始動口47の開放時間が例えば2.5秒と、「非時短遊技状態」よりも長く設定された遊技状態を言う。さらに、「非時短遊技状態」においては普通図柄の当たり抽選において当たりに当選する確率が例えば1/128と低く設定され、「時短遊技状態」においては普通図柄抽選において当たりに当選する確率が例えば127/128と高く設定される。したがって、「時短遊技状態」においては、「非時短遊技状態」よりも、普図ゲート44を遊技球が通過すると、第2始動口47が開放態様に制御されやすくなる。これにより、「時短遊技状態」では、遊技者は遊技球を消費せずに遊技を有利に進行することが可能となる。
なお、実施形態において、「時短遊技状態」は、「非時短遊技状態」と比べて、普通図柄の変動時間、第2始動口47の開放時間、及び、普通図柄抽選の当選確率が有利になるよう設定されている。しかしながら、「時短遊技状態」は、普通図柄の変動時間、第2始動口47の開放時間、及び、普通図柄抽選の当選確率のいずれか1つのみが有利になるように設定されていてもよい。また、非時短遊技状態では、普通図柄の当たり抽選において当たりに当選する確率が例えば0/128となるようにしてもよい。
(大当たりの種類)
次に、大当たりの種類について説明する。
本実施の形態においては、第1始動口45への遊技球の入賞に基づく、大当たり抽選において当選し得る大当たりの種類として、「第1大当たり」、「第2大当たり」及び「第3大当たり」を有し、第2始動口47への遊技球の入賞に基づく、大当たり抽選において当選し得る大当たりの種類として、「第1大当たり」及び「第2大当たり」を有している。
「第1大当たり」とは、大入賞口50を最大29.5秒まで開放させた後に大入賞口50を2秒間に亘って閉鎖させるラウンド遊技を10回まで実行する第1大当たり遊技を実行する大当たりである。なお、ラウンド遊技では、開放時間の経過前でも規定個数(例えば、10個)の遊技球が大入賞口50に入賞すると1つのラウンド遊技が終了する。
第1大当たり遊技の終了後は、特別図柄(第1特別図柄、第2特別図柄)の変動表示が10000回行われるまで高確時短遊技状態に設定される。そのため、高確率遊技状態の大当たり当選確率からすると、実質的に次回の大当たりが確定する。
「第2大当たり」とは、ラウンド遊技を10回まで実行する第2大当たり遊技を実行する大当たりである。第2大当たり遊技の終了後は、特別図柄(第1特別図柄、第2特別図柄)の変動表示が100回行われるまで低確時短遊技状態に設定される。
「第3大当たり」とは、ラウンド遊技を4回まで実行する第3大当たり遊技を実行する大当たりである。第3大当たり遊技の終了後は、特別図柄(第1特別図柄、第2特別図柄)の変動表示が10000回行われるまで高確時短遊技状態に設定される。そのため、高確率遊技状態の大当たり当選確率からすると、実質的に次回の大当たりが確定する。
なお、大当たり遊技後に設定される特定遊技状態(高確時短遊技状態、低確時短遊技状態)の変動表示回数(本実施の形態では、上述の100回や10000回)のことを、「高確率回数」や「時短回数」と表現する場合がある。
なお、本実施の形態では、大当たりの種類を3種類としているが、3種類に限られず、3種類よりも少なくてもよいし、多くてもよい。また、開閉部材51の開放時間を何れの大当たり(第1大当たり~第3大当たり)であっても29.5秒としているが、開放時間は29.5秒ではなくてもよいし、ラウンド遊技によって異なる開放時間としてもよい。
(当たりの種類)
次に、当たりの種類について説明する。
本実施の形態においては、普図ゲート44への遊技球の通過に基づく、当たり抽選において当選し得る当たりの種類として、「第1当たり」及び「第2当たり」を有し、当たり抽選が実行される際の遊技状態が非時短遊技状態であれば、「第1当たり」となり、当たり抽選が実行される際の遊技状態が時短遊技状態であれば、「第2当たり」となる。
「第1当たり」とは、第2始動口47を最大0.2秒まで開放させる第1当たり遊技を実行する当たりである。つまり、可動部材48を1回開放させる当たり遊技である。
「第2当たり」とは、第2始動口47を、2.6秒まで開放させた後に1.5秒まで閉鎖させ、再び2.6秒まで開放させる第2当たり遊技を実行する当たりである。つまり、可動部材48を2回開放させる当たり遊技である。
なお、第1当たり遊技及び第2当たり遊技では、開放時間の経過前でも規定個数(例えば、10個)の遊技球が大入賞口50に入賞すると当たり遊技が終了する。
このように、「時短遊技状態」では、第2始動口47に遊技球が入賞し易くなっており、「非時短遊技状態」よりも、遊技者は遊技球を消費せずに遊技を有利に進行することが可能となっている。
次に、遊技機1における遊技の進行について、フローチャートを用いて説明する。
(主制御基板のメイン処理)
図3を用いて、主制御基板110のメイン処理を説明する。図3は、主制御基板110のメイン処理を示すフローチャートである。
電源基板160から電源電圧が供給されると、メインCPU110aにシステムリセットが発生し、メインCPU110aは以下のメイン処理を行う。
まず、メインCPU110aは、ステップS10において、初期化処理を行う。具体的には、電源投入に応じてメインROM110bから起動プログラムを読み込むと共に、メインRAM110cに記憶されるフラグなどを初期化する処理を行う。
メインCPU110aは、ステップS20において、特別図柄の変動態様(変動時間)を決定するためのリーチ判定用乱数値、及び、特別図柄決定用乱数値を更新する処理を行い、ステップS30において、大当たり判定用初期値乱数値、特別図柄決定用初期値乱数値、当たり判定用初期値乱数値、及び、普通図柄決定用初期値乱数値の更新を行う初期値乱数値更新処理を行う。
次に、メインCPU110aは、ステップS40において電源断(停電)が発生したか否かの判定を行う。具体的には、電源基板160の電断検出回路から電断検出信号が入力されたか否かを判定し、電断検出信号が入力されていない場合には、ステップS20に移行し、電断検出信号が入力された場合には、ステップS41に移行する。
メインCPU110aは、ステップS41において、タイマ割込を禁止する割込禁止を設定し、ステップS42において、出力ポートをクリアする処理を行い、ステップS43において、メインRAM110cのチェックサムを算出して所定の記憶領域に記憶させる処理を行い、ステップS44において、電断からの復旧時に参照するバックアップフラグをONする処理を行い、ステップS45において、RAMアクセスを禁止する処理を行い、電源電圧の供給が完全に断たれるまで待機する。
(主制御基板のタイマ割込処理)
図4を用いて、主制御基板110のタイマ割込処理を説明する。図4は、主制御基板110において所定の周期(4ミリ秒)毎に実行されるタイマ割込処理を示すフローチャートである。
まず、メインCPU110aは、ステップS100において、レジスタに格納されている情報をスタック領域に退避させ、ステップS110において、特別図柄時間カウンタの更新処理、特別電動役物の開放時間等などの特別遊技タイマカウンタの更新処理、普通図柄時間カウンタの更新処理、可動部材48の開閉時間の更新処理等の各種タイマカウンタを更新する時間制御処理を行う。具体的には、特別図柄時間カウンタ、特別遊技タイマカウンタ、普通図柄時間カウンタ、始動口開放タイマカウンタ、始動口閉鎖タイマカウンタなどのカウンタから1を減算する処理を行う。
メインCPU110aは、ステップS120において、大当たり判定用乱数値、特別図柄決定用乱数値、特図変動パターン決定用乱数値、当たり判定用乱数値、普通図柄決定用乱数値、及び、普図変動パターン決定用乱数値の更新を行う特定乱数更新処理を行う。具体的には、それぞれの乱数値、及び、乱数カウンタを+1加算して更新する。なお、加算した乱数カウンタが乱数範囲の最大値を超えた場合(乱数カウンタが1周した場合)には、乱数カウンタを0に戻し、乱数カウンタが周回の初期値まで戻った場合には、対応する初期値乱数値を新たな周回初期値として設定して乱数値を新たに更新する。
メインCPU110aは、ステップS130において、ステップS30と同様に、大当たり判定用初期値乱数値、特別図柄決定用初期値乱数値、当たり判定用初期値乱数値、及び、普通図柄決定用初期値乱数値を更新する初期値乱数値更新処理を行う。
メインCPU110aは、ステップS200において、一般入賞口検出スイッチ43a、大入賞口検出スイッチ50a、第1始動口検出スイッチ45a、第2始動口検出スイッチ47a、ゲート検出スイッチ44a、入賞確認検出スイッチ52a等の各種スイッチに入力があったか否かを判定し、入力があった場合に所定のデータをセットする入力制御処理を行う。詳しくは、図5を用いて後述する。
メインCPU110aは、ステップS300において、特別図柄記憶判定(大当たり判定など)、特別図柄の表示制御、大入賞口50(開閉部材51)の開閉制御、遊技状態の制御等を行うための特図特電制御処理を行う。詳しくは、図7を用いて後述する。
メインCPU110aは、ステップS400において、普通図柄記憶判定(当たり判定など)、普通図柄の表示制御、第2始動口47(可動部材48)の開閉制御等を行うための普図普電制御処理を行う。
次に、メインCPU110aは、ステップS500において、払出制御基板120の払出状態を確認するための払出状態確認指定コマンドを払出制御基板120に送信したり、後述する賞球カウンタ(3個賞球カウンタ、10個賞球カウンタ、15個賞球カウンタ)を参照し、各種入賞口に対応する払出数指定コマンドを払出制御基板120に送信したりするための払出制御処理を行う。これにより払出制御基板120が遊技球払出装置100から賞球を払い出すための制御を実行する。
メインCPU110aは、ステップS600において、磁気検出センサ53a、及び、電波検出センサ54aからの入力信号に基づいて、磁気異常や電波異常の発生を判定し、磁気異常用エラー指定コマンドや電波異常用エラー指定コマンドを演出制御基板130に送信するための磁気・電波異常判定処理を行う。なお、演出制御基板130では、磁気異常用エラー指定コマンドや電波異常用エラー指定コマンドを受信すると、磁気異常エラー報知や電波異常エラー報知を行うための制御を行う。
メインCPU110aは、ステップS700において、遊技情報出力端子板90から出力する外部情報データ(遊技情報)、第2始動口開閉ソレノイド48bに出力する始動口開閉データ、大入賞口開閉ソレノイド51bに出力する大入賞口開閉データ、第1特別図柄表示器60及び第2特別図柄表示器61に出力する特別図柄表示データ、普通図柄表示器62に出力する普通図柄表示データ、第1特別図柄保留表示器63及び第2特別図柄保留表示器64に出力する特別図柄保留表示データ、及び、普通図柄保留表示器65に出力する普通図柄保留表示データ等のデータを作成するデータ作成処理を行う。
メインCPU110aは、ステップS800において、上記ステップS700で作成した外部情報データ、始動口開閉データ、及び、大入賞口開閉データ等の信号を出力させるポート出力処理や、特別図柄表示データ、普通図柄表示データ、特別図柄保留表示データ、普通図柄保留表示データ等の信号を出力させる表示出力処理や、メインRAM110cの払出用伝送データ格納領域にセットされているコマンドを払出制御基板120に送信する払出コマンド送信処理や、メインRAM110cの演出用伝送データ格納領域にセットされているコマンドを演出制御基板130に送信する演出コマンド送信処理を実行する出力制御処理を行う。
なお、主制御基板110から演出制御基板130に送信されるコマンドの種類については、図8、及び、図9を用いて後述する。
メインCPU110aは、ステップS900において、ステップS100で退避した情報をメインCPU110aのレジスタに復帰させ、今回のタイマ割込処理を終了する。
(主制御基板の入力制御処理)
図5を用いて、主制御基板110の入力制御処理を説明する。図5は、主制御基板110における入力制御処理を示すフローチャートである。
メインCPU110aは、ステップS210において、一般入賞口検出スイッチ入力処理を行う。この一般入賞口検出スイッチ入力処理では、一般入賞口検出スイッチ43aから検出信号を入力したか、すなわち、遊技球が一般入賞口43に入賞したか否かの判定を行う。一般入賞口検出スイッチ43aから検出信号の入力がなければ、ステップS220に処理を移す。
一般入賞口検出スイッチ43aから検出信号を入力した場合には、賞球のために用いる一般入賞口用の賞球カウンタ(10個賞球カウンタ)に10個賞球を示すデータを加算して更新し、入賞口に入球した遊技球の数を示す入賞球カウンタ(D)に「1」を加算して更新(D←D+1)した後、一般入賞口検出スイッチ入力処理を終了する。
メインCPU110aは、ステップS220において、大入賞口検出スイッチ入力処理を行う。この大入賞口検出スイッチ入力処理では、大入賞口検出スイッチ50aから検出信号を入力したか、すなわち、遊技球が大入賞口50に入賞したか否かの判定を行う。大入賞口検出スイッチ50aから検出信号の入力がなければ、ステップS230に処理を移す。
大入賞口検出スイッチ50aからの検出信号を入力した場合には、賞球のために用いる大入賞口用の賞球カウンタ(15個賞球カウンタ)に15個賞球を示すデータを加算して更新し、入賞口に入球した遊技球の数を示す入賞球カウンタ(D)に「1」を加算して更新(D←D+1)し、現在の遊技状態が特別遊技状態中であるか否かを判定する。現在の遊技状態が特別遊技状態中である場合には、大入賞口50に入賞した遊技球を計数するためのラウンド入賞カウンタ(C)に「1」を加算して更新(C←C+1)し、大入賞口検出スイッチ入力処理を終了する。
現在の遊技状態が特別遊技状態中でない場合には、入賞可能期間外に特定入賞口(第2始動口47、大入賞口50)に入賞(入球)した遊技球の個数を示す不正入賞球カウンタ(E)に「1」を加算して更新(E←E+1)し、不正入賞球カウンタ(E)の値が規定個数(例えば10個)よりも多いか否かの判定を行い、不正入賞球カウンタ(E)の値が規定個数以下の場合には、大入賞口検出スイッチ入力処理を終了する。
不正入賞球カウンタ(E)の値が規定個数よりも多い場合には、入賞可能期間外に遊技球が入賞(入球)する不正入賞(不正入球)が発生したものとして不正入賞用エラー指定コマンドを演出用伝送データ格納領域にセットする。これにより、不正入賞用エラー指定コマンドが演出制御基板130に送信され、演出制御基板130が不正入賞エラー報知を行うことで不正入賞が発生した旨が報知される。
そして、遊技情報出力端子板90から不正入賞信号を出力するための外部情報データ(出力データ)をメインRAM110cの所定の領域にセットし、不正入賞球カウンタ(E)をクリアして大入賞口検出スイッチ入力処理を終了する。これにより、不正入賞信号が遊技情報出力端子板90から出力され、外部の装置では不正入賞が発生したことを把握(特定)することが可能となる。
メインCPU110aは、ステップS230において、第1始動口検出スイッチ入力処理を行う。この第1始動口検出スイッチ入力処理では、第1始動口検出スイッチ45aからの検出信号を入力したか、すなわち、遊技球が第1始動口45に入賞したか否かの判定を行う。詳しくは、図6を用いて後述する。
メインCPU110aは、ステップS240において、第2始動口検出スイッチ入力処理を行う。この第2始動口検出スイッチ入力処理では、後述する図6に示す第1始動口検出スイッチ入力処理と略同様の処理を行う。
メインCPU110aは、ステップS250において、ゲート検出スイッチ入力処理を行う。このゲート検出スイッチ入力処理では、ゲート検出スイッチ44aからの検出信号を入力したか、すなわち、遊技球が普図ゲート44を通過したか否かの判定を行う。ゲート検出スイッチ44aから検出信号を入力していない場合には、ゲート検出スイッチ入力処理を終了する。
ゲート検出スイッチ44aから検出信号を入力した場合には、普通図柄保留記憶領域に記憶されている普図保留記憶の個数である普図保留数が4未満であるか否かを判定する。普図保留数が4未満でない場合には、ゲート検出スイッチ入力処理を終了する。
普図保留数が4未満である場合には、普図保留数に「1」を加算して更新し、当たり判定用乱数値、普通図柄決定用乱数値、普図変動パターン決定用乱数値を取得し、普通図柄保留記憶領域にある第1記憶部から順に空いている記憶部を検索していき、空いている記憶部に取得した乱数値を記憶し、ゲート検出スイッチ入力処理を終了する。
メインCPU110aは、ステップS260において、入賞確認検出スイッチ入力処理を行う。この入賞確認検出スイッチ入力処理では、入賞確認検出スイッチ52aからの検出信号を入力したか、すなわち、遊技球が入賞球流路52を通過したか否かの判定を行う。入賞確認検出スイッチ52aから検出信号を入力していない場合には、入力制御処理を終了する。
入賞確認検出スイッチ52aから検出信号を入力した場合には、入賞球カウンタ(D)を「1」減算して更新(D←D-1)し、入賞球カウンタ(D)の値が上限値(例えば20)と下限値(例えば-10)との範囲に収まっているか否かを判定する。
入賞球カウンタ(D)の値が上限値と下限値との範囲に収まっていない場合には、異常入賞(入球)が発生したものとして異常入賞用エラー指定コマンドを演出用伝送データ格納領域にセットし、遊技情報出力端子板90から異常入賞信号を出力するための外部情報データ(出力データ)をメインRAM110cの所定の領域にセットし、入賞球カウンタ(D)をクリアして入賞確認検出スイッチ入力処理を終了する。なお、異常入賞用エラー指定コマンドを受信した演出制御基板130のサブCPU130aは、異常入賞エラー報知を行って異常入賞が発生した旨を報知する。
(主制御基板の第1始動口検出スイッチ入力処理)
図6を用いて、主制御基板110の第1始動口検出スイッチ入力処理を説明する。図6は、主制御基板110における第1始動口検出スイッチ入力処理を示すフローチャートである。
まず、メインCPU110aは、ステップS230-1において、第1始動口検出スイッチ45aからの検出信号を入力したか否かを判定する。第1始動口検出スイッチ45aからの検出信号を入力した場合には、ステップS230-2に処理を移し、第1始動口検出スイッチ45aからの検出信号を入力しなかった場合には、今回の第1始動口検出スイッチ入力処理を終了する。
メインCPU110aは、ステップS230-2において、賞球のために用いる3個賞球カウンタに3個賞球を示すデータを加算して更新する処理を行い、ステップS230-3において、入賞口に入賞(入球)した遊技球の個数を示す入賞球カウンタ(D)に「1」を加算して更新(D←D+1)する。
メインCPU110aは、ステップS230-4において、第1特別図柄保留記憶領域に記憶されている第1保留記憶の個数である第1特別図柄保留数(U1)が4未満であるか否かを判定する。第1特別図柄保留数(U1)が4未満であった場合には、ステップS230-5に処理を移し、第1特別図柄保留数(U1)が4未満でない場合には、今回の第1始動口検出スイッチ入力処理を終了する。
メインCPU110aは、ステップS230-5において、第1特別図柄保留数(U1)に「1」を加算して更新(U1←U1+1)する処理を行い、ステップS230-6において、更新後の第1特別図柄保留数(U1)に対応する第1特別図柄記憶指定コマンドを演出用伝送データ格納領域にセットする。
メインCPU110aは、ステップS230-7において、特図判定情報(大当たり判定用乱数値、特別図柄決定用乱数値、リーチ判定用乱数値、特図変動パターン決定用乱数値)を取得し、第1特別図柄保留記憶領域にある第1記憶部から順に空いている記憶部を検索していき、空いている記憶部に取得した特図判定情報を記憶する。
以上により、第1特別図柄保留記憶領域の所定の記憶部には、特図判定情報(大当たり判定用乱数値、特別図柄決定用乱数値、リーチ判定用乱数値、及び、特図変動パターン決定用乱数値等)からなる第1保留記憶が記憶されることになる。
メインCPU110aは、ステップS230-8において、第1事前判定処理を行う。この第1事前判定処理では、事前判定テーブル(図示省略)を参照し、今回取得した特図判定情報(第1保留記憶)を当該判定情報に基づく特別図柄の変動表示が行われるよりも以前に判定し、実行される予定の変動パターンである予定変動パターンを決定する。
メインCPU110aは、ステップS230-9において、上記ステップS230-8の第1事前判定処理で決定された予定変動パターンに対応する第1始動口入賞指定コマンドを演出用伝送データ格納領域にセットし、今回の第1始動口検出スイッチ入力処理を終了する。
これにより、予定変動パターンを第1始動口入賞指定コマンドとして演出制御基板130へ送信することができ、第1始動口入賞指定コマンドを受信した演出制御基板130のサブCPU130aは、第1始動口入賞指定コマンドを解析し、当該第1始動口入賞指定コマンドに対応する特別図柄の変動表示が開始される前から、それ以前に実行される1、又は、複数の変動表示に亘って所定の予告演出を実行する先読み予告演出を実行することができる。なお、先読み予告演出は、画像表示装置、音声出力装置9、枠用照明装置10、可動演出部材73、及び、盤用照明装置74のうちの1つ、又は、複数を用いて行われる。
なお、第2始動口検出スイッチ入力処理については、第1始動口検出スイッチ45a、第1特別図柄保留記憶領域、第1保留記憶、第1特別図柄保留数(U1)、第1特別図柄記憶指定コマンド、第1事前判定処理、第1始動口入賞指定コマンドを、それぞれ第2始動口検出スイッチ47a、第2特別図柄保留記憶領域、第2保留記憶、第2特別図柄保留数(U2)、第2特別図柄記憶指定コマンド、第2事前判定処理、第2始動口入賞指定コマンドに読み替えればよい。
(主制御基板の特図特電制御処理)
図7を用いて、主制御基板110の特図特電制御処理を説明する。図7は、主制御基板110における特図特電制御処理を示すフローチャートである。
まず、メインCPU110aは、ステップS301において、特図特電処理データをロードし、ステップS302においてロードした特図特電処理データから分岐先アドレスを参照し、特図特電処理データ=0であれば特別図柄記憶判定処理(ステップS310)に処理を移し、特図特電処理データ=1であれば特別図柄変動処理(ステップS320)に処理を移し、特図特電処理データ=2であれば特別図柄停止処理(ステップS330)に処理を移し、特図特電処理データ=3であれば大当たり遊技処理(ステップS340)に処理を移し、特図特電処理データ=4であれば大当たり遊技終了処理(ステップS350)に処理を移す。
この「特図特電処理データ」は、後述するように特図特電制御処理の各サブルーチンの中で必要に応じてセットされていくので、その遊技において必要なサブルーチンが適宜処理されていくことになる。
メインCPU110aは、ステップS310において、大当たりの判定、停止表示する特別図柄の種類を決定する処理、特別図柄の変動時間を決定する処理を行う特別図柄記憶判定処理を行う。
具体的には、まず、メインCPU110aは、第2特別図柄保留数(U2)が「1」以上であるか否かを判定し、第2特別図柄保留数(U2)が「1」以上でない場合には、第1特別図柄保留数(U1)が「1」以上であるか否かを判定し、第1特別図柄保留数(U1)が「1」以上でない(「0」である)場合には、特別図柄の変動表示及び大当たり遊技が実行されていない客待ち状態の開始であるか否かを判定するための客待ち状態判定フラグが「0」であるか否かを判定する。
客待ち状態判定フラグが「0」の場合には、客待ち状態が開始しているものとして客待ち状態指定コマンドを演出用伝送データ格納領域にセットし、特図特電処理データ=0を維持したまま、今回の特別図柄記憶判定処理を終了し、客待ち状態判定フラグが「0」でない場合には、既に客待ち状態が開始しているものとして特図特電処理データ=0を維持したまま、今回の特別図柄記憶判定処理を終了する。
第2特別図柄保留数(U2)が「1」以上である場合には、第2特別図柄保留記憶領域に記憶されている値から「1」を減算した後、第2特別図柄保留記憶領域にある第1記憶部~第4記憶部に記憶された各種乱数値(特図判定情報)を1つ前の記憶部にシフトさせ、減算後の第2特別図柄保留数(U2)に対応する第2特別図柄記憶指定コマンドを演出用伝送データ格納領域にセットする。
そして、メインCPU110aは、大当たり遊技を実行するか否かを決定するための大当たり判定を行う。具体的には、第2特別図柄保留記憶領域の第1記憶部から第0記憶部にシフトされた各種乱数値(特図判定情報)のうちの特別図柄決定用乱数値、及び、現在の確率遊技状態(低確率遊技状態、高確率遊技状態)に基づいて、大当たり遊技を実行することになる「大当たり」であるか「ハズレ」であるかの判定を行う。
一方、第2特別図柄保留数(U2)が「1」以上でない場合であって、第1特別図柄保留数(U1)が「1」以上である場合には、第1特別図柄保留記憶領域に記憶されている値から「1」を減算した後、第1特別図柄保留記憶領域にある第1記憶部~第4記憶部に記憶された各種乱数値を1つ前の記憶部にシフトさせ、減算後の第1特別図柄保留数(U1)に対応する第1特別図柄記憶指定コマンドを演出用伝送データ格納領域にセットする。
そして、メインCPU110aは、大当たり遊技を実行するか否かを決定するための大当たり判定を行う。具体的には、第1特別図柄保留記憶領域の第1記憶部から第0記憶部にシフトされた各種乱数値(特図判定情報)のうちの特別図柄決定用乱数値、及び、現在の確率遊技状態(低確率遊技状態、高確率遊技状態)に基づいて、大当たり遊技を実行することになる「大当たり」であるか「ハズレ」であるかの判定を行う。
そして、メインCPU110aは、停止表示する特別図柄の種類を決定するための特別図柄決定処理を行う。具体的には、第2特別図柄保留記憶領域の第0記憶部に記憶されている特別図柄決定用乱数値に基づいて大当たり判定を行った場合には、この第0記憶部に記憶されている大当たり図柄用乱数値に基づいて、大当たり特別図柄、又は、ハズレ特別図柄を決定し、決定した特別図柄に対応する演出図柄指定コマンドを演出用伝送データ格納領域にセットする。
また、第1特別図柄保留記憶領域の第0記憶部に記憶されている特別図柄決定用乱数値に基づいて大当たり判定を行った場合には、この第0記憶部に記憶されている大当たり図柄用乱数値に基づいて特別図柄(大当たり特別図柄、ハズレ特別図柄)を決定し、決定した特別図柄に対応する演出図柄指定コマンドを演出用伝送データ格納領域にセットする。
次に、メインCPU110aは、特別図柄の変動パターン(変動時間)を決定するための特図変動パターン決定処理を行う。具体的には、第2特別図柄保留記憶領域の第0記憶部に記憶されている特別図柄決定用乱数値に基づいて大当たり判定を行った場合には、この第0記憶部に記憶されているリーチ判定用乱数値、及び、特図変動用乱数値に基づいて、特別図柄の変動パターンを決定し、決定した変動パターンに対応する変動時間を特別図柄時間カウンタにセットし、決定した変動パターンに対応する変動パターン指定コマンドを演出用伝送データ格納領域にセットする。
また、第1特別図柄保留記憶領域の第0記憶部に記憶されている特別図柄決定用乱数値に基づいて大当たり判定を行った場合には、この第0記憶部に記憶されているリーチ判定用乱数値、及び、特図変動用乱数値に基づいて特別図柄の変動パターンを決定し、決定した変動パターンに対応する変動時間を特別図柄時間カウンタにセットし、決定した変動パターンに対応する変動パターン指定コマンドを演出用伝送データ格納領域にセットする。
そして、メインCPU110aは、第1特別図柄表示器60、又は、第2特別図柄表示器61に特別図柄の変動表示(LEDの点滅)を行わせるための変動表示データを所定の処理領域にセットする。
これにより、所定の処理領域に変動表示データがセットされていると、上記ステップS600でLEDの点灯、又は、消灯のデータが適宜作成され、作成されたデータがステップS700において出力されることで、第1特別図柄表示器60、又は、第2特別図柄表示器61の変動表示が行われる。
そして、特図特電処理データ=0から特図特電処理データ=1にセットして、特別図柄変動処理のサブルーチンに移す準備を行い、今回の特別図柄記憶判定処理を終了する。
メインCPU110aは、ステップS320において、特別図柄の変動時間が経過したか否かを判定する特別図柄変動処理を行う。具体的には、上記ステップS310でセットされた特別図柄の変動時間が経過した(特別図柄時間カウンタ=0)か否かを判定する。変動時間が経過していない場合には、特図特電処理データ=1を維持したまま、今回の特別図柄変動処理を終了する。
変動時間が経過した場合には、上記ステップS310で決定された特別図柄を第1特別図柄表示器60、又は、第2特別図柄表示器61に大当たり特別図柄、又は、ハズレ特別図柄を停止表示させ、予め定められた特別図柄の停止時間(0.5秒)を特別図柄時間カウンタにセットする。これにより、遊技者に大当たり判定の判定結果が報知されることとなる。
そして、特図特電処理データ=1から特図特電処理データ=2にセットして、特別図柄停止処理のサブルーチンに移す準備を行い、今回の特別図柄変動処理を終了する。
ステップS330において、メインCPU110aは、特別図柄の停止時間(0.5秒)が経過したか否かを判定する特別図柄停止処理を行う。具体的には、上記ステップS320でセットされた特別図柄の停止時間が経過した(特別図柄時間カウンタ=0)か否かを判定する。停止時間が経過していない場合には、特図特電処理データ=2を維持したまま、今回の特別図柄停止処理を終了する。
停止時間が経過した場合には、時短回数>0のときには時短回数カウンタから1を減算して更新し、時短回数=0となれば、時短遊技フラグをクリアし、高確率回数>0のときには高確率回数カウンタから1を減算して更新し、高確率回数=0となれば、高確率遊技フラグをクリアする。
そして、メインCPU110aは、停止表示された特別図柄が大当たり特別図柄であるか否かを判定する。大当たり特別図柄である場合には、時短遊技フラグ、高確率遊技フラグ、時短回数カウンタ、及び、高確率回数カウンタをクリアすると共に、特図特電処理データ=2から特図特電処理データ=3にセットして、大当たり遊技処理のサブルーチンに移す準備を行い、今回の特別図柄停止処理を終了する。
一方、ハズレ特別図柄である場合には、特図特電処理データ=2から特図特電処理データ=0にセットして、特別図柄記憶判定処理のサブルーチンに移す準備を行い、今回の特別図柄停止処理を終了する。
メインCPU110aは、ステップS340において、上記ステップS310でセットされた大当たり特別図柄の種類(停止図柄データ)に基づいて、第1大当たり遊技、第2大当たり遊技、又は、第3大当たり遊技を実行するための大当たり遊技処理を行う。
具体的には、大当たり遊技の種類に応じた開閉部材51の開放時間を特別遊技タイマカウンタにセットすると共に、大入賞口開閉ソレノイド51bの駆動データを出力して開閉部材51を開放させる。このとき、ラウンド遊技回数(R)記憶領域に1を加算する。
この開放中に規定個数の遊技球が入賞(入球)するか、大入賞口の開放時間が経過すると(ラウンド入賞カウンタ(C)=10、又は、特別遊技タイマカウンタ=0である)、大入賞口開閉ソレノイド51bの駆動データの出力を停止して開閉部材51を閉鎖させる。これにより、1回のラウンド遊技が終了する。また、ラウンド入賞カウンタ(C)のカウンタ値をクリアする。
所定回数(本実施の形態では、4回、又は、16回)のラウンド遊技が終了すると、ラウンド遊技回数(R)記憶領域に記憶されているデータをクリアすると共に、特図特電処理データ=3から特図特電処理データ=4にセットして、大当たり遊技終了処理のサブルーチンに移す準備を行い、今回の大当たり遊技処理を終了する。
メインCPU110aは、ステップS350において、高確率遊技状態、又は、低確率遊技状態の何れかの確率遊技状態を決定すると共に、時短遊技状態、又は、非時短遊技状態の何れかの遊技状態を決定する大当たり遊技終了処理を行う。
具体的には、上記ステップS310でセットされた大当たり特別図柄の種類(停止図柄データ)に基づいて、高確率遊技フラグの設定、高確率回数の設定、時短遊技フラグの設定、時短回数の設定が行い、特図特電処理データ=4から特図特電処理データ=0にセットして、特別図柄記憶判定処理のサブルーチンに移す準備を行い、今回の大当たり遊技終了処理を終了する。
(演出制御基板に関与するコマンドの説明)
図8、及び、図9を用いて、主制御基板110から演出制御基板130に送信されるコマンドの種別について説明する。図8、及び、図9は、主制御基板110から演出制御基板130に送信されるコマンドの種別を示す図である。
「第1特別図柄記憶指定コマンド」は、第1特別図柄保留数(U1)記憶領域に記憶されている保留記憶数を示すものであり、「MODE」が「E0H」で設定され、保留記憶数に合わせてDATAの情報が設定されている。
この第1特別図柄記憶指定コマンドは、第1特別図柄保留数(U1)記憶領域に記憶されている値が増減したときに、上記ステップS230-11、又は、上記ステップS310において増減後の保留記憶数に対応する第1特別図柄記憶指定コマンドがメインRAM110cの演出用伝送データ格納領域にセットされ、ステップS800の出力制御処理において演出制御基板130に送信されることになる。
「第2特別図柄記憶指定コマンド」は、第2特別図柄保留数(U2)記憶領域に記憶されている保留記憶数を示すものであり、「MODE」が「E0H」で設定され、保留記憶数に合わせてDATAの情報が設定されている。
この第2特別図柄記憶指定コマンドは、第2特別図柄保留数(U2)記憶領域に記憶されている値が増減したときに、上記ステップS240、又は、上記ステップS310において増減後の保留記憶数に対応する第2特別図柄記憶指定コマンドがメインRAM110cの演出用伝送データ格納領域にセットされ、ステップS800の出力制御処理において演出制御基板130に送信されることになる。
なお、本実施の形態では、「第1特別図柄記憶指定コマンド」と「第2特別図柄記憶指定コマンド」とをまとめて「特別図柄記憶指定コマンド」と総称する場合がある。
「演出図柄指定コマンド」は、停止表示される特別図柄の種別(種類)を示すものであり、第1特別図柄ならば「MODE」が「E1H」で設定され、第2特別図柄ならば「MODE」が「E2H」で設定され、特別図柄の種別に合わせてDATAの情報が設定されている。なお、特別図柄の種別が結果的に大当たりの種別や大当たり終了後の遊技状態を決定するものであるから、演出図柄指定コマンドは、大当たりの種別や、大当たり終了後の遊技状態を示すものともいえる。
この演出図柄指定コマンドは、各種の特別図柄が決定され、特別図柄の変動表示が開始されるときに、上記ステップS310において特別図柄に対応する演出図柄指定コマンドがメインRAM110cの演出用伝送データ格納領域にセットされ、上記ステップS800の出力制御処理において演出制御基板130に送信されることになる。
「第1特別図柄用変動パターン指定コマンド」は、第1特別図柄表示器60における特別図柄の変動時間(変動態様)を示すものであり、「MODE」が「E3H」で設定され、各種の変動パターンに合わせてDATAの情報が設定されている。
この第1特別図柄用変動パターン指定コマンドは、第1特別図柄表示器60の特別図柄の変動表示が開始されるときに、上記ステップS310において特別図柄の変動パターンに対応する第1特別図柄用変動パターン指定コマンドがメインRAM110cの演出用伝送データ格納領域にセットされ、ステップS800の出力制御処理において演出制御基板130に送信されることになる。
「第2特別図柄用変動パターン指定コマンド」は、第2特別図柄表示器61における特別図柄の変動時間(変動態様)を示すものであり、「MODE」が「E4H」で設定され、各種の変動パターンに合わせてDATAの情報が設定されている。
この第2特別図柄用変動パターン指定コマンドは、第2特別図柄表示器61の特別図柄の変動表示が開始されるときに、上記ステップS310において特別図柄の変動パターンに対応する第2特別図柄用変動パターン指定コマンドがメインRAM110cの演出用伝送データ格納領域にセットされ、ステップS800の出力制御処理において演出制御基板130に送信されることになる。
なお、本実施の形態では、「第1特別図柄用変動パターン指定コマンド」と「第2特別図柄用変動パターン指定コマンド」とをまとめて、「変動パターン指定コマンド」と総称する場合がある。
「特別図柄確定コマンド」は、特別図柄が停止表示されていることを示すものであり、「MODE」が「E5H」で設定され、「DATA」が「00H」に設定されている。
この特別図柄確定コマンドは、特別図柄を第1特別図柄表示器60、又は、第2特別図柄表示器61に停止表示させるときに、上記ステップS320において特別図柄確定コマンドがメインRAM110cの演出用伝送データ格納領域にセットされ、ステップS800の出力制御処理において演出制御基板130に送信されることになる。
「普通図柄確定コマンド」は、普通図柄が停止表示されていることを示すものであり、「MODE」が「E5H」で設定され、「DATA」が「01H」に設定されている。
この普通図柄確定コマンドは、普通図柄を普通図柄表示器62に停止表示させるときに、普通図柄が停止表示されるときに、上記ステップS400において普通図柄確定コマンドがメインRAM110cの演出用伝送データ格納領域にセットされ、ステップS800の出力制御処理において演出制御基板130に送信されることになる。
「始動口入賞指定コマンド」は、大当たり判定(抽選)の結果を事前に演出制御基板130に通知するための情報であり、第1始動口45への遊技球の入賞に基づくものならば「MODE」が「E6H」で設定され、第2始動口47への遊技球の入賞に基づくものならば「MODE」が「E7H」で設定され、各種の入賞情報に合わせてDATAの情報が設定されている。
この始動口入賞指定コマンドは、第1始動口45、又は、第2始動口47に遊技球が入賞したときに、上記ステップS230-10、又は、S240において始動入賞情報に対応する始動口入賞指定コマンドがメインRAM110cの演出用伝送データ格納領域にセットされ、ステップS800の出力制御処理において演出制御基板130に送信されることになる。
「大当たり用オープニング指定コマンド」は、各種の大当たり遊技(特別遊技状態)が開始することを示すものであり、「MODE」が「E8H」で設定され、大当たり遊技の種別に合わせてDATAの情報が設定されている。
この大当たり用オープニング指定コマンドは、各種の大当たり遊技が開始するときに、上記ステップS330において大当たり遊技の種別に対応する大当たり用オープニング指定コマンドがメインRAM110cの演出用伝送データ格納領域にセットされ、ステップS800の出力制御処理において演出制御基板130に送信されることになる。
「ラウンド指定コマンド」は、大当たり遊技のラウンド数を示すものであり、「MODE」が「E9H」で設定され、大当たり遊技のラウンド数に合わせてDATAの情報が設定されている。
このラウンド指定コマンドは、大当たり遊技のラウンド遊技が開始されるときに、上記ステップS340においてラウンド数に対応するラウンド指定コマンドがメインRAM110cの演出用伝送データ格納領域にセットされ、ステップS800の出力制御処理において演出制御基板130に送信されることになる。
「大当たり用エンディング指定コマンド」は、各種の大当たり遊技が終了したことを示すものであり、「MODE」が「EAH」で設定され、大当たり遊技の種別に合わせてDATAの情報が設定されている。
この大当たり用エンディング指定コマンドは、各種の大当たり遊技が終了するときに、上記ステップS340において大当たり遊技の種別に対応する大当たり用エンディング指定コマンドがメインRAM110cの演出用伝送データ格納領域にセットされ、ステップS800の出力制御処理において演出制御基板130に送信されることになる。
「普通図柄記憶指定コマンド」は、普通図柄保留数(G1)記憶領域に記憶されている保留記憶数を示すものであり、「MODE」が「ECH」で設定され、保留記憶数に合わせてDATAの情報が設定されている。
この普通図柄記憶指定コマンドは、普通図柄保留数(G1)記憶領域に記憶されている値が増減したときに、上記ステップS250、又は、上記ステップS400において増減後の保留記憶数に対応する普通図柄記憶指定コマンドがメインRAM110cの演出用伝送データ格納領域にセットされ、ステップS800の出力制御処理において演出制御基板130に送信されることになる。
「普図指定コマンド」は、普通図柄表示器62に停止表示される普通図柄の種別を示すものであり、「MODE」が「EDH」で設定され、普通図柄の種別に合わせてDATAの情報が設定されている。
この普図指定コマンドは、各種の普通図柄が決定され、普通図柄の変動表示が開始されるときに、上記ステップS400において普通図柄に対応する普図指定コマンドがメインRAM110cの演出用伝送データ格納領域にセットされ、上記ステップS800の出力制御処理において演出制御基板130に送信されることになる。
「普図変動指定コマンド」は、普通図柄表示器62における普通図柄の変動時間を示すものであり、「MODE」が「EEH」で設定され、各種の普通図柄の変動時間に合わせてDATAの情報が設定されている。
この普図変動指定コマンドは、普通図柄の変動表示が開始されるときに、上記ステップS400において普通図柄の変動時間に対応する普図変動指定コマンドがメインRAM110cの演出用伝送データ格納領域にセットされ、ステップS800の出力制御処理において演出制御基板130に送信されることになる。
「当たり用オープニング指定コマンド」は、各種の補助遊技が開始することを示すものであり、「MODE」が「EFH」で設定され、補助遊技の種別に合わせてDATAの情報が設定されている。
この当たり用オープニング指定コマンドは、補助遊技が開始されるときに、上記ステップS400において補助遊技の種類に対応する当たり用オープニング指定コマンドがメインRAM110cの演出用伝送データ格納領域にセットされ、ステップS800の出力制御処理において演出制御基板130に送信されることになる。
「当たり用エンディング指定コマンド」は、各種の補助遊技が終了したことを示すものであり、「MODE」が「EFH」で設定され、補助遊技の種別に合わせてDATAの情報が設定されている。
この当たり用エンディング指定コマンドは、各種の補助遊技が終了するときに、上記ステップS400おいて補助遊技の種別に対応する当たり用エンディング指定コマンドがメインRAM110cの演出用伝送データ格納領域にセットされ、ステップS800の出力制御処理において演出制御基板130に送信されることになる。
「遊技状態指定コマンド」は、時短遊技状態であるか否か、高確率遊技状態であるか否かを示すものであり、「MODE」が「F0H」で設定され、各遊技状態に合わせて「DATA」が設定されている。
この遊技状態指定コマンドは、特別図柄の変動開始時、特別図柄の変動終了時(大当たり遊技の開始時)、及び、大当たりの終了時に、上記ステップS310、上記ステップS330、上記ステップS350において遊技状態に対応する遊技状態指定コマンドがメインRAM110cの演出用伝送データ格納領域にセットされ、ステップS800の出力制御処理において演出制御基板130に送信されることになる。
「電源投入指定コマンド」及び「電源復旧指定コマンド」は、遊技機1への電源投入がメインRAM110cの初期化を伴うものであるか否かを示すものであり、「MODE」が「F1H」で設定され、メインRAM110cの初期化を伴う場合には「DATA」が「00H」に設定され、メインRAM110cの初期化を伴わない場合には「DATA」が「01H~03H」に設定される。
この電源投入指定コマンド、及び、電源復旧指定コマンドは、遊技機1に電源が投入されたときに、上記ステップS10においてメインRAM110cの初期化の有無、及び、遊技状態に対応する電源投入指定コマンド、又は、電源復旧指定コマンドが演出制御基板130に送信される。
「客待ち状態指定コマンド」は、特別図柄の変動表示が行われない客待ち状態となったことを示すものであり、「MODE」が「F1H」で設定され、DATAが「04H」で設定されている。
この客待ち状態指定コマンドは、特別図柄の変動表示が行われない客待ち状態となったときに、上記ステップS310においてメインRAM110cの演出用伝送データ格納領域にセットされ、ステップS800の出力制御処理において演出制御基板130に送信されることになる。
「エラー指定コマンド」は、遊技機1に発生したエラーを示すものであり、「MODE」が「F2H」で設定され、エラーの種別に合わせて「DATA」の情報が設定されている。
このエラー指定コマンドは、上記ステップS600の磁気・電波異常判定処理において磁気異常や電波異常の発生が判定されたとき、上記ステップS260の入賞確認検出スイッチ入力処理において異常入賞の発生が判定されたとき、上記ステップS220の大入賞口検出スイッチ入力処理、又は、上記ステップS240の第2始動口検出スイッチ入力処理において不正入賞の発生が判定されたとき、エラーの種別に対応するエラー指定コマンドがメインRAM110cの演出用伝送データ格納領域にセットされ、ステップS800の出力制御処理において演出制御基板130に送信されることになる。
また、払出制御基板120において遊技盤取付枠3やガラス枠4の開放、下受け皿12の満杯、払出異常が検出されたときに、エラーの種別に対応するエラー指定コマンドが払出RAM121cの演出用伝送データ格納領域にセットされ、払出制御基板120の出力制御処理において演出制御基板130に送信されることになる。
「エラー解除指定コマンド」は、遊技機1に発生したエラーが解消されたことを示すものであり、「MODE」が「F2H」で設定され、解消したエラーの種別に合わせて「DATA」の情報が設定されている。
このエラー解除指定コマンドは、払出制御基板120において遊技盤取付枠3やガラス枠4の閉鎖、下受け皿12の満杯の解消、払出異常の解消が検出されたときに、解消されたエラーの種別に対応するエラー解除指定コマンドがメインRAM110cの演出用伝送データ格納領域にセットされ、払出制御基板120の出力制御処理において演出制御基板130に送信されることになる。
(演出制御部130mのメイン処理)
次に、図10を用いて、演出制御部130mのメイン処理を説明する。図10は、演出制御部130mのメイン処理を示すフローチャートである。
電源基板160から電源電圧が供給されると、サブCPU130aにシステムリセットが発生し、サブCPU130aは以下のメイン処理を行う。
サブCPU130aは、ステップE10において、タイマ割込を禁止する割込禁止を設定し、ステップE20において、初期化処理を行う。具体的には、電源投入に応じて、サブROM130bからメイン処理プログラムを読み込むと共に、サブRAM130cに記憶されるフラグ等を初期化し、初期設定等の処理を行う。
サブCPU130aは、ステップE30において、タイマ割込を許可する割込許可を設定し、ステップE40において、サブ乱数更新処理を行う。具体的には、サブRAM130cに記憶される各種乱数値を更新する処理を行う。以降は、所定の割込処理が行われるまで、上記ステップE40の処理を繰り返し行う。
(演出制御部130mのタイマ割込処理)
図11を用いて、演出制御部130mのタイマ割込処理を説明する。図11は、演出制御部130mにおいて所定の周期(4ミリ秒)毎に実行されるタイマ割込処理を示すフローチャートである。
サブCPU130aは、ステップE100において、サブCPU130aのレジスタに格納されている情報をスタック領域に退避させ、ステップE120において、タイマ更新処理を行う。このタイマ更新処理において、サブCPU130aは、各種のタイマを更新する処理を行う。
サブCPU130aは、ステップE130において、入力制御処理を行う。具体的には、演出ボタン検出スイッチ17aや十字キー検出スイッチ19a等の各種スイッチに入力があったか否かを判定し、入力があった場合に所定のデータをセットする処理を行う。
サブCPU130aは、ステップE150において、コマンド解析処理を行う。具体的には、主制御基板110から各種のコマンドが送信されてきているか否かを判定し、各種のコマンドが送信されてきている場合に受信したコマンドをサブRAM130cの受信バッファに格納する処理を行う。
サブCPU130aは、ステップE200において、電源投入処理を行う。具体的には、サブRAM130cの受信バッファを参照して電源投入指定コマンドを受信しているか否かを判定し、受信している場合に電源投入報知を行うための処理を行う。詳述すると、表示/音声制御部140に電源投入報知コマンドを送信して、第1画像表示装置70(メイン液晶)や第2画像表示装置71(サブ液晶)に電源投入画面を表示させたり、音声出力装置9から電源投入音を出力させたりする。
サブCPU130aは、ステップE250において、停電復旧処理を行う。具体的には、サブRAM130cの受信バッファを参照して電源復旧指定コマンドを受信しているか否かを判定し、受信している場合に停電復旧報知を行うための処理を行う。詳述すると、表示/音声制御部140に電源復旧報知コマンドを送信して、第1画像表示装置70(メイン液晶)や第2画像表示装置71(サブ液晶)に電源復旧画面を表示させたり、音声出力装置9から電源復旧音を出力させたりする。
サブCPU130aは、ステップE300において、客待ち演出処理を行う。具体的には、サブRAM130cの受信バッファを参照して客待ち状態指定コマンドを受信しているか否かを判定し、受信している場合に所定時間経過後(例えば20秒)に客待ち演出を行うための処理を行う。詳述すると、表示/音声制御部140に客待ち演出コマンドを送信して、第1画像表示装置70(メイン液晶)や第2画像表示装置71(サブ液晶)に客待ちデモ画面を表示させたり、音声出力装置9から客待ちデモ音を出力させたりする。
サブCPU130aは、ステップE350において、遊技状態更新処理を行う。具体的には、サブRAM130cの受信バッファを参照して遊技状態指定コマンドを受信しているか否かを判定し、受信している場合にサブRAM130cに記憶している遊技状態情報を更新する処理を行う。
サブCPU130aは、ステップE400において、保留情報更新処理を行う。具体的には、サブRAM130cの受信バッファを参照して特別図柄記憶指定コマンドや普通図柄記憶指定コマンドを受信しているか否かを判定し、受信している場合にサブRAM130cに記憶している第1特別図柄保留数、第2特別図柄保留数、普通図柄保留数等を更新する処理を行う。
サブCPU130aは、ステップE500において、アイコン変化演出処理を行う。具体的には、サブRAM130cの受信バッファを参照して始動口入賞指定コマンドや変動パターン指定コマンドを受信しているか否かを判定し、受信している場合にはアイコン変化演出に関する処理を行う。
アイコン変化演出とは、保留アイコン、及び、当該アイコンの表示態様を変化させる先読み予告演出の一種であり、詳細は後述するが、変化させるタイミングや変化態様(ノーマル変化、図柄作用変化、及び、キャラ作用変化)は複数種類設定されている。詳しくは、図12を用いて後述する。
なお、本実施の形態では、保留アイコンに対するアイコン変化演出を「保留アイコン変化演出」と当該アイコンに対するアイコン変化演出を「当該アイコン変化演出」と称する場合がある。
サブCPU130aは、ステップE600において、特図特電演出処理を行う。具体的には、サブRAM130cの受信バッファを参照して演出図柄指定コマンド、特別図柄用変動パターン指定コマンド、特別図柄確定コマンド、大当たり用オープニング指定コマンド、ラウンド指定コマンド、及び、大当たり用エンディング指定コマンド等を受信しているか否かを判定し、受信している場合に受信したコマンドに対応する演出を実行するための処理を行う。
サブCPU130aは、ステップE800において、普図普電演出処理を行う。具体的には、サブRAM130cの受信バッファを参照して普図指定コマンド、普図変動指定コマンド、普通図柄確定コマンド、当たり用オープニング指定コマンド、及び、当たり用エンディング指定コマンド等を受信しているか否かを判定し、受信している場合に受信したコマンドに対応する演出を実行するための処理を行う。
サブCPU130aは、ステップE850において、エラー報知処理を行う。具体的には、サブRAM130cの受信バッファを参照してエラー指定コマンドやエラー解除指定コマンドを受信しているか否かを判定し、受信している場合に受信したエラー指定コマンドに対応するエラー報知演出を実行するための処理を行ったり、受信したエラー解除指定コマンドに対応するエラー報知演出を終了したりするための処理を行う。
サブCPU130aは、ステップE900において、出力制御処理を行う。具体的には、所定のデータ等の信号を出力したり、サブRAM130cの送信バッファに格納された各種のコマンドを表示/音声制御部140やランプ/駆動制御部150に送信したりする処理を行う。
サブCPU130aは、ステップE950において、ステップE100で退避した情報をサブCPU130aのレジスタに復帰させ、今回のタイマ割込処理を終了する。
(演出制御部130mのアイコン変化演出処理)
図12を用いて、演出制御部130mのアイコン変化演出決定処理を説明する。図12は、演出制御部130mにおけるアイコン変化演出決定処理を示すフローチャートである。
サブCPU130aは、ステップE510において、アイコン変化演出を実行するか否か等を決定するアイコン変化演出決定処理を行う。詳しくは、図13を用いて後述する。
サブCPU130aは、ステップE520において、既に表示されているアイコン(保留アイコン、及び、当該アイコン)の表示態様を更新(変化)させるためのアイコン表示態様更新処理を行い、今回のアイコン変化演出処理を終了する。詳しくは、図16を用いて後述する。
(演出制御部130mのアイコン変化演出決定処理)
図13を用いて、演出制御部130mのアイコン変化演出決定処理を説明する。図13は、演出制御部130mにおけるアイコン変化演出決定処理を示すフローチャートである。
サブCPU130aは、ステップE510-1において、始動口入賞指定コマンドを受信したか否かを判定する。始動口入賞指定コマンドを受信した場合には、ステップE510-2に処理を移し、始動口入賞指定コマンドを受信していない場合には、今回のアイコン変化演出決定処理を終了する。
サブCPU130aは、ステップE510-2において、受信した始動口入賞指定コマンドを参照し、大当たりであるか否か、大当たり遊技の種別、及び、演出内容(予定変動パターン)を把握する。
サブCPU130aは、ステップE510-3において、現在がアイコン変化演出の実行可能期間であるか否かを判定する。アイコン変化演出の実行可能期間である場合には、ステップE510-4に処理を移し、アイコン変化演出の実行可能期間でない場合には、今回のアイコン変化演出決定処理を終了する。
アイコン変化演出の実行可能期間とは、大当たり遊技の実行中でないことや、アイコン変化演出の実行中でないことや、アイコン変化演出が実行予定でない場合となっている。なお、上記3つの条件の何れか1つの条件、又は、2つの条件だけを設けるようにしてもよい。また、上記3つの条件とは異なる条件としてもよい。
サブCPU130aは、ステップE510-4において、先行保留(先に受信した始動口入賞指定コマンドに対応する保留記憶)の事前判定結果が全てノーマルリーチ以下、つまり、先行保留の事前判定結果が全て通常変動、短縮変動、又は、ノーマルリーチか否かを判定する。全てノーマルリーチ以下である場合には、ステップE510-5に処理を移し、全てノーマルリーチ以下でない場合には、ステップE510-8に処理を移す。
サブCPU130aは、ステップE510-5において、第1画像表示装置70(メイン液晶)に表示されるアイコンの最終表示態様を決定するためのアイコン表示態様決定用乱数値を取得し、ステップE510-6において、アイコンの最終表示態様を決定するためのアイコン最終表示態様決定テーブル(図14参照)を選択する。なお、アイコン最終表示態様決定テーブルの詳細は後述する。
サブCPU130aは、ステップE510-7において、アイコン最終表示態様を決定する。具体的には、サブCPU130aは、図14に示すアイコン最終表示態様決定テーブルを参照し、始動口入賞指定コマンド、及び、アイコン表示態様決定用乱数値に基づいて、複数のアイコン最終表示態様の中から1つのアイコン最終表示態様を決定する。
サブCPU130aは、ステップE510-8において、アイコン最終表示態様として、通常表示態様である通常アイコン(CDアイコン)を決定する。
サブCPU130aは、ステップE510-9において、決定されたアイコン最終表示態様がアイコン変化演出を実行する表示態様(特別アイコン)であるか否かを判定する。アイコン変化演出を実行する表示態様である場合には、ステップE510-10に処理を移し、アイコン変化演出を実行する表示態様でない場合には、ステップE510-13に処理を移す。
サブCPU130aは、ステップE510-10において、アイコン変化演出の変化シナリオを決定するための変化シナリオ決定テーブル(図15参照)を選択する。なお、変化シナリオ決定テーブルの詳細は後述する。この変化シナリオとは、保留アイコンが出現してから消滅するまでの表示態様の推移を示すものである。
サブCPU130aは、ステップE510-11において、変化シナリオを決定してサブRAM130cの保留記憶数カウンタに対応する先読み情報記憶領域にセットする。具体的には、図15に示す変化シナリオ決定テーブルを参照し、アイコン最終表示態様、及び、選択率に基づいて、複数の変化シナリオの中から1つの変化シナリオを決定する。
サブCPU130aは、ステップE510-12において、決定された変化シナリオから第1画像表示装置70(メイン液晶)に最初に表示されるアイコン表示態様である入賞時アイコンを特定し、当該入賞時アイコンのアイコン表示コマンドを送信バッファにセットし、今回のアイコン変化演出決定処理を終了する。これにより、上記ステップE900の出力制御処理でアイコン表示コマンドが表示/音声制御部140やランプ/駆動制御部150に送信され、入賞時アイコンのアイコン表示コマンドに対応する表示態様の保留アイコンが第1画像表示装置70(メイン液晶)に表示されたり、所定の効果音が出力されたりすることになる。
サブCPU130aは、ステップE510-13において、アイコン変化演出が実行されない非変化シナリオを決定してサブRAM130cの保留記憶数カウンタに対応する先読み情報記憶領域にセットする。
サブCPU130aは、ステップE510-14において、通常アイコンのアイコン表示コマンドを送信バッファにセットし、今回のアイコン変化演出決定処理を終了する。これにより、上記ステップE900の出力制御処理で表示データが表示/音声制御部140やランプ/駆動制御部150に送信され、通常アイコンのアイコン表示コマンドに対応する表示態様の保留アイコンが第1画像表示装置70(メイン液晶)に表示されたり、所定の効果音が出力されたりすることになる。
なお、本実施の形態のアイコン変化演出決定処理では、先行保留の事前判定結果が全てノーマルリーチ以下である場合にアイコン変化演出(保留アイコン変化演出、当該アイコン変化演出)が実行されるようにしたが、先行保留の事前判定結果がリーチ演出を行わないものである場合にアイコン変化演出が実行されるようにし、リーチ演出を行うものである場合にアイコン変化演出が実行されないようにしてもよい。このようにすると、リーチ演出が実行される先行保留に対応する変動演出中には保留アイコンの表示態様の変化が発生せずに、リーチ演出が実行されない先行保留に対応する変動演出中に保留アイコンの表示態様の変化が発生するようになり、アイコン変化演出によってリーチ演出を阻害することがなくなり、遊技の興趣を向上させることが可能となる。
また、先行保留の事前判定結果がリーチ演出を行うものを含む場合であっても、アイコン変化演出が実行されるようにしてもよいが、先行保留の事前判定結果がリーチ演出を行うものを含まない場合の方が、リーチ演出を行うものを含む場合よりもアイコン変化演出が実行され易い(高い割合で実行される)ようにしてもよい。
(アイコン最終表示態様決定テーブル)
図14は、アイコン最終表示態様を決定する場合に参照されるアイコン最終表示態様決定テーブルを示す図である。
アイコン最終表示態様決定テーブルには、始動口入賞指定コマンドの種類、アイコン表示態様決定用乱数値、及び、選択されるアイコン最終表示態様が対応付けられており、図14に示す選択率(%)となるように、アイコン表示態様決定用乱数値が割り振られている。
アイコン最終表示態様には、通常アイコンとしてのCDアイコンと、大当たりとなる(大当たり遊技が実行される)可能性があることを示唆する特別アイコンとしての青キャラアイコン、赤キャラアイコン、及び、虹キャラアイコンが設定されている。
特別アイコンに係る大当たり当選期待度は、(CDアイコン<)青キャラアイコン<赤キャラアイコン<虹キャラアイコンの順で高くなっており、虹キャラアイコンは大当たりとなることが確定するアイコンとなっている。
ここで、図14に示すアイコン最終表示態様決定テーブルの主たる特徴として、演出内容に応じて、アイコン最終表示態様の選択率を異ならせている。具体的には、本実施の形態では、演出内容がSPリーチやSPSPリーチであることを示す特定の始動入賞情報である場合、演出内容がリーチにならない通常変動や短縮変動やノーマルリーチであることを示す通常の始動入賞情報である場合よりも、キャラアイコンが高い割合で選択されるようなっている。
なお、図14に示すアイコン最終表示態様決定テーブルでは、大当たりとなる場合は、アイコン最終表示態様としてCDアイコンは選択されないようになっているが、選択されるようにしてもよい。
(変化シナリオ決定テーブル)
図15は、変化シナリオを決定する場合に参照される変化シナリオ決定テーブルを示す図である。
変化シナリオ決定テーブルには、アイコン最終表示態様、始動口入賞指定コマンドに対応する特別図柄の保留数、各シナリオの選択率(%)、及び、選択される変化シナリオの種類が対応付けられており、参考として各変化シナリオにおける事前変動、及び、当該変動における更新態様が記載されている。
ここで、「事前変動」とは、新たに受信した始動口入賞指定コマンドに対応する特図判定情報よりも以前に記憶された特図判定情報に基づいて実行される変動表示(変動演出)のことであり、「当該変動」とは、新たに受信した始動口入賞指定コマンドに対応する特図判定情報に基づいて実行される変動表示(変動演出)のことである。
変化シナリオには、アイコンの表示態様が事前変動の実行中には変化せず(保留アイコン変化演出が実行されず)に当該変動の実行中には変化する(当該アイコン変化演出が実行される)シナリオ(例えば、シナリオ01等)や、アイコンの表示態様が事前変動の実行中には変化する(保留アイコン変化演出が実行される)が当該変動の実行中には変化しない(当該アイコン変化演出が実行されない)シナリオ(例えば、シナリオ02等)や、アイコンの表示態様が事前変動の実行中、及び、当該変動の実行中に変化する(保留アイコン変化演出、及び、当該アイコン変化演出が実行される)シナリオ(例えば、シナリオ15等)が設定されている。
なお、本実施の形態の変化シナリオ決定テーブルでは、事前変動においてリーチ演出(ノーマルリーチ以外のリーチであってもよい)が実行されるか否かに拘らずにアイコンの表示態様を変化させるシナリオを決定するようになっているが、事前変動において大当たり遊技が実行される可能性があることを示唆するリーチ演出が実行されるか否かを判定要素とした変化シナリオ決定テーブルによってアイコンの表示態様を変化させるシナリオを決定するようにしてもよい。このような変化シナリオ決定テーブルを用いる場合には、リーチ演出が実行される事前変動の実行中にアイコンの表示態様の変化が発生せずに、リーチ演出が実行されない事前変動の実行中にアイコンの表示態様の変化が発生するように各種のシナリオを設定しておくとよい。また、リーチ演出が実行される事前変動、及び、リーチ演出が実行されない事前変動の実行中にアイコンの表示態様の変化が発生するが、リーチ演出が実行される事前変動の実行中よりもリーチ演出が実行されない事前変動の実行中の方が高い割合でアイコンの表示態様の変化が発生するように各種のシナリオを設定しておいてもよい。
(演出制御部130mのアイコン表示態様更新処理)
図16を用いて、演出制御部130mのアイコン表示態様更新処理を説明する。図16は、演出制御部130mにおけるアイコン表示態様更新処理を示すフローチャートである。
サブCPU130aは、ステップE520-1において、変動パターン指定コマンドを受信したか否かを判定する。変動パターン指定コマンドを受信した場合には、ステップE520-2に処理を移し、変動パターン指定コマンドを受信していない場合には、今回のアイコン表示態様更新処理を終了する。
サブCPU130aは、ステップE520-2において、サブRAM130cの先読み情報記憶領域に記憶されているアイコンの変化シナリオを参照し、ステップE520-3において、表示態様を変化(更新)させる保留アイコンがあるか否かを判定する。表示態様を変化させる保留アイコンがある場合には、ステップE520-4に処理を移し、表示態様を変化させる保留アイコンがない場合には、ステップE520-7に処理を移す。
サブCPU130aは、ステップE520-4において、変化対象となる保留アイコンの表示態様の変化パターン(変化態様)を決定するための保留アイコン用の変化パターン決定テーブル(図17参照)を選択する。なお、保留アイコン用の変化パターン決定テーブルの詳細は後述する。
サブCPU130aは、ステップE520-5において、保留アイコン変化パターンを決定する。具体的には、図17に示す保留アイコン用の変化パターン決定テーブルを参照し、今回の変動演出における保留アイコン変化の態様と、選択率(%)に基づいて、複数の保留アイコン変化パターンの中から1つの保留アイコン変化パターンを決定する。
サブCPU130aは、ステップE520-6において、決定した保留アイコン変化パターンに応じた変化演出コマンドを送信バッファにセットする。これにより、上記ステップE900の出力制御処理で表示データが表示/音声制御部140やランプ/駆動制御部150に送信され、保留アイコン変化パターンに応じた変化タイミング、及び、変化タイミングにおける変化段階に応じて第1画像表示装置70(メイン液晶)に表示されている保留アイコンの表示態様が変化したり、所定の効果音が出力されたりすることになる。
サブCPU130aは、ステップE520-7において、表示態様を変化(更新)させる当該アイコンがあるか否かを判定する。表示態様を変化させる当該アイコンがある場合には、ステップE520-8に処理を移し、表示態様を変化させる当該アイコンがない場合には、今回のアイコン表示態様更新処理を終了する。
サブCPU130aは、ステップE520-8において、変化対象となる当該アイコンの表示態様の変化パターン(変化態様)を決定するための複数の当該アイコン用の変化パターン決定テーブルの中から、今回の変動演出で当該アイコンが変化する変化段階に応じた当該アイコン用の変化パターン決定テーブル(図18、図19参照)を選択する。なお、変化段階に応じた当該アイコン用の変化パターン決定テーブルの詳細は後述する。
サブCPU130aは、ステップE520-9において、当該アイコン変化パターンを決定する。具体的には、図18、又は、図19に示す当該アイコン用の変化パターン決定テーブルを参照し、今回の変動演出における当該アイコン変化の態様と、選択率(%)に基づいて、複数の当該アイコン変化パターンの中から1つの当該アイコン変化パターンを決定する。
サブCPU130aは、ステップE520-10において、決定した当該アイコン変化パターンに応じた変化演出コマンドを送信バッファにセットし、今回のアイコン表示態様更新処理を終了する。これにより、上記ステップE900の出力制御処理で表示データが表示/音声制御部140やランプ/駆動制御部150に送信され、当該アイコン変化パターンに応じた変化タイミング、及び、変化タイミングにおける変化段階に応じて第1画像表示装置70(メイン液晶)に表示されている当該アイコンの表示態様が変化したり、所定の効果音が出力されたりすることになる。
(保留アイコン用の変化パターン決定テーブル)
図17は、保留アイコン用の変化パターンを決定する場合に参照される保留アイコン用の変化パターン決定テーブルを示す図である。
保留アイコン用の変化パターン決定テーブルには、今回の変動演出における保留アイコン変化の態様、各保留アイコン変化パターンの選択率(%)、及び、選択される保留アイコン変化パターンの種類が対応付けられており、参考として各保留アイコン変化パターンにおける保留アイコンの変化演出発生タイミング、及び、変化段階が記載されている。
保留アイコン変化パターンには、当該アイコンが消滅したことに応じて、保留アイコンがシフト表示される際に(変動開始時に)効果音の出力を伴って保留アイコンの表示態様が変化するノーマル変化パターン01や、効果音の出力を伴って変動中に保留アイコンの表示態様が変化するノーマル変化パターン02や、キャラクタが出現すると共にキャラクタを起点として当該アイコンに作用する作用演出が行われて当該アイコンの表示態様が変化するキャラ作用変化パターン01や、変動演出の結果としてアイコンの表示態様が変化することを示す変化報知図柄(特殊図柄)が仮停止表示されると共に変化報知図柄を起点として保留アイコンに作用する作用演出が行われて保留アイコンの表示態様が変化する図柄作用変化パターン01が設定されている。
保留アイコンの変化演出発生タイミングは、変動演出の進行状態に関連して分類されており、変動演出が開始されるとき(変動開始時)と、変動演出の実行中(変動中)と、演出図柄70aが仮停止するとき((仮)停止中)とがある。
保留アイコンの変化段階には、大当たり当選期待度が1段階上の表示態様に変化させる1UP(例えば、CDアイコンから青キャラアイコンへの変化、青キャラアイコンから赤キャラアイコンへの変化)と、大当たり当選期待度が2段階上の表示態様に変化させる2UP(例えば、CDアイコンから赤キャラアイコンへの変化)が設定されている。
なお、保留アイコンの変化演出発生タイミングは、上記3つのタイミングとしていたが、これらタイミングに限られず、他のタイミングを設けてもよい。例えば、リーチが成立するまでの変動演出の実行中(変動中)、ノーマルリーチの実行中やSP(SPSP)リーチの実行中等を設けてもよい。
(当該アイコン用の変化パターン決定テーブル)
図18、及び、図19は、当該アイコンの変化パターンを決定する場合に参照される当該アイコン用の変化パターン決定テーブルを示す図であり、図18は、当該アイコンの表示態様を1段階変化させる場合に参照されるテーブルであり、図19は、当該アイコンの表示態様を2段階変化させる場合に参照されるテーブルである。
当該アイコン用の変化パターン決定テーブルには、今回の変動演出における当該アイコン変化の態様、各当該アイコン変化パターンの選択率(%)、及び、選択される当該アイコン変化パターンの種類が対応付けられており、参考として各当該アイコン変化パターンにおける当該アイコンの変化演出発生タイミング、及び、変化段階が記載されている。
当該アイコン変化パターンには、効果音の出力を伴って変動開始時に保留アイコンの表示態様が変化するノーマル変化パターン01や、効果音の出力を伴って変動中に保留アイコンの表示態様が変化するノーマル変化パターン02や、キャラクタが出現すると共にキャラクタを起点として当該アイコンに作用する作用演出が行われて当該アイコンの表示態様が変化するキャラ作用変化パターン01が設定されている。
当該アイコンの変化演出発生タイミングは、変動演出の進行状態に関連して分類されており、変動演出が開始されるとき(変動開始時)と、変動演出の実行中(変動中)と、演出図柄70aが仮停止するとき((仮)停止中)とがある。
当該アイコンの変化段階には、大当たり当選期待度が1段階上の表示態様に変化させる1UP(例えば、CDアイコンから青キャラアイコンへの変化、青キャラアイコンから赤キャラアイコンへの変化)と、大当たり当選期待度が2段階上の表示態様に変化させる2UP(例えば、CDアイコンから赤キャラアイコンへの変化、青キャラアイコンから虹キャラアイコンへの変化)が設定されている。
なお、本実施の形態の当該アイコン用の変化パターン決定テーブルでは、図柄作用変化パターン01が選択されないようになっていたが、選択され得るようにしてもよい。例えば、擬似連演出を行う変動演出において、擬似変動が行われる前の演出図柄70aの仮停止表示が行われるときに変化報知図柄を仮停止表示されるようにすればよい。
擬似連演出とは、1回の始動口(第1始動口45、第2始動口47)への入賞(入球)に基づく大当たり判定に対して、あたかも複数回の演出図柄の変動表示が実行されたかのように見せるために、1回の始動口(第1始動口45、第2始動口47)への入賞(入球)に対して決定された特図変動時間内にて、全部の演出図柄70aが仮停止した後に再度変動を開始する再変動表示を1回又は複数回実行する特殊な態様の演出図柄の変動表示のことである。
なお、当該アイコンの変化演出発生タイミングは、上記2つのタイミングとしていたが、これらタイミングに限られず、他のタイミングを設けてもよい。例えば、リーチが成立するまでの変動演出の実行中(変動中)、ノーマルリーチの実行中やSP(SPSP)リーチの実行中等を設けてもよい。
(保留アイコン表示態様と変化演出発生タイミングとの変化演出発生頻度の関係性)
図20(a)は、保留アイコン表示態様と変化演出発生タイミングとの発生頻度の関係性を示す図である。
保留アイコンの表示態様が青キャラアイコンに変化する場合、所定のコマンドの受信に応じたフレーム更新タイミングの方が変動パターン指定コマンド受信後の所定のフレーム更新タイミングよりも変化演出の発生頻度が高くなっている。
また、保留アイコンの表示態様が青キャラアイコンに変化する場合、変動パターン指定コマンド受信後の所定のフレーム更新タイミングの方が所定のコマンドの受信に応じたフレーム更新タイミングよりも変化演出の発生頻度が低くなっている。
つまり、変動パターン指定コマンド受信後の所定のフレーム更新タイミングにアイコン変化演出が実行される場合よりも所定のコマンドの受信に応じたフレーム更新タイミングにアイコン変化演出が実行される場合の方が保留アイコンの表示態様が青キャラアイコンに変化し易くなっているといえる。
一方、保留アイコンの表示態様が赤キャラアイコンに変化する場合、変動パターン指定コマンド受信後の所定のフレーム更新タイミングの方が所定のコマンドの受信に応じたフレーム更新タイミングよりも変化演出の発生頻度が高くなっている。
また、保留アイコンの表示態様が赤キャラアイコンに変化する場合、所定のコマンドの受信に応じたフレーム更新タイミングの方が変動パターン指定コマンド受信後の所定のフレーム更新タイミングよりも変化演出の発生頻度が低くなっている。
つまり、所定のコマンドの受信に応じたフレーム更新タイミングにアイコン変化演出が実行される場合よりも変動パターン指定コマンド受信後の所定のフレーム更新タイミングにアイコン変化演出が実行される場合の方が保留アイコンの表示態様が赤キャラアイコンに変化し易くなっているといえる。なお、この所定のコマンドとは、始動口入賞指定コマンドや変動パターン指定コマンドのことである。
具体的には、所定のコマンドの受信に応じたフレーム更新タイミングにおいて発生する変化演出とは、始動口(第1始動口45、第2始動口47)に遊技球が入賞して保留アイコンが表示されるタイミングで保留アイコンを特別アイコンで表示する変化演出(入賞時変化演出)、及び、ノーマル変化パターン01のことである。
また、変動パターン指定コマンド受信後の所定のフレーム更新タイミングにおいて発生する変化演出とは、ノーマル変化パターン02、キャラ作用変化パターン01、及び、図柄作用変化パターン01のことである。
保留アイコン表示態様と変化演出発生タイミングとの変化演出発生頻度の関係性が以上のような関係性になっていることから、変動パターン指定コマンド受信後の所定のフレーム更新タイミングの方が所定のコマンドの受信に応じたフレーム更新タイミングよりも大当たり当選期待度が高い赤キャラアイコンに変化する変化演出の発生頻度が高いので、遊技者に変化演出発生タイミングに注目させることができ、遊技の興趣を向上させることが可能となる。
また、所定のコマンドの受信に応じたフレーム更新タイミングの方が変動パターン指定コマンド受信後の所定のフレーム更新タイミングよりも青キャラアイコンに変化する変化演出の発生頻度が高いので、変動演出の早い時期に、大当たり当選期待度が高い赤キャラアイコンには変化し難いものの、青キャラアイコンには変化し易いので、遊技者にその後の変動演出に注目させることができ、遊技の興趣を向上させることが可能となる。
(変化演出種別と変化演出発生タイミングとの変化演出発生頻度の関係性1)
図20(b)は、変化演出種別と変化演出発生タイミングとの変化演出発生頻度の関係性1を示す図である。
所定のコマンドの受信に応じたフレーム更新タイミングにおいて変化演出が発生する場合、保留アイコン変化演出の方が当該アイコン変化演出よりも変化演出発生頻度が高くなっている。
また、所定のコマンドの受信に応じたフレーム更新タイミングにおいて変化演出が発生する場合、当該アイコン変化演出の方が保留アイコン変化演出よりも変化演出発生頻度が低くなっている。
変化演出種別と変化演出発生タイミングとの変化演出発生頻度の関係性が以上のような関係性となっていることから、保留アイコンは、変動演出の早い時期に変化し易くなっているので、遊技者の大当たり遊技への期待感を長期間に亘って引っ張ることができ、遊技の興趣を向上させることが可能となる。なお、この所定のコマンドとは、始動口入賞指定コマンドや変動パターン指定コマンドのことである。
(変化演出種別と変化演出発生タイミングとの変化演出発生頻度の関係性2)
図20(c)は、変化演出種別と変化演出発生タイミングとの変化演出発生頻度の関係性2を示す図である。
変動パターン指定コマンド受信後の所定のフレーム更新タイミングにおいて変化演出が発生する場合、当該アイコン変化演出の方が保留アイコン変化演出よりも変化演出発生頻度が高くなっている。
また、変動パターン指定コマンド受信後の所定のフレーム更新タイミングにおいて変化演出が発生する場合、保留アイコン変化演出の方が当該アイコン変化演出よりも変化演出発生頻度が低くなっている。
変化演出種別と変化演出発生タイミングとの変化演出発生頻度の関係性が以上のような関係性となっていることから、当該アイコンは、変動演出の遅い時期に変化し易くなっているので、遊技者の大当たり遊技への期待感を変動演出の遅い時期まで引っ張ることで遊技の興趣を向上させることが可能となる。
(アイコン表示態様とアイコン発生(変化)時の報知音との関係性)
図20(d)は、アイコン表示態様とアイコン発生(変化)時の報知音との関係性を示す図である。
保留アイコンとしてCDアイコンが発生した時は、アイコン発生時の報知音として第1発生報知音が出力され、保留アイコン、及び、当該アイコンとして青キャラアイコンが発生した時(に変化した時)は、アイコン発生(変化)時の報知音として第2発生報知音(変化報知音)が出力され、保留アイコン、及び、当該アイコンとして赤キャラアイコンが発生した時(に変化した時)は、アイコン発生(変化)時の報知音として第3発生報知音(変化報知音)が出力され、当該アイコンとして虹キャラアイコンに変化した時は、アイコン変化時の報知音として第4発生報知音(変化報知音)が出力されるように設定されている。
なお、本実施の形態では、複数のアイコン表示態様に対して、それぞれ異なる報知音が設定されていたが(4種類)、CDアイコンが発生した時の発生報知音と青キャラアイコン、赤キャラアイコン、及び、虹キャラアイコンに変化した時の変化報知音との2種類としてもよいし、CDアイコンが発生した時には報知音を出力させず、アイコンが何れかの態様に変化した時のみ報知音を出力するようにしてもよい。また、大当たりとなることが確定する虹キャラアイコンについては、専用の変化報知音を設けて3種類としてもよい。
(統括制御部141のメイン処理)
図21を用いて統括制御部141のメイン処理を説明する。図21は、統括制御部141のメイン処理を示すフローチャートである。
電源基板160から電源電圧が供給されると、統括CPU142にシステムリセットが発生し、統括CPU142は以下のメイン処理を行う。
まず、統括CPU142は、ステップT1において、タイマ割込を禁止する割込禁止を設定し、ステップT2において、初期化処理を行う。具体的には、統括ROM143からメイン処理プログラムを読み込むと共に、統括RAM144に記憶されるフラグ等を初期化し、初期設定などの処理を行う。
統括CPU142は、ステップT3において、タイマ割込を許可する割込許可を設定し、ステップT4において、統括RAM144の受信バッファを参照して演出制御部130mから演出指示コマンドを受信しているか否かを判定し、受信していない場合には、ステップT7に処理を移し、受信している場合には、ステップT5において、受信した演出指示コマンドに対応する種類のアニメグループからアニメパターンを決定して設定するアニメパターン設定処理を行う。
なお、演出指示コマンドとは、客待ち演出コマンド、アイコン表示コマンド、変化演出コマンド、変動演出パターンコマンド、図柄停止パターンコマンド、オープニング演出パターンコマンド、ラウンド演出パターンコマンド、エンディング演出パターンコマンド等が挙げられる。
また、アニメグループとは、演出画像を構成するオブジェクトの種類、その演出画像の表示を行うシーン(タイミング)やウェイトフレーム(表示時間)、対象データ(スプライト画像の識別番号、転送元アドレス等)、パラメータ(スプライト画像の表示位置、転送先アドレス等)、描画方法、演出画像を表示する画像表示装置を指定した情報などが規定(指定)された情報であるアニメパターンが1、又は、複数、束ねられることによって形成されたグループである。
アニメグループの種類には、例えば、演出図柄70aのアニメーションを表示するための演出図柄グループ、保留アイコンや当該アイコンのアニメーションを表示するためのアイコングループ、背景やキャラクタといった変動演出のアニメーションを表示するための変動演出グループ、予告等のアニメーションを表示するための予告演出グループ、特別遊技演出のアニメーションを表示するための特別遊技演出グループなどが挙げられる。
統括CPU142は、ステップT6において、受信した演出指示コマンドに対応する種類のサウンドグループからサウンドパターンを決定して設定するサウンド設定処理を行い、ステップT7において、画像表示装置に表示させる演出画像を更新する(新たな演出画像の描画を行う)フレーム更新タイミングであることを示すフレーム切替フラグがあるか否かを判定し、フレーム切替フラグがない場合には、ステップT4に処理を移し、フレーム切替フラグがある場合には、ステップT8において、フレーム切替フラグをクリアする。
統括CPU142は、ステップT9において、描画制御コマンド群から構成されるディスプレイリストを生成し、生成したディスプレイリストを画像制御部145(VDP)に出力するディスプレイリスト生成・出力処理を行う。
ここで、ディスプレイリストとは、第1画像表示装置70(メイン液晶)、及び、第2画像表示装置71(サブ液晶)に表示する演出画像を成型するための画像整形情報であり、1単位、又は、複数単位のフレーム毎(フレーム更新タイミング)に生成されるものであり、本実施の形態ではディスプレイリストを1フレーム毎に生成するようになっている。
具体的には、後述するアニメーション制御処理で設定済みのアニメパターン毎にアニメシーン情報(アドレス)が更新されるため、設定済みのアニメパターン毎にアニメシーン情報の内容に従った描画制御コマンドを設定していく現在のフレーム数に対応した1フレーム分のディスプレイリストが生成される。なお、描画制御コマンドは、各アニメパターンが属するアニメグループに設定される優先順位(描画順位)に従って最も低い優先順位のアニメグループのアニメパターンから最も高い優先順位のアニメグループのアニメパターンまで順次設定されるようになっているが、その逆でもよい。
統括CPU142は、ステップT10において、画像制御部145(VDP)に対して出力したディスプレイリストに基づく演出画像の描画を指示する描画指令処理を行う。この描画指令処理が行われることで、画像制御部145(VDP)ではディスプレイリストに基づく演出画像を描画用フレームバッファに描画し、表示用フレームバッファに描画されていた演出画像を第1画像表示装置70(メイン液晶)、及び、第2画像表示装置71(サブ液晶)に表示させる処理を行う。
統括CPU142は、ステップT11において、サウンド制御コマンド群から構成されるサウンドリストを生成し、生成したサウンドリストを音声制御部148に出力するサウンドリスト生成・出力処理を行う。
ここで、サウンドリストとは、音声出力装置9から出力させる音声データや楽曲データ等のサウンド(BGM、サウンドエフェクト等)を指定するための音声出力情報であり、新たなサウンドの出力を行う場合に描画フレームを基準として生成されるものである。
統括CPU142は、ステップT12において、音声制御部148に対して出力したサウンドリストに基づくサウンドの出力を指示する音出力指令処理を行う。この音出力指令処理が行われることで、音声制御部148ではサウンドリストに基づくサウンドを音声出力装置9から出力させる。
そのため、各種のサウンドは、画像制御部145(VDP)によるフレーム更新タイミングと同期(同調)するように音声出力装置9からの出力を開始され、また、フレーム更新タイミングと同期(同調)するように音声出力装置9からの出力を終了される。
なお、フレーム更新タイミングと同期(同調)するように音声出力装置9から各種のサウンドの出力が開始されるが、フレーム更新タイミングと同期(同調)しないように音声出力装置9から各種のサウンドの出力が停止されるようにしてもよく、その逆となるようにしてもよい。
統括CPU142は、ステップT13において、次のフレームのディスプレイリストを作成するための準備として、設定済みのアニメパターン毎にアニメシーン情報(アドレス)を更新するアニメーション制御処理を行ってからステップT4に処理を移し、以降はステップT4~ステップT13までの処理をループするように繰り返し行う。
(統括制御部141のコマンド受信割込処理)
図22を用いて統括制御部141のコマンド受信割込処理を説明する。図22は、統括制御部141のコマンド受信割込処理を示すフローチャートであり、コマンド受信割込処理は、演出制御部130mから送信された演出指示コマンドを受信することで実行される。
統括CPU142は、ステップT20において、演出制御部130mから送信された演出指示コマンドを受信するコマンド受信処理を行う。具体的には、演出制御部130mから送信された演出指示コマンドを統括RAM144の受信バッファに格納する処理を行い、今回のコマンド受信割込処理を終了する。
(統括制御部141のVブランク割込処理)
図23を用いて、統括制御部141のVブランク割込処理を説明する。図23は、統括制御部141のVブランク割込処理を示すフローチャートであり、Vブランク割込処理は、画像制御部145(VDP)から1フレーム分の演出画像の表示が終了する(1/30秒=約33ms)毎に送信されるVブランク信号を受信する(1/30秒=約33ms)毎に実行される。
統括CPU142は、ステップT30において、各種カウンタ(シーン切替カウンタ、ウェイトフレームカウンタ、フレームカウンタ等)を所定数更新(例えば「1」加算)するカウンタ更新処理を行い、ステップT31において、画像制御部145(VDP)に対してVRAM147の第1フレームバッファ領域と第2フレームバッファ領域とを切り替える指示を行うフレームバッファ切替指令処理を行う。
これにより、1/30秒(約33ms)毎のVブランク割込処理が実行される毎に第1フレームバッファ領域と第2フレームバッファ領域とが「描画用フレームバッファ」と「表示用フレームバッファ」とに交互に切り替わることになる。
統括CPU142は、ステップT32において、描画(表示)フレームが切り替わったことを示すフレーム切替フラグをセットし、今回のVブランク割込処理を終了する。このフレーム切替フラグは、上記ステップT7において参照されるため、上記ステップT8~T13の処理は、Vブランク割込処理が実行される(フレーム更新タイミング)毎に実行されることになる。
(入賞時変化演出のタイミングチャート)
図24、及び、図25は、第1始動口45への遊技球の入賞時に第1保留アイコンの表示態様を青キャラアイコンで表示(に変化)する場合の各種タイミングを示すタイミングチャートである。
T1のタイミングは、変動演出が開始されてから280フレーム目となるタイミングであって演出図柄70aの通常変動が行われる通常変動期間の途中のフレーム更新タイミングである。このタイミングにおいて、第1フレームバッファへの画像データb(背景画像、各種変動演出画像、各種図柄画像、各種アイコン画像等)の描画が開始され、第2フレームバッファに描画されていた画像データaの画像表示装置への表示が開始され、画像表示装置には通常変動演出表示画面aが表示された状態となる。
T2のタイミングは、変動演出が開始されてから280フレーム目の途中のタイミングである。このタイミングにおいて、第1始動口45に遊技球が入賞したことに基づいて主制御基板110から始動口入賞指定コマンドが演出制御部130mに送信される。
T3のタイミングは、変動演出が開始されてから281フレーム目となるタイミングであって通常変動期間の途中のフレーム更新タイミングである。このタイミングにおいて、入賞時に第1保留アイコンの表示態様を青キャラアイコンで表示することが決定しているが画像表示装置に青キャラアイコンの表示はされず、音声出力装置9から第2発生報知音の出力も開始されない。
また、T3のタイミングにおいて、第2フレームバッファへの画像データc(背景画像、各種変動演出画像、各種図柄画像、各種アイコン画像等)の描画が開始され、第1フレームバッファに描画されていた画像データbの画像表示装置への表示が開始され、画像表示装置には通常変動演出表示画面bが表示された状態となる。
T4のタイミングは、変動演出が開始されてから282フレーム目となるタイミングであって通常変動期間の途中のフレーム更新タイミングである。このタイミングにおいて、第1フレームバッファへの画像データd(背景画像、各種変動演出画像、各種図柄画像、各種アイコン画像等)の描画が開始され、第2フレームバッファに描画されていた画像データcの画像表示装置への表示が開始され、画像表示装置には通常変動演出表示画面c(青キャラアイコン表示)が表示された状態となり、音声出力装置9から第2発生報知音の出力が開始される。このT4のタイミングが所定コマンドの受信に応じたフレーム更新タイミングに相当する。
T5のタイミングは、変動演出が開始されてから283フレーム目となるタイミングであって通常変動期間の途中のフレーム更新タイミングである。このタイミングにおいて、第2フレームバッファへの画像データe(背景画像、各種変動演出画像、各種図柄画像、各種アイコン画像等)の描画が開始され、第1フレームバッファに描画されていた画像データdの画像表示装置への表示が開始され、画像表示装置には通常変動演出表示画面d(青キャラアイコン表示)が表示された状態となり、音声出力装置9からの第2発生報知音の出力が継続される。
T6のタイミングは、変動演出が開始されてから284フレーム目となるタイミングであって通常変動期間の途中のフレーム更新タイミングである。このタイミングにおいて、第1フレームバッファへの画像データf(背景画像、各種変動演出画像、各種図柄画像、各種アイコン画像等)の描画が開始され、第2フレームバッファに描画されていた画像データeの画像表示装置への表示が開始され、画像表示装置には通常変動演出表示画面d(青キャラアイコン表示)が表示された状態となり、音声出力装置9からの第2発生報知音の出力が継続される。
T7のタイミングは、変動演出が開始されてから296フレーム目となるタイミングであって通常変動期間の途中のフレーム更新タイミングである。このタイミングにおいて、第1フレームバッファへの画像データh(背景画像、変動演出画像、各種図柄画像、各種アイコン画像等)の描画が開始され、第2フレームバッファに描画されていた画像データgの画像表示装置への表示が開始され、画像表示装置には通常変動演出表示画面g(青キャラアイコン表示)が表示された状態となり、音声出力装置9の第2発生報知音の出力が継続される。
T8のタイミングは、変動演出が開始されてから297フレーム目となるタイミングであって通常変動期間の途中のタイミングとなっている。このタイミングにおいて、約0.5秒間(15フレーム)に亘って出力していた第2発生報知音の出力が停止される。また、第2フレームバッファへの画像データi(背景画像、変動演出画像、各種図柄画像、各種アイコン画像等)の描画が開始され、第1フレームバッファに描画されていた画像データhの画像表示装置への表示が開始され、画像表示装置には通常変動演出表示画面h(青キャラアイコン表示)が表示された状態となる。
T9のタイミングは、変動演出が開始されてから298フレーム目となるタイミングであって通常変動期間の途中のタイミングとなっている。このタイミングにおいて、第1フレームバッファへの画像データj(背景画像、変動演出画像、各種図柄画像、各種アイコン画像等)の描画が開始され第2フレームバッファに描画されていた画像データiの画像表示装置への表示が開始され、画像表示装置には通常変動演出表示画面i(青キャラアイコン表示)が表示された状態となる。
このように、第1画像表示装置70(メイン液晶)に青キャラアイコンが表示されるフレーム更新タイミングに合わせて(同期して)、音声出力装置9から第2発生報知音の出力が開始するため、青キャラアイコンの表示と第2発生報知音の出力とのフレーム更新タイミングがズレた状態で開始する場合と比べて、遊技者が違和感を覚えることを軽減することができ、遊技の興趣を向上させることが可能となる。
また、青キャラアイコンが表示されるフレーム更新タイミングに合わせて(同期して)第2発生報知音の出力を開始していたのに対して、青キャラアイコンの消去と第2発生報知音の出力の停止とは異なるフレーム更新タイミングで行っているため、青キャラアイコンを消去させるタイミングに制約を受けずに第2発生報知音の出力を停止させることができ、遊技の興趣を向上させることが可能となる。
(入賞時変化演出の演出例)
図26は、第1始動口45への遊技球の入賞時に第1保留アイコンの表示態様を青キャラアイコンで表示(に変化)する場合の演出例を示す図である。
図26(a)に示すように、第1保留アイコン、及び、第2保留アイコンが表示されていない状態、すなわち、保留記憶が1個も記憶されていない状態で、演出図柄70aを変動表示させる通常変動演出が実行されている。
ここで、第1始動口45に遊技球が入賞したことに基づいて主制御基板110から始動口入賞指定コマンドが演出制御部130mに送信され、アイコン変化演出決定処理が実行されて、変化シナリオとして「シナリオ02」(入賞時に第1保留アイコンの表示態様を青キャラアイコンで表示)が決定されたとする。
このとき、図26(b)に示すように、第1始動口45に遊技球が入賞したことに応じて、第1保留アイコン表示領域70Bの第1表示部70B1に第1保留アイコン(青キャラアイコン)H11が表示されると共に、音声出力装置9から第2発生報知音が0.5秒間出力される。
そして、図26(c)に示すように、変動表示されていた演出図柄70aがハズレであることを示す組合せ(ここでは、「234」)で停止表示が行われ、当該アイコン表示領域70Cに表示されていた当該アイコン(CDアイコン)THが消去される。
次に、図26(d)に示すように、演出図柄70aの変動表示が開始されると共に、第1表示部70B1の第1保留アイコン(青キャラアイコン)H11が当該アイコン表示領域70Cにシフト表示される。
その後、図26(e)に示すように、変動表示していた演出図柄70aの左右の変動表示領域に「2」の演出図柄70aを停止表示(仮停止表示)しつつ、中央の変動表示領域で演出図柄70aを変動表示させるリーチ演出が実行される。
そして、図26(f)に示すように、中央の変動表示領域に「3」の演出図柄70aが停止表示することで、リーチ演出が終了すると共に、変動表示が終了する。ここで、変動表示が終了したので、当該アイコン表示領域70Cに表示されていた当該アイコン(青キャラアイコン)THが消去される。
なお、図示は省略しているが、変動演出中は音声出力装置9からBGMや効果音等が出力されている。また、以降の図29、図32、図33、図36、及び、図37についても同様である。
(ノーマル変化パターン01のタイミングチャート)
図27、及び、図28は、アイコン表示態様更新処理において、保留アイコン変化パターンとしてノーマル変化パターン01が決定され、第1保留アイコンの表示態様を青キャラアイコンに変化させる場合の各種タイミングを示すタイミングチャートである。
T1のタイミングは、変動演出が開始されてから600フレーム目となるタイミングであって演出図柄70aの停止表示が行われる図柄停止期間の途中のフレーム更新タイミングである。このタイミングにおいて、第1フレームバッファへの画像データb(背景画像、各種停止演出画像、各種図柄画像、各種アイコン画像等)の描画が開始され、第2フレームバッファに描画されていた画像データaの画像表示装置への表示が開始され、画像表示装置には停止演出表示画面aが表示された状態となる。
T2のタイミングは、変動演出が開始されてから600フレーム目の途中のタイミングである。このタイミングにおいて、主制御基板110から変動パターン指定コマンドが演出制御部130mに送信される。
T3のタイミングは、変動演出が開始されてから601フレーム目となるタイミングであって図柄停止期間の途中のフレーム更新タイミングである。このタイミングにおいて、第1保留アイコンを青キャラアイコンに変化させるノーマル変化パターン01を実行することが決定しているが画像表示装置に青キャラアイコンの表示はされず、音声出力装置9から第2発生報知音の出力も開始されない。
また、T3のタイミングにおいて、第2フレームバッファへの画像データc(背景画像、各種変動演出画像、各種図柄画像、各種アイコン画像等)の描画が開始され、第1フレームバッファに描画されていた画像データbの画像表示装置への表示が開始され、画像表示装置には停止演出表示画面bが表示された状態となる。
T4のタイミングは、次の変動演出が開始されてから1フレーム目となるタイミング(変動演出が開始されるタイミング)である。このタイミングにおいて、第1フレームバッファへの画像データd(背景画像、各種変動演出画像、各種図柄画像、各種アイコン画像等)の描画が開始され、第2フレームバッファに描画されていた画像データcの画像表示装置への表示が開始され、画像表示装置には通常変動演出表示画面c(青キャラアイコン表示)が表示された状態となり、音声出力装置9から第2発生報知音の出力が開始される。このT4のタイミングが所定コマンドの受信に応じたフレーム更新タイミングに相当する。
T5のタイミングは、変動演出が開始されてから2フレーム目となるタイミングであって通常変動期間の途中のフレーム更新タイミングである。このタイミングにおいて、第2フレームバッファへの画像データe(背景画像、各種変動演出画像、各種図柄画像、各種アイコン画像等)の描画が開始され、第1フレームバッファに描画されていた画像データdの画像表示装置への表示が開始され、画像表示装置には通常変動演出表示画面d(青キャラアイコン表示)が表示された状態となり、音声出力装置9の第2発生報知音の出力が継続される。
T6のタイミングは、変動演出が開始されてから3フレーム目となるタイミングであって通常変動期間の途中のフレーム更新タイミングである。このタイミングにおいて、第1フレームバッファへの画像データf(背景画像、各種変動演出画像、各種図柄画像、各種アイコン画像等)の描画が開始され、第2フレームバッファに描画されていた画像データeの画像表示装置への表示が開始され、画像表示装置には通常変動演出表示画面d(青キャラアイコン表示)が表示された状態となり、音声出力装置9の第2発生報知音の出力が継続される。
T7のタイミングは、変動演出が開始されてから15フレーム目となるタイミングであって通常変動期間の途中のフレーム更新タイミングである。このタイミングにおいて、第1フレームバッファへの画像データh(背景画像、変動演出画像、各種図柄画像、各種アイコン画像等)の描画が開始され、第2フレームバッファに描画されていた画像データgの画像表示装置への表示が開始され、画像表示装置には通常変動演出表示画面g(青キャラアイコン表示)が表示された状態となり、音声出力装置9の第2発生報知音の出力が継続される。
T8のタイミングは、変動演出が開始されてから16フレーム目となるタイミングであって通常変動期間の途中のタイミングとなっている。このタイミングにおいて、約0.5秒間(15フレーム)に亘って出力していた第2発生報知音の出力が停止され、第2フレームバッファへの画像データi(背景画像、変動演出画像、各種図柄画像、各種アイコン画像等)の描画が開始され、第1フレームバッファに描画されていた画像データhの画像表示装置への表示が開始され、画像表示装置には通常変動演出表示画面h(青キャラアイコン表示)が表示された状態となる。
T9のタイミングは、変動演出が開始されてから17フレーム目となるタイミングであって通常変動期間の途中のタイミングとなっている。このタイミングにおいて、第1フレームバッファへの画像データj(背景画像、変動演出画像、各種図柄画像、各種アイコン画像等)の描画が開始され第2フレームバッファに描画されていた画像データiの画像表示装置への表示が開始され、画像表示装置には通常変動演出表示画面i(青キャラアイコン表示)が表示された状態となる。
このように、第1画像表示装置70(メイン液晶)に青キャラアイコンが表示されるフレーム更新タイミングに合わせて(同期して)、音声出力装置9から第2発生報知音の出力が開始するため、青キャラアイコンの表示と第2発生報知音の出力とのフレーム更新タイミングがズレた状態で開始する場合と比べて、遊技者が違和感を覚えることを軽減することができ、遊技の興趣を向上させることが可能となる。
また、青キャラアイコンが表示されるフレーム更新タイミングに合わせて(同期して)第2発生報知音の出力を開始していたのに対して、青キャラアイコンの消去と第2発生報知音の出力の停止とは異なるフレーム更新タイミングで行っているため、青キャラアイコンを消去させるタイミングに制約を受けずに第2発生報知音の出力を停止させることができ、遊技の興趣を向上させることが可能となる。
(ノーマル変化パターン01の演出例)
図29は、変動開始時(シフト時)に第1保留アイコンの表示態様を青キャラアイコンに変化する場合(ノーマル変化パターン01)の演出例を示す図である。
図29(a)に示すように、第1保留アイコン表示領域70Bの第1表示部70B1、及び、第2表示部70B2に第1保留アイコン(CDアイコン)H11、H12が表示されているときに、ハズレを示す演出図柄の停止表示が行われたとする。
次に図29(b)に示すように、演出図柄70aの変動表示が開始されると共に、第1表示部70B1、及び、第2表示部70B2に表示されている第1保留アイコン(CDアイコン)H11、H12が当該アイコン表示領域70C、第1表示部70B1にそれぞれシフト表示される。
ここで、第2表示部70B2に表示されていた第1保留アイコン(CDアイコン)H12は、第1表示部70B1にシフト表示される際に、表示態様が青キャラアイコンに変化表示される。また、CDアイコンから青キャラアイコンに変化表示されると共に、音声出力装置9から第2発生報知音が0.5秒間出力される。
その後、図29(c)に示すように、変動表示されていた演出図柄70aがハズレであることを示す組合せ(ここでは、「164」)で停止表示が行われ、当該アイコン表示領域70Cに表示されていた当該アイコン(CDアイコン)THが消去される。
次に、図29(d)に示すように、演出図柄70aの変動表示が開始されると共に、第1表示部70B1の第1保留アイコン(青キャラアイコン)H11が当該アイコン表示領域70Cにシフト表示される。
その後、図29(e)に示すように、変動表示していた演出図柄70aの左右の変動表示領域に「2」の演出図柄70aを停止表示(仮停止表示)しつつ、中央の変動表示領域で演出図柄70aを変動表示させるリーチ演出が実行される。
そして、図29(f)に示すように、中央の変動表示領域に「3」の演出図柄70aが停止表示することで、リーチ演出が終了すると共に、変動表示が終了する。ここで、変動表示が終了したので、当該アイコン表示領域70Cに表示されていた当該アイコン(青キャラアイコン)THが消去される。
(キャラ作用変化パターン01のタイミングチャート)
図30、及び、図31は、アイコン表示態様更新処理において、当該アイコン変化パターンとしてキャラ作用変化パターン01が決定され、当該アイコンTHの表示態様を赤キャラアイコンに変化させる場合の各種タイミングを示すタイミングチャートである。
T1のタイミングは、変動演出が開始されてから1フレーム目となるタイミング(変動演出が開始されるタイミング)であって演出図柄70aの通常変動が行われる通常変動期間の開始のフレーム更新タイミングである。このタイミングにおいて、第1フレームバッファへの画像データb(背景画像、各種変動演出画像、各種図柄画像、各種アイコン画像等)の描画が開始され、第2フレームバッファに描画されていた画像データaの画像表示装置への表示が開始され、画像表示装置には通常変動演出表示画面aが表示された状態となる。
T2のタイミングは、変動演出が開始されてから61フレーム目となるタイミングであって通常変動期間の途中のフレーム更新タイミングである。このタイミングにおいて、演出制御部130mは当該アイコンTHの表示態様を赤キャラアイコンに変化させるキャラ作用変化パターン01を実行することが決定しているが画像表示装置にキャラ等の表示はされず、音声出力装置9から第3発生報知音の出力も開始されない。
また、T2のタイミングにおいて、第2フレームバッファへの画像データd(背景画像、各種変動演出画像、各種図柄画像、各種アイコン画像、キャラ画像等)の描画が開始され、第1フレームバッファに描画されていた画像データcの画像表示装置への表示が開始され、画像表示装置には通常変動演出表示画面cが表示された状態となる。
T3のタイミングは、変動演出が開始されてから62フレーム目となるタイミングであって通常変動期間の途中のフレーム更新タイミングである。このタイミングにおいて、第1フレームバッファへの画像データe(背景画像、各種変動演出画像、各種図柄画像、各種アイコン画像、キャラ画像等)の描画が開始され、第2フレームバッファに描画されていた画像データdの画像表示装置への表示が開始され、画像表示装置には通常変動演出表示画面d(キャラ表示)が表示された状態となるが、音声出力装置9から第3発生報知音の出力は開始されない。
T4のタイミングは、変動演出が開始されてから63フレーム目となるタイミングであって通常変動期間の途中のフレーム更新タイミングである。このタイミングにおいて、第2フレームバッファへの画像データf(背景画像、各種変動演出画像、各種図柄画像、各種アイコン画像、キャラ画像等)の描画が開始され、第1フレームバッファに描画されていた画像データeの画像表示装置への表示が開始され、画像表示装置には通常変動演出表示画面e(キャラ表示)が表示された状態となるが、音声出力装置9の第3発生報知音の非出力は継続される。
T5のタイミングは、変動演出が開始されてから64フレーム目となるタイミングであって通常変動期間の途中のフレーム更新タイミングである。このタイミングにおいて、第1フレームバッファへの画像データg(背景画像、各種変動演出画像、各種図柄画像、各種アイコン画像、キャラ画像等)の描画が開始され、第2フレームバッファに描画されていた画像データfの画像表示装置への表示が開始され、画像表示装置には通常変動演出表示画面f(キャラ表示)が表示された状態となるが、音声出力装置9の第3発生報知音の非出力は継続される。
T6のタイミングは、変動演出が開始されてから91フレーム目となるタイミングであって通常変動期間の途中のフレーム更新タイミングである。このタイミングにおいて、第1フレームバッファへの画像データh(背景画像、各種変動演出画像、各種図柄画像、各種アイコン画像等)の描画が開始され、第2フレームバッファに描画されていた画像データgの画像表示装置への表示が開始され、画像表示装置には通常変動演出表示画面g(キャラ表示)が表示された状態となるが、音声出力装置9の第3発生報知音の非出力は継続される。
T7のタイミングは、変動演出が開始されてから92フレーム目となるタイミングであって通常変動期間の途中のフレーム更新タイミングである。このタイミングにおいて、第2フレームバッファへの画像データi(背景画像、各種変動演出画像、各種図柄画像、各種アイコン画像等)の描画が開始され、第1フレームバッファに描画されていた画像データhの画像表示装置への表示が開始され、画像表示装置には通常変動演出表示画面h(赤キャラアイコン表示)が表示された状態となり、音声出力装置9から第3発生報知音の出力が開始される。このT7のタイミングが変動パターン指定コマンド受信後の所定のフレーム更新タイミングに相当する。
T8のタイミングは、変動演出が開始されてから106フレーム目となるタイミングであって通常変動期間の途中のフレーム更新タイミングである。このタイミングにおいて、音声出力装置9の第3発生報知音の出力が継続しており、第1フレームバッファへの画像データj(背景画像、変動演出画像、各種図柄画像、各種アイコン画像等)の描画が開始され、第2フレームバッファに描画されていた画像データiの画像表示装置への表示が開始され、画像表示装置には通常変動演出表示画面i(赤キャラアイコン表示)が表示された状態となる。
T9のタイミングは、変動演出が開始されてから107フレーム目となるタイミングであって通常変動期間の途中のタイミングとなっている。このタイミングにおいて、約0.5秒間(15フレーム)に亘って出力していた第3発生報知音の出力が停止され、第2フレームバッファへの画像データk(背景画像、変動演出画像、各種図柄画像、各種アイコン画像等)の描画が開始され、第1フレームバッファに描画されていた画像データjの画像表示装置への表示が開始され、画像表示装置には通常変動演出表示画面j(赤キャラアイコン表示)が表示された状態となる。
T10のタイミングは、変動演出が開始されてから108フレーム目となるタイミングであって通常変動期間の途中のタイミングとなっている。このタイミングにおいて、第1フレームバッファへの画像データl(背景画像、変動演出画像、各種図柄画像、各種アイコン画像等)の描画が開始され第2フレームバッファに描画されていた画像データkの画像表示装置への表示が開始され、画像表示装置には通常変動演出表示画面k(赤キャラアイコン表示)が表示された状態となる。
このように、第1画像表示装置70(メイン液晶)に赤キャラアイコンが表示されるフレーム更新タイミングに合わせて(同期して)、音声出力装置9から第3発生報知音の出力が開始するため、赤キャラアイコンの表示と第3発生報知音の出力とのフレーム更新タイミングがズレた状態で開始する場合と比べて、遊技者が違和感を覚えることを軽減することができ、遊技の興趣を向上させることが可能となる。
また、赤キャラアイコンが表示されるフレーム更新タイミングに合わせて(同期して)、第3発生報知音の出力を開始していたのに対して、赤キャラアイコンの消去と第3発生報知音の出力の停止とは異なるフレーム更新タイミングで行っているため、赤キャラアイコンを消去させるタイミングに制約を受けずに第3発生報知音の出力を停止させることができ、遊技の興趣を向上させることが可能となる。
(キャラ作用変化パターン01の演出例)
図32、及び、図33は、変動演出中に当該アイコンTHの表示態様を赤キャラアイコンに変化する場合(キャラ作用変化パターン01)の演出例を示す図である。
図32(a)に示すように、第1保留アイコン、及び、第2保留アイコンが表示されていない状態で、すなわち、保留記憶が1個も記憶されていない状態で、演出図柄70aを変動表示させる通常変動演出が実行されている。
その後、図32(c)に示すように、キャラC1が表示された後(図32(b)参照)、キャラC1が投げキス動作を行なって、ハートHを当該アイコン(CDアイコン)THに向けて飛ばす演出が行われる。
そして、当該アイコンTHにハートHが命中すると、図32(d)に示すように、当該アイコンTHの表示態様がCDアイコンから赤キャラアイコンに変化すると共に、音声出力装置9から第3発生報知音が0.5秒間出力される。
その後、図33(a)に示すように、変動表示していた演出図柄70aの左右の変動表示領域に「2」の演出図柄70aを停止表示(仮停止表示)しつつ、中央の変動表示領域で演出図柄70aを変動表示させるリーチ演出が実行される。
そして、SPリーチに発展すると、図33(b)に示すように、味方キャラC2と敵キャラC3とが対決する演出が開始される。なお、SPリーチに発展すると、演出図柄70aが画面左上に縮小表示され、第1保留アイコン表示領域70B、及び、第2保留アイコン表示領域70Dが消去される。
その後、図33(c)に示すように、味方キャラC2が敵キャラC3に勝利することで、大当たりであることを示唆し、変動表示されていた演出図柄70aが大当たりであることを示す組合せ(ここでは、「222」)で停止表示される。
そして、図33(d)に示すように、演出図柄70aが縮小表示から元の大きさに戻って第1画像表示装置70(メイン液晶)の中央で停止表示される。ここで、変動表示が終了したので、当該アイコン表示領域70Cに表示されていた当該アイコン(赤キャラアイコン)THが消去される。
(図柄作用変化パターン01のタイミングチャート)
図34、及び、図35は、アイコン表示態様更新処理において、保留アイコン変化パターンとして図柄作用変化パターン01が決定され、第1保留アイコンの表示態様を赤キャラアイコンに変化させる場合の各種タイミングを示すタイミングチャートである。
T1のタイミングは、変動演出が開始されてから1フレーム目となるタイミング(変動演出が開始されるタイミング)であって演出図柄70aの通常変動が行われる通常変動期間の開始のフレーム更新タイミングである。このタイミングにおいて、第1フレームバッファへの画像データb(背景画像、各種変動演出画像、各種図柄画像、各種アイコン画像等)の描画が開始され、第2フレームバッファに描画されていた画像データaの画像表示装置への表示が開始され、画像表示装置には通常変動演出表示画面aが表示された状態となる。
T2のタイミングは、変動演出が開始されてから299フレーム目となるタイミングであって通常変動期間の途中のフレーム更新タイミングである。このタイミングにおいて、第1保留アイコンの表示態様を赤キャラアイコンに変化させるキャラ作用変化パターン01を実行することが決定しているが画像表示装置に変化図柄等の表示はされず、音声出力装置9から第3発生報知音の出力も開始されない。
また、T2のタイミングにおいて、第2フレームバッファへの画像データd(背景画像、各種停止演出画像、各種図柄画像、各種アイコン画像、変化図柄画像等)の描画が開始され、第1フレームバッファに描画されていた画像データcの画像表示装置への表示が開始され、画像表示装置には通常変動演出表示画面cが表示された状態となる。
T3のタイミングは、変動演出が開始されてから300フレーム目となるタイミングであって演出図柄70aの仮停止表示が行われる図柄仮停止期間のフレーム更新タイミングである。このタイミングにおいて、第1フレームバッファへの画像データe(背景画像、各種停止演出画像、各種図柄画像、各種アイコン画像、変化図柄画像等)の描画が開始され、第2フレームバッファに描画されていた画像データdの画像表示装置への表示が開始され、画像表示装置には仮停止演出表示画面d(変化図柄表示)が表示された状態となるが、音声出力装置9から第3発生報知音の出力は開始されない。
T4のタイミングは、変動演出が開始されてから301フレーム目となるタイミングであって図柄仮停止期間の途中のフレーム更新タイミングである。このタイミングにおいて、第2フレームバッファへの画像データf(背景画像、各種停止演出画像、各種図柄画像、各種アイコン画像、変化図柄画像等)の描画が開始され、第1フレームバッファに描画されていた画像データeの画像表示装置への表示が開始され、画像表示装置には仮停止演出表示画面e(変化図柄表示)が表示された状態となるが、音声出力装置9の第3発生報知音の非出力は継続される。
T5のタイミングは、変動演出が開始されてから302フレーム目となるタイミングであって図柄仮停止期間の途中のフレーム更新タイミングである。このタイミングにおいて、第1フレームバッファへの画像データg(背景画像、各種停止演出画像、各種図柄画像、各種アイコン画像、変化図柄画像等)の描画が開始され、第2フレームバッファに描画されていた画像データfの画像表示装置への表示が開始され、画像表示装置には仮停止演出表示画面f(変化図柄表示)が表示された状態となるが、音声出力装置9の第3発生報知音の非出力は継続される。
T6のタイミングは、変動演出が開始されてから330フレーム目となるタイミングであって図柄仮停止期間の途中のフレーム更新タイミングである。このタイミングにおいて、第1フレームバッファへの画像データh(背景画像、各種停止演出画像、各種図柄画像、各種アイコン画像、変化図柄画像等)の描画が開始され、第2フレームバッファに描画されていた画像データgの画像表示装置への表示が開始され、画像表示装置には仮停止演出表示画面g(変化図柄表示)が表示された状態となるが、音声出力装置9の第3発生報知音の非出力は継続される。
T7のタイミングは、変動演出が開始されてから331フレーム目となるタイミングであって図柄仮停止期間の途中のフレーム更新タイミングである。このタイミングにおいて、第2フレームバッファへの画像データi(背景画像、各種停止演出画像、各種図柄画像、各種アイコン画像、変化図柄画像等)の描画が開始され、第1フレームバッファに描画されていた画像データhの画像表示装置への表示が開始され、画像表示装置には仮停止演出表示画面h(変化図柄&赤キャラアイコン表示)が表示された状態となり、音声出力装置9から第3発生報知音の出力が開始される。このT7のタイミングが変動パターン指定コマンド受信後の所定のフレーム更新タイミングに相当する。
T8のタイミングは、変動演出が開始されてから345フレーム目となるタイミングであって図柄仮停止期間の途中のフレーム更新タイミングである。このタイミングにおいて、第1フレームバッファへの画像データj(背景画像、停止演出画像、各種図柄画像、各種アイコン画像、変化図柄画像等)の描画が開始され、第2フレームバッファに描画されていた画像データiの画像表示装置への表示が開始され、画像表示装置には仮停止演出表示画面i(変化図柄&赤キャラアイコン表示)が表示された状態となり、音声出力装置9の第3発生報知音の出力が継続される。
T9のタイミングは、変動演出が開始されてから346フレーム目となるタイミングであって図柄仮停止期間の途中のタイミングとなっている。このタイミングにおいて、約0.5秒間(15フレーム)に亘って出力していた第3発生報知音の出力が停止され、第2フレームバッファへの画像データk(背景画像、停止演出画像、各種図柄画像、各種アイコン画像、変化図柄画像等)の描画が開始され、第1フレームバッファに描画されていた画像データjの画像表示装置への表示が開始され、画像表示装置には仮停止演出表示画面j(変化図柄&赤キャラアイコン表示)が表示された状態となる。
T10のタイミングは、変動演出が開始されてから347フレーム目となるタイミングであって図柄仮停止期間の途中のタイミングとなっている。このタイミングにおいて、第1フレームバッファへの画像データl(背景画像、変動演出画像、各種図柄画像、各種アイコン画像等)の描画が開始され第2フレームバッファに描画されていた画像データkの画像表示装置への表示が開始され、画像表示装置には仮停止演出表示画面k(変化図柄&赤キャラアイコン表示)が表示された状態となる。
このように、第1画像表示装置70(メイン液晶)に赤キャラアイコンが表示されるフレーム更新タイミングに合わせて(同期して)、音声出力装置9から第3発生報知音の出力が開始するため、赤キャラアイコンの表示と第3発生報知音の出力とのフレーム更新タイミングがズレた状態で開始する場合と比べて、遊技者が違和感を覚えることを軽減することができ、遊技の興趣を向上させることが可能となる。
また、赤キャラアイコンが表示されるフレーム更新タイミングに合わせて(同期して)、第3発生報知音の出力を開始していたのに対して、赤キャラアイコンの消去と第3発生報知音の出力の停止とは異なるフレーム更新タイミングで行っているため、赤キャラアイコンを消去させるタイミングに制約を受けずに第3発生報知音の出力を停止させることができ、遊技の興趣を向上させることが可能となる。
(図柄作用変化パターン01の演出例)
図36、及び、図37は、演出図柄70aの停止中(仮停止中)に保留アイコンの表示態様を赤キャラアイコンに変化する場合(図柄作用変化パターン01)の演出例を示す図である。
図36(a)に示すように、第1保留アイコン表示領域70Bの第1表示部70B1に第1保留アイコン(CDアイコン)H11が表示されている状態で、演出図柄70aを変動表示させる通常変動演出が実行されている。
その後、図35(b)に示すように、左の変動表示領域に「2」、右の変動表示領域に「3」、中央の変動表示領域に「変化」の演出図柄70aを停止表示(仮停止表示)しつつ、中央の変動表示領域で停止表示(仮停止表示)した変化図柄から稲妻のようなエフェクトが第1表示部70B1の第1保留アイコン(CDアイコン)H11に向けて出現し、命中すると、第1保留アイコンH11の表示態様がCDアイコンから赤キャラアイコンに変化すると共に、音声出力装置9から第3発生報知音が0.5秒間出力される。
次に、図36(c)に示すように、演出図柄70aの変動表示が開始されると共に、第1表示部70B1の第1保留アイコン(赤キャラアイコン)H11が当該アイコン表示領域70Cにシフト表示される。
その後、図37(a)に示すように、変動表示していた演出図柄70aの左右の変動表示領域に「2」の演出図柄70aを停止表示(仮停止表示)しつつ、中央の変動表示領域で演出図柄70aを変動表示させるリーチ演出が実行される。
そして、SPリーチに発展すると、図37(b)に示すように、味方キャラC2と敵キャラC3とが対決する演出が開始される。なお、SPリーチに発展すると、演出図柄70aが縮小表示となり、左上に表示され、第1保留アイコン表示領域70B、及び、第2保留アイコン表示領域70Dが消去される。
その後、図37(c)に示すように、味方キャラC2が敵キャラC3に勝利することで、大当たりであることを示唆し、変動表示されていた演出図柄70aが大当たりであることを示す組合せ(ここでは、「222」)で停止表示される。
そして、図37(d)に示すように、演出図柄70aが縮小表示から元の大きさに戻って第1画像表示装置70(メイン液晶)の中央で停止表示される。ここで、変動表示が終了したので、当該アイコン表示領域70Cに表示されていた当該アイコン(赤キャラアイコン)THが消去される。
以上のように、本実施の形態では、演出制御部130mが所定のコマンド(始動口入賞指定コマンドや変動パターン指定コマンド)を受信したことに応じたフレーム更新タイミングで変化演出を実行する場合と、演出制御部130mが変動パターン指定コマンドを受信した後の所定のフレーム更新タイミングで変化演出を実行する場合とがあるので、変化演出のバリエーションが増えることで、遊技の興趣を向上させることが可能となる。
なお、本実施の形態では、アイコン変化演出は、始動口入賞指定コマンドを演出制御部130mが受信すると、最終表示態様やシナリオを決定するようにしていたが、このような決定方法に限られない。例えば、アイコン(当該アイコン、保留アイコン)の表示態様を変化し得るタイミングになると、その都度、表示態様を変化させるか否かを決定するようにしてもよい。また、始動口入賞指定コマンドを演出制御部130mが受信した際に最終表示態様のみ決定し、どのように変化していくかは、アイコン(当該アイコン、保留アイコン)の表示態様を変化し得るタイミングになると、その都度、決定するようにしてもよい。
また、本実施の形態では、アイコン(当該アイコン、保留アイコン)の表示態様としては、通常アイコンとしてのCDアイコンと、特別アイコンとしての青キャラアイコン、赤キャラアイコン、及び、虹キャラアイコンとの4種類であったが、4種類には限られず、多くてもよいし、少なくてもよい。
例えば、青キャラアイコンよりも大当たり当選期待度が低く、特別アイコンに変化する可能性があることを示唆する特殊アイコン(点滅CDアイコン)を設けるようにしてもよい。このような特殊アイコンを設ける場合は、青キャラアイコンよりも大当たり当選期待度が低いことから、ノーマル変化パターン02、キャラ作用変化パターン01、及び、図柄作用変化パターン01(変動パターン指定コマンド受信後の所定のフレーム更新タイミングにおいて発生する変化演出)では、特殊アイコンに変化しないようにすることが望ましい。このようにすることで、大当たり当選期待度が高い表示態様に変化し易いノーマル変化パターン02、キャラ作用変化パターン01、及び、図柄作用変化パターン01(変動パターン指定コマンド受信後の所定のフレーム更新タイミングにおいて発生する変化演出)で、特殊アイコンに変化してしまうことがなくなるので、遊技者が落胆することを防ぎつつ、アイコンの表示態様のバリエーションを増やすことができ、遊技の興趣を向上させることが可能となる。
また、本実施の形態の4種類に加えて、上記特殊アイコンと緑キャラアイコンを設けてもよい。このようにした場合の、アイコン(当該アイコン、保留アイコン)に係る大当たり当選期待度は、(CDアイコン<)点滅CDアイコン<青キャラアイコン<緑キャラアイコン<赤キャラアイコン<虹キャラアイコンの順で高くなっているようにすればよい。
また、本実施の形態では、キャラ作用変化パターン01や図柄作用変化パターン01において、キャラC1や変化図柄が表示されれば、必ず、アイコン(当該アイコン、保留アイコン)の表示態様を変化させていたが、キャラC1や変化図柄が表示されても変化されない場合(所謂ガセ演出)を設けてもよい。このようなガセ演出を設ける場合、ノーマル変化パターン02、キャラ作用変化パターン01、及び、図柄作用変化パターン01(変動パターン指定コマンド受信後の所定のフレーム更新タイミングにおいて発生する変化演出)に対するガセ演出の方が入賞時変化演出、及び、ノーマル変化パターン01(所定のコマンドの受信に応じたフレーム更新タイミングにおいて発生する変化演出)に対するガセ演出より実行割合が高い、又は、ノーマル変化パターン02、キャラ作用変化パターン01、及び、図柄作用変化パターン01(変動パターン指定コマンド受信後の所定のフレーム更新タイミングにおいて発生する変化演出)に対するガセ演出のみ実行可能とするのが望ましい。
また、本実施の形態では、アイコン変化演出は、1回の変動演出中に複数回実行されることはなかったが、複数回実行するようにしてもよい。このようにする場合、入賞時変化演出、及び、ノーマル変化パターン01(所定のコマンドの受信に応じたフレーム更新タイミングにおいて発生する変化演出)は変動演出中にタイミングが1度しかないため、ノーマル変化パターン02、キャラ作用変化パターン01、及び、図柄作用変化パターン01(変動パターン指定コマンド受信後の所定のフレーム更新タイミングにおいて発生する変化演出)を複数回実行可能とすればよい。このようにすることで、1回の変動演出において複数回アイコン(当該アイコン、保留アイコン)の表示態様が変化する可能性があるので、遊技の興趣を向上させることが可能となる。
また、本実施の形態では、所定のコマンドの受信に応じたフレーム更新タイミングにおいて発生する変化演出(入賞時変化演出、及び、ノーマル変化パターン01)の実行タイミングは、所定のコマンド(始動口入賞指定コマンドや変動パターン指定コマンド)を受信したフレーム数から2フレーム後となるフレーム更新タイミングとしていたが、2フレーム後に限られず、所定のコマンドを受信してから極端に遅くなければ、1フレーム後でも数フレーム後でもよい。
また、本実施の形態では、当該アイコン変化パターンとしては、図柄作用変化パターン01を設けていなかったが、設けてもよい。
また、本実施の形態では、「ノーマル変化パターン01」を実行する場合、変動パターン指定コマンドの受信に応じたフレーム更新タイミングにおいて変化演出を実行していたが、このタイミングに限られず、例えば、特別図柄記憶指定コマンドや演出図柄指定コマンドの受信に応じたフレーム更新タイミングにおいて変化演出を実行するようにしてもよい。
また、本実施の形態では、「ノーマル変化パターン02」、「キャラ作用変化パターン01」、及び、「図柄作用変化パターン01」を実行する場合、変動パターン指定コマンド受信後の所定のフレーム更新タイミングにおいて変化演出を実行していたが、このタイミングに限られず、他の所定のコマンド受信後の所定のフレーム更新タイミングにおいて変化演出を実行するようにしてもよい。
また、本実施の形態では、アイコン(当該アイコン、保留アイコン)が変化する際に、アイコン(当該アイコン、保留アイコン)が変化したことを報知する演出として、アイコン発生(変化)報知音を出力していたが、このような演出に限られず、アイコン発生(変化)報知音の出力に加えて、盤用照明装置74及び/又は枠用照明装置10を用いて、変化したアイコン(当該アイコン、保留アイコン)の表示態様の色と同じ色でランプを発光させるようにしてもよい。このようにする場合、アイコン発生(変化)報知音の出力と同じように、第1画像表示装置70(メイン液晶)に変化後のアイコン(当該アイコン、保留アイコン)が表示されるフレーム更新タイミングに合わせて(同期して)、盤用照明装置74及び/又は枠用照明装置10のランプの発光を開始するようにすればよく、ランプの発光を終了するタイミングは、所定時間経過で終了するようにしてもよいし、アイコン(当該アイコン、保留アイコン)を消去させるフレーム更新タイミングに合わせて(同期して)終了させるようにしてもよい。
また、本実施の形態では、当該アイコン、及び、保留アイコンは、第1画像表示装置70(メイン液晶)において表示していたが、第2画像表示装置71(サブ液晶)に表示するようにしてもよい。
また、本実施の形態では、遊技状態によってアイコン変化演出の実行を制限していなかったが、遊技状態によってアイコン変化演出の実行を制限するようにしてもよい。例えば、第1特定遊技状態、及び、第2特定遊技状態においては、入賞時変化演出、及び、ノーマル変化パターン01(所定のコマンドの受信に応じたフレーム更新タイミングにおいて発生する変化演出)は実行可能だが、ノーマル変化パターン02、キャラ作用変化パターン01、及び、図柄作用変化パターン01(変動パターン指定コマンド受信後の所定のフレーム更新タイミングにおいて発生する変化演出)は実行不可能としてもよい。このようにすることで、第1特定遊技状態、及び、第2特定遊技状態は、変動時間が短く設定されているため、変動中に実行されるノーマル変化パターン02、キャラ作用変化パターン01、及び、図柄作用変化パターン01(変動パターン指定コマンド受信後の所定のフレーム更新タイミングにおいて発生する変化演出)の実行を制限することで、第1特定遊技状態、及び、第2特定遊技状態の遊技性を損なうことなく、遊技の興趣を向上させることが可能となる。
また、本実施の形態では、アイコン変化演出は、保留アイコンや当該アイコンそのものの表示態様(形状及び色)を変化させていたが、このような変化に限られず、保留アイコンや当該アイコンそのものの表示態様は変化させずに(CDアイコンのまま)、保留アイコンや当該アイコンの周囲に大当たり当選期待度を示す色のエフェクトを表示するようにしてもよいし、保留アイコンや当該アイコンの周囲(近傍)に大当たり当選期待度を示すキャラクタを表示するようにしてもよいし、保留アイコンや当該アイコンの周囲(近傍)に実行予定の演出を示唆する文字画像(例えば「SP」や「擬似連」など)を表示するようにしてもよい。
また、本実施の形態では、変化シナリオを決定するときに大当たりの当落に係らず決定していたが、大当たりの当落を参照して決定するようにしてもよい。具体的には、アイコン最終表示態様と、現在の保留数と、大当たりの当落と、選択率(%)に基づいて、複数の変化シナリオの中から1つの変化シナリオを決定するようにすればよい。
このように、大当たりの当落を参照して変化シナリオを決定する場合、大当たりに当選していて赤キャラアイコンに変化する場合は、現在の保留数が「1」や「2」のときよりも「3」や「4」のときの方が、入賞時に赤キャラアイコンに変化する変化シナリオが選択され易い選択率(%)に設定すればよい。
つまり、大当たりに当選していて赤キャラアイコンに変化する場合は、現在の保留数が「3」や「4」のときよりも「1」や「2」のときの方が、入賞時に赤キャラアイコンに変化する変化シナリオが選択され難い選択率(%)ともいえる。
また、大当たりに当選しておらず、すなわち、ハズレであって赤キャラアイコンに変化する場合は、大当たりに当選していて赤キャラアイコンに変化する場合よりも入賞時に赤キャラアイコンに変化する変化シナリオが選択され難い選択率(%)に設定すればよい。
また、本実施の形態では、保留アイコン変化パターンを決定するときに現在の保留数や大当たりの当落に係らず決定していたが、現在の保留数や大当たりの当落を参照して決定するようにしてもよい。具体的には、今回の変動演出における保留アイコン変化の態様と、現在の保留数と、大当たりの当落と、選択率(%)に基づいて、複数の保留アイコン変化パターンの中から1つの保留アイコン変化パターンを決定するようにすればよい。
このように、現在の保留数や大当たりの当落を参照して保留アイコン変化パターンを決定する場合、大当たりに当選していて赤キャラアイコンに変化する場合は、現在の保留数が「1」や「2」のときよりも「3」や「4」のときの方が、保留アイコン変化パターンとして「ノーマル変化パターン01」が選択され易い選択率(%)に設定すればよい。
つまり、大当たりに当選していて赤キャラアイコンに変化する場合は、現在の保留数が「3」や「4」のときよりも「1」や「2」のときの方が、保留アイコン変化パターンとして「ノーマル変化パターン01」が選択され難い選択率(%)ともいえる。
また、大当たりに当選しておらず、すなわち、ハズレであって赤キャラアイコンに変化する場合は、大当たりに当選していて赤キャラアイコンに変化する場合よりも保留アイコン変化パターンとして「ノーマル変化パターン01」が選択され難い選択率(%)に設定すればよい。
以上のように、入賞時変化演出、及び、ノーマル変化パターン01(所定のコマンドの受信に応じたフレーム更新タイミングにおいて発生する変化演出)において赤キャラアイコンに変化する場合、現在の保留数が「1」や「2」のときよりも「3」や「4」のときの方が、大当たり当選期待度が高くなるので、遊技の興趣を向上させることが可能となる。
(第2実施形態)
以下、本発明の第2実施形態について図面を参照しながら具体的に説明する。ここでは第1実施形態と同一の部分については説明を省略し、相違する部分を説明する。
第2実施形態では、例えば、図39(a)に示すように、第1画像表示装置70の表示部の右下隅部に、特別図柄の変動表示に対応して変動表示される特殊図柄TZを表示するための特殊図柄表示領域が設けられている点において第1実施形態と相違する。
また、第1画像表示装置70の表示部の左端部に、現在の第1特別図柄保留数(U1)を示す第1保留数字を表示するための第1保留数表示領域70Eと、現在の第2特別図柄保留数(U2)を示す第2保留数字を表示するための第2保留数表示領域70Fとが設けられている点においても第1実施形態と相違する。
なお、第1保留数表示領域70Eに表示される第1保留数字、及び、第2保留数表示領域70Fに表示される第2保留数字が第1保留情報に相当し、第1保留アイコン表示領域70Bに表示される第1保留アイコン、及び、第2保留アイコン表示領域70Dに表示される第2保留アイコンが第2保留情報に相当し、当該アイコン表示領域70Cに表示される当該アイコンが実行情報に相当する。
(客待ち状態から変動演出が開始される際の具体例)
図38~40を用いて、客待ち状態から変動演出が開始される際の具体例について説明する。図38は、客待ち状態から変動演出が開始されるタイミングチャートであり、図39(a)~(f)及び図40(g)~(k)は、図38の(a)~(k)に対応する演出例を示す図である。
まず、T0のタイミングは、客待ち状態が開始されてから0フレーム目となるタイミングである。このタイミングにおいて、客待ちデモ演出を開始するための待機時間(30秒)の減算が開始される。
具体的には、図39(a)に示すように、第1画像表示装置70では、演出図柄70a及び特殊図柄TZが停止表示した状態となっている。また、第1保留数表示領域70E及び第2保留数表示領域70Fには「0」が表示され、保留アイコン及び当該アイコンTHが表示されていない状態となっている。
T1のタイミングは、第1特別図柄保留数(U1)が「0」から「1」に増加したタイミング(客待ち状態の開始から4フレーム目)である。このタイミングにおいて、第1保留数字の非アニメーションによる増加表示、及び、第1保留アイコンの非アニメーションによる増加表示(1フレームで完了)が行われ、アイコン発生時の報知音である第1発生報知音の出力が開始される。
具体的には、図39(b)に示すように、第1画像表示装置70では、第1保留数表示領域70Eに表示されている第1保留数字が「0」から「1」に変化すると共に、第1表示部70B1に第1保留アイコン(CDアイコン)H11が通常サイズで表示される。また、音声出力装置9から第1発生報知音(ピコッ)が出力される。
T2のタイミングは、第1特別図柄保留数(U1)が「1」から「0」に減少して通常変動パターンによる変動演出(特別図柄の変動表示)が開始されるタイミング(客待ち状態の開始から5フレーム目)である。このタイミングにおいて、演出図柄70a及び特殊図柄TZの変動表示、第1保留数字の非アニメーションによる減少表示、及び、第1保留アイコンの当該アイコンへのアニメーションによる変化表示(減少表示)が開始される。
具体的には、図39(c)に示すように、第1画像表示装置70では、第1保留数表示領域70Eに表示されている第1保留数字が「1」から「0」に変化すると共に、第1表示部70B1に表示されていた第1保留アイコン(CDアイコン)H11が当該アイコン表示領域70Cに向けて移動(シフト)を開始する。また、演出図柄70aがスクロール(他の演出図柄に更新)されない状態での縮小表示を開始すると共に、特殊図柄TZがスクロールを開始する。
T3のタイミングは、第1発生報知音の出力が開始されてから10フレーム目となるタイミング(客待ち状態の開始から14フレーム目)である。このタイミングにおいて、第1発生報知音の出力が終了する。
具体的には、図39(d)に示すように、第1画像表示装置70では、第1保留アイコン(CDアイコン)H11の当該アイコン表示領域70Cへの移動(シフト)が継続すると共に、演出図柄70aの縮小表示が継続する。
T4のタイミングは、第1保留アイコンの変化表示(減少表示)が開始してから20フレーム目となるタイミング(客待ち状態の開始から25フレーム目)である。このタイミングにおいて、第1保留アイコンの変化表示が終了する。
具体的には、図39(e)に示すように、第1画像表示装置70では、第1表示部70B1から移動してきた第1保留アイコンH11が当該アイコン表示領域70Cの中心に位置して当該アイコンTHになると共に、演出図柄70aの縮小表示が停止する。
T5のタイミングは、変動演出が開始されてから40フレーム目となるタイミング(客待ち状態の開始から45フレーム目)である。このタイミングにおいて、演出図柄70aの変動表示が継続している。
具体的には、図39(f)に示すように、第1画像表示装置70では、左の変動表示領域での演出図柄70aのスクロール(下方向への移動)に続いて、中央の変動表示領域での演出図柄70aのスクロール(下方向への移動)が開始される。
T6のタイミングは、変動演出が開始されてから50フレーム目となるタイミング(客待ち状態の開始から55フレーム目)である。このタイミングにおいて、演出図柄70aの変動表示が継続している。
具体的には、図40(g)に示すように、第1画像表示装置70では、中央の変動表示領域での演出図柄70aのスクロール(下方向への移動)に続いて、右の変動表示領域での演出図柄70aのスクロール(下方向への移動)が開始され、全ての変動表示領域で演出図柄70aがスクロールしている状態となる。
T7のタイミングは、変動演出が開始されてから225フレーム目となるタイミング(客待ち状態の開始から230フレーム目)である。このタイミングにおいて、演出図柄70aの変動表示が継続している。
具体的には、図40(h)に示すように、第1画像表示装置70では、左側の変動表示領域で「3」の演出図柄70aが仮停止される(揺れ動いた状態になる)と共に、中央と右側の変動表示領域で演出図柄70aのスクロールが継続する。
T8のタイミングは、変動演出が開始されてから255フレーム目となるタイミング(客待ち状態の開始から260フレーム目)である。このタイミングにおいて、演出図柄70aの変動表示が継続している。
具体的には、図40(i)に示すように、第1画像表示装置70では、右側の変動表示領域で「5」の演出図柄70aが仮停止される(揺れ動いた状態になる)と共に、中央の変動表示領域で演出図柄70aのスクロールが継続する。
T9のタイミングは、変動演出が開始されてから285フレーム目となるタイミング(客待ち状態の開始から290フレーム目)である。このタイミングにおいて、演出図柄70aの変動表示が継続している。
具体的には、図40(j)に示すように、第1画像表示装置70では、中央の変動表示領域に「6」の演出図柄70aが仮停止され(揺れ動いた状態になり)、ハズレであることを示す演出図柄70aの組み合わせが表示された状態となる。
T10のタイミングは、変動演出が開始されてから300フレーム目となるタイミング(客待ち状態の開始から305フレーム目)である。このタイミングにおいて、演出図柄70aの変動表示及び特殊図柄TZの変動表示が終了する。
具体的には、図40(k)に示すように、第1画像表示装置70では、左中右の変動表示領域で仮停止していた演出図柄70aが停止表示すると共に、特殊図柄TZが演出図柄70aと同じ組み合わせ「365」で停止表示する。また、当該アイコン表示領域70Cに表示されていた当該アイコンTHが消去される。
このように、客待ち状態中に特別図柄保留数が増加(「0」から「1」に変化)した場合には、保留数字及び保留アイコンの非アニメーションによる増加表示が最短となる1フレーム分の期間(時間)で終了するため、間延びしないように即座に変動演出(保留数字の減少表示及び保留アイコンの変化表示)に移行させることができ、遊技の興趣を向上させることが可能となる。
また、保留数字及び保留アイコンの増加表示の開始に同期して出力される発生報知音が、保留数字及び保留アイコンの増加表示が終了する(フレーム更新)タイミングよりも後の(フレーム更新)タイミングまで継続するため、特別図柄保留数が増加したことを遊技者に確実に認識させることができ、遊技の興趣を向上させることが可能となる。
また、特別図柄保留数が減少(「1」から「0」に変化)した場合には、保留数字の非アニメーションによる減少表示、及び、保留アイコンの当該アイコンへのアニメーションによる変化表示が実行されるため、特別図柄保留数が減少したことを遊技者に確実に認識させることができ、遊技の興趣を向上させることが可能となる。
また、保留アイコンの当該アイコンへの変化表示が完了することになる(フレーム更新)タイミングよりも、保留数字の減少表示が完了することになる(フレーム更新)タイミングの方が早いため、特別図柄保留数が変化することを演出しつつ、保留数字によって特別図柄保留数が減少したことを遊技者が把握し易くなり、遊技の興趣を向上させることが可能となる。
また、保留アイコンの当該アイコンへの変化表示が完了するまでは、演出図柄がスクロールせず(次の演出図柄に更新されず)、保留アイコンの変化表示が完了する(フレーム更新)タイミングで演出図柄のスクロール(次の演出図柄への更新)が開始されるため、保留記憶が減少してから変動演出が開始されるという遊技の進行を把握し易くなり、遊技の興趣を向上させることが可能となる。
なお、客待ち状態中に特別図柄保留数が増加(「0」から「1」に変化)した場合において、保留アイコンの増加表示を非アニメーションで実行するのではなく、保留数字の増加表示よりも長く継続するように、複数フレーム(例えば5フレーム)に亘るアニメーションで実行するようにしてもよい。このようにすることで、特別図柄保留数の増加を遊技者が把握し易くなり、遊技の興趣を向上させることが可能となる。
また、保留数字の減少表示と保留アイコンの当該アイコンへの変化表示(減少表示)とを同じ(フレーム更新)タイミングで開始するのではなく、保留数字の減少表示が完了する(フレーム更新)タイミングの方が早いのであれば、どちらを先に開始してもよい。このようにすることで、表示制御の自由度を向上させつつ、特別図柄保留数が減少したことを早い段階で把握させることができ、遊技の興趣を向上させることが可能となる。
また、保留アイコンの変化表示が完了する(フレーム更新)タイミングで演出図柄のスクロール(次の演出図柄への更新)を開始(通常よりも開始が遅延)するのではなく、保留アイコンの変化表示が完了する少し前の(フレーム更新)タイミングで演出図柄のスクロール(次の演出図柄への更新)を開始させるようにしてもよい。
(変動演出中に保留数が増加する際の具体例)
図41~42を用いて、変動演出中に保留数が増加する際の具体例について説明する。図41は、変動演出中に保留数が増加するタイミングチャートであり、図42(a)~(c)は、図41の(a)~(c)に対応する演出例を示す図である。
まず、T1のタイミングは、通常変動パターンによる変動演出が開始されてから50フレーム目となるタイミングである。このタイミングにおいて、演出図柄70aの変動表示が継続している。
具体的には、図42(a)に示すように、第1画像表示装置70では、演出図柄70a及び特殊図柄TZのスクロール(下方向への移動)が行われている。また、第1保留数表示領域70E及び第2保留数表示領域70Fには「0」が表示され、当該アイコン(CDアイコン)THが表示されている。
T2のタイミングは、第1特別図柄保留数(U1)が「0」から「1」に増加したタイミング(変動演出の開始から60フレーム目)である。このタイミングにおいて、第1保留数字の非アニメーションによる増加表示、及び、第1保留アイコンのアニメーションによる増加表示が開始され、アイコン発生時の報知音である第1発生報知音の出力が開始される。
具体的には、図42(b)に示すように、第1画像表示装置70では、第1保留数表示領域70Eに表示されている第1保留数字が「0」から「1」に変化すると共に、第1表示部70B1に第1保留アイコン(CDアイコン)H11が極小サイズで表示されて拡大表示を開始する。また、音声出力装置9から第1発生報知音(ピコッ)が出力される。
T3のタイミングは、第1保留アイコンの増加表示が開始されてから10フレーム目となるタイミング(変動演出の開始から70フレーム目)である。このタイミングにおいて、第1保留アイコンの増加表示が終了すると共に、第1発生報知音の出力が終了する。
具体的には、図42(c)に示すように、第1画像表示装置70では、第1表示部70B1に表示された第1保留アイコン(CDアイコン)の拡大表示が終了して通常サイズで表示される。
このように、特別図柄保留数が増加した場合には、保留数字の非アニメーションによる増加表示、及び、保留アイコンのアニメーションによる増加表示が実行されるため、特別図柄保留数が増加したことを遊技者に確実に認識させることができ、遊技の興趣を向上させることが可能となる。
また、保留アイコンの増加表示が完了することになる(フレーム更新)タイミングよりも、保留数字の増加表示が完了することになる(フレーム更新)タイミングの方が早いため、特別図柄保留数が変化することを演出しつつ、保留数字によって特別図柄保留数が増加したことを遊技者が把握し易くなり、遊技の興趣を向上させることが可能となる。
また、変動演出の実行中に特別図柄保留数が増加した場合には、客待ち状態中に特別図柄保留数が増加した場合に比べて、長い期間に亘って保留アイコンの増加表示が実行されるため、特別図柄保留数が増加したことを遊技者に確実に認識させることができ、遊技の興趣を向上させることが可能となる。
また、保留数字及び保留アイコンの増加表示の開始に同期して出力される発生報知音が、保留アイコンの増加表示が終了する(フレーム更新)タイミングに同期して終了するため、特別図柄保留数が増加したことを効果的に演出することができ、遊技の興趣を向上させることが可能となる。
また、保留アイコンの当該アイコンへの変化表示に係る期間(20フレーム)よりも、保留アイコンの増加表示に係る期間(10フレーム)の方が短くなっているので、変動演出が開始されることを強調することができ、遊技の興趣を向上させることが可能となる。
なお、保留数字の増加表示と保留アイコンの増加表示とを同じ(フレーム更新)タイミングで開始するのではなく、保留数字の増加表示が完了する(フレーム更新)タイミングの方が早いのであれば、どちらを先に開始してもよい。このようにすることで、表示制御の自由度を向上させつつ、特別図柄保留数が増加したことを早い段階で把握させることができ、遊技の興趣を向上させることが可能となる。
また、保留アイコンの当該アイコンへの変化表示に係る期間よりも、保留アイコンの増加表示に係る期間を短くするのではなく、保留アイコンの増加表示に係る期間が長くなるようにしてもよい。このようにすることで、特別図柄保留数が増加したことを強調することができ、遊技の興趣を向上させることが可能となる。
また、保留アイコンの当該アイコンへの変化表示に係る期間よりも、保留アイコンの増加表示に係る期間を短くするのではなく、両期間を同じ長さにしてもよい。
(保留数が減少直後に増加する際の具体例)
図43~44を用いて、保留数が減少直後に増加する際の具体例について説明する。図43は、保留数が減少直後に増加するタイミングチャートであり、図44(a)~(f)は、図43の(a)~(f)に対応する演出例を示す図である。
まず、T0のタイミングは、演出図柄70aが停止表示されてから5フレーム目となるタイミングである。このタイミングにおいて、演出図柄70aの停止表示が継続している。
具体的には、図44(a)に示すように、第1画像表示装置70では、ハズレを示す「4」「6」「8」の演出図柄70a及び特殊図柄TZが停止表示した状態となっている。また、第1保留数表示領域70Eに「2」が表示されると共に、第2保留数表示領域70Fに「0」が表示されている。さらに、第1表示部70B1に第1保留アイコン(CDアイコン)H11が表示されると共に、第2表示部70B2に第1保留アイコン(CDアイコン)H12が表示され、当該アイコンTHが表示されていない状態となっている。
T1のタイミングは、通常変動パターンによる変動演出(特別図柄の変動表示)が開始されるタイミング(演出図柄70aが停止表示されてから20フレーム目)である。このタイミングにおいて、演出図柄70a及び特殊図柄TZの変動表示、第1保留数字の非アニメーションによる減少表示、第1保留アイコンの当該アイコンへのアニメーションによる変化表示、及び、第1保留アイコンのアニメーションによる減少表示が開始される。
具体的には、図44(b)に示すように、第1画像表示装置70では、第1保留数表示領域70Eに表示されている第1保留数字が「2」から「1」に変化する。また、第1表示部70B1に表示されていた第1保留アイコン(CDアイコン)H11が当該アイコン表示領域70Cに向けて移動(シフト)を開始すると共に、第2表示部70B2に表示されていた第1保留アイコン(CDアイコン)H12が第1表示部70B1に向けて移動(シフト)を開始する。さらに、演出図柄70aがスクロール(他の演出図柄に更新)されない状態での縮小表示を開始すると共に、特殊図柄TZがスクロールを開始する。
T2のタイミングは、第1特別図柄保留数(U1)が「1」から「2」に増加したタイミング(演出図柄70aが停止表示されてから30フレーム目)である。このタイミングにおいて、第1保留数字の非アニメーションによる増加表示が開始されるが、第1保留アイコンの変化表示及び減少表示の実行中であるため、第1保留アイコンの増加表示やアイコン発生時の報知音である発生報知音の出力は待機されることになる。
具体的には、図44(c)に示すように、第1画像表示装置70では、第1保留数表示領域70Eに表示されている第1保留数字が「1」から「2」に変化すると共に、演出図柄70aの縮小表示が継続する。
T3のタイミングは、第1保留アイコンの変化表示及び減少表示が開始してから20フレーム目となるタイミング(演出図柄70aが停止表示されてから40フレーム目)である。このタイミングにおいて、第1保留アイコンの変化表示及び減少表示が終了する。また、待機していた第1保留アイコンのアニメーションによる増加表示が開始されると共に、アイコン発生時の報知音である第1発生報知音の出力が開始される。
具体的には、図44(d)に示すように、第1画像表示装置70では、第1表示部70B1から移動してきた第1保留アイコンH11が当該アイコン表示領域70Cの中心に位置して当該アイコンTHになると共に、第2表示部70B2から移動してきた第1保留アイコンH12が第1表示部70B1の中心に位置し、演出図柄70aの縮小表示が停止する。また、第2表示部70B2に第1保留アイコン(CDアイコン)H13が極小サイズで表示されて拡大表示を開始すると共に、音声出力装置9からの第1発生報知音(ピコッ)の出力が開始される。
T4のタイミングは、第1保留アイコンの増加表示が開始されてから5フレーム目となるタイミング(演出図柄70aが停止表示されてから45フレーム目)である。このタイミングにおいて、第1保留アイコンの増加表示、及び、第1発生報知音の出力が継続している。
具体的には、図44(e)に示すように、第1画像表示装置70では、第2表示部70B2に第1保留アイコン(CDアイコン)H13が小サイズで表示されて拡大表示を継続すると共に、音声出力装置9からの第1発生報知音(ピコッ)の出力が継続している。また、左側の変動表示領域での演出図柄70aのスクロール(下方向への移動)が開始される。
T5のタイミングは、第1保留アイコンの増加表示が開始されてから10フレーム目となるタイミング(演出図柄70aが停止表示されてから50フレーム目)である。このタイミングにおいて、第1保留アイコンの増加表示が終了すると共に、第1発生報知音の出力が終了する。
具体的には、図44(f)に示すように、第1画像表示装置70では、第1表示部70B1に表示された第1保留アイコン(CDアイコン)の拡大表示が終了して通常サイズで表示される。また、中央の変動表示領域での演出図柄70aのスクロール(下方向への移動)が開始される。
このように、保留アイコンの当該アイコンへの変化表示及び保留アイコンの減少表示の実行中に特別図柄保留数が増加した場合には、この変化表示及び減少表示が完了することになる(フレーム更新)タイミングより前であっても、保留数字の増加表示を開始するため、保留アイコンの変化表示及び減少表示の実行中であっても特別図柄保留数が増加したことを遊技者に認識させることができ、遊技の興趣を向上させることが可能となる。
また、保留アイコンの当該アイコンへの変化表示及び保留アイコンの減少表示の実行中に特別図柄保留数が増加した場合には、保留アイコンの増加表示及び発生報知音の出力を待機(制限)しておき、保留アイコンの変化表示及び減少表示が完了した(フレーム更新)タイミングで、保留アイコンの増加表示及び発生報知音の出力を開始するため、特別図柄保留数の推移が把握し難くなることを防止でき、遊技の興趣を向上させることが可能となる。
なお、保留数字の増加表示よりも後に実行される保留アイコンの増加表示に同期して発生報知音を出力するのではなく、保留数字の増加表示に同期して発生報知音を出力するようにしてもよい。
また、保留アイコンの変化表示及び減少表示が完了した(フレーム更新)タイミングで、保留アイコンの増加表示及び発生報知音の出力を開始(通常よりも開始が遅延)するのではなく、保留アイコンの変化表示及び減少表示が完了する少し前の(フレーム更新)タイミングで保留アイコンの増加表示及び発生報知音の出力を開始させるようにしてもよい。このようにすることで、特別図柄保留数の推移が把握し難くなることを抑制でき、遊技の興趣を向上させることが可能となる。
また、保留アイコンの増加表示中に特別図柄保留数が増加した場合であっても、保留アイコンの変化表示や減少表示中と同様に、保留アイコンの増加表示及び発生報知音の出力を待機(制限)する一方、保留数字の増加表示を開始し、保留アイコンの増加表示が完了した(フレーム更新)タイミングで、保留アイコンの増加表示及び発生報知音の出力を開始すればよい。
(特定リーチ演出中に保留数が増加する際の具体例)
図45~46を用いて、特定リーチ演出中に保留数が増加する際の具体例について説明する。図45は、特定リーチ演出中に保留数が増加するタイミングチャートであり、図46(a)~(f)は、図45の(a)~(f)に対応する演出例を示す図である。
まず、T1のタイミングは、SPリーチ変動パターンによる変動演出が開始されてから400フレーム目となるタイミングである。このタイミングにおいて、SPリーチ演出の前に実行されるノーマルリーチ演出、及び、特殊図柄TZの変動表示が継続している。
具体的には、図46(a)に示すように、第1画像表示装置70では、左右の変動表示領域に「7」の演出図柄70aがそれぞれ仮停止され、中央の変動表示領域では演出図柄70aの変動表示が継続している。また、第1保留数表示領域70Eに「1」が表示されると共に、第2保留数表示領域70Fに「0」が表示されている。さらに、第1表示部70B1に第1保留アイコン(CDアイコン)H11が表示されると共に、当該アイコン(CDアイコン)THが表示されている。
T2のタイミングは、ノーマルリーチ演出の開始から90フレーム目となるタイミング(変動演出が開始されてから430フレーム目)である。このタイミングにおいて、SPリーチ演出に発展するための発展演出が開始される。
具体的には、第1画像表示装置70では、左右の変動表示領域で仮停止している「7」の演出図柄70a及び中央の変動表示領域でスクロールしている演出図柄70aが、画面左上への移動及び縮小表示を開始する。
T3のタイミングは、発展演出が開始されてから15フレーム目となるタイミング(変動演出が開始されてから445フレーム目)である。このタイミングにおいて、SPリーチ演出に発展するための発展演出が継続している。
具体的には、図46(b)に示すように、第1画像表示装置70では、左右の変動表示領域で仮停止している「7」の演出図柄70a及び中央の変動表示領域でスクロールしている演出図柄70aが画面左上に近い位置に表示される共に、通常サイズよりも小さいサイズで表示される。
T4のタイミングは、発展演出が開始されてから30フレーム目となるタイミング(変動演出が開始されてから460フレーム目)である。このタイミングにおいて、発展演出が終了する一方、SPリーチ演出が開始される。
具体的には、図46(c)に示すように、第1画像表示装置70では、左中右の変動表示領域の演出図柄70aが画面左上に縮小サイズで表示されると共に、画面中央には味方キャラC2と敵キャラC3とが対決する対決演出が開始される。また、当該アイコン表示領域70Cに表示されている当該アイコンTHを残して、保留アイコン表示領域(第1保留アイコン表示領域70B、第2保留アイコン表示領域70D)に表示されている保留アイコン(ここでは第1保留アイコンのみ)が保留アイコン表示領域と一緒に非表示となる。さらに、特殊図柄TZが演出図柄70aと同じ「7」図柄でリーチ状態となる。
T5のタイミングは、第1特別図柄保留数(U1)が「1」から「2」に増加したタイミング(変動演出が開始されてから820フレーム目)である。このタイミングにおいて、第1保留数字の非アニメーションによる増加表示が開始されるが、SPリーチ演出(対決演出)の実行中であるため、このタイミングでの第1保留アイコンの増加表示やアイコン発生時の報知音である発生報知音の出力は行われないことになる。
具体的には、図46(d)に示すように、第1画像表示装置70では、第1保留数表示領域70Eに表示されている第1保留数字が「1」から「2」に変化すると共に、対決演出の最終演出(大当たりか否かを報知するための決め演出)が実行されている。
T6のタイミングは、SPリーチ演出(対決演出)が開始されてから420フレーム目となるタイミング(変動演出が開始されてから880フレーム目)である。このタイミングにおいて、対決演出の最終演出(決め演出)の結果が導出される。
具体的には、図46(e)に示すように、第1画像表示装置70では、味方キャラC2が敵キャラC3に勝利する演出が行われると共に、画面左上で縮小表示されている演出図柄70aが大当たりであることを示す組み合わせ(「777」)で仮停止する(揺れ動いた状態になる)。
T7のタイミングは、SPリーチ演出(対決演出)が開始されてから450フレーム目となるタイミング(変動演出が開始されてから910フレーム目)である。このタイミングにおいて、SPリーチ演出(対決演出)が終了し、第1保留アイコンの非アニメーションによる復帰表示及び増加表示が行われる。
具体的には、図46(f)に示すように、第1画像表示装置70では、画面左上に縮小表示されていた演出図柄70aが画面中央に拡大表示されて仮停止される(揺れ動いた状態になる)。また、第1表示部70B1に第1保留アイコン(CDアイコン)H11が再表示されると共に、第2表示部70B2に第1保留アイコン(CDアイコン)H12が通常サイズで表示される。
そして、最終的には、左中右の変動表示領域で仮停止していた演出図柄70aが停止表示すると共に、特殊図柄TZが演出図柄70aと同じ組み合わせ「777」で停止表示する。また、当該アイコン表示領域70Cに表示されていた当該アイコンTHが消去される。
このように、特定演出(SPリーチ演出)の実行中に特別図柄保留数が増加した場合には、この特定演出が終了することになる(フレーム更新)タイミングより前であっても、保留数字の増加表示を開始するため、遊技の興趣を向上させることが可能となる。
また、特定演出(SPリーチ演出)の実行中に特別図柄保留数が増加した場合には、保留アイコンの増加表示の実行を待機(制限)しておき、特定演出が終了(縮小表示されていたハズレ演出図柄又は大当たり演出図柄が拡大表示)した(フレーム更新)タイミングで、保留アイコンの増加表示を開始するため、特別図柄保留数の推移が把握し難くなることを防止でき、遊技の興趣を向上させることが可能となる。
また、特定演出(SPリーチ演出)が終了したタイミングで保留アイコンの増加表示を開始する場合に、1フレームで完結する非アニメーションによる保留アイコンの増加表示を行うため、特別図柄保留数が増加したタイミングと保留アイコンの増加表示を実行するタイミングとに極端なズレがあったとしても、遊技者の違和感を軽減することができ、遊技の興趣を向上させることが可能となる。
また、特定演出(SPリーチ演出)が終了したタイミングで保留アイコンの増加表示を開始する場合に、発生報知音を出力しないため、発生報知音によって特定演出が終了したタイミングで特別図柄保留数が増加したと勘違いさせ難くなり、遊技の興趣を向上させることが可能となる。
なお、特定演出(SPリーチ演出)の実行中に特別図柄保留数が複数増加した場合であっても、保留数字の増加表示を実行する一方で、保留アイコンの増加表示の実行を待機(制限)しておき、特定演出が終了した(フレーム更新)タイミングで増加した分の保留アイコンの増加表示を1フレームでまとめて実行するようにするとよい。
また、特定演出(SPリーチ演出)の実行中に特別図柄保留数が増加した場合には、発生報知音を出力しないのではなく、保留数字の増加表示に同期して発生報知音を出力してもよい。
また、特定演出としてSPリーチ演出を例示したが、特定演出にSPSPリーチ演出を含めてもよいし、全回転リーチ演出を含めてもよい。
(特定遊技状態の終了前後に保留数が増減する際の具体例)
図47~49を用いて、特定遊技状態の終了前後に保留数が増減する際の具体例について説明する。図47は、特定遊技状態の終了前後に保留数が増減するタイミングチャートであり、図48(a)~(f)及び図49(g)~(i)は、図47の(a)~(i)に対応する演出例を示す図である。
まず、T1のタイミングは、特定遊技状態における最後(100回目)の変動演出が開始されてから400フレーム目となるタイミングである。このタイミングにおいて、演出図柄70a及び特殊図柄TZの変動表示が継続している。
具体的には、図48(a)に示すように、第1保留数表示領域70Eに「1」が表示されると共に、第2保留数表示領域70Fに「4」が表示されている。また、第1保留アイコン表示領域70Bが消去されていると共に、第2保留アイコン表示領域70Dの第1表示部70D1~第4表示部70D4にそれぞれ第2保留アイコン(CDアイコン)H21~H24が表示され、当該アイコンTHが表示された状態となっている。さらに、画面上部には、特定遊技状態で実行可能な変動演出の回数(ここでは「残り0回」)が表示されると共に、画面右上には、遊技領域5aの右側領域に向けて遊技球を発射することを促す右打ち画像MUが表示されている。
T2のタイミングは、第1特別図柄保留数(U1)が「1」から「2」に増加したタイミング(変動演出が開始されてから415フレーム目)である。このタイミングにおいて、第1保留数字の非アニメーションによる増加表示が開始されるが、第1保留アイコン表示領域70Bが消去されているため、第1保留アイコンの増加表示やアイコン発生時の報知音である発生報知音の出力は行われないことになる。
具体的には、図48(b)に示すように、第1画像表示装置70では、第1保留数表示領域70Eに表示されている第1保留数字が「1」から「2」に変化すると共に、演出図柄70aのスクロールが継続する。
T3のタイミングは、変動演出が開始されてから430フレーム目となるタイミングである。このタイミングにおいて、左中右の変動表示領域で変動表示していた演出図柄70aが同時に仮停止する。
具体的には、図48(c)に示すように、第1画像表示装置70では、左中右の変動表示領域に「285」の演出図柄70aが仮停止され(揺れ動いた状態になり)、ハズレであることを示す演出図柄70aの組み合わせが表示された状態となる。
T4のタイミングは、演出図柄70aが仮停止してから15フレーム目となるタイミング(変動演出が開始されてから445フレーム目)である。このタイミングにおいて、所定の有利期間(大当たり遊技と特定遊技状態が継続している間)における遊技の結果を示すリザルト表示が開始される。
具体的には、図48(d)に示すように、第1画像表示装置70では、背景画像HGが暗転すると共に、特定遊技状態の終了を示す「スペシャルタイム終了」及び所定の有利期間中に実行された大当たり遊技の回数「大当たり×1」の文字が表示される。また、仮停止している演出図柄70aが画面左上に縮小表示される。
T5のタイミングは、リザルト表示が開始されてから15フレーム目となるタイミング(変動演出が開始されてから460フレーム目)である。このタイミングにおいて、リザルト表示が継続している。
具体的には、図48(e)に示すように、第1画像表示装置70では、所定の有利期間中に獲得した(払い出された)遊技球の数を示す「TOTAL 1200pt」の文字が追加表示される。
T6のタイミングは、リザルト表示が開始されてから30フレーム目となるタイミング(変動演出の開始から475フレーム目)である。このタイミングにおいて、演出図柄70aの変動表示及び特殊図柄TZの変動表示が終了する。
具体的には、図48(f)に示すように、第1画像表示装置70では、画面左上で仮停止していた演出図柄70aが画面中央に移動して停止表示すると共に、特殊図柄TZが演出図柄70aと同じ組み合わせ「285」で停止表示する。また、当該アイコン表示領域70Cに表示されていた当該アイコンTHが消去される。
T7のタイミングは、特定遊技状態における最後(100回目)の変動演出が終了して通常遊技状態における1回目の変動演出が開始されるタイミング(変動演出の開始から490フレーム目)である。このタイミングにおいて、演出図柄70a及び特殊図柄TZの変動表示、第2保留数字の非アニメーションによる減少表示、第2保留アイコンの当該アイコンへのアニメーションによる変化表示、第2保留アイコンのアニメーションによる減少表示、第1保留アイコンの非アニメーションによる復帰表示、及び、第1保留アイコンの非アニメーションによる増加表示が開始される。
具体的には、図49(g)に示すように、第1画像表示装置70では、第2保留数表示領域70Fに表示されている第2保留数字が「4」から「3」に変化すると共に、第1表示部70D1に表示されていた第2保留アイコン(CDアイコン)H21が当該アイコン表示領域70Cに向けて移動(シフト)を開始すると共に、第2表示部70D2~第4表示部70D4に表示されていた第2保留アイコン(CDアイコン)H22~H24が1つ隣りの表示部に向けて移動(シフト)を開始する。
また、第1保留アイコン表示領域が復帰して第1表示部70B1に第1保留アイコン(CDアイコン)H11が復帰表示されると共に、第2表示部70B2に第1保留アイコン(CDアイコン)H12が通常サイズで表示される。さらに、演出図柄70aがスクロール(他の演出図柄に更新)されない状態での縮小表示を開始すると共に、特殊図柄TZがスクロールを開始する。また、画面左上には、遊技領域5aの左側領域に向けて遊技球を発射することを促す左打ち画像HUが表示される。
T8のタイミングは、第2保留アイコンの変化表示及び減少表示が開始してから20フレーム目となるタイミング(前回の変動演出の開始から510フレーム目)である。このタイミングにおいて、第2保留アイコンの変化表示及び減少表示が終了する。
具体的には、図49(h)に示すように、第1画像表示装置70では、第1表示部70D1から移動してきた第2保留アイコンH21が当該アイコン表示領域70Cの中心に位置して当該アイコンTHになると共に、第2表示部70D2~第4表示部70D4から移動してきた第2保留アイコンH22~H24が隣の表示部の中心に位置し、演出図柄70aの縮小表示が停止する。
T9のタイミングは、第2保留アイコンの変化表示及び減少表示が終了してから10フレーム目となるタイミング(前回の変動演出の開始から520フレーム目)である。このタイミングにおいて、演出図柄70aのスクロール(下方向への移動)が継続する。
具体的には、図49(i)に示すように、第1画像表示装置70では、左側の変動表示領域での演出図柄70aのスクロールに続いて、中央の変動表示領域での演出図柄70aのスクロール(下方向への移動)が開始される。
このように、特定遊技状態中に第1特別図柄保留数(U1)が増加した場合には、第1保留アイコンの増加表示を待機(制限)する一方、第1保留数字の増加表示を開始するため、特定演出の実行中であっても特別図柄保留数が増加したことを遊技者に認識させることができ、遊技の興趣を向上させることが可能となる。
また、特定遊技状態中に第1特別図柄保留数(U1)が増加した場合には、特定遊技状態(における最後の変動演出)が終了した(フレーム更新)タイミングで、第1保留アイコンの増加表示を開始するため、それ以前に実行された第1保留数字の増加表示を見逃した場合であっても、第1特別図柄保留数が増加したことを認識することができ、遊技の興趣を向上させることが可能となる。
また、特定遊技状態(における最後の変動演出)が終了したタイミングで第1保留アイコンの増加表示を開始する場合に、1フレームで完結する非アニメーションによる保留アイコンの増加表示を行うため、特別図柄保留数が増加したタイミングと保留アイコンの増加表示を実行するタイミングとに極端なズレがあったとしても、遊技者の違和感を軽減することができ、遊技の興趣を向上させることが可能となる。
また、特定遊技状態(における最後の変動演出)が終了したタイミングで保留アイコンの増加表示を開始する場合に、発生報知音を出力しないので、発生報知音によって特定遊技状態が終了したタイミングで特別図柄保留数が増加したと勘違いさせ難くなり、遊技の興趣を向上させることが可能となる。
また、保留アイコンの当該アイコンへの変化表示が完了するまでは、演出図柄がスクロールせず(次の演出図柄に更新されず)、保留アイコンの変化表示が完了する(フレーム更新)タイミングで演出図柄のスクロール(次の演出図柄への更新)が開始されるため、変動演出中の演出の進行を把握し易くなり、遊技の興趣を向上させることが可能となる。
なお、特定遊技状態中に第1特別図柄保留数が複数増加した場合であっても、保留数字の増加表示を実行する一方で、保留アイコンの増加表示の実行を待機(制限)しておき、特定遊技状態(における最後の変動演出)が終了した(フレーム更新)タイミングで増加した分の保留アイコンの増加表示を1フレームでまとめて実行すればよい。
また、特定遊技状態中に第1特別図柄保留数が増加した場合には、発生報知音を出力しないのではなく、保留数字の増加表示に同期して発生報知音を出力してもよい。
なお、本実施の形態では、通常遊技状態においては第1保留アイコン表示領域70B及び第2保留アイコン表示領域70Dが設定(表示)されていたが、第2保留アイコン表示領域70Dを設定(表示)せずに第1保留アイコン表示領域70Bだけを設定(表示)するようにしてもよい。
また、本実施の形態では、変動演出中に特定演出(SPリーチ演出、SPSPリーチ演出、全回転リーチ演出)が実行されているか否かに拘らず当該アイコン表示領域70Cが設定(表示)されていたが、特定演出の実行中において当該アイコン表示領域70Cを設定(表示)せずに当該アイコンを非表示としてもよいし、特定演出の実行途中から当該アイコン表示領域70Cを設定(表示)せずに当該アイコンを非表示としてもよい。
また、本実施の形態では、第1保留数表示領域70Eと第2保留数表示領域70Fとを第1画像表示装置70に設定(表示)していたが、第2画像表示装置71に設定(表示)してもよいし、画像表示装置とは異なる専用の表示器(例えば、7セグメントLED、ドットマトリックス、専用のLED等)に設定(表示)してもよい。そして、専用のLEDに設定する場合には、LEDの点灯色や点灯/点滅態様によって特別図柄保留数を表示するとよい。
(第3実施形態)
以下、本発明の第3実施形態について図50-1~図56-2を参照しながら具体的に説明する。ここでは第2実施形態と同一の部分については説明を省略し、相違する部分を説明する。
[第1表示態様から第2表示態様への変移の説明]
図50-1~図50-3を用いて、まずは、第3実施形態において、第1画像表示装置70で表示される演出図柄70a及び特殊図柄TZの表示態様の変移を説明する。図50-1は、第1表示態様においてノーマルリーチの態様で表示された場合の表示態様の変移を説明する図である。図50-2は、SPリーチ演出が実行される場合の表示態様の変移を説明する図である。図50-3は、第1表示態様において非リーチの態様で表示された場合の表示態様の変移を説明する図である。
これら図50-1~図50-3に示すように、第3実施形態における演出図柄70a及び特殊図柄TZの表示態様は、第1表示態様から第2表示態様に変移する。第1表示態様とは、3つの演出図柄列で構成された演出図柄70aのうち少なくとも2つの演出図柄列が停止して、停止していない1つの演出図柄列が変動表示しているとともに、3つの図柄列で構成された特殊図柄TZのうち少なくとも2つの図柄列が停止して、停止していない1つの図柄列が変動表示しているような表示の態様である。したがって、第1表示態様では、演出図柄70aにおいて、3つの演出図柄列のうち少なくとも1つにおいて演出図柄が視認不可能、つまり、認識不可能な表示の態様である。また、特殊図柄TZにおいて、3つの図柄列のうち少なくとも1つにおいて図柄列が認識不可能な表示の態様である。一方、第2表示態様とは、演出図柄70aの3つの演出図柄列の全てが停止するとともに、特殊図柄TZの3つの図柄列の全ても停止し、全ての演出図柄列及び図柄列が視認可能、つまり、認識可能な表示の態様である。
図50-1(a)に示すように、第1表示態様としてノーマルリーチの態様で表示された場合では、例えば、演出図柄70aの2つの演出図柄列が「7」といった同じ演出図柄で停止表示し、1つの演出図柄列が変動表示するとともに、特殊図柄TZの2つの図柄列も停止表示している演出図柄「7」に対応した図柄「7」で停止表示し、1つの図柄列が変動表示している。次に、ノーマルリーチの態様で表示された後の第2表示態様の一つの態様としては、図50-1(b)に示すように、例えば、演出図柄70aにおいて、第1表示態様で変動表示していた1つの演出図柄列が「3」といったように、第1表示態様で停止表示していた演出図柄列の演出図柄とは異なる演出図柄で停止表示したリーチハズレ示唆態様で表示されるとともに、特殊図柄TZにおいても停止表示している演出図柄70aに対応した図柄からなるリーチハズレ示唆態様で停止表示するものがある。また、ノーマルリーチの態様で表示された後の第2表示態様の別の態様としては、図50-1(c)に示すように、例えば、演出図柄70aにおいて、第1表示態様で変動表示していた1つの演出図柄列が「7」といったように、第1表示態様で停止表示していた演出図柄列の演出図柄と同じ演出図柄で停止表示した大当たり示唆態様で表示されるとともに、特殊図柄TZにおいても停止表示している演出図柄70aに対応した図柄からなる大当たり示唆態様で停止表示するものがある。
図50-2(a)に示すように、SPリーチ演出が実行されるときの第1表示態様では、例えば、演出図柄70aの2つの演出図柄列が「7」といった同じ演出図柄で停止表示し、1つの演出図柄列が変動表示するとともに、特殊図柄TZの2つの図柄列も停止表示している演出図柄「7」に対応した図柄「7」で停止表示し、1つの図柄列が変動表示している。次に、図50-2(b)に示すように、味方キャラC2と敵キャラC3とが対決するSPリーチ演出であるバトル演出が開始されるとともに、演出図柄70aが画面左上に縮小表示される。そして、図50-2(c)に示すように、バトル演出で味方キャラC2が敗退した場合には、第2表示態様の一つの態様として、図50-2(d)に示すように、例えば、演出図柄70aにおいては元の大きさに戻ったうえでのリーチハズレ示唆態様で停止表示するとともに、特殊図柄TZにおいてもリーチハズレ示唆態様で停止表示するものがある。また、図50-2(e)に示すように、バトル演出で味方キャラC2が勝利した場合には、第2表示態様の別の態様として、例えば、図50-2(f)に示すように、演出図柄70aにおいては元の大きさに戻ったうえでの大当たり示唆態様で停止表示するとともに、特殊図柄TZにおいても大当たり示唆態様で停止表示するものがある。なお、図50-2(c)、図50-2(e)では、演出図柄70aにおける3つの演出図柄列が停止表示されて全ての演出図柄が認識可能であるものの、特殊図柄TZの少なくとも1つの図柄列が変動表示された表示態様である。また、本実施形態において、図50-2(c)の表示時間は2秒であり、図50-2(e)の表示時間は3秒であるものとする。
図50-3(a)に示すように、第1表示態様として非リーチの態様で表示された場合には、演出図柄70aの2つの演出図柄列が「7」と「1」いった互いに異なる演出図柄で停止表示し、1つの演出図柄列が変動表示するとともに、特殊図柄TZの2つの図柄列も停止表示している演出図柄「7」と「1」に対応した図柄で停止表示し、1つの図柄列が変動表示している。そして、第1表示態様において非リーチの態様で表示された後の第2表示態様の一つの態様としては、例えば、図50-3(b)に示すように、第1表示態様において変動表示していた1つの演出図柄列が「2」といったように、第1表示態様で停止表示されていた演出図柄列の2つの演出図柄とは異なる演出図柄で停止表示した非リーチハズレ示唆態様で表示されるとともに、特殊図柄TZにおいても非リーチハズレ示唆態様で停止表示するものがある。
[変動終了示唆演出の説明]
図51-1、図51-2を用いて、次に、変動終了示唆演出について説明する。図51-1は、変動終了示唆演出の一例を説明する図であり、図51-2は、変動終了示唆演出の別の一例を説明する図である。変動終了示唆演出とは、第1表示態様と第2表示態様との間の所定のタイミングで実行される演出であり、特に、演出図柄70aおよび特殊図柄TZの変動終了となる第2表示態様の直前に実行されることによって、この変動終了を示唆することとなる演出である。この変動終了示唆演出では、演出図柄70aにおいては3つの演出図柄列が停止表示しているため全ての演出図柄が認識可能であるものの、特殊図柄TZにおいては少なくとも1つの図柄列が変動表示している。なお、変動終了示唆演出は、第1表示態様と第2表示態様との間で必ず実行されるものではなく、第1表示態様の後に実行されないで第2表示態様に変移してもよい。
図51-1に示すように、変動終了示唆演出の一つの具体例としては、例えば、停止表示している演出図柄70aの演出図柄の各々自体が振動するような所定の挙動を実行するような態様のものがある。図51-1(a)に示す変動表示示唆演出は、第1表示態様においてノーマルリーチの態様で表示された場合やSPリーチ演出が実行された場合であって、第2表示態様でリーチハズレ示唆態様となるときに実行されるものであり、例えば、図50-1(a)→図51-1(a)→図50-1(b)のように変移したり、図50-2(c)→図51-1(a)→図50-2(d)のように変移したりする場合に実行されるようにすることができる。また、図51-1(b)に示す変動表示示唆演出は、第1表示態様においてノーマルリーチの態様で表示された場合やSPリーチ演出が実行された場合であって、第2表示態様で大当たり示唆態様となるときに実行されるものであり、例えば、図50-1(a)→図51-1(b)→図50-1(c)のように変移したり、図50-2(e)→図51-1(b)→図50-2(f)のように変移したりする場合に実行されるようにすることができる。さらに、図51-1(c)に示す変動表示示唆演出は、第1表示態様において非リーチの態様であって第2表示態様で非リーチハズレ示唆態様となるときに表示される場合に実行されるものであり、例えば、図50-3(a)→図51-1(c)→図50-3(b)のように変移したりする場合に実行されるようにすることができる。
図51-2に示すように、変動終了示唆演出の別の具体例としては、例えば、停止表示している演出図柄70aの周囲近傍に、背景画像HGとして演出図柄の各々が煌めくような変動終了示唆表示が表示されるような態様のものがある。図51-2(a)に示す変動表示示唆演出は、第1表示態様においてノーマルリーチの態様で表示された場合やSPリーチ演出が実行された場合であって、第2表示態様でリーチハズレ示唆態様となるときに実行されるものであり、例えば、図50-1(a)→図51-2(a)→図50-1(b)のように変移したり、図50-2(c)→図51-2(a)→図50-2(d)のように変移したりする場合に実行されるようにすることができる。また、図51-2(b)に示す変動表示示唆演出は、第1表示態様においてノーマルリーチの態様で表示された場合やSPリーチ演出が実行された場合であって、第2表示態様で大当たり示唆態様となるときに実行されるものであり、例えば、図50-1(a)→図51-2(b)→図50-1(c)のように変移したり、図50-2(e)→図51-2(b)→図50-2(f)のように変移したりする場合に実行されるようにすることができる。さらに、図51-2(c)に示す変動表示示唆演出態様は、第1表示態様において非リーチの態様であって第2表示態様で非リーチハズレ示唆態様となるときに実行されるものであり、例えば、図50-3(a)→図51-2(c)→図50-3(b)のように変移したりする場合に実行されるようにすることができる。
なお、本実施形態において、例えば、図50-1(c)および図50-2(f)の表示時間に比べて、図50-1(b)および図50-2(d)の表示時間は短く、図50-3(b)の表示時間は更に短いものとする。つまり、第2表示態様が表示される時間は、大当たり示唆態様、リーチハズレ示唆態様、非リーチハズレ示唆態様、といった順で長くなるように設定されている。また、例えば、図51-1(b)および図51-2(b)の表示時間は3秒であり、図51-1(a)および図51-2(a)の表示時間は1.5秒であり、図51-1(c)および図51-2(c)の表示時間は0.5秒であるものとする。つまり、変動終了示唆演出の実行時間は、大当たりとなる可能性が高い順に長くなるように設定されている。
[擬似連演出の説明]
図52-1、図52-2を用いて、次に、擬似連演出について説明する。図52-1は、第1表示態様においてノーマルリーチの態様で表示された場合の擬似連演出の一例を説明する図であり、図52-2は、第1表示態様において非リーチの態様で表示された場合の擬似連演出の一例を説明する図である。ここで擬似連演出とは、第1表示態様と第2表示態様との間の所定のタイミングで実行される演出であって、特に、変動終了示唆演出が実行される場合には、第1表示態様と変動終了示唆演出との間で実行される演出である。例えば、第1表示態様においてノーマルリーチ又は非リーチの態様で表示された後に、擬似連演出が実行されることを示唆して擬似連演出として実行される態様のものである。
図52-1(a)に示すように、第1表示態様においてノーマルリーチの態様で表示された場合の擬似連演出では、まず、第1表示態様におけるノーマルリーチの態様の演出図柄70aの1つの演出図柄列が変動表示していた領域に、「チャンス」といった擬似連表示が表示される。次に、図52-1(b)に示すように、演出図柄70aの全ての図柄列が再度変動表示される。次に、再度の変動表示の後に、図52-1(c)に示すように、再び演出図柄70aの2つの図柄列が「7」といった同じ図柄で停止表示され、1つの図柄列が変動表示される。そして、図52-1(d)に示すように、演出図柄70aにおける3つの演出図柄列が停止表示されて全ての演出図柄が認識可能であるものの、特殊図柄TZの少なくとも1つの図柄列が変動表示された表示態様となる。
図52-2(a)に示すように、第1表示態様において非リーチの態様で表示された場合の擬似連演出では、まず、第1表示態様における非リーチの態様の演出図柄70aの1つの図柄列が変動表示していた領域に、「チャンス」といった擬似連表示が表示される。次に、図52-2(b)に示すように、演出図柄70aの全ての図柄列が再度変動表示される。そして、再度の変動表示の後に、図52-2(c)に示すように、演出図柄70aの2つの図柄列が「7」といった同じ図柄で停止表示され、1つの図柄列が変動表示される。そして、図52-2(d)に示すように、演出図柄70aにおける3つの演出図柄列が停止表示されて全ての演出図柄が認識可能であるものの、特殊図柄TZの少なくとも1つの図柄列が変動表示された表示態様となる。
なお、上述の擬似連演出では、単に第1表示態様においてノーマルリーチ又は非リーチの態様で表示された場合のものを説明したが、演出態様の変化を示唆する、所謂、複数の変動に亘ったチャンス目で演出図柄70aが停止表示される演出と組合わせた態様のものとしてもよい。例えば、演出図柄70aがチャンス目で仮停止した後に、擬似連演出を実行するようにしてもよい。また、演出図柄70aがチャンス目で仮停止した後に、SPリーチ演出を実行するようにしてもよい。また、上述の擬似連演出において、図52-1(d)の表示時間は2秒であるものとする。さらに、第2表示態様においてリーチハズレ示唆態様となる場合に、特殊図柄TZが変動表示されているものの演出図柄70aでリーチハズレの態様で認識可能となっている表示をしてもよく、この表示時間を1秒としてもよい。
また、上述の擬似連演出では、図52-1(a)および図52-2(a)の仮停止の状態の表示から図52-1(d)および図52-2(d)を表示するまでの1回の擬似連演出が実行されている態様であるが、2~3回の擬似連演出を実行する態様としてもよい。具体的には、図52-1又は図52-2において、(a)→(b)→(c)→(a)→…といった態様であったり、(a)→(b)→(a)→…といった態様であったりする擬似連演出を複数回実行してもよく、図52-1と図52-2とを組合わせた態様のものとしてもよい。さらに、図52-1又は図52-2における(a)→(b)→(c)→(a)→…といった態様を含めた擬似連演出を実行するときの大当たりに対する期待度が、(a)→(b)→(a)→…といった態様を含めた擬似連演出を実行するときの大当たりに対する期待度に比べて高いものとなるように設定されていてもよい。そして、上述の擬似連演出においては、図52-1(a)の表示時間が2秒であるのに対して、図52-2(a)の表示時間は1秒とする。なお、図52-1(d)の表示時間が図52-1(a)の仮停止の表示時間よりも長いものとしたり、図52-2(d)の表示時間が図52-2(a)の仮停止の表示時間よりも長いものとしたりしてもよい。
[復活演出の説明]
図53を用いて、次に、復活演出について説明する。図53は、SPリーチ演出が実行された場合の復活演出の一例を説明する図である。ここで、復活演出とは、第1表示態様と第2表示態様との間の所定のタイミングで実行される演出であって、特に、変動終了示唆演出が実行される場合には、第1表示態様と変動終了示唆演出との間で実行される演出である。例えば、図50-2で説明した第1表示態様の後のSPリーチ演出の味方キャラC2と敵キャラC3とが対決するバトル演出において、味方キャラC2が敗北して、一旦は、バトル演出が終了した後に、再度バトル演出を実行する態様のものである。具体的には、図53(a)に示すように、バトル演出において味方キャラC2が敗北したことを示す表示であって、バトル演出を終了させることを示唆する表示態様が表示される。このとき、演出図柄70aは画面左上に縮小表示されるとともに、特殊図柄TZは全てが変動表示されており、このような演出図柄70aおよび特殊図柄TZの表示態様は復活演出の実行中には維持された状態となる。次に、図53(b)に示すように、味方キャラC2と敵キャラC3とが対決する演出が表示されていた領域に、「復活」といった復活示唆表示が表示される。そして、図53(c)に示すように、味方キャラC2を敗北前に比べて大きくするとともに敵キャラC3を勝利前に比べて小さくしたような態様で、再び味方キャラC2と敵キャラC3とが対決する演出が表示される。そして、図53(d)に示すように、味方キャラC2と敵キャラC3とが対決する演出が表示されていた領域に、「勝利」といった文字が表示される。そして、図53(e)に示すように、バトル演出において味方キャラC2が勝利してバトル演出を終了させることを示唆する表示であって、演出図柄70aにおける3つの演出図柄列が停止表示されて全ての演出図柄が認識可能であるものの、特殊図柄TZの少なくとも1つの図柄列が変動表示された表示態様となる。なお、上述の復活演出において、図53(e)の表示時間は1秒であるものとする。
上述の復活演出において、味方キャラC2の勝利を示したバトル演出を終了させることを示唆する表示態様を表示する前に、「勝利」といった文字が表示されるものとしたが、このような表示態様のものでなくてもよい。例えば、図53(f)に示すように、特殊図柄TZは変動表示されているものの、背景画像HGの全体が黒く暗転するような暗転演出を実行してもよい。つまり、図53(c)→図53(f)→図53(e)といったような態様の復活演出を実行してもよい。また、上述の復活演出においては、復活後のバトル演出で勝利して、第2表示態様の大当たり示唆態様に変移する態様について説明したが、復活後のバトル演出で敗退して、第2表示態様のリーチハズレ示唆態様に変移するような態様であってもよい。このような敗退する場合の復活演出においては、例えば、図53(c)→図53(f)→図50-2(c)というように変移する態様であってもよい。
上述のバトル演出、復活演出、擬似連演出は、所謂、第2表示態様の前に大当たり示唆態様となる期待度を向上させる演出であるものといえる。また、当該演出は、演出の実行時間の経過とともに段々と期待度を向上させるような態様で実行するものであるため、段階的に期待度を向上させる演出であるものともいえる。また、当該演出は、特殊図柄TZの一変動中に演出図柄の認識可能な状態が複数回実行されるようにすることもできる。
[その他の実施形態の説明]
図54-1~図54-7を用いて、次に、変動終了示唆演出のその他の例について説明する。図54-1~図54-6の各々は、変動終了示唆演出のその他の例であって、一例を説明する図であり、図54-7は、演出図柄5470aにおける変動終了示唆演出の一例を説明する図である。
図54-1に示した変動終了示唆演出は、停止表示している演出図柄70aの演出図柄の各々自体が移動して位置が変化するような所定の挙動を実行するような態様のものである。具体的には、図54-1(a)に示すように、停止表示していた「7」の演出図柄が上方に移動するものの、変動表示している演出図柄70aの一つの演出図柄列の位置は変化しないように表示される。次に、図54-1(b)に示すように、移動した演出図柄は位置をそのまま維持した状態で、変動表示していた演出図柄列が停止表示される。そして、図54-1(c)に示すように、上方に移動していた演出図柄の位置が変化して、元の演出図柄70aが表示されていた位置に戻り、全ての演出図柄70aが停止表示される。
図54-2に示した変動終了示唆演出は、一つの演出図柄列が変動表示している演出図柄70aの周囲近傍に、背景画像HGとしてシャッター扉のような形態の変動終了示唆表示が表示される態様のものである。具体的には、図54-2(a)に示すように、一つの演出図柄列が変動表示している演出図柄70aが認識可能な状態で、演出図柄70aの両側に開いているシャッター扉のような変動終了示唆表示が表示される。次に、図54-2(b)に示すように、シャッター扉が閉まるように変動終了示唆表示が変化して、全ての演出図柄70aが視認不可能となる。そして、図54-2(c)に示すように、閉まっていたシャッター扉が開くように変動終了示唆表示が変化して、全ての演出図柄70aが認識可能となる。
図54-3(a)に示した変動終了示唆演出は、停止表示している演出図柄70aの演出図柄の各々自体が振動するような所定の挙動を実行するような態様のものである。この図54-3(a)に示した振動の態様は、図51-1に示したような態様とは異なるものである。具体的には、図51-1に示した演出図柄70aの振動は上下左右の方向に小刻みに振動する態様であるのに対して、図54-3(a)に示した演出図柄70aの振動は左右の方向に大きく振動する態様である。次に、図54-3(b)に示した変動終了示唆演出は、停止表示している演出図柄70aの演出図柄の各々が輝くような所定の挙動を実行するような態様のものである。この図54-3(b)に示した輝く態様は、図51-2に示したような態様とは異なるものである。具体的には、図51-2に示した演出図柄70aでは、背景画像HGが演出図柄の各々の周囲近傍が煌めくような態様であるのに対して、図54-3(a)に示した演出図柄70aの輝く態様は停止表示している演出図柄70aの演出図柄の各々自体が輝くような態様のものである。これら図54-3に示した変動終了示唆演出は、例えば、第2表示態様において大当たり示唆態様となる変動パターンにおいて実行されるものとして、第2表示態様において非リーチハズレ示唆態様およびリーチハズレ示唆態様となる変動パターンにおいては図51-1又は図51-2に示した変動終了示唆演出が実行されるようにしてもよい。つまり、第2表示態様において大当たり示唆態様となる変動パターンにおいては、振動や輝き等といった非リーチハズレ示唆態様およびリーチハズレ示唆態様における変動終了示唆演出と類似した態様の変動終了示唆演出であるものの、特有の態様のものとすることができる。
図54-4に示した変動終了示唆演出は、停止表示している演出図柄70aの演出図柄の各々自体が大きく拡大するような所定の挙動を実行するような態様のものである。具体的には、図54-4(a)に示した通常の大きさの演出図柄70aの演出図柄が、図54-4(b)に示した通常の大きさの演出図柄に比べて拡大して大きくなった演出図柄となるように、演出図柄70aの演出図柄の各々自体が拡大変化して強調される態様である。この図54-4に示した変動終了示唆演出は、例えば、第2表示態様において大当たり示唆態様となる変動パターンにおいて実行されるものとしてもよい。つまり、第2表示態様において大当たり示唆態様となる変動パターンにおいては、非リーチハズレ示唆態様およびリーチハズレ示唆態様における変動終了示唆演出として実行されない特有の態様の変動終了示唆演出が実行されるものとすることができる。
図54-5に示した変動終了示唆演出は、停止表示している演出図柄70aの演出図柄の各々自体が小さく縮小するような所定の挙動を実行するような態様のものである。具体的には、図54-5(a)に示した通常よりも大きい演出図柄70aで演出図柄列のうちの少なくとも1つが変動しており、図54-5(b)に示した通常よりも大きい演出図柄70aで演出図柄列の全てが停止表示し、図54-5(c)に示した通常の大きさの演出図柄に比べて縮小して小さくなった演出図柄となるように、演出図柄70aの演出図柄の各々自体が縮小変化する態様である。この図54-5に示した変動終了示唆演出は、例えば、第2表示態様において非リーチハズレ示唆態様又はリーチハズレ示唆態様となる変動パターンにおいて実行されるものとしてもよい。つまり、第2表示態様において非リーチハズレ示唆態様又はリーチハズレ示唆態様となる変動パターンにおいては、大当たり示唆態様における変動終了示唆演出として実行されない特有の態様の変動終了示唆演出が実行されるものとすることができる。
図54-6に示した変動終了示唆演出は、停止表示している演出図柄70aの演出図柄自体が回転するような所定の挙動を実行するような態様のものである。具体的には、図54-6(a)に示すように、演出図柄70aの演出図柄の各々自体が同じ方向に同じ速度で回転したり、図54-6(b)に示すように、演出図柄70aの3つの演出図柄が一体となって回転したりする態様である。この図54-6に示した変動終了示唆演出は、例えば、第2表示態様において大当たり示唆態様となる変動パターンにおいて実行されるものとしてもよい。つまり、第2表示態様において大当たり示唆態様となる変動パターンにおいては、非リーチハズレ示唆態様およびリーチハズレ示唆態様における変動終了示唆演出として実行されない特有の態様の変動終了示唆演出が実行されるものとすることができる。
図54-7に示した変動終了示唆演出は、数字を主要な構成要素とした数字部5470bと、数字部5470bの数字毎に異なる所定のキャラクタを模したキャラ部5470cと、から構成された演出図柄5470aによって実行される態様のものである。具体的には、図54-7(a)に示すように、キャラ部5470cのみが振動したり所定の動作をしたりするような態様であったり、キャラ部5470cのみが輝いたりするような態様である。また、キャラ部5470cのみではなく、数字部5470bにおいても種々の演出が実行されてもよい。例えば、数字部5470bが、図54-7(a)に示したキャラ部5470cとは異なるような態様の振動をするようにしたりしてもよい。さらに、図54-7では、第2表示態様にてリーチハズレ示唆態様となるような場合について図示していたが、非リーチハズレ示唆態様又は大当たり示唆態様となるような変動パターンで図54-7に示すような態様の変動終了示唆演出が実行されてもよい。
なお、上述した変動終了示唆演出は、各々が単独で実行されるだけでなく、複数の変動終了示唆演出が組合さった態様で実行されてもよい。例えば、演出図柄が所定の挙動をするとともに、周囲近傍に背景画像HGによる変動終了示唆表示が表示されるような態様のものであってもよい。具体的には、図51-1に示した停止表示している演出図柄70aにおいて、演出図柄の各々自体が振動するような所定の挙動と、周囲近傍に背景画像HGとしての演出図柄の各々が煌めくような表示と、が組合さった態様のものであってもよい。また、図50-1~図54-6においては、数字を主要な構成要素とした演出図柄70aにて説明されているが、演出図柄70aの代わりに演出図柄5470aを利用した種々の演出を実行するものとしてもよいし、所定のタイミングで演出図柄70aの代わりに演出図柄5470aに変更するような態様の種々の演出を実行してもよい。
また、上述した実施形態において、第1表示態様から第2表示態様に至る間の特殊図柄TZの表示は、少なくとも1つの図柄列が変動表示される態様であったが、全ての図柄列が変動表示されていてもよい。例えば、図50-1~図50-3における第1表示態様における特殊図柄TZは、全ての図柄列が変動表示されていてもよい。また、図52-1、および図52-2に示した擬似連演出の演出表示における特殊図柄TZは、一連の演出表示の実行中又は一部の演出表示の実行中に、全ての図柄列が変動表示されていてもよい。さらに、図53に示した復活演出の演出表示における特殊図柄TZは、一連の演出表示の実行中又は一部の演出表示の実行中に、全ての図柄列が変動表示されていてもよい。
さらに、上述の実施形態においては、SPリーチ演出が実行される場合の表示態様の変移を説明したが、SPリーチ演出とは異なる態様のSPSPリーチ演出が実行される場合にも同様の表示態様の変移が実行されるようにしてもよい。そして、上述の実施形態においては、第2表示態様の直前に演出図柄自体が所定の挙動を実行するような態様の変動終了示唆演出を実行するものとしたが、第2表示態様の後に演出図柄における所定の演出を実行するようにしてもよい。例えば、リーチハズレ示唆態様又は非リーチハズレ示唆態様の第2表示態様後に演出図柄が、変動終了示唆演出とは異なる所定の挙動を実行するような態様の演出を実行し、演出図柄70aの全ての演出図柄列が変動表示するような態様の演出を実行するようにしてもよい。
[低確/高確の変動パターンの説明]
図55-1、図55-2を用いて、次に、上述した種々の演出である付加演出を組合わせた変動パターンの選択率について説明する。図55-1は、低確率遊技状態における変動パターンテーブルである低確変動パターンテーブルを例示した図であり、図55-2は、高確率遊技状態における変動パターンテーブルである高確変動パターンテーブルを例示した図である。図55-1、図55-2に示すように、低確変動パターンテーブルおよび高確変動パターンテーブルの各々では、変動パターン1A~変動パターン5Cまでの15の変動パターンを有している。これらの変動パターン1A~5Cについて説明する。なお、低確変動パターンテーブルおよび高確変動パターンテーブルにおいて、「変動パターン」+「数字」+「アルファベット」で表される変動パターンがあるが、「変動パターン」+「数字」が同じである場合には、第1表示態様および第2表示態様が同様の変動パターンとなる。例えば、変動パターン2Aと変動パターン2Bとは、第1表示態様がノーマルリーチで同様であり、第2表示態様がリーチハズレ示唆態様で同様である。また、付加演出とは、上述した復活演出、擬似連演出、変動終了示唆演出のうちのいずれかの演出、およびこれらの演出を組合わせた態様の演出のことをいうものとする。
変動パターン1は、第1表示態様として非リーチの態様で表示され、第2表示態様として非リーチハズレ示唆態様となる場合の変動パターンである。このうち、変動パターン1Aは、付加演出を実行しないパターンであり、低確遊技状態では85%、高確遊技状態では87%の確率で選択される。変動パターン1Bは、付加演出として変動終了示唆演出のみを実行するパターンであり、低確遊技状態では5%、高確遊技状態では3%の確率で選択される。変動パターン1Cは、付加演出として擬似連演出のみを実行するパターンであり、低確遊技状態では10%、高確遊技状態では10%の確率で選択される。
変動パターン2は、第1表示態様としてノーマルリーチの態様で表示され、第2表示態様としてリーチハズレ示唆態様となる場合の変動パターンである。このうち、変動パターン2Aは、付加演出として変動終了示唆演出のみを実行するパターンであり、低確遊技状態では70%、高確遊技状態では65%の確率で選択される。変動パターン2Bは、付加演出として擬似連演出と変動終了示唆演出とを実行するパターンであり、低確遊技状態では5%、高確遊技状態では5%の確率で選択される。変動パターン2Cは、付加演出として擬似連演出のみを実行するパターンであり、低確遊技状態では25%、高確遊技状態では30%の確率で選択される。
変動パターン3は、第1表示態様としてSPリーチ演出が実行され、第2表示態様としてリーチハズレ示唆態様となる場合の変動パターンである。このうち、変動パターン3Aは、付加演出として変動終了示唆演出のみを実行するパターンであり、低確遊技状態では60%、高確遊技状態では60%の確率で選択される。変動パターン3Bは、付加演出として復活演出と変動終了示唆演出とを実行するパターンであり、低確遊技状態では10%、高確遊技状態では5%の確率で選択される。変動パターン3Cは、付加演出として復活演出のみを実行するパターンであり、低確遊技状態では30%、高確遊技状態では35%の確率で選択される。
変動パターン4は、第1表示態様としてノーマルリーチの態様で表示され、第2表示態様として大当たり示唆態様となる場合の変動パターンである。このうち、変動パターン4Aは、付加演出として変動終了示唆演出のみを実行するパターンであり、低確遊技状態では15%、高確遊技状態では15%の確率で選択される。変動パターン4Bは、付加演出として擬似連演出と変動終了示唆演出とを実行するパターンであり、低確遊技状態では65%、高確遊技状態では60%の確率で選択される。変動パターン4Cは、付加演出として擬似連演出のみを実行するパターンであり、低確遊技状態では20%、高確遊技状態では25%の確率で選択される。
変動パターン5は、第1表示態様としてSPリーチ演出が実行され、第2表示態様として大当たり示唆態様となる場合の変動パターンである。このうち、変動パターン5Aは、付加演出として変動終了示唆演出のみを実行するパターンであり、低確遊技状態では20%、高確遊技状態では15%の確率で選択される。変動パターン5Bは、付加演出として復活演出と変動終了示唆演出とを実行するパターンであり、低確遊技状態では65%、高確遊技状態では65%の確率で選択される。変動パターン5Cは、付加演出として復活演出のみを実行するパターンであり、低確遊技状態では15%、高確遊技状態では20%の確率で選択される。
なお、低確遊技状態又は高確遊技状態において、変動パターン1~5毎に異なる態様の変動終了示唆演出が実行されるものとする。例えば、低確遊技状態において、変動パターン1では、図51-1に示したような態様であり、変動パターン2では、図51-2に示したような態様であり、変動パターン3では、図54-3(a)に示したような態様であり、変動パターン4では、図54-3(b)に示したような態様であり、変動パターン5では、図54-4に示したような態様であるものとする。また、低確遊技状態と高確遊技状態の各々において、同じ変動パターンであるものの、異なる態様の変動終了示唆演出が実行されるものとする。例えば、低確遊技状態では上述の通りであって、高確遊技状態において、変動パターン1では、図51-2に示したような態様であり、変動パターン2では、図51-1に示したような態様であり、変動パターン3では、図54-3(b)に示したような態様であり、変動パターン4では、図54-3(a)に示したような態様であり、変動パターン5では、図54-6に示したような態様であるものとする。
[保留数の多寡に応じた変動パターンの説明]
図56-1、図56-2を用いて、次に、上述した種々の演出である付加演出を組合わせた変動パターンについて、第1特別保留数および第2特別保留数の多寡に応じた選択率について説明する。図56-1は、保留数が少ない場合(例えば、保留数が1~2の場合)の変動パターンテーブルである少保留変動パターンテーブルを例示した図であり、図56-2は、保留数が多い場合(例えば、保留数が3~4の場合)の変動パターンテーブルである多保留変動パターンテーブルを例示した図である。図56-1、図56-2に示すように、少保留変動パターンテーブルおよび多保留変動パターンテーブルの各々では、上述した低確変動パターンテーブルおよび高確変動パターンテーブルと同様の変動パターンであって、変動パターン1A~変動パターン5Cまでの15の変動パターンを有している。
図56-1、図56-2に示すように、保留数の比較的多い少保留変動パターンテーブルの方が、保留数の比較的少ない多保留変動パターンテーブルに比べて、付加演出として実行される演出の少ない変動パターンの選択率が高くなっている。つまり、本実施形態においては、保留数の多い場合には、保留の消化を促進するために、当該保留に対する変動演出の実行時間が短くなるような変動パターンが選択されやすく、保留数の少ない場合には、保留が全て消化され変動演出の実行が途切れて遊技者の興趣を損なうことを防ぐために、当該保留に対する変動演出の実行時間が長くなるような変動パターンが選択されやすいように設定されていることとなる。また、演出図柄70aの全ての演出図柄列が停止表示されて演出図柄が認識可能となる時間に関して、少保留変動パターンテーブルに比べて多保留変動パターンテーブルの方が、変動終了示唆演出が実行される変動パターンの選択率を高くしている。つまり、特殊図柄TZが変動表示中であるものの演出図柄70aの全ての演出図柄列が停止表示されて演出図柄が認識可能となる時間は、保留数が多ければ多いほど長くなるように設定されていることとなる。
[停電復旧処理における変動演出の説明]
ここで、遊技機1における電断から復旧するときの停電復旧処理であって、図11のE250においては、上述したように、表示/音声制御部140に電源復旧報知コマンドを送信して、第1画像表示装置70や第2画像表示装置71に電源復旧画面を表示させたり、音声出力装置9から電源復旧音を出力させたりするものとしたが、さらに、電源復旧画面を表示させた後の変動演出を所定の態様にするものとしてもよい。具体的には、例えば、第2表示態様にて非リーチハズレ表示態様やリーチハズレ表示態様である変動パターンにおいて、演出図柄列および特殊図柄TZが変動中に電断から復旧するときには、第1画像表示装置70に電源復旧画面を表示させた後に、必ず特定の変動パターンである「515」といった演出図柄にて停止表示させるとともに、付加演出を実行させる時間も特定のものとして特定の付加演出(例えば、図51-2に示した変動終了示唆演出のみ)を実行するようにしてもよい。また、このような演出図柄列および特殊図柄TZが変動中に電断から復旧するときの演出図柄の変動表示および停止表示の特定の態様は、低確時および高確時のいずれの場合であっても適用されてもよいし、保留数の多寡に依らないで適用されるものとしてもよい。
[第3実施形態の特徴]
本実施形態によれば、第2表示態様において演出図柄70aの全ての演出図柄列の演出図柄がそれぞれ異なるとともに大当たり示唆態様とは異なる非リーチハズレ示唆態様で停止表示される変動パターン1A~1Cと、第2表示態様において演出図柄70aの3つの演出図柄列の演出図柄のうち少なくとも2つの演出図柄が共通するとともに大当たり示唆態様とは異なるリーチハズレ示唆態様で停止表示される変動パターン2A~3Cと、では、特殊図柄TZが変動表示中であるものの演出図柄70aの全ての演出図柄が認識可能な時間が異なるようにすることができる。具体的には、変動パターン1A~1Cの全ての演出図柄の認識可能な時間は、擬似連演出における図52-2(d)の表示時間、変動終了示唆演出の実行時間を組合わせたものとなり、0~1秒である。一方、変動パターン2A~3Cの全ての演出図柄の認識可能な時間は、バトル演出又は復活演出における図50-2(c)の表示時間、擬似連演出における図52-2(d)の表示時間、変動終了示唆演出の実行時間を組合わせたものとなり、1.5~5.5秒である。また、変動パターン1A~1Cと変動パターン2A~3Cとでは、上述のように、変動終了示唆演出の態様を異なるようにして、特殊図柄TZが変動表示中であるものの演出図柄70aの全ての演出図柄が認識可能な時間中の演出図柄における演出の態様が異なるようにすることもできる。このような本実施形態であれば、第1表示態様において非リーチである場合とリーチである場合とでは、演出図柄70aの全ての演出図柄の認識可能な時間が異なるとともに当該時間中の演出の態様が異なるため、大当たりか否かの結果が示唆される第2表示態様となるまでの遊技者における大当たりに対する期待感を損なわせることを防ぐことができ、興趣を向上させることができる。
本実施形態によれば、演出図柄70aの少なくとも1つの演出図柄列が変動表示中で演出図柄が視認不可能な状態で第1表示態様としてノーマルリーチである変動パターン2A~2Cと、演出図柄70aの少なくとも1つの演出図柄列が変動表示中で演出図柄が視認不可能な状態で第1表示態様としてSPリーチ演出を実行する変動パターン3A~3Cと、では、特殊図柄TZが変動表示中であるものの演出図柄70aの全ての演出図柄が認識可能な時間が異なるようにすることができる。具体的には、変動パターン2A~2Cの全ての演出図柄の認識可能な時間は、擬似連演出における図52-2(d)の表示時間、変動終了示唆演出の実行時間を組合わせたものとなり、1.5~2.5秒である。一方、変動パターン3A~3Cの全ての演出図柄の認識可能な時間は、バトル演出又は復活演出における図50-2(c)の表示時間、変動終了示唆演出の実行時間を組合わせたものとなり、3~5.5秒である。また、変動パターン2A~2Cと変動パターン3A~3Cとでは、上述のように、変動終了示唆演出の態様を異なるようにして、特殊図柄TZが変動表示中であるものの演出図柄70aの全ての演出図柄が認識可能な時間中の演出図柄における演出の態様が異なるようにすることもできる。このような本実施形態であれば、第1表示態様においてノーマルリーチである場合とSPリーチ演出を実行する場合とでは、演出図柄70aの全ての演出図柄の認識可能な時間が異なるとともに当該時間中の演出の態様が異なるため、大当たりか否かの結果が示唆される第2表示態様となるまでの遊技者における大当たりに対する期待感を損なわせることを防ぐことができ、興趣を向上させることができる。
本実施形態によれば、特殊図柄TZが変動表示中に段階的に期待度を向上させる演出であるバトル演出、復活演出、擬似連演出のうち少なくともいずれかが実行される変動パターン2B,2C,3A~3C,4B,4C,5A~5Cと、特殊図柄TZが変動表示中にSPリーチ演出、復活演出、擬似連演出のいずれも実行されない変動パターン2A,4Aと、では、特殊図柄TZが変動表示中であるものの演出図柄70aの全ての演出図柄が認識可能な時間が異なるようにすることができる。具体的には、変動パターン2B,2C,3A~3C,4B,4C,5A~5Cの全ての演出図柄の認識可能な時間は、擬似連演出における図52-1(d)又は図52-2(d)の表示時間、バトル演出における図50-2(c),(e)の表示時間、復活演出における図53(e)の表示時間、変動終了示唆演出の実行時間を組合わせたものとなり、3.5~7秒である。一方、変動パターン2A,4Aの全ての演出図柄の認識可能な時間は、変動終了示唆演出の実行時間を含むか否かであるものとなり、1.5~3秒である。また、変動パターン2B,2C,3A~3C,4B,4C,5A~5Cと変動パターン2A,4Aとでは、上述のように、上述のように、変動終了示唆演出の態様を異なるようにして、特殊図柄TZが変動表示中であるものの演出図柄70aの全ての演出図柄が認識可能な時間中の演出図柄における演出の態様が異なるようにすることもできる。このような本実施形態であれば、特殊図柄TZが変動表示中にSPリーチ演出、復活演出、擬似連演出を実行するか否かでは、演出図柄70aの全ての演出図柄の認識可能な時間が異なるとともに当該時間中の演出の態様が異なるため、大当たりか否かの結果が示唆される第2表示態様となるまでの遊技者における大当たりに対する期待感を損なわせることを防ぐことができ、興趣を向上させることができる。
本実施形態によれば、特殊図柄TZが変動表示中に、特殊図柄TZの一変動中に演出図柄の認識可能な態様が複数回実行される復活演出、擬似連演出のうち少なくともいずれかが実行される変動パターンの方が、特殊図柄TZが変動表示中に復活演出、擬似連演出のうち少なくともいずれもが実行されない変動パターンに比べて、図55-1、図55-2に示したように、特殊図柄TZが変動表示中であるものの演出図柄70aの全ての演出図柄が認識可能な時間が長いとともに、第2表示態様で大当たり示唆態様となる確率が高くなるようにすることができる。具体的には、復活演出、擬似連演出のうち少なくともいずれかと変動終了示唆演出とが実行される変動パターンにおける全ての演出図柄の認識可能な時間は、擬似連演出における図52-1(d)の表示時間又は復活演出における図53(e)の表示時間に変動終了示唆演出の実行時間を合わせたものとなるため、復活演出、擬似連演出のうち少なくともいずれかと変動終了示唆演出とが実行されない変動パターンに比べて変動終了示唆演出の実行時間分長いものとなる。このような本実施形態であれば、特殊図柄TZが変動表示中に復活演出、擬似連演出のうち少なくともいずれかと変動終了示唆演出とを実行するか否かでは、演出図柄70aの全ての演出図柄の認識可能な時間が異なるとともに大当たりとなる確率が異なるため、復活演出、擬似連演出のうち少なくともいずれかと変動終了示唆演出とが実行されたときの遊技者における大当たりに対する期待感を損なわせることを防ぐことができ、興趣を向上させることができる。
本実施形態によれば、第2表示態様において演出図柄70aの全ての演出図柄列の演出図柄がそれぞれ異なるとともに大当たり示唆態様とは異なる非リーチハズレ示唆態様で停止表示される変動パターン1A~1Cに比べて、第2表示態様において演出図柄70aの3つの演出図柄列の演出図柄のうち少なくとも2つの演出図柄が共通するとともに大当たり示唆態様とは異なるリーチハズレ示唆態様で停止表示される変動パターン2A~3Cの方が、図55-1、図55-2に示したように、特殊図柄TZが変動表示中であるものの演出図柄70aの全ての演出図柄が認識可能な時間が長いとともに、第2表示態様となる前の期待度を向上させるバトル演出、復活演出、擬似連演出のうち少なくともいずれかを実行する確率が高くなるようにすることができる。具体的には、変動パターン1A~1Cの全ての演出図柄の認識可能な時間は、擬似連演出における図52-2(d)の表示時間、変動終了示唆演出の実行時間を組合わせたものとなり、0~1秒である。一方、変動パターン2A~3Cの全ての演出図柄の認識可能な時間は、バトル演出又は復活演出における図50-2(c)の表示時間、擬似連演出における図52-2(d)の表示時間、変動終了示唆演出の実行時間を組合わせたものとなり、1.5~5.5秒である。このような本実施形態であれば、第1表示態様において非リーチである場合とリーチである場合とでは、演出図柄70aの全ての演出図柄の認識可能な時間が異なるとともにバトル演出、復活演出、擬似連演出のうち少なくともいずれかを実行する確率が異なるため、大当たりか否かの結果が示唆される第2表示態様となるまでの遊技者における大当たりに対する期待感を損なわせることを防ぐことができ、興趣を向上させることができる。
本実施形態によれば、第2表示態様において演出図柄70aの全ての演出図柄列の演出図柄がそれぞれ異なるとともに大当たり示唆態様とは異なる非リーチハズレ示唆態様で停止表示される変動パターン1A~1Cに比べて、第2表示態様において大当たり示唆態様となる変動パターン4A~5Cの方が、図55-1、図55-2に示したように、特殊図柄TZが変動表示中であるものの演出図柄70aの全ての演出図柄が認識可能な時間が長いとともに、第2表示態様となる前の期待度を向上させるバトル演出、復活演出、擬似連演出のうち少なくともいずれかを実行する確率が高くなるようにすることができる。具体的には、変動パターン1A~1Cの全ての演出図柄の認識可能な時間は、擬似連演出における図52-1(d)の表示時間、変動終了示唆演出の実行時間を組合わせたものとなり、0~1秒である。一方、変動パターン4A~5Cの全ての演出図柄の認識可能な時間は、バトル演出における図50-2(e)の表示時間、擬似連演出における図52-1(d)の表示時間、復活演出における図53(e)の表示時間、変動終了示唆演出の実行時間を組合わせたものとなり、3~7秒である。このような本実施形態であれば、第2表示態様において非リーチハズレとなる場合と大当たりとなる場合とでは、演出図柄70aの全ての演出図柄の認識可能な時間が異なるとともにバトル演出、復活演出、擬似連演出のうち少なくともいずれかを実行する確率が異なるため、大当たりか否かの結果が示唆される第2表示態様となるまでの遊技者における大当たりに対する期待感を損なわせることを防ぐことができ、興趣を向上させることができる。
本実施形態によれば、第2表示態様において演出図柄70aの全ての演出図柄列の演出図柄がそれぞれ異なるとともに大当たり示唆態様とは異なる非リーチハズレ示唆態様で停止表示される変動パターン1A~1Cに比べて、第2表示態様において演出図柄70aの3つの演出図柄列の演出図柄のうち少なくとも2つの演出図柄が共通するとともに大当たり示唆態様とは異なるリーチハズレ示唆態様で停止表示される変動パターン2A~3Cの方が、図55-1、図55-2に示したように、種々の変動終了示唆演出を実行する確率が高くなるようにすることができる。このような本実施形態であれば、第2表示態様において非リーチハズレとなる場合とリーチハズレとなる場合とでは、変動終了示唆演出を実行する確率が異なるため、大当たりか否かの結果が示唆される第2表示態様となるまでの遊技者における大当たりに対する期待感を損なわせることを防ぐことができ、興趣を向上させることができる。
本実施形態によれば、第2表示態様において演出図柄70aが大当たり示唆態様とは異なる非リーチハズレ示唆態様又はリーチハズレ示唆態様で停止表示される変動パターン1A~3Cに比べて、第2表示態様において大当たり示唆態様となる変動パターン4A~5Cの方が、図55-1、図55-2に示したように、種々の変動終了示唆演出を実行する確率が高くなるようにすることができる。このような本実施形態であれば、第2表示態様においてハズレ示唆態様となる場合と大当たり示唆態様となる場合とでは、変動終了示唆演出を実行する確率が異なるため、大当たりか否かの結果が示唆される第2表示態様となるまでの遊技者における大当たりに対する期待感を損なわせることを防ぐことができ、興趣を向上させることができる。
本実施形態によれば、第2表示態様において演出図柄70aの全ての演出図柄列の演出図柄がそれぞれ異なるとともに大当たり示唆態様とは異なる非リーチハズレ示唆態様で停止表示される変動パターン1A~1Cに比べて、第2表示態様において大当たり示唆態様となる変動パターン4A~5Cの方が、図55-1、図55-2に示したように、種々の変動終了示唆演出を実行する確率が高くなる、つまり、第2表示態様において大当たり示唆態様となる場合に比べて非リーチハズレ示唆態様となる場合の方が種々の変動終了示唆演出が実行される確率が低くなるようにすることができる。このような本実施形態であれば、第2表示態様において非リーチハズレ示唆態様となる場合と大当たり示唆態様となる場合とでは、変動終了示唆演出を実行する確率が異なるため、大当たりか否かの結果が示唆される第2表示態様となるまでの遊技者における大当たりに対する期待感を損なわせることを防ぐことができ、興趣を向上させることができる。
本実施形態によれば、図55-1、図55-2に示したように、高確率遊技状態のときと低確率遊技状態のときとでは、異なる態様の変動終了示唆演出が実行されるようにすることができる。つまり、高確率遊技状態のときと低確率遊技状態のときとでは、変動終了示唆演出の態様を異なるようにして、特殊図柄TZが変動表示中であるものの演出図柄70aの全ての演出図柄が認識可能な時間中の演出図柄における演出の態様が異なるようにすることもできる。このような本実施形態であれば、高確率遊技状態のときと低確率遊技状態のときとでは変動終了示唆演出の態様が異なるため、遊技者は現時点の遊技状態が高確又は低確のいずれかであるかを判別し易く、遊技の興趣を損なうことなく遊技をすることができる。
なお、本実施形態において、保留アイコンにおけるアイコン変化演出もさらに組合わせてもよい。例えば、ノーマルリーチ演出、バトル演出、復活演出、および擬似連演出の第1表示態様が表示されているときに、アイコン変化演出が実行される、といった態様であってもよい。また、このようにアイコン変化演出が実行されるか否かによって、第2表示態様にて大当たり示唆態様となる可能性が変化するように設定されていてもよく、例えば、アイコン変化演出が実行される場合は、実行されない場合に比べて、大当たり示唆態様となる可能性が高い、といったように設定されていてもよい。さらに、このようなアイコン変化演出は、第2表示態様の前に大当たり示唆態様となる期待度を向上させる演出であるものといえる。そして、アイコン変化演出は、複数の態様で段階的に変化させるように実行可能であるため、段階的に期待度を向上させる演出であるものともいえ、特殊図柄TZの一変動中に段階的に変化させる場合には、特殊図柄TZの一変動中に演出図柄の認識可能な状態が複数回実行される演出であるものともいえる。
(第4実施形態)
以下に本発明の実施形態の一例である第4実施形態について、図57~図72を参照して説明する。まず、図57~図65を参照し、遊技機1P(パチンコ機)について説明する。
以下の説明において、図57に示す遊技盤ユニット12Pの一方側であって、遊技場内に設置された島の内側に向かう方向を、遊技機1Pの後方向とする。また、遊技盤ユニット12Pの他方側であって遊技者に向かう方向を、遊技機1Pの前方向とする。また、図58に示す遊技盤ユニット12Pの背面図における紙面右方向、左方向、上方向、下方向を、夫々、遊技機1Pの右方向、左方向、上方向、下方向とする。
図57に示すように、本実施形態の遊技機1Pは、外枠10と、遊技盤ユニット12Pと、内枠14Pとを備えている。外枠10は、遊技場内に設置された島に直接取り付けられる。外枠10は上下方向が左右方向より長い略長方形状に形成されている。遊技盤ユニット12Pと内枠14Pは、外枠10の一方の縦辺の近傍で外枠10に対して回動可能に支持されている。
図57~図59に示すように、遊技盤ユニット12Pは、主に、ベース枠体221と、遊技盤222と、画像表示装置123と、図示しないランプ中継基板と、背面カバー124とを備えている。
遊技盤ユニット12Pは、ベース枠体221が外枠10に対して回動可能に取り付けられることによって、外枠10に回動可能に取り付けられている。遊技盤ユニット12Pは、ベース枠体221に、遊技盤222、画像表示装置123、ランプ中継基板、背面カバー124などが組み付けられることによって構成されている。
具体的には、ベース枠体221の前側に、遊技盤222が取り付けられ、ベース枠体221の後側に、画像表示装置123、ランプ中継基板、背面カバー124などが組み付けられている。
ベース枠体221及び遊技盤222には、画像表示装置123を後側に取り付けたとき、画像表示装置123が備える図示しない液晶画面が、前側から見えるようにするため、図示しない開口部が形成されている。
遊技盤222には、遊技球が流下する遊技領域が形成されている。遊技盤222は、遊技領域が表面側を向くようにベース枠体221に取り付けられる。
図58及び図59に示すように、画像表示装置123は、ベース枠体221の後側に取り付けられる。画像表示装置123は、ベース枠体221の開口部を塞ぐように配置される。また、ランプ中継基板は、ベース枠体221の後側に取り付けられる。背面カバー124は、画像表示装置123やランプ中継基板を含む画像表示ユニットの背面の一部を覆っている。
遊技盤ユニット12Pの後側には、後述する組立体2Pが組み付けられる。組立体2Pは、画像表示ユニットが背面カバー124で覆われる部分の下方で、ベース枠体221に対し組み付けられる。
図57に示すように、内枠14Pには、ガラス板を嵌め込む嵌込空間241が形成されている。このため、遊技機1Pを組み立てると、嵌込空間241に嵌め込まれたガラス板を介して、遊技盤ユニット12Pの遊技盤上に設定された遊技領域を前側から見ることができる。また、内枠14Pの前側には、操作ハンドル142や電飾ランプ143等が設けられている。
組立体2Pについて説明する。図59~図61に示すように、組立体2Pは、台座20Pと、基板ケース3Pと、保護カバー23とを備えている。台座20Pは、遊技盤ユニット12P(図59参照)の後側に基板ケース3Pを取り付けるために用いられる部品である。図61に示すように、台座20Pは、左右方向に沿った2辺が上下方向に沿った2辺より長尺な略長方形状に形成されており、下辺の左右両端近傍に一対の軸部21Pを備え、上辺の左右方向中央に板状フック22を備えている。軸部21Pは、軸方向が左右方向に一致するものである。
基板ケース3Pには、各軸部21Pに係合させる一対のフック部49Pが設けられている。一対のフック部49Pは、後述する外ケース45Pの下辺に設けられている。フック部49Pは、前側に向かって凸なU字状に形成されている。
図62に示すように、基板ケース3Pを台座20Pに取り付けるときは、フック部49Pが背面側に向かって凸となる状態に、基板ケース3Pを配置する。するとフック部49Pが軸部21Pに係合可能な状態となるので、基板ケース3Pを台座20Pに近づけて、各フック部49Pを各軸部21Pに係合させる。
そして、フック部49Pが軸部21Pに係合したら、基板ケース3Pを、軸部21Pを中心に左側面視反時計回り(図62中の符号ハの矢印の方向)に回転させ、基板ケース3Pを台座20Pに重ね合わせる。図60に示すように、このとき、台座20Pの上辺に備えられている板状フック22が基板ケース3Pの上辺に設けられた窪み3aに引っ掛かる。そのため、基板ケース3Pは、フック部49Pと軸部21Pとの係合と、板状フック22と基板ケース3Pとの係合とにより、台座20Pに固定される。
図60及び図61に示すように、その後、保護カバー23を基板ケース3Pに取り付ける。保護カバー23は、フック部49Pを含む基板ケース3Pの下部部分を覆う。このようにして組立体2Pは組み立てられるとともに遊技盤ユニット12Pの後側に添設される。
制御基板501及び基板ケース3Pについて説明する。図61に示すように、遊技を制御する制御基板501は、基板ケース3P内に収納される。制御基板501には、ROM502が装着されている。また、制御基板501には、ROM502とは異なる複数の電子部品595が実装されている。複数の電子部品595は、IC、抵抗、コネクタ、コンデンサ、及びコイル等の種々の電子部品を含む。また、図63(b)に示すように、制御基板501には、複数のコネクタ771,772,773,774,775,776が実装されている。なお、複数のコネクタ771~776は、図63(b)に記載しており、その他の図においては図示を省略している場合がある。
ROM502は、遊技の制御に使用される記憶内容(データ)を格納している。また、ROM502は、遊技の結果に影響を与える記憶内容(データ)を格納している。複数のコネクタ771~776は、制御基板501の下部において、左から右側に向けて順に並んでいる。複数のコネクタ771~776は、基板ケース3Pの外ケース45Pの下部に設けられた6個の開口部779の内側に配置されている。
複数のコネクタ771~776のうち、複数のコネクタ774,775を、検出信号コネクタ774,775という。検出信号コネクタ774,775には、遊技球が入賞したことを検出する一般入賞口検出スイッチ、第1始動口検出スイッチ、第2始動口検出スイッチ、大入賞口検出スイッチのうちの少なくとも一部からの信号が入力される。本実施形態では、検出信号コネクタ774,775には、遊技球が入賞したことを検出する一般入賞口検出スイッチ、第1始動口検出スイッチ、第2始動口検出スイッチ、大入賞口検出スイッチ1の全ての信号が入力されるとする。検出信号コネクタ774,775は、他のコネクタ771,772,773,776とは異なる色である。本実施形態では、検出信号コネクタ774,775は、蛍光色であり、その他のコネクタ771,772,773,776は、蛍光色とは異なる色である。
ROM502は、上下左右に延びる板状の本体部580と複数の第一信号ピン582とを備えている。第一信号ピン582は、ROM502と制御基板501との間の信号を伝達する信号ピンである。第一信号ピン582は、基板ケース3Pを介して視認可能に配置されている。詳細には、第一信号ピン582は、ROM502の本体部580の上方及び下方に延び、制御基板501と電気的に接続されている。このため、第一信号ピン582は、基板ケース3Pを介して前方から視認可能である。
複数の電子部品595の夫々に設けられた信号ピンを第二信号ピン583(図61参照)という。第二信号ピン583は、複数の電子部品595の夫々と、制御基板501との間の信号を伝達する。なお、信号は、デジタル信号に限らず、アナログ信号も含む。基板ケース3Pを介して視認可能に配置されている。詳細には、第二信号ピン583は、各電子部品から上方、下方、左方、右方、又は前方に延び、制御基板501と電気的に接続されている。このため、第二信号ピン583は、基板ケース3Pを介して視認可能である。
図61に示すように、基板ケース3Pは、制御基板501及びROM502を視認可能で且つ接触困難に収納する箱形のケースである。また、基板ケース3Pは、制御基板501に実装された複数のコネクタ771~776(図63(b)参照)を視認可能に制御基板501を内包する。基板ケース3Pは、例えば、透明なプラスチック等の光透過性を有する部材で形成されている。
基板ケース3Pは、制御基板501を内包する複数の部材511、及び封印シール7Pを切断する切断部材6Pを備えている。複数の部材511は、内ケース40P、外ケース45P、及びキャップ8Pを含む。内ケース40Pは、外ケース45Pと組み合わされることで、制御基板501を内包する内包部581を形成する。外ケース45Pは、基板ケース3Pにおいて、ROM502側である後側に設けられている。内ケース40Pは、基板ケース3Pにおいて、ROM502側とは反対側である前側に設けられている。尚、図60(c)においては、透明な基板ケース3Pに内包された制御基板501に設けられた電気部品のうち、ROM502のみを図示しており、他の電気部品は図示を省略している(図65(a)等も同様)。
図64に示すように、各ケース40P,45Pは、制御基板501(図61参照)を収納する制御基板収納部41P,46Pと、後述する封止基礎部5P(図65参照)を構成する封止部51P,56とを備えている。制御基板収納部41P,46Pは、略長方形状に形成された板部42P,47Pと、これら板部42P,47Pの周囲縁部から突設され、各板部42P,47Pの一方側の面を囲うフランジ部43P,48Pとを有する形状に形成されている。
また、図61に示すように、内ケース40Pの板部42Pの左部には、制御基板501側である後方に向かって延びる円筒部565が設けられている。円筒部565には、前後方向に延びる孔部566が形成されている。孔部566の内側には、ねじ山が形成されている。制御基板501において、円筒部565に対向する位置には、孔部567が設けられている。
制御基板501は、内ケース40Pに固定される。より詳細には、内ケース40Pの円筒部565の後方に、制御基板501の孔部567が配置される。ビス769(図63参照)の軸部が、制御基板501の後側から、孔部567を介して、円筒部565の孔部566に挿入される。円筒部565の孔部567に形成されたねじ山に、ビス769(図63(b)参照)の軸部に設けられたねじ山が、組み合わせられる。これによって、ビス769の頭部と円筒部565の後面との間に制御基板501が挟まれ、制御基板501が内ケース40Pに固定された状態となる。すなわち、制御基板501は、内ケース40P側にビス止めされる。
図64に示すように、制御基板収納部41Pのフランジ部43Pのうち、板部42Pの長尺な2辺に沿って板部42Pから突設されている部分(以下「雄部」という)には、L字状に形成された引掛溝430がそれぞれ3つずつ形成されている。
一方、制御基板収納部46Pのフランジ部48Pのうち、板部47Pの長尺な2辺に沿って板部47Pから突設されている部分は(以下「雌部」という)、二重壁状に形成されており、二重壁を形成する壁と壁との間に、制御基板収納部41Pの雄部を挿入可能な挿入溝部480が設けられている。また、各挿入溝部480には、引掛片481が形成されている。
制御基板501がビス769によってビス止めされた内ケース40Pと、外ケース45Pとが組み合わせられる場合、フランジ部43Pの雄部がフランジ部48Pの雌部に挿入される。そして、制御基板収納部41P,46Pが、左右方向に沿った図64中の矢印αの方向に互いにスライドされる。すると、雄部に設けられた引掛溝430が引掛片481に係合するので、内ケース40Pと外ケース45Pとは、矢印αとは逆方向に互いに移動しない限り、外れないように組み合わされる。
このように組み合わされると、制御基板収納部41P,46Pは、内部に外部から遮蔽された箱形の内包部581を形成する。内包部581には、制御基板501(図61参照)が収納された状態となる。このため、制御基板501及びROM502等が不正に交換等される可能性を抑制できる。
制御基板501は、制御基板収納部41P,46Pが組み合わされる前に、制御基板収納部46Pの内側に取り付けられる。このとき制御基板501上に実装されているICなどが、制御基板収納部46Pの板部47Pに対向するように取り付けられる。これは、板部47Pも透明なプラスチックで形成されているので、制御基板501が基板ケース3P内に収納されても、制御基板501上に実装されたROM502等の電子部品が不正に交換されていないか、板部47Pを介して外部から確認できるようにするためである。図58に示すように、本実施形態では、基板ケース3Pを備える組立体2Pを遊技盤ユニット12Pに取り付けると、遊技機1Pの背面側から外ケース45Pを通して、基板ケース3P内の制御基板501に実装された電子部品を視認することができる。
図64に示すように、各ケース40P,45Pの右端部には、封止部51P,56が設けられている。図65に示すように、ケース40P,45Pには、封止部51P,56の上方に、第一ネジ止片91、第二ネジ止片96が設けられている。
制御基板収納部41P,46Pをスライドさせて組み合わせると、これらを組み合わせた封止体4Pの長手方向の端部に封止部51P,56によって封止基礎部5Pが形成される。
図63に示すように、封止基礎部5Pにかぶせて封止体4Pにキャップ8Pを取り付けると、封止体4Pの長手方向の端部には、第一ネジ止片91、第二ネジ止片96に加えて、キャップ8Pが備える第三ネジ止片98が重なり、ネジ止め用のネジ止部9Pを構成する。
図64に示すように、封止部51P,56は、制御基板収納部41P,46Pの右端部から右方に突設されている。封止部51P,56は、左右方向に沿った高さが同じ高さであり、上下方向の幅が同じ幅に形成されている。
各封止部51P,56には、左右方向に沿って長尺な溝部512,562が形成されている。封止部56には、左右方向に沿って平行な2つの溝部562が、所定間隔離して形成され、封止部51Pには、左右方向に沿って、1つの溝部512が形成されている。
図65に示すように、上記のようにケース40P,45Pが組み合わされると、封止部51P,56は、組み合わされた制御基板収納部41P,46Pの右部に、封止基礎部5Pを形成する。
封止基礎部5Pにおいては、封止部51P,56が一定間隔を開けて平行に配置され、封止部51P,56が互いに対向する面の間に挿抜空間5ap(図65参照)が形成される。
図64に示すように、封印シール7Pは、基板ケース3Pを封印する手段として用いられるものであり、認証資格を有した組織等によって発行された真正品であることを証明するものである。
封印シール7Pは、切断性を考慮し、紙などの切断し易い材料の一方の面に接着面が設けられたものであり、複数の切目が形成されている。図示しないが、封印シール7Pには、例えば、ホログラム及びQRコード(登録商標)等が印刷されている。また、封印シール7Pには、「開封禁止」の文字も印刷されている。
切断部材6Pは、基礎部60Pと、一対の摘部61Pと、切断部64Pとを有する形状に形成されている。切断部材6Pの基礎となる基礎部60Pは、略長方形状に形成されている。基礎部60Pの長尺な2辺のうち、一方には、切断部64Pが形成されている。切断部64Pは、基礎部60Pの先端が刃状に形成された部位である。摘部61Pは、基礎部60Pの長手方向両端に設けられ、全体に「く」の字に折り曲げられた形状に形成されている。摘部61Pの左端部を、遊端部61aという。
キャップ8Pは、封止基礎部5Pにかぶせて封止基礎部5P全体を覆うことができる大きさに形成されており、封止基礎部5Pに対して着脱可能に形成されている。
キャップ8Pは、封止基礎部5Pを覆う椀状に形成された箱部80と、箱部80の長手方向の一端側に形成された第三ネジ止片98とを備えている。箱部80の内側面には、キャップ8Pを封止基礎部5Pに取り付けたときに、挿抜空間5apに挿入された切断部材6Pの摘部61Pの遊端部61aが引っ掛かる位置に、突起82が設けられている。また、箱部80の内側面には、溝部86が形成されている。
切断部材6Pは、封止基礎部5Pの挿抜空間5ap(図65参照)に挿入される。その後、封印シール7Pが貼り付けられる。さらに、キャップ8Pを封止基礎部5Pにかぶせると、溝部86が、挿抜空間5apに挿入された切断部材6Pの一部に嵌る。また、突起82が切断部材6Pの摘部61Pの遊端部61aと係合する。
図63に示すように、上述したように、キャップ8Pを封止基礎部5Pにかぶせると、第三ネジ止片98が、内ケース40Pの第一ネジ止片91と,外ケース45Pの第二ネジ止片96とが組み合わされたものに重なり、ネジ止め用のネジ止部9Pを構成する。ネジ止部9Pにカシメ部材30Pを打ち込まれると、内ケース40P、外ケース45P、キャップ8Pが互いに固定される。
基板ケース3Pの封印を解くときは、カシメ部材30Pが取り外されるとともに、キャップ8Pが封止基礎部5Pから取り外される。基板ケース3Pの封印が不正に解かれる時も同様である。
切断部材6Pとキャップ8Pとは一体化している。このため、キャップ8Pを封止基礎部5Pから取り外されると、同時に切断部材6Pも封止基礎部5Pから取り外される。すると、切断部64P等により、封印シール7Pには回復不能な傷が付けられる。
識別表示520について説明する。図61に示すように、識別表示520は、制御基板501、ROM502、内ケース40P、外ケース45P、及びキャップ8Pに付されている。識別表示520は、遊技機1Pに関する情報が含まれる表示である。以下の説明においては、制御基板501に設けられた識別表示520を、識別表示521といい、ROM502に設けられた識別表示520を、識別表示522という。外ケース45Pに設けられた識別表示520を、識別表示523といい、内ケース40Pに設けられた識別表示520を、識別表示524という。キャップ8Pに設けられた識別表示520を、識別表示525という。
図61に示すように、識別表示521は、制御基板501の背面の上部に、シルク印刷によって表示されている。識別表示521は、特定の情報を表示するための情報識別部である。識別表示522は、ROM502に、刻印によって添付されている。識別表示522は、特定の情報を表示するための情報識別部である。基板ケース3Pに付された識別表示523、524,525は、特定の情報を表示するための情報識別部である。識別表示524は、内ケース40Pの前面の右上部に、内ケース40Pを製造する金型による刻印によって形成されている(図65参照)。識別表示525は、キャップ8Pの背面に、キャップ8Pを製造する金型による刻印によって形成されている。識別表示523の表示態様及び情報識別部との関係については後述する。
識別表示521~525は互いに関連しており、少なくとも同じ内容を示唆する識別表示529を含む。本実施形態では、一例として、識別表示521は、「ABCD01」の文字列であり、識別表示522は、「ABCD02」の文字列である。識別表示523は、「ABCD03」の文字列であり、識別表示524は、「ABCD04」の文字列である。識別表示525は、「ABCD05」の文字列である。識別表示521~525において同じ内容を示唆する識別表示529は、「ABCD」である。識別表示529は、例えば、メーカ名及び機種名等に対応した表示である。本実施形態では、一例として、「ABCD」のうち、「AB」はメーカ名を表し、「CD」は機種名を表すとする。
なお、識別表示521~525において、メーカ名を「ABCD」に含まれる「AB」で表示するのではなく、図71の識別表示1595,1596における「AA社」のように、メーカ名そのものを表示してもよい。また、機種名を「ABCD」に含まれる「CD」で表示するではなく、図71の識別表示1595,1596における「CRあいう」のように、機種名そのものを表示してもよい。また、識別表示521~525に、図71の識別表示1595,1596における型式「GH101」のように、型式が表示されてもよい。この場合、識別表示521~525において同じ内容を示唆する識別表示は、機種名「CRあいう」、型式「GH101」、及びメーカ名「AA社」となる。
以下の説明では、外ケース45Pにおいて、基板ケース3Pの内側を形成する面を内面532という。外ケース45Pにおいて、基板ケース3Pの外側を形成する面を外面531という。図60(c)、図63(c)、及び図65に示すように、外面531には、位置表示部541が設けられている。位置表示部541は、識別表示523を付与する位置を表示する部位である。位置表示部541は、基板ケース3Pにおいて、ROM502に重なる部位とは異なる部位に設けられている。より詳細には、位置表示部541は、後側から見た場合に矩形状であり、外ケース45Pの右下部に設けられている。ROM502は、後側から見た場合に、位置表示部541より左側に設けられている。位置表示部541は、前側に向かって凹んだ凹部である。
図63(b)に示すように、位置表示部541には、光透過性を有する素材で形成されたシール部542が貼り付けられている。本実施形態ではシール部542は、一例として透明であるとする。シール部542には、印刷部797が印刷されている。本実施形態では、一例として、印刷部797は、識別表示523である。シール部542に、識別表示523が印刷されていることによって、位置表示部541に識別表示523が付された状態となる。シール部542は、基板ケース3Pにおいて複数の電子部品595の少なくとも一部を跨いで配置されている。言い換えると、シール部542は、後方から見た場合に、基板ケース3Pにおいて複数の電子部品595に重なる状態で配置されている。なお、図63(b)には、複数の電子部品595のうちの一部を図示しており、実際には、他の電子部品(図61参照)も存在する。外ケース45Pの識別表示523は、ROM502の装着箇所が視認できる角度を有するように表示されている。本実施形態では、外ケース45Pに付された識別表示523によりROM502の装着箇所が視認性を阻害されない。なお、後述する変形例におけるシール部1561(図72参照)の場合と同様に、基板ケース3Pが所定の角度にある場合に、識別表示523が、ROM502の装着箇所と重なってもよい。
このように、印刷等によって識別表示が付されたシール部等が貼り付けられて、対象物に識別表示が付された状態となる場合、識別表示を含んだシール部等を情報識別部と呼ぶこととする。本実施形態では識別表示523を含んだシール部542は、情報識別部である。なお、識別表示520は、制御基板501、ROM502、内ケース40P、外ケース45P、及びキャップ8Pに付されているが、それぞれに一つ付されているわけではなく、二つ以上付されていることもある。例えば、ROM502に二つの識別表示が付されることもあり、同様に情報識別部が二つある場合もある。
以上のように、本実施形態における遊技機1Pが形成される。本実施形態では、制御基板501を内包する基板ケース3Pが設けられている。図60、図61、図63、及び図65に示すように、基板ケース3Pには、識別表示523を付与する位置を表示する部位である位置表示部541が設けられている。このため、位置表示部541が設けられていない場合に比べ、検査者は、基板ケース3Pに付された識別表示523を容易に確認することができる。よって、不正行為の発生を抑制することができる。故に、遊技者が安心して遊技することができ、遊技者の興趣が向上する。
また、遊技機1Pの製造時においては、位置表示部541が設けられていない場合に比べて、製造者が、識別表示520を付与する位置を把握し易い。このため、例えばシール部542が使用され、製造者によって識別表示523が付与される場合に、複数の遊技機1Pの間で、異なる位置に識別表示523が付与される可能性を低減できる。このため、位置表示部541が設けられていない場合に比べて、検査者は、基板ケース3Pに付された識別表示523を容易に確認することができる。よって、不正行為の発生を抑制することができる。故に、遊技者が安心して遊技することができ、遊技者の興趣が向上する。
また、位置表示部541は、基板ケース3Pの外面531に形成され、識別表示520を位置決めするため凹部である。凹部である位置表示部541が設けられているので、例えば、基板ケース3Pの平面に印刷等によって位置表示部541が表示される場合に比べて、検査者が位置表示部541の位置を、把握し易い。よって、検査者は、基板ケース3Pに付された識別表示523を容易に確認することができる。故に、不正行為の発生を抑制することができる。このため、遊技者が安心して遊技することができ、遊技者の興趣が向上する。
また、製造者は、凹部である位置表示部541に沿って識別表示520を位置決めすることができる。このため、製造者は、遊技機1Pを量産する場合において、複数の遊技機1P間で同じ位置に識別表示520を付することができる。複数の遊技機1P間で同じ位置に識別表示520が付されるので、検査者は、識別表示520を容易に確認することができる。故に、不正行為の発生を抑制することができる。このため、遊技者が安心して遊技することができ、遊技者の興趣が向上する。
また、位置表示部541は、基板ケース3PにおいてROM502に重なる部位とは異なる部位に設けられている。この場合、位置表示部541に付される識別表示523とROM502が重なる可能性を低減できる。このため、検査者が、識別表示523とROM502との両方を同時に確認することができる。よって、例えば、不正行為によってROM502が入れ替えられたことを容易に発見することができる。このため、遊技者が安心して遊技することができ、遊技者の興趣が向上する。
また、位置表示部541は、基板ケース3Pの外面531に形成され、識別表示520(523)を位置決めするための凹部である。凹部である位置表示部541が設けられているので、例えば、手が触れた場合などに、基板ケース3Pの平面にシール部542が貼り付けられる場合に比べて、シールの剥がれを防止することができる。シールの一部が剥がれると、検査者はそれが不正によるものか確認しなければならず、検査に時間がかかってしまう。しかし、このような位置表示部541であれば、シール部が保護されるため、検査者は、基板ケース3Pに付された識別表示523を容易に確認することができる。故に、不正行為の発生を抑制することができる。このため、遊技者が安心して遊技することができ、遊技者の興趣が向上する。
また、基板ケース3Pに添付された情報識別部である、識別表示523を含んだシール部542と、ROM502に添付された情報識別部である識別表示522とは、少なくとも同じ内容を示唆する識別表示529を含む。また、外ケース45Pに付された識別表示523は、ROM502の装着箇所が視認できる角度を有するように表示されている。また、本実施形態では、外ケース45Pに付された識別表示523によってROM502の装着箇所の視認性を阻害されることはない。外ケース45Pに付された識別表示523は、ROM502の装着箇所が視認できる角度を有するように表示されているので、検査者は、同じ識別表示529が付されたROM502と、基板ケース3Pとを確認し、不正行為が行われていないことを容易に確認することができる。また、不正行為によって、例えば、ROM502が、他のROMに入れ替えられた場合でも、ROM502と基板ケース3Pに付された識別表示529が同じであるか否かを判断することで、検査者は、容易に不正行為が行われたことを確認できる。このため、不正行為の発生を抑制することができる。よって、遊技者が安心して遊技することができ、遊技者の興趣が向上する。
また、基板ケース3Pに添付された情報識別部である、識別表示523を含んだシール部542と、ROM502に添付された情報識別部である識別表示522と、制御基板501に表示された情報識別部である識別表示521とは、少なくとも同じ内容を示唆する識別表示529(本実施形態では「ABCD」の文字列)を含む。このため、検査者は、同じ内容を示唆する識別表示529が付された制御基板501、ROM502、及び基板ケース3Pを確認し、不正行為が行われていないことを容易に確認することができる。また、不正行為によって、制御基板501及びROM502の少なくとも一方が、他の制御基板501及びROM502に入れ替えられた場合でも、制御基板501、ROM502、及び基板ケース3Pに付された識別表示529が同じであるか否かを判断することで、検査者は、容易に不正行為が行われたことを確認できる。このため、不正行為の発生を抑制することができる。よって、遊技者が安心して遊技することができ、遊技者の興趣が向上する。
基板ケース3Pは、複数のコネクタ771~776を視認可能に、制御基板501を内包する。複数のコネクタ771~776が視認可能であるので、例えば、制御基板501とは異なる機器がコネクタ771~776に接続される不正が行われているか否かを容易に判断できる。よって、不正が行われる可能性を低減でき、遊技者が安心して遊技できる。よって、遊技者の興趣が向上する。
また、検出信号コネクタ774,775が蛍光色であるので、蛍光色でない場合に比べて、検査者が視認しやすくなる。このため、例えば、制御基板501とは異なる機器が検出信号コネクタ774,775に接続される不正が行われているか否かを容易に判断できる。よって、不正が行われる可能性を低減でき、遊技者が安心して遊技できる。故に、遊技者の興趣が向上する。
また、検出信号コネクタ774,775は、複数設けられている。このため、検出信号コネクタが1つである場合に比べて、検出信号コネクタ774,775を検査者が確認しやすい。このため、例えば、制御基板501とは異なる機器が検出信号コネクタ774,775に接続される不正が行われているか否かを容易に判断できる。よって、不正が行われる可能性を低減でき、遊技者が安心して遊技できる。故に、遊技者の興趣が向上する。
また、ROM502が備える第一信号ピン582は基板ケース3Pを介して視認可能に配置されている。第一信号ピン582が視認可能であるので、例えば、制御基板501とは異なる機器が第一信号ピン582に対して接続される不正が行われているか否かを容易に判断できる。このため、不正が行われる可能性を低減でき、遊技者が安心して遊技できる。よって、遊技者の興趣が向上する。
また、複数の電子部品595が備える第二信号ピン583は、基板ケース3Pを介して視認可能に配置されている。第二信号ピン583が視認可能であるので、例えば、制御基板501とは異なる機器が第二信号ピン583に対して接続される不正が行われているか否かを容易に判断できる。このため、不正が行われる可能性を低減でき、遊技者が安心して遊技できる。よって、遊技者の興趣が向上する。
また、制御基板501は、内ケース40P側に、ビス769(図63(b)参照)によってビス止めされている。このため、ビス止めされていない場合に比べて、制御基板501を不正に交換し難い。よって、不正が行われる可能性を低減でき、遊技者が安心して遊技できる。故に、遊技者の興趣が向上する。
また、外ケース45Pと内ケース40Pとは、互いにスライドされて組み合わせられる。このため、不正行為をしようとする者が、外ケース45Pと内ケース40Pとを分離するために、単に外ケース45Pと内ケース40Pとを引き離そうとしても、外ケース45Pと内ケース40Pが分離され難い。よって、制御基板501を不正に交換し難い。よって、不正が行われる可能性を低減でき、遊技者が安心して遊技できる。故に、遊技者の興趣が向上する。
尚、本発明は上記実施形態に限定されることなく、種々の変更が可能である。以下の各変形例において、上記実施形態の構成に対応する構成は、同じ符号で示し、詳細な説明は省略する。
位置表示部541が凹部であったが、これに限定されない。例えば、位置表示部541が凸部であってもよい。図66は、基板ケース3Pの変形例に係る基板ケース1003の外ケース45Pにおいて、図63に示すA-A線の位置における矢方向断面を示している。図66に示すように、基板ケース1003の位置表示部541は、外ケース45Pの外面531に形成された凸部であり、後側に突出している。位置表示部541には、シール部542によって識別表示523が付されている。
また、位置表示部541は、外面531に設けられていたが、これに限定されない。例えば、位置表示部541が、内面532に設けられてもよい。図67は、基板ケース3Pの変形例に係る基板ケース1103の外ケース45Pにおいて、図63に示すA-A線の位置における矢方向断面を示している。図67に示すように、基板ケース1103の位置表示部541は、基板ケース1103の内面532に形成された凹部であり、後側に凹んでいる。位置表示部541には、シール部542によって識別表示523が付されている。尚、識別表示523は、シール部542の後側に印刷されている。このため、検査者は、基板ケース1103の後側から、透明な外ケース45Pを介して、識別表示523を確認することができる。
図68は、基板ケース3Pの変形例に係る基板ケース1203の外ケース45Pにおいて、図63に示すA-A線の位置における矢方向断面を示している。図68に示すように、基板ケース1203の位置表示部541は、基板ケース1203の内面532に形成された凸部であり、前側に突出している。位置表示部541には、シール部542によって識別表示523が付されている。尚、識別表示523は、シール部542の後側に印刷されている。このため、検査者は、基板ケース1203の後側から、透明な外ケース45Pを介して、識別表示523を確認することができる。
以上のように、位置表示部541は、基板ケース3Pの内面532又は外面531に形成され、識別表示520を位置決めするための凸部又は凹部である。凸部又は凹部である位置表示部541が設けられているので、例えば、基板ケース3Pの平面に印刷等によって位置表示部541が表示される場合に比べて、検査者が識別表示520の位置を、把握し易い。よって、検査者は、基板ケース3Pに付された識別表示520を容易に確認することができる。故に、不正行為の発生を抑制することができる。よって、遊技者が安心して遊技することができ、遊技者の興趣が向上する。
また、製造者は、凸部又は凹部である位置表示部541に沿って識別表示520を位置決めすることができる。このため、製造者は、遊技機1Pを量産する場合において、複数の遊技機1P間で同じ位置に識別表示520を付することができる。複数の遊技機1P間で同じ位置に識別表示520が付されるので、検査者は、識別表示520を容易に確認することができる。故に、不正行為の発生を抑制することができる。このため、遊技者が安心して遊技することができ、遊技者の興趣が向上する。
また、制御基板501を内包する複数の部材511は、外ケース45P、内ケース40P、及びキャップ8Pのうち、一部を含まなくてもよい。また、複数の部材511は、外ケース45P、内ケース40P、及びキャップ8Pとは異なる部材をさらに含んでいてもよい。
また、制御基板501、ROM502、及び複数の部材511に識別表示520が付されていたが、これに限定されない。例えば、制御基板501と複数の部材511とのうち、少なくとも2つに、関連した識別表示520が付されてもよい。例えば、複数の部材511に含まれるキャップ8Pに識別表示525が付されなくてもよい。また、複数の部材511に含まれる内ケース40Pに識別表示524が付されなくてもよい。また、複数の部材511に含まれる外ケース45Pに識別表示523が付されなくてもよい。検査者は、制御基板501と複数の部材511とのうち、少なくとも2つに付された識別表示520を確認し、不正行為が行われか否かを容易に確認することができる。例えば、不正行為によって、制御基板501が、他の制御基板に入れ替えられた場合でも、制御基板501と複数の部材511とのうち、少なくとも2つに付された識別表示520が関連しているか否かを判断することで、検査者は、容易に不正行為が行われたことを確認できる。このため、不正行為の発生を抑制することができる。よって、遊技者が安心して遊技することができ、遊技者の興趣が向上する。
また、識別表示520は、制御基板501、外ケース45P、及び内ケース40Pのうち、少なくとも2つに付されてもよい。この場合、検査者は、制御基板501、外ケース45P、及び内ケース40Pのうち、少なくとも2つに付された識別表示520を確認し、不正行為が行われか否かを容易に確認することができる。例えば、不正行為によって、制御基板501が他の制御基板に入れ替えられた場合でも、制御基板501、外ケース45P、及び内ケース40Pのうちのうち、少なくとも2つに付された識別表示520が関連しているか否かを判断することで、検査者は、容易に不正行為が行われたことを確認できる。このため、不正行為の発生を抑制することができる。よって、遊技者が安心して遊技することができ、遊技者の興趣が向上する。
また、識別表示520は、少なくとも外ケース45PとROM502とに付されてもよい。この場合、検査者は、少なくとも外ケース45PとROM502に付された識別表示520を確認し、不正行為が行われか否かを容易に確認することができる。例えば、不正行為によって、ROM502が他のROMに入れ替えられた場合でも、少なくとも外ケース45PとROM502に付された識別表示520が関連しているか否かを判断することで、検査者は、容易に不正行為が行われたことを確認できる。このため、不正行為の発生を抑制することができる。よって、遊技者が安心して遊技することができ、遊技者の興趣が向上する。
また、識別表示520は、互いに関連していればよい。例えば、識別表示520は、全て同じ識別表示(例えば、全て「ABCD01」等)でもよい。また、識別表示520が夫々異なる表示でもよく、同じ識別表示529が含まれなくてもよい。検査者が確認できる態様であれば、識別表示520の記載内容は限定されない。また、識別表示520は文字列でなくてもよい。例えば、識別表示520は、種々のマークであってもよい。また、識別表示520が付される態様は限定されない。例えば、識別表示521だけでなく、識別表示521~525が全てシール部に印刷されて付与されてもよい。また、該シール部は透明でなくてもよい。また、識別表示523~525が全て基板ケース3Pを製造する金型によって刻印されてもよい。
また、識別表示520は、基板ケース3Pの素材の内部に形成されていてもよい。以下、図69及び図70を参照し、該変形例について説明する。図69及び図70に示す基板ケース1303は、基板ケース3Pの変形例である。基板ケース1303において、識別表示523が表示された部位を識別表示部1390という。また、識別表示部1390より外側の部位を、外側部位1391という。図70に示すように、識別表示部1390は、外側部位1391より後側に突出している。このため、識別表示部1390の厚みL1は、外側部位1391の厚みL2よりも大きい。
識別表示523は、識別表示部1390を形成する部材(本実施形態では、外ケース45Pの素材)の内部に形成されている。識別表示523は、識別表示部1390において厚み方向(前後方向)の複数(本実施形態では4つ)の階層1381,1382,1383,1384に分割されて設けられている。
識別表示523の「A」の文字1371は、階層1381に形成されている。「B」の文字1372は、階層1382に形成されている。「C」の文字1373は、階層1383に形成されている。「D」の文字1374は、階層1384に形成されている。「0」の文字1375は、階層1382に形成されている。「3」の文字1376は、階層1383に形成されている。
尚、識別表示523を、識別表示部1390を形成する部材の内部に形成する方法は限定されない。例えば、3Dレーザ彫刻によって、識別表示523が形成されてもよい。3Dレーザ彫刻とは、レーザを集光させ、基板ケース3Pの素材の内部に、例えば100ミクロンの微細なクラックを、例えば0.08mm~0.016mmの間隔で形成する技術である。該クラックを複数形成することで、基板ケース3Pの内部に識別表示523が形成される。
本実施形態では、識別表示523は、識別表示部1390を形成する部材の内部に形成されている。このため、例えば、識別表示523の全体が基板ケース3Pの外面531又は内面532に形成されている場合に比べて、識別表示523が除去され難い。よって、不正行為の発生が抑制できる。故に、遊技者が安心して遊技することができ、遊技者の興趣が向上する。また、不正によって識別表示523が除去された場合には、基板ケース1303に傷が形成される。このため、検査者が容易に不正行為を発見できる。よって、遊技者が安心して遊技することができ、遊技者の興趣が向上する。
また、識別表示523は、識別表示部1390において厚み方向の複数の階層1381~1384に分割されて設けられている。このため、一層のみに識別表示523が形成されている場合に比べて、識別表示523が除去され難い。よって、不正行為の発生を抑制することができる。故に、遊技者が安心して遊技することができ、遊技者の興趣が向上する。
また、基板ケース1303において、識別表示部1390の厚みL1は、外側部位1391の厚みL2より大きい。この場合、L1がL2以下の場合に比べて、不正者が識別表示520を除去しようとした場合に、基板ケース3Pをより深く削る必要がある。このため、基板ケース1303に傷が生じやすい。このため、検査者が容易に不正行為を発見できる。よって、遊技者が安心して遊技することができ、遊技者の興趣が向上する。
尚、識別表示523が、識別表示部1390において厚み方向の複数の階層1381~1384に分割されていなくてもよい。例えば、一層のみに識別表示523が形成されてもよい。また、識別表示部1390の厚みL1は、外側部位1391の厚みL2以下でもよい。また、識別表示523について説明したが、識別表示524,525等、基板ケース1303に設けられる識別表示520についても同様に、基板ケース1303の内部に形成されてもよい。
上記実施形態において、基板ケース1303は、本発明の「ケース部」の一例である。
また、基板ケース3Pには、シール部542等以外にも種々のシールが添付されてもよい。また、シール部542等の種々のシールに設けられる印刷部(例えば、印刷部797)に表示される内容は限定されない。例えば、図71に示す変形例に係る基板ケース1551には、シール部542に加え、シール部1560及びシール部1561が貼り付けられている。なお、図71において、上記実施形態と同様の構成の部材は、同じ符号で示し、詳細な説明は省略する。
シール部1560は、基板ケース1551の外ケース45Pの左右方向中央部の上部に貼り付けられている。シール部1561は、基板ケース3Pの外ケース45Pの左上部に貼り付けられている。シール部1560,1561は、光透過性を有する素材で形成されている。シール部1560,1561は、夫々、複数の電子部品595(図61参照)を跨いで配置されている。なお、図71においては、シール部1560,1561の前側に位置する複数の電子部品595(図61参照)等、種々の電子部品の図示は省略している。
シール部1560には、印刷部1571が印刷されている。印刷部1571は、複数の領域1575を備えている。印刷部1571は、有色であり、本実施形態では、一例として白色の下地を有する。複数の領域1575は、コード部1572、情報表示部1573、及び記載領域1570を含む。シール部1560は、印刷部1571、コード部1572、情報表示部1573、及び記載領域1570が、ROM502と重ならない位置となるように、設けられている。
コード部1572は、シール部1560の左上部に設けられている。コード部1572は、所定の情報を含む。コード部1572は、他の機器によって情報が読み取られる部位であり、例えば、矩形状の有色(本実施形態では白色)の領域に、QRコード(登録商標)、バーコード等が黒色で印刷されている。本実施形態では、一例として、コード部1572は、QRコード(登録商標)を含む。
コード部1572は、例えば、遊技機1Pとは異なる機器(以下、「他機器」という。)に記憶された、制御基板501の納入先を示す情報と紐付けられている。例えば、情報携帯端末等に備えられたカメラによってコード部1572に含まれる情報であるURL(Uniform Resource Locator)が読み取られる。情報携帯端末は、該URLを使用し、ネットワークを介して他機器にアクセスする。他機器にアクセスした結果、情報携帯端末に表示される情報には、制御基板501の納入先(例えば、遊技機1Pが納入された店舗名)、及び、遊技機1Pが廃棄されたか否か等の情報が含まれている。これによって検査者は、制御基板501の納入先を示す情報、及び遊技機1Pが廃棄されたか否か等の情報を容易に確認することができる。
情報表示部1573には、種々の情報が含まれる。情報表示部1573は、例えば、識別表示529と同様の情報が含まれてもよい。本実施形態では、一例として、情報表示部1573には、矩形状の有色(本実施形態では白色)の領域に、「EF001」の文字列が印刷されている。該文字列は、一例として、制御基板501の管理番号である。該管理番号によって、検査者は、メーカが保有している管理番号に紐づいた情報から、遊技機1Pの納入先、遊技機1Pが廃棄されたか否か等の情報を調べることができる。なお、情報表示部1573の文字列は、メーカ名、機種名、型式等に対応する情報を含んでもよい。また、情報表示部1573が有する矩形状の領域と、コード部1572が有する矩形状の流域とは、左右方向において繋がっている。
記載領域1570は、一例として、上下方向に3行、左右方向に2列の計6個設けられている。記載領域1570は、矩形状の有色(本実施形態では白色)の下地によって印刷されている。左上の記載領域1570の上方には、「開封者」と黒色で印刷されている。右上の記載領域1570の上方には、「開封年月日」と黒色で印刷されている。左上の記載領域1570の左方には、丸1と印刷されている。左側の上下方向中央の記載領域1570の左方には、丸2と印刷されている。左下の記載領域1570の左方には、丸3と印刷されている。
例えば、検査者は、基板ケース3Pを開封した場合に、検査者の名前を左側の記載領域1570に記載し、基板ケース3Pを開封した年月日を、右側の記載領域1570に記載する。なお、検査者は、記載領域1570に、制御基板501に不正が行われたか否かを確認した年月日等を記載してもよい。
シール部1560は、電子部品798を覗くための覗き部1574を備えている。覗き部1574は、複数の領域1575同士の間に設けられている。覗き部1574は、光透過性を有する。本実施形態では、覗き部1574は、シール部1560における印刷されていない部分によって形成されており、透明である。本実施形態においては、上下方向3行の記載領域1570の間に、左右方向に延びる覗き部1574が設けられている。また、左右に並んだコード部1572及び情報表示部1573と、上側の2つ記載領域1570との間に、左右方向に延びる覗き部1574が設けられている。左右方向2列の記載領域1570の間に、上下方向に延びる覗き部1574が設けられている。
また、シール部1561は、特定の情報を表示するための情報識別部である。例えば、特定の情報としてとして、機種名、型式、メーカ名のうちの少なくとも1つが印刷される。本実施形態では、一例として、機種名「CRあいう」、型式「GH101」、及びメーカ名「AA社」が印刷されている。本実施形態では、これらの情報が印刷された部位を印刷部1563ともいう。また、シール部1561に表示される特定の情報を識別表示1595という。本実施形態では、識別表示1595は、機種名「CRあいう」、型式「GH101」、及びメーカ名「AA社」である。
また、ROM502には、シール部1562が貼り付けられている。シール部1562は、ROM502の識別表示522「ABCD02」の左側に貼り付けられている。シール部1562は、特定の情報を表示するための情報識別部である。例えば、特定の情報としてとして、機種名、型式、メーカ名のうちの少なくとも1つが印刷される。本実施形態では、一例として、シール部1562には、所定の情報として、機種名「CRあいう」、型式「GH101」、及びメーカ名「AA社」が印刷されている。また、シール部1562に表示される特定の情報を識別表示1596という。本実施形態では、識別表示1596は、機種名「CRあいう」、型式「GH101」、及びメーカ名「AA社」である。なお、ROM502の識別表示522も情報識別部であり、すなわち、本実施形態では、ROM502には、情報識別部が二つ設けられている。
また、シール部1561とシール部1562は、少なくとも同じ内容を示唆する識別表示1595,1596を含んで表示される。本実施形態においては、識別表示1595,1596における種名「CRあいう」、型式「GH101」、及びメーカ名「AA社」が全て同じであるが、一部が同じであればよい。
なお、識別表示1595,1596は、基板ケース3PとROM502に付されているが、他の部材に付されてもよい。例えば、制御基板501に、識別表示1595,1596と同じ識別表示を含んで表示されてもよい。
以上のように、本変形例に係る基板ケース1551及び制御基板501等が形成される。本実施形態では、シール部542,1560,1561が複数の電子部品595(図61参照)の少なくとも一部を跨いで配置されるので、例えば、シール部542,1560,1561と電子部品595との位置関係を確認することで、検査者は、制御基板501に不正が行われたか否かを判断できる。このため、不正が行われる可能性を低減でき、遊技者が安心して遊技できる。よって、遊技者の興趣が向上する。
また、領域1575が設けられているので、検査者は、領域1575(より詳細には、記載領域1570)に、検査者の名前、及び、基板ケース3Pを開封した年月日を記載することができる。また、検査者は、制御基板501に不正が行われたか否かを確認した日付等を、領域1575に記載することもできる。また、領域1575の間に覗き部1574が設けられているので、領域1575のみが設けられている場合に比べて、領域1575が目立ちやすい。このため、領域1575に記載された文字等を検査者が確認し易くなる。よって、不正が行われる可能性を低減でき、遊技者が安心して遊技できる。故に、遊技者の興趣が向上する。
また、覗き部1574が設けられているので、検査者は、覗き部1574を介して、電子部品798を確認することができる。よって、覗き部1574が設けられていない場合に比べて、検査者は、電子部品798に対して不正が行われたか否かを容易に確認できる。よって、不正が行われる可能性を低減でき、遊技者が安心して遊技できる。故に、遊技者の興趣が向上する。
また、コード部1572がROM502と重ならない位置に設けられている。このため、検査者はROM502を容易に確認することができる。このため、検査者は、ROM502を確認し、不正が行われているか否かを容易に判断できる。よって、遊技者が安心して遊技できる。故に、遊技者の興趣が向上する。
また、コード部1572は、遊技機1Pとは異なる機器に記憶された、制御基板501の納入先を示す情報と紐付けられている。これによって、検査者は、コード部1572を使用して、制御基板501の納入先を示す情報を容易に確認することができる。このため、検査者は、納入先の情報を確認し、納入先の異なる制御基板501が装着される不正が行われたか否かを容易に判断できる。よって、遊技者が安心して遊技できる。故に、遊技者の興趣が向上する。
また、ROM502にシール部1562が貼り付けられ、シール部1562に所定の情報が表示されている。このため、検査者は、シール部1562を確認することで、ROM502が入れ替えられる不正を容易に確認することができる。よって、不正が行われる可能性を低減でき、遊技者が安心して遊技できる。故に、遊技者の興趣が向上する。
また、シール部1561に、機種名、型式、メーカ名のうちの少なくとも1つが印刷されているので、検査者は、容易に、機種名、型式、メーカ名のうちの少なくとも1つを把握することができる。よって、検査者は、機種名、型式、メーカ名のうちの少なくとも1つを確認し、不正が行われているか否かを容易に判断できる。故に、遊技者が安心して遊技できる。故に、遊技者の興趣が向上する。
なお、ROM502の形状は限定されない。上記実施形態におけるROM502は、図63に示すように、上下左右に延びる板状の本体部580を有している。しかし、本体部580が、前後左右に延びてもよい。この場合、第一信号ピンは、前方に延び、制御基板501と電気的に接続されてもよい。また、本体部580が前後左右に延びる場合、シール部1591に表示された所定の情報は、本体部580の上面又は下面に表示されてもよい。
また、シール部542,1560,1561に表示される各種の情報は、ROM502の装着箇所が視認できる角度を有するように表示されればよい。例えば、図72は、シール部1561及びROM502を、後斜め上方から見た図である。図72においては、シール部1561及びROM502以外の部材の図示は省略している。この場合、シール部1561に表示される情報が、ROM502の装着箇所に重なっている。すなわち、図72は、シール部1561に表示される情報が、ROM502の装着箇所を視認し難くなる角度から見た図である。しかし、図71に示すように、後側から見た場合には、ROM502の装着箇所を視認できる。すなわち、図71は、シール部1561に表示される情報が、ROM502の装着箇所を視認できる角度から見た図である。このように、シール部1561に表示される情報は、ROM502の装着箇所が視認できる角度を有するように表示される。なお、シール部1561を例にして説明したが、他のシール部542,1560に表示される各種情報(例えば、識別表示523の情報)が、ROM502の装着箇所が視認できる角度を有するように表示されればよい。
(第5実施形態)
次に、図73-1~図73-6を参照して、本発明の実施形態の一例である第5実施形態について説明する。なお、以下に説明する第5実施形態において、第4実施形態と同じ構成のものは、第4実施形態と同じ符号を使用して詳細な説明を省略する。
まず、図73-1~図73-4を参照して、第5実施形態に係る基板ケース1700及び制御基板1705の構成の概要について説明する。図73-1は、第5実施形態に係る制御基板1705が収納された基板ケース1700の背面図である。図73-2(a)は、シール部1710の構成を説明する概略図であり、図73-2(b)は、デートマーク部1720の構成を説明する概略図である。図73-3(a)は、開封禁止シール部1730の構成を説明する概略図であり、図73-3(b)は、開封禁止シール部1730が基板ケース1700に貼付された状態を説明する概略図である。図73-4は、情報表示器1750の表示の構成を説明する概略図である。
図73-1に示すように、第5実施形態の遊技機1Pにおいては、制御基板1705と、制御基板1705を収納する基板ケース1700と、を備える。基板ケース1700は、第4実施形態の変形例である基板ケース1551と略同様の構成であるが、後述するシール部1710、デートマーク部1720、開封禁止シール1730、RAMクリア操作部1785、を備えている。制御基板1705は、第4実施形態の変形例である制御基板501と略同様の構成であるが、後述する情報表示器1750、操作キー部1780、RAMクリアボタン、を備えている。
シール部1710は、光透過性を有する素材で形成されており、基板ケース1700の外ケース45Pの左右方向中央部の上部に貼り付けられている。なお、シール部1710は、夫々、複数の電子部品595(図示を省略)等を跨いで配置されている。デートマーク部1720は、基板ケース1700の外ケース45Pの左右方向中央部の下部に、外ケース45Pの正面側において外ケース45Pから凸形状となるように形成されている。開封禁止シール部1730は、基板ケース1700における左右方向右端部に形成されたシール貼付部1701に貼付されている。なお、シール貼付部1701は、キャップ8Pによって覆われる部分である。RAMクリア操作部1785は、基板ケース1700の外ケース45Pの左右方向右部の下部に形成されており、制御基板1705のRAMクリアボタンを操作可能に構成されている。操作キー部1780は、特定の鍵を差込み回転操作が可能な構造のものであり、特定の鍵を差込み口が基板ケース1700の外ケース45Pから露出していることで、制御基板1705が基板ケース1700に収納された状態で操作可能に設けられている。なお、操作キー部1780は、遊技機1Pの遊技を制御するメインCPUに対して、操作キー部1780が操作されたか否かの信号が送信可能に接続されている。
情報表示器1750は、制御基板1705の左右方向右部の上角隅部に設けられており、制御基板501を覆う透明な樹脂からなる基板ケース1700の内部に配置される。また、情報表示器1750は、制御基板501に設けられているメインCPU、メインROM、メインRAMが設けられている位置とは異なる位置であって、基板ケース1700に設けられているRAMクリア操作部1785やシール部1710などによって視認が阻害されない位置に設けられる。また、情報表示器1750の周囲および近傍には、電子部品595等の制御基板1705上に設けられる複数の電子部品のいずれも設けられていない。このような情報表示器1750は、基板ケース1700に収納された制御基板1705上に設けられているにもかかわらず、目立つため、表示される情報の視認が容易となっている。
ここで、情報表示器1750と図示しないアウト球検出スイッチとについて説明する。アウト球検出スイッチは、遊技領域に発射された全ての遊技球(本実施形態では、「アウト球」と称する。)を検知し、検知結果のデータを主制御基板300へ送信可能に接続ケーブルにて接続されている。情報表示器1750は、アウト球検出スイッチでの検知結果に基づきメインCPUにて算出された数値(後述する計算式による算出値である。)によって、遊技機1Pの種々の性能を表示するものである。なお、この情報表示器1750において表示される数値が、所定の範囲内であるか否かによって、遊技機1Pの性能が維持されているか否かを判断可能となる。
図73-2(a)に示すように、シール部1710は、シール部1560と略同様の構成であり、印刷部1711、コード部1712、情報表示部1713、記載領域1570、および覗き部1574を備えている。また、コード部1712のQRコード(登録商標)を所定の端末機にて読み取ることによって、所定の端末機に表示される情報には、情報表示部1713に記載された文字列が含まれている。つまり、特定の情報を含む所定の情報が、コード部1712のQRコード(登録商標)と情報表示部1713の文字列といったように、異なる態様にて表示されていることとなる。ここで、コード部1712と情報表示部1713の構成が、シール部1560のコード部1572と情報表示部1573の構成と異なる。具体的には、コード部1712の有色領域と情報表示部1713の有色領域とに跨って「EF001」の文字列が印刷された構成となっている。このような構成のシール部1710であれば、コード部1712の有色領域と情報表示部1713の有色領域とのうちのいずれかを削り取って不正に情報を変更したりすると、シール部1560に比べて変更した痕跡が明確になり易く、不正な情報の変更を抑止することができる。さらに、前述した通り、シール部1560によって覆われた位置に設けられた電子部品798は覗き部1574から視認可能となっているが、これは電子部品798の少なくとも一部又は全体が制御基板に対して垂直をなす方向から覗き部1574を介して視認可能であるだけでなく、制御基板に対して垂直ではなく所定の角度をなす方向から覗き部1574を介して視認可能であることも意味するものである。具体的には、シール部1560によって覆われた位置に設けられた電子部品であって、制御基板1705に対して垂直をなす方向からは有色領域1575によって視認困難となっているものは、シール部1560に対して垂直ではなく所定の角度をなす方向から覗き部1574を介して視認可能となっていることである。
図73-2(b)に示すように、デートマーク部1720は、基板ケース1700を製造した年月日を表示する部分であり、日付表示部1721と年月表示部1726とから構成されている。日付表示部1721は、円形状の外縁に1~31までの目盛りが形成されており、円中心から延びる矢印によって製造された日付が示される形態となっている。年月表示部1726は、円形状の外縁に1~12までの目盛りが形成されており、円中心から延びる矢印によって製造された月が示されるとともに、円中心に形成された数字によって製造された年が示される形態となっている。つまり、図73-2(b)に示されたデートマーク部1720においては、「2014年12月1日」に基板ケース1700が製造されたことが示されることとなる。なお、図73-2(b)に示されたデートマーク部1720は、外ケース45Pを遊技機1Pの正面側から視認した場合のものであり、基板ケース1700を遊技機1Pの背面側から視認した場合には反転して示される(例えば、図73-1を参照。)こととなる。
図73-3(a)に示すように、開封禁止シール部1730は、所定の文字列が印字される情報表示部1731、QRコード(登録商標)等が印刷されるコード部1732、偽造困難なホログラムが形成されているホログラム表示部1735、を備えている。なお、コード部1732のQRコード(登録商標)を所定の端末機にて読み取ることによって、所定の端末機に表示される情報には、情報表示部1731に記載された文字列が含まれていてもよい。つまり、特定の情報を含む所定の情報が、コード部1732のQRコード(登録商標)と情報表示部1731の文字列といったように、異なる態様にて表示されていてもよい。
図73-3(b)に示すように、また、開封禁止シール部1730がシール貼付部1701に貼付されると、基板ケース1700の内ケース40Pと外ケース45Pに跨って貼付されるように、内ケース40Pと外ケース45Pとが組合さったときの境界部1738の一部を覆うように貼付されることとなる。つまり、基板ケース1700に収納されている制御基板1705に接触するため、内ケース40Pと外ケース45Pとを分解すると、開封禁止シール部1730が破断されることとなる。つまり、開封禁止シール部1730は、シール部1705等といった種々の識別情報が付された識別表示部とは異なり、基板ケース1700を分解すると形状が変化する識別表示部である。また、開封禁止シール部1730の情報表示部1731およびコード部1732は、シール貼付部1701における遊技機1Pの背面側に全体が視認可能となるように開封禁止シール部1730が貼付されている。さらに、開封禁止シール部1730の情報表示部1731およびコード部1732は、基板ケース1700における基板ケース1700の厚み方向の天面に対して、基板ケース1700の厚み方向に一段低くなるような位置に設けられる。つまり、基板ケース1700におけるシール部1710と開封禁止シール部1730とでは、制御基板1705を制御基板1705の厚み方向に対して垂直をなす方向に延伸させた仮想面からの距離が異なるように構成されている。
図73-4に示すように、情報表示器1750は、図示しない制御部と、横一列になるように構成された4つの7セグ表示部1770a~1770dと、各7セグ表示部の右下に形成された4つのドット表示部1775a~1775dから構成されている。また、情報表示器1750は、アウト球検出スイッチ302aによって検知された結果を受信した主制御基板300にて、その検知結果に基づき計測されたデータが出力されるように主制御基板300からのデータ出力を可能に接続されている。さらに、情報表示器1750は、遊技機1Pの電源がON状態のときには、常時点灯している。そして、情報表示器1750においては、正面から視認した場合に左側に位置する2つの7セグ表示部1770a、1770bおよび2つのドット表示部1775a、1775bを識別表示部1780aとし、右側に位置する2つの7セグ表示部1770c、1770dおよび2つのドット表示部1775c、1775dを比率表示部1780bとする。なお、4つの7セグ表示部1770a~1770dと、4つのドット表示部1775a~1775dとは回路が結線されているものとする。
[情報表示器1750における表示態様の説明]
次に、図73-5および図73-6を参照して、情報表示器1750における具体的な表示態様について説明する。図73-5は、遊技機1Pの性能表示に関して情報表示器1750に表示される内容および表示形態を説明する表であり、図73-6は、遊技機1Pの設定表示に関して情報表示器1750に表示される内容および表示形態を説明する表である。
図73-5に示すように、情報表示器1750において遊技機1Pの性能を表示する場合には、比率表示部1780bで、主制御基板300にて計算された数値が表示される。具体的には、初回電源投入時から所定区間(初回電源投入から総アウト球数が300個となってから総アウト球数が60000個となる毎)における遊技状態が低確状態のときの遊技球の払出球数と低確状態のとき(例えば、低確状態で時短遊技でないとき)の遊技球のアウト球数との比率が出力され、計算式としては、「(低確状態時の払出球数)÷(低確状態時のアウト球数)×100」であって、小数点以下第一位を四捨五入した値が出力される。なお、出力する数値が100以上である場合は、比率表示部に「99.」が表示される。また、RAMクリアおよび電源再投入をした場合であっても、RAM異常時でない限り、今までの計測が引き継がれるように設定されている。
識別表示部1780aにおいては、比率表示部1780bにおいて表示されている数値の種類について識別可能な情報が表示される。具体的には、現時点での現区間の計測値を表示している場合には「bL.」と表示され、前区間~前々々区間における計算値を表示している場合には「b1.」~「b3.」と表示される。なお、図73-5における点滅周期は、点灯0.3秒、消灯0.3秒とし、「bL.」~「b3.」の表示切換のタイミングは、各表示において5.0秒表示を繰り返すものとする。
ここで、本実施形態の遊技機1Pにおける計測の流れについて説明する。まず、遊技機1Pにおいて初回電源投入されて遊技が開始されると、アウト球検出スイッチによって、低確状態のときにアウト球排出口から排出される遊技球の検出が開始される。ここで、アウト球排出口から排出される遊技球は、遊技領域における全てのアウト口からのものであるため、アウト球検出スイッチでの検出結果に基づく遊技球数が総アウト球数となる。そして、総アウト球数が300個となってからは、低確状態における所定区間毎の払出球計測スイッチ(賞球として払出された遊技球数を検出するスイッチであって、図示しない。)およびアウト球検出スイッチでの検出結果に基づき、メインCPUにて計算された計算値が情報表示器1750において出力される。
また、遊技機1Pは、大当たり確率の設定を変更できるようなものであって、設定キー1780およびRAMクリア操作部1785のRAMクリアボタンの操作により大当たり確率の設定を変更可能である。具体的には、遊技機1Pの電源がONであって、設定キー部1780「ON」でRAMクリアボタン「ON」とすると、RAMクリアボタンの押圧回数に応じて、大当たり確率の設定を変更することができ、変更したい設定としたときに設定キー部1780「OFF」にすると設定を確定することができる。また、遊技機1Pの電源がONであって、設定キー1780「ON」でRAMクリアボタンを操作しないと、後述するように情報表示器1750に現在の遊技機1Pの大当たり確率の設定が表示され、設定の確認をすることができる。なお、遊技機1Pの出荷時、復旧情報の破損時、設定の変更中の電源の入り切り等で復旧エラー状態のときには、上述と同様に電源がONであって設定キー部1780「ON」でRAMクリアボタン「ON」とすると、設定変更が可能であるが、電源がONであって設定キー1780「ON」でRAMクリアボタンを操作しないと、遊技停止の状態となる。
図73-6に示すように、具体的には、本実施形態の遊技機1Pでは、大当たり確率を第1設定(低確率:300分の1)~第6設定(高確率:250分の1)の6段階に設定可能である。この設定変更および設定確認において、情報表示部1750の右側に位置する7セグ表示部1770dでは、変更しようとする設定値または現在設定されている設定値に応じて、「1」~「6」が点灯される。さらに、設定変更をした場合に、設定変更の終了から5秒間は全ての7セグ表示部1770a~1770dとドット表示部1775a~1775dとが点滅する。そして、5秒間の点滅の後に識別表示部1780a、比率表示部1780bにて前述した遊技機1Pの性能の表示が開始される。また、設定変更および設定確認において、設定変更中/設定確認中には「設定変更中です。」、「設定確認中です。」といった現在の状態を示す音声と警告サイレンとが出力されるとともにメイン液晶にて「設定変更中/設定確認中」といった表示がされる。なお、このような遊技機においては、大当たり確率の設定の種類によらず、大当たりのときの特定の演出(図73-6では、「第1演出」とする。)の選択率、およびハズレのときの特定の演出の選択率は一定のものとする。
ここで、図73-6の表中に使用している語句について説明する。「(大当たりのとき/ハズレのとき」第1演出選択率」とは、「大当たり」又は「ハズレ」と判定されたときに実行される演出において、「第1演出」が選択(実行)される確率のことである。この「第1演出選択率」が、上述の通り、第1設定~第6設定の各設定の大当たり確率に依らず一定である。「(大当たりのとき/ハズレのとき)第1演出出現率」とは、第1始動装置又は第2始動装置への入球に基づき実行される演出において、「第1演出」が実行される確率のことである。「大当たり」のときの「第1演出出現率」は、各設定における「大当たり確率」に「第1演出選択率」を乗じることで算出できる数値である。また、「ハズレ」のときの「第1演出出現率」は、各設定における「ハズレ確率」に「第1演出選択率」を乗じることで算出できる数値である。「ハズレ確率」とは、非確変遊技状態の場合に第1始動装置又は第2始動装置への入球に基づく判定において、「ハズレ」と判定される確率のことであり、「1」から「大当たり確率」を減じることで算出できる数値である。「総合第1演出出現率」とは、非確変遊技状態の場合の第1始動装置又は第2始動装置への入球に基づく判定と共に選択(実行)される演出において、「第1演出」が実行される確率のことである。この「総合第1演出出現率」は、各設定における「大当たりのときの第1演出出現率」と「ハズレのときの第1演出出現率」との和となる数値である。また、「第1演出信頼度」とは、非確変遊技状態の場合の第1始動装置又は第2始動装置への入球に基づく判定に伴い「第1演出」が実行されたときに、実行された「第1演出」が「大当たり」との判定と共に実行された「第1演出」であることの確率である。この「第1演出信頼度」は、「第1演出出現率」を「総合第1演出出現率」で割ることで算出できる数値である。
[第5実施形態の作用効果]
本実施形態のようなシール部1720を有する組立体2Pを備える遊技機1Pであれば、シール部1720に覗き部1574が設けられているので、検査者は、覗き部1574を介して、基板ケース1700に収納されている制御基板1705を視認して、制御基板1705に対する不正が行われたか否かを確認することができる。したがって、覗き部1574のようなものが設けられていないような基板ケースを備えた遊技機に比べて、検査者は、制御基板1705に対して不正が行われたか否かを容易に確認できるため、不正の行われる可能性の低減に繋げることができる。また、このようなシール部1720においては、複数の有色領域である記載領域1570に所定の文字を記載することができるため、光透過性を低下させたような有色領域がなく透明な部分に所定の文字が記載されるようなシールに比べて、検査者が文字による情報の内容を確認し易いものでもある。さらに、このようなシール部においては、透明な覗き部1574が複数の有色領域である記載領域1570、コード部1712、情報表示部1713の間に設けられているため、複数の有色領域のみが並べて設けられているようなものに比べて、有色領域が目立つこととなり、記載領域1570、コード部1712、情報表示部1713に記載された文字等を検査者が確認し易い。
また、本実施形態のようなシール部1720とデートマーク部1720とを有する組立体2Pを備える遊技機1Pによれば、シール部1720の記載領域1570に記載される開封年月日と、デートマーク部1720に表示された製造年月日と、は、異なる情報であるものの、所定の時系列の関係を有している。具体的には、シール部1720の記載領域1570に記載される開封年月日は、デートマーク部1720に表示された製造年月日に比べて、必ず新しい年月日となっている。したがって、検査者は、シール部1720の記載領域1570の開封年月日と、デートマーク部1720の製造年月日と、の整合性を確認することによって、不正な制御基板の交換といった不正行為を容易に確認することができる。
さらに、本実施形態のようなシール部1720と開封禁止シール部1730とを有する組立体2Pを備える遊技機1Pによれば、シール部1720のコード部1712と情報表示部1713に表示されている情報は、開封禁止シール部1730に表示されている情報と紐付けされている。したがって、検査者は、シール部1720の情報と開封禁止シール部1730の情報との整合性を確認することで、不正な制御基板の交換といった不正行為を容易に確認することができる。また、開封禁止シール部1730のコード部1732は、基板ケース1700の厚み方向において、制御基板1705を当該厚み方向に対して垂直をなす方向に延伸させた仮想面からの距離が、当該仮想面からシール部1720のコード部1712及び情報表示部1713までの距離とは異なるように設けられている。したがって、検査者は、開封禁止シール部1730のコード部1732とシール部1720のコード部1712及び情報表示部1713とが同じ高さで同一の平面上に設けられているようなものに比べて、開封禁止シール部1730のコード部1732とシール部1720のコード部1712及び情報表示部1713との情報を視認し易く、不正な制御基板の交換といった不正行為を容易に確認することができる。
そして、本実施形態のような識別表示523における文字1371と文字1372とを有する組立体2Pを備える遊技機1Pによれば、文字1371と文字1372とは、識別表示部1390の厚さ方向における異なる階層となるように形成されているため、階層1381の文字1371と階層1382の文字1372とは、基板ケース1700の天面からの距離が異なるように形成されている。このような識別表示523は、ケース部1700を形成する部材の内部に形成されているため、例えば、識別表示523の全体がケース部の外面又は内面に形成されている場合に比べて、除去され難いものである。また、識別表示523は、基板ケース1700の厚さ方向における天面からの距離が異なる位置、つまり、厚さ方向の複数の階層に分割されて設けられることとなるため、一層のみに形成されている場合に比べて除去され難いものとなっている。このような識別表示523であれば、もし、不正によって除去等された場合には、研磨されたり削られたりすることで基板ケース1700に目立つ損傷が形成されるため、検査者による不正行為の発見が容易であるとともに不正行為の発生を抑制できるものであるといえる。さらに、識別表示523における文字1371と文字1372とは、平面視において、重複する部分がないとともに離間しているため、組立体2Pに対して遊技機の背面側から視認したときに、文字1371と文字1372とを共に俯瞰可能であり、制御基板1705等に対する不正行為等の有無を容易に確認することもできる。
またさらに、本実施形態のような識別表示523における文字1371と文字1372とを有する組立体2Pを備える遊技機1Pによれば、文字1371と文字1372とは、識別表示部1390の厚さ方向における異なる階層となるように形成されているため、階層1381の文字1371と階層1382の文字1372とは、制御基板1705の所定の面(例えば、制御基板1705を厚み方向に対して垂直をなす方向に延伸させた仮想面)からの距離が異なるように形成されている。このような識別表示523は、ケース部1700を形成する部材の内部に形成されているため、例えば、識別表示523の全体がケース部の外面又は内面に形成されている場合に比べて、除去され難いものである。また、識別表示523は、制御基板1705の所定の面からの距離が異なる位置、つまり、厚さ方向の複数の階層に分割されて設けられることとなるため、一層のみに形成されている場合に比べて除去され難いものとなっている。このような識別表示523であれば、もし、不正によって除去等された場合には、研磨されたり削られたりすることで基板ケース1700に目立つ損傷が形成されるため、検査者による不正行為の発見が容易であるとともに不正行為の発生を抑制できるものであるといえる。さらに、識別表示523における文字1371と文字1372とは、平面視において、重複する部分がないとともに離間しているため、組立体2Pに対して遊技機の背面側から視認したときに、文字1371と文字1372とを共に俯瞰可能であり、制御基板1705等に対する不正行為等の有無を容易に確認することもできる。
またそして、本実施形態のようなシール部1720を有する組立体2Pを備える遊技機1Pであれば、コード部1712のQRコード(登録商標)と情報表示部1713の文字列と、いったように互いに紐付けされるとともに同じ特定の情報を含む情報が異なる態様で表示されている。したがって、コード部1712に対する不正は難しく、情報表示部1713の情報が不正に改竄されていたとしても、検査者が、コード部1712との整合性を確認することで、不正行為等の有無を容易に確認することができるとともに、不正行為を抑止することができる。また、シール部1720においては、コード部1712及び情報表示部1713と、記載領域1570との間に、覗き部1574が形成されているため、上述と同様に、制御基板1705に対して不正が行われたか否かを容易に確認できるため、不正の行われる可能性の低減に繋げることができる。
さらにまた、本実施形態のようなシール部1710と情報表示器1750とを有する組立体2Pを備える遊技機1Pによれば、例えば、情報表示器1750等といった一部の電子部品は覗き部1574を介さずとも視認可能である。したがって、即座且つ容易に視認が必要な一部の電子部品は、視認が容易であるため、不正行為の確認が容易である。また、覗き部1574を介さずとも視認可能な一部の電子部品は、覗き部1574を介して視認可能な電子部品に比べて、制御基板1705上で目立つため、覗き部1574を介さずとも視認可能な一部の電子部品に対する不正行為を抑止することができる。特に、情報表示器1750は、遊技機1Pの遊技盤ユニット12を開放して容易な視認を必要とする部材であるため、上述のような効果を奏することが必要とされる。
[第5実施形態のその他の形態]
上述の実施形態においては、詳細な説明を省略したが、シール部542,1561,1562、識別表示521,522,523、コネクタ771~776も有する。これらのうちシール部542,1561,1562および識別表示521,522,523は、識別可能な所定の情報が表示されているため、所謂、識別表示であるとしてもよい。また、識別可能な所定の情報が表示されているものとしては、シール部1710、デートマーク部1720、開封禁止シール部1730、遊技機の性能表示や設定表示を表示する情報表示器1750も識別表示に含まれるとしてもよい。さらに、図示していないが、制御基板1705において設けられた種々の電子部品のうち、リード抵抗に表示されたカラーコード、ネットワーク抵抗に表示された識別コード、ICやコンデンサやトランジスタに表示された型番コード等も、識別可能な所定の情報が表示されているため、識別表示であるとしてもよい。そして、上述の実施形態におけるコネクタ771~776については、各々で開口部の形状やピン数が異なるため、コネクタ771~776の各々の開口部の形状やピン数は識別可能な情報であり、識別表示に含まれるものとしてもよい。なお、図示していないが、コネクタ771~776の各々の近傍には、制御基板1705上にコネクタ番号が表示されており、このコネクタ番号も識別可能な情報であり、識別表示に含まれるものとしてもよい。
また、上述の実施形態においては、シール部1710の覗き部1574において、覗き部1574から制御基板1705の電子部品が視認可能であるものとしたが、当該電子部品が視認可能な領域はこれに限定されず、制御基板1705の電子部品が基板ケース1705を介しても視認可能な領域であれば、種々の態様のものであってもよく、同様の効果を奏する。例えば、複数の有色領域で視認困難な領域が設けられ、複数の視認困難な領域の間で当該有色領域に比べて光透過性の高い領域から制御基板を視認可能であれば、当該領域も同様の効果を奏する。また、これらの視認可能な領域は、制御基板の電子部品が視認可能であるだけでなく、制御基板自体、制御基板の配線パターン、電子部品の足等も視認可能であり、同様の効果を奏する。また、これらの視認可能な領域においては、後述するROMの透明ソケット(コネクタ)も視認でき、ROMだけでなくIC、トランジスタ、種々の抵抗等の様々な電子部品に対しても透明ソケット(コネクタ)が設けられている場合には、それらの透明ソケット(コネクタ)を視認できる。このような視認可能な領域が設けられていると、電子部品に対する不正行為を抑止できる、といった同様の効果を奏する。
さらに、上述の実施形態においては、識別表示523はシール部542に印字されているものとしたが、図69及び図70において説明したように、基板ケース1700を形成する部材の内部に形成された識別表示523を備えていてもよい。このような識別表示523としては、上述のように文字1371~1376から構成されていてもよいが、これに限定されず種々の構成のものであってもよい。例えば、複数の識別可能な所定の情報で構成、所謂、複数の識別表示で構成されているものであってもよい。つまり、複数の識別表示が複数の階層に分かれて形成されているものであってもよい。例えば、図73-7に示すような構成のものであってもよい。図73-7は、基板ケースを形成する部材の内部に形成された識別表示の変形例を説明する図であり、(a)は、変形例に係る基板ケース1790の識別表示部1791の断面図であり、(b)は、変形例に係る基板ケース1795の識別表示部1796の断面図である。なお、図73-7の識別表示1794,1799は、図69及び図70の識別表示523と同様に、例えば、識別表示部1791,1796の内部において、3Dレーザ彫刻によって形成されているものとする。また、識別表示1794,1799及び識別表示523(図69及び図70を参照。)は、基板ケースが金型によって成型されることによって形成されたものであってもよい。
図73-7(a)に示すように、変形例に係る基板ケース1790における識別表示1794は、「A」、「B」、「C」、「0」、「3」の5つの識別表示で構成されており、識別表示部1791を形成する部材(外ケースの素材)の内部に形成されている。また、識別表示1794は、識別表示部1791において厚み方向の3つの階層1793a~1793cに分かれて設けられている。識別表示1794において、「A」の識別表示1792bは、階層1793aに形成されており、「B」の識別表示1792cは、階層1793bに形成されており、「C」の識別表示1792aと「0」の識別表示1792dと「3」の識別表示1792eは、階層1793cにて上下方向(図73-1の上下方向)に重ならないように形成されている。そして、このような構成の識別表示部1791を左側(図73-1の左右方向の左から右に向かう方向)から視認した場合に、「A」、「B」、「C03」の各々が異なる階層となるように視認できるとともに、「C」、「0」、「3」が重ならないような構成の識別表示1794を視認できる。
図73-7(b)に示すように、変形例に係る基板ケース1795における識別表示1799は、識別表示1794と同様に、「A」、「B」、「C」、「0」、「3」の5つの識別表示で構成されており、識別表示部1796を形成する部材(外ケースの素材)の内部に形成されている。また、識別表示1794は、識別表示部1791において厚み方向の4つの階層1793a~1793dに分けられて設けられている。識別表示1799において、「A」の識別表示1797bは、階層1798aに形成されており、「B」の識別表示1797dと「0」の識別表示1797cは、階層1798bに形成されており、「3」の識別表示1797aは、階層1798cに形成されており、「C」の識別表示1797eは、階層1798dに形成されている。そして、識別表示部1796を遊技機1Pの背面側から視認した場合に、「A」、「B」、「C」が左右方向(図73-1の左右方向)に重ならないように視認でき、識別表示部1796を左側(図73-1の左右方向の左から右に向かう方向)から視認した場合に、「0」、「3」の各々が異なる階層で重ならないような構成の識別表示1799を視認することができる。
このような構成の識別表示1794,1799及び識別表示523(図69及び図70を参照。)によれば、基板ケースの天面から特定の識別表示までの距離が異なったり、基板ケースに収納されている制御基板1705から特定の識別表示までの距離が異なったりするように構成することができる。具体的には、例えば、識別表示1794において、識別表示1792bは、識別表示1792aに比べて、基板ケース1790の天面からの距離が小さいものの、制御基板1705からの距離が大きいものとなるように形成されている。また、識別表示1792cは、基板ケース1790の天面からの距離について、識別表示1792aに比べて小さいものの、識別表示1792bに比べて大きいものとなるように形成されている。一方で、識別表示1792cは、制御基板1705からの距離について、識別表示1792aに比べて大きいものの、識別表示1792bに比べて小さいものとなるように形成されている。
また、このような構成の識別表示1794,1799及び識別表示523(図69及び図70を参照。)によれば、識別表示部の厚みを構成する面(図73-1の左右方向の側面を形成する面)から特定の識別表示までの距離も異なるように構成することができる。また、このような構成の識別表示1794,1799及び識別表示523(図69及び図70を参照。)によれば、基板ケースの天面、制御基板1705、および識別表示部の厚みを構成する面のいずれかから特定の識別表示の距離が略同じとなるように構成することもできる。以上のように識別表示部を形成する部材の内部に複数の階層に分かれて形成された識別表示であれば、上述と同様に、各識別表示を除去され難いとともに、削られて除去された場合には除去の痕跡が残るため、不正行為の発生が抑制できる。なお、上記において、制御基板1705から各識別表示までの距離とは、制御基板1705における配線パターンが形成されている面から各識別表示までの距離のことをいうものとする。
また、このような構成の識別表示1799によれば、各識別表示に対して視認可能な方向および角度が異なるように構成することができる。具体的には、上述のように、識別表示1799における識別表示1797aと識別表示1797bとでは、異なる方向および角度から視認可能となるように構成されている。したがって、このように形成された識別表示であれば、検査者が視認容易な方向や角度に対して識別表示を形成することができ、不正行為の抑制に繋げることができる。また、識別表示部の近傍において、識別表示の視認を阻害するような部材がある場合(例えば、識別表示部の厚みよりも厚みが大きい部材)には、当該部材によって視認性が阻害されない位置に各識別表示を形成することもできる。一方で、識別表示部の近傍において、識別表示の視認を阻害するような部材を設けないようにしてもよい。
さらに、上述の識別表示1794,1799においては、個々に独立した識別表示1792a~1792e,1797a~1797eで構成されているものとしたが、複数の識別表示のうちの一部の識別表示で一つの識別表示を構成するようなものであってもよい。具体的には、識別表示1794においては、2つの識別表示1792b,1792cで識別可能な所定の情報を構成するとともに、3つの識別表示1792a,1792d,1792eで識別可能な所定の情報を構成するものとしてもよい。識別表示1799においては、2つの識別表示1797a,1797cで識別可能な所定の情報を構成するとともに、3つの識別表示1797b,1797d,1797eで識別可能な所定の情報を構成する、といったように視認可能な方向や角度に応じて異なる識別表示を構成するものとしてもよい。そして、識別表示1794,1799においては、図69及び図70で説明した識別表示523と同様に、各々の5つの識別表示で一つの識別可能な所定の情報を構成するものとしてもよい。このように5つの識別表示で一つの識別可能な所定の情報を構成するものとして、具体的には、「製」「造」「番」「号」「NО.」といった組合せのものがある。より具体的には、例えば、識別表示部1791において、階層1793aに識別表示として「製」、「造」が表示され、階層1793bに識別表示として「番」、「号」が表示され、階層1793cに識別表示として「NО.」、「1234」が表示される、といったものであってもよい。また、識別表示部1390(図69及び図70を参照。)において、階層1381の識別表示1371の位置に識別表示として「製」が表示され、階層1382の識別表示1372の位置に識別表示として「造」が表示され、階層1383の識別番号1373の位置に識別表示として「番」が表示され、階層1384の識別番号1374の位置に識別表示として「号」が表示され、階層1382の識別表示1375の位置に識別表示として「NО.」が表示され、階層1383の識別番号1376の位置に識別表示として「1234」が表示される、といったものであってもよい。
そして、上述の識別表示1794,1799及び識別表示523(図69及び図70を参照。)によれば、識別表示を「A」、「B」、「C」、「0」、「3」の5つの識別表示で構成されているものとしたが、これに限定されず、種々の態様の識別表示が表示されているものであってもよい。具体的には、識別表示部1791において、階層1793aに識別表示として「メーカ名称」が表示され、階層1793bに識別表示として「機種名称」が表示され、階層1793cに識別表示として「製造場所」、「製造年月日」、「制御基板の素材名称」が表示されるものであってもよい。また、識別表示部1791におけるその他の具体例としては、階層1793aに識別表示として「QRコード(登録商標)」が表示され、階層1793bに識別表示として「機種名称」が表示され、階層1793cに識別表示として「メーカ名称」が表示される、といったものであってもよい。さらに、識別表示部1791において、階層1793aに識別表示として「製」、「造」が表示され、階層1793bに識別表示として「番」、「号」が表示され、階層1793cに識別表示として「NО.」、「1234」が表示される、といったものであってもよい。
またそして、識別表示部1390(図69及び図70を参照。)において、階層1381に識別表示として「メーカ名称」が表示され、階層1382に識別表示として「機種名称」が表示され、階層1383に識別表示として「製造場所」、「製造年月日」が表示され、階層1384に識別表示として「制御基板の素材名称」が表示される、といったものであってもよい。また、識別表示部1390におけるその他の具体例としては、階層1381に識別表示として「QRコード(登録商標)」が表示され、階層1382に識別表示として「機種名称」が表示され、階層1383に識別表示として「メーカ名称」が表示され、階層1384に識別表示として「制御基板の素材名称」が表示される、といったものであってもよい。さらに、識別表示部1390において、階層1381に識別表示として「製」、「造」が表示され、階層1382に識別表示として「番」、「号」が表示され、階層1383に識別表示として「NО.」が表示され、階層1384に識別表示として「1234」が表示され、各々の識別表示が遊技機1Pの背面側から視認可能なように重ならないように表示される、といったものであってもよい。
さらにそして、上述の実施形態では、基板ケースの識別表示部に形成された識別表示について詳細に説明したが、識別可能な所定の情報は制御基板に表示されていてもよい。例えば、制御基板と基板ケースを有する制御手段における基板ケースの厚み方向における異
なる位置に種々の識別表示が表示されているものがある。具体的には、基板ケースの天面に最も近い位置に識別表示として「QRコード(登録商標)」が表示され、識別表示としての「QRコード(登録商標)」に比べて制御基板に近い位置に識別表示として「機種名称」が表示され、制御基板に最も近い位置又は制御基板自体に「メーカ名称」が表示されているものがある。
(第6実施形態)
次に、図74-1~図74-9を参照して、上述した本発明の第4実施形態の変形例の一つである第6実施形態について説明する。図74-1は第6実施形態に係る制御基板501が収納された基板ケース1803の背面図である。図74-2はシール部1560及びシール部1561を介して斜め上方から電子部品595を見た状態を示す図である。図74-3は透明ソケット1801の(a)平面図、(b)側面図である。図74-4は基板ケース1805~1808における図74-1のC-C線に相当する位置の矢視方向断面図(a)~(d)である。図74-5は基板ケース1809、1810における、図74-1のC-C線に相当する位置の矢視方向断面図(a)、(b)である。図74-6は特殊な位置表示部541を示す説明図である。図74-7はシール部1560の光透過性を低下させる一方法の説明図である。図74-8は賞球基板1811を収納したケース部1813の模式的な背面図である。図74-9は演出基板1821を収納したケース部1823の模式的な背面図である。なお、以下に説明する第6実施形態において、第4実施形態と同じ構成のものは、第4実施形態と同じ符号を使用して詳細な説明を省略する。
図74-1に示すように、第6実施形態の遊技機1Pは、主に制御基板501、制御基板501に搭載されたROM502、制御基板501に実装された複数の電子基板595、これらを収納するケース部1803、ケース部1803に貼り付けられたシール部1560及びシール部1561、ROM502に貼り付けられたシール部1562、ケース部1803に設けられた識別表示部1390で構成される。ケース部1803以外は、既に説明済みのものである。ケース部1803についても、位置表示部541がシール部1560に設けられていること以外は、ケース部1551とほぼ同様の内容である。
なお、前述のとおり、情報識別部は、識別表示が付されたシール部のことを指すが、第6実施形態の説明中、識別表示が付されていないシール部が登場することはない。このため、第6実施形態の説明では、シール部を情報識別部と呼ぶこととする。具体的には、シール部1560を第1シール部と呼ぶ場合があり、第1情報識別部と呼ぶ場合がある。シール部1561を第2シール部と呼ぶ場合があり、第2情報識別部と呼ぶ場合がある。シール部1562を第3情報識別部と呼ぶ場合がある。また、シール部全体を一つの情報識別部と捉えるのではなく、複数の情報識別部の集合体と捉えることも可能である。このため、例えばシール部1561にメーカ名、機種名、型番が表示されている場合、3つの情報識別部が含まれるとして説明する場合がある。
[ROM502の装着部分]
本実施形態では、図74-3に示すように、ROM502は、透明ソケット(コネクタ)1801を介し、取り外し可能に制御基板501に装着されている。図74-3(a)は、透明ソケットにROMが装着された状態の平面図であり、図74-3(b)は、透明ソケットにROMが装着された状態の側面図である。なお、両図とも制御基板501は、省略してある。透明ソケット1801は、通常のソケットと機能は同じであるが、高さがありソケットの樹脂部分が透明体で形成されている。すなわち、ソケットの内部においても、ROM502の第一信号ピン582に不正な配線等が接続されていないか、目視できるようになっている。これにより、いわゆるぶら下がり基板等の不正行為の発生を抑制することができる。さらにいえば、透明ソケット1801が制御基板501に実装された状態で、透明ソケット1801のピン1802aが目視できるようになっている。これにより、ピン1802aに不正な配線等が接続されるのを抑止できる。故に、遊技者が安心して遊技することができ、遊技者の興趣が向上する。
[位置表示部541]
本実施形態では、図74-4(d)に示すように、位置表示部541は線状の凹部となっている。図74-4(d)は、ケース部1803において、図74-1のC-C線に相当する位置の矢方向断面を示している。図74-4(d)に示すように、ケース部1803の位置表示部541は、シール部1560の外縁よりも一回り大きく、ケース部1803の内面532に形成された線状の凹部であり、後側に向かって凹んだ凹部である。ケース部1803の外面531には、印刷部1571が印刷されたシール部1560が貼り付けられている。
また、本実施形態の変形例として、図67及び図68に示すように、位置表示部541がケース部1103,1203の内面532に形成されており、それを目印としてシール部1560を外面531に貼り付けるようにしてもよい(図示せず)。また、別の変形例として、図74-4(c)に示すように、位置表示部541を線状の凸部としてもよい。図74-4(c)は、ケース部1803の変形であるケース部1807において、図74-1のC-C線に相当する位置の矢方向断面を示している。図74-4(c)に示すように、ケース部1807の位置表示部541は、シール部1560の外縁よりも一回り大きく、ケース部1807の内面532に形成された線状の凸部であり、前側に突出している。ケース部1807の外面531には、印刷部1571が印刷されたシール部1560が貼り付けられている。すなわち、本段落と前段落に記載された位置表示部541は、内面532に凹、又は/及び、凸により形成されている。
このように、凹、又は/及び、凸状の位置表示部を内面532に形成し、シール部1560を外面531に貼り付ける場合、どこにシール部を貼っても位置表示部541がシール部1560と干渉することが無いので貼付を阻害しない。シールの一部が剥がれると、検査者はそれが不正によるものか確認しなければならず、検査に時間がかかってしまう。しかし、このような位置表示部541であれば、検査者は、シール部1560に印刷された印刷部1571を容易に確認することができる。故に、不正行為の発生を抑制することができる。このため、遊技者が安心して遊技することができ、遊技者の興趣が向上する。
また、外面531にシール部を貼付し、内面532に位置表示部541を設ける場合、位置表示部541は、外面531に貼付されたシール部1560の外縁、又は/及び、シール部1560の内縁、又は/及び、シール部1560の内外を交差するように形成することができる。これについて簡単に説明する。図74-6における、ケース部1820に設けられた位置表示部541aは、シール部1560の内縁に形成されたものであり、位置表示部541bの図中左右方向に延びる部分は、シール部1560の内外を交差するよう形成されたものである。位置表示部541の図中上下方向に延びる部分は、シール部1560の外縁上であるが、これも内外を交差するように形成されたといえる。
また、本実施形態の変形例として、図74-2(a)に示すように、シール部1560をケース部1805の外面531に貼付し、位置表示部541を線状の凸部として外面531に設けてもよい。図74-2(a)は、ケース部1803の変形であるケース部1805において、図74-1に示すC-C線に相当する位置の矢方向断面を示している。図74-2(a)に示すように、ケース部1805の位置表示部541は、シール部1560の外縁よりも一回り大きく、外面531に形成された線状の凸部であり、後側に突出している。位置表示部541の内側には、印刷部1571が印刷されたシール部1560が貼り付けられている。
線状の凸部である位置表示部541が設けられているので、例えば、手が触れた場合などに、平面状のケース部にシール部1560が貼り付けられる場合に比べて、シール部1560の剥がれを防止することができる。すなわち、シール部1560を貼付する目印とすると共に、貼付後はシール部1560の剥がれを防止することが出来る。シール部1560の一部が剥がれると、検査者はそれが不正によるものか確認しなければならず、検査に時間がかかってしまう。しかし、このような位置表示部541であれば、シール部1560が保護されるため、検査者は、シール部1560に印刷された印刷部1571を容易に確認することができる。故に、不正行為の発生を抑制することができる。このため、遊技者が安心して遊技することができ、遊技者の興趣が向上する。
また、別の変形例として、図74-2(b)に示すように、シール部1560をケース部1806の外面531に貼付し、位置表示部541を外面531に設けるものとして、位置表示部541を線状の凹部としてもよい。図74-2(b)は、ケース部1803の変形であるケース部1806おいて、図74-1に示すC-C線に相当する位置の矢方向断面を示している。図74-2(b)に示すように、ケース部1806の位置表示部541は、シール部1560の外縁よりも一回り大きく、外面531に形成された線状の凹部であり、前側に向かって凹んだ凹部である。位置表示部541の内側には、印刷部1571が印刷されたシール部1560が貼り付けられている。
また、別の変形例として、図74-5(a)に示すように、シール部1560をケース部1809の外面531に貼付し、位置表示部541を外面531に設けるものとして、位置表示部541を内面532にも設けてもよい。図74-5(a)は、ケース部1803の変形であるケース部1809おいて、図74-1に示すC-C線に相当する位置の矢方向断面を示している。外面531の位置表示部541によって、シール部1560が保護されると共に、内面532の位置表示部541により、より正確な位置にシール部1560を張り付けることができる。
また、別の変形例として、図74-5(b)に示すように、シール部1560をケース部1810の外面531に貼付し、位置表示部541を外面531に設けるものとして、位置表示部541を凸部と凹部としてもよい。図74-5(b)は、ケース部183の変形であるケース部1810おいて、図74-1に示すC-C線に相当する位置の矢方向断面を示している。シール部1560をより保護することができる。
上記の位置表示部541は、凸部又は/及び凹部であるが、シール部1560を貼付する位置を表示することができれば、凸部又は/及び凹部でなくてもよい。位置表示部541は、後述の覗き部1574を避けた位置に形成されている。なお、「形成され」とは、一体的に形成されているものに限らず、シール等により取付けられるものも含む意である。また、位置表示部541は、シール部1560の一部(角部)の位置を表示するL字状のものでもよい。また、ケース部1803の第1面531の裏の所定位置とは、ケース部1803の内面532を指すだけではない。基板501が無い状態でシール部1560を貼付することを想定していれば、内ケース40P上に位置表示部541を設けてもよく、基板501を内包した状態でシール部1560を貼付することを想定していれば、基板上に位置表示部541を設けてもよい。
[シール部1560]
本実施形態では、図74-1に示すように、印刷部1571が印刷されたシール部1560は、ケース部1803やシール部1561の光透過性よりも低く、且つ、電子部品595を透視可能な所定の光透過性を有している。シール部1560の光透過性は、一様である必要はない。例えば、模様のようなものを印刷することで光透過性を低下させてもよい。この場合、部分で光透過性が異なっていたとしても、全体としてケース部1803やシール部1561よりも光透過性が低くなっていればよい。本実施形態でも、図中斜線部分に薄い線の模様が印刷されており光透過性を低下させている。模様によって光透過性が異なることを図74-7を用いて簡単に説明する。図74-7(a)は、シール部1560の背景が波のような模様になっており、図74-7(b)は、シール部1560aの背景が格子状になっている。両社とも電子部品595を透視することはできるが、図74-7(a)のほうが光透過性が低いことがわかる。
なお、ケース部1803は、最も高い所定の光透過性を有し、シール部1561は、ケース部1803の光透過性よりも若干低い所定の光透過性を有している。これにより、ROM502は、ケース部1803の光透過性で視認可能、電子部品595は、シール部1561又はシール部1560の光透過性で視認可能となっている。シール部1561の光透過性をケース部1803やシール部1561の光透過性よりも低くする方法としては、シール部1561の素材の光透過性を低下させてもいいし、印刷部1571によって、光透過性を低下させてもいい。
シール部1560の光透過性と、ケース部1551やシール部1561の光透過性とが同等の場合より、シール部1560の偽造が困難になり、不正行為の発生を抑制できる。また、模様によって光透過性を低くしている場合は、一見すると模様によって光透過性を下げていることがわからないため、よりシール部1560の偽造が困難になり、不正行為の発生を抑制できる。故に、遊技者が安心して遊技することができ、遊技者の興趣が向上する。
また、本実施形態では、図74-1に示すように、シール部1560の有色領域1575でなく所定の文字が付されていない部分に、所定の角度から見たときにのみ識別可能となる固有情報1804(本実施形態ではK)が表示されている。なお、本実施形態では、文字であるが、記号でも図でもよい。また、模様により固有情報が形成される第1の領域1814と、文字等と模様により固有情報が形成される第2の領域1815の境界で、模様の連続性が変化するようになっている。これによれば、シール部1560の偽造が一層困難になるため、不正行為の発生をより抑制できる。故に、遊技者が安心して遊技することができ、遊技者の興趣が向上する。なお、シール部1560は、特定の情報を表示するための情報識別部である。
また、図74-2に示すように、シール部1561を通して視認できる範囲とシール部1560を通して視認できる範囲には、異なる電子部品595が少なくとも1つ以上取付けられている。電子部品595の種類に応じた光透過性を有するシール部を貼り付けることで不正を発見しやすく、且つ、不正を行い難くすることができる。故に、遊技者が安心して遊技することができ、遊技者の興趣が向上する。
なお、シール部1561に記載される情報としては、機種名、型式記号、外部端子情報、メーカ名、QRコード(登録商標)、定格電圧、消費電力、注意事項等が想定される。また、シール部1561とシール部1560は、ROM502の装着箇所が視認できる角度を有する位置に貼付けられる。
[第1表示、第2表示]
また、本実施形態では、制御基板501と、ROM502と、電子部品595とを含むケース部1803を制御手段と呼び、制御手段のうち異なる所定箇所に第1表示1371と第2表示1372とを設けている。第1表示1371と第2表示1372とは、制御基板501のROM502が搭載される側の面501aから第1表示1371,第2表示1372が表示されるまでの距離がそれぞれ異なっている。なお、第1表示1371及び第2表示1372は、識別表示部1390だけを指すのではなく、図74-6に示すように、制御手段に設けられ、制御基板501のROMが搭載される側の面501aからの距離が異なるものであればこれも含まれる。制御基板501の外ケース45P側の面501a、その反対面、内ケース40Pの刻印、外ケース45Pの刻印、シール各種等が想定される。
ただし、情報識別部と表示とが同一の情報を表すことはないものとする。なお、シール部と情報識別部は同義ではなく、一つのシール部の中に複数の情報識別部が存在する場合があるものとする。例えば、シール部1561に、メーカ名、機種名、型番が表示されていた場合、情報識別部は3つ存在するということである。情報識別部と表示の関係について、事例を挙げて説明する。例えば、第1情報識別部をメーカ名とすると、第1表示はメーカ名ではないため、例えば、シール部に表示された機種名となる。また、第2表示は、例えば、基板501の内ケース40P側の面に表示された機種名となる。なお、第2情報識別部は、例えば、シール部1560の開封者情報であり、第3情報識別部は、例えば、シール部1562のメーカ名である。制御基板からの距離が異なるという複雑な第1表示と第2表示が制御手段に設けられているため、基板501やケース部1803の偽造を防止することができる。
[賞球基板1811]
また、本実施形態では、賞球基板1811とそのケース部1813が発明の構成に含まれる。図74-8に示すように、制御基板501と双方向通信可能な賞球基板1811は、光透過性を有するケース部1813内に収納される。賞球基板1811には、ROM1812が装着されている。また、賞球基板1811には、ROM1812とは異なる複数の電子部品595(図示せず)が実装されている。ROM1812は、賞球の制御に使用されるデータを格納している。
ケース部1813には、光透過性を有する素材で形成されたシール部1816が貼付されている。シール部1816は、光透過性を低下させた領域である複数の有色領域1817が印刷されている。また、シール部1816は、有色領域1817同士の間で、所定の文字が付されていない部分に、電子部品595を覗くことが可能な覗き部1819を有している。シール部1560とシール部1816は、電子部品595が透視可能な光透過性であると共に、シール部1560とシール部1816とは光透過性が異なっている。本実施形態では、シール部1560のほうがシール部1816よりも光透過性が低くなっている。例えば、シール部1560を図74-7(a)に示すような波のような模様とし、シール部1816を図74-7(b)に示すような格子模様としてもよい。
シール部1560とシール部1816との光透過性が異なっているため、シール部1560,1816の偽造が困難となり、ケース部1551,1813ごと不正な基板501,1811と入れ替えるという不正行為困難にすることができる。故に、遊技者が安心して遊技することができ、遊技者の興趣が向上する。
なお、本実施形態では設けられていないが、賞球基板1811と、ROM1812と、電子部品595とを含むケース部1813を賞球手段とし、賞球手段のうち異なる所定箇所に第1,2表示(1371,1372)のように第3表示と第4表示とを設けてもよい。
[演出基板1821]
また、本実施形態では、演出基板1821とそのケース部1823が発明の構成に含まれる。図74-9に示すように、制御基板501又は賞球基板1811からの一方向通信により演出制御可能な演出基板1821は、光透過性を有するケース部1823内に収納される。演出基板1821には、ROM1822が装着されている。また、演出基板1821には、ROM1822とは異なる複数の電子部品595(図示せず)が実装されている。ROM1822は、演出の制御に使用される記憶内容を格納している。なお、制御基板501及び賞球基板1811は、図74-6に示すように足差しタイプの基板であり、演出基板1821は表面実装タイプの基板である。表面実装の例として、両面が表面実装、片面が表面実装、全面が表面実装、一部表面実装がある。
ケース部1823には、シール部1560のように光透過性を有する素材で形成されると共に、光透過性を低下させた領域である複数の有色領域が印刷され、有色領域同士の間で、所定の文字が付されていない部分に、電子部品595を覗くことが可能な覗き部を有するシール部が、貼付されていない。有色領域及び覗き部を有するシール部をケース部1823には貼付せずに、ケース部1803のみに貼付している。このようにシール部の扱いが異なっているため、シール部1560とケース部1803の偽造が困難になり、故に、遊技者が安心して遊技することができ、遊技者の興趣が向上する。
図75に示すように、制御基板501には、第1領域1900aと、該第1領域1900aと異なる態様の第2領域1900bがあってもよい。ここで、異なる態様とは、視覚的に区別を認識できる違いをいい、例えば、第1領域1900aと第2領域1900bとの間で色が異なったり、色の濃淡が異なったりなどの色による態様や、第1領域1900aおよび第2領域1900bが線や模様などで囲まれているなど枠による態様や、第1領域1900aおよび第2領域1900bとが段差になっているなど形状による態様等、これらの1つまたは組み合わせを用いることができる。例えば、制御基板501の表面に塗布されるレジストを、第2領域1900bが第1領域1900aよりも濃いまたは薄い緑色にすることが挙げられる。また、第1領域1900aは、制御基板501においてROM502およびROM502以外の電子部品595が配置される範囲に対応して設定することが好ましい。これに対して、第2領域1900bは、制御基板501においてROM502、ROM502以外の電子部品595およびコネクタ771~776などの基板実装部品が配置されていない範囲に対応して設定することが好ましく、例えば、制御基板501の縁部に設定するとよい。なお、第1領域1900aおよび第2領域1900b自体の中で、前述した色等の態様を異ならしてもよく、例えば、制御基板501においてROM502の配置範囲とROM502以外の電子部品595の配置範囲とで異なる態様としてもよい。第1領域1900aおよび第2領域1900bは、制御基板501の実装面(後面)または遊技盤ユニット12Pの背面に面する前面の何れかまたは両方に設けることができる。また、制御基板501の後面または前面の一方に第1領域1900aを設け、制御基板501の後面または前面の他方に第2領域1900bを設けてもよい。
図75に示すように、制御基板501には、第2領域1900bに、特定の情報を表示するための情報識別部1902を設けてもよい。そして、情報識別部1902には、前述した識別表示529と同様の情報が含まれている識別表示521を含んでいてもよい。このように、第1領域1900aと態様が異なる第2領域1900bに情報識別部1902を設けることで、情報識別部1902で表示される情報を、見易くすることができる。従って、検査者は、制御基板501に不正が行われたか否かを判断し易くなり、管理を容易にすることができる。そして、不正が行われる可能性を低減でき、遊技者が安心して遊技できる。よって、遊技者の興趣が向上する。
制御基板501について、特に区別する場合、実装された電子部品502,595等の基板実装部品を除く板体を「基板」ということがあり、「基板」に基板実装部品が実装されたものを「制御部」ということがある。第1領域1900aおよび第2領域1900bは基板に設けることが好ましいが、基板実装部品に異なる態様の領域を設けてもよい。
前述した識別表示523が、識別表示部1390において厚み方向(前後方向)の複数の階層1381,1382,1383,1384に分割されて設けられている構成を、外ケース45Pに設けられる識別表示523だけでなく、内ケース40Pに設けられる識別表示524や、キャップ8Pに設けられる識別表示525や、制御基板501に設けられる識別表示521や、ROM502に設けられる識別表示522など、制御部に付される識別表示520に適用することができる。階層1381,1382,1383,1384に分割される対象は、文字1371~1376に限られず、図形や模様やコードや、文字の組み合わせなどの複数の識別子からなる表示であってもよい。例えば、識別表示520同士の関係が、前述したような階層1381,1382,1383,1384に分かれていてもよい。
階層1381,1382,1383,1384の位置を、識別表示523が設けられた対象(識別表示部1390の厚み方向)で説明しているが、外ケース45Pに設けられた識別表示523であれば、外ケース45Pの厚み方向に位置が異なり、内ケース40Pに設けられた識別表示524であれば、内ケース40Pの厚み方向に位置が異なり、制御基板501または基板実装部品に設けられた識別表示521,522であれば、基板の厚み方向に位置が異なる。そして、基板に付された識別表示521とROM502に付された識別表示522とは、基板の厚み方向において異なる位置にあるといえ、基板の実装面(後面)に付された識別表示と基板の前面に付された識別表示とは、基板の厚み方向において異なる位置にあるといえる。また、基板実装部品が実装された面を構成する外ケース45Pは、基板実装部品の設置スペースを確保するために内ケース40Pよりも基板から離れており、外ケース45Pに付された識別表示523と内ケース40Pに付された識別表示524とは、基板の厚み方向において異なる位置にあるといえる。
互いに関連付けられた識別表示とは、製造者などが視認により関係が直接的に認識できる態様に限らず、管理者などが保有する情報と照合したり、管理者が保有する機器により変換したりなどすることで関連性が把握可能な関係であってもよい。例えば、基板ケース3Pに付された識別表示523~525が、制御基板501に付された識別表示521,522と一致する識別子を含んでいなくても、管理者が保有する情報を参照することで、両識別表示520が共通する情報を含んでいることなどを挙げられる。換言すると、互いに関連付けられた識別表示は、視認により認識できる情報から関連性を直接的に把握できる態様と、視認により認識できる情報から関連性を直接的に把握できない態様とを含んでいてもよい。このように、識別表示同士の関連性が一見判らない態様であることで、製造者や管理者以外の書き換えが難しくなり、不正が行われる可能性を低減でき、遊技者が安心して遊技できる。よって、遊技者の興趣が向上する。
なお、本件における「第1表示」、「第2表示」、「第3表示」、「第4表示」、「第1情報表示」、「第2情報表示」、「第1情報識別部」、「第2情報識別部」、「第3情報識別部」、「第4情報識別部」は、上記実施形態に記載のものに限られず、シール、シールに印字されたコード情報や文字、ケース上の刻印や、機種名、製造者名、基板の管理情報、ケースの管理情報など、基板上や基板ケース上の遊技機に関する情報の表示方法や表示内容全般を採用することが可能である。
<上記第1実施形態に記載された発明の内容>
従来の遊技機では、始動条件が成立すると、遊技者に有利な特別遊技を実行するか否かの判定情報を取得し、判定情報を記憶する。そして、判定条件が成立すると記憶されている判定情報を判定すると共に、当該判定の結果に応じた変動演出を実行し、当該変動演出が特別結果になると特別遊技を実行するものがある。このような遊技機の中には、未判定の判定情報に対応する保留画像を表示するものがあった(例えば、特開2015-33530号公報参照)。また、当該遊技機は、通常の保留画像を、変動演出が特別結果になる可能性を示唆する表示態様の保留画像に変化させることによって、遊技の興趣を向上させている。しかしながら、上記遊技機には、遊技の興趣の向上を図るには未だ改善の余地が残されていた。
◆上記課題を解決するための第1の構成として、本実施の形態の遊技機1によれば、遊技の進行を制御する主制御手段(主制御基板110)と、前記主制御手段からのコマンドに基づき遊技の演出を制御する従制御手段(演出制御部130m)と、を備えた遊技機において、前記主制御手段は、遊技者に有利な特別遊技(大当たり遊技)を行うか否かの判定を行う判定手段(メインCPU110a)と、前記判定の権利を保留可能な保留手段(メインRAM110c)と、を備え、前記従制御手段は、保留している前記権利に対応する保留画像(保留アイコン)を表示手段(第1画像表示装置70)に表示する画像表示手段(表示/音声制御部140)と、遊技の進行過程で演出手段(音声出力装置9)に所定の報知演出(アイコン発生(変化)報知音)を実行させる演出実行手段(表示/音声制御部140)と、を備え、前記画像表示手段は、所定のフレーム更新タイミングとなる毎に前記表示手段に表示させる画像を更新するよう構成され、前記保留画像から前記特別遊技を行うか否かの可能性を示す特別保留画像に変化させる変化演出(アイコン変化演出)を行うことが可能であり、前記変化演出は、前記主制御手段から送信された前記権利が発生したことを示すコマンド(始動口入賞指定コマンド)の受信に応じたフレーム更新タイミングで実行する第1変化演出(入賞時変化演出)と、前記主制御手段から送信された前記判定の結果を示すコマンド(変動パターン指定コマンド)の受信後の所定のフレーム更新タイミングで実行する第2変化演出(ノーマル変化パターン02、キャラ作用変化パターン01、及び、図柄作用変化パターン01)とを含み、前記演出実行手段は、前記第1変化演出が開始されるフレーム更新タイミングで前記報知演出を開始し、前記第1変化演出が終了するフレーム更新タイミングとは異なるフレーム更新タイミングで前記報知演出を終了するようにしている。このようにしたことで、遊技の興趣を向上させることが可能となる。
◆上記課題を解決するための第2の構成として、本実施の形態の遊技機1によれば、遊技の進行を制御する主制御手段(主制御基板110)と、前記主制御手段からのコマンドに基づき遊技の演出を制御する従制御手段(演出制御部130m)と、を備えた遊技機において、前記主制御手段は、遊技者に有利な特別遊技(大当たり遊技)を行うか否かの判定を行う判定手段(メインCPU110a)と、前記判定の権利を保留可能な保留手段(メインRAM110c)と、前記判定の結果に基づいて、図柄を変動表示させてから当該図柄を停止表示させる変動制御手段と、を備え、前記従制御手段は、保留している前記権利に対応する保留画像(保留アイコン)を表示手段(第1画像表示装置70)に表示する画像表示手段(表示/音声制御部140)と、遊技の進行過程で演出手段(音声出力装置9)に所定の報知演出(アイコン発生(変化)報知音)を実行させる演出実行手段(表示/音声制御部140)と、を備え、前記画像表示手段は、所定のフレーム更新タイミングとなる毎に前記表示手段に表示させる画像を更新するよう構成され、前記保留画像から前記特別遊技を行うか否かの可能性を示す特別保留画像に変化させる変化演出(アイコン変化演出)を行うことが可能であり、前記変化演出は、前記主制御手段から送信された前記図柄の変動表示が開始することを示すコマンド(変動パターン指定コマンド)の受信に応じたフレーム更新タイミングで実行する第1変化演出(ノーマル変化パターン01)と、前記主制御手段から送信された前記判定の結果を示すコマンド(変動パターン指定コマンド)の受信後の所定のフレーム更新タイミングで実行する第2変化演出(ノーマル変化パターン02、キャラ作用変化パターン01、及び、図柄作用変化パターン01)とを含み、前記演出実行手段は、前記第1変化演出が開始されるフレーム更新タイミングで前記報知演出を開始し、前記第1変化演出が終了するフレーム更新タイミングとは異なるフレーム更新タイミングで前記報知演出を終了するようにしている。このようにしたことで、遊技の興趣を向上させることが可能となる。
◆上記課題を解決するための第3の構成として、本実施の形態の遊技機1によれば、遊技の進行を制御する主制御手段(主制御基板110)と、前記主制御手段からのコマンドに基づき遊技の演出を制御する従制御手段(演出制御部130m)と、を備えた遊技機において、前記主制御手段は、遊技者に有利な特別遊技(大当たり遊技)を行うか否かの判定を行う判定手段(メインCPU110a)と、前記判定の権利を保留可能な保留手段(メインRAM110c)と、前記判定の結果に基づいて、図柄を変動表示させてから当該図柄を停止表示させる変動制御手段(メインCPU110a)と、を備え、前記従制御手段は、保留している前記権利に対応する判定前保留画像(保留アイコン)と、前記権利に対して前記判定が行われてからの当該権利に対応する判定後保留画像(当該アイコン)とを表示手段(第1画像表示装置70)に表示する画像表示手段(表示/音声制御部140)と、遊技の進行過程で演出手段(音声出力装置9)に所定の報知演出(アイコン発生(変化)報知音)を実行させる演出実行手段(表示/音声制御部140)と、を備え、前記画像表示手段は、所定のフレーム更新タイミングとなる毎に前記表示手段に表示させる画像を更新するよう構成され、前記判定前保留画像又は前記判定後保留画像から前記特別遊技を行うか否かの可能性を示す判定前特別保留画像又は判定後特別保留画像に変化させる変化演出(アイコン変化演出)を行うことが可能であり、前記変化演出は、前記図柄の変動表示が開始するときに前記主制御手段から送信されたコマンド(変動パターン指定コマンド)に応じたフレーム更新タイミングで実行する第1変化演出(ノーマル変化パターン01)と、前記主制御手段から送信された前記判定の結果を示すコマンド(変動パターン指定コマンド)の受信後の予め定められた所定のフレーム更新タイミングで実行する第2変化演出(ノーマル変化パターン02、キャラ作用変化パターン01、及び、図柄作用変化パターン01)とを含み、前記演出実行手段は、前記第1変化演出が開始されるフレーム更新タイミングで前記報知演出を開始し、前記第1変化演出が終了するフレーム更新タイミングとは異なるフレーム更新タイミングで前記報知演出を終了し、前記判定前特別保留画像に変化させる場合よりも前記判定後特別保留画像に変化させる場合の方が、前記第2変化演出が実行される割合が高いようにしている。このようにしたことで、遊技の興趣を向上させることが可能となる。
◆上記課題を解決するための第4の構成として、本実施の形態の遊技機1によれば、遊技の進行を制御する主制御手段(主制御基板110)と、前記主制御手段からのコマンドに基づき遊技の演出を制御する従制御手段(演出制御部130m)と、を備えた遊技機において、前記主制御手段は、遊技者に有利な特別遊技(大当たり遊技)を行うか否かの判定を行う判定手段(メインCPU110a)と、前記判定の権利を所定数保留可能な保留手段(メインRAM110c)と、を備え、前記従制御手段は、保留している前記権利に対応する保留画像(保留アイコン)を表示手段(第1画像表示装置70)に表示する画像表示手段(表示/音声制御部140)と、遊技の進行過程で演出手段(音声出力装置9)に所定の報知演出(アイコン発生(変化)報知音)を実行させる演出実行手段(表示/音声制御部140)と、を備え、前記画像表示手段は、所定のフレーム更新タイミングとなる毎に前記表示手段に表示させる画像を更新するよう構成され、前記保留画像から前記特別遊技を行うか否かの可能性を示す特別保留画像に変化させる変化演出(アイコン変化演出)を行うことが可能であり、前記変化演出は、保留している前記権利の数が変化するときに前記主制御手段から送信されたコマンド(始動口入賞指定コマンド、変動パターン指定コマンド、特別図柄記憶指定コマンド)に応じたフレーム更新タイミングで実行する第1変化演出(入賞時変化演出、ノーマル変化パターン01)と、前記主制御手段から送信された前記判定の結果を示すコマンド(変動パターン指定コマンド)の受信後の予め定められた所定のフレーム更新タイミングで実行する第2変化演出(ノーマル変化パターン02、キャラ作用変化パターン01、及び、図柄作用変化パターン01)とを含み、前記特別保留画像の表示態様は、第1表示態様(青キャラアイコン)と、当該第1表示態様よりも前記特別遊技を行う可能性が高い第2表示態様(赤キャラアイコン)とを有し、前記演出実行手段は、前記第1変化演出が開始されるフレーム更新タイミングで前記報知演出を開始し、前記第1変化演出が終了するフレーム更新タイミングとは異なるフレーム更新タイミングで前記報知演出を終了し、前記第1変化演出が実行されたときよりも前記第2変化演出が実行されたときの方が、前記第2表示態様に変化し易く、前記第1変化演出において前記第2表示態様に変化する場合、保留している前記権利の数が第1の数のときよりも当該第1の数よりも多い第2の数のときの方が、前記特別遊技を行う可能性が高いようにしている。このようにしたことで、遊技の興趣を向上させることが可能となる。
なお、「特別保留画像」、「判定前特別保留画像」とは、通常の保留アイコンから形状を変化させたもの、色彩を変化させたもの、保留アイコンの周囲に大当たり当選期待度を示す色のエフェクトを表示するもの、保留アイコンの周囲(近傍)に大当たり当選期待度を示すキャラクタを表示するもの、及び、保留アイコンの周囲(近傍)に実行予定の演出を示唆する文字画像(例えば「SP」や「擬似連」など)を表示するもの等を含む。
また、「判定後特別保留画像」とは、通常の当該アイコンから形状を変化させたもの、色彩を変化させたもの、当該アイコンの周囲に大当たり当選期待度を示す色のエフェクトを表示するもの、当該アイコンの周囲(近傍)に大当たり当選期待度を示すキャラクタを表示するもの、及び、当該アイコンの周囲(近傍)に実行予定の演出を示唆する文字画像(例えば「SP」や「擬似連」など)を表示するもの等を含む。
また、「第1表示態様」とは、特殊アイコン(点滅CDアイコン)、青キャラアイコン、及び、緑キャラアイコン等を含む。
また、「第2表示態様」とは、赤キャラアイコン、及び、虹キャラアイコン等を含む。
また、「判定後保留画像」、「判定後特別保留画像」は、変動演出が開始してから終了するまで表示しているもの、変動演出の開始後、所定期間だけ表示するもの、及び、変動演出中の特定期間(SPリーチ、SPSPリーチ等)は表示が消去されるもの等を含む。
<上記第2実施形態に記載された発明の内容>
従来の遊技機では、取得条件の成立によって取得された判定情報を保留記憶として記憶し、該判定情報に基づいて遊技者に有利な特別遊技を実行するか否かを判定し、該判定結果に基づいて変動演出を実行するものが一般的である。このような遊技機の中には、保留記憶の各々に対応する保留画像の増加表示や減少表示を行ったり、変動演出が実行された保留記憶に対応する実行画像を表示したりすることで、遊技の進行状況を遊技者に把握させるものがあった(例えば、特開2017-018225号公報参照)。しかしながら、上記特許文献1に記載の遊技機では、保留記憶数が変化する際に保留記憶数を即座に把握し難いという問題があった。
◆上記課題を解決するための第1の構成として、遊技の進行を制御する主制御手段(主制御基板110)と、前記主制御手段からのコマンドに基づき遊技の演出を制御する従制御手段(演出制御基板130)と、を備えた遊技機において、前記主制御手段は、取得条件の成立(始動口への遊技球の入球)によって取得された判定情報(特図判定情報)に基づいて、遊技者に有利な特別遊技(大当たり遊技)を実行するか否かを判定可能な判定手段と、前記判定が未実行の前記判定情報を保留記憶として記憶可能な記憶手段と、を備え、前記従制御手段は、前記判定の結果に応じた変動演出を画像表示手段(画像表示装置)で実行可能な変動演出実行手段と、前記保留記憶の数を示す第1保留情報(保留数字)と、前記保留記憶の各々に対応する識別子を示す第2保留情報(保留アイコン)とを表示可能な情報表示手段と、を備え、前記画像表示手段は、所定のフレーム更新タイミング(1/30ms)となる毎に表示画像が更新され、前記情報表示手段は、前記保留記憶の数が減少すると、前記第1保留情報の減少表示と、前記第2保留情報の減少表示とを実行可能であり、前記第2保留情報の減少表示(保留アイコン表示領域における隣の表示部の中心への移動)が完了することになるフレーム更新タイミングよりも、前記第1保留情報の減少表示(1減算された保留数字への更新)が完了することになるフレーム更新タイミングの方が早いようになっている。このようにすることで、保留記憶数を把握し易くなる。
◆上記課題を解決するための第2の構成として、遊技の進行を制御する主制御手段(主制御基板110)と、前記主制御手段からのコマンドに基づき遊技の演出を制御する従制御手段(演出制御基板130)と、を備えた遊技機において、前記主制御手段は、取得条件の成立(始動口への遊技球の入球)によって取得された判定情報(特図判定情報)に基づいて、遊技者に有利な特別遊技(大当たり遊技)を実行するか否かを判定可能な判定手段と、前記判定が未実行の前記判定情報を保留記憶として記憶可能な記憶手段と、を備え、前記従制御手段は、前記判定の結果に応じた変動演出を画像表示手段(画像表示装置)で実行可能な変動演出実行手段と、前記保留記憶の数を示す第1保留情報(保留数字)と、前記保留記憶の各々に対応する識別子を示す第2保留情報(保留アイコン)とを表示可能な情報表示手段と、を備え、前記画像表示手段は、所定のフレーム更新タイミング(1/30ms)となる毎に表示画像が更新され、前記情報表示手段は、前記保留記憶の数が減少すると、前記第1保留情報の減少表示と、前記変動演出が開始された前記第2保留情報を実行情報(当該アイコン)に変化させる変化表示とを実行可能であり、前記第2保留情報の前記実行情報への変化表示(保留アイコン表示領域から当該アイコン表示領域の中心への移動)が完了することになるフレーム更新タイミングよりも、前記第1保留情報の減少表示(1減算された保留数字への更新)が完了することになるフレーム更新タイミングの方が早いようになっている。このようにすることで、保留記憶数を把握し易くなる。
◆上記課題を解決するための第3の構成として、遊技の進行を制御する主制御手段(主制御基板110)と、前記主制御手段からのコマンドに基づき遊技の演出を制御する従制御手段(演出制御基板130)と、を備えた遊技機において、前記主制御手段は、取得条件の成立(始動口への遊技球の入球)によって取得された判定情報(特図判定情報)に基づいて、遊技者に有利な特別遊技(大当たり遊技)を実行するか否かを判定可能な判定手段と、前記判定が未実行の前記判定情報を保留記憶として記憶可能な記憶手段と、を備え、前記従制御手段は、前記判定の結果に応じた変動演出を画像表示手段(画像表示装置)で実行可能な変動演出実行手段と、前記保留記憶の数を示す第1保留情報(保留数字)と、前記保留記憶の各々に対応する識別子を示す第2保留情報(保留アイコン)とを表示可能な情報表示手段と、を備え、前記画像表示手段は、所定のフレーム更新タイミング(1/30ms)となる毎に表示画像が更新され、前記情報表示手段は、前記保留記憶の数が減少すると、前記第1保留情報の減少表示と、前記第2保留情報の減少表示とを実行可能であり、前記保留記憶の数が増加すると、前記第1保留情報の増加表示と、前記第2保留情報の増加表示とを実行可能であり、前記第2保留情報の減少表示中に前記保留記憶の数が増加した場合、当該第2保留情報の減少表示(保留アイコン表示領域における隣の表示部の中心への移動)が完了することになるフレーム更新タイミングより前であっても、前記第1保留情報の増加表示(1加算された保留数字への更新)が開始されるようになっている。このようにすることで、保留記憶数を把握し易くなる。
◆上記課題を解決するための第4の構成として、遊技の進行を制御する主制御手段(主制御基板110)と、前記主制御手段からのコマンドに基づき遊技の演出を制御する従制御手段(演出制御基板130)と、を備えた遊技機において、前記主制御手段は、取得条件の成立(始動口への遊技球の入球)によって取得された判定情報(特図判定情報)に基づいて、遊技者に有利な特別遊技(大当たり遊技)を実行するか否かを判定可能な判定手段と、前記判定が未実行の前記判定情報を保留記憶として記憶可能な記憶手段と、を備え、前記従制御手段は、前記判定の結果に応じた変動演出を画像表示手段(画像表示装置)で実行可能な変動演出実行手段と、前記保留記憶の数を示す第1保留情報(保留数字)と、前記保留記憶の各々に対応する識別子を示す第2保留情報(保留アイコン)とを表示可能な情報表示手段と、を備え、前記画像表示手段は、所定のフレーム更新タイミング(1/30ms)となる毎に表示画像が更新され、前記情報表示手段は、前記保留記憶の数が減少すると、前記第1保留情報の減少表示と、前記変動表示が開始された前記第2保留情報を実行情報(当該アイコン)に変化させる変化表示とを実行可能であり、前記保留記憶の数が増加すると、前記第1保留情報の増加表示と、前記第2保留情報の増加表示とを実行可能であり、前記第2保留情報の変化表示中に前記保留記憶の数が増加した場合、当該第2保留情報の減少表示(保留アイコン表示領域から当該アイコン表示領域の中心への移動)が完了することになるフレーム更新タイミングより前であっても、前記第1保留情報の増加表示(1加算された保留数字への更新)が開始されるようになっている。このようにすることで、保留記憶数を把握し易くなる。
◆上記課題を解決するための第5の構成として、遊技の進行を制御する主制御手段(主制御基板110)と、前記主制御手段からのコマンドに基づき遊技の演出を制御する従制御手段(演出制御基板130)と、を備えた遊技機において、前記主制御手段は、取得条件の成立(始動口への遊技球の入球)によって取得された判定情報(特図判定情報)に基づいて、遊技者に有利な特別遊技(大当たり遊技)を実行するか否かを判定可能な判定手段と、前記判定が未実行の前記判定情報を保留記憶として記憶可能な記憶手段と、を備え、前記従制御手段は、前記判定の結果に応じた変動演出を画像表示手段(画像表示装置)で実行可能な変動演出実行手段と、前記保留記憶の数を示す第1保留情報(保留数字)と、前記保留記憶の各々に対応する識別子を示す第2保留情報(保留アイコン)とを表示可能な情報表示手段と、を備え、前記画像表示手段は、所定のフレーム更新タイミング(1/30ms)となる毎に表示画像が更新され、前記情報表示手段は、前記保留記憶の数が増加すると、前記第1保留情報の増加表示と、前記第2保留情報の増加表示とを実行可能であり、前記変動演出の実行中に前記保留記憶の数が増加した場合、前記第2保留情報の増加表示(保留アイコン表示領域に追加表示された保留アイコンの通常サイズへの拡大)が完了することになるフレーム更新タイミングよりも、前記第1保留情報の増加表示(1加算された保留数字への更新)が完了することになるフレーム更新タイミングの方が早いようになっている。このようにすることで、保留記憶数を把握し易くなる。
◆上記課題を解決するための第6の構成として、遊技の進行を制御する主制御手段(主制御基板110)と、前記主制御手段からのコマンドに基づき遊技の演出を制御する従制御手段(演出制御基板130)と、を備えた遊技機において、前記主制御手段は、取得条件の成立(始動口への遊技球の入球)によって取得された判定情報(特図判定情報)に基づいて、遊技者に有利な特別遊技(大当たり遊技)を実行するか否かを判定可能な判定手段と、前記判定が未実行の前記判定情報を保留記憶として記憶可能な記憶手段と、を備え、前記従制御手段は、前記判定の結果に応じた変動演出を画像表示手段(画像表示装置)で実行可能な変動演出実行手段と、前記保留記憶の数を示す第1保留情報(保留数字)と、前記保留記憶の各々に対応する識別子を示す第2保留情報(保留アイコン)とを表示可能な情報表示手段と、を備え、前記変動演出実行手段は、前記変動演出の実行中に前記特別遊技の実行を期待させる特定演出(SPリーチ演出、SPSPリーチ演出、全回転リーチ演出)を実行可能であり、前記情報表示手段は、前記保留記憶の数が増加すると、前記第1保留情報の増加表示と、前記第2保留情報の増加表示とを実行可能であり、前記特定演出の実行中に前記保留記憶の数が増加した場合、前記第1保留情報の増加表示(1加算された保留数字への更新)は実行されるが、前記第2保留情報の増加表示は所定条件が成立(特定演出が終了、縮小表示されていたハズレ演出図柄又は大当たり演出図柄が拡大表示)するまで実行されないようになっている。このようにすることで、保留記憶数を把握し易くなる。
◆上記課題を解決するための第7の構成として、遊技の進行を制御する主制御手段(主制御基板110)と、前記主制御手段からのコマンドに基づき遊技の演出を制御する従制御手段(演出制御基板130)と、を備えた遊技機において、前記主制御手段は、取得条件の成立(始動口への遊技球の入球)によって取得された判定情報(特図判定情報)に基づいて、遊技者に有利な特別遊技(大当たり遊技)を実行するか否かを判定可能な判定手段と、前記判定が未実行の前記判定情報を保留記憶として記憶可能な記憶手段と、通常遊技状態と、該通常遊技状態よりも遊技者に有利な特定遊技状態とに制御可能な遊技状態制御手段と、を備え、前記従制御手段は、前記判定の結果に応じた変動演出を画像表示手段(画像表示装置)で実行可能な変動演出実行手段と、前記保留記憶の数を示す第1保留情報(保留数字)と、前記保留記憶の各々に対応する識別子を示す第2保留情報(保留アイコン)とを表示可能な情報表示手段と、を備え、前記情報表示手段は、前記保留記憶の数が増加すると、前記第1保留情報の増加表示と、前記第2保留情報の増加表示とを実行可能であり、前記記憶手段は、第1取得条件の成立(第1始動口への遊技球の入球)に基づく前記判定情報を第1保留記憶として記憶し、第2取得条件の成立(第2始動口への遊技球の入球)に基づく前記判定情報を第2保留記憶として記憶し、前記特定遊技状態において前記第1保留記憶の数が増加した場合、前記第1保留情報の増加表示(1加算された保留数字への更新)は実行されるが、前記第2保留情報の増加表示は所定条件が成立(特定遊技状態における最後の変動演出が終了、通常遊技状態に復帰)するまで実行されないようになっている。このようにすることで、保留記憶数を把握し易くなる。
<上記第3実施形態に記載された発明の内容>
従来の遊技機では、取得条件の成立によって取得された判定情報に基づいて遊技者に有利な特別遊技を実行するか否かを判定し、該判定結果に基づいて演出図柄の変動演出を画像表示装置で実行するものが一般的である。このような遊技機では、演出図柄の変動演出の変動パターンが複数種類あり、判定結果に基づいて複数種類ある変動パターンの中から選択して、選択した変動パターンでの演出図柄の変動演出を画像表示装置で表示するものであった(例えば、特開2017-018225号公報参照)。しかしながら、上記特許文献1に記載の遊技機では、演出図柄の変動演出の態様において、改善の余地があり、遊技の興趣の低下を招くおそれがあった。
◆上記課題を解決するための遊技機の第1の構成として、始動条件の成立に基づき図柄(特殊図柄TZ)を変動表示し、前記図柄が予め定められた特定図柄で停止表示すると、遊技者に有利な特別遊技を実行可能な遊技機において、前記図柄の変動表示中に、表示手段(第1画像表示装置70)に複数列で表示させる演出図柄(演出図柄70a)の変動演出を実行し、且つ、前記図柄が前記特定図柄で停止表示する場合に、前記演出図柄を予め定められた特定演出図柄で停止表示するように制御可能な変動演出制御手段(演出制御基板130)、を備え、前記変動演出制御手段は、前記図柄の変動表示中に、複数列の全てにおいて前記演出図柄が認識可能であり、且つ、揺動可能な認識可能表示態様(変動終了示唆演出,図50-2(c),図52-2(d))を実行する第1時間と、複数列の全てにおいて前記演出図柄が停止表示されている態様である停止表示態様(第2表示態様)を実行する第2時間と、により停止演出を実行可能であり、前記停止表示態様は、前記複数列のそれぞれにおいて異なる前記演出図柄で停止表示される第1状態(変動パターン1A~1C)と、前記複数列のうち少なくとも2つが共通する前記演出図柄で停止表示される第2状態(変動パターン2A~3C)と、では、があり、前記第1状態と前記第2状態とでは、前記第1時間の実行時間が異なるとともに、前記第1時間中の前記演出図柄における所定の演出(変動終了示唆演出)の態様が異なるように制御可能である。このようにすることで、遊技の興趣を向上させることができる。
◆上記課題を解決するための遊技機の第2の構成として、始動条件の成立に基づき図柄(特殊図柄TZ)を変動表示し、前記図柄が予め定められた特定図柄で停止表示すると、遊技者に有利な特別遊技を実行可能な遊技機において、前記図柄の変動表示中に、表示手段(第1画像表示装置70)に複数列で表示させる演出図柄(演出図柄70a)の変動演出を実行し、且つ、前記図柄が前記特定図柄で停止表示する場合に、前記演出図柄を予め定められた特定演出図柄で停止表示するように制御可能な変動演出制御手段(演出制御基板130)、を備え、前記変動演出制御手段は、前記図柄の変動表示中に、複数列の全てにおいて前記演出図柄が認識可能であり、且つ、揺動可能な認識可能表示態様(変動終了示唆演出,図50-2(c),図52-2(d))を実行する第1時間と、前記図柄の変動表示中に、複数列のうち2つの列において共通する前記演出図柄で停止表示される共通表示態様(第1表示態様)を実行する第2時間と、により停止演出を実行可能であり、前記共通表示態様は、第1変動演出(変動パターン2A~2C)を実行する場合と、前記第1変動演出より前記特別遊技が実行されることに対する期待度の高い第2変動演出(変動パターン3A~3C)を実行した場合と、があり、前記第1変動演出を実行する場合と前記第2変動演出を実行する場合とでは、前記第1時間の実行時間が異なるとともに、前記第1時間中の前記演出図柄における所定の演出(変動終了示唆演出)の態様が異なるように制御可能である。このようにすることで、遊技の興趣を向上させることができる。
◆上記課題を解決するための遊技機の第3の構成として、始動条件の成立に基づき図柄(特殊図柄TZ)を変動表示し、前記図柄が予め定められた特定図柄で停止表示すると、遊技者に有利な特別遊技を実行可能な遊技機において、前記図柄の変動表示中に、表示手段(第1画像表示装置70)に複数列で表示させる演出図柄(演出図柄70a)の変動演出を実行し、且つ、前記図柄が前記特定図柄で停止表示する場合に、前記演出図柄を予め定められた特定演出図柄で停止表示するように制御可能な変動演出制御手段(演出制御基板130)、を備え、前記図柄の変動表示中に、複数列の全てにおいて前記演出図柄が認識可能であり、且つ、揺動可能な認識可能表示態様(変動終了示唆演出,図50-2(c),(e),図52-1(d),図52-2(d),図53(e))を実行する第1時間により停止演出を実行可能であり、段階的に期待度を向上させる所定の演出(バトル演出,復活演出,擬似連演出)を実行する場合と、前記所定の演出を実行しない場合と、があり、前記所定の演出を実行する場合と前記所定の演出を実行しない場合とでは、前記第1時間の実行時間が異なるとともに、前記第1時間中の前記演出図柄における所定の演出(変動終了示唆演出)の態様が異なるように制御可能である。このようにすることで、遊技の興趣を向上させることができる。
◆上記課題を解決するための遊技機の第4の構成として、始動条件の成立に基づき図柄(特殊図柄TZ)を変動表示し、前記図柄が予め定められた特定図柄で停止表示すると、遊技者に有利な特別遊技を実行可能な遊技機において、前記図柄の変動表示中に、表示手段(第1画像表示装置70)に複数列で表示させる演出図柄(演出図柄70a)の変動演出を実行し、且つ、前記図柄が前記特定図柄で停止表示する場合に、前記演出図柄を予め定められた特定演出図柄で停止表示するように制御可能な変動演出制御手段(演出制御基板130)、を備え、前記変動演出制御手段は、前記図柄の変動表示中に、複数列の全てにおいて前記演出図柄が認識可能であり、且つ、揺動可能な認識可能表示態様(変動終了示唆演出,図52-1(d),図53(e))を実行する第1時間と、複数列の全てにおいて前記演出図柄が停止表示される停止表示態様(第2表示態様)を実行する第2時間と、により停止演出を実行可能であり、前記図柄の一変動中に前記認識可能表示態様が複数回実行される所定の演出(擬似連演出,復活演出)を実行する場合と、前記所定の演出を実行しない場合と、があり、前記所定の演出を実行する場合は、前記所定の演出を実行しない場合に比べて、前記第1時間の実行時間を長くするとともに、前記停止表示態様で前記特定演出図柄にて停止表示され易くなるように制御可能である。このようにすることで、遊技の興趣を向上させることができる。
◆上記課題を解決するための遊技機の第5の構成として、始動条件の成立に基づき図柄(特殊図柄TZ)を変動表示し、前記図柄が予め定められた特定図柄で停止表示すると、遊技者に有利な特別遊技を実行可能な遊技機において、前記図柄の変動表示中に、表示手段(第1画像表示装置70)に複数列で表示させる演出図柄(演出図柄70a)の変動演出を実行し、且つ、前記図柄が前記特定図柄で停止表示する場合に、前記演出図柄を予め定められた特定演出図柄で停止表示するように制御可能な変動演出制御手段(演出制御基板130)、を備え、前記変動演出制御手段は、前記図柄の変動表示中に、複数列の全てにおいて前記演出図柄が認識可能であり、且つ、揺動可能な認識可能表示態様(変動終了示唆演出,図50-2(c),図52-2(d))を実行する第1時間と、複数列の全てにおいて前記演出図柄が停止表示される停止表示態様(第2表示態様)を実行する第2時間と、により停止演出を実行可能であり、前記停止表示態様は、前記複数列のそれぞれにおいて異なる前記演出図柄で停止表示される第1状態(変動パターン1A~1C)と、前記複数列のうち少なくとも2つが共通する前記演出図柄で停止表示される第2状態(変動パターン2A~3C)と、があり、前記第2状態は、前記第1状態に比べて、前記第1時間の実行時間を長くするとともに、前記認識可能表示態様の実行前に期待度を向上させる所定の演出(バトル演出,復活演出,擬似連演出)が実行され易くなるように制御可能である。このようにすることで、遊技の興趣を向上させることができる。
◆上記課題を解決するための遊技機の第6の構成として、始動条件の成立に基づき図柄(特殊図柄TZ)を変動表示し、前記図柄が予め定められた特定図柄で停止表示すると、遊技者に有利な特別遊技を実行可能な遊技機において、前記図柄の変動表示中に、表示手段(第1画像表示装置70)に複数列で表示させる演出図柄(演出図柄70a)の変動演出を実行し、且つ、前記図柄が前記特定図柄で停止表示する場合に、前記演出図柄を予め定められた特定演出図柄で停止表示するように制御可能な変動演出制御手段(演出制御基板130)、を備え、前記変動演出制御手段は、前記図柄の変動表示中に、複数列の全てにおいて前記演出図柄が認識可能であり、且つ、揺動可能な認識可能表示態様(変動終了示唆演出,図50-2(e),図52-1(d),図53(e))を実行する第1時間と、複数列の全てにおいて前記演出図柄が停止表示される停止表示態様(第2表示態様)を実行する第2時間と、により停止演出を実行可能であり、前記停止表示態様は、前記複数列のそれぞれにおいて異なる前記演出図柄で停止表示される第1状態(変動パターン1A~1C)と、前記特定演出図柄で停止表示される第2状態(変動パターン4A~5C)と、があり、前記第2状態は、前記第1状態に比べて、前記第1時間の実行時間を長くするとともに、前記認識可能表示態様の実行前に期待度を向上させる所定の演出(バトル演出,復活演出,擬似連演出)が実行され易くなるように制御可能である。このようにすることで、遊技の興趣を向上させることができる。
◆上記課題を解決するための遊技機の第7の構成として、始動条件の成立に基づき図柄(特殊図柄TZ)を変動表示し、前記図柄が予め定められた特定図柄で停止表示すると、遊技者に有利な特別遊技を実行可能な遊技機において、前記図柄の変動表示中に、表示手段(第1画像表示装置70)に複数列で表示させる演出図柄(演出図柄70a)の変動演出を実行し、且つ、前記図柄が前記特定図柄で停止表示する場合に、前記演出図柄を予め定められた特定演出図柄で停止表示するように制御可能な変動演出制御手段(演出制御基板130)、を備え、前記変動演出制御手段は、前記図柄の変動表示中に、複数列の全てにおいて前記演出図柄が認識可能であり、且つ、揺動可能な認識可能表示態様(変動終了示唆演出等)を実行する第1時間と、複数列の全てにおいて前記演出図柄が停止表示される停止表示態様(第2表示態様)を実行する第2時間と、により停止演出を実行可能であり、前記停止表示態様は、第1状態(変動パターン1A~1C)と、前記第1状態とは異なる第2状態(変動パターン2A~3C)と、があり、前記第2状態は、前記第1状態に比べて、前記認識可能表示態様の実行中に所定の演出(変動終了示唆演出)が実行され易くなるように制御可能である。このようにすることで、遊技の興趣を向上させることができる。
◆上記課題を解決するための遊技機の第8の構成として、始動条件の成立に基づき図柄(特殊図柄TZ)を変動表示し、前記図柄が予め定められた特定図柄で停止表示すると、遊技者に有利な特別遊技を実行可能な遊技機において、前記図柄の変動表示中に、表示手段(第1画像表示装置70)に複数列で表示させる演出図柄(演出図柄70a)の変動演出を実行し、且つ、前記図柄が前記特定図柄で停止表示する場合に、前記演出図柄を予め定められた特定演出図柄で停止表示するように制御可能な変動演出制御手段(演出制御基板130)、を備え、前記変動演出制御手段は、前記図柄の変動表示中に、複数列の全てにおいて前記演出図柄が認識可能であり、且つ、揺動可能な認識可能表示態様(変動終了示唆演出等)を実行する第1時間と、複数列の全てにおいて前記演出図柄が停止表示される停止表示態様(第2表示態様)を実行する第2時間と、により停止演出を実行可能であり、前記停止表示態様は、前記特定演出図柄とは異なる前記演出図柄で停止表示される第1状態(変動パターン1A~1C)と、前記特定演出図柄で停止表示される第2状態(変動パターン4A~5C)と、があり、前記第2状態は、前記第1状態に比べて、前記認識可能表示態様の実行中に所定の演出(変動終了示唆演出)が実行され易くなるように制御可能である。このようにすることで、遊技の興趣を向上させることができる。
◇上記課題を解決するための遊技機の第9の構成として、始動条件の成立に基づき図柄(特殊図柄TZ)を変動表示し、前記図柄が予め定められた特定図柄で停止表示すると、遊技者に有利な特別遊技を実行可能な遊技機において、前記図柄の変動表示中に、表示手段(第1画像表示装置70)に複数列で表示させる演出図柄(演出図柄70a)の変動演出を実行し、且つ、前記図柄が前記特定図柄で停止表示する場合に、前記演出図柄を予め定められた特定演出図柄で停止表示するように制御可能な変動演出制御手段(演出制御基板130)、を備え、前記変動演出制御手段は、前記図柄の変動表示中に、複数列の全てにおいて前記演出図柄が認識可能であり、且つ、揺動可能な認識可能表示態様(変動終了示唆演出等)を実行する第1時間と、複数列の全てにおいて前記演出図柄が停止表示される停止表示態様(第2表示態様)を実行する第2時間と、により停止演出を実行可能であり、前記停止表示態様は、前記複数列のそれぞれにおいて異なる前記演出図柄で停止表示される第1状態(変動パターン1A~1C)と、前記特定演出図柄で停止表示される第2状態(変動パターン4A~5C)と、があり、前記第1状態は、前記第2状態に比べて、前記認識可能表示態様の実行中に所定の演出(変動終了示唆演出)が実行され難くなるように制御可能である。このようにすることで、遊技の興趣を向上させることができる。
◆上記課題を解決するための遊技機の第10の構成として、始動条件の成立に基づき図柄(特殊図柄TZ)を変動表示し、前記図柄が予め定められた特定図柄で停止表示すると、遊技者に有利な特別遊技を実行可能な遊技機において、前記図柄の変動表示中に、表示手段(第1画像表示装置70)に複数列で表示させる演出図柄(演出図柄70a)の変動演出を実行し、且つ、前記図柄が前記特定図柄で停止表示する場合に、前記演出図柄を予め定められた特定演出図柄で停止表示するように制御可能な変動演出制御手段(演出制御基板130)、を備え、前記変動演出制御手段は、前記図柄の変動表示中に、複数列の全てにおいて前記演出図柄が認識可能であり、且つ、揺動可能な認識可能表示態様(変動終了示唆演出等)を実行する第1時間に停止演出を実行可能であり、高確状態と低確状態とでは、前記第1時間中の前記演出図柄における所定の演出(変動終了示唆演出)の態様が異なるように制御可能である。このようにすることで、遊技の興趣を向上させることができる。
◆[発明1]
発明1の遊技機(遊技機1P)は、遊技を制御するための複数の電子部品が実装された制御基板(制御基板1705)と、当該制御基板を収納し光透過性を有する収納部(基板ケース1700)と、を有する制御手段(組立体2P)と、前記収納部に貼付され、光透過性を有する素材で形成されたシール部(シール部1710)と、前記シール部に設けられ、前記制御手段に関する情報を表示するための第1情報表示部(記載領域1570、コード部1712、情報表示部1713)と、前記収納部における前記シール部とは異なる位置に設けられ、前記制御手段に関する情報を表示するための第2情報表示部(デートマーク部1720)と、を備え、前記第1情報表示部は、当該光透過性を低下させた領域である複数の有色領域(印刷部1711、複数の領域1575)と、前記複数の有色領域のうちの第1有色領域と前記第1有色領域とは異なる第2有色領域との間で所定の文字が付されていない部分であって、前記収納部に収納されている前記制御基板を視認可能な視認可能領域(覗き部1574)と、を有することを要旨とする。
発明1のようなシール部1720とデートマーク部1720とを有する組立体2Pを備える遊技機1Pによれば、シール部1720の記載領域1570に記載される開封年月日と、デートマーク部1720に表示された製造年月日と、は、異なる情報であるものの、所定の時系列の関係を有している。具体的には、シール部1720の記載領域1570に記載される開封年月日は、デートマーク部1720に表示された製造年月日に比べて、必ず新しい年月日となっている。したがって、検査者は、シール部1720の記載領域1570の開封年月日と、デートマーク部1720の製造年月日と、の整合性を確認することによって、不正な制御基板の交換といった不正行為を容易に確認することができる。
◆[発明2]
発明2の遊技機(遊技機1P)は、遊技を制御するための複数の電子部品が実装された制御基板(制御基板1705)と、当該制御基板を収納し光透過性を有する収納部(基板ケース1700)と、を有する制御手段(組立体2P)と、前記収納部に貼付され、光透過性を有する素材で形成された第1シール部(シール部1710)と、前記第1シール部に設けられ、前記制御手段に関する情報を表示するための第1情報表示部(コード部1712、情報表示部1713)及び第2情報表示部(記載領域1570)と、前記収納部における前記第1シール部とは異なる位置に貼付される第2シール部(開封禁止シール部1730)と、前記第2シール部に設けられ、前記制御手段に関する情報を表示するための第3情報表示部(コード部1732)と、を備え、前記第1情報表示部及び前記第3情報表示部は、端末機により読取可能な所定の態様の識別表示が含まれ、前記第2情報表示部は、当該光透過性を低下させた領域である複数の有色領域(印刷部1711、複数の領域1575)と、前記複数の有色領域のうちの第1有色領域と前記第1有色領域とは異なる第2有色領域との間で所定の文字が付されていない部分であって、前記収納部に収納されている前記制御基板を視認可能な視認可能領域(覗き部1574)と、を有し、前記第3情報表示部は、前記収納部の厚み方向において、前記制御基板を前記収納部の厚み方向に対して垂直をなす方向に延伸させた仮想面からの距離が、当該仮想面から前記第1情報表示部までの距離とは異なるように設けられていることを要旨とする。
発明2のようなシール部1720と開封禁止シール部1730とを有する組立体2Pを備える遊技機1Pによれば、シール部1720のコード部1712と情報表示部1713に表示されている情報は、開封禁止シール部1730に表示されている情報と紐付けされている。したがって、検査者は、シール部1720の情報と開封禁止シール部1730の情報との整合性を確認することで、不正な制御基板の交換といった不正行為を容易に確認することができる。また、開封禁止シール部1730のコード部1732は、基板ケース1700の厚み方向において、制御基板1705を当該厚み方向に対して垂直をなす方向に延伸させた仮想面からの距離が、当該仮想面からシール部1720のコード部1712及び情報表示部1713までの距離とは異なるように設けられている。したがって、検査者は、開封禁止シール部1730のコード部1732とシール部1720のコード部1712及び情報表示部1713とが同じ高さで同一の平面上に設けられているようなものに比べて、開封禁止シール部1730のコード部1732とシール部1720のコード部1712及び情報表示部1713との情報を視認し易く、不正な制御基板の交換といった不正行為を容易に確認することができる。
◆[発明3]
発明3の遊技機(遊技機1P)は、制御基板(制御基板501,1705)及び当該制御基板を収納する収納部(基板ケース1551,1700)を有する制御手段(組立体2P)と、前記制御手段に設けられた第1情報表示(識別表示523の文字1371)及び第2情報表示(識別表示523の文字1374)と、を備え、前記収納部の厚み方向において、前記収納部の天面から前記第1情報表示までの距離が、前記収納部の天面から前記第2情報表示までの距離とは異なることを要旨とする。
発明3のような識別表示523における文字1371と文字1372とを有する組立体2Pを備える遊技機1Pによれば、文字1371と文字1372とは、識別表示部1390の厚さ方向における異なる階層となるように形成されているため、階層1381の文字1371と階層1382の文字1372とは、基板ケース1700の天面からの距離が異なるように形成されている。このような識別表示523は、ケース部1700を形成する部材の内部に形成されているため、例えば、識別表示523の全体がケース部の外面又は内面に形成されている場合に比べて、除去され難いものである。また、識別表示523は、基板ケース1700の厚さ方向における天面からの距離が異なる位置、つまり、厚さ方向の複数の階層に分割されて設けられることとなるため、一層のみに形成されている場合に比べて除去され難いものとなっている。このような識別表示523であれば、もし、不正によって除去等された場合には、研磨されたり削られたりすることで基板ケース1700に目立つ損傷が形成されるため、検査者による不正行為の発見が容易であるとともに不正行為の発生を抑制できるものであるといえる。さらに、識別表示523における文字1371と文字1372とは、平面視において、重複する部分がないとともに離間しているため、組立体2Pに対して遊技機の背面側から視認したときに、文字1371と文字1372とを共に俯瞰可能であり、制御基板1705等に対する不正行為等の有無を容易に確認することもできる。
◆[発明4]
発明4の遊技機(遊技機1P)は、制御基板(制御基板501,1705)及び当該制御基板を収納する収納部(基板ケース1551,1700)を有する制御手段(組立体2P)と、前記制御手段に設けられた第1情報表示(識別表示523の文字1371)及び第2情報表示(識別表示523の文字1374)と、を備え、前記制御基板の厚み方向において、前記制御基板の所定の面から前記第1情報表示までの距離が、前記制御基板の所定の面から前記第2情報表示までの距離とは異なることを要旨とする。
発明4のような識別表示523における文字1371と文字1372とを有する組立体2Pを備える遊技機1Pによれば、文字1371と文字1372とは、識別表示部1390の厚さ方向における異なる階層となるように形成されているため、階層1381の文字1371と階層1382の文字1372とは、制御基板1705の所定の面(例えば、制御基板1705を厚み方向に対して垂直をなす方向に延伸させた仮想面)からの距離が異なるように形成されている。このような識別表示523は、ケース部1700を形成する部材の内部に形成されているため、例えば、識別表示523の全体がケース部の外面又は内面に形成されている場合に比べて、除去され難いものである。また、識別表示523は、制御基板1705の所定の面からの距離が異なる位置、つまり、厚さ方向の複数の階層に分割されて設けられることとなるため、一層のみに形成されている場合に比べて除去され難いものとなっている。このような識別表示523であれば、もし、不正によって除去等された場合には、研磨されたり削られたりすることで基板ケース1700に目立つ損傷が形成されるため、検査者による不正行為の発見が容易であるとともに不正行為の発生を抑制できるものであるといえる。さらに、識別表示523における文字1371と文字1372とは、平面視において、重複する部分がないとともに離間しているため、組立体2Pに対して遊技機の背面側から視認したときに、文字1371と文字1372とを共に俯瞰可能であり、制御基板1705等に対する不正行為等の有無を容易に確認することもできる。
◆[発明5]
発明5の遊技機(遊技機1P)は、遊技を制御するための複数の電子部品が実装された制御基板(制御基板501,1705)と、前記複数の電子部品を視認可能に前記制御基板を収納し光透過性を有する収納部(基板ケース1551,1700)と、前記収納部に添付され所定の情報を表示するための第1情報表示部(コード部1572,1712、情報表示部1573,1713)及び第2情報表示部(記載領域1570)と、を備え、前記第1情報表示部は、特定の情報を含む第1態様と当該第1態様とは異なる第2態様とで表示され、前記第2情報表示部は、光透過性を有する素材で形成されており、当該光透過性を低下させた領域である複数の有色領域(印刷部1571,1711、複数の領域1575)と、前記複数の有色領域のうちの第1有色領域と前記第1有色領域とは異なる第2有色領域との間であって、前記制御基板を視認可能な領域(覗き部1574)と、を有することを要旨とする。
発明5のようなシール部1720を有する組立体2Pを備える遊技機1Pであれば、コード部1712のQRコード(登録商標)と情報表示部1713の文字列と、いったように互いに紐付けされるとともに同じ特定の情報を含む情報が異なる態様で表示されている。したがって、コード部1712に対する不正は難しく、情報表示部1713の情報が不正に改竄されていたとしても、検査者が、コード部1712との整合性を確認することで、不正行為等の有無を容易に確認することができるとともに、不正行為を抑止することができる。また、シール部1720においては、コード部1712及び情報表示部1713と、記載領域1570との間に、覗き部1574が形成されているため、上述と同様に、制御基板1705に対して不正が行われたか否かを容易に確認できるため、不正の行われる可能性の低減に繋げることができる。
◆[発明6]
発明6の遊技機(1)は、遊技を制御する基板(501)と、
前記基板を内包する、第1の光透過性を有するケース部(1803)と、
前記基板に設けられ、遊技に使用されるデータを格納する記憶手段(502)と、
前記基板に設けられ、前記記憶手段とは異なる複数の電子部品(595)と、
前記ケース部に設けられ、光透過性を有する素材で形成されたシール部(1560)と、
前記シール部に印刷され、前記シール部における光透過性を低下させた領域である複数の有色領域(1575)と、を備え、
前記シール部は、
前記第1の光透過性よりも低く、且つ、前記電子部品を視認可能な第2の光透過性を有し、
前記複数の有色領域のうちの第1有色領域と前記第1有色領域とは異なる第2有色領域との間で所定の文字が付されていない部分であって、前記ケース部に内包されている前記電子部品を前記第2の光透過性により覗くことが可能な覗き部(1574)を有することを要旨とする。
覗き部が設けられているので、検査者は、覗き部を介して、電子部品を確認することができる。よって、覗き部が設けられていない場合に比べて、電子部品に対して不正が行われたか否かを容易に確認できる。故に、不正が行われる可能性を低減でき、遊技者が安心して遊技できる。故に、遊技者の興趣が向上する。また、有色の複数の領域が設けられているので、例えば、検査者の名前、及び、基板ケースを開封した年月日を記載することができる。また、検査者は、領域に、制御基板に不正が行われたか否かを確認した日付等を記載することもできる。また、領域の間に覗き部が設けられているので、領域のみが設けられている場合に比べて、領域が目立ちやすい。このため、領域に記載された文字等を検査者が確認し易くなる。よって、不正が行われる可能性を低減でき、遊技者が安心して遊技できる。故に、遊技者の興趣が向上する。また、シール部の光透過性がケース部の光透過性より低くなっているため、シール部の偽造が困難となり、ケース部ごと不正な基板と入れ替えるという不正行為困難にすることができる。これにより、遊技者が安心して遊技できる。故に、遊技者の興趣が向上する。
◆[発明7-1]
発明7-1の遊技機(1)は、遊技を制御する基板(501)と、
前記基板を内包する、光透過性を有するケース部(1803)と、
前記基板に設けられ、遊技に使用されるデータを格納する記憶手段(502)と、
前記基板に設けられ、前記記憶手段とは異なる複数の電子部品(595)と、
前記ケース部の第1面に設けられ、光透過性を有する素材で形成されたシール部(1560)と、
前記ケース部の前記第1面の裏側に位置する所定位置に形成され、前記シール部を取付ける位置の目印となる位置表示部(541)と、
前記シール部に印刷され、前記シール部における光透過性を低下させた領域である複数の有色領域(1575)と、を備え、
前記シール部は、
前記複数の有色領域のうちの第1有色領域と前記第1有色領域とは異なる第2有色領域との間で所定の文字が付されていない部分であって、前記ケース部に内包されている前記電子部品を覗くことが可能な覗き部(1574)を有することを要旨とする。
この場合、製造者は、位置表示部に沿って識別表示を位置決めすることができる。このため、製造者は、遊技機を量産する場合において、複数の遊技機間で同じ位置に識別表示を付することができる。複数の遊技機間で同じ位置に識別表示が付されるので、検査者は、識別表示を容易に確認することができる。故に、不正行為の発生を抑制することができる。このため、遊技者が安心して遊技することができ、遊技者の興趣が向上する。
また、位置表示部を内面側に形成し、シール部を外面に貼り付けるため、どこにシール部を貼っても位置表示部がシール部と干渉することが無いので貼付を阻害しない。シールの一部が剥がれると、検査者はそれが不正によるものか確認しなければならず、検査に時間がかかってしまう。しかし、このような位置表示部であれば、検査者は、基板ケースに付された識別表示を容易に確認することができる。故に、不正行為の発生を抑制することができる。このため、遊技者が安心して遊技することができ、遊技者の興趣が向上する。
◆[発明7-2]
また、発明7-2の遊技機は、遊技を制御する基板(501)と、
前記基板を内包する、光透過性を有するケース部(1803)と、
前記基板に設けられ、遊技に使用されるデータを格納する記憶手段(502)と、
前記基板に設けられ、前記記憶手段とは異なる複数の電子部品(595)と、
前記ケース部の第1面に設けられ、光透過性を有する素材で形成されたシール部(1560)と、
前記ケース部の前記第1面において前記シール部の外縁に形成された凸部、又は/及び、凹部であって、前記シール部を取付ける位置の目印となる位置表示部(541)と、
前記シール部に印刷され、前記シール部における光透過性を低下させた領域である複数の有色領域(1575)と、を備え、
前記シール部は、
前記複数の有色領域のうちの第1有色領域と前記第1有色領域とは異なる第2有色領域との間で所定の文字が付されていない部分であって、前記ケース部に内包されている前記電子部品を覗くことが可能な覗き部(1574)を有することを要旨とする。
この場合、製造者は、位置表示部に沿って識別表示を位置決めすることができる。このため、製造者は、遊技機を量産する場合において、複数の遊技機間で同じ位置に識別表示を付することができる。複数の遊技機間で同じ位置に識別表示が付されるので、検査者は、識別表示を容易に確認することができる。故に、不正行為の発生を抑制することができる。このため、遊技者が安心して遊技することができ、遊技者の興趣が向上する。
また、シール部を貼付する外面に、シール部の外縁に形成された凸部、又は/及び、凹部である位置表示部が設けられているので、例えば、手が触れた場合などに、基板ケースの平面にシール部が貼り付けられる場合に比べて、シールの剥がれを防止することができる。シールの一部が剥がれると、検査者はそれが不正によるものか確認しなければならず、検査に時間がかかってしまう。しかし、このような位置表示部であれば、シール部が保護されるため、検査者は、基板ケースに付された識別表示を容易に確認することができる。故に、不正行為の発生を抑制することができる。このため、遊技者が安心して遊技することができ、遊技者の興趣が向上する。
◆[発明8]
発明8の遊技機(1)は、遊技を制御する基板(501)と、
前記基板に設けられ、遊技に使用されるデータを格納する記憶手段(502)と、
前記基板に設けられ、前記記憶手段とは異なる複数の電子部品(595)と、
前記記憶手段及び前記複数の電子部品を視認可能で且つ接触困難に収納する、第1の光透過性を有する収納部(1803)と、
前記収納部に設けられ、特定の情報を表示する第1情報識別部(1561,1595)及び第2情報識別部(1560,1572、1573)と、
前記記憶手段に設けられ、特定の情報を表示する第3情報識別部(1562,1596)と、を備え、
前記第1情報識別部及び前記第3情報識別部は、
少なくとも同じ内容を意味する識別表示を含んで表示され、
前記第2情報識別部は、
前記第1の光透過性よりも光透過性が低く、且つ、前記電子部品を視認可能な第2の光透過性により形成されており、
前記第2の光透過性よりも光透過性を低下させた領域である複数の有色領域(1575)と、
前記複数の有色領域のうちの第1有色領域と前記第1有色領域とは異なる第2有色領域との間で所定の文字が付されていない部分であって、前記収納部に収納されている前記電子部品を前記第2の光透過性により覗くことが可能な覗き部(1574)と、を有していることを要旨とする。
この場合、検査者は、同じ識別表示が表示された記憶手段と、収納部とを確認し、不正行為が行われていないことを容易に確認することができる。また、不正行為によって、例えば、記憶手段が、他の記憶手段に入れ替えられた場合でも、記憶手段と収納部に付された識別表示が同じであるか否かを判断することで、検査者は、容易に不正行為が行われたことを確認できる。このため、不正行為の発生を抑制することができる。よって、遊技者が安心して遊技することができ、遊技者の興趣が向上する。
◆[発明9-1]
発明9-1の遊技機(1)は、遊技を制御する基板(501)と、
前記基板に設けられ、遊技に使用されるデータを格納する記憶手段(502)と、
前記基板に設けられ、前記記憶手段とは異なる複数の電子部品(595)と、
前記記憶手段及び前記複数の電子部品を視認可能で且つ接触困難に収納する、光透過性を有する収納部(1803)と、
前記収納部に設けられ、特定の情報を表示する第1情報識別部(1561,1595)と、
前記収納部の第1面に設けられ、特定の情報を表示する第2情報識別部(1560,1572,1573)と、
前記記憶手段に設けられ、特定の情報を表示する第3情報識別部(1562,1596)と、
前記収納部の前記第1面の裏側に位置する所定位置に形成され、前記第2情報識別部を取付ける位置の目印となる位置表示部(541)と、を備え、
前記第1情報識別部及び前記第3情報識別部は、
少なくとも同じ内容を意味する識別表示を含んで表示され、
前記第2情報識別部は、
光透過性を有する素材で形成されており、当該光透過性を低下させた領域である複数の有色領域(1575)と、
前記複数の有色領域のうちの第1有色領域と前記第1有色領域とは異なる第2有色領域との間で所定の文字が付されていない部分であって、前記収納部に収納されている前記電子部品を覗くことが可能な覗き部(1574)と、を有することを要旨とする。
◆[発明9-2]
発明9-2の遊技機(1)は、遊技を制御する基板(501)と、
前記基板に設けられ、遊技に使用されるデータを格納する記憶手段(502)と、
前記基板に設けられ、前記記憶手段とは異なる複数の電子部品(595)と、
前記記憶手段及び前記複数の電子部品を視認可能で且つ接触困難に収納する、光透過性を有する収納部(1803)と、
前記収納部に設けられ、特定の情報を表示する第1情報識別部(1561,1595)と、
前記収納部の第1面に設けられ、特定の情報を表示する第2情報識別部(1560,1572,1573)と、
前記記憶手段に設けられ、特定の情報を表示する第3情報識別部(1562,1598)と、
前記収納部の第1面において前記第2情報識別部の外縁に形成された凸部、又は/及び、凹部であって、前記第2情報識別部を取付ける位置の目印となる位置表示部(541)と、を備え、
前記第1情報識別部及び前記第3情報識別部は、
少なくとも同じ内容を意味する識別表示を含んで表示され、
前記第2情報識別部は、
光透過性を有する素材で形成されており、当該光透過性を低下させた領域である複数の有色領域(1575)と、
前記複数の有色領域のうちの第1有色領域と前記第1有色領域とは異なる第2有色領域との間で所定の文字が付されていない部分であって、前記収納部に収納されている前記電子部品を覗くことが可能な覗き部(1574)と、を有することを要旨とする。
◆[発明10]
発明10の遊技機(1)は、遊技を制御する基板(501)と、
前記基板を内包する、光透過性を有するケース部(1803)と、
前記基板に設けられ、遊技に使用されるデータを格納する記憶手段(502)と、
前記基板に設けられ、前記記憶手段とは異なる複数の電子部品(595)と、
前記ケース部に設けられると共に、光透過性を有する素材で形成された第1シール部(1561)及び第2シール部(1560)と、を備え、
前記第2シール部は、
前記第1シール部よりも光透過性が低く、且つ、前記電子部品を視認可能な所定の光透過性により形成されており、
前記所定の光透過性よりも光透過性を低下させた領域である複数の有色領域(1575)と、
前記複数の有色領域のうちの第1有色領域と前記第1有色領域とは異なる第2有色領域との間で所定の文字が付されていない部分であって、前記ケース部に内包されている前記電子部品を前記所定の光透過性により覗くことが可能な覗き部(1574)と、
を有していることを要旨とする。
本発明によれば、第2シール部の光透過性が第1シール部の光透過性より低くなっているため、第2シール部の偽造が困難となり、ケース部ごと不正な基板と入れ替えるという不正行為困難にすることができる。よって、遊技者が安心して遊技することができ、遊技者の興趣が向上する。
◆[発明11]
発明11の遊技機(1)は、遊技を制御する基板(501)と、
前記基板に設けられ、遊技に使用されるデータを格納する記憶手段(502)と、
前記基板に設けられ、前記記憶手段とは異なる複数の電子部品(595)と、
前記記憶手段及び前記複数の電子部品を視認可能で且つ接触困難に収納する、光透過性を有する収納部(1803)と、
前記収納部に設けられると共に、光透過性を有する素材で形成され、特定の情報を表示する第1情報識別部(1561,1595)及び第2情報識別部(1560,1572,1573)と、
前記記憶手段に設けられ、特定の情報を表示する第3情報識別部(1562,1596)と、を備え、
前記第1情報識別部及び前記第3情報識別部は、
少なくとも同じ内容を意味する識別表示を含んで表示され、
前記第2情報識別部は、
前記第1情報識別部よりも光透過性が低く、且つ、前記電子部品を視認可能な所定の光透過性により形成されており、
前記所定の光透過性よりも光透過性を低下させた領域である複数の有色領域(1575)と、
前記複数の有色領域のうちの第1有色領域と前記第1有色領域とは異なる第2有色領域との間で所定の文字が付されていない部分であって、前記収納部に収納されている前記電子部品を前記所定の光透過性により覗くことが可能な覗き部(1574)と、
を有していることを要旨とする。
◆[発明12]
発明12の遊技機(1)は、基板(501)および該基板(501)に設けられた電子部品(502,595)を含む制御部と、前記制御部を内包する複数の部材(511)を含むケース部(3P,1003,1103,1203,1303,1551)と、を備え、前記ケース部(3P,1003,1103,1203,1303,1551)において前記基板(501)における前記電子部品(502,595)の実装面側を構成する前記部材(45P)には、前記制御部に付された識別表示(521,522)と関連する識別表示(523)として、前記基板(501)の厚み方向において該基板(501)からの距離が異なる第1表示(1371)と第2表示(1372)とが付されていることを要旨とする。
この場合、基板の識別表示とケース部の識別表示とは関連しているため、もし、基板が不正に交換された場合などに基板の識別表示とケース部の識別表示とが異なるものとなって、検査者による不正行為の発見が容易になる。また、識別表示は、基板の厚さ方向における基板からの距離が異なる位置、つまり、厚さ方向の複数の階層に分割されて設けられることで、識別表示が一層のみに形成されている場合に比べて除去され難くすることができる。このような識別表示であれば、もし、この識別表示が不正によって除去等された場合には、研磨されたり削られたりすることでケース部に目立つ損傷が形成されるため、検査者による不正行為の発見が容易であるとともに不正行為の発生を抑制できる。よって、遊技者が安心して遊技することができ、遊技者の興趣が向上する。
◆[発明13]
発明13の遊技機(1)は、基板(501)および該基板(501)の実装面に設けられた電子部品(502,595)を含む制御部と、前記制御部を内包する複数の部材(511)を含むケース部(3P,1003,1103,1203,1303,1551)とを有する制御手段を備え、前記制御手段に付されて互いに関連付けられた識別表示(520)として、前記基板(501)の厚み方向における前記実装面からの距離が異なるように付された第1表示(1371)および第2表示(1372)を有すると共に、前記基板(501)の厚み方向における前記実装面からの距離が、前記第2表示(1372)と同じになるように付された第3表示(1375)を有していることを要旨とする。
この場合、制御手段の識別表示が互いに関連しているため、もし、基板が不正に交換された場合などに基板の識別表示とケース部の識別表示とが異なるものとなって、検査者による不正行為の発見が容易になる。また、識別表示は、基板の厚さ方向における基板からの距離が異なる位置、つまり、厚さ方向の複数の階層に分割されて設けられることで、識別表示が一層のみに形成されている場合に比べて除去され難くすることができる。このような識別表示であれば、もし、この識別表示が不正によって除去等された場合には、研磨されたり削られたりすることでケース部に目立つ損傷が形成されるため、検査者による不正行為の発見が容易であるとともに不正行為の発生を抑制できる。よって、遊技者が安心して遊技することができ、遊技者の興趣が向上する。
◆[発明14]
発明14の遊技機(1)は、基板(501)および該基板(501)に設けられた電子部品(502,595)を含む制御部と、前記制御部を内包する複数の部材(511)を含むケース部(3P,1003,1103,1203,1303,1551)と、を備え、前記ケース部(3P,1003,1103,1203,1303,1551)には、前記制御部に付された識別表示(521,522)と関連する識別表示(523)として、前記基板(501)の厚み方向における位置が異なるように付された第1表示(1371)と第2表示(1372)とが付され、前記制御部には、前記ケース部(3P,1003,1103,1203,1303,1551)に付された前記識別表示(523)と関連する前記識別表示(520)として、前記基板の厚み方向における位置が異なるように付された第3表示と第4表示とが付されていることを要旨とする。
この場合、基板の識別表示とケース部の識別表示とは関連しているため、もし、基板が不正に交換された場合などに基板の識別表示とケース部の識別表示とが異なるものとなって、検査者による不正行為の発見が容易になる。また、識別表示は、基板の厚さ方向における基板からの距離が異なる位置、つまり、厚さ方向の複数の階層に分割されて設けられることで、識別表示が一層のみに形成されている場合に比べて除去され難くすることができる。このような識別表示であれば、もし、この識別表示が不正によって除去等された場合には、研磨されたり削られたりすることでケース部に目立つ損傷が形成されるため、検査者による不正行為の発見が容易であるとともに不正行為の発生を抑制できる。よって、遊技者が安心して遊技することができ、遊技者の興趣が向上する。
◆[発明15]
発明15の遊技機(1)は、遊技を制御する制御基板(501)と、前記制御基板(501)に設けられ、遊技の制御に使用される記憶内容を格納する記憶手段(502)と、前記制御基板(501)に設けられ、前記記憶手段(502)とは異なる複数の電子部品(595)と、前記記憶手段(502)および前記複数の電子部品(595)を視認可能で且つ接触困難に収納する光透過性の収納部(3P,1003,1103,1203,1303,1551)と、前記収納部(3P,1003,1103,1203,1303,1551)に設けられ、特定の情報を表示するための第1情報識別部(523,1561)および第2情報識別部(1560)と、前記記憶手段(502)に設けられ、特定の情報を表示するための第3情報識別部(522,1562)と、を備え、前記制御基板(502)には、第1領域(1900a)と、該第1領域(1900a)と異なる態様の第2領域(1900b)があり、前記第2領域(1900b)には、特定の情報を表示するための第4情報識別部(1902)が設けられ、前記第1情報識別部(523,1561)および前記第3情報識別部(522,1562)は、少なくとも同じ識別表示(529,1595,1596)を含んで表示され、前記第1情報識別部は、前記記憶手段の装着箇所が視認できる角度を有するように表示され、前記第2情報識別部は、光透過性を有する素材で形成されており、当該光透過性を低下させた領域である複数の有色領域(1575)と、前記複数の有色領域のうちの第1有色領域(1575)と前記第1有色領域とは異なる第2有色領域(1575)との間で所定の文字が付されていない部分であって、前記収納部に収納されている前記複数の電子部品を覗くための覗き部(1574)と、を有することを要旨とする。
この場合、収納部の第1情報識別部および記憶手段の第3情報識別部には少なくとも同じ識別表示が付されているため、検査者は、同じ識別表示が表示された記憶手段と収納部とを確認し、不正行為が行われていないことを容易に確認することができる。また、第1情報識別部は記憶手段の装着箇所が視認できる角度を有するように付されているため、例えば、不正行為によって記憶手段が交換された場合でも、記憶手段と収納部に付された識別表示が同じであるか否かを判断することで、検査者は、容易に不正行為が行われたことを確認できる。さらに、収納部の第2情報識別部には覗き部が設けられているので、検査者は、覗き部を介して、収納部に内包されている複数の電子部品を視認して、これら複数の電子部品に対する不正が行われたか否かを確認することができる。したがって、覗き部のようなものが設けられていないような遊技機に比べて、検査者は、収納部に内包されている複数の電子部品に対して不正が行われたか否かを容易に確認できるため、不正の行われる可能性の低減に繋げることができる。そして、このような第2情報識別部においては、複数の有色領域に所定の文字を記載することができるため、光透過性を低下させたような有色領域がなく透明な部分に所定の文字が記載されるようなものに比べて、検査者が文字による情報の内容を確認し易い。またさらに、このような第2情報識別部においては、透明な覗き部が複数の有色領域の間に設けられているため、複数の有色領域のみが並べて設けられているようなものに比べて、有色領域が目立つこととなり、有色領域に記載された文字等を検査者が確認し易い。このように、検査者による不正行為の発見が容易であるとともに不正行為の発生を抑制できる。よって、遊技者が安心して遊技することができ、遊技者の興趣が向上する。
◆[発明16]
発明16の遊技機(遊技機1P)は、遊技を制御するための複数の電子部品が実装された制御基板(制御基板1705)と、当該制御基板を収納し光透過性を有する収納部(基板ケース1700)と、を有する制御手段(組立体2P)と、前記収納部に貼付され、光透過性を有する素材で形成されたシール部(シール部1710)と、を備え、前記シール部は、当該光透過性を低下させた領域である複数の有色領域(印刷部1711、複数の領域1575)と、前記複数の有色領域のうちの第1有色領域と前記第1有色領域とは異なる第2有色領域との間で所定の文字が付されていない部分であって、前記収納部に収納されている前記制御基板を視認可能な視認可能領域(覗き部1574)と、を有し、前記制御手段は、前記制御基板における前記複数の電子部品のうちの一部の電子部品(電子部品798)が前記視認可能領域を介して視認できるように実装されており、当該一部の電子部品とは異なる電子部品のうち少なくとも一つの電子部品(情報表示器1750)が前記視認可能領域を介さずとも視認できるように実装されていることを要旨とする。
発明16のようなシール部1710と情報表示器1750とを有する組立体2Pを備える遊技機1Pによれば、例えば、情報表示器1750等といった一部の電子部品は覗き部1574を介さずとも視認可能である。したがって、即座且つ容易に視認が必要な一部の電子部品は、視認が容易であるため、不正行為の確認が容易である。また、覗き部1574を介さずとも視認可能な一部の電子部品は、覗き部1574を介して視認可能な電子部品に比べて、制御基板1705上で目立つため、覗き部1574を介さずとも視認可能な一部の電子部品に対する不正行為を抑止することができる。特に、情報表示器1750は、遊技機1Pの遊技盤ユニット12Pを開放して容易な視認を必要とする部材であるため、上述のような効果を奏することが必要とされる。
◆[発明17]
発明17の遊技機(遊技機1P)は、遊技を制御するための複数の電子部品が実装された制御基板(制御基板1705)と、当該制御基板を収納し光透過性を有する収納部(基板ケース1700)と、を有する制御手段(組立体2P)と、前記収納部に貼付され、光透過性を有する素材で形成されたシール部(シール部1710)と、前記制御基板に実装され、遊技に係る所定の値情報を表示する所定の情報表示部(情報表示器1750)と、を備え、前記シール部は、当該光透過性を低下させた領域である複数の有色領域(印刷部1711、複数の領域1575)と、前記複数の有色領域のうちの第1有色領域と前記第1有色領域とは異なる第2有色領域との間で所定の文字が付されていない部分であって、前記収納部に収納されている前記制御基板を視認可能な視認可能領域(覗き部1574)と、を有し、前記制御手段は、前記制御基板における前記複数の電子部品のうちの一部の電子部品(電子部品798)が前記視認可能領域を介して視認できるように実装されており、前記所定の情報表示部が前記視認可能領域を介さずとも視認できるように実装されていることを要旨とする。
発明17のようなシール部1710と情報表示器1750とを有する組立体2Pを備える遊技機1Pによれば、例えば、情報表示器1750等といった一部の電子部品は覗き部1574を介さずとも視認可能である。したがって、即座且つ容易に視認が必要な一部の電子部品は、視認が容易であるため、不正行為の確認が容易である。また、覗き部1574を介さずとも視認可能な一部の電子部品は、覗き部1574を介して視認可能な電子部品に比べて、制御基板1705上で目立つため、覗き部1574を介さずとも視認可能な一部の電子部品に対する不正行為を抑止することができる。特に、情報表示器1750は、遊技機1Pの遊技盤ユニット12Pを開放して容易な視認を必要とする部材であるため、上述のような効果を奏することが必要とされる。
◆[発明18]
発明18の遊技機(1)は、遊技を制御する基板(501)と、
前記基板を内包する、光透過性を有するケース部(1803)と、
前記基板に設けられ、遊技に使用されるデータを格納する記憶手段(502)と、
前記基板に設けられ、前記記憶手段とは異なる複数の電子部品(595)と、
を有する制御手段と、
前記制御手段のうち異なる所定箇所に設けられた第1表示(1371)及び第2表示(1372)と、
前記制御手段に設けられ、光透過性を有する素材で形成されたシール部(1560)と、
前記シール部に印刷され、前記シール部における光透過性を低下させた領域である複数の有色領域(1575)と、を備え、
前記第1表示と前記第2表示とは、
前記基板の前記記憶手段が搭載される側の面から前記第1,2表示が表示されるまでの距離がそれぞれ異なっており、
前記シール部は、
前記複数の有色領域のうちの第1有色領域と前記第1有色領域とは異なる第2有色領域との間で所定の文字が付されていない部分であって、前記ケース部に内包されている前記電子部品を覗くことが可能な覗き部(1574)を有することを要旨とする。
この場合、制御手段の所定箇所に第1表示及び第2表示を設け、基盤の記憶手段搭載面から第1,2表示が表示されるまでの距離がそれぞれ異なっているため、制御手段の偽造が困難となり、制御手段ごと不正な基盤と入れ替えるという不正行為の発生を抑制できる。よって、遊技者が安心して遊技することができ、遊技者の興趣が向上する。
制御手段には、基板、ケース部、記憶手段、電子部品が含まれる。したがって、例えば、第1表示が基板、第2表示がケース部に設けられるという場合もある。
◆[発明19]
発明19の遊技機(1)は、遊技を制御する基板(501)と、
前記基板を内包する、光透過性を有するケース部(1803)と、
前記基板に設けられ、遊技に使用されるデータを格納する記憶手段(502)と、
前記基板に設けられ、前記記憶手段とは異なる複数の電子部品(595)と、
を有する制御手段と、
前記制御手段に設けられ、光透過性を有する素材で形成されたシール部(1560)と、
前記シール部に印刷され、前記シール部における光透過性を低下させた領域である複数の有色領域(1575)と、を備え、
前記記憶手段に設けられた識別表示(1562)と関連する第1,2表示(1371,1372)を前記制御手段のうち異なる所定箇所に表示すると共に、前記基板の前記記憶手段が搭載される側の面から前記第1,2表示が表示されるまでの距離がそれぞれ異なっており、
前記シール部は、
前記複数の有色領域のうちの第1有色領域と前記第1有色領域とは異なる第2有色領域との間で所定の文字が付されていない部分であって、前記ケース部に内包されている前記電子部品を覗くことが可能な覗き部(1574)を有することを要旨とする。
◆[発明20]
発明20の遊技機(1)は、遊技を制御する基板(501)と、
前記基板に設けられ、遊技に使用されるデータを格納する記憶手段(502)と、
前記基板に設けられ、前記記憶手段とは異なる複数の電子部品(595)と、
前記記憶手段及び前記複数の電子部品を視認可能で且つ接触困難に収納する、光透過性の収納部(1803)と、
を有する制御手段と、
前記制御手段のうち異なる所定箇所に設けられた第1表示(1371)及び第2表示(1372)と、
前記収納部に設けられ、特定の情報を表示する第1情報識別部(1561,1595)及び第2情報識別部(1560,1572,1573)と、
前記記憶手段に設けられ、特定の情報を表示する第3情報識別部(1562,1596)と、を備え、
前記第1表示と前記第2表示とは、
前記基板の前記記憶手段が搭載される側の面から前記第1,2表示が表示されるまでの距離がそれぞれ異なっており、
前記第1情報識別部及び前記第3情報識別部は、
少なくとも同じ内容を意味する識別表示を含んで表示され、
前記第2情報識別部は、
光透過性を有する素材で形成されており、当該光透過性を低下させた領域である複数の有色領域(1575)と、
前記複数の有色領域のうちの第1有色領域と前記第1有色領域とは異なる第2有色領域との間で所定の文字が付されていない部分であって、前記収納部に収納されている前記電子部品を覗くことが可能な覗き部(1574)と、
を有することを要旨とする。
◆[発明21]
発明21の遊技機(1)は、遊技を制御する基板(501)と、
前記基板に設けられ、遊技に使用されるデータを格納する記憶手段(502)と、
前記基板に設けられ、前記記憶手段とは異なる複数の電子部品(595)と、
前記記憶手段及び前記複数の電子部品を視認可能で且つ接触困難に収納する、光透過性を有する収納部(1803)と、
を有する制御手段と、
前記収納部に設けられ、特定の情報を表示する第1情報識別部(1561,1595)及び第2情報識別部(1560,1572,1573)と、
前記記憶手段に設けられ、特定の情報を表示する第3情報識別部(1562,1596)と、を備え、
前記第1情報識別部及び前記第3情報識別部は、
少なくとも同じ内容を意味する識別表示を含んで表示され、
前記第3情報識別部と関連する第1,2表示(1371,1372)を前記制御手段のうち異なる所定箇所に表示すると共に、前記基板の前記記憶手段が搭載される側の面から前記第1,2表示が表示されるまでの距離がそれぞれ異なり、
前記第2情報識別部は、
光透過性を有する素材で形成されており、当該光透過性を低下させた領域である複数の有色領域(1575)と、
前記複数の有色領域のうちの第1有色領域と前記第1有色領域とは異なる第2有色領域との間で所定の文字が付されていない部分であって、前記収納部に収納されている前記電子部品を覗くことが可能な覗き部(1574)と、
を有することを要旨とする。
◆[発明22]
発明22の遊技機(1)は、遊技を制御する基板(501)と、
前記基板に設けられ、遊技に使用されるデータを格納する記憶手段(502)と、
前記基板に設けられ、前記記憶手段とは異なる複数の電子部品(595)と、
前記記憶手段及び前記複数の電子部品を視認可能で且つ接触困難に収納する、光透過性を有する収納部(1803)と、
前記収納部に設けられ、特定の情報を表示する第1情報識別部(1561,1595)及び第2情報識別部(1560,1572,1573)と、
前記記憶手段に設けられ、特定の情報を表示する第3情報識別部(1562,1596)と、を備え、
前記第1情報識別部及び前記第3情報識別部は、
少なくとも同じ内容を意味する識別表示を含んで表示され、
前記第2情報識別部は、
前記記憶手段の装着箇所が視認できる角度を有するように表示され、
前記第2情報識別部は、
光透過性を有する素材で形成されており、当該光透過性を低下させた領域である複数の有色領域(1575)と、
前記複数の有色領域のうちの第1有色領域と前記第1有色領域とは異なる第2有色領域との間で所定の文字が付されていない部分であって、前記収納部に収納されている前記電子部品を覗くことが可能な覗き部(1574)と、を有することを要旨とする。
この場合、記憶手段の装着箇所が確実に視認可能となるため、制御基板に対する不正を抑止することができる。よって、遊技者が安心して遊技することができ、遊技者の興趣が向上する。
◆[発明23]
発明23の遊技機(1)は、遊技を制御する基板(501)と、
前記基板を内包する、光透過性を有する第1ケース部(1803)と、
前記基板に設けられ、遊技に使用されるデータを格納する第1記憶手段(502)と、
前記基板に設けられ、前記第1記憶手段とは異なる複数の電子部品(595)と、
前記第1ケース部に設けられ、光透過性を有する素材で形成された第1シール部(1560)と、
前記第1シール部に印刷され、前記第1シール部における光透過性を低下させた領域である複数の第1有色領域(1575)と、
前記基板と双方向通信可能な賞球基板(1811)と、
前記賞球基板を内包する、光透過性を有する第2ケース部(1813)と、
前記賞球基板に設けられ、賞球に使用されるデータを格納する第2記憶手段(1812)と、
前記賞球基板に設けられ、前記第2記憶手段とは異なる複数の電子部品(595)と、
前記第2ケース部に設けられ、光透過性を有する素材で形成された第2シール部(1816)と、
前記第2シール部に印刷され、前記第2シール部における光透過性を低下させた領域である複数の第2有色領域(1817)と、を備え、
前記第1シール部は、
前記第1有色領域と前記第1有色領域とは異なる第3有色領域との間で所定の文字が付されていない部分であって、前記第1ケース部に内包されている前記電子部品を覗くことが可能な第1覗き部(1574)を有し、
前記第2シール部は、
前記第2有色領域と前記第2有色領域とは異なる第4有色領域との間で所定の文字が付されていない部分であって、前記第2ケース部に内包されている前記電子部品を覗くことが可能な第2覗き部(1819)を有し、
前記第1シール部及び前記第2シール部は、
前記電子部品が透視可能な光透過性であると共に、それぞれの光透過性が異なることを要旨とする。
この場合、制御基板に係る第1シール部と賞球基板に係る第2シール部との光透過性が異なっているため、第1,2シール部の偽造が困難となり、ケース部ごと不正な基板と入れ替えるという不正行為を困難にすることができる。故に、遊技者が安心して遊技することができ、遊技者の興趣が向上する。
◆[発明24]
発明24の遊技機(1)は、遊技を制御する基板(501)と、
前記基板を内包する、光透過性を有する第1ケース部(1803)と、
前記基板に設けられ、遊技に使用されるデータを格納する第1記憶手段(502)と、
前記基板に設けられ、前記第1記憶手段とは異なると共に、前記基板に対してスルーホール実装される複数の電子部品(595)と、
前記基板と一方向通信可能な演出基板(1821)と、
前記演出基板を内包する、光透過性を有する第2ケース部(1823)と、
前記演出基板に設けられ、演出に使用されるデータを格納する第2記憶手段(1822)と、
前記演出基板に設けられ、前記第2記憶手段とは異なると共に、前記基板に対して表面実装される複数の電子部品(595)と、を備え、
光透過性を有する素材で形成されたシール部(1560)は、
当該光透過性を低下させた領域である複数の有色領域(1575)と、
前記複数の有色領域のうちの第1有色領域と前記第1有色領域とは異なる第2有色領域との間で所定の文字が付されていない部分であって、内包されている前記電子部品を覗くことが可能な覗き部(1574)と、
を有し、前記第2ケース部に取付けられることなく、前記第1ケース部に取付けられたことを要旨とする。
この場合、制御基板の第1ケース部と演出基板の第2ケース部とでシール部の扱いが異なっているため、第1,2ケース部とシール部の偽造が困難となり、ケース部ごと不正な基板と入れ替えるという不正行為を困難にすることができる。故に、遊技者が安心して遊技することができ、遊技者の興趣が向上する。
◆[発明25]
発明25の遊技機(1)は、遊技を制御する基板(501)と、
前記基板を内包する、光透過性を有する第1ケース部(1803)と、
前記基板に設けられ、遊技に使用されるデータを格納する第1記憶手段(502)と、
前記基板に設けられ、前記第1記憶手段とは異なる複数の電子部品(595)と、
を有する制御手段と、
前記基板と双方向通信可能な賞球基板(1811)と、
前記賞球基板を内包する、光透過性を有する第2ケース部(1813)と、
前記賞球基板に設けられ、賞球に使用されるデータを格納する第2記憶手段(1812)と、
前記賞球基板に設けられ、前記第2記憶手段とは異なる複数の電子部品(595)と、を有する賞球手段と、
前記制御手段のうち異なる所定箇所に設けられた第1表示(1371)及び第2表示(1372)と、
前記第1ケース部に設けられ、光透過性を有する素材で形成された第1シール部(1560)と、
前記第1シール部に印刷され、前記第1シール部における光透過性を低下させた領域である複数の第1有色領域(1575)と、
前記第2ケース部に設けられ、光透過性を有する素材で形成された第2シール部(1816)と、
前記第2シール部に印刷され、前記第2シール部における光透過性を低下させた領域である複数の第2有色領域(1817)と、を備え、
前記第1表示と前記第2表示とは、
前記基板の前記第1記憶手段が搭載される側の面から前記第1,2表示が表示されるまでの距離がそれぞれ異なっており、
前記第1シール部は、
前記第1有色領域と前記第1有色領域とは異なる第3有色領域との間で所定の文字が付されていない部分であって、前記第1ケース部に内包されている前記電子部品を覗くことが可能な第1覗き部(1574)を有し、
前記第2のシール部は、
前記第2有色領域と前記第2有色領域とは異なる第4有色領域との間で所定の文字が付されていない部分であって、前記第2ケース部に内包されている前記電子部品を覗くことが可能な第2覗き部(1819)を有し、
前記第1シール部及び前記第2シール部は、
前記電子部品が透視可能な光透過性であると共に、それぞれの光透過性が異なることを要旨とする。
◆[発明26]
発明26の遊技機(1)は、遊技を制御する基板(501)と、
前記基板を内包する、光透過性を有する第1ケース部(1803)と、
前記基板に設けられ、遊技に使用されるデータを格納する第1記憶手段(502)と、
前記基板に設けられ、前記第1記憶手段とは異なる複数の電子部品(595)と、
を有する制御手段と、
前記基板と双方向通信可能な賞球基板(1811)と、
前記賞球基板を内包する、光透過性を有する第2ケース部(1813)と、
前記賞球基板に設けられ、賞球に使用されるデータを格納する第2記憶手段(1812)と、
前記賞球基板に設けられ、前記第2記憶手段とは異なる複数の電子部品(595)と、を有する賞球手段と、
前記第1ケース部に設けられ、光透過性を有する素材で形成された第1シール部(1560)と、
前記第1シール部に印刷され、前記第1シール部における光透過性を低下させた領域である複数の第1有色領域(1575)と、
前記第2ケース部に設けられ、光透過性を有する素材で形成された第2シール部(1816)と、
前記第2シール部に印刷され、前記第2シール部における光透過性を低下させた領域である複数の第2有色領域(1817)と、を備え、
前記第1記憶手段に設けられた識別表示(1562)と関連する第1,2表示(1371,1372)を前記制御手段のうち異なる所定箇所に表示すると共に、前記基板の前記記憶手段が搭載される側の面から前記第1,2表示が表示されるまでの距離がそれぞれ異なり、
前記第1シール部は、
前記第1有色領域と前記第1有色領域とは異なる第3有色領域との間で所定の文字が付されていない部分であって、前記第1ケース部に内包されている前記電子部品を覗くことが可能な第1覗き部(1574)を有し、
前記第2のシール部は、
前記第2有色領域と前記第2有色領域とは異なる第4有色領域との間で所定の文字が付されていない部分であって、前記第2ケース部に内包されている前記電子部品を覗くことが可能な第2覗き部(1819)を有し、
前記第1シール部及び前記第2シール部は、
前記電子部品が透視可能な光透過性であると共に、それぞれの光透過性が異なることを要旨とする。
◆[発明27]
発明27の遊技機(1)は、遊技を制御する基板(501)と、
前記基板を内包する、光透過性を有する第1ケース部(1803)と、
前記基板に設けられ、遊技に使用されるデータを格納する第1記憶手段(502)と、
前記基板に設けられ、前記第1記憶手段とは異なると共に、前記基板に対してスルーホール実装される複数の電子部品(595)と、
を有する制御手段と、
前記基板と一方向通信可能な演出基板(1821)と、
前記演出基板を内包する、光透過性を有する第2ケース部(1823)と、
前記演出基板に設けられ、演出に使用されるデータを格納する第2記憶手段(1822)と、
前記演出基板に設けられ、前記第2記憶手段とは異なると共に、前記演出基板に対して表面実装される複数の電子部品(595)と、
を有する演出手段と、
前記制御手段のうち異なる所定箇所に設けられた第1表示(1371)及び第2表示(1372)と、を備え、
前記第1表示と前記第2表示とは、
前記基板の前記第1記憶手段が搭載される側の面から前記第1,2表示が表示されるまでの距離がそれぞれ異なっており、
光透過性を有する素材で形成されたシール部(1560)は、
当該光透過性を低下させた領域である複数の有色領域(1575)と、
前記複数の有色領域のうちの第1有色領域と前記第1有色領域とは異なる第2有色領域との間で所定の文字が付されていない部分であって、内包されている前記電子部品を覗くことが可能な覗き部(1574)と、
を有し、前記第2ケース部に取付けられることなく、前記第1ケース部に取付けられたことを要旨とする。
◆[発明28]
発明28の遊技機(1)は、遊技を制御する基板(501)と、
前記基板を内包する、光透過性を有する第1ケース部(1803)と、
前記基板に設けられ、遊技に使用される記憶を格納する第1記憶手段(502)と、
前記基板に設けられ、前記第1記憶手段とは異なると共に、前記基板に対してスルーホール実装される複数の電子部品(595)と、
を有する制御手段と、
前記基板と一方向通信可能な演出基板(1821)と、
前記演出基板を内包する、光透過性を有する第2ケース部(1823)と、
前記演出基板に設けられ、演出に使用される記憶を格納する第2記憶手段(1822)と、
前記演出基板に設けられ、前記第2記憶手段とは異なると共に、前記基板に対して表面実装される複数の電子部品(595)と、
を有する演出手段と、を備え、
前記第1記憶手段に設けられた識別表示(1562)と関連する第1,2表示(1371,1372)を前記制御手段のうち異なる所定箇所に表示すると共に、前記基板の前記第1記憶手段が搭載される側の面から前記第1,2表示が表示されるまでの距離がそれぞれ異なり、
光透過性を有する素材で形成されたシール部(1560)は、
当該光透過性を低下させた領域である複数の有色領域(1575)と、
前記複数の有色領域のうちの第1有色領域と前記第1有色領域とは異なる第2有色領域との間で所定の文字が付されていない部分であって、内包されている前記電子部品を覗くことが可能な覗き部(1574)と、を有し、前記第2ケース部に取付けられることなく、前記第1ケース部に取付けられたことを要旨とする。
なお、本実施の形態の遊技機1は、パチンコ遊技機に限られるものではなく、回胴式遊技機(いわゆるスロットマシン)にも用いることもできる。さらには、じゃん球遊技機、アレンジボール遊技機に用いることもできる。
また、本実施の形態の遊技機1は、全ての大当たり遊技の終了後に所定回数に亘る高確率遊技状態に移行させるものとしたが、大当たり遊技の特定のラウンド遊技において特定領域を遊技球が通過した場合に、大当たり遊技の終了後に所定回数に亘る高確率遊技状態に移行させる遊技機としてもよい。
また、全ての大当たり遊技の終了後に高確率遊技状態に移行させ、高確率遊技状態における特別図柄の変動表示の開始時に実行される転落抽選に当選した場合に、高確率遊技状態を終了させて通常遊技状態に復帰させる遊技機としてもよい。
また、大当たり特別図柄の種類が通常図柄である場合には、大当たり遊技の終了後に低確率遊技状態に移行させ、大当たり特別図柄の種類が特定図柄である場合には、大当たり遊技の終了後に次回の大当たり遊技まで継続する高確率遊技状態に移行させる遊技機としてもよい。
また、本実施の形態の遊技機1は、第1特別図柄の変動表示と第2特別図柄の変動表示とが同時に(並行して)実行されず、第2特別図柄の変動表示が優先して実行されるものとしたが、第1特別図柄の変動表示と第2特別図柄の変動表示とが同時に(並行して)実行される遊技機としてもよい。
また、今回開示された実施の形態はすべての点で例示であって制限的なものではないと考えられるべきである。本発明の範囲は上記した説明ではなくて特許請求の範囲によって示され、特許請求の範囲と均等の意味、及び、範囲内でのすべての変更が含まれることが意図される。
1…遊技機、70…第1画像表示装置(表示手段)、70a,5470a…演出図柄(演出図柄)、130…演出制御基板(変動演出制御手段)、TZ…特殊図柄(図柄)。

Claims (1)

  1. 遊技を制御するための複数の電子部品が実装された主制御基板と、前記主制御基板を収納し透過性を有する収納部と、により構成される遊技制御手段と、
    前記収納部に設けられ透過性を有する第1情報識別部及び第2情報識別部と、
    前記遊技制御手段のうち異なる所定箇所に設けられた第1表示及び第2表示と、を備え、
    前記第1情報識別部は、
    透過性が低い領域である複数の有色領域を有し、
    前記複数の有色領域のうちの第1有色領域と前記第1有色領域とは異なる第2有色領域との間で所定の文字が付されていない領域において、前記収納部に収納されている前記主制御基板の電子部品を視認可能であり、
    前記第1表示と前記第2表示とは、前記遊技制御手段における所定の面から前記第1表示と前記第2表示が表示されるまでの距離がそれぞれ異なることを特徴とする遊技機。
JP2021007680A 2021-01-21 2021-01-21 遊技機 Active JP7204238B2 (ja)

Priority Applications (1)

Application Number Priority Date Filing Date Title
JP2021007680A JP7204238B2 (ja) 2021-01-21 2021-01-21 遊技機

Applications Claiming Priority (1)

Application Number Priority Date Filing Date Title
JP2021007680A JP7204238B2 (ja) 2021-01-21 2021-01-21 遊技機

Related Parent Applications (1)

Application Number Title Priority Date Filing Date
JP2018173592A Division JP2020043981A (ja) 2018-09-18 2018-09-18 遊技機

Publications (3)

Publication Number Publication Date
JP2021058788A JP2021058788A (ja) 2021-04-15
JP2021058788A5 JP2021058788A5 (ja) 2022-07-05
JP7204238B2 true JP7204238B2 (ja) 2023-01-16

Family

ID=75380902

Family Applications (1)

Application Number Title Priority Date Filing Date
JP2021007680A Active JP7204238B2 (ja) 2021-01-21 2021-01-21 遊技機

Country Status (1)

Country Link
JP (1) JP7204238B2 (ja)

Citations (5)

* Cited by examiner, † Cited by third party
Publication number Priority date Publication date Assignee Title
JP2000296250A (ja) 1999-04-14 2000-10-24 Takasago Electric Ind Co Ltd 遊技機の基板ボックス
JP2000317109A (ja) 1999-05-11 2000-11-21 Sansei パチンコ遊技機における制御回路基板ボックス
JP2007054418A (ja) 2005-08-25 2007-03-08 Okumura Yu-Ki Co Ltd 遊技機
JP2008086623A (ja) 2006-10-04 2008-04-17 Takao:Kk 回路基板ケース
JP2018000264A (ja) 2016-06-27 2018-01-11 京楽産業.株式会社 遊技機

Family Cites Families (1)

* Cited by examiner, † Cited by third party
Publication number Priority date Publication date Assignee Title
JPH1190011A (ja) * 1997-09-16 1999-04-06 Sankyo Kk 遊技機の基板ボックス

Patent Citations (5)

* Cited by examiner, † Cited by third party
Publication number Priority date Publication date Assignee Title
JP2000296250A (ja) 1999-04-14 2000-10-24 Takasago Electric Ind Co Ltd 遊技機の基板ボックス
JP2000317109A (ja) 1999-05-11 2000-11-21 Sansei パチンコ遊技機における制御回路基板ボックス
JP2007054418A (ja) 2005-08-25 2007-03-08 Okumura Yu-Ki Co Ltd 遊技機
JP2008086623A (ja) 2006-10-04 2008-04-17 Takao:Kk 回路基板ケース
JP2018000264A (ja) 2016-06-27 2018-01-11 京楽産業.株式会社 遊技機

Non-Patent Citations (1)

* Cited by examiner, † Cited by third party
Title
「CRフィーバー 機動戦士ガンダム LAST SHOOTING MAINTENANCE MANUAL」,2016年02月,p.2

Also Published As

Publication number Publication date
JP2021058788A (ja) 2021-04-15

Similar Documents

Publication Publication Date Title
JP7130250B2 (ja) 遊技機
JP6581264B1 (ja) 遊技機
JP7148096B2 (ja) 遊技機
JP6581266B1 (ja) 遊技機
JP7224697B2 (ja) 遊技機
JP7204238B2 (ja) 遊技機
JP7148094B2 (ja) 遊技機
JP7148093B2 (ja) 遊技機
JP7148095B2 (ja) 遊技機
JP7440916B2 (ja) 遊技機
JP7440918B2 (ja) 遊技機
JP7376111B2 (ja) 遊技機
JP7376110B2 (ja) 遊技機
JP6999970B2 (ja) 遊技機
JP7440917B2 (ja) 遊技機
JP7081826B2 (ja) 遊技機
JP7098158B2 (ja) 遊技機
JP7081827B2 (ja) 遊技機
JP6938028B2 (ja) 遊技機
JP6859302B2 (ja) 遊技機
JP7142932B2 (ja) 遊技機
JP7142929B2 (ja) 遊技機
JP7148145B2 (ja) 遊技機
JP7111367B2 (ja) 遊技機
JP7142927B2 (ja) 遊技機

Legal Events

Date Code Title Description
A521 Request for written amendment filed

Free format text: JAPANESE INTERMEDIATE CODE: A523

Effective date: 20210917

A621 Written request for application examination

Free format text: JAPANESE INTERMEDIATE CODE: A621

Effective date: 20210917

A521 Request for written amendment filed

Free format text: JAPANESE INTERMEDIATE CODE: A523

Effective date: 20220627

A131 Notification of reasons for refusal

Free format text: JAPANESE INTERMEDIATE CODE: A131

Effective date: 20220628

A131 Notification of reasons for refusal

Free format text: JAPANESE INTERMEDIATE CODE: A131

Effective date: 20220913

A521 Request for written amendment filed

Free format text: JAPANESE INTERMEDIATE CODE: A523

Effective date: 20221110

TRDD Decision of grant or rejection written
A01 Written decision to grant a patent or to grant a registration (utility model)

Free format text: JAPANESE INTERMEDIATE CODE: A01

Effective date: 20221206

A61 First payment of annual fees (during grant procedure)

Free format text: JAPANESE INTERMEDIATE CODE: A61

Effective date: 20221221

R150 Certificate of patent or registration of utility model

Ref document number: 7204238

Country of ref document: JP

Free format text: JAPANESE INTERMEDIATE CODE: R150

S531 Written request for registration of change of domicile

Free format text: JAPANESE INTERMEDIATE CODE: R313531

R350 Written notification of registration of transfer

Free format text: JAPANESE INTERMEDIATE CODE: R350

R250 Receipt of annual fees

Free format text: JAPANESE INTERMEDIATE CODE: R250