JP7127053B2 - 衛星通信に適応するためのカバレッジエリア調整 - Google Patents

衛星通信に適応するためのカバレッジエリア調整 Download PDF

Info

Publication number
JP7127053B2
JP7127053B2 JP2019555165A JP2019555165A JP7127053B2 JP 7127053 B2 JP7127053 B2 JP 7127053B2 JP 2019555165 A JP2019555165 A JP 2019555165A JP 2019555165 A JP2019555165 A JP 2019555165A JP 7127053 B2 JP7127053 B2 JP 7127053B2
Authority
JP
Japan
Prior art keywords
native
antenna
feed
coverage area
pattern
Prior art date
Legal status (The legal status is an assumption and is not a legal conclusion. Google has not performed a legal analysis and makes no representation as to the accuracy of the status listed.)
Active
Application number
JP2019555165A
Other languages
English (en)
Other versions
JP2020517161A (ja
Inventor
メンデルソーン,アーロン
ラニヨン,ドナルド
Current Assignee (The listed assignees may be inaccurate. Google has not performed a legal analysis and makes no representation or warranty as to the accuracy of the list.)
Viasat Inc
Original Assignee
Viasat Inc
Priority date (The priority date is an assumption and is not a legal conclusion. Google has not performed a legal analysis and makes no representation as to the accuracy of the date listed.)
Filing date
Publication date
Family has litigation
First worldwide family litigation filed litigation Critical https://patents.darts-ip.com/?family=58579321&utm_source=google_patent&utm_medium=platform_link&utm_campaign=public_patent_search&patent=JP7127053(B2) "Global patent litigation dataset” by Darts-ip is licensed under a Creative Commons Attribution 4.0 International License.
Application filed by Viasat Inc filed Critical Viasat Inc
Publication of JP2020517161A publication Critical patent/JP2020517161A/ja
Priority to JP2022129875A priority Critical patent/JP7470747B2/ja
Application granted granted Critical
Publication of JP7127053B2 publication Critical patent/JP7127053B2/ja
Active legal-status Critical Current
Anticipated expiration legal-status Critical

Links

Images

Classifications

    • HELECTRICITY
    • H01ELECTRIC ELEMENTS
    • H01QANTENNAS, i.e. RADIO AERIALS
    • H01Q1/00Details of, or arrangements associated with, antennas
    • H01Q1/27Adaptation for use in or on movable bodies
    • H01Q1/28Adaptation for use in or on aircraft, missiles, satellites, or balloons
    • HELECTRICITY
    • H04ELECTRIC COMMUNICATION TECHNIQUE
    • H04BTRANSMISSION
    • H04B7/00Radio transmission systems, i.e. using radiation field
    • H04B7/14Relay systems
    • H04B7/15Active relay systems
    • H04B7/185Space-based or airborne stations; Stations for satellite systems
    • H04B7/1851Systems using a satellite or space-based relay
    • H04B7/18515Transmission equipment in satellites or space-based relays
    • HELECTRICITY
    • H01ELECTRIC ELEMENTS
    • H01QANTENNAS, i.e. RADIO AERIALS
    • H01Q25/00Antennas or antenna systems providing at least two radiating patterns
    • H01Q25/007Antennas or antenna systems providing at least two radiating patterns using two or more primary active elements in the focal region of a focusing device
    • HELECTRICITY
    • H01ELECTRIC ELEMENTS
    • H01QANTENNAS, i.e. RADIO AERIALS
    • H01Q1/00Details of, or arrangements associated with, antennas
    • H01Q1/27Adaptation for use in or on movable bodies
    • H01Q1/28Adaptation for use in or on aircraft, missiles, satellites, or balloons
    • H01Q1/288Satellite antennas
    • HELECTRICITY
    • H01ELECTRIC ELEMENTS
    • H01QANTENNAS, i.e. RADIO AERIALS
    • H01Q3/00Arrangements for changing or varying the orientation or the shape of the directional pattern of the waves radiated from an antenna or antenna system
    • HELECTRICITY
    • H01ELECTRIC ELEMENTS
    • H01QANTENNAS, i.e. RADIO AERIALS
    • H01Q3/00Arrangements for changing or varying the orientation or the shape of the directional pattern of the waves radiated from an antenna or antenna system
    • H01Q3/02Arrangements for changing or varying the orientation or the shape of the directional pattern of the waves radiated from an antenna or antenna system using mechanical movement of antenna or antenna system as a whole
    • HELECTRICITY
    • H01ELECTRIC ELEMENTS
    • H01QANTENNAS, i.e. RADIO AERIALS
    • H01Q3/00Arrangements for changing or varying the orientation or the shape of the directional pattern of the waves radiated from an antenna or antenna system
    • H01Q3/12Arrangements for changing or varying the orientation or the shape of the directional pattern of the waves radiated from an antenna or antenna system using mechanical relative movement between primary active elements and secondary devices of antennas or antenna systems
    • H01Q3/16Arrangements for changing or varying the orientation or the shape of the directional pattern of the waves radiated from an antenna or antenna system using mechanical relative movement between primary active elements and secondary devices of antennas or antenna systems for varying relative position of primary active element and a reflecting device
    • H01Q3/18Arrangements for changing or varying the orientation or the shape of the directional pattern of the waves radiated from an antenna or antenna system using mechanical relative movement between primary active elements and secondary devices of antennas or antenna systems for varying relative position of primary active element and a reflecting device wherein the primary active element is movable and the reflecting device is fixed
    • HELECTRICITY
    • H01ELECTRIC ELEMENTS
    • H01QANTENNAS, i.e. RADIO AERIALS
    • H01Q3/00Arrangements for changing or varying the orientation or the shape of the directional pattern of the waves radiated from an antenna or antenna system
    • H01Q3/12Arrangements for changing or varying the orientation or the shape of the directional pattern of the waves radiated from an antenna or antenna system using mechanical relative movement between primary active elements and secondary devices of antennas or antenna systems
    • H01Q3/16Arrangements for changing or varying the orientation or the shape of the directional pattern of the waves radiated from an antenna or antenna system using mechanical relative movement between primary active elements and secondary devices of antennas or antenna systems for varying relative position of primary active element and a reflecting device
    • H01Q3/20Arrangements for changing or varying the orientation or the shape of the directional pattern of the waves radiated from an antenna or antenna system using mechanical relative movement between primary active elements and secondary devices of antennas or antenna systems for varying relative position of primary active element and a reflecting device wherein the primary active element is fixed and the reflecting device is movable
    • HELECTRICITY
    • H04ELECTRIC COMMUNICATION TECHNIQUE
    • H04BTRANSMISSION
    • H04B7/00Radio transmission systems, i.e. using radiation field
    • H04B7/14Relay systems
    • H04B7/15Active relay systems
    • H04B7/185Space-based or airborne stations; Stations for satellite systems
    • HELECTRICITY
    • H04ELECTRIC COMMUNICATION TECHNIQUE
    • H04BTRANSMISSION
    • H04B7/00Radio transmission systems, i.e. using radiation field
    • H04B7/14Relay systems
    • H04B7/15Active relay systems
    • H04B7/204Multiple access
    • H04B7/2041Spot beam multiple access
    • HELECTRICITY
    • H01ELECTRIC ELEMENTS
    • H01QANTENNAS, i.e. RADIO AERIALS
    • H01Q19/00Combinations of primary active antenna elements and units with secondary devices, e.g. with quasi-optical devices, for giving the antenna a desired directional characteristic
    • H01Q19/10Combinations of primary active antenna elements and units with secondary devices, e.g. with quasi-optical devices, for giving the antenna a desired directional characteristic using reflecting surfaces
    • H01Q19/12Combinations of primary active antenna elements and units with secondary devices, e.g. with quasi-optical devices, for giving the antenna a desired directional characteristic using reflecting surfaces wherein the surfaces are concave
    • H01Q19/17Combinations of primary active antenna elements and units with secondary devices, e.g. with quasi-optical devices, for giving the antenna a desired directional characteristic using reflecting surfaces wherein the surfaces are concave the primary radiating source comprising two or more radiating elements

Landscapes

  • Engineering & Computer Science (AREA)
  • Astronomy & Astrophysics (AREA)
  • General Physics & Mathematics (AREA)
  • Physics & Mathematics (AREA)
  • Aviation & Aerospace Engineering (AREA)
  • Computer Networks & Wireless Communication (AREA)
  • Remote Sensing (AREA)
  • Signal Processing (AREA)
  • Variable-Direction Aerials And Aerial Arrays (AREA)
  • Aerials With Secondary Devices (AREA)
  • Radio Relay Systems (AREA)
  • Details Of Aerials (AREA)
  • Organic Low-Molecular-Weight Compounds And Preparation Thereof (AREA)

Description

通信衛星は、一般に、地上アクセスノード端末又はユーザ端末を含み得る様々な地球上の目標装置と通信するための1つ以上のアンテナアセンブリを含み、地球上の目標装置の何れも、(例えば、永久的な設置サイトに設置されて、1つの固定設置サイトから別の固定設置サイトに動かされるなど)静止しているか又は(例えば、車両、船舶、飛行機などに設置されて)移動可能であり得る。通信衛星のアンテナアセンブリは、ダウンリンク信号(例えば、ユーザ端末へのフォワードリンク信号、アクセスノードへのリターンリンク信号)を送信し、且つ/又はアップリンク信号(例えば、アクセスノードからのフォワードリンク信号、ユーザ端末からのリターンリンク信号)を受信するように構成され得る。アンテナアセンブリは、アンテナアセンブリを介して装置に通信サービスが提供され得るサービスカバレッジエリアに関連し得る。衛星は、地球静止衛星であり得、その場合、衛星の軌道は、地球の回転と同調し、サービスカバレッジエリアを地球に対して本質的に静止した状態に保つ。他の場合、衛星は、地球の周りの軌道内にあり、衛星がその軌道経路を動き回るため、サービスカバレッジエリアを地球の表面上で動かせる。
いくつかの衛星通信システムは、同じアンテナフットプリント(例えば、サービスカバレッジエリア)、例えば米国本土内に位置する端末間で信号を中継する「ベントパイプ」衛星を用いる。送信カバレッジエリアと受信カバレッジエリアとが重なる場合、別々の周波数帯域及び/又は偏波がアップリンク(衛星への)及びダウンリンク(衛星からの)に対して使用され得る。「ベントパイプ」の呼称は、中継信号が、信号が衛星によって受信された後、あたかもベントパイプによって向け直されたかのように効率的に再送信される事実を指す。中継信号のデータは、「再生」又は処理衛星アーキテクチャにおけるように、復調も再変調もされない。むしろ、ベントパイプアーキテクチャ内における衛星での信号操作は、一般的に、例えば周波数変換、フィルタリング、増幅などの機能に限定される。
信号のデジタルチャネル化及びルーティング、中継信号中のデータの復調/ルーティング/再変調、周波数の再使用を可能にするための狭いアンテナフットプリントスポットビーム及びカバレッジエリアの動的配置を可能にするためのフェーズドアレイアンテナなどの革新技術を利用する、衛星を取り巻く他の衛星通信システムが開発されている。
例えば、移動衛星通信サービス(MSS)のための衛星は、一般に、周波数の再使用の回数を多くして、スポットビームカバレッジエリアを利用する。MSSのための衛星の例は、インマルサット(Inmarsat)-4衛星及びスラーヤ(Thuraya)衛星を含む。これらの衛星は、一般に、大きい合成エリアを網羅する多数の狭いスポットビームを特徴とし、及び帯域幅の柔軟であり且つ設定可能な割り当てを可能にする。しかしながら、全システム帯域幅は、狭く(Lバンドにおいて34MHzの割り当てなど)、及びサービスは、一般的に、「狭帯域」として分類され(例えば、数百kHzの搬送波帯域幅)、これにより、デジタルビームフォーミング技術を使用して、柔軟であり且つ設定可能な帯域幅割り当てを達成することを可能にする。これらの衛星は、アクティブフィードを備える大きい反射器を使用する。各アンテナフィード素子と関連する信号がデジタル化され、且つビームフォーミング及び帯域幅柔軟性がデジタル信号プロセッサによってもたらされる。デジタルビームフォーミングは、狭帯域チャネルで実施され、フィーダリンクの何れかの狭帯域チャネルを任意のスポットビーム形状に対して任意の周波数に配置できるようにする。
超高速インターネット衛星(WINDS)は、試験的なKaバンド衛星システムである。衛星は、固定マルチビームアンテナ(MBA)を使用して固定スポットビーム及びアクティブフェーズドアレイアンテナ(APAA)を使用して操縦可能ビームの両方を実行する。MBAは、固定ビームを供給し、及び通信リンクは、時間が経つと、送信ビームと受信ビームとの組み合わせからなるパターンで切換られ得る。APAAは、衛星から見える地球の地域全体をほとんど網羅する潜在的なサービスエリアを備えるビームホッピングアンテナとして開発された。APAAは、送信アンテナ及び受信アンテナのそれぞれに対して、独立して操縦可能な2つのビームを使用して任意のユーザ間に通信を提供できる。ビーム操縦は、衛星内切換時分割多元接続(SS-TDMA)モードにおいて、2msという短い切換間隔スロット中、デジタル位相器の制御を介して指向方向を更新することによって達成され、ここで、最短のビームドエルタイムは、SS-TDMAシステムのスロット時間に対応する。高速でのビーム切換は、1ビーム当たり8箇所のロケーションまで支援される。MBA及びAPAAの両方の切換パターンは、ネットワーク管理センターからアップロードされる。
Spacewayは、米国全体にわたって112個のアップリンクビーム及び800個近いダウンリンクビームに供するKaバンド衛星システムである。Spaceway衛星は、再生型衛星搭載プロセッサを使用して、データパケットを112個のアップリンクビームの1つから800個近い潜在的なダウンリンクビームの1つにルーティングする。いかなる場合でも、ダウンリンクは、24個までのホッピングビームからなる。ダウンリンクスケジューラは、各ビームのダウンリンクのトラフィックキュー及び電力制約及び干渉制約に応じて、何れのビームが各ダウンリンクタイムスロットに対してバーストを送信しているべきかを決定する。
以前にワイドバンドギャップフィラー衛星として知られていたWideband Global SATCOM(WGS)衛星は、操縦可能Kaバンドスポットビーム及びXバンドビームフォーミングを利用する米国政府の衛星である。Kaバンドスポットビームは、機械的に操縦される。8個までのXバンドビームが、各アンテナフィード素子内のビームフォーミングモジュール(BFMs)に適用されるプログラムマブルな振幅及び位相調整を使用する送信及び受信Xバンドアレイによって形成される。帯域幅の割り振りは、ビームフォーミングに関わらない広帯域デジタルチャネライザを使用して、柔軟であり且つ設定可能である。
より最近の衛星アーキテクチャは、システム容量をさらに増大させている。例えば、Dankberg et al.の米国特許出願公開第2009-0298416号明細書(その全体が参照により本明細書に援用される)に開示されているViaSat-1及びKaバンドスポットビーム衛星アーキテクチャは、150Gbps超の物理層容量を提供し得る。このスポットビームアーキテクチャは、従来のKaバンド衛星よりも1桁超の容量の増大を提供する。他の衛星、例えばKA-SAT及びJupiterは、同様のアーキテクチャを使用して、同様の高容量を達成している。これらの衛星の全てにおいて使用されているアーキテクチャは、固定ロケーションを目標とする小さいスポットビームを含む「ベントパイプ」式ハブ-スポークアーキテクチャである。各スポットビームは、大量のスペクトル、一般に250~1000MHzを使用し得る。結果として得られる大容量は、例えば、(a)一般に60~80又はそれを上回る多数のスポットビーム、(b)スポットビームに関連する高アンテナ指向性(例えば、好都合なリンクバジェットを生じる)、及び(c)各スポットビーム内で使用される比較的大量の帯域幅を含む衛星システムのいくつかの特徴の産物である。
上述の高容量の衛星アーキテクチャは、貴重であるが、依然としていくつかの点において限定され得る。例えば、同じスペクトル割り当て及び電力バジェットを維持しながら、より高い容量を支援するためにアーキテクチャをスケーリングすることは、一般に、より小さい直径のスポットビームを生じるためにより大きい反射器を使用して達成される。より小さい直径のスポットビームの使用は、衛星アンテナの指向性(又はゲイン)を高め得るため、リンク信号対雑音比(SNR)及び容量を高める。しかしながら、より小さいスポットビームは、必然的にサービスカバレッジエリア(例えば、通信サービスが提供され得るカバレッジエリア)を小さくする。そのため、これらの衛星アーキテクチャは、容量対カバレッジエリアの固有の妥協点を有する。
さらに、これらのアーキテクチャは、一般に、全てのスポットビーム、ユーザビーム及びゲートウェイ(GW)ビームの両方を固定ロケーションに配置する。一般的に、サービスカバレッジエリアの変更に適合するようにスポットビームを動かす能力はない。さらに、アーキテクチャは、本質的に、サービスカバレッジエリア全体にわたって均等に分布した容量を提供する。1スポットビーム当たりの容量は、例えば、1スポットビーム当たりの割り当てられた帯域幅に強く関係し、これは、スポットビーム毎に予め決定され、及び柔軟性又は設定可能性を皆無又はそれに近くできる。
これらの衛星通信アーキテクチャは、所望のサービスカバレッジエリアが周知であり、及び容量に対する需要がサービスカバレッジエリア全体にわたって均等に分布されている場合に貴重であるが、上述のアーキテクチャの柔軟性がないことは、いくつかの適用例にとって制限であり得る。例えば、通信衛星がリタスクされ得るか、又は展開条件(例えば、軌道スロットなど)が変化し得る。さらに、衛星通信サービスは、ユーザ需要(例えば、固定ユーザ対移動ユーザなど)の変化を経験し得る。ビームフォーミングなどの信号処理は、スポットビームの配置構成又はサービスカバレッジエリアを適応させるためのある程度の能力を提供し得るが、サービスカバレッジエリア及びスポットビームの配置構成の適応における追加的な柔軟性が望まれ得る。例えば、衛星通信システムアーキテクチャが、スポットビームカバレッジエリアの複数のロケーション及びサイズ、ユーザ端末及びアクセスノード端末のロケーション、通信サービス容量の空間的分布及び通信サービスの容量割り当てにおいて柔軟性を支援することが望ましいことがあり得る。さらに、そのような柔軟性を通信衛星の軌道位置の変化とともに支援するか、又はミッション寿命中に通信衛星を別の軌道スロットに動かすことができるようにすることが望ましいことがあり得る。
上記を考慮して、柔軟な衛星通信を提供する態様が望まれている。
ハブ-スポーク式ベントパイプ衛星通信システムの例は、複数のユーザ端末、複数のユーザ端末と通信するように構成された複数のアクセスノード端末、フレーム定義に従って衛星動作を制御するためのデータを特定するように構成されたコントローラであって、フレーム定義は、フレームに複数のタイムスロットを含み、及び少なくとも1つのアクセスノード端末から複数のユーザ端末へのフォワードトラフィックと、複数のユーザ端末から少なくとも1つのアクセスノード端末へのリターントラフィックとの間の容量の割り当てを定義する、コントローラ及び通信衛星であって、複数の経路、少なくとも1つの低雑音増幅器(LNA)であって、少なくとも1つのLNAの出力は、複数の経路の1つの経路に結合され且つフレーム定義によって定義されたフォワードトラフィックとリターントラフィックとの間の容量の割り当てに従ってアップリンクビーム信号を増幅するように構成されている、低雑音増幅器と、少なくとも1つの高電力増幅器(HPA)であって、少なくとも1つのHPAの入力は、複数の経路の1つの経路に結合され且つフレーム定義によって定義されたフォワードトラフィックとリターントラフィックとの間の容量の割り当てに従ってダウンリンクビーム信号を増幅するように構成されているHPAとを含む通信衛星を含み、及びフレーム定義は、複数の経路の少なくとも1つの経路の構成をフレームにおける少なくとも1つのタイムスロットのためのフォワード経路として、及び少なくとも1つの経路の構成をフレームにおける少なくとも1つの他のタイムスロットのためのリターン経路として特定する。
そのような衛星通信システムの実施形態は、以下の特徴の1つ以上を含み得る。通信衛星は、少なくとも1つのLNAの出力を複数の経路の1つの経路に結合し且つ少なくとも1つのHPAの入力を複数の経路の1つの経路に結合するように構成された1つ以上のビームフォーミングネットワークをさらに含む。通信衛星は、アンテナフィード素子のフェーズドアレイをさらに含み、及び少なくとも1つのLNAの入力は、フェーズドアレイのアンテナフィード素子の出力に結合されるように構成される。通信衛星は、アンテナフィード素子のフェーズドアレイ及び少なくとも1つの高調波フィルタをさらに含み、少なくとも1つの高調波フィルタの出力は、フェーズドアレイのアンテナフィード素子の入力に結合されるように構成され、及び少なくとも1つのHPAの出力は、少なくとも1つの高調波フィルタの入力に結合されるように構成される。
複数の経路を含み且つ複数のユーザ端末及び複数のアクセスノード端末と通信する通信衛星を利用する、ハブ-スポーク式ベントパイプ衛星通信のための方法の例は、コントローラにおいて、フレーム定義に従って通信衛星動作を制御するためのデータを特定することであって、フレーム定義は、フレームに複数のタイムスロットを含み、且つ少なくとも1つのアクセスノード端末から複数のユーザ端末へのフォワードトラフィックと、複数のユーザ端末から少なくとも1つのアクセスノード端末へのリターントラフィックとの間の容量の割り当てを定義する、特定すること、及び通信衛星において、フレーム定義によって定義されたフォワードトラフィックとリターントラフィックとの間の容量の割り当てに従って、アップリンクビーム信号を受信し且つダウンリンクビーム信号を送信することを含み、及びフレーム定義は、複数の経路の少なくとも1つの経路の構成をフレーム内の少なくとも1つのタイムスロットのためのフォワード経路として、及び少なくとも1つの経路の構成をフレーム内の少なくとも1つの他のタイムスロットのためのリターン経路として特定する。
ハブ-スポーク式ベントパイプ衛星通信のための通信衛星の例は、複数の経路、少なくとも1つの低雑音増幅器(LNA)であって、少なくとも1つのLNAの出力は、複数の経路の1つの経路に結合され且つフレーム定義によって定義される(フレーム定義は、フレームに複数のタイムスロットを含む)、少なくとも1つのアクセスノード端末から複数のユーザ端末へのフォワードトラフィックと、複数のユーザ端末から少なくとも1つのアクセスノード端末へのリターントラフィックとの間の容量の割り当てに従って、アップリンクビーム信号を増幅するように構成される、低雑音増幅器及び少なくとも1つの高電力増幅器(HPA)であって、少なくとも1つのHPAの入力は、複数の経路の1つの経路に結合され且つフレーム定義によって定義されたフォワードトラフィックとリターントラフィックとの間の容量の割り当てに従ってダウンリンクビーム信号を増幅するように構成され、及びフレーム定義は、複数の経路の少なくとも1つの経路の構成をフレーム内の少なくとも1つのタイムスロットのためのフォワード経路として、及び少なくとも1つの経路の構成をフレーム内の少なくとも1つの他のタイムスロットのためのリターン経路として特定する、高電力増幅器を含む。
そのような通信衛星の実施形態は、以下の特徴の1つ以上を含み得る。通信衛星は、少なくとも1つのLNAの出力を複数の経路の1つの経路に結合し且つ少なくとも1つのHPAの入力を複数の経路の1つの経路に結合するように構成された1つ以上のビームフォーミングネットワークをさらに含む。通信衛星は、アンテナフィード素子のフェーズドアレイをさらに含み、少なくとも1つのLNAの入力は、フェーズドアレイのアンテナフィード素子の出力に結合されるように構成される。通信衛星は、アンテナフィード素子のフェーズドアレイ及び少なくとも1つの高調波フィルタをさらに含み、少なくとも1つの高調波フィルタの出力は、フェーズドアレイのアンテナフィード素子の入力に結合されるように構成され、及び少なくとも1つのHPAの出力は、少なくとも1つの高調波フィルタの入力に結合されるように構成される。
複数の経路を含み且つ複数のユーザ端末及び複数のアクセスノード端末と通信する通信衛星を利用する、通信衛星において実行される、ハブ-スポーク式ベントパイプ衛星通信のための方法の例は、アップリンクビーム信号を受信すること、及びダウンリンクビーム信号を送信することであって、アップリンクビーム信号の受信及びダウンリンクビーム信号の送信は、フレーム定義によって定義された、少なくとも1つのアクセスノード端末から複数のユーザ端末へのフォワードトラフィックと、複数のユーザ端末から少なくとも1つのアクセスノード端末へのリターントラフィックとの間の容量の割り当てに従い、フレーム定義は、フレームに複数のタイムスロットを含む、送信することを含み、及びフレーム定義は、複数の経路の少なくとも1つの経路の構成をフレーム内の少なくとも1つのタイムスロットのためのフォワード経路として、及び少なくとも1つの経路の構成をフレーム内の少なくとも1つの他のタイムスロットのためのリターン経路として特定する。
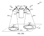
いくつかの例では、通信衛星は、異なるネイティブなアンテナパターンに従って1つ以上のアンテナアセンブリを介して通信サービスを提供するように構成され得、各ネイティブなアンテナパターンは、所与の動作条件における、それぞれのアンテナアセンブリの複数のアンテナフィード素子のそれぞれに対するネイティブなフィード素子パターンの合成と称し得る。そのようなアンテナアセンブリは、フィードアレイアセンブリ(例えば、アンテナフィード素子のフェーズドアレイ)、反射器及びフィードアレイアセンブリと反射器との間に結語されたアクチュエータを含み得る。反射器は、焦点又はフォーカス領域を有し得、ここで、遠方の通信源から受信したとき、無線周波数(RF)信号が集中する。フィードアレイアセンブリは、通信サービスと関連した信号を通信するための複数のアンテナフィード素子を有し得、及び反射器は、フィードアレイアセンブリと1つ以上の目標装置(例えば、ユーザ端末及び/又はアクセスノード端末)との間で送信された信号を反射するように構成され得る。アクチュエータは、調整可能な長さを有するリニアアクチュエータであり得るか、又は他にフィードアレイアセンブリと反射器との間の相対距離の調整をもたらし得る。
フィードアレイアセンブリは、フォーカス領域と反射器の面との間の領域に位置決めされて(例えば、リニアアクチュエータを使用して)、デフォーカスされたシステムとして動作し得、ここで、遠方の通信源からのRF信号は、複数のアンテナフィード素子を照射する。フィードアレイアセンブリに対して反射器の位置を第1のデフォーカス動作条件から第2のデフォーカス動作条件に調整することにより、衛星は、それぞれのアンテナアセンブリに対して、異なるネイティブなアンテナパターンに従う通信サービスを提供し得る。一部には、デフォーカス動作条件を変更することによるネイティブなアンテナパターンの適応は、所望のカバレッジエリア、ユーザビーム特性、動作軌道位置又は他のカバレッジ態様の提供における追加的な調整性を支援することにより、通信衛星の多用性を改善し得る。
上記は、本開示による例の特徴及び技術的利点の要点をやや広範に述べて、以下の詳細な説明がより良好に理解され得るようにした。追加的な特徴及び利点について以下に説明する。開示の概念及び具体例は、本開示の同じ目的を実施するように他の構造を修正又は設計するための根拠として容易に利用され得る。そのような均等な構成は、添付の特許請求の範囲から逸脱しない。本明細書で開示する概念の特性は、添付図面と関連して考慮すると、それらの体制及び動作方法の両方において、関連の利点と共に以下の説明からより良好に理解される。図面は、それぞれ特許請求の範囲の限定の定義としてではなく、図示及び説明のために提供されるにすぎない。
本開示の性質及び利点のさらなる理解は、以下の図面を参照することによって実現され得る。添付図面では、同様のコンポーネント又は特徴は、同じ参照符号を有し得る。さらに、同じタイプの様々なコンポーネントは、参照符号に、ダッシュと、同様のコンポーネントを区別する第2の符号とが続くことによって区別され得る。本明細書において第1の参照符号のみが使用される場合、説明は、第2の参照符号に関わらず、同じ第1の参照符号を有する同様のコンポーネントの何れか1つに適用可能である。
図1Aは、本開示の態様による、衛星通信の柔軟なビームフォーミングを支援する衛星通信システムの図を示す。 図1Bは、本開示の態様による、衛星通信の柔軟なビームフォーミングを支援する通信衛星のアンテナアセンブリを示す。 図1Cは、本開示の態様による、衛星通信の柔軟なビームフォーミングを支援するアンテナアセンブリのフィードアレイアセンブリを示す。 図2Aは、本開示の態様による、成形された反射器のフォーカス領域に置かれたフィードアレイアセンブリを有するアンテナアセンブリのアンテナ特性の例を示す。 図2Bは、本開示の態様による、成形された反射器のフォーカス領域に置かれたフィードアレイアセンブリを有するアンテナアセンブリのアンテナ特性の例を示す。 図2Cは、本開示の態様による、成形された反射器のフォーカス領域に置かれたフィードアレイアセンブリを有するアンテナアセンブリのアンテナ特性の例を示す。 図2Dは、本開示の態様による、成形された反射器のフォーカス領域に置かれたフィードアレイアセンブリを有するアンテナアセンブリのアンテナ特性の例を示す。 図3Aは、本開示の態様による、デフォーカス位置で動作するフィードアレイアセンブリを有するアンテナアセンブリのアンテナ特性の例を示す。 図3Bは、本開示の態様による、デフォーカス位置で動作するフィードアレイアセンブリを有するアンテナアセンブリのアンテナ特性の例を示す。 図3Cは、本開示の態様による、デフォーカス位置で動作するフィードアレイアセンブリを有するアンテナアセンブリのアンテナ特性の例を示す。 図3Dは、本開示の態様による、デフォーカス位置で動作するフィードアレイアセンブリを有するアンテナアセンブリのアンテナ特性の例を示す。 図4Aは、本開示の態様による、デフォーカス条件で動作するアンテナアセンブリによってもたらされるネイティブなアンテナパターンカバレッジエリアからスポットビームカバレッジエリアを形成するためのビームフォーミングの例を示す。 図4Bは、本開示の態様による、デフォーカス条件で動作するアンテナアセンブリによってもたらされるネイティブなアンテナパターンカバレッジエリアからスポットビームカバレッジエリアを形成するためのビームフォーミングの例を示す。 図5Aは、本開示の態様による、ある通信サービスタイムスロット中の、サービスカバレッジエリアのスポットビームカバレッジエリアのロケーションの例を示す。 図5Bは、本開示の態様による、別の異なる通信サービスタイムスロット中の、サービスカバレッジエリアのスポットビームカバレッジエリアのロケーションの例を示す。 図5Cは、本開示の態様による、別の異なる通信サービスタイムスロット中の、サービスカバレッジエリアのスポットビームカバレッジエリアのロケーションの例を示す。 図5Dは、本開示の態様による、別の異なる通信サービスタイムスロット中の、サービスカバレッジエリアのスポットビームカバレッジエリアのロケーションの例を示す。 図5Eは、本開示の態様による、別の異なる通信サービスタイムスロット中の、サービスカバレッジエリアのスポットビームカバレッジエリアのロケーションの例を示す。 図6は、本開示の態様による、実例となるビームホッピングフレームを示す。 図7は、本開示の態様による、例示的な衛星アーキテクチャの一部のブロック図を示す。 図8は、本開示の態様による、例示的な受信ビームフォーミングネットワークの1つの偏波のブロック図を示す。 図9は、本開示の態様による、例示的な送信ビームフォーミングネットワークの1つの偏波ブロック図を示す。 図10は、本開示の態様による、フォワードリンク信号送信のための地上のビームフォーミングのための、実例となるシステムのブロック図を示す。 図11は、本開示の態様による、リターンリンク信号受信のための地上のビームフォーミングのための、実例となるシステムのブロック図を示す。 図12は、例示的なビーム重みプロセッサを利用するシステムのブロック図を示す。 図13Aは、本開示の態様による、K=4個の経路を有する通信衛星の例を示す。 図13Bは、本開示の態様による、K=4個の経路を有する通信衛星の例を示す。 図13Cは、本開示の態様による、K=4個の経路を有する通信衛星の例を示す。 図14は、本開示の態様による、衛星通信を支援するための例示的なプロセスを示す。 図15Aは、本開示の態様による、実例となる時間的に一致されるタイムスロット割り当てを示す。 図15Bは、本開示の態様による、実例となるタイムスロット定義表及び実例となるタイムスロット経路を示す。 図16Aは、本開示の態様による、実例となる交互配置されたタイムスロット割り当てを示す。 図16Bは、本開示の態様による、実例となるタイムスロット定義表及び実例となるタイムスロット経路を示す。 図17Aは、本開示の態様による、実例となる交互配置されたタイムスロット割り当てを示す。 図17Bは、本開示の態様による、実例となるタイムスロット定義表及び実例となるタイムスロット経路を示す。 図18Aは、本開示の態様による、実例となる専用の経路割り当てを示す。 図18Bは、本開示の態様による、実例となるタイムスロット定義表及び実例となるタイムスロット経路を示す。 図18Cは、本開示の態様による、実例となるタイムスロット定義表を示す。 図18Dは、本開示の態様による、実例となるタイムスロット定義表を示す。 図18Eは、本開示の態様による、実例となるタイムスロット経路を示す。 図19は、本開示の態様による、必要なアクセスノード端末の数対割り当てられたフォワード経路の数の、実例となる図表を示す。 図20Aは、本開示の態様による、実例となる非一致フォワード及びリターンリンクサービスカバレッジエリアを示す。 図20Bは、本開示の態様による、実例となるタイムスロット経路を示す。 図21Aは、本開示の態様による、ビームホッピングフレームのタイムスロットドエルタイムに対する単一ビームの、実例となるビームホップパターンを示す。 図21Bは、本開示の態様による、実例となるタイムスロットドエルタイム表を示す。 図21Cは、本開示の態様による、実例となるビームホッピングフレームを示す。 図22Aは、本開示の態様による、実例となるアクセスノード端末ロケーション及びユーザスポットビームロケーションを示す。 図22Bは、本開示の態様による、実例となるアクセスノード端末表を示す。 図22Cは、本開示の態様による、アクセスノード端末ロケーションの実例となる配置を示す。 図23は、本開示の態様による、実例となる衛星通信システムの簡略図である。 図24Aは、本開示の態様による、アンテナアセンブリによって支援され得る、ネイティブなアンテナパターンカバレッジエリアへの変更を示す。 図24Bは、本開示の態様による、アンテナアセンブリによって支援され得る、ネイティブなアンテナパターンカバレッジエリアへの変更を示す。 図24Cは、本開示の態様による、アンテナアセンブリによって支援され得る、ネイティブなアンテナパターンカバレッジエリアへの変更を示す。 図24Dは、本開示の態様による、アンテナアセンブリによって支援され得る、ネイティブなアンテナパターンカバレッジエリアへの変更を示す。 図24Eは、本開示の態様による、アンテナアセンブリによって支援され得る、ネイティブなアンテナパターンカバレッジエリアへの変更を示す。 図25Aは、本開示の態様による、ネイティブなアンテナパターンの変更を支援するために、フィードアレイアセンブリと反射器との間の相対位置の調整を支援する通信衛星を示す。 図25Bは、本開示の態様による、ネイティブなアンテナパターンの変更を支援するために、フィードアレイアセンブリと反射器との間の相対位置の調整を支援する通信衛星を示す。 図25Cは、本開示の態様による、ネイティブなアンテナパターンの変更を支援するために、フィードアレイアセンブリと反射器との間の相対位置の調整を支援する通信衛星を示す。 図25Dは、本開示の態様による、ネイティブなアンテナパターンの変更を支援するために、フィードアレイアセンブリと反射器との間の相対位置の調整を支援する通信衛星を示す。 図26Aは、本開示の態様による、ネイティブなアンテナパターンの変更を支援し得る異なるタイプのアクチュエータを備えるアンテナアセンブリを有する通信衛星の例を示す。 図26Bは、本開示の態様による、ネイティブなアンテナパターンの変更を支援し得る異なるタイプのアクチュエータを備えるアンテナアセンブリを有する通信衛星の例を示す。 図26Cは、本開示の態様による、ネイティブなアンテナパターンの変更を支援し得る異なるタイプのアクチュエータを備えるアンテナアセンブリを有する通信衛星の例を示す。 図26Dは、本開示の態様による、ネイティブなアンテナパターンの変更を支援し得る異なるタイプのアクチュエータを備えるアンテナアセンブリを有する通信衛星の例を示す。 図26Eは、本開示の態様による、ネイティブなアンテナパターンの変更を支援し得る異なるタイプのアクチュエータを備えるアンテナアセンブリを有する通信衛星の例を示す。 図26Fは、本開示の態様による、ネイティブなアンテナパターンの変更を支援し得る異なるタイプのアクチュエータを備えるアンテナアセンブリを有する通信衛星の例を示す。 図27は、本開示の態様による、複数のネイティブなアンテナパターンに従う通信サービスの提供を支援する通信衛星のブロック図を示す。 図28は、本開示の態様による、複数のネイティブなアンテナパターンに従う通信サービスの提供を支援する衛星コントローラのブロック図を示す。 図29は、本開示の態様による、複数のネイティブなアンテナパターンに従う通信サービスの提供を支援する通信サービスマネージャのブロック図を示す。 図30は、本開示の態様による、複数のネイティブなアンテナパターンに従う通信サービスの提供を支援する通信サービスコントローラ3005のブロック図を示す。 図31は、本開示の態様による、複数のネイティブなアンテナパターンに従う通信衛星を介した通信サービスの提供を支援する例示的な方法のフローチャートを示す。
通信衛星が、(例えば、永久的な設置サイトに設置されて、1つの固定設置サイトから別の固定設置サイトに動くなど)静止しているか又は(例えば、車両、船舶、飛行機などに設置されて)移動可能であり得る地球上の目標装置(例えば、端末)間に通信サービスを提供するように構成され得る。通信サービスは、例えば、アクセスノード端末とユーザ端末との間の双方向ネットワークアクセスサービスを含み得る。通信サービスを支援するために、通信衛星の1つ以上のアンテナアセンブリは、ダウンリンク通信を送信する(例えば、ユーザ端末又はアクセスノード端末に)か、アップリンク通信を受信する(例えば、ユーザ端末又はアクセスノード端末から)か、又はダウンリンク通信の送信及びアップリンク通信の受信の両方を行う(例えば、送受信機として動作する)ように構成され得る。
通信衛星のアンテナアセンブリは、フィードアレイアセンブリ、例えばアンテナフィード素子のフェーズドアレイを含み得、これは、ビームフォームされたスポットビームが、所与のシステムのカバレッジ地勢(例えば、北米の人口密度が高い領域)の全域にわたって所望のスポットビームカバレッジエリア(例えば、セル)を標的にするために使用され得る。ビームフォームされたスポットビームは、複数のアンテナフィード素子を介した送信及び/又は受信から形成され得、且つ送信及び/又は受信の位相及び振幅特徴を使用して、ビームフォームされたスポットビームのそれぞれに関連する指向性の送信及び受信を提供し得る。
本開示の例によれば、ビームフォームされたスポットビームは、ビームフォーミング重みセットの重みベクトル及びビームホッピングフレーム定義に含まれるビームホップタイムスロット定義に従って、ロケーションからロケーションにホップし得る。ビームホッピングタイムスロット定義は、1つのタイムスロット中の全てのスポットビームに対する関連のドエルタイム及び経路のゲインを含み得る。ビームホッピングフレーム定義に含まれるビームホッピングタイムスロット定義は、新しいビームホッピングフレーム定義が受信されるか又は中断が合図されるまで自動的に繰り返され得、ダウンリンクサービスカバレッジエリア、アップリンクサービスカバレッジエリア及びスポットビームカバレッジエリアのロケーションへの動的変化を可能にする。
フィードアレイアセンブリは、信号(例えば、通信サービスに関連する信号、通信衛星のための診断及び/又は構成信号など)を通信するための複数のフィード素子を有し得る。フィードアレイアセンブリの各フィード素子は、それぞれのネイティブなフィード素子パターン(例えば、ネイティブな成分ビーム)と関連し得、これは、投影されたネイティブなフィード素子パターンカバレッジエリア(例えば、反射器からの反射後に地球の表面、平面及び/又は体積部に投影されるような)を提供し得る。アンテナアセンブリのフィードアレイアセンブリに対するネイティブなフィード素子パターンカバレッジエリアの集合は、ネイティブなアンテナパターンと呼ばれ得る。
様々な動作条件に対し、ネイティブなアンテナパターンの異なる特徴が望ましいことがあり得る。例えば、より広範なネイティブなフィード素子パターンカバレッジエリアでは、フィードアレイアセンブリのより大量のアンテナフィード素子は、特定のスポットビームカバレッジエリアを支援することができ得る。さらに、より広範なネイティブなフィード素子パターンは、フィードアレイアセンブリの各アンテナフィード素子がより大量のビームフォームされたスポットビームを支援できるようにもし得る。しかしながら、より広範なネイティブなフィード素子パターンは、より低い放射出力密度を有し得るため、場合により、より狭小なネイティブなフィード素子パターンを使用することが望ましいことがあり得る。いくつかの例では、所望のネイティブなアンテナパターンは、少なくとも部分的に、通信衛星の軌道位置に基づき得る。
本開示の態様によれば、通信衛星のアンテナアセンブリは、複数のネイティブなアンテナパターンの1つにおける動作を支援し得る。例えば、通信衛星は、アンテナアセンブリの第1のネイティブなアンテナパターンに従う通信サービスを提供し、及び続いて、アンテナアセンブリと関連したアクチュエータは、同じアンテナアセンブリの第2のネイティブなアンテナパターンを提供するように調整され得る。そのため、アクチュエータの調整に続いて、通信衛星は、第1のネイティブなアンテナパターンと異なる第2のネイティブなアンテナパターンに従う通信サービスを提供し得る。様々な例では、第2のネイティブなアンテナパターンは、第1のネイティブなアンテナパターンのものと異なるネイティブなアンテナパターンカバレッジエリアサイズ、異なるネイティブなフィード素子パターンカバレッジエリアサイズ(例えば、ネイティブなフィード素子パターンビーム幅)及び/又は位置、ネイティブなフィード素子パターンカバレッジエリアの異なる重なりの程度、異なるスポットビームサイズ(例えば、ビーム幅)、異なるスポットビームカバレッジエリアサイズ及び/又は位置、スポットビームの異なる重なりの程度、異なるビームフォーミング重みセット又はそれらの任意の組み合わせと関連し得る。
いくつかの例では、通信衛星のアンテナアセンブリは、フィードアレイアセンブリ、反射器及びフィードアレイアセンブリと反射器との間に結合されたアクチュエータを含み得る。反射器は、フォーカス領域(例えば、焦点)を有するような形状にされ得、及び反射器は、フィードアレイアセンブリと1つ以上の目標装置(例えば、アクセスノード端末及び/又はユーザ端末)との間で送信された信号を反射するように構成され得る。アクチュエータは、例えば、長さの変化をもたらすリニアアクチュエータを含み得、それによりフィードアレイアセンブリと反射器との間の相対位置の変更(例えば、反射器のフォーカス領域に対して異なる位置)をもたらす。いくつかの例では、通信衛星は、リニアアクチュエータ及び第2のアクチュエータの両方を含んで、フィードアレイアセンブリと反射器との間に追加的な自由度をもたらし得る。そのような例では、第2のアクチュエータは、リニアアクチュエータの軸と異なる軸の周りでフィードアレイアセンブリと反射器との間の相対位置に変化を引き起こすように指令され得、そのような変化は、リニアアクチュエータの調整と組み合わせられて、ネイティブなアンテナパターンの変化をもたらす。
フィードアレイアセンブリは、反射器の表面と反射器のフォーカス領域との間に(例えば、デフォーカス位置に)動作可能に置かれ得る。いくつかの例では、アクチュエータは、反射器と通信衛星のフィードアレイアセンブリとの間の相対距離の調整を提供し得(例えば、リニアアクチュエータを使用して)、これは、次に、複数のネイティブなアンテナパターンの1つにおける動作を支援し得る。いくつかの例では、フィードアレイアセンブリと反射器との間の相対位置の変更に続いて、異なるビームフォーミング重みセットが第2のネイティブなアンテナパターンの一部として適用され得る(例えば、スポットビームカバレッジエリアのサイズ及び/又は位置を適応させるため、複数のスポットビームカバレッジエリア間の重なりの程度を適応させるため、1つ以上の衛星スポットビームに使用されるフィードアレイアセンブリのアンテナフィード素子の組を適応させるためなど)。
本明細書では、用語「フォーカス領域」は、反射器(例えば、球面反射器又は放物面反射器)の前側にある、反射器が特定の方向から受けた電磁エネルギーを反射する1次元、2次元又は3次元領域を指す。理想的な放物面反射器では、フォーカス領域は、高周波数限界シナリオにおける単一点である。これは、理想的な放物面反射器での「幾何光学」焦点と呼ばれることが多い。現実の世界での実装例では、最先端の反射器の面でも、理想的な面のプロファイルからのエラー、歪み及び偏差を含む。何れかの重要なサイズの反射器の面における相関のないエラー、歪み又は偏差は、2又は3次元のフォーカス領域に焦点を分布させ得る。同様に、理想的な面が単一焦点の代わりに焦線を生じる球面反射器の場合、理想的な球面からの、現実の世界での球面反射器の面におけるエラー、歪み又は偏差は、線状のフォーカス領域の3次元の広がりを生じる。いくつかの実施形態では、反射器と関連するフォーカス領域は、反射器の、オンボアサイトにあるか又はその光軸に対して平行な光線に基づいて決定される。他の実施形態では、フォーカス領域は、反射器のオフボアサイトである基準方向に対して規定され得る。2つ以上の反射器のシステムは、フォーカス領域を有するシステムを備えるフェーズドアレイによっても給電され得る。
操作上、成形された反射器の面と成形された反射器のフォーカス領域との間のフィードアレイアセンブリ(例えば、反射器の基準軸に沿って、成形された反射器とフォーカス領域との間に置かれたアンテナフィード素子のアパーチャ開口の基準面を有するフィードアレイアセンブリなど)の位置決めは、デフォーカス位置に対応する。そのような配置構成は、成形された反射器のフォーカス領域にフィードアレイアセンブリが位置決めされるときよりも広いネイティブなフィード素子パターン(例えば、より広範なネイティブなフィード素子ビーム幅)を生じ得、これにより、複数のネイティブなフィード素子パターンを使用して、ビームフォームされたスポットビームを形成するための多用性を改善し得る。
様々な他の構成が、通信サービスを提供するために、ネイティブなアンテナパターンの変化をもたらすことが可能である。例えば、アンテナアセンブリは、2つ以上の反射器を含み得、及び1つ以上のアクチュエータは、フィードアレイアセンブリと反射器の1つとの間及び/又は第1の反射器と第2の反射器との間に置かれ得る。いくつかの例では、反射器は、反射器の反射特性を変化させ得る(例えば、フォーカス領域のロケーションを変更する、1次元のフォーカス領域から2次元の領域にフォーカス領域を変更する、単一焦点から複数の焦点に変更する、フォーカス領域の形状を変更するなど)、それ自体のアクチュエータを有し得る。加えて又は代わりに、フィードアレイアセンブリは、フィードアレイアセンブリの1つ以上のフィード素子の位置及び/又は向きの変更をもたらし得る(例えば、平面表面にフィード素子アパーチャを有するものから、円弧又は球面にフィード素子アパーチャを有するものへのフィードアレイアセンブリを変更する、フィード素子アパーチャのサブセットをフィード素子アパーチャの別のサブセットに対して動かす、フィード素子のパターンを拡大又は縮小するなど)、アクチュエータを含み得る。様々な例では、アンテナアセンブリは、通信サービスに適応させるためにネイティブなアンテナパターンの様々な変更をもたらすために、説明のアクチュエータアセンブリの任意の組み合わせを含み得る。
通信衛星のアクチュエータは、アンテナアセンブリのネイティブなアンテナパターンに調整をもたらすために様々な方法で指令され得る。例えば、セントラルコントローラ又はセントラルオペレータ(例えば、通信サービスマネージャ)は、通信衛星で受信した無線信号により、通信衛星に対して調整の指示を提供し得る。いくつかの例では、変更は、通信衛星自体のコントローラによって指令され得る。アクチュエータに対して調整を指令することは、アクチュエータの新しい位置の指示、反射器とフィードアレイアセンブリとの間の相対距離の差、反射器の所望の位置、フィードアレイアセンブリの所望の位置、アクチュエータの長さ、新しいネイティブなアンテナパターンのパラメータ、新しいネイティブなアンテナパターンと関連するルックアップ値又は任意の他の好適なパラメータ又は指示を提供することを含み得る。
いくつかの例では、ネイティブなアンテナパターンに対する調整の指令は、通信衛星の軌道位置又は軌道位置の変更(例えば、設計位置と異なる展開軌道位置又は経路、時間が経つにつれた所望の位置又は経路からのドリフトなど)により又は他にそれらに基づいてトリガされ得る。いくつかの例では、この柔軟性は、アンテナアセンブリを、展開軌道位置の事前知識がなくても、所望のサービスカバレッジエリアの事前知識がなくても設計できるようにし得、及び/又は複数の軌道位置又はサービスカバレッジエリアでの動作を支援するように設計できるようにし得る。従って、特定の軌道位置に展開されたら、そのようなアンテナアセンブリは、展開軌道位置に従って所望のサービスカバレッジエリアの全域にわたって通信サービスを支援するネイティブなアンテナパターンを提供するように指令され得る。加えて又は代わりに、通信衛星は、ネイティブなアンテナパターンを調整するための指令と一緒に、異なる軌道位置(例えば、異なる軌道スロット)に動かし、及び新しい軌道位置から通信サービスを提供するように指令され得る。いくつかの例では、ネイティブなアンテナパターンに対する調整の指令は、少なくとも部分的に、様々な他の条件、例えば通信サービスと関連する通信トラフィックのレベル、複数のビームフォームされたスポットビーム間のトラフィックの相対レベル、信号品質特性(例えば、信号強度、信号対雑音比(SNR)、信号対干渉プラス雑音比(SINR)、ネイティブなフィード素子パターンの信号品質特性、スポットビームの信号品質特性など)、1つ以上のアンテナフィード素子の動作不能状態又は他の故障、動作不能状態(例えば、通信の消失)、追加(例えば、通信の開始)又は1つ以上のアクセスノード端末のサービスにおける他の変更、熱膨張及び/又はフィードアレイアセンブリと反射器などとの間の相対位置を変化させる他の歪みに基づいてトリガされ得る。
この説明は、例を提供し、及び本明細書で説明する原理の実施形態の範囲、適用性又は構成を限定するものではない。むしろ、以下の説明は、当業者に、本明細書で説明する原理の実施形態の実施を可能にするための説明を提供する。要素の機能及び配置構成における様々な変更形態がなされ得る。
そのため、様々な実施形態は、適切に様々な処置又はコンポーネントを省略、置き換え又は追加し得る。例えば、方法は、説明と異なる順序で実施され得ること、及び様々なステップが追加、省略又は組み合わせられ得ることが理解されるであろう。また、いくつかの実施形態に関した説明した態様及び要素は、様々な他の実施形態において組み合わせられ得る。以下のシステム、方法、装置及びソフトウェアは、個別に又はまとめて、より大型のシステムのコンポーネントであり得、ここで、他の処置が優先し得るか又は他にそれらの適用例を修正し得ることも理解されるであろう。
図1Aは、本開示の態様による、衛星通信の柔軟なビームフォーミングを支援する衛星通信システム100の図を示す。衛星通信システム100は、宇宙セグメント101と地上セグメント102とからなるいくつかのネットワークアーキテクチャを使用し得る。宇宙セグメントは、1つ以上の通信衛星120を含み得る。地上セグメントは、1つ以上のユーザ端末150、1つ以上のアクセスノード端末130(例えば、ゲートウェイ端末)並びにネットワーク装置141、例えばネットワークオペレーションセンター(NOC)及び衛星及びゲートウェイ端末指令センターを含み得る。衛星通信システム100の端末(例えば、アクセスノード端末130)は、メッシュネットワーク、スターネットワークなどを介して互いに及び/又は1つ以上のネットワーク140に接続され得る。
通信衛星120は、1つ以上のアクセスノード端末130及び1つ以上のユーザ端末150との無線通信用に構成された任意の好適なタイプの通信衛星であり得る。いくつかの例では、通信衛星120は、地球静止軌道に展開され得、地球上の装置に対するその軌道位置が比較的固定されるか、又は動作許容範囲内又は他の軌道窓内(例えば、軌道スロット内)で固定されるようにする。他の例では、通信衛星120は、任意の適切な軌道(例えば、低地球軌道(LEO)、中軌道(MEO)など)で動作し得る。いくつかの例では、通信衛星120は、通信衛星120と関連し得る不確かな軌道位置を有し得、この通信衛星は、軌道スロットの展開を決定する前に設計され、取り得るある範囲の軌道位置(例えば、ある範囲の軌道位置を有する軌道スロット又は1つの軌道スロットセットに展開されている)、ある範囲の軌道経路の1つに展開され、及び/又は展開後、時間が経つにつれて意図しない軌道位置及び/又は軌道経路にドリフトしている。様々な例では、通信衛星120は、リタスクされ得(例えば、異なる地球静止軌道スロットに動かされ、異なるLEO又はMEO軌道経路に調整されるなど)、ここで、そのようなリタスクは、通信衛星120自体によって指令され得、及び/又は通信衛星120で受信した信号(例えば、アクセスノード端末130から、ネットワーク装置141からなど)によって指令され得る。
通信衛星120は、アンテナアセンブリ121、例えばフェーズドアレイアンテナアセンブリ、フェーズドアレイフィード反射器(PAFR)アンテナ又は通信サービスの信号の送信及び/又は受信に関して当技術分野で公知の任意の他の機構を使用し得る。通信衛星120は、1つ以上のアクセスノード端末130からフォワードアップリンク信号132を受信し、及び対応するフォワードダウンリンク信号172を1つ以上のユーザ端末150に提供し得る。通信衛星120はまた、1つ以上のユーザ端末150からリターンアップリンク信号173を受信し、及び対応するリターンダウンリンク信号133を1つ以上のアクセスノード端末130に転送し得る。様々な物理層送信変調及び符号化技術が、アクセスノード端末130とユーザ端末150との間の信号の通信のために通信衛星120によって使用され得る(例えば、適応符号化変調(ACM)など)。
いくつかの実施形態では、Multi-Frequency Time-Division Multiple Access(MF-TDMA)スキームは、フォワードアップリンク信号132及びリターンアップリンク信号173に使用されて、ユーザ端末150間での容量の割り当てに柔軟性を維持ながら、トラフィックの効率的なストリーミングを可能にする。これらの実施形態では、いくつかの周波数チャネルが割り当てられ、これは、固定され得るか又はより動的な方法で割り当てられ得る。時分割多元接続(TDMA)スキームは、周波数チャネルでも利用され得る。このスキームでは、各周波数チャネルは、(例えば、特定のユーザ端末150への)接続に割り振られ得るいくつかのタイムスロットに分割され得る。他の実施形態では、フォワードアップリンク信号132及びアップリンクリターン信号173の1つ以上は、周波数分割多元接続(FDMA)、直交周波数分割多元接続(OFDMA)、符号分割多元接続(CDMA)などの他のスキーム又は任意の数の当技術分野で公知のハイブリッド若しくは他のスキームを使用して構成され得る。様々な実施形態では、物理層技術は、信号132、133、172及び173のそれぞれに対して同じであり得るか、又は信号のいくつかは、他の信号と異なる物理層技術を使用し得る。
アンテナアセンブリ121は、1つ以上のビームフォームされたスポットビーム125(他にサービスビーム、衛星ビーム又は任意の他の好適な用語で呼ばれ得る)を介して通信を支援し得る。信号は、スポットビーム125の空間電磁放射パターンを形成するためにアンテナアセンブリ121を経由して送られ得る。スポットビーム125は、スポットビーム毎に単一の搬送波、すなわち1つの周波数又は隣接する周波数範囲を使用し得る。いくつかの例では、スポットビーム125は、ユーザ端末150のみを支援するように構成され得、その場合、スポットビーム125は、ユーザスポットビーム又はユーザビーム(例えば、ユーザスポットビーム125-a)と呼ばれ得る。例えば、ユーザスポットビーム125-aは、通信衛星120とユーザ端末150との間の1つ以上のフォワードダウンリンク信号172及び/又は1つ以上のリターンアップリンク信号173を支援するように構成され得る。いくつかの例では、スポットビーム125は、アクセスノード端末130のみを支援するように構成され得、その場合、スポットビーム125は、アクセスノードスポットビーム、アクセスノードビーム又はゲートウェイビーム(例えば、アクセスノードスポットビーム125-b)と呼ばれ得る。例えば、アクセスノードスポットビーム125-bは、通信衛星120とアクセスノード端末130との間の1つ以上のフォワードアップリンク信号132及び/又は1つ以上のリターンダウンリンク信号133を支援するように構成され得る。他の例では、スポットビーム125は、ユーザ端末150及びアクセスノード端末130の両方に供するように構成され得、従って、スポットビーム125は、通信衛星120とユーザ端末150とアクセスノード端末130との間のフォワードダウンリンク信号172、リターンアップリンク信号173、フォワードアップリンク信号132及び/又はリターンダウンリンク信号133の任意の組み合わせを支援し得る。
スポットビーム125は、スポットビームカバレッジエリア126内の目標装置(例えば、ユーザ端末150及び/又はアクセスノード端末130)間の通信サービスを支援し得る。スポットビームカバレッジエリア126は、地面又は何らかの他の基準面に投影されるとき、閾値を上回るスポットビーム125の信号電力(例えば、SNR、SINRなど)を有する、関連のスポットビーム125の電磁放射パターンの領域によって規定され得る。スポットビームカバレッジエリア126は、任意の好適なサービスエリア(例えば、円形、楕円形、六角形、ローカル、地域、国など)を網羅し得、且つスポットビームカバレッジエリア126内に任意の数の目標装置が置かれた状態で通信サービスを支援し得る(これは、関連のスポットビーム125内に置かれるが、飛行中又は水中の端末など、必ずしもスポットビームカバレッジエリア126の基準面にはない目標装置を含み得る)。
いくつかの例では、通信衛星120は、それぞれのスポットビームカバレッジエリア126を網羅する複数のビームフォームされたスポットビーム125を支援し得、各スポットビームカバレッジエリアは、隣接するスポットビームカバレッジエリア126と重なっていても又は重なっていなくてもよい。例えば、通信衛星120は、スポットビームカバレッジエリア126の任意の数(例えば、数十、数百、数千など)の組み合わせによって形成されたサービスカバレッジエリア(例えば、地域のカバレッジエリア、国のカバレッジエリアなど)を支援し得る。通信衛星120は、1つ以上の周波数帯域及びその任意の数の副帯域によって通信サービスを支援し得る。例えば、通信衛星120は、国際電気通信連合(ITU)のKu、K又はKaバンド、Cバンド、Xバンド、Sバンド、Lバンド、Vバンドなどでの動作を支援し得る。
サービスカバレッジエリアは、そこからの及び/又はそこへの通信サービスに地球上の送信源又は地球上の受信機の何れかが通信衛星120を介して関与し得る(例えば、それに関連する信号を送信及び/又は受信する)カバレッジエリアと広範に定義され得、及び複数のスポットビームカバレッジエリア126によって定義され得る。いくつかのシステムでは、各通信リンクのためのサービスカバレッジエリア(例えば、フォワードアップリンクカバレッジエリア、フォワードダウンリンクカバレッジエリア、リターンアップリンクカバレッジエリア及び/又はリターンダウンリンクカバレッジエリア)は、異なり得る。サービスカバレッジエリアは、通信衛星120が稼働中である(例えば、サービス軌道にある)ときにのみアクティブであり得るが、通信衛星120は、例えば、アンテナアセンブリ121の物理的コンポーネント及びそれらの相対位置に基づくネイティブなアンテナパターンを有し得る(例えば、有するように設計され得る)。通信衛星120のネイティブなアンテナパターンは、衛星のアンテナアセンブリ121に対するエネルギーの分布(例えば、アンテナアセンブリ121から送信される及び/又はそれによって受信されるエネルギー)と称し得る。
いくつかのサービスカバレッジエリアでは、隣接するスポットビームカバレッジエリア126は、ある程度の重なりを有し得る。いくつかの例では、複数の色(例えば、2、3又は4色の再使用パターン)が使用され得、ここで、「色」は、直交通信リソース(例えば、周波数リソース、偏波など)の組み合わせを指す。4色パターンの例では、いくつかの重なるスポットビームカバレッジエリア126は、それぞれ4色の1つに割り振られ得、及び各色は、周波数(例えば、1つ又は複数の周波数範囲、1つ以上のチャネルなど)及び/又は信号偏波(例えば、右旋円偏波(RHCP)、左旋円偏波(LHCP)など)の固有の組み合わせに割り当てられ得る。異なる色を、重なり領域を有するそれぞれのスポットビームカバレッジエリア126に割り振ることにより、それらの重なるスポットビームカバレッジエリア126に関連するスポットビーム125間の相互干渉が比較的ほとんどなくされ得る。従って、周波数及びアンテナ偏波のこれらの組み合わせは、繰り返しの重ならない「4色」再使用パターンにおいて再使用され得る。いくつかの例では、所望の通信サービスは、より多くの又はより少ない色を使用することによって提供され得る。加えて又は代わりに、スポットビーム125間のタイムシェアリング及び/又は他の干渉軽減技術が使用され得る。例えば、スポットビーム125は、例えばACM、干渉キャンセル、時空間符号化などの干渉軽減技術を使用して干渉を軽減した状態で同じリソース(同じ偏波及び周波数範囲)を同時に使用し得る。
いくつかの例では、通信衛星120は、「ベントパイプ」衛星として構成され得る。ベントパイプ構成では、通信衛星120は、信号をそれらの送信先に再送信する前に、受信した搬送波信号の周波数及び偏波変換を実行し得る。いくつかの例では、通信衛星120は、未処理のベントパイプアーキテクチャを支援し得、フェーズドアレイアンテナが小さいスポットビーム125を生じるために使用される(例えば、地上のビームフォーミング(GBBF)によって)。通信衛星120は、K個の一般的な経路を含み得、それらは、それぞれいかなる瞬間でもフォワード経路又はリターン経路として割り当てられ得る。より大型の反射器は、アンテナフィード素子のフェーズドアレイによって照射され得、反射器のサイズ並びにアンテナフィード素子の数及び配置によって設定された制約内でスポットビーム125の様々なパターンを形成する能力をもたらす。フェーズドアレイフィード反射器は、アップリンク信号132、173又はそれらの両方の受信及びダウンリンク信号133、172又はそれらの両方の送信の両方のために利用され得る。
通信衛星120は、複数のスポットビームモードにおいて動作し得、地球の異なる領域に向けられたいくつもの狭いスポットビーム125を送信する。これにより、様々な狭いスポットビーム125へのユーザ端末150の分離を可能にする。受信(Rx)及び送信(Tx)フェーズドアレイと関連するビームフォーミングネットワーク(BFN)はダイナミックであり得、Txスポットビーム125(例えば、ダウンリンクスポットビーム125)及びRxスポットビーム125(例えば、アップリンクスポットビーム125)の両方のロケーションを頻繁に動かすことができるようにする。ダイナミックBFNは、Tx及びRxスポットビーム125の両方の位置を迅速にホップするために使用され得る。BFNは、タイムスロットドエルタイムと呼ばれるある期間、1つのビームホッピングパターン(例えば、Tx及びRxスポットビーム125の両方)でドエルし得る。個々のタイムスロットは、全て同じドエルタイム又は異なるドエルタイムと関連し得る。各タイムスロットがRx及びTxスポットビームの潜在的に異なるロケーションパターンと関連している状態で、Q個のこれらのタイムスロットは、ビームホッピングフレームと呼ばれるシーケンスに配置される。これらのフレームは、繰り返し得るだけでなく、ダイナミックであり、且つ時間変動し得る。ビームホップタイムスロットと関連したRx及びTxスポットビームの持続時間及びロケーションもフレーム間及びフレーム内の両方で変動し得る。
ユーザ端末150は、信号を通信衛星120と通信するように構成された任意の数の装置を含み得、これは、固定端末(例えば、地上静止端末)又は船舶、航空機、地上車両などにある端末などの移動端末を含み得る。ユーザ端末150は、通信衛星120を介してデータ及び情報を通信し得、これには、ネットワーク装置141又はネットワーク140と関連した何らかの他の装置若しくは分散サーバなどの送信先装置へのアクセスノード端末130を介した通信を含み得る。ユーザ端末150は、例えば、DVB-S2、WiMAX、LTE及びDOCSIS規格で定義されているものを含む、様々な物理層送信変調及び符号化技術に従って信号を通信し得る。
ユーザ端末150は、通信衛星120からフォワードダウンリンク信号172を受信するように構成されたユーザ端末アンテナ152を含み得る。ユーザ端末アンテナ152は、通信衛星120にリターンアップリンク信号173を送信するようにも構成され得る。そのため、ユーザ端末150は、スポットビーム125(例えば、ユーザスポットビーム125-a)を介した通信衛星120との一方向又は双方向通信のために構成され得る。いくつかの例では、ユーザ端末アンテナ152は、指向性であり得る。例えば、ユーザ端末アンテナ152は、主軸(例えば、アンテナボアサイト方向)に沿ってピークゲインを有し得、これは、焦点合わせ及び/又は反射要素の固定構成により、及び/又は電子的に構成可能なビームフォーミングによりもたらされ得る。
ユーザ端末アンテナ152は、ユーザ端末アンテナアセンブリ153の一部であり得、これは、衛星端末アンテナを装備するための様々なハードウェアも含み得る。ユーザ端末アンテナアセンブリ153は、無線周波数(RF)衛星通信信号(例えば、フォワードダウンリンク信号172及び/又はリターンアップリンク信号173)と、ユーザ端末アンテナ152とユーザ端末受信機158との間で送信されるユーザ端末通信信号157との間での変換(例えば、周波数変換、変調/復調、多重化/デマルチプレクシング、フィルタリング、転送などを実施する)のための回路及び/又はプロセッサも含み得る。そのような回路及び/又はプロセッサは、アンテナ通信アセンブリに含まれ得、これは、送受信統合アセンブリ(TRIA)とも言及され得る。加えて又は代わりに、ユーザ端末受信機158は、様々なRF信号操作(例えば、受信、周波数変換、変調/復調、多重化/デマルチプレクシングの実施など)を実施するための回路及び/又はプロセッサを含み得る。ユーザ端末アンテナアセンブリ153はまた、衛星屋外ユニット(ODU)として公知であり、及びユーザ端末受信機158は、衛星屋内ユニット(IDU)として公知であり得る。いくつかの例では、ユーザ端末アンテナ152及びユーザ端末受信機158は、一緒に超小型衛星通信地球局(VSAT)を含み、ユーザ端末アンテナ152は、約0.6メートルの直径であり、且つ約2ワットの電力を有する。他の実施形態では、様々な他のタイプのユーザ端末アンテナ152がユーザ端末150において使用されて、通信衛星120からフォワードダウンリンク信号172を受信し得る。ユーザ端末150は、それぞれ単一のユーザ端末を含み得るか、又は代わりに複数のユーザ端末150に結合されるハブ又はルータ(図示せず)を含み得る。
ユーザ端末150は、有線又は無線接続161を介して1つ以上の顧客端末(CPE)160に接続され得、及び衛星通信システムを介してネットワークアクセスサービス(例えば、インターネットアクセスなど)又は他の通信サービス(例えば、放送媒体など)をCPE160に提供し得る。CPE160は、ユーザ装置、例えば、限定されるものではないが、コンピュータ、ローカルエリアネットワーク、インターネット家電、ワイヤレスネットワーク、携帯電話、パーソナルデジタルアシスタント(PDA)、他のハンドヘルドデバイス、ネットブック、ノートブックコンピュータ、タブレットコンピュータ、ラップトップ、表示装置(例えば、TV、コンピュータモニタなど)、プリンターなどを含み得る。CPE160は、ルータ、ファイアウォール、スイッチ、構内交換機(PBX)、ボイスオーバーインターネットプロトコル(VoIP)ゲートウェイなどを含む、加入者の敷地に置かれた任意の機器も含み得る。いくつかの例では、ユーザ端末150は、通信衛星120及びアクセスノード端末130を介したCPE160とネットワーク140との間の双方向通信のために提供される。
アクセスノード端末130は、通信衛星120に対するフォワードアップリンク信号132及びリターンダウンリンク信号133に供され得る。アクセスノード端末130は、地上局、ゲートウェイ、ゲートウェイ端末又はハブとしても公知であり得る。アクセスノード端末130は、アクセスノード端末アンテナシステム131及びアクセスノード受信機135を含み得る。アクセスノード端末アンテナシステム131は、通信衛星120と信頼性高く通信するように、適切な送信電力及び受信感度を可能にし、且つそのように設計された双方向であり得る。一実施形態では、アクセスノード端末アンテナシステム131は、通信衛星120の方向では高指向性及び他の方向では低指向性の放物面反射器を含み得る。アクセスノード端末アンテナシステム131は、様々な代替的な構成を含み、及び例えば直交偏波間の高分離、動作周波数帯域における高効率、低雑音などの動作特徴を含み得る。
アクセスノード端末130は、ユーザ端末150へのトラフィックをスケジュールし得る。代わりに、スケジューリングは、衛星通信システム100の他の部分において(例えば、ネットワークオペレーションセンター(NOC)及び/又はゲートウェイ指令センターを含み得る1つ以上のネットワーク装置141で)実行され得る。図1Aではアクセスノード端末130を1つのみ示すが、本発明の実施形態は、複数のアクセスノード端末130を有し、それぞれが互いに及び/又は1つ以上のネットワーク140に結合され得る衛星通信システムにおいて実施され得る。
いくつかの衛星通信システムでは、送信に利用可能な周波数スペクトルの量が限定され得る。アクセスノード端末130と通信衛星120との間の通信リンクは、通信衛星120とユーザ端末150との間の通信リンクと同じであるか、重なっているか又はそれと異なる周波数を使用し得る。アクセスノード端末130は、周波数の再使用を容易にするためにユーザ端末150から遠隔置にも置かれ得る。
通信衛星120は、1つ以上のスポットビーム125(例えば、それぞれのアクセスノードスポットビームカバレッジエリア126-bと関連し得るアクセスノードスポットビーム125-b)を介してリターンダウンリンク信号133を送信し、且つ/又はフォワードアップリンク信号132を受信することによってアクセスノード端末130と通信し得る。アクセスノードスポットビーム125-bは、例えば、1つ以上のユーザ端末150の通信サービス(例えば、通信衛星120によって中継される)又は通信衛星120とアクセスノード端末130との間の任意の他の通信を支援し得る。
アクセスノード端末130は、ネットワーク140と通信衛星120との間にインターフェースを提供し得、及びネットワーク140と1つ以上のユーザ端末150との間を伝播するように向けられたデータ及び情報を受信するように構成され得る。アクセスノード端末130は、それぞれのユーザ端末150に届けるためのデータ及び情報をフォーマットし得る。同様に、アクセスノード端末130は、通信衛星120から(例えば、1つ以上のユーザ端末150から)ネットワーク140を介してアクセス可能な送信先に向けられた信号を受信するように構成され得る。アクセスノード端末130は、ネットワーク140で送信するために受信信号もフォーマットし得る。
ネットワーク140は、任意のタイプのネットワークであり得、及び例えばインターネット、IPネットワーク、イントラネット、広域ネットワーク(WAN)、メトロポリタンエリアネットワーク(MAN)、ローカルエリアネットワーク(LAN)、仮想私設ネットワーク(VPN)、仮想LAN(VLAN)、光ファイバーネットワーク、光-同軸ハイブリットネットワーク、ケーブルネットワーク、公衆交換電話網(PSTN)、公衆電話交換網(PSDN)、公衆携帯電話網(PLMN)及び/又は本明細書で説明するような装置間の任意の他のタイプのネットワーク支援通信を含み得る。ネットワーク140は、有線及び無線接続の両方並びに光リンクを含み得る。ネットワーク140は、アクセスノード端末130を、通信衛星120又は他の衛星と通信し得る他のアクセスノード端末と接続し得る。
1つ以上のネットワーク装置141は、アクセスノード端末130と結合され得、及び衛星通信システム100の態様を制御し得る。様々な例では、ネットワーク装置141は、アクセスノード端末130と同一場所に配置されるか又は他にその近くに置かれ得、又は有線及び/又は無線通信リンクを介してアクセスノード端末130及び/又はネットワーク140と通信する遠隔設置であり得る。
図1Bは、本開示の態様による、衛星通信の柔軟なビームフォーミングを支援する通信衛星120のアンテナアセンブリ121を示す。図1Bに示すように、アンテナアセンブリ121は、フィードアレイアセンブリ127と、遠方の通信源から受信するときに電磁信号(例えば、インバウンド電磁信号180)が集められるフォーカス領域123を有するように成形された反射器122とを含み得る。同様に、フォーカス領域123に置かれたフィードアレイアセンブリ127が発した信号が反射器122によって反射されて、外向きの平面波(例えば、アウトバウンド電磁信号180)にされる。フィードアレイアセンブリ127及び反射器122は、フィードアレイアセンブリ127の複数のフィード素子128のそれぞれに対するネイティブなフィード素子パターンの合成によって形成されたネイティブなアンテナパターンと関連し得る。
本明細書で説明するように、通信衛星120がサービス軌道にあるとき、通信衛星120は、アンテナアセンブリ121のネイティブなアンテナパターンに従って動作し得る。ネイティブなアンテナパターンは、少なくとも部分的に、フィードアレイアセンブリ127のフィード素子128のパターン、反射器122に対するフィードアレイアセンブリ127の相対位置(例えば、フォーカスオフセット距離129)などに基づき得る。ネイティブなアンテナパターン220は、ネイティブなアンテナパターンカバレッジエリアと関連し得る。本明細書で説明するアンテナアセンブリ121は、アンテナアセンブリ121のネイティブなアンテナパターンカバレッジエリアを備える特定のサービスカバレッジエリアを支援するように設計され得、及び様々な設計特性が計算的に(例えば、分析又はシミュレーションによって)決定され得、且つ/又は実験的に(例えば、アンテナテスト範囲で又は実用で)測定され得る。
図1Bに示すように、アンテナアセンブリ121のフィードアレイアセンブリ127は、反射器122と反射器122のフォーカス領域123との間に置かれ得る。具体的には、フィードアレイアセンブリ127は、フォーカス領域123からフォーカスオフセット距離129に置かれ得る。従って、アンテナアセンブリ121のフィードアレイアセンブリ127は、反射器122に対してデフォーカス位置に置かれ得る。アンテナアセンブリ121は、本明細書で説明するようなネイティブなアンテナパターンの変更をもたらし得るアクチュエータ124も含み得る。例えば、アクチュエータ124は、反射器122とフィードアレイアセンブリ127との間に結合されたリニアアクチュエータであり得、これは、フォーカスオフセット距離129の変更をもたらして、ネイティブなアンテナパターンの変更をもたらす。リニアアクチュエータ124は、一方向に動くように制約され得、これは、いくつかの例では、主に、成形された反射器122の中心と、成形された反射器122のフォーカス領域123との間の方向に沿って位置合わせされ得る。ダイレクトオフセットフィードアレイアセンブリ127として図1Bに示すが、フロントフィードアレイアセンブリ127並びに副反射器(例えば、カセグレン(Cassegrain)アンテナなど)の使用を含め、他のタイプの構成が使用され得る。
図1Cは、本開示の態様による、衛星通信の柔軟なビームフォーミングを支援するアンテナアセンブリ121のフィードアレイアセンブリ127を示す。図1Cに示すように、フィードアレイアセンブリ127は、信号(例えば、通信サービスと関連した信号、通信衛星120の構成又は制御と関連した信号など)の通信のために複数のアンテナフィード素子128を有し得る。
本明細書では、フィード素子128は、受信アンテナ素子、送信アンテナ素子又は送信及び受信の両方を支援するように構成されたアンテナ素子(例えば、送受信素子)と称し得る。受信アンテナ素子は、電磁信号を電気信号に変換する物理的トランスデューサ(又はRFトランスデューサ)を含み得、及び用語送信アンテナ素子は、電気信号によって励起されると、電磁信号を発する物理的トランスデューサを含む素子を指し得る。場合により、同じ物理的トランスデューサを送信及び受信に使用し得る。
フィード素子128のそれぞれは、例えば、給電ホーン、偏波トランスデューサ(例えば、異なる偏波を備える2つの組み合わせられた素子として機能し得る隔壁偏波ホーン)、マルチポートマルチバンドホーン(例えば、デュアル偏波LHCP/RHCPを備えるデュアルバンド20GHz/30GHz)、キャビティ付きスロット、逆F、スロット付き導波管、Vivaldi、Helical、ループ、パッチ若しくはアンテナ素子の任意の他の構成又は相互接続されたサブ要素の組み合わせを含み得る。フィード素子128のそれぞれはまた、RF信号トランスデューサ、低雑音増幅器(LNA)又は電力増幅器(PA)を含み得るか又は他にそれらと結合され得、及び例えば周波数変換、ビームフォーミング処理などの他の信号処理を実行し得る通信衛星120内の応答機と結合され得る。
反射器122は、フィードアレイアセンブリ127と1つ以上の目標装置(例えば、ユーザ端末150、アクセスノード端末130など)との間で送信された信号を反射するように構成され得る。フィードアレイアセンブリ127の各フィード素子128は、それぞれのネイティブなフィード素子パターンと関連し得、さらに、投影されたネイティブなフィード素子パターンカバレッジエリア(例えば、反射器122からの反射後に地球の表面、平面又は体積部に投影されるような)と関連し得る。マルチフィードアンテナのためのネイティブなフィード素子パターンカバレッジエリアの集合は、ネイティブなアンテナパターンと言及され得る。フィードアレイアセンブリ127は、任意の好適な配置構成(例えば、リニアアレイ、弓状アレイ、平面アレイ、ハニカムアレイ、多面体アレイ、球形アレイ、楕円形アレイ又はこれらの組み合わせ)に配置され得る任意の数のフィード素子128(例えば、数十、数百、数千など)を含み得る。図1Cでは各フィード素子128を円形で示すが、フィード素子128は、他の形状、例えば正方形、矩形、六角形などであり得る。
図2A~2Dは、本開示の態様による、成形された反射器122-aのフォーカス領域123に置かれたフィードアレイアセンブリ127-aを有するアンテナアセンブリ121-aのアンテナ特性の例を示す。
図2Aは、フィードアレイアセンブリ127-aのフィード素子128-aと関連したネイティブなフィード素子パターン210-aの図201を示す。具体的には、図201は、フィード素子128-a-1、128-a-2及び128-a-3にそれぞれ関連付けられたネイティブなフィード素子パターン210-a-1、210-a-2及び210-a-3を示す。ネイティブなフィード素子パターン210-aは、それぞれの各フィード素子128に関連した空間放射パターンを表し得る。例えば、フィード素子128-a-2が送信しているとき、送信された電磁信号は、反射器122-aで反射され、及び全体的に円錐状のネイティブなフィード素子パターン210-a-2で伝播する(ただし、フィード素子128及び/又は反射器122の特性に依存して他の形状も可能である)。アンテナアセンブリ121-aに対してネイティブなフィード素子パターン210-aを3つのみ示すが、アンテナアセンブリ121のフィード素子128のそれぞれは、それぞれのネイティブなフィード素子パターン210と関連する。アンテナアセンブリ121-aと関連したネイティブなフィード素子パターン210-aの合成(例えば、ネイティブなフィード素子パターン210-a-1、210-a-2、210-a-及び図示しない他のネイティブなフィード素子パターン210-a)は、ネイティブなアンテナパターン220-aと言及され得る。
フィード素子128-aのそれぞれはまた、ネイティブなフィード素子パターンカバレッジエリア211-aと関連し得(例えば、それぞれフィード素子128-a-1、128-a-2及び128-a-3と関連するネイティブなフィード素子パターンカバレッジエリア211-a-1、211-a-2及び211-a-3)、基準面(例えば、地面又は何らかの他の基準平面又は表面)上へのネイティブなフィード素子パターン210-aの投影を表す。ネイティブなフィード素子パターンカバレッジエリア211は、様々な装置(例えば、アクセスノード端末130及び/又はユーザ端末150)がそれぞれのフィード素子128によって送信された信号を受信し得るエリアを表し得る。加えて又は代わりに、ネイティブなフィード素子パターンカバレッジエリア211は、様々な装置からの送信がそれぞれのフィード素子128によって受信され得るエリアを表し得る。例えば、ネイティブなフィード素子パターンカバレッジエリア211-a-2内に位置する対象のエリア230-aに置かれた装置は、フィード素子128-a-2によって送信された信号を受信し得、及び送信をフィード素子128-a-2によって受信させ得る。アンテナアセンブリ121-aと関連したネイティブなフィード素子パターンカバレッジエリア211-aの合成(例えば、ネイティブなフィード素子パターンカバレッジエリア211-a-1、211-a-2、211-a-及び図示しない他のネイティブなフィード素子パターンカバレッジエリア211-a)は、ネイティブなアンテナパターンカバレッジエリア221-aと言及され得る。図201は、縮尺通りに描かれてはおらず、ネイティブなフィード素子パターンカバレッジエリア211は、それぞれ一般的に反射器122-aよりも遥かに大きいことを理解すべきである。フィードアレイアセンブリ127-aは、反射器122-aのフォーカス領域123に置かれているため、ネイティブなフィード素子パターン210-aは、ネイティブなアンテナパターンカバレッジエリア221-aの領域において実質的に重なっておらず、従って、ネイティブなフィード素子パターンカバレッジエリア211-aは、実質的に重なっていない。そのため、ネイティブなアンテナパターンカバレッジエリア221-aにおける各位置は、1つの又は少数の(例えば、3つ以下の)フィード素子128と関連する。
図2Bは、対象の点230-aからの送信240-aのためのアンテナアセンブリ121-aの信号受信を示す図202を示す。対象の点230-aからの送信240-aは、反射器122-a全体又は反射器122-aの一部分を照射し、その後、反射器122-aの形状及び反射器122-aでの送信240の入射角に従ってフィードアレイアセンブリ127-aの方にフォーカスされ且つ向けられ得る。フィードアレイアセンブリ127-aは、反射器122-aのフォーカス領域123に置かれるため、送信240-aは、単一のフィード素子(例えば、対象の点230-aが置かれるネイティブなフィード素子パターンカバレッジエリア211-a-2と関連したフィード素子128-a-2)又はネイティブなフィード素子パターンカバレッジエリア211-aの重なりのエリア内に置かれる場合、少数の(例えば、3つ以下の)フィード素子128-aにフォーカスされ得る。
図2Cは、ゼロオフセット角度235-aから測定された角度を参照して、フィードアレイアセンブリ127-aの3つのアンテナフィード素子128-aと関連するネイティブなフィード素子パターンゲインプロファイル250-aの図203を示す。例えば、ネイティブなフィード素子パターンゲインプロファイル250-a-1、250-a-2及び250-a-3は、アンテナフィード素子128-a-1、128-a-2及び128-a-3にそれぞれ関連し得るため、ネイティブなフィード素子パターン210-a-1、210-a-2及び210-a-3のゲインプロファイルを表し得る。図203に示すように、各ネイティブなフィード素子パターンゲインプロファイル250のゲインは、ピークゲインから両方向にオフセットした角度で減衰し得る。図203では、ビーム境界レベル255-aは、アンテナアセンブリ121-aを介した通信サービスを支援するために所望のゲインレベルを表し得(例えば、所望の情報速度などを提供するために)、従って、それは、それぞれのネイティブなフィード素子パターンカバレッジエリア211-a(例えば、ネイティブなフィード素子パターンカバレッジエリア211-a-1、211-a-2及び211-a-3)の境界を規定するために使用され得る。ビーム境界レベル255-aは、ピークゲインからの例えば-1dB、-2dB若しくは3dBの減衰を表し得るか、又は絶対信号強度、SNR若しくはSINRレベルによって規定され得る。ネイティブなフィード素子パターンゲインプロファイル250-aを3つのみ示すが、他のネイティブなフィード素子パターンゲインプロファイル250-aは、他のアンテナフィード素子128-aと関連し得る。
図2Dは、フィードアレイアセンブリ127-aのいくつかのフィード素子128(例えば、フィード素子128-a-1、128-a-2及び128-a-3を含む)の理想化されたネイティブなフィード素子パターンカバレッジエリア211の2次元アレイを示す図204を示す。ネイティブなフィード素子パターンカバレッジエリア211は、基準面(例えば、通信衛星からある距離を置いた平面、地面からある程度距離を置いた平面、ある程度の高度にある球面、地面など)に対して示され得、及びさらに基準面に隣接した体積部(例えば、基準面と通信衛星との間の実質的に円錐形の体積部、基準面の下側の体積部など)を含み得る。複数のネイティブなフィード素子パターンカバレッジエリア211-aは、まとめて、ネイティブなアンテナパターンカバレッジエリア221-aを形成し得る。ネイティブなフィード素子パターンカバレッジエリア211-aを8個のみ示すが、フィードアレイアセンブリ127は、ネイティブなフィード素子パターンカバレッジエリア211とそれぞれ関連する任意の数のフィード素子128(例えば、7個以下又は9個以上)を有し得る。
各ネイティブなフィード素子パターンカバレッジエリア211の境界は、ビーム境界レベル255-aにおけるそれぞれのネイティブなフィード素子パターン210に対応し得、及び各ネイティブなフィード素子パターンカバレッジエリア211のピークゲインは、「x」で指定されたロケーションを有し得る。ネイティブなフィード素子パターンカバレッジエリア211-a-1、211-a-2及び211-a-3は、ネイティブなフィード素子パターンゲインプロファイル250-a-1、250-a-2及び250-a-3と関連するネイティブなフィード素子パターンの投影にそれぞれ対応し得、ここで、図203は、図204の断面平面260-aに沿ったネイティブなフィード素子パターンゲインプロファイル250を示す。図204では、フィードアレイアセンブリ127-aが反射器122-aのフォーカス領域に置かれているため、各ネイティブなフィード素子パターンカバレッジエリア211の比較的小さい部分のみが、隣接するネイティブなフィード素子パターンカバレッジエリア211に重なる。さらに、一般的に、サービスカバレッジエリア内のロケーション(例えば、通信衛星の複数のスポットビームの全カバレッジエリア)は、2つ以下のアンテナフィード素子128のネイティブなフィード素子パターンカバレッジエリア211内に入る。例えば、アンテナアセンブリ121-aは、3つ以上のネイティブなフィード素子パターンカバレッジエリア211が重なるエリアが最小限にされるように構成され得る(例えば、3つのネイティブなフィード素子パターンカバレッジエリア211が、図2Dに示すように、ある点で又はその近くで交差するように構成され得るなど)。いくつかの例では、この条件は、フィードアレイアセンブリ127のフィード素子128又はネイティブなフィード素子パターンカバレッジエリア211を傾斜させているとも呼ばれ得る。ネイティブなフィード素子パターンカバレッジエリア211は、本明細書では、単純にするためにカバレッジエリアが円形として示されているため、理想化されていると呼ばれ得る。しかしながら、様々な例では、ネイティブなフィード素子パターンカバレッジエリア211は、円形以外の何らかの形状であり得る(例えば、楕円、六角形、矩形など)。そのため、傾斜したネイティブなフィード素子パターンカバレッジエリア211は、互いに、図204に示すものよりも多くの重なりを有し得る(例えば、場合により4つ以上のネイティブなフィード素子パターンカバレッジエリア211が重なり得る)。
図3A~3Dは、本開示の態様による、デフォーカス位置で動作するフィードアレイアセンブリ127-bを有するアンテナアセンブリ121-bのアンテナ特性の例を示す。フィードアレイアセンブリ127-bがアンテナアセンブリ121のフォーカス領域123に置かれないとき、アンテナアセンブリ121は、デフォーカス条件で動作していると理解される。デフォーカス条件では、アンテナアセンブリ121は、受信した送信を所与のロケーションからより多くのアンテナフィード素子128に広げ、及び送信された電力をフィード素子128からより大きいエリアにわたって広げる。そのため、各ネイティブなフィード素子パターン210は、より大きいビーム幅を有し、及びネイティブなフィード素子パターン210間により多くの量の重なりがある。図3A~3Dの例によれば、デフォーカス条件は、図1Bに示すように、フィードアレイアセンブリ127-bを反射器122-bと反射器122-bのフォーカス領域123との間に置くことによって(例えば、フォーカスオフセット距離129によってオフセットされる)提供され得る。
図3Aは、フィードアレイアセンブリ127-bのフィード素子128-bと関連したネイティブなフィード素子パターン210-bの図301を示す。具体的には、図301は、フィード素子128-b-1、128-b-2及び128-b-3に関連したネイティブなフィード素子パターン210-b-1、210-b-2及び210-b-3をそれぞれ示す。アンテナアセンブリ121-bに対してネイティブなフィード素子パターン210-bを3つのみ示すが、アンテナアセンブリ121のフィード素子128のそれぞれは、それぞれのネイティブなフィード素子パターン210と関連する。アンテナアセンブリ121-bと関連したネイティブなフィード素子パターン210-bの合成(例えば、ネイティブなフィード素子パターン210-b-1、210-b-2、210-b-及び図示しない他のネイティブなフィード素子パターン210-b)は、ネイティブなアンテナパターン220-bと言及され得る。
フィード素子128-bのそれぞれは、ネイティブなフィード素子パターンカバレッジエリア211-bとも関連し得(例えば、それぞれフィード素子128-b-1、128-b-2及び128-b-3と関連したネイティブなフィード素子パターンカバレッジエリア211-b-1、211-b-2及び211-b-3)、このパターンカバレッジエリアは、基準面(例えば、地面又は何らかの他の基準平面又は表面)上へのネイティブなフィード素子パターン210-bの投影を表す。アンテナアセンブリ121-bと関連したネイティブなフィード素子パターンカバレッジエリア211-bの合成(例えば、ネイティブなフィード素子パターンカバレッジエリア211-b-1、211-b-2、211-b-及び図示しない他のネイティブなフィード素子パターンカバレッジエリア211-b)は、ネイティブなアンテナパターンカバレッジエリア221-bと言及され得る。フィードアレイアセンブリ127-bが反射器122-bに対してデフォーカス位置で動作しているため、ネイティブなフィード素子パターン210-b、従ってネイティブなフィード素子パターンカバレッジエリア211-bは、実質的に重なっている。そのため、ネイティブなアンテナパターンカバレッジエリア221-bにおける各位置は、複数のフィード素子128と関連し得る。
図3Bは、対象の点230-bからの送信240-bに関するアンテナアセンブリ121-bの信号受信を示す図302を示す。対象の点230-bからの送信240-bは、反射器122-b全体又は反射器122-bの一部分のみを照射し、その後、反射器122-bの形状及び反射器122-bでの送信240の入射角に従ってフィードアレイアセンブリ127-bの方にフォーカスされ且つ向けられ得る。フィードアレイアセンブリ127-bが反射器122-bに対してデフォーカス位置で動作しているため、送信240-bは、複数のフィード素子128(例えば、それぞれ対象の点230-bを含むネイティブなフィード素子パターンカバレッジエリア211-b-1、211-b-2及び211-b-3と関連したフィード素子128-b-1、128-b-2及び128-b-3)でフォーカスされ得る。
図3Cは、ゼロオフセット角度235-bから測定された角度を参照して、フィードアレイアセンブリ127-bの3つのアンテナフィード素子128-bと関連したネイティブなフィード素子パターンゲインプロファイル250-bの図303を示す。例えば、ネイティブなフィード素子パターンゲインプロファイル250-b-1、250-b-2及び250-b-3は、アンテナフィード素子128-b-1、128-b-2及び128-b-3にそれぞれ関連するため、ネイティブなフィード素子パターン210-b-1、210-b-2及び210-b-3のゲインプロファイルを表し得る。図303に示すように、各ネイティブなフィード素子パターンゲインプロファイル250-bのゲインは、ピークゲインから両方向においてオフセットした角度で減衰し得る。図303では、ビーム境界レベル255-bは、アンテナアセンブリ121-bを介した通信サービスを支援するために、所望のゲインレベルを表し得(例えば、所望の情報速度などを提供するために)、従って、それぞれのネイティブなフィード素子パターンカバレッジエリア211-b(例えば、ネイティブなフィード素子パターンカバレッジエリア211-b-1、211-b-2及び211-b-3)の境界を規定するために使用され得る。ビーム境界レベル255-bは、例えば、ピークゲインからの-1dB、-2dB若しくは3dBの減衰を表し得るか、又は絶対信号強度、SNR若しくはSINRレベルによって定義され得る。ネイティブなフィード素子パターンゲインプロファイル250-bを3つのみ示すが、他のネイティブなフィード素子パターンゲインプロファイル250-bが他のアンテナフィード素子128-bと関連し得る。
図303に示すように、ネイティブなフィード素子パターンゲインプロファイル250-bのそれぞれは、ビーム境界レベル255-bの上方のゲインプロファイルのかなりの部分について、別のネイティブなフィード素子パターンゲインプロファイル250-bと交差し得る。従って、図303は、ネイティブなフィード素子パターンゲインプロファイル250の配置構成を示し、ここで、フィードアレイアセンブリ127の複数のアンテナフィード素子128は、特定の角度(例えば、ネイティブなアンテナパターン220-bの特定の方向)で通信サービスを支援し得る。いくつかの例では、この条件は、重なりの程度が高い、フィードアレイアセンブリ127のフィード素子128又はネイティブなフィード素子パターンカバレッジエリア211を有すると言及され得る。
図3Dは、フィードアレイアセンブリ127-bのいくつかのフィード素子128(例えば、フィード素子128-b-1、128-b-2及び128-b-3を含む)の理想化されたネイティブなフィード素子パターンカバレッジエリア211の2次元アレイを示す図304を示す。ネイティブなフィード素子パターンカバレッジエリア211は、基準面(例えば、通信衛星からある距離を置いた平面、地面からある程度距離を置いた平面、ある程度の高度にある球面、地面など)に対して示され得、及びさらに基準面に隣接する体積部(例えば、基準面と通信衛星との間の実質的に円錐形の体積部、基準面の下側の体積部など)を含み得る。複数のネイティブなフィード素子パターンカバレッジエリア211-bは、まとめて、ネイティブなアンテナパターンカバレッジエリア221-bを形成し得る。ネイティブなフィード素子パターンカバレッジエリア211-bを8個のみ示すが、フィードアレイアセンブリ127は、ネイティブなフィード素子パターンカバレッジエリア211とそれぞれが関連する任意の数のフィード素子128を有し得る(例えば、7個以下又は9個以上)。
各ネイティブなフィード素子パターンカバレッジエリア211の境界は、ビーム境界レベル255-bにおいてそれぞれのネイティブなフィード素子パターン210に対応し得、及び各ネイティブなフィード素子パターンカバレッジエリア211のピークゲインは、「x」と指定されたロケーションを有し得る。ネイティブなフィード素子パターンカバレッジエリア211-b-1、211-b-2及び211-b-3は、ネイティブなフィード素子パターンゲインプロファイル250-b-1、250-b-2及び250-b-3にそれぞれ関連したネイティブなフィード素子パターンの投影に対応し得、ここで、図303は、図304の断面平面260-bに沿ったビームゲインプロファイルを示す。図304では、フィードアレイアセンブリ127-aは、反射器122-bに対してデフォーカス位置に置かれるため、各ネイティブなフィード素子パターンカバレッジエリア211のかなりの部分(例えば大部分)が、隣接するネイティブなフィード素子パターンカバレッジエリア211と重なる。さらに、一般的に、サービスカバレッジエリア内のロケーション(例えば、通信衛星の複数のスポットビームの全カバレッジエリア)は、2つ以上のアンテナフィード素子128のネイティブなフィード素子パターンカバレッジエリア211内に入る。例えば、アンテナアセンブリ121-bは、3つ以上のネイティブなフィード素子パターンカバレッジエリア211が重なるエリアが最大にされるように構成され得る。いくつかの例では、この条件は、重なりの程度が高い、フィードアレイアセンブリ127のフィード素子128又はネイティブなフィード素子パターンカバレッジエリア211を有するとも言及され得る。ネイティブなフィード素子パターンカバレッジエリア211を8個のみ示すが、フィードアレイアセンブリ127は、同様の方法でネイティブなフィード素子パターンカバレッジエリア211と関連した任意の数のアンテナフィード素子128を有し得る。
場合により、デフォーカス位置で動作するフィードアレイアセンブリ127に関し、かなりの量(例えば、半分を上回る)のサービスカバレッジエリア(例えば、通信衛星の複数のスポットビームの全カバレッジエリア)が、いくつか(例えば、3つ以上又は4つ以上)のアンテナフィード素子128のネイティブなフィード素子パターンカバレッジエリア211の境界に入る。そのような1つの場合、少なくとも1つの点が、フィードアレイアセンブリ127のネイティブなフィード素子パターンカバレッジエリア211の少なくとも50%の境界内にある。別の場合、サービスカバレッジエリアの少なくとも10パーセントが、ネイティブなフィード素子パターンカバレッジエリア211の少なくとも25%の境界内にある。別の場合、サービスカバレッジエリアの少なくとも20%が、ネイティブなフィード素子パターンカバレッジエリア211の少なくとも20%の境界内にある。別の場合、サービスカバレッジエリアの少なくとも30%が、ネイティブなフィード素子パターンカバレッジエリア211の少なくとも10%の境界内にある。別の場合、サービスカバレッジエリアの少なくとも50%が、少なくとも4つの異なるネイティブなフィード素子パターンカバレッジエリア211の境界内にある。例えば、100平方マイルのサービスカバレッジエリア及び200個のフィード素子128に関し、少なくとも1つの点は、100個のネイティブなフィード素子パターンカバレッジエリア211内にあり、少なくとも10平方マイルは、50個のネイティブなフィード素子パターンカバレッジエリア211内にあり得、少なくとも20平方マイルは、40個のネイティブなフィード素子パターンカバレッジエリア211内にあり得、少なくとも30平方マイルは、20個のネイティブなフィード素子パターンカバレッジエリア211内にあり得るか、又は少なくとも50平方マイルは、4個以上のネイティブなフィード素子パターンカバレッジエリア211内にあり得る。しかしながら、場合により、これらの関係の2つ以上が真であり得る。
場合により、単一のアンテナアセンブリ121は、ユーザ端末150間又はアクセスノード端末130間の信号の送信及び受信に使用され得る。他の例では、通信衛星120は、信号の受信及び信号の送信に別個のアンテナアセンブリ121を含み得る。通信衛星120の受信アンテナアセンブリ121は、一般的に、通信衛星120の送信アンテナアセンブリ121と同じサービスカバレッジエリアに向けられ得る。そのため、受信のために構成されたアンテナフィード素子128に対するいくつかのネイティブなフィード素子パターンカバレッジエリア211は、自然に、送信のために構成されたアンテナフィード素子128に対するネイティブなフィード素子パターンカバレッジエリア211に対応し得る。これらの場合、受信アンテナフィード素子128は、それらの対応する送信アンテナフィード素子128と同様の方法でマッピングされ得(例えば、異なるフィードアレイアセンブリ127の同様のアレイパターンを有する、信号処理ハードウェアへの同様の有線及び/又は回路接続を有する、同様のソフトウェア構成及び/又はアルゴリズムを有するなど)、送信及び受信のためのネイティブなフィード素子パターンカバレッジエリア211に向けた同様の信号経路を生じ且つ処理を行う。しかしながら、場合により、受信アンテナフィード素子128及び送信アンテナフィード素子128を違った方法でマッピングすることが好都合であり得る。
いくつかの例では、重なりの程度が高い複数のネイティブなフィード素子パターン210は、1つ以上のスポットビーム125を提供するためにビームフォーミングによって組み合わせられ得る。スポットビーム125のためのビームフォーミングは、重なるネイティブなフィード素子パターンカバレッジエリア211を有する1つ以上のフィードアレイアセンブリ127の複数のフィード素子128によって送信及び/又は受信された信号の信号位相(又は時間遅延)及び/又は信号振幅を調整することによって実施され得る。送信(例えば、フィードアレイアセンブリ127の送信用フィード素子128からの)に関し、送信された信号の相対位相及びときに振幅が調整されるため、フィード素子128によって送信されたエネルギーが、構造上、所望のロケーション(例えば、スポットビームカバレッジエリア126のロケーション)で重なり合う。この位相及び/又は振幅の調整は、一般に、送信された信号にビーム重み(例えば、ビームフォーミング係数)を適用すると言及され得る。受信(例えば、フィードアレイアセンブリ127の受信用アンテナフィード素子128によるなど)に関し、受信した信号の相対位相及びときに振幅が調整されるため(例えば、同じ又は異なるビーム重みを適用することによって)、アンテナフィード素子128によって所望のロケーション(例えば、スポットビームカバレッジエリア126のロケーションなど)で受信したエネルギーが、構造上、所与のスポットビームカバレッジエリア126に対して重なり合う。用語ビームフォーミングは、送信、受信又はそれらの両方に対しての何れかに関わらず、ビーム重みの適用を指すために使用され得る。適応ビームフォーマは、ビーム重みを動的計算する機能を含む。ビーム重みの計算は、通信チャネル特性を直接又は間接的に発見することを必要とし得る。ビーム重み計算及びビーム重み適用のプロセスは、同じ又は異なるシステムコンポーネントで実施され得る。
スポットビーム125は、異なるビーム重みを適用することにより、操縦、選択的にフォーミング及び/又は他に再構成され得る。例えば、いくつものアクティブなネイティブなフィード素子パターン、スポットビームカバレッジエリア126、スポットビームのサイズ、ネイティブなフィード素子パターン及び/又はスポットビーム125の相対ゲイン及び他のパラメータは、時間が経つにつれて変化し得る。そのような多用性は、ある状況では望ましい。ビームフォーミングを適用するアンテナアセンブリ121は、一般的に比較的狭いスポットビーム125を形成でき、及びゲイン特性が改善されたスポットビーム125を形成することができ得る。狭いスポットビーム125は、1つのビームで送信された信号を、他のスポットビーム125で送信された信号から区別して例えば干渉を回避できるようにする。従って、狭いスポットビーム125は、周波数及び偏波を、大きいスポットビーム125を形成するときよりも多く再使用できるようにする。例えば、狭く形成されたスポットビーム125は、重なっていない2つの不連続スポットビームカバレッジエリア126に供され得るが、重なっているスポットビーム125は、周波数、偏波又は時間が直交するようにされ得る。より小さいスポットビーム125を使用することによって再使用を多くすることにより、送信及び/又は受信されるデータ量を増加し得る。加えて又は代わりに、ビームフォーミングは、ビーム端においてよりシャープなゲインロールオフを提供するために使用され得、これにより、スポットビーム125のより大きい部分を通してより高いビームゲインを可能にし得る。そのため、ビームフォーミング技術は、所与の量のシステムの帯域幅に対して、より高い周波数の再使用及び/又はより大きいシステム容量を提供できる。
いくつかの通信衛星120は、フィード素子128のアレイを介して送信及び/又は受信された信号を電子的に操縦するためにオンボードビームフォーミング(OBBF)を使用し得る。例えば、通信衛星120は、フェーズドアレイマルチフィードパビーム(MFPB)オンボードビームフォーミング能力を有し得る。ビーム重みは、地上計算センターにおいて(例えば、アクセスノード端末130において、ネットワーク装置141において、通信サービスマネージャにおいてなど)計算されてから、通信衛星120に送信され得るか、又はオンボード応用のために通信衛星120において事前構成され得る。
場合により、スポットビーム125を形成するために使用される各フィード素子128の位相及びゲインを制御するために、通信衛星120において著しい処理能力が必要とされ得る。そのような処理パワーは、通信衛星120の複雑さを増し得る。そのため、場合により、通信衛星120は地上のビームフォーミング(GBBF)と一緒に動作して、通信衛星120の複雑さを少なくするが、依然として狭いスポットビーム125を電子的に形成するという利点を提供する。
図4A及び図4Bは、本開示の態様による、デフォーカス条件で動作するアンテナアセンブリ121によって提供されるネイティブなアンテナパターンカバレッジエリア221-cからスポットビームカバレッジエリア126を形成するためのビームフォーミングの例を示す。図4Aでは、図400は、デフォーカスされたマルチフィードアンテナアセンブリ121を使用して提供された複数のネイティブなフィード素子パターンカバレッジエリア211を含むネイティブなアンテナパターンカバレッジエリア221-cを示す。ネイティブなフィード素子パターンカバレッジエリア211のそれぞれは、アンテナアセンブリ121のフィードアレイアセンブリ127のそれぞれのフィード素子128と関連し得る。図4Bでは、図450は、米国本土のサービスカバレッジエリア410にわたるスポットビームカバレッジエリア126のパターンを示す。スポットビームカバレッジエリア126は、図4Aの複数のネイティブなフィード素子パターンカバレッジエリア211と関連したフィード素子128を介して伝えられる信号にビームフォーミング係数を適用することによって提供され得る。
スポットビームカバレッジエリア126のそれぞれは、それぞれのスポットビームカバレッジエリア126内の通信サービスを支援し得る関連のスポットビーム125を有し得る。スポットビーム125のそれぞれは、それぞれのスポットビームカバレッジエリア126を含むネイティブなフィード素子パターンカバレッジエリア211のために、複数のフィード素子128によって伝えられる信号の合成から形成され得る。例えば、図4Bに示すスポットビームカバレッジエリア126-cと関連するスポットビーム125は、図4Aに濃い実線で示すネイティブなフィード素子パターンカバレッジエリア211-cと関連した8個のフィード素子128からの信号の合成であり得る。様々な例では、スポットビームカバレッジエリア126が重なっているスポットビーム125は、周波数、偏波及び/又は時間において直交し得るが、重なっていないスポットビーム125は互いに非直交であり得る(例えば、傾斜した周波数の再使用パターン)。他の例では、非直交スポットビーム125は、様々な程度の重なりを有し得、ACM、干渉キャンセル又は時空間符号化などの干渉軽減技術がビーム間干渉を管理するために使用される。一般的に、フィード素子128から送信された信号に適切なビーム重みを適用することによって生成されたダウンリンクスポットビーム125と説明されるが、アップリンク通信を受信するためのスポットビーム125もビームフォーミングによって処理され得る。
ビームフォーミングは、OBBF又はGBBF受信/送信信号経路を使用して衛星を介して送信された信号に適用され得る。サービスカバレッジエリア410のフォワードリンクでは、1つ以上のアクセスノード端末130がそれぞれのフォワードアップリンク信号132を通信衛星120に送信し、それは、その後、複数のフォワードダウンリンク信号172をサービスカバレッジエリア410内にある複数のユーザ端末150に中継し得る。そのため、図4Bに示すスポットビームカバレッジエリア126に提供される通信サービスは、アンテナアセンブリのネイティブなアンテナパターンカバレッジエリア221-c並びに適用されるビーム重みに基づき得る。
サービスカバレッジエリア410は、実質的に均一なパターンのスポットビームカバレッジエリア126(例えば、等しい又は実質的に等しいビームカバレッジエリアサイズ及び重なりの量を有する)によって提供されていると示されているが、いくつかの例では、サービスカバレッジエリア410のためのスポットビームカバレッジエリア126は、不均一であり得る。例えば、人口密度が高いエリアは、より小さいスポットビーム125によって供され得るが、人口密度が低いエリアは、より大きいスポットビーム125によって供され得る。場合により、隣接するスポットビーム125は、互いに実質的に重なり得る。例えば、隣接するスポットビーム125は、人口密度が高いエリアでは重なるように構成され得るため、多数のユーザに供するための複数のオプションを提供する。加えて又は代わりに、異なるサイズの複数のスポットビーム125は、スポットビーム125の一部のみが所与の時間においてアクティブになっている状態でエリアに供するように構成され得る。そのため、特定のユーザ端末150のための通信は、より効率よく通信を伝え得るスポットビーム125に割り振られ得る(例えば、より良好な変調及び符号化率を支援するなど)。
図5A~5Eは、本開示の態様による、異なる通信サービスタイムスロット中のサービスカバレッジエリア410-aのスポットビームカバレッジエリア126のロケーションの例を示す。この例では、割り当てられたスペクトルは、W Hzであり、及び2つの偏波(例えば、LHCP及びRHCP)が利用可能である。何れの瞬間でも、関連のスポットビームカバレッジエリア126を有する40個のスポットビーム125は、アクティブな20個のLHCP及び20個のRHCPであり得るが、それよりも多い又は少ないスポットビーム125が実際の実施においてアクティブであり得る。各スポットビーム125は、割り当てられたスペクトルのフルW Hzであるが、1つの偏波のみを使用し得る。他の実施形態では、各スポットビーム125は、割り当てられたスペクトルの一部分のみを使用し得る。説明の例では、フレームは、Q=4個のタイムスロットからなるが、実際の実施では、それよりも多い又は少ないタイムスロットを備えるフレームを使用し得る。各タイムスロットの期間中、ユーザ受信及び送信スポットビーム125は、異なるロケーションに存在し得る。ホッピングパターンは、各フレームの最後に自動的に繰り返し得るか、又は新しいフレーム定義がホッピングパターンを変化させるために適用され得る。
図5Aは、フレームの第1のタイムスロットの期間中のスポットビームカバレッジエリア126の例示的なロケーションを示すビームマップ500を含む。中心に「L」で示されるスポットビームカバレッジエリア126は、LHCPスポットビーム125を示し、及び「R」で示されるスポットビームカバレッジエリア126は、RHCPスポットビーム125を示すが、他の実施形態では任意の数の他の偏波(例えば、直線偏波)が使用され得る。スポットビームカバレッジエリア直径が小さいこと、サービスカバレッジエリア410-aの所望の大きい広がり、及び比較的少数のスポットビーム125が1度にアクティブであることに起因して、所与のタイムスロット中に同じ偏波を使用するビームは、比較的遠方に離間され得る。これにより、スポットビーム125間の干渉レベルを低くし得る。結果として生じる高い搬送波対干渉比(C/I)が、1スポットビーム125当たりの能力を高めることを促進し得る。図5Bは、フレームの第2のタイムスロットの期間中のスポットビームカバレッジエリア126の例示的なロケーションを示すビームマップ510を含む。図5Cは、フレームの第3のタイムスロットの期間中のスポットビームカバレッジエリア126の例示的なロケーションを示すビームマップ520を含む。図5Dは、フレームの第4のタイムスロットの期間中のスポットビームカバレッジエリア126の例示的なロケーションを示すビームマップ530を含む。下記でより詳細に説明するように、図5A~5Dに示す各スポットビームカバレッジエリア126は、専用の受信経路、専用の送信経路又はハイブリッドの送信/受信経路の一部であり得る。
図5A~5Dに示すビームマップのそれぞれでは、同じ偏波のスポットビーム125は、一般的に、非常に遠方に(例えば、可能な最大距離で)離間され得る。この間隔は、同じ偏波の他のアクティブなスポットビームからの干渉を最小限にすることにより、大きいC/I値を可能にする。スポットビームカバレッジエリア126に対する実際のロケーションの選択は、所望のサービスカバレッジエリア410、様々なスポットビームカバレッジエリア126の直径、使用される偏波の数及び1フレーム当たりのタイムスロットの数などの要因に依存し得る。図5A~5Dは、一例のみを提供する。
図5Eは、4つ全てのタイムスロットの期間中のスポットビームカバレッジエリア126全ての合成オーバーレイを示すビームマップ540を含む(例えば、サービスカバレッジエリア410-a)。図5Eにおける同じタイムスロットのスポットビーム125のみが同時にアクティブである。同じタイムスロット及び同じ偏波(例えば、LHCP又はRHCP)のスポットビーム125のみが著しい干渉の可能性を示している。上述の通り、これらのスポットビームカバレッジエリア126のロケーションは、それらの空間分離を最大にするように選択され得る。いくつかの幾何モデルが同様の偏波のスポットビーム125の分離を最大にするために使用され得る。
図6は、本開示の態様による、実例となるビームホッピングフレーム600を示す。図示の例では、1フレーム当たりQ=16個のタイムスロットであり、及び各タイムスロットは、1.5mSecの間隔を占め、その結果、24mSecの総ビームホッピングフレーム持続時間となる。そのため、スポットビーム125は、所与のスポットビームカバレッジエリア126において最低1.5mSec又は1つのタイムスロットでアクティブであり得るが、スポットビーム125は、ビームホップフレーム定義に含まれるタイムスロット定義に依存して、同じセル内において2つ以上の連続したタイムスロットでアクティブであり得る。いくつかの実施形態では、セルと表されるサービスカバレッジエリア410内の単一の地域は、ビームホッピングフレームの1つのタイムスロットに対して地域で1つのアクティブなスポットビーム125を有するのみであり得る。そのため、ビームホッピングフレームの長さは、情報が送信又は受信され得る前の潜在的な待機持続時間を表し得る。待ち時間の少ない適用例、例えば音声には、このアーキテクチャを使用することが望ましいことがあり得るため、このホッピングフレーム遅延は、他の不可避遅延に対してわずかにされる必要がある。例えば、対地球同期軌道(GSO)にある衛星に対して、一方向経路遅延(例えば、信号伝搬遅延)は、約250mSecであり、及び不可避遅延である。そのため、この値の約1/10以下のビームホッピングフレーム長さを選択することにより、フレーミング遅延を不可避の一方向経路遅延に対してわずかにする。そのため、GSO衛星について、25mSec程度のフレームサイズが一般的に適切である。より短いフレームサイズは、一方向経路遅延によって占有されるため、経験した合計遅延時間を著しく変更しないことがあり得、及びスポットビーム125がより高速でホッピングするという事実のため、一般的により経費がかかり、及び複雑さが増す。そのため、約25mSecのビームホッピングフレームサイズは、ほとんどの適用例に対して好適である。
他の実施形態では、2つ以上のスポットビーム125は、単一のフレームの期間中、セル内でアクティブであり得る。例えば、地域又はセルは、その地域又はセルで支援される適用例に対して、最大限許容できる遅延を示す優先度が割り振られ得る。その後、割り振られた優先度を使用して、少なくとも部分的に、1フレーム当たりの特定の地域又はセルにおけるアクティブなスポットビーム125の数を決定し得る。例えば、地域又はセル内でより高い帯域幅又はより待ち時間の少ない適用例を支援するために、その地域又はセルは、より低い帯域幅又はより待ち時間の多い適用例を支援する地域又はセルよりも高い優先度に割り振られる。より高い優先度が割り振られたセル又は地域は、単一のフレーム内のセル又は地域を網羅する2つ以上のアクティブなスポットビーム125を有し得る。任意の数の優先度は、1フレーム当たりの個々のセルに対して任意の数のアクティブなスポットビーム125に対応して定義され得る。単一セルは、単一のフレームにおいて、そのセル内でアクティブである最大Q個の送信スポットビーム125及びQ個の受信スポットビーム125を有し得る(例えば、ビームは、全タイムスロットの期間中、セルにおいてアクティブである)。いくつかの実施形態では、送信スポットビーム125及び受信スポットビーム125は、同じタイムスロットの期間中、同じセルにおいてアクティブであり得、同じタイムスロットにおいてデータの送信及び受信の両方を可能にする。
図7は、本開示の態様による、例示的な衛星アーキテクチャ700の一部のブロック図を示す。衛星アーキテクチャ700は、それぞれ複数のアンテナフィード素子128を有するそれぞれのフィードアレイアセンブリ127を備える、第1のアンテナアセンブリ121-c及び第2のアンテナアセンブリ121-dを備える衛星120-aを含む。アンテナフィード素子128は、複数の偏波を支援するためのLHCP及びRHCPの両方に関して示されている。いくつかの実施形態では(図示せず)、衛星アーキテクチャは、単一の偏波のみを支援し得る。他の実施形態では、衛星アーキテクチャは、単一の偏波で動作し得るが、複数の偏波を支援し得る。
2つの別個のアンテナアセンブリ121-c及び121-dは、例示的な衛星アーキテクチャ700において、Rxに1つ(例えば、アンテナアセンブリ121-c)及びTxに1つ(例えば、アンテナアセンブリ121-c)で使用されるが、統合Tx/Rxアンテナアセンブリ121も使用され得る。各アンテナアセンブリは、反射器122を含み、これは、フィードアレイアセンブリ127にあるL個のフィード素子128からなるそれぞれのフィードアレイアセンブリ127(例えば、フェーズドアレイ)によって照射される。衛星アーキテクチャ700は、そのアンテナシステムとしてフェーズドアレイフィード反射器を使用するが、他の実施形態では、ビームフォーミングネットワークを使用するアンテナアセンブリ121に基づく直接放射アレイ(DRA)又は任意の他のタイプのフェーズドアレイが使用され得る。Rxアンテナアセンブリ121-cは、フェーズドアレイ内にLrx個のフィード素子128-cを有するフィードアレイアセンブリ127-cを含み、及び各フィード素子ポートの出力(例えば、フィード素子Rx信号)は、低雑音増幅器(LNA)に接続され得る。各LNAは、関連のフィード素子128-cの近くに置かれて、システム雑音温度を最小にし得る。理想的には、LNAは、フィード素子128-cに直接取り付けられ、最適な雑音指数を生じ得る。2×Lrx個のLNAのそれぞれの出力は、Rxビームフォーミングネットワーク(BFN)710-aに送られ、これは、LHCP及びRHCPの両セクションで構成される。システム雑音指数は、本質的にLNAによって設定されるため、Rx BFN710-aは、例えば、同軸ケーブル又は導波管の相互接続により、LNAから離れて置かれ得る。Rx BFN710-aは、2×Lrx個の入力を取り、及びK個の出力信号を提供し得、それぞれK個のRxスポットビーム125の1つに対応する。Rx BFN710-aは、Rx周波数で動作し、且つこの例では周波数変換を提供しなくてよい。
LHCP及びRHCPの両セクションからのRx BFN710-aのK個の出力は、K個の信号経路ハードウェアセクションを通して供給され得る。いくつかの実施形態では、同じ数の経路をそれぞれ利用可能な偏波(例えば、LHCP及びRHCP)に使用するが、概して、各偏波の受信信号に接続された異なる数の経路があり得る。ベントパイプアーキテクチャの各経路は、一般に、周波数変換プロセス、フィルタリング及び選択可能なゲイン増幅からなる。他の処理の形態(例えば、復調、再変調又は「再生」システムにおけるような受信した信号の作り直し)は、ベントパイプアーキテクチャを使用するときには実施されない。ベントパイプアーキテクチャでは、周波数変換は、アップリンク周波数のスポットビーム信号を例えば別個のダウンリンク周波数に変換する必要があり得る。フィルタリングは、一般的に、ダウンコンバータ前のプレフィルタリング及びダウンコンバータ後のポストフィルタリングからなり、及び送信される信号の帯域幅を設定するため並びに望まれないミキサーの相互変調積を除くために存在する。選択可能なゲインチャネル増幅器は、図7の例では、K個の経路のそれぞれに対して独立したゲイン設定を提供し得る。
LHCP及びRHCPの両セクションを含み得るTx BFN710-bは、K個の経路の出力信号から2×Ltx個の出力を生成し得る。いくつかの実施形態では、LHCP受信スポットビーム125から得られる経路出力信号は、RHCP送信スポットビーム125での出力であり得、及び逆も同様である。他の実施形態では、LHCP受信スポットビーム125から得られる経路出力信号は、LHCP送信スポットビーム125に出力され得る。Tx BFN710-bは、Tx周波数で動作し得、及びこの例では周波数変換を提供しない。Tx BFN710-bの出力は、2×Ltx個の高電力増幅器(HPA)に送られる。各HPAの出力に接続された高調波フィルタ(HF)は、低域フィルタリングを実施して、例えばHPAの出力から2次以上の高調波の抑制をもたらし得る。その後、高調波フィルタの出力(例えば、フィード素子Tx信号)は、Txフィードアレイアセンブリ127-dにおいて2×Ltx個のフィード素子128-dに入力され得る。各HPA及び高調波フィルタは、関連のTxフィード素子128-dの近くに置かれて、損失を最小限にし得る。理想的には、HPA/HFは、最適な放射電力を生じ得るTxフィード素子128-dに直接取り付けられ得る。
図7に示すように、別個の反射器(例えば、反射器122-c及び122-d)及び別個のフィードアレイアセンブリ(例えば、フィードアレイアセンブリ127-c及び127-d)がTx及びRxスポットビーム125に使用され得る。しかしながら、上述の通り、いくつかの実施形態では、単一の反射器122及び単一のフィードアレイアセンブリ127を使用して、Tx及びRxの両機能を実施し得る。これらの実施形態では、各フィード素子128は、Txに1つ及びRxに1つの2つのポートを含み得る。2つの偏波を使用するシステムでは(例えば、RHCP及びLHCP)、4ポートのフィード素子(Txに2つ及びRxに2つ)が含まれ得る。許容可能なTxとRxとの隔離を維持するために、そのような単一の反射器122のアプローチは、フィード素子128のいくつか又は全て内でダイプレクサー又は他のフィルタリング要素も利用し得る。これらのフィルタリング要素はRxバンドを通過し得る一方、Txバンドにおいて抑制し得る。フィード素子128の数の増加及びBFN710に関する位相整合条件は、このアプローチの実施をより複雑にし得るが、複数の反射器122及び複数のフィードアレイアセンブリ127と関連するコストを削減し得る。
いくつかの実施形態では、Rx BFN710-a、Tx BFN710-b又はそれらの両方は、時間変動するビーム重みセットを使用して、時間が経つにつれて、受信スポットビームカバレッジエリアロケーション、送信スポットビームカバレッジエリアロケーション又はそれらの両方をホップし得る。これらのビーム重みセットは、ビーム重みプロセッサ(BWP)714に記憶され得る。BWP714は、適切な時点に適切なビーム重みを生成するための制御論理も提供し得る。BWP714は、トラフィックデータの帯域内又はそれ自体のアンテナアセンブリ121及び送受信機の帯域外であり得る双方向データリンク716を介して接地され得る。双方向データリンク716は、図7の例では双方向として示され、正しいビームフォーミング重みセットがBWP714によって受信されたことを保証し得る。そのようなものとして、エラー検出及び/又は再送信要求を含む訂正技術は、双方向リンクを使用して支援され得る。他の実施形態では、一方向リンクがエラー検出及び/又は訂正と一緒に使用される。いくつかの実施形態では、初期のビームフォーミング重みセットは、打ち上げ前にBWP714のメモリにロードされ得る。
データリンク716は、例えば、事前計算されたビーム重みを受信し且つそのような重みをBWP714に配信するために使用され得る。いくつかの実施形態では、ビーム重みは、地上で、ネットワーク管理エンティティ又はネットワークオペレーションセンター(NOC)などのネットワーク装置199において生成され得る。K個のTx及びRxビームのそれぞれの所望のロケーションは、ネイティブなフィード素子パターン210と一緒に、ビーム重み値を生成するために使用され得る。所望のスポットビームカバレッジエリアロケーション条件を考慮して、適切なビーム重みを生成するための技術がいくつかある。例えば、1つのアプローチでは、ビーム重みは、非リアルタイムで、地上で生成され得る。その後、ダイナミック重みがデータリンク716によってBWP714にアップロードされてから、ダイナミックにBFNに適用されて、Rxアップリンク及びTxダウンリンクの両方でホッピングビームを生じ得る。
データリンク716のダウンリンク部分を使用して、BFN710のステータスを報告し、且つアップリンクされたビーム重みを正しく受信したことの確認を提供し得る。ビーム重みセットの正しい受信は、例えば従来のCRCコードの使用によって決定され得る。CRCのチェックの失敗によって示されるような間違った受信の場合、例えばビーム重みセットのアップリンク送信(又は間違っている若しくは無効であると思われたビーム重みセットの部分)が再送信され得る。いくつかの実施形態では、このプロセスは、地上局とBWP714との間の自動再送要求ARQ再送信プロトコル(例えば、selective repeat ARQ、stop-and-wait ARQ、又はgo-back-N ARQ、又は任意の他の好適な再送信、エラー検出、又はエラー訂正プロトコルなど)によって制御され得る。
概して、衛星アーキテクチャ700は、K個の一般的なホッピング経路に提供される。各経路は、機能的に、例えばフィルタリング、周波数変換、増幅などの1つ以上の信号調節を提供するエレクトロニクス及び回路によって一緒に接続されているRxスポットビーム125及びTxスポットビーム125からなる。経路は、それぞれハブ-スポーク構成又はメッシュ構成において使用され得るベントパイプ応答機として表され得る。例えば、メッシュ構成を備える一実施形態では、経路は、衛星を介して第1の複数の端末と第2の複数の端末との間で信号を伝える。本明細書で説明するシステム及び方法によれば、各経路のための終点(例えば、Txスポットビームカバレッジエリアロケーション及びRxスポットビームカバレッジエリアロケーション)は、ダイナミック及びプログラム可能であり得、かなり柔軟な衛星通信アーキテクチャを生じる。
図8は、本開示の態様による、一方の偏波の例示的なRx BFN710-cのブロック図800を示す。受信BFN710-cは、Lrx個のフィード素子128からフィード素子Rx信号を取り込み得、及びK個のLHCP及びRHCP形成スポットビーム125のスポットビーム信号を出力として提供する。この例では、K=K/2個のLHCP受信スポットビーム125及びK/2個のRHCP受信スポットビーム125があるが、他の実施形態では各偏波の異なる数の受信スポットビーム125が使用され得る。
フィード素子128からの各フィード素子Rx信号は、最初に、スプリッター802を経由して、各スポットビーム125に対して1つずつの、K個の同一のコピーに分けられる。その後、K個並列のビームフォーマが実現される。各ビームフォーマは、いくつかあるコンポーネントの中で特に、振幅及び位相調整回路部品804並びに加算器806を含み得る。各例の振幅及び位相調整回路部品804がLrx個のスプリッターの1つから入力信号を受け取り、且つ信号に振幅及び位相調整をもたらし得る(例えば、Rxスポットビーム125と関連する受信ビームフォーミング重みベクトルの受信ビーム重みを介して)。その後、Lrx個の振幅及び位相調整信号は、加算器806を使用して加算されて、1つの形成されたスポットビーム125からスポットビーム信号を生じ得る。その後、各Rxスポットビーム信号は、本明細書で説明するようなK個の独立信号経路の1つに供給され得る。アンテナアセンブリ121の経路1のRxスポットビーム信号を生じるために使用されるビームフォーミングベクトル係数は、図8に破線808で示してある。
信号の振幅及び位相の調整のプロセスは、複素数(例えば、複素重み)による信号の複素ベースバンド表示の乗算として数学的に説明され得る。複素数をw=I+jQとして表して、wの大きさは、振幅調整であり、及びwの位相は、位相調整である。実際、振幅及び位相調整は、いくつかの方法で実現され得る。フェーズドアレイアンテナアセンブリ121における2つの一般的な技術は、入力としてI値及びQ値を取るベクトル乗算回路及び独立した位相及び振幅調整機構を有し且つ入力として所望の振幅及び位相調整を取る回路である。I+jQを複素数wの直角座標及び振幅/位相を複素数wの極座標と認識する必要がある。Rx BFN710-cは、Rx BFN710-cの両半分においてK個のビームフォーマのそれぞれにダイナミックで(変化する)且つプログラムマブルな複素ビーム重み値を提供し得る。実際、Rx BFN710-cは、一般的に、Rx BFN機能(例えば、スプリッティング、重み付け及び結合)を実行するために使用される装置の挿入損失のいくつか又は全てを考慮するためにRx BFN構造内に増幅段を有し得る。
Rx BFN710-cの信号処理は、アナログ及び/又はデジタル信号ドメインで実行され得る。例えば、信号処理がデジタルドメインでRx BFN710-cによって実行されるとき、Rx BFN710-cは、1つ以上のアナログデジタル変換器(例えば、Lrx個のフィード素子Rx信号をデジタルドメインに変換する)を含み得る。他の例では、フィード素子128のそれぞれは、Rx BFN710-cにデジタル信号を提供するそれ自体のアナログデジタル変換器と関連し得る。デジタルドメイン処理を含む様々な例では、経路ハードウェアは、スポットビーム信号をデジタルドメインで提供し得るか、又は経路ハードウェアのスポットビーム信号をアナログドメインに変換する1つ以上のデジタルアナログ変換器を含み得る。他の例では、Rx BFN710-cの信号処理は、全体的にアナログドメインで実施され得、Lrx個のフィード素子信号がアナログドメインで受信されるようにし、及び処理済み信号は、アナログドメインにスポットビーム信号を提供する経路ハードウェアによってアナログドメインに留まる。
図9は、本開示の態様による、フィード形成ネットワーク(FFN)と言及され得る一方の偏波の例示的なTx BFN710-dのブロック図900を示す。Tx BFN710-dは、K個の信号経路(例えば、K/2個のLHCP及びK/2個のRHCP経路)からの信号を取り込み、且つフィード素子Tx信号をLtx個のフィード素子128のそれぞれに提供する。経路からの各入力信号は、最初に、スプリッター902を経由して、各フィード素子128に対して1つずつの、Ltx個の同一のコピーに分けられる。その後、Ltx個並列の「フィードフォーマ」が実現される。各フィードフォーマは、振幅及び位相調整回路部品904及び加算器906を含み得る。振幅及び位相調整回路部品904は、K個のスプリッターの1つから入力スポットビーム信号を受け取り、及び振幅及び位相調整を提供し得る(例えば、Txスポットビーム125と関連する送信ビーム重みベクトルの送信ビーム重み付けを介して)。その後、Ltx個の振幅及び位相調整されたフィード素子Txコンポーネント信号が加算器906を使用して加算されて、1つのフィード素子128による送信のためにフィード素子Tx信号を生じる。
信号の振幅及び位相の調整プロセスは、複素数(例えば、複素重み)による信号の複素ベースバンド表示の乗算であると数学的に説明され得る。複素数をw=I+jQと表して、wの大きさは、振幅調整であり、及びwの位相は、位相調整である。実際、振幅及び位相調整は、いくつかの方法で実現され得る(例えば、図8に関して上述したように)。衛星の経路1のTxスポットビーム125を形成するために使用される最初及び最後のビームフォーミングベクトル係数は、破線908で示してある。残りの係数は、図9の例に明示されていない。
Tx BFN710-dの信号処理は、アナログ及び/又はデジタル信号ドメインで実行され得る。例えば、信号処理がTx BFN710-dによってデジタルドメインで実行されるとき、Tx BFN710-dは、1つ以上のアナログデジタル変換器(例えば、K個のスポットビーム信号をデジタルドメインに変換する)を含み得る。他の例では、K個のスポットビーム信号のそれぞれは、経路ハードウェアによってTx BFN710-dにデジタル信号として提供され得る。デジタルドメイン処理を含む様々な例では、Tx BFN710-dは、デジタルドメインでLtx個のフィード素子Tx信号を提供し得る(例えば、関連のデジタルアナログ変換器によってそれぞれのフィード素子128においてアナログ信号に変換されるように)か、又はフィード素子Tx信号をアナログドメインに変換する1つ以上のデジタルアナログ変換器を含み得る。他の例では、Tx BFN710-dの信号処理は、全体的に、アナログドメインで実行され得、K個のスポットビーム信号がアナログドメインで受信されるようにし、及びアナログドメインでLtx個のフィード素子信号を提供するビームフォーミングハードウェアにより、処理済みの信号がアナログドメインに留まるようにする。
Rx BFN710-cに関して上述したように、Tx BFN710-dは、Tx BFN710-dにあるK個のフィードフォーマのそれぞれにダイナミックで(変化する)且つプログラムマブルな複素ビーム重み値を提供し得る。実際、Tx BFN710-dは、Tx BFN構造内に増幅段を有して、Tx BFN機能(例えば、スプリッティング、重み付け及び結合)を実行するために使用される装置の挿入損失のいくつか又は全ても構成し得る。
図10は、本開示の態様による、フォワードリンク信号送信のためのGBBFのための実例となるシステム1000のブロック図を示す。システム1000のコンポーネントは、地上セグメント102-a(例えば、アクセスノード端末130、ネットワーク装置141などを含む)と宇宙セグメント101-a(例えば、通信衛星120-bを含む)との間で分配され得、及び地上セグメントにおける送信ビームフォーミングネットワークの実施の例を示す。
システム1000の地上セグメント102-aは、入力として、1つ以上のユーザ端末150を送信先とする通信サービストラフィック1005を受信し得る。通信サービストラフィック1005は、1つ以上のネットワーク140から、1つ以上のネットワーク装置141から、及び/又は1つ以上のアクセスノード端末130から受信され得る。通信サービストラフィック1005は、通信サービストラフィック1005の複数の部分を1つ以上のスポットビーム125に割り当て得る1つ以上のトラフィックマネージャ1020に提供され得る。トラフィックマネージャ1020は、目標装置の位置情報を有し得、及びスポットビームカバレッジエリア126に対する意図した目標装置(例えば、標的ユーザ端末150)のロケーションに基づいて通信サービストラフィック1005の複数の部分をスポットビーム125に割り振り得る(例えば、所与の目標装置のための通信サービストラフィック1005を、対応するスポットビームカバレッジエリア126内にその所与の目標装置が置かれているスポットビーム125に割り振る)。様々な例では、システム1000の地上セグメント102-aは、全ての通信サービストラフィック1005に対してトラフィックマネージャ1020を有し得る(例えば、ネットワーク管理エンティティ又は他のネットワーク装置141において)か、又はシステム1000の地上セグメント102-aは、分散した複数のトラフィックマネージャ1020を有し得る(例えば、複数のアクセスノード端末130と同一場所に配置される)。
トラフィックマネージャ1020は、様々な目標装置を送信先とする通信サービストラフィック1005の複数の部分を含むK個のTxスポットビーム信号1025を生成し、ここで、Kは、システム1000によって同時に支援されるスポットビーム125の数であり得る。Txスポットビーム信号1025は、別個のデジタル又はアナログハードウェア経路(例えば、図7を参照して説明するようなK信号経路ハードウェアセクション)によって提供され得るか、又はソフトウェアに組み込まれた論理チャネルであり得る。Txスポットビーム信号1025は、Tx BFN710-eに提供され得、これは、トラフィックマネージャ1020と同一場所に配置され得る(例えば、ネットワーク装置141に、又はトラフィックマネージャ1020を含むアクセスノード端末130に)か、又は地上セグメント102-aの別の装置に置かれ得る(例えば、トラフィックマネージャ1020を含まない送信用アクセスノード端末130)。
Tx BFN710-eは、本明細書で説明するようなTx BFN710の例であり得ると共に、K個のスポットビーム信号経路と送信装置、例えばアクセスノード端末130との間に結合され得る。Tx BFN710-eは、Ltx個のフィード素子コンポーネント信号1028を生成し、ここで、Ltxは、通信サービスのフォワードリンク送信を支援するために通信衛星120-bによって使用されるアンテナフィード素子128の数であり得る。Tx BFN710-eは、BWP714-aからビームフォーミング重みセット1027を受信し、及びビーム重みを、受信したTxスポットビーム信号1025に適用して、フィード素子コンポーネント信号1028を生成し、これは、それぞれのスポットビーム125を形成するために使用され得る。BWP714-aは、ビームホッピング構成のタイムスロットに従ってビーム重みを適用すること、ネイティブなアンテナパターンに従う調整、通信衛星120-bの軌道位置に従う調整及びこれらの組み合わせを含め、本明細書で説明する技術の何れかに従ってビームフォーミング重みセット1027を提供し得る。
ビーム重みを適用してそれぞれのフィード素子コンポーネント信号1028を生成するプロセスは、図9を参照して説明したフィード素子Tx信号を生成するためのプロセスと同様であり得る。しかしながら、フィード素子コンポーネント信号1028は、地上セグメント102-aのフィード素子によって直接送信されないため、フィード素子コンポーネント信号1028は、宇宙セグメント101-aの通信衛星120-bによって送信されるものと同じ特性(例えば、周波数、偏波、時点同期など)を有する必要はない。むしろ、フィード素子コンポーネント信号1028は、宇宙セグメント101-aの通信衛星120-bによって送信されるフィード素子Tx信号(例えば、フィード素子Tx信号1085)を生成するために後に使用され得る方法でフォーマット化される必要があるにすぎない。
フィード素子コンポーネント信号1028は、マルチプレクサー1030に提供され得、フィード素子コンポーネント信号1028を組み合わせて、多重化アップリンク信号1035を生成し得る。マルチプレクサー1030は、Tx BFN710-eと同一場所に配置され得る(例えば、ネットワーク装置141又はアクセスノード端末130において)か、又は地上セグメント102-aの別の送信装置に置かれ得る(例えば、送信用アクセスノード端末130)。フィード素子コンポーネント信号1028は、周波数分割多重化、時分割多重化、符号分割多重化又は分離できるようにフィード素子コンポーネント信号1028の情報の通信を支援する多重化の任意の他の形態において組み合わせられ得る。多重化アップリンク信号1035は、地上セグメント102-aの送信機1040に提供され得、これは、図1を参照して説明したアクセスノード端末アンテナシステム131の例であり得る。送信機1040は、フィーダアップリンク信号1045内の多重化アップリンク信号1035を(例えば、アクセスノード端末アンテナ131などを介して)通信衛星120-bに送信する。
通信衛星120-bは、アンテナ(例えば、アンテナアセンブリ121又は別のタイプのアンテナ)を介して、受信機1060においてフィーダアップリンク信号1045を受信する。受信機1060は、復調、ダウンコンバージョン(例えば、中間周波数又はベースバンド周波数などに)を含む様々な動作を実行して、受信多重化アップリンク信号1065を生成し得る。受信多重化アップリンク信号1065は、デマルチプレクサー1070に提供され得、これは、受信多重化アップリンク信号1065をLtx個のフィード素子Txコンポーネント信号1075に分離し、ここで、Ltxは、フォワードリンク信号を送信するためにアンテナアセンブリ121-eによって使用されるフィードアレイアセンブリ127-eのフィード素子128-eの数である。デマルチプレクサー1070は、周波数分割デマルチプレクシング、時分割デマルチプレクシング、符号分割デマルチプレクシング又は受信多重化アップリンク信号1065からフィード素子Txコンポーネント信号1075を分離できる任意の他のデマルチプレクシングを支援し得る。
いくつかの例では、通信衛星120-bは、2つ以上の受信機1060を有し得、これらは、それぞれ異なるフィーダアップリンク信号1045と関連し得、及び各受信機1060は、別個のデマルチプレクサー1070と関連し得る。いくつかの例では、異なるフィーダアップリンク信号1045は、地上セグメント102-aの別個のアクセスノード端末130によって送信され得、及び異なるフィーダアップリンク信号1045は、異なる組のスポットビーム125と関連し得る。例えば、各フィーダアップリンク信号1045は、GBBFアーキテクチャによって支援されるスポットビームのサブセットのためのTxコンポーネント信号1075を含み得る。一例では、各フィーダアップリンク信号1045は、本明細書で説明したような特定の「色」と関連する(例えば、フィーダアップリンク信号1045及び1045-aは、互いに異なる色であるか又は他に互いに直交する)。他の例では、各フィーダアップリンク信号1045は、異なる組のスポットビームに対応するTxコンポーネント信号1075と関連する(例えば、周波数及び偏波が直交又は非直交であり得る)。例えば、通信衛星120-bは、第2の受信機1060-aと、第2の組のフィード素子Txコンポーネント信号1075-aを提供し得る第2のデマルチプレクサー1070-aとを含み得る。様々な例では、受信機1060及び追加的な受信機1060(例えば、受信機1060-a)は、別個のアンテナ(例えば、別個のアンテナアセンブリ121)と関連し得るか、又は同じアンテナの別個の部分と関連し得る。
いくつかの例では、フィード素子Txコンポーネント信号1075の組は、それぞれの各フィード素子128に対して、複数の加算器1080(例えば、図示の通り、フィード素子128-e-1~128-e-Ltxと関連する加算器1080-a-1~1080-a-Ltx)によって第2の組のフィード素子Txコンポーネント信号1075-aと組み合わせられ得る。加算器1080は、フィード素子Tx信号1085の組を送信のためのフィードアレイアセンブリ127-eに提供し得る。単一のアクセスノード端末130から単一のフィーダアップリンク信号1045を受信する単一の受信機1060の例では、フィード素子Txコンポーネント信号1075は、本明細書で説明したフィード素子Tx信号1085と実質的に等しいことができる。いくつかの例では、フィード素子Tx信号1085は、デマルチプレクサー1070、加算器1080及び/又はフィード素子Tx信号1085を提供するための任意の他のコンポーネントを含む通信衛星121-eの信号プロセッサ(例えば、アナログ信号プロセッサ又はデジタル信号プロセッサ)の出力であり得、この信号プロセッサは、専用の送信信号プロセッサであり得るか、又は受信信号プロセッサとコンポーネントを共有し得る(例えば、図11の例示的なシステム1100を参照して説明する信号プロセッサ)。他の例では、各フィーダアップリンク信号1045は、異なる組のTx素子128-eのためのTxコンポーネント信号1075と関連する。この例では、GBBFシステム1000は、加算器1080を含まず、及びTxコンポーネント信号1075は、フィード素子128-eの第1のサブセットと結合される一方、Txコンポーネント信号1075-aは、フィード素子128-eの第2のサブセットと結合される。
フィード素子Tx信号1085は、フィードアレイアセンブリ127-eのフィード素子128(例えば、フィード素子128-e-1~128-e-Ltx)に提供され得、これは、電気フィード素子Tx信号1085をフィード素子信号送信1095の電磁波エネルギーに変換し得るため、様々な目標装置に届く通信サービストラフィック1005を提供する。Tx BFN710-eによってTxスポットビーム信号1025に適用されるビームフォーミングの結果、フィード素子信号送信1095は、スポットビーム125を形成し、及び関連のスポットビームカバレッジエリア126内に置かれた目標装置に届き得る。そのため、通信衛星120-bは、地上セグメント102-aによって割り振られたスポットビーム125及び地上セグメント102-aにおいて適用されたビームフォーミング重みセット1027に従って、フィード素子128-eを介して通信サービストラフィック1005を送信し得る。地上セグメント102-aにおいてそのようなビームフォーミングを実行することにより、通信衛星120-eは、通信衛星120(例えば、図7を参照して説明した通信衛星120-a)においてビームフォーミングを実行する通信衛星120よりも複雑でなくなり得る。GBBFによって提供されたこの複雑さの減少により、OBBFを実行する通信衛星と匹敵するサービスを提供しながら、例えば衛星展開重量、衛星コスト、衛星消費電力を削減し、及び/又は衛星故障モードを減少し得る。
図11は、本開示の態様による、リターンリンク信号送信のためのGBBFのための実例となるシステム1100のブロック図を示す。システム1100のコンポーネントは、地上セグメント102-b(例えば、アクセスノード端末130、ネットワーク装置141などを含む)と、宇宙セグメント101-b(例えば、通信衛星120-cを含む)との間で分配され得、及び地上セグメントに受信ビームフォーミングネットワークを実装する例を示す。いくつかの例では、地上セグメント102-bは、図10を参照して説明したような地上セグメント102-aとコンポーネントを共有し得る(例えば、共通のアクセスノード端末130においてフォワードリンク及びリターンリンクのためのGBBFを支援する、共通のトラフィックマネージャ1020又は1120を共有するなど)。同様に、いくつかの例では、宇宙セグメント101-bは、図10を参照して説明したような宇宙セグメント101-aとコンポーネントを共有し得る(例えば、同じ通信衛星120でのフォワードリンク及びリターンリンク通信を支援する)。他の例では、別個の通信衛星がフォワードリンク及びリターンリンク通信に使用され得る(例えば、フォワードリンク通信のための通信衛星120-b及びリターンリンク通信のための異なる通信衛星120-c)。
システム1100の宇宙セグメント101-bは、通信サービスのリターンリンク通信信号1195を受信し(例えば、通信衛星120-cのアンテナアセンブリ121-fにおいて)、及び通信サービストラフィック1105と関連し得、ここで、リターンリンク通信信号1195は、1つ以上のソースデバイス(例えば、ユーザ端末150)によって送信されている。リターンリンク通信信号1195は、フィードアレイアセンブリ127-fの複数のアンテナフィード素子128-f(例えば、フィード素子128-f-1~128-f-Lrx)で受信され、及び電磁波エネルギーからLrx個の電気フィード素子Rx信号1185に変換され得、ここで、Lrxは、リターンリンク通信の受信に使用されたフィード素子128-fの数である。いくつかの例では、リターンリンク通信に使用されるフィードアレイアセンブリ127-fは、フォワードリンク通信に使用されるフィードアレイアセンブリ127とコンポーネントを共有し得る(例えば、図10を参照して説明したように、フィードアレイアセンブリ127-eと共通のフィード素子128において送受信機を使用する)。他の例では、リターンリンク通信に使用したフィードアレイアセンブリ127-fは、全体的に、フォワードリンク通信に使用したフィードアレイアセンブリ127と異なるアセンブリであり得る(例えば、図10を参照して説明したように、受信のためのフィードアレイアセンブリ127-fは、送信のためのフィードアレイアセンブリ127-eとは別である)。
リターンリンク通信信号1195の様々なコンポーネントは、リターンリンクサービスカバレッジエリア410の様々なロケーションから複数のソースデバイスによって送信されたであり得るが、リターンリンク通信信号1195のコンポーネントは、依然として特定のスポットビーム125と関連していない。むしろ、リターンリンク通信信号1195は、特定の周波数及び/又は偏波の信号が特徴的な位相及び/又は振幅オフセットを有し得るように、それぞれのフィード素子128-f-1~128-f-Lrxによって受信され得、これらのオフセットは、リターンリンク送信1095の特定のコンポーネントが何れの方向から送信されたかを決定するために使用され得、それにより、リターンリンク送信1095の特定のコンポーネントを特定のスポットビーム125と関連させ、且つ信号受信に空間的な直交度を与える。受信ビームフォーミングの計算は、通信衛星120-cで実行されないため、フィード素子Rx信号1185は、別々の形態に維持され(例えば、別々のワイヤリングによって)、及びマルチプレクサー1170に提供される。
いくつかの例では、マルチプレクサー1170は、フィード素子Rx信号1185を組み合わせて多重化ダウンリンク信号1165を生成し得、これが送信機1160に提供される。フィード素子Rx信号1185は、周波数分割多重化、時分割多重化、符号分割多重化又はフィード素子Rx信号1185の情報の通信を分離可能な方法で支援する任意の他の形態の多重化によって組み合わせられ得る。いくつかの例では、図10を参照して説明したように、リターンリンク通信に使用されるマルチプレクサー1170は、フォワードリンク通信に使用されるデマルチプレクサー1070とコンポーネントを共有し得、及び他の例では、マルチプレクサー1170及びデマルチプレクサー1070は、全体的に、通信衛星120の別個のコンポーネントであり得る(例えば、別個の信号処理チェーン)。いくつかの例では、多重化ダウンリンク信号1165は、スプリッター1180、マルチプレクサー1070及び/又は多重化ダウンリンク信号1165を提供する他のコンポーネントを含む、通信衛星121-fの信号プロセッサ(例えば、アナログ信号プロセッサ又はデジタル信号プロセッサ)の出力であり得、これは、専用の受信信号プロセッサであり得るか、又は送信信号プロセッサとコンポーネントを共有し得る(例えば、図10の実例となるシステム1000を参照して説明した信号プロセッサ)。
通信衛星120-cは、多重化ダウンリンク信号1165を、送信機1160を介して(例えば、アンテナアセンブリ121又は別のタイプのアンテナによって)、フィーダダウンリンク信号1145で地上セグメント102-bに送信する。いくつかの例では、リターンリンク通信に使用される送信機1160は、フォワードリンク通信に使用される受信機1060とコンポーネントを共有し得る(例えば、共通のアンテナの送受信機を使用する)。他の例では、リターンリンク通信に使用される送信機1160は、全体的に、フォワードリンク通信に使用される受信機1060と異なるアセンブリであり得る(例えば、別個のアンテナアセンブリ121を使用する、共通の反射器を共有する別個の送信機及び受信機を使用するなど)。
いくつかの例では、通信衛星120-cは、フィード素子Rx信号1185をフィード素子Rxコンポーネント信号1175に分割して、複数のマルチプレクサー1170(例えば、第1のマルチプレクサー1170及び第2のマルチプレクサー1170-a)に供給するスプリッター1180-aを含み得る。スプリッター1180-aは、フィード素子Rx信号1185を、例えば本明細書で説明したように異なる色と関連し得る異なる周波数又は偏波のコンポーネントに分割し得る。いくつかの例では、第2のマルチプレクサー1170-aは、第2の送信機1160-aに提供され得る第2の多重化ダウンリンク信号1165-aを生成し得る(いくつかの例では、送信機1160及び1160-aは、同じ送信機を使用し得るか、又は他に共通の送信機1160のコンポーネントを共有し得るものの)。第2の送信機1160-aは、フィーダダウンリンク信号1145と異なる色と関連したフィーダダウンリンク信号であり得る第2のフィーダダウンリンク信号1145-aにおいて第2の多重化ダウンリンク信号1165-aを送信し得る。いくつかの例では、異なるアクセスノード端末130は、異なる色の通信と関連し得るため、フィーダダウンリンク信号1145及び1145-aは、異なるアクセスノード端末130に提供され得る。他の例では、異なるマルチプレクサー1170がフィード素子128-fの異なるサブセットと結合され得、異なるフィーダダウンリンク信号1145が、フィード素子128-fの異なるサブセットによって支援されるスポットビーム125と関連するようにする。
地上セグメント102-bは、アクセスノード端末アンテナシステム131の例であり得る受信機1140で入力としてフィーダダウンリンク信号1145を受信し得る。いくつかの例では、リターンリンク通信に使用される受信機1140は、フォワードリンク通信に使用される送信機1040とコンポーネントを共有し得る(例えば、共通のアクセスノード端末130の送受信機を使用する)。他の例では、リターンリンク通信に使用される受信機1140は、全体的に、フォワードリンク通信に使用される送信機1040と異なるアセンブリであり得る(例えば、同じアクセスノード端末130において別個のアクセスノード端末アンテナシステム131を使用する、アクセスノード端末アンテナシステム131の共通の反射器を共有する別個の送信機及び受信機を使用する、全体的に別個のアクセスノード端末130を使用するなど)。
受信多重化ダウンリンク信号1135は、デマルチプレクサー1130に提供され得、これは、受信多重化ダウンリンク信号1135をLrx個のフィード素子コンポーネント信号1128に分離する。デマルチプレクサー1070は、周波数分割デマルチプレクシング、時分割デマルチプレクシング、符号分割デマルチプレクシング又はフィード素子コンポーネント信号1128を受信多重化ダウンリンク信号1135から分離できる任意の他のデマルチプレクシングを支援し得る。いくつかの例では、図10を参照して説明したように、リターンリンク通信に使用されるデマルチプレクサー1130は、フォワードリンク通信に使用されるマルチプレクサー1030とコンポーネントを共有し得、及び他の例では、デマルチプレクサー1130及びマルチプレクサー1030は、全体的に、通信衛星120の別個のコンポーネントであり得る(例えば、別個の信号処理チェーン)。それに続いて、デマルチプレクサー1130は、フィード素子コンポーネント信号1128をRx BFN710-fに提供し得る。
Rx BFN710-fは、本明細書で説明したようなRx BFN710の例であり得、及び受信機1140とK個のスポットビーム信号経路との間に結合され得る。Rx BFN710-fは、様々なソースデバイスから受信したような通信サービストラフィック1105の複数の部分を含むK個のRxスポットビーム信号1125を生成し、ここで、Kは、通信サービスのリターンリンク送信のためにシステム1100によって同時に支援されるスポットビーム125の数であり得る。Rx BFN710-fは、BWP714-bからビームフォーミング重みセット1127を受信し、及びビーム重みをフィード素子コンポーネント信号1128に適用して、Rxスポットビーム信号1125を生成し得る。BWP714-bは、ビームホッピング構成のタイムスロットに従ってビーム重みを適用すること、ネイティブなアンテナパターンに従う調整、通信衛星120-cの軌道位置に従う調整、及びこれらの組み合わせを含む、本明細書で説明する技術の何れかに従ってビームフォーミング重みセット1127を提供し得る。
それぞれのRxスポットビーム信号1125を生成するためにビーム重みを適用するプロセスは、図8を参照して説明したRxスポットビーム信号を生成するプロセスと同様であり得る。しかしながら、フィード素子コンポーネント信号1028は、地上セグメント102-bのフィード素子によって直接受信されないため、フィード素子コンポーネント信号1128は、宇宙セグメント101-bの通信衛星120-cによって受信されるものと同じ特性(例えば、周波数、偏波、時点同期など)を有する必要はない。むしろ、フィード素子コンポーネント信号1028は、多重化/デマルチプレクシング、フィーダリンク送信及び/又はRx BFN710-fによる変換を容易にするように変換され得る。
それに続いて、Rxスポットビーム信号1125は、Rx BFN710-fによってトラフィックマネージャ1120に提供され得る。Rxスポットビーム信号1125は、別個のデジタル又はアナログハードウェア経路(例えば、図7を参照して説明したようなK個の信号経路ハードウェアセクション)によって提供され得るか、又はソフトウェアに組み込まれた論理チャネルであり得る。フィード素子コンポーネント信号1128に適用されたRxビームフォーミングの結果、リターンリンク通信信号1195のコンポーネントによって伝えられる情報は、別個のスポットビーム125に従って識別され得るため、関連のスポットビームカバレッジエリア126に従って通信信号を分離し、且つリターンリンクサービスカバレッジエリア410にわたる周波数受信の再使用を支援する。それに続いて、トラフィックマネージャ1120は、通信サービストラフィック1105を例えば1つ以上の他の装置及び/又はネットワーク、例えば図1を参照して説明したネットワーク140及び/又はネットワーク装置141に提供し得る。
そのため、トラフィックマネージャ1120は、地上セグメント102-bにおいて適用されたビームフォーミング重みセット1127によって形成されたRxスポットビーム125に従って通信サービスのリターンリンク信号を解釈し得る。地上セグメント102-bでそのような受信ビームフォーミングを実行することにより、通信衛星120-cは、通信衛星120(例えば、図7を参照して説明した通信衛星120-a)でビームフォーミングを実行する通信衛星120よりも複雑でないことができる。GBBFによってもたらされたこの複雑さの低下は、OBBFを実施する通信衛星と匹敵するサービスを提供しながら、例えば衛星展開重量、衛星コスト、衛星消費電力を削減し、及び/又は衛星故障モードを減少させ得る。
図12は、例示的なビーム重みプロセッサ(BWP)714-cを利用するシステム1200のブロック図を示す。シングル又はマルチプルボードコンピュータ1202(又は均等物)を使用して、双方向データリンク(例えば、図7を参照して説明したデータリンク716)を一般にNOC(例えば、図1を参照して説明したようなネットワーク装置141)などの地上制御局である制御局とインターフェースし得る。一般的に、NOCは、遠隔計測追跡制御(TT&C)局と異なるが、所望の場合、TT&Cに実装され得る。ビーム重みは、全スポットビーム125及び全タイムスロットについて受信され得る。メモリに結合された1つ以上のプロセッサを含み得るコンピュータ1202は、制御局に送信するためのデータリンク送信機にフィードバックデータを提供するARQプロトコルを実装し得る。フィードバックデータは、アップリンクデータの受信の成功又は不成功の通知を含み得る。アップリンクデータは、例えば、ビーム重み、ドエルタイム、経路ゲイン、指令及び任意の他の好適なデータを含み得る。
BWP714-c又はその関連のハードウェアは、複数のビームフォーミング重みマトリクス(例えば、送信ビームフォーミング重みセット、受信ビームフォーミング重みセット又はそれらの組み合わせ)のための大容量記憶装置を提供し得る。ビームフォーミング重みマトリクスは、1つのタイムスロットの期間に全スポットビーム125を送信及び受信するために使用される全ビームフォーミング重みベクトルの組を含み得る。ビーム重みベクトルは、1つのタイムスロットの期間中に1つのスポットビーム125を生じるために使用される、一群となったLtx又はLrx個の個々の複素ビーム重みを含み得る。そのため、送信ビームフォーミング重みベクトルは、個々の複素送信ビーム重みを含む一方、受信ビームフォーミング重みベクトルは、個々の複素受信ビーム重みを含む。ビームフォーミング重みマトリクスは、一般的に、スポットビームカバレッジエリア126の所望のロケーションに基づいてビームホップフレームにおける各タイムスロットについて制御局で計算される(例えば、送信スポットビーム125、受信スポットビーム125又はそれらの両方の所望の方向)。ビームホップフレームは、一連のビームホップタイムスロットを含み得、各タイムスロットは、関連のドエルタイムを有している。ドエルタイムは、全スロットに対して固定され得るか、又はドエルタイムは、タイムスロットベースで可変であり得、ドエルタイムは、潜在的に、フレーム毎に変化する。一例では、ドエルタイムは、可変数のタイムスロットの持続時間であり得、ここで、各タイムスロットは、一定の持続時間である。別の例では、ドエルタイムは、1つ以上のタイムスロットの持続時間であり得、ここで、タイムスロットの持続時間は、変化し得る。
いくつかの実施形態では、ビームフォーミング重みセットは、ビームホッピングフレームの全タイムスロットの期間に全スポットビーム125を送信及び受信するために使用される全ビームフォーミング重みベクトルの組を含む。加えて又は代わりに、ビームホップフレーム定義は、ビームホップタイムスロットの連結リストを含み得る。連結リストアプローチでは、各タイムスロットのダイナミックなドエルタイムは、連結リストに簡単に組み込まれ得る。任意の他の好適なデータ構造もフレーム定義に使用され得る。ビームホップフレーム定義は、例えば、図7に示すように、各経路に選択可能なゲインチャネル増幅器を設定するための経路ゲインも含み得る。
ビームフォーミング重みセットアプローチを使用する例示的な通信衛星120では、少数(例えば、数十)のビームフォーミング重みセットが事前計算され、且つ通信衛星120にあるBWP714にアップロードされ得る。その後、これらのビームフォーミング重みセットは、何れのビームフォーミング重みセットを何れの時点で使用するかを指示する地上からの単一の指令により、いかなる時点でもオペレーションに切り替えられ得る。これにより、BWP714にかなりの量の情報をアップロードする必要なく、ビームフォーミング重みセットの切り替えを可能にする。例えば、いくつかの実施形態では、24個の完全なビームフォーミング重みセットは、事前計算され、アップロードされ、及びBWP714-cにおいて(例えば、メモリ1204に)記憶される。1時間に1度(又は任意の他の好適なスケジュールで)、異なるビームフォーミング重みセットがデータリンクを介してBWPによって使用されるために選択され得る。これにより、スポットビームカバレッジエリア126及びトラックへの容量の割り当て、例えば毎日の又は24時間ベースの需要の時間別変化を可能にする。
ビームフォーミング重みセットは、かなりの量のデータを含み得る。例えば、いくつかの実施形態では、ビームフォーミング重みセットは、Ltx+Lrx個のフィード素子128(例えば、1024)、×K個の経路(例えば、80)、×Q個のタイムスロット(例えば、64)、×ビーム重み当たりに必要とされるビット数(例えば、Iには12.6ビット及びQには6ビット)に対応するデータを含み得る。例えば、図12では、これは、合計して、1重みセット当たり約16MBのデータになる。衛星へのデータ及び指令アップリンクは、一般に非常に高速でないことがあり得る。1Mbpsのデータリンクでも、16MBのビームフォーミング重みセットをアップロードするために128秒費やす。そのため、多くのビームフォーミング重みセットを非リアルタイムでプレローディングすることは、BWP714が衛星に設置されているいくつかの適用例でより好都合であり得る。BWP714が地上セグメント102の一部であるとき(例えば、図10を参照して説明した地上セグメント102-a)、そのような考慮は、重要でないことがあり得る。
BWP714-cに記憶したビームフォーミング重みセットの1つは、アクティブなビームフォーミング重みセットとして選択され、且つホッピング(hopped)スポットビーム125の生成に使用され得る。このアクティブなビームフォーミング重みセットは、デュアルポートRAMなどのメモリ1204に記憶され得、これにより、コンピュータ1202が次のアクティブなビームフォーミング重みセットをロードし、及び何らかの外部論理が現在のアクティブなビームフォーミング重みセットの個々のビームフォーミング重みベクトルに動的にアクセスできるようにする。その後、アクティブなビームフォーミング重みセットの個々のビームフォーミング重みベクトルは、順次論理1206の制御下で適切な時にビームフォーミング重みとして出力され得る。順次論理1206の例は、1タイムスロット当たり1増加するタイムスロットカウンタ1208を含み得る。タイムスロットカウンタ1208は、いくつかの実施形態では単純な6ビットのカウンタであり得、及び1フレーム当たり2=64個のタイムスロットまでのフレームを取り扱い得る。カウンタ値は、ビームホッピングフレームのスロット数(例えば、1…64)を表し得る。順次論理1206は、タイムスロットカウンタ1208の出力を取り、及び(1)メモリ1204の適切なアドレス、(2)BFNモジュールのラッチのアドレス、及び(3)データバスにビーム重みを置くための制御信号を生成し得る。その後、順次論理1206は、このデータをビームフォーミングモジュール1210内の適切なラッチにロードし、これは、BFN710又はBWP714の何れかと同一場所に配置され得るか、又はその一部であり得る。
ビームフォーミングモジュール1210内において、データは、各ビームフォーミング重みベクトル内の全ビーム重みが同時に変化できるようにするためにダブルラッチされ得る。これは、タイムスロット境界と同期した全スポットビームのホッピングを保証し得る。データは、イネーブル信号に基づいて第1のラッチにロードされ得、イネーブル信号は、BFN710又はBWP714の何れかと同一場所に配置され得るか又はその一部であり得るデコーダ1212によってラッチアドレスから復号される。その後、全データが、順次論理から、ストローブ信号と同期してデジタルアナログ(D/A)変換器に同時にロードされ得る。ストローブは、順次論理1206内で生成されて、各タイムスロットの開始時に生じ得る。
図12の例では、BFNモジュール内にいくつかのコンポーネントが示されている。このアプローチは、BWP714とBFN710との間の接続数を減らし得るか又は最小にし得るために好都合であり得るが、他の考えられる実装例を使用し得る。例えば、相互接続信号は、48ビットデータバス、ラッチアドレスバス及びストローブラインに制限され得る。48ビットデータバスは、一度に4個の複素重みのローディングを可能にし得る(Iに対し6ビット+Qに対し6ビット、×4個の重み=48ビットに基づいて)。この例では、合計L=1024個のフィード素子×K=80個の経路×2(Tx及びRxに対し)、合計163,840個の複素重みがある。一度に4個の複素ビーム重みのローディングは、40,960個のアドレス可能ロケーション又は16ビットのラッチアドレスバスを必要とし、合計48+16+1=65ラインの相互接続を生じる。
いくつかの実施形態では、アドレスデコード、ラッチ及びD/Aは、BWP自体に組み込まれる。これは、BFNモジュールを単純にするが、必要な相互接続数を著しく増加させる。例えば、L=1024個の素子×K=80個の経路×2(Tx及びRxに関し)×2(I及びQ)=327,680アナログ電圧(D/A出力)ラインを使用する。
図13A~13Cは、本開示の態様による、K=4個の経路を有する通信衛星120の例を示す。
図13Aは、通信衛星120のペイロードの図1300を示す。Cleveland(指定されたスポットビーム124)で始まり且つPittsburgh(指定されたスポットビーム319)を送信先とするトラフィックを伝える例示的な経路に関する瞬間的な(例えば、タイムスロット)信号の流れが破線1302内に示されている。BWP714-dは、係数を、例えば図8に示したように係数を適切な値に設定して、フェーズドアレイ受信アンテナアセンブリ121のLHCPフィード素子128を、Clevelandスポットビーム125と関連するスポットビームカバレッジエリア126にフォーカスさせる。指定された受信スポットビームカバレッジエリア126内のアクセスノード端末130及び/又はユーザ端末150を含む端末は、LHCPアンテナによって指定されたアップリンク周波数で同報通信する。これらの信号の受信バージョン(例えば、フィード素子Rx信号)は、処理されて、Rx BFN710-gから経路1に出力され、その後、上述の通り処理する経路を通り抜ける。その後、経路1からの出力は、Tx BFN710-i(例えば、フィード形成ネットワーク)に入力される。BWP714-dは、係数(例えば、図9を参照して説明したような)を適切な値に設定して、フェーズドアレイ送信アンテナのRHCPフィード素子128を、Pittsburghビームとして指定されるエリアにフォーカスさせる。指定された送信スポットビームカバレッジエリア126内にアクセスノード端末130及び/又はユーザ端末150を含む端末は、RHCPアンテナで、指定されたダウンリンク周波数で受信する。
通信衛星120の観点では、アップリンク信号は、衛星の受信サービスカバレッジエリア410に設置された送信用ユーザ端末150から又は送信用アクセスノード端末130から通信衛星120によって受信される。ダウンリンク信号は、通信衛星120から、衛星の送信サービスカバレッジエリア410内に設置された受信用ユーザ端末150又は受信用アクセスノード端末130に送信される。地上器材(例えば、ユーザ端末150及びアクセスノード端末130)の観点では、受信サービスカバレッジエリア410及び送信サービスカバレッジエリア410は、逆にされ得る。
図13Bは、例示的な通信衛星120の瞬間的な構成の構成表1310を示す。各行は、1つの経路に対応する。列1312は、経路の数1…Kを含む。列1316は、
1.英数字の列であり得る、アップリンク受信スポットビーム125の独自の呼称、
2.信号の移動方向を指示する、英数字の「矢印」、
3.同様に英数字の列であり得る、対応するダウンリンク送信スポットビーム125
を含む。これらの例では、経路は、典型的な業界の慣行に従う交差偏波であり得る。本明細書の例示的な通信衛星120の慣例は、第1のK/2経路は、LHCPアップリンクスポットビーム125を受信し、及びRHCPダウンリンクスポットビーム125を送信する一方、第2のK/2経路は、RHCPアップリンクスポットビーム125を受信し、及びLHCPダウンリンクスポットビーム125を送信することである。
図13Cは、エリアマップ1320に重ねられた例示的なタイムスロットカバレッジエリアを示す。前述の通り、経路1は、ClevelandからのLHCPアップリンク及びPittsburghに至るRHCPダウンリンクを有する。通信衛星120は、この経路に対して示されているが、この図に示されている他の3つの経路に関して省略されている。例えば、経路3は、Washington,D.C.からのRHCPアップリンク及びColumbusに至るLHCPダウンリンクを有し、及び図面では直線によって示されている。
ビームホッピングフレーム内の何れのタイムスロットにおいても、各スポットビーム125におけるフォワード容量は、地上器材の特性を含むリンク分析を実行することによって計算され得る。標準的なリンク分析を実行することにより、スポットビームカバレッジエリア126内の特定の点に対する、端から端までの搬送波対雑音+干渉比E/(N+I)を計算できる。端から端までの搬送波対雑音比E/Nは、一般に、熱雑音C/I、相互変調歪及びアップリンク及びダウンリンクの両方への他の干渉状態の影響を含む。結果として生じる端から端までのE/(N+I)から、変調及び符号化は、容量を最大にする波形ライブラリから選択され得る。波形ライブラリの例は、DVB-S2規格に含まれるが、任意の好適な波形ライブラリが使用され得る。選択された波形(変調及び符号化)は、スポットビームカバレッジエリア126内のその特定点に対する、bps/Hzにおいて測定されたスペクトル効率を生じる。
ブロードキャストデータ配信のために、スペクトル効率は、スポットビームカバレッジエリア126内で最も不都合な点(例えば、ワーストリンクバジェット)で計算され得る。マルチキャストデータ配信では、スペクトル効率は、マルチキャスト群内の最も不都合なユーザのロケーションで計算され得る。ユニキャストデータ配信では、適応符号化変調(ACM)が利用され得、ここで、スポットビームカバレッジエリア126内の各ロケーションに配信されたデータは、個別に符号化されて、スポットビームカバレッジエリア126内のその特定のロケーションのリンクバジェットに適合される。これは、DVB-S2規格の場合である。ACMが利用されるとき、平均的なスペクトル効率も関連する。2008年7月21日出願のMark J.Millerへの米国特許出願公開第2009-0023384号明細書に説明されているように(その全体が参照により本明細書に援用される)、平均的なスペクトル効率は、スポットビームカバレッジエリア126内の全てのロケーションに対してスペクトル効率の加重平均を計算することによって生成され得る。
その後、スポットビーム125内のリンク容量は、スペクトル効率(bps/Hz)と、スポットビーム125内の割り当てられたBWとの積として計算され得る。ビームホッピングフレームにおける1つのタイムスロット中の総容量は、タイムスロット中にアクティブである全てのスポットビーム125の容量の和である。総容量は、個々のビームホッピングフレームの容量の平均である。総容量を最大にするために、ビーム重みは、最大のアンテナ指向性を生じさせるために、全スポットビーム125及び全タイムスロットに対して設定され得る。同じタイムスロットにおいて形成され且つ同じ偏波及びスペクトルを使用するスポットビーム125は、C/Iを最大にする(従って他のスポットビーム125への干渉を最小にする)ために可能な限り遠方に離間される必要がある。これらの条件下では、各スポットビーム125のスペクトル効率を全タイムスロットにおける全スポットビーム125に対してほぼ同じにすることが一般的である。この仮定下では、システムのフォワード容量は、以下に従って概算され得る。
=K・ηHz・W (1)
式中、η Hz は、bps/Hzにおけるスペクトル効率であり、Kは、フォワードスポットビーム125の数であり、及びWは、1スポットビーム125当たりの割り当てられたスペクトルである。式(1)から、パラメータの何れかの増加によって容量を増加することが分かり得る。
一度にアクティブであり得るスポットビーム対の最大数Kは、本質的に、通信衛星120の質量及び体積のバジェットによって決定される。通信衛星120での電力制限は、値Kにも影響を及ぼし得るが、質量及び体積の制約は、一般的により限定的である。
本明細書で開示する衛星通信サービスを提供するためのアーキテクチャは、η Hz 及びWを最大にするのに効率的である。小サイズのスポットビーム125及び(ペイロードサイズ、重量及びKでの電力制限によって)一度にアクティブであり得る比較的少数のスポットビーム125に起因して、割り当てられたスペクトルは、全てスポットビーム125間の干渉が最小限であり、各スポットビーム125内で使用され得る。これを達成するために、同じタイムスロット内でアクティブである同じ偏波のスポットビーム125は、可能な限り遠方に位置決めされる必要がある。代わりに、C/Iを改善するために、1スポットビーム125当たりのスペクトルのごく一部のみを使用し得るが、本アーキテクチャがビームホッピングの性質を有するために、これは、容量を少なくし得る。例えば、各スポットビーム125が利用可能なスペクトルの半分、すなわちW/2Hzを使用すると想定する。その場合、いかなる時点においても、共周波数であり且つ干渉の可能性を示すスポットビーム125の数の半数となる。結果として生じるC/Iは、増加し、従って、C/Iは、端から端までのE/(N+I)バジェット内の多くのコンポーネントの1つにすぎず、及びスペクトル効率は、一般的にE/(N+I)の対数として変化するため、スペクトル効率η Hz は、わずかに高まる。しかし、1スポットビーム125当たりのBWは、2分の1だけ減少され、及び予想通り、スポットビーム125の数が通信衛星120の信号経路の数によって制限され得るため、総容量が減少する。
1スポットビーム125当たりのスペクトル効率は、本アーキテクチャを使用するとかなり高い。なぜなら、アクティブなスポットビームカバレッジエリア126が遠方に離間され得、及びスポットビーム125の指向性が大きいことがあり得るためである。前者は、大きい範囲のサービスカバレッジエリア410、小サイズのスポットビーム125及び一度にアクティブであり得る比較的少数のスポットビーム125の結果である。後者は、小サイズのスポットビーム125の結果である。
いくつかの実施形態では、そのビーム幅に対して関連のスポットビームカバレッジエリア126を減少させることにより、スポットビーム125のスペクトル効率を高めることも望ましいことがあり得る。一般に、スポットビームシステム内のスポットビームカバレッジエリア126は、スポットビーム125の-3dBの境界線まで又はそれを越えて延在し得る。いくつかのシステムは、スポットビームカバレッジエリア126を-6dBの境界線まで延在させる。これらの低い境界線の地域は、多くの理由で望ましくない。第1に、それらは、ダウンリンクE/Nを低下させ、且つダウンリンクC/Iを低下させ得る。C/Iの低下は、スポットビームカバレッジエリア126の縁のロケーションが他のスポットビームカバレッジエリア126に近くなるときの信号電力(C)の低下と干渉(I)の増加の結果である。加重平均容量(例えば、ユニキャストデータ配信のための)又はスポットビーム容量の縁(例えば、ブロードキャストのデータ配信のための)を計算するとき、スポットビーム125の縁でのこの大きいアンテナのロールオフは、容量を低下させ得る。しかしながら、本アーキテクチャによれば、スポットビームカバレッジエリア126は、アンテナロールオフが遥かに少ない約-1.5dBなどのスポットビーム125内の地域に限定され得る。これは、ビーム中心に対して-3~-6dBレベルのロケーションがスポットビーム125内にないため、スペクトル効率を高め得る。しかしながら、スポットビームカバレッジエリア126をより小さくし得るが、これは、ホッピングにより、ビームホッピングフレーム内のより多くの領域を補償し得る(例えば、1フレーム当たりのタイムスロット数を増加する)。
リンク容量は、以下によって増強され得る:
・1スポットビーム125当たりの割り当てられた全スペクトルの使用。
・高ビーム指向性及び大きいアップリンクE/N、最終的にはより良好なリターンリンクスペクトル効率を生じる、小さいスポットビーム125の使用。
・1フレーム当たりの多くのスロットを有するビームホッピングフレーム内で小さいスポットビーム125をホッピングすることによって実現される大きいサービスカバレッジエリア410であり、これにより、比較的少数のスポットビーム125が一度にアクティブとなり、及び大きいサービスカバレッジエリア410全体に広がる。そのため、スポットビーム125は、遠方に離間され得、より高いスペクトル効率につながる高C/I値を生じる。
・スポットビームロールオフの縁が比較的小さく、例えば約-1.5dBとなるようなより小さいスポットビームカバレッジエリア126の定義。これにより、アップリンクC/I及びE/Nの両方を低下させるスポットビームカバレッジエリア126の比較的高いロールオフロケーションがなくされたため、平均的なスペクトル効率及び1スポットビーム125当たりの容量を上昇させる。
図14は、本開示の態様による、衛星通信を支援する例示的なプロセス1400を示す。プロセス1400は、1つの経路(図13Aの破線1302内に示す経路など)に対応し得、これは、図1を参照して説明した衛星通信システム100などのハブ-スポーク衛星通信システムのフォワード及び/又はリターンリンクに供され得る。実際的応用では、多数のこれらの経路は、単一のタイムスロットドエルタイム間でアクティブであるため、対応する多数のこれらのプロセスは、並行して動作することを理解すべきである。
1402では、現在のフレームが選択される。例えば、ビーム重みプロセッサ(例えば、図7又は図10~13を参照して説明したようなBWP714)は、データリンク(例えば、図7を参照して説明したようなデータリンク716)を介して1つ以上の事前計算された重みセットを受信し得る。1402で選択されたフレームは、1つ以上のタイムスロット定義及び1つ以上のビームフォーミング重みマトリクスを含み得る。例えば、BWP714又はその関連のハードウェアは、複数のビームホップタイムスロット定義及び複数のビームフォーミング重みマトリクスに大容量記憶を提供し得る。ビームフォーミング重みマトリクスは、1つのタイムスロットにおいて全スポットビーム125の送信及び受信に使用される全複素ビームフォーミング重みベクトルの組を含み得る。ビームフォーミング重みベクトルは、フィードアレイアセンブリ127のフィード素子128を介して伝えられるフィード素子への/からのTx/Rx信号の計算に使用されて、1つのタイムスロットの期間に1つのスポットビーム125を形成するLtx又はLrx個の個々の複素ビーム重みの群を含み得る。ビームホップタイムスロット定義は、1つのタイムスロット期間内の全スポットビーム125の全経路ゲインの組を含み得、及びタイムスロットに関連した全ドエルタイムを特定し得る。
1404では、第1のタイムスロット定義及び第1のビームフォーミング重みマトリクスは、現在のフレームのために選択される。例えば、BWPの順次論理(例えば、図13を参照して説明したような順次論理1306)は、タイムスロットを選択するためのカウンタを含み得る。タイムスロット定義及び/又は重みマトリクスは、1つ以上の受信スポットビーム125、1つ以上の送信スポットビーム125又はそれらの両方を生じるために使用される位置データも含み得る。例えば、位置データは、タイムスロット中にアクティブなスポットビーム125を生成するために使用される全複素重みベクトルの組を含み得る。
1406では、通信がフォワードリンク又はリターンリンクの一部であるかどうかの決定が下される。上述の通り、ハブ-スポークシステムでは、アクセスノード端末(例えば、図1を参照して説明したアクセスノード端末130)は、下り(例えば、フォワード)リンクを使用するユーザ端末(例えば、図1を参照して説明したようなユーザ端末150)と通信し得る一方、ユーザ端末(例えば、図1を参照して説明したようなユーザ端末150)は、上り(例えば、リターン)リンクを使用するアクセスノード端末130と通信し得る。アクセスノード端末130は、通信衛星(例えば、図1A~3D、図7、図10又は図11を参照して説明した通信衛星120)に対するそれ自体のアップリンク及びダウンリンクに供され得る。アクセスノード端末130は、ユーザ端末150に対するトラフィックもスケジュールし得る。代わりに、スケジューリングは、衛星通信システムの他の部分において(例えば、1つ以上のNOC、ゲートウェイ指令センター又は他のネットワーク装置141において)実行され得る。例えば、いくつかの実施形態では、フレーム定義に含まれるゲイン設定値(例えば、各タイムスロット定義の一部として)は、通信がフォワードリンク又はリターンリンクであるかどうかを決定するために使用され得る。
1406においてフォワードリンクが処理されている場合、1408において、経路のゲインが必要に応じてフォワードリンクを支援するように調整され得る。例えば、選択可能なゲインチャネル増幅器は、図7に示すように、使用中の経路のためにゲイン設定値を提供し得る。ゲイン設定値は、第1のタイムスロット定義から決定され得る。1410において、受信スポットビーム信号は、タイムスロットドエルタイムの持続時間中に形成される。例えば、受信ビームフォーミングネットワーク(例えば、図7を参照して説明したようなBFN710-a)を含む衛星ベースの受信アンテナアセンブリ121は、タイムスロットドエルタイムの持続時間中、アンテナアセンブリ121に1つ以上の受信スポットビーム125を生じるように構成され得る。受信スポットビーム125は、複数の端末を送信先とする1つ以上の多重化信号(例えば、アクセスノード端末130からの多重化信号)を受信するように使用され得る。例えば、多重化信号は、ユーザ端末150を送信先であり得る。多重化信号の個々のコンポーネント信号の少なくともいくつかが、例えば異なるユーザ端末150を送信先とする場合、内容が異なり得る。多重化信号は、例えば、MF-TDM、TDM、FDM、OFDM及びCDMを含む任意の好適な多重化スキームを使用して多重化され得る。概して、TDMは、単純化するために使用される。
1406においてリターンリンクが処理されている場合、1412において、必要に応じて、ゲインは、リターンリンクを支援するために調整され得る。例えば、選択可能なゲインチャネル増幅器は、図7を参照して説明したような、使用中の経路のために独立したゲイン設定値を提供し得る。ゲイン設定値は、第1のタイムスロット定義から決定され得る。1414において、受信スポットビーム信号は、タイムスロットドエルタイムの持続時間中に形成され得る。例えば、受信ビームフォーミングネットワーク(例えば、図4を参照して説明したBFN710-a)を含む衛星ベースの受信フェーズドアレイアンテナアセンブリ121は、タイムスロットドエルタイムの持続時間中、アンテナアセンブリ121に1つ以上の受信スポットビームを生じるように構成され得る。受信スポットビームは、アクセスノード端末130を送信先とする1つ以上の多元接続合成信号(例えば、複数のユーザ端末150から得られる合成信号)を受信するために使用される。多元接続合成信号は、例えば、MF-TDMA、TDMA、FDMA、OFDMA及びCDMAを含む、任意の好適な多元接続スキームを使用して形成され得る。スロット期間中の多元接続は、全て無作為な接続、全てスケジュールされた送信又は無作為な接続とスケジュールされた送信との混合であり得る。
1416において、送信ビームフォーミングネットワーク(例えば、図7を参照して説明したBFN710-b)を含む、衛星ベースの送信フェーズドアレイアンテナアセンブリ121は、タイムスロットドエルタイムの持続時間中、1つのTxスポットビーム信号を生成するように構成されている。Txスポットビーム信号は、衛星でのベントパイプ経路を使用して、受信した多重化又は多元接続合成信号から得られる。例えば、周波数変換、フィルタリング及び選択可能なゲイン増幅の1つ以上が受信信号で実行されて、Txスポットビーム信号を生じ得る。
1418において、タイムスロットドエル期間が過ぎたため、フレーム定義内に、処理するための追加的なタイムスロットが存在するかどうかの決定が下される。例えば、順次論理(例えば、図13を参照して説明した順次論理1306)が、各フレームの終わりにフレーム定義に含まれるタイムスロットを自動的にループ化するように命令され得る。上述の通り、フレーム定義及びビームフォーミング重みセットは、時間変動し、且つ通信衛星120において局所的に(例えば、図13を参照して説明した順次論理1306又はコンピュータ1302によって)又はデータリンク(例えば、図7を参照して説明したようなデータリンク716)を使用して地上施設において遠隔で動的に調整され得る。1418において、処理するためのタイムスロットがさらにある場合、1420において、次のタイムスロットが処理のために選択され得る。例えば、新しいタイムスロットは、1404において選択されたタイムスロットのタイムスロットドエルタイムが経過した直後に選択され得る。実際、複数のタイムスロット定義及び複数のビームフォーミング重みセットがメモリにロードされ得(例えば、図13を参照して説明したBWP714-cのメモリ1204)、及びタイムスロット定義及びビームフォーミング重みマトリクスは、例えば、連結リスト又は他のデータ構造のポインタを辿ることによってアクセスされ得る。その後、プロセス1400は、1406に戻って、新しいタイムスロットドエルタイムのために新しいRxスポットビーム信号を生じ、及び新しいTxスポットビーム信号を生成し得る。1418において、フレーム内にこれ以上処理するためのタイムスロットがないという決定が下されると、その後、1419において、新しいフレーム定義又は新しいビームフォーミング重みセットが受信されたかどうかの決定が下される。例えば、フレーム定義及び/又はビームフォーミング重みセットを変更するための指令は、受信され得る(例えば、図13を参照して説明したようなコンピュータ1302から、又はリモートのスケジューラから)か、又は新しいフレーム定義及び/又は新しいビームフォーミング重みセットは、通信衛星120にアップロードされ得る。1419において、新しいフレーム定義も新しいビームフォーミング重みセットも受信していない場合、現在のフレームが再度処理され得る(例えば、自動的に繰り返される)。新しいフレーム定義又は新しいビームフォーミング重みセットが受信された場合、この新しいフレーム定義又はこの新しいビームフォーミング重みセットが処理のために選択され得る。
提供される高容量の例として、以下のパラメータを備える衛星通信システムが考慮される:
・ペイロードによって使用するために15kWの電力が利用可能である、通信衛星120でのアンテナアセンブリ121の5.2mの反射器122。
・2つの偏波のそれぞれに割り当てられたスペクトルが1.5GHzである、Kaバンド動作。
・それぞれ1.5GHz幅(1つの偏波で全てのスペクトルを使用する)が一度にアクティブとなる100個の経路まで支援するペイロード質量及び体積の制約。50個の経路をフォワードトラフィックに使用し、及び50個の経路をリターントラフィックに使用すると仮定して、各方向において合計50*1.5GHz=75GHzのスペクトルを生じる。
・75cmのユーザ端末150。大きい間隔のスポットビームカバレッジエリア126(大きいサービスカバレッジエリア410)では、結果として生じるフォワードリンクバジェットは、約3bps/Hzのスペクトル効率を支援し、約225Gbpsのフォワード容量を生じる。
・リターンリンクバジェットは、1.8bps/Hzを支援し、135Gbpsのリターンリンク容量を生じる。総容量は、約360Gbpsである。
図7に示したように、通信衛星120は、K個の一般的な組の経路を含み得る。各経路は、形成された受信スポットビーム125又は形成された送信スポットビーム125からなり、これら経路は、通常、フィルタ、ダウンコンバータ及び増幅器からなる経路エレクトロニクスによって相互接続される。ハブ-スポークシステムアーキテクチャを利用する主題発明の一実施形態によれば、これらのK個の経路は、フォワード方向(例えば、アクセスノード端末130からユーザ端末150に)とリターン方向(例えば、ユーザ端末150からアクセスノード端末130に)との間で容量を柔軟に及びプログラム可能に割り当てるために使用され得る。その割り当ては、総リソースを、所望の任意の割合でフォワード及びリターンで分割して、フォワードチャネル容量とリターンチャネル容量との間に任意の所望の比にする点で柔軟性がある。割り当ては、リソースの分割を全てのフレームにおいて変更し得るため、フォワード容量とリターン容量の比を迅速に変化させることができる点でプログラム可能である。これは、フォワード/リターン容量の割り当てを変更して、衛星通信システムによってデータ/情報転送を使用して、新しく且つ進化する応用に適合するために特に有用である。
柔軟な容量の割り当ては、衛星アーキテクチャのリソースの柔軟な割り当てによって達成される。ここで、対象のリソースは、通信衛星120上の物理的な経路の数及び各ビームホッピングフレーム中の部分時間である。2つのアプローチが柔軟な容量の割り当てに提示される。アプローチ1は、時間リソースを柔軟に割り当て、アプローチ2は、HWリソースを柔軟に割り当てる。
アプローチ1:時間リソースの柔軟な割り当て
このアプローチでは、1つ以上の経路は、部分時間αをフォワード方向での使用に割り当てられる。残りの時間(1-α)は、リターントラフィックに使用される。ビームホッピングフレームにはQ個の固定長のタイムスロットがあると想定する。そのため、Q個のタイムスロットからのQ≒α Qでは、経路は、フォワードトラフィックのために構成される。代わりに、フォワードタイムスロット及びリターンタイムスロットは、長さが同じ比によって変動し得るが、以下の例は、固定長のタイムスロットの場合に限定される。
フォワードトラフィックのために構成されるとは、Rxスポットビーム125が、アクセスノード端末130のサイトの方に向けたRxスポットビーム125を有するビームフォーミング重みベクトルを使用すること、Txスポットビーム125が、ユーザサービスエリア(例えば、1つ以上のユーザ端末150を含むTxスポットビームカバレッジエリア126)に向けたTxスポットビーム125を有するビームフォーミング重みベクトルを使用すること、及び経路と関連したチャネル増幅器が、フォワードチャネルに適った衛星ネットゲインを生じるように設定されることを意味する。リターントラフィックのために構成されたとは、Rxスポットビーム125が、ユーザサービスエリア(例えば、1つ以上のユーザ端末150を含むRxスポットビームカバレッジエリア126)に向けたRxスポットビーム125を有するビームフォーミング重みベクトルを使用すること、Txスポットビーム125が、アクセスノード端末130のサイトに向けたTxスポットビーム125を有するビームフォーミング重みベクトルを使用すること、及び経路と関連したチャネル増幅器が、リターンチャネルに適った衛星ネットゲインを生じるように設定されることを意味する。
ほとんどではなくても多くのハブ-スポーク応用では、ユーザ端末150及びアクセスノード端末130のサイズは、かなり異なる。例えば、アクセスノード端末130のアンテナは、その後ろ側にあるHPAにおいて100ワット代の出力電力容量を備え、直径7mであり得、及びユーザ端末150のアンテナは、その後ろ側にあるHPAにおいて、数ワットのみの出力電力容量を備え、直径1m未満であり得る。そのような状況では、通信衛星120の1つ以上のアンテナアセンブリ121の所望のネット電子ゲインは、フォワード方向ではリターン方向と異なることが一般的である。そのため、概して、経路におけるチャネル増幅器は、フォワード方向及びリターン方向において異なるゲインに構成される必要がある。
極端な例では、全経路に関してQ=Qにする。その結果、全容量がフォワードリンクに割り当てられ、及びリターンリンクに容量が割り当てられない、Forward Link Only(FLO)システムとなる。これは、例えば、メディアブロードキャストシステムに有用である。しかしながら、同じ通信衛星120は、フォワード送信に75%(例えば)のタイムスロット及びリターン送信に25%を割り当てるように構成され得る(異なるビームフォーミング重みセット及びチャネル増幅器ゲインセットのアップロードによって)。これにより、FLOの例の75%のフォワード方向容量及び達成され得る最大の25%のリターン容量を生じる。概して、C_maxを、全タイムスロットがフォワード方向に割り当てられたフォワードチャネル容量とし、及びC_maxを、全タイムスロットがリターン方向に割り当てられたリターンチャネル容量とする。そのため、Qフォワードタイムスロット割り当て及びQ=Q-Qリターンチャネルタイムスロット割り当てでは、フォワード及びリターン容量は、
Figure 0007127053000001
(式中、Qは、0(全てリターントラフィック)からQ(全てフォワードトラフィック)までの任意の値であると仮定し得る)
である。(2)から、フォワードとリターンとの間の容量の割り当ては、Qの値によってのみ制限される何れかの任意の比率を取り得、1ビームホッピングフレーム当たりのタイムスロットの数であることは明白である。Q=64などのQの合理的なサイズに関し、この制限は、最大値の1/64の増分での容量の割り当てを可能にするため、あまり限定的ではない。
このアプローチでは、K個の経路の全てが、何れの瞬間でも専らフォワードトラフィックに又は専らリターントラフィックに使用される。アクセスノード端末130のロケーションの総数に対する条件は、以下の通り決定され得る。単一の偏波でW Hzのスペクトルをそれぞれ使用するK個の経路があるようにする。さらに、NGW個のアクセスノード端末サイトがあるようにし、それぞれ2つの偏波のそれぞれでW Hzのスペクトルを使用できるようにする。何れの瞬間でも、全ユーザリンクスペクトルは、KW Hzであり、これは、フォワードリンク又はリターンリンク送信の何れか(決して両方ではない)に使用されている。いかなる所与の瞬間においても利用される全フィーダリンクスペクトルは、2NGWWであり、これも、フォワードリンク送信又はリターンリンク送信の何れか(決して両方ではない)に使用されている。2つのスペクトルの量を等式化することによって必要数のアクセスノード端末、NGW=K/2を生じる。
このアプローチは、アクセスノード端末130が時間の100%を送信及び受信しないため、非効率的である。アクセスノード端末130が送信に費やす部分時間に、アクセスノード端末130が受信に費やす部分時間を足すと、1と等しくなる。しかしながら、アクセスノード端末130は、時間の100%で送信及び受信し得るため、非効率であり、且つ十分に活用されていない。
そのようなアプローチは、各経路に対するフォワードリンクとリターンリンクとの間の50%-50%の時間リソース割り当て1500を示す図15Aに示すように同期されると言われる。経路は、それらが全て、ある長さの時間ではフォワードリンクに供され、及び全て、他の時間ではリターンリンクに供する点で時間的に一致される。時間リソース割り当て1500から分かるように、使用される全フィーダリンクスペクトルは、常にKW Hzであり、及び常に全てフォワードリンクスペクトル又は全てリターンリンクスペクトルの何れかである。上述の通り、この同期したシステムは、K/2アクセスノード端末130を必要とする。
図15Bは、8個のスポットビーム125及び4個のアクセスノード端末130を備える例示的な8経路の通信衛星120での例示的な同期した時間リソース割り当ての例1510を示す。時間リソース割り当て1510のスロット1では、時間リソース割り当て1510のスロット構成に示すように、4個全てのアクセスノード端末130(例えば、GW1、GW2、GW3及びGW4)がスポットビームB1~B8に送信している。スロットの下に、スロットの経路(PW)の使用状況を列挙している。スロット1では、8個全ての経路がフォワードリンクに使用されるため、エントリー8Fである。スロット2では、スポットビームカバレッジエリア126の全てにあるユーザ端末150は、それらそれぞれのアクセスノード端末130に送信しているため、経路の使用状況は、8Rで示されている。表の右側では、スロットの使用状況が各経路に対して挙げられている。全経路に対し、第1のスロットは、フォワードであり、及び第2のスロットは、リターンであるため、各スロットの使用状況のエントリーは、FRである。
この例では、アクセスノード端末130は互いに自律的であり得、同等であるが、ユーザスポットビーム125への送信アクセスノード端末130は、そのユーザスポットビーム125の受信アクセスノード端末130と異なり得る。その場合、アクセスノード端末130は、ユーザ端末150に対してコヒーレント双方向通信を提供するために協働する必要がある。全てのそのような同期の場合、ユーザ端末送信スロットが、対応する受信スロットに重ならないようにするために、ユーザスポットビーム125の全てがスケジュールされ得るため、半二重(異なる時点で送信及び受信)ユーザ端末150が作動し得ることに留意されたい。
アプローチは、図16Aの時間リソース割り当て1600に示すように、フォワード時間割り当てとリターン時間割り当てとを交互に配置することによって改善され得る。各経路に対するフォワード時間割り当て及びリターン時間割り当ては、何れの瞬間でも、経路の半分がフォワードトラフィックに使用され、及び半分がリターントラフィックに使用されるように構造化されている。この結果、何れの瞬間でも全フィーダリンクスペクトル条件は、同じとなる(KW Hz)が、フォワードリンクとリターンリンクとで等しく分割される。例示的なアクセスノード端末130は、フォワード方向で使用するために2W Hzのスペクトル及びリターン方向で使用するために2W Hzのスペクトルを有するため、必要なアクセスノード端末130の総数は、K/4である。これは、フォワード時間割り当て及びリターン時間割り当てを同期させるときに必要なアクセスノード端末130の数の半分であり、従って好ましい動作方法である。
図16Bは、図15Bのものと同様の8経路通信衛星120及び8個のスポットビーム125を備える、50%-50%の時間リソース割り当て1610の例を示す。しかしながら、ここで、2つのアクセスノードのみ、GW1及びGW2が必要とされる。図16Bでは、GW1は、B1にLHCPを送信しており(RHCPを受信する)、且つB2にRHCPを送信している(LHCPを受信する)。別々の偏波であるため、物理的に隣接していても、及び部分的に又は全体的に重なり合っていても、スポットビーム125間には信号干渉がない。同時に(その第1のタイムスロット中)、B7及びB8内のユーザ端末は、アクセスノード端末GW1に送信している。また、図16Bのこの第1のタイムスロット中、アクセスノード端末GW2は、B3及びB4に送信している一方、B5及びB6は、アクセスノード端末GW2に送信している。第2のスロットでは、図15Bにおけるように、送信方向は、スロット1のものと逆にされる。図16Bを図15Bと比較すると、各スポットビーム125は、正確に同数の送信及び受信機会を有することが分かる。この特定の場合、ユーザ端末送信スロットが、対応する受信スロットと重ならないようにスポットビーム125がスケジュールされるため、半二重ユーザ端末150が作動し得ることに留意されたい。同様に50%-50%の時間割り当てを達成し得るが、スポットビームの送信スロットと受信スロットとが重なる異なるスケジュールが使用され得、場合により、ユーザ端末150は、それらが同時に送信及び受信し得る場合、全二重で動作する必要がある。
この例では、同様に、各スポットビーム125がそのフォワード送信(ユーザスポットビーム125への)及びリターン送信(アクセスノードスポットビーム125への)の両方に対して単一のアクセスノード端末130を有するため、アクセスノード端末130は、互いに自律的であり得る。また、図16Bの状況と等しく、ユーザスポットビーム125への送信用アクセスノード端末130は、ユーザスポットビーム125のための受信用アクセスノード端末130と異なり得る。その場合、アクセスノード端末130は、ユーザ端末150に対してコヒーレント双方向通信を提供するために協働する必要がある。
図17Aは、フォワードトラフィックとリターントラフィックとの間の75%-25%の時間割り当ての交互に配置された時間リソース割り当て1700の例を示す。この例では、75%の経路は、各瞬間にフォワードトラフィックに使用される。残りの25%は、リターントラフィックに使用される。個々の各経路は、ビームホッピングフレームの75%中にフォワードトラフィックに、及びビームホッピングフレームの25%中にリターントラフィックにも使用される。結果は、何れの瞬間でも、フォワードトラフィックに使用されるBWは、3KW/4であり、及びリターントラフィックに使用されるBWは、KW/4である。各アクセスノード端末130は、フォワードトラフィックに2W Hzの帯域幅を及びリターントラフィックに2W Hzの帯域幅を使用し得るため、必要なアクセスノード端末130の総数は、3K/8であり、及びフォワードリンクBWの利用によって制限される。この数は、依然として、図15A~Bに示すような50%-50%の時間リソース割り当てのための同期アプローチに必要なK/2値よりも少ない。
図17Bは、図15Bの8個のスポットビーム125及び4個のアクセスノード端末130を含む、例示的なシステムの4個のタイムスロットを示す。その例におけるように、アクセスノード端末130は、各スロット中に送信又は受信の何れかを行うが、同じスロット内で決して送信及び受信の両方を行わない。構成表の一番下に記載の使用状況の概要は、各スロットが6個のフォワード(例えば、アクセスノード端末からユーザ端末に)経路及び2個のリターン(ユーザ端末からアクセスノード端末に)経路を示す。
第1のスロットでは、B1及びB2内のユーザ端末は、アクセスノード端末GW1に送信する一方、他の全てのユーザ端末150は、受信する。第2のスロットでは、B7及びB8内のユーザ端末は、送信する一方、他は、受信する。第3のスロットでは、B3及びB4内のユーザ端末150が唯一の送信するものである一方、第4のスロットでは、B5及びB6内のユーザ端末150が唯一の送信機である。スロットの作表は、各スポットビームが、単一のアクセスノード端末130からスポットビーム125への3個のフォワード経路及びスポットビーム125からその同じアクセスノード端末への1個のリターン経路を有することを裏付ける。この場合、K/2=4個のアクセスノード端末130が使用されるが、最小数のアクセスノード端末130は、3K/8=3個のアクセスノード端末である。
トラフィックの100%がフォワードリンクに割り当てられた場合、全経路がフォワードトラフィックに100%の時間使用される。これは、KW Hzの総フォワードスペクトルを生じ、及びアクセスノード端末130の必要数は、K/2となり、同期アプローチと同数である。
一般的な場合、各経路は、ビームホッピングフレーム内の部分時間αをフォワード経路となるように割り当てられる。割り当ては、各瞬間にフォワード経路として動作するK個の総経路に部分時間αをもたせるという目的で交互に配置される。残りK(1-α)は、リターンリンク経路として動作する。各瞬間において、必要なフォワードリンクスペクトルは、KWαであり、及び必要なリターンリンクスペクトルは、KW(1-α)である。そのため、必要なアクセスノード端末130の総数は、NGW=Max(α,1-α)K/2である。これは、アクセスノード端末130間の協働を必要とし得ることに留意されたい。
アプローチ2:ハードウェアリソースの柔軟な割り当て
このアプローチでは、任意の単一の経路が全体的に(ビームホッピングフレーム内の全てのタイムスロット)フォワードリンク送信の専用にされるか、又は全体的にリターンリンク送信の専用にされるかの何れかである。柔軟性を有するものは、フォワード経路の専用にされる経路の数及びリターン経路の専用にされる経路の数である。これは、経路の75%をフォワードリンクへ及び25%をリターンリンクへの例示的な割り当てに関して図18Aに示されている。
図18Bは、前述の通り、例示的な8経路通信衛星120に関する75%-25%の経路割り当ての4スロットフレームのタイムスロットを示す。ここで、経路は、マップ図の数字によって特定される。経路1(LHCP→RHCP)及び経路5(RHCP→LHCP)は、リターントラフィックの専用である一方、残りの経路は、フォワードトラフィックの専用である。
スロット1では、アクセスノード端末GW1は、スポットビームB1及びB2からデータを受信する一方、3個全てのアクセスノード端末は、残りのスポットビームを送信する。スロット2では、スポットビームB3及びB4は、アクセスノード端末GW1に送信する一方、3個全てのアクセスノード端末は、残りのスポットビームを送信する。スロット3では、スポットビームB5及びB6は、アクセスノード端末GW1に送信する一方、3個全てのアクセスノード端末は、残りのスポットビームに送信する。スロット4では、スポットビームB7及びB8は、アクセスノード端末GW1に送信する一方、3個全てのアクセスノード端末は、残りのスポットビームに送信する。
この例示的な二極システムの1つの偏波を考慮する。このシステムは、依然として3個のアクセスノード端末GW1~GW3(それぞれ2つの利用可能な偏波の一方において動作する)を使用するが、ここで、スポットビームB1~B4及び経路1~4のみを考慮する。依然として、1フレーム当たり4個のスロットがあるため、4個の経路×4個のスロット=16個の総スロットが利用可能である。このシステムは、これらのスロットの75%(12個)をフォワードトラフィックに、及びこれらのスロットの25%(4個)をリターントラフィックに割り当てている。4個のリターンスロットは、フレーム全体を正確に埋める。12個のフォワードスロットは、4個のスポットビームに分配される必要があるため、各スポットビームは、3個のスロットを獲得する。しかしながら、これらの同じ12個のフォワードスロットは、3個のアクセスノード端末に分配される必要があるため、各アクセスノード端末は、4個のフォワードスロットを埋める必要がある。そのため、アクセスノード端末とスポットビームとの間は、1対1のマッピングとなることができず、何れのスポットビームのためのトラフィックも全て同じアクセスノードを通過する。
スポットビーム125、スロット、アクセスノード端末130及び経路の数への細心の注意により、スポットビーム125へのアクセスノード端末130のマッピングに柔軟性をもたらし得る。図18C~18Eは、ハードウェアリソースの柔軟な割り当てのもう2つの例示的な実施形態を示す。ここで、前述の通り、8個の経路衛星及び3個のアクセスノード端末を有する例示的な通信システムにおいて、75%-25%の経路割り当てを必要とする6個のスポットビームがある。6個のスポットビームB1~B6のみがあるため、3個のタイムスロットのみが必要とされる。ユーザ端末150は、一般的に、それらのアクティブなビームホッピングタイムスロット中、全二重(同時に受信及び送信する)モードで動作する。ここで、1極性当たり4個の経路×3個のスロット=12個のスロットが割り当てられる。12個の75%(9個)のスロットがフォワードトラフィックに使用される一方、12個の25%(3個)のスロットがリターントラフィックに使用される。ここでも、3個のリターンスロットは、1つのフレームを埋め、1極性当たりリターントラフィックに割り当てられた1つの経路に対応する。しかしながら、ここで、1偏波当たり9個のフォワードスロット(1経路当たり3個)は、正確に、1アクセスノード端末当たり3個のスロット及び1スポットビーム当たり3個のスロットがあるように分割され得るため、ユーザスポットビームとアクセスノード端末との間の1対1のマッピングを可能にする。
図18C及び図18Dには両偏波が示されている。フォワード経路2~4及び6~8は、それぞれ単一のアクセスノード端末130専用である:GW2のための経路2及び6(2つの偏波のための)、GW3のための経路3及び7及びGW1のための経路4及び8。図18Cでは、リターン経路は、3個のアクセスノード端末130で共有されて、各アクセスノード端末130が、送信するのと同じスポットビームカバレッジエリア126から受信し、従ってユーザスポットビーム125と、それらに供するアクセスノード端末130との間の1対1のマッピングを実施する。代わりに、図18Dでは、リターン経路は、全てGW1専用である。この場合、GW1は、共有受信アクセスノード端末130であるとみなされ、及びGW2及びGW3は、送信のみとして半二重で動作する。この共有受信アクセスノード端末の実施形態では、いくつかのアクセスノード端末130がいくつかのユーザ端末150に送信するが、それらのユーザ端末150は、単一のアクセスノード端末130への、一般に送信アクセスノード端末130の1つへの送信のみを行う(それらが仮に送信するとして)。図18Eは、何れも同じであるため、図18C又は図18Dの何れかのシステムの第1のタイムスロットを示す。
共有受信アクセスノード端末130は、例えば、1つのアクセスノード端末130に置かれている情報の要求を送信するユーザ端末150がある場合又は1つのアクセスノード端末130がアクセスノード端末130の地上ネットワークとネットワーク140との間のインターフェースである場合、有用性があり得る。この場合、全てのユーザ端末150にそのアクセスノード端末130から直接情報を要求させることにより、他方のアクセスノード端末130にそのインターフェースアクセスノード端末130への要求を転送させるという問題を回避する。
逆も可能である:ユーザ端末150、場合によりセンサー端末が大量の情報を送信するが、少量のみを受信する必要がある共有送信アクセスノード端末システム。例えば、25%-75%の時間割り当ては、図15Bにおけるスポットビーム125の方向を切り替えることによって実施され得る。そのため、アクセスノード端末GW1は、全てのユーザスポットビーム125に対する共通の送信機である。これらの共有アクセスノード端末の実施形態では、システムオペレータが、アクセスノード端末130を接続するバックボーンネットワーク(例えば、図1を参照して説明したようなネットワーク140の例)を有して、トラフィックを適切に方向付け且つスケジュールし得る場合、半二重アクセスノード端末130が作動し得る。
をフォワード経路の数及びKをリターン経路の数とすると、K+K=Kは、経路の総数である。各経路は、常にフォワード又はリターン方向に全体的に使用されているため、タイムスロットベースで経路によってネット電子ゲインを動的に変化させる必要はない。そのため、スロットベースでのチャネル増幅器ゲインの動的な調整は、必要でなくてよい。
=K及びK=0と設定することによって全てフォワードトラフィック(FLO)を有する。K=K及びK=0と設定することによって全てリターントラフィック(リターンリンクオンリー、すなわちRLO)を有する。概して、各方向での容量割り当ては、
Figure 0007127053000002
(式中、Kは、0(全てリターントラフィック)からK(全てフォワードトラフィック)までの任意の値と仮定する)
である。(3)から、フォワードとリターンとの間の容量の割り当ては、Kの値、経路の数(例えば、通信衛星120の又はGBBFシステムの)によってのみ制限される、何れかの任意の比率を取り得ることは明らかである。合理的なサイズのK、例えばK=100では、この制限は、最大値の1/100での増分での容量の割り当てを可能にするため、あまり限定的ではない。
このアプローチでは、何れの瞬間でも、フォワード方向に使用される全ユーザリンクスペクトルは、KWである。リターン方向では、使用される全スペクトルは、KWである。ここでも、各アクセスノード端末130は、2つの偏波のそれぞれで使用するのに利用できるW Hzを有すると仮定する。使用するために利用できる全フィーダリンクスペクトルは、各方向(フォワード及びリターン)において2NGWWである。そのため、必要な協働する(自律的ではない)アクセスノード端末130の数はNGW=Max(K,K)/2であり、これは、アクセスノード端末カウントを最小にするために送信及び受信スロットの注意深い割り振りが選択されたときのアプローチ1と同じである。しかしながら、アプローチ2は、フォワード構成とリターン構成との間の動的な変化に適合するために、ビームホッピングフレーム中に経路のネットゲインを動的に変更する必要がないという利点を有する。
図19は、必要な協働するアクセスノード端末130(例えば、ゲートウェイ)の数対K=100であるときに割り当てられたフォワード経路の数の実例となる図表1900を示す。図19に示すように、必要な協働するアクセスノード端末130の数は、K=Kであるときに最少であるが、必要な協働するアクセスノード端末130の数は、RLO(すなわちK=0)及びFLO(すなわちK=0)では最多である。
説明したアプローチの全てにおいて、フォワードリンク及びリターンリンクは、2つの独立した送信システムとして動作され得ることが明らかである。2つの送信システム間の容量の割り当ては、場合によりK又はQによって制限されるようなほぼ所望の何れの比率でも分割できる。そのため、各送信システムは、各タイムスロットにスポットビーム125を生じるビームフォーミング重みベクトルを適切に設定することにより、所望の何れかの方法でその容量をサービスカバレッジエリア410に独立して広げ得る。一般的に、フォワードリンク及びリターンリンクが同じ物理的なエリアとなるようにサービスカバレッジエリア410を設定する。これにより、サービスカバレッジエリア410内の全ての点に対し、フォワードリンクデータの受信及びリターンリンクデータの送信の機会を提供する。概して、これらの機会は、同じタイムスロット内で常に発生するわけではない。サービスカバレッジエリア410内の全ての点でフォワードトラフィック対リターントラフィックの比が同じである必要はないことも分かり得る。これは、フォワードトラフィック対リターントラフィックの比を各スポットビームカバレッジエリア126においてカスタマイズすることを可能にする。この比をカスタマイズするための機構は、スポットビームカバレッジエリア126の各物理的なロケーションに割り当てられたフォワード及び受信タイムスロットの数(及び/又はサイズ)の調整である。
図20Aは、本開示の態様による、フォワード及びリターンリンクサービスのための非一致サービスカバレッジエリア410の例2000を示す。フォワードリンクサービスカバレッジエリア410-bは、ビームホッピング時間フレーム中に形成された個々のフォワードリンクスポットビーム125のスポットビームカバレッジエリア126の和集合である。同様に、リターンリンクサービスカバレッジエリア410-cは、ビームホッピング時間フレーム中に形成された個々のリターンリンクスポットビーム125のスポットビームカバレッジエリア126の和集合である。フォワードリンクサービスカバレッジエリア410-b及びリターンリンクサービスカバレッジエリア410-cの和集合は、3つの地域に分けられ得る。地域1は、ビームフォーミング重みセットがフォワードリンクスポットビーム125を提供するが、リターンリンクスポットビーム125を提供しないエリアである。この地域は、フォワードリンクトラフィックのみを支援し得る。地域2は、ビームフォーミング重みセットがリターンリンクスポットビーム125を提供するが、フォワードリンクスポットビーム125を提供しないエリアである。この地域は、リターンリンクトラフィックを支援し得るが、フォワードリンクトラフィックを支援しない。地域3は、必ずしも同じタイムスロットにおいてではないが、ビームフォーミング重みセットがフォワード及びリターンスポットビーム125の両方を提供する地域である。フォワード及びリターンリンクトラフィックの両方が支援され得る。さらに、フォワード対リターン容量の比は、地域3内のスポットビームカバレッジエリア126の各物理的なロケーションにおいてカスタマイズされ得る。
図20Bは、本開示の態様による、単純な単一のアクセスノード端末、4経路システムを示す。ここで、フォワードリンク地域1は、スポットビーム1及び2を含み、リターンリンク地域2は、スポットビーム5及び6を含む一方、双方向地域3は、スポットビーム3、4、7及び8を含む。これは、地域3を図20Aに単一の論理ゾーンとして示したが、地域3を含むスポットビーム125が隣接するという条件がないことを示す。実際、この例では隣接するとして示す地域1及び2もいくつかの異なるエリアで構成され得る。
スロット1では、アクセスノード端末GWは、地域1、スポットビームカバレッジエリアB1及びB2にある端末に送信し、及び地域2、スポットビームカバレッジエリアB5及びB6にある端末から受信する。地域3にある端末は、このスロットの期間中、インアクティブであり得るが、地域1及び2にある端末は、残りのスロットの期間中、インアクティブである。スロット2では、アクセスノード端末GWは、スポットビームカバレッジエリアB3及びB4にある端末に送信し、及びスポットビームカバレッジエリアB7及びB8にある端末から受信する。スロット3では、アクセスノード端末GWは、スポットビームカバレッジエリアB3及びB4にある端末から受信し、及びスポットビームカバレッジエリアB7及びB8にある端末に送信する。
本発明は、柔軟な高容量衛星通信アーキテクチャを提供する。このアーキテクチャの特性は、以下の1つ以上を含み得る:
1.高容量、
2.フォワード容量とリターン容量との間での柔軟な割り当て、
3.柔軟な容量の分配及びサービスカバレッジエリア410、
4.再設定可能なサービスカバレッジエリア410及び容量割り当て、
5.例えば、アクセスノード端末130がスポットビーム125と同じスペクトル及び同じロケーションを占有できるように、ビームホッピングを使用する、アクセスノード端末130に対する柔軟なロケーション及び衛星の寿命にわたってアクセスノード端末ロケーションを動かす能力、
6.アクセスノード端末130の増分的なロールアウト、
7.軌道位置の独立性、
8.レインフェードを軽減するための、アクセスノード端末130全体にわたっての動的で同等な等方放射電力(EIRP)割り当てであり、ここで、例えば、マージン条件は、個々の経路の統計ではなく、多様な全経路でのレインフェードの和に基づいている、
9.半二重端末での動作、及び
10.低冗長化ペイロードハードウェアによる動作。
特性(1)及び(2)は、説明した。特性(3)~(10)のさらなる詳細が下記で説明されている。
少数のセルが何れの瞬間でもアクティブであり得、ここで、セルは、例えば、端末のサブセットに通信サービスを提供するサービスカバレッジエリア410の一部分(例えば、スポットビーム)と称し得る。一例では、K=40~60個の送信スポットビーム125(例えば、ユーザ端末ダウンリンクに対する)。ビームフォーミング重みベクトルは、アップロードされたスケジュール毎に動的に変更され得る。ユーザセルの総数がK×Q(式中、Q=タイムスロットの数であり、及び1≦Q≦64である)に等しい例を挙げる。ここで、スポットビームカバレッジエリア126の合成は、Q倍に増加する。スポットビーム125の平均デューティサイクルは、1/Qに等しいことができる。スポットビーム125に対するフォワードリンク速度は、Q分の1に減少する。ユーザ端末150がW Hz帯域幅にある全ての搬送波を復調できることが好ましいことがあり得る。W=1500MHzでは、η Hz =3bps/Hz及びQ=16であり、ユーザ端末150への平均ダウンリンク速度は、約281Mbpsである。
リターンリンクを検討すると、一例では、K=40~60個の受信スポットビーム125である(例えば、ユーザ端末アップリンクに対して)。ビームフォーミング重みベクトルは、アップロードされたスケジュール毎に動的に変更され得る。ユーザセルの総数がK×Q(式中、Q=タイムスロットの数であり、及び1≦Q≦64である)に等しい例を挙げる。ここで、スポットビームカバレッジエリア126の合成は、Q倍に増加する。スポットビームの平均デューティサイクルは、1/Qに等しいことができる。スポットビーム125に対するリターンリンク速度は、Q分の1に減少する。ユーザ端末150が、高ピーク電力であるが、平均電力がより低いことができるバーストHPAを使用することが好ましいことがあり得る。3Wの平均電力制限、40Mspsのアップリンク、2.25ビット/sym及びQ=16での12WのピークHPAでは、ユーザ端末150からの平均アップリンク速度は、5.625Mbpsである。
本明細書で説明する柔軟な高容量衛星通信アーキテクチャは、サービスカバレッジエリア410での容量の不均一な分配も提供し得る。容量は、1セル当たり割り振られた異なる数のスロットにより、ほぼ任意の比率で異なるセルに割り当てられ得る。ここでも、ビームホッピングフレームにはQ個のタイムスロットがある。各セルは、q個のタイムスロットを使用し、
Figure 0007127053000003
(式中、Jは、スポットビーム信号経路がビームホッピングフレーム内でホップするようなサービスビームカバレッジエリアロケーションの数である)
となるようにする。各セル内の容量は、
Figure 0007127053000004
(式中、1スポットビーム当たりの瞬間的な容量=Cである)
である。
図21A~21Cは、本開示の態様による、容量の不均一な分配でのビームホッピングの例を示す。図21Aは、ビームホッピングフレームの8個の不均一なタイムスロットドエルタイムに対する単一のスポットビーム信号経路の実例となるビームホップパターン2100を示す。例では、Q=32及びC=4.5Gbpsである。ビームホップパターン2100内のセルロケーションは、説明を容易にするために隣接するとして示されている。図21Bは、ビームホップパターン2100のための、実例となるタイムスロットドエルタイム表2110を示す。タイムスロットドエルタイム表2110の8個のタイムスロットドエルタイムに関し、対応するセルロケーションに割り振られたタイムスロットqの数及びMbps単位のエリア容量Cが示されている。図21Cは、タイムスロットドエルタイム表2110のための実例となるビームホッピングフレーム2120を示す。ビームホッピングフレーム2120は、K個のスポットビーム125を含む。ビームホッピングフレーム2120のスポットビーム#1のための不均一なタイムスロットドエルタイムは、タイムスロットドエルタイム表2110に示すドエルタイムに一致する。スポットビーム125が全て同時にロケーションを変更することが好ましい。これは、各スポットビーム125が時間的にK-1個の他のスポットビーム125と重なるのみであるため、ビーム-ビーム干渉を最小限にする。しかしながら、システムは、この制約なしで動作し得る。そのため、より多くのスポットビーム125が互いにインターフェースを取り得、及びスポットビームロケーションは、この点を考慮して選択される必要がある。
スポットビームロケーションは、BFN710において使用される重みベクトルによって定義される。1セル当たりの容量は、スポットビーム125がセルに向けたまま留まるビームホッピングフレームの持続時間(ドエルタイム)によって設定される。ビーム重みベクトル及びドエルタイムの両方(例えば、ビームホップフレーム定義として)がBWP714に記憶され得る。これらの値は、地上からのデータリンクによってBWP714にアップロードされ得る。ビームロケーション(例えば、スポットビームカバレッジエリア126)及びドエルタイム(容量割り当て)の両方が変更され得る。例えば、ビームロケーション及び/又はドエルタイムは、時折、新しい重みセット及び新しいビームホップフレーム定義をアップロードすることにより、又は日変化(例えば、忙しい時間に適合するような容量のシフト)に応答して頻繁にいくつかの事前記憶された重みセット及びビームホップフレーム定義の1つを使用するようにBWP714に指令することにより変更され得る。1つのビームフォーミング重みセットは、ビーム重みを含み、及び1つのビームホップフレーム定義は、ビームホッピングフレームにある全タイムスロット期間内の全ビームに関するドエルタイムを含む。
アクセスノード端末130は、ユーザ端末サービスカバレッジエリア410外に、又はアクセスノード端末130数のわずかな増加を犠牲にしてユーザ端末サービスカバレッジエリア410内に配置され得る。アクセスノード端末ロケーションのマッピングを容易にするために、アクセスノード端末130から入手可能な色の数を使用できる。色の総数=時間色×偏波色×周波数色である。Q=4、W=1500MHz(全帯域)及び二偏波の例を挙げる。色の総数=4個の時間×2個の極×1個の周波数=8である。アクセスノード端末130の数NGWは、
Figure 0007127053000005
(式中、C=アクセスノード端末#iによって使用可能な色の数である)
によって決定される。
図22Aは、23個のアクセスノード端末130(22個の動作中のアクセスノード端末+1個のユーティリティアクセスノード端末)を備える例に関する、実例となるアクセスノード端末ロケーション及びユーザスポットビームカバレッジエリアロケーションを示す。図22Aのマップ2200では、ユーザスポットビームカバレッジエリアロケーションは、セルとして示され、及びアクセスノード端末ロケーションは、破線の円として示されている。
図22Bは、マップ2200のための例示的なアクセスノード端末表2210を示す。アクセスノード端末表2210は、各アクセスノード端末130に関し、アクセスノード端末ロケーション、スポットビーム問題の数(すなわち使用不能な色の数)及びアクセスノード端末130によって使用可能な色の数Cを示す。K=40、Q=4、M=160のスポットビーム及びアクセスノード端末表2210に示すCでは、C =168≧160である。そのため、この例では、システムは、23個のアクセスノード端末130の何れかの22個で動作し得る。アクセスノード端末130全てを、スポットビームの法規違反のない状態に配置することは、K/2=20個のアクセスノード端末130を必要とする。この例では、アクセスノード端末130とユーザスポットビームカバレッジエリア126との間である程度の空間の重ね合わせを可能にするために、2個の追加的なアクセスノード端末130のみが必要とされる。
極端な例では、アクセスノード端末130は、全てユーザ端末サービスカバレッジエリア410内に置かれる。ここで、全CONUSカバレッジに対しK=40、Q=24、及びM=960のスポットビーム125、及びホップドエル=全スポットビーム125に対してビームホッピングフレームの1/24である。色の総数は、48=24個の時間×2個の極である。アクセスノード端末130がユーザ端末サービスカバレッジエリア410から離れて置かれた場合、最小数のアクセスノード端末130は、20となる。しかしながら、全アクセスノード端末130がユーザ端末サービスカバレッジエリア410内に置かれるこの極端な例では、使用不能な最大数の色は、7であると考えられる。そのため、全アクセスノード端末130に対し、C≧41=48-7である。さらに、使用不能な色の数が≦4である箇所(例えば、沿岸地域などのサービスカバレッジエリア境界)に6個のアクセスノード端末130が置かれると考えられる。これらの6個のアクセスノード端末130では、C=48-4=44である。必要なアクセスノード端末130の数は、23に等しく、ここで、C =(6×44)+(17×41)=961≧960である。これは、必要なアクセスノード端末130に15%の増加(すなわち20から23に)を生じるが、23個のアクセスノード端末130の17個のロケーションに完全な柔軟性があるため、それらの全ては、ユーザ端末サービスカバレッジエリア410内にある。
アクセスノード端末ロケーションの柔軟性は、不均一なホップドエルタイムによっても達成され得る。必要なアクセスノード端末130の数は、同様の式
Figure 0007127053000006
(式中、C=アクセスノード端末jによって使用できるホップドエル期間の総数である)
によって定義される。Cの考えられる最大値は、2Q(すなわち2つの偏波色、1つの周波数色)である。アクセスノード端末の最適な配置は、第1に、サービスのない地域(すなわちC=最大値)においてであり、及び第2に、低ホップドエルタイムのセル内及び低ホップドエルタイムのセルの隣である。それに従ってアクセスノード端末130を配置することは、一般的に、ホップドエルタイムが均一である上述の例と比べてさらに少数の追加的なアクセスノード端末130を生じる。
図22Cは、アクセスノード端末130の実例となる配置2220を示す。この例では、Q=1ビームホッピングフレーム当たり32個のホップドエルであり、2つの偏波色及び1つの周波数色がある。第1の配置(C=64=最大値)では、アクセスノード端末130をユーザ端末サービスのない地域に配置する。他の3つの配置では(C<64)、アクセスノード端末130を低ホップドエルタイムのセル内及び低ホップドエルタイムのセルの隣に配置する。
アクセスノード端末130に関する増分的なロールアウトが、K=40、Q=4及びNGW=20の例示的なシステムに関して説明される。スポットビームの数M=160及び平均デューティサイクル=1/Q=25%である。第1の例では、サービスが1つのアクセスノード端末(K=2つの経路)で開始する場合、1つのアクセスノード端末は、1度に2つのビームに供する。タイムスロットの数Q=80に設定することにより、160個のスポットビーム125の全てを提供する。しかしながら、結果として生じるデューティサイクル=1/80である。そのため、この第1の例では、速度及び容量が減少する。デューティサイクルは、アクセスノード端末130の数が増加するにつれて増加し得る。
第2の例では、サービスが4個のアクセスノード端末130及び40個のみのスポットビーム125で開始される場合、結果として生じるサービスカバレッジエリア410は、初期サービスカバレッジエリア410の25%である。これは、何れの25%でもあり得ることに留意されたい。K=8個の経路では、Q=5を設定することにより、デューティサイクル=1/5で40個のビームを提供する。そのため、この第2の例では、速度及びスポットビーム容量の最低限の減少がある。サービスカバレッジエリア410は、アクセスノード端末130の数が増加するにつれて増加し得る。これらのアプローチは、初期アクセスノード端末130の数の減少のために、初期サービスカバレッジエリア410及び/又は速度/容量を条件に見合って交換する。
ビームフォーミング重みベクトル、従ってスポットビームカバレッジエリア126のロケーションは、本明細書で説明する衛星通信アーキテクチャにおいて柔軟である。軌道位置の変更後の通信サービスの支援は、新しい組のビームフォーミング重みベクトルを更新(例えば、アップロード)して、異なる軌道位置から同じスポットビームカバレッジエリア126のカバレッジを可能にすることによって達成され得る。これは、いくつかの利点を提供する。軌道位置は、通信衛星120が構築されている時点で定義されなくてよい。軌道位置は、通信衛星120の寿命がある間、いかなる時点でも変更され得る。通信衛星120のための一般的な設計は、任意の軌道位置及び反射器122の合理的な走査範囲内にあるサービスカバレッジエリア410の任意の定義に使用され得る。さらに、アンテナアセンブリ121のためのネイティブなアンテナパターンカバレッジエリア221は、本明細書で説明したように軌道位置におけるそのような変化に適応され得る。
新しい軌道位置において通信サービスを提供するためのビームフォーミング重みセットの更新は、様々な方法で達成され得る。いくつかの例では、新しいビームフォーミング重みセットは、通信衛星120にアップロードされ得るか、又は新しいビームフォーミング重みセットは、通信衛星120に記憶されているものから選択され得る。いくつかの例では、新しいビームフォーミング重みセットは、ネットワーク管理エンティティなどのネットワーク装置141から受信され得る。いくつかの例では、新しいビームフォーミング重みセットは、少なくとも部分的に、通信衛星の新しい軌道位置に基づいて通信衛星120において計算され得る。いくつかの例では、BFN710は、地上セグメント102(例えば、GBBF用)に置かれ得、その場合、ビームフォーミング重みセットは、地上セグメント102において選択及び/又は計算され得る。
更新されたビームフォーミング重みセットは、新しい軌道位置において通信サービスの様々な特性を提供し得る。例えば、ビームフォーミング重みセットは、特定のスポットビーム125を形成するために、及び/又は特定のセルに通信サービスを提供するために同じ又は異なる複数のフィード素子を使用するように構成され得る。いくつかの例では、ビームフォーミング重みセットは、更新された軌道位置において、同じスポットビームカバレッジエリアを有するスポットビームを提供するように更新され得る。いくつかの例では、ビームフォーミング重みセットは、更新された軌道位置において同じサービスカバレッジエリアを提供するように更新され得る。いくつかの例では、通信サービスは、サービスカバレッジエリアの複数のセルに提供され得、及び軌道位置の変更に応答して、通信サービスは、以前の軌道位置からのスポットビームと同じ帯域幅、同じ周波数、同じ偏波及び/又は同じタイミングスロット順序を有するスポットビームを介してセルの少なくとも1つに提供され得る。
ビーム形成Txシステムにおいて、Tx電力を不均一且つ動的に各アクセスノード端末スポットビーム125に割り当てることは、非常に簡単である。スポットビーム125へのTx電力は、ビーム重みの大きさ二乗の和に比例する。ビーム重みを拡大縮小することにより、スポットビーム125への電力を増減させる。電力は、チャネル増幅器の減衰を介しても調整され得る。
電力は、レインフェード減衰に反比例して各アクセスノード端末スポットビーム125に割り当てられ得る。この割り当ては、実際のレインフェード減衰に基づいて動的であり得るか、又は特定の利用度と関連するレインフェードに基づいて政敵であり得る。
一実施形態では、送信電力は、ダウンリンクSNRに基づいてアクセスノード端末130に割り当てられる。NGW個のアクセスノード端末130では、アクセスノード端末130への送信に割り当てられる通信衛星120(例えば、送信用アンテナアセンブリ121)での総Tx電力PGWは、
Figure 0007127053000007
(式中、P=アクセスノード端末数nに割り当てられた電力Txである)
である。ダウンリンクSNRを等しくする適切な電力割り当ては、
Figure 0007127053000008
(式中、R=アクセスノード端末数nに対するアンテナアセンブリゲイン、D=アクセスノード端末数nにおける降雨減衰に起因するダウンリンクSNR低下及びL=アクセスノード端末数nに対する自由空間経路損失である)
である。
静的アプローチでは、電力割り当ては、目標リンクの稼働率における降雨減衰に基づいて選択され得る。これらの固定電力割り当ては、ネットワーク運用の前にネットワークプランナーによって決定され得る。降雨減衰Aは、所望の稼働率に対応する各アクセスノード端末130において決定され得る。降雨低下量Dは、A及びアクセスノード端末HWパラメータから計算され得る。自由空間経路損失Ln(例えば、信号伝搬損失)は、各アクセスノード端末130に対して計算され得る。各アクセスノード端末に対するTxアンテナアセンブリゲインRは、ビーム重み及びネイティブなフィード素子パターン210から決定され得る。割り当てられた電力P及び必要なチャネル振幅減衰設定値は、それらの電力を生じるために計算され得る。
チャネル振幅減衰器設定値は、アップリンクを介して通信衛星120に送られ、及びネットワーク運用の概念(例えば、アクセスノード端末ロケーション、ダウンリンク稼働率、アクセスノード端末ダウンリンクに割り当てられた総電力など)の変更を望むまで(その場合に)、その設定値に保たれる。
動的アプローチでは、電力割り当ては、各アクセスノード端末130において観察された降雨減衰に基づいて選択され得る。Tx電力設定値Pは、降雨減衰が変化すると、動的に変化する。いくつかの実施形態では、降雨減衰測定システムが使用され、及び全ての測定された降雨減衰を集めるための中央処理部(例えば、NOC又は他のネットワーク装置141)が電力割り当てを動的計算し、及び電力割り当て(例えば、チャネル振幅ゲイン又はビーム重みベクトルとしての)情報を衛星にアップリンク伝送する。図23は、この動的アプローチを支援し得る、実例となる衛星通信システム2300の簡略図である。
別の実施形態では、送信電力は、信号対干渉雑音比(SINR)に基づいてアクセスノード端末130に割り当てられる。比較的高いスポットビーム干渉を有するアクセスノード端末ダウンリンクに関し、ダウンリンクSINRを等しくするという目的で電力を割り当てることが好ましいことがあり得る。
静的アプローチ及び動的アプローチの両方とも、電力割り当てを計算するために異なる式を使用することによってこれに適合し得る。ここで、電力割り当ては、
x=[RgwC-λGC(R-Rgw))]-1λDg (10)
(式中、λは、等式
Figure 0007127053000009
及び以下の定義を適用させるために選択され得る)
である。
x:各アクセスノード端末130へのTx電力割り当てを含む、N×1列のベクトル。
R:N×Nのビームゲイン行列。コンポーネントRijは、アクセスノード端末iの方向にあるアクセスノード端末jに向けるスポットビームのゲインである。対角線のコンポーネントriiは、アクセスノード端末iのアンテナゲインである。
gw:アクセスノード端末nに対するゲインを含む、N×Nの対角行列。RgWの対角要素=Rの対角要素である。
D:要素が各アクセスノード端末の降雨低下量を含む、N×Nの対角行列。これは、Aの測定値から計算される。
C:要素が各アクセスノード端末のリンク定数を含む、N×Nの対角行列。具体的には、
C=Diag[c] (12)
(式中、
Figure 0007127053000010

である。
G:対角要素が各アクセスノード端末のための目標相対ダウンリンクSINRを含む、N×Nの対角行列。全アクセスノード端末が同じダウンリンクSINRを有することが望ましい場合、G=N×Nの単位行列である。
g:要素がGの対角要素と同じである、N×1列のベクトル。
λ:電力割り当てxが、合計して、割り当てられた総アクセスノード端末Tx電力PGWとなるように選択される必要がある、自由スカラーパラメータ。
式(10)は、反復法によって解かれ得る。
そのため、本明細書で説明したように、衛星通信サービスは、ビームフォームされたスポットビーム125を支援する通信衛星120によって提供され得、これは、ビームホッピング構成に従って変化するスポットビームカバレッジエリアロケーションをさらに支援し得る。ビームフォームされたスポットビーム125は、ネイティブなアンテナパターン220の複数のネイティブなフィード素子パターン210を介して伝搬する電磁信号の建設的及び破壊的な影響をレバレッジするアンテナフィード素子128を介して伝えられた信号にビーム重み付けを行うことによって柔軟に形成され得る。通信サービスを提供する柔軟性は、ネイティブなアンテナパターン220の変化を支援する1つ以上のアンテナアセンブリ121を利用する通信衛星120によってさらに高められ得る。
図24A及び図24Bは、本開示の態様による、アンテナアセンブリ121によって支援され得るネイティブなアンテナパターンカバレッジエリア221-dの変更を示す。ネイティブなアンテナパターンカバレッジエリア221-dの変更は、フィードアレイアセンブリ127に含まれる、反射器122に含まれる、フィードアレイアセンブリ127と反射器122との間に結合される、2つの反射器122間に結合されるなどのアクチュエータに指令することによってもたらされ得る。例えば、アンテナアセンブリ121は、本明細書で説明したように、フィードアレイアセンブリ127とアンテナアセンブリ121の反射器122との間の相対位置を調整することにより、ネイティブなアンテナパターンカバレッジエリア221-d-1からネイティブなアンテナパターンカバレッジエリア221-d-2への変更を支援し得る。相対位置の変更は、リニアアクチュエータ124によってもたらされ得、及び例えば通信サービスの柔軟なビームフォーミングをサービスカバレッジエリア(例えば、図4を参照して説明したようなサービスカバレッジエリア410)に提供するために異なるネイティブなアンテナパターン220を支援し得る。
図24Aは、複数のネイティブなフィード素子パターンカバレッジエリア211によって形成されたネイティブなアンテナパターンカバレッジエリア221-d-1の例示的な図2400を示す。いくつかの例では、ネイティブなアンテナパターンカバレッジエリア221-d-1は、図4を参照して説明したサービスカバレッジエリア410などのサービスカバレッジエリアを支援することを意図し得る。例では、ネイティブなアンテナパターンカバレッジエリア221-d-1は、通信サービスの特定の条件に従って通信サービスをサービスカバレッジエリア410に提供するために使用され得る。しかしながら、様々な理由で、通信サービスの条件を変更することが望ましいことがあり得る。例えば、サービスカバレッジエリア410内の需要プロフィールが変化し得、所望のサービスカバレッジエリア410が変化し得、通信衛星120の軌道位置が変化し得、又は関連のネイティブなアンテナパターン220-dによって形成されたスポットビーム125の特性を変更することが望ましいことがあり得る。
スポットビーム125の特性は、ネイティブなアンテナパターンカバレッジエリア221-d-1及び異なるビーム重みの結果であり得る。例えば、図2400は、Chicago、Illinois周辺の対象のエリア2424を示す。対象のエリア2424を支援するために、通信衛星120は、ビームフォーミング技術を、対象のエリア2442を囲んでいるネイティブなフィード素子パターンカバレッジエリア211と関連するフィードアレイアセンブリ127のアンテナフィード素子128に適用し得る。図2400によれば、ネイティブなアンテナパターンカバレッジエリア221-d-1は、濃い実線で示すような、対象のエリア2424を囲う8個のネイティブなフィード素子パターンカバレッジエリア211を含む。従って、通信衛星120は、フィードアレイアセンブリ127の8個のアンテナフィード素子128を利用して、対象のエリア2424の通信サービスを支援し得る。
図24Bは、ネイティブなアンテナパターンカバレッジエリア221-d-1のネイティブなフィード素子パターンカバレッジエリア211の同じアンテナフィード素子128と関連し得る複数のネイティブなフィード素子パターンカバレッジエリア211によって形成されたネイティブなアンテナパターンカバレッジエリア221-d-2の例示的な図2450を示す。しかしながら、ネイティブなアンテナパターンカバレッジエリア221-d-2は、ネイティブなアンテナパターンカバレッジエリア221-d-1と異なる特性(例えば、より大きいネイティブなフィード素子パターンカバレッジエリアサイズ、ネイティブなフィード素子パターンカバレッジエリアのより高い重なりの程度など)のネイティブなフィード素子パターンカバレッジエリア211を有し得る。ネイティブなアンテナパターンカバレッジエリア221-d-1からネイティブなアンテナパターンカバレッジエリア221-d-2への変更は、アクチュエータ124にフィードアレイアセンブリ127と反射器122との間の相対距離を変更するように指令することによってもたらされ得る。例えば、図2450のネイティブなアンテナパターンカバレッジエリア221-d-2は、図2400におけるよりも反射器122の近くに置かれているフィードアレイアセンブリ127を表し得、これは、より重いデフォーカス条件を引き起こし得る。
図2450によって示すように、アクチュエータ124の調整は、ネイティブなアンテナパターンカバレッジエリア221-d-1と比較してより広範なネイティブなアンテナパターンカバレッジエリア221-d-2を提供し得る。ネイティブなアンテナパターンを広げることにより、ネイティブなアンテナパターンカバレッジエリア221-d-2は、より広範なサービスカバレッジエリア410を支援し、且つ/又は異なるカバレッジエリア条件(例えば、異なるスポットビームパターン、スポットビームサイズ、スポットビームゲインなど)に従ってサービスカバレッジエリア内の通信サービスを提供することができる。
例えば、ネイティブなアンテナパターンカバレッジエリア221-d-2もChicago、Illinois周辺であるが、異なるネイティブなアンテナパターンカバレッジエリア221-dに従って対象のエリア2424を支援し得る。例示的な図2450に示すように、ネイティブなアンテナパターンカバレッジエリア221-d-2は、濃い実線によって示すように、対象のエリア2424を囲う11個のネイティブなフィード素子パターンカバレッジエリア211を含む。従って、通信衛星120は、フィードアレイアセンブリ127の11個のアンテナフィード素子128を利用して、対象のエリア2424における通信サービスを支援し得る。ネイティブなアンテナパターンカバレッジエリア221-d-1と比較するように、対象のエリア2424において通信サービスを支援するためにネイティブなアンテナパターンカバレッジエリア221-d-2において使用され得るより多数のアンテナフィード素子128が、フィード冗長性、信号品質特性(例えば、より高いビームゲイン、異なるビームゲインプロファイルなど)及び直交通信リソースの利用などの通信サービスの様々な態様を改善し得る。そのため、対象のエリア2424を含むサービスカバレッジエリア410は、ネイティブなアンテナパターンカバレッジエリア221-d-1からネイティブなアンテナパターンカバレッジエリア221-d-への変更及び異なるビームフォーミング重みマトリクス(例えば、所与のビームフォームされたスポットビーム125を支援するために使用された異なるビーム重み及び/又は異なる数のフィード素子128による)を使用する通信サービスが提供され得る。
アンテナアセンブリ121に、よりデフォーカスした位置に移行するように指令することにより、ネイティブなアンテナパターンカバレッジエリア221-d-1からネイティブなアンテナパターンカバレッジエリア221-d-2への移行を提供することは、いくつかの状況で望ましいことがあり得るが、いくつかの状況では、アンテナアセンブリ121に、よりフォーカスした位置に移行するように指令することが望ましいことがあり得る。そのため、アクチュエータにネイティブなアンテナパターン220の変更をもたらすように指令することは、通信衛星120が通信サービスを提供する方法に適応する様々な手段を提供し得る。いくつかの例では、適応ビームフォーミングシステムが、フィードアレイアセンブリ127と反射器122との間の距離をビームフォーミングシステムのコンポーネントとして利用し得る。例えば、ビームフォームされたスポットビーム125の配置構成は、フォーカス位置とビームフォーミング重みマトリクスとの異なる組み合わせで計算的に決定されて、様々な目標パラメータ(例えば、カバレッジ、平均出力密度、システム容量、地理的な需要への空間容量の適合)に対して配置構成を最適にし得る。配置構成は、例えば、モンテカルロ分析、反復計算などの計算技術を使用して決定され得る。
ネイティブなアンテナパターンカバレッジエリア221-d-1とネイティブなアンテナパターンカバレッジエリア221-d-2との間の変更を、カバレッジ又はサービスに適応するための異なるカバレッジエリア条件を提供することに基づいていると説明したが、ネイティブなアンテナパターンカバレッジエリア221の変更は、他の状況に応答して使用され得る。例えば、軌道位置の変更により、同じネイティブなアンテナパターン220に対してネイティブなアンテナパターンカバレッジエリア221を修正し、及びサービスカバレッジエリア410での通信サービスを支援するのには不十分であるパターンを生じ得る。この条件は、例えば、作動したままの状態、衛星ドリフトの結果の何れかなど、通信衛星120の軌道位置が意図したものと異なる軌道スロットにある場合に生じ得る。代わりに、軌道位置の変更が計画され得るか又は衛星の再作動が望まれ得る。そのため、ネイティブなアンテナパターン220の変更は、アンテナアセンブリ121又は通信衛星120の外部の状況によって指令され、及びサービスカバレッジエリア410の条件の変更を生じ得る。アクチュエータ124は、例えば、衛星動作を所望のサービスカバレッジエリア410に戻す又は実質的に戻すために使用され得る(例えば、ビームフォーミングと組み合わせて)。
図24C及び図24Dは、本開示の態様による、複数のアンテナアセンブリ121を介して通信衛星120-dのネイティブなアンテナパターン220によってもたらされたネイティブなアンテナパターンカバレッジエリア221-e及び221-fを示す。簡潔にするために、ネイティブなアンテナパターンカバレッジエリア221-e及び221-fのそれぞれの外枠のみを示すが、本明細書で説明したように、ネイティブなアンテナパターンカバレッジエリア221-e及び221-fのそれぞれは、第1のアンテナアセンブリ121及び第2のアンテナアセンブリ121のフィードアレイアセンブリ127と関連する複数のネイティブなフィード素子パターンカバレッジエリア211から形成され得る。ネイティブなアンテナパターンカバレッジエリア221-e及び221-fは、例えば、異なるサービスカバレッジエリア410に1つ以上の通信サービスを提供し得る。
図24Cは、地球上の認識できる範囲が北米及び南米である、第1の地球静止軌道位置(例えば、98°経度の軌道スロット)に位置決めされている間に通信衛星120-dによって提供されるネイティブなアンテナパターンカバレッジエリア221-e-1及び221-f-1の図2470を示す。ネイティブなアンテナパターンカバレッジエリア221-e-1及び221-f-1は、それぞれ第1及び第2のアンテナアセンブリ121-g及び121-hの第1のデフォーカス条件を表し得る、第1のネイティブなアンテナパターン220-e-1及び220-f-1によって提供され得る。通信衛星120-dは、第1のネイティブなアンテナパターン220-e-1に従って、北米大陸のかなりの部分を網羅する第1のサービスカバレッジエリア410(図示せず)に通信サービスを提供し得る。通信サービスは、ネイティブなアンテナパターンカバレッジエリア221-e-1及び他のパラメータ(例えば、ビーム重み、容量分布、スポットビームホッピングなど)に基づいて第1のサービスカバレッジエリア410に提供され得る。通信衛星120-dは、第2のネイティブなアンテナパターン220-f-1に従って、南米大陸のかなりの部分を含む第2のサービスカバレッジエリア410(図示せず)に通信サービスを提供し得る。通信サービスは、ネイティブなアンテナパターンカバレッジエリア221-f-1及び他のパラメータ(例えば、ビーム重み、容量分布、スポットビームホッピングなど)に基づいて第2のサービスカバレッジエリア410に提供され得る。様々な例では、第1及び第2のサービスカバレッジエリア410に提供される通信サービスは、同じであるか又は異なり得る。
図24Dは、第1の地球静止軌道位置よりも東方の位置を有する第2の地球静止軌道位置に位置決めされている間、通信衛星120-dによって提供されるネイティブなアンテナパターンカバレッジエリア221-e及び221-fの図2480を示す。様々な理由で(例えば、軌道のドリフト、展開の変更など)、通信衛星120-dは、第1の地球静止軌道位置から第2の地球静止軌道位置(例えば、88°経度の軌道スロット)に動かされて、新しい軌道位置で動作し得る。
ネイティブなアンテナパターンカバレッジエリア221-e-2及び221-f-2は、図24Cを参照して説明したが、第2の地球静止軌道位置におけるネイティブなアンテナパターン220-e-1及び220-f-1の投影カバレッジエリアを表し得る。いくつかの例では、ネイティブなアンテナパターンカバレッジエリア221-e-2及び221-f-2は、通信衛星120-dの軌道位置を変更することによるだけでなく、通信衛星120-dの関連のアンテナ121のボアサイト方向を変更する(例えば、アンテナボアサイト方向と地球の中心との間で通信衛星120-dから測定されたようなスキュー角を変更し、それにより調整を98°での軌道スロットから88°での軌道スロットに補償する)ことにもよって提供され得る。いくつかの例では、アンテナボアサイト方向へのこの変更は、通信衛星120-dを異なる姿勢に向けることによって達成され得る。しかしながら、いくつかの例では、通信衛星120-dのアンテナ121は、それらの視界に地球全体を有し得、及びアンテナアセンブリのボアサイト方向の調整は、必須でなくてよい(例えば、アンテナ121は、地球の中心を指し続け得る)。
図2480によって示されるように、同じネイティブなアンテナパターン220-e-1に関し、第2の地球静止軌道位置からのネイティブなアンテナパターンカバレッジエリア221-e-2のサイズは、地球の目標エリアが通信衛星120-dから離れるように回転していることに起因して、第1の地球静止軌道位置からのネイティブなアンテナパターンカバレッジエリア221-e-1のサイズよりも大きい。換言すると、第1のアンテナアセンブリ121-gの視界は、第1の地球静止軌道位置からよりも第2の地球静止軌道位置からの方が北米全体のサービスカバレッジエリア410に向かって広くなり、従って所望のサービスカバレッジエリア410にわたってより低い信号出力密度を提供し得る。これに対し、同じネイティブなアンテナパターン220-f-1では、第2の地球静止軌道位置からのネイティブなアンテナパターンカバレッジエリア221-f-2のサイズは、地球の目標エリアが通信衛星120-dの近くに回転していることに起因して、第1の地球静止軌道位置からのネイティブなアンテナパターンカバレッジエリア221-f-1のサイズよりも小さい。換言すると、第2のアンテナアセンブリ121-hの視界は、第1の地球静止軌道位置からよりも第2の地球静止軌道位置からの方が狭くなり、及び所望のサービスカバレッジエリア410を適切に網羅しない可能性がある。
一般的にサイズの変更として示したが、第1の軌道位置から第2の軌道位置に動くときの所与のネイティブなアンテナパターン220に関するネイティブなアンテナパターンカバレッジエリア221への変更は、サイズ、形状、ネイティブなアンテナパターンカバレッジエリア221の表面と通信衛星120との間の信号の入射角(例えば、信号放射方向)の変更及びこれらの様々な組み合わせを含み得る。そのような変更に従って通信サービスを提供し続けるために、アンテナアセンブリ121においてネイティブなアンテナパターン220を変更して、そのような変更を補償することが有益であり得る。
例えば、第1の地球静止軌道位置から第2の地球静止軌道位置への軌道位置の変更に応答して、第1のアンテナアセンブリ121-gは、より狭いネイティブなアンテナパターン220-e-2を提供するように指令され得る。ネイティブなアンテナパターンの変更は、第1のデフォーカス位置から第2のデフォーカス位置に変更するように(例えば、リニアアクチュエータの長さを変更することによって)、第1のアンテナアセンブリ121-gのアクチュエータ124に指令することによってもたらされ得る。そのため、図2480は、より狭いネイティブなアンテナパターン220-e-2を提供するようにアンテナアセンブリ121のアクチュエータに指令する例を示し、及びより狭いネイティブなアンテナパターン220-e-2の結果は、ネイティブなアンテナパターンカバレッジエリア221-e-3であり得る。
いくつかの例では、ネイティブなアンテナパターンカバレッジエリア221-e-3は、第1の地球静止軌道位置から、図24Cを参照して説明したネイティブなアンテナパターンカバレッジエリア221-e-1と実質的に同一の広がりを有するであり得る。代わりに、軌道位置の変更によって引き起こされた入射角の変更に起因して、ネイティブなアンテナパターンカバレッジエリア221-e-3は、必ずしもネイティブなアンテナパターンカバレッジエリア221-e-1と同一の広がりを有さなくてもよいが、他に信号送信/受信密度が、ネイティブなアンテナパターンカバレッジエリア221-e-1及び221-e-3が同一の広がりを有することを要求しても又はしなくてもよいネイティブなアンテナパターンカバレッジエリア221-e-1によって提供されるものと同様であるように提供され得る(ただし、ネイティブなアンテナパターンカバレッジエリア221-e-1及び221-e-3は、少なくとも部分的に重なっている)。換言すると、軌道位置の変更に応答して、更新されたネイティブなアンテナパターン220-e-2は、第2の地球静止軌道位置において第2のネイティブなアンテナパターン220-e-2によって提供されるサービスカバレッジエリア410が第1の地球静止位置において第1のネイティブなアンテナパターン220-e-1によって提供されるサービスカバレッジエリア410と実質的に同一の広がりを有するように提供され得る。
別の例では、第1の地球静止軌道位置から第2の地球静止軌道位置への軌道位置の変更に応答して、第2のアンテナアセンブリ121-hは、より広いネイティブなアンテナパターン220-f-2を提供するように指令され得る。ネイティブなアンテナパターンの変更は、第2のアンテナアセンブリ121-hのアクチュエータ124に、第1のデフォーカス位置から第2のデフォーカス位置に変更するように(例えば、リニアアクチュエータの長さを変更することによって)指令することによっても提供され得る。そのため、図2580は、より広いネイティブなアンテナパターン220-f-2を提供するようにアンテナアセンブリ121のアクチュエータに指令する例も示し、及びより広いネイティブなアンテナパターン220-f-2の結果は、ネイティブなアンテナパターンカバレッジエリア221-f-3であり得る。
いくつかの例では、ネイティブなアンテナパターンカバレッジエリア221-f-3は、第1の地球静止軌道位置からの、図24Cを参照して説明したネイティブなアンテナパターンカバレッジエリア221-f-1と実質的に同一の広がりを有するであり得る。代わりに、軌道位置の変更によって引き起こされた入射角の変更に起因して、ネイティブなアンテナパターンカバレッジエリア221-f-3は、必ずしもネイティブなアンテナパターンカバレッジエリア221-f-1と同一の広がりを有さなくてもよいが、他に信号送信/受信密度が、ネイティブなアンテナパターンカバレッジエリア221-f-1及び221-f-3が同一の広がりを有することを要求しても又はしなくてもよいネイティブなアンテナパターンカバレッジエリア221-f-1によって提供されるものと同様であるように提供され得る(ただし、ネイティブなアンテナパターンカバレッジエリア221-f-1及び221-f-3は、少なくとも部分的に重なり合い得る)。換言すると、軌道位置の変更に応答して、更新されたネイティブなアンテナパターン220-f-2は、第2の地球静止軌道位置において第2のネイティブなアンテナパターン220-f-2によって提供されるサービスカバレッジエリア410が、第1の地球静止位置において第1のネイティブなアンテナパターン220-f-1によって提供されるサービスカバレッジエリア410と実質的に同一の広がりを有するように提供され得る。
場合により、複数のアンテナアセンブリ121を備える通信衛星120では、1つのアンテナアセンブリ121に対するネイティブなアンテナパターン220は、調整され得るが、他のアンテナアセンブリ121に対するネイティブなアンテナパターン220は、不変のままである。図24Eは、本開示の態様による、複数のアンテナアセンブリ121を介して通信衛星120-dによって提供されるネイティブなアンテナパターンカバレッジエリア221の代替形態を示す。一例では、通信衛星120-dは、図24Cに示すように、第1のアンテナアセンブリ121-gを介してネイティブなアンテナパターンカバレッジエリア221-e-1を提供するために、及び第2のアンテナアセンブリ121-hを介してネイティブなアンテナパターンカバレッジエリア221-f-1を提供するために、最初に第1の軌道位置において構成され得る。第2のアンテナアセンブリ121-hは、第1の地球静止軌道位置から地球上の認識できる範囲を提供するために使用され得る、図24Eに示すようなネイティブなアンテナパターンカバレッジエリア221-f-4を提供するように再構成され得る(例えば、ネイティブなアンテナパターン220-f-1からネイティブなアンテナパターン220-f-3への変更をもたらすようにアクチュエータ124に指令することによって)。別の例では、通信衛星120-dは、最初に、図24Eに示すような地球上の認識できる範囲(例えば、ネイティブなアンテナパターンカバレッジエリア221-f-4)を提供するように第2のアンテナアセンブリ121-hが調整された状態で構成され得、及びそれに続いて、第2のアンテナアセンブリ121-hが、図24Cに示すようなネイティブなアンテナパターンカバレッジエリア221-f-1を提供するように調整され得る(例えば、アクチュエータ124に指令することによって)。そのため、図2490は、別のアンテナアセンブリ121のネイティブなアンテナパターン220を維持したままでネイティブなアンテナパターン220の変更をもたらすように、1つのアンテナアセンブリ121のアクチュエータに指令する例を示す。
一般的に地球静止軌道位置を有する通信衛星120を参照して説明したが、ネイティブなアンテナパターン220に対する調整は、LEO又はMEO応用などの非地球静止応用にも適用可能である。例えば、ネイティブなアンテナパターン220は、LEO又はMEO衛星の軌道経路に従う、より大きいか、より小さいか又は他に適応サービスカバレッジエリアを提供するように調整され得る。さらに、ネイティブなアンテナパターン220は、軌道経路の特性、軌道経路の高度及び/又はレートなどに基づいて調整され得る。これは、軌道経路に対する調整が必要とされるとき及び/又は軌道経路が設計軌道経路から逸れるとき、設計柔軟性を提供し得る。そのため、複数のネイティブなアンテナパターン220を支援するアンテナアセンブリ121はまた、非地球静止通信衛星120によって提供される通信サービスのビームフォーミングに柔軟性をもたらし得る。
図25A~25Cは、本開示の態様による、ネイティブなアンテナパターン220の変更を支援するために、フィードアレイアセンブリ127-gと反射器122-gとの間の相対位置の調整を支援する通信衛星120-eを示す。通信衛星120-eは、フィードアレイアセンブリ127-g、反射器122-g及びフィードアレイアセンブリ127-gと反射器122-gとの間に結合されたアクチュエータ124-gを有するアンテナアセンブリ121-iを含む。
フィードアレイアセンブリ127-gは、フィード素子128-g-1及び128-g-2などの複数のフィード素子128-gを含み得る。簡潔にするために2つのアンテナフィード素子128-gのみを示すが、フィードアレイアセンブリ127-gは、任意の数(例えば、数十、数百、数千など)のアンテナフィード素子128-gを含み得る。さらに、アンテナフィード素子128-gは、任意の好適な方法(例えば、リニアアレイ、弓状アレイ、平面アレイ、ハニカムアレイ、多面体アレイ、球形アレイ、楕円形アレイ又はそれらの任意の組み合わせ)で配置され得る。
フィードアレイアセンブリ127の各フィード素子128は、図2C及び図3Cを参照して説明したネイティブなフィード素子パターンゲインプロファイル250の例であり得るゲインプロファイルと関連し得る。フィードアレイアセンブリ127の各フィード素子128は、それぞれのネイティブなフィード素子パターン210とも関連し得る(例えば、フィード素子128-g-1と関連したネイティブなフィード素子パターン210-g-1、フィード素子128-g-2と関連したネイティブなフィード素子パターン210-g-2など)。各ネイティブなフィード素子パターン210は、図2A、図2D、図3A、図3D、図4A、図24A及び図24Bを参照して説明したネイティブなフィード素子パターンカバレッジエリア211の例であり得るネイティブなフィード素子パターンカバレッジエリア211を提供し得る(例えば、ネイティブなフィード素子パターン210-g-1と関連したネイティブなフィード素子パターンカバレッジエリア211-g-1、ネイティブなフィード素子パターン210-g-2と関連したネイティブなフィード素子パターンカバレッジエリア211-g-2など)。ネイティブなフィード素子パターンカバレッジエリア211は、上述の通り、反射器から反射後、基準平面2505及び/又は基準平面2505の上方又は下方の体積部に投影されたエリアを含み得る。
反射器122-gは、フィードアレイアセンブリと1つ以上の目標装置(例えば、アクセスノード端末130及び/又はユーザ端末150)との間で送信された信号を反射するように構成され得る。反射器の表面は、フィードアレイアセンブリ127-gと通信衛星120-eのサービスカバレッジエリア410との間で信号を分布させるために任意の好適な形状であり得、これは、放物形、球形、多角形などを含み得る。単一の反射器122-gのみを示すが、通信衛星120は、特定のフィードアレイアセンブリ127に2つ以上の反射器122を含み得る。さらに、通信衛星120の反射器122は、単一のフィードアレイアセンブリ127の専用とするか又は複数のフィードアレイアセンブリ127間で共有され得る。
反射器122-gは、図2A及び図2Bを参照して説明したような、通信衛星120-aによって受信される信号が集中される1つ以上のロケーションと称し得るフォーカス領域123と関連し得る。例えば、反射器122-gのフォーカス領域は、反射器122-gの主軸に対して平行な方向で反射器に到達する信号が一致点に反射されるロケーションと称し得る。逆に、反射器122-gのフォーカス領域は、フォーカス領域から発せられる信号が反射器から平面波で反射するロケーションと称し得る。
いくつかの例では、フィードアレイアセンブリ127-gを反射器122-gに対するデフォーカス位置(例えば、反射器122-gの面と反射器122-gのフォーカス領域との間又は反射器122-gに対する何らかの他のデフォーカス位置)に位置決めすることが好都合であり得る。本明細書では、反射器122-gに対してデフォーカス位置に置かれているフィードアレイアセンブリ127-gは、反射器から、反射器122-gと反射器122-gのフォーカス領域との間の距離と異なる距離に置かれているフィード素子128-g(例えば、フィードアパーチャ開口、フィードのトランスデューサなど)と称し得る。いくつかの例では、反射器122-gに対してデフォーカス位置に置かれているフィードアレイアセンブリ127-gは、反射器122-gから基準軸に沿って、基準軸に沿った反射器122-gとフォーカス領域との間の距離と異なる距離に置かれているアンテナフィード素子128-gの面(例えば、複数のフィードアパーチャ開口の基準面、複数のフィードトランスデューサの基準面など)と称し得る。そのような配置構成は、フィードアレイアセンブリ127-gが反射器122-gのフォーカス領域に位置決めされているときよりも広範なネイティブなフィード素子パターンカバレッジエリア211を生じ得、これは、スポットビーム125のビームフォーミングの柔軟性を高め得る。例えば、より広範なネイティブなフィード素子パターンカバレッジエリア211では、フィードアレイアセンブリ127-gのより大量のアンテナフィード素子128-gが特定のスポットビームカバレッジエリア126を支援することができ得る。さらに、より広範なネイティブなフィード素子パターン210-gは、フィードアレイアセンブリ127-gの各フィード素子128-gがより大量のスポットビームカバレッジエリア126を支援できるようにもする。
アクチュエータ124-gは、フィードアレイアセンブリ127-gと反射器122-gとの間の相対距離の調整を支援し得る。例えば、アクチュエータ124-aは、1つの並進方向に沿った相対距離の変化をもたらすように制約されるリニアアクチュエータであり得、これは、主に、反射器122-gの中心と反射器122-gのフォーカス領域との間の方向に沿って位置合わせされ得る。様々な例では、アクチュエータ124-gは、リニアモータ、ステッピングモータ、サーボモータ、ラックピニオンアセンブリ、ボールねじアセンブリ、運動学的リンク機構、伸縮トラスアセンブリ、液圧シリンダー又はそれらの任意の組み合わせを含み得る。
図25A~25Cに示すように、フィードアレイアセンブリ127-gは、通信衛星120-gの本体に対して固定され得るため、アクチュエータ124-gは、反射器122-gを通信衛星120-eの本体に対して軸に沿って動かし得る。他の例では、反射器122-gは、通信衛星120-eの本体に対して固定され得るため、リニアアクチュエータ124-gは、フィードアレイアセンブリ127-gを通信衛星120-eの本体に対して軸に沿って動かし得る。さらに他の例では、フィードアレイアセンブリ127-gも反射器122-gも通信衛星120-eの本体に対して固定されていなくてもよく、及びアクチュエータ124-gは、フィードアレイアセンブリ127-g又は反射器122-gの一方又は両方を通信衛星120-eの本体に対して軸に沿って動かし得る(例えば、組み合わせて、協働して、別々になど)。
いくつかの例では、通信衛星120-eは、追加的なアクチュエータ、例えば副アクチュエータ2540-a及び/又は2540-bを含み得る。副アクチュエータ2540は、フィードアレイアセンブリ127-gと反射器122-gとの間に1つ以上の追加的な自由度(例えば、回転自由度、平行移動自由度又はそれらの組み合わせ)を提供するように構成され得る。そのような例では、副アクチュエータ2540は、アクチュエータ124-gの軸と異なる軸の周りでフィードアレイアセンブリと反射器との間の相対位置の変更を引き起こすように指令され得、そのような変更は、指令されたネイティブなアンテナパターンの変更をもたらすためのアクチュエータ124-gの調整と組み合わせられる。副アクチュエータ2540は、フィードアレイアセンブリ127-gと反射器122-gとの間にそのような追加的な自由度を提供するために1つ以上の好適なコンポーネントを含み得る。例えば、副アクチュエータ2540は、衛星の揺らぎ(例えば、アンテナボアサイト方向に影響を与え得る回転振動)を補償するように作動され得るヒンジ又は玉継手を含み得る。副アクチュエータ2540-aは、通信衛星120-eの本体部分とアクチュエータ124-gとの間に回転結合を提供するとし示され、及び副アクチュエータ2540-gは、アクチュエータ124-gと反射器122-gとの間に回転結合を提供すると示されているが、追加的なアクチュエータは、フィードアレイアセンブリ127-gと反射器122-gとの間で任意の好適な自由度で任意の好適なロケーションに結合され得る。
図25Aは、アンテナアセンブリ121-のフォーカス配置構成に対応する、フィードアレイアセンブリ127-gと反射器122-gとの間に第1の距離(例えば、距離d)を有する通信衛星120-eの例2500を示す。例2500の配置構成では、ネイティブなフィード素子パターン210-gは、比較的狭いことができる(例えば、ネイティブなフィード素子パターン210-g-1及び210-g-2によって示すように)。従って、基準平面2505に対するネイティブなフィード素子パターンカバレッジエリア211-gは、比較的小さいことができ(例えば、ネイティブなフィード素子パターンカバレッジエリア211-g-1及び211-g-2によって示すように)、及び結果として生じるネイティブなアンテナパターン220は、ネイティブなフィード素子パターン低重なり条件を有すると言及され得る。
いくつかの例では、ネイティブなフィード素子パターン低重なり条件は、任意の所与の隣接するフィード素子128のネイティブなフィード素子パターン210とのそのネイティブなフィード素子パターン210の重なりの半分未満を有する各フィード素子128と関連する。他の例では、ネイティブなフィード素子パターン低重なり条件は、任意の所与の隣接するフィード素子128とのネイティブなフィード素子パターン210とのそのネイティブなフィード素子パターン210の重なりの40パーセント未満、30パーセント、20パーセント又は10パーセントを有する各フィード素子128として説明され得る。さらに他の例では、ネイティブなフィード素子パターン低重なり条件は、任意の所与の隣接するフィード素子128のネイティブなフィード素子パターン210とのそのネイティブなフィード素子パターン210の重なりを有しない各フィード素子128として説明され得る。
様々な例では、距離dは、フィードアレイアセンブリ127-gと反射器122-gとの間の距離を反射器122-gの焦点距離(例えば、ゼロフォーカスオフセット距離)と等しいか又は比較的近くする。例2500は、隣接するネイティブなフィード素子パターンカバレッジエリア211-gが互いにある程度のビームの重なりを有するため、反射器122-gに対してわずかなデフォーカス位置にあるフィードアレイアセンブリ127-gを表し得るが、例2500は、この説明のために、アンテナアセンブリ121-iの焦点位置にあるとみなされる。換言すると、ネイティブなフィード素子パターンカバレッジエリア211の低ビーム重なり条件は、この説明のために、アンテナアセンブリ121の焦点位置の結果であるとみなされる。
図25Bは、第1のデフォーカス位置にアンテナアセンブリ121-を有する通信衛星120-eの例2550を示す。例2550では、アクチュエータ124-gは、比較的短い距離(例えば、距離d)を提供し、反射器122-gのフォーカス領域よりも反射器122-gの近くにあるフィードアレイアセンブリ127-gを生じる(例えば、フィードアレイアセンブリ127-gは、例2500におけるものよりも反射器122-gの近くにあり得る)。換言すると、例2550は、反射器122-gに対してかなりのデフォーカス位置に置かれているフィードアレイアセンブリ127-gを表し得る。例2550の配置構成では、ネイティブなフィード素子パターン210-hは、比較的幅広であり得る(例えば、ネイティブなフィード素子パターン210-h-1及び210-h-2によって示すように)。従って、基準平面2505に対するネイティブなフィード素子パターンカバレッジエリア211-hは、比較的大きいことができる(例えば、ネイティブなフィード素子パターンカバレッジエリア211-h-1及び211-h-2によって示すように)。
図25Cは、第2のデフォーカス位置にアンテナアセンブリ121-iを有する通信衛星120-eの例2555を示す。例2555では、アクチュエータ124-gは、フィードアレイアセンブリ127-gと反射器122-gとの間の距離を距離dから距離dに長くするように調整されている。例2555の配置構成では、ネイティブなフィード素子パターン210-iは、比較的幅広であり、且つかなりの重なりを有し得る(例えば、ネイティブなフィード素子パターンカバレッジエリア211-i-1及び211-i-2によって示すように)が、それぞれ例2550における配置構成よりも狭いことができる。
例2550は、第1のネイティブなアンテナパターンに従って通信サービスを支援する通信衛星120-eの第1の動作条件(例えば、第1のネイティブなアンテナパターン220-h)を表し得、ここで、第1のネイティブなアンテナパターン220-hは、少なくとも部分的に、アクチュエータ124-gの長さ又は他にそれによってもたらされる長さに基づく(例えば、距離d)。第1のネイティブなアンテナパターン220-hは、ネイティブなフィード素子パターンカバレッジエリア211-hのサイズ、ネイティブなフィード素子パターンカバレッジエリア211-hの重なりの程度、ネイティブなフィード素子パターンカバレッジエリア211-hのロケーションなどの特徴又はネイティブなフィード素子パターンカバレッジエリア211-hの他の特性によって特徴付けられ得る。例2550には2つのネイティブなフィード素子パターンカバレッジエリア211-hのみを示すが、通信衛星120は、任意の数(例えば、数十、数百、数千など)のネイティブなフィード素子パターンカバレッジエリア211を有し得る。
例2555は、第2のネイティブなアンテナパターン220-iに従って通信サービスを支援する通信衛星120-eの第2の条件(例えば、第2のネイティブなアンテナパターン220-i)を表し得、ここで、第2のカバレッジ条件は、少なくとも部分的に、アクチュエータ124-gの長さ又は他にそれによってもたらされる長さに基づく(例えば、距離d)。各ネイティブなフィード素子パターン210-iのビーム幅は、第1の条件のネイティブなフィード素子パターン210-hと異なるため、第2のネイティブなアンテナパターン220-iの特徴は、第1の条件と異なり得る。第1のネイティブなアンテナパターン220-hと第2のネイティブなアンテナパターン220-iとの間の特徴のそのような変化は、例えば、本明細書で説明したような、異なるデフォーカス条件による様々なビームフォーミング動作を支援し得る。
アクチュエータ124-gは、dを上回るか、dを下回るか又はdとdとの中間の距離など、図25A、図25B又は図25Cに示されないフィードアレイと反射器との間の距離のために構成され得る。そのため、本明細書で説明したように、アクチュエータ124-gは、フィードアレイアセンブリ127-gと反射器122-gとの間の相対距離の変更をもたらし、従ってネイティブなアンテナパターン220の変更をもたらし得、これは、様々なネイティブなアンテナパターン220に従ってサービスを提供するために使用され得る。例えば、アクチュエータ124-gの長さの変更は、アンテナパターンにおけるビーム幅及びネイティブなフィード素子パターンの重なりの量を変更するために使用され得る。アクチュエータ124-gの長さの変更は、所与のロケーション(例えば、サービスカバレッジエリア410内のロケーション)から受け取ったエネルギーをフィードアレイアセンブリ127のより多くのフィード素子128に分配するためにも使用され得る。
例2550と例2555との間に示される調整が、サイズ、重なりの程度及びネイティブなフィード素子パターンカバレッジエリア211のロケーションの変更を示すために説明されるが、いくつかの例では、他の特性が変更されて、異なる条件を提供し得る。例えば、副アクチュエータアセンブリ440は、ネイティブなアンテナパターン220の指向方向を変更するために使用され得る。そのため、アンテナアセンブリ121は、フィードアレイアセンブリ127と反射器122との間に結合されたアクチュエータ124の調整が特性及び/又はネイティブなフィード素子パターンカバレッジエリア211間の複数の特性の比又は関係に様々な所望の変更をもたらし得るように構成され得る。
図25Dは、本開示の態様による、2つのアンテナアセンブリ121のためのネイティブなアンテナパターンの変更を支援するために、フィードアレイアセンブリ127と反射器122との間の相対位置の調整を支援する通信衛星120-fの例示的な図2575を示す。例えば、通信衛星120-fは、複数の独立したネイティブなアンテナパターンカバレッジエリア(例えば、ネイティブなアンテナパターンカバレッジエリア221-j及び221-k)を支援するためにアンテナアセンブリ121-j及び121-kを含む。例えば、第1のアンテナアセンブリ121-jは、通信サービスを第1のネイティブなアンテナパターンカバレッジエリア221-jに提供し得る一方、第2のアンテナアセンブリ121-kは、通信サービスを第2のネイティブなアンテナパターンカバレッジエリア221-kに提供し得る。図示の例では、第1のアンテナアセンブリ121-jは、第1のフィードアレイアセンブリ127-jと第1の反射器122-jとの間の相対距離を調整する第1のアクチュエータ124-j(例えば、フィードアレイアセンブリ127-jと反射器122-jとの間に結合されたリニアアクチュエータ)を含み、第1のネイティブなアンテナパターンカバレッジエリア221-jを提供する。第2のアンテナアセンブリ121-kは、第2のフィードアレイアセンブリ127-kと第2の反射器122-kとの間の相対距離を調整する第2のアクチュエータ124-k(例えば、第2のフィードアレイアセンブリ127-kと第2の反射器122-kとの間に結合されたリニアアクチュエータ)を含み、第2のネイティブなアンテナパターンカバレッジエリア221-kを提供する。第1及び第2のネイティブなアンテナパターン221-j及び221-kは、それぞれ複数のネイティブなフィード素子パターンカバレッジエリア211の合成であり得る(明白にするために、それらの2つのみが各ネイティブなアンテナパターンカバレッジエリア221に対して示されている)。そのため、各アンテナアセンブリ121は、別個のアクチュエータ124を介して独立して制御されるネイティブなアンテナパターン220を有し得る。
いくつかの例では、第1のアンテナアセンブリ121-jは、ユーザ端末サービスカバレッジエリア410と関連し、及び第2のアンテナアセンブリ121-kは、アクセスノード端末サービスカバレッジエリア410と関連する。例えば、ユーザ端末150と通信衛星120-fとの間の通信信号は、第1のアンテナアセンブリ121-jによってもたらされた第1のネイティブなアンテナパターン220-jに依存する第1のネイティブなアンテナパターンカバレッジエリア221-jに従って通信され得る一方、アクセスノード端末130と通信衛星120-fとの間の通信信号は、第2のアンテナアセンブリ121-kによってもたらされた第2のネイティブなアンテナパターン220-kに依存する第2のネイティブなアンテナパターンカバレッジエリア221-kに従って通信され得る。そのため、異なるサービスカバレッジエリア410は、別個のアンテナアセンブリ121を介して、異なるネイティブなアンテナパターン220に従った通信サービスが提供され得る。2つのアンテナアセンブリ121を用いて説明したが、通信衛星120は、対応するアクセスノード端末サービスカバレッジエリア410と関連する複数のアンテナアセンブリ121及び/又は対応するユーザ端末サービスカバレッジエリア410と関連する複数のアンテナアセンブリ121を含む、3つ以上のアンテナアセンブリ121を有し得る。
図26A及び図26Bは、本開示の態様による、ネイティブなアンテナパターンカバレッジエリア221-lの変更を支援し得る反射器ベースのアクチュエータ124-lを備えるアンテナアセンブリ121-lを有する通信衛星120-gの例を示す。アクチュエータ124-lは、反射器122-lの形状を変更させ得、反射器122-lのフォーカス領域123のロケーションがロケーションを変更するようにする。例えば、図26Aの条件2605では、反射器122-lのフォーカス領域123は、反射器122-lから比較的遠方であり得る。従って、ネイティブなアンテナパターン220-l-1は、比較的広範であり得、結果的に、基準平面2505-lに投影されるネイティブなアンテナパターンカバレッジエリア221-l-1が比較的幅広になるようにする。それに反して、図26Bの条件2610では、反射器122-lのフォーカス領域123は、反射器122-lに比較的近いことができる。従って、ネイティブなアンテナパターン220-l-2は、比較的狭いことができ、結果的に、基準平面2505-lに投影されるネイティブなアンテナパターンカバレッジエリア221-l-2が比較的狭くなるようにする。
様々な機構又は機構の組み合わせは、リニアアクチュエータの一群、ケーブルプーリシステム、運動学的リンク機構又は反射器122の形状を変更する任意の他の機構など、反射器ベースのアクチュエータ124-lの機能を提供し得、それにより反射器122のフォーカス領域123の特性を変更する。反射器122のフォーカス領域123のそのような変更は、第1の焦点から異なる焦点に動くこと、単一焦点から複数の焦点に変更すること、焦点から焦線又は焦点面に変更すること、焦線から焦点又は焦点面に変更すること、第1の形状を有する焦点面から第2の形状を有する焦点面に変更すること又はこれらの様々な組み合わせを含み得る。さらに、反射器122は、反射器122の全て又は一部分の形状を変更するアクチュエータ124を含み得、及びいくつかの例では、反射器は、反射器形状の様々な部分を変更するために2つ以上のアクチュエータ124を有し得る。そのため、様々なタイプの反射器ベースのアクチュエータ124がアンテナアセンブリ121のネイティブなアンテナパターン220を調整するために使用され得る。
図26C及び図26Dは、本開示の態様による、アクチュエータ124-mがフィードアレイアセンブリと一体となっており、ネイティブなアンテナパターンカバレッジエリア221-mの変更を支援し得る、アンテナアセンブリ121-mを有する通信衛星120-hの例を示す。アンテナアセンブリ121-mは、反射器を含まず、代わりに直接放射アレイ(DRA)アンテナアセンブリ121の例を示す。アンテナアセンブリ121-mに関し、アクチュエータ124-mは、フィードアレイアセンブリ127-mのアンテナフィード素子128-mの配置構成に特性を変更させて、フィード素子128と関連するネイティブなフィード素子パターン210が異なるロケーションに向かうようにする。従って、アクチュエータ124-mは、ネイティブなフィード素子パターン210の形状、向き及び/又は分布を変更し得、それによりアンテナアセンブリ121-mのためのネイティブなアンテナパターンカバレッジエリア221-mを変更する。例えば、図26Cの条件2615では、アクチュエータ124-mは、ネイティブなフィード素子パターン210-mの比較的狭い分布(例えば、フィード素子128-mのそれぞれに関して指向方向の密な分布)をもたらすように指令され得、結果的に、基準平面2505-mに投影されるネイティブなアンテナパターンカバレッジエリア221-m-1が比較的狭くなるようにする。それに反して、図26Dの条件2620では、アクチュエータ124-mは、ネイティブなフィード素子パターン210-mの比較的幅広の分布(例えば、フィード素子128-mのそれぞれに関する指向方向の幅広の分布)をもたらすように指令され得、結果的に、基準平面2505-mに投影されるネイティブなアンテナパターンカバレッジエリア221-m-1が比較的広範になるようにする。
様々な機構又は機構の組み合わせは、フィードアレイアセンブリ127-mと一体となっているアクチュエータ124-mの機能を提供し得る。例えば、機構、例えばフィード素子128-mの給電ホーンアパーチャを含むフィードアレイアセンブリ127-mの表面の湾曲を変更するための機構がフィードアレイアセンブリ127-mの形状を変更するように提供され得る。他の例では、1つ以上のアクチュエータ124-mは、フィードアレイアセンブリ127-mの形状を変更せずにフィード素子128-mの向きを変更するように提供され得る。さらに、フィードアレイアセンブリ127は、フィードアレイアセンブリ127のフィード素子128の全て又は一部分の向き及び/又はネイティブなフィード素子パターン210を変更するアクチュエータ124を含み得、及びいくつかの例では、フィードアレイアセンブリ127は、フィードアレイアセンブリ127の様々な部分を変更するために2つ以上のアクチュエータ124を有し得る。そのため、様々なタイプのアクチュエータ124がフィードアレイアセンブリに組み込まれて、アンテナアセンブリ121のネイティブなアンテナパターン220を調整し得る。
図26E及び図26Fは、本開示の態様による、アクチュエータ124-nが第1の反射器122-n-1と第2の反射器122-n-2との間に結合された状態のアンテナアセンブリ121-nを有し、及びネイティブなアンテナパターンカバレッジエリア221-nの変更を支援し得る通信衛星120-iの例を示す。アクチュエータ124-nは、第2の反射器122-n-2が第1の反射器122-n-1のより近くに又はそこからより遠くになるようにし得る。例えば、図26Eの条件2625では、第2の反射器122-n-2は、第1の反射器122-n-1の比較的近くにあり得る。従って、ネイティブなアンテナパターン220-n-1は、比較的広範であり得、結果的に、基準平面2505-nに投影されるネイティブなアンテナパターンカバレッジエリア221-n-1が比較的幅広になるようにする。それに反して、図26Eの条件2620では、第2の反射器122-n-2は、第1の反射器122-n-1から比較的遠方にあり得る。従って、ネイティブなアンテナパターン220-n-2は、比較的狭いことができ、結果的に、基準平面2505-nに投影されるネイティブなアンテナパターンカバレッジエリア221-n-2は、比較的狭くなるようにする。様々な機構又は機構の組み合わせが、反射器122とフィードアレイアセンブリ127との間に結合されたアクチュエータ124を参照して説明したアクチュエータ124の何れかを含む、第1の反射器122と第2の反射器122との間に結合されるアクチュエータ124-nの機能を提供し得る。
図27は、本開示の態様による、複数のネイティブなアンテナパターン220に従って通信サービスを提供するのを支援する通信衛星120-jのブロック図2700を示す。通信衛星120-jは、本明細書で説明する通信衛星120の1つ以上の例であり得、及びフィードアレイアセンブリ127-o、反射器122-o、アクチュエータ124-o、アクチュエータコントローラ2720及び衛星通信マネージャ2730を含み得る。
フィードアレイアセンブリ127-oは、本明細書で説明するフィードアレイアセンブリ127の何れかの例であり得、及び複数のネイティブなフィード素子パターン210を支援するために任意の好適な方法で配置された複数のアンテナフィード素子128を含み得る。反射器122-oは、本明細書で説明する反射器122の何れかの例であり得、及びフィードアレイアセンブリ127-oと1つ以上の目標装置(例えば、アクセスノード端末130及び/又はユーザ端末150)との間で送信された信号を反射するように構成され得る。フィードアレイアセンブリ127-o及び1つの反射器122-oのみを示すが、通信衛星120-jなどの通信衛星120は、2つ以上のフィードアレイアセンブリ127及び/又は2つ以上の反射器122を含み得る。
アクチュエータ124-oは、複数のネイティブなアンテナパターン220に従って通信サービスを支援するための、本明細書で説明するアクチュエータ124の何れかの例であり得る。例えば、アクチュエータ124-oは、反射器122-oとフィードアレイアセンブリ127-oとの間に結合されたリニアアクチュエータであり得、及びフィードアレイアセンブリ127-oと反射器122-oとの間の相対距離の調整を支援し得る。アクチュエータ124-oは、1つの並進方向に沿った相対距離の変更をもたらすように制約され得、これは、主に、反射器122-oの中心と反射器122-oのフォーカス領域123との間の方向に沿って位置合わせされ得る。様々な例では、アクチュエータ124-oは、リニアモータ、ステッピングモータ、サーボモータ、ラックピニオンアセンブリ、ボールねじアセンブリ、運動学的リンク機構、伸縮トラスアセンブリ、液圧シリンダー又はそれらの任意の組み合わせを含み得る。他の例では、図26A~26Fを参照して説明したように、アクチュエータ124-oは、2つの反射器122間に結合されても、フィードアレイアセンブリ127に組み込まれるか又は反射器ベースであり得る。いくつかの例では、通信衛星120-jは、任意選択的に、追加的なアクチュエータ、例えば図25A~25Cを参照して説明した副アクチュエータ2540の例であり得る副アクチュエータ2540-c又は通信衛星120-jの向き(例えば、姿勢)又はロケーションを調整するための軌道位置アクチュエータ2740(例えば、スラスタ、フライホイールなど)を含み得る。
アクチュエータコントローラ2720は、通信衛星120-jの1つ以上のアクチュエータ(例えば、アクチュエータ124-o、副アクチュエータ2540-o、軌道位置アクチュエータ2740など)の様々な状態を規定、指令及び/又は監視するように構成され得、及び作動制御の他の高レベル機能を提供し得る。アクチュエータコントローラ2720の状態は、初期状態、動作状態及び/又は欠陥状態を含み得、及びアクチュエータコントローラは、事前プログラム式の指令及び/又は1つ以上のアクチュエータ、衛星通信マネージャから受信した信号及び/又は位置検出器及び/又はエンコーダ、センサー、リレー、ユーザ指令又は任意の他の制御信号などのアクチュエータコントローラ2720の外部からの信号に応答して、状態間で変化し得るか又は特定の状態を維持し得る。アクチュエータコントローラ2720は、事前プログラム式の命令(例えば、動作構成、制御アルゴリズム、コントローラゲイン、オフセット、デッドバンド、乗算器など)及び/又は受信した信号に応答して、1つ以上のアクチュエータに配信される様々な制御信号を生成し得る。例えば、アクチュエータコントローラ2720は、アクチュエータコントローラ2720の指令信号に従ってアクチュエータ124-oの作動を支援し得るアクチュエータドライバ2721を含み得る。副アクチュエータ及び/又は軌道位置アクチュエータを含む通信衛星120では、アクチュエータコントローラ2720は、任意選択的に、副アクチュエータドライバ2724及び/又は軌道位置アクチュエータドライバ2725をそれぞれ含み得る。
様々な例では、本明細書で説明した指令信号は、アクチュエータコントローラ2720によって受信され得、且つ/又はアクチュエータコントローラ2720によって決定され得る。例えば、アクチュエータコントローラは、任意選択的に、指令信号受信機2722を含み得、これは、地球上のアクセスノード端末130又は様々なネイティブなアンテナパターン220に従って通信サービスを提供する態様を制御するように構成された他のネットワーク装置141などの指令信号発生器からの、アクチュエータ124-o(及び/又は存在するときには他のアクチュエータ)を制御するための指令信号の受信(例えば、衛星通信マネージャ2730を介した)を支援し得る。加えて又は代わりに、アクチュエータコントローラ2720は、所望のネイティブなアンテナパターン220を提供するために、アクチュエータ124-o(及び/又は存在するときには他のアクチュエータ)を作動させるために指令信号を判定する(例えば、通信衛星120-jにおいて)のを支援する指令信号判定器2723を含み得る。様々な例では、指令信号は、アクチュエータ位置の指示、位置の差、通信衛星120-jのコンポーネント(例えば、反射器122-o、フィードアレイアセンブリ127-oなど)の所望の位置、アクチュエータの長さ又は角度、ネイティブなアンテナパターン220のパラメータ、第2のネイティブなアンテナパターン220と関連したルックアップ値又は所望の結果を達成するために特定のアクチュエータ124及び/又は副アクチュエータ2540をどのように駆動するかを特定又は決定するのに好適な任意の他の指令信号を含み得る。
衛星通信マネージャ2730は、通信衛星120-jを介して通信サービスを提供する1つ以上の態様を管理するために構成され得る。例えば、衛星通信マネージャ2730は、他の装置、例えばアクセスノード端末130、ネットワーク装置141、ユーザ端末150、CPE160などに提供されるか又はそこから受信する(例えば、送受信機2710を介して)信号2705を介して通信を管理し得る。いくつかの例では、信号2705は、通信衛星120-jを介して提供された通信サービスの一部であり得る。加えて又は代わりに、信号2705は、通信サービスと無関係の制御信号又は診断若しくは制御情報を含み得るが、他に通信衛星120-jによって提供又は受信される。
衛星通信マネージャ2730のいくつかの例は、任意選択的に、本明細書で説明したようなカバレッジエリアの1つ以上の態様を管理し得るカバレッジエリアマネージャ2731を含み得る。例えば、カバレッジエリアマネージャ2731は、通信衛星120-oを介して通信サービスを提供するためにネイティブなアンテナパターン220を提供、監視及び/又は調整するのを支援する、データベース、等式又は他の構成を含み得る。カバレッジエリアマネージャ2731は、例えば、所望のネイティブなアンテナパターン220、ネイティブなフィード素子パターンカバレッジエリア211、ネイティブなフィード素子パターンカバレッジエリアの重なりなどを決定及び/又は提供するためのアルゴリズムを含み得る。いくつかの例では、カバレッジエリアマネージャ2731は、少なくとも部分的に、アクチュエータ124-oの特性、副アクチュエータ2540-oの位置若しくは回転、軌道位置又は軌道位置の変更に基づいて動作可能であり得る(例えば、カバレッジエリアパラメータを計算するために、ネイティブなアンテナパターン220の変更をトリガするためになど)。他の例では、カバレッジエリア管理は、本明細書で説明したような通信サービスマネージャなど、何らかの他の装置によって実施され得る。
衛星通信マネージャ2730がビームフォーミングによって通信サービスを提供する例では、衛星通信マネージャは、任意選択的に、ビームフォーミングマネージャ2732を含み得る。ビームフォーミングマネージャ2732は、例えば、通信衛星120-jにおいてオンボードビームフォーミングを支援し得、及び本明細書で説明したようなBFN710及び/又はBWP714を含み得る。例えば、ビームフォーミングマネージャ2732は、ビームフォーミング重みセットを、フィードアレイアセンブリ127-oによって伝えられる信号2705に適用し得る。ビームフォーミング重みセットのビーム重みは、例えば、送信前に信号に適用されて、Txスポットビーム125の指向性送信を支援し得るか、又は通信衛星120-oによって受信された信号に適用されて、Rxスポットビーム125の指向性受信を支援し得る。様々な例では、そのようなビーム重みは、ビームフォーミングマネージャ(例えば、BWP714において)によって選択及び/又は計算されて、所望のネイティブなアンテナパターン220を提供し得る(例えば、スポットビームカバレッジエリア126の所望のサイズ及び/又は位置を提供する、複数のスポットビームカバレッジエリア126間の所望の重なりの程度を提供する、1つ以上のスポットビーム125に使用されるフィードアレイアセンブリ128-oの所望の組のアンテナフィード素子128を割り振るなど)。他の例では、ビームフォーミング管理は、本明細書で説明したような通信サービスマネージャなど、何らかの他の装置によって実施され得る。
アクチュエータコントローラ2720及び/又は衛星通信マネージャ2730は、個別に又はまとめて、本明細書で説明したような機能を実行するように設計された、汎用プロセッサ、デジタル信号プロセッサ(DSP)、ASIC、FPGA若しくは他のプログラマブルロジックデバイス、ディスクリートゲート若しくはトランジスタ論理、ディスクリートハードウェアコンポーネント又はそれらの任意の組み合わせと一緒に実装又は実行され得る。汎用プロセッサはマイクロプロセッサであり得るが、代替形態では、プロセッサは、任意の従来のプロセッサ、コントローラ、マイクロコントローラ又は状態機械であり得る。プロセッサは、計算装置の組み合わせ、例えば、DSPとマイクロプロセッサの組み合わせ、複数のマイクロプロセッサ、DSPコアと併せた1つ以上のマイクロプロセッサ又は任意の他のそのような構成としても実装され得る。
図28は、本開示の態様による、複数のネイティブなアンテナパターンに従って通信サービスを提供するのを支援する衛星コントローラ2805のブロック図2800を示す。衛星コントローラ2805は、プロセッサ2810、メモリ2815、アクチュエータコントローラ2720-a、衛星通信マネージャ2730-a及び通信インターフェース2840を含み得る。これらのコンポーネントのそれぞれは、1つ以上のバス2835で、互いに直接又は間接的に通信し得る。
メモリ2815は、ランダムアクセスメモリ(RAM)及び/又はリードオンリーメモリ(ROM)を含み得る。メモリ2815は、オペレーティングシステム(OS)2820(例えば、Linux又はWindowsのカーネル上に構築された)を記憶し得る。メモリ2815は、実行時、プロセッサ2810に、異なるネイティブなアンテナパターンに従って通信サービスを提供することに関する、本明細書で説明した様々な機能を実行させるように構成される命令を含む、コンピュータ可読、コンピュータ実行可能コード2825も記憶し得る。代わりに、コード2825は、プロセッサ2810によって直接実行可能でなくてもよいが、衛星コントローラ2805に(例えば、コンパイルして実行するとき)、本明細書で説明した機能の1つ以上を実行させるように構成され得る。
衛星コントローラは、図27のアクチュエータコントローラ2720の例であり得るアクチュエータコントローラ2720-aを含み得る。アクチュエータコントローラ2720-aは、本明細書で説明したように、フィードアレイアセンブリと反射器との間の相対距離の変更をもたらすようにリニアアクチュエータを制御し得る。衛星通信マネージャ2730-aは、本明細書で説明したように、ネイティブなアンテナパターンに従う通信サービスを提供するのを支援し得る。いくつかの例では、動作は、通信インターフェース2840によって支援され得、それにより、通信衛星の他の特徴(例えば、フィードアレイアセンブリ、1つ以上のアクチュエータなど)に送信される又はそこから受信される信号2845をもたらすようにし得る。そのため、本明細書で説明した特徴を支援することにより、衛星コントローラ2805を含む通信衛星120は、異なるネイティブなアンテナパターンに従う通信サービスの提供を支援し得る。
プロセッサ2810、メモリ2815、アクチュエータコントローラ2720-a及び衛星通信マネージャ2730-aを含む衛星コントローラ2805並びに/又は通信インターフェース2840は、本明細書で説明したような機能を実行するように設計された、汎用プロセッサ、デジタル信号プロセッサ(DSP)、ASIC、FPGA若しくは他のプログラマブルロジックデバイス、ディスクリートゲート若しくはトランジスタ論理、ディスクリートハードウェアコンポーネント又はそれらの任意の組み合わせと一緒に実装又は実行され得る。汎用プロセッサはマイクロプロセッサであり得るが、代替形態では、プロセッサは、任意の従来のプロセッサ、コントローラ、マイクロコントローラ又は状態機械であり得る。衛星コントローラ2805は、計算装置の組み合わせ、例えば、DSPとマイクロプロセッサの組み合わせ、複数のマイクロプロセッサ、DSPコアと併せた1つ以上のマイクロプロセッサ、集積メモリ(integrated memory)、ディスクリートメモリ(discrete memory)又は任意の他のそのような構成としても実装され得る。
図29は、本開示の態様による、複数のネイティブなアンテナパターンに従う通信サービスの提供を支援する通信サービスマネージャ2905のブロック図2900を示す。通信サービスマネージャ2905は、通信マネージャ2910及び指令信号判定器2920を含み得る。
通信マネージャ2910は、フォワードリンク通信及びリターンリンク通信などの通信サービスによって提供される通信の態様を管理する。例えば、通信マネージャ2910は、複数のアクセスノード端末と衛星との間に第1の複数の信号を提供するための、及び衛星と複数の端末との間に第2の複数の信号を提供するための、1つ以上の態様を管理し得る。
指令信号判定器2920は、通信サービスが提供さ得る方法に適合するように、通信衛星に提供するための1つ以上の指令信号を決定し得る。例えば、指令信号判定器2920は、通信衛星のリニアアクチュエータが第1の長さから第2の長さに変更するための指令を決定し得、これは、フィードアレイアセンブリと通信衛星の反射器との間の相対距離の変更をもたらし得る。それに続いて、通信衛星のリニアアクチュエータの長さの変更は、新しいネイティブなアンテナパターンに従う通信サービスの提供を支援し得る。
カバレッジエリアマネージャ2930は、通信衛星のカバレッジエリアに関係する様々なパラメータ及び/又は等式を管理し得る。いくつかの例では、カバレッジエリアマネージャは、少なくとも部分的に、通信サービスマネージャ2905によって検出され得るか、又は通信衛星自体から受信され得る、通信衛星のリニアアクチュエータの長さ、第2のアクチュエータの位置若しくは回転、通信衛星の軌道位置又はそれらの任意の組み合わせに基づいてカバレッジエリアの態様を決定し得る。カバレッジエリアマネージャ2930は、所望のネイティブなアンテナパターンを特定する及び/又はネイティブなアンテナパターンの変更を決定して指令信号判定器2920をトリガし、通信衛星のアクチュエータへの指令を開始するように使用され得る。
通信サービスマネージャ2905が、ビームフォーミングを利用する通信サービスを管理する例では、通信サービスマネージャは、任意選択的に、ビームフォーミングマネージャ2940を含み得る。ビームフォーミングマネージャ2940は、例えば、通信衛星120を介して、地上のビームフォーミングを支援し得る。例えば、ビームフォーミングマネージャ2940は、アクセスノード端末130によって送信された信号にビームフォーミング係数の組を適用し得る。そのようなビームフォーミング係数は、例えば、送信前に信号に適用されて、指向性送信を支援し得るか、又は通信衛星120によって受信された信号に適用されて、指向性受信を支援し得る。他の例では、そのようなビームフォーミング係数は、ビームフォーミングマネージャ2940によって決定され、及び通信衛星120に提供されて、通信衛星におけるオンボードビームフォーミングを支援し得る。様々な例では、ビームフォーミング係数はビームフォーミングマネージャ2940によって選択及び/又は計算されて、通信サービスマネージャ2905によって決定された所望のネイティブなアンテナパターンを提供し得る。
図30は、本開示の態様による、複数のネイティブなアンテナパターンに従う通信サービスの提供を支援する通信サービスコントローラ3005のブロック図3000を示す。通信サービスコントローラ3005は、プロセッサ3010、メモリ3015、通信サービスマネージャ2905-a及び通信インターフェース3040を含み得る。これらのコンポーネントのそれぞれは、1つ以上のバス3035で、互いに直接又は間接的に通信し得る。様々な例では、通信サービスコントローラ3005は、図1Aを参照して説明したアクセスノード端末130又はネットワーク装置141であり得るか、又はその一部であり得る。
メモリ3015は、ランダムアクセスメモリ(RAM)及び/又はリードオンリーメモリ(ROM)を含み得る。メモリ3015は、オペレーティングシステム(OS)3020(例えば、Linux又はWindowsのカーネルに構築された)を記憶し得る。メモリ3015は、実行時に、プロセッサ3010に、異なるネイティブなアンテナパターンに従う通信サービスを提供することに関する、本明細書で説明した様々な機能を実行させるように構成される命令を含む、コンピュータ可読、コンピュータ実行可能コード3025も記憶し得る。代わりに、コード3025は、プロセッサ3010によって直接実行可能でなくてもよいが、通信サービスコントローラ3005に(例えば、コンパイルして実行するとき)、本明細書で説明した機能の1つ以上を実行させるように構成され得る。
衛星コントローラは、図29の通信サービスマネージャ2905の例であり得る通信サービスマネージャ2905-aを含み得る。通信サービスマネージャ2905-aは、本明細書で説明したように、異なるネイティブなアンテナパターンに従う通信サービスを提供する1つ以上の態様を管理し得る。通信サービスは、例えば、通信インターフェース3040を介して提供され得る。いくつかの例では、通信サービスマネージャは、所望のネイティブなアンテナパターンを決定し、それに続いて、所望のネイティブなアンテナパターンを提供するように、指令が通信衛星120に送信されるように(例えば、通信インターフェース3040を介した信号3045によって)決定し得る。例えば、決定された指令は、フィードアレイアセンブリと反射器との間の相対距離の変更をもたらすために、リニアアクチュエータの位置及び/又は長さの変更を指示し得、これは、続いて、ネイティブなアンテナパターンの変更をもたらす。
プロセッサ3010、メモリ3015、通信サービスマネージャ2905-a及び/又は通信インターフェース3040を含む通信サービスコントローラ3005は、本明細書で説明したような機能を実行するように設計された、汎用プロセッサ、デジタル信号プロセッサ(DSP)、ASIC、FPGA若しくは他のプログラマブルロジックデバイス、ディスクリートゲート若しくはトランジスタ論理、ディスクリートハードウェアコンポーネント又はそれらの任意の組み合わせと一緒に、実装又は実行され得る。汎用プロセッサはマイクロプロセッサであり得るが、代替形態では、プロセッサは、任意の従来のプロセッサ、コントローラ、マイクロコントローラ又は状態機械であり得る。通信サービスコントローラ3005は、計算装置の組み合わせ、例えばDSPとマイクロプロセッサの組み合わせ、複数のマイクロプロセッサ、DSPコアと併せた1つ以上のマイクロプロセッサ、集積メモリ、ディスクリートメモリ又は任意の他のそのような構成としても実装され得る。
図31は、本開示の態様による、通信衛星を介して、複数のネイティブなアンテナパターンに従う通信サービスを提供するのを支援する例示的な方法3100のフローチャートを示す。方法3100は、本明細書で説明したような、フィードアレイアセンブリ127、反射器122及びフィードアレイアセンブリ間に結合されたリニアアクチュエータ124を有する通信衛星120の1つ以上の態様を参照して下記で説明する。いくつかの例では、通信衛星120自体が、下記で説明する方法3100の動作の1つ以上を実行し得る。いくつかの例では、方法3100の動作の1つ以上は、通信サービスコントローラ3005によって実行され得る。
3105において、方法3100は、本明細書で説明したように、衛星を介して、衛星の衛星アンテナの第1のネイティブなアンテナパターンに従って通信サービスを提供することを含み得る。第1のネイティブなアンテナパターンは、第1の複数のスポットビームを含み得、及び少なくとも部分的に、衛星アンテナの反射器に対してフィードアレイアセンブリの第1のデフォーカス位置を提供するリニアアクチュエータの第1の長さに基づき得る。通信サービスを提供することは、複数のアクセスノード端末と衛星との間に第1の複数の信号を提供すること、及び衛星と複数の端末との間に第2の複数の信号を提供することを含み得る。いくつかの例では、第1のデフォーカス位置は、反射器と反射器のフォーカス領域との間に置かれているフィードアレイアセンブリと関連し得る。通信サービスは、ビームフォーミングによって提供され得、及び第1のネイティブなアンテナパターンに従って通信サービスを提供することは、フィードアレイアセンブリによって伝えられる信号に第1の組のビームフォーミング係数を適用することを含み得る。説明のビームフォーミング係数は、通信衛星120において決定され得るか、又は通信サービスコントローラ3005などの別の装置において決定され、それに続いて通信衛星120に提供され得る(例えば、通信衛星120において受信したワイヤレス送信によって)。
3110において、方法3100は、本明細書で説明したように、リニアアクチュエータに、第1の長さから第2の長さに変更するように指令することを含み得る。様々な例では、3110での指令は、リニアアクチュエータの新しい位置の指示、位置間の差、反射器の所望の位置、フィードアレイアセンブリの所望の位置、リニアアクチュエータの長さ、第2のネイティブなアンテナパターンのパラメータ又は第2のネイティブなアンテナパターンと関連したルックアップ値を提供することを含み得る。3110での指令は、通信衛星120において決定され得るか、又は通信サービスコントローラ3005などの別の装置において決定され、それに続いて通信衛星120に提供され得る(例えば、通信衛星120において受信したワイヤレス送信によって)。
いくつかの例では、3115において、方法3100は、任意選択的に、第2のアクチュエータに指令することを含み得る。第2のアクチュエータは、フィードアレイアセンブリと反射器との間に結合され得、及びリニアアクチュエータの第1及び第2の長さに沿った軸と異なる軸の周りでのフィードアレイアセンブリと反射器との間の相対位置の変更を引き起こすのを支援し得る。3115での指令は、通信衛星120において決定され得るか、又は通信サービスコントローラ3005などの別の装置において決定され、それに続いて通信衛星120に提供され得る(例えば、通信衛星120において受信したワイヤレス送信によって)。
いくつかの例では、3120において、方法3100は、任意選択的に、衛星に、第1の軌道位置から第2の軌道位置に動くように指令することを含み得る。3120での指令は、通信衛星120において決定され得るか、又は通信サービスコントローラ3005などの別の装置において決定され、それに続いて通信衛星120に提供され得る(例えば、通信衛星120において受信したワイヤレス送信によって)。
3125において、方法3100は、衛星を介して、衛星アンテナの第2のネイティブなアンテナパターンに従って通信サービスを提供することを含み得る。第2のネイティブなアンテナパターンは、第2の複数のスポットビームを含み得、及び少なくとも部分的に、反射器に対してフィードアレイアセンブリの第2のデフォーカス位置を提供する、リニアアクチュエータの第2の長さに基づき得る。第2のデフォーカス位置は、第1のネイティブなアンテナパターンと比較すると、第2のネイティブなアンテナパターンの様々な違いを提供し得る。例えば、第2のデフォーカス位置は、第1のネイティブなフィード素子パターンカバレッジエリアサイズと異なる、フィードアレイアセンブリのフィードの第2のネイティブなフィード素子パターンカバレッジエリアサイズを提供し得る。いくつかの例では、第2のデフォーカス位置は、ネイティブなフィード素子パターンの第1の重なりと異なる、フィードアレイアセンブリの2つ以上のアンテナフィード素子のネイティブなフィード素子パターンの第2の重なりを提供し得る。
いくつかの例では、3125において、通信サービスは、通信衛星を介して、3105において提供される通信サービスと同じ軌道位置で提供され得、及び第2のネイティブなアンテナパターンは、第1のネイティブなアンテナパターンと異なるサービスカバレッジエリアに対応し得る。いくつかの例では、第2のネイティブなアンテナパターンのサービスカバレッジエリアは、第1のネイティブなアンテナパターンのサービスカバレッジエリアと少なくとも部分的に重なり得る。3125において通信サービスを提供することは、フィードアレイアセンブリを介して伝えられた信号に異なる組のビームフォーミング係数を適用することを含み得る。説明のビームフォーミング係数は、通信衛星120において決定され得るか、又は通信サービスコントローラ3005などの別の装置において決定され、それに続いて通信衛星120に提供され得る(例えば、通信衛星120において受信したワイヤレス送信によって)。
そのため、方法3100は、異なるネイティブなアンテナパターンに従う通信サービスを提供することを支援し得、ここで、異なるネイティブなアンテナパターンは、少なくとも部分的に、フィードアレイアセンブリと通信衛星の反射器との間に結合されたリニアアクチュエータに指令することに基づく。方法3100は、例示的な実装例を説明していること、及び方法3100の動作は、他の実装例が可能であるように、再整理され得るか又は他に修正され得ることに留意すべきである。例えば、説明したいくつかの動作は任意選択的であり得(例えば、破線の四角で囲まれているもの、任意選択的と説明されているものなど)、ここで、任意選択な動作は、いくつかの基準が満たされるときに実施されるか、構成に基づいて実施されるか、断続的に省略されるか、又は完全に省略され得るなどである。
添付図面に関連して上述した詳細な説明では、例を説明し、及び実装され得る又は特許請求の範囲内にある唯一の例を表すものではない。用語「例」は、この説明において使用されるとき、「例、実例又は説明の機能を果たす」ことであり、及び「好ましい」又は「他の例よりも好都合である」わけではないことを意味する。詳細な説明は、説明の技術の理解をもたらすための具体的な詳細を含む。しかしながら、これらの技術は、これらの具体的な詳細がなくても実施され得る。場合により、説明の例の概念を曖昧にするのを回避するために、周知の構造及び機器がブロック図の形態で示している。
情報及び信号は、様々な異なるテクノロジー及び技術の何れかを使用して表され得る。例えば、上述の説明を通して言及され得るデータ、命令、指令、情報、信号、ビット、シンボル及びチップは、電圧、電流、電磁波、磁場若しくは磁性粒子、光学場若しくは光学粒子又はそれらの任意の組み合わせによって表され得る。
本開示と関連して説明した、様々な実例となるブロック及びコンポーネントは、本明細書で説明したような機能を実行するように設計された、汎用プロセッサ、デジタル信号プロセッサ(DSP)、ASIC、FPGA又は他のプログラマブルロジックデバイス、ディスクリートゲート又はトランジスタ論理、ディスクリートハードウェアコンポーネント又はそれらの任意の組み合わせと一緒に実装又は実行され得る。汎用プロセッサはマイクロプロセッサであり得るが、代替形態では、プロセッサは、任意の従来のプロセッサ、コントローラ、マイクロコントローラ又は状態機械であり得る。プロセッサは、計算装置の組み合わせ、例えばDSPとマイクロプロセッサの組み合わせ、複数のマイクロプロセッサ、DSPコアと併せたマイクロプロセッサ又は任意の他のそのような構成としても実装され得る。
本明細書した機能は、ハードウェア、プロセッサによって実行されるソフトウェア、ファームウェア又はそれらの任意の組み合わせに実装され得る。プロセッサによって実行されるソフトウェアに実装される場合、機能は、コンピュータ可読媒体上の命令又はコードとして記憶又は送信され得る。他の例及び実装例は、本開示及び添付の特許請求の範囲内にある。例えば、ソフトウェアの性質に起因して、上述した機能は、プロセッサによって実行されるソフトウェア、ハードウェア、ファームウェア、ハード配線又はこれらの何れかの組み合わせを使用して、実装され得る。機能を実装する特徴は、機能の複数の部分が異なる物理的位置において実装されるように分散されていることを含め、様々な位置に物理的にも置かれ得る。本明細書では、特許請求の範囲内を含め、2つ以上のアイテムのリストにおいて使用されるときの用語「及び/又は」は、リストしたアイテムの何れか1つがそれのみで用いられ得るか、又はリストしたアイテムの2つ以上の何れかの組み合わせが用いられ得ることを意味する。例えば、組成物が構成成分A、B及び/又はCを含有すると説明される場合、組成物は、Aを単独で、Bを単独で、Cを単独で、AとBを組み合わせて、AとCを組み合わせて、BとCを組み合わせて又はA、B及びCを組み合わせて含有し得る。また、本明細書では、特許請求の範囲内を含め、アイテムのリスト(例えば、「~の少なくとも1つ」又は「~の1つ以上」などの語句の前に来るアイテムのリスト)において使用されるとき、「又は」は、選言的なリストを指示し、例えば、リスト「A、B又はCの少なくとも1つ」は、A又はB又はC又はAB又はAC又はBC又はABC(すなわちA及びB及びC)を意味する。
コンピュータ可読媒体は、1つの箇所から別の箇所へのコンピュータプログラムの伝送を容易にする任意の媒体を含むコンピュータ記憶媒体及び通信媒体の両方を含む。記憶媒体は、汎用又は専用コンピュータによってアクセスできる何れかの利用可能な媒体であり得る。例として及び限定されるものではないが、コンピュータ可読媒体は、RAM、ROM、EEPROM、フラッシュメモリ、CD-ROM又は他の光ディスク記憶装置、磁気ディスク記憶装置又は他の磁気記憶デバイス又は命令若しくはデータ構造の形態で所望のプログラムコード手段を保有又は記憶するために使用され得且つ汎用若しくは専用コンピュータ又は汎用若しくは専用プロセッサによってアクセスされ得る任意の他の媒体を含み得る。また、任意の接続が、適切に、コンピュータ可読媒体と呼ばれる。例えば、同軸ケーブル、光ファイバーケーブル、ツイストペア、デジタル加入者線(DSL)又は赤外線、無線及びマイクロ波などのワイヤレステクノロジーを使用して、ソフトウェアがウェブサイト、サーバ又は他の遠隔源から送信される場合、同軸ケーブル、光ファイバーケーブル、ツイストペア、DSL又は赤外線、無線及びマイクロ波などのワイヤレステクノロジーは、媒体の定義に含まれる。ディスク(Disk)及びディスク(disc)は、本明細書では、コンパクトディスク(CD)、レーザディスク、光ディスク、デジタルバーサタイルディスク(DVD)、フロッピーディスク及びブルーレイディスクを含み、ここで、ディスク(disk)は、通常、データを磁気的に再生するが、ディスク(disc)は、レーザによって光学的にデータを再生する。上記の組み合わせもコンピュータ可読媒体の範囲内に含まれる。
本明細書では、語句「~に基づく」は、条件の閉集合を指すとみなされない。例えば、「条件Aに基づく」と説明される例示的なステップは、本開示の範囲から逸脱することなく、条件A及び条件Bの両方に基づき得る。換言すると、本明細書では、語句「~に基づく」は、語句「少なくとも部分的に、~に基づく」と同じように解釈される。
本開示の先の説明は、当業者が本開示を作製又は使用できるようにするために提供される。本開示に対する様々な修正形態は、当業者に容易に明らかになり、及び本明細書で定義される一般的な原理は、本開示の範囲から逸脱することなく他の変型形態に適用され得る。そのため、本開示は、本明細書で説明される例及び設計に限定されず、本明細書で開示した原理及び新規の特徴と一致する最も広い範囲に従い得る。

Claims (17)

  1. 複数のアンテナフィード素子(128)を備えるアンテナアセンブリ(121)を有する通信衛星(120)を介して通信するための方法において、
    第1の複数のビームフォームされたスポットビーム(125)を介して通信サービスを提供することであって、前記第1の複数のビームフォームされたスポットビーム(125)は、少なくとも部分的に、第1のビームフォーミング構成及び前記アンテナアセンブリ(121)の第1のネイティブなアンテナパターン(220)に基づき、前記第1のネイティブなアンテナパターン(220)は、前記アンテナアセンブリ(121)の反射器(122)に対する前記アンテナアセンブリ(121)のフィードアレイアセンブリ(127)の第1のデフォーカス位置に対応し、前記第1のネイティブなアンテナパターン(220)は、前記複数のアンテナフィード素子(128)の第1のネイティブなフィード素子パターン(210)の合成を含む、提供すること、
    前記通信衛星(120)に、前記アンテナアセンブリ(121)の前記第1のネイティブなアンテナパターン(220)から前記アンテナアセンブリ(121)の第2のネイティブなアンテナパターン(220)に変更するように指令することであって、前記第2のネイティブなアンテナパターン(220)は、前記反射器(122)に対する前記フィードアレイアセンブリ(127)の第2のデフォーカス位置に対応し、前記第2のネイティブなアンテナパターン(220)は、前記複数のアンテナフィード素子(128)の第2のネイティブなフィード素子パターン(210)の合成を含み、前記複数のアンテナフィード素子(128)の所与のアンテナフィード素子(128)は、前記第1のネイティブなフィード素子パターン(210)の1つ及び前記第2のネイティブなフィード素子パターン(210)の1つと関連し、前記第2のネイティブなフィード素子パターン(210)の前記1つは、前記第1のネイティブなフィード素子パターン(210)の前記1つと異なる、指令すること、及び
    第2の複数のビームフォームされたスポットビーム(125)を介して前記通信サービスを提供することであって、前記第2の複数のビームフォームされたスポットビーム(125)は、少なくとも部分的に、第2のビームフォーミング構成及び前記第2のネイティブなアンテナパターン(220)に基づく、提供すること
    を含むことを特徴とする方法。
  2. 請求項1に記載の方法において、前記通信衛星(120)に、前記第1のネイティブなアンテナパターン(220)から前記第2のネイティブなアンテナパターン(220)に変更するように指令することは、
    前記通信衛星(120)のアクチュエータ(124)に、前記第1のネイティブなアンテナパターン(220)から前記第2のネイティブなアンテナパターン(220)への前記変更をもたらすように指令すること
    を含むことを特徴とする方法。
  3. 請求項2に記載の方法において、前記アクチュエータ(124)に、前記第1のネイティブなアンテナパターン(220)から前記第2のネイティブなアンテナパターン(220)への前記変更をもたらすように指令することは、
    前記アンテナアセンブリ(121)の前記反射器(122)と、前記複数のアンテナフィード素子(128)を含む前記アンテナアセンブリ(121)の前記フィードアレイアセンブリ(127)との間の空間的な調整を指令すること
    を含むことを特徴とする方法。
  4. 請求項3に記載の方法において、前記アクチュエータ(124)は、前記アンテナアセンブリ(121)の前記反射器(122)と前記フィードアレイアセンブリ(127)との間に結合されていることを特徴とする方法。
  5. 請求項3に記載の方法において、前記通信衛星(120)に、前記第1のネイティブなアンテナパターン(220)から前記第2のネイティブなアンテナパターン(220)に変更するように指令することは、
    前記反射器(122)と前記フィードアレイアセンブリ(127)との間に結合されたリニアアクチュエータ(124)に、第1の長さから第2の長さに変更するように指令すること
    を含むことを特徴とする方法。
  6. 請求項5に記載の方法において、
    前記フィードアレイアセンブリ(127)と前記反射器(122)との間に結合された副アクチュエータ(2540)に、前記第2のネイティブなアンテナパターン(220)を提供するように指令することであって、前記副アクチュエータ(2540)に前記指令することは、前記リニアアクチュエータ(124)の軸と異なる軸の周りでの前記フィードアレイアセンブリ(127)と前記反射器(122)との間の相対位置の変更を引き起こす、指令すること
    をさらに含むことを特徴とする方法。
  7. 請求項1に記載の方法において、前記第1のデフォーカス位置又は前記第2のデフォーカス位置の一方又は両方は、前記反射器(122)と前記反射器(122)のフォーカス領域(123)との間に置かれている前記複数のアンテナフィード素子(128)の1つ以上と関連することを特徴とする方法。
  8. 請求項2に記載の方法において、前記アクチュエータ(124)に、前記第1のネイティブなアンテナパターン(220)から前記第2のネイティブなアンテナパターン(220)への前記変更をもたらすように指令することは、
    前記アンテナアセンブリ(121)の前記反射器(122)のフォーカス領域(123)に対する調整を指令すること
    を含むことを特徴とする方法。
  9. 請求項1乃至8の何れか1項に記載の方法において、前記第1のネイティブなアンテナパターン(220)は、前記アンテナアセンブリ(121)の第1のボアサイト方向と関連し、及び前記第2のネイティブなアンテナパターン(220)は、前記第1のボアサイト方向と異なる、前記アンテナアセンブリ(121)の第2のボアサイト方向と関連することを特徴とする方法。
  10. 請求項1乃至9の何れか1項に記載の方法において、前記第1のネイティブなアンテナパターン(220)は、前記所与のアンテナフィード素子(128)の第1のネイティブなフィード素子パターンビーム幅と関連し、及び前記第2のネイティブなアンテナパターン(220)は、前記第1のネイティブなフィード素子パターンビーム幅と異なる、前記所与のアンテナフィード素子(128)の第2のネイティブなフィード素子パターンビーム幅と関連することを特徴とする方法。
  11. 請求項1乃至10の何れか1項に記載の方法において、前記第1のネイティブなアンテナパターン(220)は、前記アンテナアセンブリ(121)の2つ以上のアンテナフィード素子(128)のネイティブなフィード素子パターン(210)の第1の重なり量と関連し、及び前記第2のネイティブなアンテナパターン(220)は、前記アンテナアセンブリ(121)の前記2つ以上のアンテナフィード素子(128)の前記ネイティブなフィード素子パターン(210)の第2の異なる重なり量と関連することを特徴とする方法。
  12. 請求項1乃至8の何れか1項に記載の方法において、
    前記通信衛星(120)の軌道特性を調整することであって、前記第2の複数のビームフォームされたスポットビーム(125)を介して前記通信サービスを提供することは、前記調整された軌道特性に従って前記通信サービスを提供することを含む、調整すること
    をさらに含むことを特徴とする方法。
  13. 請求項1乃至8の何れか1項に記載の方法において、前記通信衛星(120)は、前記第1の複数のビームフォームされたスポットビーム(125)を介して前記通信サービスを提供する間及び前記第2の複数のビームフォームされたスポットビーム(125)を介して前記通信サービスを提供する間、同じ地球静止軌道位置にあることを特徴とする方法。
  14. 請求項1乃至8の何れか1項に記載の方法において、
    前記通信衛星(120)は、前記第1の複数のビームフォームされたスポットビーム(125)を介して前記通信サービスを提供する間、第1の地球静止軌道位置にあり、
    前記通信衛星(120)に、前記第1のネイティブなアンテナパターン(220)から前記第2のネイティブなアンテナパターン(220)に変更するように指令することは、前記通信衛星(120)に、前記第1の地球静止軌道位置から第2の異なる地球静止軌道位置に動くように指令することを含み、及び
    前記通信衛星(120)は、前記第2の複数のビームフォームされたスポットビーム(125)を介して前記通信サービスを提供する間、前記第2の地球静止軌道位置にあることを特徴とする方法。
  15. 請求項1乃至14の何れか1項に記載の方法において、前記通信衛星(120)は、第2の複数のアンテナフィード素子(128)を備える第2のアンテナアセンブリ(121)を含み、前記方法は、
    前記第2のアンテナアセンブリ(121)を使用して第3の複数のビームフォームされたスポットビーム(125)を介して前記通信サービスを提供することであって、前記第3の複数のビームフォームされたスポットビーム(125)は、少なくとも部分的に、第3のビームフォーミング構成及び前記第2のアンテナアセンブリ(121)の第3のネイティブなアンテナパターン(220)に基づき、前記第3のネイティブなアンテナパターン(220)は、前記第2の複数のアンテナフィード素子(128)の第3のネイティブなフィード素子パターン(210)の合成を含む、提供すること
    をさらに含むことを特徴とする方法。
  16. 請求項1乃至15の何れか1項に記載の方法において、前記第1の複数のビームフォームされたスポットビーム(125)を介して前記通信サービスを提供すること又は前記第2の複数のビームフォームされたスポットビーム(125)を介して前記通信サービスを提供することは、
    複数のアクセスノード端末(130)と前記通信衛星(120)との間に第1の複数の信号を提供すること、及び
    前記通信衛星(120)と複数のユーザ端末(150)との間に第2の複数の信号を提供すること
    の一方又は両方を含むことを特徴とする方法。
  17. 請求項1乃至16の何れか1項に記載の方法において、前記第1のビームフォーミング構成は、前記複数のアンテナフィード素子(128)を介して伝えられる第1の複数のフィード素子信号に第1のビームフォーミング重みセットを適用することを含み、及び前記第2のビームフォーミング構成は、前記複数のアンテナフィード素子(128)を介して伝えられる第2の複数のフィード素子信号に、前記第1のビームフォーミング重みセットと異なる第2のビームフォーミング重みセットを適用することを含むことを特徴とする方法。
JP2019555165A 2017-04-10 2017-04-10 衛星通信に適応するためのカバレッジエリア調整 Active JP7127053B2 (ja)

Priority Applications (1)

Application Number Priority Date Filing Date Title
JP2022129875A JP7470747B2 (ja) 2017-04-10 2022-08-17 衛星通信に適応するためのカバレッジエリア調整

Applications Claiming Priority (1)

Application Number Priority Date Filing Date Title
PCT/US2017/026839 WO2018190794A1 (en) 2017-04-10 2017-04-10 Coverage area adjustment to adapt satellite communications

Related Child Applications (1)

Application Number Title Priority Date Filing Date
JP2022129875A Division JP7470747B2 (ja) 2017-04-10 2022-08-17 衛星通信に適応するためのカバレッジエリア調整

Publications (2)

Publication Number Publication Date
JP2020517161A JP2020517161A (ja) 2020-06-11
JP7127053B2 true JP7127053B2 (ja) 2022-08-29

Family

ID=58579321

Family Applications (2)

Application Number Title Priority Date Filing Date
JP2019555165A Active JP7127053B2 (ja) 2017-04-10 2017-04-10 衛星通信に適応するためのカバレッジエリア調整
JP2022129875A Active JP7470747B2 (ja) 2017-04-10 2022-08-17 衛星通信に適応するためのカバレッジエリア調整

Family Applications After (1)

Application Number Title Priority Date Filing Date
JP2022129875A Active JP7470747B2 (ja) 2017-04-10 2022-08-17 衛星通信に適応するためのカバレッジエリア調整

Country Status (21)

Country Link
US (6) US10985833B2 (ja)
EP (2) EP3610536B1 (ja)
JP (2) JP7127053B2 (ja)
KR (1) KR102309131B1 (ja)
CN (1) CN111052503B (ja)
AU (1) AU2017409520B2 (ja)
CA (1) CA3054698C (ja)
CO (1) CO2019011334A2 (ja)
CR (1) CR20190505A (ja)
DO (1) DOP2019000258A (ja)
ES (1) ES2901210T3 (ja)
IL (1) IL269781B2 (ja)
MX (1) MX2019012213A (ja)
MY (1) MY198206A (ja)
PE (1) PE20200277A1 (ja)
PH (1) PH12019501981A1 (ja)
RU (1) RU2741489C1 (ja)
SA (1) SA519410269B1 (ja)
SG (1) SG11201907748VA (ja)
WO (1) WO2018190794A1 (ja)
ZA (1) ZA201907367B (ja)

Cited By (2)

* Cited by examiner, † Cited by third party
Publication number Priority date Publication date Assignee Title
US20220276330A1 (en) * 2021-02-24 2022-09-01 Bluehalo, Llc System and method for a digitally beamformed phased array feed
US12555908B2 (en) 2024-07-31 2026-02-17 Bluehalo, Llc System and method for a digitally beamformed phased array feed

Families Citing this family (56)

* Cited by examiner, † Cited by third party
Publication number Priority date Publication date Assignee Title
US9184829B2 (en) 2010-05-02 2015-11-10 Viasat Inc. Flexible capacity satellite communications system
US10511379B2 (en) 2010-05-02 2019-12-17 Viasat, Inc. Flexible beamforming for satellite communications
US9373896B2 (en) * 2013-09-05 2016-06-21 Viasat, Inc True time delay compensation in wideband phased array fed reflector antenna systems
MX2019012213A (es) 2017-04-10 2019-11-21 Viasat Inc Ajuste de area de cobertura para adaptar comunicaciones por satelite.
FR3067535B1 (fr) * 2017-06-09 2023-03-03 Airbus Defence & Space Sas Satellite de telecommunications, procede de formation de faisceaux et procede de fabrication d’une charge utile de satellite
JP6653684B2 (ja) * 2017-07-14 2020-02-26 ソフトバンク株式会社 無線中継装置、遠隔制御装置及び通信システム
FR3073347B1 (fr) * 2017-11-08 2021-03-19 Airbus Defence & Space Sas Charge utile de satellite comportant un reflecteur a double surface reflechissante
GB201811459D0 (en) 2018-07-12 2018-08-29 Airbus Defence & Space Ltd Reconfigurable active array-fed reflector antenna
EP3609088A1 (en) * 2018-08-06 2020-02-12 Intel Corporation Techniques for analog beamforming
CN111181877A (zh) * 2018-11-13 2020-05-19 联发科技股份有限公司 通讯接收装置及其信号处理方法
RU2696676C1 (ru) * 2018-12-06 2019-08-05 Самсунг Электроникс Ко., Лтд. Гребневый волновод без боковых стенок на базе печатной платы и содержащая его многослойная антенная решетка
US12050276B2 (en) 2019-04-16 2024-07-30 Viasat, Inc. Past event signal tracking
EP3958395B1 (en) * 2019-04-18 2025-10-01 Institute for Q-shu Pioneers of Space, Inc. Antenna device and space navigation body
JP6937970B2 (ja) * 2019-05-09 2021-09-22 三菱電機株式会社 制御局、中継局、データ伝送システム、ビーム制御方法、制御回路および記憶媒体
FR3096200B1 (fr) * 2019-05-16 2021-04-30 Thales Sa Systeme de telecommunication par satellites a processeur numerique transparent et saut de faisceaux
IL267203B (en) 2019-06-10 2020-11-30 Satixfy Uk Ltd A display array antenna and a system and method for operation
CA3208172A1 (en) 2019-06-28 2020-12-30 Astranis Space Technologies Corp. Beam super surge methods and apparatus for small geostationary (geo) communication satellites
US10587055B1 (en) * 2019-07-08 2020-03-10 Northrop Grumman Systems Corporation Imaging reflector antenna system and method
EP4038691A4 (en) * 2019-09-30 2023-11-15 MacDonald, Dettwiler and Associates Corporation Direct radiating array antenna
EP3806239A1 (en) * 2019-10-09 2021-04-14 Airbus Defence and Space Limited Multibeam antenna and control method thereof
EP4604419A3 (en) * 2019-10-17 2025-11-05 Thales High rate payload management between the ground segment and a satellite
US12187459B2 (en) * 2019-11-05 2025-01-07 Institute For Q-Shu Pioneers Of Space, Inc. Spacecraft
EP3840118A1 (en) * 2019-12-19 2021-06-23 Airbus Defence and Space Limited Multibeam antenna
FR3110292B1 (fr) * 2019-12-26 2024-09-20 Thales Sa Antenne parabolique multilobes pour communications par faisceaux Hertziens troposphériques
IT202000002563A1 (it) * 2020-02-10 2021-08-10 Telespazio Spa Antenna multi-fascio a riflettore per applicazioni satellitari
CN113708821B (zh) * 2020-05-22 2023-03-31 中国电信股份有限公司 卫星波束的发射方法和装置
CN113745848B (zh) * 2020-05-29 2024-03-01 华为技术有限公司 一种天线及使用方法、通信基站
US11778650B2 (en) * 2020-06-02 2023-10-03 Qualcomm Incorporated UE assistance to configure self-interference measurement
KR102275159B1 (ko) * 2020-07-30 2021-07-09 국방과학연구소 무한 경계조건을 이용한 메쉬형 경량화 반사판 설계 장치, 방법, 컴퓨터 판독 가능한 기록 매체 및 컴퓨터 프로그램
US11075693B1 (en) * 2020-07-31 2021-07-27 Hughes Network Systems, Llc System and method for generic gateway modem satellite beam hopping
EP3975334A1 (en) * 2020-09-23 2022-03-30 Nokia Solutions and Networks Oy Antenna apparatus
CA3198135A1 (en) * 2020-11-13 2022-05-19 Viasat Inc. Multi-static synthetic aperture radar using low earth orbit collection
WO2022137527A1 (ja) * 2020-12-25 2022-06-30 日本電信電話株式会社 無線通信システム、中継装置、無線通信方法及びプログラム
WO2022137521A1 (ja) * 2020-12-25 2022-06-30 日本電信電話株式会社 中継装置、無線通信システム、無線通信方法及びプログラム
CN117099317A (zh) * 2021-01-06 2023-11-21 维尔塞特公司 稀疏天线阵列校准
EP4309305B1 (en) 2021-04-09 2025-07-16 Viasat Inc. Techniques for end-to-end beamforming with multiple areas of simultaneous user coverage
EP4399816A1 (en) 2021-09-09 2024-07-17 Hughes Network Systems, LLC Multi-band radiofrequency transceiver
US12212403B2 (en) * 2021-09-09 2025-01-28 Hughes Network Systems, Llc Switching radiofrequency chains
JP7713835B2 (ja) * 2021-09-17 2025-07-28 三菱電機株式会社 衛星通信システム、静止衛星および計算機プログラム
CN114156664B (zh) * 2021-11-01 2025-07-04 四川九洲空管科技有限责任公司 基于共形相控阵天线的前向机载防撞系统及其工作方法
KR102728983B1 (ko) * 2021-11-11 2024-11-14 에이피위성 주식회사 지상 모바일폰과 통신 가능한 통신위성시스템
US11909126B2 (en) * 2021-12-17 2024-02-20 The Boeing Company Optical system for enhanced wide scan capability of array antennas
US11870620B2 (en) * 2021-12-29 2024-01-09 Hughes Networks Systems Satellite receiver including pre-equalizer to compensate for linear impairments
CN114709627B (zh) * 2022-03-30 2022-09-30 中国人民解放军战略支援部队航天工程大学 一种多频段可配置接收天线
US11705630B1 (en) 2022-04-05 2023-07-18 Maxar Space Llc Antenna with movable feed
WO2023235538A2 (en) * 2022-06-03 2023-12-07 Freefall Aerospace, Inc. Tracking antenna with stationary reflector
CN116155345B (zh) * 2022-12-20 2024-04-09 中国电子科技集团公司第五十四研究所 一种基于落地功率限制的低轨星座多波束全球覆盖方法
CN115696447B (zh) * 2022-12-30 2023-03-14 成都戎星科技有限公司 一种非公开协议的vsat网终端实现主动发射的方法
CN116405976B (zh) * 2023-06-06 2023-09-22 中国民用航空飞行学院 基于ads-b的数据双向通信优化方法及系统
US20250024384A1 (en) * 2023-07-12 2025-01-16 Hughes Network Systems, Llc Transmit power density limit normalization for electronically steerable antennas with scan angle varying density limit
KR102701472B1 (ko) * 2024-01-08 2024-09-02 한화시스템 주식회사 저궤도 통신위성의 전자식 빔조향 안테나 시스템 및 방법
WO2025155790A1 (en) * 2024-01-19 2025-07-24 Matsing, Inc. Rapid sequential area scanning with reduced beam interference
WO2025163550A1 (fr) * 2024-01-30 2025-08-07 Swissto12 Sa Antenne à source défocalisée
CN118018101B (zh) * 2024-04-08 2024-06-04 中国电子科技集团公司第五十四研究所 一种基于多站多载波解调的tdma分层网构建方法
CN119696669B (zh) * 2025-02-21 2025-06-10 西安电子科技大学 面向算网融合的巨型星座运维与资源管控系统及方法
CN121077545A (zh) * 2025-11-05 2025-12-05 银河航天(北京)网络技术有限公司 防同频干扰的卫星波束扫描调度方法、装置及存储介质

Citations (2)

* Cited by examiner, † Cited by third party
Publication number Priority date Publication date Assignee Title
US20040189538A1 (en) 2003-03-31 2004-09-30 The Boeing Company Beam reconfiguration method and apparatus for satellite antennas
JP2018514999A (ja) 2015-04-10 2018-06-07 ヴィアサット, インコーポレイテッドViaSat, Inc. 衛星などのリレーによってリンクされるアクセスノードとユーザ端末との間の通信のための地上アンテナビーム形成

Family Cites Families (99)

* Cited by examiner, † Cited by third party
Publication number Priority date Publication date Assignee Title
US3711855A (en) 1969-10-15 1973-01-16 Communications Satellite Corp Satellite on-board switching utilizing space-division and spot beam antennas
US4232266A (en) 1978-09-05 1980-11-04 Bell Telephone Laboratories, Incorporated Technique for sharing a plurality of transponders among a same or larger number of channels
US4381562A (en) 1980-05-01 1983-04-26 Bell Telephone Laboratories, Incorporated Broadcast type satellite communication systems
US4931802A (en) 1988-03-11 1990-06-05 Communications Satellite Corporation Multiple spot-beam systems for satellite communications
FR2628896B1 (fr) * 1988-03-18 1990-11-16 Alcatel Espace Antenne a reconfiguration electronique en emission
FR2672436B1 (fr) * 1991-01-31 1993-09-10 Europ Agence Spatiale Dispositif de controle electronique du diagramme de rayonnement d'une antenne a un ou plusieurs faisceaux de direction et/ou de largeur variable.
JP2649191B2 (ja) * 1991-03-27 1997-09-03 本田技研工業株式会社 車載レーダ用リフレクタ付アンテナ
US5315795A (en) 1992-04-01 1994-05-31 Astro Aerospace Corporation Deployable/retractable telescoping mast assembly and method
US5485168A (en) * 1994-12-21 1996-01-16 Electrospace Systems, Inc. Multiband satellite communication antenna system with retractable subreflector
CN1087532C (zh) * 1995-05-12 2002-07-10 地球许可公司 采用大容量通信卫星的通信系统和方法
US6377561B1 (en) 1996-06-24 2002-04-23 Spar Aerospace Limited Data communication satellite system and method of carrying multi-media traffic
US6031502A (en) 1996-11-27 2000-02-29 Hughes Electronics Corporation On-orbit reconfigurability of a shaped reflector with feed/reflector defocusing and reflector gimballing
WO1998032245A1 (en) 1997-01-17 1998-07-23 Teledesic Llc Method for controlling the transmission of a beam of radiated energy in a cellular satellite system
US6128487A (en) 1997-04-15 2000-10-03 Globalstar, L.P. Global mobile paging system
US5996940A (en) 1997-07-07 1999-12-07 Hughes Electronics Corporation Apparatus and method for combined redundant deployment and launch locking of deployable satellite appendages
KR100468820B1 (ko) 1997-08-04 2005-03-16 삼성전자주식회사 가중치기억장치를이용한적응위상배열안테나
US6157812A (en) 1997-10-06 2000-12-05 Hughes Electronics Corporation System and method for enhanced satellite payload power utilization
JP3950540B2 (ja) 1997-12-19 2007-08-01 日本トムソン株式会社 転動体を備えた相対移動装置並びにその転動体を潤滑する潤滑リングの製造方法及び製造装置
US5936592A (en) * 1998-06-05 1999-08-10 Ramanujam; Parthasarathy Reconfigurable multiple beam satellite reflector antenna with an array feed
US6842437B1 (en) 1999-03-04 2005-01-11 Hughes Electronics Corporation System for providing satellite bandwidth on demand employing uplink frame formatting for smoothing and mitigating jitter and dynamically changing numbers of contention and data channels
US6195037B1 (en) * 1999-06-01 2001-02-27 Motorola, Inc. Method and apparatus for increased system capacity using antenna beamforming
US6801565B1 (en) 1999-06-25 2004-10-05 Ericsson Inc. Multi-stage rake combining methods and apparatus
US6522643B1 (en) 1999-07-21 2003-02-18 Lockheed Martin Corporation Apparatus, method, and computer program products for cell-hopping satellite communications
GB2353182A (en) 1999-08-10 2001-02-14 Ico Services Ltd Satellite data system
US6625129B1 (en) 1999-10-01 2003-09-23 Motorola, Inc. Demand assigned spatial multiplexing in satellite communication systems
JP3996317B2 (ja) 2000-02-23 2007-10-24 パイオニア株式会社 番組ガイド表示装置及び表示方法
US6665518B1 (en) 2000-03-01 2003-12-16 Northrop Gumman Corporation Asymmetric assignment of space-borne communication system resources
US6198455B1 (en) 2000-03-21 2001-03-06 Space Systems/Loral, Inc. Variable beamwidth antenna systems
US6957078B1 (en) 2000-06-21 2005-10-18 Northrop Grumman Corporation Gated power for a satellite hopped downlink with multiple payloads per frame
US6992992B1 (en) 2000-06-21 2006-01-31 Northrop Grumman Corporation Downlink beam hopping waveform
US6577282B1 (en) * 2000-07-19 2003-06-10 Hughes Electronics Corporation Method and apparatus for zooming and reconfiguring circular beams for satellite communications
US7013165B2 (en) 2000-08-16 2006-03-14 Samsung Electronics Co., Ltd. Antenna array apparatus and beamforming method using GPS signal for base station in mobile telecommunication system
US6943750B2 (en) 2001-01-30 2005-09-13 Andrew Corporation Self-pointing antenna scanning
CA2440609C (en) 2001-02-12 2011-05-24 Ico Services Limited Communications apparatus and method
US20020110094A1 (en) 2001-02-13 2002-08-15 Reddy Naveen S. Spot beam hopping packet scheduler system
US7219132B2 (en) 2001-03-30 2007-05-15 Space Systems/Loral Dynamic resource allocation architecture for differentiated services over broadband communication networks
US6778809B2 (en) 2001-04-03 2004-08-17 Nobuyoshi Morimoto Mobile network for remote service areas using mobile stations
KR20080022216A (ko) 2002-01-22 2008-03-10 아이피알 라이센싱, 인코포레이티드 통신시스템에서 트래픽 채널을 할당하기 위한 방법 및 장치
US8358971B2 (en) 2002-07-23 2013-01-22 Qualcomm Incorporated Satellite-based programmable allocation of bandwidth for forward and return links
US20040087294A1 (en) 2002-11-04 2004-05-06 Tia Mobile, Inc. Phases array communication system utilizing variable frequency oscillator and delay line network for phase shift compensation
DK1574084T3 (da) 2002-12-11 2010-06-07 Rf Magic Inc NxM krydspunktskontakt med båndomsætning
US20040189548A1 (en) 2003-03-26 2004-09-30 Ngk Insulators, Ltd. Circuit element, signal processing circuit, control device, display device, method of driving display device, method of driving circuit element, and method of driving control device
JP4102234B2 (ja) 2003-03-31 2008-06-18 住友精密工業株式会社 ステアリング制御装置及びそのプログラム
US7299589B2 (en) 2003-10-22 2007-11-27 Harris Corporation Telescoping boom actuation mechanism formed of concentrically nested tubular boom sections mutually engaged by roller assemblies riding on helical tracks
US7202833B2 (en) 2003-12-17 2007-04-10 The Directv Group, Inc. Tri-head KaKuKa feed for single-offset dish antenna
US7362822B2 (en) 2004-09-08 2008-04-22 Intel Corporation Recursive reduction of channel state feedback
CA2588192C (en) 2005-01-05 2015-06-23 Atc Technologies, Llc Adaptive beam forming with multi-user detection and interference reduction in satellite communication systems and methods
WO2006107988A1 (en) 2005-04-05 2006-10-12 Skybitz, Inc. Multiple return link
US7502722B2 (en) 2005-04-24 2009-03-10 International Business Machines Corporation Stabilizing solutions to output feedback pole placement problem with parameter drift and automated alerting of system parameter changes
US7710340B2 (en) 2006-01-13 2010-05-04 Lockheed Martin Corporation Reconfigurable payload using non-focused reflector antenna for HIEO and GEO satellites
US7885348B2 (en) 2006-02-09 2011-02-08 Intel Corporation MIMO communication system and method for beamforming using polar-cap codebooks
US8705436B2 (en) 2006-02-15 2014-04-22 Atc Technologies, Llc Adaptive spotbeam broadcasting, systems, methods and devices for high bandwidth content distribution over satellite
US9014619B2 (en) * 2006-05-30 2015-04-21 Atc Technologies, Llc Methods and systems for satellite communications employing ground-based beam forming with spatially distributed hybrid matrix amplifiers
US8538323B2 (en) 2006-09-26 2013-09-17 Viasat, Inc. Satellite architecture
US20080111031A1 (en) 2006-11-09 2008-05-15 Northrop Grumman Space & Missions Systems Corp. Deployable flat membrane structure
US8380902B2 (en) 2006-12-05 2013-02-19 Newton Howard Situation understanding and intent-based analysis for dynamic information exchange
US7869759B2 (en) 2006-12-14 2011-01-11 Viasat, Inc. Satellite communication system and method with asymmetric feeder and service frequency bands
DE102007010286B4 (de) 2007-03-02 2013-09-05 Freiberger Compound Materials Gmbh Verfahren zum Herstellen eines Verbindungshalbleiterwerkstoffs, einer III-N-Schicht oder eines III-N-Bulkkristalls, Reaktor zur Herstellung des Verbindungshalbleiterwerkstoffs, Verbindungshalbleiterwerkstoff, III-N-Bulkkristall und III-N-Kristallschicht
EP2127408B1 (en) 2007-03-21 2012-09-12 ViaSat, Inc. Techniques for providing broadcast services on spot beam satellites
EP2145403B1 (en) 2007-04-23 2018-08-08 Advantech Wireless Ltd. Method and apparatus for compensation for weather-based attenuation in a satellite link
CN101803113B (zh) 2007-07-20 2013-09-18 阿斯特里姆有限公司 用于使通讯卫星的相控阵天线内的可重新配置波束形成网络处理简化的系统
US8010043B2 (en) 2007-07-20 2011-08-30 Viasat, Inc. Capacity maximization for a unicast spot beam satellite system
US20090046807A1 (en) 2007-08-16 2009-02-19 Samsung Electronics Co., Ltd. Method and system for beamforming communication in wireless communication systems
US8098645B2 (en) 2008-02-21 2012-01-17 General Dynamics C4 Systems, Inc. Random access slot selection in a communications system
US9112562B2 (en) 2008-09-02 2015-08-18 Intel Corporation Techniques utilizing adaptive codebooks for beamforming in wireless networks
US7982687B1 (en) 2008-10-02 2011-07-19 The Directv Group, Inc. Ka/Ku outdoor unit configuration using a frequency selective surface
US8116284B2 (en) 2008-12-18 2012-02-14 Motorola Solutions, Inc. Method, device and system for temporarily selecting a timeslot
EP2228916A1 (en) 2009-03-12 2010-09-15 Astrim Limited Interference removal
US8693970B2 (en) 2009-04-13 2014-04-08 Viasat, Inc. Multi-beam active phased array architecture with independant polarization control
WO2010121155A1 (en) 2009-04-17 2010-10-21 Marvell World Trade Ltd. Segmented beamforming
US8111646B1 (en) 2009-07-30 2012-02-07 Chang Donald C D Communication system for dynamically combining power from a plurality of propagation channels in order to improve power levels of transmitted signals without affecting receiver and propagation segments
US20110032143A1 (en) * 2009-08-05 2011-02-10 Yulan Sun Fixed User Terminal for Inclined Orbit Satellite Operation
JP5470578B2 (ja) 2009-12-11 2014-04-16 独立行政法人情報通信研究機構 離焦点フェーズドアレー給電反射鏡アンテナの低サイドローブマルチビーム用励振分布導出方法
US8494445B2 (en) 2010-02-03 2013-07-23 Viasat, Inc. Flexible coverage areas for forward link signals in a spot beam satellite communication system
FR2956927B1 (fr) * 2010-02-26 2012-04-20 Thales Sa Membrane reflechissante deformable pour reflecteur reconfigurable, reflecteur d'antenne reconfigurable et antenne comportant une telle membrane
US9184829B2 (en) 2010-05-02 2015-11-10 Viasat Inc. Flexible capacity satellite communications system
US8218476B2 (en) 2010-05-02 2012-07-10 Viasat, Inc. Flexible capacity satellite communications system with dynamic distribution and coverage areas
US8789796B2 (en) 2010-09-16 2014-07-29 Space Systems/Loral, Llc High capacity broadband satellite
US8448902B2 (en) 2011-02-11 2013-05-28 Space Systems/Loral LLC Satellite having multiple aspect ratios
US20120274507A1 (en) * 2011-04-28 2012-11-01 Jaafar Cherkaoui Architecture and method for optimal tracking of multiple broadband satellite terminals in support of in theatre and rapid deployment applications
US9004409B1 (en) 2011-08-23 2015-04-14 Space Systems/Loral, Llc Extendable antenna reflector deployment techniques
US8989652B2 (en) 2011-09-09 2015-03-24 The Boeing Company Advanced timing and time transfer for satellite constellations using crosslink ranging and an accurate time source
AU2012347621B2 (en) * 2011-12-08 2016-01-28 Viasat, Inc. Interference management in a hub-spoke spot beam satellite communication system
CN103220036B (zh) * 2012-01-21 2018-04-06 空间数码系统公司 提高信号功率电平的多信道功率动态组合通信系统和方法
US8805275B2 (en) 2012-06-11 2014-08-12 Viasat Inc. Robust beam switch scheduling
CN103022728B (zh) 2012-12-27 2015-03-11 北京理工大学 偏馈抛物面多波束天线馈源阵列的设计方法
CN103022699B (zh) * 2012-12-27 2015-02-11 北京理工大学 星载反射面稀疏相控阵多波束天线
US10020576B2 (en) * 2013-03-15 2018-07-10 Orbital Sciences Corporation Systems and methods for reconfigurable faceted reflector antennas
US9525562B2 (en) 2013-05-23 2016-12-20 Cahon Systems, Inc. Modular deterministic communication terminal for remote systems
EP3154293B1 (en) 2014-06-06 2022-08-31 Sony Group Corporation Terminal apparatus
CN204045740U (zh) 2014-08-22 2014-12-24 陕西特恩电子科技有限公司 一种c波段抛物面天线
FR3026896B1 (fr) * 2014-10-03 2018-07-06 Thales Antenne a reflecteur(s) conforme(s) reconfigurable en orbite
EP3032765B1 (en) 2014-12-12 2018-10-31 Eutelsat S.A. Method of reducing phase abberation in an antenna system with array feed
US10263692B2 (en) 2015-04-10 2019-04-16 Viasat, Inc. Satellite for end-to-end beamforming
EP3136503B1 (en) * 2015-08-31 2018-11-28 Vodafone GmbH Tuneable antenna for a wireless communication device
CN206060768U (zh) * 2016-07-28 2017-03-29 杭州摩焕科技有限公司 一种基于伪相位共轭反射器的逆向调制自由空间光通信系统
CN106410423A (zh) * 2016-09-12 2017-02-15 南京奥依菲光电科技有限公司 一种具有石墨烯天线的太阳能面接收天线及信号收集方法
US10554276B2 (en) * 2016-09-30 2020-02-04 Rkf Engineering Solutions Llc Providing communications coverage using hybrid analog/digital beamforming
MX2019012213A (es) 2017-04-10 2019-11-21 Viasat Inc Ajuste de area de cobertura para adaptar comunicaciones por satelite.

Patent Citations (2)

* Cited by examiner, † Cited by third party
Publication number Priority date Publication date Assignee Title
US20040189538A1 (en) 2003-03-31 2004-09-30 The Boeing Company Beam reconfiguration method and apparatus for satellite antennas
JP2018514999A (ja) 2015-04-10 2018-06-07 ヴィアサット, インコーポレイテッドViaSat, Inc. 衛星などのリレーによってリンクされるアクセスノードとユーザ端末との間の通信のための地上アンテナビーム形成

Cited By (40)

* Cited by examiner, † Cited by third party
Publication number Priority date Publication date Assignee Title
US20220276330A1 (en) * 2021-02-24 2022-09-01 Bluehalo, Llc System and method for a digitally beamformed phased array feed
US11664594B2 (en) * 2021-02-24 2023-05-30 Bluehalo, Llc System and method for a digitally beamformed phased array feed
US11670855B2 (en) 2021-02-24 2023-06-06 Bluehalo, Llc System and method for a digitally beamformed phased array feed
US20230187828A1 (en) * 2021-02-24 2023-06-15 Bluehalo, Llc System and method for a digitally beamformed phased array feed
US11695209B2 (en) 2021-02-24 2023-07-04 Bluehalo, Llc System and method for a digitally beamformed phased array feed
US11721900B2 (en) 2021-02-24 2023-08-08 Bluehalo, Llc System and method for a digitally beamformed phased array feed
US11742579B2 (en) 2021-02-24 2023-08-29 Bluehalo, Llc System and method for a digitally beamformed phased array feed
US11742578B2 (en) 2021-02-24 2023-08-29 Bluehalo, Llc System and method for a digitally beamformed phased array feed
US11777215B2 (en) 2021-02-24 2023-10-03 Bluehalo, Llc System and method for a digitally beamformed phased array feed
US11784412B2 (en) 2021-02-24 2023-10-10 Bluehalo, Llc System and method for a digitally beamformed phased array feed
US11791557B2 (en) 2021-02-24 2023-10-17 Bluehalo, Llc System and method for a digitally beamformed phased array feed
US11817636B2 (en) 2021-02-24 2023-11-14 Bluehalo, Llc System and method for a digitally beamformed phased array feed
US11824280B2 (en) 2021-02-24 2023-11-21 Bluehalo, Llc System and method for a digitally beamformed phased array feed
US11824279B2 (en) 2021-02-24 2023-11-21 Bluehalo, Llc System and method for a digitally beamformed phased array feed
US11843188B2 (en) 2021-02-24 2023-12-12 Bluehalo, Llc System and method for a digitally beamformed phased array feed
US11862871B2 (en) * 2021-02-24 2024-01-02 Bluehalo, Llc System and method for a digitally beamformed phased array feed
US11870159B2 (en) 2021-02-24 2024-01-09 Bluehalo, Llc System and method for a digitally beamformed phased array feed
US11955727B2 (en) 2021-02-24 2024-04-09 Bluehalo, Llc System and method for a digitally beamformed phased array feed
US11996634B2 (en) 2021-02-24 2024-05-28 Bluehalo, Llc System and method for a digitally beamformed phased array feed
US12009606B2 (en) 2021-02-24 2024-06-11 Bluehalo, Llc System and method for a digitally beamformed phased array feed
US12021317B2 (en) 2021-02-24 2024-06-25 Bluehalo, Llc System and method for a digitally beamformed phased array feed
US12034228B2 (en) 2021-02-24 2024-07-09 Bluehalo, Llc System and method for a digitally beamformed phased array feed
US12062861B2 (en) 2021-02-24 2024-08-13 Bluehalo, Llc System and method for a digitally beamformed phased array feed
US12062862B2 (en) 2021-02-24 2024-08-13 Bluehalo, Llc System and method for a digitally beamformed phased array feed
US12080958B2 (en) 2021-02-24 2024-09-03 Bluehalo, Llc System and method for a digitally beamformed phased array feed
US12088021B2 (en) 2021-02-24 2024-09-10 Bluehalo, Llc System and method for a digitally beamformed phased array feed
US12113302B2 (en) 2021-02-24 2024-10-08 Bluehalo, Llc System and method for a digitally beamformed phased array feed
US12119563B2 (en) 2021-02-24 2024-10-15 Bluehalo, Llc System and method for a digitally beamformed phased array feed
US12126096B2 (en) 2021-02-24 2024-10-22 Bluehalo, Llc System and method for a digitally beamformed phased array feed
US12143182B1 (en) 2021-02-24 2024-11-12 Bluehalo, Llc System and method for a digitally beamformed phased array feed
US12212079B2 (en) 2021-02-24 2025-01-28 Bluehalo, Llc System and method for a digitally beamformed phased array feed
US12244078B2 (en) 2021-02-24 2025-03-04 Bluehalo, Llc System and method for a digitally beamformed phased array feed
US12255412B2 (en) 2021-02-24 2025-03-18 Bluehalo, Llc System and method for a digitally beamformed phased array feed
US12272884B2 (en) 2021-02-24 2025-04-08 Bluehalo, Llc System and method for a digitally beamformed phased array feed
US12278433B2 (en) 2021-02-24 2025-04-15 Bluehalo, Llc System and method for a digitally beamformed phased array feed
US12316027B2 (en) 2021-02-24 2025-05-27 Bluehalo, Llc System and method for a digitally beamformed phased array feed
US12519233B2 (en) 2021-02-24 2026-01-06 Bluehalo Llc System and method for a digitally beamformed phased array feed
US12542355B2 (en) 2021-02-24 2026-02-03 Bluehalo, Llc System and method for a digitally beamformed phased array feed
US12548904B2 (en) 2021-02-24 2026-02-10 Bluehalo, Llc System and method for a digitally beamformed phased array feed
US12555908B2 (en) 2024-07-31 2026-02-17 Bluehalo, Llc System and method for a digitally beamformed phased array feed

Also Published As

Publication number Publication date
JP2020517161A (ja) 2020-06-11
JP7470747B2 (ja) 2024-04-18
US20230283360A1 (en) 2023-09-07
US12212402B2 (en) 2025-01-28
CO2019011334A2 (es) 2020-04-13
US20230224024A1 (en) 2023-07-13
PE20200277A1 (es) 2020-02-04
SA519410269B1 (ar) 2022-07-07
ES2901210T3 (es) 2022-03-21
EP3610536B1 (en) 2021-11-10
DOP2019000258A (es) 2019-12-15
MX2019012213A (es) 2019-11-21
CN111052503B (zh) 2021-06-29
RU2741489C1 (ru) 2021-01-26
BR112019021133A2 (pt) 2020-05-12
US12250060B2 (en) 2025-03-11
CA3054698A1 (en) 2018-10-18
US12052087B2 (en) 2024-07-30
IL269781B2 (en) 2024-06-01
NZ756617A (en) 2024-03-22
SG11201907748VA (en) 2019-09-27
US20200274611A1 (en) 2020-08-27
WO2018190794A1 (en) 2018-10-18
US20230396327A1 (en) 2023-12-07
EP3955384A2 (en) 2022-02-16
PH12019501981A1 (en) 2020-06-29
EP3610536A1 (en) 2020-02-19
ZA201907367B (en) 2022-03-30
AU2017409520A1 (en) 2019-09-12
US10985833B2 (en) 2021-04-20
AU2017409520B2 (en) 2022-03-17
NZ787007A (en) 2024-05-31
CR20190505A (es) 2020-03-26
KR102309131B1 (ko) 2021-10-07
JP2022174069A (ja) 2022-11-22
CN111052503A (zh) 2020-04-21
MY198206A (en) 2023-08-11
US11770179B2 (en) 2023-09-26
EP3955384A3 (en) 2022-05-18
KR20200003823A (ko) 2020-01-10
CA3054698C (en) 2025-05-06
US20240413891A1 (en) 2024-12-12
US20210211189A1 (en) 2021-07-08
IL269781B1 (en) 2024-02-01
IL269781A (en) 2019-11-28

Similar Documents

Publication Publication Date Title
JP7470747B2 (ja) 衛星通信に適応するためのカバレッジエリア調整
US12160305B2 (en) Flexible beamforming for satellite communications
EP3346619B1 (en) Flexible capacity satellite communications system
JP7592853B2 (ja) ビーム形成システム及び衛星の動作モードを切り替える技術
RU2810128C1 (ru) Способы для переключения между режимами работы систем формирования луча и спутников
HK40026543B (en) Method and system for adjusting coverage area to adapt satellite communications
HK40026543A (en) Method and system for adjusting coverage area to adapt satellite communications
BR112019021133B1 (pt) Método para comunicações por meio de um satélite de comunicações, satélite de comunicações para fornecer um serviço de comunicações por meio de uma pluralidade de feixes direcionados com formação de feixe

Legal Events

Date Code Title Description
A521 Request for written amendment filed

Free format text: JAPANESE INTERMEDIATE CODE: A523

Effective date: 20200317

A621 Written request for application examination

Free format text: JAPANESE INTERMEDIATE CODE: A621

Effective date: 20200317

A977 Report on retrieval

Free format text: JAPANESE INTERMEDIATE CODE: A971007

Effective date: 20210310

A131 Notification of reasons for refusal

Free format text: JAPANESE INTERMEDIATE CODE: A131

Effective date: 20210518

A131 Notification of reasons for refusal

Free format text: JAPANESE INTERMEDIATE CODE: A131

Effective date: 20211116

A521 Request for written amendment filed

Free format text: JAPANESE INTERMEDIATE CODE: A523

Effective date: 20220216

TRDD Decision of grant or rejection written
A01 Written decision to grant a patent or to grant a registration (utility model)

Free format text: JAPANESE INTERMEDIATE CODE: A01

Effective date: 20220719

A61 First payment of annual fees (during grant procedure)

Free format text: JAPANESE INTERMEDIATE CODE: A61

Effective date: 20220817

R150 Certificate of patent or registration of utility model

Ref document number: 7127053

Country of ref document: JP

Free format text: JAPANESE INTERMEDIATE CODE: R150

R250 Receipt of annual fees

Free format text: JAPANESE INTERMEDIATE CODE: R250