JP7109745B2 - 水洗大便器 - Google Patents

水洗大便器 Download PDF

Info

Publication number
JP7109745B2
JP7109745B2 JP2020201225A JP2020201225A JP7109745B2 JP 7109745 B2 JP7109745 B2 JP 7109745B2 JP 2020201225 A JP2020201225 A JP 2020201225A JP 2020201225 A JP2020201225 A JP 2020201225A JP 7109745 B2 JP7109745 B2 JP 7109745B2
Authority
JP
Japan
Prior art keywords
rim
water
bowl
section
water passage
Prior art date
Legal status (The legal status is an assumption and is not a legal conclusion. Google has not performed a legal analysis and makes no representation as to the accuracy of the status listed.)
Active
Application number
JP2020201225A
Other languages
English (en)
Other versions
JP2021036130A (ja
Inventor
周 頭島
Current Assignee (The listed assignees may be inaccurate. Google has not performed a legal analysis and makes no representation or warranty as to the accuracy of the list.)
Toto Ltd
Original Assignee
Toto Ltd
Priority date (The priority date is an assumption and is not a legal conclusion. Google has not performed a legal analysis and makes no representation as to the accuracy of the date listed.)
Filing date
Publication date
Application filed by Toto Ltd filed Critical Toto Ltd
Priority to JP2020201225A priority Critical patent/JP7109745B2/ja
Publication of JP2021036130A publication Critical patent/JP2021036130A/ja
Application granted granted Critical
Publication of JP7109745B2 publication Critical patent/JP7109745B2/ja
Active legal-status Critical Current
Anticipated expiration legal-status Critical

Links

Images

Landscapes

  • Sanitary Device For Flush Toilet (AREA)

Description

本発明は、水洗大便器に係り、特に、洗浄水源から供給される洗浄水によって洗浄されて汚物を排出する水洗大便器に関する。
従来から、洗浄水源から供給される洗浄水によって洗浄されて汚物を排出する水洗大便器として、例えば、特許文献1に記載されているように、ボウル部内に洗浄水を吐水して旋回流を形成する吐水部が、ボウル部の前後方向を中心として一方の側のボウル部における平面視で小さな曲率から大きな曲率に変化する位置の近傍に配置されたものが知られている。
このような従来の水洗大便器においては、ボウル部の曲率が急激に変化する領域(曲がり部)においては、旋回流が飛び出さないようにオーバーハング部を設ける等の対策を施している。
国際公開第2004/022862号
しかしながら、上述した特許文献1に記載されている従来の水洗大便器では、吐水部から吐水された洗浄水が曲がり部に沿って旋回する際に、たとえ、オーバーハング部によって水の飛び出しは抑制できたとしても、洗浄水に対して急激な遠心力の変化が発生するおそれがあるという問題がある。
したがって、洗浄水の旋回効率を低下させてしまうおそれがあり、ボウル部を十分に洗浄することができないおそれがあるという問題がある。
特に、オーバーハング部の奥行方向の深さが浅いリム部や、或いはオーバーハング部のない形状のリム部においては、このような問題がさらに顕著なものとなるという問題がある。
そこで、本発明は、上述した従来技術の問題を解決するためになされたものであり、リム吐水部の吐水口から吐水された洗浄水が曲がり部に沿って旋回する際に、洗浄水に対して急激な遠心力の変化が発生することを効果的に抑制することができ、ボウル部内の洗浄効率を向上させることができる水洗大便器を提供することを目的としている。
上述した目的を達成するために、本発明は、洗浄水源から供給される洗浄水によって洗浄されて汚物を排出する水洗大便器であって、ボウル形状の汚物受け面と、この汚物受け面の上縁に形成されたリム部と、を備えたボウル部と、このボウル部の下方に接続され汚物を排出する排水路と、上記リム部に設けられ上記ボウル部内に洗浄水を吐水して旋回流を形成するリム吐水部と、上記洗浄水源から供給される洗浄水を上記リム吐水部に供給する導水路と、を有し、上記ボウル部は、上記ボウル部を前後方向に二等分する左右方向に延びる中心線に対して前方側である前方側領域と後方側である後方側領域と、を備え、上記リム吐水部は、上記ボウル部の前方側領域内の左右の何れか一方の側の上記リム部に上記導水路から供給された洗浄水が通水するリム通水路を形成すると共に、このリム通水路の下流端に洗浄水を後方に向けて吐水するリム吐水口を形成し、上記リム通水路は、その入口部から上記リム部の内部を前方に向かって延びる外側部と、この外側部の下流端から内側に屈曲する屈曲部と、この屈曲部から後方に向かって上記リム吐水口まで延びる内側部と、を備えており、上記リム通水路の上記内側部の流路断面の高さ寸法は、上記リム通水路の上記内側部の流路断面の高さ寸法(h)は、上記外側部の流路断面の高さ寸法(H)よりも小さくなるように設定されていることを特徴としている。
このように構成された本発明においては、ボウル部のリム部に設けられてボウル部内に洗浄水を吐水して旋回流を形成するリム吐水部が、ボウル部の前方側領域内の左右の何れか一方の側のリム部に導水路から供給された洗浄水が通水するリム通水路を形成すると共に、このリム通水路の下流端に洗浄水を後方に向けて吐水するリム吐水口を形成し、リム通水路が、その入口部からリム部の内部を前方に向かって延びる外側部と、この外側部の下流端から内側に屈曲する屈曲部と、この屈曲部から後方に向かってリム吐水口まで延びる内側部と、を備えていることにより、リム通水路内全体の容積空間を低減させることができるため、導水路からリム通水路内に洗浄水が供給された際に、リム通水路内の容積空間を通水する洗浄水で速やかに満たすことができる。
したがって、通水時のリム通水路内における洗浄水以外のエア空間を減らすことができ、リム吐水口によるリム吐水を効率良く行うことができる。
また、通水時にリム通水路内の空気を巻き込むことに起因する異音の発生を生じ難くすることができる。
さらに、ボウル部の前端部付近のリム部を経てボウル部の左右方向の他方側のリム部の吐水口までリム部の周方向の形状に沿って形成されている場合に比べ、ボウル部の前端部付近のリム部の形状等に関する便器設計の自由度を確保することができる。
また、リム通水路の内側部の流路断面の高さ寸法(h)が、リム通水路の外側部の流路断面の高さ寸法(H)よりも小さくなるように設定されているため、例えば、リム通水路内の壁面の摩擦抵抗等を低減させるために、リム通水路の流路断面がリム通水路の上流端から下流端までの全域で、ほぼ同一の円形断面若しくは縦横比がほぼ同一の断面によって形成されたリム通水路に比べて、リム吐水部に要するリム部全体の幅等の大きさを効果的に小さく設定することができる。
したがって、通水時のリム通水路内における洗浄水以外のエア空間を減らすことができ、リム吐水口によるリム吐水をより効率良く行うことができる。
また、通水時にリム通水路内の空気を巻き込むことに起因する異音の発生を生じ難くすることができる。
さらに、ボウル部の前端部付近のリム部を経てボウル部の左右方向の他方側のリム部の吐水口までリム部の周方向の形状に沿って形成されている場合に比べ、ボウル部の前端部付近のリム部の形状等に関する便器設計の自由度を確保することができる。
本発明において、好ましくは、上記内側部の流路断面の高さ寸法(h)と、上記外側部の下流端における流路断面の高さ寸法(H)との比率(h:H)は、1:2~1:8に設定されている
このように構成された本発明においては、リム通水路の内側部の流路断面の高さ寸法(h)と、リム通水路の外側部の下流端における高さ寸法(H)との比率(h:H)が、1:2~1:8に設定されているため、例えば、リム通水路内の壁面の摩擦抵抗等を低減させるために、リム通水路の流路断面がリム通水路の上流端から下流端までの全域で、ほぼ同一の円形断面若しくは縦横比がほぼ同一の断面によって形成されたリム通水路に比べて、リム吐水部に要するリム部全体の幅等の大きさをより効果的に小さく設定することができる。
したがって、通水時のリム通水路内における洗浄水以外のエア空間を減らすことができ、リム吐水口によるリム吐水をより効率良く行うことができる。
また、通水時にリム通水路内の空気を巻き込むことに起因する異音の発生を生じ難くすることができる。
さらに、ボウル部の前端部付近のリム部を経てボウル部の左右方向の他方側のリム部の吐水口までリム部の周方向の形状に沿って形成されている場合に比べ、ボウル部の前端部付近のリム部の形状等に関する便器設計の自由度を確保することができる。
本発明の水洗大便器によれば、リム吐水部の吐水口から吐水された洗浄水が曲がり部に沿って旋回する際に、洗浄水に対して急激な遠心力の変化が発生することを効果的に抑制することができ、ボウル部内の洗浄効率を向上させることができる。
本発明の一実施形態による水洗大便器を示す斜視図であり、便蓋及び便座を上方位置まで回動させた状態を示す。 本発明の一実施形態による水洗大便器における左右方向の中央断面を左側から見た断面図であり、便蓋及び便座を下方位置まで回動させた状態を示す。 図1に示す本発明の一実施形態による水洗大便器の便器本体部分を示す部分平面図である。 図3に示す本発明の一実施形態による水洗大便器の便器本体部分において、リム部の内部に形成されるリム通水路の部分を拡大した部分拡大平面図である。 図4のV-V線に沿ったリム部の部分拡大断面図である。 図4に示すリム通水路のA断面である。 図4に示すリム通水路のB断面である。 図4に示すリム通水路のC断面である。 図4に示すリム通水路のD断面である。 図4に示すリム通水路のE断面である。 図2に示す本発明の一実施形態による水洗大便器において、リム吐水口の下流側近傍の通水路の部分を拡大した部分拡大側面部である。 図7のVIII-VII線に沿った断面図である。 図7のXI-XI線に沿った断面図である。 本発明の一実施形態による水洗大便器のリム吐水口の下流側近傍の通水路におけるリム吐水口から周方向下流側の距離(x)とオーバーハング部の高さ寸法(U)との関係を定性的に示した図である。 本発明の一実施形態による水洗大便器のリム吐水口の下流側近傍の通水路におけるリム吐水口から周方向下流側の距離(x)と棚面からオーバーハング部の下端までの最大高さ寸法(L)との関係を定性的に示した図である。 本発明の一実施形態による水洗大便器のリム吐水口の下流側近傍の通水路におけるリム吐水口から周方向下流側の距離(x)とリム吐水口の下流側の通水路の横幅(W)との関係を定性的に示した図である。 図3のXI-XI線に沿った断面図である。 図3のXII-XII線に沿った断面図である。 本発明の一実施形態による水洗大便器において、ボウル部の直線部と曲がり部とを緩和曲線で接続した場合におけるリム吐水口からの周方向下流側の距離(x)と曲率(1/ρ)の変化を定性的に示した図である。 図13Aに示す本発明の一実施形態による水洗大便器に対する比較例であり、ボウル部の直線部と曲がり部とを直線に正接する曲線で接続した場合におけるリム吐水口からの周方向下流側の距離(x)と曲率(1/ρ)の変化を定性的に示した図である。
つぎに、図1~図13を参照して、本発明の一実施形態による水洗大便器について説明する。
まず、図1は、本発明の一実施形態による水洗大便器を示す斜視図であり、便蓋及び便座を上方位置まで回動させた状態を示す。また、図2は、本発明の一実施形態による水洗大便器における左右方向の中央断面を左側から見た断面図であり、便蓋及び便座を下方位置まで回動させた状態を示す。さらに、図3は、図1に示す本発明の一実施形態による水洗大便器の便器本体部分を示す部分平面図である。
図1~図3に示すように、本発明の一実施形態による水洗大便器1は、陶器製の便器本体2と、この便器本体2の上面に上下方向に回動可能に配置された便座4と、この便座4を覆うように上下方向に回動可能に配置された便蓋6と、便器本体2の後方に配置された機能部8とを備えている。
また、図2に示すように、機能部8は、便器本体2の後方上部に配置されて、使用者の局部を洗浄する衛生洗浄部として機能する衛生洗浄系機能部10と、この衛生洗浄系機能部10に近接して配置されて、便器本体2への給水機能に関与する給水系機能部12とを備えている。
つぎに、図1~図3に示すように、便器本体2は、ボウル形状の汚物受け面14と、この汚物受け面14の上縁の棚面16から立ち上がるように形成されたリム部18とを備えたボウル部20を備えている。
また、図2に示すように、便器本体2は、ボウル部20の下方に入口部22aが接続されて、ボウル部20内の汚物を排出する排水路である排水トラップ管路22を備えている。
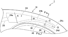
つぎに、図3に示すように、ボウル部20は、前後方向に二等分する左右方向に延びる中心線C1に対して前方側である前方側領域F1と後方側である後方側領域R1を備えており、このボウル部20の前方側領域F1内の左右の一方の側のリム部18、すなわち、便器本体2の前方から見てボウル部20の前方側領域F1内の右側のリム部18の内部には、リム吐水部の一部であるリム通水路24(詳細は後述する)が形成されている。
また、このリム通水路24の下流端には、リム吐水部の一部であるリム吐水口26(詳細は後述する)が形成されている。
さらに、図3に示すように、リム通水路24の上流側は、洗浄水源である水道(図示せず)から供給される洗浄水をリム通水路24に供給する導水路である導水管28に接続されている。この導水管28の上流側は、洗浄水源である水道(図示せず)に直結されており、この水道の給水圧力を利用して、導水管28からリム通水路24内に供給された洗浄水は、リム通水路24内で前方へ導かれ、その後、内側且つ後方側に屈曲し、下流側のリム吐水口26まで導かれるようになっている。
そして、リム吐水口26に導かれた洗浄水は、後方に向けて吐水(リム吐水)され、リム吐水口26の下流側近傍に形成される通水路30(詳細は後述する)を経てボウル部20内を旋回することにより、ボウル部20内に旋回流が形成されるようになっている。
なお、リム部18に設けられ洗浄水を吐水してボウル部20内に旋回流を形成する吐水口は、リム吐水口26のみである。
なお、本実施形態の水洗大便器1においては、リム吐水部であるリム通水路24及びリム吐水口26について、便器本体2の前方から見てボウル部20の前方側領域F1内の右側のリム部18の内部に配置した形態について説明するが、このような形態に限定されず、リム吐水口を便器本体2の前方から見てボウル部20の前方側領域F1内の左側のリム部18に配置して後方に向けてリム吐水を行うようにしてもよい。
要するに、リム吐水部であるリム通水路及びリム吐水口ついては、ボウル部20の前方側領域F1内の左右の何れか一方の側のリム部18に配置して後方に向けてリム吐水を行うような形態であればよい。
また、本実施形態の水洗大便器1においては、リム吐水部であるリム通水路24及びリム吐水口26は、陶器を加工することで便器本体2に一体に形成されているが、例えば、樹脂等で便器本体2とは別体として形成し、便器本体2に取り付ける構成としてもよい。
さらに、図2に示すように、ボウル部20の底部には、排水トラップ管路22の入口部22aに差し向けられるようにジェット吐水口32が形成されている。このジェット吐水口32による吐水(ジェット吐水)に関しては、給水系機能部12に設けられている貯水タンク34に貯水された洗浄水が、給水系機能部12の加圧ポンプ36によって加圧されて、ジェット吐水口32から吐出されるようになっている。
また、ジェット吐水口32から吐出された洗浄水は、排水トラップ管路22の入口部22aから、この入口部22aの後方側の上昇管路22b内に流入した後、この上昇管路22b内を排水トラップ管路22の頂部22cから下降管路22dに流出するようになっている。
ここで、衛生洗浄系機能部10及び給水系機能部12のそれぞれの具体的な構造については、従来のものと同様であるため、詳細な説明については省略するが、衛生洗浄系機能部10には、ボウル部20の上方の使用者に向けて洗浄水を噴射するノズル装置(図示せず)を含む局部洗浄装置(図示せず)が設けられている。
その他、衛生洗浄系機能部10には、局部洗浄装置(図示せず)に供給される洗浄水を貯水する貯水部(図示せず)、この貯水部(図示せず)内の洗浄水を適温に温めて温水にする加熱器(図示せず)、換気ファン(図示せず)、脱臭ファン(図示せず)、温風ファン(図示せず)、及び、これらの機器の作動を制御するコントローラ(図示せず)等が設けられている。
一方、給水系機能部12の給水路(図示せず)は、その上流側が給水源である水道(図示せず)に接続されており、貯水タンク(図示せず)の上流側の給水路には、定流量弁(図示せず)、電磁弁(図示せず)、貯水タンク(図示せず)への給水とリム吐水口26への吐水とを切り替える切替弁(図示せず)等が設けられている。また、給水系機能部12には、これら以外にも、電磁弁(図示せず)の開閉操作、切替弁(図示せず)の切替操作、及び、加圧ポンプ(図示せず)の回転数や作動時間等を制御するコントローラ(図示せず)等が設けられている。
なお、本実施形態による水洗大便器1においては、リム吐水口26によるリム吐水について水道の給水圧力を利用して行い、ジェット吐水口32によるジェット吐水について加圧ポンプ(図示せず)を制御することにより貯水タンク(図示せず)内の洗浄水を供給する、いわゆる、ハイブリット式の水洗大便器の形態について説明するが、このような形態に限られず、他の形態についても適用可能である。すなわち、他の形態として、水道のみから直接的に供給される洗浄水について、バルブを切り替えることによってリム吐水口26によるリム吐水とジェット吐水口32によるジェット吐水とを切り替えるような形態であってもよいし、貯水タンク内の洗浄水について、ポンプのみを切り替えることによって、リム吐水口26によるリム吐水とジェット吐水口32によるジェット吐水とを切り替えるような形態であってもよい。
つぎに、図1~図7を参照して、本発明の一実施形態による水洗大便器1のリム通水路24及びリム吐水口26の詳細について説明する。
図4は、図3に示す本発明の一実施形態による水洗大便器の便器本体部分において、リム部の内部に形成されるリム通水路の部分を拡大した部分拡大平面図であり、図5は、図4のV-V線に沿ったリム部の部分拡大断面図である。
また、図6Aは、図4に示すリム通水路のA断面であり、図6Bは、図4に示すリム通水路のB断面である。さらに、図6Cは、図4に示すリム通水路のC断面であり、図6Dは、図4に示すリム通水路のD断面である。図6Eは、図4に示すリム通水路のE断面である。
まず、図4に示すように、リム通水路24は、導水管28に接続される入口部24aからリム部18の内部を前方に向かって延びる外側部24bと、この外側部24bの下流端から内側に屈曲する屈曲部24cと、この屈曲部24cから後方に向かってリム吐水口26まで延びる内側部24dとを備えている。
また、図5及び図6A~図6Eに示すように、リム通水路24の外側部24b及び屈曲部24cの流路断面の最大高さHとし、リム通水路24の内側部24dの流路断面の最大高さをhとすると、リム通水路24の内側部24dの各流路断面Eの最大高さ寸法h1は、リム通水路24の外側部24bの各流路断面A~Cの各最大高さ寸法H1~H3及び屈曲部24cの流路断面Dの最大高さ寸法H4よりも小さくなるように設定されている。
なお、本実施形態の水洗大便器1においては、例えば、リム通水路24の内側部24dの流路断面Eの最大高さ寸法h1と、リム通水路24の外側部24bの下流端(屈曲部24cの上流端)の流路断面Dの最大高さ寸法H4との比率(h1:H4)については、1:2~1:8に設定されていることが好ましく、1:2~1:5に設定されていることが最も好ましい。
これらにより、例えば、本発明とは異なる水洗大便器において、リム通水路内の壁面の摩擦抵抗等を低減させるために、リム通水路の流路断面がリム通水路の上流端から下流端までの全域で、ほぼ同一の円形断面若しくは縦横比がほぼ同一の断面によって形成されたリム通水路に比べて、本実施形態の水洗大便器1では、リム吐水部であるリム通水路24やリム吐水口26に要するリム部18全体の幅等の大きさを効果的に小さく設定することができるようになっている。
したがって、通水時のリム通水路24内における洗浄水以外のエア空間を減らすことができ、リム吐水口26によるリム吐水を効率良く行うことができるようになっている。
また、通水時にリム通水路24内の空気を巻き込むことに起因する異音の発生を生じ難くすることができるようになっている。
さらに、リム通水路24内全体の容積空間を低減させることにより、リム通水路24の外側部24bから屈曲部24cを経て内側部24dへ屈曲させるリム通水路24の周辺スペースにゆとりを持たせることができるため、リム通水路24内の洗浄水の圧力損失を抑制することができると共に、ボウル部20のリム部18の形状等に関する便器設計の自由度を確保することができるようになっている。
つぎに、図5に示すように、リム通水路24の外側部24bは、リム部18の外周側の外側壁部38と、この外側壁部38の下端から内側に一体に形成される下側壁部40と、外側壁部38と水平方向に対向すると共にその下端が下側壁部40の上端に接着される内側壁部42と、この内側壁部42の上端に一体に形成されると共に外側壁部38の上端に接着される上側壁部44とを備えている。
また、リム通水路24の外側部24bの下側壁部40の上端面と内側壁部42の下端面との接着面S1は、略水平面を形成しており、外側壁部38の上端面と上側壁部44との接着面S2は、略水平面に対して傾斜した傾斜面を形成している。
なお、ここでいう「略水平面」とは、完全な水平面のみならず、下側壁部40の上端面(接着面)と内側壁部42の下端面(接着面)とが互いに水平方向にずれることのできる、おおよそ水平な面をも含むものである。
これにより、例えば、本実施形態の水洗大便器1の製造時において、リム通水路24の下側壁部40の上端の接着面S1に内側壁部42の下端の接着面S1を接着させると同時に、リム通水路24の外側壁部38の上端の接着面S2に上側壁部44の接着面S2を接着させる際に、水平面を形成する下側壁部40の接着面S1と内側壁部42の接着面S1とが、製造誤差等により互いに水平方向にずれてしまったとしても、水平面に対して互いに傾斜した傾斜面を形成する外側壁部38の接着面S1と上側壁部44の接着面S1とが、先行して確実に接触することができるようになっている。
したがって、リム通水路24における外側部24bから内側部24dの流路断面A~Eが、下側壁部40の接着面S1と内側壁部42の接着面S1の互いのずれにより完全に潰されてしまうことを防ぐことができるため、リム通水路24の通水領域を全域に亘って確保することができるようになっている。
つぎに、図4及び図7~図10Cを参照して、本発明の一実施形態による水洗大便器1のリム吐水口26の下流側近傍に形成される通水路30の詳細について説明する。
図7は、図2に示す本発明の一実施形態による水洗大便器において、リム吐水口の下流側近傍の通水路の部分を拡大した部分拡大側面部であり、図8は、図7のVIII-VII線に沿った断面図であり、図9は、図7のXI-XI線に沿った断面図である。
また、図10Aは、本発明の一実施形態による水洗大便器のリム吐水口の下流側近傍の通水路におけるリム吐水口から周方向下流側の距離(x)とオーバーハング部の高さ寸法(U)との関係を定性的に示した図であり、図10Bは、本発明の一実施形態による水洗大便器のリム吐水口の下流側近傍の通水路におけるリム吐水口から周方向下流側の距離(x)と棚面からオーバーハング部の下端までの最大高さ寸法(L)との関係を定性的に示した図であり、図10Cは、本発明の一実施形態による水洗大便器のリム吐水口の下流側近傍の通水路におけるリム吐水口から周方向下流側の距離(x)とリム吐水口の下流側の通水路の横幅(W)との関係を定性的に示した図である。
まず、図7~図9に示すように、リム吐水口26の下流端からボウル部20の曲がり部50(詳細は後述する)、すなわち、リム吐水口26の下流側近傍に形成される通水路30は、リム部18の内周面46、このリム部18の内周面46の下方側に形成される棚面16、及び、内周面46の上方側に形成されるオーバーハング部48により流路断面Gを形成している。
なお、リム部18の全周の中で、通水路30においてのみオーバーハング形状が形成され、通水路30を除くリム部18の内周面は、鉛直方向に切った断面において上下方向に直線状に延びるように形成されオーバーハング部48のようなオーバーハング形状を備えない。
また、図4及び図7~図10Cに示すように、通水路30は、リム吐水口26から下流側に向かって流路断面Gの断面積A0がほぼ一定になるように、流路断面Gは、その最大高さ寸法Lが下流側程大きく設定されると共に、その横幅Wが下流側程小さく設定されている。
すなわち、例えば、図9に示す通水路30のオーバーハング部48の上下方向の最小厚みU2については、流路断面Gの断面積A0がほぼ一定になるように、図8に示す通水路30のオーバーハング部48の上下方向の最小厚みU1よりも小さくなっている。
また、図9に示す流路断面G2の通水路30の上下方向の最大高さ寸法L2については、流路断面Gの断面積A0がほぼ一定になるように、図8に示す通水路30の流路断面G1の上下方向の最大高さ寸法L1よりも大きくなっている。
ここで、「断面積A0がほぼ一定」とは、完全な一定のみならず、リム吐水口26から吐水された後のリム吐水口26の下流側の通水路30の流路断面Gを通過するリム吐水が、乱れが抑制されて通水路30内に沿って下流側に流れることができ、下流側のボウル部20内で安定した旋回流を効果的に形成することができる、おおよそ一定も含むものである。
さらに、図9に示す流路断面G2の通水路30の横幅W2については、流路断面Gの断面積A0が一定になるように、図8に示す通水路30の流路断面G1の通水路30の横幅W1よりも小さくなっている。
さらに、図8及び図9に示すように、通水路30の流路断面Gを形成する棚面16は、その高さ位置P1がリム吐水口26から下流側に向かってほぼ一定の高さ位置になるように形成されている。
ここで、「ほぼ一定の高さ位置」とは、完全な一定のみならず、リム吐水口26から吐水された後のリム吐水口26の下流側の通水路30の流路断面Gを通過するリム吐水が、乱れることを抑制されて通水路30内に沿って下流側に流れることができ、下流側のボウル部20内で安定した旋回流を効果的に形成することができる、おおよそ一定も含むものである。
これらにより、リム吐水口26から吐水された後の通水路30の流路断面Gを通過するリム吐水は、乱れることが抑制されて通水路30内に沿って下流側に流れることができ、下流側のボウル部20内で安定した旋回流を効果的に形成することができるようになっている。
さらに、リム吐水口26から吐水された洗浄水について、その下流側の通水路30に沿わせて下流側に安定した流れを形成することにより、洗浄水の飛び散りを防ぐこともできるため、ボウル部20の視認性や清掃性を効果的に高めることができるようになっている。
なお、図8及び図9に示すように、通水路30の流路断面Gにおけるオーバーハング部48の最小高さ寸法であるオーバーハング部48の上下方向の最小厚みUと、棚面16からオーバーハング部48の下端まで最大高さ寸法である通水路30の上下方向の最大高さ寸法Lとの比率(U:L)は、1:6~6:1に設定されていることが好ましく、1:3~3:1に設定されていることが最も好ましい。
また、図3に示すように、ボウル部20内の右後方側の領域で且つ通水路30の下流側に形成されるリム部18の内周壁は、リム吐水口26から周方向下流側に向かう距離(x)に応じて曲率(1/ρ)が小から大に変化する(言い換えると、曲率半径ρが大から小に変化する)曲がり部50を形成している。すなわち、この曲がり部50は、図3に示す平面視で曲率(1/ρ)が小から大に一定の比率で変化する(言い換えると、曲率半径ρが大から小に一定の割合で変化する)クロソイド曲線等の緩和曲線52によって形成されている。
同様に、図3に示すように、ボウル部20内の前方側の領域のリム部18の内周壁についても、リム吐水口26から周方向下流側に向かう距離(x)に応じてリム部18の左後方側から前方に向かって曲率(1/ρ)が小から大に変化する(言い換えると、曲率半径ρが大から小に変化する)曲がり部54を形成している。この曲がり部54は、図3に示す平面視で曲率(1/ρ)が小から大に一定の比率で変化する(言い換えると、曲率半径ρが大から小に一定の比率で変化する)クロソイド曲線等の緩和曲線56によって形成されている。
これらにより、リム吐水口26から吐水された洗浄水が、まず、曲がり部50に沿って旋回する際に、洗浄水に対して急激な遠心力の変化が発生することを効果的に抑制することができ、ボウル部20内の洗浄効率を向上させることができるようになっている。
さらに、曲がり部50に沿って旋回した洗浄水は、リム部18の内周壁に沿ってボウル部20内の後方側領域を通過して周方向下流側に旋回した後、曲がり部54に沿ってボウル部20内の前方側領域を旋回するようになっているが、この曲がり部54を旋回する際に、洗浄水に対して急激な遠心力の変化が発生することを効果的に抑制することができ、ボウル部20内の洗浄効率を向上させることができるようになっている。
なお、本実施形態の水洗大便器1においては、リム部18の内周壁が形成する各曲がり部50,54のそれぞれの緩和曲線52,56について、曲率が一定の比率で変化するクロソイド曲線を採用した例について説明するが、緩和曲線としては、クロソイド曲線以外の緩和曲線であるサイン半波長低減曲線等を採用してもよい。
つぎに、図3及び図11~図13Bを参照して、本発明の一実施形態による水洗大便器1のボウル部20における平面視で緩和曲線52,56によって形成された曲がり部50,54の詳細について説明する。
ここで、図11は、図3のXI-XI線に沿った断面図であり、図12は、図3のXII-XII線に沿った断面図である。
また、図13Aは、本発明の一実施形態による水洗大便器において、ボウル部の直線部と曲がり部とを緩和曲線で接続した場合におけるリム吐水口からの周方向下流側の距離(x)と曲率(1/ρ)の変化を定性的に示した図であり、図13Bは、図13Aに示す本発明の一実施形態による水洗大便器に対する比較例であり、ボウル部の直線部と曲がり部とを直線に正接する曲線で接続した場合におけるリム吐水口からの周方向下流側の距離(x)と曲率(1/ρ)の変化を定性的に示した図である。
まず、図3、図11及び図12に示すように、ボウル部20は、各緩和曲線52,56によって形成された曲がり部50,54に棚面16を形成し、この棚面16の横幅W3は、ボウル部20の周方向に沿ってほぼ一定である。
なお、ここでいう「ほぼ一定」とは、完全な一定のみならず、リム通水路24のリム吐水口26から吐水された洗浄水が曲がり部50,54の棚面16に沿って旋回する際に、洗浄水に対して急激な遠心力の変化が発生することをより効果的に抑制することができる、おおよそ一定も含むものである。
また、図11及び図12に示すように、ボウル部20の各緩和曲線52,56によって形成された曲がり部50,54のそれぞれの棚面16は、水平面に対してそれぞれ傾斜角度α1,α2で形成されている。
ここで、傾斜角度α1の大きさについては、0°~15°に設定されることが好ましく、2°~8°に設定されることが最も好ましい。
また、傾斜角度α2の大きさについては、傾斜角度α1の大きさよりも大きく設定されており、3°~60°に設定されることが好ましく、5°~30°に設定されることが最も好ましい。
これらにより、リム吐水口26から吐水された洗浄水が曲がり部50,54の棚面16に沿って旋回する際に、洗浄水に対して急激な遠心力の変化が発生することをより効果的に抑制することができるため、ボウル部20内の洗浄効率をより良く向上させることができるようになっている。
また、図13Aに示すように、本実施形態の水洗大便器1において、ボウル部20のほぼ直線状である直線部と曲がり部とを緩和曲線で接続した場合には、リム吐水口26からの周方向下流側の距離xが0からx1(例えば、x1=50mm)までの区間では、曲率1/ρが一定のa(例えば、ρ1=800mm、a=1/ρ1=0.00125[1/mm])となり、ほぼ直線状である直線部を形成する区間となる。
つぎに、図13Aに示すように、距離xがx1からx2(例えば、x2=200mm)までの区間では、曲率1/ρがa~b(例えば、ρ1=800mm、a=1/ρ1=0.00125、ρ2=150mm、b=1/ρ2=0.00667[1/mm])まで一定の比率で変化する緩和曲線によって曲がり部を形成する区間(緩和曲線区間)となる。
また、図13Aに示すように、距離xがx2からx3(例えば、x3=380mm)までの区間では、曲率1/ρ2が一定のb(例えば、ρ2=150mm、b=1/ρ2=0.00667[1/mm])となり、曲率がほぼ一定の曲がり部を形成する区間となる。
一方、図13Bに示すように、ボウル部の直線部と曲がり部とを直線に正接する曲線で接続した場合の比較例では、距離xがx4となる前後において、曲率1/ρが0(曲率半径ρ=∞)からc(曲率半径ρ=ρ3)に急激に変化することにより、リム吐水口から吐水された洗浄水が曲がり部の棚面に沿って旋回する際に、洗浄水に対して急激な遠心力の変化が本実施形態の水洗大便器1に比べて大きく発生することになり、ボウル部内の洗浄効率が低下することになる。
つぎに、上述した本発明の一実施形態による水洗大便器1における作用について説明する。
まず、本発明の一実施形態による水洗大便器1によれば、リム吐水口26の下流側の流路が、リム部18の内周壁のうち少なくともボウル部20内の右後方側の領域及びボウル部20内の前方側の領域における最もリム吐水口26に近い位置に形成される曲がり部50,54にて曲率が小から大に変化し、この曲がり部50,54が平面視で緩和曲線52,56によって形成されていることにより、リム吐水口26から吐水された洗浄水が曲がり部50,54に沿って旋回する際に、洗浄水に対して急激な遠心力の変化が発生することを効果的に抑制することができる。したがって、ボウル部20内の洗浄効率を向上させることができる。
つぎに、本実施形態による水洗大便器1によれば、ボウル部20が緩和曲線52,56によって形成された曲がり部50,54に棚面16を形成し、この棚面16の横幅W3がボウル部20の周方向に沿ってほぼ一定であることにより、リム吐水口26から吐水された洗浄水が曲がり部50,54の棚面16に沿って旋回する際に、洗浄水に対して急激な遠心力の変化が発生することをより効果的に抑制することができる。したがって、ボウル部20内の洗浄効率をより良く向上させることができる。
また、本実施形態による水洗大便器1によれば、ボウル部20が緩和曲線52,56によって形成された曲がり部50,54に棚面16を形成し、この棚面16が水平面に対して0°~60°の傾斜角度で形成されていることにより、リム吐水口26から吐水された洗浄水が曲がり部50,54の棚面16に沿って旋回する際に、洗浄水に対して急激な遠心力の変化が発生することをより効果的に抑制することができる。したがって、ボウル部20内の洗浄効率をより良く向上させることができる。
1 水洗大便器
2 便器本体
4 便座
6 便蓋
8 機能部
10 衛生洗浄系機能部
12 給水系機能部
14 汚物受け面
16 棚面
18 リム部
20 ボウル部
22 排水トラップ管路(排水路)
22a 入口部
22b 上昇管路
22c 頂部
22d 下降管路
24 リム通水路(リム吐水部)
24a リム通水路の入口部
24b リム通水路の外側部
24c リム通水路の屈曲部
24d リム通水路の内側部
26 リム吐水口(リム吐水部)
28 導水管(導水路)
30 リム吐水口の下流側近傍の通水路
32 ジェット吐水口
34 貯水タンク
36 加圧ポンプ
38 リム通水路の外側部の外側壁部
40 リム通水路の外側部の下側壁部
42 リム通水路の外側部の内側壁部
44 リム通水路の外側部の上側壁部
46 リム部の内周面
48 オーバーハング部
50 曲がり部
52 緩和曲線
54 曲がり部
56 緩和曲線
A リム通水路の外側部の流路断面
A0 リム吐水口の下流側近傍の通水路の流路断面の断面積
B リム通水路の外側部の流路断面
C リム通水路の外側部の流路断面
C1 ボウル部の前後方向に二等分する左右方向に延びる中心線
D リム通水路の屈曲部の流路断面
E リム通水路の内側部の流路断面
E1 リム吐水口の開口断面
F1 ボウル部の前方側領域
G リム吐水口の下流側近傍の通水路の流路断面
H リム通水路の外側部及び屈曲部の流路断面の最大高さ寸法
H1 リム通水路の外側部の流路断面Aの最大高さ寸法
H2 リム通水路の外側部の流路断面Bの最大高さ寸法
H3 リム通水路の外側部の流路断面Cの最大高さ寸法
H4 リム通水路の屈曲部の流路断面Dの最大高さ寸法
h リム通水路の内側部の流路断面の最大高さ寸法
h1 リム通水路の内側部の流路断面Eの最大高さ寸法
L リム吐水口の下流側近傍の通水路の最大高さ寸法(通水路の棚面からオーバーハング部の下端までの最大高さ寸法)
L1 リム吐水口の下流側近傍の通水路の最大高さ寸法(通水路の棚面からオーバーハング部の下端までの最大高さ寸法)
L2 リム吐水口の下流側近傍の通水路の最大高さ寸法(通水路の棚面からオーバーハング部の下端までの最大高さ寸法)
P1 リム吐水口の下流側近傍の通水路の棚面の高さ位置
R1 ボウル部の後方側領域
S1 リム通水路の外側部の下側壁部の上端面と内側壁部の下端面との接着面 S2 リム通水路の外側部の外側壁部の上端面と上側壁部との接着面
U オーバーハング部の上下方向の最小厚み(オーバーハング部の最小高さ寸法)
U1 オーバーハング部の上下方向の最小厚み(オーバーハング部の最小高さ寸法)
U2 オーバーハング部の上下方向の最小厚み(オーバーハング部の最小高さ寸法)
W リム吐水口の下流側近傍の通水路の横幅
W1 リム吐水口の下流側近傍の通水路の横幅
W2 リム吐水口の下流側近傍の通水路の横幅
W3 棚面の横幅
x リム吐水口からの周方向下流側の距離
x1 リム吐水口からの周方向下流側の距離
x2 リム吐水口からの周方向下流側の距離
x3 リム吐水口からの周方向下流側の距離
α1 棚面の傾斜角度
α2 棚面の傾斜角度
ρ 緩和曲線の曲率半径
ρ1 緩和曲線の曲率半径
ρ2 緩和曲線の曲率半径
ρ3 曲率半径

Claims (2)

  1. 洗浄水源から供給される洗浄水によって洗浄されて汚物を排出する水洗大便器であって、
    ボウル形状の汚物受け面と、この汚物受け面の上縁に形成されたリム部と、を備えたボウル部と、
    このボウル部の下方に接続され汚物を排出する排水路と、
    上記リム部に設けられて上記ボウル部内に洗浄水を吐水して旋回流を形成するリム吐水部と、
    上記洗浄水源から供給される洗浄水を上記リム吐水部に供給する導水路と、を有し、
    上記ボウル部は、上記ボウル部を前後方向に二等分する左右方向に延びる中心線に対して前方側である前方側領域と後方側である後方側領域と、を備え、
    上記リム吐水部は、上記ボウル部の前方側領域内の左右の何れか一方の側の上記リム部に上記導水路から供給された洗浄水が通水するリム通水路を形成すると共に、このリム通水路の下流端に洗浄水を後方に向けて吐水するリム吐水口を形成し、
    上記リム通水路は、その入口部から上記リム部の内部を前方に向かって延びる外側部と、この外側部の下流端から内側に屈曲する屈曲部と、この屈曲部から後方に向かって上記リム吐水口まで延びる内側部と、を備えており、
    記リム通水路の上記内側部の流路断面の最大高さ寸法(h)は、上記外側部の流路断面の最大高さ寸法(H)よりも小さくなるように設定されていることを特徴とする水洗大便器。
  2. 上記内側部の流路断面の最大高さ寸法(h)と、上記外側部の下流端における流路断面の最大高さ寸法(H)との比率(h:H)は、1:2~1:8に設定されている請求項1記載の水洗大便器。
JP2020201225A 2020-12-03 2020-12-03 水洗大便器 Active JP7109745B2 (ja)

Priority Applications (1)

Application Number Priority Date Filing Date Title
JP2020201225A JP7109745B2 (ja) 2020-12-03 2020-12-03 水洗大便器

Applications Claiming Priority (1)

Application Number Priority Date Filing Date Title
JP2020201225A JP7109745B2 (ja) 2020-12-03 2020-12-03 水洗大便器

Related Parent Applications (1)

Application Number Title Priority Date Filing Date
JP2016045833A Division JP6805507B2 (ja) 2016-03-09 2016-03-09 水洗大便器

Publications (2)

Publication Number Publication Date
JP2021036130A JP2021036130A (ja) 2021-03-04
JP7109745B2 true JP7109745B2 (ja) 2022-08-01

Family

ID=74716306

Family Applications (1)

Application Number Title Priority Date Filing Date
JP2020201225A Active JP7109745B2 (ja) 2020-12-03 2020-12-03 水洗大便器

Country Status (1)

Country Link
JP (1) JP7109745B2 (ja)

Families Citing this family (2)

* Cited by examiner, † Cited by third party
Publication number Priority date Publication date Assignee Title
JP7630776B2 (ja) * 2023-02-28 2025-02-18 Toto株式会社 水洗大便器
US12516515B2 (en) 2023-02-28 2026-01-06 Toto Ltd. Flush toilet

Citations (5)

* Cited by examiner, † Cited by third party
Publication number Priority date Publication date Assignee Title
JP2011208362A (ja) 2010-03-29 2011-10-20 Toto Ltd 水洗大便器
WO2017006903A1 (ja) 2015-07-08 2017-01-12 株式会社Lixil 水洗大便器
JP2017020213A (ja) 2015-07-08 2017-01-26 株式会社Lixil 水洗大便器
JP2017053177A (ja) 2015-09-11 2017-03-16 株式会社Lixil 水洗大便器
JP2017160669A (ja) 2016-03-09 2017-09-14 Toto株式会社 水洗大便器

Patent Citations (5)

* Cited by examiner, † Cited by third party
Publication number Priority date Publication date Assignee Title
JP2011208362A (ja) 2010-03-29 2011-10-20 Toto Ltd 水洗大便器
WO2017006903A1 (ja) 2015-07-08 2017-01-12 株式会社Lixil 水洗大便器
JP2017020213A (ja) 2015-07-08 2017-01-26 株式会社Lixil 水洗大便器
JP2017053177A (ja) 2015-09-11 2017-03-16 株式会社Lixil 水洗大便器
JP2017160669A (ja) 2016-03-09 2017-09-14 Toto株式会社 水洗大便器

Also Published As

Publication number Publication date
JP2021036130A (ja) 2021-03-04

Similar Documents

Publication Publication Date Title
JP7144763B2 (ja) 水洗大便器
JP6202476B2 (ja) 水洗大便器
JP6805507B2 (ja) 水洗大便器
JP7438482B2 (ja) 水洗大便器
JP7148835B2 (ja) 水洗大便器
JP7471565B2 (ja) 水洗大便器
JP2022188278A (ja) 水洗大便器
JP7109745B2 (ja) 水洗大便器
JP6802516B2 (ja) 水洗大便器
JP6624449B2 (ja) 水洗大便器
JP7055274B2 (ja) 水洗大便器
JP7009820B2 (ja) 水洗大便器
JP7239027B2 (ja) 水洗大便器
JP7158650B2 (ja) 水洗大便器
JP7118355B2 (ja) 水洗大便器
JP7176580B2 (ja) 水洗大便器
JP7353805B2 (ja) 水洗式便器
JP2017206958A (ja) 水洗大便器
JP7082312B2 (ja) 水洗大便器
JP7622763B2 (ja) 水洗大便器
JP7663837B2 (ja) 水洗大便器
JP2023018509A (ja) 水洗大便器
JP2018188877A (ja) 水洗大便器
JP2023136453A (ja) 水洗大便器

Legal Events

Date Code Title Description
A521 Request for written amendment filed

Free format text: JAPANESE INTERMEDIATE CODE: A523

Effective date: 20201225

A621 Written request for application examination

Free format text: JAPANESE INTERMEDIATE CODE: A621

Effective date: 20201225

A131 Notification of reasons for refusal

Free format text: JAPANESE INTERMEDIATE CODE: A131

Effective date: 20220111

A521 Request for written amendment filed

Free format text: JAPANESE INTERMEDIATE CODE: A523

Effective date: 20220222

TRDD Decision of grant or rejection written
A01 Written decision to grant a patent or to grant a registration (utility model)

Free format text: JAPANESE INTERMEDIATE CODE: A01

Effective date: 20220620

A61 First payment of annual fees (during grant procedure)

Free format text: JAPANESE INTERMEDIATE CODE: A61

Effective date: 20220703

R150 Certificate of patent or registration of utility model

Ref document number: 7109745

Country of ref document: JP

Free format text: JAPANESE INTERMEDIATE CODE: R150