JP6944153B2 - 収容容器 - Google Patents

収容容器 Download PDF

Info

Publication number
JP6944153B2
JP6944153B2 JP2017254646A JP2017254646A JP6944153B2 JP 6944153 B2 JP6944153 B2 JP 6944153B2 JP 2017254646 A JP2017254646 A JP 2017254646A JP 2017254646 A JP2017254646 A JP 2017254646A JP 6944153 B2 JP6944153 B2 JP 6944153B2
Authority
JP
Japan
Prior art keywords
lid
inner lid
upper lid
storage container
bottom member
Prior art date
Legal status (The legal status is an assumption and is not a legal conclusion. Google has not performed a legal analysis and makes no representation as to the accuracy of the status listed.)
Active
Application number
JP2017254646A
Other languages
English (en)
Other versions
JP2019118530A (ja
Inventor
松 伯 好 笠
松 伯 好 笠
引 志 帆 綿
引 志 帆 綿
田 美 穂 飯
田 美 穂 飯
江 隆 之 堀
江 隆 之 堀
田 斐 子 花
田 斐 子 花
水 奨 清
水 奨 清
松 裕 植
松 裕 植
Current Assignee (The listed assignees may be inaccurate. Google has not performed a legal analysis and makes no representation or warranty as to the accuracy of the list.)
Dai Nippon Printing Co Ltd
Kracie Home Products Ltd
Original Assignee
Dai Nippon Printing Co Ltd
Kracie Home Products Ltd
Priority date (The priority date is an assumption and is not a legal conclusion. Google has not performed a legal analysis and makes no representation as to the accuracy of the date listed.)
Filing date
Publication date
Application filed by Dai Nippon Printing Co Ltd, Kracie Home Products Ltd filed Critical Dai Nippon Printing Co Ltd
Priority to JP2017254646A priority Critical patent/JP6944153B2/ja
Publication of JP2019118530A publication Critical patent/JP2019118530A/ja
Application granted granted Critical
Publication of JP6944153B2 publication Critical patent/JP6944153B2/ja
Active legal-status Critical Current
Anticipated expiration legal-status Critical

Links

Images

Landscapes

  • Details Of Rigid Or Semi-Rigid Containers (AREA)

Description

本発明は、化粧品を収容する収容容器に関する。
従来、固形状の化粧品を収容する収容部と、この収容部に着脱自在に被せられるキャップとを有する収容容器が知られている。このような収容容器を使用する際には、キャップを取り外して化粧品を利用し、使用後には、キャップによって化粧品を覆って保護することができる。
例えば、特許文献1には、ドーム状に膨出する固形化粧料であるドーム状化粧料と、このドーム状化粧料を保持する容器本体とを備えたドーム状化粧料保持容器が開示されている。
特開2009−285163号公報
従来、化粧品入り収容容器の製造工程で、収容容器に加熱溶融した化粧品を充填し、冷却固化して成形する際、化粧品を成形するための捨てキャップを用いることが行われている。しかしながら、このような捨てキャップは、収容容器を構成する部品とは別の部材であり、化粧品を充填および冷却する工程のみで用いられ、化粧品の成形が完了した後は廃棄される。このため、化粧品入り収容容器の製造工程において、廃棄物が増えたり、製造コストが増加したりするという課題がある。
本発明はこのような点を考慮してなされたものであり、捨てキャップを用いることなく、化粧品を成形することが可能な、収容容器を提供することを目的とする。
本発明は、底部材と、前記底部材に取り付けられるとともに、化粧品が充填される中蓋と、前記中蓋に着脱可能に設けられた上蓋と、を備え、前記上蓋の内側に、前記化粧品を成形する成形型が一体化され、前記成形型は、インナーリングによって形成されている、収容容器である。
本発明は、前記インナーリングに、前記中蓋の一部と当接するテーパー部が形成されている、収容容器である。
本発明は、前記上蓋は天面を有し、前記天面の内面に微細な凹凸が形成されている、収容容器である。
本発明は、前記上蓋および前記中蓋の少なくとも一方に、前記上蓋と前記中蓋との回転を規制する位置決め機構が設けられている、収容容器である。
本発明は、前記位置決め機構は、前記上蓋および前記中蓋の一方に形成された段差部を含む、収容容器である。
本発明は、前記上蓋および前記中蓋の他方に位置規制用凸部が形成され、前記段差部に前記位置規制用凸部が摺動する位置規制用凹部が設けられ、前記上蓋が前記中蓋に対して相対的に回転した際、前記位置規制用凸部が前記位置規制用凹部を押し上げて前記上蓋と前記中蓋とを互いに離間する、収容容器である。
本発明によれば、捨てキャップを用いることなく、化粧品を成形することができる。
図1は、本実施の形態による収容容器を示す分解斜視図。 図2は、本実施の形態による収容容器を示す斜視図。 図3は、本実施の形態による収容容器を示す正面図。 図4は、本実施の形態による収容容器を示す垂直断面図(図2のIV−IV線断面図)。 図5は、本実施の形態による収容容器の底部材を示す平面図。 図6は、本実施の形態による収容容器の底部材を示す垂直断面図(図5のVI−VI線断面図)。 図7は、本実施の形態による収容容器の中蓋を示す平面図。 図8は、本実施の形態による収容容器の中蓋を示す正面図。 図9は、本実施の形態による収容容器の中蓋を示す垂直断面図(図7のIX−IX線断面図)。 図10は、本実施の形態による収容容器の上蓋を示す平面図。 図11は、本実施の形態による収容容器の上蓋を示す垂直断面図(図10のXI−XI線断面図)。 図12は、本実施の形態による収容容器の上蓋を下方から見た斜視図。 図13は、本実施の形態による収容容器の一部を示す部分垂直断面図。 図14は、化粧品を充填する際の上蓋および中蓋を示す垂直断面図。 図15(a)(b)は、上蓋を中蓋に対して回転したときの、位置規制用凹部および位置規制用凸部を示す図。 図16は、変形例による収容容器の一部を示す部分垂直断面図。 図17は、変形例による収容容器の上蓋を示す垂直断面図。
以下、本発明による収容容器の一実施の形態について、図1乃至図15を用いて説明する。図1乃至図15は、本発明の一実施の形態を示す図である。以下に示す各図において、同一部分には同一の符号を付しており、一部詳細な説明を省略する場合がある。
なお、本明細書中、「上」および「下」とは、それぞれ収容容器10の底部材20を接地させた状態(図1乃至図4参照)における鉛直方向上方および鉛直方向下方のことをいう。また、本明細書中、「五角形」には、厳密な意味での五角形に限らず、角部が丸みを帯びた五角形も含まれる。
図1乃至図4に示すように、本実施の形態による収容容器10は、底部材20と、中蓋40と、上蓋60と、からなる3つの部材によって構成されている。このうち中蓋40は、底部材20に対して容易に取り外しができないように取り付けられている。また、上蓋60は、中蓋40を覆うように、中蓋40に対して着脱可能に設けられている。これら底部材20、中蓋40および上蓋60は、互いに別体に作製された後、組み合わされて一体化される。底部材20、中蓋40および上蓋60が一体化された状態では、図2および図3に示すように、中蓋40は、その略全体が底部材20および上蓋60によって覆われ、外部から視認できないようになっている。
次に、図5および図6を用いて、底部材20の構成について説明する。図5および図6は、底部材20を示す図である。
図5および図6に示すように、底部材20は、全体として略正五角形形状の平面形状を有している。この底部材20は、平面視円形状の底面21と、底面21に連接された略円筒状の円筒壁面22と、円筒壁面22の周囲に位置する接地部23と、接地部23の周囲に位置する底部材外壁面24とを有している。
このうち底面21は、略平坦な上面を有している。また、底面21には、周方向に等間隔を空けて5つのリブ25が配置されている。このリブ25は、底部材20を構成する正五角形の角部に対応する位置に形成され、それぞれ上方に向けて突出している。また、円筒壁面22は、底面21から下方に向けて延びており、底部材外壁面24よりも径方向内側に形成されている。
接地部23は、底部材20を接地面に配置した際に接地面に接触する部分であり、平面視で環形状を有している。この接地部23は、円筒壁面22に対応する平面視略円形形状をもつ内周23aと、底部材外壁面24に対応する平面視略正五角形形状をもつ外周23bとを有している。また、底部材外壁面24は、底部材20の外側面を構成するものであり、接地部23から上方に向かって延びている。この底部材外壁面24は、平面視略正五角形の筒状であり、水平断面において、下方から上方に向けて徐々にその面積が広くなる形状を有している。
底部材外壁面24の内周面には、全周溝26と、底部内周突起27と、周状段部28とが形成されている。全周溝26、底部内周突起27および周状段部28は、下方から上方に向けてこの順番に形成されている。また、全周溝26、底部内周突起27および周状段部28は、いずれも底部材外壁面24の全周にわたって環状に形成されている。全周溝26には、後述する中蓋40の係合爪48が嵌め込まれる。また、周状段部28には、後述する中蓋40のフランジ部47が係合する。
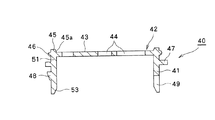
次に、図7乃至図9を用いて、中蓋40の構成について説明する。図7乃至図9は、中蓋40を示す図である。
図7乃至図9に示す中蓋40は、化粧品C(図4参照)が充填されるものであり、全体として略円形形状の平面形状を有している。この中蓋40は、略円筒形状の中蓋胴部41と、中蓋胴部41の上部に形成された中蓋上面42とを有している。
このうち中蓋上面42は、スポーク43と、スポーク43に隣接して形成された複数の開口部44とを有している。この開口部44は、製造工程で下方側から中蓋40および上蓋60に向けて化粧品Cを充填する際、化粧品Cが通過する開口である。また、スポーク43は、中蓋40に化粧品Cが充填された後、化粧品Cの内部に埋設されるものであり、これにより、化粧品Cが中蓋40から脱落しないようになっている。この場合、スポーク43は、平面視で5つの花弁状に形成されているが、スポーク43の平面形状はこれに限られるものではない。スポーク43は、例えば中央から周縁に向けて放射状に延びる形状であっても良い。
中蓋胴部41には、上方から下方に向けて、上縁部45と、中蓋外周突起46と、フランジ部47と、係合爪48と、切欠部49とが順次形成されている。
上縁部45は、中蓋胴部41の上端であって、中蓋上面42よりも上方に位置している。この上縁部45は、平面視略円環形状であり、中蓋胴部41の全周にわたって形成されている。また、上縁部45の内側には、後述するインナーリング63のテーパー部64が当接する傾斜面45aが形成されている。この傾斜面45aが形成されていることにより、インナーリング63と上縁部45との密着性が高められ、化粧品Cがインナーリング63と上縁部45との間から漏れることを抑制している。
中蓋外周突起46は、中蓋胴部41の上部外周であって、中蓋上面42の径方向外側に形成されている。中蓋外周突起46は、平面視略円環形状であり、中蓋胴部41から側方に向けて突出するとともに、中蓋胴部41の全周にわたって形成されている。この中蓋外周突起46は、上蓋60を中蓋40に取り付ける際、上蓋60の上蓋内周突起65(後述)が乗り越えやすいよう、断面視において略半円形状を有している。また、中蓋外周突起46とフランジ部47との間には、上蓋60の上蓋内周突起65が収容される収容部51が中蓋胴部41の全周にわたって形成されている。
フランジ部47は、平面視略正五角形形状を有しており、中蓋上面42よりも下方に形成されている。このフランジ部47は、中蓋胴部41の側面から側方に向けて突出しており、中蓋胴部41の全周にわたって形成されている。
また、フランジ部47の上面には、2つの位置規制用凸部52が設けられている。位置規制用凸部52は、それぞれフランジ部47から上方に向けて突出している。この場合、位置規制用凸部52は、フランジ部47の上記正五角形の角部および辺に対応する位置にそれぞれ1つずつ形成されている。この位置規制用凸部52は、正面側から見て湾曲した略山形状であり(図8)、後述する上蓋60の位置規制用凹部68に収容される形状となっている。位置規制用凸部52が位置規制用凹部68に収容されることにより、上蓋60と中蓋40との回転が規制され、上蓋60と中蓋40とが互いに位置決めされる。すなわち、位置規制用凸部52および位置規制用凹部68は、上蓋60と中蓋40との回転を規制する位置決め機構を構成する。一方、位置規制用凸部52は、上蓋60が中蓋40に取り付けられた状態で、上蓋60を中蓋40に対して相対的に回転させた際、上蓋60の段差部66(後述)を押し上げる役割も果たす。このため、上蓋60を中蓋40に対して回転させることにより、上蓋60を中蓋40から上昇させて取り外すことができる。
係合爪48は、フランジ部47より下方の位置で、中蓋胴部41の外面に5つ形成されている。これら5つの係合爪48は、周方向に等間隔を空けて配置され、具体的には、フランジ部47を構成する正五角形の辺に対応する位置にそれぞれ形成されている。各係合爪48は、中蓋胴部41から側方に向けてそれぞれ突出しており、その突出幅は、係合爪48の上部の方が係合爪48の下部よりも大きくなっている。この場合、係合爪48は、底部材20の全周溝26に嵌め込まれるようになっている。これにより、中蓋40が底部材20に対して容易に取り外しできないように固定される(いわゆるはめ殺し)。
切欠部49は、中蓋胴部41の下端に5つ形成されている。これら5つの切欠部49は、周方向に等間隔を空けて配置され、それぞれ上方から下方に向けて徐々に幅が広くなる形状を有している。この場合、各切欠部49は、それぞれフランジ部47を構成する正五角形の角部に対応する位置に形成されている。この切欠部49には、底部材20のリブ25が収容される。これにより、中蓋40と底部材20との回転が規制され、中蓋40と底部材20とが互いに位置決めされる。さらに、中蓋胴部41の内周下端には、内周テーパー面53が形成されている。
次に、図10乃至図12を用いて、上蓋60の構成について説明する。図10乃至図12は、上蓋60を示す図である。
図10乃至図12に示す上蓋60は、中蓋40に着脱可能に取り付けられることにより化粧品Cを保護するものであり、全体として略五角形形状の平面形状を有している。この上蓋60は、天面61と、天面61から下方に向けて延びる上蓋側壁面62とを有している。このうち天面61は、平面視略正五角形形状であり、上蓋側壁面62は、略正五角形の筒形状となっている。
また、上蓋60の内側には、化粧品Cを成形する成形型Mが一体化されている。この成形型Mは、インナーリング63によって形成されている。この場合、インナーリング63は、化粧品Cの形状に対応する円筒形状を有しており、天面61から下方に向けて延びている。このようにインナーリング63が円筒形状となっていることにより、上蓋60を中蓋40に対して回転し、インナーリング63が化粧品Cに対して回転した際、化粧品Cの形状が崩れることを防止することができる。また、インナーリング63は、上蓋側壁面62よりも径方向内側に位置しており、上蓋側壁面62から離間して配置されている。なお、インナーリング63の下端は、上蓋側壁面62の下端よりも上方に位置している。
また、インナーリング63の下端には、中蓋40の傾斜面45aと当接するテーパー部64が形成されている。このテーパー部64は、インナーリング63の外面の全周にわたって形成されている。なお、テーパー部64は、インナーリング63の内面に形成されていても良い。また、テーパー部64は、中蓋40の一部と当接すれば良く、中蓋40の傾斜面45a以外の部分に当接しても良い。このように、インナーリング63のテーパー部64が中蓋40の傾斜面45aと当接することにより、製造時に化粧品Cを下方側から上蓋60および中蓋40に向けて充填する際、化粧品Cがインナーリング63と上縁部45との間から外方へ漏れることを抑制している。
上蓋側壁面62の内周には、上蓋内周突起65と、上蓋内周突起65の下方に位置する段差部66とがそれぞれ形成されている。
このうち上蓋内周突起65は、上蓋側壁面62の下部において、周方向に等間隔を空けて5つ配置されている。5つの上蓋内周突起65は、上蓋側壁面62を構成する正五角形の辺に対応する位置に形成され、それぞれ内側に向けて突設されている。この上蓋内周突起65は、上蓋60を中蓋40に取り付けた際、中蓋40の中蓋外周突起46にそれぞれ係合し、上蓋60が中蓋40から脱落することを防止する。一方、上蓋内周突起65は、上蓋60を中蓋40から取り外す際には、中蓋40の中蓋外周突起46を乗り越える。この場合、上蓋内周突起65は、断面視において略半円形状を有している。
段差部66は、上蓋側壁面62の内周下部であって、上蓋側壁面62の全周にわたって形成されている。この段差部66は、上蓋側壁面62の厚みを薄くすることにより形成されている。また、段差部66は、水平に延びる水平段部67と、水平段部67から上方(天面61側)に向けて凹状に凹む位置規制用凹部68とを含んでいる。水平段部67と位置規制用凹部68とは、それぞれ複数(この場合は10個ずつ)設けられ、周方向に沿って交互に配置されている。なお、位置規制用凹部68は、上蓋側壁面62を構成する正五角形の角部および辺に対応する位置にそれぞれ配置されている。また、各位置規制用凹部68は、中蓋40の位置規制用凸部52が収容できるよう、位置規制用凸部52に対応する山形状を有しており、左右になだらかに傾斜している。この場合、位置規制用凹部68には、位置規制用凸部52が摺動するようになっている。そして上蓋60を中蓋40に対して相対的に回転した際、位置規制用凸部52が位置規制用凹部68を押し上げて上蓋60と中蓋40とを互いに離間することができる。なお、位置規制用凹部68は、左右一方のみに傾斜する形状を有していても良い。
次に、図13を参照して、底部材20、中蓋40および上蓋60が組み付けられた状態における収容容器10の構成について更に説明する。
中蓋40および上蓋60に化粧品C(図3参照)が充填された後、中蓋40は底部材20に対してしっかり嵌め込まれ、中蓋40を底部材20から取り外すことが困難な程度に固定される。具体的には、中蓋40を底部材20に嵌め込むことにより、中蓋40の係合爪48が底部材20の底部内周突起27を乗り越え、全周溝26に嵌め込まれる。この場合、底部材20の底部内周突起27がフランジ部47と係合爪48との間に挟持されるので、中蓋40が底部材20に対して脱落しないようにしっかりと固定される。また、中蓋40の中蓋胴部41の下端が底部材20の円筒壁面22に密着し、中蓋40が底部材20に対してより強固に固定される。さらに、底部材20の複数のリブ25がそれぞれ中蓋40の切欠部49に収容され、底部材20と中蓋40との相互の回転が規制される。
一方、上蓋60は、中蓋40に対して着脱自在に取り付けられる。具体的には、上蓋60を中蓋40に取り付けることにより、上蓋60の上蓋内周突起65が中蓋40の中蓋外周突起46を乗り越え、中蓋外周突起46の下部と係合する。また、中蓋40のフランジ部47が上蓋60の段差部66に収容される。このとき、フランジ部47に形成された位置規制用凸部52が段差部66の位置規制用凹部68に嵌合するので、上蓋60と中蓋40との相互の回転が規制される。すなわち、位置規制用凸部52と位置規制用凹部68とは、上蓋60と中蓋40との回転を規制する位置決め機構としての役割を果たす。また、本実施の形態においては、上蓋60とフランジ部47がそれぞれ平面略正五角形形状を有している。したがって、位置規制用凸部52および位置規制用凹部68とは無関係に、フランジ部47が段差部66に嵌合することによって、上蓋60と中蓋40との回転が規制される。
さらに、上蓋60のテーパー部64が、中蓋40の傾斜面45aに当接し、テーパー部64と傾斜面45aとが密着する。これにより、上蓋60および中蓋40に化粧品Cを充填する際、化粧品Cがインナーリング63と上縁部45との隙間から外方へ漏れることを防止している。
このような底部材20、中蓋40および上蓋60の材料としては、例えば、ポリプロピレン、ABS樹脂等の合成樹脂材料を用いることができる。なお、底部材20、中蓋40および上蓋60の材料は互いに同一であっても良く、異なっていても良い。また、底部材20、中蓋40および上蓋60を作製する方法としては、射出成形法やコンプレッション成形法を挙げることができる。
収容容器10に収容される化粧品Cは、固形または半固形の化粧品であれば特に限定されるものではないが、例えば整髪料、メイクアップ料、制汗剤が挙げられる。
次に、このような構成からなる本実施の形態について説明する。
はじめに、収容容器10に化粧品Cを充填する方法について説明する。この場合、まず底部材20、中蓋40および上蓋60をそれぞれ別個に作製する。次に、上蓋60を中蓋40に取り付ける。このとき、上蓋60の上蓋内周突起65が中蓋40の中蓋外周突起46を乗り越え、中蓋外周突起46の下面に係合する。
続いて、底部材20を取り付ける前の状態で、組み付けられた中蓋40および上蓋60を、上蓋60が下側を向き、中蓋40が上側を向くように配置する。この状態で上方(中蓋40側)から下方(上蓋60側)に向けて化粧品Cを充填する(図14参照)。このとき、化粧品Cは加熱溶融した状態で、中蓋40の開口部44を通過し、上蓋60のインナーリング63に充填される。その後、化粧品Cはインナーリング63内で冷却固化される。
本実施の形態において、上蓋60のインナーリング63が成形型Mを構成しているので、化粧品Cはインナーリング63の形状に沿って円柱状に成形される。また、成形型Mとしてのインナーリング63が、上蓋60の内側に一体化されているので、化粧品Cを成形するための捨てキャップ等を別途用意する必要がない。このため、収容容器10の製造工程で廃棄物が増えることがなく、収容容器10の製造コストの上昇を抑えることができる。
続いて、中蓋40に底部材20を恒久的に取り付ける。この際、中蓋40が下側を向き、上蓋60が上側を向くように配置する。次いで、中蓋40を底部材20に嵌め込むことにより、中蓋40の係合爪48が底部材20の底部内周突起27を乗り越えて全周溝26に嵌め込まれる。このとき、底部材20の底部内周突起27がフランジ部47と係合爪48との間に挟持されるので、中蓋40が底部材20に対してしっかりと固定される。
次に、収容容器10に充填された化粧品Cを使用する際の作用について説明する。この場合、まず上蓋60を中蓋40から取り外す。具体的には、上蓋60を中蓋40に対してねじるように回転する。これにより、上蓋60の位置規制用凹部68が中蓋40の位置規制用凸部52に対して周方向に移動する。このとき、位置規制用凸部52が位置規制用凹部68に沿って摺動し、段差部66を押し上げる(図15(a)(b)参照)。これにより、上蓋60が中蓋40に対して押し上げられ、上蓋60の上蓋内周突起65が中蓋40の中蓋外周突起46を乗り越え、上蓋60が中蓋40から分離する。
なお、上記に限らず、上蓋60を中蓋40に対して回転することなく、上蓋60を中蓋40から真っ直ぐ引き上げることによって、上蓋60を中蓋40から取り外すこともできる。
このようにして上蓋60を取り外した後、中蓋40に収容された化粧品Cを用いる。化粧品Cを使用した後は、上蓋60を中蓋40に対して真っ直ぐ嵌め込むことにより、残りの化粧品Cを上蓋60で覆うことができる。この場合、中蓋40の位置規制用凸部52と上蓋60の位置規制用凹部68とを嵌合することにより、上蓋60と中蓋40とを互いに回転方向に位置決めすることができる。
このように本実施の形態によれば、上蓋60の内側に、化粧品Cを成形する成形型Mが一体化され、成形型Mは、インナーリング63によって形成されている。これにより、捨てキャップ等を用いることなく、上蓋60を用いて化粧品Cを成形することができる。このため、収容容器10の製造工程において、廃棄物が増えたり、製造コストが増加したりすることを抑制することができる。また、化粧品Cがインナーリング63の形状に沿って成形されるので、インナーリング63の形状を適宜設定することにより、化粧品Cの成形の自由度を高めることができる。
また本実施の形態によれば、インナーリング63に、中蓋40の傾斜面45aと当接するテーパー部64が形成されている。これにより、インナーリング63と上縁部45との密着性が高められ、化粧品Cを上蓋60および中蓋40に充填する際、化粧品Cがインナーリング63と上縁部45との間から漏れないようにすることができる。
また本実施の形態によれば、上蓋60および中蓋40に、上蓋60と中蓋40との回転を規制する位置決め機構が設けられている。具体的には、中蓋40の位置規制用凸部52と上蓋60の段差部66とにより位置決め機構が構成されている。これにより、上蓋60と中蓋40との相対的な回転を規制し、上蓋60と中蓋40とを所定の位置関係に配置することができる。
また本実施の形態によれば、中蓋40に位置規制用凸部52が形成され、段差部66に位置規制用凸部52が摺動する位置規制用凹部68が設けられている。この場合、上蓋60を中蓋40に対して相対的に回転することにより、位置規制用凸部52が位置規制用凹部68を押し上げて上蓋60と中蓋40とが互いに離間するようになっている。これにより、上蓋60を中蓋40に対してねじるだけで上蓋60を中蓋40から開栓することができる。一方、上蓋60を中蓋40に取り付ける際には、上蓋60を中蓋40に対して上方から押し込むことにより、位置規制用凹部68が位置規制用凸部52によって案内され、上蓋60と中蓋40とが所定の位置関係になるように位置決めすることができる。
なお、上記実施の形態においては、上蓋60のインナーリング63の内面(化粧品C側の面)が平坦に形成されている場合を例にとって説明した。しかしながら、これに限らず、例えば図16に示すように、インナーリング63の内面に段差71が設けられていても良い。図16において、インナーリング63に2つの段差71が設けられているが、段差71は1つ以上の任意の個数だけ設けられていても良い。この場合、インナーリング63によって成形される化粧品Cの形状を階段状に形成することができる。これにより、上蓋60を取り外す際にインナーリング63によって化粧品Cの形状が崩れることを抑えることができる。
また、上記実施の形態においては、上蓋60の天面61の内面(化粧品C側の面)が平坦に形成されている場合を例にとって説明した。しかしながら、これに限らず、例えば図17に示すように、天面61の内面に多数の微細な凹凸61aが設けられていても良い。具体的には、上蓋60を成形する金型のうち天面61の内面に対応する部分にシボ加工やブラスト加工を施し、これを天面61の内面に転写することにより、天面61の内面に多数の微細な凹凸61aを形成しても良い。この場合、化粧品Cを上蓋60から離型しやすくすることができ、天面61の内面に化粧品Cが付着することを抑えることができる。
また、上記実施の形態においては、中蓋40に位置規制用凸部52が形成され、上蓋60に位置規制用凹部68を有する段差部66が設けられている場合を例にとって説明した。しかしながら、これに限らず、中蓋40に位置規制用凹部68を有する段差部66が形成され、上蓋60に位置規制用凸部52が形成されていても良い。あるいは、底部材20に位置規制用凹部68または位置規制用凸部52が形成されていても良い。
また、上記実施の形態においては、収容容器10の平面形状が略正五角形である場合を例にとって説明したが、これに限らず、収容容器10の平面形状は、三角形や四角形等の多角形、円形、楕円形等としても良い。
さらに、上記実施の形態においては、インナーリング63の平面形状が円形である場合を例にとって説明したが、これに限られない。上蓋60を中蓋40に対して回転させることなく、上蓋60を中蓋40から上昇させるように取り外す場合には、インナーリング63の平面形状は、三角形や四角形等の多角形、楕円形等としても良い。
本発明は上記実施の形態そのままに限定されるものではなく、実施段階ではその要旨を逸脱しない範囲で構成要素を変形して具体化できる。また、上記実施の形態に開示されている複数の構成要素の適宜な組み合わせにより、種々の発明を形成できる。実施の形態に示される全構成要素から幾つかの構成要素を削除してもよい。
10 収容容器
20 底部材
21 底面
22 円筒壁面
23 接地部
24 底部材外壁面
25 リブ
26 全周溝
27 底部内周突起
28 周状段部
40 中蓋
41 中蓋胴部
42 中蓋上面
43 スポーク
44 開口部
45 上縁部
45a 傾斜面
46 中蓋外周突起
47 フランジ部
48 係合爪
49 切欠部
51 収容部
52 位置規制用凸部
53 内周テーパー面
60 上蓋
61 天面
62 上蓋側壁面
63 インナーリング
64 テーパー部
65 上蓋内周突起
66 段差部
67 水平段部
68 位置規制用凹部

Claims (7)

  1. 底部材と、
    前記底部材に取り付けられるとともに、化粧品が充填される中蓋と、
    前記中蓋に着脱可能に設けられるとともに天面を有する上蓋と、を備え、
    前記上蓋の内側に、前記化粧品を成形する成形型が一体化され、
    前記成形型は、インナーリングによって形成され
    前記インナーリングは、筒形状を有し、前記上蓋の前記天面から連続して前記中蓋側に向けて延びている、収容容器。
  2. 前記中蓋は、中蓋胴部と、前記中蓋胴部の上部に形成された中蓋上面とを有し、前記中蓋上面は、前記化粧品が通過する開口部を有する、請求項1記載の収容容器。
  3. 前記インナーリングに、前記中蓋の一部と当接するテーパー部が形成されている、請求項1又は2記載の収容容器。
  4. 前記上蓋は天面を有し、前記天面の内面に微細な凹凸が形成されている、請求項1乃至3のいずれか一項記載の収容容器。
  5. 前記上蓋および前記中蓋の少なくとも一方に、前記上蓋と前記中蓋との回転を規制する位置決め機構が設けられている、請求項1乃至のいずれか一項記載の収容容器。
  6. 前記位置決め機構は、前記上蓋および前記中蓋の一方に形成された段差部を含む、請求項記載の収容容器。
  7. 前記上蓋および前記中蓋の他方に位置規制用凸部が形成され、前記段差部に前記位置規制用凸部が摺動する位置規制用凹部が設けられ、前記上蓋が前記中蓋に対して相対的に回転した際、前記位置規制用凸部が前記位置規制用凹部を押し上げて前記上蓋と前記中蓋とを互いに離間する、請求項記載の収容容器。
JP2017254646A 2017-12-28 2017-12-28 収容容器 Active JP6944153B2 (ja)

Priority Applications (1)

Application Number Priority Date Filing Date Title
JP2017254646A JP6944153B2 (ja) 2017-12-28 2017-12-28 収容容器

Applications Claiming Priority (1)

Application Number Priority Date Filing Date Title
JP2017254646A JP6944153B2 (ja) 2017-12-28 2017-12-28 収容容器

Publications (2)

Publication Number Publication Date
JP2019118530A JP2019118530A (ja) 2019-07-22
JP6944153B2 true JP6944153B2 (ja) 2021-10-06

Family

ID=67307550

Family Applications (1)

Application Number Title Priority Date Filing Date
JP2017254646A Active JP6944153B2 (ja) 2017-12-28 2017-12-28 収容容器

Country Status (1)

Country Link
JP (1) JP6944153B2 (ja)

Family Cites Families (5)

* Cited by examiner, † Cited by third party
Publication number Priority date Publication date Assignee Title
JPS61107748U (ja) * 1984-12-19 1986-07-08
JPH0430112Y2 (ja) * 1987-10-01 1992-07-21
JP2004311410A (ja) * 2003-03-26 2004-11-04 Konica Minolta Holdings Inc 有機エレクトロルミネッセンス素子、照明装置および表示装置
CN103653686B (zh) * 2012-09-07 2016-06-22 宋佳孟 化妆品用快捷灌注包装容器
JP2015231968A (ja) * 2014-06-10 2015-12-24 ロート製薬株式会社 外用製品及びその製造方法

Also Published As

Publication number Publication date
JP2019118530A (ja) 2019-07-22

Similar Documents

Publication Publication Date Title
US10799007B2 (en) Container for a cosmetic product and assembly method
US9314086B2 (en) Cosmetic container
CN105899438B (zh) 阀式封闭元件、包括阀式封闭元件的封闭盖以及用于制造阀式封闭元件的方法和设备
US9398800B2 (en) Cosmetic application device
US11019909B2 (en) Lip/skin applicator device with rotatable feature
KR101186260B1 (ko) 밀폐용기용 뚜껑 조립체
US20140231304A1 (en) Cosmetic case having sealing function
JP2009242001A (ja) 製品、特に化粧品を包装するシステムのための保護装置
KR20070064359A (ko) 어린이 보호용 압착 및 회전 클로저, 용기 및 패키지
JP4919877B2 (ja) 二重容器
KR101564981B1 (ko) 화장품 케이스
WO2021180348A1 (en) Case for lipstick, lip gloss, deodorant or cosmetics
KR20180098572A (ko) 립밤 애플리케이터 및 립밤 애플리케이터 제작 방법
JP2023051857A (ja) 化粧品用再充填可能な容器装置のためのケーシングおよび関連する容器装置
JP6944153B2 (ja) 収容容器
CN110461724A (zh) 用于包装产品、尤其是化妆品的装置的封闭帽
WO2012161111A1 (ja) 塗布容器
ES2765743T3 (es) Tapa de envase
BR112020026630B1 (pt) Receptáculo de medicamento compreendendo um corpo de receptáculo e uma base de recipiente
JP4293661B2 (ja) 液体化粧料の収納容器
JP6770776B2 (ja) 外用製剤の容器、およびこれを用いた外用製品
EP4537702A2 (en) Device for packaging a cosmetic product in the form of a stick
JP6507505B2 (ja) 嵌合キャップ及びその嵌合構造を有する容器
WO2014192864A1 (ja) 化粧料用中皿及び化粧料容器
WO2016060607A1 (en) Self-closing evaporation protection for lid/capsule

Legal Events

Date Code Title Description
A80 Written request to apply exceptions to lack of novelty of invention

Free format text: JAPANESE INTERMEDIATE CODE: A80

Effective date: 20180123

A621 Written request for application examination

Free format text: JAPANESE INTERMEDIATE CODE: A621

Effective date: 20200116

A131 Notification of reasons for refusal

Free format text: JAPANESE INTERMEDIATE CODE: A131

Effective date: 20210427

A521 Request for written amendment filed

Free format text: JAPANESE INTERMEDIATE CODE: A523

Effective date: 20210623

TRDD Decision of grant or rejection written
A01 Written decision to grant a patent or to grant a registration (utility model)

Free format text: JAPANESE INTERMEDIATE CODE: A01

Effective date: 20210803

A61 First payment of annual fees (during grant procedure)

Free format text: JAPANESE INTERMEDIATE CODE: A61

Effective date: 20210901

R150 Certificate of patent or registration of utility model

Ref document number: 6944153

Country of ref document: JP

Free format text: JAPANESE INTERMEDIATE CODE: R150

S111 Request for change of ownership or part of ownership

Free format text: JAPANESE INTERMEDIATE CODE: R313115

R350 Written notification of registration of transfer

Free format text: JAPANESE INTERMEDIATE CODE: R350

R250 Receipt of annual fees

Free format text: JAPANESE INTERMEDIATE CODE: R250

R250 Receipt of annual fees

Free format text: JAPANESE INTERMEDIATE CODE: R250