JP6917618B2 - 装置管理システム - Google Patents

装置管理システム Download PDF

Info

Publication number
JP6917618B2
JP6917618B2 JP2017159724A JP2017159724A JP6917618B2 JP 6917618 B2 JP6917618 B2 JP 6917618B2 JP 2017159724 A JP2017159724 A JP 2017159724A JP 2017159724 A JP2017159724 A JP 2017159724A JP 6917618 B2 JP6917618 B2 JP 6917618B2
Authority
JP
Japan
Prior art keywords
product processing
symbol
unique symbol
processing device
management system
Prior art date
Legal status (The legal status is an assumption and is not a legal conclusion. Google has not performed a legal analysis and makes no representation as to the accuracy of the status listed.)
Expired - Fee Related
Application number
JP2017159724A
Other languages
English (en)
Other versions
JP2019038550A (ja
Inventor
重俊 八田
重俊 八田
Current Assignee (The listed assignees may be inaccurate. Google has not performed a legal analysis and makes no representation or warranty as to the accuracy of the list.)
Ishida Co Ltd
Original Assignee
Ishida Co Ltd
Priority date (The priority date is an assumption and is not a legal conclusion. Google has not performed a legal analysis and makes no representation as to the accuracy of the date listed.)
Filing date
Publication date
Application filed by Ishida Co Ltd filed Critical Ishida Co Ltd
Priority to JP2017159724A priority Critical patent/JP6917618B2/ja
Priority to PCT/JP2018/021852 priority patent/WO2019039039A1/ja
Publication of JP2019038550A publication Critical patent/JP2019038550A/ja
Application granted granted Critical
Publication of JP6917618B2 publication Critical patent/JP6917618B2/ja
Expired - Fee Related legal-status Critical Current
Anticipated expiration legal-status Critical

Links

Images

Classifications

    • BPERFORMING OPERATIONS; TRANSPORTING
    • B65CONVEYING; PACKING; STORING; HANDLING THIN OR FILAMENTARY MATERIAL
    • B65BMACHINES, APPARATUS OR DEVICES FOR, OR METHODS OF, PACKAGING ARTICLES OR MATERIALS; UNPACKING
    • B65B57/00Automatic control, checking, warning, or safety devices
    • GPHYSICS
    • G06COMPUTING OR CALCULATING; COUNTING
    • G06QINFORMATION AND COMMUNICATION TECHNOLOGY [ICT] SPECIALLY ADAPTED FOR ADMINISTRATIVE, COMMERCIAL, FINANCIAL, MANAGERIAL OR SUPERVISORY PURPOSES; SYSTEMS OR METHODS SPECIALLY ADAPTED FOR ADMINISTRATIVE, COMMERCIAL, FINANCIAL, MANAGERIAL OR SUPERVISORY PURPOSES, NOT OTHERWISE PROVIDED FOR
    • G06Q50/00Information and communication technology [ICT] specially adapted for implementation of business processes of specific business sectors, e.g. utilities or tourism
    • G06Q50/04Manufacturing
    • GPHYSICS
    • G06COMPUTING OR CALCULATING; COUNTING
    • G06VIMAGE OR VIDEO RECOGNITION OR UNDERSTANDING
    • G06V10/00Arrangements for image or video recognition or understanding
    • G06V10/10Image acquisition
    • GPHYSICS
    • G06COMPUTING OR CALCULATING; COUNTING
    • G06VIMAGE OR VIDEO RECOGNITION OR UNDERSTANDING
    • G06V10/00Arrangements for image or video recognition or understanding
    • G06V10/98Detection or correction of errors, e.g. by rescanning the pattern or by human intervention; Evaluation of the quality of the acquired patterns
    • YGENERAL TAGGING OF NEW TECHNOLOGICAL DEVELOPMENTS; GENERAL TAGGING OF CROSS-SECTIONAL TECHNOLOGIES SPANNING OVER SEVERAL SECTIONS OF THE IPC; TECHNICAL SUBJECTS COVERED BY FORMER USPC CROSS-REFERENCE ART COLLECTIONS [XRACs] AND DIGESTS
    • Y02TECHNOLOGIES OR APPLICATIONS FOR MITIGATION OR ADAPTATION AGAINST CLIMATE CHANGE
    • Y02PCLIMATE CHANGE MITIGATION TECHNOLOGIES IN THE PRODUCTION OR PROCESSING OF GOODS
    • Y02P90/00Enabling technologies with a potential contribution to greenhouse gas [GHG] emissions mitigation
    • Y02P90/30Computing systems specially adapted for manufacturing

Landscapes

  • Engineering & Computer Science (AREA)
  • General Physics & Mathematics (AREA)
  • Theoretical Computer Science (AREA)
  • Physics & Mathematics (AREA)
  • Multimedia (AREA)
  • Business, Economics & Management (AREA)
  • Quality & Reliability (AREA)
  • Economics (AREA)
  • Primary Health Care (AREA)
  • Health & Medical Sciences (AREA)
  • Mechanical Engineering (AREA)
  • General Health & Medical Sciences (AREA)
  • Human Resources & Organizations (AREA)
  • Marketing (AREA)
  • Manufacturing & Machinery (AREA)
  • Strategic Management (AREA)
  • Tourism & Hospitality (AREA)
  • General Business, Economics & Management (AREA)
  • Character Input (AREA)
  • Character Discrimination (AREA)
  • Management, Administration, Business Operations System, And Electronic Commerce (AREA)

Description

本発明は、商品を包装材で覆う商品処理装置を管理するシステムに関する。
商品をフィルムで包装するための製袋包装機、および、商品をダンボール箱に詰めるための箱詰め装置等の商品処理装置は、運転開始前に、セットアップが正しく行われているか否かを確認する必要がある。ここで、セットアップとは、例えば、処理対象の商品に合ったフィルムまたはダンボール箱を装置にセットする作業である。例えば、特許文献1(特開2006−36246号公報)に開示されるような製袋包装機の場合、運転開始前に、包装対象の商品に合った型番のフィルムがセットされているか否かを確認する必要がある。従来、このようなセットアップ確認作業は、商品処理装置の使用者が、フィルムまたはダンボール箱を目視で確認することで行われていた。
しかし、商品処理装置のセットアップ確認作業が目視で行われる場合、作業ミスにより運転開始前のセットアップが正しく行われないおそれがある。そのため、セットアップ確認作業の自動化が求められている。
本発明の目的は、商品処理装置の運転開始前のセットアップの確認作業を自動で行うことができる装置管理システムを提供することである。
本発明に係る装置管理システムは、商品を包装材で覆う商品処理を行う商品処理装置を管理する。この装置管理システムは、撮影部と、読み取り部と、制御部とを備える。撮影部は、包装材に付与されている第1固有記号と、商品処理装置に付与されている第2固有記号とを撮影する。読み取り部は、撮影部が撮影した第1固有記号および第2固有記号を読み取る。制御部は、読み取り部が読み取った第1固有記号である第1読み取り済み記号、および、読み取り部が読み取った第2固有記号である第2読み取り済み記号に基づいて、商品処理装置を管理する。撮影部は、第1固有記号および第2固有記号が同一の画面に収まるように、第1固有記号および第2固有記号を撮影する。
この装置管理システムは、商品処理装置にセットされている包装材に付されている第1固有記号と、商品処理装置に付されている第2固有記号とを読み取り、読み取った第1・第2固有記号に基づいて、包装材と商品処理装置との組合せが正しいか否かを判定する。従って、この装置管理システムは、運転開始前のセットアップの確認作業を自動で行うことができる。
また、本発明に係る装置管理システムは、第1固有記号と第2固有記号との組合せを含む照合情報を記憶する記憶部をさらに備えることが好ましい。この場合、制御部は、第1読み取り済み記号と第2読み取り済み記号との組合せが、記憶部に記憶されている照合情報に含まれている場合に、第2読み取り済み記号が付与されている商品処理装置の商品処理を許可する。
この場合、装置管理システムは、記憶部に記憶されている第1固有記号と第2固有記号との正しい組み合わせに基づいて、運転開始前のセットアップの確認作業を自動で行うことができる。
また、本発明に係る装置管理システムは、商品処理装置の商品処理に関する処理設定を登録するための登録部をさらに備えることが好ましい。この場合、記憶部は、第1固有記号と第2固有記号と処理設定との組合せを含む照合情報を記憶する。また、制御部は、第1読み取り済み記号と、第2読み取り済み記号と、登録部に登録されている処理設定との組合せが、記憶部に記憶されている照合情報に含まれている場合に、第2読み取り済み記号が付与されている商品処理装置の商品処理を許可する。
この場合、装置管理システムは、記憶部に記憶されている第1固有記号と第2固有記号と処理設定との正しい組み合わせに基づいて、運転開始前のセットアップの確認作業を自動で行うことができる。
また、商品処理装置は、包装材をロックするための機構を有することが好ましい。この場合、制御部は、さらに、包装材がロックされている場合に、商品処理装置の商品処理を許可する。
この場合、装置管理システムは、商品処理装置の運転開始直前の包装材の変更等による、不適切な包装材の使用を防止することができる。
また、制御部は、さらに、商品処理装置の商品処理を許可した後に包装材のロックが解除された場合に、商品処理装置の商品処理を禁止することが好ましい。
この場合、装置管理システムは、セットアップの確認作業の完了後、商品処理装置にセットされている包装材が適切であることが保証されなくなった場合に、不適切な包装材の使用を防止することができる。
また、読み取り部は、画面内の第1領域から第1固有記号を読み取り、画面内の第2領域から第2固有記号を読み取ることが好ましい。
この場合、読み取り部は、第1固有記号および第2固有記号を同時に読み取ることができるので、装置管理システムは、運転開始前のセットアップの確認作業を効率的に行うことができる。
また、読み取り部および制御部は、商品処理装置とは異なる管理装置に備えられていることが好ましい。
この場合、読み取り部および制御部を有する装置として、商品処理装置とは別のパソコン等を利用することができる。そのため、従来の商品処理装置に、読み取り部および制御部の機能を容易に追加することができる。
また、管理装置は、商品処理装置とネットワークを介して接続されることが好ましい。この場合、装置管理システムは、撮影部が撮影した第1固有記号および第2固有記号を管理装置に送信する送信部をさらに備える。
この場合、読み取り部および制御部を有する装置として、ネットワーク上のサーバ等を利用することができる。そのため、従来の商品処理装置に、読み取り部および制御部の機能を容易に追加することができる。
本発明に係る装置管理システムは、商品処理装置の運転開始前のセットアップの確認作業を自動で行うことができる。
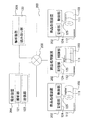
本発明の一実施形態である装置管理システム100の全体構成を表す図である。 商品処理装置102の一例である製袋包装機1の斜視図である。 撮影装置104を用いて取得された認証用画像Pの一例である。 記憶部124に記憶されている照合情報の一例である。 装置管理システム100の運用の手順を表すフローチャートである。 変形例Aにおける、装置管理システム100の全体構成を表す図である。 変形例Aにおける、記憶部124に記憶されている照合情報の一例である。 変形例Dにおける、撮影装置104のディスプレイ104aに表示される第1撮影領域R1および第2撮影領域R2の一例である。 変形例Fにおける、装置管理システム200の全体構成を表す図である。 変形例Fにおける、装置管理システム200の運用の手順を表すフローチャートである。
本発明の実施形態について、図面を参照しながら説明する。以下に説明される実施形態は、本発明の具体例の一つであって、本発明の技術的範囲を限定するものではない。
(1)装置管理システムの構成
本発明に係る装置管理システムは、商品を包装材で覆う商品処理を行う商品処理装置を管理する。この装置管理システムは、商品処理装置の運転開始前のセットアップ確認作業を自動化する機能を有する。セットアップ確認作業とは、商品処理の対象である商品に合った種類の包装材が商品処理装置にセットされているか否かを確認するための作業である。
図1は、本実施形態の装置管理システム100の全体構成を表す図である。装置管理システム100は、主として、商品処理装置102と、撮影装置104と、解析装置106とを有する。商品処理装置102、撮影装置104および解析装置106は、LAN等のネットワーク108を介して、有線または無線により互いに接続されている。装置管理システム100は、複数の商品処理装置102を有してもよく、複数の撮影装置104を有してもよく、複数の解析装置106を有してもよい。本実施形態では、装置管理システム100は、図1に示されるように、3台の商品処理装置102と、1台の撮影装置104と、1台の解析装置106とから構成されているとする。各商品処理装置102には、商品処理の対象である商品を覆うための包装材103がセットされている。
(2)商品処理装置
商品処理装置102は、例えば、商品の包装または箱詰めを行う装置である。次に、商品処理装置102の一例である製袋包装機について説明する。製袋包装機は、食品等の被包装物をフィルムで包装して袋詰めするための装置である。
図2は、製袋包装機1の斜視図である。製袋包装機1は、主として、組合せ計量ユニット2と、製袋包装ユニット3と、フィルム供給ユニット4と、操作スイッチ5と、液晶ディスプレイ6と、制御装置(図示せず)とから構成される。
組合せ計量ユニット2は、製袋包装ユニット3の上方に配置される。組合せ計量ユニット2は、被包装物の重量を複数の計量ホッパで計量し、所定の合計重量になるように各計量ホッパで計量された重量の値を組み合わせる。組合せ計量ユニット2は、組み合わせた所定の合計重量の被包装物を下方に排出して、製袋包装ユニット3に供給する。
製袋包装ユニット3は、フィルム供給ユニット4から供給されたフィルムから袋を成形しつつ、組合せ計量ユニット2から被包装物が供給されるタイミングに合わせて、被包装物を袋の中に密封して包装する。
フィルム供給ユニット4は、製袋包装ユニット3に隣接して設置され、袋を成形するためのフィルムを製袋包装ユニット3に供給する。フィルム供給ユニット4には、フィルムが巻かれたフィルムロールがセットされている。フィルム供給ユニット4は、フィルムロールからフィルムを繰り出して製袋包装ユニット3に供給する。
操作スイッチ5および液晶ディスプレイ6は、製袋包装機1の前面に取り付けられている。液晶ディスプレイ6は、操作スイッチ5の操作者が視認できる位置に配置されている、タッチパネル式のディスプレイである。操作スイッチ5および液晶ディスプレイ6は、製袋包装機1に対する指示、および、製袋包装機1に関する設定を受け付ける入力装置として機能する。液晶ディスプレイ6は、製袋包装機1に関する情報を表示する出力装置として機能する。
制御装置は、主として、CPU、ROM、RAMおよびHDD(ハードディスクドライブ)等によって構成されているコンピュータである。なお、HDDの代わりにSSD(ソリッドステートドライブ)が用いられてもよい。制御装置は、図示されない表示制御回路、入力回路および通信ポート等を備えている。表示制御回路は、液晶ディスプレイ6の表示を制御する回路である。入力回路は、液晶ディスプレイ6のタッチパネルおよび操作スイッチ5を介して入力された入力データを取り込む回路である。通信ポートは、プリンタ等の外部機器、および、ネットワーク108との接続を可能にするポートである。
制御装置は、組合せ計量ユニット2、製袋包装ユニット3、フィルム供給ユニット4、操作スイッチ5および液晶ディスプレイ6に接続されている。制御装置は、操作スイッチ5および液晶ディスプレイ6からの入力に基づいて、組合せ計量ユニット2、製袋包装ユニット3およびフィルム供給ユニット4を制御し、液晶ディスプレイ6に種種の情報を出力する。
図1に示されるように、製袋包装機1等の商品処理装置102が使用する包装材103には、第1固有記号111が付与されている。第1固有記号111は、商品処理装置102が使用する包装材103の種類を一意に識別するための記号である。第1固有記号111は、例えば、英数字から構成される文字列、バーコードおよび二次元コードである。本実施形態では、第1固有記号111は、品番であり、7個の数字のみから構成される文字列(ID番号)であるとする。第1固有記号111は、包装材103に直接印刷されてもよく、第1固有記号111が印刷されたシール等が包装材103に貼り付けられてもよい。商品処理装置102が図2に示される製袋包装機1である場合、フィルム供給ユニット4にセットされる包装材103であるフィルムロールに第1固有記号111が付与される。
また、図1に示されるように、各商品処理装置102には、第2固有記号112が付与されている。第2固有記号112は、商品処理装置102を一意に識別するための記号である。第2固有記号112は、例えば、英数字から構成される文字列、バーコードおよび二次元コードである。本実施形態では、第2固有記号112は、10個の数字のみから構成される文字列(ID番号)であるとする。第2固有記号112は、商品処理装置102のフレームの表面に直接印刷されてもよく、第2固有記号112が印刷されたシール等が商品処理装置102のフレームの表面に貼り付けられてもよい。各商品処理装置102には、自身の第2固有記号112が記憶されている。
(3)撮影装置
撮影装置104は、画像を撮影するためのカメラ等を有する。本実施形態では、撮影装置104は、カメラ付きのスマートフォン、または、カメラ付きのスマートグラスであるとする。撮影装置104は、無線によりネットワーク108に接続されている。撮影装置104は、撮影した画像を解析装置106に送信する機能を有する。撮影装置104は、主として、撮影部121と、送信部122とを有する。これらは、撮影装置104の記憶装置に記憶され実行されるプログラムである。
撮影部121は、撮影装置104付属のカメラで画像を撮影するためのソフトウェア等である。撮影部121は、第1固有記号111および第2固有記号112を撮影するために用いられる。装置管理システム100のセットアップ確認作業を自動化する機能を利用するためには、商品処理装置102の使用者は、撮影部121を利用して、第1固有記号111および第2固有記号112が同一の画面に収まるように、第1固有記号111および第2固有記号112を撮影する必要がある。言い換えると、使用者は、撮影装置104を操作して、第1固有記号111と第2固有記号112との両方が写っている認証用画像を取得する必要がある。そのため、第1固有記号111および第2固有記号112は、使用者が撮影装置104を用いて認証用画像を取得しやすい位置に設けられている。例えば、第2固有記号112は、商品処理装置102にセットされる包装材103の近傍に位置するフレームの表面に設けられている。図3は、撮影装置104を用いて取得された認証用画像Pの一例である。図3に示される認証用画像Pの右側には、包装材103に付されている第1固有記号111を表す文字列「1110123」が写っている。図3の認証用画像の左側には、商品処理装置102に付されている第2固有記号112を表す文字列「1120987654」が写っている。
送信部122は、撮影装置104にインストールされている専用のアプリケーション等である。送信部122は、撮影部121の機能を用いて使用者が取得した認証用画像を解析装置106に送信するために用いられる。送信部122は、認証用画像を取得と同時に自動的に送信してもよく、また、認証用画像を使用者の指示によって送信してもよい。
(4)解析装置
解析装置106は、例えば、LANケーブルを介して各商品処理装置102と接続されているパソコン(サーバ)である。解析装置106は、主として、読み取り部123と、記憶部124と、制御部125とを有する。これらは、解析装置106の記憶装置に記憶され実行されるプログラムである。
読み取り部123は、撮影装置104の送信部122から受信した認証用画像を解析して、第1固有記号111および第2固有記号112を読み取る。具体的には、読み取り部123は、光学文字認識(OCR)技術を用いて、認証用画像に含まれている第1・第2固有記号111,112を自動的に識別し、第1・第2固有記号111,112それぞれを対応する文字コードの列に変換する。これにより、解析装置106は、包装材103に付されている第1固有記号111、および、商品処理装置102に付されている第2固有記号112をコンピュータ処理することができる。以下、読み取り部123が読み取った第1固有記号111を第1読み取り済み記号と呼び、読み取り部123が読み取った第2固有記号112を第2読み取り済み記号と呼ぶ。読み取り部123は、認証用画像から第1・第2読み取り済み記号を取得する。
記憶部124は、第1固有記号111と第2固有記号112との組合せを含む照合情報を記憶する。具体的には、照合情報は、第1固有記号111と第2固有記号112とが紐付けされたレコードを含むデータベースである。装置管理システム100の使用者は、照合情報を解析装置106に予め登録して記憶部124に保存しておく。図4は、記憶部124に記憶されている照合情報の一例である。図4の表において、右側の列は第1固有記号111を表し、左側の列は第2固有記号112を表す。同じ行に含まれる第1固有記号111と第2固有記号112とは、互いに紐付けされている。例えば、第1固有記号111「1110123」は、第2固有記号112「1120987654」に紐付けされている。これは、第1固有記号111「1110123」が付されている包装材103が、第2固有記号112「1120987654」が付されている商品処理装置102にセットされている場合、商品処理の対象である商品に合った種類の包装材103が商品処理装置102にセットされていることを意味する。
制御部125は、第1読み取り済み記号および第2読み取り済み記号に基づいて、商品処理装置102の運転開始を許可または禁止する。具体的には、制御部125は、読み取り部123が認証用画像から取得した第1読み取り済み記号と第2読み取り済み記号との組み合わせが、記憶部124の照合情報に含まれているか否かを判定する。制御部125は、第1読み取り済み記号と第2読み取り済み記号との組み合わせが照合情報に含まれている場合、商品処理装置102の運転開始を許可する。一方、制御部125は、第1読み取り済み記号と第2読み取り済み記号との組み合わせが照合情報に含まれていない場合、商品処理装置102の運転開始を禁止する。制御部125が商品処理装置102の運転開始を許可すると、使用者は、商品処理装置102の運転を開始することができる。例えば、商品処理装置102が図2に示される製袋包装機1である場合、使用者は、操作スイッチ5に含まれる運転開始ボタンを押して製袋包装機1を起動することができる。
(5)装置管理システムの動作
次に、装置管理システム100の運用の手順について説明する。図5は、装置管理システム100の運用の手順を表すフローチャートである。ステップS1〜S3は、事前準備に関し、任意の順番で実行可能である。ステップS4〜S8は、セットアップ確認作業に関する。図5の処理の開始時点では、商品処理装置102の運転開始は禁止されているものとする。また、商品処理装置102にセットされている包装材103には、第1固有記号111が予め付与されている。
ステップS1では、装置管理システム100の各商品処理装置102に、第2固有記号112を表すID番号が登録される。ステップS1では、例えば、装置管理システム100の使用者は、各商品処理装置102を操作して、適切なID番号を各商品処理装置102の制御装置に登録する。
ステップS2では、装置管理システム100の各商品処理装置102に、第2固有記号112が付与される。ステップS2では、例えば、装置管理システム100の使用者は、第2固有記号112が印刷されたシール等を商品処理装置102のフレームに貼り付ける。しかし、使用者は、第2固有記号112を商品処理装置102のフレームに直接記入または印刷してもよい。
ステップS3では、解析装置106に、照合情報が登録される。ステップS3では、例えば、装置管理システム100の使用者は、解析装置106を操作して、図4に示されるような第1固有記号111と第2固有記号112との組合せを含む照合情報を解析装置106の記憶部124に記憶させる。
ステップS4では、撮影装置104を用いて認証用画像を取得する。具体的には、商品処理装置102の使用者は、撮影装置104を操作して、第1固有記号111と第2固有記号112との両方が写っている認証用画像を取得する。
ステップS5では、ステップS4で取得した認証用画像が解析装置106に送信される。認証用画像の送信は、撮影装置104が自動的に行ってもよい。
ステップS6では、解析装置106は、認証用画像を解析して、第1読み取り済み記号および第2読み取り済み記号を取得する。第1・第2読み取り済み記号は、それぞれ、第1・第2固有記号111,112を表す文字列データである。
ステップS7では、解析装置106は、ステップS6で取得した第1読み取り済み記号と第2読み取り済み記号との組み合わせが、記憶部124に記憶される照合情報に含まれているか否かを判定する認証処理を行う。認証処理において、組み合わせが照合情報に含まれている場合、認証結果はOKであり、含まれていない場合、認証結果はNGである。解析装置106は、認証結果を商品処理装置102に送信する。認証結果の送信先の商品処理装置102は、認証処理で用いられた第2読み取り済み記号に対応する第2固有記号112が付されている商品処理装置102である。すなわち、解析装置106は、撮影装置104によって第2固有記号112が撮影された商品処理装置102に、認証結果を送信する。解析装置106は、認証処理によって、商品処理装置102の運転開始を許可または禁止する。
ステップS8では、商品処理装置102は、解析装置106から受信した認証結果の判定処理を行う。ステップS8において、認証結果がOKである場合、ステップS9で商品処理装置102の運転開始が許可される。具体的には、商品処理装置102は、自身の運転開始ボタン等を使用者が押せる状態にする。その後、装置管理システム100は、セットアップ確認作業を終了する。一方、ステップS8において、認証結果がNGである場合、商品処理装置102の運転開始が禁止された状態のまま、装置管理システム100は、セットアップ確認作業を終了する。
なお、装置管理システム100によるセットアップ確認作業を再度行う場合、事前準備に関するステップS1〜S3は省略することができる。しかし、解析装置106に登録されている照合情報を更新する場合には、ステップS3のみを再実行する必要がある。
(6)特徴
本実施形態では、装置管理システム100の使用者は、撮影装置104を用いて、商品処理装置102にセットされている包装材103に付されている第1固有記号111と、商品処理装置102に付されている第2固有記号112とを同時に撮影して認証用画像を取得する。解析装置106は、認証用画像から読み取った第1・第2固有記号111,112である第1・第2読み取り済み記号に基づいて、商品処理装置102の運転開始前のセットアップ確認作業を行う。具体的には、解析装置106は、第1読み取り済み記号と第2読み取り済み記号との組み合わせが解析装置106に登録されている場合、第2読み取り済み記号が付されている商品処理装置102に適切な包装材103がセットされていると判定する。この場合、商品処理装置102は、解析装置106の判定結果に基づいて、自身の運転開始ボタン等を使用者が押せる状態にする。従って、装置管理システム100は、商品処理装置102の運転開始前のセットアップ確認作業を自動で行うことができる。
また、装置管理システム100の使用者は、撮影装置104を用いて、第1固有記号111および第2固有記号112を同一の画面に収まるように撮影することで認証用画像を取得することができる。そのため、装置管理システム100は、商品処理装置102の運転開始前のセットアップ確認作業を効率的に行うことができる。
また、装置管理システム100の使用者は、商品処理装置102にもともと付属していない装置である撮影装置104および解析装置106を用いて、商品処理装置102の運転開始前のセットアップ確認作業を行うことができる。そのため、従来の商品処理装置102の構成に、撮影装置104および解析装置106を追加するだけで、セットアップ確認作業の自動化の機能を容易に追加することができる。
(7)変形例
以上、本発明の一実施形態について説明したが、本発明は上記実施形態に限定されるものではなく、発明の要旨を逸脱しない範囲で種々の変更が可能である。例えば、本発明には、次に説明する変形例の少なくとも1つを適用することができる。
(7−1)変形例A
図6は、本変形例における、装置管理システム100の全体構成を表す図である。図6に示されるように、各商品処理装置102は、登録部126をさらに有してもよい。登録部126は、商品処理装置102の商品処理に関する設定である処理設定を登録するためのプログラムである。処理設定とは、例えば、商品処理装置102による商品処理の対象である商品の種類、および、商品処理装置102による商品処理の能力に関する設定である。商品処理装置102に登録されている処理設定は、その商品処理装置102が現在使用している処理設定である。
本変形例では、記憶部124は、包装材103に付与されている第1固有記号111と、商品処理装置102に付与されている第2固有記号112と、処理設定を一意に識別するための予約番号113とが紐付けされた照合情報を記憶する。図7は、本変形例の記憶部124に記憶されている照合情報の一例である。図7の表において、右側の列は第1固有記号111を表し、中央の列は第2固有記号112を表し、左側の列は予約番号113を表す。図7では、予約番号113は、4個の数字からなるID番号で表されている。
装置管理システム100の使用者は、撮影装置104を用いて認証用画像を撮影して解析装置106に送信する際に、認証用画像を撮影した商品処理装置102に登録されている処理設定に対応する予約番号113も解析装置106に送信する。解析装置106は、撮影装置104から、認証用画像および予約番号113を受信する。解析装置106は、受信した認証用画像から第1・第2読み取り済み記号を取得する。解析装置106は、第1読み取り済み記号と第2読み取り済み記号と予約番号113との組み合わせが照合情報に含まれている場合に、第2読み取り済み記号が付されている商品処理装置102の商品処理を許可する。
本変形例では、セットアップ確認作業を行う際に、実施形態における解析装置106の認証処理に加えて、商品処理装置102に登録されている処理設定の照合処理をさらに行う。そのため、第1読み取り済み記号と第2読み取り済み記号との組み合わせが適切でも、商品処理装置102に登録されている処理設定が適切ではない場合、解析装置106は、認証結果をNGとして、商品処理装置102の運転開始を禁止する。これにより、商品処理装置102に不適切な処理設定が登録されたまま、商品処理装置102が商品処理を開始することが防止される。
(7−2)変形例B
装置管理システム100では、商品処理装置102は、包装材103をロックするための機構をさらに有してもよい。包装材103がロックされている場合、商品処理装置102にセットされている包装材103を取り外すことができない。そのため、包装材103がロックされている場合、商品処理装置102にセットされている包装材103を、別の種類の包装材103に交換することができない。商品処理装置102が商品処理を行っていない間は、包装材103のロックを解除することができる。
本変形例では、解析装置106の制御部125は、認証結果がOKであり、かつ、包装材103がロックされている場合に、商品処理装置102の商品処理を許可してもよい。言い換えると、制御部125は、認証結果がOKであっても、包装材103がロックされていない場合、商品処理装置102の商品処理を許可しない。包装材103がロックされていない場合、解析装置106による認証結果がOKであっても、商品処理装置102にセットされている包装材103を、別の種類の包装材103に交換することができる。包装材103が交換された場合、商品処理装置102は、商品処理を適切に行うことができなくなるおそれがある。従って、本変形例の装置管理システム100は、商品処理装置102にセットされている不適切な包装材103の使用を防止することができる。
また、本変形例では、解析装置106の制御部125は、認証結果がOKであっても、包装材103のロックが解除された場合、認証結果を無効にして、商品処理装置102の商品処理を許可しないことが好ましい。なぜなら、認証結果がOKであっても、包装材103のロックが解除された場合、認証結果が信頼できなくなっている可能性があるので、商品処理装置102の使用者は、図5のステップS4以降のセットアップ確認作業を再度実行する必要があるからである。従って、本変形例の装置管理システム100は、セットアップ確認作業の完了後、商品処理装置102にセットされている包装材103が適切であることが保証されなくなった場合に、不適切な包装材103の使用を防止することができる。
なお、本変形例では、解析装置106の制御部125は、認証結果がOKであっても、商品処理装置102の電源が再投入されたり、商品処理装置102に登録されている処理設定(変形例Aの予約番号113)が変更されたりした場合にも、認証結果を無効にして、商品処理装置102の商品処理を許可しないことが好ましい。なぜなら、これらの場合でも、認証結果が信頼できなくなっている可能性があるからである。
(7−3)変形例C
実施形態の装置管理システム100では、解析装置106は、認証用画像を解析して、第1読み取り済み記号および第2読み取り済み記号を取得する。その後、解析装置106は、第1読み取り済み記号と第2読み取り済み記号との組み合わせが、記憶部124の照合情報に含まれているか否かを判定する認証処理を行う。
このとき、解析装置106は、第1読み取り済み記号および第2読み取り済み記号を取得した時刻と、認証処理を行った時刻との間が、所定の期間以上離れている場合、認証結果を無効にして、商品処理装置102の商品処理を許可しないことが好ましい。これにより、第1読み取り済み記号および第2読み取り済み記号の改竄等による不正な認証処理を防止することができる。
(7−4)変形例D
装置管理システム100では、撮影装置104は、認証用画像の所定の領域に第1・第2固有記号111,112が収まるようにナビゲーションする機能を有してもよい。例えば、撮影装置104がスマートフォンである場合、撮影装置104のディスプレイに、第1固有記号111が収まるための第1撮影領域と、第2固有記号112が収まるための第2撮影領域を表示してもよい。図8は、スマートフォンである撮影装置104のディスプレイ104aに表示される第1撮影領域R1および第2撮影領域R2の一例である。図8に示されるディスプレイ104aには、撮影装置104の操作者に対する指示が表示されている。第1撮影領域R1および第2撮影領域R2は、認証用画像全体の一部分の矩形領域であり、かつ、互いに重なり合わない。図8では、第1撮影領域R1は、ディスプレイ104aの画面右側に位置する矩形領域であり、第2撮影領域R2は、ディスプレイ104aの画面左側に位置する矩形領域である。また、撮影装置104がスマートグラスである場合、例えば、拡張現実(AR)の機能を用いて、透過型ディスプレイに第1撮影領域および第2撮影領域を表示してもよい。
本変形例では、解析装置106は、認証用画像を解析する際に、認証用画像全体を解析する代わりに、第1撮影領域内の画像のみを解析して第1読み取り済み記号を取得し、かつ、第2撮影領域内の画像のみを解析して第2読み取り済み記号を取得することができる。従って、本変形例では、解析装置106による認証用画像の解析速度が向上するので、セットアップ確認作業にかかる時間を短縮することができる。
(7−5)変形例E
実施形態では、商品処理装置102の一例として、食品等の被包装物をフィルムで包装して袋詰めするための製袋包装機1について説明した。しかし、商品処理装置102は、製袋包装機1以外の装置でもよい。例えば、商品処理装置102は、食品が包装された袋をダンボール箱に詰めるための箱詰め装置であってもよい。この場合、第1固有記号111は、包装材103であるダンボール箱に付されている。
(7−6)変形例F
実施形態の装置管理システム100では、解析装置106の読み取り部123は、撮影装置104が取得した認証用画像を解析して第1・第2読み取り済み記号を取得する。そして、解析装置106の制御部125は、認証用画像から取得した第1読み取り済み記号と第2読み取り済み記号との組み合わせが、解析装置106の記憶部124に記憶されている照合情報に含まれているか否かを判定する認証処理を行う。すなわち、解析装置106は、読み取り部123と、記憶部124と、制御部125とを有する。
しかし、解析装置106は、読み取り部123、記憶部124および制御部125の全てを有していなくてもよい。この場合、読み取り部123、記憶部124および制御部125の一部は、他の装置に組み込まれてもよい。
図9は、本変形例の装置管理システム200の全体構成を表す図である。装置管理システム200は、主として、3台の商品処理装置202と、1台の撮影装置204と、1台の解析装置206とを有する。商品処理装置202、撮影装置204および解析装置206は、LAN等のネットワーク208を介して、有線または無線により互いに接続されている。図9と、実施形態に関する図1との主な相違点は、解析装置206は、読み取り部123のみを有し、商品処理装置202は、記憶部124および制御部125を有することである。なお、本変形例において、包装材103、第1固有記号111、第2固有記号112、撮影部121、送信部122、読み取り部123、記憶部124および制御部125の基本的な機能は、実施形態と同じである。
次に、装置管理システム200の運用の手順について説明する。図10は、装置管理システム200の運用の手順を表すフローチャートである。ステップS11〜S13は、事前準備に関し、任意の順番で実行可能である。ステップS14〜S18は、セットアップ確認作業に関する。図10の処理の開始時点では、商品処理装置202の運転開始は禁止されているものとする。また、商品処理装置202にセットされている包装材103には、第1固有記号111が予め付与されている。撮影装置204は、スマートフォン等のディスプレイ付きの携帯機器である。本変形例では、スマートグラスは、撮影装置204として用いられない。
ステップS11では、装置管理システム200の各商品処理装置202に、第2固有記号112を表すID番号が登録される。ステップS11では、例えば、装置管理システム200の使用者は、各商品処理装置202を操作して、適切なID番号を各商品処理装置202の制御装置に登録する。
ステップS12では、装置管理システム200の各商品処理装置202に、第2固有記号112が付与される。ステップS12では、例えば、装置管理システム200の使用者は、第2固有記号112が印刷されたシール等を商品処理装置202のフレームに貼り付ける。しかし、使用者は、第2固有記号112を商品処理装置202のフレームに直接記入または印刷してもよい。
ステップS13では、商品処理装置202に、照合情報が登録される。ステップS13では、例えば、装置管理システム200の使用者は、商品処理装置202を操作して、図4に示されるような第1固有記号111と第2固有記号112との組合せを含む照合情報を商品処理装置202の制御装置等に記憶させる。
ステップS14では、撮影装置204を用いて認証用画像を取得する。具体的には、商品処理装置202の使用者は、撮影装置204を操作して、第1固有記号111と第2固有記号112との両方が写っている認証用画像を取得する。
ステップS15では、ステップS14で取得した認証用画像が解析装置206に送信される。認証用画像の送信は、撮影装置204が自動的に行ってもよい。
ステップS16では、解析装置206の読み取り部123は、認証用画像を解析して、第1読み取り済み記号および第2読み取り済み記号を取得する。第1・第2読み取り済み記号は、それぞれ、第1・第2固有記号111,112を表す文字列データである。
ステップS17では、解析装置206は、第1・第2読み取り済み記号を撮影装置204に送信する。第1・第2読み取り済み記号の送信は、解析装置206が自動的に行ってもよい。
ステップS18では、撮影装置204は、解析装置206から受信した第1・第2読み取り済み記号をバーコードにして、撮影装置204のディスプレイに表示する。
ステップS19では、装置管理システム200の使用者は、撮影装置204のディスプレイに表示されたバーコードを、商品処理装置202に付属のバーコードスキャナーで読み取る。バーコードを読み取る商品処理装置202は、使用者が撮影装置204を用いて撮影した第2固有記号112が付されている商品処理装置202である。これにより、商品処理装置202は、解析装置206が取得した第1・第2読み取り済み記号を、撮影装置204を介して取得することができる。
ステップS20では、商品処理装置202の制御部125は、ステップS19において取得した第1読み取り済み記号と第2読み取り済み記号との組み合わせが、商品処理装置202の記憶部124に記憶されている照合情報に含まれているか否かを判定する認証処理を行う。認証処理において、組み合わせが照合情報に含まれている場合、認証結果はOKであり、含まれていない場合、認証結果はNGである。
ステップS21では、商品処理装置202は、認証結果の判定処理を行う。ステップS21において、認証結果がOKである場合、ステップS22で商品処理装置202の運転開始が許可される。具体的には、商品処理装置202は、自身の運転開始ボタン等を使用者が押せる状態にする。その後、装置管理システム200は、セットアップ確認作業を終了する。一方、ステップS21において、認証結果がNGである場合、商品処理装置202の運転開始が禁止された状態のまま、装置管理システム200は、セットアップ確認作業を終了する。
上述のように、装置管理システム200では、解析装置206は、撮影装置204が取得した認証用画像の解析のみを行う。解析装置206は、解析結果を撮影装置204に送信し、商品処理装置202は、撮影装置204を介して取得した解析結果に基づいて認証処理を行う。そのため、解析装置206として、認証用画像の解析のみを行う装置および外部サービスを利用することができる。例えば、装置管理システム200では、解析装置206として、外部のOCR解析サービスを利用することができる。この場合、解析装置206を用意する必要がない。
本変形例では、ステップS18において、撮影装置204は、解析装置206から受信した第1・第2読み取り済み記号を二次元コードにして、撮影装置204のディスプレイに表示してもよい。この場合、ステップS19において、装置管理システム200の使用者は、撮影装置204のディスプレイに表示された二次元コードを、商品処理装置202に付属の専用スキャナーで読み取る。
本発明に係る装置管理システムは、商品処理装置の運転開始前のセットアップの確認作業を自動で行うことができるので有用である。
100 装置管理システム
102 商品処理装置
103 包装材
106 解析装置(管理装置)
108 ネットワーク
111 第1固有記号
112 第2固有記号
121 撮影部
122 送信部
123 読み取り部
124 記憶部
125 制御部
126 登録部
特開2006−36246号公報

Claims (7)

  1. 商品を包装材で覆う商品処理を行う商品処理装置を管理するシステムであって、
    前記包装材に付与されている第1固有記号と、前記商品処理装置に付与されている第2固有記号とを撮影する撮影部と、
    前記撮影部が撮影した前記第1固有記号および前記第2固有記号を読み取る読み取り部と、
    前記読み取り部が読み取った前記第1固有記号である第1読み取り済み記号、および、前記読み取り部が読み取った前記第2固有記号である第2読み取り済み記号に基づいて、前記商品処理装置を管理する制御部と、
    を備え、
    前記撮影部は、前記第1固有記号および前記第2固有記号が同一の画面に収まるように、前記第1固有記号および前記第2固有記号を撮影し、
    前記第1固有記号と前記第2固有記号との組合せを含む照合情報を記憶する記憶部をさらに備え、
    前記制御部は、前記第1読み取り済み記号と前記第2読み取り済み記号との組合せが、前記記憶部に記憶されている前記照合情報に含まれている場合に、前記第2読み取り済み記号が付与されている前記商品処理装置の前記商品処理を許可する、
    装置管理システム。
  2. 前記商品処理装置の前記商品処理に関する処理設定を登録するための登録部をさらに備え、
    前記記憶部は、前記第1固有記号と前記第2固有記号と前記処理設定との組合せを含む前記照合情報を記憶し、
    前記制御部は、前記第1読み取り済み記号と、前記第2読み取り済み記号と、前記登録部に登録されている前記処理設定との組合せが、前記記憶部に記憶されている前記照合情報に含まれている場合に、前記第2読み取り済み記号が付与されている前記商品処理装置の前記商品処理を許可する、
    請求項に記載の装置管理システム。
  3. 前記商品処理装置は、前記包装材をロックするための機構を有し、
    前記制御部は、さらに、前記包装材がロックされている場合に、前記商品処理装置の前記商品処理を許可する、
    請求項1または2に記載の装置管理システム。
  4. 前記制御部は、さらに、前記商品処理装置の前記商品処理を許可した後に前記包装材のロックが解除された場合に、前記商品処理装置の前記商品処理を禁止する、
    請求項に記載の装置管理システム。
  5. 前記読み取り部は、前記画面内の第1領域から前記第1固有記号を読み取り、前記画面内の第2領域から前記第2固有記号を読み取る、
    請求項1からのいずれか1項に記載の装置管理システム。
  6. 前記読み取り部および前記制御部は、前記商品処理装置とは異なる管理装置に備えられている、
    請求項1からのいずれか1項に記載の装置管理システム。
  7. 前記管理装置は、前記商品処理装置とネットワークを介して接続され、
    前記撮影部が撮影した前記第1固有記号および前記第2固有記号を前記管理装置に送信する送信部をさらに備える、
    請求項に記載の装置管理システム。
JP2017159724A 2017-08-22 2017-08-22 装置管理システム Expired - Fee Related JP6917618B2 (ja)

Priority Applications (2)

Application Number Priority Date Filing Date Title
JP2017159724A JP6917618B2 (ja) 2017-08-22 2017-08-22 装置管理システム
PCT/JP2018/021852 WO2019039039A1 (ja) 2017-08-22 2018-06-07 装置管理システム

Applications Claiming Priority (1)

Application Number Priority Date Filing Date Title
JP2017159724A JP6917618B2 (ja) 2017-08-22 2017-08-22 装置管理システム

Publications (2)

Publication Number Publication Date
JP2019038550A JP2019038550A (ja) 2019-03-14
JP6917618B2 true JP6917618B2 (ja) 2021-08-11

Family

ID=65438532

Family Applications (1)

Application Number Title Priority Date Filing Date
JP2017159724A Expired - Fee Related JP6917618B2 (ja) 2017-08-22 2017-08-22 装置管理システム

Country Status (2)

Country Link
JP (1) JP6917618B2 (ja)
WO (1) WO2019039039A1 (ja)

Families Citing this family (1)

* Cited by examiner, † Cited by third party
Publication number Priority date Publication date Assignee Title
CN115817939B (zh) * 2022-09-16 2023-11-17 锋聚睿(苏州)科技有限公司 包装设备的控制方法、装置、计算机设备及存储介质

Family Cites Families (4)

* Cited by examiner, † Cited by third party
Publication number Priority date Publication date Assignee Title
JPH0532404Y2 (ja) * 1988-07-27 1993-08-19
JP2000006926A (ja) * 1998-06-24 2000-01-11 Ricoh Logistics Kk 梱包管理システムおよび管理方法
JP4411023B2 (ja) * 2003-07-02 2010-02-10 株式会社川島製作所 包装用印刷検査システム
JP4738951B2 (ja) * 2005-09-20 2011-08-03 株式会社イシダ 中継装置および中継装置を含む通信システム

Also Published As

Publication number Publication date
JP2019038550A (ja) 2019-03-14
WO2019039039A1 (ja) 2019-02-28

Similar Documents

Publication Publication Date Title
JP6938169B2 (ja) ラベル生成装置及びプログラム
JP5808353B2 (ja) 薬剤混合調製管理装置、制御プログラム及び薬剤混合調整管理システム
JP7509446B2 (ja) 仮設資機材の管理システム、その制御方法
JP7238295B2 (ja) 製品の製造方法、製品の製造装置、判定装置およびプログラム
JP5940382B2 (ja) 引越荷物管理システム及び引越荷物管理方法
US9288358B2 (en) Document management system, document management device, and non-transitory computer readable medium
JP6917618B2 (ja) 装置管理システム
JP2017097489A (ja) 顔画像配信システム及び顔画像撮影登録装置
JP7363148B2 (ja) 画像データ販売システム
TWM511082U (zh) 行動列印系統
JP7560942B2 (ja) 情報処理装置および情報処理方法
JP6497076B2 (ja) 会計システム、情報処理方法、及び、プリンター
JP7276032B2 (ja) 撮影システム
JP6508521B2 (ja) 船荷写真公開システム
JP7149092B2 (ja) 情報処理システム、情報処理方法、サーバ、及び、プログラム
JP7650306B2 (ja) 情報処理装置、情報処理方法、及びプログラム
JP7053694B2 (ja) プログラム、端末及び管理システム
JP6492964B2 (ja) Idカード作成装置及びidカード作成システム
CN118229373A (zh) 瑕疵照拍摄方法、装置、设备和存储介质
JP4260040B2 (ja) プリント注文システム,プリント注文受付装置,および画像データ送信装置ならびにそれらの制御方法
JP2019064639A (ja) 装置管理システム
JP2006243880A (ja) 薬情作成システムおよび薬情
US7668408B2 (en) Support apparatus for optical characteristic measurement, and program product used for same
JP7292944B2 (ja) 印書作成装置及びその制御プログラム
JP2019021267A (ja) 印画物作成システム及び印画物作成装置

Legal Events

Date Code Title Description
A621 Written request for application examination

Free format text: JAPANESE INTERMEDIATE CODE: A621

Effective date: 20200616

A131 Notification of reasons for refusal

Free format text: JAPANESE INTERMEDIATE CODE: A131

Effective date: 20210525

A521 Request for written amendment filed

Free format text: JAPANESE INTERMEDIATE CODE: A523

Effective date: 20210621

TRDD Decision of grant or rejection written
A01 Written decision to grant a patent or to grant a registration (utility model)

Free format text: JAPANESE INTERMEDIATE CODE: A01

Effective date: 20210706

A61 First payment of annual fees (during grant procedure)

Free format text: JAPANESE INTERMEDIATE CODE: A61

Effective date: 20210713

R150 Certificate of patent or registration of utility model

Ref document number: 6917618

Country of ref document: JP

Free format text: JAPANESE INTERMEDIATE CODE: R150

LAPS Cancellation because of no payment of annual fees