JP6862425B2 - 起動部材対及びスライド可能なカバーを有する超音波外科用器具 - Google Patents

起動部材対及びスライド可能なカバーを有する超音波外科用器具 Download PDF

Info

Publication number
JP6862425B2
JP6862425B2 JP2018510486A JP2018510486A JP6862425B2 JP 6862425 B2 JP6862425 B2 JP 6862425B2 JP 2018510486 A JP2018510486 A JP 2018510486A JP 2018510486 A JP2018510486 A JP 2018510486A JP 6862425 B2 JP6862425 B2 JP 6862425B2
Authority
JP
Japan
Prior art keywords
ultrasonic
buttons
movable member
activation
blade
Prior art date
Legal status (The legal status is an assumption and is not a legal conclusion. Google has not performed a legal analysis and makes no representation as to the accuracy of the status listed.)
Active
Application number
JP2018510486A
Other languages
English (en)
Other versions
JP2018525153A (ja
Inventor
ディッカーソン・ベンジャミン・ディー
オーベルキルヒャー・ブレンダン・ジェイ
Current Assignee (The listed assignees may be inaccurate. Google has not performed a legal analysis and makes no representation or warranty as to the accuracy of the list.)
Ethicon LLC
Original Assignee
Ethicon LLC
Priority date (The priority date is an assumption and is not a legal conclusion. Google has not performed a legal analysis and makes no representation as to the accuracy of the date listed.)
Filing date
Publication date
Application filed by Ethicon LLC filed Critical Ethicon LLC
Publication of JP2018525153A publication Critical patent/JP2018525153A/ja
Application granted granted Critical
Publication of JP6862425B2 publication Critical patent/JP6862425B2/ja
Active legal-status Critical Current
Anticipated expiration legal-status Critical

Links

Images

Classifications

    • AHUMAN NECESSITIES
    • A61MEDICAL OR VETERINARY SCIENCE; HYGIENE
    • A61BDIAGNOSIS; SURGERY; IDENTIFICATION
    • A61B17/00Surgical instruments, devices or methods
    • A61B17/32Surgical cutting instruments
    • A61B17/320068Surgical cutting instruments using mechanical vibrations, e.g. ultrasonic
    • AHUMAN NECESSITIES
    • A61MEDICAL OR VETERINARY SCIENCE; HYGIENE
    • A61BDIAGNOSIS; SURGERY; IDENTIFICATION
    • A61B17/00Surgical instruments, devices or methods
    • A61B2017/00017Electrical control of surgical instruments
    • AHUMAN NECESSITIES
    • A61MEDICAL OR VETERINARY SCIENCE; HYGIENE
    • A61BDIAGNOSIS; SURGERY; IDENTIFICATION
    • A61B17/00Surgical instruments, devices or methods
    • A61B2017/00367Details of actuation of instruments, e.g. relations between pushing buttons, or the like, and activation of the tool, working tip, or the like
    • AHUMAN NECESSITIES
    • A61MEDICAL OR VETERINARY SCIENCE; HYGIENE
    • A61BDIAGNOSIS; SURGERY; IDENTIFICATION
    • A61B17/00Surgical instruments, devices or methods
    • A61B2017/0042Surgical instruments, devices or methods with special provisions for gripping
    • A61B2017/00424Surgical instruments, devices or methods with special provisions for gripping ergonomic, e.g. fitting in fist
    • AHUMAN NECESSITIES
    • A61MEDICAL OR VETERINARY SCIENCE; HYGIENE
    • A61BDIAGNOSIS; SURGERY; IDENTIFICATION
    • A61B17/00Surgical instruments, devices or methods
    • A61B17/32Surgical cutting instruments
    • A61B17/320068Surgical cutting instruments using mechanical vibrations, e.g. ultrasonic
    • A61B2017/320069Surgical cutting instruments using mechanical vibrations, e.g. ultrasonic for ablating tissue
    • AHUMAN NECESSITIES
    • A61MEDICAL OR VETERINARY SCIENCE; HYGIENE
    • A61BDIAGNOSIS; SURGERY; IDENTIFICATION
    • A61B17/00Surgical instruments, devices or methods
    • A61B17/32Surgical cutting instruments
    • A61B17/320068Surgical cutting instruments using mechanical vibrations, e.g. ultrasonic
    • A61B2017/320071Surgical cutting instruments using mechanical vibrations, e.g. ultrasonic with articulating means for working tip
    • AHUMAN NECESSITIES
    • A61MEDICAL OR VETERINARY SCIENCE; HYGIENE
    • A61BDIAGNOSIS; SURGERY; IDENTIFICATION
    • A61B17/00Surgical instruments, devices or methods
    • A61B17/32Surgical cutting instruments
    • A61B17/320068Surgical cutting instruments using mechanical vibrations, e.g. ultrasonic
    • A61B2017/320089Surgical cutting instruments using mechanical vibrations, e.g. ultrasonic node location

Landscapes

  • Health & Medical Sciences (AREA)
  • Surgery (AREA)
  • Engineering & Computer Science (AREA)
  • Life Sciences & Earth Sciences (AREA)
  • Heart & Thoracic Surgery (AREA)
  • Nuclear Medicine, Radiotherapy & Molecular Imaging (AREA)
  • Mechanical Engineering (AREA)
  • Biomedical Technology (AREA)
  • Dentistry (AREA)
  • Medical Informatics (AREA)
  • Molecular Biology (AREA)
  • Animal Behavior & Ethology (AREA)
  • General Health & Medical Sciences (AREA)
  • Public Health (AREA)
  • Veterinary Medicine (AREA)
  • Surgical Instruments (AREA)

Description

様々な外科用器具が、組織を(例えば、組織細胞内のタンパク質を変性させることにより)切断及び/又は封着するために超音波周波で振動するブレード要素を有するエンドエフェクタを含む。これらの器具は、電力を超音波振動に変換する1つ又は2つ以上の圧電素子を含み、これらの振動は、音響導波管に沿ってブレード要素に伝達される。切断及び凝固の精度は、操作者の技術によって、かつ電力レベル、ブレードエッジ角度、組織引張、及びブレード圧力を調節することによって、制御され得る。
超音波外科用器具の例としては、HARMONIC ACE(登録商標)Ultrasonic Shears、HARMONIC WAVE(登録商標)Ultrasonic Shears、HARMONIC FOCUS(登録商標)Ultrasonic Shears、及びHARMONIC SYNERGY(登録商標)Ultrasonic Bladesが挙げられ、これらはいずれもEthicon Endo−Surgery,Inc.(Cincinnati,Ohio)製である。かかる装置及び関連する概念の更なる例は、以下の文献に開示されている:その開示が、本明細書において、参照することにより組み込まれる、1994年6月21日発行の「Clamp Coagulator/Cutting System for Ultrasonic Surgical Instruments」と題された米国特許第5,322,055号、その開示が、本明細書において、参照することにより組み込まれる、1999年2月23日発行の「Ultrasonic Clamp Coagulator Apparatus Having Improved Clamp Mechanism」と題された米国特許第5,873,873号、その開示が、本明細書に参照により組み込まれる、1999年11月9日発行の「Ultrasonic Clamp Coagulator Apparatus Having Improved Clamp Arm Pivot Mount」と題された米国特許第5,980,510号、その開示が、本明細書に参照により組み込まれる、2001年9月4日発行の「Method of Balancing Asymmetric Ultrasonic Surgical Blades」と題された米国特許第6,283,981号、その開示が、本明細書に参照により組み込まれる、2001年10月30日発行の「Curved Ultrasonic Blade having a Trapezoidal Cross Section」と題された米国特許第6,309,400号、その開示が、本明細書において、参照することにより組み込まれる、2001年12月4日発行の「Blades with Functional Balance Asymmetries for use with Ultrasonic Surgical Instruments」と題された米国特許第6,325,811号、その開示が、本明細書に参照により組み込まれる、2002年7月23日発行の「Ultrasonic Surgical Blade with Improved Cutting and Coagulation Features」と題された米国特許第6,423,082号、その開示が、本明細書に参照により組み込まれる、2004年8月10日発行の「Blades with Functional Balance Asymmetries for Use with Ultrasonic Surgical Instruments」と題された米国特許第6,773,444号、その開示が、本明細書に参照により組み込まれる、2004年8月31日発行の「Robotic Surgical Tool with Ultrasound Cauterizing and Cutting Instrument」と題された米国特許第6,783,524号、その開示が、本明細書に参照により組み込まれる、2011年11月15日発行の「Ultrasonic Surgical Instrument Blades」と題された米国特許第8,057,498号、その開示が、本明細書に参照により組み込まれる、2013年6月11日発行の「Rotating Transducer Mount for Ultrasonic Surgical Instruments」と題された米国特許第8,461,744号、その開示が、本明細書に参照により組み込まれる、2013年11月26日発行の「Ultrasonic Surgical Instrument Blades」と題された米国特許第8,591,536号、及び、その開示が、本明細書に参照により組み込まれる、2014年1月7日発行の「Ergonomic Surgical Instruments」と題された米国特許第8,623,027号。
超音波外科用器具のまた更なる例が、以下に開示されている:その開示が参照により本明細書に組み込まれる、2006年4月13日公開の「Tissue Pad for Use with an Ultrasonic Surgical Instrument」という名称の米国特許公開第2006/0079874号、その開示が、参照により本明細書に組み込まれる、2007年8月16日公開の「Ultrasonic Device for Cutting and Coagulating」という名称の米国特許公開第2007/0191713号、その開示が、参照により本明細書に組み込まれる、2007年12月6日公開の「Ultrasonic Waveguide and Blade」という名称の米国特許公開第2007/0282333号、その開示が、本明細書に参照により組み込まれる、2008年8月21日公開の「Ultrasonic Device for Cutting and Coagulating」と題された米国公開第2008/0200940号、その開示が、本明細書に参照により組み込まれる、2008年9月25日公開の「Ultrasonic Surgical Instruments」と題された米国公開第2008/0234710号、及び、その開示が、本明細書に参照により組み込まれる、及びその開示が、参照により本明細書に組み込まれる、2010年3月18日公開の「Ultrasonic Device for Fingertip Control」という名称の米国特許公開第2010/0069940号に開示されている。
いくつかの超音波外科用器具は、以下に開示されているもののようなコードレストランスデューサを含み得る:その開示が、参照により本明細書に組み込まれる、2012年5月10日公開の「Recharge System for Medical Devices」という名称の題された米国特許公開第2012/0112687号、その開示が、参照により本明細書に組み込まれる、2012年5月10日公開の「Surgical Instrument with Charging Devices」という名称の米国特許公開第2012/0116265号、及び/又はその開示が参照により本明細書に組み込まれる、2010年11月5日出願の「Energy−Based Surgical Instruments」と題された米国特許出願第61/410,603号。
更に、いくつかの超音波外科用器具は、関節運動シャフト部分を含み得る。かかる超音波外科用器具の例は、その開示が、本明細書に参照により組み込まれる、2014年1月2日公開の、「Surgical Instruments with Articulating Shafts」と題された米国公開第2014/0005701号、及びその開示が、本明細書に参照により組み込まれる、2014年4月24日公開の「Flexible Harmonic Waveguides/Blades for Surgical Instruments」と題された米国公開第2014/0114334号に開示されている。
いくつかの外科用器具及びシステムが作製され使用されてきたが、本発明者らよりも以前に、添付の特許請求の範囲に記載する本発明を行い又は使用したものは存在しないと考えられる。
本明細書は、本技術を具体的に指摘し、かつ明確にその権利を特許請求する、特許請求の範囲によって完結するが、本技術は、以下の特定の実施例の説明を、添付図面と併せ読むことで、より良く理解されるものと考えられ、図面では、同様の参照符号は、同じ要素を特定する。
例示的な外科用システムのブロック概略図を示す。 図1のシステムに組み込まれ得る例示的な外科用器具の斜視図を示す。 図1のシステムに組み込まれ得る例示的な代替の外科用器具の斜視図を示す。 図1のシステムに組み込まれ得る別の例示的な代替の外科用器具の斜視図を示し、第1の位置にあるそのスライド可能なリングを示す。 第1の位置にあるスライド可能なリングを示す、図4の外科用器具の側面図を示す。 第2の位置にあるスライド可能なリングを示す、図4の外科用器具の側面図を示す。 図4の外科用器具のブロック概略図を示す。 図4の外科用器具への組み込みに好適な例示的な代替のスイッチ機構のブロック概略図を示す。
I.例示的な超音波外科用システムの概説
図1は、例示的な外科用システム(10)の構成要素を図形的ブロック形態で示したものである。示されるように、システム(10)は、超音波発生器(12)及び超音波外科用器具(20)を備える。以下でより詳細に記載されるように、器具(20)は、超音波振動エネルギーを使用して、実質的に同時に、組織(例えば、血管など)を切開し、組織を封着又は接合するように動作可能である。あくまで一例として、器具(20)は、米国特許第5,322,055号、米国特許第5,873,873号、米国特許第5,980,510号、米国特許第6,325,811号、米国特許第6,773,444号、米国特許第6,783,524号、米国特許第9,095,367号、米国特許公開第2006/0079874号、米国特許公開第2007/0191713号、米国特許公開第2007/0282333号、米国特許公開第2008/0200940号、米国特許公開第2009/0105750号、米国特許公開第2010/0069940号、米国特許公開第2011/0015660号、米国特許公開第2012/0112687号、米国特許公開第2012/0116265号、米国特許公開第2014/0005701号、米国特許公開第2015/0080924号、及び/又は米国特許出願第61/410,603号の教示のうちの少なくとも一部に従って構築され、動作可能であってもよい。前述の特許、公開、及び出願の各々の開示が参照により本明細書に組み込まれる。
また、器具(20)がHARMONIC ACE(登録商標)Ultrasonic Shears、HARMONIC WAVE(登録商標)Ultrasonic Shears、HARMONIC FOCUS(登録商標)Ultrasonic Shears、及び/又はHARMONIC SYNERGY(登録商標)Ultrasonic Bladesとの様々な構造的及び機能的な類似性を有し得ることを理解されたい。更に、器具(20)は、本明細書で引用され、参照により本明細書に組み込まれる他の参考文献のうちのいずれかにおいて教示される装置と、様々な構造的及び機能的な類似性を有し得る。本明細書に引用される参考文献の教示と、HARMONIC ACE(登録商標)Ultrasonic Shears、HARMONIC WAVE(登録商標)Ultrasonic Shears、HARMONIC FOCUS(登録商標)Ultrasonic Shears、及び/又はHARMONIC SYNERGY(登録商標)Ultrasonic Bladesの教示と、器具(20)に関する以下の教示との間に何らかの重複が存在する場合は、本明細書のいかなる記述も、認められた先行技術と見なす意図はない。本明細書のいくつかの教示は、事実、本明細書に引用した参考文献、並びにHARMONIC ACE(登録商標)Ultrasonic Shears、HARMONIC WAVE(登録商標)Ultrasonic Shears、HARMONIC FOCUS(登録商標)Ultrasonic Shears、及びHARMONIC SYNERGY(登録商標)Ultrasonic Bladesの教示の範囲を超えるであろう。
発生器(12)及び器具(20)は、ケーブル(14)を介して一緒に連結される。ケーブル(14)は、複数の導線を備えてもよく、発生器(12)から器具(20)への一方向の電気的導通、及び/又は発生器(12)と器具(20)との間の双方向の電気的導通を与えることができる。あくまで一例として、発生器(12)は、Ethicon Endo−Surgery,Inc.(Cincinnati,Ohio)により販売されているGEN04、GEN11、又はGEN300を備えてもよい。加えて、又はあるいは、発生器(12)は、2011年4月14日公開の「Surgical Generator for Ultrasonic and Electrosurgical Devices」と題される米国公開第2011/0087212号の教示の少なくとも一部に従って構築され得、その開示は、参照により本明細書に組み込まれる。あるいは、任意の他の好適な発生器(12)が使用されてもよい。以下でより詳細に記載されるように、発生器(12)は、電力を器具(20)に供給して超音波外科手術を行うように動作可能である。ケーブル(14)が単に省略され得るように、システム(10)のいくつかの変形例が、発生器(12)を器具(20)内に組み込むことができることも理解されたい。
器具(20)は、ハンドルアセンブリ(22)を備え、ハンドルアセンブリ(22)は、外科手術中に操作者の片手(又は両手)に把持されて操作者の片手(又は両手)によって操作されるように構成されている。例えば、いくつかの変形例では、ハンドルアセンブリ(22)は、操作者によって鉛筆のように把持されてもよい。いくつかの他の変形例では、ハンドルアセンブリ(22)は、操作者によってハサミのように握られるハサミグリップを含んでいてもよい。いくつかの他の変形例では、ハンドルアセンブリ(22)は、操作者によってピストルのように握られるピストルグリップを含んでいてもよい。言うまでもなく、ハンドルアセンブリ(22)は、任意の他の好適な様態で握られるように構成されてもよい。更に、器具(20)のいくつかの変形例では、ハンドルアセンブリ(22)の代わりに、器具を(例えば、リモートコントロールなどを介して)動作させるように構成されたロボット手術システムに連結された本体を代用してもよい。
本例では、ブレード(24)は、ハンドルアセンブリ(22)から遠位に延在している。ハンドルアセンブリ(22)は、超音波トランスデューサ(26)及び超音波導波管(28)を含み、超音波導波管(28)は、超音波トランスデューサ(26)をブレード(24)と連結する。超音波トランスデューサ(26)は、ケーブル(14)を介して発生器(12)から電力を受け取る。超音波トランスデューサ(26)は、その圧電特性により、かかる電力を超音波振動エネルギーに変換するように動作可能である。
超音波導波管(28)は、可撓性、半可撓性、剛性のものであってもよいか、又は任意の他の好適な性質を有してもよい。上述のように、超音波トランスデューサ(26)は、超音波導波管(28)を介してブレード(24)と一体連結される。具体的には、超音波トランスデューサ(26)を超音波周波数で振動するように起動している場合、かかる振動は、超音波導波管(28)を介してブレード(24)に伝達されて、ブレード(24)も超音波周波数で振動することになる。ブレード(24)が起動状態である(すなわち、超音波的に振動している)場合、ブレード(24)は、組織を効果的に切断し、組織を封着するように動作可能である。したがって、超音波トランスデューサ(26)、超音波導波管(28)、及びブレード(24)は、発生器(12)によって電力供給される際に外科手術を行うための超音波エネルギーを供給する音響アセンブリを一緒に形成する。ハンドルアセンブリ(22)は、操作者を、トランスデューサ(26)、超音波導波管(28)、及びブレード(24)によって形成される音響アセンブリの振動から実質的に隔離するように構成されている。
いくつかの変形例では、超音波導波管(28)は、超音波導波管(28)を介してブレード(24)に伝達される機械的振動を増幅してもよい。超音波導波管(28)は、超音波導波管(28)に沿った長手方向振動の利得を制御するための特徴部、及び/又は超音波導波管(28)をシステム(10)の共振周波数と同調させるための特徴部を更に有してもよい。例えば、超音波導波管(28)は、ほぼ均一な断面などの任意の好適な断面寸法/構成を有してもよく、様々な部分で先細りになっていてもよく、その全長に沿って先細りになっていてもよく、又は任意の他の好適な構成を有してもよい。超音波導波管(28)は、例えば、システムの波長の1/2の整数倍にほぼ等しい長さ(nλ/2)を有してもよい。超音波導波管(28)及びブレード(24)は、チタン合金(すなわち、Ti−6Al−4V)、アルミニウム合金、サファイア、ステンレス鋼、又は任意の他の音響的に適合した材料若しくは材料の組み合わせなどの超音波エネルギーを効率的に伝搬する材料又は材料の組み合わせから構築された中実コアシャフトから製作されてもよい。
本例では、ブレード(24)の遠位端は、組織による負荷が音響アセンブリに加えられていないとき、好ましい共振周波数fに音響アセンブリを同調させるために、導波管(28)を介して伝達される共振超音波振動に関連付けられるアンチノードに対応する位置に(すなわち、音響アンチノードに)位置する。トランスデューサ(26)が通電されると、ブレード(24)の遠位端は、例えば、ピーク間で約10〜500マイクロメートル、場合によっては、例えば、55.5kHzの所定の振動周波数fにて約20〜約200マイクロメートルの範囲で長手方向に移動するように構成されている。本例のトランスデューサ(26)が起動しているとき、これらの機械的な振動は、ブレード(24)に到達するように導波管(28)を介して伝達され、それにより共振超音波周波数でブレード(24)の振動をもたらす。このため、ブレード(24)の超音波振動が、組織の切断と隣接した組織細胞内のタンパク質の変性とを同時に行い、それにより比較的少ない熱拡散で凝固効果を提供することができる。いくつかの変形例では、また、組織を焼灼するために電流がブレード(24)を介して提供されてもよい。
あくまで一例として、超音波導波管(28)及びブレード(24)は、Ethicon Endo−Surgery,Inc.(Cincinnati,Ohio)により製品コードSNGHK及びSNGCBとして販売されている構成要素を備えてもよい。あくまで更なる一例として、超音波導波管(28)及び/又はブレード(24)は、開示内容が参照により本明細書に組み込まれる、2002年7月23日発行の米国特許第6,423,082号、表題「Ultrasonic Surgical Blade with Improved Cutting and Coagulation Features」の教示に従って構築されてもよく、動作可能であり得る。別の単なる例証的な例として、超音波導波管(28)及び/又はブレード(24)は、開示内容が参照により本明細書に組み込まれる、1994年6月28日発行の米国特許第5,324,299号、表題「Ultrasonic Scalpel Blade and Methods of Application」の教示に従って構築されて、動作可能であり得る。超音波導波管(28)及びブレード(24)の他の好適な特性及び形態が、本明細書の教示を考慮することにより当業者に明らかになるであろう。
本例のハンドルアセンブリ(22)はまた、制御セレクタ(30)及び起動スイッチ(32)を含み、これらは各々、回路基板(34)と通信する。あくまで一例として、回路基板(34)は、従来の回路基板、フレックス回路、リジッドフレックス回路を備えてもよく、又は任意の他の好適な形態を有してもよい。制御セレクタ(30)及び起動スイッチ(32)は、1つ若しくは2つ以上の導線を介して、回路基板若しくはフレックス回路に形成された配線を介して、かつ/又は任意の他の好適な方法で、回路基板(34)と通信することができる。回路基板(34)は、ケーブル(14)と連結され、ケーブル(14)は、次いで、発生器(12)内の制御回路(16)と連結される。起動スイッチ(32)は、超音波トランスデューサ(26)への電源を選択的に起動させるように動作可能である。特に、スイッチ(32)が起動すると、かかる起動によってケーブル(14)を介して超音波トランスデューサ(26)に適切な電力が伝達される。あくまで一例として、起動スイッチ(32)は、本明細書で引用される様々な参照文献の教示のうちのいずれかに従って構築されてもよい。起動スイッチ(32)がとり得る他の様々な形態は、本明細書の教示を考慮することにより当業者に明らかになるであろう。
本例では、外科用システム(10)は、少なくとも2つの異なるレベル又は種類の超音波エネルギー(例えば、異なる周波数及び/又は振幅など)をブレード(24)において供給するように動作可能である。そのために、制御セレクタ(30)は、操作者が所望のレベル/振幅の超音波エネルギーを選択することができるように動作可能である。あくまで一例として、制御セレクタ(30)は、本明細書で引用される様々な参照文献の教示のうちのいずれかに従って構築されてもよい。制御セレクタ(30)がとり得る他の様々な形態は、本明細書の教示を考慮することにより当業者に明らかになるであろう。いくつかの変形例では、操作者が制御セレクタ(30)によって選択を行う場合、操作者の選択は、ケーブル(14)を介して発生器(12)の制御回路(16)に戻して伝達され、これに従って、次回操作者が起動スイッチ(32)を作動させるときに、制御回路(16)が発生器(12)から伝達される電力を調節する。
ブレード(24)において供給される超音波エネルギーのレベル/振幅は、発生器(12)からケーブル(14)を介して器具(20)に伝達される電力の特性の関数であり得ることを理解されたい。したがって、発生器(12)の制御回路(16)は、制御セレクタ(30)を通じて選択された超音波エネルギーのレベル/振幅又は種類に関連付けられる特性を有する電力を(ケーブル(14)を介して)供給することができる。したがって、発生器(12)は、制御セレクタ(30)を介して操作者によって行われる選択に基づいて異なる種類又は程度の電力を超音波トランスデューサ(26)に伝達するように動作可能であり得る。具体的には、かつあくまで一例として、発生器(12)は、印加される信号の電圧及び/又は電流を増大させて、音響アセンブリの長手方向振幅を増大させることができる。単なる例証的な一例として、発生器(12)は、それぞれ、約50マイクロメートル及び約90マイクロメートルの振動共振振幅に対応し得る「レベル1」と「レベル5」との間の選択可能性を提供することができる。制御回路(16)が構成され得る様々な方法が本明細書の教示を考慮することにより当業者に明らかになるであろう。制御セレクタ(30)及び起動スイッチ(32)の代わりに、2つ又は3つ以上の起動スイッチ(32)が使用され得ることも理解されたい。いくつかのかかる変形例では、ある起動スイッチ(32)は、ある電力レベル/種類でブレード(24)を起動させるように動作可能である一方で、別の起動スイッチ(32)は、別の電力レベル/種類などでブレード(24)を起動させるように動作可能である。
いくつかの代替の変形例では、制御回路(16)は、ハンドルアセンブリ(22)内に位置する。例えば、いくつかのこのような変形例では、発生器(12)は、単に1つのタイプの電力(例えば、利用可能な単に1つの電圧及び/又は電流)をハンドルアセンブリ(22)に伝達し、ハンドルアセンブリ(22)内の制御回路(16)は、電力が超音波トランスデューサ(26)に達する前に、制御セレクタ(30)を介して操作者が行った選択に従って、電力(例えば、電力の電圧)を変更するように動作可能である。更に、発生器(12)を外科用システム(10)の全ての他のコンポーネントと一緒にハンドルアセンブリ(22)内に組み込んでもよい。例えば、1つ若しくは2つ以上の電池(図示せず)又は他の携帯型電力源をハンドルアセンブリ(22)内に設けてもよい。図1に示される構成要素が再配置されるか、又は他の方法で構成若しくは修正され得る更なる他の好適な方法が、本明細書の教示を考慮することにより当業者に明らかになるであろう。
II.例示的な超音波外科用器具の概要
以下の考察は、器具(20)の様々な例示的な構成要素及び構成に関するものである。以下に記載される器具(20)の様々な実施例を、上述の外科用システム(10)に容易に組み込むことができることを理解されたい。また、上述の器具(20)の様々な構成要素及び動作性を以下に記載の器具(20)の例示的な変形例に容易に組み込むことができることも理解されたい。上記及び下記の教示を組み合わせ得る様々な好適な方法が、本明細書の教示を考慮することにより当業者に明らかになるであろう。また、下記の教示が、本明細書で引用される参考文献の様々な教示と容易に組み合わせられ得ることも理解されたい。
A.例示的な超音波外科用メス及び掻爬取器具
図2は、上述のシステム(10)の器具(20))として使用され得る例示的な超音波外科用器具(110)を示す。したがって、器具(110)の少なくとも一部は、器具(20)に関する上述の教示のうちの少なくとも一部に従って、構築及び動作されてもよい。器具(20)と同様に、器具(110)は、実質的に同時に、組織を切開し、組織(例えば、血管など)を封着又は接合するように動作可能である。この例の器具(110)は、メスとして、かつ/又掻爬取器具として使用されるように構成されている。
図2に示されるように、器具(110)は、トランスデューサアセンブリ(100)、音響導波管(120)、及び囲い板(130)を備える。導波管(120)の遠位端は、超音波ブレード(124)を含む。本例の超音波ブレード(124)は、スコップ状の形状を有する。超音波ブレード(124)は、湾曲したブレード(例えば、Ethicon Endo−Surgery,Inc.製品コードSNGCB)、フックブレード(例えば、Ethicon Endo−Surgery,Inc.製品コードSNGHK)、組み合わせフックブレード(例えば、Ethicon Endo−Surgery,Inc.製品コードSNGHK2)を備えてもよいことを理解されたい。なお別の単なる例証的な例として、ブレード(24)は、その開示が参照により本明細書に組み込まれる、2014年6月12日発行の「Ultrasonic Surgical Blade」と題された米国公開第2014/0163595号、及び/又はその開示が参照により本明細書に組み込まれる、2011年11月15発行の「Ultrasonic Surgical Instrument Blades」と題された米国特許第8,057,498号の教示の少なくとも一部に従って構築され得る。ブレード(124)に使用され得る他の好適な構成は、本明細書の教示を考慮することにより当業者には明らかになるであろう。
以下でより詳細に記載されるように、導波管(120)は、超音波振動をトランスデューサアセンブリ(100)から超音波ブレード(124)に伝達し、それによって組織を切断及び/又は封着するように構成される。囲い板(130)の近位端は、トランスデューサアセンブリ(100)の遠位端とねじ込み連結する。囲い板(130)は、囲い板(130)を近位端から遠位端まで完全に貫通する内部ボア(132)を画定することによって、近位開口部及び遠位開口部を画定する。導波管(120)は、導波管(120)が囲い板(130)の近位開口部を介してトランスデューサアセンブリ(100)とねじ込み連結され得るように、囲い板(130)の内部ボア(132)内に配設される。超音波ブレード(124)を含む導波管(120)の遠位部分は、囲い板(130)の遠位開口部を介して囲い板(130)の遠位端から遠位方向に突出する。
本例のトランスデューサアセンブリ100は、ケーブル(14)を介して発生器(12)に連結されるが、トランスデューサアセンブリ(100)の代わりにコードレストランスデューサであってもよいことを理解されたい。トランスデューサアセンブリ(100)は、その開示が参照により本明細書に組み込まれる、2015年5月28日発行の「Methods and Features for Coupling Ultrasonic Surgical Instrument Components Together」と題された米国特許公開第2015/0148829号の教示に従って構成され得る。本例では、トランスデューサアセンブリ(100)は、トランスデューサハウジング(112)内に圧電スタック(図示せず)を含む。本例のトランスデューサアセンブリ(100)を起動させると、圧電スタック中で電界が生じ、圧電スタック及びホーン(図示せず)がハウジング(112)内でそれに対して振動する。装着フランジ(図示せず)は、トランスデューサアセンブリ(100)のホーン(図示せず)をハウジング(112)に連結し、それにより圧電スタックをハウジング(112)内で構造的に支持するために使用される。装着フランジは、圧電スタックからホーンに伝達される共振超音波振動と関連付けられたノードに位置し得る。トランスデューサアセンブリ(100)は、超音波周波数(例えば、55.5kHz)で機械的エネルギー又は振動を生み出すように動作可能である。トランスデューサアセンブリ(100)がホーンを介して導波管(120)に連結される場合、これらの機械的振動は、導波管(120)を通して超音波ブレード(124)に伝達される。
上述のトランスデューサ(26)と同様に、トランスデューサアセンブリ(100)は、ケーブル(14)を介して発生器(12)と連結される。トランスデューサアセンブリ(100)は、発生器(12)から電力を受け取り、上述のようにその電力を超音波振動に変換する。発生器(12)は、電源と、トランスデューサアセンブリ(100)を介した超音波振動の生成に特に適した電力プロファイルをトランスデューサアセンブリ(100)に供給するように構成された制御モジュールとを含み得る。あくまで一例として、発電機(12)は、Ethicon Endo−Surgery,Inc.(Cincinnati,Ohio)により販売されているGEN 300を含み得る。加えて、又はあるいは、発生器(12)は、2011年4月14日公開の「Surgical Generator for Ultrasonic and Electrosurgical Devices」と題される米国公開第2011/0087212号の教示の少なくとも一部に従って構築され得、その開示は、参照により本明細書に組み込まれる。また、発生器(12)の機能の少なくとも一部は器具(110)に統合されてもよく、器具(110)は更には電池又は他の内蔵電源を含んで、ケーブル(14)が省略されてもよいことを理解されたい。発生器(12)がとり得るなお他の好適な形態、並びに発生器(12)が提供し得る種々の特徴及び動作性は、本明細書の教示を考慮することにより当業者に明らかになるであろう。
トランスデューサアセンブリ(100)によって生成された超音波振動は、囲い板(130)を通って延び超音波ブレード(124)に達する、音響導波管(120)に沿って伝達される。上述のように、超音波ブレード(124)が起動状態(すなわち、超音波振動している)にあるとき、超音波ブレード(124)は、組織を効率的に切開及び封着するように動作可能である。導波管(120)が、導波管(120)を通って伝達される機械的振動を増幅するように構成され得ることを理解されたい。更に、導波管(120)は、導波管(120)に沿った長手方向の振動のゲインを制御するように動作可能な特徴部、及び/又は導波管(210)を系の共振周波数に同調させる特徴部を含み得る。
本例では、導波管(120)に連結された超音波ブレード(124)は、超音波周波数で振動する。本例では、組織による負荷が音響アセンブリに加えられていないときに、音響アセンブリを好ましい共振周波数fに同調させるために、超音波ブレード(124)の遠位端は、導波管(120)を通して伝達される共振超音波振動と関連付けられたアンチノードに対応する位置に位置付けられている。トランスデューサアセンブリ(100)が通電されると、超音波ブレード(124)の遠位端は、例えば、ピーク間で約10〜500マイクロメートル、場合によっては、例えば、55,500Hzの所定の振動周波数fにて約20〜約200マイクロメートルの範囲で長手方向に移動するように構成されている。
本例のトランスデューサアセンブリ(100)が起動すると、得られた機械的振動は、導波管(120)を介して伝達されて超音波ブレード(124)に達し、それにより共振超音波振動での超音波ブレード(124)の振動が提供される。このようにして、組織に超音波ブレード(124)が接触すると、超音波ブレード(124)の超音波振動は、組織を切断すると同時に、隣接する組織細胞中のタンパク質を変性させ、それにより比較的少量の熱分散を伴う凝固効果が提供され得る。いくつかの変形例では、組織を更に封着するために、超音波ブレード(124)を通して電流(例えば、RF範囲内)も供給され得る。例えば、単極又は双極RFエネルギーが、超音波ブレード(124)を通して供給され得る。
器具(110)の前述の構成要素及び動作性は、単に例証である。器具(110)は、本明細書の教示を考慮することにより当業者に明らかになるであろう様々な他の方法で構成することができる。あくまで一例として、器具(110)の少なくとも一部は、その開示内容の全てが参照により本明細書に組み込まれる次の特許文献のいずれかの教示の少なくとも一部に従って構築及び動作可能されてもよい:米国特許第5,322,055号、米国特許第5,873,873号、米国特許第5,980,510号、米国特許第6,325,811号、米国特許第6,783,524号、米国特許第9,095,367号、米国特許公開第2006/0079874号、米国特許公開第2007/0191713号、米国特許公開第2007/0282333号、米国特許公開第2008/0200940号、米国特許公開第2010/0069940号、米国特許公開第2011/0015660号、米国特許公開第2012/0112687号、米国特許公開第2012/0116265、及び/又は米国特許公開第2014/0005701号。器具(110)の追加の単なる例証的な変形形態を以下でより詳細に説明する。以下に説明する変形形態は、とりわけ、上述した器具(110)及び本明細書に引用される参考文献のいずれかに言及される器具のいずれかに容易に適用され得ることを理解されたい。
B.環状アレイの起動ボタンを有する例示的な超音波外科用器具
図3は、上述のシステム(10)の器具(20)として使用され得る別の例示的な超音波外科用器具(210)を示す。したがって、器具(210)の少なくとも一部は、器具(20)に関する上述の教示のうちの少なくとも一部に従って構築及び動作されてもよい。器具(20)と同様に、器具(210)は、実質的に同時に、組織を切開し、組織(例えば、血管など)を封着又は接合するように動作可能である。この例の器具(210)は、メスとして使用されるように構成される。以下でより詳細に記載されるように、器具(210)は、起動特徴部への改良されたアクセスを提供する。
図3に示されるように、器具(210)は、ハンドルアセンブリ(230)、シャフトアセンブリ(240)、及びエンドエフェクタ(250)を備える。器具(210)の近位端は、超音波トランスデューサ(226)のハンドルアセンブリ(230)への挿入により、超音波トランスデューサ(226)を受容し、それを装着される。ハンドルアセンブリ(230)は、超音波トランスデューサ(226)が、シャフトアセンブリ(240)内でねじ込み接続によって導波管(248)に連結され得るように、超音波トランスデューサ(226)を受容するように構成されるが、任意の他の好適な種類の連結を使用してもよい。図2〜3示されるように、器具(210)は、超音波トランスデューサ(226)と連結して、単一ユニットを形成してもよい。
シャフトアセンブリ(240)は、外側シース(242)及び外側シース(242)内に配設された導波管(248)を含む。いくつかの変形例では、外側シース(242)及び導波管(248)は、器具(210)が低侵襲外科手術において使用され得るように、トロカール又は他の低侵襲性アクセスポートを通って嵌合するように寸法決めされる。導波管(248)は、導波管(28)に関して上述したものと類似の様式で、トランスデューサ(226)から超音波ブレード(252)に超音波振動を伝達するように構成されている。導波管(248)は、可撓性、半可撓性、又は剛性であってもよい。導波管(248)は、導波管(248)を介してブレード(252)に伝達される機械的振動を増幅するようにも構成されてもよい。導波管(248)は、導波管(248)の長手方向軸に対して実質的に垂直に、それを通って延在する少なくとも1つのボア(図示せず)を更に含み得る。ボアは、導波管(248)に沿って伝達される超音波振動と関連付けられたノードに対応する長手方向位置に位置してもよい。ボアは、導波管(248)を外側シース(242)に接続するコネクタピン(図示せず)を受容するように構成され得る。コネクタピンはノード位置に位置することになるため、ピンは、導波管(248)から外側シース(242)に超音波振動を伝達しないが、コネクタピンは依然として、外側シース(242)の長手方向及び回転の基底を提供し得る。
ブレード(252)は、超音波導波管(248)と統合されて、単一ユニットとして形成されてもよい。いくつかの変形例では、ブレード(252)は、ねじ込み接続、溶接継手、及び/又はいくつかの他の連結特徴部(複数可)によって導波管(248)に接続され得る。ブレード(252)の遠位端は、組織による負荷が音響アセンブリに加えられていないときに音響アセンブリを好ましい共振周波数fに同調させるために、導波管(248)及びブレード(252)に沿って伝達される超音波振動と関連付けられたアンチノードに対応する長手方向位置に、又はその近くに配設される。トランスデューサ(226)が通電されると、ブレード(252)の遠位端は、例えば、ピーク間で約10〜500マイクロメートル、場合によっては、例えば、55.5kHzの所定の振動周波数fにて約20〜約200マイクロメートルの範囲で長手方向に移動するように構成されている。ブレード(252)の遠位端はまた、y軸方向に、x軸方向の運動の約1〜約10パーセントだけ移動し得る。トランスデューサ(226)が通電されたときのブレード(252)の移動が、代替として任意の他の好適な特性を有し得ることは言うまでもない。
ハンドルアセンブリ(230)は、複数のボタン(236)を含む管状の細長い本体(232)を含む。細長い本体(232)は、ユーザが様々な位置からハンドルアセンブリ(230)を握ることを可能にするように構成されている。あくまで一例として、ハンドルアセンブリ(230)は、鉛筆の握りのような配置で、ねじ回しの握りのような配置で、及び/又は任意の他の好適な方法で把持され、かつ操作されるように成形されてもよい。本例のハンドルアセンブリ(230)は、嵌合ハウジング部分(237)及び(238)を含むが、ハンドルアセンブリ(230)は、代替として単一のハウジング構成要素のみを含んでもよいことを理解されたい。ハウジング部分(237、238)は、ポリカーボネート又は液晶ポリマーなどの耐久性のあるプラスチックによって構築され得る。ハウジング部分(237、238)が、代替として、他のプラスチック、セラミック、及び/若しくは金属などを含むがこれらに限定されない様々な材料又は材料の組み合わせから作製され得ることも企図される。
本例では、ハンドルアセンブリ(230)の本体(232)は、近位端、遠位端、及びその内部に長手方向に延在する空洞(図示せず)を含む。空洞は、その開示が参照により本明細書に組み込まれる、2014年10月15日出願の「Activation Features for Ultrasonic Surgical Instrument」と題された米国特許出願第14/515,129号の教示と類似する様式でスイッチアセンブリ及び作動アセンブリを受け入れるように構成されている。空洞はまた、上述のように、トランスデューサ(226)の少なくとも一部を受容するように構成されている。空洞内で、トランスデューサ(226)の電気的接続は、スイッチアセンブリとインターフェースをとり、操作者に外科用器具(210)上の指起動式制御を提供する。本例のトランスデューサ(226)は、トランスデューサ(226)の本体内に固定して配設された2つの導電リング(図示せず)を含む。あくまで一例として、かかる導電リング及び/又はトランスデューサ(226)の他の特徴部は、2012年4月10日発行の「Medical Ultrasound System and Handpiece and Methods for Making and Tuning」という名称の米国公開第8,152,825号の教示のうちの少なくとも一部に従って提供される。
スイッチアセンブリは、任意のボタン8236)の作動が発生器(12)の起動をもたらし、次いでトランスデューサ(226)が起動されて超音波振動が生成されるように、トランスデューサ(226)を介したハンドルアセンブリ(230)のボタン(236)と発生器(12)との間の電気機械的インターフェースを提供する。あくまで一例として、スイッチアセンブリの様々な構成要素が、トランスデューサ(226)のリング導体を介してトランスデューサ(226)とインターフェースをとることができ、それらは転じて、発生器(12)に接続するケーブル(14)内のコンダクターに接続される。このようにして、任意のボタン(236)を押し下げることによってスイッチアセンブリの接触スイッチが作動すると、発生器(12)は、トランスデューサ(226)を起動させて、超音波振動を生成する。ボタン(236)は、本例では、ボタン(236)が互いに等距離に角度をなして離間された状態で環状アレイ状に提供される。ボタン(236)は、その開示が参照により本明細書に組み込まれる、2014年10月15日出願の「Activation Features for Ultrasonic Surgical Instrument」と題された米国特許出願第14/515,129号の教示と類似する様式でスイッチアセンブリ及び作動アセンブリを受け入れるように構成されている。
角度をなした配列でボタン(236)を提供することにより、ハンドルアセンブリ(230)の長手方向軸を中心とした様々な握り位置で、操作者が1つ又は2つ以上のボタン(236)を起動させる(かつそれによりトランスデューサ(226)及びブレード(252)を起動させる)ことを可能にし得ることを理解されたい。言い換えれば、操作者はハンドルアセンブリ(230)を把持しているいずれかの角度をなした配向から、操作者がトランスデューサ(226)及びブレード(252)を起動させるために指、手、手首、又は腕を曲げる必要がなくなる。ボタン(236)へのこの改良されたアクセスは、ブレード(252)の異なる側部で組織を係合することによって組織に異なる効果を提供するように、ブレード(252)が非対称性を有する(例えば、ブレード(252)が導波管(248)の長手方向軸を中心に異なる角度配向で配向される)場合に、特に有用であり得る。したがって、操作者は、組織に対してブレード(252)の様々な配向を選択的に達成するために、人間工学的な快適性を犠牲にすることを強いられなくなる。
C.スライド式電力モードセレクタを有する例示的な超音波外科用器具
上述のように、操作者が、超音波ブレードと連結された超音波導波管の長手方向軸を中心に様々な異なる角度配向で組織を超音波ブレードに係合させることを可能にすることが望ましい場合があり得る。これは、起動したブレードが組織にもたらす効果が、ブレードが組織に係合する角度配向(導波管の長手方向軸を中心とした)によって異なるように、超音波ブレードが非対称性を有する場合に、特に望ましいことがある。器具において、この機能性は、一組のボタンを環状アレイ状に提供することによって促進される。ボタンを環状アレイ状に提供することによって、操作者は、操作者の手の中でハンドルアセンブリが位置付けられる角度配向(導波管及びハンドルアセンブリの長手方向軸を中心とした)にかかわらず、同じ方法でハンドルアセンブリを把持及び操作し続けることができる。
いくつかの場合では、2つ又は3つ以上の超音波電力設定(例えば、振幅、周波数、及び/又は他の超音波振動パラメータが変動する)でトランスデューサ及びブレードの起動を可能にすることが必要となることがある。したがって、操作者が2つ又は3つ以上の超音波電力設定の間で選択することを可能にすることが望ましい場合があり得る。改良された人間工学の前提を継続し、操作者の手の中でハンドルアセンブリが位置付けられる角度配向(導波管及びハンドルアセンブリの長手方向軸を中心とした)にかかわらず、同じ方法でそのような電力選択を可能にすることが更に望ましい場合があり得る。言い換えれば、操作者が、その瞬間に操作者がハンドルアセンブリを把持している角度配向にかかわらず、異なる電力設定又はモードから選択することを可能にすることが望ましい場合があり得る。以下の考察は、かかる改良された電力モード選択がどのように提供され得るかの1つの単なる例証的な実施例を提供する。その他の実施例は、本明細書の教示を考慮すれば当業者には明らかであろう。
図4〜6は、上述のシステム(10)の器具(20)として使用され得る別の例示的な超音波外科用器具(310)を示す。以下に説明する違い以外には、本例の器具(310)は、器具(110)及び器具(210)と実質的な類似性を有する。したがって、器具(310)は、器具(20、110、210)に関する上述の教示の内の少なくとも一部に従って構築及び動作されてもよい。器具(310)は、ほぼ同時に、組織を切開し、組織(例えば、血管など)を封着又は接合するように動作可能である。本例の器具(310)は、メスとして使用されるように構成される。以下でより詳細に記載されるように、器具(310)は、起動特徴部への改良されたアクセス及び電力モード選択特徴部への改良されたアクセスを提供する。
図4〜5Bに示されるように、本例の器具(310)は、トランスデューサアセンブリ(100)、音響導波管(320)、及び囲い板アセンブリ(330)を備える。導波管(320)の遠位端は、超音波ブレード(324)を含む。超音波ブレード(324)は、上述の超音波ブレード(124)と同様に構成されてもよい。あるいは、超音波ブレード(324)は、上述の超音波ブレード(252)と同様に構成されてもよい。なお別の代替案として、超音波ブレード(324)は、本明細書における他の教示のうちのいずれかに従って、かつ/又は本明細書に引用される様々な参考文献の教示のうちのいずれかに従って構成されてもよい。ブレード(324)に使用され得る他の好適な構成は、本明細書の教示を考慮することにより当業者には明らかになるであろう。
以下でより詳細に記載されるように、導波管(320)は、超音波振動をトランスデューサアセンブリ(100)から超音波ブレード(324)に伝達し、それによって組織を切断及び/又は封着するように構成される。囲い板(330)の近位端は、トランスデューサアセンブリ(100)の遠位端とねじ込み連結する。囲い板(330)は、囲い板(330)を近位端から遠位端まで完全に貫通する内部ボア(図示せず)を画定し、それによって近位開口部及び遠位開口部を画定する。導波管(320)は、導波管(320)が囲い板(330)の近位開口部を介してトランスデューサアセンブリ(100)とねじ込み連結され得るように、囲い板(330)の内部ボア内に配設される。超音波ブレード(324)を含む導波管(320)の遠位部分は、囲い板(330)の遠位開口部を介して囲い板(330)の遠位端から遠位方向に突出する。
トランスデューサアセンブリ(100)は、上述のトランスデューサアセンブリ(100)と実質的に類似するか、又は同一である。具体的には、本例のトランスデューサ(100)は、ケーブル(14)を介して発生器(12)に連結されるが、トランスデューサアセンブリ(100)の代わりにコードレストランスデューサであってよいことを理解されたい。トランスデューサアセンブリ(100)によって生成された超音波振動は、囲い板(330)を通って延在する音響導波管(320)に沿って伝達されて超音波ブレード(324)に達する。上述のように、超音波ブレード(324)が起動状態(すなわち、超音波振動している)にあるとき、超音波ブレード(324)は、組織を効率的に切開及び封着するように動作可能である。導波管(320)が、導波管(320)を通って伝達される機械的振動を増幅するように構成され得ることを理解されたい。更に、導波管(320)は、導波管(320)に沿った長手方向の振動のゲインを制御するように動作可能な特徴部、及び/又は導波管(20)を系の共振周波数に同調させる特徴部を含み得る。
本例の器具(310)は、二組のアクチベータ(350、360)を含み、その作動が、2つの異なる超音波電力レベル又はモードでのトランスデューサ(100)及びブレード(324)の起動をもたらす。アクチベータ(350)は、アクチベータ(360)に対して近位に位置する。アクチベータ(350)は、環状アレイのボタン(352)を含む。アクチベータ(360)も、環状アレイのボタン(362)を含む。各アレイのボタン(352、362)は、上述のボタン(236)と同様に構成され、動作可能であってもよい。あるいは、各アレイのボタン(352、362)は、任意の他の好適な構成を有してもよい。例えば、各アレイのボタン(352,362)は、薄膜スイッチのアレイを含んでもよい。各アクチベータ(350,360)を形成するために使用され得る他の好適な構成要素及び構成は、本明細書の教示を考慮することにより当業者には明らかになるであろう。
以下でより詳細に記載されるように、アクチベータ(350)は、比較的低い超音波電力レベルでのトランスデューサ(100)及びブレード(324)の起動を提供する一方、アクチベータ(360)は、比較的高い超音波電力レベルでのトランスデューサ(100)及びブレード(324)の起動を提供する。そのため、いくつかの例では、操作者がボタン(352)のうちの1つを作動させると、操作者の選択がケーブル(14)を介して発生器(12)の制御回路(16)に戻って伝達され、制御回路(16)は、低電力起動モードに従って発生器(12)から電力を伝達する。同様に、操作者がボタン(362)のうちの1つを作動させると、操作者の選択がケーブル(14)を介して発生器(12)の制御回路(16)に戻って伝達され、制御回路(16)は、高電力起動モードに従って発生器(12)から電力を伝達する。制御回路(16)がこの機能性を提供するように構成され得る様々な方法は、本明細書の教示を考慮することにより当業者には明らかになるであろう。
囲い板アセンブリ(330)は、アクチベータ(350、360)を選択的に被覆又は露出するために第1の位置(図4、5B)と第2の位置(図5A)との間で移動可能なスライド可能なリング(370)を含む。特に、スライド可能なリング(370)が図4及び5Bに示される第1の位置にあるとき、スライド可能なリング(370)は、アクチベータ(350)を被覆し、アクチベータ(360)を露出したままにする。したがって、スライド可能なリング(370)が第1の位置にあるとき、操作者は、ボタン(362)を作動させることができるが、ボタン(352)を作動させることはできない。スライド可能なリング(370)が図5Aに示される第2の位置にあるとき、スライド可能なリング(370)は、アクチベータ(360)を被覆し、アクチベータ(350)を露出したままにする。したがって、スライド可能なリング(370)が第2の位置にあるとき、操作者は、ボタン(352)を作動させることができるが、ボタン(362)を作動させることはできない。
スライド可能なリング(370を第1の位置に位置付けることは、「最小」電力モードの器具を提供し、アクチベータ(350)は、比較的低い超音波電力レベルでのトランスデューサ(100)及びブレード(324)の起動を提供することになる一方、第2の位置にあるスライド可能なリング(370)は、「最大」電力モードの器具を提供し、アクチベータ(350)は、比較的高い超音波電力レベルでのトランスデューサ(100)及びブレード(324)の起動を提供することになることは、前述のことから理解されたい。アクチベータ(350、360)は、器具(310)がどの電力モードにあるかを示す可視指示を提供するためにしるし(例えば、それぞれ「最小」及び「最大」の文字標示など)を含み得る。しるしがとり得る様々な好適な形態は、本明細書の教示を考慮することにより当業者には明らかになるであろう。
上述のように、スライド可能なリング(370)が遠位位置にあるとき、器具(310)は、第1のレベルの超音波エネルギーによってブレード(324)で動作可能であり、スライド可能なリング(370)が近位位置にあるとき、器具(310)は、第2のレベルの超音波エネルギーによってブレード(324)で動作可能である。あくまで一例として、スライド可能なリング(370)の遠位端が「最大」電力を提供する一方、スライド可能なリング(370)の近位端が「最小」電力を提供するように、第1のレベルのエネルギーは、第2のレベルのエネルギーを上回る場合がある。言うまでもなく、これは単なる例証的な非限定的な例である。当業者であれば、所望の場合には上述の関連性は容易に逆転することができることをすぐに理解するであろう。すなわち、スライド可能なリング(370)の遠位位置が「最小」電力を提供する一方、スライド可能なリング(370)の近位位置が「最大」電力を提供するように、第1のレベルのエネルギーが第2のレベルのエネルギーよりも低い場合がある。スライド可能なリング(370)が、遠位位置と近位位置との間の様々な他の位置に移動可能であり得、選択できる更なる電力レベルが提供され得ることも理解されたい。更に、スライド可能なリング(370)は、異なるエネルギー様式間の切り替えを提供するように動作可能であり得る。例えば、スライド可能なリング(370)は、ブレード(324)での超音波エネルギーの提供とブレード(324)でのRFエネルギーの提供との間で切り替えるように動作可能であり得る。異なる起動モードと関連付けられ得る他の好適な動作特性は、本明細書の教示を考慮することにより当業者には明らかになるであろう。
示される例では、スライド可能なリング(370)は、戻り止め機構(図示せず)などの係止機構によって第1及び第2の位置で固定可能である。例えば、スライド可能なリング(370)がいったん第1の位置に置かれると、戻り止め機構は、遠位方向(ブレード(324)に向かって)の十分な力がなくてもスライド可能なリング(370)を第1の位置に維持するように構成される。同様に、スライド可能なリング(370)がいったん第2の位置に置かれると、戻り止め機構は、近位方向の十分な力がなくてもスライド可能なリング(370)を第2の位置に維持するように構成される。他の例では、戻り止め機構は、作動又は押し下げられると、戻り止め機構を開放し、囲い板(330)に対してスライド可能なリング(370)が移動することを許可するボタン又は他の特徴部と関連付けられ得る。戻り止め特徴部がそれでもまだ、操作者が器具(310)のその握りを大幅に変えることを必要とせずに、操作者がスライド可能なリング(370)を移動させることを許可することを理解されたい。例えば、操作者は、操作者の残りの指を所定位置に固定して留めたまま、単一の指(例えば、人差し指又は親指)のみでスライド可能なリング(370)を長手方向に平行移動させることができる。戻り止め特徴部がとり得る様々な好適な形態は、本明細書の教示を考慮することにより当業者には明らかになるであろう。
いくつかの例では、スライド可能なリング(370)は、スライド可能なリング(370)が第1又は第2の位置のいずれかに置かれなければならず、スライド可能なリング(370)が第1及び第2の位置の間の中間位置、又は第1若しくは第2の位置ではない別の位置に置かれてはならないように構成されてもよい。いくつかのかかる例では、スライド可能なリング(370)は、例えば、操作者がスライド可能なリング(370)を第1又は第2の位置まで完全に移動させ損ねた場合にスライド可能なリング(370)を第1又は第2の位置のうちの1つに引き寄せるように構成された付勢要素と関連付けられ得る。しかしながら、他の例では、スライド可能なリング(370)は、第1及び第2の位置以外の位置(例えば、任意の動作モードと関連付けられていない)に置かれることが許容され得る。例えば、スライド可能なリング(370)は、第1及び第2の位置の間にある位置に置かれてもよい。上述のように、スライド可能なリング(370)の中間位置は、中間電力モードと対応してもよい。別の単なる例証的な代替案として、スライド可能なリング(370)は、スライド可能なリング(370)が遠位及び近位位置の間の中間位置に位置するときに、両方のアクチベータ(350、360)を動作不可能にし得る。したがって、スライド可能なリング(370)は、スライド可能なリング(370)が遠位及び近位位置の間の中間位置に位置付けられる場合、「オフ」位置と見なされ得る。
本例の器具(310)が2つのアクチベータ(350、360)を含む一方、代替の例では、3つ又は4つ以上などの2つを超えるアクチベータ(350,360)が存在してもよい。かかる例では、スライド可能なリング(370)は、1つのみのアクチベータ(350、360)へのアクセスを許可する一方で、他のアクチベータ(350、360)のうちの1つ又は2つ以上へのアクセスを防止するように構成されてもよい。いくつかのかかる例では、アクチベータ(350、360)の追加又は代替の構成に適応するために1つを超えるスライド可能なリング(370)が存在し得る。更に、示されるように、各アクチベータ(350,360)は、それぞれの組の4つのボタン(352、362)を含む。あるいは、各アクチベータ(350、360)は、それぞれの組の3つ以下のボタン(352、362)、又は5つ若しくは6つ以上のボタン(352、362)を含み得る。更に、アクチベータ(350)と関連付けられたボタン(352)の数は、アクチベータ(360)と関連付けられたボタン(362)の数と異なる場合がある。
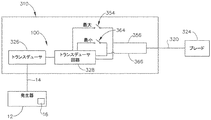
図6は、器具(310)のブロック概略図を示す。図6に示されるように、器具(310)は、トランスデューサ(326)、トランスデューサ回路(328)、第1のアクチベータ(350)と関連付けられた第1のスイッチ(354)、及び第2のアクチベータ(360)と関連付けられた第2のスイッチ(364)を含むトランスデューサアセンブリ(100)を含む。器具(310)は、トランスデューサ回路(328)を導波管(320)と動作可能に接続するライン(356)、及びトランスデューサ回路(328)を導波管(320)(と動作可能に接続する別のライン(366)を更に含む。いくつかの例では、スイッチ(354)は、スライド可能なリング(370)が第1の位置にあるときに、閉鎖位置に移動され得る。その後、ボタン(352)が作動すると、例えば、発生器(12)は回路(328)を通して電力を伝達し、結果として得られた超音波エネルギーが第1の起動モードに従ってブレード(324)に送達される。同様に、スイッチ(364)は、スライド可能なリング(370)が第2の位置にあるときに、閉鎖位置に移動され得る。したがって、ボタン(362)が作動すると、例えば、発生器(12)は回路(3218)を通して導波管(320)に電力を伝達し、結果として得られた超音波エネルギーが第2の起動モードに従ってブレード(324)に送達される。
代替の例では、スイッチ(354、364)の一方又は両方は、示される様式とは異なって構成されてもよい。例えば、図7を参照して、代替のスイッチ(454、464)は各々、スイッチ(354、364)に関して説明された様式と同じ又は異なる様式で開閉し得る一組のスイッチを並列に含む。スイッチ(354、364、454、464)の他の好適な構成は、本明細書の教示を考慮することにより当業者には明らかになるであろう。トランスデューサ回路(328)が、図1に示され、上述した制御回路(34)と類似した様式で構成され得ることを理解されたい。
スライド可能なリング(370)が2つの異なる構成で提供され得ることは、前述から理解されたい。1つの例示的な構成において、スライド可能なリング(370)は、単に、ボタン(352、362)を選択的に被覆して、それによりボタン(352、362)が作動されることを防止する機械的シールドとして機能する。例えば、スライド可能なリング(370)が遠位位置にあるとき、スライド可能なリング(370)は、ボタン(362)を被覆し、それによりボタン(362)が作動されることを防止するが、ボタン(352)へのアクセスを提供し、それによりボタン(352)が作動されることを許可する。逆に、スライド可能なリング(370)が近位位置にあるとき、スライド可能なリング(370)は、ボタン(352)を被覆し、それによりボタン(352)が作動されることを防止するが、ボタン(362)へのアクセスを提供し、それによりボタン(362)が作動されることを許可する。スライド可能なリング(370)が、単に、ボタン(352、362)へのアクセスを選択的に妨げる機械的カバーとして機能するいくつかのかかる変形例では、スライド可能なリング(370)は、あらゆる種類のスイッチと係合しない。かかる変形例では、各組のボタン(352、362)は、各組のボタン(352、362)が対応する超音波電力レベルでブレード(324)を起動させることを可能にするそれぞれの回路に配線される。言い換えれば、ボタン(352)は、第1の超音波電力レベルでブレード(324)を起動させるための専用の回路に配線されてもよい一方、ボタン(362)は、第1の超音波電力レベルでブレード(324)を起動させる別個の専用の回路に配線されてもよい。したがって、スライド可能なリング(370)の長手方向位置付けは、あらゆる電気回路構成に影響を及ぼさず、単に、ボタン(352、362)のアクセス性に影響を及ぼす。
しかしながら、別の例示的な構成において、スライド可能なリング(370)は、実際には、スライド可能なリング(370)が位置付けられた位置に基づいて、特定の電力モードを選択するスイッチを作動させる。いくつかのかかる変形例では、スライド可能なリング(370)が遠位位置にあるとき、スライド可能なリング(370)は、第1の電力レベルでの超音波ブレード(324)の起動と関連付けられたスイッチを閉じる(入れる)。スライド可能なリング(370)が近位位置にあるとき、スライド可能なリング(370)は、第2の電力レベルでの超音波ブレード(324)の起動と関連付けられたスイッチを閉じる(入れる)。かかる変形例では、ボタン(352)は、必ずしも、ボタン(362)が配線された回路とは別個の回路に配線されていない。いくつかのかかる変形例では、スライド可能なリング(370)が除去されることになると、ボタン(352)は、ボタン(362)と同じ超音波電力レベルで超音波ブレード(324)を起動させることになる。したがって、ボタン(352)は、ボタン(362)と共に単一の組のボタン(2つの別個の長手方向に離間された組のボタン(352、362)ではなく)に統合されてもよく、統合された組のボタンは、スライド可能なリング(370)の長手方向に位置にかかわらずアクセス可能であることを理解されたい。
この例の別の変形形態として、制御回路は、制御回路がスライド可能なリングの長手方向位置に基づいて超音波電力レベルを選択するように、スライド可能なリング(370)の長手方向位置を感知するように動作可能である特徴部を含み得る。スライド可能なリング(370)が単にボタン(352、362)へのアクセスを制御する前述の例とは異なり、この代替の例では、スライド可能なリング(370)の長手方向の位置付けは、実際には、ボタン(352、362)のアクセス性に影響を及ぼすことに加えて、電気回路構成を変化させることを理解されたい。
III.例示的な組み合わせ
以下の実施例は、本明細書の教示を組み合わせるか又は適用することができる様々な非網羅的な方法に関する。以下の実施例は、本出願における又は本出願の後の出願におけるどの時点でも提示され得るいずれの請求項の適用範囲をも限定することを目的としたものではないことを理解されたい。一切の権利放棄を意図するものではない。以下の実施例は単なる例証目的で与えられるものにすぎない。本明細書の様々な教示は、多くの他の方法で配置及び適用され得ることが企図される。また、いくつかの変形形態では、以下の実施例で言及される特定の特徴を省略してもよいことも企図される。したがって、本発明者によって、又は本発明者の利益となる継承者によって、後日、そうである旨が明示的に示されない限り、以下に言及される態様又は特徴のいずれも重要なものとしてみなされるべきではない。以下に言及される特徴以外の更なる特徴を含む請求項が本出願において、又は本出願に関連する後の出願において示される場合、これらの更なる特徴は、特許性に関連するいずれの理由によって追加されたものとしても仮定されるべきではない。
(実施例1)
超音波器具であって、(a)本体であって、長手方向軸を画定し、超音波トランスデューサを受容するように構成されている、本体と、(b)作動アセンブリであって、(i)第1の起動部材と、(ii)第2の起動部材と、を備える、作動アセンブリと、(c)シャフトアセンブリであって、音響導波管を備える、シャフトアセンブリと、(d)音響導波管と音響通信する超音波ブレードであって、第1の起動部材が、第1の電力モードで超音波ブレードの起動を引き起こすように動作可能であり、第2の起動部材が、第2の電力モードで超音波ブレードの起動を引き起こすように動作可能である、超音波ブレードと、(e)第1の位置と第2の位置との間で移動するように構成された移動可能な部材と、を備え、移動可能な部材は、移動可能な部材が第1の位置にあるときに、第1の起動部材へのアクセスを許可し、かつ第2の起動部材へのアクセスを防止するように構成されており、移動可能な部材は、移動可能な部材が第2の位置にあるときに、第2の起動部材へのアクセスを許可し、かつ第1の起動部材へのアクセスを防止するように構成されている、超音波器具。
(実施例2)
少なくとも1つのスイッチを更に備え、少なくとも1つのスイッチが、作動アセンブリ又は移動可能な部材と通信する、実施例1に記載の超音波器具。
(実施例3)
少なくとも1つのスイッチが、第1の起動部材の作動に応じて、開放状態から閉鎖状態に移行するように構成された第1のスイッチを含む、実施例2に記載の超音波器具。
(実施例4)
少なくとも1つのスイッチが、第2の起動部材の作動に応じて、開放状態から閉鎖状態に移行するように構成された第2のスイッチを含む、実施例3に記載の超音波器具。
(実施例5)
少なくとも1つのスイッチが、移動可能な部材の第1の位置と第2の位置との間の移動に応じて、開放状態から閉鎖状態に移行するように構成されている、実施例2に記載の超音波器具。
(実施例6)
第1の起動部材が、第1の複数のボタンを備える、実施例1〜5のいずれか1つ又は2つ以上に記載の超音波器具。
(実施例7)
第1の複数のボタンが、長手方向軸を中心に環状アレイ状に配置されている、実施例6に記載の超音波器具。
(実施例8)
第2の起動部材が、第2の複数のボタンを備える、実施例7に記載の超音波器具。
(実施例9)
第2の複数のボタンが、長手方向軸を中心に環状アレイ状に配置されている、実施例8に記載の超音波器具。
(実施例10)
第2の起動部材が、第2の複数のボタンを備える、実施例6に記載の超音波器具。
(実施例11)
第2の複数のボタンが、第1の複数のボタンに対して遠位に位置付けられている、実施例10に記載の超音波器具。
(実施例12)
移動可能な部材が、第1の位置と第2の位置との間で本体に沿って平行移動するように構成されている、実施例1〜11のいずれか1つ又は2つ以上に記載の超音波器具。
(実施例13)
移動可能な部材が、スライド可能なリングを含む、実施例1〜12のいずれか1つ又は2つ以上に記載の超音波器具。
(実施例14)
移動可能な部材を第1の位置に選択的に保持するように構成された第1の組の戻り止め特徴部を更に備える、実施例1〜13のいずれか1つ又は2つ以上に記載の超音波器具。
(実施例15)
移動可能な部材を第2の位置に選択的に保持するように構成された第2の組の戻り止め特徴部を更に備える、実施例1〜14のいずれか1つ又は2つ以上に記載の超音波器具。
(実施例16)
第1の電力モードが、第2の電力モードよりも高いレベルの超音波振動電力を供給し、これにより、第2の起動部材が超音波ブレードの起動を引き起こすように動作可能な電力よりも高い電力で第1の起動部材が超音波ブレードの起動を引き起こすように動作可能になる、実施例1〜15のいずれか1つ又は2つ以上に記載の超音波器具。
(実施例17)
超音波外科用器具のハンドルアセンブリであって、(a)本体であって、長手方向軸を画定し、超音波トランスデューサを受容するように構成されている、本体と、(b)シャフトアセンブリであって、音響導波管を備える、シャフトアセンブリと、(c)音響導波管と音響通信する超音波ブレードと、(d)作動アセンブリであって、(i)第1の複数のボタンであって、本体の周りに角度をなして配設されている、第1の複数のボタンと、(ii)第2の複数のボタンであって、本体の周りに角度をなして配設されている、第2の複数のボタンと、(iii)第1の複数のボタン又は第2の複数のボタンのうちの一方又は両方が第1の電力レベルで超音波ブレードの起動を引き起こすことを可能にするように動作可能な第1のスイッチと、(iv)第1の複数のボタン又は第2の複数のボタンのうちの一方又は両方が第2の電力レベルで超音波ブレードの起動を引き起こすことを可能にするように動作可能な第2のスイッチと、を備える、作動アセンブリと、(e)移動可能な部材であって、移動可能な部材が、第1の位置と第2の位置との間で本体に対して移動可能であり、移動可能な部材が、移動可能な部材の第1の位置での位置付けに応じて第1のスイッチを作動させるように動作可能であり、移動可能な部材が、移動部材の第2の位置での位置付けに応じて第2のスイッチを作動させるように動作可能である、移動可能な部材と、を備える、超音波外科用器具のハンドルアセンブリ。
(実施例18)
超音波器具であって、(a)本体であって、長手方向軸を画定し、超音波トランスデューサを受容するように構成されている、本体と、(b)作動アセンブリであって、(i)第1の環状起動部材と、(ii)第2の環状起動部材と、を備える、作動アセンブリと、(c)シャフトアセンブリであって、音響導波管を備える、シャフトアセンブリと、(d)超音波ブレードであって、超音波ブレードが、音響導波管と音響通信し、第1の環状起動部材が、超音波ブレードを第1の電力レベルで起動させるように動作可能であり、第2の環状起動部材が、超音波ブレードを第2の電力レベルで起動させるように動作可能である、超音波ブレードと、(e)本体の一部の周りに配設されたリングであって、第1の位置と第2の位置との間で長手方向軸に沿って移動可能である、リングと、を備え、リングは、リングの第1の位置での位置付けに応じて作動アセンブリが超音波ブレードを第1の電力レベルで起動させることを可能にするように構成されており、リングは、リングの第2の位置での位置付けに応じて作動アセンブリが超音波ブレードを第2の電力レベルで起動させることを可能にするように構成されている、超音波器具。
(実施例19)
リングが、第1の位置及び/又は第2の位置に固定されるように構成されている、実施例18に記載の超音波器具。
(実施例20)
リングが、第1の位置及び/又は第2の位置に向かって付勢されるように構成されている、実施例18又は19のうちのいずれか1つ又は2つに記載の超音波器具。
IV.その他
明細書に記載される器具のいずれの変形例も、本明細書で上述されるものに加えて、又はそれらの代わりに、種々の他の特徴を含んでもよいことを理解されたい。あくまで一例として、本明細書で説明する器具のいずれもが、本明細書において、参照することにより組み込まれる種々の参考文献のいずれかで開示される種々の特徴のうちの1つ又は2つ以上を含むこともできる。本明細書の教示は、本明細書の引用文献のいずれかの教示と多数の方法で容易に組み合わせ得るため、本明細書の教示は、本明細書の他の引用文献のいずれかに記載される器具のいずれにも容易に適用され得ることが理解されよう。本明細書の教示が組み込まれ得る他の種類の器具が、当業者には明らかであろう。
参照により本明細書に援用されると言及されたいかなる特許、刊行物、又は他の開示内容も、全体的に又は部分的に、援用された内容が現行の定義、見解、又は本開示に記載された他の開示内容とあくまで矛盾しない範囲でのみ本明細書に援用されることを認識されたい。それ自体、また必要な範囲で、本明細書に明瞭に記載される開示内容は、参照により本明細書に援用されるあらゆる矛盾する記載に優先するものとする。参照により本明細書に援用されるものとするが、既存の定義、記載、又は本明細書に記載される他の開示文献と矛盾する任意の文献、又はそれらの部分は、援用文献と既存の開示内容との間に矛盾が生じない範囲においてのみ援用されるものとする。
上述の装置の変形例は、医療専門家によって行われる従来の治療及び処置での用途だけでなく、ロボット支援された治療及び処置での用途も有することができる。あくまでも一例として、本明細書の様々な教示は、ロボット手術システム、例えばIntuitive Surgical,Inc.(Sunnyvale,California)によるDAVINCI(商標)システムに容易に組み込まれ得る。同様に、当業者には明らかとなることであるが、本明細書の種々の教示は、その開示が、本明細書において、参照することにより組み込まれる5004年8月31日公開の「Robotic Surgical Tool with Ultrasound Cauterizing and Cutting Instrument」と題された米国特許第6,783,524号の種々の教示と容易に組み合わされ得る。
上述の変形例は、1回の使用後に廃棄されるように設計されてもよく、あるいは、それらは、複数回使用されるように設計されてもよい。いずれか又は両方の場合において、変形例は、少なくとも1回の使用後に再利用のために再調整され得る。再調整は、デバイスの分解工程、それに続く特定の部分の洗浄又は交換工程、及びその後の再組立工程の任意の組み合わせを含み得る。特に、装置のいくつかの変形例は分解することができ、また、装置の任意の数の特定の部分又は部品を、任意の組み合わせで選択的に交換するか又は取り外してもよい。特定の部品の洗浄及び/又は交換に際して、装置のいくつかの変形例を、再調整用の施設において、又は手術の直前に使用者により再組み立てして、その後の使用に供することができる。当業者であれば、デバイスの再調整において、分解、洗浄/交換、及び再組立のための様々な技術を利用することができることを認識するであろう。かかる技術の使用、及び結果として得られる再調整されたデバイスは、全て本発明の範囲内にある。
あくまで一例として、本明細書に記載される変形例は、手術の前及び/又は後に滅菌されてもよい。1つの滅菌法では、装置をプラスチック製又はTYVEK製のバックなどの閉鎖及び密封された容器に入れる。次いで、容器及び装置を、γ線、X線、又は高エネルギー電子線などの、容器を透過し得る放射線場に置くことができる。放射線は、装置の表面及び容器内の細菌を死滅させることができる。この後、滅菌された装置を、後の使用のために、滅菌容器中で保管することができる。デバイスはまた、β線若しくはγ線、エチレンオキシド、又は水蒸気が挙げられるがこれらに限定されない、当該技術分野で既知の任意の別の技術を用いて滅菌され得る。
以上、本発明の様々な実施形態を図示及び説明したが、本発明の範囲から逸脱することなく、当業者による適切な改変により、本明細書に記載される方法及びシステムの更なる適合化を実現することができる。そのような可能な改変のうちのいくつかについて述べたが、他の改変も当業者には明らかであろう。例えば、上記で論じた実施例、実施形態、形状、材料、寸法、比率、工程などは例証的なものであって、必須のものではない。したがって、本発明の範囲は、以下の特許請求の範囲の観点から考慮されるべきものであり、本明細書及び図面において図示され、説明された構造及び動作の細部に限定されないものとして理解されたい。
〔実施の態様〕
(1) 超音波器具であって、
(a)本体であって、長手方向軸を画定し、超音波トランスデューサを受容するように構成されている、本体と、
(b)作動アセンブリであって、
(i)第1の起動部材と、
(ii)第2の起動部材と、を備える、作動アセンブリと、
(c)シャフトアセンブリであって、音響導波管を備える、シャフトアセンブリと、
(d)前記音響導波管と音響通信する超音波ブレードであって、前記第1の起動部材が、第1の電力モードで前記超音波ブレードの起動を引き起こすように動作可能であり、前記第2の起動部材が、第2の電力モードで前記超音波ブレードの起動を引き起こすように動作可能である、超音波ブレードと、
(e)第1の位置と第2の位置との間で移動するように構成された移動可能な部材とを備え、
前記移動可能な部材は、前記移動可能な部材が前記第1の位置にあるときに、前記第1の起動部材へのアクセスを許可し、かつ前記第2の起動部材へのアクセスを防止するように構成されており、
前記移動可能な部材は、前記移動可能な部材が前記第2の位置にあるときに、前記第2の起動部材へのアクセスを許可し、かつ前記第1の起動部材へのアクセスを防止するように構成されている、超音波器具。
(2) 少なくとも1つのスイッチを更に備え、前記少なくとも1つのスイッチが、前記作動アセンブリ又は前記移動可能な部材と通信する、実施態様1に記載の超音波器具。
(3) 前記少なくとも1つのスイッチが、前記第1の起動部材の作動に応じて、開放状態から閉鎖状態に移行するように構成された第1のスイッチを含む、実施態様2に記載の超音波器具。
(4) 前記少なくとも1つのスイッチが、前記第2の起動部材の作動に応じて、開放状態から閉鎖状態に移行するように構成された第2のスイッチを含む、実施態様3に記載の超音波器具。
(5) 前記少なくとも1つのスイッチが、前記移動可能な部材の前記第1の位置と前記第2の位置との間の移動に応じて、開放状態から閉鎖状態に移行するように構成されている、実施態様2に記載の超音波器具。
(6) 前記第1の起動部材が、第1の複数のボタンを備える、実施態様1に記載の超音波器具。
(7) 前記第1の複数のボタンが、前記長手方向軸を中心に環状アレイ状に配置されている、実施態様6に記載の超音波器具。
(8) 前記第2の起動部材が、第2の複数のボタンを備える、実施態様7に記載の超音波器具。
(9) 前記第2の複数のボタンが、前記長手方向軸を中心に環状アレイ状に配置されている、実施態様8に記載の超音波器具。
(10) 前記第2の起動部材が、第2の複数のボタンを備える、実施態様6に記載の超音波器具。
(11) 前記第2の複数のボタンが、前記第1の複数のボタンに対して遠位に位置付けられている、実施態様10に記載の超音波器具。
(12) 前記移動可能な部材が、前記第1の位置と前記第2の位置との間で前記本体に沿って平行移動するように構成されている、実施態様1に記載の超音波器具。
(13) 前記移動可能な部材が、スライド可能なリングを含む、実施態様1に記載の超音波器具。
(14) 前記移動可能な部材を前記第1の位置に選択的に保持するように構成された第1の組の戻り止め特徴部を更に備える、実施態様1に記載の超音波器具。
(15) 前記移動可能な部材を前記第2の位置に選択的に保持するように構成された第2の組の戻り止め特徴部を更に備える、実施態様1に記載の超音波器具。
(16) 前記第1の電力モードが、前記第2の電力モードよりも高いレベルの超音波振動電力を供給し、これにより、前記第2の起動部材が前記超音波ブレードの起動を引き起こすように動作可能な電力よりも高い電力で前記第1の起動部材が前記超音波ブレードの起動を引き起こすように動作可能になる、実施態様1に記載の超音波器具。
(17) 超音波外科用器具のハンドルアセンブリであって、
(a)本体であって、長手方向軸を画定し、超音波トランスデューサを受容するように構成されている、本体と、
(b)シャフトアセンブリであって、音響導波管を備える、シャフトアセンブリと、
(c)前記音響導波管と音響通信する超音波ブレードと、
(d)作動アセンブリであって、
(i)第1の複数のボタンであって、前記本体の周りに角度をなして配設されている、第1の複数のボタンと、
(ii)第2の複数のボタンであって、前記本体の周りに角度をなして配設されている、第2の複数のボタンと、
(iii)前記第1の複数のボタン又は前記第2の複数のボタンのうちの一方又は両方が第1の電力レベルで前記超音波ブレードの起動を引き起こすことを可能にするように動作可能な第1のスイッチと、
(iv)前記第1の複数のボタン又は前記第2の複数のボタンのうちの一方又は両方が第2の電力レベルで前記超音波ブレードの起動を引き起こすことを可能にするように動作可能な第2のスイッチと、を備える、作動アセンブリと、
(e)移動可能な部材であって、前記移動可能な部材が、第1の位置と第2の位置との間で前記本体に対して移動可能であり、前記移動可能な部材が、前記移動可能な部材の前記第1の位置での位置付けに応じて前記第1のスイッチを作動させるように動作可能であり、前記移動可能な部材が、前記移動可能な部材の前記第2の位置での位置付けに応じて前記第2のスイッチを作動させるように動作可能である、移動可能な部材とを備える、超音波外科用器具のハンドルアセンブリ。
(18) 超音波器具であって、
(a)本体であって、長手方向軸を画定し、超音波トランスデューサを受容するように構成されている、本体と、
(b)作動アセンブリであって、
(i)第1の環状起動部材と、
(ii)第2の環状起動部材と、を備える、作動アセンブリと、
(c)シャフトアセンブリであって、音響導波管を備える、シャフトアセンブリと、
(d)超音波ブレードであって、前記超音波ブレードが、前記音響導波管と音響通信し、前記第1の環状起動部材が、前記超音波ブレードを第1の電力レベルで起動させるように動作可能であり、前記第2の環状起動部材が、前記超音波ブレードを第2の電力レベルで起動させるように動作可能である、超音波ブレードと、
(e)前記本体の一部の周りに配設されたリングであって、第1の位置と第2の位置との間で前記長手方向軸に沿って移動可能である、リングと、を備え、
前記リングは、前記リングの前記第1の位置での位置付けに応じて、前記作動アセンブリが前記超音波ブレードを前記第1の電力レベルで起動させることを可能にするように構成されており、
前記リングは、前記リングの前記第2の位置での位置付けに応じて、前記作動アセンブリが前記超音波ブレードを前記第2の電力レベルで起動させることを可能にするように構成されている、超音波器具。
(19) 前記リングが、前記第1の位置及び/又は前記第2の位置に固定されるように構成されている、実施態様18に記載の超音波器具。
(20) 前記リングが、前記第1の位置及び/又は前記第2の位置に向かって付勢されるように構成されている、実施態様18に記載の超音波器具。

Claims (16)

  1. 超音波器具であって、
    (a)本体であって、長手方向軸を画定し、超音波トランスデューサを受容するように構成されている、本体と、
    (b)作動アセンブリであって、
    (i)第1の起動部材と、
    (ii)第2の起動部材と、を備える、作動アセンブリと、
    (c)シャフトアセンブリであって、音響導波管を備える、シャフトアセンブリと、
    (d)前記音響導波管と音響通信する超音波ブレードであって、前記第1の起動部材が、第1の電力モードで前記超音波ブレードの起動を引き起こすように動作可能であり、前記第2の起動部材が、第2の電力モードで前記超音波ブレードの起動を引き起こすように動作可能である、超音波ブレードと、
    (e)第1の位置と第2の位置との間で移動するように構成された移動可能な部材であって、
    前記移動可能な部材は、前記移動可能な部材が前記第1の位置にあるときに、前記第1の起動部材へのアクセスを許可し、かつ前記第2の起動部材へのアクセスを防止するように構成されており、
    前記移動可能な部材は、前記移動可能な部材が前記第2の位置にあるときに、前記第2の起動部材へのアクセスを許可し、かつ前記第1の起動部材へのアクセスを防止するように構成されている、移動可能な部材と、
    (f)前記移動可能な部材と通信する少なくとも1つのスイッチと、
    を備え、前記少なくとも1つのスイッチが、
    開放状態と閉鎖状態との間を移行するように構成された第1のスイッチと、
    開放状態と閉鎖状態との間を移行するように構成された第2のスイッチと、
    を含み、前記第1および第2のスイッチが、前記移動可能な部材の前記第1の位置と前記第2の位置との間の移動に応じて、前記開放状態から前記閉鎖状態に移行するように構成されており、前記第1のスイッチは、前記移動可能な部材が前記第1の位置にあるときに、前記閉鎖状態に移行し、前記第2のスイッチは、前記移動可能な部材が前記第2の位置にあるときに、前記閉鎖状態に移行するように構成されている、超音波器具。
  2. 前記第1の起動部材が、第1の複数のボタンを備える、請求項1に記載の超音波器具。
  3. 前記第1の複数のボタンが、前記長手方向軸を中心に環状アレイ状に配置されている、請求項2に記載の超音波器具。
  4. 前記第2の起動部材が、第2の複数のボタンを備える、請求項3に記載の超音波器具。
  5. 前記第2の複数のボタンが、前記長手方向軸を中心に環状アレイ状に配置されている、請求項4に記載の超音波器具。
  6. 前記第2の起動部材が、第2の複数のボタンを備える、請求項2に記載の超音波器具。
  7. 前記第2の複数のボタンが、前記第1の複数のボタンに対して遠位に位置付けられている、請求項6に記載の超音波器具。
  8. 前記移動可能な部材が、前記第1の位置と前記第2の位置との間で前記本体に沿って平行移動するように構成されている、請求項1に記載の超音波器具。
  9. 前記移動可能な部材が、スライド可能なリングを含む、請求項1に記載の超音波器具。
  10. 前記移動可能な部材を前記第1の位置に選択的に保持するように構成された第1の組の戻り止め特徴部を更に備える、請求項1に記載の超音波器具。
  11. 前記移動可能な部材を前記第2の位置に選択的に保持するように構成された第2の組の戻り止め特徴部を更に備える、請求項1に記載の超音波器具。
  12. 前記第1の電力モードが、前記第2の電力モードよりも高いレベルの超音波振動電力を供給し、これにより、前記第2の起動部材が前記超音波ブレードの起動を引き起こすように動作可能な電力よりも高い電力で前記第1の起動部材が前記超音波ブレードの起動を引き起こすように動作可能になる、請求項1に記載の超音波器具。
  13. 超音波外科用器具のハンドルアセンブリであって、
    (a)本体であって、長手方向軸を画定し、超音波トランスデューサを受容するように構成されている、本体と、
    (b)シャフトアセンブリであって、音響導波管を備える、シャフトアセンブリと、
    (c)前記音響導波管と音響通信する超音波ブレードと、
    (d)作動アセンブリであって、
    (i)第1の複数のボタンであって、前記本体の周りに角度をなして配設されている、第1の複数のボタンと、
    (ii)第2の複数のボタンであって、前記本体の周りに角度をなして配設されている、第2の複数のボタンと、
    (iii)前記第1の複数のボタン又は前記第2の複数のボタンのうちの一方又は両方が第1の電力レベルで前記超音波ブレードの起動を引き起こすことを可能にするように動作可能な第1のスイッチと、
    (iv)前記第1の複数のボタン又は前記第2の複数のボタンのうちの一方又は両方が第2の電力レベルで前記超音波ブレードの起動を引き起こすことを可能にするように動作可能な第2のスイッチと、を備える、作動アセンブリと、
    (e)移動可能な部材であって、前記移動可能な部材が、第1の位置と第2の位置との間で前記本体に対して移動可能であり、前記移動可能な部材が、前記移動可能な部材の前記第1の位置での位置付けに応じて前記第1のスイッチを作動させるように動作可能であり、前記移動可能な部材が、前記移動可能な部材の前記第2の位置での位置付けに応じて前記第2のスイッチを作動させるように動作可能である、移動可能な部材と
    を備え、前記第1および第2のスイッチが、前記移動可能な部材の前記第1の位置と前記第2の位置との間の移動に応じて、開放状態から閉鎖状態に移行するように構成されており、前記第1のスイッチは、前記移動可能な部材が前記第1の位置にあるときに、前記閉鎖状態に移行し、前記第2のスイッチは、前記移動可能な部材が前記第2の位置にあるときに、前記閉鎖状態に移行するように構成されている、超音波外科用器具のハンドルアセンブリ。
  14. 超音波器具であって、
    (a)本体であって、長手方向軸を画定し、超音波トランスデューサを受容するように構成されている、本体と、
    (b)作動アセンブリであって、
    (i)第1の環状起動部材と、
    (ii)第2の環状起動部材と、を備える、作動アセンブリと、
    (c)シャフトアセンブリであって、音響導波管を備える、シャフトアセンブリと、
    (d)超音波ブレードであって、前記超音波ブレードが、前記音響導波管と音響通信し、前記第1の環状起動部材が、前記超音波ブレードを第1の電力レベルで起動させるように動作可能であり、前記第2の環状起動部材が、前記超音波ブレードを第2の電力レベルで起動させるように動作可能である、超音波ブレードと、
    (e)前記本体の一部の周りに配設されたリングであって、第1の位置と第2の位置との間で前記長手方向軸に沿って移動可能である、リングであって、
    前記リングは、前記リングの前記第1の位置での位置付けに応じて、前記作動アセンブリが前記超音波ブレードを前記第1の電力レベルで起動させることを可能にするように構成されており、
    前記リングは、前記リングの前記第2の位置での位置付けに応じて、前記作動アセンブリが前記超音波ブレードを前記第2の電力レベルで起動させることを可能にするように構成されている、リングと、
    (f)前記リングと通信する少なくとも1つのスイッチと、
    を備え、前記少なくとも1つのスイッチが、
    開放状態と閉鎖状態との間を移行するように構成された第1のスイッチと、
    開放状態と閉鎖状態との間を移行するように構成された第2のスイッチと、
    を含み、前記第1および第2のスイッチが、前記リングの前記第1の位置と前記第2の位置との間の移動に応じて、前記開放状態から前記閉鎖状態に移行するように構成されており、前記第1のスイッチは、前記リングが前記第1の位置にあるときに、前記閉鎖状態に移行し、前記第2のスイッチは、前記リングが前記第2の位置にあるときに、前記閉鎖状態に移行するように構成されている、超音波器具。
  15. 前記リングが、前記第1の位置及び/又は前記第2の位置に固定されるように構成されている、請求項14に記載の超音波器具。
  16. 前記リングが、前記第1の位置及び/又は前記第2の位置に向かって付勢されるように構成されている、請求項14に記載の超音波器具。
JP2018510486A 2015-08-26 2016-08-17 起動部材対及びスライド可能なカバーを有する超音波外科用器具 Active JP6862425B2 (ja)

Applications Claiming Priority (3)

Application Number Priority Date Filing Date Title
US14/836,207 2015-08-26
US14/836,207 US10413314B2 (en) 2015-08-26 2015-08-26 Ultrasonic surgical instrument with activation member pair and slidable cover
PCT/US2016/047349 WO2017034880A1 (en) 2015-08-26 2016-08-17 Ultrasonic surgical instrument with activation member pair and slidable cover

Publications (2)

Publication Number Publication Date
JP2018525153A JP2018525153A (ja) 2018-09-06
JP6862425B2 true JP6862425B2 (ja) 2021-04-21

Family

ID=56801835

Family Applications (1)

Application Number Title Priority Date Filing Date
JP2018510486A Active JP6862425B2 (ja) 2015-08-26 2016-08-17 起動部材対及びスライド可能なカバーを有する超音波外科用器具

Country Status (6)

Country Link
US (1) US10413314B2 (ja)
EP (1) EP3340903B1 (ja)
JP (1) JP6862425B2 (ja)
CN (1) CN108348275B (ja)
BR (1) BR112018003715B1 (ja)
WO (1) WO2017034880A1 (ja)

Families Citing this family (4)

* Cited by examiner, † Cited by third party
Publication number Priority date Publication date Assignee Title
US11471168B2 (en) 2019-12-20 2022-10-18 Innovations 4 Surgery, LLC Medical devices and related methods for transforming bone, other tissue, or material
US20210369295A1 (en) * 2020-06-02 2021-12-02 Covidien Lp Ultrasonic transducer casing, ultrasonic transducer assembly, and ultrasonic surgical instrument
US12594081B2 (en) 2021-12-22 2026-04-07 Innovations 4 Surgery, LLC Medical cutting devices with static components having temperature sensors and related methods
WO2025010213A2 (en) 2023-07-01 2025-01-09 Innovations 4 Surgery, LLC Medical cutting and drill devices having static components, retractable sheaths, sensors, navigation components, working blade bodies, rails, struts, channels for fluid and gas flow, hand-piece, robotic arm attachment capabilities, computing devices, and associated feedbacks and outputs

Family Cites Families (36)

* Cited by examiner, † Cited by third party
Publication number Priority date Publication date Assignee Title
US4919129A (en) * 1987-11-30 1990-04-24 Celebration Medical Products, Inc. Extendable electrocautery surgery apparatus and method
US5324299A (en) 1992-02-03 1994-06-28 Ultracision, Inc. Ultrasonic scalpel blade and methods of application
US5322055B1 (en) 1993-01-27 1997-10-14 Ultracision Inc Clamp coagulator/cutting system for ultrasonic surgical instruments
US5980510A (en) 1997-10-10 1999-11-09 Ethicon Endo-Surgery, Inc. Ultrasonic clamp coagulator apparatus having improved clamp arm pivot mount
US5873873A (en) 1997-10-10 1999-02-23 Ethicon Endo-Surgery, Inc. Ultrasonic clamp coagulator apparatus having improved clamp mechanism
US6309400B2 (en) 1998-06-29 2001-10-30 Ethicon Endo-Surgery, Inc. Curved ultrasonic blade having a trapezoidal cross section
CA2276316C (en) 1998-06-29 2008-02-12 Ethicon Endo-Surgery, Inc. Method of balancing asymmetric ultrasonic surgical blades
US6325811B1 (en) 1999-10-05 2001-12-04 Ethicon Endo-Surgery, Inc. Blades with functional balance asymmetries for use with ultrasonic surgical instruments
US6423082B1 (en) 2000-03-31 2002-07-23 Ethicon Endo-Surgery, Inc. Ultrasonic surgical blade with improved cutting and coagulation features
US6945981B2 (en) 2000-10-20 2005-09-20 Ethicon-Endo Surgery, Inc. Finger operated switch for controlling a surgical handpiece
US6783524B2 (en) 2001-04-19 2004-08-31 Intuitive Surgical, Inc. Robotic surgical tool with ultrasound cauterizing and cutting instrument
CN100584285C (zh) * 2004-09-14 2010-01-27 奥林巴斯株式会社 超声波处置器具及超声波处置器具用探针
ES2598134T3 (es) 2004-10-08 2017-01-25 Ethicon Endo-Surgery, Llc Instrumento ultrasónico quirúrgico
US20070191713A1 (en) 2005-10-14 2007-08-16 Eichmann Stephen E Ultrasonic device for cutting and coagulating
US8152825B2 (en) 2005-10-14 2012-04-10 Ethicon Endo-Surgery, Inc. Medical ultrasound system and handpiece and methods for making and tuning
JP2007275291A (ja) 2006-04-06 2007-10-25 Olympus Medical Systems Corp 超音波処置装置
US8114104B2 (en) 2006-06-01 2012-02-14 Ethicon Endo-Surgery, Inc. Mechanism for assembly of ultrasonic instrument
US20080171938A1 (en) * 2007-01-15 2008-07-17 Shinya Masuda Ultrasonic operating apparatus
JP5165696B2 (ja) 2007-01-16 2013-03-21 エシコン・エンド−サージェリィ・インコーポレイテッド 切断および凝固用超音波装置
US8057498B2 (en) 2007-11-30 2011-11-15 Ethicon Endo-Surgery, Inc. Ultrasonic surgical instrument blades
US8911460B2 (en) 2007-03-22 2014-12-16 Ethicon Endo-Surgery, Inc. Ultrasonic surgical instruments
CA2701962C (en) 2007-10-05 2016-05-31 Ethicon Endo-Surgery, Inc. Ergonomic surgical instruments
CN102149338B (zh) 2008-09-12 2015-07-22 伊西康内外科公司 指尖控制的超声装置
JP2010287194A (ja) * 2009-06-15 2010-12-24 Sony Corp マウス装置
US8461744B2 (en) 2009-07-15 2013-06-11 Ethicon Endo-Surgery, Inc. Rotating transducer mount for ultrasonic surgical instruments
JP5710610B2 (ja) * 2009-07-15 2015-04-30 エシコン・エンド−サージェリィ・インコーポレイテッドEthicon Endo−Surgery,Inc. 超音波手術器具のための電気外科手術用電気発生器
US9050093B2 (en) 2009-10-09 2015-06-09 Ethicon Endo-Surgery, Inc. Surgical generator for ultrasonic and electrosurgical devices
US20120116265A1 (en) 2010-11-05 2012-05-10 Houser Kevin L Surgical instrument with charging devices
US9381058B2 (en) 2010-11-05 2016-07-05 Ethicon Endo-Surgery, Llc Recharge system for medical devices
GB2496624A (en) * 2011-11-16 2013-05-22 Gyrus Medical Ltd Surgical instrument with a plurality of handswitches
US9393037B2 (en) 2012-06-29 2016-07-19 Ethicon Endo-Surgery, Llc Surgical instruments with articulating shafts
US9095367B2 (en) 2012-10-22 2015-08-04 Ethicon Endo-Surgery, Inc. Flexible harmonic waveguides/blades for surgical instruments
US9848900B2 (en) 2012-12-07 2017-12-26 Ethicon Llc Ultrasonic surgical blade
US10172636B2 (en) 2013-09-17 2019-01-08 Ethicon Llc Articulation features for ultrasonic surgical instrument
US10226271B2 (en) 2013-11-22 2019-03-12 Ethicon Llc Methods and features for coupling ultrasonic surgical instrument components together
US9907565B2 (en) 2014-10-15 2018-03-06 Eithicon LLC Activation features for ultrasonic surgical instrument

Also Published As

Publication number Publication date
US10413314B2 (en) 2019-09-17
EP3340903A1 (en) 2018-07-04
JP2018525153A (ja) 2018-09-06
WO2017034880A1 (en) 2017-03-02
CN108348275A (zh) 2018-07-31
BR112018003715B1 (pt) 2022-10-11
EP3340903B1 (en) 2020-09-23
US20170056052A1 (en) 2017-03-02
BR112018003715A2 (pt) 2018-09-25
CN108348275B (zh) 2021-03-19

Similar Documents

Publication Publication Date Title
US12161356B2 (en) Surgical instrument with multi-function button
JP6896736B2 (ja) 多機能性トリガを伴う外科用器具
US12582431B2 (en) Surgical instrument with selector
US9750521B2 (en) Ultrasonic blade overmold
JP6874004B2 (ja) 超音波外科用器具のためのスナップ嵌めクランプパッド
US11051839B2 (en) Ultrasonic surgical instrument with slidable flexing activation member
US9907565B2 (en) Activation features for ultrasonic surgical instrument
US10130383B2 (en) Ultrasonic surgical instrument with rotatable actuation levers and mechanical lockout
JP6862425B2 (ja) 起動部材対及びスライド可能なカバーを有する超音波外科用器具
US10426506B2 (en) Ultrasonic surgical instrument with multi-grip activation and power selection
US11439424B2 (en) Activation features for ultrasonic surgical instrument

Legal Events

Date Code Title Description
A621 Written request for application examination

Free format text: JAPANESE INTERMEDIATE CODE: A621

Effective date: 20190816

A977 Report on retrieval

Free format text: JAPANESE INTERMEDIATE CODE: A971007

Effective date: 20200828

A131 Notification of reasons for refusal

Free format text: JAPANESE INTERMEDIATE CODE: A131

Effective date: 20200915

A521 Request for written amendment filed

Free format text: JAPANESE INTERMEDIATE CODE: A523

Effective date: 20201208

TRDD Decision of grant or rejection written
A01 Written decision to grant a patent or to grant a registration (utility model)

Free format text: JAPANESE INTERMEDIATE CODE: A01

Effective date: 20210302

A61 First payment of annual fees (during grant procedure)

Free format text: JAPANESE INTERMEDIATE CODE: A61

Effective date: 20210331

R150 Certificate of patent or registration of utility model

Ref document number: 6862425

Country of ref document: JP

Free format text: JAPANESE INTERMEDIATE CODE: R150

R250 Receipt of annual fees

Free format text: JAPANESE INTERMEDIATE CODE: R250

R250 Receipt of annual fees

Free format text: JAPANESE INTERMEDIATE CODE: R250