JP6861476B2 - 放送受信装置およびコンテンツ保護処理方法 - Google Patents

放送受信装置およびコンテンツ保護処理方法 Download PDF

Info

Publication number
JP6861476B2
JP6861476B2 JP2016113529A JP2016113529A JP6861476B2 JP 6861476 B2 JP6861476 B2 JP 6861476B2 JP 2016113529 A JP2016113529 A JP 2016113529A JP 2016113529 A JP2016113529 A JP 2016113529A JP 6861476 B2 JP6861476 B2 JP 6861476B2
Authority
JP
Japan
Prior art keywords
content
unit
information
descriptor
video
Prior art date
Legal status (The legal status is an assumption and is not a legal conclusion. Google has not performed a legal analysis and makes no representation as to the accuracy of the status listed.)
Active
Application number
JP2016113529A
Other languages
English (en)
Other versions
JP2017220786A (ja
JP2017220786A5 (ja
Inventor
清水 拓也
拓也 清水
吉澤 和彦
和彦 吉澤
橋本 康宣
康宣 橋本
益岡 信夫
信夫 益岡
Current Assignee (The listed assignees may be inaccurate. Google has not performed a legal analysis and makes no representation or warranty as to the accuracy of the list.)
Maxell Ltd
Original Assignee
Maxell Ltd
Priority date (The priority date is an assumption and is not a legal conclusion. Google has not performed a legal analysis and makes no representation as to the accuracy of the date listed.)
Filing date
Publication date
Priority to JP2016113529A priority Critical patent/JP6861476B2/ja
Application filed by Maxell Ltd filed Critical Maxell Ltd
Priority to CN202011295287.7A priority patent/CN112543381B/zh
Priority to CN202011292513.6A priority patent/CN112543379B/zh
Priority to CN201780035223.3A priority patent/CN109314799B/zh
Priority to CN202011292486.2A priority patent/CN112543377B/zh
Priority to CN202011295256.1A priority patent/CN112543380B/zh
Priority to US16/307,496 priority patent/US10715868B2/en
Priority to CN202011292503.2A priority patent/CN112543378A/zh
Priority to PCT/JP2017/020106 priority patent/WO2017212983A1/ja
Publication of JP2017220786A publication Critical patent/JP2017220786A/ja
Publication of JP2017220786A5 publication Critical patent/JP2017220786A5/ja
Priority to US16/884,235 priority patent/US11019400B2/en
Priority to JP2021057668A priority patent/JP6919085B1/ja
Priority to JP2021057672A priority patent/JP6920569B2/ja
Application granted granted Critical
Publication of JP6861476B2 publication Critical patent/JP6861476B2/ja
Priority to US17/239,736 priority patent/US11438661B2/en
Priority to JP2021121462A priority patent/JP7176056B2/ja
Priority to US17/870,993 priority patent/US11843833B2/en
Priority to JP2022179425A priority patent/JP7691405B2/ja
Priority to US18/377,351 priority patent/US12238377B2/en
Priority to US19/021,350 priority patent/US20250159294A1/en
Priority to JP2025090532A priority patent/JP7842286B2/ja
Active legal-status Critical Current
Anticipated expiration legal-status Critical

Links

Images

Landscapes

  • Two-Way Televisions, Distribution Of Moving Picture Or The Like (AREA)
  • Circuits Of Receivers In General (AREA)
  • Television Signal Processing For Recording (AREA)
  • Signal Processing For Digital Recording And Reproducing (AREA)

Description

本発明は、放送受信装置に関する。
デジタル放送サービスの拡張機能の1つに、放送波でデジタルデータを送信し、天気予報やニュース、おすすめ番組等の各種情報を表示するデータ放送がある。データ放送を受信可能なテレビ受信機は既に多数市販されており、また、データ放送受信に関する技術も下記特許文献1をはじめ多数が公表されている。
特開2001−186486号公報
近年のコンテンツ配信に関する環境変化に対して、テレビ受信機も様々な機能拡張を求められている。特にインターネット等のブロードバンドネットワーク環境を利用したコンテンツや連携アプリケーションの配信に対する要求、および、映像コンテンツの高解像度化/高精細化に対する要求、等が多い。しかしながら、現行のテレビ受信機が備えるデータ放送受信機能等のみの流用、あるいは、前記データ放送受信機能等の機能拡張のみでは、前記要求に応え得る高付加価値のテレビ受信機を提供することは難しい。
本発明の目的は、より付加価値の高い機能を実行可能な放送受信装置を提供することである。
前記課題を解決するための手段として、特許請求の範囲に記載の技術を用いる。
一例を挙げるならば、デジタル放送のコンテンツおよび前記コンテンツのコンテンツ保護に関する制御情報を受信可能な放送受信部と、前記放送受信部で受信したコンテンツを蓄積する蓄積部と、前記放送受信部で受信したコンテンツまたは前記蓄積部に蓄積していたコンテンツの映像を外部機器に出力する映像出力部と、前記蓄積部に蓄積していたコンテンツを外部機器にコピーまたはムーブするインタフェースと、制御部と、を備え、前記制御部による前記蓄積部、前記映像出力部、および前記インタフェースの制御状態には、前記蓄積部でのコンテンツの蓄積を行わずに前記映像出力部から外部機器へ出力する第1の映像出力処理状態と、前記蓄積部でのコンテンツの蓄積を行うコンテンツの蓄積処理状態と、前記蓄積部でのコンテンツの蓄積処理後にコンテンツを前記映像出力部から外部機器へ出力する第2の映像出力処理状態と、前記蓄積部でのコンテンツの蓄積処理後にコンテンツを前記インタフェースを介して外部機器へコピーするコピー処理状態と、前記蓄積部でのコンテンツの蓄積処理後にコンテンツを前記インタフェースを介して外部機器へムーブするムーブ処理状態とがあり、前記制御部は、前記コンテンツ保護に関する制御情報に基づいてコンテンツ保護処理の制御が可能であり、前記制御部は、前記第1の映像出力処理状態、前記第2の映像出力処理状態、前記コピー処理状態、および前記ムーブ処理状態のいずれにおいてもコンテンツの映像の画素数に応じてコンテンツ保護処理の切り替えを行い、前記蓄積処理状態においては、コンテンツの映像の画素数に応じてコンテンツ保護処理の切り替えを行わない、放送受信装置、を用いる。
本発明の技術を用いることにより、より付加価値の高い機能を実行可能な放送受信装置を提供することができる。
実施例1に係る放送受信装置を含む放送通信システムの構成図である。 MMTにおける符号化信号の構成要素の説明図である。 MMTにおけるMPUの構成図である。 MMTにおけるMMTPパケットの構成図である。 MMTを用いる放送システムのプロトコルスタックの概念図である。 放送システムで用いる制御情報の階層構成図である。 放送システムのTLV−SIで使用されるテーブルの一覧である。 放送システムのTLV−SIで使用される記述子の一覧である。 放送システムのMMT−SIで使用されるメッセージの一覧である。 放送システムのMMT−SIで使用されるテーブルの一覧である。 放送システムのMMT−SIで使用される記述子の一覧(1)である。 放送システムのMMT−SIで使用される記述子の一覧(2)である。 放送システムのMMT−SIで使用される記述子の一覧(3)である。 放送システムのコンポーネントと各テーブルの関係を示す図である。 放送システムのMPTのデータ構造を示す図である。 放送システムのロケーション情報のデータ構造を示す図である。 放送システムのMPUタイムスタンプ記述子のデータ構造を示す図である。 放送システムのMH−EITのデータ構造を示す図である。 放送システムのイベントパッケージ記述子のデータ構造を示す図である。 実施例1に係る放送受信装置のブロック図である。 実施例1に係る放送受信装置の提示機能の論理的プレーン構造の構成図である。 実施例1に係る放送受信装置のソフトウェア構成図である。 実施例1に係る放送局サーバのブロック図である。 実施例1に係るサービス事業者サーバのブロック図である。 実施例1に係る携帯情報端末のブロック図である。 実施例1に係る携帯情報端末のソフトウェア構成図である。 実施例1に係る放送受信装置のクロック同期/提示同期のシステム構成図である。 放送システムのNTP形式のデータ構造を示す図である。 放送システムのMH−TOTのデータ構造を示す図である。 放送システムのJST_timeパラメータのフォーマットを示す図である。 放送システムのTMCC拡張情報領域の時刻情報のデータ構造を示す図である。 実施例1に係る放送受信装置のMJDからの現在日付の算出方法を示す図である。 実施例1に係る放送受信装置のチャンネルスキャン時の動作シーケンス図である。 放送システムのTLV−NITのデータ構造を示す図である。 放送システムの衛星分配システム記述子のデータ構造を示す図である。 放送システムのサービスリスト記述子のデータ構造を示す図である。 放送システムのAMTのデータ構造を示す図である。 実施例1に係る放送受信装置の選局時の動作シーケンス図である。 放送システムのPLTによる各パッケージのMPTの参照を説明する概念図である。 放送システムのPLTのデータ構造を示す図である。 実施例1に係る放送受信装置を制御可能なリモコンの外観図である。 放送システムのリモートコントロールキー記述子のデータ構造を示す図である。 マルチ編成チャンネルの選局処理を説明する図である。 マルチビュー対応番組のアングル選択処理を説明する図である。 放送システムのLCTのデータ構造を示す図である。 放送システムのMPU提示領域指定記述子のデータ構造を示す図である。 LCTに基づくレイアウト番号へのレイアウトの割当を示す図である。 LCTに基づくレイアウト番号へのレイアウトの割当を示す図である。 LCTに基づくレイアウト番号へのレイアウトの割当を示す図である。 LCTに基づくレイアウト番号へのレイアウトの割当を示す図である。 LCTに基づく画面レイアウト制御の例外処理を説明する図である。 LCTに基づく画面レイアウト制御の例外処理を説明する図である。 放送システムの映像コンポーネント記述子のデータ構造を示す図である。 映像コンポーネント記述子の映像信号アスペクト比の意味を説明する図である。 実施例1に係る放送受信装置のアスペクト比変換処理を説明する図である。 実施例1に係る放送受信装置のアスペクト比変換処理を説明する図である。 実施例1に係る放送受信装置のEPG画面の画面表示図である。 実施例1に係る放送受信装置のEPG画面の画面表示図である。 実施例1に係る放送受信装置のEPG画面の画面表示図である。 実施例1に係る放送受信装置の緊急警報放送表示時の画面表示図である。 放送システムのコンテンツコピー制御記述子のデータ構造を示す図である。 コンテンツコピー制御記述子のコピー制御情報の意味を示す図である。 放送システムのコンテンツ利用制御記述子のデータ構造を示す図である。 実施例2に係る放送受信装置のブロック図である。 放送サービス切り替え時の現在時刻表示の不整合を説明する図である。 実施例2に係る現在時刻情報参照元の選択制御の動作を説明する図である。 実施例2に係る現在時刻情報の更新処理の動作シーケンス図である。 実施例2に係る放送受信装置のEPG画面の画面表示図である。 実施例2に係る放送受信装置のEPG画面の画面表示図である。 実施例3に係るコンテンツ保護処理を説明する図である。 実施例4に係るコンテンツ保護処理を説明する図である。
以下、本発明の実施形態の例を、図面を用いて説明する。
(実施例1)
[システム構成]
図1は、本実施例の放送受信装置を含む放送通信システムの一例を示すシステム構成図である。本実施例の放送通信システムは、放送受信装置100とアンテナ100a、インターネット200等のブロードバンドネットワークおよびルータ装置200rとアクセスポイント200a、放送局の電波塔300tと放送衛星(または通信衛星)300s、放送局サーバ300、サービス事業者サーバ400、その他のアプリケーションサーバ500、移動体電話通信サーバ600と移動体電話通信網の基地局600b、携帯情報端末700、で構成される。
放送受信装置100は、電波塔300tから送出された放送波を、放送衛星(または通信衛星)300sおよびアンテナ100aを介して受信する。あるいは、電波塔300tから送出された放送波を、放送衛星(または通信衛星)300sを介さずに、直接アンテナ100aから受信しても良い。また、放送受信装置100は、ルータ装置200rを介してインターネット200と接続可能であり、インターネット200上の各サーバ装置やその他の通信機器との通信によるデータの送受信が可能である。
ルータ装置200rは、インターネット200と有線通信により接続され、また、放送受信装置100とは有線通信または無線通信で、携帯情報端末700とは無線通信で接続される。前記無線通信は、Wi−Fi(登録商標)等の方式が使用されて良い。これにより、インターネット200上の各サーバ装置やその他の通信機器と放送受信装置100と携帯情報端末700とが、ルータ装置200rを介して、データの送受信を相互に行うことが可能となる。なお、放送受信装置100と携帯情報端末700との通信は、ルータ装置200rを介さずに、BlueTooth(登録商標)やNFC(Near Field Communication)等の方式で直接通信を行っても良い。
電波塔300tは、放送局の放送設備であり、放送番組の符号化データや字幕情報、その他のアプリケーション、汎用データ、等を含む放送波を送出する。放送衛星(または通信衛星)300sは、放送局の電波塔300tから送信された放送波を受信し、適宜周波数変換等を行った後に、放送受信装置100に接続されたアンテナ100aに対して前記放送波を再送信する中継器である。また、前記放送局は放送局サーバ300を備えるものとする。放送局サーバ300は、放送番組(動画コンテンツ等)および各放送番組の番組タイトル、番組ID、番組概要、出演者情報、放送日時、等のメタデータを記憶し、前記動画コンテンツや各メタデータを、契約に基づいて、サービス事業者に対して提供することが可能であるものとする。なお、サービス事業者に対する前記動画コンテンツおよび各メタデータの提供は、放送局サーバ300が備えるAPI(Application Programming Interface)を通して行われるものであって良い。
サービス事業者サーバ400は、サービス事業者が用意するサーバ装置であり、放送局から配信される放送番組に連携した各種サービスを提供することが可能であるものとする。また、サービス事業者サーバ400は、放送局サーバ300から提供された動画コンテンツおよびメタデータや、放送番組に連携する各種コンテンツおよびアプリケーション等の記憶、管理および配信等を行う。また、テレビ受信機等からの問い合わせに対して、提供可能なコンテンツやアプリケーション等の検索や一覧の提供を行う機能も有するものとする。なお、前記コンテンツおよびメタデータの記憶、管理および配信と、前記アプリケーションの記憶、管理および配信は、異なるサーバ装置が行うものであっても良い。前記放送局と前記サービス事業者は同一であっても良いし、異なっていても良い。サービス事業者サーバ400は、異なるサービス毎に複数用意されても良い。また、サービス事業者サーバ400の機能は、放送局サーバ300が兼ね備えるものであっても良い。
その他のアプリケーションサーバ500は、その他の一般的なアプリケーションや動作プログラム、コンテンツ、データ、等の記憶、管理および配信等を行う公知のサーバ装置である。その他のアプリケーションサーバ500は、インターネット200上に複数あっても良い。
移動体電話通信サーバ600は、インターネット200と接続され、一方、基地局600bを介して携帯情報端末700と接続される。移動体電話通信サーバ600は、携帯情報端末700の移動体電話通信網を介した電話通信(通話)およびデータ送受信を管理し、携帯情報端末700とインターネット200上の各サーバ装置やその他の通信機器との通信によるデータの送受信を可能とする。基地局600bと携帯情報端末700との通信は、W−CDMA(Wideband Code Division Multiple Access)(登録商標)方式やGSM(Global System for Mobile communications)(登録商標)方式、LTE(Long Term Evolution)方式、あるいはその他の通信方式によって行われるものであって良い。
携帯情報端末700は、移動体電話通信網を介した電話通信(通話)およびデータ送受信の機能やWi−Fi(登録商標)等による無線通信の機能を有するものとする。携帯情報端末700は、ルータ装置200rやアクセスポイント200aを介して、あるいは、移動体電話通信網の基地局600bおよび移動体電話通信サーバ600を介して、インターネット200と接続可能であり、インターネット200上の各サーバ装置やその他の通信機器との通信によるデータの送受信が可能である。アクセスポイント200aは、インターネット200と有線通信により接続され、また、携帯情報端末700とは無線通信で接続される。前記無線通信は、Wi−Fi(登録商標)等の方式が使用されて良い。なお、携帯情報端末700と放送受信装置100との通信は、アクセスポイント200aおよびインターネット200とルータ装置200rを介して、あるいは、基地局600bと移動体電話通信サーバ600およびインターネット200とルータ装置200rを介して行われるものであっても良い。
[MMT方式の概要]
図1に示した放送受信装置100は、映像や音声等のデータを伝送するメディアトランスポート方式として、従来のデジタル放送システムで多く採用されているMPEG(Moving Picture Experts Group)−2システムで規定されたTS(Transport Stream)(以下、MPEG2−TSと記述する。)に代替して、MMT(MPEG Media Transport)に対応可能なテレビ受信機であるものとする。MPEG2−TSとMMTの双方に対応可能なテレビ受信機であっても良い。
MPEG2−TSは、番組を構成する映像や音声等のコンポーネントを、制御信号やクロックと共に1つのストリームに多重することを特徴とする。クロックも含めて1つのストリームとして扱うため、伝送品質が確保された1つの伝送路で1つのコンテンツを伝送するのに適しており、従来の多くのデジタル放送システムで採用された。一方、近年のコンテンツの多様化、コンテンツを利用する機器の多様化、コンテンツを配信する伝送路の多様化、コンテンツ蓄積環境の多様化、等、コンテンツ配信に関する環境変化に対してMPEG2−TSの機能に限界があることから、新たに策定されたメディアトランスポート方式がMMTである。
図2Aに、本実施例のMMTにおける符号化信号の概要の一例を示す。同図に示したように、本実施例のMMTは、符号化信号を構成する要素として、MFU(Media Fragment Unit)、MPU(Media Processing Unit)、MMTP(MMT Protocol)ペイロード、MMTPパケットを有するものとする。
MFUは、映像や音声等の伝送時の形式であり、NAL(Network Abstraction Layer)ユニット単位やアクセスユニット単位で構成されて良い。MPUは、1つ以上のアクセスユニットを含み、MPU単体で映像や音声の復号処理を行うことが可能であるものとする。MPUは、MPU全体の構成に関する情報を含むMPUメタデータと、符号化したメディアデータの情報を含むムービーフラグメントメタデータと、符号化したメディアデータであるサンプルデータと、で構成されて良い。1つのMPUにムービーフラグメントデータとサンプルデータが複数存在しても良い。また、サンプルデータからはMFUを取り出すことが可能であるものとする。図2Bに、MPUの構成の一例を示す。なお、同一のアセットに属するMPU毎にシーケンス番号を付加することにより、アセットを識別するアセットIDとMPUのシーケンス番号で、任意のMPUを他のMPUと区別可能であるものとする。また、映像コンポーネントや音声コンポーネント等のメディアの場合、MPU単位やアクセスユニット単位で提示時刻や復号時刻が指定されても良い。
MMTPパケットは、ヘッダ部とMMTPペイロードで構成され、MFUおよびMMTの制御情報を伝送するものとする。MMTPペイロードは、ペイロード部に格納する内容(データユニット)に応じたペイロードヘッダを備えるものとする。図2Cに、映像/音声信号からMFUを構成し、更にMMTPペイロードに格納して、MMTPパケットを構成するまでの概要の一例を示す。なお、フレーム間予測を用いて符号化を行う映像信号では、MPUをGOP(Group Of Pictures)単位で構成することが望ましい。また、伝送するMFUの大きさが小さい場合、1つのペイロード部に1つのMFUを格納しても良いし、1つのペイロード部に同一種類の複数のMFUを格納しても良い。また、伝送するMFUの大きさが大きい場合には、1つのMFUを複数のペイロード部に分割して格納しても良い。また、MMTPパケットは、伝送路上におけるパケットロスを回復するために、AL−FEC(Application Layer Forward Error Correction)やARQ(Automatic Repeat Request)等の技術を用いて保護されて良い。
本実施例の放送システムにおいては、映像符号化方式としてMPEG−H HEVC(High Efficiency Video Coding)が用いられ、音声符号化方式としてMPEG−4 AAC(Advanced Audio Coding)またはMPEG−4 ALS(Audio Lossless Coding)が用いられるものとする。前記各方式により符号化された、放送番組の映像や音声等の符号化データは、MFUやMPUの形式とし、更にMMTPペイロードに乗せてMMTPパケット化して、IP(Internet Protocol)パケットで伝送するものとする。また、放送番組に関連するデータコンテンツに関してもMFUやMPUの形式とし、更にMMTPペイロードに乗せてMMTPパケット化して、IPパケットで伝送して良い。データコンテンツの伝送方式としては、(1)放送に同期したデータのストリーミングに用いる字幕/文字スーパー伝送方式、(2)放送と非同期のデータ伝送サービスに用いるアプリケーション伝送方式、(3)放送局からのテレビ受信機上で動作するアプリケーションに対する同期/非同期のメッセージ通知に用いるイベントメッセージ伝送方式、(4)その他の汎用データを同期型/非同期型で伝送する汎用データ伝送方式、の四種類が用意されるものとする。
MMTPパケットの伝送には、放送伝送路ではUDP/IP(User Datagram Protocol/Internet Protocol)が用いられ、通信回線ではUDP/IPまたはTCP/IP(Transmission Control Protocol/Internet Protocol)が用いられるものとする。また、放送伝送路においては、IPパケットの効率的な伝送のためにTLV(Type Length Value)多重化方式が用いられるものとする。本実施例の放送システムのプロトコルスタックの一例を図3に示す。図中、(A)は放送伝送路におけるプロトコルスタックの一例であり、(B)は通信回線におけるプロトコルスタックの一例である。
本実施例の放送システムでは、MMT−SI(MMT−Signaling Information)とTLV−SI(TLV−Signaling Information)の二種類の制御情報を伝送する仕組みを用意するものとする。MMT−SIは、放送番組の構成等を示す制御情報である。MMTの制御メッセージの形式とし、MMTPペイロードに乗せてMMTPパケット化して、IPパケットで伝送するものとする。TLV−SIは、IPパケットの多重に関する制御情報であり、選局のための情報やIPアドレスとサービスの対応情報を提供するものとする。
また、MMTを用いた放送システムにおいても、絶対時刻を提供するために時刻情報を伝送するものとする。なお、MPEG2−TSがTS毎に異なるクロックをベースとしてコンポーネントの表示時刻を示していたのに対し、MMTでは、協定世界時刻(Coordinated Universal Time:UTC)をベースとしてコンポーネントの表示時刻を示すものとする。これらの仕組みにより、異なる送信点から異なる伝送路で伝送されたコンポーネントを端末機器が同期して表示することが可能となる。UTCを提供するために、NTP(Network Time Protocol)形式のIPパケットを用いるものとする。
[MMTを用いる放送システムの制御情報]
本実施例の放送受信装置100が対応する放送システムでは、前述したように、制御情報として、IPパケットの多重のためのTLV多重化方式に関わるTLV−SIと、メディアトランスポート方式であるMMTに関わるMMT−SIを用意する。TLV−SIは、放送伝送路に多重化されたIPパケットを、放送受信装置100が多重解除するための情報を提供する。TLV−SIは、『テーブル』と『記述子』で構成される。『テーブル』はセクション形式で伝送され、『記述子』は『テーブル』内に配置されるものとする。MMT−SIは、MMTのパッケージの構成や放送サービスに関連する情報を示す伝送制御情報である。MMT−SIは、『テーブル』や『記述子』を格納する『メッセージ』、特定の情報を示す要素や属性を持つ『テーブル』、より詳細な情報を示す『記述子』の三階層で構成されるものとする。本実施例の放送システムで用いる制御情報の階層構成の一例を図4に示す。
<TLV−SIで使用されるテーブル>
図5Aに、本実施例の放送受信装置100が対応する放送システムのTLV−SIで使用される『テーブル』の一覧を示す。本実施例では、TLV−SIの『テーブル』として以下に示すものが用いられるものとする。
(1)TLV−NIT
TLV用ネットワーク情報テーブル(Network Information Table for TLV:TLV−NIT)は、ネットワークにより伝送されるTLVストリームの物理的構成に関する情報およびネットワーク自身の特性を表すものである。
(2)AMT
アドレスマップテーブル(Address Map Table:AMT)は、ネットワークにおいて伝送される各サービスを構成するIPパケットのマルチキャストグループの一覧を提供する。
(3)事業者が設定するテーブル
その他、サービス事業者等が独自に設定したテーブルを用意することが可能である。
<TLV−SIで使用される記述子>
図5Bに、本実施例の放送受信装置100が対応する放送システムのTLV−SIに配置される『記述子』の一覧を示す。本実施例では、TLV−SIの『記述子』として以下に示すものが用いられるものとする。
(1)サービスリスト記述子
サービスリスト記述子は、サービス識別とサービス形式種別によるサービスの一覧を提供する。
(2)衛星分配システム記述子
衛星分配システム記述子は、衛星伝送路の物理的条件を示す。
(3)システム管理記述子
システム管理記述子は、放送と非放送を識別するために使用される。
(4)ネットワーク名記述子
ネットワーク名記述子は、文字符号によりネットワーク名を記述する。
(5)リモートコントロールキー記述子
リモートコントロールキー記述子は、受信機用リモコンのワンタッチ選局ボタンに割り当てるサービスを設定するために使用される。
(6)事業者が設定する記述子
その他、サービス事業者等が独自に設定した記述子を用意することが可能である。
<MMT−SIで使用されるメッセージ>
図6Aに、本実施例の放送受信装置100が対応する放送システムのMMT−SIで使用される『メッセージ』の一覧を示す。本実施例では、MMT−SIの『メッセージ』として以下に示すものが用いられるものとする。
(1)PAメッセージ
Package Access(PA)メッセージは、種々のテーブルを伝送するために用いる。
(2)M2セクションメッセージ
M2セクションメッセージは、MPEG−2 Systemsのセクション拡張形式を伝送するために用いる。
(3)CAメッセージ
CAメッセージは、限定受信方式の識別のためのテーブルを伝送するために用いる。
(4)M2短セクションメッセージ
M2短セクションメッセージは、MPEG−2 Systemsのセクション短形式を伝送するために用いる。
(5)データ伝送メッセージ
データ伝送メッセージは、データ伝送に関するテーブルを格納するメッセージである。
(6)事業者が設定するメッセージ
その他、サービス事業者等が独自に設定したメッセージを用意することが可能である。
<MMT−SIで使用されるテーブル>
図6Bに、本実施例の放送受信装置100が対応する放送システムのMMT−SIで使用される『テーブル』の一覧を示す。テーブルは、特定の情報を示す要素や属性を持つ制御情報であり、メッセージに格納してMMTPパケットで伝送するものとする。なお、テーブルを格納するメッセージはテーブルに応じて決まっていても良い。本実施例では、MMT−SIの『テーブル』として以下に示すものが用いられるものとする。
(1)MPT
MMTパッケージテーブル(MMT Package Table:MPT)は、アセットのリストやアセットのネットワーク上の位置などのパッケージを構成する情報を与える。MPTはPAメッセージに格納されて良い。
(2)PLT
パッケージリストテーブル(Package List Table:PLT)は、放送サービスとして提供されるMMTパッケージのPAメッセージを伝送するIPデータフローおよびパケットID並びにIPサービスを伝送するIPデータフローの一覧を示す。PLTはPAメッセージに格納されて良い。
(3)LCT
レイアウト設定テーブル(Layout Configuration Table:LCT)は、提示のためのレイアウト情報をレイアウト番号に対応付けるために用いる。LCTはPAメッセージに格納されて良い。
(4)ECM
Entitlement Control Message(ECM)は、番組情報および制御情報からなる共通情報であり、スクランブルを解除するための鍵情報などを配送する。ECMはM2セクションメッセージに格納されて良い。
(5)EMM
Entitlement Management Message(EMM)は、加入者毎の契約情報やECM(共通情報)の暗号を解くための鍵情報などを含む個別情報を伝送する。EMMはM2セクションメッセージに格納されて良い。
(6)CAT(MH)
CAテーブル(Conditional Access Table:CAT)(MH)は、限定受信方式の識別のための記述子を格納するために用いる。CAT(MH)はCAメッセージに格納されて良い。
(7)DCM
Download Control Message(DCM)は、ダウンロードのための伝送路暗号を復号するための鍵などからなる鍵関連情報を伝送する。DCMはM2セクションメッセージに格納されて良い。
(8)DMM
Download Management Message(DMM)は、DCMの暗号を解くためのダウンロード鍵などからなる鍵関連情報を伝送する。DMMはM2セクションメッセージに格納されて良い。
(9)MH−EIT
MH−イベント情報テーブル(MH−Event Information Table:MH−EIT)は、各サービスに含まれるイベントに関する時系列情報である。MH−EITはM2セクションメッセージに格納されて良い。
(10)MH−AIT
MH−アプリケーション情報テーブル(MH−Application Information Table:MH−AIT)は、アプリケーションに関する全ての情報およびアプリケーションに要求される起動状態等を格納する。MH−AITはM2セクションメッセージに格納されて良い。
(11)MH−BIT
MH−ブロードキャスタ情報テーブル(MH−Broadcaster Information Table:MH−BIT)は、ネットワーク上に存在するブロードキャスタの情報を提示するために用いる。MH−BITはM2セクションメッセージに格納されて良い。
(12)MH−SDTT
MH−ソフトウェアダウンロードトリガテーブル(MH−Software Download Trigger Table:MH−SDTT)は、ダウンロードの告知情報のために用いる。MH−SDTTはM2セクションメッセージに格納されて良い。
(13)MH−SDT
MH−サービス記述テーブル(MH−Service Description Table:MH−SDT)は、特定のTLVストリームに含まれるサービスを表すサブテーブルを有し、編成チャンネルの名称、放送事業者の名称など、編成チャンネルに関する情報を伝送する。MH−SDTはM2セクションメッセージに格納されて良い。
(14)MH−TOT
MH−タイムオフセットテーブル(MH−Time Offset Table:MH−TOT)は、JST時刻と日付(修正ユリウス日)情報を伝送する。MH−TOTはM2短セクションメッセージに格納されて良い。
(15)MH−CDT
MH−共通データテーブル(MH−Common Data Table:MH−CDT)は、これを受信する全ての受信機を対象として、不揮発性メモリに格納すべき共通データをセクション形式で伝送するために用いる。MH−CDTはM2セクションメッセージに格納されて良い。
(16)DDMテーブル
データディレクトリ管理テーブル(Data Directory Management Table:DDMテーブル)は、アプリケーションのファイル構成とファイル伝送のための構成を分離するために、アプリケーションを構成するファイルのディレクトリ構成を提供する。DDMテーブルはデータ伝送メッセージに格納されて良い。
(17)DAMテーブル
データアセット管理テーブル(Data Asset Management Table:DAMテーブル)は、アセット内のMPUの構成とMPU毎のバージョン情報を提供する。DAMテーブルはデータ伝送メッセージに格納されて良い。
(18)DCCテーブル
データコンテント管理テーブル(Data Content Configuration Table:DCCテーブル)は、柔軟で有効なキャッシュ制御を実現するため、データコンテンツとしてのファイルの構成情報を提供する。DCCテーブルはデータ伝送メッセージに格納されて良い。
(19)EMT
イベントメッセージテーブル(Event Message Table:EMT)は、イベントメッセージに関する情報を伝送するために用いる。EMTはM2セクションメッセージに格納されて良い。
(20)事業者が設定するテーブル
その他、サービス事業者等が独自に設定したテーブルを用意することが可能である。
<MMT−SIで使用される記述子>
図6C、図6Dおよび図6Eに、本実施例の放送受信装置100が対応する放送システムのMMT−SIに配置される『記述子』の一覧を示す。記述子は、より詳細な情報を提供する制御情報であり、テーブルに配置されるものとする。なお、記述子を配置するテーブルは記述子に応じて決まっていても良い。本実施例では、MMT−SIの『記述子』として以下に示すものが用いられるものとする。
(1)アセットグループ記述子
アセットグループ記述子は、アセットのグループ関係とグループ内での優先度を提供する。アセットグループ記述子はMPTに配置されて良い。
(2)イベントパッケージ記述子
イベントパッケージ記述子は、番組を表すイベントとパッケージの対応を提供する。イベントパッケージ記述子はM2セクションメッセージにて伝送されるMH−EITに配置されて良い。
(3)背景色指定記述子
背景色指定記述子は、レイアウト指定における最背面の背景色を提供する。背景色指定記述子はLCTに配置されて良い。
(4)MPU提示領域指定記述子
MPU提示領域指定記述子は、MPUを提示する位置を提供する。MPU提示領域指定記述子はMPTに配置されて良い。
(5)MPUタイムスタンプ記述子
MPUタイムスタンプ記述子は、MPUにおいて提示順序で最初のアクセスユニットの提示時刻を示す。MPUタイムスタンプ記述子はMPTに配置されて良い。
(6)依存関係記述子
依存関係記述子は、依存関係にあるアセットのアセットIDを提供する。依存関係記述子はMPTに配置されて良い。
(7)アクセス制御記述子
アクセス制御記述子は、限定受信方式を識別するための情報を提供する。アクセス制御記述子はMPTまたはCAT(MH)に配置されて良い。
(8)スクランブル方式記述子
スクランブル方式記述子は、スクランブル時の暗号化対象および暗号アルゴリズムの種別を識別するための情報を提供する。スクランブル方式記述子はMPTまたはCAT(MH)に配置されて良い。
(9)メッセージ認証方式記述子
メッセージ認証方式記述子は、メッセージ認証を行う場合にメッセージ認証方式を識別するための情報を提供する。メッセージ認証方式記述子はMPTまたはCAT(MH)に配置されて良い。
(10)緊急情報記述子(MH)
緊急情報記述子(MH)は、緊急警報放送を行う場合に用いる。緊急情報記述子(MH)はMPTに配置されて良い。
(11)MH−MPEG−4オーディオ記述子
MH−MPEG−4オーディオ記述子は、ISO/IEC 14496−3(MPEG−4オーディオ)のオーディオストリームの符号化パラメータを特定するための基本情報を記述するために用いる。MH−MPEG−4オーディオ記述子はMPTに配置されて良い。
(12)MH−MPEG−4オーディオ拡張記述子
MH−MPEG−4オーディオ拡張記述子は、MPEG−4オーディオストリームのプロファイルとレベルおよび符号化方式固有の設定を記述するために用いる。MH−MPEG−4オーディオ拡張記述子はMPTに配置されて良い。
(13)MH−HEVCビデオ記述子
MH−HEVCビデオ記述子は、ITU−T勧告H.265|ISO/IEC 23008−2の映像ストリーム(HEVCストリーム)の基本的な符号化パラメータを記述するために用いる。MH−HEVCビデオ記述子はMPTに配置されて良い。
(14)MH−リンク記述子
MH−リンク記述子は、番組配列情報システムに記載されているある特定のものに関連した追加情報を視聴者が要求した場合に提供されるサービスを識別する。MH−リンク記述子は、MPT、MH−EIT、MH−SDT、等に配置されて良い。
(15)MH−イベントグループ記述子
MH−イベントグループ記述子は、複数のイベント間に関係がある場合にそれらのイベント群がグループ化されていることを示すために用いる。MH−イベントグループ記述子はMH−EITに配置されて良い。
(16)MH−サービスリスト記述子
MH−サービスリスト記述子は、サービス識別とサービス形式種別によるサービスの一覧を提供する。MH−サービスリスト記述子はMH−BITに配置されて良い。
(17)MH−短形式イベント記述子
MH−短形式イベント記述子は、イベント名およびそのイベントの短い記述をテキスト形式で表す。MH−短形式イベント記述子はMH−EITに配置されて良い。
(18)MH−拡張形式イベント記述子
MH−拡張形式イベント記述子は、MH−短形式イベント記述子に付け加えて使用され、イベントの詳細記述を提供する。MH−拡張形式イベント記述子はMH−EITに配置されて良い。
(19)映像コンポーネント記述子
映像コンポーネント記述子は、映像コンポーネントに関するパラメータや説明を示し、エレメンタリストリームを文字形式で表現するためにも利用される。映像コンポーネント記述子はMPTまたはMH−EITに配置されて良い。
(20)MH−ストリーム識別記述子
MH−ストリーム識別記述子は、サービスのコンポーネントストリームにラベルを付け、このラベルによってMH−EIT内の映像コンポーネント記述子で示される記述内容を参照できるために使用する。MH−ストリーム識別記述子はMPTに配置されて良い。
(21)MH−コンテント記述子
MH−コンテント記述子は、イベントのジャンルを示す。MH−コンテント記述子はMH−EITに配置されて良い。
(22)MH−パレンタルレート記述子
MH−パレンタルレート記述子は、年齢に基づいた視聴制限を表し、また、他の制限条件に基づくよう拡張するために用いる。MH−パレンタルレート記述子はMPTまたはMH−EITに配置されて良い。
(23)MH−音声コンポーネント記述子
MH−音声コンポーネント記述子は、音声エレメンタリストリームの各パラメータを示し、エレメンタリストリームを文字形式で表現するためにも利用される。MH−音声コンポーネント記述子はMPTまたはMH−EITに配置されて良い。
(24)MH−対象地域記述子
MH−対象地域記述子は、番組または番組を構成する一部のストリームが対象とする地域を記述するために使用される。MH−対象地域記述子はMPTに配置されて良い。
(25)MH−シリーズ記述子
MH−シリーズ記述子は、シリーズ番組を識別するために用いる。MH−シリーズ記述子はMH−EITに配置されて良い。
(26)MH−SI伝送パラメータ記述子
MH−SI伝送パラメータ記述子は、SIの伝送パラメータを示すために用いる。MH−SI伝送パラメータ記述子はMH−BITに配置されて良い。
(27)MH−ブロードキャスタ名記述子
MH−ブロードキャスタ名記述子は、ブロードキャスタの名称を記述する。MH−ブロードキャスタ名記述子はMH−BITに配置されて良い。
(28)MH−サービス記述子
MH−サービス記述子は、編成チャンネル名とその事業者名をサービス形式種別と共に文字符号で表す。MH−サービス記述子はMH−SDTに配置されて良い。
(29)IPデータフロー記述子
IPデータフロー記述子は、サービスを構成するIPデータフローの情報を提供する。IPデータフロー記述子はMH−SDTに配置されて良い。
(30)MH−CA起動記述子
MH−CA起動記述子は、CAS基盤上のCASプログラムを起動するための起動情報を記載する。MH−CA起動記述子はMPTまたはCAT(CA)に配置されて良い。
(31)MH−Type記述子
MH−Type記述子は、アプリケーション伝送方式で伝送されるファイルの型を示す。MH−Type記述子はDAMテーブルに配置されて良い。
(32)MH−Info記述子
MH−Info記述子は、MPUまたはアイテムに関する情報を記述する。MH−Info記述子はDAMテーブルに配置されて良い。
(33)MH−Expire記述子
MH−Expire記述子は、アイテムの有効期限を記述する。MH−Expire記述子はDAMテーブルに配置されて良い。
(34)MH−Compression Type記述子
MH−Compression Type記述子は、伝送するアイテムが圧縮されていることを意味し、その圧縮アルゴリズムと圧縮前のアイテムのバイト数を示す。MH−Compression Type記述子はDAMテーブルに配置されて良い。
(35)MH−データ符号化方式記述子
MH−データ符号化方式記述子は、データ符号化方式を識別するために使用される。MH−データ符号化方式記述子はMPTに配置されて良い。
(36)UTC−NPT参照記述子
UTC−NPT参照記述子は、NPT(Normal Play Time)とUTCの関係を伝達するために用いる。UTC−NPT参照記述子はEMTに配置されて良い。
(37)イベントメッセージ記述子
イベントメッセージ記述子は、イベントメッセージ一般に関する情報を伝達する。イベントメッセージ記述子はEMTに配置されて良い。
(38)MH−ローカル時間オフセット記述子
MH−ローカル時間オフセット記述子は、サマータイム実施時に実際の時刻(例えば、UTC+9時間)と人間系への表示時刻に一定のオフセット値を持たせるときに用いる。MH−ローカル時間オフセット記述子はMH−TOTに配置されて良い。
(39)MH−コンポーネントグループ記述子
MH−コンポーネントグループ記述子は、イベント内のコンポーネントの組み合わせを定義して識別する。MH−コンポーネントグループ記述子はMH−EITに配置されて良い。
(40)MH−ロゴ伝送記述子
MH−ロゴ伝送記述子は、簡易ロゴ用文字列、CDT形式のロゴへのポインティングなどを記述するために用いる。MH−ロゴ伝送記述子はMH−SDTに配置されて良い。
(41)MPU拡張タイムスタンプ記述子
MPU拡張タイムスタンプ記述子は、MPU内のアクセスユニットの復号時刻を提供する。MPU拡張タイムスタンプ記述子はMPTに配置されて良い。
(42)MPUダウンロードコンテンツ記述子
MPUダウンロードコンテンツ記述子は、MPUを用いてダウンロードされるコンテンツの属性情報を記述するために用いる。MPUダウンロードコンテンツ記述子はMH−SDTTに配置されて良い。
(43)MH−ネットワークダウンロードコンテンツ記述子
MH−ネットワークダウンロードコンテンツ記述子は、ネットワークを用いてダウンロードされるコンテンツの属性情報を記述するために用いる。MH−ネットワークダウンロードコンテンツ記述子はMH−SDTTに配置されて良い。
(44)MH−アプリケーション記述子
MH−アプリケーション記述子は、アプリケーションの情報を記述する。MH−アプリケーション記述子はMH−AITに配置されて良い。
(45)MH−伝送プロトコル記述子
MH−伝送プロトコル記述子は、放送や通信等の伝送プロトコルの指定と伝送プロトコルに依存したアプリケーションのロケーション情報を示すために用いる。MH−伝送プロトコル記述子はMH−AITに配置されて良い。
(46)MH−簡易アプリケーションロケーション記述子
MH−簡易アプリケーションロケーション記述子は、アプリケーションの取得先の詳細を指示するために記述する。MH−簡易アプリケーションロケーション記述子はMH−AITに配置されて良い。
(47)MH−アプリケーション境界権限設定記述子
MH−アプリケーション境界権限設定記述子は、アプリケーションバウンダリを設定し、かつ領域(URL)毎に放送リソースアクセスの権限を設定するために記述する。MH−アプリケーション境界権限設定記述子はMH−AITに配置されて良い。
(48)MH−起動優先情報記述子
MH−起動優先情報記述子は、アプリケーションの起動優先度を指定するために記述する。MH−起動優先情報記述子はMH−AITに配置されて良い。
(49)MH−キャッシュ情報記述子
MH−キャッシュ情報記述子は、アプリケーションの再利用が想定される場合に、アプリケーションを構成するリソースをキャッシュし保持しておく場合のキャッシュ制御に用いるために記述する。MH−キャッシュ情報記述子はMH−AITに配置されて良い。
(50)MH−確率的適用遅延記述子
MH−確率的適用遅延記述子は、アプリケーション取得のサーバアクセスの負荷分散を想定して、アプリケーション制御を行うタイミングを確率的に設定した遅延量だけ遅らせるために記述する。MH−確率的適用遅延記述子はMH−AITに配置されて良い。
(51)リンク先PU記述子
リンク先PU記述子は、当該プレゼンテーションユニット(PU)から遷移する可能性のある他のプレゼンテーションユニットを記述する。リンク先PU記述子はDCCテーブルに配置されて良い。
(52)ロックキャッシュ指定記述子
ロックキャッシュ指定記述子は、当該プレゼンテーションユニットにおいてキャッシュし、かつロックする対象のファイルの指定を記述する。ロックキャッシュ指定記述子はDCCテーブルに配置されて良い。
(53)アンロックキャッシュ指定記述子
アンロックキャッシュ指定記述子は、当該プレゼンテーションユニットにおいてロックされているファイルのうちのアンロックするファイルの指定を記述する。アンロックキャッシュ指定記述子はDCCテーブルに配置されて良い。
(54)MH−ダウンロード保護記述子
MH−ダウンロード保護記述子は、DCMやDMMを伝送するMMTPパケットのロケーション情報および伝送情報を記述する。MH−ダウンロード保護記述子はMPTまたはMH−SDTTに配置されて良い。
(55)アプリケーションサービス記述子
アプリケーションサービス記述子は、サービスに関連するアプリケーションのエントリー情報等を記述する。アプリケーションサービス記述子はMPTに配置されて良い。
(56)MPUノード記述子
MPUノード記述子は、当該MPUがデータディレクトリ管理テーブルにて規定されるディレクトリノードに対応することを示す。MPUノード記述子はDAMテーブルに配置されて良い。
(57)PU構成記述子
PU構成記述子は、当該プレゼンテーションユニットと伝送単位とのマッピング情報として、プレゼンテーションユニットを構成するMPUのリストを示す。PU構成記述子はDCCテーブルに配置されて良い。
(58)MH−階層符号化記述子
MH−階層符号化記述子は、階層符号化された映像ストリームコンポーネントを識別するための情報を記述する。MH−階層符号化記述子はMPTに配置されて良い。
(59)コンテンツコピー制御記述子
コンテンツコピー制御記述子は、サービス全体に対する、デジタル記録機器におけるコピー世代を制御する情報を示し、デジタル記録が行われることが想定される場合に、放送局(著作権者側)がコピーに関する情報あるいは最大伝送レートをデジタル記録機器に伝えるために用いられる。コンテンツコピー制御記述子はMPT、MH−EIT、MH−SDT、等に配置されて良い。
(60)コンテンツ利用制御記述子
コンテンツ利用制御記述子は、番組に対して、ハードディスク等に蓄積する場合や受信機から映像/音声信号を出力する場合に、コピー制御、リモート視聴制御に関する情報を示すために用いられる。コンテンツ利用制御記述子はMPT、MH−EIT、MH−SDT、等に配置されて良い。
(61)事業者が設定する記述子
その他、サービス事業者等が独自に設定した記述子を用意することが可能である。
<MMT方式におけるデータ伝送と各制御情報の関係>
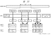
ここで、図7Aを用いて、本実施例の放送受信装置100が対応する放送システムにより伝送される映像や音声等の各コンポーネントとMMT−SIの代表的なテーブルとの関係について説明する。なお、MMT方式においては、コンポーネントをアセットと定義しており、以下では、コンポーネントをアセットと表記する場合がある。
本実施例の放送受信装置100が対応する放送システムでは、放送伝送路を介したTLVストリームや通信回線を介したIPデータフロー等、複数の経路でデータ伝送を行うことができる。TLVストリームには、TLV−NITやAMTなどのTLV−SIと、IPパケットのデータフローであるIPデータフローが含まれている。IPデータフロー内には一連の映像MPUを含む映像アセットや一連の音声MPUを含む音声アセットが含まれている。同様に、IPデータフロー内には一連の字幕MPUを含む字幕アセット、一連の文字スーパーMPUを含む文字スーパーアセット、一連のデータMPUを含むデータアセットなどが含まれても良い。
これらの各種アセットは、PAメッセージに格納されて伝送されるMPT(MMTパッケージテーブル)の記述により、『パッケージ』に関連付けられる。具体的には、MPTにパッケージを識別するパッケージIDと当該パッケージに含まれる各アセットを識別するアセットIDとを記述することにより、前記関連付けを行えば良い。図7BにMPTのデータ構造の一例を示す。図中の『MMT_package_id_byte』パラメータが前記パッケージIDに対応し、『asset_id_byte』パラメータが前記アセットIDに対応する。
パッケージを構成するアセットはTLVストリーム内のアセットのみとすることもできるが、図7Aに示したように、通信回線のIPデータフローで伝送されるアセットを含めることもできる。これは、当該パッケージに含まれる各アセットを識別するアセットIDと共に前記アセットのロケーション情報をMPT内に記述して、本実施例の放送受信装置100が各アセットの参照先を把握可能とすることにより実現できる。前記ロケーション情報は、図7Bに示したMPTのデータ構造における『MMT_general_location_info()』により指定される。図7Cにロケーション情報のデータ構造の一例を示す。
なお、前記ロケーション情報の『location_type』パラメータの値に応じて、
(1)MPTと同一のIPデータフローに多重されているデータ
(location_type=0x00)
(2)IPv4データフローに多重されているデータ
(location_type=0x01)
(3)IPv6データフローに多重されているデータ
(location_type=0x02)
(4)放送のMPEG2−TSに多重されているデータ
(location_type=0x03)
(5)IPデータフロー内にMPEG2−TS形式で多重されているデータ
(location_type=0x04)
(6)指定するURLにあるデータ
(location_type=0x05)
など、様々な伝送経路で伝送される各種データを、放送受信装置100が参照できるように構成することが可能となる。
前述の参照先のうち、(1)は、例えば、本実施例の放送受信装置100がアンテナ100aを介して受信するデジタル放送信号のTLVストリームに含まれるIPデータフローである。但し、MPTを通信回線側のIPデータフローにも含めて伝送する場合は、(1)の参照先が通信回線を介して受信するIPデータフローになる場合もある。また、前記(2)、(3)、(5)、(6)は本実施例の放送受信装置100が通信回線を介して受信するIPデータフローである。また、前記(4)は、例えば、後述する実施例2の放送受信装置800のように、MMT方式を用いるデジタル放送信号を受信する受信機能と、MPEG2−TS方式を用いるデジタル放送信号を受信する受信機能の両者を有する放送受信装置の場合に、MMT方式を用いるデジタル放送信号に含まれるMPTのロケーション情報に基づいて、MPEG2−TS方式を用いるデジタル放送信号を受信する受信機能で受信するMPEG2−TSに多重されているデータを参照する場合に用いることができる。
また、映像コンポーネントや音声コンポーネント等のメディアでは、MPU単位やアクセスユニット単位で提示時刻や復号時刻を指定可能である。前記提示時刻や復号時刻に関する情報は、MPUタイムスタンプ記述子やMPU拡張タイムスタンプ記述子としてMPTに記述される。図7Dに、前記提示時刻に関する情報を記述するMPUタイムスタンプ記述子のデータ構造の一例を示す。各MPUの提示時刻情報は、前記MPUタイムスタンプ記述子の『mpu_presentation_time』パラメータで指定される。また、前記指定の対象となるMPUは、『mpu_sequence_number』パラメータにより識別可能である。本実施例の放送受信装置100では、当該提示時刻情報を用いて、MPTが指定する複数のMPUを、UTC表記の時刻情報であるNTPに基づくクロックを基準に、連動して提示(表示、出力など)することが可能となる。また、前記復号時刻に関する情報も、同様に、MPU拡張タイムスタンプ記述子によって記述されるが、詳細説明は省略する。なお、当該NTPに基づくクロックを用いた各種データの提示制御については後述する。
本実施例の放送システムにおいて、前記『パッケージ』単位の一連のデータがデジタル放送の『サービス』に対応する。また、前記『サービス』は、スケジュールに従って送出される『番組』の連続である。前記『番組』は、MMT方式において、『イベント』として扱われる。各イベントは、MH−EITにより開始時刻や継続時間を指定される。また、MH−EITに配置されるイベントパッケージ記述子により、各イベントが対応するMMTパッケージのIDが指定される。図7Eに、MH−EITのデータ構造の一例を示す。図中の『start_time』パラメータにより前記開始時刻が指定され、『duration』パラメータにより前記継続時間が指定される。図7Fに、イベントパッケージ記述子のデータ構造の一例を示す。MH−EITに配置される前記イベントパッケージ記述子の『MMT_package_id_byte』パラメータにより各イベントとMMTパッケージの対応が指定可能となる。MH−EITは、本実施例の放送受信装置100において当該『イベント』単位での各種処理(例えば、電子番組表の生成処理や、録画予約や視聴予約の制御、一時蓄積などの著作権管理処理)などに用いることができる。
[放送受信装置のハードウェア構成]
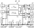
図8Aは、放送受信装置100の内部構成の一例を示すブロック図である。放送受信装置100は、主制御部101、システムバス102、ROM103、RAM104、ストレージ(蓄積)部110、LAN通信部121、拡張インタフェース部124、デジタルインタフェース部125、チューナ/復調部131、分離部132、映像デコーダ141、映像色域変換部142、音声デコーダ143、文字スーパーデコーダ144、字幕デコーダ145、字幕合成部146、字幕色域変換部147、データデコーダ151、キャッシュ部152、アプリケーション制御部153、ブラウザ部154、アプリケーション色域変換部155、音源部156、映像合成部161、モニタ部162、映像出力部163、音声合成部164、スピーカ部165、音声出力部166、操作入力部170、で構成される。
主制御部101は、所定の動作プログラムに従って放送受信装置100全体を制御するマイクロプロセッサユニットである。システムバス102は主制御部101と放送受信装置100内の各動作ブロックとの間でデータ送受信を行うためのデータ通信路である。
ROM(Read Only Memory)103は、オペレーティングシステムなどの基本動作プログラムやその他の動作プログラムが格納された不揮発性メモリであり、例えばEEPROM(Electrically Erasable Programmable ROM)やフラッシュROMのような書き換え可能なROMが用いられる。ROM103には、放送受信装置100の動作に必要な動作設定値が記憶されても良い。RAM(Random Access Memory)104は基本動作プログラムやその他の動作プログラム実行時のワークエリアとなる。ROM103およびRAM104は主制御部101と一体構成であっても良い。また、ROM103は、図8Aに示したような独立構成とはせず、ストレージ(蓄積)部110内の一部記憶領域を使用するようにしても良い。
ストレージ(蓄積)部110は、放送受信装置100の動作プログラムや動作設定値、放送受信装置100のユーザの個人情報等を記憶する。また、インターネット200を介してダウンロードした動作プログラムや前記動作プログラムで作成した各種データ等を記憶可能である。また、放送波から取得した、あるいは、インターネット200を介してダウンロードした、動画、静止画、音声等のコンテンツも記憶可能である。ストレージ(蓄積)部110の一部領域を以ってROM103の機能の全部または一部を代替しても良い。また、ストレージ(蓄積)部110は、放送受信装置100に外部から電源が供給されていない状態であっても記憶している情報を保持する必要がある。従って、例えば、フラッシュROMやSSD(Solid State Drive)などの不揮発性半導体素子メモリ、HDD(Hard Disc Drive)などの磁気ディスクドライブ、等のデバイスが用いられる。
なお、ROM103やストレージ(蓄積)部110に記憶された前記各動作プログラムは、インターネット200上の各サーバ装置からのダウンロード処理により、追加、更新および機能拡張することが可能であるものとする。
LAN(Local Area Network)通信部121は、ルータ装置200rを介してインターネット200と接続され、インターネット200上の各サーバ装置やその他の通信機器とデータの送受信を行う。また、通信回線を介して伝送される番組のMMTデータ列(あるいは、その一部)の取得も行うものとする。ルータ装置200rとの接続は有線接続であっても良いし、Wi−Fi(登録商標)等の無線接続であっても良い。LAN通信部121は符号回路や復号回路等を備えるものとする。また、放送受信装置100が、BlueTooth(登録商標)通信部やNFC通信部、赤外線通信部等、他の通信部を更に備えていても良い。
チューナ/復調部131は、アンテナ100aを介して電波塔300tから送信された放送波を受信し、主制御部101の制御に基づいてユーザの所望するサービスのチャンネルに同調(選局)する。更に、チューナ/復調部131は、受信した放送信号を復調してMMTデータ列を取得する。なお、図8Aに示した例では、チューナ/復調部が1つである構成を例示しているが、複数画面同時表示や裏番組録画等を目的として、放送受信装置100がチューナ/復調部を複数搭載する構成としても良い。
分離部132はMMTデコーダであり、入力したMMTデータ列中の制御信号に基づいてリアルタイム提示要素である映像データ列、音声データ列、文字スーパーデータ列、字幕データ列、等を、それぞれ映像デコーダ141、音声デコーダ143、文字スーパーデコーダ144、字幕デコーダ145、等に分配する。分離部132に入力されるデータは、放送伝送路を介して伝送されてチューナ/復調部131で復調されたMMTデータ列や、通信回線を介して伝送されてLAN通信部121で受信したMMTデータ列であって良い。また、分離部132は、マルチメディアアプリケーションやその構成要素であるファイル系データを再生し、キャッシュ部152で一時的に蓄積する。また、分離部132は、映像音声字幕以外のデータの提示を行うプレーヤで利用するデータ若しくはアプリケーションに対するデータのストリーミングに用いるために、汎用データを抽出してデータデコーダ151に出力する。また、分離部132は、主制御部101の制御に基づいて、前記入力したMMTデータ列に対するエラー訂正やアクセス制限の制御等を行っても良い。
映像デコーダ141は、分離部132から入力した映像データ列を復号して映像情報を出力する。映像色域変換部142は、映像デコーダ141で復号した映像情報に対して、映像合成部161での映像合成処理のために、必要に応じて色空間変換処理を施す。音声デコーダ143は、分離部132から入力した音声データ列を復号して音声情報を出力する。また、映像デコーダ141および音声デコーダ143には、LAN通信部121を介してインターネット200上から取得した、例えば、MPEG−DASH(MPEG−Dynamic Adaptive Streaming over HTTP)形式等のストリーミングデータが入力されても良い。また、映像デコーダ141、映像色域変換部142、音声デコーダ143、等は、複数種類の映像データ列や音声データ列を同時に復号処理するために、複数備えられても良い。
文字スーパーデコーダ144は、分離部132から入力した文字スーパーデータ列を復号して文字スーパー情報を出力する。字幕デコーダ145は、分離部132から入力した字幕データ列を復号して字幕情報を出力する。文字スーパーデコーダ144から出力された文字スーパー情報と字幕デコーダ145から出力された字幕情報は、字幕合成部146において合成処理を施され、更に、字幕色域変換部147において、映像合成部161での映像合成処理のために、必要に応じて色空間変換処理を施される。なお、本実施例においては、放送番組の映像と同時に提示される、文字情報を中心とするサービスのうち、映像の内容と関連するものを字幕と呼称し、それ以外のものを文字スーパーと呼称する。また、それらを区別しない場合は、字幕と総称するものとする。
ブラウザ部154は、キャッシュ部152若しくはLAN通信部121を介してインターネット200上のサーバ装置から取得したマルチメディアアプリケーションファイルやその構成要素であるファイル系データを、MMTデータ列に含まれる制御情報やLAN通信部121を介してインターネット200上のサーバ装置から取得した制御情報を解釈するアプリケーション制御部153の指示に従って提示する。なお、前記マルチメディアアプリケーションファイルは、HTML(Hyper Text Markup Language)文書やBML(Broadcast Markup Language)文書等であって良い。ブラウザ部154から出力されたアプリケーション情報は、更に、アプリケーション色域変換部155において、映像合成部161での映像合成処理のために、必要に応じて色空間変換処理を施される。また、ブラウザ部154は、音源部156に働きかけることにより、アプリケーション音声情報の再生も行うものとする。
映像合成部161は、映像色域変換部142から出力された映像情報と字幕色域変換部147から出力された字幕情報とアプリケーション色域変換部155から出力されたアプリケーション情報等を入力し、適宜選択および/または重畳等の処理を行う。映像合成部161は図示を省略したビデオRAMを備え、前記ビデオRAMに入力された映像情報等に基づいてモニタ部162等が駆動される。また、映像合成部161は、主制御部101の制御に基づいて、必要に応じて、スケーリング処理やMMT−SIに含まれるMH−EIT等の情報に基づいて作成されたEPG(Electronic Program Guide:電子番組表)画面情報の重畳処理等を行う。モニタ部162は、例えば液晶パネル等の表示デバイスであり、映像合成部161で選択および/または重畳処理を施された映像情報を放送受信装置100のユーザに提供する。映像出力部163は、映像合成部161で選択および/または重畳処理を施された映像情報を出力する映像出力インタフェースである。
なお、本実施例の放送受信装置100の提示機能は、マルチメディアサービスを提供者の意図通りに表示させるために、論理的プレーン構造を備えるものとする。図8Bに、本実施例の放送受信装置100の提示機能が備える論理的プレーン構造の構成の一例を示す。前記論理的プレーン構造では、最前面に文字スーパーの表示を行う文字スーパープレーンを配置し、次層に字幕の表示を行う字幕プレーンを配置する。三層目に放送映像やマルチメディアアプリケーション、またはその合成映像の表示を行うマルチメディアプレーンを配置し、最背面に背景プレーンを配置する。字幕合成部146および映像合成部161において、文字スーパー情報の文字スーパープレーンへの描画、字幕情報の字幕プレーンへの描画、映像情報やアプリケーション情報等のマルチメディアプレーンへの描画が行われる。また、MMT−SIに含まれるLCT等に基づいて背景色が背景プレーンに描画される。なお、三層目のマルチメディアプレーンは、映像デコーダ141の数に応じて複数用意することが可能であるものとする。但し、マルチメディアプレーンが複数ある場合でも、アプリケーション色域変換部155から出力されたアプリケーション情報等は、最前面のマルチメディアプレーンにのみ出力されるものとする。
音声合成部164は、音声デコーダ143から出力された音声情報および音源部156で再生されたアプリケーション音声情報を入力して、適宜選択および/またはミックス等の処理を行う。スピーカ部165は、音声合成部164で選択および/またはミックス処理を施された音声情報を放送受信装置100のユーザに提供する。音声出力部166は、音声合成部164で選択および/またはミックス処理を施された音声情報を出力する音声出力インタフェースである。
拡張インタフェース部124は、放送受信装置100の機能を拡張するためのインタフェース群であり、本実施例では、アナログ映像/音声インタフェース、USB(Universal Serial Bus)インタフェース、メモリインタフェース等で構成されるものとする。アナログ映像/音声インタフェースは、外部映像/音声出力機器からのアナログ映像信号/音声信号の入力、外部映像/音声入力機器へのアナログ映像信号/音声信号の出力、等を行う。USBインタフェースは、PC等と接続してデータの送受信を行う。HDDを接続して放送番組やコンテンツの記録を行っても良い。また、キーボードやその他のUSB機器の接続を行っても良い。メモリインタフェースはメモリカードやその他のメモリ媒体を接続してデータの送受信を行う。
デジタルインタフェース部125は、符号化されたデジタル映像データおよび/またはデジタル音声データを出力若しくは入力するインタフェースである。デジタルインタフェース部125は、チューナ/復調部131で復調して得たMMTデータ列やLAN通信部121を介して取得したMMTデータ列、あるいは、前記各MMTデータ列の混合データをそのまま出力可能であるものとする。また、デジタルインタフェース部125から入力したMMTデータ列を分離部132に入力するように制御しても良い。ストレージ(蓄積)部110に記憶したデジタルコンテンツの出力、あるいは、ストレージ(蓄積)部110へのデジタルコンテンツの記憶を、デジタルインタフェース部125を介して行っても良い。
デジタルインタフェース部125は、DVI端子やHDMI(登録商標)端子やDisplay Port(登録商標)端子等であって、DVI仕様やHDMI仕様やDisplay Port仕様等に準拠した形式でデータの出力あるいは入力がなされるものであって良い。IEEE1394仕様等に準拠したシリアルデータの形式で出力あるいは入力されても良い。また、イーサネット(登録商標)や無線LAN等のハードウェアを介してデジタルインタフェース出力を行うIPインタフェースとして構成しても良い。この場合、デジタルインタフェース部125とLAN通信部121とはそのハードウェア構成を共有しても良い。
操作入力部170は、放送受信装置100に対する操作指示の入力を行う指示入力部であり、本実施例では、図示を省略したリモコンから送信されるコマンドを受信するリモコン受信部とボタンスイッチを並べた操作キーで構成されるものとする。何れか一方のみであっても良い。また、操作入力部170は、モニタ部162に重ねて配したタッチパネルで代替しても良い。拡張インタフェース部124に接続したキーボード等で代替しても良い。前記図示を省略したリモコンは、リモコンコマンド送信機能を備えた携帯情報端末700で代替しても良い。
なお、前述のように、放送受信装置100がテレビ受信機等である場合、映像出力部163および音声出力部166は本発明に必須の構成ではない。また、放送受信装置100は、テレビ受信機の他、DVD(Digital Versatile Disc)レコーダなどの光ディスクドライブレコーダ、HDDレコーダなどの磁気ディスクドライブレコーダ、STB(Set Top Box)等であっても良い。デジタル放送受信機能や放送通信連携機能を備えたPC(Personal Computer)やタブレット端末、ナビゲーション装置、ゲーム機等であっても良い。放送受信装置100がDVDレコーダ、HDDレコーダ、STB等である場合、モニタ部162およびスピーカ部165は備えなくとも良い。映像出力部163および音声出力部166あるいはデジタルインタフェース部125に、外部モニタおよび外部スピーカを接続することにより、本実施例の放送受信装置100と同様の動作が可能となる。
[放送受信装置のソフトウェア構成]
図8Cは、本実施例の放送受信装置100のソフトウェア構成図であり、ROM103、RAM104およびストレージ(蓄積)部110におけるソフトウェアの構成を示す。本実施例においては、ROM103に基本動作プログラム1001およびその他の動作プログラムが記憶されており、ストレージ(蓄積)部110に受信機能プログラム1002、連携機能プログラム1003、録画再生機能プログラム1004、およびその他の動作プログラムが記憶されている。また、ストレージ(蓄積)部110は、動画や静止画や音声等のコンテンツを記憶するコンテンツ記憶領域1200、外部の携帯端末機器や各サーバ装置にアクセスする際に必要な認証情報等を記憶する認証情報記憶領域1300、その他の各種情報を記憶する各種情報記憶領域を備えるものとする。
ROM103に記憶された基本動作プログラム1001はRAM104に展開され、更に主制御部101が前記展開された基本動作プログラム1001を実行することにより、基本動作実行部1101を構成する。また、ストレージ(蓄積)部110に記憶された受信機能プログラム1002や連携機能プログラム1003や録画再生機能プログラム1004も同様にRAM104に展開され、更に主制御部101が前記展開された受信機能プログラム1002や連携機能プログラム1003や録画再生機能プログラム1004を実行することにより、受信機能実行部1102や連携機能実行部1103や録画再生機能実行部1104を構成する。また、RAM104は、各動作プログラム実行時に作成したデータを、必要に応じて一時的に保持する一時記憶領域を備えるものとする。
なお、以下では、説明を簡単にするために、主制御部101がROM103に格納された基本動作プログラム1001をRAM104に展開して実行することにより各動作ブロックの制御を行う処理を、基本動作実行部1101が各動作ブロックの制御を行うものとして記述する。他の動作プログラムに関しても同様の記述を行う。
受信機能実行部1102は、本実施例の放送システムで伝送される映像や音声等のコンポーネントを再生するために放送受信装置100の各動作ブロックを制御する。特に、トランスポート処理部1102aは、分離部132のMMTデコーダ機能を主として制御し、MMTデータ列から分離した映像データ列や音声データ列等をそれぞれ対応するデコード処理部に分配する。AVデコード処理部1102bは、映像デコーダ141や音声デコーダ143等を主として制御する。アプリケーション処理部1102cは、キャッシュ部152やアプリケーション制御部153やブラウザ部154や音源部156を主として制御する。文字スーパー処理部1102dは、文字スーパーデコーダ144を主として制御する。字幕処理部1102eは、字幕デコーダ145を主として制御する。汎用データ処理部1102fは、データデコーダ151を主として制御する。EPG生成部1102gは、MMT−SIに含まれるMH−EIT等の記述内容を解釈してEPG画面を生成する。提示処理部1102hは、前記論理的プレーン構造に基づいて、映像色域変換部142や字幕合成部146や字幕色域変換部147やアプリケーション色域変換部155や映像合成部161や音声合成部164を主として制御する。
また、連携機能実行部1103は、放送受信装置100が携帯情報端末700等の外部装置との連携動作を行う際の、機器認証および接続、各データの送受信、等の管理を行う。録画再生機能実行部1104は、本放送システムのデジタル放送波から取得した放送番組やネットワーク上の各サーバ装置から取得したコンテンツ等を、ストレージ(蓄積)部110のコンテンツ記憶領域1200や拡張インタフェース部124に接続された外部ストレージ等に記録する際の、あるいは、前記放送番組やコンテンツ等を再生する際の制御を行う。
前記各動作プログラムは、製品出荷の時点で、予めROM103および/またはストレージ(蓄積)部110に格納された状態であっても良い。製品出荷後に、インターネット200上のその他のアプリケーションサーバ500等からLAN通信部121を介して取得するものであっても良い。また、メモリカードや光ディスク等に格納された前記各動作プログラムを、拡張インタフェース部124等を介して取得するものであっても良い。
[放送局サーバの構成]
図9は、放送局サーバ300の内部構成の一例を示すブロック図である。放送局サーバ300は、主制御部301、システムバス302、RAM304、ストレージ部310、LAN通信部321、デジタル放送信号送出部360、で構成される。
主制御部301は、所定の動作プログラムに従って放送局サーバ300全体を制御するマイクロプロセッサユニットである。システムバス302は主制御部301と放送局サーバ300内の各動作ブロックとの間でデータ送受信を行うためのデータ通信路である。RAM304は各動作プログラム実行時のワークエリアとなる。
ストレージ部310は、基本動作プログラム3001および放送コンテンツ管理/配信プログラム3002と放送コンテンツ送出プログラム3003を記憶し、更に、放送コンテンツ記憶領域3200およびメタデータ記憶領域3300を備える。放送コンテンツ記憶領域3200は放送局が放送する各放送番組の番組コンテンツ等を記憶する。メタデータ記憶領域3300は前記各放送番組の番組タイトル、番組ID、番組概要、出演者、放送日時、各番組コンテンツに係るコピー制御情報、等のメタデータを記憶する。
また、ストレージ部310に記憶された基本動作プログラム3001および放送コンテンツ管理/配信プログラム3002と放送コンテンツ送出プログラム3003はそれぞれRAM304に展開され、更に主制御部301が前記展開された各プログラムを実行することにより、基本動作実行部3101、放送コンテンツ管理/配信実行部3102、放送コンテンツ送出実行部3103を構成する。
なお、以下では、説明を簡単にするために、主制御部301がストレージ部310に格納された基本動作プログラム3001をRAM304に展開して実行することにより各動作ブロックの制御を行う処理を、基本動作実行部3101が各動作ブロックの制御を行うものとして記述する。他の動作プログラムに関しても同様の記述を行う。
放送コンテンツ管理/配信実行部3102は、放送コンテンツ記憶領域3200およびメタデータ記憶領域3300に蓄積された各放送番組の番組コンテンツ等および各メタデータの管理と、前記各放送番組の番組コンテンツ等および各メタデータを契約に基づいてサービス事業者に提供する際の制御を行う。更に、放送コンテンツ管理/配信実行部3102は、前記サービス事業者に対して前記各放送番組の番組コンテンツ等および各メタデータの提供を行う際に、必要に応じて前記契約に基づいたサービス事業者サーバ400の認証処理等を行っても良い。
放送コンテンツ送出実行部3103は、放送コンテンツ記憶領域3200に蓄積された放送番組の番組コンテンツや、メタデータ記憶領域3300に蓄積された放送番組の番組タイトル、番組ID、番組コンテンツのコピー制御情報等を含むMMTデータ列を、デジタル放送信号送出部360を介して電波塔300tから送出する際のタイムスケジュール管理等を行う。
LAN通信部321は、インターネット200と接続され、インターネット200上のサービス事業者サーバ400等と通信を行う。LAN通信部321は符号回路や復号回路等を備えるものとする。デジタル放送信号送出部360は、放送コンテンツ記憶領域3200に蓄積された各放送番組の番組コンテンツ等の映像データ列や音声データ列、番組情報データ列、等で構成されたMMTデータ列を変調して、電波塔300tを介して、デジタル放送波として送出する。
[サービス事業者サーバの構成]
図10は、サービス事業者サーバ400の内部構成の一例を示すブロック図である。サービス事業者サーバ400は、主制御部401、システムバス402、RAM404、ストレージ部410、LAN通信部421、で構成される。
主制御部401は、所定の動作プログラムに従ってサービス事業者サーバ400全体を制御するマイクロプロセッサユニットである。システムバス402は主制御部401とサービス事業者サーバ400内の各動作ブロックとの間でデータ送受信を行うためのデータ通信路である。RAM404は各動作プログラム実行時のワークエリアとなる。
ストレージ部410は、基本動作プログラム4001および映像コンテンツ管理/配信プログラム4002とアプリケーション管理/配布プログラム4004を記憶し、更に、映像コンテンツ記憶領域4200およびメタデータ記憶領域4300、アプリケーション記憶領域4400、ユーザ情報記憶領域4500を備える。映像コンテンツ記憶領域4200は、放送局サーバ300から提供された放送番組の番組コンテンツを映像コンテンツとして記憶する。また、前記サービス事業者が制作した映像コンテンツ等を記憶する。メタデータ記憶領域4300は、放送局サーバ300から提供された各メタデータや、前記サービス事業者が制作した映像コンテンツに関するメタデータ等を記憶する。アプリケーション記憶領域4400は、各テレビ受信機からの要求に応じて配布するための、放送番組に連携したサービスを実現するための各種アプリケーション等を記憶する。ユーザ情報記憶領域4500は、サービス事業者サーバ400へのアクセスが許可されたユーザに関する情報(個人情報や認証情報等)を記憶する。
また、ストレージ部410に記憶された基本動作プログラム4001および映像コンテンツ管理/配信プログラム4002とアプリケーション管理/配布プログラム4004はそれぞれRAM404に展開され、更に主制御部401が前記展開された基本動作プログラムおよび映像コンテンツ管理/配信プログラムとアプリケーション管理/配布プログラムを実行することにより、基本動作実行部4101、映像コンテンツ管理/配信実行部4102、アプリケーション管理/配布実行部4104を構成する。
なお、以下では、説明を簡単にするために、主制御部401がストレージ部410に格納された基本動作プログラム4001をRAM404に展開して実行することにより各動作ブロックの制御を行う処理を、基本動作実行部4101が各動作ブロックの制御を行うものとして記述する。他の動作プログラムに関しても同様の記述を行う。
映像コンテンツ管理/配信実行部4102は、放送局サーバ300からの放送番組の番組コンテンツ等およびメタデータの取得、映像コンテンツ記憶領域4200およびメタデータ記憶領域4300に蓄積された映像コンテンツ等および各メタデータの管理、および各テレビ受信機に対する前記映像コンテンツ等および各メタデータの配信の制御を行う。更に、映像コンテンツ管理/配信実行部4102は、前記各テレビ受信機に対して前記各映像コンテンツ等および各メタデータの配信を行う際に、必要に応じて前記各テレビ受信機の認証処理等を行っても良い。また、アプリケーション管理/配布実行部4104は、アプリケーション記憶領域4400に蓄積された各アプリケーションの管理と、前記各アプリケーションを各テレビ受信機からの要求に応じて配布する際の制御と、を行う。更に、アプリケーション管理/配布実行部4104は、前記各テレビ受信機に対して前記各アプリケーションの配布を行う際に、必要に応じて前記各テレビ受信機の認証処理等を行っても良い。
LAN通信部421は、インターネット200と接続され、インターネット200上の放送局サーバ300や、ルータ装置200rを介して放送受信装置100と通信を行う。LAN通信部421は符号回路や復号回路等を備えるものとする。
[携帯情報端末のハードウェア構成]
図11Aは、携帯情報端末700の内部構成の一例を示すブロック図である。携帯情報端末700は、主制御部701、システムバス702、ROM703、RAM704、ストレージ部710、通信処理部720、拡張インタフェース部724、操作部730、画像処理部740、音声処理部750、センサ部760、で構成される。
主制御部701は、所定の動作プログラムに従って携帯情報端末700全体を制御するマイクロプロセッサユニットである。システムバス702は主制御部701と携帯情報端末700内の各動作ブロックとの間でデータ送受信を行うためのデータ通信路である。
ROM703は、オペレーティングシステムなどの基本動作プログラムやその他の動作プログラムが格納されたメモリであり、例えばEEPROMやフラッシュROMのような書き換え可能なROMが用いられる。RAM704は基本動作プログラムやその他の動作プログラム実行時のワークエリアとなる。ROM703およびRAM704は主制御部701と一体構成であっても良い。また、ROM703は、図11Aに示したような独立構成とはせず、ストレージ部710内の一部記憶領域を使用するようにしても良い。
ストレージ部710は、携帯情報端末700の動作プログラムや動作設定値、携帯情報端末700のユーザの個人情報等を記憶する。また、インターネット200を介してダウンロードした動作プログラムや前記動作プログラムで作成した各種データ等を記憶可能である。また、インターネット200を介してダウンロードした、動画、静止画、音声等のコンテンツも記憶可能である。ストレージ部710の一部領域を以ってROM703の機能の全部または一部を代替しても良い。また、ストレージ部710は、携帯情報端末700に外部から電源が供給されていない状態であっても記憶している情報を保持する必要がある。従って、例えば、フラッシュROMやSSDなどの不揮発性半導体素子メモリ、HDDなどの磁気ディスクドライブ、等のデバイスが用いられる。
なお、ROM703やストレージ部710に記憶された前記各動作プログラムは、インターネット200上の各サーバ装置からのダウンロード処理により、追加、更新および機能拡張することが可能であるものとする。
通信処理部720は、LAN通信部721、移動体電話網通信部722、NFC通信部723、で構成される。LAN通信部721は、ルータ装置200rやアクセスポイント200aを介してインターネット200と接続され、インターネット200上の各サーバ装置やその他の通信機器とデータの送受信を行う。ルータ装置200rやアクセスポイント200aとの接続はWi−Fi(登録商標)等の無線接続で行われるものとする。移動体電話網通信部722は、移動体電話通信網の基地局600bとの無線通信により、電話通信(通話)およびデータの送受信を行う。NFC通信部723は対応するリーダ/ライタとの近接時に無線通信を行う。LAN通信部721、移動体電話網通信部722、NFC通信部723は、それぞれ符号回路や復号回路、アンテナ等を備えるものとする。また、通信処理部720が、BlueTooth(登録商標)通信部や赤外線通信部等、他の通信部を更に備えていても良い。
拡張インタフェース部724は、携帯情報端末700の機能を拡張するためのインタフェース群であり、本実施例では、映像/音声インタフェース、USBインタフェース、メモリインタフェース等で構成されるものとする。映像/音声インタフェースは、外部映像/音声出力機器からの映像信号/音声信号の入力、外部映像/音声入力機器への映像信号/音声信号の出力、等を行う。USBインタフェースは、PC等と接続してデータの送受信を行う。また、キーボードやその他のUSB機器の接続を行っても良い。メモリインタフェースはメモリカードやその他のメモリ媒体を接続してデータの送受信を行う。
操作部730は、携帯情報端末700に対する操作指示の入力を行う指示入力部であり、本実施例では、表示部741に重ねて配置したタッチパネル730tおよびボタンスイッチを並べた操作キー730kで構成されるものとする。何れか一方のみであっても良い。拡張インタフェース部724に接続したキーボード等を用いて携帯情報端末700の操作を行っても良い。有線通信または無線通信により接続された別体の端末機器を用いて携帯情報端末700の操作を行っても良い。即ち、放送受信装置100から携帯情報端末700の操作を行っても良い。また、前記タッチパネル機能は表示部741が備え持っているものであっても良い。
画像処理部740は、表示部741、画像信号処理部742、第一画像入力部743、第二画像入力部744、で構成される。表示部741は、例えば液晶パネル等の表示デバイスであり、画像信号処理部742で処理した画像データを携帯情報端末700のユーザに提供する。画像信号処理部742は図示を省略したビデオRAMを備え、前記ビデオRAMに入力された画像データに基づいて表示部741が駆動される。また、画像信号処理部742は、必要に応じてフォーマット変換、メニューやその他のOSD(On Screen Display)信号の重畳処理等を行う機能を有するものとする。第一画像入力部743および第二画像入力部744は、CCD(Charge Coupled Device)やCMOS(Complementary Metal Oxide Semiconductor)センサ等の電子デバイスを用いてレンズから入力した光を電気信号に変換することにより、周囲や対象物の画像データを入力するカメラユニットである。
音声処理部750は、音声出力部751、音声信号処理部752、音声入力部753、で構成される。音声出力部751はスピーカであり、音声信号処理部752で処理した音声信号を携帯情報端末700のユーザに提供する。音声入力部753はマイクであり、ユーザの声などを音声データに変換して入力する。
センサ部760は、携帯情報端末700の状態を検出するためのセンサ群であり、本実施例では、GPS受信部761、ジャイロセンサ762、地磁気センサ763、加速度センサ764、照度センサ765、近接センサ766、で構成される。これらのセンサ群により、携帯情報端末700の位置、傾き、方角、動き、および周囲の明るさ、周囲物の近接状況、等を検出することが可能となる。また、携帯情報端末700が、気圧センサ等、他のセンサを更に備えていても良い。
携帯情報端末700は、携帯電話やスマートホン、タブレット端末等であって良い。PDA(Personal Digital Assistants)やノート型PCであっても良い。また、デジタルスチルカメラや動画撮影可能なビデオカメラ、携帯型ゲーム機やナビゲーション装置等、またはその他の携帯用デジタル機器であっても良い。
なお、図11Aに示した携帯情報端末700の構成例は、センサ部760等、本実施例に必須ではない構成も多数含んでいるが、これらが備えられていない構成であっても本実施例の効果を損なうことはない。また、デジタル放送受信機能や電子マネー決済機能等、図示していない構成が更に加えられていても良い。
[携帯情報端末のソフトウェア構成]
図11Bは、本実施例の携帯情報端末700のソフトウェア構成図であり、ROM703、RAM704およびストレージ部710におけるソフトウェアの構成を示す。本実施例においては、ROM703に基本動作プログラム7001およびその他の動作プログラムが記憶されており、ストレージ部710に連携制御プログラム7002およびその他の動作プログラムが記憶されている。また、ストレージ部710は、動画、静止画、音声等のコンテンツを記憶するコンテンツ記憶領域7200、テレビ受信機や各サーバ装置にアクセスする際に必要な認証情報等を記憶する認証情報記憶領域7300、その他の各種情報を記憶する各種情報記憶領域を備えるものとする。
ROM703に記憶された基本動作プログラム7001はRAM704に展開され、更に主制御部701が前記展開された基本動作プログラムを実行することにより、基本動作実行部7101を構成する。また、ストレージ部710に記憶された連携制御プログラム7002も同様にRAM704に展開され、更に主制御部701が前記展開された連携制御プログラムを実行することにより、連携制御実行部7102を構成する。また、RAM704は、各動作プログラム実行時に作成したデータを、必要に応じて一時的に保持する一時記憶領域を備えるものとする。
なお、以下では、説明を簡単にするために、主制御部701がROM703に格納された基本動作プログラム7001をRAM704に展開して実行することにより各動作ブロックの制御を行う処理を、基本動作実行部7101が各動作ブロックの制御を行うものとして記述する。他の動作プログラムに関しても同様の記述を行う。
連携制御実行部7102は、携帯情報端末700がテレビ受信機との連携動作を行う際の、機器認証および接続、各データの送受信、等の管理を行う。また、連携制御実行部7102は、前記テレビ受信機と連動するアプリケーションを実行するためのブラウザエンジン機能を備えるものとする。
前記各動作プログラムは、製品出荷の時点で、予めROM703および/またはストレージ部710に格納された状態であっても良い。製品出荷後に、インターネット200上のその他のアプリケーションサーバ500等からLAN通信部721または移動体電話網通信部722を介して取得するものであっても良い。また、メモリカードや光ディスク等に格納された前記各動作プログラムを、拡張インタフェース部724等を介して取得するものであっても良い。
[放送受信装置の時刻管理]
本実施例の放送受信装置100は二種類の時刻管理機能を備える。第一の時刻管理機能は、NTPに基づく時刻管理機能であり、第二の時刻管理機能は、MH−TOTに基づく時刻管理機能である。以下では、前記二種類の時刻管理機能について説明を行う。
<NTPに基づく時刻管理機能>
まず、NTPに基づく時刻管理機能に関して説明する。
図12Aは、本実施例の放送受信装置100が対応する放送システムにおけるクロック同期/提示同期のためのシステム構成の一例である。本実施例の放送システムでは、UTCを64ビット長のNTPタイムスタンプ形式で、放送送出システムから受信機(本実施例の放送受信装置100等)に伝送する。前記NTPタイムスタンプ形式においては、UTCの『秒以上』を32ビットで表し、また、『秒未満』を32ビットで表すものとする。しかしながら、実際には、1秒を32ビット精度で再現することは困難である。このため、映像システムの同期をとるためのシステムクロックやNTP形式の時計を動作させるためのシステムクロックとしては、例えば同図に示したような、『2の24乗』Hz(約16.8MHz)の周波数を用いるようにしても良い。なお、従来の放送システムにおけるシステムクロックが27MHzであったことおよび受信機のハードウェア構成を簡便に構築できること等を考慮すると、『2の24乗』〜『2の28乗』程度の、2のべき乗の周波数をシステムクロックとして採用することが望ましい。
なお、放送送出システム側や受信機側において、システムクロックを前述のように『2の24乗』〜『2の28乗』程度の2のべき乗の周波数に設定した場合、放送送出システム側から受信機側に伝送されるNTPタイムスタンプ形式における、前記システムクロックやNTP形式の時計を再生するためのPLL(Phase Locked Loop)系に参照されない下位の8〜4ビットは、『0』あるいは『1』に固定するようにしても良い。即ち、システムクロックが『2のn乗』Hz(図12Aの例ではn=24、以下同様)であれば、NTPタイムスタンプ形式の下位『32−n』ビットを『0』あるいは『1』に固定するようにしても良い。あるいは、受信機側において、前記NTPタイムスタンプ形式の下位『32−n』ビットを無視するように処理しても良い。
放送送出システム側では、NTP形式の時刻情報を外部から得ると、『2のn乗』HzのVCO(Voltage Controlled Oscillator)による32+nビットカウンタでPLL系を構成し、外部から与えられた時刻情報に同期する送出システム時計を実現する。また、『2のn乗』Hzのシステムクロックに同期して全体の信号処理系を動作させる。更に、前記送出システム時計の出力をNTP長形式の時刻情報として放送伝送路を介して受信機側に周期的に伝送する。なお、受信機側に伝送する前記NTP長形式の時刻情報も、『秒未満』を表す32ビットのうち、下位『32−n』ビットを『0』あるいは『1』に固定して良い。即ち、放送送出システム側のシステムクロックカウンタが32+nビットで構成されるためである。
受信機側では、放送伝送路を介してNTP長形式の時刻情報を受信し、放送送出システム側と同様に、『2のn乗』HzのVCOに基づくPLL系により受信システム時計を再生する。これにより、受信システム時計は、放送送出システム側と同期した時計となる。また、『2のn乗』Hzのシステムクロックに同期して受信機の信号処理系を動作させることにより、放送送出システム側と受信機側のクロック同期が実現され、安定した信号再生が可能となる。
また、映像/音声信号の提示単位毎の復号時刻および提示時刻が、放送送出システム側において、前記NTP形式の時刻情報に基づいて設定される。前記復号時刻は、MPTに格納されたMPU拡張タイムスタンプ記述子(図示省略)により指定される。また、前記提示時刻は、MPTに格納されたMPUタイムスタンプ記述子(図7D参照)により指定される。前記MPUタイムスタンプ記述子における『mpu_sequence_number(MPUシーケンス番号)』パラメータがタイムスタンプを記述するMPUのシーケンス番号を示し、『mpu_presentation_time(MPU提示時刻)』パラメータがMPUの提示時刻を64ビットのNTPタイムスタンプ形式で示している。即ち、受信機はMPTに格納されるMPUタイムスタンプ記述子を参照することにより、映像/音声信号や字幕、文字スーパー等のMPU毎の提示(表示、出力など)タイミングを制御することが可能となる。
なお、前述の映像/音声信号等の提示単位毎の復号タイミングおよび提示タイミングの制御に着目した場合、『2の16乗』Hz(約65.5KHz)程度のクロックによっても映像/音声信号の同期は確保可能であり、この場合は、MPUタイムスタンプ記述子等に記述されるNTPタイムスタンプ形式の下位16ビットは参照しなくとも良い。即ち、復号タイミングおよび提示タイミングの制御にシステムクロックの分周等により生成した『2のm乗』Hzのクロックを用いた場合は、MPUタイムスタンプ記述子等に記述されるNTPタイムスタンプ形式の下位『32−m』ビットは参照しなくとも良い。従って、MPUタイムスタンプ記述子等に記述されるNTPタイムスタンプ形式の下位『32−m』ビットは『0』あるいは『1』に固定するようにしても良い。
<MH−TOTに基づく時刻管理機能>
前述で説明したNTPに基づく時刻管理機能における、NTP形式で伝送する時刻情報の構成の一例を図12Bに示す。前記NTP形式における『reference_timestamp』パラメータや『transmit_timestamp』パラメータ等は、64ビット長のNTP長形式の時刻データであり、また、図7Dに示したMPUタイムスタンプ記述子における『mpu_presentation_time』パラメータも64ビット長のNTPタイムスタンプ形式の時刻データである。前記NTP長形式の時刻データや前記NTPタイムスタンプ形式の時刻データは、UTCの『秒以上』を32ビットで、『秒未満』を32ビットで表したデータである。即ち、NTP形式の時刻情報は、『秒未満』までの時刻情報を伝送可能である。更にNTP形式の時刻情報はUTC表記であるため、従来のデジタル放送における時刻管理と異なり、図3に示したように、放送伝送路を介して送信されるデータフローと通信回線を介して配信されるデータフローの双方を前記NTP形式の時刻情報で管理することにより、容易に前記双方のデータの整合をとることができる。
これに対し、MH−TOTで伝送される時刻情報は以下の通りである。
図12Cに、MH−TOTのデータ構造の一例を示す。本実施例の放送受信装置100は、前記MH−TOTの『JST_time』パラメータから現在日付および現在時刻を取得可能である。『JST_time』パラメータは、図12Dに示すように、修正ユリウス日(Modified Julian Date:MJD)による現在日付の符号化データの下位16ビットと、日本標準時(Japan Standard Time:JST)を6個の4ビット2進化10進数(Binary−Coded Decimal:BCD)で表した24ビットの情報を含むものとする。前記MJDの16ビット符号化データに所定の演算を施すことにより、現在日付を算出することが可能である。また、6個の4ビット2進化10進数は、最初の2個の4ビット2進化10進数により10進法2桁で『時』を表し、次の2個の4ビット2進化10進数により10進法2桁で『分』を表し、最後の2個の4ビット2進化10進数により10進法2桁で『秒』を表すものである。
即ち、NTP形式に基づく時刻管理とMH−TOTに基づく時刻管理との相違点は、前者のNTP形式に基づく時刻管理が前述のように『秒未満』までの時刻情報を伝送できるのに対し、後者のMH−TOTに基づく時刻管理では、JST表記の『秒単位』までの時刻情報のみを伝送できるという点である。
本実施例の放送受信装置100は、UTC表記の時刻情報であるNTPに基づく時刻管理機能を、放送信号のコンテンツである映像、音声、字幕、文字スーパー、その他提示データのデコードおよび表示の同期処理に用いることにより、より高精度の同期処理を実現できる。更に放送局のクロック表記ではなく、UTC表記の情報を参照することにより、放送信号で受信するコンテンツである映像、音声、字幕、文字スーパー、またはその他データと、通信回線経路で取得する映像、音声、字幕、文字スーパー、またはその他データとのデコードおよび表示の同期処理を行うこともできる。
更に、本実施例の放送受信装置100では、MH−TOTの6個の4ビット2進化10進数で表した24ビットの情報を含む『JST_time』に基づく時刻管理機能を、ユーザへの現在時刻の提示処理または図7Eに示したMH−EITを扱う各処理に用いても良い。一般的に、放送受信装置におけるユーザへの現在時刻の提示処理においては、秒未満までの精度が要求されることはほとんどない。また、MH−EITに記述される各時間情報は、MPEG2−TS方式で伝送される従来のデジタル放送のEITと同様に、6個の4ビット2進化10進数で表した24ビットの情報で、10進法2桁ずつの『時』、『分』、『秒』で格納されている。このため、本実施例の放送受信装置100におけるMH−TOTに基づく時刻管理機能は、MH−EITを扱う各処理と整合し易いためである。MH−EITを扱う各処理とは具体的には、例えば、電子番組表の生成処理や、録画予約や視聴予約の制御、一時蓄積などの著作権管理処理等である。何れの処理も秒未満までの精度が要求されることは稀であり、1秒単位の精度で十分だからである。
また、当該電子番組表の生成処理や、録画予約や視聴予約の制御、一時蓄積などの著作権管理処理等は、従来のMPEG2−TS方式を用いたデジタル放送システムの受信機でも搭載される機能である。すると、本実施例の放送システムにおいても、電子番組表の生成処理や、録画予約や視聴予約の制御、一時蓄積などの著作権管理処理等の処理において、従来のMPEG2−TS方式のデジタル放送システムと整合性がある時刻管理処理で対応できるように構成しておけば、従来のMPEG2−TS方式のデジタル放送の受信機能とMMT方式のデジタル放送の受信機能との両者を有する放送受信装置を構成する際に、これらの処理(電子番組表の生成処理や、録画予約や視聴予約の制御、一時蓄積などの著作権管理処理等の処理)において、処理アルゴリズムを別々に設計する必要がなくなり、コストを低くすることができる。
また、従来のMPEG2−TS方式のデジタル放送の受信機能を持たずMMT方式のデジタル放送の受信機能のみを有する受信機であっても、電子番組表の生成処理や、録画予約や視聴予約の制御、一時蓄積などの著作権管理処理等の処理のアルゴリズムを完全に新規に作成しなくとも、従来のMPEG2−TS方式を用いたデジタル放送システムの受信機でも搭載される機能のアルゴリズムを流用できるので、より低コストに開発することができる。
よって、MH−TOTの『JST_time』パラメータに基づく時刻管理機能をこれらの処理(電子番組表の生成処理や、録画予約や視聴予約の制御、一時蓄積などの著作権管理処理等の処理)に用いる構成にすることにより、MMT方式のデジタル放送の放送受信装置であっても、従来方式の放送システムとの整合性を高めることにより、より低コストに提供することが可能となる。
以上説明した通り、本実施例の放送受信装置100は、精度の異なる二種類の時刻情報を用いた時刻管理機能を備える。即ち、第一の時刻情報は従来のデジタル放送システムと整合性のある表記の時刻情報であり、第二の時刻情報は前記第一の時刻情報よりも分解能の高い時刻情報である。第二の時刻情報を放送信号の各コンテンツデータの同期処理に用いることにより従来の放送システムよりも高度な情報提示処理を実現し、第一の時刻情報を電子番組表の生成処理や、録画予約や視聴予約の制御、一時蓄積などの著作権管理処理等に用いることにより放送受信装置を安価に提供することができる。
よって、本実施例の放送受信装置100では、以上説明した二種類の時刻管理機能を備えることにより、より高度な情報提示処理の実現と低コスト化とを両立することが可能である。
[時刻管理の第一の変形例]
次に、本実施例の放送システムにおける時刻管理の第一の変形例を以下に説明する。
第一の変形例では、図12Aを用いて既に説明したNTPに基づく時刻管理機能の当該管理時刻の精度を高めるために、時刻管理サーバ(図示省略)または放送局サーバ300から放送受信装置100までの時刻情報伝送における想定遅延時間に関する情報を放送信号に含めて送信し、放送受信装置100において、当該想定遅延時間に関する情報をNTPに基づく時刻管理機能のシステム時計の修正に用いるように構成しても良い。
この際、当該想定遅延時間に関する情報は図3(A)に示した放送伝送路におけるプロトコルスタックのTLV多重化ストリーム内ではなく、TLV多重化ストリーム外のTMCC(Transmission and Multiplexing Configuration Control)領域内で伝送するように構成しても良い。TMCC領域内で伝送すれば、放送受信装置100において、TLV多重化ストリームの分離処理(デマックス処理)を経ることなしに当該想定遅延時間に関する情報を抽出することが可能となる。即ち、放送受信装置100における前記分離処理による遅延の影響を受けにくい情報取得が可能であり、従って、高精度なシステム時計の修正処理を行うことができる。当該TMCC信号で伝送される時刻情報のデータ構造の一例を、図12Eを用いて説明する。当該時刻情報は、例えば、TMCC拡張情報領域に格納して伝送すれば良い。同図に示したTMCC拡張情報領域の時刻情報において、『delta』パラメータは、UTCを配信する時刻管理サーバまたはTMCC信号を作成するサーバ装置から一般的な放送受信装置までの伝送遅延の想定値を32ビットの符号付き固定小数点で表す。なお、上位16ビットは整数部を、下位16ビットは小数点以下を記述するものである。『transmit_timestamp』パラメータは、送信タイムスタンプであり、本TMCC信号が前記サーバ装置から送出される時刻をNTPタイムスタンプ長形式で記述するものである。上位32ビットは整数部を、下位32ビットは小数点以下を表す。
当該第一の変形例では、本実施例の放送受信装置100は、TMCC拡張情報領域に格納して伝送された当該時刻情報に記述された前記想定遅延時間に関する情報(例えば、前述の『delta』パラメータおよび/または『transmit_timestamp』パラメータ)を用いて、放送信号の各コンテンツデータの同期処理に用いるNTPに基づく時刻管理機能のシステム時計を、より高精度に修正することができる。
[時刻管理の第二の変形例]
次に、本実施例の放送システムにおける時刻管理の第二の変形例を以下に説明する。
前述の通り、本実施例の放送受信装置100においては、MH−TOTで伝送される情報により現在日付と日本標準時刻を取得して時刻を管理する時刻管理機能を有する。MH−TOTで伝送される情報により取得した現在日付と日本標準時刻は、放送受信装置100の映像合成部161で映像情報やアプリケーション情報等に重畳することにより、モニタ部162や映像出力部163に出力してユーザに提供可能である。前述の通り、MH−TOTは図12Cに示したデータ構造を有しており、放送受信装置100は、前記MH−TOTの『JST_time』パラメータから現在日付および現在時刻を取得可能である。
しかしながら、前述の『JST_time』パラメータでは、MJDの符号化データの下位16ビットのみを使用しているため、『2038年4月22日』を以って桁あふれを生じることとなり、前記所定の演算のみでは『2038年4月23日』以降の日付を表現することができない。そこで、本実施例の第二の変形例では、MJDの値が所定値以上の場合と所定値未満の場合とで演算方法を切り替えることにより、『2038年4月23日』以降の日付を表現できるように制御するものとする。
図12Fに、MJDの値が所定値以上の場合に使用する第一の演算方法と、MJDの値が所定値未満の場合に使用する第二の演算方法の一例を示す。例えば、前記所定値を『32768(0x8000)』とした場合、MJDが『32768』以上の場合には前記第一の演算方法を用いて現在日付を算出し、MJDが『32768』未満の場合には前記第二の演算方法を用いて現在日付を算出する。なお、MJDが『32768』未満の場合とは、MJDの16ビットデータの最上位ビットが『0』の場合と等価である。これにより、本実施例の放送受信装置100においては、『2038年4月23日』以降の日付を表現することが可能となる。但し、前記所定値は任意に設定することが可能であり、前記所定値を『16384(0x4000)』や『49152(0xC000)』等と設定しても良い。前記演算方法の切り替え条件は、MJDの16ビットデータの上位2ビットが『00』の場合、MJDの16ビットデータの上位2ビットが『11』ではない場合、としても良い。なお、前記所定値を『32768』として前述の手段を用いた場合、『1948年9月4日』以前の日付を表現できなくなるが、テレビ受信機としての実用上、特に問題となることはない。
また、MJDと前記所定値との比較結果に応じて前記第一の演算方法と前記第二の演算方法を切り替えるのではなく、図12Cに示したMH−TOTのデータ構造における『reserved』パラメータの一部または全部を置き換えたフラグあるいは新たに追加したフラグに応じて前記第一の演算方法と前記第二の演算方法を切り替えるようにしても良い。例えば、前記フラグは、MJDの16ビット符号化データの最上位ビットが『0』である場合に、前記MJDが『2038年4月23日』以降を示すものであるならば『1』をセットし、『2038年4月23日』以降を示すものでないならば『0』をセットするようにすれば良い。そして、前記フラグが『1』の場合には図12Fに示した前記第二の演算方法を用い、前記フラグが『0』の場合には前記第一の演算方法を用いるようにすれば良い。または、前記フラグと同様の意味を有する記述子を新たに用意して、MH−TOT内に配置しても良い。
また、本実施例の放送システムでは、前述の通り、NTP形式の絶対時刻を伝送し、本実施例の放送受信装置100は、当該NTPに基づく時刻管理機能を有する。更に、本実施例の放送受信装置100では、MPU単位に設定されるMPUタイムスタンプ記述子に記載されたNTPタイムスタンプ等を参照することにより、映像/音声信号の提示単位毎の復号タイミングおよび提示タイミングを制御している。前述の通り、前記NTP形式の時刻情報は、図12Bに示した構成を有している。また、前記MPUタイムスタンプ記述子は図7Dに示した構成を有している。
このため、本実施例の放送受信装置100においては、前記『reference_timestamp』パラメータや『transmit_timestamp』パラメータ、あるいは、『mpu_presentation_time』パラメータ等を参照し、前記参照した時刻データ等の値に応じて、前記第一の演算方法と前記第二の演算方法の何れを使用するかを選択するようにしても良い。即ち、例えば、前記64ビット長のNTP長形式の時刻データの最上位ビットが『0』の場合は前記第二の演算方法を使用し、『0』でない場合は前記第一の演算方法を使用する、等とすれば良い。
前記何れの方法によっても、本実施例の放送受信装置100においては、『2038年4月23日』以降の日付を表現することが可能となる。
[放送受信装置の選局処理(初期スキャン)]
本実施例の放送システムのAMTは、TLV多重化方式で伝送されるIPパケットを通信回線で伝送されるIPパケットと可能な限り区別なく受信するための、IPパケットのマルチキャストグループの一覧を提供するものとする。1つのサービス識別には、複数のIPマルチキャストグループをリストすることが可能である。また、連続するIPアドレスを効率的に記述するために、アドレスマスクを用いることが可能である。
本実施例の放送受信装置100では、初期設定の際のチャンネルスキャン時に、あるいは、設定変更のための再スキャン時に、TLV−NITから取得したサービスの一覧をROM103やストレージ部110等の不揮発性メモリに記憶させることが可能であり、更に、前記各サービスに対応するIPマルチキャストグループの一覧を、IP関連情報として、前記各サービスに関連付けて、前記不揮発性メモリに記憶させることが可能であるものとする。前記サービスの一覧およびIP関連情報を不揮発性メモリに記憶させ、常時参照可能とすることにより、チャンネル切り替え時等に、TLV−NITやAMTを取得し直す必要がなくなり、放送コンテンツの取得を効率よく行うことが可能となる。
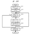
図13Aは、本実施例の放送受信装置100におけるチャンネルスキャン(再スキャン)時の動作シーケンスの一例を示す図である。
チャンネルスキャンが開始されると、受信機能実行部1102は、チューナ/復調部131に対して周波数初期値を設定し、前記周波数値へのチューニングを行うように指示する(S101)。チューナ/復調部131において、前記設定された周波数値へのロックに成功する(S102:Yes)と、次に、受信機能実行部1102は、受信信号からTLV−NITを取得する(S103)。
S103の処理で取得したTLV−NITが有効なデータである場合(S104:Yes)、受信機能実行部1102は、前記取得したTLV−NITからTLVストリームID、オリジナルネットワークID、等の情報を取得する(S105)。図13Bに、TLV−NITのデータ構造の一例を示す。前記TLVストリームIDの情報は『tlv_stream_id』パラメータから、前記オリジナルネットワークIDの情報は『original_network_id』パラメータから、それぞれ取得可能であるものとする。更に、分配システム記述子から、各TLVストリームID/オリジナルネットワークIDに対応する放送伝送路の物理的条件に関する分配システム情報を取得し(S106)、サービスリスト記述子からサービスIDの一覧を取得する(S107)。
図13Cに、衛星分配システム記述子のデータ構造の一例を示す。図13Dに、サービスリスト記述子のデータ構造の一例を示す。なお、TLV−NITが、TLVストリームID、オリジナルネットワークID、分配システム情報、サービスIDの一覧、等の異なるデータを複数有している場合は、S105〜S107の処理を繰り返す。次に、受信機能実行部1102は、S105〜S107の処理で取得したTLVストリームID、オリジナルネットワークID、分配システム情報、サービスIDの一覧、等のデータに基づいてサービスリストを作成し、前記作成したサービスリストをROM103またはストレージ部110等に記憶(再スキャン時は更新)する(S108)。
次に、受信機能実行部1102は、受信信号からAMTを取得し(S109)、更に、前記サービスリストに記憶された各サービスIDに関するIPマルチキャストグループの一覧を取得する(S110)。図13Eに、AMTのデータ構造の一例を示す。なお、AMTが複数のサービスIDに関するIPマルチキャストグループの一覧を有している場合は、S110の処理を繰り返す。異なるサービスIDに関するIPマルチキャストグループの一覧を有するAMTが複数ある場合には、S109〜S110の処理を繰り返す。次に、受信機能実行部1102は、S110の処理で取得したIPマルチキャストグループの一覧を、IP関連情報として、前記サービスIDと関連付けて、ROM103またはストレージ部110等に記憶(再スキャン時は更新)する(S111)。
なお、S102の処理で、チューナ/復調部131が前記設定された周波数値へのロックに成功しなかった場合(S102:No)、および、S103の処理で取得したTLV−NITが有効なデータでない場合(S104:No)、S105〜S111の処理は行わない。
S111の処理を終えると、受信機能実行部1102は、チューナ/復調部131に設定されている周波数値がチャンネルスキャン範囲の最終周波数値であれば(S112:Yes)、処理を終了する。一方、前記設定されている周波数値がチャンネルスキャン範囲の最終周波数値でなければ(S112:No)、チューナ/復調部131に設定された周波数値をアップさせて(S113)、S102〜S111の処理を繰り返す。なお、1つのTLV−NITで、当該放送ネットワークを構成する全てのサービスに関するサービスIDを取得でき、更に、前記サービスIDに関するIPマルチキャストグループの一覧を有するAMTを取得できる場合には、S112〜S113の処理が不要である。
前述の一連の処理により、本実施例の放送受信装置100は、初期設定の際のチャンネルスキャン時に、あるいは、設定変更のための再スキャン時に、放送ネットワークを構成するサービスの一覧(サービスリスト)の作成/更新と同時に、前記各サービスに対応するIPマルチキャストグループの一覧(IP関連情報)の作成/更新を行い、更に、ROM103やストレージ部110等の不揮発性メモリに記憶させることが可能となる。
なお、前記設定変更のための再スキャンは、TLV−NITやAMTの『version_number』パラメータを参照することにより、テーブル内の情報に変化があったことを検出した場合に、自動的に行うようにしても良い。TLV−NITとAMTの一方の『version_number』パラメータの変化を検出した場合に、前記パラメータの変化が検出されたテーブルに関する情報のみを自動的に更新するようにしても良い。但し、前述の自動更新を行った場合、再スキャンを自動的に行った旨をユーザに通知することが望ましい。また、前記テーブル内の情報に変化があったことをユーザに報知し、ユーザに前記再スキャンを行うか否かを選択させるようにしても良い。
[放送受信装置の選局処理(チャンネル切り替え)]
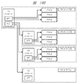
図14Aは、本実施例の放送受信装置100における選局(チャンネル切り替え)時の動作シーケンスの一例を示す図である。
ユーザが図示を省略したリモコン等を操作してチャンネルの切り替えを指示すると、受信機能実行部1102が前記リモコンから送信されたコマンドを解釈して目的のサービスのサービスIDを指定する(S201)。次に、受信機能実行部1102は、チューナ/復調部131の受信信号からのAMTの取得を開始する。所定時間以内にAMTの取得に成功した場合(S202:Yes)、前記取得したAMTから前記サービスIDに対応するIPマルチキャストグループの一覧に関する情報を取得する(S204)。一方、所定時間以内にAMTの取得に成功しなかった場合(S202:No)、ROM103またはストレージ部110等に記憶されたIP関連情報を参照することにより(S203)、前記サービスIDに対応するIPマルチキャストグループの一覧に関する情報を取得する(S204)。なお、S202の判断処理を行わず、常にROM103またはストレージ部110等に記憶されたIP関連情報を参照するようにしても良い。
次に、受信機能実行部1102は、チューナ/復調部131の受信信号からのTLV−NITの取得を開始する。所定時間以内にTLV−NITの取得に成功した場合(S205:Yes)、前記取得したTLV−NITから前記サービスIDに対応するIPデータフローを取得するための分配システム情報を取得する(S207)。一方、所定時間以内にTLV−NITの取得に成功しなかった場合(S205:No)、ROM103またはストレージ部110等に記憶されたサービスリストを参照することにより(S206)、前記サービスIDに対応するIPデータフローを取得するための分配システム情報を取得する(S207)。なお、S205の判断処理を行わず、常にROM103またはストレージ部110等に記憶されたサービスリストを参照するようにしても良い。
S207の処理で分配システム情報を取得すると、次に、受信機能実行部1102は、前記取得した分配システム情報にて指示される周波数値を以ってチューナ/復調部131を制御し、前記サービスIDに対応するIPデータフローを受信し(S208)、前記受信したIPデータフローからMMTデータ列を抽出して、分離部132に出力する。
分離部132において、トランスポート処理部1102aは、前記入力したMMTデータ列からパケットIDが『0』であるMMTPパケットを取得し(S209)、更に、前記取得したMMTPパケットに含まれるMPTを取得する(S210)。次に、トランスポート処理部1102aは、前記取得したMPTが有する『MMT_package_id_byte』パラメータを参照し、前記『MMT_package_id_byte』パラメータの下位16ビットが前記サービスIDと同一値か否かを確認する。図7Bに示したMPTのデータ構造の一例において、前記『MMT_package_id_byte』パラメータの下位16ビットが前記サービスIDと同一値である場合(S211:Yes)、前記パケットIDが『0』であるMMTPパケットが前記サービスIDに対応する番組のデータを有するMMTPパケットであるものと判断し、前記取得したMPTの有する情報に基づいてMFUの取得処理に移行する。
一方、前記『MMT_package_id_byte』パラメータの下位16ビットが前記サービスIDと同一値でない場合(S211:No)、前記パケットIDが『0』であるMMTPパケットは前記サービスIDに対応する番組のデータを有するMMTPパケットではないと判断する。この場合、トランスポート処理部1102aは、あらためてPLTを取得し(S212)、前記取得したPLTを確認することにより、前記サービスIDに対応する『MMT_package_id_byte』パラメータを有するMPTを伝送するMMTPパケットのパケットID(xとする)を確認する(S213)。更に、トランスポート処理部1102aは、前記入力したMMTデータ列からパケットIDが『x』であるMMTPパケットを取得し(S214)、前記取得したMMTPパケットに含まれるMPTを取得する(S215)。更に、前記取得したMPTの有する情報に基づいて、MFUの取得処理を開始する。
なお、S209〜S211の処理を行わず、常にS212〜S215の処理を行うようにしても良い。この場合、前記サービスIDに対応する番組のデータがパケットID『0』以外のMMTPパケットに格納されている際に、処理時間の短縮が可能となる。
ここで、前述の、PLTを確認することにより、前記サービスIDに対応する番組のデータを有するMMTPパケットのパケットIDを特定して、MPTを取得する処理に関して説明する。パケットIDが『0』のMMTPパケットは、PAメッセージを伝送することを示すものとする。複数のパッケージを多重する場合、図14Bに示すように、このPAメッセージにPLT(パッケージリストテーブル)が含まれる。PLTは、他のパッケージのMPTを含むPAメッセージを伝送するMMTPパケットのパケットIDのリストを有しており、PLTを確認することにより、パッケージIDから各サービスのエントリーポイントとなるMPTを含むPAメッセージを伝送するMMTPパケットを特定することが可能となる。図14CにPLTのデータ構造の一例を示す。『MMT_package_id_byte』パラメータで示されるパッケージのPAメッセージを伝送するロケーション情報が、『MMT_general_location_info()』で指定されるものとする。
図14Aに示した動作シーケンスの説明に戻る。前記MFUの取得処理では、まず、トランスポート処理部1102aが、S210またはS215の処理で取得したMPTを参照し、所望のMFUを伝送するIPデータフローのIPアドレスおよびパケットIDを取得する(S216)。また、前記MPTに配置されたMPUタイムスタンプ記述子からMPUの提示時刻を、前記MPTに配置されたMPU提示領域指定記述子からMPUのレイアウト番号を、それぞれ取得し(S217、S218)、更に、前記取得したIPデータフローのIPアドレスおよびパケットIDに基づいてMFUを取得する(S219)。次に、前記取得したMFUから符号化映像データや符号化音声データ等を抽出し、AVデコード処理部1102bの制御に基づく映像/音声デコード処理を行い、提示処理部1102hの制御により、前記取得した提示時刻に関する情報やレイアウト制御に関する情報に基づく提示処理が行われる(S220)。
なお、S212の処理でPLTを取得できなかった場合、S213の処理で前記サービスIDに一致する『MMT_package_id_byte』パラメータを確認できなかった場合、S215の処理でパケットIDが『x』であるMMTPパケットを取得できなかった場合、等は、S210の処理で取得したパケットIDが『0』であるMMTPパケットのデータに基づいた番組出画処理(即ち、S216〜S220の処理)を行うようにしても良い。また、この場合、ユーザが選択したサービスIDに対応する番組を表示できなかった旨のメッセージを表示するようにすると良い。
以上の一連の処理により、本実施例の放送受信装置100は、選局(チャンネル切り替え)動作を実行することが可能である。特に、図13Aおよび図14Aを用いて説明したように、初期設定の際のチャンネルスキャン時に、あるいは、設定変更のための再スキャン時に、サービスリストやIP関連情報を作成して、ROM103やストレージ部110等の不揮発性メモリに記憶させて常時参照可能とし、選局(チャンネル切り替え)時に、ROM103やストレージ部110等の不揮発性メモリに記憶させた前記サービスリストやIP関連情報を参照することにより、選局(チャンネル切り替え)時の動作の効率向上を可能とする。即ち、選局(チャンネル切り替え)時にAMTやTLV−NITの再取得を行う場合と比較して、選局(チャンネル切り替え)開始から選局(チャンネル切り替え)終了までの時間を短縮することが可能となる。
[放送受信装置のリモコンキー設定処理]
本実施例の放送受信装置100に対する操作指示の入力に用いるリモコン(リモートコントローラ)100Rの外観の一例を図15Aに示す。リモコン100Rは、少なくとも電源キー100R1、テンキー100R2、チャンネルアップ/ダウンキー100R3、メニューキー100R4、EPGキー100R5、カーソルキー100R6、決定キー100R7、カラーキー100R8、を備えるものとする。音量アップ/ダウンキーやネットワーク切替キー、入力切替キー、録画キー、再生キー、等を、更に備えても良い。
例えば、図14Aに示した選局時の動作シーケンスのS201の処理において、リモコン100Rを用いて、本実施例の放送受信装置100に対してチャンネルの切り替えを指示する場合、以下の三通りの方法が用いられて良い。第一の方法は、テンキー100R2を複数回押下することにより、所望のチャンネル(サービス)のサービスIDを直接入力して指定する方法である。第二の方法は、チャンネルアップ/ダウンキー100R3の押下を必要に応じて繰り返すことにより、所望のチャンネル(サービス)が表示されるまでチャンネルの順送り(または逆送り)を行う方法である。第三の方法は、テンキー100R2を一回のみ押下することにより、テンキー100R2の各キーに関連付けられた所定のチャンネル(サービス)を呼び出す、いわゆるワンタッチ選局を行う方法である。前記第三の方法であるワンタッチ選局は使い勝手の良い選局方法であるが、テンキー100R2の各キーへの所定のチャンネル(サービス)の関連付けの設定を予め放送受信装置100に行っておく必要がある。
本実施例の放送システムに対応する放送受信装置100は、前記関連付けの設定を、チューナ/復調部131で受信したデジタル放送波に含まれる制御情報に基づいて自動的に行うことが可能であるものとする。即ち、本実施例の放送システムは、TLV−SIの記述子としてリモートコントロールキー記述子を用意している。前記関連付けの設定は、リモートコントロールキー記述子を参照することにより行えば良い。
図15Bに、リモートコントロールキー記述子のデータ構造の一例を示す。図中の『service_id』パラメータがチャンネル(サービス)を識別するサービスIDである。『remote_control_key_id』パラメータが前記サービスIDで識別されるチャンネル(サービス)を割り当てるリモコンボタン番号の推奨値である。前記各パラメータの値に応じて、テンキー100R2の『remote_control_key_id』パラメータの値で指定されるキーに『service_id』パラメータで識別されるチャンネル(サービス)を関連付けるようにすれば良い。
なお、同一ネットワーク内におけるチャンネル(サービス)の数が多い場合、前記チャンネル(サービス)をテンキー100R2以外のキーに割り当てるようにしても良い。例えば、カラーキー100R8に所定のチャンネル(サービス)を割り当てる、等である。この場合、予めカラーキー100R8の各キーにも『remote_control_key_id』パラメータに対応する数値を割り当てておけば良い。
リモートコントロールキー記述子は、TLV−NITの記述子として記述されて良い。従って、例えば、図13Aに示したチャンネルスキャン時の動作シーケンスのS103の処理で取得したTLV−NITが有効なデータである場合に、S105〜S107の処理と併せて、リモートコントロールキー記述子の記述内容を放送受信装置100のROM103またはストレージ部110等の不揮発メモリに記憶させることにより、前記関連付けの設定を行えば良い。
なお、前記関連付けの設定は、前述のようにリモートコントロールキー記述子の記述内容に応じて行う方法の他、ユーザが自らの好みに応じてテンキー100R2の各キーに任意のチャンネルのサービスを適宜割り当てることにより行っても良い。また、放送受信装置100の不揮発メモリに前記リモートコントロールキー記述子の記述内容に応じた関連付けの設定とユーザが好みに応じて割り当てた関連付けの設定の双方を同時に記憶しておき、メニュー操作等の選択により、一方の設定のみを使用するようにしても良い。また、この場合、前記ユーザが好みに応じて割り当てた関連付けの設定が優先的に使用されて良い。また、リモートコントロールキー記述子に記述された優先フラグの値に応じて、前記ユーザが好みに応じて割り当てた関連付けの設定よりも前記リモートコントロールキー記述子の記述内容に応じた関連付けの設定を優先して使用するようにしても良い。前記優先フラグは、図15Bに示したリモートコントロールキー記述子の『reserved』パラメータの一部あるいは全部を用いることにより設定しても良いし、新たなパラメータを追加することにより設定しても良い。なお、この場合、サービスID毎に前記優先フラグの値を制御可能であって良い。
また、前記不揮発メモリにユーザが好みに応じて割り当てた関連付けの設定が記憶されている場合には、前記リモートコントロールキー記述子の記述内容に応じた関連付けの設定を前記不揮発メモリに記憶させないようにしても良い。また、放送受信装置100の不揮発メモリには前記ユーザが好みに応じて割り当てた関連付けの設定のみを記憶しておき、受信中のTLV−NITにリモートコントロールキー記述子が記述されている場合には前記リモートコントロールキー記述子の記述内容に応じた関連付けの設定を使用し、受信中のTLV−NITにリモートコントロールキー記述子が記述されていない場合には前記ユーザが好みに応じて割り当てた関連付けの設定を使用するようにしても良い。
なお、リモートコントロールキー記述子の記述内容に応じてテンキー100R2の各キーに所定のチャンネル(サービス)を関連付けを変更する処理は、TLV−NITで指定されるネットワークにおいてサービスリスト記述子に記述される全てのサービスに対して同時に行われても良いし、一部のサービスに対してのみ行われても良い。前記処理を一部のサービスに対してのみ行う場合、その他のサービスに関しては旧設定をそのまま保持するようにしても良い。また、前記『service_id』パラメータが所定の値(例えば、999等)である場合には、放送受信装置100の不揮発メモリに記憶されている設定済み内容のうち、『remote_control_key_id』パラメータで指定される設定に関してのみ消去するようにしても良い。
即ち、本実施例の放送受信装置100では、テンキー100R2の各キーへの所定のチャンネル(サービス)の関連付けの設定を行うことが可能となる。
[マルチ編成チャンネルの選局処理]
本実施例の放送システムにおいても、一つのチャンネル(サービス)で複数の番組を並行して放送するマルチ編成が可能であるものとする。マルチ編成による複数番組の同時放送を行う場合、前述のワンタッチ選局はマルチ編成のメインチャンネルに対してのみ可能であって、マルチ編成のサブチャンネルに対しては可能ではないことが考えられる。即ち、マルチ編成のサブチャンネルを選局する場合、サービスIDを直接入力して指定する方法を用いるか、あるいはワンタッチ選局により一旦マルチ編成のメインチャンネルを選局した後にチャンネルアップ/ダウンキー100R3の押下により所望のサブチャンネルを選局する方法を用いる必要があり、操作が煩雑となる問題がある。
前記問題を解決するために、本実施例の放送受信装置100においては、ワンタッチ選局の機能を拡張し、所定のサービスIDを割り当てたテンキー100R2を、所定時間内に複数回繰り返して押下することにより、マルチ編成のサブチャンネルの直接選局を可能としている。
図16Aを用いて説明する。例えば、リモコン100Rのテンキー100R2の『1』キーに011チャンネルのサービスが予め割り当てられているものとする。この場合、マルチ編成を行っていない状態(図中(A)参照)での選局操作であれば、前記『1』キーの押下回数によらず、011チャンネルが選局される。一方、マルチ編成を行っている状態(図中(B)参照)での選局操作の場合、前記『1』キーを一回のみ押下すると011チャンネルが選局され、一回目の『1』キー押下から所定時間以内に再度『1』キーを押下すると012チャンネルが選局されるようにする。同様に、所定時間内に『1』キーが三回押下された場合には、013チャンネルが選局されるようにする。なお、一回目の『1』キー押下から所定時間を超えて再度『1』キーが押下された場合には、011チャンネルが選局されたままとして良い。
前述のような操作を可能とすることにより、本実施例の放送受信装置100においては、より簡単な操作でマルチ編成時のサブチャンネルの直接選局を可能としている。
同様に、マルチビュー対応番組のアングル選択や複数の映像アセットからの所定の映像アセットの選択をテンキー100R2の複数回繰り返し押下により行う様にしても良い。図16Bに示すように、マルチビュー対応番組のサービスIDがリモコン100Rのテンキー100R2の『1』キーに割り当てられている場合、前記『1』キーを一回のみ押下すると前記マルチビュー対応番組が選局されてメインビューが表示されるものとする。また、一回目の『1』キー押下から所定時間以内に再度『1』キーを押下すると前記マルチビュー対応番組のサブビュー1が表示されるものとする。同様に、所定時間内に『1』キーが三回押下された場合には、前記マルチビュー対応番組のサブビュー2が表示されるものとする。なお、一回目の『1』キー押下から所定時間を超えて再度『1』キーが押下された場合には、前記マルチビュー対応番組のメインビューが表示されたままとして良い。複数の映像アセットからの所定の映像アセットの選択も前述と同様の操作により可能であって良い。
前述のような操作を可能とすることにより、本実施例の放送受信装置100においては、より簡単な操作でマルチビュー対応番組のアングル選択や複数の映像アセットからの所定の映像アセットの選択を可能としている。
なお、マルチ編成時の一つ以上の番組がマルチビュー対応番組や複数アセットを有する番組である場合は、前述の操作の一方のみを有効とし、他方を無効とすれば良い。例えば、マルチ編成時の一つ以上の番組がマルチビュー対応番組や複数アセットを有する番組である場合は、同一キーの所定時間内の複数回押下の操作をマルチ編成時のサブチャンネルの直接選局の処理に割り当てるようにする。何れの操作を有効とし、また、無効とするかは、予め定めておいても良いし、ユーザが選択するようにしても良い。
[放送受信装置の画面レイアウト制御]
本実施例の放送受信装置100では、LCTの記述に基づいた画面レイアウト制御が可能であるものとする。図17AにLCTのデータ構造の一例を示す。図17BにMPU提示領域指定記述子のデータ構造の一例を示す。
前記LCTのデータ構造において、特に、『left_top_pos_x』パラメータと『right_down_pos_x』パラメータは、全画面表示の左側を『0』/右側を『100』とした場合の、領域の左上の水平位置と右下の水平位置を、それぞれ水平方向の全画素数に対する割合で示すものとする。『left_top_pos_y』パラメータと『right_down_pos_y』パラメータは、全画面表示の上側を『0』/下側を『100』とした場合の、領域の左上の垂直位置と右下の垂直位置を、それぞれ垂直方向の全画素数に対する割合で示すものとする。また、『layer_order』パラメータは、領域の奥行き方向の相対位置を示すものとする。
前記各パラメータの設定に基づいた、レイアウト番号へのレイアウトの割当の例を、前記各パラメータの設定値と共に、以下で説明する。
図17Cは、本実施例の放送受信装置100のデフォルトのレイアウト設定であり、全画面に1つの領域のみを設定する例である。図17Dは、全画面を三つの領域に分割し、それぞれの領域を『領域0』、『領域1』、『領域2』とした場合の例である。例えば、全画面の画素数を水平7680画素/垂直4320画素とした場合、『領域0』は、『left_top_pos_x』パラメータが『0』、『left_top_pos_y』パラメータが『0』、『right_down_pos_x』パラメータが『80』、『right_down_pos_y』パラメータが『80』であることから、(0,0)−(6143,3455)の範囲に設定される。同様に、『領域1』は、(6144,0)−(7679,4319)の範囲に設定され、『領域2』は、(0,3456)−(6143,4319)の範囲に設定される。
図17Eは、図17Dと同様に三つの領域を設定する例であるが、『領域0』は、(0,0)−(7679,4319)の範囲に設定され、『領域1』と『領域2』は前述と同様の範囲で、『layer_order』パラメータの設定に応じて、『領域0』の前面に配置される。図17Fは、デバイス0(デフォルトのデバイス:本実施例では放送受信装置100)に『領域0』が設定され、デバイス1(本実施例においては、携帯情報端末700)に『領域1』が設定される場合の例である。
前述のように、本実施例の放送システムにおいては、LCTを用いることにより、マルチメディアサービスを受信機上でサービス提供者の意図通りに表示するための画面レイアウト制御を行うことが可能となる。
なお、前述の画面レイアウト制御により番組映像やデータ画面が表示されない領域は、LCT内に記述された背景色指定記述子により指定された所定の背景色が表示されて良い。また、LCTに前記背景色指定記述子が含まれていない場合、放送受信装置100が前記背景色指定記述子を正しく取得できなかった場合、背景色指定記述子により指定された所定の背景色がハードウェア制限により表示できないものである場合、等には、映像表示装置100が予め定めた所定のパターンを前記領域に表示するようにしても良い。また、映像表示装置100からユーザに対してのお知らせ表示領域として前記領域を使用しても良い。なお、前記お知らせは任意の情報であって良い。
なお、前記『left_top_pos_x』等のパラメータの設定値に応じて画面を分割する際に生じた小数点以下の端数は、切り上げ若しくは切り捨て等の処理を行えば良い。四捨五入(あるいは、二進数における零捨一入)の処理でも良い。例えば、全画面の画素数が7680画素/垂直4320画素で、『領域0』の『left_top_pos_x』パラメータが『0』、『left_top_pos_y』パラメータが『0』、『right_down_pos_x』パラメータが『51』、『right_down_pos_y』パラメータが『51』の場合、切り上げ処理により(0,0)−(3916,2203)の範囲に『領域0』を設定しても良いし、切り捨て処理により(0,0)−(3915,2202)の範囲に『領域0』を設定しても良い。また、映像圧縮処理の際のマクロブロックを考慮して、8画素単位や16画素単位等での切り上げ/切り捨て処理を行うようにしても良い。前記処理により、LCTに基づく領域設定や、前記領域におけるマルチメディアコンテンツの解像度変換処理を効率的に行うことが可能となる。
あるいは、前記『left_top_pos_x』等のパラメータの設定値を、『0』から『100』の範囲の『5の倍数』若しくは『10の倍数』のみに制限するようにしても良い。この場合も、前記領域設定を好適に行うことが可能となす。
なお、前記各領域に表示されるコンテンツは、図17Bに示したMPU提示領域指定記述子により指定される。図中の『mpu_sequence_number』パラメータでシーケンス番号を指定されるMPUのコンテンツが、『layout_number』パラメータおよび『region_number』パラメータにより、前記LCTの記述に関連付けられるものとする。
また、MPU提示領域指定記述子の記述の第一の『for』ループ内において、一つの『mpu_sequence_number』パラメータに対して複数の『layout_number』パラメータおよび『region_number』パラメータを記述し、何れの記述に従ってレイアウト制御を行うかをユーザに選択させるようにしても良い。例えば、第一の『for』ループ内において、所定の『mpu_sequence_number』パラメータに対して『layout_number1』パラメータ、『region_number1』パラメータ、『layout_number2』パラメータ、『region_number2』パラメータ、が記述されている場合、前記『mpu_sequence_number』パラメータで指定されるMPUのレイアウト制御を、『layout_number1』パラメータおよび『region_number1』パラメータに基づいて行うか、『layout_number2』パラメータおよび『region_number2』パラメータに基づいて行うか、をユーザに選択させる、等である。このようにすれば、ユーザは映像番組に関するレイアウト制御を好みに応じて行うことが可能となる。
[放送受信装置の画面レイアウト制御の例外処理]
本実施例の放送受信装置100においては、前述のLCTにより画面レイアウトの領域制御が行われている場合であっても、ユーザによりEPG画面の表示が指示された場合等には、例外処理として、前記LCTの記述内容を無視した画面レイアウト制御を行うことが可能であるものとする。図18Aに、LCTに基づく画面レイアウト制御の例外処理の動作の一例を示す。
LCTの記述により図17Dと同様の画面レイアウト制御が行われ、『領域0』に放送番組映像が表示され、『領域1』および『領域2』に前記放送番組に連携する番組連携データ等の放送コンテンツが表示されている状態で、ユーザが図示を省略したリモコンによりEPG画面の表示を指示した場合、本実施例の放送受信装置100では、図18A(A)に示したように、LCTの記述内容に関わらず画面レイアウト設定をデフォルトの設定(即ち、図17Cと同様の画面レイアウト制御が行われている状態)に戻し、EPG画面を画面全体に表示するように制御するものとする。更に、ユーザがEPG画面の表示終了を指示した場合に、LCTの記述内容に従った画面レイアウト制御を再実行するようにする。
前述の制御を行うことにより、図18A(B)に示したような、画面レイアウトの領域制御を維持したままEPG画面の表示を行う場合と比較して、EPG画面を大きく表示することができ、見易さを向上させることが可能である。
なお、前記画面レイアウト制御の例外処理は、EPG画面の表示を行う際にのみ適用されるものではなく、図18Bに示すように、放送受信装置100の各種設定画面(図示の例では録画設定画面)の子画面表示時や二画面表示時に適用されても良い。
同図(A)に示した録画設定画面の場合、放送コンテンツの表示エリアは画面全体から画面右下の子画面部分のみに変更される。同様に、同図(B)に示した二画面表示の場合、放送コンテンツの表示エリアは画面全体から画面中段左側の分割画面部分のみに変更される。何れの場合も、放送コンテンツを表示するための表示エリアが、画面全体を使用する場合と比較して狭くなるため、前記表示エリア内で画面レイアウトの領域制御を維持したまま(即ち、領域分割を行って複数の放送コンテンツを同時に表示したまま)とすることは視認上好ましくはない。従って、本実施例の放送受信装置100においては、前記状況の際には、前記表示エリアに『領域0』の放送コンテンツのみを選択して表示するようにする。なお、直前の領域選択状況に応じて、『領域1』や『領域2』の放送コンテンツを選択して表示するようにしても良い。
前述の制御を行うことにより、画面レイアウトの領域制御を維持したまま各種放送コンテンツの表示を行う場合と比較して、前記放送コンテンツの見易さを向上させることが可能となる。録画番組一覧画面における子画面表示やインターネットコンテンツのブラウザ表示時、等においても同様である。
[映像信号のアスペクト比変換処理]
テレビ放送サービスにおける映像信号のアスペクト比には、従来のSDTVで用いられた『4:3』、近年のHDTVで用いられている『16:9』の他、映画コンテンツに適した『21:9』、等がある。前記映像信号のアスペクト比の情報は、本実施例の放送システムにおいては、映像コンポーネント記述子により記述されて良い。図19Aに、映像コンポーネント記述子のデータ構造の一例を示す。図中、『video_aspect_ratio』パラメータが前記映像信号のアスペクト比に関する情報である。図19Bに、前記『video_aspect_ratio』パラメータの意味の一例を示す。図示とは異なるアスペクト比を更に割り当てても良い。
一方、前記テレビ放送サービスを受信可能なテレビ受信機(本実施例の放送受信装置100、等)の表示部のアスペクト比は『16:9』であることが一般的である。即ち、アスペクト比が『4:3』や『21:9』の映像コンテンツを一般的なテレビ受信機に表示する際には、アスペクト比変換処理を行って良い。
前記アスペクト比変換処理を行うか否かは、放送受信装置100のモニタ部162の仕様と映像コンポーネント記述子の『video_aspect_ratio』パラメータとを比較することにより、判断すれば良い。例えば、放送受信装置100のモニタ部162のアスペクト比が『16:9』(横3840画素×縦2160画素、等)の場合、前記『video_aspect_ratio』パラメータの値が『0』や『2』や『3』ならばアスペクト比変換処理を行わないようにし、『1』や『5』ならばアスペクト比変換処理を行うようにすれば良い。また、例えば、放送受信装置100のモニタ部162のアスペクト比が『21:9』(横5040画素×縦2160画素、等)の場合、前記『video_aspect_ratio』パラメータの値が『0』や『5』ならばアスペクト比変換処理を行わないようにし、『1』や『2』や『3』ならばアスペクト比変換処理を行うようにすれば良い。
放送受信装置100のモニタ部162のアスペクト比が『16:9』で前記『video_aspect_ratio』パラメータの値が『5』の場合のアスペクト比変換処理の一例を図19Cおよび図19Dに示す。アスペクト比『21:9』の映像コンテンツをアスペクト比『16:9』のモニタ部162に表示する場合、アスペクト比『21:9』の映像コンテンツの上下に黒帯を追加することにより、アスペクト比を『16:9』に変換しても良い(図中の表示A)。このようにすれば、オリジナルの映像コンテンツの全域を歪なく表示することが可能となる。また、アスペクト比『21:9』の映像コンテンツの中央部分のみを切り出してモニタ部162に表示するようにしても良い(図中の表示B)。このようにすれば、オリジナルの映像コンテンツの主要部分を大きく表示することが可能となる。また、アスペクト比『21:9』の映像コンテンツの上下に黒帯を少し追加して、更に中央部分を切り出すようにしても良い(図中の表示C)。このようにすれば、オリジナルの映像コンテンツの大部分を大きく表示することが可能となる。また、アスペクト比『21:9』の映像コンテンツの左右端を圧縮して全域を表示するようにしても良い(図中の表示D)。このようにすれば、オリジナルの映像コンテンツの全域を大きく、更に主要部分は歪なく表示することが可能となる。また、アスペクト比『21:9』の映像コンテンツの上下に黒帯を少し追加して、更に左右端を圧縮して全域を表示するようにしても良い(図中の表示E)。このようにすれば、オリジナルの映像コンテンツの全域を大きく、更に左右端の歪を少なく表示することが可能となる。
アスペクト比変換処理をどのように行うかは、メニュー等の設定によりユーザが選択可能として良い。あるいは、リモコン等の所定のキーの押下により切り換えられるようにしても良い。なお、前述のアスペクト比『21:9』は、いわゆるシネマスコープの『2.35:1』等、概略で『21:9』となる縦横比率のものを含むものとする。他のアスペクト比の数値に関しても同様である。
[放送受信装置のEPG表示]
本実施例の放送システムでは、放送ネットワークを構成する各サービスに含まれるイベント(いわゆる番組)に関する時系列情報をMH−EITで伝送するものとする。図7Eに示したMH−EITは、テーブルID(図中の『talbe_id』パラメータに対応)により2つのクラスに識別され、自TLVストリームの現在/次のイベントの情報と自TLVストリームの各イベントのスケジュール情報を示すことが可能であるものとする。本実施例の放送受信装置100は、前記MH−EIT等を参照してサービスID(図中の『service_id』パラメータに対応)による識別を行うことにより、各イベントの開始時間や放送時間等の情報を取得してEPG画面を作成することが可能であり、前記作成したEPGを映像合成部161で映像情報等に重畳してモニタ部162に表示することが可能であるものとする。
図20Aは、本実施例の放送受信装置100におけるEPG画面の一例を示す図である。EPG画面162aは、縦軸を時間表示、横軸をサービスID(チャンネル)表示としたマトリクス形状で、各時間帯に各チャンネルで放送される放送番組の詳細情報を表示するものとする。また、各放送番組の詳細情報162a1は、主としてタイトル領域162a2と詳細説明領域162a3で構成される。各放送番組の詳細情報162a1には、MH−短形式イベント記述子やMH−拡張形式イベント記述子に記述されて配信された番組情報等が表示されて良い。前記各記述子に記述された番組情報等の容量が多い場合には、通常時には省略表示を行い、図示を省略したリモコンの操作による選択時にはポップアップ等で全番組情報を表示するようにしても良い。あるいは、選択時には前記各記述子に記述された番組情報等を連携動作中の携帯情報端末700に送信し、表示部741に表示させるように携帯情報端末700に指示しても良い。
各放送番組の詳細情報162a1のタイトル領域162a2には、前記放送番組の番組タイトルおよび前記放送番組の属性を表す記号等を表示する。前記放送番組の属性を表す記号等とは、例えば、新番組であることを示す記号/文字や、再放送番組であることを示す記号/文字、等である。あるいは、放送サービスによるデータ放送に対応していることを意味する『data』を記号化した印等でも良い。また、前記放送番組に関連するコンテンツやアプリケーション等をネットワーク上から取得可能であることを意味する『NetWork』を記号化した印162a4等であっても良い。また、詳細情報162a1の背景色を他と差別化することにより、あるいは、太枠で詳細情報162a1の表示領域を囲むことにより、前記放送番組の属性を表す記号等を代替しても良い。
なお、本実施例の放送システムにおける各制御情報(メッセージ、テーブル、記述子、等)が、前記放送番組に関連するコンテンツやアプリケーション等がネットワーク上から取得可能であることを示している場合であっても、放送受信装置100のLAN通信部121にLANケーブルが接続されていない等、ネットワーク上の各サーバ装置へのアクセスができない状態である場合には、前記『NetWork』を記号化した印162a4等を表示しないように制御しても良い。
また、前記放送番組がインターネット200を介して配信される配信番組であり、放送波のみからの取得ができない場合であって、更に、前述と同様に、放送受信装置100がネットワーク上の各サーバ装置へアクセスできない状態である場合等には、図20Bに示すように、EPG画面162b上に表示される詳細情報162b1の部分をグレーアウトするように制御しても良い。即ち、視聴できない配信番組の詳細情報は表示しないように制御する。また、詳細情報162b1の背景色を他と差別化することにより、前記グレーアウト処理の代替としても良い。あるいは、前記配信番組の詳細説明領域162a3に、『この番組は視聴できません』等のメッセージを表示するようにしても良い。図示を省略したリモコンの操作により詳細情報162b1を選択した場合に、放送受信装置100がネットワーク上の各サーバ装置へアクセスできない状態である旨を、あるいは、詳細情報162b1に関連付けられた配信番組を視聴できない旨を、ポップアップ等によりユーザに報知するようにしても良い。
前述の各制御により、放送受信装置100は、ネットワーク接続状況に応じて、ユーザに対してより違和感のない形式で各放送番組の番組情報を提供することが可能となる。
図20Cは、本実施例の放送受信装置100におけるEPG画面の別の一例を示す図である。図中、『M1テレビ』、『M2放送』、『M3チャンネル』、『M4TV』、『テレビM5』等は、各チャンネルの放送局名称であり、特に、『M2放送』局は、放送波により配信される放送番組とインターネット200を介して配信される配信番組(図中の『ネット放送』で示される枠の情報162c1)を同時に提供しているものとする。
同図に示したように、インターネット200を介して配信する配信番組のみを有するチャンネルがある場合、通常時は同図(A)のEPG画面162cに示すように(情報162c1を含む)全てのチャンネルの情報を表示するように制御する。一方、放送受信装置100がネットワーク上の各サーバ装置へアクセスできない状態である場合等には、同図(B)のEPG画面162dに示すように、インターネット200を介して配信する配信番組のみを有する『M2放送(ネット放送)』のチャンネルの情報(同図(A)における情報162c1)を表示しないように制御しても良い。
前述の各制御により、放送受信装置100のユーザは、自分の視聴できないチャンネルの情報の確認を不要とすることが可能となる。
[放送受信装置の緊急警報放送表示]
本実施例の放送受信装置100は、TLVストリームを含む伝送データに含まれるTMCC信号の緊急警報放送起動制御信号ビットが『0』から『1』になった場合に、緊急警報放送の受信処理を行うことが可能であるものとする。
前記緊急警報放送は、専用のチャンネル(サービスID)の放送番組として提供されても良いし、全画面表示のアプリケーションとして提供されても良いし、文字情報として文字スーパーで提供されても良い。前記緊急警報放送が文字情報として文字スーパーで提供されている場合、緊急警報放送の受信直前の放送受信装置100の状態に関わらず、前記文字スーパーの文字情報を表示することが好ましい。即ち、図21に示すように、ユーザが通常の放送番組を視聴し、モニタ部162に前記放送番組の番組画面162eが表示されている状態で緊急警報放送を受信した場合、前記緊急警報放送による文字情報162e1を番組画面162eに重畳して表示するようにする。同様に、ユーザがEPG画面の表示を指示し、モニタ部162にEPG画面162fが表示されている状態で緊急警報放送を受信した場合、前記緊急警報放送による文字情報162f1をEPG画面162fに重畳して表示するように制御する。
前述の制御により、本実施例の放送受信装置100においては、ユーザがEPG画面や各種設定画面、録画番組一覧画面、インターネットブラウザ等を選択して表示させている場合であっても、緊急警報放送を受信した際には、前記緊急警報放送に基づく重要な文字情報の見逃しを回避することが可能となる。なお、この制御は、緊急警報放送によらない通常の文字スーパーの文字情報に対して行われても良い。
また、前記緊急警報放送が専用のチャンネル(サービスID)の放送番組として提供される場合、現在視聴している番組のチャンネル(サービスID)に関わらず、前記緊急警報放送のチャンネル(サービスID)を自動選局するようにしても良い。また、前記緊急警報放送が専用のチャンネル(サービスID)の放送番組として提供される場合やアプリケーションとして提供される場合、連携機能実行部1103の制御により、連携する外部の携帯端末機器(本実施例においては、携帯情報端末700等)に前記緊急警報放送の放送番組やアプリケーションを配信するようにしても良い。
また、前記緊急警報放送が配信された際に放送受信装置100の電源がオンでない場合、自動的に放送受信装置100の電源をオンするように制御を行っても良い。あるいは、放送受信装置100との連携動作の履歴がある携帯情報端末700に対して緊急警報放送が開始された旨の通知を送信するように制御を行っても良い。
前述の制御により、本実施例の放送受信装置100においては、前記緊急警報放送に基づく重要な放送番組やアプリケーションの映像の表示の見逃しを回避することが可能となる。
[表示制御の例外処理]
本実施例の放送受信装置100は、同一のパッケージを構成する各データのうち、TLVストリーム以外の経路で伝送されるデータが取得できない場合、例えば、下記の様な例外処理を行っても良い。
図7Aを用いて説明した通り、本実施例の放送受信装置100が対応する放送システムにおいては、MPTに格納されるロケーション情報(図7C参照)に基づいて、TLVストリームから取得するデータとTLVストリーム以外の経路から取得するデータとを同一のパッケージに含めることができる。しかしながら、ロケーション情報が指し示す、TLVストリーム以外のデータ伝送経路(例えば、通信回線のIPv4データフローやIPv6データフロー、放送のMPEG2−TSなど)で伝送されるデータは、TLV/MMTストリームの受信機能とは別の受信機能で取得するデータある。よって、放送受信装置100の動作中であっても、これらの伝送経路の受信機能が動作していない状況や、受信機能自体は動作していても前記伝送経路上の中継装置等が動作していない状況や、これらの伝送経路の有線または無線接続がされていない状況や、そもそもこれらの伝送経路を接続できない環境に放送受信装置100が設置されている状況など、これらの伝送経路からのデータ取得ができない状況もありうる。
このような状況下で、MPTに格納されるロケーション情報が、TLVストリームから取得するデータとTLVストリーム以外の経路から取得するデータとを同一のパッケージに含めるように対応付けることを示しているイベントを受信した場合、本実施例の放送受信装置100は、以下のような動作を行っても良い。
例えば、LCTが、図17Dや図17Eのように、画面内に複数の領域を設定しており、『領域0』にTLVストリームから取得したデータに基づく番組映像を表示し、『領域1』や『領域2』にTLVストリーム以外の伝送経路から取得したデータに基づくコンテンツが表示されるように対応付けられている場合であって、『領域1』や『領域2』に表示すべきTLVストリーム以外の伝送経路のデータが取得できない場合、LCTが指定する複数領域のレイアウト表示を禁止しても良い。具体的には、当該LCTを受信しても図17Cに示したデフォルトレイアウト表示の『領域0』にTLVストリームから取得したデータに基づく番組映像を表示した状態のままとし、図17Dや図17Eのような複数領域のレイアウト表示に移行しないようにすれば良い。また、更にこの状態で、デフォルトレイアウトからLCTの示すレイアウトへの変更指示が放送受信装置100の操作入力部170に入力されたとしても、図17Cに示したデフォルトレイアウト表示のままとしたり、その他のデータ放送画面に切り替えるなどして、図17Dや図17Eのような複数領域のレイアウト表示に移行しないようにしても良い。
また、LCTが、図17Dや図17Eのように、画面内に複数の領域を設定しており、『領域0』にTLVストリームから取得したデータに基づく番組映像を表示し、『領域1』や『領域2』にTLVストリーム以外の伝送経路で取得したデータに基づくコンテンツが表示されるように対応付けられている場合であって、『領域1』や『領域2』に表示すべきTLVストリーム以外の伝送経路のデータが取得できない場合の別の動作例としては、一旦、LCTが示す図17Dや図17Eの複数領域の表示枠を表示し、『領域1』や『領域2』については背景色や所定の静止画を表示しておき、所定時間を経過してもMPTのロケーション情報が示すTLVストリーム以外の伝送経路のデータが取得できない場合は、図17Cに示したデフォルトレイアウト表示の状態に戻す表示切り替えを行っても良い。この場合は、図17Cのレイアウトから図17Dや図17Eのレイアウトへの変更時および図17Dや図17Eのレイアウトから図17Cのレイアウトへの変更時も、それぞれのレイアウトの『領域0』にTLVストリームから取得したデータに基づく番組映像が継続して表示されるように動作すれば、ユーザの番組映像視聴自体は継続可能なので好ましい。
また、『領域1』や『領域2』に表示すべきTLVストリーム以外の伝送経路のデータが取得できないことにより、図17Cに示したデフォルトレイアウト表示の『領域0』にTLVストリームから取得したデータに基づく番組映像を表示した状態となっているときに、本実施例の放送受信装置100の各種通信機能や各種受信機能の動作が開始したり、各種通信機能の通信環境/通信状況や各種受信機能の受信環境/受信状況が変化したことにより、『領域1』や『領域2』に表示すべきTLVストリーム以外の伝送経路のデータが取得できる状況になることもありうる。この場合、本実施例の放送受信装置100は、ただちに、図17Cに示したデフォルトレイアウト表示から、LCTが示す図17Dや図17Eに示したような複数領域のレイアウトに切り替えて、『領域0』にTLVストリームから取得したデータに基づく番組映像を表示し、『領域1』や『領域2』にTLVストリーム以外の伝送経路から取得したデータに基づくコンテンツを表示するように切り替えても良い。あるいは、当該レイアウト変更をすぐには行わずに、デフォルトレイアウトからLCTの示すレイアウトへの変更指示が操作入力部170から入力されてから当該レイアウト変更を実行しても良い。この場合、レイアウト変更が可能となった旨をOSD表示等によりユーザに報知するようにすることが好ましい。
[著作権保護機能]
本実施例の放送受信装置100が対応するデジタル放送システムにおいて、MPT等にコピー制御情報を含めて伝送することにより、例えば、『無制限にコピー可』(『無制限にコピー可かつ蓄積および出力時に暗号化処理要』と『無制限にコピー可かつ蓄積および出力時に暗号化処理不要』の2種類に分けても良い)、『1世代のみコピー可』、『所定複数回数コピー可』(例えば、9回コピー可+ムーブ1回可ならいわゆる『ダビング10』)、『コピー禁止』など、MPT等が参照するコンテンツのコピー制御状態を示しても良い。この場合、本実施例の放送受信装置100は、当該コピー制御情報に応じて、当該コンテンツのストレージ(蓄積)部110への蓄積、リムーバブル記録媒体への記録、外部機器への出力、外部機器へのコピー、外部機器へのムーブ処理などを制御するように構成しても良い。
なお、蓄積処理の対象は、放送受信装置100内部のストレージ(蓄積)部110のみならず、放送受信装置100のみで再生可能となるような暗号化処理等の保護処理を施したリムーバブル記録媒体や外部機器等を含んでも良い。具体的には、例えば、拡張インタフェース部124に接続されたHDD等の外付けの記録装置などのうち、放送受信装置100のみで記録再生可能な状態にしたものなどが含まれる。
<コンテンツコピー制御>
当該コピー制御情報に基づくコンテンツコピー制御の処理の具体例を以下に説明する。
まず、MPT等に含まれるコピー制御情報が『無制限にコピー可』を示す場合は、本実施例の放送受信装置100は、ストレージ(蓄積)部110への蓄積、リムーバブル記録媒体への記録、外部機器への出力、外部機器へのコピー、外部機器へのムーブ処理等を制限なしに行って構わない。但し、前記コピー制御情報に基づく制御が『無制限にコピー可かつ蓄積および出力時に暗号化処理要』と『無制限にコピー可かつ蓄積および出力時に暗号化処理不要』とに分かれている場合であって、『無制限にコピー可かつ蓄積および出力時に暗号化処理要』を示す場合には、ストレージ(蓄積)部110への蓄積、リムーバブル記録媒体への記録、外部機器への出力、外部機器へのコピー、外部機器へのムーブ処理等を制限なしに行うことができるが、何れも暗号化処理を施す必要がある。
また、MPT等に含まれるコピー制御情報が『1世代のみコピー可』を示す場合は、本実施例の放送受信装置100は、ストレージ(蓄積)部110への暗号化しての蓄積や、放送受信装置100のみで再生可能となるような暗号化処理等の保護処理を施したリムーバブル記録媒体への記録を可能として良い。また、蓄積後のコンテンツを外部機器へ視聴用に出力する場合には、『コピー禁止』のコピー制御情報とともに暗号化して出力することとする。また、外部機器へのいわゆるムーブ処理(外部機器へコンテンツをコピーし、放送受信装置100のストレージ(蓄積)部110等のコンテンツは消去処理などにより再生不能化する処理)は可能とする。
また、MPT等に含まれるコピー制御情報が『所定複数回数コピー可』を示す場合は、本実施例の放送受信装置100は、ストレージ(蓄積)部110へ暗号化して蓄積する処理や、放送受信装置100のみで再生可能となるような暗号化処理等の保護処理を施したリムーバブル記録媒体への記録する処理を可能として良い。また、蓄積後のコンテンツを外部機器へ視聴用に出力する場合には、『コピー禁止』のコピー制御情報とともに暗号化して出力することとする。また、外部機器への予め定められた所定回数のコピーとムーブ処理を可能として良い。いわゆる『ダビング10』規定の場合は、外部機器への9回のコピーと1回のムーブ処理を行うことが可能である。
また、MPT等に含まれるコピー制御情報が『コピー禁止』を示す場合は、本実施例の放送受信装置100は、ストレージ(蓄積)部110等への蓄積(コピー)を禁止する。但し、放送受信装置100は、予め定められた所定時間または放送信号に含まれる制御情報(例えば、MH−Expire記述子やコンテンツ利用制御記述子等による)により指定される所定時間のみ、ストレージ(蓄積)部110等への保持を可能とする『一時蓄積』モードを有するように構成して良い。この場合には、放送受信装置100は、MPT等に含まれるコピー制御情報が『コピー禁止』を示す場合であっても、ストレージ(蓄積)部110等への当該コンテンツの一時的な保持を可能とする。MPT等に含まれるコピー制御情報が『コピー禁止』の当該コンテンツを外部機器へ視聴用として出力する場合には、『コピー禁止』のコピー制御情報とともに暗号化して出力することとする。
なお、前述の外部機器への視聴用の出力は、本実施例の放送受信装置100の映像出力部163と音声出力部166、あるいは、デジタルI/F部125やLAN通信部121などを介して行えば良い。前述の外部機器へのコピーまたはムーブ処理は、デジタルI/F部125やLAN通信部121などを介して行えば良い。
図22Aに、本実施例の放送システムにおけるコンテンツコピー制御記述子のデータ構造の一例を示す。図中の『digital_recording_control_data』パラメータがデジタルコピー制御情報であり、コンテンツのコピー世代を制御する情報を示すものとする。また、図22Bに前記デジタルコピー制御情報のパラメータ値とその意味の一例を示す。例えば、前記パラメータが『00』の場合には『無制限にコピー可』を示し、前記パラメータが『01』の場合には事業者による定義が可能であり、前記パラメータが『10』の場合には『1世代のみコピー可』を示し、前記パラメータが『11』の場合には『コピー禁止』を示すものとする。また、図23に、本実施例の放送システムにおけるコンテンツ利用制御記述子のデータ構造の一例を示す。図中の『copy_restriction_mode』パラメータがコピー制限モードであり、個数制限コピーが可能か否かを示すものとする。
本実施例の放送受信装置100においては、前記デジタルコピー制御情報が『01』の場合に予め放送事業者によって定められた所定回数のコピーが可能な蓄積処理を実行可能であるものとする。あるいは、前記デジタルコピー制御情報が『11』ではなくかつ前記コピー制限モードが個数制限コピー可を示している場合に予め放送事業者によって定められた所定回数のコピーが可能な蓄積処理を実行可能としても良い。または、この場合、デジタルコンテンツ利用記述子の『reserved_future_use』パラメータの一部または全部を用いる等によりコンテンツ毎のコピー可能回数を指定しても良い。
以上の処理により、本実施例の放送受信装置100は、前述の『所定複数回数コピー可』のコンテンツコピー制御を実現することが可能となる。
また、図23に示したコンテンツ利用制御記述子における『retention_mode』パラメータが一時蓄積制御ビットであり、前記デジタルコピー制御情報が『コピー禁止』を示している場合に対象コンテンツの一時的な蓄積を許容するか否かを示すものである。また、『retention_state』パラメータが一時蓄積許容時間であり、前記一時蓄積許容ビットが対象コンテンツの一時的な蓄積の許容をしてしている場合の一時蓄積許容時間を示すものである。
本実施例の放送受信装置100においては、前記一時蓄積制御ビットおよび一時蓄積許容時間の各情報を参照することにより、各コンテンツのデジタルコピー制御情報が『コピー禁止』を示している場合の一時的な蓄積の可否およびその蓄積時間を制御することが可能となる。
以上説明した処理によれば、コンテンツと対応付けられたコピー制御情報に応じて、適切なコンテンツ保護を実現することができる。
<コンテンツ出力制御>
次に、コンテンツの外部機器への出力制御の処理の具体例を以下に説明する。
図23に示したコンテンツ利用制御記述子において、『image_constraint_token』パラメータは解像度制限ビットであり、コンテンツを外部機器に出力する際に画質制限が必要か否かを示すものである。前記解像度制限ビットが画質制限が必要であることを示している場合、本実施例の放送受信装置100は、対象コンテンツを外部機器に出力する際に前記対象コンテンツの画質制限を行うものとする。なお、ストレージ(蓄積)部110等への蓄積を行う際には前記画質制限は必要ないものとして良い。前記画質制限は、例えば、受信した(あるいは、蓄積した)UHD(7680画素×4320画素)映像コンテンツをSHD(3840画素×2160画素)映像に変換して出力する、あるいは、HD(1920画素×1080画素)映像をSD(640画素×480画素)映像に変換して出力する、等である。なお、対象コンテンツの画質制限をどの程度まで行うか、即ち、画質制限後の画質をどの解像度にするかは、デジタルコンテンツ利用記述子の『reserved_future_use』パラメータの一部または全部を用いる等により指定するようにしても良い。
前述と同様に、例えば『reserved_future_use』パラメータの一部または全部を用いてフレームレート制限ビットや画素分解能制限ビットを用意し、コンテンツを外部機器に出力する際にフレームレートの制限や画素分解能の制限を制御するようにしても良い。前記フレームレート制限ビットがフレームレートの制限が必要であることを示している場合、本実施例の放送受信装置100は、対象コンテンツを外部機器に出力する際に前記対象コンテンツのフレームレートの制限を行うものとする。例えば、フレームレート120Hzの映像コンテンツをフレームレート60Hzに変換して出力する、等である。また、前記画素分解能制限ビットが画素分解能の制限が必要であることを示している場合、本実施例の放送受信装置100は、対象コンテンツを外部機器に出力する際に前記対象コンテンツの各画素の分解能の制限を行うものとする。例えば、各画素が12ビットで構成された映像コンテンツの各画素を8ビットに変換して出力する、等である。
また、更に、『reserved_future_use』パラメータの一部または全部を用いる等により解像度制限制御フラグやフレームレート制限制御フラグや画素分解能制限制御フラグを用意し、前記解像度制限制御フラグやフレームレート制限制御フラグや画素分解能制限制御フラグに応じて前記画質制限やフレームレートの制限や画素分解能の制限を行うか否かを制御するようにしても良い。例えば、前記解像度制限制御フラグが解像度制限制御をインタフェース仕様に応じて行うことを示している場合、対象コンテンツを出力するインタフェースが所定のコンテンツ保護技術を備えていれば前記画質制限を行わず、所定のコンテンツ保護技術を備えていなければ前記画質制限を行うように、制御を行っても良い。
具体的には、例えば、デジタルインタフェース部125がHDMIインタフェースであって、前記HDMIインタフェースに接続された外部機器に対象コンテンツの出力を行う場合、前記外部機器の有するHDMIインタフェースがHDCP(High−bandwidth Digital Content Protection)バージョン2.2以降に対応していれば前記画質制限を行わずに対象コンテンツの出力を行い、前記外部機器のHDMIインタフェースのHDCPバージョンが2.2未満であれば前記画質制限を行って対象コンテンツの出力を行うようにする。即ち、対象コンテンツの出力を行うインタフェースが予め定めた所定のコンテンツ保護技術を備えているか否かに応じて、あるいは、前記コンテンツ保護技術を備えている場合には前記コンテンツ保護技術のバージョンに応じて、前記対象コンテンツの画質制限を行うか否かを制御するようにすれば良い。なお、前記解像度制限制御フラグが解像度制限制御をインタフェース仕様に応じて行うことを示していない場合には、前記解像度制限ビットのみに応じて前記画質制限の有無を制御して良い。前記フレームレート制限制御フラグや画素分解能制限制御フラグに関しても同様の処理を行って良い。
また、前述のコピー制御情報が、『1世代のみコピー可』、『所定複数回数コピー可』、『コピー禁止』などのコピー制限を示しているコンテンツのLAN通信部121を介した外部機器へのコピー処理については、放送受信装置100からの送信パケットの宛先である外部機器のIPアドレスが、放送受信装置100のIPアドレスと同一サブネット内にある場合のみ可能とし、外部機器のIPアドレスが、放送受信装置100のIPアドレスと同一サブネット外にある場合は、禁止しても良い。コピー制御情報が『無制限にコピー可かつ蓄積および出力時に暗号化処理要』のコンテンツも同様に扱っても良い。
同様に、前述のコピー制御情報が、『1世代のみコピー可』、『所定複数回数コピー可』、『無制限にコピー可かつ蓄積および出力時に暗号化処理要』などのコピー制限を示しているコンテンツを一度ストレージ(蓄積)部110へ蓄積した後の、LAN通信部121を介して外部機器へのムーブ処理やコピー処理等についても、放送受信装置100からの送信パケットの宛先である外部機器のIPアドレスが、放送受信装置100のIPアドレスと同一サブネット内にある場合のみ可能とし、外部機器のIPアドレスが、放送受信装置100のIPアドレスと同一サブネット外にある場合は、禁止しても良い。
また、放送受信装置100のストレージ(蓄積)部110へ蓄積したコンテンツについての視聴用映像出力および音声出力は、原則として、放送受信装置100からの送信パケットの宛先である外部機器のIPアドレスが、放送受信装置100のIPアドレスと同一サブネット内にある場合のみ可能とし、外部機器のIPアドレスが、放送受信装置100のIPアドレスと同一サブネット外にある場合は禁止する。但し、当該外部機器が所定期間以内に、放送受信装置100のIPアドレスと同一サブネット内で接続されており、かつ、放送受信装置100のIPアドレスと同一サブネット外でも視聴可能な機器としての登録処理(ペアリング)がなされた機器である場合には、外部機器のIPアドレスが、放送受信装置100のIPアドレスと同一サブネット外であっても、当該外部機器への放送受信装置100のストレージ(蓄積)部110へ蓄積したコンテンツについての視聴用映像出力および音声出力を可能とするように構成しても良い。この場合、当該視聴用映像出力および音声出力はコンテンツに暗号化を施して行う。
但し、前記暗号化の処理は、図23に示したコンテンツ利用制御記述子の『encryption_mode』パラメータの値に応じて制御されても良い。即ち、前記『encryption_mode』パラメータの値がIPインタフェース出力の出力保護を要することを示している場合には前記暗号化処理を行うこととし、IPインタフェース出力の出力保護を要しないことを示している場合には前記暗号化処理を行わずに前記視聴用映像出力および音声出力を行うこととして良い。また、前記『encryption_mode』パラメータの値がIPインタフェース出力の出力保護を要することを示している場合には、コンテンツ利用制御記述子の『reserved_future_use』パラメータの一部または全部を用いる等により、暗号化処理を施さずに前記視聴用映像出力および音声出力を行うことが可能な外部機器のIPアドレスの範囲を指定するようにしても良い。即ち、予め定められた所定のIPアドレスに対しては、前記IPアドレスが放送受信装置100のIPアドレスと同一のサブネット内でなくとも、視聴用映像出力および音声出力を行うことが可能となる。
また、コンテンツ利用制御記述子の『reserved_future_use』パラメータの一部または全部を用いる等により前記登録処理(ペアリング)を有効とする期間を指定するようにしても良い。この場合、外部機器の登録処理(ペアリング)を実行した日時が前記指定された期間以内であれば、前記外部機器が放送受信装置100のIPアドレスと同一のサブネット外にある場合でも、前記外部機器に対する視聴用映像出力および音声出力を許容し、前記指定された期間外であれば許容しないように制御して良い。
また、前述の、コンテンツのLAN通信部121を介した外部機器へのムーブ処理、コピー処理、出力処理、等は、コンテンツ利用制御記述子の『remote_view_mode』パラメータの値に応じて制御されても良い。即ち、前記『remote_view_mode』パラメータの値が対象コンテンツのリモート視聴を許容していない場合には、コンテンツのLAN通信部121を介した外部機器へのムーブ処理、コピー処理、出力処理、等の一切を禁止するように制御しても良い。
以上説明した処理によれば、コンテンツを外部機器に出力する際にも、適切なコンテンツ保護を実現することができる。
<コンテンツコピー制御の例外処理1>
図22Aに示したコンテンツコピー制御記述子のデータ構造において、第一のデジタルコピー制御情報(『descriptor_length』の直後に位置する『digital_recording_control_data』パラメータ)は、コンテンツ全体に関するコピー世代の制御情報であり、第二のデジタルコピー制御情報(『component_tag』の直後に位置する『digital_recording_control_data』パラメータ)は、前記コンテンツを構成する各コンポーネントのそれぞれに関するコピー世代の制御情報である。なお、各コンポーネントの指定は、『component_tag』パラメータによって為されるものとする。
本実施例の放送システムでは、コンテンツ(番組)全体のコピー世代の制御を行う場合には、前記第一のデジタルコピー制御情報のみを前記コンテンツコピー制御記述子に記述し、前記第一のデジタルコピー制御情報によりコピー世代の制御を行う。一方、前記コンテンツを構成するコンポーネント毎にコピー世代の制御を行う場合には、前記第一のデジタルコピー制御情報と前記第二のデジタルコピー制御情報の双方を前記コンテンツコピー制御記述子に記述し、コピー世代の制御を行う。更に、前記コンテンツを構成するコンポーネント毎にコピー世代の制御を行う場合、前記コンテンツコピー制御記述子に記述された前記第一のデジタルコピー制御情報と前記第二のデジタルコピー制御情報の記述が一致しない状況が考えられる。前述の状況においては、本実施例の放送受信装置100は、以下に示すような動作を行う様にすれば良い。
まず、第一の動作例は、前記第一のデジタルコピー制御情報と前記第二のデジタルコピー制御情報の記述が一致しない場合には、前記第一のデジタルコピー制御情報に示されたコピー世代制御に基づいて動作するように制御を行う方法である。この場合、同一のコンテンツを構成する各コンポーネントに共通した簡便なコピー世代制御が可能となる。
次に、第二の動作例は、前記第一のデジタルコピー制御情報と前記第二のデジタルコピー制御情報の記述が一致しない場合には、前記第二のデジタルコピー制御情報に示されたコピー世代制御に基づいて動作するように制御を行う方法である。この場合、同一のコンテンツを構成するコンポーネントであっても、コンポーネント毎に異なるコピー世代制御が可能となり、即ち、より精緻なコピー世代制御が可能となる。
更に、第三の動作例は、前記第一のデジタルコピー制御情報と前記第二のデジタルコピー制御情報の記述が一致しない場合には、前記2つの異なるデジタルコピー制御情報のうちのより厳しい条件のデジタルコピー制御情報に基づいて動作するように制御を行う方法である。例えば、一方が『無制限にコピー可』で他方が『1世代のみコピー可』の場合、『1世代のみコピー可』の情報に従う。または、一方が『所定複数回数コピー可』で他方が『コピー禁止』の場合、『コピー禁止』の情報に従う。または、双方ともに『所定複数回数コピー可』の場合、別途指定されるコピー可能回数の少ない方の情報に従う。この場合、より厳密なコピー世代制御が可能となる。
以上の処理を行うことにより、本実施例の放送受信装置100においては、コンテンツコピー制御記述子に異なる2つのデジタルコピー制御情報が記載されている場合においても好適に動作することが可能となる。
<コンテンツコピー制御の例外処理2>
図7Aを用いて説明したように、本実施例の放送受信装置100が対応するデジタル放送システムでは、MPT内のロケーション情報(図7C参照)により、放送経路のTLVストリームで取得したデータと違う経路(IPv4、IPv6、MPEG2−TS、URL、等)で取得したデータもTLVストリームで取得したデータと同一パッケージかつ同一イベントに含まれることがありうるが、このときMPT等にコピー制御情報が含められている場合のコンテンツ保護について説明する。
まず、MPT等にコピー制御情報が含まれる場合、ロケーション情報で同一パッケージかつ同一イベントに含まれるデータは、放送経路のTLVストリームで取得したデータと違う経路(IPv4、IPv6、MPEG2−TS、URL、等)で取得したデータであっても、TLVストリームに含まれるコピー制御情報に従って、制御するようにしても良い。これらのコピー制御情報によって、指定されるコンテンツのコピー制御状態としては、前述の通り、『無制限にコピー可』(『無制限にコピー可かつ蓄積および出力時に暗号化処理要』と『無制限にコピー可かつ蓄積および出力時に暗号化処理不要』の2種類に分けても良い)、『1世代のみコピー可』、『所定複数回数コピー可』(例えば、9回コピー可+ムーブ1回可ならいわゆる『ダビング10』)、『コピー禁止』などを指定可能とする。
ここで、ロケーション情報が示すデータの位置が、他のデジタル放送信号で伝送されるMPEG2−TSのデータを含む場合、当該MPEG2−TSのデータは、他のデジタル放送信号でもコピー制御情報と対応付けられて放送されている。すると、当該MPEG2−TSのデータのコピー制御をどの情報に従ってどのように行うか(TLV/MMTストリームに含まれるコピー制御情報に従うのか、MPEG2−TSに含まれるコピー制御情報に従うのか)が問題となる。
本実施例のデジタル放送システムでは、この課題の解決策として、放送受信装置100において、下記複数の解決策の何れかの動作を行うようにすれば良い。
<動作例1>
第一の動作例では、MPT等にコピー制御情報が含まれ、ロケーション情報で同一パッケージかつ同一イベントに含まれるデータに他のデジタル放送信号で伝送されるMPEG2−TSのデータを含む場合に、MPEG2−TSに含まれるコピー制御情報により示されるコピー制御状態よりも、TLVストリームに含まれるコピー制御情報により示されるコピー制御状態を優先して制御する。
例えば、TLVストリームに含まれるコピー制御情報により示されるコピー制御状態が『1世代コピー可』であり、MPEG2−TSに含まれるコピー制御情報により示されるコピー制御状態が『所定複数回コピー可』であれば、TLVストリームで取得したデータと違う経路(MPEG2−TS伝送形式のデジタル放送)で取得したデータであっても、『1世代コピー可』のコンテンツとしてコピー制御を行っても良い。例えば、TLVストリームに含まれるコピー制御情報により示されるコピー制御状態が『無制限にコピー可』であり、MPEG2−TSに含まれるコピー制御情報により示されるコピー制御状態が『所定複数回コピー可』であれば、TLVストリームで取得したデータと違う経路(MPEG2−TS伝送形式のデジタル放送)で取得したデータであっても、『無制限にコピー可』のコンテンツとしてコピー制御を行っても良い。
この動作の場合、TLVストリーム以外の経路で取得したデータについても本実施例の放送受信装置100が対応する放送システムにおいて管理したいコピー状態にすることができる。
<動作例2>
第二の動作例では、MPT等にコピー制御情報が含まれ、ロケーション情報で同一パッケージかつ同一イベントに含まれるデータに他のデジタル放送信号で伝送されるMPEG2−TSのデータを含む場合に、TLVストリームに含まれるコピー制御情報により示されるコピー制御状態とMPEG2−TSに含まれるコピー制御情報により示されるコピー制御状態とを比較し、MPEG2−TSに含まれるコピー制御情報により示されるコピー制御状態の方がTLVストリームに含まれるコピー制御情報により示されるコピー制御状態よりも厳しい場合は、ストレージ(蓄積)部110などへの蓄積処理、リムーバブル記録媒体への記録処理、またはデジタルインタフェースからの出力処理をする際に、当該MPEG2−TSのデータを処理対象コンテンツから除外するように動作する。
この動作の場合、TLVストリーム以外の経路で取得したデータについては、当該データを伝送する放送システムで設定されたオリジナルのコピー制御情報を尊重しながら、本実施例の放送受信装置100上でのコピー制御状態の重複を解消することができる。
また、当該比較の結果、MPEG2−TSに含まれるコピー制御情報により示されるコピー制御状態が、TLVストリームに含まれるコピー制御情報により示されるコピー制御状態と同じ状態または、より緩いコピー制御状態の場合は、当該ロケーション情報で同一パッケージかつ同一イベントに含まれるMPEG2−TSのデータについても、TLVストリームに含まれるコピー制御情報により示されるコピー制御状態のコンテンツとしてコピー制御を行えば良い。
この動作の場合、TLVストリーム以外の経路で取得したデータについては、当該データを伝送する放送システムで設定されたオリジナルのコピー制御情報を尊重しながら、本実施例の放送受信装置100上でのコピー制御状態の重複を解消することができる。
以上の説明において、本実施例の放送受信装置100の著作権保護機能は、MPTに含まれるコピー制御情報に基づいて行うこととして説明した。しかし、コピー制御情報を配置するテーブルはMPTに限定されない。MPT以外にも、図6Bで説明したMH−サービス記述テーブル(MH−SDT)やMH−イベント情報テーブル(MH−EIT)、あるいはその他のテーブルに配置して伝送し、放送受信装置100はこれらに従って著作権保護処理を行っても良い。
以上説明した本実施例によれば、MMTのデジタル放送に対応した放送受信機を提供することができる。
(実施例2)
以下では、本発明の実施例2に関して説明する。なお、本実施例における構成、処理および効果等は特に断りのない限り実施例1と同様であるものとする。このため、以下では、本実施例と実施例1との相違点を主に説明し、共通する点については重複を避けるため極力説明を省略する。また、本実施例の放送受信装置は、メディアトランスポート方式として、MMT方式とMPEG2−TS方式の双方に対応するテレビ受信機であるものとして、以下、説明を行う。
[放送受信装置のハードウェア構成]
図24は、放送受信装置800の内部構成の一例を示すブロック図である。放送受信装置800は、主制御部801、システムバス802、ROM803、RAM804、ストレージ部810、LAN通信部821、拡張インタフェース部824、デジタルインタフェース部825、第一チューナ/復調部831、第二チューナ/復調部832、MMTデコード処理部841、MPEG2−TSデコード処理部842、映像合成部861、モニタ部862、映像出力部863、音声合成部864、スピーカ部865、音声出力部866、操作入力部870、で構成される。
主制御部801、システムバス802、ROM803、RAM804、ストレージ部810、拡張インタフェース部824、デジタルインタフェース部825、モニタ部862、映像出力部863、スピーカ部865、音声出力部866、操作入力部870、等は、実施例1の放送受信装置100における主制御部101、システムバス102、ROM103、RAM104、ストレージ(蓄積)部110、拡張インタフェース部124、デジタルインタフェース部125、モニタ部162、映像出力部163、スピーカ部165、音声出力部166、操作入力部170、等とそれぞれ同等の機能を有するものとし、詳細な説明を省略する。
第一チューナ/復調部831は、図示を省略したアンテナを介して、メディアトランスポート方式としてMMTを採用した放送サービスの放送波を受信し、主制御部801の制御に基づいてユーザの所望するサービスのチャンネルに同調(選局)する。更に、第一チューナ/復調部831は、受信した放送信号を復調してMMTデータ列を取得し、MMTデコード処理部841に出力する。第二チューナ/復調部832は、図示を省略したアンテナを介して、メディアトランスポート方式としてMPEG2−TSを採用した放送サービスの放送波を受信し、主制御部801の制御に基づいてユーザの所望するサービスのチャンネルに同調(選局)する。更に、第二チューナ/復調部832は、受信した放送信号を復調してMPEG2−TSデータ列を取得し、MPEG2−TSデコード処理部842に出力する。
MMTデコード処理部841は、第一チューナ/復調部831から出力されたMMTデータ列を入力し、前記MMTデータ列に含まれる制御信号に基づいてリアルタイム提示要素である映像データ列、音声データ列、文字スーパーデータ列、字幕データ列、等の分離処理、および復号処理等を行う。MMTデコード処理部841は、実施例1の放送受信装置100における、分離部132、映像デコーダ141、映像色域変換部142、音声デコーダ143、文字スーパーデコーダ144、字幕デコーダ145、字幕合成部146、字幕色域変換部147、データデコーダ151、キャッシュ部152、アプリケーション制御部153、ブラウザ部154、アプリケーション色域変換部155、音源部156、等に相当する機能を備えるものとする。MMTデコード処理部841は、実施例1で説明した各種処理を行うことが可能である。なお、前記各種処理の詳細は実施例1で説明した通りであるので、説明を省略する。
MPEG2−TSデコード処理部842は、第二チューナ/復調部832から出力されたMPEG2−TSデータ列を入力し、前記MPEG2−TSデータ列に含まれる制御信号に基づいてリアルタイム提示要素である映像データ列、音声データ列、文字スーパーデータ列、字幕データ列、等の分離処理、および復号処理等を行う。MPEG2−TSデコード処理部842は、メディアトランスポート方式としてMPEG2−TSを採用した放送サービスの放送波を受信する従来のテレビ受信機のIRD(Integrated Receiver Decoder)部と同等の機能を備えるものとし、詳細な説明を省略する。
映像合成部861は、MMTデコード処理部841から出力された映像情報や字幕情報やアプリケーション情報と、MPEG2−TSデコード処理部842から出力された映像情報や字幕情報やアプリケーション情報と、を入力し、適宜選択および/または重畳等の処理を行う。映像合成部861は図示を省略したビデオRAMを備え、前記ビデオRAMに入力された映像情報等に基づいてモニタ部862等が駆動される。また、映像合成部861は、主制御部801の制御に基づいて、必要に応じて、スケーリング処理やEPG画面情報の重畳処理等を行う。音声合成部164は、MMTデコード処理部841から出力された音声情報とMPEG2−TSデコード処理部842から出力された音声情報を入力し、適宜選択および/またはミックス等の処理を行う。
LAN通信部821は、ルータ装置200rを介してインターネット200と接続され、インターネット200上の各サーバ装置やその他の通信機器とデータの送受信を行う。また、通信回線を介して伝送される番組のMMTデータ列(あるいは、その一部)やMPEG2−TSデータ列(あるいは、その一部)を取得し、適宜、MMTデコード処理部841やMPEG2−TSデコード処理部842に出力する。
[放送受信装置の時刻表示]
本実施例の放送受信装置800では、EPG画面や各種設定画面等において、現在日付や現在時刻を表示可能であるものとする。前記現在日付や現在時刻に関する情報は、メディアトランスポート方式としてMMTを採用した放送サービスにおいてはMH−TOT等により送信され、また、メディアトランスポート方式としてMPEG2−TSを採用した放送サービスにおいてはMPEG−2システムに規定されたSI(Service Information)が備えるTOT(Time Offset Table)等により送信される。放送受信装置800は、前記MH−TOTや前記TOTを参照することにより、前記現在日付や現在時刻に関する情報を取得可能である。
また、一般的には、映像合成部861がMMTデコード処理部841から出力された映像情報等を主として選択している場合には、前記MH−TOTから取得した現在日付や現在時刻に関する情報を前記映像情報等に重畳し、映像合成部861がMPEG2−TSデコード処理部842から出力された映像情報等を主として選択している場合には、前記TOTから取得した現在日付や現在時刻に関する情報を前記映像情報等に重畳するように制御すれば良い。
しかしながら、メディアトランスポート方式としてMMTを採用した放送サービスとメディアトランスポート方式としてMPEG2−TSを採用した放送サービスとでは、符号化処理/復号処理や伝送経路等に差異があるため、特に現在時刻表示において、メディアトランスポート方式としてMMTを採用した放送サービスの選択時とメディアトランスポート方式としてMPEG2−TSを採用した放送サービスの選択時とで、不整合を生じる可能性がある。例えば、図25に示すように、メディアトランスポート方式としてMMTを採用した放送サービスのチャンネル情報を表示するEPG画面162gからメディアトランスポート方式としてMPEG2−TSを採用した放送サービスのチャンネル情報を表示するEPG画面162hに画面表示を切り替えた際に、現在時刻の表示が現在時刻表示162g1から現在時刻表示162h1に切り替わることによる不整合によって、視覚的違和感をユーザに覚えさせる可能性を有するものである。
本実施例の放送受信装置800では、前記ユーザの視覚的違和感を防止するために、映像合成部861がMMTデコード処理部841から出力された映像情報等を主として選択している場合であっても、前記TOTから取得した現在日付や現在時刻に関する情報を前記映像情報等に重畳するように制御する。即ち、メディアトランスポート方式としてMMTを採用した放送サービスのコンテンツに、メディアトランスポート方式としてMPEG2−TSを採用した放送サービスで提供される現在時刻情報を重畳するように制御するものである。
前記制御を行うことにより、本実施例の放送受信装置800は、現在時刻を表示する際に、常に前記TOTを参照して取得した現在時刻情報を表示するようになる。従って、メディアトランスポート方式としてMMTを採用した放送サービスとメディアトランスポート方式としてMPEG2−TSを採用した放送サービスとを切り替えた際にも、現在時刻の表示の不整合による視覚的違和感をユーザに覚えさせることを防止することが可能となる。
なお、図26Aに、本実施例の放送受信装置800における、各放送サービスの受信状況に応じた現在時刻情報参照元の選択制御の一例を示す。本実施例の放送受信装置800では、メディアトランスポート方式としてMPEG2−TSを採用した放送サービスの受信が可能な状態にある場合には、常に前記TOTを参照して現在時刻情報を取得するようにし、メディアトランスポート方式としてMPEG2−TSを採用した放送サービスの受信が不可の状態で、かつメディアトランスポート方式としてMMTを採用した放送サービスの受信が可能な状態にある場合にのみ、前記MH−TOTを参照して現在時刻情報を取得するように制御する。
また、前述の制御とは逆に、メディアトランスポート方式としてMPEG2−TSを採用した放送サービスのコンテンツに、メディアトランスポート方式としてMMTを採用した放送サービスで提供される現在時刻情報を重畳するように制御しても、前述と同様の効果が得られる。
なお、前述のように、メディアトランスポート方式としてMMTを採用した放送サービスのコンテンツに、メディアトランスポート方式としてMPEG2−TSを採用した放送サービスで提供される現在時刻情報を重畳するように制御する場合と、メディアトランスポート方式としてMPEG2−TSを採用した放送サービスのコンテンツに、メディアトランスポート方式としてMMTを採用した放送サービスで提供される現在時刻情報を重畳するように制御する場合の、何れの場合においても、実施例1の[放送受信装置の時刻管理]での説明と同様に、前記TMCC拡張情報領域の時刻情報の『delta』パラメータを参照することにより、前記現在時刻情報を補正することが可能である。
また、メディアトランスポート方式としてMMTを採用した放送サービスとメディアトランスポート方式としてMPEG2−TSを採用した放送サービスの何れの場合においても、ネットワークを構成する各放送サービスが伝送するMH−TOTまたはTOTが送信側システムの不具合や伝送エラー等による誤りを有する可能性が考えられる。本実施例の放送受信装置800では、前記MH−TOTまたはTOTの前記誤りに対する対策として、受信中のサービスから取得したMH−TOTまたはTOTが誤りを有すると判断した場合には、同一ネットワークの他の放送サービスから、あるいは、他のネットワークの任意の放送サービスから、MH−TOTまたはTOTを取得して現在時刻情報を参照することにより、内蔵クロックの時刻情報の更新処理を行うよう機能を有するものとする。
図26Bに、本実施例の放送受信装置800における、メディアトランスポート方式としてMPEG2−TSを採用した放送サービスを受信している際の、現在時刻情報の更新処理の一例を示す。なお、メディアトランスポート方式としてMMTを採用した放送サービスを受信している際であっても、同図に示した処理と同様の処理が可能である。
本実施例の放送受信装置800において内蔵クロックの時刻情報を更新する場合、まず、受信機能実行部1102が現在受信中の放送サービス(メディアトランスポート方式としてMPEG2−TSを採用した放送サービス)のMPEG2−TSデータ列からTOTを取得し(S301)、更に、前記取得したTOTを参照することにより、現在時刻情報を取得する(S302)。次に、受信機能実行部1102はS302の処理で取得した前記現在時刻情報と内蔵クロックの時刻情報を比較する処理を行う。
前記比較処理の結果、S302の処理で取得した前記現在時刻情報と内蔵クロックの時刻情報の差が所定値以内(例えば、3分以内)の場合(S303:Yes)、受信機能実行部1102は、S302の処理で取得した前記現在時刻情報を以って、内蔵クロックの時刻情報の更新を行う(S306)。一方、前記比較処理の結果、S302の処理で取得した前記現在時刻情報と内蔵クロックの時刻情報の差が所定値以内ではない場合(S303:No)、あるいは、S301で取得したTOTがデータ内にエラーがあることを示すフラグ等を有している場合、受信機能実行部1102は、同一ネットワーク内の他の放送サービスのMPEG2−TSデータ列からTOTを取得し、あるいは、他のネットワークの任意の放送サービス(メディアトランスポート方式としてMMTを採用した放送サービス)のMMTデータ列からMH−TOTを取得し(S304)、更に、前記取得したTOTまたはMH−TOTから現在時刻情報を取得する(S305)。受信機能実行部1102は、S305の処理で取得した現在時刻情報を以って、再度S303の比較処理を行うようにすれば良い。
以上の処理により、本実施例の放送受信装置800は、受信中のサービスから取得したMH−TOTまたはTOTが誤りを有すると判断した場合には、同一ネットワークの他の放送サービスから、あるいは、他のネットワークの任意の放送サービスから、MH−TOTまたはTOTを取得して現在時刻情報を参照することにより、内蔵クロックの時刻情報の更新処理を行うことが可能となる。
なお、工場出荷後の初期設定時等、S304〜S305の処理の繰り返しで内蔵クロックの時刻情報との差が所定範囲内となる現在時刻情報を取得できなかった場合には、S302の処理で取得した現在時刻情報を以って、あらためて内蔵クロックの時刻情報を設定するようにすれば良い。このようにすれば、本実施例の放送受信装置800の内蔵クロックの時刻情報側に誤りがある場合も対応することが可能となる。
[放送受信装置のEPG表示]
メディアトランスポート方式としてMMTを採用した放送サービスのイベントスケジュール情報はMH−EIT等により伝送される。一方、メディアトランスポート方式としてMPEG2−TSを採用した放送サービスのイベントスケジュール情報はMPEG−2システムに規定されたSIが備えるEIT(Event Information Table)等により伝送される。従って、一般的には、メディアトランスポート方式としてMMTを採用した放送サービスで提供される映像情報等の表示を行っている際には、前記MMTを採用した放送サービスのイベントスケジュール情報(MH−EIT)が取得可能であり、メディアトランスポート方式としてMPEG2−TSを採用した放送サービスで提供される映像情報等の表示を行っている際には、前記MPEG2−TSを採用した放送サービスのイベントスケジュール情報(EIT)が取得可能である。
しかしながら、本実施例の放送受信装置800は、メディアトランスポート方式としてMMTを採用した放送サービスで提供される映像情報等の表示を行っている際にも、あるいは、メディアトランスポート方式としてMPEG2−TSを採用した放送サービスで提供される映像情報等の表示を行っている際にも、前記MH−EITと前記EITの双方を取得可能とし、ユーザにとっての使い勝手を向上させている。
図27Aに、本実施例の放送受信装置800におけるEPG画面の一例を示す。図中、EPG画面162iはメディアトランスポート方式としてMMTを採用した放送サービスのMH−EITに基づいて作成されたEPG画面であり、『M1テレビ』、『M2放送』、『M3チャンネル』、『M4TV』、『テレビM5』等は、それぞれメディアトランスポート方式としてMMTを採用した放送サービスの放送局名称であるものとする。また、EPG画面162jはメディアトランスポート方式としてMPEG2−TSを採用した放送サービスのEITに基づいて作成されたEPG画面であり、『T6テレビ』、『T7放送』、『T8チャンネル』、『T9TV』、『テレビTA』等は、それぞれメディアトランスポート方式としてMPEG2−TSを採用した放送サービスの放送局名称であるものとする。
例えば、ユーザがメディアトランスポート方式としてMMTを採用した放送サービスで提供される放送番組を視聴中に、図示を省略したリモコンを操作してEPG画面の表示を指示すると、EPG画面の初期画面(図示省略)が表示される。前記EPG画面の初期画面は、メディアトランスポート方式としてMMTを採用した放送サービスのMH−EITに基づいて作成されたEPG画面であり、『2014年10月7日(今日)』の『17時〜(現在時刻の近隣)』の各チャンネルの放送番組の詳細情報が表示される。次に、ユーザが『2014年10月9日』の『20時〜』の各チャンネルの放送番組の詳細情報を確認したいと所望し、図示を省略したリモコンを操作してEPG画面の更新を指示すると、EPG画面162iが表示される。
更に、ユーザがメディアトランスポート方式としてMPEG2−TSを採用した放送サービスで提供される放送番組の詳細情報を確認したいと所望し、図示を省略したリモコンを操作してネットワークの切り替えを指示すると、EPG画面162jが表示される。この際、本実施例の放送受信装置800においては、メディアトランスポート方式としてMPEG2−TSを採用した放送サービスのEITに基づいて作成されたEPG画面の初期画面(即ち、『2014年10月7日』の『17時〜』の各チャンネルの放送番組の詳細情報)ではなく、直前に表示されていたEPG画面162iと同日同時間帯(即ち、『2014年10月9日』の『20時〜』)の各チャンネルの放送番組の詳細情報を表示するように制御する。
前述の制御により、ユーザは、メディアトランスポート方式の異なる複数のネットワークの同日同時間帯の放送番組に関する詳細情報を、簡便な操作で、連続的に、確認することが可能となる。即ち、放送受信装置800の使い勝手が向上する。
図27Bは、本実施例の放送受信装置800におけるEPG画面の前述とは異なる一例を示す図である。EPG画面162kは、図27Aに示したEPG画面162iが表示された状態から、図示を省略したリモコンの操作により、チャンネル方向(横方向)にスクロールさせた状態を示している。即ち、図27Bに示した例では、EPG画面をチャンネル方向(横方向)にスクロールさせることにより、メディアトランスポート方式としてMMTを採用した放送サービスのMH−EITに基づいて作成されたチャンネル情報とメディアトランスポート方式としてMPEG2−TSを採用した放送サービスのEITに基づいて作成されたチャンネル情報とが、同一時間軸上でシームレスに表示される。
従って、ユーザがメディアトランスポート方式としてMMTを採用した放送サービスのMH−EITに基づいて作成されたチャンネル情報の確認中にメディアトランスポート方式としてMPEG2−TSを採用した放送サービスのEITに基づいて作成されたチャンネル情報を確認したいと所望した場合においても、図示を省略したリモコンの操作によるネットワークの切り替えの指示等を不要とすることができる。更に、ユーザは、メディアトランスポート方式の異なる複数のネットワークの同日同時間帯の放送番組に関する詳細情報を、同時に確認することが可能となる。即ち、放送受信装置800の使い勝手が向上する。
(実施例3)
以下では、本発明の実施例3に関して説明する。なお、本実施例における構成、処理および効果等は特に断りのない限り実施例1と同様であるものとする。このため、以下では、本実施例と実施例1との相違点を主に説明し、共通する点については重複を避けるため極力説明を省略する。
本発明の実施例3は、実施例1における放送受信機100と同様のハードウェア構成を備え、異なる著作権保護機能を実現する制御を行うものである。なお、本実施例において説明するのはコンテンツのうち映像についてのコンテンツ保護制御についてであり、音声については、以下の説明と同等の制御を行っても良く、また異なるコンテンツ保護制御を行っても良い。
図28は、実施例3の放送受信装置100における著作権保護機能の処理を表に纏めたものである。実施例3の放送受信装置100においては、受信したコンテンツが4Kコンテンツ(画素数3840×2160)や8Kコンテンツ(画素数7680×4320)などの、2K超コンテンツ(画素数1920×1080を超える画素数を有するコンテンツ)であるか、2K以下コンテンツ(画素数1920×1080以下のコンテンツ)かによって、コンテンツの蓄積処理前後のコンテンツに対する著作権保護処理を切り替える。
具体的には、図22A、図22Bで説明したコンテンツコピー制御記述子に含まれるパラメータ(例えば、『digital_recording_control_data』パラメータ)および図23で説明したコンテンツ利用制御記述子に含まれるパラメータ(例えば、『encryption_mode』パラメータ)に基づくコンテンツ保護処理を、放送受信装置100が受信したコンテンツの画素数、または画素数変換を行った場合の画素数変換後に応じて図28に示すように切り替える制御を行う。また、本発明の実施例3の放送受信装置100においては、図23に示したコンテンツ利用制御記述子において、『image_constraint_token』パラメータは、実質的に無効とする。即ち、『image_constraint_token』パラメータにいかなる値が入っていても実施例3の放送受信装置100は、映像信号出力の解像度の制限を行わないと判断すれば良い。即ち、実施例3の放送受信装置100の著作権保護の思想は、『image_constraint_token』パラメータに応じてユーザに対して映像信号出力の解像度の制限を掛けるのではなく、図28の表に従って、コンテンツの蓄積処理前後の画素数の状態に応じて適切なコンテンツ保護を施すものである。
図28の表では、受信したコンテンツを図8Aのストレージ部110などに、放送受信機100以外の装置では再生できないように記録する処理である蓄積処理を基準として、蓄積処理の前に行いうる蓄積前処理と、蓄積後に行う蓄積後処理に分けて説明している。まずは、蓄積前処理について説明する。なお、本実施例において、コンテンツの「蓄積前」という表現を用いたときは、必ずしもその後コンテンツが蓄積処理をされる必要はない。「実際にコンテンツを蓄積する場合のその前の状態」という意味と、「コンテンツの蓄積を行わないで」という意味の両者の意味を含んでいる。
[受信時のコンテンツ]
実施例3の放送受信機100では、MMT伝送方式のコンテンツを受信するので、図28の例では、伝送方式は全てMMT伝送方式である。ここで、コンテンツの受信時のコンテンツには、4Kコンテンツ(画素数3840×2160)や8Kコンテンツ(画素数7680×4320)などの、2K超コンテンツ(画素数1920×1080を超える画素数を有するコンテンツ)の場合があり、2K以下コンテンツ(画素数1920×1080以下のコンテンツ)の場合もある。
放送受信機100は、受信したコンテンツが、2K超コンテンツか、2K以下コンテンツかを判断するために、MMT方式で伝送されるデータを用いれば良い。具体的には、コンテンツの映像符号化ストリーム(例えばH.265/HEVC符号化ストリーム)のヘッダに含まれる画素数情報を用いても良く、実施例1で説明した図19Aの映像コンポーネント記述子に含まれる『video_resolution』に格納される画素数情報を用いても良い。MMT方式で伝送されるいずれかのデータを用いて判断を行えば良い。
[コンテンツ受信後蓄積前の画素数変換処理]
実施例3の放送受信機100では、図8Aの映像合成部の前後のいずれかに映像の画素数変換を行う図示しない画素数変換部を有し、受信コンテンツのデコード映像の画素数変換処理を実行可能とする。図28の表に示すように、受信した2K超コンテンツ(画素数1920×1080を超える画素数を有するコンテンツ)に対して、画素数変換を行わない場合、画素数変換を行って他の2K超コンテンツに変換する場合、画素数変換を行って2K以下コンテンツ(画素数1920×1080以下のコンテンツ)に変換する場合がある。また、図28の表に示すように、受信した2K以下コンテンツ(画素数1920×1080以下のコンテンツ)に対して、画素数変換を行わない場合および当該画素数変換を行って他の2K以下コンテンツ(画素数1920×1080以下のコンテンツ)に変換する場合がある。
[コンテンツ受信後蓄積前の外部機器への出力処理]
実施例3の放送受信機100では、コンテンツ受信後、蓄積前のコンテンツを外部機器へ出力する場合、当該コンテンツの画素数の状態に応じて、コンテンツの保護処理を切り替える。具体的には、コンテンツ受信後、蓄積前にコンテンツを外部機器への出力する際のコンテンツの画素数が、画素数1920×1080を超える画素数であるか、画素数1920×1080以下であるか、に応じてコンテンツ保護処理を変更する。ここで、コンテンツ保護処理を変更するとは、図22A、図22Bで説明したコンテンツコピー制御記述子に含まれるパラメータ(例えば、『digital_recording_control_data』パラメータ)や図23で説明したコンテンツ利用制御記述子に含まれるパラメータ(例えば、『encryption_mode』パラメータ)の解釈を変更し、これらのパラメータに対して行うコンテンツ保護処理を切り替えることである。
以下、図28に示されるコンテンツ受信後蓄積前の外部機器への出力処理の具体例を説明する。当該外部機器への出力処理は、図8Aの映像デコーダ141でデコードした映像または該デコード映像を画素数変換部で変換した映像を映像出力部163から外部機器へ出力する際の映像出力処理に適用すれば良い。なお、別の例としては、図8AのLAN通信部121をハードウェアとするIPインタフェースを介して当該映像出力を行っても良い。
(1−1)受信時に2K超コンテンツ(画素数1920×1080を超える画素数を有するコンテンツ)のコンテンツに対して画素数変換を行なわず外部機器に出力する場合、または画素数変換を行って他の画素数の2K超コンテンツ(画素数1920×1080を超える画素数を有するコンテンツ)に変換して外部機器に出力する場合
この場合は、コンテンツの出力保護に、コンテンツ利用制御記述子の『encryption_mode』の値は考慮しない。コンテンツコピー制御記述子の『digital_recording_control_data』が00の場合はHDCPによるコンテンツ保護を行わず出力する。コンテンツコピー制御記述子の『digital_recording_control_data』が10の場合は、HDCP Revision 2.2以降の高度なコンテンツ保護を適用して出力する。コンテンツコピー制御記述子の『digital_recording_control_data』が01の場合は、出力自体を禁止する。コンテンツコピー制御記述子の『digital_recording_control_data』が11の場合は、HDCP Revision 2.2以降の高度なコンテンツ保護を適用して出力する。受信コンテンツのコンテンツコピー制御記述子がなんらかの理由で受信データに含まれていない場合には、HDCPによるコンテンツ保護を行わず出力する。
蓄積前の外部機器出力時に、コンテンツコピー制御記述子に含まれる『digital_recording_control_data』パラメータと、コンテンツ利用制御記述子に含まれるパラメータ『encryption_mode』の解釈を以上のように行うコンテンツ保護処理を、以降、蓄積前の外部機器出力時の「2K超コンテンツ保護処理」と称する。
(1−2)受信時に2K超コンテンツ(画素数1920×1080を超える画素数を有するコンテンツ)のコンテンツに対して画素数変換を行って2K以下コンテンツ(画素数1920×1080以下のコンテンツ)に変換して外部機器に出力する場合
コンテンツコピー制御記述子の『digital_recording_control_data』が00の場合または受信コンテンツのコンテンツコピー制御記述子がなんらかの理由で受信データに含まれていない場合は、コンテンツ利用制御記述子の『encryption_mode』の値に応じて、出力時のコンテンツ保護を行うか否かを切り替える。このとき、コンテンツ利用制御記述子の『encryption_mode』値が1でコンテンツ保護が指定されていない場合には、HDCPによる保護を行わずに出力できる。コンテンツ利用制御記述子の『encryption_mode』値が0でコンテンツ保護が指定されている場合には、HDCP Revision 1または Revision 2以降による保護を行って出力する。
また、コンテンツコピー制御記述子の『digital_recording_control_data』が10の場合は、コンテンツ利用制御記述子の『encryption_mode』値にかかわらず、HDCP Revision 1または Revision 2以降による保護を行って出力する。コンテンツコピー制御記述子の『digital_recording_control_data』が01の場合は、コンテンツ利用制御記述子の『encryption_mode』値にかかわらず、出力自体を禁止する。コンテンツコピー制御記述子の『digital_recording_control_data』が11の場合は、コンテンツ利用制御記述子の『encryption_mode』値にかかわらず、HDCP Revision 1または Revision 2以降による保護を行って出力する。受信コンテンツのコンテンツコピー制御記述子がなんらかの理由で受信データに含まれていない場合には、HDCPによるコンテンツ保護を行わず出力する。
蓄積前の外部機器出力時に、コンテンツコピー制御記述子に含まれる『digital_recording_control_data』パラメータと、コンテンツ利用制御記述子に含まれるパラメータ『encryption_mode』の解釈を以上のように行うコンテンツ保護処理を、以降、蓄積前の外部機器出力時の「2K以下コンテンツ保護処理」と称する。
(1−3)受信時に2K以下コンテンツ(画素数1920×1080以下のコンテンツ)に対して画素数変換を行なわず外部機器に出力する場合、または画素数変換を行って他の2K以下コンテンツ(画素数1920×1080以下のコンテンツ)に変換して外部機器に出力する場合
この場合、(1−2)で説明した蓄積前の外部機器出力時の「2K以下コンテンツ保護処理」を行う。
以上(1−1)、(1−2)、および(1−3)で、説明した通り、蓄積前の外部機器出力時においては、蓄積前の外部機器に出力する際のコンテンツの画素数に応じて、コンテンツコピー制御記述子に含まれる『digital_recording_control_data』パラメータと、コンテンツ利用制御記述子に含まれるパラメータ『encryption_mode』の解釈を切り替え、コピー制限のある2K超コンテンツ(画素数1920×1080を超える画素数を有するコンテンツ) の状態で外部機器へ出力する場合には、コピー制限のある2K以下コンテンツ(画素数1920×1080以下のコンテンツ) の状態で外部機器へ出力する場合より高度なコンテンツ保護を施して出力する。これにより、より付加価値の高い2K超コンテンツ(画素数1920×1080を超える画素数を有するコンテンツ)を外部機器においても適切に保護することができる。
[コンテンツ蓄積時のコンテンツ保護処理]
実施例3の放送受信機100では、コンテンツ受信後蓄積前の外部機器への出力処理においては、当該コンテンツの画素数の状態に応じて、コンテンツの保護処理を切り替えることを既に説明した。これは、出力先でコンテンツを再生する再生機器が外部機器であり、機器によってコンテンツ保護処理の対応レベルが異なる場合があるからである。
これに対し、コンテンツを受信して記録した放送受信機100のみでしか再生できないコンテンツの蓄積機能によりコンテンツを蓄積しておく場合には、コンテンツの画素数の状態に応じた処理の変更は不要である。これは、そもそも放送受信機100自身のみで管理するコンテンツであるので、コンテンツ保護処理の対応レベルを複数考慮する必要がないからである。よって、放送受信機100内での管理をシンプルにするために、コンテンツを受信して記録した放送受信機100のみでしか再生できないコンテンツの蓄積機能によりコンテンツを蓄積しておく場合には、蓄積時に2K超コンテンツ(画素数1920×1080を超える画素数を有するコンテンツ)であっても2K以下コンテンツ(画素数1920×1080以下のコンテンツ)であっても共通の蓄積保護処理を行うことが望ましい。なお、コンテンツの蓄積処理は、例えば、実施例3の放送受信機100に内蔵の記録媒体であるストレージ部110(図8A)に対して行えば良い。但し、放送受信機100に固有のローカル暗号化処理を行い、放送受信機100のみでしか再生できない管理を行うのであれば、外付けのハードディスクなどの記録媒体で蓄積を行っても良い。
図28に示されるコンテンツ蓄積処理では、受信時に2K超コンテンツ(画素数1920×1080を超える画素数を有するコンテンツ)のコンテンツに対して画素数変換を行っていないコンテンツ、受信時に2K超コンテンツ(画素数1920×1080を超える画素数を有するコンテンツ)のコンテンツに対して画素数変換を行って他の画素数の2K超コンテンツ(画素数1920×1080を超える画素数を有するコンテンツ)に変換したコンテンツ、受信時に2K超コンテンツ(画素数1920×1080を超える画素数を有するコンテンツ)のコンテンツに対して画素数変換を行って2K以下コンテンツ(画素数1920×1080以下のコンテンツ)に変換したコンテンツ、受信時に2K以下コンテンツ(画素数1920×1080以下のコンテンツ)に対して画素数変換を行なわなかったコンテンツ、および受信時に2K以下コンテンツ(画素数1920×1080以下のコンテンツ)に対して画素数変換を行って他の2K以下コンテンツ(画素数1920×1080以下のコンテンツ)に変換したコンテンツ、のいずれの場合においても以下の共通蓄積保護処理を行う。
ここで、「共通蓄積保護処理」とは、コンテンツコピー制御記述子に含まれる『digital_recording_control_data』パラメータと、コンテンツ利用制御記述子に含まれるパラメータ『encryption_mode』パラメータおよびその他のパラメータの解釈処理が、蓄積時に2K超コンテンツ(画素数1920×1080を超える画素数を有するコンテンツ)と2K以下コンテンツ(画素数1920×1080以下のコンテンツ)とで共通であることを意味する。
以下、図28に示されるコンテンツ蓄積処理の「共通蓄積保護処理」の具体例を説明する。
まず、コンテンツコピー制御記述子に含まれる『digital_recording_control_data』パラメータの値が00で、「制約条件なしにコピー可」の場合は、コピーの制限なしに蓄積することができる。記録媒体上に蓄積するコンテンツを管理する蓄積時の記録媒体上のコピー制御情報を「制約条件なしにコピー可」として蓄積して良い。なお、蓄積されているコンテンツのコピー制御に用いる記録媒体上のコピー制御情報は、コンテンツコピー制御記述子に含まれる『digital_recording_control_data』パラメータの値とは別に生成して管理して良く、コンテンツコピー制御記述子に含まれる『digital_recording_control_data』パラメータの値を書き換える必要はない。
この場合、コンテンツ利用制御記述子に含まれる『encryption_mode』パラメータの値を考慮し、この値が1でコンテンツの保護が指定されている場合は、蓄積処理を行う際に、放送受信機100でしか再生できないように、放送受信機100に固有のローカル暗号化処理を施して蓄積する。コンテンツ利用制御記述子に含まれる『encryption_mode』パラメータの値が0でコンテンツの保護が指定されていない場合には、該ローカル暗号化処理を行わなくても良い(しかし、この場合、ローカル暗号化処理を施しても良い)。「制約条件なしにコピー可」としてコンテンツを蓄積している間、後述する外部機器出力や外部機器コピー、外部機器ムーブを行う前までは、コンテンツの画素数に応じてコンテンツ保護処理を変えず、共通のコンテンツ保護処理を行う。これにより、放送受信機100内での管理をシンプルにすることができる。
コンテンツコピー制御記述子に含まれる『digital_recording_control_data』パラメータの値が10で、コンテンツ利用制御記述子に含まれる『copy_restriction_mode』パラメータ(図23参照)が1の場合は、「1 世代のみコピー可」のコンテンツと解釈し、蓄積処理においては、記録媒体上に蓄積するコンテンツを管理する蓄積時の記録媒体上のコピー制御情報を「再コピー禁止」として蓄積する。なお、蓄積されているコンテンツのコピー制御に用いる記録媒体上のコピー制御情報は、コンテンツコピー制御記述子に含まれる『digital_recording_control_data』パラメータの値とは別に生成して管理して良く、コンテンツコピー制御記述子に含まれる『digital_recording_control_data』パラメータの値を書き換える必要はない。なお、「再コピー禁止」として蓄積処理を行う際は、放送受信機100でしか再生できないように、放送受信機100に固有のローカル暗号化処理を施して蓄積する。「再コピー禁止」として蓄積処理を行っているコンテンツはコピー処理が禁止される。「再コピー禁止」としてコンテンツを蓄積している間、後述する「再コピー禁止」としての外部機器出力や外部機器ムーブを行う前までは、コンテンツの画素数に応じてコンテンツ保護処理を変えず、共通のコンテンツ保護処理を行う。これにより、放送受信機100内での管理をシンプルにすることができる。
コンテンツコピー制御記述子に含まれる『digital_recording_control_data』パラメータの値が10で、コンテンツ利用制御記述子に含まれる『copy_restriction_mode』パラメータが0の場合は、「個数制限コピー可」のコンテンツと解釈し、蓄積処理においては、記録媒体上に蓄積するコンテンツを管理する蓄積時の記録媒体上のコピー制御情報を「個数制限コピー可」として蓄積することができる。なお、蓄積されているコンテンツのコピー制御に用いる記録媒体上のコピー制御情報は、コンテンツコピー制御記述子に含まれる『digital_recording_control_data』パラメータの値とは別に生成して管理して良く、コンテンツコピー制御記述子に含まれる『digital_recording_control_data』パラメータの値を書き換える必要はない。なお、「個数制限コピー可」として蓄積処理を行う際は、放送受信機100でしか再生できないように、放送受信機100に固有のローカル暗号化処理を施して蓄積する。「個数制限コピー可」としてコンテンツを蓄積している間、後述する「再コピー禁止」としての外部機器出力や外部機器コピー、外部機器ムーブを行う前までは、コンテンツの画素数に応じてコンテンツ保護処理を変えず、共通のコンテンツ保護処理を行う。これにより、放送受信機100内での管理をシンプルにすることができる。
コンテンツコピー制御記述子に含まれる『digital_recording_control_data』パラメータの値が11の場合は、「コピー禁止」のコンテンツと解釈する。この場合は、放送受信機100が「一時蓄積」機能に対応している場合には、一時的な蓄積が可能であるが、放送受信機100が「一時蓄積」機能に対応していない場合には、蓄積は禁止され、蓄積処理を行わない。放送受信機100が「一時蓄積」機能に対応している場合には、蓄積処理においては、記録媒体上に蓄積するコンテンツを管理する蓄積時の記録媒体上のコピー制御情報を「一時蓄積」として蓄積し、一定時間(例えば1時間30分)のコンテンツの蓄積を可能とする。この場合、蓄積時間を1分単位で管理し、受信時(=蓄積開始時)から上述の一定時間+1分を超える前に、当該蓄積コンテンツを再生不能化しなければならない。コンテンツの再生不能化の具体例としては、コンテンツ自体を消去する、または、暗号化鍵を消去する等の方法があり、これによりコンテンツの再生が不可能となるようにすればいい。「一時蓄積」として蓄積処理を行っているコンテンツはコピー処理やムーブ処理が禁止される。「再コピー禁止」としてコンテンツを蓄積している間、後述する「再コピー禁止」としての外部機器出力を行う前までは、コンテンツの画素数に応じてコンテンツ保護処理を変えず、共通のコンテンツ保護処理を行う。これにより、放送受信機100内での管理をシンプルにすることができる。
以上説明した通り、コンテンツの蓄積時においては、蓄積時のコンテンツの画素数に応じて、コンテンツコピー制御記述子に含まれる『digital_recording_control_data』パラメータと、コンテンツ利用制御記述子に含まれるパラメータ『encryption_mode』の解釈を切り替えは行わず、コンテンツ保護処理を共通化する。これにより、放送受信機100内での管理をシンプルにすることができる。
[コンテンツ蓄積後の画素数変換処理]
実施例3の放送受信機100では、図8Aの映像合成部の前後のいずれかに映像の画素数変換を行う図示しない画素数変換部を有し、蓄積後のコンテンツを図8Aのストレージ部110から再生して、その映像データを映像デコーダ141でデコードして映像の画素数変換を行う図示しない画素数変換部を有し、ストレージ部110に蓄積されたコンテンツのデコード映像の画素数変換処理を実行可能とする。
図28の表に示すように、受信した2K超コンテンツ(画素数1920×1080を超える画素数を有するコンテンツ)に対して画素数変換を行わないで蓄積した2K超コンテンツ(画素数1920×1080を超える画素数を有するコンテンツ)または受信した2K超コンテンツ(画素数1920×1080を超える画素数を有するコンテンツ)に対して画素数変換を行って他の2K超コンテンツ(画素数1920×1080を超える画素数を有するコンテンツ)に変換して蓄積した2K超コンテンツ(画素数1920×1080を超える画素数を有するコンテンツ)に対して、蓄積後の出力、ムーブ、またはコピー時に画素数変換を行わない場合もある。この場合は、出力、ムーブ、またはコピー対象コンテンツは、2K超コンテンツ(画素数1920×1080を超える画素数を有するコンテンツ)である。
また、受信した2K超コンテンツ(画素数1920×1080を超える画素数を有するコンテンツ)に対して画素数変換を行わないで蓄積した2K超コンテンツ(画素数1920×1080を超える画素数を有するコンテンツ)または受信した2K超コンテンツ(画素数1920×1080を超える画素数を有するコンテンツ)に対して画素数変換を行って他の2K超コンテンツ(画素数1920×1080を超える画素数を有するコンテンツ)に変換して蓄積した2K超コンテンツ(画素数1920×1080を超える画素数を有するコンテンツ)に対して、蓄積後の出力、ムーブ、またはコピー時に画素数変換を行って他の2K超コンテンツに変換する場合もある。この場合は、出力、ムーブ、またはコピー対象コンテンツは、2K超コンテンツ(画素数1920×1080を超える画素数を有するコンテンツ)である。
また、受信した2K超コンテンツ(画素数1920×1080を超える画素数を有するコンテンツ)に対して画素数変換を行わないで蓄積した2K超コンテンツ(画素数1920×1080を超える画素数を有するコンテンツ)または受信した2K超コンテンツ(画素数1920×1080を超える画素数を有するコンテンツ)に対して画素数変換を行って他の2K超コンテンツ(画素数1920×1080を超える画素数を有するコンテンツ)に変換して蓄積した2K超コンテンツ(画素数1920×1080を超える画素数を有するコンテンツ)に対して、蓄積後の出力、ムーブ、またはコピー時に画素数変換を行って2K以下コンテンツ(画素数1920×1080以下のコンテンツ)に変換する場合がある。この場合は、出力、ムーブ、またはコピー対象コンテンツは、2K以下コンテンツ(画素数1920×1080以下のコンテンツ)である。
また、受信した2K超コンテンツ(画素数1920×1080を超える画素数を有するコンテンツ)に対して画素数変換を行って2K以下コンテンツ(画素数1920×1080以下のコンテンツ)に変換して蓄積した2K以下コンテンツ(画素数1920×1080以下のコンテンツ)に対して、蓄積後の出力、ムーブ、またはコピー時に画素数変換を行わない場合もある。この場合は、出力、ムーブ、またはコピー対象コンテンツは、2K以下コンテンツ(画素数1920×1080以下のコンテンツ)である。
また、受信した2K超コンテンツ(画素数1920×1080を超える画素数を有するコンテンツ)に対して画素数変換を行って2K以下コンテンツ(画素数1920×1080以下のコンテンツ)に変換して蓄積した2K以下コンテンツ(画素数1920×1080以下のコンテンツ)に対して、蓄積後の出力、ムーブ、またはコピー時に画素数変換を行って他の2K以下コンテンツ(画素数1920×1080以下のコンテンツ) に変換する場合もある。この場合は、出力、ムーブ、またはコピー対象コンテンツは、2K以下コンテンツ(画素数1920×1080以下のコンテンツ)である。
また、受信した2K以下コンテンツ(画素数1920×1080以下のコンテンツ) に対して画素数変換を行わないで蓄積した2K以下コンテンツ(画素数1920×1080以下のコンテンツ)または、受信した2K以下コンテンツ(画素数1920×1080以下のコンテンツ) に対して画素数変換を行って他の2K以下コンテンツ(画素数1920×1080以下のコンテンツ)に変換して蓄積した2K以下コンテンツ(画素数1920×1080以下のコンテンツ)に対して、蓄積後の出力、ムーブ、またはコピー時に画素数変換を行わない場合もある。この場合は、出力、ムーブ、またはコピー対象コンテンツは、2K以下コンテンツ(画素数1920×1080以下のコンテンツ)である。
また、受信した2K以下コンテンツ(画素数1920×1080以下のコンテンツ) に対して画素数変換を行わないで蓄積した2K以下コンテンツ(画素数1920×1080以下のコンテンツ)または、受信した2K以下コンテンツ(画素数1920×1080以下のコンテンツ) に対して画素数変換を行って他の2K以下コンテンツ(画素数1920×1080以下のコンテンツ)に変換して蓄積した2K以下コンテンツ(画素数1920×1080以下のコンテンツ)に対して蓄積後の出力、ムーブ、またはコピー時に画素数変換を行って他の2K以下コンテンツ(画素数1920×1080以下のコンテンツ) に変換する場合もある。この場合は、出力、ムーブ、またはコピー対象コンテンツは、2K以下コンテンツ(画素数1920×1080以下のコンテンツ)である。
[コンテンツ蓄積後の外部機器への出力処理]
実施例3の放送受信機100では、コンテンツ蓄積処理においては、当該コンテンツの画素数の状態に応じて、コンテンツの保護処理を切り替えず、共通のコンテンツ保護処理を行うことを既に説明した。これは、コンテンツを受信して記録した放送受信機100のみでしか再生できないコンテンツの蓄積機能によりコンテンツを蓄積しておく場合には、そもそも放送受信機100自身のみで管理するコンテンツであるので、コンテンツ保護処理の対応レベルを複数考慮する必要がないからである。これに対し、蓄積しているコンテンツを外部機器に出力する場合には、出力先でコンテンツを再生する再生機器によってコンテンツ保護処理の対応レベルが異なる場合がある。よって、蓄積しているコンテンツを外部機器に出力する際のコンテンツの画素数に応じて、コンテンツ保護処理を異ならせることが望ましい。
以下、図28に示されるコンテンツ蓄積後の外部機器への出力処理の具体例を説明する。当該コンテンツ蓄積後の外部機器への出力処理は、図8Aのストレージ部110で蓄積したコンテンツの映像を映像デコーダ141でデコードした映像または該デコード映像を画素数変換部で変換した映像を映像出力部163から外部機器へ出力する際の映像出力処理に適用すれば良い。なお、別の例としては、図8AのLAN通信部121をハードウェアとするIPインタフェースを介して当該映像出力を行っても良い。
(2−1)受信した2K超コンテンツ(画素数1920×1080を超える画素数を有するコンテンツ)に対して画素数変換を行わないで蓄積した2K超コンテンツ(画素数1920×1080を超える画素数を有するコンテンツ)または受信した2K超コンテンツ(画素数1920×1080を超える画素数を有するコンテンツ)に対して画素数変換を行って他の2K超コンテンツ(画素数1920×1080を超える画素数を有するコンテンツ)に変換して蓄積した2K超コンテンツ(画素数1920×1080を超える画素数を有するコンテンツ)に対して、蓄積後の外部機器出力時に画素数変換を行わない場合
この場合、外部出力の対象コンテンツは、2K超コンテンツ(画素数1920×1080を超える画素数を有するコンテンツ)である。
蓄積時の記録媒体上のコピー制御情報を「制約条件なしにコピー可」として蓄積しているコンテンツについては、蓄積後に再生して外部出力する際にHDCPによるコンテンツ保護を行わず出力することができる。このとき、蓄積時にコンテンツ利用制御記述子に含まれる『encryption_mode』パラメータの値によって、保護が指定されていたか、いなかったかは考慮しない。これにより、蓄積前のコンテンツの外部出力の上記(1−1)におけるコンテンツコピー制御記述子の『digital_recording_control_data』が00の場合と処理を共通化することができる。
蓄積時の記録媒体上のコピー制御情報を「再コピー禁止」として蓄積しているコンテンツ、蓄積時の記録媒体上のコピー制御情報を「個数制限コピー可」として蓄積しているコンテンツ、蓄積時の記録媒体上のコピー制御情報を「一時蓄積」として蓄積しているコンテンツについては、蓄積後に再生して外部出力する際にはHDCP Revision 2.2以降の高度なコンテンツ保護を適用して出力する。
蓄積後のコンテンツを2K超コンテンツ(画素数1920×1080を超える画素数を有するコンテンツ)として外部機器に出力する際に、記録媒体上のコピー制御情報に応じて上述のようにコンテンツ保護を行うコンテンツ保護処理を、以降、蓄積後の外部機器出力時の「2K超コンテンツ保護処理」と称する。
(2−2)受信した2K超コンテンツ(画素数1920×1080を超える画素数を有するコンテンツ)に対して画素数変換を行わないで蓄積した2K超コンテンツ(画素数1920×1080を超える画素数を有するコンテンツ)または受信した2K超コンテンツ(画素数1920×1080を超える画素数を有するコンテンツ)に対して画素数変換を行って他の2K超コンテンツ(画素数1920×1080を超える画素数を有するコンテンツ)に変換して蓄積した2K超コンテンツ(画素数1920×1080を超える画素数を有するコンテンツ)に対して、蓄積後の外部機器出力時に画素数変換を行って他の2K超コンテンツに変換する場合
この場合、外部出力の対象コンテンツは、2K超コンテンツ(画素数1920×1080を超える画素数を有するコンテンツ)であり、上記(2−1)の場合と同様であるので、(2−1)で説明した蓄積後の外部機器出力時の「2K超コンテンツ保護処理」を行う。
(2−3)受信した2K超コンテンツ(画素数1920×1080を超える画素数を有するコンテンツ)に対して画素数変換を行わないで蓄積した2K超コンテンツ(画素数1920×1080を超える画素数を有するコンテンツ)または受信した2K超コンテンツ(画素数1920×1080を超える画素数を有するコンテンツ)に対して画素数変換を行って他の2K超コンテンツ(画素数1920×1080を超える画素数を有するコンテンツ)に変換して蓄積した2K超コンテンツ(画素数1920×1080を超える画素数を有するコンテンツ)に対して、蓄積後の外部機器出力時に画素数変換を行って2K以下コンテンツ(画素数1920×1080以下のコンテンツ)に変換する場合
この場合、外部出力の対象コンテンツは、2K以下コンテンツ(画素数1920×1080以下のコンテンツ)である。
この場合、蓄積時の記録媒体上のコピー制御情報を「制約条件なしにコピー可」として蓄積しているコンテンツについては、蓄積時にコンテンツ利用制御記述子に含まれる『encryption_mode』パラメータの値によって、保護が指定されていたか、いなかったかを考慮してコンテンツ保護処理を切り替える。具体的には、『encryption_mode』の値が1で保護がコンテンツの保護が指定されていない場合は、蓄積後に再生して外部出力する際にHDCPによるコンテンツ保護を行わず出力することができる。『encryption_mode』の値が0で保護がコンテンツの保護が指定されている場合は、蓄積後に再生して外部機器出力する際にHDCP Revision 1または Revision 2以降による保護を行って出力する。これにより、蓄積前のコンテンツの外部出力の上記(1−2)におけるコンテンツコピー制御記述子の『digital_recording_control_data』が00の場合と処理を共通化することができる。
また、蓄積時の記録媒体上のコピー制御情報を「再コピー禁止」として蓄積しているコンテンツ、蓄積時の記録媒体上のコピー制御情報を「個数制限コピー可」として蓄積しているコンテンツ、蓄積時の記録媒体上のコピー制御情報を「一時蓄積」として蓄積しているコンテンツについては、HDCP Revision 1または Revision 2以降による保護を行って出力する。
蓄積後のコンテンツを2K以下コンテンツ(画素数1920×1080以下のコンテンツ)として外部機器に出力する際に、記録媒体上のコピー制御情報に応じて上述のようにコンテンツ保護を行うコンテンツ保護処理を、以降、蓄積後の外部機器出力時の「2K以下コンテンツ保護処理」と称する。
(2−4)受信した2K超コンテンツ(画素数1920×1080を超える画素数を有するコンテンツ)に対して画素数変換を行って2K以下コンテンツ(画素数1920×1080以下のコンテンツ)に変換して蓄積した2K以下コンテンツ(画素数1920×1080以下のコンテンツ)に対して、蓄積後の外部機器出力時に画素数変換を行わない場合
この場合、外部出力の対象コンテンツは、2K以下コンテンツ(画素数1920×1080以下のコンテンツ)であり、上記(2−3)の場合と同様であるので、(2−3)で説明した蓄積後の外部機器出力時の「2K以下コンテンツ保護処理」を行う。
(2−5)受信した2K超コンテンツ(画素数1920×1080を超える画素数を有するコンテンツ)に対して画素数変換を行って2K以下コンテンツ(画素数1920×1080以下のコンテンツ)に変換して蓄積した2K以下コンテンツ(画素数1920×1080以下のコンテンツ)に対して、蓄積後の外部機器出力時に画素数変換を行って他の2K以下コンテンツ(画素数1920×1080以下のコンテンツ) に変換する場合
この場合、外部出力の対象コンテンツは、2K以下コンテンツ(画素数1920×1080以下のコンテンツ)であり、上記(2−3)の場合と同様であるので、(2−3)で説明した蓄積後の外部機器出力時の「2K以下コンテンツ保護処理」を行う。
(2−6)受信した2K以下コンテンツ(画素数1920×1080以下のコンテンツ) に対して画素数変換を行わないで蓄積した2K以下コンテンツ(画素数1920×1080以下のコンテンツ)または、受信した2K以下コンテンツ(画素数1920×1080以下のコンテンツ) に対して画素数変換を行って他の2K以下コンテンツ(画素数1920×1080以下のコンテンツ)に変換して蓄積した2K以下コンテンツ(画素数1920×1080以下のコンテンツ)に対して、蓄積後の外部機器出力時に画素数変換を行わない場合
この場合、外部出力の対象コンテンツは、2K以下コンテンツ(画素数1920×1080以下のコンテンツ)であり、上記(2−3)の場合と同様であるので、(2−3)で説明した蓄積後の外部機器出力時の「2K以下コンテンツ保護処理」を行う。
(2−7)受信した2K以下コンテンツ(画素数1920×1080以下のコンテンツ) に対して画素数変換を行わないで蓄積した2K以下コンテンツ(画素数1920×1080以下のコンテンツ)または、受信した2K以下コンテンツ(画素数1920×1080以下のコンテンツ) に対して画素数変換を行って他の2K以下コンテンツ(画素数1920×1080以下のコンテンツ)に変換して蓄積した2K以下コンテンツ(画素数1920×1080以下のコンテンツ)に対して蓄積後の外部機器出力時に画素数変換を行って他の2K以下コンテンツ(画素数1920×1080以下のコンテンツ) に変換する場合
この場合、外部出力の対象コンテンツは、2K以下コンテンツ(画素数1920×1080以下のコンテンツ)であり、上記(2−3)の場合と同様であるので、(2−3)で説明した蓄積後の外部機器出力時の「2K以下コンテンツ保護処理」を行う。
以上(2−1)から(2−7)で、説明した通り、蓄積後の外部機器出力時においては、蓄積後の外部機器に出力する際のコンテンツの画素数に応じてコンテンツ保護処理を切り替える。コピー制限のある2K超コンテンツ(画素数1920×1080を超える画素数を有するコンテンツ)の状態で外部機器へ出力する場合には、コピー制限のある2K以下コンテンツ(画素数1920×1080以下のコンテンツ) の状態で外部機器へ出力する場合より高度なコンテンツ保護を施して出力する。これにより、より付加価値の高い2K超コンテンツ(画素数1920×1080を超える画素数を有するコンテンツ)を外部機器においても適切に保護することができる。
[コンテンツ蓄積後の外部機器へのムーブ処理]
実施例3の放送受信機100では、コンテンツ蓄積処理においては、当該コンテンツの画素数の状態に応じて、コンテンツの保護処理を切り替えず、共通のコンテンツ保護処理を行うことを既に説明した。これは、コンテンツを受信して記録した放送受信機100のみでしか再生できないコンテンツの蓄積機能によりコンテンツを蓄積しておく場合には、そもそも放送受信機100自身のみで管理するコンテンツであるので、コンテンツ保護処理の対応レベルを複数考慮する必要がないからである。これに対し、蓄積しているコンテンツを外部機器にムーブする場合には、ムーブ先の機器によってコンテンツ保護処理の対応レベルが異なる場合がある。よって、蓄積しているコンテンツを外部機器にムーブする際のコンテンツの画素数に応じて、コンテンツ保護処理を異ならせることが望ましい。
以下、図28に示されるコンテンツ蓄積後の外部機器へのムーブ処理の具体例を説明する。なお、コンテンツを図8Aのストレージ部110に蓄積した後の外部機器へのムーブ処理は、例えば、図8AのLAN通信部121をハードウェアとするIPインタフェースを介して行えば良い。
(3−1)受信した2K超コンテンツ(画素数1920×1080を超える画素数を有するコンテンツ)に対して画素数変換を行わないで蓄積した2K超コンテンツ(画素数1920×1080を超える画素数を有するコンテンツ)または受信した2K超コンテンツ(画素数1920×1080を超える画素数を有するコンテンツ)に対して画素数変換を行って他の2K超コンテンツ(画素数1920×1080を超える画素数を有するコンテンツ)に変換して蓄積した2K超コンテンツ(画素数1920×1080を超える画素数を有するコンテンツ)に対して、蓄積後の外部機器へのムーブ時に画素数変換を行わない場合
この場合、外部機器へのムーブ対象コンテンツは、2K超コンテンツ(画素数1920×1080を超える画素数を有するコンテンツ)である。
蓄積時の記録媒体上のコピー制御情報を「制約条件なしにコピー可」として蓄積しているコンテンツについては、蓄積後に外部機器にムーブする際にDTCPによるコンテンツ保護を行わずムーブすることができる。このとき、蓄積時にコンテンツ利用制御記述子に含まれる『encryption_mode』パラメータの値によって、保護が指定されていたか、いなかったかは考慮しない。
蓄積時の記録媒体上のコピー制御情報を「再コピー禁止」として蓄積しているコンテンツ、蓄積時の記録媒体上のコピー制御情報を「個数制限コピー可」として蓄積しているコンテンツについては、DTCP−IPよりも高度なコンテンツ保護システムであるDTCP2(参考文献1に記載されている)によってコンテンツ保護を行って、外部機器にムーブすることができる。なお、外部機器はDTCP−IPによるコンテンツ保護に対応していてもDPCT2によるコンテンツ保護に対応していなければDTCP2により保護されたコンテンツを再生することができない(DTCP2により保護されたコンテンツを送信してもらえない)。よって、コンテンツ保護はDPCT2の方が強力であるが、既存の外部機器はDTCP2により保護されたコンテンツに対応することができない。これに対し、DTCP−IPによるコンテンツ保護は、DPCT2の新しいコンテンツ保護フラグ等を運用することはできないが、DPCT2非対応の既存のDTCP−IP対応外部機器を対象としたムーブが可能となる。
〔参考文献1: Digital Transmission Licensing Administrator DTCP2 Presentation to CPTWG January 27, 2016〕
蓄積後のコンテンツを2K超コンテンツ(画素数1920×1080を超える画素数を有するコンテンツ)として外部機器にムーブする際に、記録媒体上のコピー制御情報に応じて上述のようにコンテンツ保護を行うコンテンツ保護処理を、以降、蓄積後の外部機器へのムーブ時の「2K超コンテンツ保護処理」と称する。
(3−2)受信した2K超コンテンツ(画素数1920×1080を超える画素数を有するコンテンツ)に対して画素数変換を行わないで蓄積した2K超コンテンツ(画素数1920×1080を超える画素数を有するコンテンツ)または受信した2K超コンテンツ(画素数1920×1080を超える画素数を有するコンテンツ)に対して画素数変換を行って他の2K超コンテンツ(画素数1920×1080を超える画素数を有するコンテンツ)に変換して蓄積した2K超コンテンツ(画素数1920×1080を超える画素数を有するコンテンツ)に対して、蓄積後の外部機器へのムーブ時に画素数変換を行って他の2K超コンテンツに変換する場合
この場合、外部機器へのムーブ対象コンテンツは、2K超コンテンツ(画素数1920×1080を超える画素数を有するコンテンツ)であり、上記(3−1)の場合と同様であるので、(3−1)で説明した蓄積後の外部機器へのムーブ時の「2K超コンテンツ保護処理」を行う。
(3−3)受信した2K超コンテンツ(画素数1920×1080を超える画素数を有するコンテンツ)に対して画素数変換を行わないで蓄積した2K超コンテンツ(画素数1920×1080を超える画素数を有するコンテンツ)または受信した2K超コンテンツ(画素数1920×1080を超える画素数を有するコンテンツ)に対して画素数変換を行って他の2K超コンテンツ(画素数1920×1080を超える画素数を有するコンテンツ)に変換して蓄積した2K超コンテンツ(画素数1920×1080を超える画素数を有するコンテンツ)に対して、蓄積後の外部機器へのムーブ時に画素数変換を行って2K以下コンテンツ(画素数1920×1080以下のコンテンツ)に変換する場合
この場合、外部機器へのムーブ対象コンテンツは、2K以下コンテンツ(画素数1920×1080以下のコンテンツ)である。
この場合、蓄積時の記録媒体上のコピー制御情報を「制約条件なしにコピー可」として蓄積しているコンテンツについては、蓄積時にコンテンツ利用制御記述子に含まれる『encryption_mode』パラメータの値によって、保護が指定されていたか、いなかったかを考慮してコンテンツ保護処理を切り替える。具体的には、『encryption_mode』の値が1で保護がコンテンツの保護が指定されていない場合は、蓄積後に外部機器にムーブする際にDTCPによるコンテンツ保護を行わずムーブすることができる。『encryption_mode』の値が0で保護がコンテンツの保護が指定されている場合は、蓄積後に外部機器にムーブする際にDTCP(IPインタフェースを介してムーブする場合はDTCP−IP)による保護を行ってムーブすることができる。このときDTCP2によるコンテンツ保護までは必要ない。
また、蓄積時の記録媒体上のコピー制御情報を「再コピー禁止」として蓄積しているコンテンツ、蓄積時の記録媒体上のコピー制御情報を「個数制限コピー可」として蓄積しているコンテンツについては、DTCP(IPインタフェースを介してムーブする場合はDTCP−IP)による保護を行ってムーブする。このときDTCP2によるコンテンツ保護までは必要ない。
蓄積後のコンテンツを2K以下コンテンツ(画素数1920×1080以下のコンテンツ)として外部機器にムーブする際に、記録媒体上のコピー制御情報に応じて上述のようにコンテンツ保護を行うコンテンツ保護処理を、以降、蓄積後の外部機器へのムーブ時の「2K以下コンテンツ保護処理」と称する。
(3−4)受信した2K超コンテンツ(画素数1920×1080を超える画素数を有するコンテンツ)に対して画素数変換を行って2K以下コンテンツ(画素数1920×1080以下のコンテンツ)に変換して蓄積した2K以下コンテンツ(画素数1920×1080以下のコンテンツ)に対して、蓄積後の外部機器へのムーブ時に画素数変換を行わない場合
この場合、外部機器へのムーブ対象コンテンツは、2K以下コンテンツ(画素数1920×1080以下のコンテンツ)であり、上記(3−3)の場合と同様であるので、(3−3)で説明した蓄積後の外部機器へのムーブ時の「2K以下コンテンツ保護処理」を行う。
(3−5)受信した2K超コンテンツ(画素数1920×1080を超える画素数を有するコンテンツ)に対して画素数変換を行って2K以下コンテンツ(画素数1920×1080以下のコンテンツ)に変換して蓄積した2K以下コンテンツ(画素数1920×1080以下のコンテンツ)に対して、蓄積後の外部機器へのムーブ時に画素数変換を行って他の2K以下コンテンツ(画素数1920×1080以下のコンテンツ) に変換する場合
この場合、外部機器へのムーブ対象コンテンツは、2K以下コンテンツ(画素数1920×1080以下のコンテンツ)であり、上記(3−3)の場合と同様であるので、(3−3)で説明した蓄積後の外部機器へのムーブ時の「2K以下コンテンツ保護処理」を行う。
(3−6)受信した2K以下コンテンツ(画素数1920×1080以下のコンテンツ) に対して画素数変換を行わないで蓄積した2K以下コンテンツ(画素数1920×1080以下のコンテンツ)または、受信した2K以下コンテンツ(画素数1920×1080以下のコンテンツ) に対して画素数変換を行って他の2K以下コンテンツ(画素数1920×1080以下のコンテンツ)に変換して蓄積した2K以下コンテンツ(画素数1920×1080以下のコンテンツ)に対して、蓄積後の外部機器へのムーブ時に画素数変換を行わない場合
この場合、外部機器へのムーブ対象コンテンツは、2K以下コンテンツ(画素数1920×1080以下のコンテンツ)であり、上記(3−3)の場合と同様であるので、(3−3)で説明した蓄積後の外部機器へのムーブ時の「2K以下コンテンツ保護処理」を行う。
(3−7)受信した2K以下コンテンツ(画素数1920×1080以下のコンテンツ) に対して画素数変換を行わないで蓄積した2K以下コンテンツ(画素数1920×1080以下のコンテンツ)または、受信した2K以下コンテンツ(画素数1920×1080以下のコンテンツ) に対して画素数変換を行って他の2K以下コンテンツ(画素数1920×1080以下のコンテンツ)に変換して蓄積した2K以下コンテンツ(画素数1920×1080以下のコンテンツ)に対して蓄積後の外部機器へのムーブ時に画素数変換を行って他の2K以下コンテンツ(画素数1920×1080以下のコンテンツ) に変換する場合
この場合、外部機器へのムーブ対象コンテンツは、2K以下コンテンツ(画素数1920×1080以下のコンテンツ)であり、上記(3−3)の場合と同様であるので、(3−3)で説明した蓄積後の外部機器へのムーブ時の「2K以下コンテンツ保護処理」を行う。
以上(3−1)から(3−7)で、説明した通り、蓄積後の外部機器へのムーブ時においては、蓄積後の外部機器にムーブする際のコンテンツの画素数に応じてコンテンツ保護処理を切り替える。コピー制限のある2K超コンテンツ(画素数1920×1080を超える画素数を有するコンテンツ)の状態で外部機器へムーブする場合には、コピー制限のある2K以下コンテンツ(画素数1920×1080以下のコンテンツ) の状態で外部機器へムーブする場合より高度なコンテンツ保護を施してムーブする。これにより、より付加価値の高い2K超コンテンツ(画素数1920×1080を超える画素数を有するコンテンツ)を外部機器においても適切に保護することができる。
なお、上述の(3−1)から(3−7)のいずれの場合であっても、外部機器へのコンテンツのムーブは、認証された1台の外部機器に対してのみコンテンツをコピーし、元のコンテンツを再生不能化するという一連の処理を含む。この際、コンテンツを外部機器にコピー後1分以内に元のコンテンツを再生不能化しなければならない。コンテンツの再生不能化の具体例としては、コンテンツ自体を消去する、または、暗号化鍵を消去する等の方法があり、これによりコンテンツの再生が不可能となるようにすればいい。
[コンテンツ蓄積後の外部機器へのコピー処理]
実施例3の放送受信機100では、コンテンツ蓄積処理においては、当該コンテンツの画素数の状態に応じて、コンテンツの保護処理を切り替えず、共通のコンテンツ保護処理を行うことを既に説明した。これは、コンテンツを受信して記録した放送受信機100のみでしか再生できないコンテンツの蓄積機能によりコンテンツを蓄積しておく場合には、そもそも放送受信機100自身のみで管理するコンテンツであるので、コンテンツ保護処理の対応レベルを複数考慮する必要がないからである。これに対し、蓄積しているコンテンツを外部機器にコピーする場合には、コピー先の機器によってコンテンツ保護処理の対応レベルが異なる場合がある。よって、蓄積しているコンテンツを外部機器にコピーする際のコンテンツの画素数に応じて、コンテンツ保護処理を異ならせることが望ましい。
以下、図28に示されるコンテンツ蓄積後の外部機器へのコピー処理の具体例を説明する。なお、コンテンツを図8Aのストレージ部110に蓄積した後の外部機器へのコピー処理は、例えば、図8AのLAN通信部121をハードウェアとするIPインタフェースを介して行えば良い。
また、蓄積時の記録媒体上のコピー制御情報を「再コピー禁止」として蓄積しているコンテンツについては、外部機器へのコピーは禁止される。蓄積時の記録媒体上のコピー制御情報を「個数制限コピー可」として蓄積しているコンテンツについては、元のコンテンツの他に9個までコピーを生成可能である。但し、例えば、コンテンツを蓄積する図8Aのストレージ部110が、ユーザが直接アクセスできないバックアップ処理を行うRAIDシステムで構成されている場合などでは、ユーザが直接アクセスできないバックアップ目的のコピーの分については、上記9個の個数制限から除外して良い。上記9個のコピー制限数内のコピーを外部機器へIPインタフェースを介して行う場合には、認証された1台の外部機器に対して1個などの数を管理された状態でコピーを行う必要がある。上記個数制限(9個)のコピーの生成後の元のコンテンツは上述のムーブ処理により外部機器にムーブすることができる。当該9個のコピー処理と1個の元のコンテンツのムーブ処理は、コンテンツの蓄積時に放送受信機100内でコピーを9個生成し、元のコンテンツを含め10個のコンテンツを1個ずつ外部機器へムーブ処理することと等価な処理である。
以下、蓄積しているコンテンツを外部機器にコピーする際に、コンテンツの画素数に応じて、コンテンツ保護処理を異ならせる具体的処理について説明する。
(4−1)受信した2K超コンテンツ(画素数1920×1080を超える画素数を有するコンテンツ)に対して画素数変換を行わないで蓄積した2K超コンテンツ(画素数1920×1080を超える画素数を有するコンテンツ)または受信した2K超コンテンツ(画素数1920×1080を超える画素数を有するコンテンツ)に対して画素数変換を行って他の2K超コンテンツ(画素数1920×1080を超える画素数を有するコンテンツ)に変換して蓄積した2K超コンテンツ(画素数1920×1080を超える画素数を有するコンテンツ)に対して、蓄積後の外部機器へのコピー時に画素数変換を行わない場合
この場合、外部機器へのコピー対象コンテンツは、2K超コンテンツ(画素数1920×1080を超える画素数を有するコンテンツ)である。
蓄積時の記録媒体上のコピー制御情報を「制約条件なしにコピー可」として蓄積しているコンテンツについては、蓄積後に外部機器にコピーする際にDTCPによるコンテンツ保護を行わずコピーすることができる。このとき、蓄積時にコンテンツ利用制御記述子に含まれる『encryption_mode』パラメータの値によって、保護が指定されていたか、いなかったかは考慮しない。
蓄積時の記録媒体上のコピー制御情報を「再コピー禁止」として蓄積しているコンテンツについては、外部機器へのコピーは禁止される。蓄積時の記録媒体上のコピー制御情報を「個数制限コピー可」として蓄積しているコンテンツを、上述の9個の制限数内で外部機器へコピーする場合には、DTCP−IPよりも高度なコンテンツ保護システムである上述のDTCP2によってコンテンツ保護を行って、外部機器にコピーすることができる(この際、1つ1つのコピー対象コンテンツをDTCP2のムーブ処理を用いて外部機器に送信することにより、コンテンツ個数を管理したコピーを実現しても良い。この場合、9個制限数内の1つのコンテンツについてムーブ処理を行うこととなるので、コピー対象のコンテンツの数が減じられて再生不能化相当の扱いになるが、9個の制限数外の元のコンテンツ自体の再生不能化は必要ない。)。なお、外部機器はDTCP−IPによるコンテンツ保護に対応していてもDPCT2によるコンテンツ保護に対応していなければDTCP2により保護されたコンテンツを再生することができない(DTCP2により保護されたコンテンツを送信してもらえない)。よって、コンテンツ保護はDPCT2の方が強力であるが、既存の外部機器はDTCP2により保護されたコンテンツに対応することができない。これに対し、DTCP−IPによるコンテンツ保護は、DPCT2の新しいコンテンツ保護フラグ等を運用することはできないが、DPCT2非対応の既存のDTCP−IP対応外部機器を対象としたコピーが可能となる。
蓄積後のコンテンツを2K超コンテンツ(画素数1920×1080を超える画素数を有するコンテンツ)として外部機器にコピーする際に、記録媒体上のコピー制御情報に応じて上述のようにコンテンツ保護を行うコンテンツ保護処理を、以降、蓄積後の外部機器へのコピー時の「2K超コンテンツ保護処理」と称する。
(4−2)受信した2K超コンテンツ(画素数1920×1080を超える画素数を有するコンテンツ)に対して画素数変換を行わないで蓄積した2K超コンテンツ(画素数1920×1080を超える画素数を有するコンテンツ)または受信した2K超コンテンツ(画素数1920×1080を超える画素数を有するコンテンツ)に対して画素数変換を行って他の2K超コンテンツ(画素数1920×1080を超える画素数を有するコンテンツ)に変換して蓄積した2K超コンテンツ(画素数1920×1080を超える画素数を有するコンテンツ)に対して、蓄積後の外部機器へのコピー時に画素数変換を行って他の2K超コンテンツに変換する場合
この場合、外部機器へのコピー対象コンテンツは、2K超コンテンツ(画素数1920×1080を超える画素数を有するコンテンツ)であり、上記(4−1)の場合と同様であるので、(4−1)で説明した蓄積後の外部機器へのコピー時の「2K超コンテンツ保護処理」を行う。
(4−3)受信した2K超コンテンツ(画素数1920×1080を超える画素数を有するコンテンツ)に対して画素数変換を行わないで蓄積した2K超コンテンツ(画素数1920×1080を超える画素数を有するコンテンツ)または受信した2K超コンテンツ(画素数1920×1080を超える画素数を有するコンテンツ)に対して画素数変換を行って他の2K超コンテンツ(画素数1920×1080を超える画素数を有するコンテンツ)に変換して蓄積した2K超コンテンツ(画素数1920×1080を超える画素数を有するコンテンツ)に対して、蓄積後の外部機器へのコピー時に画素数変換を行って2K以下コンテンツ(画素数1920×1080以下のコンテンツ)に変換する場合
この場合、外部機器へのコピー対象コンテンツは、2K以下コンテンツ(画素数1920×1080以下のコンテンツ)である。
この場合、蓄積時の記録媒体上のコピー制御情報を「制約条件なしにコピー可」として蓄積しているコンテンツについては、蓄積時にコンテンツ利用制御記述子に含まれる『encryption_mode』パラメータの値によって、保護が指定されていたか、いなかったかを考慮してコンテンツ保護処理を切り替える。具体的には、『encryption_mode』の値が1で保護がコンテンツの保護が指定されていない場合は、蓄積後に外部機器にコピーする際にDTCPによるコンテンツ保護を行わずコピーすることができる。『encryption_mode』の値が0で保護がコンテンツの保護が指定されている場合は、蓄積後に外部機器にコピーする際にDTCP(IPインタフェースを介してコピーする場合はDTCP−IP)による保護を行ってコピーすることができる。このときDTCP2によるコンテンツ保護までは必要ない。
蓄積時の記録媒体上のコピー制御情報を「再コピー禁止」として蓄積しているコンテンツについては、外部機器へのコピーは禁止される。蓄積時の記録媒体上のコピー制御情報を「個数制限コピー可」として蓄積しているコンテンツを、上述の9個の制限数内で外部機器へコピーする場合には、DTCP(IPインタフェースを介してコピーする場合はDTCP−IP)による保護を行ってコピーする。このときDTCP2によるコンテンツ保護までは必要ない。このときコンテンツ個数を管理したコピーを実現するために、1つ1つのコンテンツのコピーにおいて、DTCPのムーブ機能を用いても良い。この場合、9個制限数内の1つのコンテンツについてムーブ処理を行うこととなるので、コピー対象のコンテンツの数が減じられて再生不能化相当の扱いになるが、9個の制限数外の元のコンテンツ自体の再生不能化は必要ない。
蓄積後のコンテンツを2K以下コンテンツ(画素数1920×1080以下のコンテンツ)として外部機器にコピーする際に、記録媒体上のコピー制御情報に応じて上述のようにコンテンツ保護を行うコンテンツ保護処理を、以降、蓄積後の外部機器へのコピー時の「2K以下コンテンツ保護処理」と称する。
(4−4)受信した2K超コンテンツ(画素数1920×1080を超える画素数を有するコンテンツ)に対して画素数変換を行って2K以下コンテンツ(画素数1920×1080以下のコンテンツ)に変換して蓄積した2K以下コンテンツ(画素数1920×1080以下のコンテンツ)に対して、蓄積後の外部機器へのコピー時に画素数変換を行わない場合
この場合、外部機器へのコピー対象コンテンツは、2K以下コンテンツ(画素数1920×1080以下のコンテンツ)であり、上記(4−3)の場合と同様であるので、(4−3)で説明した蓄積後の外部機器へのコピー時の「2K以下コンテンツ保護処理」を行う。
(4−5)受信した2K超コンテンツ(画素数1920×1080を超える画素数を有するコンテンツ)に対して画素数変換を行って2K以下コンテンツ(画素数1920×1080以下のコンテンツ)に変換して蓄積した2K以下コンテンツ(画素数1920×1080以下のコンテンツ)に対して、蓄積後の外部機器へのコピー時に画素数変換を行って他の2K以下コンテンツ(画素数1920×1080以下のコンテンツ) に変換する場合
この場合、外部機器へのコピー対象コンテンツは、2K以下コンテンツ(画素数1920×1080以下のコンテンツ)であり、上記(4−3)の場合と同様であるので、(4−3)で説明した蓄積後の外部機器へのコピー時の「2K以下コンテンツ保護処理」を行う。
(4−6)受信した2K以下コンテンツ(画素数1920×1080以下のコンテンツ) に対して画素数変換を行わないで蓄積した2K以下コンテンツ(画素数1920×1080以下のコンテンツ)または、受信した2K以下コンテンツ(画素数1920×1080以下のコンテンツ) に対して画素数変換を行って他の2K以下コンテンツ(画素数1920×1080以下のコンテンツ)に変換して蓄積した2K以下コンテンツ(画素数1920×1080以下のコンテンツ)に対して、蓄積後の外部機器へのコピー時に画素数変換を行わない場合
この場合、外部機器へのコピー対象コンテンツは、2K以下コンテンツ(画素数1920×1080以下のコンテンツ)であり、上記(4−3)の場合と同様であるので、(4−3)で説明した蓄積後の外部機器へのコピー時の「2K以下コンテンツ保護処理」を行う。
(4−7)受信した2K以下コンテンツ(画素数1920×1080以下のコンテンツ) に対して画素数変換を行わないで蓄積した2K以下コンテンツ(画素数1920×1080以下のコンテンツ)または、受信した2K以下コンテンツ(画素数1920×1080以下のコンテンツ) に対して画素数変換を行って他の2K以下コンテンツ(画素数1920×1080以下のコンテンツ)に変換して蓄積した2K以下コンテンツ(画素数1920×1080以下のコンテンツ)に対して蓄積後の外部機器へのコピー時に画素数変換を行って他の2K以下コンテンツ(画素数1920×1080以下のコンテンツ) に変換する場合
この場合、外部機器へのコピー対象コンテンツは、2K以下コンテンツ(画素数1920×1080以下のコンテンツ)であり、上記(4−3)の場合と同様であるので、(4−3)で説明した蓄積後の外部機器へのコピー時の「2K以下コンテンツ保護処理」を行う。
以上(4−1)から(4−7)で、説明した通り、蓄積後の外部機器へのコピー時においては、蓄積後の外部機器にコピーする際のコンテンツの画素数に応じてコンテンツ保護処理を切り替える。コピー制限のある2K超コンテンツ(画素数1920×1080を超える画素数を有するコンテンツ)の状態で外部機器へコピーする場合には、コピー制限のある2K以下コンテンツ(画素数1920×1080以下のコンテンツ) の状態で外部機器へコピーする場合より高度なコンテンツ保護を施してコピーする。これにより、より付加価値の高い2K超コンテンツ(画素数1920×1080を超える画素数を有するコンテンツ)を外部機器においても適切に保護することができる。
なお、「個数制限コピー可」として蓄積しているコンテンツを、上述の9個の制限数内で外部機器へコピーする場合については、以上(4−1)から(4−7)で、説明した蓄積後の外部機器へのコピー時の「2K超コンテンツ保護処理」と蓄積後の外部機器へのコピー時の「2K以下コンテンツ保護処理」のいずれを用いた場合でも、残りのコピー可能個数を等しく1つ減ずるものとし、コピー時のコンテンツ保護処理の差異に基づいてコピー可能回数管理自体には差を設ける必要はない。
なお、以上説明したいずれ外部出力処理、外部ムーブ処理、外部コピー処理において、それぞれの条件で説明したコンテンツ保護機能に対応していない外部機器に対しては、出力、ムーブ、またはコピーを禁止するように構成すれば良い。
なお、同一の受信コンテンツを保護対象とする、『digital_recording_control_data』情報や、『encryption_mode』情報が、異なる複数のテーブルや記述子で放送伝送路を介して伝送されている場合や、放送伝送路と通信回線の両者を介して、同一または異なるテーブルや記述子で伝送されている場合などは、テーブルや記述子の種類や、伝送経路の種類に基づく所定の優先順位判断処理を用いて、最も優先順位の高い情報を、本実施例で説明したコンテンツ保護処理に用いれば良い。
また、上述の蓄積前の外部機器出力処理および蓄積後の外部機器出力処理に用いるコンテンツ保護方式であるHDCPは、デコードされた映像などのコンテンツを保護するコンテンツ保護方式であり、蓄積後の外部機器へのムーブ、コピーなどの処理に用いるDTCP、DTCP−IP、DTCP2は、エンコードされた映像などのコンテンツを保護するコンテンツ保護方式であり、その保護対象コンテンツの態様は異なる。そうであるにも関わらず、実施例3の放送受信機100でコンテンツの画素数に応じてコンテンツ保護処理の切り替えを行う場合の閾値は、2K超コンテンツ(画素数1920×1080を超える画素数を有するコンテンツ)と2K以下コンテンツ(画素数1920×1080以下のコンテンツ)との境界で等しく設定している。このように、保護対象コンテンツの態様が異なるコンテンツ保護方式でも画素数に応じてコンテンツ保護処理の切り替えする際の切り替え閾値を等しくすることで、コンテンツ保護処理の切り替えの条件分岐の種類が極力増えないようにすることができ、処理をシンプル化することができ、効果的である。
以上説明した本発明の実施例3によれば、コンテンツの蓄積前の外部機器への出力処理のみならず、コンテンツの蓄積後のコンテンツの外部機器への出力処理、外部機器へのムーブ処理、または外部機器へのコピー処理のいずれの場合にも、コンテンツの画素数に応じてコンテンツ保護処理を切り替える。これにより、より付加価値の高い高画素数コンテンツを外部機器においても適切に保護することができる。また、コンテンツの蓄積中においては、コンテンツの画素数にかかわらず共通のコンテンツ保護を行うことで処理をシンプルにすることができる。即ち、コンテンツ保護レベルが様々な外部機器に対する出力処理、ムーブ処理、またはコピー処理の場合は、コンテンツの画素数に応じてコンテンツ保護処理を切り替え、自機器のみでしか再生できないコンテンツの蓄積自体はコンテンツの画素数にかかわらず共通のコンテンツ保護を行うことで処理をシンプルにすることができる。
(実施例4)
以下では、本発明の実施例4に関して説明する。本発明の実施例4は、実施例2における放送受信機800と同様のハードウェア構成を備え、本実施例における構成、処理および効果等はコンテンツ保護処理をのぞき実施例2と同様であるものとする。このため、以下では、本実施例と実施例2との相違点を主に説明し、共通する点については重複を避けるため極力説明を省略する。
本発明の実施例4は、実施例2における放送受信機800と同様のハードウェア構成を備え、異なる著作権保護機能を実現する制御を行うものである。なお、本実施例において説明するのはコンテンツのうち映像についてのコンテンツ保護制御についてであり、音声については、以下の説明と同等の制御を行っても良く、また異なるコンテンツ保護制御を行っても良い。
図29は、実施例4の放送受信装置800における著作権保護機能の処理を表に纏めたものである。実施例4の放送受信装置800においては、受信したコンテンツが4Kコンテンツ(画素数3840×2160)や8Kコンテンツ(画素数7680×4320)などの、2K超コンテンツ(画素数1920×1080を超える画素数を有するコンテンツ)であるか、2K以下コンテンツ(画素数1920×1080以下のコンテンツ)かによって、コンテンツの蓄積処理前後のコンテンツに対する著作権保護処理を切り替える。
図29において、伝送方式がMMTの行に示されるコンテンツ保護処理は、図24の放送受信機800のMMTデコード処理部841によって受信処理を行うコンテンツに適用するコンテンツ保護処理であり、その内容は実施例3で説明した図28のコンテンツ保護処理と同一であるため、その説明を省略する。
一方、図29において、伝送方式がMPEG2−TSの行に示されるコンテンツ保護処理は、図24の放送受信機800のMPEG2−TSデコード処理部842によって受信処理を行うコンテンツに適用するコンテンツ保護処理である。
本発明の実施例4の放送受信機800がMPEG2−TS伝送方式で受信するコンテンツはいずれも、2K以下コンテンツ(画素数1920×1080以下のコンテンツ)であるとする。
MPEG2−TS伝送方式で受信するコンテンツがいずれも2K以下コンテンツ(画素数1920×1080以下のコンテンツ)であるので、本発明の実施例4の放送受信機800は、MPEG2−TS伝送方式で受信する2K以下コンテンツ(画素数1920×1080以下のコンテンツ)と、MMT伝送方式で受信する2K以下コンテンツ(画素数1920×1080以下のコンテンツ)の場合とで処理を共通化する。具体的には、いずれの場合にも、実施例3で説明したMMT伝送方式で受信する2K以下コンテンツ(画素数1920×1080以下のコンテンツ)に対するコンテンツ保護処理を行えば良い。
ここで、MMT伝送方式とMPEG2−TS伝送方式では、コンテンツ保護に用いる制御情報が伝送されるテーブルのフォーマットが異なる。具体的には、MMT伝送方式では、コンテンツコピー制御記述子とコンテンツ利用制御記述子は、例えば主にMPT(他にMH−EIT、MH−SDT)で伝送される。これに対し、MPEG2−TS伝送方式では、対応するコピー制御関連情報である、デジタルコピー制御記述子とコンテンツ利用記述子は、例えば主にPMT(プログラムマップテーブル)(他にEIT、SDT)で伝送される。よって、コピー制御関連情報が伝送されるテーブルも記述子もフォーマットが異なることになる。
しかしながら、更にその記述子内に格納される『digital_recording_control_data』パラメータと、『copy_restriction_mode』パラメータについては、MMT伝送方式とMPEG2−TS伝送方式とで同一のフォーマットを用いることができる。よって、本発明の実施例4の放送受信機800では、MMT伝送方式とMPEG2−TS伝送方式とで、コンテンツの保護を指定する『digital_recording_control_data』パラメータと、『copy_restriction_mode』パラメータの解釈を共通化する。
これにより、MPEG2−TS伝送方式で受信する2K以下コンテンツ(画素数1920×1080以下のコンテンツ)の場合と、MMT伝送方式で受信する2K以下コンテンツ(画素数1920×1080以下のコンテンツ)の場合とで、コンテンツの蓄積前の外部出力処理、コンテンツの蓄積処理、コンテンツの蓄積後の外部出力処理、コンテンツの蓄積後の外部機器へのムーブ処理、コンテンツの蓄積後の外部機器へのコピー処理を共通化することができ、処理をシンプル化できる。それぞれの具体的な処理は、実施例3で説明したMMT伝送方式で受信する2K以下コンテンツ(画素数1920×1080以下のコンテンツ)に対するコンテンツ保護処理を行う。その内容は実施例3で説明済みであるため、説明を省略する。
更に、この処理の共通化により、MPEG2−TS伝送方式で受信する2K以下コンテンツ(画素数1920×1080以下のコンテンツ)の場合のコンテンツ保護処理は、MMT伝送方式で受信する2K以下コンテンツ(画素数1920×1080以下のコンテンツ)の場合のコンテンツ保護処理のみならず、MMT伝送方式で受信する2K超コンテンツ(画素数1920×1080を超える画素数を有するコンテンツ)をコンテンツの蓄積前またはコンテンツの蓄積後に画素数変換処理によって、2K以下コンテンツ(画素数1920×1080以下のコンテンツ)の場合のコンテンツ保護処理とも処理を共通化できるため、処理をシンプル化する効果は非常に高い。
以上説明した本発明の実施例4によれば、MMT伝送方式で受信したコンテンツについては、実施例3と同様の効果を得ることができる。また、所定の画素数以下のコンテンツについては、MMT伝送方式で受信したコンテンツとMPEG2−TSで受信したコンテンツで、コンテンツの蓄積前の外部機器への出力処理のみならず、コンテンツの蓄積後のコンテンツの外部機器への出力処理、外部機器へのムーブ処理、または外部機器へのコピー処理のいずれの場合にも、コンテンツ保護処理を共通化することができ、伝送方式を超えて処理をシンプル化することが可能となる。
以上、本発明の実施形態の例を、実施例1〜4を用いて説明したが、本発明の技術を実現する構成は前記実施例に限られるものではなく、様々な変形例が考えられる。例えば、ある実施例の構成の一部を他の実施例の構成と置き換えることが可能であり、また、ある実施例の構成に他の実施例の構成を加えることも可能である。これらは全て本発明の範疇に属するものである。また、文中や図中に現れる数値やメッセージ等もあくまでも一例であり、異なるものを用いても本発明の効果を損なうことはない。
前述した本発明の機能等は、それらの一部または全部を、例えば集積回路で設計する等によりハードウェアで実現しても良い。また、マイクロプロセッサユニット等がそれぞれの機能等を実現する動作プログラムを解釈して実行することによりソフトウェアで実現しても良い。ハードウェアとソフトウェアを併用しても良い。
なお、放送受信装置100を制御する前記ソフトウェアは、製品出荷の時点で予め放送受信装置100のROM103および/またはストレージ(蓄積)部110等に格納された状態であっても良い。製品出荷後にインターネット200上のその他のアプリケーションサーバ500等からLAN通信部121を介して取得するものであっても良い。また、メモリカードや光ディスク等に格納された前記ソフトウェアを、拡張インタフェース部124等を介して取得しても良い。
また、図中に示した制御線や情報線は説明上必要と考えられるものを示しており、必ずしも製品上の全ての制御線や情報線を示しているとは限らない。実際にはほとんど全ての構成が相互に接続されていると考えても良い。
100,800…放送受信装置、100a…アンテナ、101,801…主制御部、102,802…システムバス、103,803…ROM、104,804…RAM、110,810…ストレージ部、121,821…LAN通信部、124,824…拡張インタフェース部、125,825…デジタルインタフェース部、131,831,832…チューナ/復調部、132…分離部、141…映像デコーダ、142…映像色域変換部、143…音声デコーダ、144…文字スーパーデコーダ、145…字幕デコーダ、146…字幕合成部、147…字幕色域変換部、151…データデコーダ、152…キャッシュ部、153…アプリケーション制御部、154…ブラウザ部、155…アプリケーション色域変換部、156…音源部、161,861…映像合成部、162,862…モニタ部、163,863…映像出力部、164,864…音声合成部、165,865…スピーカ部、166,866…音声出力部、170,870…操作入力部、841…MMTデコード処理部、842…MPEG2−TSデコード処理部、200…インターネット、200r…ルータ装置、200a…アクセスポイント、300t…電波塔、300s…放送衛星(または通信衛星)、300…放送局サーバ、400…サービス事業者サーバ、500…その他のアプリケーションサーバ、600…移動体電話通信サーバ、600b…基地局、700…携帯情報端末。

Claims (2)

  1. デジタル放送のコンテンツを受信し、コンテンツ保護処理を行う放送受信装置であって、
    前記デジタル放送のコンテンツを受信可能な放送受信部と、
    前記放送受信部で受信したコンテンツを蓄積する蓄積部と、
    前記放送受信部で受信したコンテンツの映像または前記蓄積部に蓄積していたコンテンツの映像を外部機器に出力する映像出力部と、
    前記蓄積部に蓄積していたコンテンツを外部機器にコピーするインタフェースと、
    制御部と、を備え、
    前記制御部による前記蓄積部、前記映像出力部、および前記インタフェースの制御状態には、
    前記蓄積部でのコンテンツの蓄積を行わずに、または前記蓄積部でのコンテンツの蓄積処理後に、前記コンテンツの映像を、コンテンツ保護処理を行って前記映像出力部から外部機器へ出力する映像出力処理状態と、
    前記蓄積部でコンテンツの蓄積を行うコンテンツの蓄積処理状態と、
    前記蓄積部でのコンテンツの蓄積処理後に前記コンテンツを、コンテンツ保護処理を行って前記インタフェースを介して外部機器へコピーするコピー処理状態とがあり、
    前記コピー処理状態におけるコンテンツの保護方式がDTCP2によるコンテンツ保護処理を含むコンテンツの保護方式であり、前記映像出力処理状態におけるコンテンツの保護方式がHDCPによるコンテンツ保護処理を含むコンテンツの保護方式であることにより、前記コピー処理状態におけるコンテンツの保護方式と前記映像出力処理状態におけるコンテンツの保護方式とは異なる種類のコンテンツ保護方式であり、
    前記制御部は、前記映像出力処理状態においてコンテンツ保護処理を行う場合に適用しうるコンテンツ保護処理と前記コピー処理状態においてコンテンツ保護処理を行う場合に適用しうるコンテンツ保護処理の組み合わせの切り替え制御を、コンテンツの映像の同一の画素数の閾値のみをコンテンツ保護処理の組み合わせの切り替え条件として用いておこなう
    放送受信装置。
  2. デジタル放送のコンテンツを受信する放送受信装置におけるコンテンツ保護処理方法であって、
    前記デジタル放送のコンテンツを受信する受信ステップと、
    前記受信ステップで受信したコンテンツを蓄積する蓄積ステップと、
    前記受信ステップで受信したコンテンツの映像または前記蓄積ステップで蓄積したコンテンツの映像を外部に出力する映像出力処理ステップと、
    前記蓄積ステップで蓄積したコンテンツをコピーするコピー処理ステップと、
    を備え、
    前記コピー処理ステップにおけるコンテンツの保護方式と前記映像出力処理ステップにおけるコンテンツの保護方式とが異なる種類のコンテンツ保護方式であり、
    前記映像出力処理ステップにおいてコンテンツ保護処理を行う場合に適用しうるコンテンツ保護処理前記コピー処理ステップにおいてコンテンツ保護処理を行う場合に適用しうるコンテンツ保護処理の組み合わせの切り替え制御はコンテンツの映像の同一の画素数の閾値のみがコンテンツ保護処理の組み合わせの切り替え条件として用いられる
    コンテンツ保護処理方法。
JP2016113529A 2016-06-07 2016-06-07 放送受信装置およびコンテンツ保護処理方法 Active JP6861476B2 (ja)

Priority Applications (19)

Application Number Priority Date Filing Date Title
JP2016113529A JP6861476B2 (ja) 2016-06-07 2016-06-07 放送受信装置およびコンテンツ保護処理方法
CN202011292513.6A CN112543379B (zh) 2016-06-07 2017-05-30 广播接收装置
CN201780035223.3A CN109314799B (zh) 2016-06-07 2017-05-30 广播接收装置
CN202011292486.2A CN112543377B (zh) 2016-06-07 2017-05-30 广播接收装置
CN202011295287.7A CN112543381B (zh) 2016-06-07 2017-05-30 广播接收装置
CN202011295256.1A CN112543380B (zh) 2016-06-07 2017-05-30 广播接收装置
US16/307,496 US10715868B2 (en) 2016-06-07 2017-05-30 Broadcast receiving apparatus
CN202011292503.2A CN112543378A (zh) 2016-06-07 2017-05-30 广播接收装置
PCT/JP2017/020106 WO2017212983A1 (ja) 2016-06-07 2017-05-30 放送受信装置
US16/884,235 US11019400B2 (en) 2016-06-07 2020-05-27 Broadcast receiving apparatus
JP2021057668A JP6919085B1 (ja) 2016-06-07 2021-03-30 放送受信装置およびコンテンツ保護処理方法
JP2021057672A JP6920569B2 (ja) 2016-06-07 2021-03-30 放送受信装置およびコンテンツ保護処理方法
US17/239,736 US11438661B2 (en) 2016-06-07 2021-04-26 Broadcast receiving apparatus
JP2021121462A JP7176056B2 (ja) 2016-06-07 2021-07-26 放送受信装置およびコンテンツ保護処理方法
US17/870,993 US11843833B2 (en) 2016-06-07 2022-07-22 Broadcast receiving apparatus
JP2022179425A JP7691405B2 (ja) 2016-06-07 2022-11-09 コンテンツ保護処理方法
US18/377,351 US12238377B2 (en) 2016-06-07 2023-10-06 Broadcast receiving apparatus
US19/021,350 US20250159294A1 (en) 2016-06-07 2025-01-15 Broadcast receiving apparatus
JP2025090532A JP7842286B2 (ja) 2016-06-07 2025-05-30 コンテンツ保護処理方法

Applications Claiming Priority (1)

Application Number Priority Date Filing Date Title
JP2016113529A JP6861476B2 (ja) 2016-06-07 2016-06-07 放送受信装置およびコンテンツ保護処理方法

Related Child Applications (2)

Application Number Title Priority Date Filing Date
JP2021057672A Division JP6920569B2 (ja) 2016-06-07 2021-03-30 放送受信装置およびコンテンツ保護処理方法
JP2021057668A Division JP6919085B1 (ja) 2016-06-07 2021-03-30 放送受信装置およびコンテンツ保護処理方法

Publications (3)

Publication Number Publication Date
JP2017220786A JP2017220786A (ja) 2017-12-14
JP2017220786A5 JP2017220786A5 (ja) 2019-07-04
JP6861476B2 true JP6861476B2 (ja) 2021-04-21

Family

ID=60656514

Family Applications (6)

Application Number Title Priority Date Filing Date
JP2016113529A Active JP6861476B2 (ja) 2016-06-07 2016-06-07 放送受信装置およびコンテンツ保護処理方法
JP2021057672A Active JP6920569B2 (ja) 2016-06-07 2021-03-30 放送受信装置およびコンテンツ保護処理方法
JP2021057668A Active JP6919085B1 (ja) 2016-06-07 2021-03-30 放送受信装置およびコンテンツ保護処理方法
JP2021121462A Active JP7176056B2 (ja) 2016-06-07 2021-07-26 放送受信装置およびコンテンツ保護処理方法
JP2022179425A Active JP7691405B2 (ja) 2016-06-07 2022-11-09 コンテンツ保護処理方法
JP2025090532A Active JP7842286B2 (ja) 2016-06-07 2025-05-30 コンテンツ保護処理方法

Family Applications After (5)

Application Number Title Priority Date Filing Date
JP2021057672A Active JP6920569B2 (ja) 2016-06-07 2021-03-30 放送受信装置およびコンテンツ保護処理方法
JP2021057668A Active JP6919085B1 (ja) 2016-06-07 2021-03-30 放送受信装置およびコンテンツ保護処理方法
JP2021121462A Active JP7176056B2 (ja) 2016-06-07 2021-07-26 放送受信装置およびコンテンツ保護処理方法
JP2022179425A Active JP7691405B2 (ja) 2016-06-07 2022-11-09 コンテンツ保護処理方法
JP2025090532A Active JP7842286B2 (ja) 2016-06-07 2025-05-30 コンテンツ保護処理方法

Country Status (1)

Country Link
JP (6) JP6861476B2 (ja)

Families Citing this family (1)

* Cited by examiner, † Cited by third party
Publication number Priority date Publication date Assignee Title
US20210021359A1 (en) * 2018-03-28 2021-01-21 Sony Corporation Information processing device, information processing method, and program

Family Cites Families (15)

* Cited by examiner, † Cited by third party
Publication number Priority date Publication date Assignee Title
JP2003032614A (ja) * 2001-07-16 2003-01-31 Sony Corp コンテンツ記録方法及びコンテンツ記録装置及びコンテンツ記録再生装置
JP4593618B2 (ja) * 2005-03-08 2010-12-08 パナソニック株式会社 パケット送信装置
JP4364161B2 (ja) * 2005-05-31 2009-11-11 株式会社東芝 受信装置、番組記録制御装置、番組記録制御方法および番組記録システム
JP2007294054A (ja) * 2006-04-27 2007-11-08 Sharp Corp デジタル画像記録再生装置
JP2008005445A (ja) * 2006-06-26 2008-01-10 Toshiba Corp 放送受信装置
JP2008146712A (ja) * 2006-12-07 2008-06-26 Hitachi Ltd コンテンツ記録再生装置
JP5002371B2 (ja) * 2007-08-21 2012-08-15 日立コンシューマエレクトロニクス株式会社 デジタルコンテンツ受信装置、デジタルコンテンツ受信方法、および、デジタルコンテンツ送受信方法
JP2009076154A (ja) * 2007-09-21 2009-04-09 Canon Inc 記録再生装置及びその制御方法
US8462954B2 (en) * 2008-05-30 2013-06-11 Motorola Mobility Llc Content encryption using at least one content pre-key
JP2010183530A (ja) * 2009-02-09 2010-08-19 Canon Inc 蓄積装置及びコピーシステム
JP2011139191A (ja) * 2009-12-28 2011-07-14 Hitachi Consumer Electronics Co Ltd 受信装置、受信方法、及び出力制御方法
US9848218B2 (en) * 2013-01-28 2017-12-19 Samsung Electronics Co., Ltd. Source device, content providing method using the source device, sink device and controlling method of the sink device
JP6302274B2 (ja) * 2014-02-07 2018-03-28 日本放送協会 送信装置及び受信装置
WO2015194102A1 (ja) * 2014-06-20 2015-12-23 パナソニックIpマネジメント株式会社 再生方法および再生装置
JP6373179B2 (ja) * 2014-11-28 2018-08-15 シャープ株式会社 デジタル放送受信装置、デジタル放送受信方法、およびプログラム

Also Published As

Publication number Publication date
JP7691405B2 (ja) 2025-06-11
JP2021114774A (ja) 2021-08-05
JP6919085B1 (ja) 2021-08-11
JP2017220786A (ja) 2017-12-14
JP2025120206A (ja) 2025-08-15
JP2021180513A (ja) 2021-11-18
JP2021121097A (ja) 2021-08-19
JP6920569B2 (ja) 2021-08-18
JP7842286B2 (ja) 2026-04-07
JP2023010771A (ja) 2023-01-20
JP7176056B2 (ja) 2022-11-21

Similar Documents

Publication Publication Date Title
JP2025120206A (ja) コンテンツ保護処理方法
JP6855193B2 (ja) 放送受信システム
JP2023171758A (ja) コンテンツ保護処理方法
JP6920570B2 (ja) 放送受信装置およびコンテンツ保護処理方法
JP6855196B2 (ja) 放送受信システム
JP6855195B2 (ja) 放送受信システム
JP6865548B2 (ja) 放送受信システム
JP6929420B2 (ja) コンテンツ保護処理方法
JP6828213B2 (ja) コンテンツ保護処理方法
JP6826228B2 (ja) 放送受信装置およびコンテンツ保護処理方法
JP6826229B2 (ja) 放送受信装置およびコンテンツ保護処理方法
JP6951513B2 (ja) コンテンツ保護処理方法
JP6997888B2 (ja) コンテンツ保護処理方法
JP6923727B2 (ja) 放送番組のコンテンツのコピー制御方法
JP6752949B2 (ja) 出力制御方法及び放送受信装置
JP6726341B2 (ja) 放送受信装置およびコンテンツ保護処理方法
JP6727383B2 (ja) コンテンツ保護処理方法
JP6722333B2 (ja) 放送受信装置およびコンテンツ保護処理方法
JP6767177B2 (ja) 放送受信装置およびコンテンツ保護処理方法
JP6860310B2 (ja) 放送受信システム
JP2022003812A (ja) コンテンツ保護処理方法

Legal Events

Date Code Title Description
A711 Notification of change in applicant

Free format text: JAPANESE INTERMEDIATE CODE: A712

Effective date: 20171102

A521 Request for written amendment filed

Free format text: JAPANESE INTERMEDIATE CODE: A523

Effective date: 20190530

A621 Written request for application examination

Free format text: JAPANESE INTERMEDIATE CODE: A621

Effective date: 20190530

A977 Report on retrieval

Free format text: JAPANESE INTERMEDIATE CODE: A971007

Effective date: 20200612

A131 Notification of reasons for refusal

Free format text: JAPANESE INTERMEDIATE CODE: A131

Effective date: 20200728

A601 Written request for extension of time

Free format text: JAPANESE INTERMEDIATE CODE: A601

Effective date: 20200918

A521 Request for written amendment filed

Free format text: JAPANESE INTERMEDIATE CODE: A523

Effective date: 20201125

TRDD Decision of grant or rejection written
A01 Written decision to grant a patent or to grant a registration (utility model)

Free format text: JAPANESE INTERMEDIATE CODE: A01

Effective date: 20210302

A61 First payment of annual fees (during grant procedure)

Free format text: JAPANESE INTERMEDIATE CODE: A61

Effective date: 20210330

R150 Certificate of patent or registration of utility model

Ref document number: 6861476

Country of ref document: JP

Free format text: JAPANESE INTERMEDIATE CODE: R150

S111 Request for change of ownership or part of ownership

Free format text: JAPANESE INTERMEDIATE CODE: R313111

R350 Written notification of registration of transfer

Free format text: JAPANESE INTERMEDIATE CODE: R350

R250 Receipt of annual fees

Free format text: JAPANESE INTERMEDIATE CODE: R250

R250 Receipt of annual fees

Free format text: JAPANESE INTERMEDIATE CODE: R250

R250 Receipt of annual fees

Free format text: JAPANESE INTERMEDIATE CODE: R250