JP6857039B2 - 簡易構造物の現地製造方法 - Google Patents

簡易構造物の現地製造方法 Download PDF

Info

Publication number
JP6857039B2
JP6857039B2 JP2017015366A JP2017015366A JP6857039B2 JP 6857039 B2 JP6857039 B2 JP 6857039B2 JP 2017015366 A JP2017015366 A JP 2017015366A JP 2017015366 A JP2017015366 A JP 2017015366A JP 6857039 B2 JP6857039 B2 JP 6857039B2
Authority
JP
Japan
Prior art keywords
rafter
skeleton
pillars
girder
rafters
Prior art date
Legal status (The legal status is an assumption and is not a legal conclusion. Google has not performed a legal analysis and makes no representation as to the accuracy of the status listed.)
Active
Application number
JP2017015366A
Other languages
English (en)
Other versions
JP2018123532A (ja
Inventor
純平 保坂
純平 保坂
英司 若松
英司 若松
Current Assignee (The listed assignees may be inaccurate. Google has not performed a legal analysis and makes no representation or warranty as to the accuracy of the list.)
Sankyo Tateyama Inc
Original Assignee
Sankyo Tateyama Inc
Priority date (The priority date is an assumption and is not a legal conclusion. Google has not performed a legal analysis and makes no representation as to the accuracy of the date listed.)
Filing date
Publication date
Application filed by Sankyo Tateyama Inc filed Critical Sankyo Tateyama Inc
Priority to JP2017015366A priority Critical patent/JP6857039B2/ja
Publication of JP2018123532A publication Critical patent/JP2018123532A/ja
Application granted granted Critical
Publication of JP6857039B2 publication Critical patent/JP6857039B2/ja
Active legal-status Critical Current
Anticipated expiration legal-status Critical

Links

Images

Landscapes

  • Residential Or Office Buildings (AREA)

Description

本発明は、建物躯体の前側に近接して設置する簡易構造物の現地製造方法に関する。
従来、建物躯体に近接して設置するテラスにおいて、非特許文献1に示すように、屋根を左右1本ずつの柱で支持する片持ち式のものがあった。
「ウォールエクステリアカタログ2015−2016(STW0355A)」、三協立山株式会社、2015年7月、p.116
しかしながら、このような片持ち式のテラスでは、強度を確保するために柱を太くしなければならず、意匠的に制約があった。
本発明は、上記事情を鑑みたものであり、意匠的な制約が少ない簡易構造物の現地製造方法を提供することを目的とする。
本発明は、アルミ形材製の垂木と柱と桁を用いるものであって、次の工程を有し、簡易構造物の垂木を建物躯体から設計した所定間隔をあけて設け、建物躯体の前側に近接して設置する簡易構造物の現地製造方法である。
(1)後側の左右の柱の基礎穴を躯体から設計した所定間隔内で障害物を避けた位置に形成し、前側の左右の柱の基礎穴を躯体から設計した所定間隔内の位置に形成する工程。
(2)前側及び後側で左右の基礎穴に、左右の柱間に桁を架設して形成した門形フレームの左右の柱を立設する工程。
(3)垂木を躯体から設計した所定間隔をあけて、前後の桁に取り付ける工程。
本発明によれば、左右の前後位置にそれぞれ柱を配置した両支持式で、必要な強度を確保しつつ柱を細くすることができ、意匠的な制約が少ない簡易構造物を製造できる。そして、設置箇所の地中に躯体の基礎や配管などの障害物がある場合に、それを避けつつ躯体から設計した所定間隔内の位置に前後の柱を立てるものであって、これにより柱の前後位置が変動した場合でも、垂木(垂木に屋根材を設けて屋根を構成しテラスとして用いることもできるし、垂木のみを設けてパーゴラとして用いることもできる)を柱の前後位置によらず躯体から設計した所定間隔をあけて前後の桁に取り付けるので、簡易構造物を建物躯体に近接して設置することができる。
簡易構造物(テラス)の側面図である。 簡易構造物(テラス)の正面図である。 簡易構造物(テラス)の側面方向視断面図である。 簡易構造物(テラス)の正面方向視断面図である。 簡易構造物(テラス)の垂木と桁の連結部分の説明図である。 簡易構造物(テラス)の妻垂木と桁の連結部分の説明図である。 簡易構造物(テラス)の組立手順図(1)である。 簡易構造物(テラス)の組立手順図(2)である。 簡易構造物(テラス)の組立手順図(3)である。 簡易構造物(テラス)の柱位置の範囲の説明図である。 簡易構造物(パーゴラ)の側面図である。 簡易構造物(パーゴラ)の正面図である。 簡易構造物(パーゴラ)の側面方向視断面図である。 簡易構造物(パーゴラ)の正面方向視断面図である。 簡易構造物(パーゴラ)の垂木と桁の連結部分の説明図である。 簡易構造物(パーゴラ)の垂木端部のクッション材の説明図であり、(a)は側面図、(b)は背面図である。 簡易構造物(パーゴラ)の組立手順図(1)である。 簡易構造物(パーゴラ)の組立手順図(2)である。 簡易構造物(パーゴラ)の組立手順図(3)である。 簡易構造物(パーゴラ)の柱位置の範囲の説明図である。
以下、本発明の実施の形態を図面に基づいて説明する。本発明の方法により製造される簡易構造物は、種々の用途に用いられるものであるが、ここでは、住宅などの建物躯体に近接して設置されるテラスを例に挙げる。また、このテラスの例においては、躯体の前側にテラス(簡易構造物)が設置されるものとし(テラス側が前側、躯体側が後側、図1)、左右はテラスを正面視した際の左右方向を示す(図2)。図1〜図4に示すように、このテラスは、左右の柱(前柱4a及び後柱4b)と桁2を門形に組んだ上に、垂木1(妻垂木1aを含む)と、前枠5a及び後枠5bと、中桟6と、パネル材7と、垂木カバー8を組んで構成した屋根を載せたものである。
前柱4a及び後柱4bは、断面略正方形の形材からなり、躯体Sの前側の左右位置に後柱4bを立設してあり、左右の後柱4bの前方にそれぞれ前柱4aを立設してある。設置面の、各柱4a,4bの立設位置には、上面視して正方形の基礎穴Ha,Hbを形成してあり、基礎穴Ha,Hbに柱4a,4bを立てて、コンクリート又はモルタルを流し込んで固定してある。なお、屋根(垂木1)が前側に向けて下方に傾斜して設けられるものであり、その傾斜に合わせて、前柱4aよりも後柱4bの方が高くなっている。
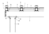
桁2は、断面略矩形の形材からなり、左右の前柱4a及び左右の後柱4bにそれぞれ横架してあり、左右の2本の柱4a,4bと桁2で門形に組んである。ただし、桁2の上面は、垂木1の傾斜に合わせて、前側に向けて下方に傾斜した面となっている。柱4a,4bと桁2の連結には、図3及び図4に示すような結合部材41を用いている。結合部材41は、略矩形の平板部42と、平板部42の下面に左右並んで2枚形成された垂下面43からなり、平板部42を桁2の下面に当接させてボルト止めし、2枚の垂下面43を柱4a,4bの上端の開口部内に挿入して柱4a,4bの左右面からネジ止めしてある。
垂木1及び妻垂木1aは、断面略矩形の形材からなり、図1及び図2に示すように、前後の桁2に横架してあって、前側に向けて下方に傾斜して、左右に等間隔に5本(中間部の3本の垂木1と、両端の2本の妻垂木1a)並んでいる。図5に示すように、垂木1の左右の側面の下部には、長手方向に延びる略G字形の溝状の被係合部11を形成してある。また、上面の左右方向中央には、長手方向に延びるネジ受溝12を形成してある。さらに、上面の左右には、タイト材ホルダを設けてあって、それぞれタイト材13を取り付けてある。
そして、垂木1は桁2と直交して桁2の上面に固定してあり、垂木1と桁2の連結には、図5に示すような連結具3を用いている。連結具3は、矩形平板状の基板部31と、基板部31の上面に設けた左右2つの係合部32を有する。係合部32は、左右で対向する逆J字状のものであり、左右の係合部32の間に垂木1が丁度納まり、垂木1の左右の被係合部11にそれぞれ係合部32が垂木1の長手方向に摺動自在に係合する。また、基板部31は、左右の係合部32の間部分の垂木固定部33と、係合部32の外側部分の桁固定部34からなり、垂木1の被係合部11に連結具3の係合部32を係合させた状態で、垂木固定部33が垂木1の下面に当接しており、桁固定部34が垂木1の側方に延出している。そして、垂木固定部33を、下側から垂木1にネジ止めして固定してあり、桁固定部34を、上側から桁2にネジ止めして固定してあって、連結具3により垂木1と桁2が連結されている。なお、垂木固定部33の下面には凹部35を形成してあり、垂木固定部33を垂木1に固定するネジの頭部が凹部35に納まることで、桁2と干渉しないようにしてある。
また、図6に示すように、妻垂木1aの内側半分は垂木1と同形状であり、すなわち、内側面の下部に、長手方向に延びる略G字形の溝状の被係合部11を形成してある。また、上面の左右方向中央には、長手方向に延びるネジ受溝12を形成してある。さらに、上面の内側には、タイト材ホルダを設けてあって、タイト材13を取り付けてある。
そして、妻垂木1aと桁2の連結にも、図6に示すような連結具3aを用いている。妻垂木1a用の連結具3aは、垂木1用の連結具3の、一方の係合部32から外側部分を切除した形状であり、矩形平板状の基板部31と、基板部31の上面に設けた1つの係合部32を有していて、基板部31の、係合部32より外側部分が垂木固定部33、内側部分が桁固定部34となっている。妻垂木1aの内側面の被係合部11に係合部32が妻垂木1aの長手方向に摺動自在に係合し、係合した状態で、垂木固定部33が妻垂木1aの下面に当接しており、桁固定部34が妻垂木1aの側方に延出している。そして、垂木固定部33を、下側から妻垂木1aにネジ止めして固定してあり、桁固定部34を、上側から桁2にネジ止めして固定してあって、連結具3aにより妻垂木1aと桁2が連結されている。なお、垂木固定部33の下面には凹部35を形成してあり、垂木固定部33を妻垂木1aに固定するネジの頭部が凹部35に納まることで、桁2と干渉しないようにしてある。
前枠5aと後枠5bは、それぞれ左右に並んだ垂木1及び妻垂木1aの前端と後端に取り付けてある。前枠5aは、上側に向けて開口する溝状の部分を有し、樋として機能するものである。また、後枠5bの後側面には、左右にわたって等間隔に複数のクッション材9を取り付けてある。クッション材9は、円錐台形状のものであって、中心軸に沿って貫通孔を形成してあり、貫通孔にネジを通して、後枠5bにネジ止めしてある。このクッション材9は、テラスが風にあおられるなどして撓んだ際に、後枠5bが躯体Sと直接接触することを防ぐためのものである。
中桟6は、左右に並んだ垂木1及び妻垂木1aの間にそれぞれ渡し掛けるもので、垂木1及び妻垂木1aの前後方向中央に設けてある。また、中桟6の上面にはタイト材を設けてある。なお、テラスの出幅が大きい場合(垂木1及び妻垂木1aが長い場合)には、前後に2本以上の中桟6を設けてもよい。
パネル材7は、樹脂製の矩形薄肉平板からなり、左右に並んだ垂木1及び妻垂木1aの間にそれぞれ設けてある。より詳しくは、図3〜図6に示すように(図2はパネル材7を透過して表してある)、パネル材7の左右の端部が、垂木1又は妻垂木1aの上面のタイト材13に載置してあり、パネル材7の前端部が前枠5aに係止し、後端部が後枠5bに係止しており、さらに、パネル材7の前後方向中央部が中桟6のタイト材に支持されている。そして、垂木1及び妻垂木1aの上側には、それぞれパネル押さえ具71,71aを取り付けてある。垂木1に取り付けるパネル押さえ具71は、垂木1と略等幅で、左右端部の下面にタイト材ホルダを設けてあって、それぞれタイト材72を取り付けてある。そして、パネル押さえ具71の左右のタイト材72と、垂木1の左右のタイト材13とで、それぞれパネル材7の端部を挟み込み、パネル押さえ具71の左右方向中央部を垂木1のネジ受溝12にネジ止めして、パネル材7を固定してある。一方、妻垂木1aに取り付けるパネル押さえ具71aは、内側端部の下面にタイト材ホルダを設けてあって、タイト材72を取り付けてある。そして、パネル押さえ具71aのタイト材72と、妻垂木1aのタイト材13とで、パネル材7の端部を挟み込み、パネル押さえ具71aの外側端部を妻垂木1aのネジ受溝12にネジ止めして、パネル材7を固定してある。
垂木カバー8は、垂木1及び妻垂木1aの上側に取り付けるもので、図5及び図6に示すように、パネル押さえ具71,71aを覆い隠している。垂木1と妻垂木1aの垂木カバー8は同じ形状であって、下方に向けて開口する断面略コ字形の形材からなり、左右の下端部に内側に向けて突出する当接片81を形成してある。また、上面には上側に向けて開口する断面略コ字形の溝部82を形成してある。そして、垂木1においては、垂木カバー8の左右の当接片81を、垂木1の上部に取り付けたパネル押さえ具71の上面に当接させてあり、図3及び図5に示すように、Z金具83を介して垂木1にネジ止めしてある。ここで、垂木カバー8とZ金具83は、垂木カバー8の溝部82の底面でネジ止めしてあり、溝部82に目板84を取り付けてネジを覆い隠してある。一方、妻垂木1aにおいては、垂木カバー8の内側の当接片81を妻垂木1aの上部に取り付けたパネル押さえ具71aの上面に当接させ、外側の当接片81を妻垂木1aに当接させて、図6に示すように、垂木1の場合と同様にZ金具83を介して妻垂木1aにネジ止めしてある。なお、垂木カバー8は、垂木1及び妻垂木1aよりも前方に長く、前枠5aよりも前側に突出しており、突出部分の下側には、垂木1と略同形状の化粧材85を取り付けてあって、垂木1及び妻垂木1aが前枠5aを貫通して延びているように見える外観となっている。
次に、図7及び図8に基づき、このように構成するテラスの現地製造方法(施工手順)について説明する。なお、以下において、垂木1には妻垂木1aを含み、連結具3には妻垂木1a用の連結具3aを含む。このテラスは、垂木1を躯体Sから設計した所定間隔をあけて設け、躯体Sの前側に近接して設置するものであり、ここでは、垂木1の後端に取り付ける後枠5bと、躯体Sの間の間隔が、D=70mmとなる位置に垂木1を設ける(以下、テラス各部の間隔については図1、図2、図8参照)。すなわち、垂木1の位置は、予め定まっていることになる。そして、具体的な手順として、まず、図7(a)に示すように、左右の後柱4bの基礎穴Hbを、躯体Sから設計した所定間隔X内(より詳しくは、後柱4bの中心が、躯体SからDだけ離して設けた垂木1の後端部から前側の、設計した所定間隔L内に納まり、XはLに基礎穴Hbの見込幅を加えた間隔である)で障害物を避けた位置に形成し、左右の前柱4aの基礎穴Haを、躯体Sから設計した所定間隔Y内(より詳しくは、前柱4aの中心が、躯体SからDだけ離して設けた垂木1の前端部から後側の、設計した所定間隔L内に納まり、YはLに基礎穴Haの見込幅を加えた間隔である)で障害物を避けた位置に形成する。この際、躯体Sの基礎が布基礎である場合、地中の基礎が躯体S自体よりも前側に突出しており、後側(躯体側)の基礎穴Hbを形成する際の障害物S1となり得る。またそれ以外にも、埋設された種々の配管などが、前後の基礎穴Ha,Hbを形成する際の障害物となり得る。そこで、各基礎穴Ha,Hbは、躯体Sから設計した所定間隔X,Y内でそれらの障害物を避けた位置に形成されるものであり、これにより、前柱4aと後柱4bの間の距離も、設計した所定間隔M内のものとなる。この実施形態では、柱4a,4bが90mm角であって、後柱4bは、最も後側の位置が、中心が躯体Sの前側面からD=220mm離隔した位置であって垂木1の略後端の位置であり、そこからテラスの出幅に応じてL=300mm〜500mmの範囲(設計した範囲)で前側に移動可能である。また、前柱4aは、最も前側の位置が、テラスの出幅に応じて躯体Sの前側面から定められた距離だけ離隔した位置であって垂木1の略前端の位置であり、そこからテラスの出幅に応じてL=300mm〜500mmの範囲(設計した範囲)で後側に移動可能である。ただし、前柱4aと後柱4bの移動量の合計も、テラスの出幅に応じて設計した300mm〜500mmの範囲となる。さらに、前柱4aと後柱4bは何れも、左右方向に関して、内側に最大W=500mm、外側に最大W=47mmの範囲で移動可能である(図2ではW=W+W)。なお、基礎穴Ha,Hbの形成に際して、地中の障害物の位置が予め図面などによりわかっている場合には、当初からそれを避けた位置に穴を掘ればよい。また、穴を掘ったところ障害物が発見された場合には、現場で適宜基礎穴Ha,Hbの位置を変更すればよい。
続いて、前柱4aと後柱4bの前後位置が定まったことにより、屋根(垂木1)の傾斜に応じた前柱4aと後柱4bの高さもそれぞれ定まる。そこで、前柱4a及び後柱4bの長さを、前後位置と垂木1の傾斜角度に応じて切り縮めて調整する。屋根は前側に向けて下方に傾斜するので、前柱4aよりも後柱4bの方が長くなる。
続いて、前側で、左右の基礎穴Haに立設した柱4aと、左右の柱4a間に架設した桁2とで門形を形成するとともに、後側で、左右の基礎穴Hbに立設した柱4bと、左右の柱4b間に架設した桁2とで門形を形成する。より具体的には、2本の前柱4aに桁2を横架して門形に組み、同様に2本の後柱4bに桁2を横架して門形に組み、図7(b)に示すように、前柱4aを前側の左右の基礎穴Haに立て、後柱4bを後側の左右の基礎穴Hbに立てて、基礎穴Ha,Hbにコンクリート又はモルタルを流し込んで固定する。なお、この工程においては、前柱4a及び後柱4bを基礎穴Ha,Hbに立ててから、それぞれ左右の前柱4a及び後柱4bに桁2を載せて、門形に組んでもよい。
続いて、図7(c)に示すように、前後の桁2に垂木1を載置して固定する。垂木1と桁2の連結には、上記のとおり連結具3を用いる。ここで、上記のように垂木1は躯体Sから設計した所定間隔をあけて前後の桁2に取り付けるものであって、この実施形態では、垂木1の後端に取り付ける後枠5bと、躯体Sの間の間隔が、D=70mmとなる位置とする。この際、上記のように、前柱4a及び後柱4bの前後位置は地中の障害物によって移動するので、垂木1に対する桁2の取付位置はその都度変化するものであり、前柱4a及び後柱4bの前後位置が確定することで、垂木1に対する桁2の取付位置が定まる。よって、垂木1の固定に際しては、まず、地上において、連結具3の係合部32を垂木1の被係合部11に係合させ、連結具3を垂木1の端部から上記のように定まった桁2の取付位置まで摺動させて、連結具3の垂木固定部33を下側から垂木1にネジ止めする。こうして各垂木1に前後2つずつ連結具3を取り付ける。次に、垂木1を持ち上げて、屋根の設置位置である高所において、前後の桁2の上に載置する。既に連結具3の位置合わせをしてあり、前後の連結具3の位置がそれぞれ前後の桁2と一致するので、連結具3の桁固定部34を上側から桁2にネジ止めする。
その後、垂木1の前後端にそれぞれ前枠5aと後枠5bを取り付けるとともに、前後方向中間部に中桟6を取り付ける。なお、後枠5bには、予めクッション材9を取り付ける。続いて、垂木1の間にパネル材7を取り付けてパネル押さえ具71で固定し、さらに垂木1に垂木カバー8を取り付ける。そして、各部材の端部にキャップを取り付けて(キャップは、上記工程の途中で適宜取り付けてもよい)、テラスが完成する。
このようなテラス(簡易構造物)の現地製造方法によれば、左右にそれぞれ前柱4aと後柱4bを配置した両支持式で、片持ち式のものと比べて必要な強度を確保しつつ柱4a,4bを細くすることができ、意匠的な制約が少ない簡易構造物を製造できる。そして、設置箇所の地中に躯体Sの基礎や配管などの障害物がある場合に、それを避けつつ躯体Sから設計した所定間隔内の位置に前柱4a及び後柱4bを立てるものであって、これにより柱4a,4bの前後位置が変動した場合でも、垂木1を柱4a,4bの前後位置によらず躯体Sから設計した所定間隔をあけて前後の桁2に取り付けるので、簡易構造物を建物躯体に近接して設置することができる。また、垂木1と桁2を連結する際に、予め連結具3を垂木1に固定できるので、作業者は、連結具3を取り付けた垂木1とネジのみを持って高所に上がり、連結具3を桁2にネジ止めすればよく、施工性が良好である。連結具3は予め垂木1の所定の位置に付いており、これだけで垂木1を所定の位置に取り付けられるので、高所で垂木1の位置合わせを行う必要がない。また、連結具3を垂木1に固定する際、連結具3が垂木1に対して摺動自在なので、前柱4a及び後柱4bの取付位置に応じた位置合わせが容易である。
次に、本発明の方法により、住宅などの建物躯体に近接して設置されるパーゴラを製造する場合を例に挙げる。このパーゴラの例においても、躯体の前側にパーゴラ(簡易構造物)が設置されるものとし(パーゴラ側が前側、躯体側が後側、図9)、左右はパーゴラを正面視した際の左右方向を示す(図10)。図9〜図12に示すように、このパーゴラは、左右の柱(前柱4a及び後柱4b)と桁2を門形に組み、前後の桁2の間に出幅桁2aを設け、さらに前後の桁2の上に垂木1を載せたものである。
前柱4a及び後柱4bは、断面略正方形の形材からなり、躯体Sの前側の左右位置に後柱4bを立設してあり、左右の後柱4bの前方にそれぞれ前柱4aを立設してある。設置面の、各柱4a,4bの立設位置には、上面視して正方形の基礎穴Ha,Hbを形成してあり、基礎穴Ha,Hbに柱4a,4bを立てて、コンクリート又はモルタルを流し込んで固定してある。なお、垂木1は水平に設けられるものであり、前柱4aと後柱4bは同じ高さである。
桁2は、断面略矩形の形材からなり、左右の前柱4a及び左右の後柱4bにそれぞれ横架してあり、左右の2本の柱4a,4bと桁2で門形に組んである。柱4a,4bと桁2の連結には、図11及び図12に示すような結合部材41を用いている。結合部材41は、略矩形の平板部42と、平板部42の下面に左右並んで2枚形成された垂下面43からなり、平板部42を桁2の下面に当接させてボルト止めし、2枚の垂下面43を柱4a,4bの上端の開口部内に挿入して柱4a,4bの左右面からネジ止めしてある。
出幅桁2aは、断面略矩形の形材からなり、前後の桁2の間の左右端部にそれぞれ横架してある。図11に示すように、前側の桁2の後側面及び後側の桁2の前側面に、略L字形の取付具21を取り付けてあり、前後の取付具21に出幅桁2aの前後の端部を載置し、下側からネジ止めして固定してある。
垂木1は、下側部材14と、上側部材15の2つの形材を組み合わせて形成されるものであり、図9及び図10に示すように、前後の桁2に横架してあって、水平向きで、左右に等間隔に7本並んでいる。図13に示すように、垂木1の下側部材14は、底面部141と、底面部141の上面の左右方向中央に形成した断面略矩形の突部142と、底面部141の左右両端から上向きに立設する立設片143を有し、突部142の高さは立設片143の高さよりも高く、突部142の上端の左右端部には、先端に外側向きの爪状部を有する係合片144を形成してある。一方、垂木1の上側部材15は、断面略矩形で下側部材14と左右幅が同じであって、下面の左右方向中央に形成した下側溝部151と、上面の左右方向中央に形成した上側溝部152と、下面の左右両端から下向きに垂下する垂下片153を有し、下側溝部151の側壁部には、下側部材14の係合片144と係合する爪状部を形成してあり、垂下片153の下端部内側には、略L字形の係止片154を形成してある。
そして、垂木1は桁2と直交して桁2の上面に固定してある。垂木1の下側部材14の底面部141が、桁2の上面に当接しており、底面部141の突部142と立設片143の間部分からネジ止めして、下側部材14を桁2に固定してある。また、上側部材15の左右の垂下片153の係止片154を下側部材14の左右の立設片143の上端にそれぞれ係止させ、下側部材14の左右の係合片144を上側部材15の下側溝部151に挿入して爪状部同士を係合させて、下側部材14の上側から、上側部材15を取り付けてあって、上側部材15によって、下側部材14を桁2に固定するネジを覆い隠してある。そして、上側部材15の上側溝部152の底面から、下側溝部151の底面を貫通して、下側部材14の突部142の上面にネジ止めしてあり、上側溝部152に目板155を取り付けてネジを覆い隠してある。このようにして形成される垂木1は、下側部材14と上側部材15が一体となって断面略矩形となる。
また、図14に示すように、各垂木1の後端部には、後端面全体を覆い上面まで延びる略L字形の後端部材16を取り付けてある。後端部材16は、垂木1の上面にネジ止めしてあり、後側面にネジ孔を形成してある。そして、後端部材16の後側面には、クッション材9を取り付けてある。クッション材9は、円錐台形状のものであって、中心軸に沿って貫通孔を形成してあり、貫通孔にネジを通して、後端部材16のネジ孔にネジ止めしてある。このクッション材9は、パーゴラが風にあおられるなどして撓んだ際に、垂木1の後端が躯体Sと直接接触することを防ぐためのものである。
次に、図15及び図16に基づき、このように構成するパーゴラの現地製造方法(施工手順)について説明する。このパーゴラは、垂木1を躯体Sから設計した所定間隔をあけて設け、躯体Sの前側に近接して設置するものであり、ここでは、垂木1の後端と、躯体Sの間の間隔が、D=70mmとなる位置に垂木1を設ける(以下、パーゴラ各部の間隔については図9、図10、図16参照)。すなわち、垂木1の位置は、予め定まっていることになる。そして、具体的な手順として、まず、図15(a)に示すように、左右の後柱4bの基礎穴Hbを、躯体Sから設計した所定間隔X内(より詳しくは、後柱4bの中心が、躯体SからDだけ離して設けた垂木1の後端部から前側の、設計した所定間隔L内に納まり、XはLに基礎穴Hbの見込幅を加えた間隔である)で障害物を避けた位置に形成し、左右の前柱4aの基礎穴Haを、躯体Sから設計した所定間隔Y内(より詳しくは、前柱4aの中心が、躯体SからDだけ離して設けた垂木1の前端部から後側の、設計した所定間隔L内に納まり、YはLに基礎穴Haの見込幅を加えた間隔である)で障害物を避けた位置に形成する。この際、躯体Sの基礎が布基礎である場合、地中の基礎が躯体S自体よりも前側に突出しており、後側(躯体側)の基礎穴Hbを形成する際の障害物S1となり得る。またそれ以外にも、埋設された種々の配管などが、前後の基礎穴Ha,Hbを形成する際の障害物となり得る。そこで、各基礎穴Ha,Hbは、躯体Sから設計した所定間隔X,Y内でそれらの障害物を避けた位置に形成されるものであり、これにより、前柱4aと後柱4bの間の距離も、設計した所定間隔M内のものとなる。この実施形態では、柱4a,4bが90mm角であって、後柱4bは、最も後側の位置が、中心が躯体Sの前側面からパーゴラの出幅に応じてD=184mm〜168mm離隔した位置であって垂木1の略後端の位置であり、そこからパーゴラの出幅に応じてL=300mm〜500mmの範囲(設計した範囲)で前側に移動可能である。また、前柱4aは、最も前側の位置が、パーゴラの出幅に応じて躯体Sの前側面から定められた距離だけ離隔した位置であって垂木1の略前端の位置であり、そこからパーゴラの出幅に応じてL=300mm〜500mmの範囲(設計した範囲)で後側に移動可能である。ただし、前柱4aと後柱4bの移動量の合計も、パーゴラの出幅に応じて設計した300mm〜500mmの範囲となる。さらに、前柱4aと後柱4bは何れも、左右方向に関して、内側に最大W=500mm、外側に最大W=23mmの範囲で移動可能である(図10ではW=W+W)。なお、基礎穴Ha,Hbの形成に際して、地中の障害物の位置が予め図面などによりわかっている場合には、当初からそれを避けた位置に穴を掘ればよい。また、穴を掘ったところ障害物が発見された場合には、現場で適宜基礎穴Ha,Hbの位置を変更すればよい。
続いて、前側で、左右の基礎穴Haに立設した柱4aと、左右の柱4a間に架設した桁2とで門形を形成するとともに、後側で、左右の基礎穴Hbに立設した柱4bと、左右の柱4b間に架設した桁2とで門形を形成する。より具体的には、桁2に出幅桁2aの取付具21を取り付けた上で、2本の前柱4aに桁2を横架して門形に組み、同様に2本の後柱4bに桁2を横架して門形に組み、図15(b)に示すように、前柱4aを前側の左右の基礎穴Haに立て、後柱4bを後側の左右の基礎穴Hbに立てて、基礎穴Ha,Hbにコンクリート又はモルタルを流し込んで固定する。なお、この工程においては、前柱4a及び後柱4bを基礎穴Ha,Hbに立ててから、それぞれ左右の前柱4a及び後柱4bに桁2を載せて、門形に組んでもよい。
続いて、前後の桁2の間の左右端部に、それぞれ出幅桁2aを取り付ける。この際、前柱4a及び後柱4bを前後に移動させた場合には、移動距離に応じて、出幅桁2aを切り縮めて長さを調整する。出幅桁2aは、前後の端部を桁2に取り付けた取付具21に載置し、下側からネジ止めして固定する。
続いて、図15(c)に示すように、前後の桁2に垂木1を載置して固定する。ここで、上記のように垂木1は躯体Sから設計した所定間隔をあけて前後の桁2に取り付けるものであって、この実施形態では、垂木1の後端と、躯体Sの間の間隔が、D=70mmとなる位置とする。この際、上記のように、前柱4a及び後柱4bの前後位置は地中の障害物によって移動するので、垂木1に対する桁2の取付位置はその都度変化するものであり、前柱4a及び後柱4bの前後位置が確定することで、垂木1に対する桁2の取付位置が定まる。よって、垂木1の固定に際しては、まず、地上において、垂木1の下側部材14の底面部141の突部142と立設片143の間部分の、上記のように定まった前後2箇所の桁2の取付位置に、ネジ孔を形成する。次に、垂木1の下側部材14を持ち上げて、屋根の設置位置である高所において、前後の桁2の上に載置する。既に桁2の取付位置にネジ孔を形成してあり、前後のネジ孔の位置がそれぞれ前後の桁2と一致するので、垂木1の下側部材14の底面部141を上側から桁2にネジ止めする。次に、垂木1の上側部材15を持ち上げて、下側部材14に上側から取り付けてネジ止めし、垂木1が形成される。
その後、垂木1の後端にクッション材9を設けた後端部材16を取り付ける。そして、各部材の端部にキャップを取り付けて(キャップは、上記工程の途中で適宜取り付けてもよい)、パーゴラが完成する。
このようなパーゴラ(簡易構造物)の現地製造方法によれば、左右にそれぞれ前柱4aと後柱4bを配置した両支持式で、片持ち式のものと比べて必要な強度を確保しつつ柱4a,4bを細くすることができ、意匠的な制約が少ない簡易構造物を製造できる。そして、設置箇所の地中に躯体Sの基礎や配管などの障害物がある場合に、それを避けつつ躯体Sから設計した所定間隔内の位置に前柱4a及び後柱4bを立てるものであって、これにより柱4a,4bの前後位置が変動した場合でも、垂木1を柱4a,4bの前後位置によらず躯体Sから設計した所定間隔をあけて前後の桁2に取り付けるので、簡易構造物を建物躯体に近接して設置することができる。また、垂木1が下側部材14と上側部材15とに分割されており、下側部材14を桁2にネジ止めして、上側部材15で上側から覆うので、ネジやその他の部品が露出せず、意匠性が良好である。特にパーゴラにおいては、屋根材がなく、垂木1と桁2の接合部が上側(上層階)から直接見えるため、有効である。
本発明は、上記の実施形態に限定されない。たとえば、テラスの場合とパーゴラの場合の何れにおいても、上記の本発明の趣旨に影響しない部分において、工程の変更、追加、削除があっても構わない。
1 垂木
2 桁
4a 前柱
4b 後柱
Ha 基礎穴(前側)
Hb 基礎穴(後側)
S 躯体

Claims (1)

  1. アルミ形材製の垂木と柱と桁を用いるものであって、次の工程を有し、簡易構造物の垂木を建物躯体から設計した所定間隔をあけて設け、建物躯体の前側に近接して設置する簡易構造物の現地製造方法
    (1)後側の左右の柱の基礎穴を躯体から設計した所定間隔内で障害物を避けた位置に形成し、前側の左右の柱の基礎穴を躯体から設計した所定間隔内の位置に形成する工程。
    (2)前側及び後側で左右の基礎穴に、左右の柱間に桁を架設して形成した門形フレームの左右の柱を立設する工程。
    (3)垂木を躯体から設計した所定間隔をあけて、前後の桁に取り付ける工程。
JP2017015366A 2017-01-31 2017-01-31 簡易構造物の現地製造方法 Active JP6857039B2 (ja)

Priority Applications (1)

Application Number Priority Date Filing Date Title
JP2017015366A JP6857039B2 (ja) 2017-01-31 2017-01-31 簡易構造物の現地製造方法

Applications Claiming Priority (1)

Application Number Priority Date Filing Date Title
JP2017015366A JP6857039B2 (ja) 2017-01-31 2017-01-31 簡易構造物の現地製造方法

Publications (2)

Publication Number Publication Date
JP2018123532A JP2018123532A (ja) 2018-08-09
JP6857039B2 true JP6857039B2 (ja) 2021-04-14

Family

ID=63111077

Family Applications (1)

Application Number Title Priority Date Filing Date
JP2017015366A Active JP6857039B2 (ja) 2017-01-31 2017-01-31 簡易構造物の現地製造方法

Country Status (1)

Country Link
JP (1) JP6857039B2 (ja)

Family Cites Families (3)

* Cited by examiner, † Cited by third party
Publication number Priority date Publication date Assignee Title
JPH07293011A (ja) * 1994-04-25 1995-11-07 Sekisui House Ltd 外部空間ユニットシステムのパーゴラ構造
US9068384B2 (en) * 2012-12-17 2015-06-30 White Aluminum Products, LLC Folding carport
JP6445254B2 (ja) * 2014-05-26 2018-12-26 Ykk Ap株式会社 独立構造体および隙間塞ぎ材の取付方法

Also Published As

Publication number Publication date
JP2018123532A (ja) 2018-08-09

Similar Documents

Publication Publication Date Title
JP6325258B2 (ja) 建物外部構築物
WO2019004143A1 (ja) 取付具、及び建物の壁構造
JP7426464B2 (ja) 簡易建物
JP2011074566A (ja) 建物の耐震補強構造及び建物の耐震補強方法
KR101323380B1 (ko) 매립형 고정 브라켓
JP5873369B2 (ja) 建物の張出構造
JP6857039B2 (ja) 簡易構造物の現地製造方法
WO2019065238A1 (ja) 取付具及び建物の壁構造
JP6670183B2 (ja) 方立取付構造およびサッシ
JP6970529B2 (ja) 簡易構造物
JP6835533B2 (ja) 簡易構造物
JP6340397B2 (ja) 独立構造体、独立構造体の現地施工方法
JP2016033308A (ja) 建物外部構築物の施工方法
KR102213584B1 (ko) 안전발판 설치를 위한 트러스 고정구조
JP2010189856A (ja) カーポート
JP6751736B2 (ja) 建築物の軒先構造
JP2020084492A (ja) 簡易建物
KR101884572B1 (ko) 조립식 건축물의 기초 외벽용 토대
KR101466891B1 (ko) 조립식 한옥 기둥구조 및 이의 시공방법
JP7685639B2 (ja) 設置構造及び設置構造の施工方法
JP6783038B2 (ja) 建物構造
JP5165984B2 (ja) バルコニー床の支持構造
JP2016033302A (ja) 前枠と垂木の取付構造
JP5758651B2 (ja) 突出部の支持構造
JP3145989U (ja) 軽量構築物

Legal Events

Date Code Title Description
A621 Written request for application examination

Free format text: JAPANESE INTERMEDIATE CODE: A621

Effective date: 20190725

A977 Report on retrieval

Free format text: JAPANESE INTERMEDIATE CODE: A971007

Effective date: 20200729

A131 Notification of reasons for refusal

Free format text: JAPANESE INTERMEDIATE CODE: A131

Effective date: 20200908

A521 Written amendment

Free format text: JAPANESE INTERMEDIATE CODE: A523

Effective date: 20201027

TRDD Decision of grant or rejection written
A01 Written decision to grant a patent or to grant a registration (utility model)

Free format text: JAPANESE INTERMEDIATE CODE: A01

Effective date: 20210316

A61 First payment of annual fees (during grant procedure)

Free format text: JAPANESE INTERMEDIATE CODE: A61

Effective date: 20210319

R150 Certificate of patent or registration of utility model

Ref document number: 6857039

Country of ref document: JP

Free format text: JAPANESE INTERMEDIATE CODE: R150