JP6843500B2 - 構成部材補強部及びフィードスルーを備えている構成部材 - Google Patents

構成部材補強部及びフィードスルーを備えている構成部材 Download PDF

Info

Publication number
JP6843500B2
JP6843500B2 JP2015220916A JP2015220916A JP6843500B2 JP 6843500 B2 JP6843500 B2 JP 6843500B2 JP 2015220916 A JP2015220916 A JP 2015220916A JP 2015220916 A JP2015220916 A JP 2015220916A JP 6843500 B2 JP6843500 B2 JP 6843500B2
Authority
JP
Japan
Prior art keywords
component
thickness
glass
feedthrough opening
reinforcing
Prior art date
Legal status (The legal status is an assumption and is not a legal conclusion. Google has not performed a legal analysis and makes no representation as to the accuracy of the status listed.)
Active
Application number
JP2015220916A
Other languages
English (en)
Other versions
JP2016111006A (ja
Inventor
ハートル ヘルムート
ハートル ヘルムート
Current Assignee (The listed assignees may be inaccurate. Google has not performed a legal analysis and makes no representation or warranty as to the accuracy of the list.)
Schott AG
Original Assignee
Schott AG
Priority date (The priority date is an assumption and is not a legal conclusion. Google has not performed a legal analysis and makes no representation as to the accuracy of the date listed.)
Filing date
Publication date
Application filed by Schott AG filed Critical Schott AG
Publication of JP2016111006A publication Critical patent/JP2016111006A/ja
Application granted granted Critical
Publication of JP6843500B2 publication Critical patent/JP6843500B2/ja
Active legal-status Critical Current
Anticipated expiration legal-status Critical

Links

Images

Classifications

    • HELECTRICITY
    • H01ELECTRIC ELEMENTS
    • H01MPROCESSES OR MEANS, e.g. BATTERIES, FOR THE DIRECT CONVERSION OF CHEMICAL ENERGY INTO ELECTRICAL ENERGY
    • H01M50/00Constructional details or processes of manufacture of the non-active parts of electrochemical cells other than fuel cells, e.g. hybrid cells
    • H01M50/10Primary casings; Jackets or wrappings
    • H01M50/183Sealing members
    • H01M50/186Sealing members characterised by the disposition of the sealing members
    • CCHEMISTRY; METALLURGY
    • C03GLASS; MINERAL OR SLAG WOOL
    • C03CCHEMICAL COMPOSITION OF GLASSES, GLAZES OR VITREOUS ENAMELS; SURFACE TREATMENT OF GLASS; SURFACE TREATMENT OF FIBRES OR FILAMENTS MADE FROM GLASS, MINERALS OR SLAGS; JOINING GLASS TO GLASS OR OTHER MATERIALS
    • C03C3/00Glass compositions
    • C03C3/12Silica-free oxide glass compositions
    • C03C3/16Silica-free oxide glass compositions containing phosphorus
    • CCHEMISTRY; METALLURGY
    • C03GLASS; MINERAL OR SLAG WOOL
    • C03CCHEMICAL COMPOSITION OF GLASSES, GLAZES OR VITREOUS ENAMELS; SURFACE TREATMENT OF GLASS; SURFACE TREATMENT OF FIBRES OR FILAMENTS MADE FROM GLASS, MINERALS OR SLAGS; JOINING GLASS TO GLASS OR OTHER MATERIALS
    • C03C3/00Glass compositions
    • C03C3/12Silica-free oxide glass compositions
    • C03C3/16Silica-free oxide glass compositions containing phosphorus
    • C03C3/17Silica-free oxide glass compositions containing phosphorus containing aluminium or beryllium
    • CCHEMISTRY; METALLURGY
    • C03GLASS; MINERAL OR SLAG WOOL
    • C03CCHEMICAL COMPOSITION OF GLASSES, GLAZES OR VITREOUS ENAMELS; SURFACE TREATMENT OF GLASS; SURFACE TREATMENT OF FIBRES OR FILAMENTS MADE FROM GLASS, MINERALS OR SLAGS; JOINING GLASS TO GLASS OR OTHER MATERIALS
    • C03C3/00Glass compositions
    • C03C3/12Silica-free oxide glass compositions
    • C03C3/16Silica-free oxide glass compositions containing phosphorus
    • C03C3/19Silica-free oxide glass compositions containing phosphorus containing boron
    • HELECTRICITY
    • H01ELECTRIC ELEMENTS
    • H01GCAPACITORS; CAPACITORS, RECTIFIERS, DETECTORS, SWITCHING DEVICES, LIGHT-SENSITIVE OR TEMPERATURE-SENSITIVE DEVICES OF THE ELECTROLYTIC TYPE
    • H01G11/00Hybrid capacitors, i.e. capacitors having different positive and negative electrodes; Electric double-layer [EDL] capacitors; Processes for the manufacture thereof or of parts thereof
    • H01G11/78Cases; Housings; Encapsulations; Mountings
    • HELECTRICITY
    • H01ELECTRIC ELEMENTS
    • H01GCAPACITORS; CAPACITORS, RECTIFIERS, DETECTORS, SWITCHING DEVICES, LIGHT-SENSITIVE OR TEMPERATURE-SENSITIVE DEVICES OF THE ELECTROLYTIC TYPE
    • H01G11/00Hybrid capacitors, i.e. capacitors having different positive and negative electrodes; Electric double-layer [EDL] capacitors; Processes for the manufacture thereof or of parts thereof
    • H01G11/78Cases; Housings; Encapsulations; Mountings
    • H01G11/80Gaskets; Sealings
    • HELECTRICITY
    • H01ELECTRIC ELEMENTS
    • H01GCAPACITORS; CAPACITORS, RECTIFIERS, DETECTORS, SWITCHING DEVICES, LIGHT-SENSITIVE OR TEMPERATURE-SENSITIVE DEVICES OF THE ELECTROLYTIC TYPE
    • H01G11/00Hybrid capacitors, i.e. capacitors having different positive and negative electrodes; Electric double-layer [EDL] capacitors; Processes for the manufacture thereof or of parts thereof
    • H01G11/78Cases; Housings; Encapsulations; Mountings
    • H01G11/82Fixing or assembling a capacitive element in a housing, e.g. mounting electrodes, current collectors or terminals in containers or encapsulations
    • HELECTRICITY
    • H01ELECTRIC ELEMENTS
    • H01GCAPACITORS; CAPACITORS, RECTIFIERS, DETECTORS, SWITCHING DEVICES, LIGHT-SENSITIVE OR TEMPERATURE-SENSITIVE DEVICES OF THE ELECTROLYTIC TYPE
    • H01G2/00Details of capacitors not covered by a single one of groups H01G4/00-H01G11/00
    • H01G2/10Housing; Encapsulation
    • H01G2/103Sealings, e.g. for lead-in wires; Covers
    • HELECTRICITY
    • H01ELECTRIC ELEMENTS
    • H01GCAPACITORS; CAPACITORS, RECTIFIERS, DETECTORS, SWITCHING DEVICES, LIGHT-SENSITIVE OR TEMPERATURE-SENSITIVE DEVICES OF THE ELECTROLYTIC TYPE
    • H01G4/00Fixed capacitors; Processes of their manufacture
    • H01G4/002Details
    • H01G4/228Terminals
    • H01G4/236Terminals leading through the housing, i.e. lead-through
    • HELECTRICITY
    • H01ELECTRIC ELEMENTS
    • H01GCAPACITORS; CAPACITORS, RECTIFIERS, DETECTORS, SWITCHING DEVICES, LIGHT-SENSITIVE OR TEMPERATURE-SENSITIVE DEVICES OF THE ELECTROLYTIC TYPE
    • H01G9/00Electrolytic capacitors, rectifiers, detectors, switching devices, light-sensitive or temperature-sensitive devices; Processes of their manufacture
    • H01G9/004Details
    • H01G9/08Housing; Encapsulation
    • HELECTRICITY
    • H01ELECTRIC ELEMENTS
    • H01GCAPACITORS; CAPACITORS, RECTIFIERS, DETECTORS, SWITCHING DEVICES, LIGHT-SENSITIVE OR TEMPERATURE-SENSITIVE DEVICES OF THE ELECTROLYTIC TYPE
    • H01G9/00Electrolytic capacitors, rectifiers, detectors, switching devices, light-sensitive or temperature-sensitive devices; Processes of their manufacture
    • H01G9/004Details
    • H01G9/08Housing; Encapsulation
    • H01G9/10Sealing, e.g. of lead-in wires
    • HELECTRICITY
    • H01ELECTRIC ELEMENTS
    • H01MPROCESSES OR MEANS, e.g. BATTERIES, FOR THE DIRECT CONVERSION OF CHEMICAL ENERGY INTO ELECTRICAL ENERGY
    • H01M50/00Constructional details or processes of manufacture of the non-active parts of electrochemical cells other than fuel cells, e.g. hybrid cells
    • H01M50/10Primary casings; Jackets or wrappings
    • H01M50/183Sealing members
    • H01M50/19Sealing members characterised by the material
    • H01M50/191Inorganic material
    • HELECTRICITY
    • H01ELECTRIC ELEMENTS
    • H01GCAPACITORS; CAPACITORS, RECTIFIERS, DETECTORS, SWITCHING DEVICES, LIGHT-SENSITIVE OR TEMPERATURE-SENSITIVE DEVICES OF THE ELECTROLYTIC TYPE
    • H01G2/00Details of capacitors not covered by a single one of groups H01G4/00-H01G11/00
    • H01G2/10Housing; Encapsulation
    • HELECTRICITY
    • H01ELECTRIC ELEMENTS
    • H01MPROCESSES OR MEANS, e.g. BATTERIES, FOR THE DIRECT CONVERSION OF CHEMICAL ENERGY INTO ELECTRICAL ENERGY
    • H01M50/00Constructional details or processes of manufacture of the non-active parts of electrochemical cells other than fuel cells, e.g. hybrid cells
    • H01M50/10Primary casings; Jackets or wrappings
    • H01M50/147Lids or covers
    • H01M50/155Lids or covers characterised by the material
    • H01M50/157Inorganic material
    • H01M50/159Metals
    • HELECTRICITY
    • H01ELECTRIC ELEMENTS
    • H01MPROCESSES OR MEANS, e.g. BATTERIES, FOR THE DIRECT CONVERSION OF CHEMICAL ENERGY INTO ELECTRICAL ENERGY
    • H01M50/00Constructional details or processes of manufacture of the non-active parts of electrochemical cells other than fuel cells, e.g. hybrid cells
    • H01M50/50Current conducting connections for cells or batteries
    • H01M50/543Terminals
    • H01M50/547Terminals characterised by the disposition of the terminals on the cells
    • H01M50/55Terminals characterised by the disposition of the terminals on the cells on the same side of the cell
    • YGENERAL TAGGING OF NEW TECHNOLOGICAL DEVELOPMENTS; GENERAL TAGGING OF CROSS-SECTIONAL TECHNOLOGIES SPANNING OVER SEVERAL SECTIONS OF THE IPC; TECHNICAL SUBJECTS COVERED BY FORMER USPC CROSS-REFERENCE ART COLLECTIONS [XRACs] AND DIGESTS
    • Y02TECHNOLOGIES OR APPLICATIONS FOR MITIGATION OR ADAPTATION AGAINST CLIMATE CHANGE
    • Y02EREDUCTION OF GREENHOUSE GAS [GHG] EMISSIONS, RELATED TO ENERGY GENERATION, TRANSMISSION OR DISTRIBUTION
    • Y02E60/00Enabling technologies; Technologies with a potential or indirect contribution to GHG emissions mitigation
    • Y02E60/10Energy storage using batteries
    • YGENERAL TAGGING OF NEW TECHNOLOGICAL DEVELOPMENTS; GENERAL TAGGING OF CROSS-SECTIONAL TECHNOLOGIES SPANNING OVER SEVERAL SECTIONS OF THE IPC; TECHNICAL SUBJECTS COVERED BY FORMER USPC CROSS-REFERENCE ART COLLECTIONS [XRACs] AND DIGESTS
    • Y02TECHNOLOGIES OR APPLICATIONS FOR MITIGATION OR ADAPTATION AGAINST CLIMATE CHANGE
    • Y02EREDUCTION OF GREENHOUSE GAS [GHG] EMISSIONS, RELATED TO ENERGY GENERATION, TRANSMISSION OR DISTRIBUTION
    • Y02E60/00Enabling technologies; Technologies with a potential or indirect contribution to GHG emissions mitigation
    • Y02E60/13Energy storage using capacitors

Landscapes

  • Engineering & Computer Science (AREA)
  • Power Engineering (AREA)
  • Chemical & Material Sciences (AREA)
  • Chemical Kinetics & Catalysis (AREA)
  • General Chemical & Material Sciences (AREA)
  • Microelectronics & Electronic Packaging (AREA)
  • Materials Engineering (AREA)
  • Electrochemistry (AREA)
  • Life Sciences & Earth Sciences (AREA)
  • Geochemistry & Mineralogy (AREA)
  • Organic Chemistry (AREA)
  • Inorganic Chemistry (AREA)
  • Manufacturing & Machinery (AREA)
  • Sealing Battery Cases Or Jackets (AREA)
  • Electric Double-Layer Capacitors Or The Like (AREA)
  • Glass Compositions (AREA)
  • Connection Of Batteries Or Terminals (AREA)

Description

本発明は、構成部材厚さ及び少なくとも一つのフィードスルー開口部を有している構成部材、並びに、特に電気的な蓄積装置のための、とりわけ本発明による構成部材を備えているバッテリ又はコンデンサのためのケーシング、及び、その種のケーシングを備えている蓄積装置に関する。
導体、特に金属ピンを、例えばアルミニウムのような軽金属から成る基体に挿入する際、その種の構成部材が、蓄積装置、例えばバッテリ及び/又はコンデンサのケーシングの一部である場合には、ハーメチックシールされたフィードスルーが必要になる。バッテリは、従来から公知のエネルギ源、例えば鉛酸電池、ニッケルカドミウム電池又はニッケル金属電池であってよい。本発明においてバッテリとは、放電後には廃棄及び/又はリサイクルされる使い捨て電池、又は、蓄電池と解される。
リチウムイオン電池は数年前より公知となっている。これに関しては、例えば、McGrawHill社より1995年に出版されたDavid Linden編集「Handbook of Batteries」第2版の第36章及び第39章を参照されたい。
特に、自動車分野におけるバッテリ及び/又はコンデンサの用途に関して、耐食性、事故時の安定性又は耐震性のような多くの問題を解決する必要がある。更には、バッテリは長期間にわたりハーメチックシールされるように設計されていることが保証されなければならない。例えば、バッテリの電極又はバッテリの電極フィードスルーの領域における漏れ、バッテリの短絡又は温度変化によって密封性が損なわれる虞があり、それらによってバッテリの寿命が短くなる。特に、バッテリセル内への湿気の浸入も回避されるべきである。
事故時により良好な安定性を保証するために、独国特許出願公開第101055877号明細書では、両面が開放されており、且つ、それら両面が密閉される金属ジャケットを有している、リチウムイオン電池のためのケーシングが提案されている。電源接続部は合成物質によって絶縁されている。合成物質による絶縁の欠点として、耐熱性が限定的であること、また、その寿命にわたる密封性が不確定であることが挙げられる。
軽金属に挿入される、蓄積装置、例えばバッテリのためのフィードスルーは多くの文献、例えば、国際公開第2012/110242号、国際公開第2012/110246号、国際公開第2012/110247号、国際公開第2012/110245号、また特に、国際公開第2012/110244号に開示されており、それらの開示内容の全範囲は本願明細書に組み込まれる。
独国特許出願公開第102011103976号明細書にも同様に、フィードスルー、特にケーシング部材を通って案内されるフィードスルーが開示されている。この明細書においては、基体に関する厚さは規定されているが、しかしながら、ガラス材料の外寸と補強部材料の外寸の比に関しては規定されていない。
独国特許発明第4413808号明細書には、電気化学セル並びにその種のセルの製造方法が開示されている。この電気化学セルは、陰極活材料及び陽極活材料並びに保持フレームを有している。ボタン電池として形成されている電気化学セルの寸法は規定されていない。
例えば国際公開第2012/110244号に開示されているようなフィードスルーの欠点は、基体が通常の場合、ガラス付着部長さに相当する厚さを有していることであった。これによって、ケーシング部材が比較的重くなり、また、内部空間が過度に小さくなるので、バッテリセルの容積が失われていた。
独国特許出願公開第101055877号明細書 国際公開第2012/110242号 国際公開第2012/110246号 国際公開第2012/110247号 国際公開第2012/110245号 国際公開第2012/110244号 独国特許出願公開第102011103976号明細書 独国特許発明第4413808号明細書
David Linden編集「Handbook of Batteries」第2版、McGrawHill社、1995年、第36章及び第39章
ケーシング部材を作製しようとした場合には、固体材料から機械加工により厚みを作ることが必要とされた。別の問題は、不十分なプレストレスに起因してハーメチックシールが達成されないことであった。本発明によれば、可能な限り薄く且つ可能な限り軽量な構成部材を提供するという問題は、要求されるハーメチックシールと共に、請求項1に記載の構成部材によって解決される。
ハーメチックシールとは、1barの差圧において、ヘリウムの漏れ速度が1×10-6mbar ls-1、有利には、1×10-8mbar ls-1、とりわけ、1×10-9mbar ls-1であり、これは、漏れ速度が、最大で1×10-6mbar ls-1、有利には、最大で1×10-8mbar ls-1、とりわけ、最大で1×10-9mbar ls-1であることを意味する。
ハーメチックシールは、電気的な蓄積装置、特にバッテリの寿命を大幅に延ばすことを保証する。またこのハーメチックシールは、ガラス材料又はガラスセラミック材料を貫通して挿入されるピン状の導体が大電流及び/又は短絡に起因して短時間で強く加熱される場合にも保証される。特に、ハーメチックシールは湿気がバッテリセル内に浸入することも阻止する。
構成部材厚さ(BD)と、ガラス材料外径(GA)及びガラス付着部長さ(EL)を有するガラス材料又はガラスセラミック材料内に導体、特に実質的にピン状の導体を貫通させて挿入するための少なくとも一つのフィードスルー開口部と、を有している、本発明による構成部材は、フィードスルー開口部の領域において、構成部材厚さ(BD)よりも大きい構成部材フィードスルー開口部厚さ(BDD)を有している補強部を備えている。補強部は、補強部材料外径(VA)を有している。本発明によれば、上述の条件を満たすためには、ガラス材料外径(GA)と補強部材料外径(VA)の比が1:1.2以上であること、即ちGA/VA≧1/1.2であることが分かった。比GA/VAが1/1.2から1/2.2の範囲にある場合には特に有利である。具体的にこの条件は、円柱状のガラス材料及び円環状の補強部において、円筒状の補強部リングの外径の比が1:1.2以上であること、特に1:1.2から1:2.2の範囲にあるということを意味する。そのような比GA/VAを選択することによって、驚くべきことに、フィードスルー開口部の領域においてガラス材料に十分な圧力をかけることができ、それにより、ハーメチックシールが提供される。更には、補強部の外径の幅によって、ハーメチックシールに必要とされる圧縮力がガラスにかけられ、これもまたハーメチックシールを支援する。
本発明による構成の利点は、非常に薄い材料、従って重量が軽減された材料を構成部材に使用できることである。このことは、構成部材がケーシングの一部として、例えば蓄積装置のケーシング、例えばバッテリケーシング、特にバッテリカバーの一部として、又はコンデンサのケーシング、特にコンデンサカバーの一部として使用される場合には特に有利である。実質的に円柱状のガラス材料よりも遙かに大きい外径を有している補強部リングを用いる本発明の構成によって、驚くべきことに、フィードスルー開口部の領域においてガラス材料に十分な圧力をかけることができ、それにより、上述のようなハーメチックシールを生じさせることができる。更にはこれによって、フィードスルーの領域において十分な強度が提供される。
補強部の領域における構成部材フィードスルー厚さは、ハーメチックシールされたフィードスルーを保証するために、ガラス付着部長さ(EL)に実質的に相当している。これによって、ガラスに付着されたアノード又はカソードのより高い機械的な強度を達成することができる。
本発明の第1の構成においては、構成部材が、例えばケーシングカバーを形成し、且つ、構成部材厚さ(BD)を有する非常に薄い基体を有しており、また、補強部材厚さ(VD)を有している別個の補強部材がフィードスルー開口部の領域に配置され、その結果、構成部材の厚さ、即ち、構成部材厚さ(BD)及び補強部材厚さ(VD)の合計が構成部材フィードスルー開口部厚さ(BDD)となる。
構成部材フィードスルー開口部の領域に配置することができ、例えばフィードスルー開口部の領域において基体の下にリングとして配置することができる、別個の部材の代わりに、構成部材厚さ(BD)を有している基体及び補強部材を単一の構成部材に統合し、構成部材フィードスルー開口部の領域に構成部材フィードスルー開口部厚さ(BDD)を提供することができる。これは例えば、非常に薄い基体がフィードスルー開口部の領域において深絞り加工されることによって実施することができる。補強部の領域において比較的大きい所要寸法を生じさせるために、基体には、深絞り加工に続いて据え込み加工が行われる。本発明の別の代替形態においてもまた、構成部材厚さ(BD)を有する基体と補強部材が単一の構成部材を形成し、構成部材フィードスルー開口部の領域において構成部材フィードスルー厚さ(BDD)が提供される。これは、この別の代替形態においては、非常に薄い基体がフィードスルー開口部の領域において湾曲されることによって行われ、特に金属薄板が引っ張られ、続いて折り畳まれることによって行われる。
この場合、補強部の幅は、基体の厚さよりも大きい。
補強部の幅が、その材料の外径に関して、上述のように、ガラス材料の外径の1.2倍以上であることによって、ハーメチックシールに必要とされる圧縮力をガラスにかけることができ、これによってハーメチックシールされたフィードスルーが提供される。十分なハーメチックシールを達成するために、ガラス付着部長さが1.5mm以上であり、とりわけ1.5mmから8mmの範囲にある場合には特に有利である。
十分な安定性を有しており、且つ、変形とそれに続く据え込み加工が行われた場合でも十分な補強部を提供し、また、少なくともガラス付着部長さの範囲にあり、有利には少なくともガラス付着部長さ+2mmの範囲にあり、特に有利には3.5mmから10mmの範囲にある厚さを有する薄い構成部材は特に有利である。
構成部材、特に基体に使用される材料、また補強部材にも使用される材料が、5kg/dm3未満の比重量、及び/又は、350℃から800℃の範囲にある融点、及び/又は、5×106S/mから50×106S/mの範囲にある導電率、及び/又は、18×10-6/Kから30×10-6/Kの範囲にある膨張率α(20℃から300℃)を有している軽金属を含む場合には非常に有利である。
軽金属の材料がアルミニウム、アルミニウム合金、マグネシウム、マグネシウム合金、又は、他の金属及び特殊鋼のような合金である場合には特に有利である。特に有利には、本発明による構成部材は、ケーシングのカバー部材、特に、電気的な蓄積装置のためのケーシングのカバー部材である。蓄積装置は、例えばバッテリ又はコンデンサでよい。
ケーシングの他に、本発明は、フィードスルーが貫通される少なくともカバー部材としての、上述のような構成部材を備えている蓄積装置、特に、バッテリ又はコンデンサも提供する。
以下では、添付の図面を参照しながら本発明を詳細に説明する。
別個の補強部材を備えている本発明の第1の実施の形態を示す。 補強部分を有している1ピースの構成部材を備えている本発明の第2の構成を示す。 補強部分を有している1ピースの構成部材を備えている本発明の第3の構成を示す。
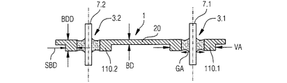
図1には、二つのフィードスルー開口部3.1,3.2を備えている本発明による構成部材1が示されている。フィードスルー開口部は、有利には、軸5.1又は5.2の周りに円筒状の形状、例えば円形の形状、又は楕円の形状を有している。
ここではピンの形態の導体7.1,7.2が、フィードスルー開口部3.1,3.2を通り、ガラス材料9.1,9.2を貫通するように案内される。
構成部材の厚さはBDであり、構成部材フィードスルー開口部厚さはBDDであり、且つ、別個の補強部材10.1,10.2の厚さはVDである。
図1から見て取れるように、構成部材フィードスルー開口部厚さBDDは、BDとVDの和に等しい。
ガラス材料9.1,9.2のガラス材料外寸はGAである。またガラス材料が有利には円形又は楕円形である場合には、このガラス材料の外寸は、ガラス栓の直径に等しい。
有利には同様に円形又は環状に形成されている、別個の補強部材の補強部材料外寸VAは、ガラス材料外寸GAの1.2倍である。即ち、ガラス栓が環状又は円形であり、且つ、補強部材料が環状又は円形である場合には、補強部材料の直径は、ガラス材料の直径の少なくとも1.2倍である。
また、構成部材フィードスルー開口部内でのガラス付着部長さELも示されている。図示されている構成部材においては、ガラス付着部長さ(EL)は、構成部材フィードスルー開口部の長さ又は構成部材フィードスルー開口部厚さ(BDD)に相当する。
勿論、ガラス付着部長さELが構成部材フィードスルー開口部厚さBDDより短くてもよいが、それとは反対に構成部材フィードスルー開口部厚さBDDがガラス付着部長さELよりも短くあってはならない。
この実施例では例えばバッテリのような蓄積装置のケーシング部材、有利にはカバー部材である基体20の材料として、5kg/dm3未満の比重量、及び/又は、350℃から800℃の範囲にある融点、及び/又は、5×106S/mから50×106S/mの範囲にある導電率、及び/又は、18×10-6/Kから30×10-6/Kの範囲にある膨張率α(20℃から300℃)を有している軽金属が有利である。軽金属は有利には、アルミニウム、アルミニウム合金、マグネシウム、マグネシウム合金、チタニウム又はチタニウム合金である。導体ピン7.1,7.2の材料は、有利には、金属、特に銅、Cusic、銅合金、ASC、銀、銀合金、金又は金合金であるが、しかしながらまたアルミニウム又はアルミニウム合金であってもよい。
ガラス付着部9.2のためのガラス材料として、有利には国際公開第2012/110247号(その開示内容全体は本願に含まれる)に記載されているような燐酸塩ガラスが使用される。
図2には、本発明の代替的な構成が示されている。ここでもまた、構成部材には参照番号1が付されているが、しかしながら図1とは異なり、ここでは、構成部材が、構成部材フィードスルー開口部3.1,3.2の領域において2ピースで形成されているのではなく、1ピースで形成されている。即ち、基体20は、構成部材フィードスルー開口部3.1,3.2の領域において厚み部分110.1,110.2を有している。この厚み部分110.1,110.2は、補強部110.1,110.2の領域にある構成部材1が深絞り加工されることによって得られる。これによって、構成部材は構成部材フィードスルー開口部の領域において厚さBDDを有している。この厚さBDDは常に、構成部材の厚さBDよりも大きい。深絞り加工とそれに続く据え込み加工による変形によって、図2に示されている補強部の形状が得られる。この形状において、補強部材の領域における外径VAは、ガラス付着部GAの外径よりも1.2倍大きい。図1と同じ部材には、同一の参照番号を付している。
また据え込み加工により補強された領域の厚さは、厚さBDDを有しており、基本材料の厚さBDよりも大きい。据え込み加工により補強された領域の幅はSBDで表されている。
補強部の領域における処理を可視とすることができる。何故ならば、構造の流れ線は、据え込み加工の領域において切削加工法によって処理される構成部材とは異なり、変形プロセスによって曲げられるからである。
図3には、本発明の別の代替的な構成が示されている。
ここでもまた、構成部材には参照番号1が付されているが、しかしながら図1とは異なり、ここでは、構成部材が、構成部材フィードスルー開口部3.1,3.2の領域において2ピースで形成されているのではなく、1ピースで形成されている。即ち、基体20は、構成部材フィードスルー開口部3.1,3.2の領域において厚み部分210.1,210.2を有している。この厚み部分210.1,210.2は、補強部210.1,210.2の領域にある構成部材1が深絞り加工され、それに続いて折り畳まれることによって得られる。これによって、構成部材は構成部材フィードスルー開口部の領域において厚さBDDを有している。厚さBDDは、折り畳みによって、図示されている実施の形態の構成部材の厚さBDの約2倍になる。深絞り加工とそれに続く折り畳みによる変形によって、図3に示されている補強部の形状が得られる。この形状において、補強部材の領域における外径VAは、ガラス付着部GAの外径よりも1.2倍大きい。図1と同じ構成部材には、同一の参照番号を付している。
補強された領域の厚さは、おおよそ2×BDの厚さを有しており、基本材料BDの厚さよりも大きい。本発明から逸脱することなく補強部の領域における厚さを調整するために、1回だけの折り畳み以外にも複数回の折り畳み、例えば3回及び4回の折り畳みも可能である。
補強部の領域における処理を可視とすることができる。何故ならば、構造の流れ線は、据え込み加工又は折り畳みの領域において切削加工法によって処理される構成部材とは異なり、変形プロセスによって曲げられるからである。
その他の点では、図1に示したものと同じ部材に、図3においても同一の参照番号を付している。有利には、構成部材の材料、即ち、補強部の領域を含めた基体の材料は、図1に示した基体について既に説明したように、軽金属である。
上記において説明した第2及び第3の代替形態は、付加的な部材、即ち補強リングの取り付けを省略できるという利点を有している。
以下のmol−%の成分を含むガラス材料が特に有利である:
25 35−50mol−%,特に39−48mol−%
Al23 0−14mol−%,特に2−12mol−%
23 2−10mol−%、特に4−8mol−%
Na2O 0−30mol−%、特に0−20mol−%
2O 0−20mol−%、特に12−20mol−%、但しM=K,Cs,Rbであってもよい、
PbO 0−10mol−%、特に0−9mol−%
Li2O 0−45mol−%、特に0−40mol−%,極めて有利には17−40mol−%
BaO 0−20mol−%、特に5−20mol−%、極めて有利には5−18mol−%
Bi23 0−10mol−%、特に1−5mol−%、極めて有利には2−5mol−%
有利には、ガラス材料は、13×10-6/K以上、好適には13×10-6/Kから25×10-6/Kで20℃から300℃の範囲の膨張率αを有するように構成されている。
本発明によって、材料厚さBDDが非常に薄く、従って重量が軽く、またセル容積が大きく、更には、導体用のフィードスルーの領域においてガラス付着部長さELを有しているハーメチックシールされたガラス付着部が設けられていることを特徴とする、薄いケーシング部材、特に蓄積装置のケーシングのための薄いケーシング部材が初めて提供される。
特に、本発明によって、1ピースの構成部材であっても、1回の変形プロセスによって、ハーメチックシールされたフィードスルーのための十分な圧縮力を提供することができる。
本発明により、一方では、ケーシングにおいて例えばカバーとして使用される薄い材料において必要とされる機械的な強度が高まり、他方では、ハーメチックシールされたガラス付着部に必要とされる圧力又は半径方向力が提供される。

Claims (12)

  1. 構成部材厚さ(BD)及び少なくとも一つのフィードスルー開口部(3.1,3.2)を有する構成部材(1)であって、
    前記構成部材(1)は、ケーシングのカバー部材であり、
    前記フィードスルー開口部(3.1,3.2)を介して、導体(7.1,7.2)が、ガラス材料外径(GA)及びガラス付着部長さ(EL)を有するガラス材料又はガラスセラミック材料に挿入され、
    前記構成部材(1)は、前記フィードスルー開口部(3.1,3.2)の領域において、構成部材フィードスルー開口部厚さ(BDD)を有する補強部材(10.1,10.2)を備えており、
    前記構成部材フィードスルー開口部厚さ(BDD)は、前記構成部材厚さ(BD)よりも大きく、且つ、前記補強部材(10.1,10.2)は、補強部材料外径(VA)を有する、構成部材(1)において、
    前記補強部材料外径(VA)は、前記ガラス材料外径(GA)の少なくとも1.2倍であり、
    前記補強部材(10.1,10.2)は、外形寸法の(VA)を有し、前記ガラス材料又はガラスセラミック材料は、直径を有する環状又は円形のガラス栓であり、前記補強部材(10.1,10.2)の前記外形寸法の前記幅(VA)は、前記ガラス材料又はガラスセラミック材料の前記直径の少なくとも1.2倍であり、
    前記補強部材(10.1,10.2)の前記構成部材フィードスルー開口部厚さ(BDD)は、少なくとも、前記ガラス付着部長さ(EL)に相当し、
    前記構成部材(1)は、少なくとも部分的に、5kg/dm 3 未満の比重量を有する軽金属を含み、
    前記構成部材(1)は、構成部材厚さ(BD)を有する基体(20)と、補強部材厚さ(VD)を有する別個の補強部材(10.1,10.2)と、を備えており、前記補強部材厚さ(VD)及び前記構成部材厚さ(BD)の合計が前記構成部材フィードスルー開口部厚さ(BDD)となる、又は、前記構成部材(1)は、単一の構成部材において、構成部材厚さ(BD)を有する基体(20)と、前記補強部材(10.1,10.2)と、を備えており、前記フィードスルー開口部(3.1,3.2)の領域において、前記構成部材フィードスルー開口部厚さ(BDD)が提供される、
    構成部材(1)。
  2. 前記導体(7.1,7.2)は、ピン状の導体である、
    請求項1に記載の構成部材(1)。
  3. 前記補強部材料外径(VA)は、前記ガラス材料外径(GA)の1.2倍から2.2倍の範囲にある、
    請求項1又は2に記載の構成部材(1)。
  4. 前記ガラス付着部長さ(EL)は、1.5mmより長い、
    請求項1乃至3のいずれか一項に記載の構成部材(1)。
  5. 前記ガラス付着部長さ(EL)は、1.5mmから8mmの範囲にある、
    請求項1乃至4のいずれか一項に記載の構成部材(1)。
  6. 前記構成部材厚さ(BD)は、少なくとも前記ガラス付着部長さ(EL)の範囲にある、
    請求項1乃至5のいずれか一項に記載の構成部材(1)。
  7. 前記構成部材厚さ(BD)は、少なくとも前記ガラス付着部長さ(EL)よりも2mm長い、
    請求項1乃至6のいずれか一項に記載の構成部材(1)。
  8. 前記構成部材厚さ(BD)は、3.5mmから10mmである、
    請求項1乃至7のいずれか一項に記載の構成部材(1)。
  9. 前記構成部材(1)は、少なくとも部分的に、350℃から800℃の範囲にある融点、及び/又は、5×106S/mから50×106S/mの範囲にある導電率、及び/又は、18×10-6/Kから30×10-6/Kの範囲にある膨張率α(20℃から300℃)を有する軽金属を含む、
    請求項1乃至8のいずれか一項に記載の構成部材(1)。
  10. 前記軽金属は、アルミニウム、アルミニウム合金、マグネシウム、マグネシウム合金、又は、チタン又はチタン合金である、
    請求項1乃至9のいずれか一項に記載の構成部材(1)。
  11. 請求項1乃至10のいずれか一項に記載の構成部材(1)を備えているケーシング。
  12. 請求項11に記載のケーシングを備えている、蓄積装置。
JP2015220916A 2014-11-11 2015-11-11 構成部材補強部及びフィードスルーを備えている構成部材 Active JP6843500B2 (ja)

Applications Claiming Priority (2)

Application Number Priority Date Filing Date Title
DE102014016601.5 2014-11-11
DE102014016601.5A DE102014016601A1 (de) 2014-11-11 2014-11-11 Bauteil mit Bauteilverstärkung und Durchführung

Publications (2)

Publication Number Publication Date
JP2016111006A JP2016111006A (ja) 2016-06-20
JP6843500B2 true JP6843500B2 (ja) 2021-03-17

Family

ID=54364972

Family Applications (1)

Application Number Title Priority Date Filing Date
JP2015220916A Active JP6843500B2 (ja) 2014-11-11 2015-11-11 構成部材補強部及びフィードスルーを備えている構成部材

Country Status (6)

Country Link
US (1) US10454079B2 (ja)
EP (2) EP3187472B1 (ja)
JP (1) JP6843500B2 (ja)
KR (1) KR102563662B1 (ja)
CN (1) CN105591043B (ja)
DE (1) DE102014016601A1 (ja)

Families Citing this family (12)

* Cited by examiner, † Cited by third party
Publication number Priority date Publication date Assignee Title
KR102164002B1 (ko) 2016-09-02 2020-10-12 삼성에스디아이 주식회사 밴드 조립체
WO2020260099A1 (en) * 2019-06-22 2020-12-30 Schott Ag Compact sensor component for harsh environments
DE102020107224A1 (de) * 2020-03-17 2021-09-23 Schott Ag Elektrische Einrichtung
EP3936722B1 (en) * 2020-07-06 2024-09-04 Schott Ag Housing part, especially housing part in particular for an electronic housing, preferably e-compressor terminal
DE202021103495U1 (de) 2021-06-30 2022-10-07 Schott Ag Elektrische Einrichtung, insbesondere Mikrobatterie
DE102021123713A1 (de) 2021-09-14 2023-03-16 Schott Ag Gehäuseteil für einen Energiespeicher und Energiespeicher
DE102021133391A1 (de) * 2021-12-16 2023-06-22 Schott Ag Gehäuseteil für eine elektrische Speichereinrichtung und elektrische Speichereinrichtung
DE102023113622A1 (de) 2023-05-24 2024-11-28 Schott Ag Gehäuseteil mit elektrischer Durchführung für eine elektrische Einrichtung und Energiespeicher mit einem solchen Gehäuseteil
WO2024240821A1 (de) 2023-05-24 2024-11-28 Schott Ag Gehäuseteil mit elektrischer durchführung für eine elektrische einrichtung und energiespeicher mit einem solchen gehäuseteil
DE202023102874U1 (de) 2023-05-24 2024-09-16 Schott Ag Gehäuseteil mit elektrischer Durchführung für eine elektrische Einrichtung und Energiespeicher mit einem solchen Gehäuseteil
DE102023118080A1 (de) 2023-07-07 2025-01-09 Schott Ag Elektrische Durchführung und Energiespeicher mit einer solchen Durchführung
DE202023103813U1 (de) 2023-07-07 2024-10-10 Schott Ag Elektrische Durchführung und Energiespeicher mit einer solchen Durchführung

Family Cites Families (17)

* Cited by examiner, † Cited by third party
Publication number Priority date Publication date Assignee Title
JPS5842170A (ja) * 1981-09-07 1983-03-11 Matsushita Electric Ind Co Ltd 非水電解液電池
DE4413808B4 (de) * 1993-04-27 2007-06-06 Medtronic, Inc., Minneapolis Verfahren zur Herstellung einer Baugruppe für eine elektrochemische Zelle, Verfahren zum Zusammenbauen einer elektrochemischen Zelle und Knopfzelle
JP3316113B2 (ja) * 1995-07-24 2002-08-19 株式会社リコー 二次電池
US6406815B1 (en) 2000-02-11 2002-06-18 Delphi Technologies, Inc. Compact lithium ion battery and method of manufacturing
DE10105587C2 (de) 2000-06-07 2003-06-26 Burkhardt Hombach Vorrichtung und Verfahren zum Egalisieren von Pflasterungen
CN1257525C (zh) * 2000-12-07 2006-05-24 日本电气硝子株式会社 阴极射线管用玻璃锥及阴极射线管用玻璃真空管
US6670071B2 (en) * 2002-01-15 2003-12-30 Quallion Llc Electric storage battery construction and method of manufacture
US20060035147A1 (en) * 2003-01-15 2006-02-16 Quallion Llc Battery
US8327765B2 (en) * 2003-03-03 2012-12-11 Schott Ag Metal fixing material bushing and method for producing a base plate of a metal fixing material bushing
JP4358729B2 (ja) * 2004-12-22 2009-11-04 株式会社オーク製作所 ショートアーク型放電灯
CN101286551B (zh) * 2008-05-26 2010-06-02 潮州市三江电子有限公司 一种用于电池或电容的标准盖组
KR101212714B1 (ko) 2011-01-26 2013-01-22 계명대학교 산학협력단 계층적 퍼지 추론에 기반한 임상진단 지원방법 및 그 시스템
KR101876497B1 (ko) 2011-02-18 2018-07-13 쇼오트 아게 관통 접속구 구성부
DE102011103976A1 (de) * 2011-06-10 2012-12-13 Schott Ag Durchführung
JP6177770B2 (ja) * 2011-06-10 2017-08-09 ショット アクチエンゲゼルシャフトSchott AG 電気的蓄電池装置用のハウジング
AU2012282799A1 (en) * 2011-07-08 2014-02-27 Fastcap Systems Corporation High temperature energy storage device
US8932750B2 (en) 2011-07-27 2015-01-13 Fastcap Systems Corporation Aluminum housing with a hermetic seal

Also Published As

Publication number Publication date
KR102563662B1 (ko) 2023-08-03
JP2016111006A (ja) 2016-06-20
EP3021377A2 (de) 2016-05-18
EP3021377B1 (de) 2017-03-29
CN105591043A (zh) 2016-05-18
US10454079B2 (en) 2019-10-22
US20160133888A1 (en) 2016-05-12
EP3021377A3 (de) 2016-08-10
EP3187472B1 (de) 2018-09-26
EP3187472A1 (de) 2017-07-05
KR20160056288A (ko) 2016-05-19
CN105591043B (zh) 2022-11-29
DE102014016601A1 (de) 2016-05-12

Similar Documents

Publication Publication Date Title
JP6843500B2 (ja) 構成部材補強部及びフィードスルーを備えている構成部材
JP7003098B2 (ja) フィードスルー
JP2018502417A5 (ja)
CN103384649B (zh) 贯通连接件
JP6177770B2 (ja) 電気的蓄電池装置用のハウジング
US10044010B2 (en) Feedthrough
JP7009499B2 (ja) 導体の貫通のための基体、およびそのような基体を備えるハウジングの、特に電池ハウジングのハウジング部材
KR102131171B1 (ko) 밀폐형 전지 및 밀폐형 전지의 제조 방법
US20170149028A1 (en) Feed-through
JP2016514355A (ja) 高圧ハーメチック端子
US20180233715A1 (en) Power battery top cap structure
KR20220152235A (ko) 전기 장치, 특히 마이크로 배터리 및 제조 방법
EP3361527A1 (en) Power battery top cap structure
WO2014195324A3 (en) Core-shell type anode active material for lithium secondary batteries, method for preparing the same and lithium secondary batteries containing the same
WO2022107712A1 (ja) 円筒形電池
KR20180084282A (ko) 형상유지 부재를 포함하는 파우치형 전지셀
KR101637760B1 (ko) 원통형 바이폴라 전고체 전지 및 그 제작방법
JP2019046613A (ja) 蓄電装置
US20140166357A1 (en) Current-conducting pin for hermetic terminal
US10566582B2 (en) Battery utilizing device cavity

Legal Events

Date Code Title Description
A621 Written request for application examination

Free format text: JAPANESE INTERMEDIATE CODE: A621

Effective date: 20180711

A977 Report on retrieval

Free format text: JAPANESE INTERMEDIATE CODE: A971007

Effective date: 20190709

A131 Notification of reasons for refusal

Free format text: JAPANESE INTERMEDIATE CODE: A131

Effective date: 20190722

A601 Written request for extension of time

Free format text: JAPANESE INTERMEDIATE CODE: A601

Effective date: 20191021

A521 Request for written amendment filed

Free format text: JAPANESE INTERMEDIATE CODE: A523

Effective date: 20191212

A131 Notification of reasons for refusal

Free format text: JAPANESE INTERMEDIATE CODE: A131

Effective date: 20200528

RD03 Notification of appointment of power of attorney

Free format text: JAPANESE INTERMEDIATE CODE: A7423

Effective date: 20200730

A601 Written request for extension of time

Free format text: JAPANESE INTERMEDIATE CODE: A601

Effective date: 20200818

A521 Request for written amendment filed

Free format text: JAPANESE INTERMEDIATE CODE: A523

Effective date: 20201019

TRDD Decision of grant or rejection written
A01 Written decision to grant a patent or to grant a registration (utility model)

Free format text: JAPANESE INTERMEDIATE CODE: A01

Effective date: 20210208

A61 First payment of annual fees (during grant procedure)

Free format text: JAPANESE INTERMEDIATE CODE: A61

Effective date: 20210224

R150 Certificate of patent or registration of utility model

Ref document number: 6843500

Country of ref document: JP

Free format text: JAPANESE INTERMEDIATE CODE: R150

R250 Receipt of annual fees

Free format text: JAPANESE INTERMEDIATE CODE: R250

R250 Receipt of annual fees

Free format text: JAPANESE INTERMEDIATE CODE: R250