JP6815552B2 - 圧力センサーシート - Google Patents
圧力センサーシート Download PDFInfo
- Publication number
- JP6815552B2 JP6815552B2 JP2020122469A JP2020122469A JP6815552B2 JP 6815552 B2 JP6815552 B2 JP 6815552B2 JP 2020122469 A JP2020122469 A JP 2020122469A JP 2020122469 A JP2020122469 A JP 2020122469A JP 6815552 B2 JP6815552 B2 JP 6815552B2
- Authority
- JP
- Japan
- Prior art keywords
- insulating layer
- electrode
- pressure sensor
- sensor sheet
- elastic modulus
- Prior art date
- Legal status (The legal status is an assumption and is not a legal conclusion. Google has not performed a legal analysis and makes no representation as to the accuracy of the status listed.)
- Active
Links
- 239000010410 layer Substances 0.000 claims description 196
- 238000010008 shearing Methods 0.000 claims description 29
- 239000011241 protective layer Substances 0.000 claims description 23
- 239000000758 substrate Substances 0.000 claims description 19
- 238000009751 slip forming Methods 0.000 claims 1
- 238000000034 method Methods 0.000 description 41
- 239000000463 material Substances 0.000 description 17
- 229920002379 silicone rubber Polymers 0.000 description 17
- 239000012530 fluid Substances 0.000 description 14
- 229920005989 resin Polymers 0.000 description 14
- 239000011347 resin Substances 0.000 description 14
- 239000006260 foam Substances 0.000 description 12
- 238000005187 foaming Methods 0.000 description 12
- 229920001296 polysiloxane Polymers 0.000 description 12
- 239000002245 particle Substances 0.000 description 11
- 238000000465 moulding Methods 0.000 description 10
- -1 polyethylene Polymers 0.000 description 9
- 239000002994 raw material Substances 0.000 description 9
- 229920002323 Silicone foam Polymers 0.000 description 8
- 239000007788 liquid Substances 0.000 description 8
- 238000003825 pressing Methods 0.000 description 8
- 239000013514 silicone foam Substances 0.000 description 8
- 229920003002 synthetic resin Polymers 0.000 description 8
- 239000000057 synthetic resin Substances 0.000 description 8
- 239000004088 foaming agent Substances 0.000 description 7
- 239000004945 silicone rubber Substances 0.000 description 7
- 239000004944 Liquid Silicone Rubber Substances 0.000 description 6
- ZMANZCXQSJIPKH-UHFFFAOYSA-N Triethylamine Chemical compound CCN(CC)CC ZMANZCXQSJIPKH-UHFFFAOYSA-N 0.000 description 6
- 238000001125 extrusion Methods 0.000 description 6
- 238000010030 laminating Methods 0.000 description 6
- BASFCYQUMIYNBI-UHFFFAOYSA-N platinum Chemical compound [Pt] BASFCYQUMIYNBI-UHFFFAOYSA-N 0.000 description 6
- 229920006311 Urethane elastomer Polymers 0.000 description 5
- 239000003054 catalyst Substances 0.000 description 5
- 238000009826 distribution Methods 0.000 description 5
- 230000000694 effects Effects 0.000 description 5
- 238000005259 measurement Methods 0.000 description 5
- 239000003094 microcapsule Substances 0.000 description 5
- RYGMFSIKBFXOCR-UHFFFAOYSA-N Copper Chemical compound [Cu] RYGMFSIKBFXOCR-UHFFFAOYSA-N 0.000 description 4
- JOYRKODLDBILNP-UHFFFAOYSA-N Ethyl urethane Chemical compound CCOC(N)=O JOYRKODLDBILNP-UHFFFAOYSA-N 0.000 description 4
- YCKRFDGAMUMZLT-UHFFFAOYSA-N Fluorine atom Chemical compound [F] YCKRFDGAMUMZLT-UHFFFAOYSA-N 0.000 description 4
- KDLHZDBZIXYQEI-UHFFFAOYSA-N Palladium Chemical compound [Pd] KDLHZDBZIXYQEI-UHFFFAOYSA-N 0.000 description 4
- 239000004793 Polystyrene Substances 0.000 description 4
- BQCADISMDOOEFD-UHFFFAOYSA-N Silver Chemical compound [Ag] BQCADISMDOOEFD-UHFFFAOYSA-N 0.000 description 4
- 229910052802 copper Inorganic materials 0.000 description 4
- 239000010949 copper Substances 0.000 description 4
- 238000006073 displacement reaction Methods 0.000 description 4
- 239000011737 fluorine Substances 0.000 description 4
- 229910052731 fluorine Inorganic materials 0.000 description 4
- 238000004519 manufacturing process Methods 0.000 description 4
- 229920002223 polystyrene Polymers 0.000 description 4
- 229910052709 silver Inorganic materials 0.000 description 4
- 239000004332 silver Substances 0.000 description 4
- 239000004925 Acrylic resin Substances 0.000 description 3
- 229920000178 Acrylic resin Polymers 0.000 description 3
- 239000004593 Epoxy Substances 0.000 description 3
- 229930182556 Polyacetal Natural products 0.000 description 3
- 239000004698 Polyethylene Substances 0.000 description 3
- 239000004743 Polypropylene Substances 0.000 description 3
- 239000000853 adhesive Substances 0.000 description 3
- 230000001070 adhesive effect Effects 0.000 description 3
- 239000003431 cross linking reagent Substances 0.000 description 3
- 230000006866 deterioration Effects 0.000 description 3
- 239000006185 dispersion Substances 0.000 description 3
- 239000011521 glass Substances 0.000 description 3
- PCHJSUWPFVWCPO-UHFFFAOYSA-N gold Chemical compound [Au] PCHJSUWPFVWCPO-UHFFFAOYSA-N 0.000 description 3
- 229910052737 gold Inorganic materials 0.000 description 3
- 239000010931 gold Substances 0.000 description 3
- 238000009413 insulation Methods 0.000 description 3
- 238000007747 plating Methods 0.000 description 3
- 229910052697 platinum Inorganic materials 0.000 description 3
- 229920005668 polycarbonate resin Polymers 0.000 description 3
- 239000004431 polycarbonate resin Substances 0.000 description 3
- 229920000573 polyethylene Polymers 0.000 description 3
- 229920001721 polyimide Polymers 0.000 description 3
- 229920006324 polyoxymethylene Polymers 0.000 description 3
- 229920001155 polypropylene Polymers 0.000 description 3
- 229920005990 polystyrene resin Polymers 0.000 description 3
- 230000035945 sensitivity Effects 0.000 description 3
- 229920002545 silicone oil Polymers 0.000 description 3
- 238000009864 tensile test Methods 0.000 description 3
- GZEFZLXJPGMRSP-UHFFFAOYSA-N 37,38,39,40-tetrazanonacyclo[28.6.1.13,10.112,19.121,28.04,9.013,18.022,27.031,36]tetraconta-1(37),2,4,6,8,10,12(39),13,15,17,19,21,23,25,27,29,31,33,35-nonadecaene Chemical compound c1ccc2c3cc4[nH]c(cc5nc(cc6[nH]c(cc(n3)c2c1)c1ccccc61)c1ccccc51)c1ccccc41 GZEFZLXJPGMRSP-UHFFFAOYSA-N 0.000 description 2
- 239000004156 Azodicarbonamide Substances 0.000 description 2
- PXHVJJICTQNCMI-UHFFFAOYSA-N Nickel Chemical compound [Ni] PXHVJJICTQNCMI-UHFFFAOYSA-N 0.000 description 2
- 239000005062 Polybutadiene Substances 0.000 description 2
- 229920000285 Polydioctylfluorene Polymers 0.000 description 2
- 229920000800 acrylic rubber Polymers 0.000 description 2
- 229910052782 aluminium Inorganic materials 0.000 description 2
- XAGFODPZIPBFFR-UHFFFAOYSA-N aluminium Chemical compound [Al] XAGFODPZIPBFFR-UHFFFAOYSA-N 0.000 description 2
- XOZUGNYVDXMRKW-AATRIKPKSA-N azodicarbonamide Chemical compound NC(=O)\N=N\C(N)=O XOZUGNYVDXMRKW-AATRIKPKSA-N 0.000 description 2
- 235000019399 azodicarbonamide Nutrition 0.000 description 2
- 239000011324 bead Substances 0.000 description 2
- 239000011230 binding agent Substances 0.000 description 2
- 239000006229 carbon black Substances 0.000 description 2
- 239000011248 coating agent Substances 0.000 description 2
- 238000000576 coating method Methods 0.000 description 2
- 238000004132 cross linking Methods 0.000 description 2
- 229920001971 elastomer Polymers 0.000 description 2
- 239000000806 elastomer Substances 0.000 description 2
- 230000005684 electric field Effects 0.000 description 2
- 230000007613 environmental effect Effects 0.000 description 2
- 239000003822 epoxy resin Substances 0.000 description 2
- 239000004794 expanded polystyrene Substances 0.000 description 2
- 239000010419 fine particle Substances 0.000 description 2
- 238000010438 heat treatment Methods 0.000 description 2
- 229910052751 metal Inorganic materials 0.000 description 2
- 239000002184 metal Substances 0.000 description 2
- 239000002923 metal particle Substances 0.000 description 2
- 150000002894 organic compounds Chemical class 0.000 description 2
- 229910052763 palladium Inorganic materials 0.000 description 2
- SLIUAWYAILUBJU-UHFFFAOYSA-N pentacene Chemical compound C1=CC=CC2=CC3=CC4=CC5=CC=CC=C5C=C4C=C3C=C21 SLIUAWYAILUBJU-UHFFFAOYSA-N 0.000 description 2
- 150000002989 phenols Chemical class 0.000 description 2
- 229920000058 polyacrylate Polymers 0.000 description 2
- 229920002857 polybutadiene Polymers 0.000 description 2
- 229920000515 polycarbonate Polymers 0.000 description 2
- 239000004417 polycarbonate Substances 0.000 description 2
- 229920000647 polyepoxide Polymers 0.000 description 2
- 229920000728 polyester Polymers 0.000 description 2
- 229920000139 polyethylene terephthalate Polymers 0.000 description 2
- 239000005020 polyethylene terephthalate Substances 0.000 description 2
- 239000009719 polyimide resin Substances 0.000 description 2
- 238000007639 printing Methods 0.000 description 2
- 230000001681 protective effect Effects 0.000 description 2
- 229910052703 rhodium Inorganic materials 0.000 description 2
- 239000010948 rhodium Substances 0.000 description 2
- MHOVAHRLVXNVSD-UHFFFAOYSA-N rhodium atom Chemical compound [Rh] MHOVAHRLVXNVSD-UHFFFAOYSA-N 0.000 description 2
- 238000005096 rolling process Methods 0.000 description 2
- 239000004065 semiconductor Substances 0.000 description 2
- 239000013464 silicone adhesive Substances 0.000 description 2
- 239000003381 stabilizer Substances 0.000 description 2
- 238000003756 stirring Methods 0.000 description 2
- 229920001169 thermoplastic Polymers 0.000 description 2
- 239000004416 thermosoftening plastic Substances 0.000 description 2
- 238000004073 vulcanization Methods 0.000 description 2
- QZVHYFUVMQIGGM-UHFFFAOYSA-N 2-Hexylthiophene Chemical compound CCCCCCC1=CC=CS1 QZVHYFUVMQIGGM-UHFFFAOYSA-N 0.000 description 1
- BVKZGUZCCUSVTD-UHFFFAOYSA-M Bicarbonate Chemical compound OC([O-])=O BVKZGUZCCUSVTD-UHFFFAOYSA-M 0.000 description 1
- 239000004215 Carbon black (E152) Substances 0.000 description 1
- 229920001651 Cyanoacrylate Polymers 0.000 description 1
- MWCLLHOVUTZFKS-UHFFFAOYSA-N Methyl cyanoacrylate Chemical compound COC(=O)C(=C)C#N MWCLLHOVUTZFKS-UHFFFAOYSA-N 0.000 description 1
- 239000004952 Polyamide Substances 0.000 description 1
- 239000004642 Polyimide Substances 0.000 description 1
- UCKMPCXJQFINFW-UHFFFAOYSA-N Sulphide Chemical compound [S-2] UCKMPCXJQFINFW-UHFFFAOYSA-N 0.000 description 1
- 238000010521 absorption reaction Methods 0.000 description 1
- NIXOWILDQLNWCW-UHFFFAOYSA-N acrylic acid group Chemical group C(C=C)(=O)O NIXOWILDQLNWCW-UHFFFAOYSA-N 0.000 description 1
- 239000012790 adhesive layer Substances 0.000 description 1
- 150000001336 alkenes Chemical class 0.000 description 1
- 238000009530 blood pressure measurement Methods 0.000 description 1
- 239000002775 capsule Substances 0.000 description 1
- 239000003575 carbonaceous material Substances 0.000 description 1
- 238000006243 chemical reaction Methods 0.000 description 1
- 238000006757 chemical reactions by type Methods 0.000 description 1
- 239000003795 chemical substances by application Substances 0.000 description 1
- 239000011247 coating layer Substances 0.000 description 1
- 238000013329 compounding Methods 0.000 description 1
- 150000001875 compounds Chemical class 0.000 description 1
- 230000001186 cumulative effect Effects 0.000 description 1
- 238000000354 decomposition reaction Methods 0.000 description 1
- 230000007423 decrease Effects 0.000 description 1
- 238000005530 etching Methods 0.000 description 1
- 239000005038 ethylene vinyl acetate Substances 0.000 description 1
- 239000004744 fabric Substances 0.000 description 1
- 229930195733 hydrocarbon Natural products 0.000 description 1
- 150000002430 hydrocarbons Chemical class 0.000 description 1
- 238000002347 injection Methods 0.000 description 1
- 239000007924 injection Substances 0.000 description 1
- 238000001746 injection moulding Methods 0.000 description 1
- 239000011810 insulating material Substances 0.000 description 1
- 239000011229 interlayer Substances 0.000 description 1
- 238000007733 ion plating Methods 0.000 description 1
- 239000004973 liquid crystal related substance Substances 0.000 description 1
- 239000007791 liquid phase Substances 0.000 description 1
- 238000002156 mixing Methods 0.000 description 1
- 229910052759 nickel Inorganic materials 0.000 description 1
- 239000004745 nonwoven fabric Substances 0.000 description 1
- JRZJOMJEPLMPRA-UHFFFAOYSA-N olefin Natural products CCCCCCCC=C JRZJOMJEPLMPRA-UHFFFAOYSA-N 0.000 description 1
- 229920001200 poly(ethylene-vinyl acetate) Polymers 0.000 description 1
- 229920002647 polyamide Polymers 0.000 description 1
- 229920001707 polybutylene terephthalate Polymers 0.000 description 1
- 229920001225 polyester resin Polymers 0.000 description 1
- 239000004645 polyester resin Substances 0.000 description 1
- 229920000642 polymer Polymers 0.000 description 1
- 230000001737 promoting effect Effects 0.000 description 1
- 238000004080 punching Methods 0.000 description 1
- 239000012744 reinforcing agent Substances 0.000 description 1
- 238000005070 sampling Methods 0.000 description 1
- 238000007650 screen-printing Methods 0.000 description 1
- 230000035939 shock Effects 0.000 description 1
- 229920002050 silicone resin Polymers 0.000 description 1
- 238000004544 sputter deposition Methods 0.000 description 1
- 239000000126 substance Substances 0.000 description 1
- 229920002803 thermoplastic polyurethane Polymers 0.000 description 1
- 229920005992 thermoplastic resin Polymers 0.000 description 1
- 229920001187 thermosetting polymer Polymers 0.000 description 1
- 150000003673 urethanes Chemical class 0.000 description 1
- 238000007740 vapor deposition Methods 0.000 description 1
Images
Landscapes
- Force Measurement Appropriate To Specific Purposes (AREA)
- Tires In General (AREA)
Description
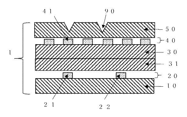
10 基板
20、21、22 第一電極
30、31 絶縁層
40、41 第二電極
50 保護層
60 せん断力
Claims (4)
- 基板上に第一電極が形成され、
前記第一電極上に押圧した際のたわみが積層しない場合と比べると異なる複数の絶縁層が順次連続して積層形成され、
前記絶縁層上に第二電極が形成され、
前記第二電極上に保護層が形成され、
前記保護層が表面に切れ目が入れられている、
圧力センサーシートであって、
前記保護層上から加わるせん断力を算出できる圧力センサーシート。 - 前記切れ目が点線状、破線状、長鎖線状、一点鎖線状、長二点鎖線状のいずれかである、請求項1の圧力センサーシート。
- 前記切れ目が一本の線または複数の線である、請求項1または請求項2の圧力センサーシート。
- 前記切れ目が完全な貫通または途中までのハーフカット状である、請求項1から請求項3の圧力センサーシート。
Priority Applications (1)
| Application Number | Priority Date | Filing Date | Title |
|---|---|---|---|
| JP2020122469A JP6815552B2 (ja) | 2020-07-16 | 2020-07-16 | 圧力センサーシート |
Applications Claiming Priority (1)
| Application Number | Priority Date | Filing Date | Title |
|---|---|---|---|
| JP2020122469A JP6815552B2 (ja) | 2020-07-16 | 2020-07-16 | 圧力センサーシート |
Related Parent Applications (1)
| Application Number | Title | Priority Date | Filing Date |
|---|---|---|---|
| JP2018176665A Division JP6757529B2 (ja) | 2018-09-20 | 2018-09-20 | 圧力センサーシート |
Publications (2)
| Publication Number | Publication Date |
|---|---|
| JP2020177027A JP2020177027A (ja) | 2020-10-29 |
| JP6815552B2 true JP6815552B2 (ja) | 2021-01-20 |
Family
ID=72916301
Family Applications (1)
| Application Number | Title | Priority Date | Filing Date |
|---|---|---|---|
| JP2020122469A Active JP6815552B2 (ja) | 2020-07-16 | 2020-07-16 | 圧力センサーシート |
Country Status (1)
| Country | Link |
|---|---|
| JP (1) | JP6815552B2 (ja) |
Family Cites Families (4)
| Publication number | Priority date | Publication date | Assignee | Title |
|---|---|---|---|---|
| CH609774A5 (ja) * | 1977-01-21 | 1979-03-15 | Semperit Ag | |
| DE3634855C1 (de) * | 1986-10-13 | 1988-03-31 | Peter Seitz | Kapazitive Messanordnung zur Bestimmung von Kraeften und/oder Druecken |
| JP6280579B2 (ja) * | 2016-02-29 | 2018-02-14 | Nissha株式会社 | 圧力検出装置 |
| US10267690B2 (en) * | 2016-09-13 | 2019-04-23 | The Board Of Trustees Of The Leland Stanford Junior University | Capacitive force/torque sensor |
-
2020
- 2020-07-16 JP JP2020122469A patent/JP6815552B2/ja active Active
Also Published As
| Publication number | Publication date |
|---|---|
| JP2020177027A (ja) | 2020-10-29 |
Similar Documents
| Publication | Publication Date | Title |
|---|---|---|
| JP6757530B2 (ja) | 圧力センサーシート | |
| TWI820217B (zh) | 可計算剪力之靜電電容偵測裝置 | |
| JP7094845B2 (ja) | 圧力センサーシート | |
| TWI513545B (zh) | 具有基礎層及拋光表層之拋光墊 | |
| CN100445091C (zh) | 控制渗透子垫 | |
| US20060137462A1 (en) | Force sensing membrane | |
| KR102634723B1 (ko) | 기반 층 및 그에 부착된 윈도우를 갖는 연마 패드 | |
| CN101636247B (zh) | 研磨垫 | |
| JP6815552B2 (ja) | 圧力センサーシート | |
| KR20080040682A (ko) | 인터디지털 힘 스위치 및 센서 | |
| JP7094846B2 (ja) | 圧力センサーシート | |
| JP6757529B2 (ja) | 圧力センサーシート | |
| CN103747918A (zh) | 抛光垫 | |
| JP6851534B2 (ja) | 圧力センサーシート | |
| CN100349267C (zh) | 研磨垫及半导体器件的制造方法 | |
| JP2003344185A (ja) | 感圧センサ | |
| JP7094847B2 (ja) | 圧力センサーシート | |
| JP2020046387A (ja) | 圧力センサーシート | |
| EP3668910B1 (en) | Electrically conductive urethane foam | |
| KR101810731B1 (ko) | 실리콘계 점착제를 포함하는 조성물, 이를 이용하는 인쇄용 블랭킷의 제조방법 및 이를 이용하여 제조된 블랭킷 | |
| KR102183136B1 (ko) | 압력 센서, 탄성 유전체, 및 탄성 유전체의 제조 방법 | |
| KR20230116676A (ko) | 정전 용량 방식의 압력 센서 | |
| WO2021214388A1 (en) | Object comprising elastomer material and a strain sensor comprising piezoresistive elastomer |
Legal Events
| Date | Code | Title | Description |
|---|---|---|---|
| A621 | Written request for application examination |
Free format text: JAPANESE INTERMEDIATE CODE: A621 Effective date: 20200827 |
|
| A871 | Explanation of circumstances concerning accelerated examination |
Free format text: JAPANESE INTERMEDIATE CODE: A871 Effective date: 20200827 |
|
| A975 | Report on accelerated examination |
Free format text: JAPANESE INTERMEDIATE CODE: A971005 Effective date: 20200928 |
|
| A131 | Notification of reasons for refusal |
Free format text: JAPANESE INTERMEDIATE CODE: A131 Effective date: 20201006 |
|
| A521 | Request for written amendment filed |
Free format text: JAPANESE INTERMEDIATE CODE: A523 Effective date: 20201127 |
|
| TRDD | Decision of grant or rejection written | ||
| A01 | Written decision to grant a patent or to grant a registration (utility model) |
Free format text: JAPANESE INTERMEDIATE CODE: A01 Effective date: 20201215 |
|
| A61 | First payment of annual fees (during grant procedure) |
Free format text: JAPANESE INTERMEDIATE CODE: A61 Effective date: 20201222 |
|
| R150 | Certificate of patent or registration of utility model |
Ref document number: 6815552 Country of ref document: JP Free format text: JAPANESE INTERMEDIATE CODE: R150 |
|
| R250 | Receipt of annual fees |
Free format text: JAPANESE INTERMEDIATE CODE: R250 |
|
| R250 | Receipt of annual fees |
Free format text: JAPANESE INTERMEDIATE CODE: R250 |
