JP6797969B2 - 電池モジュール及び電池パック - Google Patents

電池モジュール及び電池パック Download PDF

Info

Publication number
JP6797969B2
JP6797969B2 JP2019105049A JP2019105049A JP6797969B2 JP 6797969 B2 JP6797969 B2 JP 6797969B2 JP 2019105049 A JP2019105049 A JP 2019105049A JP 2019105049 A JP2019105049 A JP 2019105049A JP 6797969 B2 JP6797969 B2 JP 6797969B2
Authority
JP
Japan
Prior art keywords
battery
battery module
connection sheet
electrode connection
jumper
Prior art date
Legal status (The legal status is an assumption and is not a legal conclusion. Google has not performed a legal analysis and makes no representation as to the accuracy of the status listed.)
Active
Application number
JP2019105049A
Other languages
English (en)
Other versions
JP2020047583A (ja
Inventor
曾毓群
趙豊剛
陳傳煉
黄仰枝
高鵬飛
姚己華
Current Assignee (The listed assignees may be inaccurate. Google has not performed a legal analysis and makes no representation or warranty as to the accuracy of the list.)
Contemporary Amperex Technology Co Ltd
Original Assignee
Contemporary Amperex Technology Co Ltd
Priority date (The priority date is an assumption and is not a legal conclusion. Google has not performed a legal analysis and makes no representation as to the accuracy of the date listed.)
Filing date
Publication date
Application filed by Contemporary Amperex Technology Co Ltd filed Critical Contemporary Amperex Technology Co Ltd
Publication of JP2020047583A publication Critical patent/JP2020047583A/ja
Application granted granted Critical
Publication of JP6797969B2 publication Critical patent/JP6797969B2/ja
Active legal-status Critical Current
Anticipated expiration legal-status Critical

Links

Images

Classifications

    • HELECTRICITY
    • H01ELECTRIC ELEMENTS
    • H01MPROCESSES OR MEANS, e.g. BATTERIES, FOR THE DIRECT CONVERSION OF CHEMICAL ENERGY INTO ELECTRICAL ENERGY
    • H01M10/00Secondary cells; Manufacture thereof
    • H01M10/42Methods or arrangements for servicing or maintenance of secondary cells or secondary half-cells
    • HELECTRICITY
    • H01ELECTRIC ELEMENTS
    • H01MPROCESSES OR MEANS, e.g. BATTERIES, FOR THE DIRECT CONVERSION OF CHEMICAL ENERGY INTO ELECTRICAL ENERGY
    • H01M10/00Secondary cells; Manufacture thereof
    • H01M10/04Construction or manufacture in general
    • H01M10/0431Cells with wound or folded electrodes
    • HELECTRICITY
    • H01ELECTRIC ELEMENTS
    • H01MPROCESSES OR MEANS, e.g. BATTERIES, FOR THE DIRECT CONVERSION OF CHEMICAL ENERGY INTO ELECTRICAL ENERGY
    • H01M50/00Constructional details or processes of manufacture of the non-active parts of electrochemical cells other than fuel cells, e.g. hybrid cells
    • H01M50/20Mountings; Secondary casings or frames; Racks, modules or packs; Suspension devices; Shock absorbers; Transport or carrying devices; Holders
    • H01M50/204Racks, modules or packs for multiple batteries or multiple cells
    • H01M50/207Racks, modules or packs for multiple batteries or multiple cells characterised by their shape
    • H01M50/209Racks, modules or packs for multiple batteries or multiple cells characterised by their shape adapted for prismatic or rectangular cells
    • HELECTRICITY
    • H01ELECTRIC ELEMENTS
    • H01MPROCESSES OR MEANS, e.g. BATTERIES, FOR THE DIRECT CONVERSION OF CHEMICAL ENERGY INTO ELECTRICAL ENERGY
    • H01M50/00Constructional details or processes of manufacture of the non-active parts of electrochemical cells other than fuel cells, e.g. hybrid cells
    • H01M50/50Current conducting connections for cells or batteries
    • H01M50/502Interconnectors for connecting terminals of adjacent batteries; Interconnectors for connecting cells outside a battery casing
    • H01M50/505Interconnectors for connecting terminals of adjacent batteries; Interconnectors for connecting cells outside a battery casing comprising a single busbar
    • HELECTRICITY
    • H01ELECTRIC ELEMENTS
    • H01MPROCESSES OR MEANS, e.g. BATTERIES, FOR THE DIRECT CONVERSION OF CHEMICAL ENERGY INTO ELECTRICAL ENERGY
    • H01M50/00Constructional details or processes of manufacture of the non-active parts of electrochemical cells other than fuel cells, e.g. hybrid cells
    • H01M50/50Current conducting connections for cells or batteries
    • H01M50/502Interconnectors for connecting terminals of adjacent batteries; Interconnectors for connecting cells outside a battery casing
    • H01M50/509Interconnectors for connecting terminals of adjacent batteries; Interconnectors for connecting cells outside a battery casing characterised by the type of connection, e.g. mixed connections
    • HELECTRICITY
    • H01ELECTRIC ELEMENTS
    • H01MPROCESSES OR MEANS, e.g. BATTERIES, FOR THE DIRECT CONVERSION OF CHEMICAL ENERGY INTO ELECTRICAL ENERGY
    • H01M50/00Constructional details or processes of manufacture of the non-active parts of electrochemical cells other than fuel cells, e.g. hybrid cells
    • H01M50/50Current conducting connections for cells or batteries
    • H01M50/502Interconnectors for connecting terminals of adjacent batteries; Interconnectors for connecting cells outside a battery casing
    • H01M50/521Interconnectors for connecting terminals of adjacent batteries; Interconnectors for connecting cells outside a battery casing characterised by the material
    • H01M50/522Inorganic material
    • YGENERAL TAGGING OF NEW TECHNOLOGICAL DEVELOPMENTS; GENERAL TAGGING OF CROSS-SECTIONAL TECHNOLOGIES SPANNING OVER SEVERAL SECTIONS OF THE IPC; TECHNICAL SUBJECTS COVERED BY FORMER USPC CROSS-REFERENCE ART COLLECTIONS [XRACs] AND DIGESTS
    • Y02TECHNOLOGIES OR APPLICATIONS FOR MITIGATION OR ADAPTATION AGAINST CLIMATE CHANGE
    • Y02EREDUCTION OF GREENHOUSE GAS [GHG] EMISSIONS, RELATED TO ENERGY GENERATION, TRANSMISSION OR DISTRIBUTION
    • Y02E60/00Enabling technologies; Technologies with a potential or indirect contribution to GHG emissions mitigation
    • Y02E60/10Energy storage using batteries
    • YGENERAL TAGGING OF NEW TECHNOLOGICAL DEVELOPMENTS; GENERAL TAGGING OF CROSS-SECTIONAL TECHNOLOGIES SPANNING OVER SEVERAL SECTIONS OF THE IPC; TECHNICAL SUBJECTS COVERED BY FORMER USPC CROSS-REFERENCE ART COLLECTIONS [XRACs] AND DIGESTS
    • Y02TECHNOLOGIES OR APPLICATIONS FOR MITIGATION OR ADAPTATION AGAINST CLIMATE CHANGE
    • Y02PCLIMATE CHANGE MITIGATION TECHNOLOGIES IN THE PRODUCTION OR PROCESSING OF GOODS
    • Y02P70/00Climate change mitigation technologies in the production process for final industrial or consumer products
    • Y02P70/50Manufacturing or production processes characterised by the final manufactured product

Landscapes

  • Chemical & Material Sciences (AREA)
  • Chemical Kinetics & Catalysis (AREA)
  • Electrochemistry (AREA)
  • General Chemical & Material Sciences (AREA)
  • Inorganic Chemistry (AREA)
  • Engineering & Computer Science (AREA)
  • Manufacturing & Machinery (AREA)
  • Battery Mounting, Suspending (AREA)
  • Connection Of Batteries Or Terminals (AREA)

Description

本願はエネルギー貯蔵デバイスの技術分野に関し、特に電池モジュール及び電池パックに関する。
エネルギー構造の転換に伴い、持続的に発展可能な電気エネルギーが徐々に伝統的な化石燃料に取って代わって主流のエネルギーになっている。例えば、電気自動車は次第に伝統的な燃料自動車に取って代わって、新たな発展トレンドになったため、充放電可能な電池は迅速に発展できるようになっている。
内部で複数の電池セル間が互いに直列接続された現在の電池モジュールは、従来の電極接続シートの設置方式が電池モジュールの配置の多様性を制限し、放熱性と安全性の点で欠陥があり、電池モジュールのエネルギー密度の向上に不利である。
上記問題を解決するために、本願は電池モジュール及び電池パックを提供する。
本願の第1態様は、電池モジュールを提供し、当該電池モジュールは、
互いに直列接続された複数の電池セルと、
前記電池モジュールの出力端に設けられた電極出力接続シートと、
複数の前記電池セルのうちの、隣り合わない電池セルをそれぞれ接続する複数のジャンパー電極接続シートと、
複数の前記電池セルのうちの、隣り合う前記電池セルを接続する隣接電極接続シートとを備え、
前記電極出力接続シート、前記ジャンパー電極接続シート及び前記隣接電極接続シートにより、前記電池モジュールに給電経路が形成される。
好ましくは、前記電池セルは単一の電池単体である。
好ましくは、前記電池セルは、電池単体が並列接続されて形成された電池パックである。
好ましくは、前記ジャンパー電極接続シートは、1つの電池セルを介して前記複数の電池セルをそれぞれ接続する。
好ましくは、前記ジャンパー電極接続シートは、奇数個の電池セルを介して前記複数の電池セルをそれぞれ接続する。
好ましくは、前記ジャンパー電極接続シートは、偶数個の電池セルを介して前記複数の電池セルをそれぞれ接続する。
好ましくは、前記複数のジャンパー電極接続シートは、長さ又は形状が同じである。
好ましくは、前記電極出力接続シートは、前記電池モジュールの同一側に設けられている。
好ましくは、前記電極出力接続シートは、前記電池モジュールから同一方向に延在する。
本願の第2の態様は、上記いずれかの電池モジュールを備える電池パックを提供する。
本願に係る発明は、以下の有益な効果を奏することができる。
本願に提供された電池モジュールでは、複数の電池セルは、ジャンパー電極接続シート及び隣接電極接続シートにより互いに直列接続されており、電池モジュールの配置の多様性を改善するために、重要な技術的サポートを提供する。
例えば、当該電池モジュールにおける電極出力接続シートをいずれも同一側に設置する場合、電池モジュールのエネルギー密度を向上させるように、電池モジュール全体の全体サイズを小さくすることができるとともに、ジャンパー電極接続シートの長さを小さくし、電池モジュールの稼働中に、ジャンパー電極接続シートが生じる熱などを低減させて、電池モジュールの安全性を向上させる目的を達成する。
また、ジャンパー電極接続シートの長さが小さい場合、電池モジュール全体の取り付け誤差が相対的に小さく、且つ当該電池モジュールの組立工程の実施が便利になる。
ここでの図面は、本明細書に組み込まれており、本明細書の一部を構成し、本発明に合致する実施例を示し、明細書と共に本願の原理を解釈する。
本願の実施例に係る電池モジュールの1つの構造模式図である。 本願の実施例に係る電池モジュールのもう1つの構造の平面図である。 本願の実施例に係る電池モジュールのさらにもう1つの構造の平面図である。 本願の実施例に係る電池モジュールのさらにもう1つの構造の平面図である。 本願の実施例に係る電池モジュールのさらにもう1つの構造の平面図である。 本願の実施例に係る電池モジュールのさらにもう1つの構造の模式図である。 本願の実施例に係る電池モジュールにおけるジャンパー電極接続シートの1つの構造模式図である。 本願の実施例に係る電池モジュールにおけるジャンパー電極接続シートのもう1つの構造模式図である。 図8に示す構造の分解模式図である。 本願の実施例に係る電池モジュールにおける隣接電極接続シートの1つの構造模式図である。 本願の実施例に係る電池モジュールにおけるジャンパー電極接続シートのもう1つの構造模式図である。 本願の実施例に係る電池モジュールにおける電池単体の構造模式図である。
図面に合わせて、具体的な実施例で本願をさらに詳しく説明する。
本発明の記述において、別途明示的な規定や限定がない限り、用語「第1」、「第2」、「第3」、「第4」は、目的の記述のみのために用いられ、相対的な重要性を指示又は示唆すると理解すべきではない。別途規定又は説明がない限り、用語「複数の」とは3つ又は3つ以上を指し、用語「接続」、「固定」などは、いずれも広義に理解すべきであり、例えば、「接続」は、固定接続であってもよく、着脱可能な接続、又は一体的接続、又は電気的な接続であってもよく、直接接続、中間媒体による間接接続であってもよい。当業者は、具体的な状況に応じて、上記用語が本発明における具体的な意味を理解することができる。
本明細書の説明では、本願の実施例に記載の「上」、「下」、「左」、「右」などの方位詞は、図面に示す角度で説明されると理解することが必要であり、本願の実施例を限定すると理解すべきではない。なお、上下文において、1つの素子がもう1つの素子の「上」又は「下」に接続されると説明する場合、それがもう1つの素子の「上」又は「下」に直接接続されてもよいし、仲介素子を介してもう1つの素子の「上」又は「下」に間接接続されてもよいと理解する必要もある。
本願の実施例は、電池モジュール及び電池パック(図示せず)を提供し、前記電池パック内に、当該電池モジュールを備え、当然ながら、電池パック内では、電池管理システム、電池熱管理システム、電池システム配電箱及び軟質性接続と電気インターフェースなどがさらに設置されてもよく、ここで、熱管理システムは蒸発器、送風機、風路及び温度採取機構などを備えてもよく、単一の電池パックは、その内部に、1つ又は複数の電池モジュールが設置されてもよく、これについては、実際の需要に応じて選択設定すればよい。
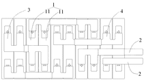
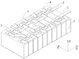
以下、主に電池モジュールの構造について詳しく説明する。図1〜6に示すように、単一の電池モジュールは、フレーム(図示せず)とフレーム内に配置された複数の電池セル1とを備え、具体的に、図1に示すように、電池セル1は、単一の電池単体11であってもよいし、又は、図5に示すように、電池モジュール全体の出力電流の向上を目的とするために、電池セル1は、複数の電池単体11が並列接続されて形成された電池パックであってもよい。
例を挙げると、図5に示すように、当該電池モジュール内における電池セル1は、2つの電池単体11を備え、2つの電池単体11は、まず図7に示すジャンパー電極接続シート4により並列接続された後、そして、もう1つの電池セル1に直列接続される。さらに具体的に、図12に示すように、電池単体11は、四角形状の構造であってもよく、それは極性が逆である2つの極柱111を備える。
電池モジュールの組立中に、複数の電池セル1は、ジャンパー電極接続シート4及び隣接電極接続シート3により互いに直列接続されることができる。電池モジュール全体の電気エネルギーを出力するために、電池モジュール内には、さらに電極出力接続シート2が設置されている。電極出力接続シート2が電池モジュールの出力端に設置され、電極出力接続シート2が2つ設置されており、それぞれ総正出力極と総負出力極となる。
前記ジャンパー電極接続シート4により、電極接続シートを短縮することが可能になった上で、2つの電極出力接続シート2を電池モジュール全体の同一側に設置することができるので、放熱条件の改善に有利であり、高い安全性が得られると共に、同一の取り付け空間内でより高いエネルギー密度を得ることもできる。
具体的に、電池モジュール内で複数の電池セル1の接続中に、複数の電池セル1において隣り合わずに設置された電池セル1は、ジャンパー電極接続シート4により直列接続され、隣接電極接続シート3は、隣り合って設置された2つの電池セル1を直列接続するために用いることができ、ジャンパー電極接続シート4及び隣接電極接続シート3で直列接続された複数の電池セル1における残りの2つの電池セル1は、それぞれ2つの電極出力接続シート2に接続されることにより、当該電池モジュールで給電経路が形成可能であることを確保する。
ジャンパー電極接続シート4が、跨がれた電池セル1と接触することによって電池モジュールで短絡が生じることを防止するために、好ましくは、図7−10に示すように、ジャンパー電極接続シート4上に絶縁材料で作製された保護カバーが設置されていてもよく、或いは、ジャンパー電極接続シート4と跨がれた電池セル1との間に安全セパレータが設置されていてもよく、両者が接触して電池モジュールで短絡を引き起こすことを防止する。
具体的に、電極出力接続シート2、ジャンパー電極接続シート4及び隣接電極接続シート3はいずれも金属などの導電性材料で作製された構造であってもよく、好ましくは、金属銅又はアルミニウムで電極出力接続シート2、ジャンパー電極接続シート4及び隣接電極接続シート3を形成することができる。図6―11に示すように、ジャンパー電極接続シート4及び隣接電極接続シート3は、いずれも例えばシート状などの構造であってもよく、その厚さ及び長さはいずれも実際の需要に応じて柔軟に選択することができる。
さらに、当該電池モジュールにおける2つの電極出力接続シート2は、いずれも電池モジュールの同一側に設置されている場合、図1―6に示すように、2つの電極出力接続シート2は、いずれも電池モジュールの長さ方向における同一側に設置されている。当該電池モジュールの組立中に、2つの電極出力接続シート2のある位置で、取り付けるための空間を予め確保しておけばよく、当該予め確保される空間は、モジュールの元のフレーム構造(例えば、端板)を利用して形成することができ、電極出力接続シート2が高さ方向又は幅方向における同一側に設置される場合に比べ、当該電池モジュールを取り付けるのに必要な空間を小さくすることができる。また、電池モジュールのフレームのサイズが同じである場合、当該電池モジュールにおける2つの電極出力接続シート2が同一側に位置することにより、電池モジュールが押圧を受けるとき、電極出力接続シート2がフレームとの距離が小さいため、接触することによる電池モジュールでの短絡の問題を防止することができる。なお、電池モジュールの長さ方向は、図1に示す方向Xであってもよく、対応的に、電池モジュールの幅方向と高さ方向は、それぞれ図1に示す方向Yと方向Zである。
上記からわかるように、本願に提供されたこのような電池モジュールにおいて、複数の電池セル1は、ジャンパー電極接続シート4及び隣接電極接続シート3により互いに直列接続され、当該電池モジュールにおける2つの電極出力接続シート2は、当該電池モジュールの同一側に位置してもよいし、それぞれ当該電池モジュールの異なる側に位置してもよい。これにより、当該電池モジュールの設計及び実装中に、実際の需要に応じて、2つの電極出力接続シート2の設置位置及び向きを柔軟に変更することができ、当該電池モジュールの応用シーンが多様化の方向に発展することを促進する。
さらに、当該電池モジュールにおける2つの電極出力接続シート2がいずれも当該電池モジュールの同一側に設置されているとき、電池モジュールのエネルギー密度を向上させるように、電池モジュール全体の全体サイズを小さくすることができると共に、ジャンパー電極接続シート4の長さを小さくすることもでき、電池モジュールの稼働中に、ジャンパー電極接続シート4が生じる熱などを低減させて、電池モジュールの安全性を向上させる目的を達成する。また、ジャンパー電極接続シート4の長さが小さいとき、電池モジュール全体の取り付け誤差が相対的に小さく、且つ、当該電池モジュール組立工程の実施が便利になる。
ジャンパー電極接続シート4により電池セル1を接続する過程で、ジャンパー電極接続シート4は、1つの電池セル1を跨いでもよいし、2つ、3つ又はそれより多い電池セル1を跨いでもよく、ここで限定されない。好ましくは、電池モジュールのグループ化の過程で、ジャンパー電極接続シート4は、奇数個の電池セル1を跨ぐように、隣接電極接続シート3と共に、複数の電池セル1を接続することができ、或いは、ジャンパー電極接続シート4は、偶数個の電池セル1を跨ぐように、隣接電極接続シート3と共に、複数の電池セル1を接続することができる。これについて、電池モジュールの生産プロセスで、需要に応じて実際に選択しようとする接続方式を特定することができる。
好ましい具体的な実施形態としては、図1―6に示すように、ジャンパー電極接続シート4は、1つの電池セル1を介して、隣接電極接続シート3と共に複数の電池セル1を接続して、給電経路を形成し、このような接続方式で電池モジュールをグループ化するとき、操作が簡単であり、且つ各ジャンパー電極接続シート4と各隣接電極接続シート3の構造が簡単であり、生産と組立が便利になる。
さらに、複数のジャンパー電極接続シート4は、長さ又は形状が同じであるため、電池モジュール内における部品の標準化を向上させ、さらにジャンパー電極接続シート4の加工の困難性を低下させ、ジャンパー電極接続シート4と電池セル1との組立の困難性を低下させる。
好ましくは、2つの電極出力接続シート2は、同一方向に延在するように設置されてもよく、図1―6に示すように、2つの電極出力接続シート2はいずれも電池モジュールの長さ方向に延在してもよい。これにより、電池モジュールの使用中に、電池モジュールが同時に前記長さ方向以外の他の複数の方向からの押圧を受けても、このような構造を有する電池モジュールにおける電極出力接続シート2が電池モジュールのフレームに接触して電池モジュールで短絡を引き起こすこともない。
上述したのは、本願の好適な実施例に過ぎず、本願を限定するものではない。当業者にとって、本願に対して、各種の変更と変形が可能である。本願の精神及び原理の範囲内でなされたいかなる修正、等価な置換、改良などは、いずれも本願の保護範囲内に含まれるべきである。
1 電池セル
11 電池単体
111 極柱
2 電極出力接続シート
3 隣接電極接続シート
4 ジャンパー電極接続シート

Claims (10)

  1. 電池モジュールであって、
    互いに直列接続された複数の電池セルと、
    前記電池モジュールの出力端に設けられた電極出力接続シートと、
    複数の前記電池セルのうちの、隣り合わない電池セルを接続する複数のジャンパー電極接続シートと、
    複数の前記電池セルのうちの、隣り合う前記電池セルを接続する隣接電極接続シートと
    前記ジャンパー電極接続シートと跨がれた前記電池セルとの間の接触が防止されるように、前記ジャンパー電極接続シート上に設置されて絶縁材料で作製された保護カバーとを備え、
    前記電極出力接続シート、前記ジャンパー電極接続シート及び前記隣接電極接続シートにより、前記電池モジュールに給電経路が形成されることを特徴とする電池モジュール。
  2. 前記電池セルは、単一の電池単体であることを特徴とする請求項1に記載の電池モジュール。
  3. 前記電池セルは、電池単体が並列接続されて形成された電池パックであることを特徴とする請求項1に記載の電池モジュール。
  4. 前記ジャンパー電極接続シートは、1つの電池セルを介して前記複数の電池セルをそれぞれ接続することを特徴とする請求項1に記載の電池モジュール。
  5. 前記ジャンパー電極接続シートは、奇数個の電池セルを介して前記複数の電池セルをそれぞれ接続することを特徴とする請求項1に記載の電池モジュール。
  6. 前記ジャンパー電極接続シートは、偶数個の電池セルを介して前記複数の電池セルをそれぞれ接続することを特徴とする請求項1に記載の電池モジュール。
  7. 前記複数のジャンパー電極接続シートは、長さ又は形状が同じであることを特徴とする請求項1に記載の電池モジュール。
  8. 前記電極出力接続シートは、前記電池モジュールの同一側に設けられていることを特徴とする請求項1に記載の電池モジュール。
  9. 前記電極出力接続シートは、前記電池モジュールから同一方向に延在することを特徴とする請求項1に記載の電池モジュール。
  10. 請求項1−9のいずれか1項に記載の電池モジュールを備えることを特徴とする電池パック。
JP2019105049A 2018-09-14 2019-06-05 電池モジュール及び電池パック Active JP6797969B2 (ja)

Applications Claiming Priority (2)

Application Number Priority Date Filing Date Title
CN201811074761.6A CN110911626B (zh) 2018-09-14 2018-09-14 电池模组及电池包
CN201811074761.6 2018-09-14

Publications (2)

Publication Number Publication Date
JP2020047583A JP2020047583A (ja) 2020-03-26
JP6797969B2 true JP6797969B2 (ja) 2020-12-09

Family

ID=66690222

Family Applications (1)

Application Number Title Priority Date Filing Date
JP2019105049A Active JP6797969B2 (ja) 2018-09-14 2019-06-05 電池モジュール及び電池パック

Country Status (5)

Country Link
US (1) US11664524B2 (ja)
EP (1) EP3624217B8 (ja)
JP (1) JP6797969B2 (ja)
CN (2) CN113140874A (ja)
HU (1) HUE069394T2 (ja)

Families Citing this family (2)

* Cited by examiner, † Cited by third party
Publication number Priority date Publication date Assignee Title
CN111710822A (zh) * 2020-06-19 2020-09-25 中航锂电(洛阳)有限公司 一种电池模组
KR20240148182A (ko) * 2023-04-03 2024-10-11 삼성에스디아이 주식회사 이차전지 팩

Family Cites Families (12)

* Cited by examiner, † Cited by third party
Publication number Priority date Publication date Assignee Title
CN2587069Y (zh) * 2002-12-04 2003-11-19 春兰(集团)公司 镍氢电池模组结构
EP2109906B1 (en) * 2007-02-09 2016-09-07 Johnson Controls Advanced Power Solutions LLC Buss bar for batteries
DE102009000675A1 (de) * 2009-02-06 2010-08-12 Robert Bosch Gmbh Wiederaufladbare Batterie
US8470467B2 (en) * 2010-05-27 2013-06-25 GM Global Technology Operations LLC Battery connection topology
DE102011087038A1 (de) * 2011-11-24 2013-05-29 Bayerische Motoren Werke Aktiengesellschaft Stromabgriffselement für ein Energiespeichermodul
DE102016213081B4 (de) 2016-07-18 2020-01-23 Volkswagen Aktiengesellschaft Batteriemodul
KR102209824B1 (ko) * 2016-07-21 2021-01-29 삼성에스디아이 주식회사 배터리 모듈
DE102016121265B4 (de) * 2016-11-07 2025-08-07 Elringklinger Ag Zellkontaktierungssystem für eine elektrochemische Vorrichtung
CN206490119U (zh) * 2017-02-28 2017-09-12 宁德时代新能源科技股份有限公司 电池模组
CN207719261U (zh) * 2017-12-27 2018-08-10 宁德时代新能源科技股份有限公司 电池模组用盖板组件及电池模组
CN207818732U (zh) * 2018-03-08 2018-09-04 宁德时代新能源科技股份有限公司 电池模组
CN208570760U (zh) * 2018-09-14 2019-03-01 宁德时代新能源科技股份有限公司 电池模组及电池包

Also Published As

Publication number Publication date
EP3624217B1 (en) 2024-08-28
US11664524B2 (en) 2023-05-30
JP2020047583A (ja) 2020-03-26
EP3624217A1 (en) 2020-03-18
CN110911626A (zh) 2020-03-24
US20200091474A1 (en) 2020-03-19
CN110911626B (zh) 2025-03-07
EP3624217B8 (en) 2024-10-16
CN113140874A (zh) 2021-07-20
HUE069394T2 (hu) 2025-03-28

Similar Documents

Publication Publication Date Title
CN109904378B (zh) 锂电池储能模块及锂电池储能模组
WO2024008195A1 (zh) 电池包及其ccs组件
JP6692477B2 (ja) 電池モジュール
CN218039705U (zh) 一种具有ccs组件的电池包
CN104576994B (zh) 电池成组结构及包含其的电池组
CN214477697U (zh) 一种电池模组及电池包
CN106684300B (zh) 一种电连接托盘及包含该电连接托盘的电芯模组结构
JP6797969B2 (ja) 電池モジュール及び電池パック
CN215184417U (zh) 一种电池模组
CN214477761U (zh) 一种电池模组及电池包
CN217788545U (zh) 一种电池装置
CN209104206U (zh) 电池模组
CN208570760U (zh) 电池模组及电池包
CN110492049A (zh) 电池和电池组
CN219393603U (zh) 电池模组及电池包
CN117638423B (zh) 电池包和车辆
CN217405638U (zh) 一种连接片、电池模组及电池
CN219067149U (zh) 电池组及电池包
CN208622814U (zh) 一种动力电池模组及液冷动力电池包
CN219739116U (zh) 一种电池包及用电设备
CN223297001U (zh) 单体电池以及储电装置
CN218569032U (zh) 一种储能电池模组
CN222966259U (zh) 新型动力电池包
CN222705761U (zh) 汇流排单元、ccs组件、电池模组以及电池包
CN111370608A (zh) 一种储能电池模块

Legal Events

Date Code Title Description
A621 Written request for application examination

Free format text: JAPANESE INTERMEDIATE CODE: A621

Effective date: 20190605

A977 Report on retrieval

Free format text: JAPANESE INTERMEDIATE CODE: A971007

Effective date: 20200625

A131 Notification of reasons for refusal

Free format text: JAPANESE INTERMEDIATE CODE: A131

Effective date: 20200714

A521 Request for written amendment filed

Free format text: JAPANESE INTERMEDIATE CODE: A523

Effective date: 20200924

TRDD Decision of grant or rejection written
A01 Written decision to grant a patent or to grant a registration (utility model)

Free format text: JAPANESE INTERMEDIATE CODE: A01

Effective date: 20201117

A61 First payment of annual fees (during grant procedure)

Free format text: JAPANESE INTERMEDIATE CODE: A61

Effective date: 20201118

R150 Certificate of patent or registration of utility model

Ref document number: 6797969

Country of ref document: JP

Free format text: JAPANESE INTERMEDIATE CODE: R150

R250 Receipt of annual fees

Free format text: JAPANESE INTERMEDIATE CODE: R250

S111 Request for change of ownership or part of ownership

Free format text: JAPANESE INTERMEDIATE CODE: R313113

R360 Written notification for declining of transfer of rights

Free format text: JAPANESE INTERMEDIATE CODE: R360

R360 Written notification for declining of transfer of rights

Free format text: JAPANESE INTERMEDIATE CODE: R360

R371 Transfer withdrawn

Free format text: JAPANESE INTERMEDIATE CODE: R371

S111 Request for change of ownership or part of ownership

Free format text: JAPANESE INTERMEDIATE CODE: R313113

R350 Written notification of registration of transfer

Free format text: JAPANESE INTERMEDIATE CODE: R350

R250 Receipt of annual fees

Free format text: JAPANESE INTERMEDIATE CODE: R250

R250 Receipt of annual fees

Free format text: JAPANESE INTERMEDIATE CODE: R250