JP6777567B2 - クランプ機構 - Google Patents

クランプ機構 Download PDF

Info

Publication number
JP6777567B2
JP6777567B2 JP2017041826A JP2017041826A JP6777567B2 JP 6777567 B2 JP6777567 B2 JP 6777567B2 JP 2017041826 A JP2017041826 A JP 2017041826A JP 2017041826 A JP2017041826 A JP 2017041826A JP 6777567 B2 JP6777567 B2 JP 6777567B2
Authority
JP
Japan
Prior art keywords
belt
block
pair
fixing
clamp mechanism
Prior art date
Legal status (The legal status is an assumption and is not a legal conclusion. Google has not performed a legal analysis and makes no representation as to the accuracy of the status listed.)
Active
Application number
JP2017041826A
Other languages
English (en)
Other versions
JP2018146043A (ja
Inventor
洋一 岩本
洋一 岩本
克実 ▲高▼木
克実 ▲高▼木
竜一 長瀬
竜一 長瀬
洋輔 松橋
洋輔 松橋
知和 岩田
知和 岩田
康裕 津村
康裕 津村
Current Assignee (The listed assignees may be inaccurate. Google has not performed a legal analysis and makes no representation or warranty as to the accuracy of the list.)
Mitsubishi Heavy Industries Ltd
Original Assignee
Mitsubishi Heavy Industries Ltd
Priority date (The priority date is an assumption and is not a legal conclusion. Google has not performed a legal analysis and makes no representation as to the accuracy of the date listed.)
Filing date
Publication date
Application filed by Mitsubishi Heavy Industries Ltd filed Critical Mitsubishi Heavy Industries Ltd
Priority to JP2017041826A priority Critical patent/JP6777567B2/ja
Publication of JP2018146043A publication Critical patent/JP2018146043A/ja
Application granted granted Critical
Publication of JP6777567B2 publication Critical patent/JP6777567B2/ja
Active legal-status Critical Current
Anticipated expiration legal-status Critical

Links

Images

Landscapes

  • Clamps And Clips (AREA)

Description

本発明は、クランプ機構に関する。
従来、配管等の管体の開放端やノズルに対して、ホースやブーツ等の筒状部材を差し込んで締め付ける際には、ホースバンドが用いられている。
また、発電所建屋の配管の開放端の外周面に、ブーツやダクト等の筒状部材を被せて締め付ける際には、大口径の配管に取り付け可能なクランプ機構が用いられる(例えば、特許文献1参照。)。
特許文献1には、伸縮カバーの外周全周に巻回され、かつ両端部に管軸周りに重複部分を有するバンド部と、係止部と、被係止部と、係止手段と、を備えた全周締結用止水バンド(クランプ機構)が開示されている。
係止部は、バンド部の両端部にそれぞれ設けられている。被係止部は、バンドの重複部分外に設けられている。係止手段は、係止部と被係止部とを係止している。
特開2008−175313号公報
しかしながら、特許文献1の全周締結用止水バンド(クランプ機構)の場合、係止部と被係止部とを伸縮カバーの周方向に引き寄せて、全周締結用止水バンドを締め付けた際に発生する内圧が大きくなると、バンド部の両端部に印加される引張応力により、係止部及び被係止部の耐久性が低下する可能性があった。
このように、係止部及び被係止部(クランプ機構を構成する部材)の耐久性が低下すると、管体と筒状部材との間からリークが発生する可能性があった。
そこで、本発明は、クランプ機構を構成する部材の耐久性を向上させることで、管体と筒状部材との間から発生するリークを抑制することの可能なクランプ機構を提供することを目的とする。
上記課題を解決するため、本発明の一態様に係るクランプ機構は、円環状とされた管体の外周面に筒状部材を嵌めた状態で、該筒状部材の外周面に設けられ、前記管体と前記筒状部材とを固定するクランプ機構であって、前記筒状部材の外周面の全周に巻かれるとともに、前記管体の軸線から離間する方向に折り曲げられることで湾曲するU字形状とされた一対の端部を含むベルトと、前記一対の端部のうち、一方の端部の内側に設けられており、前記一方の端部のU字形状とされた内面と接触する第1の湾曲面を含む第1のブロックと、前記一対の端部のうち、他方の端部の内側に設けられており、前記他方の端部のU字形状とされた内面と接触する第2の湾曲面を含む第2のブロックと、前記一方の端部の外側から該一方の端部を前記第1のブロックに固定する第1の固定部材と、前記他方の端部の外側から該他方の端部を前記第2のブロックに固定する第2の固定部材と、前記第1のブロックと前記第2のブロックとを互いに離間させることで、前記ベルトを締め付ける締結部材と、を備え、前記ベルトは、U字形状とされた一対の第1の端部を含む第1のベルトと、U字形状とされた一対の第2の端部を含み、一部が前記管体の軸線方向で前記第1のベルトと重なる第2のベルトと、を備え、前記一対の端部は、前記第1の端部と、該第1の端部と隣り合う位置に設けられた前記第2の端部と、で構成されており、前記一対の端部、前記第1のブロック、前記第2のブロック、前記第1の固定部材、前記第2の固定部材、及び前記締結部材を含む構造体を2つ備えた締結機構を有する
本発明によれば、上記ベルト、第1のブロック、第2のブロック、及び締結部材を備えることで、ベルトを締め付けることで内圧が高くなった際、ベルトの一対の端部に加わる引っ張り力に対して、第1及び第2の湾曲面に垂直抗力が発生するため、ベルトの一対の端部と第1及び第2の湾曲面との間で摩擦力が生じる。
これにより、ベルトの一方の端部を第1のブロックに固定する第1の固定部材、及びベルトの他方の端部を第2のブロックに固定する第2の固定部材に負荷される力は、ベルトの端部に加わる引っ張り力から摩擦力を減算した力となる。
このように、第1及び第2の固定部材に負荷される力が引っ張り力よりも小さくなることで、第1及び第2の固定部材(クランプ機構を構成する部材)の耐久性を向上させることが可能となるので、管体と筒状部材との間から発生するリークを抑制することができる。
さらに、ベルトが筒状部材の全周に巻かれることで、筒状部材の外周面の全周に締め付け力を印加することが可能となるので、管体と筒状部材との間から発生するリークを抑制することができる。
上記構成とされたクランプ機構は、大口径化された管体に適用した場合でも第1及び第2の固定部材(クランプ機構を構成する部材)の耐久性を向上させることが可能となるので、管体と筒状部材との間から発生するリークを抑制することができる。
また、一対の端部、第1のブロック、第2のブロック、第1の固定部材、第2の固定部材、及び締結部材を含む構造体を2つ備えた締結機構を有することで、管体の周方向におけるベルトの締め付け力を均一にすることができる。
また、上記本発明の一態様に係るクランプ機構において、前記締結部材は、前記第1及び第2のブロックのうち、一方のブロックを貫通し、かつ他方のブロックに到達する押しボルトであってもよい。
このように、締結部材として、第1及び第2のブロックのうち、一方のブロックを貫通し、かつ他方のブロックに到達する押しボルトを用いることで、強い力でベルトを締め付けることができる。
また、上記本発明の一態様に係るクランプ機構において、前記ベルトは、スチールベルトであってもよい。
このように、ベルトとして、曲げ剛性が小さいスチールベルトを用いることで、ベルトが張力以外の力を伝達しにくくなる。これにより、ベルトを円環状に曲げることに起因する押し付け力の低下を抑制できる。
また、上記本発明の一態様に係るクランプ機構において、前記ベルトは、複数の前記第1及び第2のベルトを含み、前記締結機構を複数設けてもよい。
このように、複数の第1及び第2のベルトと、複数の締結機構と、を有することで、管体の径が大きい場合でも管体の周方向におけるベルトの締め付け力を均一にすることができる。
上記課題を解決するため、本発明の一態様に係るクランプ機構は、円環状とされた管体の外周面に筒状部材を嵌めた状態で、該筒状部材の外周面に設けられ、前記管体と前記筒状部材とを固定するクランプ機構であって、前記筒状部材の外周面の全周に巻かれるとともに、前記管体の軸線から離間する方向に折り曲げられることで湾曲するU字形状とされた一対の端部を含むベルトと、前記一対の端部のうち、一方の端部の内側に設けられており、前記一方の端部のU字形状とされた内面と接触する第1の湾曲面を含む第1のブロックと、前記一対の端部のうち、他方の端部の内側に設けられており、前記他方の端部のU字形状とされた内面と接触する第2の湾曲面を含む第2のブロックと、前記一方の端部の外側から該一方の端部を前記第1のブロックに固定する第1の固定部材と、前記他方の端部の外側から該他方の端部を前記第2のブロックに固定する第2の固定部材と、前記第1のブロックと前記第2のブロックとを互いに離間させることで、前記ベルトを締め付ける締結部材と、を備え、前記ベルトは、U字形状とされた一対の第1の端部を含む第1のベルトと、U字形状とされた一対の第2の端部を含む第2のベルトと、を備え、前記第1及び第2のベルトは、前記管体の軸線に対して直交する直交線に対して傾斜するとともに、前記直交線を対象軸として対象となるように、1回以上巻き付けられている。
本発明によれば、上記ベルト、第1のブロック、第2のブロック、及び締結部材を備えることで、ベルトを締め付けることで内圧が高くなった際、ベルトの一対の端部に加わる引っ張り力に対して、第1及び第2の湾曲面に垂直抗力が発生するため、ベルトの一対の端部と第1及び第2の湾曲面との間で摩擦力が生じる。
これにより、ベルトの一方の端部を第1のブロックに固定する第1の固定部材、及びベルトの他方の端部を第2のブロックに固定する第2の固定部材に負荷される力は、ベルトの端部に加わる引っ張り力から摩擦力を減算した力となる。
このように、第1及び第2の固定部材に負荷される力が引っ張り力よりも小さくなることで、第1及び第2の固定部材(クランプ機構を構成する部材)の耐久性を向上させることが可能となるので、管体と筒状部材との間から発生するリークを抑制することができる。
さらに、ベルトが筒状部材の全周に巻かれることで、筒状部材の外周面の全周に締め付け力を印加することが可能となるので、管体と筒状部材との間から発生するリークを抑制することができる。
上記構成とされたクランプ機構は、大口径化された管体に適用した場合でも第1及び第2の固定部材(クランプ機構を構成する部材)の耐久性を向上させることが可能となるので、管体と筒状部材との間から発生するリークを抑制することができる。
また、管体の軸線に対して直交する直交線に対して傾斜し、かつ直交線を対象軸として対象となるように、第1及び第2のベルトを1回以上巻き付けることで、管体の周方向におけるベルトの締め付け力をさらに均一にすることができる。
また、上記本発明の一態様に係るクランプ機構において、前記第1及び第2のベルトは、スチールベルトであってもよい。
このように、第1及び第2のベルトとして、曲げ剛性が小さいスチールベルトを用いることで、第1及び第2のベルトが張力以外の力を伝達しにくくなる。これにより、第1及び第2のベルトを円環状に曲げることに起因する押し付け力の低下を抑制できる。
上記課題を解決するため、本発明の一態様に係るクランプ機構は、円環状とされた管体の外周面に筒状部材を嵌めた状態で、該筒状部材の外周面に設けられ、前記管体と前記筒状部材とを固定するクランプ機構であって、前記筒状部材の外周面の全周に巻かれるとともに、前記管体の軸線から離間する方向に折り曲げられることで湾曲するU字形状とされた一対の端部を含むベルトと、前記一対の端部のうち、一方の端部の内側に設けられており、前記一方の端部のU字形状とされた内面と接触する第1の湾曲面を含む第1のブロックと、前記一対の端部のうち、他方の端部の内側に設けられており、前記他方の端部のU字形状とされた内面と接触する第2の湾曲面を含む第2のブロックと、前記一方の端部の外側から該一方の端部を前記第1のブロックに固定する第1の固定部材と、前記他方の端部の外側から該他方の端部を前記第2のブロックに固定する第2の固定部材と、前記第1のブロックと前記第2のブロックとを互いに離間させることで、前記ベルトを締め付ける締結部材と、を備え、前記ベルトは、一巻き目の前記ベルトの外周面に前記一対の端部が離間して配置されるとともに、前記一巻き目のベルトのうち、前記一対の端部が配置される部分と該一対の端部とが前記管体の軸線に対して直交する直交線に対して傾斜した状態で2回巻き付けられており、前記締結部材は、前記第1のブロックを貫通し、前記第2のブロックに到達する第1の締結部材と、前記第2のブロックを貫通し、前記第1のブロックに到達する第2の締結部材と、を含む。
本発明によれば、上記ベルト、第1のブロック、第2のブロック、及び締結部材を備えることで、ベルトを締め付けることで内圧が高くなった際、ベルトの一対の端部に加わる引っ張り力に対して、第1及び第2の湾曲面に垂直抗力が発生するため、ベルトの一対の端部と第1及び第2の湾曲面との間で摩擦力が生じる。
これにより、ベルトの一方の端部を第1のブロックに固定する第1の固定部材、及びベルトの他方の端部を第2のブロックに固定する第2の固定部材に負荷される力は、ベルトの端部に加わる引っ張り力から摩擦力を減算した力となる。
このように、第1及び第2の固定部材に負荷される力が引っ張り力よりも小さくなることで、第1及び第2の固定部材(クランプ機構を構成する部材)の耐久性を向上させることが可能となるので、管体と筒状部材との間から発生するリークを抑制することができる。
さらに、ベルトが筒状部材の全周に巻かれることで、筒状部材の外周面の全周に締め付け力を印加することが可能となるので、管体と筒状部材との間から発生するリークを抑制することができる。
上記構成とされたクランプ機構は、大口径化された管体に適用した場合でも第1及び第2の固定部材(クランプ機構を構成する部材)の耐久性を向上させることが可能となるので、管体と筒状部材との間から発生するリークを抑制することができる。
また、一巻き目のベルトの外周面に一対の端部が離間して配置されるように、管体の軸線に対して直交する直交線に対して傾斜した状態で2回巻き付けられたベルトを有することで、クランプ機構の構造を簡略化することが可能となるので、クランプ機構の施工を容易に行うことができる。
本発明によれば、クランプ機構を構成する部材の耐久性を向上させることで、管体と筒状部材との間から発生するリークを抑制することができる。
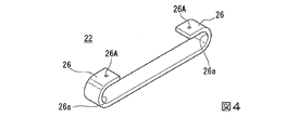
本発明の第1の実施形態に係るクランプ機構の側面図である。 図1に示すクランプ機構を構成する締結機構の斜視図である。 図1に示すベルトを構成する第1のベルトの側面図である。 図2に示す第2のベルトの斜視図である。 図2に示す第1のブロックの斜視図である。 図2に示す第2のブロックの斜視図である。 本発明の第2の実施形態に係るクランプ機構の平面図である。 図7に示す領域BをE視した側面図である。 図7に示す領域CをE視した側面図である。 本発明の第3の実施形態に係るクランプ機構の平面図である。
(第1の実施形態)
図1〜図6を参照して、本発明の第1の実施形態に係るクランプ機構10について説明する。図1において、Lは管体11の軸線(以下、「軸線L」という)、Dは管体11の外径(以下、「外径」という)、Aは管体11の周方向(以下、「周方向A」という)をそれぞれ示している。図1〜図6において、同一構成部分には同一符号を付す。図1では、説明の便宜上、管体11及び筒状部材12を断面で図示する。図3では、説明の便宜上、第1のベルト21の構成要素ではない管体11及び筒状部材12を断面で図示する。
なお、図1及び図3では、説明の便宜上、クランプ機構10の構成要素ではない円環状とされた管体11、及び筒状部材12(例えば、ホースやブーツ等)を図示する。
クランプ機構10は、円環状とされた管体11の外周面11aに筒状部材12を嵌めた状態で、筒状部材12の外周面12aに設けられている。クランプ機構10は、管体11と筒状部材12とを固定している。クランプ機構10は、ベルト15と、締結機構16と、を有する。
ベルト15は、第1のベルト21と、第2のベルト22と、を有する。
第1のベルト21は、管体11に嵌められた筒状部材12の外周面12aに沿う形状(円弧形状)とされている。第1のベルト21は、第1のベルト21の両端部を構成する一対の第1の端部24を有する。第1のベルト21は、筒状部材12の外周面12aと接触するように2つ設けられている。
2つの第1のベルト21は、管体11の周方向Aにおいて、一方の第1のベルト21の第1の端部24と他方の第1のベルト21の第1の端部24とが対向するように配置されている。一方の第1のベルト21の第1の端部24と他方の第1のベルト21の第1の端部24とは、離間した状態で配置されている。
一対の第1の端部24は、第1のベルト21の両端部を管体11の軸線Lから離間する方向に折り曲げられることで構成されている。一対の第1の端部24の形状は、湾曲するU字形状とされている。一対の第1の端部24は、U字形状とされた内面24aを有する。一対の第1の端部24の端には、それぞれ貫通穴24Aが設けられている。
第2のベルト22は、管体11に嵌められた筒状部材12の外周面12aに沿う形状(円弧形状)とされている。第2のベルト22は、筒状部材12の外周面12aと接触している。第2のベルト22の長さは、第1のベルト21の長さよりも短くなるように構成されている。第2のベルト22は、4つ設けられている。
4つの第2のベルト22のうち、2つの第2のベルト22は、図1及び図3の紙面の上部に配置された2つの第1の端部24を軸線L方向の両側から挟み込むように配置されている。
残りの2つの第2のベルト22は、図1及び図3の紙面の下部に配置された2つの第1の端部24を軸線L方向の両側から挟み込むように配置されている。
これにより、4つの第2のベルト22の一部は、管体11の軸線L方向で2つの第1のベルト21と重なっている。
4つの第2のベルト22は、2つの第1のベルト21が巻き付けられていない筒状部材12の外周面12aに配置されている。これにより、ベルト15は、筒状部材12の外周面12aの全周に巻き付けられている。
第2のベルト22は、第2のベルト22の両端部を構成する一対の第2の端部26を有する。一対の第2の端部26は、隣り合う位置に設けられた2つの第1の端部24の外側に配置されている。
一対の第2の端部26は、第2のベルト22の両端部を管体11の軸線Lから離間する方向に折り曲げられることで構成されている。一対の第2の端部26の形状は、湾曲するU字形状とされている。一対の第2の端部26は、U字形状とされた内面26aを有する。一対の第2の端部26の端には、それぞれ貫通穴26Aが設けられている。
上述した第1及び第2のベルト21,22としては、例えば、スチールベルトを用いることが可能である。
このように、ベルト15を構成する第1及び第2のベルト21,22として、曲げ剛性が小さいスチールベルトを用いることで、第1及び第2のベルト21,22が張力以外の力を伝達しにくくなる。これにより、第1及び第2のベルト21,22を円環状に曲げることに起因する押し付け力の低下を抑制できる。
第1及び第2のベルト21,22としてスチールベルトを用いる場合、第1及び第2のベルト21,22の厚さは、管体11の外径Dの大きさに応じて適宜設定することが可能であるが、例えば、0.05mm以上5mm以下の範囲内で設定することが可能である。
締結機構16は、2つの構造体31を含んだ構成とされている。構造体31は、一対の端部33と、第1のブロック35と、第2のブロック36と、第1の固定部材38と、第2の固定部材41と、締結部材43と、を有する。
一対の端部33は、1つの第1の端部24と、該第1の端部24と隣り合う位置に設けられた2つの第2の端部26と、で構成されている。
第1のブロック35は、ブロック本体45と、固定穴47と、挿入穴48と、を有する。ブロック本体45は、第1のベルト21の第1の端部24内に収容されている。ブロック本体45は、第1の湾曲面45aと、上面45bと、側面45cと、を有する。第1の湾曲面45aは、第1の端部24のU字形状とされた内面24aと接触している。
上面45b及び側面45cは、平面とされている。上面45bは、第1の端部24の端と接触している。側面45cは、第1の湾曲面45aの反対側に配置されている。
固定穴47は、ブロック本体45の上面45b側に設けられている。固定穴47は、上面45bに対して直交する方向に延在している。固定穴47は、第1の固定部材38を固定するための穴である。例えば、第1の固定部材38としてねじを用いる場合、固定穴47としては、ねじ穴を用いる。
なお、第1の実施形態では、一例として、2つの固定穴47を設けた場合を例に挙げて図示したが、固定穴47の数は、これに限定されない。
挿入穴48は、ブロック本体45の側面45c側に設けられている。挿入穴48は、固定穴47の延在方向に対して直交する方向に延在している。挿入穴48は、締結部材43が締結される穴である。
なお、第1の実施形態では、一例として、2つの挿入穴48を設けた場合を例に挙げて図示したが、挿入穴48の数は、これに限定されない。挿入穴48の数は、第1のブロック35に締結される締結部材43の数に応じて適宜設定することが可能である。
第2のブロック36は、ブロック本体51と、固定穴53と、貫通穴55と、を有する。
ブロック本体51は、2つの湾曲部57と、連結部58と、を有する。
湾曲部57は、第2のベルト22の第2の端部26内に収容されている。湾曲部57は、第2の湾曲面57aと、上面57bと、を有する。第2の湾曲面57aは、第2の端部26のU字形状とされた内面26aと接触している。
上面57bは、平面とされている。上面57bは、第2の端部26の端と接触している。
連結部58は、2つの湾曲部57の間に設けられている。連結部58は、2つの湾曲部57を連結している。連結部58は、湾曲部57側に配置され、かつ平面とされた側面58aを有する。2つの湾曲部57は、連結部58の側面58aから突出している。つまり、連結部58の幅(湾曲部57の突出方向の幅)は、湾曲部57の幅よりも狭くなるように構成されている。
固定穴53は、2つの湾曲部57の上面57b側にそれぞれ設けられている。固定穴53は、第2の固定部材41を固定するための穴である。例えば、第2の固定部材41としてねじを用いる場合、固定穴53としては、ねじ穴を用いる。
なお、第1の実施形態では、一例として、1つの湾曲部57に対して1つの固定穴53を設けた場合を例に挙げて図示したが、固定穴53の数は、これに限定されない。
貫通穴55は、連結部58の側面58a側に設けられている。貫通穴55は、固定穴53の延在方向に対して直交する方向に延在している。貫通穴55は、締結部材43が締結される穴である。
なお、第1の実施形態では、一例として、2つの貫通穴55を設けた場合を例に挙げて図示したが、貫通穴55の数は、これに限定されない。貫通穴55の数は、第2のブロック36に締結される締結部材43の数に応じて適宜設定することが可能である。
上記第1及び第2のブロック35,36の材料としては、例えば、耐久性及び耐摩耗性に優れた材料を用いることが好ましい。このような材料としては、例えば、金属材料、エンジニアリングプラスチック、焼結合金等を用いることが可能である。
第1の固定部材38は、第1の端部24の外側から貫通穴24Aに挿入された状態で固定穴47に固定されている。これにより、第1の固定部材38は、第1の端部24を第1のブロック35に固定している。第1の固定部材38としては、例えば、ねじを用いることが可能である。
なお、固定穴47、貫通穴24A、及び第1の固定部材38を設けることなく、第1の端部24とブロック本体45の上面45bとをスポット溶接で固定してもよい。
第2の固定部材41は、第2の端部26の外側から貫通穴26Aに挿入された状態で固定穴53に固定されている。これにより、第2の固定部材41は、第2の端部26を第2のブロック36に固定している。第2の固定部材41としては、例えば、ねじを用いることが可能である。
締結部材43は、側面58a側から貫通穴55に挿入された状態で、挿入穴48に締結されている。これにより、締結部材43は、第2のブロック36を貫通し、かつ第1のブロック35に到達している。締結部材43は、第1のブロック35と第2のブロック36とを互いに離間させることで、ベルト15を締め付けている。
締結部材43を緩めると、第1のブロック35と第2のブロック36との距離が狭くなり、ベルト15が緩む。一方、締結部材43を締めると、第1のブロック35と第2のブロック36との距離が広がり、ベルト15が管体11及び筒状部材12を締め付ける。
締結部材43としては、例えば、押しボルトを用いることが可能である。このように、締結部材43として押しボルトを用いることで、強い力でベルト15を締め付けることができる。
締結部材43として押しボルトを用いる場合、貫通穴55は、押しボルト(締結部材43)と噛み合う貫通しためねじとして機能させる。この場合、挿入穴48としては、押しボルト(締結部材43)の外径よりも僅かに大きな開口径を有し、かつ押しボルト(締結部材43)の押し付け力を受け止めることの可能な非貫通穴を用いる。
締結機構16を構成する2つの構造体31は、一方の構造体31を構成する第1の端部24と他方の構造体31を構成する第1の端部24とが向かい合うように配置されている。
上記構成とされた2つの締結機構16は、軸線Lを挟んで、対向するように配置されている。
第1の実施形態のクランプ機構10によれば、上述したベルト15及び締結機構16を有することで、ベルト15を締め付けることで内圧が高くなった際、ベルト15の一対の端部33(具体的には、第1及び第2の端部24,26)に加わる引っ張り力に対して、第1及び第2の湾曲面45a,57aに垂直抗力が発生するため、ベルト15の一対の端部33と第1及び第2の湾曲面45a,57aとの間で摩擦力が生じる。
これにより、締結機構16を構成する第1及び第2の固定部材38,41に負荷される力は、ベルト15の端部(第1の端部24または第2の端部26)に加わる引っ張り力から摩擦力を減算した力となる。
このように、第1及び第2の固定部材38,41に負荷される力が引っ張り力よりも小さくなることで、第1及び第2の固定部材38,41の耐久性を向上させることが可能となるので、管体11と筒状部材12との間から発生するリークを抑制することができる。
さらに、ベルト15が筒状部材12の外周面12aの全周に巻かれることで、筒状部材12の全周に締め付け力を印加することが可能となるので、管体11と筒状部材12との間から発生するリークを抑制することができる。
また、2つの構造体31を用いて締結機構16を構成することで、管体11の周方向Aにおけるベルト15の締め付け力を均一にすることができる。
上記構成とされたクランプ機構10は、大口径化された管体11(例えば、外径Dが1000mm以上の管体11)に適用した場合でも第1及び第2の固定部材38,41の耐久性を向上させることが可能となるので、管体11と筒状部材12との間から発生するリークを抑制することができる。
また、クランプ機構10は、小径の配管等の管体の開放端やノズルに対して、ホースやブーツ等の筒状部材を差し込んで締め付ける際に使用するホースバンドとして用いることも可能である。
なお、第1の実施形態では、一例として、クランプ機構10が2つの締結機構16を有する場合を例に挙げて説明したが、締結機構16の数は、必要に応じて適宜設定すればよく、これに限定されない。
例えば、小径の配管等の管体の開放端やノズルに対してクランプ機構10を用いる場合には、1つの締結機構16のみ設けてもよい。この場合、上記ベルト15に替えて、Y字状のベルトを用いるとよい。
また、管体11の外径Dが大きい場合には、第1及び第2のベルト21,22の数を増加させて、3つ以上の締結機構16を設けてもよい。
このように、締結機構16の数を増加させることで、管体11の外径Dがかなり大きい場合でも管体11の周方向Aにおいて均一な圧力で締め付けることが可能となるので、管体11と筒状部材12との間から発生するリークを抑制することができる。
さらに、第1の実施形態では、軸線Lを挟み込むように、2つの締結機構16を配置さえた場合を例に挙げて説明したが、軸線Lを挟んで対向しない位置に2つの締結機構16を配置させてもよい。
(第2の実施形態)
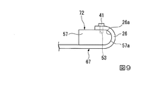
図7〜図9を参照して、第2の実施形態のクランプ機構65について説明する。図7では、説明の便宜上、クランプ機構65の構成要素ではない管体11及び筒状部材12を図示する。
図7に〜図9おいて、図1〜図6に示す構造体と同一構成部分には、同一符号を付す。図7に示すLcは、管体11の軸線Lに対して直交する直交線(以下、「直交線Lc」という)を示している。
第2の実施形態のクランプ機構65は、ベルト64と、締結機構70と、を有する。ベルト64は、第1のベルト66と、第2のベルト67と、を有する。
第1のベルト66は、第1の実施形態で説明した第1のベルト21よりも長さが長いこと以外は第1のベルト21と同様に構成されている。第1のベルト66は、一対の第1の端部24を有する。
第2のベルト67は、第1の実施形態で説明した第2のベルト22よりも長さが長いこと以外は第2のベルト22と同様に構成されている。第2のベルト67は、第1のベルト66と同じ長さとされている。第2のベルト67は、一対の第2の端部26を有する。
第1及び第2のベルト66,67は、管体11の軸線Lに対して直交する直交線Lcに対して傾斜するとともに、直交線Lcを対象軸として対象となるように、筒状部材12の外周面12aにそれぞれ2回巻き付けられている。
第1のベルト66は、傾斜した状態で筒状部材12の外周面12aに巻き付けられている。第2のベルト67は、第1のベルト66の傾斜方向とは逆の方向に傾斜した状態で外周面12aに巻き付けられている。
締結機構70は、一対の第1の端部24と、一対の第2の端部26と、第1のブロック71と、第2のブロック72と、第1の固定部材38と、第2の固定部材41と、締結部材43と、を有する。
第1のブロック71は、第1の実施形態で説明した第1のブロック35よりも軸線L方向の幅を広くするとともに、挿入穴48の数を1つにしたこと以外は、第1のブロック35と同様な構成とされている。
なお、第2の実施形態では、一例として、挿入穴48の数を1つにした場合を例に挙げて説明するが、挿入穴48の数は、1つ以上であればよく、1つに限定されない。
第2のブロック72は、第1の実施形態で説明した第2のブロック36の連結部58の軸線L方向の幅を広くするとともに、貫通穴55の数を1つにしたこと以外は、第2のブロック36と同様な構成とされている。
なお、第2の実施形態では、一例として、貫通穴55の数を1つにした場合を例に挙げて説明するが、貫通穴55の数は、1つ以上であればよく、1つに限定されない。
第1の固定部材38は、2つ設けられている。一方の第1の固定部材38は、直交線Lc側に配置された一方の第1の端部24を第1のブロック71に固定している。他方の第1の固定部材38は、直交線Lc側に配置された一方の第2の端部26を第1のブロック71に固定している。
第2の固定部材41は、2つ設けられている。一方の第2の固定部材41は、他方の第1の端部24を第2のブロック72に固定している。他方の第2の固定部材41は、他方の第2の端部26を第2のブロック72に固定している。
締結部材43は、側面58a側から貫通穴55に挿入された状態で、挿入穴48に締結されている。これにより、締結部材43は、第2のブロック72を貫通し、かつ第1のブロック71に到達している。
締結部材43は、第1のブロック35と第2のブロック36とを互いに離間させることで、ベルト15を締め付けている。
締結部材43を緩めると、第1のブロック71と第2のブロック72との距離が狭くなり、ベルト64が緩む。一方、締結部材43を締めると、第1のブロック71と第2のブロック72との距離が広がり、ベルト64が管体11及び筒状部材12を締め付ける。
第2の実施形態のクランプ機構65によれば、管体11の軸線Lに対して直交する直交線Lcに対して傾斜し、かつ直交線Lcを対象軸として対象となるように、第1及び第2のベルト66,67を筒状部材12の外周面12aにそれぞれ2回巻き付けることで、管体11の周方向Aにおけるベルト64の締め付け力をさらに均一にすることができる。
また、第2の実施形態のクランプ機構65は、第1の実施形態のクランプ機構10と同様な効果を得ることができる。
なお、第2の実施形態では、一例として、第1及び第2のベルト66,67を筒状部材12の外周面12aにそれぞれ2回巻き付けた場合を例に挙げて説明したが、第1及び第2のベルト66,67を筒状部材12の外周面12aに巻き付ける回数は、1回以上であればよく、2回に限定されない。
(第3の実施形態)
図10を参照して、第3の実施形態のクランプ機構80について説明する。図10におおいて、図1〜図9に示す構造体と同一構成部分には同一符号を付す。また、図10において、ベルト84のうち、締結機構85の反対側に配置された2つのベルト部分を点線で図示している。
第3の実施形態のクランプ機構80は、ベルト84と、締結機構85と、を有する。
ベルト84は、第2の実施形態で説明した第1のベルト66よりも長さが長いこと以外は、第1のベルト66と同様に構成されている。ベルト84は、一対の第1の端部24を有する。
ベルト84は、一巻き目のベルト84の外周面に一対の第1の端部24が離間して配置されるとともに、一巻き目のベルト84のうち、一対の第1の端部24が配置される部分と該一対の端部24とが管体11の軸線Lに対して直交する直交線Lcに対して傾斜した状態で2回巻き付けられている。
ベルト84のうち、締結機構85の反対側に配置された2つのベルト部分は、交差しないように(具体的には、例えば、平行となるように)配置されている。
ベルト84としては、例えば、スチールベルトを用いることが可能である。このように、ベルト84として、曲げ剛性が小さいスチールベルトを用いることで、ベルト84が張力以外の力を伝達しにくくなるので、ベルト84を円環状に曲げることに起因する押し付け力の低下を抑制できる。
締結機構85は、一対の第1の端部24と、第1のブロック87と、第2のブロック88と、第1の固定部材38と、第2の固定部材41と、締結部材43と、を有する。
第1のブロック87は、湾曲部91と、突出部92,93と、図5で説明した固定穴47と、挿入穴48と、貫通穴55と、を有する。
湾曲部91は、第1の実施形態で説明した第1のブロック35の構成から挿入穴48を除き、かつ固定穴47の数を1つにしたこと以外は、第1のブロック35と同様に構成されている。
なお、第3の実施形態では、一例として、固定穴47の数を1つにした場合を例に挙げて説明するが、固定穴47の数は、1つ以上であればよく、1つに限定されない。
湾曲部91の先端部は、第1の湾曲面45aを有する。湾曲部91の先端部は、第1の端部24の内側に収容されている。湾曲部91の後端部は、第1の端部24から露出されている。
湾曲部91の後端部の一方の側には、突出部92が設けられている。湾曲部91の後端部の他方の側には、突出部93が設けられている。湾曲部91の先端部は、ベルト84の延在方向に対して突出部92,93から突出している。
突出部92,93は、ベルト84の延在方向に対して直交する方向から湾曲部91を挟み込むように配置されている。突出部92,93は、湾曲部91と一体に構成されている。
固定穴47は、湾曲部91の先端部の上面側に設けられている。固定穴47には、第1の端部24を第1のブロック87に固定する第1の固定部材38が固定されている。
挿入穴48は、突出部92の湾曲部91側に設けられている。貫通穴55は、突出部93をベルト84の延在方向に貫通している。
第2のブロック88は、上述した第1のブロック87と同様な構成とされている。第2のブロック88は、第1及び第2のブロック87,88の湾曲部91が対向するように、第1のブロック87に対して対向配置されている。
第2のブロック88を構成する挿入穴48は、第1のブロック87を構成する貫通穴55と対向している。また、第2のブロック88を構成する貫通穴55は、第1のブロック87を構成する挿入穴48と対向している。
第1の固定部材38は、第1のブロック87を構成する湾曲部91の先端部に一方の第1の端部24を固定している。第2の固定部材41は、第2のブロック88を構成する湾曲部91の先端部に他方の第1の端部24を固定している。
締結部材43は、貫通穴55に挿入された状態で、挿入穴48に締結されている。締結部材43は、湾曲部91の両側に配置されている。
締結部材43は、2つ設けられている。2つの締結部材43のうち、一方の締結部材43(第1の締結部材)は、第1のブロック87を貫通し、第2のブロック88に到達している。他方の締結部材43(第2の締結部材)は、第2のブロック88を貫通し、第1のブロック87に到達している。
2つの締結部材43を緩めると、第1のブロック87と第2のブロック88との距離が狭くなり、ベルト84が緩む。一方、2つの締結部材43を締めると、第1のブロック87と第2のブロック88との距離が広がり、ベルト84が管体11及び筒状部材12を締め付ける。
第3の実施形態のクランプ機構80によれば、一巻き目のベルト84の外周面に一対の第1の端部24が離間して配置されるように、直交線Lcに対して傾斜した状態で2回巻き付けられたベルト84を有することで、締結機構85の構成を簡略化することが可能となる。
これにより、クランプ機構80の構造を簡略化することが可能となるので、クランプ機構80の施工を容易に行うことができる。
また、第3の実施形態のクランプ機構80は、第1の実施形態のクランプ機構10と同様な効果を得ることができる。
以上、本発明の好ましい実施形態について詳述したが、本発明はかかる特定の実施形態に限定されるものではなく、特許請求の範囲内に記載された本発明の要旨の範囲内において、種々の変形・変更が可能である。
10,65,80…クランプ機構、11…管体、11a,12a…外周面、12…筒状部材、15,64,84…ベルト、16,70,85…締結機構、21,66…第1のベルト、22,67…第2のベルト、24…第1の端部、24a,26a…内面、24A,26A,55…貫通穴、26…第2の端部、31…構造体、33…一対の端部、35,71,87…第1のブロック、36,72,88…第2のブロック、38…第1の固定部材、41…第2の固定部材、43…締結部材、45,51…ブロック本体、45a…第1の湾曲面、45b,57b…上面、45c,58a…側面、47,53…固定穴、48…挿入穴、57a…第2の湾曲面、57,91…湾曲部、58…連結部、92,93…突出部、A…周方向、D…外径、L…軸線、Lc…直交線

Claims (7)

  1. 円環状とされた管体の外周面に筒状部材を嵌めた状態で、該筒状部材の外周面に設けられ、前記管体と前記筒状部材とを固定するクランプ機構であって、
    前記筒状部材の外周面の全周に巻かれるとともに、前記管体の軸線から離間する方向に折り曲げられることで湾曲するU字形状とされた一対の端部を含むベルトと、
    前記一対の端部のうち、一方の端部の内側に設けられており、前記一方の端部のU字形状とされた内面と接触する第1の湾曲面を含む第1のブロックと、
    前記一対の端部のうち、他方の端部の内側に設けられており、前記他方の端部のU字形状とされた内面と接触する第2の湾曲面を含む第2のブロックと、
    前記一方の端部の外側から該一方の端部を前記第1のブロックに固定する第1の固定部材と、
    前記他方の端部の外側から該他方の端部を前記第2のブロックに固定する第2の固定部材と、
    前記第1のブロックと前記第2のブロックとを互いに離間させることで、前記ベルトを締め付ける締結部材と、
    を備え
    前記ベルトは、U字形状とされた一対の第1の端部を含む第1のベルトと、U字形状とされた一対の第2の端部を含み、一部が前記管体の軸線方向で前記第1のベルトと重なる第2のベルトと、を備え、
    前記一対の端部は、前記第1の端部と、該第1の端部と隣り合う位置に設けられた前記第2の端部と、で構成されており、
    前記一対の端部、前記第1のブロック、前記第2のブロック、前記第1の固定部材、前記第2の固定部材、及び前記締結部材を含む構造体を2つ備えた締結機構を有するクランプ機構。
  2. 前記締結部材は、前記第1及び第2のブロックのうち、一方のブロックを貫通し、かつ他方のブロックに到達する押しボルトである請求項1記載のクランプ機構。
  3. 前記ベルトは、スチールベルトである請求項1または2記載のクランプ機構。
  4. 前記ベルトは、複数の前記第1及び第2のベルトを含み、
    前記締結機構を複数設けることを特徴とする請求項1から3のうち、いずれか一項記載のクランプ機構。
  5. 円環状とされた管体の外周面に筒状部材を嵌めた状態で、該筒状部材の外周面に設けられ、前記管体と前記筒状部材とを固定するクランプ機構であって、
    前記筒状部材の外周面の全周に巻かれるとともに、前記管体の軸線から離間する方向に折り曲げられることで湾曲するU字形状とされた一対の端部を含むベルトと、
    前記一対の端部のうち、一方の端部の内側に設けられており、前記一方の端部のU字形状とされた内面と接触する第1の湾曲面を含む第1のブロックと、
    前記一対の端部のうち、他方の端部の内側に設けられており、前記他方の端部のU字形状とされた内面と接触する第2の湾曲面を含む第2のブロックと、
    前記一方の端部の外側から該一方の端部を前記第1のブロックに固定する第1の固定部材と、
    前記他方の端部の外側から該他方の端部を前記第2のブロックに固定する第2の固定部材と、
    前記第1のブロックと前記第2のブロックとを互いに離間させることで、前記ベルトを締め付ける締結部材と、
    を備え、
    前記ベルトは、U字形状とされた一対の第1の端部を含む第1のベルトと、U字形状とされた一対の第2の端部を含む第2のベルトと、を備え、
    前記第1及び第2のベルトは、前記管体の軸線に対して直交する直交線に対して傾斜するとともに、前記直交線を対象軸として対象となるように、1回以上巻き付けられているクランプ機構。
  6. 前記第1及び第2のベルトは、スチールベルトである請求項ないしのうち、いずれか1項記載のクランプ機構。
  7. 円環状とされた管体の外周面に筒状部材を嵌めた状態で、該筒状部材の外周面に設けられ、前記管体と前記筒状部材とを固定するクランプ機構であって、
    前記筒状部材の外周面の全周に巻かれるとともに、前記管体の軸線から離間する方向に折り曲げられることで湾曲するU字形状とされた一対の端部を含むベルトと、
    前記一対の端部のうち、一方の端部の内側に設けられており、前記一方の端部のU字形状とされた内面と接触する第1の湾曲面を含む第1のブロックと、
    前記一対の端部のうち、他方の端部の内側に設けられており、前記他方の端部のU字形状とされた内面と接触する第2の湾曲面を含む第2のブロックと、
    前記一方の端部の外側から該一方の端部を前記第1のブロックに固定する第1の固定部材と、
    前記他方の端部の外側から該他方の端部を前記第2のブロックに固定する第2の固定部材と、
    前記第1のブロックと前記第2のブロックとを互いに離間させることで、前記ベルトを締め付ける締結部材と、
    を備え、
    前記ベルトは、一巻き目の前記ベルトの外周面に前記一対の端部が離間して配置されるとともに、前記一巻き目のベルトのうち、前記一対の端部が配置される部分と該一対の端部とが前記管体の軸線に対して直交する直交線に対して傾斜した状態で2回巻き付けられており、
    前記締結部材は、前記第1のブロックを貫通し、前記第2のブロックに到達する第1の締結部材と、前記第2のブロックを貫通し、前記第1のブロックに到達する第2の締結部材と、を含むクランプ機構。
JP2017041826A 2017-03-06 2017-03-06 クランプ機構 Active JP6777567B2 (ja)

Priority Applications (1)

Application Number Priority Date Filing Date Title
JP2017041826A JP6777567B2 (ja) 2017-03-06 2017-03-06 クランプ機構

Applications Claiming Priority (1)

Application Number Priority Date Filing Date Title
JP2017041826A JP6777567B2 (ja) 2017-03-06 2017-03-06 クランプ機構

Publications (2)

Publication Number Publication Date
JP2018146043A JP2018146043A (ja) 2018-09-20
JP6777567B2 true JP6777567B2 (ja) 2020-10-28

Family

ID=63591945

Family Applications (1)

Application Number Title Priority Date Filing Date
JP2017041826A Active JP6777567B2 (ja) 2017-03-06 2017-03-06 クランプ機構

Country Status (1)

Country Link
JP (1) JP6777567B2 (ja)

Family Cites Families (12)

* Cited by examiner, † Cited by third party
Publication number Priority date Publication date Assignee Title
JPS501615Y1 (ja) * 1970-05-07 1975-01-17
JPS5113A (en) * 1974-06-13 1976-01-05 Reuaaton Piitaa Kinshukukanona bandokuritsupu
JPS5363022U (ja) * 1976-10-29 1978-05-27
DE2925606C2 (de) * 1979-06-25 1981-10-08 Wolfgang 3538 Marsberg Henning Schelle für ein Spannband mit sich jeweils überlappenden Endabschnitten
US4413388A (en) * 1981-05-04 1983-11-08 Rockwell International Corporation Pipe repair clamp
JPS5968893U (ja) * 1982-10-29 1984-05-10 カルソニックカンセイ株式会社 ホ−スバンド
JPH0719388A (ja) * 1993-06-30 1995-01-20 Nippon Buikutoritsuku Kk 管体補修方法および補修バンド
JPH08247364A (ja) * 1995-03-13 1996-09-27 Terufumi Nojigawa 管締付具
JP2001304474A (ja) * 2000-04-27 2001-10-31 Togo Seisakusho Corp ホースクランプ
JP2005188585A (ja) * 2003-12-25 2005-07-14 Mahle Tennex Corp クランプ装置
JP4871151B2 (ja) * 2007-01-19 2012-02-08 株式会社栗本鐵工所 全周締結用止水バンド
FR3015535B1 (fr) * 2013-12-24 2016-02-05 Soletanche Freyssinet Dispositif d'ancrage avec entretoise pour armatures de cerclage.

Also Published As

Publication number Publication date
JP2018146043A (ja) 2018-09-20

Similar Documents

Publication Publication Date Title
US8607420B2 (en) Hose clamp
CA2714147C (en) Single-bolt band clamp with gasketed center rib and pipe lap joint using the same
RU2075001C1 (ru) Трубная муфта
JP6096386B2 (ja) ホースクランプ
US8430432B2 (en) Pipe coupling
CN1004167B (zh) 管接头
KR950005551B1 (ko) 소구경 관의 고정용 클램프 기구
RU2649717C2 (ru) Зажимное устройство для герметичного соединения гладких труб между собой
AU2008229788A1 (en) Pipe clamp
JP6077122B2 (ja) イヤー・クランプ
JP2008545921A (ja) 管連結用の固着要素
KR950019277A (ko) 이와 단이없는 클램프 구조물
JP6777567B2 (ja) クランプ機構
US20060138770A1 (en) Connecting pipe
JP7411801B2 (ja) ホースクランプ
KR20130122710A (ko) 조글을 갖는 클램프
US20170089368A1 (en) Sensor mounting device for hydraulic cylinder
JP4881188B2 (ja) 管継手
CA2651664A1 (en) Band clamp
US10393289B2 (en) Pipe fixing device
CN102119847A (zh) 内窥镜覆盖件固定装置和固定系统
KR200455752Y1 (ko) 튜브 클램프
KR100774255B1 (ko) 차량 케이블용 하니스 프로텍터
JP2022521389A (ja) ホースクランプ
JP5135041B2 (ja) 配管補修具

Legal Events

Date Code Title Description
A521 Written amendment

Free format text: JAPANESE INTERMEDIATE CODE: A821

Effective date: 20170307

RD03 Notification of appointment of power of attorney

Free format text: JAPANESE INTERMEDIATE CODE: A7423

Effective date: 20181109

A621 Written request for application examination

Free format text: JAPANESE INTERMEDIATE CODE: A621

Effective date: 20190425

A977 Report on retrieval

Free format text: JAPANESE INTERMEDIATE CODE: A971007

Effective date: 20200311

A131 Notification of reasons for refusal

Free format text: JAPANESE INTERMEDIATE CODE: A131

Effective date: 20200317

A521 Written amendment

Free format text: JAPANESE INTERMEDIATE CODE: A523

Effective date: 20200514

TRDD Decision of grant or rejection written
A01 Written decision to grant a patent or to grant a registration (utility model)

Free format text: JAPANESE INTERMEDIATE CODE: A01

Effective date: 20200929

A61 First payment of annual fees (during grant procedure)

Free format text: JAPANESE INTERMEDIATE CODE: A61

Effective date: 20201008

R150 Certificate of patent or registration of utility model

Ref document number: 6777567

Country of ref document: JP

Free format text: JAPANESE INTERMEDIATE CODE: R150