JP6628702B2 - 車両状態量推定装置 - Google Patents

車両状態量推定装置 Download PDF

Info

Publication number
JP6628702B2
JP6628702B2 JP2016155190A JP2016155190A JP6628702B2 JP 6628702 B2 JP6628702 B2 JP 6628702B2 JP 2016155190 A JP2016155190 A JP 2016155190A JP 2016155190 A JP2016155190 A JP 2016155190A JP 6628702 B2 JP6628702 B2 JP 6628702B2
Authority
JP
Japan
Prior art keywords
vehicle
value
state quantity
parameter
detection value
Prior art date
Legal status (The legal status is an assumption and is not a legal conclusion. Google has not performed a legal analysis and makes no representation as to the accuracy of the status listed.)
Active
Application number
JP2016155190A
Other languages
English (en)
Other versions
JP2018024265A (ja
Inventor
奈須 真吾
真吾 奈須
絢也 高橋
絢也 高橋
修之 一丸
修之 一丸
隆介 平尾
隆介 平尾
Current Assignee (The listed assignees may be inaccurate. Google has not performed a legal analysis and makes no representation or warranty as to the accuracy of the list.)
Hitachi Astemo Ltd
Original Assignee
Hitachi Automotive Systems Ltd
Priority date (The priority date is an assumption and is not a legal conclusion. Google has not performed a legal analysis and makes no representation as to the accuracy of the date listed.)
Filing date
Publication date
Application filed by Hitachi Automotive Systems Ltd filed Critical Hitachi Automotive Systems Ltd
Priority to JP2016155190A priority Critical patent/JP6628702B2/ja
Priority to PCT/JP2017/015973 priority patent/WO2018029914A1/ja
Publication of JP2018024265A publication Critical patent/JP2018024265A/ja
Application granted granted Critical
Publication of JP6628702B2 publication Critical patent/JP6628702B2/ja
Active legal-status Critical Current
Anticipated expiration legal-status Critical

Links

Images

Classifications

    • BPERFORMING OPERATIONS; TRANSPORTING
    • B60VEHICLES IN GENERAL
    • B60WCONJOINT CONTROL OF VEHICLE SUB-UNITS OF DIFFERENT TYPE OR DIFFERENT FUNCTION; CONTROL SYSTEMS SPECIALLY ADAPTED FOR HYBRID VEHICLES; ROAD VEHICLE DRIVE CONTROL SYSTEMS FOR PURPOSES NOT RELATED TO THE CONTROL OF A PARTICULAR SUB-UNIT
    • B60W40/00Estimation or calculation of non-directly measurable driving parameters for road vehicle drive control systems not related to the control of a particular sub unit, e.g. by using mathematical models
    • B60W40/10Estimation or calculation of non-directly measurable driving parameters for road vehicle drive control systems not related to the control of a particular sub unit, e.g. by using mathematical models related to vehicle motion
    • BPERFORMING OPERATIONS; TRANSPORTING
    • B60VEHICLES IN GENERAL
    • B60WCONJOINT CONTROL OF VEHICLE SUB-UNITS OF DIFFERENT TYPE OR DIFFERENT FUNCTION; CONTROL SYSTEMS SPECIALLY ADAPTED FOR HYBRID VEHICLES; ROAD VEHICLE DRIVE CONTROL SYSTEMS FOR PURPOSES NOT RELATED TO THE CONTROL OF A PARTICULAR SUB-UNIT
    • B60W40/00Estimation or calculation of non-directly measurable driving parameters for road vehicle drive control systems not related to the control of a particular sub unit, e.g. by using mathematical models
    • B60W40/10Estimation or calculation of non-directly measurable driving parameters for road vehicle drive control systems not related to the control of a particular sub unit, e.g. by using mathematical models related to vehicle motion
    • B60W40/103Side slip angle of vehicle body
    • BPERFORMING OPERATIONS; TRANSPORTING
    • B60VEHICLES IN GENERAL
    • B60WCONJOINT CONTROL OF VEHICLE SUB-UNITS OF DIFFERENT TYPE OR DIFFERENT FUNCTION; CONTROL SYSTEMS SPECIALLY ADAPTED FOR HYBRID VEHICLES; ROAD VEHICLE DRIVE CONTROL SYSTEMS FOR PURPOSES NOT RELATED TO THE CONTROL OF A PARTICULAR SUB-UNIT
    • B60W40/00Estimation or calculation of non-directly measurable driving parameters for road vehicle drive control systems not related to the control of a particular sub unit, e.g. by using mathematical models
    • B60W40/10Estimation or calculation of non-directly measurable driving parameters for road vehicle drive control systems not related to the control of a particular sub unit, e.g. by using mathematical models related to vehicle motion
    • B60W40/112Roll movement

Landscapes

  • Engineering & Computer Science (AREA)
  • Physics & Mathematics (AREA)
  • Automation & Control Theory (AREA)
  • Mathematical Physics (AREA)
  • Transportation (AREA)
  • Mechanical Engineering (AREA)
  • Control Of Driving Devices And Active Controlling Of Vehicle (AREA)

Description

本発明は、車両の状態量を推定する車両状態量推定装置に関する。
センサでの直接検出が困難な車体の横すべり角や横方向速度、ロール角などの状態量は、慣性センサなどの検出値と車両運動モデルを用いて推定しているが、モデルパラメータの誤差などによって推定誤差が生じる。この推定誤差を小さくするため、従来はオブザーバやカルマンフィルタを用いた推定値の補正の他、例えば特許文献1に記載されているようなカメラやGPSなどの外界認識手段を用いて直接検出した相対ヨー角を用いて推定横すべり角を補正する車両状態量の推定方法が知られている。
特許第5402244号
しかしながら、特許文献1に記載された車両状態量の推定方法では、良好な環境条件であれば高精度な推定値が得られるものの、雨天などの外界認識手段が検出困難な悪条件では推定値を補正することができず、精度が大幅に低下する可能性がある。
本発明は、前記の課題を解決するための発明であって、外界認識手段が検出困難な悪条件であっても車体の横すべり角や横方向速度、ロール角などの状態量を高精度に推定できる車両状態量推定装置を提供することを目的とする。
前記目的を達成するため、本発明の車両状態量推定装置は、慣性センサの検出値と、外界認識手段の検出値が入力され、該慣性センサの検出値と予め設定されている車両パラメータに基づいて車両の状態量を出力する車両状態量推定装置において、前記外界認識手段の検出値を用いて、前記車両パラメータを更新することを特徴する。
本発明によれば、車両状態量を高精度に推定することができる。
車両状態量推定装置1の概念図。 4輪車モデルを示す図。 4輪車の等価的な2輪車モデルを示す図。 重心点11に作用する横加速度に伴うロール運動を示す図。 重心点11に作用する前後加速度に伴うピッチ運動を示す図。 重心点などの位置関係を示す図。 実施形態1に係る車両状態量推定装置1を搭載した車両構成を示す図。 実施形態1に係る車両状態量推定装置1による処理概要を示すフローチャート。 実施形態1に係る車両状態量推定装置1による安定度判断を示すフローチャート。 実施形態1に係る車両状態量推定装置1によるパラメータ更新を示すフローチャート。 実施形態1に係る車両状態量推定装置1による処理結果の時間変化を示す図。 実施形態1に係る地面に固定した座標系に対する重心点11の位置関係を示す図。 実施形態1に係る定常円旋回時の重心点11の軌跡を示す図。 実施形態2に係る車両状態量推定装置1による安定度判断を示すフローチャート。 実施形態2に係る車両状態量推定装置1による処理結果の時間変化を示す図。 実施形態3に係る車両状態量推定装置1によるパラメータ更新を示すフローチャート。 実施形態3に係る車両状態量推定装置1による処理結果の時間変化を示す図。 実施形態4に係る車両状態量出力装置30の概念図。 実施形態4に係る車両状態量出力装置30による出力値判断を示すフローチャート。 実施形態4に係る車両状態量出力装置30による処理結果の時間変化を示す図。 実施形態5に係る車両状態量推定装置1あるいは車両状態量出力装置30を搭載した車両構成を示す図。 実施形態5に係る制御サスペンション装置41の1機能である乗心地制御を行うサスペンション制御ユニット40の概念図。 実施形態5に係る制御サスペンション装置41の1機能であるアンチロール制御を行うサスペンション制御ユニット40の概念図。 実施形態5に係る制御サスペンション装置41の1機能であるアンチダイブ制御およびアンチスクワット制御を行うサスペンション制御ユニット40の概念図。 実施形態5に係るサスペンション制御ユニットの処理結果の加速度PSDを示す図。 実施形態5に係るサスペンション制御ユニットの処理結果の時間変化を示す図。 実施形態6に係る車両状態量推定装置1あるいは車両状態量出力装置30を搭載した車両構成を示す図。 実施形態6に係る質量mの質点が作用した車体の上下変位を示す図。 実施形態7に係る車両状態量推定装置1’の概念図。 実施形態7に係る2自由度の1/4車両モデルを示す図。 実施形態7に係る車両状態量推定装置1’によるパラメータ更新を示すフローチャート。 実施形態7に係る重心点11に作用する加速度に伴う荷重移動を示す図。 実施形態7に係るカント角σのバンク路を走行する車両の重心点11に作用する加速度を示す図。
本発明を実施するための実施形態について、適宜図面を参照しながら詳細に説明する。
図1〜図5を用いて、本発明における外界認識手段の検出値の安定度判断、前記検出値に基づくパラメータ更新や、前記パラメータを用いた車両状態量推定の方法について説明する。
図1は、外界認識手段2の検出値の安定度判断や、前記検出値に基づくパラメータ更新や、前記パラメータを用いた車両状態量推定を行う車両状態量推定装置1の概念図である。
車両状態量推定装置1には、例えば、慣性センサやジャイロセンサで検出した第一の車両運動状態量検出値100や、舵角センサやストロークセンサなどで検出したドライバ入力量検出値や、外界認識手段で検出した第二の車両運動状態量検出値200が入力される。そして、入力された信号に基づき、車両運動量状態量推定値300を出力する。
ここで、第一の車両運動状態量検出値100は、車輪速や車体の前後加速度、横加速度、ヨーレートなどの値である。ドライバ入力量検出値は、操舵角やアクセル開度、ブレーキ踏力などの値である。また、第二の車両運動状態量検出値200は、外界認識手段2で検出した車体の横すべり角や横方向速度、ヨー角、ロール角、ピッチ角などの値である。また、車両運動状態量推定値300は、車体の横すべり角や横方向速度、ロール角、ピッチ角などである。
車両状態量推定装置1は、安定度判断部21と、パラメータ更新部22と、状態量推定部23を備える。車両状態量推定装置1は、安定度判断部21と、パラメータ更新部22と、状態量推定部23を備える。
状態量推定部23には、予め設定された車両のパラメータが記憶されており、車両運動状態量検出値100とパラメータを用いて、車両状態量推定値300を算出する。
安定度判断部21は、外界認識手段2や、慣性センサからの入力値を用いて外界認識手段2からの入力値である第二の車両運動状態量検出値200が安定しているかを判断し、その判断結果を出力する。
パラメータ更新部22は、外界認識手段2や慣性センサからの入力値および安定度判断部21からの判断結果を用いて、状態量推定部23に記憶されているパラメータの更新を行う。具体的には、外界認識手段2で検出した車両運動状態量検出値200と、慣性センサやパラメータを用いて状態量推定部で算出した推定値の値が同じとなるように車両パラメータを更新する。言い換えると、パラメータを更新することにより、状態量推定部23で求めた推定値を外界認識手段で求めた実測値により同定している。
ここで、本発明におけるパラメータ更新とは、人の乗り降りやタイヤ交換などによって変化する車両の質量や重心位置、慣性モーメント、コーナリングパワーなどのパラメータを入力値に基づいて算出し、記憶されているパラメータを、算出したパラメータに置き換えることである。
車両パラメータは、人の乗り降りやタイヤ交換、タイヤの劣化などによって変化する。そのため、予め記憶されている車両パラメータと実際の車両パラメータに差異が生じ、この差異が車両運動状態量推定値300の誤差となる。本発明は、外界認識手段2の検出値と、状態量推定部23での推定値とが合うようにパラメータを更新し、更新したパラメータと慣性センサの値に基づいて車両運動状態量推定値300を算出している。そのため、車両パラメータの変動に対応可能となり、横すべり角や横方向速度、ロール角などの慣性センサでは直接検出が難しい状態量を、慣性センサの値を用いて高精度に推定できる。
ここで、状態量推定部23における推定精度は、この更新パラメータの精度に左右されるため、更新に用いる車両運動状態量検出値200が安定している、つまり信頼性が高い値のみを用いることが好ましいので、安定度判断部21における車両運動状態量検出値200の安定度判断を行う。また、図1には車両運動状態量推定値300のみを出力する場合を記載しているが、必要に応じて安定度判断結果や更新パラメータを出力しても良く、車両状態量推定装置1の出力値は限定しない。
外界認識手段2が検出困難な状況であっても、慣性センサの検出値と更新したパラメータを用いて車両の状態量を推定しているため、本発明によれば、従来よりも精度よく車両の状態量が推定可能である。
図2〜図5を用いて、状態量推定部23における車両運動状態量の推定方法、パラメータ更新部22におけるパラメータ算出方法の具体例を説明する。
最初に、状態量推定部23における車両運動状態量の推定方法の一例を説明する。
図2は、4輪車モデルを示す図である。本実施例では車両の重心点11を原点とし、車両の前後方向をx、車両の左右方向をy、車両の上下方向をzとする。図2は旋回中の4輪車の運動を示したものであり、実舵角をδ、車両の進行方向の速度をV、車両の前後方向の速度をV、車両の左右方向の速度をV、速度Vで旋回する車両に生じる進行方向と車体前後方向のなす角を横すべり角β、前輪右タイヤ、前輪左タイヤ、後輪右タイヤ、後輪左タイヤのそれぞれの移動速度方向とタイヤ前後方向が成す角であるタイヤの横すべり角をβfr、βfl、βrr、βrl、これらタイヤに働くコーナリングフォースをYfr、Yfl、Yrr、Yrlとする。また、重心点11を通るz軸周りに生じるヨーレートをr、重心点11と前輪軸との距離、および後輪軸との距離をそれぞれl、l、前輪軸と後輪軸との距離であるホイールベースをl、車両前後輪のトレッド幅をそれぞれd、dとする。
図3は、4輪車の等価的な2輪車モデルを示す図である。図3は、図2に対して左右タイヤの横すべり角が小さく、かつその値が小さく、実舵角も小さいとみなした範囲において、車両のトレッドを無視して前後の左右輪が前後輪軸と車軸との交点に集中しているモデルに置き換えたものである。ここでコーナリングフォース2Y、2Yは、図2に示した前後輪タイヤの左右に働くコーナリングフォースの合力である。
図4は、重心点11に作用する横加速度に伴うロール運動を示す図である。図4は、横加速度Gが作用するばね上質量mの車両にロール角φが生じる様子を示したものである。ここで単位ロール角あたりの前後サスペンションの伸縮で生じるモーメントの大きさであるロール剛性をKφf、Kφr、車体の幾何学的な瞬間回転中心であるロールセンタの地面からの高さをh、h、重心点11の高さをh、前後のロールセンタを結ぶロール軸12と重心点11の間の距離をhφ、タイヤを含む前後のサスペンションのばね定数をKsf、Ksr、タイヤを含む前後のサスペンションの減衰係数をCsf、Csrとする。
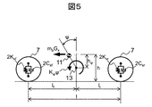
図5は、重心点11に作用する前後加速度に伴うピッチ運動を示す図である。図5は、前後加速度Gが作用するばね上質量mの車両にピッチ角ψが生じる様子を示したものである。ここで単位ピッチ角あたりのタイヤを含む前後のサスペンションの伸縮で生じるモーメントの大きさであるピッチ剛性をKψ、車体の幾何学的な瞬間回転中心であるピッチ軸13と重心点11の間の距離をhψとする。
ここで図1に示した状態量推定部23における状態量推定の一例として、まず図3に示した4輪車の等価的な2輪車モデルを用いた車体の横すべり角βと横方向速度Vの算出方法を説明する。横方向速度Vの時間微分であるdV/dtとz軸周りに生じるヨーレートrの時間微分であるdr/dtは、車両の質量をm、前後タイヤの単位横すべり角あたりのコーナリングフォースであるコーナリングパワーをそれぞれK、K、車両のヨー慣性モーメントをIとして、以下の式(1)、式(2)で表される。
Figure 0006628702
Figure 0006628702
更にヨーレートrの出力偏差をフィードバックするオブザーバを構成し、式(1)、式(2)を状態方程式と出力方程式で表すと以下の式(3)、式(4)になる。
Figure 0006628702
Figure 0006628702
であり、(V^,r^)は,(V,r)の推定値である。オブザーバでは偏差eが減少するようにオブザーバ入力が補正され、状態量の推定誤差が低減される。この式(3)、式(4)から横方向速度の推定値V^が得られ、車体の横すべり角の推定値β^は以下の式(5)を用いて算出できる。
Figure 0006628702
次に図4に示した重心点11に作用する横加速度Gに伴うロール運動モデルを用いた車体のロール角φの算出方法と、図5に示した重心点11に作用する前後加速度Gに伴うピッチ運動モデルを用いた車体のピッチ角ψの算出方法の一例を説明する。車両が一定の加速度を持ち、重心点11に一定の慣性力が働いていると仮定した場合、ロール角φとピッチ角ψは重力加速度をgとして、以下の式(6)、式(7)で表される方程式を用いて算出できる。
Figure 0006628702
Figure 0006628702
以上の式(1)〜式(7)において、車両の質量m、ばね上質量m、重心点11と前輪軸との距離、および後輪軸との距離l、l、車両のヨー慣性モーメントI、コーナリングパワーK、K、ロール剛性Kφf、Kφr、ピッチ剛性Kψ、前後のロールセンタを結ぶロール軸12と重心点11の間の距離hφ、車体の幾何学的な瞬間回転中心であるピッチ軸13と重心点11の間の距離hψはパラメータであり、それ以外の前後加速度Gやヨーレートrなどは図1で述べた検出値である。
これらのパラメータには従来、車両設計時の走行試験や数値解析の結果などに基づいて、経年劣化や環境変化などに対応するロバスト性を考慮した値が定義され、定数として状態量推定などに用いられている。しかし、ロバスト性を考慮した定数であるため、常に推定誤差が生じるという課題があった。それに対して本発明では、このパラメータを変数として扱い、図1で述べた外界認識手段2の検出値に基づいて実車に即した値に更新することで推定誤差を低減し、前記課題を解決する。
次に、パラメータ更新部22におけるパラメータ算出方法の一例を説明する。図6は、車両に質量mの質点16が加わることによって重心点が14から15へ移動した様子を示す図である。なお、本実施例では理解が容易になるように、車体のロール角φが生じない位置に質点16が作用しているものと仮定した一例であり、より詳細に荷重移動を算出する場合には車体のロール角φを考慮することが望ましい。また、本実施例では車両設計時の走行試験や数値解析の結果などに基づくパラメータを設計値、更新パラメータを更新値とし、以降で述べる式の’が付く記号は更新値とする。ここでl’、l’は重心点(更新値)15と前輪軸との距離、および後輪軸との距離、xは重心点(設計値)14と重心点(更新値)15との距離、xは質点16と重心点(更新値)15との距離である。
まず、検出値に基づいて車両の質量mとばね上質量mを算出する方法を説明する。
ばね定数などのサスペンション関連のパラメータが変化しておらず、タイヤを含む前後のサスペンションのばね定数Ksf、Ksrを線形ばねと仮定した場合、車両の質量とばね上質量の更新値m’、m’は、以下の式(8)で表される方程式を用いて算出できる。
Figure 0006628702
ここで式(8)のm、mは車両の質量とばね上質量の設計値、mは質点16の質量、zf、はそれぞれ車体の前側、後側の上下変位であり、以下の式(9)で表される方程式を用いて算出できる。
Figure 0006628702
ここで式(9)のピッチ角ψは、外界認識手段2で検出した車両運動状態量検出値200である。また、式(9)のl’、l’は、図6に示す重心点(更新値)15と前輪軸との距離、および後輪軸との距離の更新値であり、以下の式(10)で表される方程式を用いて算出できる。
Figure 0006628702
ここで式(10)は車速Vが0とみなせるほどの低速で旋回している時に成立し、車体の横すべり角βは外界認識手段2で検出した車両運動状態量検出値200、実舵角δはドライバ入力量検出値の換算値である。以上の式(8)〜式(10)を用いることで、車両の質量とばね上質量の更新値m’、m’を算出できる。
但し、この算出方法は車体の質量変化に伴ってピッチ角ψが変化することが前提であり、車内の人や荷物の質量および位置によってはそれらが変化せず、式(8)〜式(10)だけでは正しい質量を算出できない場合が考えられる。そのため、以下の式(11)で表される方程式を用いて算出する方法を併用することが望ましい。ここで式(11)のTはタイヤ出力トルク、Rはタイヤ半径である。なお、タイヤ出力トルクTは、例えばエンジンやモータのトルクマップ、変速機の変速比、効率などから算出する方法や、トルクセンサを用いて駆動軸のトルクを直接検出する方法により取得できる。なお、式(11)を併用した場合、車両の質量とばね上質量の更新値m’、m’がそれぞれ2つ算出されるが、ピッチ角ψが変化する場合にはそれらの値は等しくなり、ピッチ角ψが変化しない場合には式(11)による更新値が式(8)〜式(10)による更新値より大きくなるため、値が大きい方を選定することで正しい車両の質量とばね上質量の更新値m’、m’を算出できる。
Figure 0006628702
ここで、外界認識手段2の検出値を用いた車両の質量とばね上質量の更新値m’、m’の算出方法は、上記で述べた方法に限定されるものではなく、例えばサスペンションジオメトリを考慮した外界認識手段2の検出値と車両の質量とばね上質量の更新値m’、m’の関係を表す特性マップを予め車両状態量推定装置1に記憶しておき、その特性マップに外界認識手段2の検出値を入力することで車両の質量とばね上質量の更新値m’、m’を算出しても良い。更に、前記特性マップに加速度の軸を追加することで、路面傾斜による重力加速度の影響を除去した車両の質量とばね上質量の更新値m’、m’を算出できる。
次に、検出値に基づいて重心高さhやロール軸12と重心11の間の距離hφなどの重心位置を算出する方法を説明する。
ロール剛性Kφf、Kφr、ピッチ剛性Kψなどのサスペンション関連のパラメータが変化していないと仮定した場合、ロール軸12と重心11の間の距離、ピッチ軸13と重心11の間の距離、重心高さの更新値hφ’、hψ’、h’は、以下の式(12)で表される方程式を用いて算出できる。
Figure 0006628702
次に検出値に基づいて図6に示す重心点(設計値)14と重心点(更新値)15との距離x、質点16と重心点(更新値)15との距離xを算出する方法を説明する。距離xは重心点と後輪軸との距離の設計値lrと更新値lrの差の絶対値であり、距離xは重心点(更新値)15を中心とした車両の質量の設計値mと質点16の質量mによるモーメントの釣り合いより、以下の式(13)で表される方程式を用いて算出できる。
Figure 0006628702
ここで、外界認識手段2の検出値を用いた重心高さhなどの重心位置の算出方法は、上記で述べた方法に限定されるものではなく、例えばサスペンションジオメトリを考慮した外界認識手段2の検出値と重心位置の関係を表す特性マップを予め車両状態量推定装置1に記憶しておき、その特性マップに外界認識手段2の検出値を入力することで重心位置を算出しても良い。更に、前記特性マップに加速度の軸を追加することで、路面傾斜による重力加速度の影響を除去した重心位置を算出できる。
次に、検出値に基づいてヨー慣性モーメントIなどの慣性モーメントを算出する方法を説明する。
慣性モーメントの算出方法の一例として、ヨー慣性モーメントの更新値I’は、平行軸の定理を用いた以下の式(14)で表される方程式で算出できる。ここで、式(14)のIはヨー慣性モーメントの設計値である。
Figure 0006628702
次に、検出値に基づいてコーナリングパワーK、Kなどのタイヤ特性を算出する方法を説明する。
タイヤ特性の算出方法の一例として、コーナリングパワーの更新値K’、K’は、以下の式(15)で表される方程式を用いて算出できる。
Figure 0006628702
ここで式(15)に示すコーナリングフォースY、Y、タイヤの横すべり角β、βは、それぞれ以下の式(16)、式(17)で表される方程式を用いて算出できる。
Figure 0006628702
Figure 0006628702
以上が本発明における車両運動状態量の推定方法、パラメータ算出方法の一例である。
前述した本発明の車両状態量推定装置1における具体的な実施形態について、図7から図13を用いて説明する。
図7は、本発明の実施形態による車両状態量推定装置1を搭載した車両10の構成図を示したものである。
本実施形態の車両状態量推定装置1は車両10に搭載され、カメラやGPSなどの外界認識手段2、加速度センサ3、ジャイロセンサ4、車輪速センサ6から車両運動に関する状態量、操作角センサ5からドライバ操作に関する状態量の検出値を取得する。車両状態量推定装置1は、図1で述べたように検出値を用いて外界認識手段2の安定度を判断し、その判断結果に基づいてパラメータを更新、更新したパラメータと検出値を用いて車体の横すべり角や横方向速度などを推定し、その結果を車両の制駆動力を制御する駆動制御ユニット8とブレーキ制御ユニット9に出力する。
図8は、車両状態量推定装置1の処理概要を示すフローチャートである。まず、車両状態量推定装置1はパラメータ更新や状態量推定に必要な車両運動状態量およびドライバ操作量の検出値を、加速度センサ3やジャイロセンサ4などから取得する(ステップS801)。次にステップS801で取得した加速度センサ3などの検出値である車両運動状態量検出値100と、外界認識手段2の検出値である車両運動状態量検出値200を比較し、その大小関係に基づいて車両運動状態量検出値200が安定しているか否かを判断し、その安定度判断結果を出力する(ステップS802)。次にステップS802において安定判断がなされた場合、検出値に基づいて前述の式(8)〜式(18)を用いて車両の質量mやヨー慣性モーメントIなどのパラメータを更新し、その更新パラメータを出力する(ステップS803)。最後にステップS803で更新されたパラメータと車両運動状態量検出値100、ドライバ操作量検出値に基づいて、上述の式(1)〜式(7)を用いて車体の横すべり角βや横方向速度V、ロール角φ、ピッチ角ψを推定し、その車両運動状態量推定値300を駆動制御ユニット8やブレーキ制御ユニット9に出力し、終了する。なお、一般的に外界認識手段2の検出値の出力周期は、加速度センサなどの慣性センサの検出値の出力周期より遅い。そのため、後述する安定度判断やパラメータ更新などにおいて、出力周期の差による誤処理を防ぐには、処理周期を最も出力周期が遅いセンサの出力周期に合わせる、または最も出力周期が遅いセンサの検出値を時間微分し、その時間微分値に基づいて予測した値を用いることが望ましい。また、燃料ゲージや着座センサ、シートベルトセンサなどから取得した情報に基づいて更新パラメータの信頼性を評価し、その評価結果に基づいてパラメータ更新を行うか否かを判断する処理をステップS803とステップS804の間に追加しても良い。
図9は、車両状態量推定装置1の安定度判断部21の処理概要を示すフローチャートである。本実施例ではジャイロセンサ4で検出したヨーレートrの時間積分値であるヨー角θを真値と仮定し、その真値に対する外界認識手段2で検出したヨー角θ^の誤差に基づいて安定度を判断する方法を説明する。まず、安定度判断部21はジャイロセンサ4からヨーレートr、外界認識手段2からヨー角θ^を取得する(ステップS901)。次にステップS901で取得したヨーレートrを時間積分し、ヨー角θを算出する(ステップS902)。次にステップS902で算出したヨー角θを真値として、真値とステップS901で取得したヨー角θ^の差であるヨー角誤差を算出する(ステップS903)。次にステップS903で算出したヨー角誤差が所定の閾値に対して小さいか否かを判定し(ステップS904)、小さい場合は(ステップS904、YES)、ステップS905に進んでカウント値に所定の値を加算するカウントアップ処理を行い、大きい場合は(ステップS904、NO)、ステップS906に進んでカウント値を0にするカウントリセット処理を行う。次にステップS905でのカウントアップ処理、またはステップS906でのカウントリセット処理をしたカウント値が所定の閾値に対して大きいか否かを判定し(ステップS907)、大きい場合は(ステップS907、YES)、外界認識手段2で検出した車両運動状態量検出値200が所定の期間において継続して安定し、信頼できると判断してステップS908に進んで安定判断を出力し、小さい場合は(ステップS907、NO)、外界認識手段2で検出した車両運動状態量検出値200が所定の期間において継続して安定しておらず、信頼できないと判断してステップS909に進んで不安定判断を出力し、処理を終了する。ここでステップS901〜ステップS909における安定度を判断する方法は、上記で述べたカウントアップによる処理に限定されるものではなく、例えばカウント値から所定の値を減算するカウントダウンによる判断方法や、外界認識手段2が自己診断した情報に基づく判断方法であっても良い。また、安定度の判断対象は、上記で述べたヨー角誤差に限定されるものではなく、例えばジャイロセンサ4で検出したヨーレートrを真値とし、真値と外界認識手段2で検出したヨー角を時間微分したヨーレートr^との差であるヨーレート誤差を判断対象としても良い。
図10は、車両状態量推定装置1のパラメータ更新部22の処理概要を示すフローチャートである。まず、パラメータ更新部22は安定度判断部21の出力である安定度判断結果を取得する(ステップS1001)。次にステップS1001で取得した安定度判断結果が安定判断であるか不安定判断であるかを判定し(ステップS1002)、安定判断である場合は(ステップS1002、YES)、外界認識手段2の検出値にパラメータを更新するための信頼性があると判断してステップS1003に進み、不安定判断である場合は(ステップS1002、NO)、外界認識手段2の検出値にパラメータを更新するための信頼性がないと判断してパラメータの更新を行わずに処理を終了する。ステップS1002において外界認識手段2の検出値にパラメータを更新するための信頼性があると判断された場合、車両運動状態量およびドライバ操作量の検出値を、加速度センサ3やジャイロセンサ4などから取得し(ステップS1003)、ステップS1004に進む。ステップS1004〜ステップS1007では、ステップS1003で取得した検出値に基づいて、上述の式(8)〜式(17)を用いて質量、重心位置、慣性モーメント、タイヤ特性を算出し、パラメータを更新、更新したパラメータを出力して、処理を終了する。
ここでパラメータの更新方法は上記の方法に限定されるものではなく、例えば最適化手法やシステム同定手法を用いて走行中にセンサで取得した時系列データからパラメータを更新しても良い。また、パラメータ更新部22において更新するパラメータの値の範囲は、センサの誤検出による更新値の発散などを防ぐため、例えば質量の場合は空車時の質量を下限値、最大積載時の質量を上限値とするなど、各パラメータで変化する可能性がある範囲を予め定義し、その範囲内で更新することが望ましい。また、更新パラメータの保存形態は数値に限定せず、例えば式(16)と式(17)を用いて算出したコーナリングフォースY、Yとタイヤの横すべり角β、βに基づくタイヤ特性のマップとして保存しても良い。
図11は、車両状態量推定装置1の検出値、検出値の誤差、安定期間のカウント値、推定値と検出値の時間変化を示す図である。検出値、検出値の誤差、安定期間のカウント値は、図9で述べた安定度判断部21における処理結果の一例である。また、推定値は図10で述べたパラメータ更新部22から出力された更新パラメータを用いて状態量推定部23が推定した結果の一例である。図11に示す安定判断期間は、検出値の誤差(Q)が閾値(a)より小さく、そのカウント値(J)が閾値(b)より大きい期間であり、外界認識手段2で検出した車両運動状態量検出値200が所定の期間において継続して安定し、信頼できるとして、安定度判断部21が安定判断を出力した期間である。パラメータ更新部22は、前記の安定判断期間内にパラメータ更新を行い、それ以外の期間(不安定判断期間)ではパラメータ更新を中止する。その結果、状態量推定部23は安定判断期間において従来方法と同様に真値と概ね等しい高精度な推定値を出力できる。更に本実施例の状態量推定部23は、安定判断期間で更新された最新のパラメータを用いて推定を行うため、不安定判断期間において外界認識手段2の検出値による推定値の補正ができない従来方法に比べて真値に近い推定値を出力することができる。このように従来方法では定数として扱っていたパラメータを変数として扱い、そのパラメータを外界認識手段2の検出値に基づいて実車に即した値に更新し、その更新したパラメータを用いて推定を行うことで従来方法より推定誤差を低減できる。
以上のような車両状態量推定装置1を適用した場合の効果を以下で説明する。
横滑り防止装置の場合、例えば設計時より低性能なタイヤに交換、またはタイヤ空気圧が低下、または磨耗したタイヤを使用した際、従来方法では横滑り防止装置の制動力指令が不足して横すべりが増大し、走行安定性が低下する恐れがあった。それに対して本実施例の車両状態量推定装置1を適用した場合、現状のタイヤ特性に基づいて横滑り防止装置の制動力指令を補正できるため、従来方法より横すべりを低減し、走行安定性を向上させることができる。
また、本実施例の車両状態量推定装置1を適用した場合、真値と概ね等しい高精度な推定値が得られる、つまりドライバの操作入力に対する状態量の予測値が得られるため、その予測値に基づいて横滑り防止装置の制動力指令を補正でき、従来方法より横すべりを低減し、走行安定性を向上できる。
また、パワーステアリング装置の場合、例えば設計時より低性能なタイヤに交換、またはタイヤ空気圧が低下、または磨耗したタイヤを使用した場合、従来方法ではパワーステアリング装置のアシストが変化しないため、タイヤ特性相応の車両挙動が生じていた。それに対して本実施例の車両状態量推定装置1を適用した場合、現状のタイヤ特性に応じてパワーステアリング装置のアシスト力や舵角を増減できるため、限界域を除いて純正タイヤ時や新品タイヤ時と同等の車両挙動を実現することができる。また、本実施例の車両状態量推定装置1を適用した場合、ノミナルモデルと最新パラメータの推定モデルによる推定値を比較する事でタイヤ空気圧の低下などを検出でき、ドライバに伝達する事ができる。
また、電動ブースタ装置の場合、例えば設計時より低性能なタイヤに交換、またはタイヤ空気圧が低下、または磨耗したタイヤを使用した場合、従来方法では電動ブースタ装置の制動力指令が変化しないため、タイヤ特性相応の制動力が生じる。それに対して本実施例の車両状態量推定装置1を適用した場合、現状のタイヤ特性に応じて電動ブースタ装置の制動力指令を補正できるため、限界域を除いて純正タイヤ時や新品タイヤ時と同等の制動力を発生させる事ができる。
また、電動パーキングブレーキ装置の場合、最新の質量に基づいて適切な制動力指令を生成できるため、従来方法より電力消費を削減する事ができる。
図12は、地面に固定した座標系に対する車両の重心点11の位置関係を示す図である。車両の重心点11の軌跡は、車両の重心点11の地面に固定された座標系に対する位置を(X,Y)、車両のX軸に対するヨー角をθとして、以下の式(18)で表される。
Figure 0006628702
ここで、X、Y、θはそれぞれt=0でのX、Y、θの値、tは任意の時間である。この式(18)は車両の進行方向の速度Vや車体の横すべり角βといった外界認識手段2の検出値、または車両モデルを用いた式(1)などで算出される推定値を用いる。また、これらの外界認識手段2の検出値や車両モデルを用いて算出した推定値を用いずに車両の重心点11の軌跡を算出するには、例えば以下の式(19)を用いる方法がある。
Figure 0006628702
図13は、低性能なタイヤへの交換やタイヤ空気圧の低下に伴ってコーナリングパワーが低下した車両の定常円旋回時の重心点11の軌跡を示す図である。真値(e)は、外界認識手段2の検出値である車両運動状態量検出値200および式(18)を用いて算出した車両の重心点11の実軌跡である。車両モデルなし(f)は、式(19)を用いて算出した車両の重心点11の推定軌跡である。車両モデルあり, パラメータ更新なし(g)は、パラメータを更新していない車両モデルを用いて算出した推定値および式(18)を用いて算出した車両の重心点11の推定軌跡である。車両モデルあり, パラメータ更新なし(h)は、パラメータを更新した車両モデルを用いて算出した推定値および式(18)を用いて算出した車両の重心点11の推定軌跡である。
図13に示すように車両の重心点11の実軌跡である真値(e)に対して、車両モデルあり, パラメータ更新あり(h)の推定軌跡は概ね等しいが、車両モデルなし(f)と車両モデルあり, パラメータ更新なし(g)の推定軌跡は推定誤差が大きい。
自動運転装置の場合、従来方法では外界認識手段の検出値に基づいて自己位置推定を行っており、雨天やレンズ汚れなどの悪条件では検出精度が低下し、自動運転が継続できなくなる恐れがあった。この外界認識手段の検出精度低下に対して、自動運転を継続する方法として、式(18)や式(19)を用いて推定した車両の軌跡などの情報に基づいてマップマッチングを行う方法が考えられるが、上記の車両モデルなし(f)や車両モデルあり, パラメータ更新なし(g)のように軌跡の推定誤差が大きい方法では安全な自動運転を継続できない恐れがあった。それに対して本実施例の車両状態量推定装置1を適用した場合、車両の軌跡などを高精度に推定できるため、少なくとも安全に停車できる場所まで自動運転を継続することができる。
実施例2では、実施例1との差分について説明し、実施例1と同じ説明は省略する。
なお、実施例2と実施例1の主な違いは安定度判断部21における安定度の判断方法であり、図14と図15を用いて、実施例2における車両状態量推定装置1の処理概要を説明する。
図14は、実施例2における車両状態量推定装置1の安定度判断部21の処理概要を示すフローチャートである。図14のステップS1401〜ステップS1403の処理は、実施例1における図9のステップS901〜ステップS903と同じであり、説明は省略する。ステップS1404では、ステップS1403で算出したヨー角誤差を所定の期間で時間積分した値を算出する。次にステップS1404で算出したヨー角誤差の積分値が所定の閾値に対して小さいか否かを判定し(ステップS1405)、小さい場合は(ステップS1405、YES)、外界認識手段2で検出した車両運動状態量検出値200が所定の期間において継続して安定し、信頼できると判断してステップS1406に進んで安定判断を出力し、大きい場合は(ステップS1405、NO)、外界認識手段2で検出した車両運動状態量検出値200が所定の期間において継続して安定しておらず、信頼できないと判断してステップS1407に進んで不安定判断を出力し、処理を終了する。ここでステップS1404、ステップS1405における安定度の判断方法は、上記で述べた積分値による判断方法に限定されるものではなく、例えば平均値による判断方法であっても良い。
図15は、実施例2における車両状態量推定装置1の検出値、検出値の誤差、検出値の誤差の積分値、推定値と検出値の時間変化を示す図である。図15に示す安定判断期間は、検出値の誤差(Q)を所定の期間で積分した積分値(N)が閾値(c)より小さい期間であり、外界認識手段2で検出した車両運動状態量検出値200が所定の期間において継続して安定し、信頼できるとして、安定度判断部21が安定判断を出力した期間である。図15の検出値と検出値の誤差に示す閾値(a)を超過する瞬間的なノイズは、実際の車両の使用環境下において生じる可能性がある。このようなノイズが生じた場合、実施例1における車両状態量推定装置1ではカウント値がリセットされ、パラメータ更新が中止される。それに対して実施例2における車両状態量推定装置1では、ノイズの大きさが小さく、積分値(N)が閾値(c)より小さくなる期間を安定判断期間とすることで、実際の車両の使用環境下において、パラメータの更新にある一定の精度を確保しながら、パラメータの更新頻度を増やすことができる。
実施例3では、実施例1および実施例2との差分について説明し、実施例1および実施例2と同じ説明は省略する。
なお、実施例3と実施例1および実施例2の主な違いは、パラメータ更新部22におけるパラメータの更新/未更新の判断方法であり、図16と図17を用いて、実施例3における車両状態量推定装置1の処理概要を説明する。
図16は、実施例3における車両状態量推定装置1のパラメータ更新部22の処理概要を示すフローチャートである。まず、実施例3のパラメータ更新部22は、1処理周期前の外界認識手段2で検出した車両運動状態量検出値200と、状態量推定部23で推定した推定値を取得する(ステップS1601)。ここで本実施例では、図8で述べた車両状態量推定装置1の処理概要を示すフローチャートのSTARTからENDまでを1処理として定義する。次にステップS1601で取得した検出値、推定値の差である推定誤差を算出する(ステップS1602)。次にステップS1602で算出した推定誤差が所定の閾値に対して大きいか否かを判定し(ステップS1603)、大きい場合は(ステップS1603、YES)、推定値の精度が不十分と判断してステップS1604に進み、小さい場合は(ステップS1603、NO)、推定値の精度が必要十分であり、パラメータの更新は不要と判断して処理を終了する。ステップS1604では、図10で述べたフローに従ってパラメータを更新し、処理を終了する。
図17は、実施例3における車両状態量推定装置1の検出値、検出値の誤差、安定期間のカウント値、推定誤差、推定値と検出値の時間変化を示す図である。図17に示すように、安定判断期間であっても推定誤差が所定の閾値(d)より小さい場合にはパラメータ更新を中止する。このように推定誤差の大きさに基づいてパラメータの更新/未更新を判断することで、ある一定の推定精度を確保しながら、車両状態量推定装置1の計算負荷を下げることができ、消費電力や発熱などを低減できる。
実施例4では、実施例1〜実施例3との差分について説明し、実施例1〜実施例3と同じ説明は省略する。
なお、実施例4と実施例1〜実施例3の主な違いは、実施例1〜実施例3の車両状態量推定装置1に出力値判断部24を追加した車両状態量出力装置30を構成したことであり、図18〜図20を用いて実施例4における車両状態量出力装置30の処理概要を説明する。
図18は、実施例4における車両状態量出力装置30の概念図である。図18に示すように、車両状態量出力装置30は実施例1〜実施例3の車両状態量推定装置1に出力値判断部24を追加した構成になっている。出力値判断部24は、状態量推定部23の出力である車両運動状態量推定値300と、安定度判断部21の出力である安定度判断結果と、外界認識手段2で検出した車両運動状態量検出値200に基づいて、車両運動状態量推定値300と車両運動状態量検出値200のどちらを車両運動状態量出力値400として出力するかを判断する。ここで、図18には車両運動状態量出力値400のみを出力する場合を記載しているが、必要に応じて安定度判断結果や更新パラメータ、車両運動状態量推定値300を出力しても良く、車両状態量出力装置30の出力値は限定しない。
図19は、実施例4における車両状態量出力装置30の出力値判断部24の処理概要を示すフローチャートである。まず、出力値判断部24は安定度判断部21の出力である安定度判断結果を取得する(ステップS1901)。次にステップS1901で取得した安定度判断結果が安定判断であるか不安定判断であるかを判定し(ステップS1902)、安定判断である場合は(ステップS1902、YES)、外界認識手段2の検出値にパラメータを更新するための信頼性があると判断してステップS1903に進み、不安定判断である場合は(ステップS1902、NO)、外界認識手段2の検出値にパラメータを更新するための信頼性がないと判断してステップS1907に進み、推定値を出力して処理を終了する。ステップS1902において外界認識手段2の検出値にパラメータを更新するための信頼性があると判断された場合、1処理周期前の外界認識手段2で検出した車両運動状態量検出値200と、状態量推定部23で推定した推定値を取得する(ステップS1903)。ここで本実施例では、実施例1の図8で述べた車両状態量推定装置1の処理概要を示すフローチャートのSTARTからENDまでを1処理として定義する。次にステップS1903で取得した検出値、推定値の差である推定誤差を算出する(ステップS1904)。次にステップS1904で算出した推定誤差が所定の閾値に対して大きいか否かを判定し(ステップS1905)、大きい場合は(ステップS1905、YES)、推定値の精度が不十分と判断してステップS1906に進んで検出値を出力し、小さい場合は(ステップS1905、NO)、推定値の精度が必要十分であると判断してステップS1907に進んで推定値を出力し、処理を終了する。
図20は、実施例4における車両状態量出力装置30の検出値、検出値の誤差、安定期間のカウント値、推定誤差、推定値と検出値と出力値の時間変化を示す図である。図20に示すように車両状態量出力装置30は、安定判断期間であり、かつ推定誤差が閾値(d)より大きい場合には検出値を出力値として出力し、それ以外では推定値を出力値として出力する。このように安定度判断結果および推定誤差の大きさに基づいて、車両状態量出力装置30から出力する出力値を判断することで、車両状態量出力装置30の中で真値に最も近い値を出力することができる。
実施例5では、実施例1〜実施例4との差分について説明し、実施例1〜実施例4と同じ説明は省略する。
なお、実施例5と実施例1〜実施例4の主な違いは、実施例1〜実施例4の車両10にサスペンション制御ユニット40と制御サスペンション装置41を追加した車両10’を構成したことであり、図21〜図24を用いて主に実施例5におけるサスペンション制御ユニット40の処理概要を説明する。なお、実施例5における車両状態量推定装置1は、車両状態量出力装置30であっても良い。
図21は、実施例5における車両状態量推定装置1あるいは車両状態量出力装置30を搭載した車両10’の構成図を示したものである。図21は、図7に対してサスペンション制御ユニット40と制御サスペンション装置41を追加した構成になっている。制御サスペンション装置41は、減衰特性を調整可能な減衰力調整式のショックアブソーバあるいは車体と車輪の間の上下方向の力を調整可能なアクティブサスペンションである。サスペンション制御ユニット40は、慣性センサやジャイロセンサなどの検出値や車両状態量推定装置1で更新した質量や重心位置などの更新パラメータに基づいて、乗心地制御やアンチロール制御などに必要な車両状態量を推定し、制御サスペンション装置41の減衰特性あるいは上下方向の力を制御する制御信号を生成する。
次に図22〜図24を用いて車両状態量推定装置1で更新した更新パラメータを用いたサスペンション制御ユニット40における乗心地制御、アンチロール制御、アンチダイブ・アンチスクワット制御の処理概要を説明する。
図22は実施例5における制御サスペンション装置41の1機能である乗心地制御を行うサスペンション制御ユニット40の概念図である。サスペンション制御ユニット40には、車両状態量推定装置1で更新された質量や重心位置などの更新パラメータや、慣性センサで検出したばね上上下加速度やばね下上下加速度などの車両運動状態量検出値100が入力される。
サスペンション制御ユニット40は、上下速度推定部43と、目標減衰力算出部44と、減衰力マップ45を備える。
上下速度推定部43は、車両状態量推定装置1の更新パラメータと車両運動状態量検出値100を入力として、ばね上およびばね下の上下速度を推定する。
目標減衰力算出部44は、上下速度推定部42で推定した上下速度と車両運動状態量検出値100に基づいて、制御サスペンション装置41の目標減衰力を算出する。
減衰力マップ45は、予め記憶された制御サスペンション装置41の特性のマップ情報であり、目標減衰力算出部44で算出した目標減衰力と車両運動状態量検出値100を入力として、制御サスペンション装置41を制御する指令電流を導出し、出力する。
図23は実施例5における制御サスペンション装置41の1機能であるアンチロール制御を行うサスペンション制御ユニット40の概念図である。サスペンション制御ユニット40には、車両状態量推定装置1で更新された質量や重心位置などの更新パラメータや、慣性センサで検出したばね上上下加速度やばね下上下加速度などの車両運動状態量検出値100、舵角センサで検出した操舵角などのドライバ入力量検出値が入力される。
サスペンション制御ユニット40は、主に車両運動モデル46と、予め記憶されたロール制御ゲイン、ピッチ制御ゲインを備える。
車両運動モデル46は、車両状態量推定装置1の更新パラメータと、車両運動状態量検出値100と、ドライバ入力量検出値を入力として車両の横加速度を推定する。
サスペンション制御ユニット40は、車両運動モデル46で推定した横加速度を微分した横加加速度とロール制御ゲイン、車両運動モデル46で推定した横加速度の絶対値とピッチ制御ゲインに基づいて、制御サスペンション装置41を制御する指令電流を算出し、出力する。
図24は実施例5における制御サスペンション装置41の1機能であるアンチダイブ制御およびアンチスクワット制御を行うサスペンション制御ユニット40の概念図である。サスペンション制御ユニット40には、車両状態量推定装置1で更新された質量や重心位置などの更新パラメータと、ブレーキマスタシリンダ圧やエンジントルク、ギア位置などの車両運動状態量検出値100が入力される。
サスペンション制御ユニット40は、主に車両運動モデル46と、予め記憶されたピッチ制御ゲインを備える。
車両運動モデル46は、車両状態量推定装置1の更新パラメータと、車両運動状態量検出値100を入力として車両の前後加速度を推定する。
サスペンション制御ユニット40は、車両運動モデル46で推定した前後加速度を微分した前後加加速度とピッチ制御ゲインに基づいて、制御サスペンション装置41を制御する指令電流を算出し、出力する。
図25と図26は実施例5における更新パラメータを入力とした効果を示すシミュレーションの結果の一例である。図25と図26は共に高速うねり路において更新パラメータである質量の更新有無が乗心地に与える影響を比較した結果であり、図25はフロア、Frタワー、Rrタワーの上下加速度PSD、図26はフロア上下変位、ピッチ角、ロール角の時間変化を示す図である。図25と図26に示すようにパラメータ更新あり(本発明)は、予め記憶したロバスト性を考慮した設計時のパラメータを用いたパラメータ更新なし(従来方法)に対して、特にRrタワーの上下加速度PSDとピッチ角が小さくなっており、より高性能な乗心地制御が実現できる。
以上の構成により、最新の質量や重心位置などのパラメータを用いて高精度に推定したばね上上下速度や横加速度などの車両状態量に基づいてサスペンションを制御する指令電流を生成できるため、従来の予め記憶したロバスト性を考慮した設計時のパラメータを用いた場合より高性能なサスペンション制御を実現できる。また、質量や重心位置などが影響する予め記憶された減衰力マップやロール制御ゲイン、ピッチ制御ゲインは、最新の質量や重心位置などのパラメータを用いて更新することが望ましい。
実施例6では、実施例5との差分について説明し、実施例5と同じ説明は省略する。
なお、実施例6と実施例5の主な違いは、実施例5の車両10’に車高センサ42を追加した車両10”を構成したことであり、図27〜図28を用いて主に実施例6におけるサスペンション制御ユニット40の処理概要を説明する。
図27は、実施例6における車両状態量推定装置1あるいは車両状態量出力装置30を搭載した車両10”の構成図を示したものである。図27は、図21に対して車高センサ42を追加した構成になっている。
車高センサ42は、路面と車体の相対的なz軸方向の距離、あるいは車両のサスペンションの変位量を検出する。サスペンション制御ユニット40は、車高センサ42などの各種センサの検出値や車両状態量推定装置1あるいは車両状態量出力装置30の更新パラメータに基づいて制御サスペンション装置41の減衰特性あるいは上下方向の力を制御する。車高センサ42は、車体の右前側、左前側、右後側、左後側の上下変位zfr、zfl、zrr、zrlを直接検出することができるため、車両の質量とばね上質量の更新値m’、m’は、以下の式(20)で表される方程式を用いて算出できる。
Figure 0006628702
一般的に外界認識手段2で検出したピッチ角ψなどに基づいて算出した上下変位に比べて、車高センサ42は上下変位を直接検出できるために精度が高く、車両状態量推定装置1あるいは車両状態量出力装置30において高精度なパラメータ更新と、それを用いた高性能なサスペンション制御を実現できる。また、質量や重心位置、慣性モーメントは外界認識手段2および車高センサ42の検出値から算出できるため、これらのパラメータに関してはどちらか一方が故障した場合であっても車両状態量推定装置1あるいは車両状態量出力装置30によるパラメータ更新を継続することができる。
図28は、質量mの質点が作用する車両に生じる上下変位を示す図である。図28は、質量mの質点が作用する車体の右前側、左前側、右後側、左後側の上下変位zfr、zfl、zrr、zrlが生じる様子を示したものである。この車体の上下変位を用いて、車体のロール角φとピッチ角ψは、以下の式(21)で表される方程式を用いて算出できる。ここで本実施例では理解を容易にするために、車両前後輪のトレッド幅が等しいdと仮定する。
Figure 0006628702
この式(21)を用いて算出したロール角φとピッチ角ψを外界認識手段2の検出値と比較することで、センサ故障の有無や検出値の信頼性を判断することができる。
実施例7では、実施例5および実施例6との差分について説明し、実施例5および実施例6と同じ説明は省略する。なお、実施例7と実施例5および実施例6の主な違いは、サスペンション制御ユニット40で算出したタイヤの接地荷重に基づいて、車両状態量推定装置1がパラメータ更新の可否を判断することであり、図29〜図33を用いて、主に実施例7におけるサスペンション制御ユニット40と車両状態量制御装置1あるいは車両状態量出力装置30の処理概要を説明する。
図29は、実施例7における車両状態量推定装置1’の概念図である。図29に示すように、車両状態量推定装置1’は実施例1〜実施例3の車両状態量推定装置1のパラメータ更新部22にサスペンション制御ユニット40で算出したタイヤの接地荷重計算値を入力する構成になっている。なお、式(15)などで述べたコーナリングパワーK、Kは接地荷重によって大きさが変化するため、車両運動状態量推定値300の推定精度を向上させるためには接地荷重計算値を状態量推定部23に入力する構成にすることが望ましい。また、接地荷重計算値は実施例4の車両状態量出力装置30のパラメータ更新部22に入力する構成であっても良い。
次にサスペンション制御ユニット40におけるタイヤの接地荷重計算値の推定方法を説明する。
図30は、1自由度の1/4車両モデルを示す図である。図30は、質量mのばね下上下変位zによって質量mのばね上が上下変位する様子を示したものである。ここでサスペンションのばね定数をK、サスペンションの減衰係数をC、ばね上の上下変位をz、ばね下の上下変位をz、タイヤの接地荷重をWとする。ばね上およびばね下の運動は、それぞれ以下の式(22)、式(23)で表される。
Figure 0006628702
Figure 0006628702
ここで式(22)、式(23)のサスペンションの減衰係数Cには、制御サスペンション装置41が減衰特性を調整可能な減衰力調整式のショックアブソーバの場合はサスペンション制御ユニット40の指令電流に基づく減衰係数を入力する。また、車体と車輪の間の上下方向の力を調整可能なアクティブサスペンションの場合には、式(22)、式(23)の右辺をサスペンション制御ユニット40で導出した上下方向の力に置き換える。また、d/dt、dt/dtは、ばね上およびばね下に設置した上下加速度センサの検出値およびそれらに基づく推定値に限定されるものではなく、例えば加速度センサ3や車高センサ42などの検出値に基づく推定値であっても良い。
式(23)のΔWは接地荷重の変動分であり、接地荷重Wは静止時の接地荷重にこの変動分を加算した以下の式(24)で表される。
Figure 0006628702
以上の方法により、タイヤの接地荷重を算出することができる。
図31は、実施例7における車両状態量推定装置1’のパラメータ更新部22の処理概要を示すフローチャートである。図31に示すフローチャートでは、パラメータを補正するにあたって、接地荷重変動周波数と接地荷重変動差の算出を行う。この接地荷重変動周波数と接地荷重変動差は、荒れた路面によって生じる接地荷重の振動や路面のくぼみによって生じる接地荷重の抜けなどのパラメータを補正する補正ゲインを導出するために算出する。まず、図31の説明に先立ち、図31の理解が容易になるように、図32、図33を用いて接地荷重変動差の算出方法について説明する。
図32は、重心点11に作用する加速度に伴う荷重移動を示す図である。図32は、前後加速度Gと横加速度Gが作用するばね上質量mの車両の各タイヤに接地荷重の変動量ΔWfl、ΔWfr、ΔWrl、ΔWrrが生じる様子を示したものである。なお、図32は理解が容易になるように、車体のロール角φおよびピッチ角ψが生じないと仮定した一例であり、より詳細に荷重移動を算出する場合には車体のロール角φおよびピッチ角ψに伴う荷重移動を考慮することが望ましい。
図33は、カント角σのバンク路を走行する車両の重心点11に作用する加速度を示す図である。なお、図33は理解が容易になるように、車体のロール角φおよび車両の横すべり角βなどが生じないと仮定した一例であり、より詳細に荷重移動を算出する場合にはそれらを考慮して荷重移動を計算することが望ましい。
図32、図33に示したモデルを用いて、各タイヤの接地荷重の変動量ΔWfl、ΔWfr、ΔWrl、ΔWrrの算出方法の一例を説明する。車両が一定の加速度を持ち、重心点11に一定の慣性力が働いていると仮定した場合、接地荷重変動量の推定値ΔWfl、ΔWfr、ΔWrl、ΔWrrは、以下の式(25)で表される。
Figure 0006628702
ここで式(25)の右辺第一項は前後加速度Gxに伴う接地荷重変動量、右辺第二項は左右加速度Gyに伴う接地荷重変動量、右辺第三項はカント角σによって生じる上下加速度の変化に伴う接地荷重変動量である。また、式(25)で用いるカント角σは、以下の式(26)で表される方程式で算出できる。
Figure 0006628702
次に接地荷重変動差ΔWFY、ΔWRY、ΔWLX、ΔWRXは、サスペンション制御ユニット40から入力された最新の接地荷重をWfl、Wfr、Wrl、Wrr、最新の静止時の接地荷重をWfl0、Wfr0、Wrl0、Wrr0として、式(25)、式(26)から算出した接地荷重変動量の推定値ΔWfl、ΔWfr、ΔWrl、ΔWrrを用いて、以下の式(27)で表される。
Figure 0006628702
ここで式(27)の第一式は前輪左右の接地荷重変動量の計算値と推定値の差、第二式は後輪左右の接地荷重変動量の計算値と推定値の差、第三式は左輪前後の接地荷重変動量の計算値と推定値の差、第四式は右輪前後の接地荷重変動量計算値と推定値の差である。
図31に戻り、実施例7における車両状態量推定装置1’のパラメータ更新部22の処理概要を示すフローチャートを説明する。
まず、実施例7のパラメータ更新部22は、サスペンション制御ユニット40で算出した接地荷重計算値を取得する(ステップS3101)。ここで本実施例では、図8で述べた車両状態量推定装置1の処理概要を示すフローチャートのSTARTからENDまでを1処理として定義する。
次にステップS3001で取得した接地荷重計算値をFFT処理することで接地荷重の変動周波数を算出する(ステップS3102)。
次に前後加速度Gや横加速度G、ヨーレートrなどの検出値と、式(25)と式(26)に基づいて接地荷重変動量推定値を算出する(ステップS3103)。
次にステップS3103で算出した接地荷重変動量推定値と、ステップS3101で取得した接地荷重計算値と、式(27)に基づいて接地荷重変動差を算出する(ステップS3104)。
次にステップS3102で算出した接地荷重変動周波数、ステップS3104で算出した接地荷重変動差に基づいて補正ゲインを算出する。補正ゲインの算出方法としては、接地荷重変動周波数と接地荷重変動差を入力とし、予め記憶された補正ゲインマップに基づいて導出する方法が考えられるが、数式であっても良く、補正ゲインを算出する方法を限定しない。
ステップS3105では、ステップS3105で算出した補正ゲインを用いてパラメータを補正する。補正する方法はパラメータに補正ゲインを乗算する方法が考えられるが、除算する方法であっても良く、補正ゲインによるパラメータの補正方法を限定しない。
以上の構成により、外界認識手段2の検出値が不安定な状態で、接地荷重の変動が大きい悪路を走行している場合であっても接地状態に応じた適切なパラメータを用いることができるため、状態量推定部23においてより高精度な推定や、サスペンション制御ユニット40においてより高性能なサスペンション制御を実現できる。
1:車両状態量推定装置
2:外界認識手段
3:加速度センサ
4:ジャイロセンサ
5:操舵角センサ
6:車輪速センサ
7:タイヤ
8:駆動制御ユニット
9:ブレーキ制御ユニット
10、10’:車両
11:重心点
12:ロール軸
13:ピッチ軸
14:重心点(設計値)
15:重心点(更新値)
16:質点
21:安定度判断部
22:パラメータ更新部
23:状態量推定部
24:出力値判断部
30:車両状態量出力装置
40:サスペンション制御ユニット
41:制御サスペンション装置
42:車高センサ
43:上下速度推定部
44:目標減衰力算出部
45:減衰力マップ
46:車両運動モデル
100:車両状態量検出値
200:車両状態量検出値

Claims (5)

  1. 加速度センサまたはジャイロセンサの検出値と、外界認識手段の検出値が入力され、該加速度センサまたは前記ジャイロセンサの検出値と車両の質量、重心位置、慣性モーメント、およびコーナリングパワーのいずれかを含む車両パラメータに基づいて、前記車両の車体の横すべり角、横方向速度、ロール角、および、ピッチ角のいずれかを含む車両の状態量を推定する車両状態量推定装置であって
    前記車両状態量推定装置は、安定度判断部と、パラメータ更新部とを備え、
    前記安定度判断部は、所定の期間における前記加速度センサまたは前記ジャイロセンサの検出値の時間積分値と前記外界認識手段の検出値との差が所定の値より小さい場合に、前記外界認識手段の検出値が安定していると判断し、
    前記パラメータ更新部は、前記安定度判断部により前記外界認識手段の検出値が安定していると判断した場合に、前記外界認識手段の検出値を用いて、前記車両パラメータを更新することを特徴する車両状態量推定装置。
  2. 前記加速度センサまたは前記ジャイロセンサの検出値と、前記外界認識手段の検出値を入力として、前記車両パラメータを出力する特性マップを予め備え、前記特性マップに基づいて前記車両パラメータを更新することを特徴とする請求項1に記載の車両状態量推定装置。
  3. 前記車両パラメータは所定の上限値および所定の下限値の範囲内で更新されることを特徴とする請求項1に記載の車両状態量推定装置。
  4. 請求項1から3のいずれか一項に記載の車両状態量推定装置更新された車両パラメータを入力され、前記車両を制御する制御指令値を出力する車両運動制御装置であって、
    前記更新された車両パラメータと、前記加速度センサまたは前記ジャイロセンサの検出値と異なる第2の検出値に基づいて、前記車両状態量推定装置で更新された前記車両の状態量と異なる第二の車両の状態量を推定し、前記制御指令値を出力することを特徴とする車両運動制御装置。
  5. 路面のくぼみを検出する手段と、前記路面のくぼみの検出値を入力とする特性マップまたはゲインを備え、前記特性マップまたはゲインを用いて、前記車両パラメータを更新することを特徴とする請求項に記載の車両運動制御装置。
JP2016155190A 2016-08-08 2016-08-08 車両状態量推定装置 Active JP6628702B2 (ja)

Priority Applications (2)

Application Number Priority Date Filing Date Title
JP2016155190A JP6628702B2 (ja) 2016-08-08 2016-08-08 車両状態量推定装置
PCT/JP2017/015973 WO2018029914A1 (ja) 2016-08-08 2017-04-21 車両状態量推定装置

Applications Claiming Priority (1)

Application Number Priority Date Filing Date Title
JP2016155190A JP6628702B2 (ja) 2016-08-08 2016-08-08 車両状態量推定装置

Publications (2)

Publication Number Publication Date
JP2018024265A JP2018024265A (ja) 2018-02-15
JP6628702B2 true JP6628702B2 (ja) 2020-01-15

Family

ID=61161851

Family Applications (1)

Application Number Title Priority Date Filing Date
JP2016155190A Active JP6628702B2 (ja) 2016-08-08 2016-08-08 車両状態量推定装置

Country Status (2)

Country Link
JP (1) JP6628702B2 (ja)
WO (1) WO2018029914A1 (ja)

Families Citing this family (7)

* Cited by examiner, † Cited by third party
Publication number Priority date Publication date Assignee Title
US11861953B1 (en) 2018-09-26 2024-01-02 Allstate Insurance Company Systems and methods for using sensors to determine a holistic vehicle characteristic and/or to generate parameters for a vehicle service
JP6695481B1 (ja) * 2019-06-25 2020-05-20 株式会社ショーワ 接地荷重推定装置、制御装置および接地荷重推定方法
JP6748765B1 (ja) * 2019-06-25 2020-09-02 株式会社ショーワ 接地荷重推定装置、制御装置および接地荷重推定方法
CN113525393B (zh) * 2020-04-17 2024-08-02 广州汽车集团股份有限公司 车辆纵向加速度估计方法及其系统、计算机设备
JP6817483B1 (ja) * 2020-06-29 2021-01-20 株式会社ショーワ 路面荷重推定装置、車両制御装置および路面荷重推定方法
JP7553413B2 (ja) * 2021-08-23 2024-09-18 先進モビリティ株式会社 自動運転方法
JP7783033B2 (ja) * 2021-12-03 2025-12-09 Toyo Tire株式会社 タイヤ摩耗性能値の算出方法、システム、及びプログラム

Family Cites Families (8)

* Cited by examiner, † Cited by third party
Publication number Priority date Publication date Assignee Title
JPH02151569A (ja) * 1988-11-30 1990-06-11 Nissan Motor Co Ltd 車両運動推定装置
JP3120724B2 (ja) * 1996-03-13 2000-12-25 トヨタ自動車株式会社 車両用自動走行装置
JP3766909B2 (ja) * 2001-11-30 2006-04-19 株式会社日立製作所 走行環境認識方法および装置
JP4393927B2 (ja) * 2004-06-08 2010-01-06 日産自動車株式会社 車両用旋回走行制御装置
DE102005052251A1 (de) * 2005-11-02 2007-05-03 Robert Bosch Gmbh Verfahren und Vorrichtung zur Wankwinkelbestimmung für Insassenschutzvorrichtungen
JP5137872B2 (ja) * 2009-02-12 2013-02-06 三菱電機株式会社 車両横外乱推定装置
JP5402244B2 (ja) * 2009-05-26 2014-01-29 トヨタ自動車株式会社 車両物理量推定装置
JP6478318B2 (ja) * 2014-12-25 2019-03-06 株式会社Subaru 車両運動パラメータ推定装置

Also Published As

Publication number Publication date
JP2018024265A (ja) 2018-02-15
WO2018029914A1 (ja) 2018-02-15

Similar Documents

Publication Publication Date Title
JP6628702B2 (ja) 車両状態量推定装置
JP6653396B2 (ja) 車両運動状態推定装置
CN111615480B (zh) 车辆、车辆运动状态推断装置以及车辆运动状态推断方法
CN102343778B (zh) 车体姿态控制装置
US6684140B2 (en) System for sensing vehicle global and relative attitudes using suspension height sensors
US8649938B2 (en) System, program product, and method for dynamic control of vehicle
KR101470221B1 (ko) 현가 제어 장치 및 그 방법
KR102533560B1 (ko) 차량 운동 상태 추정 장치, 차량 운동 상태 추정 방법 그리고 차량
US11897301B2 (en) Vehicle travel state control device and vehicle travel state control method
US20230294474A1 (en) Suspension control apparatus and method for controlling a suspension control apparatus
CN104908548B (zh) 车辆状态推定装置、车辆控制装置及车辆状态推定方法
JP5088198B2 (ja) 重心高推定装置、及びこれを備えた車両挙動制御装置
JP2020117196A (ja) 車両運動状態推定装置
JP7121690B2 (ja) 車両運動状態推定装置、および、車両運動状態推定方法
JP7635694B2 (ja) 車両
WO2023210535A1 (ja) 車両の制御装置
JP3729661B2 (ja) 車輌の運動制御装置
JP2006131062A (ja) サスペンション装置およびサスペンション制御方法
JP2010006282A (ja) 車両制御装置

Legal Events

Date Code Title Description
A521 Request for written amendment filed

Free format text: JAPANESE INTERMEDIATE CODE: A523

Effective date: 20160822

RD04 Notification of resignation of power of attorney

Free format text: JAPANESE INTERMEDIATE CODE: A7424

Effective date: 20170120

RD04 Notification of resignation of power of attorney

Free format text: JAPANESE INTERMEDIATE CODE: A7424

Effective date: 20170126

RD02 Notification of acceptance of power of attorney

Free format text: JAPANESE INTERMEDIATE CODE: A7422

Effective date: 20180327

RD04 Notification of resignation of power of attorney

Free format text: JAPANESE INTERMEDIATE CODE: A7424

Effective date: 20180403

A621 Written request for application examination

Free format text: JAPANESE INTERMEDIATE CODE: A621

Effective date: 20181214

A131 Notification of reasons for refusal

Free format text: JAPANESE INTERMEDIATE CODE: A131

Effective date: 20190806

A521 Request for written amendment filed

Free format text: JAPANESE INTERMEDIATE CODE: A523

Effective date: 20191007

TRDD Decision of grant or rejection written
A01 Written decision to grant a patent or to grant a registration (utility model)

Free format text: JAPANESE INTERMEDIATE CODE: A01

Effective date: 20191105

A61 First payment of annual fees (during grant procedure)

Free format text: JAPANESE INTERMEDIATE CODE: A61

Effective date: 20191203

R150 Certificate of patent or registration of utility model

Ref document number: 6628702

Country of ref document: JP

Free format text: JAPANESE INTERMEDIATE CODE: R150

S533 Written request for registration of change of name

Free format text: JAPANESE INTERMEDIATE CODE: R313533

R350 Written notification of registration of transfer

Free format text: JAPANESE INTERMEDIATE CODE: R350

R250 Receipt of annual fees

Free format text: JAPANESE INTERMEDIATE CODE: R250

R250 Receipt of annual fees

Free format text: JAPANESE INTERMEDIATE CODE: R250

R250 Receipt of annual fees

Free format text: JAPANESE INTERMEDIATE CODE: R250