JP6571375B2 - 著作物保護支援装置 - Google Patents

著作物保護支援装置 Download PDF

Info

Publication number
JP6571375B2
JP6571375B2 JP2015089317A JP2015089317A JP6571375B2 JP 6571375 B2 JP6571375 B2 JP 6571375B2 JP 2015089317 A JP2015089317 A JP 2015089317A JP 2015089317 A JP2015089317 A JP 2015089317A JP 6571375 B2 JP6571375 B2 JP 6571375B2
Authority
JP
Japan
Prior art keywords
copyrighted work
information
data
support apparatus
protection support
Prior art date
Legal status (The legal status is an assumption and is not a legal conclusion. Google has not performed a legal analysis and makes no representation as to the accuracy of the status listed.)
Expired - Fee Related
Application number
JP2015089317A
Other languages
English (en)
Other versions
JP2016208347A (ja
Inventor
肇 延原
肇 延原
丘平 張
丘平 張
月菲 高
月菲 高
Current Assignee (The listed assignees may be inaccurate. Google has not performed a legal analysis and makes no representation or warranty as to the accuracy of the list.)
University of Tsukuba NUC
Original Assignee
University of Tsukuba NUC
Priority date (The priority date is an assumption and is not a legal conclusion. Google has not performed a legal analysis and makes no representation as to the accuracy of the date listed.)
Filing date
Publication date
Application filed by University of Tsukuba NUC filed Critical University of Tsukuba NUC
Priority to JP2015089317A priority Critical patent/JP6571375B2/ja
Publication of JP2016208347A publication Critical patent/JP2016208347A/ja
Application granted granted Critical
Publication of JP6571375B2 publication Critical patent/JP6571375B2/ja
Expired - Fee Related legal-status Critical Current
Anticipated expiration legal-status Critical

Links

Images

Landscapes

  • Management, Administration, Business Operations System, And Electronic Commerce (AREA)

Description

本発明は、著作物保護支援装置に関する。
近年、動画共有サイトやイラスト投稿SNS(Social Networking Service)などCGM(Consumer Generated Media)において、一般ユーザのコンテンツ創作活動が活発に行われるようになってきている。
CGMに投稿されたコンテンツは電子データであり、他のユーザによる編集が容易なため、無断転載や改変等著作権の侵害が多発している。著作権侵害が発覚した場合には、自身の著作権を主張しなければならないが、そのための帰属証明や侵害の証拠保全が必要である。これらの証明等の手段に関して、従来は、著作権登録制度や第三者機関のタイムスタンプサービス等を利用している。
Satoshi Nakamoto, "Bitcoin: A Peer-to-Peer Electronic Cash System", (2008). 後藤真孝, "初音ミク,ニコニコ動画,ピアプロの切り拓いたCGM現象", 情報処理学会誌, Vol.53, No.5, pp.466-471, (2012). 野口祐子, "コモンズに関わる法的課題", 情報知識学会誌, Vol. 21, No.1, pp.94-102, (2011) Christian Decker, "Information propagation in the Bitcoin network", IEEE Thirteenth. International Conference on Peer-to-Peer Computing, pp.1-10, (2013)
しかしながら、従来の技術では、時刻認証を行うための手続きが煩雑であり、さらに費用が高額である傾向があるため、多くの一般のユーザが利用するCGMのコンテンツへの適用は難しかった。この結果、コンテンツ等の著作物に対して時刻認証を実施できない場合があった。
本発明は、このような事情を考慮してなされたものであり、所望の著作物に対して、簡易かつ安価に時刻認証を行うことができる著作物保護支援装置を提供することを目的の一つとする。
本発明の一態様は、通信部と、前記通信部を用いて、時刻認証を要求する旨の情報が付された著作物を取得する取得部と、前記取得部により取得された、時刻認証を要求する旨の情報が付された著作物に基づく情報を、送受信された情報が時刻情報と共に保持される分散型ネットワークに対して発信するように、前記通信部を制御する処理部と、を備える著作物保護支援装置である。
また、本発明の他の態様は、通信部と、時刻認証を要求する旨の情報が付された著作物に基づく情報を、送受信された情報が時刻情報と共に保持される分散型ネットワークに対して発信するように、前記通信部を制御する処理部と、を備える著作物保護支援装置である。
本発明によれば、所望の著作物に対して、簡易かつ安価に時刻認証を行うことができる著作物保護支援装置を提供することができる。
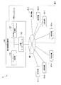
一実施形態における著作物保護支援装置100を含む分散ネットワークシステム1の一例を示す構成図である。 一実施形態における著作物保護支援装置100の構成の一例を示す図である。 一実施形態における著作物保護支援装置100を含む分散ネットワークシステム1の処理の流れの一例を示すシーケンス図である。 著作物の投稿を受け付けるウェブページの一概略例を示す図である。 各CCライセンスの種別に対するCCコードの一例を示す図である。 検証用ハッシュHvに変換可能な著作物データの種類の一例を示す図である。 対分散ネットワーク処理部120のハッシュ化処理部126により行われるハッシュ化処理の様子を示す図である。 所定のフィールドに埋め込むデータの一例を示す図である。 時刻認証の対象となる著作物データの一例を示す図である。 トランザクションに埋め込まれるデータの一例を示す図である。 著作物データが埋め込まれたトランザクションTXをブロードキャストする様子を示す図である。 データ量ごとに著作物の内容を示すデータをハッシュ化する際に要する時間を導出した結果の一例を示す図である。 分散ネットワークに支払う手数料に応じた遅延時間の変化の一例を示す図である。 図13に示す実験結果を得るために用いた手数料の一例を示す図である。 ブロックチェーンに著作物データを格納した後に著作物データを変更した際に行われる時刻認証の場面を概略的に示す図である。 ブロックチェーンを用いて時刻認証を行った著作物の著作権が侵害された場合において、侵害行為の証明を説明するための図である。 一実施形態における著作物保護支援装置100の処理の流れの一例を示すフローチャートである。 端末装置10によって著作物データが埋め込まれたトランザクションTXがブロードキャストされる様子を示す図である。
以下、図面を参照し、本発明の著作物保護支援装置の実施形態について説明する。
図1は、一実施形態における著作物保護支援装置100を含む分散ネットワークシステム1の一例を示す構成図である。分散ネットワークシステム1において、著作物保護支援装置100は、端末装置10−1から10−n、および端末装置20−1から20−kとネットワークNWを介して接続される。ネットワークNWは、LAN(Local Area Network)やWAN(Wide Area Network)等である。上述した装置のうち、端末装置10−1から10−nは、著作物保護支援装置100が提供するウェブサイトにアクセス可能な端末装置である。
また、著作物保護支援装置100と端末装置20−1から20−kとは、P2P(Peer to Peer)等の分散型のネットワークを構築している。なお、端末装置10−1から10−nのうちの一部または全部は、分散型のネットワークを構築する端末であってもよいし、端末装置20−1から20−kのうちの一部または全部は、著作物保護支援装置100が提供するウェブサイトにアクセス可能な端末装置であってよい。
本実施形態において、分散型のネットワークを構築する装置には、「ビットコイン」のクリプトカレンシー(Cryptocurrency)の決済網に参加するためのアプリケーションプログラムがインストールされているものとして説明する。クリプトカレンシーとは、暗号化技術に基づく仮想通貨である。このような装置は、「ビットコイン」のクリプトカレンシーの決済網に参加する場合、ビットコイン用のアプリケーションプログラムを実行し、自身内部のコンピュータリソースの一部を使用して、参加装置の全てにおいて共通のブロックチェーンを保持する。
ブロックチェーンとは、ビットコインの全取引履歴が記録された公共台帳である。ビットコインのブロックチェーンに書き込まれたデータは、偽造、改竄、または削除が困難である特性を有していると共に、偽造、改竄、または削除がされていないことを公的に検証可能な特性を有している。また、ブロックチェーンを構成するブロック(複数のトランザクションにより構成されるもの)、すなわち公共元帳の各ブロックは、ビットコインのクリプトカレンシーの決済網に参加する装置のいずれかによって、一定の時間間隔T(例えば10分程度)ごとに生成される。例えば、最新のブロックは、過去に生成されたブロックが時系列に連なって構成されているチェーンの最後尾に追加される。すなわち、最新のブロックは、過去に生成されたブロックのうち、生成時刻が現在に最も近いブロックの後ろに追加される。
ブロックには、例えば、ブロックの識別子が格納される領域、ブロックの生成間隔Tの間に生じたビットコインの取引件数(トランザクション数)が格納される領域、ブロックの生成時刻が格納される領域、当該ブロックのハッシュ値が格納される領域、前回生成されたブロックのハッシュ値が格納される領域、ブロックのサイズが格納される領域、トランザクションそのものが格納される領域等が含まれる。上述したブロックの識別子は、ブロックチェーンに新しいブロックが追加される度に、1ずつ加算される一連番号である。従って、ブロック内の識別子を参照することにより、「いつ生成されたブロックなのか」、また「どの程度の取引が行われたのか」等の情報を得ることができる。また、ブロックチェーンの最新のブロックのハッシュ値を参照することにより、ブロックチェーンが「改竄されているか否か」を公的に検証することができる。従って、ブロックチェーンに格納されたデータの存在性(Existence)および完全性(Integrity)は守られることになる。
端末装置10−1から10−nおよび端末装置20−1から20−kは、ユーザによって操作される端末であり、例えば、スマートフォンやタブレット端末、パーソナルコンピュータ、業務用コンピュータ等である。以下、端末装置10−1から10−nを特段区別しない場合、単に「端末装置10」と記載し、端末装置20−1から20−kを特段区別しない場合、単に「端末装置20」と記載する。
著作物保護支援装置100は、ブロックチェーンを含むビットコインの流通インフラストラクチャーを利用して、CGM(Consumer Generated Media)ウェブサイトに投稿される著作物(ディジタルコンテンツ)の時刻認証を行う。CGMウェブサイトとは、例えば、動画共有サイトやイラスト投稿SNS(Social Networking Service)等の情報共有を目的としたウェブサイトである。
著作物保護支援装置100は、通信インターフェース102と、ウェブサイト提供部110と、対分散ネットワーク処理部120とを備える。通信インターフェース102は、ネットワークNWに接続するための通信インターフェースであり、例えば、ネットワークカード等を含む。ウェブサイト提供部110は、集中型のネットワークに接続される端末装置10に対して、所定のCGMウェブサイトを提供する。また、対分散ネットワーク処理部120は、CGMウェブサイトに投稿されたコンテンツの著作物に時刻認証を行うために、当該著作物を上述したブロックチェーンに追加される最新のブロックを生成する際に用いるトランザクションに格納する。
以下、著作物保護支援装置100の具体的な構成について説明する。
図2は、一実施形態における著作物保護支援装置100の構成の一例を示す図である。著作物保護支援装置100は、上述した通信インターフェース102、ウェブサイト提供部110、および対分散ネットワーク処理部120と、記憶部140とを備える。対分散ネットワーク処理部120は、通信制御部122と、符号化処理部124と、ハッシュ化処理部126と、格納処理部128とを備える。なお、通信インターフェース102は、「通信部」の一例であり、通信インターフェース102および通信制御部122は、「取得部」の一例である。また、対分散ネットワーク処理部120は、「処理部」の一例である。
ウェブサイト提供部110および対分散ネットワーク処理部120は、例えば、CPU(Central Processing Unit)等のプロセッサが記憶部140に記憶されたプログラムを実行することにより機能するソフトウェア機能部である。また、ウェブサイト提供部110および対分散ネットワーク処理部120のうち一部または全部は、LSI(Large Scale Integration)、ASIC(Application Specific Integrated Circuit)等のハードウェアを含んでもよい。
記憶部140は、例えば、ROM(Read Only Memory)、フラッシュメモリ、HDD(Hard Disk Drive)等の不揮発性の記憶媒体と、RAM(Random Access Memory)、レジスタ等の揮発性の記憶媒体とを有する。記憶部140に記憶される情報は、プロセッサが実行するプログラムの他、後述するビットコイン用アプリケーションプログラム、CGMウェブサイトを表示させるテキスト文書(画像、音声、映像データ等を含む)、各種ラジオボタンの状態を示す情報、CCコードおよびCCライセンス、アカウントID、著作物のタイトル、著作物データ、検証用ハッシュHv、検索用ハッシュHs、ブロックチェーン(複数のトランザクションから構成されるもの)等の情報を含む。
以下、図3に示すシーケンス図を参照して著作物保護支援装置100における機能部の説明を行う。図3は、一実施形態における著作物保護支援装置100を含む分散ネットワークシステム1の処理の流れの一例を示すシーケンス図である。
著作物保護支援装置100の通信制御部122は、記憶部140に予め記憶させておいたビットコイン用のアプリケーションプログラムを実行し、分散ネットワーク内の端末装置20と同期を行うように通信インターフェースを制御する(ステップS100)。通信制御部122は、同期した端末装置20内の図示しない記憶部からブロックチェーンを取得するように通信インターフェースを制御する(ステップS102)。次に、通信制御部122は、通信インターフェースに取得させたブロックチェーンを記憶部140に記憶させる(ステップS104)。なお、通信制御部122は、端末装置20に同期させる前の段階で、既にブロックチェーンが記憶部140に記憶されている場合、端末装置20が記憶するブロックチェーンと記憶部140に記憶されているブロックチェーンとの差分を示すブロックを導出し、導出したブロックのみを更新するようにしてもよい。上述した処理を行うことで、著作物保護支援装置100は、ビットコインの流通インフラストラクチャーの構成要素の一つであるブロックチェーンを利用することが可能な状態に移行する。
一方、端末装置10を操作するユーザは、自身が創作した著作物を著作物保護支援装置100が提供するCGMウェブサイトに投稿して、不特定多数の人と共有することを所望する場合がある。著作物とは、小説等の文書(テキストデータ)、写真等の画像データ、音楽等の音声データ、または映画等の映像データ等である。このような場合、著作物を創作したユーザは、端末装置10を操作して、著作物保護支援装置100が提供するCGMウェブサイトにアクセスする。より具体的には、ユーザは、端末装置10において所定のウェブブラウザを立ち上げ、上述したCGMウェブサイトのアドレスのURL(Uniform Resource Locator)を、マウスやキーボード等のユーザインターフェースを用いて入力する。ウェブブラウザ上でURLが入力された端末装置10は、当該URLが示すウェブサーバ(本実施形態では著作物保護支援装置100)に、アクセス要求を送信する(ステップS106)。
ウェブサイト提供部110は、端末装置10からアクセス要求が送信された場合、送信元の端末装置10の端末IDを取得し、取得した端末IDを記憶部140に記憶させる(ステップS108)。ウェブサイト提供部110は、記憶部140に記憶させた端末IDによって示される端末装置10に対して、著作物の投稿を受け付けるウェブページをウェブブラウザ上で表示させるためのテキスト文書等を送信する(ステップS110)。テキスト文書は、例えば、HTML(HyperText Markup Language)等のマークアップ言語で記述された文書である。
端末装置10は、ウェブサイト提供部110から送信されたテキスト文書等を受信し、受信したテキスト文書に基づいて、ウェブブラウザ上において著作物の投稿を受け付けるウェブページを表示する(ステップS112)。
図4は、著作物の投稿を受け付けるウェブページの一概略例を示す図である。当該ウェブページでは、著作物の投稿を選択させるための投稿ボタンB1と、投稿に対する利用規約に同意するか否かを選択させるラジオボタンB2と、投稿する著作物に対して時刻認証を行うか否かを選択させるラジオボタンB3と、投稿した著作物の利用条件を1つ選択させるラジオボタン群B4とが表示される。利用条件とは、投稿した著作物が他者に使用する際に制限を設ける条件である。利用条件は、例えば、CC(Creative Commons)ライセンスによって表される。
本実施形態におけるCCライセンスは、例えば、BY、BY−SA、BY−ND、BY−NC、BY−NC−SA、およびBY−NC−NDの6種類に分類される。BYは、著作権者の表示を要する条件であり、BY−SAは、著作権者の表示を要求し、投稿した著作物に改変、変形、または加工を行って創作した著作物に対して、元となる著作物の著作権を継承させた上で頒布を認める条件である。また、BY−NDは、著作権者の表示を要求し、投稿した著作物を複製、頒布、展示、実演を行うにあたり、いかなる改変も禁止する条件であり、BY−NCは、著作権者の表示を要求し、投稿した著作物に対する複製、頒布、展示、実演を非営利目的での利用に限定する条件である。BY−NC−SAは、著作権者の表示を要求し、投稿した著作物に対する複製、頒布、展示、実演を非営利目的での利用に限定し、元となる著作物の著作権を継承させた上で頒布を認める条件である。BY−NC−NDは、著作権者の表示を要求し、投稿した著作物に対する複製、頒布、展示、実演を非営利目的での利用に限定し、投稿した著作物を複製、頒布、展示、実演を行うにあたり、いかなる改変も禁止する条件である。
なお、図4に示すようなウェブページにおいて、ラジオボタンB2の初期状態は、投稿に対する利用規約に同意しないことを示す状態に設定されており、また、ラジオボタンB3の初期状態は、投稿する著作物に対して時刻認証を行わないことを示す状態に設定されている。また、ラジオボタン群B4の初期状態は、いずれかの利用条件も選択されていない状態に設定されている。
ユーザは、著作物をCGMウェブサイトに投稿する場合、端末装置10を操作し、投稿ボタンB1をウェブブラウザ上で押下する。この結果、端末装置10は、例えば、OS(Operating System)のファイルシステムを立ち上げ、自装置内の記憶部(不図示)に記憶された著作物の電子データ(以下、「著作物データ」と称する)から投稿を行うデータをユーザに選択させる。端末装置10は、投稿を行う著作物データが選択された状態で、ラジオボタンB2が利用規約に同意することを示す状態に選択されている場合、すなわちユーザの確定操作が行われたときに、著作物データを著作物保護支援装置100に送信する(ステップS114)。この結果、端末装置10は、著作物データをアップロードする。
著作物データには、著作物の内容を電子化(バイナリ変換)したデータと、著作物のタイトルと、各種ラジオボタンの状態を示す情報と、CGMウェブサイトを利用するユーザのアカウントIDとが含まれる。著作物データが送信される段階において、ラジオボタンB3の状態は、時刻認証を行うことを示す状態である場合も存在し、時刻認証を行わないことを示す状態(初期状態)である場合も存在する。また、ラジオボタン群B4の状態は、初期状態である場合も存在し、6種類の条件のうちいずれか1つが選択されている状態である場合も存在する。端末装置10は、これらの各種ラジオボタンの状態に基づく要求情報とユーザのアカウントIDを示す情報とを、著作物データと共に著作物保護支援装置100に送信する。
ウェブサイト提供部110は、端末装置10から送信された著作物データを記憶部140に記憶させ、当該著作物データを埋め込んだウェブページを表示させるためのテキスト文書等を生成する(ステップS116)。これによって、著作物保護支援装置100は、ネットワークNWを介して、アップロード(投稿)された著作物データを埋め込んだウェブページを不特定多数の端末装置10に対して表示させることができる。この結果、ユーザが投稿した著作物は、著作物保護支援装置100が管理するウェブサイト上で共有される。
対分散ネットワーク処理部120は、端末装置10から著作物データがアップロードされる際に、同時に時刻認証を求める要求情報が送信されているか否かを判定する(ステップS118)。そして、対分散ネットワーク処理部120は、時刻認証を求める要求情報が送信されている場合、アップロードされた電子データに対して時刻認証処理を実施する。
以下、対分散ネットワーク処理部120による時刻認証処理を説明する。
符号化処理部124は、受信した要求情報に基づいて、ユーザにより選択されたCCライセンスを抽出し、抽出したCCライセンスを2進数のコードに変換(符号化)する。以下、CCライセンスをコード化したものを、「CCコード」と記載する。なお、符号化処理部124において、CCライセンスをCCコードに変換する際に参照される符号化のプロトコル(手順)は、実施形態によって適宜変更される場合がある。そのため、本実施形態では、過去に参照された符号化のプロトコルと、現在に参照される符号化のプロトコルとを区別するため、符号化のプロトコルには、更新の度に変更されるバージョン番号(2進数)が付与されるものとする。
図5は、各CCライセンスの種別に対するCCコードの一例を示す図である。符号化処理部124は、例えば、ラジオボタン群B4の状態からCCライセンスを抽出した後、図5に示すCCライセンスとCCコードとの対応テーブルを参照して、コード化を行う。
ハッシュ化処理部126は、著作物データに含まれる著作物の内容を示すデータに対して、不可逆的な一方向の関数としてハッシュ関数を用いて、固定長のハッシュ値を生成する。ハッシュ化処理部126は、例えば、暗号学的ハッシュ関数の一つであるRIPEMD−160を用いて、著作物の内容データをハッシュ値に変換する。以下、著作物の内容データがハッシュ値に変換されたものを、「検証用ハッシュHv」と記載する。なお、ハッシュ化処理部126は、RIPEMD−160に代えて、SHA−256等のアルゴリズムを用いてデータをハッシュ値に変換してもよい。
図6は、検証用ハッシュHvに変換可能な著作物データの種類の一例を示す図である。図6に示すように、ハッシュ化処理部126は、例えば、拡張子が「txt、doc、ppt、xls、pdf」等のテキストデータを検証用ハッシュHvに変換することができる。また、同様に、ハッシュ化処理部126は、拡張子が「bmp、png、jpg、gif」等の画像データや、拡張子が「mp3、wma、wav」等の音声データ、拡張子が「avi、mp4」等の映像データ等を検証用ハッシュHvに変換することができる。
また、ハッシュ化処理部126は、著作物データに含まれる著作物のタイトルと、端末装置10に対してウェブサイト提供部110により提供されたCGMウェブサイトのIDと、当該CGMウェブサイト利用するユーザのアカウントIDとを組み合わせ、組み合わせた情報を、RIPEMD−160を用いてハッシュ値に変換する。以下、著作物のタイトル、CGMウェブサイトのID、およびアカウントIDを組み合わせた情報がハッシュ値に変換されたものを、「検索用ハッシュHs」と記載する。
図7は、対分散ネットワーク処理部120のハッシュ化処理部126により行われるハッシュ化処理の様子を示す図である。図7の例では、ハッシュ化処理部126は、RIPEMD−160を用いて、検索用ハッシュHsと検証用ハッシュHvとを生成する。
格納処理部128は、著作物データに対して時刻認証を行うために、著作物データを上述したトランザクションに格納する(ステップS120)。具体的には、格納処理部128は、符号化処理部124により符号化されたCCコードと、符号化処理部124により参照される符号化のプロトコルのバージョン番号と、ハッシュ化処理部126により変換された検証用ハッシュHvと、ハッシュ化処理部126により変換された検索用ハッシュHsと、識別子とを、トランザクション内の所定のフィールドに埋め込む。識別子とは、トランザクションに格納する全データの冒頭に追加される情報である。例えば、格納処理部128は、ブロックチェーンに格納した著作物データを容易に検索できるように識別子を所定のフィールドに埋め込む。これによって、著作物保護支援装置100は、ブロックチェーンから抽出したブロック内から、著作物データが埋め込まれたトランザクションを容易に抽出することができる。また、所定のフィールドとは、ビットコインの出金額や、送金先にビットコインを送信する際に必要になる送金先の公開鍵のハッシュ値等が埋め込まれる場所(例えば“scriptPubKey”)である。
なお、格納処理部128は、所定のフィールドに埋め込むデータ量に制限が設けられている場合、検証用ハッシュHvおよび検索用ハッシュHsにおける一部のデータを埋め込むようにしてもよい。例えば、所定のフィールドに埋め込むデータ量が40バイトに制限されている場合、格納処理部128は、検証用ハッシュHvの冒頭から20バイトのデータと、検索用ハッシュHsの冒頭から10バイトのデータとを埋め込むようにすると好適である。
図8は、所定のフィールドに埋め込むデータの一例を示す図である。図8の例の場合、所定のフィールドには40バイトの容量制限が設けられている。従って、著作物保護支援装置100は、埋め込むデータ量が40バイト以内になるように、例えば、識別子を5バイト、バージョン番号を1バイト、CCコードを1バイト、検索用ハッシュHsを10バイト、検証用ハッシュHvを20バイトとする。なお、著作物保護支援装置100は、図8に示す拡張ビット(3バイト)のような領域を設け、埋め込むデータ容量に余裕を持たせてもよい。
図9は、時刻認証の対象となる著作物データの一例を示す図である。図9に示す著作物データは、テキストデータである。また、当該テキストデータには、BY−NC−NDのCCライセンスを示す情報が付与されている。図10は、トランザクションに埋め込まれるデータの一例を示す図である。図10に示すデータは、図9に示す著作物データを元に生成したデータである。図10に示すように、トランザクションには、10進数の数値、あるいはアルファベット等で構成される40バイトのデータが埋め込まれる。
通信制御部122は、トランザクション内の所定のフィールドに対して、変換された著作物データが格納処理部128によって埋め込まれた場合、著作物データが埋め込まれたトランザクションを、端末装置20の全ての装置に送信する。すなわち、通信制御部122は、著作物データが埋め込まれたトランザクションをブロードキャストする(ステップS122)。
図11は、著作物データが埋め込まれたトランザクションTXをブロードキャストする様子を示す図である。図11に示すように、トランザクションTXが分散ネットワーク内にブロードキャストされた後、分散ネットワーク内の端末装置20のうちいずれかの装置は、直近のブロックの生成時刻から現ブロックの生成を開始する時刻までの間に蓄積したトランザクションTXをまとめて1つのブロックに生成する。これによって、分散ネットワーク内の端末装置20が記憶するブロックチェーンが更新される。なお、トランザクションTXからブロックを生成する処理に時間を要するため、ブロックチェーンの更新には、ある程度(例えば10分程度)の遅延が生じる。すなわち、著作物保護支援装置100は、ユーザから時刻認証の要求を受けてから、時刻認証が完了するまで遅延時間を要する。
従って、本願の出願人は、以下の実験を行い、ブロックチェーンの更新に要する時間を導出した。実験では、Ubuntu14.04LTSのOSを使用し、Node.jsというプラットフォームと、ビットコインのクライアント(ビットコイン;Corev0.9.3.0)とを用いて実験を行った。サーバーサイドの言語は、Javascript(登録商標)を使用し、フロントエンドの言語は、Jadeを使用した。
図12は、データ量ごとに著作物の内容を示すデータをハッシュ化する際に要する時間を導出した結果の一例を示す図である。図12の例では、11個の異なるサイズの映像データを利用し、各映像データのハッシュ化が完了するまでの時間を示している。いずれのデータも、1分以内にハッシュ化処理が完了している。
図13は、分散ネットワークに支払う手数料に応じた遅延時間の変化の一例を示す図である。また、図14は、図13に示す実験結果を得るために用いた手数料の一例を示す図である。ビットコインのブロックチェーンの更新タイミングは、ビットコイン用のアプリケーションプログラムを実行して分散ネットワークに支払われる手数料に応じて決められる。例えば、手数料が多額である場合、トランザクションをブロックにする処理を端末装置20に速く実施してもらえる。すなわち、ブロックチェーンの更新時に生じる遅延時間が短くなる。
図13の例では、手数料の金額に対する遅延時間の影響は少なく、ビットコインのプロトコルに決められた最低金額の手数料0.00001BTC(0.38円相当)であっても、平均遅延は12分程度であった。従って、現行著作権登録制度において,登録の所要費用は1件につき3000円以上,所要時間は通常6ヶ月となっていることから、本実験からビットコインのブロックチェーンを用いて時刻認証を行うことは、社会的効率向上とコスト削減に繋がることが示唆される。
図15は、ブロックチェーンに著作物データを格納した後に著作物データを変更した際に行われる時刻認証の場面を概略的に示す図である。図15の例の場合、ユーザが時刻Aの時点で創作したコンテンツ(著作物)を、時刻Bにおいて端末装置10を操作してCGMウェブサイトに投稿すると共に、CCライセンスを選択した場合、著作物保護支援装置100は、時刻Bにおいて投稿されたコンテンツ(著作物)をトランザクションに埋め込み、ブロックチェーン上に格納させる。これによって、ブロックチェーン上に格納されたコンテンツ(著作物)には、時刻情報が付与されることになる。
ユーザは、例えば、時刻Cの時点で、ブロックチェーン上に格納されたコンテンツ(著作物)のCCライセンスを変更した場合、著作物保護支援装置100は、CCライセンスが変更されたことを示すために、CCライセンスを変更したデータを、時刻B時点でトランザクションに埋め込んだデータとは異なるデータとして新たにトランザクションに埋め込み、新しいブロックを端末装置20に生成させる。これによって、著作物保護支援装置100は、ブロックチェーン上には、時刻B時点に時刻認証を依頼された著作物データと、時刻C時点に時刻認証を依頼された著作物データとを格納させることができる。これによって、ユーザは、CCライセンスの変更前後で、著作物に対して時刻認証を行うことができる。
図16は、ブロックチェーンを用いて時刻認証を行った著作物の著作権が侵害された場合において、侵害行為の証明を説明するための図である。図16の例では、時刻T1において、ユーザAは、創作した著作物Cを、著作物保護支援装置100から提供されるCGMウェブサイトに投稿する。このとき、ユーザAは、複製を許可しない旨(All rights reserved)のCCライセンスを選択する。時刻T2において、ユーザBは、ユーザAにより投稿された著作物Cを元に改変した著作物C’を当該CGMウェブサイトに投稿する。
時刻T3において,ユーザAは、時刻T1において投稿した著作物Cを改変した著作物Cを、BY−NCライセンス設定で投稿するともに著作物Cの投稿を削除する。時刻T4において、ユーザAは、ユーザBの侵害行為を発見し、侵害行為が行われているウェブページのテキスト文書(HTMLデータ)を、CGMウェブサイトに投稿する。著作物保護支援装置100は、侵害行為が行われているウェブページのテキスト文書データに対してハッシュ化を行い、トランザクションに埋め込む。著作物保護支援装置100は、侵害行為が行われているウェブページのテキスト文書データが埋め込まれたトランザクションをブロードキャストする。この結果、分散ネットワーク上のブロックチェーンに侵害行為が行われているウェブページのテキスト文書データが格納される。すなわち、著作物保護支援装置100は、侵害行為が行われているウェブページのテキスト文書データに対して、時刻認証を行う。
その後、ユーザAは、ユーザBに侵害行為の停止を要求する。これに対して、ユーザBは、ユーザAの要求を拒否する。従って、ユーザAは、ユーザBを損害賠償の訴訟に持ち込む。このような場合、ユーザBは、著作物C’の投稿を削除し、侵害行為を否認する可能性がある。そこで、ユーザAは、時刻認証を行った証拠、すなわちブロックチェーン上に格納されているウェブページのテキスト文書データを裁判所に提出し、ユーザBが時刻T4において侵害行為を行ったと訴える。
このような場合、ユーザBは、ユーザAが最初に投稿した著作物Cの投稿を削除したということに付け込み、投稿した著作物C’を自分が創作したオリジナルの著作物だと弁解する可能性がある。しかしながら、著作物Cの投稿先は著作物保護支援装置100が提供するCGMウェブサイトであることから、ユーザAは容易に著作物Cが確かに時刻T1に存在していたことを証明することができる。このような場合、さらにユーザBは、現存する著作物CがBY−NCライセンスであることに付け込み、著作物Cも同じCCライセンスであると主張し、著作物Cの改変は許されるものであると弁解する可能性がある。
しかしながら、ユーザAは、ブロックチェーンを使用して、容易に時刻T1から時刻T3までの期間において、確かに著作物Cは、「All rights reserved」に設定されていたことを証明することができる。このような場合であっても、ユーザBは、さらに著作物C’が時刻T3以降に制作されたものだと弁解する可能性がある。しかしながら、著作物C’を著作物保護支援装置100が提供するCGMウェブサイトに投稿し、著作物C’に対して時刻認証を行っていることから、ユーザAは、容易に著作物C’が確かに時刻T2時点で存在していたことを証明することができる。この結果、ユーザBは、弁解の余地がなくなり、ユーザAは、侵害行為の停止要求をユーザBに受け入れさせることができる。
図17は、一実施形態における著作物保護支援装置100の処理の流れの一例を示すフローチャートである。著作物保護支援装置100は、例えば、所定周期で、本フローチャートの処理を実行する。
まず、通信制御部122は、記憶部140に予め記憶させておいたビットコイン用のアプリケーションプログラムを実行する(ステップS200)。次に、通信制御部122は、分散ネットワーク内の端末装置20と同期を行うように通信インターフェースを制御する(ステップS202)。次に、ウェブサイト提供部110は、端末装置10からアクセス要求を受信したか否かを判定する(ステップS204)。次に、著作物保護支援装置100は、端末装置10からアクセス要求を受信していない場合(ステップS204;No)、ステップS200の処理に戻る。
ウェブサイト提供部110は、端末装置10からアクセス要求を受信した場合(ステップS204;Yes)、端末装置10から端末IDを取得し(ステップS206)、取得した端末IDを記憶部140に記憶させる。次に、ウェブサイト提供部110は、記憶部140に記憶させた端末IDによって示される端末装置10に対して、著作物の投稿を受け付けるウェブページをウェブブラウザ上で表示させるためのテキスト文書等を送信する(ステップS208)。
次に、著作物保護支援装置100は、ユーザの確定操作が行われた端末装置10から著作物データを受信したか否かを判定する(ステップS210)。著作物保護支援装置100は、端末装置10から著作物データを受信しない場合(ステップS210;No)、本フローチャートの処理を終了する。ウェブサイト提供部110は、端末装置10から著作物データを受信した場合(ステップS210;Yes)、著作物データを記憶部140に記憶させると共に、当該著作物データと共に端末装置10から送信された各種ラジオボタンの状態に基づく要求情報とユーザのアカウントIDを示す情報とを記憶部140に記憶させる(ステップS212)。
次に、著作物保護支援装置100は、記憶部140に記憶させた著作物データを埋め込んだウェブページを表示させるためのテキスト文書等を生成する(ステップS214)。次に、対分散ネットワーク処理部120は、端末装置10から著作物データがアップロードされる際に、同時に時刻認証を求める要求情報が受信したか否かを判定する(ステップS216)。著作物保護支援装置100は、端末装置10から時刻認証を求める要求情報が受信していない場合(ステップS216;No)、本フローチャートの処理を終了する。
符号化処理部124は、端末装置10から時刻認証を求める要求情報が受信した場合(ステップS216;Yes)、受信した要求情報に基づいて、ユーザにより選択されたCCライセンスを抽出し、抽出したCCライセンスをCCコードに変換する(ステップS218)。次に、ハッシュ化処理部126は、著作物データに含まれる著作物の内容データに対してハッシュ化を行い、検証用ハッシュHvを生成する(ステップS220)。
次に、ハッシュ化処理部126は、著作物のタイトルと、CGMウェブサイトのIDと、ユーザのアカウントIDとを組み合わせ、組み合わせた情報に対してハッシュ化を行い、検索用ハッシュHsを生成する(ステップS222)。次に、格納処理部128は、符号化処理部124により符号化されたCCコードと、符号化処理部124により参照される符号化のプロトコルのバージョン番号と、ハッシュ化処理部126により変換された検証用ハッシュHvと、ハッシュ化処理部126により変換された検索用ハッシュHsと、識別子とを、トランザクション内の所定のフィールドに埋め込む(ステップS224)。
次に、通信制御部122は、著作物データが埋め込まれたトランザクションをブロードキャストする(ステップS226)。これによって本フローチャートの処理が終了する。
以上、一実施形態における著作物保護支援装置100によれば、通信インターフェースを用いて、時刻認証の要求情報が付された著作物データを取得し、時刻認証の要求情報が付された著作物データに基づく情報を、ブロックチューンを共有する分散ネットワークに対して発信するように、通信インターフェースを制御することにより、所望の著作物に対して、簡易かつ安価に時刻認証を行うことができる。
また、一実施形態における著作物保護支援装置100によれば、CCライセンスの要求情報が付された著作物データを取得することにより、CGMウェブサイトを利用するユーザの著作権帰属の証明および侵害の証拠保全、さらにCCライセンスの証拠能力向上を行うことができる。
なお、上述した端末装置10または端末装置20は、著作物保護支援装置100の対分散ネットワーク処理部120に相当する機能を有していてもよい。図18は、端末装置10によって著作物データが埋め込まれたトランザクションTXがブロードキャストされる様子を示す図である。例えば、端末装置10または端末装置20は、自身内部に記憶された著作物データをブロックチェーンのフォーマットに格納するために、当該著作物データに対してハッシュ化および符号化の対分散ネットワーク処理を行い、対分散ネットワーク処理を実施したデータをトランザクションTXに埋め込み、当該トランザクションTXを分散ネットワークに送信する。これによって、例えば、ユーザが、CGMウェブサイトに著作物を投稿する前に、予め投稿対象の著作物データに時刻認証をしておきたい場合、端末装置10または端末装置20は、著作物データに基づく情報をトランザクションTXに埋め込みことで、ブロックチェーン上に著作物を示すデータを格納する、この結果、端末装置10または端末装置20は、著作物に対して時刻認証を行うことができる。
以上、本発明を実施するための形態について実施形態を用いて説明したが、本発明はこうした実施形態に何等限定されるものではなく、本発明の要旨を逸脱しない範囲内において種々の変形及び置換を加えることができる。
1‥分散ネットワークシステム、10、20…端末装置、100…著作物保護支援装置、102…通信インターフェース、110…ウェブサイト提供部、120…対分散ネットワーク処理部

Claims (6)

  1. 通信部と、
    前記通信部を用いて、時刻認証を要求する旨の情報が付された著作物を取得する取得部と、
    前記取得部により取得された、時刻認証を要求する旨の情報が付された著作物に基づく情報を、送受信された情報が時刻情報と共に保持される分散型ネットワークに対して発信するように、前記通信部を制御する処理部と、
    を備える著作物保護支援装置。
  2. 利用者の端末装置に、著作物の投稿を受け付けるウェブサイトを提供する提供部を備え、
    前記取得部は、前記ウェブサイトに対する前記利用者の操作に基づいて前記時刻認証を要求する旨の情報が付与された、前記投稿される著作物を取得する、
    請求項1記載の著作物保護支援装置。
  3. 前記分散型ネットワークは、所定のフォーマットを有する情報を送受信するネットワークであり、
    前記処理部は、前記取得部により取得された、前記時刻認証を要求する旨の情報が付された著作物を前記所定のフォーマットに合致する形式に変換し、前記変換した情報を含む情報を、前記分散型ネットワークに対して発信するように、前記通信部を制御する、
    請求項1または2記載の著作物保護支援装置。
  4. 前記分散型ネットワークは、クリプトカレンシーによる決済ネットワークであり、
    前記処理部は、疑似的な取引データに、前記時刻認証を要求する旨の情報が付された著作物を変換した情報を埋め込み、前記分散型ネットワークに対して発信するように、前記通信部を制御する、
    請求項3記載の著作物保護支援装置。
  5. 前記処理部は、前記時刻認証を要求する旨の情報が付された少なくとも著作物、または前記著作物および関連情報を、不可逆性の符号化処理を含む変換処理によって前記所定のフォーマットに合致する形式に変換する、
    請求項3または4記載の著作物保護支援装置。
  6. 前記処理部は、前記時刻認証を要求する旨の情報が付された少なくとも著作物の発信元の識別情報、または前記著作物および関連情報の発信元の識別情報を含む情報を、不可逆性の符号化処理によって前記所定のフォーマットに合致する形式に変換し、前記変換した情報を、前記時刻認証を要求する旨の情報が付された著作物に基づく情報と共に前記分散型ネットワークに対して発信するように、前記通信部を制御する、
    請求項3から5のうちいずれか1項記載の著作物保護支援装置。
JP2015089317A 2015-04-24 2015-04-24 著作物保護支援装置 Expired - Fee Related JP6571375B2 (ja)

Priority Applications (1)

Application Number Priority Date Filing Date Title
JP2015089317A JP6571375B2 (ja) 2015-04-24 2015-04-24 著作物保護支援装置

Applications Claiming Priority (1)

Application Number Priority Date Filing Date Title
JP2015089317A JP6571375B2 (ja) 2015-04-24 2015-04-24 著作物保護支援装置

Publications (2)

Publication Number Publication Date
JP2016208347A JP2016208347A (ja) 2016-12-08
JP6571375B2 true JP6571375B2 (ja) 2019-09-04

Family

ID=57490536

Family Applications (1)

Application Number Title Priority Date Filing Date
JP2015089317A Expired - Fee Related JP6571375B2 (ja) 2015-04-24 2015-04-24 著作物保護支援装置

Country Status (1)

Country Link
JP (1) JP6571375B2 (ja)

Families Citing this family (21)

* Cited by examiner, † Cited by third party
Publication number Priority date Publication date Assignee Title
KR101678795B1 (ko) * 2015-11-30 2016-11-22 전삼구 블록체인 인증을 이용하는 IoT 기반 사물 관리 시스템 및 방법
JP7254701B2 (ja) * 2017-01-31 2023-04-10 エヌチェーン ライセンシング アーゲー ブロックチェーン上に格納されたユーザ関連データを生成し及び抽出するコンピュータにより実装されるシステム及び方法
CN107040582B (zh) 2017-02-17 2020-08-14 创新先进技术有限公司 一种数据处理方法及装置
JP6341491B1 (ja) * 2017-02-21 2018-06-13 株式会社三菱Ufj銀行 信号処理方法、および信号処理プログラム
JPWO2018172906A1 (ja) * 2017-03-18 2020-01-23 エコエコドライブ株式会社 行動管理方法、行動管理装置、並びに決済補助コンピュータ
CN113282659B (zh) 2017-03-28 2024-08-20 创新先进技术有限公司 一种基于区块链的数据处理方法及设备
JP6913213B2 (ja) * 2017-03-31 2021-08-04 三菱重工業株式会社 人工知能構築装置、情報提供システム、人工知能構築方法及びプログラム
JP6718405B2 (ja) * 2017-03-31 2020-07-08 三菱重工業株式会社 情報提供装置、情報提供システム、情報提供方法及びプログラム
CN110612529A (zh) * 2017-05-16 2019-12-24 索尼公司 信息处理装置和信息处理方法
US10877962B2 (en) * 2017-08-11 2020-12-29 International Business Machines Corporation Deferred update of database hashcode in blockchain
JP6389558B1 (ja) * 2017-10-19 2018-09-12 アビームコンサルティング株式会社 コンテンツデータ管理システム、サーバ装置、制御方法及び制御プログラム
JP6326173B1 (ja) * 2017-10-31 2018-05-16 株式会社インフォマート データ送受信システム及びデータ送受信方法
WO2020008532A1 (ja) * 2018-07-03 2020-01-09 アソビモ株式会社 ブロックチェーンテクノロジーを活用したディジタルコンテンツ二次流通システム
CN112470155A (zh) 2018-10-22 2021-03-09 松下电器(美国)知识产权公司 控制方法、内容管理系统、程序及数据结构
JP7393343B2 (ja) 2018-10-22 2023-12-06 パナソニック インテレクチュアル プロパティ コーポレーション オブ アメリカ 制御方法、コンテンツ管理システム、及び、プログラム
WO2020152760A1 (ja) * 2019-01-21 2020-07-30 株式会社tsumug 許可制御システム
JP6776396B2 (ja) * 2019-04-17 2020-10-28 Gmoシステムトレード株式会社 取引システム
US12002158B2 (en) 2019-08-21 2024-06-04 Sony Group Corporation Information processing apparatus, information processing method and information processing system
JP6831601B2 (ja) * 2019-09-26 2021-02-17 株式会社ジーニアスノート 情報管理方法及び装置
JP7040648B1 (ja) 2021-01-07 2022-03-23 トヨタ自動車株式会社 データ管理装置およびデータ管理方法
US20240330948A1 (en) * 2021-12-23 2024-10-03 Fujitsu Technology Solutions Gmbh Methods and systems that register a digital medium and verify a registration of a digital medium

Family Cites Families (5)

* Cited by examiner, † Cited by third party
Publication number Priority date Publication date Assignee Title
JP4668099B2 (ja) * 2006-03-15 2011-04-13 日本電信電話株式会社 トランザクション認証方法、ファイル送受信システム、クライアント装置、サーバ装置、および記録媒体
JP5200392B2 (ja) * 2007-02-28 2013-06-05 ヤマハ株式会社 コンテンツ提供サーバ及びそのプログラム
US20080274687A1 (en) * 2007-05-02 2008-11-06 Roberts Dale T Dynamic mixed media package
JP2009205197A (ja) * 2008-02-26 2009-09-10 Nippon Telegr & Teleph Corp <Ntt> Cgm配信システムおよびcgm配信方法
US20130166391A1 (en) * 2011-12-27 2013-06-27 Anthony T. BLOW Crowd-determined file uploading methods, devices, and systems

Also Published As

Publication number Publication date
JP2016208347A (ja) 2016-12-08

Similar Documents

Publication Publication Date Title
JP6571375B2 (ja) 著作物保護支援装置
US12346416B2 (en) Method and system for verifying integrity of a digital asset using a distributed hash table and a peer to-peer distributed ledger
US12248539B2 (en) Method and system for securing computer software using a distributed hash table and a blockchain
TWI810411B (zh) 用以允許對儲存於區塊鏈上之資料的存取之電腦實施系統及方法
JP6601624B2 (ja) コンテンツ流通システム、コンテンツ流通方法、コンテンツ生成装置及びコンテンツ生成プログラム
JP6608256B2 (ja) 電子データの存在証明プログラムおよび存在証明サーバ
JP6601623B2 (ja) コンテンツ流通システム、コンテンツ流通方法、コンテンツ生成装置及びコンテンツ生成プログラム
CN109978688A (zh) 分布式共识系统之访问控制方法及其契约产生器与服务器
JP6275302B2 (ja) 存在証明装置、存在証明方法、及びそのためのプログラム
JP6495346B2 (ja) 情報処理システム
Gao et al. A decentralized trusted timestamping based on blockchains
CN112685795A (zh) 数字存证创建方法、数字存证验证方法和数字存证系统
KR102666241B1 (ko) 하이브리드 스마트 컨트랙트를 이용한 디지털 저작물 및 저작권 관리 시스템 및 방법
CN101945010B (zh) 业务许可的处理方法、设备和系统
CN120145335B (zh) 一种基于区块链技术的数字化版权管理系统
Zainuddin et al. Design a Document Verification System Based on Blockchain Technology
CN115499845A (zh) 一种基于nfc的身份识别方法和装置
US12505180B2 (en) Method and system for verifying ownership of a digital asset using a distributed hash table and a peer-to-peer distributed ledger
Zainuddin et al. Design a Document Verification System Based
JP2010034783A (ja) タイムスタンプ圧縮装置、検証装置、要求装置、サーバ、制御方法、プログラム、及び記憶媒体
Gao et al. Intellectual property protection using decentralized trusted timestamping based on the blockchain

Legal Events

Date Code Title Description
A80 Written request to apply exceptions to lack of novelty of invention

Free format text: JAPANESE INTERMEDIATE CODE: A80

Effective date: 20150522

A621 Written request for application examination

Free format text: JAPANESE INTERMEDIATE CODE: A621

Effective date: 20180412

A131 Notification of reasons for refusal

Free format text: JAPANESE INTERMEDIATE CODE: A131

Effective date: 20190604

A521 Request for written amendment filed

Free format text: JAPANESE INTERMEDIATE CODE: A523

Effective date: 20190717

TRDD Decision of grant or rejection written
A01 Written decision to grant a patent or to grant a registration (utility model)

Free format text: JAPANESE INTERMEDIATE CODE: A01

Effective date: 20190730

A61 First payment of annual fees (during grant procedure)

Free format text: JAPANESE INTERMEDIATE CODE: A61

Effective date: 20190808

R150 Certificate of patent or registration of utility model

Ref document number: 6571375

Country of ref document: JP

Free format text: JAPANESE INTERMEDIATE CODE: R150

R250 Receipt of annual fees

Free format text: JAPANESE INTERMEDIATE CODE: R250

R250 Receipt of annual fees

Free format text: JAPANESE INTERMEDIATE CODE: R250

LAPS Cancellation because of no payment of annual fees