JP6491580B2 - Dumping equipment for waste treatment facilities - Google Patents

Dumping equipment for waste treatment facilities Download PDF

Info

Publication number
JP6491580B2
JP6491580B2 JP2015184241A JP2015184241A JP6491580B2 JP 6491580 B2 JP6491580 B2 JP 6491580B2 JP 2015184241 A JP2015184241 A JP 2015184241A JP 2015184241 A JP2015184241 A JP 2015184241A JP 6491580 B2 JP6491580 B2 JP 6491580B2
Authority
JP
Japan
Prior art keywords
waste
lid
opening
dumping
damping
Prior art date
Legal status (The legal status is an assumption and is not a legal conclusion. Google has not performed a legal analysis and makes no representation as to the accuracy of the status listed.)
Active
Application number
JP2015184241A
Other languages
Japanese (ja)
Other versions
JP2017057066A (en
Inventor
角田 芳忠
芳忠 角田
聡 西尾
聡 西尾
孝志 河野
孝志 河野
松本 和正
和正 松本
哲 山根
哲 山根
智宜 田所
智宜 田所
信之 千葉
信之 千葉
憲一 川西
憲一 川西
Current Assignee (The listed assignees may be inaccurate. Google has not performed a legal analysis and makes no representation or warranty as to the accuracy of the list.)
Takuma Co Ltd
Kyokuto Kaihatsu Kogyo Co Ltd
Original Assignee
Takuma Co Ltd
Kyokuto Kaihatsu Kogyo Co Ltd
Priority date (The priority date is an assumption and is not a legal conclusion. Google has not performed a legal analysis and makes no representation as to the accuracy of the date listed.)
Filing date
Publication date
Application filed by Takuma Co Ltd, Kyokuto Kaihatsu Kogyo Co Ltd filed Critical Takuma Co Ltd
Priority to JP2015184241A priority Critical patent/JP6491580B2/en
Publication of JP2017057066A publication Critical patent/JP2017057066A/en
Application granted granted Critical
Publication of JP6491580B2 publication Critical patent/JP6491580B2/en
Active legal-status Critical Current
Anticipated expiration legal-status Critical

Links

Images

Landscapes

  • Refuse Collection And Transfer (AREA)
  • Loading Or Unloading Of Vehicles (AREA)
  • Feeding Of Articles To Conveyors (AREA)
  • Processing Of Solid Wastes (AREA)

Description

本発明は、廃棄物処理施設、例えば、都市ごみや産業廃棄物等の廃棄物の焼却処理や分別処理を行うごみ処理施設、チップ状にした木材やバガス(サトウキビの搾りかす)等の廃棄物から発電を行うバイオマスエネルギー生成施設、家畜の糞尿や生ごみ等の廃棄物からメタンガスを精製するメタン発酵処理施設、廃プラスチック類や木くず等の廃棄物から固形燃料を成形するRPF製造施設、籾柄や稲わら、生ごみ等の廃棄物を発酵させて堆肥を作成する堆肥化施設等のプラットホームに設置され、廃棄物収集車により持ち込まれた廃棄物を廃棄物ピットに投入するためのダンピング装置の改良に係り、特に、廃棄物収集車がプラットホーム内で切り返し運転や後退運転をすることなく、廃棄物をダンプすることができ、安全性及び作業効率を高められるようにした廃棄物処理施設のダンピング装置に関するものである。   The present invention relates to a waste treatment facility, for example, a waste treatment facility for incineration and separation of waste such as municipal waste and industrial waste, waste such as chip-shaped wood and bagasse (sugarcane residue), etc. Biomass energy generation facility that generates electricity from methane, methane fermentation treatment facility that purifies methane gas from waste such as livestock manure and garbage, RPF manufacturing facility that molds solid fuel from waste such as waste plastics and wood waste, leopard A dumping machine installed on a platform such as a composting facility that ferments fermented waste such as rice straw, rice straw, etc. to produce compost, and puts the waste brought in by the waste collection vehicle into the waste pit. In particular, it is possible to dump the waste without the waste truck being turned back and forth in the platform, and safety and work efficiency. It relates damping device of waste treatment facility as enhanced.

一般に、廃棄物処理施設、例えば、都市ごみ等を焼却処理するごみ処理施設においては、ごみ収集車40により搬入されて来たごみをごみ焼却炉41に隣接して設けたごみピット42に一旦投入し、その後ごみピット42内のごみをバケットクレーン43によりごみ焼却炉41に投入して焼却処理している(特許文献1参照)。   In general, in a waste treatment facility, for example, a waste treatment facility that incinerates municipal waste, etc., the waste brought in by the garbage truck 40 is once thrown into a waste pit 42 provided adjacent to the waste incinerator 41. Then, the garbage in the garbage pit 42 is thrown into the garbage incinerator 41 by the bucket crane 43 and incinerated (see Patent Document 1).

また、ごみ処理施設には、ごみピット42に隣接してごみ収集車40が進入するプラットホーム44が設けられており、このプラットホーム44とごみピット42との間には、ごみ収集車40のごみをごみピット42に投入するための投入扉付のごみ投入口46が設けられている(特許文献1参照)。   In addition, the waste disposal facility is provided with a platform 44 into which the garbage collection vehicle 40 enters adjacent to the garbage pit 42, and the garbage collection vehicle 40 is disposed between the platform 44 and the garbage pit 42. A waste input port 46 with an input door for input into the waste pit 42 is provided (see Patent Document 1).

而して、プラットホーム44に進入したごみ収集車40は、前記ごみ投入口46にごみを投入する際、ごみ投入口46に向って後ろ向きで進み、ごみ投入口46近傍の床面に設けた車止め47の位置で停車した後、投入扉を開放したごみ投入口46へごみを投入するようにしている(特許文献1参照)。   Thus, when the garbage collection vehicle 40 that has entered the platform 44 throws the garbage into the garbage inlet 46, the garbage truck 40 moves backward toward the garbage inlet 46 and stops on the floor near the garbage inlet 46. After stopping at the position 47, the garbage is thrown into the garbage inlet 46 whose opening door is opened (see Patent Document 1).

しかし、ごみ収集車により収集されたごみの中に金属、瓦礫等の燃焼不適物やスプレー缶等の危険物等が含まれている場合、ごみ収集車から直接ごみピットにごみを投入せず、プラットホームに設置したダンピングボックスに一旦ごみを投棄し、燃焼不適物や危険物の検査や取り除きを行った後、ダンピングボックス内のごみをごみピットに投入するようにしている(例えば、特許文献2及び特許文献3参照)。   However, if the garbage collected by the garbage truck contains non-combustible materials such as metal and rubble, and dangerous materials such as spray cans, do not throw garbage directly into the garbage pit from the garbage truck. After dumping garbage in a dumping box installed on the platform and inspecting and removing unsuitable and dangerous materials, the dust in the dumping box is thrown into the garbage pit (for example, Patent Document 2 and (See Patent Document 3).

また、ダンプ機能を備えていないトラック等によりごみが収集された場合も、トラックの荷台から人力によってごみをごみピットへ直接投入する作業は、転落事故の危険があるので、ダンピングボックスを使用してごみをごみピットに投入するようにしている。   In addition, even if garbage is collected by a truck that does not have a dump function, it is dangerous to manually put the garbage from the truck bed into the garbage pit. Garbage is thrown into the garbage pit.

図9は従来のダンピングボックスの一例を示すものであり、当該ダンピングボックスは、図9(a)〜(c)に示すようにごみの投入方式により形式が異なっている。   FIG. 9 shows an example of a conventional dumping box, and the type of the dumping box differs depending on the method of throwing in garbage as shown in FIGS. 9 (a) to 9 (c).

即ち、図9(a)はプッシャ型のダンピングボックスであり、ごみ収集車20からダンピングボックス21にごみをダンプし、燃焼不適物等の検査や取り除きを行った後、ダンピングボックス21内のごみを油圧シリンダ22により駆動されるプッシャ23を用いてごみピット24内へ押し出すようにしたものである。   That is, FIG. 9A shows a pusher type dumping box. Dumps are dumped from the garbage truck 20 into the dumping box 21, and after inspection and removal of non-combustible substances are performed, the dust in the dumping box 21 is removed. A pusher 23 driven by a hydraulic cylinder 22 is used to push it into a garbage pit 24.

また、図9(b)は傾胴型のダンピングボックスであり、ごみ収集車20からダンピングボックス21にごみをダンプし、燃焼不適物等の検査や取り除きを行った後、ダンピングボックス21を油圧シリンダ22により上方へ持ち上げて傾斜させ、ダンピングボックス21以内のごみをごみピット24内へ投入するようにしたものである。   FIG. 9B shows a tilting barrel type dumping box. Dumps are dumped from the garbage truck 20 into the dumping box 21 and after inspection and removal of non-combustible substances are performed, the damping box 21 is moved to the hydraulic cylinder. The garbage is lifted upward by 22 and tilted so that the garbage within the dumping box 21 is thrown into the garbage pit 24.

更に、図9(c)は傾斜投入型のダンピングボックスであり、ごみ収集車20からダンピングボックス21にごみをダンプし、燃焼不適物等の検査や取り除きを行った後、ダンピングボックス21を油圧シリンダ22により下方へ傾け、ダンピングボックス21内のごみをごみピット24内へ投入するようにしたものである。   Further, FIG. 9 (c) shows an inclined dumping type dumping box. Dumps are dumped from the garbage truck 20 into the dumping box 21, and after inspection and removal of non-combustible substances and the like, the damping box 21 is hydraulic cylinder. By tilting downward by 22, the garbage in the dumping box 21 is thrown into the garbage pit 24.

しかしながら、図9(a)〜(c)に示す従来のダンピングボックス21においては、
プラットホーム25にダンピングボックス21を設置しなければならず、ダンピングボックス21専用のごみ投入扉が必要であり、通常の投入扉と兼用できず、ごみ収集車20の同時排出できる台数が少なくなり、作業効率が悪いと云う問題があった。
However, in the conventional damping box 21 shown in FIGS.
A dumping box 21 must be installed on the platform 25, and a dumping door dedicated to the dumping box 21 is required. The dumping box 21 cannot be used as a normal loading door, and the number of garbage trucks 20 that can be discharged simultaneously is reduced. There was a problem of inefficiency.

そこで、前記問題を解決する技術として、特開平8−217193号公報(特許文献4)には、ダンピングボックスと通常のごみ投入扉を組み合わせ、選別を要するごみと選別を要しないごみを同じごみ投入扉から同じごみ投入口を介してごみピットへ投入できるようにしたダンピングボックス兼ごみ投入扉が記載されている。   Therefore, as a technique for solving the above-mentioned problem, Japanese Patent Application Laid-Open No. 8-217193 (Patent Document 4) combines a dumping box and a normal waste input door to input waste that requires sorting and waste that does not need sorting. A dumping box / garbage entry door is described that allows entry into the garbage pit from the door through the same garbage entry port.

しかし、前記ダンピングボックス兼ごみ投入扉においても、ごみを検査する際にはごみ収集車が来るまでに準備しなければならず、作業性に劣ると云う問題があった。   However, the dumping box / garbage entry door also has a problem that it is inferior in workability because it must be prepared before the garbage truck comes when inspecting the garbage.

特開平8−178244号公報JP-A-8-178244 特開平10−101203号公報Japanese Patent Laid-Open No. 10-101203 特開2001−26301号公報Japanese Patent Laid-Open No. 2001-26301 特開平8−217193号公報JP-A-8-217193

本発明は、このような問題点に鑑みて為されたものであり、その目的は、廃棄物収集車がプラットホーム内で切り返し運転や後退運転をすることなく、廃棄物をダンプすることができ、安全性及び作業効率を高められるようにした廃棄物処理施設のダンピング装置を提供することにある。   The present invention has been made in view of such problems, and the purpose thereof is to allow the waste collection vehicle to dump the waste without turning back or driving in the platform, It is an object of the present invention to provide a dumping apparatus for a waste treatment facility that can improve safety and work efficiency.

本発明の請求項1の発明は、廃棄物処理施設のプラットホームの床に設けられ、プラットホームに進入した廃棄物収集車から排出された廃棄物を受け入れる開口部と、プラットホームの床下に設けられ、開口部と廃棄物ピットとを連通状態にする廃棄物搬送路と、開口部に昇降自在に配設されて開口部を開閉するダンピング蓋と、ダンピング蓋を昇降自在且つ移動自在に支持する蓋支持装置とを備え、前記ダンピング蓋は、開口部を閉塞して廃棄物収集車がダンピング蓋を乗り越えられるようにする上昇位置と、上昇位置から下降して開口部の内周面とダンピング蓋の上面との間に廃棄物を受け入れるダンピングスペースを形成する下降位置と、下降位置から移動し、ダンピングスペースに排出されてダンピング蓋に載っている廃棄物を開口部の内周縁部で掻き落す掻き落し位置とを取り得るように構成されていることに特徴がある。   The invention according to claim 1 of the present invention is provided on the floor of the platform of the waste treatment facility, and receives the waste discharged from the waste collection vehicle that has entered the platform, and is provided below the platform floor. Waste conveying path for connecting the part and the waste pit, a damping lid that is disposed in the opening so as to be movable up and down, and that opens and closes the opening, and a lid support device that supports the damping lid so as to be movable up and down The damping lid closes the opening so that the waste collection vehicle can get over the damping lid, and descends from the rising position to the inner peripheral surface of the opening and the upper surface of the damping lid. A lower position that forms a dumping space for receiving waste and a lower position that moves from the lower position to open the waste that is discharged to the dumping space and placed on the dumping lid It is characterized in that is configured to be taken and a scraping position scrape the inner periphery of.

本発明の請求項2の発明は、開口部、ダンピング蓋及び蓋支持装置を、プラットホームの床に廃棄物収集車の進行方向に交差する方向に並列状に配置し、また、廃棄物搬送路を、プラットホームの床下に廃棄物収集車の進行方向に交差する方向に沿って設けたことに特徴がある。   According to a second aspect of the present invention, the opening, the dumping lid, and the lid support device are arranged in parallel on the platform floor in a direction crossing the traveling direction of the waste collection vehicle, and the waste transport path is provided. It is characterized in that it is provided along the direction crossing the traveling direction of the waste collection vehicle under the floor of the platform.

本発明の請求項3の発明は、廃棄物搬送路内に、廃棄物収集車から開口部に投入された廃棄物を廃棄物ピットへ搬送する廃棄物搬送装置を設けたことに特徴がある。   The invention of claim 3 of the present invention is characterized in that a waste transporting device for transporting the waste thrown into the opening from the waste collection vehicle to the waste pit is provided in the waste transporting path.

本発明の請求項4の発明は、開口部の内周縁部に、ダンピング蓋に載っている廃棄物を掻き取る掻き取り手段を設けたことに特徴がある。   The invention according to claim 4 of the present invention is characterized in that a scraping means for scraping off the waste placed on the damping lid is provided at the inner peripheral edge of the opening.

本発明の廃棄物処理施設のダンピング装置は、開口部と、廃棄物搬送路と、ダンピング蓋と、蓋支持装置とを備えており、前記ダンピング蓋が、蓋支持装置によって、開口部を閉塞して廃棄物収集車がダンピング蓋を乗り越えられるようにする上昇位置と、ダンピング蓋が上昇位置から下降して開口部の内周面とダンピング蓋の上面との間に廃棄物を受け入れるダンピングスペースを形成する下降位置と、下降位置から移動し、ダンピングスペースに排出されてダンピング蓋に載っている廃棄物を開口部の内周縁部で掻き落す掻き落し位置とを取り得るように構成されているため、ダンピング蓋を上昇位置にすると、廃棄物収集車がダンピング蓋を前進で乗り越えることができ、また、廃棄物収集車がダンピング蓋を乗り越えた位置で停車し、この状態でダンピング蓋を下降位置にすると、ダンピングスペースが形成されてここに廃棄物収集車の廃棄物を投棄することができ、更に、ダンピング蓋を下降位置から掻き落し位置にすると、ダンピング蓋に載っている廃棄物が落下するので、この落下した廃棄物を例えば廃棄物搬送路に設けた廃棄物搬送装置により廃棄物ピットに投入することができ、そして、ダンピング蓋を乗り越えて停車している廃棄物収集車は、前進で退出することができる。   A dumping device for a waste treatment facility according to the present invention includes an opening, a waste transport path, a damping lid, and a lid support device, and the damping lid closes the opening by the lid support device. The raising position that allows the waste collection vehicle to get over the damping lid, and the damping lid descends from the raised position to form a damping space for receiving waste between the inner peripheral surface of the opening and the upper surface of the damping lid. Because it is configured to be able to take a lowering position that moves and a scraping position that moves from the lowering position, and scrapes the waste that is discharged into the dumping space and placed on the damping lid at the inner peripheral edge of the opening, When the dumping lid is in the raised position, the waste collection vehicle can move over the dumping lid forward, and the waste collection vehicle stops at the position over the damping lid. In this state, when the dumping lid is in the lowered position, a dumping space is formed, and the waste collection vehicle waste can be dumped here, and when the dumping lid is scraped from the lowered position to the dumping lid, Since the loaded waste falls, the dropped waste can be thrown into the waste pit by, for example, a waste transport device provided in the waste transport path, and the vehicle stops over the dumping lid. The waste collection vehicle can be moved forward.

このように、本発明の廃棄物処理施設のダンピング装置は、廃棄物収集車がプラットホームの床に設置したダンピング装置の開口部に廃棄物を投入する際に、廃棄物収集車を直進移動させるだけで良いので、廃棄物収集車の切り返し運転や後退運転をする必要がなくなると共に、開口部への転落防止を図れ、安全性及び作業効率を高めることができる。   As described above, the dumping device of the waste treatment facility according to the present invention simply moves the waste collecting vehicle straight when the waste collecting vehicle throws the waste into the opening of the damping device installed on the floor of the platform. Therefore, it is not necessary to turn over or reverse the waste collection vehicle, prevent falling to the opening, and improve safety and working efficiency.

また、本発明の廃棄物処理施設のダンピング装置は、ダンピング蓋の下降により開口部にダンピングスペースを形成することができると共に、ダンピング蓋上の廃棄物を廃棄物搬送装置上へ落下させて廃棄物搬送装置により廃棄物ピットへ投入することができるため、選別を要する廃棄物、選別を要しない廃棄物に関係なく、同じ開口部に廃棄物を投入することができ、選別を要する廃棄物、選別を要しない廃棄物の何れにも対応することができる。その結果、廃棄物収集車は、廃棄物の選別の有無にかかわらず、停車位置が同じになり、運転手が停車位置を誤認して廃棄物収集車がダンピングボックスと接触したり、廃棄物投入口から廃棄物ピットへ落下するのを防ぐことができる。   In addition, the dumping device of the waste treatment facility according to the present invention can form a dumping space in the opening by lowering the dumping lid, and the waste on the dumping lid is dropped onto the waste transporting device and discarded. Since it can be thrown into the waste pit by the transport device, it can be thrown into the same opening regardless of waste that requires sorting and waste that does not require sorting. It is possible to deal with any of the wastes that do not require. As a result, the waste collection vehicle has the same stop position regardless of whether or not waste is sorted, the driver misidentifies the stop position, the waste collection vehicle comes into contact with the dumping box, or the waste input It can prevent falling from the mouth to the waste pit.

更に、本発明の廃棄物処理施設のダンピング装置は、廃棄物収集車が万一開口部に転落しても、ダンピングボックスから廃棄物ピットに転落する場合に比較して落差が大幅に小さくなり、大事故につながることがない。   Furthermore, the dumping device of the waste treatment facility of the present invention has a drastically reduced drop compared to the case where the dump truck falls into the waste pit even if it falls into the opening. It will not lead to a major accident.

更に、本発明の廃棄物処理施設のダンピング装置は、開口部、ダンピング蓋及び蓋支持装置を、プラットホームの床に廃棄物収集車の進行方向に交差する方向に並列状に配置し、また、廃棄物搬送路及び廃棄物搬送装置を、プラットホームの床下に廃棄物収集車の進行方向に交差する方向に沿って設けているため、開口部、ダンピング蓋及び蓋支持装置が複数あっても、廃棄物搬送路は一つだけで良く、また、廃棄物搬送装置も一基だけで良く、コスト削減を図ることができる。   Furthermore, the dumping device for a waste treatment facility according to the present invention has an opening, a dumping lid, and a lid support device arranged in parallel on the platform floor in a direction crossing the traveling direction of the waste collection vehicle. Since the material transport path and the waste transport device are provided under the platform along the direction intersecting the direction of travel of the waste collection vehicle, the waste can be disposed even if there are a plurality of openings, damping lids, and lid support devices. Only one conveying path is required, and only one waste conveying apparatus is required, and cost reduction can be achieved.

更に、本発明の廃棄物処理施設のダンピング装置は、開口部の内周縁部にダンピング蓋に載っている廃棄物を掻き取る掻き取り手段を設けているため、ダンピング蓋上の廃棄物を確実且つ良好に落とすことができ、後続の廃棄物収集車が廃棄物を踏んでプラットホームの床に撒き散らすと云うことがない。   Furthermore, since the dumping device for the waste treatment facility of the present invention is provided with a scraping means for scraping the waste placed on the damping lid at the inner peripheral edge of the opening, the waste on the damping lid can be reliably and It can be dropped well, and subsequent waste collection vehicles will not step on the waste and sprinkle on the platform floor.

本発明の実施の形態に係る廃棄物処理施設のダンピング装置を設置した廃棄物処理施設の廃棄物ピット及びプラットホームの概略平面図である。1 is a schematic plan view of a waste pit and a platform of a waste treatment facility where a dumping device for a waste treatment facility according to an embodiment of the present invention is installed. 図1に示す廃棄物処理施設の廃棄物ピット及びプラットホームの概略縦断面図である。It is a schematic longitudinal cross-sectional view of the waste pit and platform of the waste disposal facility shown in FIG. ダンピング装置を設置したプラットホームの要部の縦断面図である。It is a longitudinal cross-sectional view of the principal part of the platform which installed the damping device. ダンピング装置の作用状態を示し、(a)はダンピング蓋が上昇位置にあり、廃棄物収集車がダンピング蓋を乗り越える状態の概略縦断面図、(b)は同じく概略平面図である。The operation state of a damping device is shown, (a) is a schematic longitudinal cross-sectional view of a state in which the dumping lid is in the raised position and the waste collection vehicle gets over the damping lid, and (b) is a schematic plan view. ダンピング装置の作用状態を示し、(a)はダンピング蓋が下降位置にあり、廃棄物収集車が廃棄物をダンプできると共に、燃焼不適物等を検査する状態の概略縦断面図、(b)は同じく概略平面図、(c)は開口部の部分拡大断面図である。The operation state of the damping device is shown, (a) is a schematic longitudinal sectional view of a state in which the dumping lid is in the lowered position, the waste collection vehicle can dump the waste, and inspects the combustion inadequate material, etc., (b) Similarly, a schematic plan view, (c) is a partially enlarged sectional view of the opening. ダンピング装置の作用状態を示し、(a)はダンピング蓋が掻き落し位置へ移動し、ダンピング蓋上の廃棄物を廃棄物搬送装置上に落とすと共に、廃棄物収集車が退出する状態の概略縦断面図、(b)は同じく概略平面図、(c)は開口部の部分拡大断面図である。The operation state of the damping device is shown. (A) is a schematic longitudinal section of the state where the dumping lid is scraped off and moved to the position to drop the waste on the dumping lid onto the waste transport device and the waste collection vehicle is withdrawn. FIG. 5B is a schematic plan view, and FIG. 5C is a partially enlarged sectional view of the opening. ダンピング装置の作用状態を示し、(a)はダンピング蓋が上昇位置に戻り、廃棄物収集車が通過可能な状態となる概略縦断面図、(b)は同じく概略平面図である。The operation state of a damping device is shown, (a) is a schematic longitudinal cross-sectional view in which a dumping lid returns to an ascending position and a waste collection vehicle can pass through, and (b) is a schematic plan view. 従来のごみ処理施設の一例を示し、ごみピット及びプラットホーム部分の概略縦断面図である。It is a schematic longitudinal cross-sectional view of a garbage pit and a platform part, showing an example of a conventional waste treatment facility. 従来のダンピングボックスを示し、(a)はプッシャ型のダンピングボックスの概略縦断面図、(b)は傾胴型のダンピングボックスの概略縦断面図、(c)は傾斜投入型のダンピングボックスの概略縦断面図である。1 shows a conventional damping box, wherein (a) is a schematic longitudinal sectional view of a pusher type damping box, (b) is a schematic longitudinal sectional view of a tilting barrel type damping box, and (c) is an outline of an inclined throwing type damping box. It is a longitudinal cross-sectional view.

以下、本発明の実施の形態を図面に基づいて詳細に説明する。
図1及び図2は本発明の実施の形態に係る廃棄物処理施設のダンピング装置を設置した廃棄物処理施設の一例を示し、当該廃棄物処理施設は、廃棄物を焼却する廃棄物焼却炉(図示省略)と、廃棄物を貯留する廃棄物ピット1と、廃棄物ピット1に隣接して設けられ、廃棄物収集車2が進入するプラットホーム3等を備えたごみ処理施設に構成されており、ており、プラットホーム3に進入した廃棄物収集車2から排出された廃棄物をダンピング装置により受け取って検査した後、検査後の廃棄物をダンピング装置により廃棄物ピット1へ投入したり、或いは、廃棄物収集車2から排出された廃棄物を検査せずに廃棄物ピット1へ投入できるようになっている。
尚、ここで、廃棄物処理施設とは、都市ごみや産業廃棄物等の廃棄物の焼却処理や分別処理を行うごみ処理施設、チップ状にした木材やバガス(サトウキビの搾りかす)等の廃棄物から発電を行うバイオマスエネルギー生成施設、家畜の糞尿や生ごみ等の廃棄物からメタンガスを精製するメタン発酵処理施設、廃プラスチック類や木くず等の廃棄物から固形燃料を成形するRPF製造施設、籾柄や稲わら、生ごみ等の廃棄物を発酵させて堆肥を作成する堆肥化施設等を含むものとする。
Hereinafter, embodiments of the present invention will be described in detail with reference to the drawings.
1 and 2 show an example of a waste treatment facility in which a dumping device for a waste treatment facility according to an embodiment of the present invention is installed. The waste treatment facility includes a waste incinerator ( (Not shown), a waste pit 1 for storing waste, and a waste treatment facility provided adjacent to the waste pit 1 and including a platform 3 into which the waste collection vehicle 2 enters, The waste discharged from the waste collection vehicle 2 that has entered the platform 3 is received and inspected by the dumping device, and the inspected waste is thrown into the waste pit 1 by the dumping device, or disposed of. The waste discharged from the waste collection vehicle 2 can be put into the waste pit 1 without being inspected.
Here, the waste treatment facility is a waste treatment facility that incinerates and separates waste such as municipal waste and industrial waste, and waste such as chip-shaped wood and bagasse (sugar cane residue). Biomass energy generation facility that generates electricity from waste, methane fermentation treatment facility that purifies methane gas from waste such as livestock manure and garbage, RPF manufacturing facility that molds solid fuel from waste such as waste plastics and wood scrap, It shall include composting facilities that fertilize wastes such as handles, rice straw, and garbage to create compost.

前記プラットホーム3は、その両側(図1の上側及び下側)に廃棄物収集車2の入口4及び出口5が対向する状態で設けられており、廃棄物収集車2が入口4からプラットホーム3内に進入し、プラットホーム3内を直進移動して出口5から退出できるようになっていると共に、その途中において廃棄物収集車2からダンピング装置に廃棄物を投棄できるようになっている。   The platform 3 is provided on both sides (the upper side and the lower side in FIG. 1) with the inlet 4 and the outlet 5 of the waste collection vehicle 2 facing each other, and the waste collection vehicle 2 passes through the platform 3 from the entrance 4. It is possible to move straight on the platform 3 and exit from the exit 5 and to dispose of waste from the waste collection vehicle 2 to the dumping device in the middle.

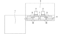
廃棄物処理施設のダンピング装置は、プラットホーム3の床に設けられ、プラットホーム3に進入した廃棄物収集車2から排出された廃棄物を受け入れる開口部6と、プラットホーム3の床下に設けられ、開口部6と廃棄物ピット1とを連通状態にする廃棄物搬送路7と、廃棄物搬送路7内に設けられ、廃棄物収集車2から開口部6に投入された廃棄物を廃棄物ピット1へ搬送する廃棄物搬送装置8と、開口部6に昇降自在に配設されて開口部6を開閉すると共に、下降時に廃棄物搬送路7内を廃棄物搬送装置8に沿って移動自在なダンピング蓋9と、廃棄物搬送路7内に設けられ、ダンピング蓋9を昇降自在且つ移動自在に支持する蓋支持装置10とから構成されている。   The dumping device of the waste treatment facility is provided on the floor of the platform 3, and is provided with an opening 6 for receiving waste discharged from the waste collection vehicle 2 that has entered the platform 3, and is provided below the floor of the platform 3. 6 and the waste transport pit 1 that communicate with the waste pit 1, and the waste that is provided in the waste transport path 7 from the waste collection vehicle 2 to the opening 6 is transferred to the waste pit 1. A waste transport device 8 to be transported, and a dumping lid that is disposed in the opening 6 so as to be movable up and down, opens and closes the opening 6, and is movable along the waste transport device 8 in the waste transport path 7 when lowered. 9 and a lid support device 10 which is provided in the waste transport path 7 and supports the damping lid 9 so as to be movable up and down and movable.

具体的には、前記開口部6は、プラットホーム3の床に複数設けられており、この実施の形態においては、矩形状の二つの開口部6がプラットホーム3の床に廃棄物収集車2の進行方向に交差(この例では直交)する方向に並列状に配置されている。   Specifically, a plurality of the openings 6 are provided on the floor of the platform 3. In this embodiment, two rectangular openings 6 are formed on the floor of the platform 3 and the waste collection vehicle 2 advances. They are arranged in parallel in a direction that intersects the direction (orthogonal in this example).

また、二つの開口部6の間隔は、プラットホーム3内を入口4側から出口5側へ向って直進移動する二台の廃棄物収集車2が各開口部6を通過する際に互いに干渉しないように設定されていると共に、各開口部6の幅(図1の左右方向の幅)は、廃棄物収集車2の幅よりも広く設定されている。   Further, the interval between the two openings 6 does not interfere with each other when the two waste collection vehicles 2 moving straight in the platform 3 from the inlet 4 side toward the outlet 5 side pass through the openings 6. In addition, the width of each opening 6 (the width in the left-right direction in FIG. 1) is set wider than the width of the waste collection vehicle 2.

更に、各開口部6のダンピング蓋9が通過する内周縁部6aには、図6(c)に示す如く、ダンピング蓋9が移動する際にダンピング蓋9に載っている廃棄物を掻き取る掻き取り手段が設けられている。この掻き取り手段として、プラスチック材又は金属材等により形成されたスクレーパー12が使用されている。このスクレーパー12は、その下端部がダンピング蓋9の上面を摺動するように開口部6の内周縁部6aに取り付けられている。   Further, as shown in FIG. 6C, the inner peripheral edge 6a through which the damping lid 9 of each opening 6 passes is scraped to scrape off the waste placed on the damping lid 9 when the damping lid 9 moves. A take-off means is provided. As the scraping means, a scraper 12 formed of a plastic material or a metal material is used. The scraper 12 is attached to the inner peripheral edge 6 a of the opening 6 so that its lower end slides on the upper surface of the damping lid 9.

前記廃棄物搬送路7は、プラットホーム3の床下で且つ開口部6の下方位置に廃棄物収集車2の進行方向に交差(この例では直交)する姿勢で設けられており、二つの開口部6と廃棄物ピット1とを連通状態にするものである。この廃棄物搬送路7の高さ及び幅は、廃棄物搬送路7内に廃棄物搬送装置8及び蓋支持装置10等を収容できる程度に設定されている。   The waste transport path 7 is provided under the floor of the platform 3 and at a position below the opening 6 so as to intersect with the traveling direction of the waste collection vehicle 2 (in this example, orthogonal), and has two openings 6. And the waste pit 1 are brought into communication with each other. The height and width of the waste transport path 7 are set to such an extent that the waste transport apparatus 8 and the lid support apparatus 10 can be accommodated in the waste transport path 7.

前記廃棄物搬送装置8は、廃棄物搬送路7内に二つの開口部6から廃棄物ピット1に亘って設けられており、廃棄物収集車2から各開口部6に投入された廃棄物を受け取って廃棄物ピット1側へ搬送し、廃棄物搬送路7の終端部から廃棄物ピット1内へ投入するものである。この廃棄物搬送装置8には、従来公知のベルトコンベア等が使用されている。   The waste transporting device 8 is provided in the waste transporting path 7 from the two openings 6 to the waste pit 1, and the waste that has been thrown into each opening 6 from the waste collection vehicle 2 is disposed in the waste transporting path 7. It is received and transported to the waste pit 1 side, and is thrown into the waste pit 1 from the end portion of the waste transport path 7. A conventionally known belt conveyor or the like is used for the waste transport device 8.

前記ダンピング蓋9は、廃棄物収集車2が直進で開口部6を通過する際にプラットホーム3の床面と面一又はほぼ面一になって開口部6を閉塞し、また、廃棄物収集車2が開口部6を乗り越えて停車し、廃棄物収集車2から開口部6に廃棄物を投入際にプラットホーム3の床面から下降して開口部6の内周面とダンピング蓋9の上面との間に廃棄物を受け入れる上方が開放されたダンピングスペースを形成するものであり、ダンピングスペースに排出された廃棄物を受け取るものである。   The dumping lid 9 closes or substantially flushes the floor surface of the platform 3 when the waste collection vehicle 2 passes straight through the opening 6 and closes the opening 6, and the waste collection vehicle 2 passes over the opening 6 and stops when the waste collection vehicle 2 throws the waste into the opening 6, descends from the floor surface of the platform 3, and the inner peripheral surface of the opening 6 and the upper surface of the damping lid 9 A dumping space where the upper part for receiving the waste is opened is formed, and the waste discharged into the dumping space is received.

また、ダンピング蓋9は、開口部6の形状と同じ矩形状に形成されていると共に、廃棄物収集車2の荷重に耐えられる強度を備えている。このダンピング蓋9の大きさは、開口部6内に位置したときに、廃棄物が開口部6の内周面とダンピング蓋9の外周縁との隙間から廃棄物搬送路7内に落ち込まないように設定されている。   The damping lid 9 is formed in the same rectangular shape as the shape of the opening 6 and has a strength capable of withstanding the load of the waste collection vehicle 2. The size of the damping lid 9 is such that the waste does not fall into the waste transport path 7 from the gap between the inner peripheral surface of the opening 6 and the outer peripheral edge of the damping lid 9 when positioned in the opening 6. Is set to

前記蓋支持装置10は、ダンピング蓋9を開口部6内で昇降自在且つ廃棄物搬送装置8に沿って移動自在に支持するものであり、廃棄物搬送路7の床に設けたレール11上を廃棄物搬送装置8に沿って走行する台車10aと、台車10a上に立設され、ダンピング蓋9を昇降自在に支持する複数本の柱材10bと、台車10aに設けられ、台車10aを走行駆動する移動用駆動部(図示省略)と、台車10a又は柱材10bに設けられ、ダンピング蓋9を昇降させる昇降用駆動部(図示省略)とから構成されている。この蓋支持装置10は、廃棄物搬送装置8と干渉しないように廃棄物搬送路7内に設けられている。   The lid support device 10 supports the damping lid 9 so that it can move up and down within the opening 6 and move along the waste transport device 8. The lid support device 10 supports a rail 11 provided on the floor of the waste transport path 7. A carriage 10a that travels along the waste conveyance device 8, a plurality of pillar members 10b that are erected on the carriage 10a and support the damping lid 9 so as to be movable up and down, and a carriage 10a that drives the carriage 10a to travel. And a moving drive unit (not shown) that is provided on the carriage 10a or the column member 10b and moves the damping lid 9 up and down (not shown). The lid support device 10 is provided in the waste transport path 7 so as not to interfere with the waste transport device 8.

尚、移動用駆動部は、例えば、台車10aをレール11に沿って移動させるシリンダ又は台車10aの車輪を回転駆動するモータ等から成り、台車10a及び柱材10bを開口部6の真下に位置する廃棄物受け取り位置(図3の実線位置)から廃棄物搬送路7の天井面の下方に位置する廃棄物排出位置(図3の一点鎖線位置)へ若しくは台車10a及び柱材10bを廃棄物排出位置から廃棄物受け取り位置へ移動させるものである。   The moving drive unit includes, for example, a cylinder that moves the carriage 10a along the rail 11 or a motor that rotationally drives the wheels of the carriage 10a, and the carriage 10a and the column member 10b are positioned directly below the opening 6. From the waste receiving position (solid line position in FIG. 3) to the waste discharging position (the one-dot chain line position in FIG. 3) located below the ceiling surface of the waste transport path 7, or the cart 10a and the column 10b are discharged to the waste To the waste receiving position.

また、昇降用駆動部は、例えば、ダンピング蓋9を昇降動させるシリンダ等から成り、ダンピング蓋9を開口部6内で上昇させてプラットホーム3の床面と面一又はほぼ面一にする上昇位置(図3の実線位置)と、ダンピング蓋9を開口部6内で下降させて開口部6の内周面とダンピング蓋9の上面との間に廃棄物を受け入れるダンピングスペースを形成する下降位置(図3の二点鎖線位置)とに亘って昇降動させるものである。   Moreover, the raising / lowering drive part consists of a cylinder etc. which raise / lower the damping lid 9, for example, raises the damping lid 9 within the opening part 6, and raises the floor surface of the platform 3 so that it may become flush | planar or substantially flush | planar. (The position indicated by the solid line in FIG. 3), and a lowered position where the damping lid 9 is lowered in the opening 6 to form a damping space for receiving waste between the inner peripheral surface of the opening 6 and the upper surface of the damping lid 9 ( It is moved up and down over the two-dot chain line position in FIG.

従って、ダンピング装置のダンピング蓋9は、前記蓋支持装置10によって、開口部6を閉塞して廃棄物収集車2がダンピング蓋9を乗り越えられるようにする上昇位置(図3の実線位置)と、上昇位置から下降して廃棄物搬送路7内に位置し、開口部6の内周面とダンピング蓋9の上面との間に廃棄物を受け入れるダンピングスペースを形成する下降位置(図3の二点鎖線位置)と、下降位置から廃棄物搬送路7内を廃棄物搬送装置8に沿って移動し、ダンピングスペースに排出されてダンピング蓋9上に載っている廃棄物を開口部6の内周縁部で掻き落して廃棄物搬送装置8上へ落下させる掻き落し位置(図3の一点鎖線位置)とを取り得るようになっている。   Therefore, the dumping lid 9 of the damping device has a raised position (solid line position in FIG. 3) where the lid support device 10 closes the opening 6 so that the waste collection vehicle 2 can get over the damping lid 9. A lowered position (two points in FIG. 3) which is lowered from the raised position and is located in the waste conveyance path 7 and forms a dumping space for receiving waste between the inner peripheral surface of the opening 6 and the upper surface of the damping lid 9. The inner peripheral edge of the opening 6 moves the waste transport path 7 along the waste transport device 8 from the descending position along the waste transport device 8 and is discharged into the dumping space and placed on the dumping lid 9. The scraping position (the one-dot chain line position in FIG. 3) for scraping and dropping onto the waste conveyance device 8 can be taken.

尚、上記の実施の形態においては、ダンピング蓋9が下降してダンピングスペースを形成するときに廃棄物搬送路7内に位置するようにしたが、他の実施の形態においては、図5(c)に示す如く、下降するダンピング蓋9を開口部6内の下部位置で停止させ、開口部6の内周面とダンピング蓋9の上面との間に廃棄物を受け入れるダンピングスペースを形成するようにしても良い。この場合、ダンピング蓋9を廃棄物搬送装置8に沿って移動させる際には、更にダンピング蓋9を下降させて廃棄物搬送路7内に位置させる。即ち、ダンピング蓋9は、二段階に亘って下降することになる。   In the above embodiment, when the damping lid 9 is lowered to form the dumping space, it is positioned in the waste transport path 7. However, in other embodiments, FIG. ), The lowering dumping lid 9 is stopped at the lower position in the opening 6 so that a dumping space for receiving waste is formed between the inner peripheral surface of the opening 6 and the upper surface of the damping lid 9. May be. In this case, when the damping lid 9 is moved along the waste conveyance device 8, the damping lid 9 is further lowered and positioned in the waste conveyance path 7. That is, the damping lid 9 is lowered in two stages.

次に、廃棄物収集車2により回収した廃棄物を廃棄物処理施設のプラットホーム3に設けたダンピング装置に投入する場合について説明する。   Next, a case where the waste collected by the waste collection vehicle 2 is put into a dumping device provided in the platform 3 of the waste treatment facility will be described.

回収した廃棄物の中に燃焼不燃物や危険物が含まれていない場合、廃棄物収集車2は、プラットホーム3の入口4からプラットホーム3内に進入した後、廃棄物収集車2が停車しておらず、且つ上昇位置にあるダンピング蓋9により閉塞されている開口部6へ向って直進する。   If the collected waste does not contain burning incombustibles or hazardous materials, the waste collection vehicle 2 enters the platform 3 from the entrance 4 of the platform 3 and then the waste collection vehicle 2 stops. It goes straight toward the opening 6 that is not closed and is closed by the damping lid 9 in the raised position.

廃棄物収集車2は、ダンピング蓋9により閉塞されている開口部6に近づくと、スピードを緩めて前進し、開口部6及びダンピング蓋9を直進で乗り越え、後輪が開口部6及びダンピング蓋9を完全に乗り越えた時点で停止する。   When the waste collection vehicle 2 approaches the opening 6 that is closed by the damping lid 9, the speed is reduced and the vehicle advances over the opening 6 and the damping lid 9, and the rear wheel passes over the opening 6 and the damping lid 9. Stop when 9 is completely overcome.

廃棄物収集車2が停車したら、ダンピング蓋9が蓋支持装置10により上昇位置から下降位置へ下降し、且つ下降位置から廃棄物搬送路7内を廃棄物搬送装置8に沿って移動し、開口部6を完全に開放する。   When the waste collection vehicle 2 stops, the dumping lid 9 is lowered from the raised position to the lowered position by the lid support device 10, and moves from the lowered position in the waste conveyance path 7 along the waste conveyance device 8 to the opening. Open part 6 completely.

尚、蓋支持装置10は、プラットホーム3の廃棄物収集車2が停車する床にセンサー(図示省略)を埋設し、このセンサーが廃棄物収集車2の停車を検出したら、駆動するように制御されている。   The lid support device 10 is controlled to be driven when a sensor (not shown) is embedded in the floor of the platform 3 on which the waste collection vehicle 2 stops, and this sensor detects the stop of the waste collection vehicle 2. ing.

開口部6が完全に開放されたら、廃棄物収集車2の廃棄物収納部を傾けて廃棄物を開口部6に投入する。投入した廃棄物は、廃棄物搬送装置8に受け取られ、廃棄物搬送装置8により廃棄物ピット1側へ搬送され、廃棄物搬送装置8の終端部から廃棄物ピット1内に投入される。また、廃棄物収集車2は、プラットホーム3内を直進して出口5から退出する。更に、ダンピング蓋9は、蓋支持装置10により上昇位置に復帰し、廃棄物収集車2が開口部6及びダンピング蓋9を乗り越えられるようにする。
When the opening 6 is completely opened, the waste storage section of the waste collection vehicle 2 is tilted and the waste is put into the opening 6. The thrown-in waste is received by the waste transport device 8, transported to the waste pit 1 side by the waste transport device 8, and thrown into the waste pit 1 from the terminal end of the waste transport device 8. In addition, the waste collection vehicle 2 goes straight through the platform 3 and exits from the exit 5. Further, the damping lid 9 is returned to the raised position by the lid support device 10 so that the waste collection vehicle 2 can get over the opening 6 and the damping lid 9.

一方、回収した廃棄物の中に燃焼不燃物や危険物が含まれているか否かの検査や取り除きを行う場合、廃棄物収集車2は、プラットホーム3の入口4からプラットホーム3内に進入した後、廃棄物収集車2が停車しておらず、且つ上昇位置にあるダンピング蓋9により閉塞されている開口部6へ向って直進する。   On the other hand, when inspecting or removing whether or not the collected waste contains incombustible or incombustible material, the waste collection vehicle 2 enters the platform 3 from the entrance 4 of the platform 3. The waste collection vehicle 2 does not stop and goes straight toward the opening 6 that is closed by the damping lid 9 in the raised position.

廃棄物収集車2は、ダンピング蓋9により閉塞されている開口部6に近づくと、スピードを緩めて前進し、開口部6及びダンピング蓋9を直進で乗り越えて行く。   When the waste collection vehicle 2 approaches the opening 6 that is closed by the damping lid 9, the waste collection vehicle 2 moves forward at a reduced speed and gets over the opening 6 and the damping lid 9 in a straight line.

廃棄物収集車2は、後輪が開口部6及びダンピング蓋9を完全に乗り越えたら、その位置で停止する(図4参照)。   When the rear wheel has completely passed over the opening 6 and the damping lid 9, the waste collection vehicle 2 stops at that position (see FIG. 4).

廃棄物収集車2が停車したら、ダンピング蓋9が蓋支持装置10により上昇位置から下降位置へ下降する。これにより、開口部6の内周面とダンピング蓋9の上面との間に廃棄物を受け入れるダンピングスペースが形成される(図5参照)。   When the waste collection vehicle 2 stops, the damping lid 9 is lowered by the lid support device 10 from the raised position to the lowered position. Thereby, a damping space for receiving waste is formed between the inner peripheral surface of the opening 6 and the upper surface of the damping lid 9 (see FIG. 5).

尚、蓋支持装置10は、プラットホーム3の廃棄物収集車2が停車する床にセンサー(図示省略)を埋設し、このセンサーが廃棄物収集車2の停車を検出したら、駆動するように制御されている。   The lid support device 10 is controlled to be driven when a sensor (not shown) is embedded in the floor of the platform 3 on which the waste collection vehicle 2 stops, and this sensor detects the stop of the waste collection vehicle 2. ing.

開口部6にダンピングスペースが形成されたら、廃棄物収集車2の廃棄物収納部を傾けて廃棄物をダンピングスペースに排出すると共に、ダンピングスペース内の廃棄物の中から燃焼不適物や危険物等を検査して除去する。   When the dumping space is formed in the opening 6, the waste storage part of the waste collection vehicle 2 is tilted to discharge the waste into the dumping space, and unsuitable or dangerous materials from the waste in the dumping space. Inspect and remove.

ダンピングスペース内の廃棄物の検査が終了したら、ダンピング蓋9が蓋支持装置10により下降位置から廃棄物搬送装置8に沿って移動し、掻き落し位置側へ移動する(図6参照)。これにより、ダンピング蓋9に載っている廃棄物は、開口部6の内周縁部6aで掻き落され、廃棄物搬送装置8上に落下する。
尚、廃棄物搬送装置8及び蓋支持装置10等は、開口部6の内周縁部で掻き落された廃棄物が廃棄物搬送装置8上へ確実且つ良好に落下するように工夫されていることは勿論である。
When the inspection of the waste in the dumping space is completed, the dumping lid 9 is moved from the lowered position along the waste transport device 8 by the lid support device 10 and moved to the scraping position side (see FIG. 6). As a result, the waste placed on the damping lid 9 is scraped off by the inner peripheral edge 6 a of the opening 6 and falls onto the waste transport device 8.
It should be noted that the waste transport device 8 and the lid support device 10 are devised so that the waste scraped off at the inner peripheral edge of the opening 6 falls reliably and well onto the waste transport device 8. Of course.

廃棄物搬送装置8上に落下した廃棄物は、廃棄物搬送装置8により廃棄物ピット1側へ搬送され、廃棄物搬送装置8の終端部から廃棄物ピット1内に投入される。また、廃棄物収集車廃棄物2は、プラットホーム3内を直進して出口5から退出する。   The waste dropped on the waste transport device 8 is transported to the waste pit 1 by the waste transport device 8 and is thrown into the waste pit 1 from the terminal end of the waste transport device 8. Also, the waste collection vehicle waste 2 goes straight through the platform 3 and exits from the exit 5.

そして、ダンピング蓋9上の全ての廃棄物が廃棄物搬送装置8上に落下したら、ダンピング蓋9は、蓋支持装置10により掻き落し位置から下降位置に戻り、更に下降位置から上昇位置に戻って廃棄物収集車2が開口部6及びダンピング蓋9を乗り越えられるようにする(図7参照)。   When all the waste on the dumping lid 9 falls on the waste transport device 8, the damping lid 9 returns from the scraped position to the lowered position by the lid support device 10, and further returns from the lowered position to the raised position. The waste collection vehicle 2 is allowed to get over the opening 6 and the damping lid 9 (see FIG. 7).

このように、上述した廃棄物処理施設のダンピング装置は、ダンピング装置の開口部6に廃棄物を投入する際に、廃棄物収集車2を直進移動させるだけで良いので、廃棄物収集車2の切り返し運転や後退運転をする必要がなく、安全性及び作業効率を高めることができる。   As described above, the dumping device of the waste treatment facility described above only has to move the waste collection vehicle 2 straight when the waste is introduced into the opening 6 of the dumping device. There is no need to perform reverse operation and reverse operation, and safety and work efficiency can be improved.

また、ダンピング装置は、ダンピング蓋9の下降により開口部6に廃棄物を受け入れるダンピングスペースを形成することができると共に、ダンピング蓋9上の廃棄物を廃棄物搬送装置8上へ落下させて廃棄物搬送装置8により廃棄物ピット1へ投入することができるため、選別を要する廃棄物、選別を要しない廃棄物に関係なく、同じ開口部6に廃棄物を投入することができ、選別を要する廃棄物、選別を要しない廃棄物の何れにも対応することができる。   Further, the dumping device can form a dumping space for receiving waste in the opening 6 by lowering the dumping lid 9, and the waste on the dumping lid 9 is dropped onto the waste transporting device 8 to be disposed of as waste. Since it can be put into the waste pit 1 by the transport device 8, waste can be thrown into the same opening 6 regardless of waste that requires sorting and waste that does not require sorting. It is possible to deal with both waste and waste that does not require sorting.

更に、ダンピング装置は、廃棄物収集車2が万一開口部6に転落しても、ダンピングボックスから廃棄物ピット1に転落する場合に比較して落差が大幅に小さくなり、大事故につながることがない。   Furthermore, even if the dump truck 2 falls into the opening 6 in the event of the dumping device, the head will be significantly smaller than when the dump truck falls into the waste pit 1, leading to a major accident. There is no.

尚、上記の実施の形態においては、開口部6、ダンピング蓋9及び蓋支持装置10を、プラットホーム3の床に廃棄物収集車2の進行方向に直交する方向に並列状に二つずつ配置するようにしたが、開口部6、ダンピング蓋9及び蓋支持装置10の数や配置状態は、上記の実施の形態に限定されるものではなく、本発明の趣旨を逸脱しない範囲において種々の変更が可能である。   In the above-described embodiment, two openings 6, damping lids 9, and lid support devices 10 are arranged in parallel in the direction perpendicular to the traveling direction of the waste collection vehicle 2 on the floor of the platform 3. However, the number and arrangement state of the opening 6, the damping lid 9, and the lid support device 10 are not limited to the above-described embodiment, and various changes can be made without departing from the spirit of the present invention. Is possible.

また、上記の実施の形態においては、蓋支持装置10を台車10a、柱材10b、移動用駆動部及び昇降用駆動部から構成したが、蓋支持装置10は、上記の実施の形態に限定されるものではなく、ダンピング蓋9を上昇位置、下降位置、掻き落し位置に昇降又は移動させることができれば、如何なる構造のものであっても良い。   Moreover, in said embodiment, although the cover support apparatus 10 was comprised from the trolley | bogie 10a, the pillar material 10b, the drive part for a movement, and the drive part for raising / lowering, the cover support apparatus 10 is limited to said embodiment. Any structure may be used as long as the damping lid 9 can be moved up and down or moved to the raised position, the lowered position, and the scraped position.

更に、上記の実施の形態においては、廃棄物搬送装置8としてベルトコンベアを例示したが、他の実施の形態においては、廃棄物搬送装置8としてプッシャやバッチ移動式のバケット等でも良く、廃棄物を搬送することができれば、如何なる形式のものであっても良い。
また、廃棄物搬送装置8を省略すると共に、廃棄物搬送路7を廃棄物ピット1側へ下り傾斜状に設け、開口部6から廃棄物搬送路7内に落下した廃棄物を廃棄物搬送路7の床面を滑らせて廃棄物ピット1へ送るようにしても良く、或いは、開口部6から直接廃棄物ピット1に廃棄物を落下させるようにしても良い。
Furthermore, in the above embodiment, a belt conveyor is exemplified as the waste transport device 8. However, in other embodiments, the waste transport device 8 may be a pusher, a batch moving bucket, or the like. As long as it can be transported, it may be of any type.
Further, the waste transport device 8 is omitted, and the waste transport path 7 is provided in an inclined manner toward the waste pit 1 so that the waste that has fallen into the waste transport path 7 from the opening 6 is disposed in the waste transport path. 7 may be slid and sent to the waste pit 1, or the waste may be dropped directly from the opening 6 into the waste pit 1.

1は廃棄物ピット
2は廃棄物収集車
3はプラットホーム
4は入口
5は出口
6は開口部
6aは開口部の内周縁部
7は廃棄物搬送路
8は廃棄物搬送装置
9はダンピング蓋
10は蓋支持装置
10aは台車
10bは柱材
11はレール
12はスクレーパー
1 is a waste pit 2 is a waste collection vehicle 3 is a platform 4 is an entrance 5 is an exit 6 is an opening 6 a is an inner periphery of the opening 7 is a waste transport path 8 is a waste transport device 9 is a dumping lid 10 Lid support device 10a is cart 10b is pillar material 11 is rail 12 is scraper

Claims (4)

廃棄物処理施設のプラットホームの床に設けられ、プラットホームに進入した廃棄物収集車から排出された廃棄物を受け入れる開口部と、プラットホームの床下に設けられ、開口部と廃棄物ピットとを連通状態にする廃棄物搬送路と、開口部に昇降自在に配設されて開口部を開閉するダンピング蓋と、ダンピング蓋を昇降自在且つ移動自在に支持する蓋支持装置とを備え、前記ダンピング蓋は、開口部を閉塞して廃棄物収集車がダンピング蓋を乗り越えられるようにする上昇位置と、上昇位置から下降して開口部の内周面とダンピング蓋の上面との間に廃棄物を受け入れるダンピングスペースを形成する下降位置と、下降位置から移動し、ダンピングスペースに排出されてダンピング蓋に載っている廃棄物を開口部の内周縁部で掻き落す掻き落し位置とを取り得るように構成されていることを特徴とする廃棄物処理施設のダンピング装置。   An opening that is provided on the platform floor of the waste treatment facility and that receives waste discharged from a waste collection vehicle that has entered the platform, and that is provided under the platform floor and connects the opening and the waste pit. A waste transport path, a damping lid that is disposed in the opening so as to be movable up and down, and that opens and closes the opening, and a lid support device that supports the damping lid so that it can be moved up and down, and the damping lid is open. A dampening space for closing the part and allowing the waste collection vehicle to get over the dumping lid, and a dampening space for receiving waste between the inner peripheral surface of the opening and the upper surface of the dumping lid after descending from the raised position The lowering position to be formed and the scraping that moves from the lowering position and scrapes the waste discharged to the dumping space and placed on the dumping lid at the inner peripheral edge of the opening. Waste disposal facility damping apparatus characterized by being configured to be taken and positioned. 開口部、ダンピング蓋及び蓋支持装置を、プラットホームの床に廃棄物収集車の進行方向に交差する方向に並列状に配置し、また、廃棄物搬送路を、プラットホームの床下に廃棄物収集車の進行方向に交差する方向に沿って設けたことを特徴とする請求項1に記載の廃棄物処理施設のダンピング装置。   The opening, the dumping lid and the lid support device are arranged in parallel on the platform floor in a direction crossing the direction of travel of the waste collection vehicle, and the waste transport path is arranged below the platform floor of the waste collection vehicle. The dumping device for a waste treatment facility according to claim 1, wherein the damping device is provided along a direction intersecting the traveling direction. 廃棄物搬送路内に、廃棄物収集車から開口部に投入された廃棄物を廃棄物ピットへ搬送する廃棄物搬送装置を設けたことを特徴とする請求項1又は請求項2に記載の廃棄物処理施設のダンピング装置。   The waste according to claim 1 or 2, wherein a waste transport device is provided in the waste transport path to transport the waste thrown into the opening from the waste collection vehicle to the waste pit. Damping equipment for waste disposal facilities. 開口部の内周縁部に、ダンピング蓋に載っている廃棄物を掻き取る掻き取り手段を設けたことを特徴とする請求項1、請求項2又は請求項3に記載の廃棄物処理施設のダンピング装置。   4. The dumping of a waste treatment facility according to claim 1, wherein scraping means for scraping off the waste placed on the damping lid is provided at an inner peripheral edge of the opening. apparatus.
JP2015184241A 2015-09-17 2015-09-17 Dumping equipment for waste treatment facilities Active JP6491580B2 (en)

Priority Applications (1)

Application Number Priority Date Filing Date Title
JP2015184241A JP6491580B2 (en) 2015-09-17 2015-09-17 Dumping equipment for waste treatment facilities

Applications Claiming Priority (1)

Application Number Priority Date Filing Date Title
JP2015184241A JP6491580B2 (en) 2015-09-17 2015-09-17 Dumping equipment for waste treatment facilities

Publications (2)

Publication Number Publication Date
JP2017057066A JP2017057066A (en) 2017-03-23
JP6491580B2 true JP6491580B2 (en) 2019-03-27

Family

ID=58391352

Family Applications (1)

Application Number Title Priority Date Filing Date
JP2015184241A Active JP6491580B2 (en) 2015-09-17 2015-09-17 Dumping equipment for waste treatment facilities

Country Status (1)

Country Link
JP (1) JP6491580B2 (en)

Families Citing this family (1)

* Cited by examiner, † Cited by third party
Publication number Priority date Publication date Assignee Title
CN109305570B (en) * 2018-11-13 2019-05-21 哈尔滨理工大学 A kind of box-packed bulk cargo overturning delivery device

Family Cites Families (8)

* Cited by examiner, † Cited by third party
Publication number Priority date Publication date Assignee Title
FR2249006A1 (en) * 1973-10-30 1975-05-23 Frossard J Domestic rubbish tipping system - uses intermediate tipping area and trolley to move rubbish to main tipping area
JPS5488674A (en) * 1977-12-23 1979-07-13 Nippon Sharyo Seizo Kk Device for loading refuse incinerator
JPS5535771A (en) * 1978-09-04 1980-03-12 Shin Meiwa Ind Co Ltd Garbage treatment apparatus
JPS5834806U (en) * 1981-08-28 1983-03-07 日本鋼管株式会社 Openable garbage chute
JPS63117801A (en) * 1986-11-07 1988-05-21 極東開発工業株式会社 Waste charger
US4834300A (en) * 1988-03-07 1989-05-30 Wojciechowski Christopher R Method and apparatus for solid waste disposal
JPH11139505A (en) * 1997-11-12 1999-05-25 Shin Meiwa Ind Co Ltd Garbage receiving device and its garbage receiving method
JP2001153326A (en) * 1999-11-29 2001-06-08 Kyokuto Kaihatsu Kogyo Co Ltd Refuse treatment facility

Also Published As

Publication number Publication date
JP2017057066A (en) 2017-03-23

Similar Documents

Publication Publication Date Title
JP5570792B2 (en) Garbage separation device
KR100866517B1 (en) Separation screening device and its method for recycling of combustible waste
CN107309252B (en) A Servo Vehicle for Urban and Rural Domestic Garbage Disposal
CN107148389B (en) Modular Waste Transfer Station (MWT)
JP6491580B2 (en) Dumping equipment for waste treatment facilities
RU2185890C1 (en) Complex for sorting solid domestic wastes
RU2301711C1 (en) Method of sorting of the solid wastes and the complex for its realization
JP6585442B2 (en) Waste input method and waste treatment facility in waste treatment facility
RU2282506C1 (en) Solid garbage classifying method and complex for performing the same
EP0667489A2 (en) Method and device for processing waste materials before their incineration
EP2241499B1 (en) Marine vessel based system and method of managing municipal solid waste
JP2005154039A (en) Garbage carrying-in apparatus and garbage carrying-in method of garbage processing equipment
JPH115589A (en) Waste material processing plant barge
JP6544856B2 (en) Vehicle stop system for straight ahead vehicles
JP2000226186A (en) Interlocking method between garbage input crane and garbage truck
RU2282507C1 (en) Method for classifying solid waste materials and complex for performing the same
JP2001153326A (en) Refuse treatment facility
RU2004124701A (en) METHOD FOR SORTING SOLID WASTE PRODUCTION AND CONSUMPTION AND COMPLEX FOR ITS IMPLEMENTATION
JP3723345B2 (en) Incineration ash final treatment system
DE102021129068A1 (en) Process for backfilling and disposal of ash-like combustion products in silo vehicles
KR930000177B1 (en) Waste collection method and device
JPH11139504A (en) How to receive and receive waste
CN206386935U (en) Self-burning type refuse burning system
RU2283193C1 (en) Method and device for classifying solid waste
JP2003012107A (en) Waste disposal system

Legal Events

Date Code Title Description
A621 Written request for application examination

Free format text: JAPANESE INTERMEDIATE CODE: A621

Effective date: 20180525

A977 Report on retrieval

Free format text: JAPANESE INTERMEDIATE CODE: A971007

Effective date: 20190212

TRDD Decision of grant or rejection written
A01 Written decision to grant a patent or to grant a registration (utility model)

Free format text: JAPANESE INTERMEDIATE CODE: A01

Effective date: 20190219

A61 First payment of annual fees (during grant procedure)

Free format text: JAPANESE INTERMEDIATE CODE: A61

Effective date: 20190301

R150 Certificate of patent or registration of utility model

Ref document number: 6491580

Country of ref document: JP

Free format text: JAPANESE INTERMEDIATE CODE: R150

R250 Receipt of annual fees

Free format text: JAPANESE INTERMEDIATE CODE: R250

R250 Receipt of annual fees

Free format text: JAPANESE INTERMEDIATE CODE: R250

S531 Written request for registration of change of domicile

Free format text: JAPANESE INTERMEDIATE CODE: R313531

R350 Written notification of registration of transfer

Free format text: JAPANESE INTERMEDIATE CODE: R350

R250 Receipt of annual fees

Free format text: JAPANESE INTERMEDIATE CODE: R250

R250 Receipt of annual fees

Free format text: JAPANESE INTERMEDIATE CODE: R250