JP6434026B2 - 薬物送達デバイス用のキャップ - Google Patents

薬物送達デバイス用のキャップ Download PDF

Info

Publication number
JP6434026B2
JP6434026B2 JP2016537252A JP2016537252A JP6434026B2 JP 6434026 B2 JP6434026 B2 JP 6434026B2 JP 2016537252 A JP2016537252 A JP 2016537252A JP 2016537252 A JP2016537252 A JP 2016537252A JP 6434026 B2 JP6434026 B2 JP 6434026B2
Authority
JP
Japan
Prior art keywords
cap
proximal
cap element
drug delivery
delivery device
Prior art date
Legal status (The legal status is an assumption and is not a legal conclusion. Google has not performed a legal analysis and makes no representation as to the accuracy of the status listed.)
Active
Application number
JP2016537252A
Other languages
English (en)
Other versions
JP2016531682A (ja
Inventor
デーヴィッド・オーブリー・プランプトリ
Original Assignee
サノフィ−アベンティス・ドイチュラント・ゲゼルシャフト・ミット・ベシュレンクテル・ハフツング
Priority date (The priority date is an assumption and is not a legal conclusion. Google has not performed a legal analysis and makes no representation as to the accuracy of the date listed.)
Filing date
Publication date
Application filed by サノフィ−アベンティス・ドイチュラント・ゲゼルシャフト・ミット・ベシュレンクテル・ハフツング filed Critical サノフィ−アベンティス・ドイチュラント・ゲゼルシャフト・ミット・ベシュレンクテル・ハフツング
Publication of JP2016531682A publication Critical patent/JP2016531682A/ja
Application granted granted Critical
Publication of JP6434026B2 publication Critical patent/JP6434026B2/ja
Active legal-status Critical Current
Anticipated expiration legal-status Critical

Links

Images

Classifications

    • AHUMAN NECESSITIES
    • A61MEDICAL OR VETERINARY SCIENCE; HYGIENE
    • A61MDEVICES FOR INTRODUCING MEDIA INTO, OR ONTO, THE BODY; DEVICES FOR TRANSDUCING BODY MEDIA OR FOR TAKING MEDIA FROM THE BODY; DEVICES FOR PRODUCING OR ENDING SLEEP OR STUPOR
    • A61M5/00Devices for bringing media into the body in a subcutaneous, intra-vascular or intramuscular way; Accessories therefor, e.g. filling or cleaning devices, arm-rests
    • A61M5/178Syringes
    • A61M5/31Details
    • A61M5/32Needles; Details of needles pertaining to their connection with syringe or hub; Accessories for bringing the needle into, or holding the needle on, the body; Devices for protection of needles
    • A61M5/3202Devices for protection of the needle before use, e.g. caps
    • AHUMAN NECESSITIES
    • A61MEDICAL OR VETERINARY SCIENCE; HYGIENE
    • A61MDEVICES FOR INTRODUCING MEDIA INTO, OR ONTO, THE BODY; DEVICES FOR TRANSDUCING BODY MEDIA OR FOR TAKING MEDIA FROM THE BODY; DEVICES FOR PRODUCING OR ENDING SLEEP OR STUPOR
    • A61M5/00Devices for bringing media into the body in a subcutaneous, intra-vascular or intramuscular way; Accessories therefor, e.g. filling or cleaning devices, arm-rests
    • A61M5/178Syringes
    • A61M5/31Details
    • A61M5/32Needles; Details of needles pertaining to their connection with syringe or hub; Accessories for bringing the needle into, or holding the needle on, the body; Devices for protection of needles
    • A61M5/3205Apparatus for removing or disposing of used needles or syringes, e.g. containers; Means for protection against accidental injuries from used needles
    • A61M5/321Means for protection against accidental injuries by used needles
    • A61M5/3213Caps placed axially onto the needle, e.g. equipped with finger protection guards
    • AHUMAN NECESSITIES
    • A61MEDICAL OR VETERINARY SCIENCE; HYGIENE
    • A61MDEVICES FOR INTRODUCING MEDIA INTO, OR ONTO, THE BODY; DEVICES FOR TRANSDUCING BODY MEDIA OR FOR TAKING MEDIA FROM THE BODY; DEVICES FOR PRODUCING OR ENDING SLEEP OR STUPOR
    • A61M5/00Devices for bringing media into the body in a subcutaneous, intra-vascular or intramuscular way; Accessories therefor, e.g. filling or cleaning devices, arm-rests
    • A61M5/178Syringes
    • A61M5/31Details
    • A61M5/32Needles; Details of needles pertaining to their connection with syringe or hub; Accessories for bringing the needle into, or holding the needle on, the body; Devices for protection of needles
    • A61M2005/3201Coaxially assembled needle cannulas placed on top of another, e.g. needles having different diameters

Landscapes

  • Health & Medical Sciences (AREA)
  • Engineering & Computer Science (AREA)
  • Hematology (AREA)
  • Anesthesiology (AREA)
  • Biomedical Technology (AREA)
  • Heart & Thoracic Surgery (AREA)
  • Vascular Medicine (AREA)
  • Life Sciences & Earth Sciences (AREA)
  • Animal Behavior & Ethology (AREA)
  • General Health & Medical Sciences (AREA)
  • Public Health (AREA)
  • Veterinary Medicine (AREA)
  • Environmental & Geological Engineering (AREA)
  • Infusion, Injection, And Reservoir Apparatuses (AREA)

Description

本発明は、薬物送達デバイス用のキャップおよび薬物送達デバイス装置に関する。
ペン型薬物送達デバイスは、正式な医学訓練を受けていない人によって定期的な注射が行われる場合に適用される。これは、糖尿病の患者の間でますます一般的になっており、自己治療が、このような患者が自分の糖尿病の効果的な管理を行うことを可能にする。実際に、このような薬物送達デバイスは、使用者が薬剤のいくつかの使用者可変用量を個々に選択および投薬することを可能にする。あるいは、固定用量デバイスが、設定用量を増大または低減させる可能性なしに既定用量を投薬することを可能にする。
基本的に2つのタイプの薬物送達デバイス、すなわち:再設定可能デバイス(すなわち、再使用可能)および再設定不能デバイス(すなわち、使い捨て)がある。たとえば、使い捨てペン送達デバイスには、取外し可能な事前充填カートリッジがない。
カートリッジおよび/またはニードルアセンブリを含む薬物送達デバイスの遠位部材は、キャップによって保護される。特に非使い捨てペン型薬物送達デバイスに関しては、堅牢であり、かつ高品位の外見および快適な手触りを有する薬物送達デバイス用の取付け可能キャップを提供することが望まれている。
この目的は、請求項1に記載の、遠位端および近位端を有する薬物送達デバイス用のキャップによって達成される。キャップは、近位端に開口部を有し、さらに外側キャップ要素を含む。内側キャップ要素が外側キャップ要素の中に位置し;この内側キャップ要素は、変形可能領域およびキャップスナップ手段を含む。内側キャップ要素の変形可能領域は、内側キャップ要素と外側キャップ要素の間の隙間の中に変形可能である。
薬物送達デバイスまたはその構成要素の「遠位端」という用語は、デバイスの投薬端部に最も近いデバイスまたは構成要素の端部を指す。薬物送達デバイスまたはその構成要素の「近位端」という用語は、デバイスの投薬端部から最も遠いデバイスまたは構成要素の端部を指す。スリーブ状のキャップの近位端は、薬物送達デバイスの遠位部材が挿入される開いた端部である。
このようなキャップは、薬物送達デバイスの遠位部材のカバーおよび保護を可能にする。キャップは、解放可能にカートリッジホルダの上に取り付けられる。キャップスナップ手段と変形可能領域とギャップとの相互作用により、キャップ取付け、キャップの安全な取付け、およびキャップ取外しが可能になる。一実施形態では、キャップはスリーブ状であり、その遠位端は閉じられており、近位端は、薬物送達デバイスの遠位部材をキャップに挿入するために通す開口部を有する。キャップは、薬物送達デバイスの遠位端を覆うように、また薬物送達デバイスとスナップ連結できるように設計される。スナップ連結部は、スナップ手段と、スナップ手段に係合する可動または変形可能な対応するスナップ手段との間のぴったり合う連結部である。たとえば、突出部が空洞に係合し、またはノーズ/フィンガが後縁部に係合する。
変形可能領域は、スナップ連結部を薬物送達デバイスとロックし、また解放することを可能にする。変形可能領域は、変形された後にその元の形状に戻る弾性材料で作られる。変形は、力が変形可能領域に影響を及ぼすと生じる。材料が弾性である場合、その領域は、力が除去されるとその元の形状およびサイズに戻る。
キャップスナップ手段は、薬物送達デバイス上に位置するキャップ保持手段と係合し、それによって、解放可能スナップ連結部を形成する。キャップスナップ手段は、隆起部分、たとえばフィンガまたはノーズを含む。隆起部分は、キャップの取付け後に、薬物送達デバイス上に位置する対応するキャップ保持手段の縁部の後ろで所定の位置にロックする。好ましくは、キャップスナップ手段は、内側キャップ要素の近位区間であるキャップの近位区間に位置する。
隙間は、変形可能領域の領域内に互いに離隔された内側キャップ要素と外側キャップ要素の間の空間である。一実施形態では、隙間は、外側キャップ要素の内面に位置する空洞である。
内側キャップ要素と外側キャップ要素の組合せにより、最適化された内側部材および外側部材を提供することが可能になる。外側部材は堅牢な表面を有する。内側部材は、所望の形状に容易に製造および成形することができる、より感受性の高い材料で作られる。
外側キャップ要素は、金属、たとえばアルミニウムで作られる。一実施形態では、隙間は外側キャップ要素の内部面の空洞であり、このキャップは、外側キャップ要素の内面の、少なくとも部分的に円周方向に伸びる凹部として形成される。この凹部は簡単な方法で、たとえば外側キャップ要素の近位区間を遠位区間および中間区間よりも薄くなるように深絞りし、次に、外側キャップ要素の近位リップを折り返すことによって、形成することができる。折り曲げられたリップに対して遠位になる薄い領域は、空洞を形成する。折り曲げられたリップは、空洞の近位縁部を形成する。空洞の領域内の外側キャップ要素の厚さは、外側キャップ要素の遠位区間および中間区間よりも薄い。
一実施形態では、深絞りアルミニウム外側キャップ要素は、丸みのある縁部を開放端に有する。この丸みのある端部を適用することが、内側キャップ部材を固定することを可能にし、また、薬物送達デバイスへのキャップの取り付け中に内側キャップ部材が曲がるための付加的な空間を与える。
キャップスナップ手段は、変形可能領域内に、または変形可能領域に隣接して位置し、後者の場合では、好ましくは変形可能領域に対して近位に位置する。変形可能領域が変形することにより、キャップスナップ連結部を薬物送達デバイスとロックし、また解放することが可能になる。
一実施形態では、キャップスナップ手段の近位端は、外側キャップ要素の空洞の近位縁部に対して近位に位置する。この配置により、取付け中に力がキャップスナップ手段に影響を及ぼすときにキャップスナップ手段の近位端がその位置にとどまるので、変形可能領域にトルクを加えることが可能になる。あるいは、キャップスナップ手段の近位端は、外側キャップ要素の空洞の近位縁部に対して遠位に位置する。
キャップスナップ手段は、キャップをその位置に取付け後にロックできるようにするノーズまたはフィンガを形成する隆起部分を含む。変形可能領域の少なくとも一部における内側キャップ要素の厚さは、内側キャップ要素の他の区間よりも薄い。変形可能領域は、内側キャップ要素が内面に空洞を有するように形成することができ、この空洞は、薬物送達デバイス上に位置する隆起キャップ保持手段に係合するのに適している。
好ましくは、内側キャップ要素は、容易な製造を可能にするプラスチックで作られる。
一実施形態では、内側キャップ要素も外側キャップ要素もスリーブ状であり;内側キャップ要素は、薬物送達デバイスの遠位区間を受けるのに適しており;堅牢な外側キャップは保護の働きをする。内側キャップ要素と外側キャップ要素は、適切な手段によって、たとえば接着手段、ポジティブロッキング、および/または摩擦ロッキングによって連結される。
一実施形態では、キャップは、連結機能を有する固定要素と、開口部を有する外側キャップ要素と、対応連結機能を含む内側キャップ要素とを含む。固定要素の一区間は、連結機能と対応連結機能との相互作用によって固定要素が内側キャップ要素に連結されるように、外側キャップ要素の開口部を通って延びる。このような固定要素は、キャップによって薬物送達デバイスをシャツまたはジャケットのポケットに連結できるようにするクリップである。
薬物送達デバイス装置は、上述のキャップと、キャップスナップ手段とのスナップ連結部を形成するのに適しているキャップ保持手段を含む薬物送達デバイスとを含む。
本明細書で使用する用語「薬剤」または「薬物」は、好ましくは少なくとも1つの薬学的に活性な化合物を含む医薬製剤を意味し、
ここで、一実施形態において、薬学的に活性な化合物は、最大1500Daまでの分子量を有し、および/または、ペプチド、タンパク質、多糖類、ワクチン、DNA、RNA、酵素、抗体もしくはそのフラグメント、ホルモンもしくはオリゴヌクレオチド、または上述の薬学的に活性な化合物の混合物であり、
ここで、さらなる実施形態において、薬学的に活性な化合物は、糖尿病、または糖尿病性網膜症などの糖尿病関連の合併症、深部静脈血栓塞栓症または肺血栓塞栓症などの血栓塞栓症、急性冠症候群(ACS)、狭心症、心筋梗塞、がん、黄斑変性症、炎症、枯草熱、アテローム性動脈硬化症および/または関節リウマチの処置および/または予防に有用であり、
ここで、さらなる実施形態において、薬学的に活性な化合物は、糖尿病または糖尿病性網膜症などの糖尿病に関連する合併症の処置および/または予防のための少なくとも1つのペプチドを含み、
ここで、さらなる実施形態において、薬学的に活性な化合物は、少なくとも1つのヒトインスリンもしくはヒトインスリン類似体もしくは誘導体、グルカゴン様ペプチド(GLP−1)もしくはその類似体もしくは誘導体、またはエキセンジン−3もしくはエキセンジン−4もしくはエキセンジン−3もしくはエキセンジン−4の類似体もしくは誘導体を含む。
インスリン類似体は、たとえば、Gly(A21),Arg(B31),Arg(B32)ヒトインスリン;Lys(B3),Glu(B29)ヒトインスリン;Lys(B28),Pro(B29)ヒトインスリン;Asp(B28)ヒトインスリン;B28位におけるプロリンがAsp、Lys、Leu、Val、またはAlaで置き換えられており、B29位において、LysがProで置き換えられていてもよいヒトインスリン;Ala(B26)ヒトインスリン;Des(B28−B30)ヒトインスリン;Des(B27)ヒトインスリン、およびDes(B30)ヒトインスリンである。
インスリン誘導体は、たとえば、B29−N−ミリストイル−des(B30)ヒトインスリン;B29−N−パルミトイル−des(B30)ヒトインスリン;B29−N−ミリストイルヒトインスリン;B29−N−パルミトイルヒトインスリン;B28−N−ミリストイルLysB28ProB29ヒトインスリン;B28−N−パルミトイル−LysB28ProB29ヒトインスリン;B30−N−ミリストイル−ThrB29LysB30ヒトインスリン;B30−N−パルミトイル−ThrB29LysB30ヒトインスリン;B29−N−(N−パルミトイル−γ−グルタミル)−des(B30)ヒトインスリン;B29−N−(N−リトコリル−γ−グルタミル)−des(B30)ヒトインスリン;B29−N−(ω−カルボキシヘプタデカノイル)−des(B30)ヒトインスリン、およびB29−N−(ω−カルボキシヘプタデカノイル)ヒトインスリンである。
エキセンジン−4は、たとえば、H−His−Gly−Glu−Gly−Thr−Phe−Thr−Ser−Asp−Leu−Ser−Lys−Gln−Met−Glu−Glu−Glu−Ala−Val−Arg−Leu−Phe−Ile−Glu−Trp−Leu−Lys−Asn−Gly−Gly−Pro−Ser−Ser−Gly−Ala−Pro−Pro−Pro−Ser−NH2配列のペプチドであるエキセンジン−4(1−39)を意味する。
エキセンジン−4誘導体は、たとえば、以下のリストの化合物:
H−(Lys)4−desPro36,desPro37エキセンジン−4(1−39)−NH2、
H−(Lys)5−desPro36,desPro37エキセンジン−4(1−39)−NH2、
desPro36エキセンジン−4(1−39)、
desPro36[Asp28]エキセンジン−4(1−39)、
desPro36[IsoAsp28]エキセンジン−4(1−39)、
desPro36[Met(O)14,Asp28]エキセンジン−4(1−39)、
desPro36[Met(O)14,IsoAsp28]エキセンジン−(1−39)、
desPro36[Trp(O2)25,Asp28]エキセンジン−4(1−39)、
desPro36[Trp(O2)25,IsoAsp28]エキセンジン−4(1−39)、
desPro36[Met(O)14,Trp(O2)25,Asp28]エキセンジン−4(1−39)、
desPro36[Met(O)14Trp(O2)25,IsoAsp28]エキセンジン−4(1−39);または
desPro36[Asp28]エキセンジン−4(1−39)、
desPro36[IsoAsp28]エキセンジン−4(1−39)、
desPro36[Met(O)14,Asp28]エキセンジン−4(1−39)、
desPro36[Met(O)14,IsoAsp28]エキセンジン−(1−39)、
desPro36[Trp(O2)25,Asp28]エキセンジン−4(1−39)、
desPro36[Trp(O2)25,IsoAsp28]エキセンジン−4(1−39)、
desPro36[Met(O)14,Trp(O2)25,Asp28]エキセンジン−4(1−39)、
desPro36[Met(O)14,Trp(O2)25,IsoAsp28]エキセンジン−4(1−39)、
(ここで、基−Lys6−NH2が、エキセンジン−4誘導体のC−末端に結合していてもよい);
または、以下の配列のエキセンジン−4誘導体:
desPro36エキセンジン−4(1−39)−Lys6−NH2(AVE0010)、
H−(Lys)6−desPro36[Asp28]エキセンジン−4(1−39)−Lys6−NH2、
desAsp28Pro36,Pro37,Pro38エキセンジン−4(1−39)−NH2、
H−(Lys)6−desPro36,Pro38[Asp28]エキセンジン−4(1−39)−NH2、
H−Asn−(Glu)5desPro36,Pro37,Pro38[Asp28]エキセンジン−4(1−39)−NH2、
desPro36,Pro37,Pro38[Asp28]エキセンジン−4(1−39)−(Lys)6−NH2、
H−(Lys)6−desPro36,Pro37,Pro38[Asp28]エキセンジン−4(1−39)−(Lys)6−NH2、
H−Asn−(Glu)5−desPro36,Pro37,Pro38[Asp28]エキセンジン−4(1−39)−(Lys)6−NH2、
H−(Lys)6−desPro36[Trp(O2)25,Asp28]エキセンジン−4(1−39)−Lys6−NH2、
H−desAsp28Pro36,Pro37,Pro38[Trp(O2)25]エキセンジン−4(1−39)−NH2、
H−(Lys)6−desPro36,Pro37,Pro38[Trp(O2)25,Asp28]エキセンジン−4(1−39)−NH2、
H−Asn−(Glu)5−desPro36,Pro37,Pro38[Trp(O2)25,Asp28]エキセンジン−4(1−39)−NH2、
desPro36,Pro37,Pro38[Trp(O2)25,Asp28]エキセンジン−4(1−39)−(Lys)6−NH2、
H−(Lys)6−desPro36,Pro37,Pro38[Trp(O2)25,Asp28]エキセンジン−4(1−39)−(Lys)6−NH2、
H−Asn−(Glu)5−desPro36,Pro37,Pro38[Trp(O2)25,Asp28]エキセンジン−4(1−39)−(Lys)6−NH2、
H−(Lys)6−desPro36[Met(O)14,Asp28]エキセンジン−4(1−39)−Lys6−NH2、
desMet(O)14,Asp28Pro36,Pro37,Pro38エキセンジン−4(1−39)−NH2、
H−(Lys)6−desPro36,Pro37,Pro38[Met(O)14,Asp28]エキセンジン−4(1−39)−NH2、
H−Asn−(Glu)5−desPro36,Pro37,Pro38[Met(O)14,Asp28]エキセンジン−4(1−39)−NH2;
desPro36,Pro37,Pro38[Met(O)14,Asp28]エキセンジン−4(1−39)−(Lys)6−NH2、
H−(Lys)6−desPro36,Pro37,Pro38[Met(O)14,Asp28]エキセンジン−4(1−39)−(Lys)6−NH2、
H−Asn−(Glu)5desPro36,Pro37,Pro38[Met(O)14,Asp28]エキセンジン−4(1−39)−(Lys)6−NH2、
H−Lys6−desPro36[Met(O)14,Trp(O2)25,Asp28]エキセンジン−4(1−39)−Lys6−NH2、
H−desAsp28,Pro36,Pro37,Pro38[Met(O)14,Trp(O2)25]エキセンジン−4(1−39)−NH2、
H−(Lys)6−desPro36,Pro37,Pro38[Met(O)14,Asp28]エキセンジン−4(1−39)−NH2、
H−Asn−(Glu)5−desPro36,Pro37,Pro38[Met(O)14,Trp(O2)25,Asp28]エキセンジン−4(1−39)−NH2、
desPro36,Pro37,Pro38[Met(O)14,Trp(O2)25,Asp28]エキセンジン−4(1−39)−(Lys)6−NH2、
H−(Lys)6−desPro36,Pro37,Pro38[Met(O)14,Trp(O2)25,Asp28]エキセンジン−4(S1−39)−(Lys)6−NH2、
H−Asn−(Glu)5−desPro36,Pro37,Pro38[Met(O)14,Trp(O2)25,Asp28]エキセンジン−4(1−39)−(Lys)6−NH2;
または前述のいずれか1つのエキセンジン−4誘導体の薬学的に許容される塩もしくは溶媒和化合物
から選択される。
ホルモンは、たとえば、ゴナドトロピン(フォリトロピン、ルトロピン、コリオンゴナドトロピン、メノトロピン)、ソマトロピン(ソマトロピン)、デスモプレシン、テルリプレシン、ゴナドレリン、トリプトレリン、ロイプロレリン、ブセレリン、ナファレリン、ゴセレリンなどの、Rote Liste、2008年版、50章に列挙されている脳下垂体ホルモンまたは視床下部ホルモンまたは調節性活性ペプチドおよびそれらのアンタゴニストである。
多糖類としては、たとえば、グルコサミノグリカン、ヒアルロン酸、ヘパリン、低分子量ヘパリン、もしくは超低分子量ヘパリン、またはそれらの誘導体、または上述の多糖類の硫酸化形態、たとえば、ポリ硫酸化形態、および/または、薬学的に許容されるそれらの塩がある。ポリ硫酸化低分子量ヘパリンの薬学的に許容される塩の例としては、エノキサパリンナトリウムがある。
抗体は、基本構造を共有する免疫グロブリンとしても知られている球状血漿タンパク質(約150kDa)である。これらは、アミノ酸残基に付加された糖鎖を有するので、糖タンパク質である。各抗体の基本的な機能単位は免疫グロブリン(Ig)単量体(1つのIg単位のみを含む)であり、分泌型抗体はまた、IgAなどの2つのIg単位を有する二量体、硬骨魚のIgMのような4つのIg単位を有する四量体、または哺乳動物のIgMのように5つのIg単位を有する五量体でもあり得る。
Ig単量体は、4つのポリペプチド鎖、すなわち、システイン残基間のジスルフィド結合によって結合された2つの同一の重鎖および2本の同一の軽鎖から構成される「Y」字型の分子である。それぞれの重鎖は約440アミノ酸長であり、それぞれの軽鎖は約220アミノ酸長である。重鎖および軽鎖はそれぞれ、これらの折り畳み構造を安定化させる鎖内ジスルフィド結合を含む。それぞれの鎖は、Igドメインと呼ばれる構造ドメインから構成される。これらのドメインは約70〜110個のアミノ酸を含み、そのサイズおよび機能に基づいて異なるカテゴリー(たとえば、可変すなわちV、および定常すなわちC)に分類される。これらは、2つのβシートが、保存されたシステインと他の荷電アミノ酸との間の相互作用によって一緒に保持される「サンドイッチ」形状を作り出す特徴的な免疫グロブリン折り畳み構造を有する。
α、δ、ε、γおよびμで表される5種類の哺乳類Ig重鎖が存在する。存在する重鎖の種類により抗体のアイソタイプが定義され、これらの鎖はそれぞれ、IgA、IgD、IgE、IgGおよびIgM抗体中に見出される。
異なる重鎖はサイズおよび組成が異なり、αおよびγは約450個のアミノ酸を含み、δは約500個のアミノ酸を含み、μおよびεは約550個のアミノ酸を有する。各重鎖は、2つの領域、すなわち定常領域(CH)と可変領域(VH)を有する。1つの種において、定常領域は、同じアイソタイプのすべての抗体で本質的に同一であるが、異なるアイソタイプの抗体では異なる。重鎖γ、α、およびδは、3つのタンデム型のIgドメインと、可撓性を加えるためのヒンジ領域とから構成される定常領域を有し、重鎖μおよびεは、4つの免疫グロブリン・ドメインから構成される定常領域を有する。重鎖の可変領域は、異なるB細胞によって産生された抗体では異なるが、単一B細胞またはB細胞クローンによって産生された抗体すべてについては同じである。各重鎖の可変領域は、約110アミノ酸長であり、単一のIgドメインから構成される。
哺乳類では、λおよびκで表される2種類の免疫グロブリン軽鎖がある。軽鎖は2つの連続するドメイン、すなわち1つの定常ドメイン(CL)および1つの可変ドメイン(VL)を有する。軽鎖のおおよその長さは、211〜217個のアミノ酸である。各抗体は、常に同一である2本の軽鎖を有し、哺乳類の各抗体につき、軽鎖κまたはλの1つのタイプのみが存在する。
すべての抗体の一般的な構造は非常に類似しているが、所与の抗体の固有の特性は、上記で詳述したように、可変(V)領域によって決定される。より具体的には、各軽鎖(VL)について3つおよび重鎖(HV)に3つの可変ループが、抗原との結合、すなわちその抗原特異性に関与する。これらのループは、相補性決定領域(CDR)と呼ばれる。VHドメインおよびVLドメインの両方からのCDRが抗原結合部位に寄与するので、最終的な抗原特異性を決定するのは重鎖と軽鎖の組合せであり、どちらか単独ではない。
「抗体フラグメント」は、上記で定義した少なくとも1つの抗原結合フラグメントを含み、そのフラグメントが由来する完全抗体と本質的に同じ機能および特異性を示す。パパインによる限定的なタンパク質消化は、Igプロトタイプを3つのフラグメントに切断する。1つの完全なL鎖および約半分のH鎖をそれぞれが含む2つの同一のアミノ末端フラグメントが、抗原結合フラグメント(Fab)である。サイズが同等であるが、鎖間ジスルフィド結合を有する両方の重鎖の半分の位置でカルボキシル末端を含む第3のフラグメントは、結晶可能なフラグメント(Fc)である。Fcは、炭水化物、相補結合部位、およびFcR結合部位を含む。限定的なペプシン消化により、Fab片とH−H鎖間ジスルフィド結合を含むヒンジ領域の両方を含む単一のF(ab’)2フラグメントが得られる。F(ab’)2は、抗原結合に対して二価である。F(ab’)2のジスルフィド結合は、Fab’を得るために切断することができる。さらに、重鎖および軽鎖の可変領域は、縮合して単鎖可変フラグメント(scFv)を形成することもできる。
薬学的に許容される塩は、たとえば、酸付加塩および塩基性塩である。酸付加塩としては、たとえば、HClまたはHBr塩がある。塩基性塩は、たとえば、アルカリまたはアルカリ土類、たとえば、Na+、またはK+、またはCa2+から選択されるカチオン、または、アンモニウムイオンN+(R1)(R2)(R3)(R4)(式中、R1〜R4は互いに独立に:水素、場合により置換されたC1〜C6アルキル基、場合により置換されたC2〜C6アルケニル基、場合により置換されたC6〜C10アリール基、または場合により置換されたC6〜C10ヘテロアリール基を意味する)を有する塩である。薬学的に許容される塩のさらなる例は、「Remington’s Pharmaceutical Sciences」17版、Alfonso R.Gennaro(編)、Mark Publishing Company、Easton、Pa.、U.S.A.、1985およびEncyclopedia of Pharmaceutical Technologyに記載されている。
薬学的に許容される溶媒和物は、たとえば、水和物である。
次に、本発明の非限定的、例示的な実施形態について添付の図面を参照して説明する。
本発明によるキャップが取り付けられている薬物送達デバイスを示す図である。 キャップが除去され79単位の用量がダイヤル設定されている図1の薬物送達デバイスを示す図である。 図1の薬物送達デバイスの構成要素を分解組立図で示す図である。 図1の薬物送達デバイスの外側本体を示す図である。 図1の薬物送達デバイスの内側本体を示す図である。 図5aの内側本体の細部を示す図である。 図1の薬物送達デバイスのカートリッジホルダを示す図である。 図1の薬物送達デバイスの第1の表示部材構成要素を示す図である。 図7aの第1の表示部材の細部を示す図である。 図1の薬物送達デバイスの第2の表示部材構成要素を示す図である。 図1の薬物送達デバイスの第1の駆動体構成要素を示す図である。 図1の薬物送達デバイスの第2の駆動体構成要素を示す図である。 図1の薬物送達デバイスの第3の駆動体構成要素を示す図である。 図1の薬物送達デバイスの最終用量ナットを示す図である。 図1の薬物送達デバイスのクラッチ部材を示す図である。 図1の薬物送達デバイスの第1のクリッカ部材を示す図である。 図1の薬物送達デバイスの第2のクリッカ部材を示す図である。 図1の薬物送達デバイスのボタンを示す図である。 ボタンが解放されているゼロ単位位置で図1の薬物送達デバイスの近位区間を示す切取図である。 ある単位がダイヤル設定されている位置で図1の薬物送達デバイスの近位区間を示す切取図である。 ボタンが押されているゼロ単位位置で図1の薬物送達デバイスの近位区間を示す切取図である。 キャップの分解組立図である。 外側キャップ要素の近位領域の断面図である。 外側キャップ要素の三次元切取図である。 取付け中のキャップの近位区間の断面図である。 取付け後のキャップの近位区間の断面図である。 取付け後のキャップの代替形態の近位区間の断面図である 固定要素の斜視図である。 外側キャップ要素の斜視図である。 内側キャップ要素の斜視図である。 キャップの部材の概略断面図である。 キャップの一部分を長手方向断面で示す図である。
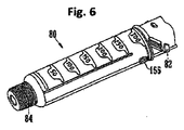
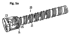
図1および図2は、注射ペンの形の薬物送達デバイス1を示す。このデバイスは、遠位端(図1で下端)および近位端(図1で上端)を有する。薬物送達デバイス1の構成要素部材は、より詳細に図3に示されている。薬物送達デバイス1は、外側ハウジング部材10、内側本体20、ピストンロッド30、駆動体40、ナット50、表示部材60、ボタン70、カートリッジ81を受けるためのカートリッジホルダ80、クラッチ90、クリッカ100、ばね110、キャップ120、および窓挿入物230を含む。ニードルハブおよびニードルカバーを含むニードル配置(図示せず)が、上記で説明されたように交換できる追加構成要素として提供される。ピストンロッド30は支承部31を含む。駆動体は、遠位駆動体部材41、近位駆動体部材42、およびカプラ43を含む。表示部材60は、数字スリーブ61およびダイヤルスリーブ62を含む。クリッカは、遠位クリッカ部材101、近位クリッカ部材102、およびばね103を含む。
図4に示されている外側ハウジング部材10は、内側本体20を取り付けるための遠位部材11、および近位部材を有する概して管状の要素であり、最大単位(この例では80U)止め具が係合されたときに表示部材60の嵌合面に接触するその内面(図示せず)に、回転硬質止め具12を備える。端面はまた、ボタン70の用量投薬止め具の端部としても機能し、端面の穴は、ダイヤル設定中にも投薬中にも表示部材60を中心に合わせる。開口部13が、窓挿入物230を受けるために設けられる。外側本体10は使用者に、投薬中につかみ反作用するための面を提供する。
内側本体20は、異なる半径領域を有する概して管状の要素である。図17〜19で分かるように、内側本体20は、外側本体10に受け入れられると共に、外側本体10に対する内側本体20のいかなる相対運動も防止するように恒久的にそこに固定される。内側本体は、内部スプラインによってクリッカおよび最終用量ナット50を案内して駆動機構を中に収容する機能、ピストンロッド30(親ねじ)を駆動するための内側ねじ山を提供する機能、数字スリーブ61およびダイヤルスリーブ62を外側ねじ山形状によって支持および案内する機能、カートリッジホルダ80を固定する機能、ならびに外側本体10および窓挿入物230を固定する機能を有する。
内側本体20の最も外側の直径部はまた、視覚設計の一部を形成し、キャップ120が、外側本体10からキャップ120を分離するリングとしてのカートリッジホルダ80に固定されているときには可視のままである。この可視リングはまた、カートリッジホルダが適正に嵌められたことを示すために、カートリッジホルダ80上のキャップスナップ機能と位置合わせする凹部を有する。
外側ねじ山21が、内側本体20の外面に設けられる。さらに、スプライン22(図5b)が内側本体20の内面に設けられる。これらの内面スプライン22は、ダイヤル設定中でも投薬中でもクリッカ100を軸方向に案内し、また最終用量ナット50が回転しないようにする。スプラインのいくつかは、内部部材の適正な回転組立てを確実にするために幅がより広く、これらの幅がより広いスプラインは、最終用量ナット50が組立て中に遠位駆動スリーブ41上の止め面に突き当たって回転することを助長するために、段を有する入口および傾斜した面を有する。図5bに示された開放端には追加の短いスプラインがあり、これは交互の長いスプライン22と一緒に使用されて、投薬の終わりにボタン70(用量ダイヤルグリップ)を回転ロックすると共に、ボタン70が押し下げられたときの0Uダイヤル止め具の強度を増す働きをする。これは、クラッチ部材90上の雄スプライン機能との係合によって実現される。
バヨネット機能23は、カートリッジ取替中にカートリッジホルダ80を機構の中に案内して、カートリッジ付勢ばね110を圧縮し、次に、機構内の軸方向遊びを減らすために、カートリッジホルダ80を短い距離後退させる。内側本体20の内部のスナップ機能は、カートリッジホルダ80を、それが適正に嵌められたときに回転ロックする。これらのスナップの特性は、使用者がカートリッジホルダ80を不完全に嵌めないようにすることを狙いとし、カートリッジ付勢ばね110は、スナップが少なくとも係合し始めていない場合にカートリッジホルダ80を排出する。窓保持ノーズ24は、外側本体10と窓挿入物230のアセンブリが内側本体20に軸方向に挿入されたときに窓挿入物230を保持する。直径方向に向かい合わせの2つの止め面25が、数字スリーブ61の回転端位置を画成する。この端位置は、最小用量(0U)の用量デテント位置の端部になる。
ピストンロッド30は、方向が反対の互いに重なり合う2つの外側ねじ山32、33を有する細長い要素である。これらのうちの1つのねじ山32は、内側本体20の内側ねじ山と係合する。円板状の支承部31がピストンロッド30の遠位端に設けられる。支承部31は、図3に示された別個の部材であっても、所定の破断点を介した一体化部材としてピストンロッド30に取り付けられてもよい。
ピストンロッド30は、投薬負荷を駆動体40から支承部31まで伝達して、駆動体40のねじ山インターフェースによってピストンロッド30に対して生成されるトルクを、ピストンロッドが内側本体20内のねじ山を通過するときに追加の軸方向負荷に変換することによって、1:1より大きい機械的利益を生み出す。ピストンロッド30は、支承部31を押すことによってリセットされ、これにより次にピストンロッドが回転し内側本体20の中に戻る。これにより遠位駆動スリーブ41が係合解除し、次に回転して、最終用量ナット50を遠位駆動スリーブ41上のその始動位置まで戻してリセットする。
駆動体40は、図に示された実施形態では3つの構成要素を有する概して管状の要素であり、これらの構成要素は、より詳細に図9〜11に描かれている。
遠位駆動スリーブ41は、ピストンロッドねじ山33と係合して、用量送達中にピストンロッド30を内側本体20中で駆動する。遠位駆動スリーブ41はまた、カプラ43に恒久的に連結され、そうするとカプラは、リセットクラッチ機能によって近位駆動スリーブ42に解放可能に係合される。駆動スリーブの二等分したものは、ダイヤル設定中および投薬中、回転・軸方向連結されるが、デバイスリセット中は、互いに回転できるように回転デカップリングされる。
外側ねじ山44は、最終用量ナット50と係合する。このねじ山形状は、ナット50がその上で移動してダイヤル設定単位の大部分を数える浅い第1の段(図9の左側)と、ストップ面に係合する前に最終用量ナットがその上で速く軸方向に動く急速段と、止め面が係合したときにナット50による軸方向拘束がねじ山形状の適当な長さにわたって及ぶことを確実にする、最後の浅い区間との3つの段を有する。4つの等間隔止め面45が最終用量ナット50上の嵌合止め面51と係合して、ダイヤル設定することができる単位数を制限する。遠位駆動スリーブ41にカチッと留められるカプラ43との間でトルクを伝達するために、スプライン46が遠位駆動スリーブ41の近位端に設けられる。
図10に示される近位駆動スリーブ42は、クリッカ部材100およびクラッチ90を支持し、回転運動を用量ボタン70からカプラ43および遠位駆動スリーブ41まで伝達する。
近位駆動スリーブ42の遠位端に位置する歯機能47がカプラ43上のリセットクラッチ機能と係合して、ダイヤル設定中および投薬中に駆動スリーブの両半分を連結する。リセット中、これらの歯47が係合解除する。
いくつかのスプラインが、遠位/近位クリッカ部材101、102と係合する近位駆動スリーブ42の外面に設けられて、ダイヤル設定中および投薬中の相対回転を防止する。近位駆動スリーブ42の中間領域に位置する別のスプラインが、クラッチ90部材と係合する。これらのスプラインは、様々なクリッカ部材が誤って上下逆に組み立てられないように非回転対称に配置される。
近位駆動スリーブ42の近位部分は、4つのアームすなわちフィンガ48を有する。フック状の支承部面49が、可撓フィンガ48の端部のフランジセグメントの下側(図10で見て)に存在する。可撓フィンガ48は、間隙またはスロットで分離され、これらは、ボタン70がクラッチ90にカチッと留まるための空間を作り、またこれらのフィンガがダイヤルスリーブ62と近位駆動スリーブ42の組立て中に内側に曲がることを可能にもする。組立て後にフック49は、ばね103からの反力を受けて近位駆動スリーブ42をダイヤルスリーブ62に対して保持する。投薬中、ボタン70は、クラッチ90およびクリッカ部材を介してばね103を押し下げ、このばね103は、カプラ43を通して近位駆動スリーブ42に対して反作用し、次に、この近位駆動スリーブは、これらの支承面を通して軸方向負荷をダイヤルスリーブ62に加える。この軸方向負荷は、ダイヤルスリーブ62を駆動し、したがって、数字スリーブ61を内側本体20の螺旋ねじ山に沿って駆動して、数字スリーブ61の0U止め面が内側本体20に接触するまでデバイスの本体の中に戻す。
図11に示されるカプラ43は、駆動スリーブの二等分したものを、リセット中はデカップリングできるようにしながら、ダイヤル設定中および投薬中に一緒に連結する。カプラ43はまた、最終用量保護止め負荷を近位駆動スリーブ42から遠位駆動スリーブ41まで伝達しなければならない。歯46および歯47にそれぞれ係合する2つの歯のセットがカプラ43内に設けられる。カプラ43は、遠位駆動スリーブ41の上にカチッと留められて、近位駆動スリーブ42に対して制限された相対軸方向運動を可能にする。
ナット50は、内側本体20と駆動体40の遠位駆動スリーブ41との間に設けられる。止め面51は、止め面51が遠位駆動スリーブ41の止め面45に接触した場合にダイヤル設定できる単位数を制限するために、最終用量ナット50の近位面に位置する。最終用量ナット50の機能は、使用者が限定量を超えてダイヤル設定することを防止することである。この制限は、カートリッジ81の投薬可能容積に基づいており、到達したとき、使用者はカートリッジ81を取り替え、デバイスをリセットしなければならない。
ナット50の外側リブ52が内側本体20のスプライン22に係合する。ナットの内側ねじ山53が遠位駆動スリーブ41の外側ねじ山44に係合する。代替形態として、スプラインおよびリブをナット50と駆動体40の間の境界面に設け、ねじ山をナット50と内側本体20の間の境界面に設けることもできる。別の代替形態として、ナット50は、たとえば半割ナットとして設計される。
表示部材60は、数字スリーブ61およびダイヤルスリーブ62から構成される概して管状の要素であり、これら2つの構成要素は、これらを軸方向拘束および回転拘束するように組立て中に一緒にしてカチッと留められ、したがって、単一部材として機能する。
図8に描かれた数字スリーブ61の主要機能は、ダイヤル設定された用量を表示するために用量数を印刷できる面を提供すること、内側本体20にねじ山が付けられた場合に、ピストンロッド30上の螺旋ねじ山形状をたどるように内部機構の螺旋経路をダイヤル設定中に案内すること、ならびにダイヤルスリーブ62に取り付けることである。
数字スリーブ61は、ダイヤル設定中および投薬中に外側本体10内に完全に密閉されるように設計され、したがって、使用者にはダイヤル設定用量だけが窓開口部を通して見える。数字スリーブは、内側にダイヤル設定されたときにその行程を制限するための0U(最小用量)止め面63を有するが、外側ダイヤル設定条件を制限する80U(最大用量)止め面はダイヤルスリーブ62上に位置する。各投薬ストロークの終わりに、この止め面63は、内側本体20上の嵌合面25と係合して数字スリーブ61の回転位置を制限する。
螺旋駆動面64は、ダイヤル設定中および投薬中に内側本体上の螺旋経路21をたどるように数字スリーブ61を案内するねじ山を形成する。
ダイヤルスリーブ62は、組立て後に相対運動が不可能になるように数字スリーブ61と組み立てられる。その部材は、成形と組立ての両方を可能にするために、別個の部材として作られる。また、数字スリーブ61は、たとえば黒色の用量数字に対するコントラストを得るために、好ましくは白色であるのに対し、ダイヤルスリーブ62の色は、美的感覚に適合させるように、あるいは薬物タイプを区別するように選択することができる。
用量近位端にダイヤルスリーブ62は、ダイヤル設定中にクラッチ部材90と係合し投薬中にクラッチから係合解除する内側クラッチ機能65を有する。これらのクラッチ機能65は、ダイヤル設定中、および0U止め具と80U止め具が係合されるとき、ダイヤルスリーブ62をクラッチ90に回転ロックする。ボタン70が押し下げられるとき、これらのクラッチ機能は係合解除して、クラッチ90および駆動機構が軸方向に動くと同時に、ダイヤルスリーブ62および数字スリーブ61が0U開始位置まで回転して戻ることを可能にする。
ダイヤルスリーブ62は、ダイヤル設定中にクラッチ90および数字スリーブ61との係合により外側に回転し、投薬中に、ダイヤルスリーブの端部のフランジ状支承面66に対し近位駆動スリーブ42によって加えられた軸方向力を受けて、内側に逆に回転する。この支承面66は、投薬中に、近位駆動スリーブ42の可撓アーム48と係合する。直径方向に向かい合う2つの面67が、最大用量(たとえば、80U)がダイヤル設定されたときに外側本体10と係合して、最大用量止め面を形成する。
ラチェットアーム68が、投薬中に可聴フィードバックを提供するようにボタン70(用量ダイヤルグリップ)上のラチェット機能と係合して、1単位が送達されるごとに1つのクリック音を与える。さらにこれは、使用者が、ボタン70が押し込まれたまま数字スリーブ61をつかみ、部分的に外側にダイヤル設定された位置から外向きに回転させることを防止する。これはピストンロッド30を逆に巻くことになり、これがその後のダイヤル設定用量に対して過少用量をもたらすことになる。これはさらに、0U止め具を強化する。
図16に示されるボタン70は、用量ダイヤルグリップとして機能し、クラッチ90によって保持されて使用者の動作をクラッチに伝達する。これはまた、ダイヤルスリーブ62上の、可聴フィードバック(ラチェットクリック音)を与える投薬クリッカとして機能するラチェットアーム68と係合するラチェット歯71と、外側本体10と共に用量完了止め面として機能する端面72とを保持する。すなわち、この端面72は、投薬中にそれが外側本体10と接触するときに端部位置を画成する働きをして、用量精度を改善する非常に確実な止め具を提供する。
ボタン70の中心のスリーブ状部分は、フック状のスナップ機能74をそれぞれの遠位端に有する4つのアーム73を備える。アーム73は、クラッチ90と係合してトルクをボタン70からクラッチを経由してダイヤルスリーブ62および近位駆動スリーブ42まで伝達するスプライン付面を形成する。スナップ機能74は、クラッチ90の開口部に係合し、ボタン70をペン本体10の外に引っ張る軸方向負荷が加えられたときに、傾斜したアンダーカット面によって係合を維持するように設計されている。アーム73間の空間は、用量投薬中にボタン70が押し下げられ解放されたときに、近位駆動スリーブ42の可撓アーム48がボタン70およびクラッチ90に対して自由に摺動するための隙間を与えるポケットを画成する。
カートリッジホルダ80は、バヨネット連結部82によって内側本体20に取り付け、投薬予定の薬剤を含むガラスアンプルまたはカートリッジ81を収容する。カートリッジホルダ80は、後面(図6で見て)に開口部83を含み、これは、使用者につかまれた場合に、カートリッジホルダが内側本体20から取り出されるときにアンプルが外に落ちることを防止する。前面には用量数目盛が印刷される。ねじ付遠位端84は、使い捨てペン型針を取り付けるために使用される。
管状クラッチ90が、表示部材60とボタン70の間に設けられる。クラッチは、ボタン70に対して固定され、このボタンを保持し、また一緒になってこれらが、ボタン70が投薬中に押し下げられたときに近位駆動スリーブ42に対して軸方向に移動して、クラッチ歯をダイヤルスリーブ62から係合解除する。これはまた、トルクをボタンから近位駆動スリーブ42まで伝達し、ダイヤル設定負荷および0U/80U止め負荷をボタンからクラッチ歯を介してダイヤルスリーブおよび数字スリーブまで伝達する。
クラッチの内面に設けられた駆動スリーブスプライン91は、近位駆動スリーブ42と係合する。遠位端面にクラッチ付勢歯92が設けられ、これは、近位クリッカ部材102上の類似の歯と嵌合して、ボタン外側位置(ダイヤル設定用量)においてクラッチが、クラッチばね103の付勢作用を受けて近位クリッカ部材102に回転ロックされることを確実にする。歯92は、ダイヤル設定中に近位クリッカ部材102が近位駆動スリーブ42上のスプラインと係合しないように、高さが浅い。4つのスナップ開口部93は、ボタン70のスナップ機能74を保持する働きをする。クラッチは、その近位端近くにスプライン94を有し、これは、投薬の終わりにボタン70が押し下げられた状態で内側本体20にロックして、使用者が0U位置より下でボタン70を回転させることを防止する。
クラッチ歯95は、ダイヤルスリーブのクラッチ歯65と係合して、クラッチを介しボタン70を数字スリーブ61に回転連結する。投薬中、クラッチは、これらのクラッチ歯95を係合解除するように軸方向に動き、それによってダイヤルスリーブ62を解放してデバイスの中に回転して戻り、一方でクラッチ90、したがって駆動体40は、軸方向に動いて用量を投薬する。
クリッカ100は、遠位クリッカ部材101、近位クリッカ部材102、およびばね103を含む。クラッチばね103は、用量の終わりにボタン70が飛び出て、クラッチ90をダイヤル設定の用意ができているダイヤルスリーブ62と再係合するように、ボタン70に付勢する働きをする。さらにクラッチばねは、クリッカ部材がクリッカとして、また数字スリーブ61のデテント位置として機能するためのばね力を提供する。加えてクラッチばねは、駆動スリーブの二等分したもの41、42を、デバイスリセット中には係合解除できるようにしながら、ダイヤル設定中および投薬中は回転係合のままにしておく。
遠位クリッカ部材101は、近位駆動スリーブ42に恒久的にスプライン連結され、また近位クリッカ部材102と係合し、そうして近位クリッカ部材が内側本体20にスプライン連結される。ダイヤル設定中、駆動スリーブが内側本体に対して回転すると、2つのクリッカ部材101、102は、クラッチばね103の圧縮力を受けて互いに回転する。各クリッカの端面に形成されたクリッカ歯と合わさったこの力は、クリック音をもたらし、ダイヤル設定デテント位置もまたもたらす。
投薬中、2つのクリッカ101、102は、投薬負荷を受けて一緒になるように押し付けられ、したがって、近位駆動スリーブ42と内側本体20の間の相対回転を防止して、用量を送達するようにピストンロッドを前方に駆動する。内側穴のスプライン104は、遠位クリッカ部材101を常に近位駆動スリーブ42に連結するが、投薬中にボタン70が押し下げられたとき、およびダイヤル設定中に2つのクリッカが互いに乗り越えたときには、自由な軸方向運動を可能にする。遠位クリッカ部材101上と近位クリッカ部材102上の両方のクリッカ歯105、106の輪郭は同一であり、ダイヤル設定中にばね103からの圧縮負荷を受けて互いに乗り越える。
近位クリッカ部材102は、ダイヤル設定中も投薬中も内側本体20との相対回転を防止する外側スプライン107によって内側本体に恒久的にスプライン連結されて、ダイヤル設定中にクリック音をもたらし、投薬中に近位駆動スリーブ42の回転をロックする。追加の円筒成形スプライン108もまた、ボタン70が押し下げられたときに近位クリッカ部材102を近位駆動スリーブ42に回転連結し、これは使用者が、ボタンが押し下げられた状態で80単位を超えてダイヤル設定することを防止する。近位クリッカ部材102は、近位クリッカ歯106に加えて、反対側の端面にクラッチ付勢歯109を有する。これらの歯は、クラッチ上の類似の歯92と嵌合して、ボタン外側位置(ダイヤル設定用量)でクラッチが、クラッチばね103の付勢作用を受けて近位クリッカ部材102に回転ロックされることを確実にする。
カートリッジ付勢ばね110は、2つの構成要素として1つずつ、下側が1番目で上側が2番目に組み立てられる。このばね組合せは、許容範囲の極値で端部負荷をカートリッジ81に加える働きをして、カートリッジを前方へ、カートリッジホルダ80のフェルールの端面に対し付勢する。これは、使用者が針を取り外し、また取り付けるときに、針カニューレとカートリッジのセプタムの間の摩擦によりカートリッジ81をカートリッジホルダ80に対して軸方向に動かさないことを確実にする。バイアスばね110はまた、使用者が対抗してカートリッジホルダ80を連結しなければならない力をもたらすようにも作用し、この力は、このバヨネットジョイントの触覚フィードバックを増加する。ばね110はまた、カートリッジホルダが安全確実な位置にまで回されていない場合にカートリッジホルダ80を排出する働きをして、この間違いが使用者に目立つようにする。
キャップ120は、カートリッジホルダ80を損傷から保護し、カートリッジ81自体をセプタムまわりの領域へのほこり汚れ侵入から保護する働きをする。キャップは、標準的なペン型注射器針を収容するように設計されている。
窓挿入物230は、用量数字をたとえばその印刷サイズから約25%拡大するレンズを含む。窓挿入物230は、印刷面を摩耗から保護するために、また窓開口部から入る光を最大にして用量数字、およびこれらの数字まわりの白い領域の均一な照明を与えるために、裏面印刷される。ダイヤル設定された用量を示す矢印が、窓開口部に隣接して印刷される。
以下では、薬物送達デバイスおよびその構成要素の機能について、図17〜19を参照してより詳細に説明する。
このデバイスを使用するには、使用者は用量を選択しなければならない。図17に示された開始(静止)状態では、表示部材60は、ダイヤル設定された用量数を使用者に示す。ダイヤル設定された単位数は、外側本体10の用量窓230を通して見ることができる。表示部材60と内側本体20の間のねじ係合により、ボタン70が時計回りに回転すると、表示部材60がデバイスを出て螺旋状に進み、送達予定の単位の数に徐々に達することになる。図18は、ダイヤル設定の中間段階を示す(たとえば80単位の7)。
用量設定中にボタン70、駆動体40および表示部材60は、クラッチ90を介して一緒に回転ロックされる。さらに、ボタン70、駆動体40および表示部材60は、軸方向に連結される。したがって、これら3つの部材は、用量設定中に外側ハウジング10を出て螺旋状に進む。ボタン70が時計回りに回転することにより駆動体40が回転することになり、そうしている間、駆動体はダイヤル設定の間ずっと固定されたままのピストンロッド30に沿って進む。クリッカ配置100は、用量をダイヤル設定するときに触知でき可聴であるフィードバックを使用者に提供する。80単位の最大設定可能用量において、止め機能12と67は係合して、これ以上のダイヤル設定を防止する。
最終用量ナット50は、投薬単位の数を数える機能を提供する。ナット50は、カートリッジ寿命の終わりにデバイスをロックし、そのため使用者がそれ以上の薬物をダイヤル設定することはできない。最終用量ナット50と駆動体40は、上記で説明したねじ付境界面を介して連結することができる。さらに、最終用量ナット50は、ナット50と内側本体20が一緒になって(常時)回転ロックされるように、スプライン22に組み込まれる。ダイヤル設定中に駆動体40が回転すると、ナット50は、ねじ山44に沿って前進することになる。ナット50は、内側本体20の中で軸方向に常に自由に摺動し、そのためナットの前進が可能になる。図9に示されたねじ山44のピッチが最終用量に向かって変わることにより、カートリッジ寿命の終わりのロックアウト状態に向かうナット50の前進が軸方向に加速する。寿命の終わりの状態で、最終用量ナット50の止め機能51は、駆動体40上の対応する機能45と接触する。内側本体20とのスプライン接触は、これらの止め機能45によって伝達されるいかなるトルクにも対応する。
所望の用量がダイヤル設定されていると、デバイス1は薬物投薬の準備ができている。薬物投薬は基本的に、ボタン70を押すことが必要であり、これによりクラッチ90がダイヤルスリーブ62から係合解除することになり、それによって、表示部材60とボタン70の間の相対回転が可能になる。すべての状態において、駆動体40とボタン70は一緒に、アーム73とフィンガ48の係合によって、また近位駆動スリーブ42上の対応するスプラインに係合するスプライン91によって、回転ロックされている。すなわち、クラッチ90が係合解除された(ボタン70が押し込まれた)状態で、ボタン70と駆動体40は一緒に回転ロックされ、ボタン70、駆動体40および表示部材60はなお軸方向に連結されている。
用量を投薬するとき、用量ボタン70およびクラッチ90は、クラッチばね103を圧縮する機構に対して軸方向に動く。近位クリッカ部材102が内側本体20にスプライン連結され、クリッカ歯105、106を貫通する軸方向負荷が遠位クリッカ部材101を近位クリッカ部材102に回転ロックするので、この機構は、軸方向に動くことを強制されるが、ダイヤルスリーブ62および数字スリーブ61は自由に回転して外側ハウジング10の中に戻る。ピストンロッド30、駆動体40および内側本体20の間の嵌合ねじ山の相互作用は、2:1の機械的利益を出す。言い換えると、駆動体40を軸方向に前進させることがピストンロッド30を回転させ、この回転が、内側本体20とピストンロッド30のねじ係合により、ピストンロッドを前進させる。用量投薬中、投薬クリッカ68、71が動作しており、これにはボタン70および表示部材60を要する。投薬クリッカは主に、薬物が投薬されているという可聴フィードバックを使用者に提供する。
このステップの終了は図19に示されている。この時点で用量は完了しており、使用者が用量ボタン70の端部から力を取り除くと、クラッチばね103はこの用量ボタン70を後方へ押して、クラッチとダイヤルスリーブの間で歯65と95を再係合する。
デバイスをリセットすることは、カートリッジホルダ80を除去すること、および空カートリッジを満カートリッジ81と交換することから始まる。カートリッジホルダが再取付けされると、新しいカートリッジの栓が支承部31に接触し、それによって、ピストンロッド30がハウジングの中に押し戻される。最初にピストンロッド30は、内側本体20の中にねじのように回って入り、それによってカプラ43を近位駆動スリーブ42から、ばね103の付勢力に抗して係合解除する。係合解除されるとカプラ43は、遠位駆動スリーブ41と一緒に自由に回転し始め、そうすることを、カートリッジホルダ80が軸方向に内側本体20と係合するまで動きながら続ける。すなわち、遠位駆動スリーブ41は、クリッカ部材101と102が一緒になるようにばね103によって圧縮されているので依然として内側本体20内に回転拘束されている、近位駆動スリーブ42に対して回転する。遠位駆動スリーブ41が回転すると、最終用量ナット50がその(遠位)開始位置にリセットされる。カートリッジホルダ80を内側本体20に連結することが、カプラ43と、したがって遠位駆動スリーブ41と近位駆動スリーブ42の再係合を可能にするバヨネット構造23により、機構を後退させる。
以下では、図20〜30を参照してキャップ120についてより詳細に説明する。図20〜25は、キャップ120の取付け手段を示す。
遠位端121および近位端122を有するキャップ120は、カートリッジホルダ80を覆って損傷から保護する働き、およびカートリッジ81自体を、セプタムまわりの領域へのほこりおよび汚れの侵入から保護する働きをする。キャップ120は、キャップ120の近位開口部からキャップ120の中へと動くペン型注射器の遠位区間を収容するように設計されている。キャップ120は、カートリッジおよびカートリッジホルダ80に取り付けられた針配置180がキャップ120の内側に位置するようにして、薬物送達デバイス1に取り付けられる。キャップ120は、薬物送達デバイス1の使用の前に取り外される。キャップ120の内側は、カートリッジおよびカートリッジホルダ80に取り付けられる針配置180のために十分な空間があるように形成される。カートリッジホルダ80および針配置180を案内および保持する手段(図20〜25では図示せず)が、キャップ120の内面に設けられる。
図20は、外側キャップ要素130、内側キャップ要素131、およびクリップ要素134を含むキャップ120の分解組立図を示す。一緒に組み立てられて取外し可能キャップ120を形成することができる外側および内側キャップ要素130、131は、それぞれ金属スリーブおよびプラスチックスリーブで作られている。外側と内側キャップ要素130、131は、適切な手段、たとえば接着手段、ポジティブロッキングおよび/または摩擦ロッキングによって連結される。クリップ要素134は、キャップ120の手段によって注射器ペン1をシャツまたはジャケットのポケットに連結できるようにし、その理由のために常に便利である。外側キャップ要素130の開口部135は、クリップ要素134が内側キャップ要素131にカチッと留まることができるようにする。
外側キャップ要素130は、好ましくは金属で作られ;内側キャップ要素131は、好ましくはプラスチックで作られる。金属外側キャップ要素130とプラスチック内側キャップ要素131の組合せにより、高品位の外見および快い手触りを提供することが可能になる。キャップ120は重すぎず、快適な取扱いを可能にする。キャップ120の内側構成要素の設計により、クリップ要素134を保持することが可能になり、キャップ120の内側のカートリッジホルダ80に嵌められる標準的な針および針カバーを収容するのに十分な空間がもたらされる。
外側キャップ要素130は、ポリマー製内側キャップ要素131を覆う金属皮膜を提供する0.4mm〜0.6mm厚のアルミニウム要素である。キャップ120の形状は、完全にプラスチックで作られたキャップの1つと類似している。このようなキャップ120は、完全にプラスチックで作られたキャップに、取付け中の触感が変わることなく取って代わることができる。同様なプラスチック機能は、そうでなければ無地の金属スリーブを既存のプラスチックカートリッジホルダ保持機能に取り付ける場合に生じる摩耗の危険を低減する。
内側および外側キャップ要素131、130は、スリーブ形になっている。金属スリーブは、金属シートから搾り加工され、次に、少なくとも外面を覆って陽極酸化される。陽極酸化は、高品位で長持ちする外面をキャップ120に提供し、キャップ120に様々な金属色を与えることを可能にする。金属外側キャップ要素130およびプラスチック内側キャップ要素131を含む取外し可能キャップ120は次に、やはり同様の金属スリーブでできているペン型ハウジング/機構に取り付けられて、高品位の美しく堅牢な表面を有する再使用可能注射デバイスを提供する。
この設計は、コストを最小限にし、堅牢で長持ちする機能を提供する。したがって、金属とプラスチックのスリーブ形構成要素の組合せを使用することにより、プラスチックスリーブを、プラスチックカートリッジホルダキャップ保持手段に取り付ける機能と共に成形することが可能になる。
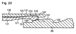
図21は、外側キャップ要素130の近位領域の断面図を示す。図22は、この構成要素の三次元切取図を示す。外側キャップ要素130は、開放端部で厚さが低減されている、深絞り加工された金属スリーブによって形成される。非常に近位の領域が丸められて、丸みのある、または折曲げ端161を形成する。このような材料の巻き返しでビーディングを形成する。この実施形態では、外側キャップ要素130の材料は1回曲げられている。しかしながら、材料は1回より多く曲げることもできる。このような曲げにより、外側キャップ要素130の内面に鋭い縁部147を形成することが可能になる。
深絞り処理によって生じる開放端の薄い材料、およびその後にビーディングを形成することにより、周辺凹部143が外側キャップ要素130の内面に形成される。この凹部143は、キャップ120をカートリッジホルダ80に取り付けるときに内側キャップ要素131がその形に変形することができる空間として機能する。鋭い縁部147は、凹部143の近位縁部であり、組立て後にプラスチック内側キャップ要素131を保持する働きをする。
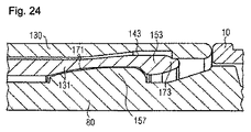
図23は、薬物送達デバイス1に取付け中のキャップ130の近位区間141の断面図を示す。取付け中、内側および外側キャップ要素131、130を含むキャップ120は、カートリッジホルダ80がキャップ120の中へ入るようにしてカートリッジホルダ80に対して近位に動く。
外側キャップ要素130は、外側キャップ要素130の内面に空洞143を含む近位区間141を有する。空洞143は、この実施形態では円周方向に伸びる凹部として形成されている。あるいは、空洞143は、内側キャップ要素131の変形可能領域151の形状およびサイズに対応する別の形を有することもできる。
空洞143の領域内の外側キャップ要素130の厚さは、外側キャップ要素130の遠位区間または中間部の厚さよりも薄い。空洞143の遠位縁部145は、外側キャップ要素130の中間部と近位区間141に位置する空洞143との間のゆるやかな移行を可能にする傾斜路形に形成される。空洞143の近位縁部147は、遠位縁部145よりも急峻であり、鋭い縁部として形成される。
内側キャップ要素131は、内側キャップ要素131の近位区間の内側に位置する、また薬物送達デバイス1のカートリッジホルダ80上に位置するキャップ保持手段155と係合するのに適している、キャップスナップ手段149を含む。キャップスナップ手段149は、キャップスナップ手段149を薬物送達デバイス1のキャップ保持手段155にロックするために、またキャップスナップ手段149をキャップ保持手段155から解放するために、取付けおよび取外し中に変形することができる変形可能領域151の少なくとも近位区間によって形成される。キャップスナップ機能149は、高くなったノーズ153またはフィンガ、および空洞171を含み、空洞171の領域内の内側キャップ要素131は他の領域よりも薄く;空洞171は変形可能領域151によって形成される。ノーズ153は、遠位斜面より急峻ではない近位斜面を有する。
内側キャップ要素の空洞171の厚さの低減によりキャップスナップ手段149の変形が可能になり、それによってキャップ保持機能155に係合することが可能になる。外側キャップ要素130の空洞143により、外側および内側キャップ要素130、131の間に隙間がある。変形可能領域151は、外側キャップ要素130の空洞143の中に変形可能である。言い換えると、変形可能領域151は、外側および内側キャップ要素130、131の間の隙間の中に変形可能である。
キャップスナップ手段149の近位端173は、空洞143の近位縁部147を近位で越えて延び;近位縁部147は、キャップスナップ手段149の近位端173の外向きの動きを防止して、この端部を円形に保持する。
キャップ保持手段155は、プラスチックカートリッジホルダ80の外面に位置する。キャップ保持手段155は、台形、円形、三角形または他の任意の形状として形成されるベース領域がある高所157を含む。一実施形態では、図3および図6に示されるように、2つの高所157がカートリッジホルダ80の両側に配置される。一実施形態では、薬物送達デバイス1上に均等または不均等に間隔をあけて配置されている2つ以上の高所がある。
高所157は、近位斜面および遠位斜面を有し;後者は高所157の近位斜面よりも急峻ではない。遠位斜面は、取付け中にノーズ153の近位斜面が高所157の上部を越えて容易に摺動できるようにする。高所157とノーズ153の両方のより急峻な斜面は、ノーズ153が高所157の上部を越えて動いた後、それが遠位に動くことを妨げ、それによって、取付け後のノーズ153の後向きの動きが防止される。しかし、キャップ120を引っ張る使用者による十分な力の衝撃は、ノーズ153を再び高所157を越えて遠位に引っ張り、それによってキャップ120を取り外すことが可能になる。ノーズ153の遠位斜面および高所157の近位斜面が急峻であるので、取外しに必要な力は取付けに必要な力よりも大きく、そのためキャップ120が偶発的に取り外されることが防止される。しかしながら、代替のノーズ153および高所157の実施形態では、対称である他の斜面設計があり得る。
ノーズ153が高所157を越えて摺動するとき、ノーズ153は外側キャップ要素130の方へ押される。キャップスナップ手段149の近位端173がその位置に、外側キャップ要素130の近位縁部147によって保持されているので、結果として生じるトルクが変形可能領域151を外向きに変形させ、ノーズ先端が高所157を越えて摺動することを可能にする。外側キャップ要素130の空洞143は、キャップ120の取付け中にノーズ153が高所157を越えて摺動するとき、プラスチック内側キャップ要素131の変形の少なくとも一部に対応するための空間を与える。
図24は、薬物送達デバイス1への取付け後のキャップ120の近位区間の断面図を示す。
ノーズ153は、高所157の近位縁部の後ろに係合される。高所157は、内側キャップ要素131の空洞171に係合する。ノーズ153は高所157を越えて摺動しているが、キャップスナップ機能149は依然として、外側キャップ要素130の空洞143の中に変形されている。キャップスナップ手段149の近位端173を強制的にその位置にする外側キャップ要素130の近位縁147と、変形可能領域151を外側キャップ要素130の空洞143に押し込む高所157との組合せにより、キャップスナップ機能149が高所157を越えて適正に整合することになり、それによってキャップ120が取付け位置に保持される。
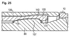
図25は、薬物送達デバイス1への取付け後のキャップ120の別の実施形態の近位区間の断面図を示す。
この実施形態は、上述のものとは内側キャップ要素131の設計が異なる。キャップスナップ手段149の近位端173は、空洞143の近位縁部を越えて延びず、これにより、取付け中に近位縁部173もまた空洞143に入るようにした変形が可能になる。この実施形態では、高所157はキャップスナップ手段149を変形するにすぎず、トルクが大幅に低減されるので、キャップスナップ手段149に衝撃を与える応力が小さい。
以下の図26〜30は、固定要素として機能するクリップ要素134の取付けを示す。
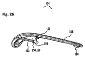
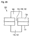
図26は、固定要素134またはペン型デバイスなどの薬物送達デバイス1用のクリップ要素を示す。クリップ要素134によって、薬物送達デバイスのキャップもしくはキャップアセンブリ(下記参照)、または薬物送達デバイスの固定もしくは取付けは、別の構成要素に、たとえばデバイスの使用者のシャツポケットに固定することができる。それに応じて、固定要素134は、細長い形状と、固定要素134の遠位端(図26では左側)のわずかな湾曲とを有する固定部分168すなわち本体を含む。固定要素134はさらに、案内要素150を含む。案内要素150は、固定要素134の遠位端近くの、上記の湾曲部の内側に配置される。案内要素150は、固定要素134が、案内要素150を受ける要素によって、好ましくは固定要素またはデバイスの長手方向軸に沿って案内されるようにレールを構成する、または含む。案内要素は、固定要素134の軸方向延長部の半分未満を越えて延びる。案内要素150はさらに、上記の案内機能を助長するためのT字形横断面を含む(たとえば、図29も参照)。T字形断面を形成するために、案内要素150は受け部分152を含む。受け部分152は、T字形断面の「T」の水平の一画すなわち横棒を構成する。好ましくは、受け部分152は、たとえばキャップアセンブリの中で固定要素134が取り付けられるべき構成要素の、1つまたはそれ以上の開口部もしくは開口部で受けられるように構成される(図29および図30参照)。
さらに、案内要素150は、案内部分158を含む。案内部分158は、好ましくは、案内要素150のT字形断面の「T」の水平の一画すなわち横棒を構成する。案内部分158は、固定要素134の固定部分168を受け部分152に連結するウェブである。案内部分158はさらに、たとえば上記のキャップアセンブリの中で固定要素134が取り付けられるべき構成要素の、1つまたはそれ以上の開口部で受けられる、またはその中に配置される。
案内要素150は、固定要素134の内側で半径方向に突出する突起を含む、または構成する連結機能154を含む。好ましくは、連結機能154は、たとえば内側キャップ要素131(図30参照)の対応連結機能と相互作用するように構成される。連結機能154は、案内要素150の近位端に配置される。連結機能154はさらに、案内要素150の遠位面を含む、または構成する。
案内要素150または固定要素134はさらに、当接機能156を含む。当接機能156は、固定要素134の長手方向軸に垂直な半径方向当接面と、製造および組立ての際の許容誤差により生じる固定要素134と外側キャップ要素130の間の隙間があれば隠す、または覆い隠すように設計されている長手方向当接面とを含む。当接機能156は、好ましくは、たとえばキャップアセンブリ200(図30参照)の中で固定要素134が取り付けられるべき、1つまたはそれ以上の対応する構成要素に当接するように構成される。
さらに、固定要素134は、取付け機能160を含む。取付け機能160は、別の構成要素と相互作用するように構成される。取付け機能160は隆起を含む、または構成する。取付け機能はさらに、案内要素150から軸方向に間隔があけられ、固定要素134の近位端近くに配置される。取付け機能160は、好ましくは、機械的接触によって外側キャップ要素130と相互作用するように構成される。それによって、キャップアセンブリまたは薬物デバイスを、アセンブリまたはデバイスの使用者のシャツポケットなどの別の要素に固定または取付けることが簡単になり、または助けられる。特に、前記機械的接触は摩擦を増大させ、またそれによって、キャップアセンブリおよび別の要素の取付けの確実性を向上させる。
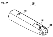
図27は、外側キャップ要素130の斜視図を示す。外側キャップ要素130は細長い形状を含む。外側キャップ要素130はさらに、スリーブ状の形状を含む。好ましくは、外側キャップ要素130は金属で作られ、たとえばアルミニウムから作られる。この目的で外側キャップ要素130は、好ましくは深絞りで形成または製造される。外側キャップ要素130はさらに、開口部164を含む。開口部164は、外側キャップ要素130の遠位端に配置される。開口部164は、好ましくは打抜きによって外側キャップ要素130から形成される。外側キャップ要素はさらに、図27には明確に示されていない近位開口部を含む。開口部164内に、図26に描かれている案内要素150に対応する、対応案内機能162が形成される。対応案内機能162は、開口部164から始まって、外側キャップ要素130の近位方向に延びる。対応案内機能162は案内スロットである。対応案内機能162は、案内要素150の案内部分158を受けるために、案内部分が対応案内機能162の内側に配置されるように構成される。好ましくは、開口部164、対応案内機能162および固定要素134は、案内要素150を開口部164に導入できるように、または開口部164で受けることができるように構成される。次に、固定要素が近位に押されると、案内部分158は、対応する案内機能162で受けられ、またはその中に配置され、受け部分152は、好ましくは開口部164の残りだけで受けられ、外側キャップ要素130および/または内側キャップ要素の内側に配置される(図29および図30参照)。
外側キャップ要素130はさらに、凹部166を含む。凹部166は、好ましくは、たとえば固定要素134と外側キャップ要素130がキャップアセンブリ200に組み立てられるときに、上記の固定要素の取付け機能160を受ける、またはそれと相互作用する(下記の図29および図30参照)。好ましくは、取付け機能は凹部166の中へと延び、かつ/または凹部166内で外側キャップ要素130と接触する。凹部166は軸方向に、特に近位に、外側キャップ要素130の長手方向軸に沿って開口部164から離隔される。凹部166は、好ましくは、取付け機能に従って、すなわち、取付け機能160(図26参照)の上記の隆起と同じ曲率で形づくられる。
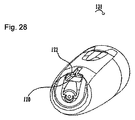
図28は、内側キャップ要素131の斜視上面図を示す。内側キャップ要素131はスリーブであり、外側キャップ要素130に導入されるように構成される。内側キャップ要素131は、対応連結機能170を含む。対応連結機能170は、連結機能154と対応連結機能170の相互作用によって固定要素134を内側キャップ要素131に連結できるように、固定要素134の連結機能154に対応する(図29および図30参照)。対応連結機能170は、内側キャップ要素131の近位面を構成する、または含む。内側キャップ要素131はさらに、開口部172を含む。開口部172は、内側キャップ要素131の遠位端またはその近くに配置される。開口部172はさらに、外側キャップ要素の開口部164と同様に形づくられる(図27参照)。
図29は、キャップアセンブリ200の部材の断面図を示す(図30参照)。アセンブリ200は、固定要素134、外側キャップ要素130および内側キャップ要素131を含む。図23は、上記の構成要素を組み立てられた状態で示す。図29に示された区間の下部にキャップアセンブリ200の内側が示され、上部に外側部材が示されている。描かれた状況では、内側キャップ要素131が外側キャップ要素130内に配置され、固定部材134および/または案内要素150の少なくとも一区間が、外側キャップ要素の開口部164を通って、好ましくはまた、内側キャップ要素の開口部172も通って延びる。この目的で、開口部164と172は、キャップアセンブリ200内で重なり合う。図29にはさらに、上述のように、案内要素150がT字形断面を含むことが示されている(前記Tは上下逆に描かれている)。それによって、固定要素134全体の断面はH状に形づくられる。案内部分158は、対応案内機能162内に配置される(図27も参照)。案内要素150、特に受け部分152は、たとえば、外側キャップ要素130および/または内側キャップ要素131に対する固定要素134の(外向き)半径方向の動きを防止する。これは、対応案内機能162が、受け部分152に対応案内機能162を半径方向に通過することを可能にするには狭すぎるからである。
図30は、キャップアセンブリ200の部材の長手方向断面図を示す。キャップアセンブリは、長手方向軸Xを含む。また、キャップアセンブリ200が適用される薬物送達デバイスも図30に示されている。
固定要素134は、内側キャップ要素131の開口部172および外側キャップ要素130の開口部164を、キャップアセンブリ200が丸みのある形状になるように閉ざす。固定要素134の連結機能154は、少なくとも一部は外側キャップ要素130の開口部164内、ならびに内側キャップ要素131の開口部172内に配置される(図30には開口部が明確に示されていない)。特に、対応案内機能162は、案内要素150の受け部分152を受けるように構成され、その結果、受け部分152が外側キャップ要素130の内側に、また内側キャップ要素131の内側にも配置されるようになる(図29も参照)。
固定要素134と内側キャップ要素131は互いに連結される。特に、連結機能154は、固定要素134と内側キャップ要素131が互いに連結されるように、スナップ相互作用によって対応連結機能170と相互作用し、好ましくは当接する。固定要素134と内側キャップ要素131は、好ましくは、連結機能154の遠位面と対応連結機能170の近位面とが当接するとき、互いに確実に連結される。上記の構成要素を連結するために、または連結中に、固定要素134および内側キャップ要素131のうちの少なくとも1つが、少なくともわずかに変形される。連結機能154は、内側キャップ要素131が外側キャップ要素130の中に保持されるように、外側キャップ要素130に対する内側キャップ要素131の近位の動き(すなわち、図30で左向き)を阻止する。
当接機能156はさらに、内側キャップ要素131の遠位面と、ならびに外側キャップ要素130の遠位面および半径方向面と軸方向に当接する(各面は明確に示されていない)。上述の当接によって、内側キャップ要素131に対する外側キャップ要素130の特に遠位方向の動きが阻止されること、また外側キャップ要素130が固定要素134によって固定されることがさらに容易になる。さらに、当接機能156の上記の当接相互作用が、キャップアセンブリ200に対する機械的安定性をもたらした。
図30にはこのことが明確に示されていないが、固定要素134の取付け機能160は、好ましくは外側キャップ要素130の凹部166に機械的に接触する(上記説明参照)。
また、たとえばキャップアセンブリ200が適用される薬物送達デバイスの別の構成要素も示されている。このような構成要素は、薬物(明確に示されていない)を保持するカートリッジまたはカートリッジホルダ180に関連する。さらに、カートリッジまたはカートリッジホルダ180からの薬物と流体連通している注射針182が示されている。内側キャップ要素131は針182と、さらにカートリッジまたはカートリッジホルダ180の少なくとも一区間とを収容することが示されている。
内側キャップ要素は、有利には、射出成形金型一式で1つだけの中子および1つの型空間挿入物を用いた射出成形プロセスによって成形可能になるように設計される。それによって内部部材は、低コスト成形プロセスによって製造することができる。
キャップ120(図3参照)は、キャップアセンブリ200であるか、またはこれに関連する。カートリッジまたはカートリッジホルダ180は、カートリッジ81および/またはカートリッジホルダ80であるか、またはこれらに関連する。クリップ要素は、固定要素134であるか、またはこれに関連する。
保護の範囲は、本明細書で上記に示された例に限定されない。本発明は、それぞれの新規の特徴、および特徴の組合せとして具現化され、特に、特許請求の範囲に記載されている任意の特徴のすべての組合せを、この特徴またはこの特徴の組合せが特許請求の範囲または例にたとえ明解に記載されていなくても含む。上記の実施形態の特徴は組み合わされる。構成要素の配置、機能および数は、別の実施形態では変えられる。
1 薬物送達デバイス
10 外側ハウジング部材
11 遠位部材
12 止め具
13 開口部
20 内側本体
21 外側ねじ山
22 スプライン
23 バヨネット機能
24 保持手段
25 止め具
30 ピストンロッド
31 支承部
32 ねじ山
33 ねじ山
40 駆動体
41 遠位部分
42 近位部分
43 カプラ
44 ねじ山
45 止め面
46 スプライン
47 歯機能
48 フィンガ
49 支承部面
50 用量ナット
51 止め面
52 外側リブ
53 内側ねじ山
60 表示部材
61 数字スリーブ
62 ダイヤルスリーブ
63 止め面
64 ねじ山
65 歯
66 接触機能
67 向かい合う面
68 クリッカ
70 ボタン
71 クリッカ
72 端面
73 フィンガ
74 スナップ機能
80 カートリッジホルダ
81 カートリッジ
82 バヨネット連結部
83 開口部
84 遠位端
90 クラッチ
91 駆動スリーブスプライン
92 クラッチ付勢歯
93 スナップ機能
94 スプライン
95 クラッチ歯
100 クリッカ
101 遠位クリッカ部材
102 近位クリッカ部材
103 ばね
104 スプライン
105, 106 クリッカ歯
107 外側スプライン
108 成形スプライン
109 クラッチ付勢歯
110 ばね
120 キャップ
121 遠位端
122 近位端
230 窓
130 外側キャップ要素
131 内側キャップ要素
134 クリップ要素
135 キャップの開口部
136 外側ハウジング部材の開口部
137 (キャップの)端面
141 近位区間
143 空洞
147 縁部
149 キャップスナップ手段
151 変形可能領域
153 ノーズ
155 キャップ保持機能
157 高所
161 折曲げ端
171 空洞
173 近位端
150 案内要素
152 受け部分
154 連結機能
156 当接機能
158 案内部分
160 取付け機能
162 対応案内機能
164 開口部(外側キャップ要素)
168 固定部分
166 凹部
170 対応連結機能
172 開口部(内側キャップ要素)
180 カートリッジ/カートリッジホルダ
182 注射針
200 キャップアセンブリ
X 長手方向軸

Claims (14)

  1. 遠位端(121)および近位端(122)を有する薬物送達デバイス(1)用のキャップ(120)であって;
    近位端に開口部を有し、さらに、
    外側キャップ要素(130)と、
    該外側キャップ要素(130)の内部に位置する内側キャップ要素(131)と
    を含み、該内側キャップ要素(131)は、変形可能領域(151)およびキャップスナップ手段(149)を含み;
    ここで、内側キャップ要素(131)の変形可能領域(151)は、内側キャップ要素(131)と外側キャップ要素(130)の間の隙間(143)の中に変形可能であり、
    ここで、外側キャップ要素(130)は金属で作られる、前記キャップ。
  2. 隙間は、外側キャップ要素(130)によって構成される空洞(143)として形成される、請求項1に記載のキャップ(120)。
  3. 外側キャップ要素(130)の近位区間(141)は深絞りされる、請求項1または2に記載のキャップ(120)。
  4. 外側キャップ要素(130)の空洞(143)の近位縁部(147)は、外側キャップ要素(130)の近位リップを折り返すことによって形成される、請求項2または3に記載のキャップ(120)。
  5. 空洞(143)の領域内の外側キャップ要素(130)の厚さは、空洞(143)に対し遠位にある区間内よりも薄い、請求項2〜のいずれか1項に記載のキャップ(120)。
  6. キャップスナップ手段(149)は、変形可能領域(151)内に、または変形可能領域(151)に隣接して位置する、請求項1〜のいずれか1項に記載のキャップ(120)。
  7. キャップスナップ手段(149)の近位端(173)は、外側キャップ要素(130)の空洞(143)の近位縁部(147)に対して近位に位置するか、またはキャップスナップ手段(149)の近位端(173)は、外側キャップ要素(130)の空洞(143)の近位縁部(147)に対して遠位に位置する、請求項2〜のいずれか1項に記載のキャップ(120)。
  8. キャップスナップ手段(149)は隆起部分(153)を含む、請求項1〜のいずれか1項に記載のキャップ(120)。
  9. 変形可能領域(151)の少なくとも一部における内側キャップ要素(131)の厚さは、変形可能領域(151)に対し遠位にある区間内よりも薄い、請求項1〜のいずれか1項に記載のキャップ(120)。
  10. キャップスナップ手段(149)は、薬物送達デバイス(1)上に位置するキャップ保持手段(155)と係合するのに適しているスナップ空洞(171)を含む、請求項1〜のいずれか1項に記載のキャップ(120)。
  11. 内側キャップ要素(131)はプラスチックで作られる、請求項1〜10のいずれか1項に記載のキャップ(120)。
  12. 内側および外側キャップ要素(131、130)はスリーブ状である、請求項1〜11のいずれか1項に記載のキャップ(120)。
  13. 連結機能(154)を有する固定要素(134)と;開口部(164)を有する外側キャップ要素(130)と、対応連結機能(170)を含む内側キャップ要素(131)とをさらに含み;ここで、固定要素(134)の一区間は、連結機能(154)と対応連結機能(170)との相互作用によって固定要素(134)が内側キャップ要素(131)に連結されるように、外側キャップ要素(130)の開口部(164)を通って延びる、請求項1〜12のいずれか1項に記載のキャップ(120)。
  14. 請求項1〜13のいずれか1項に記載のキャップ(120)と、キャップスナップ手段(149)とのスナップ連結部を形成するのに適しているキャップ保持機能(155)を含む薬物送達デバイス(1)とを含む、薬物送達デバイス装置。
JP2016537252A 2013-08-29 2014-08-26 薬物送達デバイス用のキャップ Active JP6434026B2 (ja)

Applications Claiming Priority (3)

Application Number Priority Date Filing Date Title
EP13182224.9 2013-08-29
EP13182224 2013-08-29
PCT/EP2014/068021 WO2015028439A1 (en) 2013-08-29 2014-08-26 Cap for a drug delivery device

Publications (2)

Publication Number Publication Date
JP2016531682A JP2016531682A (ja) 2016-10-13
JP6434026B2 true JP6434026B2 (ja) 2018-12-05

Family

ID=49054429

Family Applications (1)

Application Number Title Priority Date Filing Date
JP2016537252A Active JP6434026B2 (ja) 2013-08-29 2014-08-26 薬物送達デバイス用のキャップ

Country Status (9)

Country Link
US (1) US11052200B2 (ja)
EP (1) EP3038678B1 (ja)
JP (1) JP6434026B2 (ja)
CN (1) CN105492050B (ja)
DK (1) DK3038678T3 (ja)
ES (1) ES2774303T3 (ja)
HU (1) HUE047773T2 (ja)
PL (1) PL3038678T3 (ja)
WO (1) WO2015028439A1 (ja)

Families Citing this family (28)

* Cited by examiner, † Cited by third party
Publication number Priority date Publication date Assignee Title
WO2015028439A1 (en) 2013-08-29 2015-03-05 Sanofi-Aventis Deutschland Gmbh Cap for a drug delivery device
USD819198S1 (en) 2016-04-28 2018-05-29 Amgen Inc. Autoinjector with removable cap
TWI729141B (zh) * 2016-05-31 2021-06-01 德商賽諾菲阿凡提斯德意志有限公司 藥物輸送裝置之蓋組合件及其組裝方法
MX2019010597A (es) * 2017-03-07 2019-10-15 Sanofi Aventis Deutschland Conjunto de capuchon para un dispositivo de administracion de farmaco, kit para ensamblar un capuchon, metodo para ensamblar un capuchon y dispositivo de administracion de farmaco que comprende un conjunto de capuchon.
US11524123B2 (en) * 2017-09-14 2022-12-13 Becton Dickinson France Safety assembly and medical device with safety assembly
WO2019086411A2 (en) * 2017-11-02 2019-05-09 Sanofi Button and button assembly for a drug delivery device
JP1631211S (ja) * 2017-11-06 2019-05-13
US12263256B2 (en) 2019-02-12 2025-04-01 Becton, Dickinson And Company Medical device to disinfect a skin surface
CA3129657A1 (en) * 2019-02-12 2020-08-20 Becton, Dickinson And Company Cap for disinfection of a medical device
AU2020228132B2 (en) 2019-02-26 2022-12-15 Becton Dickinson France Rigid needle shield remover with drop test feature for autoinjector
AU2020227209B2 (en) 2019-02-26 2022-09-08 Becton Dickinson France Auto-injector with cap
MX2021010055A (es) 2019-02-26 2021-09-21 Becton Dickinson France Autoinyector con indicador de audio.
USD1010811S1 (en) 2019-09-30 2024-01-09 Amgen Inc. Handheld drug delivery device
USD1030041S1 (en) 2020-01-14 2024-06-04 Amgen Inc. Handheld drug delivery device
USD1030040S1 (en) 2020-01-14 2024-06-04 Amgen Inc. Handheld drug delivery device
WO2021191329A1 (en) 2020-03-27 2021-09-30 Sanofi Electronic system for a drug delivery device
JP7728790B2 (ja) 2020-03-27 2025-08-25 サノフイ 薬物送達デバイスのための電子システムおよび薬物送達デバイス
CN115666688B (zh) 2020-03-27 2025-11-18 赛诺菲 用于药物递送装置的电子系统和药物递送装置
CN116056741A (zh) 2020-07-23 2023-05-02 赛诺菲 用于药物递送装置的电子系统、药物递送装置和相关方法
WO2022018106A1 (en) 2020-07-23 2022-01-27 Sanofi Electronic system for a drug delivery device and drug delivery device
USD973866S1 (en) 2020-11-05 2022-12-27 Amgen Inc. Handheld drug delivery device
USD962423S1 (en) 2020-11-05 2022-08-30 Amgen Inc. Handheld drug delivery device
USD974547S1 (en) 2020-11-05 2023-01-03 Amgen Inc. Handheld drug delivery device
USD985117S1 (en) 2021-03-10 2023-05-02 Amgen Inc. Handheld drug delivery device
USD985116S1 (en) 2021-03-10 2023-05-02 Amgen Inc. Handheld drug delivery device
USD985118S1 (en) 2021-03-10 2023-05-02 Amgen Inc. Handheld drug delivery device
USD985119S1 (en) 2021-03-30 2023-05-02 Amgen Inc. Handheld drug delivery device
EP4420700A1 (en) * 2023-02-24 2024-08-28 Becton, Dickinson and Company Drug delivery device comprising a cap

Family Cites Families (89)

* Cited by examiner, † Cited by third party
Publication number Priority date Publication date Assignee Title
US533575A (en) 1895-02-05 wilkens
GB304822A (en) 1927-10-26 1929-01-28 Gramophone Co Ltd Improvements in and relating to sound reproducing means
GB304823A (en) 1927-10-27 1929-01-28 British United Shoe Machinery Improvements in or relating to adhesives for use in shoe-making and shoe-making operations performed by the aidthereof
US2495080A (en) 1946-12-26 1950-01-17 Max H Storch Feeding mechanism for fountain pens
US4475905A (en) * 1982-09-30 1984-10-09 Himmelstrup Anders B Injection device
DE3715258C2 (de) 1987-05-08 1996-10-31 Haselmeier Wilhelm Fa Injektionsgerät
GB8713810D0 (en) 1987-06-12 1987-07-15 Hypoguard Uk Ltd Measured dose dispensing device
US5226895A (en) 1989-06-05 1993-07-13 Eli Lilly And Company Multiple dose injection pen
JP3090667B2 (ja) 1989-09-11 2000-09-25 ヤマハ株式会社 楽音合成装置
JP2504670Y2 (ja) * 1990-01-26 1996-07-10 ぺんてる株式会社 筆記具用キャップ
GB9007113D0 (en) 1990-03-29 1990-05-30 Sams Bernard Dispensing device
US5226896A (en) 1990-04-04 1993-07-13 Eli Lilly And Company Dose indicating injection pen
AU641206B2 (en) 1991-01-22 1993-09-16 Eli Lilly And Company Multiple dose injection pen
DE69203472T2 (de) 1991-02-07 1996-01-04 Terumo Corp Dosiereinrichtung für Injektor.
DE9107249U1 (de) * 1991-06-12 1992-10-15 Ortner, Georg, 5000 Köln Parfümspender
DK0525525T3 (da) 1991-07-24 1995-10-02 Medico Dev Investment Co Injektor
DK175491D0 (da) 1991-10-18 1991-10-18 Novo Nordisk As Apparat
US5279586A (en) 1992-02-04 1994-01-18 Becton, Dickinson And Company Reusable medication delivery pen
US5271527A (en) 1992-04-02 1993-12-21 Habley Medical Technology Corporation Reusable pharmaceutical dispenser with full stroke indicator
US5300041A (en) 1992-06-01 1994-04-05 Habley Medical Technology Corporation Dose setting and repeating syringe
US5391157A (en) 1992-10-20 1995-02-21 Eli Lilly And Company End of dose indicator
JP2581454Y2 (ja) * 1992-10-29 1998-09-21 ぺんてる株式会社 筆記具のキャップ
US5378233A (en) 1992-11-18 1995-01-03 Habley Medical Technology Corporation Selected dose pharmaceutical dispenser
US5320609A (en) 1992-12-07 1994-06-14 Habley Medical Technology Corporation Automatic pharmaceutical dispensing syringe
FR2701211B1 (fr) 1993-02-08 1995-05-24 Aguettant Lab Instrument doseur, notamment d'injection
US5383865A (en) 1993-03-15 1995-01-24 Eli Lilly And Company Medication dispensing device
ZA941881B (en) 1993-04-02 1995-09-18 Lilly Co Eli Manifold medication injection apparatus and method
US5582598A (en) 1994-09-19 1996-12-10 Becton Dickinson And Company Medication delivery pen with variable increment dose scale
NZ302558A (en) 1995-03-07 1999-11-29 Lilly Co Eli Dispensing apparatus with a medication cartridge with a manually adjustable metering mechanism
AU1860697A (en) 1995-09-08 1997-07-28 Visionary Medical Products Corporation Pen-type injector drive mechanism
US5674204A (en) 1995-09-19 1997-10-07 Becton Dickinson And Company Medication delivery pen cap actuated dose delivery clutch
US5688251A (en) 1995-09-19 1997-11-18 Becton Dickinson And Company Cartridge loading and priming mechanism for a pen injector
JP3789547B2 (ja) 1996-03-27 2006-06-28 パイロットインキ株式会社 キャップ後ろ差し嵌合構造
US5851079A (en) 1996-10-25 1998-12-22 The Procter & Gamble Company Simplified undirectional twist-up dispensing device with incremental dosing
DE19730999C1 (de) 1997-07-18 1998-12-10 Disetronic Licensing Ag Dosierknopfsicherung an einer Vorrichtung zur dosierten Verabreichung eines injizierbaren Produkts
US5921966A (en) 1997-08-11 1999-07-13 Becton Dickinson And Company Medication delivery pen having an improved clutch assembly
US6610042B2 (en) 1997-12-05 2003-08-26 Felton Medical, Inc. Disposable unit-dose jet-injection syringe for pre-filled and/or transfilled liquid injectable medical drug or vaccine products and method thereof
JP3270761B2 (ja) 1998-01-30 2002-04-02 ノボ ノルディスク アクティーゼルスカブ 注射器
US6221053B1 (en) 1998-02-20 2001-04-24 Becton, Dickinson And Company Multi-featured medication delivery pen
US6096010A (en) 1998-02-20 2000-08-01 Becton, Dickinson And Company Repeat-dose medication delivery pen
US6248095B1 (en) 1998-02-23 2001-06-19 Becton, Dickinson And Company Low-cost medication delivery pen
DE19900792C1 (de) 1999-01-12 2000-06-15 Disetronic Licensing Ag Vorrichtung zur Verabreichung eines injizierbaren Produkts
DE19900827C1 (de) 1999-01-12 2000-08-17 Disetronic Licensing Ag Vorrichtung zur dosierten Verabreichung eines injizierbaren Produkts
DE29900482U1 (de) 1999-01-14 2000-08-31 Medico Development Investment Co., Ascona Injektionsgerät
SE9901366D0 (sv) 1999-04-16 1999-04-16 Pharmacia & Upjohn Ab Injector device and method for its operation
ATE318157T1 (de) 1999-08-05 2006-03-15 Becton Dickinson Co Stiftförmige medikamentenabgabevorrichtung
US6277099B1 (en) 1999-08-06 2001-08-21 Becton, Dickinson And Company Medication delivery pen
DE19954373B4 (de) 1999-11-11 2011-01-27 Helvoet Pharma Belgium N.V. Schutzkappe für eine Kanüle
GB0007071D0 (en) 2000-03-24 2000-05-17 Sams Bernard One-way clutch mechanisms and injector devices
US6663602B2 (en) 2000-06-16 2003-12-16 Novo Nordisk A/S Injection device
ES2267820T3 (es) 2000-10-09 2007-03-16 Eli Lilly And Company Dispositivo tipo pluma para la administracion de hormona paratiroidea.
FR2816848B1 (fr) * 2000-11-17 2003-06-20 Rumpler Technologies Dispositif de protection pour aiguille de seringue
US6899699B2 (en) 2001-01-05 2005-05-31 Novo Nordisk A/S Automatic injection device with reset feature
WO2002055318A1 (en) 2001-01-10 2002-07-18 Mitsubishi Pencil Kabushiki Kaisha Writing implement, cap for writing implement, and method of assembling cap for writing implement
EP1392377B1 (en) 2001-05-16 2007-02-28 Eli Lilly And Company Medication injector apparatus with drive assembly that facilitates reset
JP4288156B2 (ja) 2001-07-16 2009-07-01 イーライ リリー アンド カンパニー 充填用に回転かつ注射用にプル・プッシュ形式の投薬装置
AU2003216521A1 (en) 2002-03-18 2003-10-08 Eli Lilly And Company Medication dispensing apparatus with gear set for mechanical advantage
EP1545663B1 (en) 2002-10-01 2006-08-30 Becton Dickinson and Company Medication delivery pen
GB0304822D0 (en) 2003-03-03 2003-04-09 Dca Internat Ltd Improvements in and relating to a pen-type injector
GB0304823D0 (en) 2003-03-03 2003-04-09 Dca Internat Ltd Improvements in and relating to a pen-type injector
US6932794B2 (en) 2003-04-03 2005-08-23 Becton, Dickinson And Company Medication delivery pen
EP1656170B1 (en) * 2003-08-12 2019-03-13 Eli Lilly And Company Medication dispensing apparatus with triple screw threads for mechanical advantage
EP1541185A1 (en) 2003-12-08 2005-06-15 Novo Nordisk A/S Automatic syringe with priming mechanism
US7201740B2 (en) * 2004-07-01 2007-04-10 Becton, Dickinson And Company Forward-shielding blood collection set
US7942598B2 (en) 2004-12-24 2011-05-17 The Pilot Ink Co., Ltd. Writing implement
DE102004063647A1 (de) 2004-12-31 2006-07-20 Tecpharma Licensing Ag Vorrichtung zur dosierten Verabreichung eines fluiden Produkts mit Kupplung
WO2006084876A1 (en) 2005-02-11 2006-08-17 Novo Nordisk A/S Injection device
US20070088261A1 (en) * 2005-10-03 2007-04-19 Lew Jung C Hypodermic needle safety cap apparatus
GB2431732A (en) 2005-10-31 2007-05-02 Nancy Ellen Johnson Lumpkin Programmable solid state lithography mask
WO2008101829A1 (en) 2007-02-20 2008-08-28 Novo Nordisk A/S An injection device comprising a worm gear connection
CA2639320C (en) * 2007-09-07 2016-10-25 Becton, Dickinson And Company Pen-needle assembly for preventing under-torquing and over-torquing of pen-needle
US8267900B2 (en) 2008-05-02 2012-09-18 Sanofi-Aventis Deutschland Gmbh Medication delivery device
US8647309B2 (en) 2008-05-02 2014-02-11 Sanofi-Aventis Deutschland Gmbh Medication delivery device
US20100010450A1 (en) * 2008-06-13 2010-01-14 Vincent Runfola Retractable syringe with improved stem ring and needle interchangeability
EP2201967A1 (en) * 2008-12-23 2010-06-30 Sanofi-Aventis Deutschland GmbH Drug delivery device
US9526846B2 (en) * 2009-08-19 2016-12-27 Safety Syringes, Inc. Patient-contact activated needle stick safety device
ES2692823T3 (es) * 2009-12-04 2018-12-05 Becton, Dickinson And Company Dispositivo de inyección automática con tapa de múltiples posiciones
WO2011154490A1 (en) 2010-06-11 2011-12-15 Sanofi-Aventis Deutschland Gmbh Drive mechanism for a drug delivery device
EP2603264A1 (en) * 2010-08-12 2013-06-19 Covidien LP Single use device for delivery of cartridge drugs
CN103974734B (zh) * 2011-10-17 2016-11-09 Shl集团有限责任公司 用于移除输送构件护罩的装置
JP6273087B2 (ja) * 2012-10-25 2018-01-31 大成化工株式会社 シリンジ
US12029885B2 (en) * 2012-11-13 2024-07-09 IN.TOOL ApS Protective cap for a device
FR2999436B1 (fr) * 2012-12-14 2016-02-05 Transformation Des Elastomeres A Usages Medicaux Et Ind Soc D Systeme de protection d'aiguille d'un dispositif d'injection.
CN104602737B (zh) * 2013-03-15 2017-09-29 泰尔茂株式会社 注射器用组装体、其组装方法及其组装装置、使用所述注射器用组装体的预灌封注射器及其组装方法
EP2978478B1 (en) * 2013-03-25 2021-05-26 SHL Medical AG Front cap for a medicament delivery device
WO2014155536A1 (ja) * 2013-03-26 2014-10-02 テルモ株式会社 弾性キャップ及びそれを備えるシリンジ用組立体
GB201307385D0 (en) * 2013-04-24 2013-06-05 Star Syringe Ltd Syringes
GB201314381D0 (en) * 2013-08-12 2013-09-25 Ucb Pharma Sa Injector
WO2015028439A1 (en) 2013-08-29 2015-03-05 Sanofi-Aventis Deutschland Gmbh Cap for a drug delivery device

Also Published As

Publication number Publication date
HUE047773T2 (hu) 2020-05-28
EP3038678B1 (en) 2020-01-01
JP2016531682A (ja) 2016-10-13
CN105492050A (zh) 2016-04-13
HK1222354A1 (en) 2017-06-30
PL3038678T3 (pl) 2020-06-29
WO2015028439A1 (en) 2015-03-05
DK3038678T3 (da) 2020-03-23
US20160199589A1 (en) 2016-07-14
ES2774303T3 (es) 2020-07-20
CN105492050B (zh) 2019-06-21
EP3038678A1 (en) 2016-07-06
US11052200B2 (en) 2021-07-06

Similar Documents

Publication Publication Date Title
JP6434026B2 (ja) 薬物送達デバイス用のキャップ
JP6441352B2 (ja) 薬物送達デバイス用キャップアセンブリおよび薬物送達デバイス
US10668218B2 (en) Housing and cap for an injection device made of an outer metal part and an inner plastic part
JP6629309B2 (ja) ハウジングおよびそれを備えた薬物送達デバイス
JP2017520369A (ja) ねじりばねが取り付けられている注射デバイスおよびその組立て方法
JP2019517309A (ja) 薬物送達デバイス用のキャップアセンブリおよびキャップアセンブリを組み立てる方法
JP7039490B2 (ja) 薬物送達デバイスのボタンおよび薬物送達デバイスのボタンを組み立てる方法
JP7105243B2 (ja) 薬物送達デバイス用のキャップアセンブリ、キャップを組み付けるキット、キャップを組み付ける方法、およびキャップアセンブリを含む薬物送達デバイス
HK1222355B (en) Cap assembly for a drug delivery device and drug delivery device
HK1222354B (en) Cap for a drug delivery device

Legal Events

Date Code Title Description
A621 Written request for application examination

Free format text: JAPANESE INTERMEDIATE CODE: A621

Effective date: 20170810

A131 Notification of reasons for refusal

Free format text: JAPANESE INTERMEDIATE CODE: A131

Effective date: 20180605

A977 Report on retrieval

Free format text: JAPANESE INTERMEDIATE CODE: A971007

Effective date: 20180608

A521 Request for written amendment filed

Free format text: JAPANESE INTERMEDIATE CODE: A523

Effective date: 20180821

TRDD Decision of grant or rejection written
A01 Written decision to grant a patent or to grant a registration (utility model)

Free format text: JAPANESE INTERMEDIATE CODE: A01

Effective date: 20181009

A61 First payment of annual fees (during grant procedure)

Free format text: JAPANESE INTERMEDIATE CODE: A61

Effective date: 20181107

R150 Certificate of patent or registration of utility model

Ref document number: 6434026

Country of ref document: JP

Free format text: JAPANESE INTERMEDIATE CODE: R150

R250 Receipt of annual fees

Free format text: JAPANESE INTERMEDIATE CODE: R250

R250 Receipt of annual fees

Free format text: JAPANESE INTERMEDIATE CODE: R250

R250 Receipt of annual fees

Free format text: JAPANESE INTERMEDIATE CODE: R250

R250 Receipt of annual fees

Free format text: JAPANESE INTERMEDIATE CODE: R250

R250 Receipt of annual fees

Free format text: JAPANESE INTERMEDIATE CODE: R250