JP6341237B2 - スロットマシン - Google Patents

スロットマシン Download PDF

Info

Publication number
JP6341237B2
JP6341237B2 JP2016148668A JP2016148668A JP6341237B2 JP 6341237 B2 JP6341237 B2 JP 6341237B2 JP 2016148668 A JP2016148668 A JP 2016148668A JP 2016148668 A JP2016148668 A JP 2016148668A JP 6341237 B2 JP6341237 B2 JP 6341237B2
Authority
JP
Japan
Prior art keywords
game
effect
combination
gaming state
established
Prior art date
Legal status (The legal status is an assumption and is not a legal conclusion. Google has not performed a legal analysis and makes no representation as to the accuracy of the status listed.)
Active
Application number
JP2016148668A
Other languages
English (en)
Other versions
JP2016182510A (ja
Inventor
昌士 金本
昌士 金本
泰寛 平生
泰寛 平生
悠紀 矢嶋
悠紀 矢嶋
潤 瀬藤
潤 瀬藤
Current Assignee (The listed assignees may be inaccurate. Google has not performed a legal analysis and makes no representation or warranty as to the accuracy of the list.)
Sammy Corp
Original Assignee
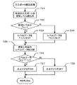
Sammy Corp
Priority date (The priority date is an assumption and is not a legal conclusion. Google has not performed a legal analysis and makes no representation as to the accuracy of the date listed.)
Filing date
Publication date
Application filed by Sammy Corp filed Critical Sammy Corp
Priority to JP2016148668A priority Critical patent/JP6341237B2/ja
Publication of JP2016182510A publication Critical patent/JP2016182510A/ja
Application granted granted Critical
Publication of JP6341237B2 publication Critical patent/JP6341237B2/ja
Active legal-status Critical Current
Anticipated expiration legal-status Critical

Links

Images

Landscapes

  • Game Rules And Presentations Of Slot Machines (AREA)

Description

本発明は、複数種類の図柄を変動表示する複数のリールを備え、リール停止時に表示された図柄の組合せにより入賞の有無が決定される遊技を行うスロットマシンに関する。
スロットマシンは、一般に、リールを用いた遊技に関する制御(例えば、リール駆動の制御、役決定(役抽選)の制御、遊技メダル等の遊技媒体の受入・払出の制御、役決定の確率等が異なる複数の遊技状態間での遊技状態の移行制御等)を行う主制御基板と、遊技状況に応じて遊技の興趣向上等を目的とする種々の演出の制御を行う副制御基板とを備えており、両基板間の情報伝達は、主制御基板から副制御基板への一方向のみ行うことが可能となっている。
また、スロットマシンでは、一般に、規定数の遊技媒体を投入することにより有効ラインが設定され、スタートレバーを傾動させるなどの開始操作が遊技者により行われることにより、役決定処理が開始され何れかの遊技役(以下、単に「役」と称することがある)またはハズレが決定され、その後、複数のリールが回転開始する。複数のリールが回転開始してから所定の回転速度に達すると、ストップスイッチを押下するなどのリール回転停止操作が有効化され、遊技者がリール回転停止操作を各リール別に行うことにより、各リールが順次回転停止するようになっている。
通常、複数のリールの回転停止は、遊技者によるリール回転停止操作のタイミングと、決定された役に基づいて制御される。すなわち、各リールは、リール回転停止操作が行われたタイミングから所定の時間(通常、最大で4図柄移動し得る時間)内の任意のタイミングで停止可能に制御されており、これにより、上記役決定処理により決定された(当選した)役は可能な限り成立し(役を規定する図柄組合せ(対応図柄)が有効ライン上に停止表示され)、上記役決定処理により決定されていない(当選していない)役は成立しない(対応図柄が有効ライン上に停止表示されない)ようになっている。
また、スロットマシンでは、一般に、再遊技役(成立しても遊技媒体は獲得できないが次の遊技を遊技者が新たに遊技媒体を投入することなく行うことが可能となる役)や小役(成立時に所定数の遊技媒体の獲得が可能となる役)と称される通常の役の他に、遊技者にとって通常とは異なる特別な遊技条件(例えば、所定の小役の決定確率(当選確率)が通常よりも高くなる)が設定される契機となるボーナス役と称されるような特別役が設けられている。通常、このような特別役は、決定される(当選する)確率が非常に低く設定されており、また、その対応図柄(例えば、「セブン・セブン・セブン」)は、各リール上において少数(通常、1個または2個)しか配置されていない。
このため、特別役が決定された(当選した)場合でも、遊技者が、回転表示される図柄を判別しながら対応図柄を停止表示させ得るタイミングを見計らって各リールに対するリール回転停止操作を行うこと(以下、このような操作を「目押し」と称する)ができないと、特別役を成立させることは難しくなっている。ただし、特別役が決定されているのに、それを成立させることができなかった場合には、特別役が決定されたことを示す情報が次の遊技に持ち越されるようになっており、目押しを苦手とする遊技者に対しても、決定された特別役を成立させる機会が担保されている。
また、従来のスロットマシンにおいて、再遊技役(リプレイ役)の決定確率(当選確率)が通常の遊技状態のときとは変更された(高めに変更されても低めに変更されてもよい
)、RT(リプレイタイム)と称される遊技状態を設け、所定の条件が満足されたこと(例えば、通常の遊技状態中に所定の図柄が停止表示されたこと)を契機としてRTに移行するようにしたものが一般的に知られている。このようなRTを含む複数の遊技状態間の移行は、役(再遊技役)の決定確率の変動を伴うため主制御基板において制御されている。なお、近年のスロットマシンでは、再遊技役が決定された(当選した)場合、リール回転停止操作のタイミングに関わらず必ず再遊技役を成立させることができるように、再遊技役を構成する各図柄が複数のリール上に配列されている。
一方、遊技者が有利に遊技を行えるような情報を報知する、AT(アシストタイム)と称される演出期間を副制御基板において設定し、この演出期間内において所定の報知演出(アシスト演出)を行うこともなされており、このようなATが設定されるRTは、一般にART(アシストリプレイタイム)と称されている。ART中において行われるアシスト演出としては、例えば、遊技媒体の獲得が可能となる小役が決定された(当選した)場合に、そのことを報知したり、決定された小役を成立させる(対応図柄を有効ライン上に停止表示させる)ためのリール回転停止操作手順(以下、適宜「押し順」と称する)を報知したりするものなどが知られている。なお、ATの設定を副制御基板側で先に行い、その後にRTを主制御基板側で設定することにより、ARTが確定するような遊技性を持たせたスロットマシンも知られている。
また、スロットマシンでは、上述のアシスト演出以外にも遊技の進行状況に応じて種々の演出が行われるようになっている。例えば、各リールにおいて停止表示された図柄組合せの態様に応じて行われる、停止表示結果等を遊技者にアピールするような演出(以下、適宜「停止表示結果対応演出」と称する)や、役決定処理の結果(役決定結果)に応じて行われる、役決定結果等を遊技者に示唆または報知するような演出(以下、適宜「役決定結果対応演出」と称する)、あるいは一の遊技における停止表示結果対応演出と次の遊技における役決定結果対応演出との間において行われる、遊技状態等が変化することなどを示唆するような演出(以下、適宜「導入演出」と称する)などが一般的に知られている。
遊技の進行状況に応じて行われる上述の各演出は、一般に、遊技者が行う所定の遊技操作、例えば、ベット操作(遊技媒体の投入操作やベットボタンの押圧操作)や開始操作(スタートレバーの傾動操作)、リール回転停止操作(ストップスイッチの押圧操作)等を契機として、別の演出に切り替えられるようになっている。具体的には、一の遊技において特別役や小役が成立した場合には、当該遊技における停止表示結果対応演出から次遊技における導入演出への切替えは、次遊技におけるベット操作を契機として行われ、導入演出から役決定結果対応演出への切替えは、開始操作を契機として行われるものが多い。
一方、再遊技役が成立した場合の各演出の切替時機は、特別役や小役が成立した場合とは異なる。すなわち、一の遊技において再遊技役が成立した場合には、遊技者によるベット操作を介さずに次遊技に必要な規定数(通常、再遊技役が成立したときの遊技においてベットされた数)の遊技媒体がベットされた状態を自動的に設定する処理(以下、適宜「自動ベット処理」と称する)が行われるようになっているため、遊技者によるベット操作は通常行われず、したがって遊技者によるベット操作を停止表示結果対応演出から導入演出への切替契機とすることはできない。そこで、一の遊技において再遊技役が成立した場合には、自動ベット処理後に遊技者により行われる開始操作を、停止表示結果対応演出から導入演出への切替契機としているものが多い(例えば、下記特許文献1を参照)。
これに対し、自動ベット処理を停止表示結果対応演出から導入演出への切替契機とすることもできるが、一般に自動ベット処理は、再遊技役の成立後、極めて短い時間内において開始されて終了するようになっているため、再遊技役が成立した時点で停止表示結果対応演出を開始し、自動ベット処理が行われる時点で当該演出を終了するようにした場合、
停止表示結果対応演出の実行時間が極端に短くなってしまう。そこで、再遊技役が成立してから自動ベット処理を開始するまでの間に待機時間を設け、その待機時間の経過後に自動ベット処理を行い、自動ベット処理の終了後に停止表示結果対応演出を終了するように構成されたスロットマシンも提案されている(例えば、下記特許文献2を参照)。
特開2005−296098号公報 特開2010−82161号公報
近年、実際には再遊技役が成立しているのに、停止表示された図柄組合せを見ただけでは、再遊技役が成立しているのかどうかが分からないような再遊技役(以下、適宜「特定再遊技役」と称する)が設けられることが多くなっている。例えば、成立した際には、特定の小役の対応図柄と同じ図柄組合せが所定位置に停止表示されるように構成されているために、停止表示された図柄組合せを見ると、特定の小役が成立しているかのように思える特定再遊技役が知られている。
このような特定再遊技役が成立した場合には、通常の再遊技役が成立した場合とは異なる停止表示結果対応演出を行い、これにより、遊技者に再遊技以外の遊技役が成立したような感覚を持たせることも行われている。また、特定再遊技役が成立した場合には、自動ベット処理を行うまでの時間を長く設定することにより、通常の再遊技役が成立した場合との違いを強調することも考えられる。このように自動ベット処理実行までの時間を長く設定した場合には、自動ベット処理の実行まで遊技者が何ら遊技操作を行わないことも考えられるが、自動ベット処理の実行前に遊技者がベット操作等を行うことも考えられる。自動ベット処理前に遊技者が遊技操作を行った場合と行わなかった場合とでは、演出の切替時機(例えば、停止表示結果対応演出から導入演出への切替時機)を変更した方が遊技進行の流れが自然なものとなるが、これまでは、自動ベット処理前の遊技操作を受け付けない構成のものが多く、どちらの場合も切替時機が同じ(例えば、自動ベット処理後の開始操作を契機に切り替えられる)に設定されている。
本発明は、上乗せ報知演出の実行が規制される演出実行規制期間中に上乗せ数が決定されたのか否かに応じて、上乗せ報知演出の実行時期を制御することが可能なスロットマシンを提供することを目的とする。
上記目的を達成するため下記のスロットマシンは、以下の特徴を備えている。なお、以下の特徴構成の説明では、後述する実施形態において対応する構成の一例を括弧書きで示している。
本発明に係るスロットマシンは、複数のリールと、役決定結果を選出する役決定手段と、前記複数のリールの駆動を制御するリール制御手段と、所定の役決定結果に対応し遊技媒体の付与が規定された所定の図柄組合せの停止表示に係る所定のアシスト情報を遊技者に報知するアシスト演出(例えば、押し順ナビ演出)の実行が許可されるアシスト遊技状態(例えば、AT)と許可されない非アシスト遊技状態(例えば、非AT)との設定を制御するアシスト遊技状態設定制御手段(例えば、AT設定手段201)と、前記アシスト遊技状態中における所定条件の充足(例えば、役決定結果B6〜B8、D1〜D4の選出)を契機として前記アシスト遊技状態の設定期間の延長に係る上乗せ数を決定可能とする特典付与手段(例えば、特典付与選択手段203)と、前記特典付与手段により決定された上乗せ数に基づく上乗せ報知演出を実行する演出実行制御手段と、を備えたスロットマシンであって、特定の役決定結果(例えば、役決定結果B7,B8)が選出されたときは、前記複数リールを停止させるための停止操作態様に応じて、再遊技の付与が規定された第1の図柄組合せ(例えば、チャンスRPの図柄組合せ)が停止表示される場合と再遊技の付与が規定された第2の図柄組合せ(例えば、通常RPの図柄組合せ)が停止表示される場合を有し、前記所定条件が充足される場合として、前記特定の役決定結果が選出される場合を有し、前記アシスト遊技状態中においては、前記上乗せ報知演出の実行が規制される演出実行規制期間(例えば、エピソード演出が実行されている期間)と規制されない演出実行可能期間(例えば、エピソード演出が実行されていない期間)とを有するように構成され、前記演出実行制御手段は、前記演出実行可能期間中に前記特定の役決定結果が選出されて前記所定条件が充足され、上乗せ数が決定された遊技では、前記第1の図柄組合せを停止表示可能とする停止操作態様を報知するとともに、前記上乗せ報知演出を実行可能とし、前記演出実行規制期間中に前記特定の役決定結果が選出されて前記所定条件が充足され、上乗せ数が決定された遊技では、前記第2の図柄組合せを停止表示可能とする停止操作態様を報知するとともに、前記上乗せ報知演出を前記演出実行規制期間中は実行しないように構成されている、ことを特徴とする。
本発明に係る他のスロットマシンは、複数のリールと、役決定結果を選出する役決定手段と、前記複数のリールの駆動を制御するリール制御手段と、所定の役決定結果に対応し遊技媒体の付与が規定された所定の図柄組合せの停止表示に係る所定のアシスト情報を遊技者に報知するアシスト演出の実行が許可されるアシスト遊技状態と許可されない非アシスト遊技状態との設定を制御するアシスト遊技状態設定制御手段と、前記アシスト遊技状態中における所定条件の充足を契機として前記アシスト遊技状態の設定期間の延長に係る上乗せ数を決定可能とする特典付与手段と、前記特典付与手段により決定された上乗せ数に基づく上乗せ報知演出を実行する演出実行制御手段と、を備えたスロットマシンであって、特定の役決定結果が選出されたときは、前記複数リールを停止させるための停止操作態様に応じて、再遊技の付与が規定された第1の図柄組合せが停止表示される場合と再遊技の付与が規定された第2の図柄組合せが停止表示される場合を有し、前記所定条件が充足される場合として、前記特定の役決定結果が選出される場合を有し、前記アシスト遊技状態中においては、前記上乗せ報知演出の実行が規制される演出実行規制期間と規制されない演出実行可能期間とを有するように構成され、前記演出実行制御手段は、前記演出実行可能期間中に前記特定の役決定結果が選出されて前記所定条件が充足され、上乗せ数が決定された遊技では、前記第1の図柄組合せを停止表示可能とする停止操作態様を報知し、前記上乗せ数が決定された遊技以降の所定のタイミングで前記上乗せ報知演出を実行可能とし、前記演出実行規制期間中に前記特定の役決定結果が選出されて前記所定条件が充足され、上乗せ数が決定された遊技では、前記第2の図柄組合せを停止表示可能とする停止操作態様を報知するとともに、前記上乗せ報知演出を前記演出実行規制期間中は実行しないように構成されている、ことを特徴とする。
参考とする別のスロットマシンは、複数種類の図柄を可変表示する複数のリールと、リールを用いた遊技に必要な規定数の遊技媒体をベットするためのベット操作を含む所定の遊技操作を受け付ける遊技操作受付手段(例えば、遊技操作処理時機導出手段106)と、複数のリールにおいて停止表示される図柄組合せの態様により規定される複数の遊技役(例えば、MB役,小役1〜19,再遊技役1〜21)の中から、成立することが許容される遊技役を選出するための役決定処理を行う役決定手段と、複数のリールの駆動を制御するリール制御手段と、所定の遊技役の成立に係る所定のアシスト情報を遊技者に報知するアシスト演出(例えば、押し順ナビ演出)の実行が許可されるアシスト遊技状態(例えば、AT)と許可されない非アシスト遊技状態(例えば、非AT)との設定を制御するとともに、アシスト遊技状態中における所定条件の充足(例えば、役決定結果B6〜B8、D1〜D4の選出)を契機としてアシスト遊技状態の設定期間の延長に係る所定の上乗せ数(例えば、アシスト可能回数の上乗せ回数)を抽選可能とするアシスト遊技状態設定制御手段(例えば、AT設定手段201)と、アシスト遊技状態設定制御手段により決定された上乗せ数の報知に係る上乗せ報知演出を実行する演出実行制御手段と、を備えたスロットマシンであって、役決定処理において、特定の遊技役が選出される場合を有し、前記特定の遊技役が選出されたときは、リールを停止させるための停止操作の順序に応じて、第1の図柄組合せまたは第2の図柄組合せが停止表示可能に制御され、前記所定条件が充足される場合として、前記特定の遊技役が選出される場合を有し、アシスト遊技状態中においては、上乗せ報知演出の実行が規制される演出実行規制期間(例えば、エピソード演出が実行されている期間)と規制されない演出実行可能期間(例えば、エピソード演出が実行されていない期間)とが設定可能に構成され、演出実行制御手段は、演出実行可能期間中に前記特定の遊技役が選出されることで前記所定条件が充足し、上乗せ数が決定された遊技では、前記第1の図柄組合せを停止表示可能とする停止操作態様を報知するとともに、上乗せ報知演出を実行し、演出実行規制期間中に前記特定の遊技役が選出されることで前記所定条件が充足し、上乗せ数が決定された遊技では、前記第1の図柄組合せを停止表示可能とする停止操作態様を報知せず、上乗せ報知演出を演出実行規制期間中は実行しないように構成されている、ことを特徴とする。
参考の第1のスロットマシンは、複数種類の図柄を可変表示する複数のリールと、リールを用いた遊技に必要な規定数の遊技媒体をベットするためのベット操作を含む所定の遊技操作を受け付ける遊技操作受付手段(例えば、遊技操作処理時機導出手段106)と、複数のリールにおいて停止表示される図柄組合せの態様により規定される複数の遊技役の中から、成立することが許容される遊技役を選出するための役決定処理を行う役決定手段と、複数のリールの駆動を制御するリール制御手段と、所定の設定変更指令操作に基づき役決定確率の設定変更を行う設定変更手段と、第1の遊技状態(例えば、非RT遊技状態)、役決定処理により特別な遊技役(例えば、MB役)が選出されかつ未成立であるという第1の設定条件が充足されている場合に設定され、特別な遊技役が成立するまで特別な遊技役が選出されたという情報が保持される遊技状態である第2の遊技状態(例えば、RT1遊技状態)、および特別な遊技役が成立したことを契機として実行可能となる特別遊技が未終了であるという第2の設定条件が充足されている場合に設定される第3の遊技状態(例えば、RT2遊技状態)を含む複数の遊技状態の間で遊技状態を移行させる遊技状態制御手段(例えば、RT遊技状態設定手段104)と、複数の遊技状態の中の何れの遊技状態に設定されているのかを示す第1の記憶情報(例えば、RT情報)、第1の設定条件が充足されている場合にはON状態とされ未充足の場合にはOFF状態とされる第2の記憶情報(例えば、MB内部中フラグ)、および第2の設定条件が充足されている場合にはON状態とされ未充足の場合にはOFF状態とされる第3の記憶情報(例えば、MB作動中フラグ)を記憶する遊技状態情報記憶手段(例えば、メイン情報記憶手段118)と、情報送信手段と、演出を制御する演出制御手段(例えば、演出実行制御手段202)と、を備えたスロットマシンであって、第1の記憶情報は、第1の遊技状態に設定されている場合と第3の遊技状態に設定されている場合とにおいては情報A(例えば、「0」)が設定され、第2の遊技状態に設定されている場合には情報B(例えば、「1」)が設定され、遊技状態情報記憶手段は、設定変更が行われた場合、第1および第2の記憶情報は設定変更前の状態を保持し第3の記憶情報は設定変更前の状態によらずOFF状態とするように構成され、遊技状態制御手段は、設定変更が行われた場合、設定変更後に遊技状態情報記憶手段が記憶している第1乃至第3の記憶情報に基づき設定変更後の遊技状態を設定するように構成され、情報送信手段は、設定変更が行われた場合、設定変更後に遊技状態情報記憶手段が記憶している第1乃至第3の記憶情報を演出制御手段に送信するように構成される、ことを特徴とする。
参考の第2のスロットマシンは、複数種類の図柄を可変表示する複数のリールと、リールを用いた遊技に必要な規定数の遊技媒体をベットするためのベット操作を含む所定の遊
技操作を受け付ける遊技操作受付手段(例えば、遊技操作処理時機導出手段106)と、複数のリールにおいて停止表示される図柄組合せの態様により規定される、成立時には新たな遊技媒体をベットすることなく次の遊技を行うことが許可されるように構成された再遊技役(例えば、再遊技役1〜21)および成立時には所定数の遊技媒体が払い出されるように構成された入賞役(例えば、小役1〜19)を含む複数の遊技役の中から、成立することが許容される遊技役を選出するための役決定処理を行う役決定手段と、複数のリールの駆動を制御するリール制御手段と、再遊技役が成立した場合に、新たな遊技媒体をベットすることなく次の遊技を行うことが許可されるように遊技媒体がベットされた状態を設定する自動ベット処理を行うベット管理手段と、再遊技役のうち、成立時には入賞役のうちの特定の入賞役(例えば、高めベル小役)を構成する特定の図柄組合せ(例えば、「ベル・ベル・ベル」)が所定位置(例えば、上段ラインL1上や右下がりラインL2上)に停止表示されるように構成された特定の再遊技役(例えば、ベルRP)が成立したことを契機として、自動ベット処理の実行が禁止される自動ベット処理凍結期間を設定し、設定した自動ベット処理凍結期間において所定の遊技操作が遊技操作受付手段に受け付けられたことまたは所定時間が経過したことを契機として、自動ベット処理凍結期間を終了し前記自動ベット処理を実行させる自動ベット処理実行時機制御手段と、遊技の状況に応じた各種の演出を実行する演出実行手段と、を備えたスロットマシンであって、演出実行手段は、自動ベット処理実行時機制御手段により設定された自動ベット処理凍結期間の終了契機の違いに応じて、自動ベット処理凍結期間の終了後に実行する演出の切替時機を変更するように構成されている、ことを特徴とする。
なお、本発明において「役決定処理」とは、予め設定された複数の役決定結果(1つまたは複数の遊技役またはハズレにより構成される)の中から、1つまたは複数の役決定結果を無作為に選択するために、電子機器等を用いて実行される抽選等の選択行為を意味している。
また、本発明において「ベット」とは、遊技を行うために必要な規定数の遊技媒体をスロットマシンに投入する行為を意味する。遊技媒体を投入するための操作としては、新たな遊技媒体を実際に投入する操作の他に、クレジット(貯留)された遊技媒体の中から、遊技を行うために必要な規定数の遊技媒体を投入するための、予め設定されたボタン等を押下するなどの操作も含まれる。
本発明に係るスロットマシンによれば、上乗せ報知演出の実行が規制される演出実行規制期間中に上乗せ数が決定されたのか否かに応じて、上乗せ報知演出の実行時期を制御することが可能となる。
本発明の第1実施形態に係るスロットマシンの正面図である。 第1実施形態に係るスロットマシンの全体構成を概略的に示すブロック図である。 第1実施形態に係るスロットマシンのリールの図柄配置を示す図である。 第1実施形態に係るスロットマシンの機能を概念的に示すブロック図である。 第1実施形態に係るスロットマシンのメイン情報記憶手段の構成を示す図である。 第1実施形態に係るスロットマシンのAT設定手段の構成を示す図である。 第1実施形態に係るスロットマシンの演出実行制御手段の構成を示す図である。 第1実施形態に係るスロットマシンのサブ情報記憶手段の構成を示す図である。 第1実施形態に係るスロットマシンにおいて設定されるRT遊技状態の関係を示す図である。 第1実施形態に係るスロットマシンにおいて設定される遊技役の種類を示す図である。 第1実施形態に係るスロットマシンにおいて設定される遊技役の種類を示す別図である。 第1実施形態の役抽選テーブルを示す図である。 第1実施形態のベルRP成立時の停止表示図柄の一例を示す図である。 第1実施形態のベルRP成立時の停止表示図柄の他の例を示す図である。 第1実施形態の赤7外しRP成立時の停止表示図柄の一例を示す図である。 第1実施形態のスイカ揃いRP成立時の停止表示図柄の一例を示す図である。 第1実施形態の押し順リプレイの正解押し順及び対応する成立役を示す図である。 第1実施形態の押し順ベルの正解押し順及び対応する成立役を示す図である。 第1実施形態の自動ベット処理凍結期間の設定確率を示す図である。 第1実施形態のナビ権設定抽選の抽選テーブルの一例を示す図である。 第1実施形態のアシスト可能回数上乗せ抽選の抽選テーブルの一例を示す図である。 第1実施形態の押し順ナビ演出の態様の一例を示す図である。 第1実施形態の遊技の進行状況に応じて実行される各処理の実行時機(小役成立の場合)を示す図である。 第1実施形態の遊技の進行状況に応じて実行される各処理の実行時機(特別役成立の場合)を示す図である。 第1実施形態の遊技の進行状況に応じて実行される各処理の実行時機(通常RP成立の場合)を示す図である。 第1実施形態の遊技の進行状況に応じて実行される各処理の実行時機(ベルRPまたはスイカ揃いRP成立の場合)を示す図である。 第1実施形態の遊技の進行状況に応じて実行される各処理の実行時機(赤7揃いRPまたはチャンスRP成立の場合)を示す図である。 第1実施形態の遊技の進行状況に応じて実行される各処理の実行時機(スイカ外しRPまたは赤7外しRP成立の場合)を示す図である。 第1実施形態のキャンセル時機及び役決定開始時機の各導出時機を示すタイミングチャート(キャンセル操作がスタートレバー操作以外の場合)である。 第1実施形態のキャンセル時機及び役決定開始時機の各導出時機を示すタイミングチャート(キャンセル操作がスタートレバー操作の場合)である。 第1実施形態の主制御電源断処理の流れを示すフローチャートである。 第1実施形態の主制御電源投入処理の流れを示すフローチャートである。 第1実施形態の主制御設定変更処理の流れを示すフローチャートである。 第1実施形態のタイマ割込処理の流れを示すフローチャートである。 第1実施形態の入力ポート読込処理の流れを示すフローチャートである。 第1実施形態のMAX−BET表示ランプ管理処理の流れを示すフローチャートである。 第1実施形態の遊技制御処理の流れを示すフローチャートである。 第1実施形態の遊技開始準備処理の流れを示すフローチャートである。 第1実施形態のベット管理処理の流れを示すフローチャートである。 第1実施形態の自動ベット実行時機制御処理の流れを示すフローチャートである。 第1実施形態の第1の自動ベット処理凍結期間設定処理の流れを示すフローチャートである。 第1実施形態の第2の自動ベット処理凍結期間設定処理の流れを示すフローチャートである。 第1実施形態の開始操作受付処理の流れを示すフローチャートである。 第1実施形態の役決定処理の流れを示すフローチャートである。 第1実施形態のリール回転開始制御処理の流れを示すフローチャートである。 第1実施形態のリール回転停止制御処理の流れを示すフローチャートである。 第1実施形態の停止表示図柄判定処理の流れを示すフローチャートである。 第1実施形態の遊技メダル払出処理の流れを示すフローチャートである。 第1実施形態の遊技終了処理の流れを示すフローチャートである。 第1実施形態の副制御電源断処理の流れを示すフローチャートである。 第1実施形態の副制御電源投入処理の流れを示すフローチャートである。 第1実施形態の副制御設定変更処理の流れを示すフローチャートである。 第1実施形態のバックランプ演出処理の流れを示すフローチャートである。 第1実施形態の音声出力演出処理の流れを示すフローチャートである。 第1実施形態の要求演出処理の流れを示すフローチャートである。 第1実施形態のAT設定制御処理の流れを示すフローチャートである。 第2実施形態のキャンセル時機及び役決定開始時機の各導出時機を示すタイミングチャートである。 第2実施形態の役決定処理の流れを示すフローチャートである。 第3実施形態に係るスロットマシンの機能を概念的に示すブロック図である。 第3実施形態のキャンセル時機及び役決定開始時機の各導出時機を示すタイミングチャートである。 第3実施形態の第2の自動ベット処理凍結期間設定処理の流れを示すフローチャートである。 第3実施形態の役決定処理の流れを示すフローチャートである。 第1実施形態の電源復帰時及び設定変更時のサブ情報の状態を示す図である。 第1実施形態の演出の切替時機を示すタイミングチャートである。 第1実施形態の上乗せ報知演出処理の流れを示すフローチャートである。
以下、上記図面を参照して本発明の実施形態について説明する。
<第1実施形態>
まず、本発明の第1実施形態に係るスロットマシンの全体的な構成について、図1及び図2を参照しながら説明する。なお、以下の説明において、「遊技役が成立する」及び「遊技役の成立」等と記載する場合の「成立」とは、後述の役決定手段により選出された役決定結果に対応する遊技役(遊技メダルの払出しがある遊技役(小役等の入賞役)か、払出しのない遊技役(再遊技役やMB役)かは問わない)を構成する図柄の組合せ(対応図柄)が、後述の有効ライン上に停止表示されたことを示す概念として用いている。ただし、成立のタイミングについては、例えば、遊技役の対応図柄を有効ライン上に停止表示させることが可能なタイミングでリール停止操作が行われた時点や、遊技役の対応図柄が有効ライン上に停止表示された時点、スロットマシンが、遊技役の対応図柄が有効ライン上
に停止表示されたことを識別した時点や、識別した結果を記憶領域に格納した時点等、適宜のタイミングとすることができる。
また、以下の説明において、遊技者による、後述のメダル投入口21への遊技メダルの投入操作、クレジット(貯留)された遊技メダルのうち、遊技を行うために必要な規定枚数の遊技メダルを投入するための1−BETスイッチ22またはMAX−BETスイッチ23の押圧操作を総称してベット操作と称する。また、このベット操作と、遊技者による、後述の貯留メダル精算スイッチ24の押圧操作、スタートレバー25の傾動操作、ストップスイッチ26a,26b,26cの押圧操作、リジェクトスイッチ27の押圧操作を総称して遊技操作と称する。
なお、これらの遊技操作うち、ベット操作(メダル投入口21への遊技メダルの投入操作、1−BETスイッチ22またはMAX−BETスイッチ23の押圧操作)、貯留メダル精算スイッチ24の押圧操作及びスタートレバー25の傾動操作は、後述の自動ベット処理凍結期間においては、この自動ベット処理凍結期間(特に、後述の第2の自動ベット処理凍結期間)を終了させるためのキャンセル操作(所定の遊技操作に相当する)として扱われる。一方、ストップスイッチ26a,26b,26cの押圧操作と、リジェクトスイッチ27の押圧操作は、自動ベット処理凍結期間においてキャンセル操作としては扱われないが、キャンセル操作として扱われるようにすることも可能である。
<スロットマシンの外観>
本実施形態に係るスロットマシン1は、図1に示すように、本体筐体の前面に開閉可能に取り付けられた前扉2を備えており、この前扉2の前面には、上部から順に、上パネルアセンブリ10、中パネルアセンブリ20、下パネルアセンブリ30及び受け皿アセンブリ40が取り付けられている。
上記上パネルアセンブリ10の中央部には、その裏面側に配された画像表示装置11(図2参照)の表示画面11aが前方を臨むように配置されており、その周辺部には、第1演出ランプ12、第2演出ランプ13a,13b、第3演出ランプ14a,14bが配置されている。また、表示画面11aの下方左右には、一対の上部スピーカ15a,15bが配置されている。
上記中パネルアセンブリ20の中央部には、本体筐体内に横並びに配設された3個のリール3a,3b,3cの表面が臨む表示窓Wが設けられており、この表示窓Wの下方には、遊技に供する遊技メダルが投入されるメダル投入口21、クレジットされた範囲内で遊技に供する遊技メダルを1枚投入するための1−BETスイッチ22、遊技に供する遊技メダルを最大許容投入枚数(例えば3枚)投入するためのMAX−BETスイッチ23、クレジットされた遊技メダルを払い出すための貯留メダル精算スイッチ24、後述する役決定処理を開始させる際に操作される開始操作手段としてのスタートレバー25、各リール3a,3b,3cの回転を個別に停止させるための3個のストップスイッチ26a,26b,26c、及びメダル投入口21から投入されて滞留した遊技メダルを返却するためのリジェクトスイッチ27等が設けられている。
上記メダル投入口21の内部は、投入された遊技メダルが有効に受け付けられる場合に当該遊技メダルが通過する受入通路(後述のホッパー50に通ずる)と、投入された遊技メダルが受け付けられない場合に当該遊技メダルが通過する返却通路(後述の遊技メダル払出口41に通ずる)とに分岐しており、その分岐部には、ブロッカ48(図2参照)が設けられている。このブロッカ48は、遊技メダルが有効に受け付けられる期間(詳しくは後述する)においては、メダル投入口21に投入された遊技メダルを受入通路に導き、それ以外の期間においては、メダル投入口21に投入された遊技メダルを返却通路に導く
ように、受入通路と返却通路を選択的に、一方を開状態に他方を閉状態にできるように構成されている。以下の説明において、ブロッカ48がON状態とは、メダル投入口21に投入された遊技メダルが受入通路に導かれる状態(遊技メダル受入可能状態)を示し、ブロッカ48がOFF状態とは、メダル投入口21に投入された遊技メダルが返却通路に導かれる状態(遊技メダル受入不可状態)を示すものとする。
また、メダル投入口21の内部には、遊技メダルを検知するための2つの投入メダルセンサ28a,28b(図2参照)が設けられている。投入メダルセンサ28aは、遊技メダルがメダル投入口21に投入されたことを検出するものであり、投入メダルセンサ28bは、メダル投入口21に投入された遊技メダルが受入通路に導かれたこと(有効に受け入れられたこと)を検出するものである。投入メダルセンサ28a及び投入メダルセンサ28bが共に遊技メダルを検出した場合は、遊技メダルがメダル投入口21に投入され、かつ投入された遊技メダルが有効に受け入れられたことを意味する。一方、投入メダルセンサ28aは遊技メダルを検出したが、投入メダルセンサ28bは遊技メダルを検出しない場合は、遊技メダルがメダル投入口21に投入されたが、投入された遊技メダルが有効に受け入れられずに返却されたことを意味する。
上記表示窓Wは、3個のリール3a,3b,3cが全て停止した際に、リール毎に3個の図柄、合計9個の図柄が遊技者から視認可能に表示されるように構成されている。また、表示窓Wには、表示窓W内の左中段、中央中段及び右中段の各図柄表示領域を横一直線に結ぶ1本の入賞ライン29が表示可能に設けられている。この入賞ライン29は、規定枚数の遊技メダルがベットされることにより有効化される。以下、有効化された入賞ライン29のことを適宜「有効ライン29」と称する。
また、スロットマシン1には、LEDランプ等により構成される各種の表示用ランプが配置されている。本実施形態では、表示用ランプとして、MAX−BET表示ランプ46a、BET数表示ランプ46b、投入可能表示ランプ46c、遊技開始表示ランプ46d、再遊技表示ランプ46e、状態表示ランプ46f、回数表示ランプ46g、貯留枚数表示ランプ46h、及び獲得枚数表示ランプ46jを備えている。これらの表示用ランプは、後述の主制御基板60において制御されるように構成されている。
MAX−BET表示ランプ46aは、遊技メダルをベットすることができる状況下で点灯されるものであり、MAX−BETスイッチ23の内部に配置され、点灯時にはMAX−BETスイッチ23を部分的または全体的に光らせるようになっている。その他の表示用ランプは、上記中パネルアセンブリ20において表示窓Wの側部または下部に配置されている。
BET数表示ランプ46bは、ベットされた遊技メダルの枚数を表示するもので、ベットされた遊技メダルが、1枚の場合に点灯される1−BET表示ランプ46bAと、2枚の場合に点灯される2−BET表示ランプ46bBと、3枚の場合に点灯されるMAX−BET表示ランプ46bCとから構成されている。投入可能表示ランプ46cは、遊技メダルを投入することができる状況下で点灯されるものであり、遊技開始表示ランプ46dは、スタートレバー25を操作して遊技を開始させることができる状況下で点灯されるものである。再遊技表示ランプ46eは、任意の遊技において後述の再遊技役が成立し、次の遊技において、後述の自動ベット処理により遊技メダルが自動的に投入(ベット)された際に点灯されるものである。
状態表示ランプ46fは、後述の特別役(BB役またはRB役)が、後述の役決定処理において当選した場合に点灯されるものであり、回数表示ランプ46gは、後述の特別役(BB役またはRB役)の成立回数や当選回数等を7セグメント表示するものである。貯
留枚数表示ランプ46hは、貯留(クレジット)された遊技メダルの枚数を7セグメント表示するものであり、獲得枚数表示ランプ46jは、後述の小役が成立した際に獲得される遊技メダルの枚数を7セグメント表示するものである。なお、状態表示ランプ46fや回数表示ランプ46gは備えなくてもよい。
上記下パネルアセンブリ30の中央部には、透明な下パネルカバー31が取り付けられており、その左右両端部には、飾りランプ32a,32bが配置されている。なお、下パネルカバー31の裏面側には、所定の図柄が設けられた半透明の下パネルベース及び下パネル照明用蛍光灯(いずれも図示せず)が取り付けられており、この下パネル照明用蛍光灯を点灯させることにより、下パネルベースの図柄を後面側から照明するように構成されている。
上記受け皿アセンブリ40には、遊技メダルを払い出すための遊技メダル払出口41が開設されているとともに、遊技メダル払出口41に臨むようにして遊技メダルを貯留するための遊技メダル貯留皿42が設けられており、この遊技メダル貯留皿42の左には、灰皿43が設けられている。また、遊技メダル払出口41の左右には、受け皿アセンブリ40の背面側に配置された一対の下部スピーカ44a,44b(図2参照)の前面に対向して、多数の小孔からなるスピーカ口45a,45bが形成されている。
さらに、本体筐体内には、所定の賞態様が構成された場合に遊技メダルを払い出すためのホッパー50(図2参照)が設けられており、このホッパー50には遊技メダルを検出するためのメダル検出部51(図2参照)が設けられている。
<リール>
各リール3a,3b,3cはそれぞれステッピングモータ35a,35b,35c(図2参照)の駆動により回転するように構成されている。また、各リール3a,3b,3cは透光性を有する部材により構成されており、その外周面には、複数種類の図柄(図3参照)が表示された、透光性を有するリールテープが貼り付けられている。また、各リール3a,3b,3cの内面側には、バックランプ38a,38b,38c(図2参照)が配設されており、このバックランプ38a,38b,38cを点灯させることにより、表示窓W内に臨む各リール3a,3b,3cの領域を内面側から全体的に照明したり、各リール3a,3b,3c上に停止表示された所定の図柄組合せ(例えば、入賞位置としての有効ライン29上や、有効ライン29上とは異なる位置に並んだ遊技役の対応図柄等)を目立たせるように各リール3a,3b,3cの一部領域のみを照明したりするように構成されている。
<遊技を行うための基本操作>
スロットマシン1で遊技を行うには、まず実際にメダル投入口21に遊技メダルを投入するか、1−BETスイッチ22またはMAX−BETスイッチ23の何れかを操作してクレジットの範囲内で規定枚数の遊技メダルをベットすることにより、入賞ライン29を有効化する。本実施形態では、入賞ライン29を有効化するために必要となる遊技メダルの規定枚数が、後述する各RT遊技状態(非RT遊技状態、RT1遊技状態、RT2遊技状態)において、何れも3枚または2枚に設定される(後述する小役の種類によっては2枚ベットの場合と3枚ベットの場合とで小役成立時の遊技メダルの獲得枚数が異なる)が、規定枚数についてはこれに限定されるものではなく、RT遊技状態に応じて規定枚数の設定を変えるなど、適宜変更することが可能である。また、複数の入賞ラインを設けておき、遊技メダルのベット数に応じて、有効化される入賞ラインを変更するようにしてもよい。
次に、遊技者がスタートレバー25を操作すると、後述する役決定処理が行われ、その
後、各リール3a,3b,3cが回転を開始し、リール3a,3b,3cの外周表面に表示された複数種類の図柄が表示窓W内を上下に(通常、上から下に)移動表示される。そして、リール3a,3b,3cの回転が所定の速度に達すると各ストップスイッチ26a,26b,26cが有効化され、遊技者が各ストップスイッチ26a,26b,26cを操作すると、対応するリール3a,3b,3cの回転がそれぞれ停止する。
ここで、有効ライン29上に停止表示された図柄組合せが予め定めた入賞態様(遊技メダルを獲得することができる遊技役の対応図柄)となっている場合には、各入賞態様に対応した枚数の遊技メダルがホッパー50により払い出されるか、またはクレジットとして加算される。
<制御基板と各機器との接続>
スロットマシン1では、遊技に関する主たる制御が図2に示す主制御基板60上に配設された制御回路により行われ、画像表示装置11による演出画像表示制御、上部スピーカ15a,15b等のスピーカからの音声発生制御及びバックランプ38a,38b,38c等のランプによる照明制御等は、副制御基板70上に配設された制御回路により行われるように構成されている。また、両制御基板60,70間の情報伝達は、主制御基板60から副制御基板70への一方向のみ行うことが可能となっている。
主制御基板60には、遊技に関する各種の演算処理を行うメインCPU61と、制御プログラム等を記憶したROM62と、一時記憶領域であるRAM63とが配設されており、ROM62に記憶された制御プログラムに従って各駆動回路等が動作することにより、スロットマシン1における遊技に関する主たる制御が行われるようになっている。
上記メインCPU61には、駆動パルスを発生するためのクロックパルス発生器64、クロックパルス発生器64で発生した駆動パルスを分周するための分周器65、小役やビッグボーナス等の大役の抽選に用いる乱数を発生するための乱数発生器66、及び乱数発生器66で発生した乱数をサンプリングして抽選を行うためのサンプリング回路67が接続されている。また、メインCPU61は、インターフェイス回路68を介して、モータ駆動回路36、表示用ランプ制御回路47、ホッパー駆動回路52及び副制御基板70に対して信号を送信するとともに、リール位置検出回路37a,37b,37c及び払出完了信号回路53からの信号を受信するように構成されている。
ここで、モータ駆動回路36は、各リール3a,3b,3cを回転駆動するステッピングモータ35a,35b,35cの回転・停止制御を行うための回路であり、表示用ランプ制御回路47は、上述した各種の表示用ランプ(MAX−BET表示ランプ46a、BET数表示ランプ46b、投入可能表示ランプ46c、遊技開始表示ランプ46d、再遊技表示ランプ46e、状態表示ランプ46f、回数表示ランプ46g、貯留枚数表示ランプ46h、獲得枚数表示ランプ46j)の制御を行うための回路である。また、リール位置検出回路37a,37b,37cは、各リール3a,3b,3cに設置されたセンサ(図示せず)からの各検出信号に基づき、各リール3a,3b,3cの回転位置をそれぞれ検出する回路である(検出回路37aはリール3aに、検出回路37bはリール3bに対応し、検出回路37cはリール3cに対応する)。また、ホッパー駆動回路52は、小役等の賞態様が成立した際に、ホッパー50を駆動して遊技メダルの払出しを行わせる回路であり、払出完了信号回路53は、ホッパー50から所定数の遊技メダルが払い出されたことがメダル検出部31により検出された際に、主制御基板60に払出完了信号を送信する回路である。
また、スロットマシン1には、電源装置80からの電力が主制御基板60を介して供給されるようになっている。この電源装置80には、電源スイッチ81、リセットスイッチ
82及び設定鍵型スイッチ83が接続されており、これら各スイッチからの信号がインターフェイス回路68を介して、メインCPU61に送信されるように構成されている。さらに、メインCPU61は、インターフェイス回路68を介して、設定変更スイッチ84からの信号を受信するように構成されている。
電源スイッチ81は、電源装置80からスロットマシン1への電源投入及び電源断の操作を受け付けるスイッチであり、リセットスイッチ82は、スロットマシン1においてエラーが発生した際等に、主制御基板60に搭載された各回路等をリセットするためのスイッチである。また、設定鍵型スイッチ83は、役決定確率(遊技役の当選確率)等の設定変更を行う場合に、電源装置80からの電力が供給されていない状態(電源断の状態)で操作されるスイッチであり、設定変更スイッチ84は、役決定確率等の設定を、例えば6段階で変更するためのスイッチである。この設定変更スイッチ84は、設定鍵型スイッチ83がONとされ、電源装置80からスロットマシン1に電源が投入された後に操作されるようになっている。
なお、電源スイッチ81、リセットスイッチ82、設定鍵型スイッチ83及び設定変更スイッチ84の各スイッチと、主制御基板60との接続態様は、上述の態様に限られるものではない。例えば、電源スイッチ81、リセットスイッチ82及び設定鍵型スイッチ83の全てのスイッチまたはそれらの一部を、電源装置80を介さずに主制御基板60に接続することや、設定変更スイッチ84を、電源装置80を介して主制御基板60に接続することも可能である。
また、メインCPU61には、スイッチ基板90に接続されているか、またはスイッチ基板90上に搭載されている、リール停止信号回路91、スタートレバー25、投入メダルセンサ28a,28b、1−BETスイッチ22、MAX−BETスイッチ23及び貯留メダル精算スイッチ24からの各信号が、インターフェイス回路68を介して入力されるようになっている。
また、メインCPU61には、インターフェイス回路68を介してブロッカ48が接続されており、このブロッカ48をON・OFF制御するように構成されている。なお、以下の説明において、ブロッカ48をON・OFF制御するための信号を、適宜「ブロッカ信号」と称する。
また、図示は省略しているが、メインCPU61は、所定の遊技状態(例えば、ART
遊技状態(AT(アシストタイム)が設定されたRT(リプレイタイム)遊技状態))で
あることを判断して、データカウンタやホールコンピュータ等に所定の信号(以下、適宜「外端信号」と称する)を出力し、この外端信号により、ART遊技状態に設定された回数等を管理したり遊技者に提示したりできるように構成されている。
一方、副制御基板70には、演出に関する各種の演算処理を行うサブCPU71と、制御プログラム等を記憶したROM72と、一時記憶領域であるRAM73とが配設されており、ROM72に記憶された制御プログラムに従って各駆動回路等が動作することにより、スロットマシン1における演出に関する制御が行われるようになっている。
上記サブCPU71は、インターフェイス回路74を介して、主制御基板60からの各種信号を受信するとともに、表示装置制御回路16、スピーカ制御回路17及びランプ制御回路18に対し信号を送信するように構成されている。ここで、表示装置制御回路16は、画像表示装置11を制御して所定の演出画像を表示させる回路であり、スピーカ制御回路17は、上部スピーカ15a,15b等のスピーカから発生させる音声等の種類や音量を制御する回路であり、ランプ制御回路18は、バックランプ38a,38b,38c
等のランプの点灯を制御する回路である。
次に、主に図3〜図30、図63及び図64を参照しながら、本実施形態に係るスロットマシンの特徴構成について説明する。
<リールの図柄配置>
本実施形態では、各リール3a,3b,3cが表示する図柄が、図3に示すように配置されている(図3中の「左リール」、「中リール」及び「右リール」は、リール3a、リール3b及びリール3cをそれぞれ表す)。すなわち、「赤セブン」、「青セブン」、「ベル」、「スイカA」、「スイカB」、「チェリー」、「白バー」、「黒バー」、「ブランク」、「リプレイ」の各図柄が所定数ずつ各リール3a,3b,3cに配置されている。
<機能ブロックの説明>
図4に示すように、本実施形態に係るスロットマシンは、機能的な観点から説明すれば主に、遊技メダルをベットするためのベット操作(例えば、メダル投入口21への遊技メダルの投入操作、1−BETスイッチ22またはMAX−BETスイッチ23の押圧操作)や、役決定処理を開始させるための役決定開始操作(例えば、スタートレバー25の傾動操作)、複数種類の図柄を可変表示する3個のリール3a,3b,3cを回転停止させるためのリール回転停止操作(例えば、ストップスイッチ26a,26b,26cの押圧操作)、貯留(クレジット)された遊技メダルを払い出すための精算操作(例えば、貯留メダル精算スイッチ24の押圧操作)等の、遊技者によりなされる各遊技操作に対応した信号を出力する操作信号出力手段95と、各リール3a,3b,3cを用いた遊技に関する制御を行う主制御手段100と、遊技の状況に応じて所定の演出制御を行う副制御手段200とを備えてなる。
本実施形態においては、遊技メダルがメダル投入口21に投入されると、そのことを示す信号(以下、適宜「メダル投入信号」と称する)が投入メダルセンサ28aを介して生成され、このメダル投入信号が操作信号出力手段95から出力されるようになっている。また、遊技メダルが投入された際にブロッカ48がON状態とされており、投入された遊技メダルが、ホッパー50に通じる受入通路に導かれた場合には、そのことを示す信号(以下、適宜「メダル受入信号」と称する)が投入メダルセンサ28bを介して生成され、このメダル受入信号が操作信号出力手段95から出力されるようになっている。
さらに、1−BETスイッチ22の操作状態(操作中であるか非操作中であるか)を示す信号(以下、適宜「1−BET信号」と称する)が1−BETスイッチ22を介して生成され、この1−BET信号が操作信号出力手段95から出力されるようになっている。同様に、MAX−BETスイッチ23の操作状態(操作中であるか非操作中であるか)を示す信号(以下、適宜「MAX−BET信号」と称する)がMAX−BETスイッチ22を介して生成され、このMAX−BET信号が操作信号出力手段95から出力されるようになっている。
また、スタートレバー25の操作状態(操作中であるか非操作中であるか)を示す信号(以下、適宜「スタート信号」と称す)がスタートレバー25のスイッチ回路(図示略)を介して生成され、このスタート信号が操作信号出力手段95から出力されるようになっている。同様に、ストップスイッチ26a,26b,26cの各操作状態(操作中であるか非操作中であるか)を示す信号(以下、適宜「リール停止信号」と称する)がストップスイッチ26a,26b,26c及びリール停止信号回路91を介して生成され、このリール停止信号が操作信号出力手段95から出力されるようになっている。
また、貯留メダル精算スイッチ24の操作状態(操作中であるか非操作中であるか)を示す信号(以下、適宜「精算信号」と称す)が貯留メダル精算スイッチ24を介して生成され、この精算信号が操作信号出力手段95から出力されるようになっている。なお、本実施形態におけるリジェクトスイッチ27は、メダル投入口21から投入されて滞留したメダル(正規の遊技メダル以外のメダルを含む)を保持するメダルセレクタ等の機構(図示略)を機械的に解放状態として、滞留したメダルを返却させるためのものであり、リジェクトスイッチ27の操作状態(操作中であるか非操作中であるか)を示す信号は生成されない(生成するように構成することも可能)。
なお、以下の説明において、上述のメダル投入信号、メダル受入信号、1−BET信号、MAX−BET信号、スタート信号、リール停止信号、及び精算信号を総称して、適宜「遊技操作信号」と称する。また、これらの遊技操作信号のうち、後述の自動ベット処理凍結期間において操作信号出力手段95から出力されたメダル投入信号、1−BET信号、MAX−BET信号、スタート信号、及び精算信号は、後述の自動ベット処理凍結期間(特に、後述の第2の自動ベット処理凍結期間)を終了させるための信号(以下、適宜「キャンセル信号」と称する)として扱われる。一方、自動ベット処理凍結期間において操作信号出力手段95から出力されたメダル受入信号及びリール停止信号は、キャンセル信号としては扱われないが、これら信号の一部または全部を、キャンセル信号として扱うようにすることも可能である。
上記主制御手段100は、役決定手段101、リール制御手段102、設定変更手段103、RT遊技状態設定手段104、ベット管理手段105、遊技操作処理時機導出手段106、停止表示図柄判定手段107、ブロッカ制御手段108、自動ベット処理実行時機制御手段109、表示ランプ制御手段110、メイン情報記憶手段118、及び情報送信手段119を備えている。なお、主制御手段100における上述の各手段は、図2に示す主制御基板60上に配されたメインCPU61、ROM62、RAM63、電子回路等のハードウエア及びROM62等に格納された制御プログラム等のソフトウエアにより構成されるものを機能的に表したものである。
上記役決定手段101は、スタートレバー25が傾動操作されたことを契機として(より詳細には、後述の遊技操作処理時機導出手段106によって導出された役決定開始時機に基づいて)、予め設定された役決定確率に基づき複数の役決定結果の中から少なくとも1つの役決定結果を選出するための役決定処理を行うように構成されている。この役決定処理は、図2に示す乱数発生器66及びサンプリング回路67を用いた乱数抽選により行われる。
具体的には、乱数発生器66により生成された乱数列の中から、サンプリング回路67によって1つの乱数(数字)を取得(ラッチ及び読込み)した後、その取得乱数が、役抽選テーブル(図12参照)に設定された複数の数値範囲の中のどの数値範囲に属するのかを判定し、取得乱数が属する数値範囲に対応した役決定結果を選出するように構成されている。なお、乱数の取得(特に乱数ラッチ)のタイミングの詳細については後述する。
上記リール制御手段102は、上記役決定処理により役決定結果が選出された後に、各リール3a,3b,3cを一斉に回転開始させるとともに、ストップスイッチ26a,26b,26cが順次押圧操作され、それらの各信号が入力された際に、対応する各リール3a,3b,3cを順次回転停止させるように構成されている。なお、各リール3a,3b,3cの回転停止制御は、ストップスイッチ26a,26b,26cが操作されたタイミングから、各リール3a,3b,3cが最大で4図柄移動する範囲内で行われる。すなわち、役決定手段101による役決定処理の結果、所定の遊技役が決定されている場合には、可能な限りその決定された遊技役の対応図柄が有効ライン29上に停止表示されるよ
うに、ハズレの場合には、設定された何れの遊技役の対応図柄も有効ライン29上に停止表示されないように停止制御がなされるようになっている。
上記設定変更手段103は、設定変更スイッチ84が受け付けた設定変更指令操作に基づき設定値を、例えば6段階(設定値1〜設定値6)で変更する設定変更を行うように構成されている。また、設定変更を行った場合には、設定変更後の設定値の情報等を、上記情報送信手段119を介して副制御手段200へ送信するように構成されている。本実施形態では、設定値に応じて役決定確率(後述する役決定処理における役決定結果の選出確率)が変わり、それに応じて、遊技メダルの投入数(ベット数)と払出数との割合に関する出玉率や利益率等が変動するようになっている。これに対し、設定値によらず役決定確率は一定とし、副制御手段200側で管理されるATが設定される確率(後述するナビ権の設定確率)等を、設定値に応じて変えるようにしてもよい。
上記RT遊技状態設定手段104は、後述する条件P,Q,Rの何れかが充足されることを契機として、後述する非RT遊技状態、RT1遊技状態(ボーナス内部中)、RT2遊技状態(ボーナス)の3つのRT遊技状態(図9参照)のうちの何れかの遊技状態を設定するように構成されている。また、上記設定変更手段103により設定変更が行われた際には、設定変更時に上記メイン情報記憶手段118に格納された、後述のRT情報、MB内部中フラグ及びMB作動中フラグに基づいて、設定変更後に設定するRT遊技状態を決定するように構成されている。なお、以下の説明において、設定変更後におけるRT遊技状態の「設定」を適宜「復帰」と称するが、この「復帰」とは、設定変更後のRT遊技状態が設定変更前のRT遊技状態と同じRT遊技状態とされる場合に限定されることを意味するものではない。
なお、本実施形態では、後述のRT2遊技状態(ボーナス)にあるときも設定変更を行えるようになっているが、設定変更後にRT2遊技状態に復帰することはないように構成されている(設定変更後にRT2遊技状態に復帰できるように設定することも可能)。また、本実施形態では、遊技が進行中の段階(遊技途中)でも設定変更が行えるように構成されているが、遊技途中では設定変更を行うことができないように構成してもよい。
上記ベット管理手段105は、遊技者によるベット操作(メダル投入口21への遊技メダルの投入操作(特に、投入メダルセンサ28aにより検出される投入操作。以下において同じ)、1−BETスイッチ22またはMAX−BETスイッチ23の押圧操作)により設定されたベット数が規定枚数に達したか否かを判定するように構成されている。また、再遊技役が成立した場合に、次の遊技期間において、自動ベット処理(遊技者が保有する遊技メダルの数を減らすことなく、直前の遊技におけるベット数と同数の遊技メダルがベットされた状態を設定する処理)を行うように構成されている。
上記遊技操作処理時機導出手段106は、遊技操作受付手段に相当するものであり、操作信号出力手段95からの各遊技操作信号(メダル投入信号、メダル受入信号、1−BET信号、MAX−BET信号、スタート信号、リール停止信号、精算信号)が適正な時機に出力された場合に、これを有効に受け付け、受け付けた遊技操作信号に基づく処理(予めプログラムされた処理)を実行するための開始契機または終了契機となるタイミング(以下、適宜「遊技操作処理時機」と称する)を導出するように構成されている。一方、後述の自動ベット処理実行時機制御手段109により設定される自動ベット処理凍結期間(第2の自動ベット処理凍結期間)において操作信号出力手段95から出力されたメダル投入信号、1−BET信号、MAX−BET信号、スタート信号、精算信号については、これをキャンセル信号として扱い、このキャンセル信号に基づいて、本来の遊技操作処理時機とは異なるキャンセル時機(後述の第2の自動ベット処理凍結期間の終了契機とされる)を導出するように構成されている。
上記停止表示図柄判定手段107は、各リール3a,3b,3cにより停止表示された図柄がどの図柄であるかを判定するとともに、有効ライン29上に停止表示された図柄の組合せから、遊技役が成立しているかどうかを判定するように構成されている。また、どの図柄が停止表示されたのかを示す情報(以下、適宜「停止表示図柄情報」と称する)、または成立した遊技役を示す情報(以下、適宜「成立役情報」と称する)を、上記情報送信手段119を介して副制御手段200へ送信するように構成されている。
上記ブロッカ制御手段108は、上述のブロッカ48を制御すためのブロッカ信号を出力して、ブロッカ48をON状態(遊技メダル受入可能状態)とOFF状態(遊技メダル受入不可状態)との間で切り替えるように構成されている。なお、ブロッカ48がON状態とされる期間の詳細については後述するが、後述の自動ベット処理凍結期間においては、ブロッカ48はOFF状態とされる。したがって、自動ベット処理凍結期間においてメダル投入口21に投入された遊技メダルは、返却通路に導かれ返却される。ただし、遊技メダルが投入されたことは、上記投入メダルセンサ28aにより検出され、上述のメダル投入信号が操作信号出力手段95から出力されるようになっている。このメダル投入信号は、上述したように、後述の第2の自動ベット処理凍結期間においては、第2の自動ベット処理凍結期間を終了させるためのキャンセル信号として扱われ、このキャンセル信号に基づき上記キャンセル時機が導出される。
上記自動ベット処理実行時機制御手段109は、後述の再遊技役(再遊技役1〜21)のうち、成立時には特定の図柄組合せが所定位置(有効ライン29上、上段ラインL1上または右下がりラインL2上)に停止表示されるように構成された後述の特定RP(再遊技役2〜21)が成立したことを契機として、上述のベット管理手段105による自動ベット処理の実行が禁止される自動ベット処理凍結期間を設定するように構成されている。また、設定された自動ベット処理凍結期間(後述の第2の自動ベット処理凍結期間)において上述のメダル投入口21への遊技メダルの投入操作、1−BETスイッチ22またはMAX−BETスイッチ23の押圧操作、貯留メダル精算スイッチ24の押圧操作、スタートレバー25の傾動操作(以下、適宜「特定群の遊技操作」と称する)の何れかが、遊技操作処理時機導出手段106によりキャンセル操作として受け付けられたことを契機として、この自動ベット処理凍結期間を終了し自動ベット処理を実行させるように構成されている。
本実施形態では、自動ベット処理凍結期間として、上記自動ベット処理の実行が所定時間T1(例えば、5秒間)禁止される第1の自動ベット処理凍結期間と、この第1の自動ベット処理凍結期間に続いて自動ベット処理の実行が所定時間T2(例えば、10秒間)禁止される第2の自動ベット処理凍結期間が設定されるように構成されている。第1の自動ベット処理凍結期間においては、遊技者による任意の遊技操作(上述の特定群の遊技操作を含む)が遊技操作処理時機導出手段106に有効に受け付けられないように構成されている。具体的には、遊技操作に基づく遊技操作信号は操作信号出力手段95から出力され、そのことは遊技操作処理時機導出手段106に認識されるが、その遊技操作信号に基づいて、本来の遊技操作処理時機(例えば、スタート信号に基づく役決定処理の開始時機、精算信号に基づく精算処理の開始時機等)やキャンセル時機が導出されることがないように構成されている。
なお、遊技操作信号に基づき、本来の遊技操作処理時機やキャンセル時機が導出されるが、それに基づく処理が実行されない(例えば、役決定処理を開始させる時機(以下、適宜「役決定開始時機」と称する)は導出されるが、その役決定開始時機に基づいて役決定処理は開始されない、またはキャンセル時機は導出されるが、そのキャンセル時機に基づいて第1の自動ベット処理凍結期間を終了させるという処理は行われない)ように構成す
ることも可能である。また、第1の自動ベット処理凍結期間においては、任意の遊技操作(特定群の遊技操作を含む)が行われても、その遊技操作に基づく遊技操作信号が操作信号出力手段95から出力されないようにすることによって、遊技操作が遊技操作処理時機導出手段106に有効に受け付けられないように構成することも可能である。
一方、第2の自動ベット処理凍結期間においては、上述の特定群の遊技操作がキャンセル操作として遊技操作処理時機導出手段106に有効に受け付けられる(具体的には、特定群の遊技操作に基づき操作信号出力手段95から出力された遊技操作信号がキャンセル信号として扱われ、このキャンセル信号に基づいて、遊技操作処理時機導出手段106によりキャンセル時機が導出される)ように構成されている。この場合には、上記所定時間T2の経過を待たずに、第2の自動ベット処理凍結期間が終了され、自動ベット処理が実行されるようになっている。なお、第2の自動ベット処理凍結期間において、キャンセル操作として扱われる特定群の遊技操作が行われない場合には、上記所定時間T2の経過により第2の自動ベット処理凍結期間が終了され、自動ベット処理が実行されるようになっている。
本実施形態では、第2の自動ベット処理凍結期間において、キャンセル操作として遊技操作処理時機導出手段106に有効に受け付けられた特定群の遊技操作が、役決定処理(遊技)を開始させるための役決定開始操作(スタートレバー25の傾動操作)であった場合(キャンセル信号とされたのがスタート信号であった場合)には、役決定開始操作が遊技操作処理時機導出手段106に有効に受け付けられたことを、第2の自動ベット処理凍結期間を終了させる契機としては用いる一方で、役決定処理を開始させる契機としては用いないように構成されている。すなわち、第2の自動ベット処理凍結期間においてなされた1回の役決定開始操作に対応して出力されたスタート信号に基づいてキャンセル時機は導出されるが、同じスタート信号に基づいて役決定開始時機は導出されないように構成されている(具体的な信号処理の態様については後述する)。
このため、役決定処理を開始させるためには、第2の自動ベット処理凍結期間の終了後(自動ベット処理の終了後)に、再度スタートレバー25を操作する必要はあるものの、自動ベット処理を実行してから再度スタートレバー25が操作されるまで、ある程度の時間を確保することができるので、自動ベット処理の実行を契機としてバックランプ演出等を終了させるように構成した場合でも、役決定処理開始時点においてバックランプ演出等を確実に終了させておくことが可能となる。
同様に、第2の自動ベット処理凍結期間において、キャンセル操作として遊技操作処理時機導出手段106に有効に受け付けられた特定群の遊技操作が、貯留(クレジット)された遊技メダルを払い出すための精算操作(貯留メダル精算スイッチ24の押圧操作)であった場合(キャンセル信号とされたのが精算信号であった場合)には、精算操作が遊技操作処理時機導出手段106に有効に受け付けられたことを、第2の自動ベット処理凍結期間を終了させる契機としては用いる一方で、精算処理を開始させる契機としては用いないように構成されている。精算処理を開始させるためには、再遊技状態(再遊技役が成立した遊技期間の次の遊技期間にある状態)が解消されるまで、少なくとも1回は遊技を行う必要があるが、再遊技役成立により得られる、新たに遊技メダルをベットすることなく再度遊技を行うことができるという特典が無駄になることを防止することが可能となる。
上記表示ランプ制御手段110は、上述の各種表示用ランプ(MAX−BET表示ランプ46a、BET数表示ランプ46b、投入可能表示ランプ46c、遊技開始表示ランプ46d、再遊技表示ランプ46e、状態表示ランプ46f、回数表示ランプ46g、貯留枚数表示ランプ46h、獲得枚数表示ランプ46j)の点灯や消灯等に関する制御を、表示用ランプ制御回路47を介して行うように構成されている。また、本実施形態では、後
述の自動ベット処理凍結期間が設定された際に、後述する第2の自動ベット処理凍結期間において、上述のキャンセル操作として上記MAX−BETスイッチ23の押圧操作が行われるように導くための演出(後述のMAX−BET誘導演出)として、上記MAX−BET表示ランプ46aを点灯させるように構成されている。なお、図4では、上述の表示用ランプのうち、MAX−BET表示ランプ46aのみを表示している。
上記メイン情報記憶手段118は、役決定手段101による役決定(乱数抽選)により選出された役決定結果を示す情報や、RT遊技状態設定手段104により設定されたRT遊技状態を示す情報を記憶するように構成されており、図5に示すように、特別役決定情報記憶領域1181、小役・再遊技役決定情報記憶領域1182、成立役情報記憶領域1183、RT遊技状態情報記憶領域1184、設定値情報記憶領域1185等の記憶領域を備えている。
特別役決定情報記憶領域1181は、遊技者にとって特別な遊技条件が設定される契機となる特別役(後述のMB役)の決定に関する役決定結果(後述の役決定結果A1)が選出された場合に、選出された役決定結果の情報が記憶される領域である。また、小役・再遊技役決定情報記憶領域1182は、役決定により小役(後述の小役1〜19)または再遊技役(後述の再遊技役1〜21)の決定に関する役決定結果(後述の役決定結果B1〜B8,C1〜C4,D1〜D4)が得られた場合に、選出された役決定結果の情報が記憶される領域である。
なお、小役・再遊技役決定情報記憶領域1182に記憶された役決定結果B1〜B8,C1〜C4,D1〜D4の情報は、情報が記憶された後、次の遊技期間に移行されるまでの間にクリア(消去)され、特別役決定情報記憶領域1181に記憶された役決定結果A1の情報は、MB役が成立した場合にはクリアされ、成立しなかった場合にはクリアされず、次の遊技期間に持ち越されるようになっている。以下、特別役(MB役)が当選しているが未成立であり、特別役の当選(役決定結果A1の情報)が持ち越されている遊技状態を、適宜「ボーナス内部中遊技状態」(「MB内部中遊技状態」)、または簡略化して「ボーナス内部中」(「MB内部中」)と称する。また、役決定結果A1の情報を「MB内部中フラグ」と称し、特別役決定情報記憶領域1181に役決定結果A1の情報を記憶することを「MB内部中フラグをONにする」と称し、記憶されていた役決定結果A1の情報をクリアする(特別役決定情報記憶領域1181を初期化する)ことを「MB内部中フラグをOFFにする」または「MB内部中フラグをクリアする」(それぞれ類似の表現を含む)と称する。
成立役情報記憶領域1183は、上記停止表示図柄判定手段107により成立したと判定された遊技役に関する成立役情報が記憶される領域であり、記憶された成立役情報は、次の遊技期間に移行されるまでの間にクリアされる。ただし、後述するMB役の成立情報が記憶された場合には、後述する遊技終了処理において、特別遊技(MB役の成立により設定される特別な遊技条件下で遊技)が実行可能であることを示すMB作動中情報が記憶されるようになっている。このMB作動中情報は、特別遊技の終了条件(特別遊技の開始後、規定枚数(30枚)を超える遊技メダルが払い出されること)が充足されて特別遊技が終了した場合にクリアされるようになっている。以下、特別役(MB役)が成立して特別遊技(適宜「MB」と称する)を行うことが可能となっている遊技状態を、適宜「ボーナス作動中遊技状態」(「MB作動中遊技状態」)、または簡略化して「ボーナス作動中」(「MB作動中」)や「ボーナス中」(「MB中」)、「ボーナス」と称する。また、MB作動中情報を「MB作動中フラグ」と称し、成立役情報記憶領域1183にMB作動中情報を記憶することを「MB作動中フラグをONにする」と称し、記憶されていたMB作動中情報をクリアする(成立役情報記憶領域1183を初期化する)ことを「MB作動中フラグをOFFにする」または「MB作動中フラグをクリアする」(それぞれ類似の表
現を含む)と称する。
RT遊技状態情報記憶領域1184は、上記RT遊技状態設定手段104が設定変更後にRT遊技状態を設定する際に参照するRT情報が記憶される領域である。RT情報とは、各々のRT遊技状態に対応するように設定される識別用の情報であり、本実施形態では、後述する非RT遊技状態に対しては「0」、RT1遊技状態(ボーナス内部中)に対しては「1」、RT2遊技状態(ボーナス)に対しては、非RT遊技状態と共通の「0」の各数値情報がRT情報として設定されている。このRT情報は、RT遊技状態設定手段104がRT遊技状態を移行させた際に更新されるようになっている。また、設定値情報記憶領域1185は、上記設定変更手段103により設定された役決定確率等の設定値を示す情報が記憶される領域である。
上記情報送信手段119は、遊技に関する各種情報(例えば、スタートレバー25やストップスイッチ26a,26b,26cが操作されたことの情報、役決定結果を示す情報及び当選役の成立の有無の情報、RT遊技状態の設定情報等)を副制御手段200に送信するように構成されている。
一方、上記副制御手段200は、AT設定手段201、演出実行制御手段202、特典付与選択手段203、サブ情報記憶手段208及び情報受信手段209を備えている。なお、副制御手段200における上述の各手段は、図2に示す副制御基板70上に配されたサブCPU71、ROM72、RAM73、電子回路等のハードウエア及びROM72に格納された制御プログラム等のソフトウエアにより構成されるものを機能的に表したものである。
上記AT設定手段201(図4参照)は、後述する押し順ナビ演出等のアシスト演出を行うことが可能となるAT(アシストタイム)の設定に関する種々の制御を行うように構成されており、図6に示すように、ナビ権設定選択手段2011及びアシスト可能回数管理手段2012を備えている。
ナビ権設定選択手段2011は、後述のRT1遊技状態において遊技が行われる度に所定の数値(本実施形態では「+1」とするが任意に設定してよい。また、遊技毎に抽選等により数値を選択したり、役決定結果に応じて数値を変更したりしてもよい)のサービスポイントを遊技者に付与するように構成されている。また、付与したサービスポイントを毎遊技カウントし、その累積値を文字情報や音声情報として遊技者に報知(詳細には、後述の報知用カウンタによる計数値を報知)するようになっている(毎ゲーム報知するのではなく数ゲーム置きに報知したり、報知する時機を抽選等により決定したりするようにしてもよい)。さらに、サービスポイントの累積値の到達目標値を、例えば、100,200,300,500,1000の5つの数値(具体的な数値や選択肢の数等は任意に設定可)の中から設定変更時やAT終了時など定められたタイミングで抽選等により決定し、付与したサービスポイントの累積値が到達目標値を超えた場合には、押し順ナビ演出等のアシスト演出が行われる権利(以下、適宜「ナビ権」と称する)を設定するように構成されている。本実施形態では、ナビ権が設定されることにより次遊技からATが設定され、RT1遊技状態において、後述のアシスト演出の実行が許可される。
また、ナビ権設定選択手段2011は、RT1遊技状態(非AT中)における役決定処理により所定の役決定結果(後述の役決定結果D1〜D4)が選出されたことを契機として、サービスポイントの付与が遊技者にとって有利に行われるチャンスゾーンを設定するか否かを選択するための、後述のチャンスゾーン設定抽選を行い、このチャンスゾーン設定抽選において当りA〜当りCの抽選結果が得られた場合に、チャンスゾーンを設定するように構成されている。
また、チャンスゾーンを設定すると、そのチャンスゾーンの期間(チャンスゾーン設定抽選により決定される)が全終了するまで(設定期間の途中で終了することなく)、遊技が行われる度に、チャンスゾーン以外の期間(以下、適宜「通常ゾーン」と称する)におけるサービスポイントの値(+1)よりも大きな数値(本実施形態では「+10」とするが任意に設定してよい。また、遊技毎に抽選等により数値を選択したり、役決定結果に応じて数値を変更したりしてもよい)の特別サービスポイントを遊技者に付与するように構成されている。付与した特別サービスポイントは、内部的には毎遊技カウント(後述の内部カウンタにより計数)されてその累積値が算出されるが、遊技者に対してはチャンスゾーン期間の最終遊技まで報知されず(後述の報知用カウンタによる計数が行われない)、最終遊技において、チャンスゾーン中に付与された特別サービスポイントと通常ゾーン中に付与されたサービスポイントの累積値が文字情報や音声情報として遊技者に報知(後述の報知用カウンタによる計数値に内部カウンタによる計数値を加算して報知)するようになっている(チャンスゾーン中、ゲーム毎に累積値を報知したり、数ゲーム置きに報知したり、報知する時機を抽選等により決定したりするようにしてもよい)。そして、チャンスゾーン期間では、付与した特別サービスポイントの累積値が到達目標値を超えることを報知するとナビ権を設定する。
また、チャンスゾーン期間の最終遊技において、通常ゾーン中に付与したサービスポイントとチャンスゾーン中に付与した特別サービスポイントの各累積値の合計値が、上記到達目標値を超えるか否かを文字情報や音声情報として遊技者に報知し、超える場合には、超える分の数値(例えば、到達目標値が300で、サービスポイントと特別サービスポイントの各累積値の合計値が380であった場合には80)を持越サービスポイントとして保持し、上記ナビ権を設定して次遊技からATを設定する(超えない場合は、チャンスゾーンを終了して通常ゾーンに戻り非ATを継続する)ように構成されている。
また、ナビ権設定選択手段2011は、設定したATが終了する際に次の到達目標値を設定するとともにAT状態から非AT状態(通常ゾーン)に戻った最初の遊技において、上記持越サービスポイント及び当該遊技において付与するサービスポイントの合計値が上記次の到達目標値を超えるか否かを文字情報や音声情報として遊技者に報知し、超える場合には、超える分の数値を新規の持越サービスポイントとして保持し、ナビ権を再設定して次遊技からATを再設定する(超えない場合は、非ATを継続する)ように構成されている。なお、超えない場合は、上記持越サービスポイント及び当該遊技において付与するサービスポイントの合計値を起点として、遊技が行われる度にサービスポイントを付与する。
このように、本実施形態では、RT1遊技状態における非AT中において、遊技が行われる度にサービスポイントが遊技者に付与される。また、非AT中には、通常値(+1)のサービスポイントが付与される通常ゾーンの他に、通常のサービスポイントよりも大きな数値(+10)の特別サービスポイントが付与されるチャンスゾーンが設定可能となっている。チャンスゾーンが設定されると、ATが設定される可能性が増大するので、非AT中の遊技を行う遊技者に対して、チャンスゾーンが設定されてATが設定されることへの期待感を強く持たせることが可能となる。また、チャンスゾーンは一旦設定されると、チャンスゾーンの期間途中で、それまでに計数されたサービスポイント及び特別サービスポイントの各累積値の合計値が到達目標値を超えたとしても途中終了することがない。このため、到達目標値を超えた段階で途中終了するようにした場合に比べ、チャンスゾーン中に付与される特別サービスポイントの累積値が増える可能性が高くなるので、ATが設定されることへの遊技者の期待感をより増進させることが可能となる。
なお、チャンスゾーンの設定期間は、チャンスゾーンが設定された時点で遊技者に報知
(例えば、残り7ゲーム、14ゲームなどと表示して報知)してもよいし、チャンスゾーンにおいて所定数の遊技が行われた時点で残りの期間長(単に「まだまだ続く」等の不明確な情報とすることも可)を報知してもよいし、最後まで報知しないようにしてもよい。また、本実施形態では、サービスポイント及び特別サービスポイントの真の累積値を計数し到達目標値と比較するためのカウンタ(以下、適宜「内部カウンタ」と称する)と、それらの疑似的な累積値を計数するためのカウンタ(以下、適宜「報知用カウンタ」と称する)を別々に備えており、次のように利用される。例えば、非AT中においては、ストップスイッチ3aを最初に操作する第1の特定押し順(以下、適宜「左第一押し順」と称する)以外の第2の特定押し順(以下、適宜「中右第一押し順」と称する)を原則禁止とし、左第一押し順にて遊技が行われた場合には内部カウンタと報知用カウンタの両方で計数するが、中右第一押し順にて遊技が行われた場合には報知用カウンタによる見かけ上の計数は行って累積値が増大したように報知する一方で、内部カウンタによる真の計数は行わずに実際の累積値は増加させないというような処理を行う際などに利用される。
なお、上述の内部カウンタ及び報知用カウンタは、ATが設定された際にそれまでの計数値が共にクリアされて初期値「0」に設定される(ただし、持越サービスポイントの数値情報はAT中も保持される)ようになっている。また、上述の到達目標値も、ATが設定された際に一旦クリアされて未設定の状態とされるようになっている。一方、RT1遊技状態中に後述のMB役が成立してRT2遊技状態に移行される場合の内部カウンタ及び報知用カウンタと到達目標値の取り扱いは、MB役が成立したのが通常ゾーン中であるのかサービスゾーン中であるのかによって異なる。すなわち、MB役が成立したのが通常ゾーン中である場合には、内部カウンタはRT1遊技状態中の計数値がそのまま保持されRT2遊技状態中は計数を行わない(RT2遊技状態から非RT状態を経由して再びRT1遊技状態に移行した際に計数を再開する)が、報知用カウンタはRT2遊技状態中も毎遊技計数(見かけ上の計数)を行う。また、到達目標値はそのまま保持され、RT2遊技状態から非RT状態を経由して再びRT1遊技状態に移行した際の到達目標値として利用される。
これに対し、MB役が成立したのがチャンスゾーン中である場合には、内部カウンタ及び報知用カウンタにおけるRT1遊技状態中の各計数値がそのまま保持されRT2遊技状態中はどちらも計数を行わない。RT2遊技状態から非RT状態を経由して再びRT1遊技状態に移行した際には、再びチャンスゾーンが設定され(前回RT2遊技状態に移行したときの途中段階からの再設定)、内部カウンタはチャンスゾーン中の計数を再開し、報知用カウンタはチャンスゾーン中の最終遊技まで計数を行わない。到達目標値は、通常ゾーン中にMB役が成立した場合と同じくそのまま保持され、RT2遊技状態から非RT状態を経由して再びRT1遊技状態に移行した際の到達目標値として利用される。
また、チャンスゾーンにおいて、サービスポイントと特別サービスポイントを別々に付与するようにしてもよい。例えば、チャンスゾーン中は遊技が行われる度に、通常ゾーンと同じく通常のサービスポイントを付与しつつ、これとは別にサービスポイントの上乗せ分として特別サービスポイントを付与することが挙げられる。この場合、遊技者に対しては、通常のサービスポイントと特別サービスポイントとの合算値を報知するようにしてもよいし、どちらか一方のみを報知するようにしてもよいし、両方を別々に報知するようにしてもよい。
アシスト可能回数管理手段2012は、ナビ権が設定されたことを契機として、次遊技からのAT中における後述のアシスト演出を行うことが可能な回数(以下、適宜「アシスト可能回数」と称する)を設定、管理するように構成されている。本実施形態では、RT1遊技状態はリプレイ確率が高い状態であることから、ATが設定されることにより所謂ART(アシストリプレイタイム)の状態となる。
上記演出実行制御手段202(図4参照)は、画像表示装置11、スピーカ15a,15b,44a,44b、演出ランプ12,13a,13b,14a,14b、飾りランプ32a,32b、バックランプ38a,38b,38cを用いた各種の演出を制御するように構成されており、図7に示すように、バックランプ演出制御手段2021、遊技進行演出制御手段2022、アシスト演出制御手段2023及び遊技メダル音演出制御手段2024を備えている。
バックランプ演出制御手段2021は、任意の遊技役が成立したことを契機として、バックランプ38a,38b,38cを用いて各リール3a,3b,3cを、その内部から所定のパターンで照明するバックランプ演出(後述のバックランプ演出A)を実行するように構成されている。特に、後述の特定RP(再遊技役2〜21)のうち、後述するベルRP(再遊技役2〜6)、赤7揃いRP(再遊技役7)、スイカ揃いRP(再遊技役13)が成立した場合には、これらの再遊技役の成立時に所定位置に停止表示される特定の図柄組合せ(後述の「ベル・ベル・ベル」、「赤セブン・赤セブン・赤セブン」、「スイカA/B・スイカA・スイカA」)を、各リール3a,3b,3cの内部から所定のパターンで照明するバックランプ演出(後述のバックランプ演出B)を実行するように構成されている。また、後述のチャンスRP(再遊技役18〜21)が成立した場合にも、所定の態様のバックランプ演出(後述のバックランプ演出C)を実行するように構成されている。
遊技進行演出制御手段2022は、RT遊技状態や遊技の進行状況に応じて、遊技の興趣を向上させるための種々の演出(例えば、後述の連続演出や単発演出等)を実行するように構成されている。さらに、本実施形態では、上述の自動ベット処理凍結期間(第2の自動ベット処理凍結期間)において、上記キャンセル操作として役決定開始操作(スタートレバー25の傾動操作)が行われた場合には、役決定処理を開始させるためには開始操作を再び行うことが必要であることを報知する演出(後述の再スタート要求演出)を実行するように構成されている。また、上述の自動ベット処理凍結期間(第2の自動ベット処理凍結期間)において、上記キャンセル操作として精算操作(貯留メダル精算スイッチ24の押圧操作)が行われた場合には、貯留メダルの精算を行うためには遊技を少なくとも1回は行う必要があることを報知する演出(後述の再遊技実行要求演出)を実行するように構成されている。
アシスト演出制御手段2023は、ATが設定された状態において、遊技者によるリール回転停止操作(ストップスイッチ26a,26b,26cの押圧操作)の順序によって各リール3a,3b,3c上に停止表示される図柄組合せが変更される、後述の押し順対応の役決定結果(後述の役決定結果B2〜B4,B7,B8,C1〜C4)が役決定処理により選出された場合に、適切なリール回転停止操作順序(以下、適宜「正解押し順」と称する)を報知するための後述の押し順ナビ演出等のアシスト演出(後述の目押し図柄指示演出を含む)を行うように構成されている。
遊技メダル音演出制御手段2024は、任意の小役(後述の小役1〜19)が成立したことを契機として、小役成立により獲得された遊技メダルの払出開始から払出終了までの間、遊技メダルの払出音をスピーカ15a,15b等から出力する演出(後述の払出音出力演出)と、遊技者によるベット操作(メダル投入口21への遊技メダルの投入操作、1−BETスイッチ22またはMAX−BETスイッチ23の押圧操作)が行われたことを契機として、ベットされた遊技メダルの投入音をスピーカ15a,15b等から出力する演出(後述の投入音出力演出)を行うように構成されている。また、本実施形態では、上述の自動ベット処理が行われる際に、自動ベット(自動投入)された遊技メダルの投入音をスピーカ15a,15b等から出力する演出(後述の自動投入音出力演出)を行うよう
に構成されている。
さらに、本実施形態では、後述の特定RP(再遊技役2〜21)のうち、後述するベルRP(再遊技役2〜6)またはスイカ揃いRP(再遊技役13)が成立したことを契機として、後述の小役6または小役5が成立したときに実行される払出音出力演出の所要時間と同じ時間、遊技メダルの払出音をスピーカ15a,15b等から出力する演出(後述の架空払出音出力演出)を、上述の第1の自動ベット処理凍結期間において実行するように構成されている。また、上述の自動ベット処理凍結期間(第2の自動ベット処理凍結期間)において、上記キャンセル操作としてベット操作(メダル投入口21への遊技メダルの投入操作、1−BETスイッチ22またはMAX−BETスイッチ23の押圧操作)が行われた際に、遊技メダルの投入音をスピーカ15a,15b等から出力する演出(後述のベット操作キャンセル時投入音出力演出)を行うように構成されている。
上記特典付与選択手段203(図4参照)は、後述のRT1遊技状態のAT中において、所定の役決定結果(後述の役決定結果B6,D1〜D4の何れか)が役決定処理により選出された場合に、遊技者に対する特典としての、上記アシスト可能回数の上乗せ回数を、役決定結果B6が選出された場合には一律所定の数値(例えば「10」)に決定し、役決定結果D1〜D4の何れかが選出された場合には、後述のアシスト可能回数上乗せ抽選より選択される数値に決定するように構成されている。
上記サブ情報記憶手段208は、主制御手段100から送信された情報や、演出制御に関する情報を記憶するように構成されており、図8に示すように、遊技情報記憶領域2081、AT設定情報記憶領域2082、アシスト可能回数情報記憶領域2083等の記憶領域を備えている。
遊技情報記憶領域2081は、主制御手段100から送信された、役決定結果の情報や成立役情報、遊技状態の情報、役決定確率の設定値の情報等が記憶される領域であり、AT設定情報記憶領域2082は、上記AT設定手段201(図4参照)により決定された、ATの設定に関する各情報(後述のナビ権に関する情報等)を記憶する領域である。また、アシスト可能回数情報記憶領域2083は、上記アシスト可能回数に関する情報を記憶する領域である。
上記情報受信手段209は、主制御手段100から送信された遊技に関する各種情報を受信し、上述のAT設定手段201、演出実行制御手段202、特典付与選択手段203及びサブ情報記憶手段208に対し必要な情報を伝達するように構成されている。
<RT遊技状態の設定>
上述したようにRT遊技状態制御手段104は、非RT遊技状態、RT1遊技状態、RT2遊技状態の3つのRT遊技状態(図9参照。なお、図9では「遊技状態」を省略して表記している)のうちの何れかのRT遊技状態を設定するように構成されている。
非RT遊技状態は、本実施形態において標準となる通常のRT遊技状態であり、後述する再遊技役(再遊技役1)が当選する確率が基準値(8979/65536)に設定されている。この非RT遊技状態中において、条件Pが充足されたことを契機としてRT1遊技状態に移行され、条件Qが充足されたことによりRT2遊技状態に移行されるようになっている。条件Pとは、後述のMB役が当選し(後述の役決定結果A1が選出され)、かつ当該遊技において未成立であることであり、条件Qとは、MB役が成立すること(詳しくは、RT1遊技状態中にMB役が当選し当該遊技において成立すること)、すなわち、MB役の対応図柄「ブランク・ブランク・ブランク」が有効ライン29上に停止表示されることである。なお、非RT遊技状態においては、上述のRT情報は「0」に設定され、
MB内部中フラグ及びMB作動中フラグは共にOFFに設定される。
RT1遊技状態は、いわゆるボーナス内部中(ボーナス内部当選中)の遊技状態であり、再遊技役1(通常RP)が当選する確率が非RT遊技状態中よりも大幅に高く設定された、遊技者にとって有利となる遊技状態であり、他の再遊技役2〜21(特定RP)が当選する確率も非RT遊技状態中よりも高く設定されている。このRT1遊技状態中において、上述の条件Qが充足されたこと(詳しくは、非RT遊技状態において当選後、未成立であったMB役が成立すること)を契機としてRT2遊技状態に移行されるようになっている。なお、RT1遊技状態においては、上述のRT情報は「1」に設定され、MB内部中フラグはONに、MB作動中フラグはOFFに設定される。
RT2遊技状態は、特別な遊技条件が設定される特別遊技状態(ボーナス)である。本実施形態において、特別な遊技条件とは、後述の役決定結果C1〜C4、D1〜D4が当該遊技の役決定結果によらず選出された状態となり、必ず小役が成立することである。このRT2遊技状態中において、条件Rが充足されたことを契機として、非RT遊技状態に移行されるようになっている。条件Rとは、RT2遊技状態中に行われる特別遊技の終了条件(特別遊技の開始後、規定枚数(30枚)を超える遊技メダルが払い出されること)が充足されたことにより、特別遊技が終了したこととされる。なお、RT2遊技状態においては、上述のRT情報は「0」に設定され、MB内部中フラグはOFFに、MB作動中フラグはONに設定される。
以上のように、RT情報は、非RT遊技状態中は「0」に設定され、RT1遊技状態中は「1」に、RT2遊技状態中は、非RT遊技状態中と同じく「0」に設定される。MB内部中フラグは、MB役が当選したが未成立の状態においてONに設定される。ONに設定されたMB内部中フラグは、MB役が成立するとOFFに設定され、再びMB役が当選したが未成立の状態となるまでOFF状態が維持される。また、MB作動中フラグは、MB役が成立するとONに設定される。ONに設定されたMB作動中フラグは、特別遊技の終了条件が成立して特別遊技が終了するとOFFに設定され、再びMB役が成立するまでOFF状態が維持される。
<遊技役の種類>
本実施形態においては、図10,11に示すように、1つの特別役(MB役)と、小役1〜19までの19個の小役と、再遊技役1〜21までの21個の再遊技役の計41個の遊技役が設定され、それぞれの遊技役が成立するための各リール3a,3b,3cによる表示図柄の組合せ(対応図柄)、遊技役成立時における遊技メダルの払出枚数等は、図10,11に示すように設定されている。なお、図10,11中の「3BET」とは、遊技メダルが3枚ベットされた場合を示し、「2BET」とは、遊技メダルが2枚ベットされた場合を示している。
MB役は、その対応図柄「ブランク・ブランク・ブランク」が有効ライン29上に停止表示された際には、遊技メダルは払い出されず、次の遊技からRT2遊技状態(ボーナス)に移行されることを示す遊技役となっている。RT2遊技状態に設定されている期間は、MB役の成立によりRT2遊技状態に移行した後、30枚を超える遊技メダルが払い出されるまでの期間である。
小役1は、リール3a(左リール)において、「青セブン」の図柄が有効ライン29上に停止表示されたことにより成立が確定する遊技役であり、小役2は、リール3a(左リール)において、「黒バー」の図柄が有効ライン29上に停止表示されたことにより成立が確定する遊技役であり、小役3は、リール3a(左リール)において図柄「スイカB」が有効ライン29上に停止表示され、かつリール3b(中リール)において図柄「チェリ
ー」が有効ライン29上に停止表示されたことにより成立が確定する遊技役であり、小役4は、リール3a(左リール)及びリール3b(中リール)において共に図柄「チェリー」が有効ライン29上に停止表示され、かつ、リール3c(右リール)において図柄「リプレイ」が有効ライン29上に停止表示されたことにより成立が確定する遊技役である(図10中の「−」は任意の図柄であることを示している)。
また、小役5は、特定の図柄組合せ「スイカA・スイカA・スイカA」または「スイカB・スイカA・スイカA」がその対応図柄とされた、特定の入賞役に相当する遊技役である(図10中の「スイカA/B」は「スイカA」でも「スイカB」でも良いことを示している)。なお、小役1〜4は、成立した場合には図柄「チェリー」が表示窓W内の何れかの位置に停止表示されるように構成されている。このため小役1〜4を総称して適宜「チェリー小役」と称する。また、同様の理由により、小役5を「スイカ小役」と称することがある。また、「チェリー小役」のうち、小役1〜3は成立した場合に図柄「チェリー」が左リールの上段または下段の角の位置に停止表示されることから、これらを「角チェリー」と称し、小役4は成立した場合に図柄「チェリー」が左リールの中段の位置に停止表示されることから、これを「中段チェリー」と称することがある。
小役6は、その対応図柄が「ベル・ベル・ベル」とされた遊技役である。なお、各リール3a,3b,3cにおいて小役6を構成する図柄「ベル」は、図3に示すように各リール3a,3b,3c上において5図柄毎に配置されている。したがって、小役6が当選した場合、その対応図柄「ベル・ベル・ベル」は、リール回転停止操作(ストップスイッチ26a,26b,26cの押圧操作)のタイミングに関わらず、有効ライン29上に停止表示されるようにリール制御することが可能となっている。この小役6のように、リール回転停止操作のタイミングに関わらず、その対応図柄(複数組ある場合にはそのうちの何れか)を有効ライン29上に停止表示させるようにリール制御することが可能な役を、以下、便宜的に「100%引込み可能な遊技役」と称する。
小役7は、その対応図柄が「スイカA・ベル・リプレイ」とされた遊技役であり、小役8は、その対応図柄が「スイカA・ベル・チェリー」とされた遊技役であり、小役9は、その対応図柄が「スイカA・リプレイ・ベル」とされた遊技役であり、小役10は、その対応図柄が「スイカA・スイカA・ベル」とされた遊技役であり、小役11は、その対応図柄が「スイカB・ベル・リプレイ」とされた遊技役であり、小役12は、その対応図柄が「スイカB・ベル・チェリー」とされた遊技役である。同様に、小役13は、その対応図柄が「スイカB・リプレイ・ベル」とされた遊技役であり、小役14は、その対応図柄が「スイカB・スイカA・ベル」とされた遊技役であり、小役15は、その対応図柄が「スイカA・チェリー・−」とされた遊技役であり、小役16は、その対応図柄が「赤セブン・赤セブン・スイカA」とされた遊技役であり、小役17は、その対応図柄が「赤セブン・青セブン・スイカA」とされた遊技役であり、小役18は、その対応図柄が「赤セブン・黒バー・スイカA」とされた遊技役であり、小役19は、その対応図柄が「赤セブン・白バー・スイカA」とされた遊技役である。
なお、成立時の遊技メダルの払出枚数の多少に対応させて、小役6を適宜「高めベル小役」と称し、小役7〜19を総称して適宜「安めベル小役」と称する。また、小役6〜19を総称して適宜「ベル小役」と称する。
再遊技役1は、図柄組合せ「リプレイ・リプレイ・リプレイ」が、その対応図柄とされた遊技役である。図3に示すように、各リール3a,3b,3cにおいて再遊技役1を構成する図柄「リプレイ」は、各リール3a,3b,3c上においてそれぞれ5図柄毎に配置されているので、再遊技役1は、小役5と同様に、100%引込み可能な遊技役となっている。なお、再遊技役1を、適宜「通常RP」(「RP」はリプレイの略)と称し、他
の再遊技役(再遊技役2〜21)を総称して適宜「特定RP」と称する。
再遊技役2は、その対応図柄が「リプレイ・赤セブン・スイカA」とされた遊技役であり、再遊技役3は、その対応図柄が「リプレイ・青セブン・スイカA」とされた遊技役であり、再遊技役4は、その対応図柄が「リプレイ・黒バー・スイカA」とされた遊技役である。また、再遊技役5は、その対応図柄が「リプレイ・白バー・スイカA」とされた遊技役であり、再遊技役6は、その対応図柄が「リプレイ・ベル・リプレイ」とされた遊技役である。
図3に示すように、リール3a(左リール)において、再遊技役2〜6を構成する図柄「リプレイ」の1つ上の位置には、必ず図柄「ベル」が配置されている。同様に、リール3b(中リール)において、再遊技役2〜5を構成する図柄「赤セブン」、「青セブン」、「黒バー」または「白バー」の1つ上の位置には、必ず図柄「ベル」が配置されている。また、リール3c(右リール)において、再遊技役2〜5を構成する図柄「スイカA」の1つ上の位置には、必ず図柄「ベル」が配置されている。したがって、再遊技役2〜5の何れかが成立した際には、小役5の対応図柄である「ベル・ベル・ベル」の図柄組合せが、表示窓W内の左上段、中央上段及び右上段の各図柄表示領域を横一直線に結ぶ、有効ライン29とは異なる非入賞ライン(以下、適宜「上段ラインL1」と称する)上に、停止表示されることとなる(図13に再遊技役2が成立したときの一例を示す)。このことから、再遊技役2〜5を総称して適宜「上段ベルRP」と称する。
また、リール3c(右リール)において、再遊技役6を構成する図柄「リプレイ」の1つ下の位置には、同様に、図柄「ベル」が配置されている。したがって、再遊技役6が成立した(再遊技役6の対応図柄「リプレイ・ベル・リプレイ」が有効ライン29上に停止表示された)際には、小役5の対応図柄である「ベル・ベル・ベル」の図柄組合せが、表示窓W内の左上段、中央中段及び右下段の各図柄表示領域を一直線に結ぶ、有効ライン29とは異なる非入賞ライン(以下、適宜「右下がりラインL2」と称する)上に、停止表示されることとなる(図14に一例を示す)。このことから、再遊技役6を適宜「右下がりベルRP」と称する。また、再遊技役2〜6を総称して適宜「ベルRP」と称する。
再遊技役7は、その対応図柄が「赤セブン・赤セブン・赤セブン」とされた遊技役であり、再遊技役8は、その対応図柄が「ベル・赤セブン・赤セブン」とされた遊技役であり、再遊技役9は、その対応図柄が「ベル・青セブン・赤セブン」とされた遊技役である。また、再遊技役10は、その対応図柄が「ベル・黒バー・赤セブン」とされた遊技役であり、再遊技役11は、その対応図柄が「ベル・白バー・赤セブン」とされた遊技役であり、再遊技役12は、その対応図柄が「赤セブン・リプレイ・赤セブン」とされた遊技役である。
図3に示すように、リール3a(左リール)において、再遊技役8〜11を構成する図柄「ベル」の1つ下の位置には、必ず図柄「リプレイ」が配置されている。同様に、リール3b(中リール)において、再遊技役8〜11を構成する図柄「赤セブン」、「青セブン」、「黒バー」または「白バー」の1つ下の位置には、同様に、必ず図柄「リプレイ」が配置されている。また、リール3c(右リール)において、再遊技役8〜11を構成する図柄「赤セブン」の1つ下の位置には、図柄「リプレイ」が配置されている。したがって、再遊技役8〜11の何れかが成立した際には、再遊技役1の対応図柄である「リプレイ・リプレイ・リプレイ」の図柄組合せが、表示窓W内の左下段、中央下段及び右下段の各図柄表示領域を横一直線に結ぶ、有効ライン29とは異なる非入賞ライン(以下、適宜「下段ラインL3」と称する)上に停止表示されることとなる(図15に再遊技役8が成立したときの一例を示す)。
なお、再遊技役7は、成立した際に図柄「赤セブン」が3個とも有効ライン29上に揃う遊技役であることから、再遊技7を適宜「赤7揃いRP」と称する。また、再遊技役8〜11が成立した際には、図柄「赤セブン」が1個または2個だけ有効ライン29上に揃うことから、再遊技役8〜11を総称して適宜「赤7外しRP」と称する。また、再遊技役7〜12を総称して適宜「赤7RP」と称する。
再遊技役13は、その対応図柄が「ベル・スイカA・ベル」とされた遊技役であり、再遊技役14は、その対応図柄が「ベル・赤セブン・ベル」とされた遊技役であり、再遊技役15は、その対応図柄が「ベル・青セブン・ベル」とされた遊技役である。また、再遊技役16は、その対応図柄が「ベル・黒バー・ベル」とされた遊技役であり、再遊技役17は、その対応図柄が「ベル・白バー・ベル」とされた遊技役である。
図3に示すように、リール3a(左リール)において、再遊技役13を構成する図柄「ベル」の1つ上の位置には、必ず図柄「スイカA」または「スイカB」が配置されている。また、リール3c(右リール)において、再遊技役13を構成する図柄「ベル」の1つ下の位置には、必ず図柄「スイカA」が配置されている。したがって、再遊技役13が成立した際には、小役4の対応図柄である「スイカA・スイカA・スイカA」または「スイカB・スイカA・スイカA」の図柄組合せが、表示窓W内の非入賞ラインである右下がりラインL2上に、停止表示されることとなる(図16に一例を示す)。このことから、再遊技役13を適宜「スイカ揃いRP」と称する。また、再遊技役14〜17が成立した際には、図柄「スイカA」または「スイカB」が右下がりライン上に2個だけ停止表示されることとなることから、再遊技役14〜17を総称して適宜「スイカ外しRP」と称する。また、再遊技役13〜17を総称して適宜「スイカRP」と称する。
再遊技役18は、その対応図柄が「リプレイ・赤セブン・リプレイ」とされた遊技役であり、再遊技役19は、その対応図柄が「リプレイ・青セブン・リプレイ」とされた遊技役である。また、再遊技役20は、その対応図柄が「リプレイ・黒バー・リプレイ」とされた遊技役であり、再遊技役21は、その対応図柄が「リプレイ・白バー・リプレイ」とされた遊技役である。なお、再遊技役18〜21を総称して適宜「チャンスRP」と称する。
<役抽選テーブル>
役決定処理においては、図12に示す役抽選テーブルが用いられる。なお、役抽選テーブルは、上述の設定変更手段103(図4参照)により設定される設定値に応じて複数設けられている。図12に示す役抽選テーブルは、そのうちの或る設定値に対応したものを例示したものである。
図12に示す役抽選テーブルには、乱数発生器66により生成される乱数列の全数値範囲(十進数で0〜65535までの65536)を18個に分割した各数値範囲に対応したA1,B1〜B8,C1〜C4,D1〜D4,Zの役決定結果が設定されており、各役決定結果には、図12に示すように各々の遊技役またはハズレが対応付けられている。
すなわち、役決定結果A1にはMB役が単独当選役として対応付けられており、役決定結果B1には、通常RPである再遊技役1が単独当選役として対応付けられている。また、役決定結果B2には、通常RPである再遊技役1とベルRPである再遊技役2〜6とが重複当選役として対応付けられており、役決定結果B3には、通常RPである再遊技役1と赤7RPである再遊技役7〜12とが重複当選役として対応付けられている。同様に、役決定結果B4には、通常RPである再遊技役1とベルRPである再遊技役6と赤7外しRPである再遊技役8〜12とが重複当選役として対応付けられており、役決定結果B5には、スイカRPである再遊技役13〜17が重複当選役として対応付けられており、役
決定結果B6には、チャンスRPである再遊技役18〜21が重複当選役として対応付けられており、役決定結果B7には、通常RPである再遊技役1とチャンスRPである再遊技役18〜21とが重複当選役として対応付けられており、役決定結果B8には、通常RPである再遊技役1と赤7外しRPである再遊技役8とチャンスRPである再遊技役18〜21とが重複当選役として対応付けられている。
役決定結果C1には、高めベル小役である小役6と安めベル小役のうちの小役7〜15,16とが重複当選役として対応付けられており、役決定結果C2には、高めベル小役である小役6と安めベル小役のうちの小役7〜15,17とが重複当選役として対応付けられており、役決定結果C3には、高めベル小役である小役6と安めベル小役のうちの小役7〜15,18とが重複当選役として対応付けられており、役決定結果C4には、高めベル小役である小役6と安めベル小役のうちの小役7〜15,19とが重複当選役として対応付けられている。
役決定結果D1には、チェリー小役(角チェリー)である小役1〜3が重複当選役として対応付けられており、役決定結果D2には、角チェリーである小役1〜3と中段チェリーである小役4とが重複当選役として対応付けられており役決定結果D3には、中段チェリーである小役4が単独当選役として対応付けられており、役決定結果D4には、スイカ小役である小役5が単独当選役として対応付けられている。また、役決定結果Zには、ハズレ(何れの遊技役も非当選)が対応付けられている。
各RT遊技状態においては、各役決定結果A1,B1〜B8,C1〜C4,D1〜D4
に対し、乱数列の全数値範囲(0〜65535)のうち図12に示す大きさの各数値範囲(何れも十進数で表記)が割り当てられている。なお、図12に示す役抽選テーブルの各欄に表示した「200」、「100」等の数値は、各役決定結果に対応する乱数の数値範囲の大きさを示すものであり、各数値範囲における上限値及び下限値は表示されていない。実際には、表示した各数値に応じて、例えば、役決定結果A1に対応した数値「12000」には乱数列の数値範囲「0〜11999」が対応付けられ、役決定結果B1に対応した数値「8979」には乱数列の数値範囲「12000〜20978」が対応付けられているというように、それぞれ上限値及び下限値が決められている。
非RT遊技状態においては、各役決定結果に対し、次のように各数値範囲が割り当てられている。すなわち、役決定結果A1に対しては「12000」という大きさの数値範囲が割り当てられており、役決定結果B1に対しては「8979」という大きさの数値範囲が割り当てられている。さらに、役決定結果C1,C2,C3及びC4に対しては、共に「8000」という大きさの数値範囲がそれぞれ割り当てられており、役決定結果D1,D2,D3及びD4に対しては「350」、「300」、「300」及び「500」という大きさの数値範囲がそれぞれ割り当てられている。役決定結果B2〜B8に対しては、数値範囲が割り当てられておらず(図12中の「−」は数値範囲が割り当てられていないことを示す)、したがって、非RT遊技状態においては、役決定結果B2〜B8が選出されることはない。また、役決定結果Z(ハズレ)に対しては「11107」という大きさの数値範囲が割り当てられている。
RT1遊技状態(ボーナス内部中)においては、各役決定結果に対し、次のように各数値範囲が割り当てられている。すなわち、役決定結果C1〜C4,D1〜D4に対しては、非RT遊技状態において割り当てられているのと同じ大きさの数値範囲が割り当てられており、役決定結果A1及び役決定結果Z(ハズレ)に対しては数値範囲が割り当てられていない。一方、役決定結果B1に対しては「19006」という、非RT遊技状態において割り当てられた数値範囲「8979」の2倍程度の大きさの数値範囲が割り当てられており、役決定結果B2,B3,B4,B5,B6,B7及びB8に対しては、非RT遊
技状態においては数値範囲が割り当てられていないが、「9500」、「500」、「250」、「500」、「330」、「1000」、及び「1000」という大きさの数値範囲が割り当てられている。このRT1遊技状態においては、役決定結果B1〜B8が選出される確率(再遊技役の当選確率)が約5割であるため再遊技役が成立する確率が非常に高い有利な特定の遊技状態となっている。
RT2遊技状態(ボーナス)においては、各役決定結果に対し、次のように各数値範囲が割り当てられている。すなわち、役決定結果C1〜C4,D1〜D4に対しては、非RT遊技状態において割り当てられているのと同じ大きさの数値範囲が割り当てられており、その他の役決定結果A1,B1〜B8に対しては数値範囲が割り当てられていない。また、役決定結果Z(ハズレ)に対しては「32086」という大きさの数値範囲が割り当てられている。なお、RT2遊技状態は特別な遊技条件が設定される特別遊技状態(ボーナス)であり、上述の役抽選テーブルを用いた役決定の結果によらず、役決定結果C1〜C4、D1〜D4が選出された状態となる。RT2遊技状態(ボーナス)においては、常に役決定結果C1〜C4、D1〜D4の何れか(小役3,小役6,小役15の何れか)が成立するようにリール制御が行われるため、必ず小役が成立するようになっている。
また、役決定結果B5には、上述したように、スイカRPである再遊技役13〜17が重複当選役として対応付けられているが、これが選出された場合には、必ず、再遊技役13〜17の何れかが成立するようにリール制御が行われるようになっている。すなわち、図3に示すように、左リール(リール3a)及び右リール(リール3c)において、再遊技役13〜17を構成する図柄「ベル」、中リール(リール3b)において、再遊技役13〜17を構成する図柄「スイカA」、「赤セブン」、「青セブン」、「黒バー」及び「白バー」は、それぞれ5図柄以内毎に配置されているので、ストップスイッチ26a,26b,26cのタイミングに関わらず、再遊技役13〜17の何れかの対応図柄は有効ライン29上に引き込むことが可能となっている。
なお、役決定結果B5が選出された際に、スイカ揃いRPである再遊技役13が成立して「スイカA・スイカA・スイカA」または「スイカB・スイカA・スイカA」の図柄組合せが、表示窓W内の右下がりラインL2上に停止表示されるのは、ストップスイッチ26bの操作タイミングが、中リール(リール3b)において、図柄「スイカA」を有効ライン29上に引き込むことができるタイミングであった場合である。それ以外の場合には、スイカ外しRPである再遊技役14〜17の何れかが成立し、したがって、「スイカA・スイカA・スイカA」または「スイカB・スイカA・スイカA」の図柄組合せが、右下がりラインL2上に揃うことはない。
また、役決定結果B6は、上述したように、チャンスRPである再遊技役18〜21が重複当選役として対応付けられているが、これが選出された場合には、必ず、再遊技役18〜21の何れかが成立するようにリール制御が行われるようになっている。すなわち、図3に示すように、左リール(リール3a)及び右リール(リール3c)において、再遊技役18〜21を構成する図柄「リプレイ」、中リール(リール3b)において、再遊技役18〜21を構成する図柄「赤セブン」、「青セブン」、「黒バー」及び「白バー」は、それぞれ5図柄毎に配置されているので、ストップスイッチ26a,26b,26cのタイミングに関わらず、再遊技役18〜21の何れかの対応図柄は有効ライン29上に引き込むことが可能となっている。
<押し順対応の役決定結果>
上述した役決定結果A1,B1〜B8,C1〜C4,D1〜D4,Zのうちの役決定結果B2〜B4,B7,B8,C1〜C4,D2は、「押し順対応の役決定結果」として設定されている。ここで、押し順対応の役決定結果とは、重複当選する複数の遊技役の組合
せが設定され、組み合わせられた複数の遊技役が重複当選した際に、ストップスイッチ26a,26b,26cがどのような順序で操作されたのか(押し順)によって、複数の遊技役のうちのどの遊技役を優先して成立させる(何れも成立しない場合もある)のかが変動する役決定結果のことを意味している。
本実施形態では、図12に示すように、役決定結果B2に対応した「押し順リプレイA」、役決定結果B3に対応した「押し順リプレイB」、役決定結果B4に対応した「押し順リプレイC」、役決定結果B7に対応した「押し順リプレイD」、役決定結果B8に対応した「押し順リプレイE」の5個の押し順リプレイと、役決定結果C1に対応した「押し順ベルA」、役決定結果C2に対応した「押し順ベルB」、役決定結果C3に対応した「押し順ベルC」、役決定結果C4に対応した「押し順ベルD」の4個の押し順ベルと、役決定結果D2に対応した「押し順チェリー」が設定されている。
《押し順リプレイA》
役決定結果B2に対応した「押し順リプレイA」は、RT1遊技状態中でのみ設定される。「押し順リプレイA」では、図17に示すように、ストップスイッチ26aが最初に操作された場合(図17では「左第一」と記載)が正解押し順となる。すなわち、この「押し順リプレイA」の場合、ストップスイッチの操作順が26a→26b→26c(左→中→右)の場合と、26a→26c→26b(左→右→中)の場合が正解押し順となり、他の操作順の場合は不正解押し順となる。
この「押し順リプレイA」が設定された場合には、次のようなリール制御が行われる。すなわち、ストップスイッチ26a,26b,26cの実際の操作順が正解押し順に合致していた場合(以下、適宜「押し順正解時」と称する)には、ベルRPである再遊技役2〜6の何れかを成立させるようにリール制御が行われる。この場合には、図13に示すように、表示窓W内の上段ラインL1上に、「ベル・ベル・ベル」の図柄組合せが停止表示される。一方、実際の操作順が正解押し順に合致していなかった場合(以下、適宜「押し順不正解時」と称する)には、100%引き込み可能な遊技役である再遊技役1(通常RP)を成立させるようにリール制御が行われる。
《押し順リプレイB》
役決定結果B3に対応した「押し順リプレイB」は、RT1遊技状態中でのみ設定される。「押し順リプレイB」では、図17に示すように、ストップスイッチ26cが最初に操作された場合(図17では「右第一」と記載)が正解押し順となる。すなわち、この「押し順リプレイB」の場合、ストップスイッチの操作順が26c→26a→26b(右→左→中)の場合と、26c→26b→26a(右→中→左)の場合が正解押し順となり、他の操作順の場合は不正解押し順となる。
この「押し順リプレイB」が設定された場合には、次のようなリール制御が行われる。すなわち、ストップスイッチ26a,26b,26cが正解押し順で操作され、かつ最初のストップスイッチ26cの操作タイミングが、リール3cにおいて図柄「赤セブン」を有効ライン29上に引き込めることができるタイミングであった場合には、赤7RPである再遊技役7〜12の何れかを成立させるようにリール制御が行われる。一方、ストップスイッチ26a,26b,26cが正解押し順で操作されていても最初のストップスイッチ26cの操作タイミングが、リール3cにおいて図柄「赤セブン」を有効ライン29上に引き込むことができないタイミングであった場合と、押し順不正解時の場合には、100%引き込み可能な遊技役である再遊技役1(通常RP)を成立させるようにリール制御が行われる。
赤7揃いRPである再遊技役7が成立するのは、ストップスイッチ26cの操作に続い
て行われるストップスイッチ26a,26bの操作タイミング(操作順はどちらが先でも良い)が、リール3a、3bにおいて、それぞれ図柄「赤セブン」を有効ライン29上に引き込めることができるタイミングであった場合である。
これに対し、赤7外しRPである再遊技役8が成立するのは、ストップスイッチ26cの操作に続いてストップスイッチ26b,26aがこの順で操作され、かつストップスイッチ26bの操作タイミングは、リール3bにおいて図柄「赤セブン」を有効ライン29上に引き込めることができるタイミングであったが、ストップスイッチ26aの操作タイミングは、リール3aにおいて図柄「赤セブン」を有効ライン29上に引き込むことができないタイミングであった場合である。
同様に、赤7外しRPである再遊技役9〜11の何れかが成立するのは、ストップスイッチ26cの操作に続いてストップスイッチ26b,26aがこの順で操作され、かつストップスイッチ26bの操作タイミングが、リール3bにおいて図柄「赤セブン」を有効ライン29上に引き込むことができないタイミングであった場合である(ストップスイッチ26bの操作タイミングにおいて引き込める図柄が「青セブン」の場合は再遊技役9が成立し、「黒バー」の場合は再遊技役10が成立し、「白バー」の場合は再遊技役11が成立する)。なお、図3に示すようにリール3bにおいては、図柄「赤セブン」、「青セブン」、「黒バー」及び「白バー」は5図柄毎に配置されているので、ストップスイッチ26bのタイミングに関わらず、何れかの図柄は有効ライン29上に引き込むことが可能となっている。
また、同じく赤7外しRPである再遊技役12が成立するのは、ストップスイッチ26cの操作に続いてストップスイッチ26a,26bがこの順で操作され、かつストップスイッチ26aの操作タイミングは、リール3aにおいて図柄「赤セブン」を有効ライン29上に引き込めることができるタイミングであったが、ストップスイッチ26bの操作タイミングは、リール3bにおいて図柄「赤セブン」を有効ライン29上に引き込むことができないタイミングであった場合である。
《押し順リプレイC》
役決定結果B4に対応した「押し順リプレイC」は、RT1遊技状態中でのみ設定される。「押し順リプレイC」では、図17に示すように、ストップスイッチ26cが最初に操作された場合(図17では「右第一」と記載)が正解押し順となる。すなわち、この「押し順リプレイC」の場合、ストップスイッチの操作順が26c→26a→26b(右→左→中)の場合と、26c→26b→26a(右→中→左)の場合が正解押し順となり、他の操作順の場合は不正解押し順となる。
この「押し順リプレイC」が設定された場合には、次のようなリール制御が行われる。すなわち、ストップスイッチ26a,26b,26cが正解押し順で操作され、かつ最初のストップスイッチ26cの操作タイミングが、リール3cにおいて図柄「赤セブン」を有効ライン29上に引き込めることができるタイミングであった場合には、赤7外しRPである再遊技役8〜12の何れかを成立させるようにリール制御が行われる。一方、ストップスイッチ26a,26b,26cが正解押し順で操作されていても最初のストップスイッチ26cの操作タイミングが、リール3cにおいて図柄「赤セブン」を有効ライン29上に引き込むことができないタイミングであった場合と、押し順不正解時の場合には、100%引き込み可能な遊技役である再遊技役1(通常RP)を成立させるようにリール制御が行われる。なお、再遊技役8〜12の何れかがどのような条件の下で成立するのかについては、上述した「押し順リプレイB」の場合と同じである。
《押し順リプレイD》
役決定結果B7に対応した「押し順リプレイD」は、RT1遊技状態中でのみ設定される。「押し順リプレイD」では、図17に示すように、ストップスイッチ26bが最初に操作された場合(中第一)が正解押し順となる。すなわち、この「押し順リプレイD」の場合、ストップスイッチの操作順が26b→26a→26c(中→左→右)の場合と、26b→26c→26a(中→右→左)の場合が正解押し順となり、他の操作順の場合は不正解押し順となる。
この「押し順リプレイD」が設定された場合には、次のようなリール制御が行われる。すなわち、押し順正解時には、チャンスRPである再遊技役18〜21の何れかを成立させるようにリール制御が行われ、押し順不正解時には、100%引き込み可能な遊技役である再遊技役1(通常RP)を成立させるようにリール制御が行われる。
《押し順リプレイE》
役決定結果B8に対応した「押し順リプレイE」は、RT1遊技状態中でのみ設定される。「押し順リプレイE」では、図17に示すように、ストップスイッチ26cが最初に操作された場合(右第一)が正解押し順となる。すなわち、この「押し順リプレイE」の場合、ストップスイッチの操作順が26c→26a→26b(右→左→中)の場合と、26c→26b→26a(右→中→左)の場合が正解押し順となり、他の操作順の場合は不正解押し順となる。
この「押し順リプレイE」が設定された場合には、次のようなリール制御が行われる。すなわち、押し順正解時には、チャンスRPである再遊技役18〜21の何れかを成立させるようにリール制御が行われ、押し順不正解時には、100%引き込み可能な遊技役である再遊技役1(通常RP)を成立させるようにリール制御が行われる。
《押し順ベルA》
役決定結果C1に対応した「押し順ベルA」は、非RT遊技状態、RT1遊技状態、RT2遊技状態中で設定される。「押し順ベルA」では、図18に示すように、ストップスイッチ26bが最初に操作され、次にストップスイッチ26aが操作され、最後にストップスイッチ26cが操作された場合(図18では「中左右」と記載)が正解押し順となり、他の操作順の場合は不正解押し順となる。
この「押し順ベルA」が設定された場合には、次のようなリール制御が行われる。すなわち、押し順正解時には、高めベル小役である小役6(100%引き込み可能な遊技役)を成立させるようにリール制御が行われ、押し順不正解時には、安めベル小役である小役7〜14の何れかを成立させるようにリール制御が行われる。なお、図3に示すように、左リール(リール3a)において、小役7〜14を構成する図柄「スイカA」及び「スイカB」、中リール(リール3b)において、小役7〜14を構成する図柄「ベル」、「リプレイ」及び「スイカA」、右リール(リール3c)において、小役7〜14を構成する図柄「リプレイ」、「チェリー」及び「ベル」は、それぞれ5図柄毎又は5図柄以内に配置されているので、ストップスイッチ26a,26b,26cのタイミングに関わらず、小役7〜14の何れかの対応図柄は有効ライン29上に引き込むことが可能となっている。
《押し順ベルB》
役決定結果C2に対応した「押し順ベルB」は、押し順ベルAと同様、非RT遊技状態、RT1遊技状態、RT2遊技状態中で設定される。「押し順ベルB」では、図18に示すように、ストップスイッチ26bが最初に操作され、次にストップスイッチ26cが操作され、最後にストップスイッチ26aが操作された場合(図18では「中右左」と記載)が正解押し順となり、他の操作順の場合は不正解押し順となる。
この「押し順ベルB」が設定された場合には、押し順ベルAと同様、次のようなリール制御が行われる。すなわち、押し順正解時には、高めベル小役である小役6を成立させるようにリール制御が行われ、押し順不正解時には、安めベル小役である小役7〜14の何れかを成立させるようにリール制御が行われる。
《押し順ベルC》
役決定結果C3に対応した「押し順ベルC」は、押し順ベルA,Bと同様、非RT遊技状態中で設定される。「押し順ベルC」では、図18に示すように、ストップスイッチ26cが最初に操作され、次にストップスイッチ26aが操作され、最後にストップスイッチ26bが操作された場合(図18では「右左中」と記載)が正解押し順となり、他の操作順の場合は不正解押し順となる。
この「押し順ベルC」が設定された場合には、押し順ベルA,Bと同様、次のようなリール制御が行われる。すなわち、押し順正解時には、高めベル小役である小役6を成立させるようにリール制御が行われ、押し順不正解時には、安めベル小役である小役7〜14の何れかを成立させるようにリール制御が行われる。
《押し順ベルD》
役決定結果C4に対応した「押し順ベルD」は、押し順ベルA,B,Cと同様、非RT遊技状態、RT1遊技状態、RT2遊技状態中で設定される。「押し順ベルD」では、図18に示すように、ストップスイッチ26cが最初に操作され、次にストップスイッチ26bが操作され、最後にストップスイッチ26aが操作された場合(図18では「右中左」と記載)が正解押し順となり、他の操作順の場合は不正解押し順となる。
この「押し順ベルD」が設定された場合には、押し順ベルA,B,Cと同様、次のようなリール制御が行われる。すなわち、押し順正解時には、高めベル小役である小役6を成立させるようにリール制御が行われ、押し順不正解時には、安めベル小役である小役7〜14の何れかを成立させるようにリール制御が行われる。
《押し順チェリー》
役決定結果D2に対応した「押し順チェリー」は、押し順ベルA,B,C,Dと同様、非RT遊技状態、RT1遊技状態、RT2遊技状態中で設定される。「押し順チェリー」では、ストップスイッチ26aが最初に操作される左第一押し順時には、角チェリーである小役1〜3が成立可能にリール制御され、中右第一押し順時には、中段チェリーである小役4が成立可能にリール制御されるようになっている。
具体的には、左第一押し順時におけるストップスイッチ26aの操作タイミングが、リール3aにおける有効ライン29上に、図柄「青セブン」を引き込めることができるタイミングであった場合には小役1を成立させ、図柄「黒バー」を引き込めることができるタイミングであった場合には小役2を成立させ、図柄「スイカB」を引き込めることができるタイミングであった場合には小役3を成立させ、何れの図柄も引き込めないタイミングであった場合には何れの遊技役も不成立となるようにリール制御が行われる。
一方、中右第一押し順時の場合、リール3b,3c上では、ストップスイッチ26b,26cの操作タイミングに関わらず、それぞれ、小役4の対応図柄である「チェリー」及び「リプレイ」(何れも100%引込可能)を有効ライン29上に停止表示させる。これに対し、リール3a上では、ストップスイッチ26aの操作タイミングが、有効ライン29上に図柄「チェリー」を引き込めることができるタイミングであった場合にはこれを引き込んで小役4を成立させる。しかし、有効ライン29上に図柄「チェリー」を引き込め
ない場合には、左第一押し順時と同様のリール制御、すなわち、「青セブン」を引き込める場合にはこれを引き込んで小役1を成立させ、「黒バー」を引き込める場合にはこれを引き込んで小役2を成立させ、「スイカB」を引き込める場合にはこれを引き込んで小役3を成立させ、何れの図柄も引き込めない場合には何れの遊技役も不成立となるようにリール制御が行われる。つまり、同じチェリー小役を引き込む場合でも、角チェリーよりも中段チェリーを優先して成立させるようにリール制御が行われる。
<設定変更後の復帰処理>
先にも述べたように本実施形態では、設定変更スイッチ84が設定変更指令操作を受け付けた場合には、上記設定変更手段103により、役決定確率等の設定変更が行われるように構成されている。この設定変更が行われた場合、上記メイン情報記憶手段118の各記憶領域(図5参照)に記憶された情報、及び上記サブ情報記憶手段208の各記憶領域(図8参照)に記憶された情報は次のように処理されるように構成されている。
設定変更は、電源断の状態において設定鍵型スイッチ83をONにし、再び電源を投入した後に設定変更スイッチ84を操作することにより可能となる。電源断時には、メイン情報記憶手段118の各記憶領域に記憶されていた情報(RT情報、MB内部中フラグ、MB作動中フラグを含む)は、一旦全て保存(そのままの状態で保持)される。また、電源断後、設定変更が行われずに再び電源が投入された場合(以下、適宜「電源復帰時」と称する)には、電源断時に保持された各情報が、そのままの状態で電源復帰後においても継続して保持されるようになっている。したがって、電源復帰後は、電源断時のRT遊技状態がそのまま継続される。
同様に電源断時には、サブ情報記憶手段208の各記憶領域に記憶されていた情報は、そのままの状態で保持される。また、電源復帰時には、電源断時に保持された各情報が、そのままの状態で電源復帰後においても継続して保持されるようになっている。なお、上述した報知用カウンタの計数値は、電源断時の遊技状態によって取り扱い方が異なっている。すなわち、図63に示すように、報知用カウンタ(その計数値)は、通常ゾーン中に電源復帰した場合には、クリアされて初期値「0」に設定されるが、チャンスゾーン中に電源復帰した場合には、電源断時の計数値がそのまま保持される。また、AT中に電源復帰した場合にはゼロ保持(ATが設定された際にクリアされた状態がそのまま保持)される。さらに、通常ゾーン中からMB(RT2遊技状態)に移行した場合のMB中の報知用カウンタ(この場合はMB中でも計数される)は、電源復帰した際にはクリアされて初期値「0」に設定されるが、チャンスゾーン中からMBに移行した場合のMB中の報知用カウンタ(この場合はMB中は計数が停止される)は、電源復帰した際には電源断時の計数値がそのまま保持される。また、AT中からMBに移行した場合のMB中の報知用カウンタ(この場合はAT設定時にクリアされている)は、AT中に電源復帰した場合と同じくゼロ保持される。
また、図63に示すように、上述した内部カウンタの計数値や到達目標値は、電源断時の遊技状態に関わらず、電源断時の状態が電源復帰された際にも保持(ゼロ保持を含む)されるようになっている。なお、図63に示す「AT情報」とは、後述のアシスト可能回数及びアシスト可能回数上乗せ抽選により決定された上乗せ回数の情報を意味している。このAT情報は、電源断時の遊技状態に関わらず、電源断時の状態が電源復帰された際にも保持(ゼロ保持を含む)されるようになっている。なお、MB中は、ATの設定に関係する各種の抽選(後述するチャンスソーン設定抽選、アシスト可能回数上乗せ抽選)が行われない無抽選状態とされており、MB中の電願復帰時には、この無抽選状態も保持される(引き継がれる)ようになっている。
一方、設定変更時には、サブ情報記憶手段208の各記憶領域に記憶されていた情報は
全て初期化されてクリアされる。図63に示すように、上述の報知用カウンタ及び内部カウンタはクリアされて初期値「0」に設定され、到達目標値はクリアされて再設定される。また、AT情報もクリアされる。これに対し、メイン情報記憶手段118の各記憶領域に記憶されていた情報は、一部は初期化されてクリアされたり更新されたりするが、他の一部は設定変更後に引き継がれるように復帰する(設定変更開始前の電源断時に記憶されていた情報が、そのままの状態で設定変更終了時においても継続して保持される)ようになっている。
具体的には、特別役決定情報記憶領域1181に記憶されていたMB内部中フラグ及びRT遊技状態情報記憶領域1184に記憶されていたRT情報は設定変更後に引き継がれる(MB内部中フラグは、設定変更前のON/OFFの状態がそのまま引き継がれる)。成立役情報記憶領域に記憶されたMB作動中フラグ、小役・再遊技役決定情報記憶領域1182に記憶されていた小役や再遊技役に係る役決定結果の情報、及び成立役決定情報記憶領域1183に記憶されていた成立役情報は設定変更時に初期化されてクリアされる(MB作動中フラグは、設定変更前のON/OFF状態に関わらずOFF状態とされる)。また、設定値情報憶領域1185に記憶されていた設定値の情報は、設定変更により新たに設定された設定値の情報に更新される。以下、設定変更前にメイン情報記憶手段118の各記憶領域に記憶されていた情報の一部を、上述のように設定変更後に引き継いで復帰させることを、適宜「部分復帰」と称する。
このような部分復帰が行われることにより、設定変更前に非RT遊技状態またはRT1遊技状態に設定されていた場合、設定変更後もそのRT遊技状態が引き継がれる。具体的には、図9に示すように、非RT遊技状態においてはRT情報が「0」に設定され、MB内部中フラグ及びMB作動中フラグは共にOFF状態に設定されている。これらの設定状態は設定変更後も変わらないので、非RT遊技状態中に設定変更が行われた場合には、設定変更後も非RT遊技状態に設定されることとなる。同様に、RT1遊技状態においてはRT情報が「1」に設定され、MB内部中フラグはON状態にMB作動中フラグはOFF状態に設定されている。これらの設定状態は設定変更後も変わらないので、RT1遊技状態中に設定変更が行われた場合には、設定変更後もRT1遊技状態に設定される。
一方、RT2遊技状態中に設定変更が行われた場合には、設定変更後は非RT遊技状態に設定される。すなわち、図9に示すように、RT2遊技状態においてはRT情報が「0」に設定され、MB内部中フラグはOFF状態に設定され、MB作動中フラグはON状態に設定されている。RT情報及びMB内部中フラグの状態は設定変更後も変わらないが、MB作動中フラグはON状態からOFF状態に変わる。この設定変更後の状態は、非RT遊技状態に設定されている場合と同じであるので、RT2遊技状態中に設定変更が行われた場合には、設定変更後は非RT遊技状態に設定されることとなる。
<自動ベット処理凍結期間の設定>
先にも述べたように本実施形態では、上述の特定RP(再遊技役2〜21)が成立したことを契機として、上記ベット管理手段105による自動ベット処理の実行が禁止される自動ベット処理凍結期間(第1の自動ベット処理凍結期間及び第2の自動ベット処理凍結期間)が、上記自動ベット処理実行時機制御手段109により設定されるように構成されている。この自動ベット処理凍結期間は、上記特定RPが成立した場合には必ず設定されるようにすることも可能であるが、本実施形態では特定RPが成立した際に自動ベット処理凍結期間を設定するか否かを決める抽選(以下、適宜「自動ベット処理凍結期間設定抽選」と称する)が行われ、その抽選結果に基づいて自動ベット処理凍結期間が設定されるようになっている。自動ベット処理凍結期間設定抽選において、自動ベット処理凍結期間が設定される確率は、成立した特定RPの種類や成立時のRT遊技状態に応じて、図19に示すように設定されている(確率の具体的数値については適宜変更し得る)。なお、図
19に示す表中の欄内の「−」は、同欄に対応する特定RPが同欄に対応するRT遊技状態においては成立しないことを示している。
図19に示すように、ベルRP(再遊技役2〜6)は、RT1遊技状態において成立する可能性があり、成立した際に自動ベット処理凍結期間が設定される確率は「1」(100%)と高く設定されている。また、赤7揃いRP(再遊技役7)は、RT1遊技状態において成立する可能性があり、成立した際に自動ベット処理凍結期間が設定される確率は「1」と高く設定されている。赤7外しRP(再遊技役8〜12)は、赤7揃いRP(再遊技役7)と同じく、RT1遊技状態において成立する可能性があるが、成立した際に自動ベット処理凍結期間が設定される確率は「1/2」と低く設定されている。
同様に、スイカ揃いRP(再遊技役13)は、RT遊技状態において成立する可能性があり、成立した際に自動ベット処理凍結期間が設定される確率は「1」と高く設定されている。スイカ外しRP(再遊技役14〜17)は、スイカ揃いRP(再遊技役13)と同じく、RT1遊技状態において成立する可能性があるが、成立した際に自動ベット処理凍結期間が設定される確率は「1/2」と低く設定されている。また、チャンスRP(再遊
技役18〜21)は、RT1遊技状態でのみ成立する可能性があり、成立した際に自動ベット処理凍結期間が設定される確率は「1」と高く設定されている。
なお、先述したように、設定された第1の自動ベット処理凍結期間は、設定後上記所定時間T1が経過することにより終了され、第1の自動ベット処理凍結期間に続いて設定される第2の自動ベット処理凍結期間は、設定後上記所定時間T2が経過すること、または第2の自動ベット処理凍結期間において上述のキャンセル操作(メダル投入口21への遊技メダルの投入操作、1−BETスイッチ22またはMAX−BETスイッチ23の押圧操作、貯留メダル精算スイッチ24の押圧操作、スタートレバー25の傾動操作)が遊技操作処理時機導出手段106に受け付けられることにより終了されるように構成されている。
<MAX−BET誘導演出>
先にも述べたように本実施形態では、上述の自動ベット処理凍結期間が設定された際に、上記第2の自動ベット処理凍結期間において、上述のキャンセル操作として上記MAX−BETスイッチ23の押圧操作が行われるように導くためのMAX−BET誘導演出が実行されるように構成されている。このMAX−BET誘導演出は、上記MAX−BET表示ランプ46aを点灯させるものであり、これにより遊技者に、実際には再遊技役が成立したにも関わらず、あたかも遊技メダルを投入することが必要な遊技役(特別役や小役)が成立したかのような感覚を持たせることが可能となっている。なお、このMAX−BET誘導演出は、クレジット(貯留)されている遊技メダルの枚数が最大許容投入枚数に達していない場合には、自動ベット処理凍結期間が設定されたとしても実行しないようにすることができる。一方、クレジットされている遊技メダルの枚数とは関係なく、自動ベット処理凍結期間が設定された際には必ず実行するようにしてもよい。また、停止表示された図柄組合せ(出目)によって、MAX−BET誘導演出を実行するか否かを決定するようにしてもよい。例えば、同じスイカRPでも、スイカ揃いRPが成立した場合にはMAX−BET誘導演出を実行するが、スイカ外しRPが成立した場合にはMAX−BET誘導演出を実行しないようにすることなどが挙げられる。
<チャンスゾーン設定抽選>
先述したように本実施形態では、RT1遊技状態における非AT中の役決定処理により上述の役決定結果D1〜D4の何れか(図12参照)が選出されること(以下、適宜「チェリー/スイカ当選」と称する)を契機として、上記ナビ権設定選択手段2011(図6参照)によりチャンスゾーン設定抽選が行われる。このチャンスゾーン設定抽選は、サー
ビスポイントの付与が遊技者にとって有利に行われるチャンスゾーンを設定するか否かを選択するための抽選であり、本実施形態では、図20に示すチャンスゾーン設定抽選テーブルを用いて行われる。
このチャンスゾーン設定抽選テーブルでは、図20に示すように、当りA,当りB,当りCの3つの当りと、1つのハズレの計4つの選択項目が設定されており、各々の選択項目が当選する確率及び選出された場合に設定されるチャンスゾーンの期間(ゲーム数)は、図に示すようになっている(確率及び設定期間の具体的数値については適宜変更し得る)。このチャンスゾーン設定抽選テーブルに示すように、本実施形態では、役決定結果D1またはD2が選出された場合よりも、役決定結果D3またはD4が選出された場合の方が、チャンスゾーンが長く設定される可能性が高くなる(遊技者にとって相対的に有利となる)ように設定されている。
すなわち、役決定結果D2は、押し順によっては、角チェリーである小役1〜3が成立する(対応図柄が有効ライン29上に停止表示される)可能性と、中段チェリーである小役4が成立する可能性とがあるが、非AT中に行われるチャンスゾーン設定抽選では、小役1〜3のみが成立する可能性のある役決定結果D1と同様に、遊技者にとって相対的に不利となる(チャンスゾーンが長く設定される可能性が低くなる)条件下での処理を行う契機として扱われるようになっている。仮に、役決定結果D2が選出された遊技において中段チェリーが成立(対応図柄が有効ライン29上に停止表示)したとしても、役決定結果D3が選出されて中段チェリーが成立した場合とは異なり、停止表示された図柄組合せに関わらずに遊技者にとって相対的に不利となる条件下での処理が行われる。
なお、チャンスゾーン中における役決定処理において役決定結果D1〜D4が選出される場合もある。その場合、本実施形態では、チャンスゾーン設定抽選は行われないようになっているが、チャンスゾーン設定抽選を行うようにしてもよい。チャンスゾーン中におけるチャンスゾーン設定抽選において当りA〜当りCが当選した場合、その当選を保存しておき、チャンスゾーン中にナビ権が設定されなかった場合には、一のチャンスゾーンの終了後に、その当選結果に基づくチャンスゾーンを再設定したり、チャンスゾーン中にナビ権が設定されて次遊技からATが設定された場合には、ATが終了して非ATに戻った際にチャンスゾーンを再設定したりすることが考えられる。
<アシスト可能回数の設定>
ナビ権が設定され、次遊技からATが設定されることが決まると、上記アシスト可能回数管理手段2012(図6参照)によりアシスト可能回数が設定、管理される。アシスト可能回数は、RT1遊技状態のAT中において、後述の押し順ナビ演出等のアシスト演出を行うことが可能な回数であり、本実施形態では、以下のように設定される。
すなわち、所定の数値(例えば、「40」(他の数値としてもよい))を、アシスト可能回数の初期値に設定する。また、初期値が設定されたアシスト可能回数は、サブ情報記憶手段208のアシスト可能回数情報記憶領域2083内に格納されるとともに表示画面11a内に表示され、RT1遊技状態のAT中において、押し順ナビ演出等のアシスト演出が行われたか否かに関係なく、遊技が行われる毎に1つずつ減少する(表示上も減少する)ように管理される。なお、設定されたATは、上記アシスト可能回数が「0」となった場合、またはRT1遊技状態からRT2遊技状態への移行条件(図9に示す条件Q)が満足されてRT1遊技状態が終了した場合に終了するようになっている。
<アシスト可能回数上乗せ抽選>
先述したように、RT1遊技状態のAT中の役決定処理により役決定結果D1〜D4の何れかが選出された場合には、上記特典付与選択手段203(図4参照)によりアシスト
可能回数上乗せ抽選が行われる。このアシスト可能回数上乗せ抽選は、遊技者に対する特典としての、上記アシスト可能回数の上乗せ回数を決定するための抽選であり、本実施形態では、図21に示すアシスト可能回数上乗せ抽選テーブルを用いて行われる。このアシスト可能回数上乗せ抽選テーブルでは、アシスト可能回数に上乗せされる回数が5,10,15,20,25回の何れかの回数(回数の具体的数値については適宜変更し得る)の中から選択されるように、かつそれらが選択される確率は、役決定結果D1が選出された場合よりも、役決定結果D2,D3またはD4が選出された場合の方が、上乗せ回数が多くなる可能性が高くなる(遊技者にとって相対的に有利となる)ように設定されている(確率の具体的数値については適宜変更し得る)。
すなわち、役決定結果D2は、非AT中に行われる上述のチャンスゾーン設定抽選では、役決定結果D1と同様に遊技者にとって相対的に不利となる条件下での処理が行われる契機として扱われるが、AT中に行われるアシスト可能回数上乗せ抽選では、中段チェリーである小役4のみが成立する可能性のある役決定結果D3と同様に(仮に、角チェリーである小役1〜3が成立してその対応図柄が停止表示されたとしても)、遊技者にとって相対的に有利となる(上乗せ回数が多くなる可能性が高い)条件下での処理を行う契機として扱われるようになっている。このように、同じ役決定結果を契機として実行する処理であっても、停止表示された図柄組合せによらずに遊技状態(本実施形態ではAT中か非AT中か)に応じて、処理の内容(本実施形態では遊技者にとって有利となるか不利となるか)を変更することにより、遊技者に遊技状態が違うことを実感させることも可能となる。
先にも述べた通り、RT1遊技状態のAT中の役決定処理により役決定結果B6(チャンスRP)が選出された場合には、上述のアシスト可能回数上乗せ抽選は行われず、所定数(本実施形態では「10」とするが、具体的な数値は適宜変更可であり、また、数値を抽選等により決めてもよい)の上乗せ回数が一律に遊技者に付与されるようになっている(役決定結果B6が選出された場合にもアシスト可能回数上乗せ抽選を行うように設定することも可能)。
上乗せ回数が決定されると、その上乗せ回数の情報が、サブ情報記憶手段208のアシスト可能回数情報記憶領域2083(アシスト可能回数そのものが格納されるアドレス領域とは別のアドレス領域)内に格納されるようになっている。本実施形態では、役決定結果B6の選出に応じて無抽選で決定された上乗せ回数(以下、適宜「第1上乗せ回数」と称する)と、役決定結果D1〜D4の選出に応じて抽選により決定された上乗せ回数(以下、適宜「第2上乗せ回数」と称する)とが、別々のアドレス領域内に格納されるようになっている。また、格納された第1上乗せ回数または第2上乗せ回数は、当該遊技において、後述の上乗せ報知演出により遊技者に報知され、報知された上乗せ回数は、アシスト可能回数に加算される(表示画面11a上でも加算されて表示される)とともに、上乗せ回数が格納されていたアドレス領域はクリアされるようになっている。
ただし、本実施形態では、後述するエピソード演出の実行期間中は上乗せ報知演出を実行することが抑制(禁止)されるようになっている。このため、エピソード演出の実行期間中に決定された第1上乗せ回数または第2上乗せ回数は、エピソード演出が終了するまで所定のアドレス領域に格納されたまま持ち越され、エピソード演出終了後の最初の遊技において実行される上乗せ報知演出により遊技者に報知される。具体的には、エピソード演出終了後の最初の遊技において、第1上乗せ回数または第2上乗せ回数が持ち越されているかどうかを確認し、持ち越されている場合には当該遊技において、第1または第2上乗せ回数に応じた上乗せ報知演出を決定して、その決定した上乗せ報知演出を実行し、持ち越されていた第1または第2上乗せ回数を遊技者に報知するようになっている。なお、第1上乗せ回数と第2上乗せ回数の両方が持ち越されている場合には、エピソード演出終
了後の最初の遊技においては、第1上乗せ回数が優先的に遊技者に報知され、第2上乗せ回数はその次の遊技において報知されるようになっている。また、第1上乗せ回数が持ち越されている間に別の第1上乗せ回数が決定された場合には、それらの第1上乗せ回数が合算され、その合算値が報知されるようになっている(第2上乗せ回数についても同様)。このような合算は行わず、決定された上乗せ回数を決定毎に分けて情報格納し、別々に報知するようにしてもよい(この場合の方が上乗せ回数の報知機会は増える)。
このように、エピソード演出の実行期間中は上乗せ報知演出を行わないことにより、エピソード演出に遊技者の注意を向けさせることができるので演出効果を高めることが可能となる。また、報知されずに持ち越された上乗せ回数がある場合には、エピソード演出が終了した時点の次の遊技において上乗せ報知演出が実行されるので、上乗せ回数の報知機会を適度に確保することも可能となる。
<各種の演出>
先にも述べたように本実施形態では、遊技の進行状況等に応じて、各種の演出が上記演出実行制御手段202(図4参照)により制御されて実行されるように構成されている。ここでは、それらの演出のうち、上記バックランプ演出制御手段2021(図7参照)により制御されるバックランプ演出、上記遊技進行演出制御手段2022により制御される連続演出、遊技状態対応演出、遊技進行対応演出、単発演出、再スタート要求演出及び再遊技実行要求演出、上記アシスト演出制御手段2023により制御されるアシスト演出、上記遊技メダル音演出制御手段2024により制御される払出音出力演出、投入音出力演出、自動投入音出力演出、架空払出音出力演出、ベット操作キャンセル時投入音出力演出及びリプレイ成立音出力演出について説明する。
《バックランプ演出》
本実施形態において実行されるバックランプ演出は、特別役(MB役)、小役1〜19の何れかまたは通常RPである再遊技役1が成立した場合に行われるバックランプ演出Aと、上述のベルRP(再遊技役2〜6)、赤7揃いRP(再遊技役7)、スイカ揃いRP(再遊技役13)が成立した場合に行われるバックランプ演出Bと、上述のチャンスRP(再遊技役18〜21)が成立した場合に行われるバックランプ演出Cとがある。これらのバックランプ演出A〜Cは、バックランプ38a,38b,38cを用いて行われるものであり、上述の各遊技役が成立したことを契機として、バックランプ38a,38b,38cによる全点灯状態(表示窓W内に臨む各リール3a,3b,3cの全領域を各リール3a,3b,3cの内部から均一に照明する状態)から切り替えて、各リール3a,3b,3cにおける所定領域を所定のパターンにより各リール3a,3b,3cの内部から照明するものである(バックランプ演出A〜Cの終了後は、上記全点灯状態に再び切り替わる)。バックランプ演出のパターンとしては、停止表示された所定の図柄組合せを目立たせるように、全点灯状態のバックランプ38a,38b,38cのうち、所定の図柄組合せが停止表示された領域以外を照明するバックランプについてはこれを消灯し、所定の図柄組合せが停止表示された領域のみを、他のバックランプを点灯または点滅させることにより照明することが一例として挙げられる。あるいは、これとは逆に目立たせたい領域のみを消灯し、他の領域を点灯または点滅するようにしてもよい。また、本実施形態におけるバックランプ演出A〜Cは、何れも各リール3a,3b,3cが回転開始するまでに終了する(全点灯状態に戻る)ように構成されており、リール回転により変動表示される図柄の視認性に影響を及ぼすことがないようになっている。したがって、バックランプ演出A〜Cの実行により、遊技者によるリール回転停止操作(目押し)が妨げられたり、逆に援助されたりするようなことはない。
バックランプ演出Aは、特別役(MB役)、小役5〜19の何れかまたは通常RPである再遊技役1が成立した場合には、有効ライン29上に並ぶ成立役の対応図柄を目立たせ
るように、チェリー小役(小役1〜4の何れか)が成立した場合には、表示窓W内の所定位置に停止表示された図柄「チェリー」を目立たせるように、バックランプ38a,38b,38cを用いて各リール3a,3b,3cの内部から照明し(点滅させてもよい)、遊技者に遊技役が成立したことを報知するものである。なお、バックランプ演出Aを行う際に、演出ランプ12,13a,13b,14a,14bや飾りランプ32a,32bを用いた演出を行ったり、スピーカ15a,15b,44a,44b、画像表示装置11を用いた演出を組み合わせて行ったりしてもよい(このことは、以下のバックランプ演出B,Cについても同様である)。
このバックランプ演出Aは、特別役(MB役)、小役1〜19の何れかまたは通常RPである再遊技役1の何れかかが成立したことを契機として開始される。開始されたバックランプ演出Aは、開始後、予め設定された所定の時間(例えば、8秒)が経過したことや、設定された所定パターンの演出(例えば、有効ライン29上に並ぶ図柄組合せや、所定位置に停止表示された図柄を10回点滅する)が終了したこと、または終了契機となる所定の処理が行われたことを契機として終了される。ここで、所定の処理とは、特別役(MB役)または小役1〜19の何れかの成立により開始された場合には、遊技者による遊技操作(例えば、メダル投入口21への遊技メダルの投入操作、1−BETスイッチ22またはMAX−BETスイッチ23の押圧操作、貯留メダル精算スイッチ24の押圧操作)が遊技操作処理時機導出手段106に有効に受け付けられこととされる。一方、再遊技役1の成立により開始された場合には、ベット管理手段105により自動ベット処理が行われたこととされる。
バックランプ演出Bは、上述のベルRP(再遊技役2〜6)、赤7揃いRP(再遊技役7)、スイカ揃いRP(再遊技役13)の何れかが成立した場合に、これらの再遊技役の成立時に所定位置に停止表示される特定の図柄組合せ(「ベル・ベル・ベル」、「赤セブン・赤セブン・赤セブン」、「スイカA/B・スイカA・スイカA」)を目立たせるように、バックランプ38a,38b,38cを用いて各リール3a,3b,3cの内部から照明し(点滅させてもよい)、遊技者に特定の図柄組合せが停止表示されたことを報知するものである。なお、上記所定位置とは、上述のベルRPのうちの上段ベルRP(再遊技役2〜5の何れか)が成立した場合は、上述の上段ラインL1上(図13参照)であり、上述のベルRPのうちの右下がりベルRP(再遊技役6)が成立した場合または上述のスイカ揃いRP(再遊技役13)が成立した場合は、上述の右下がりラインL2上(図14,16参照)であり、上述の赤7揃いRP(再遊技役7)が成立した場合は、有効ライン29上である。
このバックランプ演出Bは、ベルRP(再遊技役2〜6)、赤7揃いRP(再遊技役7)、スイカ揃いRP(再遊技役13)の何れかが成立したことを契機として開始される。ただし、RT1遊技状態において赤7揃いRP(再遊技役7)が成立した場合において、後述するエピソード演出が実行されている場合にはバックランプ演出Bは実行されない。また、開始されたバックランプ演出Bは、自動ベット処理凍結期間が設定されている場合には、その自動ベット処理凍結期間(第2の自動ベット処理凍結期間)が終了したこと(より詳細には、後述のキャンセル操作情報を副制御手段200が受信したこと)を契機として、一方、自動ベット処理凍結期間が設定されていない場合には、ベット管理手段105により自動ベット処理が行われたこと(より詳細には、後述の自動ベット実行情報を副制御手段200が受信したこと)を契機として終了される。
このようなバックランプ演出Bを行うことにより、次のような効果が得られる。すなわち、ベルRP(再遊技役2〜6の何れか)が成立した場合には、上段ラインL1または右下がりラインL2上に並ぶ図柄組合せ「ベル・ベル・ベル」(小役6の対応図柄である)が照明されるので、遊技者に、実際には再遊技役が成立したにも関わらず、あたかも高め
ベル小役である小役6が成立したかのような感覚を持たせることが可能となる。同様に、スイカ揃いRP(再遊技役13)が成立した場合には、右下がりラインL2上に並ぶ図柄組合せ「スイカA/B・スイカA・スイカA」(小役5の対応図柄である)が照明されるので、遊技者に、実際には再遊技役が成立したにも関わらず、あたかもスイカ小役である小役5が成立したかのような感覚を持たせることが可能となる。また、赤7揃いRP(再遊技役7)が成立した場合には、有効ライン29上に並ぶ図柄組合せ「赤セブン・赤セブン・赤セブン」(従来、特別役の対応図柄として多く用いられている図柄)が照明されるので、遊技者に、特別役が成立したときような高揚感を与えることが可能となる。
バックランプ演出Cは、上述のチャンスRP(再遊技役18〜21の何れか)が成立した場合に、表示窓W内に停止表示された全ての図柄を、バックランプ38a,38b,38cを用いて各リール3a,3b,3cの内部から点滅させるように照明し、遊技者にチャンスRPが成立したことを報知するものである。このバックランプ演出Cは、チャンスRP(再遊技役18〜21の何れか)が成立したことを契機として開始される。また、開始されたバックランプ演出Cは、上記バックランプ演出Bと同様、自動ベット処理凍結期間が設定されている場合には、その自動ベット処理凍結期間(第2の自動ベット処理凍結期間)が終了したこと(より詳細には、後述のキャンセル操作情報を副制御手段200が受信したこと)を契機として、一方、自動ベット処理凍結期間が設定されていない場合には、ベット管理手段105により自動ベット処理が行われたこと(より詳細には、後述の自動ベット実行情報を副制御手段200が受信したこと)を契機として終了される。
《連続演出》
連続演出とは、複数の遊技期間に亘って連続する演出であり、主に画像表示装置11を用いて、例えば一続きの物語となるような画像を複数の遊技期間に亘って表示するものが挙げられる。なお、連続演出を行う際に、演出ランプ12,13a,13b,14a,14bや飾りランプ32a,32bを用いた演出を行ったり、スピーカ15a,15b,44a,44bを用いた演出を組み合わせて行ったりしてもよい。
本実施形態において実行される連続演出は、RT1遊技状態において行われるエピソード演出である。このエピソード演出は、赤7揃いRP(再遊技役7)が成立した際に、所定の抽選(以下、適宜「エピソード演出抽選」)により、実行するか否かが決定される(決定される確率は、例えば「1/10」など任意の値に設定される)。このエピソード演出抽選において、エピソード演出抽選を行うことが決定された場合には、RT1遊技状態中の複数の遊技期間に亘って連続する、主に画像表示装置11を用いた画像演出が実行される。エピソード演出の態様としては、例えば、通常では表示されることのないキャラクタが表示され、所定の行動(例えば格闘)を連続して行うなどの態様が挙げられるが、他の態様としてもよい。なお、エピソード演出を行っている遊技期間は、後述する上乗せ報知演出を実行することが禁止され、またアシスト可能回数が減少しないように制御される。
《遊技状態対応演出》
遊技状態対応演出とは、RT遊技状態やAT設定の有無などの遊技状態に応じて実行される、バックグラウンド的な画像や音声等を出力する演出である。本実施形態おいて実行される遊技状態対応演出としては、例えば、非RT遊技状態やRT1遊技状態の通常モード中において実行される通常演出や、RT1遊技状態のチャンスモード中において実行されるチャンスモード演出、RT1遊技状態のAT中において実行されるAT演出などが挙げられる。なお、本実施形態では、RT2遊技状態に対応した遊技状態対応演出は特に備えていない(備えることも可)。非RT遊技状態中やRT1遊技状態の非AT中においてMB役が成立してRT2遊技状態に移行した場合には、RT2遊技状態中において通常演出を実行し、RT1遊技状態のAT中においてRT2遊技状態に移行した場合には、RT
2遊技状態中においてAT演出を実行するようになっている。このため、RT2遊技状態に設定されている場合でも、そのことが、遊技状態対応演出からは判断し難くなっている。ただし、遊技状態対応演出では、非RT遊技状態中やRT1遊技状態に設定されているように見えても実際にはRT2遊技状態であるので、RT2遊技状態中は、RT1遊技状態等においては行われる各種の処理(例えば、チャンスソーン設定抽選やアシスト可能回数の上乗せ、サービスポイントの実質的な付与、後述のアシスト演出)は行われない。
《遊技進行対応演出》
遊技進行対応演出とは、遊技の進行状況に応じて実行される演出である。本実施形態において実行される遊技進行対応演出としては、例えば、一遊技における各リール3a,3b,3cの回転停止後に、停止表示された図柄組合せの態様に応じて実行される、停止表示結果等を遊技者にアピールするような画像や音声を出力する停止表示結果対応演出や、一遊技の冒頭において、遊技状態の変更の有無などを示唆するような画像や音声を出力する導入演出、一遊技における役決定処理の結果(役決定結果)に応じて行われる、役決定結果等を遊技者に示唆または報知するような画像や音声を出力する役決定結果対応演出などが挙げられる。
《単発演出》
単発演出とは、遊技の進行過程において特定の状況が生じた場合等に単発的に実行される演出である。本実施形態おいて実行される単発演出としては、例えば、各リール3a,3b,3cの回転時に、遊技役の当選期待度を暗示するような画像を、画像表示装置11により表示する演出(以下、適宜「リール回転時演出」と称する)や、RT1遊技状態のAT中の役決定処理により役決定結果B6,D1〜D4の何れかが選出された場合に決定される、アシスト可能回数の上乗せ回数を報知する上乗せ報知演出が挙げられる。上乗せ報知演出の態様としては、上乗せが行われることを期待させるような画像演出等を実行した後、上乗せ回数の数値を、例えば「+10」や「+25」というような文字情報により表示する態様が考えられるが、他の態様としてもよい。なお、後述のアシスト演出等も単発演出であるが、ここでは分けて説明する。また、単発演出を行う際に、演出ランプ12,13a,13b,14a,14bや飾りランプ32a,32bを用いた演出を行ったり、スピーカ15a,15b,44a,44bを用いた演出を組み合わせて行ったりしてもよい。
《再スタート要求演出》
再スタート要求演出は、上述の自動ベット処理凍結期間(第2の自動ベット処理凍結期間)において、上記キャンセル操作としてスタートレバー25の傾動操作が行われた場合に、役決定処理(遊技)を開始させるためにはスタートレバー25を再び操作する必要があることを報知する演出である。再スタート要求演出の態様としては、例えば、「もう一度スタートレバーを操作してください」というような文字情報を画像表示装置11により表示したり、同様の内容の音声情報をスピーカ15a,15b等から出力したりするなどの態様が挙げられるが、他の態様としてもよい。
このような再スタート要求演出を実行することによって、次のような効果が得られる。すなわち、スタートレバー25を操作したのにも関わらず遊技が開始されない(リール3a,3b,3cが回転開始されない)ことにより遊技者が戸惑うことを防止することが可能となる。また、遊技者にスタートレバー25の再操作を促して遊技を開始させることができるので、遊技をスムーズに進行させることも可能となる。
《再遊技実行要求演出》
再遊技実行要求演出は、上述の自動ベット処理凍結期間(第2の自動ベット処理凍結期間)において、上記キャンセル操作として貯留メダル精算スイッチ24の押圧操作が行わ
れた場合に、貯留メダルの精算を行うためには遊技を少なくとも1回は行う必要があることを報知する演出である。再遊技実行要求演出の態様としては、例えば、「リプレイ中なので精算できません。スタートレバーを操作してください」というような文字情報を画像表示装置11により表示したり、同様の内容の音声情報をスピーカ15a,15b等から出力したりするなどの態様が挙げられるが、他の態様としてもよい。
このような再遊技実行要求演出を実行することによって、次のような効果が得られる。すなわち、キャンセル操作として精算操作が行われる場合としては、遊技者が、実際には再遊技役が成立していたのにも関わらずそのことを認識できず、精算できると思って精算操作をした場合が考えられる。その場合には、遊技者は、精算操作をしたのにも関わらず精算処理が行われないことにより戸惑うことが考えられるが、再遊技実行要求演出を実行することによりそのような戸惑いを解消することが可能となる。また、再遊技実行要求演出を実行することによって、遊技者にスタートレバー25の操作を促して遊技を開始させることができるので、遊技をスムーズに進行させることも可能となる。
《払出音出力演出》
払出音出力演出は、任意の小役(後述の小役1〜19の何れか)が成立したことを契機として、小役成立により獲得される(払い出される)遊技メダルの払出開始から払出終了までの間、遊技メダルの払出音(以下、適宜「払出時払出音」と称する)をスピーカ15a,15b等から出力する演出である。本実施形態では、実際に払い出される遊技メダルの枚数によって、払出音の出力回数及び出力時間を変えるようにしている(例えば、0.3秒程度(数値は適宜変更可)の間隔で、払出枚数に応じた回数の払出音を出力する)が、実際に払い出される遊技メダルの枚数に関係なく、所定の時間、払出時払出音を出力するようにするなど、態様は適宜変更することが可能である。また、払出音の出力時に遊技メダルが払い出されている様子を示す画像を画像表示装置11により表示するようにしてもよい。
《投入音出力演出》
投入音出力演出は、遊技者によるベット操作(メダル投入口21への遊技メダルの投入操作、1−BETスイッチ22またはMAX−BETスイッチ23の押圧操作)が行われたことを契機として、実際にベットされた数の遊技メダルの投入音(以下、適宜「ベット時投入音」と称する)を、スピーカ15a,15b等から出力する演出である。本実施形態では、行われたベット操作が、メダル投入口21への遊技メダルの投入操作であるのか、1−BETスイッチ22の押圧操作であるのか、MAX−BETスイッチ23の押圧操作であるのかに依らず、同種の投入音を出力するようにしているが、どのベット操作が行われたのかによって投入音を変えるなど、態様は適宜変更することが可能である。
《自動投入音出力演出》
自動投入音出力演出は、自動ベット処理が行われる際(ただし、後述のベット操作キャンセル時投入音出力演出が行われる場合を除く)に、自動ベット(自動投入)された数の遊技メダルの投入音(以下、適宜「自動投入音」と称する)をスピーカ15a,15b等から出力する演出である。本実施形態では、この自動投入音を上述のベット時投入音と区別して、別種の投入音を出力するようにしているが、同種の投入音を出力するなど、態様は適宜変更することが可能である。
《架空払出音出力演出》
架空払出音出力演出は、上述のベルRP(再遊技役2〜6)またはスイカ揃いRP(再遊技役13)が成立したことを契機として、上述の小役5または小役4が成立したときに実行される上記払出音出力演出の所要時間と同じ時間、遊技メダルの払出音(以下、適宜「架空払出音」と称する)を、上述の第1の自動ベット処理凍結期間において、スピーカ
15a,15b等から出力する演出である。本実施形態では、この架空払出音を上述の払出時払出音と同種の払出音としているが、別種の投入音を出力するなど、態様は適宜変更することが可能である。また、架空払出音出力演出を出力する時間は、上述の払出音出力演出の所要時間より短く設定してもよい。具体的には、例えば小役6が成立したときは9枚の遊技メダルが実際に払い出される時間に対応させて上述の払出音出力演出を出力するが、ベルRPが成立したときは遊技メダルが3枚払い出される時間に相当する時間だけ架空払出音出力演出を出力することが挙げられる。
このような架空払出音出力演出を実行することによって、次のような効果が得られる。すなわち、ベルRP(再遊技役2〜6の何れか)またはスイカ揃いRP(再遊技役13)は、実際には再遊技役であり、成立した場合でも遊技メダルが払い出されることはないが、これらの再遊技役の成立時には、ベルRPの場合には高めベル小役である小役6の対応図柄「ベル・ベル・ベル」が、スイカ揃いRPの場合はスイカ小役である小役5の対応図柄「スイカA/B・スイカA・スイカA」が、上述の上段ラインL1上または右下がりラインL2上に並ぶように構成されている。そのような態様の図柄組合せが停止表示されているときに、架空払出音出力演出を実行することによって、遊技者に、あたかも高めベル小役やスイカ小役が成立したかのような感覚を持たせることが可能となる、なお、上述のバックランプ演出Bを併せて行うことにより、効果をより一層高めることが可能となる。
《ベット操作キャンセル時投入音出力演出》
ベット操作キャンセル時投入音出力演出は、上述の自動ベット処理凍結期間(第2の自動ベット処理凍結期間)において、上記キャンセル操作としてベット操作(メダル投入口21への遊技メダルの投入操作、1−BETスイッチ22またはMAX−BETスイッチ23の押圧操作)が行われた際に、遊技メダルの投入音(以下、適宜「ベット操作キャンセル時投入音」と称する)をスピーカ15a,15b等から出力する演出である。なお、このベット操作キャンセル時投入音演出は、自動ベット処理凍結期間(第2の自動ベット処理凍結期間)の終了後に行われる自動ベット処理の実行期間と同期させて行うようにすることが好ましい。
本実施形態では、ベット操作キャンセル時投入音を、上述のベット操作時投入音と同種の投入音としているが、上述の自動投入音と同種の投入音としたり、ベット操作時投入音や自動投入音とは別種の投入音としたりするなど、態様は適宜変更することが可能である。また、本実施形態では、特定RPの成立により自動ベット処理凍結期間が設定され、かつ第2の自動ベット処理凍結期間において、上記キャンセル操作としてベット操作が行われた場合には、一律にベット操作キャンセル時投入音出力演出を実行するようにしている。これに対し、上述のベルRP(再遊技役2〜6)、スイカ揃いRP(再遊技役13)または赤7揃いRP(再遊技役7)の成立により自動ベット処理凍結期間が設定された場合には、ベット操作キャンセル時投入音出力演出を実行するが、スイカ外しRP(再遊技役14〜21の何れか)または赤7外しRP(再遊技役8〜12の何れか)の成立により自動ベット処理凍結期間が設定された場合には、キャンセル操作としてベット操作が行われたとしても、ベット操作キャンセル時投入音出力演出を実行せず、自動ベット処理時に自動投入音を出力するようにしてもよい。
このようなベット操作キャンセル時投入音出力演出を実行することによって、次のような効果が得られる。すなわち、特定RPは実際には再遊技役であり、遊技者が自ら遊技メダルをベットしなくても次の遊技を行うことができるが、成立時に停止表示される図柄は特別役や小役、あるいはハズレの態様に近いものである。このため、ベット操作に伴いベット操作キャンセル時投入音出力演出を実行することによって、遊技者に、あたかも自ら遊技メダルを投入したかのような感覚を持たせることが可能となる。
特に、ベルRP(再遊技役2〜6の何れか)、スイカ揃いRP(再遊技役13)または赤7揃いRP(再遊技役7)の成立時には、ベルRPの場合には高めベル小役である小役6の対応図柄「ベル・ベル・ベル」が、スイカ揃いRPの場合はスイカ小役である小役5の対応図柄「スイカA/B・スイカA・スイカA」が、赤7揃いRPの場合は特別役の対応図柄とされることが多い図柄組合せ「赤セブン・赤セブン・赤セブン」が上述の上段ラインL1上、右下がりラインL2上または有効ライン29上に並ぶように構成されている。そのような態様の図柄組合せが停止表示されているときに、ベット操作に伴いベット操作キャンセル時投入音出力演出を実行することによって、遊技者に、あたかも高めベル小役やスイカ小役、特別役が成立していたかのような感覚を持たせることが可能となる。なお、上述のバックランプ演出B及び架空払出音出力演出を併せて行うことにより、効果をより一層高めることが可能となる。
《リプレイ成立音出力演出》
リプレイ成立音出力演出は、再遊技役が成立した際に、そのことを報知するための音声(以下、適宜「リプレイ成立音」と称する)をスピーカ15a,15b等から出力する演出である。本実施形態では、通常RPである再遊技役1が成立した際にリプレイ成立音出力演出が実行されるようになっている。
《アシスト演出》
アシスト演出は、遊技者が有利に遊技を行えるような情報を報知する演出である。本実施形態では、アシスト演出として、押し順ナビ演出と目押し図柄指示演出が実行されるようになっている。
押し順ナビ演出は、ATが設定された状態において、上述の押し順対応の役決定結果(役決定結果B2〜B4,B7,B8,C1〜C4の何れか)が役決定処理により選出された場合に、遊技者にとって有利となる正解押し順を報知する単発の演出であり、本実施形態では、押し順ナビ演出A及び押し順ナビ演出Bの2つの態様の押し順ナビ演出がある。
押し順ナビ演出Aは、上述の押し順対応の役決定結果のうち、上述の「押し順リプレイA」に対応した役決定結果B2(図12参照)、上述の「押し順リプレイD」に対応した役決定結果B7(図12参照)、上述の「押し順リプレイE」に対応した役決定結果B8(図12参照)、上述の「押し順ベルA〜D」にそれぞれ対応した役決定結果C1〜C4(図12参照)の何れかが選出された際に実行されるものである。上述したように、「押し順リプレイA」では、リール回転停止操作(ストップスイッチ26a,26b,26cの押圧操作)の順序が正解押し順であれば、特に、目押しにより特定の図柄を引き込もうとしなくても、必ずベルRPである再遊技役2〜6の何れかが成立し、逆にリール回転停止操作の順序が不正解押し順であれば、必ず通常RPである再遊技役1が成立する。また、「押し順リプレイD」及び「押し順リプレイE」では、リール回転停止操作の順序が正解押し順であれば、特に、目押しにより特定の図柄を引き込もうとしなくても、必ずチャンスRPである再遊技役18〜21の何れかが成立し、逆にリール回転停止操作の順序が不正解押し順であれば、必ず通常RPである再遊技役1が成立する。
同様に、「押し順ベルA〜D」では、リール回転停止操作の順序が正解押し順であれば、特に、目押しにより特定の図柄を引き込もうとしなくても、必ず高めベル小役である小役6が成立し、逆にリール回転停止操作の順序が不正解押し順であれば、必ず安めベル小役である小役7〜19の何れかが成立する。このため、「押し順ナビ演出A」では、正解押し順のみが報知される。例えば、正解押し順が「中左右」となる押し順ベルA(図18参照)に対応した役決定結果C1が選出された場合には、画像表示装置11の表示画面11a上に、正解押し順を示す数字を「2、1、3」の順番で左側から並べて表示したり(図22参照)、「中左右」といった文字情報を表示画面11a上に表示したりすることが
挙げられる。
また、正解押し順を示す数字を表示する際には、1番目に操作すべきストップスイッチ26bの位置を示す「なか」という音声、2番目に操作すべきストップスイッチ26aの位置を示す「ひだり」という音声、及び3番目に操作すべきストップスイッチ26cの位置を示す「みぎ」という音声を、各ストップスイッチの操作タイミングに合わせるように、この順序で、スピーカ15a,15b等から出力することも一例として挙げられる(図22参照)。ただし、図22では、音声の出力態様に関しては「なか、ひだり、みぎ」と示すように3個のストップスイッチ26b、26a、26cの各順番に対応したものとなっているのに対し、文字情報の表示態様に関しては、音声「なか」の出力時に対応した態様のみを示し、他の音声出力時の表示態様については図示を省略している。
音声「ひだり」の出力時にはそれに対応した表示態様(例えば、図22の数字「2」が他の数字「1」、「3」よりも大きく表示される態様)により文字情報が表示され、音声「みぎ」の出力時にはそれに対応した表示態様(例えば、図22の数字「3」が他の数字「2」、「1」よりも大きく表示される態様)により文字情報が表示される)が、他の態様としても構わない。また、正解押し順が1番目に操作すべきストップスイッチにより規定されるものである場合には、1番目に操作すべきストップスイッチだけを報知してもよい。正解押し順が「左第一」となる「押し順リプレイA」(図17参照)に対応した役決定結果B2が選出された場合、正解押し順が「中第一」となる「押し順リプレイD」(図17参照)に対応した役決定結果B7が選出された場合、正解押し順が「右第一」となる「押し順リプレイB,C,E」(図17参照)に対応した役決定結果B3,B4,B8が選出された場合、正解押し順が「中右左」となる「押し順ベルB」(図18参照)に対応した役決定結果C2が得られた場合、正解押し順が「右左中」となる「押し順ベルC」(図18参照)に対応した役決定結果C3が選出された場合、正解押し順が「右中左」となる「押し順ベルD」(図18参照)に対応した役決定結果C4が選出された場合にも、正解押し順が「中左右」となる場合に準じた態様とすることが挙げられるが、他の態様としても構わない。
押し順ナビ演出Bは、上述の押し順対応の役決定結果のうち、上述の「押し順リプレイB」に対応した役決定結果B3(図12参照)、上述の「押し順リプレイC」に対応した役決定結果B4(図12参照)の何れかが選出された際に実行されるものである。上述したように、「押し順リプレイB」では、リール回転停止操作の順序が正解押し順(「右第一」)であっても、目押しにより右リールにおいて図柄「赤セブン」を引き込めなかった場合には、通常RPである再遊技役1が成立し、引き込めた場合には、その後のリール回転停止操作の順序や操作タイミングにより、赤7揃いRPである再遊技役7、赤7外しRPである再遊技役8〜12の何れかが成立する。
同様に、「押し順リプレイC」では、リール回転停止操作の順序が正解押し順(「右第一」)であっても、目押しにより右リールにおいて図柄「赤セブン」を引き込めなかった場合には、通常RPである再遊技役1が成立し、引き込めた場合には、その後のリール回転停止操作の順序や操作タイミングにより、赤7外しRPである再遊技役8〜12の何れかが成立する。このため、「押し順ナビ演出B」では、赤7RPが成立することをアシストするために、正解押し順のみではなく、目押しにより引き込むべき図柄が報知される。例えば、「右リールから赤セブンを狙え」といった文字情報を表示画面11a上に表示することが挙げられるが、他の態様としても構わない。
このような押し順ナビ演出が行われることにより、押し順ナビ演出が示す順序に従って遊技者がストップスイッチ26a,26b,26cを操作し、その結果、正解押し順に対応した遊技役が成立するように導くことができる。例えば、上述の「押し順ベルA〜D」
に係る役決定結果C1〜C4(図12参照)の何れかが選出された場合には、押し順ナビ演出Aに遊技者が従うことにより、正解押し順に対応した小役6(高めベル小役)を成立させることができる。したがって、押し順が不正解のために小役7〜14の何れか(安めベル小役)が成立した場合よりも多くの遊技メダルを遊技者に獲得させることが可能となる。
一方、目押し図柄指示演出は、スイカRPである再遊技役13〜17が重複当選役として対応付けられている役決定結果B5(図12参照)が選出された場合と、チェリー小役である角チェリー(小役1〜3)と中段チェリー(小役4)が重複当選役として対応付けられている役決定結果D2(図12参照)が選出された場合に実行されるものである。上述したように、役決定結果B5が選出された際には、スイカRPである再遊技役13〜17の何れかが成立するようになっているが、スイカ揃いRPである再遊技役13が成立して、その対応図柄「スイカA/B・スイカA・スイカA」が停止表示される(図16参照)のは、ストップスイッチ26bの操作タイミングが、中リール(リール3b)において図柄「スイカA」を有効ライン29上に引き込むことができるタイミングであった場合である。このため、目押し図柄指示演出では、スイカ揃いRPの成立をアシストするために、目押しにより引き込むべき図柄が報知される。例えば、「中リールでスイカを狙え」といった文字情報を表示画面11a上に表示することが挙げられるが、他の態様としても構わない。
同様に、役決定結果D2が選出された際には、チェリー小役である小役1〜4が成立可能となっているが、中段チェリーである小役4が成立して、その対応図柄「チェリー・チェリー・リプレイ」が停止表示されるのは、中右第一押し順であり、かつストップスイッチ26aの操作タイミングが、左リール(リール3a)において図柄「チェリー」を有効ライン29上に引き込むことができるタイミングであった場合である。このため、目押し図柄指示演出では、AT中において中段チェリーである小役4の成立をアシストするために、中右第一押し順で操作することと目押しにより引き込むべき図柄が報知される。例えば、「中押しチャンス! 中リールから停止させて左リールにチェリーを狙え」といった文字情報を表示画面11a上に表示することが挙げられるが、他の態様としても構わない。なお、角チェリー(小役1〜3)のみが重複当選役として対応付けられている役決定結果D1が選出された場合や、中段チェリー(小役4)が単独当選役として対応付けられている役決定結果D3が選出された場合にも、疑似的に目押し図柄指示演出を行うようにしてもよい。
このような目押し図柄指示演出を行う時機を調整することにより、役決定確率の変動を伴うことなく成立する遊技役(有効ライン29上に停止表示させる図柄組合せ)の頻度を変更することが可能となる。具体的には、同じRT1遊技状態であっても、非AT中は目押し図柄指示演出を行わずAT中のみ行うことにより、例えば、役決定結果D2が選出される確率は非AT中とAT中とで変わらないが、AT中では、中段チェリーである小役4の成立確率(「チェリー・チェリー・リプレイ」の図柄組合せが有効ライン29上に停止表示する確率)を非AT中よりも高めることができる。これにより、強チェリーは、非AT中は成立し難い(当選確率が低い)が、AT中は成立し易い(当選確率が高い)という印象を遊技者に持たせることが可能となる。
<遊技進行に伴う各処理の実行時機>
以下、図23〜28を参照しながら、遊技の進行状況に応じて実行される各処理の実行時機について説明する。図23は小役(小役1〜14の何れか)が成立した場合に対応するものであり、図24は特別役(MB役)が成立した場合に対応するものであり、図25は通常RP(再遊技役1)が成立した場合に対応するものである。また、図26はベルRP(再遊技役2〜6の何れか)またはスイカ揃いRP(再遊技役13)が成立した場合に
対応するものであり、図27は赤7揃いRP(再遊技役7)またはチャンスRP(再遊技役18〜21の何れか)が成立した場合に対応するものであり、図28はスイカ外しRP(再遊技役14〜17の何れか)または赤7外しRP(再遊技役8〜12の何れか)が成立した場合に対応するものである。図23〜28には、以下の内容が示されている。
図23〜28の上段部には、遊技者による遊技操作が上述の遊技操作処理時機導出手段106により有効に受け付けられる時機(遊技操作受付時機)が、下向きの矢線(実線)により時系列的に表示されている。スタートレバー操作とはスタートレバー25の傾動操作を意味し、リール回転停止操作とはストップスイッチ26a,26b,26cの押圧操作のことであり、ベット操作(図23,24参照)とはメダル投入口21への遊技メダルの投入操作、1−BETスイッチ22またはMAX−BETスイッチ23の押圧操作のことである。なお、リール回転停止操作は、各ストップスイッチ26a,26b,26cに対応して3回行われるが、ここでは簡略化のため、リール回転停止操作の受付時機を1つの矢線で示している。また、キャンセル操作(図26〜28参照)とは、メダル投入口21への遊技メダルの投入操作、1−BETスイッチ22またはMAX−BETスイッチ23の押圧操作、貯留メダル精算スイッチ24の押圧操作またはスタートレバー25の傾動操作のことである。
図23〜28の中段上部には、主制御手段100により行われる各処理の実行期間とMAX−BET表示ランプ46aが点灯される期間が横方向に延びる矢線(両矢線)により表示されている。各処理の詳細については後述するが、簡単に述べると、遊技開始準備処理は、1回毎の遊技を開始するための初期化等を行う処理であり、ベット管理処理は、遊技開始準備処理の実行後に、遊技メダルのベット数の管理や自動投入(自動ベット)を行う処理である。上述の自動ベット処理凍結期間の設定や終了に係る処理もベット管理処理において行われる。
開始操作受付処理は、ベット管理処理の実行後に、スタートレバー25の傾動操作を受け付ける処理であり、役決定処理は、成立することが許容される遊技役を選出する処理である。リール回転開始制御処理は、役決定処理の実行後に、リールの回転を開始させる処理であり、リール回転停止制御処理は、役決定処理により選出された役決定結果及びストップスイッチ26a,26b,26cの操作タイミングに基づき、リールの回転を停止させる処理である。停止表示図柄判定処理は、各リール3a,3b,3cにおいて停止表示された図柄を判定する処理であり、遊技メダル払出処理は遊技メダルの払出しを行うための処理であり、遊技終了処理は1回毎の遊技を終了させるための処理である。
図23〜28の中段下部には、主制御手段100から送信される各情報(○囲みの数字で示す)が副制御手段200により受信される時機(情報受信時機)が下向きの矢線(点線)により表示されているとともに、副制御手段200により行われる各演出(画像表示演出、バックランプ演出、音声出力演出)の実行期間が横方向に延びる矢線(両矢線)により表示されている。画像表示演出とは、画像表示装置11を用いて行われる演出のことであるが、ここでは特に、遊技の進行状況に応じて単発的に行われる演出(単発演出)のことを示している。バックランプ演出とは、上述のバックランプ演出A〜Cのことであり、音声出力演出とは、スピーカ15a,15b等を用いて行われる演出のうち、上述の払出音出力演出、投入音出力演出、自動投入音出力演出、架空払出音出力演出、ベット操作キャンセル時投入音出力演出、リプレイ成立音出力演出のことを示している。
図23〜28の下段部には、主制御手段100から副制御手段200に送信される各情報(遊技状態等情報、キャンセル操作情報、自動ベット実行情報、遊技メダル投入情報、スタートレバー操作受付情報、役決定結果情報、ウエイト時間経過情報、リール回転開始情報、リール回転停止操作受付情報、リール回転停止情報、停止表示図柄情報、遊技メダ
ル払出開始情報、遊技メダル払出終了情報、遊技終了情報)が記載されている。
遊技状態等情報[1](図中において○囲みで表記された数字を大括弧内に示す。以下において同じ)とは、設定されているRT遊技状態や設定値等を示す各情報を総称したものであり、遊技開始準備処理において送信される。キャンセル操作情報[2]は、設定された自動ベット処理凍結期間(第2の自動ベット処理凍結期間)を終了させるためのキャンセル操作が有効に受け付けられたことや、受け付けられたキャンセル操作の種別(メダル投入口21への遊技メダルの投入操作、1−BETスイッチ22またはMAX−BETスイッチ23の押圧操作、貯留メダル精算スイッチ24の押圧操作、スタートレバー25の傾動操作のうちの何れかであるか)を示す情報(キャンセル操作が行われなかった場合には、所定時間T2の経過により第2の自動ベット処理凍結期間が終了したことが分かるように、キャンセル操作が行われなかったことを示す情報)であり、自動ベット処理凍結期間の終了直後に送信される。自動ベット実行情報[3]は、遊技メダルの自動ベット(自動投入)が実行されたことを示す情報であり、自動ベットの実行直後に送信される。
遊技メダル投入情報[4]は、遊技者によるベット操作により遊技メダルが投入(ベット)されたことを示す情報であり、ベット操作が有効に受け付けられた直後に送信される。スタートレバー操作受付情報[5]は、スタートレバー25が操作されたことを示す情報であり、スタートレバー25の傾動操作が有効に受け付けられた直後に送信される。役決定結果情報[6]は、役決定処理において選出された役決定結果を示す情報であり、役決定処理の終了直後に送信される。ウエイト時間経過情報[7]は、前回の遊技において各リール3a,3b,3cが回転を開始した時点から所定のウエイト時間が経過したことを示す情報であり、スタートレバー25の傾動操作が有効に受け付けられた後であって、その後に行われる、ウエイト時間が経過したか否かの判断処理(図45参照)において、ウエイト時間が経過したと判断された直後に送信される。リール回転開始情報[8]は、各リール3a,3b,3cが回転を開始したことを示す情報であり、各々のリール3a,3b,3cの回転開始直後にそれぞれ送信される。
リール回転停止操作受付情報[9]は、各ストップスイッチ26a,26b,26cが操作されたことを示す情報であり、各々のストップスイッチ26a,26b,26cの押圧操作が有効に受け付けられた直後にそれぞれ送信される。リール回転停止情報[10]は、各々のリール3a,3b,3cの回転が停止したことを示す情報であり、各々のリール3a,3b,3cの回転停止直後にそれぞれ送信される。停止表示図柄情報[11]は、回転停止した各リール3a,3b,3cにおいて停止表示された図柄に基づく入賞結果を示す情報であり、停止表示図柄判定処理において送信される。遊技メダル払出開始情報[12]は、遊技メダルの払出枚数を示す情報(遊技メダルの払出しが無い場合は払出枚数が0枚であることを示す情報)であり、遊技メダルの払出開始直前に送信される。遊技メダル払出終了情報[13]は、遊技メダルの払出しが終了したことを示す情報であり、遊技メダルの払出終了直後に送信される(遊技メダルの払出しが無い場合は送信されない)。遊技終了情報[14]は、1回の遊技が終了したことを示す情報であり、遊技終了処理において送信される。なお、主制御手段100から副制御手段200に対しては、上述の自動ベット実行情報[3]を送信せず、代わりに、操作信号出力手段95から出力されるメダル投入信号や1−BET信号、MAX−BET信号を送信し、また、上記遊技メダル投入情報[4]を、遊技メダルがベットされたこと(自動ベット処理によるものか遊技者によるベット操作によるものかは区別しない)を示す情報として送信するようにし、副制御手段200において、これらの信号の有無と遊技メダル投入情報[4]により自動ベット処理が行われたかどうかを判断するようにしてもよい。
図23に示すように、小役(小役1〜14の何れか)が成立した場合には、有効ライン29上に並ぶ成立役(小役5〜14の何れか)の対応図柄または表示窓W内の所定位置に
停止表示されたチェリー小役(小役1〜4)の対応図柄「チェリー」を、目立たせるように、バックランプ38a,38b,38cを用いて各リール3a,3b,3cの内部から照明する上述のバックランプ演出Aが実行される。このバックランプ演出Aは、停止表示図柄情報[11]を、副制御手段200の情報受信手段109が受信したこと(以下の説明では、単に「〜情報を受信したこと」と記載する)を契機として開始され(遊技メダル払出開始情報[12]の受信を契機として開始してもよい)、遊技メダル投入情報[4]を受信したことを契機として終了される。
また、遊技メダル払出処理が実行されている期間において、実際に払い出される遊技メダルの枚数に対応した遊技メダルの払出音(払出時払出音)を、スピーカ15a,15b等から出力する上述の払出音出力演出が実行される。この払出音出力演出は、遊技メダル払出開始情報[12]を受信したことを契機として開始され(停止表示図柄情報[11]の受信を契機として開始してもよい)、払出時払出音の出力を完了した時点で終了される(遊技メダル払出終了情報[13]を受信したことを契機として終了してもよい)。
また、バックランプ演出Aの終了後に、遊技者によるベット操作により実際にベットされた数の遊技メダルの投入音(ベット時投入音)を、スピーカ15a,15b等から出力する上述の投入音出力演出が実行される。この投入音出力演出は、遊技メダル投入情報[4]を受信したことを契機として開始され、必要数のベット時投入音の出力を完了した時点で終了される。
また、図柄の変動表示期間(リールの回転期間)において、単発的な画像表示演出が実行される。例えば、小役成立の当選期待度を暗示するような画像を表示する演出や、AT設定時に行われる上述のアシスト演出等が、ここでの画像表示演出に相当する。この画像表示演出は、役決定結果情報[6]を受信したことを契機として開始され(ウエイト時間経過情報[7]やリール回転開始情報[8]の受信を契機として開始してもよい)、停止表示図柄情報[11]を受信したことを契機として終了される(リール回転停止操作受付情報[9]やリール回転停止情報[10]の受信を契機として終了してもよい)。
図24に示すように、特別役(MB役)が成立した場合には、有効ライン29上に並ぶ特別役の対応図柄を、目立たせるように、バックランプ38a,38b,38cを用いて各リール3a,3b,3cの内部から照明するバックランプ演出Aが実行される(バックランプ演出Aの開始契機及び終了契機については、上述の小役成立の場合と同じである)。一方、特別役成立の場合、遊技メダルの払出しは行われないので、遊技メダルの払出音を出力する演出は実行されない。なお、遊技メダル払出処理の実行期間は極めて短くなる。
バックランプ演出Aの終了後には、遊技者によるベット操作により実際にベットされた数の遊技メダルの投入音(ベット時投入音)を、スピーカ15a,15b等から出力する上述の投入音出力演出が実行される(投入音出力演出の開始契機及び終了契機については、上述の小役成立の場合と同じである)。また、図柄の変動表示期間(リールの回転期間)において、例えば、特別役の当選期待度を暗示したり、特別役が既に当選していることを報知したりするなどの画像表示演出が実行される(画像表示演出の開始契機及び終了契機については、上述の小役成立の場合と同じである)。
さらに、バックランプ演出Aの実行期間において、例えば、ATが設定されたことを祝福したり、次遊技から多くの遊技メダルに獲得が可能となることへの期待感を高めたりするような画像表示演出が実行される。この画像表示演出は、遊技メダル払出開始情報[12]を受信したことを契機として開始され(停止表示図柄情報[11]の受信を契機として開始してもよい)、遊技メダル投入情報[4]を受信したことを契機として終了される
(所定パターンの演出を実行し終えた時点や所定の時間が経過した時点で終了してもよい)。
図25に示すように、通常RP(再遊技役1)が成立した場合においても、有効ライン29上に並ぶ通常RPの対応図柄を、目立たせるように、バックランプ38a,38b,38cを用いて各リール3a,3b,3cの内部から照明するバックランプ演出Aが実行される(バックランプ演出Aの開始契機及び終了契機についても、上述の小役成立の場合と同じである)。ただし、通常RP成立の場合、遊技メダルの払出しは行われないので、遊技メダル払出処理の実行期間は極めて短く、かつ遊技メダル払出処理の実行後に、遊技終了処理及び遊技開始準備処理が実行され、さらにベット管理処理において自動ベットが実行されるまでの期間も非常に短いので、バックランプ演出Aが実行される期間はとても短いものとなる。
また、遊技メダルの払出しは行われないので、遊技メダルの払出音を出力する演出は実行されないが、再遊技役が成立したことを報知するための音声(リプレイ成立音)を出力する上述のリプレイ成立音出力演出が実行される。このリプレイ成立音出力演出は、停止表示図柄情報[11]を受信したことを契機として開始され(遊技メダル払出開始情報[12]の受信を契機として開始してもよい)、リプレイ成立音の出力を完了した時点で終了される(遊技終了情報[14]や自動ベット実行情報[3]を受信したことを契機として終了してもよい)。
バックランプ演出Aの終了後には、自動ベットされた数の遊技メダルの投入音(自動投入音)をスピーカ15a,15b等から出力する上述の自動投入音出力演出が実行される。この自動投入音出力演出は、自動ベット実行情報[3]を受信したことを契機として開始され、自動投入音の出力を完了した時点で終了される。また、図柄の変動表示期間(リールの回転期間)において、例えば、再遊技役の当選期待度を暗示するような画像を表示する演出や、AT設定時に行われる上述のアシスト演出等が、画像表示演出画像として実行される(画像表示演出の開始契機及び終了契機については、上述の小役成立の場合と同じである)。
図26に示すように、ベルRP(再遊技役2〜6の何れか)またはスイカ揃いRP(再遊技役13)が成立した場合には、通常RP(再遊技役1)が成立した場合とは異なる処理が行われる。すなわち、通常RP(再遊技役1)の成立時であれば遊技開始準備処理終了後に直ちに行われる自動ベット処理の実行を禁止する自動ベット処理凍結期間が、遊技開始準備処理終了後のベット管理処理において設定される(設定されない場合もある(図19参照))。この自動ベット処理凍結期間は、自動ベット処理の実行が所定時間T1(例えば、5秒間)禁止される第1の自動ベット処理凍結期間(図26では「第1の凍結期間」と略記。図27,28において同じ)と、この第1の自動ベット処理凍結期間に続いて自動ベット処理の実行が所定時間T2(例えば、10秒間)禁止される第2の自動ベット処理凍結期間(図26では「第2の凍結期間」と略記。図27,28において同じ)とから構成される。
第1の自動ベット処理凍結期間においては、上述したように、遊技者による任意の遊技操作(上述の特定群の遊技操作を含む)が遊技操作処理時機導出手段106に有効に受け付けられないように構成されており、設定された第1の自動ベット処理凍結期間を、上記所定時間T1が経過する前に終了(キャンセル)させることはできない。したがって、設定された第1の自動ベット処理凍結期間は、上記所定時間T1が経過するまで継続する。
第2の自動ベット処理凍結期間においては、上述の特定群の遊技操作(メダル投入口21への遊技メダルの投入操作、1−BETスイッチ22またはMAX−BETスイッチ2
3の押圧操作、貯留メダル精算スイッチ24の押圧操作、スタートレバー25の傾動操作)がキャンセル操作として遊技操作処理時機導出手段106に有効に受け付けられる。したがって、第2の自動ベット処理凍結期間において、特定群の遊技操作が行われた場合には、上記所定時間T2の経過を待たずに、第2の自動ベット処理凍結期間が終了され、自動ベット処理が実行されるようになっている。これに対し、第2の自動ベット処理凍結期間において、キャンセル操作として扱われる特定群の遊技操作が行われない場合には、上記所定時間T2の経過により第2の自動ベット処理凍結期間が終了され、自動ベット処理が実行されるようになっている。
また、図26に示すように、ベルRP(再遊技役2〜6の何れか)またはスイカ揃いRP(再遊技役13)が成立した場合には、上述の上段ラインL1上または右下がりラインL2上に並ぶ「ベル・ベル・ベル」の図柄組合せ(高めベル小役である小役6の対応図柄でもある。図13,14を参照)、または上述の右下がりラインL2上に並ぶ「スイカA/B・スイカA・スイカA」の図柄組合せ(スイカ小役である小役5の対応図柄でもある。図16を参照)を、目立たせるように、バックランプ38a,38b,38cを用いて各リール3a,3b,3cの内部から照明する上述のバックランプ演出Bが実行される。このバックランプ演出Bは、停止表示図柄情報[11]を受信したことを契機として開始され(遊技メダル払出開始情報[12]の受信を契機として開始してもよい)、自動ベット処理凍結期間が設定されている場合にはキャンセル操作情報[2]を受信したことを契機として終了され、自動ベット処理凍結期間が設定されていない場合には自動ベット実行情報[3]を受信したことを契機として終了される。なお、自動ベット処理凍結期間が設定されている場合においても、自動ベット実行情報[3]を受信したことを契機としてバックランプ演出Bを終了させるように構成することも可能であり、また、自動ベット処理が実行された後にスタートレバー操作受付情報[5]を受信したことを契機としてバックランプ演出Bを終了させるようにしてもよい(この点は、以下の説明におけるバックランプ演出B,Cの終了契機についても同じである)。
また、ベルRP(再遊技役2〜6の何れか)及びスイカ揃いRP(再遊技役13)は再遊技役であるので、これらの何れかが成立した場合でも遊技メダルの払出しは行われないが、上述の小役6または小役5が成立したときに実行される払出音出力演出の所要時間と同じ時間、遊技メダルの払出音(架空払出音)を、スピーカ15a,15b等から出力する上述の架空払出音出力演出が実行される。この架空払出音出力演出は、停止表示図柄情報[11]を受信したことを契機として開始され(遊技メダル払出開始情報[12]の受信を契機として開始してもよい)、架空払出音を上記所要時間出力した時点で終了される。
上述のようにベルRP(再遊技役2〜6の何れか)及びスイカ揃いRP(再遊技役13)は再遊技役であり、成立した場合に遊技メダルの払出しは行われないので、遊技メダル払出処理の実行期間は極めて短い。しかし、上述のように自動ベット処理凍結期間(第1の自動ベット処理凍結期間及び第2の自動ベット処理凍結期間)が設定されるので、この自動処理凍結期間において、上述のバックランプ演出B及び架空払出音出力演出を実行することが可能となる。なお、本実施形態では、自動ベット処理凍結期間が設定されなかった場合であっても、バックランプ演出B及び架空払出音出力演出が開始されるようになっている。自動ベット処理凍結期間が設定されなかった場合には、自動ベット処理が実行されることになるので、開始された(あるいは開始前の)バックランプ演出B及び架空払出音出力演出は、演出実行途中(または演出実行前)であっても、自動ベット実行情報を受信したことを契機として終了されるようになっている。
また、第2の自動ベット処理凍結期間においては、上記キャンセル操作としてMAX−BETスイッチ23の押圧操作が行われるように導くための上述のMAX−BET誘導演
出(上記MAX−BET表示ランプ46a(図1参照)を点灯させる演出)が実行されるように構成されている。このMAX−BET誘導演出は、第2の自動ベット処理凍結期間が設定されたことを契機として開始(MAX−BET表示ランプ46aが点灯)され、第2の自動ベット処理凍結期間が終了されたことを契機として終了(MAX−BET表示ランプ46aが消灯)される。
また、図26に示すように、上記キャンセル操作としてベット操作(メダル投入口21への遊技メダルの投入操作、1−BETスイッチ22またはMAX−BETスイッチ23の押圧操作)が行われた際には、第2の自動ベット処理凍結期間の終了後に、遊技メダルの投入音(ベット操作キャンセル時投入音)をスピーカ15a,15b等から出力する上述のベット操作キャンセル時投入音演出が実行される。このベット操作キャンセル時投入音演出は、キャンセル操作がベット操作であった場合のキャンセル操作情報[2]を受信したことを契機として開始され、ベット操作キャンセル時投入音の出力を完了した時点で終了される。
また、図26に示すように、第2の自動ベット処理凍結期間の終了後に、画像表示装置11を用いた演出として、上述の再スタート要求演出または再遊技実行要求演出(以下、この2つを総称して適宜「要求演出」と称する)が行われる場合がある。再スタート要求演出は、上記キャンセル操作として役決定開始操作(スタートレバー25の傾動操作)が行われた場合に実行されるものであり、キャンセル操作情報[2]を受信したことを契機として開始され(自動ベット実行情報[3]の受信を契機として開始してもよい)、第2の自動ベット処理凍結期間の終了後に、スタートレバー操作受付情報[5]を受信したことを契機として終了される(所定パターンの演出を実行し終えたことや、役決定結果情報[6]の受信を契機として終了してもよい)。
一方、再遊技実行要求演出は、上記キャンセル操作として精算操作(貯留メダル精算スイッチ24の押圧操作)が行われた場合に実行されるものであり、キャンセル操作情報[2]を受信したことを契機として開始され(自動ベット実行情報[3]の受信を契機として開始してもよい)、第2の自動ベット処理凍結期間の終了後に、スタートレバー操作受付情報[5]を受信したことを契機として終了される(所定パターンの演出を実行し終えたことや、役決定結果情報[6]の受信を契機として終了してもよい)。なお、キャンセル操作として役決定開始操作及び精算操作以外の遊技操作が行われた場合と、キャンセル操作が行われずに、第2の自動ベット処理凍結期間が終了した場合には、上述のベット操作キャンセル時投入音演出は実行されず、代わりに、自動ベット実行情報[3]の受信を契機として、上述の自動投入音出力演出が実行される。
また、図柄の変動表示期間(リールの回転期間)において、例えば、小役6または小役5の当選期待度を暗示するような画像を表示する演出や、AT設定時に行われる上述のアシスト演出等が、画像表示演出画像として実行される(この画像表示演出の開始契機及び終了契機については、上述の小役成立の場合と同じである)。
図27に示すように、赤7揃いRP(再遊技役7)またはチャンスRP(再遊技役18〜21の何れか)が成立した場合においても、自動ベット処理凍結期間(第1の自動ベット処理凍結期間及び第2の自動ベット処理凍結期間)が、遊技開始準備処理終了後のベット管理処理において設定される(設定されない場合もある(図19参照))。
第1の自動ベット処理凍結期間は、上述したように、所定時間T1が経過するまで継続する。第2の自動ベット処理凍結期間は、第2の自動ベット処理凍結期間において、上述の特定群の遊技操作がキャンセル操作として行われた場合には、所定時間T2の経過を待たずに終了され、キャンセル操作として扱われる特定群の遊技操作が行われない場合には
、所定時間T2の経過により終了され、その後自動ベット処理が実行される。
また、図27に示すように、赤7揃いRP(再遊技役7)が成立した場合には、有効ライン29上に並ぶ「赤セブン・赤セブン・赤セブン」の図柄組合せを、目立たせるように、バックランプ38a,38b,38cを用いて各リール3a,3b,3cの内部から照明する上述のバックランプ演出Bが実行され、チャンスRP(再遊技役18〜21の何れか)が成立した場合には、表示窓W内に停止表示された全ての図柄を、点滅させるように、バックランプ38a,38b,38cを用いて各リール3a,3b,3cの内部から照明する上述のバックランプ演出Cが実行される。このバックランプ演出Bまたはバックランプ演出Cは、自動ベット処理凍結期間が設定されている場合にはキャンセル操作情報[2]を受信したことを契機として終了され、自動ベット処理凍結期間が設定されていない場合には自動ベット実行情報[3]を受信したことを契機として終了される。
また、赤7揃いRP(再遊技役7)またはチャンスRP(再遊技役18〜21の何れか)が成立した場合には、上述のベルRP(再遊技役2〜6の何れか)またはスイカ揃いRP(再遊技役13)が成立した場合に実行される上述の架空払出音出力演出は実行されない。
上述のように赤7揃いRP(再遊技役7)またはチャンスRP(再遊技役18〜21の何れか)は再遊技役であり、成立した場合に遊技メダルの払出しは行われないので、遊技メダル払出処理の実行期間は極めて短い。しかし、上述のように自動ベット処理凍結期間(第1の自動ベット処理凍結期間及び第2の自動ベット処理凍結期間)が設定されるので、この自動処理凍結期間において、上述のバックランプ演出Bまたはバックランプ演出Cを実行することが可能となる。なお、本実施形態では、自動ベット処理凍結期間が設定されなかった場合であっても、バックランプ演出Bまたはバックランプ演出Cが開始されるようになっている。自動ベット処理凍結期間が設定されなかった場合には、自動ベット処理が実行されることになるので、開始された(あるいは開始前の)バックランプ演出Bまたはバックランプ演出Cは、演出実行途中(または演出実行前)であっても、自動ベット実行情報を受信したことを契機として終了されるようになっている。
また、第2の自動ベット処理凍結期間においては、上記キャンセル操作としてMAX−BETスイッチ23の押圧操作が行われるように導くための上述のMAX−BET誘導演出が実行される(このMAX−BET誘導演出の開始契機及び終了契機については、上述のベルRPまたはスイカ揃いRP成立の場合と同じである)。
また、図27に示すように、上記キャンセル操作としてベット操作(メダル投入口21への遊技メダルの投入操作、1−BETスイッチ22またはMAX−BETスイッチ23の押圧操作)が行われた際には、第2の自動ベット処理凍結期間の終了後に、ベット操作キャンセル時投入音をスピーカ15a,15b等から出力する上述のベット操作キャンセル時投入音演出が実行される(このベット操作キャンセル時投入音演出の開始契機及び終了契機については、上述のベルRPまたはスイカ揃いRP成立の場合と同じである)。キャンセル操作として役決定開始操作または精算操作が行われた場合と、キャンセル操作が行われずに、第2の自動ベット処理凍結期間が終了した場合には、上述のベット操作キャンセル時投入音演出は実行されず、代わりに上述の自動投入音出力演出が実行される。
また、図27に示すように、第2の自動ベット処理凍結期間の終了後に、画像表示装置11を用いた演出として、上述の要求演出(再スタート要求演出または再遊技実行要求演出)が行われる場合がある(この要求演出の開始契機及び終了契機については、上述のベルRPまたはスイカ揃いRP成立の場合と同じである)。また、図柄の変動表示期間(リールの回転期間)において、例えば、特別役やチャンスRPの当選期待度を暗示するよう
な画像を表示する演出や、AT設定時に行われる上述のアシスト演出等が、画像表示演出画像として実行される(この画像表示演出の開始契機及び終了契機については、上述の小役成立の場合と同じである)。
図28に示すように、スイカ外しRP(再遊技役14〜17の何れか)または赤7外しRP(再遊技役8〜12の何れか)が成立した場合においても、自動ベット処理凍結期間(第1の自動ベット処理凍結期間及び第2の自動ベット処理凍結期間)が、遊技開始準備処理終了後のベット管理処理において設定される(設定されない場合もある(図19参照))。
第1の自動ベット処理凍結期間は、上述したように、所定時間T1が経過するまで継続する。第2の自動ベット処理凍結期間は、第2の自動ベット処理凍結期間において、上述の特定群の遊技操作がキャンセル操作として行われた場合には、所定時間T2の経過を待たずに終了され、キャンセル操作として扱われる特定群の遊技操作が行われない場合には、所定時間T2の経過により終了され、その後自動ベット処理が実行される。
また、図28に示すように、スイカ外しRP(再遊技役14〜17の何れか)または赤7外しRP(再遊技役8〜12の何れか)が成立した場合には、何れの遊技役も成立しなかった場合(ハズレの場合)と同様に、バックランプ演出は行われず(バックランプ演出A〜Cの何れかまたはこれらとは異なるバックランプ演出を行うようにしてもよい)、上述のベルRP(再遊技役2〜6の何れか)またはスイカ揃いRP(再遊技役13)が成立した場合に実行される上述の架空払出音出力演出も実行されない。
一方、第2の自動ベット処理凍結期間においては、上記キャンセル操作としてMAX−BETスイッチ23の押圧操作が行われるように導くための上述のMAX−BET誘導演出が実行される(このMAX−BET誘導演出の開始契機及び終了契機については、上述のベルRPまたはスイカ揃いRP成立の場合と同じである)。
また、図28に示すように、自動ベット処理凍結期間が設定され、かつ第2の自動ベット処理凍結期間において、上記キャンセル操作としてベット操作(メダル投入口21への遊技メダルの投入操作、1−BETスイッチ22またはMAX−BETスイッチ23の押圧操作)が行われた際には、第2の自動ベット処理凍結期間の終了後に、ベット操作キャンセル時投入音をスピーカ15a,15b等から出力する上述のベット操作キャンセル時投入音演出が実行される(このベット操作キャンセル時投入音演出の開始契機及び終了契機については、上述のベルRPまたはスイカ揃いRP成立の場合と同じである)。キャンセル操作として役決定開始操作及び精算操作以外の遊技操作が行われた場合と、キャンセル操作が行われずに、第2の自動ベット処理凍結期間が終了した場合には、上述のベット操作キャンセル時投入音演出は実行されず、代わりに上述の自動投入音出力演出が実行される。
また、図28に示すように、第2の自動ベット処理凍結期間の終了後に、画像表示装置11を用いた演出として、上述の要求演出(再スタート要求演出または再遊技実行要求演出)が行われる場合がある(この演出の開始契機及び終了契機については、上述のベルRPまたはスイカ揃いRP成立の場合と同じである)。また、図柄の変動表示期間(リールの回転期間)において、例えば、特別役や小役5の当選期待度を暗示するような画像を表示する演出や、AT設定時に行われる上述のアシスト演出等が、画像表示演出画像として実行される(この画像表示演出の開始契機及び終了契機については、上述の小役成立の場合と同じである)。
上述したように本実施形態では、特定RPが成立した際に、キャンセル(解除)不可能
な第1の自動ベット処理凍結期間と、キャンセル可能な第2の自動ベット処理凍結期間とが設定される(上述のように設定されない場合もある)ようになっており、これにより以下のような効果を奏することが可能となっている。すなわち、第1の自動ベット処理凍結期間をキャンセル不可能としたことにより、この第1の自動ベット処理凍結期間において確実に、上述のバックランプ演出B(ベルRP、スイカ揃いRPまたは赤7揃いRPが成立した場合)やバックランプ演出C(チャンスRPが成立した場合)、あるいは架空払出音出力演出(ベルRPまたはスイカ揃いRPが成立した場合)を実行することができ、これにより、小役や特別役など、再遊技役以外の遊技役が成立したような感覚を遊技者に持たせることが可能となる。また、第2の自動ベット処理凍結期間をキャンセル可能としたことにより、キャンセルされなければ、第2の自動ベット処理凍結期間においても継続してバックランプ演出Bやバックランプ演出Cを実行することができ、一方、キャンセルされれば、早めに遊技を開始させることができるなど、キャンセル操作を行うか否かを決める遊技者の意思に対応したスムーズな遊技進行を行うことが可能となる。
<キャンセル時機及び役決定開始時機の導出>
次に、図29,30を参照して、第2の自動ベット処理凍結期間におけるキャンセル信号に基づくキャンセル時機の導出と、第2の自動ベット処理凍結期間の終了後におけるスタート信号に基づく役決定開始時機の導出について説明する。図29は、第2の自動ベット処理凍結期間において、役決定開始操作(スタートレバー25の傾動操作)以外の特定群の遊技操作(メダル投入口21への遊技メダルの投入操作、1−BETスイッチ22またはMAX−BETスイッチ23の押圧操作、貯留メダル精算スイッチ24の押圧操作の何れか)がキャンセル操作として行われた場合を示すものであり、図30は、第2の自動ベット処理凍結期間において、役決定開始操作(スタートレバー25の傾動操作)がキャンセル操作として行われた場合を示すものである。
本実施形態では、遊技者による各遊技操作に基づき操作信号出力手段95から出力される各遊技操作信号(メダル投入信号、メダル受入信号、1−BET信号、MAX−BET信号、スタート信号、リール停止信号、精算信号)の信号レベルの判定が、予め設定された一定の時間(例えば、1.5ミリ秒)毎に実施されるタイマ割込処理(図34,35参照)によって行われるようになっている。第2の自動ベット処理凍結期間における遊技操作信号の信号レベルの判定も同様である。ただし、第2の自動ベット処理凍結期間において操作信号出力手段95から出力された、特定群の遊技操作に基づく遊技操作信号(メダル投入信号、1−BET信号、MAX−BET信号、スタート信号、リール停止信号、精算信号の何れか)はキャンセル信号として扱われ、このキャンセル信号に基づき、第2の自動ベット処理凍結期の終了契機となるキャンセル時機が導出される。
図29に示すタイミングチャートは、第2の自動ベット処理凍結期間においてキャンセル信号として扱われる、スタート信号以外の特定群の遊技操作に基づく遊技操作信号(メダル投入信号、1−BET信号、MAX−BET信号、スタート信号、リール停止信号、精算信号の何れか。以下、適宜「スタート信号以外の任意のキャンセル信号」と称する)の信号レベルが切り替わるタイミングと、後述する第2の自動ベット処理凍結期間設定処理(図42参照)において行われるキャンセル操作の受付判定の処理タイミングを示すものである。さらに、第2の自動ベット処理凍結期間の終了後の役決定開始操作に基づくスタート信号の信号レベルが切り替わるタイミングと、後述する開始操作受付処理(図43参照)において行われるスタートレバー操作の受付判定の処理タイミングを示すものである。また、図29では、上述のタイマ割込処理のタイミングを、時間軸上に並ぶ短い矢線で示している(この点については、図30においても同じ)。
図29において、スタート信号以外の任意のキャンセル信号及びスタート信号の信号レベルに対応した数値「0」は、各信号に対応した遊技操作が行われていない状態(非操作
中)にあることを示し、数値「1」は、各信号に対応した遊技操作が行われている状態(操作中)にあることを示している(図30においても同じ)。以下の説明において、各信号の信号レベルに関し、「レベル1」というときは、各信号に対応した遊技操作が行われていることを意味し、「レベル0」というときは、各信号に対応した遊技操作が行われていないことを意味するものとする。
図29に示す場合には、第2の自動ベット処理凍結期間において実行されるタイマ割込処理において、スタート信号以外の任意のキャンセル信号の信号レベルが「0」から「1」に切り替わったと認識された時点(図29において「K1」が示す時点)で(実際には、信号レベルのレベルを示すレベルデータが、信号レベルが「0」のときは同じく「0」に、「1」のときは同じく「1」にセットされ、このレベルデータに基づき認識される。以下の説明において同じ)、そのことを示す、スタート信号以外の任意のキャンセル信号の立上りフラグがON(セット)される(図35参照)。また、後述する第2の自動ベット処理凍結期間設定処理(図42参照)において、この立上りフラグがONであると認識された時点(図29では、「キャンセル操作判定」と表示した矢線で示す時点)が、キャンセル時機として導出され、この時点で、第2の自動ベット処理凍結期間が終了されるとともに、キャンセル操作が行われたことを示すキャンセル操作情報が、主制御手段100から副制御手段200に送信されるようになっている。
なお、ONされた立上りフラグは、キャンセル信号として扱われた、スタート信号以外の任意のキャンセル信号の信号レベルが、次のタイマ割込処理において「1」のままであると認識された時点でOFF(クリア)される。
また、図29に示す場合には、第2の自動ベット処理凍結期間の終了後において実行されるタイマ割込処理において、スタート信号の信号レベルが「0」から「1」に切り替わったと認識された時点(図29において「K2」が示す時点)で、そのことを示す、スタート信号の立上りフラグがON(セット)される。また、後述する開始操作受付処理(図43参照)におけるスタートレバー操作の受付判定において、この立上りフラグがONであると認識された時点(図29では、「スタートレバー操作受付判定」と表示した矢線で示す時点)が、役決定開始時機として導出され、この時点で、後述する役決定処理(図44参照)が開始され、乱数のラッチ及び読込みが順次行われる。
図30に示すタイミングチャートは、第2の自動ベット処理凍結期間においてキャンセル信号として扱われる、役決定開始操作に基づくスタート信号の信号レベルが切り替わるタイミングと、後述する第2の自動ベット処理凍結期間設定処理(図42参照)において行われるキャンセル操作の受付判定の処理タイミングを示すものである。さらに、第2の自動ベット処理凍結期間の終了後の役決定開始操作に基づくスタート信号の信号レベルが切り替わるタイミングと、後述する開始操作受付処理(図43参照)において行われるスタートレバー操作の受付判定の処理タイミングを示すものである。
図30に示す場合には、第2の自動ベット処理凍結期間において実行されるタイマ割込処理において、スタート信号の信号レベルが「0」から「1」に切り替わったと認識された時点(図30において「K1」が示す時点)で、そのことを示す、スタート信号の立上りフラグがON(セット)される(図35参照)。また、後述する第2の自動ベット処理凍結期間設定処理(図42参照)において、この立上りフラグがONであると認識された時点(図30では、「キャンセル操作判定」と表示した矢線で示す時点)が、キャンセル時機として導出され、この時点で、第2の自動ベット処理凍結期間が終了されるとともに、キャンセル操作が行われたことを示すキャンセル操作情報が、主制御手段100から副制御手段200に送信されるようになっている。
なお、ONされたスタート信号の立上りフラグは、スタート信号の立上りフラグがONであると認識された時点(キャンセル時機の導出時点)において直ちにOFF(クリア)される。これは、図29に示す場合と同様に、次のタイマ割込処理において立上りフラグをOFFするようにした場合には懸念される、次のような問題の発生を防止するためのものである。すなわち、スタート信号の立上りフラグがONであることに基づき第2の自動ベット処理凍結期間が終了された後には、自動ベット処理が実行され(図40参照)、その後、開始操作受付処理(図43参照)が開始されるが、自動ベット処理が実行される時間は極めて短いので、次のタイマ割込処理が行われるまでの期間において、自動ベット処理が終了して開始操作受付処理が開始されることも考えられる。その場合、ONされた立上りフラグをそのままにしておくと、次のタイマ割込処理が実行される前に、同じ立上りフラグ(ONのままにされた立上りフラグ)に基づいて、スタートレバー25が操作されたと判定され、役決定処理(図44参照)が開始されることがある。
一方、第2の自動ベット処理凍結期間において実行されるバックランプ演出(バックランプ演出A〜Cの何れか)は、キャンセル時機の導出時点において主制御手段100から送信されるキャンセル操作情報を、副制御手段200が受信したことを契機として終了されるようになっている。しかし、キャンセル操作情報が主制御手段100から送信されてから副制御手段200がこれを受信してバックランプ演出を終了させるまで、ある程度(例えば、数十ミリ秒程度)の時間を要するので、役決定開始処理が開始された時点(乱数がラッチされた時点)において、バックランプ演出が終了していない場合も生じ得る。最近、実行される演出を一遊技ごとに明確に区分したいという理由等により、役決定処理が開始された時点において、それまで実行されていた演出(バックランプ演出を含む)を終了させておくことが要望されることがあるが、上述の処理の場合には、この要望に応えることができないという問題が生じる虞がある。
そこで、本実施形態では、ONされたスタート信号(キャンセル信号として扱われるスタート信号)の立上りフラグは、スタート信号の立上りフラグがONであると認識された時点(キャンセル時機の導出時点)において直ちにOFF(クリア)するようにし、これにより、上述の問題が生じるのを防止したものである。なお、役決定処理は、以下のようにして開始される。
すなわち、図29に示す場合と同様に、第2の自動ベット処理凍結期間の終了後において実行されるタイマ割込処理において、スタート信号の信号レベルが「0」から「1」に切り替わったと認識された時点(図30において「K2」が示す時点)で、そのことを示す、スタート信号の立上りフラグがON(セット)される(図35参照)。また、開始操作受付処理(図43参照)におけるスタートレバー操作の受付判定において、この立上りフラグがONであると認識された時点(図30では、「スタートレバー操作受付判定」と表示した矢線で示す時点)が、役決定開始時機として導出され、この時点で、役決定処理(図44参照)が開始され、乱数のラッチ及び読込みが順次行われる。
<遊技進行対応演出の切替時機>
次に、本実施形態における遊技進行対応演出の切替時機について、図64を参照しながら説明する。先述したように本実施形態では、遊技進行対応演出として、停止表示結果対応演出、導入演出及び役決定結果対応演出が行われるようになっているが、それらの演出の切替時機は、成立した遊技役によって異なるように構成されている。すなわち、図64の上段に示すように、一遊技においてベル小役が成立した場合(他の小役やMB役が成立した場合やハズレの場合も同様とし得るが、図64ではベット操作が必要となる場合の代表例としてベル小役成立を挙げている)には、全リールの停止後に開始される表示結果対応演出が、次遊技における遊技者によるベット操作を契機として導入演出に切り替えられ、この導入演出は、遊技者によるスタートレバー操作を契機として、役決定結果対応演出
に切り替えられるようになっている。具体的には、ベット操作を契機として、主制御手段100(メイン)から副制御手段200(サブ)に上述の遊技メダル投入情報が送信され、サブにおいてはこの遊技メダル投入情報を導入演出の実行コマンドとして処理して導入演出を実行する。同様に、スタートレバー操作を契機として、メインからサブに上述のスタートレバー操作受付情報が送信され、サブにおいてはこのスタートレバー操作受付情報を役決定結果対応演出の実行コマンドとして処理して役決定結果対応演出を実行する。
これに対し図64の下段に示すように、一遊技において通常RPが成立した場合には、全リールの停止後に自動ベット処理が行われ、またベット操作は有効に受付けられないため、全リールの停止後に開始される表示結果対応演出は、次遊技における遊技者によるスタートレバー操作を契機として導入演出に切り替えられ、この導入演出は、遊技者によるリール回転停止操作(特に、最初のリール回転停止操作)を契機として、役決定結果対応演出に切り替えられるようになっている。具体的には、自動ベット処理を契機として、メインからサブに上述の自動ベット処理情報が送信されるが、サブにおいてはこの自動ベット処理情報を導入演出の実行コマンドとしては処理せず、スタートレバー操作を契機としてメインからサブに送信されるスタートレバー操作受付情報を、導入演出の実行コマンドとして処理して導入演出を実行する。また、最初のリール回転停止操作を契機としてメインからサブに送信される上述のリール回転停止操作受付情報を役決定結果対応演出の実行コマンドとして処理して役決定結果対応演出を実行する。
一方、一遊技においてベルRP(他の特定RPが成立した場合も同様とし得るが、図64では特定RPの代表例としてベルRPを挙げている)が成立した場合には、全リールの停止後に自動ベット処理凍結期間が設定される。そして、この自動ベット処理凍結期間の終了契機が遊技者によるキャンセル操作による場合と時間経過による場合とで、遊技進行対応演出の切替時機が異なるようになっている。
すなわち、図64の中段上部に示すように、自動ベット処理凍結期間(第2の自動ベット処理凍結期間)が遊技者によるベット操作(キャンセル操作となる他の遊技操作の場合も同様とし得るが、図64ではキャンセル操作の代表例としてベット操作を挙げている)を契機として終了した場合には、自動ベット処理凍結期間の終了により実行される自動ベット処理(遊技メダルのベット)後に、それまで実行されていた表示結果対応演出が導入演出に切り替えられ、この導入演出は、遊技者によるスタートレバー操作を契機として、役決定結果対応演出に切り替えられるようになっている。具体的には、ベット操作を契機として、メインからサブに上述のキャンセル操作情報が送信され、サブにおいてはこのキャンセル操作情報を導入演出の実行コマンドとして処理して導入演出を実行する。また、スタートレバー操作を契機としてメインからサブに送信されるスタートレバー操作受付情報を役決定結果対応演出の実行コマンドとして処理して役決定結果対応演出を実行する。このようなタイミングで演出が切り替えられるのは、ベット操作、スタートレバー操作、リール回転停止操作がこの順で行われる、ベル小役が成立した場合と同じであるので、このような演出切替時機とすることにより、ベル小役成立時と同様の自然な流れで遊技を進行させることができる。また、表示結果対応演出及び導入演出を中途半端にキャンセルすることなく適切に実行して遊技者に見せることができる。
これに対し、図64の中段下部に示すように、自動ベット処理凍結期間(第2の自動ベット処理凍結期間)が所定時間の経過により終了した場合には、自動ベット処理凍結期間の終了により実行される自動ベット処理(遊技メダルのベット)後に遊技者によって行われるスタートレバー操作を契機として、それまで実行されていた表示結果対応演出が導入演出に切り替えられ、この導入演出は、遊技者によるリール回転停止操作(特に、最初のリール回転停止操作)を契機として、役決定結果対応演出に切り替えられるようになっている。具体的には、自動ベット処理の際にメインからサブに送信される自動ベット処理情
報を導入演出の実行コマンドとしては処理せず、スタートレバー操作を契機としてメインからサブに送信されるスタートレバー操作受付情報を、導入演出の実行コマンドとして処理して導入演出を実行する。また、最初のリール回転停止操作を契機として、メインからサブに送信されるリール回転停止操作受付情報を役決定結果対応演出の実行コマンドとして処理して役決定結果対応演出を実行する(スタートレバー操作受付情報を受信してから所定時間経過後に役決定結果対応演出を実行するようにしてもよい)。このようなタイミングで演出が切り替えられるのは、ベット操作が行われず、スタートレバー操作、リール回転停止操作がこの順で行われる、通常RPが成立した場合と同じであるので、このような演出切替時機とすることにより、通常RP成立時と同様の自然な流れで遊技を進行させることができる。また、表示結果対応演出及び導入演出を中途半端にキャンセルすることなく適切に実行して遊技者に見せることができる。また、自動ベット処理凍結期間(第2の自動ベット処理凍結期間)が所定時間の経過により終了するという状況は、遊技者が積極的に遊技を進行させようとしていないことによって生じる場合も考えられるが、そのような場合に、遊技者の意図に反して遊技が進行する(遊技進行対応演出が切り替わる)ことを防止することも可能となる。
以下、本実施形態における主要な制御処理について、主に図31〜図56及び図65を参照しながら説明する。以下では、まず、図31〜図49を用いて、主制御手段100により行われる制御処理のうち、特に、主制御電源断処理、主制御電源投入処理、主制御設定変更処理、タイマ割込処理及び遊技制御処理を説明する。次に、図50〜図56及び図65を用いて、副制御手段200により行われる各種の制御処理のうち、特に、副制御電源断処理、副制御電源投入処理及び副制御設定変更処理と、バックランプ演出処理、音声出力演出処理、要求演出処理、AT設定制御処理及び上乗せ報知演出処理について説明する。なお、主制御手段100による遊技制御処理中、遊技に関する各種情報(例えば、スタートレバー25やストップスイッチ26a,26b,26cが操作されたことの情報、役抽選結果及び当選役の成立の有無の情報、遊技状態が設定された情報等)が適宜なタイミングで副制御手段200に送信されるが、そのタイミング等については、主要なもの以外は説明を省略する。
<主制御電源断処理>
主制御手段100における電源断処理は、主制御手段100への電力の供給が停止されたとき(電源断時)に、それまで行われていた制御処理を中断して行われる処理であり、図31に示すように、まず、割込みを禁止し(ステップP1)、制御状態を示す主制御情報を保存する(ステップP2)。具体的には、レジスタの退避やスタックポインタの保存、割込み状態の保存等を行う。次いで、遊技情報の保存(ステップP3)、具体的には、メイン情報記憶手段118の各記憶領域に記憶されている、役決定結果に関する情報や遊技状態に関する情報の保存(そのままの状態で保持すること)や、チェックサムのセットを行い、電源が再投入されるまでその状態で待機する。
<主制御電源投入処理>
主制御手段100における電源投入処理は、主制御手段100への電力の供給が開始されたとき(電源投入時)に行われる処理であり、図32に示すように、まず、電源断復帰の準備を行う(ステップQ1)。具体的には、仮スタックポインタのセットやチェックサムの算出、チェック等を行い、電源復帰の処理が行えるようにする。次いで、設定鍵型スイッチ83がONされているか否かを判定し(ステップQ2)、ONされている場合には、主制御設定変更処理に移行する。
一方、設定鍵型スイッチ83がONされていない場合には、電源断時に保存された主制御情報を復帰させる(ステップQ3)。具体的には、スタックポインタの復帰や割込みの起動を行い、電源断時の制御状態に、記憶されている情報に基づき制御処理が再開される
ように復帰させる。次に、電源断時に保存された遊技情報の復帰(ステップQ4)、具体的には、電源断時にメイン情報記憶手段118の各記憶領域に記憶されていた、役決定結果や成立役に関する情報(MB内部中フラグやMB作動中フラグを含む)や遊技状態に関する情報(RT情報を含む)を、記憶されている情報に基づき制御処理が再開されるように復帰させる(各情報をクリアしたり変更したりせず、電源断処理により中断された制御処理に復帰した時点においても、各情報を電源断時の状態のまま保持する)。
<主制御設定変更処理>
上述の主制御電源投入処理におけるステップQ2から移行する、主制御手段100における設定変更処理では、図33に示すように、遊技店の店員等による設定変更スイッチ84の設定変更指令操作が受け付けられるまでその状態で待機し(ステップR1)、受け付けられた場合には、設定変更が確定するまでその状態で待機する(ステップR2)。設定変更が確定するのは、例えば、設定変更スイッチ84が操作された後、設定鍵型スイッチ83がOFFとされ、さらにスタートレバー25が操作されたことなどの特定の操作がなされたこととされる。
次いで、電源断時に保存された主制御情報を初期化する(ステップR3)。具体的には、スタックポインタの初期化や割込みの初期化を行う。次に、電源断時に保存された遊技情報を部分復帰させる(ステップR4)。具体的には、メイン情報記憶手段118の特別役決定情報記憶領域1181に記憶されていたMB内部中フラグの情報、及びRT遊技状態情報記憶領域1184に記憶されていたRT情報はそのままの状態で復帰(各情報をクリアしたり変更したりせずに電源断時の状態のまま保持)させ、小役・再遊技役決定情報記憶領域1182に記憶されていた小役や再遊技役に係る役決定結果の情報、及び成立役決定情報記憶領域1183に記憶されていた成立役情報(MB作動中フラグを含む)は初期化してクリアする(MB作動中フラグの場合は設定変更前の状態に関わらずOFF状態とする)。
遊技情報の部分復帰後、設定変更時に設定された設定値を設定変更後の設定値として、メイン情報記憶手段118の設定値情報記憶領域1185に格納する(ステップR5)。次いで、設定変更が行われたことを示す設定変更コマンドをサブ(副制御手段200)へ送信し(ステップR6)、さらに設定変更後のメイン情報(主制御情報及び遊技情報)をサブ(副制御手段200)へ送信し(ステップR7)、後述する遊技制御処理に移行する。
<タイマ割込処理>
本実施形態では、先にも述べたように、遊技者により行われる遊技操作(メダル投入口21への遊技メダルの投入操作、1−BETスイッチ22の押圧操作、MAX−BETスイッチ23の押圧操作、貯留メダル精算スイッチ24の押圧操作、スタートレバー25の傾動操作、ストップスイッチ26a,26b,26cの押圧操作)に応じて、操作信号出力手段95から出力される遊技操作信号(メダル投入信号、メダル受入信号、1−BET信号、MAX−BET信号、スタート信号、リール停止信号、精算信号)の読込みや信号レベルの検出(確認)等の処理が、予め設定された一定の時間(例えば、1.5ミリ秒)毎に実施されるタイマ割込処理によって行われる。このタイマ割込処理は、後述する遊技制御処理が実行される期間中において定期的に行われる処理であるので、遊技制御処理の説明に先だって説明する。
タイマ割込処理では、図34に示すように、レジスタの退避が行われ(ステップT1)、次に、入力ポート読込処理(ステップT2)が行われる。この入力ポート読込処理では、図35に示すように、まず、メインCPU61の入力ポートに入力された各遊技操作信号(メダル投入信号、メダル受入信号、1−BET信号、MAX−BET信号、スタート
信号、リール停止信号、精算信号)の信号レベルの読込みが行われる(ステップT21)。次に、読み込まれた各遊技操作信号の信号レベルが「1」であるか否かが判定され(ステップT22)、信号レベルが「1」である場合にはレベルデータを「1」にセットし(ステップT23)、信号レベルが「1」ではない場合(信号レベルが「0」の場合)にはレベルデータを「0」にセットする(ステップT24)。ここで、レベルデータとは、各遊技操作信号の信号レベルを記憶するために、レジスタ等の所定の記憶領域に格納されるデータのことである。
次いで、前回のタイマ割込処理においてセットされたレベルデータと、今回のタイマ割込処理においてセットされたレベルデータとを比較し(ステップT25)、レベルデータが「0」→「1」(前回のタイマ割込処理時のレベルデータが「0」で今回のタイマ割込処理時のレベルデータ「1」)に切り替わったか否かを判定する(ステップT26)。切り替わっている場合には、そのことを示す立上りフラグをON(セット)して(ステップT27)、リターンし、切り替わっていない場合(レベルデータが「0」→「0」、「1」→「1」、「1」→「0」の場合)には、立上りフラグをOFF(クリア)して(ステップT28)、リターンする。なお、信号レベルの判定は、複数の遊技操作信号毎に行われるが、1回のタイマ割込処理内において信号レベルの変化が確認されるのは、通常は、1つの遊技操作信号に限られる(1つの遊技操作を行ってから次の遊技操作を行うまでに時間がかかるため)。このため、1回のタイマ割込処理内においてON(セット)される立上りフラグは、複数の遊技操作信号のうちの或る1つの遊技操作信号に対応したものとなる。なお、チャタリング対策として、1回のタイマ割込処理(入力ポート読込処理)において、信号レベルの読込みを、幾つかの他の処理を挟んで2回行い、信号レベルが2回連続して同じであった場合には、その信号レベルを正しい信号レベルと判定し、信号レベルが1回目と2回目とで変化していた場合には、上述の信号レベルの判定は行わないようにしてもよい。
この入力ポート読込処理の後、図34に示すように、タイマ計測を行う(ステップT3)。このタイマ計測は、後述する遊技制御処理においてセットされた任意のタイマの経過時間等を計測するものである。次に、各リール3a,3b,3cの回転の加速、減速、定速維持や停止維持等を制御するためのリール回転駆動制御を行い(ステップT4)、次いで、データカウンタやホールコンピュータ等に対して所定の外端信号を出力する(ステップT5)。
次に、MAX−BET表示ランプ管理処理(ステップT6)を実行する。このMAX−BET表示ランプ管理処理は、図36に示すように、まず、MAX−BET表示ランプ点灯フラグがONであるか否かを判定する(ステップT61)。なお、このMAX−BET表示ランプ点灯フラグは、後述の第2の自動ベット処理凍結期間設定処理(図42参照)において設定されるものである。ここで、MAX−BET表示ランプ点灯フラグがONである場合には、ステップT66に進み、MAX−BET表示ランプ46aを点灯してリターンする。一方、MAX−BET表示ランプ点灯フラグがONではない場合(OFFである場合)には、ステップT62に進み、MAX−BET表示ランプ46aを消灯する。
この場合には、次に、貯留(クレジット)された遊技メダルの有無を判定し(ステップT63)、貯留された遊技メダルが無い場合には、MAX−BET表示ランプ46aを消灯したままリターンし、貯留された遊技メダルが有る場合には、ステップT64に進む。このステップT64では、ブロッカ信号がOFF(遊技メダル受入不可状態)であるという条件と、既にMAX−BETされた状態にあるという条件のうち、少なくとも一方の条件が充足されているか否かを判定する。ここで、少なくとも一方の条件が充足されている場合には、MAX−BET表示ランプ46aを消灯したままリターンし、何れの条件も充足されていない場合には、ステップT65に進む。
このステップT65では、遊技操作(任意の遊技操作)の受付けの有無を判定する。ここで、遊技操作を受け付けていた場合には、MAX−BET表示ランプ46aを消灯したままリターンし、遊技操作を受け付けていなかった場合には、上記ステップT66に進み、MAX−BET表示ランプ46aを点灯してリターンする。なお、遊技操作の受付けの有無の判定は、上述の立上りフラグがONであるかOFFであるかに基づき行う(ONであれば遊技操作を受け付けていると判定し、OFFであれば遊技操作を受け付けていないと判定する)。
このMAX−BET表示ランプ管理処理の後、図34に示すように、他の表示用ランプ(BET数表示ランプ46b、投入可能表示ランプ46c、遊技開始表示ランプ46d、再遊技表示ランプ46e、状態表示ランプ46f、回数表示ランプ46g、貯留枚数表示ランプ46h、及び獲得枚数表示ランプ46j)の表示管理を行い(ステップT7)、必要な制御コマンドをサブ(副制御手段200)へ送信する(ステップT8)。次いで、表示用ランプ、モータ等の制御を行うためのポート出力を行い(ステップT9)、さらに、退避させていたレジスタを復帰させ(ステップT10)、割込みを許可(ステップT11)した後、割込みリターンする。
<遊技制御処理>
主制御手段100により行われる遊技制御処理では、図37に示すように、遊技開始準備処理(ステップS1)、ベット管理処理(ステップS2)、開始操作受付処理(ステップS3)、役決定処理(ステップS4)、リール回転開始制御定処理(ステップS5)、リール回転停止制御定処理(ステップS6)、停止表示図柄判定処理(ステップS7)、遊技メダル払出処理(ステップS8)、及び遊技終了処理(ステップS9)の順に、各処理が実行される。
《遊技開始準備処理》
最初の遊技開始準備処理では、図38に示すように、まず、スタックポインタのセット(ステップS101)を行い、次いで、未使用のRAM領域の初期化(ステップS102)と、遊技開始時のRAM領域の初期化(ステップS103)をこの順に行う。次に、設定値情報をサブ(副制御手段200)へ送信し(ステップS104)、さらに、遊技状態情報A(ステップS105)と遊技状態情報B(ステップS106)をこの順にサブへ送信する。なお、遊技状態情報Aとは、設定されている特別役の種類等の情報であり、遊技状態情報Bとは、再遊技状態やボーナス遊技状態に関する情報である。
次に、RT遊技状態情報をサブへ送信し(ステップS107)、さらに、RT中の実行遊技回数情報をサブへ送信して(ステップS108)、リターンする。なお、RT遊技状態情報とは、各RT遊技状態(非RT遊技状態、RT1遊技状態、RT2遊技状態)のうち、何れのRT遊技状態に設定されているのかを示す情報(RT情報)であり、RT中の実行遊技回数情報とは、その遊技状態において所定回数の遊技が実行されると他の遊技状態に移行されるように設定された、有期の(遊技の実行回数が限定されている)RT遊技状態を備える場合に当該有期のRT遊技状態中において実行された遊技回数を示す情報である。有期のRT遊技状態を備えない場合は固定値(例えば「0」)が情報として設定される。
《ベット管理処理》
遊技開始準備処理を実行した後、図37に示すように、ベット管理処理を行う。このベット管理処理では、図39に示すように、まず、再遊技状態(前回の遊技において再遊技役(再遊技役1〜21の何れか)が成立した状態)であるか否かを判定する(ステップS201)。ここで、再遊技状態であると判定した場合には、ステップS220に進み、自
動ベット実行時機制御処理を実行することになるが、この自動ベット実行時機制御処理については後述する。一方、再遊技状態ではないと判定した場合(前回の遊技において再遊技役が成立していない場合)には、遊技メダルの投入(ベット操作によるメダル投入の他に自動ベット処理によるメダル投入の場合を含む)の有無を判定する(ステップS202)。ここで、遊技メダルが投入されていた場合(例えば、メダル受入信号に基づく立上りフラグ(図35参照)がONであった場合)にはステップS207に進み、遊技メダルが投入されていなかった場合には、設定値の表示開始要求(例えば、前扉2が開けられ、設定鍵型スイッチ83がON状態とされること)の有無を判定する(ステップS203)。
ここで、設定値の表示開始要求があった場合には、設定値の表示を開始し(ステップS204)、次いで、設定値の表示終了要求(例えば、設定鍵型スイッチ83がOFF状態とされ、前扉2が閉じられること)があるまでその状態で待機し(ステップS205)、設定値の表示終了要求があった場合には、設定値の表示を終了して(ステップS206)、上記ステップS207に進む。一方、上記ステップS204の判定において、設定値の表示開始要求がなかった場合には、上記ステップS203〜S206の処理は行わずに、上記ステップS207に進む。
ステップS207では、再遊技状態であるか否かを判定し、再遊技状態であると判定した場合にはステップS218に進む。なお、ここで、ステップS218に進むのは、上記ステップS201において再遊技状態であると判定され、これにより、後述の自動ベット実行時機制御処理が行われ、その中の自動ベット処理により遊技メダルが既にベットされている場合である。一方、上記ステップS207において、再遊技状態ではないと判定した場合には、ベットスイッチ(1−BETスイッチ22またはMAX−BETスイッチ23)が操作されたか否かを判定する(ステップS208)。ここで、ベットスイッチが操作されていた場合(例えば、MAX−BET信号に基づく立上りフラグ(図35参照)がONであった場合)には、クレジット(貯留)された遊技メダルの有無を判定し(ステップS209)、クレジットされた遊技メダルがあれば、ベットスイッチの操作に応じてクレジット数(クレジット(貯留)されている遊技メダルの枚数を示す数値)を減算(ステップS210)した後、遊技メダルが投入されたことを示す遊技メダル投入情報をサブ(副制御手段200)へ送信して(ステップS211)、上記ステップS218へ進む。
一方、上記ステップS209の判定において、クレジットされた遊技メダルがなかった場合には、上記ステップS208に戻る。また、このステップS208において、ベットスイッチ(1−BETスイッチ22またはMAX−BETスイッチ23)が操作されていないと判定した場合には、メダル投入口21から遊技メダルが投入されたか(単に投入されただけではなく、投入された遊技メダルがホッパー53に受け入れられたか)否かを判定する(ステップS212)。ここで、メダル投入口21から遊技メダルが投入されていた場合(例えば、受入信号に基づく立上りフラグ(図35参照)がONであった場合)には、投入された遊技メダルによりベットされた枚数及び最大許容投入枚数を超えて新たに貯留された枚数に応じてクレジット数を更新(ステップS213)した後、遊技メダル投入情報をサブ(副制御手段200)へ送信して(ステップS214)、上記ステップS218へ進む。
これに対し、上記ステップS212の判定において、メダル投入口21から遊技メダルが投入されていなかった場合には、貯留メダル精算スイッチ24が操作されたか否かを判定する(ステップS215)。ここで、貯留メダル精算スイッチ24が操作されていた場合(例えば、精算信号に基づく立上りフラグ(図35参照)がONであった場合)には、クレジット(貯留)及びベットされている遊技メダルを精算する精算処理を実行し(ステップS216)、精算処理を実行したことを示す精算処理情報をサブ(副制御手段200)へ送信して(ステップS217)、上記ステップS218へ進む。一方、貯留メダル精
算スイッチ24が操作されていなかった場合には、上記ステップS216、S217の処理は行わずに、上記ステップS218へ進む。
《自動ベット実行時機制御処理》
上記ステップS201において、再遊技状態であると判定した場合に実行される自動ベット実行時機制御処理は、図40に示すように、まず、上述の自動ベット処理凍結期間(第1の自動ベット処理凍結期間及び第2の自動ベット処理凍結期間)を設定するか否かを決定する(ステップS230)。この決定は、上述の自動ベット処理凍結期間設定抽選(図19参照)により決定される。次に、自動ベット処理凍結期間を設定する決定がなされたか否かを判定し(ステップS240)、設定するとの決定がなされた場合には、第1の自動ベット処理凍結期間設定処理(ステップS250)を実行する。
この第1の自動ベット処理凍結期間設定処理では、図41に示すように、通常RP(再遊技役1)の対応図柄(以下、適宜「通常RP図柄」と称する)が停止表示されたか否かを判定する(ステップS251)。ここで、通常RP図柄が停止表示されていない場合(この場合には、特定RP(再遊技役2〜21)の何れかが停止表示されていることになる)には、第1凍結時間をセットして経過時間の計測を開始する(ステップS252)。この第1凍結時間は、上述の所定時間T1に対応するものであり、この第1凍結時間がセットされてから、第1凍結時間分の時間経過が計測されるまでの期間が第1の自動ベット処理凍結期間の設定期間となる。
上記ステップS252において第1凍結時間をセットした場合には、第1凍結時間分の時間経過が計測されるまでその状態で待機し(ステップS253)、第1凍結時間分の時間経過が計測された後に、第1の自動ベット処理凍結期間設定処理を終了してリターンする。一方、上記ステップS251において、通常RP図柄が停止表示されていると判定した場合には、上述のステップS252、ステップS253の処理は行わず、第1の自動ベット処理凍結期間設定処理を終了してリターンする。
この第1の自動ベット処理凍結期間設定処理を実行した後、図40に示すように、第2の自動ベット処理凍結期間設定処理を実行する(ステップS260)。この第2の自動ベット処理凍結期間設定処理では、図42に示すように、まず、通常RP図柄が停止表示されたか否かを判定する(ステップS261)。ここで、通常RP図柄が停止表示されていない場合には、第2凍結時間をセットして経過時間の計測を開始する(ステップS262)。この第2凍結時間は、上述の所定時間T2に対応するものであり、この第2凍結時間がセットされてから、第2凍結時間分の時間経過が計測されるまでの期間が第2の自動ベット処理凍結期間の設定期間となる。
上記ステップS262において第2凍結時間をセットした場合には、MAX−BET表示ランプ点灯フラグをON(セット)し(ステップS263)、次に、キャンセル操作(メダル投入口21への遊技メダルの投入操作、1−BETスイッチ22またはMAX−BETスイッチ23の押圧操作、貯留メダル精算スイッチ24の押圧操作)がなされたか否かを判定する(ステップS264)。ここで、キャンセル操作が操作されていた場合(例えば、MAX−BET信号に基づく立上りフラグ(図35参照)がONであった場合)には、第2凍結時間をクリアして(第2凍結時間分の時間が経過した状態にすること。ステップS265)、ステップS266に進む。一方キャンセル操作が操作されていなかった場合には、上記ステップS265の処理(第2凍結時間のクリア)は行わずに、ステップS266に進む。
このステップS266では、第2凍結時間分の時間経過が計測されたか否かを判定し、計測されない場合には、上記ステップS264に戻る。一方、第2凍結時間分の時間経過
が計測された場合(第2凍結時間がクリアされた場合を含む)には、MAX−BET表示ランプ点灯フラグをOFF(クリア)する(ステップS267)。そして、キャンセル操作情報(キャンセル操作がなされた場合には、なされたキャンセル操作の種別等の情報、キャンセル操作がなされなかった場合はそのことを示す情報)をサブ(副制御手段200)へ送信し(ステップS268)、第2の自動ベット処理凍結期間設定処理を終了してリターンする。なお、上記ステップS261において、通常RP図柄が停止表示されていると判定した場合には、上述のステップS262〜ステップS267の処理は行わず、ステップS268において、キャンセル操作情報(この場合には、キャンセル操作がなされなかったことを示す情報)をサブへ送信し、第2の自動ベット処理凍結期間設定処理を終了してリターンする。
第2の自動ベット処理凍結期間設定処理を終了した後は、図40に示すように、自動ベット処理を実行し(ステップS270)、自動ベット実行時機制御処理を終了してリターンする。一方、上述のステップS240において、自動ベット処理凍結期間を設定するとの決定がなされなかったと判定した場合には、上述の第1の自動ベット処理凍結期間設定処理及び第2の自動ベット処理凍結期間設定処理は行わず、ステップS270において自動ベット処理を実行してリターンする。
自動ベット実行時機制御処理を終了した後は、図39に示すように、自動ベット処理が実行されたことを示す自動ベット実行情報をサブ(副制御手段200)へ送信し(ステップS221)、上述のステップS202に戻る。この場合には、ステップS202の判定において、遊技メダルの投入があったと判定されて上記ステップS207に進み、ここで再遊技状態であると判定されて上記ステップS218に進むことになる。このステップS218ではベット数の更新が行われ、次に、ベット数が規定枚数に一致したか否かを判定する(ステップS219)。ここで、規定枚数に一致していない場合には、上記ステップS202に戻り、規定枚数に一致している場合には、ベット管理処理を終了してリターンする。
《開始操作受付処理》
ベット管理処理を実行した後、図37に示すように、開始操作受付処理を行う。この開始操作受付処理では、図43に示すように、スタートレバー25の操作(役決定開始操作)が受け付けられたか否かを判定する(ステップS301)。ここで、スタートレバー25の操作が受け付けられた場合(スタート信号に基づく立上りフラグ(図35参照)がONであった場合)には、スタートレバー25が操作されたことを示すスタートレバー操作受付情報をサブ(副制御手段200)へ送信し(ステップS302)、開始操作受付処理を終了してリターンする。一方、上記ステップS301において、スタートレバー25の操作が受け付けられていないと判定した場合には、上述のベット管理処理のステップS202(図39参照)に戻る。
《役決定処理》
開始操作受付処理を実行した後、図37に示すように、役決定処理を行う。この役決定処理では、図44に示すように、乱数発生器66により生成される乱数列の中から1つの乱数を選出する乱数ラッチを行う(ステップS401)。次に、ラッチされた乱数(以下、適宜「ラッチ乱数」と称する)を読込み(ステップS402)、読み込んだラッチ乱数と役抽選テーブル(図12参照)に基づき、1つの役決定結果(役決定結果A1,B1〜B8,C1〜C4,D1〜D4,Zの何れか)を選出する(ステップS403)。次いで、選出された役決定結果の情報(当選フラグ情報)を上記特別役決定情報記憶領域1181に格納する(役決定結果A1が選出された場合にMB内部中フラグをONにする)、または小役・再遊技役決定情報記憶領域1182に格納する(ステップS404)。
次に、選出された役決定結果に基づき、制御図柄をセットする(ステップS405)。制御図柄とは、後述のリール回転停止制御処理において受け付けられた各リール回転停止操作(ストップスイッチ26a,26b,26cの各操作)の順序と各々の操作タイミングに応じ、各リール3a,3b,3cにおいて停止表示される(特に、有効ライン29上に停止表示される)ことが許容される図柄のことである。制御図柄のセット後、上記ステップS403において選出された役決定結果の情報をサブ(副制御手段200)へ送信し(ステップS406)、役決定処理を終了してリターンする。
《リール回転開始制御処理》
役決定処理を実行した後、図37に示すように、リール回転開始制御処理を行う。このリール回転開始制御処理では、図45に示すように、ウエイト時間が経過するまでその状態で待機し(ステップS501)、ウエイト時間が経過した場合には、ウエイト時間が経過したことを示すウエイト時間経過情報をサブ(副制御手段200)へ送信する(ステップS502)。なお、ウエイト時間とは、前回の遊技期間においてリール3a,3b,3cが回転開始してから、今回の遊技期間においてリール3a,3b,3cを回転開始させるまでに経過することが必要とされる時間(例えば、4.1秒間)のことである。
次に、新たにウエイト時間をセットし(ステップS503)、全リール3a,3b,3cを回転開始させる(ステップS504)。次いで、右リール(リール3c)の待機が終了したか(実際に回転を開始したか)否かを判定する(ステップS505)。ここで、右リールの待機が終了していた場合には、右リールが回転開始したことを示す右リール回転開始情報がサブへ送信済みであるか否かを判定し(ステップS506)、送信済みではない場合には、右リール回転開始情報をサブへ送信して(ステップS507)、ステップS508へ進む。一方、上記ステップS505において、右リールの待機が終了していなかった場合には、上記ステップS506及び上記ステップS507の処理を行わずにステップS507へ進み、また、上記ステップS506において、右リール回転開始情報がサブへ送信済みである場合には、上記ステップS507の処理を行わずにステップS508へ進む。
このステップS508では、中リール(リール3b)の待機が終了したか(実際に回転を開始したか)否かを判定する。ここで、中リールの待機が終了していた場合には、中リールが回転開始したことを示す中リール回転開始情報がサブへ送信済みであるか否かを判定し(ステップS509)、送信済みではない場合には、中リール回転開始情報をサブへ送信して(ステップS510)、ステップS511へ進む。一方、上記ステップS508において、中リールの待機が終了していなかった場合には、上記ステップS509及び上記ステップS510の処理を行わずにステップS511へ進み、また、上記ステップS509において、中リール回転開始情報がサブへ送信済みである場合には、上記ステップS510の処理を行わずにステップS511へ進む。
このステップS511では、左リール(リール3a)の待機が終了したか(実際に回転を開始したか)否かを判定する。ここで、左リールの待機が終了していた場合には、左リールが回転開始したことを示す左リール回転開始情報がサブへ送信済みであるか否かを判定し(ステップS512)、送信済みではない場合には、左リール回転開始情報をサブへ送信して(ステップS513)、ステップS514へ進む。一方、上記ステップS511において、左リールの待機が終了していなかった場合には、上記ステップS512及び上記ステップS513の処理を行わずにステップS514へ進み、また、上記ステップS512において、左リール回転開始情報がサブへ送信済みである場合には、上記ステップS513の処理を行わずにステップS514へ進む。
このステップS514では、全リール(リール3a,3b,3c)の待機が終了したか
(実際に回転を開始したか)否かを判定する。ここで、全リールの待機が終了した場合には、リール回転開始制御処理を終了してリターンする。一方、全リールの待機が終了していない場合には。上記ステップS505に戻る。
《リール回転停止制御処理》
リール回転開始制御処理を実行した後、図37に示すように、リール回転停止制御処理を行う。このリール回転停止制御処理では、図46に示すように、回転開始した全リール(リール3a,3b,3c)を、所定の回転速度に達するように加速する加速処理を行う(ステップS601)。次いで、全リールの回転が正常であるか否かを判定し(ステップS602)、正常ではないと判定した場合には、上記ステップS601に戻る。一方、正常であると判定した場合には、全リールが定速回転しているか否かを判定し(ステップS603)、定速回転していないと判定した場合には、上記ステップS601に戻る。一方、全リールが定速回転していると判定した場合には、全リールが停止受付待ちの状態(ストップスイッチ26a,26b,26cが操作された場合に、それに対応して回転停止することが可能な状態)にあるか否かを判定し(ステップS604)、停止受付待ちの状態ではないと判定した場合には、上記ステップS601に戻り、全リールが停止受付待ちの状態にあると判定した場合には、ステップS605に進む。
このステップS605では、左リール(リール3a)の回転停止操作(ストップスイッチ26aの操作)が受け付けられたか否かを判定する。ここで、ストップスイッチ26aの操作が受け付けられた場合(ストップスイッチ26aに係るリール停止信号に基づく立上りフラグ(図35参照)がONであった場合)には、ストップスイッチ26aの操作を受け付けたときの左リールの回転位置や左リールが回転停止する位置を示す左リール回転停止操作受付情報をサブ(副制御手段200)へ送信し(ステップS606)、ステップS607に進む。
このステップS607では、左リールの図柄組合せ回転停止制御を行う。この左リールの図柄組合せ回転停止制御は、上述の役決定処理においてセットされた制御図柄と、ストップスイッチ26aが操作された順序(3個のストップスイッチ26a,26b,26cの中で何番目に操作されたか)と、ストップスイッチ26aの操作タイミング(操作が受け付けられたタイミング)と、他のリール(リール3bまたはリール3c)が既に停止していた場合にはそのリールにおいて停止表示された図柄に応じて、左リールにおいて停止表示させ得る図柄を停止表示させるように左リールの駆動を制御するものである。
この左リールの図柄組合せ回転停止制御は、左リールが回転停止したと判定されるまで(ステップS608)行われ、左リールが回転停止した場合には、ステップS617に進む。一方、上記ステップS605において、左リールの回転停止操作(ストップスイッチ26aの操作)が受け付けられていないと判定した場合には、ステップS609に進む。
このステップS609では、中リール(リール3b)の回転停止操作(ストップスイッチ26bの操作)が受け付けられたか否かを判定する。ここで、ストップスイッチ26bの操作が受け付けられた場合(ストップスイッチ26bに係るリール停止信号に基づく立上りフラグ(図35参照)がONであった場合)には、ストップスイッチ26bの操作を受け付けたときの中リールの回転位置や中リールが回転停止する位置を示す中リール回転停止操作受付情報をサブへ送信し(ステップS610)、ステップS611に進む。
このステップS611では、中リールの図柄組合せ回転停止制御を行う。この中リールの図柄組合せ回転停止制御は、上述の役決定処理においてセットされた制御図柄と、ストップスイッチ26bが操作された順序(3個のストップスイッチ26a,26b,26cの中で何番目に操作されたか)と、ストップスイッチ26bの操作タイミング(操作が受
け付けられたタイミング)と、他のリール(リール3aまたはリール3c)が既に停止していた場合にはそのリールにおいて停止表示された図柄に応じて、中リールにおいて停止表示させ得る図柄を停止表示させるように中リールの駆動を制御するものである。
この中リールの図柄組合せ回転停止制御は、中リールが回転停止したと判定されるまで(ステップS612)行われ、中リールが回転停止した場合には、ステップS617に進む。一方、上記ステップS609において、中リールの回転停止操作(ストップスイッチ26bの操作)が受け付けられていないと判定した場合には、ステップS613に進む。
このステップS613では、右リール(リール3c)の回転停止操作(ストップスイッチ26cの操作)が受け付けられたか否かを判定する。ここで、ストップスイッチ26cの操作が受け付けられた場合(ストップスイッチ26cに係るリール停止信号に基づく立上りフラグ(図35参照)がONであった場合)には、ストップスイッチ26cの操作を受け付けたときの右リールの回転位置や右リールが回転停止する位置を示す右リール回転停止操作受付情報をサブへ送信し(ステップS614)、ステップS615に進む。
このステップS615では、右リールの図柄組合せ回転停止制御を行う。この右リールの図柄組合せ回転停止制御は、上述の役決定処理においてセットされた制御図柄と、ストップスイッチ26cが操作された順序(3個のストップスイッチ26a,26b,26cの中で何番目に操作されたか)と、ストップスイッチ26cの操作タイミング(操作が受け付けられたタイミング)と、他のリール(リール3aまたはリール3b)が既に停止していた場合にはそのリールにおいて停止表示された図柄に応じて、右リールにおいて停止表示させ得る図柄を停止表示させるように右リールの駆動を制御するものである。
この右リールの図柄組合せ回転停止制御は、右リールが回転停止したと判定されるまで(ステップS616)行われ、右リールが回転停止した場合には、ステップS617に進む。一方、上記ステップS613において、右リールの回転停止操作(ストップスイッチ26cの操作)が受け付けられていないと判定した場合には、ステップS618に進む。
上述のステップS608、ステップS612またはステップS616から移行するステップS617では、各々のリールが回転を停止したことを示すリール回転停止情報をサブへ送信し、ステップS618に進む。このステップS618では、全リールが回転停止したか否かを判定し、全リールが回転停止したと判定した場合には、リール回転停止制御処理を終了してリターンし、回転停止していないと判定した場合には、上記ステップS605に戻る。
なお、本実施形態では、特別役(MB役)の当選が持ち越されたボーナス内部中(RT1遊技状態)において小役が当選した場合には、特別役よりも小役を成立させることを優先させる小役優先のリール回転停止制御処理が行われるようになっている。同様に、ボーナス内部中において再遊技役が当選した場合には、特別役よりも再遊技役を成立させることを優先させる再遊技役優先の回転停止制御処理が行われるようになっている。つまり、対応図柄を引き込むことができない場合のある小役(チェリー小役、スイカ小役)が当選してその対応図柄を引き込むことができない場合に、持ち越されている特別役(MB役)が成立する可能性がある。
《停止表示図柄判定処理》
リール回転停止制御処理を実行した後、図37に示すように、停止表示図柄判定処理を行う。この停止表示図柄判定処理では、図47に示すように、まず、停止表示図柄を確認する(ステップS71)。次に、停止表示された図柄により遊技役が成立している場合にはその成立役情報(何れの遊技役も成立していない場合にはそのことを示す情報)を、成
立役情報記憶領域1183に格納する(ステップS72)。
次いで、停止表示図柄情報A(ステップS73)と停止表示図柄情報B(ステップS74)を、この順にサブ(副制御手段200)へ送信し、停止表示図柄判定処理を終了してリターンする。なお、停止表示図柄情報Aは、成立した遊技役が特別役なのか小役なのか再遊技役なのかを示す大まかな情報とし、停止表示図柄情報Bは、成立した遊技役をより具体的に示す情報(例えば、RB役が成立したとか、高めベル小役(小役6)が成立したとか、スイカ揃いRP(再遊技役13)が成立したとかが分かる情報)とすることができるが、別の情報としても構わない。また、表示窓W内や有効ライン29上に停止表示された図柄組合せ(出目)の情報をサブへ送信するようにしてもよい。
《遊技メダル払出処理》
停止表示図柄判定処理を実行した後、図37に示すように、遊技メダル払出処理を行う。この遊技メダル払出処理では、図48に示すように、まず、払い出す遊技メダルの枚数(遊技メダルの払出しが無い場合には0枚)等を示す遊技メダル払出開始情報を、サブ(副制御手段200)へ送信する(ステップS81)。次に、遊技メダルの払出しがあるか否かを判定し(ステップS82)、払出しがない場合には、そのまま停止表示図柄判定処理を終了してリターンする。一方、払出しがある場合には、クレジット(貯留)された遊技メダルの枚数(クレジット数)がクレジットし得る最大数を示す上限値(例えば、50)未満であるか否かを判定する(ステップS83)。
ここで、クレジット数が上限値未満であった場合には、払い出す遊技媒体の枚数をクレジット数に加算して(ステップS84)、ステップS86に進み、クレジット数が上限値以上であった場合には、遊技メダルを払い出して(ステップS85)、ステップS86に進む。このステップS86では、遊技メダルの払出しが終了したか否かを判定し、払出しが終了していなかった場合には、上記ステップS82へ戻り、払出しが終了していた場合には、遊技メダルの払出しが終了したことを示す遊技メダル払出終了情報をサブ(副制御手段200)へ送信し(ステップS87)、停止表示図柄判定処理を終了してリターンする。
《遊技終了処理》
遊技メダル払出処理を実行した後、図37に示すように、遊技終了処理を行う。この遊技終了処理では、図49に示すように、まず、MB(MB役の成立により実行可能となった特別遊技)が今回の遊技において終了したか否かを判定し(ステップS901)、MBが今回の遊技において終了したと判定した場合には、メイン情報記憶手段118(図5参照)の成立役情報記憶領域1183に記憶されたMB作動中フラグをクリアする(ON状態のMB作動中フラグをOFFにする)とともに、MBが終了したことを示すMB終了情報をサブ(副制御手段200)へ送信し(ステップS902)、ステップS903に進む。一方、上記ステップS901において、MBが継続中またはMB中ではなかったと判定した場合には、上記ステップS902の処理は行わずに、ステップS903に進む。
このステップS903では、メイン情報記憶手段118の小役・再遊技役決定情報記憶領域1182に記憶された情報をクリア(記憶されていない場合はその状態を維持)する。次に、メイン情報記憶手段118の成立役情報記憶領域1183にMB役の成立役情報が記憶されているか否かを判定し(ステップS904)、記憶されている場合には、特別役決定情報記憶領域1181に記憶されたMB内部中フラグ(上述した役決定処理のステップS404(図44参照)においてON状態とされている)をクリアする(ON状態のMB内部中フラグをOFFにする)(ステップS905)。そして、MB作動中フラグをON状態にするとともに次遊技からMBが開始されることを示すMB開始情報をサブ(副制御手段200)へ送信し(ステップS906)、ステップS907に進む。一方、成立
役情報記憶領域1183にMB役の成立役情報が記憶されていない場合には、ステップS905及びステップS906の処理は行わず、ステップS907に進む。
上記ステップS907では、RT遊技状態の移行条件が充足されているか否かを判定する。現設定が非RT遊技状態の場合には上述の条件PまたはQが充足されているか否かを判定し、現設定がRT1遊技状態の場合には上述の条件Qが充足されているか否かを判定する。また、現設定がRT2遊技状態の場合には上述の条件Rが充足されているか否かを判定する。
ここで、何れかの移行条件が充足されていれば、その充足された移行条件に基づいてRT遊技状態の設定を変更し(ステップS908)、さらに、RT遊技状態情報記憶領域1184に記憶されていた変更前のRT情報を、変更後のRT情報に更新して(ステップS909)、ステップS910に進む。一方、何れの移行条件も充足されていなければ、上述のステップS908、ステップS909の処理は行わずに、ステップS910に進む。このステップS910では、成立役情報記憶領域1183に記憶されたMB役の成立役情報または小役の成立役情報をクリアする。そして、1回の遊技が終了したことを示す遊技終了情報をサブ(副制御手段200)へ送信し(ステップS911)、遊技終了処理を終了してリターンする。
なお、上述した遊技制御処理の実行期間中において、ブロッカ48は、以下のようにON・OFF制御される。まず、開始操作受付処理において、スタートレバー25が操作されたと判定された時点(図43参照)から、次の遊技期間におけるベット管理処理において、再遊技状態であるか否かの判定が行われる時点(図39のステップS201参照)までは、ブロッカ48はOFF状態(遊技メダル受入不可状態)とされる。また、ベット管理処理のステップS201において、再遊技状態であると判定された場合には、さらに、次の遊技期間におけるベット管理処理において、再遊技状態であるか否かの判定が行われる時点まで(自動ベット実行時機制御処理の実行期間を含む)、ブロッカ48は継続してOFF状態とされる。
一方、ベット管理処理のステップS201において、再遊技状態ではないと判定された場合には、その時点から、開始操作受付処理においてスタートレバー25が操作されたと判定される時点まで、ブロッカ48は基本的にON状態(遊技メダル受入可能状態)とされる。ただし、設定値の表示開始要求(図39のステップS203参照)があった場合には、その時点から、設定値の表示を終了する時点まで、また、精算操作が受け付けられた場合には、その時点から、精算処理が終了する時点まで、ブロッカ48はOFF状態とされる。さらに、ベットされた遊技メダルとクレジットされた遊技メダルの合計枚数が、MAX−BET数とクレジット数の上限値との合計値(例えば、3+50=53)に達した場合には、その時点から、次の遊技期間におけるベット管理処理において、再遊技状態であるか否かの判定が行われる時点まで、ブロッカ48はOFF状態とされる。
<副制御電源断処理>
次に、副制御手段200により実行される副制御電源断処理について説明する。この副制御電源断処理は、副制御手段200への電力の供給が停止されたとき(電源断時)や、主制御手段100における上述の主制御電源断処理が終了したことまたは開始されたことを受けて行われる処理であり、図50に示すように、まず、制御状態を示す副制御情報を保存する(ステップE1)。具体的には、レジスタの退避やスタックポインタの保存、割込み状態の保存等を行う。次いで、演出情報の保存(ステップE2)、具体的には、サブ情報記憶手段208の各記憶領域に記憶されている、RT遊技状態等に関する遊技情報やATの設定に関する情報、アシスト可能回数に関する情報の保存(そのままの状態で保持すること)、チェックサムのセットを行い、電源断となるまでその状態で待機する。
<副制御電源投入処理>
副制御手段200における電源投入処理は、副制御手段200への電力の供給が開始されたとき(電源投入時)に、主制御手段100における上述の主制御電源投入処理に先立って行われる処理であり、図51に示すように、まず、電源断復帰の準備を行う(ステップF1)。具体的には、仮スタックポインタのセットやチェックサムの算出、チェック等を行い、電源復帰の処理が行えるようにする。次いで、主制御手段100からの設定変更情報を受信したか否かを判定し(ステップF2)、受信した場合には、副制御設定変更処理に移行する。
一方、設定変更情報を受信していない場合には、電源断時に保存された副制御情報を復帰させる(ステップF3)。具体的には、スタックポインタの復帰や割込みの起動を行い、電源断時の制御状態に復帰させる。次に、電源断時に保存された演出情報の復帰(ステップF4)、具体的には、電源断時にサブ情報記憶手段208の各記憶領域に記憶されていた、RT遊技状態等に関する遊技情報やATの設定に関する情報、アシスト可能回数に関する情報を復帰させる(各情報をクリアしたり変更したりせず、電源断時の制御状態に復帰した時点においても、各情報を電源断時の状態のまま保持する)。なお、上述したように報知用カウンタは、遊技状態によりクリアされる場合がある(図63を参照)。
<副制御設定変更処理>
上述の副制御電源投入処理におけるステップF2から移行する、副制御手段200における設定変更処理では、図52に示すように、まず、電源断時に保存された副制御情報を初期化する(ステップG1)。具体的には、スタックポインタの初期化や割込みの初期化を行う。次に、電源断時に保存された演出情報を初期化する(ステップG2)。具体的には、サブ情報記憶手段204の各記憶領域に記憶されていた、RT遊技状態等に関する遊技情報やATの設定に関する情報、アシスト可能回数に関する情報を初期化してクリアする。
次いで、主制御手段100からの設定変更後の遊技情報を受信するまでその状態で待機し(ステップG3)、受信した場合には、設定変更後の遊技情報をサブ情報記憶手段204の遊技情報記憶領域2041に格納し(ステップG4)、副制御設定変更処理を終了する。
<バックランプ演出処理>
バックランプ演出処理では、図53に示すように、主制御手段100から送信される停止表示図柄情報を受信するまでその状態で待機する(ステップH1)。受信した場合には、特別役(MB役)、小役(小役1〜14の何れか)及び通常RP(再遊技役1)の何れかの遊技役が成立したか否かを判定し(ステップH2)、何れかの遊技役が成立していた場合には、上述のバックランプ演出Aを開始して(ステップH3)、ステップH9に進む。一方、上記ステップH2の判定において、特別役、小役及び通常RPの何れの遊技役も成立していなかった場合には、ベルRP(再遊技役2〜6の何れか)、赤7揃いRP(再遊技役7)及びスイカ揃いRP(再遊技役13)の何れかの遊技役が成立したか否かを判定する(ステップH4)。
ここで、何れかの遊技役が成立していた場合には、上述のエピソード演出を実行中であるか否かを判定し(ステップH5)、実行中ではない場合には、上述のバックランプ演出Bを開始して(ステップH6)、ステップH9に進む。一方、上記ステップH5の判定において、エピソード演出を実行中である場合には、バックランプ演出Bを開始せずバックランプ演出処理を終了する。また、上記ステップH4の判定において、ベルRP、赤7揃いRP及びスイカ揃いRPの何れの遊技役も成立していなかった場合には、チャンスRP
(再遊技役18〜21の何れか)が成立したか否かを判定する(ステップH7)。ここで、チャンスRPが成立していた場合には、上述のバックランプ演出Cを開始して(ステップH8)ステップH9に進み、チャンスRPが成立していない場合には、バックランプ演出Cを開始せず、バックランプ演出処理を終了する。
また、上記ステップH9では、主制御手段100から送信される自動ベット実行情報、遊技メダル投入情報またはキャンセル操作情報(バックランプ演出Aの場合には、自動ベット実行情報または遊技メダル投入情報、バックランプ演出Bまたはバックランプ演出Cの場合には、キャンセル操作情報(自動ベット処理凍結期間が設定された場合)または自動ベット実行情報(自動ベット処理凍結期間が設定されなかった場合))を受信するまで、その状態で待機し、受信した場合には、バックランプ演出(バックランプ演出A〜Cの何れか)を終了させ、バックランプ演出処理を終了する。
<音声出力演出処理>
音声出力演出処理では、図54に示すように、主制御手段100から送信される停止表示図柄情報を受信するまでその状態で待機する(ステップJ1)。受信した場合には、小役(小役1〜14の何れか)が成立したか否かを判定し(ステップJ2)、小役が成立していた場合には、主制御手段100から送信される遊技メダル払出開始情報を受信するまでその状態で待機し(ステップJ3)。受信した場合には、上述の払出時払出音を出力する(ステップJ4)。次いで、主制御手段100から送信される遊技メダル投入情報を受信するまでその状態で待機し(ステップJ5)、受信した場合には、上述のベット時投入音を出力し(ステップJ6)、音声出力演出処理を終了する。
一方、上記ステップJ2の判定において、小役が成立していなかった場合には、赤7RP(再遊技役7〜12の何れか)、スイカ外しRP(再遊技役14〜17の何れか)及びチャンスRP(再遊技役18〜21の何れか)の何れかの遊技役が成立したか否かを判定する(ステップJ7)。ここで、何れかの遊技役が成立していた場合には、ステップJ10に進み、何れの遊技役も成立していなかった場合には、次に、ベルRP(再遊技役2〜6の何れか)及びスイカ揃いRP(再遊技役13)の何れかの遊技役が成立したか否かを判定する(ステップJ8)。ここで、ベルRP及びスイカ揃いRPの何れかの遊技役が成立していた場合には、上述の架空払出音を出力し(ステップJ9)、ステップJ10に進む。
このステップJ10では、主制御手段100から送信される自動ベット実行情報を受信したか否かを判定し、受信した場合には、上述の自動投入音を出力し(ステップJ17)、音声出力演出処理を終了する。一方、自動ベット実行情報を受信しなかった場合には、主制御手段100から送信されるキャンセル操作情報を受信したか否かを判定し(ステップJ11)、受信しなかった場合には上記ステップJ10に戻り、受信した場合には、キャンセル操作がベット操作(メダル投入口21への遊技メダルの投入操作、1−BETスイッチ22またはMAX−BETスイッチ23の押圧操作)であるか否かを判定する(ステップJ12)。ここで、キャンセル操作がベット操作であった場合には、上述のベット操作キャンセル時投入音を出力し(ステップJ13)、音声出力演出処理を終了する。
一方、上記ステップJ8の判定において、ベルRP及びスイカ揃いRPの何れの遊技役も成立していなかった場合には、通常RP(再遊技役1)が成立したか否かを判定する(ステップJ14)。ここで、通常RPが成立していなかった場合には、上記ステップJ5に進み、通常RPが成立していた場合には、上述のリプレイ成立音を出力して(ステップJ15)、ステップJ16に進む。このステップJ16では、主制御手段100から送信される自動ベット実行情報を受信するまでその状態で待機し、受信した場合には、上述の自動投入音を出力し(ステップJ17)、音声出力演出処理を終了する。
<要求演出処理>
要求演出処理では、図55に示すように、主制御手段100から送信されるキャンセル操作を受信するまでその状態で待機し(ステップK1)、受信した場合には、キャンセル操作がスタートレバー操作(スタートレバー25の傾動操作)であるか否かを判定する(ステップK2)。ここで、キャンセル操作がスタートレバー操作であった場合には、上述の再スタート要求演出を開始し(ステップK3)、主制御手段100から送信されるスタートレバー操作受付情報を受信するまでその状態で待機し(ステップK4)、受信した場合には、再スタート要求演出を終了させ(ステップK5)、要求演出処理を終了する。なお、上記ステップK2においてキャンセル操作がスタートレバー操作であると判定された後、所定時間経過した後に再スタート要求演出を開始するようにしてもよい。
一方、上記ステップK2の判定において、キャンセル操作がスタートレバー操作ではなかった場合には、キャンセル操作が精算操作(貯留メダル精算スイッチ24の押圧操作)であるか否かを判定する(ステップK6)。ここで、キャンセル操作が精算操作であった場合には、上述の再遊技実行要求演出を開始し(ステップK7)、主制御手段100から送信されるスタートレバー操作受付情報を受信するまでその状態で待機し(ステップK8)、受信した場合には、再遊技実行要求演出を終了させ(ステップK9)、要求演出処理を終了する。なお、上記ステップK6の判定において、キャンセル操作が精算操作ではなかった場合には、再スタート要求演出及び再遊技実行要求演出は行わず、要求演出処理を終了する。
<AT設定制御処理>
図56に示すAT設定制御処理は、RT1遊技状態におけるAT設定に至るまでの制御の流れ(先述した複数の態様のうちの基本的な態様)の概要を示すものである。このAT設定制御処理では、主制御手段100から送信されるスタートレバー操作受付情報を受信するまでその状態で待機し(ステップL1)、受信した場合には、当該遊技がチャンスゾーン中であるか否かを判定する(ステップL2)。ここで、チャンスゾーン中ではない(通常ゾーン中である)場合には、遊技者にサービスポイントを「+1」付与(カウンタに+1)するとともにその累積値を報知(ステップL3)してステップL7に進む。一方、チャンスゾーン中である場合には、遊技者に特別サービスポイントを「+10」付与(カウンタに+10)し(ステップL4)、当該遊技がチャンスゾーンの最終遊技であるか否かを判定する。ここで、最終遊技である場合には、チャンスゾーン中に付与した特別サービスポイントの累積値を遊技者に報知(ステップL6)してステップL7に進み、最終遊技でない場合には、特別サービスポイントの累積値の報知は行わずに一遊技におけるAT設定制御処理を終了する。
上記ステップL7では、全サービスポイント(通常ゾーン中のサービスポイント、チャンスゾーン中の特別サービスポイント及びAT設定時に保存された持越サービスポイント)の合計値が、到達目標値を超えているか否かを判定する。ここで、全サービスポイントの合計値が到達目標値を超えている場合には、超えている分を持越サービスポイントとして保存するとともにナビ権を設定し(ステップL8)、一遊技におけるAT設定制御処理を終了する。一方、全サービスポイントの合計値が到達目標値を超えていない場合には、上記ステップL8の処理は行わずに、一遊技におけるAT設定制御処理を終了する。
<上乗せ報知演出処理>
図65に示す上乗せ報知演出処理は、RT1遊技状態のAT中におけるアシスト可能回数の上乗せと上乗せ報知演出の実行に関する制御の流れの概要を示すものである。この上乗せ報知演出処理では、主制御手段100から送信される役決定結果情報を受信するまでその状態で待機し(ステップP1)、受信した場合には、チャンスRPが当選したか否か
を判定する(ステップP2)。ここで、チャンスRPが当選していた場合には、無抽選で上述の第1上乗せ回数(10回)を決定し、それをアシスト可能回数情報記憶領域2083(図5参照)の所定のアドレス領域内に格納して(ステップP3)、ステップP6に進む。
これに対し、上記ステップP2においてチャンスRPが当選していなかった場合には、チェリー小役またはスイカ小役が当選したか否かを判定する(ステップP4)。ここで、チェリー小役またはスイカ小役が当選していた場合には、上述のアシスト可能回数上乗せ抽選(図21参照)により上述の第2上乗せ回数(5,10,15,20,25回の何れか)を決定し、それをアシスト可能回数情報記憶領域2083の所定のアドレス領域内に格納して(ステップP5)、ステップP6に進む。一方、チェリー小役もスイカ小役も当選していなかった場合には、上記ステップP5の処理は行わずに、ステップP6に進む。
ステップP6では、上述のエピソード演出が実行中であるか否かを判定し、実行中でなければ、格納された第1上乗せ回数の有無を判定する(ステップP7)。ここで、格納された第1上乗せ回数が有る場合には、その第1上乗せ回数を報知する上乗せ報知演出を実行し(ステップP8)、一遊技における上乗せ報知演出処理を終了する。これに対し、格納された第1上乗せ回数が無い場合には、格納された第2上乗せ回数の有無を判定する(ステップP9)。ここで、格納された第2上乗せ回数が有る場合には、その第2上乗せ回数を報知する上乗せ報知演出を実行して(ステップP10)、一遊技における上乗せ報知演出処理を終了し、無い場合にはステップP10の処理は行わずに、一遊技における上乗せ報知演出処理を終了する。一方、上記ステップP6において、エピソード演出が実行中である場合には、上記ステップP8〜P10の処理は行わずに、一遊技における上乗せ報知演出処理を終了する。
<第2実施形態>
以下、本発明の第2実施形態に係るスロットマシンの構成について、主に図57及び図58を参照しながら説明する。本実施形態のスロットマシンは、上述した第1実施形態のものと外観や主要部の構成等が共通しており、これらの共通部分については説明を省略する。また、主要な制御処理の流れについても、役決定処理(図58参照)を除いては第1実施形態のものと略共通している。第1実施形態との主な相違点は、第2の自動ベット処理凍結期間においてキャンセル操作としてスタートレバー操作(スタートレバー25の傾動操作)が行われた場合の、キャンセル時機及び役決定開始時機(特に、役決定開始時機)の導出の仕組みにある。
本実施形態においては、スタートレバー25が操作されると、このスタートレバー25の操作状態(操作中であるか非操作中であるか)を示すスタート信号が生成されるとともに、このスタート信号よりも既定の時間遅延した、同じくスタートレバー25の操作状態を示す遅延信号が生成され、これらのスタート信号及び操作信号出力手段95から出力されるようになっている。
<キャンセル時機及び役決定開始時機の導出>
上述したように、本実施形態においては、スタートレバー25が操作されると、このスタートレバー25の操作状態を示すスタート信号が生成されるとともに、このスタート信号よりも既定の時間遅延した、同じくスタートレバー25の操作状態を示す遅延信号が生成されるようになっている。そして、第2の自動ベット処理凍結期間においてキャンセル操作としてスタートレバー25が操作された場合には、スタート信号に基づいてキャンセル時機が導出され、遅延信号に基づいて役決定開始時機が導出されるように構成されている。また、スタート信号に基づいてキャンセル時機が導出された時点で第2の自動ベット処理凍結期間が終了され、遅延信号に基づいて役決定開始時機が導出された時点で、役決
定処理が開始(乱数がラッチ)されるようになっている。すなわち、本実施形態では、第2の自動ベット処理凍結期間においてスタートレバー25の操作をキャンセル操作として有効に受け付けた場合には、第2の自動ベット処理凍結期間の終了後にスタートレバー25の操作を再び受け付けることなく、遊技(役決定処理)を開始するように構成されている。
以下、図57を参照して、スタート信号及び遅延信号に基づくキャンセル時機及び役決定開始時機の導出について説明する。
図57に示すタイミングチャートは、スタート信号及び遅延信号の信号レベルが切り替わるタイミングと、メインCPU61(図2参照)によって行われる制御処理のタイミングを示すものである。先述したように本実施形態では、スタート信号及び遅延信号の読込み(信号レベルの検出)が一定の時間(例えば、1.5ミリ秒)毎に実施されるタイマ割込処理によって行われるようになっている。図57では、このタイマ割込処理のタイミングを、時間軸上に並ぶ短い矢線で示している。
また、図57において、スタート信号及び遅延信号の信号レベルに対応した数値「0」は、スタートレバー25(図1参照)の操作が行われていない状態(非操作中)にあることを示し、数値「1」は、スタートレバー25の操作が行われている状態(操作中)にあることを示しているが、実際のスタート信号及び遅延信号の信号レベル(ハイレベル(5V)かローレベル(0V)か)に対応しているとは限らない。例えば、実際にメインCPU61が信号レベルを検出する段階においては、その段階におけるスタート信号や遅延信号のハイレベルがスタートレバー25のオフ状態に対応し、ローレベルがスタートレバー25のオン状態に対応している場合もある。以下の説明において、スタート信号及び遅延信号の信号レベルに関し、「レベル0」というときは、スタートレバー25の操作が行われていない状態にあることを意味し、「レベル1」というときは、スタートレバー25の操作が行われている状態にあることを意味するものとする。
先にも述べたように本実施形態では、スタート信号と、このスタート信号から既定の時間(図57では「T12」で示す)遅れた遅延信号が生成される。スタート信号及び遅延信号の信号レベルは、タイマ割込処理が実施される毎に検出される。
本実施形態では、タイマ割込処理において、スタート信号の信号レベルが「0」から「1」に切り替わったと認識された時点(図57において「P1」が示す時点)で(実際には、図35に示すように、信号レベルに対応したレベルデータがセットされ、このレベルデータに基づき、スタート信号の信号レベルが認識される。以下の説明において同じ)、そのことを示す、スタート信号の立上りフラグがON(セット)される。また、第2の自動ベット処理凍結期間設定処理(図42参照)において、このスタート信号の立上りフラグがONであると認識された時点(図57では、「キャンセル操作判定」と表示した矢線で示す時点)がキャンセル時機とされ、この時点で、第2の自動ベット処理凍結期間が終了されるとともに、キャンセル操作が行われたこと示すキャンセル操作情報が、主制御手段100から副制御手段200に送信されるようになっている。
なお、ONされたスタート信号の立上りフラグは、キャンセル信号として扱われたスタート信号の信号レベルが、次のタイマ割込処理において、「1」のままであると認識された時点でOFF(クリア)される。
一方、遅延信号は、不図示の乱数ラッチ信号出力部にも入力されており、この遅延信号の信号レベルが「0」から「1」に切り替わった時点で、乱数ラッチ信号出力部からラッチ信号が出力され、1つの乱数がラッチされる。すなわち、本実施形態では、遅延信号の
信号レベルが「0」から「1」に切り替わった時点が役決定開始時機とされ、実質的にはここから役決定処理が開始される。
また、タイマ割込処理において、遅延信号の信号レベルが「0」から「1」に切り替わったと認識された時点(図57において「P2」が示す時点)で、そのことを示す、遅延信号の立上りフラグがON(セット)され、開始操作受付処理(図43参照)において、この遅延信号の立上りフラグがONであると認識された時点(図57では、「スタートレバー操作受付判定」と表示した矢線で示す時点)で、乱数の読込みが行われる。
なお、ONされた遅延信号の立上りフラグは、スタート信号の立上りフラグと同様に、次のタイマ割込処理において、遅延信号の信号レベルが「1」のままであると認識された時点でOFF(クリア)される。
キャンセル時機から役決定開始時機までの時間(図57では「T11」で示す)は、キャンセル時機の導出により第2の自動ベット処理凍結期間が終了される時点から自動ベット処理が実行される時点までの時間(図57では「T13」で示す)よりも長く設定される。また、スタート信号と遅延信号との間の遅延時間(上記既定の時間T12)は、タイマ割込処理の実施間隔を考慮して、上記時間T11よりも長くなるように設定されることが好ましい。
以下、本実施形態における主要な制御処理のうち、主に第1実施形態のものと相違する役決定処理について、図58を参照しながら説明する。なお、主制御手段100による主制御電源断処理、主制御電源投入処理及び主制御設定変更処理と、副制御手段200による副制御電源断処理、副制御電源投入処理、副制御設定変更処理、バックランプ演出処理、音声出力処理、要求演出処理、AT設定制御処理及上乗せ報知演出処理は、第1実施形態のものと同じであるので、説明は省略する。また、主制御手段100による遊技制御処理についても、役決定準備処理を除く他の処理は、第1実施形態のものと同じであるので、説明は省略する。
《役決定処理》
本実施形態では、上述したように、開始操作受付処理(図43参照)におけるスタートレバー25の操作受付判定は、遅延信号の立上りフラグがONと認識された時点で、スタートレバー25の操作が受け付けられたと判定されるようになっており、その時点(スタートレバー操作受付判定時点)では、既に、不図示の回路により遅延信号に基づいて乱数がラッチされている(図57参照)。このため、本実施形態の役決定処理は、図58に示すように、ラッチされた乱数の読込み(ステップS451)から開始される。
ラッチ乱数の読込み後の処理の流れは、上述の第1実施形態の役決定処理と同じである。すなわち、役決定結果の選出(ステップS452)、選出された役決定結果情報の格納(ステップS453)、制御図柄のセット(ステップS454)及び役決定結果情報のサブ(副制御手段200)への送信(ステップS455)を、この順で行い、役決定処理を終了する。
<第3実施形態>
以下、本発明の第3実施形態に係るスロットマシンの構成について、主に図59〜図62を参照しながら説明する。本実施形態のスロットマシンは、上述した第1実施形態及び第2実施形態のものと外観や主要部の構成等が共通しており、これらの共通部分については説明を省略する。また、主要な制御処理の流れについても、ベット管理処理中の第2の自動ベット処理凍結期間設定処理(図61参照)及び役決定処理(図62参照)を除いては第1実施形態及び第2実施形態のものと略共通している。第1実施形態及び第2実施形
態との主な相違点は、第2の自動ベット処理凍結期間においてキャンセル操作としてスタートレバー操作(スタートレバー25の傾動操作)が行われた場合の、キャンセル時機及び役決定開始時機(特に、役決定開始時機)の導出の仕組みにある。
<機能ブロックの説明>
本実施形態に係るスロットマシンは、機能的な観点から説明すれば、図59に示すように、主制御手段100が役決定処理開始禁止手段111を備えている点が第1実施形態及び第2実施形態のものとは相違している。また、遊技操作処理時機導出手段106によるキャンセル時機及び役決定開始時機の導出の仕組みが第1実施形態のものとは相違している。
すなわち、本実施形態においては、スタートレバー25が操作されると、このスタートレバー25の操作状態(操作中であるか非操作中であるか)を示すスタート信号が生成され、このスタート信号が操作信号出力手段95から出力されるようになっている(上述の第2実施形態では生成された遅延信号は生成されない)。本実施形態の遊技操作処理時機導出手段106は、第2の自動ベット処理凍結期間においてキャンセル信号としてスタート信号が出力された場合には、そのスタート信号に基づいて、キャンセル時機及び役決定開始時機を導出するように構成されている。
上記役決定処理開始禁止手段111は、遊技操作処理時機導出手段106により導出されたキャンセル時機と役決定開始時機との間の時間が、予め想定された規定時間未満であった場合に、第2の自動ベット処理凍結期間が終了した時点から上記規定時間が経過するまで、役決定手段101による役決定処理が開始されることを禁止するものである。
<キャンセル時機及び役決定開始時機の導出>
上述したように、本実施形態においては、スタートレバー25が操作されると、このスタートレバー25の操作状態を示すスタート信号が生成されるようになっている。そして、第2の自動ベット処理凍結期間においてキャンセル操作としてスタートレバー25が操作された場合には、このスタート信号に基づいてキャンセル時機及び役決定開始時機が導出されるようになっている。また、キャンセル時機が導出された時点で第2の自動ベット処理凍結期間が終了され、役決定開始時機が導出された時点で、役決定処理が開始(乱数がラッチ)されるようになっている。すなわち、本実施形態では、上述の第2実施形態と同じく、第2の自動ベット処理凍結期間においてスタートレバー25の操作をキャンセル操作として有効に受け付けた場合には、第2の自動ベット処理凍結期間の終了後にスタートレバー25の操作を再び受け付けることなく、遊技(役決定処理)を開始するように構成されている。
以下、図60を参照して、スタート信号に基づくキャンセル時機及び役決定開始時機の導出について説明する。
図60に示すタイミングチャートは、スタート信号の信号レベルが切り替わるタイミングと、メインCPU61(図2参照)によって行われる制御処理のタイミングを示すものである。なお、図60で用いている矢線や記号、数値「0」、「1」が表す意味については、上述の第1実施形態及び第2実施形態の説明において述べたのと同様であるので、ここでの説明は省略する。
本実施形態では、タイマ割込処理において、スタート信号の信号レベルが「0」から「1」に切り替わったと認識された時点(図60において「P11」が示す時点)で、そのことを示す、スタート信号の立上りフラグがON(セット)される。また、第2の自動ベット処理凍結期間設定処理(図61参照)において、このスタート信号の立上りフラグが
ONであると認識された時点(図60では、「キャンセル操作判定」と表示した矢線で示す時点)がキャンセル時機とされ、この時点で、第2の自動ベット処理凍結期間が終了されるとともに、キャンセル操作が行われたこと示すキャンセル操作情報が、主制御手段100から副制御手段200に送信されるようになっている。
なお、ONされたスタート信号の立上りフラグは、キャンセル信号として扱われたスタート信号の信号レベルが、次のタイマ割込処理において、「1」のままであると認識された時点でOFF(クリア)される。
また、スタート信号の立上りフラグがONされた時点で、カウンタC1が「0」にセットされる。このカウンタC1は、以降の各タイマ割込処理において、スタート信号の信号レベルが「1」のままであると認識された時点でカウントアップされ、そのカウント数が所定数(例えば、10)となった時点で、そのことを示すカウンタによる立上りフラグがON(セット)される。
役決定準備処理(図43参照)において、このカウンタによる立上りフラグがONであると認識された時点(図60では、「スタートレバー受付判定」と表示した矢線で示す時点)で、メインCPU61(図2参照)から、不図示の乱数ラッチ信号出力部に書込信号が出力される。そして、その書込信号が乱数ラッチ信号出力部に入力された時点で、乱数ラッチ信号出力部からラッチ信号が出力され、1つの乱数がラッチされる。すなわち、本実施形態では、メインCPU61においてカウンタによる立上りフラグがONであると認識された時点が役決定開始時機とされ、ここから役決定処理が開始される。なお、ONされたカウンタによる立上りフラグは、次のタイマ割込処理においてOFF(クリア)される。
キャンセル時機から役決定開始時機までの時間(図60では「T21」で示す)は、キャンセル時機の導出により第2の自動ベット処理凍結期間が終了される時点から自動ベット処理が実行される時点までの時間(図60では「T23」で示す)よりも長く設定される。
以下、本実施形態における主要な制御処理のうち、主に第1実施形態及び第2実施形態のものと相違するベット管理処理中の第2の自動ベット処理凍結期間設定処理及び役決定処理について、図61及び図62を参照しながら説明する。なお、主制御手段100による主制御電源断処理、主制御電源投入処理及び主制御設定変更処理と、副制御手段200による副制御電源断処理、副制御電源投入処理、副制御設定変更処理、バックランプ演出処理、音声出力処理、要求演出処理、AT設定制御処理及上乗せ報知演出処理は、第1実施形態及び第2実施形態のものと同じであるので、説明は省略する。また、主制御手段100による遊技制御処理についても、役決定準備処理を除く他の処理は、第1実施形態及び第2実施形態のものと同じであるので、説明は省略する。
《ベット管理処理中の第2の自動ベット処理凍結期間設定処理》
本実施形態の第2の自動ベット処理凍結期間設定処理は、図61に示すように、ステップS261〜ステップS268までの処理は、第1実施形態及び第2実施形態のものと同じであり(図42参照)、説明は省略する。異なるのは、ステップS268においてキャンセル操作情報をサブ(副制御手段200)へ送信した後、タイマTM1を「0」にセット(ステップS269)する点にある。このタイマTM1は、誤作動等により上述のカウンタによる立上りフラグ(図60参照)がセットされた場合でも、上述の時間T21に達するまでは、次述する役決定処理が開始されないようにする、上述の役決定処理開始禁止手段111(図59参照)の機能を果たすものである。
《役決定処理》
本実施形態の役決定処理は、図62に示すように、最初のステップS471において、上記タイマTM1の計測時間が上述した時間T21(図60参照)に達するまでその状態で待機し、達した場合には、乱数をラッチする(ステップS472)。なお、通常であれば、上述のカウンタによる立上りフラグ(図60参照)がセットされたことを認識した時点で、タイマTM1の計測時間は上述の時間T21を超えており、ステップS471で待機することはない。カウンタによる立上りフラグがセットされたことを認識した時点で、タイマTM1の計測時間が時間T21未満となるのは、カウンタによる立上りフラグが誤作動等によりセットされた場合である。
乱数をラッチした後の処理の流れは、上述の第1実施形態の役決定処理と同じである。すなわち、ラッチされた乱数の読込み(ステップS473)、役決定結果の選出(ステップS474)、選出された役決定結果情報の格納(ステップS475)、制御図柄のセット(ステップS476)及び役決定結果情報のサブ(副制御手段200)への送信(ステップS477)を、この順で行い、役決定処理を終了する。
<態様の変更>
上述の各実施形態では、特別役(MB役)の役決定結果(役決定結果A1)が選出された場合に、そのことを報知する演出については説明していないが、このような報知演出を行うようにしてもよい。その場合、特別役の役決定結果が選出された遊技において直ちに報知演出を行うようにしてもよいが、特別役の役決定結果の情報が持ち越されているボーナス内部中(RT1遊技状態)での遊技期間が所定の回数に達するという条件が満足された場合に、報知演出を行うようにしてもよい。
また、上述の各実施形態において設定されるRT2遊技状態(ボーナス)は、役決定結果C1〜C4、D1〜D4が当該遊技の役決定結果によらず選出された状態となり、必ず小役が成立するという特別な遊技条件が設定される特別遊技状態であるが、遊技者にとっては必ずしも有利とならない遊技状態となっている。このようなRT2遊技状態に替えてあるいはRT2遊技状態とは別に、所定の小役が当選する確率が極めて高確率に設定されるなど、遊技者にとって有利となる遊技条件が設定される特別遊技状態(所謂ビッグボーナス(BB)、レギュラーボーナス(RB)など)を設けるようにしてもよい。
また、上述の各実施形態では、非RT遊技状態、RT1遊技状態(ボーナス内部中)、RT2遊技状態(ボーナス)の3つのRT遊技状態を備えているが、他のRT遊技状態を備えるようにしてもよい。RT2遊技状態における特別遊技の終了後に設定され、MB役が当選して未成立の場合にRT1遊技状態に移行されるRT遊技状態(「RT3遊技状態」と称する)を、非RT遊技状態とは別に設けることが一例として挙げられる。この場合、非RT遊技状態は、基本的には工場出荷時に設定されるRT遊技状態とし、工場出荷後、非RT遊技状態からRT1遊技状態に移行されると、以降は、RT1遊技状態、RT2遊技状態、RT3遊技状態の3つのRT遊技状態の間でRT遊技状態が移行されるようにしてもよい。
また、上述の各実施形態と同様に、電源復帰時は、設定変更前のRT遊技状態が設定変更後もそのまま引き継がれ、設定変更時は、設定変更前がRT2遊技状態であった場合のみ設定変更後は非RT遊技状態に設定され、設定変更前が他のRT遊技状態であった場合には、設定変更前の遊技状態が設定変更後もそのまま引き継がれるようにしてもよい。具体的には、先の各実施形態と同様、非RT遊技状態及びRT2遊技状態のRT情報を共に「0」に設定し、RT1遊技状態のRT情報は「1」にRT3遊技状態のRT情報は「2」に設定し、これらのRT情報は、設定変更の前後で変わらないように構成することが挙げられる(MB内部中フラグ及びMB作動中フラグの取り扱いは先の各実施形態と同様と
する)。
また、RT3遊技状態は、RT2遊技状態中と同様に無抽選状態としてもよい。この場合、無抽選状態とする期間の長さは任意に設定することができる。例えば、RT3遊技状態中の全期間を無抽選状態とすることもできるし、一部の期間のみを無抽選状態とすることもできる。具体的には、RT1遊技状態のAT中にRT2遊技状態(MB)に移行した場合には、MB移行後、所定数(例えば、30)の遊技が行われるまでは、その間にRT3遊技状態に移行しても無抽選状態が継続されるようにすることや、MBに移行したときのATの残期間(アシスト可能回数の残数)に応じて無抽選状態とする期間を決める(例えば、MBに移行したときのATの残期間が35で、MBが15ゲームで終了してRT3遊技状態に移行した場合には、その差数(35−15=20)の遊技が行われる期間を無抽選状態とする)ことが挙げられる。また、RT3遊技状態をペナルティ用のRT遊技状態として用いてもよい。例えば、非RT遊技状態中は無抽選状態とせず、RT3遊技状態中のみを無抽選状態とするなど、RT遊技状態に応じて、ベナルティとしての無抽選状態の設定の有無を定めることが挙げられる。
また、上述の各実施形態では、AT中に行われる上乗せ(AT上乗せ)を、アシスト可能回数の上乗せとしているが、他のAT上乗せを行うようにしてもよい。例えば、ATの設定期間を一定期間とする場合のAT期間の延長(ゲーム数加算)や、AT中の差枚数(払い出された遊技メダル総数とベットされた遊技メダルの総数との差)が所定値に達した場合にATが終了するように設定する場合の差枚数の上乗せ(差枚数加算)、AT中の遊技メダルの払出総数が所定値に達した場合にATが終了するように設定する場合の払出枚数の上乗せ(払出枚数加算)、あるいはAT設定後に所定時間が経過するとATが終了するように設定する場合の所定時間の延長(時間加算)をAT上乗せとすることができる。
また、1つのATを1セットとして複数セットのATが連続し得るように設定する場合のセット数の上乗せ(セット数加算)や、ATが所定の当選確率で継続するように設定する場合の当選確率の増加(継続率加算)をAT上乗せとすることもできる。なお、上述の各実施形態におけるアシスト可能回数は、アシスト演出の実行の有無に関係なく遊技毎に1ずつ減少するものであるので、アシスト可能回数の上乗せは、実質的にはゲーム数加算に該当する。これに対し、アシスト可能回数を、実際にアシスト演出が行われた際に減少するように設定する場合におけるアシスト可能回数の上乗せ(ナビ回数加算)をAT上乗せとしてもよい。
また、上述の各実施形態では、第1上乗せ回数(AT中に役決定結果B6が選出された場合に無抽選で決定される上乗せ回数)を報知する上乗せ報知演出(以下、適宜「第1上乗せ報知演出」と称する)と、第2上乗せ回数(AT中に役決定結果D1〜D4の何れか)が選出された場合にアシスト可能回数上乗せ抽選により決定される上乗せ回数)の上乗せ報知演出(以下、適宜「第2上乗せ報知演出」と称する)の何れもが、エピソード演出中は実行を禁止されるが、何れか一方、例えば、第1上乗せ報知演出はエピソード演出中であっても実行し得るようにしてもよい。
また、上述の各実施形態では、上乗せ報知演出を実行する時機として、基本的には上乗せ回数が決定された当該遊技、またはエピソード演出終了後の最初の遊技としているが、実行時機を抽選等により決定するようにしてもよい。例えば、上乗せ回数が決定された当該遊技において抽選を行い、抽選結果に応じた遊技期間後(例えば、3ゲーム後や5ゲーム後)に上乗せ報知演出を行うように決定したり、エピソード演出が終了する遊技において同様の抽選を行って上乗せ報知演出の実行時機を決めたりすることが挙げられる。また、一旦決めた実行時機にあたる遊技において、新たに上乗せ回数が決定された場合には、新たに決定された上乗せ回数の報知を優先して行うようにしてもよいし、先に決定されて
いた上乗せ回数の報知を優先して行うようにしてもよいし、これらを合算して報知してもよい。また、持ち越された未報知の上乗せ回数がある場合には、エピソード演出の終了後、新たに上乗せ回数が決定された際に、その新たな上乗せ回数と合算してその合算値を報知する上乗せ報知演出を行うようにしてもよい。
また、上述の各実施形態では、エピソード演出終了後の最初の遊技において、第1上乗せ回数または第2上乗せ回数が持ち越されているかどうかを確認し、持ち越されている場合には当該遊技において上乗せ報知演出を実行するようになっているが、上乗せ報知演出を実行するかどうかを抽選により決めてもよい。例えば、このような抽選により、上乗せ報知演出を実行することが選択された場合には、当該遊技において上乗せ報知演出を実行するが、実行しないことが選択された場合には、当該遊技においては上乗せ報知演出を実行ぜず、別の時機(これを抽選で決定してもよい)において上乗せ報知演出を実行するようにすることが挙げられる。また、第1上乗せ回数及び第2上乗せ回数が持ち越されていない場合にも同様の抽選を行い、上乗せ報知演出を実行することが選択された場合には、上乗せが行われたことを期待させるような疑似的な上乗せ報知演出を実行するようにしてもよい。このような疑似的な上乗せ報知演出の態様としては、演出開始から途中段階までは、上述の第1上乗せ報知演出や第2上乗せ報知演出の同様の内容として、最終的には上乗せが行われていないことが分かる(例えば、上乗せ回数の表示を行わないで演出を終了させたり、「上乗せ無し」等と表示したりする)ような内容とすることが挙げられるが、別の態様としてもよい。
また、上述の各実施形態では、AT中に役決定結果B6が選出された場合には無抽選で上乗せ回数(第1上乗せ回数)が決定され、AT中に役決定結果D1〜D4が選出された場合にはアシスト可能回数上乗せ抽選により上乗せ回数(第2上乗せ回数)が決定されるが、どちらの場合でも必ず上乗せが行われるようになっている。これに対し、役決定結果B6が選出された場合には必ず上乗せされるが、役決定結果D1〜D4が選出された場合には上乗せされない場合がある(例えば、アシスト可能回数上乗せ抽選における選択項目として、上乗せ回数が「0回」の場合を設ける)ように設定してもよい。その場合、役決定結果B6が選出されると当選役であるチャンスRPが必ず成立するので、チャンスRPが成立したことによって遊技者は、当該遊技において上乗せが行われることを察知することができる。これに対し、役決定結果D1〜D4が選出されて当選役であるチェリー小役やスイカ小役が成立しても、当該遊技において上乗せが行われるかどうかは遊技者に分からない。そこで、役決定結果B6が選出されることにより第1上乗せ回数が決定された場合には、それがエピソード演出中であっても上記第1上乗せ報知演出を行う(チャンスRPの対応図柄の停止表示後であって、第1上乗せ回数の数値のみを簡潔に報知する態様、または第1上乗せ回数としての積極的な報知は行わずにアシスト可能回数の残数のみを更新する態様が好ましい)が、役決定結果D1〜D4が選出されることにより第2上乗せ回数が決定された場合には、エピソード演出中は上記第2上乗せ報知演出を行わないように構成してもよい。また、上述の押し順リプレイDに対応した役決定結果B7や押し順リプレイEに対応した役決定結果B8が選出され、正解押し順によりチャンスRPが成立した場合には、役決定結果B6が選出されてチャンスRPが成立した場合と同様の処理を行うようにしてもよい。また、役決定結果B7,B8が選出された場合に、内部的には第1上乗せ回数を決定してこれを持ち越すが、エピソード演出中は、通常RPが成立する不正解押し順を報知してチャンスRPが成立しないように誘導し、エピソード演出終了後に、持ち越した第1上乗せ回数の報知演出を行うようにしてもよい。
また、上述の各実施形態では、連続演出の例としてエピソード演出を挙げているが、これ以外にも、AT期間の継続の有無を報知するための演出や、ナビ権設定やボーナス当選を報知するための演出、あるいはAT上乗せを報知するための演出等を、複数遊技に亘る連続演出(具体的には、複数遊技に亘って主人公キャラクタが敵キャラクタと格闘するよ
うな連続バトル演出とすることが挙げられるが、態様は適宜変更可)としてもよい。また、これらの連続演出が実行される期間を、エピソード演出の実行中と同様に、上乗せ報知演出の実行が規制される期間として設定してもよい。
なお、持ち越された未報知の上乗せ回数がある場合の、その未報知の上乗せ回数を報知するための上乗せ報知演出は、大別すると次の(1)から(5)の各条件を満たす遊技において実行するようにしてもよい。
(1)上乗せ報知演出の実行が規制されない期間(上述の各実施形態ではエピソード演出が実行されていない期間が該当する。以下「上乗せ報知可能期間」と称する)内の遊技であって、当選または成立した場合には新たな上乗せ回数が決定されることが確定する遊技役(上述の各実施形態では役決定結果B6に対応したチャンスRPが該当する。以下「上乗せ確定役」と称する)が当選または成立しない遊技。
(2)上乗せ報知可能期間内の遊技であって、当選または成立した場合には新たな上乗せ回数を決める抽選が行われる遊技役(上述の各実施形態では役決定結果D1〜D4に対応したチェリー小役やスイカ小役が該当する。以下「上乗せ抽選役」と称する)が当選または成立しない遊技。
(3)上乗せ報知可能期間内の遊技であって、上述の上乗せ確定役及び上乗せ抽選役がどちらも当選または成立しない遊技。
(4)上乗せ報知演出の実行が規制される期間(上述の各実施形態ではエピソード演出が実行されている期間が該当する。以下「上乗せ報知規制期間」と称する)から上乗せ報知可能期間に移行した際の上乗せ報知可能期間内の最初の遊技。
(5)上乗せ報知規制期間内または上乗せ報知可能期間内において実行される、上乗せ報知演出の実行時機を決める抽選により、実行時機とされた遊技。
(6)上乗せ報知規制期間内にAT期間が見かけ上終了する(上述の各実施形態ではエピソード演出中はアシスト可能回数が減少しないようになっているが、エピソード演出中もアシスト可能回数が減少するように構成した場合において、未報知の第1または第2上乗せ回数があるのにアシスト可能回数が「0」になる)場合のAT期間内の最後の遊技またはその次の遊技の冒頭(未報知分の上乗せ回数を簡潔に報知することが好ましい)。
また、上述の各実施形態では設けられていないが、AT期間を継続するかどうかを決める特定の期間(以下、適宜「AT継続決定期間」と称する)を設けるようにしてもよい。例えば、一のAT期間の終了後にAT継続決定期間を設け、このAT継続決定期間においては、毎遊技所定の確率で次のAT期間を設定するかどうかを抽選等により選択し、次のAT期間を設定するとの選択がなされた場合には、次遊技から次のAT期間を設定するように構成することが挙げられる。また、その場合、上述の第1上乗せ回数または第2上乗せ回数の何れか一方または両方を、AT継続決定期間の長さを規定する(例えば、第1上乗せ回数または第2上乗せ回数の総数が「30」であれば、AT継続決定期間を30ゲームとする)ものとして構成してもよいし、予め基準として定められるAT継続決定期間に加えられてAT継続決定期間を延長するものとして構成してもよい。さらに、その場合、AT継続決定期間の途中において、次のAT期間を設定するとの選択がなされた場合には、当該AT継続決定期間の残りゲーム数(例えば、30ゲームとして設定されたAT継続決定期間の18ゲーム目で次のAT期間を設定するとの選択がなされた場合には、30−18=12)を次のAT期間の終了後に実行されるAT継続決定期間として持ち越し、当該次のAT期間において決定される第1上乗せ回数または第2上乗せ回数の何れか一方または両方がある場合には、それらを持ち越したAT継続決定期間に加算するようにしてもよい。
また、上述の各実施形態では、RT1遊技状態(ボーナス内部中)におけるAT設定時に保存される持越サービスポイントの値がAT中に変化することはないが、AT中に変化するようにしてもよい。例えば、AT中に所定の役決定結果が選出されたことを契機とし
て、持越サービスポイントの値の増減値を決める抽選(持越サービスポイント増減抽選)を行い、その抽選結果に応じて、持越サービスポイントの値を増減させるようにすることが挙げられる。また、持越サービスポイント増減抽選を行うか否かを遊技者に選択させるようにしてもよい。
また、AT設定時の持越サービスポイントの値に応じて、あるいは持越サービスポイントの内訳、例えば、通常モード中に付与したサービスポイントの値とチャンスモード中に付与した特別サービスポイントの値との比率によって、AT中における処理内容を変えたり、遊技者に付与する特典に差を生じさせたりしてもよい。例えば、AT中において、上述のアシスト可能回数上乗せ抽選において大きな値の上乗せ回数の選出確率が高確率に設定される高確率モードと低確率に設定される低確率モードとを選択し得るようにし、AT設定時の持越サービスポイントの値が所定値(例えば、100)を超える場合、あるいは通常モード中に付与したサービスポイントの割合が所定値(例えば、80%)を超える場合には高確率モードを選択し、超えない場合には低確率モードを選択するように構成することが挙げられる。
また、サービスポイントの次の到達目標値を決定するための抽選テーブルを複数用意し、通常モード中に付与したサービスポイントの割合が所定値を超える場合、あるいはAT設定時の持越サービスポイントの値が所定値を超える場合には、超えない場合に比べて低い到達目標値が決定される確率の高い抽選テーブルを選択するように構成することが挙げられる。また、これらの場合に、アシスト可能回数の初期値を通常よりも増やすようにしてもよい。
また、ナビ権の設定時やAT設定時に次の到達目標値を決定し、持越サービスポイントが次の到達目標値を超える場合には、当該ATの終了後に再び次のATが設定されることを当該ATが終了する前に遊技者に報知したり、当該AT設定時のアシスト可能回数の初期値を2回分の値に設定したりするようにしてもよい。
また、次の到達目標値を決定するための抽選テーブルの中に、特に低い到達目標値が決定される確率の高い特別な抽選テーブルを設け、その特別な抽選テーブルが、次の到達目標値を決定する際に、所定の確率(例えば、1/7)で選択されるようにしてもよい。
また、上述の各実施形態では、役決定結果D2が選出された場合、それがAT中であれば中段チェリー(小役4)が成立することをアシストするための目押し図柄指示演出を行い、非AT中であれば目押し図柄指示演出を行わないようになっているが、非AT中に行われた遊技数や非AT中に選出された役決定結果D2の回数等に応じて、非AT中でも目押し図柄指示演出を行うようにしてもよい。例えば、非AT中に連続して行われた遊技数が所定数(例えば、500)を超えた後に役決定結果D2が選出された場合や、非AT中に所定回数(例えば、10回)を超えて役決定結果D2が選出された場合や、非AT中に連続して役決定結果D2が選出された場合や、非AT中に遊技が所定数(例えば、500)行われる間、役決定結果D3が選出されない場合に、目押し図柄指示演出を行うようにすることが挙げられる。
また、上述の各実施形態では、自動ベット処理凍結期間が設定される場合には、キャンセル操作が受け付けられない第1の自動ベット処理凍結期間と、キャンセル操作が受け付けられる第2の自動ベット処理凍結期間とが共に設定されるが、第1の自動ベット処理凍結期間のみを設定する場合や第2の自動ベット処理凍結期間のみを設定する場合を設けるようにしてもよい。この場合、どちらの自動ベット処理凍結期間を設定するのかを、RT遊技状態によって決めたり、成立した遊技役によって決めたり、停止表示された図柄の組合せによって決めたり、抽選により決めたりしてもよい。
また、上述の各実施形態では、特定RP(再遊技役2〜21)ではない再遊技役(通常RP(再遊技役1))が成立した場合には、自動ベット処理凍結期間(第1の自動ベット処理凍結期間及び第2の自動ベット処理凍結期間)を設定しないように構成されているが、通常RPが成立した場合でも自動ベット処理凍結期間を設定するようにしてもよい。この場合、第1の自動ベット処理凍結期間及び第2の自動ベット処理凍結期間のうちの何れか一方を設定する場合と、第1の自動ベット処理凍結期間及び第2の自動ベット処理凍結期間を共に設定する場合とを設けるようにしてもよい。
また、通常RPが成立した場合には、自動ベット処理の実行が、第1の自動ベット処理凍結期間における所定時間T1や、第2の自動ベット処理凍結期間における所定時間T2とは異なる別の所定時間T3だけ禁止される第3の自動ベット処理凍結期間を設定するように構成してもよい。この場合、第3の自動ベット処理凍結期間は、キャンセル操作が受け付けられない期間としてもよいし、キャンセル操作が受け付けられる期間としてもよい。また、通常RPが成立した場合に、自動ベット処理凍結期間を設定するか否かを、RT遊技状態によって決めたり、成立した遊技役によって決めたり、停止表示された図柄の組合せによって決めたり、抽選により決めたりしてもよい。
また、上述の各実施形態では、第1の自動ベット処理凍結期間は、キャンセル操作が受け付けられない期間とされているが、第2の自動ベット処理凍結期間と同様に、キャンセル操作が受け付けられる期間として、キャンセル操作が受け付けられた場合には、所定時間T1の経過を待たずに第1の自動ベット処理凍結期間を終了するように構成してもよい。この場合、第1の自動ベット処理凍結期間においてキャンセル操作が受け付けられた場合には、第1の自動ベット処理凍結期間のみを終了するようにしてもよいし、第1の自動ベット処理凍結期間と共に第2の自動ベット処理凍結期間も終了させるようにしてもよい。また、第1の自動ベット処理凍結期間において受け付けるキャンセル操作と、第2の自動ベット処理凍結期間において受け付けるキャンセル操作とを変える(例えば、第1の自動ベット処理凍結期間においては、スタートレバー25の操作はキャンセル操作として受け付けないようにする)ようにしてもよい。
また、成立した再遊技役の種類やRT遊技状態等によって、第1の自動ベット処理凍結期間及び第2の自動ベット処理凍結期間のうちの何れか一方または両方の設定時間を変えるようにしてもよい。例えば、特定RPのうち、ベルRPまたはスイカ揃いRPが成立した場合には、上述の架空払出音出力演出が実行されるので、この架空払出音出力演出が完全に実行されるだけの時間を確保するように第1の自動ベット処理凍結期間の設定時間(上記所定時間T1)を長くし、スイカ外しRPや赤7RP、チャンスRPのように架空払出音出力演出が実行されない特定RPが成立した場合には、第1の自動ベット処理凍結期間の設定時間を短くすることなどが挙げられる。また、架空払出音出力演出の実行時間に応じて第1の自動ベット処理凍結期間の設定時間を変更するようにしてもよい。例えば、ベルRPの成立時には、高めベル小役成立時の払出枚数(9枚)に対応した時間の架空払出音演出が行われ、スイカ揃いRPの成立時には、スイカ小役成立時の払出枚数(5枚)に対応した時間の架空払出音演出が行われるようになっているので、スイカ揃いRP成立時の架空払出音出力演出よりもベルRPの成立時の架空払出音出力演出の方が、実行時間が長くなる。そこで、ベルRPが成立した場合には、スイカ揃いRPが成立した場合よりも第1の自動ベット処理凍結期間の設定時間を長くすることなどが一例として挙げられる。
また、上述の各実施形態では、特定RPが成立した場合には、自動ベット処理凍結期間(第2の自動ベット処理凍結期間)の終了契機の違いに応じて、遊技進行対応演出の切替時機を変えるようにしているが、特定RPが成立した場合には一律に、通常RP以外の遊
技役が成立した場合及びハズレの場合と同様に遊技進行対応演出を切り替えるようにしてもよい。
また、上述の各実施形態では、バックランプ演出(バックランプ演出A〜C)や、遊技メダルの払出音・投入音等を出力する音声出力演出の一部または全部(以下、これらを総称して「バックランプ演出等」と称することがある)は、副制御手段200が、主制御手段100から送信される停止表示図柄情報等に基づいて、実行するか否かを判断して行っている。これに対し、バックランプ演出等を実行するか否かを主制御手段100が決定し、この決定に基づいて、副制御手段200がバックランプ演出等を実行するようにしたり、バックランプ演出等の実行を主制御手段100において制御するようにしたりすることも可能である。
また、上述の各実施形態では、特別役(MB役)や小役(小役1〜14)、通常RP(再遊技役1)が成立した場合と、特定RP(再遊技役2〜21)のうち、ベルRP(再遊技役2〜6)、赤7揃いRP(再遊技役7)、スイカ揃いRP(再遊技役13)及びチャンスRP(再遊技役18〜21)の何れか(以下、これらの遊技役を総称して適宜「演出実行契機の遊技役」と称する)が成立した場合には、RT1遊技状態において、上述のエピソード演出を実行中の場合を除き、必ずバックランプ演出等が行われるように構成されている。これに対し、バックランプ演出等を実行するか否かを、RT遊技状態や遊技役が成立した状況等に応じて決めたり、抽選により決めたりするように構成することも可能である。
例えば、非RT遊技状態中では、上述の演出実行契機の遊技役が成立した場合に、高い確率(例えば、「4/5」〜「1」)でバックランプ演出等を実行するが、RT1遊技状態では「1/3」、RT2遊技状態では「1/2」などの低い確率でバックランプ演出等を実行することが挙げられる。また、RT1遊技状態(ボーナス内部中)において特別役が成立した場合にはバックランプ演出等を実行するが、非RT遊技状態において特別役が成立した場合にはバックランプ演出等を実行しないようにすることも例として挙げられる。さらに、赤7揃いRPを複数の遊技状態で役抽選する場合に非RT遊技状態において赤7揃いRPが成立した場合には、バックランプ演出等を実行するが、RT1遊技状態やRT2遊技状態において赤7揃いRPが成立した場合には、バックランプ演出等を実行しないようにすることも例として挙げられる。
また、ATが設定されていないときに上述の演出実行契機の遊技役が成立した場合には、バックランプ演出等を実行するが、ATが設定されているときに上述の演出実行契機の遊技役が成立した場合には、バックランプ演出等を実行しないようにすることも例として挙げられる。さらに、或る遊技役(例えば、スイカ揃いRP)が成立した場合には、その後、所定回数(例えば、5回)の遊技が実行されるまでの期間は、上述の演出実行契機の遊技役が成立した場合に高い確率(例えば、「7/8」)でバックランプ演出等を実行するようにすることも例として挙げられる。
また、ART中において、アシスト演出の実行可能回数が多い場合(例えば、20回以上の場合)には、上述の演出実行契機の遊技役が成立した場合にバックランプ演出等を実行するが、アシスト演出の実行可能回数が少ない場合(例えば、19回以下の場合)には、上述の演出実行契機の遊技役が成立した場合でもバックランプ演出等を実行しないようにすることも例として挙げられる。さらに、一度バックランプ演出等を実行した場合には、その後、所定回数(例えば、非RT遊技状態では5回、RT1遊技状態では10回)の遊技が実行されるまでの期間は、上述の演出実行契機の遊技役が成立した場合でもバックランプ演出等を実行しないようにすることも例として挙げられる。
また、上述のアシスト演出が実行されたか否かによって、バックランプ演出等を実行するか否かを決めるようにしてもよい。例えば、上記RT1遊技状態(ボーナス内部中)において、上述の押し順リプレイBに対応した役決定結果B3が選出された場合には、抽選によりアシスト演出(押し順ナビ演出B)を実行するか否かを決定するように構成し、押し順ナビ演出Bの実行により赤7揃いRP(再遊技役7)が成立した場合には、バックランプ演出Bを実行するが、押し順ナビ演出Bを実行しなかった場合には、赤7揃いRPが成立した場合であってもバックランプ演出Bを実行しないようにすることが例として挙げられる。
また、上述の各実施形態では、自動ベット処理凍結期間(第1の自動ベット処理凍結期間及び第2の自動ベット処理凍結期間)が設定されたこと、あるいは設定されなかったことを示す情報(以下、適宜「自動ベット処理凍結期間設定情報」と称する)は、主制御手段100から副制御手段200に送信されるようには構成されていないが、このような自動ベット処理凍結期間設定情報を送信するように構成してもよい。この場合、自動ベット処理凍結期間設定情報に基づき、自動ベット処理凍結期間が設定されたか否かに応じて、バックランプ演出等を実行するか否かを決めるようにしてもよい。
例えば、自動ベット処理凍結期間が設定された場合には、バックランプ演出等を実行するが、自動ベット処理凍結期間が設定されなかった場合には、上述の演出実行契機の遊技役が成立した場合でもバックランプ演出等を実行しないようにすることが挙げられる。また、自動ベット処理凍結期間が設定された場合でも、抽選によってバックランプ演出等を実行するか否かを決めるようにしてもよい。この場合、RT遊技状態に応じて抽選確率を変えるようにしてもよい。例えば、非RT遊技状態においては、自動ベット処理凍結期間が設定された場合に「1/3」の確率でバックランプ演出等を実行し、RT1遊技状態(ボーナス内部中)においては、自動ベット処理凍結期間が設定された場合に「1/2」の確率でバックランプ演出等を実行するようにすることが挙げられる。
また、各RT遊技状態において抽選される遊技役の設定や、当選確率等は適宜変更することが可能である。例えば、上記各実施形態では、特別役と小役、あるいは特別役と再遊技役が重複当選するような役決定結果は設定されていないが、このような役決定結果を設定するようにしてもよい。例えば、チャンスRPのみが当選役として選出される上述の役決定結果B6の他に、チャンスRPとMB役が重複当選するような役決定結果を設定することが挙げられる。
また、上記各実施形態では、非RT遊技状態及びRT2遊技状態においては、特定RP(再遊技役2〜21)の抽選が行われないように構成されているが、非RT遊技状態及びRT2遊技状態において特定RPの抽選を行うようにしてもよい。例えば、非RT遊技状態及びRT2遊技状態において、上述の役決定結果B6が選出されるようにして、チャンスRPが当選するようにすることが挙げられる。この場合、RT1遊技状態においてチャンスRPが当選した場合には、上記バックランプ演出等を実行するが、非RT遊技状態及びRT2遊技状態においてチャンスRPが当選した場合には、バックランプ演出等を実行しないようにしてもよい。
また、上述の各実施形態では、RT1遊技状態において役決定結果D2(図12参照)が選出された場合、押し順チェリーが設定され、その際に中右第一押し順が実行され、左リール(リール3a)において図柄「チェリー」を引き込めた場合には、中段チェリーである小役4が成立するようになっている。この中段チェリーは、ATが設定されて上述のアシスト演出(目押し図柄指示演出)が行われる場合には容易に成立させることができるが、アシスト演出が行われない場合でも中右第一押し順でリール停止操作を行うことで比較的容易に成立させることが可能となっている。そこで、ATが設定されていない場合(
アシスト演出が行われない場合)において、左第一押し順以外の押し順によるリール停止操作がなされた場合には、その後、数回(例えば、10回)の遊技が行われるまでの期間は、チャンスゾーン設定の契機となる役決定結果D1〜D4が当選した場合であっても、チャンスゾーン設定抽選を行わないようにするなどのペナルティを課すように設定し、これにより、ATが設定されていない場合において、左第一押し順以外の押し順によるリール停止操作がなされることを抑制するようにしてもよい。
また、上述の各実施形態において設定されている押し順リプレイは、何れも最初のリール停止操作の順序(第1押し順)によって正解押し順であるか否かが決まる3択押し順とされているが、第1押し順だけではなく第2押し順も正解でなければ正解押し順が確定しないような5択押し順や6択押し順のものを設定するようにしてもよい。また、上述の押し順リプレイとしては、正解押し順であれば、必ず正解押し順に対応した再遊技役が成立するもの(上記押し順リプレイA,D,E)と、正解押し順であっても、目押しにより所定のタイミングでリール停止操作を行わなければ、所定位置に停止表示させることができないような図柄(以下、適宜「目押し図柄」と称する)を対応図柄とする再遊技役(以下、適宜「目押し型再遊技役」と称する)を成立させることができないもの(上記押し順リプレイB,C)とがあるが、これらのうち何れか一方の押し順リプレイのみを設定するようにしてもよい。
また、上述の第2実施形態では、図57に示すように、遅延信号の信号レベルが「0」から「1」に切り替わった時点が役決定開始時機とされ、この時点で乱数がラッチされるようになっているが、開始操作受付処理において、遅延信号の立上りフラグがONであると認識された時点を役決定開始時機として、この時点で乱数がラッチされるようにしてもよい。この場合には、上述の第3実施形態のように、乱数ラッチのタイミングをメインCPU61(図2参照)から出力される読込信号により調整することが考えられる。
また、上述の第3実施形態では、キャンセル時機の導出後、所定期間、スタート信号の信号レベルが「1」に維持され続けることが役決定開始時機を導出するための必要条件とされているが、キャンセル時機の導出後の所定期間におけるスタート信号の信号レベルが所定の条件を満たす場合には、役決定開始時機が導出されるようにしてもよい。例えば、所定期間において、スタート信号の信号レベルが数回程度「0」となったことが検出されても、他の検出時点では、スタート信号の信号レベルが「1」であった場合には、役決定開始時機が導出されるようにすることが挙げられる。
また、上述の各実施形態では、遊技役が成立したことを契機としてバックランプ演出が行われるようになっているが、特定の遊技役(例えば、特別役やART遊技への移行契機とされるような遊技役)の当選の有無や当選の期待度を示すために(例えば、バックランプ演出が実行される場合には、当選している確率が高い)、バックランプ演出を行うようにしてもよい。
また、バックランプ演出の態様としては、例えば、有効ライン上に再遊技役の対応図柄が並び、他のライン上に小役等の対応図柄が並ぶような場合に、当該他のライン上に並ぶ図柄組合せと有効ライン上に並ぶ図柄組合せとを共に照明したり、他のライン上に並ぶ図柄組合せのみを照明したりする態様とすることも可能である。また、表示される図柄やラインに対応させて、照明される部分が所定の形状を構成する(例えば、照明される部分が円状や十字状となる)ように照明することや、所定の照明パターン(例えば、遊技者から視認されるリール領域の全体が点滅を繰り返するようなパターン等)で照明すること、あるいは有彩色のバックランプを用いてバックランプ演出を行う(演出終了後は、白色のバックランプによる全点灯状態に切り替える)ことも可能である。また、バックランプ演出の開始後、一定時間が経過した場合には、バックランプ演出を終了させて別の演出を行う
ようにしたり、精算処理が行われた場合には、バックランプ演出を終了させて、画像表示装置11の表示画面11a(図1参照)を待機画面(客待ち用のデモンストレーション画面)に切り替えたりすることも可能である。
また、上述の各実施形態では、特に設定されていないが、遊技者にとって有利な状態であることを示唆するために、遊技の進行を所定期間一時停止状態にする演出(以下「フリーズ演出」と称する)を実行する期間(遊技の進行が一定の時間凍結状態とされる遊技進行凍結期間に相当する)を設定するようにしてもよい。フリーズ演出としては、例えば、遊技媒体(遊技メダル)の受付け、または予めクレジット(貯留)された遊技媒体の賭け数(ベット数)を決めるためのベットスイッチ(1−BETスイッチ22またはMAX−BETスイッチ23)の操作の受付けを一時停止状態にすることも考えられるし、リールの停止操作(ストップスイッチ3a,3b,3cの操作)の受付けを一時停止状態にすることも考えられる。
そして、フリーズ演出として、全ての機能を一時停止状態にしてもよいし、一部の機能に関してのみ一時停止状態にしてもよい。ここで、遊技の進行を一時停止状態にする機能としては、遊技者の操作に基づく制御処理(例えば、遊技媒体の投入を感知するセンサ、ベットスイッチからの信号に基づく賭け枚数設定処理、スタートスイッチ(スタートレバー25)またはリール停止スイッチ(ストップスイッチ3a,3b,3c)の操作に基づいて送信される信号によるリールの回転開始または停止処理)を行わないことが考えられる。
この場合、所定期間に遊技者の操作に基づいて送信された信号を受け付けないことも考えられるし、所定期間に遊技者の操作に基づいて送信された信号は受け付けるが、受け付けた信号に基づく制御処理は行わないことも考えられるし、所定期間に遊技者の操作に基づいて信号を送信しないことも考えられる。
なお、所定期間に遊技者の操作に基づいて送信された信号を受け付けたときに関して、所定期間では、受け付けた信号に基づいて行う操作手段の制御処理を行わずに、所定期間を経過した後に、受け付けた信号に基づいた制御処理を行うことも考えられる。この場合、所定期間に全ての制御処理を行わずに、所定期間の経過後に一斉に制御処理を行うことも考えられるし、所定期間に一の制御処理を行うが他の制御処理は行わずに、所定期間の経過後に他の制御処理を行うことも考えられる。
また、スタートスイッチの操作に基づいて行われるフリーズ演出に関しては、スタートスイッチが操作されても、所定期間はリールの回転を行わずに、所定期間の経過後にリールの回転を行う場合や、スタートスイッチが操作されても、所定期間は役抽選とリールの回転を行わずに、所定期間の経過後に役抽選とリールの回転を行う場合や、スタートスイッチが操作されたときに、所定期間は役抽選を行うがリールの回転は行わずに、所定期間の経過後にリールの回転を行う場合を例示することができる。
また、ストップスイッチの操作に基づいて行われるフリーズ演出に関しては、ストップスイッチの操作の受付けに基づいて行われるフリーズ演出と、ストップスイッチの操作の結果、特定の停止態様が表示されたことに基づいて行われるフリーズ演出とにおいて、フリーズ演出の制御処理が異なる。
まず、ストップスイッチの操作に基づいて行われるフリーズ演出の制御処理では、回転しているリールの停止制御処理を行わないことが考えられる。
一方、ストップスイッチの操作の結果、特定の停止態様が表示されたことに基づいて行
われるフリーズ演出の制御処理では、最後のストップスイッチ以外のストップスイッチの操作であったときは、次に操作されるストップスイッチに基づく停止制御を行わないことが考えられ、最後のストップスイッチの操作であったときは、次の遊技を開始するベットスイッチからの信号に基づく賭け数設定処理、遊技媒体の投入を感知するセンサ、または再遊技を決定したときに行う自動賭け数設定処理(自動ベット処理)に基づく制御処理を行わないことが考えられる。
また、フリーズ演出を行う所定期間においては、ストップスイッチの操作に基づく制御処理は行わないが、リールの回転の態様は任意に設定することができる。ここで、所定期間におけるリールの回転の態様として、リールを通常回転とは逆方向に回転させること、リールを所定図柄数回転させてから停止させること、複数のリールのうち所定のリールのみ停止状態にして他のリールは回転させること、リールの回転速度を変化させること、または遊技者の操作に起因してリールの動作を変化させることが挙げられる。
また、フリーズ演出を行う所定期間においては、所定の条件を満たすことで変化させることも可能である。ここで、所定の条件とは、遊技者による操作(スタートスイッチ、ベットスイッチ、ストップスイッチ、精算スイッチ(貯留メダル精算スイッチ24))に基づく信号の検出や抽選による所定の結果が挙げられる。また、変化とは所定期間を短くすることや長くすることが挙げられる。
ここで、所定期間を短くする制御処理として、所定期間を強制終了すること、または所定期間よりも短い期間に置き換えることが考えられる。そして、所定期間を長くする御処理として、所定期間の後に他の期間を追加すること、または所定期間よりも長い期間に置き換えることが考えられる。
また、フリーズ演出を行う所定期間の設定手法においては、ウエイト期間(ウエイト時間)の経過後に設定してもよいし、ウエイト期間を含んで設定してもよい。ウエイト期間を含んだ場合は、ウエイト期間中にフリーズ演出が終了するか否かを判断して、終了する場合は、ウエイト期間後にフリーズ演出期間を設定する態様やフリーズ演出終了後に残りのウエイト期間を再開する態様が考えられる。あるいは、予めウエイト期間よりも長い期間のフリーズ演出期間を備えることで、このような判断処理を省略することも可能である。
また、上述のようなフリーズ演出期間が設定される確率が異なる複数の遊技状態(RT遊技状態とは別の遊技状態)を備えるようにしてもよい。この場合、フリーズ演出期間の設定確率が異なる複数の遊技状態の間で遊技状態を設定する遊技状態設定手段を設け、この遊技状態設定手段により設定された遊技状態に応じて自動ベット処理凍結期間の設定の有無やバックランプ演出等の実行の有無を決定するように構成してもよい。例えば、自動ベット処理凍結期間の設定確率が高い遊技状態では、自動ベット処理凍結期間が設定される確率を低くし、自動ベット処理凍結期間の設定確率が低い遊技状態では、自動ベット処理凍結期間が設定される確率を高くすることが一例として挙げられる。
また、所定の開始条件や終了条件が異なる複数の遊技状態(RT遊技状態とは別の遊技状態)を備えるようにして、これら複数の遊技状態のうちどの遊技状態に設定されているのかに応じて、自動ベット処理凍結期間の設定の有無やバックランプ演出等の実行の有無を決定するように構成してもよい。
また、上述の各実施形態では、遊技者に付与される特典が、RT1遊技状態中に行われるアシスト演出の実行可能回数の上乗せとされているが、他の態様の特典を付与するようにしてもよい。例えば、RT2遊技状態(ボーナス)中においても押し順対応の役決定結
果が選出されるような場合に、RT2遊技状態中において押し順ナビ演出が実行されることを、特典とすることなどが挙げられる。
また、上述の各実施形態においては、ナビ権が設定される契機となるのが、RT1遊技状態(ボーナス内部中)において付与された全サービスポイントの合計値が到達目標値に達することとされているが、所定の役決定結果が選出されたことや、所定の小役が成立することを、ナビ権の設定契機としてもよい。例えば、スイカ当選(役決定結果D4の選出)を契機として、ナビ権を設定するか否かを決定する抽選(ナビ権設定抽選)を行い、このナビ権設定抽選において、ナビ権を設定するという決定がなされた場合には、それまでに付与されたサービスポイント値に関わらずにナビ権を設定し、次遊技からATを設定するようにすることが挙げられる。この場合、それまでに付与されたサービスポイントは、持ち越すようにしてもよいし、クリアするようにしてもよい。
また、AT設定後のRT1遊技状態中において、赤7揃いRPを当選役に含む役決定結果B3が選出された場合に、上述のアシスト可能回数上乗せ抽選が行われるように設定してもよい。この場合、AT設定後のRT1遊技状態において実行される上述の押し順ナビ演出B(役決定結果B3または役決定結果B4が選出された場合に実行される)により、アシスト可能回数が上乗せされるかもしれないという期待感(赤7揃いRPが成立した場合は上乗せ確定としてもよい)を遊技者に持たせることが可能となる。
また、上述の各実施形態においては、上述の押し順リプレイDに対応した役決定結果B7や押し順リプレイEに対応した役決定結果B8が選出された場合には、必ず上述の押し順ナビ演出Aを実行するようにしているが、所定の割合(例えば、50%)で押し順ナビ演出を実行するとともに、上述のチャンスRP(小役18〜21)が成立した場合に上述のアシスト可能回数上乗せ抽選を行うようにしてもよい。その場合には、押し順によらず必ずチャンスRPが成立する役決定結果B6が選出された場合には常にアシスト可能回数上乗せ抽選が行われ、役決定結果B7,B8が選出された場合には正解押し順が所定割合で報知されチャンスRPが成立するとアシスト可能回数上乗せ抽選が行われることになる。
また、AT設定後のRT1遊技状態中(ART中)において役決定結果B2が選出されたときには、上述の押し順リプレイAにおける不正解押し順を報知する演出を行うようにしてもよい。その場合、ART中において役決定結果B2が選出されたときには、必ず不正解押し順を報知する演出を行うように構成してもよいし、ART中において役決定結果B2が選出されたときに、正解押し順を報知する演出を行うのか、不正解押し順を報知する演出を行うのかを抽選等により選択するように構成し、その際、不正解押し順を報知する演出が選択される確率の方が、正解押し順を報知する演出が選択される確率よりも高くなるように構成してもよい。これにより、ART中に役決定結果B2が選出されても、ベルRPが成立して自動ベット処理凍結期間が設定されることは抑制することができるので、ART中の遊技をスムーズに進行させることが可能となる。
また、画像表示装置11の表示画面11a上において、クレジット数(クレジットされた遊技メダルの枚数)や、払出枚数(払い出される遊技メダルの枚数)、あるいは所定の遊技期間(例えば、ART中やボーナス中)における獲得枚数(獲得された遊技メダルの枚数)を表示するようにし、これらの表示数の管理を、副制御手段200(副制御基板70)側において行うようにしてもよい。この場合、特定RPが成立した場合には、これらのクレジット数、払出枚数及び獲得枚数の表示数を疑似的に変化させるような演出を行う(通常RPが成立した場合は行わない)ようにすることが可能である。例えば、ベルRPやスイカ揃いRPが成立した場合には、次の遊技において自動ベットされる遊技メダルの枚数(今回の遊技においてベットされた遊技メダルの枚数と同じ枚数)だけ、クレジット
数や払出枚数の表示数を一旦増加させ、自動ベット処理が行われた後に、増加させた数値分だけ表示数を減少させる(元の表示数に戻す)演出を行うことが考えられる。同様に、所定の遊技期間においてベルRPやスイカ揃いRPが成立した場合には、次回の遊技において自動ベットされる遊技メダルの枚数だけ獲得枚数の表示数を一旦増加させ、自動ベット処理が行われた後に、増加させた数値分だけ表示数を減少させる(元の表示数に戻す)演出を行うようにしてもよい。
また、上述した実施形態や変更態様における各構成は、適宜組み合わせて用いることが可能である。
1 スロットマシン
3a,3b,3c リール
25 スタートレバー
26a,26b,26c ストップスイッチ
60 主制御基板
70 副制御基板
83 設定鍵型スイッチ
84 設定変更スイッチ
100 主制御手段
101 役決定手段
102 リール制御手段
103 設定変更手段
104 RT遊技状態制御手段
105 ベット管理手段
106 遊技操作処理時機導出手段
107 停止表示図柄判定手段
108 ブロッカ制御手段
109 自動ベット実行時機制御手段
110 表示ランプ制御手段
111 役決定処理開始禁止手段
118 メイン情報記憶手段
119 情報送信手段
200 副制御手段
201 AT設定手段
202 演出実行制御手段
203 特典付与選択手段
208 サブ情報記憶手段
209 情報受信手段

Claims (2)

  1. 数のリールと
    役決定結果を選出する役決定手段と、
    前記複数のリールの駆動を制御するリール制御手段と、
    所定の役決定結果に対応し遊技媒体の付与が規定された所定の図柄組合せの停止表示に係る所定のアシスト情報を遊技者に報知するアシスト演出の実行が許可されるアシスト遊技状態と許可されない非アシスト遊技状態との設定を制御するアシスト遊技状態設定制御手段と、
    前記アシスト遊技状態中における所定条件の充足を契機として前記アシスト遊技状態の設定期間の延長に係る上乗せ数を決定可能とする特典付与手段と、
    前記特典付与手段により決定された上乗せ数に基づく上乗せ報知演出を実行する演出実行制御手段と、を備えたスロットマシンであって
    特定の役決定結果が選出されたときは、前記複数リールを停止させるための停止操作態様に応じて、再遊技の付与が規定された第1の図柄組合せが停止表示される場合と再遊技の付与が規定された第2の図柄組合せが停止表示される場合を有し、
    前記所定条件が充足される場合として、前記特定の役決定結果が選出される場合を有し、
    前記アシスト遊技状態中においては、前記上乗せ報知演出の実行が規制される演出実行規制期間と規制されない演出実行可能期間とを有するように構成され、
    前記演出実行制御手段は、
    前記演出実行可能期間中に前記特定の役決定結果が選出されて前記所定条件が充足され、上乗せ数が決定された遊技では、前記第1の図柄組合せを停止表示可能とする停止操作態様を報知するとともに、前記上乗せ報知演出を実行可能とし、
    前記演出実行規制期間中に前記特定の役決定結果が選出されて前記所定条件が充足され、上乗せ数が決定された遊技では、前記第2の図柄組合せを停止表示可能とする停止操作態様を報知するとともに、前記上乗せ報知演出を前記演出実行規制期間中は実行しないように構成されている、ことを特徴とするスロットマシン。
  2. 複数のリールと、
    役決定結果を選出する役決定手段と、
    前記複数のリールの駆動を制御するリール制御手段と、
    所定の役決定結果に対応し遊技媒体の付与が規定された所定の図柄組合せの停止表示に係る所定のアシスト情報を遊技者に報知するアシスト演出の実行が許可されるアシスト遊技状態と許可されない非アシスト遊技状態との設定を制御するアシスト遊技状態設定制御手段と、
    前記アシスト遊技状態中における所定条件の充足を契機として前記アシスト遊技状態の設定期間の延長に係る上乗せ数を決定可能とする特典付与手段と、
    前記特典付与手段により決定された上乗せ数に基づく上乗せ報知演出を実行する演出実行制御手段と、を備えたスロットマシンであって、
    特定の役決定結果が選出されたときは、前記複数リールを停止させるための停止操作態様に応じて、再遊技の付与が規定された第1の図柄組合せが停止表示される場合と再遊技の付与が規定された第2の図柄組合せが停止表示される場合を有し、
    前記所定条件が充足される場合として、前記特定の役決定結果が選出される場合を有し、
    前記アシスト遊技状態中においては、前記上乗せ報知演出の実行が規制される演出実行規制期間と規制されない演出実行可能期間とを有するように構成され、
    前記演出実行制御手段は、
    前記演出実行可能期間中に前記特定の役決定結果が選出されて前記所定条件が充足され、上乗せ数が決定された遊技では、前記第1の図柄組合せを停止表示可能とする停止操作態様を報知し、前記上乗せ数が決定された遊技以降の所定のタイミングで前記上乗せ報知演出を実行可能とし、
    前記演出実行規制期間中に前記特定の役決定結果が選出されて前記所定条件が充足され、上乗せ数が決定された遊技では、前記第2の図柄組合せを停止表示可能とする停止操作態様を報知するとともに、前記上乗せ報知演出を前記演出実行規制期間中は実行しないように構成されている、ことを特徴とするスロットマシン。
JP2016148668A 2016-07-28 2016-07-28 スロットマシン Active JP6341237B2 (ja)

Priority Applications (1)

Application Number Priority Date Filing Date Title
JP2016148668A JP6341237B2 (ja) 2016-07-28 2016-07-28 スロットマシン

Applications Claiming Priority (1)

Application Number Priority Date Filing Date Title
JP2016148668A JP6341237B2 (ja) 2016-07-28 2016-07-28 スロットマシン

Related Parent Applications (1)

Application Number Title Priority Date Filing Date
JP2013041229A Division JP5988303B2 (ja) 2013-03-01 2013-03-01 スロットマシン

Related Child Applications (2)

Application Number Title Priority Date Filing Date
JP2017195579A Division JP6330962B2 (ja) 2017-10-06 2017-10-06 スロットマシン
JP2018094745A Division JP6516044B2 (ja) 2018-05-16 2018-05-16 スロットマシン

Publications (2)

Publication Number Publication Date
JP2016182510A JP2016182510A (ja) 2016-10-20
JP6341237B2 true JP6341237B2 (ja) 2018-06-13

Family

ID=57242230

Family Applications (1)

Application Number Title Priority Date Filing Date
JP2016148668A Active JP6341237B2 (ja) 2016-07-28 2016-07-28 スロットマシン

Country Status (1)

Country Link
JP (1) JP6341237B2 (ja)

Cited By (1)

* Cited by examiner, † Cited by third party
Publication number Priority date Publication date Assignee Title
JP2018126600A (ja) * 2018-05-16 2018-08-16 サミー株式会社 スロットマシン

Families Citing this family (1)

* Cited by examiner, † Cited by third party
Publication number Priority date Publication date Assignee Title
JP2018117772A (ja) * 2017-01-24 2018-08-02 株式会社オリンピア 遊技機

Family Cites Families (3)

* Cited by examiner, † Cited by third party
Publication number Priority date Publication date Assignee Title
JP5383612B2 (ja) * 2010-08-31 2014-01-08 株式会社藤商事 回胴式遊技機
JP5628718B2 (ja) * 2011-03-17 2014-11-19 株式会社ニューギン 遊技機
JP5871239B2 (ja) * 2013-03-01 2016-03-01 サミー株式会社 スロットマシン

Cited By (1)

* Cited by examiner, † Cited by third party
Publication number Priority date Publication date Assignee Title
JP2018126600A (ja) * 2018-05-16 2018-08-16 サミー株式会社 スロットマシン

Also Published As

Publication number Publication date
JP2016182510A (ja) 2016-10-20

Similar Documents

Publication Publication Date Title
JP5871239B2 (ja) スロットマシン
JP5700586B2 (ja) スロットマシン
JP5704658B2 (ja) スロットマシン
JP5988303B2 (ja) スロットマシン
JP5339315B1 (ja) スロットマシン
JP5892659B2 (ja) スロットマシン
JP5665059B2 (ja) スロットマシン
JP5907507B2 (ja) スロットマシン
JP5991716B2 (ja) スロットマシン
JP6221248B2 (ja) スロットマシン
JP6182982B2 (ja) スロットマシン
JP5354630B1 (ja) スロットマシン
JP2014151020A (ja) スロットマシン
JP2013244086A (ja) スロットマシン
JP6516044B2 (ja) スロットマシン
JP6182981B2 (ja) スロットマシン
JP6341237B2 (ja) スロットマシン
JP5441076B2 (ja) スロットマシン
JP6330962B2 (ja) スロットマシン
JP6152862B2 (ja) スロットマシン
JP2014000395A (ja) スロットマシン
JP6906016B2 (ja) 遊技機
JP2017189651A (ja) スロットマシン
JP6923857B2 (ja) 遊技機
JP2013244400A (ja) スロットマシン

Legal Events

Date Code Title Description
A621 Written request for application examination

Free format text: JAPANESE INTERMEDIATE CODE: A621

Effective date: 20160801

A131 Notification of reasons for refusal

Free format text: JAPANESE INTERMEDIATE CODE: A131

Effective date: 20170905

A521 Request for written amendment filed

Free format text: JAPANESE INTERMEDIATE CODE: A523

Effective date: 20171101

TRDD Decision of grant or rejection written
A01 Written decision to grant a patent or to grant a registration (utility model)

Free format text: JAPANESE INTERMEDIATE CODE: A01

Effective date: 20180417

A61 First payment of annual fees (during grant procedure)

Free format text: JAPANESE INTERMEDIATE CODE: A61

Effective date: 20180430

R150 Certificate of patent or registration of utility model

Ref document number: 6341237

Country of ref document: JP

Free format text: JAPANESE INTERMEDIATE CODE: R150

R250 Receipt of annual fees

Free format text: JAPANESE INTERMEDIATE CODE: R250

R250 Receipt of annual fees

Free format text: JAPANESE INTERMEDIATE CODE: R250

R250 Receipt of annual fees

Free format text: JAPANESE INTERMEDIATE CODE: R250

R250 Receipt of annual fees

Free format text: JAPANESE INTERMEDIATE CODE: R250

R250 Receipt of annual fees

Free format text: JAPANESE INTERMEDIATE CODE: R250