JP6234600B2 - タービン - Google Patents
タービン Download PDFInfo
- Publication number
- JP6234600B2 JP6234600B2 JP2016551404A JP2016551404A JP6234600B2 JP 6234600 B2 JP6234600 B2 JP 6234600B2 JP 2016551404 A JP2016551404 A JP 2016551404A JP 2016551404 A JP2016551404 A JP 2016551404A JP 6234600 B2 JP6234600 B2 JP 6234600B2
- Authority
- JP
- Japan
- Prior art keywords
- hub
- shroud
- side edge
- axis
- arc
- Prior art date
- Legal status (The legal status is an assumption and is not a legal conclusion. Google has not performed a legal analysis and makes no representation as to the accuracy of the status listed.)
- Active
Links
- 238000011144 upstream manufacturing Methods 0.000 claims description 88
- 230000002093 peripheral effect Effects 0.000 claims description 16
- 239000012530 fluid Substances 0.000 description 14
- 230000007423 decrease Effects 0.000 description 8
- 239000003921 oil Substances 0.000 description 7
- 230000014509 gene expression Effects 0.000 description 4
- 230000000694 effects Effects 0.000 description 3
- 238000002485 combustion reaction Methods 0.000 description 2
- 239000000470 constituent Substances 0.000 description 2
- 230000008878 coupling Effects 0.000 description 2
- 238000010168 coupling process Methods 0.000 description 2
- 238000005859 coupling reaction Methods 0.000 description 2
- 239000010687 lubricating oil Substances 0.000 description 2
- 230000003247 decreasing effect Effects 0.000 description 1
- 238000010586 diagram Methods 0.000 description 1
- 238000006073 displacement reaction Methods 0.000 description 1
- 239000000463 material Substances 0.000 description 1
Images
Classifications
-
- F—MECHANICAL ENGINEERING; LIGHTING; HEATING; WEAPONS; BLASTING
- F01—MACHINES OR ENGINES IN GENERAL; ENGINE PLANTS IN GENERAL; STEAM ENGINES
- F01D—NON-POSITIVE DISPLACEMENT MACHINES OR ENGINES, e.g. STEAM TURBINES
- F01D5/00—Blades; Blade-carrying members; Heating, heat-insulating, cooling or antivibration means on the blades or the members
- F01D5/02—Blade-carrying members, e.g. rotors
- F01D5/04—Blade-carrying members, e.g. rotors for radial-flow machines or engines
-
- F—MECHANICAL ENGINEERING; LIGHTING; HEATING; WEAPONS; BLASTING
- F01—MACHINES OR ENGINES IN GENERAL; ENGINE PLANTS IN GENERAL; STEAM ENGINES
- F01D—NON-POSITIVE DISPLACEMENT MACHINES OR ENGINES, e.g. STEAM TURBINES
- F01D11/00—Preventing or minimising internal leakage of working-fluid, e.g. between stages
- F01D11/08—Preventing or minimising internal leakage of working-fluid, e.g. between stages for sealing space between rotor blade tips and stator
-
- F—MECHANICAL ENGINEERING; LIGHTING; HEATING; WEAPONS; BLASTING
- F01—MACHINES OR ENGINES IN GENERAL; ENGINE PLANTS IN GENERAL; STEAM ENGINES
- F01D—NON-POSITIVE DISPLACEMENT MACHINES OR ENGINES, e.g. STEAM TURBINES
- F01D5/00—Blades; Blade-carrying members; Heating, heat-insulating, cooling or antivibration means on the blades or the members
- F01D5/12—Blades
- F01D5/14—Form or construction
-
- F—MECHANICAL ENGINEERING; LIGHTING; HEATING; WEAPONS; BLASTING
- F01—MACHINES OR ENGINES IN GENERAL; ENGINE PLANTS IN GENERAL; STEAM ENGINES
- F01D—NON-POSITIVE DISPLACEMENT MACHINES OR ENGINES, e.g. STEAM TURBINES
- F01D5/00—Blades; Blade-carrying members; Heating, heat-insulating, cooling or antivibration means on the blades or the members
- F01D5/12—Blades
- F01D5/14—Form or construction
- F01D5/141—Shape, i.e. outer, aerodynamic form
- F01D5/142—Shape, i.e. outer, aerodynamic form of the blades of successive rotor or stator blade-rows
- F01D5/143—Contour of the outer or inner working fluid flow path wall, i.e. shroud or hub contour
-
- F—MECHANICAL ENGINEERING; LIGHTING; HEATING; WEAPONS; BLASTING
- F04—POSITIVE - DISPLACEMENT MACHINES FOR LIQUIDS; PUMPS FOR LIQUIDS OR ELASTIC FLUIDS
- F04D—NON-POSITIVE-DISPLACEMENT PUMPS
- F04D29/00—Details, component parts, or accessories
- F04D29/40—Casings; Connections of working fluid
- F04D29/52—Casings; Connections of working fluid for axial pumps
- F04D29/522—Casings; Connections of working fluid for axial pumps especially adapted for elastic fluid pumps
- F04D29/526—Details of the casing section radially opposing blade tips
-
- F—MECHANICAL ENGINEERING; LIGHTING; HEATING; WEAPONS; BLASTING
- F05—INDEXING SCHEMES RELATING TO ENGINES OR PUMPS IN VARIOUS SUBCLASSES OF CLASSES F01-F04
- F05D—INDEXING SCHEME FOR ASPECTS RELATING TO NON-POSITIVE-DISPLACEMENT MACHINES OR ENGINES, GAS-TURBINES OR JET-PROPULSION PLANTS
- F05D2220/00—Application
- F05D2220/40—Application in turbochargers
Landscapes
- Engineering & Computer Science (AREA)
- Mechanical Engineering (AREA)
- General Engineering & Computer Science (AREA)
- Physics & Mathematics (AREA)
- Fluid Mechanics (AREA)
- Supercharger (AREA)
- Structures Of Non-Positive Displacement Pumps (AREA)
- Turbine Rotor Nozzle Sealing (AREA)
Description
クリアランスフローは、タービンで発生する損失の中で大きな割合を占めている。クリアランスフローを低減するために、ブレード側縁とシュラウド面の隙間を狭小にすることも考えられるが、軸振動やタービン動翼の熱伸びにより、ブレード側縁がシュラウド面に接触するリスクがあり、隙間を0にすることはできない。
また、軸流タービンのように、タービン動翼をシュラウドリングで覆うことも考えられるが、高速域でも運転されるタービンでは、シュラウドリングの質量増加による遠心応力が問題となる。
(1)本発明の少なくとも一実施形態に係るタービンは、
入口、出口、及び、前記入口と前記出口との間を延びるシュラウド面を有するシュラウド部を含む、ハウジングと、
前記ハウジングに収容され、ハブ、及び、該ハブの外周面に設けられ、前記シュラウド面に沿って延びる側縁をそれぞれ有する複数のブレードを含むタービン動翼と、
を備えるタービンであって、
前記ブレードの側縁は、
前記入口側に配置される側縁上流部と、
前記出口側に配置される側縁下流部とを有し、
前記シュラウド面は、
前記入口側に配置され、前記側縁上流部に沿うシュラウド上流部と、
前記出口側に配置され、前記側縁下流部に沿うシュラウド下流部とを有し、
前記シュラウド上流部は、シュラウド上流部が円弧形状の子午断面形状を有し且つシュラウド下流部が前記ハブの軸線方向に沿う直線形状の子午断面形状を有する場合よりも、前記入口側での前記ハブの軸線に対する傾斜角度が小である子午断面形状を有する。
前記シュラウド上流部は、前記ハブの軸線から前記入口までの径方向距離をR1、前記ハブの軸線から前記出口までの径方向距離をR2t、前記ハブの軸線方向での前記シュラウド面の長さをLsとした場合に、数式1で定義される曲率半径Rを有する子午断面形状を有する。
前記シュラウド下流部は、円弧形状の子午断面形状を有する円弧部からなる。
上記(3)の構成によれば、シュラウド下流部が円弧部からなることで、ハブの軸線に対するシュラウド下流部の傾斜角度を出口に向けて徐々に小さくすることができる。
前記円弧部は、真円弧形状の子午断面形状を有する。
上記(4)の構成によれば、円弧部が真円弧形状の子午断面形状を有するので、ハブの軸線に対するシュラウド下流部の傾斜角度を、出口に向けて徐々に小さくすることができる。
前記円弧部は、楕円弧形状の子午断面形状を有する。
上記(5)の構成によれば、円弧部が楕円弧形状の子午断面形状を有するので、ハブの軸線に対するシュラウド下流部の傾斜角度を出口に向けて徐々に小さくすることができる。
前記円弧部の曲率中心は、前記出口を通り且つ前記ハブの軸線方向と直交する直線上又は該直線よりも前記ハブの軸線方向にて下流に位置付けられている。
上記(6)の構成によれば、シュラウド面のハブの軸線に対する傾斜角度を0度以上にすることができる。
前記シュラウド上流部は、直線形状の子午断面形状を有する直線部からなる。
上記(7)の構成によれば、シュラウド上流部が直線部を有することで、ハブの軸線に対するシュラウド上流部の傾斜角度を一定にすることができる。
前記ハブの軸線に対する前記シュラウド下流部の子午断面での傾斜角度は、前記出口において0度である。
上記(8)の構成によれば、出口においてシュラウド面の傾斜角度が0度であるので、出口から流体をスムースに排出することができる。
前記シュラウド下流部は、前記ハブの軸線に対して傾斜した直線形状の子午断面形状を有する直線部からなる。
上記(10)の構成によれば、シュラウド下流部が直線部からなることで、ハブの軸線に対するシュラウド下流部の傾斜角度を一定にすることができる。
前記シュラウド面は、前記入口と前記出口を結ぶ直線形状の子午断面形状を有する。
上記(10)の構成によれば、シュラウド面のハブ軸に対する傾斜角度を一定にすることができる。
前記シュラウド面は、前記ハブの軸線から前記入口までの径方向距離をR1、前記ハブの軸線から前記出口までの径方向距離をR2t、前記ハブの軸線方向での前記シュラウド面の長さをLsとした場合に、数式2で定義される曲率半径Rを有する円弧形状の子午断面形状を有する。
前記入口での前記シュラウド面の内径をD1とし、前記ハブの軸線方向での前記シュラウド面の長さをLSとした場合に、前記内径D1に対する前記長さLSの比率Ls/D1が0.16よりも大である。
内径D1に対する長さLsの比率Ls/D1が0.16以下である場合、流体から回転力を受けるブレードの面積が相対的に狭く、タービンの効率が低下してしまう。一方、比率Ls/D1が0.16よりも大である場合、ブレードの面積が相対的に広くなり、タービンの効率は向上するが、クリアランスフローが生じる領域が広くなり、クリアランスフローによる損失が大きくなる。
この点、上記(12)の構成によれば、比率Ls/D1が0.16よりも大であっても、クリアランスフローが低減されるので、タービンの効率を向上させながら、損失の増大を抑制することができる。
前記ハブの軸線から前記入口までの径方向距離をR1、前記ハブの軸線から前記出口までの径方向距離をR2tとした場合に、前記距離R1に対する前記距離R2tの比率が0.95以下である。
上記(13)の構成によれば、クリアランスフローの低減がタービンの効率向上に大きな効果を発揮する。
入口、出口、及び、前記入口と前記出口との間を延びるシュラウド面を有するシュラウド部を含む、ハウジングと、
前記ハウジングに収容され、ハブ、及び、該ハブの外周面に設けられ、前記シュラウド面に沿って延びる側縁をそれぞれ有する複数のブレードを含むタービン動翼と、
を備えるタービンであって、
前記ブレードの側縁は、
前記入口側に配置される側縁上流部と、
前記出口側に配置される側縁下流部とを有し、
前記シュラウド面は、円弧形状の子午断面形状を有する1つの円弧部からなり、
前記円弧部は、前記ハブの軸線から前記入口までの径方向距離をR1、前記ハブの軸線から前記出口までの径方向距離をR2t、前記ハブの軸線方向での前記シュラウド面の長さをLsとした場合に、数式3で定義される曲率半径Rを有する子午断面形状を有する。
入口、出口、及び、前記入口と前記出口との間を延びるシュラウド面を有するシュラウド部を含む、ハウジングと、
前記ハウジングに収容され、ハブ、及び、該ハブの外周面に設けられ、前記シュラウド面に沿って延びる側縁をそれぞれ有する複数のブレードを含むタービン動翼と、
を備えるタービンであって、
前記シュラウド面は、直線形状の子午断面形状を有する1つの直線部からなる。
例えば、「ある方向に」、「ある方向に沿って」、「平行」、「直交」、「中心」、「同心」或いは「同軸」等の相対的或いは絶対的な配置を表す表現は、厳密にそのような配置を表すのみならず、公差、若しくは、同じ機能が得られる程度の角度や距離をもって相対的に変位している状態も表すものとする。
また例えば、四角形状や円筒形状等の形状を表す表現は、幾何学的に厳密な意味での四角形状や円筒形状等の形状を表すのみならず、同じ効果が得られる範囲で、凹凸部や面取り部等を含む形状も表すものとする。
一方、一の構成要素を「備える」、「具える」、「具備する」、「含む」、又は、「有する」という表現は、他の構成要素の存在を除外する排他的な表現ではない。
図1に示すように、ターボチャージャ1は、タービン2と、遠心式のコンプレッサ3とを備えて構成される。
タービン2は、ハウジング(タービンハウジング)21と、タービンハウジング21内に回転可能に収容されるタービン動翼(タービンインペラ)22とを有し、コンプレッサ3は、ハウジング(コンプレッサハウジング)31と、コンプレッサハウジング31内に回転可能に収容されたインペラ(コンプレッサインペラ)32とを有する。
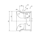
図2に示すように、タービンハウジング21の筒部23は、入口61、出口62、及び入口61と出口62との間を延びるシュラウド面6を有し、タービン動翼22は、ハブ221、及びハブ221の外周面に設けられ、シュラウド面6に沿って延びる側縁7をそれぞれ有する複数のブレード223を含んでいる。
内径D1に対する長さLsの比率Ls/D1が0.16以下である場合、流体から回転力を受けるブレード223の面積が相対的に狭く、タービン2の効率が低下してしまう。一方、比率Ls/D1が0.16よりも大である場合、ブレード223の面積が相対的に広くなり、タービンの効率は向上するが、クリアランスフローが生じる領域が広くなり、クリアランスフローによる損失が大きくなる。この点、この実施形態では、比率Ls/D1が0.16よりも大であってもクリアランスフローが低減されるので、タービンの効率を向上させながら、損失の増大を抑制できる。
図3に示すように、ブレード223の側縁7は、入口61側に配置される側縁上流部73と、出口62側に配置される側縁下流部74とを有し、シュラウド面6は、入口61側に配置され、側縁上流部73に沿うシュラウド上流部63と、出口62側に配置され、側縁下流部74に沿うシュラウド下流部64とを有する。
また、この場合において、シュラウド面6の曲率半径Rとブレード223の側縁7の曲率半径との差(R−Ra)は、シュラウド面6とブレード223の側縁7との隙間(クリアランス)となる。
図5及び図6、並びに図9及び図10に示すように、幾つかの実施形態では、シュラウド下流部64は、円弧形状の子午断面形状を有する円弧部65からなる。このようにすれば、シュラウド下流部64が円弧部65からなることで、ハブ221の軸線Lに対するシュラウド下流部64の傾斜角度を出口62に向けて徐々に小さくできる。
また、この場合において、シュラウド面6の曲率半径Rとブレード223の側縁7の曲率半径Raとの差(R−Ra)は、シュラウド面6とブレード223の側縁7との隙間(クリアランス)となる。
また、図13に示すように、幾つかの実施形態では、シュラウド面6は、入口61と出口62を結ぶ直線形状の子午断面形状を有する。
この構成によれば、シュラウド面6は、ハブ221の軸線Lに対する傾斜角度を一定にすることができる。
この構成によれば、ブレード223の側縁7は、ハブ221の軸線Lに対する傾斜角度を一定にすることができる。
なお、図3〜図13において、側縁7とシュラウド面6の隙間を誇張して拡大して描いているが、隙間は微小であり、子午断面形状にて側縁7はシュラウド面6と相似形状を有する。
2 タービン
21 タービンハウジング
211 接続フランジ
212 カップリング
22 タービン動翼
221 ハブ
222 背面
223 ブレード
23 筒部(シュラウド部)
231 開口
24 スクロール部
25 スロート部
26 バックプレート
3 コンプレッサ
31 コンプレッサハウジング
32 インペラ
321 ハブ
322 背面
323 ブレード
33 蓋部材
331 シール孔
34 筒部
35 スクロール部
36 ディフューザ部
4 軸受ハウジング
41 接続フランジ
42 端壁
421 シール部
422 シール孔
43 周壁
431 給油ポート
432 排油ポート
44 軸受部
441 軸受孔
442 浮動ブッシュ
45 スラスト部材
46 スラストカラー
47 スラストスリーブ
48 オイルデフレクタ
5 駆動軸
51 雄ネジ
52 ナット
6 シュラウド面
61 入口
62 出口
63,631〜638 シュラウド上流部
64,641〜648 シュラウド下流部
65,651〜658 円弧部
66,662,666 直線部
663,667 第1直線部
67,674,678 直線部
673,677 第2直線部
7 側縁
71 側縁前端(前縁先端)
72 側縁後端(後縁先端)
73,731〜738 側縁上流部
74,741〜748 側縁下流部
75,751〜758 円弧部
76,762,766 直線部
763,767 第1直線部
77,774,778 直線部
773,777 第2直線部
L ハブの軸線
FF 近傍流れ
MF 中間流れ
Claims (13)
- 入口、出口、及び、前記入口と前記出口との間を延びるシュラウド面を有するシュラウド部を含む、ハウジングと、
前記ハウジングに収容され、ハブ、及び、該ハブの外周面に設けられ、前記シュラウド面に沿って延びる側縁をそれぞれ有する複数のブレードを含むタービン動翼と、
を備えるタービンであって、
前記ブレードの側縁は、
前記入口側に配置される側縁上流部と、
前記出口側に配置される側縁下流部とを有し、
前記シュラウド面は、
前記入口側に配置され、前記側縁上流部に沿うシュラウド上流部と、
前記出口側に配置され、前記側縁下流部に沿うシュラウド下流部とを有し、
前記シュラウド上流部は、前記ハブの軸線から前記入口までの径方向距離をR1、前記ハブの軸線から前記出口までの径方向距離をR2t、前記ハブの軸線方向での前記シュラウド面の長さをLsとした場合に、数式1で定義される曲率半径Rを有する子午断面形状を有する
ことを特徴とするタービン。
- 前記シュラウド下流部は、円弧形状の子午断面形状を有する円弧部からなることを特徴とする請求項1に記載のタービン。
- 前記円弧部は、真円弧形状の子午断面形状を有することを特徴とする請求項2に記載のタービン。
- 前記円弧部は、楕円弧形状の子午断面形状を有することを特徴とする請求項2に記載のタービン。
- 前記円弧部の曲率中心は、前記出口を通り且つ前記ハブの軸線方向と直交する直線上又は該直線よりも前記ハブの軸線方向にて下流に位置付けられていることを特徴とする請求項2〜4の何れか一項に記載のタービン。
- 前記シュラウド上流部は、直線形状の子午断面形状を有する直線部からなることを特徴とする請求項1〜5の何れか一項に記載のタービン。
- 前記ハブの軸線に対する前記シュラウド下流部の子午断面での傾斜角度は、前記出口において0度であることを特徴とする請求項1〜6の何れか一項に記載のタービン。
- 前記シュラウド下流部は、前記ハブの軸線に対して傾斜した直線形状の子午断面形状を有する直線部からなることを特徴とする請求項1に記載のタービン。
- 前記シュラウド面は、前記入口と前記出口を結ぶ直線形状の子午断面形状を有することを特徴とする請求項1に記載のタービン。
- 前記入口での前記シュラウド面の内径をD1とし、前記ハブの軸線方向での前記シュラウド面の長さをLSとした場合に、前記内径D1に対する前記長さLSの比率Ls/D1が0.16よりも大であることを特徴とする請求項1〜10のいずれか一項に記載のタービン。
- 前記ハブの軸線から前記入口までの径方向距離をR1、前記ハブの軸線から前記出口までの径方向距離をR2tとした場合に、前記距離R1に対する前記距離R2tの比率が0.95以下であることを特徴とする請求項1〜11の何れか一項に記載のタービン。
- 入口、出口、及び、前記入口と前記出口との間を延びるシュラウド面を有するシュラウド部を含む、ハウジングと、
前記ハウジングに収容され、ハブ、及び、該ハブの外周面に設けられ、前記シュラウド面に沿って延びる側縁をそれぞれ有する複数のブレードを含むタービン動翼と、
を備えるタービンであって、
前記ブレードの側縁は、
前記入口側に配置される側縁上流部と、
前記出口側に配置される側縁下流部とを有し、
前記シュラウド面は、円弧形状の子午断面形状を有する1つの円弧部からなり、
前記円弧部は、前記ハブの軸線から前記入口までの径方向距離をR1、前記ハブの軸線から前記出口までの径方向距離をR2t、前記ハブの軸線方向での前記シュラウド面の長さをLsとした場合に、数式3で定義される曲率半径Rを有する子午断面形状を有することを特徴とするタービン。
Applications Claiming Priority (1)
| Application Number | Priority Date | Filing Date | Title |
|---|---|---|---|
| PCT/JP2014/076167 WO2016051531A1 (ja) | 2014-09-30 | 2014-09-30 | タービン |
Publications (2)
| Publication Number | Publication Date |
|---|---|
| JPWO2016051531A1 JPWO2016051531A1 (ja) | 2017-04-27 |
| JP6234600B2 true JP6234600B2 (ja) | 2017-11-22 |
Family
ID=55629623
Family Applications (1)
| Application Number | Title | Priority Date | Filing Date |
|---|---|---|---|
| JP2016551404A Active JP6234600B2 (ja) | 2014-09-30 | 2014-09-30 | タービン |
Country Status (5)
| Country | Link |
|---|---|
| US (1) | US10731467B2 (ja) |
| EP (1) | EP3163018B1 (ja) |
| JP (1) | JP6234600B2 (ja) |
| CN (1) | CN106489019B (ja) |
| WO (1) | WO2016051531A1 (ja) |
Families Citing this family (9)
| Publication number | Priority date | Publication date | Assignee | Title |
|---|---|---|---|---|
| WO2017149671A1 (ja) * | 2016-03-01 | 2017-09-08 | 三菱重工業株式会社 | 軸受装置および排気タービン過給機 |
| CN107524631B (zh) * | 2017-09-27 | 2024-08-09 | 湖南天雁机械有限责任公司 | 降低增压器气动噪声的叶轮 |
| US11313379B2 (en) | 2017-11-06 | 2022-04-26 | Mitsubishi Heavy Industries Engine & Turbocharger, Ltd. | Centrifugal compressor and turbocharger including the same |
| DE102017126950A1 (de) * | 2017-11-16 | 2019-05-16 | Man Energy Solutions Se | Turbolader |
| US11136997B2 (en) * | 2019-07-23 | 2021-10-05 | Ford Global Technologies, Llc | Methods and systems for a compressor housing |
| FR3100563B1 (fr) * | 2019-09-06 | 2021-08-06 | Safran Aircraft Engines | Moyeu polysphérique de turbomachine pour pales à calage variable |
| JP7381368B2 (ja) * | 2020-03-02 | 2023-11-15 | 日野自動車株式会社 | ツインスクロールターボ |
| US11808174B2 (en) * | 2020-04-23 | 2023-11-07 | Mitsubishi Heavy Industries Engine & Turbocharger, Ltd. | Turbine and turbocharger including the turbine |
| CN118871661A (zh) * | 2022-03-28 | 2024-10-29 | 三菱重工发动机和增压器株式会社 | 斜流式涡轮及涡轮增压器 |
Family Cites Families (10)
| Publication number | Priority date | Publication date | Assignee | Title |
|---|---|---|---|---|
| JP3040601B2 (ja) * | 1992-06-12 | 2000-05-15 | 三菱重工業株式会社 | ラジアルタービン動翼 |
| JPH08109801A (ja) * | 1994-08-19 | 1996-04-30 | Ishikawajima Harima Heavy Ind Co Ltd | 過給機用タービン |
| JPH09144550A (ja) | 1995-11-24 | 1997-06-03 | Ishikawajima Harima Heavy Ind Co Ltd | 過給機用タービン |
| JP3679860B2 (ja) * | 1996-05-20 | 2005-08-03 | 三菱重工業株式会社 | ラジアルタービン |
| JP2002349202A (ja) * | 2001-05-25 | 2002-12-04 | Toyota Central Res & Dev Lab Inc | タービンロータ |
| JP4288051B2 (ja) | 2002-08-30 | 2009-07-01 | 三菱重工業株式会社 | 斜流タービン、及び、斜流タービン動翼 |
| KR101070904B1 (ko) | 2004-08-20 | 2011-10-06 | 삼성테크윈 주식회사 | 레이디얼 터빈 휠 |
| CN102011614A (zh) * | 2010-11-18 | 2011-04-13 | 大同北方天力增压技术有限公司 | 高效混流涡轮 |
| GB201103222D0 (en) * | 2011-02-24 | 2011-04-13 | Imp Innovations Ltd | A turbine wheel,a turbine and a use thereof |
| JP2013204422A (ja) | 2012-03-27 | 2013-10-07 | Ihi Corp | タービン |
-
2014
- 2014-09-30 EP EP14903348.2A patent/EP3163018B1/en active Active
- 2014-09-30 US US15/329,959 patent/US10731467B2/en active Active
- 2014-09-30 CN CN201480080395.9A patent/CN106489019B/zh active Active
- 2014-09-30 JP JP2016551404A patent/JP6234600B2/ja active Active
- 2014-09-30 WO PCT/JP2014/076167 patent/WO2016051531A1/ja not_active Ceased
Also Published As
| Publication number | Publication date |
|---|---|
| WO2016051531A1 (ja) | 2016-04-07 |
| CN106489019A (zh) | 2017-03-08 |
| EP3163018A1 (en) | 2017-05-03 |
| US20170260861A1 (en) | 2017-09-14 |
| EP3163018A4 (en) | 2017-07-05 |
| CN106489019B (zh) | 2018-04-27 |
| EP3163018B1 (en) | 2020-11-18 |
| JPWO2016051531A1 (ja) | 2017-04-27 |
| US10731467B2 (en) | 2020-08-04 |
Similar Documents
| Publication | Publication Date | Title |
|---|---|---|
| JP6234600B2 (ja) | タービン | |
| US8251650B2 (en) | Compressor housing | |
| JP6374760B2 (ja) | 軸流タービン及び過給機 | |
| WO2018146753A1 (ja) | 遠心圧縮機、ターボチャージャ | |
| CN109563770B (zh) | 涡轮机及涡轮增压器 | |
| US11236669B2 (en) | Turbine and turbocharger | |
| US11187242B2 (en) | Multi-stage centrifugal compressor | |
| US20200355198A1 (en) | Impeller for centrifugal compressor, centrifugal compressor, and turbocharger | |
| CN111448374B (zh) | 涡轮及涡轮增压器 | |
| CN111433442B (zh) | 扩散器及涡轮增压器 | |
| CN110770449A (zh) | 压缩机叶轮、压缩机以及涡轮增压器 | |
| US11047393B1 (en) | Multi-stage centrifugal compressor, casing, and return vane | |
| JP2012112351A (ja) | タービンのガス出口案内筒 | |
| JP7643214B2 (ja) | 遠心式回転装置 | |
| US11174870B2 (en) | Turbine for turbocharger, and turbocharger | |
| WO2023203813A1 (ja) | 遠心圧縮機 | |
| JP2008163761A (ja) | ラジアルタービン |
Legal Events
| Date | Code | Title | Description |
|---|---|---|---|
| A524 | Written submission of copy of amendment under article 19 pct |
Free format text: JAPANESE INTERMEDIATE CODE: A527 Effective date: 20161114 |
|
| A621 | Written request for application examination |
Free format text: JAPANESE INTERMEDIATE CODE: A621 Effective date: 20161114 |
|
| A131 | Notification of reasons for refusal |
Free format text: JAPANESE INTERMEDIATE CODE: A131 Effective date: 20170804 |
|
| A521 | Request for written amendment filed |
Free format text: JAPANESE INTERMEDIATE CODE: A523 Effective date: 20170914 |
|
| TRDD | Decision of grant or rejection written | ||
| A01 | Written decision to grant a patent or to grant a registration (utility model) |
Free format text: JAPANESE INTERMEDIATE CODE: A01 Effective date: 20171006 |
|
| A61 | First payment of annual fees (during grant procedure) |
Free format text: JAPANESE INTERMEDIATE CODE: A61 Effective date: 20171024 |
|
| R150 | Certificate of patent or registration of utility model |
Ref document number: 6234600 Country of ref document: JP Free format text: JAPANESE INTERMEDIATE CODE: R150 |
|
| S111 | Request for change of ownership or part of ownership |
Free format text: JAPANESE INTERMEDIATE CODE: R313111 |
|
| R350 | Written notification of registration of transfer |
Free format text: JAPANESE INTERMEDIATE CODE: R350 |
